Lenovo H50 Hmm 20140929 User Manual Series Hardware Maintenance 05 Desktop (Lenovo) Type 10189
2014-09-29
User Manual: Lenovo Lenovo H50 Hmm 20140929 Lenovo H50 Series Hardware Maintenance Manual H50-05 Desktop (Lenovo) - Type 10189
Open the PDF directly: View PDF
.
Page Count: 95
- Chapter 1. About this manual
- Chapter 2. Safety information
- Chapter 3. General information
- Chapter 4. General Checkout
- Chapter 5. Using the Setup Utility
- Chapter 6. Symptom-to-FRU Index
- Chapter 7. Locating connectors, controls and components
- Chapter 8. Replacing hardware
- General information
- Replacing the keyboard and mouse
- Removing the computer cover
- Removing the front bezel
- Replacing an optical drive
- Replacing the hard disk drive
- Replacing a memory module
- Replacing the graphic card
- Replacing the heat-sink assembly
- Replacing an Intel CPU
- Replacing an AMD CPU
- Replacing the system fan
- Replacing the Wi-Fi card
- Replacing the front card reader module
- Replacing the motherboard
- Chapter 9. FRU lists-H50–00
- Chapter 10. FRU lists-H50–05
- Chapter 11. FRU lists-H50–50
- Chapter 12. FRU lists-H50–55
- Chapter 13. General information

LenovoH50SeriesHardwareMaintenance
Manual
MachineTypes:90C1[H50-00];90BH[H50-05];90B6[H50-50ES];
90B7[H50-50Non-ES];90BF[H50-55ES];90BG[H50-55Non-ES]

LenovoH50Series
HardwareMaintenanceManual
MachineTypes:90C1[H50-00];90BH[H50-05];90B6[H50-50ES];
90B7[H50-50Non-ES];90BF[H50-55ES];90BG[H50-55Non-ES]

SecondEdition(September2014)12th
©CopyrightLenovo2014.
LIMITEDANDRESTRICTEDRIGHTSNOTICE:IfdataorsoftwarearedeliveredpursuantaGeneralServices
Administration“GSA”contract,use,reproduction,ordisclosureissubjecttorestrictionssetforthinContractNo.
GS-35F-05925

Contents
Chapter1.Aboutthismanual.....1
ImportantSafetyInformation.........1
Chapter2.Safetyinformation.....3
Generalsafety...............3
Electricalsafety..............3
Safetyinspectionguide...........5
Handlingelectrostaticdischarge-sensitive
devices.................5
Groundingrequirements...........6
Safetynotices...............6
Chapter3.Generalinformation....9
Specifications...............9
Chapter4.GeneralCheckout.....11
Chapter5.UsingtheSetupUtility...13
StartingtheLenovoBIOSSetupUtilityprogram.13
Viewingandchangingsettings........13
Usingpasswords..............13
Enablingordisablingadevice........15
Selectingastartupdevice..........16
ExitingtheLenovoBIOSSetupUtilityprogram..17
Chapter6.Symptom-to-FRUIndex..19
Harddiskdrivebooterror..........19
PowerSupplyProblems...........19
POSTerrorcodes.............20
Undeterminedproblems...........20
Chapter7.Locatingconnectors,
controlsandcomponents......21
Chapter8.Replacinghardware....31
Generalinformation.............31
Replacingthekeyboardandmouse......32
Removingthecomputercover........32
Removingthefrontbezel..........34
Replacinganopticaldrive..........35
Replacingtheharddiskdrive.........36
Replacingamemorymodule.........37
Replacingthegraphiccard..........39
Replacingtheheat-sinkassembly.......41
ReplacinganIntelCPU...........42
ReplacinganAMDCPU...........44
Replacingthesystemfan..........47
ReplacingtheWi-Ficard...........50
Replacingthefrontcardreadermodule.....50
Replacingthemotherboard..........51
Chapter9.FRUlists-H50–00.....55
Chapter10.FRUlists-H50–05.....63
Chapter11.FRUlists-H50–50.....73
Chapter12.FRUlists-H50–55.....81
Chapter13.Generalinformation...89
AdditionalServiceInformation........89
©CopyrightLenovo2014iii

ivLenovoH50SeriesHardwareMaintenanceManual

Chapter1.Aboutthismanual
ThismanualcontainsserviceandreferenceinformationforLenovoH50seriesdesktopcomputerslistedon
thecover.ItisintendedonlyfortrainedservicerswhoarefamiliarwithLenovocomputerproducts.
BeforeservicingaLenovoproduct,besuretoreadtheSafetyInformation.
ThedescriptionoftheTVcardinthismanualisonlyusedforthemachineswhichhavetheTVcard.Itis
invalidforthosemachineswhichdonothaveTVcard.
ImportantSafetyInformation
Besuretoreadallcautionanddangerstatementsinthisbookbeforeperforminganyoftheinstructions.
VeuillezliretouteslesconsignesdetypeDANGERetATTENTIONduprésentdocumentavantd’exécuter
lesinstructions.
LesenSieunbedingtalleHinweisevomTyp“ACHTUNG”oder“VORSICHT”indieserDokumentation,bevor
SieirgendwelcheVorgängedurchführen
LeggereleistruzioniintrodottedaATTENZIONEePERICOLOpresentinelmanualeprimadieseguireuna
qualsiasidelleistruzioni
Certifique-sedelertodasasinstruçõesdecuidadoeperigonestemanualantesdeexecutarqualquer
umadasinstruções
Esimportantequeleatodaslasdeclaracionesdeprecauciónydepeligrodeestemanualantesdeseguir
lasinstrucciones.
©CopyrightLenovo20141

2LenovoH50SeriesHardwareMaintenanceManual

Chapter2.Safetyinformation
Thischaptercontainsthesafetyinformationthatyouneedtobefamiliarwithbeforeservicingacomputer.
Generalsafety
Followtheserulestoensuregeneralsafety:
•Observegoodhousekeepingintheareaofthemachinesduringandaftermaintenance.
•Whenliftinganyheavyobject:
1.Ensureyoucanstandsafelywithoutslipping.
2.Distributetheweightoftheobjectequallybetweenyourfeet.
3.Useaslowliftingforce.Nevermovesuddenlyortwistwhenyouattempttolift.
4.Liftbystandingorbypushingupwithyourlegmuscles;thisactionremovesthestrainfromthe
musclesinyourback.
Donotattempttoliftanyobjectsthatweighmorethan16kg(35lb)orobjectsthatyouthinkare
tooheavyforyou.
•Donotperformanyactionthatcauseshazardstothecustomer,orthatmakestheequipmentunsafe.
•Beforeyoustartthemachine,ensurethatotherservicerepresentativesandthecustomer’spersonnelare
notinahazardousposition.
•Placeremovedcoversandotherpartsinasafeplace,awayfromallpersonnel,whileyouareservicing
themachine.
•Keepyourtoolcaseawayfromwalkareassothatotherpeoplewillnottripoverit.
•Donotwearlooseclothingthatcanbetrappedinthemovingpartsofamachine.Ensurethatyoursleeves
arefastenedorrolledupaboveyourelbows.Ifyourhairislong,fastenit.
•Inserttheendsofyournecktieorscarfinsideclothingorfastenitwithanonconductiveclip,approximately
8centimeters(3inches)fromtheend.
•Donotwearjewelry,chains,metal-frameeyeglasses,ormetalfastenersforyourclothing.
Remember:Metalobjectsaregoodelectricalconductors.
•Wearsafetyglasseswhenyouare:hammering,drillingsoldering,cuttingwire,attachingsprings,using
solvents,orworkinginanyotherconditionsthatmightbehazardoustoyoureyes.
•Afterservice,reinstallallsafetyshields,guards,labels,andgroundwires.Replaceanysafetydevice
thatiswornordefective.
•Reinstallallcoverscorrectlybeforereturningthemachinetothecustomer.
Electricalsafety
CAUTION:
Electricalcurrentfrompower,telephone,andcommunicationcablescanbehazardous.T oavoid
personalinjuryorequipmentdamage,disconnecttheattachedpowercords,telecommunication
systems,networks,andmodemsbeforeyouopenthecomputercovers,unlessinstructedotherwise
intheinstallationandconfigurationprocedures.
©CopyrightLenovo20143

Observethefollowingruleswhenworkingonelectricalequipment.
Important:Useonlyapprovedtoolsandtestequipment.Somehandtoolshavehandlescoveredwithasoft
materialthatdoesnotinsulateyouwhenworkingwithliveelectricalcurrents.Manycustomershave,near
theirequipment,rubberfloormatsthatcontainsmallconductivefiberstodecreaseelectrostaticdischarges.
Donotusethistypeofmattoprotectyourselffromelectricalshock.
•Findtheroomemergencypower-off(EPO)switch,disconnectingswitch,orelectricaloutlet.Ifanelectrical
accidentoccurs,youcanthenoperatetheswitchorunplugthepowercordquickly.
•Donotworkaloneunderhazardousconditionsornearequipmentthathashazardousvoltages.
•Disconnectallpowerbefore:
–Performingamechanicalinspection
–Workingnearpowersupplies
–RemovingorinstallingFieldReplaceableUnits(FRUs)
•Beforeyoustarttoworkonthemachine,unplugthepowercord.Ifyoucannotunplugit,askthecustomer
topower-offthewallboxthatsuppliespowertothemachineandtolockthewallboxintheoffposition.
•Ifyouneedtoworkonamachinethathasexposedelectricalcircuits,observethefollowingprecautions:
–Ensurethatanotherperson,familiarwiththepower-offcontrols,isnearyou.
Remember:Anotherpersonmustbetheretoswitchoffthepower,ifnecessary.
–Useonlyonehandwhenworkingwithpowered-onelectricalequipment;keeptheotherhandinyour
pocketorbehindyourback.
Remember:Theremustbeacompletecircuittocauseelectricalshock.Byobservingtheaboverule,
youmaypreventacurrentfrompassingthroughyourbody.
–Whenusingatester,setthecontrolscorrectlyandusetheapprovedprobeleadsandaccessoriesfor
thattester.
–Standonsuitablerubbermats(obtainedlocally,ifnecessary)toinsulateyoufromgroundssuchas
metalfloorstripsandmachineframes.
Observethespecialsafetyprecautionswhenyouworkwithveryhighvoltages;theseinstructionsarein
thesafetysectionsofmaintenanceinformation.Useextremecarewhenmeasuringhighvoltages.
•Regularlyinspectandmaintainyourelectricalhandtoolsforsafeoperationalcondition.
•Donotusewornorbrokentoolsandtesters.
•Neverassumethatpowerhasbeendisconnectedfromacircuit.First,checkthatithasbeenpowered-off.
•Alwayslookcarefullyforpossiblehazardsinyourworkarea.Examplesofthesehazardsaremoistfloors,
nongroundedpowerextensioncables,powersurges,andmissingsafetygrounds.
•Donottouchliveelectricalcircuitswiththereflectivesurfaceofaplasticdentalmirror.Thesurfaceis
conductive;suchtouchingcancausepersonalinjuryandmachinedamage.
•Donotservicethefollowingpartswiththepoweronwhentheyareremovedfromtheirnormaloperating
placesinamachine:
–Powersupplyunits
–Pumps
–Blowersandfans
–Motorgenerators
andsimilarunits.(Thispracticeensurescorrectgroundingoftheunits.)
•Ifanelectricalaccidentoccurs:
–Usecaution;donotbecomeavictimyourself.
–Switchoffpower.
4LenovoH50SeriesHardwareMaintenanceManual

–Sendanotherpersontogetmedicalaid.
Safetyinspectionguide
Theintentofthisinspectionguideistoassistyouinidentifyingpotentiallyunsafeconditionsonthese
products.Eachmachine,asitwasdesignedandbuilt,hadrequiredsafetyitemsinstalledtoprotectusers
andservicepersonnelfrominjury.Thisguideaddressesonlythoseitems.However,goodjudgmentshould
beusedtoidentifypotentialsafetyhazardsduetoattachmentoffeaturesoroptionsnotcoveredbythis
inspectionguide.
Ifanyunsafeconditionsarepresent,youmustdeterminehowserioustheapparenthazardcouldbeand
whetheryoucancontinuewithoutfirstcorrectingtheproblem.
Considertheseconditionsandthesafetyhazardstheypresent:
•Electricalhazards,especiallyprimarypower(primaryvoltageontheframecancauseseriousorfatal
electricalshock).
•Explosivehazards,suchasadamagedCRTfaceorbulgingcapacitor
•Mechanicalhazards,suchaslooseormissinghardware
Theguideconsistsofaseriesofstepspresentedinachecklist.Beginthecheckswiththepoweroff,and
thepowercorddisconnected.
Checklist:
1.Checkexteriorcoversfordamage(loose,broken,orsharpedges).
2.Power-offthecomputer.Disconnectthepowercord.
3.Checkthepowercordfor:
a.Athird-wiregroundconnectoringoodcondition.Useametertomeasurethird-wireground
continuityfor0.1ohmorlessbetweentheexternalgroundpinandframeground.
b.Thepowercordshouldbetheappropriatetypeasspecifiedinthepartslistings.
c.Insulationmustnotbefrayedorworn.
4.Removethecover.
5.Checkforanyobviousalterations.Usegoodjudgmentastothesafetyofanyalterations.
6.Checkinsidetheunitforanyobviousunsafeconditions,suchasmetalfilings,contamination,wateror
otherliquids,orsignsoffireorsmokedamage.
7.Checkforworn,frayed,orpinchedcables.
8.Checkthatthepower-supplycoverfasteners(screwsorrivets)havenotbeenremovedortamperedwith.
Handlingelectrostaticdischarge-sensitivedevices
Anycomputerpartcontainingtransistorsorintegratedcircuits(ICs)shouldbeconsideredsensitiveto
electrostaticdischarge(ESD).ESDdamagecanoccurwhenthereisadifferenceinchargebetweenobjects.
ProtectagainstESDdamagebyequalizingthechargesothatthemachine,thepart,theworkmat,andthe
personhandlingthepartareallatthesamecharge.
Notes:
1.Useproduct-specificESDprocedureswhentheyexceedtherequirementsnotedhere.
2.MakesurethattheESDprotectivedevicesyouusehavebeencertified(ISO9000)asfullyeffective.
WhenhandlingESD-sensitiveparts:
•Keepthepartsinprotectivepackagesuntiltheyareinsertedintotheproduct.
Chapter2.Safetyinformation5

•Avoidcontactwithotherpeoplewhilehandlingthepart.
•Wearagroundedwriststrapagainstyourskintoeliminatestaticonyourbody.
•Preventthepartfromtouchingyourclothing.Mostclothingisinsulativeandretainsachargeeven
whenyouarewearingawriststrap.
•Usetheblacksideofagroundedworkmattoprovideastatic-freeworksurface.Thematisespecially
usefulwhenhandlingESD-sensitivedevices.
•Selectagroundingsystem,suchasthoselistedbelow,toprovideprotectionthatmeetsthespecific
servicerequirement.
Note:TheuseofagroundingsystemisdesirablebutnotrequiredtoprotectagainstESDdamage.
–AttachtheESDgroundcliptoanyframeground,groundbraid,orgreen-wireground.
–UseanESDcommongroundorreferencepointwhenworkingonadouble-insulatedor
battery-operatedsystem.Y oucanusecoaxorconnector-outsideshellsonthesesystems.
–Usetheroundground-prongoftheacplugonac-operatedcomputers.
Groundingrequirements
Electricalgroundingofthecomputerisrequiredforoperatorsafetyandcorrectsystemfunction.Proper
groundingoftheelectricaloutletcanbeverifiedbyacertifiedelectrician.
Safetynotices
ThecautionanddangersafetynoticesinthissectionareprovidedinthelanguageofEnglish.
DANGER
Electricalcurrentfrompower,telephoneandcommunicationcablesishazardous.
Toavoidashockhazard:
•Donotconnectordisconnectanycablesorperforminstallation,maintenance,orreconfiguration
ofthisproductduringanelectricalstorm.
•Connectallpowercordstoaproperlywiredandgroundedelectricaloutlet.
•Connecttoproperlywiredoutletsanyequipmentthatwillbeattachedtothisproduct.
•Whenpossible,useonehandonlytoconnectordisconnectsignalcables.
•Neverturnonanyequipmentwhenthereisevidenceoffire,water,orstructuraldamage.
•Disconnecttheattachedpowercords,telecommunicationssystems,networks,andmodems
beforeyouopenthedevicecovers,unlessinstructedotherwiseintheinstallationandconfiguration
procedures.
•Connectanddisconnectcablesasdescribedinthefollowingtablewheninstalling,moving,or
openingcoversonthisproductorattacheddevices.
6LenovoH50SeriesHardwareMaintenanceManual

ToConnectToDisconnect
1.T urneverythingOFF .
2.First,attachallcablestodevices.
3.Attachsignalcablestoconnectors.
4.Attachpowercordstooutlet.
5.T urndeviceON.
1.T urneverythingOFF .
2.First,removepowercordsfromoutlet.
3.Removesignalcablesfromconnectors.
4.Removeallcablesfromdevices.
CAUTION:
Whenreplacingthelithiumbattery,useonlyPartNumber45C1566oranequivalenttypebattery
recommendedbythemanufacturer.Ifyoursystemhasamodulecontainingalithiumbattery,replace
itonlywiththesamemoduletypemadebythesamemanufacturer.Thebatterycontainslithiumand
canexplodeifnotproperlyused,handled,ordisposedof.
Donot:
•Throworimmerseintowater
•Heattomorethan100°C(212°F)
•Repairordisassemble
Disposeofthebatteryasrequiredbylocalordinancesorregulations.
CAUTION:
Whenlaserproducts(suchasCD-ROMs,DVD-ROMdrives,fiberopticdevices,ortransmitters)are
installed,notethefollowing:
•Donotremovethecovers.Removingthecoversofthelaserproductcouldresultinexposureto
hazardouslaserradiation.Therearenoserviceablepartsinsidethedevice.
•Useofcontrolsoradjustmentsorperformanceofproceduresotherthanthosespecifiedherein
mightresultinhazardousradiationexposure.
DANGER
SomelaserproductscontainanembeddedClass3AorClass3Blaserdiode.Notethefollowing:
Laserradiationwhenopen.Donotstareintothebeam,donotviewdirectlywithoptical
instruments,andavoiddirectexposuretothebeam.
Chapter2.Safetyinformation7

≥18kg(37lbs)≥32kg(70.5lbs)≥55kg(121.2lbs)
CAUTION:
Usesafepracticeswhenlifting.
CAUTION:
Thepowercontrolbuttononthedeviceandthepowerswitchonthepowersupplydonotturnoff
theelectricalcurrentsuppliedtothedevice.Thedevicealsomighthavemorethanonepower
cord.Toremoveallelectricalcurrentfromthedevice,ensurethatallpowercordsaredisconnected
fromthepowersource.
1
2
CAUTION:
Donotplaceanyobjectweighingmorethan82kg(180lbs.)ontopofrack-mounteddevices.
8LenovoH50SeriesHardwareMaintenanceManual

Chapter3.Generalinformation
Thischapterprovidesgeneralinformationthatappliestoallmachinetypessupportedbythispublication.
Specifications
Thissectionliststhephysicalspecificationsforyourcomputer.
Thissectionliststhephysicalspecificationsforyourcomputer.
TypeLenovoH50series
Thissectionliststhephysicalspecifications.
Environment
Airtemperature:
Operating:10°to35°C
Transit:-20°to55°C
Humidity:
Operating:35%to80%
Transit:20%to90%(40°C)
Altitude:86KPato106KPa
Electricalinput:
Inputvoltage:90V-264V(AC)
Inputfrequency:47Hz-63Hz
©CopyrightLenovo20149

10LenovoH50SeriesHardwareMaintenanceManual

Chapter4.GeneralCheckout
Attention:Thedrivesinthecomputeryouareservicingmighthavebeenrearrangedorthedrivestartup
sequencechanged.Beextremelycarefulduringwriteoperationssuchascopying,saving,orformatting.
Dataorprogramscanbeoverwrittenifyouselectanincorrectdrive.
Generalerrormessagesappearifaproblemorconflictisfoundbyanapplicationprogram,theoperating
system,orboth.Foranexplanationofthesemessages,refertotheinformationsuppliedwiththatsoftware
package.
Usethefollowingproceduretohelpdeterminethecauseoftheproblem:
1.Power-offthecomputerandallexternaldevices.
2.Checkallcablesandpowercords.
3.Setalldisplaycontrolstothemiddleposition.
4.Power-onallexternaldevices.
5.Power-onthecomputer.
•Lookfordisplayederrorcodes
•Lookforreadableinstructionsoramainmenuonthedisplay.
Ifyoudidnotreceivethecorrectresponse,proceedtostep6.
Ifyoudoreceivethecorrectresponse,proceedtostep7.
6.Lookatthefollowingconditionsandfollowtheinstructions:
•IfthecomputerdisplaysaPOSTerror,goto“POSTerrorcodes” .
•Ifthecomputerhangsandnoerrorisdisplayed,continueatstep7.
7.Iftheteststopsandyoucannotcontinue,replacethelastdevicetested.
©CopyrightLenovo201411

12LenovoH50SeriesHardwareMaintenanceManual

Chapter5.UsingtheSetupUtility
TheSetupUtilityprogramisusedtoviewandchangetheconfigurationsettingsofyourcomputer,regardless
ofwhichoperatingsystemyouareusing.However,theoperating-systemsettingsmightoverrideanysimilar
settingsintheSetupUtilityprogram.
StartingtheLenovoBIOSSetupUtilityprogram
TostarttheLenovoBIOSSetupUtilityprogram,dothefollowing:
1.Ifyourcomputerisalreadyonwhenyoustartthisprocedure,shutdowntheoperatingsystemand
turnoffthecomputer.
2.PressandholdtheF1keythenturnonthecomputer.WhentheLenovoBIOSSetupUtilityprogramis
displayed,releasetheF1key.
Note:IfaPower-OnPasswordoranAdministratorPasswordhasbeenset,theSetupUtilityprogrammenu
isnotdisplayeduntilyoutypeyourpassword.Formoreinformation,see“Usingpasswords.”
Viewingandchangingsettings
SystemconfigurationoptionsarelistedintheLenovoBIOSSetupUtilityprogrammenu.Tovieworchange
settings,see“StartingtheSetupUtilityprogram.”
YoumustusethekeyboardwhenusingtheLenovoBIOSSetupUtilitymenu.Thekeysusedtoperform
varioustasksaredisplayedonthebottomofeachscreen.
Usingpasswords
YoucanusetheLenovoBIOSSetupUtilityprogramtosetpasswordstopreventunauthorizedpersons
fromgainingaccesstoyourcomputeranddata.See“StartingtheSetupUtilityprogram.”Thefollowing
typesofpasswordsareavailable:
•AdministratorPassword
•Power-OnPassword
Youdonothavetosetanypasswordstouseyourcomputer.However,ifyoudecidetosetpasswords,read
thefollowingsections.
Passwordconsiderations
Apasswordcanbeanycombinationoflettersandnumbersupto16character(a-z,and0-9).Forsecurity
reasons,itisagoodideatouseastrongpasswordthatcannotbeeasilycompromised.Wesuggestthat
passwordsshouldfollowtheserules:
•Strongpasswordscontain7-16characters,combinelettersandnumbers.
•Donotuseyournameoryourusername.
•Donotuseacommonwordoracommonname.
•Besignificantlydifferentfromyourpreviouspassword.
Attention:AdministratorandPower-Onpasswordsarenotcasesensitive
©CopyrightLenovo201413

AdministratorPassword
SettinganAdministratorPassworddetersunauthorizedpersonsfromchangingconfigurationsettings.You
mightwanttosetanAdministratorPasswordifyouareresponsibleformaintainingthesettingsofseveral
computers.
AfteryousetanAdministratorPassword,apasswordpromptisdisplayedeverytimeyouaccesstheLenovo
BIOSSetupUtilityprogram.
IfboththeAdministratorandPower-OnPasswordareset,youcantypeeitherpassword.However,youmust
useyourAdministratorPasswordtochangeanyconfigurationsettings.
Setting,changing,ordeletinganAdministratorpassword
TosetanAdministratorPassword,dothefollowing:
Note:Apasswordcanbeanycombinationoflettersandnumbersupto16character(a-z,and0-9).For
moreinformation,see“Passwordconsiderations”onpage13.
1.StarttheLenovoBIOSSetupUtilityprogram(see“StartingtheLenovoBIOSSetupUtilityprogram”on
page13).
2.FromtheSecuritymenu,selectSetAdministratorPasswordandpresstheEnterkey.
3.Thepassworddialogboxwillbedisplayed.TypethepasswordthenpresstheEnterkey.
4.Re-typethepasswordtoconfirm,thenpresstheEnterkey.Ifyoutypethepasswordcorrectly,the
passwordwillbeinstalled.
TochangeanAdministratorPassword,dothefollowing:
1.StarttheLenovoBIOSSetupUtilityprogram(see“StartingtheLenovoBIOSSetupUtilityprogram”on
page13).
2.FromtheSecuritymenu,selectSetAdministratorPasswordandpresstheEnterkey.
3.Thepassworddialogboxwillbedisplayed.TypethecurrentpasswordthenpressEnterkey.
4.Typethenewpassword,thenpressEnterkey.Re-typethepasswordtoconfirmthenewpassword,if
youtypethenewpasswordcorrectly,thenewpasswordwillbeinstalled.ASetupNoticewilldisplay
thatchangeshavebeensaved.
TodeleteapreviouslysetAdministratorPassword,dothefollowing:
1.FromtheSecuritymenu,selectSetAdministratorPasswordandpresstheEnterkey.
2.Thepassworddialogboxwillbedisplayed.TypethecurrentpasswordandpresstheEnterkey.
3.TodeleteanAdministratorPassword,Enterblankfieldsforeachnewpasswordlineitem.Asetup
noticewilldisplaythatchangeshavebeensaved.
4.ReturntotheLenovoBIOSSetupUtilityprogrammenuandselecttheExitoption.
5.SelectSavechangesandExitfromthemenu.
Power-OnPassword
WhenaPower-OnPasswordisset,youcannotstarttheLenovoBIOSSetupUtilityprogramuntilavalid
passwordistypedfromthekeyboard.
Setting,changing,ordeletingaPower-OnPassword
Note:Apasswordcanbeanycombinationoflettersandnumbersupto16character(a-z,and0-9).
14LenovoH50SeriesHardwareMaintenanceManual

TosetaPower-OnPassword,dothefollowing:
1.StarttheLenovoBIOSSetupUtilityprogram(See”StartingtheLenovoBIOSSetupUtilityprogram”on
page13.)
2.FromtheSecuritymenu,selectSetPower-OnPasswordandpresstheEnterkey.
3.Thepassworddialogboxwillbedisplayed.Typethepassword,andpresstheEnterkey.
4.Re-typethepasswordtoconfirm,ifyoutypethepasswordcorrectly,thepasswordwillbeinstalled.
TochangeaPower-OnPassword,dothefollowing:
1.StarttheLenovoBIOSSetupUtilityprogram(See”StartingtheLenovoBIOSSetupUtilityprogram”on
page13.)
2.FromtheSecuritymenu,selectSetPower-OnPasswordandpresstheEnterkey.
3.Thepassworddialogboxwillbedisplayed.TypethecurrentpasswordthenpresstheEnterkey.
4.Typethenewpassword,thenpresstheEnterkey.Re-typethepasswordtoconfirmthenewpassword,
ifyoutypethenewpasswordcorrectly,thenewpasswordwillbeinstalled.Asetupnoticewilldisplay
thatchangeshavebeensaved.
TodeleteapreviouslysetPower-OnPassword,dothefollowing:
1.FromtheSecuritymenu,selectSetPower-OnPasswordandpresstheEnterkey.
2.Thepassworddialogboxwillbedisplayed.TypethecurrentpasswordandpresstheEnterkey.
3.TodeletethePower-OnPassword,Enterblankfieldsforeachnewpasswordlineitem.Asetup
noticewilldisplaythatchangeshavebeensaved.
4.ReturntotheLenovoBIOSSetupUtilityprogrammenuandselecttheExitoption.
5.SelectSavechangesandExitfromthemenu.
Enablingordisablingadevice
TheDevicesoptionsisusedtoenableordisableuseraccesstothefollowingdevices:
SerialPortSetupSelectthisoptiontoenableordisableSerialPort(com).
USBFunctionsSelectwhethertoenableordisableUSB(UniversalSerial
Bus)functions.Ifitisdisabled,theUSBkeyboardand/or
USBmousemaybenotabletobeusedwithoutdevice
driversupport.
ATADriveSetupSelectIDE,ACHImodeordisableSATAcontroller.Device
driversupportisrequiredforACHImode.Dependingon
howtheharddiskimagewasinstalled,changingthis
settingmaypreventthesystemfrombooting.
VideoSetupToconfigurevideorelatedfunctions.Thisoptionallows
youtoconfiguresystem'sinitiategraphicadapterfrom
eitherIGD(IntegratedGraphicsDevice)orPEG(PCI
ExpressGraphics).KeepontheIGDenabledbasedon
thesetupoptions.
Chapter5.UsingtheSetupUtility15

OnboardAudioControllerSelectwhethertoenableordisabletheOnboardAudio
Controller,whenfeatureissettoDisabledalldevices
connectedtotheaudioconnectors(e.g.aheadphoneor
amicrophone)aredisabledandcan’tbeused.
OnboardEthernetControllerorLANBootAgentSelectwhethertoenableordisableOnboardEthernet
Controller,orselectwhethertoenableordisableload
onboardPXE(PrebootExecutionEnvironment),or
SMC(SecureManagedClient).Thisfeaturewillallow
thecomputertobootfromaserverimage.
Toenableordisableadevice,dothefollowing:
1.StarttheSetupUtilityprogram(see“StartingtheSetupUtilityprogram”onpage13).
2.FromtheSetupUtilityprogrammenu,selectDevices.
3.Select:
SerialPortSetuppresstheEnterkey,andthenselectSerialPortSetup.
USBSetuppresstheEnterkey,andthenselectUSBFunctions.
ATADeviceSetuppresstheEnterkey.SelectConfigureSATAas,presstheEnterkeyandthen
selectSATAmode.
VideoSetuppresstheEnterkey,andthenselectVideoSetup.
AudioSetuppresstheEnterkey,andthenselectOnboardAudioController.
NetworkSetuppresstheEnterkey,thenselectOnboardEthernetSupportorLANBootAgent.
4.SelectDisabledorEnabledandpresstheEnterkey.
5.ReturntotheLenovoBIOSSetupUtilityprogrammenuandselecttheExitoption.
6.SelectSavechangesandExitfromthemenu.
Note:Ifyoudonotwanttosavethesettings,selectDiscardchangesandExitfromthemenu.
Selectingastartupdevice
IfyourcomputerdoesnotbootfromadevicesuchastheCD/DVD-ROMdrivediskorharddiskasexpected,
followoneoftheproceduresbelow.
Selectingatemporarystartupdevice
Usethisproceduretostartupfromanybootdevice.
Note:NotallCDs,DVDsorharddiskdrivesarebootable.
1.Turnoffyourcomputer.
2.PressandholdtheF12keythenturnonthecomputer.WhentheStartupDeviceMenuappears,
releasetheF12key.
Note:IftheStartupDeviceMenudoesnotdisplayusingthesesteps,repeatedlypressandreleasethe
F12keyratherthankeepingitpressedwhenturningonthecomputer.
3.Use↑and↓arrowstoselectthedesiredstartupdevicefromtheStartupDeviceMenuandpress
theEnterkeytobegin.
Note:SelectingastartupdevicefromtheStartupDeviceMenudoesnotpermanentlychangethe
startupsequence.
Selectingorchangingthestartupdevicesequence
16LenovoH50SeriesHardwareMaintenanceManual

Tovieworpermanentlychangetheconfiguredstartupdevicesequence,dothefollowing:
1.StarttheLenovoBIOSSetupUtilityprogram(see“StartingtheLenovoBIOSSetupUtilityprogram”on
page13).
2.FromtheLenovoBIOSSetupUtilityprogrammainmenu,selecttheStartupoption.
3.PresstheEnterkey,andselectthedevicesforthePrimaryBootSequence.Readtheinformation
displayedontherightsideofthescreen.
4.Use↑and↓arrowstoselectadevice.Usethe<+>or<->keystomoveadeviceupordown.Usethe
<×>keytoexcludethedevicefromorincludethedeviceinthebootsequence.
5.ReturntotheLenovoBIOSSetupUtilityprogrammenuandselecttheExitoption.
6.SelectSavechangesandExitfromthemenu.
Notes:
a.Ifyoudonotwanttosavethesettings,selectDiscardchangesandExitfromthemenu.
b.Ifyouhavechangedthesesettingsandwanttoreturntothedefaultsettings,selectLoadOptimal
Defaultsfromthemenu.
ExitingtheLenovoBIOSSetupUtilityprogram
Afteryoufinishviewingorchangingsettings,presstheEsckeytoreturntotheLenovoBIOSSetupUtility
programmainmenu.Y oumighthavetopresstheEsckeyseveraltimes.Dooneofthefollowing:
•Ifyouwanttosavethenewsettings,selectSavechangesandExitfromthemenu.WhentheSave&
resetwindowshows,selecttheYesbutton,andthenpresstheEnterkeytoexittheLenovoBIOS
SetupUtilityprogram.
•Ifyoudonotwanttosavethesettings,selectDiscardchangesandExitfromthemenu.Whenthe
ResetWithoutSavingwindowshows,selecttheY esbutton,andthenpresstheEnterkeytoexitthe
SetupUtilityprogram.
Chapter5.UsingtheSetupUtility17

18LenovoH50SeriesHardwareMaintenanceManual

Chapter6.Symptom-to-FRUIndex
TheSymptom-to-FRUindexlistserrorsymptomsandpossiblecauses.Themostlikelycauseislistedfirst.
AlwaysbeginwithChapter4,“GeneralCheckout,”onpage11.Thisindexcanalsobeusedtohelpyou
decidewhichFRUstohaveavailablewhenservicingacomputer.Ifyouareunabletocorrecttheproblem
usingthisindex,goto“Undeterminedproblems”onpage20.
Notes:
•Ifyouhavebothanerrormessageandanincorrectaudioresponse,diagnosetheerrormessagefirst.
•Ifyoucannotrunthediagnostictestsoryougetadiagnosticerrorcodewhenrunningatestbutdid
receiveaPOSTerrormessage,diagnosethePOSTerrormessagefirst.
•Ifyoudidnotreceiveanyerrormessagelookforadescriptionofyourerrorsymptomsinthefirstpartof
thisindex.
Harddiskdrivebooterror
Aharddiskdrivebooterrorcanhavethefollowingcauses.
ErrorFRU/Action
Thestartupdriveisnotincludedinthebootsequence
inconfiguration.
Checktheconfigurationandensurethestartupdriveis
inthebootsequence.
Nooperatingsysteminstalledonthebootdrive.Installanoperatingsystemonthebootdrive.
Thebootsectoronthestartupdriveiscorrupted.Thedrivemustbeformatted.Dothefollowing:
1.Attempttoback-upthedataonthefailingharddisk
drive.
2.Usetheoperatingsystemtoformattheharddisk
drive.
Thedriveisdefective.Replacetheharddiskdrive.
PowerSupplyProblems
Followtheseproceduresifyoususpectthereisapowersupplyproblem.
Check/VerifyFRU/Action
Checkthatthefollowingareproperlyinstalled:
•PowerCord
•On/OffSwitchconnector
•SystemBoardPowerSupplyconnectors
•Microprocessor(s)connection
Reseatconnectors
Checkthepowercord.PowerCord
Checkthepower-onswitch.Power-onSwitch
©CopyrightLenovo201419

POSTerrorcodes
Eachtimeyouturnthecomputeron,itperformsaseriesofteststocheckthatthesystemisoperating
correctlyandthatcertainoptionsareset.ThisseriesoftestsiscalledthePower-OnSelf-Test,orPOST.
POSTdoesthefollowing:
•Checkssomebasicsystem-boardoperations
•Checksthatthememoryisworkingcorrectly
•Startsvideooperations
•Verifiesthatthebootdriveisworking
POSTErrorMessageDescription/Action
KeyboarderrorCannotinitializethekeyboard.Makesurethekeyboard
isproperlyconnectedtothecomputerandthatnokeys
areheldpressedduringPOST.Topurposelyconfigure
thecomputerwithoutakeyboard,selectKeyboardless
operationinStartupoptiontoEnabled.TheBIOSthen
ignoresthemissingkeyboardduringPOST.
RebootandSelectproperBootdeviceorInsertBoot
MediainselectedBootdevice
TheBIOSwasunabletofindasuitablebootdevice.Make
surethebootdriveisproperlyconnectedtothecomputer.
Makesureyouhavebootablemediainthebootdevice.
Undeterminedproblems
1.Power-offthecomputer.
2.Removeordisconnectthefollowingcomponents(ifconnectedorinstalled)oneatatime.
a.Externaldevices(modem,printer,ormouse)
b.Extendedvideomemory
c.ExternalCache
d.ExternalCacheRAM
e.Harddiskdrive
f.Diskdrive
3.Power-onthecomputertore-testthesystem.
4.Repeatsteps1through3untilyoufindthefailingdeviceorcomponent.
Ifalldevicesandcomponentshavebeenremovedandtheproblemcontinues,replacethesystemboard.
20LenovoH50SeriesHardwareMaintenanceManual

Chapter7.Locatingconnectors,controlsandcomponents
Thissectionprovidesillustrationstohelplocatethevariousconnectors,controlsandcomponentsofthe
computer.
Fontview
Thefollowingillustrationshowsthelocationofcontrolsandcomponentsonthefrontofthecomputer.
Attention:Becarefulnottoblockanyairventsonthecomputer.Blockedairventscancauseoverheating.
1
5
3
6
6
7
4
8
2
1.Harddiskdriveindicator5.Memorycardreader(selectedmodelsonly)
2.Powerbutton6.USB2.0connectors(2)
3.OpticalDrive(selectedmodelsonly)7.Headphoneconnector
4.Opticaldriveejectbutton8.Microphoneconnector
Attention:TheeffectiverangeoftheBuilt-inIREmitteris10feet(3m).
©CopyrightLenovo201421

Rearview
Thefollowingillustrationshowsthelocationofconnectorsandcomponentsontherearofthecomputer.
H50-00
5
6
9
7
8
3
4
2
1
1.USB3.0connector6.Powerconnector
2.On-boardVGAconnector7.Wi-Fiantenna(selectedmodelsonly)
3.USB2.0connectors(2)8.Cableclip
4.Ethernetconnector9.Expansioncardslot
5.Audioconnectors
22LenovoH50SeriesHardwareMaintenanceManual

H50-05
1
2
6
8
10
7
9
3
5
4
1.On-boardVGAconnector6.Audioconnectors
2.HDMIconnector(selectedmodelsonly)7.Wi-Fiantenna(selectedmodelsonly)
3.USB2.0connectors(2)8.Powerconnector
4.Ethernetconnector9.Cableclip
5.USB3.0connectors(2)10.Expansioncardslots(somemodelsareequippedwith
graphicscard,USB3.0orTVtunercard)
H50-50
1
2
3
4
5
67
9
8
10
Chapter7.Locatingconnectors,controlsandcomponents23

1.Powerconnector6.USB2.0connectors(2)
2.Voltageselectionswitch(selectedmodelsonly)7.Ethernetconnector
3.HDMIconnector(selectedmodelsonly)8.Audioconnectors
4.On-boardVGAconnector9.Wi-Fiantenna(selectedmodelsonly)
5.USB3.0connectors(2)10.Expansioncardslots(somemodelsareequippedwith
graphicscard,USB3.0orTVtunercard)
H50-55
1
2
3
4
5
67
9
8
10
1.Powerconnector6.USB2.0connectors(2)
2.Voltageselectionswitch(selectedmodelsonly)7.Ethernetconnector
3.HDMIconnector(selectedmodelsonly)8.Audioconnectors
4.On-boardVGAconnector9.Wi-Fiantenna(selectedmodelsonly)
5.USB3.0connectors(2)10.Expansioncardslots(somemodelsareequippedwith
graphicscard,USB3.0orTVtunercard)
24LenovoH50SeriesHardwareMaintenanceManual

Hardwarecomponents
Thefollowingillustrationshowsthecomponentsthatmakeupyourcomputer.
1.Microprocessorfanandheatsink5.Systemfan
2.Memorymodules6.Opticaldrive
3.PCIexpressadaptercard7.Harddiskdrive
4.PCIexpressadapterconnectors
Identifyingpartsonthemotherboard
Themotherboard(sometimescalledtheplanarorsystemboard)isthemaincircuitboardinyourcomputer.
Itprovidesbasiccomputingfunctionsandsupportsavarietyofdevicesthatarefactory-installedorthat
youcaninstalllater.Thefollowingillustrationshowsthelocationofconnectorsandcomponentsonthe
frontofthemotherboard.
Chapter7.Locatingconnectors,controlsandcomponents25

Lenovo H50-00
1
5
13
32
6
7
8
9
4
11
10121514
1.Systemfanheader9.ClearCMOSjumper
2.Microprocessorandheatsink10.LPCdebugheader
3.Microprocessorfanheader11.Frontpanelconnector
4.Memoryconnector12.Powerfanheader
5.Harddiskandopticaldiskdrivepowerconnector13.FrontUSBconnectors(2)
6.SATAconnectors(2)14.MiniPCI-Eslot
7.PCIexpressX16adapterslot15.Frontaudioconnector
8.Battery
26LenovoH50SeriesHardwareMaintenanceManual

Lenovo H50-05
213
4
5
67
8
11
1012
9
1.Microprocessorandheatsink7.SATAconnectors(2)
2.Microprocessorfanheader8.MiniPCI-Eslot
3.Memoryslots(2)9.FrontUSBconnectors(2)
4.Harddiskdrivepowerconnector10.Frontaudioconnector
5.ClearCMOSjumper11.PCIexpressX1adapterslot
6.Frontpanelconnector12.PCIexpressX16adapterslot
Chapter7.Locatingconnectors,controlsandcomponents27

12345
10
11
121516
17
18
19
1314
7
6
9
8
Lenovo H50-50
1.12Vpowerconnector11.FrontUSBconnectors(2)
2.Microprocessorandheatsink12.LPCdebugheader
3.Microprocessorfanheader13.MiniPCI-Eslot
4.Memoryslots(2)14.PCIexpressX1adapterslots(3)
5.Thermalsensorheader15.ClearCMOSjumper
6.Harddiskdrivepowerconnector16.Frontaudioconnector
7.Powerconnector17.PCIexpressX16adapterslot
8.Powerfanheader18.Systemfanheader
9.SATAconnectors(3)19.Battery
10.Frontpanelconnector
28LenovoH50SeriesHardwareMaintenanceManual

134567
9
10
11
12
14
2
8
13
151718
1916
Lenovo H50-55
1.12Vpowerconnector11.Powerconnector
2.Battery12.SATAconnectors(4)
3.Systemfanheader13.Powerfanheader
4.Microprocessorandheatsink14.Frontpanelconnector
5.Microprocessorfanheader15.FrontUSBconnectors(2)
6.Memoryslots(2)16.MiniPCI-Eslot
7.Thermalsensorheader17.PCIexpressX1adapterslot(2)
8.Harddiskdrivefanheader18.PCIexpressX16adapterslot
9.Harddiskdrivepowerconnector19.Frontaudioconnector
10.Opticaldiskdrivepowerconnector
Chapter7.Locatingconnectors,controlsandcomponents29

30LenovoH50SeriesHardwareMaintenanceManual

Chapter8.Replacinghardware
Attention:Donotremovethecomputercoverorattemptanyrepairbeforereadingthe“Importantsafetyinformation”
intheSafetyandWarrantyGuidethatwasincludedwithyourcomputer.ToobtaincopiesoftheSafetyandWarranty
Guide,gototheSupportWebsiteat:http://consumersupport.lenovo.com.
Note:UseonlypartsprovidedbyLenovo.
Generalinformation
Pre-disassemblyinstructions
Beforeproceedingwiththedisassemblyprocedure,makesurethatyoudothefollowing:
1.Turnoffthepowertothesystemandallperipherals.
2.Unplugallpowerandsignalcablesfromthecomputer.
3.Placethesystemonaflat,stablesurface.
©CopyrightLenovo201431

Replacingthekeyboardandmouse
Toreplacethekeyboardandmouse
Step1.Removeanymedia(disks,CDs,DVDsormemorycards)fromthedrives,shutdowntheoperating
system,andturnoffthecomputerandallattacheddevices.
Step2.Unplugallpowercordsfromelectricaloutlets.
Step3.Disconnectallcablesattachedtothecomputer.Thisincludespowercords,input/output(I/O)
cables,andanyothercablesthatareconnectedtothecomputer.Referto“Leftandrightview”
and“Rearview”forhelpwithlocatingthevariousconnectors.
Note:Y ourkeyboardwillbeconnectedtoaUSBconnectorononesideorattherearofthe
computer.
Step4.Disconnectthedefectivekeyboardcablefromthecomputerandconnectthenewkeyboardcable
tothesameconnector.
Note:Themousecanbereplacedusingthesamemethod.
Removingthecomputercover
Attention:Turnoffthecomputerandwait3to5minutestoletitcooldownbeforeremovingthecover.
Note:Itmaybehelpfultoplacethecomputerface-downonasoftflatsurfaceforthisprocedure.Lenovo
recommendsthatyouuseablanket,towel,orothersoftclothtoprotectthecomputerscreenfromscratches
orotherdamage.
Toremovethecomputercover:
Step1.Removeanymedia(disks,CDs,DVDs,ormemorycards)fromthedrives,shutdowntheoperating
system,andturnoffthecomputerandallattacheddevices.
Step2.Unplugallpowercordsfromelectricaloutlets.
Step3.Disconnectallcablesattachedtothecomputer.Thisincludespowercords,input/output(I/O)
cables,andanyothercablesthatareconnectedtothecomputer.Referto“Leftandrightview”
and“Rearview”forhelpwithlocatingthevariousconnectors.
32LenovoH50SeriesHardwareMaintenanceManual

Step5.Toreinstallthecomputercover:
a.Lineupthecomputercoverwiththechassisthenslideitback.
b.Securethecomputercovertothechassiswiththescrews.
Removingthefrontbezel
Attention:Turnoffthecomputerandwait3to5minutestoletitcooldownbeforeremovingthecover.
Note:Itmaybehelpfultoplacethecomputerface-downonasoftflatsurfaceforthisprocedure.Lenovo
recommendsthatyouuseablanket,towel,orothersoftclothtoprotectthecomputerscreenfromscratches
orotherdamage.
Toremovethefrontbezel:
Step1.Removeanymedia(disks,CDs,DVDs,ormemorycards)fromthedrives,shutdowntheoperating
system,andturnoffthecomputerandallattacheddevices.
Step2.Unplugallpowercordsfromelectricaloutlets.
Step3.Disconnectallcablesattachedtothecomputer.Thisincludespowercords,input/output(I/O)
cables,andanyothercablesthatareconnectedtothecomputer.Referto“Leftandrightview”
and“Rearview”forhelpwithlocatingthevariousconnectors.
Step4.Removethecomputercover.Referto“Removingthecomputercover”.
34LenovoH50SeriesHardwareMaintenanceManual

Step5.Removethefrontbezelbyreleasingthethreeplastictabsinsidethechassisandpushingthe
bezeloutwardasshown.
Step6.Toreattachthebezel:
a.Aligntheplastictabsonthebottomofthebezelwiththecorrespondingholesinthechassis,
andthensnapitintopositionatthebottomandtopofthechassis.
Step7.Reattachthecomputercover.
Replacinganopticaldrive
Note:Forthisprocedure,ithelpstolaythecomputerflat.
Toreplaceanopticaldrive:
Step1.Removeanymedia(disks,CDs,DVDs,ormemorycards)fromthedrives,shutdowntheoperating
system,andturnoffthecomputerandallattacheddevices.
Step2.Unplugallpowercordsfromelectricaloutlets.
Step3.Disconnectallcablesattachedtothecomputer.Thisincludespowercords,input/output(I/O)
cables,andanyothercablesthatareconnectedtothecomputer.Referto“Leftandrightview”
and“Rearview”forhelpwithlocatingthevariousconnectors.
Step4.Removethecomputercover.Referto“Removingthecomputercover”.
Step5.Removethefrontbezel.Referto“Removingthefrontbezel”.
Chapter8.Replacinghardware35

Step6.Disconnectthedataandpowercablesfromtherearoftheopticaldrive.
Step7.Removethe2screwsthatsecuretheopticaldiskdrivebaytothechassis.1
Step8.Slideouttheopticaldiskdrivebay,thenliftitup.2
Step9.Toinstallthenewopticaldrive:
a.Slidethenewopticaldriveintothebayfromthebackuntilitsnapsintoposition.
b.Securetheopticaldrivetothebaywiththetwoscrews.
c.Connectthedataandpowercablestothedrive.
Step10.Reattachthefrontbezel,computercover.
Replacingtheharddiskdrive
Note:Forthisprocedure,ithelpstolaythecomputerflat.
Toreplacetheharddiskdrive:
Step1.Removeanymedia(disks,CDs,DVDs,ormemorycards)fromthedrives,shutdowntheoperating
system,andturnoffthecomputerandallattacheddevices.
Step2.Unplugallpowercordsfromelectricaloutlets.
Step3.Disconnectallcablesattachedtothecomputer.Thisincludespowercords,input/output(I/O)
cables,andanyothercablesthatareconnectedtothecomputer.Referto“Leftandrightview”
and“Rearview”forhelpwithlocatingthevariousconnectors.
Step4.Removethecomputercover.Referto“Removingthecomputercover”.
36LenovoH50SeriesHardwareMaintenanceManual

Step5.Disconnectthedataandpowercablesfromtheharddiskdrive.1
Step6.Removethefourscrewsthatsecuretheharddiskdrivetodrivebay.2
Step7.Removetheharddiskdrivebypullingitstraightoutofthedrivebay.3
2
3
1
Step8.Toinstallthenewharddiskdrive:
a.Slidethenewharddiskdriveintothedrivebay.
b.Securethenewharddiskdrivetothedrivebaywiththefourscrews.
c.Connectthepoweranddatacablestotheharddiskdrive.
Step9.Reattachthecomputercover.
Replacingamemorymodule
Note:Forthisprocedure,ithelpstolaythecomputerflat.
Toreplaceanopticaldrive:
Step1.Removeanymedia(disks,CDs,DVDs,ormemorycards)fromthedrives,shutdowntheoperating
system,andturnoffthecomputerandallattacheddevices.
Step2.Unplugallpowercordsfromelectricaloutlets.
Step3.Disconnectallcablesattachedtothecomputer.Thisincludespowercords,input/output(I/O)
cables,andanyothercablesthatareconnectedtothecomputer.Referto“Leftandrightview”
and“Rearview”forhelpwithlocatingthevariousconnectors.
Step4.Removethecomputercover.Referto“Removingthecomputercover” .
Step5.Locatethememorymoduleconnectors.Referto“Locatingcomponents” .
Step6.ForLenovoH50–00refertothebelowinstructions:
Chapter8.Replacinghardware37

Step7.Removethememorymodulebeingreplacedbyopeningtheretainingclipsasshown.
Step8.Insertthenotchedend1ofthenewmemorymoduleintotheslot.Pressthememorymodule
firmlyandpivotthememorymoduleuntilitsnapsintoplace.Makesurethatthememorymoduleis
securedintheslotanddoesnotmoveeasily.
Step9.ForLenovoH50–05,H50–50andH50–55refertothebelowinstructions:
Step10.Removethememorymodulebeingreplacedbyopeningtheretainingclipsasshown.
38LenovoH50SeriesHardwareMaintenanceManual

Step11.Positionthenewmemorymoduleoverthememoryconnector.Makesurethenotch1onthe
memorymoduleiscorrectlyalignedwiththeconnectorkey2onthesystemboard.Pushthe
memorymodulestraightdownintotheconnectoruntiltheretainingclipsclose.
Step12.Reattachthecomputercover.
Replacingthegraphiccard
Toreplacethegraphiccard:
Step1.Removeanymedia(disks,CDs,DVDs,ormemorycards)fromthedrives,shutdowntheoperating
system,andturnoffthecomputerandallattacheddevices.
Step2.Unplugallpowercordsfromelectricaloutlets.
Step3.Disconnectallcablesattachedtothecomputer.Thisincludespowercords,input/output(I/O)
cables,andanyothercablesthatareconnectedtothecomputer.Referto“Leftandrightview”
and“Rearview”forhelpwithlocatingthevariousconnectors.
Step4.Removethecomputercover.Referto“Removingthecomputercover”.
Chapter8.Replacinghardware39

Step5.Removethescrewthatsecuresthelatchtothechassis,1opentheadapterlatch2andremove
theadapterbypullingitstraightoutoftheadapterconnector.3
40LenovoH50SeriesHardwareMaintenanceManual

Step6.Toinstallthenewgraphiccard:
a.Installthenewadapterintothesameadapterconnector.
b.Reattachthemetalbracketbackintopositionandsecurethegraphiccardtothechassis
withthescrew.
Step7.Reattachthecomputercover.
Replacingtheheat-sinkassembly
Note:Forthisprocedure,ithelpstolaythecomputerflat.
Toreplacetheheat-sink:
Step1.Removeanymedia(disks,CDs,DVDs,ormemorycards)fromthedrives,shutdowntheoperating
system,andturnoffthecomputerandallattacheddevices.
Step2.Unplugallpowercordsfromelectricaloutlets.
Step3.Disconnectallcablesattachedtothecomputer.Thisincludespowercords,input/output(I/O)
cables,andanyothercablesthatareconnectedtothecomputer.Referto“Leftandrightview”
and“Rearview”forhelpwithlocatingthevariousconnectors.
Step4.Removethecomputercover.Referto“Removingthecomputercover”.
Chapter8.Replacinghardware41

Step5.Disconnectthemicroprocessorfancablefromthesystemboard.
Step6.Removethe4screwsthatsecuretheheat-sinkassemblytothemotherboard.
Step7.Liftuptheheat-sinktoremoveit.
Step8.Toinstallthenewheat-sinkassembly:
a.Useathermalgreasesyringetoplacefivedropsofgreaseonthetopofthemicroprocessor.
Eachdropofgreaseshouldbe0.03ml(3tickmarksonthegreasesyringe).
b.Lineupthescrewsonthenewheat-sinkwithmountingholesonthemotherboardandsecure
itwiththe4screws.
c.Reconnectthemicroprocessorfanpowercabletotheconnectoronthemotherboard.
Step9.Reattachthecomputercover.
ReplacinganIntelCPU
Note:Forthisprocedure,ithelpstolaythecomputerflat.
Attention:ThefollowinginstructionsapplyonlyforLenovoH50–50model.
42LenovoH50SeriesHardwareMaintenanceManual

ToreplacetheCPU
Step1.Removeanymedia(disks,CDs,DVDs,ormemorycards)fromthedrives,shutdowntheoperating
system,andturnoffthecomputerandallattacheddevices.
Step2.Unplugallpowercordsfromelectricaloutlets.
Step3.Disconnectallcablesattachedtothecomputer.Thisincludespowercords,input/output(I/O)
cables,andanyothercablesthatareconnectedtothecomputer.Referto“Leftandrightview”
and“Rearview”forhelpwithlocatingthevariousconnectors.
Step4.Removethecomputercover.Referto“Removingthecomputercover”.
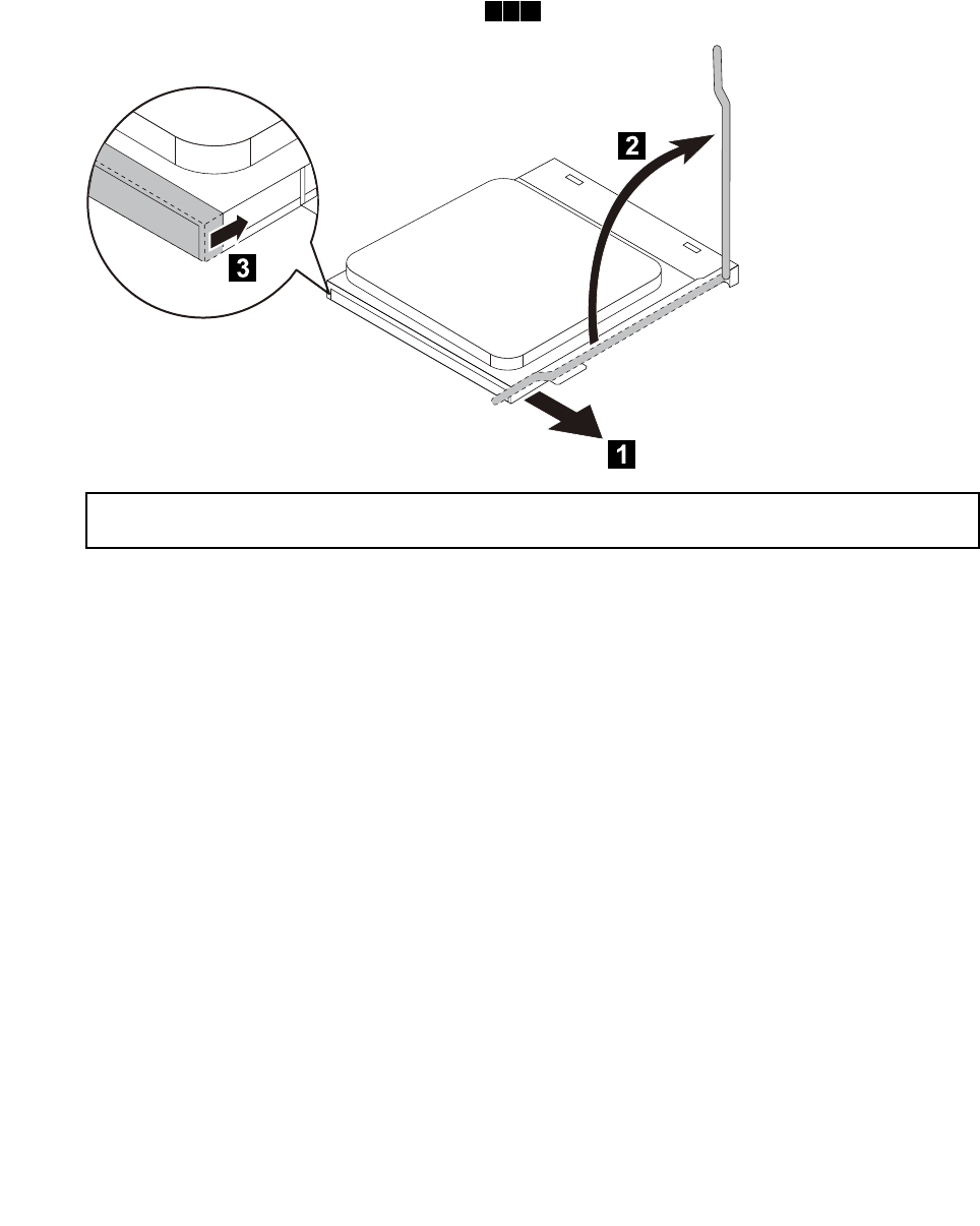
Step5.Replacingtheheat-sinkassembly.Referto“Replacingtheheat-sinkassembly”.
Step6.Toremovethemicroprocessor3fromthesystemboard,pressthenslidethesmallhandleout
tospringitup.1andopentheretainer.2
Attention:Donottouchthegoldcontactsonthebottomofthemicroprocessor.Whenhandingthe
microprocessor,touchonlythesides.
Note:Donotdropanythingontothemicroprocessorsocketwhileitisexposed.Thesocketpinsmust
bekeptascleanaspossible.
Chapter8.Replacinghardware43

Step7.Holdingthesidesofthemicroprocessorwithyourfingers,removetheprotectivecover1that
protectsthegoldcontactsonthenewmicroprocessor.2
Step8.Holdingthesidesofthemicroprocessorwithyourfingers,positionthemicroprocessorsothatthe
notchesonthemicroprocessorarealignedwiththetabsinthemicroprocessorsocket.
Important:Toavoiddamagingthemicroprocessorcontacts,keepthemicroprocessorcompletelylevel
whileinstallingitintothesocket.
Step9.Lowerthemicroprocessorstraightdownintoitssocketonthemotherboard.
Step10.Tosecurethemicroprocessorinthesocket,closethemicroprocessorretainerandlockitinto
positionwiththesmallhandle.
Step11.Useathermalgreasesyringetoplace5dropsofgreaseonthetopofthemicroprocessor.Each
dropofgreaseshouldbe0.03ml(3tickmarksonthegreasesyringe).
Step12.Reattachtheheat-sinkassemblyandthecomputercover.
ReplacinganAMDCPU
Note:Forthisprocedure,ithelpstolaythecomputerflat.
Attention:ThefollowinginstructionsapplyonlyforLenovoH50–55model.
ToreplacetheCPU
Step1.Removeanymedia(disks,CDs,DVDs,ormemorycards)fromthedrives,shutdowntheoperating
system,andturnoffthecomputerandallattacheddevices.
44LenovoH50SeriesHardwareMaintenanceManual

Step2.Unplugallpowercordsfromelectricaloutlets.
Step3.Disconnectallcablesattachedtothecomputer.Thisincludespowercords,input/output(I/O)
cables,andanyothercablesthatareconnectedtothecomputer.Referto“Leftandrightview”
and“Rearview”forhelpwithlocatingthevariousconnectors.
Step4.Removethecomputercover.Referto“Removingthecomputercover”.
Step5.Replacingtheheat-sinkassembly.Referto“Replacingtheheat-sinkassembly”.
Step6.Liftthesmallhandleandopentheretainer.123
Attention:Donottouchthegoldcontactsonthebottomofthemicroprocessor.Whenhandingthe
microprocessor,touchonlythesides.
Chapter8.Replacinghardware45

Step7.Liftthemicroprocessorstraightupandoutofthesocket.
Attention:Donottouchthegoldcontactsonthebottomofthemicroprocessor.Whenhandingthe
microprocessor,touchonlythesides.
Note:Donotdropanythingontothemicroprocessorsocketwhileitisexposed.Thesocketpinsmust
bekeptascleanaspossible.
Step8.Holdingthesidesofthemicroprocessorwithyourfingers,removetheprotectivecoverthat
protectsthegoldcontactsonthenewmicroprocessor.
Step9.Holdingthesidesofthemicroprocessorwithyourfingers,positionthemicroprocessorsothatthe
notchesonthemicroprocessorarealignedwiththetabsinthemicroprocessorsocket.
Important:Toavoiddamagingthemicroprocessorcontacts,keepthemicroprocessorcompletelylevel
whileinstallingitintothesocket.
46LenovoH50SeriesHardwareMaintenanceManual

Step10.Lowerthemicroprocessorstraightdownintoitssocketonthemotherboard.
Step11.Tosecurethemicroprocessorinthesocket,closethemicroprocessorretainerandlockitinto
positionwiththesmallhandle.
Step12.Useathermalgreasesyringetoplace5dropsofgreaseonthetopofthemicroprocessor.Each
dropofgreaseshouldbe0.03ml(3tickmarksonthegreasesyringe).
Step13.Reattachtheheat-sinkassemblyandthecomputercover.
Replacingthesystemfan
Toreplacethesystemfan:(Selectedmedelsonly)
Step1.Removeanymedia(disks,CDs,DVDs,ormemorycards)fromthedrives,shutdowntheoperating
system,andturnoffthecomputerandallattacheddevices.
Step2.Unplugallpowercordsfromelectricaloutlets.
Step3.Disconnectallcablesattachedtothecomputer.Thisincludespowercords,input/output(I/O)
cables,andanyothercablesthatareconnectedtothecomputer.Referto“Leftandrightview”
and“Rearview”forhelpwithlocatingthevariousconnectors.
Step4.Removethecomputercover.Referto“Removingthecomputercover”.
Chapter8.Replacinghardware47

Step5.Disconnectthefanpowercablefromtheconnectoronthemotherboard.
Step6.Pullthesystemfanassemblyoutofthechassis.
48LenovoH50SeriesHardwareMaintenanceManual

Step7.Toinstallthenewsystemfan:
a.Installthenewsystemfanassemblybyaligningtherubbermountsofthesystemfanassembly
withtheholesonthechassisandthenpushtherubbermountsthroughtheholes.
b.Pullonthetipsoftherubbermountsuntilthefanassemblyisinplace.
c.Connectthesystemfanpowercabletotheconnectorontheboard.
Step8.Reattachthecomputercover.
Chapter8.Replacinghardware49

ReplacingtheWi-Ficard
Note:Forthisprocedure,ithelpstolaythecomputerflat.
ToreplacetheWi-Ficard:
Step1.Removeanymedia(disks,CDs,DVDs,ormemorycards)fromthedrives,shutdowntheoperating
system,andturnoffthecomputerandallattacheddevices.
Step2.Unplugallpowercordsfromelectricaloutlets.
Step3.Disconnectallcablesattachedtothecomputer.Thisincludespowercords,input/output(I/O)
cables,andanyothercablesthatareconnectedtothecomputer.Referto“Leftandrightview”
and“Rearview”forhelpwithlocatingthevariousconnectors.
Step4.Removethecomputercover.Referto“Removingthecomputercover”.
Step5.Removethegraphiccard.Referto“Replacingthegraphiccard.”
Step6.Disconnectthe2antennacablesfromtheWi-Ficard.
Step7.Removethe2screwsthatsecuretheWi-Ficardtothemotherboard.
Step8.PulltheWi-Ficardupwardtoremoveitfromthecard
port.
Step9.InstallthenewWi-Ficard:
a.LineupthenewWi-Ficard,theninsertitintothesamecardport.
b.SecuretheWi-Ficardtothemotherboardwiththe2screws.
c.Connectthe2antennacablestothenewWi-Ficard.
Step10.Reattachthegraphiccard,computercover.
Replacingthefrontcardreadermodule
Note:Forthisprocedure,ithelpstolaythecomputerflat.
50LenovoH50SeriesHardwareMaintenanceManual

Toreplacethethefrontcardreadermodule:
Step1.Removeanymedia(disks,CDs,DVDs,ormemorycards)fromthedrives,shutdowntheoperating
system,andturnoffthecomputerandallattacheddevices.
Step2.Unplugallpowercordsfromelectricaloutlets.
Step3.Disconnectallcablesattachedtothecomputer.Thisincludespowercords,input/output(I/O)
cables,andanyothercablesthatareconnectedtothecomputer.Referto“Leftandrightview”
and“Rearview”forhelpwithlocatingthevariousconnectors.
Step4.Removethecomputercover.Referto“Removingthecomputercover”.
Step5.Removethefrontbezel.Referto“Removingthefrontbezel”.
Step6.Disconnectthedatacablesfromtheconnectorsonmotherboard.
Step7.Removethescrewthatsecuresthefrontcardreadermoduletothechassis.
Step8.Slideoutthecardreadermoduleoutofchassis.
Step9.Installthenewfrontcardreadermodule:
a.Slidethefrontcardreadermoduleinandsecureitwithscrew.
b.Connectthedatacablestothemotherboard.
Step10.Reattachthefrontbezel,computercover.
Replacingthemotherboard
Note:Forthisprocedure,ithelpstolaythecomputerflat.
Toreplacethemotherboard:
Step1.Removeanymedia(disks,CDs,DVDs,ormemorycards)fromthedrives,shutdowntheoperating
system,andturnoffthecomputerandallattacheddevices.
Step2.Unplugallpowercordsfromelectricaloutlets.
Chapter8.Replacinghardware51

Step3.Disconnectallcablesattachedtothecomputer.Thisincludespowercords,input/output(I/O)
cables,andanyothercablesthatareconnectedtothecomputer.Referto“Leftandrightview”
and“Rearview”forhelpwithlocatingthevariousconnectors.
Step4.Removethecomputercover.Referto“Removingthecomputercover”.
Step5.Removethefrontbezel.Referto“Removingthefrontbezel”.
Step6.Removethememorymodule.Referto“Replacingamemorymodule”.
Step7.Removetheheat-sinkassembly.Referto“Replacingtheheat-sinkassembly”.
Step8.RemovetheCPU.Referto“ReplacingtheCPU”.
Step9.Removethegraphiccard.Referto“Replacingthegraphiccard”.
Step10.RemovetheWi-Ficard.Referto“ReplacingtheWi-Ficard”.
Step11.Removethesystemfan.Referto“Replacingthesystemfan”.
Step12.Disconnecttheallcablesfromtheconnectorsonmotherboard.
Step13.Removethe6screwsthatsecurethemotherboardtothechassis.
Step14.Liftupthemotherboardtoremoveit.
52LenovoH50SeriesHardwareMaintenanceManual

Step15.Installthenewmotherboard:
a.Lineuptheholesonthenewmotherboardwithmountingholesonthechassisandsecure
itwithscrews.
b.Reattachthememorymodule,Wi-Ficard,heat-sinkassemblytothenewmotherboard.
c.Connecttheallcablestothenewmotherboard.
d.Reattachtheharddiskdrive,opticaldrive,graphiccardandtheTV-Tunercard.
Step16.Reattachthecomputercover.
Chapter8.Replacinghardware53

54LenovoH50SeriesHardwareMaintenanceManual

Chapter9.FRUlists-H50–00
Thischapterliststheinformationonthefieldreplaceableunits(FRUs).
Attention:BesuretoreadandunderstandallthesafetyinformationbeforereplacinganyFRUs.
Notes:FRUsthathavea1or2intheCRUcolumnareCustomerReplaceableUnits(CRUs).
•1–identifiespartsthatarefairlysimpletoreplace,requiringfewornotools.
•2–identifiespartsthatareslightlymoredifficulttoreplace.
•N-identifiespartsthatarenottobereplacedbythecustomer.
Item
#
DescriptionLenovoPNCRU
ID
MB
NOKENewBT-DJ2900MB5B20G18372
W8SENewBT-DJ2900MB5B20G18369
W8PENewBT-DJ2900MB5B20G18370
NOKENewBT-DJ1900MB5B20G18375
W8SENewBT-DJ1900MB5B20G18374
W8PENewBT-DJ1900MB5B20G18371
NOKENewBT-DJ1800MB5B20G18373
W8SENewBT-DJ1800MB5B20G18368
W8PENewBT-DJ1800MB5B20G18367
N
Cooler
AVCZEUK00T004Intel18WCPUheatsink31503528
FoxPKP737R00K12Zintel18WCPUheatsink31503529
N
Memory
M471B5674QH0-YK02GBD3L-1600SMemory-HF1100983
HMT425S6AFR6A-PB2GBD3L-1600SMemory-HF1100643
MT4KTF25664HZ-1G6E12GBD3L-1600SMemory1100956
Mic_RD9PSH2GBD3L-1600SMemory-HF1100965
Mic_SD9PXV2GBD3L-1600SMemory1100958
M471B5173DB0-YK04GBD3L-1600SMemory-HF1100942
HMT451S6BFR8A-PB4GBD3L-1600SMemory-HF1100985
MT8KTF51264HZ-1G6E14GBD3L-1600SMemory-HF1100957
Mic_RD9QBJ4GBD3L-1600SMemory-HF1100967
Mic_SD9QBJ4GBD3L-1600SMemory1100959
M471B1G73DB0-YK08GBD3L-1600SMemory-HF1100943
HMT41GS6BFR8A-PB8GBD3L-1600SMemory-HF1100986
MT16KTF1G64HZ-1G6E11100635
2
©CopyrightLenovo201455

Mic_RD9QBJ8GBD3L-1600SMemory-HF1101012
HDD
WDXL500AWD5000AAKX-08U6AA0500GHDD-LH16200544
SeagatePharaoh4KNon-MCST500DM002500GHDD16200674
ToshibaMars4K500GDT01ACA050HDD-LH16200512
SeagateGrenadaBP1.5ST1000DM0031TBHDD16200528
ToshibaMars4K1TBDT01ACA100HDD-LH16200513
WDXL1000BWD10EZEX-08M2NA01TBHDD16200613
SeagateGrenadaBP2ST1000DM0031TBHDD16200688
2
ODD
PLDSDH-16D7SHHHSATABlackDVDROMLH25205800
HLDSDH50NSATABlackDVDROMDVDROMLH25210649
HLDSDH60NSATABlackDVDROMDVDROMLH25216229
PanasonicSW430SATABlackDVDROMLH25214498
PanasonicSW440SATABlackDVDROMLH25216356
TSSTSH-116CBSATABlackDVDROMLH25216227
HLDSGHB0NSATABlackDVDRWDVDROMLH25214470
PLDSDH-16AESHSATABlackDVDRWLH(LSOPU)25213061
TSSTSH-216DBSATABlackDVDRWLH25213720
PanasonicSW830SATABlackDVDRWLH25213885
2
DisGFX
BITLAND@R5235@1G/A/DB/HGraphics11202403
MSI@R5235@1G/A/DB/HGraphics11202404
BITLAND@R5235@1G/A/DB/HLPGraphics11202405
MSI@R5235@1G/A/DB/HLPGraphics11202406
BITLAND@R5235@2G/A/DB/HGraphics11202748
BITLAND@R5235@2G/A/DB/HLPGraphics11202749
BITLAND@GeforceGT705@1G/A/DB/HGraphics11202742
MSI@GeforceGT705@1G/A/DB/HGraphics11202743
BITLAND@GeforceGT705@1G/A/DB/HLPGraphics11202744
MSI@GeforceGT705@1G/A/DB/HLPGraphics11202745
VIDEO_CARDB@GeforceGT705@1G/A/DB/HSV10G52014
VIDEO_CARDM@GeforceGT705@1G/A/DB/HSV10G52015
VIDEO_CARDB@GeforceGT705@1G/A/DB/HLPSV10G52019
VIDEO_CARDM@GeforceGT705@1G/A/DB/HLPSV10G52020
VIDEO_CARDB@GeforceGT705@2G/A/DB/HSV10G56197
VIDEO_CARDM@GeforceGT705@2G/A/DB/HSV10G56198
VIDEO_CARDB@GeforceGT705@2G/A/DB/HLPSV10G56199
VIDEO_CARDM@GeforceGT705@2G/A/DB/HLPSV10G56200
MSI@GeforceGT720@2G/A/DB/HGraphics11202746
2
56LenovoH50SeriesHardwareMaintenanceManual

MSI@GeforceGT720@2G/A/DB/HLPGraphics11202747
Powersupply
DeltaADP-65FDBE65Wadapter36200352
LiteonPA-1650-72IA65Wadapter36200353
DELTAADP-90XDBC90Wcommonadapter®36200415
LiteonPA-1900-72IA90wcommonadapter®36200416
1
Wifi
LtnRTL8723BE1x1BGN+BTHMCWLAN20200440
LiteonWB3351x1BGN+BT4.0HMCWLAN20200437
N
Screw
JTM2X3antiskidScrew31501076
N
WIFIAntenna
LSX315FrontAntenna31507039
LSX315RearAntenna31507040
LS326CTAntenna550mmFrontSA30G18119
LS326CTAntenna400mmRearSA30G18120
N
AntennaCover
JTWi-Ficover31501130
N
RearI/Oshield
MACEBaytrailMBRearIOcoverSM20F86382
N
PSUrearholeshielding
JT20LchassisPSUcover31505051
JT314chassispowersupplycover31506508
AVCATXpowersupplycover31506616
326chassispowercover31501626
N
CardReader
BitlandRTS51797in1L_Single_CR11201223
TaisolGL827S7in1L_Single_CR11201222
N
TaisolGL827S7in1Single_SReader11200646
BITLANDRTS51797in1L_Single_CR11201119
N
Speaker
LenovoSpeakerM0620(Black)25013742
1
FrontUSB&Audiocable
LSUSB2.0F_IOcable_U500A600_321HT31507416
CLUSB2.0F_IOcable_U500A600_321HT31507417
LSUSB2.0F_IOcable_U500A600_326CT31507414
MGESB2.0F_IOcable_U500A600_326CT31507415
N
Chapter9.FRUlists-H50–0057

Cable
LX370mmSATAcable®31034778
GX370mmSATAcable(R)31034820
LS2H285SATAcable,angle,NoLatch(R)31032989
GX2H285SATAcable,angle,NoLatch®31033053
CL2H420mmSATAcalbeLatch(R)31506478
LX2H420mmSATAcalbeLatch(R)31024760
MGE2H420mmSATAcalbeLatch(R)31506479
LX250mmSATAcable2latch31043145
GS250mmSATAcable2latch31043146
LXSATApowercable(300mm_300mm)31502005
GXSATApowercable(300mm_300mm)31502006
N
TouchPad
ChiconyTGR12262.4GtouchpadBLACK25210789
N
VGACover
JTVGARubbercover31049015
MACEVGARubbercover-Optional31505052
N
KB&Mouse
SunrexEKB-10YA(US)B-SilkUSBKB-LVT825209111
PrimaxKB4721(US)B-SilkUSBKB-LVT825209112
SunrexEKB-10YA(TW)B-SilkUSBKB-LVT825209114
SunrexEKB-10YA(TH)B-SilkUSBKB-LVT825209115
SunrexEKB-10YA(CZ-SL)B-SUSBKB-LVT825209116
SunrexEKB-10YA(IN)B-SilkUSBKB-LVT825209117
SunrexEKB-10YA(RU)B-SilkUSBKB-LVT825209118
SunrexEKB-10YA(UK)B-SilkUSBKB-LVT825209119
SunrexEKB-10YA(Nordic)B-SUSBKB-LVT825209120
SunrexEKB-10YA(LA)B-SilkUSBKB-LVT825209121
SunrexEKB-10YA(AR)B-SilkUSBKB-LVT825209122
SunrexEKB-10YA(SW)B-SilkUSBKB-LVT825209123
SunrexEKB-10YA(GE)B-SilkUSBKB-LVT825209124
SunrexEKB-10YA(TR)B-SilkUSBKB-LVT825209125
SunrexEKB-10YA(SP)B-SilkUSBKB-LVT825209126
SunrexEKB-10YA(SL)B-SilkUSBKB-LVT825209127
SunrexEKB-10YA(IT)B-SilkUSBKB-LVT825209128
SunrexEKB-10YA(HB)B-SilkUSBKB-LVT825209129
SunrexEKB-10YA(FR)B-SilkUSBKB-LVT825209130
SunrexEKB-10YA(GK)B-SilkUSBKB-LVT825209131
SunrexEKB-10YA(HG)B-SilkUSBKB-LVT825209132
SunrexEKB-10YA(BG)B-SilkUSBKB-LVT825209133
1
58LenovoH50SeriesHardwareMaintenanceManual

SunrexEKB-10YA(HR)B-SilkUSBKB-LVT825209134
SunrexEKB-10YA(JP)B-SilkUSBKB-LVT825209135
SunrexEKB-10YA(EN-FR)B-SUSBKB-LVT825209136
SunrexEKB-10YA(PT)B-SilkUSBKB-LVT825209137
SunrexEKB-10YA(BE-EN)B-SUSBKB-LVT825209138
SunrexEKB-10YA(DU)B-SUSBKB-LVT825209139
LiteonLXH-SM-8825B-SilkMouse25200528
SunrexLXH-EMS-10ZAB-SilkMouse25200530
PrimaxM300USBgesturemouseBLK25213876
PrimaxM300USBgesturemouseBLK-Israel25214502
ChassisForH50-00
MACELX-321HTchassis30500525
MACELX-321HTChassis5C80G59894
MACELX-321HTChassisF/Bezel5CB0G59893
MACELX-321HTUSB&CRBracket5B40G59900
JT328BT-23LWlanAntennaCover5CB0G59219
JTH81MBrearIOshielding31504156
LS600mm321HT&326CTLEDcable31507411
JT600mm321HT&326CTLEDcable31507412
MGE600mm321HT&326CTLEDcable31507413
JTLX-321HT2chassis30500526
JTLX-321HT2Chassis5C80G59901
JTLX-321HT2ChassisF/Bezel5CB0G59902
JTLX-321HT2USB&CRBracket5B40G59891
JT328BT-23LWlanAntennaCover5CB0G59219
JTH81MBrearIOshielding31504156
LS600mm321HT&326CTLEDcable31507411
JT600mm321HT&326CTLEDcable31507412
MGE600mm321HT&326CTLEDcable31507413
N
PowerCord
LongwellBlacksinglehead1.0M3wireULCSAPowercord31033857
Volex1.0MC5USPowercord31033858
Luxshare1.0MC5USPowercord31049517
LongwellBlacksinglehead1.0MSAAPowercord31035397
Volex1.0MC5MacaoPowercord31049500
Luxshare1.0MC5MacaoPowercord31049520
Longwell1.0MC52pinJapanpowercord31503423
Volex1.0MC52pinJapanpowercord31503424
Luxshare1.0MC52pinJapanpowercord31503425
GrandsunBlacksinglehead1.0M3wireCCCPowercord(R)31032953
1
Chapter9.FRUlists-H50–0059

Luxshare1.0MC5CCCPowercord31045147
LongwellBlacksinglehead1.0MASTAPowercord31035396
Volex1.0MC5UKPowercord31049496
Luxshare1.0MC5UKPowercord31503352
LongwellBlacksinglehead1.0MVDEPowercord31035332
Volex1.0MC5EuropePowercord31049497
Luxshare1.0MC5EuropePowercord31049518
LongwellBlacksinglehead1.0MIndiaPowercord31035395
Luxshare1.0MC5IndiaPowercord31503353
LongwellBlacksinglehead1.0MItalyC5Powercord®31039104
Volex1.0MC5ItalyPowercord31049504
Luxshare1.0MC5ItalyPowercord31503359
LongwellBlacksinglehead1.0MBrazilPowercord®31035828
Volex1.0MC5BrazilPowercord31049505
Luxshare1.0MC5BrazilPowercord31503357
LongwellBlacksinglehead1.0MArgentinaC5Powercord®31039100
Volex1.0MC5LatinAmericaPowercord31049507
Luxshare1.0MC5LatinAmericaPowercord31503356
LongwellBlacksinglehead1.0MDenmarkC5Powercord®31039101
Volex1.0MC5DenmarkPowercord31049503
Luxshare1.0MC5DenmarkPowercord31503360
LongwellBlacksinglehead1.0MSwitzerlandC5Powercord®31039103
Volex1.0MC5SwitzerlandPowercord31049508
Luxshare1.0MC5SwitzerlandPowercord31503361
LongwellBlacksinglehead1.0MIsraelC5Powercord®31039107
Volex1.0MC5IsraelPowercord31049502
Luxshare1.0MC5IsraelPowercord31503362
LongwellBlacksinglehead1.0MTaiwanC5Powercord®31038885
Volex1.0MC5TaiwanPowercord31049499
LongwellBlacksinglehead1.0MKoreaC5Powercord®31039106
Volex1.0MC5KoreaPowercord31049498
Luxshare1.0MC5KoreaPowercord31503358
LongwellBlacksinglehead1.0MSAC5Powercord®31039105
Volex1.0MC5SouthAfricaPowercord31049501
Luxshare1.0MC5SouthAfricaPowercord31503355
LWBLK1.8MULCSAPowerCord(R)31026357
GSBLK1.8MULpowercord®31033217
VLBLK1.8MULCSAPowerCord®31026145
Luxshare1.8MC13USPowercord31049521
LWBLK1.8MANEPowerCord®31026350
60LenovoH50SeriesHardwareMaintenanceManual

VLBLK1.8MANEPowerCord®31026140
Luxshare1.8MC13MacaoPowercord31049524
LW1.8MJAPANPowerCord®31039730
Volex1.8MC13JapanPowercord31049514
Luxshare1.8MC13JapanPowercord31049523
GrandsunBlacksinglehead1.8MCCCPowercord(R)31028776
LX(ASAP)1.8MCCCC13powercord®31040179
LWBLK1.8MBSPowerCord®31026096
VLBLK1.8MBSPowerCord(R)31026082
LWBLK1.8MVDEPowerCord®31026355
VLBLK1.8MVDEPowerCord®31026144
Luxshare1.8MC13EuropePowercord31049522
LongwellBlacksinglehead1.8MIndiaPowercord®31033216
LWBLK1.8MBSMIPowerCord®31026349
VLBLK1.8MBSMIPowerCord®31026146
LWBLK1.8MSABSPowerCord®31031394
Volex1.8MC13SouthAfricaPowercord31049509
LongwellBlacksinglehead1.8MC13IRAMPowercord®31036980
Volex1.8MC13LatinAmericaPowercord31049515
LongwellBlacksinglehead1.8MC13BrazilPowercord®31038784
Volex1.8MC13BrazilPowercord31049513
LongwellBlacksinglehead1.8MC13KoreaPowercord®31026351
VLBLK1.8MKTLPowerCord®31026143
Longwell1.8MItalyC13powercord®31039726
Volex1.8MC13ItalyPowercord31049512
Longwell1.8MDenmarkC13powercord®31039729
Volex1.8MC13DenmarkPowercord31049511
Longwell1.8MSEVC13powercord®31039732
Volex1.8MC13SwitzerlandPowercord31049516
Longwell1.8MIsraelC13powercord®31039728
Volex1.8MC13IsraelPowercord31049510
Chapter9.FRUlists-H50–0061

62LenovoH50SeriesHardwareMaintenanceManual

Chapter10.FRUlists-H50–05
Thischapterliststheinformationonthefieldreplaceableunits(FRUs).
Attention:BesuretoreadandunderstandallthesafetyinformationbeforereplacinganyFRUs.
Notes:FRUsthathavea1or2intheCRUcolumnareCustomerReplaceableUnits(CRUs).
•1–identifiespartsthatarefairlysimpletoreplace,requiringfewornotools.
•2–identifiespartsthatareslightlymoredifficulttoreplace.
•N-identifiespartsthatarenottobereplacedbythecustomer.
Item
#
DescriptionLenovoPNCRU
ID
MB
NOKMSIBeemaA8-6410MB5B20G06133
W8SMSIBeemaA8-6410MB5B20G06117
W8PMSIBeemaA8-6410MB5B20G06125
NOKMSIBeemaA6-6310MB5B20G06126
W8SMSIBeemaA6-6310MB5B20G06127
W8PMSIBeemaA6-6310MB5B20G06128
NOKMSIBeemaA4-6210MB5B20G06129
W8SMSIBeemaA4-6210MB5B20G06124
W8PMSIBeemaA4-6210MB5B20G06123
NOKMSIBeemaE2-6110MB5B20G06122
W8SMSIBeemaE2-6110MB5B20G06132
W8PMSIBeemaE2-6110MB5B20G06131
NOKMSIBeemaE1-6010MB5B20G06130
W8SMSIBeemaE1-6010MB5B20G06134
W8PMSIBeemaE1-6010MB5B20G06135
N
Thermal
TaisolCECA022836A6AMD18Wcooler31501864
AVCZEUK00T001AMD18Wcooler31501863
2
Memory
M378B5773QB0-CK02GBD3-1600Memory-HF1100908
HMT425U6AFR6C-PB2GBD3-1600Memory-HF1100653
MT4JTF25664AZ-1G6E12GBD3-1600Memory1100954
Mic_RD9PSH2GBD3L-1600Memory-HF1100966
Mic_SD9PXV2GBD3-1600Memory1100792
M378B5173DB0-CK04GBD3-1600Memory-HF1100944
HMT451U6BFR8C-PB4GBD3-1600Memory-HF1100988
2
©CopyrightLenovo201463

MT8JTF51264AZ-1G6E14GBD3-1600Memory1100955
Mic_RD9QBJ4GBD3L-1600M2Memory1100807
Mic_SD9QBJ4GBD3-1600M2Memory1100682
M378B5773QB0-CK02GBD3-1600Memory-HF1100908
M378B5173DB0-CK04GBD3-1600Memory-HF1100944
HMT425U6AFR6C-PB2GBD3-1600Memory-HF1100653
HMT451U6BFR8C-PB4GBD3-1600Memory-HF1100988
Mic_RD9PSH2GBD3L-1600Memory-HF1100966
Mic_RD9QBJ4GBD3L-1600M2Memory1100807
M378B1G73DB0-CK08GBD3-1600Memory-HF1100945
HMT41GU6BFR8C-PB8GBD3-1600Memory-HF1100989
MT16JTF1G64AZ-1G6E18GBD3-1600Memory1100669
Mic_RD9QBJ8GBD3L-1600Memory-HF1101011
HDD
WDXL500A6GDamper16200544
SeagatePharaoh4K-Non-MC16200674
ToshibaMars16200512
SeagateGrenadaBP1.516200528
ToshibaMars16200513
WDXL1000B16200613
SeagateGrenadaBP216200688
2
ODD
PLDSDH-16D7SHHHSATABlackDVDROMLH25205800
HLDSDH50NSATABlackDVDROMODDLH25210649
HLDSDH60NSATABlackDVDROMODDLH25216229
PanasonicSW430SATABlackDVDROMLH25214498
PanasonicSW440SATABlackDVDROMLH25216356
TSSTSH-116CBSATABlackDVDROMLH25216227
HLDSGHB0NSATABlackDVDRWODDLH25214470
PLDSDH-16AESHSATABlackDVDRWLH(LSOPU)25213061
TSSTSH-216DBSATABlackDVDRWLH25213720
PanasonicSW830SATABlackDVDRWLH25213885
2
64LenovoH50SeriesHardwareMaintenanceManual

DisGFX
Bitland@R5235@1G/A/DB/HGraphics11202403
MSI@R5235@1G/A/DB/HGraphics11202404
Bitland@R5235@1G/A/DB/HLPGraphics11202405
MSI@R5235@1G/A/DB/HLPGraphics11202406
Bitland@R5235@2G/A/DB/HGraphics11202748
Bitland@R5235@2G/A/DB/HLPGraphics11202749
MSI@GeforceGT720@2G/A/DB/HGraphics11202746
MSI@GeforceGT720@2G/A/DB/HLPGraphics11202747
Bitland@GeforceGT705@1G/A/DB/HGraphics11202742
MSI@GeforceGT705@1G/A/DB/HGraphics11202743
VIDEO_CARDB@GeforceGT705@1G/A/DB/HSV10G52014
VIDEO_CARDM@GeforceGT705@1G/A/DB/HSV10G52015
VIDEO_CARDB@GeforceGT705@2G/A/DB/HSV10G56197
VIDEO_CARDM@GeforceGT705@2G/A/DB/HSV10G56198
Bitland@GeforceGT705@1G/A/DB/HLPGraphics11202744
MSI@GeforceGT705@1G/A/DB/HLPGraphics11202745
VIDEO_CARDB@GeforceGT705@1G/A/DB/HLPSV10G52019
VIDEO_CARDM@GeforceGT705@1G/A/DB/HLPSV10G52020
VIDEO_CARDB@GeforceGT705@2G/A/DB/HLPSV10G56199
VIDEO_CARDM@GeforceGT705@2G/A/DB/HLPSV10G56200
2
Adapter
DeltaADP-65FDBE65Wadapter36200352
LiteonPA-1650-72IA65Wadapter36200353
DELTAADP-90XDBC90Wcommonadapter®36200415
LiteonPA-1900-72IA90wcommonadapter®36200416
DELTAADP-120ZBBBHTcommon120Wadapter36200439
LiteonPA-1121-04LB120wcommonadapter36200440
1
WIFI
LtnRTL8723BE1x1BGN+BTHMCWLAN20200440
LiteonWB3351x1BGN+BT4.0HMCWLAN20200437
N
Screw
JTM2X3antiskidScrew31501076
N
WIFIAntenna
LSX315FrontAntenna31507039
LSX315RearAntenna31507040
LS326CTAntenna550mmFrontSA30G18119
LS326CTAntenna400mmRearSA30G18120
N
AntennaCover
JTWi-Ficover31501130
N
Chapter10.FRUlists-H50–0565

Chassis
MACELX-321HTchassis30500525
MACELX-321HTChassis5C80G59894
MACELX-321HTChassisF/Bezel5CB0G59893
MACELX-321HTUSB&CRBracket5B40G59900
JT328BT-23LWlanAntennaCover5CB0G59219
JTH81MBrearIOshielding31504156
LS600mm321HT&326CTLEDcable31507411
JT600mm321HT&326CTLEDcable31507412
MGE600mm321HT&326CTLEDcable31507413
JTLX-321HT2chassis30500526
JTLX-321HT2Chassis5C80G59901
JTLX-321HT2ChassisF/Bezel5CB0G59902
JTLX-321HT2USB&CRBracket5B40G59891
JT328BT-23LWlanAntennaCover5CB0G59219
JTH81MBrearIOshielding31504156
LS600mm321HT&326CTLEDcable31507411
JT600mm321HT&326CTLEDcable31507412
MGE600mm321HT&326CTLEDcable31507413
N
CardReader
BitlandRTS51797in1L_Single_CR11201223
TaisolGL827S7in1L_Single_CR11201222
TaisolGL827S7in1Single_SReader11200646
BitlandRTS51797in1Single_SReader11201119
N
Speaker
LenovoSpeakerM0620(Black)25013742
1
Cable
LSUSB2.0F_IOcable_U500A600_321HT31507416
CLUSB2.0F_IOcable_U500A600_321HT31507417
LSUSB2.0F_IOcable_U500A600_326CT31507414
MGESB2.0F_IOcable_U500A600_326CT31507415
LXfrontcableU770mm_A680mm31502718
GXfrontcableU770mm_A680mm31502719
MckeyfrontcableU770mm_A680mm31502720
LX370mmSATAcable®31034778
GX370mmSATAcable(R)31034820
LS2H285SATAcable,angle,NoLatch(R)31032989
GX2H285SATAcable,angle,NoLatch®31033053
CL2H420mmSATAcalbeLatch(R)31506478
LX2H420mmSATAcalbeLatch(R)31024760
N
66LenovoH50SeriesHardwareMaintenanceManual

MGE2H420mmSATAcalbeLatch(R)31506479
LX250mmSATAcable2latch31043145
GS250mmSATAcable2latch31043146
LXSATApowercable(300mm_300mm)31502005
GXSATApowercable(300mm_300mm)31502006
TouchPad
ChiconyTGR12262.4GtouchpadBLKfinal25212969
N
Cover
JTVGARubbercover31049015
MACEVGARubbercover-Optional31505052
JTHDMIRubbercover31049017
N
KB&Mice
SunrexEKB-10YA(US)B-SilkUSBKB-LVT825209111
PrimaxKB4721(US)B-SilkUSBKB-LVT825209112
SunrexEKB-10YA(TW)B-SilkUSBKB-LVT825209114
SunrexEKB-10YA(TH)B-SilkUSBKB-LVT825209115
SunrexEKB-10YA(CZ-SL)B-SUSBKB-LVT825209116
SunrexEKB-10YA(IN)B-SilkUSBKB-LVT825209117
SunrexEKB-10YA(RU)B-SilkUSBKB-LVT825209118
SunrexEKB-10YA(UK)B-SilkUSBKB-LVT825209119
SunrexEKB-10YA(Nordic)B-SUSBKB-LVT825209120
SunrexEKB-10YA(LA)B-SilkUSBKB-LVT825209121
SunrexEKB-10YA(AR)B-SilkUSBKB-LVT825209122
SunrexEKB-10YA(SW)B-SilkUSBKB-LVT825209123
SunrexEKB-10YA(GE)B-SilkUSBKB-LVT825209124
SunrexEKB-10YA(TR)B-SilkUSBKB-LVT825209125
SunrexEKB-10YA(SP)B-SilkUSBKB-LVT825209126
SunrexEKB-10YA(SL)B-SilkUSBKB-LVT825209127
SunrexEKB-10YA(IT)B-SilkUSBKB-LVT825209128
SunrexEKB-10YA(HB)B-SilkUSBKB-LVT825209129
SunrexEKB-10YA(FR)B-SilkUSBKB-LVT825209130
SunrexEKB-10YA(GK)B-SilkUSBKB-LVT825209131
SunrexEKB-10YA(HG)B-SilkUSBKB-LVT825209132
SunrexEKB-10YA(BG)B-SilkUSBKB-LVT825209133
SunrexEKB-10YA(HR)B-SilkUSBKB-LVT825209134
SunrexEKB-10YA(JP)B-SilkUSBKB-LVT825209135
SunrexEKB-10YA(EN-FR)B-SUSBKB-LVT825209136
SunrexEKB-10YA(PT)B-SilkUSBKB-LVT825209137
SunrexEKB-10YA(BE-EN)B-SUSBKB-LVT825209138
SunrexEKB-10YA(DU)B-SUSBKB-LVT825209139
1
Chapter10.FRUlists-H50–0567

LiteonLXH-SM-8825B-SilkMouse25200528
SunrexLXH-EMS-10ZAB-SilkMouse25200530
PrimaxM300USBgesturemouseBLK25213876
PrimaxM300USBgesturemouseBLK-Israel25214502
LiteonSK-8861(US)2.4GKB-Black825209175
LiteonSK-8861(US-MY)2.4GKB-Black825209176
LiteonSK-8861(TW)2.4GKB-Black825209177
LiteonSK-8861(TH)2.4GKB-Black825209178
LiteonSK-8861(CS-SK)2.4GKB-Black825209179
LiteonSK-8861(US-IN)2.4GKB-Black825209180
LiteonSK-8861(RU)2.4GKB-Black825209181
LiteonSK-8861(GB)2.4GKB-Black825209182
LiteonSK-8861(Nordic)2.4GKB-Black825209183
LiteonSK-8861(LA)2.4GKB-Black825209184
LiteonSK-8861(LA-AR)2.4GKB-Black825209185
LiteonSK-8861(SA)2.4GKB-Black825209186
LiteonSK-8861(CH)2.4GKB-Black825209187
LiteonSK-8861(DE)2.4GKB-Black825209188
LiteonSK-8861(TR)2.4GKB-Black825209189
LiteonSK-8861(ES)2.4GKB-Black825209190
LiteonSK-8861(SL)2.4GKB-Black825209191
LiteonSK-8861(IT)2.4GKB-Black825209192
LiteonSK-8861(IL)2.4GKB-Black825209193
LiteonSK-8861(FR)2.4GKB-Black825209194
LiteonSK-8861(GR)2.4GKB-Black825209195
LiteonSK-8861(HU)2.4GKB-Black825209196
LiteonSK-8861(BG)2.4GKB-Black825209197
LiteonSK-8861(KR)2.4GKB-Black825209198
LiteonSK-8861(JP)2.4GKB-Black825209199
LiteonSK-8861(EN-FR)2.4GKB-Black825209200
LiteonSK-8861(PT)2.4GKB-Black825209201
LiteonSK-8861(BE-EN)2.4GKB-Black825209202
LiteonSK-8861(DU)2.4GKB-Black825209203
LiteonSM-8861(WW)MouseBlack25203464
LiteonSM-8861Mouse(NoBattery)Black25203465
LiteonSM-8861Mouse(MY)Black25203466
LiteonSM-8861(JP)Mouse-Black25-205773
68LenovoH50SeriesHardwareMaintenanceManual

PowerCord
LongwellBlacksinglehead1.0m3wireULCSAPowercord31033857
Volex1.0MC5USPowercord31033858
Luxshare1.0MC5USPowercord31049517
LongwellBlacksinglehead1.0mSAAPowercord31035397
Volex1.0MC5MacaoPowercord31049500
Luxshare1.0MC5MacaoPowercord31049520
Longwell1.0MC52pinJapanpowercord31503423
Volex1.0MC52pinJapanpowercord31503424
Luxshare1.0MC52pinJapanpowercord31503425
GrandsunBlacksinglehead1.0m3wireCCCPowercord(R)31032953
Luxshare1.0MC5CCCPowercord31045147
LongwellBlacksinglehead1.0mASTAPowercord31035396
Volex1.0MC5UKPowercord31049496
Luxshare1.0MC5UKPowercord31503352
LongwellBlacksinglehead1.0mVDEPowercord31035332
Volex1.0MC5EuropePowercord31049497
Luxshare1.0MC5EuropePowercord31049518
LongwellBlacksinglehead1.0mIndiaPowercord31035395
Luxshare1.0MC5IndiaPowercord31503353
LongwellBlacksinglehead1.0mItalyC5Powercord®31039104
Volex1.0MC5ItalyPowercord31049504
Luxshare1.0MC5ItalyPowercord31503359
LongwellBlacksinglehead1.0mBrazilPowercord®31035828
Volex1.0MC5BrazilPowercord31049505
Luxshare1.0MC5BrazilPowercord31503357
LongwellBlacksinglehead1.0mArgentinaC5Powercord®31039100
Volex1.0MC5LAPowercord31049507
Luxshare1.0MC5LAPowercord31503356
LongwellBlacksinglehead1.0mDenmarkC5Powercord®31039101
Volex1.0MC5DenmarkPowercord31049503
Luxshare1.0MC5DenmarkPowercord31503360
LongwellBlacksinglehead1.0mSwitzerlandC5Powercord®31039103
Volex1.0MC5SwitzerlandPowercord31049508
Luxshare1.0MC5SwitzerlandPowercord31503361
LongwellBlacksinglehead1.0mIsraelC5Powercord®31039107
Volex1.0MC5IsraelPowercord31049502
Luxshare1.0MC5IsraelPowercord31503362
LongwellBlacksinglehead1.0mTaiwanC5Powercord®31038885
Volex1.0MC5TWPowercord31049499
1
Chapter10.FRUlists-H50–0569

LongwellBlacksinglehead1.0mKoreaC5Powercord®31039106
Volex1.0MC5KoreaPowercord31049498
Luxshare1.0MC5KoreaPowercord31503358
LongwellBlacksinglehead1.0mSAC5Powercord®31039105
Volex1.0MC5SouthAfricaPowercord31049501
Luxshare1.0MC5SouthAfricaPowercord31503355
LWBLK1.8mULCSAPowerCord(R)31026357
GSBLK1.8mULpowercord®31033217
VLBLK1.8mULCSAPowerCord®31026145
Luxshare1.8MC13USPowercord31049521
LWBLK1.8mANEPowerCord®31026350
VLBLK1.8mANEPowerCord®31026140
Luxshare1.8MC13MacaoPowercord31049524
LW1.8mJAPANPowerCord®31039730
Volex1.8MC13JapanPowercord31049514
Luxshare1.8MC13JapanPowercord31049523
GrandsunBlacksinglehead1.8mCCCPowercord(R)31028776
LX(ASAP)1.8MCCCC13powercord®31040179
LWBLK1.8mBSPowerCord®31026096
VLBLK1.8mBSPowerCord(R)31026082
LWBLK1.8mVDEPowerCord®31026355
VLBLK1.8mVDEPowerCord®31026144
Luxshare1.8MC13EuropePowercord31049522
LongwellBlacksinglehead1.8mIndiaPowercord®31033216
LWBLK1.8mBSMIPowerCord®31026349
VLBLK1.8mBSMIPowerCord®31026146
LWBLK1.8mSABSPowerCord®31031394
Volex1.8MC13SouthAfricaPowercord31049509
LongwellBlacksinglehead1.8mC13IRAMPowercord®31036980
Volex1.8MC13LAPowercord31049515
LongwellBlacksinglehead1.8mC13BrazilPowercord®31038784
Volex1.8MC13BrazilPowercord31049513
LongwellBlacksinglehead1.8mC13KoreaPowercord®31026351
VLBLK1.8mKTLPowerCord®31026143
Longwell1.8MItalyC13powercord®31039726
Volex1.8MC13ItalyPowercord31049512
Longwell1.8MDenmarkC13powercord®31039729
Volex1.8MC13DenmarkPowercord31049511
Longwell1.8MSEVC13powercord®31039732
Volex1.8MC13SwitzerlandPowercord31049516
70LenovoH50SeriesHardwareMaintenanceManual

72LenovoH50SeriesHardwareMaintenanceManual

Chapter11.FRUlists-H50–50
Thischapterliststheinformationonthefieldreplaceableunits(FRUs).
Attention:BesuretoreadandunderstandallthesafetyinformationbeforereplacinganyFRUs.
Notes:FRUsthathavea1or2intheCRUcolumnareCustomerReplaceableUnits(CRUs).
•1–identifiespartsthatarefairlysimpletoreplace,requiringfewornotools.
•2–identifiespartsthatareslightlymoredifficulttoreplace.
•N-identifiespartsthatarenottobereplacedbythecustomer.
Item#DescriptionLenovoPNCRU
ID
CPU
II7-47903.6/1600/4C/8M/115084WCPU1101104
II7-47703.4/1600/8/115084CPU1100783
II5-44603.2/1600/4C/6M/115084WCPU1101107
II5-44403.1/1600/4C/6M/115084CPU1100949
II3-41503.5/1600/2C/3M/115054WCPU1101088
II3-41603.6/2C/3M/1600115054WCPUSSA0F66603
II3-41303.4/1600/2C/3M/115054CPU1100930
IG32503.2/2C/3M/1333115053WCPUSSA0F66605
IG32403.1/1333/2C/3M/115054WCPU1101089
IG32203.0/1333/2C/3M/115054CPU1100932
IG18402.8/1333/2C/2M/115054WCPU1101095
IG18202.7/1333/2C/2M/115054CPU1101029
N
MB
NOKBH8195WrefreshMB5B20G05109
W8SBH8195WrefreshMB5B20G05105
W8PBH8195WrefreshMB5B20G05104
NOKEH8195WrefreshMB5B20G05101
W8SEH8195WrefreshMB5B20G05102
W8PEH8195WrefreshMB5B20G05108
NOKEH81MATXMB90002567
W8SEH81MATXMB90002568
W8PEH81MATXMB90002569
N
©CopyrightLenovo201473

Thermal
Intel95W4PinCoolerKit,NoFanGrillSG10F47256
TSLCEL3102836A6Intel65/95WCooler31045550
AVCZ8UL06S012Intel65/95WCooler31045549
DWPHD103-0265-A0Intel95WCPUCooler31506282
LX460mmcable6PIN®31034561
GS460mmsensorcablew_6pin®31045784
FOXPV902512PSPF0JG29225Sysfan(R)31039640
AVCDS09225R12HP1839225Sysfan(R)31039310
N
Memory
M378B5773QB0-CK02GBD3-1600Memory-HF1-100908
HMT425U6AFR6C-PB2GBD3-1600Memory-HF1-100653
MT4JTF25664AZ-1G6E12GBD3-1600Memory1-100954
Mic_RD9PSH2GBD3L-1600Memory-HF1-100966
Mic_SD9PXV2GBD3-1600Memory1-100792
M378B5173DB0-CK04GBD3-1600Memory-HF1-100944
HMT451U6BFR8C-PB4GBD3-1600Memory-HF1-100988
MT8JTF51264AZ-1G6E14GBD3-1600Memory1-100955
Mic_RD9QBJ4GBD3L-1600M2Memory1-100807
Mic_SD9QBJ4GBD3-1600M2Memory1-100682
M378B1G73DB0-CK08GBD3-1600Memory-HF1-100945
HMT41GU6BFR8C-PB8GBD3-1600Memory-HF1-100989
MT16JTF1G64AZ-1G6E18GBD3-1600Memory1-100669
Mic_RD9QBJ8GBD3L-1600Memory-HF1-101011
M378B5773QB0-CK02GBD3-1600Memory-HF1100908
M378B5173QH0-CK04GBD3-1600Memory-HF1100909
Mic_RD9PSH2GBD3L-1600Memory-HF1100966
Mic_RD9QBJ4GBD3L-1600M2Memory1100807
HMT425U6AFR6C-PB2GBD3-1600Memory-HF1100653
HMT451U6BFR8C-PB4GBD3-1600Memory-HF1100988
M378B5173DB0-CK04GBD3-1600Memory-HF1-100944
M378B1G73DB0-CK08GBD3-1600Memory-HF1-100945
HMT451U6BFR8C-PB4GBD3-1600Memory-HF1-100988
HMT41GU6BFR8C-PB8GBD3-1600Memory-HF1-100989
Mic_RD9QBJ4GBD3L-1600M2Memory1-100807
Mic_RD9QBJ8GBD3L-1600Memory-HF1-101011
2
74LenovoH50SeriesHardwareMaintenanceManual

HDD
WDXL500AWD5000AAKX-08U6A0500GHDD-LH16200544
TSBMars4K500GDT01ACA050-LH16200512
SGTPharaoh4KST500DM002500GHDD-LH16200178
3.5inchSATA6G7.2KGrenadaBP1.51TB16200528
TSBMars4K1TBDT01ACA100-LH16200513
WDXL1000BWD10EZEX-08M2NA01TBHDD16200613
3.5inchSATA6G7.2KGrenadaBP1.52TB16200529
TSBMars4K2TBDT01ACA200-LH16200514
2
ODD
PSNSW430HHSATADVDROM-LH25214498
TSST16XSH-116BBSATABlackDVDROM-LH25213719
TSSTSH-116CBSATADVD-ROM-LH25216227
HLDSDH60NHHSATADVD-ROM-LH25216229
HLDSDH50NHHSATADVD-ROM-LH25210649
PLDS16XDH-16D7SHHHSATADVDROM-LH25205800
PLDS16XDH-16AESHSATABlackDVDRW-LH(LSOPU)25213061
TSSTSH-216DBHHSATARamboODD-LH25213720
Panasonic16XSW830HHSATADVDRW-LH25213885
HLDSGHB0NHHSATARambo-LH25214470
2
Graphics
MSI@GeforceGTX745@2G/A/DB/HGraphics11202802
BITLAND@GeforceGT705@1G/A/DB/HGraphics11-202742
MSI@GeforceGT705@1G/A/DB/HGraphics11-202743
VIDEO_CARDB@GeforceGT705@2G/A/DB/HSV10G56197
VIDEO_CARDM@GeforceGT705@2G/A/DB/H-OptionalSV10G56198
VIDEO_CARDB@GeforceGT705@1G/A/DB/HSV10G52014
VIDEO_CARDM@GeforceGT705@1G/A/DB/HSV10G52015
MSI@GeforceGT720@2G/A/DB/HGraphics11-202746
BITLAND@R5235@2G/A/DB/HGraphics11-202748
Bitland@R5235@1G/A/DB/HGraphics11202403
MSI@R5235@1G/A/DB/HGraphics11202404
Bitland@R7240@2G/A/DB/HGraphics11202407
2
Chapter11.FRUlists-H50–5075

PowerSupply
AcbelPCB037EL0GPS3LC180WSinglePSU36200430
HuntkeyHK28023FPLCPS3180WPSU36200218
HuntkeyHK28025FPPS3WW180WSinglePSU36200366
AcbelPCB038EL0GPS3WW180WsinglePSU36200367
PS-3181-03VAsingle180wESWWLiteonSP50A36142
K280-22PPsingle180wESWWHuntkeySP50A36143
FSPFSP28040PAATXSINGLE280WPSU36200510
HKHK38016FPATXSINGLE280WPSU36200511
LITEONPS428102VASINGLEES280WPSU36200507
FSPFSP28040EPASINGLE280WESPSU36200508
ACBELPCB005EL0GSINGLE280WESPSU36200509
N
WifiCard&Screw&Antennacable
CbtRTL8723BE1x1BGN+BTHMCWLAN20200440
LiteonWB3351x1BGN+BT4.0HMCWLAN20200437
JTM2X3antiskidScrew31501076
JTWi-Ficover31501130
LSX315FrontAntenna780mm31507039
LSX315RearAntenna500mm31507040
N
CardReader
BitlandRTS51797in1L_Single_CR11201223
TaisolGL827S7in1L_Single_CR11201222
N
Chassis
MACELX-321HTchassis30500525
MACELX-321HTChassis5C80G59894
MACELX-321HTChassisF/Bezel5CB0G59893
MACELX-321HTUSB&CRBracket5B40G59900
JT328BT-23LWlanAntennaCover5CB0G59219
JTH81MBrearIOshielding31504156
LS600mm321HT&326CTLEDcable31507411
JT600mm321HT&326CTLEDcable31507412
MGE600mm321HT&326CTLEDcable31507413
JTLX-321HT2chassis30500526
JTLX-321HT2Chassis5C80G59901
JTLX-321HT2ChassisF/Bezel5CB0G59902
JTLX-321HT2USB&CRBracket5B40G59891
JT328BT-23LWlanAntennaCover5CB0G59219
JTH81MBrearIOshielding31504156
LS600mm321HT&326CTLEDcable31507411
JT600mm321HT&326CTLEDcable31507412
N
76LenovoH50SeriesHardwareMaintenanceManual

MGE600mm321HT&326CTLEDcable31507413
Cable
LSSATApowercable(220_250_180)31504572
GSSATApowercable(220_250_180)31504573
Luxshare,250mmSATAcable,2latching31043145
Grandsun,250mmSATAcable,2latching31043146
Luxshare,420mmSATAcable,2latching,rightangle31024760
MGE2H420mmSATAcalbeLatch(R)31506479
CL2H420mmSATAcalbeLatch(R)31506478
LSUSB2.0F_IOcable_U500A600_321HT31507416
CLUSB2.0F_IOcable_U500A600_321HT31507417
JTVGARubbercover31049015
MACEVGARubbercover-Optional31505052
JTHDMIRubbercover31049017
N
TouchPad
ChiconyTGR12262.4GtouchpadBLKfinal25212969
N
Speaker
LenovoSpeakerM0620(Black)25013742
1
KB&Mouse
SunrexEKB-10YA(US)B-SilkUSBKB-LVT825209111
PrimaxKB4721(US)B-SilkUSBKB-LVT825209112
SunrexEKB-10YA(TW)B-SilkUSBKB-LVT825209114
SunrexEKB-10YA(TH)B-SilkUSBKB-LVT825209115
SunrexEKB-10YA(CZ-SL)B-SUSBKB-LVT825209116
SunrexEKB-10YA(IN)B-SilkUSBKB-LVT825209117
SunrexEKB-10YA(RU)B-SilkUSBKB-LVT825209118
SunrexEKB-10YA(UK)B-SilkUSBKB-LVT825209119
SunrexEKB-10YA(Nordic)B-SUSBKB-LVT825209120
SunrexEKB-10YA(LA)B-SilkUSBKB-LVT825209121
SunrexEKB-10YA(AR)B-SilkUSBKB-LVT825209122
SunrexEKB-10YA(SW)B-SilkUSBKB-LVT825209123
SunrexEKB-10YA(GE)B-SilkUSBKB-LVT825209124
SunrexEKB-10YA(TR)B-SilkUSBKB-LVT825209125
SunrexEKB-10YA(SP)B-SilkUSBKB-LVT825209126
SunrexEKB-10YA(SL)B-SilkUSBKB-LVT825209127
SunrexEKB-10YA(IT)B-SilkUSBKB-LVT825209128
SunrexEKB-10YA(HB)B-SilkUSBKB-LVT825209129
SunrexEKB-10YA(FR)B-SilkUSBKB-LVT825209130
SunrexEKB-10YA(GK)B-SilkUSBKB-LVT825209131
SunrexEKB-10YA(HG)B-SilkUSBKB-LVT825209132
1
Chapter11.FRUlists-H50–5077

SunrexEKB-10YA(BG)B-SilkUSBKB-LVT825209133
SunrexEKB-10YA(HR)B-SilkUSBKB-LVT825209134
SunrexEKB-10YA(JP)B-SilkUSBKB-LVT825209135
SunrexEKB-10YA(EN-FR)B-SUSBKB-LVT825209136
SunrexEKB-10YA(PT)B-SilkUSBKB-LVT825209137
SunrexEKB-10YA(BE-EN)B-SUSBKB-LVT825209138
SunrexEKB-10YA(DU)B-SUSBKB-LVT825209139
SunrexEKB-10YA(US)B-SilkUSBKB-OKE825209140
PrimaxKB4721(US)B-SilkUSBKB-OKE825209141
ChiconyKU-1153B-SilkUSBKB-OKE825209142
SunrexEKB-10YA(US)B-SUSBKB-LVT8LH25209143
SunrexEKB-10YA(US)B-SUSBKB-OKE8LH25209144
LiteonLXH-SM-8825B-SilkMouse25200528
SunrexLXH-EMS-10ZAB-SilkMouse25200530
PrimaxM300USBgesturemouseBLK25213876
PrimaxM300USBgesturemouseBLK-Israel25214502
LiteonSK-8861(US)2.4GKB-Black825209175
LiteonSK-8861(US-MY)2.4GKB-Black825209176
LiteonSK-8861(TW)2.4GKB-Black825209177
LiteonSK-8861(TH)2.4GKB-Black825209178
LiteonSK-8861(CS-SK)2.4GKB-Black825209179
LiteonSK-8861(US-IN)2.4GKB-Black825209180
LiteonSK-8861(RU)2.4GKB-Black825209181
LiteonSK-8861(GB)2.4GKB-Black825209182
LiteonSK-8861(Nordic)2.4GKB-Black825209183
LiteonSK-8861(LA)2.4GKB-Black825209184
LiteonSK-8861(LA-AR)2.4GKB-Black825209185
LiteonSK-8861(SA)2.4GKB-Black825209186
LiteonSK-8861(CH)2.4GKB-Black825209187
LiteonSK-8861(DE)2.4GKB-Black825209188
LiteonSK-8861(TR)2.4GKB-Black825209189
LiteonSK-8861(ES)2.4GKB-Black825209190
LiteonSK-8861(SL)2.4GKB-Black825209191
LiteonSK-8861(IT)2.4GKB-Black825209192
LiteonSK-8861(IL)2.4GKB-Black825209193
LiteonSK-8861(FR)2.4GKB-Black825209194
LiteonSK-8861(GR)2.4GKB-Black825209195
LiteonSK-8861(HU)2.4GKB-Black825209196
LiteonSK-8861(BG)2.4GKB-Black825209197
LiteonSK-8861(KR)2.4GKB-Black825209198
78LenovoH50SeriesHardwareMaintenanceManual

LiteonSK-8861(JP)2.4GKB-Black825209199
LiteonSK-8861(EN-FR)2.4GKB-Black825209200
LiteonSK-8861(PT)2.4GKB-Black825209201
LiteonSK-8861(BE-EN)2.4GKB-Black825209202
LiteonSK-8861(DU)2.4GKB-Black825209203
LiteonSM-8861(WW)MouseBlack25203464
LiteonSM-8861Mouse(NoBattery)Black25203465
LiteonSM-8861Mouse(MY)Black25203466
LiteonSM-8861(JP)Mouse-Black25-205773
PowerCord
LWBLK1.8MULCSAPowerCord(R)31026357
GSBLK1.8MULpowercord®31033217
VLBLK1.8MULCSAPowerCord®31026145
Luxshare1.8MC13USPowercord31049521
LWBLK1.8MULCSAPowerCord(R)31026357
GSBLK1.8MULpowercord®31033217
VLBLK1.8MULCSAPowerCord®31026145
Luxshare1.8MC13USPowercord31049521
GrandsunBlacksinglehead1.8MCCCPowercord(R)31028776
LX(ASAP)1.8MCCCC13powercord®31040179
LWBLK1.8MBSPowerCord®31026096
Luxshare1.8MC13UKPowercord31502861
VLBLK1.8MBSPowerCord(R)31026082
LWBLK1.8MBSPowerCord®31026096
Luxshare1.8MC13UKPowercord31502861
VLBLK1.8MBSPowerCord(R)31026082
LWBLK1.8MANEPowerCord®31026350
VLBLK1.8MANEPowerCord®31026140
Luxshare1.8MC13MacaoPowercord31049524
LWBLK1.8MVDEPowerCord®31026355
VLBLK1.8MVDEPowerCord®31026144
Luxshare1.8MC13EuropePowercord31049522
LWBLK1.8MVDEPowerCord®31026355
VLBLK1.8MVDEPowerCord®31026144
Luxshare1.8MC13EuropePowercord31049522
Luxshare1.8MC13IndiaPowercord31502871
LongwellBlacksinglehead1.8MIndiaPowercord®31033216
LWBLK1.8MBSMIPowerCord®31026349
VLBLK1.8MBSMIPowerCord®31026146
LWBLK1.8MSABSPowerCord®31031394
1
Chapter11.FRUlists-H50–5079

Luxshare1.8MC13SouthAfricaPowercord31502865
Volex1.8MC13SouthAfricaPowercord31049509
LongwellBlacksinglehead1.8MC13IRAMPowercord®31036980
Luxshare1.8MC13LatinAmericaPowercord31502869
Volex1.8MC13LatinAmericaPowercord31049515
LongwellBlacksinglehead1.8MC13IRAMPowercord®31036980
Luxshare1.8MC13LatinAmericaPowercord31502869
Volex1.8MC13LatinAmericaPowercord31049515
LongwellBlacksinglehead1.8MC13BrazilPowercord®31038784
Luxshare1.8MC13BrazilPowercord31502862
Volex1.8MC13BrazilPowercord31049513
LongwellBlacksinglehead1.8MC13KoreaPowercord®31026351
Luxshare1.8MC13KoreaPowercord31502870
VLBLK1.8MKTLPowerCord®31026143
LW1.8MJAPANPowerCord®31039730
Volex1.8MC13JapanPowercord31049514
Luxshare1.8MC13JapanPowercord31049523
LW1.8MJAPANPowerCord®31039730
Volex1.8MC13JapanPowercord31049514
Luxshare1.8MC13JapanPowercord31049523
Longwell1.8MItalyC13powercord®31039726
Luxshare1.8MC13ItalyPowercord31502864
Volex1.8MC13ItalyPowercord31049512
Longwell1.8MDenmarkC13powercord®31039729
Luxshare1.8MC13DenmarkPowercord31502863
Volex1.8MC13DenmarkPowercord31049511
Longwell1.8MSEVC13powercord®31039732
Luxshare1.8MC13SwitzerlandPowercord31502868
Volex1.8MC13SwitzerlandPowercord31049516
Longwell1.8MIsraelC13powercord®31039728
Luxshare1.8MC13IsraelPowercord31502866
Volex1.8MC13IsraelPowercord31049510
80LenovoH50SeriesHardwareMaintenanceManual

Chapter12.FRUlists-H50–55
Thischapterliststheinformationonthefieldreplaceableunits(FRUs).
Attention:BesuretoreadandunderstandallthesafetyinformationbeforereplacinganyFRUs.
Notes:FRUsthathavea1or2intheCRUcolumnareCustomerReplaceableUnits(CRUs).
•1–identifiespartsthatarefairlysimpletoreplace,requiringfewornotools.
•2–identifiespartsthatareslightlymoredifficulttoreplace.
•N-identifiespartsthatarenottobereplacedbythecustomer.
Item#DescriptionLenovoPNCRU
ID
Processor
A10-7800,Radeon™R7SeriesAMDA10-78003.5/4M/4C/2133/FM2+65CPU1101099
A8-7600,Radeon™R5SeriesAMDA8-76003.3/4M/4C/2133/FM2+65CPU1101101
A6-7400K,Radeon™R3SeriesAMDA6-7400K3.7/2M/2C/1866/FM2+65CPU1101102
A4-7300,Radeon™R3SeriesAMDA4-73003.4/2M/2C/1866/FM2+65CPU1101103
A10-6700,HD8670D1100819
A8-6500,HD8570D1100821
A6-6400K,HD8470D1100822
A4-6300,HD8370D1100823
AMDAthlon™X47501101047
AMDAthlon™X23501101048
AMDSempron™X22501101049
2
Motherboard
NOKFA78MB90006402
W8SFA78MB90006403
W8PFA78MB90006404
N
Thermalmodule
TSCEK8702836F689W/4PCOOLER(R)31039386
AVCZ7UH00C0164P/89WCOOLER(R)31039315
FOXPV902512PSPF0J-G-29225Sysfan(R)31039640
AVCDS09225R12HP1839225Sysfan(R)31039310
LX460mmfeelingWenXian's6pins®31034561
GS460mmsensorcablew_6pin®31045784
2
©CopyrightLenovo201481

Memory
M378B5773QB0-CK02GBD3-1600Memory-HF1100908
HMT425U6AFR6C-PB2GBD3-1600Memory1100653
Mic_RD9PSH2GBD3L-1600Memory-HF1100966
Mic_RD9PSH2GBD3L-1600M1Memory-HF1101063
Mic_SD9PXV2GBD3-1600Memory1100792
MT4JTF25664AZ-1G6E12GBD3-1600Memory1100954
M378B5173DB0-CK04GBD3-1600Memory-HF1100944
HMT451U6BFR8C-PB4GBD3-1600Memory-HF1100988
MT8JTF51264AZ-1G6E14GBD3-1600Memory1100955
Mic_RD9QBJ4GBD3L-1600M2Memory1100807
Mic_SD9QBJ4GBD3-1600M2Memory1100682
M378B5773QB0-CK02GBD3-1600Memory-HF1100908
M378B5173DB0-CK04GBD3-1600Memory-HF1100944
HMT425U6AFR6C-PB2GBD3-1600Memory-HF1100653
HMT451U6BFR8C-PB4GBD3-1600Memory-HF1100988
Mic_RD9PSH2GBD3L-1600Memory-HF1100966
Mic_RD9QBJ4GBD3L-1600M2Memory1100807
M378B5173DB0-CK04GBD3-1600Memory-HF1100944
M378B1G73DB0-CK08GBD3-1600Memory-HF1100945
HMT451U6BFR8C-PB4GBD3-1600Memory-HF1100988
HMT41GU6BFR8C-PB8GBD3-1600Memory-HF1100989
Mic_RD9QBJ4GBD3L-1600M2Memory1100807
Mic_RD9QBJ8GBD3L-1600Memory-HF1101011
M378B1G73DB0-CK08GBD3-1600Memory-HF1100945
HMT41GU6BFR8C-PB8GBD3-1600Memory-HF1100989
MT16JTF1G64AZ-1G6E18GBD3-1600Memory1100669
Mic_RD9QBJ8GBD3L-1600Memory-HF1101011
2
HDD
WDXL500AWD5000AAKX-08U6A0500GHDD-LH16200544
TSBMars4K500GDT01ACA050-LH16200512
SGTPharaoh4KST500DM002500GHDD-LH16200178
3.5inchSATA6G7.2KGrenadaBP1.51TB16200528
TSBMars4K1TBDT01ACA100-LH16200513
WD10EZEX-08M2NA016200613
3.5inchSATA6G7.2KGrenadaBP1.52TB16200529
TSBMars4K2TBDT01ACA200-LH16200514
2
82LenovoH50SeriesHardwareMaintenanceManual

ODD
PSNSW430HHSATADVDROM-LH25214498
TSST16XSH-116BBSATABlackDVDROM-LH25213719
HLDSDH50NHHSATADVD-ROM-LH25210649
PLDS16XDH-16D7SHHHSATADVDROM-LH25205800
PLDS16XDH-16AESHSATABlackDVDRW-LH(LSOPU)25213061
TSSTSH-216DBHHSATARamboODD-LH25213720
Panasonic16XSW830HHSATADVDRW-LH25213885
HLDSGHB0NHHSATARambo-LH25214470
HLDSBH40NBlu-rayRecorder-LH(BE)25210651
2
Cable
LXSATApowercable(300mm_300mm)31502005
GXSATApowercable(300mm_300mm)31502006
LSSATApowercable(220_250_180)31504572
GSSATApowercable(220_250_180)31504573
Luxshare,250mmSATAcable,2latching31043145
Grandsun,250mmSATAcable,2latching31043146
GS2H300mmSATAcalbeLatch®31024767
LX2H300mmSATAcalbeLatch®31024785
CL2H420mmSATAcalbeLatch(R)31506478
LX2H420mmSATAcalbeLatch(R)31024760
MGE2H420mmSATAcalbeLatch(R)31506479
JTVGAplasticcover31049015
MACEVGArubbercover31505052
JTHDMIrubbercover31049017
N
Graphics
Bitland@R5235@1G/A/DB/HGraphics11202403
MSI@R5235@1G/A/DB/HGraphics11202404
BITLAND@R5235@2G/A/DB/HGraphics11202748
Bitland@R7240@2G/A/DB/HGraphics11202407
MSI@GeforceGT720@2G/A/DB/HGraphics11202746
VIDEO_CARDB@GeforceGT705@2G/A/DB/HSV10G56197
VIDEO_CARDM@GeforceGT705@2G/A/DB/HSV10G56198
VIDEO_CARDB@GeforceGT705@1G/A/DB/HSV10G52014
VIDEO_CARDM@GeforceGT705@1G/A/DB/HSV10G52015
BITLAND@GeforceGT705@1G/A/DB/HGraphics11202742
MSI@GeforceGT705@1G/A/DB/HGraphics11202743
2
Chapter12.FRUlists-H50–5583

PowerSupply
AcbelPCB037-EL0GPS3LC180WSinglePSU36200430
HuntkeyHK280-23FPLCPS3180WPSU36200218
HUNTKEYHK280-25FP180WWWSINGLEPSU36200366
ACBELPCB038-EL0G180WWWSINGLEPSU36200367
PS-3181-03VAsingle180wESWWSP50A36142
HK280-22PPsingle180wESWW-OptionalSP50A36143
FSPFSP280-40PAATXSINGLE280WPSU36200510
HKHK380-16FPATXSINGLE280WPSU36200511
LITEONPS-4281-02VASINGLEES280WPSU36200507
FSPFSP280-40EPASINGLE280WESPSU36200508
ACBELPCB005-EL0GSINGLE280WESPSU36200509
N
FrontIO
LSUSB2.0F_IOcable_U500A600_321HT31507416
CLUSB2.0F_IOcable_U500A600_321HT31507417
BitlandRTS51797in1L_Single_CR11201223
TaisolGL827S7in1L_Single_CR11201222
N
Mechanical
MACELX-321HTchassis30500525
MACELX-321HTChassis5C80G59894
MACELX-321HTChassisF/Bezel5CB0G59893
MACELX-321HTUSB&CRBracket5B40G59900
JT328BT-23LWlanAntennaCover5CB0G59219
JTH81MBrearIOshielding31504156
LS600mm321HT&326CTLEDcable31507411
JT600mm321HT&326CTLEDcable31507412
MGE600mm321HT&326CTLEDcable31507413
JTLX-321HT2chassis30500526
JTLX-321HT2Chassis5C80G59901
JTLX-321HT2ChassisF/Bezel5CB0G59902
JTLX-321HT2USB&CRBracket5B40G59891
JT328BT-23LWlanAntennaCover5CB0G59219
JTH81MBrearIOshielding31504156
LS600mm321HT&326CTLEDcable31507411
JT600mm321HT&326CTLEDcable31507412
MGE600mm321HT&326CTLEDcable31507413
N
84LenovoH50SeriesHardwareMaintenanceManual

min-PCIECard
LSX315FrontAntenna31507039
LSX315RearAntenna31507040
JTWi-Ficover31501130
JTM2X3antiskidScrew31501076
LiteonWB3351x1BGN+BT4.0HMCWLAN20200437
20200440
LtnRTL8723BE1x1BGN+BTHMCWLAN
31506091
LtnRTL8723BE1x1BGN+BTHMCWLAN20200440
LiteonWB3351x1BGN+BT4.0HMCWLAN20200437
N
Touchpad
ChiconyTGR12262.4GtouchpadBLKfinal25212969
N
Speaker
LenovoSpeakerM0620(Black)25013742
1
KB/MOUSE
SunrexEKB-10YA(US)B-SilkUSBKB-LVT825209111
PrimaxKB4721(US)B-SilkUSBKB-LVT825209112
ChiconyKU-1153(US)B-SilkUSBKB-LVT825209113
SunrexEKB-10YA(TW)B-SilkUSBKB-LVT825209114
SunrexEKB-10YA(TH)B-SilkUSBKB-LVT825209115
SunrexEKB-10YA(CZ-SL)B-SUSBKB-LVT825209116
SunrexEKB-10YA(IN)B-SilkUSBKB-LVT825209117
SunrexEKB-10YA(RU)B-SilkUSBKB-LVT825209118
SunrexEKB-10YA(UK)B-SilkUSBKB-LVT825209119
SunrexEKB-10YA(Nordic)B-SUSBKB-LVT825209120
SunrexEKB-10YA(LA)B-SilkUSBKB-LVT825209121
SunrexEKB-10YA(AR)B-SilkUSBKB-LVT825209122
SunrexEKB-10YA(SW)B-SilkUSBKB-LVT825209123
SunrexEKB-10YA(GE)B-SilkUSBKB-LVT825209124
SunrexEKB-10YA(TR)B-SilkUSBKB-LVT825209125
SunrexEKB-10YA(SP)B-SilkUSBKB-LVT825209126
SunrexEKB-10YA(SL)B-SilkUSBKB-LVT825209127
SunrexEKB-10YA(IT)B-SilkUSBKB-LVT825209128
SunrexEKB-10YA(HB)B-SilkUSBKB-LVT825209129
SunrexEKB-10YA(FR)B-SilkUSBKB-LVT825209130
SunrexEKB-10YA(GK)B-SilkUSBKB-LVT825209131
SunrexEKB-10YA(HG)B-SilkUSBKB-LVT825209132
SunrexEKB-10YA(BG)B-SilkUSBKB-LVT825209133
SunrexEKB-10YA(HR)B-SilkUSBKB-LVT825209134
SunrexEKB-10YA(JP)B-SilkUSBKB-LVT825209135
1
Chapter12.FRUlists-H50–5585

SunrexEKB-10YA(EN-FR)B-SUSBKB-LVT825209136
SunrexEKB-10YA(PT)B-SilkUSBKB-LVT825209137
SunrexEKB-10YA(BE-EN)B-SUSBKB-LVT825209138
SunrexEKB-10YA(DU)B-SUSBKB-LVT825209139
LiteonLXH-SM-8825B-SilkMouse25200528
SunrexLXH-EMS-10ZAB-SilkMouse25200530
PrimaxM300USBgesturemouseBLK25213876
LiteonSK-8861(US)2.4GKB-Black825209175
LiteonSK-8861(US-MY)2.4GKB-Black825209176
LiteonSK-8861(TW)2.4GKB-Black825209177
LiteonSK-8861(TH)2.4GKB-Black825209178
LiteonSK-8861(CS-SK)2.4GKB-Black825209179
LiteonSK-8861(US-IN)2.4GKB-Black825209180
LiteonSK-8861(RU)2.4GKB-Black825209181
LiteonSK-8861(GB)2.4GKB-Black825209182
LiteonSK-8861(Nordic)2.4GKB-Black825209183
LiteonSK-8861(LA)2.4GKB-Black825209184
LiteonSK-8861(LA-AR)2.4GKB-Black825209185
LiteonSK-8861(SA)2.4GKB-Black825209186
LiteonSK-8861(CH)2.4GKB-Black825209187
LiteonSK-8861(DE)2.4GKB-Black825209188
LiteonSK-8861(TR)2.4GKB-Black825209189
LiteonSK-8861(ES)2.4GKB-Black825209190
LiteonSK-8861(SL)2.4GKB-Black825209191
LiteonSK-8861(IT)2.4GKB-Black825209192
LiteonSK-8861(IL)2.4GKB-Black825209193
LiteonSK-8861(FR)2.4GKB-Black825209194
LiteonSK-8861(GR)2.4GKB-Black825209195
LiteonSK-8861(HU)2.4GKB-Black825209196
LiteonSK-8861(BG)2.4GKB-Black825209197
LiteonSK-8861(KR)2.4GKB-Black825209198
LiteonSK-8861(JP)2.4GKB-Black825209199
LiteonSK-8861(EN-FR)2.4GKB-Black825209200
LiteonSK-8861(PT)2.4GKB-Black825209201
LiteonSK-8861(BE-EN)2.4GKB-Black825209202
LiteonSK-8861(DU)2.4GKB-Black825209203
86LenovoH50SeriesHardwareMaintenanceManual

PowerCord
LWBLK1.8MULCSAPowerCord(R)31026357
GSBLK1.8MULpowercord®31033217
VLBLK1.8MULCSAPowerCord®31026145
LX(ASAP)1.8MC13ULpowercord31049521
LWBLK1.8MULCSAPowerCord(R)31026357
VLBLK1.8MULCSAPowerCord®31026145
LX(ASAP)1.8MC13ULpowercord31049521
GSBLK1T11.8MCCCPowercord®31028776
LX(ASAP)1.8MCCCC13powercord®31040179
LWBLK1.8MBSPowerCord®31026096
VLBLK1.8MBSPowerCord(R)31026082
LWBLK1.8MBSPowerCord®31026096
VLBLK1.8MBSPowerCord(R)31026082
LWBLK1.8MBSPowerCord®31026096
VLBLK1.8MBSPowerCord(R)31026082
LWBLK1.8MANEPowerCord®31026350
VLBLK1.8MANEPowerCord®31026140
LX(ASAP)1.8MC13ANZpowercord31049524
LWBLK1.8MVDEPowerCord®31026355
VLBLK1.8MVDEPowerCord®31026144
LX(ASAP)1.8MC13EUpowercord31049522
LWBLK1.8MVDEPowerCord®31026355
VLBLK1.8MVDEPowerCord®31026144
LX(ASAP)1.8MC13EUpowercord31049522
LWBLK1.8MVDEPowerCord®31026355
VLBLK1.8MVDEPowerCord®31026144
LX(ASAP)1.8MC13EUpowercord31049522
LWBLK1.8MIndiapowercord®31033216
LWBLK1.8MBSMIPowerCord®31026349
VLBLK1.8MBSMIPowerCord®31026146
LWBLK1.8MSABSPowerCord®31031394
Volex1.8MC13SApowercord31049509
LWBLK1.8MSABSPowerCord®31031394
Volex1.8MC13SApowercord31049509
LongwellBlacksinglehead1.8MC13IRAMPowercord®31036980
Volex1.8MC13LApowercord31049515
LongwellBlacksinglehead1.8MC13IRAMPowercord®31036980
Volex1.8MC13LApowercord31049515
LongwellBlacksinglehead1.8MC13BrazilPowercord®31038784
1
Chapter12.FRUlists-H50–5587

Volex1.8MC13BRpowercord31049513
LWBLK1.8MKTLPowerCord®31026351
VLBLK1.8MKTLPowerCord®31026143
LW1.8MJAPANPowerCord®31039730
Volex1.8MC13JPNpowercord31049514
LX(ASAP)1.8MC13JPNpowercord31049523
LW1.8MJAPANPowerCord®31039730
Volex1.8MC13JPNpowercord31049514
LX(ASAP)1.8MC13JPNpowercord31049523
LW1.8MItalyPowerCord®31039726
Volex1.8MC13ITYpowercord31049512
LW1.8MItalyPowerCord®31039726
Volex1.8MC13ITYpowercord31049512
LW1.8MDenmarkPowerCord®31039729
Volex1.8MC13DENpowercord31049511
LW1.8MDenmarkPowerCord®31039729
Volex1.8MC13DENpowercord31049511
LW1.8MSwitzerlandPowerCord®31039732
Volex1.8MC13SWIpowercord31049516
LW1.8MSwitzerlandPowerCord®31039732
Volex1.8MC13SWIpowercord31049516
LW1.8MIsraelPowerCord®31039728
Volex1.8MC13ISIpowercord31049510
LW1.8MIsraelPowerCord®31039728
Volex1.8MC13ISIpowercord31049510
88LenovoH50SeriesHardwareMaintenanceManual

Chapter13.Generalinformation
Thischapterprovidesgeneralinformationthatappliestoallmachinetypessupportedbythispublication.
AdditionalServiceInformation
Thischapterprovidesadditionalinformationthattheservicerepresentativemightfindhelpful.
Powermanagement
Powermanagementreducesthepowerconsumptionofcertaincomponentsofthecomputersuchasthe
systempowersupply,processor,harddiskdrives,andsomemonitors.
Advancedconfigurationandpowerinterface(ACPI)BIOS
AsthiscomputerhasanACPIBIOSsystem,theoperatingsystemisallowedtocontrolthepower
managementfeaturesofthecomputerandthesettingsforAdvancedPowerManagement(APM)BIOSmode
isignored.NotalloperatingsystemssupportACPIBIOSmode.
AutomaticPower-Onfeatures
TheAutomaticPower-OnfeatureswithinthePowerManagementmenuallowyoutoenableanddisable
featuresthatturnonthecomputerautomatically.
•WakeUponAlarm:Youcanspecifyadateandtimeatwhichthecomputerwillbeturnedonautomatically.
Thiscanbeeitherasingleevent,adailyeventoraweeklyevent.
•WakeUponLAN:ThisfeatureallowsLANadaptercardtowaketheSystem.
©CopyrightLenovo201489

