Lenovo Thinkpad 019726U Users Manual Edge 13' And E30 Hardware Maintenance
THINKPAD E30 1015767207
019726U to the manual 390a77d7-7c37-4bfb-89f6-e53af0c4334e
2015-01-24
: Lenovo Lenovo-Thinkpad-019726U-Users-Manual-329160 lenovo-thinkpad-019726u-users-manual-329160 lenovo pdf
Open the PDF directly: View PDF
.
Page Count: 148 [warning: Documents this large are best viewed by clicking the View PDF Link!]
- Contents
- About this manual
- Safety information
- Important service information
- General checkout
- Related service information
- Status indicators
- Special keys
- FRU replacement notices
- Removing and replacing a FRU
- 1010 Battery pack
- 1020 Bottom slot cover
- 1030 DIMM
- 1040 Hard disk drive (HDD)
- 1050 PCI Express Mini Card for wireless LAN
- 1060 PCI Express Mini Card for wireless WAN
- 1070 Keyboard
- 1080 Top case assembly and microphone module
- 1090 Backup battery
- 1100 Bluetooth daughter card (BDC-2)
- 1110 Speaker assembly
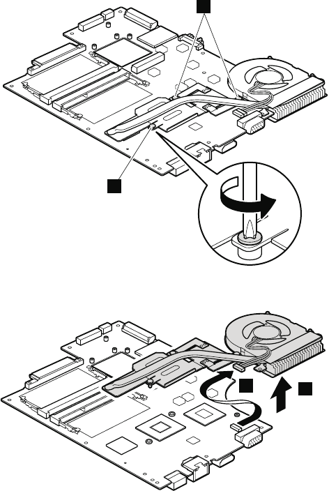
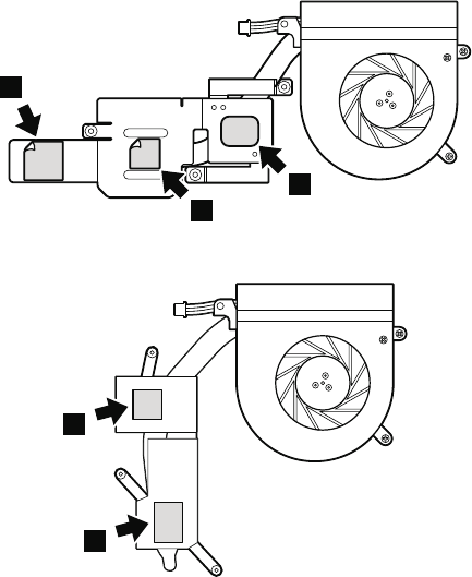
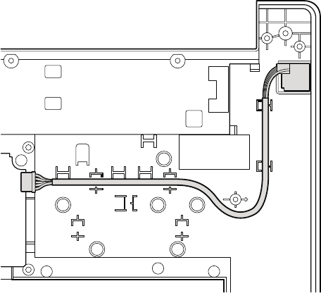
- 1120 System board and fan assembly
- 1130 I/O card assembly, audio cable, and I/O cable
- 1140 LCD unit
- 1150 Base cover assembly and DC-in cable
- 2010 LCD bezel assembly
- 2020 Integrated camera
- 2030 LCD panel and LCD cable
- 2070 Hinge kit
- 2050 Wireless LAN antenna assembly, wireless WAN antenna assembly, and LCD rear cover assembly
- Locations
- Parts list
- Notices

ThinkPad Edge 13″and E30
Hardware Maintenance Manual

ThinkPad Edge 13″and E30
Hardware Maintenance Manual

Note
Before using this information and the product it supports, be sure to read the general information under “Notices” on page
137.
First Edition (December 2009)
© Copyright Lenovo 2009.
LENOVO products, data, computer software, and services have been developed exclusively at private expense and
are sold to governmental entities as commercial items as defined by 48 C.F.R. 2.101 with limited and restricted
rights to use, reproduction and disclosure.
LIMITED AND RESTRICTED RIGHTS NOTICE: If products, data, computer software, or services are delivered
pursuant a General Services Administration ″GSA″contract, use, reproduction, or disclosure is subject to restrictions
set forth in Contract No. GS-35F-05925.
© Lenovo 2009

Contents
About this manual ..........v
Safety information ..........1
General safety ..............2
Electrical safety .............3
Safety inspection guide ...........5
Handling devices that are sensitive to electrostatic
discharge ...............6
Grounding requirements ..........6
Safety notices (multilingual translations) .....7
Important service information .....29
Strategy for replacing FRUs .........30
Strategy for replacing a hard disk drive ....30
Important notice for replacing a system board . . 31
How to use error message ........31
Strategy for replacing FRUs for CTO, CMV, and
GAV.................32
Product definition ...........32
FRU identification for CTO, CMV, and GAV
products ..............32
General checkout ..........35
What to do first .............36
Checkout guide .............37
Diagnostics using PC-Doctor for DOS ....37
Lenovo ThinkVantage Toolbox (Lenovo System
Toolbox) ..............40
PC-Doctor for Rescue and Recovery .....40
FRU tests ..............41
Power system checkout ..........43
Checking the AC adapter .........43
Checking operational charging .......44
Checking the battery pack ........44
Checking the backup battery .......45
Related service information......47
Restoring the factory contents by using Recovery
Disc Set ...............47
Passwords ...............48
Power-on password ..........49
Hard-disk password ..........49
Supervisor password ..........49
How to remove the power-on password ....49
How to remove the hard-disk password ....50
Power management ...........52
Screen blank mode ...........52
Sleep mode .............52
Hibernation mode ...........52
Symptom-to-FRU index ..........53
Numeric error codes ..........53
Error messages ............56
No-beep symptoms...........56
LCD-related symptoms .........57
Intermittent problems ..........58
Undetermined problems .........58
Status indicators ..........59
Special keys ............61
FRU replacement notices .......63
Screw notices ..............63
Retaining serial numbers ..........64
Restoring the serial number of the system unit 64
Retaining the UUID ..........64
Reading or writing the ECA information . . . 65
Removing and replacing a FRU ....67
1010 Battery pack ............68
1020 Bottom slot cover...........70
1030 DIMM ..............72
1040 Hard disk drive (HDD).........73
1050 PCI Express Mini Card for wireless LAN. . . 75
1060 PCI Express Mini Card for wireless WAN . . 77
1070 Keyboard .............79
1080 Top case assembly and microphone module . . 82
1090 Backup battery ...........86
1100 Bluetooth daughter card (BDC-2) .....87
1110 Speaker assembly...........88
1120 System board and fan assembly ......90
1130 I/O card assembly, audio cable, and I/O cable 98
1140 LCD unit .............100
1150 Base cover assembly and DC-in cable . . . 102
2010 LCD bezel assembly .........105
2020 Integrated camera ..........106
2030 LCD panel and LCD cable .......107
2070 Hinge kit .............110
2050 Wireless LAN antenna assembly, wireless
WAN antenna assembly, and LCD rear cover
assembly ...............112
Locations .............115
Front view ..............115
Bottom view..............116
Parts list .............117
Overall ...............118
LCD FRUs ..............126
Keyboard...............129
AC adapters..............130
Miscellaneous parts ...........130
Power cords ..............131
Recovery discs .............132
Windows 7 Home Basic (32 bit) DVDs ....132
Windows 7 Home Premium (32 bit) DVDs . . 132
Windows 7 Home Premium (64 bit) DVDs . . 133
Windows 7 Professional (32 bit) DVDs ....134
© Copyright Lenovo 2009 iii

About this manual
This manual contains service and reference information for the following
ThinkPad®products.
ThinkPad Edge 13″
MT 0196, 0197, and 0492
ThinkPad Edge E30
MT 0196
Use this manual along with the advanced diagnostic tests to troubleshoot
problems.
Important:
This manual is intended only for trained service technicians who are familiar
with ThinkPad products. Use this manual along with the advanced diagnostic
tests to troubleshoot problems effectively.
Before servicing a ThinkPad product, be sure to read all the information under
“Safety information” on page 1.
© Copyright Lenovo 2009 v
vi ThinkPad Edge 13″and E30 Hardware Maintenance Manual

Safety information
This chapter presents following safety information that you need to be familiar
with before you service a ThinkPad Notebook.
v“General safety” on page 2
v“Electrical safety” on page 3
v“Safety inspection guide” on page 5
v“Handling devices that are sensitive to electrostatic discharge” on page 6
v“Grounding requirements” on page 6
v“Safety notices (multilingual translations)” on page 7
© Copyright Lenovo 2009 1

General safety
Follow these rules to ensure general safety:
vObserve good housekeeping in the area of the machines during and after
maintenance.
vWhen lifting any heavy object:
1. Make sure that you can stand safely without slipping.
2. Distribute the weight of the object equally between your feet.
3. Use a slow lifting force. Never move suddenly or twist when you attempt to
lift.
4. Lift by standing or by pushing up with your leg muscles; this action removes
the strain from the muscles in your back. Do not attempt to lift any object that
weighs more than 16 kg (35 lb) or that you think is too heavy for you.
vDo not perform any action that causes hazards to the customer, or that makes
the equipment unsafe.
vBefore you start the machine, make sure that other service technicians and the
customer’s personnel are not in a hazardous position.
vPlace removed covers and other parts in a safe place, away from all personnel,
while you are servicing the machine.
vKeep your toolcase away from walk areas so that other people will not trip over
it.
vDo not wear loose clothing that can be trapped in the moving parts of a
machine. Make sure that your sleeves are fastened or rolled up above your
elbows. If your hair is long, fasten it.
vInsert the ends of your necktie or scarf inside clothing or fasten it with a
nonconductive clip, about 8 centimeters (3 inches) from the end.
vDo not wear jewelry, chains, metal-frame eyeglasses, or metal fasteners for your
clothing.
Attention: Metal objects are good electrical conductors.
vWear safety glasses when you are hammering, drilling, soldering, cutting wire,
attaching springs, using solvents, or working in any other conditions that might
be hazardous to your eyes.
vAfter service, reinstall all safety shields, guards, labels, and ground wires.
Replace any safety device that is worn or defective.
vReinstall all covers correctly before returning the machine to the customer.
vFan louvers on the machine help to prevent overheating of internal components.
Do not obstruct fan louvers or cover them with labels or stickers.
2ThinkPad Edge 13″and E30 Hardware Maintenance Manual

Electrical safety
Observe the following rules when working on electrical equipment.
vFind the room emergency power-off (EPO) switch, disconnecting switch, or
electrical outlet. If an electrical accident occurs, you can then operate the switch
or unplug the power cord quickly.
vDo not work alone under hazardous conditions or near equipment that has
hazardous voltages.
vDisconnect all power before:
– Performing a mechanical inspection
– Working near power supplies
– Removing or installing main units
vBefore you start to work on the machine, unplug the power cord. If you cannot
unplug it, ask the customer to power-off the wall box that supplies power to the
machine, and to lock the wall box in the off position.
vIf you need to work on a machine that has exposed electrical circuits, observe the
following precautions:
– Ensure that another person, familiar with the power-off controls, is near you.
Attention: Another person must be there to switch off the power, if
necessary.
– Use only one hand when working with powered-on electrical equipment;
keep the other hand in your pocket or behind your back.
Attention: An electrical shock can occur only when there is a complete
circuit. By observing the above rule, you may prevent a current from passing
through your body.
– When using testers, set the controls correctly and use the approved probe
leads and accessories for that tester.
– Stand on suitable rubber mats (obtained locally, if necessary) to insulate you
from grounds such as metal floor strips and machine frames.
Observe the special safety precautions when you work with very high voltages;
Instructions for these precautions are in the safety sections of maintenance
information. Use extreme care when measuring high voltages.
vRegularly inspect and maintain your electrical hand tools for safe operational
condition.
vDo not use worn or broken tools and testers.
vNever assume that power has been disconnected from a circuit. First, check that it
has been powered off.
vAlways look carefully for possible hazards in your work area. Examples of these
hazards are moist floors, nongrounded power extension cables, power surges,
and missing safety grounds.
Important:
Use only approved tools and test equipment. Some hand tools have handles
covered with a soft material that does not insulate you when working with live
electrical currents.
Many customers have, near their equipment, rubber floor mats that contain small
conductive fibers to decrease electrostatic discharges. Do not use this type of mat
to protect yourself from electrical shock.
Safety information 3
vDo not touch live electrical circuits with the reflective surface of a plastic dental
mirror. The surface is conductive; such touching can cause personal injury and
machine damage.
vDo not service the following parts with the power on when they are removed
from their normal operating places in a machine:
– Power supply units
– Pumps
– Blowers and fans
– Motor generators
– Similar units to listed above
This practice ensures correct grounding of the units.
vIf an electrical accident occurs:
– Use caution; do not become a victim yourself.
– Switch off power.
– Send another person to get medical aid.
4ThinkPad Edge 13″and E30 Hardware Maintenance Manual

Safety inspection guide
The purpose of this inspection guide is to assist you in identifying potentially
unsafe conditions. As each machine was designed and built, required safety items
were installed to protect users and service technicians from injury. This guide
addresses only those items. You should use good judgment to identify potential
safety hazards due to attachment of non-ThinkPad features or options not covered
by this inspection guide.
If any unsafe conditions are present, you must determine how serious the apparent
hazard could be and whether you can continue without first correcting the
problem.
Consider these conditions and the safety hazards they present:
vElectrical hazards, especially primary power (primary voltage on the frame can
cause serious or fatal electrical shock)
vExplosive hazards, such as a damaged CRT face or a bulging capacitor
vMechanical hazards, such as loose or missing hardware
To determine whether there are any potentially unsafe conditions, use the
following checklist at the beginning of every service task. Begin the checks with
the power off, and the power cord disconnected.
Checklist:
1. Check exterior covers for damage (loose, broken, or sharp edges).
2. Power off the computer. Disconnect the power cord.
3. Check the power cord for:
a. A third-wire ground connector in good condition. Use a meter to measure
third-wire ground continuity for 0.1 ohm or less between the external
ground pin and the frame ground.
b. The power cord should be the type specified in the parts list.
c. Insulation must not be frayed or worn.
4. Check for cracked or bulging batteries.
5. Remove the cover.
6. Check for any obvious non-ThinkPad alterations. Use good judgment as to the
safety of any non-ThinkPad alterations.
7. Check inside the unit for any obvious unsafe conditions, such as metal filings,
contamination, water or other liquids, or signs of fire or smoke damage.
8. Check for worn, frayed, or pinched cables.
9. Check that the power-supply cover fasteners (screws or rivets) have not been
removed or tampered with.
Safety information 5

Handling devices that are sensitive to electrostatic discharge
Any computer part containing transistors or integrated circuits (ICs) should be
considered sensitive to electrostatic discharge (ESD.) ESD damage can occur when
there is a difference in charge between objects. Protect against ESD damage by
equalizing the charge so that the machine, the part, the work mat, and the person
handling the part are all at the same charge.
When handling ESD-sensitive parts:
vKeep the parts in protective packages until they are inserted into the product.
vAvoid contact with other people.
vWear a grounded wrist strap against your skin to eliminate static on your body.
vPrevent the part from touching your clothing. Most clothing is insulative and
retains a charge even when you are wearing a wrist strap.
vUse a grounded work mat to provide a static-free work surface. The mat is
especially useful when handling ESD-sensitive devices.
vSelect a grounding system, such as those listed below, to provide protection that
meets the specific service requirement.
– Attach the ESD ground clip to any frame ground, ground braid, or green-wire
ground.
– When working on a double-insulated or battery-operated system, use an ESD
common ground or reference point. You can use coax or connector-outside
shells on these systems.
– Use the round ground prong of the ac plug on ac-operated computers.
Grounding requirements
Electrical grounding of the computer is required for operator safety and correct
system function. Proper grounding of the electrical outlet can be verified by a
certified electrician.
Notes:
1. Use product-specific ESD procedures when they exceed the requirements
noted here.
2. Make sure that the ESD protective devices you use have been certified (ISO
9000) as fully effective.
Note:
The use of a grounding system to guard against ESD damage is desirable but not
necessary.
6ThinkPad Edge 13″and E30 Hardware Maintenance Manual

DANGER
Before the computer is powered on after FRU replacement, make sure all screws,
springs, and other small parts are in place and are not left loose inside the computer.
Verify this by shaking the computer and listening for rattling sounds. Metallic parts or
metal flakes can cause electrical shorts.
DANGER
Some standby batteries contain a small amount of nickel and cadmium. Do not
disassemble a standby battery, recharge it, throw it into fire or water, or short-circuit it.
Dispose of the battery as required by local ordinances or regulations. Use only the
battery in the appropriate parts listing. Use of an incorrect battery can result in ignition
or explosion of the battery.
DANGER
The battery pack contains small amounts of nickel. Do not disassemble it, throw it into
fire or water, or short-circuit it. Dispose of the battery pack as required by local
ordinances or regulations. Use only the battery in the appropriate parts listing when
replacing the battery pack. Use of an incorrect battery can result in ignition or explosion
of the battery.
DANGER
The lithium battery can cause a fire, an explosion, or a severe burn. Do not recharge it,
remove its polarized connector, disassemble it, heat it above 100°C (212°F), incinerate it,
or expose its cell contents to water. Dispose of the battery as required by local
ordinances or regulations. Use only the battery in the appropriate parts listing. Use of an
incorrect battery can result in ignition or explosion of the battery.
DANGER
If the LCD breaks and the fluid from inside the LCD gets into your eyes or on your
hands, immediately wash the affected areas with water for at least 15 minutes. Seek
medical care if any symptoms from the fluid are present after washing.
8ThinkPad Edge 13″and E30 Hardware Maintenance Manual

DANGER
Though the main batteries have low voltage, a shorted or grounded battery can produce
enough current to burn personnel or combustible materials.
DANGER
Unless hot swap is allowed for the FRU being replaced, do as follows before removing
it: power off the computer, unplug all power cords from electrical outlets, remove the
battery pack, and disconnect any interconnecting cables.
Safety information 9

10 ThinkPad Edge 13″and E30 Hardware Maintenance Manual

Safety information 11

PERIGO
Antes de ligar o computador após a substituição da FRU, certifique-se de que todos os
parafusos, molas e outras peças pequenas estejam no lugar e não estejam soltos dentro
do computador. Verifique isso sacudindo o computador e procurando ouvir sons de
peças soltas. Peças metálicas ou lascas de metal podem causar curto-circuito.
PERIGO
Algumas baterias reserva contêm uma pequena quantidade de níquel e cádmio. Não
desmonte uma bateria reserva, recarregue-a, jogue-a no fogo ou na água, ou deixe-a
entrar em curto-circuito. Descarte a bateria conforme requerido pelas leis ou
regulamentos locais. Use somente a bateria nas partes listadas apropriadas. O uso de
uma bateria incorreta pode resultar em combustão ou explosão da bateria.
PERIGO
O pacote da bateria contém uma pequena quantidade de níquel. Não o desmonte,
jogue-o no fogo ou na água, ou deixe-o entrar em curto-circuito. Descarte o pacote da
bateria conforme requerido pelas leis ou regulamentos locais. Use somente a bateria nas
partes listadas apropriadas ao substituir o pacote da bateria. O uso de uma bateria
incorreta pode resultar em combustão ou explosão da bateria.
PERIGO
A bateria de lítio pode causar incêndio, explosão ou graves queimaduras. Não a
recarregue, remova seu conector polarizado, desmonte-a, aqueça-a acima de 100°C
(212°F), incinere-a, ou exponha o conteúdo de sua célula à água. Descarte a bateria
conforme requerido pelas leis ou regulamentos locais. Use somente a bateria nas partes
listadas apropriadas. O uso de uma bateria incorreta pode resultar em combustão ou
explosão da bateria.
PERIGO
Se o LCD quebrar e o fluido de dentro dele entrar em contato com seus olhos ou com
suas mãos, lave as áreas afetadas imediatamente com água durante pelo menos 15
minutos. Procure cuidados médicos se algum sintoma causado pelo fluido surgir após a
lavagem.
12 ThinkPad Edge 13″and E30 Hardware Maintenance Manual

PERIGO
Embora as principais baterias possuam baixa voltagem, uma bateria em curto-circuito ou
aterrada pode produzir corrente o bastante para queimar materiais de pessoal ou
inflamáveis.
PERIGO
A menos que uma hot swap seja permitida para a FRU que está sendo substituída, faça
o seguinte antes de removê-la: desligue o computador, desconecte todos os cabos de
energia das tomadas, remova o pacote de baterias e desconecte quaisquer cabos de
interconexão.
Safety information 13

DANGER
Avant de remettre l’ordinateur sous tension après remplacement d’une unité en clientèle,
vérifiez que tous les ressorts, vis et autres pièces sont bien en place et bien fixées. Pour
ce faire, secouez l’unité et assurez-vous qu’aucun bruit suspect ne se produit. Des pièces
métalliques ou des copeaux de métal pourraient causer un court-circuit.
DANGER
Certaines batteries de secours contiennent du nickel et du cadmium. Ne les démontez
pas, ne les rechargez pas, ne les exposez ni au feu ni à l’eau. Ne les mettez pas en
court-circuit. Pour les mettre au rebut, conformez-vous à la réglementation en vigueur.
Lorsque vous remplacez la pile de sauvegarde ou celle de l’horloge temps réel, veillez à
n’utiliser que les modèles cités dans la liste de pièces détachées adéquate. Une batterie
ou une pile inappropriée risque de prendre feu ou d’exploser.
DANGER
La batterie contient du nickel. Ne la démontez pas, ne l’exposez ni au feu ni à l’eau. Ne
la mettez pas en court-circuit. Pour la mettre au rebut, conformez-vous à la
réglementation en vigueur. Lorsque vous remplacez la batterie, veillez à n’utiliser que
les modèles cités dans la liste de pièces détachées adéquate. En effet, une batterie
inappropriée risque de prendre feu ou d’exploser.
DANGER
La pile de sauvegarde contient du lithium. Elle présente des risques d’incendie,
d’explosion ou de brûlures graves. Ne la rechargez pas, ne retirez pas son connecteur
polarisé et ne la démontez pas. Ne l’exposez pas à une temperature supérieure à 100°C,
ne la faites pas brûler et n’en exposez pas le contenu à l’eau. Mettez la pile au rebut
conformément à la réglementation en vigueur. Une pile inappropriée risque de prendre
feu ou d’exploser.
DANGER
Si le panneau d’affichage à cristaux liquides se brise et que vous recevez dans les yeux
ou sur les mains une partie du fluide, rincez-les abondamment pendant au moins
quinze minutes. Consultez un médecin si des symptômes persistent après le lavage.
14 ThinkPad Edge 13″and E30 Hardware Maintenance Manual

DANGER
Bien que le voltage des batteries principales soit peu élevé, le court-circuit ou la mise à
la masse d’une batterie peut produire suffisamment de courant pour brûler des
matériaux combustibles ou causer des brûlures corporelles graves.
DANGER
Si le remplacement à chaud n’est pas autorisé pour l’unité remplaçable sur site que vous
remplacez, procédez comme suit avant de retirer l’unité : mettez l’ordinateur hors
tension, débranchez tous les cordons d’alimentation des prises de courant, retirez le bloc
de batterie et déconnectez tous les câbles d’interconnexion.
Safety information 15

VORSICHT
Bevor nach einem FRU-Austausch der Computer wieder angeschlossen wird,
muß sichergestellt werden, daß keine Schrauben, Federn oder andere Kleinteile
fehlen oder im Gehäuse vergessen wurden. Der Computer muß geschüttelt und
auf Klappergeräusche geprüft werden. Metallteile oder-splitter können
Kurzschlüsse erzeugen.
VORSICHT
Die Bereitschaftsbatterie, die sich unter dem Diskettenlaufwerk befindet, kann
geringe Mengen Nickel und Cadmium enthalten. Sie darf nur durch die
Verkaufsstelle oder den IBM Kundendienst ausgetauscht werden. Sie darf nicht
zerlegt, wiederaufgeladen, kurzgeschlossen, oder Feuer oder Wasser ausgesetzt
werden. Die Batterie kann schwere Verbrennungen oder Verätzungen
verursachen. Bei der Entsorgung die örtlichen Bestimmungen für Sondermüll
beachten. Beim Ersetzen der Bereitschafts-oder Systembatterie nur Batterien des
Typs verwenden, der in der Ersatzteilliste aufgeführt ist. Der Einsatz falscher
Batterien kann zu Entzündung oder Explosion führen.
VORSICHT
Akkus enthalten geringe Mengen von Nickel. Sie dürfen nicht zerlegt,
wiederaufgeladen, kurzgeschlossen, oder Feuer oder Wasser ausgesetzt werden.
Bei der Entsorgung die örtlichen Bestimmungen für Sondermüll beachten.
Beim Ersetzen der Batterie nur Batterien des Typs verwenden, der in der
Ersatzteilliste aufgeführt ist. Der Einsatz falscher Batterien kann zu
Entzündung oder Explosion führen.
VORSICHT
Die Systembatterie ist eine Lithiumbatterie. Sie kann sich entzünden,
explodieren oder schwere Verbrennungen hervorrufen. Batterien dieses Typs
dürfen nicht aufgeladen, zerlegt, über 100 C erhitzt oder verbrannt werden.
Auch darf ihr Inhalt nicht mit Wasser in Verbindung gebracht oder der zur
richtigen Polung angebrachte Verbindungsstecker entfernt werden. Bei der
Entsorgung die örtlichen Bestimmungen für Sondermüll beachten. Beim
Ersetzen der Batterie nur Batterien des Typs verwenden, der in der
Ersatzteilliste aufgeführt ist. Der Einsatz falscher Batterien kann zu
Entzündung oder Explosion führen.
16 ThinkPad Edge 13″and E30 Hardware Maintenance Manual

VORSICHT
Die Leuchtstoffröhre im LCD-Bildschirm enthält Quecksilber. Bei der
Entsorgung die örtlichen Bestimmungen für Sondermüll beachten. Der
LCD-Bildschirm besteht aus Glas und kann zerbrechen, wenn er unsachgemäß
behandelt wird oder der Computer auf den Boden fällt. Wenn der Bildschirm
beschädigt ist und die darin befindliche Flüssigkeit in Kontakt mit Haut und
Augen gerät, sollten die betroffenen Stellen mindestens 15 Minuten mit Wasser
abgespült und bei Beschwerden anschließend ein Arzt aufgesucht werden.
VORSICHT
Obwohl Hauptbatterien eine niedrige Spannung haben, können sie doch bei
Kurzschluß oder Erdung genug Strom abgeben, um brennbare Materialien zu
entzünden oder Verletzungen bei Personen hervorzurufen.
VORSICHT
Wenn ein Austausch der FRU bei laufendem Betrieb nicht erlaubt ist, gehen
Sie beim Austausch der FRU wie folgt vor: Schalten Sie den Computer aus,
ziehen Sie alle Netzkabel von den Netzsteckdosen ab, entfernen Sie den Akku
und ziehen Sie alle miteinander verbundenen Kabel ab.
Safety information 17

18 ThinkPad Edge 13″and E30 Hardware Maintenance Manual

Safety information 19

20 ThinkPad Edge 13″and E30 Hardware Maintenance Manual

Safety information 21

22 ThinkPad Edge 13″and E30 Hardware Maintenance Manual

Safety information 23

PELIGRO
Antes de encender el sistema despues de sustituir una FRU, compruebe que todos los
tornillos, muelles y demás piezas pequeñas se encuentran en su sitio y no se encuentran
sueltas dentro del sistema. Compruébelo agitando el sistema y escuchando los posibles
ruidos que provocarían. Las piezas metálicas pueden causar cortocircuitos eléctricos.
PELIGRO
Algunas baterías de reserva contienen una pequeña cantidad de níquel y cadmio. No las
desmonte, ni recargue, ni las eche al fuego o al agua ni las cortocircuite. Deséchelas tal
como dispone la normativa local. Utilice sólo baterías que se encuentren en la lista de
piezas. La utilización de una batería no apropiada puede provocar la ignición o
explosión de la misma.
PELIGRO
Las baterías contienen pequeñas cantidades de níquel. No las desmonte, ni recargue, ni
las eche al fuego o al agua ni las cortocircuite. Deséchelas tal como dispone la normativa
local. Utilice sólo baterías que se encuentren en la lista de piezas al sustituir la batería.
La utilización de una batería no apropiada puede provocar la ignición o explosión de la
misma.
PELIGRO
La batería de repuesto es una batería de litio y puede provocar incendios, explosiones o
quemaduras graves. No la recargue, ni quite el conector polarizado, ni la desmonte, ni
caliente por encima de los 100°C (212°F), ni la incinere ni exponga el contenido de sus
celdas al agua. Deséchela tal como dispone la normativa local.
PELIGRO
Si la LCD se rompe y el fluido de su interior entra en contacto con sus ojos o sus
manos, lave inmediatamente las áreas afectadas con agua durante 15 minutos como
mínimo. Obtenga atención medica si se presenta algún síntoma del fluido despues de
lavarse.
24 ThinkPad Edge 13″and E30 Hardware Maintenance Manual

PELIGRO
Aunque las baterías principales tienen un voltaje bajo, una batería cortocircuitada o con
contacto a tierra puede producir la corriente suficiente como para quemar material
combustible o provocar quemaduras en el personal.
PELIGRO
Salvo que se permita el intercambio en caliente para la unidad sustituible localmente,
realice lo siguiente antes de extraerla: apague el sistema, desconecte todos los cables de
alimentación de las tomas de alimentación eléctrica, extraiga la batería y desconecte los
cables de interconexión.
Safety information 25

26 ThinkPad Edge 13″and E30 Hardware Maintenance Manual

Safety information 27
28 ThinkPad Edge 13″and E30 Hardware Maintenance Manual

Important service information
This chapter presents following important service information that applies to all
machine types supported by this manual:
v“Strategy for replacing FRUs” on page 30
– “Strategy for replacing a hard disk drive” on page 30
– “Important notice for replacing a system board” on page 31
– “How to use error message” on page 31
v“Strategy for replacing FRUs for CTO, CMV, and GAV” on page 32
– “Product definition” on page 32
– “FRU identification for CTO, CMV, and GAV products” on page 32
Important:
BIOS and device driver fixes are customer-installable. The BIOS and device
drivers are posted on the customer support site http://www.lenovo.com/support
System Disassembly/Reassembly videos that show the FRU removals or
replacements for the Lenovo®authorized service technicians are available in the
following support site: http://www.lenovoservicetraining.com/ion/
Advise customers to contact the Customer Support Center at 800-426-7378 if they
need assistance in obtaining or installing any software fixes, drivers, and BIOS
downloads.
Customers in Canada should call the Customer Support Center at 800-565-3344
for assistance or download information.
Customers in other countries can contact their Customer Support Centers at
http://www-307.ibm.com/pc/support/site.wss/document.do?lndocid=MIGR-
4HWSE3
© Copyright Lenovo 2009 29

Strategy for replacing FRUs
Use the following strategy to prevent unnecessary expense for replacing and
servicing FRUs:
vIf you are instructed to replace a FRU but the replacement does not correct the
problem, reinstall the original FRU before you continue.
vSome computers have both a processor board and a system board. If you are
instructed to replace either the processor board or the system board, and
replacing one of them does not correct the problem, reinstall that board, and
then replace the other one.
vIf an adapter or a device consists of more than one FRU, any of the FRUs may
be the cause of the error. Before replacing the adapter or device, remove the
FRUs, one by one, to see if the symptoms change. Replace only the FRU that
changed the symptoms.
Attention: The setup configuration on the computer you are servicing may have
been customized. Running Automatic Configuration may alter the settings. Note
the current configuration settings (using the View Configuration option); then,
when service has been completed, verify that those settings remain in effect.
Strategy for replacing a hard disk drive
Always try to run a low-level format before replacing a hard disk drive. This will
cause all customer data on the hard disk to be lost. Be sure that the customer has a
current backup of the data before doing this task.
Attention: The drive startup sequence in the computer you are servicing may
have been changed. Be extremely careful during write operations such as copying,
saving, or formatting. If you select an incorrect drive, data or programs can be
overwritten.
Before replacing parts:
Make sure that all software fixes, drivers, and BIOS downloads are installed
before replacing any FRUs listed in this manual.
After a system board is replaced, ensure that the latest BIOS is loaded to the
system board before completing the service action.
To download software fixes, drivers, and BIOS, do as follows:
1. Go to http://www.lenovo.com/support
2. Enter the product number of the computer or press Auto-detect button on the
screen.
3. Select Downloads and drivers.
4. Follow the directions on the screen and install the necessary software.
30 ThinkPad Edge 13″and E30 Hardware Maintenance Manual
Important notice for replacing a system board
Some components mounted on a system board are very sensitive. Improper
handling of a system board can cause damage to those components, and may
cause a system malfunction.
Attention: When handling a system board:
vDo not drop a system board or apply any excessive force to it.
vAvoid rough handling of any kind.
vAvoid bending a system board and hard pushing to prevent cracking at each
BGA (Ball Grid Array) chipset.
How to use error message
Use the error codes displayed on the screen to diagnose failures. If more than one
error code is displayed, begin the diagnosis with the first error code. Whatever
causes the first error code may also cause false error codes. If no error code is
displayed, see whether the error symptom is listed in the Symptom-to-FRU Index
for the computer you are servicing.
Important service information 31

Strategy for replacing FRUs for CTO, CMV, and GAV
Product definition
Dynamic Configure To Order (CTO)
This provides the ability for a customer to configure an IBM®or a Lenovo solution
from an eSite, and have this configuration sent to fulfillment, where it is built and
shipped directly to the customer. The machine label, Product Entitlement
Warehouse (PEW), eSupport, and the HMM will load these products as the 4-digit
MT and 3-digit model, where model = “CTO” (Example: 1829-CTO).
Custom Model Variant (CMV)
This is a unique configuration that has been negotiated between IBM or Lenovo
and the customer. A unique 4-digit MT and 3-digit model is provided to the
customer to place orders (Example: 1829-W15). A CMV is a special bid offering.
Therefore, it is NOT generally announced.
vThe MTM portion of the machine label is the 4-digit MT and 3-digit model,
where model = “CTO” (Example: 1829-CTO). The PRODUCT ID portion of the
machine label is the 4-digit MT and 3-digit CMV model (Example: 1829-W15).
vThe PEW record is the 4-digit MT and 3-digit model, where model = “CTO”
(Example: 1829-CTO).
veSupport will show both the CTO and CMV machine type models (Example:
1829-CTO and 1829-W15 will be found on the eSupport site.)
vThe HMM will have the 4-digit MT and 3-digit CTO model only (Example:
1829-CTO). Again, CMVs are custom models and are not found in the HMM.
General Announce Variant (GAV)
This is a standard model (fixed configuration). GAVs are announced and offered to
all customers. The MTM portion of the machine label is a 4-digit MT and 3-digit
model, where model = a “fixed part number”, not “CTO” (Example: 1829-F1U).
Also, PEW, eSupport, and the HMM will list these products under the same fixed
model number.
FRU identification for CTO, CMV, and GAV products
There are three information resources to identify which FRUs are used to support
CTO, CMV, and GAV products. These sources are PEW, eSupport, and the HMM.
Using PEW
vPEW is the primary source for identifying FRU part numbers and FRU
descriptions for the key commodities for CTO, CMV and GAV products at a MT
- serial number level. An example of key commodities are hard disk drives,
system boards, microprocessors, Liquid Crystal Displays (LCDs), and memory.
vRemember, all CTO and CMV products are loaded in PEW under the 4-digit MT
and 3-digit model, where model = “CTO” (Example: 1829-CTO). GAVs are
loaded in PEW under the 4-digit MT and 3-digit model, where model = a “fixed
part number”, not “CTO” (Example: 1829-F1U).
vPEW can be accessed at the following Web site:
http://www.lenovo.com/support/site.wss/document.do?lndocid=LOOK-WARNTY
Select Warranty lookup. Input the MT and the Serial number and the list of key
commodities will be returned in the PEW record under COMPONENT
INFORMATION.
32 ThinkPad Edge 13″and E30 Hardware Maintenance Manual
vBusiness Partners using Eclaim will access PEW when performing Entitlement
Lookup. Business Partners will enter Loc ID, MT and Serial, and the key
commodities will be returned in the Eclaim record under SYSTEM DETAILS.
vAuthorized IBM Business Partners can access Eclaim at the following Web site:
https://wca.eclaim.com
Using eSupport
For Key Commodities (Examples - hard disk drive, system board,
microprocessor, LCD, and memory)
veSupport can be used to view the list of key commodities built in a particular
machine serial (this is the same record found in PEW).
veSupport can be accessed at the following Web site: http://www.lenovo.com/
support
vTo view the key commodities, click on PARTS INFORMATION, then PARTS
LOOKUP. Type in the model type and serial number. The key commodities will
be returned in the eSupport record under PARTS SHIPPED WITH YOUR
SYSTEM.
For the Remaining FRUs (the complete list of FRUs at the MT Model level)
veSupport can be used to view the complete list of FRUs for a machine type and
model.
vTo view the complete list of FRUs, type in the machine type and model
(Example: 1829-CTO) under QUICK PATH. Under “View by Document Type”
select PARTS INFORMATION. Under “Filter by Category” select SERVICE
PARTS. Under “Parts Information by Date” select SYSTEM SERVICE PARTS. The
list of service parts by description, with applicable machine type model and FRU
will be displayed.
Using the HMM
For Key Commodities (Examples - hard disk drive, system board,
microprocessor, LCD, and memory)
Use the HMM as a back-up to PEW and eSupport to view the complete list of
FRUs at the MT Model level.
Important service information 33
34 ThinkPad Edge 13″and E30 Hardware Maintenance Manual

General checkout
This chapter presents following information:
v“What to do first” on page 36
v“Checkout guide” on page 37
– “Diagnostics using PC-Doctor for DOS” on page 37
– “Lenovo ThinkVantage Toolbox (Lenovo System Toolbox)” on page 40
– “PC-Doctor for Rescue and Recovery” on page 40
– “FRU tests” on page 41
v“Power system checkout” on page 43
The descriptions in this chapter apply to any ThinkPad model that supports the
PC-Doctor®for DOS diagnostics program. Some descriptions might not apply to
your particular computer.
Before you go to the checkout guide, be sure to read the following important notes.
Important notes:
vOnly certified trained personnel should service the computer.
vBefore replacing any FRU, read the entire page on removing and replacing
FRUs.
vWhen you replace FRUs, use new nylon-coated screws.
vBe extremely careful during such write operations as copying, saving, or
formatting. Drives in the computer that you are servicing sequence might
have been altered. If you select an incorrect drive, data or programs might be
overwritten.
vReplace a FRU only with another FRU of the correct model. When you
replace a FRU, make sure that the model of the machine and the FRU part
number are correct by referring to the FRU parts list.
vA FRU should not be replaced because of a single, unreproducible failure.
Single failures can occur for a variety of reasons that have nothing to do with
a hardware defect, such as cosmic radiation, electrostatic discharge, or
software errors. Consider replacing a FRU only when a problem recurs. If you
suspect that a FRU is defective, clear the error log and run the test again. If
the error does not recur, do not replace the FRU.
vBe careful not to replace a nondefective FRU.
© Copyright Lenovo 2009 35

What to do first
When you do return a FRU, you must include the following information in the
parts exchange form or parts return form that you attach to it:
__ 1. Name and phone number of service technician
__ 2. Date of service
__ 3. Date on which the machine failed
__ 4. Date of purchase
__ 5. Failure symptoms, error codes appearing on the display, and beep
symptoms
__ 6. Procedure index and page number in which the failing FRU was detected
__ 7. Failing FRU name and part number
__ 8. Machine type, model number, and serial number
__ 9. Customer’s name and address
Note for warranty: During the warranty period, the customer may be responsible
for repair costs if the computer damage was caused by misuse, accident,
modification, unsuitable physical or operating environment, or improper
maintenance by the customer.
Following is a list of some common items that are not covered under warranty and
some symptoms that might indicate that the system was subjected to stress beyond
normal use.
Before checking problems with the computer, determine whether the damage is
covered under the warranty by referring to the following list:
The following are not covered under warranty:
vLCD panel cracked from the application of excessive force or from being
dropped
vScratched (cosmetic) parts
vDistortion, deformation, or discoloration of the cosmetic parts
vPlastic parts, latches, pins, or connectors that have been cracked or broken by
excessive force
vDamage caused by liquid spilled into the system
vDamage caused by the improper insertion of a PC Card or the installation of an
incompatible card
vImproper disc insertion or use of an optical drive
vDiskette drive damage caused by pressure on the diskette drive cover, foreign
material in the drive, or the insertion of a diskette with multiple labels
vDamaged or bent diskette eject button
vFuses blown by attachment of a nonsupported device
vForgotten computer password (making the computer unusable)
vSticky keys caused by spilling a liquid onto the keyboard
vUse of an incorrect AC adapter on laptop products
The following symptoms might indicate damage caused by nonwarranted
activities:
vMissing parts might be a symptom of unauthorized service or modification.
vIf the spindle of a hard disk drive becomes noisy, it may have been subjected to
excessive force, or dropped.
36 ThinkPad Edge 13″and E30 Hardware Maintenance Manual

Checkout guide
Use the following procedures as a guide in identifying and correcting problems
with the ThinkPad Notebook.
Note: The diagnostic tests are intended to test only ThinkPad products. The use of
non-ThinkPad products, prototype cards, or modified options can lead to false
indications of errors and invalid system responses.
1. Identify the failing symptoms in as much detail as possible.
2. Verify the symptoms. Try to re-create the failure by running the diagnostic test
or by repeating the operation.
Diagnostics using PC-Doctor for DOS
The ThinkPad Notebook has a test program called PC-Doctor for DOS (hereafter
called PC-Doctor.) You can detect errors by running the diagnostics test included in
PC-Doctor.
For some possible configurations of the computer, PC-Doctor might not run
correctly. To avoid this problem, you need to initialize the computer setup by use
of the BIOS Setup Utility before you run PC-Doctor.
To enter BIOS Setup Utility, do as follows:
1. Turn on the computer.
2. When the ThinkPad logo comes up, immediately press F1 to enter the BIOS
Setup Utility.
Note: If a supervisor password has been set by the customer, BIOS Setup Utility
menu appears after the password is entered. You can start the utility by pressing
Enter instead of entering the supervisor password; however, you cannot change the
parameters that are protected by the supervisor password.
On the BIOS Setup Utility screen, press F9, Enter, F10, and then Enter.
Note: When you initialize the computer configuration, some devices are disabled,
such as the serial port. If you test one of these devices, you will need to enable it
by using Configuration utility for DOS. The utility is available on the following
Web site: http://www.lenovo.com/support
PC-Doctor cannot be used to test a device that is in the docking station, even if the
computer supports the docking station. To test a USB device, connect it to the USB
connector of the computer.
Note:
PC-Doctor for DOS is available at the following Web site: http://
www.lenovo.com/support
To create the PC-Doctor diagnostic CD, follow the instructions on the Web site.
General checkout 37

Testing the computer
In this product, you need an external optical drive to use the PC-Doctor diagnostic
CD to test the hardware features.
Note: The PC-Doctor diagnostic CD does not support any external optical drives
connected through USB devices or any others.
To run the test, do as follows:
1. Turn off the computer.
2. Attach an external optical drive through the USB connector to the computer.
3. Set the external optical drive as a startup device.
4. Turn off the computer.
5. Turn on the computer.
If the computer cannot be powered on, go to “Power system checkout” on
page 43, and check the power sources.
If an error code appears, go to “Symptom-to-FRU index” on page 53.
6. When the ThinkPad logo comes up, immediately press F12 to enter the Boot
Menu.
7. Insert the PC-Doctor CD into the external optical drive.
8. Press cursor keys to select ATAPI CDx (x: 0, 1, ...) and then press Enter.
9. Follow the instructions on the screen.
10. The main panel of PC-Doctor appears.
11. Select Diagnostics with the arrow keys, and press Enter.
Note: You can select an item not only with the arrow keys, but also with the
TrackPoint®pointer. Instead of pressing Enter, click the left button.
A pull-down menu appears. (Its exact form depends on the model.)
Note: PC-Doctor menu does not mean the formal support device list. Some
unsupported device names may appear in the PC-Doctor menu.
Diagnostics
Run Normal Test
Run Quick Test
CPU/Coprocessor
Systemboard
Video Adapter
Fixed Disks
Diskette Drives
Other Devices
Advanced Memory Tests
Interactive Tests Hardware Info Utility Quit F1=Help
PC-DOCTOR 2.0 Copyright 2008 PC-Doctor, Inc. All Rights Reserved.
Use the cursor keys and ESC to move in menus. Press ENTER to select.
Wireless LAN
38 ThinkPad Edge 13″and E30 Hardware Maintenance Manual

The options on the test menu are as follows:
Diagnostics Interactive Tests
vRun Normal Test
vRun Quick Test
vCPU/Coprocessor
vSystem board
vVideo Adapter
vFixed Disks
vDiskette Drives
vOther Devices
vWireless LAN
vAdvanced Memory Tests
vKeyboard
vVideo
vInternal Speaker
vMouse
vDiskette
vSystem Load
vOptical Drive Test
vIntel WLAN Radio Test
Note:
vIn the Keyboard test in Interactive Tests, the Fn key should be held down for
at least 2 seconds; otherwise, it cannot be sensed.
vVideo Adapter test supports only the LCD display on the ThinkPad Notebook.
If you have an external monitor attached to your computer, detach it before
running PC-Doctor for DOS.
vTo test Digital Signature Chip, the security chip must be set to Active.
12. Run the applicable function test.
13. Follow the instructions on the screen. If there is a problem, PC-Doctor shows
messages describing it.
14. To exit the test, select Quit — Exit Diag.
To cancel the test, press Esc.
Note: After running PC-Doctor, check the time and date on the system and reset
them if they are incorrect.
Detecting system information with PC-Doctor
PC-Doctor can detect the following system information:
Hardware Info
vSystem Configuration
vMemory Contents
vPhysical Disk Drives
vLogical Disk Drives
vVGA Information
vIDE Drive Info
vPCI Information
vPNPISA Info
vSMBIOS Info
vVESA LCD Info
vHardware Events Log
Utility
vRun External Tests
vSurface Scan Hard Disk
vBenchmark System
vDOS Shell
vTech Support Form
vBattery Rundown
vView Test Log
General checkout 39

vPrint Log
vSave Log
vFull Erase Hard Drive
vQuick Erase Hard Drive
Lenovo ThinkVantage Toolbox (Lenovo System Toolbox)
Lenovo ThinkVantage®Toolbox is a diagnostic program that works through the
Windows operating system. It enables you to view symptoms of computer
problems and solutions for them, and includes automatic notification when action
is required, computing assistance, advanced diagnostics, and diagnostic history.
To run this program, do as follows:
Click Start --> Control Panel --> System and Security --> Lenovo’s System Health
and Diagnostics.
Follow the instructions on the screen. Lenovo ThinkVantage Toolbox (Lenovo
System Toolbox) also has problem determination aids that determine software and
usage problems.
For additional information about this program, see the Help for the program.
PC-Doctor for Rescue and Recovery
By using PC-Doctor from the Rescue and Recovery®workspace, you can diagnose
the hardware features of the computer without starting up the operating system.
To run the test, do as follows:
1. Power off the computer, and then power it on again.
2. When the ThinkPad logo comes up, immediately press Enter key. The Rescue
and Recovery workspace opens.
3. Click Launch advanced Rescue and Recovery.
4. Click Diagnose hardware.
For more information about PC-Doctor, see the Help for the program.
Note:
The latest Lenovo ThinkVantage Toolbox is available at the following Web site:
http://www.lenovo.com/support
To install the latest Lenovo ThinkVantage Toolbox on the computer, follow the
instructions on the Web site.
40 ThinkPad Edge 13″and E30 Hardware Maintenance Manual

FRU tests
The following table shows the test for each FRU.
Table 1. FRU tests
FRU Applicable test
System board 1. Diagnostics --> CPU/Coprocessor
2. Diagnostics --> Systemboard
Power Diagnostics --> ThinkPad Devices --> AC Adapter,Battery 1
(Battery2)
LCD unit 1. Diagnostics --> Video Adapter
2. Interactive Tests --> Video
Audio Enter the BIOS Setup Utility and change Serial ATA (SATA) setting
to Compatibility, and run Diagnostics --> Other Device -->
Conexant Audio
Speaker Interactive Tests --> Internal Speaker
Note: Once Audio test is done, the no sound is heard this test. In
this case, turn off and turn on the computer. Then, run this test
again.
Keyboard 1. Diagnostics --> Systemboard --> Keyboard
2. Interactive Tests --> Keyboard
Hard disk drive or
solid state drive
Enter the BIOS Setup Utility and change Serial ATA (SATA) setting
to Compatibility, and run Diagnostics --> Fixed Disks
You can also diagnose the drive without starting up the operating
system. To diagnose the drive from the BIOS Setup Utility, do as
follows:
1. Remove any diskette from the diskette drive, and then turn off
the computer.
2. Turn on the computer.
3. While the message, “To interrupt normal startup, press Enter,”
is displayed at the lower left of the screen, press F1 to enter
the BIOS Setup Utility.
4. Using cursor keys, select HDD diagnostic program. Press
enter.
5. Using cursor keys, select Main hard disk drive.
6. Press Enter to start the diagnostic program.
Diskette drive 1. Diagnostics --> Diskette Drives
2. Interactive Tests --> Diskette
Memory 1. If two DIMMs are installed, remove one of them and run
Diagnostics --> Advanced Memory Tests.
2. If the problem does not recur, return the DIMM to its place,
remove the other one, and run the test again.
TrackPoint or pointing
device
If the TrackPoint does not work, check the configuration as
specified in the BIOS Setup Utility. If the TrackPoint is disabled,
select Automatic to enable it.
After you use the TrackPoint, the pointer may drift on the screen
for a short time. This drift can occur when a slight, steady
pressure is applied to the TrackPoint pointer. This symptom is not
a hardware problem. If the pointer stops after a short time, no
service action is necessary.
If enabling the TrackPoint does not correct the problem, continue
with the following:
vInteractive Tests --> Mouse
General checkout 41

Table 1. FRU tests (continued)
FRU Applicable test
Touch Pad If the Touch Pad does not work, check the configuration as
specified in the BIOS Setup Utility. If the Touch Pad is disabled,
select Automatic to enable it. If enabling the Touch Pad does not
correct the problem, continue with the following:
vInteractive Tests --> Mouse
42 ThinkPad Edge 13″and E30 Hardware Maintenance Manual

Power system checkout
To verify a symptom, do the following:
1. Turn off the computer.
2. Remove the battery pack.
3. Connect the AC adapter.
4. Check that power is supplied when you turn on the computer.
5. Turn off the computer.
6. Disconnect the AC adapter and install the charged battery pack.
7. Check that the battery pack supplies power when you turn on the computer.
If you suspect a power problem, see the appropriate one of the following power
supply checkouts:
v“Checking the AC adapter”
v“Checking operational charging” on page 44
v“Checking the battery pack” on page 44
v“Checking the backup battery” on page 45
Checking the AC adapter
You are here because the computer fails only when the AC adapter is used.
vIf the power problem occurs only when the docking station or the port replicator
is used, replace the docking station or the port replicator.
vIf the power-on indicator does not turn on, check the power cord of the AC
adapter for correct continuity and installation.
vIf the computer does not charge during operation, go to “Checking operational
charging” on page 44.
To check the AC adapter, do the following:
1. Unplug the AC adapter cable from the computer.
2. Measure the output voltage at the plug of the AC adapter cable. See the
following figure:
1
2
3
(20V)
Pin Voltage (V dc)
1 +20
20
3 Ground
Note: Output voltage of pin no.2 of the AC adapter may different from the one
you are servicing.
3. If the voltage is not correct, replace the AC adapter.
4. If the voltage is acceptable, do the following:
vReplace the system board.
vIf the problem persists, go to “FRU tests” on page 41.
Note: Noise from the AC adapter does not always indicate a defect.
General checkout 43

Checking operational charging
To check whether the battery charges properly during operation, use a discharged
battery pack or a battery pack that has less than 50% of the total power remaining
when installed in the computer.
Perform operational charging. If the battery status indicator or icon does not turn
on, remove the battery pack and let it return to room temperature. Reinstall the
battery pack. If the charge indicator or icon still does not turn on, replace the
battery pack.
If the charge indicator still does not turn on, replace the system board. Then
reinstall the battery pack. If it is still not charged, go to the next section.
Checking the battery pack
Battery charging does not start until the Power Manager Battery Gauge shows that
less than 96% of the total power remains; under this condition the battery pack can
charge to 100% of its capacity. This protects the battery pack from being
overcharged or from having a shortened life.
To check your battery, move your cursor to the Power Manager Battery Gauge icon
in the icon tray of the Windows taskbar and wait for a moment (but do not click),
and the percentage of battery power remaining is displayed. To get detailed
information about the battery, double-click the Power Manager Battery Gauge icon.
Note: If the battery pack becomes hot, it may not be able to charge. Remove it
from the computer and leave it at room temperature for a while. After it cools
down, reinstall and recharge it.
To check the battery pack, do the following:
1. Power off the computer.
2. Remove the battery pack and measure the voltage between battery terminals 1
(+) and 7 (-). See the following figure:
Note: ThinkVantage Toolbox through the ″System Health″or through
Diagnostics″features will proactively determine if the replacement of battery
pack is required. A ″POOR″condition indicates battery replacement is required
for proper operation.
1(+)
2(+)
6(-)
34
5
7(-)
Terminal Voltage (V dc)
1 + 0 to + 12.6
7 Ground (-)
3. If the voltage is less than +11.0 V dc, the battery pack has been discharged.
Note: Recharging will take at least 3 hours, even if the indicator does not turn
on.
If the voltage is still less than +11.0 V dc after recharging, replace the battery.
44 ThinkPad Edge 13″and E30 Hardware Maintenance Manual

4. If the voltage is more than +11.0 V dc, measure the resistance between battery
terminals 5 and 7. The resistance must be 4 to 30 K .
If the resistance is not correct, replace the battery pack. If the resistance is
correct, replace the system board.
Checking the backup battery
Do the following:
1. Power off the computer, and unplug the AC adapter from it.
2. Turn the computer upside down.
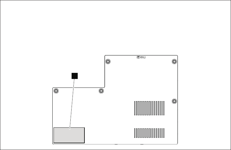
3. Remove the battery pack (see “1010 Battery pack” on page 68).
4. Remove the backup battery (see “1090 Backup battery” on page 86).
5. Measure the voltage of the backup battery. See the following figure.
Red (+)
Black (-)
Wire Voltage (V dc)
Red +2.5 to +3.2
Black Ground
vIf the voltage is correct, replace the system board.
vIf the voltage is not correct, replace the backup battery.
vIf the backup battery discharges quickly after replacement, replace the system
board.
General checkout 45
46 ThinkPad Edge 13″and E30 Hardware Maintenance Manual

Related service information
This chapter presents following information:
v“Restoring the factory contents by using Recovery Disc Set”
v“Passwords” on page 48
v“Power management” on page 52
v“Symptom-to-FRU index” on page 53
Restoring the factory contents by using Recovery Disc Set
When the hard disk drive (HDD) or solid state drive (SSD) is replaced because of a
failure, no product recovery program is on the new drive. In this case, you must
use the Recovery Disc Set for the computer. Order the Recovery Disc Set and the
drive at the same time so that you can recover the new drive with the pre-installed
software when they arrive. For information on which discs to order, see “Recovery
discs” on page 132.
The recovery disc set consists of the user instructions and the following set of
DVDs to restore the computer to the original factory configuration.
Operating System Recovery Disc (one disc)
This disc restores the Microsoft®Windows operating system. Use this disc
to start the recovery process.
Applications and Drivers Recovery Disc (one or more discs)
This disc restores the preinstalled applications and drivers on the
computer.
Supplemental Recovery Disc
This disc contains additional content, such as updates to the software that
was preinstalled on the computer. Not all recovery disc sets come with a
Supplemental Recovery Disc.
Notes:
vYou must have a DVD drive to use the recovery discs. If you do not have an
internal DVD drive, you can use an external USB DVD drive.
vDuring the recovery process, all data on the drive will be deleted. If possible,
copy any important data or personal files that you want to keep onto removable
media or a network drive before you start the recovery process.
To restore the computer to the original factory configuration using the recovery
disc set, do the following:
Service Web site:
When the latest maintenance diskette and the system program service diskette
become available, they will be posted on http://www.lenovo.com/spm
© Copyright Lenovo 2009 47

1. Make the CD/DVD drive the first startup device in the startup sequence
using the following procedure:
a. Press and hold down the F1 key, and then turn on the computer. When the
logo screen is displayed or if you hear repeating beeps, release the F1 key.
The Setup Utility program opens.
b. Use the arrow keys to select Startup →Boot.
c. Select the CD/DVD drive as the 1st Boot Device.
2. Insert the Operating System Recovery Disc into the DVD drive.
3. Press F10 to save the Setup Utility configuration changes. Follow the
instructions on the screen to begin the recovery process.
4. Select your language and click Next.
5. Read the license. If you agree with the terms and conditions, select I accept
these terms and conditions and then click Next. If you do not agree with the
terms and conditions, follow the instructions on the screen.
6. Click Yes in the displayed window to begin the operating system recovery
process.
7. Insert the Applications and Drivers Recovery Disc when prompted and then click
OK to begin the applications and drivers recovery process.
8. If you have a Supplemental Recovery Disc, insert it when prompted and click
Yes. If you do not have a Supplemental Recovery Disc, click No.
9. When all of the data has been copied from the last disc in the set and has
been processed, remove the disc and restart the computer.
Note: The rest of the recovery process is fully automated and no action is
required by you. The computer will restart into the Microsoft Windows
desktop several times and you might experience periods when no activity is
apparent on the screen for several minutes at a time. This is normal.
10. When the recovery process is complete, the Set Up Windows screen is
displayed. Follow the instructions on the screen to complete the Windows
setup.
11. After you have completed the Windows setup, you might want to restore the
original startup sequence. Start the Setup Utility program and then press F9 to
restore the default settings. Press F10 to save and exit the Setup Utility.
Note: After restoring a drive to the factory default settings, you might need to
reinstall some device drivers.
Passwords
As many as three passwords may be needed for any ThinkPad Notebook: the
power-on password (POP), the hard-disk password (HDP), and the supervisor
password (SVP).
If any of these passwords has been set, a prompt for it appears on the screen
whenever the computer is turned on. The computer does not start until the
password is entered.
Note: Recovery takes several hours. The length of time depends on the method
you use. If you use recovery discs, recovery takes at least five hours.
48 ThinkPad Edge 13″and E30 Hardware Maintenance Manual
Exception: If only an SVP is installed, the password prompt does not appear when
the operating system is booted.
Power-on password
A power-on password (POP) protects the system from being powered on by an
unauthorized person. The password must be entered before an operating system
can be booted. For how to remove the POP, see “How to remove the power-on
password.”
Hard-disk password
There are two hard-disk passwords (HDPs):
vUser HDP—for the user
vMaster HDP—for the system administrator, who can use it to get access to the
hard disk even if the user has changed the user HDP
Note: There are two modes for the HDP: User only and Master + User. The
Master + User mode requires two HDPs; the system administrator enters both in
the same operation. The system administrator then provides the user HDP to the
system user.
Attention: If the user HDP has been forgotten, check whether a master HDP has
been set. If it has, it can be used for access to the hard disk drive. If no master
HDP is available, neither Lenovo nor Lenovo authorized service technicians
provide any services to reset either the user or the master HDP, or to recover data
from the hard disk drive. The hard disk drive can be replaced for a scheduled fee.
For how to remove the POP, see “How to remove the hard-disk password” on
page 50.
Supervisor password
A supervisor password (SVP) protects the system information stored in the BIOS
Setup Utility. The user must enter the SVP in order to get access to the BIOS Setup
Utility and change the system configuration.
Attention: If the SVP has been forgotten and cannot be made available to the
service technician, there is no service procedure to reset the password. The system
board must be replaced for a scheduled fee.
How to remove the power-on password
To remove a POP that you have forgotten, do the following:
(A) If no SVP has been set:
1. Turn off the computer.
2. Remove the battery pack.
For how to remove the battery pack, see “1010 Battery pack” on page 68.
3. Remove the backup battery.
For how to remove the backup battery, see “1090 Backup battery” on page 86.
4. Turn on the computer and wait until the POST ends.
Related service information 49
After the POST ends, the password prompt does not appear. The POP has been
removed.
5. Reinstall the backup battery and the battery pack.
(B) If an SVP has been set and is known by the service technician:
1. Turn on the computer.
2. When the ThinkPad logo comes up, immediately press F1 to enter BIOS Setup
Utility.
For models supporting the Passphrase function, press F1 while the POP icon is
appearing on the screen; then enter the POP. For the other models, enter the
POP.
Note: To check whether the ThinkPad Notebook you are servicing supports the
Passphrase function, enter the BIOS Setup Utility and go to Security -->
Password.IftheUsing Passphrase item is displayed in the menu, this function
is available on the ThinkPad Notebook.
3. Select Security, using the cursor directional keys to move down the menu.
4. Select Password.
5. Select Power-On Password.
6. Type the current SVP in the Enter Current Password field. then leave the Enter
New Password field blank, and press Enter twice.
7. In the Changes have been saved window, press Enter.
8. Press F10; then, in the Setup confirmation window, select Yes.
How to remove the hard-disk password
Attention: If User only mode is selected and the user HDP has been forgotten
and cannot be made available to the service technician, neither Lenovo nor Lenovo
authorized service technicians provide any services to reset the user HDPs or to
recover data from the hard disk drive. The hard disk drive can be replaced for a
scheduled fee.
To remove a user HDP that has been forgotten, when the SVP and the master HDP
are known, do the following:
1. Turn on the computer.
2. When the ThinkPad logo comes up, immediately press F1 to enter BIOS Setup
Utility.
For models supporting the Passphrase function, press F1 while HDP icon is
appearing on the screen; then enter the master HDP. For the other models,
enter the master HDP.
Note: To check whether the ThinkPad Notebook you are servicing supports the
Passphrase function, enter the BIOS Setup Utility and go to Security -->
Password.IfUsing Passphrase item is displayed in the menu, this function is
available on the ThinkPad Notebook.
3. Select Security, using the cursor directional keys to move down the menu.
4. Select Password.
5. Select Hard-disk xpassword, where xis the letter of the hard disk drive. A
pop-up window opens.
6. Select Master HDP.
50 ThinkPad Edge 13″and E30 Hardware Maintenance Manual
7. Type the current master HDP in the Enter Current Password field. then leave
the Enter New Password field blank, and press Enter twice.
8. Press F10.
9. Select Yes in the Setup Configuration window.
Both user HDP and master HDP will have been removed.
Related service information 51

Power management
To reduce power consumption, the computer has three power management modes:
screen blank, sleep, and hibernation.
Screen blank mode
To put the computer into screen blank mode, do as follows:
1. Right-click the Power Manager Battery Gauge in the task bar.
2. Select Power off display.
Sleep mode
When the computer enters sleep mode, the following events occur in addition to
what occurs in screen blank mode:
vThe LCD is powered off.
vThe hard disk drive is powered off.
vThe CPU stops.
To enter sleep mode, do as follows:
1. Click Start.
2. Click the triangle mark on the right side of the Shut down icon; then select
Sleep.
To return from sleep mode, press the Fn key.
Hibernation mode
By using this mode, you can turn off your computer completely without saving
files or exiting from any applications that are running. When you enter
hibernation, all open applications, folders, and files are saved to the hard disk, and
then the computer turns off.
To enter hibernation mode, do as follows:
1. Click Start.
2. Click the triangle mark on the right side of the Shut down icon; then select
Hibernate.
To return from hibernation mode, press the power button for more than 4 seconds.
52 ThinkPad Edge 13″and E30 Hardware Maintenance Manual

Symptom-to-FRU index
This section contains following information:
v“Numeric error codes”
v“Error messages” on page 56
v“No-beep symptoms” on page 56
v“LCD-related symptoms” on page 57
v“Intermittent problems” on page 58
v“Undetermined problems” on page 58
The symptom-to-FRU index in this section lists symptoms and errors and their
possible causes. The most likely cause is listed first, in boldface type.
Note: Do the FRU replacement or other actions in the sequence shown in the
column headed “FRU or action, in sequence.” If replacing a FRU does not solve
the problem, put the original part back in the computer. Do not replace a
nondefective FRU.
This index can also help you determine, during regular servicing, what FRUs are
likely to need to be replaced next.
A numeric error is displayed for each error detected in POST or system operation.
In the displays, ncan be any number.
If no numeric code is displayed, check the narrative descriptions of symptoms. If
the symptom is not described there, go to “Intermittent problems” on page 58.
Numeric error codes
Table 2. Numeric error codes
Symptom or error (beeps, if any) FRU or action, in sequence
0187
EAIA data access error—The access to
EEPROM is failed.
(two short beeps)
System board.
0189
Invalid RFID configuration information
area—The EEPROM checksum is not correct.
(two short beeps)
System board.
0190
Critical low-battery error
(two short beeps)
1. Charge the battery pack.
2. Battery pack.
0191
System Security—Invalid Remote Change
requested.
1. Run BIOS Setup Utility, and then save
current setting by pressing F10.
2. System board.
0210
Stuck Key
(two short beeps)
Change keyboard, and restart the computer.
Note:
For a device not supported by diagnostic codes in the ThinkPad Notebooks, see
the manual for that device.
Related service information 53

Table 2. Numeric error codes (continued)
Symptom or error (beeps, if any) FRU or action, in sequence
0211
Keyboard error
(two short beeps)
Run interactive tests of the keyboard and
the auxiliary input device.
0230
Shadow RAM error—Shadow RAM fails at
offset nnnn.
(two short beeps)
System board.
0231
System RAM error—System RAM fails at
offset nnnn.
(two short beeps)
1. DIMM.
2. System board.
0232
Extended RAM error— Extended RAM fails
at offset nnnn.
(two short beeps)
1. DIMM.
2. System board.
0250
System battery error—System battery is
dead.
(two short beeps)
1. Charge the backup battery for more
than 8 hours by connecting the ac
adapter.
2. Replace the backup battery and run BIOS
Setup Utility to reset the time and date.
0251
System CMOS checksum bad— Default
configuration used.
(two short beeps)
1. Charge the backup battery for more
than 8 hours by connecting the ac
adapter.
2. Replace the backup battery and run BIOS
Setup Utility to reset the time and date.
0254
System NV7 Volume checksum bad- Default
configuration used
(two short beeps)
Turn off the computer and discharge
CMOS. Then restart the computer.
0260
System timer error.
(two short beeps)
1. Charge the backup battery for more
than 8 hours by connecting the ac
adapter.
2. Replace the backup battery and run BIOS
Setup Utility to reset the time and date.
3. System board.
0270
Real-time clock error.
(two short beeps)
1. Charge the backup battery for more
than 8 hours by connecting the ac
adapter.
2. Replace the backup battery and run BIOS
Setup Utility to reset the time and date.
3. System board.
0271
Date and time error—Neither the date nor
the time is set in the computer.
(two short beeps)
Run BIOS Setup Utility to reset the time
and date.
0280
Previous boot incomplete— Default
configuration used.
(two short beeps)
1. Load “Setup Default” in BIOS Setup
Utility.
2. DIMM.
3. System board.
02D0
System cache error.
(two short beeps)
1. CPU.
2. System board.
54 ThinkPad Edge 13″and E30 Hardware Maintenance Manual

Table 2. Numeric error codes (continued)
Symptom or error (beeps, if any) FRU or action, in sequence
02F0
CPU ID:xx Failed.
1. CPU.
2. System board.
02F5
DMA test failed.
(two short beeps)
1. DIMM.
2. System board.
02F6
Software NMI failed
(two short beeps)
1. DIMM.
2. System board.
02F7
Fail-safe timer NMI failed
(two short beeps)
1. DIMM.
2. System board.
1802
Unauthorized network card is plugged
in—Turn off and remove the miniPCI
network card.
(two short beeps)
1. Remove the Mini PCI network card.
2. System board.
1804
Unauthorized WAN card is plugged
in—Power off and remove the WAN card.
1. Remove the wireless WAN card.
2. System board.
Related service information 55

Error messages
Table 3. Error messages
Symptom or error (beeps, if any) FRU or action, in sequence
Bad CRC2. Enter BIOS Setup Utility, and
load Setup defaults.
(two short beeps)
Press F1 to enter BIOS Setup Utility. Press
F9, and Enter to load the default setting.
Then save the current setting by pressing
F10, and restart the computer.
Fan error.
(four short beeps, one long beep)
1. Fan.
2. Thermal grease.
3. System board.
DRAM is unplugged.
(one short beep, pause, three short beeps,
pause, three short beeps, pause, one short
beep.)
Memory card is not installed. Install
memory card.
DRAM is not well plugged.
(one short beep, pause, three short beeps,
pause, three short beeps, pause, one short
beep.)
Reinstall the memory card.
Operating system not found. 1. Check that the operating system has no
failure and is installed correctly.
2. Enter BIOS Setup Utility and see whether
the hard disk drive is properly identified.
If you still see the same error message,
check the boot sequence.
3. Reinstall the hard disk drive.
4. Reinstall the operating system.
System Configuration Data Read Error
(two short beeps)
Press F1 to enter BIOS Setup Utility. Press
F9, and Enter to load the default setting.
Then save the current setting by pressing
F10, and restart the computer.
No-beep symptoms
Table 4. No-beep symptoms
Symptom or error FRU or action, in sequence
No beep, power-on indicator on, LCD blank,
and no POST.
1. Make sure that every connector is
connected tightly and correctly.
2. DIMM.
3. System board.
No beep, power-on indicator on, and LCD
blank during POST. 1. Reseat DIMM.
2. System board.
The power-on password prompt appears. A power-on password or a supervisor
password is set. Type the password and
press Enter.
The hard-disk password prompt appears. A hard-disk password is set. Type the
password and press Enter.
56 ThinkPad Edge 13″and E30 Hardware Maintenance Manual

LCD-related symptoms
Table 5. LCD-related symptoms
Symptom or error FRU or action, in sequence
No beep, power-on indicator on, and a
blank LCD during POST.
System board.
vLCD backlight not working.
vLCD too dark.
vLCD brightness cannot be adjusted.
vLCD contrast cannot be adjusted.
1. Reseat the LCD connectors.
2. LCD assembly.
3. System board.
vLCD screen unreadable.
vCharacters missing pixels.
vScreen abnormal.
vWrong color displayed.
1. See important note for “LCD-related
symptoms.”
2. Reseat all LCD connectors.
3. LCD assembly.
4. System board.
Horizontal or vertical lines displayed on
LCD.
LCD assembly.
Important: The TFT LCD for the notebook computer contains many thin-film
transistors (TFTs). The presence of a small number of dots that are missing,
discolored, or always lighted is characteristic of TFT LCD technology, but
excessive pixel problems can cause viewing concerns.
If the LCD you are servicing has two or less visible defective pixels, it should not
be considered faulty. However, if the LCD has three or more visible defective
pixels, it will be deemed as defective by Lenovo and it should be replaced.
Notes:
vThis policy applies to all ThinkPad Notebooks purchased on 1 January,
2008 or later.
vLenovo will not provide replacement if the LCD is within specification as
we cannot guarantee that any replacement LCD will have zero pixel defects.
vOne pixel consists of R, G, B sub-pixels.
Related service information 57
Intermittent problems
Intermittent system hang problems can be due to a variety of causes that have
nothing to do with a hardware defect, such as cosmic radiation, electrostatic
discharge, or software errors. FRU replacement should be considered only when a
problem recurs.
When analyzing an intermittent problem, do the following:
1. Run the diagnostic test for the system board in loop mode at least 10 times.
2. If no error is detected, do not replace any FRUs.
3. If any error is detected, replace the FRU shown by the FRU code. Rerun the
test to verify that no more errors exist.
Undetermined problems
If the diagnostic tests did not identify the adapter or device that has failed, if
wrong devices are installed, or if the system simply is not operating, follow these
procedures to isolate the failing FRU (do not isolate FRUs that have no defects).
Verify that all attached devices are supported by the computer.
Verify that the power supply being used at the time of the failure is operating
correctly. (See “Power system checkout” on page 43.)
1. Turn off the computer.
2. Visually check each FRU for damage. Replace any damaged FRU.
3. Remove or disconnect all of the following devices:
a. Non-ThinkPad devices
b. Devices attached to the docking station or the port replicator
c. Printer, mouse, and other external devices
d. Battery pack
e. Hard disk drive
f. External diskette drive or optical drive
g. DIMM
h. Optical disk or diskette in the internal drive
i. PC Cards
4. Turn on the computer.
5. Determine whether the problem has been solved.
6. If the problem does not recur, reconnect the removed devices one at a time
until you find the failing FRU.
7. If the problem remains, replace the following FRUs one at a time (do not
replace a nondefective FRU):
a. System board
b. LCD assembly
58 ThinkPad Edge 13″and E30 Hardware Maintenance Manual

Status indicators
This chapter presents the system status indicators that show the status of the
computer.
1
2
3
4
Table 6. Status indicators
Indicator Meaning
1 On-screen
indicators
Caps lock:
Caps Lock mode is enabled. You can enter all alphabetic
characters (A-Z) in uppercase without pressing the Shift
key.
Wireless status:
Press F9 to enable or disable the wireless features. You
can quickly change the power state of each feature in
the list.
2 Power status Green: The AC adapter is connected. If a battery is installed on
the computer, it is charged when this indicator is on.
Off: The AC adapter is not connected.
© Copyright Lenovo 2009 59

Table 6. Status indicators (continued)
Indicator Meaning
3 Sleep (standby)
status
The illumination dot in the ThinkPad logo on the outer lid of the
computer and on the palm rest works as a system-status
indicator: it shows whether the computer is in sleep (standby),
hibernation, or normal model.
Red: The computer is on (in normal mode).
Fast blinking red:
The computer is entering sleep (standby) or hibernation
mode.
Slow blinking red:
The computer is in sleep (standby) mode.
Off: The computer is off or in hibernation mode.
4 Sleep (standby)
status
60 ThinkPad Edge 13″and E30 Hardware Maintenance Manual

Special keys
This computer has several special keys at the upper row of the keyboard. To use
each function, directly press the desired key.
Note: To use F1 - F12 functions, press Fn and the desired function key
simultaneously; this is the default setting.
The following table shows the function of each special key.
Table 7. Fn key combinations
Special key Description
Speaker mute
(F1)
If you mute the sound and then turn off the computer, the sound will
remain muted when you turn on the computer again. To turn on the
sound, press the Speaker volume up or Speaker volume down keys.
Speaker volume
down (F2)
Speaker volume
up (F3)
Microphone mute
(F4)
When you press the microphone mute key, all of the recording devices
are set on mute or unmute; this is the default setting.
Camera mute (F5) During a video conference, you can control the video streaming from
the integrated camera by pressing this key. The video output will be
grayed out, and the audio streaming will continue.
Switching a
display output
location (F6)
For Windows 7:
Switch between the computer display and an external monitor.
Windows will show these display options:
vComputer display only (LCD)
vComputer display and external monitor (same image)
vComputer display and external monitor (extended desktop function)
vExternal monitor only
Note: To switch between the computer display and an external
monitor, the Win+P key combination is also available.
Display
brightness down
(F7)
The computer display becomes dimmer.
The purpose of this method is to change the brightness level
temporarily. To change the default brightness level, change the settings
of the Power Option in the Control Panel or use the Power Manager.
Display
brightness up
(F8)
The computer display becomes brighter.
The purpose of this method is to change the brightness level
temporarily. To change the default brightness level, change the settings
of the Power Option in the Control Panel or use the Power Manager.
© Copyright Lenovo 2009 61

Table 7. Fn key combinations (continued)
Special key Description
Wireless radio
control (F9)
Enable or disable the built-in wireless networking features. If you press
this key, a list of wireless features is displayed. You can quickly change
the power state of each feature in the list.
Note: To use this function, following device drivers must be installed
on the computer beforehand:
vPower Management driver
vOnScreen Display Utility
vWireless device drivers
Previous
track/scene (F10)
For Multimedia control.
Play/pause (F11)
Next track/scene
(F12)
62 ThinkPad Edge 13″and E30 Hardware Maintenance Manual

FRU replacement notices
This chapter presents notices related to removing and replacing parts. Read this
chapter carefully before replacing any FRU.
Screw notices
Loose screws can cause a reliability problem. In the ThinkPad Notebook, this
problem is addressed with special nylon-coated screws that have the following
characteristics:
vThey maintain tight connections.
vThey do not easily come loose, even with shock or vibration.
vThey are harder to tighten.
vEach one should be used only once.
Do the following when you service this machine:
vKeep the screw kit (for the P/N, see “Miscellaneous parts” on page 130) in your
tool bag.
vAlways use new screws.
vUse a torque screwdriver if you have one.
Tighten screws as follows:
vPlastic to plastic
Turn an additional 90 degrees after the screw head touches the surface of the
plastic part:
90 degrees more
(Cross-section)
vLogic card to plastic
Turn an additional 180 degrees after the screw head touches the surface of the
logic card:
180 degrees more
(Cross-section)
vTorque driver
If you have a torque driver, refer to the “Torque” column for each step.
vMake sure that you use the correct screw. If you have a torque screwdriver,
tighten all screws firmly to the torque shown in the table. Never use a screw
that you removed. Use a new one. Make sure that all of the screws are
tightened firmly.
vEnsure torque screw drivers are calibrated correctly following country
specifications.
© Copyright Lenovo 2009 63

Retaining serial numbers
This section includes the following descriptions:
v“Restoring the serial number of the system unit”
v“Retaining the UUID”
v“Reading or writing the ECA information” on page 65
Restoring the serial number of the system unit
When the computer was manufactured, the EEPROM on the system board was
loaded with the serial numbers of the system and all major components. These
numbers need to remain the same throughout the life of the computer.
If you replace the system board, you must restore the serial number of the system
unit to its original value.
Before replacing the system board, save the original serial number by doing the
following:
1. Install the LENOVO ThinkPad Hardware Maintenance Diskette Version 1.76 or
later, and restart the computer.
2. From the main menu, select 1. Set System Identification.
3. Select 2. Read S/N data from EEPROM.
The serial number of each device in your computer is displayed; the serial number
of the system unit is listed as follows:
v20: Serial number
Write down that number.
Note: The serial number of the system unit is also written on the label attached to
the bottom of the computer.
After you have replaced the system board, restore the serial number by doing the
following:
1. Install the LENOVO ThinkPad Hardware Maintenance Diskette Version 1.76 or
later and restart the computer.
2. From the main menu, select 1. Set System Identification.
3. Select 1. Add S/N data from EEPROM.
Follow the instructions on the screen.
If the MTM and Product ID numbers differ from each other on the rear label, use
what is shown for the Product ID field. See example below:
MTM on rear label:
TTTT-CTO S/N SSSSSSS
Product ID on rear label:
TTTT-MMM (Use this number when setting Serial Number)
In the example, the Serial Number to be input is ’1STTTTMMMSSSSSSS’.
Retaining the UUID
The Universally Unique Identifier (UUID) is a 128-bit number uniquely assigned to
your computer at production and stored in the EEPROM of your system board.
64 ThinkPad Edge 13″and E30 Hardware Maintenance Manual
The algorithm that generates the number is designed to provide unique IDs until
the year A.D. 3400. No two computers in the world have the same number.
When you replace the system board, you must set the UUID on the new system
board as follows:
1. Install the LENOVO ThinkPad Hardware Maintenance Diskette Version 1.76 or
later, and restart the computer.
2. From the main menu, select 4. Assign UUID.
A new UUID is created and written. If a valid UUID already exists, it is not
overwritten.
Reading or writing the ECA information
Information on Engineering Change Announcements (ECA) are stored in the
EEPROM of the system board. The electronic storage of this information simplifies
the procedure to check if the ECA has been previously applied to a machine. The
machine does not need to be disassembled to check for the ECA application.
To check what ECAs have been previously applied to the machine, use the ECA
Information Read/Write function on the LENOVO ThinkPad Hardware
Maintenance Diskette Version 1.76 or later.
1. Insert the LENOVO ThinkPad Hardware Maintenance Diskette Version 1.76 or
later, and restart the computer.
2. From the main menu, select 6. Set ECA Information.
3. To read ECA information, select 2. Read ECA/rework number from EEPROM
and follow the instruction.
4. To read box build date, select 5. Read box build date from EEPROM, and
follow the instruction on the screen.
After an ECA has been applied to the machine, the EEPROM must be updated to
reflect the ECA’s application. Use the LENOVO ThinkPad Hardware Maintenance
Diskette Version 1.76 or later to update the EEPROM.
Note: Only the ECA number is stored in the EEPROM. The machine type of the
ECA is assumed be the same as the machine type of the machine that had the ECA
applied to it.
1. Insert the LENOVO ThinkPad Hardware Maintenance Diskette Version 1.76 or
later, and restart the computer.
2. From the main menu, select 6. Set ECA Information.
3. To write ECA information, select 1. Write ECA/rework number from EEPROM,
and follow the instruction.
4. To write box build date, select 4. Write box build date from EEPROM, and
follow the instruction on the screen.
If the system board is being replaced, try to read the ECA information from the old
system board and transfer the information to the new system. If the system board
is inoperable, this will not be possible.
FRU replacement notices 65
66 ThinkPad Edge 13″and E30 Hardware Maintenance Manual

Removing and replacing a FRU
This chapter presents directions and drawings for use in removing and replacing a
FRU. Be sure to observe the following general rules:
1. Do not try to service any computer unless you have been trained and certified.
An untrained person runs the risk of damaging parts.
2. Before replacing any FRU, review “FRU replacement notices” on page 63.
3. Begin by removing any FRUs that have to be removed before the failing FRU.
Any such FRUs are listed at the top of the page. Remove them in the order in
which they are listed.
4. Follow the correct sequence in the steps for removing the FRU, as given in the
drawings by the numbers in square callouts.
5. When turning a screw to replace a FRU, turn it in the direction as given by the
arrow in the drawing.
6. When removing the FRU, move it in the direction as given by the arrow in the
drawing.
7. To put the new FRU in place, reverse the removal procedure and follow any
notes that pertain to replacement. For information about connecting and
arranging internal cables, see “Locations” on page 115.
8. When replacing a FRU, use the correct screw as shown in the procedures.
DANGER
Before removing any FRU, turn off the computer, unplug all power cords
from electrical outlets, remove the battery pack, and then disconnect any
interconnecting cables.
Attention: After replacing a FRU, do not turn on the computer until you have
made sure that all screws, springs, and other small parts are in place and none are
loose inside the computer. Verify this by shaking the computer gently and listening
for rattling sounds. Metallic parts or metal flakes can cause electrical short circuits.
Attention: The system board is sensitive to, and can be damaged by, electrostatic
discharge. Before touching it, establish personal grounding by touching a ground
point with one hand or by using an electrostatic discharge (ESD) strap (P/N
6405959).
© Copyright Lenovo 2009 67

1010 Battery pack
Table 8. Removal steps of battery pack
DANGER
Use only the battery specified in the parts list for your computer. Any other
battery could ignite or explode.
Important notice for replacing a battery pack:
ThinkVantage Toolbox has an automatic battery diagnostic that determines if the
battery pack is defective. A battery pack FRU should not be replaced unless this
diagnostic shows that the battery is defective.
The only exception to this is if the battery pack is physically damaged or a
customer is reporting a possible safety issue.
If ThinkVantage Toolbox is not installed in the computer, the customer should
download this program before a non-physically damaged battery pack is
replaced. Note that a physically damaged battery pack is non-warranty
replacement.
68 ThinkPad Edge 13″and E30 Hardware Maintenance Manual

Table 8. Removal steps of battery pack (continued)
Unlock the battery latch 1. Holding the battery latch in the unlocked position
2, remove the battery pack in the direction shown by arrow 3.
3
2
1
When installing: Install the battery pack in the slot, and then make sure that
the battery latch is in the locked position.
Removing and replacing a FRU 69

1020 Bottom slot cover
For access, remove this FRU:
v“1010 Battery pack” on page 68
Table 9. Removal steps of bottom slot cover
Note: Loosen the screws 1, but do not remove them.
2
1
1
1
1
1
When installing: Make sure that all the projections of the cover are attached
firmly to the frame. Then secure the screws.
70 ThinkPad Edge 13″and E30 Hardware Maintenance Manual

Note: Applying label to the bottom slot cover
When you replace the cover, following label needs to be peeled off from the old
cover, and needs to be put on the new cover:
1 Asset tag label
For the label location, refer the following figure:
1
Removing and replacing a FRU 71

1030 DIMM
For access, remove these FRUs in order:
v“1010 Battery pack” on page 68
v“1020 Bottom slot cover” on page 70
Table 10. Removal steps of DIMM
1
a b
1
2
Note: If only one DIMM is used on the computer you are servicing, the card
must be installed in SLOT-0 (a), but not in SLOT-1 (b).
When installing: Insert the notched end of the DIMM into the socket. Press the
DIMM firmly, and pivot it until it snaps into the place. Make sure that it is
firmly fixed in the slot and does not move easily.
72 ThinkPad Edge 13″and E30 Hardware Maintenance Manual

1040 Hard disk drive (HDD)
For access, remove these FRUs in order:
v“1010 Battery pack” on page 68
v“1020 Bottom slot cover” on page 70
Table 11. Removal steps of HDD
1
Step Screw (quantity) Color Torque
1 M2 ×3 mm, wafer-head, nylon-coated (1) Black 0.181 Nm
(1.85 kgfcm)
Attention:
vDo not drop the drive or apply any physical shock to it. The drive is
sensitive to physical shock. Improper handling can cause damage and
permanent loss of data.
vBefore removing the drive, have the user make a backup copy of all the
information on it if possible.
vNever remove the drive while the system is operating or is in suspend mode.
Removing and replacing a FRU 73

Table 11. Removal steps of HDD (continued)
2
3
When installing: Make sure that the HDD connector is attached firmly.
74 ThinkPad Edge 13″and E30 Hardware Maintenance Manual

1050 PCI Express Mini Card for wireless LAN
For access, remove these FRUs in order:
v“1010 Battery pack” on page 68
v“1020 Bottom slot cover” on page 70
Table 12. Removal steps of PCI Express Mini Card for wireless LAN
In step 1, unplug the jacks by using the removal tool antenna RF connector
(P/N: 08K7159) or pick the connectors with your fingers and gently unplug
them in direction of the arrow.
1
2
2
Step Screw (quantity) Color Torque
2 M2 ×3 mm, wafer-head, nylon-coated (2) Black 0.181 Nm
(1.85 kgfcm)
Removing and replacing a FRU 75

Table 12. Removal steps of PCI Express Mini Card for wireless LAN (continued)
3
When installing: Plug the gray cable into the jack marked MAIN or M, and the
black cable into the jack marked AUX or Aon the card.
76 ThinkPad Edge 13″and E30 Hardware Maintenance Manual

1060 PCI Express Mini Card for wireless WAN
For access, remove these FRUs in order:
v“1010 Battery pack” on page 68
v“1020 Bottom slot cover” on page 70
Table 13. Removal steps of PCI Express Mini Card for wireless WAN
In step 1, unplug the jacks by using the removal tool antenna RF connector
(P/N: 08K7159) or pick the connectors with your fingers and gently unplug
them in direction of the arrow.
1
2
2
Step Screw (quantity) Color Torque
2 M2 ×3 mm, wafer-head, nylon-coated (2) Black 0.181 Nm
(1.85 kgfcm)
Removing and replacing a FRU 77

Table 13. Removal steps of PCI Express Mini Card for wireless WAN (continued)
3
Note: Plug the red cable into the jack marked MAIN, and the blue cable into
the jack marked AUX on the card.
78 ThinkPad Edge 13″and E30 Hardware Maintenance Manual

1070 Keyboard
For access, remove these FRUs in order:
v“1010 Battery pack” on page 68
v“1020 Bottom slot cover” on page 70
Table 14. Removal steps of keyboard
1
1
Step Screw (quantity) Color Torque
1 M2 ×5 mm, wafer-head, nylon-coated (2) Black 0.181 Nm
(1.85 kgfcm)
In step 2, by using a plastic pry tool, push the keyboard out from two square
holes in the battery pack slot as shown in this figure.
2
Removing and replacing a FRU 79

Table 14. Removal steps of keyboard (continued)
3
4
7
6
5
7
8
80 ThinkPad Edge 13″and E30 Hardware Maintenance Manual

Table 15. Installation steps of keyboard
When installing the keyboard, do as follows:
1. Attach the keyboard connectors.
2. Attach the keyboard so that the keyboard front edges are under the frame as
shown in this figure.
3. Secure the keyboard by tightening the screws from the bottom side of the
computer.
Removing and replacing a FRU 81

1080 Top case assembly and microphone module
For access, remove these FRUs in order:
v“1010 Battery pack” on page 68
v“1020 Bottom slot cover” on page 70
v“1040 Hard disk drive (HDD)” on page 73
v“1070 Keyboard” on page 79
Note: Microphone module is attached on the underside of the top case assembly.
Table 16. Removal steps of top case assembly and microphone module
1
1
1
1
1
1
1
11
1
Step Screw (quantity) Color Torque
1 M2 ×5 mm, wafer-head, nylon-coated (10) Black 0.181 Nm
(1.85 kgfcm)
82 ThinkPad Edge 13″and E30 Hardware Maintenance Manual

Table 16. Removal steps of top case assembly and microphone module (continued)
2
2
2
2
2
2
Step Screw (quantity) Color Torque
2 M2 ×3 mm, wafer-head, nylon-coated (6) Black 0.181 Nm
(1.85 kgfcm)
3
3
3
Step Screw (quantity) Color Torque
3 M2 ×3 mm, wafer-head, nylon-coated (3) Black 0.181 Nm
(1.85 kgfcm)
Removing and replacing a FRU 83

Table 16. Removal steps of top case assembly and microphone module (continued)
4
5
6
7
8
When installing: Make sure that the connectors are attached firmly.
84 ThinkPad Edge 13″and E30 Hardware Maintenance Manual

Table 16. Removal steps of top case assembly and microphone module (continued)
In step 5, push the top case assembly out from the frame by using a plastic
pry tool as shown in this figure.
9
9
9
9
9
9
9
9
9
9
10
11
12 12
14
13
Removing and replacing a FRU 85

1090 Backup battery
For access, remove these FRUs in order:
v“1010 Battery pack” on page 68
v“1020 Bottom slot cover” on page 70
v“1070 Keyboard” on page 79
v“1080 Top case assembly and microphone module” on page 82
Table 17. Removal steps of backup battery
DANGER
Use only the battery specified in the parts list for your computer. Any other
battery could ignite or explode.
1
2
When installing: Make sure that the connector is attached firmly.
86 ThinkPad Edge 13″and E30 Hardware Maintenance Manual

1100 Bluetooth daughter card (BDC-2)
v“1010 Battery pack” on page 68
v“1020 Bottom slot cover” on page 70
v“1070 Keyboard” on page 79
v“1080 Top case assembly and microphone module” on page 82
Table 18. Removal steps of BDC-2
1
2
Step Screw (quantity) Color Torque
1 M2 ×3 mm, wafer-head, nylon-coated (1) Black 0.181 Nm
(1.85 kgfcm)
When installing: Make sure that the connector is attached firmly.
Removing and replacing a FRU 87

1110 Speaker assembly
For access, remove these FRUs in order:
v“1010 Battery pack” on page 68
v“1020 Bottom slot cover” on page 70
v“1070 Keyboard” on page 79
v“1080 Top case assembly and microphone module” on page 82
Table 19. Removal steps of speaker assembly
1
1
1
1
Step Screw (quantity) Color Torque
2 M2 ×3 mm, wafer-head, nylon-coated (4) Black 0.181 Nm
(1.85 kgfcm)
88 ThinkPad Edge 13″and E30 Hardware Maintenance Manual

Table 19. Removal steps of speaker assembly (continued)
2
3
3
Cable routing: Make sure that the connector is attached firmly and you route
the cable as shown in this figure.
Removing and replacing a FRU 89

1120 System board and fan assembly
Important notices for handling the system board:
When handling the system board, bear the following in mind.
vThe system board has an accelerometer, which can be broken by applying
several thousands of G-forces.
Note: Dropping a system board from a height of as little as 6 inches so that it
falls flat on a hard bench can subject the accelerometer to as much as 6,000 G’s
of shock.
vBe careful not to drop the system board on a bench top that has a hard
surface, such as metal, wood, or composite.
vIf a system board is dropped, you must test it, using PC-Doctor for DOS, to
make sure that the HDD Active Protection still functions (see below).
Note: If the test shows that HDD Active Protection is not functioning, be sure
to document the drop in any reject report, and replace the system board.
vAvoid rough handling of any kind.
vAt every point in the process, be sure not to drop or stack the system board.
vIf you put a system board down, be sure to put it only on a padded surface
such as an ESD mat or conductive corrugated material.
After replacing the system board, run PC-Doctor for DOS to make sure that
HDD Active Protection still functions. The procedure is as follows:
1. Place the computer on a horizontal surface.
2. Run Diagnostics --> ThinkPad Devices --> HDD Active Protection Test.
Attention: Do not apply physical shock to the computer while the test is
running.
For access, remove these FRUs in order:
v“1010 Battery pack” on page 68
v“1020 Bottom slot cover” on page 70
v“1030 DIMM” on page 72
v“1040 Hard disk drive (HDD)” on page 73
v“1050 PCI Express Mini Card for wireless LAN” on page 75
v“1060 PCI Express Mini Card for wireless WAN” on page 77
v“1070 Keyboard” on page 79
v“1080 Top case assembly and microphone module” on page 82
v“1090 Backup battery” on page 86
v“1100 Bluetooth daughter card (BDC-2)” on page 87
v“1110 Speaker assembly” on page 88
90 ThinkPad Edge 13″and E30 Hardware Maintenance Manual

Table 20. Removal steps of system board and fan assembly
Following components soldered on the top side of the system board are
extremely sensitive. When you service the system board, avoid any kind of
rough handling.
For CULV (Customer Ultra-Low Voltage) models:
a Accelerometer chip for the HDD Active Protection System™
b CPU
c GMCH (Graphics Memory Controller Hub)
d ICH (I/O Controller Hub)
a
b
c
d
Removing and replacing a FRU 91

Table 20. Removal steps of system board and fan assembly (continued)
For AMD models:
a CPU
b North Bridge
c South Bridge
d Accelerometer chip for the HDD Active Protection System
a
b
dc
92 ThinkPad Edge 13″and E30 Hardware Maintenance Manual

Table 20. Removal steps of system board and fan assembly (continued)
1
1
1
2
2
Step Screw (quantity) Color Torque
1 M2 ×3 mm, wafer-head, nylon-coated (3) Black 0.181 Nm
(1.85 kgfcm)
Note: Loosen the screws 2, but do not remove them.
Removing and replacing a FRU 93

Table 20. Removal steps of system board and fan assembly (continued)
3
4
When installing: Make sure that the connectors are attached firmly.
94 ThinkPad Edge 13″and E30 Hardware Maintenance Manual

Table 20. Removal steps of system board and fan assembly (continued)
a
8
5
6
7
When installing: Attach the system board so that the battery pins of the system
board are attached firmly to the guide hole of the base cover as shown in a in
this figure.
Make sure that the connectors are attached firmly.
Removing and replacing a FRU 95

Table 20. Removal steps of system board and fan assembly (continued)
Note: Loosen the screws 9, but do not remove them.
9
9
11
10
96 ThinkPad Edge 13″and E30 Hardware Maintenance Manual

Table 20. Removal steps of system board and fan assembly (continued)
When installing:
vBefore you attach the fan assembly to the computer, apply thermal grease, at
an amount of 0.2 grams, on the part marked a as in the following figure.
Either too much or too less application of grease can cause a thermal problem
due to imperfect contact with a component. You need to peel the thin film off
from the rubbers b.
For MT0196 and MT0492:
a
b
b
For MT0197:
a
a
vMake sure that the fan connector is attached firmly.
Removing and replacing a FRU 97

1130 I/O card assembly, audio cable, and I/O cable
For access, remove these FRUs in order:
v“1010 Battery pack” on page 68
v“1020 Bottom slot cover” on page 70
v“1040 Hard disk drive (HDD)” on page 73
v“1050 PCI Express Mini Card for wireless LAN” on page 75
v“1060 PCI Express Mini Card for wireless WAN” on page 77
v“1070 Keyboard” on page 79
v“1080 Top case assembly and microphone module” on page 82
v“1110 Speaker assembly” on page 88
v“1120 System board and fan assembly” on page 90
Table 21. Removal steps of I/O card assembly, audio cable, and I/O cable
2
1
1
1
1
Step Screw (quantity) Color Torque
2 M2 ×3 mm, wafer-head, nylon-coated (1) Black 0.181 Nm
(1.85 kgfcm)
3
4
98 ThinkPad Edge 13″and E30 Hardware Maintenance Manual

Table 21. Removal steps of I/O card assembly, audio cable, and I/O cable (continued)
5
6
Cable routing: Make sure that the connectors are attached firmly and you route
the cables as shown in this figure.
Removing and replacing a FRU 99

1140 LCD unit
For access, remove these FRUs in order:
v“1010 Battery pack” on page 68
v“1020 Bottom slot cover” on page 70
v“1040 Hard disk drive (HDD)” on page 73
v“1050 PCI Express Mini Card for wireless LAN” on page 75
v“1060 PCI Express Mini Card for wireless WAN” on page 77
v“1070 Keyboard” on page 79
v“1080 Top case assembly and microphone module” on page 82
v“1110 Speaker assembly” on page 88
v“1120 System board and fan assembly” on page 90
Table 22. Removal steps of LCD unit
1
1
11
1
22
2
2
Step Screw (quantity) Color Torque
2 M2 ×5 mm, wafer-head, nylon-coated (2) Black 0.181 Nm
(1.85 kgfcm)
100 ThinkPad Edge 13″and E30 Hardware Maintenance Manual

Table 22. Removal steps of LCD unit (continued)
3
3
Cable routing: Make sure that the cables are attached to the cable guides as
shown in this figure. When you route the cables, make sure that they are not
subjected to any tension. Tension could cause the cables to be damaged by the
cable guides, or a wire to be broken.
Removing and replacing a FRU 101

1150 Base cover assembly and DC-in cable
For access, remove these FRUs in order:
v“1010 Battery pack” on page 68
v“1020 Bottom slot cover” on page 70
v“1040 Hard disk drive (HDD)” on page 73
v“1050 PCI Express Mini Card for wireless LAN” on page 75
v“1060 PCI Express Mini Card for wireless WAN” on page 77
v“1070 Keyboard” on page 79
v“1080 Top case assembly and microphone module” on page 82
v“1110 Speaker assembly” on page 88
v“1120 System board and fan assembly” on page 90
v“1140 LCD unit” on page 100
Table 23. Removal steps of base cover assembly and DC-in cable
1
1
1
1
2
102 ThinkPad Edge 13″and E30 Hardware Maintenance Manual

Table 23. Removal steps of base cover assembly and DC-in cable (continued)
Cable routing: Make sure that the cable is attached to the cable guides as
shown in this figure. When you route the cables, make sure that they are not
subjected to any tension. Tension could cause the cables to be damaged by the
cable guides, or a wire to be broken.
Removing and replacing a FRU 103

Note: Applying labels to the base cover
The new base cover FRU is shipped with a kit containing labels of several kinds.
When you replace the base cover, you need to apply the following labels:
4 Information label under battery
6 FCC label
7 Homologation label
13 Serial number blank label
Following labels need to be peeled off from the old base cover, and need to be
put on the new base cover.
1 Ethernet label
2 Windows license label (COA)
3 SID card label
5 SIM ICCID label
8 Brazil ANATEL wireless LAN label
9 Israel label
10 SIRM label
11 China wireless WAN label
12 Brazil ANATEL Bluetooth label
14 Wireless WAN label
15 Wireless LAN label
For some models, you also need to apply one or two FCC labels. Check the old
base cover; if it has one or two FCC labels, find duplicates of them in the label
kit and apply them to the new base cover.
For the location of each label, refer the following figure:
1
15
14
13
7 6
2 3 4
5
10
9
8
11
12
104 ThinkPad Edge 13″and E30 Hardware Maintenance Manual

2020 Integrated camera
For access, remove these FRUs in order:
v“1010 Battery pack” on page 68
v“2010 LCD bezel assembly” on page 105
Table 25. Removal steps of integrated camera
12
When installing: Make sure that the connector of the integrated camera is
attached firmly.
106 ThinkPad Edge 13″and E30 Hardware Maintenance Manual

2030 LCD panel and LCD cable
For access, remove these FRUs in order:
v“1010 Battery pack” on page 68
v“1020 Bottom slot cover” on page 70
v“1040 Hard disk drive (HDD)” on page 73
v“1050 PCI Express Mini Card for wireless LAN” on page 75
v“1060 PCI Express Mini Card for wireless WAN” on page 77
v“1070 Keyboard” on page 79
v“1080 Top case assembly and microphone module” on page 82
v“1110 Speaker assembly” on page 88
v“1120 System board and fan assembly” on page 90
v“1140 LCD unit” on page 100
Table 26. Removal steps of LCD panel and LCD cable
1
1
1
1
Step Screw (quantity) Color Torque
1 M2 ×3 mm, wafer-head, nylon-coated (4) Silver 0.181 Nm
(1.85 kgfcm)
Removing and replacing a FRU 107

Table 26. Removal steps of LCD panel and LCD cable (continued)
2
3
4
5
6
7
8
108 ThinkPad Edge 13″and E30 Hardware Maintenance Manual

Table 26. Removal steps of LCD panel and LCD cable (continued)
10
Removing and replacing a FRU 109

2070 Hinge kit
For access, remove these FRUs in order:
v“1010 Battery pack” on page 68
v“1020 Bottom slot cover” on page 70
v“1040 Hard disk drive (HDD)” on page 73
v“1050 PCI Express Mini Card for wireless LAN” on page 75
v“1060 PCI Express Mini Card for wireless WAN” on page 77
v“1070 Keyboard” on page 79
v“1080 Top case assembly and microphone module” on page 82
v“1110 Speaker assembly” on page 88
v“1120 System board and fan assembly” on page 90
v“1140 LCD unit” on page 100
v“2030 LCD panel and LCD cable” on page 107
Table 27. Removal steps of hinge kit
2
1
1
2
Step Screw (quantity) Color Torque
2 M2 ×3 mm, wafer-head,
nylon-coated (2)
Black 0.181 Nm
(1.85 kgfcm)
110 ThinkPad Edge 13″and E30 Hardware Maintenance Manual

Table 27. Removal steps of hinge kit (continued)
3
3
Removing and replacing a FRU 111

2050 Wireless LAN antenna assembly, wireless WAN antenna
assembly, and LCD rear cover assembly
For access, remove these FRUs in order:
v“1010 Battery pack” on page 68
v“1020 Bottom slot cover” on page 70
v“1040 Hard disk drive (HDD)” on page 73
v“1050 PCI Express Mini Card for wireless LAN” on page 75
v“1060 PCI Express Mini Card for wireless WAN” on page 77
v“1070 Keyboard” on page 79
v“1080 Top case assembly and microphone module” on page 82
v“1110 Speaker assembly” on page 88
v“1120 System board and fan assembly” on page 90
v“1140 LCD unit” on page 100
v“2030 LCD panel and LCD cable” on page 107
v“2070 Hinge kit” on page 110
Table 28. Removal steps of wireless LAN antenna assembly, wireless WAN antenna
assembly, and LCD rear cover assembly
2 2 2 2 1
1
1
1
112 ThinkPad Edge 13″and E30 Hardware Maintenance Manual

Table 28. Removal steps of wireless LAN antenna assembly, wireless WAN antenna
assembly, and LCD rear cover assembly (continued)
3
3
3
3
3
3
Cable routing: When you install the antenna assembly, route the cables as
shown in the figures below. As you route the cables, make sure that they are not
subjected to any tension. Tension could cause the cables to be damaged by the
cable guides, or a wire to be broken.
a: Wireless LAN MAIN antenna (gray)
b: Wireless WAN MAIN antenna (red)
c: Wireless WAN AUX antenna (blue)
d: Wireless LAN AUX antenna (black)
a b c d
Removing and replacing a FRU 113
114 ThinkPad Edge 13″and E30 Hardware Maintenance Manual

Locations
This chapter presents the location of ThinkPad Edge 13″features and hardware.
Front view
1 Integrated camera (for some models)
2 Power switch
3 AC power connector
4 Status indicators
Note: For the description of each indicator, see “Status indicators” on page
59.
5 Universal serial bus (USB) connectors
6 Combo audio jack
7 Media Card Reader slot
8 Status indicators
Note: For the description of each indicator, see “Status indicators” on page
59.
9 TrackPoint pointing stick
10 TrackPoint buttons
11 Touch pad buttons
12 Touch pad
13 UltraNav
14 Built-in microphone
1
2
3
4
5
6
7
12
14
13
11
8
9
10
© Copyright Lenovo 2009 115

Bottom view
1 Battery pack latch
2 Battery pack
3 Security keyhole
4 External monitor connector
5 HDMI port
6 RJ-45 (Ethernet) connector
7 USB connector
8 Built-in stereo speakers
9 HDD slot door
1
1
2
3
4
5
6
7
8
9
116 ThinkPad Edge 13″and E30 Hardware Maintenance Manual

Parts list
This chapter contains following lists of the service parts.
v“Overall” on page 118
v“LCD FRUs” on page 126
v“Keyboard” on page 129
v“AC adapters” on page 130
v“Miscellaneous parts” on page 130
v“Power cords” on page 131
v“Recovery discs” on page 132
v“Common service tools” on page 136
Notes:
vEach FRU is available for all types or models, unless specific types or models
are specified.
vFRU with specific models listed and described as xxU (where U is an example
of a country designator) should be used for all models ending in U.
vFRU with specific models listed and described as 3Dx (where 3D is an
example of a unique configuration) should be used for all of these models,
unless specific country or region designator is specified.
vA CRU (customer replaceable unit) is identified by a single asterisk (*) or two
asterisks (**) in the CRU ID column. An N in the CRU ID column means that
the part is not a CRU. A single asterisk (*) means that the part is a Self-service
CRU; two asterisks (**) means that the part is an Optional-service CRU.
ThinkPad Notebooks contain the following types of CRUs:
Self-service CRUs
These CRUs unplug or are held by no more than two screws.
Examples of these types of CRUs include an AC adapter, a power
cord, a battery, and a hard disk drive. Other Self-service CRUs
depending on product design may include a memory, a wireless card,
a keyboard, and a palm rest with finger print reader and touchpad.
Optional-service CRUs
These CRUs are isolated parts within the computer that are concealed
by an access panel that is typically secured by more than two screws.
Once the access panel is removed, the specific CRU is visible.
vFRUs marked with OP are available as options.
© Copyright Lenovo 2009 117

Overall
1
2
5
3
4
6
7
9
8
10
11
12
13
14
15
16
17
18
19
20
21
118 ThinkPad Edge 13″and E30 Hardware Maintenance Manual

Table 29. Parts list—Overall
No. FRU (Overall) FRU no. CRU
ID
1 LCD unit (see “LCD FRUs” on page 126.)
2 Keyboard (see “Keyboard” on page 129.)
3 Top case assembly 60Y5520 N
— Microphone module 60Y5753 N
4 Qualcom Gobi-2000 WWAN
v0196-CTO, 22x, 2Ex, 2Gx, 2Jx, 2Lx, 2Qx, 2Tx, 2Ux, 2Vx, 34x, 36x, 38x, 3Ax, 3Cx, 4Ux
v0197-CTO, 22x, 23x 2Qx, 2Tx, 2Ux, 2Vx, 36x, 3Dx, 3Jx, 4Qx, 4Sx, 4Ux, 5Zx, 62x, 64x,
65x, 67x, 68x, 6Kx, 6Mx, 6Px
v0492-CTO, 24x, 28x, 34x, 35x, 36x
60Y3183 **
4 Leadcore LC5730D WWAN for China mobile
v0196-CTO
v0197-CTO
v0492-CTO
60Y3225 **
4 Huawei EM660 WWAN for China telecom
v0196-CTO
v0197-CTO
v0492-CTO
60Y3227 **
5 ThinkPad 11b/g/n Wireless LAN Mini-PCI Express Adapter II
v0196-CTO, 27x, 28x, 29x, 2Cx, 2Hx, 2Jx, 2Mx, 2Rx, 2Zx, 32x, 33x, 34x, 35x, 36x, 37x, 38x,
39x, 3Ax, 3Bx, 3Yx, 3Zx, 42x, 43x, 44x, 45x, 46x, 47x, 48x, 49x, 4Ax, 4Bx
v0197-CTO, 22x, 23x, 24x, 25x, 26x, 27x, 28x, 29x, 2Ax, 2Cx, 2Dx, 2Ex, 2Fx, 2Hx, 2Jx, 2Kx,
2Lx, 2Mx, 2Nx, 2Px, 2Qx, 2Rx, 2Sx, 2Tx, 2Ux, 2Vx, 2Wx, 2Zx, 32x, 33x, 34x, 35x, 36x,
37x, 38x, 39x, 3Ax, 3Bx, 3Cx, 3Dx, 3Ex, 3Fx, 3Gx, 3Hx, 3Jx, 3Kx, 3Lx, 3Mx, 3Nx, 3Px,
3Qx, 3Rx, 3Sx, 3Tx, 3Ux, 3Vx, 3Wx, 3Xx, 3Yx, 3Zx, 42x, 43x, 44x, 45x, 46x, 47x, 48x, 49x,
4Ax, 4Bx, 4Cx, 4Dx, 4Ex, 4Fx, 4Gx, 4Hx, 4Jx, 4Kx, 4Lx, 4Mx, 4Nx, 4Px, 4Qx, 4Rx, 4Sx,
4Tx, 4Ux, 4Vx, 4Wx, 4Xx, 4Yx, 4Zx, 52x, 53x, 54x, 55x, 56x, 57x, 58x, 59x, 5Ax, 5Bx,
5Cx, 5Dx, 5Ex, 5Fx, 5Gx, 5Hx, 5Jx, 5Kx, 5Lx, 5Mx, 5Nx, 5Px, 5Qx, 5Rx, 5Sx, 5Tx, 5Ux,
5Vx, 5Wx, 5Xx, 5Yx, 5Zx, 62x, 63x, 64x, 65x, 66x, 67x, 68x, 69x, 6Ax, 6Bx, 6Cx, 6Dx,
6Ex, 6Gx, 6Hx, 6Jx, 6Kx, 6Lx, 6Mx, 6Nx, 6Px, 6Qx, 6Rx, 6Sx, 6Tx, 6Ux, 6Vx, 6Wx, 6Xx,
6Yx, 6Zx, 72x, 73x
v0492-CTO, 22x, 23x, 26x, 28x, 29x, 2Ax, 2Bx, 2Cx, 2Dx, 2Ex, 2Fx, 2Gx, 2Mx, 2Nx, 2Px,
2Qx, 2Rx, 2Sx, 2Tx, 2Ux, 2Vx, 2Wx, 2Xx, 2Yx, 2Zx, 32x, 33x, 34x, 35x, 36x, 37x, 38x, 39x,
3Ax, 3Bx, 3Cx
43Y6553 **
5 ThinkPad 11b/g/n Wireless LAN Mini-PCI Express Adapter II
v0196-CTO, 27x, 28x, 29x, 2Cx, 2Hx, 2Jx, 2Mx, 2Rx, 2Zx, 32x, 33x, 34x, 35x, 36x, 37x, 38x,
39x, 3Ax, 3Bx, 3Yx, 3Zx, 42x, 43x, 44x, 45x, 46x, 47x, 48x, 49x, 4Ax, 4Bx,
v0197-CTO, 22x, 23x, 24x, 25x, 26x, 27x, 28x, 29x, 2Ax, 2Cx, 2Dx, 2Ex, 2Fx, 2Hx, 2Jx, 2Kx,
2Lx, 2Mx, 2Nx, 2Px, 2Qx, 2Rx, 2Sx, 2Tx, 2Ux, 2Vx, 2Wx, 2Zx, 32x, 33x, 34x, 35x, 36x,
37x, 38x, 39x, 3Ax, 3Bx, 3Cx, 3Dx, 3Ex, 3Fx, 3Gx, 3Hx, 3Jx, 3Kx, 3Lx, 3Mx, 3Nx, 3Px,
3Qx, 3Rx, 3Sx, 3Tx, 3Ux, 3Vx, 3Wx, 3Xx, 3Yx, 3Zx, 42x, 43x, 44x, 45x, 46x, 47x, 48x, 49x,
4Ax, 4Bx, 4Cx, 4Dx, 4Ex, 4Fx, 4Gx, 4Hx, 4Jx, 4Kx, 4Lx, 4Mx, 4Nx, 4Px, 4Qx, 4Rx, 4Sx,
4Tx, 4Ux, 4Vx, 4Wx, 4Xx, 4Yx, 4Zx, 52x, 53x, 54x, 55x, 56x, 57x, 58x, 59x, 5Ax, 5Bx,
5Cx, 5Dx, 5Ex, 5Fx, 5Gx, 5Hx, 5Jx, 5Kx, 5Lx, 5Mx, 5Nx, 5Px, 5Qx, 5Rx, 5Sx, 5Tx, 5Ux,
5Vx, 5Wx, 5Xx, 5Yx, 5Zx, 62x, 63x, 64x, 65x, 66x, 67x, 68x, 69x, 6Ax, 6Bx, 6Cx, 6Dx,
6Ex, 6Gx, 6Hx, 6Jx, 6Kx, 6Lx, 6Mx, 6Nx, 6Px, 6Qx, 6Rx, 6Sx, 6Tx, 6Ux, 6Vx, 6Wx, 6Xx,
6Yx, 6Zx, 72x, 73x
v0492-CTO, 22x, 23x, 26x, 28x, 29x, 2Ax, 2Bx, 2Cx, 2Dx, 2Ex, 2Fx, 2Gx, 2Mx, 2Nx, 2Px,
2Qx, 2Rx, 2Sx, 2Tx, 2Ux, 2Vx, 2Wx, 2Xx, 2Yx, 2Zx, 32x, 33x, 34x, 35x, 36x, 37x, 38x, 39x,
3Ax, 3Bx, 3Cx
60Y3177 **
Parts list 119

Table 29. Parts list—Overall (continued)
No. FRU (Overall) FRU no. CRU
ID
5 Intel Centrino Wireless-N 1000
v0196-CTO, 23x, 24x, 25x, 26x, 2Ax, 2Bx, 2Dx, 2Ex, 2Fx, 2Gx, 2Kx, 2Lx, 2Px, 2Qx, 2Tx,
2Ux, 2Vx, 2Wx, 2Xx, 2Yx, 3Cx, 3Dx, 3Ex, 3Fx, 3Gx, 3Hx, 3Jx, 3Kx, 3Lx, 3Mx, 3Nx, 3Px,
3Qx, 3Rx, 3Sx, 3Tx, 3Ux, 4Cx, 4Dx, 4Ex, 4Fx, 4Gx, 4Jx, 4Lx, 4Mx, 4Nx, 4Px, 4Ux, 4Vx,
4Wx, 4Xx, 4Yx, 53x, 54x
v0197-CTO
v0492-CTO, 24x, 25x, 2Hx, 2Jx, 2Kx, 2Lx, 3Dx, 3Ex, 3Fx, 3Gx, 3Hx, 3Jx
60Y3203 **
5 Intel Centrino Advanced-N + WiMAX 6250, WW SKU
v0196-CTO, 22x, 4Qx, 4Rx, 4Sx
v0197-CTO
v0492-CTO
60Y3195 **
5 Intel Centrino Advanced-N + WiMAX 6250, Russia SKU
v0196-CTO
v0197-CTO
v0492-CTO, 3Kx
60Y3209 **
6 1-GB DDR2-667 SDRAM SO-DIMM (PC2-5300) card
v0197-CTO, 25x, 27x, 29x, 2Cx, 2Ex, 2Fx, 2Mx, 32x, 33x, 34x, 35x, 37x, 39x, 3Fx, 3Hx,
3Rx, 3Wx, 43x, 48x, 4Dx, 4Jx, 6Xx, 72x
40Y8403 **
6 2-GB DDR2-667 SDRAM SO-DIMM (PC2-5300) card
v0197-CTO, 22x, 23x, 24x, 25x, 26x, 27x, 28x, 29x, 2Ax, 2Cx, 2Dx, 2Ex, 2Fx, 2Hx, 2Jx, 2Kx,
2Lx, 2Mx, 2Nx, 2Px, 2Qx, 2Rx, 2Sx, 2Tx, 2Ux, 2Vx, 2Wx, 2Zx, 32x, 36x, 38x, 39x, 3Ax,
3Bx, 3Cx, 3Dx, 3Ex, 3Gx, 3Jx, 3Kx, 3Lx, 3Mx, 3Nx, 3Px, 3Qx, 3Sx, 3Tx, 3Ux, 3Vx, 3Xx,
3Yx, 3Zx, 42x, 44x, 45x, 46x, 47x, 49x, 4Ax, 4Bx, 4Cx, 4Ex, 4Fx, 4Gx, 4Hx, 4Kx, 4Lx,
4Mx, 4Nx, 4Px, 4Qx, 4Rx, 4Sx, 4Tx, 4Ux, 4Vx, 4Wx, 4Xx, 4Yx, 4Zx, 52x, 53x, 54x, 55x,
56x, 57x, 58x, 59x, 5Ax, 5Bx, 5Cx, 5Dx, 5Ex, 5Fx, 5Gx, 5Hx, 5Jx, 5Kx, 5Lx, 5Mx, 5Nx,
5Px, 5Qx, 5Rx, 5Sx, 5Tx, 5Ux, 5Vx, 5Wx, 5Xx, 5Yx, 5Zx, 62x, 63x, 64x, 65x, 66x, 67x,
68x, 69x, 6Ax, 6Bx, 6Cx, 6Dx, 6Ex, 6Gx, 6Hx, 6Jx, 6Kx, 6Lx, 6Mx, 6Nx, 6Px, 6Qx, 6Rx,
6Sx, 6Tx, 6Ux, 6Vx, 6Wx, 6Yx, 6Zx, 72x, 73x
40Y8404 **
6 1-GB DDR3-1066 SDRAM SO-DIMM (PC3-8500) card
v0196-CTO, 24x, 2Bx, 36x, 39x, 3Dx, 3Qx, 4Ex, 4Fx, 4Yx
v0492-CTO, 25x, 26x, 2Hx, 36x, 3Bx
55Y3712 **
6 2-GB DDR3-1066 SDRAM SO-DIMM (PC3-8500) card
v0196-CTO, 22x, 23x, 24x, 25x, 26x, 27x, 28x, 29x, 2Ax, 2Bx, 2Cx, 2Dx, 2Ex, 2Fx, 2Gx,
2Hx, 2Jx, 2Kx, 2Lx, 2Mx, 2Px, 2Qx, 2Rx, 2Tx, 2Ux, 2Vx, 2Wx, 2Xx, 2Yx, 2Zx, 32x, 33x,
34x, 35x, 36x, 37x, 38x, 3Ax, 3Bx, 3Cx, 3Ex, 3Fx, 3Gx, 3Hx, 3Jx, 3Kx, 3Lx, 3Mx, 3Nx,
3Px, 3Rx, 3Sx, 3Tx, 3Ux, 3Yx, 3Zx, 42x, 43x, 44x, 45x, 46x, 47x, 48x, 49x, 4Ax, 4Bx, 4Cx,
4Dx, 4Ex, 4Gx, 4Jx, 4Lx, 4Mx, 4Nx, 4Px, 4Qx, 4Rx, 4Sx, 4Ux, 4Vx, 4Wx, 4Xx, 53x, 54x
v0492-CTO, 22x, 23x, 24x, 25x, 26x, 28x, 29x, 2Ax, 2Bx, 2Cx, 2Dx, 2Ex, 2Fx, 2Gx, 2Jx,
2Kx, 2Lx, 2Mx, 2Nx, 2Px, 2Qx, 2Rx, 2Sx, 2Tx, 2Ux, 2Vx, 2Wx, 2Xx, 2Yx, 2Zx, 32x, 33x,
34x, 35x, 37x, 38x, 39x, 3Ax, 3Cx, 3Dx, 3Ex, 3Fx, 3Gx, 3Hx, 3Jx, 3Kx, 52x
55Y3713 **
7 I/O cable 45M2905 N
8 Function board assembly 63Y2127 N
9 DC-in cable 45M2901 N
120 ThinkPad Edge 13″and E30 Hardware Maintenance Manual

Table 29. Parts list—Overall (continued)
No. FRU (Overall) FRU no. CRU
ID
10 Battery pack, Li-ion (4 cell) 73
v0196-CTO, 23x, 27x, 2Cx, 2Ex, 2Fx, 2Hx, 2Jx, 2Ux, 2Xx, 3Jx, 3Nx, 3Px, 3Rx, 3Sx, 3Tx,
3Ux, 47x, 48x, 49x, 4Ax, 4Bx, 4Cx, 4Dx, 4Ex, 4Gx, 4Jx, 4Lx, 4Mx, 4Nx, 4Px, 4Yx
v0197-CTO, 27x, 29x, 2Mx, 2Rx, 2Sx, 2Tx, 2Ux, 2Vx, 3Tx, 3Ux, 3Vx, 3Wx, 3Xx, 3Yx, 3Zx,
42x, 43x, 44x, 45x, 46x, 47x, 48x, 49x, 4Ax, 4Bx, 4Cx, 4Dx, 4Ex, 4Fx, 4Gx, 4Hx, 4Jx, 4Kx,
4Lx, 4Mx, 4Nx, 4Px, 4Qx, 4Sx, 4Ux, 4Wx, 4Xx, 4Yx, 4Zx, 52x, 53x, 54x, 55x, 56x, 57x,
58x, 59x, 5Ax, 5Bx, 5Cx, 5Dx, 5Ex, 5Fx, 5Gx, 5Hx, 5Jx, 5Kx, 5Lx, 5Mx, 5Nx, 5Px, 5Qx,
5Rx, 5Sx, 5Tx, 5Ux, 5Vx, 5Wx, 6Hx, 6Jx, 6Kx, 6Lx, 6Mx, 6Nx, 6Xx
v0492-CTO, 22x, 26x, 28x, 29x, 2Ax, 2Bx, 2Cx, 2Fx, 2Gx, 2Jx, 2Kx, 2Lx, 2Mx, 2Nx, 2Px,
2Qx, 2Rx, 2Sx, 2Tx, 2Ux, 2Vx, 2Wx, 2Xx, 2Yx, 2Zx, 32x, 36x, 37x, 38x, 39x, 3Ax, 3Bx,
3Cx, 3Kx
42T4805 *
10 Battery pack, Li-ion (4 cell) 73
v0196-CTO, 23x, 27x, 2Cx, 2Ex, 2Fx, 2Hx, 2Jx, 2Ux, 2Xx, 3Jx, 3Nx, 3Px, 3Rx, 3Sx, 3Tx,
3Ux, 47x, 48x, 49x, 4Ax, 4Bx, 4Cx, 4Dx, 4Ex, 4Gx, 4Jx, 4Lx, 4Mx, 4Nx, 4Px, 4Yx
v0197-CTO, 27x, 29x, 2Mx, 2Rx, 2Sx, 2Tx, 2Ux, 2Vx, 3Tx, 3Ux, 3Vx, 3Wx, 3Xx, 3Yx, 3Zx,
42x, 43x, 44x, 45x, 46x, 47x, 48x, 49x, 4Ax, 4Bx, 4Cx, 4Dx, 4Ex, 4Fx, 4Gx, 4Hx, 4Jx, 4Kx,
4Lx, 4Mx, 4Nx, 4Px, 4Qx, 4Sx, 4Ux, 4Wx, 4Xx, 4Yx, 4Zx, 52x, 53x, 54x, 55x, 56x, 57x,
58x, 59x, 5Ax, 5Bx, 5Cx, 5Dx, 5Ex, 5Fx, 5Gx, 5Hx, 5Jx, 5Kx, 5Lx, 5Mx, 5Nx, 5Px, 5Qx,
5Rx, 5Sx, 5Tx, 5Ux, 5Vx, 5Wx, 6Hx, 6Jx, 6Kx, 6Lx, 6Mx, 6Nx, 6Xx
v0492-CTO, 22x, 26x, 28x, 29x, 2Ax, 2Bx, 2Cx, 2Fx, 2Gx, 2Jx, 2Kx, 2Lx, 2Mx, 2Nx, 2Px,
2Qx, 2Rx, 2Sx, 2Tx, 2Ux, 2Vx, 2Wx, 2Xx, 2Yx, 2Zx, 32x, 36x, 37x, 38x, 39x, 3Ax, 3Bx,
3Cx, 3Kx
42T4807 *
10 Battery pack, Li-ion (6 cell) 73+
v0196-CTO, 22x, 24x, 25x, 26x, 28x, 29x, 2Ax, 2Bx, 2Dx, 2Gx, 2Kx, 2Lx, 2Mx, 2Px, 2Qx,
2Rx, 2Tx, 2Vx, 2Wx, 2Yx, 2Zx, 32x, 33x, 34x, 35x, 36x, 37x, 38x, 39x, 3Ax, 3Bx, 3Cx,
3Dx, 3Ex, 3Fx, 3Gx, 3Hx, 3Kx, 3Lx, 3Mx, 3Qx, 3Yx, 3Zx, 42x, 43x, 44x, 45x, 46x, 4Fx,
4Qx, 4Rx, 4Sx, 4Ux, 4Vx, 4Wx, 4Xx, 53x, 54x
v0197-CTO, 23x, 24x, 25x, 26x, 28x, 2Ax, 2Cx, 2Dx, 2Ex, 2Fx, 2Hx, 2Jx, 2Kx, 2Lx, 2Nx,
2Px, 2Qx, 2Wx, 2Zx, 32x, 33x, 34x, 35x, 36x, 37x, 38x, 39x, 3Ax, 3Bx, 3Cx, 3Dx, 3Ex, 3Fx,
3Gx, 3Hx, 3Jx, 3Kx, 3Lx, 3Mx, 3Nx, 3Px, 3Qx, 3Rx, 3Sx, 4Rx, 4Tx, 4Vx, 5Xx, 5Yx, 5Zx,
62x, 63x, 64x, 65x, 66x, 67x, 68x, 69x, 6Ax, 6Bx, 6Cx, 6Dx, 6Ex, 6Gx, 6Px, 6Qx, 6Rx, 6Sx,
6Tx, 6Ux, 6Vx, 6Wx, 6Yx, 6Zx, 72x, 73x
v0492-CTO, 23x, 24x, 25x, 2Dx, 2Ex, 2Hx, 33x, 34x, 35x, 3Dx, 3Ex, 3Fx, 3Gx, 3Hx, 3Jx
42T4813 *
10 Battery pack, Li-ion (6 cell) 73+
v0196-CTO, 22x, 24x, 25x, 26x, 28x, 29x, 2Ax, 2Bx, 2Dx, 2Gx, 2Kx, 2Lx, 2Mx, 2Px, 2Qx,
2Rx, 2Tx, 2Vx, 2Wx, 2Yx, 2Zx, 32x, 33x, 34x, 35x, 36x, 37x, 38x, 39x, 3Ax, 3Bx, 3Cx,
3Dx, 3Ex, 3Fx, 3Gx, 3Hx, 3Kx, 3Lx, 3Mx, 3Qx, 3Yx, 3Zx, 42x, 43x, 44x, 45x, 46x, 4Fx,
4Qx, 4Rx, 4Sx, 4Ux, 4Vx, 4Wx, 4Xx, 53x, 54x
v0197-CTO, 23x, 24x, 25x, 26x, 28x, 2Ax, 2Cx, 2Dx, 2Ex, 2Fx, 2Hx, 2Jx, 2Kx, 2Lx, 2Nx,
2Px, 2Qx, 2Wx, 2Zx, 32x, 33x, 34x, 35x, 36x, 37x, 38x, 39x, 3Ax, 3Bx, 3Cx, 3Dx, 3Ex, 3Fx,
3Gx, 3Hx, 3Jx, 3Kx, 3Lx, 3Mx, 3Nx, 3Px, 3Qx, 3Rx, 3Sx, 4Rx, 4Tx, 4Vx, 5Xx, 5Yx, 5Zx,
62x, 63x, 64x, 65x, 66x, 67x, 68x, 69x, 6Ax, 6Bx, 6Cx, 6Dx, 6Ex, 6Gx, 6Px, 6Qx, 6Rx, 6Sx,
6Tx, 6Ux, 6Vx, 6Wx, 6Yx, 6Zx, 72x, 73x
v0492-CTO, 23x, 24x, 25x, 2Dx, 2Ex, 2Hx, 33x, 34x, 35x, 3Dx, 3Ex, 3Fx, 3Gx, 3Hx, 3Jx
42T4815 *
11 Base cover assembly for 0196 60Y5528 N
11 Base cover assembly for 0197 60Y5530 N
11 Base cover assembly for 0492 60Y5529 N
12 HDD cover bracket 60Y5532 N
13 HDD slot cover 60Y5517 N
Parts list 121

Table 29. Parts list—Overall (continued)
No. FRU (Overall) FRU no. CRU
ID
14 SATA hard disk drive, 160 GB, 5,400 rpm
v0196-CTO, 3Cx, 3Ux, 4Fx
v0197-CTO, 2Mx, 2Nx, 2Ux, 3Bx, 3Hx
v0492-CTO, 2Hx
60Y4755 **
14 SATA hard disk drive, 160 GB, 5,400 rpm
v0196-CTO, 3Cx, 3Ux, 4Fx
v0197-CTO, 2Mx, 2Nx, 2Ux, 3Bx, 3Hx
v0492-CTO, 2Hx
60Y4747 **
14 SATA hard disk drive, 160 GB, 5,400 rpm
v0196-CTO, 3Cx, 3Ux, 4Fx
v0197-CTO, 2Mx, 2Nx, 2Ux, 3Bx, 3Hx
v0492-CTO, 2Hx
60Y4763 **
14 SATA hard disk drive, 250 GB, 5,400 rpm
v0196-CTO, 23x, 27x, 29x, 2Xx, 3Dx, 3Hx, 3Jx, 3Kx, 3Lx, 3Mx, 3Qx, 44x, 48x, 49x, 4Ax,
4Dx, 4Ex, 4Jx
v0197-CTO, 27x, 28x, 29x, 2Kx, 2Px, 2Rx, 2Vx, 2Zx, 34x, 35x, 36x, 37x, 3Cx, 3Dx, 3Ex,
3Gx, 3Jx, 3Kx, 3Lx, 3Tx, 3Ux, 3Yx, 3Zx, 45x, 46x, 4Ax, 4Bx, 4Fx, 4Gx, 4Lx, 4Mx, 4Xx,
4Yx, 53x, 54x, 57x, 58x, 5Bx, 5Cx, 5Fx, 5Gx, 5Kx, 5Lx, 5Px, 5Qx, 5Tx, 5Ux, 6Zx, 72x
v0492-CTO, 22x, 2Fx, 2Px, 2Wx, 32x, 33x, 35x, 36x, 39x, 3Bx, 3Cx, 3Kx
60Y4757 **
14 SATA hard disk drive, 250 GB, 5,400 rpm
v0196-CTO, 23x, 27x, 29x, 2Xx, 3Dx, 3Hx, 3Jx, 3Kx, 3Lx, 3Mx, 3Qx, 44x, 48x, 49x, 4Ax,
4Dx, 4Ex, 4Jx
v0197-CTO, 27x, 28x, 29x, 2Kx, 2Px, 2Rx, 2Vx, 2Zx, 34x, 35x, 36x, 37x, 3Cx, 3Dx, 3Ex,
3Gx, 3Jx, 3Kx, 3Lx, 3Tx, 3Ux, 3Yx, 3Zx, 45x, 46x, 4Ax, 4Bx, 4Fx, 4Gx, 4Lx, 4Mx, 4Xx,
4Yx, 53x, 54x, 57x, 58x, 5Bx, 5Cx, 5Fx, 5Gx, 5Kx, 5Lx, 5Px, 5Qx, 5Tx, 5Ux, 6Zx, 72x
v0492-CTO, 22x, 2Fx, 2Px, 2Wx, 32x, 33x, 35x, 36x, 39x, 3Bx, 3Cx, 3Kx
60Y4749 **
14 SATA hard disk drive, 250 GB, 5,400 rpm
v0196-CTO, 23x, 27x, 29x, 2Xx, 3Dx, 3Hx, 3Jx, 3Kx, 3Lx, 3Mx, 3Qx, 44x, 48x, 49x, 4Ax,
4Dx, 4Ex, 4Jx
v0197-CTO, 27x, 28x, 29x, 2Kx, 2Px, 2Rx, 2Vx, 2Zx, 34x, 35x, 36x, 37x, 3Cx, 3Dx, 3Ex,
3Gx, 3Jx, 3Kx, 3Lx, 3Tx, 3Ux, 3Yx, 3Zx, 45x, 46x, 4Ax, 4Bx, 4Fx, 4Gx, 4Lx, 4Mx, 4Xx,
4Yx, 53x, 54x, 57x, 58x, 5Bx, 5Cx, 5Fx, 5Gx, 5Kx, 5Lx, 5Px, 5Qx, 5Tx, 5Ux, 6Zx, 72x
v0492-CTO, 22x, 2Fx, 2Px, 2Wx, 32x, 33x, 35x, 36x, 39x, 3Bx, 3Cx, 3Kx
60Y4765 **
14 SATA hard disk drive, 320 GB, 5,400 rpm
v0196-CTO, 22x, 28x, 2Ax, 2Bx, 2Cx, 2Ex, 2Fx, 2Hx, 2Jx, 2Lx, 2Mx, 2Px, 2Qx, 2Rx, 2Tx,
2Ux, 2Zx, 32x, 33x, 34x, 35x, 36x, 3Bx, 3Ex, 3Fx, 3Gx, 3Nx, 3Px, 3Rx, 3Sx, 3Tx, 3Yx, 3Zx,
42x, 43x, 47x, 4Bx, 4Cx, 4Lx, 4Nx, 4Qx, 4Rx, 4Sx, 4Ux, 4Vx, 4Wx, 4Xx, 53x, 54x
v0197-CTO, 2Fx, 2Hx, 2Jx, 2Lx, 2Qx, 2Sx, 2Tx, 2Wx, 32x, 39x, 3Ax, 3Fx, 3Mx, 3Nx, 3Px,
3Qx, 3Rx, 3Sx, 3Vx, 42x, 47x, 4Cx, 4Hx, 4Nx, 4Sx, 4Ux, 4Wx, 4Zx, 52x, 55x, 56x, 59x,
5Ax, 5Dx, 5Ex, 5Hx, 5Jx, 5Mx, 5Nx, 5Rx, 5Sx, 5Vx, 5Wx, 5Xx, 5Yx, 5Zx, 62x, 64x, 65x,
67x, 68x, 6Ax, 6Bx, 6Cx, 6Dx, 6Ex, 6Gx, 6Hx, 6Jx, 6Kx, 6Lx, 6Mx, 6Nx, 6Rx, 6Sx, 6Tx,
6Ux, 6Vx, 6Wx, 6Xx, 6Yx
v0492-CTO, 23x, 24x, 26x, 28x, 29x, 2Ax, 2Bx, 2Cx, 2Gx, 2Lx, 2Qx, 2Tx, 2Ux, 2Vx, 2Xx,
2Yx, 2Zx, 34x, 37x, 3Dx, 3Ex, 3Fx, 3Gx, 3Hx, 3Jx
60Y4759 **
122 ThinkPad Edge 13″and E30 Hardware Maintenance Manual

Table 29. Parts list—Overall (continued)
No. FRU (Overall) FRU no. CRU
ID
14 SATA hard disk drive, 320 GB, 5,400 rpm
v0196-CTO, 22x, 28x, 2Ax, 2Bx, 2Cx, 2Ex, 2Fx, 2Hx, 2Jx, 2Lx, 2Mx, 2Px, 2Qx, 2Rx, 2Tx,
2Ux, 2Zx, 32x, 33x, 34x, 35x, 36x, 3Bx, 3Ex, 3Fx, 3Gx, 3Nx, 3Px, 3Rx, 3Sx, 3Tx, 3Yx, 3Zx,
42x, 43x, 47x, 4Bx, 4Cx, 4Lx, 4Nx, 4Qx, 4Rx, 4Sx, 4Ux, 4Vx, 4Wx, 4Xx, 53x, 54x
v0197-CTO, 2Fx, 2Hx, 2Jx, 2Lx, 2Qx, 2Sx, 2Tx, 2Wx, 32x, 39x, 3Ax, 3Fx, 3Mx, 3Nx, 3Px,
3Qx, 3Rx, 3Sx, 3Vx, 42x, 47x, 4Cx, 4Hx, 4Nx, 4Sx, 4Ux, 4Wx, 4Zx, 52x, 55x, 56x, 59x,
5Ax, 5Dx, 5Ex, 5Hx, 5Jx, 5Mx, 5Nx, 5Rx, 5Sx, 5Vx, 5Wx, 5Xx, 5Yx, 5Zx, 62x, 64x, 65x,
67x, 68x, 6Ax, 6Bx, 6Cx, 6Dx, 6Ex, 6Gx, 6Hx, 6Jx, 6Kx, 6Lx, 6Mx, 6Nx, 6Rx, 6Sx, 6Tx,
6Ux, 6Vx, 6Wx, 6Xx, 6Yx
v0492-CTO, 23x, 24x, 26x, 28x, 29x, 2Ax, 2Bx, 2Cx, 2Gx, 2Lx, 2Qx, 2Tx, 2Ux, 2Vx, 2Xx,
2Yx, 2Zx, 34x, 37x, 3Dx, 3Ex, 3Fx, 3Gx, 3Hx, 3Jx
60Y4751 **
14 SATA hard disk drive, 320 GB, 5,400 rpm
v0196-CTO, 22x, 28x, 2Ax, 2Bx, 2Cx, 2Ex, 2Fx, 2Hx, 2Jx, 2Lx, 2Mx, 2Px, 2Qx, 2Rx, 2Tx,
2Ux, 2Zx, 32x, 33x, 34x, 35x, 36x, 3Bx, 3Ex, 3Fx, 3Gx, 3Nx, 3Px, 3Rx, 3Sx, 3Tx, 3Yx, 3Zx,
42x, 43x, 47x, 4Bx, 4Cx, 4Lx, 4Nx, 4Qx, 4Rx, 4Sx, 4Ux, 4Vx, 4Wx, 4Xx, 53x, 54x
v0197-CTO, 2Fx, 2Hx, 2Jx, 2Lx, 2Qx, 2Sx, 2Tx, 2Wx, 32x, 39x, 3Ax, 3Fx, 3Mx, 3Nx, 3Px,
3Qx, 3Rx, 3Sx, 3Vx, 42x, 47x, 4Cx, 4Hx, 4Nx, 4Sx, 4Ux, 4Wx, 4Zx, 52x, 55x, 56x, 59x,
5Ax, 5Dx, 5Ex, 5Hx, 5Jx, 5Mx, 5Nx, 5Rx, 5Sx, 5Vx, 5Wx, 5Xx, 5Yx, 5Zx, 62x, 64x, 65x,
67x, 68x, 6Ax, 6Bx, 6Cx, 6Dx, 6Ex, 6Gx, 6Hx, 6Jx, 6Kx, 6Lx, 6Mx, 6Nx, 6Rx, 6Sx, 6Tx,
6Ux, 6Vx, 6Wx, 6Xx, 6Yx
v0492-CTO, 23x, 24x, 26x, 28x, 29x, 2Ax, 2Bx, 2Cx, 2Gx, 2Lx, 2Qx, 2Tx, 2Ux, 2Vx, 2Xx,
2Yx, 2Zx, 34x, 37x, 3Dx, 3Ex, 3Fx, 3Gx, 3Hx, 3Jx
60Y4767 **
14 SATA hard disk drive, 500 GB, 5,400 rpm
v0196-CTO, 2Dx, 2Gx, 2Kx, 2Vx, 2Wx, 2Yx, 38x, 39x, 3Ax, 4Gx, 4Mx, 4Px, 4Yx
v0197-CTO, 25x, 26x, 38x, 3Wx, 3Xx, 43x, 44x, 48x, 49x, 4Dx, 4Ex, 4Jx, 4Kx, 4Px, 4Qx,
4Rx, 4Tx, 4Vx, 6Px, 6Qx
v0492-CTO, 25x, 2Dx, 2Ex, 2Jx, 2Kx, 2Mx, 2Nx, 2Rx, 2Sx, 38x, 3Ax
60Y4761 **
14 SATA hard disk drive, 500 GB, 5,400 rpm
v0196-CTO, 2Dx, 2Gx, 2Kx, 2Vx, 2Wx, 2Yx, 38x, 39x, 3Ax, 4Gx, 4Mx, 4Px, 4Yx
v0197-CTO, 25x, 26x, 38x, 3Wx, 3Xx, 43x, 44x, 48x, 49x, 4Dx, 4Ex, 4Jx, 4Kx, 4Px, 4Qx,
4Rx, 4Tx, 4Vx, 6Px, 6Qx
v0492-CTO, 25x, 2Dx, 2Ex, 2Jx, 2Kx, 2Mx, 2Nx, 2Rx, 2Sx, 38x, 3Ax
60Y4753 **
14 SATA hard disk drive, 500 GB, 5,400 rpm
v0196-CTO, 2Dx, 2Gx, 2Kx, 2Vx, 2Wx, 2Yx, 38x, 39x, 3Ax, 4Gx, 4Mx, 4Px, 4Yx
v0197-CTO, 25x, 26x, 38x, 3Wx, 3Xx, 43x, 44x, 48x, 49x, 4Dx, 4Ex, 4Jx, 4Kx, 4Px, 4Qx,
4Rx, 4Tx, 4Vx, 6Px, 6Qx
v0492-CTO, 25x, 2Dx, 2Ex, 2Jx, 2Kx, 2Mx, 2Nx, 2Rx, 2Sx, 38x, 3Ax
60Y4769 **
14 SATA hard disk drive, 250 GB, 7,200 rpm
v0196-CTO
v0197-CTO
v0492-CTO
60Y4775 **
14 SATA hard disk drive, 250 GB, 7,200 rpm
v0196-CTO
v0197-CTO
v0492-CTO
60Y4771 **
14 SATA hard disk drive, 250 GB, 7,200 rpm
v0196-CTO
v0197-CTO
v0492-CTO
60Y4781 **
14 SATA hard disk drive, 320 GB, 7,200 rpm
v0196-CTO, 24x, 25x, 26x, 37x, 45x, 46x
v0197-CTO, 23x, 24x, 2Ax, 2Cx, 2Dx, 2Ex, 33x, 63x, 66x, 69x, 73x
v0492-CTO
60Y4777 **
Parts list 123

Table 29. Parts list—Overall (continued)
No. FRU (Overall) FRU no. CRU
ID
14 SATA hard disk drive, 320 GB, 7,200 rpm
v0196-CTO, 24x, 25x, 26x, 37x, 45x, 46x
v0197-CTO, 23x, 24x, 2Ax, 2Cx, 2Dx, 2Ex, 33x, 63x, 66x, 69x, 73x
v0492-CTO
60Y4773 **
14 SATA hard disk drive, 320 GB, 7,200 rpm
v0196-CTO, 24x, 25x, 26x, 37x, 45x, 46x
v0197-CTO, 23x, 24x, 2Ax, 2Cx, 2Dx, 2Ex, 33x, 63x, 66x, 69x, 73x
v0492-CTO
45N7281 **
14 SATA hard disk drive, 500 GB, 7,200 rpm
v0196-CTO
v0197-CTO
v0492-CTO
60Y4779 **
14 SATA hard disk drive, 500 GB, 7,200 rpm
v0196-CTO
v0197-CTO
v0492-CTO
60Y4785 **
15 Speaker assembly 60Y5754 N
16 Thermal module with fan, for Intel chipset
v0196-all
v0492-all
60Y5518 N
16 Thermal module with fan, for AMD chipset
v0197-all
60Y5519 N
17 Audio cable 45M2904 N
18 System board assembly, Intel Core 2 Duo processor SU7300
v0196-CTO, 22x, 23x, 24x, 25x, 26x, 27x, 28x, 29x, 2Ax, 2Bx, 2Cx, 2Dx, 2Ex, 2Fx, 2Gx,
2Hx, 2Jx, 2Kx, 2Lx, 2Mx, 2Px, 2Qx, 2Rx, 2Tx, 2Ux, 2Vx, 2Wx, 2Xx, 2Yx, 2Zx, 32x, 33x,
34x, 35x, 36x, 37x, 38x, 39x, 3Ax, 3Bx, 3Cx, 3Dx, 3Ex, 3Fx, 3Gx, 3Hx, 3Jx, 3Kx, 3Lx,
3Mx, 3Nx, 3Px, 3Qx, 3Rx, 3Sx, 3Tx, 3Ux, 3Yx, 3Zx, 42x, 43x, 44x, 45x, 46x, 47x, 48x, 49x
v0492-CTO, 22x, 23x, 24x, 25x, 26x, 28x, 29x, 2Ax, 2Bx, 2Cx, 2Dx, 2Ex, 2Fx, 2Gx, 2Jx,
2Kx, 2Lx, 2Mx, 2Nx, 2Px, 2Qx, 2Rx, 2Sx, 2Tx, 2Ux, 2Vx, 3Gx, 3Hx, 3Jx
63Y2042 N
18 System board assembly, Intel Core 2 Solo processor Retail (SU4100)
v0196-CTO, 4Ax, 4Bx, 4Cx, 4Dx, 4Ex, 4Fx, 4Gx, 4Jx, 4Lx, 4Mx, 4Nx, 4Px, 4Qx, 4Rx, 4Sx,
4Ux, 4Vx, 4Wx, 4Xx, 4Yx, 53x, 54x
v0492-CTO, 2Hx, 2Wx, 2Xx, 2Yx, 2Zx, 32x, 33x, 34x, 35x, 36x, 37x, 38x, 39x, 3Ax, 3Bx,
3Cx, 3Dx, 3Ex, 3Fx, 3Kx
60Y5701 N
18 System board assembly, Intel Celeron processor SU2300
v0196-CTO
v0492-CTO
63Y2104 N
18 System board assembly, AMD Turion Neo X2 Dual-Core L625
v0197-CTO, 23x, 24x, 25x, 2Ex, 2Jx, 2Qx, 2Sx, 2Tx, 2Vx, 2Wx, 32x, 33x, 35x, 36x, 38x,
3Ax, 3Bx, 3Cx, 3Dx, 3Ex, 3Fx, 3Mx, 3Nx, 3Px, 3Qx, 3Rx, 3Sx, 3Yx, 3Zx, 42x, 43x, 44x,
4Ax, 4Bx, 4Cx, 4Dx, 4Ex, 4Lx, 4Mx, 4Nx, 4Px, 4Qx, 4Rx, 4Tx, 4Vx, 4Xx, 4Yx, 4Zx, 52x,
53x, 54x, 55x, 56x, 5Fx, 5Gx, 5Hx, 5Jx, 5Kx, 5Lx, 5Mx, 5Nx, 5Yx, 5Zx, 62x, 63x, 64x, 65x,
66x, 67x, 68x, 69x, 6Ax, 6Px, 6Qx, 6Vx, 6Wx, 6Xx, 6Yx
60Y5703 N
18 System board assembly, AMD Athlon Neo X2 Dual-Core L325
v0197-CTO, 26x, 27x, 28x, 29x, 2Ax, 2Cx, 2Dx, 2Fx, 2Hx, 2Kx, 2Lx, 2Mx, 2Nx, 2Px, 2Rx,
2Ux, 2Zx, 34x, 37x, 39x, 3Gx, 3Hx, 3Jx, 3Kx, 3Lx, 3Tx, 3Ux, 3Vx, 3Wx, 3Xx, 45x, 46x,
47x, 48x, 49x, 4Fx, 4Gx, 4Hx, 4Jx, 4Kx, 4Sx, 4Ux, 4Wx, 57x, 58x, 59x, 5Ax, 5Bx, 5Cx,
5Dx, 5Ex, 5Px, 5Qx, 5Rx, 5Sx, 5Tx, 5Ux, 5Vx, 5Wx, 5Xx, 6Bx, 6Cx, 6Dx, 6Ex, 6Gx, 6Hx,
6Jx, 6Kx, 6Lx, 6Mx, 6Nx, 6Rx, 6Sx, 6Tx, 6Ux, 6Zx, 72x, 73x
60Y5705 N
124 ThinkPad Edge 13″and E30 Hardware Maintenance Manual

Table 29. Parts list—Overall (continued)
No. FRU (Overall) FRU no. CRU
ID
18 System board assembly, AMD Athlon Neo X2 Single-Core MV-40
v0197-CTO
60Y5707 N
19 Bluetooth daughter card (BDC-2.1)
v0196-CTO, 22x, 23x, 24x, 25x, 26x, 27x, 28x, 29x, 2Ax, 2Bx, 2Cx, 2Dx, 2Ex, 2Fx, 2Gx,
2Hx, 2Jx, 2Kx, 2Lx, 2Mx, 2Px, 2Qx, 2Rx, 2Tx, 2Ux, 2Vx, 2Wx, 2Xx, 2Yx, 2Zx, 32x, 33x,
34x, 35x, 36x, 37x, 38x, 39x, 3Ax, 3Bx, 3Cx, 3Dx, 3Ex, 3Fx, 3Gx, 3Jx, 3Kx, 3Lx, 3Mx,
3Nx, 3Px, 3Qx, 3Rx, 3Sx, 3Tx, 3Yx, 3Zx, 42x, 43x, 45x, 46x, 47x, 48x, 49x, 4Ax, 4Bx, 4Cx,
4Ex, 4Mx, 4Qx, 4Rx, 4Sx, 4Ux, 4Vx, 4Wx, 4Xx
v0197-CTO, 23x, 24x, 2Ax, 2Cx, 2Dx, 2Ex, 2Fx, 2Hx, 2Jx, 2Kx, 2Lx, 2Px, 2Qx, 2Rx, 2Sx,
2Tx, 2Ux, 2Vx, 2Wx, 2Zx, 32x, 33x, 34x, 35x, 36x, 37x, 38x, 39x, 3Ax, 3Bx, 3Cx, 3Dx,
3Ex, 3Gx, 3Hx, 3Jx, 3Kx, 3Mx, 3Nx, 3Px, 3Qx, 3Rx, 3Sx, 3Xx, 44x, 49x, 4Ex, 4Kx, 4Qx,
4Rx, 4Sx, 4Tx, 4Ux, 4Vx, 4Wx, 4Xx, 4Yx, 4Zx, 52x, 53x, 54x, 55x, 56x, 57x, 58x, 59x, 5Ax,
5Bx, 5Cx, 5Dx, 5Ex, 5Fx, 5Gx, 5Hx, 5Jx, 5Kx, 5Lx, 5Mx, 5Nx, 5Px, 5Qx, 5Rx, 5Sx, 5Tx,
5Ux, 5Vx, 5Wx, 5Xx, 5Yx, 5Zx, 62x, 63x, 64x, 65x, 66x, 67x, 68x, 69x, 6Ax, 6Ex, 6Gx,
6Hx, 6Jx, 6Kx, 6Lx, 6Mx, 6Nx, 6Px, 6Qx, 6Rx, 6Sx, 6Tx, 6Ux, 6Vx, 6Wx, 6Xx, 6Yx, 73x
v0492-CTO, 22x, 23x, 24x, 25x, 26x, 28x, 29x, 2Ax, 2Bx, 2Cx, 2Dx, 2Ex, 2Hx, 2Kx, 2Nx,
2Sx, 2Tx, 2Ux, 2Vx, 2Wx, 2Xx, 2Yx, 32x, 33x, 34x, 35x, 38x, 3Dx, 3Ex, 3Fx, 3Gx, 3Hx,
3Jx, 3Kx
60Y3199 N
19 Bluetooth daughter card (BDC-2.1)
v0196-CTO, 22x, 23x, 24x, 25x, 26x, 27x, 28x, 29x, 2Ax, 2Bx, 2Cx, 2Dx, 2Ex, 2Fx, 2Gx,
2Hx, 2Jx, 2Kx, 2Lx, 2Mx, 2Px, 2Qx, 2Rx, 2Tx, 2Ux, 2Vx, 2Wx, 2Xx, 2Yx, 2Zx, 32x, 33x,
34x, 35x, 36x, 37x, 38x, 39x, 3Ax, 3Bx, 3Cx, 3Dx, 3Ex, 3Fx, 3Gx, 3Jx, 3Kx, 3Lx, 3Mx,
3Nx, 3Px, 3Qx, 3Rx, 3Sx, 3Tx, 3Yx, 3Zx, 42x, 43x, 45x, 46x, 47x, 48x, 49x, 4Ax, 4Bx, 4Cx,
4Ex, 4Mx, 4Qx, 4Rx, 4Sx, 4Ux, 4Vx, 4Wx, 4Xx
v0197-CTO, 23x, 24x, 2Ax, 2Cx, 2Dx, 2Ex, 2Fx, 2Hx, 2Jx, 2Kx, 2Lx, 2Px, 2Qx, 2Rx, 2Sx,
2Tx, 2Ux, 2Vx, 2Wx, 2Zx, 32x, 33x, 34x, 35x, 36x, 37x, 38x, 39x, 3Ax, 3Bx, 3Cx, 3Dx,
3Ex, 3Gx, 3Hx, 3Jx, 3Kx, 3Mx, 3Nx, 3Px, 3Qx, 3Rx, 3Sx, 3Xx, 44x, 49x, 4Ex, 4Kx, 4Qx,
4Rx, 4Sx, 4Tx, 4Ux, 4Vx, 4Wx, 4Xx, 4Yx, 4Zx, 52x, 53x, 54x, 55x, 56x, 57x, 58x, 59x, 5Ax,
5Bx, 5Cx, 5Dx, 5Ex, 5Fx, 5Gx, 5Hx, 5Jx, 5Kx, 5Lx, 5Mx, 5Nx, 5Px, 5Qx, 5Rx, 5Sx, 5Tx,
5Ux, 5Vx, 5Wx, 5Xx, 5Yx, 5Zx, 62x, 63x, 64x, 65x, 66x, 67x, 68x, 69x, 6Ax, 6Ex, 6Gx,
6Hx, 6Jx, 6Kx, 6Lx, 6Mx, 6Nx, 6Px, 6Qx, 6Rx, 6Sx, 6Tx, 6Ux, 6Vx, 6Wx, 6Xx, 6Yx, 73x
v0492-CTO, 22x, 23x, 24x, 25x, 26x, 28x, 29x, 2Ax, 2Bx, 2Cx, 2Dx, 2Ex, 2Hx, 2Kx, 2Nx,
2Sx, 2Tx, 2Ux, 2Vx, 2Wx, 2Xx, 2Yx, 32x, 33x, 34x, 35x, 38x, 3Dx, 3Ex, 3Fx, 3Gx, 3Hx,
3Jx, 3Kx
60Y3213 N
20 Backup battery 93P4905 N
21 TrackPoint caps 91P9642 *
— AC adapter (see “AC adapters” on page 130.)
Parts list 125

LCD FRUs
1
2
4
5
6
7
3
8
126 ThinkPad Edge 13″and E30 Hardware Maintenance Manual

Table 30. Parts list—13.3-inch HD LED-backlight LCD
No. FRU (13.3-inch HD LED-backlight LCD) FRU no. CRU
ID
1 LCD bezel assembly 60Y5527 N
2 Hinges, black
v0196-CTO, 22x, 24x, 25x, 26x, 27x, 28x, 2Ax, 2Bx, 2Cx, 2Dx, 2Ex, 2Fx, 2Gx, 2Hx, 2Mx,
2Px, 2Rx, 2Tx, 2Vx, 2Wx, 2Xx, 2Yx, 32x, 33x, 35x, 36x, 38x, 39x, 3Cx, 3Ex, 3Gx, 3Hx,
3Kx, 3Lx, 3Nx, 3Px, 3Qx, 3Rx, 3Ux, 3Yx, 3Zx, 42x, 43x, 44x, 46x, 47x, 48x, 49x, 4Ax,
4Bx, 4Cx, 4Dx, 4Ex, 4Fx, 4Gx, 4Jx, 4Lx, 4Mx, 4Sx, 4Ux, 4Wx, 4Xx, 4Yx, 54x
v0197-CTO, 22x, 23x, 25x, 27x, 28x, 29x, 2Ax, 2Dx, 2Ex, 2Fx, 2Jx, 2Kx, 2Mx, 2Nx, 2Px,
2Qx, 2Rx, 2Sx, 2Ux, 2Vx, 2Wx, 32x, 33x, 36x, 37x, 38x, 3Ax, 3Bx, 3Cx, 3Fx, 3Gx, 3Hx,
3Kx, 3Lx, 3Mx, 3Nx, 3Px, 3Qx, 3Tx, 3Ux, 3Vx, 3Wx, 3Xx, 3Yx, 3Zx, 42x, 43x, 44x, 45x,
46x, 47x, 48x, 49x, 4Ax, 4Bx, 4Cx, 4Dx, 4Ex, 4Rx, 4Sx, 4Tx, 4Ux, 4Xx, 4Yx, 4Zx, 52x, 53x,
54x, 55x, 56x, 57x, 58x, 59x, 5Ax, 5Bx, 5Cx, 5Dx, 5Ex, 5Xx, 5Yx, 5Zx, 65x, 66x, 67x, 68x,
69x, 6Ax, 6Bx, 6Dx, 6Ex, 6Gx, 6Jx, 6Lx, 6Mx, 6Qx, 6Rx, 6Sx, 6Tx, 6Vx, 6Wx, 6Zx, 73x
v0492-CTO, 22x, 23x, 25x, 28x, 2Bx, 2Cx, 2Fx, 2Gx, 2Hx, 2Jx, 2Kx, 2Lx, 2Mx, 2Sx, 2Tx,
2Vx, 33x, 35x, 36x, 37x, 38x, 39x, 3Ax, 3Dx, 3Fx, 3Gx, 3Jx, 3Kx
60Y5525 N
2 Hinges, black
v0196-CTO, 22x, 24x, 25x, 26x, 27x, 28x, 2Ax, 2Bx, 2Cx, 2Dx, 2Ex, 2Fx, 2Gx, 2Hx, 2Mx,
2Px, 2Rx, 2Tx, 2Vx, 2Wx, 2Xx, 2Yx, 32x, 33x, 35x, 36x, 38x, 39x, 3Cx, 3Ex, 3Gx, 3Hx,
3Kx, 3Lx, 3Nx, 3Px, 3Qx, 3Rx, 3Ux, 3Yx, 3Zx, 42x, 43x, 44x, 46x, 47x, 48x, 49x, 4Ax,
4Bx, 4Cx, 4Dx, 4Ex, 4Fx, 4Gx, 4Jx, 4Lx, 4Mx, 4Sx, 4Ux, 4Wx, 4Xx, 4Yx, 54x
v0197-CTO, 22x, 23x, 25x, 27x, 28x, 29x, 2Ax, 2Dx, 2Ex, 2Fx, 2Jx, 2Kx, 2Mx, 2Nx, 2Px,
2Qx, 2Rx, 2Sx, 2Ux, 2Vx, 2Wx, 32x, 33x, 36x, 37x, 38x, 3Ax, 3Bx, 3Cx, 3Fx, 3Gx, 3Hx,
3Kx, 3Lx, 3Mx, 3Nx, 3Px, 3Qx, 3Tx, 3Ux, 3Vx, 3Wx, 3Xx, 3Yx, 3Zx, 42x, 43x, 44x, 45x,
46x, 47x, 48x, 49x, 4Ax, 4Bx, 4Cx, 4Dx, 4Ex, 4Rx, 4Sx, 4Tx, 4Ux, 4Xx, 4Yx, 4Zx, 52x, 53x,
54x, 55x, 56x, 57x, 58x, 59x, 5Ax, 5Bx, 5Cx, 5Dx, 5Ex, 5Xx, 5Yx, 5Zx, 65x, 66x, 67x, 68x,
69x, 6Ax, 6Bx, 6Dx, 6Ex, 6Gx, 6Jx, 6Lx, 6Mx, 6Qx, 6Rx, 6Sx, 6Tx, 6Vx, 6Wx, 6Zx, 73x
v0492-CTO, 22x, 23x, 25x, 28x, 2Bx, 2Cx, 2Fx, 2Gx, 2Hx, 2Jx, 2Kx, 2Lx, 2Mx, 2Sx, 2Tx,
2Vx, 33x, 35x, 36x, 37x, 38x, 39x, 3Ax, 3Dx, 3Fx, 3Gx, 3Jx, 3Kx
60Y5526 N
2 Hinges, silver
v0196-CTO, 23x, 29x, 2Jx, 2Kx, 2Lx, 2Qx, 2Ux, 2Zx, 34x, 37x, 3Ax, 3Bx, 3Dx, 3Fx, 3Jx,
3Mx, 3Sx, 3Tx, 45x, 4Nx, 4Px, 4Qx, 4Rx, 4Vx, 53x
v0197-CTO, 24x, 26x, 2Cx, 2Hx, 2Lx, 2Tx, 2Zx, 34x, 35x, 39x, 3Dx, 3Ex, 3Jx, 3Rx, 3Sx,
4Fx, 4Gx, 4Hx, 4Jx, 4Kx, 4Lx, 4Mx, 4Nx, 4Px, 4Qx, 4Vx, 4Wx, 5Fx, 5Gx, 5Hx, 5Jx, 5Kx,
5Lx, 5Mx, 5Nx, 5Px, 5Qx, 5Rx, 5Sx, 5Tx, 5Ux, 5Vx, 5Wx, 62x, 63x, 64x, 6Cx, 6Hx, 6Kx,
6Nx, 6Px, 6Ux, 6Xx, 6Yx, 72x
v0492-CTO, 24x, 26x, 29x, 2Ax, 2Dx, 2Ex, 2Nx, 2Px, 2Qx, 2Rx, 2Ux, 2Wx, 2Xx, 2Yx, 2Zx,
32x, 34x, 3Bx, 3Cx, 3Ex, 3Hx
75Y4451 N
2 Hinges, silver
v0196-CTO, 23x, 29x, 2Jx, 2Kx, 2Lx, 2Qx, 2Ux, 2Zx, 34x, 37x, 3Ax, 3Bx, 3Dx, 3Fx, 3Jx,
3Mx, 3Sx, 3Tx, 45x, 4Nx, 4Px, 4Qx, 4Rx, 4Vx, 53x
v0197-CTO, 24x, 26x, 2Cx, 2Hx, 2Lx, 2Tx, 2Zx, 34x, 35x, 39x, 3Dx, 3Ex, 3Jx, 3Rx, 3Sx,
4Fx, 4Gx, 4Hx, 4Jx, 4Kx, 4Lx, 4Mx, 4Nx, 4Px, 4Qx, 4Vx, 4Wx, 5Fx, 5Gx, 5Hx, 5Jx, 5Kx,
5Lx, 5Mx, 5Nx, 5Px, 5Qx, 5Rx, 5Sx, 5Tx, 5Ux, 5Vx, 5Wx, 62x, 63x, 64x, 6Cx, 6Hx, 6Kx,
6Nx, 6Px, 6Ux, 6Xx, 6Yx, 72x
v0492-CTO, 24x, 26x, 29x, 2Ax, 2Dx, 2Ex, 2Nx, 2Px, 2Qx, 2Rx, 2Ux, 2Wx, 2Xx, 2Yx, 2Zx,
32x, 34x, 3Bx, 3Cx, 3Ex, 3Hx
75Y4452 N
Parts list 127

Table 30. Parts list—13.3-inch HD LED-backlight LCD (continued)
No. FRU (13.3-inch HD LED-backlight LCD) FRU no. CRU
ID
3 Wireless LAN antenna cable set
v0196-CTO, 23x, 24x, 25x, 26x, 27x, 28x, 29x, 2Ax, 2Cx, 2Ex, 2Fx, 2Hx, 2Jx, 2Qx, 2Rx,
2Tx, 2Ux, 2Vx, 2Xx, 2Zx, 32x, 33x, 34x, 35x, 36x, 37x, 38x, 39x, 3Ax, 3Bx, 3Cx, 3Dx, 3Ex,
3Fx, 3Gx, 3Hx, 3Jx, 3Kx, 3Lx, 3Mx, 3Nx, 3Px, 3Qx, 3Rx, 3Sx, 3Tx, 3Ux, 3Yx, 3Zx, 43x,
44x, 45x, 46x, 47x, 48x, 49x, 4Bx, 4Cx, 4Dx, 4Ex, 4Fx, 4Gx, 4Jx, 4Lx, 4Mx, 4Nx, 4Px,
4Qx, 4Vx, 4Wx, 4Xx, 4Yx, 53x, 54x
v0197-CTO, 25x, 26x, 27x, 28x, 29x, 2Ax, 2Cx, 2Dx, 2Ex, 2Fx, 2Hx, 2Jx, 2Kx, 2Lx, 2Mx,
2Nx, 2Px, 2Qx, 2Rx, 2Tx, 2Ux, 32x, 33x, 34x, 35x, 36x, 37x, 39x, 3Ax, 3Bx, 3Cx, 3Dx,
3Ex, 3Gx, 3Hx, 3Jx, 3Kx, 3Mx, 3Nx, 3Px, 3Qx, 3Rx, 3Sx, 3Tx, 3Ux, 3Vx, 3Wx, 3Xx, 3Yx,
3Zx, 42x, 43x, 44x, 45x, 46x, 47x, 48x, 49x, 4Ax, 4Bx, 4Cx, 4Dx, 4Ex, 4Fx, 4Gx, 4Hx, 4Jx,
4Kx, 4Lx, 4Mx, 4Nx, 4Px, 4Qx, 4Rx, 4Tx, 4Vx, 4Xx, 4Yx, 4Zx, 52x, 53x, 54x, 55x, 56x,
57x, 58x, 59x, 5Ax, 5Bx, 5Cx, 5Dx, 5Ex, 5Fx, 5Gx, 5Hx, 5Jx, 5Kx, 5Lx, 5Mx, 5Nx, 5Px,
5Qx, 5Rx, 5Sx, 5Tx, 5Ux, 5Vx, 5Wx, 5Xx, 5Yx, 5Zx, 62x, 65x, 68x, 6Bx, 6Cx, 6Dx, 6Ex,
6Gx, 6Hx, 6Jx, 6Kx, 6Lx, 6Nx, 6Qx, 6Sx, 6Tx, 6Ux, 6Vx, 6Wx, 6Xx, 6Yx, 6Zx, 72x, 73x
v0492-CTO, 22x, 23x, 24x, 26x, 28x, 29x, 2Bx, 2Dx, 2Fx, 2Gx, 2Hx, 2Jx, 2Kx, 2Lx, 2Mx,
2Nx, 2Px, 2Qx, 2Rx, 2Sx, 2Ux, 2Vx, 2Wx, 2Xx, 2Yx, 2Zx, 32x, 33x, 34x, 35x, 36x, 37x,
38x, 39x, 3Ax, 3Bx, 3Cx, 3Dx, 3Ex, 3Fx, 3Gx, 3Hx, 3Jx, 3Kx
45M2902 N
4 Integrated camera, 0.3 MP 60Y5744 N
5 LCD rear cover assembly (midnight black, smooth)
v0196-CTO, 24x, 26x, 28x, 2Ax, 2Bx, 2Cx, 2Dx, 2Ex, 2Px, 2Tx, 2Xx, 33x, 35x, 39x, 3Ex,
3Hx, 3Ux, 3Yx, 3Zx, 42x, 43x, 48x, 49x, 4Ax, 4Jx, 4Lx, 4Mx, 4Ux, 4Xx, 54x
v0197-CTO, 25x, 27x, 28x, 2Dx, 2Kx, 2Mx, 2Nx, 2Px, 2Qx, 2Rx, 2Sx, 2Ux, 2Vx, 2Wx, 32x,
3Cx, 3Fx, 3Hx, 3Lx, 3Nx, 3Qx, 45x, 46x, 47x, 48x, 49x, 4Ax, 4Bx, 4Cx, 4Dx, 4Ex, 4Rx,
4Sx, 5Xx, 5Yx, 5Zx, 65x, 66x, 67x, 6Dx, 6Ex, 6Tx, 6Wx
v0492-CTO, 25x, 2Kx, 2Lx, 2Mx, 2Sx, 2Tx, 2Vx, 35x, 39x, 3Ax, 3Dx, 3Gx, 3Kx
60Y5522 N
5 LCD rear cover assembly (midnight black, gloss)
v0196-CTO, 22x, 25x, 27x, 2Fx, 2Gx, 2Hx, 2Mx, 2Rx, 2Vx, 2Wx, 2Yx, 32x, 36x, 38x, 3Cx,
3Gx, 3Kx, 3Lx, 3Nx, 3Px, 3Qx, 3Rx, 44x, 46x, 47x, 4Bx, 4Cx, 4Dx, 4Ex, 4Fx, 4Gx, 4Sx,
4Wx, 4Yx
v0197-CTO, 23x, 29x, 2Ax, 2Ex, 2Fx, 2Jx, 33x, 36x, 37x, 38x, 3Ax, 3Bx, 3Gx, 3Kx, 3Mx,
3Px, 3Tx, 3Ux, 3Vx, 3Wx, 3Xx, 3Yx, 3Zx, 42x, 43x, 44x, 4Tx, 4Ux, 4Xx, 4Yx, 4Zx, 52x,
53x, 54x, 55x, 56x, 57x, 58x, 59x, 5Ax, 5Bx, 5Cx, 5Dx, 5Ex, 68x, 69x, 6Ax, 6Bx, 6Gx, 6Jx,
6Lx, 6Mx, 6Qx, 6Rx, 6Sx, 6Vx, 6Zx, 73x
v0492-CTO, 22x, 23x, 28x, 2Bx, 2Cx, 2Fx, 2Gx, 2Hx, 2Jx, 33x, 36x, 37x, 38x, 3Fx, 3Jx
60Y5523 N
5 LCD rear cover assembly (heatwave red, gloss)
v0196-CTO, 23x, 29x, 2Jx, 2Kx, 2Lx, 2Qx, 2Ux, 2Zx, 34x, 37x, 3Ax, 3Bx, 3Dx, 3Fx, 3Jx,
3Mx, 3Sx, 3Tx, 45x, 4Nx, 4Px, 4Qx, 4Rx, 4Vx, 53x
v0197-CTO, 24x, 26x, 2Cx, 2Hx, 2Lx, 2Tx, 2Zx, 34x, 35x, 39x, 3Dx, 3Ex, 3Jx, 3Rx, 3Sx,
4Fx, 4Gx, 4Hx, 4Jx, 4Kx, 4Lx, 4Mx, 4Nx, 4Px, 4Qx, 4Vx, 4Wx, 5Fx, 5Gx, 5Hx, 5Jx, 5Kx,
5Lx, 5Mx, 5Nx, 5Px, 5Qx, 5Rx, 5Sx, 5Tx, 5Ux, 5Vx, 5Wx, 62x, 63x, 64x, 6Cx, 6Hx, 6Kx,
6Nx, 6Px, 6Ux, 6Xx, 6Yx, 72x
v0492-CTO, 24x, 26x, 29x, 2Ax, 2Dx, 2Ex, 2Nx, 2Px, 2Qx, 2Rx, 2Ux, 2Wx, 2Xx, 2Yx, 2Zx,
32x, 34x, 3Bx, 3Cx, 3Ex, 3Hx
60Y5524 N
6 LCD cable 45M2900 N
7 Wireless LAN/WAN antenna cable set
v0196-CTO, 22x, 2Bx, 2Dx, 2Gx, 2Kx, 2Lx, 2Mx, 2Px, 2Wx, 2Yx, 42x, 4Ax, 4Rx, 4Sx, 4Ux
v0197-CTO, 23x, 24x, 2Sx, 2Vx, 2Wx, 2Zx, 38x, 3Fx, 3Lx, 4Sx, 4Ux, 4Wx, 63x, 64x, 66x,
67x, 69x, 6Ax, 6Mx, 6Px, 6Rx
v0492-CTO, 25x, 2Ax, 2Cx, 2Ex, 2Tx
45M2903 N
8 LCD module, 13.3-inch High Definition (HD) LED-backlight, glair 27R2437 N
8 LCD module, 13.3-inch HD LED-backlight, glair 27R2435 N
8 LCD module, 13.3-inch HD LED-backlight, glair 27R2439 N
128 ThinkPad Edge 13″and E30 Hardware Maintenance Manual

Keyboard
Table 31. Parts list—Keyboard
Language FRU no. CRU
ID
Arabic 60Y9513 60Y9443 N
Belgian 60Y9514 60Y9444
Brazilian Portuguese 60Y9512 60Y9442
Bulgarian 60Y9515 60Y9445
Canadian French (058) 60Y9510 60Y9440
Canadian French (Acnor) 60Y9509 60Y9439
Czech 60Y9516 60Y9446
Danish 60Y9517 60Y9447
Dutch 60Y9527 60Y9457
Finnish, Swedish 60Y9534 60Y9464
French 60Y9519 60Y9449
German 60Y9520 60Y9450
Greek (U.S. English and Greek layout) 60Y9521 60Y9451
Hebrew 60Y9522 60Y9452
Hungarian 60Y9523 60Y9453
Icelandic 60Y9524 60Y9454
Italian 60Y9525 60Y9455
Japanese 60Y9539 60Y9469
Kazakhstan 60Y9526 60Y9456
Korean 60Y9540 60Y9470
Latin American Spanish 60Y9511 60Y9441
Norwegian 60Y9528 60Y9458
Polish 60Y9529 60Y9459
Portuguese 60Y9530 60Y9460
Russian 60Y9531 60Y9461
Slovak 60Y9532 60Y9462
Slovenian 60Y9533 60Y9463
Spanish 60Y9518 60Y9448
Swiss 60Y9535 60Y9465
Thai 60Y9542 60Y9472
Traditional Chinese 60Y9541 60Y9471
Turkish 60Y9536 60Y9466
U.K. English 60Y9537 60Y9467
U.S. English 60Y9508 60Y9438
U.S. English (International, with a Euro symbol) 60Y9538 60Y9468
Parts list 129

AC adapters
Table 32. Parts list—2-pin AC adapters
FRU FRU no. CRU
ID
2-pin (65 W, 20 V) adapter (models CTO, xxE, xxF, xxJ, xxL, xxP, xxS, xxU, xxY) 42T5282 *
2-pin (65 W, 20 V) adapter (models CTO, xxE, xxF, xxJ, xxL, xxP, xxS, xxU, xxY) 42T4423
2-pin (65 W, 20 V) adapter (models CTO, xxE, xxF, xxJ, xxL, xxP, xxS, xxU, xxY) 42T4419
Table 33. Parts list—3-pin AC adapters
FRU FRU no. CRU
ID
3-pin (65 W, 20 V) adapter (models CTO, xxA, xxB, xxG, xxH, xxK, xxM, xxQ, xxT, xxV) 42T5283 *
3-pin (65 W, 20 V) adapter (models CTO, xxA, xxB, xxG, xxH, xxK, xxM, xxQ, xxT, xxV) 42T4421
3-pin (65 W, 20 V) adapter (models CTO, xxA, xxB, xxG, xxH, xxK, xxM, xxQ, xxT, xxV) 42T4417
Miscellaneous parts
Table 34. Parts list—Miscellaneous parts
FRU FRU no. CRU
ID
Screw kit:
vM1.7 ×3 mm (black), wafer head (6)
vM2 ×3 mm (black), wafer head (38)
vM2 ×4 mm (silver), bind head (6)
vM2 ×5 mm (black), wafer head (18)
vM2.5 ×5 mm (black), wafer head (6)
vM3 ×3.5 mm (black), wafer head (3)
60Y5521 N
130 ThinkPad Edge 13″and E30 Hardware Maintenance Manual

Power cords
A ThinkPad power cord for a specific country or region is usually available only in
that country or region:
Table 35. Parts list—2-pin power cords
Country or region FRU no. CRU
ID
Argentina
vmodels -CTO, xxY
42T5020 42T5105 *
Brazil
vmodels -CTO, xxP
42T5180 42T5183
Canada, U.S.
vmodels -CTO, xxF, xxL, xxS, xxU
42T5008 42T5093
Japan
vmodels -CTO, xxE, xxJ
42T5014 42T5099
Table 36. Parts list—3-pin power cords
Country or region FRU no. CRU
ID
Australia, New Zealand
vmodels -CTO, xxM
42T5050 42T5135 *
Bangladesh, Sri Lanka, South Africa
vmodels -CTO, xxG
42T5056 42T5141
Canada, U.S.
vmodels -CTO, xxG, xxT
42T5004 42T5089
China (P.R.C.) (other than Hong Kong S.A.R.)
vmodels -CTO, xxC
42T5065 42T5150
Denmark
vmodels -CTO, xxG
42T5041 42T5126
European countries
vmodels -CTO, xxG
42T5029 42T5114
India
vmodels -CTO, xxQ
42T5083 42T5168
Israel
vmodels -CTO, xxG
42T5062 42T5147
Italy
vmodels -CTO, xxG
42T5047 42T5132
Korea
vmodels -CTO, xxK
42T5077 42T5162
Switzerland
vmodels -CTO, xxG
42T5044 42T5129
Taiwan
vmodels -CTO, xxV
42T5071 42T5156
U.K., China (Hong Kong S.A.R.)
vmodels -CTO, xxB, xxG, xxH
42T5035 42T5120
Parts list 131

Recovery discs
Windows 7 Home Basic (32 bit) DVDs
Windows 7 Home Basic (32 bit) is preinstalled as the operating system in the
following models:
v0196-CTO, 2Zx, 3Hx, 4Fx, 4Gx, 4Jx, 4Lx, 4Nx, 4Px
v0197-CTO, 2Jx, 2Rx, 2Vx, 2Zx, 39x, 3Tx, 3Ux, 3Vx, 3Wx, 3Yx, 3Zx, 42x, 43x, 45x,
46x, 47x, 48x, 4Ax, 4Bx, 4Cx, 4Dx, 4Fx, 4Gx, 4Hx, 4Jx, 4Lx, 4Mx, 4Nx, 4Px
v0492-CTO, 2Fx, 2Gx, 2Hx, 2Kx, 2Lx, 2Nx, 2Px, 2Qx, 2Tx, 32x, 33x, 35x, 36x, 37x,
39x, 3Ax, 3Bx, 3Cx
Table 37. Parts list—Windows 7 Home Basic (32 bit) recovery DVDs
Language P/N CRU
ID
Brazilian Portuguese 58Y4046 *
English 58Y4053
Russian 58Y4049
Russian (English-enabled) 58Y4048
Serbian-Latin 58Y4051
Simplified Chinese 58Y4047
Spanish 58Y4050
Turkish 58Y4052
Windows 7 Home Premium (32 bit) DVDs
Windows 7 Home Premium (32 bit) is preinstalled as the operating system in the
following models:
v0196-CTO, 2Lx, 2Mx, 2Px, 2Yx, 32x, 33x, 34x, 4Ax, 4Dx, 4Mx, 4Qx, 4Rx, 4Sx, 4Ux,
4Yx, 53x, 54x
v0197-CTO, 2Sx, 2Tx, 32x, 38x, 3Mx, 3Nx, 3Rx, 3Xx, 44x, 49x, 4Ex, 4Kx, 4Qx, 63x,
64x, 66x, 67x, 69x, 6Ax, 6Bx, 6Cx, 6Dx
v0492-CTO, 2Jx, 2Mx, 2Rx, 2Sx, 2Ux, 2Vx, 2Wx, 2Zx, 34x, 38x, 3Dx, 3Ex, 3Fx, 3Kx
Table 38. Parts list—Windows 7 Home Premium (32 bit) recovery DVDs
Language P/N CRU
ID
Brazilian Portuguese 58Y4054 *
English 58Y4064
Korean 58Y4058
Russian 58Y4060
Russian (English-enabled) 58Y4059
Simplified Chinese 58Y4055
Spanish 58Y4061
Traditional Chinese 58Y4056
Traditional Chinese (Hong Kong S.A.R.) 58Y4057
132 ThinkPad Edge 13″and E30 Hardware Maintenance Manual

Windows 7 Home Premium (64 bit) DVDs
Windows 7 Home Premium (64 bit) is preinstalled as the operating system in the
following models:
v0196-CTO, 2Ux, 3Qx, 3Rx, 3Sx, 3Tx, 3Ux, 4Cx
v0197-CTO, 25x, 27x, 29x, 2Ax, 2Cx, 2Dx, 2Mx, 2Px, 4Xx, 4Zx, 53x, 55x, 57x, 59x,
5Bx, 5Dx, 5Fx, 5Hx, 5Kx, 5Mx, 5Px, 5Rx, 5Tx, 5Vx, 6Lx, 6Mx, 6Nx, 6Px
v0492-CTO, 2Ax, 2Bx, 2Cx, 2Yx
Table 39. Parts list—Windows 7 Home Premium (64 bit) recovery DVDs
Language P/N CRU
ID
Czech 58Y4125 *
Danish 58Y4126
English 58Y4140
English, Finnish, and Swedish (in Sweden) 58Y4142
English, French, German, and Dutch (in Belgium and Luxemburg) 58Y4141
English, French, German, and Italian (in Switzerland) 58Y4143
French 58Y4127
German 58Y4129
Greek 58Y4128
Hebrew 58Y4130
Hungarian 58Y4131
Italian 58Y4132
Japanese 58Y4133
Polish 58Y4134
Portuguese 58Y4135
Romanian 58Y4136
Serbian-Latin 58Y4523
Slovak 58Y4137
Slovenian 58Y4138
Spanish 58Y4139
Turkish 58Y4524
Parts list 133

Windows 7 Professional (32 bit) DVDs
Windows 7 Professional (32 bit) is preinstalled as the operating system in the
following models:
v0196-CTO, 24x, 29x, 2Cx, 2Ex, 2Fx, 2Hx, 2Jx, 2Xx, 35x, 36x, 3Bx, 3Ex, 3Fx, 3Gx,
3Jx, 3Kx, 3Px, 3Yx, 3Zx, 42x, 44x, 45x, 46x
v0197-CTO, 28x, 2Hx, 2Kx, 2Lx, 33x, 3Ax, 3Cx, 3Dx, 3Fx, 3Gx, 3Jx, 3Lx, 4Rx, 4Tx,
4Vx, 4Yx, 52x, 54x, 56x, 58x, 5Ax, 5Cx, 5Ex, 5Gx, 5Jx, 5Lx, 5Nx, 5Qx, 5Sx, 5Ux,
5Wx, 5Xx, 5Yx, 5Zx, 6Ex, 6Gx, 6Hx, 6Sx, 6Tx, 6Ux, 6Vx, 6Wx, 6Xx, 6Zx, 72x, 73x
v0492-CTO, 22x, 24x, 26x, 3Gx, 3Hx, 3Jx
Table 40. Parts list—Windows 7 Professional (32 bit) recovery DVDs
Language P/N CRU
ID
Arabic 58Y4065 *
Brazilian Portuguese 58Y4066
Czech 58Y4069
Danish 58Y4070
English 58Y4091
English, Finnish, and Swedish (in Sweden) 58Y4093
English, French, German, and Dutch (in Belgium and Luxemburg) 58Y4092
English, French, German, and Italian (in Switzerland) 58Y4094
French 58Y4071
German 58Y4073
Greek 58Y4072
Hebrew 58Y4074
Hungarian 58Y4076
Italian 58Y4077
Japanese 58Y4078
Korean 58Y4079
Norwegian 58Y4080
Polish 58Y4081
Portuguese 58Y4082
Romanian 58Y4084
Russian 58Y4085
Russian (English-enabled) 58Y4083
Serbian-Latin 58Y4089
Simplified Chinese 58Y4067
Slovak 58Y4086
Slovenian 58Y4087
Spanish 58Y4088
Traditional Chinese 58Y4068
Traditional Chinese (Hong Kong S.A.R.) 58Y4075
Turkish 58Y4090
134 ThinkPad Edge 13″and E30 Hardware Maintenance Manual

Windows 7 Professional (64 bit) DVDs
Windows 7 Professional (64 bit) is preinstalled as the operating system in the
following models:
v0196-CTO, 22x, 23x, 25x, 26x, 27x, 28x, 2Ax, 2Bx, 2Dx, 2Gx, 2Kx, 2Vx, 2Wx, 37x,
38x, 39x, 3Ax, 47x
v0197-CTO, 23x, 24x, 26x, 2Ex, 2Fx, 2Qx, 2Wx, 3Px, 3Qx, 3Sx, 4Sx, 4Ux, 4Wx, 6Qx,
6Rx, 6Yx
v0492-CTO, 23x, 25x, 2Dx, 2Ex
Table 41. Parts list—Windows 7 Professional (64 bit) recovery DVDs
Language P/N CRU
ID
Arabic 58Y4095 *
Brazilian Portuguese 58Y4096
Czech 58Y4099
Danish 58Y4100
English 58Y4121
English, Finnish, and Swedish (in Sweden) 58Y4123
English, French, German, and Dutch (in Belgium and Luxemburg) 58Y4122
English, French, German, and Italian (in Switzerland) 58Y4124
French 58Y4101
German 58Y4103
Greek 58Y4102
Hebrew 58Y4104
Hungarian 58Y4106
Italian 58Y4107
Japanese 58Y4108
Korean 58Y4109
Norwegian 58Y4110
Polish 58Y4111
Portuguese 58Y4112
Romanian 58Y4114
Russian 58Y4115
Russian (English-enabled) 58Y4113
Serbian-Latin 58Y4119
Simplified Chinese 58Y4097
Slovak 58Y4116
Slovenian 58Y4117
Spanish 58Y4118
Traditional Chinese 58Y4098
Traditional Chinese (Hong Kong S.A.R.) 58Y4105
Turkish 58Y4120
Parts list 135

Common service tools
Table 42. Parts list—Common service tools
Tool P/N
Screwdriver kit 95F3598
1/4″drive spinner handle 1650840
1/4″Sq. to 1/4″hex torx adapter 93F2838
TR7-TR-10 tamper resistant torx bits 00P6967
Removal tool antenna RF connector 08K7159
USB 2.0 CD-RW/DVD-ROM combo drive II 40Y8687
USB cable 40Y8704
USB floppy diskette drive for maintenance diskette 05K9283
USB floppy diskette drive tool kit 27L3452
Test card for integrated Smart Card 42W7820
LENOVO ThinkPad Hardware Maintenance Diskette Version 1.76 or later
Note: Download the file from the following Web site: http://www.lenovo.com/
spm
—
136 ThinkPad Edge 13″and E30 Hardware Maintenance Manual

Notices
Lenovo may not offer the products, services, or features discussed in this
document in all countries. Consult your local Lenovo representative for
information on the products and services currently available in your area. Any
reference to a Lenovo product, program, or service is not intended to state or
imply that only that Lenovo product, program, or service may be used. Any
functionally equivalent product, program, or service that does not infringe any
Lenovo intellectual property right may be used instead. However, it is the user’s
responsibility to evaluate and verify the operation of any other product, program,
or service.
Lenovo may have patents or pending patent applications covering subject matter
described in this document. The furnishing of this document does not give you
any license to these patents. You can send license inquiries, in writing, to:
Lenovo (United States), Inc.
1009 Think Place - Building One
Morrisville, NC 27560
U.S.A.
Attention: Lenovo Director of Licensing
LENOVO GROUP LTD. PROVIDES THIS PUBLICATION “AS IS” WITHOUT
WARRANTY OF ANY KIND, EITHER EXPRESS OR IMPLIED, INCLUDING, BUT
NOT LIMITED TO, THE IMPLIED WARRANTIES OF NON-INFRINGEMENT,
MERCHANTABILITY OR FITNESS FOR A PARTICULAR PURPOSE. Some
jurisdictions do not allow disclaimer of express or implied warranties in certain
transactions, therefore, this statement may not apply to you.
This information could include technical inaccuracies or typographical errors.
Changes are periodically made to the information herein; these changes will be
incorporated in new editions of the publication. Lenovo may make improvements
and/or changes in the product(s) and/or the program(s) described in this
publication at any time without notice.
The products described in this document are not intended for use in implantation
or other life support applications where malfunction may result in injury or death
to persons. The information contained in this document does not affect or change
Lenovo product specifications or warranties. Nothing in this document shall
operate as an express or implied license or indemnity under the intellectual
property rights of Lenovo or third parties. All information contained in this
document was obtained in specific environments and is presented as an
illustration. The result obtained in other operating environments may vary.
Lenovo may use or distribute any of the information you supply in any way it
believes appropriate without incurring any obligation to you.
Any references in this publication to non-Lenovo Web sites are provided for
convenience only and do not in any manner serve as an endorsement of those Web
sites. The materials at those Web sites are not part of the materials for this Lenovo
product, and use of those Web sites is at your own risk.
Any performance data contained herein was determined in a controlled
environment. Therefore, the result obtained in other operating environments may
© Copyright Lenovo 2009 137

vary significantly. Some measurements may have been made on development-level
systems and there is no guarantee that these measurements will be the same on
generally available systems. Furthermore, some measurements may have been
estimated through extrapolation. Actual results may vary. Users of this document
should verify the applicable data for their specific environment.
Trademarks
The following terms are trademarks of Lenovo in the United States, other countries
or both:
Active Protection System
Lenovo®
Rescue and Recovery®
ThinkPad®
ThinkVantage®
TrackPoint®
UltraNav®
IBM®(used under license) is trademark of the International Business Machines
Corporation in the United States, other countries, or both.
Windows®is trademark of Microsoft Corporation in the United States, other
countries, or both.
Intel®is trademark of Intel Corporation or its subsidiaries in the United States,
other countries, or both:
Other company, product, or service names may be the trademarks or service marks
of others.
138 ThinkPad Edge 13″and E30 Hardware Maintenance Manual

Part Number: 63Y0744
(1P) P/N: 63Y0744

