Lenovo M83M93P Sff Ug Zh Tw 使用手册 (Traditional Chinese) User Guide (Small Form Factor) M83 Desktop (Think Centre) Type 10E8
2016-06-06
使用手册: Lenovo M83M93P Sff Ug Zh Tw (Traditional Chinese) User Guide (Small Form Factor) M83 Desktop (ThinkCentre) - Type 10E8 ThinkCentre M83, Tiny Form Factor
Open the PDF directly: View PDF
.
Page Count: 174 [warning: Documents this large are best viewed by clicking the View PDF Link!]

ThinkCentreM83、M93/p
使用手冊
機型:10A2、10A3、10A8、10A9、10AH、10AJ、10AM和10AN

目錄
重 重
重要 要
要安 安
安全 全
全資 資
資訊 訊
訊. .
.. .
.. .
.. .
.. .
.. .
.. .
.. .
.. .
.. .
.. .
.. .
.. .
.. .
.v v
v
維修與升級.................v
預防靜電..................v
電源線與電源整流器.............vi
延長線及相關裝置..............vi
插頭與插座.................vi
外接式裝置................vii
熱能與產品通風性.............vii
作業環境.................vii
數據機安全資訊..............viii
雷射產品使用遵守事項...........viii
電源供應器聲明..............viii
清潔與維護................viii
第 第
第1 1
1章 章
章. .
.產 產
產品 品
品概 概
概觀 觀
觀. .
.. .
.. .
.. .
.. .
.. .
.. .
.. .
.. .
.. .
.. .
.. .
.1 1
1
功能....................1
規格....................5
Lenovo程式.................5
存取電腦上的程式............5
Lenovo程式簡介.............6
位置....................7
找出電腦正面的接頭、控制項與指示燈....8
找出電腦背面的連接器..........8
找出元件...............11
找出系統主機板上的零件........12
尋找內建磁碟機............15
機型和型號標籤............16
第 第
第2 2
2章 章
章. .
.使 使
使用 用
用您 您
您的 的
的電 電
電腦 腦
腦. .
.. .
.. .
.. .
.. .
.. .
.. .
.. .
.. .
.17 17
17
常見問題.................17
在Windows8和Windows8.1作業系統上導覽不同
的畫面..................17
在Windows8上導覽..........17
在Windows8.1上導覽..........18
在Windows8或Windows8.1作業系統上存取控制
台....................20
使用Windows快速鍵............20
使用滾輪滑鼠...............21
設定電腦音量...............21
在Windows通知區域中新增圖示.......21
使用CD及DVD.............22
處理及儲存CD和DVD媒體.......22
播放CD或DVD............22
燒錄CD或DVD............23
第 第
第3 3
3章 章
章. .
.您 您
您和 和
和您 您
您的 的
的電 電
電腦 腦
腦. .
.. .
.. .
.. .
.. .
.. .
.. .
.. .
.. .
.25 25
25
協助工具和舒適性.............25
安排您的工作區............25
舒適性................25
反光與亮度..............25
通風情形...............26
電源插座及纜線長度..........26
協助工具資訊.............26
登錄您的電腦...............28
將您的電腦移至其他國家或地區.......29
第 第
第4 4
4章 章
章. .
.安 安
安全 全
全. .
.. .
.. .
.. .
.. .
.. .
.. .
.. .
.. .
.. .
.. .
.. .
.. .
.. .
.31 31
31
安全特性.................31
鎖住電腦機殼...............31
連接Kensington型鋼纜鎖..........33
連接鋼纜鎖................34
防止未經授權存取您的電腦.........34
使用指紋鑑別...............35
使用和瞭解防火牆.............35
保護資料不受病毒威脅...........35
第 第
第5 5
5章 章
章. .
.安 安
安裝 裝
裝或 或
或更 更
更換 換
換硬 硬
硬體 體
體. .
.. .
.. .
.. .
.. .
.. .
.. .
.. .
.37 37
37
處理對靜電敏感的裝置...........37
安裝或更換硬體..............37
安裝外部選項.............37
卸下電腦機殼.............37
卸下並重新安裝前方擋板........38
取用系統主機板元件和磁碟機.......39
安裝或更換PCI卡...........40
安裝或更換記憶體模組.........42
更換光碟機..............44
安裝或更換讀卡機組件.........46
安裝或更換前方USB組件........51
更換電池...............55
安裝或更換mSATA固態硬碟.......56
更換電源供應器組件..........61
更換散熱器和風扇組件.........65
更換微處理器.............68
更換機殼開啟開關...........70
更換主要硬碟.............72
安裝或更換次要硬碟..........74
安裝固態硬碟.............80
更換前方風扇組件...........82
更換前方音訊和USB組件........84
更換內建喇叭.............86
更換熱感應器.............88
更換Wi-Fi裝置............90
安裝或卸下後方Wi-Fi天線........95
©CopyrightLenovo2013,2016i i
i

安裝或卸下前方Wi-Fi天線........98
更換鍵盤或滑鼠............101
完成零件的更換............102
第 第
第6 6
6章 章
章. .
.回 回
回復 復
復資 資
資訊 訊
訊. .
.. .
.. .
.. .
.. .
.. .
.. .
.. .
.. .
.. .
.. .
.105 105
105
Windows7作業系統的回復資訊........105
建立與使用回復媒體..........105
執行備份及回復作業..........106
使用RescueandRecovery工作區.....107
建立及使用救援媒體..........107
重新安裝預先安裝的應用程式和裝置驅動程
式..................108
重新安裝軟體程式...........109
重新安裝裝置驅動程式.........109
解決回復問題.............109
Windows8或Windows8.1作業系統的回復資訊.110
重新整理您的電腦...........110
將您的電腦重設成原廠預設值.......110
使用進階啟動選項...........110
在Windows8或Windows8.1無法啟動時回復
您的作業系統.............111
Windows10作業系統的回復資訊.......111
第 第
第7 7
7章 章
章. .
.使 使
使用 用
用Setup Setup
SetupUtility Utility
Utility程 程
程式 式
式. .
.. .
.. .
.. .
.. .
.113 113
113
啟動SetupUtility..............113
檢視及變更設定..............113
使用BIOS密碼..............113
密碼注意事項.............113
Power-OnPassword...........114
AdministratorPassword..........114
HardDiskPassword...........114
設定、變更及刪除密碼.........114
消除遺失或忘記的密碼(清除CMOS)...114
啟用或停用裝置..............115
選取啟動裝置...............115
選取暫時啟動裝置...........115
選取或變更啟動裝置順序........115
啟用ErPLPS相符模式...........116
ICE效能模式...............116
ICE散熱警示...............117
結束SetupUtility程式............117
第 第
第8 8
8章 章
章. .
.更 更
更新 新
新系 系
系統 統
統程 程
程式 式
式. .
.. .
.. .
.. .
.. .
.. .
.. .
.. .
.. .
.119 119
119
使用系統程式...............119
更新BIOS................119
從POST/BIOS更新失敗中回復........119
第 第
第9 9
9章 章
章. .
.預 預
預防 防
防問 問
問題 題
題. .
.. .
.. .
.. .
.. .
.. .
.. .
.. .
.. .
.. .
.. .
.121 121
121
讓您的電腦保持在最新狀態.........121
取得您電腦適用的最新裝置驅動程式....121
取得最新的系統更新..........121
清潔與維護................121
基本要點...............122
清潔您的電腦.............122
良好的保養習慣............123
移動您的電腦...............124
第 第
第10 10
10章 章
章. .
.疑 疑
疑難 難
難排 排
排解 解
解與 與
與診 診
診斷 斷
斷. .
.. .
.. .
.. .
.. .
.. .
.. .
.125 125
125
基本疑難排解...............125
疑難排解程序...............125
疑難排解.................126
音效.................127
CD問題...............128
DVD問題...............128
間歇性問題..............130
鍵盤、滑鼠或指標裝置問題........130
顯示器問題..............131
網路問題...............132
選用設備問題.............135
效能及鎖定問題............135
印表機問題..............137
序列埠問題..............137
軟體.................137
USB裝置問題.............138
LenovoSolutionCenter............139
第 第
第11 11
11章 章
章. .
.取 取
取得 得
得資 資
資訊 訊
訊、 、
、說 說
說明 明
明及 及
及服 服
服務 務
務. .
.. .
.. .
.. .
.141 141
141
資訊資源.................141
Windows說明系統...........141
安全及保固..............141
Lenovo網站..............141
Lenovo支援網站............141
說明及服務................142
使用說明文件及診斷程式........142
電話服務...............142
使用其他服務.............143
購買其他服務.............143
附 附
附錄 錄
錄A. A.
A.注 注
注意 意
意事 事
事項 項
項. .
.. .
.. .
.. .
.. .
.. .
.. .
.. .
.. .
.. .
.. .
.. .
.145 145
145
商標...................145
附 附
附錄 錄
錄B. B.
B.法 法
法規 規
規資 資
資訊 訊
訊. .
.. .
.. .
.. .
.. .
.. .
.. .
.. .
.. .
.. .
.. .
.. .
.147 147
147
出口貨品分類注意事項...........147
電子放射注意事項.............147
美國聯邦通訊委員會相容性聲明......147
歐亞法規符合標誌.............149
巴西音訊注意事項.............149
墨西哥無線通訊法規/標準符合資訊......149
其他法規資訊...............149
附 附
附錄 錄
錄C. C.
C.WEEE WEEE
WEEE和 和
和回 回
回收 收
收資 資
資訊 訊
訊. .
.. .
.. .
.. .
.. .
.. .
.. .
.151 151
151
重要WEEE資訊..............151
iiThinkCentreM83、M93/p使用手冊

日本回收資訊...............151
巴西回收資訊...............152
台灣的電池回收資訊............152
歐盟的電池回收資訊............152
附 附
附錄 錄
錄D. D.
D.有 有
有害 害
害物 物
物質 質
質限 限
限制 制
制(RoHS) (RoHS)
(RoHS)指 指
指令 令
令. .
.. .
.155 155
155
歐盟RoHS................155
土耳其RoHS...............155
烏克蘭RoHS...............155
印度RoHS................155
中國RoHS................156
臺灣限用物質含有情況標示(TaiwanRoHS)...156
附 附
附錄 錄
錄E. E.
E.ENERGY ENERGY
ENERGYSTAR STAR
STAR機 機
機型 型
型資 資
資訊 訊
訊. .
.. .
.. .
.157 157
157
索 索
索引 引
引. .
.. .
.. .
.. .
.. .
.. .
.. .
.. .
.. .
.. .
.. .
.. .
.. .
.. .
.. .
.. .
.. .
.. .
.159 159
159
©CopyrightLenovo2013,2016iii iii
iii

ivThinkCentreM83、M93/p使用手冊

重要安全資訊
警 警
警告 告
告: :
:
使 使
使用 用
用本 本
本手 手
手冊 冊
冊之 之
之前 前
前, ,
,請 請
請務 務
務必 必
必閱 閱
閱讀 讀
讀並 並
並瞭 瞭
瞭解 解
解所 所
所有 有
有和 和
和本 本
本產 產
產品 品
品相 相
相關 關
關的 的
的安 安
安全 全
全資 資
資訊 訊
訊。 。
。請 請
請參 參
參閱 閱
閱本 本
本章 章
章節 節
節中 中
中的 的
的資 資
資訊 訊
訊, ,
,以 以
以及 及
及本 本
本產 產
產品 品
品隨 隨
隨
附 附
附之 之
之
安 安
安
全 全
全
、 、
、
保 保
保
固 固
固
和 和
和
設 設
設
定 定
定
手 手
手
冊 冊
冊
中 中
中的 的
的安 安
安全 全
全資 資
資訊 訊
訊。 。
。閱 閱
閱讀 讀
讀並 並
並瞭 瞭
瞭解 解
解本 本
本安 安
安全 全
全資 資
資訊 訊
訊可 可
可降 降
降低 低
低發 發
發生 生
生人 人
人員 員
員傷 傷
傷害 害
害及 及
及產 產
產品 品
品損 損
損壞 壞
壞的 的
的風 風
風險 險
險。 。
。
如果您遺失
安全、保固和設定手冊
的副本,可從Lenovo®支援中心網站http://www.lenovo.com/support取
得可攜式文件格式(PDF)版本。Lenovo支援中心網站也會以其他語言提供
安全、保固和設定手冊
以及本
使用手冊
。
維修與升級
請勿嘗試自行維修產品,除非客戶支援中心或說明文件指示您這麼做。並請僅將產品送至經核准修理您特
定產品的「服務提供者」。
附 附
附註 註
註: :
:客戶可以自行升級或更換部分電腦零件。升級通常為選用項目。客戶獲准可自行安裝的更換零件
稱為「客戶可自行更換組件」或CRU。對於客戶可自行安裝的選用設備或自行更換的CRU,Lenovo都
會提供說明文件。安裝或更換零件時,您必須嚴格遵循所有指示。電源指示燈「熄滅」時,並不一定表
示產品內部的電壓位準為零。當您要為配備電源線的產品卸下外殼前,請確定已關閉電源,而且產品電
源線並未連接任何電源。如需相關資訊,請參閱第37頁第5章「安裝或更換硬體」。如果您有任何問
題或考量,請與客戶支援中心聯絡。
雖然在拔掉電源線之後,電腦內的零件都已停止運作,但為了您的安全,仍必須提出下列警告。
警 警
警告 告
告: :
:
危 危
危險 險
險的 的
的運 運
運作 作
作中 中
中零 零
零件 件
件。 。
。手 手
手指 指
指和 和
和身 身
身體 體
體其 其
其他 他
他部 部
部分 分
分不 不
不可 可
可靠 靠
靠近 近
近。 。
。
警 警
警告 告
告: :
:
打 打
打開 開
開電 電
電腦 腦
腦機 機
機殼 殼
殼之 之
之前 前
前, ,
,請 請
請先 先
先關 關
關閉 閉
閉電 電
電腦 腦
腦並 並
並等 等
等待 待
待數 數
數分 分
分鐘 鐘
鐘直 直
直到 到
到電 電
電腦 腦
腦冷 冷
冷卻 卻
卻。 。
。
預防靜電
靜電雖然對人體無害,但卻可能嚴重損壞電腦元件和選用設備。若不當處理靜電敏感零件,可能會損壞
零件。當您打開選用配備或CRU的外包裝時,請勿開啟內含零件的防靜電保護袋,直到有指示引導
您安裝該零件。
處理選用設備或CRU,或者在電腦內部執行作業時,請採取下列預防措施,以免靜電引起損壞:
•盡量不要移動。移動會導致您周圍產生靜電。
•處理元件時請小心。在處理配接卡、記憶體模組及其他電路板時,請抓住邊緣。切勿觸摸外露的電路。
•防止他人碰觸元件。
©CopyrightLenovo2013,2016v v
v

•當您安裝選用配備或CRU時,請將內含零件的防靜電保護袋,與金屬擴充槽外殼或電腦上其他未經塗飾
的金屬表面碰觸至少兩秒鐘。如此可減少保護袋及您身體上的靜電。
•可能的話,將對靜電敏感的零件從防靜電保護袋取出後,請立即安裝,不要讓零件離手。如果無法立即安
裝零件,請將防靜電保護袋放在平滑的表面上,再將零件放置其上。
•請勿將零件放在電腦外殼及其他金屬表面上。
電源線與電源整流器
僅限使用產品製造廠商所提供的電源線和電源整流器。請勿將AC電源線用於其他裝置。
電源線須通過安全檢驗。在德國,電源線必須是H03VV-F、3G、0.75mm2(與電源整流器連接的電源
線),H05VV-F、3G、0.75mm2(與內部電源供應器組件連接的電源線),或更高等級的型號。在其他
國家必須根據規定使用適當的規格。
請勿將電源線纏繞在電源整流器或其他物品上。這麼做會導致電線磨損、斷裂或捲曲,可能會造成安全危害。
務必將電源線佈線在不會被人踩到、使人絆倒或會被物品夾壓到的地方。
避免電線及電源整流器接觸液體。例如,請勿將電源線或電源整流器放在洗手槽、浴缸、廁所附近,或使用
液體清潔劑清理過的地板上。液體可能會引起短路,尤其是在電源線或電源整流器因不當使用而壓壞的情況
下。液體還會使電源線端子及(或)電源整流器上的接頭端子逐漸腐蝕,最後導致過熱。
確保所有電源線接頭都穩固地且完全地插入插座。
請勿使用任何交流電輸入接腳已腐蝕,或交流電輸入處或電源整流器上任何地方有過熱跡象(如塑料
變形)的電源整流器。
若電源線的任一端電源接點有腐蝕或過熱跡象,或電源線有任何損壞,請勿使用。
延長線及相關裝置
確定所使用的延長線、穩壓保護器、不斷電系統(UPS)和多孔延長線符合產品的用電要求。請勿超載使用
這些裝置。如果使用多孔延長線,負載不應超過多孔延長線輸入額定功率。若您對於電源負載、電力需
求及輸入功率有疑問,請向電氣技術人員請教。
插頭與插座
如果電腦設備所使用的插座(電源插座)看起來已損壞或腐蝕,請讓合格的電氣技術人員更換插座後再使用。
請勿彎曲或變更插頭。如果插頭損壞,請聯絡製造廠商,以便更換新插頭。
請勿與耗用大量電力的其他家用或商用電器共用電源插座;否則,不穩的電壓可能會損壞您的電腦、
資料,或連接的裝置。
某些產品配有三叉插頭。這類插頭只適合接地電源插座。這是安全特殊裝置。請勿嘗試將三相插頭插入不接
地的插座,否則安全特殊裝置會失效。如果您無法將插頭插入插座,請與電氣技術人員聯絡,取得經核准的
插座整流器,或將插座更換為可使用這類安全特殊裝置的插座。請勿超載使用電源插座。整體系統負載不應
超過分支電路額定功率的百分之八十。若您對於電源負載及分支電路功率有疑問,請向電氣技術人員請教。
請確定所使用的電源插座已適當配線、便於使用,且位於設備附近。請勿將電源線完全拉開,致使其
受到拉扯。
請確定電源插座所輸出的電壓和電流符合產品的需求。
viThinkCentreM83、M93/p使用手冊

從電源插座拔出或插入設備電源線時應當小心。
外接式裝置
除非外接裝置使用通用序列匯流排(USB)和1394接線,不然請勿在電腦開啟電源期間,連接或拔除外接裝
置的接線;否則,可能會損壞電腦。為了避免損壞所連接裝置,請在電腦關機後等待至少五秒鐘,才卸
除外接式裝置。
熱能與產品通風性
在開啟電源以及電池正在充電時,電腦、電源整流器和許多配件都會發熱。請務必遵循下列基本預防措施:
•當電腦、電源整流器或配件正在運作或電池正在充電時,請勿讓它們和膝部或身體的任何部位接觸過
久。在一般操作期間,您的電腦、電源整流器和許多配件都會發熱。長久接觸身體可能會引起不舒服
或潛在的皮膚灼傷。
•請勿在易燃物附近或易爆炸的環境下為電池充電,或操作電腦、電源整流器和配件。
•為了安全、舒適和可靠的操作,本產品提供通風槽、風扇及散熱器。這些特殊裝置可能會由於產品放置在
床、沙發、地毯或其他彈性表面上而無法發揮功能。切勿阻礙、遮蓋或停用這些特殊裝置。
請至少每三個月檢查一次桌上型電腦的灰塵堆積狀況。在檢查電腦之前,請關閉電源並從電源插座拔除電腦
電源線;然後清除通風口和擋板縫隙間的灰塵。當您注意到外部有灰塵堆積時,請檢查並清除電腦內部的
灰塵,包括散熱器散熱片、電源供應器通風口以及風扇。在打開機殼之前,請務必關閉電腦電源並拔除
接線。儘量避免在人來人往附近2英尺的範圍內操作電腦。如果必須在人來人往之處或附近操作電腦,
請經常檢查電腦並進行必要的清理。
為了安全起見並使您的電腦保持最佳效能,使用桌上型電腦時,請遵循下列基本預防措施:
•電腦插電時,外殼務必蓋上。
•定期檢查電腦外部是否有灰塵堆積。
•清除擋板通風孔和所有縫隙內的灰塵。在灰塵較多或人來人往區域,可能要更頻繁地清理電腦。
•請勿阻塞通風口或限制其開口大小。
•請勿在傢俱中儲存或操作您的電腦,因為這樣會讓電腦過熱。
•電腦周圍的溫度不能超過35°C(95°F)。
•請勿安裝空氣濾淨裝置。該裝置有礙適當冷卻。
作業環境
使用電腦的最佳環境溫度宜在10°C-35°C(50°F-95°F),濕度宜介於35%到80%。如果電腦的儲存或運輸
環境溫度低於10°C(50°F),請在使用電腦之前,讓低溫的電腦緩慢回升到最佳作業溫度,即10°C-35°C
(50°F-95°F)。在極端的情況下,這個程序可能耗費兩個小時。如果沒有讓電腦進入最佳作業溫度就開機使
用,可能會導致電腦損壞無法修復。
如果可以,請將電腦置於通風良好的乾燥區域,並且避免陽光直射。
請讓您的電腦遠離電風扇、收音機、大功率喇叭、冷氣機、及微波爐等電器,因為這些電器所產生的強大
磁場,會損壞螢幕與硬碟中的資料。
請勿將飲料放置於電腦或其他所連接裝置的上方或旁邊。如果液體潑灑或流入電腦或所連接裝置,可
能會引起短路或其他損壞。
請勿在鍵盤上方飲食或抽煙。掉入鍵盤的微粒會造成損毀。
©CopyrightLenovo2013,2016vii vii
vii

數據機安全資訊
警 警
警告 告
告: :
:
為 為
為了 了
了減 減
減少 少
少火 火
火災 災
災發 發
發生 生
生的 的
的危 危
危險 險
險, ,
,請 請
請務 務
務必 必
必使 使
使用 用
用Underwriters Underwriters
UnderwritersLaboratories Laboratories
Laboratories(UL) (UL)
(UL)所 所
所列 列
列出 出
出或 或
或經 經
經過 過
過加 加
加拿 拿
拿大 大
大標 標
標準 準
準協 協
協會 會
會
(Canadian (Canadian
(CanadianStandards Standards
StandardsAssociation, Association,
Association,CSA CSA
CSA) )
)認 認
認證 證
證的 的
的No. No.
No.26 26
26AWG AWG
AWG( (
(含 含
含) )
)以 以
以上 上
上( (
(例 例
例如 如
如No. No.
No.24 24
24AWG AWG
AWG) )
)的 的
的電 電
電話 話
話線 線
線。 。
。
如欲在使用電話設備時,降低火災、觸電或傷害的危險,請務必遵循基本的安全預防措施,例如:
•在雷雨期間,請勿安裝電話線路。
•請勿將電話插座安裝於潮濕處,除非該電話插座是特別針對潮濕位置而設計的。
•請勿碰觸非隔離的電話線或終端機,除非該電話線已經自網路介面拔除。
•安裝或修改電話線時,請小心謹慎。
•請避免在雷雨期間使用電話(無線型電話除外)。因為可能會有遠端閃電電擊的危險。
•請勿在瓦斯外洩區附近,使用電話報告瓦斯外洩情形。
雷射產品使用遵守事項
警 警
警告 告
告: :
:
安 安
安裝 裝
裝雷 雷
雷射 射
射產 產
產品 品
品( (
(如 如
如CD-ROM CD-ROM
CD-ROM、 、
、DVD DVD
DVD光 光
光碟 碟
碟機 機
機、 、
、光 光
光纖 纖
纖裝 裝
裝置 置
置或 或
或轉 轉
轉送 送
送器 器
器) )
)時 時
時, ,
,請 請
請注 注
注意 意
意下 下
下列 列
列事 事
事項 項
項: :
:
• •
•請 請
請勿 勿
勿卸 卸
卸下 下
下外 外
外蓋 蓋
蓋。 。
。卸 卸
卸下 下
下雷 雷
雷射 射
射產 產
產品 品
品的 的
的外 外
外蓋 蓋
蓋可 可
可能 能
能導 導
導致 致
致曝 曝
曝露 露
露於 於
於危 危
危險 險
險的 的
的雷 雷
雷射 射
射輻 輻
輻射 射
射。 。
。裝 裝
裝置 置
置內 內
內沒 沒
沒有 有
有可 可
可維 維
維修 修
修的 的
的零 零
零件 件
件。 。
。
• •
•如 如
如果 果
果沒 沒
沒有 有
有按 按
按照 照
照此 此
此處 處
處所 所
所列 列
列規 規
規定 定
定來 來
來控 控
控制 制
制、 、
、調 調
調整 整
整或 或
或執 執
執行 行
行程 程
程序 序
序的 的
的話 話
話, ,
,可 可
可能 能
能會 會
會導 導
導致 致
致輻 輻
輻射 射
射外 外
外洩 洩
洩的 的
的危 危
危險 險
險。 。
。
危 危
危險 險
險
某 某
某些 些
些雷 雷
雷射 射
射產 產
產品 品
品包 包
包含 含
含內 內
內嵌 嵌
嵌式 式
式3A 3A
3A類 類
類或 或
或3B 3B
3B類 類
類雷 雷
雷射 射
射二 二
二極 極
極體 體
體。 。
。請 請
請注 注
注意 意
意下 下
下列 列
列事 事
事項 項
項: :
:
在 在
在開 開
開啟 啟
啟時 時
時, ,
,會 會
會有 有
有雷 雷
雷射 射
射輻 輻
輻射 射
射。 。
。請 請
請勿 勿
勿注 注
注視 視
視光 光
光束 束
束、 、
、勿 勿
勿直 直
直接 接
接用 用
用光 光
光學 學
學儀 儀
儀器 器
器檢 檢
檢視 視
視, ,
,並 並
並避 避
避免 免
免直 直
直接 接
接曝 曝
曝露 露
露於 於
於光 光
光束 束
束之 之
之中 中
中。 。
。
電源供應器聲明
切勿卸下電源供應器外蓋或貼有下列標籤的任何組件。
貼有這些標籤的任何元件內部存有危險電壓、電流和能量。這些元件內部沒有可維修的零件。如果您懷疑其
中任何一個零件有問題,請洽詢維修技術人員處理。
清潔與維護
請保持電腦與工作區的清潔。清理電腦之前,請先關閉電腦並且拔除電源線。請勿直接對電腦噴灑清潔劑,
或者使用任何含有可燃性物質的清潔劑來清理電腦。請將清潔劑噴灑在軟布上,然後擦拭電腦表面。
viiiThinkCentreM83、M93/p使用手冊

第1章產品概觀
本章提供電腦功能、規格、由Lenovo提供之軟體程式、接頭位置、元件、系統主機板上零件與內部磁碟
機的相關資訊。
功能
本節介紹電腦功能。此資訊適用於各種型號。
微處理器
如果要檢視您電腦的微處理器資訊,請執行下列動作:
•在Microsoft®Windows®7作業系統上,按一下開 開
開始 始
始,用滑鼠右鍵按一下電 電
電腦 腦
腦,然後選取內 內
內容 容
容以檢視資訊。
•在MicrosoftWindows8或Windows8.1作業系統上,移至桌面並將指標移至螢幕右上角或右下角以顯示快
速鍵。然後按一下設 設
設定 定
定➙ ➙
➙電 電
電腦 腦
腦資 資
資訊 訊
訊以檢視資訊。
•在MicrosoftWindows10作業系統上,按一下「開始」按鈕以開啟「開始」功能表。然後,按一下設 設
設定 定
定
➙ ➙
➙系 系
系統 統
統➙ ➙
➙關 關
關於 於
於以檢視資訊。
記 記
記憶 憶
憶體 體
體
您的電腦支援多達四組雙倍資料傳輸率3的無緩衝雙直列記憶體模組(DDR3UDIMM)。
內 內
內部 部
部磁 磁
磁碟 碟
碟機 機
機
•mSATA固態硬碟(選用)
•光碟機:DVD-ROM或DVD-Rambo(選用)
•序列式先進附加技術(SATA)硬碟
•SATA固態硬碟(選用)
附 附
附註 註
註: :
:您的電腦支援eSATA和SATA3.0裝置。如需相關資訊,請參閱第12頁「找出系統主機
板上的零件」。
視 視
視訊 訊
訊子 子
子系 系
系統 統
統
•適用於視訊圖形陣列(VGA)接頭和兩個DisplayPort®接頭的整合圖形卡
•獨立圖形卡在系統主機板上的「週邊元件交互連接(PCI)」Expressx16圖形卡槽
音 音
音訊 訊
訊子 子
子系 系
系統 統
統
•整合式高清晰度(HD)音訊
•後方面板的音訊輸入連接器、音訊輸出連接器和麥克風連接器
•前方面板的麥克風連接器和耳機連接器
•內建喇叭(選配)
連 連
連通 通
通性 性
性
•100/1000Mbps整合乙太網路控制器
•PCI傳真數據機(選配)
系 系
系統 統
統管 管
管理 理
理特 特
特性 性
性
©CopyrightLenovo2013,20161 1
1

•儲存開機自我測試(POST)硬體測試結果的能力
•桌面管理介面(DMI)
桌面管理介面為使用者提供通用途徑,以存取電腦所有層面的相關資訊,包括處理器類型、安裝日期、連
接的印表機和其他周邊設備、電源以及維護記錄。
•ErP相符模式
電源相關的產品導向(ErP)相符模式可在電腦處於待命或關閉模式時減少耗電量。如需相關資訊,
請參閱第116頁「啟用ErPLPS相符模式」。
•Intel®StandardManageability
IntelStandardManageability是將特定功能內建在電腦中的一種硬體及韌體技術,主要是為了讓企業以較少
的花費更輕鬆地進行監視、維護、更新、升級和修復。
•IntelActiveManagementTechnology(AMT)(選配)
IntelActiveManagementTechnology是將特定功能內建在電腦中的一種硬體及韌體技術,主要是為了讓企
業以較少的花費更輕鬆地進行監視、維護、更新、升級和修復。
•IntelMatrixStorageManager
IntelMatrixStorageManager是一種裝置驅動程式,可為特定Intel晶片系統主機板上的SATARAID5陣
列和SATARAID10陣列提供支援以強化硬碟效能。
•開機前執行環境(PXE)
開機前執行環境是使用與資料儲存裝置(例如硬碟機)及所安裝作業系統無關之網路介面啟動電腦的
環境。
•IntelligentCoolingEngine(ICE)
IntelligentCoolingEngine是一項系統散熱管理解決方案,可讓您的電腦以較佳的散熱和消聲效能執行。
ICE功能也會監測您電腦的散熱效能以識別散熱問題。如需相關資訊,請參閱第116頁「ICE效能模
式」及第117頁「ICE散熱警示」。
•系統管理(SM)基本輸入/輸出系統(BIOS)和SM軟體
SMBIOS規格在允許使用者或應用程式儲存及擷取特定電腦相關資訊的BIOS中定義資料結構和
存取方法。
•WakeonLAN
WakeonLAN是允許透過網路訊息開啟或喚醒電腦的一種乙太網路電腦網路標準。此訊息通常由另一台
在相同區域網路中的電腦所執行的程式送出。
•WakeonRing
WakeonRing(有時稱為WakeonModem)是讓支援的電腦和裝置從睡眠或休眠模式回復的規格。
•WindowsManagementInstrumentation(WMI)
WindowsManagementInstrumentation是一組WindowsDriverModel擴充,其提供檢測元件藉以提供資
訊及通知的作業系統介面。
2 2
2ThinkCentreM83、M93/p使用手冊

輸 輸
輸入 入
入/ /
/輸 輸
輸出 出
出(I/O) (I/O)
(I/O)功 功
功能 能
能
•9插腳序列埠(一個標準,一個選配)
•八個通用序列匯流排(USB)接頭(前方面板兩個,後方面板六個)
•一個乙太網路接頭
•一個PersonalSystem/2(PS/2)鍵盤接頭(選配)
•一個PS/2滑鼠接頭(選配)
•一個VGA顯示器接頭
•後方面板的三個音訊接頭(音訊線路輸入接頭、音訊線路輸出接頭和麥克風接頭)
•前方面板的兩個音訊連接器(麥克風連接器和耳機連接器)
•兩個DisplayPort接頭
如需相關資訊,請參閱第8頁「找出電腦正面的接頭、控制項與指示燈」及第8頁「找出電腦背面的
連接器」。
擴 擴
擴充 充
充
•一個機槽組件
•一個PCI卡片插槽(ThinkCentre®M93/p電腦提供)
•一個PCIExpressx1卡槽
•一個PCIExpressx16圖形卡槽
•一個PCIExpress卡槽(實體鏈結寬度x16,可協調式鏈結寬度x4、x1)
•第12頁「找出系統主機板上的零件」.
如需相關資訊,請參閱第15頁「尋找內建磁碟機」及第12頁「找出系統主機板上的零件」。
電 電
電源 源
源供 供
供應 應
應器 器
器
您的電腦配備240瓦自動電壓感應電源供應器。
安 安
安全 全
全特 特
特性 性
性
•啟用或停用裝置的能力
•個別啟用或停用USB接頭的能力
•內嵌在韌體中的ComputraceAgent軟體
•機殼開啟開關(又稱為入侵開關)
•具備指紋辨識器的鍵盤(選配)
•開機密碼(POP)、管理者密碼和硬碟密碼,可防止有人未經授權使用您的電腦
•支援Kensington型鋼纜鎖
•支援小鎖
•啟動順序控制
•於無鍵盤或滑鼠的情況下啟動
•信任平台模組(TPM)
如需相關資訊,請參閱第31頁第4章「安全」。
預 預
預先 先
先安 安
安裝 裝
裝的 的
的軟 軟
軟體 體
體程 程
程式 式
式
第1章.產品概觀3 3
3

您的電腦已預先安裝一些軟體程式,讓您的工作更容易、更安全。如需相關資訊,請參閱第5頁「Lenovo
程式」。
預 預
預先 先
先安 安
安裝 裝
裝的 的
的作 作
作業 業
業系 系
系統 統
統
您的電腦有預先安裝下列一個作業系統:
•MicrosoftWindows7作業系統
•MicrosoftWindows8作業系統
•MicrosoftWindows8.1作業系統
•MicrosoftWindows10作業系統
通 通
通過 過
過相 相
相容 容
容性 性
性認 認
認證 證
證或 或
或測 測
測試 試
試的 的
的作 作
作業 業
業系 系
系統 統
統1(視型號而異)
•Linux®
1.本說明文件付印時,此處所列的作業系統正在進行相容性認證或測試。本手冊出版之後,可能有其他的作業系統經
Lenovo確認與您的電腦相容。本清單得隨時變更。如果要判斷作業系統是否通過相容性認證或測試,請查看作業系
統供應商的網站。
4 4
4ThinkCentreM83、M93/p使用手冊

規格
本節列出電腦的實體規格。
尺 尺
尺寸 寸
寸
寬度:102公釐(4.02吋)
高度:338公釐(13.31吋)
厚度:375公釐(14.76吋)
重 重
重量 量
量
出貨時的最大配置:7.8公斤(17.20磅)
環 環
環境 境
境
•氣溫:
運作中:10°C至35°C(50°F至95°F)
儲存空間(原裝):-40°C至60°C(-40°F至140°F)
儲存空間(不含包裝):-10°C至60°C(14°F至140°F)
•濕度:
運作中:20%至80%(非凝結)
儲存空間:20%至90%(非凝結)
•海拔:
運作中:-15.2至3048公尺(-50至10000英尺)
儲存空間:-15.2至10668公尺(-50至35000英尺)
電 電
電源 源
源輸 輸
輸入 入
入
•輸入電壓:
–低範圍:
最小值:100交流電電壓
最大值:127交流電電壓
輸入頻率:50/60Hz
–高範圍:
最小值:200交流電電壓
最大值:240交流電電壓
輸入頻率:50/60Hz
Lenovo程式
您的電腦隨附Lenovo程式,讓您的工作更容易、更安全。程式可能會視預先安裝的Windows作業系
統而有所不同。
存取電腦上的程式
附 附
附註 註
註: :
:在Windows7上,可能會有部分Lenovo程式已準備就緒可供安裝,您必須手動進行安裝。之後,您就
可以存取並使用這些程式。如果要安裝準備就緒可供安裝的程式,請開啟LenovoThinkVantage®Tools程式,
然後使用條列檢視程式圖示。遵循已變灰色圖示下的指示,找出所要程式的圖示。按兩下圖示以安裝程式。
如果要存取電腦上的程式,請執行下列其中一項動作:
•Windows7或Windows10:
第1章.產品概觀5 5
5

–使用Windows搜尋:
1.根據您的Windows版本,執行下列其中一項動作:
–Windows7:按一下「開始」按鈕開啟「開始」功能表,然後在搜尋方塊中輸入程式名稱。
–Windows10:在「開始」按鈕旁的搜尋方塊中輸入程式名稱。
2.在搜查結果中,按一下所需程式的名稱以啟動該程式。
–使用開始功能表或控制台:
1.按一下「開始」按鈕以開啟「開始」功能表。然後按一下所需程式的名稱以啟動該程式。
2.如果沒有顯示程式名稱,請在Windows7中按一下所 所
所有 有
有程 程
程式 式
式,或是在Windows10中按一下所 所
所有 有
有應 應
應
用 用
用程 程
程式 式
式,即可顯示程式清單。在清單或清單中的資料夾按一下所需程式的名稱以啟動程式。
3.如果程式名稱沒有顯示在「開始」功能表中,請從「控制台」存取程式。
a.根據您的Windows版本,執行下列其中一項動作:
–Windows7:按一下「開始」功能表中的控 控
控制 制
制台 台
台。
–Windows10:用滑鼠右鍵按一下「開始」按鈕以開啟「開始」快速功能表,然後按一下
控 控
控制 制
制台 台
台。
b.使用大圖示或小圖示檢視控制台,然後按一下所需程式的名稱以啟動程式。
•Windows8或Windows8.1:
1.按下Windows按鍵移至開始畫面。按一下所需程式的名稱以啟動該程式。
2.如果您找不到需要的程式,根據您的Windows版本,執行下列其中一項動作:
–Windows8:將指標移至螢幕右下角以顯示快速鍵。然後按一下搜 搜
搜尋 尋
尋快速鍵,以搜尋需要的程式。
–Windows8.1:按一下螢幕左下角的箭頭圖示移至應用程式畫面。在應用程式清單中找到所要
的程式,或是在螢幕右上角的搜尋方塊中搜尋所要的程式。
Lenovo程式簡介
本節提供作業系統可使用之主要Lenovo程式的相關資訊。
附 附
附註 註
註: :
:視電腦型號而定,下列某些程式可能不適用。
•僅限Windows7:
–Create Create
CreateRecovery Recovery
RecoveryMedia Media
Media
CreateRecoveryMedia程式只能讓您將C磁碟機或整個儲存磁碟機還原為原廠預設值。
–Lenovo Lenovo
LenovoPowerENGAGE PowerENGAGE
PowerENGAGE
LenovoPowerENGAGE程式可讓您向Lenovo登錄電腦。
–Message Message
MessageCenter Center
CenterPlus Plus
Plus
MessageCenterPlus程式會自動顯示訊息通知您Lenovo的重要注意事項,例如系統更新警示,以
及需要您關注的狀況警示。
–Rescue Rescue
Rescueand and
andRecovery Recovery
Recovery® ®
®
RescueandRecovery程式是單一按鍵的回復與還原解決方案。其中包括一組自行回復工具,可協助您
診斷電腦問題、取得協助,並從系統損毀中回復,即使無法啟動Windows作業系統時亦可。
•僅限Windows10:
–Lenovo Lenovo
LenovoID ID
ID
LenovoID程式可讓您建立LenovoID,透過單一登入存取所有支援的Lenovo程式和網路入口網站。
•Windows8和Windows8.1:
6 6
6ThinkCentreM83、M93/p使用手冊

–Lenovo Lenovo
LenovoSupport Support
Support
LenovoSupport程式可讓您向Lenovo登錄您的電腦、檢查電腦性能狀況和電池狀態、下載並檢視電腦
的使用手冊、取得電腦的保固資訊以及查看說明和支援資訊。
•Windows7、Windows8和Windows8.1:
–Fingerprint Fingerprint
FingerprintManager Manager
ManagerPro Pro
Pro或 或
或ThinkVantage ThinkVantage
ThinkVantageFingerprint Fingerprint
FingerprintSoftware Software
Software
FingerprintManagerPro或ThinkVantageFingerprintSoftware程式可讓您使用指紋辨識器。部分鍵盤所
提供的整合式指紋辨識器可讓您註冊指紋,將指紋關聯於開機密碼、硬碟密碼及Windows密碼。因
此,指紋鑑別可以取代密碼,讓使用者存取時更簡單又安全。
–Password Password
PasswordManager Manager
Manager
PasswordManager程式可自動擷取及填寫用於Windows程式和網站的鑑別資訊。
–System System
SystemUpdate Update
Update
SystemUpdate程式可定期為您的電腦取得系統更新,包括裝置驅動程式更新、軟體更新,以及BIOS
更新。此程式可為您的電腦蒐集LenovoHelpCenter上新的更新項目相關資訊,然後排序並顯示更新
項目以供下載及安裝。您可以完全掌控想要下載和安裝哪些更新項目。
•Windows7、Windows8.1和Windows10:
–Lenovo Lenovo
LenovoBluetooth Bluetooth
BluetoothLock Lock
Lock
LenovoBluetoothLock程式可以讓您將藍芽裝置(例如您的智慧型手機)當做用來自動鎖定或解除
鎖定電腦的近接感應式裝置。藉由偵測電腦與您所攜帶且經過預先定義之藍芽裝置的距離,Lenovo
BluetoothLock程式會在您離開或回到電腦前的時候,分別自動將電腦鎖定或解除鎖定。萬一您忘記鎖
定電腦,這個簡單的方法便可保護您的電腦避免未經授權的存取。
•Windows8、Windows8.1和Windows10:
–Lenovo Lenovo
LenovoCompanion Companion
Companion
您電腦的各種最佳功能都應該易於存取及瞭解。有了LenovoCompanion,正是如此。使用Lenovo
Companion來執行下列作業:
–最佳化您的電腦效能、監視您電腦的性能,以及管理更新。
–存取使用手冊、檢查保固狀態,以及查看為您電腦量身打造的專屬配件。
–閱讀說明作業要領的文章、探索Lenovo論壇,以及透過受信賴的來源所提供的文章和部落格隨
時掌握最新的科技消息。
LenovoCompanion擁有豐富的專屬Lenovo內容,可協助您進一步瞭解可以使用電腦執行的作業。
•Windows7、Windows8、Windows8.1和Windows10:
–Lenovo Lenovo
LenovoDevice Device
DeviceExperience Experience
Experience或 或
或Lenovo Lenovo
LenovoPC PC
PCExperience Experience
Experience
LenovoDeviceExperience或LenovoPCExperience程式可讓您更輕鬆、更安全地工作。此程式可讓您
輕鬆存取LenovoThinkVantageTools或LenovoTools、電腦的重要設定和相關資訊、Lenovo支援
中心網站等等。
–Lenovo Lenovo
LenovoSolution Solution
SolutionCenter Center
Center
LenovoSolutionCenter程式可協助您進行疑難排解並解決電腦問題。這個程式結合了診斷測試、系統
資訊收集、安全狀態和支援資訊,並且會提供能充分發揮系統效能的提示與要訣。
–Power Power
PowerManager Manager
Manager
PowerManager程式會為您的電腦提供方便、彈性且完整的電源管理。它可以讓您調整電腦電源設
定,以便在效能與省電之間取得最佳的平衡。
位置
本節提供資訊以協助您找到電腦前後的接頭、系統主機板上的零件與電腦中的元件及內建磁碟機。
第1章.產品概觀7 7
7

附 附
附註 註
註: :
:您電腦中的元件外觀可能與圖例稍有不同。
找出電腦正面的接頭、控制項與指示燈
第8頁圖例1「正面接頭、控制項與指示燈位置」顯示電腦正面接頭、控制項與指示燈的位置。
圖 例 1. 正 面 接 頭 、 控 制 項 與 指 示 燈 位 置
1光碟機退出/關閉按鈕2電源按鈕
3硬碟活動指示燈4電源指示燈
5讀卡機指示燈(選配)6讀卡機插槽(選配)
7USB3.0接頭(USB埠2)8麥克風接頭
9耳機接頭10USB3.0接頭(USB埠1)
找出電腦背面的連接器
•第9頁圖例2「ThinkCentreM93/p背面接頭位置」顯示ThinkCentreM93/p電腦背面的接頭位置。某些
位於電腦背面的接頭是以顏色來編碼,以協助您判斷纜線要連接到電腦的哪個位置。
•第10頁圖例3「ThinkCentreM83背面接頭位置」顯示ThinkCentreM83電腦背面的接頭位置。某些位
於電腦背面的接頭是以顏色來編碼,以協助您判斷纜線要連接到電腦的哪個位置。
8 8
8ThinkCentreM83、M93/p使用手冊

4
3
5 6 7 8
34
56 7 8
圖 例 2. ThinkCentre M93/p 背 面 接 頭 位 置
1電源線接頭2VGA顯示器接頭
3序列埠14DisplayPort接頭(2)
5USB3.0接頭(USB埠5和6)6USB3.0接頭(USB埠7和8)
7USB2.0接頭(USB埠3至4)8麥克風接頭
9音訊線路輸出接頭10音訊線路輸入接頭
11PCIExpressx16圖形卡槽12PCIExpress卡槽(實體鏈結寬度x16,可協調式鏈結寬度x4、
x1)
13PCI卡插槽14PCIExpressx1卡槽
15選用序列埠(序列埠2)16乙太網路接頭
17鋼纜鎖插槽(2)18PS/2鍵盤與滑鼠連接器(選配)
19安全鎖插槽
第1章.產品概觀9 9
9

4
3
34
5678
6
58
7
圖 例 3. ThinkCentre M83 背 面 接 頭 位 置
1電源線接頭2VGA顯示器接頭
3序列埠14DisplayPort接頭(2)
5USB3.0接頭(USB埠5和6)6USB2.0接頭(USB埠7和8)
7USB2.0接頭(USB埠3至4)8麥克風接頭
9音訊線路輸出接頭10音訊線路輸入接頭
11PCIExpressx16圖形卡槽12PCIExpress卡槽(實體鏈結寬度x16,可協調式鏈結寬度x4、
x1)
13PCIExpressx1卡槽14選用序列埠(序列埠2)
15乙太網路接頭16鋼纜鎖插槽(2)
17PS/2鍵盤與滑鼠連接器(選配)18安全鎖插槽
接 接
接頭 頭
頭說 說
說明 明
明
音訊線路輸入接頭用來接收來自外接音訊裝置,如立體音響系統的音訊信號。當您連接外接音訊裝置
時,會利用纜線來連接裝置的音訊輸出接頭和電腦的音訊輸入接頭。
音訊線路輸出接頭用來將音訊信號從電腦傳送至外接裝置,如有電源供電的立體聲喇叭(內建擴音
器的喇叭)、耳機、多媒體鍵盤,或是立體音響系統或其他外接式錄音裝置上
的音訊輸入接頭。
DisplayPort接頭用來連接高效能顯示器、直接驅動顯示器,或是其他使用DisplayPort接頭的裝置。
乙太網路接頭用來連接區域網路(LAN)的乙太網路纜線。
附 附
附註 註
註: :
:如果要讓電腦的運作符合FCCClassB限制,請使用Category5乙太網
路電纜。
麥克風接頭當您想錄製聲音或是使用語音辨識軟體時,請將麥克風接到電腦上的這個接頭。
10 10
10ThinkCentreM83、M93/p使用手冊

接 接
接頭 頭
頭說 說
說明 明
明
PS/2鍵盤接頭(選配)用來連接使用PS/2鍵盤連接器的鍵盤。
PS/2滑鼠連接器(選配)用來連接使用PS/2滑鼠接頭的滑鼠、軌跡球或其他指標裝置。
序列埠用來連接外接式數據機、序列式印表機或其他使用9插腳序列埠的裝置。
USB接頭用來連接需要USB接頭的裝置,如USB鍵盤、USB滑鼠、USB掃描器或USB
印表機。如果您的USB裝置超過八個,您可以購買USB集線器,用來連接更多
USB裝置。
VGA顯示器接頭用來連接VGA顯示器或其他使用VGA顯示器接頭的裝置。
找出元件
第11頁圖例4「元件位置」顯示電腦各種元件的位置。如果要卸下電腦機殼,請參閱第37頁「卸
下電腦機殼」。
圖 例 4. 元 件 位 置
第1章.產品概觀11 11
11

1散熱器和風扇隔板2散熱器和風扇組件
3微處理器4電源供應器組件
5記憶體模組6光碟機
7讀卡機組件(選配)8前方音訊和USB組件
9前方擋板10系統風扇組件
11熱感應器12內建喇叭(選配)
13機殼開啟開關(選配)14硬碟或固態硬碟
15PCI卡(ThinkCentreM93/p電腦提供)
找出系統主機板上的零件
•第13頁圖例5「ThinkCentreM93/p主機板零件位置」顯示ThinkCentreM93/p電腦主機板上的
零件位置。
•第14頁圖例6「ThinkCentreM83主機板零件位置」顯示ThinkCentreM83電腦主機板上的零件位置。
12 12
12ThinkCentreM83、M93/p使用手冊

30
圖 例 5. ThinkCentre M93/p 主 機 板 零 件 位 置
1PS/2鍵盤與滑鼠接頭24插腳電源接頭
3微處理器4微處理器風扇接頭
5記憶體插槽1(DIMM1)6記憶體插槽2(DIMM2)
7記憶體插槽3(DIMM3)8記憶體插槽4(DIMM4)
9熱感應器接頭10硬碟風扇接頭
114插腳SATA電源接頭(2)1214插腳電源接頭
13eSATA接頭14並列埠連接器
15SATA3.0接頭(3)16電源風扇接頭
17前方面板接頭18前方USB接頭2(用於連接前方擋板上的USB埠1與2)
18前方USB接頭2(用於連接前方擋板上的USB
埠1與2)
20清除CMOS(互補金屬氧化物半導體)/回復跳接器
21序列埠(COM2)接頭22內部喇叭接頭
23前方音訊接頭24PCI卡插槽
25PCIExpress卡槽(實體鏈結寬度x16,可協
調式鏈結寬度x4、x1)
26PCIExpressx1卡槽
27PCIExpressx16圖形卡槽28系統風扇接頭
29機殼開啟開關接頭(入侵開關接頭)30電池
第1章.產品概觀13 13
13

14
15
16
17181920212223
24
25
26
27
28
29
圖 例 6. ThinkCentre M83 主 機 板 零 件 位 置
1PS/2鍵盤與滑鼠接頭24插腳電源接頭
3微處理器4微處理器風扇接頭
5記憶體插槽1(DIMM1)6記憶體插槽2(DIMM2)
7記憶體插槽3(DIMM3)8記憶體插槽4(DIMM4)
9熱感應器接頭10硬碟風扇接頭
114插腳SATA電源接頭(2)1214插腳電源接頭
13eSATA接頭14並列埠連接器
15SATA3.0接頭(3)16電源風扇接頭
17前方面板接頭18前方USB接頭2(用於連接前方擋板上的USB埠1
與2)
19前方USB接頭1(用於連接其他USB裝置)20清除CMOS(互補金屬氧化物半導體)/回復跳接器
21序列埠(COM2)接頭22內部喇叭接頭
23前方音訊接頭24PCIExpress卡槽(實體鏈結寬度x16,可協調式鏈結寬
度x4、x1)
25PCIExpressx1卡槽26PCIExpressx16圖形卡槽
27系統風扇接頭28機殼開啟開關接頭(入侵開關接頭)
29電池
14 14
14ThinkCentreM83、M93/p使用手冊

尋找內建磁碟機
內接式磁碟機是電腦用來讀取和儲存資料的裝置。您可以在電腦上增加磁碟機,以擴充儲存容量,以及
讓您的電腦能夠讀取其他類型的媒體。內部磁碟機安裝在機槽中。
安裝或更換內部磁碟機時,請務必注意每個機槽所能安裝或更換的磁碟機類型和大小,並且正確地將纜
線連接至已安裝的裝置。請參閱第37頁「安裝或更換硬體」中的適當章節,瞭解如何安裝或更換電
腦內部磁碟機的相關指示。
第15頁圖例7「磁碟機機槽的位置」顯示磁碟機機槽的位置。
圖 例 7. 磁 碟 機 機 槽 的 位 置
1機槽1-光碟機槽(部分型號已安裝光碟機)
2機槽2-讀卡機機槽(部分型號已安裝讀卡機組件、前方USB組件或mSATA固態硬碟)
3機槽3-主要SATA硬碟機槽(已安裝3.5吋SATA硬碟)
4機槽4-輔助SATA硬碟機槽(已安裝選用的2.5吋SATA硬碟)
第1章.產品概觀15 15
15

機型和型號標籤
機型和型號標籤可用來識別您的電腦。當您聯絡Lenovo請求協助時,機型和型號資訊可讓支援技術人員識
別您的電腦,並提供更快速的服務。
以下是機型和型號標籤的範例。
圖例8.機型和型號標籤
16 16
16ThinkCentreM83、M93/p使用手冊

第2章使用您的電腦
本章提供使用部分電腦元件的相關資訊。
常見問題
以下提供幾項提示,協助您以最佳方式使用您的電腦。
我是否可以取得其他語言的使用手冊?
Lenovo支援中心網站會提供各種語言版本的使用手冊,網址為:
http://www.lenovo.com/UserManuals
我的回復光碟組或回復USB隨身碟位於何處?
根據您的Windows版本,您的電腦隨附回復光碟組或回復USB隨身碟。如果電腦未配備,請聯絡
Lenovo客戶支援中心以訂購回復光碟組或回復USB隨身碟。如需Lenovo支援中心電話號碼清單,
請前往http://www.lenovo.com/support/phone。如果找不到所在國家或地區的支援電話號碼,請聯絡您的
Lenovo轉銷商。
我可以在那裡找到Windows作業系統的說明?
請參閱第141頁「Windows說明系統」。
我可以變更Windows8.1啟動行為,讓它開啟桌面或開始畫面嗎?
在Windows8.1作業系統上,您可以將電腦設定為預設開啟桌面或開始畫面。如果要設定預設的啟動畫
面,請執行下列動作:
1.在桌面上,將指標移至螢幕底部的工作列,然後用滑鼠右鍵按一下工作列。
2.按一下內 內
內容 容
容。此時會顯示工作列與瀏覽內容視窗。
3.在瀏 瀏
瀏覽 覽
覽標籤中,找出開 開
開始 始
始畫 畫
畫面 面
面區段,然後執行下列其中一項:
•如果要將桌面設定為預設啟動畫面,請選取當 當
當我 我
我登 登
登入 入
入或 或
或關 關
關閉 閉
閉畫 畫
畫面 面
面上 上
上所 所
所有 有
有應 應
應用 用
用程 程
程式 式
式時 時
時顯 顯
顯示 示
示桌 桌
桌面 面
面, ,
,
而 而
而不 不
不要 要
要顯 顯
顯示 示
示開 開
開始 始
始畫 畫
畫面 面
面以顯示勾號。
•如果要將開始畫面設定為預設啟動畫面,請移除當 當
當我 我
我登 登
登入 入
入或 或
或關 關
關閉 閉
閉畫 畫
畫面 面
面上 上
上所 所
所有 有
有應 應
應用 用
用程 程
程式 式
式時 時
時顯 顯
顯示 示
示桌 桌
桌面 面
面, ,
,而 而
而
不 不
不要 要
要顯 顯
顯示 示
示開 開
開始 始
始畫 畫
畫面 面
面勾選框的勾號。
4.按一下確 確
確定 定
定,以儲存新的設定。
Windows8作業系統並未提供這個功能。
在Windows8和Windows8.1作業系統上導覽不同的畫面
本節提供如何在Windows8和Windows8.1作業系統上,在桌面、開始畫面,以及從開始畫面開啟的應
用程式之間導覽的相關指示。如需詳細指示,請參閱第17頁「在Windows8上導覽」或第18頁「在
Windows8.1上導覽」。
在Windows8上導覽
在Windows8作業系統上,如果要在桌面、開始畫面,以及從開始畫面開啟的應用程式之間導覽,請執
行下列其中一項動作:
•從開始畫面,執行下列其中一項動作來導覽至最近存取的工作區(應用程式、電腦設定或桌面):
–使用指標裝置:將指標移至螢幕的左下角尖端,直到小的工作區表示圖顯示出來,然後按一下表示圖。
©CopyrightLenovo2013,201617 17
17

–使用觸控螢幕:在螢幕的左邊滑入然後滑出。所有可用工作區的表示圖會沿著螢幕的左邊顯示
出來。輕點底部的工作區表示圖。
附 附
附註 註
註: :
:只有在系統背景中至少有一個作用中的工作區時,才會顯示工作區表示圖。
•從桌面或任何其他從開始畫面開啟的工作區,執行下列其中一項動作來導覽至開始畫面:
–使用指標裝置:將指標移至螢幕的左下角尖端,直到小的開始畫面表示圖顯示出來,然後按一下
表示圖。
–使用觸控螢幕:執行下列其中一項動作:
–在螢幕的左邊滑入然後滑出。所有可用工作區的表示圖會沿著螢幕的左邊顯示出來。輕點底部
的開始畫面表示圖。
–從螢幕右邊滑入以顯示快速鍵,然後輕點開 開
開始 始
始。
•從任何工作區(開始畫面、桌面、電腦設定,或是從開始畫面開啟的應用程式),使用下列任何一個程序
移至另一個您先前已開啟的工作區:
–如果要導覽至先前存取的工作區(應用程式、電腦設定或桌面),請執行下列其中一項動作:
–使用指標裝置:
1.請執行下列其中一項:
•將指標移至螢幕的左上角尖端,然後沿著螢幕左邊向下移動指標。
•將指標移至螢幕的左下角尖端,然後沿著螢幕左邊向上移動指標。
所有可用工作區的表示圖會沿著螢幕的左邊顯示出來。
附 附
附註 註
註: :
:只有您曾經在目前的Windows階段作業期間存取過的作用中工作區,才會沿著左邊顯示
出來。如果您關閉某個作用中工作區,其表示圖就不會沿著螢幕左邊顯示。
2.按一下表示圖。
–使用觸控螢幕:
•方法1
1.在螢幕的左邊滑入然後滑出。所有可用工作區的表示圖會沿著螢幕的左邊顯示出來。
2.輕點所要的工作區。
•方法2
1.從螢幕左邊滑入以導覽至下一個可用的工作區。
2.重複步驟1,直到您導覽至所要的工作區。
–如果要導覽至最近存取的工作區(應用程式、電腦設定或桌面),請執行下列其中一項動作:
–使用指標裝置:將指標移至螢幕的左上角尖端,直到小的工作區表示圖顯示出來,然後按一下
表示圖。
–使用觸控螢幕:從螢幕的左邊滑入。
如需有關使用Windows8作業系統其他功能的資訊,請參閱Windows說明系統。如需相關資訊,請參
閱第141頁「Windows說明系統」。
在Windows8.1上導覽
在Windows8.1作業系統上,如果要在桌面、開始畫面,以及從開始畫面開啟的應用程式之間導覽,
請執行下列其中一項動作:
•從開始畫面,執行下列其中一項動作來導覽至最近存取的工作區(應用程式、設定或桌面):
–使用指標裝置:將指標移至螢幕的左下角尖端,直到Windows螢幕控制圖示顯示出來,然後按一
下圖示。
18 18
18ThinkCentreM83、M93/p使用手冊

–使用觸控螢幕:在螢幕的左邊滑入然後滑出。所有可用工作區的表示圖會沿著螢幕的左邊顯示出
來。輕點底部的Windows螢幕控制圖示。
附 附
附註 註
註: :
:只有在系統背景中至少有一個作用中的工作區時,才會顯示Windows螢幕控制圖示。
•從桌面或任何其他從開始畫面開啟的工作區,執行下列其中一項動作來導覽至開始畫面:
–使用指標裝置:
–從桌面,按一下螢幕左下角的Windows螢幕控制圖示。
–從任何其他工作區,將指標移至螢幕的左下角尖端,直到Windows螢幕控制圖示顯示出
來,然後按一下圖示。
–使用觸控螢幕:執行下列其中一項動作:
–從桌面,輕點螢幕左下角的Windows螢幕控制圖示。
–從任何其他工作區,執行下列其中一項動作:
•在螢幕的左邊滑入然後滑出。所有可用工作區的表示圖會沿著螢幕的左邊顯示出來。輕點底
部的Windows螢幕控制圖示。
•從螢幕右邊滑入以顯示快速鍵,然後輕點開 開
開始 始
始。
•從任何工作區(開始畫面、桌面、電腦設定,或是從開始畫面開啟的應用程式),使用下列任何一個程序
移至另一個您先前已開啟的工作區:
–如果要導覽至先前存取的工作區(應用程式、設定或桌面),請執行下列其中一項動作:
–使用指標裝置:
1.請執行下列其中一項:
•將指標移至螢幕的左上角尖端,然後沿著螢幕左邊向下移動指標。
•將指標移至螢幕的左下角尖端,然後沿著螢幕左邊向上移動指標。
所有可用工作區的表示圖會沿著螢幕的左邊顯示出來。
附 附
附註 註
註: :
:只有您曾經在目前的Windows階段作業期間存取過的作用中工作區,才會沿著左邊顯示
出來。如果您關閉某個作用中工作區,其表示圖就不會沿著螢幕左邊顯示。
2.按一下表示圖。
–使用觸控螢幕:
•方法1
1.在螢幕的左邊滑入然後滑出。所有可用工作區的表示圖會沿著螢幕的左邊顯示出來。
2.輕點所要的工作區。
•方法2
1.從螢幕左邊滑入以導覽至下一個可用的工作區。
2.重複步驟1,直到您導覽至所要的工作區。
–如果要導覽至最近存取的工作區(應用程式、電腦設定或桌面),請執行下列其中一項動作:
–使用指標裝置:將指標移至螢幕的左上角尖端,直到Windows螢幕控制圖示顯示出來,然
後按一下圖示。
–使用觸控螢幕:從螢幕的左邊滑入。
如需有關使用Windows8.1作業系統其他功能的資訊,請從開始畫面或應用程式畫面開啟說 說
說明 明
明+ +
+訣 訣
訣竅 竅
竅應用程
式,或參閱Windows說明系統。如需相關資訊,請參閱第141頁「Windows說明系統」。
第2章.使用您的電腦19 19
19

在Windows8或Windows8.1作業系統上存取控制台
在Windows作業系統上,您可以透過控制台檢視及變更電腦設定。若要在Windows8或Windows8.1作業
系統上存取控制台,請執行下列其中一項動作:
•從桌面
1.將指標移至螢幕右上角或右下角以顯示快速鍵。
2.按一下設 設
設定 定
定。
3.按一下控 控
控制 制
制台 台
台。
•從開始畫面
–Windows8:
1.將指標移至螢幕右上角或右下角以顯示快速鍵。
2.按一下搜 搜
搜尋 尋
尋。
3.在應用程式畫面上,捲動到右邊,然後按一下Windows Windows
Windows系 系
系統 統
統區段中的控 控
控制 制
制台 台
台。
–Windows8.1:
1.按一下螢幕左下角的箭頭圖示移至應用程式畫面。
2.捲動到右邊,然後按一下Windows Windows
Windows系 系
系統 統
統區段中的控 控
控制 制
制台 台
台。
使用Windows快速鍵
標準鍵盤及指紋辨識鍵盤都有提供3個可跟MicrosoftWindows作業系統搭配使用的按鍵。
•兩個Windows標誌按鍵位在空格鍵左右兩側的Alt鍵旁邊。這兩個按鍵有Windows圖示標誌。在
Windows7或Windows10作業系統上,按下Windows按鍵以開啟「開始」功能表。在Windows8或
Windows8.1作業系統上,按下Windows按鍵在現行工作區和開始畫面之間切換。視鍵盤類型而
定,Windows標誌的樣式也有所不同。
•快速功能表按鍵位在空格鍵右側的Ctrl鍵旁邊。按下快速功能表按鍵可開啟作用中程式、圖示或
物件的快速功能表。
附 附
附註 註
註: :
:您可使用滑鼠,或向上及向下鍵來反白功能表選項。在Windows7作業系統上,您可以按一下滑鼠或
按下Esc鍵,來關閉開 開
開始 始
始功能表或快速功能表。
20 20
20ThinkCentreM83、M93/p使用手冊

使用滾輪滑鼠
滾輪滑鼠具有下列控制項:
1主要滑鼠按鈕使用此按鈕,可選取或啟動程式或功能表項目。
2滾輪使用滾輪來控制滑鼠的捲動動作。您旋轉滾輪的方向,可以控制捲動動作的方向。
3次要滑鼠按鈕使用此按鈕,可顯示作用中程式、圖示或物件的功能表。
您可以切換主要和次要滑鼠按鈕的功能,並透過Windows控制台中的滑鼠內容功能變更其他預設行為。
設定電腦音量
如果要設定電腦音量,請執行下列動作:
1.按一下工作列上Windows通知區域中的音量圖示。
附 附
附註 註
註: :
:如果Windows通知區域中沒有顯示音量圖示,請將該圖示新增至通知區域。請參閱第21頁
「在Windows通知區域中新增圖示」。
2.遵循螢幕上的指示調整音量。按一下喇叭圖示,可讓音效變成靜音。
在Windows通知區域中新增圖示
如果要在Windows通知區域中新增圖示,請執行下列動作:
1.按一下通知區域旁的箭頭以檢視隱藏的圖示。然後按一下想要的圖示,並將它拖曳到通知區域中。
2.如果沒有顯示圖示,請開啟該圖示。
a.根據您的Windows版本,執行下列其中一項動作:
•Windows7:按一下「開始」按鈕以開啟「開始」功能表,然後按一下控 控
控制 制
制台 台
台。使用大圖示或小圖
示檢視控制台,然後按一下通 通
通知 知
知區 區
區域 域
域圖 圖
圖示 示
示➙ ➙
➙開 開
開啟 啟
啟或 或
或關 關
關閉 閉
閉系 系
系統 統
統圖 圖
圖示 示
示。
•Windows8或Windows8.1:開啟控制台。使用大圖示或小圖示檢視控制台,然後按一下通 通
通知 知
知區 區
區
域 域
域圖 圖
圖示 示
示➙ ➙
➙開 開
開啟 啟
啟或 或
或關 關
關閉 閉
閉系 系
系統 統
統圖 圖
圖示 示
示。
附 附
附註 註
註: :
:如需如何在Windows8和Windows8.1上開啟控制台的詳細資訊,請參閱第20頁「在
Windows8或Windows8.1作業系統上存取控制台」。
•Windows10:按一下「開始」按鈕開啟「開始」功能表。然後,按一下設 設
設定 定
定➙ ➙
➙系 系
系統 統
統➙ ➙
➙通 通
通知 知
知與 與
與控 控
控
制 制
制項 項
項目 目
目➙ ➙
➙開 開
開啟 啟
啟或 或
或關 關
關閉 閉
閉系 系
系統 統
統圖 圖
圖示 示
示。
b.開啟所要的圖示。
3.如果Windows通知區域仍然沒有顯示該圖示,請重複步驟1。
第2章.使用您的電腦21 21
21

使用CD及DVD
您的電腦可能已安裝了DVDROM光碟機或可燒錄的DVD光碟機。DVD光碟機使用業界標準12公分
(4.75吋)的CD媒體或DVD媒體。如果您的電腦隨附DVD光碟機,此光碟機可讀取DVD-ROM光碟、
DVD-R光碟、DVD-RAM光碟、DVD-RW光碟及所有類型的CD,例如CD-ROM光碟、CD-RW光碟、
CD-R光碟和音訊CD。如果配有可燒錄的DVD光碟機,則還可以燒錄到DVD-R光碟、DVD-RW光碟、
類型II的DVD-RAM光碟、CD-RW標準和高速光碟,以及CD-R光碟。
使用DVD光碟機時,請遵循以下準則:
•請勿將電腦光碟機放置於會暴露於以下環境的位置:
–高溫
–高濕度
–過多灰塵
–劇烈震動或突然撞擊
–不平表面
–陽光直射
•請勿將CD或DVD以外的任何物件插入光碟機。
•移動電腦之前,請先從光碟機中移除CD或DVD。
處理及儲存CD和DVD媒體
CD和DVD媒體耐用可靠,但仍需特別小心處理。處理及儲存CD或DVD時,請遵循以下準則:
•拿起光碟時請握住其邊緣。請勿接觸到沒有標籤的一面。
•如果要除去灰塵或指紋,請使用乾淨的軟布從中央向外將光碟擦拭乾淨。如果用畫圈的方向擦拭光
碟,可能會流失資料。
•請勿在光碟上寫東西或黏貼紙張。
•請勿塗寫或標示光碟。
•請勿將光碟放置於陽光下直射。
•請勿使用苯、稀釋劑或其他清潔劑清理光碟。
•請勿扔摔或彎曲光碟。
•請勿將已損壞的光碟插入磁碟機。彎曲、有刮痕或不乾淨的光碟會損壞光碟機。
播放CD或DVD
如果您的電腦隨附DVD光碟機,您就可以聆聽音訊CD或觀看DVD影片。若要播放CD或DVD,請
執行下列動作:
1.按下DVD光碟機上的「退出/載入」按鈕以開啟托盤。
2.托盤完全伸出後,將CD或DVD放入托盤中。部分DVD光碟機在托盤中央具有固定軸。如果您的光
碟機配有固定軸,請用一隻手支撐托盤,然後向下壓CD或DVD中心直到卡入定位。
3.再按一次「退出/載入」按鈕或往前輕推托盤,托盤就會關閉。此時會自動啟動CD或DVD播放程
式。如需相關資訊,請參閱CD或DVD播放程式說明系統。
若要從DVD光碟機取出CD或DVD,請執行下列動作:
1.在電腦開啟的情況下,按下「退出/載入」按鈕。托盤自動滑出後,小心地將光碟取出。
2.按下「退出/載入」按鈕,或輕輕推入托盤,以關閉托盤。
22 22
22ThinkCentreM83、M93/p使用手冊

24 24
24ThinkCentreM83、M93/p使用手冊

第3章您和您的電腦
本章提供協助工具、舒適性以及如何將電腦重新安置在其他國家或地區的相關資訊。
協助工具和舒適性
良好的人體工學習慣是非常重要的,不但能發揮您個人電腦的最大效能,同時也能避免不適的感覺。請佈置
您的工作區和所使用的設備,以適合您的個人需要及所執行的工作種類。此外,也請養成健全的工作習慣,
讓您在使用電腦時能發揮最大的效能和最佳的舒適度。
下列主題可提供關於佈置工作區、設定電腦設備,以及建立健康工作習慣等的資訊。
安排您的工作區
若要充分利用電腦,請妥善放置您使用的設備及工作區,以符合需要及工作類型。舒適與否為首要重點,但
光源、通風情況及電源插座位置也會影響工作區的安排。
舒適性
雖然沒有一個理想工作位置是適合所有人,在此仍提供下列準則來協助您尋找最適合的位置。
久坐於同一個位置會導致疲倦。椅背和椅座應分開調整,提供最佳支撐。椅座前面應該有一個弧度,以減輕
大腿的壓力。調整椅座時,應該讓大腿與地面平行,雙腳平放在地面或腳踏上。
使用鍵盤時,前臂應該與地面平行,手腕保持舒適均衡的位置。試著稍微碰觸到鍵盤,讓雙手和手指能夠放
鬆。您可以調整鍵盤腳架的位置來變更鍵盤角度,以找出最舒適的操作方式。
調整顯示器,螢幕的頂端應該在水平視線上或是視線略下方。將顯示器置於舒適的視線距離,通常是
51到61公分(20到24吋),並擺好位置,以便檢視時不必彎曲身體。此外,請將您經常使用的其
他設備(如電話或滑鼠)置於伸手可及的位置。
反光與亮度
顯示器的位置擺放,應該盡量避免頂燈、窗戶及其他光源的反光。發亮表面所產生的反射光線也會導致顯
示器螢幕上令人目眩的反光。顯示器應該盡量與窗戶及其他光源保持正確的角度。必要時,可以減少頂
燈,如關燈或使用低瓦數的燈泡。如果顯示器靠近窗戶,應該用百葉窗或窗簾遮住陽光。由於一天中室
內的光線會有不同變化,您應該視狀況調整顯示器的亮度及對比。
如果實在無法避免反光或無法調整光線,請在螢幕上放一個護目鏡。不過,護目鏡可能會影響螢幕上影像的
清晰度,所以只有在用過所有方法都無法解決問題時,才使用護目鏡。
灰塵的堆積也會加重反光問題。請記得根據顯示器文件中的指示,定期使用軟布來清潔螢幕。
©CopyrightLenovo2013,201625 25
25

通風情形
電腦及顯示器會產生熱。電腦風扇會吸進冷空氣,排出熱空氣。顯示器從通風孔排出熱空氣。通風孔受阻會
導致機器過熱,有可能造成故障或損壞。請妥善放置電腦和顯示器,不要讓任何東西擋住通風孔,通常51
公釐(2吋)的流通空間就足夠。此外,請確定所排出的空氣沒有吹向他人。
電源插座及纜線長度
電源插座的位置以及連接到顯示器、印表機及其他裝置的電源線和纜線長度,可能會影響電腦最終所擺
放的位置。
安排工作區時,請:
•避免使用延長線。盡可能將電腦電源線直接插在電源插座上。
•將電源線及纜線整理好,遠離可能會不小心踢到這些線的走道或區域。
如需電源線的相關資訊,請參閱第vi頁「電源線與電源整流器」。
協助工具資訊
Lenovo致力於協助聽覺、視覺和行動方面受限的使用者更加方便地存取資訊和技術。本節提供可讓這些使
用者從電腦體驗中獲得最大效益之方法的相關資訊。您也可以從下列網站取得最新的協助工具資訊:
http://www.lenovo.com/accessibility
鍵盤快速鍵
下表包含可協助您的電腦更易於使用的鍵盤快速鍵。
附 附
附註 註
註: :
:視鍵盤而定,以下部分鍵盤快速鍵可能不適用。
鍵 鍵
鍵盤 盤
盤快 快
快速 速
速鍵 鍵
鍵功 功
功能 能
能
Windows標誌按鍵+U開啟輕鬆存取中心
按住右邊的Shift鍵八秒開啟或關閉篩選鍵
連按Shift鍵五次開啟或關閉相黏鍵
按住NumLock鍵五秒開啟或關閉切換鍵
按左邊的Alt+左邊的Shift+NumLock開啟或關閉滑鼠鍵
按左邊的Alt+左邊的Shift+PrtScn(或PrtSc)開啟或關閉高對比
如需相關資訊,請前往http://windows.microsoft.com/,然後輸入下列任何關鍵字進行搜尋:鍵盤快速
鍵、組合鍵、快速鍵。
輕鬆存取中心
Windows作業系統上的輕鬆存取中心可讓使用者配置其電腦,以滿足其生理和認知需求。
如果要使用輕鬆存取中心,請執行下列動作:
1.根據您的Windows版本,執行下列其中一項動作:
•Windows7:按一下「開始」按鈕以開啟「開始」功能表,然後按一下控 控
控制 制
制台 台
台。使用大圖示或小圖
示檢視控制台,然後按一下輕 輕
輕鬆 鬆
鬆存 存
存取 取
取中 中
中心 心
心。
•Windows8或Windows8.1:將指標移至螢幕右上角或右下角以顯示快速鍵。然後,按一下設 設
設定 定
定➙ ➙
➙變 變
變
更 更
更電 電
電腦 腦
腦設 設
設定 定
定➙ ➙
➙輕 輕
輕鬆 鬆
鬆存 存
存取 取
取。
•Windows10:按一下「開始」按鈕開啟「開始」功能表。然後,按一下設 設
設定 定
定➙ ➙
➙輕 輕
輕鬆 鬆
鬆存 存
存取 取
取。
26 26
26ThinkCentreM83、M93/p使用手冊

2.遵循螢幕上的指示,選擇適當工具。
輕鬆存取中心主要包含下列工具:
•放大鏡
放大鏡是一個實用的公用程式,可放大整個螢幕或部分螢幕,讓您能夠更清楚地看見項目。
•朗讀程式
朗讀程式是一種螢幕閱讀器,可朗讀螢幕上顯示的內容並描述錯誤訊息之類事件。
•螢幕小鍵盤
如果偏好使用滑鼠、搖桿或其他指標裝置來替代實體鍵盤,將資料鍵入或輸入電腦中,可以使用螢幕
小鍵盤。螢幕小鍵盤會顯示一個包含所有標準按鍵的虛擬鍵盤。
•高對比
高對比是一項功能,可提高螢幕上某些文字和影像的色彩對比。因此,這些項目較為明顯且易於識別。
•個人化鍵盤
調整鍵盤設定,讓您的鍵盤更容易使用。例如,您可以使用鍵盤控制指標,更容易輸入某些按鍵組合。
•個人化滑鼠
調整滑鼠設定,讓您的滑鼠更容易使用。例如,您可以變更指標外觀,更容易使用滑鼠來管理視窗。
語音辨識
語音辨識可讓您透過語音控制電腦。
只要使用語音,您就可以啟動程式、開啟功能表、點選螢幕上的物件、口述文字以輸入文件,以及撰寫和傳
送電子郵件。使用鍵盤和滑鼠執行的所有動作都可以透過語音完成。
如果要使用語音辨識,請執行下列動作:
1.根據您的Windows版本,執行下列其中一項動作:
•Windows7:按一下「開始」按鈕以開啟「開始」功能表,然後按一下控 控
控制 制
制台 台
台。
•Windows8或Windows8.1:開啟控制台。請參閱第20頁「在Windows8或Windows8.1作業系
統上存取控制台」。
•Windows10:用滑鼠右鍵按一下「開始」按鈕以開啟「開始」快速功能表,然後按一下控 控
控制 制
制台 台
台。
2.使用大圖示或小圖示檢視控制台,然後按一下語 語
語音 音
音辨 辨
辨識 識
識。
3.遵循螢幕上的指示。
螢幕閱讀器技術
螢幕閱讀器技術主要著重於軟體程式介面、說明資訊系統,以及多種線上文件等。如需螢幕閱讀器的相
關資訊,請參閱下列內容:
•使用PDF搭配螢幕閱讀器:
http://www.adobe.com/accessibility.html?promoid=DJGVE
•使用JAWS螢幕閱讀器:
http://www.freedomscientific.com/jaws-hq.asp
•使用NVDA螢幕閱讀器:
http://www.nvaccess.org/
螢幕解析度
您可以調整電腦的螢幕解析度使螢幕上的文字和影像更易於閱讀。
如果要調整螢幕解析度,請執行下列動作:
第3章.您和您的電腦27 27
27

1.用滑鼠右鍵按一下桌面的空白區域。
2.根據您的Windows版本,執行下列其中一項動作:
•Windows7、Windows8或Windows8.1:按一下螢 螢
螢幕 幕
幕解 解
解析 析
析度 度
度。
•Windows10:按一下顯 顯
顯示 示
示設 設
設定 定
定。按一下顯 顯
顯示 示
示器 器
器標籤上的進 進
進階 階
階顯 顯
顯示 示
示設 設
設定 定
定。
3.遵循螢幕上的指示。
附 附
附註 註
註: :
:解析度設定太低可能會讓某些項目無法符合螢幕大小。
可自訂的項目大小
您可以變更項目大小,使螢幕上的項目更容易閱讀。
•如果要暫時變更項目大小,請使用輕鬆存取中心中的放大鏡工具。請參閱第26頁「輕鬆存取中心」。
•如果要永久變更項目大小,請執行下列動作:
–變更螢幕上所有項目的大小。
1.用滑鼠右鍵按一下桌面的空白區域。
2.根據您的Windows版本,執行下列其中一項動作:
–Windows7、Windows8或Windows8.1:按一下螢 螢
螢幕 幕
幕解 解
解析 析
析度 度
度➙ ➙
➙改 改
改變 變
變文 文
文字 字
字和 和
和其 其
其他 他
他項 項
項目 目
目的 的
的大 大
大小 小
小。
–Windows10:按一下顯 顯
顯示 示
示設 設
設定 定
定。
3.依照畫面上的指示變更項目大小。
4.按一下套 套
套用 用
用。此變更將會在您下次登入作業系統時生效。
–變更網頁上的項目大小。
按住Ctrl,然後按下加號(+)鍵放大文字大小,或按下減號(-)鍵縮小文字大小。
–變更桌面上或視窗上的項目大小。
附 附
附註 註
註: :
:此功能在某些視窗上可能無法運作。
如果您的滑鼠具有滾輪,請按住Ctrl,然後捲動滾輪以變更項目大小。
業界標準接頭
您的電腦提供了業界標準接頭,可讓您連接輔助裝置。
如需接頭位置和功能的相關資訊,請參閱第7頁「位置」。
TTY/TDD轉換數據機
您的電腦支援使用文字電話(TTY)或失聰專用電信裝置(TDD)轉換數據機。此數據機必須連接在電腦和
TTY/TDD電話之間。然後,您可以在電腦上輸入訊息並傳送到電話。
無障礙格式的文件
Lenovo提供了無障礙格式的電子文件,例如,加上適當標籤的PDF檔案或超文字標記語言(HTML)檔案。
Lenovo電子文件的開發,是為了確保有視覺障礙的使用者能夠透過螢幕閱讀器來閱讀文件。文件中的每個
影像也包含充足的替代文字,以便有視覺障礙的使用者在使用螢幕閱讀器時能夠瞭解這些影像。
登錄您的電腦
向Lenovo登錄您的電腦時,您需要將必要資訊輸入Lenovo資料庫。透過此資訊,Lenovo可以在召回
或有其他嚴重問題時聯絡您,也可以在您致電Lenovo要求協助時,提供更快速的服務。此外,部分地
區也提供延伸的專用權及服務給已登錄使用者。
28 28
28ThinkCentreM83、M93/p使用手冊

30 30
30ThinkCentreM83、M93/p使用手冊

第4章安全
本章提供有關如何保護電腦以免遭竊和未授權使用的資訊。
安全特性
您的電腦具有下列安全特性:
•內嵌在韌體中的ComputraceAgent軟體
ComputraceAgent軟體是IT資產管理與電腦防盜保護解決方案。此軟體會偵測電腦的相關項目是否遭到
變更,例如硬體、軟體或電腦撥入連線位置。
附 附
附註 註
註: :
:您可能需要購買訂閱才能啟動ComputraceAgent軟體。
•啟用和停用裝置與USB接頭的能力
如需相關資訊,請參閱第115頁「啟用或停用裝置」。
•整合式指紋辨識器(選配)
視電腦的型號而定,鍵盤可能配有整合式指紋辨識器。如果您預先註冊指紋,並將它與開機密碼及/或硬
碟密碼建立關聯,之後您只要將手指滑過辨識器,就可以啟動電腦、登入系統,以及進入SetupUtility程
式,而無須輸入密碼。這樣一來,指紋鑑別就可以取代密碼,讓使用者簡單且安全地存取電腦。
•啟動順序控制
如需相關資訊,請參閱第115頁「選取或變更啟動裝置順序」。
•於無鍵盤或滑鼠的情況下啟動
您的電腦可以在無連接鍵盤或滑鼠的情況下登入作業系統。
•信任平台模組(TPM)
信任平台模組是一個安全加密處理器,可儲存保護電腦中存放之資訊的加密金鑰。
鎖住電腦機殼
鎖住電腦機殼,有助於防止有人未經授權存取您的電腦。您的電腦配備有小鎖環,使得裝上小鎖之後
就無法卸下電腦機殼。
©CopyrightLenovo2013,201631 31
31

34
5678
圖 例 9. 安 裝 小 鎖
32 32
32ThinkCentreM83、M93/p使用手冊

連接鋼纜鎖
您可以使用鋼纜鎖將裝置接線鎖在電腦上,以保障裝置的安全,例如鍵盤和滑鼠。鋼纜鎖是固定在電腦背面
的鋼纜鎖插槽。請參閱第8頁「找出電腦背面的連接器」。
如果要安裝鋼纜鎖,請執行下列動作:
1.將固定夾1插入鋼纜鎖插槽4。
2.將您要鎖上的接線穿過鋼纜鎖中的凹槽。
3.將固定夾2壓入鋼纜鎖插槽3,直到卡入定位為止。
34
567 8
圖 例 11. 安 裝 鋼 纜 鎖
防止未經授權存取您的電腦
您可以使用BIOS密碼和Windows帳戶,防止他人未經授權存取您的電腦及資料。
•如果要使用BIOS密碼,請參閱第113頁「使用BIOS密碼」。
•如果要使用Windows帳戶,請執行下列動作:
1.根據您的Windows版本,執行下列其中一項動作:
–Windows7:按一下「開始」按鈕以開啟「開始」功能表,然後按一下控 控
控制 制
制台 台
台➙ ➙
➙使 使
使用 用
用者 者
者帳 帳
帳戶 戶
戶。
–Windows8或Windows8.1:將指標移至螢幕右上角或右下角以顯示快速鍵。然後,按一下設 設
設定 定
定
➙ ➙
➙變 變
變更 更
更電 電
電腦 腦
腦設 設
設定 定
定➙ ➙
➙帳 帳
帳戶 戶
戶。
–Windows10:按一下「開始」按鈕以開啟「開始」功能表,然後按一下設 設
設定 定
定➙ ➙
➙帳 帳
帳戶 戶
戶。
2.遵循螢幕上的指示。
34 34
34ThinkCentreM83、M93/p使用手冊

使用指紋鑑別
如果鍵盤上有指紋辨識器,就可以使用指紋鑑別取代密碼,讓使用者簡單且安全地進行存取。如果要使用指
紋鑑別功能,請先註冊您的指紋,並與密碼(如開機密碼、硬碟密碼及Windows密碼)相關聯。使用指
紋辨識器及指紋程式,完成此程序。
如果要使用鑑別,請執行下列其中一項動作:
•Windows7、Windows8或Windows8.1:使用Lenovo所提供的FingerprintManagerPro或ThinkVantage
FingerprintSoftware程式。如果要開啟該程式,請參閱第5頁「存取電腦上的程式」。如需使用該程式的
相關資訊,請參閱程式的說明系統。
•Windows10:使用Windows所提供的指紋工具。按一下「開始」按鈕以開啟「開始」功能表,然後依序
按一下設 設
設定 定
定➙ ➙
➙帳 帳
帳戶 戶
戶➙ ➙
➙登 登
登入 入
入選 選
選項 項
項。遵循螢幕上的指示。
如果要使用指紋辨識器,請參閱隨附於指紋鍵盤出貨的文件或Lenovo支援中心網站
http://www.lenovo.com/support/keyboards上的文件。
使用和瞭解防火牆
視所需的安全等級而定,防火牆可以是硬體、軟體或兩者的組合。防火牆根據一組規則運作以判斷哪些
輸入及輸出連線是獲授權的。如果您的電腦已預先安裝防火牆程式,則有助於避免電腦遭受網際網路安
全威脅、未獲授權存取、入侵及網際網路攻擊。此外,還會保護您的隱私權。如需如何使用防火牆程
式的相關資訊,請參閱防火牆程式的說明系統。
預先安裝在您電腦上的Windows作業系統會提供Windows防火牆。如需使用Windows防火牆的相關資
料,請參閱第141頁「Windows說明系統」。
保護資料不受病毒威脅
您的電腦已預先安裝防毒程式,以協助您防範、偵測及消除病毒。
Lenovo在您的電腦上提供完整版的防毒軟體,可免費試用30天。30天之後,您必須更新軟體使用權才
能繼續接收防毒軟體更新。
附 附
附註 註
註: :
:病毒定義檔必須保持更新才能防範新的病毒侵襲。
如需如何使用防毒軟體的相關資訊,請參閱防毒軟體的說明系統。
第4章.安全35 35
35

36 36
36ThinkCentreM83、M93/p使用手冊

第5章安裝或更換硬體
本章提供如何安裝或更換電腦硬體的指示。
附 附
附註 註
註: :
:附註:視型號而定,您的電腦看起來可能與本章的圖例稍有不同。
處理對靜電敏感的裝置
更換零件時,請將有問題的零件從電腦上卸下,並準備好安裝新零件時,才打開新零件的防靜電保護袋。靜
電對人體雖然無害,但卻可能嚴重損壞電腦元件和零件。
當您在處理零件及其他電腦元件時,請採取下列預防措施,以避免靜電傷害:
•盡量不要移動。移動會導致您周圍產生靜電。
•請務必小心處理零件和其他電腦元件。拿PCI卡、記憶體模組、系統主機板和微處理器時,只能拿邊
緣。切勿觸摸任何曝露在外的電路。
•防止他人碰觸零件和其他電腦元件。
•在安裝新的零件時,請將內含零件的防靜電保護袋,與金屬擴充槽外蓋或電腦上其他未經塗飾的金屬表面
碰觸至少兩秒鐘。如此可減少保護袋及您身體上的靜電。
•盡可能將新零件從防靜電保護袋取出後,就直接安裝到電腦中,不要將它放下。如果無法直接進行安裝,
請將包裹零件的防靜電保護袋置於平坦表面,再將零件放置其上。
•請勿將零件放在電腦外殼及其他金屬表面上。
安裝或更換硬體
本節提供如何安裝或更換電腦硬體的指示。您可以安裝或更換硬體,來擴充電腦的功能或維護電腦。
注 注
注意 意
意: :
:
請務必先閱讀並瞭解第v頁「重要安全資訊」,再打開電腦或嘗試進行任何維修。
附 附
附註 註
註: :
:
•限使用Lenovo提供的電腦零件。
•在安裝或更換其中一個選用配件時,請使用本節所提供的適當指示,以及該選用配件所隨附的指示。
安裝外部選項
您可以將外部選用配備連接到您的電腦,如:外接喇叭、印表機或掃描器。有些外部選用配備除了需要實體
連線外,還需安裝額外的軟體。當您安裝外部選用配備時,請參閱第8頁「找出電腦正面的接頭、控制項
與指示燈」和第8頁「找出電腦背面的連接器」來識別所需的接頭。然後再使用該選用配件所附的指示,
協助您建立連線並安裝該選用配件所需的任何軟體或裝置驅動程式。
卸下電腦機殼
注 注
注意 意
意: :
:
請務必先閱讀並瞭解第v頁「重要安全資訊」,再打開電腦或嘗試進行任何維修。
本節提供卸下電腦外蓋的相關指示。
©CopyrightLenovo2013,201637 37
37

警 警
警告 告
告: :
:
打 打
打開 開
開電 電
電腦 腦
腦機 機
機殼 殼
殼之 之
之前 前
前, ,
,請 請
請先 先
先關 關
關閉 閉
閉電 電
電腦 腦
腦並 並
並等 等
等待 待
待數 數
數分 分
分鐘 鐘
鐘直 直
直到 到
到電 電
電腦 腦
腦冷 冷
冷卻 卻
卻。 。
。
如果要卸下電腦機殼,請執行下列動作:
1.從磁碟機中取出所有媒體,然後關閉所有連接裝置和電腦。
2.拔掉電源插座上的所有電源線。
3.拔掉電源線、輸入/輸出連接線,以及任何其他連接到電腦的連接線。
4.卸下所有用來固定電腦機殼的鎖定裝置,如:小鎖或Kensington型鋼纜鎖。請參閱第31頁「鎖住電腦
機殼」、第33頁「連接Kensington型鋼纜鎖」和第34頁「連接鋼纜鎖」。
5.卸下用來固定電腦機殼的螺絲。然後,按下電腦側面的機殼鬆開按鈕,將電腦機殼往電腦後方滑
動來卸下機殼。
34
56 7 8
圖 例 12. 卸 下 電 腦 機 殼
卸下並重新安裝前方擋板
注 注
注意 意
意: :
:
請務必先閱讀並瞭解第v頁「重要安全資訊」,再打開電腦或嘗試進行任何維修。
本節提供如何卸下並重新安裝前方擋板的相關指示。
如果要卸下並重新安裝前方擋板,請執行下列動作:
1.從磁碟機中取出所有媒體,然後關閉所有連接裝置和電腦。接著拔下電源插座上的所有電源線,以及拔
掉所有連接到電腦的纜線。
2.拆除電腦機殼。請參閱第37頁「卸下電腦機殼」。
38 38
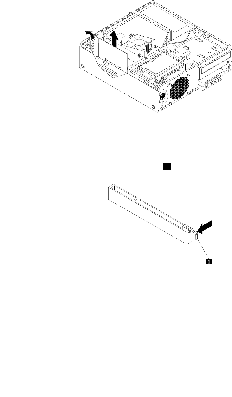
38ThinkCentreM83、M93/p使用手冊

本節提供如何取用系統主機板元件和磁碟機的相關指示。
如果要取用系統主機板元件和磁碟機,請執行下列動作:
1.從磁碟機中取出所有媒體,然後關閉所有連接裝置和電腦。接著拔下電源插座上的所有電源線,以及拔
掉所有連接到電腦的纜線。
2.拆除電腦機殼。請參閱第37頁「卸下電腦機殼」。
3.卸下前方擋板。請參閱第38頁「卸下並重新安裝前方擋板」。
4.卸下散熱器風扇隔板。請參閱第65頁「更換散熱器和風扇組件」。
5.依圖中所示方向壓下固定夾1,同時向上轉動機槽組件。
圖 例 15. 向 上 轉 動 磁 碟 機 槽 組 件
安裝或更換PCI卡
注 注
注意 意
意: :
:
請務必先閱讀並瞭解第v頁「重要安全資訊」,再打開電腦或嘗試進行任何維修。
本節提供如何安裝或更換PCI卡的指示。您的電腦配有各種PCI卡片插槽。如需相關資訊,請參閱第
1頁「功能」。
如果要安裝或更換PCI卡,請執行下列動作:
1.從磁碟機中取出所有媒體,然後關閉所有連接裝置和電腦。接著拔下電源插座上的所有電源線,以及拔
掉所有連接到電腦的纜線。
2.拆除電腦機殼。請參閱第37頁「卸下電腦機殼」。
3.卸下前方擋板。請參閱第38頁「卸下並重新安裝前方擋板」。
4.將PCI卡固定器旋轉至開啟的位置。根據您是要安裝或更換PCI卡,執行下列其中一項動作:
•如果您要安裝PCI卡,請卸下適當的金屬槽蓋。
40 40
40ThinkCentreM83、M93/p使用手冊

6.將新的卡安裝到系統主機板上的適當卡槽中,然後將卡固定器旋轉至閉合位置。請參閱第12頁「找
出系統主機板上的零件」。
圖 例 17. 安 裝 PCI 卡
下一步:
•如果要處理另一個硬體零件,請跳至適當的章節。
•如果要完成安裝或更換作業,請跳至第102頁「完成零件的更換」。
安裝或更換記憶體模組
注 注
注意 意
意: :
:
請務必先閱讀並瞭解第v頁「重要安全資訊」,再打開電腦或嘗試進行任何維修。
本節提供安裝或更換記憶體模組的相關指示。
您的電腦有四個記憶體插槽供安裝或更換DDR3UDIMM,最多可提供32GB的系統記憶體。安裝或更換記
憶體模組時,請使用2GB、4GB或8GBDDR3UDIMM的任意組合,最多可達32GB。
下列表格提供安裝或移除記憶體模組時應該注意的記憶體模組安裝規則資訊。「X」標記代表在不同的情況
下,記憶體模組應安裝至哪個記憶體插槽。1、2、3、4等數字代表安裝順序。如果要找出記憶體模組插
槽,請參閱第12頁「找出系統主機板上的零件」。
UDIMM UDIMM
UDIMMDIMM DIMM
DIMM1 1
1DIMM DIMM
DIMM2 2
2DIMM DIMM
DIMM3 3
3DIMM DIMM
DIMM4 4
4
一個UDIMMX
兩個UDIMMX,1X,2
三個UDIMMX,3X,1X,2
四個UDIMMX,3X,1X,4X,2
如果要安裝或更換記憶體模組,請執行下列動作:
42 42
42ThinkCentreM83、M93/p使用手冊

1.從磁碟機中取出所有媒體,然後關閉所有連接裝置和電腦。接著拔下電源插座上的所有電源線,以及拔
掉所有連接到電腦的纜線。
2.拆除電腦機殼。請參閱第37頁「卸下電腦機殼」。
3.卸下前方擋板。請參閱第38頁「卸下並重新安裝前方擋板」
4.找出記憶體插槽的位置。請參閱第12頁「找出系統主機板上的零件」。
5.依圖中所示方向壓下固定夾1,同時向上轉動機槽組件。
圖 例 18. 向 上 轉 動 磁 碟 機 槽 組 件
6.卸下散熱器風扇隔板。請參閱第65頁「更換散熱器和風扇組件」。
7.根據電腦型號,您可能需要取出PCIExpressx16圖形卡,以便容易取用記憶體插槽。請參閱第40
頁「安裝或更換PCI卡」。
8.根據您是要安裝或更換記憶體模組,執行下列其中一項動作:
•如果您要更換舊的記憶體模組,請打開固定夾,然後將記憶體模組輕輕拉出記憶體插槽。
圖 例 19. 卸 下 記 憶 體 模 組
第5章.安裝或更換硬體43 43
43

•如果您要安裝記憶體模組,請打開您要安裝記憶體模組之記憶體插槽的固定夾。
圖 例 20. 打 開 固 定 夾
9.將新的記憶體模組放在記憶體插槽上方。確定新記憶體模組的缺口1對準記憶體插槽突起的部分2。
然後,將新的記憶體模組向下推入插槽,直到固定夾完全閉合為止。
附 附
附註 註
註: :
:請確定記憶體模組已妥當固定,不會輕易脫落。
圖 例 21. 安 裝 記 憶 體 模 組
10.如果您已取出PCIExpressx16圖形卡,請將它重新安裝。請參閱第40頁「安裝或更換PCI卡」。
11.重新裝上散熱器風扇隔板。請參閱第65頁「更換散熱器和風扇組件」。
下一步:
•如果要處理另一個硬體零件,請跳至適當的章節。
•如果要完成安裝或更換作業,請跳至第102頁「完成零件的更換」。
更換光碟機
注 注
注意 意
意: :
:
請務必先閱讀並瞭解第v頁「重要安全資訊」,再打開電腦或嘗試進行任何維修。
本節提供更換光碟機的相關指示。
如果要更換光碟機,請執行下列動作:
44 44
44ThinkCentreM83、M93/p使用手冊

8.從舊光碟機的側邊卸下光碟機固定器,然後將它安裝在新光碟機的側邊。
圖例 24. 安裝光碟機固定器
9.將新的光碟機推入磁碟機機槽中,直到卡合定位為止。
圖 例 25. 安 裝 光 碟 機
10.將信號線和電源線連接至新光碟機的背面。
下一步:
•如果要處理另一個硬體零件,請跳至適當的章節。
•如果要完成安裝或更換作業,請跳至第102頁「完成零件的更換」。
安裝或更換讀卡機組件
本節提供如何安裝或更換讀卡機組件的指示。
附 附
附註 註
註: :
:只有部分型號才有提供讀卡機組件。
安裝讀卡機組件
注 注
注意 意
意: :
:
請務必先閱讀並瞭解第v頁「重要安全資訊」,再打開電腦或嘗試進行任何維修。
如果要安裝讀卡機組件,請執行下列動作:
1.從磁碟機中取出所有媒體,然後關閉所有連接裝置和電腦。接著拔下電源插座上的所有電源線,以及拔
掉所有連接到電腦的纜線。
2.拆除電腦機殼。請參閱第37頁「卸下電腦機殼」。
46 46
46ThinkCentreM83、M93/p使用手冊

6.鎖上螺絲,將讀卡機組件固定至機箱。
圖 例 28. 鎖 上 螺 絲 以 固 定 讀 卡 機 組 件
7.將新的讀卡機組件的接線連接至主機板上的前方USB接頭1。請參閱第12頁「找出系統主機板
上的零件」
8.在安裝前方擋板之前,請先從前方擋板卸下讀卡機組件與前方音訊和USB組件的保護面板。如果要卸
下此保護面板,如圖所示按下固定夾1,然後使保護面板完全脫離。
圖 例 29. 拆 下 讀 卡 機 外 蓋
下一步:
•如果要處理另一個硬體零件,請跳至適當的章節。
•如果要完成安裝或更換作業,請跳至第102頁「完成零件的更換」。
更換讀卡機組件
注 注
注意 意
意: :
:
請務必先閱讀並瞭解第v頁「重要安全資訊」,再打開電腦或嘗試進行任何維修。
如果要更換讀卡機組件,請執行下列動作:
1.從磁碟機中取出所有媒體,然後關閉所有連接裝置和電腦。接著拔下電源插座上的所有電源線,以及拔
掉所有連接到電腦的纜線。
2.拆除電腦機殼。請參閱第37頁「卸下電腦機殼」。
3.卸下前方擋板。請參閱第38頁「卸下並重新安裝前方擋板」。
48 48
48ThinkCentreM83、M93/p使用手冊

安裝或更換前方USB組件
本節提供如何安裝或更換前方USB組件的指示。
附 附
附註 註
註: :
:僅限部分型號才有提供前方USB組件。
安裝前方USB組件
注 注
注意 意
意: :
:
請務必先閱讀並瞭解第v頁「重要安全資訊」,再打開電腦或嘗試進行任何維修。
如果要安裝前方USB組件,請執行下列動作:
1.從磁碟機中取出所有媒體,然後關閉所有連接裝置和電腦。接著拔下電源插座上的所有電源線,以及拔
掉所有連接到電腦的纜線。
2.拆除電腦機殼。請參閱第37頁「卸下電腦機殼」。
3.卸下前方擋板。請參閱第38頁「卸下並重新安裝前方擋板」。
4.依圖中所示方向壓下固定夾1,同時向上轉動機槽組件。
圖 例 34. 向 上 轉 動 磁 碟 機 槽 組 件
5.新的前方USB組件包裝中包含前方USB板、金屬托架和兩個螺絲。將前方USB板裝入金屬托架,然
後鎖上兩個螺絲,將前方USB板固定至托架。
第5章.安裝或更換硬體51 51
51

9.在安裝前方擋板之前,請先從前方擋板卸下讀卡機組件與前方音訊和USB組件的保護面板。如果要卸
下此保護面板,如圖所示按下固定夾1,然後使保護面板完全脫離。
圖 例 38. 卸 下 保 護 面 板
下一步:
•如果要處理另一個硬體零件,請跳至適當的章節。
•如果要完成安裝或更換作業,請跳至第102頁「完成零件的更換」。
更換前方USB組件
注 注
注意 意
意: :
:
請務必先閱讀並瞭解第v頁「重要安全資訊」,再打開電腦或嘗試進行任何維修。
如果要更換前方USB組件,請執行下列動作:
1.從磁碟機中取出所有媒體,然後關閉所有連接裝置和電腦。接著拔下電源插座上的所有電源線,以及拔
掉所有連接到電腦的纜線。
2.拆除電腦機殼。請參閱第37頁「卸下電腦機殼」。
3.卸下前方擋板。請參閱第38頁「卸下並重新安裝前方擋板」。
4.依圖中所示方向壓下固定夾1,同時向上轉動機槽組件。
圖 例 39. 向 上 轉 動 磁 碟 機 槽 組 件
5.拔掉主機板上的前方USB組件接線。
第5章.安裝或更換硬體53 53
53

6.卸下用來固定前方USB組件的螺絲。將前方USB組件推到右側,然後將它從機箱卸下。
圖 例 40. 卸 下 前 方 USB 組 件
7.將新的前方USB組件裝入讀卡機機槽中,直到卡入定位為止。然後,將新的前方USB組件推到左側,
直到前方USB組件金屬托架中的螺絲孔對齊機箱的對應孔位。
圖 例 41. 安 裝 前 方 USB 組 件
54 54
54ThinkCentreM83、M93/p使用手冊

8.鎖上螺絲,將前方USB組件固定至機箱。
圖 例 42. 鎖 上 螺 絲 以 固 定 前 方 USB 組 件
9.將新的前方USB組件的接線連接至主機板上的前方USB接頭1。請參閱第12頁「找出系統主
機板上的零件」
下一步:
•如果要處理另一個硬體零件,請跳至適當的章節。
•如果要完成安裝或更換作業,請跳至第102頁「完成零件的更換」。
更換電池
注 注
注意 意
意: :
:
請務必先閱讀並瞭解第v頁「重要安全資訊」,再打開電腦或嘗試進行任何維修。
您的電腦有一種特殊的記憶體,可用來維護日期、時間及內建功能的設定,如平行列埠的指派(配置)。當
您關閉電腦時,會以電池供電,使這項資訊保持作用狀態。
在電池使用壽命期間,通常不需要充電或維護,但沒有任何電池可以永久供電。電池故障時,會遺失日
期、時間和配置資訊(包含密碼)。在開啟電腦時會顯示錯誤訊息。
如需更換及棄置電池的相關資訊,請參閱電腦隨附之
安全、保固和設定手冊
中的「硬幣型鋰電池注意事項」。
若要更換電池,請執行下列動作:
1.從磁碟機中取出所有媒體,然後關閉所有連接裝置和電腦。接著拔下電源插座上的所有電源線,以及拔
掉所有連接到電腦的纜線。
2.拆除電腦機殼。請參閱第37頁「卸下電腦機殼」。
3.卸下散熱器風扇隔板。請參閱第65頁「更換散熱器和風扇組件」。
4.視電腦型號而定,您可能需要取出PCIExpressx16圖形卡,以便容易取用電池。請參閱第40頁「安
裝或更換PCI卡」。
第5章.安裝或更換硬體55 55
55

5.移除舊電池。
圖 例 43. 取 出 電 池
6.安裝新電池。
圖 例 44. 安 裝 電 池
7.如果您已取出PCIExpressx16圖形卡,請將它重新安裝。請參閱第40頁「安裝或更換PCI卡」。
8.重新裝上散熱器風扇隔板。請參閱第65頁「更換散熱器和風扇組件」。
9.重新安裝電腦機殼並重新連接纜線。請參閱第102頁「完成零件的更換」。
附 附
附註 註
註: :
:在更換電池後第一次啟動電腦時,可能會顯示錯誤訊息。這是更換電池後的正常現象。
10.開啟電腦和所有連接的裝置。
11.使用SetupUtility程式來設定日期、時間和任何密碼。請參閱第113頁第7章「使用SetupUtility程
式」。
安裝或更換mSATA固態硬碟
本節提供如何安裝或更換mSATA固態硬碟的指示。
附 附
附註 註
註: :
:僅限部分型號才有提供mSATA固態硬碟。
安裝mSATA固態硬碟
注 注
注意 意
意: :
:
請務必先閱讀並瞭解第v頁「重要安全資訊」,再打開電腦或嘗試進行任何維修。
如果要安裝mSATA固態硬碟,請執行下列動作:
1.從磁碟機中取出所有媒體,然後關閉所有連接裝置和電腦。接著拔下電源插座上的所有電源線,以及拔
掉所有連接到電腦的纜線。
2.拆除電腦機殼。請參閱第37頁「卸下電腦機殼」。
3.卸下前方擋板。請參閱第38頁「卸下並重新安裝前方擋板」。
56 56
56ThinkCentreM83、M93/p使用手冊

7.鎖上mSATA固態硬碟隨附的兩個螺絲,將固態硬碟固定至儲存裝置轉換器。
圖 例 47. 鎖 上 螺 絲 以 固 定 mSATA 固 態 硬 碟
8.將新的mSATA固態硬碟裝入讀卡機機槽,直到卡入定位為止。然後,將新的mSATA固態硬碟推到左
側,直到mSATA固態硬碟金屬托架中的螺絲孔對齊機箱的對應孔位。
圖 例 48. 將 mSATA 固 態 硬 碟 裝 入 機 箱
9.將信號線和電源線連接到儲存裝置轉換器的背面。
下一步:
•如果要處理另一個硬體零件,請跳至適當的章節。
•如果要完成安裝或更換作業,請跳至第102頁「完成零件的更換」。
更換mSATA固態硬碟
注 注
注意 意
意: :
:
請務必先閱讀並瞭解第v頁「重要安全資訊」,再打開電腦或嘗試進行任何維修。
58 58
58ThinkCentreM83、M93/p使用手冊

如果要更換mSATA固態硬碟,請執行下列動作:
1.從磁碟機中取出所有媒體,然後關閉所有連接裝置和電腦。接著拔下電源插座上的所有電源線,以及拔
掉所有連接到電腦的纜線。
2.拆除電腦機殼。請參閱第37頁「卸下電腦機殼」。
3.卸下前方擋板。請參閱第38頁「卸下並重新安裝前方擋板」。
4.依圖中所示方向壓下固定夾1,同時向上轉動機槽組件。
圖 例 49. 向 上 轉 動 磁 碟 機 槽 組 件
5.拔掉mSATA固態硬碟儲存裝置轉換器背面的信號線和電源線。
6.卸下mSATA固態硬碟儲存裝置轉換器的固定螺絲。然後,將mSATA固態硬碟儲存裝置轉換器
從讀卡機機槽滑出。
圖 例 50. 從 機 箱 取 出 mSATA 固 態 硬 碟
第5章.安裝或更換硬體59 59
59

7.卸下固定mSATA固態硬碟的兩個螺絲。
圖 例 51. 卸 下 固 定 mSATA 固 態 硬 碟 的 螺 絲
8.將mSATA固態硬碟從儲存裝置轉換器上的miniPCIExpress插槽中拉出。
圖 例 52. 從 儲 存 裝 置 轉 換 器 卸 下 mSATA 固 態 硬 碟
9.小心地將mSATA固態硬碟以大約20度角插入儲存裝置轉換器上的miniPCIExpress插槽。然後,將
mSATA固態硬碟往下壓。
圖 例 53. 將 mSATA 固 態 硬 碟 裝 入 儲 存 裝 置 轉 換 器
60 60
60ThinkCentreM83、M93/p使用手冊

10.鎖上mSATA固態硬碟隨附的兩個螺絲,將固態硬碟固定至儲存裝置轉換器。
圖 例 54. 鎖 上 螺 絲 以 固 定 mSATA 固 態 硬 碟
11.將新的mSATA固態硬碟裝入讀卡機機槽,直到卡入定位為止。然後,將新的mSATA固態硬碟推到左
側,直到mSATA固態硬碟金屬托架中的螺絲孔對齊機箱的對應孔位。
圖 例 55. 將 mSATA 固 態 硬 碟 裝 入 機 箱
12.將信號線和電源線重新連接到儲存裝置轉換器的背面。
下一步:
•如果要處理另一個硬體零件,請跳至適當的章節。
•如果要完成安裝或更換作業,請跳至第102頁「完成零件的更換」。
更換電源供應器組件
注 注
注意 意
意: :
:
請務必先閱讀並瞭解第v頁「重要安全資訊」,再打開電腦或嘗試進行任何維修。
第5章.安裝或更換硬體61 61
61

本節提供更換電源供應器組件的相關指示。
拔掉電源線之後,雖然您電腦內已沒有運作中零件,但為了您的安全和符合正確UnderwritersLaboratories
(UL)認證要求,仍會提出下列警告。
警 警
警告 告
告: :
:
危 危
危險 險
險的 的
的運 運
運作 作
作中 中
中零 零
零件 件
件。 。
。手 手
手指 指
指和 和
和身 身
身體 體
體其 其
其他 他
他部 部
部分 分
分不 不
不可 可
可靠 靠
靠近 近
近。 。
。
警 警
警告 告
告: :
:
切 切
切勿 勿
勿卸 卸
卸下 下
下電 電
電源 源
源供 供
供應 應
應器 器
器外 外
外蓋 蓋
蓋或 或
或貼 貼
貼有 有
有下 下
下列 列
列標 標
標籤 籤
籤的 的
的任 任
任何 何
何組 組
組件 件
件。 。
。
貼 貼
貼有 有
有這 這
這些 些
些標 標
標籤 籤
籤的 的
的任 任
任何 何
何元 元
元件 件
件內 內
內部 部
部存 存
存有 有
有危 危
危險 險
險電 電
電壓 壓
壓、 、
、電 電
電流 流
流和 和
和能 能
能量 量
量。 。
。這 這
這些 些
些元 元
元件 件
件內 內
內部 部
部沒 沒
沒有 有
有可 可
可維 維
維修 修
修的 的
的零 零
零件 件
件。 。
。如 如
如果 果
果您 您
您懷 懷
懷疑 疑
疑其 其
其
中 中
中任 任
任何 何
何一 一
一個 個
個零 零
零件 件
件有 有
有問 問
問題 題
題, ,
,請 請
請洽 洽
洽詢 詢
詢維 維
維修 修
修技 技
技術 術
術人 人
人員 員
員處 處
處理 理
理。 。
。
如果要更換電源供應器組件,請執行下列動作:
1.從磁碟機中取出所有媒體,然後關閉所有連接裝置和電腦。接著拔下電源插座上的所有電源線,以及拔
掉所有連接到電腦的纜線。
2.拆除電腦機殼。請參閱第37頁「卸下電腦機殼」。
3.卸下前方擋板。請參閱第38頁「卸下並重新安裝前方擋板」。
62 62
62ThinkCentreM83、M93/p使用手冊

8.卸下電腦背面用來固定電源供應器組件的三顆螺絲。將固定夾1往下壓,將電源供應器組件滑向電腦
正面。然後,將電源供應器組件從電腦中取出。
34
56 7 8
圖例 58. 卸下電源供應器組件
9.請確定新的電源供應器組件是正確的更換品。
10.將新的電源供應器組件安裝到機箱中,並將新電源供應器組件的螺絲孔與機箱後方對應的螺絲孔對齊。
然後鎖上三顆螺絲,將新電源供應器組件固定。
附 附
附註 註
註: :
:請只用Lenovo提供的螺絲。
34
56 7 8
圖例 59. 安裝電源供應器組件
11.將新電源供應器組件纜線連接到磁碟機和系統主機板。請參閱第12頁「找出系統主機板上的零件」。
64 64
64ThinkCentreM83、M93/p使用手冊

下一步:
•如果要處理另一個硬體零件,請跳至適當的章節。
•如果要完成安裝或更換作業,請跳至第102頁「完成零件的更換」。
更換散熱器和風扇組件
注 注
注意 意
意: :
:
請務必先閱讀並瞭解第v頁「重要安全資訊」,再打開電腦或嘗試進行任何維修。
本節提供如何更換散熱器和風扇組件的指示。
警 警
警告 告
告: :
:
散 散
散熱 熱
熱器 器
器和 和
和風 風
風扇 扇
扇組 組
組件 件
件的 的
的溫 溫
溫度 度
度可 可
可能 能
能相 相
相當 當
當高 高
高。 。
。打 打
打開 開
開電 電
電腦 腦
腦機 機
機殼 殼
殼之 之
之前 前
前, ,
,請 請
請先 先
先關 關
關閉 閉
閉電 電
電腦 腦
腦並 並
並等 等
等待 待
待數 數
數分 分
分鐘 鐘
鐘直 直
直到 到
到電 電
電腦 腦
腦冷 冷
冷卻 卻
卻。 。
。
如果要更換散熱器和風扇組件,請執行下列動作:
1.從磁碟機中取出所有媒體,然後關閉所有連接裝置和電腦。接著拔下電源插座上的所有電源線,以及拔
掉所有連接到電腦的纜線。
2.拆除電腦機殼。請參閱第37頁「卸下電腦機殼」。
3.卸下前方擋板。請參閱第38頁「卸下並重新安裝前方擋板」。
4.尋找散熱器和風扇組件。請參閱第11頁「找出元件」
5.將固定散熱器風扇隔板的兩個塑膠固定夾向外轉動。然後從故障的散熱器和風扇組件卸下散熱器
風扇隔板。
圖 例 60. 拆 下 散 熱 器 風 扇 隔 板
6.從系統主機板拔掉散熱器和風扇組件的接線。
第5章.安裝或更換硬體65 65
65

7.依照下列順序卸下用來將散熱器和風扇組件固定在系統主機板的四個螺絲:
a.鬆開螺絲1的一部分,完全鬆開螺絲2,然後再完全鬆開螺絲1。
b.鬆開螺絲3的一部分,完全鬆開螺絲4,然後再完全鬆開螺絲3。
附 附
附註 註
註: :
:小心地從系統主機板上卸下四顆螺絲,避免對系統主機板造成任何可能的損害。無法從散
熱器和風扇組件上卸下這四顆螺絲。
圖 例 61. 卸 下 散 熱 器 及 風 扇 組 件
8.取出系統主機板上的散熱器和風扇組件。
附 附
附註 註
註: :
:
•您可能需要輕輕扭轉散熱器和風扇組件,使它脫離微處理器。
•拿取散熱器和風扇組件時,請勿碰觸散熱膏。
9.將新的散熱器和風扇組件放在系統主機板上,使新散熱器和風扇組件上的四個螺絲對齊系統主機板上對
應的小孔。確定新散熱器和風扇組件的纜線朝向系統主機板上的微處理器風扇接頭。
10.依照下列順序鎖上四個螺絲以固定新散熱器和風扇組件。請勿將螺絲鎖得太緊。
附 附
附註 註
註: :
:
a.鎖緊螺絲1的一部分,完全鎖緊螺絲2,然後再完全鎖緊螺絲1。
b.鎖緊螺絲3的一部分,完全鎖緊螺絲4,然後再完全鎖緊螺絲3。
66 66
66ThinkCentreM83、M93/p使用手冊

下一步:
•如果要處理另一個硬體零件,請跳至適當的章節。
•如果要完成安裝或更換作業,請跳至第102頁「完成零件的更換」。
更換微處理器
注 注
注意 意
意: :
:
請務必先閱讀並瞭解第v頁「重要安全資訊」,再打開電腦或嘗試進行任何維修。
本節提供更換微處理器的相關指示。
警 警
警告 告
告: :
:
散 散
散熱 熱
熱器 器
器和 和
和微 微
微處 處
處理 理
理器 器
器的 的
的溫 溫
溫度 度
度可 可
可能 能
能相 相
相當 當
當高 高
高。 。
。打 打
打開 開
開電 電
電腦 腦
腦機 機
機殼 殼
殼之 之
之前 前
前, ,
,請 請
請先 先
先關 關
關閉 閉
閉電 電
電腦 腦
腦並 並
並等 等
等待 待
待數 數
數分 分
分鐘 鐘
鐘直 直
直到 到
到電 電
電腦 腦
腦冷 冷
冷卻 卻
卻。 。
。
如果要更換微處理器,請執行下列動作:
1.從磁碟機中取出所有媒體,然後關閉所有連接裝置和電腦。接著拔下電源插座上的所有電源線,以及拔
掉所有連接到電腦的纜線。
2.拆除電腦機殼。請參閱第37頁「卸下電腦機殼」。
3.卸下前方擋板。請參閱第38頁「卸下並重新安裝前方擋板」。
4.依圖中所示方向壓下固定夾1,同時向上轉動機槽組件。
圖 例 64. 向 上 轉 動 磁 碟 機 槽 組 件
5.移除散熱器和風扇組件。請參閱第65頁「更換散熱器和風扇組件」。
附 附
附註 註
註: :
:請勿讓散熱器和風扇組件底端的散熱膏接觸到任何外物。
6.記下纜線佈線和連接。然後,找到系統主機板,拔掉所有連接到系統主機板的纜線。請參閱第12
頁「找出系統主機板上的零件」。
68 68
68ThinkCentreM83、M93/p使用手冊

11.請注意新微處理器的方向。握住新微處理器的邊緣,將微處理器上的缺口1與微處理器插槽上的突起
處2對齊。然後,小心地將新的微處理器垂直放入微處理器插槽中。
附 附
附註 註
註: :
:新微處理器某一邊角上的小三角形3是微處理器定向指標。當此指標朝向微處理器插槽
的切角4時,表示新微處理器的方向正確。
圖 例 67. 安 裝 微 處 理 器
12.關上微處理器的固定器,用小型拉桿將它鎖定至定位,使新微處理器固定於插槽中。
13.重新安裝散熱器和風扇組件。請參閱第65頁「更換散熱器和風扇組件」。
14.重新連接從系統主機板拔掉的所有纜線。請參閱第12頁「找出系統主機板上的零件」
下一步:
•如果要處理另一個硬體零件,請跳至適當的章節。
•如果要完成更換,請跳至第102頁「完成零件的更換」。
更換機殼開啟開關
注 注
注意 意
意: :
:
請務必先閱讀並瞭解第v頁「重要安全資訊」,再打開電腦或嘗試進行任何維修。
本節提供如何更換機殼開啟開關(亦稱為入侵開關)的指示。
如果要更換機殼開啟開關,請執行下列動作:
1.從磁碟機中取出所有媒體,然後關閉所有連接裝置和電腦。接著拔下電源插座上的所有電源線,以及拔
掉所有連接到電腦的纜線。
2.拆除電腦機殼。請參閱第37頁「卸下電腦機殼」。
3.卸下前方擋板。請參閱第38頁「卸下並重新安裝前方擋板」。
4.找出機殼開啟開關。請參閱第11頁「找出元件」。
5.從主機板的機殼開啟開關接頭拔掉機殼開啟開關接線。
70 70
70ThinkCentreM83、M93/p使用手冊

7.將新的機殼開啟開關放入孔中並往下壓,直到卡合定位為止。
附 附
附註 註
註: :
:請注意機殼開啟開關的方向。
圖例 69. 安裝機殼開啟開關
8.將新機殼開啟開關的接線連接到主機板上的機殼開啟開關接頭。請參閱第12頁「找出系統主機
板上的零件」。
下一步:
•如果要處理另一個硬體零件,請跳至適當的章節。
•如果要完成安裝或更換作業,請跳至第102頁「完成零件的更換」。
更換主要硬碟
注 注
注意 意
意: :
:
請務必先閱讀並瞭解第v頁「重要安全資訊」,再打開電腦或嘗試進行任何維修。
本節提供更換主要硬碟的相關指示。
如果要更換主要硬碟,請執行下列動作:
1.從磁碟機中取出所有媒體,然後關閉所有連接裝置和電腦。接著拔下電源插座上的所有電源線,以及拔
掉所有連接到電腦的纜線。
2.拆除電腦機殼。請參閱第37頁「卸下電腦機殼」。
3.卸下前方擋板。請參閱第38頁「卸下並重新安裝前方擋板」。
72 72
72ThinkCentreM83、M93/p使用手冊

9.如果要將新的硬碟安裝到藍色托架中,請扳開托架,然後將托架上的插腳1、插腳2、插腳3和插
腳4對齊硬碟中對應的小孔。請勿碰觸硬碟底部的電路板5。
圖例 72. 將硬碟安裝到托架
10.將帶有托架的新主要硬碟滑入主要硬碟機槽中,直到卡合定位為止。
圖 例 73. 安 裝 主 要 硬 碟
11.將信號線和電源線連接到新的主要硬碟。
下一步:
•如果要處理另一個硬體零件,請跳至適當的章節。
•如果要完成安裝或更換作業,請跳至第102頁「完成零件的更換」。
安裝或更換次要硬碟
本節提供如何安裝或更換輔助硬碟的指示。
附 附
附註 註
註: :
:只有部分型號提供輔助硬碟。
74 74
74ThinkCentreM83、M93/p使用手冊

5.如圖所示,取出主要硬碟機槽底部的接線夾。
圖 例 75. 取 出 接 線 夾
6.如圖所示,將輔助硬碟固定架中的四個孔對齊主要硬碟機槽底部上的四個對應卡栓。然後,將固定架
置於主要硬碟機槽的底部,讓機槽上的卡栓穿過固定架上的孔。
34
56 7 8
圖 例 76. 將 固 定 架 置 於 主 要 硬 碟 機 槽 的 底 部
76 76
76ThinkCentreM83、M93/p使用手冊

10.如果要將新的硬碟安裝到藍色托架中,請扳開托架,然後將托架上的插腳1、插腳2、插腳3和插
腳4對齊硬碟中對應的小孔。請勿碰觸硬碟底部的電路板5。
圖例 79. 將硬碟安裝到托架
11.將新的輔助硬碟滑入固定架中,直到卡合定位為止。
34
56 7 8
圖 例 80. 安 裝 次 要 硬 碟
12.將信號線和電源線連接到新的輔助硬碟。
下一步:
•如果要處理另一個硬體零件,請跳至適當的章節。
•如果要完成安裝或更換作業,請跳至第102頁「完成零件的更換」。
更換輔助硬碟
注 注
注意 意
意: :
:
請務必先閱讀並瞭解第v頁「重要安全資訊」,再打開電腦或嘗試進行任何維修。
78 78
78ThinkCentreM83、M93/p使用手冊

本節提供更換輔助硬碟的相關指示。
如果要更換輔助硬碟,請執行下列動作:
1.從磁碟機中取出所有媒體,然後關閉所有連接裝置和電腦。接著拔下電源插座上的所有電源線,以及拔
掉所有連接到電腦的纜線。
2.拆除電腦機殼。請參閱第37頁「卸下電腦機殼」。
3.卸下前方擋板。請參閱第38頁「卸下並重新安裝前方擋板」。
4.依圖中所示方向壓下固定夾1,同時向上轉動機槽組件。
圖 例 81. 向 上 轉 動 磁 碟 機 槽 組 件
5.找出輔助硬碟機槽。請參閱第15頁「尋找內建磁碟機」。
6.拔掉主要硬碟和輔助硬碟的信號線和電源線。
7.拉動藍色把手,將輔助硬碟滑出固定架。
34
56 7 8
圖 例 82. 卸 下 次 要 硬 碟
第5章.安裝或更換硬體79 79
79

8.如果要將新的硬碟安裝到藍色托架中,請扳開托架,然後將托架上的插腳1、插腳2、插腳3和插
腳4對齊硬碟中對應的小孔。請勿碰觸硬碟底部的電路板5。
圖例 83. 將硬碟安裝到托架
9.將新的輔助硬碟滑入固定架中,直到卡合定位為止。
34
56 7 8
圖 例 84. 安 裝 次 要 硬 碟
10.將信號線和電源線連接到主要硬碟和新的輔助硬碟。
下一步:
•如果要處理另一個硬體零件,請跳至適當的章節。
•如果要完成安裝或更換作業,請跳至第102頁「完成零件的更換」。
安裝固態硬碟
注 注
注意 意
意: :
:
請務必先閱讀並瞭解第v頁「重要安全資訊」,再打開電腦或嘗試進行任何維修。
80 80
80ThinkCentreM83、M93/p使用手冊

本節提供如何安裝2.5吋固態硬碟的指示。
如果要安裝固態硬碟,請執行下列動作:
1.將固態硬碟裝入轉接盒。然後鎖上四顆螺絲,將固態硬碟固定至轉接盒。
圖 例 85. 將 固 態 硬 碟 裝 入 轉 接 盒
2.如果要將具備固態硬碟的轉接盒安裝到藍色托架中,請扳開托架,然後將托架上的插腳1、插腳2、
插腳3和插腳4對齊轉接盒中對應的小孔。請勿碰觸固態硬碟底部的電路板5。
圖 例 86. 將 具 備 固 態 硬 碟 的 轉 接 盒 裝 入 托 架
3.將固態硬碟組件裝入硬碟機槽。請參閱第72頁「更換主要硬碟」。
下一步:
•如果要處理另一個硬體零件,請跳至適當的章節。
•如果要完成安裝或更換作業,請跳至第102頁「完成零件的更換」。
第5章.安裝或更換硬體81 81
81

更換前方風扇組件
注 注
注意 意
意: :
:
請務必先閱讀並瞭解第v頁「重要安全資訊」,再打開電腦或嘗試進行任何維修。
本節提供如何更換前方風扇組件的指示。
如果要更換前方風扇組件,請執行下列動作:
1.從磁碟機中取出所有媒體,然後關閉所有連接裝置和電腦。接著拔下電源插座上的所有電源線,以及拔
掉所有連接到電腦的纜線。
2.拆除電腦機殼。請參閱第37頁「卸下電腦機殼」。
3.卸下前方擋板。請參閱第38頁「卸下並重新安裝前方擋板」。
4.依圖中所示方向壓下固定夾1,同時向上轉動機槽組件。
圖 例 87. 向 上 轉 動 磁 碟 機 槽 組 件
5.從主機板的系統風扇接頭拔掉前方風扇組件接線。
附 附
附註 註
註: :
:為了方便接觸主機板上的系統風扇接頭,您可能需要卸下散熱器風扇隔板。請參閱第65頁
「更換散熱器和風扇組件」。
82 82
82ThinkCentreM83、M93/p使用手冊

下一步:
•如果要處理另一個硬體零件,請跳至適當的章節。
•如果要完成安裝或更換作業,請跳至第102頁「完成零件的更換」。
更換前方音訊和USB組件
注 注
注意 意
意: :
:
請務必先閱讀並瞭解第v頁「重要安全資訊」,再打開電腦或嘗試進行任何維修。
本節說明供如何更換前方音訊和USB組件。
如果要更換前方音訊和USB組件,請執行下列動作:
1.從磁碟機中取出所有媒體,然後關閉所有連接裝置和電腦。接著拔下電源插座上的所有電源線,以及拔
掉所有連接到電腦的纜線。
2.拆除電腦機殼。請參閱第37頁「卸下電腦機殼」。
3.卸下前方擋板。請參閱第38頁「卸下並重新安裝前方擋板」。
4.找出前方音訊和USB組件。請參閱第11頁「找出元件」。
5.依圖中所示方向壓下固定夾1,同時向上轉動機槽組件。
圖 例 90. 向 上 轉 動 磁 碟 機 槽 組 件
6.拔掉系統主機板上的前方音訊和USB組件纜線。
84 84
84ThinkCentreM83、M93/p使用手冊

7.卸下用來固定前方音訊和USB組件的螺絲。接著取出機箱中的前方音訊和USB組件。
圖 例 91. 取 出 前 方 音 訊 和 USB 組 件
8.將新的前方音訊和USB組件裝入機箱中,直到卡入定位為止。然後,將新的前方音訊和USB組件推到
左側,直到前方音訊和USB組件金屬托架中的螺絲孔對齊機箱的對應孔位。
圖 例 92. 安 裝 前 方 音 訊 和 USB 組 件
9.將新前方音訊和USB組件的接線連接至主機板上的前方音訊接頭和前方USB接頭1。請參閱第12
頁「找出系統主機板上的零件」。
下一步:
•如果要處理另一個硬體零件,請跳至適當的章節。
•如果要完成安裝或更換作業,請跳至第102頁「完成零件的更換」。
第5章.安裝或更換硬體85 85
85

更換內建喇叭
注 注
注意 意
意: :
:
請務必先閱讀並瞭解第v頁「重要安全資訊」,再打開電腦或嘗試進行任何維修。
本節提供更換內建喇叭的相關指示。
附 附
附註 註
註: :
:僅限部分型號才有提供內建喇叭。
如果要更換內建喇叭,請執行下列動作:
1.從磁碟機中取出所有媒體,然後關閉所有連接裝置和電腦。接著拔下電源插座上的所有電源線,以及拔
掉所有連接到電腦的纜線。
2.拆除電腦機殼。請參閱第37頁「卸下電腦機殼」。
3.卸下前方擋板。請參閱第38頁「卸下並重新安裝前方擋板」。
4.依圖中所示方向壓下固定夾1,同時向上轉動機槽組件。
圖 例 93. 向 上 轉 動 磁 碟 機 槽 組 件
5.從主機板上的內建喇叭接頭拔掉內建喇叭的接線。
86 86
86ThinkCentreM83、M93/p使用手冊

8.將新內建喇叭的纜線連接至主機板上的內建喇叭接頭。請參閱第12頁「找出系統主機板上的零件」。
下一步:
•如果要處理另一個硬體零件,請跳至適當的章節。
•如果要完成安裝或更換作業,請跳至第102頁「完成零件的更換」。
更換熱感應器
注 注
注意 意
意: :
:
請務必先閱讀並瞭解第v頁「重要安全資訊」,再打開電腦或嘗試進行任何維修。
本節提供如何更換熱感應器的指示。
如果要更換熱感應器,請執行下列動作:
1.從磁碟機中取出所有媒體,然後關閉所有連接裝置和電腦。接著拔下電源插座上的所有電源線,以及拔
掉所有連接到電腦的纜線。
2.拆除電腦機殼。請參閱第37頁「卸下電腦機殼」。
3.卸下前方擋板。請參閱第38頁「卸下並重新安裝前方擋板」。
4.找出熱感應器。請參閱第11頁「找出元件」。
5.依圖中所示方向壓下固定夾1,同時向上轉動機槽組件。
圖 例 96. 向 上 轉 動 磁 碟 機 槽 組 件
6.從主機板的熱感應器接頭拔掉熱感應器接線。
88 88
88ThinkCentreM83、M93/p使用手冊

9.將新熱感應器的接頭和接線插入機箱上的小孔1。然後,將熱感應器塑膠固定器的兩個卡栓對齊機箱
上的兩個孔位1和2,再於塑膠固定器上施力,直到卡入定位為止。
圖 例 98. 安 裝 熱 感 應 器
10.將新熱感應器的接線連接到主機板上的熱感應器接頭。請參閱第12頁「找出系統主機板上的零件」。
下一步:
•如果要處理另一個硬體零件,請跳至適當的章節。
•如果要完成安裝或更換作業,請跳至第102頁「完成零件的更換」。
更換Wi-Fi裝置
注 注
注意 意
意: :
:
請務必先閱讀並瞭解第v頁「重要安全資訊」,再打開電腦或嘗試進行任何維修。
本節提供如何更換Wi-Fi裝置的指示。Wi-Fi裝置包含Wi-Fi配接卡、Wi-Fi卡模組和後方Wi-Fi天線接線。
更換Wi-Fi裝置包含下列作業:
•第90頁「卸下Wi-Fi配接卡」
•第92頁「卸下Wi-Fi卡模組」
•第93頁「安裝Wi-Fi裝置」
卸下Wi-Fi配接卡
如果要卸下Wi-Fi配接卡,請執行下列動作:
90 90
90ThinkCentreM83、M93/p使用手冊

圖 例 105. 鎖 上 螺 絲 以 固 定 Wi-Fi 卡 模 組
3.將前、後兩條Wi-Fi天線接線連接到Wi-Fi卡模組。
圖 例 106. 連 接 Wi-Fi 天 線 接 線
94 94
94ThinkCentreM83、M93/p使用手冊

4.將Wi-Fi配接卡安裝到主機板上的PCIExpressx1插槽。然後,將PCI卡固定器旋轉至關閉的位置。請
參閱第12頁「找出系統主機板上的零件」。
圖 例 107. 安 裝 Wi-Fi 配 接 卡
5.如果安裝的Wi-Fi卡模組支援藍芽功能,請使用藍芽接線將Wi-Fi配接卡上的藍芽接頭連接至主機板上
的前方USB接頭1。請參閱第12頁「找出系統主機板上的零件」。
圖 例 108. 連 接 藍 芽 接 線
下一步:
•如果要處理另一個硬體零件,請跳至適當的章節。
•如果要完成安裝或更換作業,請跳至第102頁「完成零件的更換」。
安裝或卸下後方Wi-Fi天線
本節提供如何安裝或卸下後方Wi-Fi天線的指示。
第5章.安裝或更換硬體95 95
95

安裝後方Wi-Fi天線
注 注
注意 意
意: :
:
請務必先閱讀並瞭解第v頁「重要安全資訊」,再打開電腦或嘗試進行任何維修。
如果要安裝後方Wi-Fi天線,請執行下列動作:
1.從磁碟機中取出所有媒體,然後關閉所有連接裝置和電腦。接著拔下電源插座上的所有電源線,以及拔
掉所有連接到電腦的纜線。
2.拆除電腦機殼。請參閱第37頁「卸下電腦機殼」。
3.如圖所示,將後方Wi-Fi天線接線接頭1對齊Wi-Fi天線配接卡上的小孔。然後,將後方Wi-Fi天線
接線接頭插入小孔。
圖 例 109. 安 裝 後 方 Wi-Fi 天 線 接 線 接 頭
4.鎖上後方Wi-Fi天線墊圈2和後方Wi-Fi天線螺帽3,以將後方Wi-Fi天線接線接頭1固定
在Wi-Fi配接卡上。
圖例 110. 鎖上螺帽和墊圈以固定後方 Wi-Fi 天線接線接頭
96 96
96ThinkCentreM83、M93/p使用手冊

5.將後方Wi-Fi天線安裝到後方Wi-Fi天線接線接頭。然後調整後方Wi-Fi天線的角度,以防止意外
折斷天線。
34
56 7 8
34
567 8
34
567 8
圖 例 111. 安 裝 後 方 Wi-Fi 天 線
6.將後方Wi-Fi天線接線連接到Wi-Fi卡模組。請參閱第90頁「更換Wi-Fi裝置」。
下一步:
•如果要處理另一個硬體零件,請跳至適當的章節。
•如果要完成安裝或更換作業,請跳至第102頁「完成零件的更換」。
卸下後方Wi-Fi天線
注 注
注意 意
意: :
:
請務必先閱讀並瞭解第v頁「重要安全資訊」,再打開電腦或嘗試進行任何維修。
如果要卸下後方Wi-Fi天線,請執行下列動作:
1.從磁碟機中取出所有媒體,然後關閉所有連接裝置和電腦。接著拔下電源插座上的所有電源線,以及拔
掉所有連接到電腦的纜線。
2.拆除電腦機殼。請參閱第37頁「卸下電腦機殼」。
3.先將後方Wi-Fi天線拉直,比較容易將它扭開。
第5章.安裝或更換硬體97 97
97

4.握住後方Wi-Fi天線較粗的一端並轉動,從電腦背面卸下Wi-Fi天線。
34
567 8
圖 例 112. 卸 下 後 方 Wi-Fi 天 線
5.卸下Wi-Fi配接卡。請參閱第90頁「卸下Wi-Fi配接卡」。
6.將後方Wi-Fi天線螺帽3和後方Wi-Fi天線墊圈2從後方Wi-Fi天線接線接頭1卸下。然後,
從Wi-Fi配接卡卸下後方Wi-Fi天線接線接頭。
圖 例 113. 卸 下 後 方 Wi-Fi 天 線 接 線 接 頭
下一步:
•如果要處理另一個硬體零件,請跳至適當的章節。
•如果要完成安裝或更換作業,請跳至第102頁「完成零件的更換」。
安裝或卸下前方Wi-Fi天線
本節提供如何安裝或卸下前方Wi-Fi天線的指示。
安裝前方Wi-Fi天線
注 注
注意 意
意: :
:
請務必先閱讀並瞭解第v頁「重要安全資訊」,再打開電腦或嘗試進行任何維修。
如果要安裝前方Wi-Fi天線,請執行下列動作:
98 98
98ThinkCentreM83、M93/p使用手冊

6.將前方Wi-Fi天線貼在前方面板上,然後如圖所示將其接線穿過前方面板上的對應孔。
圖 例 116. 安 裝 前 方 Wi-Fi 天 線
7.將前方Wi-Fi天線接線連接到Wi-Fi卡模組。請參閱第90頁「更換Wi-Fi裝置」。
下一步:
•如果要處理另一個硬體零件,請跳至適當的章節。
•如果要完成安裝或更換作業,請跳至第102頁「完成零件的更換」。
卸下前方Wi-Fi天線
注 注
注意 意
意: :
:
請務必先閱讀並瞭解第v頁「重要安全資訊」,再打開電腦或嘗試進行任何維修。
如果要卸下前方Wi-Fi天線,請執行下列動作:
1.從磁碟機中取出所有媒體,然後關閉所有連接裝置和電腦。接著拔下電源插座上的所有電源線,以及拔
掉所有連接到電腦的纜線。
2.拆除電腦機殼。請參閱第37頁「卸下電腦機殼」。
3.卸下前方擋板。請參閱第38頁「卸下並重新安裝前方擋板」。
100 100
100ThinkCentreM83、M93/p使用手冊

本節提供如何更換鍵盤或滑鼠的指示。
若要更換鍵盤或滑鼠,請執行下列動作:
1.拔掉電腦上舊的鍵盤連接線或滑鼠連接線。
2.將新的鍵盤或滑鼠接到電腦上的其中一個USB接頭。視您新鍵盤或滑鼠的連接位置而定,請參閱第8
頁「找出電腦正面的接頭、控制項與指示燈」或第8頁「找出電腦背面的連接器」。
圖 例 119. 連 接 USB 鍵 盤 或 滑 鼠
完成零件的更換
完成安裝或更換所有零件之後,您需要重新安裝電腦機殼並重新接上連接線。根據您安裝或更換的零件,您
可能需要確認SetupUtility程式中的更新資訊。請參閱第113頁第7章「使用SetupUtility程式」。
如果要重新安裝電腦機殼,以及將纜線重新接上電腦,請執行下列動作:
1.請確定已正確重新組裝所有元件,且電腦內沒有遺留任何工具或螺絲。請參閱第11頁「找出元
件」以得知電腦中各個元件的位置。
2.確定連接線的佈線正確,再重新裝上電腦機殼。請將連接線避開電腦機箱的樞軸和側邊,以避免妨礙
重新安裝電腦機殼。
102 102
102ThinkCentreM83、M93/p使用手冊

第6章回復資訊
本章提供有關由Lenovo所提供之回復解決方案的資訊。
•第105頁「Windows7作業系統的回復資訊」
•第110頁「Windows8或Windows8.1作業系統的回復資訊」
•第111頁「Windows10作業系統的回復資訊」
Windows7作業系統的回復資訊
本節包含下列主題:
•建立與使用回復媒體
•執行備份及回復作業
•使用RescueandRecovery工作區
•建立及使用救援媒體
•安裝或重新安裝裝置驅動程式
•解決回復問題
附 附
附註 註
註: :
:
1.本章的回復資訊僅適用於已安裝RescueandRecovery程式或ProductRecovery程式的電腦。如果Lenovo
ThinkVantageTools中的Enhanced Enhanced
EnhancedBackup Backup
Backupand and
andRestore Restore
Restore圖示呈灰暗色狀態,表示您必須手動安裝Rescue
andRecovery程式,才能啟用其功能。如果安裝RescueandRecovery程式,請執行下列動作:
a.按一下開 開
開始 始
始➙ ➙
➙所 所
所有 有
有程 程
程式 式
式➙ ➙
➙Lenovo Lenovo
LenovoThinkVantage ThinkVantage
ThinkVantageTools Tools
Tools,然後按兩下Enhanced Enhanced
EnhancedBackup Backup
Backupand and
andRestore Restore
Restore。
b.遵循螢幕上的指示。
c.當安裝程序完成時,Enhanced Enhanced
EnhancedBackup Backup
Backupand and
andRestore Restore
Restore圖示就會變成啟用狀態。
2.發生軟體或硬體相關問題時,有幾種方法可讓您回復。部分方法會視安裝的作業系統類型而有所不同。
3.回復媒體上的產品只能使用於下列目的:
•還原預先安裝在電腦上的產品
•重新安裝產品
•使用「其他檔案」來修改產品
建立與使用回復媒體
您可以使用回復媒體將硬碟還原為原廠預設設定。如果您要將電腦轉移至其他地區、出售電腦、將電腦回
收,或在嘗試過所有其他回復方法都無法使電腦正常運作時,「回復媒體」就十分有用。請盡早製作回
復媒體,以做為預防措施。
附 附
附註 註
註: :
:使用回復媒體能執行的回復作業,會因製作回復媒體的作業系統而有不同。回復媒體可能包括開機媒
體與資料媒體。MicrosoftWindows授權僅允許您建立一個資料媒體,因此在建立回復媒體之後,將其放
在安全的地方是很重要的。
建立回復媒體
本節提供如何建立回復媒體的相關指示。
附 附
附註 註
註: :
:在Windows7作業系統上,您可以使用光碟或外接式USB儲存裝置來建立回復媒體。
©CopyrightLenovo2013,2016105 105
105

若要在Windows7作業系統中建立回復媒體,請按一下開 開
開始 始
始➙ ➙
➙所 所
所有 有
有程 程
程式 式
式➙ ➙
➙Lenovo Lenovo
LenovoThinkVantage ThinkVantage
ThinkVantageTools Tools
Tools➙ ➙
➙
Factory Factory
FactoryRecovery Recovery
RecoveryDisks Disks
Disks。然後,依照畫面上的指示進行。
使用回復媒體
本節提供如何使用回復媒體的相關指示。
在Windows7作業系統上,您可以使用回復媒體將硬碟的內容還原為原廠預設狀態。此外,當所有其他回復
硬碟的方法都無法讓電腦恢復運作時,您還可以使用回復媒體恢復電腦的運作。
注 注
注意 意
意: :
:當您使用回復媒體將硬碟的內容還原成原廠預設狀態時,會刪除目前在硬碟中的所有檔案,並
取代為原廠預設檔案。
如果要在Windows7作業系統上使用回復媒體,請執行下列動作:
1.視您的回復媒體類型而定,將開機媒體(隨身碟或其他USB儲存裝置)連接到電腦,或是將開
機光碟插入光碟機。
2.開啟電腦電源時,反覆按下及放開F12鍵。當Pleaseselectbootdevice視窗開啟時,請放開F12鍵。
3.選取所需的啟動裝置,然後按Enter鍵。還原程序即會開始。
4.遵循畫面上的指示完成作業。
附 附
附註 註
註: :
:將電腦硬碟還原成原廠預設狀態之後,您可能需要重新安裝某些裝置的裝置驅動程式。請參閱第
109頁「重新安裝裝置驅動程式」。
執行備份及回復作業
RescueandRecovery程式可讓您備份所有硬碟內容,其中包括作業系統、資料檔、軟體程式及個人設定值。
您可以指定RescueandRecovery程式儲存備份的位置:
•在硬碟的保護區域中
•在次要硬碟上(如果電腦已安裝次要硬碟)
•在連接的外接式USB硬碟上
•在網路磁碟機上
•在可燒錄的光碟上(這個選項需要具備燒錄功能的光碟機)
在備份硬碟的內容後,您可以還原硬碟的完整內容、只還原選取的檔案,或是只還原Windows作業系統與
應用程式,而保留硬碟的其他資料。
執行備份作業
本節提供如何使用RescueandRecovery程式執行備份作業的相關指示。
如果要在Windows7作業系統上使用RescueandRecovery程式執行備份作業,請執行下列動作:
1.在Windows桌面,按一下開 開
開始 始
始➙ ➙
➙所 所
所有 有
有程 程
程式 式
式➙ ➙
➙Lenovo Lenovo
LenovoThinkVantage ThinkVantage
ThinkVantageTools Tools
Tools➙ ➙
➙Enhanced Enhanced
EnhancedBackup Backup
Backupand and
and
Restore Restore
Restore。這時會開啟RescueandRecovery程式。
2.在RescueandRecovery主視窗中,按一下啟 啟
啟動 動
動進 進
進階 階
階Rescue Rescue
Rescueand and
andRecovery Recovery
Recovery箭頭。
3.按一下備 備
備份 份
份您 您
您的 的
的硬 硬
硬碟 碟
碟,並選取備份作業選項。接著遵循畫面上的指示完成備份作業。
執行回復作業
本節提供如何使用RescueandRecovery程式執行回復作業的相關指示。
如果要在Windows7作業系統上使用RescueandRecovery程式執行回復作業,請執行下列動作:
1.在Windows桌面,按一下開 開
開始 始
始➙ ➙
➙所 所
所有 有
有程 程
程式 式
式➙ ➙
➙Lenovo Lenovo
LenovoThinkVantage ThinkVantage
ThinkVantageTools Tools
Tools➙ ➙
➙Enhanced Enhanced
EnhancedBackup Backup
Backupand and
and
Restore Restore
Restore。這時會開啟RescueandRecovery程式。
106 106
106ThinkCentreM83、M93/p使用手冊

2.在RescueandRecovery主視窗中,按一下啟 啟
啟動 動
動進 進
進階 階
階Rescue Rescue
Rescueand and
andRecovery Recovery
Recovery箭頭。
3.按一下從 從
從備 備
備份 份
份還 還
還原 原
原您 您
您的 的
的系 系
系統 統
統圖示。
4.遵循畫面上的指示完成回復作業。
如需從RescueandRecovery工作區執行回復作業的相關資訊,請參閱第107頁「使用RescueandRecovery
工作區」。
使用RescueandRecovery工作區
RescueandRecovery工作區位在硬碟上一個受保護的隱藏區,此隱藏區獨立運作,不受Windows作業系
統的影響。因此,即使您無法啟動Windows作業系統,您仍然可以執行回復作業。您可以從Rescueand
Recovery工作區執行下列回復作業:
•從硬碟或備份中救援檔案:RescueandRecovery工作區可讓您尋找硬碟上的檔案,然後將這些檔案傳送到
網路磁碟機或其他可燒錄的媒體,如USB裝置或光碟。即使您並未備份檔案,或是自前次備份作業後曾
經變更檔案,仍然可以使用這個解決方案。您也可以從位於本端硬碟、USB裝置或網路磁碟機上的
RescueandRecovery備份中,救援個別的檔案。
•從RescueandRecovery備份還原您的硬碟:如果您已使用RescueandRecovery程式備份硬碟,即使無法
啟動Windows作業系統,您也可以從RescueandRecovery備份來還原硬碟。
•將您的硬碟還原成原廠預設狀態:RescueandRecovery工作區可讓您將硬碟的所有內容還原至原廠預設
狀態。如果硬碟有多個分割區,您可以選擇還原C:分割區,而保持其他分割區的完整。由於Rescue
andRecovery工作區獨立於Windows作業系統之外執行,因此,您即使無法啟動Windows作業系統,
也可以將硬碟還原為原廠預設狀態。
注 注
注意 意
意: :
:如果您從RescueandRecovery備份中還原硬碟,或將硬碟還原成原廠預設值,在回復程序期間,將會
刪除主要硬碟分割區(通常是C:磁碟機)的所有檔案。可能的話,請備份重要的檔案。如果您無法啟動
Windows作業系統,可使用RescueandRecovery工作區的救援檔案功能,將檔案從硬碟複製到其他媒體。
如果要啟動RescueandRecovery工作區,請執行下列步驟:
1.確定電腦已關機。
2.啟動您的電腦。當您看到標誌畫面時,按下Enter,然後按下F11以進入RescueandRecovery工作區。
3.如果您有設定RescueandRecovery密碼,請在提示時輸入您的密碼。一段時間之後,就會開啟Rescue
andRecovery工作區。
附 附
附註 註
註: :
:如果無法開啟RescueandRecovery工作區,請參閱第109頁「解決回復問題」。
4.請執行下列其中一項:
•如果要從硬碟中救援檔案,請按一下救 救
救援 援
援檔 檔
檔案 案
案,並依照畫面上的指示進行。
•如果要從RescueandRecovery備份還原硬碟,或將硬碟還原成原廠預設值,請按一下完 完
完整 整
整還 還
還原 原
原,
並依照畫面上的指示進行。
如需RescueandRecovery工作區功能的相關資訊,請按一下說 說
說明 明
明。
附 附
附註 註
註: :
:將硬碟還原成原廠預設狀態之後,您可能需要重新安裝某些裝置的裝置驅動程式。請參閱第109頁
「重新安裝裝置驅動程式」。
建立及使用救援媒體
若發生故障而導致您無法存取硬碟上的RescueandRecovery工作區,可以利用光碟或USB硬碟等救援媒
體來回復電腦。
附 附
附註 註
註: :
:
1.使用救援媒體所能執行的回復作業,會因作業系統而有不同。
2.任何類型的光碟機都可以啟動救援光碟。
第6章.回復資訊107 107
107

建立救援媒體
本節提供如何建立救援媒體的相關指示。
如果要在Windows7作業系統上建立救援媒體,請執行下列動作:
1.在Windows桌面,按一下開 開
開始 始
始➙ ➙
➙所 所
所有 有
有程 程
程式 式
式➙ ➙
➙Lenovo Lenovo
LenovoThinkVantage ThinkVantage
ThinkVantageTools Tools
Tools➙ ➙
➙Enhanced Enhanced
EnhancedBackup Backup
Backupand and
and
Restore Restore
Restore。這時會開啟RescueandRecovery程式。
2.在RescueandRecovery主視窗中,按一下啟 啟
啟動 動
動進 進
進階 階
階Rescue Rescue
Rescueand and
andRecovery Recovery
Recovery箭頭。
3.按一下建 建
建立 立
立救 救
救援 援
援媒 媒
媒體 體
體圖示。這時會開啟建立救援和回復媒體視窗。
4.在救 救
救援 援
援媒 媒
媒體 體
體區域中,選取您要建立的救援媒體類型。您可以使用光碟、USB硬碟或第二個內建硬
碟來建立救援媒體。
5.按一下確 確
確定 定
定,然後遵循畫面上的指示建立救援媒體。
使用救援媒體
本節提供如何使用您所建立之救援媒體的相關指示。
•如果您已經使用光碟建立救援媒體,請依照下列指示來使用救援媒體:
1.關閉電腦電源。
2.開啟電腦電源時,反覆按下及放開F12鍵。當Pleaseselectbootdevice視窗開啟時,請放開F12鍵。
3.在Pleaseselectbootdevice視窗中,請選取要作為第一個開機裝置的光碟機。接著將救援光碟插入光
碟機中並按Enter鍵。此時救援媒體會啟動。
•如果您已經使用USB硬碟建立救援媒體,請依照下列指示來使用救援媒體:
1.將USB硬碟連接至電腦的其中一個USB接頭。
2.開啟電腦電源時,反覆按下及放開F12鍵。當Pleaseselectbootdevice視窗開啟時,請放開F12鍵。
3.在Pleaseselectbootdevice視窗中,請選取要作為第一個開機裝置的USB硬碟。此時救援媒體會啟動。
啟動救援媒體時,會開啟RescueandRecovery工作區。您可以從RescueandRecovery工作區取得每項
功能的說明資訊。請遵循指示來完成回復程序。
重新安裝預先安裝的應用程式和裝置驅動程式
您的電腦具有備援機制,可讓您重新安裝出廠時預先安裝的特定應用程式和裝置驅動程式。
重新安裝預先安裝的應用程式
本節提供有關如何重新安裝預先安裝的應用程式的指示。
若要重新安裝Lenovo電腦中預先安裝的所選應用程式,請執行下列動作:
1.開啟電腦的電源。
2.移至C:\SWTOOLS目錄。
3.開啟APPS資料夾。在APPS資料夾中,有一些針對安裝於電腦中各種應用程式而命名的子資料夾。
4.開啟適當的應用程式子資料夾。
5.在應用程式子資料夾中,尋找SETUP.EXE檔或其他適當的EXE檔,以進行安裝。按兩下這個
檔案,然後遵循畫面指示完成安裝。
重新安裝預先安裝的裝置驅動程式
本節提供有關如何重新安裝預先安裝的裝置驅動程式的指示。
注 注
注意 意
意: :
:當您重新安裝裝置驅動程式時,您會變更電腦目前的配置。只有當您必須更正電腦的問題時,
才重新安裝裝置驅動程式。
108 108
108ThinkCentreM83、M93/p使用手冊

如果要重新安裝原廠安裝裝置的裝置驅動程式,請執行下列動作:
1.開啟電腦的電源。
2.移至C:\SWTOOLS目錄。
3.開啟DRIVERS資料夾。DRIVERS資料夾內有若干子資料夾是針對電腦上所安裝的各種裝置來命名,
例如AUDIO或VIDEO。
4.開啟適當的裝置子檔案夾。
5.請執行下列其中一項:
•在裝置子資料夾中找出SETUP.exe檔。按兩下這個檔案,然後遵循畫面指示完成安裝。
•在裝置子資料夾中,尋找README.txt檔案或副檔名為.txt的檔案。這個檔案可能是根據作業系統命
名,如WIN98.txt。TXT檔案包含如何安裝裝置驅動程式的相關資訊。請依照指示完成安裝。
•如果裝置的子資料夾含有副檔名為.inf的檔案,而且您要使用INF檔來安裝裝置驅動程式,請參
閱Windows說明系統,以取得安裝裝置驅動程式的詳細資訊。
附 附
附註 註
註: :
:如果您需要更新的裝置驅動程式,請參閱第121頁「取得您電腦適用的最新裝置驅動程式」以
取得相關資訊。
重新安裝軟體程式
如果您安裝在電腦上的軟體程式無法正常運作,您可能需要移除並重新安裝它。重新安裝會覆寫現有的程式
檔,這通常會修正任何與該程式可能有關的問題。
若要移除系統中的程式,請參閱MicrosoftWindows說明系統以取得詳細資訊。
如果要重新安裝程式,請執行下列其中一項:
附 附
附註 註
註: :
:不同的程式會有不同的重新安裝方法。請參閱程式所提供的說明文件,查看您的程式是否有特
殊的安裝指示。
•如果要在系統中重新安裝最具商用性的程式,請參閱MicrosoftWindows說明系統以取得相關資訊。
•若要重新安裝選取的Lenovo預先安裝應用程式,請執行下列動作:
1.開啟電腦的電源。
2.移至C:\SWTOOLS目錄。
3.開啟APPS資料夾。在APPS資料夾中,有一些針對安裝於電腦中各種應用程式而命名的子資料夾。
4.開啟適當的應用程式子資料夾。
5.在應用程式子資料夾中,尋找SETUP.EXE檔或其他適當的EXE檔,以進行安裝。按兩下這個檔
案,然後遵循畫面指示完成安裝。
重新安裝裝置驅動程式
如果要重新安裝您安裝的選用設備裝置驅動程式,請參閱該選用設備隨附的說明文件。
當您重新安裝裝置驅動程式時,您會變更電腦目前的配置。只有當您必須更正電腦的問題時,才重新安裝
裝置驅動程式。
如需重新安裝電腦隨附裝置驅動程式的相關資訊,請參閱第108頁「重新安裝預先安裝的應用程式和裝
置驅動程式」。
解決回復問題
如果無法存取RescueandRecovery工作區或Windows環境,請執行下列其中一項:
•使用救援媒體來啟動RescueandRecovery工作區。請參閱第107頁「建立及使用救援媒體」。
第6章.回復資訊109 109
109

•如果所有其他回復方法都失敗,而且您必須將硬碟還原成原廠預設值,請使用回復媒體。請參閱第105
頁「建立與使用回復媒體」。
附 附
附註 註
註: :
:如果您無法從救援媒體或回復媒體存取RescueandRecovery工作區或Windows環境,表示您可能未
將救援裝置(內接式硬碟、光碟、USB硬碟或其他外接式裝置)設定為啟動裝置順序中的第一個啟動裝置。
您必須先在SetupUtility程式的啟動裝置順序中,確定您的救援裝置是設為第一個啟動裝置。請參閱第
115頁「選取啟動裝置」,以取得暫時或永久變更啟動裝置順序的相關詳細資訊。如需SetupUtility程式
的相關資訊,請參閱第113頁第7章「使用SetupUtility程式」。
最好儘早建立救援媒體及一組回復媒體,並將它們存放在安全的地方以供日後使用。
Windows8或Windows8.1作業系統的回復資訊
本節提供預先安裝Windows8或Windows8.1作業系統的電腦上所提供的回復解決方案相關資訊。
重新整理您的電腦
如果您的電腦執行效果不佳,且問題可能是最近安裝的程式所造成的,您可以在不遺失個人檔案或變更
設定的情況下,重新整理您的電腦。
注 注
注意 意
意: :
:如果您重新整理電腦,將會重新安裝電腦隨附的程式以及您從Windows市集安裝的程式,但會
移除所有其他的程式。
若要重新整理電腦,請執行下列其中一項動作:
•Windows8:
1.將指標移至螢幕右上角或右下角以顯示快速鍵。按一下設 設
設定 定
定➙ ➙
➙變 變
變更 更
更電 電
電腦 腦
腦設 設
設定 定
定➙ ➙
➙一 一
一般 般
般。
2.在在 在
在不 不
不影 影
影響 響
響檔 檔
檔案 案
案的 的
的情 情
情況 況
況下 下
下重 重
重新 新
新整 整
整理 理
理您 您
您的 的
的電 電
電腦 腦
腦區段中,按一下開 開
開始 始
始使 使
使用 用
用。
•Windows8.1:
1.將指標移至螢幕右上角或右下角以顯示快速鍵。按一下設 設
設定 定
定➙ ➙
➙變 變
變更 更
更電 電
電腦 腦
腦設 設
設定 定
定➙ ➙
➙更 更
更新 新
新與 與
與復 復
復原 原
原➙ ➙
➙復 復
復原 原
原。
2.在在 在
在不 不
不影 影
影響 響
響檔 檔
檔案 案
案的 的
的情 情
情況 況
況下 下
下重 重
重新 新
新整 整
整理 理
理您 您
您的 的
的電 電
電腦 腦
腦區段中,按一下開 開
開始 始
始使 使
使用 用
用。
將您的電腦重設成原廠預設值
您可以將電腦重設成原廠預設值。重設電腦將會重新安裝作業系統,以及重新安裝電腦隨附的所有程
式和設定。
注 注
注意 意
意: :
:如果您重設電腦,將會刪除您所有的個人檔案和設定。為避免資料遺失,請針對您要保存的所有
資料建立備份。
若要重設電腦,請執行下列其中一項動作:
•Windows8:
1.將指標移至螢幕右上角或右下角以顯示快速鍵。按一下設 設
設定 定
定➙ ➙
➙變 變
變更 更
更電 電
電腦 腦
腦設 設
設定 定
定➙ ➙
➙一 一
一般 般
般。
2.在移 移
移除 除
除所 所
所有 有
有項 項
項目 目
目並 並
並重 重
重新 新
新安 安
安裝 裝
裝Windows Windows
Windows區段中,按一下開 開
開始 始
始使 使
使用 用
用。
•Windows8.1:
1.將指標移至螢幕右上角或右下角以顯示快速鍵。按一下設 設
設定 定
定➙ ➙
➙變 變
變更 更
更電 電
電腦 腦
腦設 設
設定 定
定➙ ➙
➙更 更
更新 新
新與 與
與復 復
復原 原
原➙ ➙
➙復 復
復原 原
原。
2.在移 移
移除 除
除所 所
所有 有
有項 項
項目 目
目並 並
並重 重
重新 新
新安 安
安裝 裝
裝Windows Windows
Windows區段中,按一下開 開
開始 始
始使 使
使用 用
用。
使用進階啟動選項
進階啟動選項可讓您變更Windows作業系統的啟動設定、從外部裝置啟動電腦或從系統映像還原Windows
作業系統。
110 110
110ThinkCentreM83、M93/p使用手冊

若要使用進階啟動選項,請執行下列動作:
•Windows8:
1.將指標移至螢幕右上角或右下角以顯示快速鍵。按一下設 設
設定 定
定➙ ➙
➙變 變
變更 更
更電 電
電腦 腦
腦設 設
設定 定
定➙ ➙
➙一 一
一般 般
般。
2.在進 進
進階 階
階啟 啟
啟動 動
動區段中,按一下立 立
立即 即
即重 重
重新 新
新啟 啟
啟動 動
動➙ ➙
➙疑 疑
疑難 難
難排 排
排解 解
解➙ ➙
➙進 進
進階 階
階選 選
選項 項
項。
3.依照畫面上的指示重新啟動您的電腦。
•Windows8.1:
1.將指標移至螢幕右上角或右下角以顯示快速鍵。按一下設 設
設定 定
定➙ ➙
➙變 變
變更 更
更電 電
電腦 腦
腦設 設
設定 定
定➙ ➙
➙更 更
更新 新
新與 與
與復 復
復原 原
原➙ ➙
➙復 復
復原 原
原。
2.在進 進
進階 階
階啟 啟
啟動 動
動區段中,按一下立 立
立即 即
即重 重
重新 新
新啟 啟
啟動 動
動➙ ➙
➙疑 疑
疑難 難
難排 排
排解 解
解➙ ➙
➙進 進
進階 階
階選 選
選項 項
項。
3.依照畫面上的指示重新啟動您的電腦。
在Windows8或Windows8.1無法啟動時回復您的作業系統
您電腦上的Windows回復環境可以與Windows8或Windows8.1作業系統分開運作。因此,即使Windows8
或Windows8.1作業系統無法啟動,您仍然可以回復或修復作業系統。
在連續兩次嘗試開機失敗之後,Windows回復環境將會自動啟動。然後您就可以依照畫面上的指示,
選擇修復和回復選項。
附 附
附註 註
註: :
:在回復程序期間,確定電腦已連接到AC電源。
如需在預先安裝Windows8或Windows8.1作業系統的電腦上所提供的回復解決方案詳細資訊,請參閱
Windows8或Windows8.1作業系統的說明資訊系統。
Windows10作業系統的回復資訊
如果要回復Windows10作業系統,請使用下列解決方案:
•使用Windows回復解決方案。
–使用Windows設定中的回復解決方案。
1.按一下「開始」按鈕以開啟「開始」功能表。
2.按一下設 設
設定 定
定➙ ➙
➙更 更
更新 新
新與 與
與安 安
安全 全
全性 性
性➙ ➙
➙復 復
復原 原
原。
3.遵循螢幕上的指示,選擇適當的回復解決方案。
–使用系統還原,將系統檔案和設定還原至先前的點。
1.用滑鼠右鍵按一下「開始」按鈕以開啟「開始」快速功能表。
2.按一下控 控
控制 制
制台 台
台。使用大圖示或小圖示檢視控制台,然後按一下復 復
復原 原
原➙ ➙
➙開 開
開啟 啟
啟系 系
系統 統
統還 還
還原 原
原。
3.遵循螢幕上的指示。
–使用檔案歷程記錄工具,從備份還原檔案。
附 附
附註 註
註: :
:如果使用檔案歷程記錄工具從備份還原檔案,請確定先前已使用此工具備份您的資料。
1.用滑鼠右鍵按一下「開始」按鈕以開啟「開始」快速功能表。
2.按一下控 控
控制 制
制台 台
台。使用大圖示或小圖示檢視控制台,然後按一下檔 檔
檔案 案
案歷 歷
歷程 程
程記 記
記錄 錄
錄➙ ➙
➙還 還
還原 原
原個 個
個人 人
人檔 檔
檔案 案
案。
3.遵循螢幕上的指示。
–執行下列其中一項動作,使用Windows回復環境:
–連續多次嘗試開機失敗之後,Windows回復環境可能會自動啟動。遵循螢幕上的指示,選擇適
當的回復解決方案。
–選取先前使用Windows工具建立的回復媒體做為啟動裝置。請參閱第115頁「選取暫時啟動裝
置」。然後遵循螢幕上的指示,選擇適當的回復解決方案。
第6章.回復資訊111 111
111

第7章使用SetupUtility程式
無論您使用哪種作業系統,都可用SetupUtility程式來檢視及變更電腦的配置設定。但是,作業系統設定可
能會置換SetupUtility程式中任何類似的設定。
啟動SetupUtility
如果要啟動SetupUtility程式,請執行下列步驟:
1.確定電腦已關機。
2.開啟電腦電源時,反覆按下及放開F1鍵。當您聽到多次嗶聲或看見標誌畫面時,請放開F1鍵。
附 附
附註 註
註: :
:如果設定了Power-OnPassword或AdministratorPassword,SetupUtility程式功能表會等到您輸入
正確的密碼,才會顯示。如需相關資訊,請參閱第113頁「使用BIOS密碼」。
當POST偵測到硬碟機已從電腦移除或記憶體模組減少時,系統就會在您啟動電腦時顯示錯誤訊息,並提示
您執行下列其中一個動作:
•按下F1以進入SetupUtility程式。
附 附
附註 註
註: :
:進入SetupUtility程式後,請按F10鍵儲存變更並結束SetupUtility程式。在系統提示確認
結束時按Enter鍵。錯誤訊息就不會再出現。
•按下F2略過錯誤訊息並登入作業系統。
附 附
附註 註
註: :
:您必須啟用POST的ConfigurationChangeDetection功能,以偵測硬碟的移除或減少記憶體模組大
小。如果要啟用ConfigurationChangeDetection功能,請執行下列動作:
1.啟動SetupUtility程式。
2.從SetupUtility程式主功能表,選取Security Security
Security➙ ➙
➙Configuration Configuration
ConfigurationChange Change
ChangeDetection Detection
Detection,然後按Enter鍵。
3.選取Enabled Enabled
Enabled,然後按Enter鍵。
4.按F10以儲存變更並結束SetupUtility程式。在系統提示確認結束時按Enter鍵。
檢視及變更設定
SetupUtility程式功能表會列出關於系統配置的各個項目。如果要檢視或變更設定,請啟動SetupUtility程
式。請參閱第113頁「啟動SetupUtility」。然後,依照畫面上的指示進行。
您可以使用鍵盤或滑鼠來導覽BIOS功能表選項。用來執行各項作業的按鍵會顯示在每一個畫面底端。
使用BIOS密碼
您可以利用SetupUtility來設定密碼,以防止他人未獲授權,便存取您的電腦及資料。
您不一定要設定這兩種密碼也能使用電腦。不過,使用密碼可以增加電腦運算的安全性。如果您決定設定任
一密碼,請閱讀下列幾節。
密碼注意事項
密碼可以是最多64個英數字元的任何組合。基於安全考量,建議使用不容易破解的高保護性密碼。如果要
設定高保護性密碼,請遵循下列準則:
•長度至少八個字元
©CopyrightLenovo2013,2016113 113
113

•至少包含一個英文字母和一個數值字元
•SetupUtility程式及硬碟密碼都不區分大小寫
•勿用您的名字或使用者名稱
•勿用一般字或一般名稱
•要與上次使用的密碼顯著不同
Power-OnPassword
如果設定Power-OnPassword,每次電腦開機時,都會提示您輸入有效的密碼。您必須輸入有效的密碼,
才能使用電腦。
AdministratorPassword
設定AdministratorPassword可防止未獲授權的使用者變更配置設定。如果您負責維護多部電腦的配置設定,
您可能要設定AdministratorPassword。
如果設定AdministratorPassword,每次您嘗試存取SetupUtility程式時,都會提示您輸入有效的密碼。您必
須輸入有效的密碼,才能存取SetupUtility程式。
如果同時設定了Power-OnPassword和AdministratorPassword,您可以輸入任何一個密碼。不過,您必須使
用AdministratorPassword來變更任何配置設定。
HardDiskPassword
設定HardDiskPassword可避免未獲授權者存取硬碟上的資料。如果設定HardDiskPassword,每次您
嘗試存取硬碟時,都會提示您輸入有效的密碼。
附 附
附註 註
註: :
:
•在您設定HardDiskPassword後,硬碟上的資料將受到保護,即使該硬碟已被移除並安裝在其他電
腦上亦然。
•如果忘記HardDiskPassword,就沒有辦法重設密碼或從硬碟回復資料。
設定、變更及刪除密碼
如果要設定、變更或刪除密碼,請執行下列動作:
1.啟動SetupUtility程式。請參閱第113頁「啟動SetupUtility」。
2.從SetupUtility程式主功能表,選取Security Security
Security。
3.根據密碼類型,選取Set Set
SetPower-On Power-On
Power-OnPassword Password
Password、Set Set
SetAdministrator Administrator
AdministratorPassword Password
Password或Hard Hard
HardDisk Disk
DiskPassword Password
Password。
4.請遵循畫面右邊的指示來設定、變更或刪除密碼。
附 附
附註 註
註: :
:密碼可以是最多64個英數字元的任何組合。如需相關資訊,請參閱第113頁「密碼注意事項」。
消除遺失或忘記的密碼(清除CMOS)
本節提供如何消除遺失或遺忘密碼(如使用者密碼)的指示。
如果要消除遺失或忘記的密碼,請執行下列動作:
1.從磁碟機中取出所有媒體,然後關閉所有連接裝置和電腦。接著拔下電源插座上的所有電源線,以及拔
掉所有連接到電腦的纜線。
2.拆除電腦機殼。請參閱第37頁「卸下電腦機殼」。
3.找出系統主機板上的清除CMOS/回復跳接器。請參閱第12頁「找出系統主機板上的零件」。
114 114
114ThinkCentreM83、M93/p使用手冊

4.將跳接器從標準位置(插腳1和插腳2)移至維護位置(插腳2和插腳3)。
5.重新安裝電腦機殼並連接電源線。請參閱第102頁「完成零件的更換」。
6.啟動電腦,並維持約10秒鐘。當您聽到短嗶聲,按住電源按鈕大約五秒,以關閉電腦。
7.重複步驟1到步驟2。
8.將清除CMOS/回復跳接器移回標準位置(插腳1和插腳2)。
9.重新安裝電腦機殼並連接電源線。請參閱第102頁「完成零件的更換」。
啟用或停用裝置
本節提供如何啟用或停用下列裝置之使用者存取權的相關資訊:
USB USB
USBSetup Setup
Setup使用這個選項來啟用或停用USB接頭。如果停用USB接頭,就無法使用連接
到USB接頭的裝置。
SATA SATA
SATAController Controller
Controller如果這項特性設為Disabled Disabled
Disabled,所有連接到SATA連接器的裝置(如:硬碟或光碟
機)都會停用,也無法存取。
如果要啟用或停用裝置,請執行下列動作:
1.啟動SetupUtility程式。請參閱第113頁「啟動SetupUtility」。
2.從SetupUtility程式主功能表,選取Devices Devices
Devices。
3.根據您要啟用或停用的裝置,執行下列其中一項動作:
•選取USB USB
USBSetup Setup
Setup來啟用或停用USB裝置。
•選取ATA ATA
ATADrive Drive
DriveSetup Setup
Setup來啟用或停用內建或外接SATA裝置。
4.選取所需的設定,然後按Enter鍵。
5.按F10以儲存變更並結束SetupUtility程式。請參閱第117頁「結束SetupUtility程式」。
選取啟動裝置
如果您的電腦未如預期從光碟機或硬碟等裝置啟動,請執行下列其中一項動作來選取所要的啟動裝置。
選取暫時啟動裝置
您可以使用這項程序來選取暫時啟動裝置。
附 附
附註 註
註: :
:並非所有的光碟與硬碟都可供啟動。
1.關閉電腦電源。
2.開啟電腦電源時,反覆按下及放開F12鍵。當顯示Pleaseselectbootdevice視窗時,放開F12鍵。
3.選取所需的啟動裝置,然後按Enter鍵。電腦即會從您選取的裝置啟動。
附 附
附註 註
註: :
:從Pleaseselectbootdevice視窗選取啟動裝置並不會永久變更啟動順序。
選取或變更啟動裝置順序
如果要檢視或永久變更已配置的啟動裝置順序,請執行下列動作:
1.啟動SetupUtility程式。請參閱第113頁「啟動SetupUtility」。
2.從SetupUtility程式主功能表,選取Startup Startup
Startup。
3.選取PrimaryStartupSequence、AutomaticStartupSequence和ErrorStartupSequence的裝置。讀取螢幕
右側所顯示的資訊。
4.按F10以儲存變更並結束SetupUtility程式。請參閱第117頁「結束SetupUtility程式」。
第7章.使用SetupUtility程式115 115
115

啟用ErPLPS相符模式
Lenovo電腦符合ErPLot3規章的環保設計需求。如需相關資訊,請前往:
http://www.lenovo.com/ecodeclaration
您可以啟用SetupUtility程式中的ErPLPS相符模式,在電腦處於關閉或睡眠模式時減少耗電量。
若要在SetupUtility程式中啟用ErPLPS相符模式,請執行下列步驟:
1.啟動SetupUtility程式。請參閱第113頁「啟動SetupUtility」。
2.從SetupUtility程式主功能表,選取Power Power
Power➙ ➙
➙Enhanced Enhanced
EnhancedPower Power
PowerSaving Saving
SavingMode Mode
Mode,然後按Enter鍵。
3.選取Enabled Enabled
Enabled,然後按Enter鍵。
4.從Power Power
Power功能表選取Automatic Automatic
AutomaticPower Power
PowerOn On
On,然後按Enter鍵。
5.選取Wake Wake
Wakeon on
onLan Lan
Lan,然後按Enter鍵。
6.選取Disabled Disabled
Disabled,然後按Enter鍵。
7.按F10以儲存變更並結束SetupUtility程式。在系統提示確認結束時按Enter鍵。
當ErPLPS相符模式啟用時,您可以執行下列動作之一,喚醒電腦:
•按下電源按鈕
•啟用鬧鐘喚醒功能
鬧鐘喚醒功能可在設定的時間喚醒您的電腦。如果要啟用鬧鐘喚醒功能,請執行下列動作:
1.啟動SetupUtility程式。
2.從SetupUtility程式主功能表,選取Power Power
Power➙ ➙
➙Automatic Automatic
AutomaticPower Power
PowerOn On
On,然後按Enter鍵。
3.選取Wake Wake
WakeUp Up
Upon on
onAlarm Alarm
Alarm,然後按Enter鍵。然後依照畫面上的指示進行。
4.按F10以儲存變更並結束SetupUtility程式。在系統提示確認結束時按Enter鍵。
•啟用失去電力後功能
失去電力後功能可在突然失去電力後電源供應器繼續運作時喚醒您的電腦。如果要啟用失去電力後功
能,請執行下列動作:
1.啟動SetupUtility程式。
2.從SetupUtility程式主功能表,選取Power Power
Power➙ ➙
➙After After
AfterPower Power
PowerLoss Loss
Loss,然後按Enter鍵。
3.選取Power Power
PowerOn On
On,然後按Enter鍵。
4.按F10以儲存變更並結束SetupUtility程式。在系統提示確認結束時按Enter鍵。
ICE效能模式
您可以透過ICE ICE
ICEPerformance Performance
PerformanceMode Mode
Mode功能表調整電腦的消音效能和散熱效能。有兩種選項:
•Better Better
BetterAcoustic Acoustic
AcousticPerformance Performance
Performance(預設設定)
•Better Better
BetterThermal Thermal
ThermalPerformance Performance
Performance
藉由啟動Better Better
BetterAcoustic Acoustic
AcousticPerformance Performance
Performance功能,您的電腦將會在一般的散熱情況下以較低的噪音執行。藉由啟動
Better Better
BetterThermal Thermal
ThermalPerformance Performance
Performance功能,您的電腦將會在較佳的散熱情況下以一般的噪音執行。
如果要配置ICE效能模式,請執行下列動作:
1.啟動SetupUtility程式。請參閱第113頁「啟動SetupUtility」。
2.從SetupUtility程式主功能表,選取Power Power
Power。
3.選取Intelligent Intelligent
IntelligentCooling Cooling
CoolingEngine Engine
Engine(ICE) (ICE)
(ICE)。此時會顯示IntelligentCoolingEngine(ICE)視窗。
116 116
116ThinkCentreM83、M93/p使用手冊

4.選取ICE ICE
ICEPerformance Performance
PerformanceMode Mode
Mode。此時會顯示ICEPerformanceMode視窗。
5.視需要選取Better Better
BetterAcoustic Acoustic
AcousticPerformance Performance
Performance或Better Better
BetterThermal Thermal
ThermalPerformance Performance
Performance。
6.按F10以儲存變更並結束SetupUtility程式。請參閱第117頁「結束SetupUtility程式」。
ICE散熱警示
您可以透過ICE ICE
ICEThermal Thermal
ThermalAlert Alert
Alert功能表監視電腦在重大散熱狀況下的散熱功能。有兩種選項:
•Enabled Enabled
Enabled(預設設定)
•Disabled Disabled
Disabled
啟用ICE散熱警示功能之後,一旦發生與散熱有關的重大狀況(例如風扇故障、異常高溫及散熱效能低
落)時,就會在Windows系統記錄檔中寫入警示記錄。警示記錄可協助您識別散熱問題。
如果要配置ICE散熱警示功能,請執行下列動作:
1.啟動SetupUtility程式。請參閱第113頁「啟動SetupUtility」。
2.從SetupUtility程式主功能表,選取Power Power
Power。
3.選取Intelligent Intelligent
IntelligentCooling Cooling
CoolingEngine Engine
Engine(ICE) (ICE)
(ICE)。此時會顯示IntelligentCoolingEngine(ICE)視窗。
4.選取ICE ICE
ICEThermal Thermal
ThermalAlert Alert
Alert。此時會顯示ICEThermalAlert視窗。
5.視需要選取Enabled Enabled
Enabled或Disabled Disabled
Disabled。
6.按F10以儲存變更並結束SetupUtility程式。請參閱第117頁「結束SetupUtility程式」。
結束SetupUtility程式
完成檢視或變更設定之後,請按Esc鍵回到SetupUtility程式主功能表。您可能需要按數次Esc。請執行
下列其中一項:
•如果您要儲存新的設定,請按F10鍵以儲存變更並結束SetupUtility程式。
•如果您不要儲存設定,請選取Exit Exit
Exit➙ ➙
➙Discard Discard
DiscardChanges Changes
Changesand and
andExit Exit
Exit,然後按下Enter。當ResetWithoutSaving
視窗出現時,選取Yes Yes
Yes,然後按下Enter以結束SetupUtility程式。
•如果您要回復預設值,請按下F9載入預設值,然後按下F10以儲存並結束SetupUtility程式。
第7章.使用SetupUtility程式117 117
117

118 118
118ThinkCentreM83、M93/p使用手冊

第8章更新系統程式
本章提供更新POST與BIOS及如何從POST與BIOS更新失敗中回復的相關資訊。
使用系統程式
系統程式是內建到電腦的基本軟體層。系統程式包括POST、BIOS和SetupUtility程式。POST是一組測試
和程序,在您每次開啟電腦電源時都會執行。BIOS是一軟體層,可將指令從他層的軟體轉換成電腦硬體
可執行的電子訊號。您可以使用SetupUtility程式來檢視或變更電腦的配置設定。如需詳細資訊,請參
閱第113頁第7章「使用SetupUtility程式」。
您電腦的系統主機板具有稱為電力可消除、可程式設計型唯讀記憶體(EEPROM,亦稱為快閃記憶體)的模
組。您可以利用系統程式更新光碟來啟動電腦,或從作業系統執行一個特殊的更新程式,進而輕易地更新
POST、BIOS和SetupUtility程式。
Lenovo可能會修改及加強POST和BIOS的功能。更新項目發行後,即可到Lenovo網站下載這些檔案,其網
址為http://www.lenovo.com。您可以在更新檔案所包含的TXT檔中取得使用POST與BIOS更新的指示。對
於大部分機型,您都可以下載更新程式來建立系統程式更新光碟,或下載能夠從作業系統執行的更新程式。
更新BIOS
安裝新的程式、硬體裝置或裝置驅動程式時,系統可能會通知您更新BIOS。您可以從作業系統或快
閃更新光碟(僅限部分型號支援)更新BIOS。
如果要更新BIOS,請執行下列動作:
1.前往http://www.lenovo.com/drivers。
2.下載適用於作業系統版本或ISO映像檔版(用來建立快閃更新光碟)的快閃BIOS更新驅動程式。
然後下載適用於您所下載快閃BIOS更新驅動程式的安裝指示。
3.列印您所下載的安裝指示,然後遵循該指示更新BIOS。
附 附
附註 註
註: :
:如果要從快閃更新光碟更新BIOS,安裝指示可能會提供如何錄製更新光碟的相關資訊。請參閱第23
頁「燒錄CD或DVD」。
從POST/BIOS更新失敗中回復
如果更新POST與BIOS時電腦電源中斷,您的電腦可能無法正確地重新啟動。如果發生這種情況,請執行
下列程序以從POST與BIOS更新失敗中回復。此程序一般稱為啟動區塊回復。
1.從磁碟機中取出所有媒體,然後關閉所有連接裝置和電腦。接著拔下電源插座上的所有電源線,以及拔
掉所有連接到電腦的纜線。
2.拆除電腦機殼。請參閱第37頁「卸下電腦機殼」。
3.找出系統主機板上的清除CMOS/回復跳接器。請參閱第12頁「找出系統主機板上的零件」。
4.拔掉任何會妨礙操作清除CMOS/回復跳接器的纜線。
5.將跳接器從標準位置(插腳1和插腳2)移至維護位置(插腳2和插腳3)。
6.重新連接任何已拔掉的纜線,如果已取出PCI卡,請重新安裝它。
7.重新裝回電腦機殼,並將電腦和顯示器的電源線重新連接到電源插座。請參閱第102頁「完成
零件的更換」。
8.開啟電腦,然後將POST與BIOS更新(Flash更新)光碟插入光碟機中。稍候片刻。然後會開始回
復階段作業。回復階段作業需要二至三分鐘的時間。在這段時間內,將會顯示警告訊息,但您不
需要執行任何動作。
©CopyrightLenovo2013,2016119 119
119

9.回復階段作業完成之後,便不會有視訊,您的電腦會自動關閉。
10.重複步驟1到步驟4。
11.將清除CMOS/回復跳接器移回標準位置(插腳1和插腳2)。
12.重新連接任何已拔掉的纜線,如果已取出PCI卡,請重新安裝它。
13.重新裝回電腦機殼,並重新連接任何已拔掉的纜線。
14.開啟電腦電源以重新啟動作業系統。
120 120
120ThinkCentreM83、M93/p使用手冊

第9章預防問題
本章提供的資訊可協助您避免常見的問題,並讓電腦平順地執行。
讓您的電腦保持在最新狀態
一般來說,最好是取得最新的作業系統更新修補程式、軟體程式和裝置驅動程式。本節提供如何取得
最新電腦更新的相關資訊。
取得您電腦適用的最新裝置驅動程式
注 注
注意 意
意: :
:重新安裝裝置驅動程式將會變更電腦目前的配置。
如果要取得您電腦適用的最新裝置驅動程式,請執行下列其中一項動作:
•下載已預先安裝到電腦上的裝置驅動程式。前往http://www.lenovo.com/drivers。
•使用Lenovo程式或WindowsUpdate。請參閱第121頁「取得最新的系統更新」。
附 附
附註 註
註: :
:WindowsUpdate所提供的裝置驅動程式可能並未經過Lenovo測試。建議您向Lenovo取得
裝置驅動程式。
取得最新的系統更新
如果要取得電腦的最新系統更新,請確定電腦已連接到網際網路,然後執行下列其中一項動作:
•使用下列其中一個Lenovo程式來取得系統更新,如裝置驅動程式更新、軟體更新,以及BIOS更新:
–Windows7、Windows8或Windows8.1:使用SystemUpdate程式。
–Windows10:使用LenovoCompanion程式。
如果要開啟SystemUpdate或LenovoCompanion程式,請參閱第5頁「存取電腦上的程式」。如需使用
該程式的相關資訊,請參閱程式的說明系統。
•使用WindowsUpdate取得系統更新,如安全修正程式、新版Windows元件,以及裝置驅動程式更新。
1.根據您的Windows版本,執行下列其中一項動作:
–Windows7:按一下「開始」按鈕以開啟「開始」功能表,然後按一下控 控
控制 制
制台 台
台。使用大圖示或小圖
示檢視控制台,然後按一下Windows Windows
WindowsUpdate Update
Update。
–Windows8或Windows8.1:將指標移至螢幕右上角或右下角以顯示快速鍵。然後,按一下設 設
設定 定
定➙ ➙
➙
變 變
變更 更
更電 電
電腦 腦
腦設 設
設定 定
定➙ ➙
➙更 更
更新 新
新與 與
與復 復
復原 原
原➙ ➙
➙Windows Windows
WindowsUpdate Update
Update。
–Windows10:按一下「開始」按鈕開啟「開始」功能表。然後,按一下設 設
設定 定
定➙ ➙
➙更 更
更新 新
新和 和
和安 安
安全 全
全性 性
性
➙ ➙
➙Windows Windows
WindowsUpdate Update
Update。
2.遵循螢幕上的指示。
清潔與維護
適當的保養及維護電腦,可以提高電腦的穩定性。下面幾個主題介紹如何讓電腦保持最佳運作狀態。
•第122頁「基本要點」
•第122頁「清潔您的電腦」
–第122頁「電腦」
–第122頁「鍵盤」
©CopyrightLenovo2013,2016121 121
121

–第122頁「光學滑鼠」
–第123頁「顯示器螢幕」
•第123頁「良好的保養習慣」
基本要點
以下是讓電腦維持正常運作的一些基本要點:
•保持電腦週遭環境的清潔與乾燥。務必將電腦放在平穩的表面上。
•不可將物品放在顯示器上方,或者覆蓋顯示器或電腦上的任何氣孔。這些氣孔能讓空氣流動,避免
電腦過熱。
•請將食物和飲料遠離電腦的所有零件。食物殘渣和濺出的液體可能會使鍵盤和滑鼠因為黏膩而無法使用。
•請勿弄濕電源按鈕或其他控制器。濕氣會損壞零件並造成短路。
•拔除電源線時,請務必抓住插頭而非電線。
清潔您的電腦
最好可以定期清潔電腦,以保護表面,並確保運作無誤。
警 警
警告 告
告: :
:
在 在
在清 清
清潔 潔
潔電 電
電腦 腦
腦及 及
及顯 顯
顯示 示
示器 器
器螢 螢
螢幕 幕
幕之 之
之前 前
前, ,
,請 請
請務 務
務必 必
必先 先
先關 關
關閉 閉
閉電 電
電腦 腦
腦及 及
及顯 顯
顯示 示
示器 器
器的 的
的電 電
電源 源
源按 按
按鈕 鈕
鈕。 。
。
電腦
僅可使用軟性清潔劑及除塵布來清潔電腦的烤漆表面。
鍵盤
若要清潔您的電腦鍵盤,請執行下列動作:
1.在柔軟、無塵的布上倒一些異丙基稀釋酒精。
2.用布擦拭每個按鍵表面。一次擦拭一個按鍵;若同時擦拭多個按鍵,抹布可能會卡到附近的按鍵而使其
損壞。小心不要讓液體滴到按鍵上或按鍵之間的縫隙。
3.如果要清除按鍵底下的任何碎屑或灰塵,您可以使用含清潔刷的相機風球,或使用吹風機的冷風。
附 附
附註 註
註: :
:避免將清潔劑直接噴在螢幕或鍵盤上。
光學滑鼠
本節提供清潔光學的相關指示。
光學滑鼠會使用發光二極體(LED)及光學感應器來導覽指標。如果使用光學滑鼠時發現螢幕上的指標移動遲
鈍,這表示您可能需要清潔滑鼠了。
如果要清潔光學滑鼠,請執行下列動作:
1.關閉電腦電源。
2.拔掉電腦上的滑鼠接線。
3.將滑鼠倒過來,檢查其透鏡。
a.如果透鏡上有污點,請用純綿棉花棒小心地清潔該區域。
b.如果透鏡上有小碎屑,請小心地將碎屑吹離該區域。
4.檢查使用滑鼠時所在的桌面。如果滑鼠下方有非常複雜的圖形或花樣,數位訊號處理器(DSP)就會
很難辨別滑鼠位置的變更。
5.重新將滑鼠接線連接到電腦上。
122 122
122ThinkCentreM83、M93/p使用手冊

6.重新啟動電腦。
顯示器螢幕
灰塵的堆積也會加重反光問題。請記得定期清潔顯示器螢幕。請參閱第123頁「清潔平面顯示器表面」
或第123頁「清潔玻璃螢幕表面」。
清潔平面顯示器表面
若您平面電腦顯示器上有一層彈性膜,請用以下方法來清潔此特殊表面。用柔軟乾燥的布料輕拭,或用吹氣
的方式吹掉螢幕上的灰塵和其他碎屑。然後用LCD清潔劑將布沾濕,再輕拭螢幕表面。
許多電腦賣場有賣顯示器專用清潔劑。請僅使用LCD顯示器專用的清潔液。首先將清潔液倒在無毛屑、柔
軟的布上,然後清潔LCD顯示器。有些電腦賣場會販售保養LCD用的濕巾。
清潔玻璃螢幕表面
若要清潔玻璃螢幕表面,請用柔軟乾燥的布料輕拭,或用吹氣的方式吹掉螢幕上的灰塵和其他碎屑。然後,
再用軟布沾上非侵蝕性的玻璃清潔液進行擦拭。
良好的保養習慣
透過執行一些良好的維護實作,您便可維護良好的電腦效能、保護您的資料,並可在電腦故障時做好準備。
•隨時更新您的電腦軟體、裝置驅動程式和作業系統。請參閱第121頁「讓您的電腦保持在最新狀態」。
•定時清空資源回收筒。
•定期清空您電子郵件中的「收件匣」、「寄件匣」及「刪除的郵件」資料夾。
•每隔一段時間就清除檔案,釋出儲存磁碟機空間和記憶體空間,以防止發生效能問題。請參閱第135頁
「效能及鎖定問題」。
•保持完整的紀錄。其中的項目可包含主要的軟體或硬體變更、裝置驅動程式更新、間歇性問題及解決方
法,以及您可能遇到的其他問題。問題的原因可能是硬體發生變更、軟體發生變更,或可能已發生的其他
動作。日誌簿可協助您或Lenovo技術人員判定發生問題的原因。
•定期備份儲存磁碟機中的資料。您可以從備份還原儲存磁碟機。
如果要備份資料,請執行下列其中一項動作:
–Windows7:開啟RescueandRecovery程式。請參閱第5頁「存取電腦上的程式」。如需備份資料的
相關資訊,請參閱程式的說明系統。
–Windows8或Windows8.1:開啟控制台。使用大圖示或小圖示檢視控制台,然後按一下檔 檔
檔案 案
案歷 歷
歷程 程
程
記 記
記錄 錄
錄。遵循螢幕上的指示。
附 附
附註 註
註: :
:如需如何在Windows8和Windows8.1上開啟控制台的詳細資訊,請參閱第20頁「在Windows
8或Windows8.1作業系統上存取控制台」。
–Windows10:用滑鼠右鍵按一下「開始」按鈕以開啟「開始」快速功能表,然後按一下控 控
控制 制
制台 台
台。使用
大圖示或小圖示檢視控制台,然後按一下檔 檔
檔案 案
案歷 歷
歷程 程
程記 記
記錄 錄
錄。遵循螢幕上的指示。
•盡早建立回復媒體。即使Windows無法啟動,也可以使用回復媒體來還原作業系統。
如果要建立回復媒體,請執行下列其中一項動作:
–Windows7:開啟CreateRecoveryMedia程式。請參閱第5頁「存取電腦上的程式」。如需建立回
復媒體的相關資訊,請參閱程式的說明系統。
–Windows8或Windows8.1:開啟控制台。使用大圖示或小圖示檢視控制台,然後按一下復 復
復原 原
原。
遵循螢幕上的指示。
附 附
附註 註
註: :
:如需如何在Windows8和Windows8.1上開啟控制台的詳細資訊,請參閱第20頁「在Windows
8或Windows8.1作業系統上存取控制台」。
第9章.預防問題123 123
123

–Windows10:用滑鼠右鍵按一下「開始」按鈕以開啟「開始」快速功能表,然後按一下控 控
控制 制
制台 台
台。使用
大圖示或小圖示檢視控制台,然後按一下復 復
復原 原
原。遵循螢幕上的指示。
•使用Windows7時,最好盡早建立救援媒體。如果發生故障,使您無法存取儲存磁碟機上的Rescueand
Recovery工作區,您可以使用救援媒體來回復到故障前的狀態。
如果要建立救援媒體,請開啟RescueandRecovery程式。請參閱第5頁「存取電腦上的程式」。如需建
立救援媒體的相關資訊,請參閱程式的說明系統。
移動您的電腦
移動電腦之前,請先採取下列預防措施。
1.備份硬碟上的所有檔案和資料。有很多商用備份程式可供您使用。您的作業系統可能也有備份程式可
供使用。Lenovo提供RescueandRecovery程式來協助您備份及還原資料。如需相關資訊,請參閱第
106頁「執行備份及回復作業」。
2.取出磁碟機中的所有媒體(磁片、光碟、磁帶等)。
3.關閉電腦及所有連接裝置。硬碟會自動將讀寫頭停放在非資料區。這樣可以避免硬碟損壞。
4.拔除電源插座上的電源線。
5.先拔掉插座上的通訊接線(如數據機或網路接線),然後再從電腦拔除接線另一端。
6.請注意,如果電腦上還有其他連接線,請全部拔掉。
7.如果您有保留原來的包裝材料和紙箱,請利用它們來包裝裝置。如果您改用別的紙箱,請墊上緩衝襯
墊,以免裝置損壞。
124 124
124ThinkCentreM83、M93/p使用手冊

第10章疑難排解與診斷
本章提供電腦問題的診斷與疑難排解相關資訊。如果您的電腦問題不在此述,請參閱第141頁第11章「取
得資訊、說明及服務」,以取得其他疑難排解資源。
基本疑難排解
下表提供了協助您對電腦問題進行疑難排解的資訊。
附 附
附註 註
註: :
:如果仍然無法解決問題,就表示電腦需要送修。如需服務和支援電話號碼的清單,請參閱電腦隨附的
安全、保固和設定手冊
,或造訪Lenovo支援中心網站:http://www.lenovo.com/support/phone。
問 問
問題 題
題狀 狀
狀況 況
況動 動
動作 作
作
按電源按鈕時,電腦未啟動。請檢查下列各項:
•電源線是否正確連接到電腦後方和正常的電源插座。
•如果電腦背面有第二個電源按鈕,請確定它已開啟。
•電腦前方的電源指示燈是否已開啟。
•電腦的電壓與您國家或地區的插座可用電壓相符。
螢幕一片空白。請檢查下列各項:
•顯示器信號線是否正確連接到顯示器,以及電腦上適當的顯示器連接器。
•顯示器電源線是否正確連接到顯示器,以及正常的電源插座。
•顯示器是否已開啟,同時亮度及對比是否設定正確。
•電腦的電壓與您國家或地區的插座可用電壓相符。
•如果您的電腦有兩個顯示器連接器,請務必使用圖形卡上的連接器。
鍵盤無法運作。請檢查下列各項:
•電腦已開啟。
•鍵盤是否確實連接電腦的USB接頭。
•沒有任何鍵被卡住。
滑鼠無法運作。請檢查下列各項:
•電腦已開啟。
•滑鼠是否確實連接電腦的USB連接器。
•滑鼠是否清潔。請參閱第122頁「光學滑鼠」,以取得詳細資訊。
作業系統無法啟動。請檢查下列各項:
•啟動順序是否包含作業系統所在的裝置。作業系統通常是在硬碟中。如需相關
資訊,請參閱第115頁「選取啟動裝置」。
啟動作業系統之前,電腦發出
多次嗶聲。
確認是否有按鍵卡住。
疑難排解程序
您可以使用下列程序著手診斷電腦問題:
1.驗證所有連接裝置的接線都已正確且穩固地連接。
2.驗證所有需要AC電源的連接裝置都已正確連接至接地且有效的電源插座。
©CopyrightLenovo2013,2016125 125
125

3.確認在電腦的BIOS設定中,所有連接裝置都已啟用。如需存取及變更BIOS設定的相關資訊,請參閱
第113頁第7章「使用SetupUtility程式」。
4.移至第126頁「疑難排解」,並針對您遇到的問題類型,遵循指示進行。如果疑難排解資訊無
法協助您解決問題,請繼續下一步。
5.嘗試使用先前擷取的配置,檢查是否因最近對硬體或軟體設定所做的變更,而導致問題發生。在還
原先前的配置前,先擷取現行配置,以防止較舊的配置設定無法解決問題或造成負面影響。如果要
還原擷取的配置,請執行下列動作:
a.執行下列其中一項動作以開啟控制台:
•Windows7:按一下「開始」按鈕以開啟「開始」功能表,然後按一下控 控
控制 制
制台 台
台。
•Windows8或Windows8.1:請參閱第20頁「在Windows8或Windows8.1作業系統上存
取控制台」。
•Windows10:用滑鼠右鍵按一下「開始」按鈕以開啟「開始」快速功能表,然後按一下控 控
控制 制
制台 台
台。
b.使用大圖示或小圖示檢視控制台,然後按一下復 復
復原 原
原➙ ➙
➙開 開
開啟 啟
啟系 系
系統 統
統還 還
還原 原
原。
c.遵循螢幕上的指示。
如果仍無法解決問題,請繼續下一步。
6.執行診斷程式。如需相關資訊,請參閱第139頁「LenovoSolutionCenter」。
•如果診斷程式偵測到硬體故障,請聯絡Lenovo客戶支援中心。如需相關資訊,請參閱第141頁第
11章「取得資訊、說明及服務」。
•如果您無法執行診斷程式,請聯絡Lenovo客戶支援中心。如需相關資訊,請參閱第141頁第
11章「取得資訊、說明及服務」。
•如果診斷程式沒有偵測到硬體故障,請繼續下一步。
7.使用防毒程式來檢查電腦是否感染病毒。如果此程式偵測到病毒,請移除病毒。
8.如果上述動作都無法解決問題,請尋求技術協助。如需相關資訊,請參閱第141頁第11章「取得資
訊、說明及服務」。
疑難排解
疑難排解資訊可用來尋找有明確問題狀況的問題解決方案。
如果電腦是在安裝新的硬體選用設備或新的軟體後立即出現此問題狀況,在參閱疑難排解資訊之前,請先
執行下列步驟:
1.移除新的硬體選用設備或軟體。如果必須拆卸電腦機殼後才能卸除硬體選用設備,則請務必遵守電力安
全資訊。拆下外殼後,請不要操作電腦,以策安全。
2.執行診斷程式,以確保您的電腦操作正常。
3.遵循製造商的指示,重新安裝新的硬體選用設備或軟體。
在下列清單中選取電腦的問題:
•第127頁「音效」
•第128頁「CD問題」
•第128頁「DVD問題」
•第130頁「間歇性問題」
•第130頁「鍵盤、滑鼠或指標裝置問題」
•第131頁「顯示器問題」
•第132頁「網路問題」
•第135頁「選用設備問題」
•第135頁「效能及鎖定問題」
126 126
126ThinkCentreM83、M93/p使用手冊

•第137頁「印表機問題」
•第137頁「序列埠問題」
•第137頁「軟體」
•第138頁「USB裝置問題」
音效
請從下列清單中選取問題狀況:
•第127頁「Windows沒有音效」
•第127頁「音訊光碟或啟用「自動播放」的光碟插入光碟機後,並沒有自動播放」
•第127頁「只有一個外接喇叭發出聲音」
•第128頁「DOS應用程式或遊戲沒有音效」
Windows沒有音效
問題狀況:Windows沒有音效
動作:
•主動式外接喇叭若有開/關的控制項,請檢查開/關控制項設於開 開
開,並且喇叭電源線已插入正確接地的
有效交流電源插座。
•外接喇叭若有音量控制,請檢查音量控制是否設得太低。
•按兩下Windows通知區域中的喇叭圖示。此時會開啟主要音量控制視窗。確認沒有勾選靜 靜
靜音 音
音設定,
且音量設定不會設得太低。
•部分型號具有前音效面板,可用來調整音量。如果您的型號有前音效面板,確認音量不會設得太低。
•檢查外部喇叭(及耳機,若有使用)是否正確連接到電腦上的正確音效接頭。大部分喇叭線都用顏色標
示,與接頭顏色相符,方便您連接。
附 附
附註 註
註: :
:當外接喇叭或耳機的接線連接到音效接頭時,內接喇叭(如果有的話)就會停用。在大部分情況
下,如果有音效配接卡安裝至某個擴充槽上,內建在系統主機板上的音效功能就會停用,請使用配接卡
上的音效插座。
•確定執行的程式其設計適用於MicrosoftWindows作業系統。在DOS中執行的程式無法使用Windows音
效功能,您必須配置成使用SoundBlasterPro或SoundBlaster模擬。
•請驗證已正確安裝音效裝置裝置驅動式。如需相關資訊,請參閱MicrosoftWindows說明系統。
如果上述動作仍無法解決問題,請執行LenovoSolutionCenter程式。如果您需要技術協助,請參閱第141
頁第11章「取得資訊、說明及服務」。
音訊光碟或啟用「自動播放」的光碟插入光碟機後,並沒有自動播放
問題狀況:音訊光碟或啟用「自動播放」的光碟插入光碟機後,並沒有自動播放
動作:請參閱第128頁「CD問題」。
只有一個外接喇叭發出聲音
問題狀況:只有一個外接喇叭發出聲音。
動作:
•確定喇叭線已完全插入電腦上的接頭。
•請確定左、右喇叭的接線已穩固連接。
•按兩下Windows通知區域中的喇叭圖示。此時會開啟主要音量控制視窗。請驗證「平衡」設定是否正確。
第10章.疑難排解與診斷127 127
127

如果這些動作都無法解決問題,可能是喇叭故障了。請將喇叭送修。如果您需要技術協助,請參閱第141頁
第11章「取得資訊、說明及服務」。
DOS應用程式或遊戲沒有音效
問題狀況:DOS應用程式或遊戲沒有音效
動作:
•請確定DOS應用程式或遊戲是否配置成使用SoundBlasterPro或SoundBlaster模擬。如需設定音效卡的
指示,請參閱應用程式或遊戲隨附的說明文件。
•如果上述動作仍無法解決問題,請執行LenovoSolutionCenter程式。如果您需要技術協助,請參閱
第141頁第11章「取得資訊、說明及服務」。
CD問題
請從下列清單中選取問題狀況:
•第128頁「CD或DVD無法運作」
•第128頁「無法使用可啟動(可開機)的回復媒體來啟動您的電腦,例如ProductRecoveryCD」
CD或DVD無法運作
解決方案:
•若您安裝多個CD或DVD光碟機(或CD與DVD光碟機組合),請將光碟插入另一台光碟機試試
看。在某些情況下,只有其中一部光碟機會連接到音效子系統。
•確定光碟已正確插入,而且標籤朝上。
•確定您所使用的光碟是乾淨的。如果要除去灰塵或指紋,請使用軟布從中央向外將光碟擦拭乾淨。
以畫圈方式擦拭光碟,可能會造成資料流失。
•確定您使用的光碟沒有刮傷或損壞。拿一張好的光碟試試看。如果好的光碟片也無法讀取,表示光碟機或
它的纜線連接可能有問題。確定電源線及信號線都已穩固連接到光碟機。
無法使用可啟動(可開機)的回復媒體來啟動您的電腦,例如ProductRecoveryCD
問題狀況:無法使用可啟動(可開機)的回復媒體來啟動您的電腦,例如ProductRecoveryCD。
動作:確定CD或DVD光碟機的啟動順序排在硬碟的前面。如需檢視及變更啟動順序的相關資訊,請參閱
第115頁「選取或變更啟動裝置順序」。請注意,部分型號上的啟動順序是永久設定,且無法變更。
如果上述動作仍無法解決問題,請執行LenovoSolutionCenter程式。如果您需要技術協助,請參閱第141
頁第11章「取得資訊、說明及服務」。
DVD問題
請從下列清單中選取問題狀況:
•第128頁「出現黑色螢幕,而非DVD影像」
•第129頁「無法播放DVD影片」
•第129頁「播放DVD影片時沒有音效或只有間歇性音效」
•第129頁「播放速度很慢或不穩定」
•第129頁「出現光碟無效或找不到光碟的訊息」
出現黑色螢幕,而非DVD影像
問題狀況:出現黑色螢幕,而非DVD影像
128 128
128ThinkCentreM83、M93/p使用手冊

動作:
•請重新啟動DVD播放程式。
•關閉所有開啟的檔案,關閉電腦,然後重新啟動電腦。
•嘗試使用較低的螢幕解析度或色彩深度。
如果上述動作仍無法解決問題,請執行LenovoSolutionCenter程式。如果您需要技術協助,請參閱第141
頁第11章「取得資訊、說明及服務」。
無法播放DVD影片
問題狀況:無法播放DVD影片。
動作:
•請確定光碟表面乾淨且無刮傷。
•請檢查光碟或保護盒上的區碼。您可能必須購買含有電腦所能讀取之區碼的光碟。
如果上述動作仍無法解決問題,請執行LenovoSolutionCenter程式。如果您需要技術協助,請參閱第141
頁第11章「取得資訊、說明及服務」。
播放DVD影片時沒有音效或只有間歇性音效
問題狀況:播放DVD影片時沒有音效或只有間歇性音效。
動作:
•檢查電腦及喇叭的音量控制設定。
•請確定光碟表面乾淨且無刮傷。
•請檢查與喇叭連接的所有接線。
•請使用DVD功能表來選取不同的影像音軌。
如果上述動作仍無法解決問題,請執行LenovoSolutionCenter程式。如果您需要技術協助,請參閱第141
頁第11章「取得資訊、說明及服務」。
播放速度很慢或不穩定
問題狀況:播放速度很慢或不穩定。
動作:
•請停用所有背景程式,如AntiVirus或「桌面主題」。
•請確定影片解析度設定小於1152x864。
如果上述動作仍無法解決問題,請執行LenovoSolutionCenter程式。如果您需要技術協助,請參閱第141
頁第11章「取得資訊、說明及服務」。
出現光碟無效或找不到光碟的訊息
問題狀況:出現光碟無效或找不到光碟的訊息
動作:
•確定光碟機內有DVD光碟,而且光碟的光滑面朝下。
•請確定影片解析度設定小於1152x864。
•如果電腦除了DVD-ROM光碟機之外還有CD-ROM光碟機或CD-RW光碟機,請確定DVD片所在
的光碟機是標示「DVD」。
第10章.疑難排解與診斷129 129
129

如果上述動作仍無法解決問題,請執行LenovoSolutionCenter程式。如果您需要技術協助,請參閱第141
頁第11章「取得資訊、說明及服務」。
間歇性問題
問題狀況:偶爾發生問題但很少重複。
動作:
•驗證所有接線及電線都已穩固連接到電腦及連接裝置。
•驗證電腦開啟時,風扇護網沒有堵塞(風扇護網周圍有氣流),而且風扇正常運作。如果氣流受到阻擋
或風扇無法運作,電腦可能會過熱。
•如果已安裝SCSI裝置,請驗證每個SCSI鏈中最後一個外接式裝置已正確終止。(請參閱SCSI說
明文件。)
如果上述動作仍無法解決問題,請執行LenovoSolutionCenter程式。如果您需要技術協助,請參閱第141
頁第11章「取得資訊、說明及服務」。
鍵盤、滑鼠或指標裝置問題
請從下列清單中選取問題狀況:
•第130頁「滑鼠或指標裝置無法運作」
•第130頁「螢幕上的指標無法跟著滑鼠順利移動」
•第130頁「指紋辨識器無法運作」
•第131頁「無線鍵盤無法運作」
滑鼠或指標裝置無法運作
問題狀況:滑鼠或指標裝置無法運作。
動作:
•請確定滑鼠或指標裝置接線已確實連接到正確的電腦接頭。依據不同的滑鼠類型,滑鼠連接線可連接到滑
鼠、序列或USB接頭。部分鍵盤配有整合式USB接頭,可用於USB滑鼠或指標裝置。
•請確定已正確安裝滑鼠或指標裝置的裝置驅動程式。
•如果您使用的是USB鍵盤或滑鼠,請確認已在BIOS設定中啟用USB接頭。請參閱第115頁「啟用
或停用裝置」。
如果上述動作仍無法解決問題,請執行LenovoSolutionCenter程式。如果您需要技術協助,請參閱第141
頁第11章「取得資訊、說明及服務」。
螢幕上的指標無法跟著滑鼠順利移動
問題狀況:螢幕上的指標無法跟著滑鼠順利移動。
動作:若滑鼠指標飄忽不定,通常是因為滑鼠內部滾球上有灰塵、油污及其他污染物堆積。請清潔滑鼠。如
需相關指示,請參閱第122頁「光學滑鼠」。
指紋辨識器無法運作
問題狀況:指紋辨識器無法運作。
動作:下列原因可能會使指紋辨識器無法正常運作:
•末正確登記您的指紋。
130 130
130ThinkCentreM83、M93/p使用手冊

•以尖銳的硬物刮擦辨識器的表面。
•以指甲或任何硬物刮劃辨識器的表面。
•以髒污的手指碰觸辨識器。
•手指表面與您註冊指紋時大不相同。
無線鍵盤無法運作
問題狀況:無線鍵盤無法運作。
動作:如果收發器通訊LED一直亮著,而無線鍵盤無法運作,請重新啟動您的電腦。如果重新啟動
電腦仍未解決問題,請檢查是否符合下列條件:
•已正確安裝電池。
•電池仍然有電。
•無線鍵盤與傳收器的距離小於10公尺。
•收發器已完整安裝。
動作:如果收發器通訊LED沒有亮著,請重新連接收發器及鍵盤。
顯示器問題
附 附
附註 註
註: :
:很多顯示器都有狀態指示燈及內建控制項,可用來調整亮度、對比、寬度、高度及其他畫面調整。
不過,這些控制項會因顯示器類型而異。如需狀態指示燈及使用控制項的相關資訊,請參閱顯示器隨
附的說明文件。
請從下列清單中選取問題狀況:
•第131頁「螢幕出現錯誤的字元」
•第131頁「電腦開啟後,顯示器立即開始運作。但如果電腦有一段時間沒有任何動作,顯示器會
變成一片空白」
•第131頁「電腦開啟後,顯示器立即開始運作。但當您啟動某些應用程式時,顯示器會變成一片空白」
•第132頁「影像一直在閃爍」
•第132頁「影像沒有顏色」
螢幕出現錯誤的字元
問題狀況:螢幕出現錯誤的字元。
動作:將電腦送修。如需詳細資訊,請參閱第141頁第11章「取得資訊、說明及服務」。
電腦開啟後,顯示器立即開始運作。但如果電腦有一段時間沒有任何動作,顯示器會
變成一片空白
問題狀況:電腦開啟後,顯示器立即開始運作。但如果電腦有一段時間沒有任何動作,顯示器會變成
一片空白。
動作:電腦的電源管理功能可能設定了節約電源。停用電源管理功能(如果有啟用的話)或變更設
定值,或許可以解決問題。
如果上述動作仍無法解決問題,請執行LenovoSolutionCenter程式。如果您需要技術協助,請參閱第141
頁第11章「取得資訊、說明及服務」。
電腦開啟後,顯示器立即開始運作。但當您啟動某些應用程式時,顯示器會變成一片空白
問題狀況:電腦開啟後,顯示器立即開始運作。但當您啟動某些應用程式時,顯示器會變成一片空白。
第10章.疑難排解與診斷131 131
131

動作:
•請確定顯示器訊號線已穩固連接到顯示器以及電腦上的顯示器接頭。訊號線鬆掉,就會出現影像斷
續的問題。
•請確定已安裝應用程式的必要裝置驅動程式。有關必要裝置驅動程式的詳細資訊,請參閱受影響應
用程式的說明文件。
如果上述動作仍無法解決問題,請執行LenovoSolutionCenter程式。如果您需要技術協助,請參閱第141
頁第11章「取得資訊、說明及服務」。
影像一直在閃爍
解決方案:
•螢幕也會受附近設備干擾影響。變壓器、電器設備、螢光燈等其他裝置以及其他顯示器的磁場,可能會造
成問題。將螢光桌燈或任何會產生磁場的設備移開,遠離螢幕。如果仍無法解決問題,請關閉電腦。然後
調整電腦及其他裝置的擺設位置,至少間隔305公釐(12吋)。開啟電腦的電源。
•重設電腦支援的更新頻率。
1.用滑鼠右鍵按一下桌面的空白區域。
2.根據您的Windows版本,執行下列其中一項動作:
–Windows7、Windows8或Windows8.1:按一下螢 螢
螢幕 幕
幕解 解
解析 析
析度 度
度➙ ➙
➙進 進
進階 階
階設 設
設定 定
定。
–Windows10:按一下顯 顯
顯示 示
示設 設
設定 定
定。按一下顯 顯
顯示 示
示器 器
器標籤上的進 進
進階 階
階顯 顯
顯示 示
示設 設
設定 定
定➙ ➙
➙顯 顯
顯示 示
示卡 卡
卡內 內
內容 容
容。
3.按一下顯 顯
顯示 示
示器 器
器標籤,然後重設為最高、非交錯螢幕更新頻率。
影像沒有顏色
問題狀況:影像沒有顏色。
動作:顯示器可能受到附近設備干擾影響。變壓器、電器設備、螢光燈等其他裝置以及其他顯示器的磁
場,可能會造成問題。請讓螢光桌燈或任何會產生磁場的設備,遠離顯示器。如果仍無法解決問題,請
執行下列動作:
1.關閉顯示器。(移動開啟中的彩色顯示器,可能導致螢幕變色。)
2.調整顯示器與其他裝置的擺設位置,至少間隔305公釐(12吋)。
3.開啟顯示器。
如果仍無法解決問題,表示顯示器需要送修。如需詳細資料,請參閱第141頁第11章「取得資訊、
說明及服務」。
網路問題
以下是幾種最常見的網路問題。從下列清單中選取您的網路問題:
•第132頁「乙太網路問題」
•第134頁「無線LAN問題」
•第134頁「無線WAN問題」
•第134頁「藍芽問題」
如需相關資訊,請參閱第141頁「Windows說明系統」。
乙太網路問題
針對乙太網路問題,從下列清單中選取您遇到的狀況:
•第133頁「您的電腦無法連接到網路」
132 132
132ThinkCentreM83、M93/p使用手冊

•第133頁「配接卡在沒有明顯的原因下停止運作」
•第134頁「如果您的電腦是超高速乙太網路型號,且使用1000Mbps的速度,會發生連線失敗或錯誤」
•第134頁「如果您的電腦是超高速乙太網路型號,它將無法以1000Mbps連接到網路。反而會以
100Mbps連線」
您的電腦無法連接到網路
問題狀況:您的電腦無法連接到網路。
動作:確定符合下列情況:
•纜線已正確裝接。
網路纜線必須很穩固地連接至電腦的乙太網路接頭以及集線器的RJ45接頭。電腦至集線器的最大容許距
離為100公尺。若纜線已連接,距離在可接受的限制以內而問題依舊存在,請嘗試其他的纜線。
•纜線已正確裝接。
•您使用的是正確的裝置驅動程式。
在Windows7作業系統上,請執行下列動作:
1.按一下開 開
開始 始
始➙ ➙
➙控 控
控制 制
制台 台
台。
2.按一下硬 硬
硬體 體
體和 和
和音 音
音效 效
效。
3.按一下裝 裝
裝置 置
置管 管
管理 理
理員 員
員。如果系統提示您輸入管理者密碼或進行確認,請輸入密碼或確認。
4.如果驚嘆號標記顯示在網 網
網路 路
路介 介
介面 面
面卡 卡
卡下方的配接卡名稱旁邊,您可能未使用正確的驅動程式或未啟用驅
動程式。若要更新驅動程式,請用滑鼠右鍵按一下反白顯示的配接卡。
5.按一下更 更
更新 新
新驅 驅
驅動 動
動程 程
程式 式
式軟 軟
軟體 體
體,然後依照畫面上的指示進行。
在Windows8或Windows8.1作業系統上,執行下列動作:
1.開啟「控制台」。
附 附
附註 註
註: :
:如需如何在Windows8和Windows8.1上開啟控制台的詳細資訊,請參閱第20頁「在
Windows8或Windows8.1作業系統上存取控制台」。
2.按一下硬 硬
硬體 體
體和 和
和音 音
音效 效
效。
3.按一下裝 裝
裝置 置
置管 管
管理 理
理員 員
員。如果系統提示您輸入管理者密碼或進行確認,請輸入密碼或確認。
4.如果驚嘆號標記顯示在網 網
網路 路
路介 介
介面 面
面卡 卡
卡下方的配接卡名稱旁邊,您可能未使用正確的驅動程式或未啟用驅
動程式。若要更新驅動程式,請用滑鼠右鍵按一下反白顯示的配接卡。
5.按一下更 更
更新 新
新驅 驅
驅動 動
動程 程
程式 式
式軟 軟
軟體 體
體,然後依照畫面上的指示進行。
•交換器連接埠與配接卡有相同的雙工設定。
如果您將配接卡配置為全雙工,請確定交換器連接埠也配置為全雙工。設定錯誤的雙工模式會減低效
能、導致資料遺失或造成無法連接。
•您已安裝了網路環境需要的所有網路軟體。
向您的區域網路管理員查詢是否已安裝必要的網路軟體。
配接卡在沒有明顯的原因下停止運作
問題狀況:配接卡在沒有明顯的原因下停止運作。
動作:網路驅動程式檔案可能已損壞或遺失。先參閱「解決方案」說明,確定是否安裝了正確的裝置驅動程
式,然後再更新驅動程式。
WakeonLAN功能無法運作
問題狀況:WakeonLAN(WOL)功能無法運作。
動作:
第10章.疑難排解與診斷133 133
133

•確定已在BIOSSetupUtility程式中啟用了WOL。
•若是如此,請向您的區域網路管理員查詢必需的設定。
如果您的電腦是超高速乙太網路型號,且使用1000Mbps的速度,會發生連線失敗或錯誤
問題狀況:如果您的電腦是超高速乙太網路型號,且使用1000Mbps的速度,會發生連線失敗或錯誤。
動作:
•使用Category5的接線,並確定網路纜線已確實連接。
•連接到1000BASE-T集線器/交換器(不是1000BASE-X)。
如果您的電腦是超高速乙太網路型號,它將無法以1000Mbps連接到網路。反而會以100Mbps連線
問題狀況:如果您的電腦是超高速乙太網路型號,它將無法以1000Mbps連接到網路。反而會以100
Mbps連線。
動作:
•嘗試另一條接線。
•確定鏈結部分是設定為自動協調。
•確定交換器是802.3ab相容的(透過銅線傳送超高速)。
無線LAN問題
問題狀況:無法使用內建的無線網路卡來連接。
動作:
•確定您的無線LAN驅動程式是最新版本。查看網站並確認AccessConnections支援的驅動程式版本是
最新的,如Readme檔案中所記錄。
•確定電腦是在無線存取點的範圍內。
•按兩下Windows通知區域中的AccessConnections圖示,確定無線網路已啟用。
•檢查網路名稱(SSID)及您的加密資訊。使用AccessConnections確認此項有區分大小寫的資訊。
無線WAN問題
訊息:插接了未授權的WAN卡-請關閉電源,然後移除WAN卡。
動作:此電腦不支援此廣域網路(WAN)卡。請移除它。
附 附
附註 註
註: :
:僅部分電腦型號支援無線WAN卡。
藍芽問題
問題狀況:聲音會從本端喇叭而不是藍芽耳機出來,即使耳機已使用耳機設定檔或AV設定檔連接。
動作:執行下列步驟:
1.結束使用聲音裝置的應用程式(例如WindowsMediaPlayer)。
2.開啟「控制台」。
附 附
附註 註
註: :
:如需如何在Windows8和Windows8.1上開啟控制台的詳細資訊,請參閱第20頁「在Windows
8或Windows8.1作業系統上存取控制台」。
3.按一下硬 硬
硬體 體
體和 和
和音 音
音效 效
效➙ ➙
➙聲 聲
聲音 音
音。
4.選取播 播
播放 放
放標籤。
134 134
134ThinkCentreM83、M93/p使用手冊

5.如果您使用的是耳機設定檔,請選取藍 藍
藍芽 芽
芽免 免
免持 持
持音 音
音訊 訊
訊裝 裝
裝置 置
置,然後按一下設 設
設為 為
為預 預
預設 設
設值 值
值按鈕。如果您使用的是
AV設定檔,請選取立 立
立體 體
體音 音
音訊 訊
訊裝 裝
裝置 置
置,再按一下設 設
設為 為
為預 預
預設 設
設值 值
值按鈕。
6.按一下確 確
確定 定
定,以關閉「聲音」視窗。
選用設備問題
如果Lenovo硬體選用設備本身沒有疑難排解資訊,您可使用此資訊來診斷問題。
請從下列清單中選取問題狀況:
•第135頁「剛安裝的選用設備無法運作」
•第135頁「以前可以運作的選用設備現在無法運作」
剛安裝的選用設備無法運作
問題狀況:剛安裝的選用設備無法運作。
動作:請確定:
•選用設備設計適用於您的電腦。
•遵循選用設備及電腦的安裝指示,正確地安裝所有選用設備檔案(如必要的裝置驅動程式)。
•已安裝的選用設備或接線沒有鬆脫。
•如果選用設備是配接卡,請確定您有足夠的硬體資源可讓配接卡正常運作。請參閱配接卡隨附的說明文件
(以及其他已安裝配接卡的說明文件),來判斷每一個配接卡所需的資源。
如果上述動作仍無法解決問題,請執行LenovoSolutionCenter程式。如果您需要技術協助,請參閱第141
頁第11章「取得資訊、說明及服務」。
以前可以運作的選用設備現在無法運作
問題狀況:以前可以運作的選用設備現在無法運作。
動作:
•請確定所有選用設備的硬體及接線都已穩固連接。
•如果選用設備本身有測試指示,請用來測試您的選用設備。
•如果是SCSI選用設備失效,請確定:
–所有外接式SCSI選用設備的接線都正確連接。
–每個SCSI鏈的最後一個選用設備,或SCSI接線的末端都正確終止。
–所有外部SCSI選用設備都已開啟。開啟外部SCSI選用設備後,才能開啟電腦。如需其他相關資
訊,請參閱SCSI說明文件。
•請確定選用設備及任何必要的裝置驅動程式皆已正確安裝。
如果上述動作仍無法解決問題,請執行LenovoSolutionCenter程式。如果您需要技術協助,請參閱第141
頁第11章「取得資訊、說明及服務」。
效能及鎖定問題
效能不良和鎖定問題可能下列任一項原因的結果:
•第136頁「硬碟機可用空間不足」
•第136頁「片段檔案的數目過多」
•第137頁「記憶體不足」
第10章.疑難排解與診斷135 135
135

請從上述的清單中選擇一項,以瞭解您可採取之更正動作的其他資訊。
硬碟機可用空間不足
解決方案:釋出硬碟空間。
•從您的電子郵件應用程式中,清除「收件匣」、「寄件匣」及「刪除的郵件」資料夾。
•清理您的C磁碟機。
1.根據您的Windows版本,執行下列其中一項動作:
–Windows7:按一下「開始」按鈕以開啟「開始」功能表,然後按一下電 電
電腦 腦
腦。
–Windows8:開啟檔案總管,然後按一下電 電
電腦 腦
腦。
–Windows8.1:開啟檔案總管。
–Windows10:按一下「開始」按鈕以開啟「開始」功能表,然後按一下檔 檔
檔案 案
案總 總
總管 管
管➙ ➙
➙這 這
這部 部
部電 電
電腦 腦
腦。
2.用滑鼠右鍵按一下您的C磁碟機,然後按一下內 內
內容 容
容。
3.查看可用空間的大小,然後按一下磁 磁
磁碟 碟
碟清 清
清理 理
理。
4.這時會顯示不必要檔案的種類清單。選取您要刪除的每一個檔案種類,然後按一下確 確
確定 定
定。
•關閉部分Windows功能,或移除一些不需要的程式。
1.執行下列其中一項動作以開啟控制台:
–Windows7:按一下「開始」按鈕以開啟「開始」功能表,然後按一下控 控
控制 制
制台 台
台。
–Windows8或Windows8.1:請參閱第20頁「在Windows8或Windows8.1作業系統上存取控
制台」。
–Windows10:用滑鼠右鍵按一下「開始」按鈕以開啟「開始」快速功能表,然後按一下控 控
控制 制
制台 台
台。
2.使用大圖示或小圖示檢視控制台,然後按一下程 程
程式 式
式和 和
和功 功
功能 能
能。
3.請執行下列其中一項:
–如果要關閉部分Windows功能,請按一下開 開
開啟 啟
啟或 或
或關 關
關閉 閉
閉Windows Windows
Windows功 功
功能 能
能。遵循螢幕上的指示。
–如果要移除一些不需要的程式,請選取所要移除的程式,然後按一下解 解
解除 除
除安 安
安裝 裝
裝/ /
/變 變
變更 更
更或解 解
解除 除
除安 安
安裝 裝
裝。
片段檔案的數目過多
解決方案:使用Windows磁碟重組或磁碟最佳化功能以清理檔案。
附 附
附註 註
註: :
:視儲存磁碟機的容量和儲存在該磁碟機上的資料量而定,磁碟重組處理可能需要數小時才能完成。
1.關閉所有開啟的程式和視窗。
2.根據您的Windows版本,執行下列其中一項動作:
•Windows7:按一下「開始」按鈕以開啟「開始」功能表,然後按一下電 電
電腦 腦
腦。
•Windows8:開啟檔案總管,然後按一下電 電
電腦 腦
腦。
•Windows8.1:開啟檔案總管。
•Windows10:按一下「開始」按鈕以開啟「開始」功能表,然後按一下檔 檔
檔案 案
案總 總
總管 管
管➙ ➙
➙這 這
這部 部
部電 電
電腦 腦
腦。
3.用滑鼠右鍵按一下您的C磁碟機,然後按一下內 內
內容 容
容。
4.按一下工 工
工具 具
具標籤。
5.根據您的Windows版本,執行下列其中一項動作:
•Windows7:按一下立 立
立即 即
即重 重
重組 組
組。
•Windows8、Windows8.1或Windows10:按一下最 最
最佳 佳
佳化 化
化。選取想要用的磁碟機,然後按一下最 最
最佳 佳
佳化 化
化。
6.遵循螢幕上的指示。
136 136
136ThinkCentreM83、M93/p使用手冊

記憶體不足
問題狀況:記憶體不足
一般而言,安裝的記憶體愈多,Windows作業系統執行時會更順暢。
動作:安裝額外的記憶體。如需如何訂購記憶體的相關資訊,請參閱第141頁第11章「取得資訊、說明及
服務」。如需安裝記憶體的逐步式指示,請參閱第42頁「安裝或更換記憶體模組」。
如果上述動作仍無法解決問題,請執行LenovoSolutionCenter程式。如果您需要技術協助,請參閱第141
頁第11章「取得資訊、說明及服務」。
印表機問題
問題狀況:印表機無法運作。
動作:確認符合下列情況:
1.印表機已開啟並在線上。
2.紙張已正確載入。
3.印表機訊號線已穩固連接到電腦上的正確平行列、序列或USB接頭。
附 附
附註 註
註: :
:非IEEE核准的印表機信號線可能導致無法預期的問題。
1.印表機隨附的任何裝置驅動程式及其他軟體都已正確安裝。
2.您已在您的作業系統、應用程式或BIOS設定中,正確指定印表機連接埠。如需BIOS設定的相關資
訊,請參閱第113頁第7章「使用SetupUtility程式」。
如果問題仍然存在,請執行印表機隨附說明文件中所述的測試。如果仍然無法解決問題,就表示電腦需要送
修。請參閱第141頁第11章「取得資訊、說明及服務」。
序列埠問題
請使用本資訊針對序列埠及其連接裝置進行疑難排解。
問題狀況:無法存取序列埠
動作:
•請確定序列接線穩固連接到電腦上的序列埠及序列裝置。如果序列裝置有自己的電源線,請確定插入適
當接地的電源插座。
•如果序列裝置有自己的開關,請確定設於「開」。
•如果序列裝置有Online開關,請確定設於Online。
•如果序列裝置是印表機,請確定紙張已正確載入。
•請檢查所有隨附於序列裝置的軟體都已正確安裝。請參閱序列裝置選用設備的說明文件。
•若新增序列埠配接卡,請確定此配接卡已正確安裝且妥當定位。
如果上述動作仍無法解決問題,請執行LenovoSolutionCenter程式。如果您需要技術協助,請參閱第141
頁第11章「取得資訊、說明及服務」。
軟體
請從下列清單中選取問題狀況:
•第138頁「排序功能無法按日期正確排序」
•第138頁「軟體運作狀況不如預期」
第10章.疑難排解與診斷137 137
137

排序功能無法按日期正確排序
問題狀況:排序功能無法按日期正確排序。
動作:有些在西元2000年之前開發的軟體,只使用年份的後兩位數來排序日期,一律假設前兩位數為19。
結果,現在這些程式無法按日期正確排序。您可以向軟體製造商洽詢有無更新版。許多軟體製造商都將
更新版放在全球資訊網上。
軟體運作狀況不如預期
問題狀況:軟體運作狀況不如預期。
動作:
•大部分軟體程式都有內建的說明系統,提供大部分作業的指示。執行軟體程式的特定作業時如果遇到困
難,可以參照該程式的說明系統。說明系統通常可以透過程式中的功能表或按鈕來存取,通常是用F1鍵。
•如果您使用Windows作業系統或其中一個元件時遇到困難,請參閱Windows說明系統。
•如果要判斷是否為新安裝的軟體造成問題,請驗證:
–電腦具備軟體所需的最小記憶體。請參閱軟體隨附的資訊,以驗證記憶體需求。(如果您只安裝
配接卡或記憶體,可能是記憶體位址衝突)。
–軟體設計適用於您的電腦。
–電腦可以執行其他軟體。
–軟體在另一台電腦上可以正常運作。
•使用軟體程式時如果出現任何錯誤訊息,請參閱軟體的印刷文件或說明系統,瞭解錯誤訊息的含意及
解決方案。
•您可以向軟體製造商洽詢有無更新版。許多軟體製造商都將更新版放在全球資訊網上。
•如果軟體程式之前運作正常,現在卻無法正常運作,請執行下列動作:
1.執行下列其中一項動作以開啟控制台:
–Windows7:按一下「開始」按鈕以開啟「開始」功能表,然後按一下控 控
控制 制
制台 台
台。
–Windows8或Windows8.1:請參閱第20頁「在Windows8或Windows8.1作業系統上存取控
制台」。
–Windows10:用滑鼠右鍵按一下「開始」按鈕以開啟「開始」快速功能表,然後按一下控 控
控制 制
制台 台
台。
2.使用大圖示或小圖示檢視控制台,然後按一下復 復
復原 原
原➙ ➙
➙開 開
開啟 啟
啟系 系
系統 統
統還 還
還原 原
原。
3.遵循螢幕上的指示。
•如果其他方法仍無法解決問題,請解除安裝軟體程式後再重新安裝。
如果仍無法解決問題,您可能需要技術協助。如需詳細資訊,請聯絡軟體製造廠商或參閱第141頁第11章
「取得資訊、說明及服務」。
USB裝置問題
本節提供USB裝置相關問題的解決方案。
無法存取USB裝置
解決方案:
•將USB接線從USB接頭連接到USB裝置。如果USB裝置有自己的電源線,請將該電源線插入接
地的電源插座。
•開啟USB裝置並使裝置保持連線狀態。
•安裝USB裝置隨附的所有裝置驅動程式和應用程式。如需相關資訊,請參閱USB裝置隨附的說明文件。
138 138
138ThinkCentreM83、M93/p使用手冊

•拆下再重新連接USB接頭以重設USB裝置。
我無法使用外接式USB裝置安裝Windows7作業系統
解決方案:請造訪http://www.lenovo.com/support下載並安裝USB驅動程式。
LenovoSolutionCenter
LenovoSolutionCenter程式可協助您進行疑難排解並解決電腦問題。這個程式結合了診斷測試、系統資訊收
集、安全狀態和支援資訊,並且會提供能充分發揮系統效能的提示與要訣。
附 附
附註 註
註: :
:
•您也可以從http://www.lenovo.com/diags下載LenovoSolutionCenter程式。
•如果您使用的是Windows7、Windows8、Windows8.1或Windows10以外的其他Windows作業系統,請
前往http://www.lenovo.com/diags,以取得電腦的最新診斷資訊。
如果要執行LenovoSolutionCenter程式,請參閱第5頁「Lenovo程式」。
如需相關資訊,請參閱LenovoSolutionCenter說明系統。
附 附
附註 註
註: :
:如果您在執行程式之後無法隔離及修復問題,請儲存並列印日誌檔。當您和Lenovo技術支援服
務人員聯絡時,會需要這些日誌檔。
第10章.疑難排解與診斷139 139
139

140 140
140ThinkCentreM83、M93/p使用手冊

第11章取得資訊、說明及服務
本章針對Lenovo所製造的產品,提供說明、服務和技術協助的相關資訊。
資訊資源
您可以利用本章節中的資訊來存取和電腦需求有關的實用資源。
Windows說明系統
附 附
附註 註
註: :
:如果使用Windows7、Windows8或Windows8.1的線上說明或Windows10的說明,請確定電
腦已連線到網際網路。
Windows說明系統提供如何使用Windows作業系統的詳細資訊。
如果要存取Windows說明系統,請執行下列其中一項動作:
•Windows7:按一下「開始」按鈕以開啟「開始」功能表,然後按一下說 說
說明 明
明及 及
及支 支
支援 援
援。您可以選擇使
用螢幕底端的線上說明或離線說明。
•Windows8或Windows8.1:將指標移至螢幕右上角或右下角以顯示快速鍵。然後,按一下設 設
設定 定
定➙ ➙
➙說 說
說明 明
明。
您可以選擇使用螢幕底端的線上說明或離線說明。
•Windows10:按一下「開始」按鈕以開啟「開始」功能表,然後按一下入 入
入門 門
門。
安全及保固
您電腦隨附的
安全、保固和設定手冊
包含安全、設定、保固及注意事項的相關資訊。請在使用本產品前,
閱讀並瞭解所有安全資訊。
Lenovo網站
Lenovo網站(http://www.lenovo.com)提供最新的資訊和服務來協助您購買、升級和維護電腦。您也可以
執行下列動作:
•選購桌上型和筆記型電腦、顯示器、投影機、您電腦的升級和配件以及特惠產品。
•購買其他服務,如:硬體、作業系統、應用程式的支援;網路設定與配置,以及自訂安裝。
•購買升級版及延長硬體維修服務。
•下載適用於電腦機型的最新裝置驅動程式及軟體更新。
•存取您產品的線上手冊。
•存取Lenovo有限保固。
•存取電腦機型及其他支援產品的疑難排解與支援資訊。
•尋找適用於您所在國家或地區的服務及支援電話號碼。
•尋找附近的服務提供者。
Lenovo支援網站
您可以在Lenovo支援網站取得技術支援資訊,網址為:
http://www.lenovo.com/support
此網站會隨時更新支援資訊,例如:
•驅動程式及軟體
©CopyrightLenovo2013,2016141 141
141

•診斷解決方案
•產品及維修保固
•產品及零件詳細資訊
•使用者指南與手冊
•知識庫及常見問題
說明及服務
本節包含取得說明及服務的相關資訊。
使用說明文件及診斷程式
若您的電腦發生問題,請參閱第125頁第10章「疑難排解與診斷」。如需其他資源的相關資訊以協助您疑
難排解電腦問題,請參閱第141頁「資訊資源」。
若您認為可能是軟體發生問題,請參閱作業系統或軟體程式隨附的說明文件,包括Readme檔與線上說明。
大部分電腦都會提供診斷程式,來協助您找出硬體問題。
您也可以從下列Lenovo支援網站取得最新的技術資訊,並下載裝置驅動程式和更新項目:
http://www.lenovo.com/support
電話服務
在保固期間內,您可以打電話到「客戶支援中心」以取得協助及資訊。
在保固期限內可以享受下列服務:
•問 問
問題 題
題判 判
判斷 斷
斷-訓練有素的服務人員可協助您判斷是否為硬體問題,並決定修正此問題的必要措施。
•硬 硬
硬體 體
體修 修
修復 復
復-如果問題出自保固期限內的硬體,訓練有素的服務人員會提供適當的服務。
•工 工
工程 程
程變 變
變更 更
更管 管
管理 理
理-產品售出後,有時可能還需要變更。Lenovo或轉銷商會提供適用於您硬體的特定
「工程變更(EC)」。
下列這些項目不包括在保固範圍內:
•更換或使用非Lenovo委託製造、非Lenovo本身製造,或Lenovo不提供保固的零件
•找出軟體問題來源
•安裝或升級時的BIOS配置
•變更、修改或升級裝置驅動程式
•安裝和維護網路作業系統(NOS)
•安裝和維護應用程式
如需保固類型及保固期的相關資訊,請參閱電腦隨附的
安全、保固和設定手冊
。您必須保留購買證明,才能
享有保固服務。
如需所在國家或地區的Lenovo支援電話號碼清單,請造訪http://www.lenovo.com/support/phone,或參閱
電腦隨附的
安全、保固和設定手冊
。
附 附
附註 註
註: :
:電話號碼如有變更,恕不另行通知。如果沒有提供您所在國家或地區的電話號碼,請聯絡Lenovo轉
銷商或Lenovo行銷服務人員。
打電話請求支援時請儘可能待在電腦旁邊,並準備下列資訊:
•機型與型號
•硬體產品序號
•問題說明
142 142
142ThinkCentreM83、M93/p使用手冊

•任何錯誤訊息的實際內容
•硬體及軟體配置資訊
使用其他服務
如果您攜帶電腦出差或搬到有出售這類桌上型或筆記型電腦的國家或地區,您的電腦可能就適用國際保固服
務,藉此服務自動取得保固期限內的保固服務資格。服務將由獲授權執行保固服務的服務供應商提供。
不同的國家或地區有不同的服務方式和程序,有些服務並非所有國家或地區都有提供。「國際保固服
務」的履行方式視提供服務的國家或地區所提供的服務方式而定,例如貨運站、顧客自攜維修服務或到
府維修服務。特定國家或地區的服務中心可能無法維修特定機種的所有機型。部分國家或地區可能需要
收取維修費用並且有一些相關規定。
若要判斷您的電腦是否適用國際保固服務,以及檢視提供服務的國家清單,請造訪
http://www.lenovo.com/support、然後按一下Product Product
Product& &
&Service Service
ServiceWarranty Warranty
Warranty(產品及維修保固),並依照畫面
上的指示進行。
如需預先安裝的MicrosoftWindows產品之ServicePack的安裝或相關問題的技術協助,請參閱Microsoft
產品支援服務網站(網址為http://support.microsoft.com/directory),或聯絡客戶支援中心。有些狀況可
能會酌收費用。
購買其他服務
您可以在保固期間及之後購買其他服務,如:硬體、作業系統、應用程式的支援;網路設定與配置服務;升
級或擴充硬體的修復服務;以及自訂安裝服務。所提供的服務及服務名稱可能會因國家或地區而異。如需這
些服務的相關資訊,請前往Lenovo網站,網址為:
http://www.lenovo.com
第11章.取得資訊、說明及服務143 143
143

144 144
144ThinkCentreM83、M93/p使用手冊

附錄A注意事項
Lenovo不見得會對所有國家或地區都提供本文件所提的各項產品、服務或功能。如需您所在地區目
前提供之產品與服務的相關資訊,請洽詢當地的Lenovo業務代表。本文件在提及Lenovo的產品、程式
或服務時,不表示或暗示只能使用Lenovo的產品、程式或服務。只要未侵犯Lenovo的智慧財產權,任
何功能相當的產品、程式或服務都可以取代Lenovo的產品、程式或服務。不過,其他產品、程式或服
務在運作上的評價與驗證,其責任屬於使用者。
Lenovo對於本文件的內容擁有專利或專利申請案。提供本文件不代表提供這些專利的授權。您可以
用書面方式提出授權之相關問題,來函請寄到:
L enovo (Unit ed S tat es), Inc.
1009 Think Place - Building One
Morrisville, NC 27560
U .S.A.
A tt ention: L enovo Dir ect or of Licensing
Lenovo係以「現狀」提供本出版品,不提供任何明示或默示之保證,其中包括且不限於不違反規定、可
商用性或特定目的之適用性的隱含保證。有些轄區在特定交易上,不允許排除明示或暗示的保證,因
此,這項聲明不一定適合您。
本書中可能會有技術上或排版印刷上的錯誤。因此,Lenovo會定期修訂;並將修訂後的內容納入新版中。
Lenovo隨時會改進及/或變更本出版品所提及的產品及/或程式,不另行通知。
本文件中所述產品不適用於移植手術或其他的生命維持應用,因其功能失常有造成人員傷亡的可能。本文件
中所包含的資訊不影響或變更Lenovo產品的規格或保證。本文件不會在Lenovo或協力廠商的智慧財產權以
外提供任何明示或暗示的保證。本文件中所提供的所有資訊均由特定環境取得,而且僅做為說明用途。在
其他作業環境中獲得的結果可能有明顯的差異。
在不造成您困擾或損及您個人權益的前提下,Lenovo得以適切使用或散佈您以各種型式所提供的相關資訊。
本出版品中所有提及非Lenovo網站的部分僅供讀者參考方便,Lenovo並不對這些網站進行任何方面的背
書。這些網站中的資料,並不包含在Lenovo產品的資料中,使用網站中的資料,須自行負擔風險。
任何此處涵蓋的執行效能資料都是在一個受控制的環境下決定出來的。因此,若在其他作業環境下,所
得的結果可能會大大不同。有些測定已在開發階段系統上做過,不過這並不保證在一般系統上會出現相
同結果。再者,有些測定可能已透過推測方式評估過。但實際結果可能並非如此。本文件的使用者應依
自己的特定環境,查證適用的資料。
商標
下列專有名詞是Lenovo在美國和(或)其他國家或地區的商標:
Lenovo
RescueandRecovery
ThinkCentre
ThinkVantage
Lenovo標誌
Intel是IntelCorporation在美國及(或)其他國家或地區的商標。
Microsoft、Windows和WindowsMedia是Microsoft集團旗下公司的商標。
©CopyrightLenovo2013,2016145 145
145

DisplayPort是VideoElectronicsStandardsAssociation的商 商
商標 標
標。
Linux是LinusTorvalds的註冊商標。
其他公司、產品或服務名稱,可能是第三者的商標或服務標誌。
146 146
146ThinkCentreM83、M93/p使用手冊

附錄B法規資訊
最新的法規/標準符合資訊可從下列網址取得http://www.lenovo.com/compliance。
出口貨品分類注意事項
本產品遵守美國出口管理法規(EAR),出口貨品分類管制碼(ECCN)為4A994.b。本產品禁止再出口至
EARE1國家名單中的任何禁運國家。
電子放射注意事項
下列資訊適用於這幾款Lenovo個人電腦機型:10A2、10A3、10A8、10A9、10AH、10AJ、10AM和10AN。
美國聯邦通訊委員會相容性聲明
ThisequipmenthasbeentestedandfoundtocomplywiththelimitsforaClassBdigitaldevice,pursuanttoPart
15oftheFCCRules.Theselimitsaredesignedtoprovidereasonableprotectionagainstharmfulinterferenceina
residentialinstallation.Thisequipmentgenerates,uses,andcanradiateradiofrequencyenergyand,ifnotinstalled
andusedinaccordancewiththeinstructions,maycauseharmfulinterferencetoradiocommunications.However,
thereisnoguaranteethatinterferencewillnotoccurinaparticularinstallation.Ifthisequipmentdoescauseharmful
interferencetoradioortelevisionreception,whichcanbedeterminedbyturningtheequipmentoffandon,theuser
isencouragedtotrytocorrecttheinterferencebyoneormoreofthefollowingmeasures:
•Reorientorrelocatethereceivingantenna.
•Increasetheseparationbetweentheequipmentandreceiver.
•Connecttheequipmentintoanoutletonacircuitdifferentfromthattowhichthereceiverisconnected.
•Consultanauthorizeddealerorservicerepresentativeforhelp.
Lenovoisnotresponsibleforanyradioortelevisioninterferencecausedbyusingotherthanspecifiedorrecommended
cablesandconnectorsorbyunauthorizedchangesormodificationstothisequipment.Unauthorizedchangesor
modificationscouldvoidtheuser'sauthoritytooperatetheequipment.
ThisdevicecomplieswithPart15oftheFCCRules.Operationissubjecttothefollowingtwoconditions:(1)this
devicemaynotcauseharmfulinterference,and(2)thisdevicemustacceptanyinterferencereceived,including
interferencethatmaycauseundesiredoperation.
ResponsibleParty:
Lenovo(UnitedStates)Incorporated
1009ThinkPlace-BuildingOne
Morrisville,NC27560
PhoneNumber:919-294-5900
加 加
加拿 拿
拿大 大
大工 工
工業 業
業部 部
部Class Class
ClassB B
B放 放
放射 射
射規 規
規章 章
章聲 聲
聲明 明
明
CANICES-3(B)/NMB-3(B)
歐 歐
歐盟 盟
盟- -
-符 符
符合 合
合ITE ITE
ITE( (
(資 資
資訊 訊
訊科 科
科技 技
技設 設
設備 備
備) )
)和 和
和無 無
無線 線
線電 電
電設 設
設備 備
備法 法
法令 令
令規 規
規範 範
範
©CopyrightLenovo2013,2016147 147
147

Modelswithoutaradiodevice:ThisproductisinconformitywiththeprotectionrequirementsofEUCouncil
Directive2004/108/EC(until19April,2016)andCouncilDirective2014/30/EU(from20April,2016)onthe
approximationofthelawsoftheMemberStatesrelatingtoelectromagneticcompatibility.
Modelswitharadiodevice:Thisproductisinconformitywithalltherequirementsandessentialnormsthatapply
toEUCouncilR&TTEDirective1999/5/EContheapproximationofthelawsoftheMemberStatesrelatingto
radioequipment.
Lenovocannotacceptresponsibilityforanyfailuretosatisfytheprotectionrequirementsresultingfroma
non-recommendedmodificationoftheproduct,includingtheinstallationofoptioncardsfromothermanufacturers.
ThisproducthasbeentestedandfoundtocomplywiththelimitsforClassBequipmentaccordingtoEuropean
StandardsharmonizedintheDirectivesincompliance.ThelimitsforClassBequipmentwerederivedfortypical
residentialenvironmentstoprovidereasonableprotectionagainstinterferencewithlicensedcommunicationdevices.
Lenovo,Einsteinova21,85101Bratislava,Slovakia
德 德
德國 國
國B B
B級 級
級規 規
規範 範
範聲 聲
聲明 明
明
Deutschspr Deutschspr
Deutschsprachiger achiger
achigerEU EU
EUHinweis: Hinweis:
Hinweis:
Hinweis Hinweis
Hinweisfür für
fürGer Ger
Gerät ät
äte e
eder der
derKlasse Klasse
KlasseB B
BEU EU
EURichtlinie Richtlinie
Richtliniezur zur
zurElektr Elektr
Elektromagnetischen omagnetischen
omagnetischenV V
Ver er
ertr tr
träglichk äglichk
äglichkeit eit
eit
DiesesProduktentsprichtdenSchutzanforderungenderEURichtlinie2014/30/EU(früher2004/108/EC)zur
AngleichungderRechtsvorschriftenüberdieelektromagnetischeVerträglichkeitindenEU-Mitgliedsstaaten
undhältdieGrenzwertederKlasseBderNormgemäßRichtlinie.
Umdiesessicherzustellen,sinddieGerätewieindenHandbüchernbeschriebenzuinstallierenundzu
betreiben.DesWeiterendürfenauchnurvonderLenovoempfohleneKabelangeschlossenwerden.
LenovoübernimmtkeineVerantwortungfürdieEinhaltungderSchutzanforderungen,wenndasProdukt
ohneZustimmungderLenovoverändertbzw.wennErweiterungskomponentenvonFremdherstellernohne
EmpfehlungderLenovogesteckt/eingebautwerden.
Deutschland: Deutschland:
Deutschland:
Einhaltung Einhaltung
Einhaltungdes des
desGesetz Gesetz
Gesetzes es
esüber über
überdie die
dieelektr elektr
elektromagnetische omagnetische
omagnetischeV V
Ver er
ertr tr
träglichk äglichk
äglichkeit eit
eitvon von
vonBetriebsmitt Betriebsmitt
Betriebsmitteln eln
eln
DiesesProduktentsprichtdem„GesetzüberdieelektromagnetischeVerträglichkeitvonBetriebsmitteln“
EMVG(früher„GesetzüberdieelektromagnetischeVerträglichkeitvonGeräten“).DiesistdieUmsetzungder
EMVEURichtlinie2014/30/EU(früher2004/108/EWG)inderBundesrepublikDeutschland.
Z Z
Zulassungsbescheinigung ulassungsbescheinigung
ulassungsbescheinigunglaut laut
lautdem dem
demDeutschen Deutschen
DeutschenGesetz Gesetz
Gesetzüber über
überdie die
dieelektr elektr
elektromagnetische omagnetische
omagnetischeV V
Ver er
ertr tr
träglichk äglichk
äglichkeit eit
eitvon von
von
Betriebsmitt Betriebsmitt
Betriebsmitteln, eln,
eln,EMVG EMVG
EMVGvom vom
vom20. 20.
20.Juli Juli
Juli2007 2007
2007(früher (früher
(früherGesetz Gesetz
Gesetzüber über
überdie die
dieelektr elektr
elektromagnetische omagnetische
omagnetischeV V
Ver er
ertr tr
träglichk äglichk
äglichkeit eit
eit
von von
vonGer Ger
Gerät ät
äten), en),
en),bzw bzw
bzw. .
.der der
derEMV EMV
EMVEU EU
EURichtlinie Richtlinie
Richtlinie2014/30/EU 2014/30/EU
2014/30/EU(früher (früher
(früher2004/108/EC), 2004/108/EC),
2004/108/EC),für für
fürGer Ger
Gerät ät
äte e
eder der
derKlasse Klasse
KlasseB. B.
B.
DiesesGerätistberechtigt,inÜbereinstimmungmitdemDeutschenEMVGdasEG-Konformitätszeichen
-CE-zuführen.VerantwortlichfürdieKonformitätserklärungnachParagraf5desEMVGistdieLenovo
(Deutschland)GmbH,Meitnerstr.9,D-70563Stuttgart.
InformationeninHinsichtEMVGParagraf4Abs.(1)4:
Das Das
DasGer Ger
Gerät ät
äter er
erfüllt füllt
fülltdie die
dieSchutzanfor Schutzanfor
Schutzanforderungen derungen
derungennach nach
nachEN EN
EN55024 55024
55024und und
undEN EN
EN55022 55022
55022Klasse Klasse
KlasseB. B.
B.
148 148
148ThinkCentreM83、M93/p使用手冊

韓 韓
韓國 國
國Class Class
ClassB B
B相 相
相容 容
容性 性
性聲 聲
聲明 明
明
日 日
日本 本
本VCCI VCCI
VCCIClass Class
ClassB B
B相 相
相容 容
容性 性
性聲 聲
聲明 明
明
以 以
以小 小
小於 於
於或 或
或等 等
等於 於
於每 每
每相 相
相位 位
位20 20
20A A
A之 之
之額 額
額定 定
定電 電
電流 流
流連 連
連接 接
接電 電
電源 源
源之 之
之產 產
產品 品
品的 的
的日 日
日本 本
本相 相
相容 容
容性 性
性聲 聲
聲明 明
明
日 日
日本 本
本AC AC
AC電 電
電源 源
源線 線
線注 注
注意 意
意事 事
事項 項
項
Theacpowercordshippedwithyourproductcanbeusedonlyforthisspecificproduct.Donotusetheacpower
cordforotherdevices.
臺 臺
臺灣 灣
灣適 適
適用 用
用之 之
之Lenovo Lenovo
Lenovo產 產
產品 品
品服 服
服務 務
務資 資
資訊 訊
訊
適 適
適用 用
用於 於
於臺 臺
臺灣 灣
灣的 的
的鍵 鍵
鍵盤 盤
盤和 和
和滑 滑
滑鼠 鼠
鼠規 規
規範 範
範聲 聲
聲明 明
明
歐亞法規符合標誌
巴西音訊注意事項
Ouvirsonscommaisde85decibéisporlongosperíodospodeprovocardanosaosistemaauditivo.
墨西哥無線通訊法規/標準符合資訊
Adver Adver
Advert t
tencia: encia:
encia:EnMexicolaoperacióndeesteequipoestásujetaalassiguientesdoscondiciones:(1)es
posiblequeesteequipoodispositivonocauseinterferenciaperjudicialy(2)esteequipoodispositivodebe
aceptarcualquierinterferencia,incluyendolaquepuedacausarsuoperaciónnodeseada.
其他法規資訊
如需其他法規資訊,請參閱電腦隨附的
法規注意事項
。視電腦的配置及您購買電腦所在的國家或地區而
定,您可能會收到隨附的其他法規注意事項書面文件。Lenovo支援網站也會以電子格式提供所有的
附錄B.法規資訊149 149
149

附錄CWEEE和回收資訊
Lenovo鼓勵資訊技術(IT)設備擁有者負責回收不再使用的設備。Lenovo提供多樣的方案及服務能協助設備
保管人回收IT產品。如需回收Lenovo產品的相關資訊,請造訪:http://www.lenovo.com/recycling。我們產
品的最新環保資訊可從下列網址取得http://www.lenovo.com/ecodeclaration。
重要WEEE資訊
Lenovo產品上的WEEE標記適用於具有WEEE及電子廢棄物相關法規(例如,歐盟WEEE指令、印度
2011年發佈的電子廢棄物管理與處理法規)的國家。設備會依據當地的廢電子電機設備(WEEE)相關法
規加上標籤。這些法規制定了各地理區域內的舊設備取回與回收架構。此標籤適用於各種產品,以指出
該項產品不得丟棄,應於使用壽命終止時交由集中處理系統收回。
凡是具有WEEE標記的電子電機設備(EEE),其使用者不可將使用壽命終止的EEE當成未分類都市廢
棄物來棄置,必須聯絡當地的回收機構來取回、回收及處理WEEE,以盡可能降低EEE因存在有害物
質而對環境及人體健康造成的任何潛在影響。Lenovo電子電機設備(EEE)包含的零件和組件有可能在使
用壽命終止時被歸類為有害廢棄物。
EEE和廢電子電機設備(WEEE)可免費遞送至銷售處或任何銷售與二手EEE或WEEE同性質且同功能
之電子電機設備的配銷商。
如需其他WEEE資訊,請前往:
http://www.lenovo.com/recycling
匈牙利WEEE資訊
身為製造商的Lenovo,應承擔為履行匈牙利法令第197/2014(VIII.1.)號第12節第(1)至(5)小節規定
的義務而產生的費用。
日本回收資訊
CollectingandrecyclingadisusedLenovocomputerormonitor
IfyouareacompanyemployeeandneedtodisposeofaLenovocomputerormonitorthatisthepropertyof
thecompany,youmustdosoinaccordancewiththeLawforPromotionofEffectiveUtilizationofResources.
Computersandmonitorsarecategorizedasindustrialwasteandshouldbeproperlydisposedofbyanindustrial
wastedisposalcontractorcertifiedbyalocalgovernment.InaccordancewiththeLawforPromotionofEffective
UtilizationofResources,LenovoJapanprovides,throughitsPCCollectingandRecyclingServices,forthe
collecting,reuse,andrecyclingofdisusedcomputersandmonitors.Fordetails,visittheLenovoWebsiteat
http://www.lenovo.com/recycling/japan.PursuanttotheLawforPromotionofEffectiveUtilizationofResources,
thecollectingandrecyclingofhome-usedcomputersandmonitorsbythemanufacturerwasbegunonOctober1,
2003.Thisserviceisprovidedfreeofchargeforhome-usedcomputerssoldafterOctober1,2003.Fordetails,visit
theLenovoWebsiteathttp://www.lenovo.com/recycling/japan.
©CopyrightLenovo2013,2016151 151
151

DisposingofLenovocomputercomponents
SomeLenovocomputerproductssoldinJapanmayhavecomponentsthatcontainheavymetalsorother
environmentalsensitivesubstances.Toproperlydisposeofdisusedcomponents,suchasaprintedcircuitboardor
drive,usethemethodsdescribedaboveforcollectingandrecyclingadisusedcomputerormonitor.
DisposingofdisusedlithiumbatteriesfromLenovocomputers
Abutton-shapedlithiumbatteryisinstalledonthesystemboardofyourLenovocomputertoprovidepowertothe
computerclockwhilethecomputerisoffordisconnectedfromthemainpowersource.Ifyouwanttoreplaceitwith
anewone,contactyourplaceofpurchaseoraskforarepairserviceprovidedbyLenovo.Ifyouhavereplaceditby
yourselfandwanttodisposeofthedisusedlithiumbattery,insulateitwithvinyltape,contactyourplaceofpurchase,
andfollowtheirinstructions.IfyouuseaLenovocomputerathomeandneedtodisposeofalithiumbattery,you
mustcomplywithlocalordinancesandregulations.
巴西回收資訊
DeclaraçõesdeReciclagemnoBrasil
Descar Descar
Descart t
te e
ede de
deum um
umP P
Pr r
rodut odut
oduto o
oL L
Lenovo enovo
enovoF F
For or
ora a
ade de
deUso Uso
Uso
Equipamentoselétricoseeletrônicosnãodevemserdescartadosemlixocomum,masenviadosàpontosde
coleta,autorizadospelofabricantedoprodutoparaquesejamencaminhadoseprocessadosporempresas
especializadasnomanuseioderesíduosindustriais,devidamentecertificadaspelosorgãosambientais,de
acordocomalegislaçãolocal.
ALenovopossuiumcanalespecíficoparaauxiliá-lonodescartedessesprodutos.Casovocêpossua
umprodutoLenovoemsituaçãodedescarte,ligueparaonossoSACouencaminheume-mailpara:
reciclar@lenovo.com,informandoomodelo,númerodesérieecidade,afimdeenviarmosasinstruções
paraocorretodescartedoseuprodutoLenovo.
台灣的電池回收資訊
歐盟的電池回收資訊
Notice: Notice:
Notice:ThismarkappliesonlytocountrieswithintheEuropeanUnion(EU).
152 152
152ThinkCentreM83、M93/p使用手冊

BatteriesorpackagingforbatteriesarelabeledinaccordancewithEuropeanDirective2006/66/ECconcerning
batteriesandaccumulatorsandwastebatteriesandaccumulators.TheDirectivedeterminestheframeworkforthe
returnandrecyclingofusedbatteriesandaccumulatorsasapplicablethroughouttheEuropeanUnion.Thislabelis
appliedtovariousbatteriestoindicatethatthebatteryisnottobethrownaway,butratherreclaimeduponend
oflifeperthisDirective.
InaccordancewiththeEuropeanDirective2006/66/EC,batteriesandaccumulatorsarelabeledtoindicatethat
theyaretobecollectedseparatelyandrecycledatendoflife.Thelabelonthebatterymayalsoincludeachemical
symbolforthemetalconcernedinthebattery(Pbforlead,Hgformercury,andCdforcadmium).Usersofbatteries
andaccumulatorsmustnotdisposeofbatteriesandaccumulatorsasunsortedmunicipalwaste,butusethecollection
frameworkavailabletocustomersforthereturn,recycling,andtreatmentofbatteriesandaccumulators.Customer
participationisimportanttominimizeanypotentialeffectsofbatteriesandaccumulatorsontheenvironmentand
humanhealthduetothepotentialpresenceofhazardoussubstances.
Beforeplacingelectricalandelectronicequipment(EEE)inthewastecollectionstreamorinwastecollection
facilities,theenduserofequipmentcontainingbatteriesand/oraccumulatorsmustremovethosebatteriesand
accumulatorsforseparatecollection.
DisposingoflithiumbatteriesandbatterypacksfromLenovoproducts
Acoin-celltypelithiumbatterymightbeinstalledinsideyourLenovoproduct.Youcanfinddetailsaboutthebattery
intheproductdocumentation.Ifthebatteryneedstobereplaced,contactyourplaceofpurchaseorcontactLenovo
forservice.Ifyouneedtodisposeofalithiumbattery,insulateitwithvinyltape,contactyourplaceofpurchaseora
waste-disposaloperator,andfollowtheirinstructions.
DisposingofbatterypacksfromLenovoproducts
YourLenovodevicemightcontainalithium-ionbatterypackoranickelmetalhydridebatterypack.Youcanfind
detailsonthebatterypackintheproductdocumentation.Ifyouneedtodisposeofabatterypack,insulateitwith
vinyltape,contactLenovosales,service,oryourplaceofpurchase,orawaste-disposaloperator,andfollowtheir
instructions.Youalsocanrefertotheinstructionsprovidedinthemanualsforyourproduct.
Forpropercollectionandtreatment,goto:
http://www.lenovo.com/lenovo/environment
附錄C.WEEE和回收資訊153 153
153

154 154
154ThinkCentreM83、M93/p使用手冊

附錄D有害物質限制(RoHS)指令
最新的環保資訊可從下列網址取得http://www.lenovo.com/ecodeclaration。
歐盟RoHS
ThisLenovoproduct,withincludedparts(cables,cords,andsoon)meetstherequirementsofDirective2011/65/EU
ontherestrictionoftheuseofcertainhazardoussubstancesinelectricalandelectronicequipment(“RoHSrecast”
or“RoHS2”).
FormoreinformationaboutLenovoworldwidecomplianceonRoHS,goto:
http://www.lenovo.com/social_responsibility/us/en/RoHS_Communication.pdf
土耳其RoHS
TheLenovoproductmeetstherequirementsoftheRepublicofTurkeyDirectiveontheRestrictionoftheUseof
CertainHazardousSubstancesinWasteElectricalandElectronicEquipment(WEEE).
烏克蘭RoHS
印度RoHS
RoHScompliantasperE-Waste(Management&Handling)Rules,2011.
©CopyrightLenovo2013,2016155 155
155

中國RoHS
臺灣限用物質含有情況標示(TaiwanRoHS)
156 156
156ThinkCentreM83、M93/p使用手冊

附錄EENERGYSTAR機型資訊
ENERGYSTAR®係美國環境保護局與美國能源部聯合推動之方案,旨在藉由高能源效率之產品及常規
節省金錢並保護環境。
Lenovo以提供本公司客戶符合ENERGYSTAR設計規定之產品為榮。下列機型中有部分在製造時經設計及
測試後已符合ENERGYSTAR計劃電腦需求:10A2、10A3、10A8、10A9、10AH和10AJ。如需Lenovo電
腦的ENERGYSTAR等級的相關資訊,請造訪http://www.lenovo.com。
使用符合ENERGYSTAR規定之產品,並善用您電腦之電源管理功能,有助於減少耗電量。耗電量降低,
則有助於財務上可能之節約、環境之清潔及溫室效應氣體排放量之降低。
如需ENERGYSTAR的相關資訊,請造訪:
http://www.energystar.gov
Lenovo建議您於每日作業時,徹底執行能源之有效利用。為促使能源之有效利用,請設定下列電源管理
功能,當您的電腦未作用時間達指定時限時,該等功能便會生效:
表 格 1. ENERGY STAR 電 源 管 理 功 能
Windows Windows
Windows7 7
7、 、
、Windows Windows
Windows8 8
8、 、
、Windows Windows
Windows8.1 8.1
8.1或 或
或Windows Windows
Windows10 10
10作 作
作業 業
業系 系
系統 統
統
電源計劃:ThinkCentre預設
•關閉顯示器:10分鐘後
•電腦休眠:25分鐘後
•進階電源設定:
–關閉硬碟:20分鐘後
–休眠:絕不
如果要從睡眠模式喚醒您的電腦,請按下鍵盤上的任一鍵。
如果要變更電源設定,請執行下列動作:
1.執行下列其中一項動作以開啟控制台:
•Windows7:按一下「開始」按鈕以開啟「開始」功能表,然後按一下控 控
控制 制
制台 台
台。
•Windows8或Windows8.1:請參閱第20頁「在Windows8或Windows8.1作業系統上存取控
制台」。
•Windows10:用滑鼠右鍵按一下「開始」按鈕以開啟「開始」快速功能表,然後按一下控 控
控制 制
制台 台
台。
2.使用大圖示或小圖示檢視控制台,然後按一下電 電
電源 源
源選 選
選項 項
項。
3.遵循螢幕上的指示。
©CopyrightLenovo2013,2016157 157
157

158 158
158ThinkCentreM83、M93/p使用手冊

索引
c c
c
CMOS,清除114
CRU
完成安裝102
d d
d
DisplayPort接頭10
k k
k
Kensington型
鋼纜鎖33
l l
l
LenovoSolutionCenter139
m m
m
mSATA固態硬碟,安裝56
mSATA固態硬碟,更換59
p p
p
PCI卡40
安裝,更換40
插槽40
r r
r
RescueandRecovery105
工作區,RescueandRecovery107
RescueandRecovery工作區107
s s
s
SetupUtility113
SetupUtility程式,啟動113
SetupUtility,結束117
u u
u
USB接頭11
v v
v
VGA顯示器接頭11
w w
w
Wi-Fi裝置,Wi-Fi配接卡,Wi-Fi卡模組,Wi-Fi天線接線,更換90
丶 丶
丶
主機板
位置12
尋找零件12
記憶體模組42
連接器13-14
乙 乙
乙
乙太網路1
乙太網路接頭10
人 人
人
作業,備份及回復106
使用
SetupUtility113
其他服務143
救援媒體,建立及107
文件142
診斷程式142
保固資訊141
備份及回復作業106
儿 儿
儿
元件,內建11
光學滑鼠
清潔122
光碟機,更換44
入 入
入
內建喇叭,更換86
內建磁碟機1
刀 刀
刀
刪除密碼114
前方
接頭,控制項,指示燈8
前方USB組件,更換53
前方Wi-Fi天線,安裝,卸下98
前方擋板
前方擋板,卸下38
前方擋板,重新安裝38
前方音訊和USB組件,更換84
前方風扇組件,更換82
力 力
力
功能1
©CopyrightLenovo2013,2016159 159
159

卩 卩
卩
卸下電腦機殼37
又 又
又
取得
服務141
說明141
資訊141
口 口
口
商標145
啟動SetupUtility程式113
啟動區塊回復119
啟動裝置115
暫時,選取115
順序,變更115
囗 囗
囗
回復
作業,備份和106
問題,解決109
啟動區塊119
從POST/BIOS更新失敗119
軟體105
回復媒體,建立與使用105
固態硬碟,安裝80
土 土
土
基本疑難排解125
夕 夕
夕
外部選項,安裝37
大 大
大
失敗,從POST/BIOS回復119
女 女
女
媒體,建立與使用回復媒體105
子 子
子
存取
系統主機板元件和磁碟機39
宀 宀
宀
安全v
功能3
啟用或停用115
鋼纜鎖34
安全資訊141
安裝51
mSATA固態硬碟56
固態硬碟80
安裝或更換
輔助硬碟74
安裝選項
PCI卡40
記憶體模組42
客戶支援中心142
密碼
Power-OnPassword114
注意事項113
消除114
管理者114
設定,變更,刪除114
遺失或遺忘114
實體規格5
寸 寸
寸
對靜電敏感的裝置,處理37
工 工
工
工作區,備份及回復107
广 广
广
序列埠11
廴 廴
廴
建立
及使用救援媒體107
建立與使用
回復媒體105
彳 彳
彳
後方Wi-Fi天線,安裝,卸下95
後方連接器8
微處理器
更換68
手 手
手
找出元件11
接頭10
接頭,控制項,指示燈
前方8
擴充3
攴 攴
攴
救援媒體,建立及使用107
散熱器和風扇組件,更換65
文 文
文
文件,使用142
160 160
160ThinkCentreM83、M93/p使用手冊

日 日
日
暫時啟動裝置115
曰 曰
曰
更換
mSATA固態硬碟59
前方USB組件53
微處理器68
散熱器和風扇組件65
硬碟72
讀卡機組件48
輔助硬碟78
電池55
更新
系統程式119
月 月
月
服務
其他143
及說明142
取得141
客戶支援中心142
購買其他143
木 木
木
機殼開啟開關,更換70
檢視及變更設定113
水 水
水
注意事項145
注意事項,密碼113
清潔光學滑鼠122
滑鼠,更換101
滑鼠連接器11
火 火
火
熱感應器,更換88
玉 玉
玉
環境,操作5
疋 疋
疋
疑難排解,基本125
疑難排解,診斷125
石 石
石
硬碟,更換72
磁碟機
機槽15
規格15
禾 禾
禾
程式,更新系統119
竹 竹
竹
管理者,密碼114
糸 糸
糸
系統
程式119
管理1
系統主機板元件和磁碟機
存取39
結束,SetupUtility117
衣 衣
衣
裝置,處理對靜電敏感的37
裝置驅動程式104
見 見
見
視訊子系統1
角 角
角
解決回復問題109
言 言
言
記憶體模組
主機板42
安裝,更換42
設定
密碼114
檢視113
變更113
診斷,疑難排解125
診斷程式,使用142
說明10
及服務142
取得141
讀卡機組件,安裝46
讀卡機組件,更換48
變更
啟動裝置順序115
密碼114
貝 貝
貝
資源,資訊141
資訊
保固141
取得141
安全141
資源141
重要安全資訊v
©CopyrightLenovo2013,2016161 161
161
































