Lenovo P510 P710 Ug Zh Cn User Guide 使用手册 (Simplified Chinese) Think Station P510, Workstation (Think Station) Type 30B5
2017-07-27
使用手册: Lenovo P510 P710 Ug Zh Cn (Simplified Chinese) User Guide - ThinkStation P510, P710 P510 Workstation (ThinkStation) - Type 30B5 ThinkStation P510 (type 30B5)
Open the PDF directly: View PDF
.
Page Count: 162 [warning: Documents this large are best viewed by clicking the View PDF Link!]

ThinkStationP510和P710
用户指南
机器类型:30B4、30B5、30B6和30B7

目录
首先阅读:重要安全信息.......v
在使用本手册前..............v
维护和升级................v
静电预防................vi
电源线和电源适配器...........vi
延长线和相关设备............vi
插头和插座...............vii
外接设备................vii
热量和产品通风.............vii
运行环境................viii
激光合规性声明.............viii
电源声明................viii
清洁与维护...............ix
第1章产品概述............1
硬件位置.................1
前视图................1
后视图................3
计算机组件..............7
主板上的部件.............7
内置驱动器.............10
机器类型和型号标签.........12
计算机功能...............12
计算机规格...............16
程序..................16
访问计算机上的程序.........16
安装已准备好安装的程序(仅限
Windows7)............17
Lenovo程序简介...........17
第2章使用计算机.........19
注册计算机...............19
设置计算机音量.............19
使用光盘................19
有关使用光盘驱动器的准则......19
握持和存放光盘...........20
播放和取出光盘...........20
刻录光盘..............20
连接到网络...............21
连接到以太局域网..........21
连接到无线局域网..........21
连接到支持蓝牙的设备........22
第3章您与计算机.........23
安排工作空间..............23
眩光与照明.............23
空气流通..............23
电源插座位置和线缆长度.......23
舒适度...............23
辅助功能选项信息............24
清洁您的计算机.............27
维护..................27
基本维护技巧............27
良好的维护习惯...........27
使计算机保持最新状态........28
移动计算机...............28
第4章安全性............31
锁定计算机...............31
锁住计算机外盖...........31
连接Kensington式钢缆锁......33
在SetupUtility程序中查看和更改安全设
置...................33
使用密码和Windows帐户........33
使用指纹认证..............34
使用外盖存在感知开关..........34
使用防火墙...............35
保护数据免遭病毒侵害..........35
固件中嵌入ComputraceAgent软件....35
受信平台模块(TPM)..........35
BIOSguard...............35
第5章高级配置...........37
使用SetupUtility程序..........37
启动SetupUtility程序........37
启用或禁用设备...........37
启用或禁用计算机的AutomaticPower
On功能...............37
启用或禁用ErPLPS遵从方式.....38
启用或禁用配置更改检测.......38
在安装新操作系统之前更改BIOS设置.39
使用BIOS密码...........39
选择启动设备............41
退出SetupUtility程序........41
更新和恢复BIOS.............42
更新BIOS..............42
©CopyrightLenovo2016i

在BIOS更新失败的情况下进行恢复..42
配置RAID................42
用IntelRSTe配置RAID.......43
使用LSIMegaRAIDBIOS配置实用程
序快速设置RAID..........45
第6章故障诊断和恢复......49
解决计算机问题的基本过程........49
故障诊断................49
启动问题..............49
音频问题..............50
CD或DVD问题...........51
间歇性问题.............52
存储驱动器问题...........52
以太局域网问题...........52
无线局域网问题...........53
蓝牙问题..............54
性能问题..............55
串口问题..............56
USB设备问题............56
软件和驱动程序问题.........56
诊断..................57
LenovoSolutionCenter.......57
硬件诊断..............57
恢复信息................58
在Windows7中恢复信息......58
在Windows10中恢复信息......59
第7章安装或更换硬件......61
握持静电敏感设备............61
准备计算机并卸下计算机外盖.......61
安装或更换硬件.............62
外部选件..............62
直冷挡风板.............63
光盘驱动器托架中的设备.......64
5.25英寸Flex模块中的设备.....67
光盘驱动器支架...........74
外盖存在感知开关..........76
前部风扇组合件...........78
内置存储驱动器...........79
电源组合件.............97
PCI卡...............99
全长型PCI卡............103
超级电容模块............105
背面风扇组合件...........108
散热器和风扇组合件.........110
内存条...............111
Flex适配器.............114
电池................116
Wi-Fi装置..............118
完成部件更换..............125
第8章获取信息、帮助和服务.129
信息资源................129
访问各种语言的《用户指南》.....129
Windows帮助系统..........129
安全和保修.............129
LenovoWeb站点..........129
Lenovo支持Web站点........130
常见问题..............130
帮助和服务...............130
致电客服..............130
使用其他服务............131
购买附加服务............131
附录A系统内存速度.......133
附录B法规信息..........135
出口分类声明..............135
电子辐射声明..............135
联邦通信委员会一致性声明......135
欧亚大陆合规性标志...........137
巴西音频声明..............138
墨西哥无线电合规性信息.........138
其他法规信息..............138
附录CWEEE和回收信息....139
重要WEEE信息.............139
日本的回收信息.............139
巴西的回收信息.............140
台湾的电池回收信息...........140
欧盟的电池回收信息...........141
附录D危险物质限制(RoHS)指
令..................143
欧盟RoHS...............143
中国RoHS...............143
土耳其RoHS..............143
乌克兰RoHS..............144
印度RoHS...............144
附录EENERGYSTAR型号信
息..................145
附录F声明.............147
iiThinkStationP510和P710用户指南

ivThinkStationP510和P710用户指南

首先阅读:重要安全信息
本章包含您必须熟知的安全信息。
在使用本手册前
警告:
使用本手册前,请务必阅读和了解所有与本产品相关的安全信息。请参阅本节中的信息和本产品
随附的《安全、保修和设置指南》中的安全信息。阅读和了解这些安全信息可降低人身伤害和产
品损坏的风险。
如果丢失了《安全、保修和设置指南》,可从Lenovo®支持Web站点http://www.lenovo.com/
UserManuals上获取可移植文档格式(PDF)版本。Lenovo支持Web站点还提供其他语言的
《安全、保修和设置指南》和本《用户指南》。
维护和升级
除非得到客户支持中心或文档的指导,否则请勿尝试自行维修产品。请仅允许经认可的服务供应
商维修您的特定产品。
注:某些计算机部件可以由客户升级或更换。此类升级部件通常被称为选件。可由客户自行安装的
替换部件被称为“客户可更换部件”或CRU。对于适合客户自行安装的选件或更换CRU,Lenovo
会提供说明文档。安装或更换部件时,必须严格按照所有说明进行操作。电源指示灯处于熄灭状态
并不一定表示产品内部的电压为零。对于配备电源线的产品,在卸下其外盖前请务必确保电源已关
闭,并且该产品未连接任何电源。需要CRU的更多信息,请参阅第61页第7章“安装或更换硬
件”。如有任何问题或疑问,请联系客户支持中心。
虽然在断开电源线连接后计算机内已没有移动的部件,但是为安全起见仍需提供以下警告。
警告:
危险的可动部件。请勿用手指或身体其他部位与其接触。
警告:
打开计算机外盖之前,请关闭计算机并等待几分钟,直至计算机冷却。
©CopyrightLenovo2016v

静电预防
静电虽然对人体无害,但却能严重损坏计算机部件和选件。易受静电损坏的部件操作不当可能会
使部件受损。拆开选件或CRU的包装时,在相关说明指示您安装部件之前,请勿打开部件的防静
电包装。
操作选件或CRU时,或者对计算机内部进行操作时,请采取以下预防措施以避免静电引起的损坏:
•尽量不要移动。移动身体会导致周围累积静电。
•始终小心地操作组件。操作适配器、内存条和其他电路板时握住边缘。切勿触摸裸露的电路。
•防止其他人触摸组件。
•安装静电敏感选件或CRU时,请将该部件的防静电包装与计算机的扩展插槽金属挡片或其他未
涂漆的金属表面接触至少两秒。这样可减少包装上和您身上的静电。
•从防静电包装中取出静电敏感部件后尽量立即安装,不要放下部件。如果不能直接安装,请将
防静电包装放在光滑平面上,然后再将部件放在包装上。
•请勿将部件放在计算机外盖或其他金属表面上。
电源线和电源适配器
请仅使用产品厂商提供的电源线和电源适配器。请勿将此交流电源线用于其他设备。
电源线应该通过安全审核。在德国,其规格应该是H05VV-F,3G,0.75mm2或更高。在
其他国家或地区,应使用相应的适用类型。
切勿将电源线缠绕在电源适配器或其他物体上。否则会绷紧电源线,从而导致电源线磨损、破裂或
卷曲。这样会造成安全隐患。
始终正确地布放电源线,使其不会被踩到、绊倒他人或被物体压住。
避免电源线和电源适配器接触到液体。例如,请勿将电源线或电源适配器放置于水池、浴缸、盥洗
室附近,也不要放在用液体清洁剂清洁过的地板上。液体会引起短路,尤其是在因不当操作而绷
紧电源线或使电源适配器受到挤压时。液体还会导致电源线接头和/或电源适配器的连接器接头逐
渐腐蚀,并最终导致过热。
确保所有电源线接口都牢固并且完全插入到插座。
请勿使用交流电输入引脚处出现腐蚀迹象的电源适配器,或者交流电输入引脚处或其他地方出现过
热迹象(例如塑料变形)的电源适配器。
请勿使用任一端电气触点有腐蚀或过热迹象的电源线,也不要使用任何有受损迹象的电源线。
延长线和相关设备
确保所用延长线、电涌保护器、不间断电源和接线板的额定参数可以满足产品的电气要求。切勿让
这些设备超负荷运转。如果使用了接线板,其负载不应超出接线板的输入额定值。如有关于电源负
载、电源要求和输入额定值方面的疑问,请咨询电工以获取更多信息。
viThinkStationP510和P710用户指南

插头和插座
如果要用于计算机设备的插座(电源插座)有损坏或腐蚀迹象,请在合格的电工更换电源插座后
再使用。
请勿弯曲或改动插头。如果插头损坏,请联系制造商进行更换。
请勿与其他大量耗电的家用或商用电器共用电源插座。否则,电压不稳可能会损坏计算机、数据或
所连接的设备。
某些产品配有三脚插头。这种插头仅适用于接地的电源插座。它是一种安全功能。请勿将它插入非
接地的插座而使其失去安全保护作用。如果无法将插头插入插座,请联系电工以安装经核准的插
座适配器或将插座更换为具备这种安全功能的插座。切勿使电源插座超负荷运转。系统总负载不
应超过分支电路额定值的80%。如有关于电源负载和分支电路额定值的问题,请咨询电工以获取
更多信息。
确保您使用的电源插座已正确连线、易于操作并且位置紧靠设备。请勿完全拉直电源线以免使之
绷紧。
请确保电源插座为您要安装的产品提供正确的电压和电流。
将设备与电源插座连接或断开连接时请谨慎操作。
外接设备
请勿在计算机处于开机状态时连接或断开除通用串行总线(USB)线缆之外的任何外接设备线
缆;否则可能会损坏计算机。为避免可能对所连接设备造成的损坏,请在计算机关闭后等待至
少五秒再断开外接设备。
热量和产品通风
开启计算机、电源适配器和许多附件时以及对电池充电时,都会产生热量。请始终遵循以下基本
注意事项:
•当产品正在运行或电池正在充电时,请勿让计算机、电源适配器或附件与您的膝盖或身体的其
他任何部位长时间接触。计算机、电源适配器和许多附件在正常运行期间会产生一些热量。与
身体接触时间过长会导致身体不适,甚至可能灼伤皮肤。
•请勿在易燃材料附近或在易爆环境中给电池充电,或者运行计算机、电源适配器或附件。
•本产品提供了通风口、风扇和散热器,用来营造安全、舒适、可靠的操作环境。将产品放在床、
沙发、地毯或其他柔软的表面上可能会无意中挡住这些功能部件。切勿挡住、覆盖这些功能部
件或使其失效。
至少每三个月检查一次您的台式计算机是否有灰尘堆积。在检查计算机之前,请关闭电源并将计算
机的电源线从电源插座中拔出;然后除去挡板上通风口和穿孔中的所有灰尘。如果发现外部有灰尘
堆积,那么应检查并除去计算机内,包括散热器入口散热片、电源通风口和风扇上的灰尘。在打开
外盖前请始终关闭计算机并拔出电源线。请尽量避免在距离交通繁忙区域2英尺的范围内操作计算
机。如果必须在交通繁忙区域内或附近操作计算机,请更频繁地检查计算机并在必要时进行清洁。
为了您的安全并使计算机保持最佳状态,使用台式计算机时请始终遵循以下基本预防措施:
©CopyrightLenovo2016vii

•确保每次为计算机接通电源时外盖都处于闭合状态。
•定期检查计算机外部是否有灰尘堆积。
•除去挡板内通风口和任何孔状接缝中的灰尘。在多尘或交通繁忙区域可能需要更频繁地清洁计
算机。
•请勿阻塞或堵塞任何通风口。
•请勿在家具内存放或操作计算机,因为这会增加计算机过热的危险。
•进入计算机的气流温度不应超过35°C(95°F)。
•请勿安装空气过滤设备。它们可能会妨碍正常散热。
运行环境
使用计算机的最佳环境为温度10°C到35°C(50°F到95°F),湿度35%到80%。如果计算机的
存放或运输温度低于10°C(50°F),请先让低温的计算机缓慢升至10°C到35°C(50°F到95°F)
的最佳运行温度,然后再使用计算机。在极端情况下此过程可能会需要两个小时。如果在计算机尚
未升至最佳运行温度时就使用,可能会对计算机造成不可修复的损坏。
尽量将计算机放在通风良好的干燥区域内,并避免阳光直射。
使电风扇、收音机、大功率扬声器、空调和微波炉等电器远离计算机,因为这些电器产生的强磁场
可能会损坏显示器以及存储驱动器上的数据。
请勿将饮料放在计算机或所连接设备顶部或旁边。如果液体泼溅到计算机或所连接设备上或内部,
可能会引起短路或其他损坏。
请勿在键盘上方吃东西或抽烟。微粒落入键盘可能会造成损坏。
激光合规性声明
警告:
装有激光产品(如CD-ROM、DVD驱动器、光纤设备或发射器)时,请注意以下情况:
•请勿卸下外盖。卸下激光产品的外盖可能会导致遭受危险的激光辐射。设备中没有可维修的部
件。
•进行此处未指定的控制或调整,或执行此处未指定的操作步骤,可能会导致遭受危险的辐射。
危险
某些激光产品包含嵌入式3A类或3B类激光二极管。请注意以下情况:
打开时有激光辐射。请勿注视光束,请勿直接用光学仪器查看并避免直接暴露于光束之中。
电源声明
切勿卸下电源外盖或贴有以下标签的任何部件的外盖。
viiiThinkStationP510和P710用户指南

任何贴有此标签的组件内部都有危险的电压、电流和能量级别。这些组件内没有可维修的部件。如
果您怀疑某个部件有问题,请与技术服务人员联系。
清洁与维护
请保持计算机和工作区干净整洁。清洁计算机前请先关闭计算机并断开电源线。请勿直接在计算机
上喷洒液体清洁剂或使用含可燃物的清洁剂清洁计算机。请将清洁剂喷到软布上,然后用软布擦
拭计算机表面。
©CopyrightLenovo2016ix

xThinkStationP510和P710用户指南

注:计算机正面的ThinkStation®铭牌的方向是可调的。将计算机侧放时,可略微抽出铭牌。逆
时针转动90度,然后将其推回。
1光盘驱动器弹出/关闭按钮
按该按钮以弹出或关闭光盘驱动器的托盘。
2电源按键
按电源按键以开启计算机。如果计算机无响应,可以按住电源按键4秒或更长时间以关闭计算机。
3电源指示灯
当电源指示灯亮起时,表示计算机已开启。
4硬盘驱动器活动指示灯
指示内置存储驱动器(如硬盘驱动器或固态驱动器)的状态。
亮起:存储驱动器已准备就绪可供使用。
计算机开启时熄灭:存储驱动器无法正常工作或发生其他问题。
5诊断指示灯
亮起:诊断USB3.0接口充当常规USB3.0接口。
闪烁:检测到系统错误,或是正在从诊断USB3.0接口下载与错误相关的事件日志。
6SD卡插槽
将安全数字(SD)卡插入插槽,以便可访问和读取卡上的数据。
7诊断USB3.0接口
当检测到系统错误时,诊断指示灯闪烁。在这种情况下,如果将FAT32格式USB闪存驱动器连
接到该接口,则可将错误相关日志从诊断USB3.0接口自动下载到USB闪存驱动器中。
8USB3.0接口
将兼容的USB设备,如USB键盘、鼠标、存储驱动器或打印机连接到此接口。
9AlwaysOnUSB3.0接口
将兼容的USB设备,如USB键盘、鼠标、存储驱动器或打印机连接到此接口。连接电源线后,
即使计算机处于休眠方式或已关机,也可为连接的USB设备充电。如果未启用AlwaysOnUSB
接口功能,则打开PowerManager程序并启用该功能。要打开PowerManager程序,请参阅第
16页“访问计算机上的程序”。要启用AlwaysOnUSB接口,请参阅PowerManager程序的
帮助系统。
2ThinkStationP510和P710用户指南

ThinkStationP710
图 3. ThinkStation P710 后 面 板
1音频输出接口2麦克风接口
3PS/2键盘接口4串口
5USB2.0接口(4个)6USB3.0接口(4个)
7PCI卡区域(PCI卡可用性因型号而异)8电源线接口
9安全锁插槽10钥匙存放插槽
11以太网接口(2个)12挂锁环
13PS/2鼠标接口14音频输入接口
注:对于ThinkStationP510和ThinkStationP710计算机,外围组件互连(PCI)卡区域可能会
安装一块或多块独立显卡。根据计算机型号的不同,显卡可能可能提供以下接口:
•数字视频接口(DVI)接口
•DisplayPort®接口
•MiniDisplayPort®接口
DisplayPort接口
将高性能显示器、直接驱动显示器或其他兼容设备连接到DisplayPort接口。
DVI显示器接口
将DVI显示器或其他兼容设备连接到DVI显示器接口。
4ThinkStationP510和P710用户指南

MiniDisplayPort接口
将高性能显示器、直接驱动显示器或其他兼容设备连接到MiniDisplayPort接口。MiniDisplayPort
接口是缩小版的DisplayPort接口。
1音频输出接口
音频输出接口用于从计算机向外接设备(如耳机)发送音频信号。
2麦克风接口
当您要录音或者使用语音识别软件时,请将麦克风通过麦克风接口连接到计算机。
3PS/2键盘接口
将PersonalSystem/2(PS/2)键盘连接到PS/2键盘接口。
4串口
将外置调制解调器、串行打印机或其他使用9引脚串口的设备连接到此串口。
5USB2.0接口(4个)
将兼容的USB设备(如USB键盘、鼠标、存储驱动器或打印机)连接到此接口。
6USB3.0接口(4个)
将兼容的USB设备,如USB键盘、鼠标、存储驱动器或打印机连接到此接口。
7PCI卡区域(PCI卡可用性因型号而异)
要提高计算机的操作性能,可将PCI/PCI-Express卡装入此区域。该区域中已安装的卡可能会因
计算机型号不同而异。
8电源线接口
将电源线连接到计算机以供电。
9安全锁插槽
将Kensington式钢缆锁连接到安全锁插槽来固定计算机。需要更多信息,请参阅第33页“连接
Kensington式钢缆锁”。
10钥匙存放插槽
将计算机外盖钥匙锁随附的钥匙架装入钥匙存放插槽。
第1章.产品概述5

ThinkStationP510
图 5. 主 板 部 件 位 置
1正面音频接口2内置扬声器接口
3光盘驱动器风扇接口4内存插槽
5内存插槽6内存插槽
7内存插槽8外盖存在感知开关接口(机箱入侵感应开关接
口)
9热传感器10微处理器
11内存插槽12内存插槽
13内存插槽14内存插槽
15灵活适配器插槽164引脚电源接口(2个)
17正面风扇接口18清除CMOS/恢复跳线
19前置式存储机箱控制接口(用于SATA5接口)204引脚电源接口
21Thunderbolt™接口22正面USB接口
23硬盘驱动器活动指示灯接口(仅与9364RAID
卡结合使用)
24前置式存储机箱控制接口(用于SATA6接口)
25SATA5接口26SATA6接口
8ThinkStationP510和P710用户指南

27SATA2接口28SATA1接口
29SATA3接口30SATA4接口
3129合1读卡器接口32电池
33前面板接口34eSATA接口
35电源接口36PCIExpress2.0x4卡插槽
37PCI卡插槽38PCIExpress3.0x16显卡插槽
39PCIExpress2.0x1插槽40PCIExpress3.0x16显卡插槽
41PCIExpress3.0x4卡插槽42背面风扇接口
43微处理器风扇接口44背面风扇接口
ThinkStationP710
图 6. 主 板 部 件 位 置
1正面音频接口2内置扬声器接口
3背面风扇接口4外盖存在感知开关接口(机箱入侵感应开关接
口)(某些型号)
5内存插槽6内存插槽
7内存插槽8微处理器风扇接口1
9微处理器110内存插槽
第1章.产品概述9

11内存插槽12内存插槽
13热传感器14灵活适配器插槽
15内置存储驱动器活动指示灯接口(仅与9364
RAID卡结合使用)
164引脚电源接口
17清除CMOS/恢复跳线184引脚电源接口
19光盘驱动器风扇接口20前置式存储机箱控制接口(用于SATA6接口)
21SATA6接口22SATA5接口
23正面风扇接口24前置式存储机箱控制接口(用于SATA5接口)
254引脚电源接口2629合1读卡器接口
27Thunderbolt接口28前面板接口
29正面USB3.0接口30SATA4接口
31eSATA接口32SATA3接口
33SATA2接口34SATA1接口
35电池36电源接口
37PCIExpress2.0x4卡插槽38PCI卡插槽
39PCIExpress3.0x16显卡插槽40PCIExpress3.0x8插槽
41PCIExpress3.0x16显卡插槽(2个)42背面风扇接口
43内存插槽44内存插槽
45内存插槽46微处理器2
47微处理器风扇接口248内存插槽
49内存插槽50内存插槽
内置驱动器
内置驱动器是您的计算机用来读取和存储数据的设备。您可以添加驱动器,从而增加计算机的存储
容量,使计算机能够读取其他类型的介质。内置驱动器安装在托架中。
安装或更换内置驱动器时,记下每个托架支持的驱动器的类型和大小并正确连接所需的电缆。有
关如何为计算机安装或更换内置驱动器的说明,请参阅第61页第7章“安装或更换硬件”中的
相应部分。
10ThinkStationP510和P710用户指南

机器类型和型号标签
通过机器类型和型号标签可识别计算机。与Lenovo联系请求帮助时,机器类型和型号信息可帮
助支持人员识别计算机,从而提供更快速的服务。
机器类型和型号标签贴在计算机正面,如图所示。
图 8. 机器类型和型号标签
计算机功能
具体到您的计算机型号,某些功能可能有所不同或不适用。
有关计算机的信息
•要查看有关计算机的基本信息(如微处理器和内存信息),请执行以下操作:
1.单击“开始”按钮以打开“开始”菜单。
2.根据Microsoft®Windows®操作系统版本的不同,执行以下某一操作:
–在Windows7中:右键单击计算机,然后单击属性。
–在Windows10中:单击设置➙系统➙关于。
•要查看有关计算机上设备(如光盘驱动器和网络适配器)的详细信息,请执行以下操作:
1.根据Windows版本的不同,执行以下某项操作:
–在Windows7中:单击“开始”按钮以打开“开始”菜单。右键单击计算机,然后单
击属性。
–在Windows10中:右键单击“开始”按钮以打开“开始”上下文菜单。
12ThinkStationP510和P710用户指南

2.在设备管理器中找到并双击设备以查看设备属性。输入管理员密码或进行确认(如果出现
提示)。
内存
•对于ThinkStationP510:最多8根双倍数据速率第四代(DDR4)带纠错码(ECC)无缓冲
双列直插式内存条(UDIMM)或DDR4ECC寄存式DIMM(RDIMM)。
•对于ThinkStationP710:最多12根DDR4ECCUDIMM或DDR4ECCRDIMM。
需要更多信息,请参阅第111页“内存条”。
内置驱动器
您的计算机支持下面的存储驱动器:
•SD卡
•硬盘驱动器
•混合驱动器(某些型号配备)
•光盘驱动器(某些型号配备)
•固态驱动器(某些型号配备)
要查看存储驱动器空间容量,请执行以下操作:
1.根据Windows版本的不同,执行以下某项操作:
•在Windows7中:单击“开始”按钮以打开“开始”菜单。右键单击计算机,然后单击管
理。
•在Windows10中:右键单击“开始”按钮以打开“开始”上下文菜单。
2.单击磁盘管理并按照屏幕上的说明进行操作。
视频功能部件
•主板上用于独立显卡的PCIExpressx16显卡插槽
•独立显卡上的视频接口:
–DVI接口(某些机型配备)
–DisplayPort接口(某些机型配备)
–MiniDisplayPort接口(某些机型配备)
音频功能部件
集成音频控制器支持计算机上的以下接口和设备:
•音频输入接口
•音频输出接口
•耳麦接口
•内置扬声器
•麦克风接口
输入/输出( (
(I/O) )
)功能部件
•100/1000Mbps以太网接口
第1章.产品概述13

•9针串口
•音频接口(音频输入接口、音频输出接口、麦克风接口和耳麦接口)
•显示器接口(DisplayPort接口、DVI接口和MiniDisplayPort接口)(因显卡而异)
•PS/2键盘接口
•PS/2鼠标接口
•USB接口
需要更多信息,请参阅第1页“前视图”和第3页“后视图”。
扩展
•SD卡插槽
•硬盘驱动器托架
•灵活适配器插槽
•内存插槽
•光盘驱动器托架
•PCI卡插槽
•PCIExpressx1卡插槽(仅ThinkStationP510配备)
•PCIExpressx4卡插槽
•PCIExpressx8卡插槽
•PCIExpressx16显卡插槽
需要更多信息,请参阅第10页“内置驱动器”和第7页“主板上的部件”。
电源
计算机随附以下电源之一:
•490瓦电压自动感应电源
•650瓦电压自动感应电源
•850瓦电压自动感应电源
无线功能部件
根据计算机型号的不同,支持以下无线功能:
•无线局域网
•蓝牙
系统管理功能
•可存储开机自检(POST)硬件测试结果
•桌面管理界面(DMI)
桌面管理界面提供了一种通用的途径,供用户访问计算机各方面的信息,这些信息包括处理器
类型、安装日期、连接的打印机和其他外围设备、电源以及维护历史记录。
•ErPLPS遵从方式
耗能产品指令(ErP)最低电源状态(LPS)遵从方式可在计算机睡眠或关闭后减少耗电。需要更
多信息,请参阅第38页“启用或禁用ErPLPS遵从方式”。
14ThinkStationP510和P710用户指南

•Intel®StandardManageability(ISM)
IntelStandardManageability是一种硬件和固件技术,它在计算机中内置某些功能,使公司
可更方便、成本更低地监视、维护、更新、升级和修复这些计算机。
•Intel主动管理技术(AMT)
Intel主动管理技术是一种硬件和固件技术,它使公司可更方便、成本更低地监视、维护、更
新、升级和修复计算机。
•IntelRapidStorageTechnologyenterprise(RSTe)
IntelRSTe是一种设备驱动程序,它可支持在特定Intel芯片组主板上使用SATA或SAS独立
磁盘冗余阵列(RAID)0、1、5和10阵列,从而提高硬盘驱动器性能。
•预引导执行环境(PXE)
预引导执行环境是一种使用网络接口启动计算机的环境,该网络接口独立于数据存储设备
(如硬盘驱动器)或所安装的操作系统。
•系统管理(SM)基本输入/输出系统(BIOS)和SM软件
SMBIOS规范定义了BIOS中的数据结构和访问方法,用户或应用程序通过此规范可存储
和检索有关计算机的具体信息。
•WakeonLAN(WOL)
WakeonLAN是一种以太网计算机联网标准,借助此标准,可通过网络消息开启或唤醒计算
机。通常由同一局域网上另一计算机上运行的程序发送消息。
•WindowsManagementInstrumentation(WMI)
WindowsManagementInstrumentation是Windows驱动模型的一组扩展。它提供一种操作
系统接口,配备此技术的组件可通过该接口提供信息和通知。
安全性功能
•可启用和禁用某个设备
•可单独启用和禁用各个USB接口
•反病毒程序
•固件中嵌入ComputraceAgent软件
•外盖存在感知开关(也称为机箱入侵感应开关)
•用于阻止未经授权使用计算机的BIOS密码和Windows帐户
•BIOSguard
•指纹认证(某些型号配备)
•防火墙
•启动顺序控制
•无键盘或鼠标的启动
•支持计算机外盖锁
•支持Kensington式钢缆锁
•支持挂锁
•受信平台模块(TPM)
需要更多信息,请参阅第31页第4章“安全性”。
第1章.产品概述15

预装的操作系统
您的计算机预装了Windows7或Windows10操作系统。Lenovo可能还会将其他操作系统视为
与您的计算机兼容。要确定某个操作系统是否经过了兼容性验证或测试,请查看该操作系统供应商
的Web站点。
计算机规格
本节列出了计算机的物理规格。
尺寸
宽:175毫米(6.89英寸)
高:446毫米(17.56英寸)
长:485毫米(19.09英寸)
重量
装运时最大重量:24千克(52.91磅)
环境
•气温:
运行时:从10°C(50°F)到35°C(95°F)
存放在原始装运包装内:从-40°C(-40°F)到60°C(140°F)
无包装存放:从-10°C(14°F)到60°C(140°F)
•湿度:
运行时:从10%到80%(无冷凝)
存放:从10%到90%(无冷凝)
•海拔高度:
运行时:从-15.2米(-50英尺)到2000米(6562英尺)
存放:从-15.2米(-50英尺)到10668米(35000英尺)
电气输入
输入电压:从100到240伏交流电
输入频率:50/60赫兹
程序
本节介绍计算机上的各种程序。
访问计算机上的程序
注:在Windows7中,根据计算机型号的不同,某些Lenovo程序可能准备好进行安装,因此您
必须手动安装这些程序。然后,即可访问和使用这些程序。
要访问计算机上的程序,请执行以下某项操作:
•从Windows搜索中:
1.根据Windows版本的不同,执行以下某项操作:
16ThinkStationP510和P710用户指南

–在Windows7中:单击“开始”按钮以打开“开始”菜单,然后在搜索框中输入程序名
称。
–在Windows10中:在“开始”按钮旁的搜索框中输入程序名称。
2.在搜索结果中,单击所需程序的名称以启动该程序。
•从“开始”菜单或“控制面板”中:
1.单击“开始”按钮以打开“开始”菜单。然后,单击所需程序的名称以启动该程序。
2.如果未显示该程序名称,则单击所有程序(Windows7)或所有应用(Windows10)以显
示程序列表。从该列表或其中的文件夹中,单击所需程序的名称以启动该程序。
3.如果“开始”菜单上未显示该程序名称,则从“控制面板”中访问该程序。
a.根据Windows版本的不同,执行以下某项操作:
–在Windows7中:在“开始”菜单上单击控制面板。
–在Windows10中:右键单击“开始”按钮以打开“开始”上下文菜单,然后单击
控制面板。
b.按“大图标”或“小图标”查看“控制面板”,然后单击所需程序的名称以启动该程序。
安装已准备好安装的程序(仅限Windows7)
在Windows7操作系统中,要安装已准备好安装的程序,请执行以下操作:
1.打开LenovoThinkVantage®Tools程序。请参阅第16页“访问计算机上的程序”。
2.单击视图➙磁贴以查看程序图标。
3.按照灰显图标下的说明找到所需程序的图标。然后双击该图标以安装该程序。
Lenovo程序简介
本节介绍操作系统中提供的主要Lenovo程序。
注:根据计算机型号的不同,可能不提供以下某些Lenovo程序。
FingerprintManagerPro或
ThinkVantageFingerprint
Software
(Windows7)
通过FingerprintManagerPro或ThinkVantageFingerprint
Software程序,可使用指纹识别器。某些键盘上提供了集成的指纹
识别器,通过它可录入您自己的指纹,并将其与开机密码、硬盘密码
和Windows密码关联。因此,指纹认证可以取代密码并使用户的
登录简单而安全。
LenovoCompanion
(Windows10)
计算机的最佳功能应易于访问和理解。有了LenovoCompanion
后,的确如此。使用LenovoCompanion执行以下操作:
•优化计算机的性能、监视计算机的运行状况和管理更新。
•访问《用户指南》、检查保修状态和查看针对计算机定制的附件。
•阅读操作方法文章、探索Lenovo论坛以及通过可信来源的文章和
博客,随时了解最新科技新闻。
LenovoCompanion提供独家Lenovo内容,帮助您详细了解通
过计算机可实现的功能。
LenovoDeviceExperience或
LenovoPCExperience
(Windows7和Windows10)
LenovoDeviceExperience或LenovoPCExperience程序帮助
您使工作变得更轻松而又更安全。在该程序中可轻松访问Lenovo
ThinkVantageTools或LenovoTools、有关计算机的重要设置和信
息、Lenovo支持Web站点等。
第1章.产品概述17

LenovoID
(Windows10)
通过LenovoID程序,可以创建和管理LenovoID。有了Lenovo
ID之后,您就可以使用一个帐户连接到Lenovo的一切。使用
LenovoID可以快速方便地进行验证,并享受Lenovo提供的众多
服务。这些服务包括在线购物、应用下载、个性化设备支持、特别
促销优惠、Lenovo论坛等等。
LenovoPowerENGAGE
(Windows7)
LenovoPowerENGAGE程序提供电源管理功能。
LenovoSolutionCenter
(Windows7和Windows10)
通过LenovoSolutionCenter程序可排除和解决计算机问题。它集
中了诊断测试、系统信息收集、安全状态和支持信息,以及使系统性
能达到最大限度的提示和技巧。
LenovoThinkVantageTools
(Windows7)
通过LenovoThinkVantageTools程序,可轻松地使用多种工具以
帮助您更加轻松而安全地工作。
RecoveryMedia
(Windows7)
通过RecoveryMedia程序,可将硬盘驱动器的内容恢复为出厂
缺省设置。
RescueandRecovery®
(Windows7)
RescueandRecovery程序是一种一键式恢复和还原解决方案。其中
包括一组自我恢复工具,可帮助诊断计算机问题、获取帮助以及从系
统崩溃中恢复,即使无法启动Windows操作系统也能恢复。
SystemUpdate
(Windows7)
通过SystemUpdate程序,可定期获得计算机的系统更新,如设
备驱动程序更新、软件更新和BIOS更新。该程序从LenovoHelp
Center收集有关计算机的最新更新的信息,然后排序并显示这些更
新以供下载和安装。您可以完全控制下载和安装哪些更新。
18ThinkStationP510和P710用户指南

第2章使用计算机
本章包含以下主题:
•第19页“注册计算机”
•第19页“设置计算机音量”
•第19页“使用光盘”
•第21页“连接到网络”
注册计算机
向Lenovo注册您的计算机时,您需要将所需信息输入Lenovo数据库。通过此信息,Lenovo可
在出现召回或其他严重问题时与您联系,还可在您致电Lenovo寻求帮助时为您提供更快速的服
务。此外,某些地区还为注册用户提供更多权利和服务。
要向Lenovo注册计算机,请访问http://www.lenovo.com/register,然后按照屏幕上的说明进
行操作。
设置计算机音量
要设置计算机音量,请执行以下操作:
1.单击任务栏上Windows通知区域中的音量图标。
注:如果Windows通知区域中未显示音量图标,则将该图标添加到通知区域。请参阅Windows
帮助系统。
2.按屏幕上的说明和悬停文本调整音量、使扬声器静音或取消扬声器静音。
使用光盘
本节介绍使用光盘和光盘驱动器。
有关使用光盘驱动器的准则
使用光驱时,请遵循以下这些准则:
•请勿将计算机放置在驱动器可能遭遇任何以下情况的位置:
–高温
–强湿
–过多灰尘
–过分振动或突然的撞击
–倾斜的表面
–阳光直射
•请勿将除光盘以外的任何物体插入驱动器。
•请勿将已损坏的光盘插入驱动器。弯曲、擦伤或肮脏的光盘可能会损坏驱动器。
©CopyrightLenovo201619

•移动计算机之前,请从驱动器取出光盘。
握持和存放光盘
握持和存放光盘时,请遵循以下准则:
•拿住光盘的边。请勿触摸未贴标签的一侧表面。
•要除去灰尘或指纹,请使用一块清洁的软布从中心向外擦拭光盘。顺着圆周方向擦拭光盘可能
会导致丢失数据。
•请勿在光盘上写字或粘贴纸张。
•请勿擦伤光盘或在光盘上留下划痕。
•请勿将光盘放置或存储在有直接日照的地方。
•请勿使用苯、稀释剂或其他清洁剂清洁光盘。
•请勿使光盘坠落或弯折光盘。
播放和取出光盘
要播放光盘,请执行以下操作:
1.打开计算机后,按光盘驱动器正面的弹出/关闭按钮。托盘将滑出驱动器。
2.将光盘插入托盘。某些光盘驱动器在托盘中央有固定轮。如果驱动器有固定轮,则用一只手托
住托盘,然后按压光盘的中心位置,直到光盘咔嗒一声固定到位。
3.再次按弹出/关闭按钮或向前轻推托盘以关闭托盘。随后将自动启动光盘播放器程序。有关详
细信息,请参阅光盘播放器程序的帮助系统。
要从光盘驱动器取出光盘,请执行以下操作:
1.打开计算机后,按光盘驱动器正面的弹出/关闭按钮。托盘将滑出驱动器。
2.小心地从托盘中取出光盘。
3.再次按弹出/关闭按钮或向前轻推托盘以关闭托盘。
注:如果按弹出/关闭按钮时托盘未从驱动器滑出,则关闭计算机。然后,将拉直的曲别针插入弹
出/关闭按钮旁的紧急弹出孔。请仅在紧急情况下使用紧急弹出方式。
刻录光盘
如果光盘驱动器支持刻录,则可刻录光盘。
使用Windows工具刻录光盘
要使用Windows工具刻录光盘,请执行以下某项操作:
•使用“自动播放”窗口刻录光盘。
1.确保自动播放光盘。
a.单击“开始”按钮以打开“开始”菜单。
b.根据Windows版本的不同,执行以下某项操作:
–在Windows7中:单击控制面板。按“大图标”或“小图标”查看“控制面板”,
然后单击自动播放。
–在Windows10中:单击设置➙设备➙自动播放。
c.选择或开启为所有媒体和设备使用自动播放。
20ThinkStationP510和P710用户指南

2.将可刻录光盘插入支持刻录的光盘驱动器。随后将打开“自动播放”窗口。
3.按照屏幕上的说明进行操作。
•使用WindowsMedia®Player刻录光盘。
1.将可刻录光盘插入支持刻录的光盘驱动器。
2.打开WindowsMediaPlayer。请参阅第16页“访问计算机上的程序”。
3.按照屏幕上的说明进行操作。
•从ISO文件刻录光盘。
1.将可刻录光盘插入支持刻录的光盘驱动器。
2.双击该ISO文件。
3.按照屏幕上的说明进行操作。
使用预装的程序刻录光盘
要使用预装的程序刻录光盘,请执行以下操作:
1.将可刻录光盘插入支持刻录的光盘驱动器。
2.打开PowerDVDCreate、PowerProducer或Power2Go程序。请参阅第16页“访问计算
机上的程序”。
3.按照屏幕上的说明进行操作。
连接到网络
本节介绍连接到网络。如果无法将计算机连接到网络,请参阅第52页“以太局域网问题”。
连接到以太局域网
可通过将以太网线缆连接到以太网接口,将计算机连接到以太局域网。
危险
为避免电击危险,请勿将电话线连接到以太网接口。
连接到无线局域网
无需使用以太网线缆,只需无线电波即可将计算机连接到无线局域网。
注:仅某些型号配备无线局域网功能。
要建立无线局域网连接,请执行以下操作:
1.确保有无线局域网可用,并且计算机上的无线局域网功能正常工作。
2.单击Windows通知区域中的无线网络连接状态图标以显示可用的无线网络。
注:如果Windows通知区域中未显示无线网络连接状态图标,则将该图标添加到通知区域。
请参阅Windows帮助系统。
3.单击某个无线局域网,然后单击连接以将计算机连接到它。如果需要,请提供必要信息。
第2章.使用计算机21

连接到支持蓝牙的设备
蓝牙是一项短距离无线通信技术。使用蓝牙可在大约10米(32.8英尺)距离内,在计算机与其他
支持蓝牙的设备之间建立无线连接。
注:仅某些型号配备蓝牙功能。
要连接到支持蓝牙的设备,请执行以下操作:
1.确保计算机上的蓝牙功能正常工作,并且支持蓝牙的设备距计算机大约10米(32.8英尺)以
内。
2.单击任务栏上Windows通知区域中的蓝牙图标。然后,单击添加设备并按屏幕上的说明进行
操作。
注:如果Windows通知区域中未显示蓝牙图标,则将该图标添加到通知区域。请参阅Windows
帮助系统。
22ThinkStationP510和P710用户指南

第3章您与计算机
本章包含以下主题:
•第23页“安排工作空间”
•第24页“辅助功能选项信息”
•第27页“清洁您的计算机”
•第27页“维护”
•第28页“移动计算机”
安排工作空间
整理工作空间以符合需要和工作性质。本节介绍各种影响您如何整理工作空间的因素。
眩光与照明
调整显示器的位置,将来自顶灯、窗户和其他光源的眩光和反射减少到最低程度。从发光表面反射
的光线可能会导致屏幕上出现恼人的反射。尽可能使显示器与窗户和其他光源成直角。如有必要,
可通过关闭几盏灯或使用小功率灯泡,减少头顶上方的光照。如果显示器安装在靠窗位置,请使用
窗帘或百叶窗来遮挡阳光。随着一天当中室内光线的变化,您可以调整显示器的亮度和对比度。
在无法避免反射或调整照明的场所,在屏幕上加一个防眩滤光器可能会有所帮助。但是,这些滤
光器可能会影响屏幕上图像的清晰度;请仅在其他减少眩光的方法均无法解决问题时才尝试使用
滤光器。
空气流通
计算机在运行时产生热量。计算机配有风扇,它抽入新风并通过通风孔排出热空气。阻塞通风孔将
导致过热,这可能会引起故障或损坏。适当放置计算机以使通风孔不受遮挡;通常,通风空间达到
51毫米(2英寸)即可。确保排出的空气不吹到人身上。
电源插座位置和线缆长度
以下因素可能决定最终放置计算机的位置:
•电源插座的位置
•电源线或电源适配器的长度
•连接到其他设备的线缆的长度
有关电源线或电源适配器的详细信息,请参阅第vi页“电源线和电源适配器”。
舒适度
虽然没有任何一种工作姿势能够完全适用于每个人,但是下面提供的一些指导原则可帮助您找到最
适合的姿势。下图给出一个示例供您参考。
©CopyrightLenovo201623

•屏幕位置:使屏幕保持舒适的观看距离,通常为51至61厘米(20至24英寸)。然后调整屏
幕,使屏幕顶部与视线平齐或略低于视线,并且无需转动身体即可看到屏幕。
•座椅位置:使用可有力支撑背部且坐高可调的座椅。通过调节座椅找到最适合您的坐姿。
•头部位置:使头部和颈部处于舒适的笔直(垂直或直立)位置。
•手臂和手的位置:使前臂、手腕和手掌保持在自然放松(水平)的位置。输入时轻触键盘,而
不要重击。
•腿部位置:使大腿与地面平行,双脚平放在地面或脚凳上。
不时地微调工作姿态,以防长期用同一姿态工作导致不适。工作中经常短暂地休息也将有助于防止
任何与工作坐姿相关的轻微不适。
辅助功能选项信息
Lenovo致力于帮助在听觉、视觉和行动方面有障碍的用户更方便地使用信息和技术。本节介绍这
些用户可充分利用其计算机体验的方法。还可从以下Web站点获取最新的辅助功能信息:
http://www.lenovo.com/accessibility
键盘快捷方式
下表包含有助于使计算机更易于使用的键盘快捷方式。
注:根据键盘的不同,以下某些键盘快捷方式可能不可用。
键盘快捷方式功能
Windows徽标键+U打开“轻松使用设置中心”
按住右边的Shift八秒打开或关闭筛选键
按Shift五次打开或关闭粘滞键
按住NumLock五秒打开或关闭切换键
按左边的Alt+左边的Shift+NumLock打开或关闭鼠标键
按左边的Alt+左边的Shift+PrtScn(或PrtSc)打开或关闭“高对比度”
有关详细信息,请访问http://windows.microsoft.com/,然后使用以下任何关键字执行搜索:
keyboardshortcuts、keycombinations、shortcutkeys。
轻松使用设置中心
用户通过Windows操作系统中的“轻松使用设置中心”,可配置其计算机以符合其生理和认知需
求。
24ThinkStationP510和P710用户指南

要使用“轻松使用设置中心”,请执行以下操作:
1.单击“开始”按钮以打开“开始”菜单。
2.根据Windows版本的不同,执行以下某项操作:
•在Windows7中:单击控制面板。按“大图标”或“小图标”查看“控制面板”,然后单
击轻松访问中心。
•在Windows10中:单击设置➙轻松使用。
3.按屏幕上的说明选择相应的工具。
“轻松使用设置中心”主要包括以下工具:
•放大镜
“放大镜”是一个有用的实用程序,可放大整个或部分屏幕,以使您可更方便地查看各项。
•讲述人
“讲述人”是一个屏幕阅读器,它可朗读屏幕上显示的内容和描述错误消息等事件。
•屏幕键盘
如果更愿意使用鼠标、游戏杆或其他指点设备代替实物键盘向计算机输入数据,可使用“屏幕
键盘”。“屏幕键盘”显示一个带有所有标准按键的虚拟键盘。
•高对比度
“高对比度”是提高屏幕上某些文本和图像的颜色对比度的功能。因此,这些项目更加突出并
易于识别。
•个性化键盘
调整键盘设置可使键盘更易于使用。例如,可使用键盘控制指针和更简便地输入某些组合键。
•个性化鼠标
调整鼠标设置可使鼠标更易于使用。例如,可更改指针外观以及使通过鼠标管理窗口变得更简
便。
语音识别
“语音识别”使您能够通过语音控制计算机。
仅使用语音即可启动程序、打开菜单、单击屏幕上的对象、将文本口述为文档以及撰写和发送电子
邮件。使用键盘和鼠标执行的所有工作都可以在仅使用语音的情况下完成。
要使用“语音识别”,请执行以下操作:
1.根据Windows版本的不同,执行以下某项操作:
•在Windows7中:单击“开始”按钮以打开“开始”菜单。
•在Windows10中:右键单击“开始”按钮以打开“开始”上下文菜单。
2.单击控制面板。按“大图标”或“小图标”查看“控制面板”,然后单击语音识别。
3.按照屏幕上的说明进行操作。
屏幕阅读器技术
屏幕阅读器技术主要用于软件程序界面、帮助信息系统和各种联机文档。需要屏幕阅读器的更多信
息,请参阅以下内容:
第3章.您与计算机25

•结合使用PDF与屏幕阅读器:
http://www.adobe.com/accessibility.html?promoid=DJGVE
•使用JAWS屏幕阅读器:
http://www.freedomscientific.com/jaws-hq.asp
•使用NVDA屏幕阅读器:
http://www.nvaccess.org/
屏幕分辨率
可通过调整计算机的屏幕分辨率,使屏幕上的文本和图像更易于阅读。
要调整屏幕分辨率,请执行以下操作:
1.右键单击桌面上的空白区域。
2.根据Windows版本的不同,执行以下某项操作:
•在Windows7中:单击屏幕分辨率。
•在Windows10中:单击显示器设置。在显示选项卡上,单击高级显示设置。
3.按照屏幕上的说明进行操作。
注:将分辨率设置得过低可能会使屏幕上无法容纳某些项目。
可定制项目大小
可通过更改项目大小,使屏幕上的项目更易于阅读。
•要临时更改项目大小,请使用“轻松使用设置中心”中的“放大镜”工具。请参阅第24页“轻
松使用设置中心”。
•要永久更改项目大小,请执行以下操作:
–更改屏幕上所有项目的大小。
1.右键单击桌面上的空白区域。
2.根据Windows版本的不同,执行以下某项操作:
–在Windows7中:单击屏幕分辨率➙放大或缩小文本和其他项目。
–在Windows10中:单击显示器设置。
3.按屏幕上的说明更改项目大小。
4.单击应用。此更改将在下次登录操作系统时生效。
–更改Web页面上项目的大小。
按住Ctrl,然后按加号键(+)放大文本大小,或减号键(-)缩小文本大小。
–更改桌面或窗口上项目的大小。
注:此功能可能不适用于某些窗口。
如果鼠标有滚轮,则按住Ctrl,然后滚动滚轮以更改项目大小。
业界标准接口
您的计算机提供多种行业标准接口,可使用这些接口连接辅助设备。
有关每个接口的位置和功能的详细信息,请参阅第1页“硬件位置”。
26ThinkStationP510和P710用户指南

TTY/TDD转换调制解调器
您的计算机支持使用文本电话(TTY)或听障专用电信设备(TDD)转换调制解调器。该调制解调
器必须连接在计算机与TTY/TDD电话之间。然后,可以在计算机上键入消息并将其发送至电话。
采用可访问格式的文档
Lenovo提供的电子文档格式具有辅助功能,如加有适当标记的PDF文件或超文本标记语言
(HTML)文件。Lenovo电子文档旨在确保有视觉障碍的用户可通过屏幕阅读器阅读文档。文档
中的每个图像还包含充足的替代文本,以使有视力障碍的用户可在使用屏幕阅读器时理解该图像。
清洁您的计算机
警告:
从驱动器中取出任何介质,然后关闭所有连接的设备和计算机。然后从电源插座中拔出所有电源
线,并拔下连接到计算机的所有线缆。
定期清洁计算机是个良好的习惯,可以保护计算机表面并确保无故障运行。请仅使用温性清洁溶液
和湿布来清洁计算机有污渍的表面。
灰尘堆积可使眩光问题变得更严重,因此记得定期清洁屏幕。用干燥的软布轻轻地擦拭屏幕,或
吹掉屏幕上的尘土和其他细小颗粒。根据屏幕类型的不同,用蘸有LCD清洁剂或液态玻璃清洁剂
的无绒软布擦拭屏幕表面。
维护
通过适当的保养和维护,计算机将可靠地为您提供服务。本节介绍维护计算机以使其保持更好的
状况。
基本维护技巧
以下是有关使您的计算机保持正常运行的一些基本要点:
•将您的计算机放置在清洁、干燥的环境中。确保将计算机放在平整、稳定的表面上。
•请勿盖住任何通风孔。这些通风孔使空气流动以防计算机过热。
•请将食品和饮料放在远离计算机各部件的地方。食品的碎屑和溅出的液滴可能会粘住键盘和鼠
标,从而导致无法使用。
•请勿弄湿电源开关或其他控制装置。湿气可以损坏这些部件并带来电气危险。
•拔下电源线时,务必握住插头而非电线。
良好的维护习惯
通过执行一些良好的维护操作,可以保持计算机的良好性能、保护数据并对万一发生的计算机故障
做好准备。
•定期清空回收站。
•偶尔使用操作系统的磁盘碎片整理或磁盘优化功能以防止因碎片文件过多而降低性能。
•定期清理您的电子邮件应用程序的收件箱、已发送邮件和已删除邮件文件夹。
•定期将重要数据备份到可移动介质存储器(如光盘和USB存储设备)上,并妥善保存可移动介
质。制作备份副本的频率取决于数据对您或您的企业的重要程度。
第3章.您与计算机27

•定期备份存储驱动器上的数据。请参阅第58页“恢复信息”。
•使计算机软件、设备驱动程序和操作系统保持最新。请参阅第28页“使计算机保持最新状
态”。
•进行日志记录。其中的条目可包括重大的软件或硬件更改、设备驱动程序更新、间歇性问题及
其解决途径以及可能已遇到的其他问题。问题的原因可能是硬件发生更改、软件发生更改或任
何其他可能已发生的操作。日志薄可以帮助您或Lenovo技术人员确定问题的原因。
•制作ProductRecovery光盘。有关使用ProductRecovery光盘将硬盘驱动器恢复为出厂缺省
设置的详细信息,请参阅第58页“恢复信息”。
•尽快使用光盘或USB存储设备制作挽救介质。可使用挽救介质,从无法访问Windows环境或
硬盘驱动器上的RescueandRecovery工作区的故障中恢复。
使计算机保持最新状态
在大多数情况下,安装最新的操作系统更新修补程序、软件程序和设备驱动程序都是一个良好的习
惯。本节介绍如何获取计算机的最新更新。
获取最新系统更新
要获取计算机的最新系统更新,请确保计算机连接到因特网,然后执行以下某项操作:
•使用相应的Lenovo程序获取系统更新,如设备驱动程序更新、软件更新和BIOS更新:
–在Windows7中:使用SystemUpdate程序。
–在Windows10中:使用LenovoCompanion程序。
要打开SystemUpdate或LenovoCompanion程序,请参阅第16页“访问计算机上的程
序”。有关使用该程序的详细信息,请参阅该程序的帮助系统。
•使用Windows更新获取系统更新,如安全修补程序、Windows组件的新版本和设备驱动程序
更新。
1.单击“开始”按钮以打开“开始”菜单。
2.根据Windows版本的不同,执行以下某项操作:
–在Windows7中:单击控制面板。按“大图标”或“小图标”查看“控制面板”,然后
单击WindowsUpdate。
–在Windows10中:单击设置➙更新和安全➙Windows更新。
3.按照屏幕上的说明进行操作。
注:Windows更新提供的设备驱动程序可能未经Lenovo测试。建议使用Lenovo程序或从Lenovo
Web站点http://www.lenovo.com/drivers获取设备驱动程序。
移动计算机
在移动计算机之前,请采取以下预防措施:
1.备份存储驱动器上的数据。请参阅第27页“良好的维护习惯”。
2.从驱动器中取出任何介质,然后关闭所有连接的设备和计算机。然后从电源插座中拔出所有电
源线,并拔下连接到计算机的所有线缆。
3.如果存有原始的装运纸板箱和包装材料,请用它们来包装这些部件。如果要用另外的纸板箱,
请为这些部件提供衬垫以防损坏。
28ThinkStationP510和P710用户指南

30ThinkStationP510和P710用户指南

第4章安全性
本章包含以下主题:
•第31页“锁定计算机”
•第33页“在SetupUtility程序中查看和更改安全设置”
•第33页“使用密码和Windows帐户”
•第34页“使用指纹认证”
•第34页“使用外盖存在感知开关”
•第35页“使用防火墙”
•第35页“保护数据免遭病毒侵害”
•第35页“固件中嵌入ComputraceAgent软件”
•第35页“受信平台模块(TPM)”
•第35页“BIOSguard”
锁定计算机
本节介绍用锁定设备锁定计算机以保证计算机安全。
锁住计算机外盖
锁住计算机外盖有助于防止未授权人员接触计算机内部。您的计算机配备挂锁环,还可能在计算
机外盖中内置了钥匙锁。钥匙锁的钥匙附于计算机背面。安全起见,当您不使用钥匙时,请把它
们放在安全的地方。
注:仅某些型号配备钥匙锁和钥匙。
©CopyrightLenovo201631

图 9. 安 装 挂 锁
图 10. 锁住计算机外盖
32ThinkStationP510和P710用户指南

连接Kensington式钢缆锁
可使用Kensington式钢缆锁,将计算机固定到桌子或其他非永久固定物上。钢缆锁连接到计算机
背面的安全锁插槽。根据所选类型的不同,可用钥匙或密码控制钢缆锁。钢缆锁也锁住了用来打开
计算机外盖的按钮。许多笔记本电脑也使用同一类型的锁。可通过在以下网址搜索
Kensington
,
直接从Lenovo订购此类钢缆锁:
http://www.lenovo.com/support
图 11. Kensington 式 钢 缆 锁
在SetupUtility程序中查看和更改安全设置
要在SetupUtility程序中查看和更改安全设置,请执行以下操作:
1.启动SetupUtility程序。请参阅第37页“启动SetupUtility程序”。
2.选择Security。
3.按屏幕右侧的说明查看和更改安全设置。参阅第37页“使用SetupUtility程序”可初步了
解某些重大的安全设置。
4.要保存设置并退出SetupUtility程序,按F10,在所显示的窗口中选择Yes,然后按Enter。
注:对于某些键盘,可能需要按Fn+F10才能退出SetupUtility程序。
使用密码和Windows帐户
可使用BIOS密码和Windows帐户,防止未经授权访问计算机和数据。
•要使用BIOS密码,请参阅第39页“使用BIOS密码”。
第4章.安全性33

•要使用Windows帐户,请执行以下操作:
1.单击“开始”按钮以打开“开始”菜单。
2.根据Windows版本的不同,执行以下某项操作:
–在Windows7中:单击控制面板➙用户帐户。
–在Windows10中:单击设置➙帐户。
3.按照屏幕上的说明进行操作。
使用指纹认证
如果键盘配有指纹识别器,则可使用指纹认证代替密码,使用户访问变得简便而又安全。要使用
指纹认证,请首先注册指纹,然后将其与密码(如开机密码、硬盘密码和Windows密码)关联。
使用指纹识别器和指纹程序完成此过程。
要使用指纹认证,请执行以下某项操作:
•在Windows7中:使用Lenovo提供的FingerprintManagerPro或ThinkVantageFingerprint
Software程序。要打开该程序,请参阅第16页“访问计算机上的程序”。有关使用该程序的
详细信息,请参阅该程序的帮助系统。
•在Windows10中:使用Windows操作系统提供的指纹工具。单击“开始”按钮以打开“开
始”菜单,然后单击设置➙帐户➙登录选项。按照屏幕上的说明进行操作。
要使用指纹识别器,请参阅指纹键盘随附或位于Lenovo支持Web站点
http://www.lenovo.com/support/keyboards上的文档。
使用外盖存在感知开关
未正确安装或关闭计算机外盖时,外盖存在感知开关将阻止计算机登录操作系统。
要使用外盖存在感知开关,请首先启用主板上的外盖存在感知开关接口。为此,请执行以下操作:
1.启动SetupUtility程序。请参阅第37页“启动SetupUtility程序”。
2.选择Security➙ChassisIntrusionDetection,然后按Enter。
3.选择Enabled,然后按Enter键。
4.要保存设置并退出SetupUtility程序,按F10,在所显示的窗口中选择Yes,然后按Enter。
此时即可启用主板上的外盖存在感知开关接口。
注:对于某些键盘,可能需要按Fn+F10才能退出SetupUtility程序。
外盖存在感知开关开始工作。开启计算机时,如果开关检测到未正确安装或合上计算机外盖,则将
显示一条错误消息。要修复该错误并登录操作系统,请执行以下操作:
1.正确安装或关闭计算机外盖。请参阅第61页第7章“安装或更换硬件”。
2.启动,然后退出SetupUtility程序。请参阅第37页“启动SetupUtility程序”和第41页
“退出SetupUtility程序”。
34ThinkStationP510和P710用户指南

使用防火墙
防火墙可以是硬件、软件或二者的组合,具体取决于所需的安全级别。防火墙根据一组规则确定
哪些入站和出站连接经过授权。如果计算机预装了防火墙程序,则该程序可帮助保护计算机免遭
Internet安全威胁、未授权的访问、入侵和Internet攻击。还可保护隐私。需要如何使用防火墙
程序的更多信息,请参阅防火墙程序的帮助系统。
要使用Windows防火墙,请执行以下操作
1.根据Windows版本的不同,执行以下某项操作:
•在Windows7中:单击“开始”按钮以打开“开始”菜单。
•在Windows10中:右键单击“开始”按钮以打开“开始”上下文菜单。
2.单击控制面板。按“大图标”或“小图标”查看“控制面板”,然后单击Windows防火墙。
3.按照屏幕上的说明进行操作。
保护数据免遭病毒侵害
计算机预装了反病毒程序,可帮助防止、检测和清除病毒。
Lenovo在计算机上提供了具有30天免费使用期的完整版反病毒软件。30天后,必须续订许可证
以继续接收反病毒软件更新。
注:为免遭新病毒的侵害,必须将病毒定义文件保持最新。
需要如何使用反病毒软件的更多信息,请参阅反病毒软件的帮助系统。
固件中嵌入ComputraceAgent软件
ComputraceAgent软件是一种IT资产管理和计算机失窃恢复解决方案。该软件检测计算机上是
否发生了变化,如硬件、软件或计算机的电话拨入位置。可能必须购买订阅才能激活Computrace
Agent软件。
受信平台模块(TPM)
TPM是一个安全的加密处理器,其中可存储加密密钥,而该密钥又可以保护计算机中存储的信息。
BIOSguard
BIOSguard模块通过密码验证系统BIOS闪存的所有BIOS更新。从而防止恶意软件攻击BIOS。
第4章.安全性35

36ThinkStationP510和P710用户指南

第5章高级配置
本章包含以下主题:
•第37页“使用SetupUtility程序”
•第42页“更新和恢复BIOS”
•第42页“配置RAID”
使用SetupUtility程序
SetupUtility程序用于查看和更改计算机的配置设置。本节仅介绍该程序中提供的主要配置设置。
注:操作系统设置可能会取代SetupUtility程序中任何相似的设置。
启动SetupUtility程序
要启动SetupUtility程序,请执行以下操作:
1.打开或重新启动计算机。
2.启动Windows之前,反复按下再松开F1键,直至打开SetupUtility程序。如果已设置BIOS
密码,则直到输入正确的密码后,才会打开SetupUtility程序。需要更多信息,请参阅第39
页“使用BIOS密码”。
注:对于某些键盘,可能需要按Fn+F1才能打开SetupUtility程序。
要查看和更改配置设置,请按屏幕右侧的说明进行操作。随后将在屏幕底部显示用于执行各种任
务的按键。
启用或禁用设备
本节介绍如何允许或禁止用户访问硬件设备(如USB接口或存储设备)。
要启用或禁用设备,请执行以下操作:
1.启动SetupUtility程序。请参阅第37页“启动SetupUtility程序”。
2.选择Devices。
3.选择要启用或禁用的设备,然后按Enter。
4.选择所需的设置,然后按Enter。
5.要保存设置并退出SetupUtility程序,按F10,在所显示的窗口中选择Yes,然后按Enter。
注:对于某些键盘,可能需要按Fn+F10才能退出SetupUtility程序。
启用或禁用计算机的AutomaticPowerOn功能
SetupUtility程序中的AutomaticPowerOn项为您提供各种选项,以使计算机自动启动。
要启用或禁用AutomaticPowerOn功能,请执行以下操作:
1.启动SetupUtility程序。请参阅第37页“启动SetupUtility程序”。
2.选择Power➙AutomaticPowerOn,然后按Enter。
©CopyrightLenovo201637

3.选择要启用或禁用的功能,然后按Enter。
4.选择所需的设置,然后按Enter。
5.要保存设置并退出SetupUtility程序,按F10,在所显示的窗口中选择Yes,然后按Enter。
注:对于某些键盘,可能需要按Fn+F10才能退出SetupUtility程序。
启用或禁用ErPLPS遵从方式
Lenovo计算机符合ErPLot3法规的生态设计要求。有关详细信息,请访问:
http://www.lenovo.com/ecodeclaration
可在SetupUtility程序中启用ErPLPS遵从方式,以便计算机在关闭或睡眠模式时减少耗电。
要启用或禁用ErPLPS遵从方式,请执行以下操作:
1.启动SetupUtility程序。请参阅第37页“启动SetupUtility程序”。
2.选择Power➙EnhancedPowerSavingMode,然后按Enter。
3.根据需要选择Enabled或Disabled,然后按Enter。如果选择Enabled,还需要禁用Wake
onLAN功能。请参阅第37页“启用或禁用计算机的AutomaticPowerOn功能”。
4.要保存设置并退出SetupUtility程序,按F10,在所显示的窗口中选择Yes,然后按Enter。
注:对于某些键盘,可能需要按Fn+F10才能退出SetupUtility程序。
启用ErPLPS遵从方式后,可通过执行以下某项操作唤醒计算机:
•按电源按键。
•启用WakeUponAlarm功能以计算机可在所设置的某个时间唤醒。请参阅第37页“启用或
禁用计算机的AutomaticPowerOn功能”。
•启用AfterPowerLoss功能以使计算机可在突然断电后恢复电源时唤醒。
要启用AfterPowerLoss功能,请执行以下操作:
1.启动SetupUtility程序。请参阅第37页“启动SetupUtility程序”。
2.选择Power➙AfterPowerLoss,然后按Enter。
3.选择PowerOn,然后按Enter键。
4.要保存设置并退出SetupUtility程序,按F10,在所显示的窗口中选择Yes,然后按Enter。
注:对于某些键盘,可能需要按Fn+F10才能退出SetupUtility程序。
启用或禁用配置更改检测
当启用了配置更改检测,如果POST检测到某些硬件设备(如存储驱动器或内存条)的配置有变
化时,将显示一条错误消息。
要启用或禁用配置更改检测,请执行以下操作:
1.启动SetupUtility程序。请参阅第37页“启动SetupUtility程序”。
2.选择Security➙ConfigurationChangeDetection,然后按Enter。
3.选择所需的设置,然后按Enter。
4.要保存设置并退出SetupUtility程序,按F10,在所显示的窗口中选择Yes,然后按Enter。
38ThinkStationP510和P710用户指南

注:对于某些键盘,可能需要按Fn+F10才能退出SetupUtility程序。
要跳过该错误消息并登录操作系统,请执行以下某项操作:
•按F2键。
注:对于某些键盘,可能需要按Fn+F2才能跳过该错误消息。
•启动,然后退出SetupUtility程序。请参阅第37页“启动SetupUtility程序”和第41页
“退出SetupUtility程序”。
在安装新操作系统之前更改BIOS设置
BIOS设置因操作系统而异。请在安装新操作系统之前更改BIOS设置。
要更改BIOS设置,请执行以下操作:
1.启动SetupUtility程序。请参阅第37页“启动SetupUtility程序”。
2.在SetupUtility程序主菜单中,选择Exit➙OSOptimizedDefault。
3.根据要安装的操作系统,执行以下某项操作:
•要安装Windows10(64位)操作系统,请选择Enabled。
•要安装Windows10(64位)以外的操作系统,请选择Disabled。
4.在所显示的窗口中选择Yes,然后按Enter以确认您的选择。
5.要保存设置并退出SetupUtility程序,按F10,在所显示的窗口中选择Yes,然后按Enter。
注:对于某些键盘,可能需要按Fn+F10才能退出SetupUtility程序。
使用BIOS密码
通过使用SetupUtility程序,您可以设置密码以防止未经授权人员访问您的计算机和数据。
您不必设置任何密码即可使用计算机。但是,使用密码可提高计算机安全性。如果决定设置密码,
请阅读以下主题中的信息。
密码类型
SetupUtility程序中提供以下几种类型的密码:
•开机密码
设置开机密码后,每次开启计算机时都会提示输入有效密码。直到输入有效的密码后,才能使
用计算机。
•管理员密码
设置管理员密码可防止未经授权的用户更改配置设置。如果负责维护多台计算机的配置设置,
则可能要设置管理员密码。
设置管理员密码后,每次尝试访问SetupUtility程序时都会提示输入有效密码。直到输入有效
的密码后,才能访问SetupUtility程序。
如果同时设置了开机密码和管理员密码,则可输入其中任一密码。但是,必须使用管理员密码
才能更改任何配置设置。
•硬盘密码
设置硬盘密码可防止未经授权访问内部存储驱动器(如硬盘驱动器)上的数据。设置硬盘密码
后,每次尝试访问存储驱动器时都会提示输入有效密码。
第5章.高级配置39

注:
–设置硬盘密码后,存储驱动器上的数据即受到保护,即使从一台计算机上卸下存储驱动器,
然后将其安装在另一台上也是如此。
–如果忘记了硬盘密码,则无法重置密码或从存储驱动器恢复数据。
密码注意事项
密码可以是最多64个字母字符和数字字符的任意组合。为安全起见,建议使用无法轻易破解的强
密码。
注:SetupUtility程序密码不区分大小写。
要设置强密码,请考虑遵循以下准则:
•长度至少为8个字符
•至少包含一个字母字符和一个数字字符
•不能是您的姓名或用户名
•不能是常用词或常用名称
•显著区别于以前的密码
设置、更改和删除密码
要设置、更改或删除密码,请执行以下操作:
1.启动SetupUtility程序。请参阅第37页“启动SetupUtility程序”。
2.选择Security。
3.根据密码类型的不同,选择SetPower-OnPassword、SetAdministratorPassword或Hard
DiskPassword,然后按Enter。
4.按照屏幕右侧显示的说明来设置、更改或删除密码。
注:密码可以是最多64个字母字符和数字字符的任意组合。需要更多信息,请参阅第40页
“密码注意事项”。
5.要保存设置并退出SetupUtility程序,按F10,在所显示的窗口中选择Yes,然后按Enter。
注:对于某些键盘,可能需要按Fn+F10才能退出SetupUtility程序。
擦除丢失或遗忘的密码(清除CMOS)
本节提供如何擦除丢失或被遗忘的密码(如用户密码)的说明。
要擦除丢失或遗忘的密码,请执行以下操作:
1.从驱动器中取出任何介质,然后关闭所有连接的设备和计算机。然后从电源插座中拔出所有电
源线,并拔下连接到计算机的所有线缆。
2.卸下计算机外盖。请参阅第61页第7章“安装或更换硬件”。
3.找到主板上的清除CMOS(互补金属氧化物半导体)/恢复跳线。请参阅第7页“主板上的
部件”。
4.将跳线从标准位置(引脚1和2)改到维护位置(引脚2和3)。
5.重新安装计算机外盖,然后连接电源线。请参阅第61页第7章“安装或更换硬件”。
6.开启计算机,使其保持开机状态大约10秒钟。然后,通过按住电源按钮大约5秒钟,关闭计
算机。
40ThinkStationP510和P710用户指南

7.重复步骤1和步骤2。
8.将“清除CMOS/恢复”跳线移回标准位置(引脚1和2)。
9.重新安装计算机外盖,然后连接电源线。
选择启动设备
如果计算机未从预期设备启动,则可永久更改启动设备顺序或选择临时启动设备。
永久更改启动设备顺序
要永久更改启动设备顺序,请执行以下操作:
1.根据存储驱动器的类型,执行以下某项操作:
•如果存储设备为内置,则转到第2步。
•如果存储设备为光盘,则确保计算机已开启。然后,将光盘插入光盘驱动器。
•如果存储设备是光盘以外的外接设备,则将该存储设备连接到计算机。
2.启动SetupUtility程序。请参阅第37页“启动SetupUtility程序”。
3.选择Startup。
4.按屏幕右侧的说明更改启动设备顺序。
5.要保存设置并退出SetupUtility程序,按F10,在所显示的窗口中选择Yes,然后按Enter。
注:对于某些键盘,可能需要按Fn+F10才能退出SetupUtility程序。
选择临时启动设备
注:并非所有光盘和存储驱动器均可引导。
要选择临时启动设备,请执行以下操作:
1.根据存储驱动器的类型,执行以下某项操作:
•如果存储设备为内置,则转到第2步。
•如果存储设备为光盘,则确保计算机已开启。然后,将光盘插入光盘驱动器。
•如果存储设备是光盘以外的外接设备,则将该存储设备连接到计算机。
2.打开或重新启动计算机。在Windows启动之前,反复按下再松开F12键,直到显示Startup
DeviceMenu。
注:对于某些键盘,可能需要按Fn+F12才能显示StartupDeviceMenu。
3.选择所需的存储设备,然后按Enter。然后,计算机将从所选设备启动。
如果要选择永久启动设备,则在StartupDeviceMenu上选择EnterSetup,然后按Enter以启
动SetupUtility程序。有关如何选择永久启动设备的详细信息,请参阅第41页“永久更改启动
设备顺序”。
退出SetupUtility程序
要退出SetupUtility程序,请执行以下某项操作:
•如果要保存新设置,请按F10。在所显示的窗口中选择Yes,然后按Enter。
注:对于某些键盘,可能需要按Fn+F10才能退出SetupUtility程序。
第5章.高级配置41

•如果不想保存新设置,则选择Exit➙DiscardChangesandExit,然后按Enter。在所显示的
窗口中选择Yes,然后按Enter。
更新和恢复BIOS
BIOS是计算机开启后运行的第一个程序。BIOS初始化硬件组件,然后加载操作系统和其他程序。
更新BIOS
在安装新程序、硬件设备或设备驱动程序时,可能会通知您更新BIOS。可从操作系统或闪存更新
光盘(仅某些型号配备)更新BIOS。
要更新BIOS,请执行以下操作:
1.访问http://www.lenovo.com/drivers。
2.要从操作系统中更新BIOS,请根据操作系统版本下载闪存BIOS更新驱动程序。要从闪存更
新光盘更新BIOS,请下载ISO映像版本(用于创建闪存更新光盘)。然后,下载闪存BIOS
更新驱动程序的安装说明。
3.打印所下载的安装说明,然后按这些说明更新BIOS。
注:如果要从闪存更新光盘更新BIOS,则安装说明可能不提供有关如何刻录更新光盘的信息。请
参阅第20页“刻录光盘”。
在BIOS更新失败的情况下进行恢复
要在BIOS更新失败的情况下进行恢复,请执行以下操作:
1.从驱动器中取出任何介质,然后关闭所有连接的设备和计算机。然后从电源插座中拔出所有电
源线,并拔下连接到计算机的所有线缆。
2.卸下计算机外盖。请参阅第61页第7章“安装或更换硬件”。
3.找到主板上的“清除CMOS/恢复”跳线。请参阅第1页“硬件位置”。
4.卸下任何妨碍操作“清除CMOS/恢复”跳线的部件和线缆。
5.将跳线从标准位置(引脚1和2)改到维护位置(引脚2和3)。
6.装回以前卸下的部件和线缆。
7.重新安装计算机外盖并重新连接所有断开连接的线缆。请参阅第61页第7章“安装或更换
硬件”。
8.开启计算机,然后将BIOS更新光盘插入光盘驱动器。等待几分钟。恢复过程即开始。恢复过
程完毕后,计算机将自动关机。
注:如果计算机未从该光盘启动,则选择该光盘作为启动设备。请参阅第41页“选择临时启
动设备”。
9.重复步骤1–4。
10.将“清除CMOS/恢复”跳线移回标准位置(引脚1和2)。
11.重复第6步和第7步。然后,开启计算机。
配置RAID
本章提供如何为计算机安装硬盘驱动器和配置RAID的说明。根据计算机型号,可由IntelRapid
StorageTechnologyenterprise(RSTe)或LSIMegaRAIDBIOS启用RAID。
42ThinkStationP510和P710用户指南

注:本章中介绍的RAID配置信息只适用于Windows环境。要获取在Linux®环境下配置RAID
的信息,请联系Linux软件供应商。
本章介绍下列主题:
•第43页“用IntelRSTe配置RAID”
•第45页“使用LSIMegaRAIDBIOS配置实用程序快速设置RAID”
用IntelRSTe配置RAID
如果计算机随附IntelRSTe,可按照以下各节操作,用IntelRSTe配置RAID。
本节提供有关下列主题的信息:
•第43页“安装SATA或SAS硬盘驱动器”
•第43页“用IntelRSTe配置实用程序配置SATA或SASRAID功能”
安装SATA或SAS硬盘驱动器
确保计算机安装了以下支持的RAID级别所需的最少SATA或SAS硬盘驱动器数量:
•RAID0-带区磁盘阵列
–RAID0硬盘驱动器组由至少两个硬盘驱动器构成
–支持的条带大小:4KB、8KB、16KB、32KB、64KB或128KB
–性能更好,且不容错
•RAID1-镜像磁盘阵列
–RAID1硬盘驱动器组由两个硬盘驱动器构成
–提高了读取性能且100%冗余
•RAID10-带区兼镜像磁盘阵列(RAID0与RAID1的结合)
–RAID10硬盘驱动器组由四个硬盘驱动器构成
–支持的条带大小:4KB、8KB、16KB、32KB或64KB
•RAID5-具有分布式奇偶校验功能的块级带区磁盘阵列
–RAID5硬盘驱动器组由至少三个硬盘驱动器构成
–支持的条带大小:4KB、8KB、16KB、32KB或64KB
–性能更好,且容错
用IntelRSTe配置实用程序配置SATA或SASRAID功能
本节介绍用IntelRSTe配置实用程序配置SATA或SASRAID功能。
注:IntelRSTe配置实用程序假定您的计算机装有多个硬盘驱动器。因此,如果您的计算机中仅
装有一个硬盘驱动器,则以下信息不适用。
本节提供有关下列主题的信息:
•第44页“进入IntelRSTe配置实用程序”
•第44页“使用IntelRSTe配置实用程序创建RAID卷”
•第44页“使用IntelRSTe配置实用程序删除RAID卷”
第5章.高级配置43

•第45页“将硬盘驱动器重置为非RAID”
进入IntelRSTe配置实用程序
本节提供如何进入IntelRSTe配置实用程序的说明。
在计算机启动的过程中,请按照屏幕上的说明进行操作。按Ctrl+I进入IntelRSTe配置实用程
序。
进入IntelRSTe配置实用程序后,将显示以下四个选项:
1.CreateRAIDVolume
2.DeleteRAIDVolume
3.ResetDiskstoNon-RAID
4.Exit
按向上和向下方向键选择某个选项。按Enter键进入所选选项的菜单。按Esc退出IntelRSTe配
置实用程序,或选择Exit,然后按Enter键退出IntelRSTe配置实用程序。
使 用 Intel RSTe 配 置 实 用 程 序 创 建 RAID 卷
本节提供如何使用IntelRSTe配置实用程序创建RAID卷的说明。
要创建RAID卷,请执行以下操作:
1.进入IntelRSTe配置实用程序。请参阅第44页“进入IntelRSTe配置实用程序”。
2.按向上和向下方向键选择CreateRAIDVolume,然后按Enter键查看“CREATEVOLUME
MENU”窗口。
3.随后将显示五个选项。按向上和向下方向键选择某个选项。配置某个选项后,按Tab或Enter
键转到下一个选项。
a.Name:卷名称。可使用缺省名称或输入首选名称。
b.RAIDLevel:可将RAID级别更改为以下某项:
•RAIDLevel0
•RAIDLevel1
•RAIDLevel10
•RAIDLevel5
c.Disks:按Enter键进入“SELECTDISKSMENU”窗口。按照菜单底部的说明选择硬盘
驱动器,然后按Enter键完成配置。
d.StripSize:按向上和向下方向键选择条带大小。
e.Capacity:定制RAID卷的容量。缺省RAID卷为最大值。
4.按Enter键完成所有五个选项的配置。出现提示后,按Y键确认创建新的RAID卷。
5.创建新RAID卷后,DISK/VOLUMEINFORMATION下将显示有关RAID卷的信息,如ID
编号、名称、RAID级别、条带大小、卷大小、状态及其是否为可引导卷。
使 用 Intel RSTe 配 置 实 用 程 序 删 除 RAID 卷
本节提供如何使用IntelRSTe配置实用程序删除RAID卷的说明。
要删除RAID卷,请执行以下操作:
1.进入IntelRSTe配置实用程序。请参阅第44页“进入IntelRSTe配置实用程序”。
44ThinkStationP510和P710用户指南

2.按向上和向下方向键选择DeleteRAIDVolume。按Enter键进入“DELETEVOLUME
MENU”窗口。
3.按向上和向下方向键选择不需要的RAID卷。按Del键从RAIDVolumes列表中删除该卷。
4.看到提示后,按Y键确认删除选中的RAID卷。
将 硬 盘 驱 动 器 重 置 为 非 RAID
本节提供如何将硬盘驱动器重置为非RAID的说明。
要将硬盘驱动器重置为非RAID,请执行以下操作:
1.进入IntelRSTe配置实用程序。请参阅第44页“进入IntelRSTe配置实用程序”。
2.按向上和向下方向键选择ResetDiskstoNon-RAID。按Enter键进入“RESETRAIDDATA”
窗口。
3.使用向上和向下方向键以及空格键标出要重置的个别硬盘驱动器,然后按Enter键完成选择。
4.看到提示后,按Y键确认复位操作。
5.如果所重置的硬盘驱动器是RAID卷的一部分,则计算机可能会检测到RAID卷已降级。这
种情况下将提示您选择一个硬盘驱动器以启动重建过程。
6.选择一个可用的硬盘驱动器,然后按Enter键启动重建过程。
注:按Esc键可取消重建过程并使RAID卷保持降级状态。在“MainMenu”窗口中的
DISK/VOLUMEINFORMATION下,您将看到RAID卷的状态变为Degraded。
使用LSIMegaRAIDBIOS配置实用程序快速设置RAID
注:
•仅某些机型配备LSIMegaRAIDSAS适配器和LSIMegaRAIDBIOS配置实用程序。
•本节中的以下步骤可指导您用LSIMegaRAIDSAS适配器快速设置基
本RAID功能。有关使用此适配器进行的高级设置和配置,请参阅位于
http://support.lenovo.com/en_US/guides-and-manuals/detail.page?DocID=UM007543的
MegaRAID SAS Software User Guide
(MegaRAIDSAS软件用户指南)。
本节提供有关下列主题的信息:
•第45页“安装SATA或SAS硬盘驱动器”
•第46页“进入LSIMegaRAIDBIOS配置实用程序”
•第46页“使用LSIMegaRAIDBIOS配置实用程序创建RAID卷”
•第47页“使用LSIMegaRAIDBIOS配置实用程序删除RAID卷”
•第47页“设置热备用硬盘驱动器”
安装SATA或SAS硬盘驱动器
确保计算机安装了以下支持的RAID级别所需的最少SATA或SAS硬盘驱动器数量:
•RAID0-带区磁盘阵列
–RAID0硬盘驱动器组由至少一个硬盘驱动器构成
–支持的条带大小:8KB到1MB
–性能更好,且不容错
•RAID00-具有一系列RAID0硬盘驱动器组的跨硬盘驱动器组
第5章.高级配置45

–RAID00硬盘驱动器组由两个或四个硬盘驱动器构成
–支持的条带大小:8KB到1MB
–性能更好,且不容错
•RAID1-镜像磁盘阵列
–RAID1硬盘驱动器组由两个或四个硬盘驱动器构成
–提高了读取性能且100%冗余
•RAID10-RAID0和RAID1的结合
–RAID10硬盘驱动器组由四个硬盘驱动器构成
–数据以带区形式分布在多个硬盘驱动器组上
–提供高数据传输率和完全数据冗余
•RAID5-具有分布式奇偶校验功能的块级带区磁盘阵列
–RAID5硬盘驱动器组由至少三个硬盘驱动器构成
–支持的条带大小:8KB到1MB
–性能更好,且容错
–可能并非所有LSIMegaRAID适配器型号上都具有RAID5功能
•RAID6-具有双分布式奇偶校验功能的块级带区磁盘阵列
–RAID6硬盘驱动器组由至少四个硬盘驱动器组成
–支持的条带大小:8KB到1MB
–性能更好且容错,最多可容忍失去两个硬盘驱动器
–可能并非所有LSIMegaRAID适配器型号上都具有RAID6功能
确保计算机中装有LSIMegaRAIDSAS适配器卡,并且硬盘驱动器连接到此适配器卡而非连接到
主板上的接口。
进入LSIMegaRAIDBIOS配置实用程序
本节提供如何进入LSIMegaRAIDBIOS配置实用程序的说明。
要进入LSIMegaRAIDBIOS配置实用程序,请执行以下操作:
1.在计算机启动的过程中,请按照屏幕上的说明进行操作。
2.按Ctrl+H进入“CONTROLLERSELECTION”窗口。
3.选择要配置的控制器,然后单击Start进入LSIMegaRAIDBIOS配置实用程序。
使用LSIMegaRAIDBIOS配置实用程序创建RAID卷
本节提供如何使用LSIMegaRAIDBIOS配置实用程序创建RAID卷的说明。
要使用LSIMegaRAIDBIOS配置实用程序创建RAID卷,请执行以下操作:
1.单击WebBIOS主屏幕上的ConfigurationWizard以进入“ChoosingtheConfiguration
Type”窗口。
2.按向上和向下方向键选择以下三个配置类型之一:
•ClearConfiguration:清除现有配置。
46ThinkStationP510和P710用户指南

•NewConfiguration:清除现有配置并创建新配置。
•AddConfiguration:保留现有存储配置并添加新硬盘驱动器。新配置不会导致数据丢失。
3.选择AddConfiguration,然后单击Next。随后“ConfigurationMethod”窗口中显示以下
两个选项。
•ManualConfiguration:手动创建硬盘驱动器组和虚拟硬盘驱动器并设置参数。
•AutomaticConfiguration:自动创建最佳RAID配置。
4.选择ManualConfiguration,然后单击Next。随后将显示“DriveGroupDefinition”窗口。
要创建硬盘驱动器组,请执行以下操作:
a.为组选择一个或多个硬盘驱动器(按住Ctrl的同时选择多个硬盘驱动器)。
b.单击AddToArray,将所选的硬盘驱动器移至DriveGroups。
c.单击AcceptDG以创建硬盘驱动器组。
d.如果要创建多个硬盘驱动器组,请重复上面的几个步骤。
5.单击Next。随后将显示“SpanDefinition”窗口。选择要添加到跨区的硬盘驱动器组,然后
单击AddtoSPAN。重复此步骤,直至选择了所需的全部硬盘驱动器组为止。
6.单击Next。随后将显示“VirtualDriveDefinition”窗口。将虚拟硬盘驱动器选项从屏幕上
列出的缺省设置更改为所需的设置。单击Accept,然后按照屏幕上的说明定制您的设置。
7.单击Next,随后将显示“Preview”窗口。
8.验证您的设置,然后单击Accept。
9.单击Yes以保存配置。
使用LSIMegaRAIDBIOS配置实用程序删除RAID卷
本节提供如何使用LSIMegaRAIDBIOS配置实用程序删除RAID卷的说明。
要使用LSIMegaRAIDBIOS配置实用程序删除RAID卷,请执行以下操作:
1.进入LSIMegaRAIDBIOS配置实用程序。请参阅第46页“进入LSIMegaRAIDBIOS配
置实用程序”。
2.单击要删除的虚拟硬盘驱动器,然后将显示“VirtualDrive”窗口。
3.单击Delete,然后单击Go。
4.单击Yes以保存更改。
设置热备用硬盘驱动器
本节提供如何设置热备用硬盘驱动器的说明。
要设置热备用硬盘驱动器,请执行以下操作:
1.进入LSIMegaRAIDBIOS配置实用程序。请参阅第46页“进入LSIMegaRAIDBIOS配
置实用程序”。
2.单击要设置为热备用硬盘驱动器的硬盘驱动器。随后将显示“Drive”窗口。
3.选择MakeGlobalHSP或MakeDedicatedHSP,然后单击Go。
4.随后将显示LSIMegaRAIDBIOS配置实用程序的主屏幕,并在右窗格中列出所选的硬盘驱
动器作为热备用硬盘驱动器。
第5章.高级配置47

48ThinkStationP510和P710用户指南

第6章故障诊断和恢复
本章介绍计算机问题的解决方案。按解决计算机问题的基本过程中的步骤进行操作,这样可帮助
您充分利用故障诊断和恢复信息。
•第49页“解决计算机问题的基本过程”
•第49页“故障诊断”
•第57页“诊断”
•第58页“恢复信息”
解决计算机问题的基本过程
建议按以下过程解决计算机遇到的问题:
1.确保:
a.正确而牢固地连接所有已连接设备的线缆。
b.需要交流电源的所有已连接设备均已连接到正确接地、工作正常的电源插座。
c.在计算机的BIOS设置中启用全部已连接的设备。请参阅第37页“启用或禁用设备”。
如果这些操作无法解决问题,则继续执行下一步。
2.用反病毒程序查看计算机是否感染了病毒。如果程序检测到病毒,请除去病毒。如果防病毒程
序无法解决问题,则继续执行下一步。
3.转至第49页“故障诊断”,然后按照所遇问题类型的说明进行操作。如果这些故障诊断说
明无法解决问题,则继续执行下一步。
4.运行诊断程序。请参阅第57页“诊断”。如果诊断程序无法解决问题,则继续执行下一步。
5.恢复操作系统。请参阅第58页“恢复信息”。
6.如果这些操作都无法解决问题,请联系Lenovo客户支持中心。有关Lenovo支持电话号码的
列表,请访问http://www.lenovo.com/support/phone。有关帮助、服务和技术协助的更多信
息,请参阅第129页第8章“获取信息、帮助和服务”。
故障诊断
注意:打开计算机或尝试进行任何修理之前,请先阅读并了解第v页“首先阅读:重要安全信
息”。
使用故障诊断信息来查找具有明确症状的问题的解决方案。
启动问题
按电源按钮后计算机不启动。
解决方案:
确保:
•电源线已正确连接到计算机后部以及工作正常的电源插座中。
•如果计算机背面有辅助电源开关,确保将其打开。
©CopyrightLenovo201649

•计算机前部的电源指示灯已点亮。
•计算机电压与您所在国家或地区的电源插座的可用电压相匹配。
操作系统未能启动。
解决方案:
确保SetupUtility程序设置的启动设备顺序包括操作系统所在的设备。通常,操作系统在内置存
储驱动器上。需要更多信息,请参阅第41页“永久更改启动设备顺序”。
在操作系统启动之前计算机多次发出蜂鸣。
解决方案:
确保没有键被卡住。
音频问题
无法在Windows操作系统上听到音频。
解决方案:
•如果使用具有开/关控制装置的有源外接扬声器,则确保:
–将开/关控制装置设置为开位置。
–扬声器电源线连接到正确接地、正常工作的交流电源插座。
•如果外接音箱具有音量控制装置,则确保未将音量设置得过低。
•单击任务栏上Windows通知区域中的音量图标。确保未选择静音扬声器设置,并且任何音量
设置均未设置得过低。
注:如果Windows通知区域中未显示音量图标,则将该图标添加到通知区域。请参阅Windows
帮助系统。
•对于某些有正面音频面板的计算机,则确保未将音量设置得过低。
•确保外接音箱(和耳机,如使用)连接到计算机上正确的音频接口。大部分音箱线缆都用颜色
进行了标记以匹配接口。
注:在外接音箱或耳机线缆连接到音频接口后,内置扬声器(如果存在)就被禁用。大多数情
况下,如果其中一个扩展槽中装有音频适配器,则禁用主板上内置的音频功能。因此,必须使
用该音频适配器上的音频接口。
•确保所运行的程序旨在专门用于Windows操作系统。如果该程序适用于在DOS中运行,则该程
序不使用Windows声音功能。必须配置该程序以让其使用SoundBlasterPro或SoundBlaster
仿真。
•确保正确安装了音频设备驱动程序。
声音来自某个外接扬声器。
解决方案:
•确保扬声器线缆已完全插入计算机上的接口中。
•单击任务栏上Windows通知区域中的音量图标。然后,单击音量控制上方的扬声器图标。单击
级别选项卡,然后确保正确设置了“平衡”设置。
50ThinkStationP510和P710用户指南

注:如果Windows通知区域中未显示音量图标,则将该图标添加到通知区域。请参阅Windows
帮助系统。
CD或DVD问题
CD或DVD无法使用。
解决方案:
•确保电源线和信号线缆已牢固连接到驱动器。
•确保正确插入光盘,其标签朝上。
•确保所使用的光盘洁净。要除去灰尘或指纹,请使用一块软布从中间向外将光盘擦拭干净。顺
着圆周方向擦拭光盘可能会导致丢失数据。
•确保所使用的光盘未擦伤或损坏。尝试插入另一张已知是完好的光盘。如果无法读取已知完好
的光盘,则可能是光盘驱动器或与光盘驱动器的电缆连接有问题。
•如果您安装了多个CD或DVD驱动器(或CD和DVD驱动器的组合),请尝试将光盘插入
其他驱动器。在某些情况下,只有其中一个驱动器连接到了音频子系统。
可引导的恢复盘(如ProductRecoveryCD)无法用于启动计算机。
解决方案:
确保CD或DVD驱动器设置为SetupUtility程序中引导优先级顺序的最高优先级。有关查看和
更改启动顺序的信息,请参阅第41页“选择临时启动设备”。
注:某些计算机型号的启动顺序是永久固定且不能更改的。
显示黑屏而不是DVD视频。
解决方案:
•重新启动DVD播放器程序。
•尝试更低的屏幕分辨率或色深。
•关闭任何打开的文件,然后重新启动计算机。
无法播放DVD影片。
解决方案:
•确保光盘表面清洁且未擦伤。
•检查光盘或包装上是否有区域代码。可能所购买的光盘需要具有使用计算机时所在区域的代码。
播放DVD影片时无声音或仅有时断时续的声音。
解决方案:
•检查计算机和扬声器上的音量控制设置。
•确保光盘表面清洁且未擦伤。
•检查音箱上的所有线缆连接。
•使用视频DVD菜单选择另一个音轨。
第6章.故障诊断和恢复51

播放缓慢或时快时慢。
解决方案:
•禁用所有后台程序,如AntiVirus或“桌面主题”。
•确保视频分辨率低于1152x864像素。
显示指示光盘无效或找不到光盘的消息。
解决方案:
•确保光盘在驱动器中亮面朝下。
•确保视频分辨率低于1152x864像素。
•确保将DVD或CD插入到相应的光盘驱动器。例如,请勿将DVD插入到仅支持CD的驱动
器。
间歇性问题
间歇性问题是指仅偶尔出现且很难重复的问题。
解决方案:
•确保所有电缆和电线均已牢固地连接到计算机和所连设备。
•确保计算机开启后风扇格栅无阻塞(格栅周围有气流)且风扇正常工作。如果气流受阻或风扇
不工作,那么计算机可能出现过热。
•如果装有小型计算机系统接口(SCSI)设备,则确保每个SCSI链中的最后一个外接设备均正
确终止。需要更多信息,请参阅您的SCSI文档。
存储驱动器问题
SetupUtility程序中缺少某些或所有存储驱动器。
解决方案:
•确保正确连接用于所有存储驱动器的信号电缆和电源线。
•如果计算机装有SAS存储驱动器,则确保LSIMegaRAIDSAS适配器已正确连接。
计算机无法从正确的存储驱动器启动或显示消息“NoOperatingSystemFound”。
解决方案:
•确保正确连接用于所有存储驱动器的信号电缆和电源线。
•确保计算机从正确的存储驱动器启动。将操作系统所在的存储驱动器设置为SetupUtility程序
中的第一个启动设备。请参阅第41页“永久更改启动设备顺序”。
注:在极少数情况下,装有操作系统的存储驱动器可能损坏。如果出现该问题,请更换存储驱动
器。请参阅第61页第7章“安装或更换硬件”。
以太局域网问题
计算机无法连接到以太局域网。
解决方案:
52ThinkStationP510和P710用户指南

•用电缆连接以太网接口与集线器的RJ45接口。
•在SetupUtility程序中启用以太局域网功能。请参阅第37页“使用SetupUtility程序”。
•启用以太局域网适配器。
1.根据Windows版本的不同,执行以下某项操作:
–在Windows7中:单击“开始”按钮以打开“开始”菜单。
–在Windows10中:右键单击“开始”按钮以打开“开始”上下文菜单。
2.单击控制面板。按“大图标”或“小图标”查看“控制面板”,然后单击网络和共享中心
➙更改适配器设置。
3.右键单击以太局域网适配器图标,然后单击启用。
•更新或重新安装以太局域网驱动程序。请参阅第28页“使计算机保持最新状态”。
•安装网络环境所需的所有联网软件。请与LAN管理员核对必需的联网软件。
•使交换机端口和适配器的双工设置相同。如果将适配器配置为全双工,则确保将交换机端口也
配置为全双工。设置双工模式有误可能会降低性能、引起丢失数据或导致丢失连接。
当千兆以太网型号计算机在1000Mbps的速度使用时,以太局域网连接将失败或发生错误。
解决方案:
用网络电缆连接使用5类线的以太网接口与100BASE-T集线器/交换机(而非100BASE-X)。
千兆位以太网型号计算机应以1000Mbps的速度连接到网络,但速度只有100Mbps。
解决方案:
•请更换线缆再尝试。
•将链路对端设置为自动协商。
•将交换机设置为符合802.3ab标准(千兆位铜导线)。
WakeOnLAN功能不起作用。
解决方案:
在SetupUtility程序中启用WakeOnLAN功能。请参阅第37页“使用SetupUtility程序”。
无线局域网问题
注:仅某些型号配备无线局域网功能。
无线局域网功能不起作用。
解决方案:
•在SetupUtility程序中启用无线局域网功能。请参阅第37页“使用SetupUtility程序”。
•对于Windows10,在Windows“设置”中启用无线局域网功能。单击“开始”按钮以打开
“开始”菜单,然后单击设置➙网络和Internet➙Wi-Fi。开启Wi-Fi功能。
•启用无线局域网适配器。
1.根据Windows版本的不同,执行以下某项操作:
–在Windows7中:单击“开始”按钮以打开“开始”菜单。
–在Windows10中:右键单击“开始”按钮以打开“开始”上下文菜单。
第6章.故障诊断和恢复53

2.单击控制面板。按“大图标”或“小图标”查看“控制面板”,然后单击网络和共享中心
➙更改适配器设置。
3.右键单击无线局域网适配器图标,然后单击启用。
•更新或重新安装无线局域网驱动程序。请参阅第28页“使计算机保持最新状态”。
蓝牙问题
注:仅某些型号配备蓝牙功能。
蓝牙功能不起作用。
解决方案:
•在SetupUtility程序中启用蓝牙功能。请参阅第37页“使用SetupUtility程序”。
•开启蓝牙无线电收发器。
1.根据Windows版本的不同,执行以下某项操作:
–在Windows7中:单击“开始”按钮以打开“开始”菜单。右键单击计算机,然后单
击属性。
–在Windows10中:右键单击“开始”按钮以打开“开始”上下文菜单。
2.单击设备管理器。输入管理员密码或进行确认(如果出现提示)。
3.右键单击Bluetooth无线电收发器下的“Bluetooth无线电收发器”,然后单击启用。
•启用蓝牙适配器。
1.根据Windows版本的不同,执行以下某项操作:
–在Windows7中:单击“开始”按钮以打开“开始”菜单。
–在Windows10中:右键单击“开始”按钮以打开“开始”上下文菜单。
2.单击控制面板。按“大图标”或“小图标”查看“控制面板”,然后单击网络和共享中心
➙更改适配器设置。
3.右键单击蓝牙适配器图标,然后单击启用。
•更新或重新安装蓝牙驱动程序。请参阅第28页“使计算机保持最新状态”。
没有声音来自蓝牙耳麦或耳机。
解决方案:
将蓝牙耳麦或耳机设置为缺省设备。
1.退出使用声音设备的应用程序(例如:WindowsMediaPlayer)。
2.右键单击任务栏上Windows通知区域中的音量图标。
注:如果Windows通知区域中未显示音量图标,则将该图标添加到通知区域。请参阅Windows
帮助系统。
3.单击播放设备。
4.如果使用的是耳麦应用模式,请选择Bluetooth免提音频,然后单击设置默认值。如果使用的
是音像应用模式,请选择立体声音频,然后单击设置默认值。
5.单击确定。
54ThinkStationP510和P710用户指南

性能问题
存储驱动器上存在过多的碎片文件。
解决方案:
使用Windows磁盘碎片整理或磁盘优化功能清理文件。
注:根据存储驱动器的容量以及存储驱动器上存储的数据量的不同,磁盘碎片整理过程可能耗时长
达数小时。
1.关闭任何打开的程序和窗口。
2.单击“开始”按钮以打开“开始”菜单。
3.根据Windows版本的不同,执行以下某项操作:
•在Windows7中:单击计算机。
•在Windows10中:单击文件资源管理器➙此电脑。
4.右键单击C驱动器,然后单击属性。
5.单击工具选项卡。
6.根据Windows版本的不同,执行以下某项操作:
•在Windows7中:单击立即进行碎片整理。
•在Windows10中:单击优化。选择所需的驱动器,然后单击优化。
7.按照屏幕上的说明进行操作。
可用存储驱动器空间不足。
解决方案:
释放存储驱动器空间。
•清理您的电子邮件应用程序的收件箱、已发送邮件和已删除邮件文件夹。
•清理C驱动器。
1.单击“开始”按钮以打开“开始”菜单。
2.根据Windows版本的不同,执行以下某项操作:
–在Windows7中:单击计算机。
–在Windows10中:单击文件资源管理器➙此电脑。
3.右键单击C驱动器,然后单击属性。
4.检查可用空间容量,然后单击磁盘清理。
5.这样会列出不必要的文件类别。选择要删除的每个文件类别,然后单击确定。
•关闭某些Windows功能或删除某些不必要的程序。
1.根据Windows版本的不同,执行以下某项操作:
–在Windows7中:单击“开始”按钮以打开“开始”菜单。
–在Windows10中:右键单击“开始”按钮以打开“开始”上下文菜单。
2.单击控制面板。按“大图标”或“小图标”查看“控制面板”,然后单击程序和功能。
3.请执行以下任意操作:
第6章.故障诊断和恢复55

–要关闭某些Windows功能,请单击启用或关闭Windows功能。按照屏幕上的说明进
行操作。
–要删除某些不必要的程序,请选择要删除的程序,然后单击卸载/更改或卸载。
可用内存空间不足。
解决方案:
•右键单击任务栏上的空白区域,然后打开“任务管理器”。然后,结束某些不再执行的任务。
•另行安装内存条。请参阅第61页第7章“安装或更换硬件”。要购买内存条,请访问:
http://www.lenovo.com
串口问题
无法访问串口。
解决方案:
•将串行电缆从计算机上的串口连接到串行设备。如果串行设备自带电源线,则将该电源线连接
到接地的电源插座。
•打开串行设备并使设备保持联机。
•安装串行设备随附的任何应用程序。有关详细信息,请参阅串行设备随附的文档。
•如果添加了串口适配器,请确保正确安装适配器。
USB设备问题
无法访问USB设备。
解决方案:
•用USB电缆连接USB接口与USB设备。如果USB设备自带电源线,则将该电源线连接到接
地的电源插座。
•打开USB设备并使设备保持联机。
•安装USB设备随附的任何设备驱动程序或应用程序。有关详细信息,请参阅USB设备随附的
文档。
•拆下再接回USB接口以重置USB设备。
软件和驱动程序问题
某些程序中无法按正确顺序将日期排序。
解决方案:
2000年以前开发的某些程序仅使用年份的后两位对日期进行排序,并假设前两位为19。因此,现
在无法按正确顺序对日期进行排序。与您的软件制造商联系以查看是否可以获得任何更新。很多
软件制造商将更新放在万维网上。
某些应用程序的运行情况未达预期。
解决方案:
56ThinkStationP510和P710用户指南

1.检查问题是否为应用程序所致。
a.确保软件与您的计算机兼容。有关详细信息,请参阅软件随附的信息。
b.确认其他软件在您的计算机上正常工作。
c.确认所使用的软件在另一台计算机上正常工作。
2.如果问题是应用程序所致,则:
•参阅该程序随附的印刷版文档或该程序的帮助系统,了解故障诊断信息。
•更新该程序。请参阅第28页“使计算机保持最新状态”。
•卸载该程序,然后重新安装它。要下载计算机上预装的程序,请访问
http://www.lenovo.com/support,然后按屏幕上的说明进行操作。
由于设备驱动程序问题,设备无法正常工作。
解决方案:
更新设备驱动程序。请参阅第28页“使计算机保持最新状态”。
诊断
注:如果使用的Windows操作系统不是Windows7或Windows10,则访问http://www.lenov
o.com/diags以获取有关计算机的诊断信息。
诊断程序用于测试计算机的硬件组件。诊断程序还能报告干扰计算机正常运行的由操作系统控制
的设置。
LenovoSolutionCenter
LenovoSolutionCenter程序是计算机上预装的诊断程序。通过该程序,可诊断和解决计算机问
题。它集中了诊断测试、系统信息收集、安全状态和支持信息,以及使系统性能达到最大限度的提
示和技巧。
要打开LenovoSolutionCenter程序,请参阅第16页“访问计算机上的程序”。有关使用该程
序的详细信息,请参阅该程序的帮助系统。
如果运行LenovoSolutionCenter后无法自行确定和纠正问题,则保存并打印由该程序创建的日
志文件。与Lenovo技术支持代表交谈时,可能需要这些日志文件。
硬件诊断
您的计算机支持硬件诊断功能。该功能使计算机能够实时监视某些硬件组件是否有潜在问题,此类
问题在正常使用期间可能无法轻易检测到。当计算机检测到问题或错误时,计算机正面的诊断指
示灯会点亮或闪烁。请参阅第1页“前视图”。
如需查看该问题或错误的信息,请执行以下操作:
1.将以下某个设备连接到计算机正面的诊断USB接口:
•U盘
•装有LenovoWorkstationDiagnostics应用程序的AndroidTM设备
请参阅第1页“前视图”。
第6章.故障诊断和恢复57

2.等待约10到15秒钟,让诊断数据从计算机传输到USB设备。在数据传输过程中,诊断指示
灯快速闪烁。数据传输完成后,指示灯停止闪烁并保持亮起。
注:仅当检测到错误时,诊断指示灯点亮或闪烁的情况下,才能通过诊断USB接口传输诊断
数据。在正常情况下,诊断USB接口充当标准USB3.0接口。
3.根据使用的是U盘还是Android设备(如智能手机),执行以下任意操作:
•如果要使用U盘,请访问http://support.lenovo.com/workstation_diagnostics了解
如何读取U盘上的错误数据。
•如果要使用装有LenovoWorkstationDiagnostics应用程序的Android设备,请打开该
应用程序来查看有关错误的详细信息。有关LenovoWorkstationDiagnostics应用程序的
更多信息,请访问
http://www.thinkworkstationsoftware.com/diags。
有关如何使用计算机上的诊断USB接口、解密错误代码或使用LenovoWorkstationDiagnostics
应用程序的更多信息,请访问:
http://www.thinkworkstationsoftware.com/diags
缺省情况下已在计算机上启用硬件诊断功能。要禁用此功能,请执行以下操作:
1.启动SetupUtility程序。请参阅第37页“启动SetupUtility程序”。
2.从SetupUtility程序的主菜单中,选择Advanced➙Diagnosticfunction,然后按Enter键。
3.选择Real-timeDiagnosticMonitoring并按Enter键。然后选择Disabled并按Enter键。
4.按F10键,保存更改并退出SetupUtility程序。
恢复信息
本节说明如何恢复操作系统。
注:如果在恢复操作系统后设备无法正常工作,则更新设备驱动程序。请参阅第28页“使计算
机保持最新状态”。
在Windows7中恢复信息
要恢复Windows7操作系统,请使用以下解决方案:
•使用Windows恢复解决方案。
–使用“系统还原”将系统文件和设置恢复到以前的某个点。
1.单击“开始”按钮以打开“开始”菜单。
2.单击控制面板。按“大图标”或“小图标”查看“控制面板”,然后单击恢复➙开始系
统还原。
3.按照屏幕上的说明进行操作。
–通过执行以下某项操作,使用Windows恢复环境:
–尝试引导连续失败多次后,可能会自动启动Windows恢复环境。按屏幕上的说明选择相
应的恢复解决方案。
–打开或重新启动计算机。然后,反复按下再松开F8键,直至打开AdvancedBootOption
窗口。选择RepairYourComputer,按Enter,然后按屏幕上的说明选择相应的恢复解
决方案。
58ThinkStationP510和P710用户指南

注:对于某些键盘,可能需要按Fn+F8才能打开AdvancedBootOption窗口。
•使用RescueandRecovery程序从备份恢复存储驱动器或将C驱动器恢复为出厂缺省设置。
注:
–根据计算机型号的不同,可能未提供RescueandRecovery程序,除非以前手动安装过它。
–如果使用RescueandRecovery程序从备份恢复存储驱动器,则确保以前确为使用该程序备
份数据。
要使用RescueandRecovery程序,请执行以下某项操作:
–打开RescueandRecovery程序。请参阅第16页“访问计算机上的程序”。有关使用该程
序的详细信息,请参阅该程序的帮助系统。
–打开RescueandRecovery工作区。
1.关闭计算机。按住Enter键,然后开启计算机。显示StartupInterruptMenu后,松开
Enter键。然后,按F11以打开RescueandRecovery工作区。
2.如果未能打开RescueandRecovery工作区,则使用以前制作的挽救介质解决问题。选
择该挽救介质作为启动设备。请参阅第41页“选择临时启动设备”。当挽救介质启动
时,将打开RescueandRecovery工作空间。按照屏幕上的说明进行操作。
•使用以前通过CreateRecoveryMedia程序制作的恢复盘,将仅C驱动器或整个存储驱动器恢
复为出厂缺省设置。
注:要创建恢复盘,请参阅第27页“良好的维护习惯”。
1.选择该恢复盘作为启动设备。请参阅第41页“选择临时启动设备”。
2.按屏幕上的说明选择相应的恢复解决方案。
•使用Lenovo提供的全套恢复光盘将整个存储驱动器恢复为出厂缺省设置。
–如果计算机附带全套恢复光盘,则按这套光盘随附的说明进行操作。
–如果计算机未附带全套恢复光盘,则与Lenovo客户支持中心联系以订购全套恢复光盘。请
参阅第130页“致电客服”。
在Windows10中恢复信息
要恢复Windows10操作系统,请使用以下解决方案:
•使用Windows恢复解决方案。
–使用Windows“设置”中的恢复解决方案。
1.单击“开始”按钮以打开“开始”菜单。
2.单击设置➙更新和安全➙恢复。
3.按屏幕上的说明选择相应的恢复解决方案。
–使用“系统还原”将系统文件和设置恢复到以前的某个点。
1.右键单击“开始”按钮以打开“开始”上下文菜单。
2.单击控制面板。按“大图标”或“小图标”查看“控制面板”,然后单击恢复➙开始系
统还原。
3.按照屏幕上的说明进行操作。
–使用“文件历史记录”工具从备份恢复文件。
第6章.故障诊断和恢复59

注:如果使用“文件历史记录”工具从备份恢复文件,则确保以前确为使用该工具备份数据。
1.右键单击“开始”按钮以打开“开始”上下文菜单。
2.单击控制面板。按“大图标”或“小图标”查看“控制面板”,然后单击文件历史记录
➙还原个人文件。
3.按照屏幕上的说明进行操作。
–通过执行以下某项操作,使用Windows恢复环境:
–尝试引导连续失败多次后,可能会自动启动Windows恢复环境。按屏幕上的说明选择相
应的恢复解决方案。
–选择以前用Windows工具创建的恢复盘作为启动设备。请参阅第41页“选择临时启动
设备”。然后,按屏幕上的说明选择相应的恢复解决方案。
注:要创建恢复盘,请参阅第27页“良好的维护习惯”。
•使用Lenovo提供的恢复U盘将整个存储驱动器恢复为出厂缺省设置。
–如果计算机附带恢复U盘,则按该U盘随附的说明进行操作。
–如果计算机未附带恢复U盘,则与Lenovo客户支持中心联系以订购恢复U盘。请参阅第
130页“致电客服”。
60ThinkStationP510和P710用户指南

第7章安装或更换硬件
本章包含以下主题:
•第61页“握持静电敏感设备”
•第61页“准备计算机并卸下计算机外盖”
•第62页“安装或更换硬件”
•第125页“完成部件更换”
握持静电敏感设备
直到卸下缺陷部件并准备好安装新部件时,再打开装有新部件的防静电包装。静电虽然对人体无
害,但却能严重损坏计算机部件和选件。
在操作选件和其他计算机组件时,请采取以下预防措施以避免静电损坏:
•尽量不要移动。移动身体会导致周围累积静电。
•始终小心地操作选件及其他计算机组件。手持PCI/PCI-Express卡、内存条、主板和微处理器
时请仅持边缘。切勿触摸任何裸露的电路。
•防止其他人触摸选件及其他计算机组件。
•将装有该部件的防静电包装与计算机上的扩展插槽金属挡片或其他未涂漆的金属表面接触至少
两秒钟。这样可在安装或更换新部件之前,减少包装和身体上的静电。
•如有可能,从防静电包装中取出新部件后,请直接将其装入计算机,中途不要放下该部件。无
法这样做时,请将防静电包装放在一个光滑的平面上,然后将部件放在包装上。
•请勿将部件放在计算机外盖或其他金属表面上。
准备计算机并卸下计算机外盖
注意:打开计算机或尝试进行任何修理之前,请先阅读并了解第v页“首先阅读:重要安全信
息”。
警告:
打开计算机外盖之前,请关闭计算机并等待几分钟,直至计算机冷却。
在安装或卸下计算机中的任何硬件组件之前,请执行以下操作以准备计算机并卸下计算机外盖:
1.从驱动器中取出所有介质,然后关闭计算机和所有连接的设备。然后从电源插座中拔出所有电
源线,并拔下连接到计算机的所有线缆。
2.将固定计算机外盖的任何锁定设备解锁。请参阅第31页“锁定计算机”。
©CopyrightLenovo201661

3.按压计算机外盖固定栓的手柄上的凹槽1,以便将手柄抬起。如图所示旋转手柄并拉动手柄,
从机箱上卸下外盖。
图 12. 卸 下 计 算 机 外 盖
安装或更换硬件
本节提供如何为您的计算机安装或更换硬件的说明。您可以通过安装或更换硬件来增强计算机的
功能和维护计算机。
注意:打开计算机或尝试进行任何修理之前,请先阅读并了解第v页“首先阅读:重要安全信
息”。
注:
•根据计算机型号的不同,可能不提供本节中的某些硬件部件。
•请仅使用Lenovo提供的计算机部件。
•安装或更换选件时,请使用本节中的相应说明以及随选件附带的说明。
•在全世界大部分地区,Lenovo都要求退回有问题的CRU。CRU附带有关此事宜的信息,或将
在运抵CRU几天后提供这些信息。
外部选件
您可以将外部选件(如外部扬声器、打印机或扫描仪)连接到计算机。对于某些外部选件,除了进
行物理连接外,还必须安装附加软件。安装外部选件时,请参阅第1页“前视图”和第3页“后
视图”,以识别所需的接口。然后使用选件随附的说明来帮助您进行连接并安装任何所需的软件或
设备驱动程序。
62ThinkStationP510和P710用户指南

1.将直冷挡风板顶边和底边的塑料板与计算机机箱上的小空隙1对齐。
图 14. 安 装 直 冷 挡 风 板
2.推入直冷挡风板,直至其牢固就位。
注:如有必要,请稍微调整直冷挡风板的位置,以免受到机箱内其他组件的干扰。
后续操作:
•要对其他硬件进行操作,请转至相应章节。
•要完成安装或更换,请转至第125页“完成部件更换”。
光盘驱动器托架中的设备
注意:打开计算机或尝试进行任何修理之前,请先阅读并了解第v页“首先阅读:重要安全信
息”。
计算机的光盘驱动器托架支持以下设备:
•光盘驱动器
•Flex模块
•Flex托架存储机箱
以下有关如何安装或更换光盘驱动器的说明也适用于Flex模块和Flex托架存储机箱。
要安装或更换光盘驱动器,请执行以下操作:
1.准备计算机。请参阅第61页“准备计算机并卸下计算机外盖”。
2.卸下直冷挡风板。请参阅第63页“直冷挡风板”。
64ThinkStationP510和P710用户指南

•要完成安装或更换,请转至第125页“完成部件更换”。
5.25英寸Flex模块中的设备
注意:打开计算机或尝试进行任何修理之前,请先阅读并了解第v页“首先阅读:重要安全信
息”。
本节说明如何在5.25英寸Flex模块中安装或更换设备。在5.25英寸Flex模块中安装和更换设备
涉及以下操作:
•第67页“薄型光盘驱动器”
•第69页“读卡器”
•第72页“eSATA接口或IEEE1394接口”
薄型光盘驱动器
要在Flex模块中安装或更换薄型光盘驱动器,请执行以下操作:
1.准备计算机。请参阅第61页“准备计算机并卸下计算机外盖”。
2.从计算机正面卸下Flex模块。请参阅第64页“光盘驱动器托架中的设备”。
3.上提Flex模块背面的夹子。然后,将Flex模块外盖推向Flex模块的背面以卸下外盖。
图 18. 卸 下 Flex 模 块 外 盖
4.如果要安装新的薄型光盘驱动器,则按两个金属夹1以卸下带有两个螺钉的塑料夹,如图所
示。卸下这两个螺钉,然后转至步骤4。
图 19. 卸下带有两个螺钉的塑料夹
第7章.安装或更换硬件67

如果要更换旧的薄型光盘驱动器,则执行以下操作:
a.按如图所示的按钮以从Flex模块上卸下薄型光盘驱动器。
图 20. 从 Flex 模 块 上 卸 下 薄 型 光 盘 驱 动 器
b.卸下固定夹子的两个螺钉以从薄型光盘驱动器背面卸下塑料夹。
图 21. 从 薄 型 光 盘 驱 动 器 上 卸 下 塑 料 夹
5.安装两个螺钉以将塑料夹固定在新的薄型光盘驱动器背面。
图 22. 将塑料夹安装到薄型光盘驱动器上
68ThinkStationP510和P710用户指南

6.将带有塑料夹的新薄型光盘驱动器推入Flex模块,直至薄型光盘驱动器咔嗒一声固定到位。
图 23. 将 薄 型 光 盘 驱 动 器 装 入 Flex 模 块
7.将Flex模块外盖放在Flex模块上。确保Flex模块外盖底部的导轨导片与Flex模块上的导
轨啮合。然后,向Flex模块正面推动外盖,直至其咔嗒一声固定到位。
图 24. 装 回 Flex 模 块 外 盖
后续操作:
•要对其他硬件进行操作,请转至相应章节。
•要完成安装或更换,请转至第125页“完成部件更换”。
读卡器
要在Flex模块中安装或更换读卡器,请执行以下操作:
1.准备计算机。请参阅第61页“准备计算机并卸下计算机外盖”。
2.从计算机正面卸下Flex模块。请参阅第64页“光盘驱动器托架中的设备”。
第7章.安装或更换硬件69

7.将Flex模块外盖放在Flex模块上。确保Flex模块外盖底部的导轨导片与Flex模块上的导
轨啮合。然后,向Flex模块正面推动外盖,直至其咔嗒一声固定到位。
图 30. 装 回 Flex 模 块 外 盖
8.将读卡器电缆连接到主板上的USB2.0接口或读卡器接口。请参阅第7页“主板上的部件”。
后续操作:
•要对其他硬件进行操作,请转至相应章节。
•要完成安装或更换,请转至第125页“完成部件更换”。
eSATA接口或IEEE1394接口
要在Flex模块中安装或更换eSATA接口或IEEE1394接口,请执行以下操作:
1.准备计算机。请参阅第61页“准备计算机并卸下计算机外盖”。
2.将Flex模块从计算机正面取出。请参阅第64页“光盘驱动器托架中的设备”。
3.上提Flex模块背面的夹子。然后,将Flex模块外盖推向Flex模块的背面以卸下外盖。
图 31. 卸 下 Flex 模 块 外 盖
4.如果要更换eSATA接口或IEEE1394接口,请执行以下操作:
a.从主板上拔下eSATA接口电缆或IEEE1394接口电缆。请参阅第7页“主板上的部件”。
72ThinkStationP510和P710用户指南

7.将Flex模块外盖放在Flex模块上。确保Flex模块外盖底部的导轨导片与Flex模块上的导
轨啮合。然后,向Flex模块正面推动外盖,直至其咔嗒一声固定到位。
图 34. 装 回 Flex 模 块 外 盖
8.将eSATA接口电缆或IEEE1394接口电缆连接到主板上相应的接口。请参阅第7页“主板
上的部件”。
后续操作:
•要对其他硬件进行操作,请转至相应章节。
•要完成安装或更换,请转至第125页“完成部件更换”。
光盘驱动器支架
注意:打开计算机或尝试进行任何修理之前,请先阅读并了解第v页“首先阅读:重要安全信
息”。
要卸下光盘驱动器支架,请执行以下操作:
1.准备计算机。请参阅第61页“准备计算机并卸下计算机外盖”。
2.卸下直冷挡风板。请参阅第63页“直冷挡风板”。
3.卸下支架中安装的设备。请参阅第64页“光盘驱动器托架中的设备”。
74ThinkStationP510和P710用户指南

2.如图所示,向内旋转光盘驱动器支架,直至其固定到位。
图 37. 安装光盘驱动器支架
3.装回直冷挡风板。请参阅第63页“直冷挡风板”。
后续操作:
•要对其他硬件进行操作,请转至相应章节。
•要完成安装或更换,请转至第125页“完成部件更换”。
外盖存在感知开关
注意:打开计算机或尝试进行任何修理之前,请先阅读并了解第v页“首先阅读:重要安全信
息”。
要更换外盖存在感知开关,请执行以下操作:
1.准备计算机。请参阅第61页“准备计算机并卸下计算机外盖”。
2.卸下直冷挡风板。请参阅第63页“直冷挡风板”。
3.卸下光盘驱动器支架。请参阅第74页“光盘驱动器支架”。
4.找到外盖存在感知开关。请参阅第7页“计算机组件”。
5.从主板上拔下外盖存在感知开关线缆。请参阅第7页“主板上的部件”。
76ThinkStationP510和P710用户指南

6.如图所示滑动外盖存在感知开关,将其从计算机机箱上卸下。
图 38. 卸 下 外 盖 存 在 感 知 开 关
7.将新的外盖存在感知开关中的两个槽口与计算机机箱上的两个卡舌对齐。然后,将新的外盖存
在感知开关推入,直至其牢固地固定在两个卡舌之间。
图 39. 安 装 外 盖 存 在 感 知 开 关
8.将新外盖存在感知开关的线缆连接到主板上的外盖存在感知开关接口。请参阅第7页“主板
上的部件”。
9.装回光盘驱动器支架。请参阅第74页“光盘驱动器支架”。
10.装回直冷挡风板。请参阅第63页“直冷挡风板”。
后续操作:
•要对其他硬件进行操作,请转至相应章节。
•要完成安装或更换,请转至第125页“完成部件更换”。
第7章.安装或更换硬件77

5.将新正面风扇组合件的上下边缘与计算机机箱中的两个插槽对齐。然后,将新的正面风扇组合
件推入,直至无法进一步推动。
图 41. 安装正面风扇组合件
后续操作:
•要对其他硬件进行操作,请转至相应章节。
•要完成安装或更换,请转至第125页“完成部件更换”。
内置存储驱动器
注意:打开计算机或尝试进行任何修理之前,请先阅读并了解第v页“首先阅读:重要安全信
息”。
根据计算机型号的不同,您的计算机可能配备了一个或多个以下类型的内置存储驱动器:
•3.5英寸硬盘驱动器
•3.5英寸混合驱动器
•2.5英寸硬盘驱动器
•2.5英寸固态驱动器
•灵活适配器上的M.2固态驱动器
•PCIExpress固态驱动器
要安装或更换内置存储驱动器,请参阅以下内容:
•第79页“3.5英寸存储驱动器”
•第84页“2.5英寸存储驱动器”
•第96页“M.2固态驱动器”
•第99页“PCI卡”
3.5英寸存储驱动器
计算机上的3.5英寸存储驱动器可能是3.5英寸硬盘驱动器或3.5英寸混合驱动器。
第7章.安装或更换硬件79

根据计算机型号的不同,存储驱动器托架中使用以下存储驱动器支架类型之一:
图 42. 两 种 存 储 驱 动 器 支 架 类 型
要在类型1支架中安装或更换3.5英寸存储驱动器,请执行以下操作:
1.准备计算机。请参阅第61页“准备计算机并卸下计算机外盖”。
2.找到存储驱动器托架。请参阅第10页“内置驱动器”。
3.根据安装还是更换3.5英寸存储驱动器,执行以下任意操作:
•如果要安装3.5英寸存储驱动器,请打开存储驱动器支架两侧的手柄,然后拉出空支架。
•如果要更换3.5英寸存储驱动器,请打开存储驱动器支架两侧的手柄。从存储驱动器上拔
下线缆,然后将支架连同存储驱动器一起拉出。
图 43. 卸 下 类 型 1存储驱动器支架
80ThinkStationP510和P710用户指南

6.将支架连同新存储驱动器一起推入存储驱动器托架中,直至其固定到位。
图 50. 安 装 类 型 2存储驱动器支架
后续操作:
•要对其他硬件进行操作,请转至相应章节。
•要完成安装或更换,请转至第125页“完成部件更换”。
2.5英寸存储驱动器
计算机上的2.5英寸存储驱动器可能是2.5英寸硬盘驱动器或2.5英寸固态驱动器。
要安装或更换2.5英寸存储驱动器,请参阅以下内容:
•第84页“在存储驱动器托架中安装或更换2.5英寸存储驱动器”
•第89页“在存储驱动器托架中安装或更换带有转换装置的2.5英寸存储驱动器”
在存储驱动器托架中安装或更换2.5英寸存储驱动器
根据计算机型号的不同,存储驱动器托架中使用以下存储驱动器支架类型之一:
84ThinkStationP510和P710用户指南

图 51. 两 种 存 储 驱 动 器 支 架 类 型
注:本节仅说明如何安装或更换2.5英寸固态驱动器。
要在类型1支架中安装或更换2.5英寸存储驱动器,请执行以下操作:
1.准备计算机。请参阅第61页“准备计算机并卸下计算机外盖”。
2.找到要安装或更换存储驱动器的存储驱动器托架。请参阅第10页“内置驱动器”。
3.根据安装还是更换2.5英寸存储驱动器,执行以下任意操作:
•如果要安装2.5英寸存储驱动器,请打开存储驱动器支架两侧的手柄,然后拉出空支架。
•如果要更换2.5英寸存储驱动器,请打开存储驱动器支架两侧的手柄。从存储驱动器上拔
下线缆,然后将支架连同存储驱动器一起拉出。
图 52. 卸 下 类 型 1存储驱动器支架
第7章.安装或更换硬件85

然后弯曲支架的两侧,从支架上卸下2.5英寸存储驱动器。
注:如果支架中还安装了3.5英寸存储驱动器,请先卸下3.5英寸存储驱动器。
图 53. 从 类 型 1支架上卸下存储驱动器
4.弯曲支架的两侧,并将支架上的定位销1与新存储驱动器上对应的孔对齐。
注:如果要安装2.5英寸硬盘驱动器,请确保电路板朝下,而接口2面向支架正面。
图 54. 将存储驱动器装入类型 1支架中
86ThinkStationP510和P710用户指南

4.如果要更换存储驱动器,请弯曲支架的两侧,从支架上卸下存储驱动器。
图 57. 从 类 型 2支架上卸下存储驱动器
5.弯曲支架的两侧,并将支架上的定位销1与新存储驱动器上对应的孔对齐。
注:如果要安装2.5英寸硬盘驱动器,请确保电路板朝下,而接口2面向支架背面。
图 58. 将存储驱动器装入类型 2支架中
88ThinkStationP510和P710用户指南

6.将支架连同新存储驱动器一起推入存储驱动器托架中,直至其固定到位。
图 59. 安 装 类 型 2存储驱动器支架
后续操作:
•要对其他硬件进行操作,请转至相应章节。
•要完成安装或更换,请转至第125页“完成部件更换”。
在存储驱动器托架中安装或更换带有转换装置的2.5英寸存储驱动器
根据计算机型号的不同,存储驱动器托架中使用以下存储驱动器支架类型之一:
图 60. 两 种 存 储 驱 动 器 支 架 类 型
注:本节仅说明如何安装或更换带有转换装置的2.5英寸固态驱动器。
要在类型1支架中安装或更换带有转换装置的2.5英寸存储驱动器,请执行以下操作:
1.准备计算机。请参阅第61页“准备计算机并卸下计算机外盖”。
2.找到要安装或更换存储驱动器的存储驱动器托架。请参阅第10页“内置驱动器”。
3.根据安装还是更换带有转换装置的2.5英寸存储驱动器,执行以下任意操作:
第7章.安装或更换硬件89

•如果要安装带有转换装置的2.5英寸存储驱动器,请打开存储驱动器支架两侧的手柄。然
后,拉出空支架。
•如果要更换带有转换装置的2.5英寸存储驱动器,请打开存储驱动器支架两侧的手柄。从
转换装置上拔下线缆,然后将支架拉出。
图 61. 卸 下 类 型 1存储驱动器支架
然后,弯曲支架两侧,从支架中卸下转换装置。
图 62. 从 类 型 1支架上卸下转换装置
90ThinkStationP510和P710用户指南

6.小心地弯曲金属支架的两侧,并将金属支架上的四个卡舌1与新存储驱动器上对应的孔对齐。
注:确保存储驱动器的接口面向金属支架的卡舌。
图 65. 将 存 储 驱 动 器 装 入 转 换 装 置 的 金 属 支 架 中
7.将金属支架上的四个桩钉1插入到塑料支架上对应的插槽中,如图所示。
图 66. 将 金 属 支 架 插 入 到 转 换 装 置 的 塑 料 支 架 中
92ThinkStationP510和P710用户指南

7.将存储驱动器支架连同转换装置一起推入存储驱动器托架中,直至其固定到位。
图 73. 安 装 类 型 2存储驱动器支架
后续操作:
•要对其他硬件进行操作,请转至相应章节。
•要完成安装或更换,请转至第125页“完成部件更换”。
M.2固态驱动器
要在灵活适配器上安装或更换M.2固态驱动器,请执行以下操作:
1.准备计算机。请参阅第61页“准备计算机并卸下计算机外盖”。
2.将计算机侧放,以更方便地操作灵活适配器。
3.从主板上找到并卸下灵活适配器及M.2插槽。请参阅第114页“Flex适配器”。
4.根据安装还是更换M.2固态驱动器,执行以下任意操作:
•如果要更换M.2固态驱动器,请卸下固定M.2固态驱动器的螺钉。然后,将固态驱动器从
灵活适配器上的M.2插槽中轻轻抽出。
图 74. 卸 下 M.2 固 态 驱 动 器
•如果要安装M.2固态驱动器,请卸下与需要安装新M.2固态驱动器的M.2插槽对应的螺
钉。
96ThinkStationP510和P710用户指南

5.将新的M.2固态驱动器装入M.2插槽中,直至槽口1与灵活适配器中对应的螺孔对齐。然
后安装螺钉以固定新的固态驱动器。
图 75. 安 装 M.2 固 态 驱 动 器
6.将灵活适配器连同新的M.2固态驱动器一起装入主板上的灵活适配器插槽中。请参阅第114
页“Flex适配器”。
后续操作:
•要对其他硬件进行操作,请转至相应章节。
•要完成安装或更换,请转至第125页“完成部件更换”。
电源组合件
注意:打开计算机或尝试进行任何修理之前,请先阅读并了解第v页“首先阅读:重要安全信
息”。
虽然在断开电源线后计算机内已没有可动部件,但是为安全起见且遵守美国优力安全认证公司
(UnderwritersLaboratories,UL)认证,仍需注意以下警告。
警告:
危险的可动部件。请勿用手指或身体其他部位与其接触。
警告:
切勿卸下电源外盖或贴有以下标签的任何部件的外盖。
第7章.安装或更换硬件97

任何贴有此标签的组件内部都有危险的电压、电流和能量级别。这些组件内没有可维修的部件。如
果您怀疑某个部件有问题,请与技术服务人员联系。
要更换电源组合件,请执行以下操作:
1.准备计算机。请参阅第61页“准备计算机并卸下计算机外盖”。
2.拉动电源组合件上的手柄,并向下旋转,如图所示。然后,将整个电源组合件从机箱中抽出。
图 76. 卸 下 电 源 组 合 件
3.确保更换的新电源组合件正确。
4.保持手柄打开的状态下将新的电源组合件插入到机箱中。然后,如图所示旋转手柄,将新的
电源组合件完全安装到位。
注:如果在将手柄旋转到闭合位置时感受到阻力,可能需要用力推动才能合上手柄。
图 77. 安 装 电 源 组 合 件
后续操作:
•要对其他硬件进行操作,请转至相应章节。
•要完成安装或更换,请转至第125页“完成部件更换”。
98ThinkStationP510和P710用户指南

PCI卡
注意:打开计算机或尝试进行任何修理之前,请先阅读并了解第v页“首先阅读:重要安全信
息”。
根据计算机型号的不同,您的计算机配备以下组合之一:
•ThinkStationP510:一个标准PCI卡插槽、一个PCIExpressx1卡插槽、两个PCIExpress
x4卡插槽和两个PCIExpressx16显卡插槽。
•ThinkStationP710:一个标准PCI卡插槽、一个PCIExpressx4卡插槽、一个PCIExpress
x8卡插槽和三个PCIExpressx16显卡插槽。
根据相应的插槽类型和下图所示的安装顺序安装PCIExpress卡:
•对于ThinkStationP510:
图 78. ThinkStation P510 的 PCI Express 卡 安 装 顺 序
•对于ThinkStationP710:
注:如果计算机只安装了一个微处理器,只有某些PCIExpress卡插槽可用。
图 79. ThinkStation P710 的 PCI Express 卡 安 装 顺 序
如果您的计算机配备全长型PCI卡,请参阅第103页“全长型PCI卡”以了解其更换说明。
第7章.安装或更换硬件99

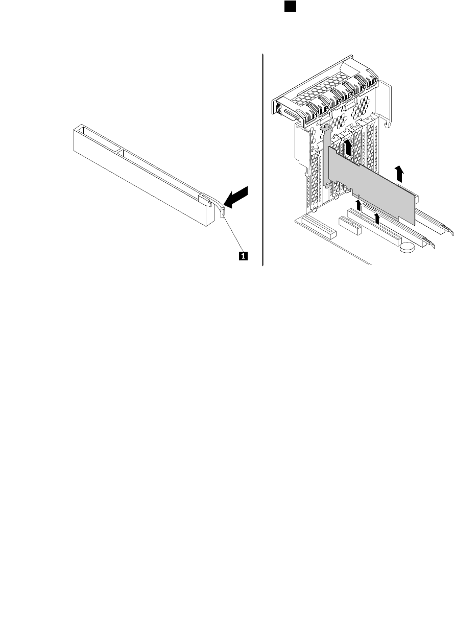
•如果要更换旧PCI卡,请握住已安装的旧卡,然后从插槽中轻轻地抽出该卡。
注:
–如果PCI卡连接到其他设备,请先从卡上拔下线缆。
–该卡紧紧地插入插槽。如有必要,交替移动该卡两侧少许,直至从插槽中卸下该卡。
–如果卡被固定锁固定,那么请按下卡的固定锁1(如图所示)以松开固定栓。握住卡,
轻轻地将其从插槽中拉出。
图 83. 卸 下 PCI 卡
6.从防静电包装中取出新PCI卡。
7.将新卡安装到主板上相应的插槽中。请参阅第7页“主板上的部件”。
注:如果新的PCI卡需要连接到其他设备,请将此设备的线缆连接到新的PCI卡。
8.向右旋转PCI卡栓并将其推回,直至其固定到位。
102ThinkStationP510和P710用户指南

9.要安装PCI卡固定器,如图所示将PCI卡固定器上的对应端插入PCI卡栓的空隙。向下旋转
该固定器将部件a插入正面风扇组合件中的相应插槽。然后旋转正面风扇组合件上的卡舌,
在内部合上固定栓。
图 84. 安 装 PCI 卡 固 定 器
后续操作:
•要对其他硬件进行操作,请转至相应章节。
•要完成安装或更换,请转至第125页“完成部件更换”。
全长型PCI卡
注意:打开计算机或尝试进行任何修理之前,请先阅读并了解第v页“首先阅读:重要安全信
息”。
根据计算机型号的不同,您的计算机配备以下组合之一:
•ThinkStationP510:一个标准PCI卡插槽、一个PCIExpressx1卡插槽、两个PCIExpress
x4卡插槽和两个PCIExpressx16显卡插槽
•ThinkStationP710:一个标准PCI卡插槽、一个PCIExpressx4卡插槽、一个PCIExpress
x8卡插槽和三个PCIExpressx16显卡插槽
要安装或更换全长型PCI卡,请执行以下操作:
1.准备计算机。请参阅第61页“准备计算机并卸下计算机外盖”。
2.将计算机侧放,以更方便操作主板。
第7章.安装或更换硬件103

3.抬起计算机背面的塑料PCI卡栓。然后向左旋转卡栓,使其停靠在后面板的边缘上。
图 85. 打 开 PCI 卡 栓
4.如图所示,拉动并旋转正面风扇组合件上的卡舌,在内部打开固定栓。
图 86. 打 开 正 面 风 扇 组 合 件 中 的 固 定 栓
5.根据安装还是更换全长型PCI卡,执行以下任意操作:
•如果要安装新的全长型PCI卡,请卸下相应的金属插槽外盖。
104ThinkStationP510和P710用户指南

•如果要更换旧的全长型PCI卡,请首先从该卡上拔下电源线。如图所示按压卡固定栓以松
开固定栓,然后抓住旧卡,将其从插槽中轻轻抽出。
注:
–卸下任何可能妨碍您操作固定栓的部件。
–该卡紧紧地插入插槽。如有必要,交替移动该卡两侧少许,直至从插槽中卸下该卡。
图 87. 卸 下 全 长 型 PCI 卡
6.将新的全长型PCI卡从其防静电包装中取出。
7.将新的全长型PCI卡上的延伸部分与正面风扇组合件中相应的插槽对齐。然后,将新卡安装
到主板上相应的插槽中。请参阅第7页“主板上的部件”。
注:为获得最佳性能,建议将全长型PCI卡装入PCIExpressx16显卡插槽中。
8.向右旋转PCI卡栓并将其推回,直至其固定到位。然后旋转正面风扇组合件上的卡舌,在内
部合上固定栓。
9.将电源线的一端连接到新的全长型PCI卡,另一端连接到主板上响应的电源接口。请参阅第
7页“主板上的部件”。
后续操作:
•要对其他硬件进行操作,请转至相应章节。
•要完成安装或更换,请转至第125页“完成部件更换”。
超级电容模块
注意:打开计算机或尝试进行任何修理之前,请先阅读并了解第v页“首先阅读:重要安全信
息”。
要安装或更换超级电容模块,请执行以下操作:
第7章.安装或更换硬件105

1.准备计算机。请参阅第61页“准备计算机并卸下计算机外盖”。
2.将计算机侧放,以更方便地操作超级电容模块。
3.找到安装超级电容模块固定架的PCIExpress卡插槽。请参阅第7页“计算机组件”。
4.如有必要,请卸下直冷挡风板以方便操作。请参阅第63页“直冷挡风板”。
5.根据安装还是更换超级电容模块,执行以下任意操作:
•如果要安装超级电容模块,请转到步骤7。
•如果要更换超级电容模块,请执行以下操作:
a.从RAID卡上断开超级电容模块线缆。
b.将固定架连同发生故障的超级电容模块一起从其安装的PCIExpress卡插槽中卸下。请
参阅第99页“PCI卡”。
c.如图所示轻轻向外旋转支架上的塑料固定夹1,同时从支架上卸下发生故障的超级电容
模块。
1
图 88. 从 支 架 上 卸 下 超 级 电 容 模 块
6.使装有新超级电容模块及其固定架的防静电包装接触计算机外侧表面上任意未涂油漆的地方。
然后,从包装中取出新的超级电容模块及其固定架。
106ThinkStationP510和P710用户指南

•要完成安装或更换,请转至第125页“完成部件更换”。
背面风扇组合件
注意:打开计算机或尝试进行任何修理之前,请先阅读并了解第v页“首先阅读:重要安全信
息”。
注:您的计算机可能配备一个或两个背面风扇组合件。如果您的计算机配备两个背面风扇组合件,
以下说明适用于其中任意一个。
要更换背面风扇组合件,请执行以下操作:
1.准备计算机。请参阅第61页“准备计算机并卸下计算机外盖”。
2.卸下直冷挡风板。请参阅第63页“直冷挡风板”。
3.找到背面风扇组合件。请参阅第7页“计算机组件”。
4.从主板上的背面风扇接口中找到并拔出背面风扇组合件线缆。请参阅第7页“主板上的部
件”。
注:如果您的计算机配备两个微处理器,可以先卸下位于左侧的散热器和风扇组合件,以便于
操作背面风扇接口。请参阅第110页“散热器和风扇组合件”。
5.按压连接到计算机后面板边缘的固定夹,如图所示将背面风扇组合件从机箱中卸下。
图 91. 卸下背面风扇组合件
108ThinkStationP510和P710用户指南

后续操作:
•要对其他硬件进行操作,请转至相应章节。
•要完成安装或更换,请转至第125页“完成部件更换”。
散热器和风扇组合件
注意:打开计算机或尝试进行任何修理之前,请先阅读并了解第v页“首先阅读:重要安全信
息”。
警告:
散热器和风扇组合件可能会很烫。打开计算机外盖之前,请关闭计算机并等待几分钟,直至计算
机冷却。
要更换散热器和风扇组合件,请执行以下操作:
1.准备计算机。请参阅第61页“准备计算机并卸下计算机外盖”。
2.将计算机侧放,以更方便操作主板。
3.卸下直冷挡风板。请参阅第63页“直冷挡风板”。
4.找到散热器和风扇组合件。请参阅第7页“主板上的部件”。
注:根据计算机型号的不同,您的计算机可能配备一个或两个散热器和风扇组合件。以下步骤
中的插图可能与您的计算机略有不同。
5.从主板上的微处理器风扇接口拔出散热器和风扇组合件线缆。
110ThinkStationP510和P710用户指南

6.按以下顺序卸下将散热器和风扇组合件固定在主板上的四个螺钉:
a.部分卸下螺钉1,再完全卸下螺钉2,然后完全卸下螺钉1。
b.部分卸下螺钉3,再完全卸下螺钉4,然后完全卸下螺钉3。
注:小心地从主板卸下四个螺钉,以避免可能对主板造成的损坏。四个螺钉无法从散热器和
风扇组合件卸下。
图 94. 卸下散热器和风扇组合件
7.将发生故障的散热器和风扇组合件从主板上提起。
注:
•请您务必小心地扭转散热器和风扇组合件,将其从微处理器上取下。
•操作散热器和风扇组合件时请勿触摸导热油脂。
8.将新的散热器和风扇组合件放置在主板上,使四个螺钉与主板上的孔对齐。
注:确保散热器和风扇组合件线缆朝向主板上的微处理器风扇接口。
9.按照以下顺序安装四个螺钉以固定新的散热器和风扇组合件。请勿将螺钉拧得过紧。
a.部分拧紧螺钉1,再完全拧紧螺钉2,然后完全拧紧螺钉1。
b.部分拧紧螺钉3,再完全拧紧螺钉4,然后完全拧紧螺钉3。
10.将散热器和风扇组合件线缆连接到主板上的微处理器风扇接口。请参阅第7页“主板上的部
件”。
后续操作:
•要对其他硬件进行操作,请转至相应章节。
•要完成安装或更换,请转至第125页“完成部件更换”。
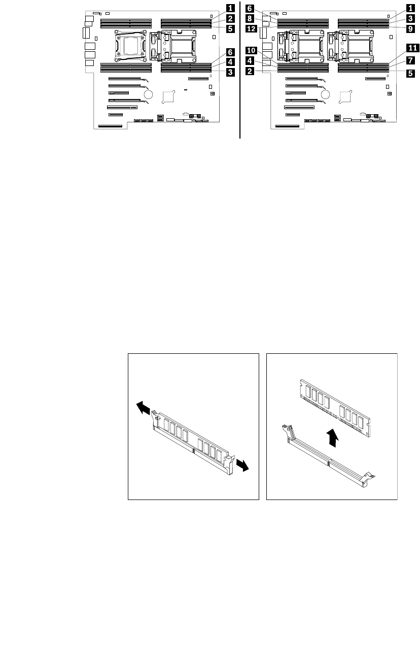
内存条
注意:打开计算机或尝试进行任何修理之前,请先阅读并了解第v页“首先阅读:重要安全信
息”。
第7章.安装或更换硬件111

对于ThinkStationP510:
计算机有八个插槽可供安装或更换DDR4DIMM,最大可提供256GB系统内存。安装或更换内
存条时,请遵照以下准则:
•为您的计算机使用DDR4ECCUDIMM或DDR4ECCRDIMM。不要将UDIMM和RDIMM
任意组合后装入一台计算机中。
•使用8GBDDR4ECCUDIMM,最大容量不超过64GB。
•使用4GB、8GB、16GB或32GBDDR4ECCRDIMM的任意组合,最大容量可达256GB。
•请确保按下列顺序安装DIMM,如图所示:
图 95. ThinkStation P510 的 内 存 条 安 装 顺 序
对于ThinkStationP710:
计算机有12个插槽可供安装或更换DDR4DIMM,最大可提供384GB系统内存。安装或更换内
存条时,请遵照以下准则:
•为您的计算机使用DDR4ECCUDIMM或DDR4ECCRDIMM。不要将UDIMM和RDIMM
任意组合后装入一台计算机中。
•使用8GBDDR4ECCUDIMM,最大容量不超过96GB。
•使用4GB、8GB、16GB或32GBDDR4ECCRDIMM的任意组合,最大容量可达384GB。
•如果计算机只安装了一个微处理器,请将内存条仅安装在靠近该微处理器的内存插槽中。
注:确保微处理器安装在正确的微处理器插槽中(9微处理器1)。请参阅第7页“主板上的
部件”。
•如果计算机安装了两个微处理器,在两组微处理器DIMM插槽中安装同等数量的内存条可达到
最佳性能。
112ThinkStationP510和P710用户指南

•请确保按下列顺序安装DIMM,如图所示:
图 96. ThinkStation P710 的 内 存 条 安 装 顺 序
要安装或更换内存条,请执行以下操作:
1.准备计算机。请参阅第61页“准备计算机并卸下计算机外盖”。
2.卸下直冷挡风板。请参阅第63页“直冷挡风板”。
3.将计算机侧放,以更方便操作主板。
4.找到内存插槽。请参阅第7页“主板上的部件”。
5.卸下任何可能妨碍您操作内存插槽的部件。根据计算机型号的不同,可能需要卸下光盘驱动器
支架,以便于操作内存插槽。请参阅第74页“光盘驱动器支架”。
6.根据安装还是更换内存条,执行以下任意操作:
•如果要更换旧内存条,请打开固定夹,轻轻将内存条从内存插槽中拉出。
图 97. 卸 下 内 存 条
第7章.安装或更换硬件113

•如果要安装内存条,请打开想要在其中安装内存条的内存插槽的固定夹。
图 98. 打 开 固 定 夹
7.将新内存条放置在内存插槽上。确保内存条上的槽口1与主板上的插槽引脚2正确对齐。将
内存条笔直向下推入插槽直到固定夹合上。
图 99. 安 装 内 存 条
8.如果已卸下光盘驱动器支架,请将其装回。请参阅第74页“光盘驱动器支架”。
9.装回直冷挡风板。请参阅第63页“直冷挡风板”。
后续操作:
•要对其他硬件进行操作,请转至相应章节。
•要完成安装或更换,请转至第125页“完成部件更换”。
Flex适配器
注意:打开计算机或尝试进行任何修理之前,请先阅读并了解第v页“首先阅读:重要安全信
息”。
根据计算机型号的不同,计算机上的灵活适配器类型有所差异。
114ThinkStationP510和P710用户指南

注:本节以在ThinkStationP510计算机上安装或更换灵活适配器的插图为例。对于ThinkStation
P710计算机,灵活适配器上的塑料卡舌可能比插图中的更短。
要安装或更换灵活适配器,请执行以下操作:
1.准备计算机。请参阅第61页“准备计算机并卸下计算机外盖”。
2.将计算机侧放,以更方便操作主板。
3.在主板上找到灵活适配器插槽。请参阅第7页“主板上的部件”。
4.如图所示,拉动并旋转正面风扇组合件上的卡舌,在内部打开固定栓。
图 100. 打开正面风扇组合件中的固定栓
5.如果要更换旧的Flex适配器,请抓住已安装的旧卡,轻轻地将其从Flex适配器插槽中抽出。
注:如果有任何线缆连接到旧的灵活适配器,请先拔下线缆。
图 101. 卸 下 灵 活 适 配 器
第7章.安装或更换硬件115

6.将Flex适配器上的塑料卡舌1与正面风扇组合件上对应的插槽对齐。然后,将新的Flex适
配器安装到Flex适配器插槽中。
注:务必只能将灵活适配器安装到灵活适配器插槽中。请勿将灵活适配器安装到PCI或PCI
Express卡插槽中。
图 102. 安 装 灵 活 适 配 器
7.旋转正面风扇组合件上的卡舌,在内部合上固定栓。确保新的灵活适配器固定到位。
8.如果新的灵活适配器只在连接缆线的情况下工作,请将线缆连接到新的灵活适配器。
后续操作:
•要对其他硬件进行操作,请转至相应章节。
•要完成安装或更换,请转至第125页“完成部件更换”。
电池
注意:打开计算机或尝试进行任何修理之前,请先阅读并了解第v页“首先阅读:重要安全信
息”。
您的计算机具有特殊类型的存储器,它保持日期、时间和内置功能的设置,如并口的指定(配
置)。电池使这些信息在关闭计算机时仍保持活动。
116ThinkStationP510和P710用户指南

电池在其使用期内通常不需要充电或维护;但没有一块电池能够永久使用。如果电池出现故障,日
期、时间和配置信息(包括密码)就会丢失。当您开启计算机时会显示一条错误消息。
有关更换和处置电池的信息,请参阅《安全、保修和设置指南》中的“钮扣锂电池声明”。
要更换电池,请执行以下操作:
1.准备计算机。请参阅第61页“准备计算机并卸下计算机外盖”。
2.找到电池。请参阅第7页“主板上的部件”。
3.卸下任何可能阻碍您操作电池的部件。根据计算机型号的不同,可能需要卸下PCI卡,以便
取放电池。请参阅第99页“PCI卡”或第103页“全长型PCI卡”。
4.卸下旧电池。
图 103. 卸 下 电 池
5.安装新电池。
图 104. 安 装 电 池
6.如果已卸下PCI卡,请将其装回。请参阅第99页“PCI卡”或第103页“全长型PCI卡”。
7.重新安装计算机外盖并连接线缆。请参阅第125页“完成部件更换”。
注:更换电池后首次开启计算机时,可能会显示一条错误消息。这是更换电池后的正常现象。
8.开启计算机和所有连接的设备。
9.使用SetupUtility程序设置日期、时间以及所有密码。请参阅第37页“使用SetupUtility
程序”。
后续操作:
•要对其他硬件进行操作,请转至相应章节。
•要完成安装或更换,请转至第125页“完成部件更换”。
第7章.安装或更换硬件117

4.抬起计算机背面的塑料PCI卡栓。然后,向外旋转卡栓,使其停靠在后面板的边缘上。
图 107. 打 开 PCI 卡 栓
5.握住插槽中安装的Wi-Fi适配器卡,然后轻轻地从插槽中拉出它。
图 108. 卸 下 Wi-Fi 适 配 器 卡
注:该卡紧紧地插入插槽。如有必要,交替移动该卡两侧少许,直至从插槽中卸下该卡。
120ThinkStationP510和P710用户指南

8.如图所示,将Wi-Fi天线线缆接口1连接到相应的Wi-Fi天线接口2。
图 116. 安 装 Wi-Fi 天 线
9.拧紧Wi-Fi天线线缆接口以将其固定在计算机背面。
后续操作:
•要对其他硬件进行操作,请转至相应章节。
•要完成安装或更换,请转至第125页“完成部件更换”。
完成部件更换
安装或更换所有部件完毕后,装回计算机外盖并接回各种线缆。根据安装或更换的部件,您可能还
需要确认SetupUtility程序中的更新信息。请参阅第37页“使用SetupUtility程序”。
要重新安装计算机外盖并将线缆重新连接到计算机,请执行以下操作:
1.确保所有组件都已正确地重新装配,并且没有在计算机内部遗留任何工具或松散的螺丝。请
参阅第7页“计算机组件”,了解计算机中各组件的位置。
2.在重新安装计算机外盖之前,请确保线缆排设正确。确保线缆未触及铰链和计算机机箱侧面,
以避免影响重新安装计算机外盖。
第7章.安装或更换硬件125

3.将计算机外盖放置在机箱上,使外盖顶部和底部的插槽与机箱上对应的小桩钉对齐。
注:在装回计算机外盖之前,请保持外盖固定栓上的手柄处于抬起状态。
图 117. 放 置 计 算 机 外 盖
126ThinkStationP510和P710用户指南

128ThinkStationP510和P710用户指南

第8章获取信息、帮助和服务
本章包含以下主题:
•第129页“信息资源”
•第130页“帮助和服务”
信息资源
本节描述如何获取与您的计算机需求相关的有用资源。
访问各种语言的《用户指南》
要访问各种语言的《用户指南》,请转到:
http://www.lenovo.com/UserManuals
Windows帮助系统
Windows帮助系统详细介绍使用Windows操作系统。
要访问Windows帮助系统,请执行以下操作:
1.单击“开始”按钮以打开“开始”菜单。
2.根据Windows版本的不同,执行以下某项操作:
•在Windows7中:单击帮助和支持。可在屏幕底部决定使用联机还是脱机帮助。
•在Windows10中:单击入门。
注:使用Windows7的联机帮助或Windows10的帮助需要活动的因特网连接。
安全和保修
计算机随附的《安全、保修和设置指南》中包含重要安全信息、产品保修条款、初始设置过程和法
律声明。务必先阅读并了解《安全、保修和设置指南》中的所有安全信息,然后再使用计算机。
此外,先阅读并了解第v页“首先阅读:重要安全信息”,然后再使用计算机。本前言提供适用
于本《用户指南》中所述主题和任务的其他安全信息。
LenovoWeb站点
LenovoWeb站点(http://www.lenovo.com)提供最新的信息和服务,帮助您购买、升级和
维护计算机。还可执行以下操作:
•购买台式计算机和笔记本电脑、显示器、投影仪、适合您计算机的升级产品和附件,以及特
价优惠组件。
•购买其他服务,如硬件、操作系统、应用程序、网络安装与配置以及定制安装等各方面的支持。
•购买升级程序和扩展的硬件维修服务。
•查看适合您的计算机型号和其他受支持产品的故障诊断和支持信息。
•查找您附近的服务供应商。
©CopyrightLenovo2016129

Lenovo支持Web站点
可在Lenovo支持Web站点上获得技术支持信息,网址为:
http://www.lenovo.com/support
此Web站点经过更新,现有最新的支持信息,如以下各项:
•驱动程序和软件
•诊断解决方案
•产品和服务保修
•产品和部件详细信息
•用户指南和手册
•知识库和常见问题
•Lenovo支持电话号码
常见问题
有关计算机的常见问题解答,请访问:
http://www.lenovo.com/support/faq
帮助和服务
本节提供有关如何获取帮助和服务的信息。
致电客服
在保修期内,您可以通过致电客户支持中心获取帮助和信息。有关计算机的保修期,请访
问http://www.lenovo.com/warranty-status。有关Lenovo支持电话号码的列表,请访问
http://www.lenovo.com/support/phone。
注:电话号码如有更改,恕不另行通知。如果未提供您所在国家或地区的电话号码,请致电Lenovo
经销商或Lenovo销售代表。
在保修期期间可获得以下服务:
•问题确定-训练有素的服务人员帮助您确定硬件问题并决定采取何种必要措施解决该问题。
•硬件维修-如果问题是在保硬件所致,则训练有素的服务人员提供相应级别的服务。
•工程变更管理-产品售出后可能需要变更。Lenovo或经销商将提供适用于您的硬件的选定工程
变更(EC)。
保修中不包括以下各项:
•并非为/由Lenovo制造的部件或未经Lenovo授权的部件的更换或使用
•软件问题源的识别
•作为安装或升级一部分的BIOS配置
•设备驱动程序的更改、修正或升级
•网络操作系统(NOS)的安装与维护
•应用程序的安装和维护
通话时请尽可能在计算机旁边。准备好以下信息:
•机器类型和机型
130ThinkStationP510和P710用户指南

•硬件产品的序列号
•问题描述
•任何错误消息的精确用词
•硬件和软件配置信息
使用其他服务
您有可能携带计算机出行,或将其带往出售您的台式机或笔记本电脑的机器类型的国家或地区。在
此类情况下,您的计算机可能有资格享受“国际保修服务”,此项服务自动使您有权在整个保修期
内获得保修服务。该服务将由授权进行保修服务的服务供应商来执行。
服务方法和操作步骤根据国家或地区而有所不同,某些服务可能并非在所有国家或地区都提供。
“国际保修服务”通过服务国家或地区提供的服务方法(如维修站服务、送修服务或现场服务)
提供。某些国家或地区的服务中心可能无法维修特定机型的所有型号。在某些国家或地区,可能
会在服务时收取费用,且服务时将适用某些限制。
要确定您的计算机是否有资格享受“国际保修服务”以及要查看提供服务的国家或地区的列表,
请访问http://www.lenovo.com/support。
有关为预装的MicrosoftWindows产品安装ServicePack的技术协助,或有关于这些Service
Pack的问题,请访问Microsoft产品支持Web站点http://support.microsoft.com。也可联
系Lenovo客户支持中心寻求帮助。可能会收取一些费用。
购买附加服务
无论保修期出否已过,均可购买附加服务。这些附加服务的示例包括:
•对硬件、操作系统和应用程序的支持
•网络设置与配置服务
•升级或扩展的硬件维修服务
•自定义安装服务
是否提供服务和服务名称根据国家或地区可能会有所变化。有关这些服务的更多信息,请访问
LenovoWeb站点:
http://www.lenovo.com
第8章.获取信息、帮助和服务131

132ThinkStationP510和P710用户指南

附录A系统内存速度
与此ThinkStation计算机兼容的IntelXeon®系列微处理器集成了内存控制器,微处理器通过它
可直接访问系统内存。由于这种设计,系统内存的速度将取决于多种因素,包括微处理器的型号
和类型、速度、大小(容量)以及已安装的DIMM的数量。参阅下表,了解您的计算机型号所支
持的系统内存速度。
表 1. DIMM 类 型 和 速 度 : UDIMM PC4-2400-E
DIMM工作电压微处理器型号内存频率
1.2V
IntelXeonE5-2699v4、E5-2698
v4、E5-2697Av4、E5-2697
v4、E5-2695v4、E5-2690v4、
E5-2689v4、E5-2683v4、
E5-2680v4、E5-2667v4、
E5-2660v4、E5-2658v4、
E5-2650v4、E5-2643v4、
E5-2637v4、E5-2650Lv4、
E5-2648Lv4、E5-1680v4、
E5-1660v4、E5-1650v4、
E5-1630v4、E5-1620v4
2400MHz
1.2V
IntelXeonE5-2640v4、E5-2630
v4、E5-2630Lv4、E5-2628L
v4、E5-2623v4、E5-2620v4、
E5-2618Lv4、E5-1650v3、
E5-1620v3、E5-1607v4、
E5-1603v4
2133MHz
1.2VIntelXeonE5-2620v3、E5-2609
v4、E5-2608Lv4、E5-2603v41866MHz
1.2VIntelXeonE5-2609v31600MHz
表 2. DIMM 类 型 和 速 度 : RDIMM PC4-2400-R
DIMM工作电压微处理器型号内存频率
1.2V
IntelXeonE5-2699v4、E5-2698
v4、E5-2697Av4、E5-2697
v4、E5-2695v4、E5-2690v4、
E5-2689v4、E5-2683v4、
E5-2680v4、E5-2667v4、
E5-2660v4、E5-2658v4、
E5-2650v4、E5-2643v4、
E5-2637v4、E5-2650Lv4、
E5-2648Lv4、E5-1680v4、
E5-1660v4、E5-1650v4、
E5-1630v4、E5-1620v4
2400MHz
1.2V
IntelXeonE5-2640v4、E5-2630
v4、E5-2630Lv4、E5-2628L
v4、E5-2623v4、E5-2620v4、
E5-2618Lv4、E5-1650v3、
2133MHz
©CopyrightLenovo2016133

表 2. DIMM 类 型 和 速 度 : RDIMM PC4-2400-R ( 续 )
DIMM工作电压微处理器型号内存频率
E5-1620v3、E5-1607v4、
E5-1603v4
1.2VIntelXeonE5-2620v3、E5-2609
v4、E5-2608Lv4、E5-2603v41866MHz
1.2VIntelXeonE5-2609v31600MHz
134ThinkStationP510和P710用户指南

附录B法规信息
可从以下网址获得最新的合规性信息
http://www.lenovo.com/compliance。
出口分类声明
本产品受美国出口管理条例(EAR)的管制,其出口分类控制编号(ECCN)为5A992.c。本产品
可以再出口到EARE1国家或地区列表中的所有禁运国家或地区以外的国家或地区。
电子辐射声明
以下信息适用于Lenovo个人计算机机器类型30B4、30B5、30B6和30B7。
联邦通信委员会一致性声明
ThisequipmenthasbeentestedandfoundtocomplywiththelimitsforaClassBdigital
device,pursuanttoPart15oftheFCCRules.Theselimitsaredesignedtoprovidereasonable
protectionagainstharmfulinterferenceinaresidentialinstallation.Thisequipment
generates,uses,andcanradiateradiofrequencyenergyand,ifnotinstalledandusedin
accordancewiththeinstructions,maycauseharmfulinterferencetoradiocommunications.
However,thereisnoguaranteethatinterferencewillnotoccurinaparticularinstallation.If
thisequipmentdoescauseharmfulinterferencetoradioortelevisionreception,whichcan
bedeterminedbyturningtheequipmentoffandon,theuserisencouragedtotrytocorrect
theinterferencebyoneormoreofthefollowingmeasures:
•Reorientorrelocatethereceivingantenna.
•Increasetheseparationbetweentheequipmentandreceiver.
•Connecttheequipmentintoanoutletonacircuitdifferentfromthattowhichthereceiver
isconnected.
•Consultanauthorizeddealerorservicerepresentativeforhelp.
Lenovoisnotresponsibleforanyradioortelevisioninterferencecausedbyusingotherthan
specifiedorrecommendedcablesandconnectorsorbyunauthorizedchangesormodifications
tothisequipment.Unauthorizedchangesormodificationscouldvoidtheuser'sauthorityto
operatetheequipment.
ThisdevicecomplieswithPart15oftheFCCRules.Operationissubjecttothefollowing
twoconditions:(1)thisdevicemaynotcauseharmfulinterference,and(2)thisdevicemust
acceptanyinterferencereceived,includinginterferencethatmaycauseundesiredoperation.
ResponsibleParty:
Lenovo(UnitedStates)Incorporated
1009ThinkPlace-BuildingOne
Morrisville,NC27560
PhoneNumber:919-294-5900
©CopyrightLenovo2016135

加拿大工业部B类辐射规范符合声明
CANICES-3(B)/NMB-3(B)
欧盟-遵循电磁兼容性(EMC)指令或无线设备指令指令
Modelswithoutaradiodevice:Thisproductisinconformitywiththeprotection
requirementsofEUCouncilDirective2004/108/EC(until19April,2016)andCouncil
Directive2014/30/EU(from20April,2016)ontheapproximationofthelawsoftheMember
Statesrelatingtoelectromagneticcompatibility.
Modelswitharadiodevice:Thisproductisinconformitywithalltherequirementsand
essentialnormsthatapplytoEUCouncilR&TTEDirective1999/5/EContheapproximation
ofthelawsoftheMemberStatesrelatingtoradioequipment.
Lenovocannotacceptresponsibilityforanyfailuretosatisfytheprotectionrequirements
resultingfromanon-recommendedmodificationoftheproduct,includingtheinstallationof
optioncardsfromothermanufacturers.Thisproducthasbeentestedandfoundtocomply
withthelimitsforClassBequipmentaccordingtoEuropeanStandardsharmonizedin
theDirectivesincompliance.ThelimitsforClassBequipmentwerederivedfortypical
residentialenvironmentstoprovidereasonableprotectionagainstinterferencewithlicensed
communicationdevices.
Lenovo,Einsteinova21,85101Bratislava,Slovakia
德国B类一致性声明
Deutschspr Deutschspr
Deutschsprachiger achiger
achigerEU EU
EUHinweis: Hinweis:
Hinweis:
Hinweis Hinweis
Hinweisfür für
fürGer Ger
Gerät ät
äte e
eder der
derKlasse Klasse
KlasseB B
BEU-Richtlinie EU-Richtlinie
EU-Richtliniezur zur
zurElektr Elektr
Elektromagnetischen omagnetischen
omagnetischenV V
Ver er
ertr tr
träglichk äglichk
äglichkeit eit
eit
DiesesProduktentsprichtdenSchutzanforderungenderEU-Richtlinie2014/30/EU(früher
2004/108/EC)zurAngleichungderRechtsvorschriftenüberdieelektromagnetischeVerträglichkeit
indenEU-MitgliedsstaatenundhältdieGrenzwertederKlasseBderNormgemäßRichtlinie.
Umdiesessicherzustellen,sinddieGerätewieindenHandbüchernbeschriebenzuinstallieren
undzubetreiben.DesWeiterendürfenauchnurvonderLenovoempfohleneKabelangeschlossen
werden.LenovoübernimmtkeineVerantwortungfürdieEinhaltungderSchutzanforderungen,
wenndasProduktohneZustimmungderLenovoverändertbzw.wennErweiterungskomponenten
vonFremdherstellernohneEmpfehlungderLenovogesteckt/eingebautwerden.
Deutschland: Deutschland:
Deutschland:
Einhaltung Einhaltung
Einhaltungdes des
desGesetz Gesetz
Gesetzes es
esüber über
überdie die
dieelektr elektr
elektromagnetische omagnetische
omagnetischeV V
Ver er
ertr tr
träglichk äglichk
äglichkeit eit
eitvon von
vonBetriebsmitt Betriebsmitt
Betriebsmitteln eln
eln
DiesesProduktentsprichtdem„GesetzüberdieelektromagnetischeVerträglichkeitvon
Betriebsmitteln“EMVG(früher„GesetzüberdieelektromagnetischeVerträglichkeitvonGeräten“).
DiesistdieUmsetzungderEMVEU-Richtlinie2014/30/EU(früher2004/108/EWG)inder
BundesrepublikDeutschland.
136ThinkStationP510和P710用户指南

Z Z
Zulassungsbescheinigung ulassungsbescheinigung
ulassungsbescheinigunglaut laut
lautdem dem
demDeutschen Deutschen
DeutschenGesetz Gesetz
Gesetzüber über
überdie die
dieelektr elektr
elektromagnetische omagnetische
omagnetische
V V
Ver er
ertr tr
träglichk äglichk
äglichkeit eit
eitvon von
vonBetriebsmitt Betriebsmitt
Betriebsmitteln, eln,
eln,EMVG EMVG
EMVGvom vom
vom20. 20.
20.Juli Juli
Juli2007 2007
2007(früher (früher
(früherGesetz Gesetz
Gesetzüber über
überdie die
die
elektr elektr
elektromagnetische omagnetische
omagnetischeV V
Ver er
ertr tr
träglichk äglichk
äglichkeit eit
eitvon von
vonGer Ger
Gerät ät
äten), en),
en),bzw bzw
bzw. .
.der der
derEMV EMV
EMVEU EU
EURichtlinie Richtlinie
Richtlinie2014/30/EU 2014/30/EU
2014/30/EU
(früher (früher
(früher2004/108/EC), 2004/108/EC),
2004/108/EC),für für
fürGer Ger
Gerät ät
äte e
eder der
derKlasse Klasse
KlasseB. B.
B.
DiesesGerätistberechtigt,inÜbereinstimmungmitdemDeutschenEMVGdas
EG-Konformitätszeichen-CE-zuführen.VerantwortlichfürdieKonformitätserklärungnach
Paragraf5desEMVGistdieLenovo(Deutschland)GmbH,Meitnerstr.9,D-70563Stuttgart.
InformationeninHinsichtEMVGParagraf4Abs.(1)4:
Das Das
DasGer Ger
Gerät ät
äter er
erfüllt füllt
fülltdie die
dieSchutzanfor Schutzanfor
Schutzanforderungen derungen
derungennach nach
nachEN EN
EN55024 55024
55024und und
undEN EN
EN55022 55022
55022Klasse Klasse
KlasseB. B.
B.
韩国B类一致性声明
日本VCCIB类一致性声明
日本连接到额定电流小于或等于20A/相位的输电线的产品的一致性声明
日本交流电源线声明
Theacpowercordshippedwithyourproductcanbeusedonlyforthisspecificproduct.Do
notusetheacpowercordforotherdevices.
Lenovo产品台湾服务信息
台湾地区键盘和鼠标一致性声明
欧亚大陆合规性标志
附录B.法规信息137

巴西音频声明
Ouvirsonscommaisde85decibéisporlongosperíodospodeprovocardanosaosistemaauditivo.
墨西哥无线电合规性信息
Adver Adver
Advert t
tencia: encia:
encia:EnMexicolaoperacióndeesteequipoestásujetaalassiguientesdoscondiciones:
(1)esposiblequeesteequipoodispositivonocauseinterferenciaperjudicialy(2)esteequipoo
dispositivodebeaceptarcualquierinterferencia,incluyendolaquepuedacausarsuoperaciónno
deseada.
其他法规信息
有关其他法规信息,请参阅计算机随附的《法规声明》。根据计算机的配置和购买计算机的国家
或地区,可能会收到其他印刷版法规声明。Lenovo支持Web站点上以电子格式提供所有法规声
明。要获得本文档的电子版,请访问http://www.lenovo.com/UserManuals。
138ThinkStationP510和P710用户指南

附录CWEEE和回收信息
Lenovo鼓励信息技术(IT)设备的所有者负责回收不再使用的设备。Lenovo提供多种计划和服
务,以帮助设备所有者对他们的IT产品进行回收。可从以下网址获得最新的环境信息
http://www.lenovo.com/ecodeclaration。
重要WEEE信息
Lenovo产品上的WEEE标记适用于执行WEEE和电子废弃物法规(如欧洲WEEE指令、印
度电子废弃物管理与处理条例2011)的国家或地区。贴有此标签的设备符合当地关于废弃电
子电气设备(WEEE)的法规。这些法规根据每个地区的适用情况,确定有关回收和再利用废
旧电器的法律框架。此标签贴在多种产品上,表示不得随意丢弃产品,而应将产品送往已建立
的收集系统以回收这些使用期结束的产品。
对于标有WEEE标记的电子电气设备(EEE),用户不得在其使用期结束后将其不加分类直接作为
城市废物处理,而应依照适用的收集机制对WEEE进行回收、再利用和再生,以尽可能降低EEE
因可能存在有害物质而对环境和人类健康造成的任何潜在影响。Lenovo电子电气设备(EEE)可
能包含在生命周期结束时可能被视为有害废弃物的部件和组件。
EEE和废弃电子电气设备(WEEE)可以免费运输到销售地或分销商处,该分销商销售具有与用过
的EEE或WEEE相同性质和功能的电子电气设备。
有关其他WEEE信息,请访问:
http://www.lenovo.com/recycling
适用于匈牙利的WEEE信息
根据匈牙利法案第197/2014(VIII.1.)号第12章的第(1)-(5)小节,Lenovo作为生产商承担
与履行Lenovo义务相关的成本。
日本的回收信息
CollectingandrecyclingadisusedLenovocomputerormonitor
IfyouareacompanyemployeeandneedtodisposeofaLenovocomputerormonitorthatis
thepropertyofthecompany,youmustdosoinaccordancewiththeLawforPromotionof
EffectiveUtilizationofResources.Computersandmonitorsarecategorizedasindustrial
©CopyrightLenovo2016139

wasteandshouldbeproperlydisposedofbyanindustrialwastedisposalcontractorcertified
byalocalgovernment.InaccordancewiththeLawforPromotionofEffectiveUtilizationof
Resources,LenovoJapanprovides,throughitsPCCollectingandRecyclingServices,for
thecollecting,reuse,andrecyclingofdisusedcomputersandmonitors.Fordetails,visit
theLenovoWebsiteathttp://www.lenovo.com/recycling/japan.PursuanttotheLawfor
PromotionofEffectiveUtilizationofResources,thecollectingandrecyclingofhome-used
computersandmonitorsbythemanufacturerwasbegunonOctober1,2003.Thisserviceis
providedfreeofchargeforhome-usedcomputerssoldafterOctober1,2003.Fordetails,
visittheLenovoWebsiteathttp://www.lenovo.com/recycling/japan.
DisposingofLenovocomputercomponents
SomeLenovocomputerproductssoldinJapanmayhavecomponentsthatcontainheavy
metalsorotherenvironmentalsensitivesubstances.Toproperlydisposeofdisused
components,suchasaprintedcircuitboardordrive,usethemethodsdescribedabovefor
collectingandrecyclingadisusedcomputerormonitor.
DisposingofdisusedlithiumbatteriesfromLenovocomputers
Abutton-shapedlithiumbatteryisinstalledinsideyourLenovocomputertoprovidepower
tothecomputerclockwhilethecomputerisoffordisconnectedfromthemainpowersource.
Ifyouneedtoreplaceitwithanewone,contactyourplaceofpurchaseorcontactLenovofor
service.Ifyouneedtodisposeofadisusedlithiumbattery,insulateitwithvinyltape,contact
yourplaceofpurchaseoranindustrial-waste-disposaloperator,andfollowtheirinstructions.
Disposalofalithiumbatterymustcomplywithlocalordinancesandregulations.
巴西的回收信息
DeclaraçõesdeReciclagemnoBrasil
Descar Descar
Descart t
te e
ede de
deum um
umP P
Pr r
rodut odut
oduto o
oL L
Lenovo enovo
enovoF F
For or
ora a
ade de
deUso Uso
Uso
Equipamentoselétricoseeletrônicosnãodevemserdescartadosemlixocomum,masenviados
àpontosdecoleta,autorizadospelofabricantedoprodutoparaquesejamencaminhadose
processadosporempresasespecializadasnomanuseioderesíduosindustriais,devidamente
certificadaspelosorgãosambientais,deacordocomalegislaçãolocal.
ALenovopossuiumcanalespecíficoparaauxiliá-lonodescartedessesprodutos.Casovocê
possuaumprodutoLenovoemsituaçãodedescarte,ligueparaonossoSACouencaminheum
e-mailpara:reciclar@lenovo.com,informandoomodelo,númerodesérieecidade,afimde
enviarmosasinstruçõesparaocorretodescartedoseuprodutoLenovo.
台湾的电池回收信息
140ThinkStationP510和P710用户指南

欧盟的电池回收信息
Notice:ThismarkappliesonlytocountrieswithintheEuropeanUnion(EU).
BatteriesorpackagingforbatteriesarelabeledinaccordancewithEuropeanDirective
2006/66/ECconcerningbatteriesandaccumulatorsandwastebatteriesandaccumulators.
TheDirectivedeterminestheframeworkforthereturnandrecyclingofusedbatteries
andaccumulatorsasapplicablethroughouttheEuropeanUnion.Thislabelisappliedto
variousbatteriestoindicatethatthebatteryisnottobethrownaway,butratherreclaimed
uponendoflifeperthisDirective.
InaccordancewiththeEuropeanDirective2006/66/EC,batteriesandaccumulatorsare
labeledtoindicatethattheyaretobecollectedseparatelyandrecycledatendoflife.
Thelabelonthebatterymayalsoincludeachemicalsymbolforthemetalconcernedin
thebattery(Pbforlead,Hgformercury,andCdforcadmium).Usersofbatteriesand
accumulatorsmustnotdisposeofbatteriesandaccumulatorsasunsortedmunicipalwaste,
butusethecollectionframeworkavailabletocustomersforthereturn,recycling,and
treatmentofbatteriesandaccumulators.Customerparticipationisimportanttominimize
anypotentialeffectsofbatteriesandaccumulatorsontheenvironmentandhumanhealth
duetothepotentialpresenceofhazardoussubstances.
Beforeplacingelectricalandelectronicequipment(EEE)inthewastecollectionstreamorin
wastecollectionfacilities,theenduserofequipmentcontainingbatteriesand/oraccumulators
mustremovethosebatteriesandaccumulatorsforseparatecollection.
DisposingoflithiumbatteriesandbatterypacksfromLenovoproducts
Acoin-celltypelithiumbatterymightbeinstalledinsideyourLenovoproduct.Youcanfind
detailsaboutthebatteryintheproductdocumentation.Ifthebatteryneedstobereplaced,
contactyourplaceofpurchaseorcontactLenovoforservice.Ifyouneedtodisposeofa
lithiumbattery,insulateitwithvinyltape,contactyourplaceofpurchaseorawaste-disposal
operator,andfollowtheirinstructions.
DisposingofbatterypacksfromLenovoproducts
YourLenovodevicemightcontainalithium-ionbatterypackoranickelmetalhydridebattery
pack.Youcanfinddetailsonthebatterypackintheproductdocumentation.Ifyouneedto
disposeofabatterypack,insulateitwithvinyltape,contactLenovosales,service,oryour
placeofpurchase,orawaste-disposaloperator,andfollowtheirinstructions.Youalsocan
refertotheinstructionsprovidedintheuserguideforyourproduct.
附录C.WEEE和回收信息141

附录D危险物质限制(RoHS)指令
可从以下网址获得最新的环境信息
http://www.lenovo.com/ecodeclaration。
欧盟RoHS
ThisLenovoproduct,withincludedparts(cables,cords,andsoon)meetstherequirements
ofDirective2011/65/EUontherestrictionoftheuseofcertainhazardoussubstancesin
electricalandelectronicequipment(“RoHSrecast”or“RoHS2”).
FormoreinformationaboutLenovoworldwidecomplianceonRoHS,goto:
http://www.lenovo.com/social_responsibility/us/en/RoHS_Communication.pdf
中国RoHS
土耳其RoHS
TheLenovoproductmeetstherequirementsoftheRepublicofTurkeyDirectiveonthe
RestrictionoftheUseofCertainHazardousSubstancesinWasteElectricalandElectronic
Equipment(WEEE).
©CopyrightLenovo2016143

乌克兰RoHS
印度RoHS
RoHScompliantasperE-Waste(Management&Handling)Rules,2011.
144ThinkStationP510和P710用户指南

附录EENERGYSTAR型号信息
ENERGYSTAR®是美国环保署和美国能源部的一项联合计划,旨在通过高能效的产品和做
法节省资金和保护环境。
Lenovo很荣幸能为客户提供符合ENERGYSTAR设计要求的产品。以下机器类型的某些
型号经设计和测试,符合计算机出厂时ENERGYSTAR计划对它的要求:30B4Z28VUS、
30B4Z28WUS、30B6Z28XUS和30B6Z28YUS。需要Lenovo计算机的ENERGYSTAR评级的
更多信息,请转至:
http://www.lenovo.com
通过使用符合ENERGYSTAR要求的产品并利用计算机的电源管理功能,可以减少电源消耗。减
少电力消耗有助于节省资金、使环境更洁净并减少温室气体排放。
有关ENERGYSTAR的更多信息,请访问:
http://www.energystar.gov
Lenovo鼓励用户在平时使用计算机部件时有效利用能源。为帮助用户节约能源,Lenovo设置了
以下电源管理功能,当计算机的非活动状态持续到指定的时间后将启用这些功能。
表3.ENERGYSTAR电源管理功能
Windows7或Windows10操作系统
电源计划:缺省设置
•关闭显示器:10分钟后
•使计算机进入睡眠状态:25分钟后
•高级电源设置:
–关闭硬盘驱动器:20分钟后
–休眠:从不
要从睡眠方式中唤醒计算机,请按键盘上的任意键。
要更改电源设置,请执行以下操作:
1.通过执行以下某项操作,打开“控制面板”:
•在Windows7中:单击“开始”按钮以打开“开始”菜单。
•在Windows10中:右键单击“开始”按钮以打开“开始”上下文菜单。
2.单击控制面板。按“大图标”或“小图标”查看“控制面板”,然后单击电源选项。
3.按照屏幕上的说明进行操作。
©CopyrightLenovo2016145
注: 产品无任何外接输入电源相连时才能实现零能耗状况。

146ThinkStationP510和P710用户指南

附录F声明
Lenovo可能不在所有国家或地区提供本文档中讨论的产品、服务或功能特性。有关您所在地区当
前提供的产品和服务的信息,请咨询您当地的Lenovo代表。对Lenovo产品、程序或服务的任何
引用无意明示或默示只能使用该Lenovo产品、程序或服务。只要不侵犯Lenovo的知识产权,任
何同等功能的产品、程序或服务,都可以代替Lenovo产品、程序或服务。但是,评估和验证任何
其他产品、程序或服务,则由用户自行负责。
Lenovo对于本文所述内容可能已拥有专利或正在申请专利。提供本文档并未授予用户使用这些专
利的任何许可。您可以用书面方式将许可查询寄往:
L enovo (Unit ed S tat es), Inc.
1009 Think Place - Building One
Morrisville, NC 27560
U .S.A.
A tt ention: L enovo Dir ect or of Licensing
Lenovo“按现状”提供本出版物,不附有任何种类的(无论是明示的还是默示的)保证,包括但
不限于默示的有关非侵权、适销和适用于某种特定用途的保证。某些管辖区域在某些交易中不允许
免除明示或默示的保证,因此本条款可能不适用于您。
本信息中可能包含技术方面不够准确的地方或印刷错误。此处的信息将定期更改;这些更改将编入
本出版物的新版本中。Lenovo可能会随时改进和/或更改本出版物中所述的产品和/或程序,恕不
另行通知。
本文档中所述的产品不适用于医疗植入或其他生命支持应用场景,在这些场景中发生故障可能导致
人身伤害或死亡。本文档中包含的信息并不影响或更改Lenovo产品规格或保修。本文档中的任何
内容都不能作为Lenovo或第三方的知识产权下的明示或默示的许可或保证。本文档中包含的所有
信息都是在特定的环境中获得并且作为插图显示。在其他操作环境中获得的结果可能会有所不同。
Lenovo可以按它认为适当的任何方式使用或分发您所提供的任何信息而无须对您承担任何责任。
本出版物中提供的对非LenovoWeb站点的任何引用都是为了方便起见,任何情况下都不作为对
这些Web站点的公开支持。这些Web站点上的资料不属于本Lenovo产品的资料,并且使用这
些Web站点时风险自担。
此处包含的任何性能数据都是在受控环境中测得的。因此,在其他操作环境中获得的数据可能会有
明显的不同。有些测量可能是在开发级的系统上进行的,因此不保证与一般可用系统上进行的测量
结果相同。此外,有些测量是通过推算而估计的。实际结果可能会有差异。本文档的用户应当验
证其特定环境的适用数据。
商标
下列术语是Lenovo在美国和/或其他国家或地区的商标:
Lenovo
Lenovo徽标
ThinkStation
ThinkStation徽标
©CopyrightLenovo2016147

RescueandRecovery
ThinkVantage
Microsoft、Windows和WindowsMedia是Microsoft公司集团的商标。
Intel、Thunderbolt和Xeon是IntelCorporation在美国和/或其他国家或地区的商标。
Linux是LinusTorvalds的注册商标。
DisplayPort和MiniDisplayPort是视频电子标准协会的商标。
Android是GoogleInc.的商标。
其他公司、产品或服务名称可能是其他公司的商标或者服务标记。
148ThinkStationP510和P710用户指南




































