Lenovo P51 Ug En User Guide Manual (English) Think Pad (20HH, 20HJ) (Type 20HH, Laptop (Thinkpad) Type 20HJ
2017-11-21
User Manual: Lenovo P51 Ug En (English) User Guide - ThinkPad P51 (20HH, 20HJ) P51 (Type 20HH, 20HJ) Laptop (Thinkpad) - Type 20HJ 20HJ
Open the PDF directly: View PDF
.
Page Count: 172 [warning: Documents this large are best viewed by clicking the View PDF Link!]
- Important safety information
- Read this first
- Important information about using your computer
- Conditions that require immediate action
- Service and upgrades
- Power cords and power adapters
- Extension cords and related devices
- Plugs and outlets
- Power supply statement
- External devices
- General battery notice
- Notice for removable rechargeable battery
- Notice for non-rechargeable coin-cell battery
- Heat and product ventilation
- Electrical current safety information
- Liquid crystal display (LCD) notice
- Using headphones or earphones
- Choking hazard notice
- Plastic bag notice
- Glass parts notice
- Chapter 1. Product overview
- Chapter 2. Using your computer
- Registering your computer
- Frequently asked questions
- Getting help about the Windows operating system
- Using the multi-touch screen
- Using the special keys
- Using the ThinkPad pointing device
- Power management
- Cabled Ethernet connections
- Wireless connections
- Using the NVIDIA Optimus Graphics feature
- Using audio features
- Using the camera
- Using the color sensor
- Using an ExpressCard, a media card, or a smart card
- Using an external display
- Traveling with your computer
- Chapter 3. Enhancing your computer
- Chapter 4. Accessibility, ergonomic, and maintenance information
- Chapter 5. Security
- Chapter 6. Advanced configuration
- Chapter 7. Configuring RAID
- Chapter 8. Troubleshooting computer problems
- General tips for preventing problems
- Diagnosing problems with Lenovo Companion
- Troubleshooting
- Computer stops responding
- Spills on the keyboard
- Error messages
- Beep errors
- Memory module problems
- Ethernet problems
- Wireless-LAN problem
- Wireless-WAN problem
- Bluetooth problem
- ThinkPad pointing device problems
- Keyboard problems
- Computer screen problems
- External monitor problems
- Audio problems
- Fingerprint reader problems
- Battery problems
- ac power adapter problem
- Power problems
- Power button problem
- Boot problems
- Sleep and hibernation problems
- Hard disk drive problems
- Solid-state drive problem
- ThinkPad Pen Pro problem
- Software problem
- USB problem
- Docking station problem
- Chapter 9. Recovery information
- Chapter 10. Replacing devices
- Static electricity prevention
- Replacing the removable battery
- Replacing the micro SIM card
- Replacing the bottom cover
- Replacing the internal storage drive
- Replacing the M.2 solid-state drive
- Replacing the memory module under the bottom cover
- Replacing the coin-cell battery
- Replacing the keyboard
- Replacing the wireless-WAN card
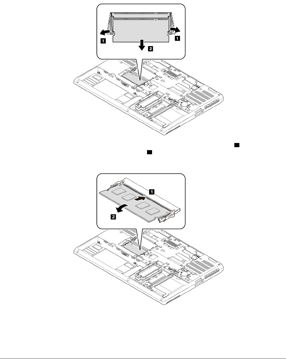
- Replacing the memory module under the keyboard
- Chapter 11. Getting support
- Appendix A. Supplemental information about the Ubuntu operating system
- Appendix B. Regulatory information
- Certification-related information
- Wireless-related information
- TCO certification
- Export classification notice
- Electronic emission notices
- Federal Communications Commission Declaration of Conformity
- Industry Canada Class B emission compliance statement
- European Union conformity
- German Class B compliance statement
- Korea Class B compliance statement
- Japan VCCI Class B compliance statement
- Japan compliance statement for products which connect to the power mains with rated current less than or equal to 20 A per phase
- Japan notice for ac power cord
- Lenovo product service information for Taiwan
- Eurasian compliance mark
- Brazil audio notice
- Appendix C. WEEE and recycling statements
- General recycling information
- Important WEEE information
- Japan recycling statements
- Recycling information for Brazil
- Battery recycling information for the European Union
- Battery recycling information for Taiwan
- Battery recycling information for the United States and Canada
- Recycling information for China
- Appendix D. Restriction of Hazardous Substances (RoHS) Directive
- Appendix E. ENERGY STAR model information
- Appendix F. Notices
- Appendix G. Trademarks

P51 User Guide

Note: Before using this information and the product it supports, be sure to read and understand the
following:
• Safety, Warranty, and Setup Guide
• “Important safety information” on page v
The latest Safety, Warranty, and Setup Guide and the Regulatory Notice are available on the Lenovo Support
Web site at:
http://www.lenovo.com/support
Third Edition (August 2017)
© Copyright Lenovo 2017.
LIMITED AND RESTRICTED RIGHTS NOTICE: If data or software is delivered pursuant to a General Services
Administration “GSA” contract, use, reproduction, or disclosure is subject to restrictions set forth in Contract No. GS-
35F-05925.

Contents
Important safety information . . . . . . v
Read this first. . . . . . . . . . . . . . . . . v
Important information about using your computer . . v
Conditions that require immediate action . . . . . . vii
Service and upgrades . . . . . . . . . . . . viii
Power cords and power adapters . . . . . . . . . ix
Extension cords and related devices. . . . . . . . ix
Plugs and outlets . . . . . . . . . . . . . . . x
Power supply statement . . . . . . . . . . . . x
External devices . . . . . . . . . . . . . . . xi
General battery notice . . . . . . . . . . . . . xi
Notice for removable rechargeable battery . . . . . xi
Notice for non-rechargeable coin-cell battery . . . . xii
Heat and product ventilation . . . . . . . . . . xiii
Electrical current safety information . . . . . . . xiv
Liquid crystal display (LCD) notice . . . . . . . . xv
Using headphones or earphones . . . . . . . . . xv
Choking hazard notice . . . . . . . . . . . . . xv
Plastic bag notice . . . . . . . . . . . . . . . xv
Glass parts notice . . . . . . . . . . . . . . xvi
Chapter 1. Product overview . . . . . . 1
Computer controls, connectors, and indicators . . . 1
Front view . . . . . . . . . . . . . . . . 1
Left-side view. . . . . . . . . . . . . . . 2
Right-side view . . . . . . . . . . . . . . 3
Rear view . . . . . . . . . . . . . . . . 4
Bottom view . . . . . . . . . . . . . . . 6
Status indicators . . . . . . . . . . . . . 6
Important product information labels . . . . . . . 8
Machine type and model label . . . . . . . . 8
FCC ID and IC Certification number . . . . . . 9
Labels for the Windows operating systems . . 10
Computer features. . . . . . . . . . . . . . 11
Computer specifications . . . . . . . . . . . 12
Operating environment . . . . . . . . . . . . 12
Lenovo programs . . . . . . . . . . . . . . 13
Accessing Lenovo programs . . . . . . . . 13
An introduction to Lenovo programs . . . . . 13
Chapter 2. Using your computer . . . 15
Registering your computer . . . . . . . . . . 15
Frequently asked questions . . . . . . . . . . 15
Getting help about the Windows operating
system . . . . . . . . . . . . . . . . . . 16
Using the multi-touch screen . . . . . . . . . 16
Using the special keys . . . . . . . . . . . . 18
Using the ThinkPad pointing device . . . . . . . 20
ThinkPad pointing device overview . . . . . 20
Using the TrackPoint pointing device. . . . . 21
Using the trackpad with buttons . . . . . . 22
Using the trackpad touch gestures . . . . . 22
Customizing the ThinkPad pointing device . . 23
Replacing the cap on the pointing stick . . . . 23
Power management . . . . . . . . . . . . . 24
Using the ac power adapter . . . . . . . . 24
Using the battery . . . . . . . . . . . . 24
Managing the battery power . . . . . . . . 25
Power-saving modes . . . . . . . . . . . 26
Cabled Ethernet connections . . . . . . . . . 26
Wireless connections . . . . . . . . . . . . 27
Using the wireless-LAN connection . . . . . 27
Using the wireless-WAN connection . . . . . 27
Using the Bluetooth connection. . . . . . . 28
Using the Airplane mode . . . . . . . . . 28
Using the NVIDIA Optimus Graphics feature. . . . 28
Using audio features . . . . . . . . . . . . . 29
Using the camera . . . . . . . . . . . . . . 29
Using the color sensor . . . . . . . . . . . . 30
Using an ExpressCard, a media card, or a smart
card . . . . . . . . . . . . . . . . . . . 30
Using an external display . . . . . . . . . . . 32
Traveling with your computer . . . . . . . . . 33
Chapter 3. Enhancing your
computer . . . . . . . . . . . . . . . . 35
Finding ThinkPad options . . . . . . . . . . . 35
ThinkPad Pen Pro . . . . . . . . . . . . . . 35
ThinkPad Basic Dock, ThinkPad Pro Dock, and
ThinkPad Ultra Dock . . . . . . . . . . . . . 36
Controls, connectors, and indicators . . . . . 37
Attaching a docking station to your
computer . . . . . . . . . . . . . . . 41
Detaching a docking station from your
computer . . . . . . . . . . . . . . . 42
Guidelines on connecting multiple external
displays to the docking station . . . . . . . 43
ThinkPad Workstation Dock . . . . . . . . . . 44
ThinkPad Workstation Dock overview . . . . 44
Attaching the docking station to your
computer . . . . . . . . . . . . . . . 45
Detaching the docking station from your
computer . . . . . . . . . . . . . . . 46
Guideline on connecting multiple external
displays to the docking station . . . . . . . 48
© Copyright Lenovo 2017 i
Chapter 4. Accessibility, ergonomic,
and maintenance information . . . . . 49
Accessibility information . . . . . . . . . . . 49
Ergonomic information . . . . . . . . . . . . 51
Cleaning and maintenance . . . . . . . . . . 52
Chapter 5. Security . . . . . . . . . . 55
Using passwords . . . . . . . . . . . . . . 55
Passwords introduction . . . . . . . . . . 55
Setting, changing, or removing a password . . 56
Hard disk security . . . . . . . . . . . . . . 57
Setting the security chip . . . . . . . . . . . 57
Using the fingerprint reader . . . . . . . . . . 58
Deleting data from your storage drive . . . . . . 60
Using firewalls . . . . . . . . . . . . . . . 60
Protecting data against viruses . . . . . . . . . 61
Chapter 6. Advanced
configuration . . . . . . . . . . . . . . 63
Installing the Windows 10 operating system. . . . 63
Installing device drivers . . . . . . . . . . . . 64
Using the ThinkPad Setup program . . . . . . . 64
Configuring ThinkPad Setup . . . . . . . . 65
Changing the startup sequence . . . . . . . 65
Updating the UEFI BIOS. . . . . . . . . . 66
BIOS menu. . . . . . . . . . . . . . . 66
Using system management . . . . . . . . . . 78
Chapter 7. Configuring RAID . . . . . 81
Storage drive requirements for RAID levels . . . . 81
Configuring RAID with the Intel RST configuration
utility . . . . . . . . . . . . . . . . . . . 81
Entering the Intel RST configuration utility . . . 82
Creating RAID volumes . . . . . . . . . . 82
Deleting RAID volumes . . . . . . . . . . 83
Resetting storage drives to non-RAID . . . . 83
Rebuilding RAID 1 volumes . . . . . . . . 84
Chapter 8. Troubleshooting
computer problems . . . . . . . . . . 85
General tips for preventing problems . . . . . . 85
Diagnosing problems with Lenovo Companion. . . 85
Troubleshooting . . . . . . . . . . . . . . 86
Computer stops responding . . . . . . . . 86
Spills on the keyboard . . . . . . . . . . 87
Error messages . . . . . . . . . . . . . 87
Beep errors. . . . . . . . . . . . . . . 88
Memory module problems . . . . . . . . . 90
Ethernet problems . . . . . . . . . . . . 90
Wireless-LAN problem . . . . . . . . . . 91
Wireless-WAN problem . . . . . . . . . . 91
Bluetooth problem . . . . . . . . . . . . 91
ThinkPad pointing device problems . . . . . 92
Keyboard problems . . . . . . . . . . . 92
Computer screen problems . . . . . . . . 93
External monitor problems. . . . . . . . . 94
Audio problems . . . . . . . . . . . . . 96
Fingerprint reader problems . . . . . . . . 97
Battery problems . . . . . . . . . . . . 97
ac power adapter problem . . . . . . . . . 98
Power problems . . . . . . . . . . . . . 98
Power button problem . . . . . . . . . . 98
Boot problems . . . . . . . . . . . . . 99
Sleep and hibernation problems . . . . . . 99
Hard disk drive problems . . . . . . . . . 100
Solid-state drive problem . . . . . . . . . 100
ThinkPad Pen Pro problem . . . . . . . . 100
Software problem . . . . . . . . . . . . 100
USB problem . . . . . . . . . . . . . . 101
Docking station problem . . . . . . . . . 101
Chapter 9. Recovery information . . . 103
Resetting your computer . . . . . . . . . . . 103
Using advanced startup options . . . . . . . . 103
Recovering your operating system if Windows 10
fails to start . . . . . . . . . . . . . . . . 103
Creating and using a recovery USB drive . . . . . 104
Chapter 10. Replacing devices . . . . 105
Static electricity prevention . . . . . . . . . . 105
Replacing the removable battery . . . . . . . . 105
Replacing the micro SIM card . . . . . . . . . 107
Replacing the bottom cover . . . . . . . . . . 107
Replacing the internal storage drive . . . . . . . 108
Replacing the M.2 solid-state drive . . . . . . . 111
Replacing the memory module under the bottom
cover . . . . . . . . . . . . . . . . . . . 114
Replacing the coin-cell battery . . . . . . . . . 115
Replacing the keyboard. . . . . . . . . . . . 117
Replacing the wireless-WAN card. . . . . . . . 121
Replacing the memory module under the
keyboard . . . . . . . . . . . . . . . . . 123
Chapter 11. Getting support. . . . . . 127
Before you contact Lenovo . . . . . . . . . . 127
Getting help and service . . . . . . . . . . . 127
Lenovo Support Web site . . . . . . . . . 128
Calling Lenovo . . . . . . . . . . . . . 128
Purchasing additional services . . . . . . . . . 129
ii P51 User Guide

Appendix A. Supplemental information
about the Ubuntu operating
system . . . . . . . . . . . . . . . . . 131
Appendix B. Regulatory
information . . . . . . . . . . . . . . . 133
Certification-related information . . . . . . . . 133
Wireless-related information . . . . . . . . . . 133
Wireless interoperability. . . . . . . . . . 133
Usage environment and your health . . . . . 133
Locating the UltraConnect wireless
antennas. . . . . . . . . . . . . . . . 134
Wireless-radio compliance information . . . . 134
Locating wireless regulatory notices . . . . . 135
TCO certification . . . . . . . . . . . . . . 135
Export classification notice . . . . . . . . . . 135
Electronic emission notices . . . . . . . . . . 135
Federal Communications Commission
Declaration of Conformity . . . . . . . . . 135
Industry Canada Class B emission
compliance statement . . . . . . . . . . 136
European Union conformity . . . . . . . . 136
German Class B compliance statement. . . . 136
Korea Class B compliance statement . . . . 137
Japan VCCI Class B compliance
statement . . . . . . . . . . . . . . . 137
Japan compliance statement for products
which connect to the power mains with rated
current less than or equal to 20 A per
phase . . . . . . . . . . . . . . . . . 137
Japan notice for ac power cord . . . . . . . 137
Lenovo product service information for
Taiwan . . . . . . . . . . . . . . . . 137
Eurasian compliance mark . . . . . . . . . . 138
Brazil audio notice . . . . . . . . . . . . . . 138
Appendix C. WEEE and recycling
statements . . . . . . . . . . . . . . . 139
General recycling information . . . . . . . . . 139
Important WEEE information. . . . . . . . . . 139
Japan recycling statements . . . . . . . . . . 140
Recycling information for Brazil. . . . . . . . . 140
Battery recycling information for the European
Union . . . . . . . . . . . . . . . . . . . 141
Battery recycling information for Taiwan . . . . . 142
Battery recycling information for the United States
and Canada . . . . . . . . . . . . . . . . 142
Recycling information for China . . . . . . . . 142
Appendix D. Restriction of
Hazardous Substances (RoHS)
Directive . . . . . . . . . . . . . . . . 143
Appendix E. ENERGY STAR model
information . . . . . . . . . . . . . . . 147
Appendix F. Notices . . . . . . . . . . 149
Appendix G. Trademarks . . . . . . . 151
© Copyright Lenovo 2017 iii
iv P51 User Guide

Important safety information
Note: Read the important safety information first.
Read this first
This information can help you safely use your notebook computer. Follow and retain all information included
with your computer. The information in this document does not alter the terms of your purchase agreement
or the Limited Warranty. For more information, see "Warranty Information" in the Safety, Warranty, and Setup
Guide that comes with your computer.
Customer safety is important. Our products are developed to be safe and effective. However, personal
computers are electronic devices. Power cords, power adapters, and other features can create potential
safety risks that can result in physical injury or property damage, especially if misused. To reduce these risks,
follow the instructions included with your product, observe all warnings on the product and in the operating
instructions, and review the information included in this document carefully. By carefully following the
information contained in this document and provided with your product, you can help protect yourself from
hazards and create a safer computer work environment.
Note: This information includes references to power adapters and batteries. In addition to notebook
computers, some products (such as speakers and monitors) ship with external power adapters. If you have
such a product, this information applies to your product. In addition, computer products contain a coin-sized
internal battery that provides power to the system clock even when the computer is unplugged, so the
battery safety information applies to all computer products.
Important information about using your computer
Ensure that you follow the important tips given here to get the most use and enjoyment out of your computer.
Failure to do so might lead to discomfort or injury, or cause the computer to fail.
Protect yourself from the heat that your computer generates.
When your computer is turned on or the battery is charging, the base, the palm
rest, and some other parts may become hot. The temperature they reach
depends on the amount of system activity and the level of charge in the
battery.
Extended contact with your body, even through clothing, could cause
discomfort or even a skin burn.
• Avoid keeping your hands, your lap, or any other part of your body in
contact with a hot section of the computer for any extended time.
• Periodically take hands from using the keyboard by lifting your hands from
the palm rest.
© Copyright Lenovo 2017 v

Protect yourself from the heat generated by the ac power adapter.
When the ac power adapter is connected to an electrical outlet and your
computer, it generates heat.
Extended contact with your body, even through clothing, may cause a skin
burn.
• Do not place the ac power adapter in contact with any part of your body
while it is in use.
• Never use it to warm your body.
Prevent your computer from getting wet.
To avoid spills and the danger of electrical shock, keep liquids away from your
computer.
Protect the cables from being damaged.
Applying strong force to cables may damage or break them.
Route communication lines, or the cables of an ac power adapter, a mouse, a
keyboard, a printer, or any other electronic device, so that they cannot be
walked on, tripped over, pinched by your computer or other objects, or in any
way subject to treatment that could interfere with the operation of your
computer.
Protect your computer and data when moving it.
Before moving a computer equipped with a hard disk drive, do one of the
following:
• Turn it off.
• Put it in sleep mode.
• Put it in hibernation mode.
This helps to prevent damage to the computer, and possible loss of data.
vi P51 User Guide

Handle your computer gently.
Do not drop, bump, scratch, twist, hit, vibrate, push, or place heavy objects on
your computer, display, or external devices.
Carry your computer carefully.
• Use a quality carrying case that provides adequate cushioning and protection.
• Do not pack your computer in a tightly packed suitcase or bag.
• Before putting your computer in a carrying case, make sure that it is off, in sleep
mode, or in hibernation mode. Do not put a computer in a carrying case while it is
turned on.
Conditions that require immediate action
Products can become damaged due to misuse or neglect. Some product damage is serious enough
that the product should not be used again until it has been inspected and, if necessary, repaired by an
authorized servicer.
As with any electronic device, pay close attention to the product when it is turned on. On very rare
occasions, you might notice an odor or see a puff of smoke or sparks vent from your product. Or you
might hear sounds like popping, cracking, or hissing. These conditions might merely mean that an
internal electronic component has failed in a safe and controlled manner. Or, they might indicate a
potential safety issue. However, do not take risks or attempt to diagnose the situation yourself.
Contact the Customer Support Center for further guidance. For a list of Service and Support phone
numbers, see the following Web site:
http://www.lenovo.com/support/phone
Frequently inspect your computer and its components for damage or wear or signs of danger. If you
have any question about the condition of a component, do not use the product. Contact the Customer
Support Center or the product manufacturer for instructions on how to inspect the product and have it
repaired, if necessary.
In the unlikely event that you notice any of the following conditions, or if you have any safety concerns
with your product, stop using the product and unplug it from the power source and
telecommunication lines until you can speak to the Customer Support Center for further guidance.
© Copyright Lenovo 2017 vii

• Power cords, plugs, power adapters, extension cords, surge protectors, or power supplies that are
cracked, broken, or damaged.
• Signs of overheating, smoke, sparks, or fire.
• Damage to a battery (such as cracks, dents, or creases), discharge from a battery, or a buildup of foreign
substances on the battery.
• A cracking, hissing, or popping sound, or strong odor that comes from the product.
• Signs that liquid has been spilled or an object has fallen onto the computer product, the power cord, or
power adapter.
• The computer product, power cord, or power adapter has been exposed to water.
• The product has been dropped or damaged in any way.
• The product does not operate normally when you follow the operating instructions.
Note: If you notice these conditions with a product (such as an extension cord) that is not manufactured for
or by Lenovo®, stop using that product until you can contact the product manufacturer for further
instructions, or until you get a suitable replacement.
Service and upgrades
Do not attempt to service a product yourself unless instructed to do so by the Customer Support Center or
your documentation. Only use a Service Provider who is approved to repair your particular product.
Note: Some computer parts can be upgraded or replaced by the customer. Upgrades typically are referred
to as options. Replacement parts approved for customer installation are referred to as Customer
Replaceable Units, or CRUs. Lenovo provides documentation with instructions when it is appropriate for
customers to install options or replace CRUs. You must closely follow all instructions when installing or
replacing parts. The Off state of a power indicator does not necessarily mean that voltage levels inside a
product are zero. Before you remove the covers from a product equipped with a power cord, always make
sure that the power is turned off and that the product is unplugged from any power source. If you have any
questions or concerns, contact the Customer Support Center.
Although there are no moving parts in your computer after the power cord has been disconnected, the
following warnings are required for your safety.
CAUTION:
Hazardous moving parts. Keep fingers and other body parts away.
CAUTION:
Before you open the computer cover, turn off the computer and wait several minutes until the
computer is cool.
viii P51 User Guide

Power cords and power adapters
DANGER
Use only the power cords and power adapters supplied by the product manufacturer.
The power cords shall be safety approved. For Germany, it shall be H03VV-F, 3G, 0.75 mm2, or
better. For other countries, the suitable types shall be used accordingly.
Never wrap a power cord around a power adapter or other object. Doing so can stress the cord in
ways that can cause the cord to fray, crack, or crimp. This can present a safety hazard.
Always route power cords so that they will not be walked on, tripped over, or pinched by objects.
Protect power cords and power adapters from liquids. For instance, do not leave your power cord
or power adapter near sinks, tubs, toilets, or on floors that are cleaned with liquid cleansers. Liquids
can cause a short circuit, particularly if the power cord or power adapter has been stressed by
misuse. Liquids also can cause gradual corrosion of power cord terminals and/or the connector
terminals on a power adapter, which can eventually result in overheating.
Ensure that all power cord connectors are securely and completely plugged into receptacles.
Do not use any power adapter that shows corrosion at the ac input pins or shows signs of
overheating (such as deformed plastic) at the ac input pins or anywhere on the power adapter.
Do not use any power cords where the electrical contacts on either end show signs of corrosion or
overheating or where the power cord appears to have been damaged in any way.
To prevent possible overheating, do not cover the power adapter with clothing or other objects
when the power adapter is plugged into an electrical outlet.
Extension cords and related devices
Ensure that extension cords, surge protectors, uninterruptible power supplies, and power strips that you use
are rated to handle the electrical requirements of the product. Never overload these devices. If power strips
are used, the load should not exceed the power strip input rating. Consult an electrician for more information
if you have questions about power loads, power requirements, and input ratings.
© Copyright Lenovo 2017 ix

Plugs and outlets
DANGER
If a receptacle (power outlet) that you intend to use with your computer equipment appears to be
damaged or corroded, do not use the outlet until it is replaced by a qualified electrician.
Do not bend or modify the plug. If the plug is damaged, contact the manufacturer to obtain a
replacement.
Do not share an electrical outlet with other home or commercial appliances that draw large
amounts of electricity; otherwise, unstable voltage might damage your computer, data, or attached
devices.
Some products are equipped with a three-pronged plug. This plug fits only into a grounded
electrical outlet. This is a safety feature. Do not defeat this safety feature by trying to insert it into a
non-grounded outlet. If you cannot insert the plug into the outlet, contact an electrician for an
approved outlet adapter or to replace the outlet with one that enables this safety feature. Never
overload an electrical outlet. The overall system load should not exceed 80 percent of the branch
circuit rating. Consult an electrician for more information if you have questions about power loads
and branch circuit ratings.
Be sure that the power outlet you are using is properly wired, easily accessible, and located close to
the equipment. Do not fully extend power cords in a way that will stress the cords.
Be sure that the power outlet provides the correct voltage and current for the product you are
installing.
Carefully connect and disconnect the equipment from the electrical outlet.
Power supply statement
DANGER
Never remove the cover on a power supply or any part that has the following label attached.
Hazardous voltage, current, and energy levels are present inside any component that has this label
attached. There are no serviceable parts inside these components. If you suspect a problem with
one of these parts, contact a service technician.
xP51 User Guide

External devices
CAUTION:
Do not connect or disconnect any external device cables other than Universal Serial Bus (USB) and
1394 cables while the computer power is on; otherwise, you might damage your computer. To avoid
possible damage to attached devices, wait at least five seconds after the computer is shut down to
disconnect external devices.
General battery notice
DANGER
Batteries supplied by Lenovo for use with your product have been tested for compatibility and
should only be replaced with approved parts. A battery other than the one specified by Lenovo, or a
disassembled or modified battery is not covered by the warranty.
Battery abuse or mishandling can cause overheat, liquid leakage, or an explosion. To avoid possible
injury, do the following:
• Do not open, dissemble, or service any battery.
• Do not crush or puncture the battery.
• Do not short-circuit the battery, or expose it to water or other liquids.
• Keep the battery away from children.
• Keep the battery away from fire.
Stop using the battery if it is damaged, or if you notice any discharge or the buildup of foreign
materials on the battery leads.
Store the rechargeable batteries or products containing the rechargeable batteries at room
temperature, charged to approximately 30 to 50% of capacity. We recommend that the batteries be
charged about once per year to prevent overdischarge.
Do not put the battery in trash that is disposed of in landfills. When disposing of the battery, comply
with local ordinances or regulations.
Notice for removable rechargeable battery
DANGER
Only recharge the battery strictly according to instructions included in the product documentation.
If the battery is incorrectly replaced, there is danger of an explosion. The battery contains a small
amount of harmful substances.
© Copyright Lenovo 2017 xi

Notice for non-rechargeable coin-cell battery
DANGER
If the coin-cell battery is incorrectly replaced, there is danger of an explosion. The battery contains
a small amount of harmful substance.
Do not heat to more than 100°C (212°F).
The following statement applies to users in the state of California, U.S.A.
California Perchlorate Information:
Products containing manganese dioxide lithium coin-cell batteries may contain perchlorate.
Perchlorate Material - special handling may apply, See http://www.dtsc.ca.gov/hazardouswaste/
perchlorate
xii P51 User Guide

Heat and product ventilation
DANGER
Computers, ac power adapters, and many accessories can generate heat when turned on and when
batteries are charging. Notebook computers can generate a significant amount of heat due to their
compact size. Always follow these basic precautions:
• When your computer is turned on or the battery is charging, the base, the palm rest, and some
other parts may become hot. Avoid keeping your hands, your lap, or any other part of your body
in contact with a hot section of the computer for any extended length of time. When you use the
keyboard, avoid keeping your palms on the palm rest for a prolonged period of time. Your
computer generates some heat during normal operation. The amount of heat depends on the
amount of system activity and the battery charge level. Extended contact with your body, even
through clothing, could cause discomfort or even a skin burn. Periodically take breaks from using
the keyboard by lifting your hands from the palm rest; and be careful not to use the keyboard for
any extended length of time.
• Do not operate your computer or charge the battery near flammable materials or in explosive
environments.
• Ventilation slots, fans and/or heat sinks are provided with the product for safety, comfort, and
reliable operation. These features might inadvertently become blocked by placing the product on
a bed, sofa, carpet, or other flexible surface. Never block, cover, or disable these features.
• When the ac power adapter is connected to an electrical outlet and your computer, it generates
heat. Do not place the adapter in contact with any part of your body while using it. Never use the
ac power adapter to warm your body. Extended contact with your body, even through clothing,
may cause a skin burn.
For your safety, always follow these basic precautions with your computer:
• Keep the cover closed whenever the computer is plugged in.
• Regularly inspect the outside of the computer for dust accumulation.
• Remove dust from vents and any perforations in the bezel. More frequent cleanings might be
required for computers in dusty or high-traffic areas.
• Do not restrict or block any ventilation openings.
• Do not operate your computer inside furniture, as this might increase the risk of overheating.
• Airflow temperatures into the computer should not exceed 35°C (95°F).
© Copyright Lenovo 2017 xiii

Electrical current safety information
DANGER
Electric current from power, telephone, and communication cables is hazardous.
To avoid a shock hazard:
• Do not use your computer during a lightning storm.
• Do not connect or disconnect any cables or perform installation, maintenance, or reconfiguration
of this product during an electrical storm.
• Connect all power cords to a properly wired and grounded electrical outlet.
• Connect to properly wired outlets any equipment that will be attached to this product.
• Whenever possible, use one hand only to connect or disconnect signal cables.
• Never turn on any equipment when there is evidence of fire, water, or structural damage.
• Disconnect the attached power cords, battery, and all the cables before you open the device
covers, unless instructed otherwise in the installation and configuration procedures.
• Do not use your computer until all internal parts enclosures are fastened into place. Never use
the computer when internal parts and circuits are exposed.
DANGER
Connect and disconnect cables as described in the following procedures when installing, moving,
or opening covers on this product or attached devices.
To connect:
1. Turn everything OFF.
2. First, attach all cables to devices.
3. Attach signal cables to connectors.
4. Attach power cords to outlets.
5. Turn devices ON.
To disconnect:
1. Turn everything OFF.
2. First, remove power cords from outlets.
3. Remove signal cables from connectors.
4. Remove all cables from devices.
The power cord must be disconnected from the wall outlet or receptacle before installing all other electrical
cables connected to the computer.
The power cord may be reconnected to the wall outlet or receptacle only after all other electrical cables have
been connected to the computer.
DANGER
During electrical storms, do not perform any replacement and do not connect the telephone cable
to or disconnect it from the telephone outlet on the wall.
xiv P51 User Guide

Liquid crystal display (LCD) notice
CAUTION:
The liquid crystal display (LCD) is made of glass, and rough handling or dropping the computer can
cause the LCD to break. If the LCD breaks and the internal fluid gets into your eyes or on your hands,
immediately wash the affected areas with water for at least 15 minutes; if any symptoms are present
after washing, get medical care.
Note: For products with mercury-containing fluorescent lamps (for example, non-LED), the fluorescent lamp
in the liquid crystal display (LCD) contains mercury; dispose of according to local, state, or federal laws.
Using headphones or earphones
CAUTION:
Excessive sound pressure from earphones and headphones can cause hearing loss. Adjustment of
the equalizer to maximum increases the earphone and headphone output voltage and the sound
pressure level. Therefore, to protect your hearing, adjust the equalizer to an appropriate level.
Excessive use of headphones or earphones for a long period of time at high volume can be dangerous if the
output of the headphone or earphone connectors do not comply with specifications of EN 50332-2. The
headphone output connector of your computer complies with EN 50332-2 Sub clause 7. This specification
limits the computer’s maximum wide band true RMS output voltage to 150 mV. To help protect against
hearing loss, ensure that the headphones or earphones you use also comply with EN 50332-2 (Clause 7
limits) for a wide band characteristic voltage of 75 mV. Using headphones that do not comply with EN 50332-
2 can be dangerous due to excessive sound pressure levels.
If your Lenovo computer came with headphones or earphones in the package, as a set, the combination of
the headphones or earphones and the computer already complies with the specifications of EN 50332-1. If
different headphones or earphones are used, ensure that they comply with EN 50332-1 (Clause 6.5
Limitation Values). Using headphones that do not comply with EN 50332-1 can be dangerous due to
excessive sound pressure levels.
Choking hazard notice
CHOKING HAZARD – Product contains small parts.
Keep away from children under three years.
Plastic bag notice
DANGER
Plastic bags can be dangerous. Keep plastic bags away from babies and children to avoid danger of
suffocation.
© Copyright Lenovo 2017 xv

Glass parts notice
CAUTION:
Some parts of your product may be made of glass. This glass could break if the product is dropped on
a hard surface or receives a substantial impact. If glass breaks, do not touch or attempt to remove it.
Stop using your product until the glass is replaced by trained service personnel.
xvi P51 User Guide

Chapter 1. Product overview
This chapter provides basic information to help you get familiar with your computer.
Computer controls, connectors, and indicators
This section introduces hardware features of the computer.
Front view
1 Camera (available on some models) 2 Microphones (available on some models)
3 Screen (multi-touch available on some models) 4 Power button
5 Numeric keypad 6 Fingerprint reader
7 TrackPoint® pointing device 8 Trackpad with buttons
9 Color sensor (available on some models) 10 Speakers
1 Camera (available on some models)
The camera enables you to take pictures or hold a video conference. For more information, see “Using the
camera” on page 29.
2 Microphones (available on some models)
The microphones capture sound and voice when used with a program capable of handling audio.
3 Screen (multi-touch available on some models)
The multi-touch screen enables you to use your computer with simple touch gestures. For more information,
see “Using the multi-touch screen” on page 16.
4 Power button
You can press the power button to turn on the computer or put the computer into sleep mode.
© Copyright Lenovo 2017 1

To turn off the computer, open the Start menu, click Power, and then click Shut down.
If your computer is unresponsive, you can turn off the computer by pressing and holding the power button
for four or more seconds. If the computer cannot be turned off, see “Computer stops responding” on page
86.
You also can define what the power button does. For example, by pressing the power button, you can turn
off the computer or put the computer into sleep or hibernation mode. To change what the power button
does, do the following:
1. Go to Control Panel, and then change the view of Control Panel from Category to Large icons or Small
icons.
2. Click Power Options ➙ Choose what the power buttons do.
3. Follow the instructions on the screen.
5 Numeric keypad
The numeric keypad enables you to quickly type in numbers.
6 Fingerprint reader
Fingerprint authentication provides simple and secure user access by associating your fingerprint with a
password. For more information, see “Using the fingerprint reader” on page 58.
ThinkPad® pointing device
7 TrackPoint pointing device
8 Trackpad with buttons
Your computer is equipped with the Lenovo-unique ThinkPad pointing device. For more information, see
“ThinkPad pointing device overview” on page 20.
9 Color sensor (available on some models)
The color sensor enables you to measure and adjust the color accuracy of your computer display. For more
information, see “Using the color sensor” on page 30.
10 Speakers
Your computer is equipped with a pair of stereo speakers.
Left-side view
1 Fan louvers 2 ExpressCard slot
3 Media-card slot 4 Smart-card slot (available on some models)
1 Fan louvers
The fan louvers and internal fan enable air to circulate in the computer to ensure proper cooling, especially
the cooling of the microprocessor.
Note: To ensure proper airflow, do not place any obstacles in front of the fan louvers.
2P51 User Guide

2 ExpressCard slot
You can insert an ExpressCard into the ExpressCard slot for data access or storage. For more information,
see “Using an ExpressCard, a media card, or a smart card” on page 30.
3 Media-card slot
You can insert a flash media card into the media-card slot for data access or storage. For more information,
see “Using an ExpressCard, a media card, or a smart card” on page 30.
4 Smart-card slot (available on some models)
You can use smart cards for authentication, data storage, and application processing. Within large
organizations, you might also use smart cards for strong security authentication of single sign-on (SSO). For
more information, see “Using an ExpressCard, a media card, or a smart card” on page 30.
Right-side view
1 Audio connector 2 USB 3.0 connectors
3 Mini DisplayPort® connector 4 Fan louvers
5 Security-lock slot
1 Audio connector
You can connect headphones or a headset with a 3.5-mm (0.14-inch), 4-pole plug to the audio connector to
listen to the sound from the computer.
If you are using a headset with a function switch, do not press this switch while using the headset. If you
press the switch, the headset microphone is disabled, and the integrated microphones on the computer is
enabled instead.
Note: The audio connector does not support a conventional microphone. For more information, see “Using
audio features” on page 29.
2 USB 3.0 connectors
You can use the USB 3.0 connectors to connect USB-compatible devices, such as a USB keyboard, USB
mouse, USB storage device, or USB printer.
Attention: When you attach a USB cable to this connector, ensure that the USB mark is facing upward.
Otherwise the connector might get damaged.
3 Mini DisplayPort connector
The Mini DisplayPort connector enables you to connect your computer to a compatible projector, external
monitor, or high-definition television (HDTV). This compact connector enables a plug-and-play setup and
supports adapters that can plug into Digital Visual Interface (DVI), video graphics array (VGA), or High-
Definition Multimedia Interface (HDMI™) connectors. The Mini DisplayPort connector supports audio as well
as video streaming.
Chapter 1.Product overview 3

4 Fan louvers
The fan louvers and internal fan enable air to circulate in the computer to ensure proper cooling, especially
the cooling of the microprocessor.
Note: To ensure proper airflow, do not place any obstacles in front of the fan louvers.
5 Security-lock slot
To protect your computer from theft, lock your computer to a desk, table, or other fixtures through a security
cable lock that fits this security-lock slot.
Note: You are responsible for evaluating, selecting, and implementing the locking device and security
feature. Lenovo makes no comments, judgments, or warranties about the function, quality, or performance
of the locking device and security feature.
Rear view
1 Fan louvers 2 Always On USB 3.0 connector
3 USB 3.0 connector 4 Ethernet connector
5 USB-C™ connector (Thunderbolt™ 3 compatible) 6 HDMI connector
7 Power connector
1 Fan louvers
The fan louvers and internal fan enable air to circulate in the computer to ensure proper cooling, especially
the cooling of the microprocessor.
Note: To ensure proper airflow, do not place any obstacles in front of the fan louvers.
2 Always On USB 3.0 connector
By default, the Always On USB 3.0 connector enables you to charge USB-compatible devices in the
following situations:
• When your computer is on or in sleep mode
• When your computer is off or in hibernation mode, but connected to ac power
Attention: When you attach a USB cable to this connector, ensure that the USB mark is facing upward.
Otherwise the connector might get damaged.
To charge these devices when the computer is off or in hibernation mode, and the computer is not
connected to ac power, do the following:
1. Start the Lenovo Companion program. See “Accessing Lenovo programs” on page 13.
2. Click Hardware Settings ➙ Power.
4P51 User Guide

3. Follow the instructions on the screen to make your preferred setting.
3 USB 3.0 connector
Connect USB-compatible devices, such as a USB keyboard, a USB mouse, a USB storage device, or a USB
printer.
Attention: When you attach a USB cable to this connector, ensure that the USB mark is facing upward.
Otherwise the connector might get damaged.
4 Ethernet connector
The Ethernet connector enables you to connect the computer to a local area network (LAN).
DANGER
To avoid the risk of electrical shock, do not connect the telephone cable to the Ethernet connector.
You can only connect an Ethernet cable to this connector.
The Ethernet connector has two network status indicators. When the green indicator is on, the computer is
connected to a LAN. When the yellow indicator blinks, data is being transmitted.
Note: If the computer is connected to a docking station, use the Ethernet connector on the docking station
instead of the one on the computer.
5 USB-C connector (Thunderbolt 3 compatible)
The USB-C connector on your computer supports both the USB Type-C™ standard and the Thunderbolt 3
technology. With an appropriate USB-C cable connected, you can use the connector to transfer data, charge
your device, or connect your computer to external displays.
Lenovo provides various USB-C accessories to help you expand your computer functionality. For more
information, go to:
http://www.lenovo.com/essentials
Note: When the battery power is below 10%, the USB-C accessories connected to the USB-C connector
might not work correctly.
6 HDMI connector
The HDMI connector is a digital audio and video interface. It enables you to connect your computer to a
compatible digital audio device or video monitor, such as a DVD player or an HDTV.
7 Power connector
The power connector enables you to connect the computer to ac power.
Chapter 1.Product overview 5

Bottom view
1 Micro-SIM-card slot (available on some models) 2 Fan louvers
3 Docking station connector (available on some models) 4 Keyboard drainage hole
5 Removable battery
1 Micro-SIM-card slot (available on some models)
The micro-SIM-card slot is in the battery compartment. If the computer supports wireless wide area network
(WWAN), a micro Subscriber Identification Module (SIM) card might be required to establish connections. For
information about replacing or installing the micro SIM card, see “Replacing the micro SIM card” on page
107.
2 Fan louvers
The fan louvers and internal fan enable air to circulate in the computer to ensure proper cooling, especially
the cooling of the microprocessor.
3 Docking-station connector (available on some models)
You can connect the computer to a supported docking station to extend the computer capabilities.
4 Keyboard drainage holes
If you accidentally spill water or drink over the keyboard, the keyboard drainage holes can help drain out
liquid from your computer.
5 Removable battery
You can use the computer with battery power whenever ac power is unavailable.
Status indicators
This topic provides information about locating and identifying the various status indicators on your computer.
Note: Depending on the model, your computer might look different from the following illustrations.
6P51 User Guide

1 Camera-status indicator
When this indicator is on, the camera is in use.
2 Speaker-mute indicator
When this indicator is on, the speakers are muted.
3 Microphone-mute indicator
When this indicator is on, the microphones are muted.
4 10 System status indicators
The indicator in the ThinkPad logo on the computer lid and the indicator in the power button show the
system status of your computer.
• Blinks for three times: The computer is initially connected to power.
• On: The computer is on (in normal mode).
• Off: The computer is off or in hibernation mode.
• Blinks quickly: The computer is entering sleep or hibernation mode.
Chapter 1.Product overview 7

• Blinks slowly: The computer is in sleep mode.
Note: If your computer is equipped with a color sensor, the system status indicator 10 also functions as the
color-sensor indicator. For information about the color-sensor indicator, see “Using the color sensor” on
page 30.
5 Numeric Lock indicator
When this indicator is on, you can use the numeric keypad to type numbers.
6 Caps Lock indicator
When this indicator is on, you can type all alphabetic characters (A-Z) in upper case directly.
7 Fn Lock indicator
This indicator shows the status of Fn Lock function. For more information, see “Using the special keys” on
page 18.
8 Device-access-status indicator
When this indicator is blinking, the storage device of your computer is reading or writing data. During this
period, do not put the computer into sleep mode, remove the storage device, or turn off the computer.
9 ac power status indicator
This indicator shows the ac power and battery power status of the computer.
• Green: connected to ac power (battery power 80%–100%)
• Yellow: connected to ac power (battery power 1%–80%)
• Off: not connected to ac power
Important product information labels
This section provides information to help you locate the following labels:
• Machine type and model label
• FCC ID and IC Certification label
• Labels for the Windows operating systems
Machine type and model label
When you contact Lenovo for help, the machine type and model information helps the technicians to identify
your computer and provide faster service.
The following illustration shows where to find the label that contains the machine type and model information
of your computer.
8P51 User Guide

FCC ID and IC Certification number
The FCC and IC Certification information is identified by a label on the computer as shown in the following
illustration.
Note: Depending on the model, your computer and the label might look different from the following
illustration.
The content of this label differs depending on the wireless modules that come with your computer:
• For a preinstalled wireless module, this label identifies the actual FCC ID and IC certification number for
the wireless module installed by Lenovo.
Note: Do not remove or replace a preinstalled wireless module by yourself. For replacement, you must
contact the Lenovo service first. Lenovo is not responsible for any damage caused by unauthorized
replacement.
• For a user-installable wireless WAN module, this label directs you to consult this user guide for the actual
FCC ID and IC certification number.
The FCC ID and IC Certification number label is affixed to the wireless WAN module 1 (available on some
models) installed in the computer.
Chapter 1.Product overview 9

Note: For the user-installable wireless module, ensure that you use only Lenovo-authorized wireless
modules for the computer. Otherwise, an error message will be displayed and the computer will beep
when you turn on the computer.
Labels for the Windows operating systems
Windows® 10 Genuine Microsoft® label: Your computer might have a Genuine Microsoft label affixed to its
cover depending on the following factors:
• Your geographic location
• Date when your computer was manufactured
• Version of Windows 10 that is preinstalled
Go to https://www.microsoft.com/en-us/howtotell/Hardware.aspx for illustrations of the various types of
Genuine Microsoft labels.
• In the People’s Republic of China, the Genuine Microsoft label is required on all computer models
preinstalled with any version of Windows 10.
• In other countries and regions, the Genuine Microsoft label is required only on computer models licensed
for Windows 10 Pro.
The absence of a Genuine Microsoft label does not indicate that the preinstalled Windows version is not
genuine. For details on how to tell whether your preinstalled Windows product is genuine, refer to the
information provided by Microsoft at:
https://www.microsoft.com/en-us/howtotell/default.aspx
There are no external, visual indicators of the Product ID or Windows version for which the computer is
licensed. Instead, the Product ID is recorded in the computer firmware. Whenever a Windows 10 product is
installed, the installation program checks the computer firmware for a valid, matching Product ID to complete
the activation.
In some cases, an earlier Windows version might be preinstalled under the terms of the Windows 10 Pro
license downgrade rights.
10 P51 User Guide

Computer features
The computer features introduced in this topic cover various models. Some computer features might be
available only on specific models.
Microprocessor
To view the microprocessor information of your computer, right-click the Start button and then select
System.
Memory
• Double data rate 4 (DDR4) small outline dual in-line memory modules (SODIMM)
• Error check and correct (ECC) memory module (available on some models)
Storage device
Depending on the model:
• 2.5-inch form factor, 7-mm (0.28-inch) height hard disk drive
• M.2 solid-state drive
Display
• Brightness control
• In-Plane Switching (IPS) technology
• Display size: 396.2 mm (15.6 inches)
• Display resolution: 1920 x 1080 pixels or 3840 x 2160 pixels, depending on the model
• Multi-touch technology (available on some models)
• NVIDIA® Optimus Graphics or discrete graphics
Keyboard
• Six-row keyboard (traditional or backlight)
• Function keys
• Numeric keypad
• ThinkPad pointing device (including the TrackPoint pointing device and trackpad with buttons)
Connectors and slots
• ac power connector
• Audio connector
• Docking station connector (available on some models)
• ExpressCard slot
• HDMI connector
• Media-card slot
• Micro-SIM-card slot (inside the battery compartment) (available on some models)
• Mini DisplayPort connector
• RJ45 Ethernet connector
• Smart-card slot (available on some models)
• USB-C connector (Thunderbolt 3 compatible)
Chapter 1.Product overview 11

• Four USB 3.0 connectors (including one Always On USB 3.0 connector)
Security features
• Fingerprint reader
• Security-lock slot
• Trusted Platform Module (TPM) (available on some models)
GPS and wireless features
• Bluetooth
• Global Positioning System (GPS) satellite receiver (available on models with wireless WAN)
• Wireless LAN
• Wireless WAN (available on some models)
Others
• Camera (available on some models)
• Color sensor (available on some models)
• Microphones (available on some models)
Computer specifications
Size
• Width: 377.4 mm (14.86 inches)
• Depth: 252.3 mm (9.93 inches)
• Thickness:
– Touch models: from 24.5 mm (0.96 inches) to 29.4 mm (1.16 inches)
– Non-touch models: from 24.5 mm (0.96 inches) to 32.7 mm (1.29 inches)
Maximum heat output (depending on the model)
• 170 W (580 Btu/hr)
Power source (ac power adapter)
• Sine-wave input at 50 Hz to 60 Hz
• Input rating of the ac power adapter: 100 V to 240 V ac, 50 Hz to 60 Hz
Operating environment
Maximum altitude (without pressurization)
• 3048 m (10 000 ft)
Temperature
• At altitudes up to 2438 m (8000 ft)
– Operating: 5°C to 35°C (41°F to 95°F)
– Storage: 5°C to 43°C (41°F to 109°F)
• At altitudes above 2438 m (8000 ft)
12 P51 User Guide

– Maximum temperature when operating under the unpressurized condition: 31.3°C (88°F)
Note: When you charge the battery, its temperature must be at least 10°C (50°F).
Relative humidity
• Operating: 8% to 95% at wet-bulb temperature 23°C (73°F)
• Storage: 5% to 95% at wet-bulb temperature 27°C (81°F)
If possible, place your computer in a well-ventilated and dry area without direct exposure to sunshine.
Attention:
• Keep electrical appliances such as electric fans, radio, air conditioners, and microwave ovens away from
the computer. The strong magnetic fields generated by these appliances can damage the monitor and
data on the internal storage drive.
• Do not place any beverages on top of or beside the computer or other attached devices. If liquid is spilled
on or in the computer or an attached device, a short circuit or other damage might occur.
• Do not eat or smoke over your keyboard. Particles that fall into your keyboard can cause damage.
Lenovo programs
Your computer comes with Lenovo programs to help you work easily and securely.
Accessing Lenovo programs
To access Lenovo programs on your computer, do the following:
1. Open the Start menu and locate a program by the program name.
2. If you do not find the program in the program list, search for the program in the search box.
An introduction to Lenovo programs
This topic provides a brief introduction to Lenovo programs. Depending on your computer model, some of
the programs might not be available.
The available programs are subject to change without notice. To learn more about the programs and other
computing solutions offered by Lenovo, go to:
http://www.lenovo.com/support
Chapter 1.Product overview 13

Active Protection System™This program protects your internal storage drive when the shock sensor inside
your computer detects a condition that could damage the drive. Such a
condition includes system tilt, excessive vibration, or shock.
The internal storage drive is less vulnerable to damage when it is not operating.
This is because the drive stops spinning, and the read and write heads of the
drive might also be moved to areas without data.
When detecting that the environment is stable again (minimal change in system
tilt, vibration, or shock), the shock sensor enables the internal storage drive.
Hotkey Features Integration Hotkey Features Integration is a utility package that enables you to select and
install utilities specifically for the special keys and buttons on your computer.
The special keys and buttons are designed to meet accessibility and usability
requirements. Installing related utilities enables full functionality of the special
keys and buttons.
Lenovo Companion Your computer’s best features and capabilities should be easy to access and
understand. With Lenovo Companion, they are.
Use Lenovo Companion to do the following:
• Optimize your computer performance, monitor your computer health, and
manage updates.
• Access your user guide, check warranty status, and view accessories
customized for your computer.
• Read how-to articles, explore Lenovo forums, and stay up-to-date on
technology news with articles and blogs from trusted sources.
• Configure hardware settings.
• Create and manage your Lenovo ID.
This app is filled with exclusive Lenovo content to help you learn more about
what you can do with your Lenovo computer.
14 P51 User Guide

Chapter 2. Using your computer
This chapter provides information to help you use the various features provided by your computer.
Registering your computer
When you register your computer, information is entered into a database, which enables Lenovo to contact
you if there is a recall or other severe problem. In addition, some locations offer extended privileges and
services to registered users.
When you register your computer with Lenovo, you also will receive the following benefits:
• Quicker service when you call Lenovo for help
• Automatic notification of free software and special promotional offers
To register your computer with Lenovo, go to http://www.lenovo.com/register and follow the instructions on
the screen.
Frequently asked questions
This topic provides a few tips to help you optimize the use of your ThinkPad notebook computers.
To ensure the best computer performance, go to the following Web site to find information such as aids for
troubleshooting and answers to frequently asked questions:
http://www.lenovo.com/support/faq
Can I get my user guide in another language?
To download the user guide in another language, go to http://www.lenovo.com/support. Then follow the
instructions on the screen.
How to turn off my computer?
Open the Start menu, click Power, and then click Shut down.
How do I access Control Panel?
Right-click the Start button, and then click Control Panel.
How do I use battery power more effectively when I am on the go?
• To conserve power, or to suspend operation without exiting programs or saving files, see “Power-saving
modes” on page 26.
• To achieve the best balance between performance and power saving, create and apply an appropriate
power plan. See “Managing the battery power” on page 25.
• If your computer will be turned off for an extended period of time, you can prevent battery power from
draining by removing the battery.
How do I securely dispose of data stored on the internal storage drive?
• Study Chapter 5 “Security” on page 55 to find out how you can protect your computer from theft and
unauthorized use.
© Copyright Lenovo 2017 15

• Before you dispose of the data on the internal storage drive, ensure that you read “Deleting data from your
storage drive” on page 60.
How do I attach an external display?
• Refer to “Using an external display” on page 32.
• With the Extend desktop function, you can display output on both the computer display and an external
display.
How do I attach or replace a device?
Refer to the appropriate topic in Chapter 10 “Replacing devices” on page 105.
I have been using the computer for some time already, and is getting slower. What should I do?
• Follow the “General tips for preventing problems” on page 85.
• Diagnose problems yourself by using the preinstalled diagnostic software. See “Diagnosing problems with
Lenovo Companion” on page 85.
• Check for recovery solutions in Chapter 9 “Recovery information” on page 103.
Print the following topics and keep them with your computer in case you are unable to access this
electronic user guide when necessary.
• “Installing the Windows 10 operating system” on page 63
• “Computer stops responding” on page 86
• “Power problems” on page 98
Getting help about the Windows operating system
The Windows help information system provides you with detailed information about using the Windows
operating system so that you can get the most of your computer. To access the Windows help information
system, click the Start button to open the Start menu, and then click Get Help. Additionally, you can use the
Cortana® personal assistant to search for help, apps, files, settings, and so on.
Using the multi-touch screen
This topic provides instructions on how to use the multi-touch screen that is available on some models.
Notes:
• Your computer screen might look different from the following illustrations.
• Depending on the program you use, some gestures might not be available.
The following table introduces some frequently used gestures.
16 P51 User Guide

Touch gesture (touch models
only)
Description
Touch: Tap.
Mouse action: Click.
Function: Open an app or perform an action on an open app, such as Copy, Save,
and Delete, depending on the app.
Touch: Tap and hold.
Mouse action: Right-click.
Function: Open a menu with multiple options.
Touch: Slide.
Mouse action: Scroll the mouse wheel, move the scroll bar, or click the scroll
arrow.
Function: Scroll through items, such as lists, pages, and photos.
Touch: Drag an item to the location you want.
Mouse action: Click, hold, and drag an item.
Function: Move an object.
Touch: Move two fingers closer together.
Mouse action: Press the Ctrl key while scrolling the mouse wheel backward.
Function: Zoom out.
Touch: Move two fingers farther apart.
Mouse action: Press the Ctrl key while scrolling the mouse wheel forward.
Function: Zoom in.
Touch: Put two or more fingers on an item and then rotate your fingers clockwise
or counterclockwise.
Mouse action: If the app supports rotation, click the rotation icon.
Function: Rotate an item.
Touch: Swipe in from the right edge.
Mouse action: Click the action center icon in the Windows notification area.
Function: Open the action center to see your notifications and quick actions.
Chapter 2.Using your computer 17

Touch gesture (touch models
only)
Description
Touch: Swipe in from the left edge.
Mouse action: Click the task-view icon on the taskbar.
Function: View all your open windows in task view.
• Short swipe for full-screened app or when your computer is in the tablet
mode
Touch: Swipe downwards shortly from the top edge.
Mouse action: Move your pointer to the top edge of the screen.
Function: Show a hidden title bar.
• Long swipe when your computer is in the tablet mode
Touch: Swipe in from the top edge to the bottom edge.
Mouse action: From the top edge of the screen, click and hold, move the
pointer to the bottom of the screen, and then release.
Function: Close the current app.
Tips on using the multi-touch screen
• The multi-touch screen is a glass panel covered with a plastic film. Do not apply pressure or place any
metallic object on the screen, which might damage the touch panel or cause it to malfunction.
• Do not use fingernails, gloved fingers, or inanimate objects for input on the screen.
• Regularly calibrate the accuracy of the finger input to avoid a discrepancy.
Tips on cleaning the multi-touch screen
• Turn off the computer before cleaning the multi-touch screen.
• Use a dry, soft, and lint-free cloth or a piece of absorbent cotton to remove fingerprints or dust from the
multi-touch screen. Do not apply solvents to the cloth.
• Gently wipe the screen using a top-down motion. Do not apply any pressure on the screen.
Using the special keys
Your computer has several special keys to help you work more easily and effectively.
18 P51 User Guide

1 Numeric keypad
You can use this numeric keypad to input numbers quickly.
2 Windows logo key
Press the Windows logo key to open the Start menu. For information about using the Windows logo key with
other keys, see the help information system of the Windows operating system.
3 4 Fn key and function keys
You can configure the Fn key and function keys in the Keyboard Properties window by doing the following:
1. Go to Control Panel, and then change the view of Control Panel from Category to Large icons or Small
icons.
2. Click Keyboard. In the Keyboard Properties window, click the Fn and function keys tab.
3. Select the options of your preference.
• + Switch the key function between the standard F1–F12 function and the special function
printed as an icon on each key. When the Fn Lock indicator is off, you can use the default function. You
can change the default function in the Keyboard Properties window.
• Mute or unmute the speakers.
If you mute the sound and turn off your computer, the sound will remain muted when you turn on your
computer. To turn on the sound, press or .
• Decrease the speaker volume.
• Increase the speaker volume.
• Mute or unmute the microphones.
• Darken the computer display.
• Brighten the computer display.
• Manage external displays.
• Enable or disable the built-in wireless features.
• Open the Settings window.
• Enable or disable the built-in Bluetooth features.
• Open a keyboard setting page.
• This key invokes the function defined by yourself. If no function is defined, press this key to open the
Cortana personal assistant.
To define or change the action for the F12 key, do the following:
1. Open the Start menu and then click Lenovo Companion ➙ Hardware Settings.
2. Click the input icon .
3. Locate the KEYBOARD: USER-DEFINED KEY section and follow the instructions on the screen to
complete the setting.
On the Input page, you can also define different functions for the key combinations with F12, such as Shift
+F12, Alt+F12, or Ctrl+F12.
Chapter 2.Using your computer 19

Key combinations
• + : Open the Snipping Tool program.
• Fn+Spacebar: If your computer supports keyboard backlight, press Fn+Spacebar to switch between the
different keyboard backlight status (off, low, or high).
Note: If your computer is installed with Lenovo Companion 4.0 or later version, there are four modes for
the keyboard backlight: Off, Low, High, and Auto.
• Fn+B: This key combination has the same function as the Break key on a conventional keyboard.
• Fn+K: This key combination has the same function as the ScrLK key on a conventional keyboard.
• Fn+P: This key combination has the same function as the Pause key on a conventional keyboard.
• Fn+S: This key combination has the same function as the SysRq key on a conventional keyboard.
• Fn+4: Press Fn+4 to put the computer into sleep mode. To wake up the computer, press any key or the
power button.
Using the ThinkPad pointing device
This section provides information about using the ThinkPad pointing device.
ThinkPad pointing device overview
The ThinkPad pointing device enables you to perform all the functions of a traditional mouse, such as
pointing, clicking, and scrolling. With the ThinkPad pointing device, you also can perform various touch
gestures, such as rotating and zooming in or out.
The ThinkPad pointing device consists of the following devices:
1 TrackPoint pointing device
2 Trackpad
Note: Depending on the model, your TrackPoint pointing device and the trackpad might look different from
the illustration in this topic.
20 P51 User Guide

By default, both the TrackPoint pointing device and the trackpad are active with the touch gestures enabled.
To change the settings, see “Customizing the ThinkPad pointing device” on page 23.
Using the TrackPoint pointing device
The TrackPoint pointing device enables you to perform all the functions of a traditional mouse, such as
pointing, clicking, and scrolling.
The TrackPoint pointing device consists of the following components:
1 Pointing stick
2 Left-click button (primary-click button)
3 Right-click button (secondary-click button)
4 Scroll bar
To use the TrackPoint pointing device, see the following instructions:
Note: Place your hands in the typing position and use your index finger or middle finger to apply pressure to
the pointing-stick nonslip cap. Use either thumb to press the left-click button or right-click button.
• Point
Use the pointing stick 1 to move the pointer on the screen. To use the pointing stick, apply pressure to
the pointing-stick nonslip cap in any direction parallel to the keyboard. The pointer moves accordingly but
the pointing stick itself does not move. The speed at which the pointer moves depends on the amount of
pressure you apply to the pointing stick.
• Left-click
Press the left-click button 2 to select or open an item.
• Right-click
Press the right-click button 3 to display a shortcut menu.
• Scroll
Press and hold the dotted scroll bar 4 while applying pressure to the pointing stick in the vertical or
horizontal direction. Then you can scroll through the document, Web site, or apps.
Chapter 2.Using your computer 21

Using the trackpad with buttons
The trackpad with buttons consists of the following components:
1 Trackpad
2 Right-click button (secondary-click button)
3 Middle-click button
4 Left-click button (primary-click button)
To move the pointer on the screen, slide your fingertip over the trackpad 1 in the corresponding direction.
The functions of the right-click button 2, middle-click button 3, and left-click button 4 correspond to those
of the right, middle, and left mouse buttons on a conventional mouse.
If the trackpad surface is stained with oil, turn off the computer first. Then gently wipe the trackpad surface
with a soft and lint-free cloth moistened with lukewarm water or computer cleaner.
Using the trackpad touch gestures
The entire trackpad surface is sensitive to finger touch and movement. You can use the trackpad to perform
the same point and click actions as you would use a traditional mouse. You also can use the trackpad to
perform various touch gestures.
The following section introduces some frequently used touch gestures such as tapping, dragging, and
scrolling. For more gestures, see the help information system of the ThinkPad pointing device.
Notes:
• When using two or more fingers, ensure that you position your fingers slightly apart.
• Some gestures are not available if the last action was done from the TrackPoint pointing device.
• Some gestures are only available when you are using certain apps.
• Depending on the model, the trackpad on your computer might look different from the illustrations in this
topic.
22 P51 User Guide

Tap
Tap anywhere on the trackpad
with one finger to select or open
an item.
Two-finger tap
Tap anywhere on the trackpad with
two fingers to display a shortcut
menu.
Two-finger scroll
Put two fingers on the trackpad
and move them in the vertical or
horizontal direction. This action
enables you to scroll through the
document, Web site, or apps.
Two-finger zoom out
Put two fingers on the trackpad
and move them closer together to
zoom out.
Two-finger zoom in
Put two fingers on the trackpad
and move them farther apart to
zoom in.
Swipe three fingers up
Put three fingers on the trackpad
and move them up to open the task
view to see all your open windows.
Swipe three fingers down
Put three fingers on the trackpad
and move them down to show
the desktop.
Customizing the ThinkPad pointing device
You can customize the ThinkPad pointing device so you can use it more comfortably and efficiently. For
example, you can choose to enable the TrackPoint pointing device, the trackpad, or both. You also can
disable or enable the touch gestures.
To customize the ThinkPad pointing device, do the following:
1. Go to Control Panel.
2. View Control Panel by Large icons or Small icons. Click Mouse. The Mouse Properties window is
displayed.
3. In the Mouse Properties window, follow the instructions on the screen to complete the customization.
Replacing the cap on the pointing stick
The cap 1 on the end of the pointing stick is removable. After you use the cap for a period of time, you might
consider replacing the cap with a new one.
Notes:
• Ensure that you use a cap with grooves a as shown in the following illustration.
• Depending on the model, your keyboard might look different from the illustration in this topic.
Chapter 2.Using your computer 23

Power management
This section provides information about how to use ac power and battery power to achieve the best balance
between performance and power management.
Using the ac power adapter
The power to run your computer can come either from the battery or from ac power. While you use ac power,
the battery charges automatically.
Your computer comes with an ac power adapter and a power cord.
• ac power adapter: Converts ac power for notebook computer use.
• Power cord: Connects the ac outlet and the ac power adapter.
Connecting the ac power adapter
To connect the computer to ac power, ensure that you follow the steps in order:
Attention: Using an improper power cord might severely damage your computer.
1. Connect the power cord to the ac power adapter.
2. Connect the ac power adapter to the power connector of the computer.
3. Connect the power cord to an electrical outlet.
Tips on using the ac power adapter
• When the ac power adapter is not in use, disconnect it from the electrical outlet.
• Do not bind the power cord tightly around the ac power adapter transformer pack when it is connected to
the transformer.
Using the battery
When you use your computer away from electrical outlets, you depend on battery power to keep your
computer running. Different computer components consume power at different rates. The more you use the
power-intensive components, the faster you consume battery power.
Spend more time unplugged with ThinkPad batteries. Mobility has revolutionized business by enabling you to
take your work wherever you go. With ThinkPad batteries, you are able to work longer without being tied to
an electrical outlet.
24 P51 User Guide
Checking the battery status
Move your pointer to the battery-status icon in the Windows notification area to check the battery status. The
battery-status icon displays the percentage of battery power remaining and how long you can use your
computer before you must charge the battery.
The rate at which you use battery power determines how long you can use the battery of your computer
between charges. Because every computer user has individual habits and needs, it is difficult to predict how
long a battery charge lasts. There are two main factors:
• How much energy is stored in the battery when you begin to work
• The way you use your computer, for example:
– How often you access the storage drive
– How bright you make the computer display
– How often you use the wireless feature
Charging the battery
When you find that the remaining battery power is low, charge your battery or replace the battery with a
charged battery.
If an ac outlet is convenient, connect the computer to ac power. The battery is fully charged in about four to
eight hours. The actual charging time depends on the battery size, the physical environment, and whether
you are using the computer. You can check the battery charging status at any time through the battery-
status icon in the Windows notification area.
Note: To maximize the life of the battery, the computer does not start recharging the battery if the remaining
power is greater than 95%.
Tips on charging the battery
• Before you charge the battery, ensure that the battery temperature is lower than 10°C (50°F).
• Charge the battery in any of the following conditions:
– A new battery is installed.
– The percentage of power remaining is low.
– The battery has not been used for a long time.
Maximizing the battery life
To maximize the life of the battery, do the following:
• Use the battery until the charge is depleted.
• Recharge the battery completely before using it. You can see whether the battery is fully charged from the
battery-status icon in the Windows notification area.
• Always use power management features such as power-saving modes.
Managing the battery power
To achieve the best balance between performance and power saving, adjust your power plan settings. To
adjust power plan settings, do the following:
1. Go to Control Panel, and then change the view of Control Panel from Category to Large icons or Small
icons.
2. Click Power Options.
3. Follow the instructions on the screen.
Chapter 2.Using your computer 25

For more information, see the Windows help information system.
Power-saving modes
There are several modes that you can use at any time to conserve power. This section introduces each mode
and gives tips on the effective use of battery power.
• Sleep mode
In sleep mode, your work is saved to memory, and then the storage drive and the computer display are
turned off. When your computer wakes up, your work is restored within seconds.
To put your computer into sleep mode, open the Start menu, click Power, and then click Sleep.
• Hibernation mode
By using this mode, you can turn off your computer completely without saving files or exiting any
programs that are running. When the computer enters hibernation mode, all open programs, folders, and
files are saved to the storage drive, and then the computer turns off.
To put the computer into hibernation mode, define what the power button does first, and then press the
power button to put the computer into hibernation mode.
If you put your computer into hibernation mode with the wake-up function disabled, the computer does
not consume any power. The wake-up function is disabled by default. If you put your computer into
hibernation mode with the wake-up function enabled, the computer consumes a small amount of power.
To enable the wake-up function, do the following:
1. Open Control Panel, view Control Panel by Category, and then click System and Security.
2. Click Administrative Tools.
3. Double-click Task Scheduler. If you are prompted for an administrator password or confirmation,
type the password or provide confirmation.
4. From the left pane, select the task folder for which you want to enable the wake-up function. The
scheduled tasks are displayed.
5. Click a scheduled task, and then click the Conditions tab.
6. Under Power, select Wake the computer to run this task.
• Wireless off
When you are not using the wireless features, such as Bluetooth or wireless LAN, turn them off to help
conserve power.
Cabled Ethernet connections
With an Ethernet cable, you can connect your computer to a local network through the Ethernet connector
on your computer.
The Ethernet connector has two network status indicators. When the green indicator is on, the computer is
connected to a LAN. When the yellow indicator blinks, data is being transmitted.
Note: If the computer is connected to a supported docking station or a supported dock, use the Ethernet
connector on the docking station or the dock instead of the one on the computer.
DANGER
Your computer has an Ethernet connector. To avoid the risk of electrical shock, do not connect the
telephone cable to the Ethernet connector.
26 P51 User Guide

Wireless connections
Wireless connection is the transfer of data without the use of cables but by means of radio waves only.
Using the wireless-LAN connection
A wireless local area network (LAN) covers a relatively small geographic area, such as an office building or a
house. Devices based on the 802.11 standards can connect to this type of network.
Your computer comes with a built-in wireless network card to help you establish wireless connections and
monitor the connection status.
To establish a wireless-LAN connection, do the following:
1. Turn on the wireless feature. See “Using the special keys” on page 18.
2. Click the wireless-network-connection-status icon in the Windows notification area. A list of available
wireless networks is displayed.
3. Double-click a network to connect to it. Provide required information if needed.
The computer automatically connects to an available and remembered wireless network when the location
changes. If the available wireless network is secured, provide the password as required. For more
information, see the Windows help information system.
Tips on using the wireless-LAN feature
To achieve the best connection, use the following guidelines:
• Place your computer so that there are as few obstacles as possible between the wireless-LAN access
point and the computer.
• Open your computer cover to an angle of slightly more than 90 degrees.
Checking the wireless-LAN connection status
You can check the wireless-LAN connection status through the wireless-network-connection-status icon in
the Windows notification area. The more bars encompassed, the better the signal is.
Using the wireless-WAN connection
Wireless wide area network (WAN), which uses cellular networks for data transmission, enables you to
establish wireless connections over remote public or private networks. These connections can be maintained
over a large geographical area by use of multiple antenna sites or satellite systems maintained by wireless
service providers.
Some ThinkPad notebook computers come with a wireless-WAN card installed, which provides some
wireless-WAN technologies, such as 1xEV-DO, HSPA, 3G, GPRS, or LTE. By using the wireless-WAN card,
you can establish wireless-WAN connections.
Note: The wireless-WAN service is provided by authorized service providers in some countries or regions.
Tips for using the wireless-WAN feature
To achieve the best connection, use the following guidelines:
• Keep your computer away from your body.
• Place your computer on a flat surface and open your computer display to an angle of slightly more than 90
degrees.
Chapter 2.Using your computer 27

• Place your computer away from concrete or brick walls that might dampen cellular signals.
• Best reception is available near windows and other locations where cellular phone reception is the
strongest.
Checking the wireless-WAN connection status
You can check the wireless-WAN connection status through the wireless-network-connection-status icon in
the Windows notification area. The more bars encompassed, the better the signal is.
Using the Bluetooth connection
Bluetooth can connect devices that are within a short distance from one another. Bluetooth is commonly
used in the following scenarios:
• Connecting peripheral devices to a computer
• Transferring data between hand-held devices and a personal computer
• Remotely controlling and communicating with devices such as mobile phones
Depending on the model, your computer might support the Bluetooth feature. To transfer data through the
Bluetooth feature, do the following:
Note: It is not recommended to use the wireless feature (the 802.11 standards) of your computer
simultaneously with a Bluetooth option. The data transmission speed can be delayed and the performance of
the wireless feature can be degraded.
1. Do one of the following:
• Press the Bluetooth-control key and turn on the Bluetooth feature.
• Open the Start menu, and then click Settings ➙ Devices ➙ Bluetooth & other devices. Turn on the
Bluetooth switch to enable the Bluetooth feature.
2. Right-click the data that you want to send.
3. Select Send To ➙ Bluetooth Devices.
4. Select a Bluetooth device, and then follow the instructions on the screen.
For more information, see the Windows help information system and the help information system of the
Bluetooth device.
Using the Airplane mode
The Airplane mode is supported on the Windows 10 operating system. If the Airplane mode is enabled, all
wireless features are disabled.
To enable or disable the Airplane mode, do the following:
1. Open the Start menu.
2. Click Settings ➙ Network & Internet ➙ Airplane mode.
3. Slide the control for Airplane mode to turn it on or off.
Using the NVIDIA Optimus Graphics feature
Some ThinkPad notebook computers support NVIDIA Optimus Graphics.
The running program and power plan settings that you use on your computer have specific graphics quality
demand. To achieve the best balance between the computer performance and a long battery life, the NVIDIA
28 P51 User Guide

Optimus Graphics feature automatically switches between High Performance Graphics and Energy Saving
Graphics. You do not have to restart your computer, close programs, or intervene manually.
Using audio features
Your computer is equipped with the following items:
• Audio connector, 3.5 mm (0.14 inches) in diameter
• Microphones
• Speakers
Your computer also has an audio chip that enables you to enjoy various multimedia audio features, such as
the following:
• Compliant with High Definition Audio
• Playback of MIDI and MP3 files
• Recording and playback of PCM and WAV files
• Recording from various sound sources, such as a headset attached
The following list provides information about supported functions of the audio devices attached to the
connectors on your computer or the docking station.
• Headset with a 3.5-mm (0.14-inch), 4-pole plug: Headphone and microphone functions
• Conventional headphone: Headphone function
Note: The conventional microphone is not supported.
Using the camera
If your computer has a camera, you can use the camera to preview your video image and take a snapshot of
your current image.
To start the camera, open the Start menu and click Camera.
When the camera is started, the indicator is turned on in green, indicating that the camera is in use.
You also can use the integrated camera with other programs that provide features such as photographing,
video capturing, and video conferencing. To use the integrated camera with other programs, open one of the
programs and start the photographing, video capturing, or video conferencing function. Then, the camera
starts and the camera status indicator nearby turns on in green. For more information about using the
camera with a program, see the help information system of the program.
Configuring camera settings
You can configure the camera settings to meet your needs, such as adjusting the quality of the video output.
To configure the camera settings, do one of the following:
• Open the Camera app, and click the settings icon in the upper-right corner. Follow the instructions on the
screen to configure the camera settings as desired.
• Open the Start menu and then click Lenovo Companion ➙ Hardware Settings ➙ Display, Camera &
Audio/Media. Locate the Camera section and then follow the instructions on the screen to configure the
camera settings.
Chapter 2.Using your computer 29

Using the color sensor
The color sensor enables you to measure and adjust the color accuracy of your computer display. Therefore,
a color image or graphic is rendered as close as possible to its original intent. The color profile for ThinkPad
computer displays is preinstalled on your computer. If you want to install a different color profile, go to:
http://www.lenovo.com/support
To use the color sensor, open the Start menu, click X-Rite ➙ PANTONE Color Calibrator, and then follow
the instructions on the screen.
When the color sensor is in use, the color-sensor indicator on the computer outer lid blinks twice at regular
intervals. When the color measuring and adjustment finishes, the color-sensor indicator stays on.
After you use the color sensor for the first time, a calibration profile ECCM2SensorData.dat is generated. Back
up this calibration profile on an external storage device in case that both the color sensor and the internal
storage device are replaced.
To locate the DAT file, go to This PC ➙ Documents ➙ X-Rite.
The display provides a color profile that can work with the Microsoft Image Color Management (ICM)
function. If the graphics software you are using is compatible with ICM, you can display a color image on
your monitor and match it with the same quality one on another device, such as a scanner or a printer.
For more information about the Microsoft ICM, see the Windows help information system.
Using an ExpressCard, a media card, or a smart card
Your computer has an ExpressCard slot and a media-card slot. Depending on the model, your computer
might also have a smart-card slot.
Supported media card types
The media-card reader on your computer only supports the following media cards:
Note: Your computer does not support the content protection for recordable media (CPRM) feature for the
SD card.
• MultiMediaCard (MMC)
• Secure Digital (SD) card
• Secure Digital eXtended-Capacity (SDXC) card
• Secure Digital High-Capacity (SDHC) card
Supported smart card type
You can use smart cards for authentication, data storage, and application processing. Within large
organizations, you might also use smart cards for strong security authentication of single sign-on (SSO). The
smart-card reader on your computer only supports the smart card of the following specifications:
30 P51 User Guide

• Length: 85.60 mm (3.37 inches)
• Width: 53.98 mm (2.13 inches)
• Thickness: 0.76 mm (0.03 inches)
Attention: Smart cards with slits are not supported. Do not insert such a smart card into the smart card
reader of your computer. Otherwise the reader might get damaged.
Installing an ExpressCard, a media card, or a smart card
Attention: Before you start installing a card, touch a metal table or a grounded metal object. This action
reduces any static electricity from your body. Static electricity could damage the card.
To install the card, do the following:
1. Locate the appropriate type of slot for your card. See “Computer controls, connectors, and indicators”
on page 1.
2. Ensure that the card is correctly oriented:
• For the ExpressCard: The notched edge of the card is facing upward and pointing toward the card
slot.
• For the media card: The metal contacts are facing down and pointing toward the card slot.
• For the smart card: The metal contacts are facing upward and pointing toward the card slot.
3. Press the card firmly into the card slot.
If the plug-and-play feature is not enabled for the installed ExpressCard, media card or smart card, do the
following to enable the feature:
1. Go to Control Panel.
2. View Control Panel by Category. Click Hardware and Sound.
3. Click Device Manager. If you are prompted for an administrator password or confirmation, type the
password or provide confirmation.
4. From the Action menu, select Add legacy hardware. The Add Hardware Wizard starts.
5. Follow the instructions on the screen.
Removing an ExpressCard, a media card, or a smart card
Attention:
• Before removing a card, stop the card first. Otherwise, data on the card might get corrupted or lost.
Chapter 2.Using your computer 31

• While transferring data to or from an ExpressCard, a media card, or a smart card, do not put your
computer into sleep or hibernation mode before the data transfer is completed; otherwise, your data might
get damaged.
• Do not remove a card while the computer is in sleep mode or hibernation mode. Otherwise, the system
might not respond when you try to resume operation.
To remove a card, do the following:
1. Click the triangular icon in the Windows notification area to show hidden icons. Then, right-click the
Safely Remove Hardware and Eject Media icon.
2. Select the corresponding item to eject the card from the Windows operating system.
3. Press the card to eject it from your computer.
4. Remove the card and store it safely for future use.
Note: If you do not remove the card from your computer after you eject the card from the Windows
operating system, the card can no longer be accessed. To access the card, you must remove it first, and
then insert it again.
Using an external display
This section provides instructions on how to connect an external display, choose display modes, and change
display settings.
You can use an external display such as a projector or a monitor to give presentations or to expand your
workspace.
Your computer supports the following video resolution, if the external display also supports that resolution.
• Up to 3840 x 2160 pixels / 60 Hz, with an external display connected to the USB-C connector or the Mini
DisplayPort connector
• Up to 3840 x 2160 pixels / 30 Hz, with an external display connected to the HDMI connector
For more information about the external display, see the manuals that come with it.
Connecting an external display
You can use either a wired display or a wireless display. The wired display can be connected to a video
connector such as the HDMI connector, USB-C connector, or Mini DisplayPort connector by a cable. The
wireless display can be added through the Miracast® function.
• Connecting a wired display
Note: When you connect an external monitor, a video interface cable with a ferrite core is required.
1. Connect the external display to an appropriate video connector on your computer, such as the HDMI
connector, USB-C connector, or Mini DisplayPort connector.
2. Connect the external display to an electrical outlet.
3. Turn on the external display.
If your computer cannot detect the external display, right-click on the desktop, and then click Screen
resolution/Display settings ➙ Detect.
• Connecting a wireless display
Note: To use a wireless display, ensure that both your computer and the external display support the
Miracast feature.
32 P51 User Guide

Do one of the following:
– Open the Start menu, and then click Settings ➙ Devices ➙ Connected devices ➙ Add a device.
– Click the action center icon in the Windows notification area. Click Connect. Select the wireless
display and follow the instructions on the screen.
For more information, see the Windows help information system.
Choosing a display mode
You can display your desktop and apps on the computer display, the external display, or both. To choose
how to display the video output, press the display-mode switching key and then select a display mode
you prefer.
There are four display modes:
• Disconnect: Displays the video output only on your computer screen.
Note: Depending on the situation, you might see Disconnect, PC screen only, Computer only, or
Disconnect projector.
• Duplicate: Displays the same video output on both your computer screen and an external display.
• Extend: Extends the video output from your computer display to an external display. You can drag and
move items between the two displays.
• Projector only: Shows the video output only on an external display.
Note: Depending on the situation, you might see Projector only or Second screen only.
If you show programs using DirectDraw or Direct3D® in full-screen mode, only the main display shows the
video output.
Changing display settings
You can change the settings for both the computer display and the external display. For example, you can
define which one is the main display and which one is the secondary display. You also can change the
resolution and orientation.
To change display settings, do the following:
1. Right-click on the desktop and select Display settings.
2. Select the display that you want to configure.
3. Change display settings as you want.
Note: If you set a higher resolution for the computer display than the external display, only part of the screen
can be shown on the external display.
Traveling with your computer
This topic provides information to help you work with your computer when you are traveling.
Use the following travel tips to travel more confidently and efficiently with your computer.
• When your computer goes through the x-ray machines at airport security stations, it is important to keep
your eyes on the computer at all times to prevent theft.
• Consider bringing an electrical adapter for use on an airplane or automobile.
• If you carry an ac power adapter, detach the ac cord from it to avoid damaging the cord.
Chapter 2.Using your computer 33

Travel tips on airplanes
If you carry your computer onto an airplane, observe the following tips:
• Be careful about the seat in front of you on airplanes. Angle your computer display so that it does not get
caught when the person in front of you leans back.
• When taking off, remember to turn off your computer or put it into hibernation mode.
• If you intend to use your computer or wireless services (such as Internet and Bluetooth), check with the
airline for restrictions and availability of services before boarding the airplane. If there are restrictions on
the use of computers with wireless features on the airplane, you must abide by those restrictions.
The Airplane mode is supported on the Windows 10 operating system. In the Airplane mode, all wireless
features are disabled.
To enable the Airplane mode, do the following:
1. Open the Start menu, and then click Settings ➙ Network & Internet ➙ Airplane mode.
2. Slide the Airplane mode control to turn it on.
Travel accessories
If you are traveling to another country or region, you might want to consider an appropriate ac power adapter
for the country or region to which you are traveling.
To purchase travel accessories, go to:
http://www3.lenovo.com/us/en/accessories-and-upgrades/c/ACCESSORY?menu-id=Accessories_Upgrades
34 P51 User Guide

Chapter 3. Enhancing your computer
This chapter provides instructions on how to use hardware devices to expand your computer capabilities.
Finding ThinkPad options
If you want to expand the capabilities of your computer, Lenovo has a number of hardware accessories and
upgrades to meet your needs. Options include memory modules, storage devices, network cards, port
replicators or docking stations, batteries, power adapters, keyboards, mice, and more.
To shop at Lenovo, go to:
http://www3.lenovo.com/us/en/accessories-and-upgrades/c/ACCESSORY?menu-id=Accessories_Upgrades
ThinkPad Pen Pro
Depending on the model, your computer might come with a ThinkPad Pen Pro (referred to as the pen in this
section). The pen enables you to write and draw in a nature manner.
Use the pen instead of your finger in conditions such as the following:
• You need precise and detailed input, such as drawing a picture or using the handwriting mode.
• Too many elements are crowded on the screen, for example, when you are playing games.
• You want to keep your screen free from smudges.
• You have long fingernails and it is difficult for you to type.
Notes:
• The pen is not waterproof. Take care not to drop the pen in water.
• The pen contains pressure sensors. Do not push the tip of the pen for an extended period of time. Do not
subject the pen to shock or vibration.
© Copyright Lenovo 2017 35

Overview of the pen
1 End cap
Unscrew the end cap to install or replace a battery.
2 Right-click button
To right-click, tap the tip on the screen and hold the pen there for
one second, or press and hold the click button while tapping the tip
on the screen.
3 Eraser button
To erase text or drawing, press and hold the eraser button and drag
the tip across the area you want to erase.
4 Pen tip
To click, tap on the screen with the tip. To double-click, tap twice.
Installing a battery to power the pen
Depending on the model, your pen might not be installed with a battery. To install an AAAA alkaline battery,
do the following:
1. Unscrew the end cap.
2. Insert an AAAA alkaline battery into the battery compartment.
3. Reinstall the end cap.
4. Tighten the end cap.
For more information, refer to the documentation of the pen.
ThinkPad Basic Dock, ThinkPad Pro Dock, and ThinkPad Ultra Dock
This section introduces how to use the ThinkPad Basic Dock, ThinkPad Pro Dock, and ThinkPad Ultra Dock.
36 P51 User Guide

Controls, connectors, and indicators
ThinkPad Basic Dock
1 Power button: Press the power button to turn on or turn off the computer.
2 Eject button: Press the eject button to eject the computer from the docking station.
3 Adjuster: Use the adjuster as a guide to align the computer with the docking station.
4 Docking station connector: Connect the docking station to the computer.
1 Always On USB 2.0 connector: Connect USB-compatible devices or charge some mobile digital devices
and smartphones.
2 USB 2.0 connectors
3 USB 3.0 connector
Connect USB-compatible devices, such as a USB keyboard, a USB mouse, a USB storage device, or a USB
printer.
4 Ethernet connector: Connect the docking station to an Ethernet LAN.
Note: When your computer is attached to the docking station, always use the Ethernet connector or the
external monitor connector on the docking station. Do not use the ones on the computer.
Chapter 3.Enhancing your computer 37

5 ac power connector: Connect the ac power adapter.
6 VGA connector: Connect the computer to a VGA-compatible video device, such as a VGA monitor.
ThinkPad Pro Dock
1 Power button: Press the power button to turn on or turn off the computer.
2 Key lock indicator: This indicator turns on when the system lock is in the locked position.
3 Docking status indicator: This indicator turns on when the computer is attached to the docking station
properly.
4 Eject button: Press the eject button to eject the computer from the docking station.
5 Adjuster: Use the adjuster as a guide to align the computer with the docking station.
6 Docking station connector: Connect the docking station to the computer.
7 System lock: Use the system lock to lock or unlock the eject button.
• When the system lock is in the locked position, the eject button is locked, and you cannot attach or
detach your computer.
• When the system lock is in the unlocked position, the eject button is unlocked, and you can attach or
detach your computer.
38 P51 User Guide

1 Always On USB 2.0 connector: Connect USB-compatible devices or charge some mobile digital devices
and smartphones.
2 USB 2.0 connectors
3 USB 3.0 connectors
Connect USB-compatible devices, such as a USB keyboard, a USB mouse, a USB storage device, or a USB
printer.
4 Ethernet connector: Connect the docking station to an Ethernet LAN.
Note: When your computer is attached to the docking station, always use the Ethernet connector or the
external monitor connector on the docking station. Do not use the ones on the computer.
5 ac power connector: Connect the ac power adapter.
6 DisplayPort® connector: Connect a high-performance monitor, a direct-drive monitor, or other devices
that use a DisplayPort connector.
7 DVI connector: Connect a monitor that supports Digital Visual Interface (DVI) connection.
Note: The DVI connector provides a digital interface only. This connector can only be used with a computer
that supports DVI connection.
To connect a DVI monitor, do the following:
1. Turn off the computer.
2. Connect the DVI monitor to the DVI connector. Then connect the monitor to an electrical outlet.
3. Turn on the DVI monitor and then the computer.
8 VGA connector: Connect the computer to a VGA-compatible video device, such as a VGA monitor.
9 Audio connector: Connect headphones or a headset with a 3.5-mm (0.14-inch), 4-pole plug.
10 Security-lock slot: To protect your docking station from theft, lock your docking station to a desk, table,
or other non-permanent fixture. Use a security cable lock that fits this security-lock slot.
Chapter 3.Enhancing your computer 39

ThinkPad Ultra Dock
1 Power button: Press the power button to turn on or turn off the computer.
2 Key lock indicator: This indicator turns on when the system lock key is in the locked position.
3 Docking status indicator: This indicator turns on when the computer is attached to the docking station
properly.
4 Eject button: Press the eject button to release the computer from the docking station.
5 Sliding adjuster: Use the sliding adjuster as a guide to align the docking station connector on your
computer when you attach the docking station.
6 Docking station connector: Connect the docking station to the computer.
7 System lock: Use the system lock to lock or unlock the eject button.
• When the system lock is in the locked position, the eject button is locked, and you cannot attach or
detach your computer.
• When the system lock is in the unlocked position, the eject button is unlocked, and you can attach or
detach your computer.
1 Always On USB 2.0 connector: Connect USB-compatible devices or charge some mobile digital devices
and smartphones.
40 P51 User Guide

2 USB 2.0 connectors
3 USB 3.0 connectors
Connect USB-compatible devices, such as a USB keyboard, a USB mouse, a USB storage device, or a USB
printer.
4 Ethernet connector: Connect the docking station to an Ethernet LAN.
Note: When your computer is attached to the docking station, always use the Ethernet connector or the
external monitor connector on the docking station. Do not use the ones on the computer.
5 ac power connector: Connect the ac power adapter.
6 DisplayPort connectors: Connect a high-performance monitor, a direct-drive monitor, or other devices
that use a DisplayPort connector.
7 HDMI connector: Connect a compatible digital audio device or video monitor, such as a DVD player or an
HDTV.
8 DVI connector: Connect a monitor that supports Digital Visual Interface (DVI) connection.
Note: The DVI connector provides a digital interface only. This connector can only be used with a computer
that supports DVI connection.
To connect a DVI monitor, do the following:
1. Turn off the computer.
2. Connect the DVI monitor to the DVI connector. Then connect the monitor to an electrical outlet.
3. Turn on the DVI monitor and then the computer.
9 VGA connector: Connect the computer to a VGA-compatible video device, such as a VGA monitor.
10 Audio connector: Connect headphones or a headset with a 3.5-mm (0.14-inch), 4-pole plug.
11 Security-lock slot: To protect your docking station from theft, lock your docking station to a desk, table,
or other non-permanent fixture. Use a security cable lock that fits this security-lock slot.
Attaching a docking station to your computer
Attention: When the computer is attached to a docking station, do not pick up the assembly by taking hold
of the computer only. Always hold the whole assembly. Otherwise the docking station might drop down.
To attach the docking station to your computer, do the following:
Note: The ThinkPad Basic Dock does not have the system lock.
1. Disconnect all cables and devices from the computer. Ensure that you turn the system lock key to the
unlocked position (horizontal).
Chapter 3.Enhancing your computer 41

2. Attach your computer to the docking station as shown until you hear a click 1. Turn the system lock key
to the locked position (vertical) 2.
3. Check the docking status indicator. If the indicator is off, your computer is not attached to the docking
station successfully. To solve the problem, detach and reattach the computer. If the problem persists,
detach and reattach the ac power adapter of the docking station.
Note: If you attach the computer to the docking station, but do not connect the docking station to ac power,
your computer consumes battery power.
Detaching a docking station from your computer
Attention: When the computer is attached to a docking station, do not pick up the assembly by taking hold
of the computer only. Always hold the whole assembly. Otherwise the docking station might drop down.
To detach the docking station from your computer, do the following:
Note: The ThinkPad Basic Dock does not have the system lock.
1. Disconnect all cables and devices from the computer and the docking station.
2. Turn the system lock key to the unlocked position (horizontal).
42 P51 User Guide

3. Press the eject button to eject the computer 1, and then grasp both sides of the computer to remove it
2.
Guidelines on connecting multiple external displays to the docking
station
You can connect multiple external displays to a supported ThinkPad docking station. To ensure that the
multiple displays work correctly, observe the following guidelines and connect the displays to the
appropriate connectors.
• Do not use the connectors as shown in the following illustrations at the same time for connecting multiple
displays. Otherwise, one of the displays as shown will not work.
– ThinkPad Pro Dock
– ThinkPad Ultra Dock
Chapter 3.Enhancing your computer 43

• For the ThinkPad Ultra Dock, a maximum of four displays (including your computer display) can work at
the same time.
ThinkPad Workstation Dock
Depending on the model, your computer might come with the ThinkPad Workstation Dock (referred to as
docking station in this section). Attach your computer to the docking station to expand working capability.
ThinkPad Workstation Dock overview
1 Power button: Press the power button to turn on or turn off the computer.
2 Key lock indicator: This indicator turns on when the system lock is in the locked position.
3 Docking status indicator: This indicator turns on when your computer is attached to the docking station
properly.
4 Eject button: Press the eject button to eject the computer from the docking station.
5 Docking-station connector: Connect the docking station to the computer.
6 Adjuster: Use the adjuster as a guide to align your computer with the docking station.
7 System lock: Use the system lock to lock or unlock the eject button.
• When the system lock is in the locked position, the eject button is locked, and you cannot attach or
detach your computer.
• When the system lock is in the unlocked position, the eject button is unlocked, and you can attach or
detach your computer.
44 P51 User Guide

1 Always On USB connector: Connect USB-compatible devices or charge some mobile digital devices and
smartphones.
2 USB 3.0 connectors: Connect USB-compatible devices, such as a USB keyboard, a USB mouse, a USB
storage device, or a USB printer.
3 Ethernet connector: Connect to an Ethernet LAN.
Note: When your computer is attached to the docking station, always use the Ethernet connector or the
external monitor connectors on the docking station. Do not use the ones on the computer.
4 Power connector: Connect the computer to ac power.
5 DisplayPort connectors
6 HDMI connector
7 DVI connector
8 VGA connector
Use the DisplayPort connectors, HDMI connector, DVI connector, or VGA connector to connect the
computer to the compatible projector, external monitor, or television.
To connect a DVI display, do the following:
1. Ensure that the computer is connected to the docking station and works properly.
2. Turn off the computer.
3. Connect the DVI display to the DVI connector on the docking station, and then connect the display to an
electrical outlet.
4. Turn on the DVI display.
5. Turn on the computer.
Note: Turn on the DVI display before you turn on the computer. Otherwise the system cannot recognize the
display.
9 Audio connector: Connect headphones or a headset with a 3.5-mm (0.14-inch), 4-pole plug.
10 Security-lock slot: To protect your docking station from theft, lock your docking station to a desk, table,
or other non-permanent fixture. Use a security cable lock that fits this security-lock slot.
Attaching the docking station to your computer
Attention: When the computer is attached to a docking station, do not pick up the assembly by taking hold
of the computer only. Always hold the whole assembly. Otherwise the docking station might drop down.
To attach the docking station to your computer, do the following:
Chapter 3.Enhancing your computer 45

1. Disconnect all cables and devices from the computer. Ensure that the system lock key is in the unlocked
position as shown (horizontal).
2. Attach your computer to the docking station as shown until you hear a click 1. Turn the system lock key
to the locked position (vertical) 2.
3. Check the docking status indicator. If the indicator is off, your computer is not attached to the docking
station successfully. To solve the problem, detach and reattach the computer. If the problem persists,
detach and reattach the ac power adapter of the docking station.
Note: If you attach the computer to the docking station, but do not connect the docking station to ac power,
your computer consumes battery power.
Detaching the docking station from your computer
Attention: When the computer is attached to a docking station, do not pick up the assembly by taking hold
of the computer only. Always hold the whole assembly. Otherwise the docking station might drop down.
To detach the docking station from your computer, do the following:
1. Disconnect all cables and devices from the computer and the docking station.
2. Turn the system lock key to the unlocked position (horizontal).
46 P51 User Guide

Guideline on connecting multiple external displays to the docking station
Do not use the connectors as shown in the following illustrations at the same time for connecting multiple
displays. Otherwise, one of the displays will not work.
48 P51 User Guide

Chapter 4. Accessibility, ergonomic, and maintenance
information
This chapter provides information about accessibility, ergonomic, and cleaning and maintenance.
Accessibility information
Lenovo is committed to providing users who have hearing, vision, and mobility limitations with greater
access to information and technology. This section provides information about the ways these users can get
the most out of their computer experience. You also can get the most up-to-date accessibility information
from the following Web site:
http://www3.lenovo.com/us/en/lenovo/accessibility/
Keyboard shortcuts
The following list contains keyboard shortcuts that can help make your computer easier to use.
Note: Depending on your keyboard, some of the following keyboard shortcuts might not be available.
• Windows logo key + U: Open Ease of Access Center
• Right Shift for eight seconds: Turn on or turn off Filter Keys
• Shift five times: Turn on or turn off Sticky Keys
• Num Lock for five seconds: Turn on or turn off Toggle Keys
• Left Alt+Left Shift+Num Lock: Turn on or turn off Mouse Keys
• Left Alt+Left Shift+PrtScn (or PrtSc): Turn on or turn off High Contrast
For more information, go to https://windows.microsoft.com/, and then search using any of the following
keywords: keyboard shortcuts, key combinations, shortcut keys.
Ease of Access Center
Ease of Access Center on the Windows operating system enables you to configure your computers to suit
their physical and cognitive needs.
To access Ease of Access Center, do the following:
1. Go to Control Panel, and ensure that you view Control Panel using Category.
2. Click Ease of Access ➙ Ease of Access Center.
3. Choose the appropriate tool by following the instructions on the screen.
Ease of Access Center mainly includes the following tools:
• Magnifier
Magnifier is a useful utility that enlarges the entire screen or part of the screen so that you can see the
items better.
• Narrator
Narrator is a screen reader that reads what is displayed on the screen aloud and describes events such as
error messages.
• On-Screen Keyboard
© Copyright Lenovo 2017 49

If you prefer to type or enter data into your computer using a mouse, joystick, or other pointing device
instead of a physical keyboard, you can use On-Screen Keyboard. On-Screen Keyboard displays a visual
keyboard with all the standard keys. You can select keys using the mouse or another pointing device, or
you can tap to select the keys if your computer supports multi-touch screen.
• High Contrast
High Contrast is a feature that heightens the color contrast of some text and images on your screen. As a
result, those items are more distinct and easier to identify.
• Personalized keyboard
Adjust keyboard settings to make your keyboard easier to use. For example, you can use your keyboard
to control the pointer and make the keyboard easier to type certain key combinations.
• Personalized mouse
Adjust mouse settings to make your mouse easier to use. For example, you can change the pointer
appearance and make your mouse easier to manage windows.
Speech Recognition
Speech Recognition enables you to control your computer by voice.
Using only your voice, you can start programs, open menus, click objects on the screen, dictate text into
documents, and write and send e-mails. Everything you do with the keyboard and mouse can be done with
only your voice.
To use Speech Recognition, do the following:
1. Go to Control Panel, and ensure that you view Control Panel by Category.
2. Click Ease of Access ➙ Speech Recognition.
3. Follow the instructions on the screen.
Screen-reader technologies
Screen-reader technologies are primarily focused on software program interfaces, help systems, and various
online documents. For additional information about screen readers, see the following:
• Using PDFs with screen readers:
https://www.adobe.com/accessibility.html?promoid=DJGVE
• Using the JAWS screen reader:
https://www.freedomscientific.com/Products/Blindness/JAWS
• Using the NVDA screen reader:
https://www.nvaccess.org/
Screen resolution
You can make the text and images on your screen easier to read by adjusting the screen resolution of your
computer.
To adjust the screen resolution, do the following:
1. Right-click an empty area of the desktop and then click Display settings ➙ Display.
2. Follow the instructions on the screen.
Note: Setting a resolution too low might prevent some items from fitting on the screen.
50 P51 User Guide

Customizable item size
You can make the items on your screen easier to read by changing the item size.
• To change the item size temporarily, use the Magnifier tool in Ease of Access Center.
• To change the item size permanently, do the following:
– Change the size of all the items on your screen.
1. Right-click an empty area of the desktop and then click Display settings ➙ Display.
2. Change the item size by following the instructions on the screen. For some applications, your
configuration might not take effect until you sign out and then sign in again.
– Change the size of the items on a Web page.
Press and hold Ctrl, and then press the plus-sign key (+) to enlarge or the minus-sign key (–) to reduce
the text size.
– Change the size of the items on the desktop or a window.
Note: This function might not work on some windows.
If your mouse has a wheel, press and hold Ctrl, and then scroll the wheel to change the item size.
Industry-standard connectors
Your computer provides industry-standard connectors that enable you to connect assistive devices.
Documentation in accessible formats
Lenovo provides electronic documentation in accessible formats, such as properly tagged PDF files or
HyperText Markup Language (HTML) files. Lenovo electronic documentation is developed to ensure that
visually impaired users can read the documentation through a screen reader. Each image in the
documentation also includes adequate alternative text so that visually impaired users can understand the
image when they use a screen reader.
Ergonomic information
Good ergonomic practice is important to get the most from your personal computer and to avoid discomfort.
Arrange your workplace and the equipment you use to suit your individual needs and the kind of work that
you perform. In addition, use healthy work habits to maximize your performance and comfort when using
your computer.
Working in the virtual office might mean adapting to frequent changes in your environment. Adapting to the
surrounding light sources, active seating, and the placement of your computer hardware, can help you
improve your performance and achieve greater comfort.
This example shows someone in a conventional setting. Even when not in such a setting, you can follow
many of these tips. Develop good habits, and they will serve you well.
Chapter 4.Accessibility, ergonomic, and maintenance information 51

General posture: Make minor modifications in your working posture to deter the onset of discomfort caused
by long periods of working in the same position. Frequent short breaks from your work also help to prevent
minor discomfort associated with your working posture.
Display: Position the display to maintain a comfortable viewing distance of 510 mm to 760 mm (20 inches to
30 inches). Avoid glare or reflections on the display from overhead lighting or outside sources of light. Keep
the display screen clean and set the brightness to levels that enable you to see the screen clearly. Press the
brightness control keys to adjust display brightness.
Head position: Keep your head and neck in a comfortable and neutral (vertical, or upright) position.
Chair: Use a chair that gives you good back support and seat height adjustment. Use chair adjustments to
best suit your comfort posture.
Arm and hand position: If available, use chair arm rests or an area on your working surface to provide
weight support for your arms. Keep your forearms, wrists, and hands in a relaxed and neutral (horizontal)
position. Type with a soft touch without pounding the keys.
Leg position: Keep your thighs parallel to the floor and your feet flat on the floor or on a footrest.
What if you are traveling?
It might not be possible to observe the best ergonomic practices when you are using your computer while on
the move or in a casual setting. Regardless of the setting, try to observe as many of the tips as possible.
Sitting properly and using adequate lighting, for example, helps you maintain desirable levels of comfort and
performance. If your work area is not in an office setting, ensure to take special note of employing active
sitting and taking work breaks. Many ThinkPad product solutions are available to help you modify and
expand your computer to best suit your needs. You can find some of these options at http://
www3.lenovo.com/us/en/accessories-and-upgrades/c/ACCESSORY?menu-id=Accessories_Upgrades. Explore
your options for docking solutions and external products that provide the adjustability and features that you
want.
Questions about vision?
The visual display screens of ThinkPad notebook computers are designed to meet the highest standards.
These visual display screens provide you with clear, crisp images and large, bright displays that are easy to
see, yet easy on the eyes. Any concentrated and sustained visual activity can be tiring. If you have questions
on eye fatigue or visual discomfort, consult a vision-care specialist for advice.
Cleaning and maintenance
With appropriate care and maintenance your computer will serve you reliably. The following topics offer
information to help you keep your computer in top working order.
Basic maintenance tips
Here are some basic points about keeping your computer functioning properly:
• Store packing materials safely out of the reach of children to prevent the risk of suffocation from plastic
bags.
• Keep your computer away from magnets, activated cellular phones, electrical appliances, or speakers
(more than 13 cm or 5 inches).
• Avoid subjecting your computer to extreme temperatures (below 5°C/41°F or above 35°C/95°F).
• Avoid placing any objects (including paper) between the display and the keyboard or the palm rest.
• Your computer display is designed to be opened and used at an angle slightly greater than 90 degrees. Do
not open the display beyond 180 degrees. Otherwise, the computer hinge might get damaged.
52 P51 User Guide
• Do not turn your computer over when the ac power adapter is plugged in, otherwise, it could break the
adapter plug.
• Before moving your computer, be sure to remove any media, turn off attached devices, and disconnect
cords and cables.
• When picking up your open computer, hold it by the bottom. Do not pick up or hold your computer by the
display.
• Only an authorized ThinkPad repair technician should disassemble and repair your computer.
• Do not modify or tape the latches to keep the display open or closed.
• Avoid directly exposing your computer and peripherals to the air from an appliance that can produce
negative ions. Wherever possible, ground your computer to facilitate safe electrostatic discharge.
Cleaning your computer
It is a good practice to clean your computer periodically to protect the surfaces and ensure trouble-free
operation.
Cleaning the computer cover: Wipe it with a lint-free cloth dampened in mild soap and water. Avoid
applying liquids directly to the cover.
Cleaning the keyboard: Wipe the keys one by one with a lint-free cloth dampened in mild soap and water. If
you wipe several keys at a time, the cloth might hook onto an adjacent key and possibly damage it. Avoid
spraying cleaner directly onto the keyboard. To remove any crumbs or dust from beneath the keys, you can
use a camera blower with a brush or use cool air from a hair dryer.
Cleaning the computer screen: Scratches, oil, dust, chemicals, and ultraviolet light can affect the
performance of your computer screen. Use a dry, soft lint-free cloth to wipe the screen gently. If you see a
scratchlike mark on your screen, it might be a stain. Wipe or dust the stain gently with a soft, dry cloth. If the
stain remains, moisten a soft, lint-free cloth with water or eyeglass cleaner, but do not apply liquids directly
to your computer screen. Ensure that the computer screen is dry before closing it.
Chapter 4.Accessibility, ergonomic, and maintenance information 53
54 P51 User Guide

Chapter 5. Security
This chapter provides information about how to protect your computer from unauthorized use.
Using passwords
This topic provides information about how to use the power-on password, supervisor password, and hard
disk password.
Passwords introduction
You can help prevent your computer from unauthorized use by using passwords. After you set a password, a
prompt is displayed on the screen each time you turn on the computer. Enter your password at the prompt.
You cannot use the computer unless you type the correct password.
If you have set a power-on password, a supervisor password, or a hard disk password, it unlocks
automatically when the computer resumes from sleep mode.
Note: If a Windows password has been set, you are prompted to enter it when the computer resumes from
sleep mode.
Power-on password
You can set a power-on password to help protect your computer against unauthorized access.
If you set a power-on password, the password prompt is displayed on the screen whenever you turn on the
computer. You must enter the correct password to start using the computer.
When this icon is displayed, type a power-on password or a supervisor password.
Supervisor password
The supervisor password protects the system information stored in the ThinkPad Setup program. It provides
the following security features:
• If only a supervisor password is set, a password prompt is displayed when you try to start the ThinkPad
Setup program. Unauthorized users cannot change most of the system configuration options in the
ThinkPad Setup program without the password.
• The system administrator can use the supervisor password to access a computer even if the user of that
computer has set a power-on password. The supervisor password overrides the power-on password.
• The system administrator can set the same supervisor password on many ThinkPad notebook computers
to make administration easier.
Hard disk passwords
Setting a hard disk password prevents unauthorized access to the data on the hard disk drive. When a hard
disk password is set, you are prompted to type a valid password each time you try to access the hard disk
drive.
The following two types of hard disk passwords can help protect the information stored on the storage drive:
• User hard disk password
© Copyright Lenovo 2017 55

If a user hard disk password has been set, but no master hard disk password has been, the user must
enter the user hard disk password to access files and applications on the storage drive.
• Master hard disk password
The master hard disk password also requires a user hard disk password. The master hard disk password
is set and used by a system administrator. It enables the administrator to access any storage drive in a
system like a master key. The administrator sets the master password; then assign a user password for
each computer in the network. The user can then change the user password as desired, but the
administrator still can get access by using the master password.
When a master hard disk password is set, only the administrator can remove the user hard disk password.
When this icon is displayed, type a user hard disk password. To type a master hard disk password,
press F1. When the icon changes to , type the master hard disk password. To return to the icon
, press F1 again.
Tips on using the hard disk passwords:
• You can set the minimum length of a hard disk password.
• If you set a hard disk password of over seven characters, the storage drive can be used only with a
computer that can recognize a hard disk password of over seven characters. If you then install the storage
drive in a computer that cannot recognize a hard disk password that contains more than seven
characters, you cannot access the drive.
• Record your password and store it in a safe place. If you forget the user hard disk password, or both user
and master hard disk passwords, Lenovo cannot reset your passwords or recover data from the storage
drive. You must take your computer to a Lenovo reseller or a marketing representative to have the storage
drive replaced. Proof of purchase is required, and a fee will be charged for parts and service.
Notes: The eDrive storage drives or Trusted Computing Group (TCG) Opal-compliant storage drives provide
self-encryption capabilities to secure your data.
• If a TCG Opal-compliant storage drive and a TCG Opal management software program are installed, and
the TCG Opal management software program is activated, the hard disk password is not available.
• If an eDrive storage drive is installed in your computer, and your computer is preinstalled with the
Windows 10 operating system, the hard disk password is not available.
Setting, changing, or removing a password
Before you start, print these instructions.
To set, change, or remove a password, do the following:
1. Restart the computer. When the logo screen is displayed, press F1 to start the ThinkPad Setup program.
2. Select Security ➙ Password by using the directional keys.
3. Depending on the password type, select Power-on Password, Supervisor Password, or Hard disk x
Password.
4. Follow the instructions on the screen to set, change, or remove a password.
You might want to record your password and store it in a safe place. Otherwise, if you forget the password,
you have to take your computer to a Lenovo reseller or a marketing representative to have the password
canceled.
56 P51 User Guide

Hard disk security
To protect the computer from unauthorized security attacks, refer to the following tips to enhance security:
• Set a power-on password as well as a hard disk password. For security, a longer password is
recommended.
• The hard disk drive built into your computer can be protected by UEFI BIOS. To provide reliable security,
use the security chip and a security program with the Trusted Platform Module (TPM) management
feature. See “Setting the security chip” on page 57.
• If a Disk Encryption storage drive is installed in your computer, ensure to protect the contents of your
computer from unauthorized access by use of drive encryption software, such as Microsoft Windows
BitLocker® Drive Encryption.
• Before you dispose of, sell, or hand over your computer, delete the data stored on it. For more
information, see “Deleting data from your storage drive” on page 60.
Using Windows BitLocker Drive Encryption
To help protect your computer against unauthorized access, use the drive encryption software, such as
Windows BitLocker Drive Encryption.
Windows BitLocker Drive Encryption (referred to as BitLocker) is an integral security feature of some editions
of the Windows operating system. It can help you protect the operating system and data stored on your
computer, even if your computer is lost or stolen. BitLocker can encrypt all user and system files, including
the swap and hibernation files.
BitLocker uses the TPM to provide enhanced protection for your data and to ensure early boot component
integrity. A compatible TPM is defined as a V2.0 TPM.
To check the BitLocker status, go to Control Panel, view Control Panel by Category, and click System and
Security ➙ BitLocker Drive Encryption.
For more information, see the help system of the Windows operating system, or search for “Microsoft
Windows BitLocker Drive Encryption Step-by-Step Guide” on the Microsoft Web site.
Disk Encryption hard disk drive and Encryption solid-state drive
Some models contain the Disk Encryption hard disk drive, Encryption solid-state drive, or Encryption hybrid
drive. This encryption technology helps to protect your computer against security attacks on media, NAND
flash, or device controllers by use of a hardware encryption chip. For the efficient use of the encryption
feature, set a hard disk password for the internal storage drive.
Setting the security chip
Strict security requirements are imposed on network client computers that transfer confidential information
electronically. Depending on the options you ordered, your computer might have an embedded security chip
(a cryptographic microprocessor). With the security chip, you can do the following:
• Protect your data and system
• Strengthen access controls
• Secure communications
Before you start, print these instructions.
To set an item on the Security Chip submenu, do the following:
Chapter 5.Security 57

1. Restart the computer. When the logo screen is displayed, press F1 to start the ThinkPad Setup program.
2. Select Security ➙ Security Chip by using the directional keys.
3. Press Enter. The Security Chip submenu opens.
4. Move to an item you want to set by using the directional keys. When the item is highlighted, press Enter.
5. Set other items that you want to set.
6. Press F10. A Setup Confirmation window is displayed. Select Yes to save the configuration changes and
exit.
Notes:
• Ensure that the supervisor password has been set in ThinkPad Setup. Otherwise anyone can change the
settings for the security chip.
• When you clear the security chip, turn off your computer and then turn it on again after you set the security
chip to Active. Otherwise, the Clear Security Chip option is not displayed.
Using the fingerprint reader
Depending on the model, your computer might have a fingerprint reader. Fingerprint authentication can
replace your passwords, such as the Windows password, power-on password, and hard disk password. In
this way, you can log in to your computer simply and securely.
You can set the fingerprint reader in the fingerprint program if available. You also can change the settings in
the ThinkPad Setup program. To change the settings in the ThinkPad Setup program, see “Using the
ThinkPad Setup program” on page 64.
Enrolling your fingerprints
To enable fingerprint authentication, enroll your fingerprints first. During the enrollment, the fingerprints are
associated with the Windows password automatically. It is recommended that you enroll more than one
fingerprint in case of any injuries to your fingers.
To enroll your fingerprints, do the following:
1. Open the Start menu and then click Settings ➙ Accounts ➙ Sign-in options.
2. Follow the instructions on the screen to finish the enrollment.
Scanning your finger
To scan your finger, tap the fingerprint reader with the top joint of your finger and hold your finger there for
one or two seconds with a little pressure. Then lift the finger to complete one scan.
58 P51 User Guide

Fingerprint reader indicator
• 1 Off: The fingerprint reader is not ready for tapping.
• 2 Solid green: The fingerprint reader is ready for tapping.
• 3 Amber, blinking: The fingerprint cannot be authenticated.
Associating your fingerprints with your power-on password and hard disk password
To associate your fingerprints with your power-on password and hard disk password, manually create a
connection by doing the following:
1. Turn off and then turn on the computer.
2. When prompted, scan your finger on the fingerprint reader.
3. Enter your power-on password, hard disk password, or both as required. The connection is created.
When you start the computer again, you can use your fingerprints to log in to the computer with no need to
enter your Windows password, power-on password, and hard disk password.
Attention: If you always use your fingerprint to log in to the computer, you might forget your passwords.
Write down your passwords, and keep them in a safe place. If you forget your power-on password, you must
take your computer to a Lenovo-authorized servicer or a marketing representative to have the password
canceled. If you forget your hard disk password, Lenovo cannot reset your password or recover data from
the storage drive. You must take your computer to a Lenovo-authorized servicer or a marketing
representative to have the storage drive replaced. Proof of purchase is required, and a fee will be charged for
parts and service.
Maintaining the fingerprint reader
The following actions could damage the fingerprint reader or cause it not to work correctly:
• Scratching the surface of the reader with a hard, pointed object
• Scraping the surface of the reader with your fingernail or anything hard
• Using or touching the reader with a dirty finger
If you notice any of the following conditions, gently clean the surface of the reader with a dry, soft, lint-free
cloth:
• The surface of the reader is dirty or stained.
• The surface of the reader is wet.
• The reader often fails to enroll or authenticate your fingerprint.
Chapter 5.Security 59

If your finger has any of the following conditions, you might not be able to register or authenticate it:
• Your finger is wrinkled.
• Your finger is rough, dry, or injured.
• Your finger is stained with dirt, mud, or oil.
• The surface of your finger is different from the one when you enrolled your fingerprint.
• Your finger is wet.
• Your finger that you are currently using has not been enrolled before.
To improve the situation, try the following:
• Clean or wipe your hands to remove any excess dirt or moisture from the fingers.
• Enroll and use a different finger for authentication.
Deleting data from your storage drive
Some of the data stored on the storage drive might be sensitive. Handing your computer over to someone
else without deleting the installed software, such as operating systems and programs, might even violate the
license agreements. Be sure to delete data stored on the storage drive before you dispose of, sell, or hand
over your computer.
You can use the following methods to delete data from the storage drive:
• Move the data to the Recycle Bin, and then empty the Recycle Bin.
• Format your storage drive, using the software to initialize it.
• Use the recovery program provided by Lenovo to bring the storage drive back to the factory default
settings.
These operations, however, only change the file location of the data; they do not delete the data itself. The
data is still there, even though it seems to be lost. Thus, it is sometimes possible to read the data by use of
special software for data recovery. There is a risk that people of bad faith might read and misuse the critical
data on storage drives for unexpected purposes.
To prevent leakage of data, it is important that you delete all the data from the hard disk drive when you
dispose of, sell, or hand over your computer. You can destroy the data physically by smashing the hard disk
drive with a hammer, or magnetically by means of strong magnetic power, thus making the data unreadable.
But it is recommended that you use the software (payware) or service (pay service) developed for that
purpose. The process might take several hours.
For disposing of data on the solid-state drive, Lenovo provides the Drive Erase Utility for Resetting the
Cryptographic Key and Erasing the Solid State Drive tool.
Some computers might support a Disk Encryption hard disk drive or Encryption solid-state drive and have
such a drive installed. You can logically dispose of all the data on the drive in a short time by erasing the
cryptographic key. The data encrypted with the old key is not physically erased but remains on the drive;
however, it cannot be decrypted without the old key. This feature is also available with the Drive Erase Utility
for Resetting the Cryptographic Key and Erasing the Solid State Drive tool.
Using firewalls
If your system is preinstalled with a firewall program, it protects against computer Internet security threats,
unauthorized access, intrusions, and Internet attacks. It also protects your privacy.
60 P51 User Guide

For more information about how to use the firewall program, see the help system that comes with the
program.
Protecting data against viruses
Lenovo provides a full version of antivirus software on your computer with a free 30-day subscription. After
30 days, you must renew the license to continue receiving the antivirus software updates.
For more information about your antivirus software, see the help system of your antivirus software.
Chapter 5.Security 61
62 P51 User Guide

Chapter 6. Advanced configuration
This chapter provides information to help you further configure the computer:
Installing the Windows 10 operating system
In some situations, you might need to install a new operating system. This topic provides instructions on how
to install a Windows 10 operating system.
Before you start, print these instructions.
Attention: The process of installing a new operating system deletes all the data on your internal storage
drive, including the data that were stored in a hidden folder.
To install the Windows 10 operating system, do the following:
1. Ensure that you set the security chip to TPM 2.0. For more information, see “Setting the security chip”
on page 57.
2. Connect the drive that contains the operating system installation program to the computer.
3. Start the ThinkPad Setup program.
4. Select Startup ➙ Boot to display the Boot Priority Order submenu.
5. Select the drive that contains the operating system installation program, for example, USB HDD. Then
press Esc.
6. Select Restart and ensure that OS Optimized Defaults is enabled. Then press F10 to save the settings
and exit the ThinkPad Setup program.
7. Follow the on-screen instructions to install the device drivers and necessary programs. See “Installing
device drivers” on page 64.
8. After installing the device drivers, apply Windows Update to get the latest modules, for example the
security patches.
9. Depending on your preference, install Lenovo programs. For information about Lenovo programs, see
“Lenovo programs” on page 13.
Note: After installing the operating system, do not change the initial UEFI/Legacy Boot setting in the
ThinkPad Setup program. Otherwise, the operating system will not start correctly.
When you install the Windows 10 operating system, you might need one of the following country or region
codes:
Country or region Code Country or region Code
China SC Netherlands NL
Denmark DK Norway NO
Finland FI Spain SP
France FR Sweden SV
Germany GR Taiwan and Hong Kong TC
Italy IT United States US
Japan JP
© Copyright Lenovo 2017 63

Installing device drivers
Device drivers are programs that contain instructions for the operating system about how to operate or
“drive” a certain piece of hardware. Each hardware component on your computer has its own specific driver.
If you add a component, the operating system must be instructed on how to operate that piece of hardware.
After you install the driver, the operating system can recognize the hardware component and understand
how to use it.
Note: Because drivers are programs, like any other file on your computer, they are susceptible to corruption
and might not perform properly if corruption occurs.
It is not always necessary to download the latest drivers. However, you should download the latest driver for
a component when you notice poor performance from that component or when you added a component.
This action might eliminate the driver as the potential cause of a problem.
Getting the latest drivers from the Web site
You can download and install updated device drivers from the Lenovo Support Web site by doing the
following:
1. Go to http://www.lenovo.com/support.
2. Select the entry for your computer and then follow the instructions on the screen to download and install
necessary software.
Getting the latest drivers using Lenovo Companion
The system update function of Lenovo Companion helps you keep the software on your computer up-to-
date. Update packages are stored on Lenovo servers and can be downloaded from the Lenovo Support Web
site. Update packages can contain applications, device drivers, UEFI BIOS flashes, or software updates.
When Lenovo Companion connects to the Lenovo Support Web site, the program automatically recognizes
the following information and determines what updates are available for your computer:
• Machine type and model of your computer
• Installed operating system
• Language of the operating system
Lenovo Companion then displays a list of update packages and categorizes each update as critical,
recommended, or optional to help you understand the importance. You have complete control of which
updates to download and install. After you select the update packages you want, Lenovo Companion
automatically downloads and installs the updates.
Lenovo Companion is preinstalled on your computer and is ready to run. The only prerequisite is an active
Internet connection. You can start the program manually, or you can use the schedule feature to enable the
program to search for updates automatically at specified intervals. You also can predefine scheduled
updates to search by the critical severity level so the list you choose from contains only those update types
that you need.
For more information about how to use Lenovo Companion, see the help system of the program.
Using the ThinkPad Setup program
The ThinkPad Setup program enables you to select the preferred settings for your computer through
configuring the BIOS.
64 P51 User Guide
Configuring ThinkPad Setup
The ThinkPad Setup program menu lists various items about system configuration.
Attention: The default configurations are already optimized for you. Improper change of the configurations
might cause unexpected results.
To configure ThinkPad Setup, do the following:
1. Restart the computer. When the logo screen is displayed, press F1. The ThinkPad Setup program starts.
Note: If you are required to enter the supervisor password, enter the correct password. You also can
press Enter to skip the password prompt and start the ThinkPad Setup program. If you do not enter the
password, you cannot change the configurations that are protected by the supervisor password.
2. Use the arrow keys to select a tab; or use the arrow keys to locate an item and press Enter to select it.
Then the supported submenu is displayed.
3. Default values are in boldface. Set the value of an item by doing one of the following:
• Press F6 to change to a higher value.
• Press F5 to change to a lower value.
4. Press the Esc key to exit the submenu and return to the parent menu. Then use the same method
mentioned above to change other configurations.
5. When you complete the configuration, press F10 to save and exit. You also can select the Restart tab in
the ThinkPad Setup menu, and restart your computer with one of the provided options.
You can press F9 to restore to the default settings.
Changing the startup sequence
In some cases, you might have to change the startup sequence so that the computer starts from a desired
device when powered on. Read this topic to learn how to change the computer startup sequence.
Attention:
• After you change the startup sequence, ensure that you select the correct device during a copy, a save, or
a format operation. If you select the wrong device, the data on that device might be erased or overwritten.
• If you are using the Windows BitLocker Drive Encryption feature and your computer has a Trusted
Platform Module, do not change the startup sequence. BitLocker Drive Encryption locks the computer
when it detects the change of startup sequence.
To change the startup sequence, do the following:
1. Access the ThinkPad Setup program and select Startup ➙ Boot. Then press Enter. The default device
order list is displayed.
2. Set the startup sequence as you desired.
3. Press F10 to save the changes and restart the system.
You also can change the startup sequence temporarily by doing the following:
1. Turn off the computer.
2. Turn on the computer. When the logo screen is displayed, press the F12 key.
3. Select the device that you want the computer to start from. Then press Enter.
Note: The Boot menu will be displayed if the computer cannot start from any devices or the operating
system cannot be found.
Chapter 6.Advanced configuration 65

Updating the UEFI BIOS
The UEFI BIOS is the first program that the computer runs when the computer is turned on. The UEFI BIOS
initializes the hardware components, and loads the operating system and other programs.
When you install a new program, device driver, or hardware component, you might be informed to update
the UEFI BIOS. You can update the UEFI BIOS by starting your computer from a flash update disc or a flash
update program running in the Windows environment.
The requirements for flash update are as follows:
• The computer must be started over LAN.
• The computer must be engaged in the Preboot eXecution Environment (PXE).
• A network-management program must be installed on the computer of the network administrator.
For instructions on how to update the UEFI BIOS, go to http://www.lenovo.com/support.
BIOS menu
This topic introduces the following BIOS menus of your computer:
• Main menu
• Config menu
• Date/Time menu
• Security menu
• Startup menu
• Restart menu
Note: Depending on the model and operating system, the menu items and the default value might change
without notice.
Main menu
When you enter the ThinkPad Setup program, you first see the Main menu as follows:
Note: The BIOS menu items might change without notice. Depending on the model, the default value might
vary.
• UEFI BIOS Version
• UEFI BIOS Date
• Embedded Controller Version
• ME Firmware Version
• Machine Type Model
• System-unit serial number
• System board serial number
• Asset Tag
• CPU Type
• CPU Speed
• Installed Memory
• UUID
• MAC Address (Internal LAN)
66 P51 User Guide
• Preinstalled operating system license
• UEFI Secure Boot
• OA3 ID
• OA2
Config menu
Note: The BIOS menu items might change without notice. Depending on the model, the default value might
vary.
Network
• Wake On LAN
Values: Disabled, AC only, AC and Battery
Description: The network administrator can turn on a computer from a management console by using the
Wake on LAN feature. If you select AC Only, the Wake on LAN feature is enabled only when the ac power
adapter is attached. If you select AC and Battery, the Wake on LAN feature is enabled with any power
sources.
Notes:
– The magic packet type Wake on LAN requires that the ac power is attached.
– The Wake on LAN feature does not work when the hard disk password is set.
• Wake On WAN from Dock
Values: Disabled , Enabled
Description: Enable or disable Wake On LAN from Dock function. This works only when ThinkPad USB-C
Dock or ThinkPad Thunderbolt 3 Dock is attached. Note that Wake On LAN from Dock function does not
work if Hard Disk Password is set.
• Ethernet LAN Option ROM
Values: Disabled, Enabled
Description: The Ethernet LAN Option ROM enables the startup from an integrated network device. This
menu is displayed only in Legacy Only boot mode or Both boot mode with Legacy first.
• UEFI IPv4 Network Stack
Values: Disabled, Enabled
Description: Enable or disable Internet Protocol Version 4 (IPv4) network stack for UEFI environment. This
menu is displayed only in UEFI Only boot mode or Both boot mode with UEFI first.
• UEFI IPv6 Network Stack
Values: Disabled, Enabled
Description: Enable or disable Internet Protocol Version 6 (IPv6) network stack for UEFI environment. This
menu is displayed only in UEFI Only boot mode or Both boot mode with UEFI first.
• UEFI PXE Boot Priority
Values: IPv6 First, IPv4 First
Description: Select network stack priority for UEFI PXE boot. This menu is displayed only in UEFI Only
boot mode or Both boot mode with UEFI first, when IPv6 and IPv4 stacks are both enabled.
• Wireless Auto Disconnection
Values: Disabled, Enabled
Description: Enable or disable the Wireless Auto Disconnection feature when the Ethernet cable is
attached. If you select Enabled, the Wireless LAN function is automatically turned off when the Ethernet
cable is attached.
Chapter 6.Advanced configuration 67
• MAC address Pass Thru
Values: Disabled, Enabled
Description: The MAC address for the Lenovo USB dock will be changed to Internal MAC address. Select
Disabled to remain original MAC address for the Lenovo USB Dock. Select Enabled to apply Internal MAC
address for the Lenovo USB dock.
USB
• USB UEFI BIOS Support
Values: Disabled, Enabled
Description: Enable or disable the boot support for USB storage devices.
• Always On USB
Values: Disabled, Enabled
Description: Select Enabled to charge devices through the Always On USB connectors even when the
computer is turned off, in sleep mode, or in hibernation mode.
Note: USB-wake-up function is not supported on Always On USB connectors.
– Charge in Battery Mode
Values: Disabled, Enabled
Description: This option is supported only when Always On USB is enabled. Select Enabled to charge
devices through the Always On USB connector even when the computer is in hibernation mode, or
powered off and in battery operation.
Keyboard/Mouse
• TrackPoint
Values: Disabled, Enabled
Description: Enable or disable the built-in TrackPoint pointing device.
Note: If you want to use an external mouse, select Disabled.
• Trackpad
Values: Disabled, Enabled
Description: Enable or disable the built-in trackpad.
Note: If you want to use an external mouse, select Disabled.
• Fn and Ctrl Key swap
Values: Disabled, Enabled
Description: If you select Enabled, the Fn key works as the Ctrl key and the Ctrl key works as the Fn key.
• Fn Sticky key
Values: Disabled, Enabled
Description: If you select Enabled, you can press the Fn key (instead of press and hold) to keep it in a
pressed condition. Then press the function key you want. The action is equivalent to pressing the function
key simultaneously with the Fn key.
• F1–F12 as primary function
Values: Disabled, Enabled
Description: If you select Enabled, pressing the function keys directly inputs F1–F12. If you select
Disabled, pressing the function keys directly initiates the special function printed as an icon on each key.
To temporarily switch the above two functions, press Fn+Esc.
68 P51 User Guide
Display
• Boot Display Device
Values: ThinkPad LCD, External Display, Display Port, Display on dock
Description: Select the display device that you want to activate at boot time.
Note: This item is available on the Discrete Graphics mode.
This selection is effective for boot time, password prompt, and ThinkPad Setup. External Display
corresponds to an external display attached to USB Type-C connector or HDMI connector on your
computer. If multiple displays are attached, the boot screen appears on the first recognized oneDisplay
Port corresponds to the Mini DisplayPort on your computer. Display on dock corresponds to the video
connectors (such as the DisplayPort, DVI, or VGA connectors) on a docking station.
• Graphics Device
Values: Discrete Graphics, Hybrid Graphics
Description: Discrete Graphics mode provides better graphics performance. Hybrid Graphics mode works
as integrated graphics and consumes less battery power.
• Shared Display Priority
Values: DisplayPort, Display on Dock
Description: Select the priority between shared display outputs. DisplayPort and Display on Dock share a
single display output. This option chooses which one is prioritized.
• Total Graphics Memory
Values: 256 MB, 512 MB
Description: Allocate the total memory which Intel® internal graphics shares.
Note: If you select 512 MB, the maximum usable memory might be reduced on the 32–bit operating
system.
• Graphics Device
Values: Hybrid Graphics, Discrete Graphics
Description: Discrete Graphics mode will achieve higher graphics performance. Hybrid Graphics mode
runs as Integrated Graphics mode to achieve longer battery life, and Discrete Graphics is enabled on
demand.
• Boot Time Extension
Values: Disabled, 1 second, 2 seconds, 3 seconds, 5 seconds, 10 seconds,
Description: During the boot process, the computer might not detect the external monitors that need more
time to get ready. Select how long you want to extend the boot process.
Power
• Intel (R) SpeedStep technology
Values: Disabled, Enabled
Description: Select the mode of Intel SpeedStep technology at runtime.
• Adaptive Thermal Management
Values: Maximize Performance, Balanced
Description: Select a thermal management scheme to use. The scheme affects fan sound, temperature,
and performance.
• CPU Power Management
Values: Disabled, Enabled
Chapter 6.Advanced configuration 69
Description: Enable or disable the power-saving feature that stops the microprocessor clock automatically
when there are no system activities. Normally, it is not necessary to change the setting.
• ExpressCard Speed
Values: Generation 1, Automatic
Description: Set the transfer speed of ExpressCard.
• PCI Express Power Management
Values: Disabled, Enabled
Description: Enable or disable the feature that automatically adjusts power management when no PCI
Express activity is detected.
• Power On with AC Attach
Values: Disabled, Enabled
Description: Enable or disable a feature that turns on the computer when the ac power adapter is
attached.
Beep and Alarm
• Password Beep
Values: Disabled, Enabled
Description: Enable or disable a beep when the computer is waiting for a power-on, hard disk, or
supervisor password. Different beeps remind you that the password you entered is right or wrong.
• Keyboard Beep
Values: Enabled, Disabled
Description: Enable or disable a beep when unmanageable key combinations are pressed.
RAID
• RAID Mode Option
Values: Disabled, Enabled
Description: Select the mode in which the serial SATA controller operates.
• RAID Storage
Values: SATA HDD, M.2 SSD
• Intel (R) Rapid Storage Technology User Interface
Description: Enter Intel Rapid Storage Technology Configuration Utility to manage RAID volumes on the
Intel RAID Controller.
CPU
• Core Multi-Processing
Values: Enabled, Disabled
Description: Select Enable to allow additional execution core units within a microprocessor. Select
Disable to allow only one execution core unit within a microprocessor.
• Intel (R) Hyper-Threading Technology
Values: Disabled, Enabled
Description: Enable: This selection enables additional microprocessor threads. These threads appear as
additional processors but share some resources with the other threads within a microprocessor. Disable:
This selection enables only one thread within each execution core unit.
70 P51 User Guide
Thunderbolt(TM) 3
• Wake by Thunderbolt(TM) 3
Values: Disabled, Enabled
Descriptions: Enable or disable Wake Feature with Thunderbolt 3 Port. If you select Enabled, the battery
life during the low power status might become shorter.
• Security level
Values: No Security, User Authorization, Secure Connect, Display Port and USB
Descriptions: Select the security level:
– No Security: Allow Thunderbolt devices to be connected automatically
– User Authorization: Allow Thunderbolt devices to be connected after the user authorization
– Secure Connect: Allow Thunderbolt devices to be connected with a one time saved key
– Display Port and USB: Allow only DisplayPort compatible and USB devices to be connected.
Thunderbolt devices are not allowed to be connected.
• Support in Pre Boot Environment
– Thunderbolt(TM) device
Values: Disabled, Enabled
Descriptions: Enable or disable pre-OS support for Thunderbolt devices attached to the Thunderbolt 3
port. To use a device in the pre-boot environment, authorize it in the operating system or set the
Security level to No Security. To boot from a device, configure it by selecting Startup ➙ Boot.
– USB device
Values: Disabled, Enabled
Descriptions: Enable or disable pre-OS support for USB devices attached to the Thunderbolt 3 port. To
boot from a device, configure it by selecting Startup ➙ Boot.
Intel AMT
• Intel (R) AMT Control
Values: Disabled, Enabled, Permanently Disabled
Description: If you select Enabled, Intel AMT (Active Management Technology) is configured and
additional setup items are provided in MEBx (Management Engine BIOS Extension) Setup. If you select
Permanently Disabled, you can never enable it again. Be cautious when you make the selection.
Note: You can enter the MEBx Setup menu by pressing Ctrl+P in the Startup Interrupt Menu window. To
display the Startup Interrupt Menu window, press Enter during the power-on self-test (POST).
• USB Key Provisioning
Values: Values: Disabled, Enabled
Description: This option enables or disables USB key provisioning.
• CIRA Timeout
Values: 0–255
Description: Set the timeout option for the CIRA connection to be established. Selectable values are from
1 to 255. If you select 0, use 60 seconds as the default timeout value. If you select 255, the waiting time for
establishing a connection is unlimited.
Note: The default value is 60 seconds.
• Console Type
Values: PC ANSI, VT100+, PC-ANSI, VT-UTF8
Chapter 6.Advanced configuration 71
Description: Select the console type for AMT. This console type must match the Intel AMT remote
console.
Date/Time menu
Note: The BIOS menu items might change without notice. Depending on the model, the default value might
vary.
• System Date
Descriptions: Set or change the date of the system.
• System Time
Descriptions: Set or change the time of the system.
Security menu
Note: The BIOS menu items might change without notice. Depending on the model, the default value might
vary.
Password
• Supervisor Password
Values: Disabled, Enabled
Descriptions: Set a supervisor password to prevent unauthorized users from changing the startup
sequence, network related settings, and system date and time. For more information, see “Passwords
introduction” on page 55.
• Lock UEFI BIOS Settings
Values: Disabled, Enabled
Descriptions: Enable this option to prevent unauthorized users from changing any settings in ThinkPad
Setup. To use this function, a supervisor password is required.
• Password at Unattended Boot
Values: Disabled, Enabled
Descriptions: When this option is enabled, a password prompt is displayed when the computer is turned
on by an unattended event such as a Wake on LAN attempt. To prevent unauthorized access, set the user
authentication on the operating system.
• Password at Restart
Values: Disabled, Enabled
Descriptions: When this option is enabled, a password prompt is displayed when you restart the
computer. To prevent unauthorized access, set the user authentication on the operating system.
• Password at Boot Device List
Values: Disabled, Enabled
Descriptions: If you enable this option, the supervisor password is required when you try to enter the Boot
menu by repeatedly pressing F12. To use this function, a supervisor password must be set.
• Password Count Exceeded Error
Values: Disabled, Enabled
Descriptions: Enable this option to display the POST 0199 error message when you enter a wrong
supervisor password more than three times.
• Set Minimum Length
Values: Disabled, x characters (4 ≤ x ≤ 12)
72 P51 User Guide
Descriptions: Specify a minimum length for power-on passwords and hard disk passwords. If a supervisor
password is set, you cannot change the minimum length until you log in as a supervisor.
• Power-On Password
Values: Disabled, Enabled
Descriptions: Set a power-on password to protect the computer from unauthorized access. For more
information, see “Passwords introduction” on page 55.
• Hard Disk x Password
Values: Disabled, Enabled
Descriptions: Set a hard disk password to prevent unauthorized users from accessing data on the internal
storage drive. For more information, see “Passwords introduction” on page 55.
Fingerprint
• Predesktop Authentication
Values: Disabled, Enabled
Descriptions: Enable or disable fingerprint authentication before the operating system is loaded.
• Reader Priority
Values: External ➙ Internal, Internal Only
Descriptions: If your computer has an internal fingerprint reader and an attached external fingerprint
reader, use this option to specify the fingerprint reader priority.
• Security Mode
Values: Normal, High
Descriptions: If the fingerprint is not authenticated, you can enter a password instead. If you have selected
Normal, enter either the power-on password or the supervisor password; if you have selected High,
supervisor password must be entered.
• Password Authentication
Values: Disabled, Enabled
Descriptions: Enable this option to use password authentication when fingerprints are not available. This
item is displayed if Security Mode is set to High.
• Reset Fingerprint Data
Value: Enter
Descriptions: Use this option to erase all fingerprint data stored in the fingerprint reader and reset the
settings to the factory default state. As a result, any power-on security features previously enabled will not
work until they are re-enabled in the fingerprint software.
Security Chip
• Security Chip Type
Values: TPM 2.0
• Security Chip Selection
Values: TPM 2.0, TPM 1.2
Descriptions: Use a discrete TPM chip with TPM 1.2 mode or TPM 2.0 mode.
Note: TPM 2.0 mode can be used with Microsoft Windows 10 operating system.
• Security Chip (for TPM 2.0)
Values: Enabled, Disabled
Chapter 6.Advanced configuration 73
Description: If you select Enabled, security chip is functional. If you select Disabled, security chip is
hidden and is not functional.
• Security Chip (for TPM 1.2)
Values: Active, Inactive, Disabled
Descriptions: If you select Active, security chip is functional. If you select Inactive, security chip is visible,
but is not functional. If you select Disabled, the security chip is hidden and is not functional.
• Security Reporting Options
– SMBIOS Reporting
Values: Disabled, Enabled
Descriptions: Enable or disable the feature that reports the SMBOS data. This option is displayed only if
Security Chip is Enabled.
• Clear Security Chip
Descriptions: Use this option to clear the encryption key. It will not be possible to access already-
encrypted data after these keys are cleared.
• Intel (R) TXT Feature:
Values: Disabled, Enabled
Descriptions: Enable or disable the Intel Trusted Execution Technology.
• Physical Presence for Provisioning
Values: Disabled, Enabled
Descriptions: Enable or disable the confirmation message when you change the settings of the security
chip.
• Physical Presence for Clear
Values: Disabled, Enabled
Descriptions: If this option is enabled, a confirmation message is displayed when you clear the security
chip.
UEFI BIOS Update Option
• Flash BIOS Updating by End-Users
Values: Disabled, Enabled
Descriptions: When this option is enabled, all users can update the UEFI BIOS. If you disable this option,
only the person who knows the supervisor password can update the UEFI BIOS.
• Secure RollBack Prevention
Values: Disabled if OS Optimized is disabled, Enabled if OS Optimized is enabled.
Descriptions: When this option is disabled, you can flash the UEFI BIOS to earlier version.
• Windows UEFI Firmware Update
Values: Disabled, Enabled
Descriptions: This option enables or disables Windows UEFI Firmware Update feature. When this option is
enabled, Windows UEFI Firmware Update is allowed. If you disable this option, Windows UEFI Firmware
Update will be skipped.
Memory Protection
• Execution Prevention
Values: Disabled, Enabled
74 P51 User Guide
Descriptions: Some computer viruses and worms cause memory buffers to overflow. By enabling this
option, you can protect your computer against attacks from such viruses and worms. If the option is
enabled but you find that a program does not run properly, disable this option first and then reset the
settings.
Virtualization
• Intel Virtualization Technology
Values: Disabled, Enabled
Descriptions: If this option is enabled, a Virtual Machine Monitor (VMM) can utilize the additional hardware
capabilities provided by Intel Virtualization Technology.
• Intel VT-d Feature
Values: Disabled, Enabled
Descriptions: Intel VT-d stands for Intel Virtualization Technology for Directed I/O. When enabled, a VMM
can utilize the platform infrastructure for I/O virtualization.
I/O Port Access
Descriptions: Use this submenu to enable or disable the following hardware features:
• Ethernet LAN
• Wireless LAN
• Wireless WAN
• Bluetooth
• USB port
• Memory card slot
• Smart card slot
• Integrated camera
• Microphone
• Fingerprint reader
• Thunderbolt(TM) 3 connector
• ExpressCard slot
Internal Device Access
• Bottom Cover Tamper Detection
Values: Disabled, Enabled
Descriptions: When this option is enabled, supervisor password is required when a bottom cover tamper
is detected. This option is not functional until a supervisor password is set.
• Internal Storage Tamper Detection
Values: Disabled, Enabled
Descriptions: When this option is enabled, removing any internal storage device when your computer is in
sleep mode will be detected. If you remove the internal storage device while the computer is in sleep
mode, the computer will shut down when you wake it up, and any unsaved data will be lost.
Anti-Theft
• Computrace Module Activation
Values: Disabled, Enabled, Permanently Disabled
Chapter 6.Advanced configuration 75
Descriptions: Enable the UEFI BIOS interface to activate the computrace module. Computrace is an
optional monitoring service from Absolute Software. If you select Permanently Disabled, you cannot
enable this setting again.
Secure Boot
• Secure Boot
Values: Disabled, Enabled
Descriptions: Enable this option to prevent unauthorized operating systems from loading when you turn
on the computer.
• Platform Mode
Values: Setup Mode, User Mode
Descriptions: Specify the system operating mode.
• Secure Boot Mode
Values: Standard Mode, Custom Mode
Descriptions: Specify the Secure Boot mode.
• Reset to Setup Mode
Descriptions: Use this option to clear the current platform key and reset Platform Mode to Setup Mode.
• Restore Factory Keys
Descriptions: Use this option to restore all keys and certificates in Secure Boot databases to the factory
defaults.
• Clear All Secure Boot Keys
Descriptions: Use this option to clear all keys and certificates in Secure Boot databases and install your
own keys and certificates.
Intel (R) SGX
• Intel (R) SGX Control
Values: Disabled, Enabled, Software Controlled
Descriptions: Enable or disable the Intel Software Guard Extensions (SGX) function. If you select Software
Controlled, SGX will be controlled by the operating system.
• Owner EPOCH Change
Value: Enter
Descriptions: Change Owner EPOCH to a random value. Use this option to clear SGX user data.
Device Guard
• Device Guard
Values: Disabled, Enabled
Descriptions: This option is used to support Microsoft Device Guard.
When this option is enabled, Intel Virtualization Technology, Intel VT-d Feature, Secure Boot, and OS
Optimized Defaults are automatically enabled. Boot order is not selectable. To complete the configuration
of Device Guard, you have to set a supervisor password.
When this option is disabled, the setup options are configurable and you can choose any boot options to
start the computer.
76 P51 User Guide
Startup menu
Note: The BIOS menu items might change without notice. Depending on the model, the default value might
vary.
• Boot
Descriptions: Define the startup sequence.
• Network Boot
Descriptions: Select the boot device when the system wakes from LAN. If Wake On LAN is enabled, the
network administrator can turn on all of the computers in a LAN remotely through network management
software.
• UEFI/Legacy Boot
Values: Both, UEFI Only, Legacy Only
Descriptions: Define the system boot capability.
– UEFI/Legacy Boot Priority
Values: Legacy First, UEFI First
Description: Select the boot priority between UEFI and Legacy.
– CSM Support (for UEFI only)
Values: Yes, No
Description: Compatibility Support Module (CSM) is required for starting the legacy operating system. If
you select UEFI only, CSM Support is selectable. For Both or Legacy Only mode, CSM Support is
not selectable.
• Boot Mode
Values: Quick, Diagnostics
Descriptions: Define which screen is displayed during the POST, the logo screen or the text message
screen.
• Option Key Display
Values: Disabled, Enabled
Descriptions: If you disable this option, the “To interrupt normal startup, press Enter.” message will not be
displayed during the POST.
• Boot Device List F12 Option
Values: Disabled, Enabled
Descriptions: If you enable this option, you can open the Boot Menu window by continuously pressing F12
when the computer is powered on.
• Boot Order Lock
Values: Enabled, Disabled
Descriptions: Enable this option to lock the boot device priority order.
Restart menu
Note: The BIOS menu items might change without notice. Depending on the model, the default value might
vary.
• Exit Saving Changes
Descriptions: Save the changes and restart the computer.
• Exit Discarding Changes
Descriptions: Discard the changes and restart the computer.
Chapter 6.Advanced configuration 77

• Load Setup Defaults
Descriptions: Restore to the factory default settings.
• Discard Changes
Descriptions: Discard the changes.
• Save Changes
Descriptions: Save the changes.
Using system management
This topic is primarily intended for the network administrators.
Your computer is designed for manageability, so that you can redirect more resources to better meet your
business objectives.
This manageability, known as total cost of ownership (TCO), enables you to remotely operate client
computers in the same way as you operate your own computer, such as turning on a client computer,
formatting a storage drive, and installing a program.
Once the computer is configured and operational, you can manage it by using the software and the
manageability features that are already integrated into the client computer and the network.
Desktop Management Interface
The UEFI BIOS of your computer supports an interface called System Management BIOS (SMBIOS)
Reference Specification, version 2.8 or later. SMBIOS provides information about the hardware components
of your computer. It is the responsibility of the UEFI BIOS to provide information about itself and the devices
on the system board. This specification documents the standards for getting access to this BIOS
information.
Preboot eXecution Environment
The Preboot eXecution Environment (PXE) technology makes the computer more manageable by enabling
the computer to start from a server. Your computer supports the personal computer functions that PXE
requires. For example, with the appropriate LAN card, your computer can be started from the PXE server.
Note: The Remote Initial Program Load (RIPL or RPL) function cannot be used with your computer.
Wake on LAN
The network administrator can turn on a computer from a management console by using the Wake on LAN
feature.
When the Wake on LAN feature is enabled, many operations, such as data transfer, software updates, and
flash updates of the UEFI BIOS, can be done remotely without remote attendance. The updating process can
perform after normal working hours and on weekends, so that the users are not interrupted during work, and
the LAN traffic is kept to a minimum. It saves time and increases productivity.
If the computer is turned on through Wake on LAN, the computer starts follow the Network Boot sequence.
Asset ID EEPROM
The Asset ID EEPROM contains information about the computer configuration and the serial numbers of the
key components. It also includes a number of blank fields where you can record information about the end
users in your network.
78 P51 User Guide
To enable a network administrator to remotely control your computer, set the following system-management
features in the ThinkPad Setup program:
• Wake on LAN
• Network Boot sequence
Note: If a supervisor password has been set, you are required to enter the supervisor password when you
start the ThinkPad Setup program.
Enabling or disabling the Wake on LAN feature
When the Wake on LAN feature is enabled and the computer is connected to a LAN, the network
administrator can start the computer remotely from a management console, using a remote network-
management program.
To enable or disable the Wake on LAN feature, do the following:
1. Restart the computer. When the logo screen is displayed, press F1 to start the ThinkPad Setup program.
2. Select Config ➙ Network. The Network submenu is displayed.
3. Select a corresponding option for the Wake on LAN feature.
4. Press F10 to save the settings and exit.
Defining a Network Boot sequence
When the computer wakes on LAN, the computer boots from the device as specified on the Network Boot
menu, and then follow the boot order list on the Boot menu.
To define a Network Boot sequence, do the following:
1. Restart the computer. When the logo screen is displayed, press F1 to start the ThinkPad Setup program.
2. Select Startup ➙ Network Boot. The boot device list is displayed.
3. Select a boot device to make it as the top boot priority.
4. Press F10 to save the settings and exit.
You can press F9 to restore to the factory default settings.
Chapter 6.Advanced configuration 79
80 P51 User Guide

Chapter 7. Configuring RAID
This chapter provides information about storage drive requirements for Redundant Array of Independent
Disks (RAID) levels, and instructions on how to configure RAID for your computer.
An Introduction to RAID
RAID is a technology that provides increased storage functions and reliability through redundancy.
When a group of independent physical storage drives is set up to use RAID technology, they are in a RAID
array. This array distributes data across multiple storage drives, but the array appears to the host computer
as one single storage unit. Creating and using RAID arrays provides high performance, such as the expedited
I/O performance, because several drives can be accessed simultaneously.
RAID drive groups configured according to certain RAID levels also improve data storage reliability and fault
tolerance compared with single-drive storage systems. Data loss resulting from a drive failure can be
prevented by reconstructing missing data from the remaining drives.
Note: For RAID 0, the missing data resulting from a drive failure cannot be reconstructed.
Storage drive requirements for RAID levels
Your computer supports the following internal storage drives:
• 2.5-inch form factor, 7-mm (0.28-inch) height hard disk drive
• M.2 Non-Volatile Memory Express (NVMe) solid-state drive (available on some models)
Note: Ensure that your computer has two identical storage drives installed (two hard disk drives, or M.2
NVMe solid-state drives with the same capacity) for supported RAID levels. If only one drive is installed, or
two different types of drives are installed, the following information does not apply.
Your computer supports the following RAID levels:
• RAID 0: striped disk array
– Consists of two identical storage drives
– Supported strip size: 4 KB, 8 KB, 16 KB, 32 KB, 64 KB, or 128 KB
– Better performance without fault tolerance
– Higher risk of data loss resulting from a member drive failure compared with non-RAID configuration
• RAID 1: mirrored disk array
– Consists of two identical storage drives
– Improved reading performance and 100% redundancy
Configuring RAID with the Intel RST configuration utility
This topic provides the following instructions to help you configure RAID with the Intel RST configuration
utility:
• How to enter the Intel RST configuration utility
• How to create RAID volumes
• How to delete RAID volumes
© Copyright Lenovo 2017 81
• How to reset storage drives to non-RAID
• How to rebuild RAID 1 volumes
Entering the Intel RST configuration utility
This topic provides instructions on how to enter the Intel RST configuration utility.
Enabling RAID from ThinkPad Setup
If RAID is disabled, you must enable it manually before entering the Intel RST configuration utility.
To enable RAID, do the following:
1. Restart the computer. When the logo screen is displayed, press F1 to start the ThinkPad Setup program.
2. Select Config ➙ RAID ➙ RAID Mode Option ➙ Enabled.
3. Select RAID Storage, press Enter, and then select either SATA HDD or M.2 SSD depending on which
type of internal storage drives are installed.
4. Press F10 to save changes and exit.
Entering the Intel RST configuration utility
To enter the Intel RST configuration utility, do the following:
1. Restart the computer. When the logo screen is displayed, press F1 to start the ThinkPad Setup program.
2. Select Config ➙ RAID ➙ Intel (R) Rapid Storage Technology and then press Enter to open the Intel (R)
Rapid Storage Technology window.
The following options are displayed after you enter the Intel RST configuration utility:
• Create RAID Volume: This option is used to create a RAID volume. If no internal storage drives can be
used, this option is not available.
• RAID Volumes: This option is used to confirm the information of the created RAID volumes.
• Non-RAID Physical Disks: This option is used to confirm the information of all non-RAID drives.
Press the up and down arrow keys to select an option. Press Enter to enter the menu for the selected option.
Press Esc to exit the Intel RST configuration utility.
Creating RAID volumes
This topic provides instructions on how to use the Intel RST configuration utility to create RAID volumes.
Attention: All the existing data stored on the selected drives will be erased while the RAID volume is being
created.
To create a RAID volume, do the following:
1. Enter the Intel RST configuration utility.
2. Press the up and down arrow keys to select Create RAID Volume, and then press Enter to open the
CREATE RAID VOLUME window.
3. Press the up and down arrow keys to select and configure the options one by one.
a. Name: You can use the default name or type a preferred name for the RAID volume.
b. RAID Level: You can press Enter to change the RAID to one of the following:
• RAID0 (Stripe)
82 P51 User Guide
• RAID1 (Mirror)
c. Select Disks: Press the up and down arrow keys to select a drive, and then press Spacebar or Enter
to add it into a group. An X mark is displayed next to the selected drive.
Note: The drive that cannot be used to create a RAID volume is not selectable.
d. Strip Size: Press the up and down arrow keys to select a strip size, and then press Enter to complete
the configuration.
Note: This option is only available for RAID 0.
e. Capacity: Customize the capacity of the RAID volume. The default RAID volume is the largest value.
f. Create Volume: Press Enter to finish configurations of the preceding options and create a volume.
Note: The Create Volume option might not be selectable for some reasons, for example, if different
types of drives are selected, the option is not selectable. If it is not selectable, see the message
displayed under Create Volume for reference.
After the RAID volume is created, the Intel (R) Rapid Storage Technology window is displayed, and
the created volume is displayed under RAID Volumes.
4. Press F10 to save changes and exit.
Deleting RAID volumes
This topic provides instructions on how to use the Intel RST configuration utility to delete RAID volumes.
Attention: All the existing data stored on the selected drives will be erased after you delete RAID volumes.
To delete a RAID volume, do the following:
1. Enter the Intel RST configuration utility.
2. Press the up and down arrow keys to select the volume that you want to delete under RAID Volumes.
Press Enter to open the RAID VOLUME INFO window.
3. Select Delete and press Enter to delete it from the RAID Volumes list.
4. When prompted, select Yes to confirm the deletion of the selected RAID volume.
After you delete the RAID volume, the Intel (R) Rapid Storage Technology window is displayed. Member
drives of the deleted volume are displayed under Non-RAID Physical Disks.
5. Press F10 to save changes and exit.
Resetting storage drives to non-RAID
This topic provides instructions on how to use the Intel RST configuration utility to reset storage drives to
non-RAID.
Attention: All the existing data stored on the selected drive will be erased after you reset it to non-RAID.
To reset a storage drive to non-RAID, do the following:
1. Enter the Intel RST configuration utility.
2. Press the up and down arrow keys to select the volume that you want to reset under RAID Volumes.
Press Enter to open the RAID VOLUME INFO window.
3. Press the up and down arrow keys to select the drive that you want to reset under RAID Member Disks.
Press Enter to open the PHYSICAL DISK INFO window.
4. Select Reset to Non-RAID and press Enter. When prompted, press Yes to confirm the reset action.
Chapter 7.Configuring RAID 83
After the reset process finishes, the Intel (R) Rapid Storage Technology window is displayed. The reset
drive is listed under Non-RAID Physical Disks, and the volume of the reset drive is still listed under
RAID Volumes, but the status is changed from Normal to Failed or Degraded.
5. Press F10 to save changes and exit.
Rebuilding RAID 1 volumes
If the status of a RAID 1 volume is Failed or Degraded, you can rebuild it through the Intel RST configuration
utility. To rebuild a RAID 1 volume, ensure that at least one member drive of the RAID 1 volume works
correctly. Replace the failed drive with a new one that has the same capacity before you rebuild a RAID 1
volume.
To rebuild a RAID 1 volume, do the following:
1. Enter the Intel RST configuration utility.
2. Press the up and down arrow keys to select the volume that you want to rebuild under RAID Volumes.
Press Enter to open the RAID VOLUME INFO window.
3. Select Rebuild and press Enter to open the Rebuild Volume window.
4. Select the drive that you want to rebuild and press Enter to initiate the rebuild process.
After you initiate the rebuild process, the Intel (R) Rapid Storage Technology window is displayed. The
RAID 1 volume under rebuilding is displayed under RAID Volumes with a Rebuilding mark.
5. Wait a few minutes. When the rebuild process finishes successfully, the Rebuilding mark is changed to
the Normal mark.
6. Press F10 to save changes and exit.
84 P51 User Guide

Chapter 8. Troubleshooting computer problems
This chapter provides information about what to do if you experience a problem with your computer.
General tips for preventing problems
This topic provides the following tips to help you prevent computing problems:
• Empty your recycle bin on a regular basis.
• Use a disk defragment tool regularly on your storage drive to improve data seek and read times.
• To free up disk space, uninstall unused programs. You also might want to look for program duplication or
overlapping versions.
• Clean out your Inbox, Sent, and Trash folders from your e-mail client program.
• Back up your data at least once a week. If critical data is present, it is a good idea to back up the data
daily. Lenovo has many backup options available for your computer.
• Schedule system restore operations to take a system snapshot periodically. For information about system
restore, see Chapter 9 “Recovery information” on page 103.
• Go to http://www.lenovo.com/support to download and install updates for the device drivers and UEFI
BIOS when needed.
• Keep up to date for device drivers on other non-Lenovo hardware. Before updating device drivers, read
the device driver information release notes for compatibility or known issues.
• Keep a log book. Entries might include major hardware or software changes, driver updates, minor issues
you have experienced, and how you resolved the minor issues.
• If you ever need to run a recovery on your computer to return the preinstalled contents onto the machine,
the following tips might help along the way:
1. Remove all external devices such as the printer and keyboard.
2. Ensure that your battery is charged and your computer has the ac power connected.
3. Access ThinkPad Setup and load the default settings.
4. Restart the computer and start the recovery operation.
5. If your computer uses discs as the recovery media, do not remove the disc from the drive until
prompted to do so.
Diagnosing problems with Lenovo Companion
Many computer problems can be solved without outside assistance. If you experience a problem with your
computer, the first place to start is the troubleshooting information in your computer documentation. If you
suspect a software problem, see the documentation, including readme files and help information systems,
that come with the operating system or program.
ThinkPad notebook computers come with a set of diagnostic programs that you can use to help you identify
hardware problems. Lenovo Companion is preinstalled on your computer and also is available for download
at:
https://shop.lenovo.com/us/en/accessories/software/apps/lenovo-apps/companion/
Note: If you are unable to isolate and repair the problem yourself after running Lenovo Companion, save and
print the log files created by the program. You need the log files when you speak to a Lenovo technical
support representative.
© Copyright Lenovo 2017 85

Lenovo Companion supports the hardware scan function. It combines diagnostic tests, system information
collection, security status, and support information, along with hints and tips for optimal system
performance. To run Lenovo Companion, see “Accessing Lenovo programs” on page 13.
The troubleshooting information or the diagnostic programs might tell you that you need additional or
updated device drivers or other software. You can get the latest technical information and download device
drivers and updates from the Lenovo Support Web site at:
http://www.lenovo.com/support
For additional information, see the help system of the program.
Troubleshooting
If your computer has an error, it typically displays a message or an error code, or makes a beep when you
turn it on. When you experience a problem, see the corresponding symptom and solution in this topic to try
to solve the problem by yourself.
Computer stops responding
Print these instructions now and keep them with your computer for reference later.
Problem: My computer is unresponsive (I cannot use the ThinkPad pointing device or the keyboard).
Solution: Do the following:
1. Press and hold the power button until the computer turns off. If you cannot turn off the computer by
pressing the power button, remove the ac power adapter and the removable battery. After the computer
is turned off, reconnect the ac power adapter and reinstall the removable battery, and then restart the
computer by pressing the power button. If the computer does not turn on, continue with step 2.
2. While the computer is turned off, remove all power sources from the computer (removable battery and
the ac power adapter). Plug in the ac power adapter while keeping the removable battery out of the
computer. If the computer does not turn back on, continue with step 3.
Note: When the computer starts up and enters the Windows environment, use the proper shutdown
procedure to turn off the computer. When the computer is off, reattach the removable battery and restart
the computer. If the computer does not start with the removable battery reattached, remove the
removable battery and again start with step 2. If the computer starts with ac power but does not start
when the removable battery is attached, call the Customer Support Center for support.
3. While the computer is off, remove all sources of power (removable battery and the ac power adapter).
Remove all external devices that are attached to your computer (keyboard, mouse, printer, scanner, and
so on). Repeat step 2. If step 2 is unsuccessful, continue with step 4.
Note: The following steps involve removing static sensitive components from your computer. Make sure
that you are properly grounded and remove all sources of power attached to the computer. If you are
uncomfortable or unsure about removing components, call the Customer Support Center for assistance.
4. While the computer is off, remove all sources of power and external hardware. Remove any non-original
memory module added to your computer. After removing the extra memory module and reinstalling the
original memory module, repeat step 2. If the computer still does not turn on, consult the user manual for
other customer-replaceable components that are attached to your computer.
If the computer still does not start up, call the Customer Support Center and a Customer Support Specialist
will assist you.
86 P51 User Guide
Spills on the keyboard
Problem: I spill something on the computer.
Solution: Because most liquids conduct electricity, liquid spilled on the keyboard could create numerous
short circuits and damage your computer. To solve the problem, do the following:
1. Ensure that no liquid creates a short circuit between you and the ac power adapter (if in use).
2. Carefully unplug the ac power adapter immediately.
3. Turn off the computer immediately. If the computer does not turn off, remove the removable battery. The
more quickly you stop the current from passing through the computer the more likely you will reduce
damage from short circuits.
Attention: Although you might lose some data or work by turning off the computer immediately, leaving
the computer on might make your computer unusable.
4. Wait until you are certain that all the liquid is dry before turning on your computer.
Error messages
• Message: 0177: Bad SVP data, stop POST task.
Solution: Checksum of the supervisor password in the EEPROM is not correct. The system board should
be replaced. Have the computer serviced.
• Message: 0183: Bad CRC of Security Settings in EFI Variable. Enter ThinkPad Setup.
Solution: Checksum of the Security settings in the EFI Variable is not correct. Enter ThinkPad Setup to
check security settings, press F10, and then press Enter to restart the system. If you still have a problem,
have the computer serviced.
• Message: 0187: EAIA data access error
Solution: The access to EEPROM is failed. Have the computer serviced.
• Message: 0188: Invalid RFID Serialization Information Area
Solution: The EEPROM checksum is not correct (block # 0 and 1). The system board should be replaced,
and the box serial number must be reinstalled. Have the computer serviced.
• Message: 0189: Invalid RFID configuration information area
Solution: The EEPROM checksum is not correct (block # 4 and 5). The system board should be replaced,
and the universally unique identifier (UUID) must be reinstalled. Have the computer serviced.
• Message: 0190: Critical low-battery error
Solution: The computer turned off because the battery power is low. Connect the ac power adapter to the
computer and charge the batteries.
• Message: 0191: System Security - Invalid remote change requested
Solution: The system configuration change has failed. Confirm the operation and try again. To clear the
error, enter ThinkPad Setup.
• Message: 0199: System Security - Security password retry count exceeded.
Solution: This message is displayed if you enter a wrong supervisor password more than three times.
Confirm the supervisor password and try again. To clear the error, enter ThinkPad Setup.
• Message: 0270: Real Time Clock Error.
Solution: System Real Time Clock is not functional. Have the computer serviced.
• Message: 0271: Check Date and Time settings.
Solution: The date or the time is not set in the computer. Enter ThinkPad Setup and set the date and time.
• Message: 1802: Unauthorized network card is plugged in - Power off and remove the network card.
Chapter 8.Troubleshooting computer problems 87
Solution: The wireless network card is not supported on this computer. Remove it.
• Message: 1820: More than one external fingerprint readers are attached.
Solution: Turn off and remove all but the reader that you set up within your main operating system.
• Message: 2100: Detection error on HDD0 (Main HDD)
Solution: The hard disk drive is not working. Have the hard disk drive serviced.
• Message: 2101: Detection error on SSD1 (M.2)
Solution: The M.2 solid-state drive is not working. Have the M.2 solid-state drive serviced.
• Message: 2102: Detection error on SSD2 (M.2)
Solution: The M.2 solid-state drive is not working. Have the M.2 solid-state drive serviced.
• Message: 2110: Read error on HDD0 (Main HDD)
Solution: The hard disk drive is not working. Have the hard disk drive serviced.
• Message: 2111: Read error on SSD1 (M.2)
Solution: The M.2 solid-state drive is not working. Have the M.2 solid-state drive serviced.
• Message: 2112: Read error on SSD2 (M.2)
Solution: The M.2 solid-state drive is not working. Have the M.2 solid-state drive serviced.
• Message: 2200: Machine Type and Serial Number are invalid.
Solution: Machine Type and Serial Number are invalid. Have the computer serviced.
• Message: 2201: Machine UUID is invalid.
Solution: Machine UUID is invalid. Have the computer serviced.
• Message: Fan error
Solution: Cooling fan has failed. Shut down the computer immediately and have the computer serviced.
• Message: Thermal sensing error
Solution: The thermal sensor has a problem. Shut down the computer immediately and have the
computer serviced.
• Message: Error: The non-volatile system UEFI variable storage is nearly full.
Note: This error indicates that the operating system or programs cannot create, modify, or delete data in
the non-volatile system UEFI variable storage due to insufficient storage space after POST.
The non-volatile system UEFI variable storage is used by the UEFI BIOS and by the operating system or
programs. This error occurs when the operating system or programs store large amounts of data in the
variable storage. All data needed for POST, such as BIOS setup settings, chipset, or platform
configuration data, are stored in a separate UEFI variable storage.
Solution: Press F1 after the error message is displayed to enter ThinkPad Setup. A dialog asks the user
for confirmation to clean up the storage. If the user selects “Yes”, all data that were created by the
operating system or programs will be deleted except global variables defined by the Unified Extensible
Firmware Interface Specification. If the user selects “No”, all data will be kept, but the operating system or
programs will not be able to create, modify, or delete data in the storage.
If this error happens at a service center, Lenovo authorized service personnel will clean up the non-volatile
system UEFI variable storage using the preceding solution.
Beep errors
Lenovo SmartBeep technology enables you to decode beep errors with your smartphone when a black
screen occurs with beeps from your computer. To decode the beep error with Lenovo SmartBeep
technology, do the following:
88 P51 User Guide

1. Go to http://support.lenovo.com/smartbeep or scan the following QR Code.
2. Download the proper diagnostic app and install it on your smartphone.
3. Run the diagnostic app and place the smartphone near the computer.
4. Press the Fn key on your computer to emit the beep again. The diagnostic app decodes the beep error
and shows possible solutions on the smartphone.
The following section describes some beep errors and the corresponding solutions.
Note: Do not attempt to service a product yourself unless instructed to do so by the Customer Support
Center or product documentation. Only use a Lenovo-authorized service provider to repair your product.
Error codes Solutions
0001: Reset error (platform reset not de-asserted) 1. Remove all power resources (the ac power
adapter, removable battery, and coin-cell battery).
2. Replace the system board (service provider only).
0002: Internal bus error Replace the system board (service provider only).
0281: General embedded controller error Replace the system board (service provider only).
0282: Memory module error 1. Reinstall or replace the memory module.
2. Replace the system board (service provider only).
0283: PCI resource error 1. Remove PCIe devices (the M.2 card, PCIe card,
and so on).
2. Replace the system board (service provider only).
0284: TCG-compliant functionality-related error (might be
the BIOS code validation failure) Replace the system board (service provider only).
0285: TCG-compliant functionality-related error (might be
the TPM initialization failure) Replace the system board (service provider only).
0286: Integrated graphics error Replace the system board (service provider only).
0287: Discrete graphics error 1. Reinstall or replace the discrete graphics card
(service provider only).
2. Replace the system board (service provider only).
0288: Computer display error 1. Reconnect the display cable on both the system
board side and the computer display side (service
provider only).
2. Replace the system board (service provider only).
Chapter 8.Troubleshooting computer problems 89
Memory module problems
Print these instructions now and keep them with your computer for reference later.
Problem: My memory module is not operating properly.
Solution: Check the following items:
1. Verify that the memory module is installed and seated correctly in your computer.
Remove all added memory modules to test the computer with only the factory-installed memory
modules, and then reinstall the memory module one at a time to ensure a proper connection.
2. Check for error messages during startup.
Follow the appropriate corrective actions for power-on self-test (POST) error messages.
3. Verify that the latest UEFI BIOS for your model has been installed.
4. Verify the proper memory configuration and compatibility including the maximum memory size and the
memory speed.
5. Run diagnostic programs. See “Diagnosing problems with Lenovo Companion” on page 85.
Ethernet problems
• Problem: My computer cannot connect to the network.
Solution:
Ensure that:
– The cable is installed correctly.
The network cable must be securely connected both to the Ethernet connector of your computer and to
the RJ45 connector of the hub. The maximum allowable distance from the computer to hub is 100 m
(328 ft). If the cable is connected and the distance is within the acceptable limits but the problem
persists, try a different cable.
– You are using the correct device driver. To install the correct driver, do the following:
1. Go to Control Panel, and ensure that you view Control Panel by Category.
2. Click Hardware and Sound ➙ Device Manager. If you are prompted for an administrator
password or confirmation, type the password or provide confirmation.
3. Double-click Network adapters to view all network adapters. If an exclamation mark ! is displayed
next to the adapter name, you might not be using the correct driver or the driver might have been
disabled.
4. Right-click the highlighted adapter, click Update driver, and then follow the instructions on the
screen to update the driver.
– The switch port and the adapter have the same duplex setting.
If you configured the adapter for full duplex, ensure that the switch port also is configured for full
duplex. Setting a wrong duplex mode can degrade performance, cause data loss, or result in lost
connections.
– You have installed all networking software that is necessary for your network environment.
Check with your LAN administrator for the necessary networking software.
• Problem: The adapter stops working for no apparent reason.
Solution: The network driver files might be corrupt or missing.
• Problem: My computer is a Gigabit Ethernet model and I use a speed of 1000 Mbps, the connection fails
or errors occur.
Solution:
90 P51 User Guide
– Use Category 5 wiring and ensure that the network cable is securely connected.
– Connect to a 1000 BASE-T hub/switch (not 1000 BASE-X).
• Problem: The Wake on LAN feature is not working.
Solution: Ensure that Wake on LAN is enabled in ThinkPad Setup. If it is, check with your LAN
administrator for the necessary settings.
• Problem: My computer is a Gigabit Ethernet model, but it cannot connect to the network at 1000 Mbps.
Instead, it connects at 100 Mbps.
Solution:
– Try another Ethernet cable.
– Ensure that the link partner is set to auto-negotiate.
– Ensure that the switch is 802.3ab-compliant (gigabit over copper).
Wireless-LAN problem
Problem: I cannot connect to the network using the built-in wireless network card.
Solution: Ensure that:
• The Airplane mode is off.
• Your wireless-LAN driver is the latest version.
• Your computer is within the range of a wireless access point.
• The wireless radio is enabled.
Wireless-WAN problem
Problem: A message is displayed indicating that an unauthorized WAN card is installed.
Solution: The WAN card is not supported on this computer. Remove the WAN card. For more information,
see “Replacing the wireless-WAN card” on page 121.
Note: Some models do not have a wireless-WAN card.
Bluetooth problem
Note: Check your connection anytime and ensure that no other Bluetooth-enabled device is searching for
the device to which you want to connect. Simultaneous searching is not allowed in the Bluetooth connection.
Problem: Sound does not come from the Bluetooth headset/headphones but comes from the local speaker
even though the Bluetooth headset/headphones is connected using a Headset profile or AV profile.
Solution: Do the following:
1. Exit the program that uses the sound device (for example, Windows Media Player).
2. Go to Control Panel, and ensure that you view Control Panel by Category.
3. Click Hardware and Sound ➙ Sound ➙ Playback.
4. If you are using a Headset profile, select Bluetooth Hands-free Audio and click Set Default. If you are
using an AV profile, select Stereo Audio and click Set Default.
5. Click OK to close the Sound window.
Chapter 8.Troubleshooting computer problems 91
ThinkPad pointing device problems
• Problem: The pointer drifts when the computer is turned on or after it resumes normal operation.
Solution: The pointer might drift when you are not using the TrackPoint pointing device during normal
operation. This is a normal characteristic of the TrackPoint pointing device and is not a defect. Pointer
drifting might occur for several seconds under the following conditions:
– When the computer is turned on
– When the computer resumes normal operation
– When the TrackPoint pointing device is kept pressed for a long time
– When the temperature changes
• Problem: The TrackPoint pointing device or trackpad does not work.
Solution: Ensure that the TrackPoint pointing device or trackpad is enabled in the Mouse Properties
window. For more information, see “Customizing the ThinkPad pointing device” on page 23.
Keyboard problems
• Problem: All or some keys on the keyboard do not work.
Solution: If an external numeric keypad is connected:
1. Turn off the computer.
2. Remove the external numeric keypad.
3. Turn on the computer and try using the keyboard again.
If the keyboard problem is resolved, carefully reconnect the external numeric keypad.
If the problem persists, ensure that the correct device driver is installed by doing the following:
1. Go to Control Panel, and then change the view of Control Panel from Category to Large icons or
Small icons.
2. Click Keyboard.
3. Click the Hardware tab. In the Device Properties section, ensure that you see this message: Device
Status: This device is working properly.
If keys on the keyboard still do not work, have the computer serviced.
• Problem: All or some keys on the external numeric keypad do not work.
Solution: Ensure that the external numeric keypad is correctly connected to the computer.
• Problem: The keys on the top row of the numeric keypad might not function the same as the icon printed
on each key.
Solution: Do the following:
1. Go to Control Panel, and then change the view of Control Panel from Category to Large icons or
Small icons.
2. Click Keyboard. In the Keyboard Properties window, click the Fn and function keys tab.
Note: If the Fn and function keys tab is not displayed, connect your computer to the Internet. Then
download and install the ThinkPad Hotkey Features program from the Lenovo Support Web site. For
more information, see “Installing device drivers” on page 64.
3. In the How to use Fn key combinations section, select your preferred option.
4. If you select Fn sticky method, press Fn to reset the Fn sticky status.
5. Try to press keys on the top row of the numeric keypad again to check if the problem is resolved.
92 P51 User Guide

Computer screen problems
• Problem: My screen keeps blanking when I do not want it to.
Solution: Do the following:
1. Go to Control Panel, and ensure that you view Control Panel by Category.
2. Click Hardware and Sound ➙ Power Options.
3. Show the additional plans, and then select High performance.
• Problem: When I turn on the computer, nothing is displayed on the screen and the computer does not
beep while starting up.
Note: If you are not sure whether you heard any beeps, turn off the computer by pressing and holding the
power button for four seconds or more. Then turn on the computer and listen again.
Solution: Ensure that:
– The battery is installed correctly.
– The ac power adapter is connected to the computer and the power cord is plugged into a working
electrical outlet.
– The computer is turned on. (Press the power button again for confirmation.)
– The brightness level of the screen is appropriately set.
If a power-on password is set, press any key to display the prompt for the power-on password and then
type the correct password and press Enter.
If these items are correctly set, and the screen remains blank, have the computer serviced.
• Problem: When I turn on the computer, only a white cursor is displayed on a blank screen.
Solution: If you have modified a partition on your hard disk drive by using partition software, information
about that partition, or the master boot record might have been destroyed.
Do the following to try to solve the problem:
1. Turn off the computer, and then turn it on again.
2. If you still see only the cursor on the screen, do the following:
– If you have used partition software, examine the partition on the hard disk drive by using the
software, and recover the partition if required.
– Use the recovery solutions to restore the system to the factory default state. For more information,
see Chapter 9 “Recovery information” on page 103.
If the problem persists, have the computer serviced.
• Problem: The screen goes blank while the computer is on.
Solution: Your screen saver or power management might have been enabled. Do one of the following:
– Touch the TrackPoint pointing device or the trackpad, or press a key to exit the screen saver.
– Press the power button to resume the computer from sleep or hibernation mode.
• Problem: The screen is blank.
Solution: Do the following:
1. Press the display-mode switching key to bring up the image.
2. If you are using the ac power adapter, or using the battery and the battery gauge shows that the
battery is not depleted, press the brightness-up key to make the screen brighter.
3. If your computer is in sleep mode, press Fn to resume the computer from sleep mode.
4. If the problem persists, follow the solution for the following problem.
Chapter 8.Troubleshooting computer problems 93

• Problem: The screen is unreadable or distorted.
Solution: Ensure that:
– The display device driver is installed correctly.
– The screen resolution and color quality are correctly set.
– The monitor type is correct.
To check these settings, do the following:
1. Right-click on the desktop, and then click Display settings ➙ Display.
Note: If your computer cannot detect the external monitor, click Detect in the Display window.
2. Select the external monitor and set Resolution.
3. Click Display adapter properties.
4. Click the Monitor tab. Check the monitor information to make sure that the monitor type is correct. If
it is, click OK to close the window; otherwise proceed with the following steps.
5. If more than two monitor types are displayed, select Generic PnP Monitor or Generic Non-PnP
Monitor.
6. Click Properties. If you are prompted for an administrator password or confirmation, type the
password or provide confirmation.
7. Click the Driver tab.
8. Click Update Driver.
9. Click Browse my computer for driver software, and then click Let me pick from a list of available
drivers on my computer.
10. Clear the Show compatible hardware check box.
11. Select the correct manufacturer and model for the external monitor. If you cannot find your monitor
on the list, stop the installation of this driver and use the driver shipped with your monitor.
12. After updating the driver, click Close.
• Problem: Incorrect characters are displayed on the screen.
Solution: Ensure that you install the operating system and program correctly. If the problem persists, have
the computer serviced.
• Problem: I try to turn off my computer but the screen stays on and I cannot completely turn off my
computer.
Solution: Press and hold the power button for four seconds or more to turn off the computer.
• Problem: Missing, discolored, or bright dots appear on the screen every time I turn on my computer.
Solution: This is an intrinsic characteristic of the TFT technology. Your computer display contains multiple
thin-film transistors (TFTs). Only a very small number of missing, discolored, or bright dots on the screen
might exist all the time.
External monitor problems
• Problem: The external monitor is blank.
Solution: To bring up the image, press the display-mode switching key and select the monitor you
want. If the problem persists, do the following:
1. Connect the external monitor to another computer to ensure that it works.
2. Reconnect the external monitor to your computer.
3. See the manual shipped with the external monitor to check the resolutions and refresh rates that are
supported.
94 P51 User Guide
– If the external monitor supports the same resolution as the computer display or a higher resolution,
view output on the external monitor or on both the external monitor and the computer display.
– If the external monitor supports a lower resolution than the computer display, view output on the
external monitor only. (If you view output on both the computer display and the external monitor,
the external monitor screen will be blank or distorted.)
• Problem: I cannot set a higher resolution than the present one on my external monitor.
Solution: Ensure that the monitor information is correct. If necessary, update the monitor driver.
• Problem: The screen is unreadable or distorted.
Solution: Ensure that:
– The monitor information is correct and the appropriate monitor type is selected. If necessary, update
the monitor driver.
– Ensure that an appropriate refresh rate is selected by doing the following:
1. Connect the external monitor to the monitor connector, and then connect the monitor to an
electrical outlet.
2. Turn on the external monitor and the computer.
3. Right-click on the desktop, and click Display settings ➙ Advanced display settings.
Note: If your computer cannot detect the external monitor, click Detect in the Display window.
4. Click the icon for the appropriate monitor (Monitor-2 icon is for the external monitor).
5. Click Display adapter properties.
6. Click the Monitor tab.
7. Select the correct screen refresh rate.
• Problem: Wrong characters are displayed on the screen.
Solution: Ensure that you follow the correct procedure when installing the operating system and program.
If they are installed and configured correctly, but the problem still persists, have the external monitor
serviced.
• Problem: The Extend desktop function does not work.
Solution: Enable the Extend desktop function. See “Using an external display” on page 32.
• Problem: I am using the Extend desktop function, but I cannot set a higher resolution or higher refresh
rate on the secondary display.
Solution: Change the resolution and the color depth to lower settings for the primary display. See “Using
an external display” on page 32.
• Problem: Display switching does not work.
Solution: If you use the Extend desktop function, disable it, and change the display output location. If a
DVD movie or a video clip is playing, stop the playback, close the program, and then change the display
output location.
• Problem: The screen position on the external monitor is incorrect when that monitor is set for a high
resolution.
Solution: Sometimes, when you use a high resolution such as 1600 x 1200 pixels, the image is shifted to
the left or right on the screen. To correct this, first ensure that your external monitor supports the display
mode (the resolution and the refresh rate) that you have set. If it does not, set a display mode that the
monitor supports. If it does support the display mode you have set, go to the setup menu for the monitor
itself and adjust the settings there. Usually the external monitor has buttons for access to the setup menu.
For more information, see the documentation that comes with the monitor.
Chapter 8.Troubleshooting computer problems 95
Audio problems
• Problem: Wave or MIDI sound does not play properly.
Solution: Ensure that the built-in audio device is configured correctly.
1. Go to Control Panel, and ensure that you view Control Panel by Category.
2. Click Hardware and Sound.
3. Click Device Manager. If you are prompted for an administrator password or confirmation, type the
password or provide confirmation.
4. Double-click Sound, video and game controllers.
5. Ensure that the device following Sound, video and game controllers is enabled and configured
correctly.
• Problem: Recordings made by using the microphone input are not loud enough.
Solution: Ensure that the Microphone Boost function is turned on and set by doing the following:
1. Go to Control Panel, and ensure that you view Control Panel by Category.
2. Click Hardware and Sound.
3. Click Sound.
4. Click the Recording tab in the Sound window.
5. Select Internal Microphone, and click Properties.
6. Click the Levels tab, and move the Microphone Boost slider upwards.
7. Click OK.
Note: For more information about controlling volume, see your Windows online help.
• Problem: I cannot move the volume slider or balance slider.
Solution: The slider might be grayed out. This means that its position is fixed by the hardware and cannot
be changed.
• Problem: The volume sliders do not stay in place when some audio programs are used.
Solution: It is normal for the sliders to change position when certain sound programs are used. The
programs are aware of the settings in the Volume Mixer window and are enabled to change the settings
themselves. An example is the Windows Media Player program. Usually the program has sliders available
to control the sound from within the program.
• Problem: The balance slider cannot completely mute one channel.
Solution: The control is designed to compensate for minor differences in balance and does not
completely mute either channel.
• Problem: There is no volume control for MIDI sound in the Volume Mixer window.
Solution: Use the hardware volume control. This is because the built-in synthesizer software does not
support the control.
• Problem: The sound cannot be turned off even if I set the Master volume control at minimum.
Solution: You still can hear some sound even though you have set the Master volume control at minimum.
To turn off the sound completely, go to the Master volume control and select Mute Speaker/HP.
• Problem: When I connect headphones to my computer while playing sound, a speaker does not produce
sound.
Solution: When the headphones are attached, the streaming is automatically redirected to it. If you want
to listen to sound from the speakers again, ensure that you set those speakers as the default device. For
more information, see the help information system for Realtek HD Audio Manager.
• Problem: Sound does not come from a headphone or a speaker, or the computer cannot record sounds.
96 P51 User Guide
Solution: To switch from one device to another (for example, from a speaker to a headphone, or from an
external microphone to a built-in microphone), do the following:
1. Go to Control Panel, and ensure that you view Control Panel by Category.
2. Click Hardware and Sound.
3. Click the SmartAudio icon.
4. Ensure that the computer is in MULTI-STREAM mode in the Device advanced settings window.
5. In the Volume Mixer window, select the device you want, for example, speakers.
6. Play any sound through a music program (for example, Windows Media Player). Ensure that sound
comes from the speakers now.
7. Then, if you would like to switch to a headphone, close the music program.
8. Go to the Volume Mixer window. Then select another device (for example, the headphone).
9. Play any sound through the music program. Ensure that sound comes from the headphone attached
directly to the system. For more information, see the help information system of the SmartAudio
program.
Note: The Volume Mixer window of SmartAudio displays all audio devices detected in the system,
such as speakers for a playback device, or a built-in microphone for a recording device. A check
mark beside the audio device shows that the device has been selected.
Fingerprint reader problems
• Problem: The surface of the reader is dirty, stained, or wet.
Solution: Gently clean the surface of the reader with a dry, soft, lint-free cloth.
• Problem: The reader often fails to enroll or authenticate your fingerprint.
Solution: If the surface of the reader is dirty, stained, or wet, gently clean the surface of the reader with a
dry, soft, lint-free cloth.
For tips on how to maintain the fingerprint reader, see “Using the fingerprint reader” on page 58.
Battery problems
• Problem: The battery cannot be fully charged in the standard charge time when the computer is powered
off.
Solution: The battery might be over-discharged. Do the following:
1. Turn off the computer.
2. Ensure that the over-discharged battery is in the computer.
3. Connect the ac power adapter to the computer and let it charge.
If a quick charger is available, use it to charge the over-discharged battery.
If the battery cannot be fully charged in 24 hours, use a new battery.
• Problem: The computer shuts down before the battery status icon shows that the battery is empty.
Solution: Discharge and recharge the battery.
• Problem: The computer operates after the battery status icon shows that the battery is empty.
Solution: Discharge and recharge the battery.
• Problem: The operating time for a fully charged battery is short.
Solution: Discharge and recharge the battery. If your battery operating time is still short, use a new
battery.
• Problem: The computer does not operate with a fully charged battery.
Chapter 8.Troubleshooting computer problems 97
Solution: The surge protector in the battery might be active. Turn off the computer for one minute to reset
the protector; then turn on the computer again.
• Problem: The battery cannot get charged.
Solution: You cannot charge the battery when it is too hot. If the battery feels hot, remove it from the
computer and wait for a while to let it cool to room temperature. After it cools, reinstall it and recharge the
battery. If it still cannot be charged, have it serviced.
ac power adapter problem
Problem: The ac power adapter is connected to the computer and the working electrical outlet, but the
power adapter (power plug) icon is not displayed in the Windows notification area. The ac power indicator
also does not light up.
Solution: Do the following:
1. Ensure that the connection of the ac power adapter is correct. For instructions on how to connect the ac
power adapter, see “Using the ac power adapter” on page 24.
2. If the connection of the ac power adapter is correct, turn off the computer, and then disconnect the ac
power adapter and remove the removable battery.
3. Reinstall the battery and reconnect the ac power adapter, and then turn on the computer.
4. If the power adapter icon still is not displayed in the Windows notification area, have the ac power
adapter and your computer serviced.
Power problems
Print these instructions now and keep them with your computer for reference later.
• Problem: My computer is getting no power at all.
Solution: Check the following items:
1. Verify the power button. The power button is illuminated whenever the computer is on.
2. Check all power connections. Remove any power strips and surge protectors to connect the ac
power adapter directly to the ac power outlet.
3. Inspect the ac power adapter. Check for any physical damage, and ensure that the power cable is
firmly attached to the adapter brick and the computer.
4. Verify that the ac power source is working by attaching another device to the outlet.
• Problem: My computer does not run on battery power.
Solution: Check the following items:
1. Remove and reinstall the removable battery to ensure that it is properly connected.
2. If the battery runs out of power, attach the ac power adapter to recharge the battery.
3. If the battery is charged but the computer does not run, replace the battery with a new one.
• Problem: The system does not respond, and I cannot turn off the computer.
Solution: Turn off the computer by pressing and holding the power button for four seconds or more. If the
computer still does not respond, remove the ac power adapter and the battery.
Power button problem
Problem: The system does not respond, and I cannot turn off the computer.
Solution: Turn off the computer by pressing and holding the power button for four seconds or more.
98 P51 User Guide

Boot problems
Print these instructions now and keep them with your computer for reference later.
• Problem: I receive an error message before the operating system loads.
Solution: Follow the appropriate corrective actions for power-on self-test (POST) error messages.
• Problem: I receive an error message while the operating system is loading the desktop configuration after
the POST is completed.
Solution: Find solutions by searching for the error message at the following Web sites:
– http://www.lenovo.com/support
– https://support.microsoft.com/
Sleep and hibernation problems
• Problem: The computer enters sleep mode unexpectedly.
Solution: If the microprocessor overheats, the computer automatically enters sleep mode to allow the
computer to cool and to protect the microprocessor and other internal components. Check the settings
for sleep mode.
• Problem: The computer enters sleep mode immediately after the power-on self-test.
Solution: Ensure that:
– The battery is charged.
– The operating temperature is within the acceptable range. See “Operating environment” on page 12.
If the problem persists, have the computer serviced.
• Problem: A critical low-battery error occurs, and the computer immediately turns off.
Solution: The battery power is getting low. Plug the ac power adapter into an electrical outlet and then
into the computer. Alternatively, replace the battery with a charged one.
• Problem: The computer display remains blank after you press Fn to resume from sleep mode.
Solution: Check whether an external monitor was disconnected or turned off while the computer was in
sleep mode. If you disconnected or turned off the external monitor, connect it or turn it on before resuming
the computer from sleep mode. When resuming the computer from sleep mode without attaching the
external monitor or turning it on, and the computer display remains blank, press the display-mode
switching key to bring up the computer display.
• Problem: The computer does not resume from sleep mode, or the system status indicator blinks slowly
and the computer does not work.
Solution: If the system does not resume from sleep mode, it might have entered sleep or hibernation
mode automatically because the battery is depleted. Check the system status indicator.
– If the system status indicator blinks slowly, your computer is in sleep mode. Connect the ac power
adapter to the computer; then press Fn.
– If the system status indicator is off, your computer has no power or is in hibernation mode. Connect the
ac power adapter to the computer; then press the power button to resume operation.
If the system still does not resume from sleep mode, your system might stop responding and you might
not be able to turn off the computer. In this case, you must reset the computer. If you have not saved your
data, it might be lost. To reset the computer, press and hold the power button for four seconds or more. If
the system still does not respond, remove the ac power adapter and the battery.
• Problem: Your computer does not enter sleep or hibernation mode.
Chapter 8.Troubleshooting computer problems 99
Solution: Check whether any option has been selected to disable your computer from entering sleep or
hibernation mode.
If your computer tries to enter sleep mode but the request is rejected, the device attached to the USB
connector might have been disabled. If this occurs, do a hot-unplug-and-plug operation for the USB
device.
• Problem: The battery discharges slightly while the computer is in hibernation mode.
Solution: If the wakeup function is enabled, the computer consumes a small amount of power. This is not
a defect. For more information, see “Power-saving modes” on page 26.
Hard disk drive problems
• Problem: The hard disk drive makes a rattling noise intermittently.
Solution: The rattling noise might be heard:
– When the hard disk drive begins or finishes getting access to data
– When you carry the hard disk drive
– When you carry your computer
This is a normal characteristic of a hard disk drive and is not a defect.
• Problem: The hard disk drive does not work.
Solution: On the Startup menu of ThinkPad Setup, ensure that the hard disk drive is on the Boot priority
order list. If it is on the Excluded from boot order list, it is disabled. Select the entry for it on the list and
press Shift+1 to move it back to the Boot priority order list.
• Problem: After I have set a hard disk password, I move the hard disk drive to another computer but
cannot unlock the hard disk password on the new computer.
Solution: Your computer supports an enhanced password algorithm. Computers older than yours might
not support such a security function.
Solid-state drive problem
Problem: When you compress files or folders by use of the data compression function in the Windows
operating system, and then decompress them, the process of writing to or reading from the files or folders is
slow.
Solution: Apply the disk defragmentation tool in the Windows operating system for faster access to the data.
ThinkPad Pen Pro problem
Problem: The ThinkPad Pen Pro does not perform well.
Solution: The battery power for the pen might be low. Consider replacing the AAAA alkaline battery in the
pen.
Software problem
Problem: A program does not run properly.
Solution: Ensure that the problem is not being caused by the program.
Check that your computer has the minimum required memory to run the program. See the manuals supplied
with the program.
Check the following:
100 P51 User Guide
• The program is designed to operate with your operating system.
• Other programs run properly on your computer.
• The necessary device drivers are installed.
• The program works when it is run on some other computer.
If an error message is displayed while you are using the program, see the manuals or help system supplied
with the program.
If the program still does not run properly, contact your place of purchase or a service representative for help.
USB problem
Problem: A device connected to the USB connector does not work.
Solution: Ensure that the USB port is enabled in the ThinkPad Setup. Open the Device Manager window.
Ensure that the USB device setup is correct, and that the assignment of computer resource and the
installation of the device driver are correct. To open the Device Manager window, go to Control Panel and
ensure that you view Control Panel by Category, and click Hardware and Sound ➙ Device Manager. If you
are prompted for an administrator password or confirmation, type the password or provide confirmation.
Refer to “Diagnosing problems with Lenovo Companion” on page 85 and run a diagnostic test of the USB
connector.
Docking station problem
Problem: The computer does not start when you try to turn it on, and does not respond when you try to
resume operation.
Solution: Ensure that:
• The ac power adapter is connected to the docking station.
• The computer is securely attached to the docking station.
Chapter 8.Troubleshooting computer problems 101
102 P51 User Guide

Chapter 9. Recovery information
This chapter provides information about the Windows recovery solutions on the Windows 10 operating
system.
Resetting your computer
If your computer does not perform well, you might consider resetting your computer. In the resetting
process, you can choose to keep your files or remove them, and then reinstall the Windows operating
system.
To reset your computer, do the following:
Note: The items in the graphical user interface (GUI) might change without notice.
1. Open the Start menu, and then click Settings ➙ Update & Security ➙ Recovery.
2. In the Reset this PC section, click Get started.
3. Follow the instructions on the screen to reset your computer.
Using advanced startup options
The advanced startup options enable you to do the following:
• Change the firmware settings of the computer
• Change the startup settings of the Windows operating system
• Start the computer from an external device
• Restore the Windows operating system from a system image
To use advanced startup options, do the following:
Note: The items in the graphical user interface (GUI) might change without notice.
1. Open the Start menu, and then click Settings ➙ Update & security ➙ Recovery.
2. In the Advanced startup section, click Restart now ➙ Troubleshoot ➙ Advanced options.
3. Select a startup option you want, and then follow the instructions on the screen.
Recovering your operating system if Windows 10 fails to start
The Windows recovery environment on your computer operates independently from the Windows 10
operating system. It enables you to recover or repair the operating system even if the Windows 10 operating
system fails to start.
After two consecutive failed boot attempts, the Windows recovery environment starts automatically. Then
you can choose repair and recovery options by following the on-screen instructions.
Note: Ensure that your computer is connected to ac power during the recovery process.
© Copyright Lenovo 2017 103

Creating and using a recovery USB drive
You can create a recovery USB drive as a backup for the Windows recovery programs. With the recovery
USB drive, you can troubleshoot and fix the problems even if the preinstalled Windows recovery programs
are damaged.
It is recommended that you create a recovery USB drive as early as possible. If you did not create a recovery
USB drive as a precautionary measure, you can contact Lenovo Customer Support Center and purchase one
from Lenovo. For a list of the Lenovo Support phone numbers for your country or region, go to:
http://www.lenovo.com/support/phone
Creating a recovery USB drive
To create a recovery USB drive, you need a USB drive with at least 16 GB of storage capacity. The actual
USB capacity that is required depends on the size of the recovery image.
Attention: The creation process will delete anything stored on the USB drive. To avoid data loss, make a
backup copy of all the data that you want to keep.
To create a recovery USB drive, do the following:
Note: Ensure that your computer is connected to ac power during the following process.
1. Connect a proper USB drive (at least 16 GB of storage) to the computer.
2. Type recovery in the search box on the taskbar. Then click Create a recovery drive.
3. Click Yes in the User Account Control window to allow the Recovery Media Creator program to start.
4. In the Recovery Drive window, follow the instructions on the screen to create a recovery USB drive.
Using the recovery USB drive
If you cannot start your computer, refer to the corresponding information in the topic “Troubleshooting” on
page 86 to try to solve the problem by yourself. If you still cannot start your computer, use the recovery USB
drive to recover your computer.
To use a recovery USB drive, do the following:
Note: Ensure that your computer is connected to ac power during the following process.
1. Connect the recovery USB drive to the computer.
2. Turn on or restart the computer. Before the Windows operating system starts, repeatedly press F12. The
Boot Menu window opens.
3. Select the recovery USB drive as the boot device.
4. Select a preferred keyboard layout.
5. Click Troubleshoot to display optional recovery solutions.
6. Select a corresponding recovery solution according to your situation. Then follow the instructions on the
screen to complete the process.
104 P51 User Guide

Chapter 10. Replacing devices
This chapter provides instructions on how to install or replace hardware for your computer.
Static electricity prevention
Static electricity, although harmless to you, can seriously damage computer components and options.
Improper handling of static-sensitive parts can cause damage to the part. When you unpack an option or a
Customer Replaceable Unit (CRU), do not open the static-protective package until the instructions direct you
to install the part.
When you handle options or CRUs, or perform any work inside the computer, take the following precautions
to avoid static-electricity damage:
• Limit your movement. Movement can cause static electricity to build up around you.
• Always handle components carefully. Handle adapters, memory modules, and other circuit boards by the
edges. Never touch exposed circuitry.
• Prevent others from touching the components.
• Before you install a static-sensitive option or CRU, do either of the following to reduce static electricity in
the package and your body:
– Touch the static-protective package that contains the part to a metal expansion-slot cover for at least
two seconds.
– Touch the static-protective package that contains the part to other unpainted metal surface on the
computer for at least two seconds.
• When possible, remove the static-sensitive part from the static-protective package and install the part
without setting it down. When this is not possible, place the static-protective package on a smooth, level
surface and place the part on the package.
• Do not place the part on the computer cover or other metal surface.
Replacing the removable battery
Before you start, read “Important safety information” on page v and print the following instructions.
This system supports only batteries specially designed for this specific system and manufactured by Lenovo
or an authorized builder. The system does not support unauthorized batteries or batteries designed for other
systems. If an unauthorized battery or a battery designed for another system is installed, the system does not
charge and the following message is displayed:
"The battery installed is not supported by this system and will not charge. Replace the battery with the
correct Lenovo battery for this system."
Attention: Lenovo has no responsibility for the performance or safety of unauthorized batteries, and
provides no warranties for failures or damage arising out of their use.
© Copyright Lenovo 2017 105

DANGER
If the rechargeable battery is incorrectly replaced, there is danger of an explosion. The battery
contains a small amount of harmful substances. To avoid possible injury:
• Replace only with a battery of the type recommended by Lenovo.
• Keep the battery away from fire.
• Do not expose it to excessive heat.
• Do not expose it to water or rain.
• Do not short-circuit it.
• Do not drop, crush, puncture, or subject to strong forces. Battery abuse or mishandling can
cause the battery to overheat, which can cause gasses or flame to "vent" from the battery.
To replace the removable battery, do the following:
1. Turn off the computer and disconnect it from ac power and all cables.
2. Close the computer display and turn the computer over.
3. Slide the battery latch 1 to the unlocked position. Remove the battery 2.
4. Insert a new battery 1, and then press it until it clicks into place 2. Ensure that the battery latch is in the
locked position.
106 P51 User Guide

5. Turn the computer over. Connect the ac power adapter and all cables to the computer.
Replacing the micro SIM card
Before you start, read “Important safety information” on page v and print the following instructions.
Micro SIM card is a small plastic card with an Integrated Circuit (IC) chip mounted on one side of the card.
If your computer supports wireless-WAN connections, your computer might require a micro SIM card to
establish wireless-WAN connections. Some computer models might be shipped with a micro SIM card,
either installed in the computer or as part of the shipping contents. If your computer does not come with a
micro SIM card, you can purchase one from the local service provider.
Attention: Do not insert a nano-SIM card with the nano-to-micro-SIM adapter into the micro-SIM-card slot.
Otherwise, the slot might be damaged.
To replace the micro SIM card, do the following:
1. Turn off the computer and disconnect it from ac power and all cables.
2. Close the computer display and turn the computer over.
3. Remove the removable battery. See “Replacing the removable battery” on page 105.
4. Gently push the micro SIM card to eject it 1 and then slide it out of the slot 2. Install a new micro SIM
card 3. Note the orientation of the new card and ensure that it is seated correctly.
5. Reinstall the removable battery.
6. Turn the computer over. Connect the ac power adapter and all cables to the computer.
Replacing the bottom cover
Before you start, read “Important safety information” on page v and print the following instructions.
To replace the bottom cover, do the following:
1. Turn off the computer and disconnect it from ac power and all cables.
Chapter 10.Replacing devices 107

2. Close the computer display and turn the computer over.
3. Remove the removable battery. See “Replacing the removable battery” on page 105.
4. Loosen the screws that secure the bottom cover 1. Then remove the bottom cover 2.
5. Install the new bottom cover 1. Tighten the screws to secure the bottom cover 2.
6. Reinstall the removable battery.
7. Turn the computer over. Connect the ac power adapter and all cables to the computer.
Replacing the internal storage drive
Before you start, read “Important safety information” on page v and print the following instructions.
108 P51 User Guide

Attention: The internal storage drive (such as hard disk drive, solid-state drive, or hybrid drive) is sensitive.
Inappropriate handling might cause damage and permanent loss of data.
When handling the internal storage drive, observe the following guidelines:
• Replace the internal storage drive only for upgrade or repair. The internal storage drive is not designed for
frequent changes or replacement.
• Before replacing the internal storage drive, make a backup copy of all the data that you want to keep.
• Do not touch the contact edge of the internal storage drive. Otherwise the internal storage drive might get
damaged.
• Do not apply pressure to the internal storage drive.
• Do not make the internal storage drive subject to physical shocks or vibration. Put the internal storage
drive on a soft material, such as cloth, to absorb physical shocks.
Some models might support installation of two hard disk drives. Ensure that you select the correct drive
when you configure the system settings in ThinkPad Setup.
Drive bay Slot label on computer Menu item in ThinkPad Setup
aSlot 1 ATA HDD1
bSlot 0 ATA HDD0
To replace the internal storage drive, do the following:
1. Turn off the computer and disconnect it from ac power and all cables.
2. Close the computer display and turn the computer over.
3. Remove the removable battery. See “Replacing the removable battery” on page 105.
4. Remove the bottom cover. See “Replacing the bottom cover” on page 107.
5. Disconnect the connector from the system board 1, and then remove the internal storage drive 2.
Chapter 10.Replacing devices 109

6. Detach the cable from the internal storage drive.
7. Detach the bracket from the internal storage drive.
8. Attach the bracket to the new storage drive.
9. Attach the cable to the new storage drive.
110 P51 User Guide

10. Insert the new storage drive 1 into the bay and pivot the drive downward 2. Ensure that the new
storage drive is seated in place. Then, attach the connector to the system board 3.
11. Reinstall the bottom cover.
12. Reinstall the removable battery.
13. Turn the computer over. Connect the ac power adapter and all cables.
Replacing the M.2 solid-state drive
Before you start, read “Important safety information” on page v and print the following instructions.
Attention: The M.2 solid-state drive is sensitive. Inappropriate handling might cause damage and
permanent loss of data.
When handling the M.2 solid-state drive, observe the following guidelines:
• Replace the M.2 solid-state drive only for upgrade or repair. The M.2 solid-state drive is not designed for
frequent changes or replacement.
• Before replacing the M.2 solid-state drive, make a backup copy of all the data that you want to keep.
• Do not apply pressure to the M.2 solid-state drive.
• Do not touch the contact edge of the M.2 solid-state drive. Otherwise the M.2 solid-state drive might get
damaged.
• Do not make the M.2 solid-state drive subject to physical shocks or vibration. Put the M.2 solid-state drive
on a soft material, such as cloth, to absorb physical shocks.
Your computer has two bays for installing M.2 solid-state drives.
• If you install only one M.2 solid-state drive, install it into the bay a.
Chapter 10.Replacing devices 111

• If you install two M.2 solid-state drives, ensure that you select the correct M.2 solid-state drive when you
configure the system settings in ThinkPad Setup.
Drive bay Slot label on computer Menu item in ThinkPad Setup
aSlot 0 ATA HDD2 or NVMe0
bSlot 1 ATA HDD3 or NVMe1
To replace the M.2 solid-state drive, do the following:
1. Turn off the computer and disconnect it from ac power and all cables.
2. Close the computer display and turn the computer over.
3. Remove the removable battery. See “Replacing the removable battery” on page 105.
4. Remove the bottom cover. See “Replacing the bottom cover” on page 107.
5. Remove the screw that secures the M.2 solid-state-drive tray 1, and then pull out the tray with the M.2
solid-state drive 2.
6. Remove the screw that secures the M.2 solid-state drive 1, and then push out the M.2 solid-state drive
slightly as shown by arrow 2.
Note: A film might cover the M.2 solid-state drive. To access the M.2 solid-state drive, open the film
first.
112 P51 User Guide

7. Press the M.2 solid-state drive gently 1 to pivot it up. Slide the M.2 solid-state drive out of the tray as
shown by arrow 2.
8. Slide the new M.2 solid-state drive into the tray as shown by arrow 1. Then move the M.2 solid-state
drive slightly backward until it is fitted into place 2.
Note: Ensure that you follow the identification mark on the tray when installing the M.2 solid-state drive.
9. Reinstall the screw to secure the M.2 solid-state drive to the tray.
10. Slide the tray into place 1. If you install only one M.2 solid-state drive, install it into the bay on the left,
and then reinstall the screw to secure the tray 2.
Chapter 10.Replacing devices 113

11. Reinstall the bottom cover.
12. Reinstall the removable battery.
13. Turn the computer over. Connect the ac power adapter and all cables to the computer.
Replacing the memory module under the bottom cover
Before you start, read “Important safety information” on page v and print the following instructions.
Attention: Do not touch the contact edge of the memory module. Otherwise the memory module might get
damaged.
To replace the memory module, do the following:
1. Turn off the computer and disconnect it from ac power and all cables.
2. Close the computer display and turn the computer over.
3. Remove the removable battery. See “Replacing the removable battery” on page 105.
4. Remove the bottom cover. See “Replacing the bottom cover” on page 107.
5. Open the latches on both sides of the memory slot at the same time 1, and then remove the memory
module 2.
Note: A film might cover the memory module. To access the memory module, open the film first.
114 P51 User Guide

6. Insert the new memory module into the memory slot at an angle of about 20 degrees 1. Pivot the
memory module downward until it snaps into place 2. Ensure that the memory module is firmly installed
in the memory slot and cannot be moved easily.
Note: If you install only one memory module, install it into the bottom slot.
7. Reinstall the bottom cover.
8. Reinstall the removable battery.
9. Turn the computer over. Connect the ac power adapter and all cables to the computer.
Replacing the coin-cell battery
Before you start, read “Important safety information” on page v and print the following instructions.
Chapter 10.Replacing devices 115

DANGER
If the coin-cell battery is incorrectly replaced, there is danger of an explosion. The coin-cell battery
contains a small amount of harmful substance. To avoid possible injury:
• Replace only with a battery of the type recommended by Lenovo.
• Keep the battery away from fire.
• Do not expose it to excessive heat.
• Do not expose it to water or rain.
• Do not short-circuit it.
• Do not drop, crush, puncture the battery, or make it subject to strong forces. Battery abuse or
mishandling can cause the battery to overheat, which can cause gasses or flame to "vent" from
the battery or coin-cell battery.
To replace the coin-cell battery, do the following:
1. Turn off the computer and disconnect it from ac power and all cables.
2. Close the computer display and turn the computer over.
3. Remove the removable battery. See “Replacing the removable battery” on page 105.
4. Remove the bottom cover. See “Replacing the bottom cover” on page 107.
5. Detach the connector 1 and remove the coin-cell battery 2.
6. Install the new coin-cell battery 1 and attach the connector 2.
116 P51 User Guide

7. Reinstall the bottom cover.
8. Reinstall the removable battery.
9. Turn the computer over. Connect the ac power adapter and all cables to the computer.
10. Reset the system date and time in the ThinkPad Setup program. See “Date/Time menu” on page 72.
Replacing the keyboard
Before you start, read “Important safety information” on page v and print the following instructions.
To remove the keyboard, do the following:
1. Turn off the computer and disconnect it from ac power and all cables.
2. Close the computer display and turn the computer over.
3. Remove the removable battery. See “Replacing the removable battery” on page 105.
4. Remove the bottom cover. See “Replacing the bottom cover” on page 107.
5. Remove the screws that secure the keyboard.
6. Turn the computer over and open the display. Slightly push the keyboard in the direction as shown by
arrows 1 to release the latches from the keyboard bezel. Lift the keyboard slightly as shown by arrow 2.
Chapter 10.Replacing devices 117

7. Pivot the keyboard slightly upward as shown by arrow 1 until you can see the connectors on the bottom
side of the keyboard. Then turn over the keyboard as shown by arrow 2.
8. Put the keyboard on the palm rest as shown and detach the connectors. Then remove the keyboard.
118 P51 User Guide

3. Slide the keyboard in the direction as shown by the arrows. Ensure that the latches are secured under
the keyboard bezel.
4. Close the computer display and turn the computer over. Install the screws to secure the keyboard.
120 P51 User Guide

5. Reinstall the bottom cover.
6. Reinstall the removable battery.
7. Turn the computer over. Connect the ac power adapter and all cables to the computer.
Replacing the wireless-WAN card
The following information is only for computers with user-installable modules.
Before you start, read “Important safety information” on page v and print the following instructions.
To replace the wireless-WAN card, do the following:
1. Turn off the computer and disconnect it from ac power and all cables.
2. Close the computer display and turn the computer over.
3. Remove the removable battery. See “Replacing the removable battery” on page 105.
4. Remove the bottom cover. See “Replacing the bottom cover” on page 107.
5. If a tool is provided with the new wireless-WAN card to help you disconnect cables, use the tool to
disconnect the cables from the wireless-WAN card. Otherwise, hold the cable connector with your
fingers and gently disconnect each cable from the wireless-WAN card 1. Remove the screw 2. The
wireless-WAN card is released from the secured position and pivots upward. Carefully remove the
wireless-WAN card out of the slot 3.
Note: A film might cover the wireless WAN card. To access the wireless WAN card, open the film first.
Chapter 10.Replacing devices 121

6. Align the contact edge of the new wireless-WAN card with the key in the slot. Then carefully insert the
new wireless-WAN card into the slot at an angle of about 20 degrees 1. Pivot the wireless-WAN card
downward 2. Install the screw to secure the wireless-WAN card in place 3. Connect the cables to the
wireless-WAN card 4. Ensure that you attach the red cable to the main connector and the blue cable to
the auxiliary connector on the wireless-WAN card.
122 P51 User Guide

7. Reinstall the base cover assembly.
8. Reinstall the removable battery.
9. Turn the computer over. Connect the ac power adapter and all cables to the computer.
Replacing the memory module under the keyboard
Before you start, read “Important safety information” on page v and print the following instructions.
Attention: Do not touch the contact edge of the memory module. Otherwise the memory module might get
damaged.
To replace the memory module, do the following:
1. Turn off the computer and disconnect it from ac power and all cables.
2. Close the computer display and turn the computer over.
3. Remove the removable battery. See “Replacing the removable battery” on page 105.
4. Remove the bottom cover. See “Replacing the bottom cover” on page 107.
5. Remove the keyboard. See “Replacing the keyboard” on page 117.
6. Loosen the screw 1 and remove the metal sheet 2.
Chapter 10.Replacing devices 123

7. Open the latches on both sides of the memory slot at the same time 1, and then remove the memory
module 2.
8. Insert the new memory module into the memory slot at an angle of about 20 degrees 1. Pivot the
memory module downward until it snaps into place 2. Ensure that the memory module is firmly installed
in the memory slot and cannot be moved easily.
Note: If you install only one memory module, install it into the upper slot (the slot that is close to the
computer display).
124 P51 User Guide
126 P51 User Guide

Chapter 11. Getting support
This chapter provides information about getting help and support from Lenovo.
Before you contact Lenovo
Often, you can solve your computer problems by referring to the information in the explanations of error
codes, running diagnostic programs, or by consulting the Lenovo Support Web site.
Registering your computer
Register your computer with Lenovo. For more information, see “Registering your computer” on page 15.
Downloading system updates
Downloading updated software might resolve problems you experience with your computer.
To download updated software, go to the following Web site and follow the instructions on the screen:
http://www.lenovo.com/support
Recording information
Before you talk to a Lenovo representative, record the following important information about your computer.
Recording problem symptoms and details
Collect the answers to the following questions before you call for help. Then, you are able to get help as
quickly as possible.
• What is the problem? Is it continuous or intermittent?
• Is there an error message? What is the error code, if any?
• What operating system are you using? Which version?
• Which software applications were running at the time of the problem?
• Can the problem be reproduced? If so, how?
Recording system information
The serial number label is on the bottom of your computer. Record the machine type and the serial number.
• What is the name of your Lenovo product?
• What is the machine type?
• What is the serial number?
Getting help and service
If you need help, service, technical assistance, or more information about Lenovo products, you will find a
wide variety of sources available from Lenovo to assist you.
Information about your computer and preinstalled software, if any, is available in the documentation that
comes with your computer or on the Lenovo Support Web site at http://www.lenovo.com/support. The
documentation includes printed books, online books, readme files, and help files.
© Copyright Lenovo 2017 127

Microsoft Service Packs are the latest software source for Windows product updates. They are available
through Web download (connection charges might apply) or through discs. For more specific information
and links, go to https://www.microsoft.com. Lenovo offers technical assistance with installation of, or
questions related to, Service Packs for your Lenovo-preinstalled Microsoft Windows product. For more
information, contact the Customer Support Center.
Lenovo Support Web site
Technical support information is available on the Lenovo Support Web site at http://www.lenovo.com/support.
This Web site is updated with the latest support information such as the following:
• Drivers and software
• Diagnostic solutions
• Product and service warranty
• Product and parts details
• User guides and manuals
• Knowledge base and frequently asked questions
Calling Lenovo
If you have tried to correct the problem yourself and still need help, during the warranty period, you can get
help and information by telephone through the Customer Support Center. The following services are
available during the warranty period:
• Problem determination - Trained personnel are available to assist you with determining if you have a
hardware problem and deciding what action is necessary to fix the problem.
• Lenovo hardware repair - If the problem is determined to be caused by Lenovo hardware under warranty,
trained service personnel are available to provide the applicable level of service.
• Engineering change management - Occasionally, there might be changes that are required after a product
has been sold. Lenovo or your reseller, if authorized by Lenovo, will make selected Engineering Changes
(ECs) that apply to your hardware available.
The following items are not covered:
• Replacement or use of parts not manufactured for or by Lenovo or nonwarranted parts
• Identification of software problem sources
• Configuration of UEFI BIOS as part of an installation or upgrade
• Changes, modifications, or upgrades to device drivers
• Installation and maintenance of network operating systems (NOS)
• Installation and maintenance of programs
For the terms and conditions of the Lenovo Limited Warranty that apply to your Lenovo hardware product,
see “Warranty information” in the Safety, Warranty, and Setup Guide that comes with your computer.
If possible, be near your computer when you make your call. Ensure that you have downloaded the most
current drivers and system updates, run diagnostics, and recorded information before you call. When calling
for technical assistance, have the following information available:
• Machine type and model
• Serial numbers of your computer, monitor, and other components, or your proof of purchase
• Description of the problem
• Exact wording of any error messages
• Hardware and software configuration information for your system
128 P51 User Guide

Telephone numbers
For a list of the Lenovo Support phone numbers for your country or region, go to http://www.lenovo.com/
support/phone or refer to the Safety, Warranty, and Setup Guide that comes with your computer.
Note: Phone numbers are subject to change without notice. The latest phone numbers are available at
http://www.lenovo.com/support/phone. If the number for your country or region is not provided, contact your
Lenovo reseller or Lenovo marketing representative.
Purchasing additional services
During and after the warranty period, you can purchase additional services. Service availability and service
name might vary by country or region.
For more information about these services, go to http://www3.lenovo.com/us/en/accessories-and-upgrades/c/
ACCESSORY?menu-id=Accessories_Upgrades.
Chapter 11.Getting support 129
130 P51 User Guide

Appendix A. Supplemental information about the Ubuntu
operating system
In limited countries or regions, Lenovo offers customers an option to order computers with the preinstalled
Ubuntu® operating system.
If the Ubuntu operating system is available on your computer, read the following information before you use
the computer. Ignore any information related to Windows-based programs, utilities, and Lenovo preinstalled
applications in this documentation.
Accessing the Lenovo Limited Warranty
This product is covered by the terms of the Lenovo Limited Warranty (LLW), version L505-0010-02 08/2011.
You can view the LLW in a number of languages from the following Web site. Read the Lenovo Limited
Warranty at:
http://www.lenovo.com/warranty/llw_02
The LLW also is preinstalled on the computer. To access the LLW, go to the following directory:
/usr/share/doc/lenovo-doc
If you cannot view the LLW either from the Web site or from your computer, contact your local Lenovo office
or reseller to obtain a printed version of the LLW.
Accessing the Ubuntu help system
The Ubuntu help system provides information about how to use the Ubuntu operating system. To access the
help system from the Unity, move your pointer to the Launch bar, and then click the Help icon. If you cannot
find the Help icon from the Launch bar, click the Search icon, and type Help to search it.
To learn more about the Ubuntu operating system, go to:
https://www.ubuntu.com
Getting support information
If you need help, service, technical assistance, or more information about the Ubuntu operating system or
other applications, contact the provider of the Ubuntu operating system or the provider of the application. If
you need the service and support for hardware components shipped with your computer, contact Lenovo.
For more information about how to contact Lenovo, refer to the User Guide and Safety, Warranty, and Setup
Guide.
To access the latest User Guide and Safety, Warranty, and Setup Guide, go to:
http://www.lenovo.com/support
© Copyright Lenovo 2017 131
132 P51 User Guide

Appendix B. Regulatory information
This chapter provides regulatory and compliance information about Lenovo products.
Certification-related information
Product name: ThinkPad P51
Compliance ID: TP00073B
Machine types: 20HH and 20HJ
The latest compliance information is available at:
http://www.lenovo.com/compliance
Wireless-related information
This topic provides wireless-related information about Lenovo products.
Wireless interoperability
Wireless-LAN card is designed to be interoperable with any wireless-LAN product that is based on Direct
Sequence Spread Spectrum (DSSS), Complementary Code Keying (CCK), and/or Orthogonal Frequency
Division Multiplexing (OFDM) radio technology, and is compliant to:
• The 802.11b/g Standard, 802.11a/b/g, 802.11n, or 802.11ac on wireless-LANs, as defined and approved
by the Institute of Electrical and Electronics Engineers.
• The Wireless Fidelity (Wi-Fi®) certification as defined by the Wi-Fi Alliance®.
Your Bluetooth card supports Windows 10 in-box Bluetooth profiles. Some computer models might be
equipped with a Bluetooth card compliant with the Bluetooth Specification version 4.2 as defined by the
Bluetooth Special Interest Group (SIG). However, the Windows operating system might limit the support only
on the Bluetooth Specification version 4.1.
Usage environment and your health
This computer contains integrated wireless cards that operate within the guidelines identified by radio
frequency (RF) safety standards and recommendations; therefore, Lenovo believes that this product is safe
for use by consumers. These standards and recommendations reflect the consensus of the worldwide
scientific community, and result from deliberations of panels and committees of scientists, who continually
review and interpret the extensive research literature.
In some situations or environments, the use of wireless devices might be restricted by the proprietor of a
building or responsible representatives of an organization. For example, these situations and areas might
include the following:
• On board of airplanes, in hospitals or near petrol stations, blasting areas (with electro-explosive devices),
medical implants or body-worn electronic medical devices, such as pace makers.
• In any other environment where the risk of interference to other devices or services is perceived or
identified as harmful.
© Copyright Lenovo 2017 133

If you are uncertain of the policy that applies to the use of wireless devices in a specific area (such as an
airport or hospital), you are encouraged to ask for authorization to use a wireless device prior to turning on
the computer.
Locating the UltraConnect wireless antennas
ThinkPad notebook computers feature an integrated UltraConnect™ wireless antenna system built into the
display for optimal reception, enabling wireless communication wherever you are.
The following illustration shows where the antennas are located in your computer.
1 Wireless-LAN antenna (auxiliary)
2 Wireless-WAN antenna (auxiliary, available on some models)
3 Wireless-WAN antenna (main, available on some models)
4 Wireless-LAN antenna (main)
Wireless-radio compliance information
Computer models equipped with wireless communications comply with the radio frequency and safety
standards of any country or region in which it has been approved for wireless use.
Brazil wireless-radio compliance information
Este equipamento opera em caráter secundário, isto é, não tem direito a proteção contra interferência
prejudicial, mesmo de estações do mesmo tipo, e não pode causar interferência a sistemas operando em
caráter primário.
This equipment is a secondary type device, that is, it is not protected against harmful interference, even if the
interference is caused by a device of the same type, and it also cannot cause any interference to primary
type devices.
Mexico wireless-radio compliance information
Advertencia: En Mexico la operación de este equipo estásujeta a las siguientes dos condiciones: (1) es
posible que este equipo o dispositivo no cause interferencia perjudicial y (2) este equipo o dispositivo debe
aceptar cualquier interferencia, incluyendo la que pueda causar su operación no deseada.
134 P51 User Guide

Locating wireless regulatory notices
For more information about the wireless regulatory notices, refer to the Regulatory Notice shipped with your
computer.
If your computer is shipped without the Regulatory Notice, you can find it on the Web site at:
http://www.lenovo.com/support
TCO certification
To obtain the TCO certification information for your computer, go to:
http://www.lenovo.com/tco-cert
Export classification notice
This product is subject to the United States Export Administration Regulations (EAR) and has an Export
Classification Control Number (ECCN) of 5A992.c. It can be re-exported except to any of the embargoed
countries in the EAR E1 country list.
Electronic emission notices
Federal Communications Commission Declaration of Conformity
The following information refers to ThinkPad P51, machine types: 20HH and 20HJ.
This equipment has been tested and found to comply with the limits for a Class B digital device, pursuant to
Part 15 of the FCC Rules. These limits are designed to provide reasonable protection against harmful
interference in a residential installation. This equipment generates, uses, and can radiate radio frequency
energy and, if not installed and used in accordance with the instructions, may cause harmful interference to
radio communications. However, there is no guarantee that interference will not occur in a particular
installation. If this equipment does cause harmful interference to radio or television reception, which can be
determined by turning the equipment off and on, the user is encouraged to try to correct the interference by
one or more of the following measures:
• Reorient or relocate the receiving antenna.
• Increase the separation between the equipment and receiver.
• Connect the equipment into an outlet on a circuit different from that to which the receiver is connected.
• Consult an authorized dealer or service representative for help.
Lenovo is not responsible for any radio or television interference caused by using other than specified or
recommended cables and connectors or by unauthorized changes or modifications to this equipment.
Unauthorized changes or modifications could void the user's authority to operate the equipment.
This device complies with Part 15 of the FCC Rules. Operation is subject to the following two conditions: (1)
this device may not cause harmful interference, and (2) this device must accept any interference received,
including interference that may cause undesired operation.
Responsible Party:
Lenovo (United States) Incorporated
1009 Think Place - Building One
Morrisville, NC 27560
Phone Number: 919-294-5900
Appendix B. Regulatory information 135

Industry Canada Class B emission compliance statement
CAN ICES-3(B)/NMB-3(B)
European Union conformity
EU Contact: Lenovo, Einsteinova 21, 851 01 Bratislava, Slovakia
EMC Directive Statement: This product is in conformity with the protection requirements of EU Council
EMC Directive 2014/30/EU on the approximation of the laws of the Member States relating to
electromagnetic compatibility.
This product has been tested and found to comply with the limits for Class B equipment according to
European Standards harmonized in the Directives in compliance. The Class B requirements for equipment
are intended to offer adequate protection to broadcast services within residential environments.
Radio Equipment Directive Statement: This product is in conformity with all the requirements and essential
norms that apply to EU Council R&TTE Directive 1999/5/EC (until June 12, 2017) and Council Radio
Equipment Directive 2014/53/EU (from June 13, 2017) on the approximation of the laws of the Member
States relating to radio equipment. The full text of the system EU declaration of conformity and the EU
wireless module declarations are available at the following Internet addresses:
• For notebook computers: http://www.lenovo.com/eu-doc-notebooks
• For tablets: http://www.lenovo.com/eu-doc-tablets
Lenovo cannot accept responsibility for any failure to satisfy the protection requirements resulting from a
non-recommended modification of the product, including the installation of option cards from other
manufacturers. This product has been tested and found to comply with the limits for Class B equipment
according to European Standards harmonized in the Directives in compliance. The limits for Class B
equipment were derived for typical residential environments to provide reasonable protection against
interference with licensed communication devices.
German Class B compliance statement
Deutschsprachiger EU Hinweis:
Hinweis für Geräte der Klasse B EU-Richtlinie zur Elektromagnetischen Verträglichkeit
Dieses Produkt entspricht den Schutzanforderungen der EU-Richtlinie 2014/30/EU zur Angleichung der
Rechtsvorschriften über die elektromagnetische Verträglichkeit in den EU-Mitgliedsstaaten und hält die
Grenzwerte der Klasse B der Norm gemäß Richtlinie.
Um dieses sicherzustellen, sind die Geräte wie in den Handbüchern beschrieben zu installieren und zu
betreiben. Des Weiteren dürfen auch nur von der Lenovo empfohlene Kabel angeschlossen werden. Lenovo
übernimmt keine Verantwortung für die Einhaltung der Schutzanforderungen, wenn das Produkt ohne
Zustimmung der Lenovo verändert bzw. wenn Erweiterungskomponenten von Fremdherstellern ohne
Empfehlung der Lenovo gesteckt/eingebaut werden.
136 P51 User Guide

Deutschland:
Einhaltung des Gesetzes über die elektromagnetische Verträglichkeit von Betriebsmitteln
Dieses Produkt entspricht dem „Gesetz über die elektromagnetische Verträglichkeit von Betriebsmitteln“
EMVG (früher „Gesetz über die elektromagnetische Verträglichkeit von Geräten“). Dies ist die Umsetzung der
EMV EU-Richtlinie 2014/30/EU in der Bundesrepublik Deutschland.
Zulassungsbescheinigung laut dem Deutschen Gesetz über die elektromagnetische Verträglichkeit
von Betriebsmitteln, EMVG vom 20. Juli 2007 (früher Gesetz über die elektromagnetische
Verträglichkeit von Geräten), bzw. der EMV EU Richtlinie 2014/30/EU, für Geräte der Klasse B.
Dieses Gerät ist berechtigt, in Übereinstimmung mit dem Deutschen EMVG das EG-Konformitätszeichen -
CE - zu führen. Verantwortlich für die Konformitätserklärung nach Paragraf 5 des EMVG ist die Lenovo
(Deutschland) GmbH, Meitnerstr. 9, D-70563 Stuttgart.
Informationen in Hinsicht EMVG Paragraf 4 Abs. (1) 4:
Das Gerät erfüllt die Schutzanforderungen nach EN 55024 und EN 55032 Klasse B.
Korea Class B compliance statement
Japan VCCI Class B compliance statement
Japan compliance statement for products which connect to the power
mains with rated current less than or equal to 20 A per phase
Japan notice for ac power cord
The ac power cord shipped with your product can be used only for this specific product. Do not use the ac
power cord for other devices.
Lenovo product service information for Taiwan
Appendix B. Regulatory information 137

Eurasian compliance mark
Brazil audio notice
Ouvir sons com mais de 85 decibéis por longos períodos pode provocar danos ao sistema auditivo.
138 P51 User Guide

Appendix C. WEEE and recycling statements
This chapter provides environmental information about Lenovo products.
General recycling information
Lenovo encourages owners of information technology (IT) equipment to responsibly recycle their equipment
when it is no longer needed. Lenovo offers a variety of programs and services to assist equipment owners in
recycling their IT products. For information about recycling Lenovo products, go to:
http://www3.lenovo.com/us/en/social_responsibility/product_recycling_program/
The latest environmental information about our products is available at:
http://www3.lenovo.com/us/en/social_responsibility/datasheets_notebooks/
Important WEEE information
The WEEE marking on Lenovo products applies to countries with WEEE and e-waste regulations (for
example, the European WEEE Directive, India E-Waste Management Rules). Appliances are labeled in
accordance with local regulations concerning waste electrical and electronic equipment (WEEE). These
regulations determine the framework for the return and recycling of used appliances as applicable within
each geography. This label is applied to various products to indicate that the product is not to be thrown
away, but rather put in the established collection systems for reclaiming these end of life products.
Users of electrical and electronic equipment (EEE) with the WEEE marking must not dispose of end of life
EEE as unsorted municipal waste, but use the collection framework available to them for the return, recycle,
and recovery of WEEE and to minimize any potential effects of EEE on the environment and human health
due to the presence of hazardous substances. Lenovo electrical and electronic equipment (EEE) may contain
parts and components, which at end-of-life might qualify as hazardous waste.
EEE and waste electrical and electronic equipment (WEEE) can be delivered free of charge to the place of
sale or any distributor that sells electrical and electronic equipment of the same nature and function as the
used EEE or WEEE.
For additional WEEE information, go to:
http://www3.lenovo.com/us/en/social_responsibility/product_recycling_program/
WEEE information for Hungary
Lenovo, as a producer, bears the cost incurred in connection with the fulfillment of Lenovo’s obligations
under Hungary Law No. 197/2014 (VIII.1.) subsections (1)-(5) of section 12.
© Copyright Lenovo 2017 139

Japan recycling statements
Collecting and recycling a disused Lenovo computer or monitor
If you are a company employee and need to dispose of a Lenovo computer or monitor that is the property of
the company, you must do so in accordance with the Law for Promotion of Effective Utilization of Resources.
Computers and monitors are categorized as industrial waste and should be properly disposed of by an
industrial waste disposal contractor certified by a local government. In accordance with the Law for
Promotion of Effective Utilization of Resources, Lenovo Japan provides, through its PC Collecting and
Recycling Services, for the collecting, reuse, and recycling of disused computers and monitors. For details,
visit the Lenovo Web site at:
http://www3.lenovo.com/us/en/social_responsibility/sustainability/ptb_japan
Pursuant to the Law for Promotion of Effective Utilization of Resources, the collecting and recycling of home-
used computers and monitors by the manufacturer was begun on October 1, 2003. This service is provided
free of charge for home-used computers sold after October 1, 2003. For details, go to:
http://www3.lenovo.com/us/en/social_responsibility/sustainability/ptb_japan
Disposing of Lenovo computer components
Some Lenovo computer products sold in Japan may have components that contain heavy metals or other
environmental sensitive substances. To properly dispose of disused components, such as a printed circuit
board or drive, use the methods described above for collecting and recycling a disused computer or monitor.
Disposing of disused lithium batteries from Lenovo computers
A button-shaped lithium battery is installed inside your Lenovo computer to provide power to the computer
clock while the computer is off or disconnected from the main power source. If you need to replace it with a
new one, contact your place of purchase or contact Lenovo for service. If you need to dispose of a disused
lithium battery, insulate it with vinyl tape, contact your place of purchase or an industrial-waste-disposal
operator, and follow their instructions.
Disposal of a lithium battery must comply with local ordinances and regulations.
Disposing of a disused battery from Lenovo notebook computers
Your Lenovo notebook computer has a lithium ion battery or a nickel metal hydride battery. If you are a
company employee who uses a Lenovo notebook computer and need to dispose of a battery, contact the
proper person in Lenovo sales, service, or marketing, and follow that person's instructions. You also can
refer to the instructions at:
https://www.lenovo.com/jp/ja/environment/recycle/battery/
If you use a Lenovo notebook computer at home and need to dispose of a battery, you must comply with
local ordinances and regulations. You also can refer to the instructions at:
https://www.lenovo.com/jp/ja/environment/recycle/battery/
Recycling information for Brazil
Declarações de Reciclagem no Brasil
Descarte de um Produto Lenovo Fora de Uso
140 P51 User Guide

Equipamentos elétricos e eletrônicos não devem ser descartados em lixo comum, mas enviados à pontos de
coleta, autorizados pelo fabricante do produto para que sejam encaminhados e processados por empresas
especializadas no manuseio de resíduos industriais, devidamente certificadas pelos orgãos ambientais, de
acordo com a legislação local.
A Lenovo possui um canal específico para auxiliá-lo no descarte desses produtos. Caso você possua um
produto Lenovo em situação de descarte, ligue para o nosso SAC ou encaminhe um e-mail para:
reciclar@lenovo.com, informando o modelo, número de série e cidade, a fim de enviarmos as instruções
para o correto descarte do seu produto Lenovo.
Battery recycling information for the European Union
Notice: This mark applies only to countries within the European Union (EU).
Batteries or packaging for batteries are labeled in accordance with European Directive 2006/66/EC
concerning batteries and accumulators and waste batteries and accumulators. The Directive determines the
framework for the return and recycling of used batteries and accumulators as applicable throughout the
European Union. This label is applied to various batteries to indicate that the battery is not to be thrown
away, but rather reclaimed upon end of life per this Directive.
In accordance with the European Directive 2006/66/EC, batteries and accumulators are labeled to indicate
that they are to be collected separately and recycled at end of life. The label on the battery may also include
a chemical symbol for the metal concerned in the battery (Pb for lead, Hg for mercury, and Cd for cadmium).
Users of batteries and accumulators must not dispose of batteries and accumulators as unsorted municipal
waste, but use the collection framework available to customers for the return, recycling, and treatment of
batteries and accumulators. Customer participation is important to minimize any potential effects of batteries
and accumulators on the environment and human health due to the potential presence of hazardous
substances.
Before placing electrical and electronic equipment (EEE) in the waste collection stream or in waste collection
facilities, the end user of equipment containing batteries and/or accumulators must remove those batteries
and accumulators for separate collection.
Disposing of lithium batteries and battery packs from Lenovo products
A coin-cell type lithium battery might be installed inside your Lenovo product. You can find details about the
battery in the product documentation. If the battery needs to be replaced, contact your place of purchase or
contact Lenovo for service. If you need to dispose of a lithium battery, insulate it with vinyl tape, contact your
place of purchase or a waste-disposal operator, and follow their instructions.
Disposing of battery packs from Lenovo products
Your Lenovo device might contain a lithium-ion battery pack or a nickel metal hydride battery pack. You can
find details on the battery pack in the product documentation. If you need to dispose of a battery pack,
insulate it with vinyl tape, contact Lenovo sales, service, or your place of purchase, or a waste-disposal
Appendix C. WEEE and recycling statements 141

operator, and follow their instructions. You also can refer to the instructions provided in the user guide for
your product.
For proper collection and treatment, go to:
http://www3.lenovo.com/us/en/social_responsibility/environment/
Battery recycling information for Taiwan
Battery recycling information for the United States and Canada
Recycling information for China
142 P51 User Guide

Appendix D. Restriction of Hazardous Substances (RoHS)
Directive
The latest environmental information about Lenovo products is available at:
http://www.lenovo.com/ecodeclaration
European Union RoHS
This Lenovo product, with included parts (cables, cords, and so on) meets the requirements of Directive
2011/65/EU on the restriction of the use of certain hazardous substances in electrical and electronic
equipment ("RoHS recast" or "RoHS 2").
For more information about Lenovo worldwide compliance on RoHS, go to:
http://www.lenovo.com/rohs-communication
Turkish RoHS
The Lenovo product meets the requirements of the Republic of Turkey Directive on the Restriction of the Use
of Certain Hazardous Substances in Waste Electrical and Electronic Equipment (WEEE).
Ukraine RoHS
India RoHS
RoHS compliant as per E-Waste (Management) Rules.
China RoHS
The information in the following table is applicable for products manufactured on or after January 1, 2015 for
sale in the People’s Republic of China.
© Copyright Lenovo 2017 143

144 P51 User Guide
146 P51 User Guide

Appendix E. ENERGY STAR model information
ENERGY STAR® is a joint program of the U.S. Environmental Protection Agency and the U.S. Department of
Energy aimed at saving money and protecting the environment through energy efficient products and
practices.
Lenovo is proud to offer our customers products with the ENERGY STAR qualified designation. You might
find an ENERGY STAR mark affixed on the computer or displayed on the power settings interface. Lenovo
computers of the following machine types, if carry an ENERGY STAR mark, have been designed and tested
to conform to the ENERGY STAR program requirements for computers.
20HH and 20HJ
By using ENERGY STAR qualified products and taking advantage of the power-management features of the
computer, you can help reduce the consumption of electricity. Reduced electrical consumption can
contribute to potential financial savings, a cleaner environment, and the reduction of greenhouse gas
emissions.
For more information about ENERGY STAR, go to:
https://www.energystar.gov
Lenovo encourages you to make efficient use of energy an integral part of your day-to-day operations. To
help in this endeavor, Lenovo has preset the following power-management features to take effect when the
computer has been inactive for a specified length of time:
Power plan: Default (when plugged into ac power)
• Turn off the display: After 10 minutes
• Put the computer to sleep: After 30 minutes
To awaken the computer from sleep mode, press the Fn key on your keyboard. For more information about
these settings, see the Windows help information on the computer.
The Wake on LAN function is enabled when your Lenovo computer is shipped from the factory, and the
setting remains valid even when the computer is in sleep mode. If you do not need to have Wake on LAN
enabled while the computer is in sleep mode, you can reduce the power consumption and prolong the time
in sleep mode, by disabling the setting of Wake on LAN for sleep mode.
To disable the setting of Wake on LAN for sleep mode, do the following:
1. Go to Control Panel and click Hardware and Sound ➙ Device Manager.
2. In the Device Manager window, expand Network adapters.
3. Right-click your network adapter device, and click Properties.
© Copyright Lenovo 2017 147
4. Click the Power Management tab.
5. Clear the Allow this device to wake the computer check box.
6. Click OK.
148 P51 User Guide

Appendix F. Notices
Lenovo may not offer the products, services, or features discussed in this document in all countries. Consult
your local Lenovo representative for information on the products and services currently available in your
area. Any reference to a Lenovo product, program, or service is not intended to state or imply that only that
Lenovo product, program, or service may be used. Any functionally equivalent product, program, or service
that does not infringe any Lenovo intellectual property right may be used instead. However, it is the user's
responsibility to evaluate and verify the operation of any other product, program, or service.
Lenovo may have patents or pending patent programs covering subject matter described in this document.
The furnishing of this document does not give you any license to these patents. You can send license
inquiries, in writing, to:
Lenovo (United States), Inc.
1009 Think Place - Building One
Morrisville, NC 27560
U.S.A.
Attention: Lenovo Director of Licensing
LENOVO PROVIDES THIS PUBLICATION "AS IS" WITHOUT WARRANTY OF ANY KIND, EITHER EXPRESS
OR IMPLIED, INCLUDING, BUT NOT LIMITED TO, THE IMPLIED WARRANTIES OF NON-INFRINGEMENT,
MERCHANTABILITY OR FITNESS FOR A PARTICULAR PURPOSE. Some jurisdictions do not allow
disclaimer of express or implied warranties in certain transactions, therefore, this statement may not apply to
you.
This information could include technical inaccuracies or typographical errors. Changes are periodically made
to the information herein; these changes will be incorporated in new editions of the publication. Lenovo may
make improvements and/or changes in the product(s) and/or the application(s) described in this publication
at any time without notice.
The products described in this document are not intended for use in implantation or other life support
applications where malfunction may result in injury or death to persons. The information contained in this
document does not affect or change Lenovo product specifications or warranties. Nothing in this document
shall operate as an express or implied license or indemnity under the intellectual property rights of Lenovo or
third parties. All information contained in this document was obtained in specific environments and is
presented as an illustration. The result obtained in other operating environments may vary.
Lenovo may use or distribute any of the information you supply in any way it believes appropriate without
incurring any obligation to you.
Any references in this publication to non-Lenovo Web sites are provided for convenience only and do not in
any manner serve as an endorsement of those Web sites. The materials at those Web sites are not part of the
materials for this Lenovo product, and use of those Web sites is at your own risk.
Any performance data contained herein was determined in a controlled environment. Therefore, the result
obtained in other operating environments may vary significantly. Some measurements may have been made
on development-level systems and there is no guarantee that these measurements will be the same on
generally available systems. Furthermore, some measurements may have been estimated through
extrapolation. Actual results may vary. Users of this document should verify the applicable data for their
specific environment.
© Copyright Lenovo 2017 149

This document is copyrighted by Lenovo and is not covered by any open source license, including any Linux
agreement(s) which may accompany software included with this product. Lenovo may update this document
at any time without notice.
To obtain the most up-to-date documentation for your computer, go to:
http://www.lenovo.com/support
150 P51 User Guide

Appendix G. Trademarks
The following terms are trademarks of Lenovo in the United States, other countries, or both:
Active Protection System
Lenovo
Lenovo logo
ThinkPad
ThinkPad logo
TrackPoint
UltraConnect
Intel, Intel SpeedStep, and Thunderbolt are trademarks of Intel Corporation or its subsidiaries in the U.S.
and/or other countries.
Microsoft, Windows, Direct3D, BitLocker, and Cortana are trademarks of the Microsoft group of companies.
Mini DisplayPort (mDP) and DisplayPort are trademarks of the Video Electronics Standards Association.
Ubuntu is a registered trademark of Canonical Ltd.
The terms HDMI and HDMI High-Definition Multimedia Interface are trademarks or registered trademarks of
HDMI Licensing LLC in the United States and other countries.
Miracast is a registered trademark of Wi-Fi Alliance.
NVIDIA is a registered trademark of NVIDIA Corporation.
USB-C is a trademark of USB Implementers Forum.
Other company, product, and service names may be trademarks or service marks of others.
© Copyright Lenovo 2017 151
152 P51 User Guide




