Lenovo P720 Ug Zh Cn 使用手册 (Chinese Simplified) User Guide (pdf Version) Think Station Workstation (Think Station)
2017-10-03
使用手册: Lenovo P720 Ug Zh Cn (Chinese Simplified) User Guide (pdf version) - ThinkStation P720 P720 Workstation (ThinkStation) ThinkStation P720
Open the PDF directly: View PDF
.
Page Count: 186 [warning: Documents this large are best viewed by clicking the View PDF Link!]

P720用户指南
机器类型:30BA、30BB和30BU

目录
用前必读:重要安全信息......iii
在使用本手册前.............iii
维护和升级...............iii
静电预防................iv
电源线和电源适配器...........iv
延长线和相关设备............iv
插头和插座................v
外接设备.................v
热量和产品通风..............v
计算机放置须知.............vi
运行环境................vi
激光合规性声明.............vii
危险能源声明..............vii
纽扣锂电池声明.............vii
使用耳塞式耳机、头戴式耳机或耳麦....viii
清洁和维护...............viii
第1章产品概述............1
硬件位置.................1
前视图.................1
后视图.................3
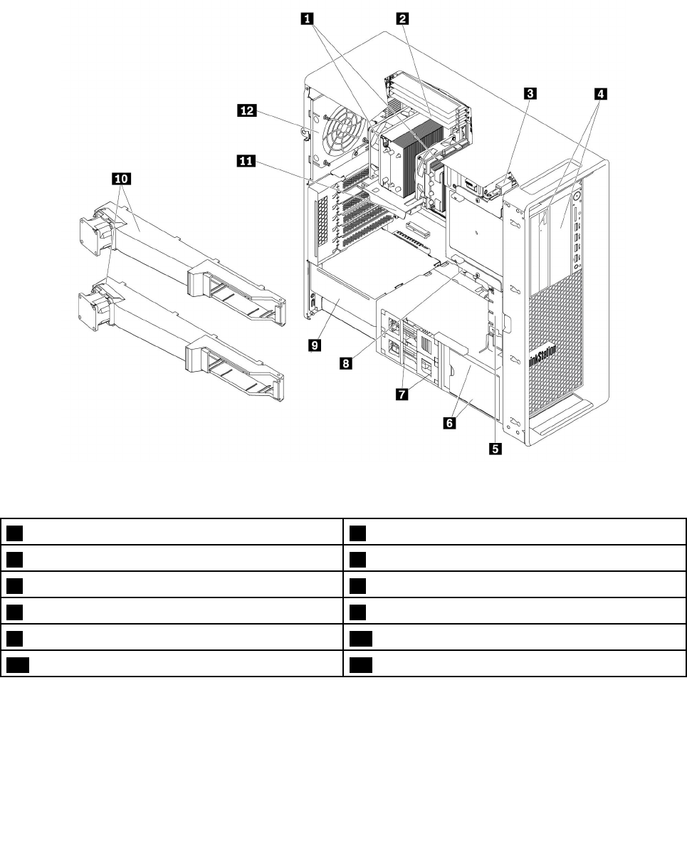
计算机组件...............6
主板上的部件..............7
内置存储驱动器.............9
机器类型和型号标签..........11
计算机功能...............11
计算机规格...............14
程序..................15
访问计算机上的程序..........15
安装已准备好安装的程序(仅限Windows
7).................16
Lenovo程序简介............16
第2章使用计算机.........19
注册计算机...............19
设置计算机音量.............19
使用光盘................19
有关使用光盘驱动器的准则........19
握持和存放光盘............19
播放和取出光盘............20
刻录光盘...............20
连接到网络...............21
第3章您与计算机.........23
安排工作空间..............23
眩光与照明..............23
空气流通...............23
电源插座位置和线缆长度........23
舒适度................23
辅助功能选项信息............24
清洁计算机...............27
维护..................27
基本维护提示.............27
良好的维护习惯............28
使计算机保持最新状态.........28
移动计算机...............29
第4章安全性............31
锁定计算机...............31
锁住计算机外盖............31
连接Kensington式钢缆锁........33
在SetupUtility程序中查看和更改安全设
置...................33
使用密码和Windows帐户........33
使用指纹认证..............34
使用外盖存在感知开关..........34
使用防火墙...............34
保护数据不被病毒攻击..........35
使用智能USB数据保护功能........35
固件中嵌入ComputraceAgent软件....35
受信平台模块(TPM)..........36
IntelBIOSguard.............36
第5章高级配置...........37
使用SetupUtility程序..........37
启动SetupUtility程序.........37
更改SetupUtility程序的显示模式....37
更改SetupUtility程序的显示语言....37
启用或禁用设备............38
启用或禁用计算机的AutomaticPowerOn
功能.................38
启用或禁用ErPLPS遵从模式......38
启用或禁用配置更改检测........39
在安装新操作系统之前更改BIOS设置...39
使用BIOS密码............39
选择启动设备.............41
更改风扇速度级别...........42
退出SetupUtility程序.........42
更新和恢复BIOS.............42
©CopyrightLenovo2017i

配置RAID................43
RAID简介..............43
用IntelRSTe配置RAID........43
用AVAGOMegaRAIDConfigurationUtility
配置RAID..............45
用IntelVirtualRAIDonCPU配置RAID.47
第6章故障诊断和恢复......51
解决计算机问题的基本过程........51
故障诊断................51
启动问题...............51
音频问题...............52
CD或DVD问题............53
间歇性问题..............54
存储驱动器问题............54
以太局域网问题............54
无线局域网问题............55
蓝牙问题...............56
性能问题...............57
串口问题...............58
USB设备问题.............58
软件和驱动程序问题..........58
诊断问题................59
恢复信息................61
第7章硬件拆卸和安装......63
握持静电敏感设备............63
准备计算机并卸下计算机外盖.......63
卸下和安装硬件.............64
外部选件...............64
Flex托架中的设备...........65
前置式存储机箱中的存储驱动器......68
多驱动器转换套件中的设备........74
Flex托架支架.............86
外盖存在感知开关...........88
存储驱动器托架中的3.5英寸存储驱动器..90
存储驱动器托架中的2.5英寸存储驱动器..94
存储驱动器托架中带有转换装置的2.5英寸存
储驱动器...............99
M.2固态驱动器............108
电源组合件..............118
PCIe卡...............120
全长型PCIe卡............126
超级电容模块.............129
正面风扇组合件............131
背面风扇组合件............134
内存条................136
纽扣电池...............141
Wi-Fi装置..............142
完成部件更换..............148
第8章获取信息、帮助和服务.151
信息资源................151
访问各种语言的《用户指南》.......151
Windows帮助系统...........151
安全和保修..............151
LenovoWeb站点...........151
Lenovo支持网站............152
常见问题...............152
帮助和服务...............152
致电客服...............152
使用其他服务.............153
购买附加服务.............153
附录A系统内存速度.......155
附录B有关Ubuntu操作系统的补
充信息................157
附录C法规信息..........159
出口分类声明..............159
电子辐射声明..............159
联邦通信委员会合规性声明........159
欧亚大陆合规性标志...........162
巴西音频声明..............162
墨西哥无线电合规性信息.........162
其他法规信息..............162
附录DWEEE和回收信息....163
重要WEEE信息.............163
日本的回收信息.............163
巴西的回收信息.............164
台湾地区的电池回收信息.........164
欧盟的电池回收信息...........165
附录E有害物质限制(RoHS)指
令..................167
附录FENERGYSTAR型号信
息..................169
附录G声明............171
附录H商标............173
iiP720用户指南

用前必读:重要安全信息
本章包含您必须熟知的安全信息。
在使用本手册前
警告:
使用本手册前,请务必阅读和了解所有与本产品相关的安全信息。请参阅本节中的信息和本产品
随附的《安全、保修和设置指南》中的安全信息。阅读和了解这些安全信息可降低人身伤害和产
品损坏的风险。
如果您丢失了这份《安全、保修和设置指南》,可以从Lenovo®支持Web站点获取可移植文档
格式(PDF)版本,网址是http://www.lenovo.com/support。Lenovo支持网站还提供其他语言的
《安全、保修和设置指南》和本《用户指南》。
维护和升级
除非得到客户支持中心或文档的指导,否则请勿尝试自行维修产品。请仅允许经认可的服务供应
商维修您的特定产品。
注:某些计算机部件可以由客户升级或更换。此类升级部件通常被称为选件。可由客户自行安装的
替换部件被称为“客户可更换部件”或CRU。对于适合客户自行安装的选件或更换CRU,Lenovo
会提供说明文档。安装或更换部件时,必须严格按照所有说明进行操作。电源指示灯处于熄灭状态
并不一定表示产品内部的电压为零。对于配备电源线的产品,在卸下其外盖前请务必确保电源已关
闭,并且该产品未连接任何电源。需要CRU的更多信息,请参阅第63页第7章“硬件拆卸和安
装”。如有任何问题或疑问,请联系客户支持中心。
虽然在断开电源线连接后计算机内已没有移动的部件,但是为安全起见仍需提供以下警告。
警告:
请勿让手指和身体其他部位接触危险的可动部件。如果不慎受伤,请立即就医。
警告:
避免接触计算机内的发热组件。某些组件在运行期间可能会散发足以灼伤皮肤的热量。打开计算机
外盖之前,请先关闭计算机,断开电源并等待大约10分钟,直至组件冷却。
警告:
更换CRU后,请先重新安装所有保护盖(包括计算机外盖),然后再连接电源并启动计算机。此
操作非常重要,可帮助避免意外电击并遏制可能在极罕见情况下出现的意外火灾。
警告:
更换CRU时,请小心可能会导致受伤的尖锐边缘或棱角。如果不慎受伤,请立即就医。
©CopyrightLenovo2017iii

静电预防
静电虽然对人体无害,但却能严重损坏计算机部件和选件。易受静电损坏的部件操作不当可能会
使部件受损。拆开选件或CRU的包装时,在相关说明指示您安装部件之前,请勿打开部件的防静
电包装。
操作选件或CRU时,或者对计算机内部进行操作时,请采取以下预防措施以避免静电引起的损坏:
•身体尽量不要移动。移动身体会导致周围累积静电。
•始终小心地操作组件。操作适配器、内存条和其他电路板时握住边缘。切勿触摸裸露的电路。
•防止其他人触摸组件。
•安装静电敏感选件或CRU时,请将该部件的防静电包装与计算机的扩展插槽金属挡片或其他未
涂漆的金属表面接触至少两秒。这样可减少包装上和您身上的静电。
•从防静电包装中取出静电敏感部件后尽量立即安装,不要放下部件。如果不能直接安装,请将
防静电包装放在光滑平面上,然后再将部件放在包装上。
•请勿将部件放在计算机外盖或其他金属表面上。
电源线和电源适配器
请仅使用产品厂商提供的电源线和电源适配器。请勿将此交流电源线用于其他设备。
电源线应该通过安全审核。在德国,其规格应该是H05VV-F,3G,0.75mm2或更高。在
其他国家或地区,应使用相应的适用类型。
切勿将电源线缠绕在电源适配器或其他物体上。否则会绷紧电源线,从而导致电源线磨损、破裂或
卷曲。这样会造成安全隐患。
始终正确地布放电源线,使其不会被踩到、绊倒他人或被物体压住。
避免电源线和电源适配器接触到液体。例如,请勿将电源线或电源适配器放置于水池、浴缸、盥洗
室附近,也不要放在用液体清洁剂清洁过的地板上。液体会引起短路,尤其是在因不当操作而绷
紧电源线或使电源适配器受到挤压时。液体还会导致电源线接头和/或电源适配器的连接器接头逐
渐腐蚀,并最终导致过热。
确保所有电源线接口都牢固并且完全插入到插座。
请勿使用交流电输入引脚处出现腐蚀迹象的电源适配器,或者交流电输入引脚处或其他地方出现过
热迹象(例如塑料变形)的电源适配器。
请勿使用任一端电气触点有腐蚀或过热迹象的电源线,也不要使用任何有受损迹象的电源线。
延长线和相关设备
确保所用延长线、电涌保护器、不间断电源和接线板的额定参数可以满足产品的电气要求。切勿让
这些设备超负荷运转。如果使用了接线板,其负载不应超出接线板的输入额定值。如有关于电源负
载、电源要求和输入额定值方面的疑问,请咨询电工以获取更多信息。
ivP720用户指南

插头和插座
如果要用于计算机设备的插座(电源插座)有损坏或腐蚀迹象,请在合格的电工更换电源插座后
再使用。
请勿弯曲或改动插头。如果插头损坏,请联系制造商进行更换。
请勿与其他大量耗电的家用或商用电器共用电源插座。否则,电压不稳可能会损坏计算机、数据或
所连接的设备。
某些产品配有三脚插头。这种插头仅适用于接地的电源插座。它是一种安全功能。请勿将它插入非
接地的插座而使其失去安全保护作用。如果无法将插头插入插座,请联系电工以安装经核准的插
座适配器或将插座更换为具备这种安全功能的插座。切勿使电源插座超负荷运转。系统总负载不
应超过分支电路额定值的80%。如有关于电源负载和分支电路额定值的问题,请咨询电工以获取
更多信息。
确保您使用的电源插座已正确连线、易于操作并且位置紧靠设备。请勿完全拉直电源线以免使之
绷紧。
请确保电源插座为您要安装的产品提供正确的电压和电流。
将设备与电源插座连接或断开连接时请谨慎操作。
外接设备
请勿在计算机处于开机状态时连接或断开除通用串行总线(USB)线缆之外的任何外接设备线
缆;否则可能会损坏计算机。为避免可能对所连接设备造成的损坏,请在计算机关闭后等待至
少五秒再断开外接设备。
热量和产品通风
开启计算机、电源适配器和许多附件时以及对电池充电时,都会产生热量。请始终遵循以下基本
注意事项:
•当产品正在运行或电池正在充电时,请勿让计算机、电源适配器或附件与您的膝盖或身体的其
他任何部位长时间接触。计算机、电源适配器和许多附件在正常运行期间会产生一些热量。与
身体接触时间过长会导致身体不适,甚至可能灼伤皮肤。
•请勿在易燃材料附近或在易爆环境中给电池充电,或者运行计算机、电源适配器或附件。
•本产品提供了通风口、风扇和散热器,用来营造安全、舒适、可靠的操作环境。将产品放在床、
沙发、地毯或其他柔软的表面上可能会无意中挡住这些功能部件。切勿挡住、覆盖这些功能部
件或使其失效。
至少每三个月检查一次您的台式计算机是否有灰尘堆积。在检查计算机之前,请关闭电源并将计算
机的电源线从电源插座中拔出;然后除去挡板上通风口和穿孔中的所有灰尘。如果发现外部有灰尘
©CopyrightLenovo2017v

堆积,那么应检查并除去计算机内,包括散热器入口散热片、电源通风口和风扇上的灰尘。在打开
外盖前请始终关闭计算机并拔出电源线。请尽量避免在距离交通繁忙区域2英尺的范围内操作计算
机。如果必须在交通繁忙区域内或附近操作计算机,请更频繁地检查计算机并在必要时进行清洁。
为了您的安全并使计算机保持最佳状态,使用台式计算机时请始终遵循以下基本预防措施:
•确保每次为计算机接通电源时外盖都处于闭合状态。
•定期检查计算机外部是否有灰尘堆积。
•除去挡板内通风口和任何孔状接缝中的灰尘。在多尘或交通繁忙区域可能需要更频繁地清洁计
算机。
•请勿阻塞或堵塞任何通风口。
•请勿在家具内存放或操作计算机,因为这会增加计算机过热的危险。
•进入计算机的气流温度不应超过35°C(95°F)。
•请勿安装空气过滤设备。它们可能会妨碍正常散热。
计算机放置须知
计算机放置不当可能会对儿童造成伤害。
•请将计算机放置在坚固的低矮家具或已进行固定的家具上。
•请勿将计算机放置在家具的边缘。
•请将计算机线缆放置在儿童无法触及的位置。
•某些物品(例如玩具)可能会吸引儿童注意。请将这类物品放置在远离计算机的地方。
若无法完全遵循上述安全说明,则应监督儿童在房间内的行为。
运行环境
使用计算机的最佳环境为温度10°C到35°C(50°F到95°F),湿度35%到80%。如果计算机的
存放或运输温度低于10°C(50°F),请先让低温的计算机缓慢升至10°C到35°C(50°F到95°F)
的最佳运行温度,然后再使用计算机。在极端情况下此过程可能会需要两个小时。如果在计算机尚
未升至最佳运行温度时就使用,可能会对计算机造成不可修复的损坏。
尽量将计算机放在通风良好的干燥区域内,并避免阳光直射。
使电风扇、收音机、大功率扬声器、空调和微波炉等电器远离计算机,因为这些电器产生的强磁场
可能会损坏显示器以及存储驱动器上的数据。
请勿将饮料放在计算机或所连接设备顶部或旁边。如果液体泼溅到计算机或所连接设备上或内部,
可能会引起短路或其他损坏。
请勿在键盘上方吃东西或抽烟。微粒落入键盘可能会造成损坏。
viP720用户指南

激光合规性声明
警告:
装有激光产品(如CD-ROM、DVD驱动器、光纤设备或发射器)时,请注意以下情况:
•请勿卸下外盖。卸下激光产品的外盖可能会导致遭受危险的激光辐射。设备中没有可维修的部
件。
•进行此处未指定的控制或调整,或执行此处未指定的操作步骤,可能会导致遭受危险的辐射。
危险
某些激光产品包含嵌入式3A类或3B类激光二极管。请注意以下情况:
打开时有激光辐射。请勿直视光束或使用光学仪器直接观看,并且要避免直接受到激光束照射。
危险能源声明
危险
在卸下计算机外盖或任何贴有上述标签的部件之前,请先从电源插座上拔下所有电源线。
请勿拆开贴有上述标签的组件。这些组件内没有可维修的部件。
您的计算机采用了安全使用型设计。但是,任何贴有此标签的组件内部都可达到危险的电压、电
流和能量级别。拆开这些组件可能会引发火灾甚至导致死亡。如果您怀疑某个部件有问题,请与
技术服务人员联系。
纽扣锂电池声明
危险
如果电池更换不当会有爆炸危险。
更换纽扣锂电池时,请仅使用相同类型的电池或制造商推荐的同类电池。该电池中含有锂,如果使
用、操作或处理不当,可能会发生爆炸。误吞纽扣锂电池会引起窒息,且在短短两小时内即可造
成体内严重烧伤,甚至导致死亡。
请勿让儿童接触电池。如果误吞纽扣锂电池或误置入体内任何部位,请立即就医。
请勿:
©CopyrightLenovo2017vii

•将电池投入或浸入水中
•将电池加热至超过100°C(212°F)。
•修理或拆开电池
•将电池存放在气压极低的环境中
•将电池存放在气压极高的环境中
•挤压、刺穿、切割或焚烧电池
请按照当地的法令法规要求处理电池。
以下声明适用于美国加利福尼亚州的用户。
加利福尼亚州高氯酸盐信息:
使用二氧化锰纽扣锂电池的产品可能含有高氯酸盐。
高氯酸盐材料-可能需要特殊的处理方法,请访问http://www.dtsc.ca.gov/hazardouswaste/per
chlorate/。
使用耳塞式耳机、头戴式耳机或耳麦
•如果您的计算机既有耳机接口又有音频输出接口,使用耳塞式耳机、头戴式耳机或耳麦时请务
必插入耳机接口。但是,耳机接口不支持耳麦的麦克风。
•如果您的计算机既有耳麦接口又有音频输出接口,使用耳塞式耳机、头戴式耳机或耳麦时请务
必插入耳麦接口。
警告:
如果头戴式耳机或耳塞式耳机的声压过大,会导致用户的听力衰退。将均衡器调整到最大音量会增
大入耳式和头戴式耳机的输出电压和声压级别。因此,为了保护您的听力,请将均衡器调整到合
适的级别。
如果头戴式或耳塞式耳机接口的输出不符合EN50332-2规范,长时间开大音量使用耳机可能会发
生危险。您的计算机的耳机输出接口符合EN50332-2子条款7。此规范将计算机的最大宽带输出
电压真有效值限定为150mV。为了帮助保护您的听力,避免造成听力下降,请确保您使用的头戴
式或耳塞式耳机符合EN50332-2(条款7中的限制)即宽频特征电压75毫伏。如果使用不符合
EN50332-2规范的耳机,可能会由于其声压级别过高而造成危险。
如果您的Lenovo计算机包装中附带了头戴式或耳塞式耳机,那么此耳机与计算机的组合符合EN
50332-1规范。如果您使用其他头戴式或耳塞式耳机,请确保其符合EN50332-1(条款6.5中的
限制值)。如果使用不符合EN50332-1规范的耳机,可能会由于其声压级别过高而造成危险。
清洁和维护
请保持计算机和工作区干净整洁。清洁计算机前请先关闭计算机并断开电源线。请勿直接在计算机
上喷洒液体清洁剂或使用含可燃物的清洁剂清洁计算机。请将清洁剂喷到软布上,然后用软布擦
拭计算机表面。
viiiP720用户指南

第1章产品概述
本章提供的基本信息可帮助您熟悉计算机。
硬件位置
本节介绍计算机硬件的位置。
前视图
注:计算机硬件可能与插图略有不同。
图 1. 正 面 接 口 、 控 件 和 指 示 灯
1光盘驱动器弹出/关闭按钮(某些型号配备)2电源按钮
3电源指示灯4存储驱动器活动指示灯
5信号诊断LED指示灯6SD卡插槽
7光电传感器8USB3.0接口(3个)
9AlwaysOnUSB3.0接口10耳麦接口
注:计算机正面的ThinkStation®铭牌的方向是可调的。将计算机侧放时,可略微抽出铭牌。逆
时针转动90度,然后将其推回。
©CopyrightLenovo20171

1光盘驱动器弹出/关闭按钮(某些型号配备)
按该按钮可弹出或关闭光盘驱动器的托盘。
2电源按钮
按电源按键以开启计算机。如果计算机无响应,可以按住电源按钮四秒或更长时间以关闭计算机。
3电源指示灯
当电源指示灯亮起时,表示计算机已开启。
4存储驱动器活动指示灯
此指示灯显示内置存储驱动器(如硬盘驱动器或固态驱动器)的状态。
亮起:存储驱动器处于活动状态,并且正在传输数据。
熄灭(计算机开启时):未传输数据或未使用存储驱动器。
5信号诊断LED指示灯
熄灭(计算机开启时):计算机正常操作期间未检测到错误或问题。
亮起:计算机正常操作期间检测到灾难性错误。
闪烁:计算机正常操作期间检测到错误或问题。
6SD卡插槽
将安全数字(SD)卡插入插槽以访问卡中的数据。
7光电传感器
该传感器接收由安装在智能手机上的LenovoPCDiagnostics应用程序发送的闪光灯信号。然后,
光电传感器触发计算机,以便将所检测到错误的音调发送到智能手机,供用户解码该错误。
8USB3.0接口(3个)
使用该接口连接与USB兼容的设备,如USB键盘、鼠标、存储驱动器或打印机。
9AlwaysOnUSB3.0接口
使用该接口连接与USB兼容的设备,如USB键盘、鼠标、存储驱动器或打印机。连接电源线后,
即使计算机处于休眠模式或已关机,也可为连接的USB设备充电。如果未启用AlwaysOnUSB
接口功能,则打开PowerManager程序并启用该功能。要打开PowerManager程序,请参阅第
15页“访问计算机上的程序”。要启用AlwaysOnUSB接口,请参阅PowerManager程序的
帮助系统。
2P720用户指南

注:*可在相应的外围组件互连(PCIe)/PCI-Express(PCIe)卡插槽中安装独立显卡或网络适配
器。如果安装此类卡,为了优化性能,请使用该卡上的接口,而不要使用计算机上的相应接口。预
装的卡可能会随计算机型号而不同。可安装一块或多块显卡来提供以下接口:
•数字视频接口(DVI)接口
•DisplayPort®接口
•MiniDisplayPort®接口
DisplayPort接口
使用该接口连接高性能显示器、直接驱动显示器或其他兼容设备。
DVI显示器接口
使用该接口连接DVI显示器或其他兼容设备。
MiniDisplayPort接口
使用该接口连接高性能显示器、直接驱动显示器或其他兼容设备。MiniDisplayPort接口是缩小
版的DisplayPort接口。
1音频输出接口
音频输出接口用于从计算机向外接设备(如耳机)发送音频信号。
2麦克风接口
当您要录音或者使用语音识别软件时,请使用该接口将麦克风连接到计算机。
3选配串口
使用该接口连接外接调制解调器、串行打印机或其他使用9引脚串口的设备。
4PS/2键盘接口
使用此接口连接PersonalSystem/2(PS/2)键盘。
5USB2.0接口(2个)
使用该接口连接与USB兼容的设备,如USB键盘、鼠标、存储驱动器或打印机。
6USB3.0接口(4个)
使用该接口连接与USB兼容的设备,如USB键盘、鼠标、存储驱动器或打印机。
7PCI/PCIe卡区域
如需进一步提升计算机性能,您可以在该区域安装PCI/PCIe卡。该区域中预装的卡可能会随计算
机型号而不同。
4P720用户指南

8电源线接口
将电源线连接到计算机以供电。
9安全锁插槽
将Kensington式钢缆锁连接到安全锁插槽来固定计算机。需要更多信息,请参阅第33页“连接
Kensington式钢缆锁”。
10钥匙存放插槽
将计算机外盖钥匙锁随附的钥匙架装入钥匙存放插槽。
11以太网接口(2个)
连接以太网线缆,以便接入局域网(LAN)。
注:要在联邦通信委员会(FCC)B类限制内操作计算机,请使用5类以太网电缆。
12挂锁环
连接挂锁来固定计算机。需要更多信息,请参阅第31页“锁住计算机外盖”。
13PS/2鼠标接口
使用该接口连接PS/2鼠标、轨迹球或其他指针设备。
14音频输入接口
音频输入接口用于接收来自外部音频设备(如立体声系统)的音频信号。连接外接音频设备时,在
设备的音频输出接口和计算机的音频输入接口之间建立线缆连接。
第1章.产品概述5

主板上的部件
注:主板可能与插图略有不同。
图 4. 主 板 部 件 位 置
1正面音频接口2内置扬声器接口
3内存风扇接口14微处理器2内存插槽1
5微处理器2内存插槽56微处理器2内存插槽3
7微处理器2内存插槽48微处理器2内存插槽6
9微处理器2内存插槽210微处理器1内存插槽2
11微处理器1内存插槽612微处理器1内存插槽4
13微处理器1内存插槽314微处理器1内存插槽5
15微处理器1内存插槽116热传感器接口
17外盖存在感知开关接口(机箱入侵感应开关
接口)
18微处理器1
19微处理器风扇接口120盲连接组合件(BCA)3接口
21M.2固态驱动器插槽122M.2固态驱动器插槽2
23VROC插头24TrustedCryptographyModule(TCM)接口
254引脚电源接口(用于光盘驱动器)26四位数字诊断显示器接口
27光盘驱动器风扇接口128正面风扇组合件接口
第1章.产品概述7

29光盘驱动器风扇接口2306引脚电源接口1(用于显卡)
316引脚电源接口2(用于显卡)32内置存储驱动器活动指示灯接口
334引脚电源接口(用于存储驱动器)344引脚电源接口(用于存储驱动器)
35前面板接口36BCA2接口
37BCA1接口38SATA6接口
39Thunderbolt™控制接口40正面USB3.0接口2
41内置USB2.0接口42USB3.0扩展接口
43正面USB3.0接口14415合1读卡器接口
45SATA4接口46SATA3接口
47SATA2接口48SATA1接口
49电源接口50SATA5接口
51eSATA/SATA接口52PCIe3.0x4卡插槽6
53PCI卡插槽554PCIe3.0x16卡插槽4
55清除CMOS/恢复跳线56PCIe3.0x8卡插槽3
57PCIe3.0x16卡插槽258PCIe3.0x16卡插槽1
59纽扣电池60内存风扇接口2
61微处理器2(某些型号配备)62背面风扇组合件接口
63串口(COM1)接口64微处理器风扇接口2
8P720用户指南

内置存储驱动器
内置存储驱动器是您的计算机用来读取和存储数据的设备。您可以添加驱动器,从而增加计算机的
存储容量,使计算机能够读取其他类型的介质。内置存储驱动器安装在托架中。
卸下或安装内置存储驱动器时,记下每个托架支持的驱动器的类型和大小并正确连接所需的线缆。
有关如何为计算机卸下或安装内置存储驱动器的说明,请参阅第63页第7章“硬件拆卸和安装”
中的相应部分。
下图显示了存储驱动器托架的位置。
注:计算机硬件可能与插图略有不同。
图 5. 存 储 驱 动 器 托 架 位 置
1读卡器(用于SD卡)2Flex托架(2个)
3选配存储驱动器托架(2个)4存储驱动器托架(2个)
5M.2固态驱动器插槽(2个)6PCIe插槽(5个)
1读卡器
某些型号装有SD卡。
2Flex托架(2个)
第1章.产品概述9

根据计算机型号的不同,Flex托架中可能装有以下设备:
•Flex模块
根据计算机型号的不同,Flex模块中可能装有以下部件:
–15合1读卡器
–外置串行ATA(eSATA)接口
–四位数字诊断显示器
–电气电子工程师学会(IEEE)1394接口
–薄型光盘驱动器
–Thunderbolt适配器套件
•前置式存储机箱
•多驱动器转换套件
根据计算机型号的不同,多驱动器转换套件中可能装有以下部件:
–内置存储驱动器(如硬盘驱动器、固态驱动器或混合驱动器)
–薄型光盘驱动器
•光盘驱动器
•薄型光盘驱动器适配器
3选配存储驱动器托架(2个)
可在存储驱动器托架中安装硬盘驱动器、固态驱动器或混合驱动器。
注:如果要将存储驱动器安装到3选配存储驱动器托架中,请联系Lenovo客户支持中心寻求帮
助。
4存储驱动器托架(2个)
可在存储驱动器托架中安装硬盘驱动器、固态驱动器或混合驱动器。
5M.2固态驱动器插槽(2个)
某些型号装有一个或两个M.2固态驱动器。
6PCIe插槽(5个)
可将兼容的PCIe卡和PCIe固态驱动器安装到PCIe卡插槽中。
10P720用户指南

机器类型和型号标签
通过机器类型和型号标签可识别计算机。与Lenovo联系请求帮助时,机器类型和型号信息可帮
助支持人员识别计算机,从而提供更快速的服务。
以下是机器类型和型号标签的示例。
注:计算机硬件可能与插图略有不同。
图 6. 机 器 类 型 和 型 号 标 签
计算机功能
具体到您的计算机型号,某些功能可能有所不同或不适用。
有关计算机的信息
•要查看有关计算机的基本信息(如微处理器和内存信息),请执行以下操作:
1.单击“开始”按钮以打开“开始”菜单。
2.根据Microsoft®Windows®操作系统版本的不同,执行以下某一操作:
–对于Windows7:右键单击计算机,然后单击属性。
–对于Windows10:单击设置➙系统➙关于。
•要查看有关计算机上设备(如光盘驱动器和网络适配器)的详细信息,请执行以下操作:
1.根据Windows版本的不同,执行以下某项操作:
–对于Windows7:单击“开始”按钮以打开“开始”菜单。右键单击计算机,然后单击
属性。
–对于Windows10:右键单击“开始”按钮以打开“开始”上下文菜单。
第1章.产品概述11

2.单击设备管理器。
3.在设备管理器中找到并双击设备以查看设备属性。输入管理员密码或进行确认(如果出现
提示)。
内存
最多12根双倍数据速率第四代(DDR4)带纠错码(ECC)寄存双列直插式内存条(RDIMM)
存储驱动器
您的计算机支持下面的存储驱动器:
•硬盘驱动器
•混合驱动器(某些型号配备)
•M.2固态驱动器(某些型号配备)
•光盘驱动器(某些型号配备)
•SD卡(某些型号配备)
•固态驱动器(某些型号配备)
要查看存储驱动器空间容量,请执行以下操作:
1.根据Windows版本的不同,执行以下某项操作:
•对于Windows7:单击“开始”按钮以打开“开始”菜单。右键单击计算机,然后单击管
理。
•对于Windows10:右键单击“开始”按钮以打开“开始”上下文菜单。
2.单击磁盘管理并按照屏幕上的说明进行操作。
视频功能部件
•主板上用于独立显卡的PCIe3.0x16卡插槽
•独立显卡上的视频接口:
–DVI接口(某些型号配备)
–DisplayPort接口(某些型号配备)
–MiniDisplayPort接口(某些型号配备)
音频功能部件
集成音频控制器支持计算机上的以下接口和设备:
•音频输入接口
•音频输出接口
•耳麦接口
•内置扬声器
•麦克风接口
输入/输出( (
(I/O) )
)功能部件
•100/1000Mbps以太网接口
•音频接口(音频输入接口、音频输出接口、麦克风接口和耳麦接口)
12P720用户指南

•显示器接口(DisplayPort接口、DVI接口和MiniDisplayPort接口)(因显卡而异)
•选配的9引脚串口
•PS/2键盘接口
•PS/2鼠标接口
•USB接口
扩展
•Flex托架
•存储驱动器托架
•M.2固态驱动器插槽
•内存插槽
•一个PCI卡插槽
•一个PCIe3.0x4卡插槽
•一个PCIe3.0x8卡插槽
•三个PCIe3.0x16卡插槽
•SD卡插槽
电源
计算机随附以下电源之一:
•690瓦电压自动感应电源
•900瓦电压自动感应电源
无线功能部件
根据计算机型号的不同,支持以下无线功能:
•无线局域网
•蓝牙
系统管理功能
•可存储开机自检(POST)硬件测试结果
•桌面管理界面(DMI)
桌面管理界面提供一种通用的途径,供用户获得有关计算机所有方面的信息。这些信息包括处
理器类型、安装日期、连接的打印机和其他外围设备、电源和维护历史记录。
•ErPLPS遵从模式
耗能产品指令(ErP)最低电源状态(LPS)遵从模式可在计算机睡眠或关闭后减少耗电。需要更
多信息,请参阅第38页“启用或禁用ErPLPS遵从模式”。
•Intel®StandardManageability(ISM)
IntelStandardManageability可以在计算机硬件和固件中构建某些功能。因此,对于企业来
说,计算机成本将会降低,而且更方便监视、维护、更新、升级和修复计算机。
•IntelActiveManagementTechnology(IntelAMT)
通过特定的Intel平台功能和第三方管理和安全应用程序,IT管理员或托管服务供应商可以利
用IntelActiveManagementTechnology轻松地远程发现、维修和保护其联网计算资产。
第1章.产品概述13

•IntelRapidStorageTechnologyenterprise(IntelRSTe)
通过IntelRSTe配置实用程序,可为搭载特定Intel芯片组主板的计算机配置独立磁盘冗余阵
列(RAID)。它支持装有串行ATA(SATA)设备的计算机上的RAID级别0、1、5和10。
•预引导执行环境(PXE)
利用预引导执行环境,您可以使用网络接口启动计算机。该方式不同于通过数据存储设备(如
硬盘驱动器)或已安装的操作系统启动计算机。
•系统管理(SM)BasicInput/OutputSystem(BIOS)和SM软件
SMBIOS规范定义了BIOS中的数据结构和访问方法。因此,用户或应用程序可以存储或检索
有关计算机的具体信息。
•WakeonLAN(WOL)
WakeonLAN是一种以太网计算机联网标准,借助此标准,可通过网络消息开启或唤醒计算
机。通常由同一局域网上另一计算机上运行的程序发送消息。
•WindowsManagementInstrumentation(WMI)
WindowsManagementInstrumentation是Windows驱动模型的一组扩展。它提供一种操作
系统接口,配备此技术的组件可通过该接口提供信息和通知。
安全功能部件
•可启用和禁用某个设备
•可单独启用和禁用各个USB接口
•反病毒程序
•用于阻止未经授权使用计算机的BIOS密码和Windows帐户
•固件中嵌入ComputraceAgent软件
•外盖存在感知开关(也称为机箱入侵感应开关)
•指纹认证(某些型号配备)
•防火墙
•IntelBIOSguard
•智能USB数据保护功能
•启动顺序控制
•在没有键盘或鼠标的情况下启动
•支持计算机外盖钥匙锁(某些型号配备)
•支持Kensington式钢缆锁
•支持挂锁
•受信平台模块(TPM)
预装的操作系统
您的计算机预装了Windows7或Windows10操作系统。Lenovo可能还会将其他操作系统视为
与您的计算机兼容。要确定某个操作系统是否经过了兼容性验证或测试,请查看该操作系统供应商
的Web站点。
计算机规格
本节列出了计算机的物理规格。
14P720用户指南

尺寸
•宽:175毫米(6.89英寸)
•高:446毫米(17.56英寸)
•长:485毫米(19.09英寸)
重量
装运时最大重量:24千克(52.91磅)
环境
•气温:
运行时:从10°C(50°F)到35°C(95°F)
存放在原始装运包装内:从-40°C(-40°F)到60°C(140°F)
无包装存放:从-10°C(14°F)到60°C(140°F)
•湿度:
运行时:从10%到80%(无冷凝)
存放:从10%到90%(无冷凝)
•海拔高度:
运行时:从-15.2米(-50英尺)到2000米(6562英尺)
存放:从-15.2米(-50英尺)到10668米(35000英尺)
电气输入
•输入电压:从100到240伏交流电
•输入频率:50/60赫兹
程序
本节介绍计算机上的各种程序。
访问计算机上的程序
注:在Windows7中,根据计算机型号的不同,某些Lenovo程序可能准备好进行安装,因此您
必须手动安装这些程序。然后,即可访问和使用这些程序。
要访问计算机上的程序,请执行以下某项操作:
•从Windows搜索中:
1.根据Windows版本的不同,执行以下某项操作:
–对于Windows7:单击“开始”按钮以打开“开始”菜单,然后在搜索框中输入程序名
称。
–对于Windows10:在“开始”按钮旁的搜索框中输入程序名称。
2.在搜索结果中,单击所需程序的名称以启动该程序。
•从“开始”菜单或“控制面板”中:
1.根据Windows版本的不同,执行以下某项操作:
第1章.产品概述15

–对于Windows7:单击“开始”按钮以打开“开始”菜单。如果未显示该程序名称,则
单击所有程序以显示程序列表。然后,单击所需程序的名称以启动该程序。
–对于Windows10:单击“开始”按钮以打开“开始”菜单。然后,单击所需程序的名
称以启动该程序。
2.如果“开始”菜单上未显示该程序名称,则从“控制面板”中访问该程序。
a.单击“开始”按钮以打开“开始”菜单。
b.根据Windows版本的不同,执行以下某项操作:
–对于Windows7:单击控制面板。
–对于Windows10:单击Windows系统➙控制面板。
c.按“大图标”或“小图标”查看“控制面板”,然后单击所需程序的名称以启动该程序。
安装已准备好安装的程序(仅限Windows7)
在Windows7操作系统中,要安装已准备好安装的程序,请执行以下操作:
1.打开LenovoThinkVantage®Tools程序。请参阅第15页“访问计算机上的程序”。
2.单击视图➙磁贴以查看程序图标。
3.按照灰显图标下的说明找到所需程序的图标。然后双击该图标以安装该程序。
Lenovo程序简介
本节介绍操作系统中提供的主要Lenovo程序。
注:根据计算机型号的不同,可能不提供以下某些Lenovo程序。
•FingerprintManagerPro或ThinkVantageFingerprintSoftware(Windows7)
通过FingerprintManagerPro或ThinkVantageFingerprintSoftware程序,可使用指纹读
取器。某些键盘上提供了集成的指纹读取器,通过它可录入您自己的指纹,并将其与开机密码、
硬盘密码和Windows密码关联。因此,指纹认证可以取代密码并使用户的登录简单而安全。
•LenovoCompanion(Windows10)
计算机的最佳功能应易于访问和理解。有了LenovoCompanion后,的确如此。使用Lenovo
Companion执行以下操作:
–优化计算机的性能、监视计算机的运行状况和管理更新。
–访问《用户指南》、检查保修状态和查看针对计算机定制的附件。
–阅读操作方法文章、探索Lenovo论坛以及通过可信来源的文章和博客,随时了解最新科技
新闻。
LenovoCompanion提供独家Lenovo内容,帮助您详细了解通过计算机可实现的功能。
•LenovoPCExperience(Windows7)
此程序可让您轻松访问各种程序,从而帮助您轻松、安全地工作。
注:此程序无法通过所有程序列表或搜索框找到。要访问此程序,请转到“控制面板”。按“类
别”查看“控制面板”,单击硬件和声音➙设备和打印机,然后双击带有您的计算机名称的设
备。
16P720用户指南

•LenovoID(Windows10)
通过LenovoID程序,可以创建和管理LenovoID。有了LenovoID之后,您就可以使用一
个帐户连接到Lenovo的一切。使用LenovoID可以快速方便地进行验证,并享受Lenovo提
供的众多服务。这些服务包括在线购物、应用下载、个性化设备支持、特别促销优惠、Lenovo
Forums(Lenovo论坛)等等。
•LenovoPowerENGAGE(Windows7)
LenovoPowerENGAGE程序提供电源管理功能。
•LenovoSolutionCenter(Windows7)
通过LenovoSolutionCenter程序可排除和解决计算机问题。它集中了诊断测试、系统信息收
集、安全状态和支持信息,以及使系统性能达到最大限度的提示和技巧。
•LenovoThinkVantageTools(Windows7)
通过LenovoThinkVantageTools程序,可轻松地使用多种工具以帮助您更加轻松而安全地工
作。
•RecoveryMedia(Windows7)
通过RecoveryMedia程序,可将硬盘驱动器的内容恢复为出厂缺省设置。
•SystemUpdate(Windows7)
通过SystemUpdate程序,可定期获得计算机的系统更新,如设备驱动程序更新、软件更新和
BIOS更新。该程序从LenovoHelpCenter收集有关计算机的最新更新的信息,然后排序并显
示这些更新以供下载和安装。您可以完全控制下载和安装哪些更新。
•ThinkStationDiagnostics(Windows7和Windows10)
使用ThinkStationDiagnostics程序可以进行故障诊断和解决计算机问题。该程序不仅会通知
您由实时硬件诊断监控功能检测到的任何问题,还会提供问题的详细信息、分析可能的原因并
提供解决方案。
第1章.产品概述17

18P720用户指南

第2章使用计算机
本章提供的信息可帮助您使用计算机提供的各种功能。
注册计算机
向Lenovo注册您的计算机时,您需要将所需信息输入Lenovo数据库。通过此信息,Lenovo可
在出现召回或其他严重问题时与您联系,还可在您致电Lenovo寻求帮助时为您提供更快速的服
务。此外,某些地区还为注册用户提供更多权利和服务。
要向Lenovo注册计算机,请访问http://www.lenovo.com/register,然后按照屏幕上的说明进
行操作。
设置计算机音量
要设置计算机音量,请执行以下操作:
1.单击任务栏上Windows通知区域中的音量图标。
注:如果Windows通知区域中未显示音量图标,则将该图标添加到通知区域。请参阅Windows
帮助系统。
2.按屏幕上的说明和悬停文本调整音量、使扬声器静音或取消扬声器静音。
使用光盘
本节介绍了如何使用光盘和光盘驱动器。
有关使用光盘驱动器的准则
使用光驱时,请遵循以下这些准则:
•请勿将计算机放置在驱动器可能遭遇任何以下情况的位置:
–高温
–强湿
–过多的灰尘
–过分振动或突然的撞击
–倾斜的表面
–直接日照
•请勿将除光盘以外的任何物体插入驱动器。
•请勿将已损坏的光盘插入驱动器。弯曲、擦伤或肮脏的光盘可能会损坏驱动器。
•移动计算机之前,请从驱动器取出光盘。
握持和存放光盘
握持和存放光盘时,请遵循以下准则:
•拿住光盘的边。请勿触摸未贴标签的一侧表面。
©CopyrightLenovo201719

•要除去灰尘或指纹,请使用一块清洁的软布从中心向外擦拭光盘。顺着圆周方向擦拭光盘可能
会导致丢失数据。
•请勿在光盘上写字或粘贴纸张。
•请勿擦伤光盘或在光盘上留下划痕。
•请勿将光盘放置或存储在有直接日照的地方。
•请勿使用苯、稀释剂或其他清洁剂清洁光盘。
•请勿使光盘坠落或弯折光盘。
播放和取出光盘
要播放光盘,请执行以下操作:
1.打开计算机后,按光盘驱动器正面的弹出/关闭按钮。托盘将滑出驱动器。
2.将光盘插入托盘。某些光盘驱动器在托盘中央有固定轮。如果驱动器有固定轮,则用一只手托
住托盘,然后按压光盘的中心位置,直到光盘咔嗒一声固定到位。
3.再次按弹出/关闭按钮或向前轻推托盘以关闭托盘。随后将自动启动光盘播放器程序。有关详
细信息,请参阅光盘播放器程序的帮助系统。
要从光盘驱动器取出光盘,请执行以下操作:
1.打开计算机后,按光盘驱动器正面的弹出/关闭按钮。托盘将滑出驱动器。
2.小心地从托盘中取出光盘。
3.再次按弹出/关闭按钮或向前轻推托盘以关闭托盘。
注:如果按弹出/关闭按钮时托盘未从驱动器滑出,则关闭计算机。然后,将拉直的曲别针插入弹
出/关闭按钮旁的紧急弹出孔。请仅在紧急情况下使用紧急弹出方式。
刻录光盘
如果光盘驱动器支持刻录,则可刻录光盘。
使用Windows工具刻录光盘
要使用Windows工具刻录光盘,请执行以下某项操作:
•使用“自动播放”窗口刻录光盘。
1.确保自动播放光盘。
a.单击“开始”按钮以打开“开始”菜单。
b.根据Windows版本的不同,执行以下某项操作:
–对于Windows7:单击控制面板。按“大图标”或“小图标”查看“控制面板”,
然后单击自动播放。
–对于Windows10:单击设置➙设备➙自动播放。
c.选择或开启为所有媒体和设备使用自动播放。
2.将可刻录光盘插入支持刻录的光盘驱动器。随后将打开“自动播放”窗口。
3.按照屏幕上的指示信息进行操作。
•使用WindowsMedia®Player刻录光盘。
1.将可刻录光盘插入支持刻录的光盘驱动器。
20P720用户指南

2.打开WindowsMediaPlayer。请参阅第15页“访问计算机上的程序”。
3.按照屏幕上的指示信息进行操作。
•从ISO文件刻录光盘。
1.将可刻录光盘插入支持刻录的光盘驱动器。
2.双击该ISO文件。
3.按照屏幕上的指示信息进行操作。
使用预装的程序刻录光盘
要使用预装的程序刻录光盘,请执行以下操作:
1.将可刻录光盘插入支持刻录的光盘驱动器。
2.打开PowerDVDCreate、PowerProducer或Power2Go程序。请参阅第15页“访问计算
机上的程序”。
3.按照屏幕上的指示信息进行操作。
连接到网络
本节介绍了如何连接到网络。
连接到以太局域网
可通过将以太网线缆连接到以太网接口,将计算机连接到以太局域网。
危险
为避免电击危险,请勿将电话线连接到以太网接口。
连接到无线局域网
无需使用以太网线缆,只需无线电波即可将计算机连接到无线局域网。
注:仅某些型号配备无线局域网功能。
要建立无线局域网连接,请执行以下操作:
1.确保有无线局域网可用,并且计算机上的无线局域网功能正常工作。
2.单击Windows通知区域中的无线网络连接状态图标以显示可用的无线网络。
注:如果Windows通知区域中未显示无线网络连接状态图标,则将该图标添加到通知区域。
请参阅Windows帮助系统。
3.单击某个无线局域网,然后单击连接以将计算机连接到它。如果需要,请提供必要信息。
连接到支持蓝牙的设备
蓝牙是一项短距离无线通信技术。使用蓝牙可在大约10米(32.8英尺)距离内,在计算机与其他
支持蓝牙的设备之间建立无线连接。
注:仅某些型号配备蓝牙功能。
要连接到支持蓝牙的设备,请执行以下操作:
第2章.使用计算机21

1.打开计算机的蓝牙功能。确保具备蓝牙功能的设备与计算机间的距离不超过10米(32.8英
尺)。
2.单击任务栏上Windows通知区域中的蓝牙图标。然后,单击添加设备并按屏幕上的说明进行
操作。
注:如果Windows通知区域中未显示蓝牙图标,则将该图标添加到通知区域。请参阅Windows
帮助系统。
22P720用户指南

第3章您与计算机
本章介绍辅助功能、人体工程学以及清洁和维护。
安排工作空间
整理工作空间以符合需要和工作性质。本节介绍各种影响您如何整理工作空间的因素。
眩光与照明
调整显示器的位置,将来自顶灯、窗户和其他光源的眩光和反射减少到最低程度。从发光表面反射
的光线可能会导致屏幕上出现恼人的反射。尽可能使显示器与窗户和其他光源成直角。如有必要,
可通过关闭几盏灯或使用小功率灯泡,减少头顶上方的光照。如果显示器安装在靠窗位置,请使用
窗帘或百叶窗来遮挡阳光。随着一天当中室内光线的变化,您可以调整显示器的亮度和对比度。
在无法避免反射或调整照明的场所,在屏幕上加一个防眩滤光器可能会有所帮助。但是,这些滤
光器可能会影响屏幕上图像的清晰度;请仅在其他减少眩光的方法均无法解决问题时才尝试使用
滤光器。
空气流通
计算机在运行时产生热量。计算机配有风扇,它抽入新风并通过通风孔排出热空气。阻塞通风孔将
导致过热,这可能会引起故障或损坏。适当放置计算机以使通风孔不受遮挡;通常,通风空间达到
51毫米(2英寸)即可。确保排出的空气不吹到人身上。
电源插座位置和线缆长度
以下因素可能决定最终放置计算机的位置:
•电源插座的位置
•电源线或电源适配器的长度
•连接到其他设备的线缆的长度
有关电源线或电源适配器的详细信息,请参阅第iv页“电源线和电源适配器”。
舒适度
虽然没有任何一种工作姿势能够完全适用于每个人,但是下面提供的一些指导原则可帮助您找到最
适合的姿势。下图给出一个示例供您参考。
©CopyrightLenovo201723

•屏幕位置:使屏幕保持舒适的观看距离,通常为51至61厘米(20至24英寸)。然后调整屏
幕,使屏幕顶部与视线平齐或略低于视线,并且无需转动身体即可看到屏幕。
•座椅位置:使用可有力支撑背部且坐高可调的座椅。请使用座椅调节器来获取最合适的坐姿。
•头部位置:保持您的头部和颈部处在舒适的笔直(垂直或直立)位置。
•手臂和手的位置:使前臂、手腕和手掌保持在自然放松(水平)的位置。输入时轻触键盘,而
不要重击。
•腿部位置:使大腿与地面平行,双脚平放在地面或脚凳上。
不时地微调工作姿态,以防长期用同一姿态工作导致不适。工作中经常短暂地休息也将有助于防止
任何与工作坐姿相关的轻微不适。
辅助功能选项信息
Lenovo致力于帮助在听觉、视觉和行动方面有障碍的用户更方便地使用信息和技术。本节介绍这
些用户可充分利用其计算机体验的方法。还可从以下Web站点获取最新的辅助功能信息:
http://www.lenovo.com/accessibility
键盘快捷方式
下表包含有助于使计算机更易于使用的键盘快捷方式。
注:根据键盘的不同,以下某些键盘快捷方式可能不可用。
键盘快捷方式功能
Windows徽标键+U打开“轻松使用设置中心”
按住右Shift键8秒打开或关闭筛选键
按Shift键5次打开或关闭粘滞键
按住NumLock键5秒打开或关闭切换键
左Alt键+左Shift键+NumLock打开或关闭鼠标键
左Alt键+左Shift键+PrtScn(或PrtSc)打开或关闭“高对比度”
有关详细信息,请访问http://windows.microsoft.com/,然后使用以下任何关键字执行搜索:
键盘快捷方式、组合键和快捷键。
轻松使用设置中心
通过Windows操作系统中的“轻松使用设置中心”,可配置计算机以符合您的生理和认知需求。
24P720用户指南

要使用“轻松使用设置中心”,请执行以下操作:
1.单击“开始”按钮以打开“开始”菜单。
2.根据Windows版本的不同,执行以下某项操作:
•对于Windows7:单击控制面板。按“大图标”或“小图标”查看“控制面板”,然后单
击轻松访问中心。
•对于Windows10:单击设置➙轻松使用。
3.按屏幕上的说明选择相应的工具。
“轻松使用设置中心”主要包括以下工具:
•放大镜
“放大镜”是一个有用的实用程序,可放大整个或部分屏幕,以使您可更方便地查看各项。
•讲述人
“讲述人”是一个屏幕阅读器,它可朗读屏幕上显示的内容和描述错误消息等事件。
•屏幕键盘
如需使用鼠标、游戏杆或其他指针设备代替物理键盘向计算机输入数据,可使用“屏幕键盘”。
•高对比度
“高对比度”是提高屏幕上某些文本和图像的颜色对比度的功能。因此,这些项目更加突出并
易于识别。
•个性化键盘
调整键盘设置可使键盘更易于使用。例如,可使用键盘控制指针和更简便地输入某些组合键。
•个性化鼠标
调整鼠标设置可使鼠标更易于使用。例如,可更改指针外观以及使通过鼠标管理窗口变得更简
便。
语音识别
“语音识别”使您能够通过语音控制计算机。
仅使用语音即可启动程序、打开菜单、单击屏幕上的对象、将文本口述为文档以及撰写和发送电子
邮件。使用键盘和鼠标执行的所有工作都可以在仅使用语音的情况下完成。
要使用“语音识别”,请执行以下操作:
1.单击“开始”按钮以打开“开始”菜单。
2.根据Windows版本的不同,执行以下某项操作:
•对于Windows7:单击控制面板。
•对于Windows10:单击Windows系统➙控制面板。
3.按“大图标”或“小图标”查看“控制面板”,然后单击语音识别。
4.按照屏幕上的指示信息进行操作。
屏幕阅读器技术
屏幕阅读器技术主要用于软件程序界面、帮助信息系统和各种联机文档。需要屏幕阅读器的更多信
息,请参阅以下内容:
第3章.您与计算机25

•结合使用PDF与屏幕阅读器:
http://www.adobe.com/accessibility.html?promoid=DJGVE
•使用JAWS屏幕阅读器:
http://www.freedomscientific.com/jaws-hq.asp
•使用NVDA屏幕阅读器:
http://www.nvaccess.org/
屏幕分辨率
可通过调整计算机的屏幕分辨率,使屏幕上的文本和图像更易于阅读。
要调整屏幕分辨率,请执行以下操作:
1.右键单击桌面上的空白区域。
2.根据Windows版本的不同,执行以下某项操作:
•对于Windows7:单击屏幕分辨率。
•对于Windows10:单击显示设置➙显示。
3.按照屏幕上的指示信息进行操作。
注:将分辨率设置得过低可能会使屏幕上无法容纳某些项目。
可定制项目大小
可通过更改项目大小,使屏幕上的项目更易于阅读。
•要临时更改项目大小,请使用“轻松使用设置中心”中的“放大镜”工具。
•要永久更改项目大小,请执行以下操作:
–更改屏幕上所有项目的大小。
–对于Windows7:
1.右键单击桌面上的空白区域。
2.单击屏幕分辨率➙放大或缩小文本和其他项目。
3.按照屏幕上的说明更改项目大小。
4.单击应用。此更改将在下次登录操作系统时生效。
–对于Windows10:
1.右键单击桌面上的空白区域。
2.单击显示设置➙显示。
3.按照屏幕上的说明更改项目大小。对于某些应用程序,需要注销然后再次登录后,您
的配置才会生效。
–更改Web页面上项目的大小。
按住Ctrl,然后按加号键(+)放大文本大小,或减号键(-)缩小文本大小。
–更改桌面或窗口上项目的大小。
注:此功能可能不适用于某些窗口。
如果鼠标有滚轮,则按住Ctrl,然后滚动滚轮以更改项目大小。
26P720用户指南

业界标准接口
您的计算机提供多种行业标准接口,可使用这些接口连接辅助设备。
有关每个接口的位置和功能的详细信息,请参阅第1页“硬件位置”。
TTY/TDD转换调制解调器
您的计算机支持使用文本电话(TTY)或听障专用电信设备(TDD)转换调制解调器。该调制解调
器必须连接在计算机与TTY/TDD电话之间。然后,可以在计算机上键入消息并将其发送至电话。
采用可访问格式的文档
Lenovo提供的电子文档格式具有辅助功能,如加有适当标记的PDF文件或超文本标记语言
(HTML)文件。Lenovo电子文档旨在确保有视觉障碍的用户可通过屏幕阅读器阅读文档。文档
中的每个图像还包含充足的替代文本,以使有视力障碍的用户可在使用屏幕阅读器时理解该图像。
清洁计算机
注意:打开计算机或尝试进行任何修理之前,请先阅读并了解第iii页“用前必读:重要安全信
息”。正确卸下或安装计算机外盖。请参阅第63页第7章“硬件拆卸和安装”。
警告:
从驱动器中取出任何介质,然后关闭所有连接的设备和计算机。然后从电源插座中拔出所有电源
线,并拔下连接到计算机的所有线缆。
定期清洁计算机是个良好的习惯,可以保护计算机表面并确保无故障运行。请仅使用温性清洁溶液
和湿布来清洁计算机有污渍的表面。
灰尘堆积可使眩光问题变得更严重,因此记得定期清洁屏幕。用干燥的软布轻轻地擦拭屏幕,或
吹掉屏幕上的尘土和其他细小颗粒。根据屏幕类型的不同,用蘸有LCD清洁剂或液态玻璃清洁剂
的无绒软布擦拭屏幕表面。
维护
通过适当的保养和维护,计算机将可靠地为您提供服务。本节介绍了如何维护计算机,以确保其能
够在最佳状况下运行。
基本维护提示
以下是有关使您的计算机保持正常运行的一些基本要点:
•将您的计算机放置在清洁、干燥的环境中。确保将计算机放在平整、稳定的表面上。
•请勿盖住任何通风孔。这些通风孔使空气流动以防计算机过热。
•请将食品和饮料放在远离计算机各部件的地方。食品的碎屑和溅出的液滴可能会粘住键盘和鼠
标,从而导致无法使用。
•请勿弄湿电源开关或其他控制装置。湿气可以损坏这些部件并带来电气危险。
•拔下电源线时,务必握住插头而非电线。
第3章.您与计算机27

良好的维护习惯
通过执行一些良好的维护操作,可以保持计算机的良好性能、保护数据并对万一发生的计算机故障
做好准备。
•定期清空回收站。
•偶尔使用操作系统的磁盘碎片整理或磁盘优化功能以防止因碎片文件过多而降低性能。
•定期清理您的电子邮件应用程序的收件箱、已发送邮件和已删除邮件文件夹。
•定期将重要数据备份到可移动介质存储器(如光盘和USB存储设备)上,并妥善保存可移动介
质。制作备份副本的频率取决于数据对您或您的企业的重要程度。
•定期备份存储驱动器上的数据。请参阅第61页“恢复信息”。
•使计算机软件、设备驱动程序和操作系统保持最新。请参阅第28页“使计算机保持最新状
态”。
•进行日志记录。其中的条目可包括重大的软件或硬件更改、设备驱动程序更新、间歇性问题及
其解决途径以及可能已遇到的其他问题。问题的原因可能是硬件发生更改、软件发生更改或任
何其他可能已发生的操作。日志薄可以帮助您或Lenovo技术人员确定问题的原因。
•制作ProductRecovery光盘。有关使用ProductRecovery光盘将硬盘驱动器恢复为出厂缺省
设置的详细信息,请参阅第61页“恢复信息”。
使计算机保持最新状态
在大多数情况下,安装最新的操作系统更新修补程序、软件程序和设备驱动程序都是一个良好的习
惯。本节介绍了如何获取计算机的最新更新。
获取最新系统更新
要获取计算机的最新系统更新,请确保计算机连接到因特网,然后执行以下某项操作:
•使用相应的Lenovo程序获取系统更新,如设备驱动程序更新、软件更新和BIOS更新:
–对于Windows7:使用SystemUpdate程序。
–对于Windows10:使用LenovoCompanion程序。
要打开SystemUpdate或LenovoCompanion程序,请参阅第15页“访问计算机上的程
序”。有关使用该程序的详细信息,请参阅该程序的帮助系统。
•使用Windows更新获取系统更新,如安全修补程序、Windows组件的新版本和设备驱动程序
更新。
1.单击“开始”按钮以打开“开始”菜单。
2.根据Windows版本的不同,执行以下某项操作:
–对于Windows7:单击控制面板。按“大图标”或“小图标”查看“控制面板”,然后
单击WindowsUpdate。
–对于Windows10:单击设置➙更新和安全➙Windows更新。
3.按照屏幕上的指示信息进行操作。
注:Windows更新提供的设备驱动程序可能未经Lenovo测试。建议使用Lenovo程序或从Lenovo
Web站点http://www.lenovo.com/support获取设备驱动程序。
28P720用户指南

移动计算机
在移动计算机之前,请采取以下预防措施:
1.备份存储驱动器上的数据。请参阅第28页“良好的维护习惯”。
2.从驱动器中取出任何介质,然后关闭所有连接的设备和计算机。然后从电源插座中拔出所有电
源线,并拔下连接到计算机的所有线缆。
3.如果存有原始的装运纸板箱和包装材料,请用它们来包装这些部件。如果要用另外的纸板箱,
请为这些部件提供衬垫以防损坏。
将计算机带往其他国家或地区
将计算机带往其他国家或地区时,必须考虑当地的电气标准。如果当地使用的电源插座
的类型与您正在使用的类型不同,请使用电插头适配器或使用新的电源线。如需购买
此类商品,请联系Lenovo客户支持中心。有关Lenovo支持电话号码的列表,请访问
http://www.lenovo.com/support/phone。如果找不到所在国家或地区的支持电话号码,请联
系Lenovo经销商。
第3章.您与计算机29

30P720用户指南

第4章安全性
本章介绍如何防止计算机免于受到未经授权的使用。
锁定计算机
本节介绍了如何使用锁定设备锁定计算机以确保计算机安全。
锁住计算机外盖
锁住计算机外盖有助于防止未授权人员接触计算机内部。您的计算机配备挂锁环,还可能在计算
机外盖中内置了钥匙锁。钥匙锁的钥匙附于计算机背面。安全起见,当您不使用钥匙时,请把它
们放在安全的地方。
注:仅某些型号配备钥匙锁和钥匙。
图 7. 挂 锁
©CopyrightLenovo201731

图 8. 钥 匙 锁
32P720用户指南

连接Kensington式钢缆锁
可使用Kensington式钢缆锁,将计算机固定到桌子或其他非永久固定物上。钢缆锁连接到计算机
背面的安全锁插槽。根据所选类型的不同,可用钥匙或密码控制钢缆锁。钢缆锁也锁住了用来打开
计算机外盖的按钮。许多笔记本电脑也使用同一类型的锁。可通过在以下网址搜索
Kensington
,
直接从Lenovo订购此类钢缆锁:
http://www.lenovo.com/support
图 9. Kensington 式 钢 缆 锁
在SetupUtility程序中查看和更改安全设置
要在SetupUtility程序中查看和更改安全设置,请执行以下操作:
1.启动SetupUtility程序。请参阅第37页“启动SetupUtility程序”。
2.选择安全菜单。
3.按屏幕右侧的说明查看和更改安全设置。参阅第37页“使用SetupUtility程序”可初步了
解某些重大的安全设置。
4.要保存设置并退出SetupUtility程序,请按F10或Fn+F10(根据键盘设置而定)。在所显
示的窗口中选择是,然后按Enter。
使用密码和Windows帐户
可使用BIOS密码和Windows帐户,防止未经授权访问计算机和数据。要使用BIOS密码或
Windows帐户,请执行以下操作:
第4章.安全性33

•要使用BIOS密码,请参阅第39页“使用BIOS密码”。
•要使用Windows帐户,请执行以下操作:
1.单击“开始”按钮以打开“开始”菜单。
2.根据Windows版本的不同,执行以下某项操作:
–对于Windows7:单击控制面板➙用户帐户。
–对于Windows10:单击设置➙帐户。
3.按照屏幕上的指示信息进行操作。
使用指纹认证
如果键盘配有指纹识别器,则可使用指纹认证代替密码,使用户访问变得简便而又安全。要使用
指纹认证,请首先注册指纹,然后将其与密码(如开机密码、硬盘密码和Windows密码)关联。
使用指纹识别器和指纹程序完成此过程。
要使用指纹认证,请执行以下某项操作:
•对于Windows7:使用Lenovo提供的FingerprintManagerPro或ThinkVantageFingerprint
Software程序。要打开该程序,请参阅第15页“访问计算机上的程序”。有关使用该程序的
详细信息,请参阅该程序的帮助系统。
•对于Windows10:使用Windows操作系统提供的指纹工具。单击“开始”按钮以打开“开
始”菜单,然后单击设置➙帐户➙登录选项。按照屏幕上的指示信息进行操作。
要使用指纹识别器,请参阅指纹键盘随附或位于Lenovo支持网站http://www.lenovo.com/supp
ort/keyboards上的文档。
使用外盖存在感知开关
未正确安装或关闭计算机外盖时,外盖存在感知开关将阻止计算机登录操作系统。
要使用外盖存在感知开关,请首先启用主板上的外盖存在感知开关接口。为此,请执行以下操作:
1.启动SetupUtility程序。请参阅第37页“启动SetupUtility程序”。
2.选择安全菜单➙机箱报警,然后按Enter。
3.选择打开,然后按Enter。
4.要保存设置并退出SetupUtility程序,请按F10或Fn+F10(根据键盘设置而定),在所显
示的窗口中选择是,然后按Enter。此时即可启用主板上的外盖存在感知开关接口。
外盖存在感知开关开始工作。开启计算机时,如果开关检测到未正确安装或合上计算机外盖,则显
示一条错误消息。要修复该错误并登录操作系统,请执行以下操作:
1.正确卸下或安装计算机外盖。请参阅第63页第7章“硬件拆卸和安装”。
2.启动,然后退出SetupUtility程序。请参阅第37页“启动SetupUtility程序”和第42页
“退出SetupUtility程序”。
使用防火墙
防火墙可以是硬件、软件或二者的组合,具体取决于所需的安全级别。防火墙根据一组规则确定
哪些入站和出站连接经过授权。如果计算机预装了防火墙程序,则该程序可帮助保护计算机免遭
34P720用户指南

Internet安全威胁、未授权的访问、入侵和Internet攻击。还可保护隐私。需要如何使用防火墙
程序的更多信息,请参阅防火墙程序的帮助系统。
要使用Windows防火墙,请执行以下操作:
1.单击“开始”按钮以打开“开始”菜单。
2.根据Windows版本的不同,执行以下某项操作:
•对于Windows7:单击控制面板。
•对于Windows10:单击Windows系统➙控制面板。
3.按“大图标”或“小图标”查看“控制面板”,然后单击Windows防火墙。
4.按照屏幕上的指示信息进行操作。
保护数据不被病毒攻击
计算机预装了反病毒程序,可帮助防止、检测和清除病毒。
Lenovo在计算机上提供了具有30天免费使用期的完整版反病毒软件。30天后,必须续订许可证
以继续接收反病毒软件更新。
注:为免遭新病毒的侵害,必须将病毒定义文件保持最新。
需要如何使用反病毒软件的更多信息,请参阅反病毒软件的帮助系统。
使用智能USB数据保护功能
智能USB数据保护功能是一项安全功能,可防止数据从计算机复制到该计算机连接的USB存储
设备。可将智能USB数据保护功能设置为以下模式之一:
•否(缺省设置):可使用USB存储设备,无任何限制。
•只读模式:无法将数据从计算机复制到USB存储设备。但是,可查看或修改USB存储设备上
的数据。
•禁止访问模式:无法从计算机访问USB存储设备。
要配置智能USB数据保护功能,请执行以下操作:
1.启动SetupUtility程序。请参阅第37页“启动SetupUtility程序”。
2.选择安全菜单➙智能USB数据保护,然后按Enter。
3.选择所需的设置,然后按Enter键。
4.要保存设置并退出SetupUtility程序,请按F10或Fn+F10(根据键盘设置而定)。在所显
示的窗口中选择是,然后按Enter。
固件中嵌入ComputraceAgent软件
ComputraceAgent软件是一种IT资产管理和计算机失窃恢复解决方案。该软件检测计算机上是
否发生了变化,如硬件、软件或计算机的电话拨入位置。可能必须购买订阅才能激活Computrace
Agent软件。
第4章.安全性35

受信平台模块(TPM)
TPM是一个安全的加密处理器,其中可存储加密密钥,而该密钥又可以保护计算机中存储的信息。
IntelBIOSguard
BIOSguard模块通过密码验证系统BIOS闪存的所有BIOS更新。从而防止恶意软件攻击BIOS。
36P720用户指南

第5章高级配置
本章提供的信息可帮助您进一步配置计算机。
使用SetupUtility程序
SetupUtility程序用于查看和更改计算机的配置设置。本节仅介绍该程序中提供的主要配置设置。
注:操作系统设置可能会取代SetupUtility程序中任何相似的设置。
启动SetupUtility程序
要启动SetupUtility程序,请执行以下操作:
1.打开或重新启动计算机。
2.在操作系统启动之前,反复按下再松开F1或Fn+F1(根据键盘设置而定)。根据Setup
Utility显示模式设置,将发生以下情况之一:
•文本模式:随后将打开SetupUtility程序。
•图形模式(某些型号配备):随后将显示“开始”屏幕。然后,选择Setup并按Enter以
打开SetupUtility程序。
注:如果已设置BIOS密码,则直到输入正确的密码后,才会打开SetupUtility程序。需要
更多信息,请参阅第39页“使用BIOS密码”。
要查看和更改配置设置,请按屏幕上的说明进行操作。
更改SetupUtility程序的显示模式
您可根据需要在图形模式或文本模式下使用SetupUtility程序。
•文本模式:将在屏幕底部显示用于执行各种任务的键盘按键。
注:SerialPortConsoleRedirection项仅在文本模式下可用。
•图形模式(某些型号配备):除了键盘之外,还可使用鼠标进行选择。
要更改SetupUtility程序的显示模式,请执行以下操作:
1.启动SetupUtility程序。请参阅第37页“启动SetupUtility程序”。
2.从主界面中,选择菜单显示模式,然后按Enter。
3.选择图形或文本,然后按Enter。
4.要保存设置并退出SetupUtility程序,请按F10或Fn+F10(根据键盘设置而定),在所显
示的窗口中选择是,然后按Enter。
更改SetupUtility程序的显示语言
SetupUtility程序支持三种显示语言:英语、法语和简体中文。
要更改SetupUtility程序的显示语言,请执行以下操作:
©CopyrightLenovo201737

1.启动SetupUtility程序。请参阅第37页“启动SetupUtility程序”。
2.从主界面中,找到语言,然后按Enter。
3.根据需要选择显示语言。
启用或禁用设备
本节介绍如何允许或禁止用户访问硬件设备(如USB接口或存储设备)。
要启用或禁用设备,请执行以下操作:
1.启动SetupUtility程序。请参阅第37页“启动SetupUtility程序”。
2.选择设备。
3.选择要启用或禁用的设备,然后按Enter。
4.选择所需的设置,然后按Enter键。
5.要保存设置并退出SetupUtility程序,请按F10或Fn+F10(根据键盘设置而定)。在所显
示的窗口中选择是,然后按Enter。
启用或禁用计算机的AutomaticPowerOn功能
SetupUtility程序中的“唤醒配置菜单”项为您提供各种选项,以使计算机自动启动。
要启用或禁用“唤醒配置菜单”功能,请执行以下操作:
1.启动SetupUtility程序。请参阅第37页“启动SetupUtility程序”。
2.选择电源菜单➙唤醒配置菜单,然后按Enter。
3.选择要启用或禁用的功能,然后按Enter键。
4.选择所需的设置,然后按Enter键。
5.要保存设置并退出SetupUtility程序,请按F10或Fn+F10(根据键盘设置而定)。在所显
示的窗口中选择是,然后按Enter。
启用或禁用ErPLPS遵从模式
Lenovo计算机符合ErPLot3法规的生态设计要求。有关更多信息,请访问:
http://www.lenovo.com/ecodeclaration
可在SetupUtility程序中启用ErPLPS遵从模式,以便计算机在关闭或睡眠模式时减少耗电。
要启用或禁用ErPLPS遵从模式,请执行以下操作:
1.启动SetupUtility程序。请参阅第37页“启动SetupUtility程序”。
2.选择电源菜单➙增强的省电模式,然后按Enter。
3.根据需要选择打开或关闭,然后按Enter键。如果选择打开,还需要禁用WakeonLAN功
能。请参阅第38页“启用或禁用计算机的AutomaticPowerOn功能”。
4.要保存设置并退出SetupUtility程序,请按F10或Fn+F10(根据键盘设置而定)。在所显
示的窗口中选择是,然后按Enter。
启用ErPLPS遵从模式后,可通过执行以下某项操作唤醒计算机:
•按电源按键。
38P720用户指南

•启用WakeUponAlarm功能以计算机可在所设置的某个时间唤醒。请参阅第38页“启用或
禁用计算机的AutomaticPowerOn功能”。
•启用“电源恢复后状态”功能以使计算机可在突然断电后恢复电源时唤醒。
要启用“电源恢复后状态”功能,请执行以下操作:
1.启动SetupUtility程序。请参阅第37页“启动SetupUtility程序”。
2.选择电源菜单➙电源恢复后状态,然后按Enter键。
3.选择开机,然后按Enter。
4.要保存设置并退出SetupUtility程序,请按F10或Fn+F10(根据键盘设置而定)。在所
显示的窗口中选择是,然后按Enter。
启用或禁用配置更改检测
启用配置更改检测后,如果POST检测到某些硬件设备(如硬盘驱动器或内存条)的配置发生了
更改,则会显示错误消息。
要启用或禁用配置更改检测,请执行以下操作:
1.启动SetupUtility程序。请参阅第37页“启动SetupUtility程序”。
2.选择安全菜单➙配置改变检查,然后按Enter。
3.选择所需的设置,然后按Enter键。
4.要保存设置并退出SetupUtility程序,请按F10或Fn+F10(根据键盘设置而定)。在所显
示的窗口中选择是,然后按Enter。
要跳过该错误消息并登录操作系统,请执行以下某项操作:
•按F2或Fn+F2(根据键盘设置而定)。
•启动,然后退出SetupUtility程序。请参阅第37页“启动SetupUtility程序”和第42页
“退出SetupUtility程序”。
在安装新操作系统之前更改BIOS设置
BIOS设置因操作系统而异。请在安装新操作系统之前更改BIOS设置。
要更改BIOS设置,请执行以下操作:
1.启动SetupUtility程序。请参阅第37页“启动SetupUtility程序”。
2.从主界面中,选择退出菜单➙优化OS初始值,然后按Enter。
3.根据要安装的操作系统,执行以下某项操作:
•要安装Windows10(64位)操作系统,请选择打开,然后按Enter。
•要安装Windows10(64位)以外的操作系统,请选择关闭,然后按Enter。
4.在所显示的窗口中选择是,然后按Enter键以确认您的选择。
5.要保存设置并退出SetupUtility程序,请按F10或Fn+F10(根据键盘设置而定)。在所显
示的窗口中选择是,然后按Enter。
使用BIOS密码
通过使用SetupUtility程序,您可以设置密码以防止未经授权人员访问您的计算机和数据。
第5章.高级配置39

您不必设置任何密码即可使用计算机。但是,使用密码可提高计算机安全性。如果决定设置密码,
请阅读以下主题中的信息。
密码类型
SetupUtility程序中可使用以下类型的密码:
•开机密码
设置开机密码后,每次开启计算机时都会提示输入有效密码。直到输入有效的密码后,才能使
用计算机。
•管理员密码
设置管理员密码可防止未经授权的用户更改配置设置。如果负责维护多台计算机的配置设置,
则可能要设置管理员密码。
设置管理员密码后,每次尝试访问SetupUtility程序时都会提示输入有效密码。直到输入有效
的密码后,才能访问SetupUtility程序。
如果同时设置了开机密码和管理员密码,则可输入其中任一密码。但是,必须使用管理员密码
才能更改任何配置设置。
•硬盘密码
设置硬盘密码可防止未经授权访问内部存储驱动器(如硬盘驱动器)上的数据。设置硬盘密码
后,每次尝试访问存储驱动器时都会提示输入有效密码。
注:
–即便存储驱动器已从一台计算机上卸下并已安装在另一台计算机上,硬盘密码仍然有效。
–如果忘记了硬盘密码,则无法重置密码或从存储驱动器恢复数据。
密码注意事项
密码可以是最多64个字母字符和数字字符的任意组合。为保证安全,建议使用不易破解的密码。
注:SetupUtility程序密码区分大小写。
要设置强密码,请考虑遵循以下准则:
•至少包含八个字符
•必须至少包含一个字母字符和一个数字字符
•不是您的姓名或用户名
•不是常用词或常用名称
•与您先前使用的密码有明显不同
设置、更改或删除密码
要设置、更改或删除密码,请执行以下操作:
1.启动SetupUtility程序。请参阅第37页“启动SetupUtility程序”。
2.选择安全菜单。
3.根据密码类型的不同,选择设定开机密码、设定管理员密码或硬盘密码,然后按Enter。
4.按照屏幕右侧显示的说明来设置、更改或删除密码。
注:密码可以是最多64个字母字符和数字字符的任意组合。有关更多信息,请参阅第40页
“密码注意事项”。
40P720用户指南

5.要保存设置并退出SetupUtility程序,请按F10或Fn+F10(根据键盘设置而定)。在所显
示的窗口中选择是,然后按Enter。
擦除丢失或遗忘的密码(清除CMOS)
本节提供如何擦除丢失或被遗忘的密码(如用户密码)的说明。
注:本节中的说明不适用于硬盘密码。
要擦除丢失或遗忘的密码,请执行以下操作:
1.从驱动器中取出任何介质,然后关闭所有连接的设备和计算机。然后从电源插座中拔出所有电
源线,并拔下连接到计算机的所有线缆。
2.卸下计算机外盖。请参阅第63页第7章“硬件拆卸和安装”。
3.找到主板上的清除互补金属氧化物半导体(CMOS)/恢复跳线。请参阅第1页“硬件位置”。
4.将跳线从标准位置(引脚1和2)改到维护位置(引脚2和3)。
5.重新安装计算机外盖,然后连接电源线。请参阅第63页第7章“硬件拆卸和安装”。
6.开启计算机,使其保持开机状态大约10秒钟。然后,通过按住电源按钮大约5秒钟,关闭计
算机。
7.重复步骤1和步骤2。
8.将“清除CMOS/恢复”跳线移回标准位置(引脚1和2)。
9.重新安装计算机外盖,然后连接电源线。
选择启动设备
如果计算机未从预期设备启动,则可更改启动设备顺序或选择临时启动设备。
永久更改启动设备顺序
要永久更改启动设备顺序,请执行以下操作:
1.根据存储驱动器的类型,执行以下某项操作:
•如果存储设备为内置,则转到第2步。
•如果存储设备为光盘,则确保计算机已开启。然后,将光盘插入光盘驱动器。
•如果存储设备是光盘以外的外接设备,则将该存储设备连接到计算机。
2.启动SetupUtility程序。请参阅第37页“启动SetupUtility程序”。
3.选择启动菜单。
4.按屏幕右侧的说明更改启动设备顺序。
5.要保存设置并退出SetupUtility程序,请按F10或Fn+F10(根据键盘设置而定)。在所显
示的窗口中选择是,然后按Enter。
选择临时启动设备
注:并非所有光盘和存储驱动器均可引导。
要选择一个临时启动设备,请执行以下操作:
1.根据存储驱动器的类型,执行以下某项操作:
•如果存储设备为内置,则转到第2步。
第5章.高级配置41

•如果存储设备为光盘,则确保计算机已开启。然后,将光盘插入光盘驱动器。
•如果存储设备是光盘以外的外接设备,则将该存储设备连接到计算机。
2.打开或重新启动计算机。在Windows启动之前,反复按下再松开F12或Fn+F12(根据键盘
设置而定),直到显示StartupDeviceMenu。
3.选择所需的存储设备,然后按Enter。然后,计算机将从所选设备启动。
如果要选择永久启动设备,则在StartupDeviceMenu上选择EnterSetup,然后按Enter以启
动SetupUtility程序。有关如何选择永久启动设备的详细信息,请参阅第41页“永久更改启动
设备顺序”。
更改风扇速度级别
通过“风扇转速调整”项可调节计算机散热性能。从级别1到级别7,风扇速度级别越高表示散
热性能更好,但噪音越大。
要更改风扇速度级别,请执行以下操作:
1.启动SetupUtility程序。请参阅第37页“启动SetupUtility程序”。
2.选择电源菜单➙风扇转速调整,然后按Enter。
3.选择风扇速度级别,然后按Enter。
4.要保存设置并退出SetupUtility程序,请按F10或Fn+F10(根据键盘设置而定),在所显
示的窗口中选择是,然后按Enter。
退出SetupUtility程序
要退出SetupUtility程序,请执行以下某项操作:
•如果要保存新设置,请按F10或Fn+F10(根据键盘设置而定)。在所显示的窗口中选择是,
然后按Enter。
•如果不想保存新设置,则选择退出菜单➙不保存并且退出,然后按Enter。在所显示的窗口中
选择是,然后按Enter。
更新和恢复BIOS
BIOS是计算机开启后运行的第一个程序。BIOS初始化硬件组件,然后加载操作系统和其他程序。
更新BIOS
在安装新程序、硬件设备或设备驱动程序时,可能会通知您更新BIOS。可从操作系统或闪存更新
光盘(仅某些型号配备)更新BIOS。
要更新BIOS,请执行以下操作:
1.访问http://www.lenovo.com/support。
2.要从操作系统中更新BIOS,请根据操作系统版本下载闪存BIOS更新驱动程序。要从闪存更
新光盘更新BIOS,请下载ISO映像版本(用于创建闪存更新光盘)。然后,下载闪存BIOS
更新驱动程序的安装说明。
3.打印所下载的安装说明,然后按这些说明更新BIOS。
注:如果要从闪存更新光盘更新BIOS,则安装说明可能不提供有关如何刻录更新光盘的说
明。请参阅第20页“刻录光盘”。
42P720用户指南

从BIOS更新失败中恢复
要从BIOS更新失败中恢复,请执行以下操作:
1.从驱动器中取出任何介质,然后关闭所有连接的设备和计算机。然后从电源插座中拔出所有电
源线,并拔下连接到计算机的所有线缆。
2.卸下计算机外盖。请参阅第63页第7章“硬件拆卸和安装”。
3.找到主板上的“清除CMOS/恢复”跳线。请参阅第1页“硬件位置”。
4.卸下任何妨碍操作“清除CMOS/恢复”跳线的部件和线缆。
5.将跳线从标准位置(引脚1和2)改到维护位置(引脚2和3)。
6.装回以前卸下的部件和线缆。
7.重新安装计算机外盖并重新连接所有断开连接的线缆。请参阅第63页第7章“硬件拆卸和
安装”。
8.开启计算机,然后将BIOS更新光盘插入光盘驱动器。等待几分钟。恢复过程即开始。恢复过
程完毕后,计算机将自动关机。
注:如果计算机未从该光盘启动,则选择该光盘作为启动设备。请参阅第41页“选择临时启
动设备”。
9.重复步骤1–4。
10.将“清除CMOS/恢复”跳线移回标准位置(引脚1和2)。
11.重复第6步和第7步。然后,开启计算机。
配置RAID
本节提供关于RAID级别的存储驱动器要求的信息以及关于如何为计算机配置RAID的说明。根
据计算机型号和配置,可使用以下实用程序之一配置RAID:
•IntelRapidStorageTechnologyenterprise(RSTe)配置实用程序
•AVAGOMegaRAID配置实用程序
•IntelVirtualRAIDonCPU配置实用程序
RAID简介
RAID是一种通过冗余提供更强大的存储功能和更佳的可靠性的技术。
当设置一组独立的物理存储驱动器以使用RAID技术时,该组存储驱动器即位于同一RAID阵列
中。此阵列在多个存储驱动器间分发数据,但阵列本身对于主机而言是一个单独的存储单元。由于
可以同时访问若干个驱动器,因此创建和使用RAID阵列可以获得高性能(如提高I/O性能)。
与单驱动器存储系统相比,根据特定RAID级别配置的RAID驱动器组还提升了数据存储的可靠
性和容错能力。通过从剩余的驱动器中修复丢失的数据,可以防止由驱动器故障导致的数据丢失。
注:对于RAID0,由于驱动器故障而丢失的数据是无法修复的。
用IntelRSTe配置RAID
如果计算机随附IntelRSTe配置实用程序,可按照以下各节操作,用IntelRSTe配置RAID。
第5章.高级配置43

各RAID级别对存储驱动器的要求
您的计算机支持以下RAID级别:
•RAID0:条带化磁盘阵列
–包含至少两个SATA存储驱动器
–支持的条带大小:4KB、8KB、16KB、32KB、64KB或128KB
–无容错功能,性能更佳
•RAID1:镜像磁盘阵列
–包含两个SATA存储驱动器
–提高了读取性能且100%冗余
•RAID10:带区兼镜像磁盘阵列(RAID0与RAID1的结合)
–包含四个SATA存储驱动器
–支持的条带大小:4KB、8KB、16KB、32KB或64KB
•RAID5:具有分布式奇偶校验功能的块级带区磁盘阵列
–包含至少三个SATA存储驱动器
–支持的条带大小:16KB、32KB、64KB或128KB
–性能更好,且容错
创建RAID卷
注意:创建RAID卷时,存储在所选驱动器上的所有现有数据都将被擦除。
要创建RAID卷,请执行以下操作:
1.通过执行以下操作,启用RAID:
a.启动SetupUtility程序。请参阅第37页“启动SetupUtility程序”。
b.选择设备➙PCHSATA配置,然后按Enter。
c.选择配置SATA为,然后按Enter键。然后,选择RAID并按Enter。
d.要保存设置并退出SetupUtility程序,请按F10或Fn+F10(根据键盘设置而定),在所
显示的窗口中选择是,然后按Enter。
2.再次启动SetupUtility程序。请参阅第37页“启动SetupUtility程序”。
3.选择高级➙IntelRSTeSATAController,然后按Enter。
4.选择CreateRAIDVolume,然后按Enter。随后将显示“CreateRAIDVolume”窗口。
5.逐个选择并配置选项。
a.Name:您可以对RAID卷使用缺省名称Volume0或输入所需名称。
b.RAIDLevel:可将RAID级别设置为以下某项:
•RAID0
•RAID1
•RAID10
•RAID5
注:由于安装的SATA存储驱动器的数量不同,某些RAID级别可能不会显示。
44P720用户指南

c.SelectDisks:选择存储驱动器,然后按Enter。然后选择X并按Enter以将其添加到组
中。
d.StripSize(如果适用):选择条带大小,然后按Enter。
e.Capacity:定制RAID卷的容量。缺省RAID卷为最大值。
6.选择CreateVolume并按Enter以创建RAID卷。
7.要保存设置并退出SetupUtility程序,请按F10或Fn+F10(根据键盘设置而定),在所显
示的窗口中选择是,然后按Enter。
查看关于RAID卷的信息
要查看关于RAID卷的信息,请执行以下操作:
1.启动SetupUtility程序。请参阅第37页“启动SetupUtility程序”。
2.选择高级➙IntelRSTeSATAController,然后按Enter。
3.选择RAIDVolumes,然后按Enter。
4.选择RAID卷并按Enter以查看详细信息。
删除RAID卷
注意:删除RAID卷后,存储在所选驱动器上的所有现有数据都将被擦除。
要删除RAID卷,请执行以下操作:
1.启动SetupUtility程序。请参阅第37页“启动SetupUtility程序”。
2.选择高级➙IntelRSTeSATAController,然后按Enter。
3.在RAIDVolumes下,选择要删除的RAID卷,然后按Enter。随后将显示“RAIDVOLUME
INFO”窗口。
4.选择VolumeActions下的Delete,然后按Enter。看到提示后,选择Yes并按Enter以确
认删除所选的RAID卷。
5.要保存设置并退出SetupUtility程序,请按F10或Fn+F10(根据键盘设置而定),在所显
示的窗口中选择是,然后按Enter。
用AVAGOMegaRAIDConfigurationUtility配置RAID
要使用AVAGOMegaRAIDConfigurationUtility配置RAID,请确保:
•计算机上装有AVAGOMegaRAID适配器。
•用于RAID配置的存储驱动器连接到安装的AVAGOMegaRAID适配器,而不是主板。
各RAID级别对存储驱动器的要求
您的计算机支持以下RAID级别:
•RAID0:条带化磁盘阵列
–包含至少两个SATA或串行连接SCSI(SAS)存储驱动器
–支持的条带大小:64KB、128KB、256KB、512KB或1MB
–无容错功能,性能更佳
•RAID00:具有一系列RAID0存储驱动器组的跨接存储驱动器组
–包含两个或四个SATA或SAS存储驱动器
第5章.高级配置45

–支持的条带大小:64KB、128KB、256KB、512KB或1MB
–无容错功能,性能更佳
•RAID1:镜像磁盘阵列
–包含两个或四个SATA或SAS存储驱动器
–提高了读取性能且100%冗余
•RAID10:带区兼镜像磁盘阵列(RAID0与RAID1的结合)
–包含四个SATA或SAS存储驱动器
–数据以带区形式分布在存储驱动器组之间
–提供高数据传输率和完全数据冗余
•RAID5:具有分布式奇偶校验功能的块级带区磁盘阵列
–包含至少三个SATA或SAS存储驱动器
–支持的条带大小:64KB、128KB、256KB、512KB或1MB
–性能更好,且容错
–仅在AVAGOMegaRAID适配器的某些型号上配备
•RAID6:具有双分布式奇偶校验功能的块级带区磁盘阵列
–包含至少四个SATA或SAS存储驱动器
–支持的条带大小:64KB、128KB、256KB、512KB或1MB
–性能更好且容错,最多可容忍失去两个存储驱动器
–仅在AVAGOMegaRAID适配器的某些型号上配备
创建RAID卷
注意:创建RAID卷时,存储在所选驱动器上的所有现有数据都将被擦除。
要创建RAID卷,请执行以下操作:
1.启动SetupUtility程序。请参阅第37页“启动SetupUtility程序”。
2.选择高级➙AVAGOMegaRAIDConfigurationUtility,然后按Enter。
3.选择MainMenu,然后按Enter。
4.选择ConfigurationManagement,然后按Enter。
5.选择CreateVirtualDrive,然后按Enter。
6.逐个选择并配置选项。
a.SelectRAIDLevel:可将RAID级别设置为以下某项:
•RAID0
•RAID1
•RAID5
•RAID6
•RAID00
•RAID10
46P720用户指南

注:由于安装的SATA存储驱动器的数量和AVAGOMegaRAID适配器的型号不同,某
些RAID级别可能不会显示。
b.SelectDrivesFrom:根据需要选择Unconfiguredcapacity或Freecapacity,然后按
Enter。
c.SelectDrives:选择存储驱动器,然后按Enter。选择用于创建RAID卷的所有存储驱动器
之后,选择ApplyChanges,然后按Enter。出现提示后,选择Confirm,然后按Enter。
然后选择Yes并按Enter以保存存储驱动器选择。最后选择OK并按Enter。
d.VirtualDriveName:可输入所需名称作为卷名。
e.StripSize(如果适用):选择条带大小,然后按Enter。
7.选择SaveConfiguration,然后按Enter。出现提示后,选择Confirm,然后按Enter。然后
选择Yes并按Enter以确认创建RAID卷。
8.要保存设置并退出SetupUtility程序,请按F10或Fn+F10(根据键盘设置而定),在所显
示的窗口中选择是,然后按Enter。
查看关于RAID卷的信息
要查看关于RAID卷的信息,请执行以下操作:
1.启动SetupUtility程序。请参阅第37页“启动SetupUtility程序”。
2.选择高级➙AVAGOMegaRAIDConfigurationUtility,然后按Enter。
3.选择MainMenu,然后按Enter。
4.选择VirtualDriveManagement,然后按Enter。
5.选择RAID卷并按Enter以查看详细信息。
删除RAID卷
注意:删除RAID卷后,存储在所选驱动器上的所有现有数据都将被擦除。
要删除RAID卷,请执行以下操作:
1.启动SetupUtility程序。请参阅第37页“启动SetupUtility程序”。
2.选择高级➙AVAGOMegaRAIDConfigurationUtility。
3.选择MainMenu,然后按Enter。
4.选择VirtualDriveManagement,然后按Enter。
5.选择不需要的RAID卷,然后按Enter。
6.在Operation下,选择DeleteVirtualDrive,然后按Enter。
7.选择Go,然后按Enter。出现提示后,选择Confirm并按Enter。然后选择Yes并按Enter
以删除RAID卷。
8.要保存设置并退出SetupUtility程序,请按F10或Fn+F10(根据键盘设置而定),在所显
示的窗口中选择是,然后按Enter。
用IntelVirtualRAIDonCPU配置RAID
要使用IntelVirtualRAIDonCPU配置实用程序来配置RAID,请确保:
•有升级密钥模块连接到主板上的VirtualRAIDonCPU(VROC)接口。请参阅第1页
“硬件位置”。
•计算机上已安装M.2固态驱动器。
第5章.高级配置47

各RAID级别对存储驱动器的要求
您的计算机支持以下RAID级别:
•RAID0:条带化磁盘阵列
–包含至少两个M.2固态驱动器
–支持的条带大小:4KB、8KB、16KB、32KB、64KB或128KB
–无容错功能,性能更佳
•RAID1:镜像磁盘阵列
–包含两个M.2固态驱动器
–提高了读取性能且100%冗余
•RAID10:带区兼镜像磁盘阵列(RAID0与RAID1的结合)
–包含四个M.2固态驱动器
–支持的条带大小:4KB、8KB、16KB、32KB或64KB
•RAID5:具有分布式奇偶校验功能的块级带区磁盘阵列
–包含至少三个M.2固态驱动器
–支持的条带大小:16KB、32KB、64KB或128KB
–性能更好,且容错
–仅在升级密钥模块的某些型号上配备
创建RAID卷
注意:创建RAID卷时,存储在所选驱动器上的所有现有数据都将被擦除。
要创建RAID卷,请执行以下操作:
1.通过执行以下操作,对所选M.2固态驱动器启用VMD:
a.启动SetupUtility程序。请参阅第37页“启动SetupUtility程序”。
b.选择高级➙Intel(R)VMDtechnology,然后按Enter。
c.选择每个菜单项并按Enter。然后,选择Enabled并按Enter。
d.根据需要选择已占用的M.2固态驱动器插槽,然后按Enter。然后,选择VMD并按
Enter。
e.要保存设置并退出SetupUtility程序,请按F10或Fn+F10(根据键盘设置而定),在所
显示的窗口中选择是,然后按Enter。
2.再次启动SetupUtility程序。请参阅第37页“启动SetupUtility程序”。
3.选择高级➙IntelVirtualRAIDonCPU,然后按Enter。
4.选择AllIntelVMDControllers,然后按Enter。
5.选择CreateVolumes,然后按Enter。
6.逐个选择并配置选项。
a.Name:您可以对RAID卷使用缺省名称Volume0或输入所需名称。
b.RAIDLevel:可将RAID级别设置为以下某项:
•RAID0
•RAID1
48P720用户指南

•RAID10
•RAID5
注:由于安装的M.2固态驱动器的数量和升级密钥模块的型号不同,某些RAID级别可能
不会显示。
c.SelectDisks:选择M.2固态驱动器并按Enter。然后选择X并按Enter以将其添加到组
中。
d.StripeSize(如果适用):选择带区大小并按Enter。
e.Capacity:定制RAID卷的容量。缺省RAID卷为最大值。
7.选择CreateVolume并按Enter以创建RAID卷。
8.要保存设置并退出SetupUtility程序,请按F10或Fn+F10(根据键盘设置而定),在所显
示的窗口中选择是,然后按Enter。
查看关于RAID卷的信息
要查看关于RAID卷的信息,请执行以下操作:
1.启动SetupUtility程序。请参阅第37页“启动SetupUtility程序”。
2.选择高级➙IntelVirtualRAIDonCPU,然后按Enter。
3.选择RAIDVolumes,然后按Enter。
4.选择RAID卷并按Enter以查看详细信息。
删除RAID卷
注意:删除RAID卷后,存储在所选驱动器上的所有现有数据都将被擦除。
要删除RAID卷,请执行以下操作:
1.启动SetupUtility程序。请参阅第37页“启动SetupUtility程序”。
2.选择高级➙IntelVirtualRAIDonCPU,然后按Enter。
3.选择IntelVROCManangedVolumes,然后按Enter。
4.在VolumeActions下,选择Delete,然后按Enter。
5.看到提示后,选择Yes并按Enter以确认删除所选的RAID卷。
6.要保存设置并退出SetupUtility程序,请按F10或Fn+F10(根据键盘设置而定),在所显
示的窗口中选择是,然后按Enter。
第5章.高级配置49

50P720用户指南

第6章故障诊断和恢复
本章介绍计算机问题的解决方案。按解决计算机问题的基本过程中的步骤进行操作,这样可帮助
您充分利用故障诊断和恢复信息。
解决计算机问题的基本过程
建议按以下过程解决计算机遇到的问题:
1.确保:
a.正确而牢固地连接所有已连接设备的线缆。
b.需要交流电源的所有已连接设备均已连接到正确接地、工作正常的电源插座。
c.在计算机的BIOS设置中启用全部已连接的设备。请参阅第38页“启用或禁用设备”。
如果这些操作无法解决问题,则继续执行下一步。
2.用反病毒程序查看计算机是否感染了病毒。如果程序检测到病毒,那么除去病毒。如果防病毒
程序无法解决问题,则继续执行下一步。
3.转至第51页“故障诊断”,然后按照所遇问题类型的说明进行操作。如果这些故障诊断说
明无法解决问题,则继续执行下一步。
4.运行诊断程序。请参阅第59页“诊断问题”。如果诊断程序无法解决问题,则继续执行下
一步。
5.恢复操作系统。请参阅第61页“恢复信息”。
6.如果这些操作都无法解决问题,请联系Lenovo客户支持中心。有关Lenovo支持电话号码的
列表,请访问http://www.lenovo.com/support/phone。有关帮助、服务和技术协助的更多信
息,请参阅第151页第8章“获取信息、帮助和服务”。
故障诊断
注意:打开计算机或尝试进行任何修理之前,请先阅读并了解第iii页“用前必读:重要安全信
息”。
使用故障诊断信息来查找具有明确症状的问题的解决方案。
启动问题
按电源按钮后计算机不启动。
解决方案:
确保:
•电源线已正确连接到计算机后部以及工作正常的电源插座中。
•如果计算机背面有辅助电源开关,确保将其打开。
•计算机前部的电源指示灯已点亮。
•计算机电压与您所在国家或地区的电源插座的可用电压相匹配。
©CopyrightLenovo201751

操作系统未能启动。
解决方案:
确保SetupUtility程序设置的启动设备顺序包括操作系统所在的设备。通常,操作系统在内置存
储驱动器上。需要更多信息,请参阅第41页“永久更改启动设备顺序”。
在操作系统启动之前计算机多次发出蜂鸣。
解决方案:
确保没有键被卡住。
音频问题
无法在Windows操作系统上听到音频。
解决方案:
•如果使用具有开/关控制装置的有源外接扬声器,则确保:
–将开/关控制装置设置为开位置。
–扬声器电源线连接到正确接地、正常工作的交流电源插座。
•如果外接音箱具有音量控制装置,则确保未将音量设置得过低。
•单击任务栏上Windows通知区域中的音量图标。确保未选择静音扬声器设置,并且任何音量
设置均未设置得过低。
注:如果Windows通知区域中未显示音量图标,则将该图标添加到通知区域。请参阅Windows
帮助系统。
•对于某些有正面音频面板的计算机,则确保未将音量设置得过低。
•确保外接音箱(和耳机,如使用)连接到计算机上正确的音频接口。大部分音箱线缆都用颜色
进行了标记以匹配接口。
注:在外接音箱或耳机线缆连接到音频接口后,内置扬声器(如果存在)就被禁用。大多数情
况下,如果其中一个扩展槽中装有音频适配器,则禁用主板上内置的音频功能。因此,必须使
用该音频适配器上的音频接口。
•确保所运行的程序旨在专门用于Windows操作系统。如果该程序适用于在DOS中运行,则该
程序不使用Windows声音功能。程序必须配置为使用SoundBlasterPro或SoundBlaster仿
真。
•确保正确安装了音频设备驱动程序。
声音来自某个外接扬声器。
解决方案:
•确保扬声器线缆已完全插入计算机上的接口中。
•根据Windows版本的不同,执行以下某项操作:
–对于Windows7:单击任务栏上Windows通知区域中的音量图标。然后,单击音量控制上
方的扬声器图标。
–对于Windows10:右键单击任务栏上Windows通知区域中的音量图标。然后,单击打开
音量合成器并选择所需的扬声器。
52P720用户指南

单击级别选项卡,然后确保正确设置了“平衡”设置。
注:如果Windows通知区域中未显示音量图标,则将该图标添加到通知区域。请参阅Windows
帮助系统。
CD或DVD问题
CD或DVD无法使用。
解决方案:
•确保电源线和信号线缆已牢固连接到驱动器。
•确保正确插入光盘,其标签朝上。
•确保所使用的光盘洁净。要除去灰尘或指纹,请使用一块软布从中间向外将光盘擦拭干净。顺
着圆周方向擦拭光盘可能会导致丢失数据。
•确保所使用的光盘未擦伤或损坏。尝试插入另一张已知是完好的光盘。如果无法读取已知完好
的光盘,则可能是光盘驱动器或与光盘驱动器的电缆连接有问题。
•如果您安装了多个CD或DVD驱动器(或CD和DVD驱动器的组合),请尝试将光盘插入
其他驱动器。在某些情况下,只有其中一个驱动器连接到了音频子系统。
可引导的恢复盘(如ProductRecoveryCD)无法用于启动计算机。
解决方案:
确保CD或DVD驱动器设置为SetupUtility程序中引导优先级顺序的最高优先级。有关查看和
更改启动顺序的信息,请参阅第41页“选择临时启动设备”。
注:某些计算机型号的启动顺序是永久固定且不能更改的。
显示黑屏而不是DVD视频。
解决方案:
•重新启动DVD播放器程序。
•尝试更低的屏幕分辨率或色深。
•关闭任何打开的文件,然后重新启动计算机。
无法播放DVD影片。
解决方案:
•确保光盘表面清洁且未擦伤。
•检查光盘或包装以获得区域代码。可能所购买的光盘需要具有使用计算机时所在区域的代码。
播放DVD影片时无声音或仅有时断时续的声音。
解决方案:
•检查计算机和扬声器上的音量控制设置。
•确保光盘表面清洁且未擦伤。
•检查音箱上的所有线缆连接。
•使用视频DVD菜单选择另一个音轨。
第6章.故障诊断和恢复53

播放缓慢或时快时慢。
解决方案:
•禁用所有后台程序,如AntiVirus或“桌面主题”。
•确保视频分辨率低于1152x864像素。
显示指示光盘无效或找不到光盘的消息。
解决方案:
•确保光盘在驱动器中亮面朝下。
•确保视频分辨率低于1152x864像素。
•确保将DVD或CD插入到相应的光盘驱动器。例如,请勿将DVD插入到仅支持CD的驱动
器。
间歇性问题
间歇性问题是指仅偶尔出现且很难重复的问题。
解决方案:
•确保所有电缆和电线均已牢固地连接到计算机和所连设备。
•确保计算机开启后风扇格栅无阻塞(格栅周围有气流)且风扇正常工作。如果气流受阻或风扇
不工作,那么计算机可能出现过热。
•如果装有小型计算机系统接口(SCSI)设备,则确保每个SCSI链中的最后一个外接设备均正
确终止。如需更多信息,请参阅SCSI文档。
存储驱动器问题
SetupUtility程序中缺少某些或所有存储驱动器。
解决方案:
•确保正确连接用于所有存储驱动器的信号电缆和电源线。
•如果计算机装有SAS存储驱动器,则确保AVAGOMegaRAID适配器已正确连接。
计算机无法从正确的存储驱动器启动或显示消息“NoOperatingSystemFound”。
解决方案:
•确保正确连接用于所有存储驱动器的信号电缆和电源线。
•确保计算机从正确的存储驱动器启动。将操作系统所在的存储驱动器设置为SetupUtility程序
中的第一个启动设备。请参阅第41页“永久更改启动设备顺序”。
注:在极少数情况下,装有操作系统的存储驱动器可能损坏。如果出现该问题,请更换存储驱动
器。请参阅第63页第7章“硬件拆卸和安装”。
以太局域网问题
计算机无法连接到以太局域网。
解决方案:
54P720用户指南

•用电缆连接以太网接口与集线器的RJ45接口。
•在SetupUtility程序中启用以太局域网功能。请参阅第37页“使用SetupUtility程序”。
•启用以太局域网适配器。
1.单击“开始”按钮以打开“开始”菜单。
2.根据Windows版本的不同,执行以下某项操作:
–对于Windows7:单击控制面板。
–对于Windows10:单击Windows系统➙控制面板。
3.按“大图标”或“小图标”查看“控制面板”,然后单击网络和共享中心➙更改适配器设
置。
4.右键单击以太局域网适配器图标,然后单击启用。
•更新或重新安装以太局域网驱动程序。请参阅第28页“使计算机保持最新状态”。
•安装网络环境所需的所有联网软件。请与LAN管理员核对必需的联网软件。
•使交换机端口和适配器的双工设置相同。如果将适配器配置为全双工,则确保将交换机端口也
配置为全双工。设置双工模式有误可能会降低性能、引起丢失数据或导致丢失连接。
当千兆以太网型号计算机在1000Mbps的速度使用时,以太局域网连接将失败或发生错误。
解决方案:
用网络电缆连接使用5类线的以太网接口与100BASE-T集线器/交换机(而非100BASE-X)。
千兆位以太网型号计算机应以1000Mbps的速度连接到网络,但速度只有100Mbps。
解决方案:
•请更换线缆再尝试。
•将链路对端设置为自动协商。
•将交换机设置为符合802.3ab标准(千兆位铜导线)。
WakeOnLAN功能不起作用。
解决方案:
在SetupUtility程序中启用WakeOnLAN功能。请参阅第37页“使用SetupUtility程序”。
无线局域网问题
注:仅某些型号配备无线局域网功能。
无线局域网功能不起作用。
解决方案:
•在SetupUtility程序中启用无线局域网功能。请参阅第37页“使用SetupUtility程序”。
•对于Windows10,在Windows“设置”中启用无线局域网功能。单击“开始”按钮以打开
“开始”菜单,然后单击设置➙网络和Internet➙Wi-Fi。开启Wi-Fi功能。
•启用无线局域网适配器。
1.单击“开始”按钮以打开“开始”菜单。
2.根据Windows版本的不同,执行以下某项操作:
第6章.故障诊断和恢复55

–对于Windows7:单击控制面板。
–对于Windows10:单击Windows系统➙控制面板。
3.按“大图标”或“小图标”查看“控制面板”,然后单击网络和共享中心➙更改适配器设
置。
4.右键单击无线局域网适配器图标,然后单击启用。
•更新或重新安装无线局域网驱动程序。请参阅第28页“使计算机保持最新状态”。
蓝牙问题
注:仅某些型号配备蓝牙功能。
蓝牙功能不起作用。
解决方案:
•在SetupUtility程序中启用蓝牙功能。请参阅第37页“使用SetupUtility程序”。
•启用蓝牙设备。根据Windows版本的不同,执行以下某项操作:
–对于Windows7:
1.单击“开始”按钮以打开“开始”菜单。右键单击计算机,然后单击属性。
2.单击设备管理器。输入管理员密码或进行确认(如果出现提示)。
3.展开蓝牙无线收发器以显示蓝牙设备。然后,右键单击每个蓝牙设备并单击启用。
4.展开网络适配器。然后,右键单击每个蓝牙设备并单击启用。
–对于Windows10:
1.右键单击“开始”按钮以打开“开始”上下文菜单。
2.单击设备管理器。输入管理员密码或进行确认(如果出现提示)。
3.展开蓝牙以显示蓝牙设备。然后,右键单击每个蓝牙设备并单击启用设备。
4.展开网络适配器。然后,右键单击每个蓝牙设备并单击启用设备。
•要打开Windows10中的蓝牙无线收发器,请执行以下操作:
1.单击“开始”按钮以打开“开始”菜单。
2.单击设置➙设备➙蓝牙与其他设备。
3.打开蓝牙开关以启用蓝牙功能。
•更新或重新安装蓝牙驱动程序。请参阅第28页“使计算机保持最新状态”。
没有声音来自蓝牙耳麦或耳机。
解决方案:
将蓝牙耳麦或耳机设置为缺省设备。
1.退出使用声音设备的应用程序(例如:WindowsMediaPlayer)。
2.右键单击任务栏上Windows通知区域中的音量图标。
注:如果Windows通知区域中未显示音量图标,则将该图标添加到通知区域。请参阅Windows
帮助系统。
3.单击播放设备。
56P720用户指南

4.如果使用的是耳麦应用模式,请选择蓝牙免提音频,然后单击设置默认值。如果使用的是音像
应用模式,请选择立体声音频,然后单击设置默认值。
5.单击确定。
性能问题
存储驱动器上存在过多的碎片文件。
解决方案:
使用Windows磁盘碎片整理或磁盘优化功能清理文件。
注:根据存储驱动器的容量以及存储驱动器上存储的数据量的不同,磁盘碎片整理过程可能耗时长
达数小时。
1.关闭任何打开的程序和窗口。
2.单击“开始”按钮以打开“开始”菜单。
3.根据Windows版本的不同,执行以下某项操作:
•对于Windows7:单击计算机。
•对于Windows10:单击Windows系统➙文件资源管理器➙此电脑。
4.右键单击C驱动器,然后单击属性。
5.单击工具选项卡。
6.根据Windows版本的不同,执行以下某项操作:
•对于Windows7:单击立即进行碎片整理。
•对于Windows10:单击优化。选择所需的驱动器,然后单击优化。
7.按照屏幕上的指示信息进行操作。
可用存储驱动器空间不足。
解决方案:
释放存储驱动器空间。
•清理您的电子邮件应用程序的收件箱、已发送邮件和已删除邮件文件夹。
•清理C驱动器。
1.单击“开始”按钮以打开“开始”菜单。
2.根据Windows版本的不同,执行以下某项操作:
–对于Windows7:单击计算机。
–对于Windows10:单击Windows系统➙文件资源管理器➙此电脑。
3.右键单击C驱动器,然后单击属性。
4.检查可用空间容量,然后单击磁盘清理。
5.这样会列出不必要的文件类别。选择要删除的每个文件类别,然后单击确定。
•关闭某些Windows功能或删除某些不必要的程序。
1.单击“开始”按钮以打开“开始”菜单。
2.根据Windows版本的不同,执行以下某项操作:
第6章.故障诊断和恢复57

–对于Windows7:单击控制面板。
–对于Windows10:单击Windows系统➙控制面板。
3.按“大图标”或“小图标”查看“控制面板”,然后单击程序和功能。
4.请执行以下任意操作:
–要关闭某些Windows功能,请单击启用或关闭Windows功能。按照屏幕上的指示信
息进行操作。
–要删除某些不必要的程序,请选择要删除的程序,然后单击卸载/更改或卸载。
可用内存空间不足。
解决方案:
•右键单击任务栏上的空白区域,然后打开“任务管理器”。然后,结束某些不再执行的任务。
•另行安装内存条。请参阅第63页第7章“硬件拆卸和安装”。要购买内存条,请访问:
http://www.lenovo.com
串口问题
无法访问串口。
解决方案:
•将串行电缆从计算机上的串口连接到串行设备。如果串行设备自带电源线,则将该电源线连接
到接地的电源插座。
•打开串行设备并使设备保持联机。
•安装随串行设备提供的任何程序。有关详细信息,请参阅串行设备随附的文档。
•如果添加了串口适配器,请确保正确安装适配器。
USB设备问题
无法访问USB设备。
解决方案:
•用USB电缆连接USB接口与USB设备。如果USB设备自带电源线,则将该电源线连接到接
地的电源插座。
•打开USB设备并使设备保持联机。
•安装随USB设备提供的任何设备驱动程序或程序。有关详细信息,请参阅USB设备随附的文
档。
•拆下再接回USB接口以重置USB设备。
•确保已禁用智能USB数据保护功能。要配置智能USB数据保护功能,请参阅第35页“使用
智能USB数据保护功能”。
软件和驱动程序问题
某些程序中无法按正确顺序将日期排序。
解决方案:
58P720用户指南

2000年以前开发的某些程序仅使用年份的后两位对日期进行排序,并假设前两位为19。因此,现
在无法按正确顺序对日期进行排序。与您的软件制造商联系以查看是否可以获得任何更新。很多
软件制造商将更新放在万维网上。
某些程序未按照预期方式运行。
解决方案:
1.检查该问题是否是由某一程序引发。
a.确保软件与您的计算机兼容。有关详细信息,请参阅软件随附的信息。
b.确认其他软件在您的计算机上正常工作。
c.确认所使用的软件在另一台计算机上正常工作。
2.如果该问题是由某一程序引发:
•参阅该程序随附的印刷版文档或该程序的帮助系统,了解故障诊断信息。
•更新该程序。请参阅第28页“使计算机保持最新状态”。
•卸载该程序,然后重新安装它。要下载计算机上预装的程序,请访问
http://www.lenovo.com/support,然后按屏幕上的说明进行操作。
由于设备驱动程序问题,设备无法正常工作。
解决方案:
更新设备驱动程序。请参阅第28页“使计算机保持最新状态”。
诊断问题
许多计算机问题无需外部帮助即可解决。如果您的计算机有问题,首先应查阅计算机文档中的故障
诊断信息。如果怀疑软件有问题,请参阅操作系统或程序随附的文档(包括自述文件和帮助信息系
统)。ThinkStation计算机随附有一套诊断程序,可用来帮助您确定硬件问题。
在Windows7操作系统上使用LenovoSolutionCenter诊断问题
您的计算机上已预装LenovoSolutionCenter,也可从以下网址下载它:
http://www.lenovo.com/diags
注:
•如果使用的Windows操作系统不是Windows7,则可在以下网址找到关于计算机诊断的最新
信息:
http://www.lenovo.com/diagnose
•如果运行LenovoSolutionCenter后无法自行确定并修复问题,请保存并打印由该程序创建的
日志文件。与Lenovo技术支持代表通话时,您需要这些日志文件。
通过LenovoSolutionCenter可排除和解决计算机问题。该程序集中了诊断测试、系统信息收集、
安全状态和支持信息,并提供一些提示和技巧,以使系统性能达到最优。
设置计算机时,LenovoSolutionCenter程序将提示您制作恢复盘。可使用恢复盘将存储驱动器
恢复为出厂缺省设置。
需要其他信息,请参阅LenovoSolutionCenter帮助系统。
第6章.故障诊断和恢复59

在Windows10操作系统上使用LenovoCompanion诊断问题
您的计算机上已预装LenovoCompanion,也可从以下网址下载它:
https://shop.lenovo.com/us/en/accessories/software/apps/lenovo-apps/companion/
注:如果运行LenovoCompanion后无法自行确定并修复问题,请保存并打印由该程序创建的日
志文件。与Lenovo技术支持代表通话时,您需要这些日志文件。
LenovoCompanion支持硬件扫描功能。该程序集中了诊断测试、系统信息收集、安全状态和支
持信息,并提供一些提示和技巧,以使系统性能达到最优。
解决故障信息或诊断程序可能会告诉您需要额外或更新的设备驱动程序或其他软件。还可以从以下
Lenovo支持网站获得最新的技术信息并下载设备驱动程序及更新:
http://www.lenovo.com/support
有关其他信息,请参阅LenovoCompanion帮助系统。
在Windows7和Windows10操作系统上使用ThinkStationDiagnostics诊断问题
您的计算机上已预装ThinkStationDiagnostics,也可从以下网址下载它:
http://www.lenovo.com/diags
注:如果您自行安装Windows7,且如果需要在同一计算机上安装ThinkStationDiagnostics和
LenovoSolutionCenter,请确保先安装后者。
使用ThinkStationDiagnostics可以进行故障诊断和解决计算机问题。该程序不仅会通知您由实
时硬件诊断监控功能检测到的任何问题,还会提供问题的详细信息、分析可能的原因并提供解决
方案。
硬件诊断
硬件诊断功能可以使计算机实时监控硬件组件的潜在问题或错误,而不会影响性能。检测到问题或
错误时,将会以如下任意方式显示硬件诊断信息:
•如果计算机上已安装并正在运行ThinkStationDiagnostics应用程序,则问题或错误消息会显
示在Windows通知区域中。请转至ThinkStationDiagnostics以查看更多信息和建议采用的
解决方案。
•如果计算机上未安装或未运行ThinkStationDiagnostics应用程序,根据您的计算机配置,请
执行以下操作之一:
–如果计算机装有四位数字诊断显示器,则四位数字诊断显示器将在计算机正面显示一个错误
代码。请在以下Web站点检查该错误代码:
http://thinkworkstationsoftware.com/diags.html
–如果计算机上有信号诊断LED指示灯,则诊断指示灯会闪烁以表示检测到问题或错误。然
后,您可使用安装在智能手机上的LenovoPCDiagnostics应用程序将错误代码从计算机传
到智能手机上,以便做进一步分析。从GooglePlay和iTunesAppStore均可下载该应用
程序。
计算机上已启用硬件诊断功能。如果要禁用此功能,请执行以下操作:
1.启动SetupUtility程序。请参阅第37页“启动SetupUtility程序”。
2.从主界面中,选择高级➙诊断,然后按Enter。
3.选择实时诊断监测并按Enter键。然后选择关闭并按Enter键。
60P720用户指南

4.要保存设置并退出SetupUtility程序,请按F10或Fn+F10(根据键盘设置而定)。在所显
示的窗口中选择是,然后按Enter。
恢复信息
本节说明如何恢复操作系统。
注:如果在恢复操作系统后,设备无法正常工作,请更新设备驱动程序。请参阅第28页“使计
算机保持最新状态”。
在Windows7中恢复信息
要恢复Windows7操作系统,请使用以下解决方案:
•使用Windows恢复解决方案。
–使用“系统还原”将系统文件和设置恢复到以前的某个点。
1.单击“开始”按钮以打开“开始”菜单。
2.单击控制面板。按“大图标”或“小图标”查看“控制面板”,然后单击恢复➙开始系
统还原。
3.按照屏幕上的指示信息进行操作。
–通过执行以下某项操作,使用Windows恢复环境:
–尝试引导连续失败多次后,可能会自动启动Windows恢复环境。按屏幕上的说明选择相
应的恢复解决方案。
–打开或重新启动计算机。然后,反复按下再松开F8或Fn+F8(根据键盘设置而定),直
至打开AdvancedBootOption窗口。选择RepairYourComputer,按Enter,然后按
屏幕上的说明选择相应的恢复解决方案。
•使用以前通过RecoveryMediaCreator程序制作的恢复盘,将仅C驱动器或整个存储驱动器
恢复为出厂缺省设置。
1.选择该恢复盘作为启动设备。请参阅第41页“选择临时启动设备”。
2.按屏幕上的说明选择相应的恢复解决方案。
•使用Lenovo提供的全套恢复光盘将整个存储驱动器恢复为出厂缺省设置。
–如果计算机附带全套恢复光盘,则按这套光盘随附的说明进行操作。
–如果计算机未附带全套恢复光盘,则与Lenovo客户支持中心联系以订购全套恢复光盘。请
参阅第152页“致电客服”。
在Windows10中恢复信息
要恢复Windows10操作系统,请使用以下解决方案:
•使用Windows恢复解决方案。
–使用Windows“设置”中的恢复解决方案。
1.单击“开始”按钮以打开“开始”菜单。
2.单击设置➙更新和安全➙恢复。
3.按屏幕上的说明选择相应的恢复解决方案。
–使用“系统还原”将系统文件和设置恢复到以前的某个点。
1.单击“开始”按钮以打开“开始”菜单。
第6章.故障诊断和恢复61

2.单击Windows系统➙控制面板。
3.按“大图标”或“小图标”查看“控制面板”,然后单击恢复➙开始系统还原。
4.按照屏幕上的指示信息进行操作。
–使用“文件历史记录”工具从备份恢复文件。
注:如果使用“文件历史记录”工具从备份恢复文件,则确保以前确为使用该工具备份数据。
1.单击“开始”按钮以打开“开始”菜单。
2.单击Windows系统➙控制面板。
3.按“大图标”或“小图标”查看“控制面板”,然后单击文件历史记录➙还原个人文件。
4.按照屏幕上的指示信息进行操作。
–通过执行以下某项操作,使用Windows恢复环境:
–尝试引导连续失败多次后,可能会自动启动Windows恢复环境。按屏幕上的说明选择相
应的恢复解决方案。
–选择以前用Windows工具创建的恢复盘作为启动设备。请参阅第41页“选择临时启动
设备”。然后,按屏幕上的说明选择相应的恢复解决方案。
•使用Lenovo提供的恢复U盘将整个存储驱动器恢复为出厂缺省设置。
–如果计算机附带恢复U盘,则按该U盘随附的说明进行操作。
–如果计算机未附带恢复U盘,则与Lenovo客户支持中心联系以订购恢复U盘。请参阅第
152页“致电客服”。
62P720用户指南

第7章硬件拆卸和安装
本章说明如何卸下和安装计算机的硬件。
握持静电敏感设备
直到卸下缺陷部件并准备好安装新部件时,再打开装有新部件的防静电包装。静电虽然对人体无
害,但却能严重损坏计算机部件和选件。
在操作选件和其他计算机组件时,请采取以下预防措施以避免静电损坏:
•身体尽量不要移动。移动身体会导致周围累积静电。
•始终小心地操作选件及其他计算机组件。操作PCI/PCIe卡、内存条、主板和微处理器时请仅持
边缘。切勿触摸任何裸露的电路。
•防止其他人触摸选件及其他计算机组件。
•将装有该部件的防静电包装与计算机上的扩展插槽金属挡片或其他未涂漆的金属表面接触至少
两秒钟。这样可在安装或更换新部件之前,减少包装和身体上的静电。
•如有可能,从防静电包装中取出新部件后,请直接将其装入计算机,中途不要放下该部件。无
法这样做时,请将防静电包装放在一个光滑的平面上,然后将部件放在包装上。
•请勿将部件放在计算机外盖或其他金属表面上。
准备计算机并卸下计算机外盖
注意:打开计算机或尝试进行任何修理之前,请先阅读并了解第iii页“用前必读:重要安全信
息”。
警告:
避免接触计算机内的发热组件。某些组件在运行期间可能会散发足以灼伤皮肤的热量。打开计算机
外盖之前,请先关闭计算机,断开电源并等待大约10分钟,直至组件冷却。
在安装或卸下计算机中的任何硬件组件之前,请执行以下操作以准备计算机并卸下计算机外盖:
1.从驱动器中取出所有介质,然后关闭计算机和所有连接的设备。然后从电源插座中拔出所有电
源线,并拔下连接到计算机的所有线缆。
2.将固定计算机外盖的任何锁定设备解锁。请参阅第31页“锁定计算机”。
©CopyrightLenovo201763

3.按压计算机外盖固定栓的手柄上的凹槽1,以便将手柄抬起。如图所示旋转手柄并拉动手柄,
从机箱上卸下外盖。
图 10. 卸 下 计 算 机 外 盖
注:
•根据计算机型号的不同,某些计算机型号可能不提供安装或更换部分中的某些硬件部件。
•请仅使用Lenovo提供的计算机部件。
•安装或更换选件时,请使用本节中的相应说明以及随选件附带的说明。
•在全世界大部分地区,Lenovo都要求退回有问题的CRU。CRU附带有关此事宜的信息,或将
在运抵CRU几天后提供这些信息。
卸下和安装硬件
本节提供如何为您的计算机卸下和更换硬件的说明。您可以通过卸下或安装硬件来增强计算机的
功能和维护计算机。
注意:打开计算机或尝试进行任何修理之前,请先阅读并了解第iii页“用前必读:重要安全信
息”。
外部选件
您可以将外部选件(如外部扬声器、打印机或扫描仪)连接到计算机。对于某些外部选件,除了进
行物理连接外,还必须安装附加软件。安装外部选件时,请参阅第1页“硬件位置”以识别所需
的接口。然后使用选件随附的说明来帮助您进行连接并安装任何所需的软件或设备驱动程序。
64P720用户指南

Flex托架中的设备
注意:打开计算机或尝试进行任何修理之前,请先阅读并了解第iii页“用前必读:重要安全信
息”。
计算机的Flex托架支持以下设备:
•Flex模块
•前置式存储机箱
•多驱动器转换套件
•光盘驱动器
•薄型光盘驱动器适配器
注:以下关于如何卸下或安装光盘驱动器的说明也适用于Flex托架中支持其他的设备。
要卸下或安装光盘驱动器,请执行以下操作:
1.准备计算机。请参阅第63页“准备计算机并卸下计算机外盖”。
2.找到Flex托架。请参阅第6页“计算机组件”。
3.要卸下光盘驱动器,请执行以下操作:
a.从光盘驱动器后部断开信号线缆和电源线。
注:如果要从Flex托架上卸下其他支持的设备,请先断开所有其他线缆。
b.然后,如图所示朝相对方向按压卡舌1,然后推动光盘驱动器背面,将其从计算机中取出。
图 11. 卸 下 光 盘 驱 动 器
4.要安装光盘驱动器,请执行以下操作:
第7章.硬件拆卸和安装65

a.如果要将光盘驱动器装入已装有塑料遮罩的Flex支架,请如图所示按压固定夹以卸下塑料
遮罩。如果Flex托架中安装了金属防静电罩,请将金属防静电罩卸下。
图 12. 卸 下 Flex 托 架 中 的 塑 料 遮 罩
66P720用户指南

前置式存储机箱中的存储驱动器
注意:打开计算机或尝试进行任何修理之前,请先阅读并了解第iii页“用前必读:重要安全信
息”。
前置式存储机箱中的存储驱动器可热插拔。当同时满足以下两个要求时,可在不关闭计算机的情况
下卸下或安装驱动器。
•前置式存储机箱的SATA线缆连接到主板上的eSATA接口。要验证线缆连接,请参阅第63页
“准备计算机并卸下计算机外盖”和第7页“主板上的部件”以获取更多信息。
•计算机操作系统不位于前置式存储机箱中安装的存储驱动器上。
注意:如果不满足上述任一要求,请勿在计算机开启时卸下或安装存储驱动器。否则,可能会损坏
存储驱动器上的数据。
3.5英寸存储驱动器
要卸下或安装3.5英寸存储驱动器,请执行以下操作:
1.在卸下旧的3.5英寸存储驱动器前,先将旧的存储驱动器从操作系统安全弹出。需要更多信
息,请参阅Windows帮助系统。
2.使用所提供的钥匙按图示打开机箱外盖。按该槽口a以打开机箱外盖。
图 15. 打开前置式存储机箱外盖
3.按压支架外盖上的凹槽,然后抓住倾斜外盖,将支架从前置式存储机箱中抽出。
图 16. 从前置式存储机箱中卸下支架
68P720用户指南

6.将支架连同新的3.5英寸存储驱动器一起推入前置式存储机箱中,直至其固定到位。按住该槽
口以固定机箱外盖并用钥匙锁住机箱外盖。
图 19. 将 3.5 英 寸 存 储 驱 动 器 装 入 前 置 式 存 储 机 箱
下一步:
•要对其他硬件进行操作,请转至相应章节。
•要完成安装或更换,请转至第148页“完成部件更换”。
2.5英寸存储驱动器
要卸下或安装2.5英寸存储驱动器,请执行以下操作:
1.在卸下旧的2.5英寸存储驱动器前,先将旧的存储驱动器从操作系统安全弹出。需要更多信
息,请参阅Windows帮助系统。
2.使用所提供的钥匙按图示打开机箱外盖。按该槽口a以打开机箱外盖。
图 20. 打开前置式存储机箱外盖
3.按压支架外盖上的凹槽,然后抓住倾斜外盖,将支架从前置式存储机箱中抽出。
图 21. 从前置式存储机箱中卸下支架
70P720用户指南

a.小心地弯曲金属支架的两侧,并将金属支架上的四个卡舌1与新存储驱动器上对应的孔对
齐。
注:确保存储驱动器的接口面向金属支架的卡舌。
图 25. 将 2.5 英 寸 存 储 驱 动 器 装 入 金 属 支 架
b.将金属支架上的四个桩钉1插入到塑料支架上对应的插槽中,如图所示。
图 26. 将金属支架插入到转换装置的塑料支架中
72P720用户指南

6.将塑料支架连同新的2.5英寸存储驱动器一起推入前置式存储机箱中,直至其固定到位。按住
该槽口以固定机箱外盖并用钥匙锁住机箱外盖。
图 29. 将 支 架 连 同 2.5 英 寸 存 储 驱 动 器 一 起 装 入 前 置 式 存 储 机 箱
下一步:
•要对其他硬件进行操作,请转至相应章节。
•要完成安装或更换,请转至第148页“完成部件更换”。
多驱动器转换套件中的设备
注意:打开计算机或尝试进行任何修理之前,请先阅读并了解第iii页“用前必读:重要安全信
息”。
多驱动器转换套件(此后称为套件)可能配备下列一个或两个组件:
•薄型光盘驱动器
•存储驱动器(如硬盘驱动器、固态驱动器或混合驱动器)
薄型光盘驱动器
注:有关如何在套件中卸下或安装薄型光盘驱动器的说明也适用于薄型硬盘驱动器适配器。
要卸下或安装薄型光盘驱动器,请执行以下操作:
1.准备计算机。请参阅第63页“准备计算机并卸下计算机外盖”。
2.确保从套件上断开所有线缆的连接。从计算机正面卸下套件。请参阅第65页“Flex托架中
的设备”。
3.要从套件上卸下薄型光盘驱动器,请执行以下操作:
74P720用户指南

a.将支架上的三个卡舌与新的薄型光盘驱动器中对应的孔对齐。然后,将支架安装到新的薄
型光盘驱动器上。
图 32. 将 支 架 安 装 到 新 的 薄 型 光 盘 驱 动 器 上
b.将新的薄型光盘驱动器插入套件中,直至听到咔嗒一声。此时薄型光盘驱动器即固定到位。
图 33. 将 薄 型 光 盘 驱 动 器 装 入 套 件
5.将套件滑入Flex托架并接回线缆。
下一步:
•要对其他硬件进行操作,请转至相应章节。
•要完成安装或更换,请转至第148页“完成部件更换”。
3.5英寸存储驱动器
要卸下或安装3.5英寸存储驱动器,请执行以下操作:
1.准备计算机。请参阅第63页“准备计算机并卸下计算机外盖”。
2.确保从套件上断开所有线缆的连接。从计算机正面卸下套件。请参阅第65页“Flex托架中
的设备”。
76P720用户指南

5.弯曲转换支架的两侧,然后从支架上取出3.5英寸存储驱动器。请勿接触驱动器上的电路板
1。
图 36. 从 转 换 支 架 上 卸 下 3.5 英 寸 存 储 驱 动 器
6.要安装3.5英寸存储驱动器,请确保转换支架展开。要展开支架,请执行以下操作:
a.卸下定位销1并将它们重新安装到插槽2中。
图 37. 卸 下 定 位 销 并 将 它 们 重 新 安 装 到 插 槽 中
78P720用户指南

d.将卡舌1、2和3插入相应的插槽。确保这些卡舌固定到位。
图 40. 将 卡 舌 插 入 相 应 的 插 槽
7.要将3.5英寸存储驱动器装入转换支架,请执行以下操作:
a.弯曲支架的两侧,并将支架上的定位销1、2、3和4与新的3.5英寸存储驱动器上对
应的孔对齐。
b.将新的3.5英寸存储驱动器装入支架。请勿接触驱动器上的电路板5。
图 41. 将 新 的 3.5 英 寸 存 储 驱 动 器 装 入 支 架
80P720用户指南

b.如图所示旋转支架以从插槽上松开卡舌1、2和3。
图 48. 旋 转 支 架
c.如图所示折叠支架。
图 49. 折 叠 支 架
84P720用户指南

要卸下或安装Flex托架支架,请执行以下操作:
1.准备计算机。请参阅第63页“准备计算机并卸下计算机外盖”。
2.卸下Flex托架支架中安装的设备。请参阅第65页“Flex托架中的设备”。
3.要卸下Flex托架支架,请执行以下操作:
a.按压Flex托架支架顶部的固定夹1。
b.从背面向外旋转支架,将其从计算机机箱中取出。
图 54. 卸 下 Flex 托 架 支 架
4.要安装Flex托架支架,请执行以下操作:
a.如图所示,将Flex托架支架以大约45度的相对角放入机箱中。将Flex托架支架顶部和
底部的两个桩钉与计算机机箱中的槽口对齐。
图 55. 将 Flex 托 架 支 架 放 入 机 箱 中
第7章.硬件拆卸和安装87

b.如图所示,向内旋转Flex托架支架,直至其固定到位。
图 56. 安 装 Flex 托 架 支 架
5.装回从支架上卸下的设备。
下一步:
•要对其他硬件进行操作,请转至相应章节。
•要完成安装或更换,请转至第148页“完成部件更换”。
外盖存在感知开关
注意:打开计算机或尝试进行任何修理之前,请先阅读并了解第iii页“用前必读:重要安全信
息”。
要卸下或安装外盖存在感知开关,请执行以下操作:
1.准备计算机。请参阅第63页“准备计算机并卸下计算机外盖”。
2.卸下Flex托架支架。请参阅第86页“Flex托架支架”。
3.要卸下外盖存在感知开关,请执行以下操作:
a.找到外盖存在感知开关。请参阅第6页“计算机组件”。
b.从主板上拔下外盖存在感知开关线缆。
88P720用户指南

•要完成安装或更换,请转至第148页“完成部件更换”。
存储驱动器托架中的3.5英寸存储驱动器
计算机上的3.5英寸存储驱动器可能是3.5英寸硬盘驱动器或3.5英寸混合驱动器。
根据计算机型号的不同,存储驱动器托架中使用以下存储驱动器支架类型之一:
图 59. 两 种 存 储 驱 动 器 支 架 类 型
要在类型1支架中卸下或安装3.5英寸存储驱动器,请执行以下操作:
1.准备计算机。请参阅第63页“准备计算机并卸下计算机外盖”。
2.找到存储驱动器托架。请参阅第9页“内置存储驱动器”。
3.要从类型1支架上卸下3.5英寸存储驱动器,请执行以下操作:
a.打开存储驱动器支架两侧的手柄。从存储驱动器上拔下线缆,然后将支架连同存储驱动器
一起拉出。
图 60. 卸 下 类 型 1存储驱动器支架
90P720用户指南

6.将支架连同新存储驱动器一起推入存储驱动器托架中,直至其固定到位。
图 67. 安 装 类 型 2存储驱动器支架
下一步:
•要对其他硬件进行操作,请转至相应章节。
•要完成安装或更换,请转至第148页“完成部件更换”。
存储驱动器托架中的2.5英寸存储驱动器
根据计算机型号的不同,存储驱动器托架中使用以下存储驱动器支架类型之一:
图 68. 两 种 存 储 驱 动 器 支 架 类 型
要在类型1支架中卸下或安装2.5英寸存储驱动器,请执行以下操作:
1.准备计算机。请参阅第63页“准备计算机并卸下计算机外盖”。
2.找到存储驱动器托架。请参阅第9页“内置存储驱动器”。
3.要在类型1支架中卸下2.5英寸存储驱动器,请执行以下操作:
94P720用户指南

b.弯曲支架的两侧,并将支架上的定位销1与新存储驱动器上对应的孔对齐。
注:如果要安装2.5英寸硬盘驱动器,请确保电路板朝下,而接口2面向支架正面。
图 71. 将 存 储 驱 动 器 装 入 类 型 1支架中
5.将支架连同新存储驱动器一起推入存储驱动器托架。
注:确保存储驱动器位于上部。根据需要,翻转存储驱动器支架。
图 72. 安 装 类 型 1存储驱动器支架
6.将信号线缆和电源线连接到新的存储驱动器,然后合上支架两侧的手柄。
96P720用户指南

5.要将新存储驱动器安装到类型2支架中,请弯曲支架的两侧,并将支架上的定位销1与驱
动器上对应的孔对齐。
注:如果要安装2.5英寸硬盘驱动器,请确保电路板朝下,而接口2面向支架背面。
图 75. 将 存 储 驱 动 器 装 入 类 型 2支架中
98P720用户指南

6.将支架连同新存储驱动器一起推入存储驱动器托架中,直至其固定到位。
图 76. 安 装 类 型 2存储驱动器支架
下一步:
•要对其他硬件进行操作,请转至相应章节。
•要完成安装或更换,请转至第148页“完成部件更换”。
存储驱动器托架中带有转换装置的2.5英寸存储驱动器
根据计算机型号的不同,存储驱动器托架中使用以下存储驱动器支架类型之一:
图 77. 两 种 存 储 驱 动 器 支 架 类 型
要在类型1支架中卸下或安装带有转换装置的2.5英寸存储驱动器,请执行以下操作:
1.准备计算机。请参阅第63页“准备计算机并卸下计算机外盖”。
2.找到存储驱动器。请参阅第9页“内置存储驱动器”。
3.要在类型1支架中卸下带有转换装置的2.5英寸存储驱动器,请执行以下操作:
第7章.硬件拆卸和安装99

a.打开存储驱动器支架两侧的手柄。从转换装置上拔下线缆,然后将支架拉出。
图 78. 卸 下 类 型 1存储驱动器支架
b.弯曲支架两侧,从支架中卸下转换装置。
图 79. 从 类 型 1支架上卸下转换装置
100P720用户指南

c.小心地弯曲金属支架的两侧,并将金属支架上的四个卡舌1与新存储驱动器上对应的孔对
齐。
注:确保存储驱动器的接口面向金属支架的卡舌。
图 82. 将存储驱动器装入转换装置的金属支架中
d.将金属支架上的四个桩钉1插入到塑料支架上对应的插槽中,如图所示。
图 83. 将金属支架插入到转换装置的塑料支架中
102P720用户指南

a.如果支架中已安装转换装置,请弯曲支架的两侧,从支架上卸下转换装置。
b.小心地弯曲金属支架的两侧,并将金属支架上的四个卡舌1与新存储驱动器上对应的孔对
齐。
注:确保存储驱动器的接口面向金属支架的卡舌。
图 91. 将存储驱动器装入转换装置的金属支架中
c.将金属支架上的四个桩钉1插入到塑料支架上对应的插槽中,如图所示。
图 92. 将金属支架插入到转换装置的塑料支架中
106P720用户指南

6.将存储驱动器支架连同转换装置一起推入存储驱动器托架中,直至其固定到位。
图 95. 安 装 类 型 2存储驱动器支架
下一步:
•要对其他硬件进行操作,请转至相应章节。
•要完成安装或更换,请转至第148页“完成部件更换”。
M.2固态驱动器
注意:打开计算机或尝试进行任何修理之前,请先阅读并了解第iii页“用前必读:重要安全信
息”。
可在M.2固态驱动器固定器或M.2固态驱动器PCIe适配器中安装M.2固态驱动器。
M.2固态驱动器固定器中的M.2固态驱动器
要卸下或安装M.2固态驱动器,请执行以下操作:
1.准备计算机。请参阅第63页“准备计算机并卸下计算机外盖”。
2.将计算机侧放,以更方便地操作M.2固态驱动器插槽。
3.找到M.2固态驱动器插槽。请参阅第7页“主板上的部件”。
108P720用户指南

6.要卸下M.2固态驱动器,请执行以下操作:
a.拧松固定M.2固态驱动器的螺钉1。
b.从M.2固态驱动器插槽中卸下带螺杆固定器的M.2固态驱动器2。
c.从M.2固态驱动器卸下螺杆固定器3。
图 98. 卸 下 M.2 固 态 驱 动 器
7.要安装M.2固态驱动器,请执行以下操作:
a.如图所示,将散热垫正确粘贴在M.2固态驱动器固定器上。如果需要,请揭下用于保护散
热垫的薄膜。
图 99. 将散热垫粘贴到 M.2 固态驱动器固定器上
110P720用户指南

d.拧紧螺钉以固定新的M.2固态驱动器。
注:请勿将螺钉拧得过紧。
图 102. 固 定 M.2 固 态 驱 动 器
8.要安装M.2固态驱动器散热器,请执行以下操作:
a.如果需要,请揭下散热器上用于保护散热垫的薄膜。
b.如图所示,将散热器的两个钩子插入M.2固态驱动器固定器上相应的孔中1。然后,按向
下按压散热器。请确保散热器上的安装螺柱与M.2固态驱动器固定器中的孔对齐2。
图 103. 将 散 热 器 安 装 在 M.2 固 态 驱 动 器 固 定 器 上
112P720用户指南

a.如果需要,将固定栓移动到相应的位置,从而适应新的M.2固态驱动器的长度。
图 110. 调 整 固 定 栓 在 PCIe 适 配 器 上 的 位 置
b.如果需要,请揭下您要安装的M.2固态驱动器上散热器的薄膜。
c.向外拉动固定栓的手柄至打开位置。
图 111. 打 开 固 定 栓
116P720用户指南

危险
在卸下计算机外盖或任何贴有上述标签的部件之前,请先从电源插座上拔下所有电源线。
请勿拆开贴有上述标签的组件。这些组件内没有可维修的部件。
您的计算机采用了安全使用型设计。但是,任何贴有此标签的组件内部都可达到危险的电压、电
流和能量级别。拆开这些组件可能会引发火灾甚至导致死亡。如果您怀疑某个部件有问题,请与
技术服务人员联系。
要卸下或安装电源组合件,请执行以下操作:
1.准备计算机。请参阅第63页“准备计算机并卸下计算机外盖”。
2.要卸下电源,请拉动电源组合件上的手柄,并向下旋转,如图所示。然后,将整个电源组合
件从机箱中抽出。
图 115. 卸 下 电 源 组 合 件
3.确保更换的新电源组合件正确。
第7章.硬件拆卸和安装119

根据相应的插槽类型和下图所示的安装顺序安装PCIe卡:
注:如果计算机只安装了一个微处理器,只有某些PCIe卡插槽可用。
图 117. PCIe 卡 安 装 顺 序
注:
•关于如何卸下或安装PCIe卡的说明也适用于PCI卡。
•如果您的计算机配备全长型PCIe卡,请参阅第126页“全长型PCIe卡”以了解其更换说明。
要卸下或安装PCIe卡,请执行以下操作:
1.准备计算机。请参阅第63页“准备计算机并卸下计算机外盖”。
2.将计算机侧放,以更方便操作主板。
3.要卸下PCIe卡固定器,请执行以下操作:
a.如图所示,拉动并旋转正面风扇组合件上的卡舌,在内部打开固定栓。
图 118. 打 开 正 面 风 扇 组 合 件 中 的 固 定 栓
第7章.硬件拆卸和安装121

b.将PCIe卡固定器轻轻地从正面风扇组合件的插槽中拉出,然后将卡固定器从PCIe卡栓卸
下。
注:仅某些型号配备PCIe卡固定器。
图 119. 卸 下 PCIe 卡 固 定 器
4.要卸下PCIe卡,请执行以下操作:
122P720用户指南

c.如果旧的PCIe卡由固位栓固定,如图所示按卡固位栓1以松开固位栓。然后握住卡,轻
轻地从插槽中将卡抽出。
注:该卡可能紧紧地固定在插槽中。如有必要,请轮流从两侧轻微地拔动夹层卡,直至该
卡从卡插槽中卸下。
图 121. 卸 下 PCIe 卡
5.要安装新的PCIe卡,请执行以下操作:
a.将新的PCIe卡从其防静电包装中取出。
124P720用户指南

6.要安装PCIe卡固定器,如图所示将PCIe卡固定器的对应端插入PCIe卡栓的空隙。向下旋转
该固定器将部件a插入正面风扇组合件中的相应插槽。然后旋转正面风扇组合件上的卡舌,
在内部合上固定栓。
图 123. 安 装 PCIe 卡 固 定 器
下一步:
•要对其他硬件进行操作,请转至相应章节。
•要完成安装或更换,请转至第148页“完成部件更换”。
全长型PCIe卡
注意:打开计算机或尝试进行任何修理之前,请先阅读并了解第iii页“用前必读:重要安全信
息”。
您的计算配备以下组合:一个标准PCI卡插槽、一个PCIe3.0x4卡插槽、一个PCIe3.0x8卡
插槽和三个PCIe3.0x16卡插槽。
要卸下或安装全长型PCIe卡,请执行以下操作:
1.准备计算机。请参阅第63页“准备计算机并卸下计算机外盖”。
2.将计算机侧放,以更方便操作主板。
126P720用户指南

5.要卸下全长型PCIe卡,首先从卡上拔下电源线。如图所示按压卡固定栓以松开固定栓,然后
抓住旧卡,将其从插槽中轻轻抽出。
注:
•卸下任何可能妨碍您操作固定栓的部件。
•该卡可能紧紧地固定在插槽中。如有必要,请轮流从两侧轻微地拔动夹层卡,直至该卡从
卡插槽中卸下。
图 126. 卸 下 全 长 型 PCIe 卡
6.要安装全长型PCIe卡,请执行以下操作:
a.如果要安装新的全长型PCIe卡,请卸下相应的金属插槽外盖。
b.将新的全长型PCIe卡从其防静电包装中取出。
c.将新的全长型PCIe卡上的延伸部分与正面风扇组合件中相应的插槽对齐。然后,将新卡
安装到主板上相应的插槽中。请参阅第7页“主板上的部件”。
注:为获得最佳性能,建议将全长型PCIe卡装入PCIe3.0x16卡插槽中。
7.旋转PCIe卡栓并将其推回原位,直至其咔嗒一声固定到位。然后旋转正面风扇组合件上的卡
舌,在内部合上固定栓。
8.将电源线的一端连接到新的全长型PCIe卡,另一端连接到主板上相应的电源接口。请参阅第
7页“主板上的部件”。
128P720用户指南

b.从RAID适配器上拔下超级电容模块线缆。然后,将固定器连同发生故障的超级电容模块
一起卸下。
图 128. 卸 下 超 级 电 容 模 块
4.要安装新的超级电容模块,请执行以下操作:
a.使装有新超级电容模块及其固定架的防静电包装接触计算机外侧表面上任意未涂油漆的地
方。然后,从包装中取出新的超级电容模块及其固定架。
b.如图所示,拉动并旋转正面风扇组合件上的卡舌,在内部打开固定栓。
图 129. 打 开 正 面 风 扇 组 合 件 中 的 固 定 栓
c.将超级电容模块线缆连接到RAID适配器上的超级电容模块接口。
130P720用户指南

d.如图所示将固定器的对应端插入PCIe卡栓的空隙。向下旋转该固定器将部件a插入正面
风扇组合件中的相应插槽。然后旋转正面风扇组合件上的卡舌,使固定器固定。
图 130. 安 装 超 级 电 容 模 块
下一步:
•要对其他硬件进行操作,请转至相应章节。
•要完成安装或更换,请转至第148页“完成部件更换”。
正面风扇组合件
注意:打开计算机或尝试进行任何修理之前,请先阅读并了解第iii页“用前必读:重要安全信
息”。
警告:
请勿让手指和身体其他部位接触危险的可动部件。如果不慎受伤,请立即就医。
要卸下或安装正面风扇组合件,请执行以下操作:
1.准备计算机。请参阅第63页“准备计算机并卸下计算机外盖”。
2.如果有以下设备,请卸下:
•M.2固态驱动器固定器,请参阅第108页“M.2固态驱动器”
•所有全长型PCIe卡,请参阅第126页“全长型PCIe卡”
•PCIe卡固定器,请参阅第120页“PCIe卡”
•超级电容模块,请参阅第129页“超级电容模块”
第7章.硬件拆卸和安装131

•要对其他硬件进行操作,请转至相应章节。
•要完成安装或更换,请转至第148页“完成部件更换”。
背面风扇组合件
注意:打开计算机或尝试进行任何修理之前,请先阅读并了解第iii页“用前必读:重要安全信
息”。
警告:
请勿让手指和身体其他部位接触危险的可动部件。如果不慎受伤,请立即就医。
要卸下或安装背面风扇组合件,请执行以下操作:
1.准备计算机。请参阅第63页“准备计算机并卸下计算机外盖”。
2.找到背面风扇组合件。请参阅第6页“计算机组件”。
3.要卸下背面风扇组合件,请执行以下操作:
a.从主板上的背面风扇组合件接口中找到并拔出背面风扇组合件线缆。
b.如图所示按压背面风扇组合件,并将其从机箱中取出。
图 134. 卸 下 背 面 风 扇 组 合 件
4.要安装新的背面风扇组合件,请执行以下操作:
134P720用户指南

b.如图所示,朝后面板旋转新的背面风扇组合件,直至其固定到位。
图 136. 安 装 背 面 风 扇 组 合 件
c.将背面风扇组合件线缆连接到主板上的背面风扇组合件接口。请参阅第7页“主板上的部
件”。
下一步:
•要对其他硬件进行操作,请转至相应章节。
•要完成安装或更换,请转至第148页“完成部件更换”。
内存条
注意:打开计算机或尝试进行任何修理之前,请先阅读并了解第iii页“用前必读:重要安全信
息”。
计算机有12个插槽可供安装DDR4RDIMM,最大可提供384GB系统内存。卸下或安装内存条
时,请遵照以下准则:
•使用8GB、16GB或32GBDDR4ECCRDIMM的任意组合,最大容量可达384GB。
•如果计算机只安装了一个微处理器,请按照建议的安装顺序将内存条仅安装在靠近该微处理器
的内存插槽中。
注:确保微处理器安装在正确的微处理器插槽中(18微处理器1)。请参阅第7页“主板上
的部件”。
136P720用户指南

纽扣电池
注意:打开计算机或尝试进行任何修理之前,请先阅读并了解第iii页“用前必读:重要安全信
息”。
您的计算机具有特殊类型的存储器,它保持日期、时间和内置功能的设置,如并口的指定(配
置)。关闭计算机后,纽扣电池可使这一信息保持活动状态。
纽扣电池在其使用期内通常不需要充电或维护;但任何电池都不能永久使用。如果纽扣电池出现故
障,日期、时间和配置信息(包括密码)就会丢失。当您开启计算机时会显示一条错误消息。
有关更换和处理电池的信息,请参阅《安全、保修和设置指南》中的“纽扣锂电池声明”。
要卸下或安装纽扣电池,请执行以下操作:
1.准备计算机。请参阅第63页“准备计算机并卸下计算机外盖”。
2.找到纽扣电池。请参阅第7页“主板上的部件”。
3.卸下任何可能妨碍取放纽扣电池的部件。根据计算机型号的不同,可能需要卸下PCIe卡,以
便取放纽扣电池。请参阅第120页“PCIe卡”和第126页“全长型PCIe卡”。
4.如图所示卸下旧纽扣电池。
图 145. 取 下 纽 扣 电 池
5.如图所示安装新纽扣电池。
图 146. 安 装 纽 扣 电 池
6.如果已卸下PCIe卡,请将其装回。请参阅第120页“PCIe卡”或第126页“全长型PCIe
卡”。
7.重新安装计算机外盖并连接线缆。请参阅第148页“完成部件更换”。
注:更换纽扣电池后首次开启计算机时,可能会显示一条错误消息。这是更换纽扣电池后的
正常现象。
第7章.硬件拆卸和安装141

a.提起计算机背面的塑料PCIe卡栓。然后,向外旋转卡栓,使其停靠在后面板的边缘上。
图 149. 打 开 PCIe 卡 栓
144P720用户指南

5.要卸下Wi-Fi卡,请执行以下操作:
a.从Wi-Fi卡上拔下两条Wi-Fi天线线缆。
b.卸下将Wi-Fi卡固定在Wi-Fi适配器上的两个螺钉。
c.从微型PCIe插槽中轻轻抽出Wi-Fi卡。
图 151. 卸 下 Wi-Fi 卡
6.要安装新的Wi-Fi卡,请执行以下操作:
a.将Wi-Fi卡插入Wi-Fi适配器上的微型PCIe插槽。
b.安装两个螺钉,将Wi-Fi卡固定在Wi-Fi适配器上。
c.将两条Wi-Fi天线线缆连接到Wi-Fi卡。
图 152. 安 装 Wi-Fi 卡
146P720用户指南

9.如图所示,将Wi-Fi天线线缆接口1连接到相应的Wi-Fi天线接口2。
图 154. 安 装 Wi-Fi 天 线
10.拧紧Wi-Fi天线线缆接口以将其固定在计算机背面。
下一步:
•要对其他硬件进行操作,请转至相应章节。
•要完成安装或更换,请转至第148页“完成部件更换”。
完成部件更换
警告:
更换CRU后,请先重新安装所有保护盖(包括计算机外盖),然后再连接电源并启动计算机。此
操作非常重要,可帮助避免意外电击并遏制可能在极罕见情况下出现的意外火灾。
安装或更换所有部件完毕后,装回计算机外盖并接回各种线缆。根据安装或更换的部件,您可能还
需要确认SetupUtility程序中的更新信息。请参阅第37页“使用SetupUtility程序”。
要重新安装计算机外盖并将线缆重新连接到计算机,请执行以下操作:
1.确保所有组件都已正确地重新装配,并且没有在计算机内部遗留任何工具或松散的螺丝。请
参阅第6页“计算机组件”,了解计算机中各组件的位置。
148P720用户指南

第8章获取信息、帮助和服务
本章提供了有关从Lenovo获取帮助和支持的信息。
信息资源
本节描述如何获取与您的计算机需求相关的有用资源。
访问各种语言的《用户指南》
如需访问各种语言的《用户指南》,请访问:
http://www.lenovo.com/support
Windows帮助系统
Windows帮助系统详细介绍使用Windows操作系统。
要访问Windows帮助系统,请执行以下操作:
1.单击“开始”按钮以打开“开始”菜单。
2.根据Windows版本的不同,执行以下某项操作:
•对于Windows7:单击帮助和支持。可在屏幕底部决定使用联机还是脱机帮助。
•对于Windows10:单击获取帮助。
注:使用Windows7的联机帮助或Windows10的帮助需要活动的因特网连接。
安全和保修
计算机随附的《安全、保修和设置指南》中包含重要安全信息、产品保修条款、初始设置过程和法
律声明。务必先阅读并了解《安全、保修和设置指南》中的所有安全信息,然后再使用计算机。
此外,先阅读并了解第iii页“用前必读:重要安全信息”,然后再使用计算机。本前言提供适用
于本《用户指南》中所述主题和任务的其他安全信息。
LenovoWeb站点
LenovoWeb站点(http://www.lenovo.com)提供最新的信息和服务,帮助您购买、升级和
维护计算机。还可执行以下操作:
•购买台式计算机和笔记本电脑、显示器、投影仪、适合您计算机的升级产品和附件,以及特
价优惠组件。
•购买附加服务,如硬件、操作系统、程序、网络安装与配置以及定制安装等各方面的支持。
•购买升级程序和扩展的硬件维修服务。
•查看适合您的计算机型号和其他受支持产品的故障诊断和支持信息。
•查找您附近的服务供应商。
©CopyrightLenovo2017151

Lenovo支持网站
可在Lenovo支持网站上获得技术支持信息,网址为:
http://www.lenovo.com/support
此Web站点经过更新,现有最新的支持信息,如以下各项:
•驱动程序和软件
•诊断解决方案
•产品和服务保修
•产品和部件详细信息
•用户指南和手册
•知识库和常见问题
•Lenovo支持电话号码
常见问题
有关计算机的常见问题解答,请访问:
http://www.lenovo.com/support/faq
帮助和服务
本节提供有关如何获取帮助和服务的信息。
致电客服
在保修期内,您可以通过致电客户支持中心获取帮助和信息。有关计算机的保修期,请访
问http://www.lenovo.com/warranty-status。有关Lenovo支持电话号码的列表,请访问
http://www.lenovo.com/support/phone。
注:电话号码如有更改,恕不另行通知。如果未提供您所在国家或地区的电话号码,请致电Lenovo
经销商或Lenovo销售代表。
在保修期期间可获得以下服务:
•问题确定-经过培训的服务人员会帮助您确定硬件问题并决定采取何种必要措施来解决该问题。
•硬件维修-如果问题是由在保修期内的硬件造成的,将会有经过培训的服务人员为您提供适当
级别的服务。
•工程变更管理-产品售出后可能需要变更。Lenovo或经销商将提供适用于您的硬件的选定
工程变更(EC)。
保修中不包括以下各项:
•并非为/由Lenovo制造的部件或未经Lenovo授权的部件的更换或使用
•软件问题源的识别
•作为安装或升级一部分的BIOS配置
•设备驱动程序的更改、修正或升级
•网络操作系统(NOS)的安装与维护
•程序的安装和维护
通话时请尽可能在计算机旁边。准备好以下信息:
152P720用户指南

•机器类型和机型
•硬件产品的序列号
•问题描述
•任何错误消息的精确用词
•硬件和软件配置信息
使用其他服务
您有可能携带计算机出行,或将其带往出售您的台式机或笔记本电脑的机器类型的国家或地区。在
此类情况下,您的计算机可能有资格享受“国际保修服务”,此项服务自动使您有权在整个保修期
内获得保修服务。该服务将由授权进行保修服务的服务供应商来执行。
服务方法和操作步骤随国家或地区的不同而有所变化,并且某些服务可能并非在所有国家或地区都
可以获得。“国际保修服务”按照服务所在国家或地区所提供的服务方法(如维修站服务、送修服
务或现场服务)来提供。某些国家或地区的服务中心可能无法维修特定机器类型的所有机型。在某
些国家或地区,可能会在服务时收取费用,且服务时将适用某些限制。
要确定您的计算机是否有资格享受“国际保修服务”以及要查看提供服务的国家或地区的列
表,请访问http://www.lenovo.com/support。
有关为预装的MicrosoftWindows产品安装ServicePack的技术协助,或有关于这些Service
Pack的问题,请访问http://support.microsoft.com。也可联系Lenovo客户支持中心寻求帮
助。可能会收取一些费用。
购买附加服务
无论保修期出否已过,均可购买附加服务。这些附加服务的示例包括:
•对硬件、操作系统和程序的支持
•网络设置与配置服务
•升级或扩展的硬件维修服务
•自定义安装服务
可获得的服务和服务名可能因国家或地区而异。有关这些服务的更多信息,请访问LenovoWeb
站点:
http://www.lenovo.com
第8章.获取信息、帮助和服务153

154P720用户指南

附录A系统内存速度
与此ThinkStation计算机兼容的IntelXeon®系列微处理器集成了内存控制器,微处理器通过它
可直接访问系统内存。由于这种设计,系统内存的速度将取决于多种因素,包括微处理器的型号和
类型、速度、大小(容量)以及已安装的DIMM的数量。
注:
•内存条的实际系统内存速度因微处理器型号而异。例如,您的计算机随附2666MT/s内存条,
但微处理器仅支持2400MT/s内存条。那么系统内存速度将不超过2400MT/s。
•您计算机中支持的微处理器型号可能有所不同。有关支持的微处理器型号的列表,请联系Lenovo
客户支持中心。
请参阅系统内存条的以下信息:
•DIMM类型和速度:DDR4ECCRDIMM
•DIMM工作电压:1.2伏
•内存频率:2666MT/s
•微处理器型号:
–IntelXeonPlatinum系列
–IntelXeonGold系列
–IntelXeonSilver系列
–IntelXeonBronze系列
©CopyrightLenovo2017155

156P720用户指南

附录B有关Ubuntu操作系统的补充信息
在少数几个国家或地区,Lenovo为客户提供一种选择,可订购预装了Ubuntu®操作系统的计算
机。
如果计算机上提供Ubuntu操作系统,请先阅读以下信息,然后再使用计算机。请忽略本文档中任
何与基于Windows的程序、实用程序和Lenovo预装的应用程序相关的信息。
访问Lenovo有限保证
Lenovo有限保证(LLW)L505-0010-0208/2011版的条款涵盖本产品。可从以下Web站点上查
看多种语言的LLW。请阅读以下位置的Lenovo有限保证:
http://www.lenovo.com/warranty/llw_02
计算机上也预装了LLW。要访问LLW,请转至以下目录:
/usr/share/doc/lenovo-doc
如果无法从Web站点或从计算机中查看LLW,请联系您当地的Lenovo办事处或经销商以索取
印刷版本的LLW。
访问Ubuntu帮助系统
Ubuntu帮助系统介绍如何使用Ubuntu操作系统。要从Unity中访问帮助系统,请将指针移至启
动栏,然后单击帮助图标。如果无法从启动栏中找到帮助图标,则单击搜索图标,然后输入“帮
助”进行搜索。
要详细了解Ubuntu操作系统,请访问:
http://www.ubuntu.com
获取支持信息
如果需要有关Ubuntu操作系统或其他应用程序的帮助、服务、技术协助或详细信息,请与Ubuntu
操作系统提供商或应用程序提供商联系。如果计算机随附的硬件组件需要服务和支持,请与Lenovo
联系。有关如何与Lenovo联系的详细信息,请参阅《用户指南》和《安全、保修和设置指南》。
要访问最新的《用户指南》和《安全、保修和设置指南》,请访问:
http://www.lenovo.com/support
注:要获取在Linux®环境下配置RAID的信息,请联系Linux软件供应商。
©CopyrightLenovo2017157

158P720用户指南

附录C法规信息
可从以下网址获得最新的合规性信息:
http://www.lenovo.com/compliance
出口分类声明
本产品受美国出口管理条例(EAR)的管制,其出口分类控制编号(ECCN)为5A992.c。本产品
可以再出口到EARE1国家或地区列表中所有禁运国家或地区以外的国家或地区。
电子辐射声明
联邦通信委员会合规性声明
以下信息适用于Lenovo个人计算机机器类型30BA、30BB和30BU。
ThisequipmenthasbeentestedandfoundtocomplywiththelimitsforaClassBdigital
device,pursuanttoPart15oftheFCCRules.Theselimitsaredesignedtoprovidereasonable
protectionagainstharmfulinterferenceinaresidentialinstallation.Thisequipment
generates,uses,andcanradiateradiofrequencyenergyand,ifnotinstalledandusedin
accordancewiththeinstructions,maycauseharmfulinterferencetoradiocommunications.
However,thereisnoguaranteethatinterferencewillnotoccurinaparticularinstallation.If
thisequipmentdoescauseharmfulinterferencetoradioortelevisionreception,whichcan
bedeterminedbyturningtheequipmentoffandon,theuserisencouragedtotrytocorrect
theinterferencebyoneormoreofthefollowingmeasures:
•Reorientorrelocatethereceivingantenna.
•Increasetheseparationbetweentheequipmentandreceiver.
•Connecttheequipmentintoanoutletonacircuitdifferentfromthattowhichthereceiver
isconnected.
•Consultanauthorizeddealerorservicerepresentativeforhelp.
Lenovoisnotresponsibleforanyradioortelevisioninterferencecausedbyusingotherthan
specifiedorrecommendedcablesandconnectorsorbyunauthorizedchangesormodifications
tothisequipment.Unauthorizedchangesormodificationscouldvoidtheuser'sauthorityto
operatetheequipment.
ThisdevicecomplieswithPart15oftheFCCRules.Operationissubjecttothefollowing
twoconditions:(1)thisdevicemaynotcauseharmfulinterference,and(2)thisdevicemust
acceptanyinterferencereceived,includinginterferencethatmaycauseundesiredoperation.
ResponsibleParty:
Lenovo(UnitedStates)Incorporated
1009ThinkPlace-BuildingOne
Morrisville,NC27560
PhoneNumber:919-294-5900
©CopyrightLenovo2017159

加拿大工业部B类辐射规范一致性声明
CANICES-3(B)/NMB-3(B)
欧盟合规性
EUcontact:Lenovo,Einsteinova21,85101Bratislava,Slovakia
EMCDirectiveStatement:Thisproductisinconformitywiththeprotectionrequirements
ofEUCouncilEMCDirective2014/30/EUontheapproximationofthelawsoftheMember
Statesrelatingtoelectromagneticcompatibility.
ThisproducthasbeentestedandfoundtocomplywiththelimitsforClassBequipment
accordingtoEuropeanStandardsharmonizedintheDirectivesincompliance.TheClassB
requirementsforequipmentareintendedtoofferadequateprotectiontobroadcastservices
withinresidentialenvironments.
RadioEquipmentDirectiveStatement:Thisproductisinconformitywithallthe
requirementsandessentialnormsthatapplytoEUCouncilRadioEquipment
Directive2014/53/EUontheapproximationofthelawsoftheMemberStatesrelating
toradioequipment.ThefulltextofthesystemEUdeclarationofconformityand
theEUwirelessmoduledeclarationsareavailableatthefollowingInternetaddress:
http://www.lenovo.com/eu-doc-workstations
Lenovocannotacceptresponsibilityforanyfailuretosatisfytheprotectionrequirements
resultingfromanon-recommendedmodificationoftheproduct,includingtheinstallationof
optioncardsfromothermanufacturers.
德国B类一致性声明
Deutschspr Deutschspr
Deutschsprachiger achiger
achigerEU EU
EUHinweis: Hinweis:
Hinweis:
Hinweis Hinweis
Hinweisfür für
fürGer Ger
Gerät ät
äte e
eder der
derKlasse Klasse
KlasseB B
BEU-Richtlinie EU-Richtlinie
EU-Richtliniezur zur
zurElektr Elektr
Elektromagnetischen omagnetischen
omagnetischenV V
Ver er
ertr tr
träglichk äglichk
äglichkeit eit
eit
DiesesProduktentsprichtdenSchutzanforderungenderEU-Richtlinie2014/30/EUzurAngleichung
derRechtsvorschriftenüberdieelektromagnetischeVerträglichkeitindenEU-Mitgliedsstaatenund
hältdieGrenzwertederKlasseBderNormgemäßRichtlinie.
Umdiesessicherzustellen,sinddieGerätewieindenHandbüchernbeschriebenzuinstallieren
undzubetreiben.DesWeiterendürfenauchnurvonderLenovoempfohleneKabelangeschlossen
werden.LenovoübernimmtkeineVerantwortungfürdieEinhaltungderSchutzanforderungen,
wenndasProduktohneZustimmungderLenovoverändertbzw.wennErweiterungskomponenten
vonFremdherstellernohneEmpfehlungderLenovogesteckt/eingebautwerden.
160P720用户指南

Deutschland: Deutschland:
Deutschland:
Einhaltung Einhaltung
Einhaltungdes des
desGesetz Gesetz
Gesetzes es
esüber über
überdie die
dieelektr elektr
elektromagnetische omagnetische
omagnetischeV V
Ver er
ertr tr
träglichk äglichk
äglichkeit eit
eitvon von
vonBetriebsmitt Betriebsmitt
Betriebsmitteln eln
eln
DiesesProduktentsprichtdem„GesetzüberdieelektromagnetischeVerträglichkeitvon
Betriebsmitteln“EMVG(früher„GesetzüberdieelektromagnetischeVerträglichkeitvonGeräten“).
DiesistdieUmsetzungderEMVEURichtlinie2014/30/EUinderBundesrepublikDeutschland.
Z Z
Zulassungsbescheinigung ulassungsbescheinigung
ulassungsbescheinigunglaut laut
lautdem dem
demDeutschen Deutschen
DeutschenGesetz Gesetz
Gesetzüber über
überdie die
dieelektr elektr
elektromagnetische omagnetische
omagnetische
V V
Ver er
ertr tr
träglichk äglichk
äglichkeit eit
eitvon von
vonBetriebsmitt Betriebsmitt
Betriebsmitteln, eln,
eln,EMVG EMVG
EMVGvom vom
vom20. 20.
20.Juli Juli
Juli2007 2007
2007(früher (früher
(früherGesetz Gesetz
Gesetzüber über
überdie die
die
elektr elektr
elektromagnetische omagnetische
omagnetischeV V
Ver er
ertr tr
träglichk äglichk
äglichkeit eit
eitvon von
vonGer Ger
Gerät ät
äten), en),
en),bzw bzw
bzw. .
.der der
derEMV EMV
EMVEU EU
EURichtlinie Richtlinie
Richtlinie2014/30/EU 2014/30/EU
2014/30/EU
(früher (früher
(früher2004/108/EC), 2004/108/EC),
2004/108/EC),für für
fürGer Ger
Gerät ät
äte e
eder der
derKlasse Klasse
KlasseB. B.
B.
DiesesGerätistberechtigt,inÜbereinstimmungmitdemDeutschenEMVGdas
EG-Konformitätszeichen-CE-zuführen.VerantwortlichfürdieKonformitätserklärungnach
Paragraf5desEMVGistdieLenovo(Deutschland)GmbH,Meitnerstr.9,D-70563Stuttgart.
InformationeninHinsichtEMVGParagraf4Abs.(1)4:
Das Das
DasGer Ger
Gerät ät
äter er
erfüllt füllt
fülltdie die
dieSchutzanfor Schutzanfor
Schutzanforderungen derungen
derungennach nach
nachEN EN
EN55024 55024
55024und und
undEN EN
EN55032 55032
55032Klasse Klasse
KlasseB. B.
B.
韩国无线电合规性信息
日本VCCIB类一致性声明
日本关于连接到额定电流小于或等于20A/相位的输电线的产品的一致性声明
日本交流电源线声明
Theacpowercordshippedwithyourproductcanbeusedonlyforthisspecificproduct.Do
notusetheacpowercordforotherdevices.
台湾地区Lenovo产品服务信息
附录C.法规信息161

台湾地区键盘和鼠标一致性声明
欧亚大陆合规性标志
巴西音频声明
Ouvirsonscommaisde85decibéisporlongosperíodospodeprovocardanosaosistemaauditivo.
墨西哥无线电合规性信息
Adver Adver
Advert t
tencia: encia:
encia:EnMexicolaoperacióndeesteequipoestásujetaalassiguientesdoscondiciones:
(1)esposiblequeesteequipoodispositivonocauseinterferenciaperjudicialy(2)esteequipoo
dispositivodebeaceptarcualquierinterferencia,incluyendolaquepuedacausarsuoperaciónno
deseada.
其他法规信息
有关其他法规信息,请参阅计算机随附的《法规声明》。根据计算机的配置和购买计算机的国家
或地区,可能会收到其他印刷版法规声明。Lenovo支持网站上以电子格式提供所有法规声明。要
获得本文档的电子版,请访问http://www.lenovo.com/support
。
162P720用户指南
注: 产品无任何外接输入电源相连时才能实现零能耗状况。

附录DWEEE和回收信息
Lenovo鼓励信息技术(IT)设备的所有者负责回收不再使用的设备。Lenovo提供多种计划和服
务,以帮助设备所有者对他们的IT产品进行回收。可以通过以下网址获取最新的环境信息:
http://www.lenovo.com/ecodeclaration
重要WEEE信息
Lenovo产品上的WEEE标记适用于执行WEEE和电子废弃物法规(如欧洲WEEE指令、印
度电子废弃物管理条例)的国家/地区。贴有此标签的设备符合当地关于废弃电子电气设备
(WEEE)的法规。这些法规根据每个地区的适用情况,确定有关回收和再利用废旧电器的法
律框架。此标签贴在多种产品上,表示不得随意丢弃产品,而应将产品送往已建立的收集系
统以回收这些使用期结束的产品。
对于标有WEEE标记的电子电气设备(EEE),用户不得在其使用期结束后将其不加分类直接作
为城市废物处理,而应依照适用的收集机制对WEEE进行回收、再利用和再生,以尽可能降
低EEE因可能存在有害物质而对环境和人类健康造成的任何潜在影响。Lenovo电子电气设备
(EEE)包含的一些部件和组件在使用期结束后可能会成为有害废弃物。
可免费将EEE和废弃电子电气设备(WEEE)运送到将同等性质和功能的电子电气设备作为二手
EEE或WEEE出售的销售处或任何分销商处。
有关其他WEEE信息,请访问:
http://www.lenovo.com/recycling
匈牙利的WEEE信息
根据匈牙利法案第197/2014(VIII.1.)号第12章的第(1)-(5)小节,Lenovo作为生产商承担
与履行Lenovo义务相关的成本。
日本的回收信息
CollectingandrecyclingadisusedLenovocomputerormonitor
IfyouareacompanyemployeeandneedtodisposeofaLenovocomputerormonitorthatis
thepropertyofthecompany,youmustdosoinaccordancewiththeLawforPromotionof
EffectiveUtilizationofResources.Computersandmonitorsarecategorizedasindustrial
wasteandshouldbeproperlydisposedofbyanindustrialwastedisposalcontractorcertified
byalocalgovernment.InaccordancewiththeLawforPromotionofEffectiveUtilizationof
©CopyrightLenovo2017163

Resources,LenovoJapanprovides,throughitsPCCollectingandRecyclingServices,for
thecollecting,reuse,andrecyclingofdisusedcomputersandmonitors.Fordetails,visit
theLenovoWebsiteathttp://www.lenovo.com/recycling/japan.PursuanttotheLawfor
PromotionofEffectiveUtilizationofResources,thecollectingandrecyclingofhome-used
computersandmonitorsbythemanufacturerwasbegunonOctober1,2003.Thisserviceis
providedfreeofchargeforhome-usedcomputerssoldafterOctober1,2003.Fordetails,
visittheLenovoWebsiteathttp://www.lenovo.com/recycling/japan.
DisposingofLenovocomputercomponents
SomeLenovocomputerproductssoldinJapanmayhavecomponentsthatcontainheavy
metalsorotherenvironmentalsensitivesubstances.Toproperlydisposeofdisused
components,suchasaprintedcircuitboardordrive,usethemethodsdescribedabovefor
collectingandrecyclingadisusedcomputerormonitor.
DisposingofdisusedlithiumbatteriesfromLenovocomputers
Abutton-shapedlithiumbatteryisinstalledinsideyourLenovocomputertoprovidepower
tothecomputerclockwhilethecomputerisoffordisconnectedfromthemainpowersource.
Ifyouneedtoreplaceitwithanewone,contactyourplaceofpurchaseorcontactLenovofor
service.Ifyouneedtodisposeofadisusedlithiumbattery,insulateitwithvinyltape,contact
yourplaceofpurchaseoranindustrial-waste-disposaloperator,andfollowtheirinstructions.
Disposalofalithiumbatterymustcomplywithlocalordinancesandregulations.
巴西的回收信息
DeclaraçõesdeReciclagemnoBrasil
Descar Descar
Descart t
te e
ede de
deum um
umP P
Pr r
rodut odut
oduto o
oL L
Lenovo enovo
enovoF F
For or
ora a
ade de
deUso Uso
Uso
Equipamentoselétricoseeletrônicosnãodevemserdescartadosemlixocomum,masenviados
àpontosdecoleta,autorizadospelofabricantedoprodutoparaquesejamencaminhadose
processadosporempresasespecializadasnomanuseioderesíduosindustriais,devidamente
certificadaspelosorgãosambientais,deacordocomalegislaçãolocal.
ALenovopossuiumcanalespecíficoparaauxiliá-lonodescartedessesprodutos.Casovocê
possuaumprodutoLenovoemsituaçãodedescarte,ligueparaonossoSACouencaminheum
e-mailpara:reciclar@lenovo.com,informandoomodelo,númerodesérieecidade,afimde
enviarmosasinstruçõesparaocorretodescartedoseuprodutoLenovo.
台湾地区的电池回收信息
164P720用户指南

欧盟的电池回收信息
Notice:ThismarkappliesonlytocountrieswithintheEuropeanUnion(EU).
BatteriesorpackagingforbatteriesarelabeledinaccordancewithEuropeanDirective
2006/66/ECconcerningbatteriesandaccumulatorsandwastebatteriesandaccumulators.
TheDirectivedeterminestheframeworkforthereturnandrecyclingofusedbatteries
andaccumulatorsasapplicablethroughouttheEuropeanUnion.Thislabelisappliedto
variousbatteriestoindicatethatthebatteryisnottobethrownaway,butratherreclaimed
uponendoflifeperthisDirective.
InaccordancewiththeEuropeanDirective2006/66/EC,batteriesandaccumulatorsare
labeledtoindicatethattheyaretobecollectedseparatelyandrecycledatendoflife.
Thelabelonthebatterymayalsoincludeachemicalsymbolforthemetalconcernedin
thebattery(Pbforlead,Hgformercury,andCdforcadmium).Usersofbatteriesand
accumulatorsmustnotdisposeofbatteriesandaccumulatorsasunsortedmunicipalwaste,
butusethecollectionframeworkavailabletocustomersforthereturn,recycling,and
treatmentofbatteriesandaccumulators.Customerparticipationisimportanttominimize
anypotentialeffectsofbatteriesandaccumulatorsontheenvironmentandhumanhealth
duetothepotentialpresenceofhazardoussubstances.
Beforeplacingelectricalandelectronicequipment(EEE)inthewastecollectionstream
orinwastecollectionfacilities,theenduserofequipmentcontainingbatteriesand/or
accumulatorsmustremovethosebatteriesandaccumulatorsforseparatecollection.
DisposingoflithiumbatteriesandbatterypacksfromLenovoproducts
Acoin-celltypelithiumbatterymightbeinstalledinsideyourLenovoproduct.Youcanfind
detailsaboutthebatteryintheproductdocumentation.Ifthebatteryneedstobereplaced,
contactyourplaceofpurchaseorcontactLenovoforservice.Ifyouneedtodisposeofa
lithiumbattery,insulateitwithvinyltape,contactyourplaceofpurchaseorawaste-disposal
operator,andfollowtheirinstructions.
DisposingofbatterypacksfromLenovoproducts
YourLenovodevicemightcontainalithium-ionbatterypackoranickelmetalhydridebattery
pack.Youcanfinddetailsonthebatterypackintheproductdocumentation.Ifyouneedto
disposeofabatterypack,insulateitwithvinyltape,contactLenovosales,service,oryour
附录D.WEEE和回收信息165

placeofpurchase,orawaste-disposaloperator,andfollowtheirinstructions.Youalsocan
refertotheinstructionsprovidedintheuserguideforyourproduct.
Forpropercollectionandtreatment,goto:
http://www.lenovo.com/environment
166P720用户指南

附录E有害物质限制(RoHS)指令
可以通过以下网址获取最新的环境信息:
http://www.lenovo.com/ecodeclaration
欧盟RoHS
ThisLenovoproduct,withincludedparts(cables,cords,andsoon)meetstherequirements
ofDirective2011/65/EUontherestrictionoftheuseofcertainhazardoussubstancesin
electricalandelectronicequipment(“RoHSrecast”or“RoHS2”).
FormoreinformationaboutLenovoworldwidecomplianceonRoHS,goto:
www.lenovo.com/rohs-communication
中国RoHS
土耳其RoHS
TheLenovoproductmeetstherequirementsoftheRepublicofTurkeyDirectiveonthe
RestrictionoftheUseofCertainHazardousSubstancesinWasteElectricalandElectronic
Equipment(WEEE).
©CopyrightLenovo2017167

乌克兰RoHS
印度RoHS
RoHScompliantasperE-Waste(Management)Rules.
台湾地区RoHS
168P720用户指南

附录FENERGYSTAR型号信息
ENERGYSTAR®是美国环保署和美国能源部的一项联合计划,旨在通过高能效的产品和做
法节省资金和保护环境。
Lenovo很荣幸能为客户提供符合ENERGYSTAR设计要求的产品。以下机器类型中的某些
机型的设计符合计算机出厂时的ENERGYSTAR计划要求并已通过测试:30BA0007US和
30BA0008US。有关Lenovo计算机的ENERGYSTAR评级的更多信息,请访问:
http://www.lenovo.com
通过使用符合ENERGYSTAR要求的产品并利用计算机的电源管理功能,可以减少电源消耗。减
少电源消耗有助于节省开支、营造更清洁的环境并降低温室气体排放量。
有关ENERGYSTAR的更多信息,请转至:
http://www.energystar.gov
Lenovo鼓励用户在平时使用计算机部件时有效利用能源。为帮助用户节约能源,Lenovo设置了
以下电源管理功能,当计算机的非活动状态持续到指定的时间后将启用这些功能。
表 1. ENERGY STAR 电 源 管 理 功 能
Windows7或Windows10操作系统
电源计划:缺省设置
•关闭显示器:10分钟后
•使计算机进入睡眠状态:25分钟后
•高级电源设置:
–关闭硬盘驱动器:20分钟后
–休眠:从不
要从睡眠模式中唤醒计算机,请按键盘上的任意键。
要更改电源设置,请执行以下操作:
1.单击“开始”按钮以打开“开始”菜单。
2.根据Windows版本的不同,执行以下某项操作:
•对于Windows7:单击控制面板。
•对于Windows10:单击Windows系统➙控制面板。
3.按“大图标”或“小图标”查看“控制面板”,然后单击电源选项。
©CopyrightLenovo2017169

4.按照屏幕上的指示信息进行操作。
170P720用户指南

附录G声明
Lenovo可能不在所有国家或地区提供本文档中讨论的产品、服务或功能特性。有关您所在地区当
前提供的产品和服务的信息,请咨询您当地的Lenovo代表。对Lenovo产品、程序或服务的任何
引用无意明示或默示只能使用该Lenovo产品、程序或服务。只要不侵犯Lenovo的知识产权,任
何同等功能的产品、程序或服务,都可以代替Lenovo产品、程序或服务。但是,评估和验证任何
其他产品、程序或服务,则由用户自行负责。
Lenovo对于本文所述内容可能已拥有专利或正在申请专利。提供本文档并未授予用户使用这些专
利的任何许可。您可以用书面方式将许可查询寄往:
L enovo (Unit ed S tat es), Inc.
1009 Think Place - Building One
Morrisville, NC 27560
U .S.A.
A tt ention: L enovo Dir ect or of Licensing
LENOVO“按现状”提供本出版物,不附有任何种类的(无论是明示还是默示的)保证,包括但
不限于默示的有关非侵权、适销和适用于某种特定用途的保证。某些管辖区域在某些交易中不允许
免除明示或默示的保证,因此本条款可能不适用于您。
本信息中可能包含技术方面不够准确的地方或印刷错误。此处的信息将定期更改;这些更改将编入
本出版物的新版本中。Lenovo可能会随时改进和/或更改本出版物中所述的产品和/或程序,恕不
另行通知。
本文档中描述的产品并非旨在用于移植或其他生命支持的应用,在这些应用中的故障可能导致人身
伤害或死亡。本文档中包含的信息并不影响或更改Lenovo产品规格或保修。本文档中的任何内容
都不能作为Lenovo或第三方的知识产权下的明示或默示的许可或保证。本文档中包含的所有信息
都是在特定的环境中获得并且作为插图显示。在其他操作环境中获得的结果可能会有所不同。
Lenovo可以按它认为适当的任何方式使用或分发您所提供的任何信息而无须对您承担任何责任。
本出版物中提供的对非LenovoWeb站点的任何引用都是为了方便起见,任何情况下都不作为对
这些Web站点的公开支持。这些Web站点上的资料不属于本Lenovo产品的资料,并且使用这
些Web站点时风险自担。
此处包含的任何性能数据都是在受控环境中测得的。因此,在其他操作环境中获得的数据可能会有
明显的不同。有些测量可能是在开发级的系统上进行的,因此不保证与一般可用系统上进行的测量
结果相同。此外,有些测量是通过推算而估计的。实际结果可能会有差异。本文档的用户应当验
证其特定环境的适用数据。
©CopyrightLenovo2017171

172P720用户指南

附录H商标
下列术语是Lenovo在美国和/或其他国家或地区的商标:
Lenovo
Lenovo徽标
ThinkStation
ThinkStation徽标
ThinkVantage
Microsoft、Windows和WindowsMedia是Microsoft公司集团的商标。
Intel、Thunderbolt和Xeon是IntelCorporation在美国和/或其他国家或地区的商标。
Linux是LinusTorvalds的注册商标。
DisplayPort和MiniDisplayPort是视频电子标准协会的商标。
Ubuntu是CanonicalLtd的注册商标。
其他公司、产品或服务名称可能是其他公司的商标或者服务标记。
©CopyrightLenovo2017173

174P720用户指南



















































