Lenovo P900 Ug Da User Guide Manual (Danish) Think Station (type 30A4 And 30A5) Workstation (Think Station) Type
2016-08-10
User Manual: Lenovo P900 Ug Da (Danish) User Guide - ThinkStation P900 (type 30A4 and 30A5) P900 Workstation (ThinkStation) - Type 30A4 ThinkStation P900 (30A4)
Open the PDF directly: View PDF
.
Page Count: 180 [warning: Documents this large are best viewed by clicking the View PDF Link!]
- Læs dette først: Vigtige sikkerhedsforskrifter
- Før du bruger denne manual
- Service og opgraderinger
- Undgå statisk elektricitet
- Ledninger og strømadaptere
- Forlængerledninger og lignende udstyr
- Stik og stikkontakter
- Eksterne enheder
- Varme og ventilation af produkt
- Driftsbetingelser
- Sikkerhedsforskrifter for laser
- Sikkerhedsforskrifter for strømforsyning
- Rengøring og vedligeholdelse
- Kapitel 1. Produktoversigt
- Kapitel 2. Brug af computeren
- Kapitel 3. Dig og din computer
- Kapitel 4. Sikkerhed
- Kapitel 5. Udvidet konfiguration
- Kapitel 6. Undgå problemer
- Kapitel 7. Fejlfinding og problemløsning
- Grundlæggende fejlfinding
- Fejlfindingsprocedure
- Fejlfinding
- Lydproblemer
- CD-problemer
- DVD-problemer
- Periodiske problemer
- Harddiskproblemer
- Problemer med tastaturet eller musen
- Skærmproblemer
- Netværksproblemer
- Jeg har sluttet udstyr til min computer, men det virker ikke
- Problemer med ydelse, og computeren låser
- Printeren fungerer ikke
- Der er ikke adgang til det serielle stik
- Programproblemer
- Der er ikke adgang til mine USB-stik
- Fejlfinding
- Kapitel 8. Oplysninger om retablering
- Kapitel 9. Installation eller udskiftning af hardware
- Håndtering af enheder, der er følsomme over for statisk elektricitet
- Installation eller udskiftning af hardware
- Installation af eksternt udstyr
- Afmontering af dækslet
- Installation eller udskiftning af et internt lagerdrev
- Udskiftning af kontakten til registrering af dæksel (dækselføler)
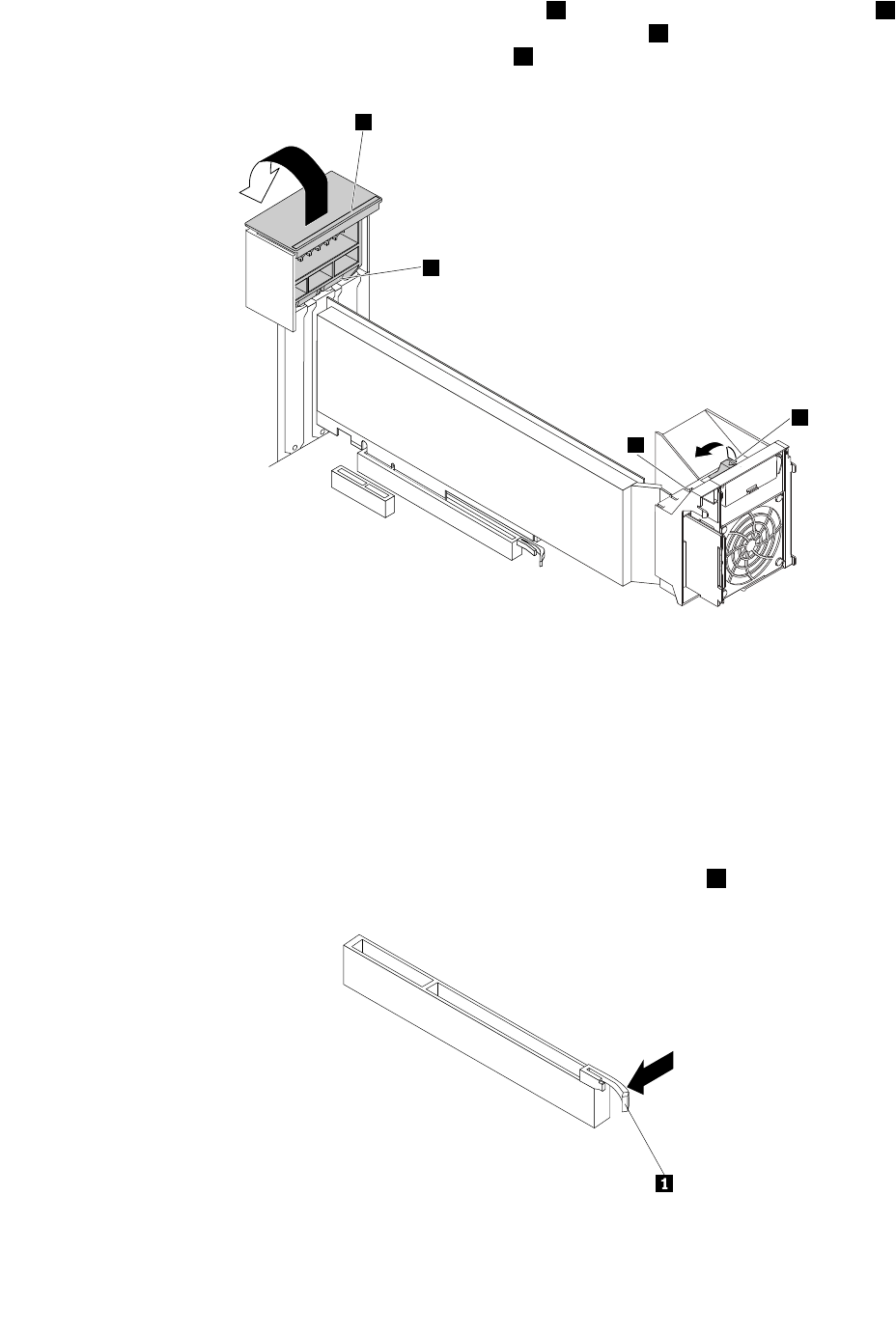
- Afmontering og montering af luftskærmen med direkte køling
- Fjernelse og installation af en enhed i båsen til det optiske drev
- Montering eller udskiftning af en enhed i 5,25-tommers flexmodulet
- Afmontering og montering af multifunktionsrammerne
- Udskiftning af de forreste blæsere
- Udskiftning af strømforsyningsenheden
- Udskift batteriet
- Installation eller udskiftning af en flexadapter
- Installation eller udskiftning af et PCI-kort
- Installation eller udskiftning af et PCI Express-kort i fuld længde
- Montering eller udskiftning af superkondensatormodulet
- Installation eller udskiftning af et hukommelsesmodul
- Udskiftning af kølepladen og blæserne
- Udskiftning af den bagerste blæser
- Udskiftning af Wi-Fi-enhederne
- Montering eller fjernelse af Wi-Fi-antennen
- Udskiftning af tastaturet eller musen
- Afslutning af udskiftningen af dele
- Kapitel 10. Oplysninger, hjælp og service
- Kapitel 11. Systemhukommelseshastighed
- Tillæg A. Oplysninger om lovgivningsmæssige krav
- Tillæg B. Oplysninger vedr. affald af elektrisk og elektronisk udstyr (WEEE) samt genbrug
- Tillæg C. Direktiv vedrørende begrænsning af farlige stoffer (RoHS)
- Tillæg D. Oplysninger om ENERGY STAR
- Tillæg E. Bemærkninger
- Stikordsregister

ThinkStationP900
Brugervejledning
Maskintyper:30A4og30A5

Bemærk:Førdubrugeroplysningerneidennebogogdetprodukt,deunderstøtter,skaldulæse"Læsdette
først:Vigtigesikkerhedsforskrifter"påsidevogTillægE"Bemærkninger"påside161.
Tredjeudgave(September2015)
©CopyrightLenovo2014,2015.
MEDDELELSEOMBEGRÆNSEDERETTIGHEDER:HvisdataellersoftwareleveresihenholdtilenGSA-aftale(General
ServicesAdministration),skerbrug,reproduktionogvideregivelseihenholdtildebegrænsninger,dererangiveti
aftalenr.GS-35F-05925.

Indholdsfortegnelse
Læsdetteførst:Vigtige
sikkerhedsforskrifter..........v
Førdubrugerdennemanual..........v
Serviceogopgraderinger...........v
Undgåstatiskelektricitet............vi
Ledningerogstrømadaptere..........vi
Forlængerledningeroglignendeudstyr.....vii
Stikogstikkontakter............vii
Eksterneenheder.............vii
Varmeogventilationafprodukt........vii
Driftsbetingelser..............viii
Sikkerhedsforskrifterforlaser.........viii
Sikkerhedsforskrifterforstrømforsyning......ix
Rengøringogvedligeholdelse..........ix
Kapitel1.Produktoversigt........1
Komponenternesplacering...........1
Stik,kontrollerogindikatorerpåcomputerens
forside.................2
Stikpåcomputerensbagside........3
Placeringafkomponenter.........4
Placeringafdelenepåsystemkortet.....5
Placeringafinternedrev..........7
Placeringafetikettenmedmaskintypeog
-model.................9
Faciliteter..................9
Specifikationer...............13
Lenovo-programmer............13
Adgangtiletprogrampåcomputeren....13
IntroduktiontilLenovo-programmer....14
Kapitel2.Brugafcomputeren....17
Registreringafcomputeren..........17
BrugafWindows-genvejstaster........17
Brugafmusmedhjul............18
Strømstyring...............18
ACPI(AdvancedConfigurationandPower
Interface)BIOS.............18
Funktionerforautomatiskstart......18
Indstillingafcomputerenslydstyrke......19
Brugafendisk..............19
Brugafdetoptiskedrev.........19
Håndteringogopbevaringafendisk....20
Afspilningogfjernelseafendisk......20
Optagelsepåendisk..........20
NavigationmellemskærmbillederiWindows
8.1-operativsystemet............20
AdgangtilkontrolpaneletiWindows
8.1-styresystemet.............22
Hyppigtstilledespørgsmål..........22
Kapitel3.Digogdincomputer....25
Hjælptilhandicappedeogergonomi......25
Indretningafarbejdspladsen.......25
Ergonomi...............25
Genskinoglys.............26
Ventilation...............26
Stikkontakterogkabellængder......26
Handicapvenlighed...........26
Flytningafcomputerentiletandetlandelleret
andetområde...............29
Kapitel4.Sikkerhed..........31
Sikkerhedsfunktioner............31
Låsningafcomputerensdæksel........31
PåsætningafenKensington-kabellås......33
BrugafadgangskoderogWindows-konti....33
Brugaffingeraftryksgodkendelse.......34
Brugafogkendskabtilfirewalls.......34
Beskyttelseafdatamodvirus.........34
Kapitel5.Udvidetkonfiguration...35
BrugafprogrammetSetupUtility.......35
StartafprogrammetSetupUtility.....35
Fremvisningogændringafindstillinger...35
BrugafBIOS-kodeord..........36
Aktiveringellerdeaktiveringafenenhed...37
Valgafstartenhed...........38
AktiveringafErPLPS-compliancetilstand..38
AfslutningafSetupUtility-program.....39
OpdateringellerretableringafBIOS......39
BIOS-niveauer.............39
Brugafsystemprogrammer........40
ÆndringafBIOS-indstillingerne,førdu
installereretnytstyresystem.......40
OpdateringafBIOS...........40
RetableringfrafejlunderBIOS-opdatering..41
KonfigurationafRAID............41
KonfigurationafRAIDmedIntelRSTe....41
HurtigopsætningafRAIDmed
hjælpeprogrammetLSIMegaRAIDBIOS
configurationutility...........44
Kapitel6.Undgåproblemer.....47
Holdcomputerenopdateret.........47
©CopyrightLenovo2014,2015i

Hentningafdenyestesystemopdateringer..47
Rengøringogvedligeholdelse.........47
Grundlæggende............47
Rengøringafcomputeren........48
Godevanerforvedligeholdelse......49
Flytningafcomputeren...........49
Kapitel7.Fejlfindingog
problemløsning............51
Grundlæggendefejlfinding..........51
Fejlfindingsprocedure............52
Fejlfinding................52
Lydproblemer.............53
CD-problemer.............53
DVD-problemer............54
Periodiskeproblemer..........55
Harddiskproblemer...........55
Problemermedtastaturetellermusen....55
Skærmproblemer............56
Netværksproblemer...........57
Jegharsluttetudstyrtilmincomputer,men
detvirkerikke.............59
Problemermedydelse,ogcomputerenlåser.59
Printerenfungererikke..........60
Dererikkeadgangtildetseriellestik....60
Programproblemer...........61
DererikkeadgangtilmineUSB-stik....61
Fejlfinding................62
LenovoSolutionCenter.........62
Fejlfindingafhardware..........62
Kapitel8.Oplysningerom
retablering...............65
OplysningeromretableringforWindows
7-operativsystemet.............65
Oprettelseogbrugafretableringsmedier..65
Sikkerhedskopierings-og
retableringsfunktioner..........66
Oprettelseogbrugafetretableringsmedie..68
Geninstallationafprogrammerog
styreprogrammer............68
Løsningafretableringsproblemer.....70
OplysningeromretableringforWindows
8.1-operativsystemet............70
Genopfriskningafcomputeren.......70
Nulstildincomputertilstandardindstillingerne
frafabrikken..............70
Brugafavanceredestart-indstillinger....71
Retableringafstyresystemet,hvisWindows
8.1ikkevilstarte............71
OplysningeromretableringforWindows
10-operativsystemet............71
Kapitel9.Installationellerudskiftning
afhardware..............73
Håndteringafenheder,dererfølsommeoverfor
statiskelektricitet.............73
Installationellerudskiftningafhardware.....73
Installationafeksterntudstyr.......73
Afmonteringafdækslet.........73
Installationellerudskiftningafetinternt
lagerdrev...............74
Udskiftningafkontaktentilregistreringaf
dæksel(dækselføler)..........88
Afmonteringogmonteringafluftskærmen
meddirektekøling...........90
Fjernelseoginstallationafenenhedibåsentil
detoptiskedrev............92
Monteringellerudskiftningafenenhedi
5,25-tommersflexmodulet........94
Afmonteringogmonteringaf
multifunktionsrammerne.........101
Udskiftningafdeforresteblæsere.....103
Udskiftningafstrømforsyningsenheden...105
Udskiftbatteriet............107
Installationellerudskiftningafen
flexadapter..............108
InstallationellerudskiftningafetPCI-kort..111
InstallationellerudskiftningafetPCI
Express-kortifuldlængde........119
Monteringellerudskiftningaf
superkondensatormodulet........124
Installationellerudskiftningafet
hukommelsesmodul...........127
Udskiftningafkølepladenogblæserne...129
Udskiftningafdenbagersteblæser.....131
UdskiftningafWi-Fi-enhederne......132
MonteringellerfjernelseafWi-Fi-antennen..138
Udskiftningaftastaturetellermusen....139
Afslutningafudskiftningenafdele.....140
Kapitel10.Oplysninger,hjælpog
service................143
Flereoplysninger..............143
LenovoThinkVantageTools........143
WindowsHjælp-system.........143
Sikkerhedsforskrifteroggarantioplysninger..143
Lenovoswebsted............143
Lenovossupportwebsted........144
Hjælpogservice..............144
Brugafdokumentationenog
fejlfindingsprogrammet.........144
Telefonservice.............144
Brugafandreserviceydelser.......145
Købafflereserviceydelser........146
iiThinkStationP900Brugervejledning

Kapitel11.Systemhukommelseshastighed..147
TillægA.Oplysningerom
lovgivningsmæssigekrav......149
Bemærkningomeksportklassificering.....149
Bemærkningervedr.elektroniskstråling.....149
FCC(FederalCommunicationsCommission)
overensstemmelseserklæring.......149
Eurasiancompliance-mærke.........151
Lydmeddelelse(Brasilien)..........151
Oplysningeromoverholdelseafkravtiltrådløs
radio(Mexico)...............151
Flereoplysningeromlovgivningsmæssigekrav..152
TillægB.Oplysningervedr.affald
afelektriskogelektroniskudstyr
(WEEE)samtgenbrug........153
VigtigeWEEE-oplysninger..........153
OplysningervedrørendegenbrugforJapan...153
OplysningervedrørendegenbrugforBrasilien..154
Oplysningervedrørendegenbrugafbatterierfor
Taiwan..................154
Oplysningervedrørendegenbrugafbatterierfor
denEuropæiskeUnion...........154
TillægC.Direktivvedrørende
begrænsningaffarligestoffer
(RoHS)................157
RoHS,DenEuropæiskeUnion........157
RoHS,Kina................157
RoHS,Tyrkiet...............157
RoHS,Ukraine...............158
RoHS,Indien...............158
TillægD.OplysningeromENERGY
STAR.................159
TillægE.Bemærkninger.......161
Varemærker................161
Stikordsregister...........163
©CopyrightLenovo2014,2015iii

ivThinkStationP900Brugervejledning

Læsdetteførst:Vigtigesikkerhedsforskrifter
Dettekapitelindeholderdesikkerhedsforskrifter,duskalværefortroligmed.
Førdubrugerdennemanual
Paspå:
Førdubrugerdennebog,erdetvigtigt,atduharlæstalledesikkerhedsforskrifter,dergælder
fordetteprodukt.SeoplysningerneidetteafsnitogsikkerhedsoplysningerneiSikkerhed,garanti
ogopsætningsvejledning,derblevleveretsammenmeddetteprodukt.Vedatlæseogforstådisse
sikkerhedsforskrifterreducererdurisikoenforpersonskadeellerbeskadigelseafproduktet.
HvisduikkelængereharenkopiafSikkerhed,garantiogopsætningsvejledning,kanduhenteenPDF-version
fraLenovos®supportwebstedpåhttp://www.lenovo.com/UserManuals.DukanogsåfindeSikkerhed,
garantiogopsætningsvejledningogdenneBrugervejledningpåfleresprogpåLenovossupportwebsted.
Serviceogopgraderinger
Forsøgikkeselvatservicereetprodukt,medmindrekundesupportcentretharbedtdigomatgøredet,eller
hvisdeterangivetidokumentationen.Brugkunenserviceudbyder,derergodkendttilatreparereet
bestemtprodukt.
Bemærk:Nogledeleafcomputerenkanopgraderesellerudskiftesafkunden.Opgraderingerkaldestypisk
forekstraudstyr.Dele,derkanudskiftesafkunden,kaldesforCRU'er(CustomerReplaceableUnits).Lenovo
levererdokumentationmedenvejledning,nårkundenselvkaninstallereekstraudstyrellerudskifteCRU'er.
Duskalnøjefølgevejledningen,nårduselvinstallererellerudskifterdele.Nårtændt-lampenikkelyser,
betyderdetikkenødvendigvis,atderikkeerspændingiproduktet.Kontrolléraltid,atdererslukketfor
strømmen,ogatprodukteterafmonteretfrastrømkilden,indendufjernerdækslernefraetproduktmeden
ledning.DererflereoplysningeromCRU'eriKapitel9"Installationellerudskiftningafhardware"påside73.
Kontaktkundesupportcentret,hvisduharspørgsmål.
Selvomderikkeernogendele,derbevægersigicomputeren,nårledningenerafmonteret,skaldualligevel
væreopmærksompåfølgendeadvarsler.
Paspå:
Farligebevægeligedele.Holdfingreogandrelegemsdelevækfradetteområde.
Paspå:
Førduåbnercomputerdækslet,skalduslukkeforcomputerenogventeiflereminutter,indtil
computerenerkøletaf.
©CopyrightLenovo2014,2015v

Undgåstatiskelektricitet
Statiskelektriciteterikkeskadeligformennesker.Imidlertidkandetbeskadigecomputerensdeleog
udstyr.Dele,dererfølsommeoverforstatiskelektricitet,kanblivebeskadiget,hvisduikkehåndterer
demkorrekt.NårudpakkerekstraudstyrellerCRU'erud,måduførståbnedenantistatiskepose,når
dubliverbedtomdetivejledningen.
Følgdisseforholdsreglerforatundgåstatiskelektricitet,nårduhåndtererekstraudstyrellerCRU'er,eller
nårcomputereneråben:
•Begrænsdinebevægelser.Nårdubevægerdig,skabesderstatiskelektricitetomkringdig.
•Håndteraltidkomponenterneforsigtigt.Tagfatikantenafadaptere,hukommelsesmodulerogandre
kredsløbskort.Røraldrigvedkredsløbene.
•Ladikkeandrerørevedkomponenterne.
•Nårduinstallererendel,dererfølsomoverforstatiskelektricitet,skalduladedenantistatiskeposemed
delenirørevedudvidelsesportensmetaldækselellervedenandenumaletmetalfladepåcomputereni
mindsttosekunder.Detreducererstatiskelektricitetiposenogfradinkrop.
•Hvisdetermuligt,skalduinstalleredennyedeldirekteicomputeren,nårduhartagetdenudafden
antistatiskepose,udenatlæggedelenfradig.Hvisdetikkeermuligt,skaldulæggedenantistatiske
posepåenplanoverfladeoglæggedelenpåposen.
•Dumåikkelæggedelenpåcomputerensdækselellerpåandetmetalliskmateriale.
Ledningerogstrømadaptere
Brugkundenetledningerogomformere,derleveresafproducenten.Dumåikkebrugeledningentilandre
enheder.
Netledningerneskalværesikkerhedsgodkendt.ITysklandskaldetværeH05VV-F,3G,0,75mm2ellerbedre.
Iandrelandeskaldertilsvarendebenyttespassendetyper.
Rulaldrigledningenrundtomstrømadapterenelleretandetobjekt.Detkanflosse,knækkeellerbøje
ledningen.Detkanudgøreensikkerhedsrisiko.
Placeraltidledningerne,såderikketrædespådem,ellersådeikkekommeriklemme.
Beskytledningenogomformerenmodvæsker.Dumåf.eks.ikkeplacereledningenellerstrømadaptereni
nærhedenafhåndvaske,badekar,toiletterellerpågulve,derblivervasketmedflydenderengøringsmidler.
Væskekanforårsagekortslutning,isærhvisledningenellerstrømadapterenerblevetbeskadiget.Væske
kanogsågradvisttærestikketpåledningenog/ellerstikketpåstrømadapteren,hvilketkanforårsage
overophedning.
Sørgfor,atalleledningsstiksidderkorrektistikkontakten.
Brugikkeomformere,hvorstikbeneneertærede,og/ellersomvisertegnpåoverophedning,f.eks.ødelagt
plastic.
Brugikkeledninger,hvordeelektriskekontakteribeggeendervisertegnpåtæringelleroverophedning,
ellerhvorledningenerødelagtpånogenmåde.
viThinkStationP900Brugervejledning

Forlængerledningeroglignendeudstyr
Kontrollér,atdeforlængerledninger,despændingsstabilisatorer,denUPS(UninterruptiblePowerSupply)og
demultistikdåser,somdubruger,kanhåndtereproduktetselektriskekrav.Dumåaldrigoverfyldedisse
enheder.Hvisdubrugermultistikdåser,måbelastningenaldrigoverstigemultistikdåsensinputspecifikation.
Kontaktenelektriker,hvisduharspørgsmålvedrørendebelastninger,strømkravoginputspecifikationer.
Stikogstikkontakter
Hvisdenstikkontakt,somduvilbrugesammenmedcomputeren,erødelagtellertæret,måduikkebenytte
den,førdenerudskiftetafenautoriseretelektriker.
Dumåikkebøjeellerændrestikket.Hvisstikketerødelagt,skaldukontakteproducentenforatfået
andetstik.
Brugikkesammestikkontakt,somdubrugertilandreapparater,dertrækkerstoremængderstrøm.Du
risikerer,atustabilspændingødelæggercomputeren,dataellertilsluttedeenheder.
Nogleproduktererudstyretmedet3-benetstik.Dettestikkankunanvendessammenmedstikkontakter
medjordforbindelse.Deterensikkerhedsfacilitet.Dumåikkeignoreredennesikkerhedsfacilitetvedatprøve
atindsættestikketienstikkontaktudenjordforbindelse.Hvisduikkekanindsættestikketistikkontakten,
skaldukontakteenelektrikerforatfåengodkendtstikkontaktadapterellerfåudskiftetstikkontaktenmed
enandenstikkontaktmeddennesikkerhedsfacilitet.Dumåaldrigoverfyldeenstikkontakt.Dengenerelle
systembelastningmåikkeoverstige80%afgrenensstrømkapacitet.Kontaktenelektriker,hvisduhar
spørgsmålvedrørendebelastningeroggrenenskredsløbsspecifikation.
Kontrollér,atledningsføringentildenstikkontakt,dubruger,erkorrekt,atderernemadgangtilstikkontakten,
ogatdensiddertætpåudstyret.Dumåikkestrækkeforlængerledningerne,sådebliverødelagt.
Kontrollér,atstikkontaktenlevererkorrektspændingogstrømtildetprodukt,duinstallerer.
Værforsigtig,nårdutilslutterogfrakoblerudstyrfrastikkontakten.
Eksterneenheder
Deenestekablertileksterneenheder,dumåtilslutteellerafmontere,menscomputerenertændt,erUSB
(UniversalSerialBus)-kabler.Ellersrisikererduatbeskadigecomputeren.Ventmindstfemsekunder,efter
computerenerslukket,førduafmonterereksterneenheder,foratundgåeventuelskadepåtilsluttede
enheder.
Varmeogventilationafprodukt
Computere,vekselstrømsadaptereogandettilbehørgenererervarme,nårdeertændt,ognårbatteriet
oplades.Følgaltiddissegrundlæggendeforholdsregler:
•Ladikkecomputeren,vekselstrømsadapterenellertilbehørliggeiskødetellerandrestederpå
kroppenienlængereperiode,menscomputereneribrug,ellermensbatterietoplades.Computeren,
vekselstrømsadapterenogmegettilbehørgenererervarme,nårdeeridrift.Hviscomputereneriberøring
medkroppenilængeretid,kandetgiveubehagogisidsteendeforbrændinger.
•Dumåikkeopladebatterietellerbrugecomputeren,vekselstrømsadapterenellertilbehørnærved
brændbarematerialerellerpåsteder,hvordererrisikoforeksplosion.
•Ventilationshuller,blæsereogkølepladerleveresmedproduktetafsikkerhedsmæssigeårsagerogfor
atgiveenmerebehageligogpålideligdrift.Dissekanmåskeblokeresvedetuheld,hvisduplacerer
©CopyrightLenovo2014,2015vii

produktetpåenseng,ensofa,ettæppeellerenlignendeoverflade.Dumåaldrigblokere,tildække
ellerdeaktiveredisse.
Undersøgcomputerenmindsténganghvertredjemånedforatse,omderharsamletsigstøviden.Førdu
undersøgercomputeren,skalduslukkefordenogtagenetledningsstikketudafstikkontakten.Fjernderefter
støvfraluftgitreoghulleridækslet.Hvisderharsamletsigstøvudvendigt,skalduogsåundersøgeom
dererstøvindvendigt,herunderpåkølepladenogiluftgitreogblæsere.Fjerneventueltstøv.Duskalaltid
slukkeforcomputerenogtrækkestikketudafstikkontakten,førduåbnerdækslet.Duskalundgåatbruge
computereniområder,derliggernærmereend60centimeterfraområdermedmegettrafik.Hvisduikke
kanundgådet,skalduundersøgecomputerenogrengøredenoftere.
Følgdissegrundlæggendeforholdsregler.Detøgerdinegensikkerhedogforøgercomputerensydeevne
•Sørgfor,atdæksleterlukket,nårcomputerenersattil.
•Undersøgregelmæssigtcomputerensydersideforatse,omderharsamletsigstøv.
•Fjernstøvfraluftgitreoghulleridækslet.Detkanværenødvendigtatrengørecomputerenoftere,hvis
denerplaceretpåetsted,hvorderermegetstøvetellermegettrafik.
•Undgåatblokereellertildækkeventilationshullerne.
•Benytikkecomputeren,mensdenstårietskabellerlignende,dadetkanøgerisikoenforoverophedning.
•Temperaturenpåluftstrømmenindicomputerenmåikkeoverstige35°C.
•Installérikkeluftfiltreringsudstyr.Detkanforhindrekorrektkøling.
Driftsbetingelser
Detoptimaledriftsmiljøforcomputerener10°C-35°Cmedenluftfugtighedmellem35-80%.Hvis
computerenbliveropbevaretellertransporteretvedtemperaturerlavereend10°C,skaldulangsomtlade
computerenvarmeoptilenoptimaldriftstemperaturpå10°C-35°Cførbrug.Detkantageoptiltotimer
underekstremeforhold.Hvisduikkeladercomputerenopnåenoptimaltemperatur,førdubrugerden,
risikererduuopretteligeskaderpåcomputeren.
Hvisdetermuligt,skalduplacerecomputerenietvelventileretogtørtlokaleogikkeidirektesollys.
Undgåathaveelektriskeapparatersomf.eks.ventilatorer,radioer,forstærkedehøjtalereogmikroovnetæt
påcomputeren,fordidestærkemagnetfelter,dergenereresafdisseapparater,kanbeskadigeskærmen
ogdatapåharddisken.
Sætikkedrikkevarerovenpåellervedsidenafcomputerenellertilsluttedeenheder.Hvisduspildervæske
påellericomputerenellerentilsluttetenhed,kanderopståenkortslutningellerandenskade.
Undgåspisningellerrygninghenovertastaturet.Derkanopståskader,hvisderkommerkrummereller
askeitastaturet.
Sikkerhedsforskrifterforlaser
Paspå:
Bemærkfølgende,nårlaserprodukter(f.eks.CD-ROM'er,DVD-drev,fiberoptiskeenhedereller
sendere)erinstalleret:
•Fjernikkedækslerne.Fjernikkelaserproduktetsdæksler.Detkanresultereialvorligstrålingsfare.
Enhedenindeholderingendele,derkanudskiftesellerrepareres.
viiiThinkStationP900Brugervejledning

•Brugafjusteringsknapperellerudførelseafjusteringerellerandreprocedurerenddem,derer
beskrevether,kanresultereialvorligstrålingsfare.
Fare!
Visselaserprodukterindeholderenindbyggetklasse3Aellerklasse3Blaserdiode.Bemærk
følgende:
Laserstråling,nårdeneråben.Seikkedirekteindilaserstrålen,ogbenytikkeoptiskeinstrumenter
tilatseindilaserstrålen.Undgådirektelaserstråling.
Sikkerhedsforskrifterforstrømforsyning
Dumåaldrigfjernedæksletfrastrømforsyningsenhedenellerfraandredelemeddennemærkat.
Dererfarligspænding,strømogfarligeenerginiveaueriallekomponenter,hvordennemærkatsidderpå.
Dissekomponenterindeholderingendele,derkanudskiftesellerrepareres.Kontaktenservicetekniker,hvis
dumener,dererproblemermedenafdissedele.
Rengøringogvedligeholdelse
Detervigtigtatrenholdecomputerenogskrivebordet.Slukforcomputeren,ogafmontérnetledningen,
førdurengørcomputeren.Sprøjtikkeflydenderengøringsmidlerdirektepåcomputeren,ogbrugikke
brændbarerengøringsmidler.Komrengøringsmidletpåenblødklud,ogtørcomputerensoverfladeraf.
©CopyrightLenovo2014,2015ix

xThinkStationP900Brugervejledning

Kapitel1.Produktoversigt
Dettekapitelindeholderfølgendeoplysninger:
•Placeringafstik
•Placeringafkomponenter
•Placeringafdelenepåsystemkortet
•Placeringafinternedrev
•Computerfunktioner
•SoftwareprogrammerfraLenovo
Komponenternesplacering
Detteafsnitindeholderfølgendeemner:
•"Stik,kontrollerogindikatorerpåcomputerensforside"påside2
•"Stikpåcomputerensbagside"påside3
•"Placeringafkomponenter"påside4
•"Placeringafdelenepåsystemkortet"påside5
•"Placeringafinternedrev"påside7
•"Placeringafetikettenmedmaskintypeog-model"påside9
Bemærk:Komponenterneidincomputersermuligvislidtanderledesudendvistiillustrationerneher.
©CopyrightLenovo2014,20151

Stik,kontrollerogindikatorerpåcomputerensforside
Følgendeillustrationviserplaceringenafstikkene,kontrollerneogindikatorernepåcomputerensforside.
7
6
8
9
10
Figur1.Placeringafstik,kontrollerogindikatorerpåcomputerensforside
1Afbryder2Firecifretfejlfindingsdisplay
3SD-kortlæserport4Stiktilhovedsæt
5AlwaysOnUSB3.0-stik6USB3.0-stik(2)
7USB3.0-stiktilfejlfinding8Knaptilåbning/lukningafoptiskdrev(vissemodeller)
9Aktivitetsindikatorforharddisk10Strømindikator
Bemærk:RetningenafThinkStation®-logopladenpåcomputerensforsidekanjusteres.Nårdulægger
computerenpåsiden,kandutrækkelogopladenlidtud,drejeden90°moduretogderefterskubbeden
indigen.
2ThinkStationP900Brugervejledning

Stikpåcomputerensbagside
Følgendeillustrationviserplaceringenafstikkenepåcomputerensbagside.Nogleafstikkenepå
computerensbagsideharenbestemtfarve,somdukanbruge,nårduskalsluttekablertilcomputeren.
1
2
3
4
5
8
6
7
9
12
13
14
11
10
Figur2.Stikpåcomputerensbagside
1Stiktilnetledning2Stiktillydudgang
3Stiktilmikrofon4StiktilPS/2-tastatur
5Serieltstik6USB2.0-stik(4)
7USB3.0-stik(4)8PCI-kortområde(detilgængeligePCI-kortafhænger
afcomputermodellen)
9Porttilsikkerhedslås10Nøgleindlejring
11Ethernet-stik(2)12StiktilPS/2-mus
13Stiktillydindgang14PCI-kortområde(detilgængeligePCI-kortafhænger
afcomputermodellen)
Bemærkninger:
•EtseparatgrafikkortelleretnetværkskortkaninstalleresidenkorrektePCI-(PeripheralComponent
Interconnect)ellerPCIExpress-kortport.Hvisetsådantkorterinstalleret,skaldusørgefor,atdubruger
stikkenepåkortetistedetfordetilsvarendestikpåcomputeren.
•Afhængigtafcomputermodellenkanétellerfleregrafikkortinstalleres,såmanfårfølgendestik:
–DisplayPort®-stik
–DVI-stik(DigitalVisualInterface)
–DisplayPort®-ministik
Kapitel1.Produktoversigt3

StikBeskrivelse
LydindgangsstikBrugestilatmodtagelydsignalerfraeneksternlydenhed,f.eks.etstereoanlæg.Når
dutilsluttereneksternlydenhed,tilsluttesderetkabelmellemlydudgangsstikketpå
enhedenoglydindgangsstikketpåcomputeren.
LydudgangsstikBrugestilatsendelydsignalerfracomputerentileksterneenheder,f.eks.
forstærkedestereohøjtalere(højtaleremedindbyggedeforstærkere),hovedtelefoner,
multimedietastaturerellerlydindgangsstikketpåetstereoanlægellerenanden
eksternoptageenhed.
DisplayPort-stikBrugestilattilslutteenhøjtydendeskærm,endirect-drive-skærmellerandre
enheder,deranvenderetDisplayPort-stik.
DVI-stikBrugestilattilslutteenDVI-skærmellerandreenheder,derbrugeretDVI-stik.
Ethernet-stikBrugdettestiktilatslutteetEthernet-kabeltiletLAN(LocalAreaNetwork).
Bemærk:Duskalanvendeetkategori5Ethernet-kabelforatoverholdeFCC
(FederalCommunicationsCommission)KlasseB-kravene.
StiktilmikrofonBrugdettestiktilatslutteenmikrofontilcomputeren,nårduoptagerlyde,ellerhvis
dubrugerettalegenkendelsesprogram.
DisplayPort-ministikBrugestilattilslutteenhøjtydendeskærm,endirect-drive-skærmellerandre
enheder,deranvenderetDisplayPort-ministik.DisplayPort-ministikketeren
miniatureversionafDisplayPort-stikket.
StiktilPS/2-tastaturBrugestilattilslutteettastatur,derharetPS/2-tastaturstik(PersonalSystem/2).
StiktilPS/2-musBrugdettestiktilattilslutteenmus,entrackballellerandetpegeudstyr,derhar
etPS/2-musestik.
SerieltstikBrugdettestiktilattilslutteeteksterntmodem,enserielprinterellerenanden
enhed,derbrugeret9-bensserieltstik.
USB2.0-stikBrugdettestiktilattilslutteenenhed,somharetUSB2.0-stik,f.eks.ettastatur,en
mus,enscanner,enprinterellerenPDA(PersonalDigitalAssistant).
USB3.0-stikBrugdettestiktilattilslutteenenhed,derkræverenUSB2.0-eller
USB-3.0-forbindelse,f.eks.ettastatur,enmus,enscanner,enprinterellerenPDA.
Placeringafkomponenter
Følgendeillustrationviserplaceringenafdeforskelligekomponentericomputeren.Afsnittet"Afmonteringaf
dækslet"påside73indeholderoplysningerom,hvordanduafmonterercomputerensdæksel.
4ThinkStationP900Brugervejledning

1
7
8
4
13
14
15
3
5
2
6
16
12
11
10
9
Figur3.Placeringafkomponenter
1Strømforsyningsenhed2Flexadapter(vissemodeller)
3M.2-SSD-drev(vissemodeller)4Hukommelsesmoduler(antalafhængerafmodellen)
5Multifunktionsramme6Forresteblæserenhed
7Optiskdrev,flexmodulellerlageromslutningmed
adgangforan(antalogkombinationafhængerafmodellen)
8Harddisk,hybriddrevellerSSD-drev(antalog
kombinationafhængerafmodellen)
9Forresteblæserenhed10Multifunktionsramme
11Kontakttilregistreringafdæksel(dækselføler)12Kølepladeogblæser1
13PCI-kort(afhængerafmodellen)14Kølepladeogblæser2(vissemodeller)
15Bagersteblæserenhed16Luftskærmmeddirektekøling
Placeringafdelenepåsystemkortet
Følgendebilledeviserplaceringenafdelenepåsystemkortet.
Kapitel1.Produktoversigt5

38914 15
18
19
20
22
21
23
29
31
33
34
37 36 3538
3941 40
43 42
44
4546
47
49
50
51
52
53
54
55
58
59
56
57
30
28
27
26
25
24
16 17
7654 10 11 12 13
48
32
Figur4.Placeringafdelepåsystemkortet
1PCIExpress2.0x4-kortport2PCIExpress3.0x16-grafikkortport
3PCIExpress3.0x16-grafikkortport4Hukommelsesstik
5Hukommelsesstik6Hukommelsesstik
7Hukommelsesstik8Stiktilstrømforsyning
9Stiktilmikroprocessorblæser210Hukommelsesstik
11Hukommelsesstik12Hukommelsesstik
13Hukommelsesstik14Flexadapterport2
15Stiktilblæsertiloptiskdrev164-bensstrømstik
174-bensstrømstik18Stiktilforresteblæser
19Varmesensor20Batteri
21Mikroprocessor122Stiktilmikroprocessorblæser1
23Varmesensor24Hukommelsesstik
25Hukommelsesstik26Hukommelsesstik
27Hukommelsesstik28Flexadapterport1
294-bensstrømstik30eSATA-stik
31Kontrolstiktillageromslutningmedadgangforan32Kontrolstiktillageromslutningmedadgangforan
33Stiktilforresteblæser34Varmesensor
35SATA3.0-stik36SATA3.0-stik
6ThinkStationP900Brugervejledning

3729-i-1-kortlæserstik38USB3.0-stik,foran
39Kontakttilregistreringafdæksel(ogsåkaldet
dækselkontaktføler)
40KontrolstiktilThunderbolt™-adapter
41Stiktilaktivitetsindikatorforinterntlagerdrev(bruges
kunmedet9364RAID-kort)
42SATA1/SATA2-stik
43SATA3/SATA4-stik44NulstilCMOS/Recovery-jumper
45Stiktilfrontpanel46Syv-segmentindikator
47PCIExpress2.0x4-kortport48PCIExpress2.0x1-kortport
49PCIExpress3.0x16-grafikkortport50PCIExpress2.0x1-kortport
51PCIExpress3.0x16-grafikkortport52Hukommelsesstik
53Hukommelsesstik54Hukommelsesstik
55Hukommelsesstik56Stiktilbagersteblæser
57Mikroprocessor2(vissemodeller)58Stiktillyd,foran
59Stiktilinternhøjtaler
Placeringafinternedrev
Internedreverenhedericomputeren,sombrugestilatlæseoggemmedata.Dukaninstalleredrevi
computerenforatforøgedenslagerkapacitetogforatgøredetmuligtfordenatlæseandremedietyper.
Internedrevinstalleresibåse.
Nårduinstallererellerudskifteretinterntdrev,skaldulæggemærketil,hvilkendrevtypeog-størrelse
hvertdrevunderstøtter,ogforbindedenødvendigekablerkorrekt.Detrelevanteafsniti"Installationeller
udskiftningafhardware"påside73indeholderoplysningerom,hvordanduinstallererellerudskifterinterne
drevicomputeren.
Følgendeillustrationviserplaceringenafdrevbåsene.
2
3
4
1
5
Figur5.Placeringafdrevbåsene
Kapitel1.Produktoversigt7

1Flexadapterporte
Afhængigtafcomputermodellenerfølgendeflexadapteremuligvisinstalleretiflexadapterportene:
•Flexadaptermedtomini-SAS(SerialAttachedSCSI)HD-stik(HighDensity)
•FlexadaptermedétSATA3.0-stik(SerialAdvancedTechnologyAttachment),étUSB2.0-stikogto
mini-SASHD-stik
•FlexadaptermedtoM.2-porte(medM.2-SSD-drevetinstalleretivissemodeller)
2SD-kortlæserport(SecureDigital)(medetSD-kortinstalleretivissemodeller)
3Båsetiloptiskdrev
Afhængigtafcomputermodellenerfølgendeenhedermuligvisinstalleretibåsenetiloptiskdrev:
•Optiskdrev
•Lageromslutningmedadgangforan
•Flexmodul
Bemærk:Flexmoduletermuligvisinstalleretmedfølgende:
–IEEE1394-stik
–eSATA-stik
–29-i-1-kortlæser
–Smaltoptiskdrev
4Lagerdrevbåse(medharddiske,SSD-drevellerhybriddrevinstalleretivissebåse)
5PCIExpressx16-grafikkortporteogPCIExpressx4-kortporte(medPCIExpress-SSD-drevellerandre
PCI-kortinstalleretivissemodeller)
8ThinkStationP900Brugervejledning

Placeringafetikettenmedmaskintypeog-model
Etikettenmedmaskintypeog-modelidentificerercomputeren.NårdukontakterLenovoforatfåhjælp,
kansupportteknikerenbrugeoplysningerneommaskintypeog-modeltilatidentificerecomputerenog
givedighurtigereservice.
Etikettenmedmaskintypenogmodellenerfastgjorttilcomputerensforsidesomvist.
Figur6.Placeringenafetikettenmedmaskintypeog-model
Faciliteter
Decomputerfunktioner,derintroduceresidetteafsnit,dækkerforskelligecomputermodeller.
Gørfølgendeforatseoplysningeromdinspecifikkemodel:
•IMicrosoft®Windows®7-styresystemetskalduklikkepåStart,højreklikkepåComputerogvælge
Egenskaberforatseoplysningerne.
•IMicrosoftWindows8.1-operativsystemetskaldugåtilskrivebordetogflyttemarkørentilskærmens
øversteellernederstehøjrehjørneforatfåvistamuletterne.KliksåpåIndstillinger➙PC-oplysninger
foratseoplysningerne.
•IMicrosoftWindows10-styresystemetskalduklikkepåknappenStartforatåbnemenuenStart.Klik
derefterpåIndstillinger➙System➙Omforatseoplysningerne.
Mikroprocessor
Dukanseoplysningerommikroprocessorenidincomputerivejledningenom,hvordandufårvist
oplysningerneomdinspecifikkemodelistartenafdetteafsnit.
Kapitel1.Produktoversigt9

Hukommelse
Computerenunderstøtteroptil16DDR4ECCUDIMM-moduler(DoubleDataRate4ErrorCorrectionCode
UnbufferedDualInlineMemoryModules),DDR4ECCRDIMM-moduler(DoubleDataRate4ErrorCorrection
CodeRegisteredDualInlineMemoryModules)ellerDDR4ECCLRDIMM-moduler(DoubleDataRate4Error
CorrectionCodeLoadReducedDualInlineMemoryModules).
Dererflereoplysningeriafsnittet"Installationellerudskiftningafethukommelsesmodul"påside127.
Internedrev
•Kortlæser
•Harddisk
•Hybriddrev(påvissemodeller)
•Optiskdrev
•SSD-drev(påvissemodeller)
Videofunktioner
SeparatgrafikkortinstalleretienafPCIExpressx16-grafikkortportene(påvissemodeller)(stikkene
afhængerafgrafikkortet)
Bemærk:Computerenharetellerfleregrafikkort,dervarierereftercomputermodellen.Afhængigtaf
computermodellenkangrafikkorteneindeholdefølgendestik:
•DisplayPort-stik
•DVI-stik
•DisplayPort-ministik
Lydfunktioner
Indbyggetlydkontrolenhedunderstøtterfølgendestikogenhederpåcomputeren:
•Lydindgangsstik
•Lydudgangsstik
•Stiktilheadset
•Internhøjtaler
•Mikrofonstik
I/O-funktioner(Input/Output)
•100/1000MbpsEthernet-stik
•9-bensseriellestik
•Lydstik(stiktillydindgang,lydudgang,headsetogmikrofon)
•Skærmstik(DisplayPort-stik,DVI-stikellerMini-DisplayPort-stik)(afhængerafgrafikkortet)
•StiktilPS/2-tastatur
•StiktilPS/2-mus
•USB-stik
Dererflereoplysningeri"Stik,kontrollerogindikatorerpåcomputerensforside"påside2og"Stikpå
computerensbagside"påside3.
Udvidelsesmuligheder
•Harddiskdrevbåse
10ThinkStationP900Brugervejledning

•Flexadapterporte
•Båsetiloptiskdrev
•PCIExpressx1-kortporte
•PCIExpressx4-kortporte
•PCIExpressx16-grafikkortporte
•SD-kortlæserport
Dererflereoplysningeri"Placeringafinternedrev"påside7og"Placeringafdelenepåsystemkortet"
påside5.
Strømforsyning
1300Wstrømforsyningmedautomatiskspændingsvælger
Systemstyringsfunktioner
•MulighedforatlagreresultaterafPOST-testafhardware
•DMI(DesktopManagementInterface)
DMI(DesktopManagementInterface)giverbrugereenfællessti,hvordekanfåadgangtiloplysningerom
alleaspekterafencomputer,herunderprocessortype,installationsdato,tilsluttedeprintereogandreydre
enhederogstrømkildersamtenvedligeholdelsesoversigt.
•ErPLPS-compliancetilstand
ErPLPS-compliancetilstand(Energy-relatedProductsDirectiveLowestPowerState)reducererforbruget
afelektricitet,nårcomputerenerislumretilstandellerslukket.Dererflereoplysningeriafsnittet
"AktiveringafErPLPS-compliancetilstand"påside38.
•IntelStandardManageability(ISM)
IntelStandardManageabilityerhardware-ogfirmwareteknologi,sombyggerbestemtfunktionalitetind
icomputereforatgøredemlettereogbilligereforvirksomhederatovervåge,vedligeholde,opdatere,
opgradereogreparere.
•IntelActiveManagementTechnology(AMT)
IntelAMTerhardware-ogfirmwarebaseretteknologi,dergørcomputerelettereogbilligerefor
virksomhederatovervåge,vedligeholde,opdatere,opgradereogreparere.
•IntelRapidStorageTechnologyenterprise(RSTe)
IntelRSTeerenenhedsdriver,somkananvendeSATAellerSASRAID(RedundantArrayofIndependent
Disks)0-,1-,5-og10-arrayspåbestemtesystemkortmedIntel-chipsettilatforbedreharddiskydelsen.
•PXE(PrebootExecutionEnvironment)
PrebootExecutionEnvironmenteretmiljøtilstartafcomputerevedhjælpafennetværksgrænseflade,
someruafhængigafdatalagerdrev(f.eks.enharddisk)ellerinstalleredestyresystemer.
•SMBIOS(SystemManagementBasicInput/OutputSystem)ogSM-software
SMBIOS-specifikationendefinererdatastrukturerogadgangsmetoderienBIOS,somgørdetmuligtfor
enbrugerelleretprogramatlagreoghenteoplysninger,somerspecifikkefordenpågældendecomputer.
•WakeonLAN
WakeonLANerenEthernet-computernetværksstandard,sombevirker,atencomputerkantændeseller
aktiveresafennetværksmeddelelse.Meddelelsensendessomregelafetprogram,derkørerpåenanden
computerpådetsammeLAN(LocalAreaNetwork).
•WMI(WindowsManagementInstrumentation)
WMI(WindowsManagementInstrumentation)eretsætafudvidelserafWDM(WindowsDriverModel).
Dettilførerstyresystemetengrænseflade,hvorigennemanvendtekomponenterlevereroplysninger
ogmeddelelser.
Kapitel1.Produktoversigt11

Sikkerhedsfunktioner
•Mulighedforataktivereogdeaktivereenenhed
•MulighedforataktivereellerdeaktivereUSB-stikindividuelt
•ProgrammetComputraceAgentintegreretifirmware
•Kontakttilregistreringafdæksel(ogsåkaldetdækselføler)
•Tastaturmedfingeraftrykslæser(påvissemodeller)
•Startkodeord(POP),administratorkodeordogharddiskkodeordforatforhindreuautoriseretbrugaf
computeren
•Kontrolafstartsekvens
•Startudentastaturellermus
•MulighedforatbrugeenKensington-kabellås
•Mulighedforatbrugeenlås,deråbnesmedennøgle
•TrustedPlatformModule(TPM)
DererflereoplysningeriafsnittetKapitel4"Sikkerhed"påside31.
Forudinstalleretstyresystem
Computerenleveresmedetaffølgendestyresystemerforudinstalleret:
•Windows7
•Windows8.1
•Windows10
Styresystemertestetforkompatibilitetellercertificeret(afhængerafmodellen)
Destyresystemer,dervisesher,certificeresellertestesforkompatibilitetpådettidspunkt,hvordenne
vejledningtrykkes.AndrestyresystemeranerkendesmåskeafLenovosomværendekompatiblemed
computeren,efteratdennevejledningertrykt.Listenkanændres.Dukanafgøre,ometstyresystemer
blevetcertificeretellertestetforkompatibilitet,vedatbesøgeleverandørenswebsted.
•Linux®
12ThinkStationP900Brugervejledning

Specifikationer
Detteafsnitbeskrivercomputerensfysiskespecifikationer.
Dimensioner
Bredde:200mm
Højde:446mm
Dybde:620mm
Vægt
Maksimumkonfigurationvedlevering:30kg
Driftsbetingelser
•Lufttemperatur:
Idrift:Fra10°Ctil35°C
Opbevaringioriginalemballage:Fra-40°Ctil60°C
Opbevaringudenemballage:Fra-10°Ctil60°C
•Luftfugtighed:
Idrift:20%til80%(ingenkondens)
Opbevaring:20%til90%(ingenkondens)
•Højde:
Idrift:Fra-15,2mtil3.048m
Opbevaring:Fra-15,2mtil10.668m
Elektriskinput
Spænding:Fra100Vtil240Vvekselstrøm
Inputfrekvens:50/60Hz
Lenovo-programmer
ComputerenleveresmedLenovo-programmer,sådukanarbejdenemmereogmeresikkert.Afhængigtaf
hvilkentypestyresystem,dererinstalleret,kanprogrammernevariere.
Adgangtiletprogrampåcomputeren
Bemærk:IWindows7ernogleafLenovo-programmernemuligvisklartilatbliveinstalleret,såduskal
installeredemmanuelt.Heefterkandufåadgangtilogbrugedisseprogrammer.Dukaninstallereetsådant
programvedatåbneprogrammetLenovoThinkVantage®ToolsogklikkepåVis➙Fliserforatfåvist
programikonerne.Følgvejledningenundergråtonedeikonerforatfindeikonetfordetønskedeprogram.
Dobbeltklikpåikonetforatinstallereprogrammet.
Gørfølgendeforatfåadgangtiletprogrampåcomputeren:
•IWindows7ellerWindows10:
–FraWindowsSearch:
1.GørfølgendeafhængigtafdinWindows-version:
–IWindows7:KlikpåknappenStartforatåbnemenuenStart,ogskrivderefterprogramnavnet
ellerisøgefeltet.
–IWindows10:SkrivprogramnavnetisøgefeltetudforknappenStart.
Kapitel1.Produktoversigt13

2.Isøgeresultaterneskalduklikkepånavnetpådetønskedeprogramforatstarteprogrammet.
–FraStart-menuenellerKontrolpanel:
1.KlikpåknappenStartforatåbnemenuenStart.Klikderefterpånavnetpådetønskedeprogram
foratstarteprogrammet.
2.Hvisprogramnavnetikkevises,skalduklikkepåAlleprogrammeriWindows7ellerAlleappsi
Windows10foratfåvistprogramoversigten.Fraoversigtenellerenmappeioversigtenskaldu
klikkepånavnetpådetønskedeprogramforatstarteprogrammet.
3.HvisprogramnavnetikkevisesimenuenStart,skalduåbneprogrammetfraKontrolpanel.
a.GørfølgendeafhængigtafdinWindows-version:
–IWindows7:KlikpåKontrolpanelimenuenStart.
–IWindows10:HøjreklikpåknappenStartforatåbneStart-genvejsmenuen,ogklikderefter
påKontrolpanel.
b.VisKontrolpanelmedStoreikonerellerSmåikoner,ogklikderefterpånavnetpådetønskede
programforatstartedet.
•IWindows8.1:
1.TrykpåWindows-logotastenforatgåtilStartskærmen.Klikpånavnetpådetønskedeprogram
foratstarteprogrammet.
2.Hvisduikkekanfindedetønskedeprogram,skalduklikkepåpileninederstevenstrehjørneaf
skærmenforatgåtilApps-skærmen.Finddetønskedeprogrampålistenoverapps,ellersøgefter
detviasøgefeltetiskærmensøverstehøjrehjørne.
IntroduktiontilLenovo-programmer
DetteemnegiverenkortintroduktiontilvisseLenovo-programmer.
Bemærk:Afhængigtafcomputermodellenervisseprogrammermuligvisikketilgængelige.
•FingerprintManagerProellerThinkVantageFingerprintSoftware(Windows7ogWindows8.1)
Meddenindbyggedefingeraftrykslæser,somfindespåvissetastaturer,kanduregistrereditfingeraftryk
ogknyttedettilstartkodeordet,harddiskkodeordetogWindows-kodeordet.Pådenmådekan
fingeraftryksgodkendelseerstattekodeordogsikrebådeenkelogsikkerbrugeradgang.Tastaturmed
fingeraftrykslæserfindeskuntiludvalgtecomputereellerkankøbessomekstraudstyrtilcomputere,
derunderstøtterbrugenafdet.
•LenovoCompanion(Windows8.1ogWindows10)
Dincomputersbedstefunktionerogmulighederskalværenemmeatfindeogforstå.Detbliverdetmed
LenovoCompanion.DukanbrugeLenovoCompaniontilatgørefølgende:
–Optimerecomputerensydeevne,overvågecomputerenstilstandogadministreresystemopdateringer.
–Fåadgangtilbrugervejledningen,kontrollerestatusforgarantiogsetilbehør,derertilpassetdin
computer.
–Læseforklarendeartikler,gåpåopdagelseiLenovo-forummerneogholdedigopdateretom
teknologinyhedermedartiklerogblogsfrapålideligekilder.
LenovoCompanionerfyldtmedeksklusivtLenovo-indhold,sådukanlæremereom,hvaddukan
gøremeddincomputer.
•LenovoDeviceExperienceellerLenovoPCExperience(Windows10)
ProgrammetLenovoDeviceExperienceellerLenovoPCExperiencehjælperdigmedatarbejdenemmere
ogmeresikkert.ProgrammetgivernemadgangtilLenovoThinkVantageToolsellerLenovoTools,vigtige
indstillingerogoplysningeromdincomputer,Lenovossupportwebstedm.m.
•LenovoID(Windows10)
14ThinkStationP900Brugervejledning

ProgrammetLenovoIDgiverdigmulighedforatopretteditLenovoIDogfåadgangtilalleunderstøttede
Lenovo-programmerogwebportalermedsinglesign-on.
•REACHitellerLenovoReach(Windows7,Windows8.1ogWindows10)
ProgrammetLenovoREACHitellerLenovoReachforbedrerdinskyoplevelse.Detteprogramsørgerfor,
atdualtidharforbindelse,oggiverdigmulighedforafåadgangtilalledineforetrukneelementerfra
personligecomputere,smartphonesellertabletter.Dukanderforfåadgangtil,redigereogdeledinefiler
allestederfra.Dukanogsåføjedineforetruknewebtjenestertilditskyskrivebordogforbliveloggetpå
webstedermedskyadgangskodeadministratoren.
•LenovoSHAREit(Windows7ogWindows8.1)
ProgrammetLenovoSHAREitgørdetnemtoghurtigtatdelefilerogmappermellemcomputere,
smartphones,tabletsellerSmartTV'er,deranvenderstyresystemetAndroidellerWindows.SHAREit
benytternetværkafenhvertype–ellerenddasletikkenogetnetværk–tilatdelefilerogmapper.
•LenovoSolutionCenter(Windows7,Windows8.1ogWindows10)
ProgrammetLenovoSolutionCentergiverdigmulighedforatfejlfindeogløsecomputerproblemer.Det
omfatterfejlfindingstest,indsamlingafsystemoplysninger,sikkerhedsstatusogsupportoplysningersamt
rådogtiptilatopnåmaksimalsystemydeevne.
•LenovoSupport(Windows8.1)
MedprogrammetLenovoSupportkanduregistreredincomputerhosLenovoogkontrollerecomputerens
tilstandogbatterietsstatus.Medprogrammetkanduogsådownloadeogsebrugermanualertil
computeren,fåoplysningeromgarantisamtsøgehjælpogfåsupportoplysninger.
•LenovoThinkVantageTools(Windows7)
ProgrammetLenovoThinkVantageToolsgivernemadgangtilforskelligeværktøjer,somkanhjælpe
digtilatudføreditarbejdepånemogsikkervis.
•LenovoTools(Windows8.1)
ProgrammetLenovoToolsførerdigtilenrækkeoplysningeroggivernemadgangtilforskelligeværktøjer,
somkanhjælpedigtilatudføreditarbejdepånemogsikkervis.
•RecoveryMedia(Windows7)
DukanbrugeprogrammetRecoveryMediatilatretablereharddiskensoprindeligeindholdtil
standardindstillingernefrafabrikken.
•RescueandRecovery(Windows7)
ProgrammetRescueandRecoveryerenløsningtilgenopretningogretableringmedtrykpåenenkelt
knap.Detinkludereretsætværktøjertilselv-retablering,derhjælperdigmedatforetagefejlfinding,skaffe
hjælpogretablerecomputereneftersystemnedbrud,selvhvisduikkekanstarteWindows-styresystemet.
•SystemUpdate(Windows7ogWindows8.1)
ProgrammetSystemUpdatehjælpermedatholdeprogrammerpåcomputerenopdateredeved
atdownloadeoginstallereopdateringspakker.Dissesoftwareopdateringspakkeromfatterbl.a.
Lenovo-programmer,styreprogrammer,UEFIBIOS-opdateringerogandretredjepartsprogrammer.
Kapitel1.Produktoversigt15

16ThinkStationP900Brugervejledning

Kapitel2.Brugafcomputeren
Dettekapitelindeholderoplysningeromfølgende:
•"Registreringafcomputeren"påside17
•"BrugafWindows-genvejstaster"påside17
•"Brugaffingeraftryksgodkendelse"påside34
•"Brugafmusmedhjul"påside18
•"Indstillingafcomputerenslydstyrke"påside19
•"Brugafendisk"påside19
•"NavigationmellemskærmbillederiWindows8.1-operativsystemet"påside20
•"AdgangtilkontrolpaneletiWindows8.1-styresystemet"påside22
•"Hyppigtstilledespørgsmål"påside22
Registreringafcomputeren
NårduregistrerercomputerenhosLenovo,læggespåkrævedeoplysningerienLenovo-database.Lenovo
kanbrugeoplysningernetilatkontaktedig,hvisdererentilbagekaldelseelleretandetalvorligtproblem,
ogdufårhurtigereservice,nårduringertilLenovoforatfåhjælp.Ivissetilfældefårregistreredebrugere
derudovertilbudomyderligereservice.
HvisduvilregistreredincomputermedhosLenovo,skaldugåtilhttp://www.lenovo.com/registerogfølge
instruktionernepåskærmen.
BrugafWindows-genvejstaster
Derertresærligegenvejstasterpåbådestandardtastaturetogtastaturetmedfingeraftrykslæser,somdukan
brugesammenmedMicrosoftWindows-styresystemet.
•DetoWindows-logotasterfindesvedsidenafAlt-tastenpåbeggesiderafmellemrumstasten.I
Windows7-ellerWindows10-styresystemetskaldutrykkepåWindows-logotastenforatåbnemenuen
Start.IstyresystemetWindows8.1skaldutrykkepåWindows-logotastenforatskiftemellemdetaktuelle
arbejdsrumogskærmbilledetStart.Windows-logoetsudseendeafhængeraftastaturtypen.
•TastentilkontekstmenuerplaceretvedsidenafCtrl-tastentilhøjreformellemrumstasten.Nårdu
trykkerpåtastentilkontekstmenu,visesenmenufordenaktiveikonellerdetaktiveprogramellerobjekt.
Bemærk:DukanbrugemusenellerPilop-ogPilned-tasternetilatmarkeremenuvalg.
©CopyrightLenovo2014,201517

Brugafmusmedhjul
Musenmedhjulhardissefunktioner:
1Primærmuseknap:Brugdenneknaptilatvælgeellerstarteetprogramelleretmenupunkt.
2Hjul:Brughjulettilatstyremusensrulningsfunktion.Bladringenskeridenretning,dudrejerhjulet.
3Sekundærmuseknap:Brugdenneknaptilatåbneenmenutildetaktiveprogram,detaktiveikoneller
detaktiveobjekt.
Dukanskiftemellemdeprimæreogsekundæremuseknappersfunktionogændreandrestandardfunktioner
viavinduetEgenskaberformus.ÅbnvinduetEgenskaberformusvedatgåtilKontrolpanel,visKontrolpanel
medStoreikonerellerSmåikoner,ogklikderefterpåMus.
Strømstyring
Strømstyringreducererstrømforbrugetforvissekomponentericomputeren,f.eks.systemetsstrømforsyning,
processor,harddiskeogvisseskærme.
ACPI(AdvancedConfigurationandPowerInterface)BIOS
DastyresystemeteretACPIBIOS-system,kandetstyrecomputerensstrømstyringsfunktioner,og
indstillingenforAPM(AdvancedPowerManagement)BIOS-tilstandignoreres.Ikkeallestyresystemer
understøtterACPIBIOS-tilstand.
Funktionerforautomatiskstart
FunktionerneforautomatiskstartimenuenStrømstyringgiverdigmulighedforataktivereogdeaktivere
funktioner,dertænderforcomputerenautomatisk.
•WakeUponAlarm:Dukanangiveendatoogettidspunkt,hvorcomputerenskaltændesautomatisk.
Dettekanentenværeenenkeltgangellerhverdag.
•WakeonLAN:Hviscomputerenharenkorrektkonfigurerettoken-ringelleretEthernetLAN-adapterkort,
dererWakeonLAN-aktiveret,ogderereteksterntnetværksstyringsprogram,kandubrugefunktionen
WakeonLAN.NårduindstillerWakeonLANtilEnabled,tændescomputeren,nårdenmodtageret
bestemtsignalfraenandencomputerpådetlokaleLAN(LocalAreaNetwork).
DukanaktiverefunktionenWakeonLANellerfunktionenWakeUponAlarmpåWindows8.1-styresystemet
vedatgørefølgende:
1.ÅbnKontrolpanel.
2.KlikpåHardwareoglyd➙Strømstyring.
18ThinkStationP900Brugervejledning

3.KlikpåVælg,hvadtænd/sluk-knappenskalgøreivenstrepanel.
4.IafsnittetIndstillingfornedlukningskaldufjernemarkeringeniAktivérhurtigstart.
Bemærk:Hvisindstillingerneikkeertilgængelige,skalduklikkepåRedigerindstillinger,somikke
ertilgængeligeiøjeblikket.
5.KlikpåGemændringer.
Indstillingafcomputerenslydstyrke
Gørfølgendeforatindstillecomputerenslydstyrke:
1.KlikpåikonetLydstyrkeiWindows-meddelelsesområdetpåproceslinjen.
Bemærk:HvislydstyrkeikonetikkevisesiWindows-meddelelsesområdet,kandutilføjeikoneti
meddelelsesområdet.DererdetaljeredeoplysningerihjælptilWindows.
2.Følgvejledningenpåskærmenogteksten,dervises,foratjusterelydstyrkenellerslåhøjttaleren
tilellerfra.
Brugafendisk
Detteafsnitindeholderoplysningeromfølgende:
•"Brugafdetoptiskedrev"påside19
•"Håndteringogopbevaringafendisk"påside20
•"Afspilningogfjernelseafendisk"påside20
•"Optagelsepåendisk"påside20
Brugafdetoptiskedrev
Afhængigtafmodellenhardincomputerenaffølgendeoptiskedrev:
•CD-ROM-drev:BrugestilkunatlæseCD'er.
•DVD-ROM-drev:BrugestilatlæseDVD'erogCD'er.
•BD-ROM-drev:BrugestilatlæseBlu-rayDiscs(BD'er),DVD'erogCD'er.
•Skrivbartoptiskdrev:Brugestilatlæseogoptagepåendisk.
Følgdisseretningslinjer,nårdubrugeretoptiskdrev:
•Placerikkecomputerenetsted,hvordrevetkanudsættesfornogenaffølgendeforhold:
–højetemperaturer
–højluftfugtighed
–megetstøv
–rystelserellerpludseligestød
–enskråoverflade
–direktesollys
•Isætikkeandreobjekterendendiskidrevet.
•Sætikkeenødelagtdiskidrevet.Bøjede,ridsedeellersnavsedediskekanødelæggedrevet.
•Tagdiskenudafdrevet,førduflyttercomputeren.
Kapitel2.Brugafcomputeren19

Håndteringogopbevaringafendisk
Følgfølgenderetningslinjer,nårduhåndtererogopbevarerendisk:
•Holdikanternepådisken.Rørikkediskensoverflade.
•Hvisduskalfjerneeventuellefingeraftrykpådisken,skaldurengøredenvedattørredenmedenrenblød
kludframidtenogudefter.Hvisduaftørrerdiskenicirkulærebevægelser,kandetmedføretabafdata.
•Skrivikkepåoverfladen,ogplacérikkepapirpåden.
•Undgåatridseellersættemærkerpådisken.
•Ladikkediskenliggeidirektesollys.
•Brugikkebenzin,fortynderellerandrerensemidlertilatrengøredisken.
•Tabellerbøjikkedisken.
Afspilningogfjernelseafendisk
Gørfølgendeforatafspilleendisk:
1.Nårcomputerenertændt,skaldutrykkepåknappentilåbning/lukningforanpådetoptiskedrev.
Skuffengliderudafdrevet.
2.Isætendiskibakken.Nogleoptiskedrevharencenterlåsmidtiskuffen.Hvisdrevetharencenterlås,
skalduholdeunderskuffenmeddenenehåndogtrykkemidtpådisken,indtildenklikkerpåplads.
3.Trykigenpåknappentilåbning/lukning,ellerskubforsigtigtskuffenindforatlukke
den.Diskafspilningsprogrammetstarterautomatisk.Dererflereoplysningerihjælpentil
diskafspilningsprogrammet.
Gørfølgendeforatfjerneendiskfradetoptiskedrev:
1.Nårcomputerenertændt,skaldutrykkepåknappentilåbning/lukningforanpådetoptiskedrev.
Skuffengliderudafdrevet.
2.Tagforsigtigtdiskenudafbakken.
3.Trykigenpåknappentilåbning/lukning,ellerskubforsigtigtskuffenindforatlukkeden.
Bemærk:Hvisskuffenikkegliderudafdrevet,nårdutrykkerpåknappentilåbning/lukning,skaldu
slukkecomputeren.Stikderefterspidsenafenpapirclipsindinødudløserhulletvedsidenafknappentil
åbning/lukning.Brugkunnødudløsereninødstilfælde.
Optagelsepåendisk
Hvisdetoptiskedrevunderstøtteroptagelse,kanduoptagepåendiskvedatgørefølgende:
1.Indsætenbrændbardiskidetoptiskedrev,derunderstøtteroptagelse.
2.ÅbnprogrammetPowerDVDCreate,PowerProducerellerPower2Go.Se"Adgangtiletprogrampå
computeren"påside13.
3.Følgvejledningenpåskærmen.
NavigationmellemskærmbillederiWindows8.1-operativsystemet
Benytenaffølgendefremgangsmåderforatnavigerepåskrivebordet,påstartskærmenogideprogrammer,
dereråbnetfrastartskærmenpåWindows8.1-operativsystemet:
•Benytenaffølgendefremgangsmåderpåstartskærmenforatnavigeretildeseneståbnede
arbejdsområde(program,indstillingellerskrivebord):
–Brugafpegeenhed:Flytmarkørentildetnederstevenstrehjørneafskærmen,indtilWindows
Start-skærmkontrollenvises.Klikderefterpåikonet.
20ThinkStationP900Brugervejledning

–Brugafenberøringsskærm:Strygindogudiskærmensvenstrekant.Dervisespræsentationeraf
alletilgængeligearbejdsområderlangsskærmenskant.TrykpåWindowsStart-skærmkontrollen
nederstpåskærmen.
Bemærk:WindowsStart-skærmkontrollenviseskun,nårderermindstétaktivtarbejdsområde
ibaggrundenpåsystemet.
•Benytenaffølgendefremgangsmåderfraskrivebordetellerfraetandetarbejdsområde,dereråbnetfra
startskærmen,foratnavigeretilstartskærmen:
–Brugafenpegeenhed:
–PåskrivebordetskalduklikkepåWindowsStart-skærmkontrolleniskærmensnederstevenstre
hjørne.
–Fraandrearbejdsområderskalduflyttemarkørentildetnederstevenstrehjørneafskærmen,indtil
ikonetforWindowsStart-skærmkontrollenvises.Klikderefterpåikonet.
–Brugafenpegeenhed:Benytenaffølgendefremgangsmåder:
–PåskrivebordetskaldutrykkepåWindowsStart-skærmkontrolleniskærmensnederstevenstre
hjørne.
–Fraalleandrearbejdsområderskaldubenytteenaffølgendefremgangsmåder:
•Strygindogudpåskærmensvenstrekant.Dervisespræsentationerafalletilgængelige
arbejdsområderlangsskærmenskant.TrykpåWindowsStart-skærmkontrollennederstpå
skærmen.
•Stryginfraskærmenshøjrekantforatfåvistamuletterne,ogtrykderefterpåStart.
•Ietvilkårligtarbejdsområde(startskærm,skrivebord,pc-indstillingerelleretprogram,dereråbnetfra
startskærmen)kandugåtiletandetarbejdsområde,dutidligereharåbnet,vha.enaffølgendeprocedurer:
–Hvisduvilnavigeretilettidligereåbnetarbejdsområde(program,indstillingellerskrivebord),skaldu
benytteenaffølgendefremgangsmåder:
–Brugafenpegeenhed:
1.Gøretaffølgende:
•Flytmarkørentilskærmensøverstevenstrehjørne,ogflytdereftermarkørennedadlands
skærmensvenstrekant.
•Flytmarkørentildetnederstevenstrehjørne,ogflytdenderefteropadlangsskærmens
venstrekant.
Dervisespræsentationerafalletilgængeligearbejdsområderlangsskærmenskant.
Bemærk:Dufårkunvistaktivearbejdsområder,duharbrugtidennuværende
Windows-session,langsdenvenstrekant.Hvisdulukkeretaktivtarbejdsområde,vises
præsentationenderafikkelangsskærmensvenstrekant.
2.Klikpåpræsentationen.
–Brugafenberøringsskærm:
•Metode1
1.Strygindogudpåskærmensvenstrekant.Dervisespræsentationerafalletilgængelige
arbejdsområderlangsskærmenskant.
2.Trykpådetønskedearbejdsområde.
•Metode2
1.Strygindadfraskærmensvenstrekantforatnavigeretildetnæstetilgængelige
arbejdsområde.
Kapitel2.Brugafcomputeren21

2.Gentagtrin1,indtildunårtildetønskedearbejdsområde.
–Benytenaffølgendefremgangsmåderforatnavigeretildetseneståbnedearbejdsområde(program,
pc-indstillingerellerskrivebordet):
–Brugafpegeenhed:Flytmarkørentildetøverstevenstrehjørneafskærmen,indtilWindows
Start-skærmkontrollenvises.Klikderefterpåikonet.
–Brugafenberøringsskærm:Strygindadfraskærmensvenstrekant.
DukanfåflereoplysningerombrugenafandrefunktioneriWindows8.1-styresystemetvedatåbne
programmetHjælp+tipsfrastartskærmenellerfraskærmenApps.DukanogsåseihjælptilWindows.Der
erflereoplysningeriafsnittet"WindowsHjælp-system"påside143.
AdgangtilkontrolpaneletiWindows8.1-styresystemet
IoperativsystemetWindowskandugennemseogændrecomputerindstillingermedKontrolpanelet.Udfør
enafellerallefølgendehandlingeriWindows8.1-styresystemetforatåbnekontrolpanelet:
•Fraskrivebordet
1.Flytmarkørentilskærmhjørnetentenøversttilhøjreellernedersttilhøjreforatseamuletterne.
2.KlikpåIndstillinger.
3.KlikpåKontrolpanel.
•FraskærmbilledetStart
1.KlikpåpilennediskærmensnederstevenstrehjørneforatgåtilApps-skærmen.
2.Rultilhøjreside,ogklikpåKontrolpanelunderWindowsSystem.
Hyppigtstilledespørgsmål
Følgendeernogleafdeoftestilledespørgsmålogtilhørendesvar.Svarenekanhjælpedigmedatfå
mestmuligtudafdincomputer.
På
http://www.lenovo.com/support/faqkandufindesvarenepåflereoftestilledespørgsmålom,hvordan
dubrugerdincomputer.
Hvordankanjegfåbrugervejledningenpåetandetsprog?
Brugervejledningenfindespåenrækkeforskelligesprogpå:
http://www.lenovo.com/UserManuals
Hvorermitretableringsdisksætellerminretablerings-USB-nøgle?
AfhængigtafWindows-versionenleverescomputerenmuligvismedetretableringsdisksætelleren
retablerings-USB-nøgle.Hvisdisseikkeblevleveretsammenmedcomputeren,kandubestilleet
retableringsdisksætellerenretablerings-USB-nøglevedatkontakteLenovoskundesupportcenter.Dukan
findeenlisteovertelefonnumretilLenovoSupportpåhttp://www.lenovo.com/support/phone.Kontaktdin
Lenovo-forhandler,hvisduikkekanfindetelefonnummerettilsupportfordetlandellerområde,somdubori.
Hvordangendannerjegcomputerensindstillinger?
Computerenindeholderetprogram,somdukanbrugetilatgendannecomputerensindstillinger.Dererflere
oplysningeriafsnittetKapitel8"Oplysningeromretablering"påside65.
Hvisduskullekommeudforenharddiskfejl,kandubestilleretableringsdiskefraLenovos
kundesupportcenter.Dererflereoplysningerom,hvordandukontakterkundesupportcentret,iafsnittet
22ThinkStationP900Brugervejledning

Kapitel10"Oplysninger,hjælpogservice"påside143.Læsdendokumentation,derleveressammenmed
retableringsdiskene,førdubrugerretableringsdiskene.
Bemærk:Retableringsdisksættetkanindeholdeflerediske.Kontrollér,atduharallediskeneklar,førdu
starterretableringen.Underretableringenbliverdumåskebedtomatskiftedisk.
HviskanjegfåhjælptilWindows-styresystemet?
Læsafsnittet"WindowsHjælp-system"påside143.
HvordankanjegændrestartmådenforWindows8.1,såentenskrivebordetellerstartskærmenåbnes?
PåWindows8.1-operativsystemetkanduindstillecomputerentilsomstandardatåbneentenskrivebordet
ellerstartskærmen.Gørfølgendeforatindstillestandardstartskærmen:
1.Påskrivebordetskalduhøjreklikkepåproceslinjennederstpåskærmen.
2.KlikpåEgenskaber.Vinduetmed"egenskaberforproceslinjeognavigation"vises.
3.FindStartskærmunderfanenNavigation,ogudførderefterénaffølgendehandlinger:
•Hvisduvilkonfigurereskrivebordetsomditstandardskærmbillede,skalduvælgeGåtilskrivebordet
istedetforStart,nårjegloggerpåellerlukkeralleprogrammerpåetskærmbillede.
•Hvisduvilkonfigurerestartskærmensomstandardstartskærmbillede,skaldufjernemarkeringeni
afkrydsningsfeltetGåtilskrivebordetistedetforStart,nårjegloggerpåellerlukkeralleapps
påetskærmbillede.
4.KlikpåOKforatgemmedennyeindstilling.
Kapitel2.Brugafcomputeren23

24ThinkStationP900Brugervejledning

Kapitel3.Digogdincomputer
Dettekapitelindeholderoplysningeromhjælptilhandicappede,ergonomiogflytningafcomputeren
tilandrelandeellerområder.
Hjælptilhandicappedeogergonomi
Detervigtigtathavegodevanermht.ergonomiforatfåmestmuligtudafcomputerenogundgågener.
Indretarbejdspladsenogdetudstyr,dubruger,sådetpasserbedsttilditbehovogdetarbejde,duskal
udføre.Sørgdesudenforathavegodearbejdsvaner,såduydermestmuligtoghardetsåbehageligt
sommuligt,nårdubrugercomputeren.
Følgendeafsnithandlerom,hvordanduindretterarbejdspladsen,stillerudstyretopogindarbejdergode
arbejdsvaner.
Indretningafarbejdspladsen
Dufårstørstudbytteafcomputeren,hvisduplacererudstyretogindretterarbejdspladsenefterdinebehov
ogdetarbejde,duskaludføre.Dinarbejdsstillingerdetvigtigste,menogsålyskilder,ventilationogplacering
afstikkontakterkanhavebetydningforindretningenafarbejdspladsen.
Ergonomi
Derfindesikkenogenarbejdsstilling,dererideelforalle,menidetfølgendegivesnogleretningslinier
for,hvordandufinderden,derpasserdigbedst.
Detertrættendeatsiddeidensammestillingilængeretid.Ryglænetogstolenssædeskalkunneindstilles
uafhængigtafhinandenforatstøttemaksimalt.Sædetsforkantskalværeafrundetforatlettetrykketpå
undersidenaflårene.Indstilsædet,sådinefødderentenhvilerfladtpågulvetellerpåenfodskammel,og
dinelårerparallellemedgulvet.
Nårdubenyttertastaturet,skalunderarmeneværeparallellemedgulvetoghåndleddeneineutral,afslappet
stilling.Holdhænderneletpåtastaturet,ogforsøgatslappeafihænderogfingre.Justérvinklenpå
tastaturet,sådetbliverbehageligtatarbejdeved.Detgøresvedatstillepåtastaturetsben.
Justérskærmen,sådenøverstekantafskærmeneriellerligeunderøjenhøjde.Placérskærmenien
afstandafca.51-61cmfradig,sådenerbehageligatsepå.Anbringderefterskærmen,såduikke
behøverdrejekroppenforatkunneseden.Placérogsåandetudstyr,dubrugerjævnligt,f.eks.telefonen
ellermusen,sådeernemmeatfåfati.
©CopyrightLenovo2014,201525

Genskinoglys
Anbringskærmen,sådufårmindstmuligtgenskinogrefleksfraloftslys,vinduerogandrelyskilder.Genskin
frareflekterendeoverfladerkanbetyde,atdetersværtatseskærmbilledet.Hvisduharmulighedfordet,
skalduplacereskærmenvinkelretpåvinduerogøvrigelyskilder.Reducérovenlyset,evt.vedheltatslukke
detellervedatsættesvagerepæreri.Hvisskærmenstårtætvedvinduet,kandublændeforsollysetvha.
gardinerellerpersienner.Dukanjustereskærmenslysstyrkeogkontrastiløbetafdagen,efterhåndensom
lysforholdeneændres.
Hvisdetikkeermuligtheltatundgåreflekser,ellerduikkekanregulerelyset,kandubrugeetskærmfilter
foranskærmen.Skærmfiltrekanimidlertidpåvirkeskarphedenafbilledetpåskærmen,sådetbørdu
kunbenytte,hvisdeandremetoderikkehjælper.
Støv,dersamlespåskærmen,øgerproblemernemedgenskin.Huskatrengøreskærmenmedjævne
mellemrum.Brugenblødkludsombeskrevetidokumentationentilskærmen.
Ventilation
Bådecomputerenogskærmenproducerervarme.Icomputerensidderenblæser,dersugerfriskluftind
ogsendervarmluftud.Skærmensenderdenvarmeluftudgennemetluftgitter.Hvisventilationshullerne
blokeres,kanenhedernebliveoverophedetogikkefungerekorrektellerblivebeskadigede.Placér
computerenogskærmen,såventilationshullerneikkeblokeres.Normalter5cmnok.Kontrollérogså,at
ventilationsluftenikkeblæserindiansigtetpånogen.
Stikkontakterogkabellængder
Følgendefaktorerkanværeafgørendefor,hvorcomputerenskalanbringes:
•Placeringafstikkontakter
•Længdenafledninger
•Længdenafdekabler,derertilsluttetskærmenogøvrigeenheder
Vedindretningafarbejdspladsen:
•Undgåbrugafforlængerledninger.Hvisdetermuligt,skaldusluttecomputerensnetledningdirekte
tilstikkontakten.
•Holdnetledningerogkablervækfrasteder,hvordugår,såduikkeuforvarendekommertilatsparketil
dem.
Dererflereoplysningeromnetledningeri"Ledningerogstrømadaptere"påsidevi.
Handicapvenlighed
Lenovovilgivebrugeremedhørehandicap,synshandicapogandreformerforhandicapbedreadgangtil
informationerogteknologi.Detteafsnitindeholderoplysningerom,hvordandissebrugerekanudnytte
computerenpåbedstemåde.Dukanogsåfådemestopdateredeoplysningeromhandicapvenlighedpå
følgendewebsted:
http://www.lenovo.com/accessibility
Tastaturgenveje
Følgendetabelindeholdertastaturgenveje,dergørcomputerennemmereatbruge.
Bemærk:Afhængigtaftastaturetervisseaffølgendetastaturgenvejemuligvisikketilgængelige.
26ThinkStationP900Brugervejledning

TastaturgenvejeFunktion
Windows-logotast+UÅbnFunktionertiløgettilgængelighed
HøjreskiftetastiottesekunderAktivérellerdeaktiverfiltertaster
SkiftfremgangeAktivérellerdeaktivertrægetaster
NumLockifemsekunderAktivérellerdeaktivertil/fra-taster
VenstreAlt+VenstreSkift+NumLockAktivérellerdeaktivermusetaster
VenstreAlt+VenstreSkift+PrtScn(ellerPrtSc)Aktivérellerdeaktiverhøjkontrast
Dukanfindeflereoplysningerpåhttp://windows.microsoft.com/.Foretagderefterensøgningvedatskrive
etaffølgendenøgleord:tastaturgenveje,tastekombinationer,genvejstaster.
Funktionertiløgettilgængelighed
BrugerekanbenytteFunktionertiløgettilgængelighedpåWindows-styresystemettilatkonfigurerederes
computere,sådepassertilderesfysiskeogkognitivebehov.
GørfølgendeforatbrugeFunktionertiløgettilgængelighed:
1.GørfølgendeafhængigtafdinWindows-version:
•IWindows7:KlikpåknappenStartforatåbnemenuenStart,ogklikderefterpåKontrolpanel.Vis
KontrolpanelmedStoreikonerellerSmåikoner,ogklikderefterpåCenterforøgettilgængelighed.
•IWindows8.1:Flytmarkørentilskærmensøversteellernederstehøjrehjørneforatfåvist
amuletterne.KlikderefterpåIndstillinger➙Skiftpc-indstillinger➙Øgettilgængelighed.
•IWindows10:KlikpåknappenStartforatåbnemenuenStart.KlikderefterpåIndstillinger➙
Øgettilgængelighed.
2.Vælgdetkorrekteværktøjvedatfølgevejledningenpåskærmen.
Funktionertiløgettilgængelighedindeholderprimærtfølgendeværktøjer:
•Forstørrelsesglas
Forstørrelsesglaseretnyttigtværktøj,derforstørrerheleskærmenellerendelafskærmen,sådubedre
kanseelementerne.
•Oplæser
Oplæsererenskærmlæser,derlæserdet,dervisespåskærmen,højtogbeskriverhændelser,f.eks.
fejlmeddelelser.
•Skærmtastatur
Hvisduforetrækkeratskriveellerangivedatapåcomputerenmedenmus,etjoystickellerenanden
pegeenhedistedetforetfysisktastatur,kandubrugeSkærmtastatur.Skærmtastaturviseretvisuelt
tastaturmedallestandardtasterne.
•Højkontrast
Højkontrasterenfunktion,derøgerfarvekontrastenfornogettekstognoglebillederpåskærmen.Det
gørdisseelementermeretydeligeoglettereatidentificere.
•Tilpassettastatur
Tilpasindstillingernefortastaturetforatgøretastaturetnemmereatbruge.Dukanf.eks.brugetastaturet
tilatstyremarkørenoggøredetnemmereattastevissetastekombinationer.
•Tilpassetmus
Tilpasindstillingerneformusenforatgøremusennemmereatbruge.Dukanf.eks.ændremarkørens
udseendeoggøredetnemmereathåndterevinduervedhjælpafmusen.
Kapitel3.Digogdincomputer27

Talegenkendelse
MedTalegenkendelsekandustyrecomputerenmedstemmen.
Dukanvedhjælpafkundinstemmestarteprogrammer,åbnemenuer,klikkepåobjekterpåskærmen,
dikteretekstidokumentersamtskriveogsendemails.Altdet,somdugørmedtastaturetogmusen,kan
gøresmedkundinstemme.
GørfølgendeforatbrugeTalegenkendelse:
1.GørfølgendeafhængigtafdinWindows-version:
•IWindows7:KlikpåknappenStartforatåbnemenuenStart,ogklikderefterpåKontrolpanel.
•IWindows8.1:ÅbnKontrolpanel.Se"AdgangtilkontrolpaneletiWindows8.1-styresystemet"
påside22.
•IWindows10:HøjreklikpåknappenStartforatåbneStart-genvejsmenuen,ogklikderefterpå
Kontrolpanel.
2.VisKontrolpanelmedStoreikonerellerSmåikoner,ogklikderefterpåTalegenkendelse.
3.Følgvejledningenpåskærmen.
Skærmlæserteknologier
Skærmlæserteknologierfokusererprimærtpåsoftwareprogramgrænseflader,hjælpesystemerogdiverse
onlinedokumenter.Dererflereoplysningeromskærmlæserei:
•BrugafPDF-filermedskærmlæsere:
http://www.adobe.com/accessibility.html?promoid=DJGVE
•BrugafJAWS-skærmlæseren:
http://www.freedomscientific.com/jaws-hq.asp
•BrugafNVDA-skærmlæseren:
http://www.nvaccess.org/
Skærmopløsning
Dukangøretekstenogbilledernepåskærmennemmereatlæseogsevedatjustereskærmopløsningen
påcomputeren.
Gørfølgendeforatjustereskærmopløsningen:
1.Højreklikpådettommeområdepåskrivebordet.
2.GørfølgendeafhængigtafdinWindows-version:
•IWindows7ellerWindows8.1:KlikpåSkærmopløsning.
•IWindows10:KlikpåSkærmindstillinger.KlikpåAvanceredeskærmindstillingerunderfanen
Skærm.
3.Følgvejledningenpåskærmen.
Bemærk:Enforlavopløsningkanresulterei,atvisseelementerikkekanvisespåskærmen.
Justerbarelementstørrelse
Dukangøreelementernepåskærmennemmereatlæseogsevedatændreelementstørrelsen.
•Hvisduvilændreelementstørrelsenmidlertidigt,skaldubrugeværktøjetForstørrelsesglasiFunktionertil
øgettilgængelighed.Se"Funktionertiløgettilgængelighed"påside27.
•Gørfølgendeforatændreelementstørrelsenpermanent:
–Ændrstørrelsenafalleelementernepåskærmen.
28ThinkStationP900Brugervejledning

1.Højreklikpådettommeområdepåskrivebordet.
2.GørfølgendeafhængigtafdinWindows-version:
–IWindows7ellerWindows8.1:KlikpåSkærmopløsning➙Gørtekstogandreelementer
størreellermindre.
–IWindows10:KlikpåSkærmindstillinger.
3.Ændrelementstørrelsenvedatfølgevejledningenpåskærmen.
4.KlikpåAnvend.Denneændringtræderikraft,næstegangduloggerpåstyresystemet.
–Ændrstørrelsenafelementernepåenwebside.
TrykogholdnedepåCtrl,ogtrykderefterpåplus-tasten(+)foratforstørreellerminus-tasten(-)forat
formindsketekststørrelsen.
–Ændrstørrelsenafelementernepåskrivebordetelleretvindue.
Bemærk:Dennefunktionfungerermuligvisikkepånoglevinduer.
Hvismusenharethjul,skaldutrykkeogholdenedepåCtrlogderefterrullemedhjuletforatændre
elementstørrelsen.
Industristandardstik
Computerenindeholderindustristandardstik,sådukantilsluttehjælpeenheder.
Dererflereoplysningeromhvertstiksplaceringogfunktioni"Komponenternesplacering"påside1.
TTY/TDD-konverteringsmodem
Computerenunderstøtterbrugenafenteksttelefon(TTY-konverteringsmodem)eller
telekommunikationsenhedentildøve(TDD-konverteringsmodem).Modemmetskalværetilsluttetmellem
dincomputerogenTTY/TDD-telefon.Dukanderefterskriveenbeskedpåcomputerenogsendedentil
telefonen.
Dokumentationitilgængeligeformater
Lenovotilbyderelektroniskdokumentationitilgængeligeformater,f.eks.korrektmærkedePDF-filereller
HTML-filer(HyperTextMarkupLanguage).Lenovoselektroniskedokumentationerudvikletforatsikre,
atsynshandicappedebrugerekanlæsedokumentationenvedhjælpafenskærmlæser.Hvertbilledei
dokumentationenharogsåpassendealternativtekst,såsynshandicappedebrugerekanforståbilledet,
nårdebrugerenskærmlæser.
Flytningafcomputerentiletandetlandelleretandetområde
Nårdutagercomputerenmedtiletandetlandellerområde,skaldutagehøjdefordelokale
elektricitetsstandarder.
Hvisdutagercomputerenmedtiletandetlandellerområde,hvorstikkontakterneeranderledesenddem,
duervanttilatbruge,skalduentenkøbestikadaptereellernyenetledninger.Dukanbestillenetledninger
direktefraLenovo.
Dufinderoplysningeromnetledningerogpartnumrepå:
http://www.lenovo.com/powercordnotice
Kapitel3.Digogdincomputer29

30ThinkStationP900Brugervejledning

Kapitel4.Sikkerhed
Dettekapitelindeholderoplysningerom,hvordandubeskyttercomputerenmodtyverioguautoriseretbrug.
Sikkerhedsfunktioner
Derfindesfølgendesikkerhedsfunktionerpåcomputeren:
•ProgrammetComputraceAgentintegreretifirmware
ProgrammetComputraceAgenterenløsningtilstyringafit-aktiverogretableringeftercomputertyveri.
Programmetregistrerer,omdererforetagetændringerpåcomputeren,f.eks.hardware,softwareellerdet
sted,computerenkalderopfra.
Bemærk:Duskalevt.købeetabonnementforatkunneaktivereprogrammetComputraceAgent.
•Kontakttilregistreringafdæksel(ogsåkaldetdækselføler)
Kontaktentilregistreringafdæksletforhindrer,atcomputerenkanloggepåstyresystemet,når
computerdæksletikkeerinstalleretellerlukketkorrekt.Gørfølgendeforataktiverekontaktentil
registreringafdæksletpåsystemkortet:
1.StartprogrammetSetupUtility.Se"StartafprogrammetSetupUtility"påside35.
2.Angivadministratorkodeordet.Se"Angiv,revidérellersletetkodeord"påside37.
3.FraundermenuenSecurityskalduvælgeChassisIntrusionDetection➙Enabled.Kontaktentil
registreringafdæksletpåsystemkorteteraktiveret.
Hviskontaktentilregistreringafdæksletregistrerer,atcomputerdæksletikkeerkorrektinstallereteller
lukket,nårdutændercomputeren,visesenfejlmeddelelse.Gørfølgendeforatdeaktiverefejlmeddelelsen
ogloggepåstyresystemet:
1.Installerellerlukcomputerdæksletkorrekt.Se"Afslutningafudskiftningenafdele"påside140.
2.TrykpåF1foratåbneprogrammetSetupUtility.TrykderefterpåF10foratgemmeogafslutte
programmetSetupUtility.Fejlmeddelelsenbliverikkevistigen.
•MulighedforataktivereellerdeaktivereenhederogUSB-stik
Dererflereoplysningeriafsnittet"Aktiveringellerdeaktiveringafenenhed"påside37.
•Indbyggetfingeraftrykslæser(vissemodeller)
Fingeraftryksgodkendelsekanerstattekodeordogsikrebådeenkelogsikkerbrugeradgang.Dererflere
oplysningeriafsnittet"Brugaffingeraftryksgodkendelse"påside34.
•TrustedPlatformModule(TPM)
TrustedPlatformModuleerensikkerkryptoprocessor,derkanlagrekryptografiskenøgler,sombeskytter
data,derergemtpåcomputeren.
Låsningafcomputerensdæksel
Dukanforhindre,atpersonerudenautorisationfåradgangtilcomputerensindre,vedatlåse
computerdækslet.Dincomputerleveresmuligvismedennøglelås1.Denneerindbyggeti
computerdækslet.Nøglernetilnøglelåsenerplaceretpåbagsidenafcomputeren.Afsikkerhedsmæssige
årsagerskalduopbevarenøglerneetsikkertsted,nårduikkebrugerdem.
Bemærk:Nøglelåsenognøglerneerkuntilgængeligeivissemodeller.
©CopyrightLenovo2014,201531

Figur7.Låsningafcomputerensdæksel
32ThinkStationP900Brugervejledning

PåsætningafenKensington-kabellås
DukanbrugeenKensington-kabellås,sådukanlåsecomputerenfasttiletskrivebord,etbordelleretandet
objekt.Kabellåsentilsluttesportentilsikkerhedslåsenpåbagsidenafcomputeren.Afhængigtafden
valgtetypekankabellåsenbrugesmedennøgleellerenkombination.Kabellåsenlåserogsådeknapper,
derbrugestilatåbnecomputerdækslet.Deterdensammetypelås,somdelåse,derbrugespåmange
bærbarecomputere.DukanbestilleensådankabellåsdirektefraLenovovedatsøgeefterKensingtonpå:
http://www.lenovo.com/support
Figur8.Kensington-kabellås
BrugafadgangskoderogWindows-konti
DukanbrugeBIOS-adgangskoderogWindows-kontiforatforhindreuautoriseredepersoneriatfåadgang
tilcomputerenogdensdata.
•Se"BrugafBIOS-kodeord"påside36foratbrugeBIOS-adgangskoder.
•GørfølgendeforatbrugeWindows-konti:
1.GørfølgendeafhængigtafdinWindows-version:
–IWindows7:KlikpåknappenStartforatåbnemenuenStart,ogklikderefterpåKontrolpanel
➙Brugerkonti.
Kapitel4.Sikkerhed33

–IWindows8.1:Flytmarkørentilskærmensøversteellernederstehøjrehjørneforatfåvist
amuletterne.KlikderefterpåIndstillinger➙Skiftpc-indstillinger➙Konti.
–IWindows10:KlikpåknappenStartforatåbnemenuenStart,ogklikderefterpåIndstillinger
➙Konti.
2.Følgvejledningenpåskærmen.
Brugaffingeraftryksgodkendelse
Hvisdittastaturharenfingeraftrykslæser,kandubrugefingeraftryksgodkendelseistedetforadgangkoder
medhenblikpåenkelogsikkerbrugeradgang.Foratbrugefingeraftryksgodkendelseskalduførstregistrere
dinefingeraftrykogknyttedettiladgangskoden(somf.eks.startadgangskoden,harddiskadgangskoden
ogWindows-adgangskoden).Brugfingeraftrykslæserenogfingeraftryksprogrammettilatgennemføre
denneprocedure.
Gørfølgendeforatbrugefingeraftryksgodkendelse:
•IWindows7ellerWindows8.1:BrugprogrammetFingerprintManagerProellerThinkVantageFingerprint
Software,somleveresafLenovo.Se"Adgangtiletprogrampåcomputeren"påside13foratfå
oplysningerom,hvordanduåbnerprogrammet.Dererflereoplysningerombrugafprogrammetihjælpen
tilprogrammet.
•IWindows10:BrugfingeraftryksværktøjetfraWindows.KlikpåknappenStartforatåbnemenuenStart,
ogklikderefterpåIndstillinger➙Konti➙Indstillingerforlogon.Følgvejledningenpåskærmen.
Hvisduvilbrugeenfingeraftrykslæser,kandulæsedendokumentation,somfølgermed
fingeraftrykstastaturetellerpåLenovossupportwebstedpåhttp://www.lenovo.com/support/keyboards.
Brugafogkendskabtilfirewalls
Enfirewallkanværehardware,softwareellerenkombinationafbeggedele,afhængigtafdetønskede
sikkerhedsniveau.Firewallsbrugeretsætreglertilatbestemme,hvilkeindgåendeogudgåendeforbindelser
derskalgodkendes.Hviscomputerenharetforudinstalleretfirewallprogram,erdetmedtilatbeskyttemod
uautoriseretadgang,hackerangreboginternet-angreb.Detbeskytterogsådinepersonligeoplysninger.
Hjælpentilfirewallprogrammetindeholderflereoplysningerom,hvordandubrugerprogrammet.
Windows-styresystemet,somerinstalleretpåcomputeren,indeholderWindowsFirewall.Dererflere
oplysningerombrugenafWindowsFirewalli"WindowsHjælp-system"påside143.
Beskyttelseafdatamodvirus
Computerenleveresmedetforudinstalleretantivirusprogram,somermedtilatbeskyttemod,registrere
ogeliminerevirus.
Lenovolevereretkompletantivirusprogrampåcomputerenmedetgratis30-dagesabonnement.Efter30
dageskaldufornylicensenforfortsatatkunnemodtageopdateringertilantivirusprogrammet.
Bemærk:Virusdefinitionsfilerskalholdesopdateredeforatbeskyttemodnyvirus.
Hjælpentilantivirusprogrammetindeholderflereoplysningerom,hvordandubrugerprogrammet.
34ThinkStationP900Brugervejledning

Kapitel5.Udvidetkonfiguration
Dettekapitelindeholderoplysninger,somkanhjælpedigmedatkonfigurerecomputeren:
•"BrugafprogrammetSetupUtility"påside35
•"OpdateringellerretableringafBIOS"påside39
•"KonfigurationafRAID"påside41
BrugafprogrammetSetupUtility
ProgrammetSetupUtilitybrugestilatfåvistogændrecomputerenskonfiguration,uansethvilket
styresystemdubruger.Indstillingerneistyresystemetkanimidlertidtilsidesættelignendeindstillingeri
programmetSetupUtility.
StartafprogrammetSetupUtility
GørfølgendeforatstarteprogrammetSetupUtility:
1.Kontrollér,atcomputerenerslukket.
2.Tændforcomputeren.UnderstartprocessenskaldutrykkefleregangepåF1-tasten,indtilhovedsideni
programmetSetupUtilityvises.
Bemærk:Hvisdererangivetetstartkodeordelleretadministratorkodeord,visesprogrammenueni
SetupUtilityikke,førduangiverdetkorrektekodeord.Dererflereoplysningeriafsnittet"Brugaf
BIOS-kodeord"påside36.
NårPOST'enregistrerer,atharddiskenerblevetfjernetfracomputeren,ellerathukommelsesstørrelsener
reduceret,visesenfejlmeddelelse.Duskalgøreetaffølgende:
•TrykpåF1foratåbneprogrammetSetupUtility.
Bemærk:NårduharåbnetprogrammetSetupUtility,skaldutrykkepåF10foratgemmeændringerne
ogafslutteprogrammetSetupUtility.TrykpåEnter,nårdubliverbedtomdet,foratbekræfte,atdu
vilafslutte.Fejlmeddelelsenbliverikkevistigen.
•TrykpåF2foratdeaktiverefejlmeddelelsenogloggepåstyresystemet.
Bemærk:DuskalaktiverefunktionentilregistreringafkonfigurationsændringerforPOSTforatregistrere
fjernelsenafharddisken.Dukanaktiverefunktionentilregistreringafkonfigurationsændringervedatgøre
følgende:
1.StartprogrammetSetupUtility.
2.VælgSecurity➙ConfigurationChangeDetectionihovedmenueniprogrammetSetupUtility,og
trykpåEnter.
3.MarkérEnabled,ogtrykpåEnter.
4.TrykpåF10foratgemmeændringerneogafslutteprogrammetSetupUtility.TrykpåEnter,nårdubliver
bedtomdet,foratbekræfte,atduvilafslutte.
Fremvisningogændringafindstillinger
ProgrammenueniSetupUtilityindeholderforskelligepunktervedr.systemkonfigurationen.Startprogrammet
SetupUtilityforatfåvistellerændreindstillingerne.Se"StartafprogrammetSetupUtility"påside35.Følg
hereftervejledningenpåskærmbilledet.
©CopyrightLenovo2014,201535

Dukanbrugetastaturetellermusentilatnavigereimenuensvalgmuligheder.Detaster,dukanbrugetilat
udføreforskelligeopgaver,visesnederstpåskærmbillederne.
BrugafBIOS-kodeord
DukanvedhjælpafprogrammetSetupUtilityangivekodeordforatforhindreuautoriseredepersoneriatfå
adgangtilcomputerenogdensdata.
Dubehøverikkeatangiveetkodeordforatkunnebrugecomputeren.Menduøgercomputersikkerheden,
nårdubrugerkodeord.Hvisdubeslutteratbrugekodeord,skaldulæsedefølgendeemner.
KodeordtyperforSetupUtility-programmet
Følgendetyperkodeordkananvendes:
•Startkodeord
Nårdererangivetetstartkodeord,bliverdubedtomatskriveetgyldigtkodeord,hvergangcomputeren
tændes.Computerenkanaltsåikkebruges,førdererskrevetetgyldigtkodeord.
•Administratorkodeord
Nårdererangivetetadministratorkodeord,forhindrerdetuautoriseredebrugereiatændre
konfigurationsindstillingerne.Hvisdueransvarligforatvedligeholdekonfigurationsindstillingernepåflere
computere,kandetværeengodidéatangiveetadministratorkodeord.
Nårdererangivetetadministratorkodeord,skalduskriveetgyldigtkodeord,hvergangdustarterSetup
Utility-programmet.DukanaltsåikkefåadgangtilSetupUtility-programmet,førduharskrevetet
gyldigtkodeord.
Hvisdererangivetbådeetstartkodeordogetadministratorkodeord,skaldublotskriveétafdem.Hvis
duvilændrekonfigurationsindstillingerne,skaldubrugeadministratorkodeordet.
•Harddiskkodeord
Nårdererangivetetharddiskkodeord,forhindrerdetuautoriseretadgangtildatapåharddisken.Når
dererangivetetharddiskkodeord,bliverdubedtomatskriveetgyldigtkodeord,hvergangduforsøger
atfåadgangtilharddisken.
Bemærkninger:
–Nårduharangivetetharddiskkodeord,erdinedatapåharddiskenbeskyttet,selvomharddisken
fjernesfraéncomputeroginstalleresienanden.
–Hvisduglemmerharddiskkodeordet,kankodeordetikkenulstilles,ogdatapåharddiskenkanikke
retableres.
Kodeord-bemærkninger
Etkodeordkanværeenkombinationafoptil64alfanumerisketegn.Afsikkerhedshensynanbefalesdet,at
dubrugeretstærktkodeord,somikkeernemtatbryde.
Bemærk:KodeordtilprogrammetSetupUtilityskelnerikkemellemstoreogsmåbogstaver.
Overvejfølgenderetningslinjerforatangiveetstærktkodeord:
•Deerpåmindstottetegn
•Deindeholdermindstetbogstavogettal
•Indeholderikkeditnavnellerbrugernavn
•Erikkeetalmindeligtordellernavn
•Ermegetforskelligtfradetidligerekodeord
36ThinkStationP900Brugervejledning

Angiv,revidérellersletetkodeord
Gørfølgendeforatangive,ændreellersletteetkodeord:
1.StartprogrammetSetupUtility.Se"StartafprogrammetSetupUtility"påside35.
2.VælgSecuritypåhovedmenueniprogrammetiSetupUtility.
3.AfhængigtafkodeordstypenskalduvælgeSetPower-OnPassword,SetAdministratorPassword
ellerHardDiskPassword.
4.Følgvejledningen,dervisesihøjresideafskærmen,nårduskalangive,ændreellerslettekodeord.
Bemærk:Etkodeordkanværeenkombinationafoptil64alfanumerisketegn.Dererflereoplysningeri
afsnittet"Kodeord-bemærkninger"påside36.
Sletningafglemtkodeord(nulstilCMOS)
Detteafsnitindeholderoplysningerom,hvordandukansletteetglemtellermistetkodeord,f.eks.et
brugerkodeord.
Gørfølgendeforatsletteetglemtellermistetkodeord:
1.Fjernallemedierfradrevene,slukforalletilsluttedeenheder,ogslukforcomputeren.Tagderefteralle
netledningerudafstikkontakterne,ogafmontérallekablerfracomputeren.
2.Afmontércomputerensdæksel.Se"Afmonteringafdækslet"påside73.
3.FindNulstilCMOS/Recovery-jumperenpåsystemkortet.Se"Placeringafdelenepåsystemkortet"
påside5.
4.Flytjumperenfrastandardpositionen(ben1og2)tilvedligeholdelsespositionen(ben2og3).
5.Lukdækslet,ogtilslutnetledningen.Se"Afslutningafudskiftningenafdele"påside140.
6.Tændforcomputeren,ogladdenværetændtica.10sekunder.Slukdereftercomputerenvedat
trykkepåtænd/sluk-knappenica.5sekunder.
7.Gentagtrin1ogtrin2.
8.FlytNulstilCMOS/Recovery-jumperentilbagetilstandardpositionen(ben1og2).
9.Lukdækslet,ogtilslutnetledningen.Se"Afslutningafudskiftningenafdele"påside140.
Aktiveringellerdeaktiveringafenenhed
Detteafsnitbeskriver,hvordanbrugeradgangtilfølgendeenhederaktiveresellerdeaktiveres:
USBSetupBrugdennefacilitettilataktivereellerdeaktivereetUSB-stik.NåretUSB-stiker
deaktiveret,kandenenhed,derersluttettilUSB-stikket,ikkebruges.
SATAControllerNårdenneindstillingerangivettilDisable,eralledeenheder,derertilsluttet
SATA-stik,f.eks.harddiskeelleroptiskedrev,deaktiveret,ogdererikkeadgangtil
dem.
Gørfølgendeforataktivereellerdeaktivereenenhed:
1.StartprogrammetSetupUtility.Se"StartafprogrammetSetupUtility"påside35.
2.VælgDevicespåhovedmenueniprogrammetiSetupUtility.
3.Gøretaffølgende,afhængigtafhvilkenenhedduvilaktivereellerdeaktivere:
•MarkérUSBSetupforataktivereellerdeaktivereenUSB-enhed.
•MarkérATADriveSetupforataktivereellerdeaktivereeninternellereksternSATA-enhed.
4.Markérindstillingerne,ogtrykpåEnter.
5.TrykpåF10foratgemmeændringerneogafslutteprogrammetSetupUtility.Se"AfslutningafSetup
Utility-program"påside39.
Kapitel5.Udvidetkonfiguration37

Valgafstartenhed
Hviscomputerenmodforventningikkestarterfraenenhed,skaldugøreetaffølgendeforatvælgeen
startenhed.
Vælgenmidlertidigstartenhed
Brugdennefremgangsmådetilatvælgeenmidlertidigstartenhed.
Bemærk:Ikkeallediskeogharddiskeerstartbare.
1.Tændellergenstartdincomputer.
2.TrykfleregangepåF12-tasten,nårduserlogoskærmen.VinduetStartupDeviceMenuvises.
3.Markérdenrelevantestartenhed,ogtrykpåEnter.Computerenstarterfradenenhed,duharvalgt.
Bemærk:Dennormalestartsekvensændresikke,nårduvælgerenstartenhedivinduetStartupDevice
Menu.
Vælgellerrevidérstartsekvensforenheder
Gørfølgendeforatfåvistellerrevideredenkonfigureredestartsekvensforenhederne:
1.StartprogrammetSetupUtility.Se"StartafprogrammetSetupUtility"påside35.
2.VælgStartuppåhovedmenueniprogrammetiSetupUtility.
3.MarkérenhederneforPrimaryStartupSequence,AutomaticStartupSequenceogErrorStartup
Sequence.Læsoplysningerne,dervisesihøjresideafskærmen.
4.TrykpåF10foratgemmeændringerneogafslutteprogrammetSetupUtility.Se"AfslutningafSetup
Utility-program"påside39.
AktiveringafErPLPS-compliancetilstand
Lenovo-computereopfylderErPLot3-kravenevedrørendemiljøvenligtdesign.Dererflereoplysningerpå:
http://www.lenovo.com/ecodeclaration
DukanaktivereErPLPS-compliancetilstandiSetupUtility-programmetforatreducereforbrugetaf
elektricitet,nårcomputerenerslukketellerislumretilstand.
GørfølgendeforataktivereErPLPS-compliancetilstandiprogrammetSetupUtility:
1.StartprogrammetSetupUtility.Se"StartafprogrammetSetupUtility"påside35.
2.VælgPower➙EnhancedPowerSavingModepåhovedmenueniprogrammetiSetupUtility,og
trykpåEnter.
3.MarkérEnabled,ogtrykpåEnter.
4.VælgAutomaticPowerOnimenuenPower,ogtrykderefterpåEnter.
5.MarkérWakeonLan,ogtrykpåEnter.
6.MarkérDisabled,ogtrykpåEnter.
7.TrykpåF10foratgemmeændringerneogafslutteprogrammetSetupUtility.TrykpåEnter,nårdubliver
bedtomdet,foratbekræfte,atduvilafslutte.
NårErPLPS-compliancetilstanderaktiveret,kanduvækkecomputerenvedatgøreetaffølgende:
•Trykpåafbryderknappen
•AktivérfunktionenWakeuponAlarm
FunktionenWakeuponAlarmgørdetmuligtforcomputerenat"vågne"påetforudbestemttidspunkt.
DukanaktiverefunktionenWakeuponAlarmvedatgørefølgende:
1.StartprogrammetSetupUtility.
38ThinkStationP900Brugervejledning

2.VælgPower➙AutomaticPowerOnihovedmenueniprogrammetSetupUtility,ogtrykpåEnter.
3.MarkérWakeUponAlarm,ogtrykpåEnter.Følghereftervejledningenpåskærmbilledet.
4.TrykpåF10foratgemmeændringerneogafslutteprogrammetSetupUtility.TrykpåEnter,nårdu
bliverbedtomdet,foratbekræfte,atduvilafslutte.
•AktivérfunktionenAfterPowerLoss
FunktionenAfterPowerLossgivercomputerenmulighedforat"vågneop",nårstrømmenvendertilbage
efteretpludseligtstrømsvigt.DukanaktiverefunktionenAfterPowerLossvedatgørefølgende:
1.StartprogrammetSetupUtility.
2.VælgPower➙AfterPowerLossihovedmenueniSetupUtility-programmet,ogtrykpåEnter.
3.MarkérPowerOn,ogtrykpåEnter.
4.TrykpåF10foratgemmeændringerneogafslutteprogrammetSetupUtility.TrykpåEnter,nårdu
bliverbedtomdet,foratbekræfte,atduvilafslutte.
AfslutningafSetupUtility-program
Nårduerfærdigmedatfåvistellerændreindstillingerne,skaldutrykkepåEsc-tastenforatvendetilbagetil
hovedmenueniprogrammetSetupUtility.DuskalmuligvistrykkepåEscfleregange.Gøretaffølgende:
•Hvisduvilgemmedenyeindstillinger,skaldutrykkepåF10foratgemmeændringerneogafslutte
programmetSetupUtility.
•Hvisduikkevilgemmeindstillingerne,skalduvælgeExit➙DiscardChangesandExitogderefter
trykkepåEnter.VælgYes,nårvinduetResetWithoutSavingvises,ogtrykderefterpåEnterforat
afslutteSetupUtility-programmet.
•Hvisduvilvendetilbagetilstandardindstillingerne,skaldutrykkepåF9foratindlæse
standardindstillingerneogdereftertrykkepåF10foratgemmeogafslutteSetupUtility-programmet.
OpdateringellerretableringafBIOS
LenovoændrerellerudvidermuligvisBIOS.Nåropdateringernefrigives,vildeværetilgængeligeifiler,som
dukandownloadepåLenovoswebstedpåhttp://www.lenovo.com/drivers.Oplysningerom,hvordandu
brugerBIOS-opdateringerne,findesienTXT-fil,derleveressammenmeddeopdateredefiler.Fordefleste
modellerkanduhenteetopdateringsprogram,somopretterendisktilopdateringafsystemprogrammerne,
elleretopdateringsprogram,dukanudførefrastyresystemet.
Dettekapitelindeholderoplysningerom,hvordanduopdatererBIOS,oghvordanduretablererefterfejl
underBIOS-opdatering.
BIOS-niveauer
EtforkertBIOS-niveaukanresultereifalskefejlogunødvendigFRU-erstatning.Brugfølgendeoplysningertil
atfindedetaktuelleBIOS-niveau,dererinstalleretpåcomputeren,dennyesteBIOS,derertilgængeligtil
computeren,oghvordukanfådetnyesteBIOS-niveau.
•SådanfinderdudetaktuelleBIOS-niveau:
1.StartSetupUtility.
2.PåhovedsidenkanduseoplysningerneiBIOSRevisionLevelihøjrerude.
•Steder,hvordukanfådetnyestetilgængeligeBIOS-niveau
–Lenovossupportwebsted:http://www.lenovo.com/support/
–Lenovoskundesupportcenter
–Support–niveau1og2
Se"OpdateringellerretableringafBIOS"påside39foratopdatereBIOS.
Kapitel5.Udvidetkonfiguration39

Bemærk:BIOS-indstillingernevariererafhængigtafstyresystemet.ÆndrBIOS-indstillingerne,førdu
installereretnytstyresystem.Se"ÆndringafBIOS-indstillingerne,førduinstallereretnytstyresystem"
påside40.
Brugafsystemprogrammer
Systemprogrammerercomputerensgrundlæggendesoftwarelag.SystemprogrammeromfatterPOST,BIOS
ogprogrammetSetupUtility.POSTerenrækketestogprocedurer,derudføres,hvergangdutænderfor
computeren.BIOSeretsoftwarelag,deroversætterinstruktionerfraandresoftwarelagtilelektriskesignaler,
somcomputerenshardwarekanudføre.DukanbrugeprogrammetSetupUtilitytilatfåvistellerændre
computerenskonfigurationsindstillinger.Dererflereoplysningeri"BrugafprogrammetSetupUtility"på
side35.
Computerenssystemkortindeholderetmodul,derkaldesEEPROM(ogundertidenogsåflash-hukommelse).
DetgørdetmuligtfordignemtatopdaterePOST,BIOSogprogrammetSetupUtility.Hvisduvilforetageen
sådanopdatering,kanduentenstartecomputerenmedendisktilopdateringafsystemprogrammeteller
køreetsærligtopdateringsprogramfrastyresystemet.
LenovoændrerellerudvidermuligvisPOSTogBIOS.Nåropdateringerneoffentliggøres,vildevære
tilgængeligeifiler,somdukanhentepåLenovoswebstedhttp://www.lenovo.com.Oplysningerom,hvordan
dubrugerPOSTogBIOS-opdateringer,findesienTXT-fil,derleveressammenmeddeopdateredefiler.
Fordeflestemodellerkandudownloadeetopdateringsprogram,somkanbrugestilatopretteendisktil
opdateringafsystemprogrammerne,ellersomkankøresfrastyresystemet.
ÆndringafBIOS-indstillingerne,førduinstallereretnytstyresystem
BIOS-indstillingernevariererafhængigtafstyresystemet.ÆndrBIOS-indstillingerne,førduinstallereret
nytstyresystem.
GørfølgendeforatændreBIOS-indstillingerne:
1.StartprogrammetSetupUtility.Se"StartafprogrammetSetupUtility"påside35.
2.FrahovedmenueniprogrammetSetupUtilityskalduvælgeExit➙OSOptimizedDefault.
3.Gøretaffølgende,afhængigtafhvilketstyresystemderskalinstalleres:
•HvisduvilinstallerestyresystemetWindows8.1(64-bit),skalduvælgeEnabled.
•HvisduvilinstallereetandetstyresystemendWindows8.1(64-bit),skalduvælgeDisabled.
4.VælgYesidetvistevindue,ogtrykpåEnterforatbekræftevalget.
5.TrykpåF10foratgemmeændringerneogafslutteprogrammetSetupUtility.Se"AfslutningafSetup
Utility-program"påside39.
OpdateringafBIOS
Nårduinstallereretnytprogram,ennyhardwareenhedelleretnytstyreprogram,bliverdumuligvisbedt
omatopdatereBIOS.DukanopdatereBIOSfrastyresystemetellerfraenflash-opdateringsdisk(kun
understøttetpånoglemodeller).
GørfølgendeforatopdatereBIOS:
1.Gåindpåhttp://www.lenovo.com/drivers.
2.DukanopdatereBIOSfrastyresystemetvedatdownloadeflash-BIOS-opdateringsdriverenihenhold
tilversionenafstyresystemet.DukanopdatereBIOSfraenflash-opdateringsdiskvedatdownloade
ISO-billedet(brugestilatopretteenflash-opdateringsdisk).Downloadderefterinstallationsvejledningen
tilflash-BIOS-opdateringsdriveren.
3.Udskrivdeninstallationsvejledning,duhardownloadet,ogfølgvejledningenforatopdatereBIOS.
40ThinkStationP900Brugervejledning

Bemærk:HvisduvilopdatereBIOSfraenflash-opdateringsdisk,indeholderinstallationsvejledningen
muligvisikkeoplysningerom,hvordanduskaloptageopdateringsdisken.Se"Optagelsepåendisk"
påside20.
RetableringfrafejlunderBIOS-opdatering
GørfølgendeforatretablerefraenfejlunderBIOS-opdatering:
1.Fjernallemedierfradrevene,slukforalletilsluttedeenheder,ogslukforcomputeren.Tagderefteralle
netledningerudafstikkontakterne,ogafmontérallekablerfracomputeren.
2.Afmontércomputerensdæksel.Se"Afmonteringafdækslet"påside73.
3.FindNulstilCMOS/Recovery-jumperenpåsystemkortet.Se"Placeringafdelenepåsystemkortet"
påside5.
4.Fjerneventuellekabler,somvanskeliggøradgangtilNulstilCMOS/Recovery-jumperen.
5.Flytjumperenfrastandardpositionen(ben1og2)tilvedligeholdelsespositionen(ben2og3).
6.Tilslutdekabler,duafmonterede,ogmontérPCI-kortetigen,hvisdetharværetfjernet.
7.Montércomputerensdæksel,ogslutnetledningernetilcomputerenogskærmentilstikkontakterne.Se
"Afslutningafudskiftningenafdele"påside140.
8.Trykpåtænd/sluk-knappenforattændeforcomputeren,ogsætBIOS-opdateringsdiskenidetoptiske
drev.Ventetøjeblik.Retableringsprocessenstarter.Nårretableringsprocessenerafsluttet,slukkes
computerenautomatisk.
Bemærk:Afhængigtafcomputermodellentagerretableringentotiltreminutter.
9.Gentagtrin1tilogmedtrin4.
10.FlytNulstilCMOS/Recovery-jumperentilbagetilstandardpositionen(ben1og2).
11.Tilslutdekabler,duafmonterede,ogmontérPCI-kortetigen,hvisdetharværetfjernet.
12.Montércomputerensdækseligen,ogtilslutdekabler,duafmonterede.
13.Trykpåtænd/sluk-knappenforattændecomputerenoggenstartestyresystemet.
KonfigurationafRAID
DettekapitelindeholdervejledningiinstallationafharddiskeogkonfigurationafRAID(RedundantArrayof
IndependentDisks)tilcomputeren.AfhængigtafdincomputermodelkanRAIDaktiveresafRSTe(IntelRapid
StorageTechnologyenterprise)ellerLSIMegaRAIDBIOS.
Bemærk:OplysningerneidettekapitelomkonfigurationafRAIDgælderkunietWindows-miljø.Kontakt
Linux-forhandlerenforatfåoplysningeromkonfigurationafRAIDietLinux-miljø.
Dettekapitelindeholderoplysningeromfølgende:
•"KonfigurationafRAIDmedIntelRSTe"påside41
•"HurtigopsætningafRAIDmedhjælpeprogrammetLSIMegaRAIDBIOSconfigurationutility"påside44
KonfigurationafRAIDmedIntelRSTe
LeverescomputerenmedIntelRSTe,kandumedafsnitteneherunderkonfigurereRAIDmedIntelRSTe.
Detteafsnitindeholderoplysningeromfølgende:
•"InstallationafSATA-ellerSAS-harddiske"påside42
•"SådankonfigureresSATA-ellerSASRAID-funktionalitetmedIntelRSTeconfigurationutility"påside42
Kapitel5.Udvidetkonfiguration41

InstallationafSATA-ellerSAS-harddiske
Kontrollér,atdersomminimumerinstalleretdetteantalSATA-ellerSAS-harddiskeicomputerenfor
følgendeunderstøttedeRAID-niveauer:
•RAID-niveau0-Fordeltdisk-array(Striped)
–EnRAID0harddiskgruppebestårafmindsttoharddiske
–Understøttedestripstørrelserer:4KB,8KB,16KB,32KB,64KBeller128KB
–Bedreydeevneogingenfejltolerance
•RAID-niveau1-Spejletdisk-array(Mirrored)
–EnRAID1harddiskgruppebestårafmindsttoharddiske
–Forbedretlæse-ydeevneog100%redundans
•RAID-niveau10-Fordeltogspejletdisk-array(stripedandmirrored)(kombinationafRAID0ogRAID1)
–EnRAID10harddiskgruppebestårafmindstfireharddiske
–Understøttedestripstørrelserer:4KB,8KB,16KB,32KBeller64KB
•RAID-niveau5-Blokniveaufordeltdisk-arraymeddistribueretparitet(Block-levelstriped)
–EnRAID5harddiskgruppebestårafmindsttreharddiske
–Understøttedestripstørrelserer:4KB,8KB,16KB,32KBeller64KB
–Bedreydeevneogfejltolerance
Kontrollér,atetaffølgendeharddiskaktiveringsmodulererinstallereticomputeren:
•HvisduvilinstallereoptilfireSATA-harddiskeellerSSD'er,erderikkebrugforharddisk-aktiveringsmodulet.
•HvisduvilinstallerefemSATA-harddiskeellerSSD'er,erSATA-harddisk-aktiveringsmodulet(entilfem
harddiske)nødvendigt.
•HvisduvilinstallereetantalSAS-harddiske,erSAS-harddisk-aktiveringsmodulet(entilfemharddiske)
nødvendigt.
SådankonfigureresSATA-ellerSASRAID-funktionalitetmedIntelRSTeconfiguration
utility
Detteafsnitbeskriver,hvordanSATA-ellerSASRAID-funktionalitetkonfigureresmedIntelRSTeconfiguration
utility.
Bemærk:IntelRSTeconfigurationutilityantager,atcomputerenharmereendénharddiskinstalleret.Erder
kunénharddiskinstalleretpådincomputer,gælderfølgendeinformationerikke.
Detteafsnitindeholderoplysningeromfølgende:
•"SådanåbneshjælpeprogrammetIntelRSTeconfigurationutility"påside42
•"SådanopretteRAID-diskenhedermedIntelRSTeconfigurationutility"påside43
•"SådanslettesRAID-diskenhedermedIntelRSTeconfigurationutility"påside43
•"Nulstillingafdisketilikke-RAID"påside44
SådanåbneshjælpeprogrammetIntelRSTeconfigurationutility
Detteafsnitindeholderenvejledningi,hvordanduåbnerprogrammetIntelRSTeconfigurationutility.
Duskalfølgevejledningenpåskærmenundercomputerensopstart.TrykCtrl+Iforatåbne
hjælpeprogrammetIntelRSTeconfigurationutility.
Defølgendefirevalgmulighederses,efterduharåbnetIntelRSTeconfigurationutility:
42ThinkStationP900Brugervejledning

1.CreateRAIDVolume
2.DeleteRAIDVolume
3.ResetDiskstoNon‐RAID
4.Exit
TrykPilop-ellerPilned-tastenforatvælge.TrykEnterforatåbnemenuenfordetvalgteemne.Trykpå
EscforatafslutteIntelRSTeconfigurationutilityellervælgExitogtryksåEnterforatafslutteIntelRSTe
configurationutility.
SådanopretteRAID-diskenhedermedIntelRSTeconfigurationutility
Detteafsnitindeholderenvejledningi,hvordanduanvenderprogrammetIntelRSTeconfigurationutilitytil
atopretteRAID-diskenheder.
GørfølgendeforatopretteenRAID-diskenhed:
1.ÅbnIntelRSTeconfigurationutility.Se"SådanåbneshjælpeprogrammetIntelRSTeconfiguration
utility"påside42.
2.TrykPilop-ellerPilned-tastenforatvælgeCreateRAIDVolumeogtryksåpåEnterforatsevinduet
CREATEVOLUMEMENU.
3.Nedenståendefemvalgmulighedervises.TrykPilop-ellerPilned-tastenforatvælge.Nårduhar
konfigureretenafmulighederneskaldutrykkepåTabellerEnterforatgåtilnæstevalgmulighed.
a.Name:Diskenhedensnavn.Dukanbenyttestandardnavnetellerindtastedetnavn,duforetrækker.
b.RAIDLevel:DukanændreRAID-niveauettiletafdefølgende:
•RAIDLevel0
•RAIDLevel1
•RAIDLevel10
•RAIDLevel5
c.Disks:TrykEnterforatåbnevinduetSELECTDISKSMENU.Følgvejledningennederstimenuenfor
atudvælgeharddiske,ogtryksåpåEnterforatfuldførekonfigurationen.
d.StripSize:TrykpåPilop-ellerPilned-tastenforatvælgeenstripstørrelse.
e.Capacity:TilpasRAID-diskenhedensstørrelse.StandardværdienforRAID-diskenhedenserden
størstmulige.
4.TrykpåEnterforatafsluttekonfigurationenafallefemvalgmuligheder.TrykpåY,nårdubliverbedtom
atbekræfte,atduviloprettedennyeRAID-diskenhed.
5.EfterdennyeRAID-diskenhederoprettet,visesinformationerneomRAID-diskenhedenunder
DISK/VOLUMEINFORMATION.HersesID-nummer,navn,RAID-niveau,stripstørrelse,størrelsepå
diskenhed,statusogomenhedenerselvstartende(bootable).
SådanslettesRAID-diskenhedermedIntelRSTeconfigurationutility
Detteafsnitindeholderenvejledningi,hvordanduanvenderprogrammetIntelRSTeconfigurationutility
tilatsletteRAID-diskenheder.
GørfølgendeforatsletteenRAID-diskenhed:
1.ÅbnIntelRSTeconfigurationutility.Se"SådanåbneshjælpeprogrammetIntelRSTeconfiguration
utility"påside42.
2.VælgDeleteRAIDVolumemedPilop-ellerPilned-tasten.TrykEnterforatåbnevinduetDELETE
VOLUMEMENU.
3.VælgdenRAID-diskenhed,dereroverflødig,medPilop-ellerPilned-tasten.TrykpåDelforatslette
denfralistenRAIDVolumes.
4.TrykpåY,nårdubliverbedtomatbekræfte,atduvilslettedenvalgteRAID-diskenhed.
Kapitel5.Udvidetkonfiguration43

Nulstillingafdisketilikke-RAID
Detteafsnitindeholdervejledningi,hvordandunulstillerharddisketilatværeikke-RAID.
Gørfølgendeforatnulstilleharddiskenetilikke-RAID:
1.ÅbnIntelRSTeconfigurationutility.Se"SådanåbneshjælpeprogrammetIntelRSTeconfiguration
utility"påside42.
2.VælgResetDiskstoNon-RAIDmedPilop-ellerPilned-tasten.TrykEnterforatåbnevinduetRESET
RAIDDATA.
3.Brugpiltasterneogmellemrumstastentilatmarkeredeenkelteharddiske,derskalnulstilles,ogtryk
derefterpåEnterforatudførenulstillingen.
4.TrykpåY,nårdubliverbedtomatbekræfte,atduvilnulstille.
5.Hvisdenharddisk,dunulstiller,erendelafenRAID-diskenhed,vilcomputerenmåskeregistrere,at
RAID-diskenhedenerforringet.Hvisdetteertilfældet,vildublivebedtomatvælgeenharddiskforat
påbegyndegenopbygningen.
6.VælgenledigharddiskogtrykpåEnterforatpåbegyndegenopbygningen.
Bemærk:TrykpåEscforatannulleregenopbygningen,såRAID-diskenhedenbevarersin"degraded
status".IvinduetMainMenuunderDISK/VOLUMEINFORMATIONvilduse,atstatusfordenne
RAID-diskenhederændrettilDegraded.
HurtigopsætningafRAIDmedhjælpeprogrammetLSIMegaRAIDBIOS
configurationutility
Bemærkninger:
•LSIMegaRAIDSAS-adapterenogLSIMegaRAIDBIOSconfigurationutilityfindeskunpåudvalgte
modeller.
•Denfølgendefremgangsmådeidetteafsniterberegnetsomenvejledningihurtigopsætning
afdegrundlæggendeRAID-funktionermedLSIMegaRAIDSAS-adapteren.Oplysningerom
avanceretopsætningogkonfigurationmeddenneadapterfindesidenkompletteMegaRAID
SASSoftwareUserGuide(BrugervejledningtilMegaRAID-software),derfindespåadressen
http://support.lenovo.com/en_US/guides-and-manuals/detail.page?DocID=UM007543.
Detteafsnitindeholderoplysningeromfølgende:
•"InstallationafSATA-ellerSAS-harddiske"påside44
•"SådanåbneshjælpeprogrammetLSIMegaRAIDBIOSconfigurationutility"påside45
•"SådanopretteRAID-diskenhedermedLSIMegaRAIDBIOSconfigurationutility"påside45
•"SådanslettesRAID-diskenhedermedLSIMegaRAIDBIOSconfigurationutility"påside46
•"Opret"hotspare"-harddisk"påside46
InstallationafSATA-ellerSAS-harddiske
Kontrollér,atdersomminimumerinstalleretdetteantalSATA-ellerSAS-harddiskeicomputerenfor
følgendeunderstøttedeRAID-niveauer:
•RAID-niveau0-Fordeltdisk-array(Striped)
–EnRAID0harddiskgruppebestårafmindsténharddisk
–Understøttedestripstørrelsererfra8KBtil1MB
–Bedreydeevneogingenfejltolerance
•EnRAID00-Opdelt(spanned)harddiskgruppemedenserieRAID0harddiskgrupper
–EnRAID00harddiskgruppebeståraftoellerfireharddiske
44ThinkStationP900Brugervejledning

–Understøttedestripstørrelsererfra8KBtil1MB
–Bedreydeevneogingenfejltolerance
•RAID-niveau1-Spejletdisk-array(Mirrored)
–EnRAID1harddiskgruppebeståraftoellerfireharddiske
–Forbedretlæse-ydeevneog100%redundans
•RAID-niveau10-EnkombinationafRAID0ogRAID1
–EnRAID10harddiskgruppebestårafmindstfireharddiske
–Derbliverfordeltpåtværsafenharddiskgruppe
–Giverbådehurtigedataoverførslerogkompletdatabeskyttelse
•RAID-niveau5-Blokniveaufordeltdisk-arraymeddistribueretparitet(Block-levelstriped)
–EnRAID5harddiskgruppebestårafmindsttreharddiske
–Understøttedestripstørrelsererfra8KBtil1MB
–Bedreydeevneogfejltolerance
–RAIDniveau5findesmuligvisikkepåallemodellerafLSIMegaRAID-adapteren
•RAID-niveau6-Blokniveaufordeltdisk-arraymeddobbeltdistribueretparitet(Block-levelstriped)
–EnRAID6harddiskgruppebestårafmindstfireharddiske
–Understøttedestripstørrelsererfra8KBtil1MB
–Bedreydeevneogfejltolerance,somkantåletabaftoharddiske
–RAIDniveau6findesmuligvisikkepåallemodellerafLSIMegaRAID-adapteren
Kontrollér,atLSIMegaRAIDSAS-adapterkorteterinstalleretpåcomputeren,ogatharddiskeneertilsluttet
detteadapterkortogikketilstikkenepåsystemkortet.
SådanåbneshjælpeprogrammetLSIMegaRAIDBIOSconfigurationutility
Detteafsnitindeholderenvejledningi,hvordanduåbnerprogrammetLSIMegeRAIDBIOSconfiguration
utility.
DuåbnerhjælpeprogrammetLSIMegaRAIDBIOSconfigurationutilitypådennemåde:
1.Duskalfølgevejledningenpåskærmenundercomputerensopstart.
2.TrykpåCtrl+HforatåbnevinduetCONTROLLERSELECTION.
3.Vælgdenkontrolenhed(controller),duvilkonfigurereogklikpåStartforatåbneLSIMegaRAIDBIOS
configurationutility.
SådanopretteRAID-diskenhedermedLSIMegaRAIDBIOSconfigurationutility
Detteafsnitindeholderenvejledningi,hvordanduanvenderprogrammetLSIMegaRAIDBIOSconfiguration
utilitytilatopretteRAID-diskenheder.
DuopretterRAID-diskenhedermedLSIMegaRAIDBIOSconfigurationutilitypåfølgendemåde:
1.KlikpåConfigurationWizardpåhovedskærmenforWebBIOS,sådukanåbnevinduetChoosing
theConfigurationType.
2.TrykpåPilop-ellerPilned-tastenforatvælgeenafdetretyperkonfiguration:
•ClearConfiguration:Slettereksisterendekonfiguration.
•NewConfiguration:Slettereksisterendekonfigurationogopretterennykonfiguration.
Kapitel5.Udvidetkonfiguration45

•AddConfiguration:Bevarerdeneksisterendelagerkonfigurationogtilføjernyeharddiske.Den
nyekonfigurationvilikkeforårsagetabafdata.
3.VælgAddConfigurationogklikpåNext.DefølgendetovalgmulighedersesivinduetConfiguration
Method.
•ManualConfiguration:Oprettermanueltharddiskgrupperogvirtuelleharddiskogindstiller
parametre.
•AutomaticConfiguration:OpretterautomatiskdenoptimaleRAID-konfiguration.
4.VælgManualConfigurationogklikpåNext.VinduetDriveGroupDefinitionvises.Gørfølgendefor
atopretteharddiskgrupper:
a.Vælgénellerflereharddisketilgruppen(holdCtrlnedeforatvælgemereendénharddisk).
b.KlikpåAddToArrayforatflyttedenvalgteharddisktilDriveGroups.
c.KlikpåAcceptDGforatopretteharddiskgruppen.
d.Gentagtrineneherover,hvisduviloprettemereendenharddiskgruppe.
5.KlikpåNext.VinduetSpanDefinitionwindowvises.Vælgdenharddiskgruppe,duviltilføjetilen
opdelingogkliksåpåAddtoSPAN.Gentagdettetrintilduharvalgtalledeharddiskgrupper,duønsker.
6.KlikpåNext.VinduetVirtualDriveDefinitionvises.Dukanændreindstillingernefordenvirtuelle
harddiskfradestandardindstillinger,dersespåskærmen.KlikpåAcceptogfølghereftervejledningen
påskærmenforattilpassedineindstillinger.
7.KlikpåNextsåvinduetPreviewvises.
8.BekræftindstillingerneogklikpåAccept.
9.KlikpåYesforatgemmekonfigurationen.
SådanslettesRAID-diskenhedermedLSIMegaRAIDBIOSconfigurationutility
Detteafsnitindeholderenvejledningi,hvordanduanvenderprogrammetLSIMegaRAIDBIOSconfiguration
utilitytilatsletteRAID-diskenheder.
DusletterRAID-diskenhedermedLSIMegaRAIDBIOSconfigurationutilitypåfølgendemåde:
1.ÅbnhjælpeprogrammetLSIMegaRAIDBIOSconfigurationutility.Se"Sådanåbneshjælpeprogrammet
LSIMegaRAIDBIOSconfigurationutility"påside45.
2.Klikpådevirtuelleharddiske,duvilslette.SåvisesvinduetVirtualDrive.
3.KlikpåDeleteogderefterpåGo.
4.KlikpåYesforatgemmeændringerne.
Opret"hotspare"-harddisk
Detteafsnitindeholdervejledningi,hvordanduopretter"hotspare"-harddisken.
Gørfølgendeforatoprette"hotspare"-harddisken:
1.ÅbnhjælpeprogrammetLSIMegaRAIDBIOSconfigurationutility.Se"Sådanåbneshjælpeprogrammet
LSIMegaRAIDBIOSconfigurationutility"påside45.
2.Klikpådenharddisk,duvilangivesom"hotspare"-harddisk.VinduetDrivevises.
3.VælgMakeGlobalHSPellerMakeDedicatedHSPogklikpåGo.
4.HovedskærmeniLSIMegaRAIDBIOSconfigurationutilityvises,ogdetdrev,duharvalgt,sessom
"hotspare"-harddiskilistenihøjredelvindue.
46ThinkStationP900Brugervejledning

Kapitel6.Undgåproblemer
Dettekapitelindeholderoplysninger,somkanhjælpedigmedatundgåalmindeligeproblemerogfå
computerentilatfungere,somdenskal.
Holdcomputerenopdateret
Inoglesituationerkandetværenødvendigtathavedesenesteprogrammerellerstyreprogrammerellerdet
senesteoperativsystem.Detteafsnitviser,hvordandukanhentedesenesteopdateringertilcomputeren.
Hentningafdenyestesystemopdateringer
Hvisduvilhentedesenestesystemopdateringertildincomputer,skaldusørgefor,atcomputerenhar
forbindelsetilinternettetoggøreetaffølgende:
•BrugdetpassendeLenovo-programtilathentesystemopdateringerne,f.eks.styreprogram-,software-,
ogBIOS-opdateringer.
–IWindows7ellerWindows8.1:BrugprogrammetSystemUpdate.
–IWindows10:BrugprogrammetLenovoCompanion.
Se"Adgangtiletprogrampåcomputeren"påside13foratåbneprogrammetSystemUpdateeller
LenovoCompanion.Dererflereoplysningerombrugafprogrammetihjælpentilprogrammet.
•BrugWindowsUpdatetilathentesystemopdateringer,såsomsikkerhedsrettelser,nyeversioneraf
Windows-komponenterogstyreprogram.
1.GørfølgendeafhængigtafdinWindows-version:
–IWindows7:KlikpåknappenStartforatåbnemenuenStart,ogklikderefterpåKontrolpanel.
VisKontrolpanelmedStoreikonerellerSmåikoner,ogklikderefterpåWindowsUpdate.
–IWindows8.1:Flytmarkørentilskærmensøversteellernederstehøjrehjørneforatfå
vistamuletterne.KlikderefterpåIndstillinger➙Skiftpc-indstillinger➙Opdateringog
genoprettelse➙WindowsUpdate.
–IWindows10:KlikpåknappenStartforatåbnemenuenStart.KlikderefterpåIndstillinger➙
Opdateringogsikkerhed➙WindowsUpdate.
2.Følgvejledningenpåskærmen.
Bemærk:StyreprogrammernefraWindowsUpdateermuligvisikketestetafLenovo.Detanbefales,atdu
henterenhedsdriverevha.Lenovo-programmerellerfraLenovoswebstedpåhttp://www.lenovo.com/drivers.
Rengøringogvedligeholdelse
Meddenrigtigevedligeholdelsevildincomputerarbejdesikkertogpålideligt.Følgendeemnerindeholder
oplysningerom,hvordanduvedligeholderdincomputer,sådenaltidfungererperfekt.
Grundlæggende
Herernoglegrundlæggenderådom,hvordanduskalhåndterecomputeren:
•Brugcomputerenietrentogtørtmiljø.Kontrollér,atcomputerenstårpåetplantogstabiltunderlag.
•Undgåattildækkeventilationshullernepåcomputerenellerskærmen.Disseventilationshullerforhindrer
computereniatbliveoverophedet.
©CopyrightLenovo2014,201547

•Holdmad-ogdrikkevarervækfracomputeren.Krummerogsjatterkangøretastaturetogmusen
klistredeogubrugelige.
•Sørgfor,atafbrydereogandreknapperikkeblivervåde.Fugtkanskadedissedeleoggiveelektriskstød.
•Tagaltidledningerudvedattrækkeistikketistedetforledningen.
Rengøringafcomputeren
Computerenskalrengøresmedjævnemellemrumforatbeskytteoverfladerneogsikrefejlfrifunktion.
Paspå:
Huskatslukkeforcomputerenogskærmen,indendubegynderrengøringenafcomputerenog
skærmen.
Computer
Dumåkunbenyttemilderengøringsmidlerogenfugtigkludpåcomputerensmaledeoverflader.
Tastatur
Rengørcomputertastaturetvedatgørefølgende:
1.Fugtenblødkludmedisopropanol-alkohol.
2.Tøralletasterneafmedkluden.Rengøréntastadgangen.Hvisdutørrerfleretasterafpåéngang,
kankludenhængefastienafdemogmuligvisbeskadigetasten.Sørgfor,atvæskenikkedrypper
nedpåellermellemtasterne.
3.Brugenlinserensermedbørsteellerkoldluftfraenhårtørrertilatfjernekrummerellerstøv,derligger
undertasterne.
Bemærk:Sprøjtikkerensemidlerdirektepåtastaturet.
Optiskmus
Enoptiskmusbrugerenlysdiode(LED)ogenoptiskfølertilatflyttemarkøren.Hvispilmarkørenpåskærmen
ikkebevægersig,nårdubevægerdenoptiskemus,kandetværenødvendigtatrengøremusen.
Gørfølgendeforatrenseenoptiskmus:
1.Slukforcomputeren.
2.Tagmusekabletudafstikketpåcomputeren.
3.Vendmusenom,sådukankontrollerelinsen.
•Hvislinsenerbeskidt,skalduforsigtigtrengøreområdetmedenalmindeligvatpind.
•Hvisderersmudspålinsen,skalduforsigtigtpustesmudsetvækfraområdet.
4.Kontrollérdenoverflade,dubrugermusenpå.Hvisdereretdetaljeretbilledeellermønsterdér,
hvordubrugermusen,kandetværesværtfordendigitalesignalprocessoratafgøreændringeri
museplaceringen.
5.Slutmusekablettilcomputerenigen.
6.Tændforcomputerenigen.
Skærmvisning
Støv,dersamlespåskærmen,øgerproblemernemedgenskin.Huskatrengøreskærmenmedjævne
mellemrum.
48ThinkStationP900Brugervejledning

Fladskærm
Enfladskærm,derharenelastiskfilmoverflade,rengøresforsigtigtmedenblød,tørkludellervedatpuste
pådenforatfjerneløsepartikler.Benytderefterenblødklud,dererfugtetmedetLCD-rengøringsmiddel,til
atrengøreskærmensoverflade.
MangecomputerforretningerharspeciellerensemidlertilLCD-skærme.Brugkunrengøringsmidler,der
erberegnettilLCD-skærme.Kommidletpåenfnugfri,blødklud,nårdurenserLCD-skærmen.Nogle
computerforretningersælgersærligekludetilrengøringafLCD-skærme.
Almindeligskærm
Skærmensoverfladerengøresforsigtigtmedenblød,tørkludellervedatpustepådenforatfjerneløse
partikler.Benytderefterenblødklud,dererletfugtetmedetflydenderengøringsmiddeltilglas(uden
slibemiddel).
Godevanerforvedligeholdelse
Viagodevanerforvedligeholdelsekanduvedligeholdegodcomputerydelse,beskyttedinedataogvære
forberedt,hvisderopstårproblemermedcomputeren.
•Tømjævnligtpapirkurven.
•Brugstyresystemetsdiskdefragmenteringsfunktionellerdiskoptimeringsfunktionmedjævnemellemrum
foratforhindreydelsesproblemer,somskyldesformangefragmenteredefiler.
•RydjævnligtopifolderneIndbakke,SendtpostogSlettetpostfradite-mail-program.
•Tagregelmæssigesikkerhedskopierafvigtigedatapåflytbarelagermedier,f.eks.diskeogUSB-lagerdrev,
ogopbevardisseflytbarelagermedieretsikkertsted.Hyppighedenafdissesikkerhedskopierafhænger
af,hvorvigtigedissedataerfordinvirksomhed.
•Tagjævnligtensikkerhedskopiafheleharddisken.LæsafsnittetKapitel8"Oplysningeromretablering"
påside65.
•Holdcomputerenssoftware,styreprogrammerogoperativsystemopdaterede.Se"Holdcomputeren
opdateret"påside47.
•Brugenlogbog.Herkanduf.eks.noterevigtigeprogram-ellerhardwareændringer,opdateringeraf
styreprogrammer,periodiskeproblemer,oghvordanduløstedem,ogandreproblemer,dereropstået
påcomputeren.Etproblemkanskyldesændringerihardwaren,ændringeriprogrammerellerandre
handlinger,dukanhaveudført.MedenlogbogkanduellerenLenovo-teknikernemmerefindeårsagentil
etproblem.
•OpretProductRecovery-diske.I"Oprettelseogbrugafretableringsmedier"påside65erderflere
oplysningerombrugafProductRecovery-disketilretableringafharddiskensstandardindstillingerfra
fabrikken.
•Opretretableringsmediervha.diskeellerUSB-lagerdrevsåhurtigtsommuligt.Dukanbrugeet
genopretningsmedietilatretablerefrafejl,derforhindreradgangtilWindowsellerRescueand
Recovery-arbejdsområdetpåharddisken.
Flytningafcomputeren
Tagfølgendeforholdsregler,førduflyttercomputeren:
1.Tagsikkerhedskopierafallefilerogdatapåharddisken.Derfindesmangeforskelligeprogrammer
tilsikkerhedskopiering.HvisdubrugeroperativsystemetWindows7,levererLenovoprogrammet
RescueandRecovery,somdukanbrugetilattagesikkerhedskopierafdinedataogretableredem.
Se"Sikkerhedskopierings-ogretableringsfunktioner"påside66.
2.Fjernallelagermedierfracomputeren,f.eks.diske,USB-lagerdrev,hukommelseskortosv.
3.Slukforcomputerenogalletilsluttedeenheder.Harddiskenplacererautomatisklæse/skrivehovedernei
etområdeudendata.Detsikrer,atharddiskenikkebliverbeskadiget.
Kapitel6.Undgåproblemer49

4.Tagnetledningerneudafstikkontakterne.
5.Tagkommunikationskablerne,f.eks.modem-ellernetværkskabler,udaftelefonstikketeller
netværksstikket,ogderefterudafstikkenepåcomputeren.
6.Lægmærketil,hvorduhartilsluttetdeandrekablerbagpåcomputeren,ogtagdemsåud.
7.Pakudstyretnedidenoriginaleemballage,hvisduhargemtden.Hvisdubrugerandenemballage,skal
duforedenforatundgåatbeskadigeudstyret.
50ThinkStationP900Brugervejledning

Kapitel7.Fejlfindingogproblemløsning
Dettekapitelindeholderoplysningeromdiagnosticeringogfejlfindingogafcomputerproblemer.Hvis
problemetikkebeskrivesher,kandubrugeKapitel10"Oplysninger,hjælpogservice"påside143tilat
fåflerefejlfindingsoplysninger.
Grundlæggendefejlfinding
Skemaetnedenforindeholdergrundlæggendeinstruktioner,somdukanbrugetilatudførefejlfindingpå
computeren.
Bemærk:Hvisduikkekanløseproblemet,skalcomputerenefterses.Derfindesenoversigtover
telefonnumretilserviceogsupportiSikkerhed,garantiogopsætningsvejledning,derleveressammenmed
computeren.TelefonnumrenefindesogsåpåLenovossupportwebstedpå:
http://www.lenovo.com/support/phone
ProblemetskarakterHandling
Computerenstarterikke,nårjeg
trykkerpåafbryderknappen.
Kontrollér,at:
•Netledningenerkorrekttilsluttetpåbagsidenafcomputeren,ogatdener
tilsluttetenstikkontakt,dervirker.
•Hvisdererenekstraafbryderpåbagsidenafcomputeren,skaldukontrollere,
atdenertændt.
•Tændt-lampenforanpåcomputerenlyser.
•Dereroverensstemmelsemellemcomputerensspændingogdenspænding,
dergælderforditlandellerdinregion.
Skærmenersort.Kontrollér,at:
•Skærmkabletersluttetkorrekttilskærmenogdetrelevanteskærmstikpå
computeren.
•Netledningenersluttetkorrekttilskærmenogtilenstikkontakt,dervirker.
•Skærmenertændt,ogatlysstyrkenogkontrastenerindstilletkorrekt.
•Dereroverensstemmelsemellemcomputerensspændingogdenspænding,
dergælderforditlandellerdinregion.
•Hviscomputerenharetseparatgrafikkort,skaldusørgefor,atdubrugeret
skærmstikpådetseparategrafikkort.
Tastaturetfungererikke.Kontrollér,at:
•Computerenertændt.
•TastaturetersluttetkorrekttiletPS/2-tastaturstikelleretUSB-stikpå
computeren.
•Ingenaftasternesidderfast.
Musenvirkerikke.Kontrollér,at:
•Computerenertændt.
•MusenersluttetkorrekttiletPS/2-musestikelleretUSB-stikpåcomputeren.
•Musenerren.Dererflereoplysningeriafsnittet"Optiskmus"påside48.
©CopyrightLenovo2014,201551

ProblemetskarakterHandling
Styresystemetstarterikke.Sørgfor,atstartsekvensenindeholderdenenhed,hvoroperativsystemetfindes.
Styresystemetplejeratværeplaceretpåharddisken.Dererflereoplysningeri
afsnittet"Valgafstartenhed"påside38.
Computerenbipperfleregange,
førstyresystemetstarter.
Sørgfor,atingenaftasternesidderfast.
Fejlfindingsprocedure
Brugfremgangsmådennedenforsomudgangspunktforfejlfindingiforbindelsemedproblemermed
computeren:
1.Sørgfor,atkablernetilalletilsluttedeenhederertilsluttetkorrektogsidderfast.
2.Sørgfor,atalletilsluttedeenheder,somskalbrugestrøm,ertilsluttetenkorrektjordforbundet
stikkontakt.
3.Sørgfor,atalletilsluttedeenhedereraktivereticomputerensBIOS-indstillinger.Dererflereoplysninger
om,hvordandufåradgangtilogændrerBIOS-indstillingerne,i"BrugafprogrammetSetupUtility"
påside35.
4.Gåtil"Fejlfinding"påside52,ogfølgvejledningenfordetproblem,duoplever.Fortsætmednæstetrin,
hvisproblemetikkekanløsesvedhjælpaffejlfindingsoplysningerne.
5.Brugentidligereindlæstkonfigurationtilatse,omdeterennyligændringihardware-eller
softwareindstillingerne,derforårsagerproblemet.Indendugenindlæserentidligerekonfiguration,
skaldutageetsnapshotafdenaktuellekonfiguration,sådukanbrugeden,hvisdetidligere
konfigurationsindstillingerikkeløserproblemetellerharennegativindvirkning.Gørfølgendeforat
genindlæseentidligereindlæstkonfiguration:
a.ÅbnKontrolpanelvedatgøreetaffølgende:
•IWindows7:KlikpåknappenStartforatåbnemenuenStart,ogklikderefterpåKontrolpanel.
•IWindows8.1:Se"AdgangtilkontrolpaneletiWindows8.1-styresystemet"påside22.
•IWindows10:HøjreklikpåknappenStartforatåbneStart-genvejsmenuen,ogklikderefterpå
Kontrolpanel.
b.VisKontrolpanelmedStoreikonerellerSmåikoner,ogklikderefterpåGenoprettelse➙Åbn
Systemgendannelse.
c.Følgvejledningenpåskærmen.
Fortsætmednæstetrin,hvisdetteikkeharløstproblemet.
6.Kørfejlfindingsprogrammet.Dererflereoplysningeri"LenovoSolutionCenter"påside62.
•KontaktLenovoskundesupportcenter,hvisfejlfindingsprogrammetregistrererenhardwarefejl,eller
hvisduikkekankørefejlfindingsprogrammet.DererflereoplysningeriKapitel10"Oplysninger,
hjælpogservice"påside143.
•Hvisfejlfindingsprogrammetikkeregistrererenhardwarefejl,skaldufortsættemednæstetrin.
7.Brugetantivirusprogramtilatundersøge,omcomputerenerangrebetafvirus.Hvisprogrammet
findervirus,skaldufjernedem.
8.Hvisingenafdissehandlingerløserproblemet,skaldufåtekniskhjælp.DererflereoplysningeriKapitel
10"Oplysninger,hjælpogservice"påside143.
Fejlfinding
Brugfejlfindingsoplysningernetilatfindeløsningerpåproblemer,derharheltklaresymptomer.
Hvisproblemerneeropståetumiddelbartefter,atduinstalleredenysoftwareellernyhardware,skaldugøre
følgende,førdubrugerfejlfindingsoplysningerne:
52ThinkStationP900Brugervejledning

1.Fjerndennyehardwareellersoftware.Hvisduskalfjernecomputerdæksletforatkunnefjernehardware,
skalsørgeforathavelæstogfølgedesikkerhedsforskrifterforstrøm,derblevleveretsammenmed
computeren.Afsikkerhedsmæssigeårsagermåduikkebenyttecomputerenmeddæksletåbent.
2.Udførfejlfindingsprogrammetforatsikre,atcomputerenfungererkorrekt.
3.Geninstallerdennyehardwareellersoftwareioverensstemmelsemedproducentensvejledning.
Lydproblemer
Detteafsnitindeholderløsningertillydrelateredeproblemer.
IngenlydiWindows
Løsninger:
•Hvisdubrugereksternehøjtalere,somharenafbryderknap,skaldusikrefølgende:
–AfbryderknappenersattilTil.
–Højtalerensstrømforsyningskabelertilsluttetenkorrektjordforbundetstikkontakt.
•Hvisdeeksternehøjtalereharenlydstyrkeknap,skaldusikre,atlydstyrkenikkeersatforlavt.
•KlikpåhøjtalerikoneniWindows-meddelelsesområdetpåWindows-skrivebordet.KlikderefterpåMixer.
Sørgfor,atindstillingernetilatslåhøjtalernefraikkeervalgt,ogatingenaflydstyrkeindstillingerneer
satforlavt.
•Noglemodellerharetlydpanelforan,hvordukanjusterelydstyrken.Sørgfor,atlydstyrkenikkeer
satforlavt,hvisduetlydpanelforan.
•Sørgfor,atdeeksternehøjtalereogeventuellehovedtelefonerertilsluttetdetkorrektelydstikpå
computeren.Deflestehøjtalerkablererfarvekodede,sådepassertilstikket.
Bemærk:Nårhøjtalerkablerellerhovedtelefonkablerertilsluttetlydstikket,deaktiveresdeninterne
højtaler.Ideflestetilfældedeaktiveresdenlydfunktion,dererindbyggetisystemkortet,hvisder
installeresenlydadapterienafudvidelsesportene.Duskalderforbrugelydstikkenepålydadapteren.
•Kontrollér,atdetprogram,dubenytter,erberegnettilbrugsammenmedMicrosoft
Windows-styresystemet.HvisprogrammeterberegnettilDOS,brugerdetikkelydfaciliteterneiWindows.
ProgrammetskalkonfigurerestilSoundBlasterProellerSoundBlaster-emulering.
•Sørgfor,atlydstyreprogrammerneerkorrektinstalleret.DererflereoplysningerihjælpentilWindows.
Derkommerkunlydfraéneksternhøjtaler
Løsninger:
•Kontrollér,athøjtalerkabletersatkorrektindistikketpåcomputeren.
•Kontrollér,atdetkabel,somforbinderdenvenstrehøjtalertildenhøjrehøjtaler,erkorrekttilsluttet.
•KlikpåhøjtalerikonetimeddelelsesområdetiWindows.Klikderefterpåhøjtalerikonetøversti
lydstyrkeindstillingerne.KlikpåfanenNiveauer,ogsørgfor,atindstillingerneforBalanceerkorrekt
indstillet.
CD-problemer
DetteafsnitindeholderløsningertilCD-relateredeproblemer.
EnCDellerDVD-diskfungererikkekorrekt
Løsninger:
•Sørgfor,atdiskenersatkorrekti,ogatsidenmedetikettenvenderopad.
Kapitel7.Fejlfindingogproblemløsning53

•Sørgfor,atdendisk,dubruger,erren.Tørdiskenafmedenblødkludframidtenogudforatfjernestøv
ellerfingeraftryk.Hvisduaftørrerdiskenicirkulærebevægelser,kandetmedføretabafdata.
•Sørgfor,atdiskenikkeerridsetellerbeskadiget.Prøvatindsætteendisk,somduvederiorden.Hvisdu
ikkekanlæsefraendisk,dereriorden,kanduhaveproblemermeddetoptiskedrevellerkablernetildet
optiskedrev.Kontrollér,atstrømforsyningskabletogsignalkableterkorrektforbundettildrevet.
Computerenkanikkestartesmedetstartbartretableringsmedie,f.eks.Product
Recovery-CD'en
Løsning:Sørgfor,atCD-ellerDVD-drevetstårførharddiskenistartsekvensen.Dereroplysningerom
fremvisningogændringafstartsekvenseni"Vælgellerrevidérstartsekvensforenheder"påside38.
Bemærk,atpåvissemodellererstartsekvensenpermanentogkanikkeændres.
DVD-problemer
DetteafsnitindeholderløsningertilDVD-relateredeproblemer.
SortskærmistedetforDVD-video
Løsninger:
•GenstartDVD-afspilningsprogrammet.
•Prøvmedenlavereskærmopløsningellerfarvedybde.
•Lukeventuelleåbnefiler,oggenstartdereftercomputeren.
DVD-filmenafspillesikke
Løsninger:
•Kontrollér,atdiskensoverfladeerrenogikkeridset.
•Kontrollérkodningenpådiskenellerpakken.Duskaleventueltkøbeendiskmedkodning,dersvarertil
detområde,hvordubrugercomputeren.
Ingenlydellerperiodisklyd,nårenDVD-filmafspilles
Løsninger:
•Kontrollérlydstyrkeindstillingernepåcomputerenoghøjtalerne.
•Kontrollér,atdiskensoverfladeerrenogikkeridset.
•Kontrollérallekabeltilslutningertilogfrahøjtalerne.
•BrugdiskensDVD-menutilatvælgeetandetlydspor.
Afspilningerlangsomellerhakkende
Løsninger:
•Deaktivérbaggrundsprogrammer,f.eks.AntiVirusellerDesktopThemes.
•Sørgfor,atopløsningenersattilmindreend1152x864pixel.
Meddelelseom,atdiskenerugyldig,elleratdiskenikkeerfundet
Løsninger:
•Kontrollér,atdersidderenDVD-diskidrevet,ogatdenskinnendesidevendernedad.
•Sørgfor,atopløsningenersattilmindreend1152x864pixel.
•HviscomputerenharetCD-drevelleretCD-RW-drevudoverDVD-drevet,skaldukontrollere,at
DVD-diskensidderidetdrev,dererangivetsom"DVD".
54ThinkStationP900Brugervejledning

Periodiskeproblemer
Nogleproblemeropstårkunengangimellemogersværeatgentage.
Løsninger:
•Sørgfor,atallekablerogledningererkorrektforbundettilcomputerenogtilsluttedeenheder.
•Sørgfor,atluftgitterettilventilatorenikkeerblokeret,nårcomputerenertændt(derskalstrømmeluft
omkringgitteret),ogatventilatorernefungerer.Hvisluftstrømmenerblokeret,ellerventilatorerneikke
fungerer,kancomputerenbliveroverophedet.
•HvisdererinstalleretSCSI-enheder(SmallComputerSystemInterface),skaldusikre,atdensidste
eksterneenhedihverSCSI-kædeerafsluttetkorrekt.DererflereoplysningeriSCSI-dokumentationen.
Harddiskproblemer
Findsymptometilistennedenfor:
•"NogleelleralleharddiskemangleriprogrammetSetupUtility"påside55
•"Meddelelsen"NoOperatingSystemFound"ellersystemetstarterikkefradenrigtigeharddisk"påside55
NogleelleralleharddiskemangleriprogrammetSetupUtility
Løsninger:
•Kontrollér,atallesignal-ogstrømforsyningskablertilharddiskeneerkorrektforbundet.
•Kontrollér,atcomputerenerkorrektkonfigurerettilatunderstøtteharddiskene.
–HvisdincomputerharfemSATA-harddiske,skaldusikredig,atSATA-harddisk-aktiveringsmodulet(en
tilfemharddiske)erinstalleret.
–HvisdincomputerharSAS-harddiske,skaldusikredig,atSAS-harddiskaktiveringsmodulet(entil
femharddiske)ellerLSIMegaRAIDSAS-adapterenerinstalleret.
Hvisdetikkeløserproblemet,skalduudførefejlfindingsprogrammetLenovoSolutionCenter.Se"Lenovo
SolutionCenter"påside62.DukanfindetekniskassistanceiKapitel10"Oplysninger,hjælpogservice"
påside143.
Meddelelsen"NoOperatingSystemFound"ellersystemetstarterikkefradenrigtige
harddisk
Løsninger:
•Kontrollér,atallesignal-ogstrømforsyningskablertilharddiskeneerkorrektforbundet.Seunder
"Installationellerudskiftningafet3,5-tommerslagerdrev"påside75.
•Kontrollératdenharddisk,computerenstarterfra,sessomdenførstestartenhediprogrammetSetup
Utility.Seunder"Valgafstartenhed"påside38.
Bemærk:Isjældnetilfældekanharddiskenmedstyresystemetbliveugyldigellerbeskadiget.Idetilfælde
kandetværenødvendigtatudskifteharddisken.Seunder"Installationellerudskiftningafet3,5-tommers
lagerdrev"påside75.
Hvisdetikkeløserproblemet,skalduudførefejlfindingsprogrammetLenovoSolutionCenter.Se"Lenovo
SolutionCenter"påside62.
Problemermedtastaturetellermusen
Detteafsnitindeholderløsningertilproblemer,dererrelaterettiltastaturetellermusen.
Kapitel7.Fejlfindingogproblemløsning55

Musenvirkerikke
Løsninger:
•SlutmusekablettiletUSB-stikelleretPS/2-musestik.
Bemærk:AfhængigtaftastaturetkanderværeintegreredeUSB-stik,derkanbrugestilattilslutteen
USB-mus.
•Installerstyreprogrammernetilmusen.
•AktivérUSB-stikkeneiBIOS-indstillingerne,hvisdubrugerenUSB-mus.Dererflereoplysningeri
afsnittet"Aktiveringellerdeaktiveringafenenhed"påside37.
Pilmarkørenpåskærmenbevægersigikke,nårdubevægermusen
Løsning:Rengørmusen.Dererflereoplysningeriafsnittet"Optiskmus"påside48.
Fingeraftrykslæserenpåtastaturetfungererikke
Løsninger:
•Registrérditfingeraftrykkorrekt.
•Ridsaldriglæserensoverflademedethårdt,spidstobjekt.
•Ridsaldriglæserenmedenneglellernogetandethårdt.
•Benytellerberørlæserenmedenrenfinger.
•Sørgfor,atfingerensoverfladeerligden,dubrugte,dadusidstregistreredefingeraftrykket.
Dettrådløsetastaturvirkerikke
Løsninger:
•Genopretforbindelsenmellemtransceiverogtastatur,hviskommunikationslampenpåtransceiveren
ikkelyser.
•Genstartcomputeren,hvisdettrådløsetastaturikkevirker,nårkommunikationslampenpåtransceiveren
lyser.
Hvisproblemetfortsættereftergenstarten,skaldukontrollere,at:
•Batterierneerinstalleretkorrekt.
•Batterierneeropladede.
•Afstandenmellemdettrådløsetastaturogtransceiverenermindreend10meter.
•Transceiverenerfuldstændigtinstalleret.
Skærmproblemer
Detteafsnitindeholderløsningertilskærmrelateredeproblemer.
Skærmenbliversort,nårcomputerenertændt
Løsninger:Pauseskærmenellerstrømstyringermåskeaktiveret.Gøretaffølgende:
•Trykpåentastforatafsluttepauseskærmen.
•Trykpåafbryderenforatgenoptagecomputerensnormaledriftfraslumre-ellerdvaletilstand.
Skærmenfungerer,nårjegtænderforcomputeren,menbliversort,nårjegstarter
visseprogrammer
Løsninger:
56ThinkStationP900Brugervejledning

•Slutskærmenssignalkabelfraskærmentiletpassendestikpåcomputeren.Etløstkabelkangive
periodiskeproblemer.
•Installerstyreprogrammernetilprogrammerne.Dokumentationentilprogrammerneindeholderoplysninger
om,hvilkestyreprogrammerderskalbruges.
Billedeterstribet
Løsninger:
•Skærmenkanpåvirkesafsignalstøjfraudstyrinærheden.Magnetiskefelteromkringandetudstyr,
f.eks.omformere,husholdningsudstyr,lysstofbelysningogandreskærme,kangiveproblemer.Flyt
lysstofbelysningpåbordetellerandetudstyr,somgivermagnetiskefelter,længerevækfraskærmen.
Hvisdetteikkeløserproblemet,skalduslukkecomputeren.Placerdereftercomputeren,sådenstår
ienafstandaf305mmfraandreenheder.Tændforcomputeren.
•Nulstildenopdateringshastighed,derunderstøttesafcomputeren.
1.Højreklikpådettommeområdepåskrivebordet.
2.GørfølgendeafhængigtafdinWindows-version:
–IWindows7ellerWindows8.1:KlikpåSkærmopløsning➙Avanceredeindstillinger.
–IWindows10:KlikpåSkærmindstillinger.UnderfanenSkærmskalduklikkepåAvancerede
skærmindstillinger➙Visegenskaberfornetværkskort.
3.KlikpåfanenComputerskærm,ogindstilderefteropdateringshastighedentilatværedenhøjesteog
udenlinjespring.
Billedetermisfarvet
Løsning:Skærmenkanpåvirkesafsignalstøjfraudstyrinærheden.Flytlysstofbelysningpåbordeteller
andetudstyr,somgivermagnetiskefelter,længerevækfraskærmen.Gørfølgende,hvisdetikkeløser
problemet:
1.Slukforskærmen.
2.Placérskærmen,sådenstårienafstandaf305mmfraandreenheder.
3.Tændforskærmen.
Netværksproblemer
Detteafsnitindeholderløsningertilnetværksrelateredeproblemer.
Ethernet-problemer
Computerenkanikkefåforbindelsemednetværket
Løsninger:Kontrollér,at:
•kableterrigtigtinstalleret.
NetværkskabletskalværekorrektforbundetmedbådecomputerensEthernet-stikogRJ45-stikketpå
boksenheden.Afstandenmellemcomputerenogboksenhedenmåikkeværeover100meter.Hvis
problemetfortsætter,selvomkableterkorrektforbundet,ogafstandenerindenfordentilladtegrænse,
skalduforsøgemedetandetkabel.
•kableterrigtigtinstalleret.
•opdaterellerinstallerEthernetLAN-driverenigen.Se"Holdcomputerenopdateret"påside47.
•skifteportenogkortetharsammedupleksindstilling.
Hvisduharkonfigureretkortettilfulddupleks,skaldukontrollere,atskifteportenogsåerkonfigureret
tilfulddupleks.Hvisduangiverforkertduplekstilstand,kandetresultereinedsatydelse,tabafdata
ellertabafforbindelse.
Kapitel7.Fejlfindingogproblemløsning57

•duharinstalleretalledenetværksprogrammer,derkrævestildetpågældendenetværksmiljø.
FådenødvendigenetværksprogrammerhosLAN-administratoren.
Adapterenholderopmedatfungereudengrund
Løsning:Driverfilernetilnetværketkanværeødelagteellermangle.Opdaterstyreprogrammetvedatfølge
fremgangsmådenbeskrevetunder"Løsning"fordetforrigeproblemforatsikre,atdetnyestestyreprogram
erinstalleret.
WakeonLANfungererikke
Løsning:AktivérWakeonLAN-funktionen(WOL)iBIOS-programmet.
MincomputererenGigabitEthernet-model,ogjegbrugerenhastighedpå1000Mbit/s,menderkan
ikkeoprettesforbindelse,ellerderopstårfejl
Løsning:SlutnetværkskablettilEthernet-stikketvedhjælpafKategori5-kablerogen100BASE-T
boksenhed/omskifter(ikke100BASE-X).
MincomputererenGigabitEthernet-model,menderkanikkeoprettesforbindelsetilnetværketmed
1000Mbit/s,menkunmed100Mbit/s
Løsninger:
•Prøvetandetkabel.
•Sætlinkpartnerentilautomatiskgenforhandling.
•Sætkontaktentilatvære802.3ab-kompatibel(gigabitoverkobber).
ProblemermeddentrådløseLAN-forbindelse
Computerenkanikkeoprettenetværksforbindelservha.detindbyggedetrådløsenetværkskort.
Løsninger:
•Kontrollér,atstyreprogrammettiltrådløstLANerdennyesteversion.Skifttilwebstedet,ogundersøg
omdenversionafstyreprogrammet,somstøttesafAccessConnections,erdennyeste,derangivesi
readme-filen.
•Kontrollér,atcomputerenerindenforrækkeviddenafadgangspunktet.
•KlikpåikonetAccessConnectionsiWindows-meddelelsesområdetforatkontrollere,omtrådløsradioer
aktiveret.Hvistrådløsradioerdeaktiveret,skaldufølgevejledningenpåskærmenforataktiveredet.
•Kontrollérnetværksnavnet(SSID)ogkrypteringsoplysningerne.BrugAccessConnectionstilatkontrollere
disseoplysninger.Bemærk,atderskelnesmellemstoreogsmåbogstaver.
Bluetooth-problem
LydenkommerikkefraBluetooth-hovedsætteteller-hovedtelefonen,menfradenlokalehøjttaler,selvom
hovedsættetellerhovedtelefonenertilsluttetmedhovedsætprofilenellerAV-profilen.
Løsning:Gørfølgende:
1.Afslutdetprogram,derbrugerlydenheden(f.eks.WindowsMediaPlayer).
2.ÅbnKontrolpanel.
Bemærk:Dukanfåoplysningerom,hvordanduåbnerKontrolpaneliWindows8.1,i"Adgangtil
kontrolpaneletiWindows8.1-styresystemet"påside22.
3.KlikpåHardwareoglyd➙Lyd.
4.KlikpåfanenAfspilning.
58ThinkStationP900Brugervejledning

5.VælgBluetoothHands-freeAudio,ogklikpåknappenBenytsomstandard,hvisdubruger
hovedsætprofilen.VælgStereoAudio,ogklikpåBenytsomstandard,hvisdubrugerAV-profil.
6.KlikpåOKforatlukkevinduetLyd.
Bemærk:Bluetooth-funktionenunderstøtteskunpåvissecomputermodeller.
Jegharsluttetudstyrtilmincomputer,mendetvirkerikke
Løsning:Læsdendokumentation,derfølgermedudstyret,foratsikre,atduhartilsluttetudstyretkorrekt.
Problemermedydelse,ogcomputerenlåser
Detteafsnitindeholderløsningertilydelsesrelateredeproblemerpåcomputeren.
Ikkenokpladspåharddisken
Løsninger:Frigørpladspåharddisken.
1.RydopifolderneIndbakke,SendtpostogSlettetpostfradite-mail-program.
2.RydoppåC-drevet.
a.GørfølgendeafhængigtafdinWindows-version:
•IWindows7:KlikpåknappenStartforatåbnemenuenStart,ogklikderefterpåComputer.
•IWindows8.1:ÅbnStifinder.
•IWindows10:KlikpåknappenStartforatåbnemenuenStart,ogklikderefterpåStifinder➙
Dennepc.
b.HøjreklikpåC-drevet,ogklikherefterpåEgenskaber.
c.Kontrollérmængdenafledigplads,ogklikderefterpåDiskoprydning.
d.Dervisesenlisteoverunødvendigefilkategorier.Vælghverfilkategori,duvilslette,ogklikderefter
påOK.
3.SlånogleWindows-funktionerfra,ellerfjernnogleunødvendigeprogrammer.
a.ÅbnKontrolpanelvedatgøreetaffølgende:
•IWindows7:KlikpåknappenStartforatåbnemenuenStart,ogklikderefterpåKontrolpanel.
•IWindows8.1:Se"AdgangtilkontrolpaneletiWindows8.1-styresystemet"påside22.
•IWindows10:HøjreklikpåknappenStartforatåbneStart-genvejsmenuen,ogklikderefterpå
Kontrolpanel.
b.VisKontrolpanelmedStoreikonerellerSmåikoner,ogklikderefterpåProgrammerogfunktioner.
c.Gørfølgende:
•ForatslånogleWindows-funktionerfraskalduklikkepåSlåWindows-funktionertilellerfra.
Følgvejledningenpåskærmen.
•Hvisduvilfjernenogleunødvendigeprogrammer,skalduvælgedetprogram,duvilfjerneog
derefterklikkepåFjern/redigerellerFjern.
Mangefragmenteredefiler
Løsning:BrugWindows-diskdefragmenteringsfunktionenellerWindows-diskoptimeringsfunktionenforat
ryddeopifilerne.
Bemærk:Afhængigtafstørrelsenaflagerdreveneogmængdenafdatapålagerdrevenekan
diskdefragmenteringentagefleretimer.
1.Lukalleåbneprogrammerogvinduer.
2.GørfølgendeafhængigtafdinWindows-version:
Kapitel7.Fejlfindingogproblemløsning59

•IWindows7:KlikpåknappenStartforatåbnemenuenStart,ogklikderefterpåComputer.
•IWindows8.1:ÅbnStifinder.
•IWindows10:KlikpåknappenStartforatåbnemenuenStart,ogklikderefterpåStifinder➙
Dennepc.
3.HøjreklikpåC-drevet,ogklikherefterpåEgenskaber.
4.KlikpåfanenFunktioner.
5.GørfølgendeafhængigtafdinWindows-version:
•IWindows7:KlikpåDefragmenternu.
•IWindows8.1ellerWindows10:KlikpåOptimer.Vælgdetønskededrev,ogklikderefterpå
Optimer.
6.Følgvejledningenpåskærmen.
Ikkenokhukommelse
Løsning:Installerflerehukommelsesmoduler.Dererenvejledningiinstallationafhukommelsesmoduleri
"Installationellerudskiftningafethukommelsesmodul"påside127.
Gåtil
http://www.lenovo.comforatkøbehukommelsesmoduler
Printerenfungererikke
Løsninger:
•Gørfølgende,hvisdubenytterprinterkabler,dererIEEE-godkendt:
1.SlutprinterkablettildenkorrekteparallelleellerserielleportellerUSB-portpåcomputeren,sådet
siddergodtfast.
2.Lægpapiretkorrektiprinteren.
3.Tændforprinteren,ogsørgfor,atprintereneronline.
•Gørfølgende,hvisdubenytterprinterkabler,derikkeerIEEE-godkendt:
1.Installerstyreprogrammerogandreprogrammer,derfølgermedprinteren.
2.Tilknytprinterportenistyresystemet,iprogrammetelleriBIOS-indstillingerne.Dererflereoplysninger
omBIOS-indstillingeri"BrugafprogrammetSetupUtility"påside35.
Hvisdetikkeløserproblemet,skalduudføredetest,derbeskrivesidendokumentation,somleveres
sammenmedprinteren.Hvisduikkekanløseproblemet,skalcomputerenefterses.SeKapitel10
"Oplysninger,hjælpogservice"påside143.
Dererikkeadgangtildetseriellestik
Løsninger:
•Slutdetseriellekabeltildetseriellestikpåcomputerenogdenserielleenhed.Hvisdenserielleenhedhar
sinegenledning,skalduslutteledningentilenjordforbundetstikkontakt.
•Tændfordenserielleenhed,ogsørgfor,atenhedeneronline.
•Installereventuelleprogrammer,derfulgtemeddenserielleenhed.Dererflereoplysningeriden
dokumentation,derfølgermeddenserielleenhed.
•Hvisduhartilføjetenadaptertildetseriellestik,skalduinstallereadapterenkorrekt.
60ThinkStationP900Brugervejledning

Programproblemer
Detteafsnitindeholderløsningertilsoftwarerelateredeproblemer.
Datoernekanikkesorteresidenrigtigerækkefølge,nårjegbrugeren
sorteringsfunktion
Løsning:Nogleprogrammer,dererudvikletførår2000,brugtekundesidstetotaliårstallettilatsortere
datoer,idetdealtidgikudfra,atdeførstetotalvar19.Derforkandatoerneikkesorteresidenrigtige
rækkefølge.Spørgsoftwareproducenten,omderertilgængeligeopdateringertilprogrammet.Mange
softwareproducentergøropdateringertilgængeligefraWorldWideWeb.
Nogleprogrammerfungererikkesomforventet
Løsninger:
•Hvisduharproblemermedatudføreenbestemtopgaveietprogram,kanduslåopihjælpentil
programmet.
•HvisduharproblemermedWindows-styresystemetellerenafdetskomponenter,kandulæseihjælpen
tilWindows.
•Undersøg,omproblemerneskyldesetnyligtinstalleretprogram.
1.Sørgfor,atprogrammerneerkompatiblemedcomputeren.Dererflereinformationerideoplysninger,
derfulgtemedsoftwaren.
2.Kontrollér,atandreprogrammerfungererkorrektpåcomputeren.
3.Kontrollér,atdeprogrammer,dubruger,fungererpåenandencomputer.
•Hvisduharmodtagetfejlmeddelelser,mensdubrugteprogrammet,skaldulæseidentrykte
dokumentation,derfølgermedprogrammet,ellerihjælpenforatfindeløsninger.
•Undersøg,omderertilgængeligeopdateringerhosproducentenellerpånettet.Mange
softwareproducentergøropdateringertilgængeligefraWorldWideWeb.
•Gørfølgende,hvisprogrammettidligereharfungeretkorrekt,mennuikkefungererlængere:
1.ÅbnKontrolpanelvedatgøreetaffølgende:
–IWindows7:KlikpåknappenStartforatåbnemenuenStart,ogklikderefterpåKontrolpanel.
–IWindows8.1:Se"AdgangtilkontrolpaneletiWindows8.1-styresystemet"påside22.
–IWindows10:HøjreklikpåknappenStartforatåbneStart-genvejsmenuen,ogklikderefterpå
Kontrolpanel.
2.VisKontrolpanelmedStoreikonerellerSmåikoner,ogklikderefterpåGenoprettelse➙Åbn
Systemgendannelse.
3.Følgvejledningenpåskærmen.
•Hvisduikkekanløseproblemetpåandenmåde,skalduafinstallereprogrammetogderefterinstalleredet
igen.
DererikkeadgangtilmineUSB-stik
Løsninger:
•SlutUSB-kabletfraUSB-stikkettilUSB-enheden.HvisUSB-enhedenharsinegenledning,skaldu
slutteledningentilenjordforbundetstikkontakt.
•TændforUSB-enheden,ogsørgfor,atenhedeneronline.
•Installereventuellestyreprogrammerellerprogrammer,derfulgtemedUSB-enheden.Dererflere
oplysningeridendokumentation,derfølgermedUSB-enheden.
•AfmonterUSB-stikketogtilslutdetigenforatnulstilleUSB-enheden.
Kapitel7.Fejlfindingogproblemløsning61

Fejlfinding
Fejlfindingsprogrammetbrugestilattestecomputerenshardwarekomponenter.Fejlfindingsprogrammet
kanogsårapportereindstillinger,derstyresafstyresystemer,ogsomforstyrrerdenkorrektebetjeningaf
computeren.Dukanbrugedetforudinstalleredefejlfindingsprogramtilatløsecomputerproblemer,hvis
computerenanvenderWindows.
Bemærkninger:
1.ComputerenerforudinstalleretmedprogrammetLenovoSolutionCentertilfejlfindingsformål.Derer
flereoplysningeromprogrammetLenovoSolutionCenteri"LenovoSolutionCenter"påside62.
2.Hvisduikkeselvkanisolereogløseproblemet,efterduharbrugtfejlfindingsprogrammet,skaldu
gemmeogudskrivedelogfiler,somfejlfindingsprogrammetharoprettet.Duskalbrugelogfilerne,
nårdutalermedenLenovo-tekniker.
LenovoSolutionCenter
ProgrammetLenovoSolutionCentergiverdigmulighedforatfejlfindeogløsecomputerproblemer.Det
omfatterfejlfindingstest,indsamlingafsystemoplysninger,sikkerhedsstatusogsupportoplysningersamt
rådogtiptilatopnåmaksimalsystemydeevne.
•DukandownloadeprogrammetLenovoSolutionCenterpåhttp://www.lenovo.com/diags.
•HvisdubrugeretandetWindows-operativsystemendWindows7,Windows8.1ellerWindows10,skaldu
gåtilhttp://www.lenovo.com/diagsforatfådenyesteoplysningervedrørendefejlfindingpådincomputer.
HvisduvilkøreprogrammetLenovoSolutionCenter,kanduse"Lenovo-programmer"påside13.
Bemærk:Hvisduikkeselvkanisolereogløseproblemet,efterduharbrugtprogrammet,skaldugemmeog
udskrivelogfilerne.Duskalbrugelogfilerne,nårdutalermedenLenovo-tekniker.
DererflereoplysningerihjælpentilLenovoSolutionCenter.
Fejlfindingafhardware
Dincomputerunderstøtterfunktionentilfejlfindingafhardware.Dennefunktiongørdetmuligtfor
computerenatovervågenoglehardwarekomponenterirealtidforpotentielleproblemer,dermåskeikke
nemtkanregistreresvednormalbrug.Nårcomputerenregistrereretproblemellerenfejl,visesdertekst
ogennumeriskfejlkodeidetfirecifredefejlfindingsdisplaypåforsidenafcomputeren.Se"Stik,kontroller
ogindikatorerpåcomputerensforside"påside2.
Fåflereoplysningeromproblemetellerfejlenpåfølgendemåde:
1.SlutenaffølgendeenhedertilUSB-stikkettilfejlfindingpåforsidenafcomputeren:
•EnUSB-nøgle
•EnAndroidTM-enhedmedappenLenovoWorkstationDiagnosticsinstalleret
Se"Stik,kontrollerogindikatorerpåcomputerensforside"påside2.
2.Ventca.10til15sekunder,mensfejlfindingsdataeneoverføresfracomputerentilUSB-enheden.Under
dataoverførslenvises"Filkopiering"idetfirecifredefejlfindingsdisplay.Nårdataoverførslenerfærdig,
vises"Filkopieringudført"idetfirecifredefejlfindingsdisplay.
Bemærk:FejlfindingsdatakankunoverføresviaUSB-stikkettilfejlfinding,nårdervisestekstogen
numeriskfejlkodeidetfirecifredefejlfindingsdisplay.UndernormaleforholdfungererUSB-stikkettil
fejlfindingsometstandard-USB3.0-stik.
62ThinkStationP900Brugervejledning

3.Gøretaffølgende,afhængigtafomdubrugerenUSB-nøgleellerenAndroid-enhed(f.eks.en
smartphone):
•HvisdubrugerenUSB-nøgle,skaldugåtilhttp://support.lenovo.com/workstation_diagnosticsforat
fåoplysningerom,hvordandulæserfejldataenepåUSB-nøglen.
•HvisdubrugerenAndroid-enhedmedappenLenovoWorkstationDiagnosticsinstalleret,skal
duåbneprogrammetforatfåoplysningeromfejlen.DererflereoplysningeromappenLenovo
WorkstationDiagnosticspåhttp://www.thinkworkstationsoftware.com/diags.
Dukanfåflereoplysningerom,hvordandubrugerUSB-stikkettilfejlfindingpåcomputeren,afkoderfejlkoder
ellerbrugerappenLenovoWorkstationDiagnostics,påhttp://www.thinkworkstationsoftware.com/diags.
Funktionentilfejlfindingafhardwareersomstandardaktiveretpåcomputeren.Gørfølgendeforat
deaktiverefunktionen:
1.StartprogrammetSetupUtility.Se"StartafprogrammetSetupUtility"påside35.
2.FrahovedmenueniprogrammetSetupUtilityskalduvælgeAdvanced➙Diagnosticfunctionog
dereftertrykkepåEnter.
3.VælgReal-timeDiagnosticMonitoring,ogtrykpåEnter.VælgderefterDisabled,ogtrykpåEnter.
4.TrykpåF10foratgemmeændringerneogafslutteprogrammetSetupUtility.
Kapitel7.Fejlfindingogproblemløsning63

64ThinkStationP900Brugervejledning

Kapitel8.Oplysningeromretablering
Dettekapitelindeholderoplysningeromretableringsløsninger.Dukanvælgemellemforskelligemetoder,når
duovervejer,hvordanduskaludføreenretableringiforbindelsemedetsoftware-ellerhardwarerelateret
problem.Noglemetodervarierer,afhængigtafhvilkentypestyresystemdererinstalleret.Dukanretablere
computerensindstillingervedhjælpafetprogramellerretableringsdiskene.Dererflereoplysningerom,
hvordandubrugerretableringsdiskene,idendokumentation,derfølgermedretableringsdiskene.
Dettekapitelindeholderfølgendeemner:
•"OplysningeromretableringforWindows7-operativsystemet"påside65
•"OplysningeromretableringforWindows8.1-operativsystemet"påside70
•"OplysningeromretableringforWindows10-operativsystemet"påside71
OplysningeromretableringforWindows7-operativsystemet
RetableringsoplysningerneidetteafsnitgælderkunforcomputeremedRescueandRecovery-programmet
ellerProductRecovery-programmet.HvisikonetEnhancedBackupandRestoreiprogrammetLenovo
ThinkVantageToolsernedtonet,angiverdet,atduskalinstallereprogrammetRescueandRecovery,førdu
aktivererfunktionerne.InstallerprogrammetRescueandRecoverypåfølgendemåde:
1.KlikpåStart➙Alleprogrammer➙LenovoThinkVantageTools,ogdobbeltklikpåEnhanced
BackupandRestore.
2.Følgvejledningenpåskærmen.
3.Nårinstallationsprocessenerfuldført,visesikonetEnhancedBackupandRestore.
Detteafsnitindeholderfølgendeemner:
•"Oprettelseogbrugafretableringsmedier"påside65
•"Sikkerhedskopierings-ogretableringsfunktioner"påside66
•"Oprettelseogbrugafetretableringsmedie"påside68
•"Geninstallationafprogrammerogstyreprogrammer"påside68
•"Løsningafretableringsproblemer"påside70
Oprettelseogbrugafretableringsmedier
Retableringsmediergiverdigmulighedforatretablereharddiskentilstandardtilstandenfrafabrikken
ogretablerecomputerentilenfungerendetilstand,efterduharprøvetalleandreretableringsmetoder.
Retableringsmedierernyttige,hvisduoverførercomputerentiletandetområde,sælgercomputereneller
afleverercomputerentilgenbrug.Detervigtigtatopretteretableringsmediersåhurtigtsommuligtsom
sikkerhedsforanstaltning.Dataenepåretableringsmedietkanbrugestilfølgendeformål:
•Geninstallerprogrammerneogstyreprogrammernepåcomputeren
•Geninstallerstyresystemet
•Ændrdatafilernepåharddiskenvedhjælpafflerefiler
Bemærk:Dineretableringsmulighedermedretableringsmedierafhængerafdetstyresystem,deeroprettet
på.Retableringsmedierkanomfatteetstartmedieogetdatamedie.MicrosoftWindows-licensentillader
kun,atduopretterétdatamedie.Detanbefales,atduopbevarerretableringsmedierneetsikkertsted,
nårduharoprettetdem.
©CopyrightLenovo2014,201565

Oprettelseafretableringsmedier
Bemærk:IstyresystemetWindows7kanduopretteretableringsmediervha.diskeellereksterne
USB-lagerdrev.
GørfølgendeforatopretteretableringsmedieriWindows7:KlikpåStart➙Alleprogrammer➙Lenovo
ThinkVantageTools➙FactoryRecoveryDisks.Følghereftervejledningenpåskærmbilledet.
Brugafretableringsmedier
Vigtigt:Allefiler,deraktueltfindespåharddisken,bliverslettet,nårdubrugerretableringsmediertilat
retablereharddiskentilstandardindstillingernefrafabrikken.Dissefilerblivererstattetafstandardfilerne
frafabrikken.
GørfølgendeforatbrugeretableringsmedieriWindows7-operativsystemet:
1.Afhængigtaftypenafretableringsmedieskaldusluttestart-USB-lagerdrevettilcomputerenellersætte
startdiskenidetoptiskedrev.
2.Tændellergenstartdincomputer.
3.TrykfleregangepåF12-tasten,nårduserlogoskærmen.VinduetStartupDeviceMenuvises.
4.Markérdenrelevantestartenhed,ogtrykpåEnter.Retableringenstarter.
5.Følghereftervejledningenpåskærmenforatafsluttehandlingen.
Bemærk:Nårduharretableretcomputerensharddisktilstandardtilstandenfrafabrikken,skaldumuligvis
geninstallerestyreprogrammernetilvisseenheder.Se"Geninstallationafprogrammerogstyreprogrammer"
påside68.
Sikkerhedskopierings-ogretableringsfunktioner
VedhjælpafprogrammetRescueandRecoverykandusikkerhedskopiereheleharddiskensindhold,
herunderstyresystem,datafiler,programmerogpersonligeindstillinger.Dukangemmesikkerhedskopienpå
følgendesteder:
•RescueandRecovery-arbejdsområdet
•Densekundæreharddisk,hvisdererinstalleretensådanicomputeren
•EneksternUSB-harddisk,derertilsluttetdincomputer
•Etnetværksdrev
•Skrivbarediske(dennemulighedkræveretskrivbartoptiskdrev)
Nårduharfuldførtsikkerhedskopieringen,kandugendannedeleafelleralledataenepåharddisken.
Udførelseafsikkerhedskopiering
GørfølgendeforatudføreensikkerhedskopieringmedprogrammetRescueandRecoveryiWindows7:
1.FraWindows-skrivebordetskalduklikkepåStart➙Alleprogrammer➙LenovoThinkVantageTools
➙EnhancedBackupandRestore.ProgrammetRescueandRecoverystarter.
2.KlikpåpilenStartudvidetRescueandRecoveryihovedvinduetiRescueandRecovery.
3.KlikpåSikkerhedskopiérharddisken,ogvælgindstillingerforsikkerhedskopieringen.Følgherefter
vejledningenpåskærmenforatafsluttesikkerhedskopieringen.
Udførelseafenretablering
Detteafsnitindeholderfølgendeemner:
•"UdførelseafenretableringiWindows7"påside67
•"UdførelseafenretableringfraRescueandRecovery-arbejdsområdet"påside67
66ThinkStationP900Brugervejledning

UdførelseafenretableringiWindows7
GørfølgendeforatudføreenretableringmedprogrammetRescueandRecoveryiWindows7:
1.FraWindows-skrivebordetskalduklikkepåStart➙Alleprogrammer➙LenovoThinkVantageTools
➙EnhancedBackupandRestore.ProgrammetRescueandRecoverystarter.
2.KlikpåpilenStartudvidetRescueandRecoveryihovedvinduetiRescueandRecovery.
3.KlikpåikonenRetablérsystemetfraensikkerhedskopi.
4.Følghereftervejledningenpåskærmenforatafsluttegenoprettelseshandlingen.
UdførelseafenretableringfraRescueandRecovery-arbejdsområdet
RescueandRecovery-arbejdsområdeterplaceretietskjultogbeskyttetområdepåharddisken,som
fungereruafhængigtafWindows-styresystemet.RescueandRecovery-arbejdsområdetgørdetmuligtfor
digatudføreretableringer,selvomduikkekanstarteWindows-styresystemet.Dukanudføredennetype
retableringerfraRescueandRecovery-arbejdsområdet:
•Genopretfilerfraharddiskenellerfraensikkerhedskopi:
Dukanfindefilerpåharddiskenogoverføredemtiletnetværksdrevelleretandetskrivbartlagermedie,
f.eks.enUSB-enhedellerendisk.Denneløsningertilgængelig,selvomduikkeharsikkerhedskopieret
dinefiler,ellerhvisderersketændringer,sidenduhartagetdensidstesikkerhedskopi.Dukanogså
genopretteindividuellefilerfraenRescueandRecovery-sikkerhedskopipådenlokaleharddisk,en
USB-enhedelleretnetværksdrev.
•RetablerharddiskenfraenRescueandRecovery-sikkerhedskopi:
HvisduharsikkerhedskopieretharddiskenvedhjælpafprogrammetRescueandRecovery,kandu
retablereharddiskenfraenRescueandRecovery-sikkerhedskopi,ogsåselvomduikkekanstarte
Windows.
•Retablerharddiskentilstandardtilstandenfrafabrikken:
Dukanretablereheleharddiskentilstandardtilstandenfrafabrikken,selvomduikkekanstarte
Windows-styresystemet.Hvisduharflereafsnitpåharddisken,hardumulighedforatretablere
indstillingentilC:-partitionen,udenatdeandrepartitionerberøres.
Vigtigt:DukanretablereharddiskenfraenRescueandRecovery-sikkerhedskopiellerretablereharddisken
tilstandardindstillingernefrafabrikken.Underbeggeretableringerslettesallefilerpådenprimære
harddiskpartition(normaltdrevC:).Hvisdetermuligt,skaldutagekopierafvigtigefiler.Hvisduikkekan
starteWindows,kandubrugefunktionenGenopretfileriRescueandRecovery-arbejdsområdettilat
kopierefilerfraharddiskentilandrelagermedier.
GørfølgendeforatudføreenretableringfraRescueandRecovery-arbejdsområdet:
1.Tændellergenstartdincomputer.
2.TrykpåEnter,nårlogoskærmbilledetvises,ogtrykderefterpåF11foratåbneRescueand
Recovery-arbejdsområdet.
3.HvisduharangivetetRescueandRecovery-kodeord,skalduskrivedet,nårdubliverbedtomdet.
RescueandRecovery-arbejdsområdetvisesefteretkortøjeblik.
Bemærk:Læs"Løsningafretableringsproblemer"påside70,hvisRescueand
Recovery-arbejdsområdetikkestarter.
4.Gøretaffølgende:
•KlikpåGenopretfiler,ogfølgvejledningenpåskærmenforatgenoprettefilerfraharddisken.
•KlikpåFuldstændigretablering,ogfølgvejledningenpåskærmenforatretablereharddiskenfraen
RescueandRecovery-sikkerhedskopiellerretablereharddiskentilstandardtilstandenfrafabrikken.
Bemærk:Nårduharretableretcomputerensharddisktilstandardtilstandenfrafabrikken,skaldu
muligvisgeninstallerestyreprogrammernetilvisseenheder.Se"Geninstallationafprogrammerog
styreprogrammer"påside68.
Kapitel8.Oplysningeromretablering67

KlikpåHjælpforatfåflereoplysningeromfaciliteterneiRescueandRecovery-arbejdsområdet.
Oprettelseogbrugafetretableringsmedie
Opretretableringsmediervha.diskeellerUSB-lagerdrevsåhurtigtsommuligt.Dukanbrugeet
genopretningsmedietilatretablerefrafejl,derforhindreradgangtilWindowsellerRescueand
Recovery-arbejdsområdetpåharddisken.
Bemærkninger:
•Dineretableringsmulighedermedbrugafetretableringsmedieafhængerafstyresystemet.
•Retableringsdiskenekanstartesialletyperoptiskedrev.
Oprettelseafetretableringsmedium
GørfølgendeforatopretteetgenopretningsmedieiWindows7:
1.FraWindows-skrivebordetskalduklikkepåStart➙Alleprogrammer➙LenovoThinkVantageTools
➙EnhancedBackupandRestore.ProgrammetRescueandRecoverystarter.
2.KlikpåpilenStartudvidetRescueandRecoveryihovedvinduetiRescueandRecovery.
3.KlikpåikonenOpretgenopretningsmedier.Vinduet"OpretRescueandRecovery-medie"åbnes.
4.Markérdentyperetableringsmedium,duviloprette,iområdetRescueMedia.Dukanopretteet
genopretningsmedievedhjælpafetUSB-lagerdrevmedtilstrækkeligkapacitetellerensekundær
internharddisk.
5.KlikpåOK,ogfølgvejledningenpåskærmenforatopretteetretableringsmedium.
Brugafetretableringsmedie
Gøretaffølgende,afhængigtafomduharoprettetetgenopretningsmediepåendiskellerenUSB-harddisk:
•Hvisduharoprettetetgenopretningsmediepåendisk,skaldugørefølgende:
1.Tændellergenstartdincomputer.
2.TrykfleregangepåF12-tasten,nårduserlogoskærmen.VinduetStartupDeviceMenuvises.
3.Vælgdetrelevanteoptiskedrevsomførstestartenhed.Indsætderefterretableringsdiskenidet
optiskedrev,ogtrykpåEnter.Genopretningsmedietstarter.
•HvisduharoprettetetgenopretningsmediepåenUSB-harddisk,skaldugørefølgende:
1.SlutUSB-harddiskentiletafUSB-stikkenepåcomputeren.
2.Tændellergenstartdincomputer.
3.TrykfleregangepåF12-tasten,nårduserlogoskærmen.VinduetStartupDeviceMenuvises.
4.VælgUSB-harddiskensomførstestartenhed,ogtrykpåEnter.Genopretningsmedietstarter.
Nårgenopretningsmedietstarter,åbnesRescueandRecovery-arbejdsområdet.Dererhjælptildeforskellige
faciliteteriRescueandRecovery-arbejdsområdet.Følgvejledningenforatudføreretableringen.
Geninstallationafprogrammerogstyreprogrammer
Detteafsnitindeholderfølgendeemner:
•"Installérforudinstalleredeprogrammerogstyreprogrammerigen"påside68
•"Geninstallationafprogrammerogstyreprogrammer,derikkeerforudinstalleret"påside69
Installérforudinstalleredeprogrammerogstyreprogrammerigen
Computerengørdetmuligtfordigatgeninstallereforudinstalleredeprogrammerogstyreprogrammer.
68ThinkStationP900Brugervejledning

Installérforudinstalleredeprogrammerigen
GørfølgendeforatgeninstallereforudinstalleredeprogrammerpåLenovo-computeren:
1.Tændforcomputeren.
2.GåtilC:\SWTOOLS.
3.Åbnapps-mappen,ogfinddenundermappe,derernavngivetefterdetprogram,dererforudinstalleret
påcomputeren.
4.Åbnundermappen,ogfindEXE-filen.
5.DobbeltklikpåEXE-filen,ogfølgvejledningenpåskærmenforatudføreinstallationen.
Geninstallationafforudinstalleredestyreprogrammer
Vigtigt:Nårdugeninstallererstyreprogrammer,ændrescomputerensaktuellekonfiguration.Dumåkun
geninstallerestyreprogrammer,nårdeternødvendigtforatløseetproblemmedcomputeren.
Gørfølgendeforatinstallereenenhedsdrivertilenforudinstalleretenhedigen:
1.Tændforcomputeren.
2.GåtilC:\SWTOOLS.
3.ÅbnDRIVERS-mappen,ogfinddenundermappe,derernavngivetefterdenfabriksinstalleredeenhed
påcomputeren,f.eks.AUDIOellerVIDEO.
4.Åbnundermappen.
5.Gøretaffølgende:
•FindEXE-filen.DobbeltklikpåEXE-filen,ogfølgvejledningenpåskærmenforatudføreinstallationen.
•Findreadme-filenmedfiltypen.txt.Oplysningerominstallationafstyreprogrammeterinkludereti
readme-filen.Følgvejledningenforatudføreinstallationen.
•HvisundermappenindeholderenINF-fil,ogduvilinstallerestyreprogrammetvedhjælpafINF-filen,
kandufådetaljeredeoplysningerom,hvordandugør,ihjælptilWindows.
Bemærk:Dukanfindeflereoplysningeromdesenestestyreprogrammeri"Hentningafdenyeste
systemopdateringer"påside47.
Geninstallationafprogrammerogstyreprogrammer,derikkeerforudinstalleret
Computerengørdetmuligtfordigatgeninstallereprogrammerogstyreprogrammer,derikkeer
forudinstalleret.
Geninstallationafprogrammer,derikkeerforudinstalleret
Hvisetprogrampåcomputerenikkefungererkorrekt,kandetværenødvendigtatfjernedetoginstallere
detigen.Nårdugeninstallereretprogram,overskrivesdeeksisterendeprogramfiler,ogdeproblemer,du
harhaftmedprogrammet,bliversomregelløst.
DererflereoplysningerihjælpentilMicrosoftWindowsom,hvordandufjerneretprogramfrasystemet.
DererflereoplysningerihjælpentilMicrosoftWindowsom,hvordandugeninstallererdeflestekommercielt
tilgængeligeprogrammerpåsystemet.Seogsåidokumentationen,derfulgtemedprogrammet.
Geninstallationafstyreprogrammer,derikkeerforudinstalleret
Læsdendokumentation,derleveressammenmedudstyret,foratinstallerestyreprogrammettilenheden
igen.
Bemærk:Nårdugeninstallererstyreprogrammer,ændrescomputerensaktuellekonfiguration.Dumåkun
geninstallerestyreprogrammer,nårdeternødvendigtforatløseetproblemmedcomputeren.
Kapitel8.Oplysningeromretablering69

Løsningafretableringsproblemer
Bemærk:Kontrollér,atretableringsmedieterangivetsomdenførstestartenhedistartsekvenseni
programmetSetupUtility."Valgafstartenhed"påside38indeholderdetaljeredeoplysningerom,hvordan
dumidlertidigtellerpermanentændrerenhedensstartsekvens.Dererflereoplysningeromprogrammet
SetupUtilityi"BrugafprogrammetSetupUtility"påside35.
Gørétaffølgende,hvisduikkekanfåadgangtilRescueandRecovery-arbejdsområdetellertilWindows:
•BrugetgenopretningsmedieforatstarteRescueandRecovery-arbejdsområdet.Se"Oprettelseogbrug
afetretableringsmedie"påside68.
•Brugretableringsmedier,hvisalleandreretableringsmetoderermislykkedes,ogduskalretablere
harddiskentilstandardindstillingernefrafabrikken.Se"Oprettelseogbrugafretableringsmedier"
påside65.
Detervigtigtatopretteetretableringsmedieogetsætgenoprettelsesmediersåhurtigtsommuligtog
opbevaredemetsikkertstedtilfremtidigbrug.
OplysningeromretableringforWindows8.1-operativsystemet
Detteafsnitindeholderfølgendeemner:
•"Genopfriskningafcomputeren"påside70
•"Nulstildincomputertilstandardindstillingernefrafabrikken"påside70
•"Brugafavanceredestart-indstillinger"påside71
•"Retableringafstyresystemet,hvisWindows8.1ikkevilstarte"påside71
Genopfriskningafcomputeren
Fungererdincomputerikkegodt,ogskyldesproblemetmåskeetnyligtinstalleretprogram,kandu
genopfriskedincomputer.
Vigtigt:Hvisdugenopfriskerdincomputer,bliverdeprogrammer,dererforudinstalleretpådincomputer,og
deprogrammer,duharinstalleretviaWindowsStore,geninstalleret.Alleandreprogrammerfjernes.
Gørfølgendeforatgenopfriskecomputeren:
1.Flytmarkørentilskærmhjørnetentenøversttilhøjreellernedersttilhøjreforatseamuletterne.Klikpå
Indstillinger➙Skiftpc-indstillinger➙Opdateringoggenoprettelse➙Genoprettelse.
2.IsektionenOptimerdinpcudenatpåvirkefilerneskalduklikkepåKomgodtigang.
Nulstildincomputertilstandardindstillingernefrafabrikken
Dukannulstilledincomputertilstandardindstillingernefrafabrikken.Nulstillingafcomputerengeninstallerer
operativsystemetogalledeprogrammer,derfølgermedcomputeren.
Vigtigt:Nulstillerdudincomputer,slettesalledinepersonligefilerogindstillinger.Vilduundgådatatab,skal
dulaveensikkerhedskopiafallededata,duvilbevare.
Gørfølgendeforatnulstillecomputeren:
1.Flytmarkørentilskærmhjørnetentenøversttilhøjreellernedersttilhøjreforatseamuletterne.Klikpå
Indstillinger➙Skiftpc-indstillinger➙Opdateringoggenoprettelse➙Genoprettelse.
2.IsektionenFjernalt,oggeninstallerWindowsskalduklikkepåKomgodtigang.
70ThinkStationP900Brugervejledning

Brugafavanceredestart-indstillinger
MedAvanceredestart-indstillingerkanduændrestartindstillingerneforditWindowsoperativsystem,starte
computerenfraeneksternenhedellerretablereoperativsystemetWindowsfraenafbildning.
Gørfølgendeforatbenytteavanceredestart-indstillinger:
1.Flytmarkørentilskærmhjørnetentenøversttilhøjreellernedersttilhøjreforatseamuletterne.Klikpå
Indstillinger➙Skiftpc-indstillinger➙Opdateringoggenoprettelse➙Genoprettelse.
2.IsektionenAvanceretstartskalduklikkepåGenstartnu➙Fejlfinding➙Udvidedeindstillinger.
3.Følghereftervejledningenpåskærmenforatgenstartedincomputer.
Retableringafstyresystemet,hvisWindows8.1ikkevilstarte
Windows-retableringsfunktionenpådincomputereretmiljø,somkanfungereuafhængigtafstyresystemet
Windows8.1.Denkanbenyttestilretableringerellerreparationerafstyresystemet,selvhvisduikkekan
starteWindows8.1.
EftertomislykkedeforsøgpåstartvilWindows-retableringsfunktionenautomatiskstarte.Såkanduvælgeat
reparereellerretablerevedatfølgevejledningenpåskærmen.
Bemærk:Sørgfor,atdincomputerersluttettilvekselstrømunderretableringen.
YderligereoplysningeromløsningertilretableringpåcomputeremedforudinstalleretWindows8.1
operativsystemfindesiHjælptilWindows8.1.
OplysningeromretableringforWindows10-operativsystemet
BrugfølgendeløsningerforatretablereWindows10-operativsystemet:
•BrugWindows-genoprettelsesløsninger.
–BruggenoprettelsesløsningeriWindows-indstillinger.
1.KlikpåknappenStartforatåbnemenuenStart.
2.KlikpåIndstillinger➙Opdateringogsikkerhed➙Genoprettelse.
3.Vælgdenkorrekteretableringsløsningvedatfølgevejledningenpåskærmen.
–BrugSystemgendannelsetilatgendannesystemfilerog-indstillingertilettidligerepunkt.
1.HøjreklikpåknappenStartforatåbneStart-genvejsmenuen.
2.KlikpåKontrolpanel.VisKontrolpanelmedStoreikonerellerSmåikoner,ogklikderefterpå
Genoprettelse➙ÅbnSystemgendannelse.
3.Følgvejledningenpåskærmen.
–BrugværktøjetFiloversigttilatretableredinefilerfraensikkerhedskopi.
Bemærk:HvisdubrugerværktøjetFiloversigttilatretableredinefilerfraensikkerhedskopi,skaldu
sørgefor,atduharsikkerhedskopieretdinedatatidligeremedværktøjet.
1.HøjreklikpåknappenStartforatåbneStart-genvejsmenuen.
2.KlikpåKontrolpanel.VisKontrolpanelmedStoreikonerellerSmåikoner,ogklikderefterpå
Filhistorik➙Gendanpersonligefiler.
3.Følgvejledningenpåskærmen.
–GøretaffølgendeforatbrugeWindowsGenoprettelsesmiljø:
–EfterfleremislykkedeforsøgpåstartvilWindowsGenoprettelsesmiljømuligvisstarteautomatisk.
Følgvejledningenpåskærmenforatvælgedenkorrekteretableringsløsning.
Kapitel8.Oplysningeromretablering71

–Vælgdetretableringsmedie,duoprettedetidligeremedWindows-værktøjet,somstartenhed.Se
"Vælgenmidlertidigstartenhed"påside38.Følgdereftervejledningenpåskærmenforatvælge
denkorrekteretableringsløsning.
Bemærk:Se"Godevanerforvedligeholdelse"påside49foratfåoplysningerom,hvordanopretter
etretableringsmedie.
•AnvendUSB-nøglentilretableringfraLenovotilatgenoprettehelelagerdrevettilbagetil
standardindstillingernefrafabrikken.
–HvisUSB-nøglentilretableringblevleveretsammenmeddincomputer,skaldufølgevejledningen,der
blevleveretsammenmedUSB-nøglen.
–HvisUSB-nøglentilretableringikkeblevleveretsammenmeddincomputer,kandubestilleen
USB-nøgletilretableringfraLenovoskundesupportcenter.Dukanfindeenlisteovertelefonnumretil
LenovoSupportpåhttp://www.lenovo.com/support/phone.KontaktdinLenovo-forhandler,hvisdu
ikkekanfindetelefonnummerettilsupportfordetlandellerområde,somdubori.
72ThinkStationP900Brugervejledning

Kapitel9.Installationellerudskiftningafhardware
Dettekapitelindeholdervejledningi,hvordanduinstallererellerudskifterhardwarepåcomputeren.
Håndteringafenheder,dererfølsommeoverforstatiskelektricitet
Dumåikkeåbnedenantistatiskeposemeddennyedel,førduharfjernetdendefektedel,ogduerklartil
atinstalleredennyedel.Statiskelektriciteterikkeskadeligformennesker.Imidlertidkandetbeskadige
computerenskomponenterogdele.
Tagfølgendeforholdsregler,nårduhåndtererdeleogandrecomputerkomponenter,sådeikkebliver
beskadigetpga.statiskelektricitet:
•Begrænsdinebevægelser.Nårdubevægerdig,skabesderstatiskelektricitetomkringdig.
•Håndtéraltiddeleogandrekomponenterforsigtigt.TagfatikantenafPCI-kort,hukommelsesmoduler,
systemkortogmikroprocessorer.Røraldrigvedkredsløbene.
•Ladikkeandrerøreveddeleneogandrecomputerkomponenter.
•Laddelenidenantistatiskeposerørevedudvidelsesportensmetaldækselellervedenandenumalet
metalfladepåcomputerenimindsttosekunder.Detreducererstatiskelektricitetfraposenogdinkrop,
førduinstallererellerudskifterennydel.
•Hvisdetermuligt,skalduinstalleredennyedeldirekteicomputeren,nårduhartagetdenudafden
antistatiskepose,udenatlæggedenfradig.Hvisdetikkeermuligt,skaldulæggedenantistatiskepose,
somdelenblevlevereti,påenplanoverfladeoglæggedelenpåposen.
•Dumåikkelæggedelenpåcomputerensdækselellerpåandetmetalliskmateriale.
Installationellerudskiftningafhardware
Detteafsnitindeholdervejledningi,hvordanduinstallererellerudskifterhardwarepåcomputeren.Dukan
udvideogvedligeholdecomputerensfacilitetervedatinstallereellerudskiftehardware.
Vigtigt:Dumåikkeåbnecomputerenellerforetagenogenreparationer,førduharlæstogforståetafsnittet
"Læsdetteførst:Vigtigesikkerhedsforskrifter"påsidev.
Bemærkninger:
•Brugkuncomputerdele,derleveresafLenovo.
•Nårduinstallererellerudskifterudstyr,skaldufølgedenrelevantevejledningidetteafsnitsammenmed
denvejledning,derleveressammenmedudstyret.
Installationafeksterntudstyr
Dukanslutteeksterneenhedertilcomputeren,f.eks.eksternehøjtalere,enprinterellerenscanner.
Nårduinstallererekstraudstyr,skalderudoverdenfysiskeforbindelseogsånoglegangeinstalleres
ekstraprogrammer.Nårduinstallerereksterneenheder,skalduse"Stik,kontrollerogindikatorerpå
computerensforside"påside2og"Stikpåcomputerensbagside"påside3foratfindedetkorrektestik.
Brugvejledningen,dererleveretsammenmedudstyret,tiltilslutningoginstallationafdenødvendige
programmerellerstyreprogrammer.
Afmonteringafdækslet
Vigtigt:Dumåikkeåbnecomputerenellerforetagenogenreparationer,førduharlæstogforståetafsnittet
"Læsdetteførst:Vigtigesikkerhedsforskrifter"påsidev.
©CopyrightLenovo2014,201573

Paspå:
Førduåbnercomputerdækslet,skalduslukkeforcomputerenogventeiflereminutter,indtil
computerenerkøletaf.
Gørfølgendeforatfjernecomputerensdæksel:
1.Fjernallemedierfradrevene,slukforalletilsluttedeenheder,ogslukforcomputeren.Tagderefteralle
netledningerudafstikkontakterne,ogafmontérallekablerfracomputeren.
2.Fjernallelåse,dersikrercomputerdækslet.LæsafsnitteneLåsningafcomputerensdækselog
PåsætningafenKensington-kabellås.
3.Trykpåhullet1,såhåndtaget2løftes.Drejderefterhåndtagettilvenstresomvist,ogtrækihåndtaget
foratfjernedæksletfrakabinettet.
1
2
Figur9.Afmonteringafdækslet
Installationellerudskiftningafetinterntlagerdrev
Afhængigtafcomputermodellenfølgeretellerflereaffølgendeinternelagerdrevmuligvismedcomputeren:
•3,5-tommersharddisk
•3,5-tommershybriddrev
•2,5-tommersharddisk
•2,5-tommersSSD-drev
•M.2SSD-drev
74ThinkStationP900Brugervejledning

•PCIExpress-SSD-drev
Seetaffølgendeemnerforatfåoplysningerom,hvordanduinstallererellerudskifteretinterntlagerdrev:
•"Installationellerudskiftningafet3,5-tommerslagerdrev"påside75
•"Installationellerudskiftningafet2,5-tommerslagerdrev"påside80
•"InstallationellerudskiftningafetM.2-SSD-drev"påside86
•"InstallationellerudskiftningafetPCI-kort"påside111(gælderforetPCIExpress-SSD-drev)
Installationellerudskiftningafet3,5-tommerslagerdrev
Bemærk:Afhængigtafcomputermodellenhardincomputermuligvisen3,5-tommersharddiskelleret
3,5-tommershybriddrev.
Seetaffølgendeemnerforatfåoplysningerom,hvordanduinstallererellerudskifteret3,5-tommers
lagerdrev:
•"Installationellerudskiftningafet3,5-tommerslagerdrevienharddiskdrevbås"påside75
•"Installationellerudskiftningafet3,5-tommerslagerdrevienbåstiloptiskdrev"påside78
Installationellerudskiftningafet3,5-tommerslagerdrevienharddiskdrevbås
Vigtigt:Dumåikkeåbnecomputerenellerforetagenogenreparationer,førduharlæstogforståetafsnittet
"Læsdetteførst:Vigtigesikkerhedsforskrifter"påsidev.
Gørfølgendeforatinstallereellerudskifteet3,5-tommerslagerdrevienharddiskdrevbås:
1.Fjernallemedierfradrevene,slukforalletilsluttedeenheder,ogslukforcomputeren.Tagderefteralle
netledningerudafstikkontakterne,ogafmontérallekablerfracomputeren.
2.Afmontércomputerensdæksel.Se"Afmonteringafdækslet"påside73.
3.Finddenharddiskdrevbås,hvoriduvilinstallereellerudskifteetlagerdrev.Se"Placeringafinterne
drev"påside7.
4.Trykpåhulletpådækslettilharddiskdrevbåsen,sådæksletåbnes.Trækderefteridækselkantensom
vistforatfjerneharddiskrammenfraharddiskdrevbåsen.
Figur10.Fjernelseafharddiskrammen
5.Gøretaffølgende,afhængigtafomduinstallererellerudskifteretlagerdrev:
Kapitel9.Installationellerudskiftningafhardware75

•Gåtiltrin6,hvisduinstallereretlagerdrev.
•Hvisduudskifteretlagerdrev,skaldubøjesidernepårammenforatfrigøredefireben1fra
lagerdrevet.Fjernderefterlagerdrevetfrarammen.
1
Figur11.Fjernelseaflagerdrevetfrarammen
76ThinkStationP900Brugervejledning

6.Holdlagerdrevet,såstikkenevendermodrammensbagside,ogprintpladen2venderopad.Bøj
dereftersidernepårammen,ogplacerdefireben1pårammen,sådepassermeddetilsvarende
hullerilagerdrevet.
Bemærk:Rørikkelagerdrevetsprintplade2.
1
2
Figur12.Monteringaflagerdrevetirammen
Kapitel9.Installationellerudskiftningafhardware77

7.Skubrammensammenmeddetinstalleredelagerdrevindiharddiskdrevbåsen,sårammenglider
påpladsmedetklik.
Figur13.Installationafharddiskrammen
Næstetrin:
•Hvisduvilfortsættemedenandenhardwareenhed:Fortsætmeddetpågældendeafsnit.
•Læs"Afslutningafudskiftningenafdele"påside140foratafslutteinstallationenellerudskiftningen.
Installationellerudskiftningafet3,5-tommerslagerdrevienbåstiloptiskdrev
Vigtigt:Dumåikkeåbnecomputerenellerforetagenogenreparationer,førduharlæstogforståetafsnittet
"Læsdetteførst:Vigtigesikkerhedsforskrifter"påsidev.
Gørfølgendeforatinstallereellerudskifteet3,5-tommerslagerdrevienbåstiloptiskdrev:
1.Fjernallemedierfradrevene,slukforalletilsluttedeenheder,ogslukforcomputeren.Tagderefteralle
netledningerudafstikkontakterne,ogafmontérallekablerfracomputeren.
2.Afmontércomputerensdæksel.Se"Afmonteringafdækslet"påside73.
3.Fjernluftskærmenmeddirektekøling.Se"Afmonteringogmonteringafluftskærmenmeddirekte
køling"påside90.
4.Finddenbåstiloptiskdrev,hvoriduvilinstallereellerudskifteetlagerdrev.Se"Placeringafinterne
drev"påside7.
5.Gøretaffølgende,afhængigtafomduinstallererellerudskifteretlagerdrev:
•Gørfølgende,hvisduinstallereretlagerdrev:
a.Trykpåklemmenibundenafbåsentildetoptiskedrev,såplastikdæksletskubbesudafbåsen.
Fjernderefterdetstatiskemetalskjoldfradrevbåsen.
78ThinkStationP900Brugervejledning

b.Trykpåtappen1somvistforatåbnedækslettillageromslutningenmedadgangforan.
1
Figur14.Åbningafdækslettillageromslutningenmedadgangforan
c.Åbnhåndtagenepåbeggesiderafharddiskensramme.Trækderefterrammenudaf
lageromslutningenmedadgangforan.
•Gørfølgende,hvisduudskifteretlagerdrev:
a.Fjernlageromslutningenmedadgangforanfrabåsentiloptiskdrev.Se"Fjernelseoginstallation
afenenhedibåsentildetoptiskedrev"påside92.
b.Trykpåtappen1somvistforatåbnedækslettillageromslutningenmedadgangforan.
1
Figur15.Åbningafdækslettillageromslutningenmedadgangforan
c.Åbnhåndtagenepåbeggesiderafharddiskensramme.Trækderefterrammenmedlagerdrevet
udaflageromslutningenmedadgangforan.
d.Fjernlagerdrevetfrarammen.Setrin5påside75.
6.Installerdetnyelagerdrevilagerdrevetsramme.Setrin6påside77.
7.Lægmærketil,hvordanstikketpålagerdrevetvender,ogdetkanværenødvendigtatvenderammen.
Skubderefterrammenmeddetnyelagerdrevindilageromslutningenmedadgangforan,sådenglider
påpladsmedetklik.
Kapitel9.Installationellerudskiftningafhardware79

8.Lukhåndtagenepåbeggesiderafharddiskensramme.Drejderefterdækslettillageromslutningenmed
adgangforanindadsomvist,sådetgliderpåpladsmedetklik.
Figur16.Lukningafdækslettillageromslutningenmedadgangforan
9.Installerlageromslutningenmedadgangforanibåsentiloptiskdrev.Se"Fjernelseoginstallationafen
enhedibåsentildetoptiskedrev"påside92.
10.Monterluftskærmenmeddirektekølingigen.Se"Afmonteringogmonteringafluftskærmenmed
direktekøling"påside90.
Næstetrin:
•Hvisduvilfortsættemedenandenhardwareenhed:Fortsætmeddetpågældendeafsnit.
•Læs"Afslutningafudskiftningenafdele"påside140foratafslutteinstallationenellerudskiftningen.
Installationellerudskiftningafet2,5-tommerslagerdrev
Bemærk:Afhængigtafcomputermodellenhardincomputermuligvisen2,5-tommersharddiskelleret
2,5-tommersSSD-drev.
Seetaffølgendeemnerforatfåoplysningerom,hvordanduinstallererellerudskifteret2,5-tommers
lagerdrev:
•"Installationellerudskiftningafet2,5-tommerslagerdrevienharddiskdrevbås"påside80
•"Installationellerudskiftningafet2,5-tommerslagerdrevmedenomformerienharddiskdrevbås"
påside82
•"Installationellerudskiftningafet2,5-tommerslagerdrevienbåstiloptiskdrev"påside85
Installationellerudskiftningafet2,5-tommerslagerdrevienharddiskdrevbås
Vigtigt:Dumåikkeåbnecomputerenellerforetagenogenreparationer,førduharlæstogforståetafsnittet
"Læsdetteførst:Vigtigesikkerhedsforskrifter"påsidev.
Gørfølgendeforatinstallereellerudskifteet2,5-tommerslagerdrevienharddiskdrevbås:
1.Fjernallemedierfradrevene,slukforalletilsluttedeenheder,ogslukforcomputeren.Tagderefteralle
netledningerudafstikkontakterne,ogafmontérallekablerfracomputeren.
2.Afmontércomputerensdæksel.Se"Afmonteringafdækslet"påside73.
80ThinkStationP900Brugervejledning

3.Finddenharddiskdrevbås,hvoriduvilinstallereellerudskifteetlagerdrev.Se"Placeringafinterne
drev"påside7.
4.Fjernlagerdrevetsrammefraharddiskdrevbåsen.Setrin4påside75.
5.Gøretaffølgende,afhængigtafomduinstallererellerudskifteretlagerdrev:
•Gåtiltrin6,hvisduinstallereretlagerdrev.
•Hvisduudskifteretlagerdrev,skaldubøjesidernepårammenforatfrigøredefireben1fra
lagerdrevet.Fjernderefterlagerdrevetfrarammen.
1
Figur17.Fjernelseaflagerdrevetfrarammen
Kapitel9.Installationellerudskiftningafhardware81

6.Holdstikketpålagerdrevettilhøjresomvist.Bøjdereftersidernepårammen,ogplacerdefireben1i
bundenaframmen,sådepassermeddetilsvarendehullerilagerdrevet.
Bemærk:Rørikkeprintpladen(hvisdenertilgængelig)pådet2,5-tommerslagerdrev.
1
Figur18.Monteringaflagerdrevetirammen
7.Installerrammenmeddetnyelagerdreviharddiskdrevbåsen.Setrin7påside78.
Næstetrin:
•Hvisduvilfortsættemedenandenhardwareenhed:Fortsætmeddetpågældendeafsnit.
•Læs"Afslutningafudskiftningenafdele"påside140foratafslutteinstallationenellerudskiftningen.
Installationellerudskiftningafet2,5-tommerslagerdrevmedenomformerienharddiskdrevbås
Vigtigt:Dumåikkeåbnecomputerenellerforetagenogenreparationer,førduharlæstogforståetafsnittet
"Læsdetteførst:Vigtigesikkerhedsforskrifter"påsidev.
Gørfølgende,hvisduvilinstallereellerudskifteet2,5-tommerslagerdrevmeden2,5-tommerseller
3,5-tommersomformerienharddiskdrevbås:
1.Fjernallemedierfradrevene,slukforalletilsluttedeenheder,ogslukforcomputeren.Tagderefteralle
netledningerudafstikkontakterne,ogafmontérallekablerfracomputeren.
2.Afmontércomputerensdæksel.Se"Afmonteringafdækslet"påside73.
3.Finddenharddiskdrevbås,hvoriduvilinstallereellerudskifteetlagerdrev.Se"Placeringafinterne
drev"påside7.
4.Fjernlagerdrevetsrammefraharddiskdrevbåsen.Setrin4påside75.
5.Gøretaffølgende,afhængigtafomduinstallererellerudskifteretlagerdrev:
82ThinkStationP900Brugervejledning

•Hvisduinstallereretlagerdrev,skaldudrejetappen1påmetaladapterenopad.Skubderefter
adapterentilbagsidenafomformerensomvist,indtildefiretapperpåadapterengliderindidefire
indhak2.Drejadapterensomvistforatfjernedenfraomformeren.
1
2
Figur19.Fjernelseafadapterenfraomformeren
•Gørfølgende,hvisduudskifteretlagerdrev:
a.Fjernomformerenfrarammen.Setrin5påside75.
b.Drejtappen1påmetaladapterenopad,ogskubadapterentilbagsidenafomformerensomvist,
indtildefiretapperpåadapterengliderindidefireindhak2.Drejderefteradapterensomvistfor
atfjernedenmedlagerdrevetfraomformeren.
1
2
Figur20.Fjernelseafadapterenfraomformeren
Kapitel9.Installationellerudskiftningafhardware83

c.Bøjsidernepåadapterenforatfrigøredefireben1fralagerdrevet.Fjernderefterlagerdrevetfra
adapteren.
1
Figur21.Fjernelseaflagerdrevetfraadapteren
6.Lægmærketil,hvordanstikketpådetnyelagerdrevvender.Bøjdereftersidernepåadapteren,og
placerdefireben1,sådepassermeddetilsvarendehullerilagerdrevet.
Bemærk:Rørikkeprintpladen(hvisdenertilgængelig)pådet2,5-tommerslagerdrev.
1
Figur22.Installationaflagerdrevetiadapteren
84ThinkStationP900Brugervejledning

7.Placerdefiretapperpåadapteren,sådepassermeddetilsvarendeindhak1iomformeren.Skub
derefterlagerdrevetsomvist,såtappen2gliderpåplads.Adapterenmedlagerdreveterinstallereti
omformeren.
1
2
Figur23.Installationafadaptereniomformeren
8.Installeromformerenmeddetnyelagerdrevirammen,oginstallerrammeniharddiskdrevbåsen.Se
trin6påside77ogtrin7påside78.
Næstetrin:
•Hvisduvilfortsættemedenandenhardwareenhed:Fortsætmeddetpågældendeafsnit.
•Læs"Afslutningafudskiftningenafdele"påside140foratafslutteinstallationenellerudskiftningen.
Installationellerudskiftningafet2,5-tommerslagerdrevienbåstiloptiskdrev
Vigtigt:Dumåikkeåbnecomputerenellerforetagenogenreparationer,førduharlæstogforståetafsnittet
"Læsdetteførst:Vigtigesikkerhedsforskrifter"påsidev.
Gørfølgendeforatinstallereellerudskifteet2,5-tommerslagerdrevienbåstiloptiskdrev:
1.Fjernallemedierfradrevene,slukforalletilsluttedeenheder,ogslukforcomputeren.Tagderefteralle
netledningerudafstikkontakterne,ogafmontérallekablerfracomputeren.
2.Afmontércomputerensdæksel.Se"Afmonteringafdækslet"påside73.
3.Fjernluftskærmenmeddirektekøling.Se"Afmonteringogmonteringafluftskærmenmeddirekte
køling"påside90.
4.Finddenbåstiloptiskdrev,hvoriduvilinstallereellerudskifteetlagerdrev.Se"Placeringafinterne
drev"påside7.
5.Gøretaffølgende,afhængigtafomduinstallererellerudskifteretlagerdrev:
•Gørfølgende,hvisduinstallereretlagerdrev:
a.Trykpåklemmenibundenafbåsentildetoptiskedrev,såplastikdæksletskubbesudafbåsen.
Fjernderefterdetstatiskemetalskjoldidrevbåsen.
b.Åbndækslettillageromslutningenmedadgangforan.Setrinb.påside79.
c.Åbnhåndtagenepåbeggesiderafharddiskensramme.Trækderefterrammenudaf
lageromslutningenmedadgangforan.
Kapitel9.Installationellerudskiftningafhardware85

•Gørfølgende,hvisduudskifteretlagerdrev:
a.Fjernlageromslutningenmedadgangforanfrabåsentiloptiskdrev.Se"Fjernelseoginstallation
afenenhedibåsentildetoptiskedrev"påside92.
b.Åbndækslettillageromslutningenmedadgangforan.Setrinb.påside79.
c.Åbnhåndtagenepåbeggesiderafharddiskensramme.Trækderefterrammenmedlagerdrevet
udaflageromslutningenmedadgangforan.
d.Fjernlagerdrevetfrarammen.Setrin5påside81.
6.Installerdetnyelagerdrevilagerdrevetsramme.Setrin6påside82.
7.Lægmærketil,hvordanstikketpålagerdrevetvender,ogdetkanværenødvendigtatvenderammen.
Skubderefterrammenmeddetnyelagerdrevindilageromslutningenmedadgangforan,sådenglider
påpladsmedetklik.
8.Lukhåndtagenepåbeggesiderafharddiskensramme.Lukderefterdækslettillageromslutningenmed
adgangforan.Setrin8påside80.
9.Installerlageromslutningenmedadgangforanibåsentiloptiskdrev.Se"Fjernelseoginstallationafen
enhedibåsentildetoptiskedrev"påside92.
10.Monterluftskærmenmeddirektekølingigen.Se"Afmonteringogmonteringafluftskærmenmed
direktekøling"påside90.
Næstetrin:
•Hvisduvilfortsættemedenandenhardwareenhed:Fortsætmeddetpågældendeafsnit.
•Læs"Afslutningafudskiftningenafdele"påside140foratafslutteinstallationenellerudskiftningen.
InstallationellerudskiftningafetM.2-SSD-drev
Vigtigt:Dumåikkeåbnecomputerenellerforetagenogenreparationer,førduharlæstogforståetafsnittet
"Læsdetteførst:Vigtigesikkerhedsforskrifter"påsidev.
GørfølgendeforatudskifteellerinstallereetM.2-SSD-drev:
1.Fjernallemedierfradrevene,slukforalletilsluttedeenheder,ogslukforcomputeren.Tagderefteralle
netledningerudafstikkontakterne,ogafmontérallekablerfracomputeren.
2.Afmontércomputerensdæksel.Se"Afmonteringafdækslet"påside73.
3.Lægcomputerenpåsiden,sådunemmerekanfåadgangtilflexadapterportene.
4.Findflexadapterportene.Se"Placeringafdelenepåsystemkortet"påside5.
Bemærk:Hviscomputerenikkeharenflexadapterinstalleret,skalduførstinstallereflexadapterei
flexadapterport1ogderefteriflexadapterport2.
5.IflexadapterporteneelleridennyeflexadapterpakkeskaldufindedenflexadaptermedtoM.2-porte,
hvoriduvilinstallereellerudskifteetM.2-SSD-drev.
6.Gøretaffølgende,afhængigtafomduinstallererellerudskifteretM.2-SSD-drev:
•GørfølgendeforatinstallereetM.2-SSD-drev:
a.Fjernflexadapteren,hvisdenerinstalleretienflexadapterport.Se"Installationellerudskiftningaf
enflexadapter"påside108.
b.FinddenM.2-port,hvoriduvilinstallereetM.2-SSD-drev,påflexadapteren.
Bemærk:Hvisflexadapterenerny,skaldusørgeforatinstallereM.2-SSD-drevidennumeriske
rækkefølge,derertryktpåflexadapteren(PORT1ogPORT2).
86ThinkStationP900Brugervejledning

c.Afmonterdenskrue,derpassertilM.2-porten.
Figur24.Afmonteringafdenskrue,derpassertilM.2-porten
•GørfølgendeforatudskifteetM.2-SSD-drev:
a.Fjernflexadapteren.Se"Installationellerudskiftningafenflexadapter"påside108.
b.FinddetM.2-SSD-drev,derskaludskiftes.
c.Afmonterdenskrue,derfastgørM.2-SSD-drevet.TrækherefterforsigtigtSSD-drevetudaf
M.2-porten.
Figur25.FjernelseafM.2SSD-drevet
7.HvisduvilinstallereetnytM.2-SSD-drev,skalduplacereindhakket1pådetnyeM.2-SSD-drev,
sådetpassermedstikket2iM.2-kortporten.IsætderefterSSD-drevetiM.2-porten,sådetsidder
godtfast,ogsåindhakket3passermeddettilsvarendeskruehuliflexadapteren.Monterskruen,
derfastgørSSD-drevet.
Bemærk:Sørgfor,atsidenmedkredsløbskortetvenderopad.Rørikkevedkredsløbskorteti
M.2-SSD-drevet.
1
2
3
Figur26.InstallationafM.2SSD-drevet
8.Installerflexadaptereniflexadapterporten.Se"Installationellerudskiftningafenflexadapter"påside
108.
Kapitel9.Installationellerudskiftningafhardware87

Næstetrin:
•Hvisduvilfortsættemedenandenhardwareenhed:Fortsætmeddetpågældendeafsnit.
•Læs"Afslutningafudskiftningenafdele"påside140foratafslutteinstallationenellerudskiftningen.
Udskiftningafkontaktentilregistreringafdæksel(dækselføler)
Vigtigt:Dumåikkeåbnecomputerenellerforetagenogenreparationer,førduharlæstogforståetafsnittet
"Læsdetteførst:Vigtigesikkerhedsforskrifter"påsidev.
Gørfølgendeforatudskiftekontaktentilregistreringafdæksel(ogsåkaldetdækselføleren):
1.Fjernallemedierfradrevene,slukforalletilsluttedeenheder,ogslukforcomputeren.Tagderefteralle
netledningerudafstikkontakterne,ogafmontérallekablerfracomputeren.
2.Afmontércomputerensdæksel.Se"Afmonteringafdækslet"påside73.
3.Lægcomputerenpåsiden,sådeternemmereatfåadgangtilrammentildækselføleren.
4.Findrammentildækselføleren.Se"Placeringafkomponenter"påside4.
5.Lægmærketilkabelføringenforkablettildækselføleren,ogafmonterderefterkablettildækselfølerenfra
systemkortet.Se"Placeringafdelenepåsystemkortet"påside5.
6.Drejtappen1pårammentildækselfølerentilvenstresomvist.Fjernderefterrammensammenmed
dækselfølerenfrakabinettet.
1
Figur27.Afmonteringaframmentildækselføleren
88ThinkStationP900Brugervejledning

7.Drejklemmen1pårammenudad,ogfrigørderefterdendefektedækselfølerfracirkelklemmen2
foratfjernedenfrarammen.
2
1
Figur28.Afmonteringafdækselfølerenfrarammen
8.Isætendenafdækselfølerenmedpindenicirkelklemmen2.Sørgfor,atklemmen1erplaceret
mellemdetoforgrenedekablerpådennyedækselføler.Trykderefterdækselfølerennedad,såden
gliderpåpladsmedetklik.
2
1
Figur29.Installationafdækselfølerenirammen
Kapitel9.Installationellerudskiftningafhardware89

9.Placerkabletfordennyedækselføler,ogplacerindhakket2pådækselføleren,sådetpassermed
tappen1ikabinettet.Drejderefterrammentildækselfølerentilhøjresomvist,sådengliderpåplads
medetklik.
12
Figur30.Installationaframmentildækselføleren
10.Slutkablettildennyedækselfølertilsystemkortet.Se"Placeringafdelenepåsystemkortet"påside5.
Næstetrin:
•Hvisduvilfortsættemedenandenhardwareenhed:Fortsætmeddetpågældendeafsnit.
•Læs"Afslutningafudskiftningenafdele"påside140foratafslutteinstallationenellerudskiftningen.
Afmonteringogmonteringafluftskærmenmeddirektekøling
Vigtigt:Dumåikkeåbnecomputerenellerforetagenogenreparationer,førduharlæstogforståetafsnittet
"Læsdetteførst:Vigtigesikkerhedsforskrifter"påsidev.
Gørfølgendeforatafmontereluftskærmenmeddirektekøling:
1.Fjernallemedierfradrevene,slukforalletilsluttedeenheder,ogslukforcomputeren.Tagderefteralle
netledningerudafstikkontakterne,ogafmontérallekablerfracomputeren.
2.Afmontércomputerensdæksel.Se"Afmonteringafdækslet"påside73.
90ThinkStationP900Brugervejledning

Gørfølgendeforatmontereluftskærmenmeddirektekølingigen:
1.Placerplastpladernepådenøversteognederstesideafluftskærmenmeddirektekøling,sådepasser
meddesmåhuller1ikabinettet.Sørgfor,athåndtagetiluftskærmenmeddirektekølingvender
modforsidenafkabinettet.
1
Figur32.Placeringafplastpladerne,sådepassermeddesmåhuller
2.Skubluftskærmenmeddirektekølingindikabinettet,sådensiddergodtfast.
Bemærk:Justeromnødvendigtluftskærmenmeddirektekølingensmuleforatundgåinterferens
medandrekomponenterikabinettet.
Næstetrin:
•Hvisduvilfortsættemedenandenhardwareenhed:Fortsætmeddetpågældendeafsnit.
•Læs"Afslutningafudskiftningenafdele"påside140foratafslutteinstallationenellerudskiftningen.
Fjernelseoginstallationafenenhedibåsentildetoptiskedrev
Vigtigt:Dumåikkeåbnecomputerenellerforetagenogenreparationer,førduharlæstogforståetafsnittet
"Læsdetteførst:Vigtigesikkerhedsforskrifter"påsidev.
Afhængigtafcomputermodellenerfølgendeenhedermuligvisinstalleretibåsenetiloptiskdrev:
92ThinkStationP900Brugervejledning

•Optiskdrev
•Lageromslutningmedadgangforan
•Flexmodul
Bemærk:Flexmoduletermuligvisinstalleretmedfølgende:
–IEEE1394-stik
–eSATA-stik
–29-i-1-kortlæser
–Smaltoptiskdrev
Hvisduvilfjerneoginstallereetflexmodulogenlageromslutningmedadgangforan,skaldufølge
fremgangsmådenforfjernelseoginstallationafetoptiskdrev.
Gørfølgendeforatfjerneetoptiskdrev:
1.Fjernallemedierfradrevene,slukforalletilsluttedeenheder,ogslukforcomputeren.Tagderefteralle
netledningerudafstikkontakterne,ogafmontérallekablerfracomputeren.
2.Afmontércomputerensdæksel.Se"Afmonteringafdækslet"påside73.
3.Fjernluftskærmenmeddirektekøling.Se"Afmonteringogmonteringafluftskærmenmeddirekte
køling"påside90.
4.Finddenbåstiloptiskdrev,hvorfraduvilfjerneetoptiskdrev.Se"Placeringafinternedrev"påside7.
5.Afmonterkablernefradetoptiskedrev.
Bemærk:Hvisdufjerneretflexmodulellerenlageromslutningmedadgangforan,kandetvære
nødvendigtatafmonterekablernefraenheden,etPCI-kortellersystemkortet.Se"Placeringafdelene
påsystemkortet"påside5.
6.Tryktappen1nedad,ogskubdetoptiskedrevtilforsidenafkabinettet.Fjernderefterdetoptiske
drevfraforsidenafkabinettet.
1
Figur33.Afmonteringafdetoptiskedrev
Gørfølgendeforatinstallereetoptiskdrev:
1.Fjernallemedierfradrevene,slukforalletilsluttedeenheder,ogslukforcomputeren.Tagderefteralle
netledningerudafstikkontakterne,ogafmontérallekablerfracomputeren.
2.Afmontércomputerensdæksel.Se"Afmonteringafdækslet"påside73.
3.Fjernluftskærmenmeddirektekøling.Se"Afmonteringogmonteringafluftskærmenmeddirekte
køling"påside90.
4.Finddenbåstiloptiskdrev,hvoriduvilinstallereetoptiskdrev.Se"Placeringafinternedrev"påside7.
Kapitel9.Installationellerudskiftningafhardware93

5.Trykpåklemmenunderplastikdækslettilbåsentildetoptiskedrev,sådæksletskubbesudafbåsen.
Fjerndereftermetalskjoldetibåsen.
6.Notér,hvadvejdetnyeoptiskedrevvender.Skubderefterdetoptiskedrevindibåsentildetoptiske
drevfraforsidenafkabinettet,sådetgliderpåpladsmedetklik.
Figur34.Installationafdetoptiskedrev
7.Monterkablernetildetoptiskedrev.
Bemærk:Hvisduinstallereretflexmodulellerenlageromslutningmedadgangforan,kandetvære
nødvendigtatsluttekablernetilenheden,etPCI-kortellersystemkortet.Se"Placeringafdelenepå
systemkortet"påside5.
8.Monterluftskærmenmeddirektekølingigen.Se"Afmonteringogmonteringafluftskærmenmed
direktekøling"påside90.
Næstetrin:
•Hvisduvilfortsættemedenandenhardwareenhed:Fortsætmeddetpågældendeafsnit.
•Læs"Afslutningafudskiftningenafdele"påside140foratafslutteinstallationenellerudskiftningen.
Monteringellerudskiftningafenenhedi5,25-tommersflexmodulet
Vigtigt:Dumåikkeåbnecomputerenellerforetagenogenreparationer,førduharlæstogforståetafsnittet
"Læsdetteførst:Vigtigesikkerhedsforskrifter"påsidev.
Detteafsnitindeholdervejledningi,hvordandumontererellerudskifterenenhedi5,25-tommersflexmodulet.
Monteringogudskiftningafenenhedi5,25-tommersflexmoduletinvolvererfølgendehandlinger:
•"Installationellerudskiftningafetsmaltoptiskdreviflexmodulet"påside94
•"Monteringellerudskiftningafenkortlæseriflexmodulet"påside97
•"MonteringellerudskiftningafeteSATA-stikelleretIEEE1394-stikiflexmodulet"påside99
Installationellerudskiftningafetsmaltoptiskdreviflexmodulet
Gørfølgendeforatinstallereellerudskifteetsmaltoptiskdreviflexmodulet:
1.Fjernflexmoduletfracomputerensforside.Se"Fjernelseoginstallationafenenhedibåsentildet
optiskedrev"påside92.
94ThinkStationP900Brugervejledning

2.Løftklemmenpåbagsidenafflexmodulet,ogskubflexmoduldækslettilbagsidenafflexmoduletfor
atfjernedækslet.
Figur35.Fjernelseafflexmoduldækslet
3.Hvisdumontereretnytsmaltoptiskdrev,skaldutrykkepådetometalklemmer1foratfjerne
plastikklemmenmeddetoskruersomvist.Fjerndetoskruer,oggåvideretiltrin4.
Figur36.Fjernelseafplastikklemmenmeddetoskruer
Gørfølgendeforatudskifteetgammeltsmaltoptiskdrev:
a.Trykpåknappensomvistforatfjernedetsmalleoptiskedrevfraflexmodulet.
Figur37.Fjernelseafdetsmalleoptiskedrevfraflexmodulet
Kapitel9.Installationellerudskiftningafhardware95

b.Fjerndetoskruer,derfastgørklemmen,foratfjerneplastikklemmenfrabagsidenafdetsmalle
optiskedrev.
Figur38.Fjernelseafplastikklemmenfradetsmalleoptiskedrev
4.Monterdetoskruerforatfastgøreplastikklemmenpåbagsidenafdetnyesmalleoptiskedrev.
Figur39.Monteringafplastikklemmentildetsmalleoptiskedrev
5.Skubdetnyesmalleoptiskedrevmedplastikklemmenindiflexmodulet,indtildetsmalleoptiskedrev
gliderpåpladsmedetklik.
Figur40.Monteringafdetsmalleoptiskedreviflexmodulet
96ThinkStationP900Brugervejledning

6.Placerflexmoduldæksletpåflexmodulet,såskinnestyretibundenafflexmoduldæksletpassermed
skinnenpåflexmodulet.Skubderefterdæksletmodforsidenafflexmodulet,sådetgliderpåplads
medetklik.
Figur41.Genmonteringafflexmoduldækslet
Næstetrin:
•Hvisduvilfortsættemedenandenhardwareenhed:Fortsætmeddetpågældendeafsnit.
•Læs"Afslutningafudskiftningenafdele"påside140foratafslutteinstallationenellerudskiftningen.
Monteringellerudskiftningafenkortlæseriflexmodulet
Gørfølgendeforatmontereellerudskifteenkortlæseriflexmodulet:
1.Fjernflexmoduletfracomputerensforside.Se"Fjernelseoginstallationafenenhedibåsentildet
optiskedrev"påside92.
2.Løftklemmenpåsidenafflexmoduletopad,ogskubflexmoduldækslettilbagsidenafflexmodulet
foratfjernedækslet.
Figur42.Fjernelseafflexmoduldækslet
3.Gørfølgende,hvisduudskifterenkortlæser:
a.Afmontérkablettilkortlæserenfrasystemkortet.Se"Placeringafdelenepåsystemkortet"påside5.
Kapitel9.Installationellerudskiftningafhardware97

b.Trækiklemmensomvistforattagekortlæserenmedkortlæsermonteringsskinnenudafflexmodulet.
Figur43.Fjernelseafkortlæsereniflexmodulet
c.Bøjdefireklemmerpåsiderneafkortlæsermonteringsskinnenforatfjernekortlæserenfrarammen.
Figur44.Fjernelseafkortlæserenfrakortlæsermonteringsskinnen
4.Dukanmontereennykortlæserikortlæsermonteringsskinnenvedatplaceredefirehullerikortlæseren,
sådepassermeddetilsvarendestifterpårammen.Trykderefterdennyekortlæsernedad,såden
gliderpåpladsmedetklik.
Figur45.Monteringafkortlæserenikortlæsermonteringsskinnen
98ThinkStationP900Brugervejledning

5.Bemærk,hvadvejdennyekortlæservender,ogførkortlæserkabletindikabelklemmen.Holdpå
klemmenpåkortlæsermonteringsskinnenforatsættedennyekortlæserikortlæserporteniflexmodulet,
sådengliderpåpladsmedetklik.
Figur46.Monteringafkortlæsereniflexmodulet
6.Placerflexmoduldæksletpåflexmodulet,såskinnestyretibundenafflexmoduldæksletpassermed
skinnenpåflexmodulet.Skubderefterdæksletmodforsidenafflexmodulet,sådetgliderpåplads
medetklik.
Figur47.Genmonteringafflexmoduldækslet
7.SlutkortlæserkablettilUSB2.0-stikketellerkortlæserstikketpåsystemkortet.Se"Placeringafdelene
påsystemkortet"påside5.
Næstetrin:
•Hvisduvilfortsættemedenandenhardwareenhed:Fortsætmeddetpågældendeafsnit.
•Læs"Afslutningafudskiftningenafdele"påside140foratafslutteinstallationenellerudskiftningen.
MonteringellerudskiftningafeteSATA-stikelleretIEEE1394-stikiflexmodulet
FørfølgendeforatmontereellerudskifteeteSATA-stikelleretIEEE1394-stikiflexmodulet:
1.Skubflexmoduletudgennemforsidenafcomputeren.Se"Fjernelseoginstallationafenenhedibåsen
tildetoptiskedrev"påside92.
Kapitel9.Installationellerudskiftningafhardware99

2.Løftklemmenpåsidenafflexmoduletopad,ogskubflexmoduldækslettilbagsidenafflexmodulet
foratfjernedækslet.
Figur48.Fjernelseafflexmoduldækslet
3.GørfølgendeforatudskifteeteSATA-stikelleretIEEE1394-stik:
a.AfmonterkablettileSATA-stikketellerIEEE1394-stikketfrasystemkortet.Se"Placeringafdelene
påsystemkortet"påside5.
b.PresdetoklemmermodhinandensomvistforattrækkeeSATA-stikketellerIEEE1394-stikketud
afflexmodulet.
Figur49.FjernelseafeSATA-stikketellerIEEE1394-stikketiflexmodulet
100ThinkStationP900Brugervejledning

4.Bemærk,hvadvejeSATA-stikketellerIEEE1394-stikketvender,ogførkablettileSATA-stikketeller
IEEE1394-stikketindikabelklemmen.
5.PlacereSATA-stikketellerIEEE1394-stikketimetalholderen.SætdereftereSATA-stikketellerIEEE
1394-stikketidentilsvarendeportiflexmoduletsomvist.
Figur50.MonteringafeSATA-stikketellerIEEE1394-stikketiflexmodulet
6.Placerflexmoduldæksletpåflexmodulet,såskinnestyretibundenafflexmoduldæksletpassermed
skinnenpåflexmodulet.Skubderefterdæksletmodforsidenafflexmodulet,sådetgliderpåplads
medetklik.
Figur51.Genmonteringafflexmoduldækslet
7.SlutkablettileSATA-stikketellerIEEE1394-stikkettildettilsvarendestikpåsystemkortet.Se"Placering
afdelenepåsystemkortet"påside5.
Næstetrin:
•Hvisduvilfortsættemedenandenhardwareenhed:Fortsætmeddetpågældendeafsnit.
•Læs"Afslutningafudskiftningenafdele"påside140foratafslutteinstallationenellerudskiftningen.
Afmonteringogmonteringafmultifunktionsrammerne
Vigtigt:Dumåikkeåbnecomputerenellerforetagenogenreparationer,førduharlæstogforståetafsnittet
"Læsdetteførst:Vigtigesikkerhedsforskrifter"påsidev.
Kapitel9.Installationellerudskiftningafhardware101

Computerenhartomultifunktionsrammer.Rammerneanvendestilatfastgøredenforresteblæser,
flexadaptereogPCIExpress-kortifuldlængde.Rammen,derermonteretøverstikabinettet,kanogså
anvendestilatfastgørestrømforsyningsenheden.
Gørfølgendeforatafmontereogmontereenafmultifunktionsrammerne:
1.Fjernallemedierfradrevene,slukforalletilsluttedeenheder,ogslukforcomputeren.Tagderefteralle
netledningerudafstikkontakterne,ogafmontérallekablerfracomputeren.
2.Afmontércomputerensdæksel.Se"Afmonteringafdækslet"påside73.
3.Hvisdeternødvendigt,kandufjerneluftskærmenmeddirektekølingforatletteditarbejde.Se
"Afmonteringogmonteringafluftskærmenmeddirektekøling"påside90.
4.Finddenmultifunktionsramme,somduvilafmontere.Se"Placeringafkomponenter"påside4.
5.Hvisduudskiftermultifunktionsrammen,derermonteretøverstikabinettet,skaldufjerne
strømforsyningsenheden.Se"Udskiftningafstrømforsyningsenheden"påside105.
6.Afmonterdenforresteblæseridenramme,somduvilafmontere.Se"Udskiftningafdeforreste
blæsere"påside103.
7.Lægcomputerenpåsiden,sådunemmerekanfåadgangtilrammen.
8.Holdpåhåndtaget1ogfoden2påsammetid,ogtrækderefterrammentilbagsidenafkabinettet
foratfjernerammen.
1
2
Figur52.Afmonteringafmultifunktionsrammen
102ThinkStationP900Brugervejledning

9.Placerdetretapper1pårammen,sådepassermeddetilsvarendehullerikabinettet.Isætderefterde
tretapperidetilsvarendehuller,sårammengliderpåpladsmedetklik.
1
Figur53.Monteringafmultifunktionsrammen
Næstetrin:
•Hvisduvilfortsættemedenandenhardwareenhed:Fortsætmeddetpågældendeafsnit.
•Læs"Afslutningafudskiftningenafdele"påside140foratafslutteinstallationenellerudskiftningen.
Udskiftningafdeforresteblæsere
Vigtigt:Dumåikkeåbnecomputerenellerforetagenogenreparationer,førduharlæstogforståetafsnittet
"Læsdetteførst:Vigtigesikkerhedsforskrifter"påsidev.
Paspå:
Farligebevægeligedele.Holdfingreogandrelegemsdelevækfradetteområde.
Gørfølgendeforatudskiftedeforresteblæsere:
1.Fjernallemedierfradrevene,slukforalletilsluttedeenheder,ogslukforcomputeren.Tagderefteralle
netledningerudafstikkontakterne,ogafmontérallekablerfracomputeren.
2.Afmontércomputerensdæksel.Se"Afmonteringafdækslet"påside73.
Kapitel9.Installationellerudskiftningafhardware103

3.Finddendefekteblæser.Se"Placeringafkomponenter"påside4.
4.Tryktappen1ind,ogskubdenforresteblæserudadmedhåndtaget2forattagedenudafkabinettet.
Figur54.Afmonteringafdenforresteblæser
5.Skubdenforresteblæserindimultifunktionsrammen,sådengliderpåpladsmedetklik.
Figur55.Installationafdenforresteblæser
Næstetrin:
•Hvisduvilfortsættemedenandenhardwareenhed:Fortsætmeddetpågældendeafsnit.
•Læs"Afslutningafudskiftningenafdele"påside140foratafslutteinstallationenellerudskiftningen.
104ThinkStationP900Brugervejledning

Udskiftningafstrømforsyningsenheden
Vigtigt:Dumåikkeåbnecomputerenellerforetagenogenreparationer,førduharlæstogforståetafsnittet
"Læsdetteførst:Vigtigesikkerhedsforskrifter"påsidev.
Selvomderikkeernogendele,derbevægersigicomputeren,nårnetledningenerafmonteret,skaldu
alligevelværeopmærksompåfølgendeadvarslersamtkorrektUL-certificering(UnderwritersLaboratories).
Paspå:
Farligebevægeligedele.Holdfingreogandrelegemsdelevækfradetteområde.
Paspå:
Dumåaldrigfjernedæksletfrastrømforsyningsenhedenellerfraandredelemeddennemærkat.
Dererfarligspænding,strømogfarligeenerginiveaueriallekomponenter,hvordennemærkat
sidderpå.Dissekomponenterindeholderingendele,derkanudskiftesellerrepareres.Kontakten
servicetekniker,hvisdumener,dererproblemermedenafdissedele.
Gørfølgendeforatudskiftestrømforsyningsenheden:
1.Fjernallemedierfradrevene,slukforalletilsluttedeenheder,ogslukforcomputeren.Tagderefteralle
netledningerudafstikkontakterne,ogafmontérallekablerfracomputeren.
2.Afmontércomputerensdæksel.Se"Afmonteringafdækslet"påside73.
3.Findstrømforsyningsenheden.Se"Placeringafkomponenter"påside4.
Kapitel9.Installationellerudskiftningafhardware105

4.Drejhåndtaget1tilvenstretilenvinkelpåca.90grader.Trækderefterihåndtagetsomvistforatfjerne
strømforsyningsenhedenfrakabinettet.
1
Figur56.Afmonteringafstrømforsyningsenheden
5.Medhåndtaget1åbentskalduskubbestrømforsyningsenhedenindibåsentilstrømforsyningsenheden,
sådengliderpåpladsmedetklik.Drejhåndtagettildenlukkedepositionforatsikre,atdennye
strømforsyningsenhederfuldstændigtinstalleretiplaceringen.
1
Figur57.Monteringafstrømforsyningsenheden
Næstetrin:
•Hvisduvilfortsættemedenandenhardwareenhed:Fortsætmeddetpågældendeafsnit.
•Læs"Afslutningafudskiftningenafdele"påside140foratafslutteinstallationenellerudskiftningen.
106ThinkStationP900Brugervejledning

Udskiftbatteriet
Vigtigt:Dumåikkeåbnecomputerenellerforetagenogenreparationer,førduharlæstogforståetafsnittet
"Læsdetteførst:Vigtigesikkerhedsforskrifter"påsidev.
Computerenharensærligtypehukommelse,somvedligeholderdato,klokkeslætogindstillingerfor
deindbyggedefunktioner,f.eks.tilknytningerafparallelleporte(konfiguration).Batterietsørgerfor,at
computerenhuskerdisseoplysninger,nårdererslukketforden.
Normaltskalduikkeopladeellervedligeholdebatteriet.Imidlertidholderingenbatterierevigt.Hvisbatteriet
gåristykker,gåroplysningeromdato,klokkeslætogkonfigurationsoplysningerne(herunderkodeord)tabt.
Dervisesenfejlmeddelelse,nårdutænderforcomputeren.
Se"bemærkningenomlitiumbatterier"iSikkerhed,garantiogopsætningsvejledningforatfåoplysninger
ombortskaffelseafbatteriet.
Gørfølgendeforatudskiftebatteriet:
1.Fjernallemedierfradrevene,slukforalletilsluttedeenheder,ogslukforcomputeren.Tagderefteralle
netledningerudafstikkontakterne,ogafmontérallekablerfracomputeren.
2.Afmontércomputerensdæksel.Se"Afmonteringafdækslet"påside73.
3.Fjernluftskærmenmeddirektekøling.Se"Afmonteringogmonteringafluftskærmenmeddirekte
køling"påside90.
4.Foratfåadgangtilbatterietskaldufjernestrømforsyningsenheden,denøversteblæserogdenøverste
multifunktionsramme.Se"Udskiftningafstrømforsyningsenheden"påside105,"Udskiftningafde
forresteblæsere"påside103og"Afmonteringogmonteringafmultifunktionsrammerne"påside101.
5.Findbatteriet.Se"Placeringafdelenepåsystemkortet"påside5.
6.Fjerndetgamlebatterisomvist.
Figur58.Afmonteringafbatteriet
7.Installerdetnyebatterisomvist.
Figur59.Installationafbatteriet
8.Monterdenøverstemultifunktionsramme,denøversteblæserogstrømforsyningsenhedenigen.
Se"Afmonteringogmonteringafmultifunktionsrammerne"påside101,"Udskiftningafdeforreste
blæsere"påside103og"Udskiftningafstrømforsyningsenheden"påside105.
Kapitel9.Installationellerudskiftningafhardware107

9.Monterluftskærmenmeddirektekølingigen.Se"Afmonteringogmonteringafluftskærmenmed
direktekøling"påside90.
10.Montercomputerdækslet,ogtilslutkablerneigen.Se"Afslutningafudskiftningenafdele"påside140.
Bemærk:Nårcomputerentændesførstegang,efteratbatterieterudskiftet,visesdermuligvisen
fejlmeddelelse.Deternormalt,nårduharudskiftetbatteriet.
11.Tændforcomputerenogalletilsluttedeenheder.
12.BrugprogrammetSetupUtilitytilatangivedato,klokkeslætogeventuellekodeord.Se"Brugaf
programmetSetupUtility"påside35.
Installationellerudskiftningafenflexadapter
Vigtigt:Dumåikkeåbnecomputerenellerforetagenogenreparationer,førduharlæstogforståetafsnittet
"Læsdetteførst:Vigtigesikkerhedsforskrifter"påsidev.
Afhængigtafcomputermodellenerfølgendeflexadapteremuligvisinstalleretiflexadapterportene:
•Flexadaptermedtomini-SASHD-stik
•FlexadaptermedétSATA3.0-stik,étUSB2.0-stikogtomini-SASHD-stik
•FlexadaptermedtoM.2-porte(medM.2-SSD-drevetinstalleretivissemodeller)
Gørfølgendeforatinstallereellerudskifteenflexadapter:
1.Fjernallemedierfradrevene,slukforalletilsluttedeenheder,ogslukforcomputeren.Tagderefteralle
netledningerudafstikkontakterne,ogafmontérallekablerfracomputeren.
2.Afmontércomputerensdæksel.Se"Afmonteringafdækslet"påside73.
3.Lægcomputerenpåsiden,sådunemmerekanfåadgangtilflexadapterportene.
4.Finddenflexadapterport,hvoriduvilinstallereellerudskifteenflexadapter.Se"Placeringafdelene
påsystemkortet"påside5.
Bemærk:Hviscomputerenkunharénmikroprocessorinstalleret,skalduinstallereenflexadapteri
flexadapterport1.Hviscomputerenhartomikroprocessorerinstalleret,skalduinstallereflexadapterei
flexadapterport1førstogderefteriflexadapterport2.
5.Gøretaffølgende,afhængigtafomduinstallererellerudskifterenflexadapter:
108ThinkStationP900Brugervejledning

•Hvisduinstallererenflexadapter,skaldudrejetappen1opadsomvistforatåbnelåsen2indei
multifunktionsrammen.
12
Figur60.Åbningafkortlåsen
•Hvisduudskifterendefektflexadapter,skaldudrejetappen1opadsomvistforatåbnelåsen2
indeimultifunktionsrammen.Tagderefterfatikanternepåflexadapteren,ogtrækdenforsigtigtud
afflexadapterporten.
Bemærkninger:
–Hvisderersluttetetkabeltildendefekteflexadapter,skalduførstafmonterekablet.
–Flexadapterenkansiddestramtfastiflexadapterporten.Hvisdeternødvendigt,kanduskiftevis
trækkeadapterenetlillestykkeudihverside,indtildenerheltudeafporten.
12
Figur61.Fjernelseafflexadapteren
Kapitel9.Installationellerudskiftningafhardware109

6.Placerindhakket1pådennyeflexadapter,sådetpassermedstikket2ienflexadapterport.Skub
derefterdennyeflexadaptersplastikholdernedadidentilsvarendeportimultifunktionsrammen.Sæt
derefteradaptereniflexadapterporten,sådensiddergodtfast.
Bemærkninger:
•Rørikkeflexadapterensprintplade.
•Sørgfor,atdukuninstallererflexadapterenienflexadapterport.InstallerikkeflexadapterenienPCI-
ellerPCIExpress-kortport.
12
Figur62.Installationafflexadapteren
7.Drejtappen1nedad,sådengliderpåpladsmedetklik.Sørgfor,atlåsenindeimultifunktionsrammen
erlukket.
1
Figur63.Lukningafkortlåsen
8.Hvisenenhedkunfungerermeddenskabeltilsluttetflexadapteren,skaldusluttekablettildennye
flexadapter.
110ThinkStationP900Brugervejledning

Næstetrin:
•Hvisduvilfortsættemedenandenhardwareenhed:Fortsætmeddetpågældendeafsnit.
•Læs"Afslutningafudskiftningenafdele"påside140foratafslutteinstallationenellerudskiftningen.
InstallationellerudskiftningafetPCI-kort
Vigtigt:Dumåikkeåbnecomputerenellerforetagenogenreparationer,førduharlæstogforståetafsnittet
"Læsdetteførst:Vigtigesikkerhedsforskrifter"påsidev.
ComputerenharfølgendePCI-kortporte:
•PorttilPCIExpress-kort(x1)
•PCIExpressx4-kortport
•PorttilPCIExpressx16-grafikkort
Bemærkninger:
•TilgængeligePCI-kortafhængerafcomputermodellen.
•DereroplysningerominstallationellerudskiftningafetPCIExpress-kortifuldlængdei"Installationeller
udskiftningafetPCIExpress-kortifuldlængde"påside119.
•HvisduvilbrugeetNVIDIA-kort,skaldukontrollere,atderogsåerinstalleretetNVIDIA-grafikkorti
computeren.
GørfølgendeforatinstallereellerudskifteetPCI-kort:
1.Fjernallemedierfradrevene,slukforalletilsluttedeenheder,ogslukforcomputeren.Tagderefteralle
netledningerudafstikkontakterne,ogafmontérallekablerfracomputeren.
2.Afmontércomputerensdæksel.Se"Afmonteringafdækslet"påside73.
3.Lægcomputerenpåsiden,sådunemmerekanfåadgangtilPCI-kortportene.
4.FinddenPCI-kortport,hvoriduvilinstallereellerudskifteetPCI-kort.Se"Placeringafdelenepå
systemkortet"påside5.
Bemærk:Hviscomputerenerinstalleretmedkunénmikroprocessor,kandupåvenstrefigurseden
rækkefølge,somPCI-kortskalinstalleresi.Hviscomputerenerinstalleretmedtomikroprocessorer,
kandupåhøjrefigursedenrækkefølge,somPCI-kortskalinstalleresi.MonterPCIExpress-korti
overensstemmelsemeddetilsvarendeporttyperogmonteringsrækkefølgen.
3
4
2
5
1
5
7
2
8
1
6
3
4
Figur64.Rækkefølge,somPCI-kortskalinstalleresi
5.Hvisdeternødvendigt,kandufjerneluftskærmenmeddirektekølingforatletteditarbejde.Se
"Afmonteringogmonteringafluftskærmenmeddirektekøling"påside90.
6.Gøretaffølgende,afhængigtafomduinstallererellerudskifteretPCI-kort:
Kapitel9.Installationellerudskiftningafhardware111

•Gørfølgende,hvisduinstallereretPCI-kort:
a.PåvenstresideafPCI-kortportenskalduløftehåndtaget2,indtildetstopper,ogderefterdreje
dettilvenstre,indtildetstopper.PCI-kortlåsen1åbnes.
2
1
Figur65.ÅbningafPCI-kortlåsen
b.Fjerndetrelevantemetaldækseltilportenpåbagsidenafkabinettet.
•Gørfølgende,hvisduudskifteretPCI-kort:
a.FornoglemodellerskalduførstfjernePCI-kortholderen.Drejtappen1opadforatåbnelåsen2
indeimultifunktionsrammen.
12
Figur66.Åbningafkortlåsen
112ThinkStationP900Brugervejledning

c.PåvenstresideafPCI-kortportenskalduløftehåndtaget2,indtildetstopper,ogderefterdreje
dettilvenstre,indtildetstopper.PCI-kortlåsen1åbnes.
2
1
Figur68.ÅbningafPCI-kortlåsen
114ThinkStationP900Brugervejledning

d.Tagfatidetkort,deriøjeblikketerinstalleret,ogtrækdetforsigtigtudafstikket.
Bemærkninger:
–Hviskortetertilsluttetenandenenhed,skalduafmonterekablernefrakortet.
–Hviskortetholdespåpladsafenmonteringslås,skaldutrykkepålåsen1somvistforatlåse
denop.Tagfatikortet,ogtrækdetforsigtigtudafstikket.
–Kortetsidderstramtistikket.Hvisdeternødvendigt,kanduskiftevistrækkekortetetlille
stykkeudihverside,indtildeterheltudeafstikket.
Figur69.FjernelseafPCI-kortet
Kapitel9.Installationellerudskiftningafhardware115

7.HvisduvilinstallereetnytPCI-kort,skalduplacereindhakket1pådetnyePCI-kort,sådetpasser
medstikket2iPCI-kortporten.SætderefterdetnyePCI-kortnedikortporten,sådetsiddergodtfast.
Se"Placeringafdelenepåsystemkortet"påside5.
Bemærk:RørikkePCI-kortetskredsløbskort.
1
2
Figur70.InstallationafPCI-kortet
116ThinkStationP900Brugervejledning

9.SætdentilsvarendeendeafPCI-kortholderenihullerneiPCI-kortlåsensomvist.Drejholderennedad
foratsættedelaidentilsvarendeportidenforresteblæser.
Figur72.MonteringafPCI-kortholderen
10.Drejtappen1nedad,sådengliderpåpladsmedetklik.
1
Figur73.Lukningafkortlåsen
11.HvisdetnyePCI-kortskalsluttestilenandenenhed,skalduslutteenhedenskabeltilkortet.
12.Monterluftskærmenmeddirektekølingigen,hvisduharfjernetden.Se"Afmonteringogmontering
afluftskærmenmeddirektekøling"påside90.
Næstetrin:
•Hvisduvilfortsættemedenandenhardwareenhed:Fortsætmeddetpågældendeafsnit.
•Læs"Afslutningafudskiftningenafdele"påside140foratafslutteinstallationenellerudskiftningen.
118ThinkStationP900Brugervejledning

InstallationellerudskiftningafetPCIExpress-kortifuldlængde
Vigtigt:Dumåikkeåbnecomputerenellerforetagenogenreparationer,førduharlæstogforståetafsnittet
"Læsdetteførst:Vigtigesikkerhedsforskrifter"påsidev.
ComputerenharfølgendePCI-kortporte:
•PorttilPCIExpress-kort(x1)
•PCIExpressx4-kortport
•PorttilPCIExpressx16-grafikkort
Bemærkninger:
•PCIExpress-kortetifuldlængdeerkuntilgængeligtivissemodeller.
•HvisduvilbrugeetNVIDIA-kort,skaldukontrollere,atderogsåerinstalleretetNVIDIA-grafikkorti
computeren.
GørfølgendeforatinstallereellerudskifteetPCIExpress-kortifuldlængde:
1.Fjernallemedierfradrevene,slukforalletilsluttedeenheder,ogslukforcomputeren.Tagderefteralle
netledningerudafstikkontakterne,ogafmontérallekablerfracomputeren.
2.Afmontércomputerensdæksel.Se"Afmonteringafdækslet"påside73.
3.Lægcomputerenpåsiden,sådunemmerekanfåadgangtilPCI-kortportene.
4.FinddenPCI-kortport,hvoriduvilinstallereellerudskifteetPCI-kort.Se"Placeringafdelenepå
systemkortet"påside5.
Bemærk:Hviscomputerenerinstalleretmedkunénmikroprocessor,kandupåvenstrefigurseden
rækkefølge,somPCI-kortskalinstalleresi.Hviscomputerenerinstalleretmedtomikroprocessorer,kan
dupåhøjrefigursedenrækkefølge,somPCI-kortskalinstalleresi.
3
4
2
5
1
5
7
2
8
1
6
3
4
Figur74.Rækkefølge,somPCI-kortskalinstalleresi
5.Fjernluftskærmenmeddirektekøling,hvisdenhæmmerditarbejde.Se"Afmonteringogmontering
afluftskærmenmeddirektekøling"påside90.
6.Gøretaffølgende,afhængigtafomduinstallererellerudskifteretPCIExpress-kortifuldlængde:
•Gørfølgende,hvisduinstallereretPCIExpress-kortifuldlængde:
Kapitel9.Installationellerudskiftningafhardware119

a.PåhøjresideafPCI-kortportenskaldudrejetappen1udad,indtildenstopper.Kortlåsen2
åbnes.PåvenstresideafPCI-kortportenskalduløftehåndtaget4,indtildetstopper,ogderefter
drejedettilvenstre,indtildetstopper.Kortlåsen3åbnes.
4
1
2
3
Figur75.ÅbningafPCI-kortlåse
b.FjernmetaldækslettilPCI-kortportenpåbagsidenafkabinettet.
•Gørfølgende,hvisduudskifteretPCIExpress-kortifuldlængde:
120ThinkStationP900Brugervejledning

a.PåhøjresideafPCI-kortportenskaldudrejetappen1udad,indtildenstopper.Kortlåsen2
åbnes.PåvenstresideafPCI-kortportenskalduløftehåndtaget4,indtildetstopper,ogderefter
drejedettilvenstre,indtildetstopper.Kortlåsen3åbnes.
4
1
2
3
Figur76.ÅbningafPCI-kortlåse
b.AfmonterstrømkabletfraPCIExpress-kortetifuldlængde,ogtagderefterfatidetkort,deri
øjeblikketerinstalleret,ogtrækdetforsigtigtudafporten.
Bemærkninger:
–Hviskortetholdespåpladsafenmonteringslås,skaldutrykkepålåsen1somvistforatlåseden
op.Tagfatikortet,ogtrækdetforsigtigtudafstikket.
–Kortetsidderstramtistikket.Hvisdeternødvendigt,kanduskiftevistrækkekortetetlillestykke
udihverside,indtildeterheltudeafstikket.
Kapitel9.Installationellerudskiftningafhardware121

Figur77.FjernelseafPCIExpress-kortetifuldlængde
122ThinkStationP900Brugervejledning

7.HvisduvilinstallereetnytPCIExpress-kortifuldlængde,skalduplacereindhakket1pådetnyePCI
Express-kortifuldlængde,sådetpassermedstikket2iPCI-kortporten.Sætderefterdetnyekortned
ikortporten,sådetsiddergodtfast.Se"Placeringafdelenepåsystemkortet"påside5.
Bemærk:RørikkePCI-kortetskredsløbskort.
1
2
Figur78.InstallationafPCIExpress-kortetifuldlængde
Kapitel9.Installationellerudskiftningafhardware123

8.Drejhåndtaget2tilhøjre,indtildetstopper,ogtrykdetderefternedad,indtillåsen1gliderpåplads
medetklik.Drejtappen3indad,sådengliderpåpladsmedetklik.
2
3
1
Figur79.LukningafPCI-kortlåse
9.SlutstrømkablettilPCIExpress-kortetifuldlængdetildetnyekort.Se"Placeringafdelenepå
systemkortet"påside5.
10.Monterluftskærmenmeddirektekølingigen,hvisduharfjernetden.Se"Afmonteringogmontering
afluftskærmenmeddirektekøling"påside90.
Næstetrin:
•Hvisduvilfortsættemedenandenhardwareenhed:Fortsætmeddetpågældendeafsnit.
•Læs"Afslutningafudskiftningenafdele"påside140foratafslutteinstallationenellerudskiftningen.
Monteringellerudskiftningafsuperkondensatormodulet
Vigtigt:Dumåikkeåbnecomputerenellerforetagenogenreparationer,førduharlæstogforståetafsnittet
"Læsdetteførst:Vigtigesikkerhedsforskrifter"påsidev.
Gørfølgendeforatmonteresuperkondensatormodulet:
1.Fjernallemedierfradrevene,slukforalletilsluttedeenheder,ogslukforcomputeren.Tagderefteralle
netledningerudafstikkontakterne,ogafmontérallekablerfracomputeren.
2.Afmontércomputerensdæksel.Se"Afmonteringafdækslet"påside73.
3.Lægcomputerenpåsiden,sådunemmerekanfåadgangtilsuperkondensatormodulet.
124ThinkStationP900Brugervejledning

4.FindPCIExpress-kortporten,hvorholderentilsuperkondensatormoduletermonteret.Se"Placering
afkomponenter"påside4.
5.Hvisdeternødvendigt,kandufjerneluftskærmenmeddirektekølingforatletteditarbejde.Se
"Afmonteringogmonteringafluftskærmenmeddirektekøling"påside90.
6.Gøretaffølgende,afhængigtafomdumontererellerudskiftersuperkondensatormodulet:
•Fortsættiltrin7,hvisduskalmonteresuperkondensatormodulet.
•Gørfølgende,hvisduskaludskiftesuperkondensatormodulet:
a.AfmonterkablettilsuperkondensatormoduletfraRAID-kortet.
b.TagholderenmeddetdefektesuperkondensatormoduludafPCIExpress-kortporten,hvordeter
monteret.Se"InstallationellerudskiftningafetPCI-kort"påside111.
c.Drejforsigtigtplastikfastgørelsesklemmen1pårammensomvist,ogfjernsamtidigdetdefekte
superkondensatormodulfrarammen.
1
Figur80.Fjernelseafsuperkondensatormoduletfrarammen
7.Laddenstatiskbeskyttedepakke,derindeholderdetnyesuperkondensatormodulogdetsholder,
berøreenikke-maletoverflade,derikkeercomputeren.Tagdereftersuperkondensatormoduletog
detsholderudafemballagen.
8.Drejforsigtigtplastikfastgørelsesklemmen1pårammensomvist,ogmontersamtidigdetnye
superkondensatormodulirammen.
Bemærk:Sørgfor,atkablettilsuperkondensatormoduletvendersomvist.
Kapitel9.Installationellerudskiftningafhardware125

1
Figur81.Monteringafsuperkondensatormoduletirammen
9.MonterholderenmeddetnyesuperkondensatormodulienPCIExpress-kortport.Se"Installationeller
udskiftningafetPCI-kort"påside111.
Bemærk:Detanbefales,atdubrugerdenPCIExpress-kortportmedfærrestbaner.
10.TilslutkablettilsuperkondensatormodulettilsuperkondensatormodulstikketpåRAID-kortetsomvist.
Figur82.Tilslutningafkablettilsuperkondensatormodulet
11.Monterluftskærmenmeddirektekølingigen,hvisduharfjernetden.Se"Afmonteringogmontering
afluftskærmenmeddirektekøling"påside90.
Næstetrin:
•Hvisduvilfortsættemedenandenhardwareenhed:Fortsætmeddetpågældendeafsnit.
•Læs"Afslutningafudskiftningenafdele"påside140foratafslutteinstallationenellerudskiftningen.
126ThinkStationP900Brugervejledning

Installationellerudskiftningafethukommelsesmodul
Vigtigt:Dumåikkeåbnecomputerenellerforetagenogenreparationer,førduharlæstogforståetafsnittet
"Læsdetteførst:Vigtigesikkerhedsforskrifter"påsidev.
Computerenindeholder16stik,hvordukaninstallereellerudskifteDDR4DIMM-moduler,somgiver
optil1024GBsystemhukommelse.Brugfølgenderetningslinjer,nårduinstallererellerudskifteret
hukommelsesmodul:
•BrugentenDDR4ECCUDIMM-moduler,DDR4ECCRDIMM-modulerellerDDR4ECCLRDIMM-moduler
tildincomputer.DumåikkeinstallerebådeUDIMM-moduler,RDIMM-modulerogLRDIMM-moduleri
densammecomputer.
•Brug4GBeller8GBUDIMM-modulerienhverkombination,dergiveroptil128GB.
•Brug8GB,16GBeller32GBRDIMM-modulerienhverkombination,somgiveroptil512GB.
•Brug32GBeller64GBLRDIMM-modulerienhverkombination,somgiveroptil1024GB.
Gørfølgendeforatinstallereellerudskifteethukommelsesmodul:
1.Slukforcomputeren,ogafmontérallenetledningerfrastikkontakterne.
2.Afmontércomputerensdæksel.Se"Afmonteringafdækslet"påside73.
3.Fjernluftskærmenmeddirektekøling.Se"Afmonteringogmonteringafluftskærmenmeddirekte
køling"påside90.
4.Lægcomputerenpåsiden,sådunemmerekanfåadgangtilhukommelsesportene.
5.Finddenhukommelsesport,hvoriduvilinstallereellerudskifteethukommelsesmodul.
Bemærk:Hviscomputerenerinstalleretmedkunénmikroprocessor,kandupåvenstrefigurse
denrækkefølge,somhukommelsesmodulerneskalinstalleresi.Hviscomputerenerinstalleretmed
tomikroprocessorer,kandupåhøjrefigursedenrækkefølge,somhukommelsesmodulerneskal
installeresi.
1
5
2
6
8
4
7
3
6
8
4
2
14
16
12
10
1
9
3
7
5
11
15
13
Figur83.Rækkefølge,somhukommelsesmodulerneskalinstalleresi
6.Gøretaffølgende,afhængigtafomduinstallererellerudskifterethukommelsesmodul:
Kapitel9.Installationellerudskiftningafhardware127

•Hvisduinstallererethukommelsesmodul,skalduåbnefastgørelsesklemmernetildet
hukommelsesstik,duvilplacerehukommelsesmoduleti.
Figur84.Åbningaffastgørelsesklemmer
•Hvisduudskifterethukommelsesmodul,skalduåbnefastgørelsesklemmerneogforsigtigttrække
hukommelsesmoduletudafhukommelsesstikket.
Figur85.Afmonteringafhukommelsesmodul
128ThinkStationP900Brugervejledning

7.Placerdetnyehukommelsesmoduloverhukommelsesstikketforatinstallereetnythukommelsesmodul.
Kontrollér,atindhakket1påhukommelsesmoduletpasserpræcismedstikket2påsystemkortet.
Skubhukommelsesmoduletligenedistikket,indtilfastgørelsesklemmerneerlåste.
Bemærk:Rørikkehukommelsesmoduletskredsløbskort.
Figur86.Installationafhukommelsesmodul
8.Monterluftskærmenmeddirektekølingigen.Se"Afmonteringogmonteringafluftskærmenmed
direktekøling"påside90.
Næstetrin:
•Hvisduvilfortsættemedenandenhardwareenhed:Fortsætmeddetpågældendeafsnit.
•Læs"Afslutningafudskiftningenafdele"påside140foratafslutteinstallationenellerudskiftningen.
Udskiftningafkølepladenogblæserne
Vigtigt:Dumåikkeåbnecomputerenellerforetagenogenreparationer,førduharlæstogforståetafsnittet
"Læsdetteførst:Vigtigesikkerhedsforskrifter"påsidev.
Paspå:
Kølepladenogblæserenkanværemegetvarme.Førduåbnercomputerdækslet,skalduslukkefor
computerenogventeiflereminutter,indtilcomputerenerkøletaf.
Afhængigtafcomputermodellenerdincomputermuligvisinstalleretmedenellertokølepladerogblæsere.
Gørfølgendeforatudskiftekølepladenogblæserne:
1.Fjernallemedierfradrevene,slukforalletilsluttedeenheder,ogslukforcomputeren.Tagderefteralle
netledningerudafstikkontakterne,ogafmontérallekablerfracomputeren.
2.Afmontércomputerensdæksel.Se"Afmonteringafdækslet"påside73.
3.Fjernluftskærmenmeddirektekøling.Se"Afmonteringogmonteringafluftskærmenmeddirekte
køling"påside90.
4.Lægcomputerenpåsiden,sådeternemmereatfåadgangtilkølepladenogblæseren.
5.Finddenkølepladeogblæser,derikkefungererkorrekt.Se"Placeringafkomponenter"påside4.
6.Afmontérkablettilkølepladenogblæserenfrasystemkortet.
Kapitel9.Installationellerudskiftningafhardware129

7.Følgdissehandlingerforatfjernedefireskruer,dersikrerkølepladenogblæserenpåsystemkortet:
a.Tagskruen1delvistud,fjernderefterskruen2helt,ogfjernderefterskruen1helt.
b.Tagskruen3delvistud,fjernderefterskruen4helt,ogfjernderefterskruen3helt.
Bemærk:Fjernforsigtigtdefireskruerfrasystemkortetforatundgåatbeskadigesystemkortet.Defire
skruerkanikkefjernesfrakølepladenogblæseren.
Figur87.Afmonteringafkølepladeogblæser
8.Løftdendefektekølepladeogblæseropfrasystemkortet.
Bemærkninger:
•Duskalmuligvisdrejekølepladenogblæserenforsigtigtforatfjernedenframikroprocessoren.
•Rørikkevedkølepastaen,nårduhåndtererkølepladenogblæseren.
9.Installerdennyekølepladeogblæservedatplaceredennyekølepladeogblæserpåsystemkortet,så
defireskruerpassermedhullernepåsystemkortet.
Bemærk:Placerdennyekølepladeogblæser,såkabletfrakølepladenogblæserenvendermod
stikkettilkølepladenogblæserenpåsystemkortet.
10.Følgdissehandlingerforatmonterefireskruertilatsikredennyekølepladeogblæserenhed.Stram
ikkeskruerneformeget.
a.Stramskruen1delvisttil,stramderefterskruen2helt,ogstramderefterskruen1helt.
b.Stramskruen3delvisttil,stramderefterskruen4helt,ogstramderefterskruen3helt.
11.Slutkabletfradennyekølepladeogblæsertilsystemkortet.Se"Placeringafdelenepåsystemkortet"
påside5.
12.Monterluftskærmenmeddirektekølingigen.Se"Afmonteringogmonteringafluftskærmenmed
direktekøling"påside90.
Næstetrin:
•Hvisduvilfortsættemedenandenhardwareenhed:Fortsætmeddetpågældendeafsnit.
130ThinkStationP900Brugervejledning

•Læs"Afslutningafudskiftningenafdele"påside140foratafslutteinstallationenellerudskiftningen.
Udskiftningafdenbagersteblæser
Vigtigt:Dumåikkeåbnecomputerenellerforetagenogenreparationer,førduharlæstogforståetafsnittet
"Læsdetteførst:Vigtigesikkerhedsforskrifter"påsidev.
Paspå:
Farligebevægeligedele.Holdfingreogandrelegemsdelevækfradetteområde.
Gørfølgendeforatudskiftedenbagersteblæser:
1.Fjernallemedierfradrevene,slukforalletilsluttedeenheder,ogslukforcomputeren.Tagderefteralle
netledningerudafstikkontakterne,ogafmontérallekablerfracomputeren.
2.Afmontércomputerensdæksel.Se"Afmonteringafdækslet"påside73.
3.Fjernluftskærmenmeddirektekøling.Se"Afmonteringogmonteringafluftskærmenmeddirekte
køling"påside90.
4.Finddenbagersteblæserenhed.Se"Placeringafkomponenter"påside4.
5.Skubdenbagersteblæserudadmedhåndtaget1forattagedenudafkabinettet.
Figur88.Afmonteringafdenbagersteblæser
Kapitel9.Installationellerudskiftningafhardware131

6.Skubdennyebagersteblæserindidenbagersteblæserbås,sådengliderpåpladsmedetklik.
Figur89.Installationafdenbagersteblæserenhed
7.Monterluftskærmenmeddirektekølingigen.Se"Afmonteringogmonteringafluftskærmenmed
direktekøling"påside90.
Næstetrin:
•Hvisduvilfortsættemedenandenhardwareenhed:Fortsætmeddetpågældendeafsnit.
•Læs"Afslutningafudskiftningenafdele"påside140foratafslutteinstallationenellerudskiftningen.
UdskiftningafWi-Fi-enhederne
Vigtigt:Dumåikkeåbnecomputerenellerforetagenogenreparationer,førduharlæstogforståetafsnittet
"Læsdetteførst:Vigtigesikkerhedsforskrifter"påsidev.
Wi-Fi-enhederneomfatteretWi-Fi-adapterkort,etWi-Fi-kortmodulogenWi-Fi-antenne.
UdskiftningafWi-Fi-enhederneinvolvererfølgendehandlinger:
•"FjernelseafWi-Fi-adapterkortet"påside132
•"FjernelseafWi-Fi-kortmodulet"påside134
•"InstallationafWi-Fi-enhederne"påside135
FjernelseafWi-Fi-adapterkortet
GørfølgendeforatfjerneWi-Fi-adapterkortet:
1.Fjernallemedierfradrevene,slukforalletilsluttedeenheder,ogslukforcomputeren.Tagderefteralle
netledningerudafstikkontakterne,ogafmontérallekablerfracomputeren.
2.Afmontércomputerensdæksel.Se"Afmonteringafdækslet"påside73.
132ThinkStationP900Brugervejledning

3.HvisdincomputerharetWi-Fi-kortmodul,derunderstøtterBluetooth-funktionen,skaldukoble
Bluetooth-kabletfraWi-Fi-adapterkortet.
Figur90.FrakoblBluetooth-kablet
4.Påsidenafcomputerenskalduløftehåndtaget2ogdrejedetsomvist,indtildetstopper.PCI-kortlåsen
1åbnes.
Figur91.ÅbningafPCI-kortlåsen
Kapitel9.Installationellerudskiftningafhardware133

5.TagfatiWi-Fi-adapterkortet,ogtrækdetforsigtigtudafporten.
Figur92.FjernelseafWi-Fi-adapterkortet
Bemærk:Kortetsidderstramtiporten.Hvisdeternødvendigt,kanduskiftevistrækkekortetetlille
stykkeudihverside,indtilkorteterheltudeafporten.
FjernelseafWi-Fi-kortmodulet
GørfølgendeforatfjerneWi-Fi-kortmodulet:
1.FjernWi-Fi-adapterkortetfracomputeren,ogafmonterderefterdetoWi-Fi-antennekablerfra
Wi-Fi-kortmodulet.
Figur93.AfmonteringafWi-Fi-antennekablerne
134ThinkStationP900Brugervejledning

2.Fjerndetoskruer,derfastgørWi-Fi-kortmodulettilWi-Fi-adapterkortet.
Figur94.Fjernelseafdeskruer,derfastgørWi-Fi-kortmodulet
3.TrækWi-Fi-kortmoduletudafPCIExpress-minikortporten.
Figur95.FjernelseafWi-Fi-kortmodulet
InstallationafWi-Fi-enhederne
GørfølgendeforatinstallereWi-Fi-enhederne:
Kapitel9.Installationellerudskiftningafhardware135

1.SætWi-Fi-kortmoduletiPCIExpress-minikortportenpåWi-Fi-adapterkortet.
Figur96.InstallationafWi-Fi-kortmodulet
2.MontérdetoskruerforatfastgøreWi-Fi-kortmoduletpåWi-Fi-adapterkortet.
Figur97.MonteringafskruerneforatfastgøreWi-Fi-kortmodulet
136ThinkStationP900Brugervejledning

3.SlutdetoWi-Fi-antennekablertilWi-Fi-kortmodulet.
Figur98.InstallationafWi-Fi-antennekablerne
4.MonterWi-Fi-adapterkortetiPCIExpress-stikketpåsystemkortet.Se"Placeringafdelenepå
systemkortet"påside5.
Figur99.InstallationafWi-Fi-adapterkortet
5.DrejPCI-kortlåsen,ogskubdenindigen,sådengliderpåpladsmedetklik.
6.HvisdetmonteredeWi-Fi-kortmodulunderstøtterBluetooth-funktionen,skaldubrugeet
Bluetooth-kabeltilatslutteBluetooth-stikketpåWi-Fi-adapterkortettil29-i-1-kortlæserstikketpå
systemkortet.Se"Placeringafdelenepåsystemkortet"påside5.
Næstetrin:
•Hvisduvilfortsættemedenandenhardwareenhed:Fortsætmeddetpågældendeafsnit.
•Læs"Afslutningafudskiftningenafdele"påside140foratafslutteinstallationenellerudskiftningen.
Kapitel9.Installationellerudskiftningafhardware137

MonteringellerfjernelseafWi-Fi-antennen
Vigtigt:Dumåikkeåbnecomputerenellerforetagenogenreparationer,førduharlæstogforståetafsnittet
"Læsdetteførst:Vigtigesikkerhedsforskrifter"påsidev.
MonteringafWi-Fi-antennen
GørfølgendeforatmontereWi-Fi-antennen:
1.Fjernallemedierfradrevene,slukforalletilsluttedeenheder,ogslukforcomputeren.Tagderefteralle
netledningerudafstikkontakterne,ogafmontérallekablerfracomputeren.
2.SlutkabelstikkenetilWi-Fi-antennen1tildetilsvarendeWi-Fi-antennestik2påbagsidenaf
computerensomvist.
Figur100.MonteringafWi-Fi-antennen
3.StramkabelstikkenetilWi-Fi-antennenforatfastgøredempåbagsidenafcomputeren.
Næstetrin:
•Hvisduvilfortsættemedenandenhardwareenhed:Fortsætmeddetpågældendeafsnit.
•Læs"Afslutningafudskiftningenafdele"påside140foratafslutteinstallationenellerudskiftningen.
FjernelseafWi-Fi-antennen
GørfølgendeforatfjerneWi-Fi-antennen:
1.Fjernallemedierfradrevene,slukforalletilsluttedeenheder,ogslukforcomputeren.Tagderefteralle
netledningerudafstikkontakterne,ogafmontérallekablerfracomputeren.
138ThinkStationP900Brugervejledning

2.SkrustikkenetilWi-Fi-antennenaf,ogfjernWi-Fi-antennenfrabagsidenafcomputeren.
Figur101.FjernelseafWi-Fi-antennen
Næstetrin:
•Hvisduvilfortsættemedenandenhardwareenhed:Fortsætmeddetpågældendeafsnit.
•Læs"Afslutningafudskiftningenafdele"påside140foratafslutteinstallationenellerudskiftningen.
Udskiftningaftastaturetellermusen
Vigtigt:Dumåikkeåbnecomputerenellerforetagenogenreparationer,førduharlæstogforståetafsnittet
"Læsdetteførst:Vigtigesikkerhedsforskrifter"påsidev.
Bemærk:Tastaturetogmusenerkuntilgængeligepåvissemodeller.
Gørfølgendeforatudskiftetastaturetellermusen:
1.Tagkablettildetgamletastaturellerdengamlemusudafcomputeren.
Kapitel9.Installationellerudskiftningafhardware139

2.TilslutetnyttastaturellerennymustiletafUSB-stikkenepåcomputeren.Afhængigtafhvorduvil
tilsluttedetnyetastaturellerdennyemus,skalduse"Stik,kontrollerogindikatorerpåcomputerens
forside"påside2eller"Stikpåcomputerensbagside"påside3.
Figur102.TilslutningafUSB-tastatureller-mus
Næstetrin:
•Hvisduvilfortsættemedenandenhardwareenhed:Fortsætmeddetpågældendeafsnit.
•Læs"Afslutningafudskiftningenafdele"påside140foratafslutteinstallationenellerudskiftningen.
Afslutningafudskiftningenafdele
Nårduerfærdigmedatinstallereellerudskiftedele,skaldumonterecomputerdæksletogtilsluttekablerne
igen.DuskalmåskebekræftedeopdateredeoplysningeriprogrammetSetupUtility.Detafhængerafde
dele,duharinstalleretellerudskiftet.Seunder"BrugafprogrammetSetupUtility"påside35.
Gørfølgendeforatmonterecomputerdæksletogsluttekablernetilcomputerenigen:
1.Kontrollér,atallekomponentererinstalleretkorrekt,ogatderikkebefindersigværktøjellerløseskrueri
computeren.I"Placeringafkomponenter"påside4visesplaceringenafdeforskelligekomponenteri
computeren.
2.Kontrollér,atkablerneerplaceretkorrekt,førdusættercomputerdæksletpåigen.Holdkablernefri
afhængslerneogsidernepåcomputerensramme,sådeikkekommeriklemme,nårdumonterer
dæksletigen.
140ThinkStationP900Brugervejledning

3.Placércomputerensdækselpårammen,såskinnestyretibundenafdæksletpassermedskinnenpå
rammen.Drejderefterhåndtaget1indad,indtildetklikkerpåplads,sådæksletsidderfast.
Figur103.Monteringafdækslet
4.Hvisnøglelåsenpåcomputerdæksletertilgængelig,kandulåsecomputerenvedhjælpafnøglen,der
låsernøglelåsen.Se"Låsningafcomputerensdæksel"påside31.
5.HvisenKensington-kabellåsertilgængelig,kandulåsecomputerenvedatsluttekabellåsentilportentil
sikkerhedslåsen.Se"PåsætningafenKensington-kabellås"påside33.
6.Slutdeeksternekablerognetledningernetilcomputerenigen.Se"Stikpåcomputerensbagside"
påside3.
7."BrugafprogrammetSetupUtility"påside35indeholderoplysningerom,hvordanduopdaterer
konfigurationen.
Bemærk:IdeflestedeleafverdenkræverLenovo,atdendefekteCRU-delreturneres.Derelevante
oplysningerleveressammenmedCRU-delen,ellerdumodtageroplysningerneetpardageefter,duhar
modtagetCRU-delen.
Hentningafstyreprogrammer
Dukanhentestyreprogrammer,derikkeerforudinstalleretpåoperativsystemet,på
http://www.lenovo.com/support.DerfindeseninstallationsvejledningideREADME-filer,derleveres
sammenstyreprogramfilerne.
Kapitel9.Installationellerudskiftningafhardware141

142ThinkStationP900Brugervejledning

Kapitel10.Oplysninger,hjælpogservice
Dettekapitelindeholderoplysningeromhjælp,serviceogtekniskassistancetilprodukter,dererfremstillet
afLenovo.
Flereoplysninger
Idetteafsnitkanduse,hvordandufåradgangtilressourcer,somdukanfåbrugfor,nårdubenytter
computeren.
LenovoThinkVantageTools
ProgrammetLenovoThinkVantageToolsgivernemadgangtilforskelligeværktøjer,somkanhjælpedigtilat
udføreditarbejdepånemogsikkervis.
KlikpåStart➙Alleprogrammer➙LenovoThinkVantageToolsforatfåadgangtilprogrammetLenovo
ThinkVantageTools.
WindowsHjælp-system
WindowsHjælp-systemetindeholderdetaljeredeoplysningerom,hvordandubrugerWindows-styresystemet.
GørfølgendeforatfåadgangtilWindowsHjælp-systemet.
•IWindows7:KlikpåknappenStartforatåbnemenuenStart,ogklikderefterpåHjælpogsupport.
Nederstpåskærmenkanduvælgeatbrugeonline-ellerofflinehjælpen.
•IWindows8.1:Flytmarkørentilskærmensøversteellernederstehøjrehjørneforatfåvistamuletterne.
KlikderefterpåIndstillinger➙Hjælp.Nederstpåskærmenkanduvælgeatbrugeonline-eller
offlinehjælpen.
•IWindows10:KlikpåknappenStartforatåbnemenuenStart,ogklikderefterpåKomigang.
Bemærk:BrugafonlinehjælpoghjælptilWindows10kræverenaktivinternetforbindelse.
Sikkerhedsforskrifteroggarantioplysninger
BogenSikkerhed,garantiogopsætningsvejledning,derleveressammenmedcomputeren,indeholder
oplysningeromsikkerhed,konfiguration,garantiogbemærkninger.SikkerhedsoplysningerneiSikkerhed,
garantiogopsætningsvejledningindeholderoplysninger,duharbrugforatvide,førdukonfigurererogbruger
detteprodukt.LæsogforståallesikkerhedsoplysningerneiSikkerhed,garantiogopsætningsvejledning,
førdubrugerdetteprodukt.
Oplysningernei"Læsdetteførst:Vigtigesikkerhedsforskrifter"påsidevidennebrugervejledningindeholder
yderligeresikkerhedsoplysninger,dergælderforemnerogfunktioner,dererbeskrevetidennepublikation.
Læsogforståallesikkerhedsoplysningerneidetpågældendeafsnit,førduadskillerelleropgradererdette
produkt.
Lenovoswebsted
Lenovoswebsted(http://www.lenovo.com)indeholderdesidstenyeoplysningerogserviceydelser,dukan
brugeiforbindelsemedkøb,opgraderingogvedligeholdelseafcomputeren.Dukanogsågørefølgende:
•Søgefterstationæreogbærbarecomputere,skærme,projektorer,opgraderingerogtilbehørtil
computerenogsærtilbud.
©CopyrightLenovo2014,2015143

•Købekstraserviceydelser,f.eks.hjælptilhardware,styresystemer,programmer,netværkskonfiguration
ogbrugertilpassedeinstallationer.
•Købopgraderingerogudvidethardwarereparation.
•Downloaddesidstenyestyreprogrammerogprogramopdateringertildincomputermodel.
•Fåadgangtilonlinebøgertilditudstyr.
•FåadgangtilLenovoBegrænsetgaranti.
•Fåadgangtilfejlfindings-ogsupportoplysningertildincomputermodelogandreunderstøttedeprodukter.
•Findtelefonnumrenetilserviceogsupportiditlandellerområde.
•Findenserviceudbyderinærheden.
Lenovossupportwebsted
TekniskesupportoplysningerertilgængeligepåLenovossupportwebstedpå:
http://www.lenovo.com/support
Dettewebstedopdateresmeddesenestesupportoplysningerbl.a.omfølgende:
•Styreprogrammerogprogrammer
•Fejlfindingsløsninger
•Produkt-ogservicegaranti
•Oplysningeromprodukterogdele
•Brugervejledningerogmanualer
•Vidensdatabaseogoftestilledespørgsmål
Hjælpogservice
Detteafsnitindeholderoplysningerom,hvordandufårhjælpogservice.
Brugafdokumentationenogfejlfindingsprogrammet
LæsKapitel7"Fejlfindingogproblemløsning"påside51,hvisderopstårproblemermedcomputeren.
Afsnittet"Flereoplysninger"påside143indeholderoplysningerom,hvordukanfindemerehjælptilat
udførefejlfindingpåcomputeren.
Hvisduharmistankeom,atdererfejliprogrammerne,skaldulæsedokumentationen,herunder
README-filerneogonlinehjælpen,derleveresmedstyresystemetellerprogrammet.
Deflestecomputereleveresmedetfejlfindingsprogram,somdukanbrugetilatidentificere
hardwareproblemer.
DukanogsåhentedesenestetekniskeoplysningeroghenteenhedsdrivereogopdateringerfraLenovos
supportwebstedpå:
http://www.lenovo.com/support
Telefonservice
Igarantiperiodenkandufåtelefoniskhjælpoginformationhoskundesupportcentret.
Nedenståendeserviceydelsertilbydesigarantiperioden:
•Fejlfinding-Derstillesuddannetservicepersonaletilrådighed,derkanassisterevedfejlfindingi
forbindelsemedhardwareproblemerogfindefremtildennødvendigeløsningafproblemet.
144ThinkStationP900Brugervejledning

•Hardwarereparation-Hvisetproblemskyldeshardware,dererdækketafgaranti,kanuddannede
serviceteknikereydeservice.
•Tekniskeændringer-Detkanske,atderskalforetagesændringer,eftercomputerenersolgt.Lenovo
ellerforhandlerenstillertekniskeændringer(EC'er),dergælderfordincomputershardware,tilrådighed.
Følgendedækkesikkeafgarantien:
•Udskiftningelleranvendelseafdele,derikkeerfremstilletafellerpåvegneafLenovo,ellerafdele,som
Lenovoikkestillergarantifor
•Identifikationafkildertilsoftwareproblemer
•KonfigurationafBIOSsomendelafeninstallationelleropgradering
•Ændringer,tilpasningerelleropgraderingerafstyreprogrammer
•Installationogvedligeholdelseafnetværksstyresystemer(NOS)
•Installationogvedligeholdelseafbrugerprogrammer
BogenSikkerhed,garantiogopsætningsvejledning,derleveressammenmedcomputeren,indeholder
oplysningeromgarantitypenog-varigheden.Gemkvitteringensombevispå,atduerberettigettil
garantiservice.
DukanfindeenlistemedLenovossupporttelefonnumrevedatgåtilhttp://www.lenovo.com/support/phone.
DukanogsåseiSikkerhed,garantiogopsætningsvejledning,derleveressammenmedcomputeren.
Bemærk:Dissetelefonnumrekanændresudenforudgåendevarsel.KontaktLenovo-forhandleren,hvisder
ikkeerangivetettelefonnummerfordetlandellerområde,somdubori.
Hvisdetermuligt,erdetengodidéatsiddevedcomputeren,nårduringer.Sørgforathavefølgende
oplysningerparat:
•Maskintypeogmodel
•Serienumrepåhardwareprodukterne
•Beskrivelseafproblemet
•Nøjagtigordlydafallefejlmeddelelser
•Oplysningeromsystemetshardware-ogsoftwarekonfiguration
Brugafandreserviceydelser
Duvilmåskerejsemedcomputerenellerflyttedentiletland,hvordinstationæreellerbærbarecomputertype
sælges.Isåtilfældekandincomputerværeberettigettilverdensomspændendeservice,hvilketautomatisk
berettigerdigtilatfågarantiserviceigarantiperioden.Servicenvilbliveudførtafserviceudbydere,somhar
autorisationtilatudføregarantiservice.
Serviceniveauetafhængeraflandet,ogvisseserviceydelserudbydesmåskeikkeiallelande.Teknisk
garantiogserviceleveresviadenservicemetode,f.eks.deponering,indleveringellerreparationpåstedet,
somydesilandet.Servicecentreneivisselandekanmåskeikketilbydeserviceforallemodellerafen
bestemtmaskintype.Ivisselandeskaldumåskebetalevederlag,ogderkanværebegrænsningerpåden
service,derudbydes.
Dukanse,omdincomputererberettigettildenverdensomspændendeservice,ogdukanogsåfåvisten
oversigtoverdelande,hvordenneservicegives,påhttp://www.lenovo.com/support.Klikderefterpå
Product&ServiceWarranty(Produkt-ogservicegaranti),ogfølgvejledningenpåskærmen.
Dukanfåtekniskassistancetilinstallationafellerspørgsmåltilservicepakkertilforudinstallerede
MicrosoftWindows-produkterpåwebstedetforMicrosoftProductSupportServicespåadressen
http://support.microsoft.com.DukanogsåkontakteLenovoskundesupportcenterforatfåhjælp.Duskal
måskebetalefordet.
Kapitel10.Oplysninger,hjælpogservice145

Købafflereserviceydelser
Underogeftergarantiperiodenkandukøbeyderligeretjenester.Eksemplerpådisseyderligeretjenester
omfatter:
•Supporttilhardware,styresystemerogprogrammer
•Netværkskonfigurationogkonfigurationstjenester
•Opgraderetellerudvidethardwarereparation
•Tilpassedeinstallationstjenester
Bådeservicetilbudeneognavnenepådeenkelteydelserkanvarierefralandtillandogfraregiontilregion.
DererflereoplysningeromdisseserviceydelserpåLenovoswebstedpå:
http://www.lenovo.com
146ThinkStationP900Brugervejledning

Kapitel11.Systemhukommelseshastighed
IntelXeon®-mikroprocessorer,somerkompatiblemeddenneThinkStation-computer,harenintegreret
hukommelsescontroller,somgivermikroprocessorendirekteadgangtilsystemhukommelsen.
Systemhukommelsenshastighedbestemmesderforafforskelligefaktorer,herundermikroprocessormodel
og-type,hastighed,størrelse(kapacitet)ogantalletafinstalleredeDIMM-moduler.Følgendetabelindeholder
oplysningeromdenunderstøttedesystemhukommelseshastighedfordincomputermodel.
Tabel1.DIMM-typeoghastighed:UDIMMPC4-2133-E
DIMMdriftspændingMikroprocessormodelHukommelsesfrekvens
1,2V
IntelXeonE5-2699v3,E5-2698v3,
E5-2697v3,E5-2695V3,E5-2690v3,
E5-2685v3,E5-2683v3,E5-2680v3,
E5-2670v3,E5-2667v3,E5-2660v3,
E5-2650v3,E5-2643v3,E5-2637v3,
E5-2650Lv3,E5-1680v3,E5-1660
v3,E5-1650v3,E5-1630v3,E5-1620
v3
2133MHz
1,2VIntelXeonE5-2640v3,E5-2630v3,
E5-2623v3,E5-2620v3,E5-2630L
v3,E5-1607v3,E5-1603v3
1866MHz
1,2VIntelXeonE5-2609v3,E5-2603v31600MHz
Tabel2.DIMM-typeoghastighed:RDIMMPC4-2133-R
DIMMdriftspændingMikroprocessormodelHukommelsesfrekvens
1,2V
IntelXeonE5-2699v3,E5-2698v3,
E5-2697v3,E5-2695V3,E5-2690v3,
E5-2685v3,E5-2683v3,E5-2680v3,
E5-2670v3,E5-2667v3,E5-2660v3,
E5-2650v3,E5-2643v3,E5-2637v3,
E5-2650Lv3,E5-1680v3,E5-1660
v3,E5-1650v3,E5-1630v3,E5-1620
v3
2133MHz
1,2VIntelXeonE5-2640v3,E5-2630v3,
E5-2623v3,E5-2620v3,E5-2630L
v3,E5-1607v3,E5-1603v3
1866MHz
1,2VIntelXeonE5-2609v3,E5-2603v31600MHz
Tabel3.DIMM-typeoghastighed:LRDIMMPC4-2133-L
DIMMdriftspændingMikroprocessormodelHukommelsesfrekvens
1,2V
IntelXeonE5-2699v3,E5-2698v3,
E5-2697v3,E5-2695V3,E5-2690v3,
E5-2685v3,E5-2683v3,E5-2680v3,
E5-2670v3,E5-2667v3,E5-2660v3,
E5-2650v3,E5-2643v3,E5-2637v3,
E5-2650Lv3,E5-1680v3,E5-1660
2133MHz
©CopyrightLenovo2014,2015147

Tabel3.DIMM-typeoghastighed:LRDIMMPC4-2133-L(fortsat)
DIMMdriftspændingMikroprocessormodelHukommelsesfrekvens
v3,E5-1650v3,E5-1630v3,E5-1620
v3
1,2VIntelXeonE5-2640v3,E5-2630v3,
E5-2623v3,E5-2620v3,E5-2630L
v3,E5-1607v3,E5-1603v3
1866MHz
1,2VIntelXeonE5-2609v3,E5-2603v31600MHz
148ThinkStationP900Brugervejledning

TillægA.Oplysningeromlovgivningsmæssigekrav
Bemærkningomeksportklassificering
DetteprodukterunderlagtUnitedStatesExportAdministrationRegulations(EAR)ogharECCN-nr.(Export
ClassificationControlNumber)4A994.b.Produktetmåikkereeksporterestilnogenafdelande,derstårpå
EARE1-landelisten(landeunderembargo).
Bemærkningervedr.elektroniskstråling
NedenståendeoplysningergælderforLenovo-computeremedmaskintyperne30A4og30A5.
FCC(FederalCommunicationsCommission)
overensstemmelseserklæring
ThisequipmenthasbeentestedandfoundtocomplywiththelimitsforaClassBdigitaldevice,pursuant
toPart15oftheFCCRules.Theselimitsaredesignedtoprovidereasonableprotectionagainstharmful
interferenceinaresidentialinstallation.Thisequipmentgenerates,uses,andcanradiateradiofrequency
energyand,ifnotinstalledandusedinaccordancewiththeinstructions,maycauseharmfulinterference
toradiocommunications.However,thereisnoguaranteethatinterferencewillnotoccurinaparticular
installation.Ifthisequipmentdoescauseharmfulinterferencetoradioortelevisionreception,whichcanbe
determinedbyturningtheequipmentoffandon,theuserisencouragedtotrytocorrecttheinterferenceby
oneormoreofthefollowingmeasures:
•Reorientorrelocatethereceivingantenna.
•Increasetheseparationbetweentheequipmentandreceiver.
•Connecttheequipmentintoanoutletonacircuitdifferentfromthattowhichthereceiverisconnected.
•Consultanauthorizeddealerorservicerepresentativeforhelp.
Lenovoisnotresponsibleforanyradioortelevisioninterferencecausedbyusingotherthanspecifiedor
recommendedcablesandconnectorsorbyunauthorizedchangesormodificationstothisequipment.
Unauthorizedchangesormodificationscouldvoidtheuser'sauthoritytooperatetheequipment.
ThisdevicecomplieswithPart15oftheFCCRules.Operationissubjecttothefollowingtwoconditions:(1)
thisdevicemaynotcauseharmfulinterference,and(2)thisdevicemustacceptanyinterferencereceived,
includinginterferencethatmaycauseundesiredoperation.
ResponsibleParty:
Lenovo(UnitedStates)Incorporated
1009ThinkPlace-BuildingOne
Morrisville,NC27560
PhoneNumber:919-294-5900
IndustryCanada-overensstemmelseserklæringomklasseB-emissioner
CANICES-3(B)/NMB-3(B)
©CopyrightLenovo2014,2015149

DenEuropæiskeUnion–Overholdelseafdirektivetomelektromagnetiskkompatibilitet(EMC)eller
direktivetomradioudstyr
Modellerudenenradioenhed:Detteproduktoverholderkravenevedrørendeelektromagnetisk
kompatibilitetfastsatiEU-direktiv2004/108/EC(fremtil19.april2016)ogdirektiv2014/30/EU(fra20.april
2016)omharmoniseringafmedlemsstaterneslovgivningvedrørendeelektromagnetiskkompatibilitet.
Modellermedenradioenhed:Detteproduktoverholderallekraveneogdevæsentligstestandarder,der
gælderEU'sR&TTE-direktiv1999/5/EComharmoniseringafmedlemsstaterneslovgivningvedrørende
radioudstyr.
Lenovoerikkeansvarligformanglendeopfyldelseafbeskyttelseskravene,derskyldesenikkeanbefalet
ændringafproduktet,herundermonteringafkortfraenandenproducent.Detteproduktertestetog
overholdergrænseværdierneforklasseB-udstyrihenholdtileuropæiskestandarder,dererharmonisereti
deoverensstemmendedirektiver.GrænseværdierneforklasseB-udstyrerangivetfortypiskeboligområder,
sådeydertilstrækkeligbeskyttelsemodinterferensmedlicenseredekommunikationsenheder.
Lenovo,Einsteinova21,85101Bratislava,Slovakia
TyskVCCIClassBCompliance-erklæring
DeutschsprachigerEUHinweis:
HinweisfürGerätederKlasseBEU-RichtliniezurElektromagnetischenVerträglichkeit
DiesesProduktentsprichtdenSchutzanforderungenderEU-Richtlinie2014/30/EU(früher2004/108/EC)zur
AngleichungderRechtsvorschriftenüberdieelektromagnetischeVerträglichkeitindenEU-Mitgliedsstaaten
undhältdieGrenzwertederKlasseBderNormgemäßRichtlinie.
Umdiesessicherzustellen,sinddieGerätewieindenHandbüchernbeschriebenzuinstallierenundzu
betreiben.DesWeiterendürfenauchnurvonderLenovoempfohleneKabelangeschlossenwerden.
LenovoübernimmtkeineVerantwortungfürdieEinhaltungderSchutzanforderungen,wenndasProdukt
ohneZustimmungderLenovoverändertbzw.wennErweiterungskomponentenvonFremdherstellernohne
EmpfehlungderLenovogesteckt/eingebautwerden.
Deutschland:
EinhaltungdesGesetzesüberdieelektromagnetischeVerträglichkeitvonBetriebsmitteln
DiesesProduktentsprichtdem„GesetzüberdieelektromagnetischeVerträglichkeitvonBetriebsmitteln“
EMVG(früher„GesetzüberdieelektromagnetischeVerträglichkeitvonGeräten“).DiesistdieUmsetzungder
EMVEU-Richtlinie2014/30/EU(früher2004/108/EWG)inderBundesrepublikDeutschland.
ZulassungsbescheinigunglautdemDeutschenGesetzüberdieelektromagnetischeVerträglichkeit
vonBetriebsmitteln,EMVGvom20.Juli2007(früherGesetzüberdieelektromagnetische
VerträglichkeitvonGeräten),bzw.derEMVEURichtlinie2014/30/EU(früher2004/108/EC),fürGeräte
derKlasseB.
DiesesGerätistberechtigt,inÜbereinstimmungmitdemDeutschenEMVGdasEG-Konformitätszeichen
-CE-zuführen.VerantwortlichfürdieKonformitätserklärungnachParagraf5desEMVGistdieLenovo
(Deutschland)GmbH,Meitnerstr.9,D-70563Stuttgart.
InformationeninHinsichtEMVGParagraf4Abs.(1)4:
DasGeräterfülltdieSchutzanforderungennachEN55024undEN55022KlasseB.
150ThinkStationP900Brugervejledning

KoreaClassBCompliance-erklæring
JapanVCCIClassBCompliance-erklæring
Japanskerklæringforoverholdelseafstandardgældendeforprodukter,dersluttestilhovedstrøm
påunderellerligmed20Apr.fase
BemærkningvedrørendeledningforJapan
Theacpowercordshippedwithyourproductcanbeusedonlyforthisspecificproduct.Donotusetheac
powercordforotherdevices.
Lenovo-produktserviceoplysningerforTaiwan
ErklæringommusensogtastaturetsoverholdelseafangivnestandarderforTaiwain
Eurasiancompliance-mærke
Lydmeddelelse(Brasilien)
Ouvirsonscommaisde85decibéisporlongosperíodospodeprovocardanosaosistemaauditivo.
Oplysningeromoverholdelseafkravtiltrådløsradio(Mexico)
Advertencia:EnMexicolaoperacióndeesteequipoestásujetaalassiguientesdoscondiciones:(1)es
posiblequeesteequipoodispositivonocauseinterferenciaperjudicialy(2)esteequipoodispositivodebe
aceptarcualquierinterferencia,incluyendolaquepuedacausarsuoperaciónnodeseada.
TillægA.Oplysningeromlovgivningsmæssigekrav151

Flereoplysningeromlovgivningsmæssigekrav
DukanfindeyderligerelovmæssigeoplysningeriRegulatoryNotice,derblevleveretsammenmed
computeren.Afhængigtafcomputerenskonfigurationoghvilketlandellerområdecomputerenblevkøbti,
hardumuligvismodtagetyderligeretryktmaterialemedlovmæssigekrav.PåLenovossupportwebstedkan
dufindeallelovmæssigekravielektroniskformat.Dukanfåadgangtildennedokumentationvedatgåtil
http://www.lenovo.com/UserManuals.
152ThinkStationP900Brugervejledning

TillægB.Oplysningervedr.affaldafelektriskogelektronisk
udstyr(WEEE)samtgenbrug
Lenovoopfordrerejereaf(IT)-udstyrtilataflevereudstyrettilgenbrugpåansvarligvis,nårderikkelængere
erbrugforudstyret.Lenovotilbyderenrækkeprogrammerogserviceydelser,derkanhjælpemedgenbrug
afIT-produkter.DererflereoplysningeromgenbrugafLenovo-produkterpåadressen:
http://www.lenovo.com/recycling
VigtigeWEEE-oplysninger
WEEE-mærkningenpåLenovosproduktergælderforlandemedWEEE-oge-wasteregulativer(eksempelvis,
EuropeanDirective2002/96/EC,IndiaE-WasteManagement&HandlingRules,2011).Udstyrmærkesi
henholdtillokaleregulativeromaffaldafelektriskogelektroniskudstyr(WEEE).Disseregulativerfastlægger
derammer,dergælderforreturneringoggenbrugafbrugtudstyrideenkelteområder.Mærkatenpåsættes
forskelligeprodukterforatangive,atproduktetikkemåsmidesvæk,nårdeterudtjent,menskalgenvindesi
etableredeoffentligegenbrugssystemer.
Brugereafelektriskogelektroniskudstyr(EEE),derermærketmedWEEE-mærket,måikkebortskaffebrugt
EEEsomusorterethusholdningsaffald,menskalbrugedenindsamlingsordning,dereretableret,såWEEE
kanreturneres,genbrugesellergenvindes.Formåleteratminimeredeneventuellepåvirkningafmiljøetog
menneskerssundhedsomfølgeaftilstedeværelsenafskadeligestoffer.Dererflereoplysningeromaffaldaf
elektriskogelektroniskudstyrpåadressen:http://www.lenovo.com/recycling
OplysningervedrørendegenbrugforJapan
CollectingandrecyclingadisusedLenovocomputerormonitor
IfyouareacompanyemployeeandneedtodisposeofaLenovocomputerormonitorthatistheproperty
ofthecompany,youmustdosoinaccordancewiththeLawforPromotionofEffectiveUtilizationof
Resources.Computersandmonitorsarecategorizedasindustrialwasteandshouldbeproperlydisposed
ofbyanindustrialwastedisposalcontractorcertifiedbyalocalgovernment.InaccordancewiththeLaw
forPromotionofEffectiveUtilizationofResources,LenovoJapanprovides,throughitsPCCollecting
andRecyclingServices,forthecollecting,reuse,andrecyclingofdisusedcomputersandmonitors.For
details,visittheLenovoWebsiteathttp://www.lenovo.com/recycling/japan.PursuanttotheLawfor
PromotionofEffectiveUtilizationofResources,thecollectingandrecyclingofhome-usedcomputers
andmonitorsbythemanufacturerwasbegunonOctober1,2003.Thisserviceisprovidedfreeof
chargeforhome-usedcomputerssoldafterOctober1,2003.Fordetails,visittheLenovoWebsiteat
http://www.lenovo.com/recycling/japan.
©CopyrightLenovo2014,2015153

DisposingofLenovocomputercomponents
SomeLenovocomputerproductssoldinJapanmayhavecomponentsthatcontainheavymetalsorother
environmentalsensitivesubstances.Toproperlydisposeofdisusedcomponents,suchasaprintedcircuit
boardordrive,usethemethodsdescribedaboveforcollectingandrecyclingadisusedcomputerormonitor.
DisposingofdisusedlithiumbatteriesfromLenovocomputers
Abutton-shapedlithiumbatteryisinstalledinsideyourLenovocomputertoprovidepowertothecomputer
clockwhilethecomputerisoffordisconnectedfromthemainpowersource.Ifyouneedtoreplaceitwitha
newone,contactyourplaceofpurchaseorcontactLenovoforservice.Ifyouneedtodisposeofadisused
lithiumbattery,insulateitwithvinyltape,contactyourplaceofpurchaseoranindustrial-waste-disposal
operator,andfollowtheirinstructions.Disposalofalithiumbatterymustcomplywithlocalordinances
andregulations.
OplysningervedrørendegenbrugforBrasilien
DeclaraçõesdeReciclagemnoBrasil
DescartedeumProdutoLenovoForadeUso
Equipamentoselétricoseeletrônicosnãodevemserdescartadosemlixocomum,masenviadosàpontosde
coleta,autorizadospelofabricantedoprodutoparaquesejamencaminhadoseprocessadosporempresas
especializadasnomanuseioderesíduosindustriais,devidamentecertificadaspelosorgãosambientais,de
acordocomalegislaçãolocal.
ALenovopossuiumcanalespecíficoparaauxiliá-lonodescartedessesprodutos.Casovocêpossua
umprodutoLenovoemsituaçãodedescarte,ligueparaonossoSACouencaminheume-mailpara:
reciclar@lenovo.com,informandoomodelo,númerodesérieecidade,afimdeenviarmosasinstruções
paraocorretodescartedoseuprodutoLenovo.
OplysningervedrørendegenbrugafbatterierforTaiwan
OplysningervedrørendegenbrugafbatterierfordenEuropæiskeUnion
Bemærkning:DettemærkegælderkunforlandeidenEuropæiskeUnion(EU).
154ThinkStationP900Brugervejledning

BatterierelleremballagetilbatterierermærketioverensstemmelsemedEU-direktiv2006/66/ECvedrørende
batterierogakkumulatorerogudtjentebatterierogakkumulatorer.Direktivetfastlæggerderammer,der
gælderforreturneringoggenbrugafbrugtebatterierogakkumulatoreriheleEU.Mærkatenpåsættes
forskelligebatterierforatangive,atbatterietikkemåsmidesvæk,nårdeterudtjent,menskalgenvindesi
henholdtildettedirektiv.
IoverensstemmelsemedEU-direktiv2006/66/EC,skalbatterierogakkumulatorermærkesforatangive,
atdeskalindsamlesseparatoggenbrugesefterendtlevetid.Mærkatenpåbatterietkanogsåindeholde
etkemisksymbolfordetpågældendemetalibatteriet(Pbforbly,Hgforkviksølv,ogCdforcadmium).
Brugereafbatterierogakkumulatorermåikkebortskaffebatterierogakkumulatorersomusorteret
husholdningsaffald,menskalbrugedenindsamlingsordning,dereretableretforkundermedhenblikpå
returnering,genbrugogbehandlingafbatterierogakkumulatorer.Kundernesmedvirkenervigtigforat
minimeredeneventuellepåvirkningafmiljøetogmenneskerssundhedsomfølgeaftilstedeværelsenaf
skadeligestoffer.Derfindesoplysningeromkorrektindsamlingogbehandlingpå:
http://www.lenovo.com/recycling
TillægB.Oplysningervedr.affaldafelektriskogelektroniskudstyr(WEEE)samtgenbrug155

156ThinkStationP900Brugervejledning

TillægC.Direktivvedrørendebegrænsningaffarligestoffer
(RoHS)
RoHS,DenEuropæiskeUnion
DetteLenovo-produktmedinkluderededele(kabler,ledningerosv.)opfylderkraveneidirektiv2011/65/EU
ombegrænsningafanvendelsenafvissefarligestofferielektriskogelektroniskudstyr("RoHSrecast"
eller"RoHS2").
DererflereoplysningeromoverholdelseafRoHSforLenovopåverdensplanpå:
http://www.lenovo.com/social_responsibility/us/en/RoHS_Communication.pdf
RoHS,Kina
RoHS,Tyrkiet
TheLenovoproductmeetstherequirementsoftheRepublicofTurkeyDirectiveontheRestrictionoftheUse
ofCertainHazardousSubstancesinWasteElectricalandElectronicEquipment(WEEE).
©CopyrightLenovo2014,2015157

RoHS,Ukraine
RoHS,Indien
RoHScompliantasperE-Waste(Management&Handling)Rules,2011.
158ThinkStationP900Brugervejledning

TillægD.OplysningeromENERGYSTAR
ENERGYSTAR®eretfællesprogramfraU.S.EnvironmentalProtectionAgencyogU.S.Departmentof
Energy,dersigterpåatsparepengeogbeskyttemiljøetgennemeffektiveprodukterogvaner.
Lenovotilbydervoreskunderprodukter,deroverholderENERGYSTAR-kravene.Nogleaffølgende
maskintypemodellererdesignetogtestet,sådeoverholderkravenetilcomputereiENERGY
STAR-programmetpåproduktionstidspunktet:30A4og30A5.DererflereoplysningeromENERGY
STAR-klassifikationenforLenovo-computerepåhttp://www.lenovo.com.
Vedatbrugeprodukter,deroverholderENERGYSTAR-kravene,ogvedatudnyttecomputerens
strømstyringsfunktioner,hjælperdumedtilatreducereelforbruget.Nårdubrugermindrestrøm,sparerdu
penge,ogdubidragertiletreneremiljøogtilatformindskeudslippetafdrivhusgasser.
DererflereoplysningeromENERGYSTARpåwebstedet:
http://www.energystar.gov
Lenovoopfordrerdigtilathaveeteffektivtenergiforbrugsomenintegreretdelafditdagligearbejde.Som
hjælptildetteerfølgendestrømstyringsfunktionerpåforhåndangivettilattrædeikraft,nårcomputeren
harværetinaktivietangivettidsrum:
Tabel4.ENERGYSTAR-strømstyringsfunktioner
Windows7,Windows8.1ellerWindows10-operativsystem
Strømplan:ThinkStation-standard
•Slukningafskærm:Efter10minutter
•Computerensættesislumretilstand:Efter25minutter
•Udvidedestrømindstillinger:
–Slukningafharddiske:Efter20minutter
–Dvaletilstand:Aldrig
Trykpåenvilkårligtastpåtastaturetforatgenoptagenormaldriftfraenslumretilstand.Dererflere
oplysningeromdisseindstillingeriHjælpogsupportiWindows.
Gørfølgendeforatændrestrømindstillingerne:
1.ÅbnKontrolpanelvedatgøreetaffølgende:
•IWindows7:KlikpåknappenStartforatåbnemenuenStart,ogklikderefterpåKontrolpanel.
•IWindows8.1:Se"AdgangtilkontrolpaneletiWindows8.1-styresystemet"påside22.
•IWindows10:HøjreklikpåknappenStartforatåbneStart-genvejsmenuen,ogklikderefterpå
Kontrolpanel.
2.VisKontrolpanelmedStoreikonerellerSmåikoner,ogklikderefterpåStrømstyring.
©CopyrightLenovo2014,2015159

3.Følgvejledningenpåskærmen.
160ThinkStationP900Brugervejledning

TillægE.Bemærkninger
Lenovotilbydermuligvisikkedeprodukterellerserviceydelserellerdetudstyr,deromtalesidettedokument,
iallelande.KontaktenLenovo-forhandlerforatfåoplysningeromdeprodukterogserviceydelser,derfindes
iditland.HenvisningertiletLenovo-produkt,-programellerenLenovo-serviceydelseskalikkebetyde,at
detkunerLenovosprodukt,programellerydelse,derkananvendes.Allefunktionelttilsvarendeprodukter,
programmerogserviceydelser,derikkekrænkerLenovosimmaterialrettigheder,kananvendes.Deter
brugerensansvaratvurdereogkontrollereandreprodukters,programmersogserviceydelsersfunktion.
Lenovokanhavepatenterellerudeståendepatentansøgningerindenfordetområde,dettedokument
dækker.Deopnårikkelicenstildissepatenterellerpatentansøgningervedatværeibesiddelseaf
dokumentet.Forespørgsleromlicenskansendestil:
Lenovo(UnitedStates),Inc.
1009ThinkPlace-BuildingOne
Morrisville,NC27560
U.S.A.
Attention:LenovoDirectorofLicensing
LENOVOLEVERERDENNEBOG,SOMDENEROGFOREFINDES,UDENNOGENFORMFORGARANTI.
LENOVOPÅTAGERSIGINGENFORPLIGTELSER,UANSETEVENTUELLEFORVENTNINGERVEDRØRENDE
EGNETHEDELLERANVENDELSE.Visselandeslovgivningtilladerikkefraskrivelserellerbegrænsninger
vedrørendeudtrykkeligeellerunderforståedegarantier.Ovennævntefraskrivelsergælderderformuligvis
ikkeDem.
Bogenkanindeholdetekniskeunøjagtigheder.Ændringerforetagesløbende.Ændringertiloplysningeri
dettedokumentinkorporeresinyeudgaverafdokumentet.Lenovokannårsomhelstogudenforudgående
varselforetageforbedringerellerændringerafdeprodukterog/ellerdeprogrammer,derbeskrivesidette
dokument.
Deprodukter,derbeskrivesidettedokument,erikkeberegnettilbrugisystemer,deranvendestil
livsopretholdelse,herunderimplantater,hvorprogramfejlkanresultereipersonskadeellerdød.De
oplysninger,derfindesidettedokument,påvirkerellerændrerikkeLenovo-produktspecifikationereller
-vilkår.Intetidettedokumentfungerersomenudtrykkeligellerimplicitlicensellerskadesløsholdelseunder
Lenovosellertredjepartsimmateriellerettigheder.Alleoplysningerneidettedokumenteropnåetibestemte
miljøerogtjenerkunsomenillustration.Resultater,dereropnåetiandreIT-miljøer,kanværeforskellige.
LenovomåanvendeellervideregiveoplysningerfraDempåenmåde,somLenovofinderpassende,uden
atpådragesignogenforpligtelseroverforDem.
Henvisningertilikke-Lenovo-webstedererkuntilorienteringogfungererpåingenmådesomengodkendelse
afdissewebsteder.MaterialetpådissewebstedererikkeendelafmaterialettildetteLenovo-produkt,og
eventuelbrugafdissewebstederskerpåegetansvar.
Alleydelsesdataherierberegnetietkontrolleretmiljø.Derforkanresultater,dererindhentetiandre
driftsmiljøer,varierebetydeligt.Noglemålingererudførtpåsystemerpåudviklingsniveau,ogdereringen
garantifor,atdissemålingervilværedesammepåtilgængeligesystemer.Desudenkanvissemålinger
væreberegnetviaekstrapolation.Defaktiskeresultaterkanvariere.Brugerneafdennebogskalkontrollere
derelevantedataforderesspecielledriftsmiljø.
Varemærker
FølgendevaremærkertilhørerLenovo:
©CopyrightLenovo2014,2015161

Lenovo
RescueandRecovery
Lenovo-logoet
ThinkStation-logoet
ThinkStation
ThinkVantage
VaremærkerneMicrosoft,WindowsogWindowsMediatilhørerMicrosoft.
IntelogThunderboltervaremærkertilhørendeIntelCorporation.
LinuxeretregistreretvaremærketilhørendeLinusTorvalds.
DisplayPortogMiniDisplayPortervaremærkertilhørendeVideoElectronicsStandardsAssociation.
AndroideretvaremærketilhørendeGoogleInc.
Andrevirksomheds-,produkt-ellerservicenavnekanværevare-ellerservicemærkertilhørendeandre.
162ThinkStationP900Brugervejledning

Stikordsregister
2,5-tommersharddisk
installér80
udskift80
2,5-tommerslagerdrev
installér80
udskift80
2,5-tommersSSD-drev
installér80
udskift80
3,5-tommersharddisk
installér75
udskift75
3,5-tommershybriddrev
installér75
udskift75
3,5-tommerslagerdrev
installér75
udskift75
A
Administrator,kodeord36
afmonteringafcomputerensdæksel73
afslut,SetupUtility39
arbejdsområde,sikkerhedskopieringogretablering67
B
bagersteblæserenhed
udskift131
bagside,stik3
batteri,udskiftning107
bemærkninger161
bemærkninger,kodeord36
Beskrivelse4
BIOS-indstillinger,ændring40
BIOS-kodeord,bruge36
Boot-block-retablering41
brugaf
andreserviceydelser145
BIOS-kodeord36
dokumentation144
fejlfindingsprogram144
retableringsmedie,opretog68
SetupUtility35
C
CMOS,nulstil37
computerensdæksel
fjerne73
computerensdæksel,montering140
CRU
afslutinstallationen140
D
DisplayPort-ministik4
DisplayPort-stik4
dokumentation,brug144
driftsbetingelser13
DVI-stik4
E
eksterntudstyr,installation73
enheder,håndteringogstatiskelektricitet73
enheder,styreprogrammer141
Ethernet-stik4
F
faciliteter9
fejl,retableringefterBIOS-fejl41
fejlfinding51
fejlfindingafhardware62
fejlfinding,grundlæggende51
fejlfindingsprogram62
fejlfindingsprogram,brug144
fejlsøgning51
find
hjælp143
oplysninger143
service143
fjerne
flexmodul92
lageromslutningmedadgangforan92
luftskærmmeddirektekøling90
multifunktionsramme101
optiskdrev92
flexadapter
installér108
udskift108
flexmodul
fjerne92
installér92
forresteblæserenhed
udskift103
forside
stik,kontrollerogindikatorer2
fremvisningogændringafindstillinger35
funktioner,sikkerhedskopieringogretablering66
fysiskespecifikationer13
G
garantioplysninger143
grundlæggendefejlfinding51
©CopyrightLenovo2014,2015163

H
Harddisk,kodeord36
hastighed,hukommelse147
hjælp
find143
ogservice144
hukommelse10
hukommelsehastighed147
hukommelsesmodul
installér,udskift127
systemkort127
I
I/O-funktioner(Input/Output)10
indstillinger
skift35
vis35
informationskilder143
installér
2,5-tommersharddisk80
2,5-tommerslagerdrev80
2,5-tommersSSD-drev80
3,5-tommersharddisk75
3,5-tommershybriddrev75
3,5-tommerslagerdrev75
flexadapter108
flexmodul92
lagerdrev74
lageromslutningmedadgangforan92
M.2SSD-drev86
optiskdrev92
PCIExpressifuldlængde119
PCIExpress-SSD-drev111
PCI-kort111
superkondensatormodul124
WindowsXP40
installérekstraudstyr
hukommelsesmodul127
installérigen
luftskærmmeddirektekøling90
multifunktionsramme101
internedrev10
interntlagerdrev
installér74
udskift74
K
kabellås,sikkerhed33
Kensington-type
kabellås33
klargøring
kodeord37
kodeord
Administrator36
angiv,revidér,slet37
bemærkninger36
glemt37
Harddisk36
slet37
Startkodeord36
komponenter,interne4
kontakttilregistreringafdæksel(dækselføler)
udskift88
kundesupportcenter144
købafflereserviceydelser146
kølepladeogblæser
udskift129
L
lageromslutningmedadgangforan
fjerne92
installér92
LenovoSolutionCenter62
LenovoThinkVantageTools143
luftskærmmeddirektekøling
fjerne90
installérigen90
lydfunktioner10
lydindgangsstik4
lydudgangsstik4
løsningafretableringsproblemer70
lås
nøglelås31
M
M.2SSD-drev
installér86
udskift86
medier
båse7
specifikationer7
medier,oprettelseogbrugafretableringsmedier65
midlertidigstartenhed38
multifunktionsramme,afmontering101
multifunktionsramme,montering101
mus,udskiftning139
O
opdatér
systemprogrammer39
oplysninger
find143
garanti143
kilder143
sikkerhedv,143
opret
brugafetretableringsmedie68
oprettelseogbrug
retableringsmedier65
optiskdrev
fjerne92
installér92
optiskmus
rengør48
164ThinkStationP900Brugervejledning

P
PCIExpressifuldlængde
installér119
udskift119
PCIExpress-SSD-drev
installér111
udskift111
PCI-kort
installér111
udskift111
placeringafkomponenter4
POST(Power-OnSelf-Test)40
programmer
retablér65
R
rengørenoptiskmus48
RescueandRecovery65
arbejdsområde,RescueandRecovery67
RescueandRecovery-arbejdsområdet67
retablér
frafejlunderBIOS-opdatering41
programmer65
retablering
boot-block41
funktionertilsikkerhedskopieringogretablering66
problemer,løs70
retableringsmedie,opretogbrug68
retableringsmedie,oprettelseogbrug65
S
serieltstik4
service
find143
kundesupportcenter144
oghjælp144
serviceydelser
andre145
købafflere146
SetupUtility35
SetupUtilityprogram,startafprogrammet35
SetupUtility,afslut39
sikkerhedv
aktivérellerdeaktivér37
faciliteter12
sikkerhedsforskrifter143
sikkerhedskopierings-ogretableringsfunktioner66
skift
kodeord37
startsekvensforenheder38
sletetkodeord37
smaltoptiskedrev,kortlæser,eSATA-stik,IEEE1394-stik,
udskiftning94
startafprogrammetSetupUtility35
Start,kodeord36
startenhed38
midlertidig,valgaf38
sekvens,revidér38
statiskelektricitet,håndteringafenheder73
stik4
bagside3
Stiktilmikrofon4
StiktilPS/2-mus4
StiktilPS/2-tastatur4
stik,kontrollerogindikatorer
forside2
strøm
faciliteter11
strømforsyningsenhed
udskift105
styreprogrammer141
superkondensatormodul
installér124
udskift124
system
programmer40
systemkort
finddele5
hukommelsesmodul127
placeringer5
stik6
systemprogrammer,opdateringaf39
systemstyringsfunktioner11
T
tastatur,udskiftning139
U
udskift
2,5-tommersharddisk80
2,5-tommerslagerdrev80
2,5-tommersSSD-drev80
3,5-tommersharddisk75
3,5-tommershybriddrev75
3,5-tommerslagerdrev75
bagersteblæserenhed131
batteri107
flexadapter108
forresteblæserenhed103
kontakttilregistreringafdæksel(dækselføler)88
kølepladeogblæser129
lagerdrev74
M.2SSD-drev86
PCIExpressifuldlængde119
PCIExpress-SSD-drev111
PCI-kort111
strømforsyningsenhed105
superkondensatormodul124
udskiftningafdele,afslutning140
udvidelse10
Udvidetkonfiguration35
USB2.0-stik4
USB3.0-stik4
©CopyrightLenovo2014,2015165




