Lenovo A485 Hardware Maintenance Manual (English) Think Pad (Type 20MU, 20MV) Laptop (Think Pad) Tp Hmm En
2018-06-27
User Manual: Lenovo (English) Hardware Maintenance Manual - ThinkPad A485 A485 (Type 20MU, 20MV) Laptop (ThinkPad) A485 (Type 20MU, 20MV) Laptop (ThinkPad)
Open the PDF directly: View PDF
.
Page Count: 109 [warning: Documents this large are best viewed by clicking the View PDF Link!]
- About this manual
- Chapter 1. Safety information
- Chapter 2. Important service information
- Chapter 3. General checkout
- Chapter 4. Related service information
- Chapter 5. Status indicators
- Chapter 6. Using the special keys
- Chapter 7. Locations
- Chapter 8. FRU replacement notices
- Chapter 9. Removing or replacing a FRU
- General guidelines
- Disabling the built-in battery
- 1010 Removable battery
- 1020 Nano-SIM card
- 1030 Base cover assembly
- 1040 Memory module
- 1050 Internal storage drive
- 1060 Wireless-WAN card
- 1070 Wireless-LAN module
- 1080 M.2 solid-state drive in the Wireless-WAN-card slot
- 1090 Keyboard
- 1100 Coin-cell battery
- 1110 Speaker assembly
- 1120 Built-in battery
- 1130 Smart-card reader assembly
- 1140 Thermal fan assembly
- 1150 Trackpad and trackpad cable
- 1160 System board
- 1170 Power-button card and cable
- 1180 Fingerprint-reader assembly
- 1190 LCD unit
- 1200 Keyboard bezel assembly
- 2010 LCD bezel assembly
- 2020 LCD panel
- 2030 LCD hinge assembly
- 2040 Camera/microphone module
- 2050 Camera and LED cable, and LCD cable
- 2060 Wireless-LAN/WAN antenna assembly
- 2070 LCD rear-cover assembly
- Appendix A. Notices
- Appendix B. Abbreviation table

A485
Hardware Maintenance Manual
Note: Before using this information and the product it supports, be sure to read the general information
under Appendix A “Notices” on page 97.
First Edition (June 2018)
© Copyright Lenovo 2018.
LIMITED AND RESTRICTED RIGHTS NOTICE: If data or software is delivered pursuant to a General Services
Administration “GSA” contract, use, reproduction, or disclosure is subject to restrictions set forth in Contract No. GS-
35F-05925.

Contents
About this manual . . . . . . . . . . . . iii
Chapter 1. Safety information . . . . . . 1
General safety . . . . . . . . . . . . . . . . 1
Electrical safety . . . . . . . . . . . . . . . . 1
Safety inspection guide . . . . . . . . . . . . . 2
Handling devices that are sensitive to electrostatic
discharge . . . . . . . . . . . . . . . . . . 3
Grounding requirements . . . . . . . . . . . . 4
Safety notices (multilingual translations) . . . . . . 4
Chapter 2. Important service
information . . . . . . . . . . . . . . . 21
Strategy for replacing FRUs . . . . . . . . . . 21
Strategy for replacing a hard disk drive or a
solid-state drive . . . . . . . . . . . . . 21
Important notice for replacing a system
board . . . . . . . . . . . . . . . . . 22
How to use error message . . . . . . . . . 22
Strategy for replacing FRUs for CTO, special-bid,
and standard models. . . . . . . . . . . . . 22
Product definition . . . . . . . . . . . . 22
FRU identification . . . . . . . . . . . . 22
Chapter 3. General checkout . . . . . 25
What to do first . . . . . . . . . . . . . . . 25
Checkout guide . . . . . . . . . . . . . . . 26
Diagnosing problems . . . . . . . . . . . 26
Quick test programs . . . . . . . . . . . 27
UEFI diagnostic program . . . . . . . . . 27
Bootable diagnostic programs . . . . . . . 27
Power system checkout . . . . . . . . . . . 28
Checking the ac power adapter . . . . . . . 29
Checking the removable battery and the
operational charging . . . . . . . . . . . 29
Checking the coin-cell battery . . . . . . . 30
Chapter 4. Related service
information . . . . . . . . . . . . . . . 31
Recovery information for the Windows 10
operating system . . . . . . . . . . . . . . 31
Resetting your computer . . . . . . . . . 31
Using advanced startup options . . . . . . 31
Recovering your operating system if Windows
10 fails to start . . . . . . . . . . . . . 32
Creating and using a recovery USB drive . . . 32
Passwords. . . . . . . . . . . . . . . . . 33
Power-on password . . . . . . . . . . . 33
Hard disk password . . . . . . . . . . . 33
Supervisor password . . . . . . . . . . . 33
How to remove the power-on password . . . 34
How to remove the hard disk password. . . . 34
Power management . . . . . . . . . . . . . 35
Sleep mode . . . . . . . . . . . . . . 35
Hibernation mode . . . . . . . . . . . . 35
Symptom-to-FRU index . . . . . . . . . . . 35
Numeric error codes . . . . . . . . . . . 36
Error messages . . . . . . . . . . . . . 37
Beep errors. . . . . . . . . . . . . . . 38
No-beep symptoms . . . . . . . . . . . 40
LCD-related symptoms . . . . . . . . . . 40
Intermittent problems . . . . . . . . . . . 41
Undetermined problems . . . . . . . . . 41
Chapter 5. Status indicators . . . . . 43
Chapter 6. Using the special keys. . . 45
Chapter 7. Locations . . . . . . . . . 47
Locating computer controls, connectors, and
indicators . . . . . . . . . . . . . . . . . 47
Front view . . . . . . . . . . . . . . . 47
Left-side view . . . . . . . . . . . . . . 48
Right-side view . . . . . . . . . . . . . 48
Bottom view . . . . . . . . . . . . . . 48
Locating FRUs and CRUs . . . . . . . . . . . 49
Major FRUs and CRUs . . . . . . . . . . 50
LCD FRUs . . . . . . . . . . . . . . . 52
Miscellaneous parts . . . . . . . . . . . 53
Connector and cable guide . . . . . . . . 53
Looking up FRU information . . . . . . . . . . 56
Chapter 8. FRU replacement
notices . . . . . . . . . . . . . . . . . 57
Screw notices . . . . . . . . . . . . . . . 57
Retaining serial numbers . . . . . . . . . . . 58
Restoring the serial number of the system
unit . . . . . . . . . . . . . . . . . . 58
Retaining the UUID. . . . . . . . . . . . 59
Reading or writing the ECA information . . . . 59
Chapter 9. Removing or replacing a
FRU. . . . . . . . . . . . . . . . . . . 61
General guidelines. . . . . . . . . . . . . . 61
Disabling the built-in battery . . . . . . . . . . 62
1010 Removable battery . . . . . . . . . . . 62
1020 Nano-SIM card . . . . . . . . . . . . . 63
© Copyright Lenovo 2018 i
1030 Base cover assembly . . . . . . . . . . 63
1040 Memory module . . . . . . . . . . . . 66
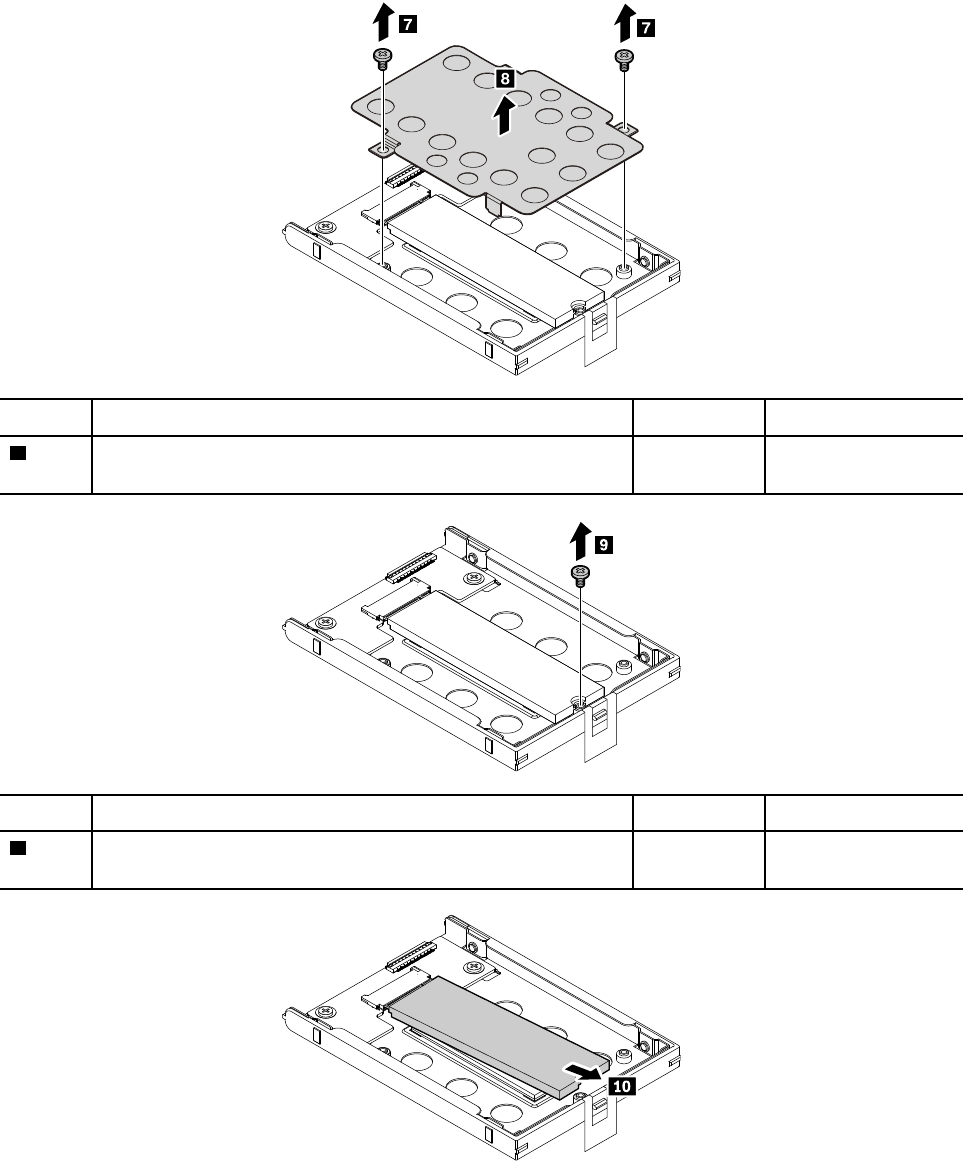
1050 Internal storage drive . . . . . . . . . . 66
1060 Wireless-WAN card . . . . . . . . . . . 70
1070 Wireless-LAN module . . . . . . . . . . 70
1080 M.2 solid-state drive in the Wireless-WAN-
card slot. . . . . . . . . . . . . . . . . . 71
1090 Keyboard . . . . . . . . . . . . . . . 72
1100 Coin-cell battery . . . . . . . . . . . . 74
1110 Speaker assembly . . . . . . . . . . . 75
1120 Built-in battery . . . . . . . . . . . . . 76
1130 Smart-card reader assembly . . . . . . . 77
1140 Thermal fan assembly . . . . . . . . . . 78
1150 Trackpad and trackpad cable . . . . . . . 80
1160 System board . . . . . . . . . . . . . 81
1170 Power-button card and cable . . . . . . . 83
1180 Fingerprint-reader assembly . . . . . . . 84
1190 LCD unit . . . . . . . . . . . . . . . 85
1200 Keyboard bezel assembly . . . . . . . . 87
2010 LCD bezel assembly . . . . . . . . . . . 88
2020 LCD panel. . . . . . . . . . . . . . . 89
2030 LCD hinge assembly. . . . . . . . . . . 90
2040 Camera/microphone module . . . . . . . 92
2050 Camera and LED cable, and LCD cable . . . 93
2060 Wireless-LAN/WAN antenna assembly . . . 94
2070 LCD rear-cover assembly . . . . . . . . . 95
Appendix A. Notices. . . . . . . . . . 97
Electronic emissions notices . . . . . . . . . . 98
Trademarks . . . . . . . . . . . . . . . . 98
Appendix B. Abbreviation table . . . . 99
ii A485 Hardware Maintenance Manual

About this manual
This manual contains service and reference information for the following ThinkPad® products.
ThinkPad A485 Machine Type (MT) 20MU and 20MV
Use this manual along with the advanced diagnostic tests to troubleshoot problems.
Important: This manual is intended only for trained service technicians who are familiar with ThinkPad
products. Use this manual along with the advanced diagnostic tests to troubleshoot problems effectively.
Before servicing a ThinkPad product, be sure to read all the information under Chapter 1 “Safety information”
on page 1 and Chapter 2 “Important service information” on page 21.
© Copyright Lenovo 2018 iii
iv A485 Hardware Maintenance Manual

Chapter 1. Safety information
This chapter presents following safety information that you need to be familiar with before you service a
ThinkPad notebook computer.
• “General safety” on page 1
• “Electrical safety” on page 1
• “Safety inspection guide” on page 2
• “Handling devices that are sensitive to electrostatic discharge” on page 3
• “Grounding requirements” on page 4
• “Safety notices (multilingual translations)” on page 4
General safety
Follow these rules to ensure general safety:
• Observe good housekeeping in the area of the machines during and after maintenance.
• When lifting any heavy object:
1. Make sure that you can stand safely without slipping.
2. Distribute the weight of the object equally between your feet.
3. Use a slow lifting force. Never move suddenly or twist when you attempt to lift.
4. Lift by standing or by pushing up with your leg muscles; this action removes the strain from the
muscles in your back. Do not attempt to lift any object that weighs more than 16 kg (35 lb) or that you
think is too heavy for you.
• Do not perform any action that causes hazards to the customer, or that makes the equipment unsafe.
• Before you start the machine, make sure that other service technicians and the customer's personnel are
not in a hazardous position.
• Place removed covers and other parts in a safe place, away from all personnel, while you are servicing the
machine.
• Keep your toolcase away from walk areas so that other people will not trip over it.
• Do not wear loose clothing that can be trapped in the moving parts of a machine. Make sure that your
sleeves are fastened or rolled up above your elbows. If your hair is long, fasten it.
• Insert the ends of your necktie or scarf inside clothing or fasten it with a nonconductive clip, about 8
centimeters (3 inches) from the end.
• Do not wear jewelry, chains, metal-frame eyeglasses, or metal fasteners for your clothing.
Attention: Metal objects are good electrical conductors.
• Wear safety glasses when you are hammering, drilling, soldering, cutting wire, attaching springs, using
solvents, or working in any other conditions that might be hazardous to your eyes.
• After service, reinstall all safety shields, guards, labels, and ground wires. Replace any safety device that
is worn or defective.
• Reinstall all covers correctly before returning the machine to the customer.
• Fan louvers on the machine help to prevent overheating of internal components. Do not obstruct fan
louvers or cover them with labels or stickers.
Electrical safety
Observe the following rules when working on electrical equipment.
Important: Use only approved tools and test equipment. Some hand tools have handles covered with a soft
material that does not insulate you when working with live electrical currents.Many customers have, near
their equipment, rubber floor mats that contain small conductive fibers to decrease electrostatic discharges.
Do not use this type of mat to protect yourself from electrical shock.
© Copyright Lenovo 2018 1

• Find the room emergency power-off (EPO) switch, disconnecting switch, or electrical outlet. If an electrical
accident occurs, you can then operate the switch or unplug the power cord quickly.
• Do not work alone under hazardous conditions or near equipment that has hazardous voltages.
• Disconnect all power before:
– Performing a mechanical inspection
– Working near power supplies
– Removing or installing main units
• Before you start to work on the machine, unplug the power cord. If you cannot unplug it, ask the customer
to power-off the wall box that supplies power to the machine, and to lock the wall box in the off position.
• If you need to work on a machine that has exposed electrical circuits, observe the following precautions:
– Ensure that another person, familiar with the power-off controls, is near you.
Attention: Another person must be there to switch off the power, if necessary.
– Use only one hand when working with powered-on electrical equipment; keep the other hand in your
pocket or behind your back.
Attention: An electrical shock can occur only when there is a complete circuit. By observing the above
rule, you may prevent a current from passing through your body.
– When using testers, set the controls correctly and use the approved probe leads and accessories for
that tester.
– Stand on suitable rubber mats (obtained locally, if necessary) to insulate you from grounds such as
metal floor strips and machine frames.
Observe the special safety precautions when you work with very high voltages; Instructions for these
precautions are in the safety sections of maintenance information. Use extreme care when measuring high
voltages.
• Regularly inspect and maintain your electrical hand tools for safe operational condition.
• Do not use worn or broken tools and testers.
• Never assume that power has been disconnected from a circuit. First, check that it has been powered off.
• Always look carefully for possible hazards in your work area. Examples of these hazards are moist floors,
nongrounded power extension cables, power surges, and missing safety grounds.
• Do not touch live electrical circuits with the reflective surface of a plastic dental mirror. The surface is
conductive; such touching can cause personal injury and machine damage.
• Do not service the following parts with the power on when they are removed from their normal operating
places in a machine:
– Power supply units
– Pumps
– Blowers and fans
– Motor generators
– Similar units as listed above
This practice ensures correct grounding of the units.
• If an electrical accident occurs:
– Use caution; do not become a victim yourself.
– Switch off power.
– Send another person to get medical aid.
Safety inspection guide
The purpose of this inspection guide is to assist you in identifying potentially unsafe conditions. As each
machine was designed and built, required safety items were installed to protect users and service
technicians from injury. This guide addresses only those items. You should use good judgment to identify
potential safety hazards due to attachment of non-ThinkPad features or options not covered by this
inspection guide.
If any unsafe conditions are present, you must determine how serious the apparent hazard could be and
whether you can continue without first correcting the problem.
2A485 Hardware Maintenance Manual

Consider these conditions and the safety hazards they present:
• Electrical hazards, especially primary power (primary voltage on the frame can cause serious or fatal
electrical shock)
• Explosive hazards, such as a damaged cathode ray tube (CRT) face or a bulging capacitor
• Mechanical hazards, such as loose or missing hardware
To determine whether there are any potentially unsafe conditions, use the following checklist at the
beginning of every service task. Begin the checks with the power off, and the power cord disconnected.
Checklist:
1. Check exterior covers for damage (loose, broken, or sharp edges).
2. Power off the computer. Disconnect the power cord.
3. Check the power cord for:
a. A third-wire ground connector in good condition. Use a meter to measure third-wire ground
continuity for 0.1 ohm or less between the external ground pin and the frame ground.
b. The power cord should be the authorized type specified for your computer. Go to: https://
support.lenovo.com/partslookup
c. Insulation must not be frayed or worn.
4. Check for cracked or bulging batteries.
5. Remove the cover.
6. Check for any obvious non-ThinkPad alterations. Use good judgment as to the safety of any non-
ThinkPad alterations.
7. Check inside the unit for any obvious unsafe conditions, such as metal filings, contamination, water or
other liquids, or signs of fire or smoke damage.
8. Check for worn, frayed, or pinched cables.
9. Check that the power-supply cover fasteners (screws or rivets) have not been removed or tampered
with.
Handling devices that are sensitive to electrostatic discharge
Any computer part containing transistors or integrated circuits (ICs) should be considered sensitive to
electrostatic discharge (ESD). ESD damage can occur when there is a difference in charge between objects.
Protect against ESD damage by equalizing the charge so that the machine, the part, the work mat, and the
person handling the part are all at the same charge.
Notes:
1. Use product-specific ESD procedures when they exceed the requirements noted here.
2. Make sure that the ESD protective devices you use have been certified (ISO 9000) as fully effective.
When handling ESD-sensitive parts:
• Keep the parts in protective packages until they are inserted into the product.
• Avoid contact with other people.
• Wear a grounded wrist strap against your skin to eliminate static on your body.
• Prevent the part from touching your clothing. Most clothing is insulative and retains a charge even when
you are wearing a wrist strap.
• Use a grounded work mat to provide a static-free work surface. The mat is especially useful when
handling ESD-sensitive devices.
• Select a grounding system, such as those listed below, to provide protection that meets the specific
service requirement.
Note: The use of a grounding system to guard against ESD damage is desirable but not necessary.
– Attach the ESD ground clip to any frame ground, ground braid, or green-wire ground.
Chapter 1.Safety information 3

– When working on a double-insulated or battery-operated system, use an ESD common ground or
reference point. You can use coax or connector-outside shells on these systems.
– Use the round ground prong of the ac plug on ac-operated computers.
Grounding requirements
Electrical grounding of the computer is required for operator safety and correct system function. Proper
grounding of the electrical outlet can be verified by a certified electrician.
Safety notices (multilingual translations)
The safety notices in this section are provided in the following languages:
• English
• Arabic
• Brazilian Portuguese
• French
• German
• Hebrew
• Japanese
• Korean
• Spanish
• Traditional Chinese
DANGER
DANGER
DANGER
4A485 Hardware Maintenance Manual

6A485 Hardware Maintenance Manual

PERIGO
PERIGO
PERIGO
PERIGO
PERIGO
8A485 Hardware Maintenance Manual

DANGER
DANGER
DANGER
DANGER
VORSICHT
10 A485 Hardware Maintenance Manual

VORSICHT
VORSICHT
VORSICHT
12 A485 Hardware Maintenance Manual

14 A485 Hardware Maintenance Manual

16 A485 Hardware Maintenance Manual

18 A485 Hardware Maintenance Manual
20 A485 Hardware Maintenance Manual

Chapter 2. Important service information
This chapter introduces following important service information that applies to all machine types supported
by this manual:
• “Strategy for replacing FRUs” on page 21
– “Strategy for replacing a hard disk drive or a solid-state drive” on page 21
– “Important notice for replacing a system board” on page 22
– “How to use error message” on page 22
• “Strategy for replacing FRUs for CTO, special-bid, and standard models” on page 22
– “Product definition” on page 22
– “FRU identification” on page 22
Important:
• Advise customers to contact the Lenovo® Customer Support Center if they need any assistance in
obtaining or installing any software fixes, drivers, and Unified Extensible Firmware Interface basic input/
output system (UEFI BIOS) downloads. Telephone numbers for Lenovo Support are available at: https://
pcsupport.lenovo.com/supportphonelist
• System Disassembly/Reassembly videos that show the FRU removals or replacements for the Lenovo
authorized service technicians are available in the following support site:
https://www.lenovoservicetraining.com/ion/
Strategy for replacing FRUs
Before replacing parts:
Ensure that all software fixes, drivers, and UEFI BIOS downloads are installed before replacing any FRUs
listed in this manual.
After a system board is replaced, ensure that the latest UEFI BIOS is loaded to the system board before
completing the service action.
To download software fixes, drivers, and UEFI BIOS, go to https://support.lenovo.com and follow the
instructions on the screen.
Use the following strategy to prevent unnecessary expense for replacing and servicing FRUs:
• If you are instructed to replace a FRU but the replacement does not correct the problem, reinstall the
original FRU before you continue.
• Some computers have both a processor board and a system board. If you are instructed to replace either
the processor board or the system board, and replacing one of them does not correct the problem,
reinstall that board, and then replace the other one.
• If an adapter or a device consists of more than one FRU, any of the FRUs might be the cause of the error.
Before replacing the adapter or device, remove the FRUs, one by one, to see if the symptoms change.
Replace only the FRU that changed the symptoms.
Strategy for replacing a hard disk drive or a solid-state drive
Always try to run a low-level format before replacing a hard disk drive or a solid-state drive. This will cause all
customer data on the drive to be lost. Be sure that the customer has a current backup of the data before
doing this task.
Attention: The drive startup sequence in the computer you are servicing may have been changed. Be
extremely careful during write operations such as copying, saving, or formatting. If you select an incorrect
drive, data or programs can be overwritten.
© Copyright Lenovo 2018 21

Important notice for replacing a system board
Some components mounted on a system board are very sensitive. Improper handling of a system board can
cause damage to those components, and may cause a system malfunction.
Attention: When handling a system board:
• Do not drop a system board or apply any excessive force to it.
• Avoid rough handling of any kind.
• Avoid bending a system board and hard pushing to prevent cracking at each ball-grid-array (BGA)
chipset.
How to use error message
Use the error codes displayed on the screen to diagnose failures. If more than one error code is displayed,
begin the diagnosis with the first error code. Whatever causes the first error code may also cause false error
codes. If no error code is displayed, see whether the error symptom is listed in the Symptom-to-FRU Index
for the computer you are servicing.
Strategy for replacing FRUs for CTO, special-bid, and standard models
This topic provides information about the model types and FRU identification.
Product definition
This topic introduces different model types and how to identify each type.
Dynamic configure-to-order (CTO) model
This model provides the ability for a customer to configure a Lenovo solution from a Web Site, and have this
configuration sent to fulfillment, where it is built and shipped directly to the customer. The machine label and
eSupport will load these products as the 4-character MT, 4-character model, and 2-character country code.
The model is “CTO1” and the default country code is “WW” (example: 20AACTO1WW).
Special-bid model
This is a unique configuration that has been negotiated between Lenovo and the customer. A unique
machine type model (MTM) consists of a 4-character MT, a 4-character model, and a numeric 2-character
country code is provided to the customer to place orders (example: 20AA000955). The country code
assigned is numeric and does not designate a specific country or region. The custom model factsheet for the
MTM indicates which country the special bid MTM is set up for. Special-bid offering is not generally
announced.
Standard model
Standard models (fixed configuration) are announced and offered to all customers. The MTM portion of the
machine label consists of a 4-character MT, a 4-character model, and an alphabetic 2-character country
code. The country code assigned is alphabetic and represents a designated country or region (example:
20AA0009UK).
FRU identification
Use Lenovo eSupport to identify major FRUs, FRU part numbers, and FRU descriptions for a product at an
MT - serial number level. Examples of major FRUs are hard disk drive, system board, liquid crystal display
(LCD), and memory module.
To identify FRUs for a product, do the following:
1. Go to https://support.lenovo.com/partslookup.
22 A485 Hardware Maintenance Manual
24 A485 Hardware Maintenance Manual

Chapter 3. General checkout
This chapter introduces following information:
• “What to do first” on page 25
• “Checkout guide” on page 26
– “Diagnosing problems” on page 26
– “Quick test programs” on page 27
– “UEFI diagnostic program” on page 27
– “Bootable diagnostic programs” on page 27
• “Power system checkout” on page 28
Before you go to the checkout guide, be sure to read the following important notes.
Important notes:
• Only certified trained personnel should service the computer.
• Before replacing any FRU, read the entire page on removing and replacing FRUs.
• When you replace FRUs, it is recommended use new nylon-coated screws.
• Be extremely careful during such write operations as copying, saving, or formatting. The sequence
of the drives in the computer that you are servicing might have been altered. If you select an incorrect
drive, data or programs might be overwritten.
• Replace a FRU only with another FRU of the correct model. When you replace a FRU, ensure that the
model of the machine and the FRU part number are correct by referring to the web site: https://
support.lenovo.com/partslookup
• A FRU should not be replaced because of a single, unreproducible failure. Single failures can occur
for a variety of reasons that have nothing to do with a hardware defect, such as cosmic radiation,
electrostatic discharge, or software errors. Consider replacing a FRU only when a problem recurs. If you
suspect that a FRU is defective, clear the error log and run the test again. If the error does not recur, do
not replace the FRU.
• Be careful not to replace a nondefective FRU.
What to do first
When you return a FRU, you must include the following information in the parts exchange form or parts return
form that you attach to it:
1. Name and phone number of service technician
2. Date of service
3. Date on which the machine failed
4. Date of purchase
5. Failure symptoms, error codes appearing on the display, and beep symptoms
6. Procedure index and page number in which the failing FRU was detected
7. Failing FRU name and part number
8. Machine type, model number, and serial number
9. Customer's name and address
Note: During the warranty period, the customer may be responsible for repair costs if the computer damage
was caused by misuse, accident, modification, unsuitable physical or operating environment, or improper
maintenance by the customer. Following is a list of some common items that are not covered under warranty
and some symptoms that might indicate that the system was subjected to stress beyond normal use.
© Copyright Lenovo 2018 25

Before checking problems with the computer, determine whether the damage is covered under the warranty
by referring to the following list:
The following are not covered under warranty:
• LCD panel cracked from the application of excessive force or from being dropped
• Scratched (cosmetic) parts
• Distortion, deformation, or discoloration of the cosmetic parts
• Plastic parts, latches, pins, or connectors that have been cracked or broken by excessive force
• Damage caused by liquid spilled into the system
• Damage caused by the improper insertion of a personal-computer card (PC card) or the installation of an
incompatible card
• Improper disc insertion or use of an external optical drive
• Fuses blown by attachment of a nonsupported device
• Forgotten computer password (making the computer unusable)
• Sticky keys caused by spilling a liquid onto the keyboard
• Use of an incorrect ac power adapter on laptop products
The following symptoms might indicate damage caused by nonwarranted activities:
• Missing parts might be a symptom of unauthorized service or modification.
• Check for obvious damage to a hard disk drive. If the spindle of a hard disk drive becomes noisy, the hard
disk drive might have been dropped or subject to excessive force.
Checkout guide
Use the following procedures as a guide in identifying and correcting problems with the ThinkPad notebook
computers.
Note: The diagnostic tests are intended to test only ThinkPad products. The use of non-ThinkPad products,
prototype cards, or modified options can lead to false indications of errors and invalid system responses.
1. Identify the failing symptoms in as much detail as possible.
2. Verify the symptoms. Try to re-create the failure by running the diagnostic test or by repeating the
operation.
Diagnosing problems
Many computer problems can be solved without outside assistance. If you experience a problem with your
computer, the first place to start is the troubleshooting information in your computer documentation. If you
suspect a software problem, see the documentation, including readme files and help information systems,
that come with the operating system or program. ThinkPad notebook computers come with a set of
diagnostic programs that you can use to help you identify hardware problems.
Diagnosing problems with Lenovo Vantage on the Windows 10 operating system
Note: If you are unable to isolate and repair the problem yourself after running Lenovo Vantage, save and
print the log files created by the program. You need the log files when you speak to a Lenovo technical
support representative.
Lenovo Vantage supports the hardware scan function. It combines diagnostic tests, system information
collection, security status, and support information, along with hints and tips for optimal system
performance.
The troubleshooting information or the diagnostic programs might tell you that you need additional or
updated device drivers or other software. You can get the latest technical information and download device
drivers and updates from the Lenovo Support Web site at:
26 A485 Hardware Maintenance Manual

https://support.lenovo.com
For additional information, see the Lenovo Vantage help system.
Quick test programs
Lenovo provides quick test programs to troubleshoot and resolve computer problems.
To download and install a quick test program, go to https://www.lenovo.com/diags, and follow the instructions
on the Web site.
To run a test using quick test program, do the following:
1. Go to the C:\SWTOOLS\ldiag directory.
2. Double-click the lsc_lite.exe file.
3. When the User Account Control window opens, click Yes.
4. Select the device class to be tested.
5. Select the devices to be tested.
6. Select the test to be performed.
7. Follow the instructions on the screen to start the test. When a problem is detected, information
messages are displayed. Refer to the messages to troubleshoot the problem.
UEFI diagnostic program
A UEFI diagnostic program is preinstalled on the computer. It enables you to test memory modules and
internal storage devices, view system information, and check and recover bad sectors on internal storage
devices.
To run the UEFI diagnostic program, do the following:
1. Turn on the computer. If the computer cannot be turned on, go to “Power system checkout” on page 28,
and check the power sources. If an error code is displayed, go to “Symptom-to-FRU index” on page 35
for error code descriptions and troubleshooting hints.
2. When the logo screen is displayed, repeatedly press and release the F10 key. The main screen of the
UEFI diagnostic program is displayed.
3. Follow the instructions on the screen to use the diagnostic program.
The options on the main screen are as follows:
Table 1. Items on the main screen of the UEFI diagnostic program
Tests Tools
• Quick Memory Test
• Quick Storage Device Test
• LCD test
• PCI-e test
• Exit Application
• System Information
• Generate configuration file
• Execute from configuration file
• Recover Bad Sectors Tool*
* Recover Bad Sectors Tool is only available on computers that have hard disk drives installed.
Bootable diagnostic programs
If the computer you are servicing is not installed with the UEFI diagnostic program, you can download a
bootable diagnostic program from the Lenovo Support Web site. The bootable diagnostic programs enable
Chapter 3.General checkout 27

you to test computer memory and internal storage devices, view system information, and check and recover
the internal storage devices. To use the bootable diagnostic programs, you can create a bootable diagnostic
medium on a Universal Serial Bus (USB) device or CD.
To create a bootable diagnostic medium, do the following:
1. Go to https://www.lenovo.com/diags.
2. Click Lenovo Bootable Diagnostics.
3. Follow the instructions on the Web site to create a bootable diagnostic medium on a USB device or CD.
To use the diagnostic medium you have created, do one of the following:
• If you have created the bootable diagnostic medium on a USB device, do the following:
1. Attach the USB device to the computer.
2. Turn on the computer. If the computer cannot be turned on, go to “Power system checkout” on page
28, and check the power sources. If an error code is displayed, go to “Symptom-to-FRU index” on
page 35 for error code descriptions and troubleshooting hints.
3. When the logo screen is displayed, repeatedly press and release the F12 key. When the Boot Menu
window opens, release the F12 key.
4. Use the arrow keys to select USB HDD and then press Enter. The diagnostic program will be
launched automatically.
5. Follow the instructions on the screen to use the diagnostic program.
• If you have created the bootable diagnostic medium on a CD, do the following:
1. Turn on the computer. If the computer cannot be turned on, go to “Power system checkout” on page
28, and check the power sources. If an error code is displayed, go to “Symptom-to-FRU index” on
page 35 for error code descriptions and troubleshooting hints.
2. Connect an external optical drive to the computer, and insert the CD into the optical drive.
3. Restart the computer.
4. When the logo screen is displayed, repeatedly press and release the F12 key. When the Boot Menu
window opens, release the F12 key.
5. Use the arrow keys to select ATAPI CDx (x: 0, 1, ...) and then press Enter. The diagnostic program will
be launched automatically.
6. Follow the instructions on the screen to use the diagnostic program.
Power system checkout
To verify if a battery or an ac power adapter is functional, do the following:
1. Turn off the computer.
2. Connect the ac power adapter.
3. Turn on the computer. If the computer can be turned on, it means that either the battery or the ac power
adapter is functional.
4. Insert a straightened paper clip into the emergency-reset hole to reset the computer. If the computer is
still powered on, it means that the ac power adapter is functional.
5. Turn off the computer.
6. Disconnect the ac power adapter and turn on the computer. If the computer can be turned on, it means
that the battery is functional.
If you suspect a power problem, see the appropriate one of the following power supply checkouts:
• “Checking the ac power adapter” on page 29
• “Checking the removable battery and the operational charging” on page 29
• “Checking the coin-cell battery” on page 30
28 A485 Hardware Maintenance Manual
Checking the ac power adapter
You are here because the computer fails only when the ac power adapter is used.
• If the power problem occurs only when the docking station or the port replicator is used, replace the
docking station or the port replicator.
• If the system status indicator does not blink three times when an ac power source is connected, check the
power cord of the ac power adapter for correct continuity and installation.
• If the computer does not charge during operation, go to “Checking the removable battery and the
operational charging” on page 29.
Note: Noise from the ac power adapter does not always indicate a defect.
Checking the USB-C type ac power adapter
To check the USB-C type ac power adapter, do the following:
1. Connect the computer to a power outlet and turn on the computer.
2. Start Lenovo Vantage program, and then click Hardware Settings ➙ Power. The ac power adapter
information is displayed.
Ensure that you use the USB-C type ac power adapter that is shipped with the computer to provide enough
power to the computer. Otherwise, a message will be displayed, prompting you that the computer will not be
charged or will be charged slowly.
Checking the removable battery and the operational charging
Checking the removable battery
This system supports only batteries specially designed for this specific system and manufactured by Lenovo
or an authorized builder. The system does not support unauthorized batteries or batteries designed for other
systems. If an unauthorized battery or a battery designed for another systems is installed, the system will not
charge.
Attention: Lenovo has no responsibility for the performance or safety of unauthorized batteries, and
provides no warranties for failures or damage arising out of their use.
Move your pointer to the battery-status icon in the Windows® notification area to check the battery status.
The battery-status icon displays the percentage of battery power remaining and how long you can use your
computer before you must charge the battery.
Note: If the removable battery becomes hot, it may not be able to charge. Remove it from the computer and
leave it at room temperature for a while. After it cools down, reinstall and recharge it.
To check the removable battery, do the following:
1. Turn off the computer.
2. Remove the removable battery and measure the voltage between battery terminals 1 (+) and 7 (-). See
the following figure:
Chapter 3.General checkout 29

1(+) 2(+) 3456(-)7(-)
Terminal Voltage (V dc)
1, 2 + 0 to + 12.6
6, 7 Ground (-)
3. If the voltage is less than +11.0 V dc, the removable battery has been discharged.
If the voltage is still less than +11.0 V dc after recharging, replace the removable battery.
4. If the voltage is more than +11.0 V dc, measure the resistance between battery terminals 5 and 7. The
resistance must be 4 to 30 K Ω. If the resistance is not correct, replace the removable battery. If the
resistance is correct, replace the system board.
Checking the operational charging
To check whether the battery charges properly during operation, do the following:
1. Discharge the battery until the remained battery power is less than 50%.
2. Connect the computer to ac power to charge the battery. If the battery status icon in the Windows
notification area indicates that the battery is not charging, remove the battery and let it return to room
temperature.
3. Reinstall the battery. If the battery is still not charging, replace the battery.
4. Check the battery status icon again. If the same error still exists, replace the system board.
Checking the coin-cell battery
To check the coin-cell battery, do the following:
1. Disable the built-in battery. See “Disabling the built-in battery” on page 62.
2. Remove the coin-cell battery. See “1100 Coin-cell battery” on page 74.
3. Measure the voltage of the coin-cell battery. See the following illustration.
Wire Voltage (V dc)
Red +2.5 to +3.2
Black Ground
• If the voltage is correct, replace the system board.
• If the voltage is not correct, replace the coin-cell battery.
• If the coin-cell battery discharges quickly after replacement, replace the system board.
30 A485 Hardware Maintenance Manual

Chapter 4. Related service information
This chapter presents following information:
• “Passwords” on page 33
• “Power management” on page 35
• “Symptom-to-FRU index” on page 35
Service Web site: When the latest maintenance diskette and the system program service diskette become
available, they will be posted on https://support.lenovo.com
Recovery information for the Windows 10 operating system
The Windows recovery programs enable you to reset your computer or use advanced startup options.
It is recommended that you create a recovery USB drive as early as possible. Store the recovery USB drive
as a backup or replacement for the Windows recovery programs.
For more information, see “Creating and using a recovery USB drive” on page 32.
Resetting your computer
If your computer does not perform well, you might consider resetting your computer. In the resetting
process, you can choose to keep your files or remove them, and then reinstall the Windows operating
system.
To reset your computer, do the following:
Note: The graphical user interface (GUI) items of the operating system might change without notice.
1. Open the Start menu, and then click Settings ➙ Update & Security ➙ Recovery.
2. In the Reset this PC section, click Get started.
3. Follow the instructions on the screen to reset your computer.
Using advanced startup options
The advanced startup options enable you to do the following:
• Change the firmware settings of the computer
• Change the startup settings of the Windows operating system
• Start the computer from an external device
• Restore the Windows operating system from a system image
To use advanced startup options, do the following:
Note: The GUI items of the operating system might change without notice.
1. Open the Start menu, and then click Settings ➙ Update & security ➙ Recovery.
2. In the Advanced startup section, click Restart now ➙ Troubleshoot ➙ Advanced options.
3. Select a startup option you want, and then follow the instructions on the screen.
© Copyright Lenovo 2018 31

Recovering your operating system if Windows 10 fails to start
The Windows recovery environment on your computer operates independently from the Windows 10
operating system. It enables you to recover or repair the operating system even if the Windows 10 operating
system fails to start.
After two consecutive failed boot attempts, the Windows recovery environment starts automatically. Then
you can choose repair and recovery options by following the on-screen instructions.
Note: Ensure that your computer is connected to ac power during the recovery process.
Creating and using a recovery USB drive
You can create a recovery USB drive as a backup for the Windows recovery programs. With the recovery
USB drive, you can troubleshoot and fix the problems even if the preinstalled Windows recovery programs
are damaged.
It is recommended that you create a recovery USB drive as early as possible. If you did not create a recovery
USB drive as a precautionary measure, you can contact Lenovo Customer Support Center and purchase one
from Lenovo. For a list of the Lenovo Support phone numbers for your country or region, go to:
https://pcsupport.lenovo.com/supportphonelist
Creating a recovery USB drive
To create a recovery USB drive, you need a USB drive with at least 16 GB of storage capacity. The actual
USB capacity that is required depends on the size of the recovery image.
Attention: The creation process will delete anything stored on the USB drive. To avoid data loss, make a
backup copy of all the data that you want to keep.
To create a recovery USB drive, do the following:
Note: Ensure that your computer is connected to ac power during the following process.
1. Connect a proper USB drive (at least 16 GB of storage) to the computer.
2. Type recovery in the search box on the taskbar. Then click Create a recovery drive.
3. Click Yes in the User Account Control window to allow the Recovery Media Creator program to start.
4. In the Recovery Drive window, follow the instructions on the screen to create a recovery USB drive.
Using the recovery USB drive
If you still cannot start your computer, use the recovery USB drive to recover your computer.
To use a recovery USB drive, do the following:
Note: Ensure that your computer is connected to ac power during the following process.
1. Connect the recovery USB drive to the computer.
2. Turn on or restart the computer. Before the Windows operating system starts, repeatedly press F12. The
Boot Menu window opens.
3. Select the recovery USB drive as the boot device.
4. Select a preferred keyboard layout.
5. Click Troubleshoot to display optional recovery solutions.
6. Select a corresponding recovery solution according to your situation. Then follow the instructions on the
screen to complete the process.
32 A485 Hardware Maintenance Manual

Passwords
As many as three passwords may be needed for any ThinkPad notebook computer: the power-on password,
the hard disk password, and the supervisor password.
If any of these passwords has been set, a prompt for it will be displayed on the screen whenever the
computer is turned on. The computer does not start until the password is entered.
Note: If only a supervisor password is set, the password prompt will not be displayed when the operating
system is started.
Power-on password
A power-on password protects the system from being powered on by an unauthorized person. The
password must be entered before an operating system can be started. For instructions on how to remove the
power-on password, see “How to remove the power-on password” on page 34.
Hard disk password
There are two kinds of hard disk passwords:
• User hard disk password - for the user
• Master hard disk password - for the system administrator, who can use it to get access to the hard disk
even if the user has changed the user hard disk password
Note: There are two modes for the hard disk password: User only and Master + User. The Master + User
mode requires two hard disk passwords; the system administrator enters both in the same operation. The
system administrator then provides the user hard disk password to the system user.
Attention: If the user hard disk password has been forgotten, check whether a master hard disk password
has been set. If it has, it can be used for access to the hard disk drive. If no master hard disk password is
available, neither Lenovo nor Lenovo authorized service technicians provide any services to reset either the
user or the master hard disk password, or to recover data from the hard disk drive. The hard disk drive can
be replaced for a scheduled fee.
For how to remove the hard disk password, see “How to remove the hard disk password” on page 34.
Supervisor password
The supervisor password protects the system information stored in the ThinkPad Setup program. It provides
the following security features:
• If only a supervisor password is set, a password prompt is displayed when you try to start the ThinkPad
Setup program. Unauthorized users cannot change most of the system configuration options in the
ThinkPad Setup program without the password.
• The system administrator can use the supervisor password to access a computer even if the user of that
computer has set a power-on password. The supervisor password overrides the power-on password.
• The system administrator can set the same supervisor password on many ThinkPad notebook computers
to make administration easier.
Attention: If the supervisor password has been forgotten and cannot be made available to the service
technician, there is no service procedure to reset the password. The system board must be replaced for a
scheduled fee.
Chapter 4.Related service information 33
How to remove the power-on password
To remove a power-on password, do the following:
If no supervisor password has been set, do the following to remove the power-on password:
1. Turn off the computer.
2. Remove the removable battery. For instructions on how to remove the removable battery, see “1010
Removable battery” on page 62.
3. Remove the built-in battery. For instructions on how to remove the built-in battery, see “1120 Built-in
battery” on page 76.
4. Remove the coin-cell battery. For instructions on how to remove the coin-cell battery, see “1100 Coin-
cell battery” on page 74. Wait for a few seconds.
5. Reinstall the coin-cell battery. For instructions on how to install the coin-cell battery, see “1100 Coin-cell
battery” on page 74.
6. Reinstall the built-in battery. For instructions on how to reinstall the built-in battery, see “1120 Built-in
battery” on page 76.
7. Reinstall the removable battery. For instructions on how to install the removable battery, see “1010
Removable battery” on page 62.
8. Turn on the computer and wait until the power-on self-test (POST) ends. After the POST ends, the
password prompt does not appear. The power-on password has been removed.
If a supervisor password has been set and is known to the service technician, do the following to remove the
power-on password:
1. Turn on the computer.
2. When the logo screen comes up, immediately press F1.
3. Type the supervisor password to enter the ThinkPad Setup program.
4. Select Security.
5. Select Password.
6. Select Power-On Password.
7. Type the current supervisor password in the Enter Current Password field. Then leave the Enter New
Password field blank, and press Enter twice.
8. In the Changes have been saved window, press Enter.
9. Press F10 to save changes and exit the ThinkPad Setup program.
How to remove the hard disk password
Attention: If User only mode is selected and the user hard disk password has been forgotten and cannot be
made available to the service technician, neither Lenovo nor Lenovo authorized service technicians provide
any services to reset the user hard disk passwords or to recover data from the hard disk drive. To put the
system back to operational status, the only Lenovo and Lenovo-authorized service solution would be to
replace the hard disk drive or solid-state drive with a scheduled fee.
To remove a user hard disk password that has been forgotten, when the supervisor password and master
hard disk password are known, do the following:
1. Turn on the computer.
2. When the logo screen comes up, immediately press F1 to enter the ThinkPad Setup program.
3. Select Security.
4. Select Password.
5. Select Hard disk x password, where x is the letter of the hard disk drive. A pop-up window opens.
6. Select Master hard disk password.
34 A485 Hardware Maintenance Manual

7. Type the current master hard disk password in the Enter Current Password field. Then leave the Enter
New Password field blank, and press Enter twice.
8. Press F10.
9. Press F10 to save changes and exit the ThinkPad Setup program. The user hard disk password and the
master hard disk password have been removed.
Power management
To reduce power consumption, the computer has two power management modes: sleep and hibernation.
Sleep mode
When the computer enters sleep mode, the following events occur:
• The LCD is powered off.
• The hard disk drive or solid-state drive is powered off.
• The microprocessor stops.
To put your computer into sleep mode, press Fn+4 or open the Start menu, click Power, and then click
Sleep. To return to normal operation, press the Fn key only.
In certain circumstances, the computer goes into sleep mode automatically:
• After a period of inactivity specified in power plan settings
• When the battery power is low
Hibernation mode
In hibernation mode, the following occurs:
• The system status, random access memory (RAM), video random access memory (VRAM), and setup data
are stored on the hard disk drive or solid-state drive.
• The system is powered off.
Note: If the computer enters the hibernation mode while it is docked to the docking station or the port
replicator, do not undock it before resuming normal operation. If you do undock it and then try to resume
normal operation, you will get an error message, and you will have to restart the system.
If you have defined one of the following actions as the event that causes the system to go into hibernation
mode, perform that action.
• Closing the lid.
• Pressing the power button.
Also, the computer goes into hibernation mode automatically after a period of inactivity specified in power
plan settings.
When the power is turned on, the computer returns from hibernation mode and resumes operation. The
hibernation file in the boot record on the hard disk drive or solid-state drive is read, and system status is
restored from the hard disk drive or solid-state drive.
Symptom-to-FRU index
This section contains following information:
• “Numeric error codes” on page 36
• “Error messages” on page 37
• “Beep errors” on page 38
Chapter 4.Related service information 35

• “No-beep symptoms” on page 40
• “LCD-related symptoms” on page 40
• “Intermittent problems” on page 41
• “Undetermined problems” on page 41
The symptom-to-FRU index in this section lists symptoms and errors and their possible causes. The most
likely cause is listed first, in boldface type.
Note: Do the FRU replacement or other actions in the sequence shown in the column headed “FRU or
action, in sequence.” If replacing a FRU does not solve the problem, put the original part back in the
computer. Do not replace a nondefective FRU.
This index can also help you determine, during regular servicing, what FRUs are likely to need to be replaced
next.
A numeric error is displayed for each error detected in POST or system operation. In the displays, n can be
any number.
If no numeric code is displayed, check the narrative descriptions of symptoms. If the symptom is not
described there, go to “Intermittent problems” on page 41.
Note: For a device not supported by diagnostic codes in the ThinkPad notebook computers, see the manual
for that device.
Numeric error codes
Table 2. Numeric error codes
Symptom or error FRU or action, in sequence
0177
Bad SVP data, stop POST task—The checksum of the
supervisor password in the EEPROM is not correct.
Replace the system board.
0183
Bad CRC of Security Settings in EFI Variable. Enter the
ThinkPad Setup program. – The checksum of the Security
settings in the EFI Variable is not correct.
1. Run the ThinkPad Setup program. The settings
will be corrected automatically. Then save the
current settings by pressing F10.
2. Replace the system board.
0187
EAIA data access error—The access to EEPROM is failed.
Replace the system board.
0188
Invalid RFID Serialization Information Area.
Replace the system board.
0189
Invalid RFID configuration information area—The
EEPROM checksum is not correct.
Replace the system board.
0190
Critical low-battery error
1. Charge the battery pack.
2. Replace the battery pack.
0191
System Security—Invalid Remote Change requested.
1. Run the ThinkPad Setup program, and then save
current setting by pressing F10.
2. Replace the system board.
0199
System Security— Security password retry count
exceeded.
1. Run the ThinkPad Setup program. The retry count
will be reset. Then save the current settings by
pressing F10.
2. Replace the system board.
36 A485 Hardware Maintenance Manual

Table 2. Numeric error codes (continued)
Symptom or error FRU or action, in sequence
0270
Real Time Clock Error— System Real Time Clock is not
functional.
Have the computer serviced.
0271
Check Date and Time settings— Neither the date nor the
time is set in the computer.
Set the date and time, using ThinkPad Setup.
1802
Unauthorized network card is plugged in—Turn off and
remove the network card.
1. Remove network card.
2. Replace the system board.
1820
More than one external fingerprint reader is attached.
Power off and remove all but the reader that you set up
within your main operating system.
Remove all but the reader that you set up for the
authentication.
2100
Detection error on Storage Device (Main HDD)
1. Reseat the solid-state drive.
2. Replace the solid-state drive.
3. Replace the system board.
2101
Detection error on Storage Device (M.2)
1. Reseat the M.2 solid-state drive.
2. Replace the M.2 solid-state drive.
3. Replace the system board.
2102
Detection error on Storage Device (Main HDD)
1. Reseat the hard disk drive or the solid-state drive.
2. Replace the hard disk drive or the solid-state drive.
3. Replace the system board.
2110
Read error on Storage Device (Main HDD)
1. Reseat the hard disk drive.
2. Replace the hard disk drive.
3. Replace the system board.
2111
Read error on Storage Device (Main HDD)
1. Reseat the M.2 solid-state drive.
2. Replace the M.2 solid-state drive.
3. Replace the system board.
2112
Read error on Storage Device (Main HDD)
1. Reseat the hard disk drive or the solid-state drive.
2. Replace the hard disk drive or the solid-state drive.
3. Replace the system board.
2200
Machine Type and Serial Number are invalid.
Replace the system board.
2201
Machine UUID is invalid
Replace the system board.
Error messages
Table 3. Error messages
Symptom or error FRU or action, in sequence
Fan error. 1. Replace the thermal fan assembly.
2. Apply thermal grease.
3. Replace the system board.
Thermal sensing error. Replace the system board.
Chapter 4.Related service information 37

Table 3. Error messages (continued)
Symptom or error FRU or action, in sequence
The battery installed is not supported by this system and
will not charge. Please replace the battery with the correct
Lenovo battery for this system. Press the ESC key to
continue.
Replace the battery pack.
This system does not support batteries that are not
genuine Lenovo made or authorized. The system will
continue to boot, but may not charge unauthorized
batteries. Press the ESC key to continue.
Attention: Lenovo has no responsibility for the
performance or safety of unauthorized batteries, and
provides no warranties for failures or damage arising out
of their use.
Replace the battery pack.
Bottom cover tamper detection error System board
The non-volatile system UEFI variable storage is nearly
full.
Note: This error indicates that the operating system or
programs cannot create, modify, or delete data in the
non-volatile system UEFI variable storage due to
insufficient storage space after POST.
The non-volatile system UEFI variable storage is used by
the UEFI BIOS and by the operating system or programs.
This error occurs when the operating system or programs
store large amounts of data in the variable storage. All
data needed for POST, such as BIOS setup settings,
chipset, or platform configuration data, are stored in a
separate UEFI variable storage.
Press F1 after the error message is displayed to enter
ThinkPad Setup. A dialog asks the user for confirmation
to clean up the storage. If the user selects “Yes”, all data
that were created by the operating system or programs
will be deleted except global variables defined by the
Unified Extensible Firmware Interface Specification. If the
user selects “No”, all data will be kept, but the operating
system or programs will not be able to create, modify, or
delete data in the storage.
If this error happens at a service center, Lenovo
authorized service personnel will clean up the non-volatile
system UEFI variable storage using the preceding
solution.
Beep errors
Lenovo SmartBeep technology enables you to decode beep errors with your smartphone when a black
screen occurs with beeps from your computer. To decode the beep error with Lenovo SmartBeep
technology, do the following:
1. Go to https://support.lenovo.com/smartbeep or scan the following QR Code.
38 A485 Hardware Maintenance Manual

2. Download the proper diagnostic app and install it on your smartphone.
3. Run the diagnostic app and place the smartphone near the computer.
4. Press the Fn key on your computer to emit the beep again. The diagnostic app decodes the beep error
and shows possible solutions on the smartphone.
The following section describes some beep errors and the corresponding solutions.
Note: Do not attempt to service a product yourself unless instructed to do so by the Customer Support
Center or product documentation. Only use a Lenovo-authorized service provider to repair your product.
Error codes Solutions
0001: Reset error (platform reset not de-asserted) 1. Remove all power resources (the ac power
adapter, removable battery, and coin-cell battery).
If your computer has a built-in battery, reset the
computer by inserting a straightened paper clip
into the emergency-reset hole. Wait for one
minute. Then reconnect all power resources.
2. Replace the system board (service provider only).
0002: Internal bus error Replace the system board (service provider only).
0281: General embedded controller error Replace the system board (service provider only).
0282: Memory module error 1. Reinstall or replace the memory module.
2. Replace the system board (service provider only).
0283: PCI resource error 1. Remove PCIe devices (the M.2 card, PCIe card,
and so on) (service provider only).
2. Replace the system board (service provider only).
0284: TCG-compliant functionality-related error (might be
the BIOS code validation failure) Replace the system board (service provider only).
0285: TCG-compliant functionality-related error (might be
the TPM initialization failure) Replace the system board (service provider only).
0286: Integrated graphics error Replace the system board (service provider only).
Chapter 4.Related service information 39

Error codes Solutions
0287: Discrete graphics error 1. Reinstall or replace the discrete graphics card
(service provider only).
2. Replace the system board (service provider only).
0288: Computer display error 1. Reconnect the display cable on both the system
board side and the computer display side (service
provider only).
2. Replace the system board (service provider only).
No-beep symptoms
Table 4. No-beep symptoms
Symptom or error FRU or action, in sequence
No beep, power-on indicator on, LCD blank, and no
POST.
1. Ensure that every connector is connected tightly
and correctly.
2. Reseat memory module.
3. Replace the system board.
No beep, power-on indicator on, and LCD blank during
POST. 1. Reseat memory module.
2. Replace the system board.
The power-on password prompt appears. A power-on password or a supervisor password is set.
Type the password and press Enter.
The hard disk password prompt appears. A hard disk password is set. Type the password and
press Enter.
LCD-related symptoms
Important: The TFT LCD for the notebook computer contains many thin-film transistors (TFTs). The
presence of a small number of dots that are missing, discolored, or always lighted is characteristic of TFT
LCD technology, but excessive pixel problems can cause viewing concerns.If the LCD you are servicing has
two or less visible defective pixels, it should not be considered faulty. However, if the LCD has three or more
visible defective pixels, it will be deemed as defective by Lenovo and it should be replaced.
Notes:
• This policy applies to all ThinkPad notebooks purchased on 1 January, 2008 or later.
• Lenovo will not provide warranty replacement if the LCD is within specifications because we cannot
guarantee that any replacement LCD will have zero pixel defects.
• One pixel consists of R, G, B sub-pixels.
Table 5. LCD-related symptoms
Symptom or error FRU or action, in sequence
No beep, power-on indicator on, and a blank LCD during
POST.
Replace the system board.
• LCD backlight not working.
• LCD too dark.
• LCD brightness cannot be adjusted.
• LCD contrast cannot be adjusted.
1. Reseat the LCD cable.
2. Replace the LCD unit.
3. Replace the system board.
40 A485 Hardware Maintenance Manual

Table 5. LCD-related symptoms (continued)
Symptom or error FRU or action, in sequence
• LCD screen unreadable.
• Characters missing pixels.
• Screen abnormal.
• Wrong color displayed.
1. See important note for “LCD-related symptoms.”
2. Reseat all LCD cable.
3. Replace the LCD unit.
4. Replace the system board.
Horizontal or vertical lines displayed on LCD. Replace the LCD unit.
Intermittent problems
Intermittent system hang problems can be due to a variety of causes that have nothing to do with a hardware
defect, such as cosmic radiation, electrostatic discharge, or software errors. FRU replacement should be
considered only when a problem recurs.
When analyzing an intermittent problem, do the following:
1. Run the diagnostic test for the system board in loop mode at least 10 times.
2. If no error is detected, do not replace any FRUs.
3. If any error is detected, replace the FRU shown by the FRU code. Rerun the test to verify that no more
errors exist.
Undetermined problems
If the diagnostic tests did not identify the adapter or device that has failed, if wrong devices are installed, or if
the system simply is not operating, follow these procedures to isolate the failing FRU (do not isolate FRUs
that have no defects).
Verify that all attached devices are supported by the computer.
Verify that the power supply being used at the time of the failure is operating correctly. See “Power system
checkout” on page 28.
1. Turn off the computer.
2. Visually check each FRU for damage. Replace any damaged FRU.
3. Remove or disconnect all of the following devices:
a. Non-ThinkPad devices
b. Devices attached to the docking station or the port replicator
c. Printer, mouse, and other external devices
d. Battery
e. Hard disk drive or solid-state drive
f. External diskette drive or optical drive
g. Memory module
h. PC cards
4. Turn on the computer.
5. Determine whether the problem has been solved.
6. If the problem does not recur, reconnect the removed devices one at a time until you find the failing FRU.
7. If the problem remains, replace the following FRUs one at a time (do not replace a nondefective FRU):
a. System board
b. LCD unit
Chapter 4.Related service information 41
42 A485 Hardware Maintenance Manual

Chapter 5. Status indicators
This topic provides information about locating and identifying the various status indicators on your computer.
Note: Depending on the model, your computer might look different from the following illustrations.
1 Camera status indicator
When this indicator is on, the camera is in use.
© Copyright Lenovo 2018 43

2 8 System status indicators
The indicator in the ThinkPad logo on the computer lid and the indicator in the power button show the
system status of your computer.
• Blinks for three times: The computer is initially connected to power.
• On: The computer is on (in normal mode).
• Off: The computer is off or in hibernation mode.
• Blinks quickly: The computer is entering sleep or hibernation mode.
• Blinks slowly: The computer is in sleep mode.
3 Fingerprint reader indicator
This indicator shows the status of fingerprint reader.
• 1 Off: The fingerprint reader is not ready for tapping.
• 2 White: The fingerprint reader is ready for tapping.
• 3 Amber, blinking: The fingerprint cannot be authenticated.
4 Caps Lock indicator
When this indicator is on, you can type uppercase letters by directly pressing the letter keys.
5 Fn Lock indicator
This indicator shows the status of Fn Lock function. For more information, see Chapter 6 “Using the special
keys” on page 45.
6 Speaker-mute indicator
When this indicator is on, the speakers are muted.
7 Microphone-mute indicator
When this indicator is on, the microphones are muted.
9 ac power status indicator
This indicator shows the ac power and charging status of the computer.
• White: connected to ac power (battery power 90%–100%)
• Amber: connected to ac power (battery power 0%–90%)
• Off: not connected to ac power
44 A485 Hardware Maintenance Manual

Chapter 6. Using the special keys
Your computer has several special keys to help you work more easily and effectively.
1 Windows logo key
Press the Windows logo key to open the Start menu. For information about using the Windows logo key with
other keys, see the help information system of the Windows operating system.
2 3 Fn key and function keys
You can configure the Fn key and function keys in the Keyboard Properties window by doing the following:
1. Go to Control Panel, and then change the view of Control Panel from Category to Large icons or Small
icons.
2. Click Lenovo - Keyboard Manager and the Keyboard Manager window is displayed.
3. Select the options of your preference.
• + Switch the key function between the standard F1–F12 function and the special function
printed as an icon on each key. When the Fn Lock indicator is off, you can use the default function. You
can change the default function in the Keyboard Properties window.
• Mute or unmute the speakers. When the speakers are muted, the indicator on the key is on.
If you mute the sound and turn off your computer, the sound will remain muted when you turn on your
computer. To turn on the sound, press or .
• Decrease the speaker volume.
• Increase the speaker volume.
• Mute or unmute the microphones. When the microphones are muted, the indicator on the key is on.
• Darken the computer display.
• Brighten the computer display.
• Manage external displays.
• Enable or disable the built-in wireless features.
• Open the Settings window.
© Copyright Lenovo 2018 45

• Enable or disable the built-in Bluetooth features.
• Open a keyboard setting page.
• Invoke the function defined by yourself. To define or change action for the F12 key, do the following:
1. Open the Start menu and click the Lenovo Vantage program.
2. Click Hardware Settings and then click Input.
3. Locate the Keyboard: User-defined Key section and follow the instructions on the screen to
complete the setting.
On this setting page, you can also define different functions for the key combinations with F12, such as
Shift+F12, Alt+F12, or Ctrl+F12.
Key combinations
• + Open the Snipping Tool program.
• Fn+B: The Break key
• Fn+K: The ScrLK or Scroll Lock key
• Fn+P: The Pause key
• Fn+S: The SysRq key
• Fn+4: Put the computer into sleep mode. To wake up the computer, press the Fn key or the power button.
• Fn+Q: Press Fn+Q to toggle between the high performance mode and the quiet mode of Lenovo smart
cooling feature.
• Fn+Left Arrow key: The Home key
• Fn+Right Arrow key: The End key
• Fn+Spacebar: If your computer supports keyboard backlight, press Fn+Spacebar to switch between
different keyboard backlight status.
46 A485 Hardware Maintenance Manual

Chapter 7. Locations
This chapter introduces the locations of the hardware components on your computer.
Locating computer controls, connectors, and indicators
This topic introduces the locations of the computer controls, connectors, and indicators.
Note: * Available on some models.
Front view
© Copyright Lenovo 2018 47

1 Infrared camera * 2 Microphones
3 Conventional camera * 4 Conventional camera with ThinkShutter (lens cover) *
5 Power button 6 Fingerprint reader *
7 TrackPoint® buttons 8 Trackpad
9 TrackPoint pointing stick 10 Screen (multi-touch screen available on some models)
Left-side view
1 USB-C™ connectors / power connectors 2 Docking-station connector
3 Fan louvers 4 Smart-card slot *
Right-side view
1 Audio connector 2 USB 3.1 connector Gen 2
3 HDMI™ connector 4 Always On USB 3.1 connector Gen 1
5 Ethernet connector 6 Media-card slot
7 Mini security-lock slot
Bottom view
48 A485 Hardware Maintenance Manual

1 Removable battery 2 Latches
3 Docking-station hook holes 4 Fan louvers
5 Keyboard drainage holes 6 Speakers
7 Emergency-reset hole 8 Nano-SIM card slot *
Locating FRUs and CRUs
This topic introduces the following service parts:
• “Major FRUs and CRUs” on page 50
• “LCD FRUs” on page 52
• “Connector and cable guide” on page 53
Notes:
• FRUs: Refer to parts that must be installed or replaced only by trained service technicians. If customers choose to
replace the FRUs by themselves, the product warranty might be affected.
• Each FRU is available for all types or models, unless otherwise specified.
• CRU statement for customers:
You can resolve some problems with your product with a replacement part you can install yourself, called a
“Customer Replaceable Unit” or “CRU.” Some CRUs are designated as self-service CRUs and others are
designated as optional-service CRUs. Installation of self-service CRUs is your responsibility. For optional-service
CRUs, you can either install the CRU yourself or you can request that a Service Provider install the CRU according to
the warranty service for your product. If you intend on installing the CRU, Lenovo will ship the CRU to you. CRU
information and replacement instructions are shipped with your product and are available from Lenovo at any time
upon request. You can find a list of CRUs for your product in this Hardware Maintenance Manual. An electronic
version of this manual can be found at https://support.lenovo.com. Follow the on-screen instructions to find the
manual for your product. You might be required to return the defective part that is replaced by the CRU. When
return is required: (1) return instructions, a prepaid shipping label, and a container will be included with the
replacement CRU; and (2) you might be charged for the replacement CRU if Lenovo does not receive the defective
CRU within thirty (30) days of your receipt of the replacement CRU. See your Lenovo Limited Warranty
documentation for full details.
ThinkPad computers contain the following types of CRUs:
– Self-service CRUs: Refer to parts that can be installed or replaced easily by customer themselves or by trained
service technicians at an additional cost.
– Optional-service CRUs: Refer to parts that can be installed or replaced by customers with a greater skill level.
Trained service technicians can also provide service to install or replace the parts under the type of warranty
designated for the customer’s machine.
Chapter 7.Locations 49

Major FRUs and CRUs
Table 6. Major FRUs
No. FRU descriptions Self-service CRU Optional-service CRU
1LCD unit No No
2 Trackpad cable No No
3 Trackpad No No
4 Keyboard bezel assembly No No
5 Power button board and cable No No
50 A485 Hardware Maintenance Manual

Table 6. Major FRUs (continued)
No. FRU descriptions Self-service CRU Optional-service CRU
6Fingerprint-reader bracket (on some models) No No
7Fingerprint-reader card (on some models) No No
8Wireless-LAN/Bluetooth card No Yes
9Wireless-WAN card/M.2 solid-state drive (on some
models)
No Yes
10 2.5-inch HDD/SSD and bracket Yes No
11 M.2 solid-state drive and M.2 solid-state drive adapter (on
some models)
Yes No
12 Internal storage drive cable Yes No
13 Removable battery Yes No
14 Nano-SIM card (on some models) Yes No
15 Base cover assembly Yes No
16 Built-in battery No No
17 Speaker assembly No Yes
18 Thermal fan assembly No No
19 System board No No
20 Coin-cell battery Yes No
21 Memory modules Yes No
22 Smart card reader and cable (on some models) No No
23 Keyboard No Yes
24 TrackPoint cap Yes No
aMiscellaneous parts kits No No
b Power cord Yes No
cac power adapter Yes No
dLenovo factory recovery USB key*Yes No
Chapter 7.Locations 51

LCD FRUs
Table 7. LCD FRUs
N-
o.
FRU descriptions Self-service
CRU
Optional-service
CRU
1LCD bezel assembly No No
2LCD panel No No
3LCD cable No No
4Camera/LED cable No No
5Conventional camera/microphone module (on some models) No No
6Infrared camera/microphone module (on some models) No No
7Wireless-LAN antenna and wireless-WAN antenna (on some models) No No
8LCD rear-cover support brackets No No
9LCD hinge assembly No No
10 LCD rear-cover assembly No No
52 A485 Hardware Maintenance Manual

Miscellaneous parts
Table 8. Miscellaneous parts
FRU descriptions Self-service
CRU
Optional-service
CRU
Screw kit
• Screw, M2*L2.5, black (4)
• Screw, M2.5*L2.5, black (4)
• Screw, M2*L2.8, black (4)
• Screw, M2*L3, black (18)
• Screw, M2*L3.5, silver (3)
• Screw, M2*L4, black(5)
• Screw, M2*L2.2+2.4, black (4)
• Screw, M2.5*L4, black (4)
No No
System miscellaneous parts kit
• I/O bracket
• RJ45 bracket
• Speaker rubbers
• Sheet support rubber
• Panel sponge
• Microphone rubbers
• Smart card safety mylar
• Tape for WWAN antenna fix
• Thermal pad for SSD in WWAN slot
• Mylar for DIMM slot
• Mylar for WWAN connector
• Absorber for WWAN slot
• Absorber for DIMM slot
• Docking-station rubber
No No
GEO label assembly No No
Connector and cable guide
This section provides information for Lenovo authorized service technicians to help identify connectors and
cables for replacement purpose. To view each FRU and the exploded illustration of the computer, see “Major
FRUs and CRUs” on page 50 and “LCD FRUs” on page 52.
Note: Depending on your model, some connectors or cables might not be available.
Chapter 7.Locations 53

System board connectors and cables
Table 9. System board
Ite-
m
Connector (location) Internal cable required Cable connection
1Camera/LED connector
(internal)
Camera/LED cable The camera/LED cable comes with the camera/
microphone combo card. See “Camera/microphone
combo card connector and cable” on page 55.
2Power-button-card
connector (internall)
Power-button-card cable The power-button-card cable comes with the power-
button card. Connect the cable to this connector.
3Removable battery
connector (external)
No Connect the removable battery to this connector.
4Nano-SIM-card slot
(external)
No Insert the nano-SIM card into this slot.
5Coin-cell battery
connector (internal)
Coin-cell battery cable The coin-cell battery comes with cable. Connect the
cable to this connector.
6LCD connector (internal) LCD cable Connect one end to the LCD panel and the other end to
this connector.
7USB-C connectors/
power connectors
(external)
No Connect USB-C-compatible devices or a USB-C power
adapter to these two connectors.
8Ethernet extension
connector Gen 2
(external)
No Connect ThinkPad Ethernet Extension Adapter Gen 2
to attach an Ethernet cable.
9Thermal fan connector
(internal)
Thermal fan cable The thermal fan cable comes with the thermal fan.
Connect the cable to this connector.
54 A485 Hardware Maintenance Manual

Table 9. System board (continued)
Ite-
m
Connector (location) Internal cable required Cable connection
10 Built-in battery
connector (internal)
Built-in battery cable The built-in battery cable comes with the built-in
battery. Connect the cable to this connector.
11 Smart-card-reader
connector (internal)
Smart-card-reader cable The smart-card-reader cable comes with the smart
card reader. Connect the cable to this connector.
12 Memory module slots
(internal)
No Insert the memory modules into these slots.
13 Internal storage drive
connector (internal)
Internal storage drive
cable
Connect one end of the internal storage drive cable to
the internal storage drive, and the other end this
connector.
14 Fingerprint reader
connector (internal)
Fingerprint reader cable Connect one end to the fingerprint reader card and the
other end to this connector.
15 Trackpad connector
(internal)
Trackpad cable Connect one end to the trackpad and the other end to
this connector.
16 Speaker connector
(internal)
Speaker assembly cable The speaker assembly comes with the cable. Connect
the cable to this connector.
17 Wireless-WAN card slot
(internal)
No Insert the wireless-WAN card into this slot.
18 Audio connector
(external)
No Connect headphones or a headset with 3.5-mm (0.14-
inch) 4-pole plug to this connector.
19 USB 3.1 connector Gen
2 (external)
No Connect USB-compatible devices to this connector.
20 HDMI connector
(external)
No Connect a compatible digital audio device or video
monitor to this connector.
21 Wireless-LAN card slot
(internal)
No Insert the wireless-LAN card into this slot.
22 Always on USB 3.1
connector Gen 1
(external)
No Connect USB-compatible devices to this connector.
23 Ethernet connector
(external)
No Connect the computer to a local area network (LAN)
with the Ethernet connector.
24 Media-card slot (internal) No Insert a flash media card into the media-card slot for
data access or storage.
25 Keyboard connector
(internal)
Keyboard cable Connect the keyboard cable to this connector.
26 Trackpoint connector
(internal)
Trackpoint cable Connect the trackpoint cable to this connector.
Camera/microphone combo card connector and cable
Chapter 7.Locations 55

Table 10. Camera/microphone combo card
It-
e-
m
Connector (location) Internal cable required Cable connection
1Camera/microphone card
connector (internal)
Camera/LED cable Connect the end c of the cable to the camera/LED
connector on the system board, and connect the end
b of the cable to the LCD rear cover. Then, connect
the end a of the cable to this connector.
Looking up FRU information
For detailed FRU information, including part numbers, descriptions, and substitution part numbers, go to:
https://support.lenovo.com/partslookup
56 A485 Hardware Maintenance Manual

Chapter 8. FRU replacement notices
This chapter presents notices related to removing and replacing parts. Read this chapter carefully before
replacing any FRU.
CRU statement for customers:
You can resolve some problems with your product with a replacement part you can install yourself, called a
“Customer Replaceable Unit” or “CRU.” Some CRUs are designated as self-service CRUs and others are
designated as optional-service CRUs. Installation of self-service CRUs is your responsibility. For optional-
service CRUs, you can either install the CRU yourself or you can request that a Service Provider install the
CRU according to the warranty service for your product. If you intend on installing the CRU, Lenovo will ship
the CRU to you. CRU information and replacement instructions are shipped with your product and are
available from Lenovo at any time upon request. You can find a list of CRUs for your product in this Hardware
Maintenance Manual. An electronic version of this manual can be found at https://support.lenovo.com. Follow
the on-screen instructions to find the manual for your product. You might be required to return the defective
part that is replaced by the CRU. When return is required: (1) return instructions, a prepaid shipping label,
and a container will be included with the replacement CRU; and (2) you might be charged for the
replacement CRU if Lenovo does not receive the defective CRU within thirty (30) days of your receipt of the
replacement CRU. See your Lenovo Limited Warranty documentation for full details.
Screw notices
Loose screws can cause a reliability problem. In the ThinkPad notebook computer, this problem is
addressed with special nylon-coated screws that have the following characteristics:
• They maintain tight connections.
• They do not easily come loose, even with shock or vibration.
• They are harder to tighten.
Do the following when you service this machine:
• Keep the screw kit in your tool bag. For the part number of the screw kit, go to https://support.lenovo.com/
partslookup.
• It is recommended to use new screws.
• It is recommended to use each screw only once.
Tighten screws as follows:
• Plastic to plastic
Turn an additional 90 degrees after the screw head touches the surface of the plastic part.
• Logic card to plastic
Turn an additional 180 degrees after the screw head touches the surface of the logic card.
© Copyright Lenovo 2018 57

Notes:
• Ensure that you use the correct screw. It is recommended to use new screws for replacements. If you
have a torque screwdriver, tighten all screws firmly to the torque specified in the screw information table
for each step.
• Ensure that torque screwdrivers are calibrated correctly following country specifications.
Retaining serial numbers
This topic provides instructions on the following:
• “Restoring the serial number of the system unit” on page 58
• “Retaining the UUID” on page 59
Restoring the serial number of the system unit
When the computer was manufactured, the EEPROM on the system board was loaded with the serial
numbers of the system and all major components. These numbers need to remain the same throughout the
life of the computer.
If you replace the system board, you must restore the serial number of the system unit to its original value.
The serial number of the system unit is written on the label attached to the bottom of the computer.
If you cannot find the serial number of the system unit on the bottom of the computer, try the following
method to get the number:
Note: Before you perform the operation, ensure that the UEFI/Legacy setting within the Startup menu in the
ThinkPad Setup program is set to UEFI Only.
1. Connect a USB memory key to the computer.
2. Go to https://www.lenovo.com/maintenanceutilities and follow the instructions on the screen to create a
Maintenance Key.
Note: Only an authorized Lenovo service technician can access the above Web site.
3. Restart the computer.
4. When the logo is displayed, press Esc. The ThinkPad Config Information Update Utility interface is
displayed.
5. Type 1 under Enter the action desired, then press Enter. The ThinkPad Serial Number Update Utility for
Asset ID screen is displayed.
6. Type 2 under Enter the action desired, then press Enter. The serial number of each device in your
computer is displayed; the serial number of the system unit is listed as follow:
20- Serial number
7. Record the serial number of the system unit.
After you replace the system board, do the following to restore the serial number of the system unit:
1. Connect the Maintenance Key to the computer.
58 A485 Hardware Maintenance Manual

2. When the logo is displayed, press Esc. The ThinkPad Config Information Update Utility interface is
displayed.
3. Type 1 under Enter the action desired, then press Enter. The ThinkPad Serial Number Update Utility for
Asset ID screen is displayed.
4. Type 1 under Enter the action desired, then press Enter. Then follow the instructions on the screen to
restore the serial number of the system unit.
Retaining the UUID
The Universally Unique Identifier (UUID) is a 128-bit number uniquely assigned to your computer at
production and stored in the EEPROM of your system board.
The algorithm that generates the number is designed to provide unique IDs until the year A.D. 3400. No two
computers in the world have the same number.
When you replace the system board, perform the following steps to create a new UUID for the system board
if the system board does not have a UUID:
Note: Before you perform the operation, ensure that the UEFI/Legacy setting within the Startup menu in the
ThinkPad Setup program is set to UEFI Only.
1. Connect a USB memory key to the computer.
2. Go to https://www.lenovo.com/maintenanceutilities and follow the instructions on the screen to create a
Maintenance Key.
Note: Only an authorized Lenovo service technician can access the above Web site.
3. Restart the computer.
4. When the logo screen is displayed, press Esc. The ThinkPad Config Information Update Utility interface
is displayed.
5. Type 2 under Enter the action desired, then press Enter. The Auto UUID generation utility interface is
displayed.
6. Type y under Change UUID. OK? [Y/N], then press Enter. A new UUID is created and written. If a valid
UUID already exists, it is not overwritten.
Reading or writing the ECA information
Information on Engineering Change Announcements (ECA) is stored in the EEPROM of the system board.
The electronic storage of this information simplifies the procedure to check if the ECA has been previously
applied to a machine. The machine does not need to be disassembled to check for the ECA application.
To check what ECAs have been previously applied to the machine, use the ECA Information Read/Write
function on the LENOVO ThinkPad Hardware Maintenance Diskette or Maintenance Key.
1. Insert the latest version of LENOVO ThinkPad Hardware Maintenance Diskette or Maintenance Key, and
then restart the computer.
2. From the main menu, select 6. Set ECA Information.
3. To read the ECA information, select 2. Read ECA/rework number from EEPROM and follow the
instructions on the screen; To read box build date, select 5. Read box build date from EEPROM, and
follow the instructions on the screen.
After an ECA has been applied to the machine, the EEPROM must be updated to reflect the ECA's
application. Use the latest version of LENOVO ThinkPad Hardware Maintenance Diskette or Maintenance
Key to update the EEPROM.
Note: Only the ECA number is stored in the EEPROM. The machine type of the ECA is assumed to be the
same as the machine type of the machine that had the ECA applied to it.
Chapter 8.FRU replacement notices 59
1. Insert the latest version of LENOVO ThinkPad Hardware Maintenance Diskette or Maintenance Key, and
then restart the computer.
2. From the main menu, select 6. Set ECA Information.
3. To write the ECA information, select 1. Write ECA/rework number from EEPROM, and follow the
instruction; To write box build date, select 4. Write box build date from EEPROM, and follow the
instruction on the screen.
If the system board is being replaced, try to read the ECA information from the old system board and transfer
the information to the new system. If the system board is inoperable, this will not be possible.
60 A485 Hardware Maintenance Manual

Chapter 9. Removing or replacing a FRU
This chapter provides instructions on how to remove or replace a FRU.
CRU statement for customers:
You can resolve some problems with your product with a replacement part you can install yourself, called a
“Customer Replaceable Unit” or “CRU”. Some CRUs are designated as self-service CRUs and others are
designated as optional-service CRUs. Installation of self-service CRUs is your responsibility. For optional-
service CRUs, you can either install the CRU yourself or you can request that a Service Provider install the
CRU according to the warranty service for your product. If you intend on installing the CRU, Lenovo will ship
the CRU to you. CRU information and replacement instructions are shipped with your product and are
available from Lenovo at any time upon request. You can find a list of CRUs for your product in this Hardware
Maintenance Manual. An electronic version of this manual can be found at https://support.lenovo.com. Follow
the on-screen instructions to find the manual for your product. You might be required to return the defective
part that is replaced by the CRU. When return is required: (1) return instructions, a prepaid shipping label,
and a container will be included with the replacement CRU; and (2) you might be charged for the
replacement CRU if Lenovo does not receive the defective CRU within thirty (30) days of your receipt of the
replacement CRU. See your Lenovo Limited Warranty documentation for full details.
General guidelines
When removing or replacing a FRU, be sure to observe the following general guidelines:
1. Do not try to service any computer unless you have been trained and certified. An untrained person runs
the risk of damaging parts.
2. Before replacing any FRU, review Chapter 8 “FRU replacement notices” on page 57.
3. Begin by removing any FRUs that have to be removed before replacing the failing FRU. Any such FRUs
are listed at the beginning of each FRU replacement section. Remove them in the order in which they are
listed.
4. Follow the correct sequence in the steps for removing a FRU, as given in the illustrations by the numbers
in square callouts.
5. When turning a screw, turn it in the direction as given by the arrow in the illustration.
6. When removing a FRU, move it in the direction as given by the arrow in the illustration.
7. To put the new FRU in place, reverse the removal procedure and follow any notes that pertain to
replacement.
8. When replacing a FRU, use the correct screws as shown in the replacement procedures.
DANGER
Before removing any FRU, turn off the computer, unplug all power cords from electrical outlets,
disable the internal battery pack, and then disconnect any interconnecting cables.
Attention: After replacing a FRU, do not turn on the computer until you have made sure that all screws,
springs, and other small parts are in place and none are loose inside the computer. Verify this by shaking the
computer gently and listening for rattling sounds. Metallic parts or metal flakes can cause electrical short
circuits.
Attention: The system board is sensitive to, and can be damaged by, electrostatic discharge (ESD). Before
touching it, establish personal grounding by touching a ground point with one hand or by using an
electrostatic discharge strap.
© Copyright Lenovo 2018 61

Disabling the built-in battery
Before replacing any CRU, ensure that you disable Fast Startup first and then disable the built-in battery.
To disable Fast Startup, do the following:
1. Go to Control Panel, and then change the view of Control Panel from Category to Large icons or Small
icons.
2. Click Power Options, and then click Choose what the power buttons do on the left pane.
3. Click Change settings that are currently unavailable at the top.
4. If prompted by User Account Control (UAC), click Yes.
5. Clear the Turn on fast startup check box, and then click Save changes.
To disable the built-in battery, do the following:
1. Restart your computer. When the logo screen is displayed, immediately press F1 to enter ThinkPad
Setup.
2. Select Config ➙ Power. The Power submenu is displayed.
3. Select Disable built-in battery and press Enter.
4. Select Yes in the Setup Confirmation window. The built-in battery is disabled and the computer turns off
automatically. Wait three to five minutes to let the computer cool.
1010 Removable battery
Important notices for replacing a removable battery
Attention: Lenovo has no responsibility for the performance or safety of unauthorized batteries, and
provides no warranties for failures or damage arising out of their use.
Lenovo provides a diagnostic program to do an automatic battery diagnostic test, which can determine if the
removable battery is defective. A removable battery FRU should not be replaced unless this diagnostic test
shows that the battery is defective. The only exception to this is if the battery is physically damaged or a
customer is reporting a possible safety issue.
If no diagnostic program is installed on the computer, the customer should download and install the program
to diagnose the battery, before getting a non-physically damaged battery replaced. Note that the
replacement of a physically damaged battery is not covered by the warranty.
Removal steps of the removable battery
DANGER
Use only the authorized battery specified for your computer. Any other battery could ignite or
explode.
Note: Before you start the servicing, disable the built-in battery. See “Disabling the built-in battery” on page
62.
62 A485 Hardware Maintenance Manual

1020 Nano-SIM card
1020 Nano-SIM card
Note: Before you start the servicing, disable the built-in battery. See “Disabling the built-in battery” on page
62.
For access, remove the following FRU:
• “1010 Removable battery” on page 62
Removal steps of the nano-SIM card
1030 Base cover assembly
Note: Before you start the servicing, disable the built-in battery. See “Disabling the built-in battery” on page
62.
Chapter 9.Removing or replacing a FRU 63

For access, remove this FRU:
• “1010 Removable battery” on page 62
• “1020 Nano-SIM card” on page 63
Removal steps of the base cover assembly
1. Loosen the screws 1.
2. Press the locations a on the base cover assembly with your thumbs and pivot the hooks b upward at
the same time to disengage the hooks from the chassis.
3. Press the location c with your thumb and insert your fingers into the holes d to pivot this area of the
base cover assembly upward as shown. This area of the base cover assembly will be disengaged from
the chassis.
64 A485 Hardware Maintenance Manual

1 FCC label 2 GEO label
3 S/N label 4 IMEI label
5 System label 6 Certificate of authenticity label
7 SVT label 8 Asset tag
9 China WWAN/modem label 10 GML label
11 Country label
1040 Memory module
Note: Before you start the servicing, disable the built-in battery. See “Disabling the built-in battery” on page
62.
For access, remove these FRUs in order:
• “1010 Removable battery” on page 62
• “1020 Nano-SIM card” on page 63
• “1030 Base cover assembly” on page 63
Removal steps of the memory module
When installing:
Insert the notched end of the memory module into the memory slot. Press the memory module in firmly, and
pivot it downward until it snaps into place. Ensure that the memory module is firmly installed in the slot and
does not move easily.
1050 Internal storage drive
Note: Before you start the servicing, disable the built-in battery. See “Disabling the built-in battery” on page
62.
For access, remove these FRUs in order:
• “1010 Removable battery” on page 62
• “1020 Nano-SIM card” on page 63
66 A485 Hardware Maintenance Manual

• “1030 Base cover assembly” on page 63
Attention:
• Do not drop the drive or apply any physical shock to it. The drive is sensitive to physical shock. Improper
handling can cause damage and permanent loss of data.
• Before removing the drive, have the user make a backup copy of all the information on it if possible.
• Never remove the drive while the system is operating or in suspend mode.
Removal steps of the 2.5-inch storage drive
Chapter 9.Removing or replacing a FRU 67

Removal steps of the M.2 solid-state drive
68 A485 Hardware Maintenance Manual

Step Screw (quantity) Color Torque
7M2 × 3 mm, flat-head, nylon-coated (2) Black 0.181 Nm
(1.85 kgf-cm)
Step Screw (quantity) Color Torque
9M2 × 3 mm, flat-head, nylon-coated (1) Black 0.181 Nm
(1.85 kgf-cm)
When installing:
Ensure that the hard disk drive or solid-state drive is firmly attached and the tape does not cover the speaker.
Chapter 9.Removing or replacing a FRU 69

1060 Wireless-WAN card
Note: Before you start the servicing, disable the built-in battery. See “Disabling the built-in battery” on page
62.
For access, remove these FRUs in order:
• “1010 Removable battery” on page 62
• “1020 Nano-SIM card” on page 63
• “1030 Base cover assembly” on page 63
Removal steps of the wireless-WAN card
Step Screw (quantity) Color Torque
3M2 × 3 mm, flat-head, nylon-coated (1) Black 0.181 Nm
(1.85 kgf-cm)
When installing:
Plug the orange cable into the connector labeled MAIN on the card, and plug the blue cable into the
connector labeled AUX on the card.
1070 Wireless-LAN module
Note: Before you start the servicing, disable the built-in battery. See “Disabling the built-in battery” on page
62.
For access, remove these FRUs in order:
• “1010 Removable battery” on page 62
• “1020 Nano-SIM card” on page 63
• “1030 Base cover assembly” on page 63
70 A485 Hardware Maintenance Manual

Removal steps of the Wireless-LAN module
Step Screw (quantity) Color Torque
3M2 × 3 mm, flat-head, nylon-coated (1) Black 0.181 Nm
(1.85 kgf-cm)
When installing:
Plug the gray cable into the connector labeled MAIN or 2 on the card, and plug the black cable into the
connector labeled AUX or 1 on the card.
1080 M.2 solid-state drive in the Wireless-WAN-card slot
Note: Before you start the servicing, disable the built-in battery. See “Disabling the built-in battery” on page
62.
For access, remove these FRUs in order:
• “1010 Removable battery” on page 62
• “1020 Nano-SIM card” on page 63
• “1030 Base cover assembly” on page 63
Chapter 9.Removing or replacing a FRU 71

Removal steps of the M.2 solid-state drive in the Wireless-WAN-card slot
Step Screw (quantity) Color Torque
2M2 × 3 mm, flat-head, nylon-coated (1) Black 0.181 Nm
(1.85 kgf-cm)
When installing:
Ensure that the M.2 solid-state drive is securely seated in the wireless-WAN-card slot.
1090 Keyboard
Note: Before you start the servicing, disable the built-in battery. See “Disabling the built-in battery” on page
62.
For access, remove this FRU:
• “1010 Removable battery” on page 62
Removal steps of the keyboard
Loosen the two screws that secure the keyboard.
72 A485 Hardware Maintenance Manual

Turn the computer over and open the display. Push hard in the direction as shown to release the latches from
the keyboard bezel.
Pivot the keyboard slightly upward as shown by the arrow 1 until you can see the connectors on the bottom
side of the keyboard. Then turn over the keyboard as shown by the arrow 2.
Chapter 9.Removing or replacing a FRU 73

Put the keyboard on the palm rest and detach the connectors. Then remove the keyboard.
1100 Coin-cell battery
Note: Before you start the servicing, disable the built-in battery. See “Disabling the built-in battery” on page
62.
For access, remove these FRUs in order:
• “1010 Removable battery” on page 62
• “1020 Nano-SIM card” on page 63
• “1030 Base cover assembly” on page 63
DANGER
Use only the authorized battery specified for your computer. Any other battery could ignite or
explode.
74 A485 Hardware Maintenance Manual

Removal steps of the coin-cell battery
When installing:
Ensure that the connector of the coin-cell battery is attached firmly.
1110 Speaker assembly
Note: Before you start the servicing, disable the built-in battery. See “Disabling the built-in battery” on page
62.
For access, remove these FRUs in order:
• “1010 Removable battery” on page 62
• “1020 Nano-SIM card” on page 63
• “1030 Base cover assembly” on page 63
Removal steps of the speaker assembly
Chapter 9.Removing or replacing a FRU 75

Step Screw (quantity) Color Torque
2M2 × 4.6 mm, big head, nylon-coated (4) Black 0.181 Nm
(1.85 kgf-cm)
When installing:
• Ensure that the connector of the speaker assembly is attached firmly.
• Route the cables as shown in the following illustration.
Attention: As you route the cables, ensure that they are not subject to any tension. Tension could cause
the cables to be damaged by the cable guides, or a wire to be broken.
1120 Built-in battery
Note: Before you start the servicing, disable the built-in battery. See “Disabling the built-in battery” on page
62.
For access, remove these FRUs in order:
• “1010 Removable battery” on page 62
• “1020 Nano-SIM card” on page 63
• “1030 Base cover assembly” on page 63
Important notices for replacing a built-in battery
Attention: Lenovo has no responsibility for the performance or safety of unauthorized batteries, and
provides no warranties for failures or damage arising out of their use.
Lenovo provides a diagnostic program to do an automatic battery diagnostic test, which can determine if the
removable battery is defective. A removable battery FRU should not be replaced unless this diagnostic test
shows that the battery is defective. The only exception to this is if the battery is physically damaged or a
customer is reporting a possible safety issue.
76 A485 Hardware Maintenance Manual

If no diagnostic program is installed on the computer, the customer should download and install the program
to diagnose the battery, before getting a non-physically damaged battery replaced. Note that the
replacement of a physically damaged battery is not covered by the warranty.
Removal steps of the built-in battery
DANGER
Use only the authorized battery specified for your computer. Any other battery could ignite or
explode.
Step Screw (quantity) Color Torque
2M2 × 4 mm, small-head, nylon-coated (2) Black 0.181 Nm
(1.85 kgf-cm)
1130 Smart-card reader assembly
Note: Before you start the servicing, disable the built-in battery. See “Disabling the built-in battery” on page
62.
For access, remove these FRUs in order:
• “1010 Removable battery” on page 62
Chapter 9.Removing or replacing a FRU 77

• “1020 Nano-SIM card” on page 63
• “1030 Base cover assembly” on page 63
• “1110 Speaker assembly” on page 75
• “1120 Built-in battery” on page 76
Removal steps of the smart-card reader assembly
Step Screw (quantity) Color Torque
3M2 × 3 mm, flat-head, nylon-coated (2) Black 0.181 Nm
(1.85 kgf-cm)
When installing:
Ensure that the connector of the smart-card reader is attached firmly.
1140 Thermal fan assembly
Note: Before you start the servicing, disable the built-in battery. See “Disabling the built-in battery” on page
62.
For access, remove these FRUs in order:
• “1010 Removable battery” on page 62
• “1020 Nano-SIM card” on page 63
• “1030 Base cover assembly” on page 63
78 A485 Hardware Maintenance Manual

Removal steps of the thermal fan assembly
Note: Loosen the screws in ascending alphabetical order as illustrated.
When installing:
• Ensure that the connector of the thermal fan is attached firmly.
• Before you attach the thermal fan assembly to the computer, apply thermal grease, at an amount of 0.2
grams, on the part marked a as shown in the following illustration. Either too much or too less application
of grease can cause a thermal problem due to imperfect contact with a component. For the new thermal
fan assembly, you must peel off the thin film from the rubbers.
Chapter 9.Removing or replacing a FRU 79

1150 Trackpad and trackpad cable
Note: Before you start the servicing, disable the built-in battery. See “Disabling the built-in battery” on page
62.
For access, remove these FRUs in order:
• “1010 Removable battery” on page 62
• “1020 Nano-SIM card” on page 63
• “1030 Base cover assembly” on page 63
• “1040 Memory module” on page 66
• “1050 Internal storage drive” on page 66
• “1120 Built-in battery” on page 76
Removal steps of the trackpad and the trackpad cable
Step Screw (quantity) Color Torque
6M2 × L2.8 mm, flat-head, nylon-coated (4) Black 0.181 Nm
(1.85 kgf-cm)
80 A485 Hardware Maintenance Manual

1160 System board
Important notices for handling the system board
When handling the system board, read the following:
• The system board has an accelerometer, which can be broken when several thousands of G-forces are
applied.
Note: Dropping a system board from a height of as little as 6 inches so that it falls flat on a hard bench
can subject the accelerometer to as much as 6000 G's of shock.
• Be careful not to drop the system board on a bench top that has a hard surface, such as metal, wood, or
composite.
• Avoid rough handling of any kind.
• At every point in the process, be sure not to drop or stack the system board.
• If you put a system board down, be sure to put it only on a padded surface such as an ESD mat or a
corrugated conductive material.
Note: Before you start the servicing, disable the built-in battery. See “Disabling the built-in battery” on page
62.
For access, remove these FRUs in order:
• “1010 Removable battery” on page 62
• “1020 Nano-SIM card” on page 63
• “1030 Base cover assembly” on page 63
• “1040 Memory module” on page 66
• “1060 Wireless-WAN card” on page 70 or “1080 M.2 solid-state drive in the Wireless-WAN-card slot” on
page 71
• “1070 Wireless-LAN module” on page 70
• “1090 Keyboard” on page 72
• “1100 Coin-cell battery” on page 74
• “1120 Built-in battery” on page 76
• “1140 Thermal fan assembly” on page 78
The component marked a on the top side of the system board is Central processing unit (CPU) and it is
extremely sensitive. When you service the system board, avoid any kind of rough handling.
Chapter 9.Removing or replacing a FRU 81

Removal steps of the system board
Step Screw (quantity) Color Torque
1M2 × 3.5 mm, flat head, nylon-coated (3) Silver 0.181 Nm
(1.85 kgf-cm)
3M2 × 4 mm, flat head, nylon-coated (3) Black 0.181 Nm
(1.85 kgf-cm)
82 A485 Hardware Maintenance Manual

Step Screw (quantity) Color Torque
20 M2 × 3 mm, flat head, nylon-coated (6) Black 0.181 Nm
(1.85 kgf-cm)
When installing:
Ensure that the connectors are attached firmly.
1170 Power-button card and cable
Note: Before you start the servicing, disable the built-in battery. See “Disabling the built-in battery” on page
62.
Chapter 9.Removing or replacing a FRU 83

For access, remove these FRUs in order:
• “1010 Removable battery” on page 62
• “1020 Nano-SIM card” on page 63
• “1030 Base cover assembly” on page 63
• “1040 Memory module” on page 66
• “1060 Wireless-WAN card” on page 70 or “1080 M.2 solid-state drive in the Wireless-WAN-card slot” on
page 71
• “1070 Wireless-LAN module” on page 70
• “1090 Keyboard” on page 72
• “1100 Coin-cell battery” on page 74
• “1120 Built-in battery” on page 76
• “1140 Thermal fan assembly” on page 78
• “1160 System board” on page 81
Removal steps of the power-button card and cable
Step Screw (quantity) Color Torque
1M2 × 3 mm, flat-head, nylon-coated (2) Black 0.181 Nm
(1.85 kgf-cm)
When installing:
Ensure that the connector of the power-button card is attached firmly.
1180 Fingerprint-reader assembly
Note: Before you start the servicing, disable the built-in battery. See “Disabling the built-in battery” on page
62.
For access, remove these FRUs in order:
• “1010 Removable battery” on page 62
• “1020 Nano-SIM card” on page 63
• “1030 Base cover assembly” on page 63
• “1040 Memory module” on page 66
• “1060 Wireless-WAN card” on page 70 or “1080 M.2 solid-state drive in the Wireless-WAN-card slot” on
page 71
• “1070 Wireless-LAN module” on page 70
• “1090 Keyboard” on page 72
• “1100 Coin-cell battery” on page 74
84 A485 Hardware Maintenance Manual

• “1120 Built-in battery” on page 76
• “1140 Thermal fan assembly” on page 78
• “1160 System board” on page 81
Removal steps of the fingerprint-reader assembly
Step Screw (quantity) Color Torque
1M2 × 3 mm, flat-head, nylon-coated (1) Black 0.181 Nm
(1.85 kgf-cm)
1190 LCD unit
Note: Before you start the servicing, disable the built-in battery. See “Disabling the built-in battery” on page
62.
For access, remove these FRUs in order:
• “1010 Removable battery” on page 62
• “1020 Nano-SIM card” on page 63
• “1030 Base cover assembly” on page 63
Chapter 9.Removing or replacing a FRU 85

Removal steps of the LCD unit
Step Screw (quantity) Color Torque
9M2.5 × 4 mm, flat-head, nylon-coated (4) Black 0.293 Nm
(3.0 kgf-cm)
86 A485 Hardware Maintenance Manual

When installing:
Attention: As you route the cables, ensure that they are not subject to any tension. Tension could cause the
cables to be damaged by the cable guides, or a wire to be broken.
• Ensure that the connectors are attached firmly.
1200 Keyboard bezel assembly
Note: Before you start the servicing, disable the built-in battery. See “Disabling the built-in battery” on page
62.
For access, remove these FRUs in order:
• “1010 Removable battery” on page 62
• “1020 Nano-SIM card” on page 63
• “1030 Base cover assembly” on page 63
• “1040 Memory module” on page 66
• “1050 Internal storage drive” on page 66
• “1060 Wireless-WAN card” on page 70 or “1080 M.2 solid-state drive in the Wireless-WAN-card slot” on
page 71
Chapter 9.Removing or replacing a FRU 87

• “1070 Wireless-LAN module” on page 70
• “1090 Keyboard” on page 72
• “1100 Coin-cell battery” on page 74
• “1110 Speaker assembly” on page 75
• “1120 Built-in battery” on page 76
• “1130 Smart-card reader assembly” on page 77
• “1140 Thermal fan assembly” on page 78
• “1150 Trackpad and trackpad cable” on page 80
• “1160 System board” on page 81
• “1170 Power-button card and cable” on page 83
• “1180 Fingerprint-reader assembly” on page 84
• “1190 LCD unit” on page 85
2010 LCD bezel assembly
Note: Before you start the servicing, disable the built-in battery. See “Disabling the built-in battery” on page
62.
For access, remove these FRUs in order:
• “1010 Removable battery” on page 62
• “1020 Nano-SIM card” on page 63
• “1030 Base cover assembly” on page 63
Removal steps of the LCD bezel assembly (for models with infrared camera)
88 A485 Hardware Maintenance Manual

Removal steps of the LCD bezel assembly (for models with only conventional camera)
When installing:
• Install a new LCD bezel assembly whenever the old one is removed.
• Ensure that all the latches are attached firmly.
2020 LCD panel
Note: Before you start the servicing, disable the built-in battery. See “Disabling the built-in battery” on page
62.
For access, remove these FRUs in order:
• “1010 Removable battery” on page 62
• “1020 Nano-SIM card” on page 63
• “1030 Base cover assembly” on page 63
• “2010 LCD bezel assembly” on page 88
Removal steps of the LCD panel
Chapter 9.Removing or replacing a FRU 89

Step Screw (quantity) Color Torque
1M2 × 2.5 mm, small-head, nylon-coated (4) Sliver 0.181 Nm
(1.85 kgf-cm)
When installing: Ensure that the connector of the LCD cable is attached firmly.
2030 LCD hinge assembly
Note: Before you start the servicing, disable the built-in battery. See “Disabling the built-in battery” on page
62.
For access, remove these FRUs in order:
• “1010 Removable battery” on page 62
• “1020 Nano-SIM card” on page 63
• “1030 Base cover assembly” on page 63
• “1190 LCD unit” on page 85
• “2010 LCD bezel assembly” on page 88
• “2020 LCD panel” on page 89
Removal step of the LCD hinge assembly
For models with support brackets
90 A485 Hardware Maintenance Manual

2040 Camera/microphone module
Note: Before you start the servicing, disable the built-in battery. See “Disabling the built-in battery” on page
62.
For access, remove these FRUs in order:
• “1010 Removable battery” on page 62
• “1020 Nano-SIM card” on page 63
• “1030 Base cover assembly” on page 63
• “1190 LCD unit” on page 85
• “2010 LCD bezel assembly” on page 88
• “2020 LCD panel” on page 89
Removal steps of the camera/microphone module
When installing:
Ensure that the connector is attached firmly.
92 A485 Hardware Maintenance Manual

2050 Camera and LED cable, and LCD cable
Note: Before you start the servicing, disable the built-in battery. See “Disabling the built-in battery” on page
62.
For access, remove these FRUs in order:
• “1010 Removable battery” on page 62
• “1020 Nano-SIM card” on page 63
• “1030 Base cover assembly” on page 63
• “1190 LCD unit” on page 85
• “2010 LCD bezel assembly” on page 88
• “2020 LCD panel” on page 89
• “2030 LCD hinge assembly” on page 90
Removal steps of the camera and LED cable, and LCD cable
Chapter 9.Removing or replacing a FRU 93

When installing:
Attention: As you route the cables, ensure that they are not subject to any tension. Tension could cause the
cables to be damaged by the cable guides, or a wire to be broken.
2060 Wireless-LAN/WAN antenna assembly
Note: Before you start the servicing, disable the built-in battery. See “Disabling the built-in battery” on page
62.
For access, remove these FRUs in order:
• “1010 Removable battery” on page 62
• “1020 Nano-SIM card” on page 63
• “1030 Base cover assembly” on page 63
• “1190 LCD unit” on page 85
• “2010 LCD bezel assembly” on page 88
• “2020 LCD panel” on page 89
• “2030 LCD hinge assembly” on page 90
Removal steps of the wireless-LAN/WAN antenna assembly
When installing:
94 A485 Hardware Maintenance Manual

Route the cables as shown in the following illustration.
Attention: As you route the cables, ensure that they are not subject to any tension. Tension could cause the
cables to be damaged by the cable guides, or a wire to be broken.
abcd
Antenna locations
a Wireless-LAN auxiliary antenna (black)
b Wireless-WAN auxiliary antenna (blue) (available on some models)
c Wireless-WAN main antenna (orange) (available on some models)
d Wireless-LAN main antenna (grey)
2070 LCD rear-cover assembly
Note: Before you start the servicing, disable the built-in battery. See “Disabling the built-in battery” on page
62.
For access, remove these FRUs in order:
• “1010 Removable battery” on page 62
• “1030 Base cover assembly” on page 63
• “1190 LCD unit” on page 85
• “2010 LCD bezel assembly” on page 88
• “2020 LCD panel” on page 89
• “2030 LCD hinge assembly” on page 90
• “2040 Camera/microphone module” on page 92
• “2050 Camera and LED cable, and LCD cable” on page 93
• “2060 Wireless-LAN/WAN antenna assembly” on page 94
Chapter 9.Removing or replacing a FRU 95
96 A485 Hardware Maintenance Manual

Appendix A. Notices
Lenovo may not offer the products, services, or features discussed in this document in all countries. Consult
your local Lenovo representative for information on the products and services currently available in your
area. Any reference to a Lenovo product, program, or service is not intended to state or imply that only that
Lenovo product, program, or service may be used. Any functionally equivalent product, program, or service
that does not infringe any Lenovo intellectual property right may be used instead. However, it is the user’s
responsibility to evaluate and verify the operation of any other product, program, or service.
Lenovo may have patents or pending patent applications covering subject matter described in this
document. The furnishing of this document does not give you any license to these patents. You can send
license inquiries, in writing, to:
Lenovo (United States), Inc.
1009 Think Place - Building One
Morrisville, NC 27560
U.S.A.
Attention: Lenovo Director of Licensing
LENOVO PROVIDES THIS PUBLICATION “AS IS” WITHOUT WARRANTY OF ANY KIND, EITHER EXPRESS
OR IMPLIED, INCLUDING, BUT NOT LIMITED TO, THE IMPLIED WARRANTIES OF NON-INFRINGEMENT,
MERCHANTABILITY OR FITNESS FOR A PARTICULAR PURPOSE. Some jurisdictions do not allow
disclaimer of express or implied warranties in certain transactions, therefore, this statement may not apply to
you.
This information could include technical inaccuracies or typographical errors. Changes are periodically made
to the information herein; these changes will be incorporated in new editions of the publication. Lenovo may
make improvements and/or changes in the product(s) and/or the program(s) described in this publication at
any time without notice.
The products described in this document are not intended for use in implantation or other life support
applications where malfunction may result in injury or death to persons. The information contained in this
document does not affect or change Lenovo product specifications or warranties. Nothing in this document
shall operate as an express or implied license or indemnity under the intellectual property rights of Lenovo or
third parties. All information contained in this document was obtained in specific environments and is
presented as an illustration. The result obtained in other operating environments may vary.
Lenovo may use or distribute any of the information you supply in any way it believes appropriate without
incurring any obligation to you.
Any references in this publication to non-Lenovo Web sites are provided for convenience only and do not in
any manner serve as an endorsement of those Web sites. The materials at those Web sites are not part of the
materials for this Lenovo product, and use of those Web sites is at your own risk.
Any performance data contained herein was determined in a controlled environment. Therefore, the result
obtained in other operating environments may vary significantly. Some measurements may have been made
on development-level systems and there is no guarantee that these measurements will be the same on
generally available systems. Furthermore, some measurements may have been estimated through
extrapolation. Actual results may vary. Users of this document should verify the applicable data for their
specific environment.
© Copyright Lenovo 2018 97

Electronic emissions notices
For electronic emission information on Class B digital devices, refer to the corresponding information in the
User Guide.
EU contact: Lenovo, Einsteinova 21, 851 01 Bratislava, Slovakia
Trademarks
The following terms are trademarks of Lenovo in the United States, other countries or both:
Lenovo
Lenovo logo
ThinkPad
ThinkPad logo
TrackPoint
Microsoft and Windows are trademarks of the Microsoft group of companies.
The terms HDMI and HDMI High-Definition Multimedia Interface are trademarks or registered trademarks of
HDMI Licensing LLC in the United States and other countries.
USB-C is a trademark of USB Implementers Forum.
Other company, product, or service names may be the trademarks or service marks of others.
98 A485 Hardware Maintenance Manual

Appendix B. Abbreviation table
The following table lists all abbreviations and acronyms used in this manual.
Abbreviation Term
BGA Ball Grid Array
BIOS basic input/output system
CMOS complementary metal-oxide semiconductor
COA Certificate of Authentication
CPU central processing unit
CRC cyclic redundancy check
CRT cathode ray tube
CRU customer-replaceable unit
CTO configure to order
EAIA Enhanced Asset Information Area
ECA Engineering Change Announcements
EEPROM Electrically Erasable Programmable Read-Only Memory
EFI Extensible Firmware Interface
EPO emergency power-off
ESD electrostatic discharge
EU European Union
FCC Federal Communications Commission
FHD Full High Definition
FRU Field Replaceable Unit
GAV General Announce Variant
HD High Definition
HDD hard disk drive
HDMI high-definition multimedia interface
ICs integrated circuits
ICCID integrate circuit card identity
ISO International Standardization Organization
LAN local area network
LCD liquid crystal display
MAC media access control
MT machine type
MTM machine type and model
PC personal computer
© Copyright Lenovo 2018 99

Abbreviation Term
PCH Platform Controller Hub
POST power-on self-test
RAM random-access memory
RF radio frequency
RFID radio-frequency identification
RI ring indicator
RJ registered jack
SATA Serial Advanced Technology Attachment
SIM subscriber identity module
SVP supervisor password
TFTs thin-film transistors
UEFI Unified Extensible Firmware Interface
USB Universal Serial Bus
UUID universally unique identifier
VGA video graphics array
VRAM video random-access memory
WAN wide area network
WQHD wide quad high definition
100 A485 Hardware Maintenance Manual

Part Number: SP40Q51807
Printed in
(1P) P/N: SP40Q51807
*1PSP40Q51807*









