Liebert Series 300 Users Manual 24537
Series 300 to the manual cb193d1f-bea2-425c-bd19-efd1029f73dd
2015-02-09
: Liebert Liebert-Series-300-Users-Manual-571413 liebert-series-300-users-manual-571413 liebert pdf
Open the PDF directly: View PDF
.
Page Count: 125 [warning: Documents this large are best viewed by clicking the View PDF Link!]
- Important Safety Instructions
- 1.0 Introduction
- Table 1 Model Numbers and Ratings
- 1.1 Definitions
- Uninterruptible Power System (UPS)
- UPS Module
- UPS Module Cabinet
- Battery Cabinet
- Input Power
- Input Filter
- Input Auto Transformer
- Rectifier/Charger
- Inverter
- Internal Control System
- Operator Controls and Display
- Static Bypass Line
- Static Transfer Switch
- Transfer
- Retransfer
- Maintenance Bypass Line
- External Maintenance Bypass Cabinet
- Slim-Line Distribution Cabinet
- 1.2 Modes of Operation
- 2.0 Installation
- 2.1 Safety Precautions
- 2.2 UPS Installation
- 2.3 Battery Installation
- 2.4 Electrical Wiring
- 2.4.1 UPS Wire Size Guidelines
- 2.4.2 Power and Control Wiring
- 2.4.3 Battery Wiring
- 2.4.4 Wiring Connections
- 2.4.5 Wiring Inspection
- Figure 1 Single Line Diagram 10-125 kVA
- Figure 2 Single Line Diagram 10-125 kVA with Input, Bypass, and Load Breakers
- Figure 3 Single Line Diagram 10-125 kVA with Bypass Transformer, and Load Circuit Breaker
- Figure 4 Single Line Diagram 10-125 kVA with Bypass Transformer, Input, Bypass, and Load Circuit ...
- Figure 5 Single Line Diagram 10-125 kVA with Maintenance Bypass Switch
- Figure 6 Single Line Diagram 10-125 kVA with Maintenance Bypass Switch, Input, Bypass, and Load C...
- Figure 7 Single Line Diagram 10-125 kVA with Bypass Isolation Transformer, Maintenance Bypass Swi...
- Figure 8 Single Line Diagram 10-125 kVA with Bypass Isolation Transformer, Maintenance Bypass Swi...
- Figure 9 UPS Cabinet Installation Diagram 10-30 kVA
- Figure 10 UPS Cabinet Installation Diagram 40-50 kVA
- Figure 11 UPS Cabinet Installation Diagram 65-125 kVA (continued)
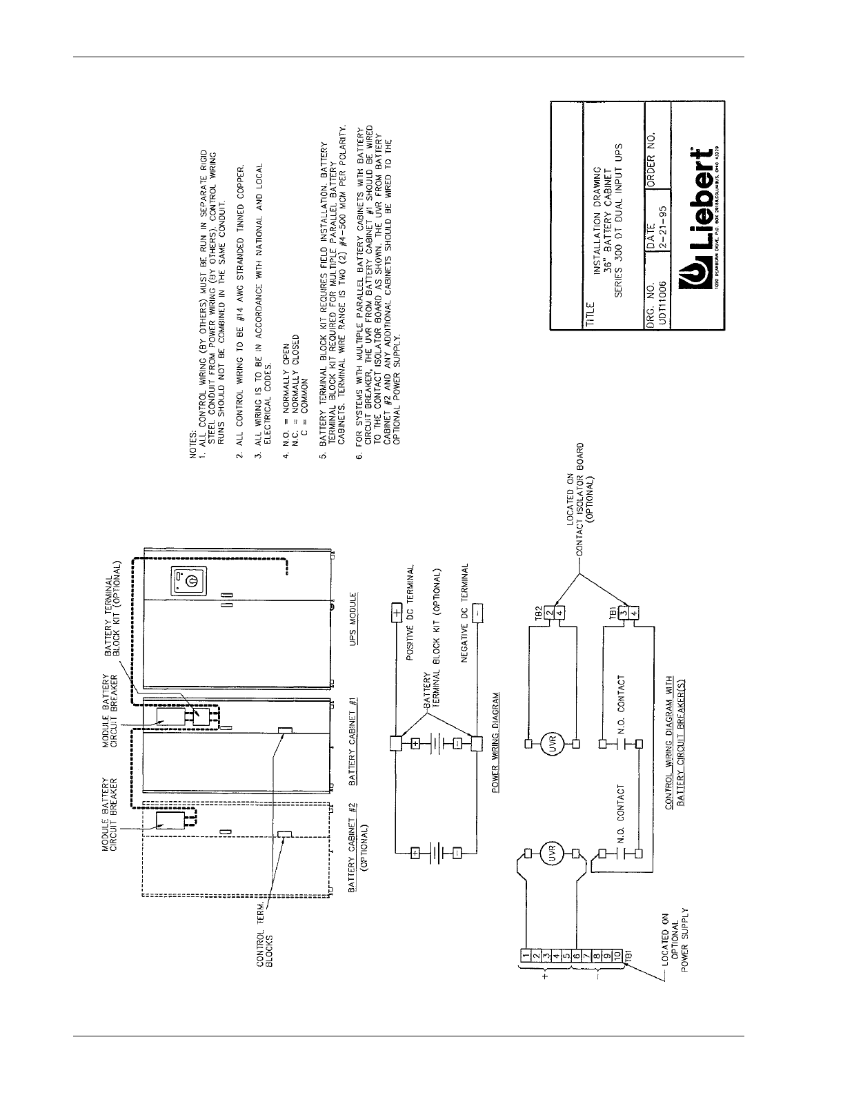
- Figure 12 Battery Cabinet Installation Diagram 36-inch Frame (continued)
- Figure 13 Control Wiring Diagram 10-30 kVA
- Figure 14 Control Wiring Diagram 40-50 kVA
- Figure 15 Control Wiring Diagram 65-125 kVA
- Figure 16 Field Wiring Terminations (continued)
- 3.0 Operation
- 3.1 Operator Controls and Indicators
- 3.2 Display Screen Menu
- 3.3 Default Screen Messages
- 3.4 Alarm Messages
- 3.5 System Status Screens
- 3.6 Start-Up
- 3.7 Normal Operation
- 3.8 Shutdown
- 3.9 Response to a Power Failure
- 3.10 Response to a UPS Failure
- 3.11 Alarm Messages
- 4.0 Maintenance
- 5.0 System Options
- 5.1 General
- 5.2 Optional External Maintenance Bypass Cabinet
- 5.3 Optional Slim-Line Distribution
- 5.4 Optional Remote Status Panel
- 5.5 Optional Remote Contact Board
- 5.6 Optional RS-232 Interface Port
- 5.7 Optional Internal SNMP (Simple Network Management Protocol) Support
- 5.8 Optional Internal Modem
- 5.9 Optional SiteScan®/Sitemaster Interface
- 5.10 Optional IBM® AS/400 Signal Interface
- 5.11 Optional System/38 Power Warning Signal
- 5.12 Optional Battery Circuit Breaker
- 5.13 Optional DC Ground Fault Alarm
- 5.14 Optional Computer Interface System
- 5.15 Optional Multi-Computer Interface System
- 5.16 Optional IBM® AS/400 Multi-Interface System
- Figure 27 Optional Maintenance Bypass Cabinet with Input, Bypass, and Load Circuit Breakers
- Figure 28 Optional Maintenance Bypass Cabinet with Isolation Transformer and Load Circuit Breaker
- Figure 29 Optional Maintenance Bypass Cabinet with Isolation Transformer, Input, Bypass, and Load...
- Figure 30 Optional Maintenance Bypass Cabinet with Maintenance Bypass Switch
- Figure 31 Optional Maintenance Bypass Cabinet with Maintenance Bypass Switch, Input, Bypass, and ...
- Figure 32 Optional Maintenance Bypass Cabinet with Isolation Transformer, Maintenance Bypass Swit...
- Figure 33 Optional Maintenance Bypass Cabinet with Isolation Transformer, Maintenance Bypass Swit...
- Figure 34 Optional Slim-Line Distribution (continued)
- Figure 35 Optional Remote Status Panel
- Figure 36 Optional Remote Contact Board
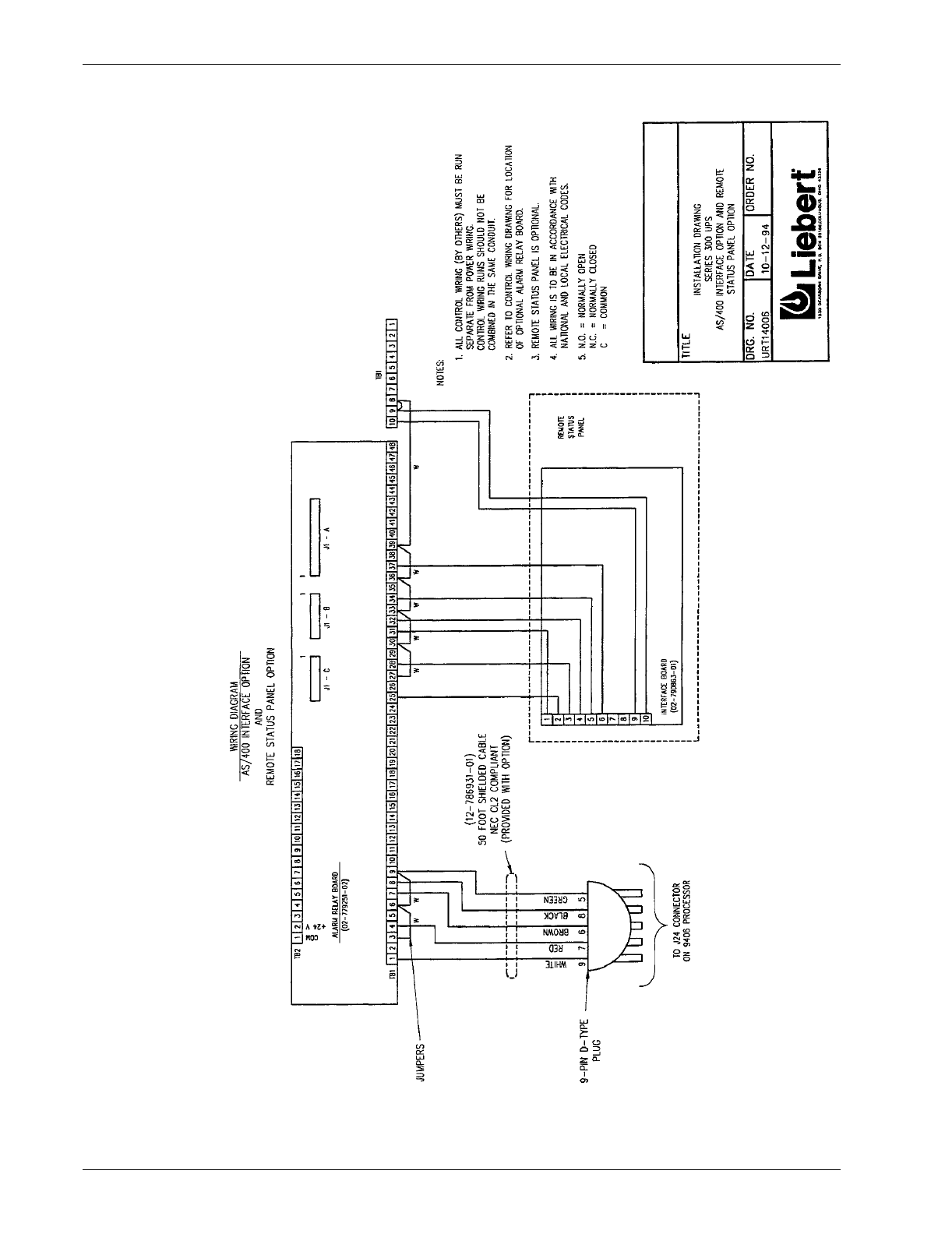
- Figure 37 Optional IBM® AS/400 Signal Interface
- Figure 38 Optional IBM® AS/400 Signal Interface (with Remote Status Panel)
- Figure 39 Optional Battery Circuit Breaker 10-75 kVA
- Figure 40 Optional Battery Circuit Breaker 100-125 kVA
- Figure 41 Optional Computer Interface System
- Figure 42 Optional Multi-Computer Interface System
- Figure 43 Optional IBM® AS/400 Multi-Computer Interface System
- 6.0 Specifications

POWER PROTECTION
Series 300™ DT UPS
Dual Input - Three Phase
10 kVA to 125 kVA; 60 Hz
Installation, Operation,
& Maintenance Manual


i
TABLE OF CONTENTS
IMPORTANT SAFETY INSTRUCTIONS . . . . . . . . . . . . . . . . . . . . . . . . . . . . . . . . . . . . . . . . . . . . .1
1.0 INTRODUCTION
ìïì 'HILQLWLRQVïýïýïýïýïýïýïýïýïýïýïýïýïýïýïýïýïýïýïýïýïýïýïýïýïýïýïýïýïýïýïýïýïýïýïýïýïýïýïýïýïýïýïýïýïýïýïýïýïýïýïýïýïýïýïýïýïýïýïýïýïýïýïý é
ìïë 0RGHVýRIý2SHUDWLRQïýïýïýïýïýïýïýïýïýïýïýïýïýïýïýïýïýïýïýïýïýïýïýïýïýïýïýïýïýïýïýïýïýïýïýïýïýïýïýïýïýïýïýïýïýïýïýïýïýïýïýïýïýïýïýïý ç
ìïëïì 7KURXJKýWKHý836ý0RGXOH ýïýïýïýïýïýïýïýïýïýïýïýïýïýïýïýïýïýïýïýïýïýïýïýïýïýïýïýïýïýïýïýïýïýïýïýïýïýïýïýïýïýïýïýïýïýïýïýïýïýïýïý ç
ìïëïë 6WDWLFý%\SDVVý/LQH ïýïýïýïýïýïýïýïýïýïýïýïýïýïýïýïýïýïýïýïýïýïýïýïýïýïýïýïýïýïýïýïýïýïýïýïýïýïýïýïýïýïýïýïýïýïýïýïýïýïýïýïýïýïýïýïýïý ç
ìïëïê 0DLQWHQDQFHý%\SDVVý/LQHýïýïýïýïýïýïýïýïýïýïýïýïýïýïýïýïýïýïýïýïýïýïýïýïýïýïýïýïýïýïýïýïýïýïýïýïýïýïýïýïýïýïýïýïýïýïýïýïýïýïýïý ç
2.0 INSTALLATION
ëïì 6DIHW\ý3UHFDXWLRQVýïýïýïýïýïýïýïýïýïýïýïýïýïýïýïýïýïýïýïýïýïýïýïýïýïýïýïýïýïýïýïýïýïýïýïýïýïýïýïýïýïýïýïýïýïýïýïýïýïýïýïýïýïýïýïýïý æ
ëïë 836ý,QVWDOODWLRQ ïýïýïýïýïýïýïýïýïýïýïýïýïýïýïýïýïýïýïýïýïýïýïýïýïýïýïýïýïýïýïýïýïýïýïýïýïýïýïýïýïýïýïýïýïýïýïýïýïýïýïýïýïýïýïýïýïý ìí
ëïëïì ,QVWDOODWLRQý&RQVLGHUDWLRQV ïýïýïýïýïýïýïýïýïýïýïýïýïýïýïýïýïýïýïýïýïýïýïýïýïýïýïýïýïýïýïýïýïýïýïýïýïýïýïýïýïýïýïýïýïýïýïýïýïý ìí
ëïëïë 8QORDGLQJýDQGý([WHUQDOý,QVSHFWLRQ ýïýïýïýïýïýïýïýïýïýïýïýïýïýïýïýïýïýïýïýïýïýïýïýïýïýïýïýïýïýïýïýïýïýïýïýïýïýïýïýïýïýïý ìì
ëïëïê ,QWHUQDOý,QVSHFWLRQýRIýWKHý836ý6\VWHP ýïýïýïýïýïýïýïýïýïýïýïýïýïýïýïýïýïýïýïýïýïýïýïýïýïýïýïýïýïýïýïýïýïýïýïýïýïýïýïý ìì
ëïëïé (TXLSPHQWý/RFDWLRQïýïýïýïýïýïýïýïýïýïýïýïýïýïýïýïýïýïýïýïýïýïýïýïýïýïýïýïýïýïýïýïýïýïýïýïýïýïýïýïýïýïýïýïýïýïýïýïýïýïýïýïýïýïýïý ìì
ëïê %DWWHU\ý,QVWDOODWLRQýïýïýïýïýïýïýïýïýïýïýïýïýïýïýïýïýïýïýïýïýïýïýïýïýïýïýïýïýïýïýïýïýïýïýïýïýïýïýïýïýïýïýïýïýïýïýïýïýïýïýïýïýïýïý ìë
ëïêïì 0DWFKLQJý%DWWHU\ý&DELQHWV ïýïýïýïýïýïýïýïýïýïýïýïýïýïýïýïýïýïýïýïýïýïýïýïýïýïýïýïýïýïýïýïýïýïýïýïýïýïýïýïýïýïýïýïýïýïýïýïýïýìê
ëïêïë 1RQð6WDQGDUGý%DWWHULHVïýïýïýïýïýïýïýïýïýïýïýïýïýïýïýïýïýïýïýïýïýïýïýïýïýïýïýïýïýïýïýïýïýïýïýïýïýïýïýïýïýïýïýïýïýïýïýïýïýïýïýïý ìê
ëïé (OHFWULFDOý:LULQJïýïýïýïýïýïýïýïýïýïýïýïýïýïýïýïýïýïýïýïýïýïýïýïýïýïýïýïýïýïýïýïýïýïýïýïýïýïýïýïýïýïýïýïýïýïýïýïýïýïýïýïýïýïýïýïýïý ìé
ëïéïì 836ý:LUHý6L]Hý*XLGHOLQHV ïýïýïýïýïýïýïýïýïýïýïýïýïýïýïýïýïýïýïýïýïýïýïýïýïýïýïýïýïýïýïýïýïýïýïýïýïýïýïýïýïýïýïýïýïýïýïýïýïýïý ìé
ëïéïë 3RZHUýDQGý&RQWUROý:LULQJ ïýïýïýïýïýïýïýïýïýïýïýïýïýïýïýïýïýïýïýïýïýïýïýïýïýïýïýïýïýïýïýïýïýïýïýïýïýïýïýïýïýïýïýïýïýïýïýïýïýïý ìé
ëïéïê %DWWHU\ý:LULQJ ïýïýïýïýïýïýïýïýïýïýïýïýïýïýïýïýïýïýïýïýïýïýïýïýïýïýïýïýïýïýïýïýïýïýïýïýïýïýïýïýïýïýïýïýïýïýïýïýïýïýïýïýïýïýïýïýïýïýïý ìè
ëïéïé :LULQJý&RQQHFWLRQVýïýïýïýïýïýïýïýïýïýïýïýïýïýïýïýïýïýïýïýïýïýïýïýïýïýïýïýïýïýïýïýïýïýïýïýïýïýïýïýïýïýïýïýïýïýïýïýïýïýïýïýïýïýïýïý ìå
ëïéïè :LULQJý,QVSHFWLRQïýïýïýïýïýïýïýïýïýïýïýïýïýïýïýïýïýïýïýïýïýïýïýïýïýïýïýïýïýïýïýïýïýïýïýïýïýïýïýïýïýïýïýïýïýïýïýïýïýïýïýïýïýïýïýïýïý ìå
3.0 OPERATION
êïì 2SHUDWRUý&RQWUROVýDQGý,QGLFDWRUVýïýïýïýïýïýïýïýïýïýïýïýïýïýïýïýïýïýïýïýïýïýïýïýïýïýïýïýïýïýïýïýïýïýïýïýïýïýïýïýïýïýïýïý êå
êïìïì 'LJLWDOý'LVSOD\ý6FUHHQ ïýïýïýïýïýïýïýïýïýïýïýïýïýïýïýïýïýïýïýïýïýïýïýïýïýïýïýïýïýïýïýïýïýïýïýïýïýïýïýïýïýïýïýïýïýïýïýïýïýïýïýïýïý êå
êïìïë 6HOHFWLRQý3DGV ýïýïýïýïýïýïýïýïýïýïýïýïýïýïýïýïýïýïýïýïýïýïýïýïýïýïýïýïýïýïýïýïýïýïýïýïýïýïýïýïýïýïýïýïýïýïýïýïýïýïýïýïýïýïýïýïýïýïýïý éí
êïìïê 3RZHUý6WDWXVý'LDJUDPïýïýïýïýïýïýïýïýïýïýïýïýïýïýïýïýïýïýïýïýïýïýïýïýïýïýïýïýïýïýïýïýïýïýïýïýïýïýïýïýïýïýïýïýïýïýïýïýïýïýïýïýïý éí
êïìïé 5RWDU\ý6ZLWFK ïýïýïýïýïýïýïýïýïýïýïýïýïýïýïýïýïýïýïýïýïýïýïýïýïýïýïýïýïýïýïýïýïýïýïýïýïýïýïýïýïýïýïýïýïýïýïýïýïýïýïýïýïýïýïýïýïýïýïýïý éì
êïìïè $GYLVRU\ý'LVSOD\ ýïýïýïýïýïýïýïýïýïýïýïýïýïýïýïýïýïýïýïýïýïýïýïýïýïýïýïýïýïýïýïýïýïýïýïýïýïýïýïýïýïýïýïýïýïýïýïýïýïýïýïýïýïýïýïýïýïý éì
êïë 'LVSOD\ý6FUHHQý0HQXýïýïýïýïýïýïýïýïýïýïýïýïýïýïýïýïýïýïýïýïýïýïýïýïýïýïýïýïýïýïýïýïýïýïýïýïýïýïýïýïýïýïýïýïýïýïýïýïýïýïýïýïýïý éë
êïê 'HIDXOWý6FUHHQý0HVVDJHV ïýïýïýïýïýïýïýïýïýïýïýïýïýïýïýïýïýïýïýïýïýïýïýïýïýïýïýïýïýïýïýïýïýïýïýïýïýïýïýïýïýïýïýïýïýïýïýïýïýïý éê
êïêïì 1RUPDOý2SHUDWLRQý ïýïýïýïýïýïýïýïýïýïýïýïýïýïýïýïýïýïýïýïýïýïýïýïýïýïýïýïýïýïýïýïýïýïýïýïýïýïýïýïýïýïýïýïýïýïýïýïýïýïýïýïýïýïýïýïý éê
êïêïë :DUQLQJãý/RDGýRQý0DLQWHQDQFHý%\SDVVý ýïýïýïýïýïýïýïýïýïýïýïýïýïýïýïýïýïýïýïýïýïýïýïýïýïýïýïýïýïýïýïýïýïýïýïýïýïýïý éê
êïêïê :DUQLQJãý/RDGýRQý836ý ïýïýïýïýïýïýïýïýïýïýïýïýïýïýïýïýïýïýïýïýïýïýïýïýïýïýïýïýïýïýïýïýïýïýïýïýïýïýïýïýïýïýïýïýïýïýïýïýïýïýïýïý éé
êïêïé :DUQLQJãý/RDGýRQý6WDWLFý%\SDVVý ýïýïýïýïýïýïýïýïýïýïýïýïýïýïýïýïýïýïýïýïýïýïýïýïýïýïýïýïýïýïýïýïýïýïýïýïýïýïýïýïýïýïýïýïý éé
êïêïè )DXOWãý6\VWHPý6KXWGRZQý ýïýïýïýïýïýïýïýïýïýïýïýïýïýïýïýïýïýïýïýïýïýïýïýïýïýïýïýïýïýïýïýïýïýïýïýïýïýïýïýïýïýïýïýïýïýïýïýïýïýïý éé
êïêïç 836ýRQý%DWWHU\ý ïýïýïýïýïýïýïýïýïýïýïýïýïýïýïýïýïýïýïýïýïýïýïýïýïýïýïýïýïýïýïýïýïýïýïýïýïýïýïýïýïýïýïýïýïýïýïýïýïýïýïýïýïýïýïýïýïýïý éé

ii
êïé $ODUPý0HVVDJHVýïýïýïýïýïýïýïýïýïýïýïýïýïýïýïýïýïýïýïýïýïýïýïýïýïýïýïýïýïýïýïýïýïýïýïýïýïýïýïýïýïýïýïýïýïýïýïýïýïýïýïýïýïýïýïýïýïý éè
êïéïì 836ý5HVSRQVHýWRýDQý$ODUP ýïýïýïýïýïýïýïýïýïýïýïýïýïýïýïýïýïýïýïýïýïýïýïýïýïýïýïýïýïýïýïýïýïýïýïýïýïýïýïýïýïýïýïýïýïýïýïýïýïýéè
êïéïë 2SHUDWRUý5HVSRQVHýWRýDQý$ODUPïýïýïýïýïýïýïýïýïýïýïýïýïýïýïýïýïýïýïýïýïýïýïýïýïýïýïýïýïýïýïýïýïýïýïýïýïýïýïýïýïýïýïýïýïýïýéè
êïè 6\VWHPý6WDWXVý6FUHHQV ïýïýïýïýïýïýïýïýïýïýïýïýïýïýïýïýïýïýïýïýïýïýïýïýïýïýïýïýïýïýïýïýïýïýïýïýïýïýïýïýïýïýïýïýïýïýïýïýïýïýïýïýéç
êïèïì 0HWHUý)XQFWLRQVýïýïýïýïýïýïýïýïýïýïýïýïýïýïýïýïýïýïýïýïýïýïýïýïýïýïýïýïýïýïýïýïýïýïýïýïýïýïýïýïýïýïýïýïýïýïýïýïýïýïýïýïýïýïýïýïýïýïýéç
êïèïë 6\VWHPý&RQILJXUDWLRQïýïýïýïýïýïýïýïýïýïýïýïýïýïýïýïýïýïýïýïýïýïýïýïýïýïýïýïýïýïýïýïýïýïýïýïýïýïýïýïýïýïýïýïýïýïýïýïýïýïýïýïýïýïýéæ
êïèïê $ODUPý+LVWRU\ ïýïýïýïýïýïýïýïýïýïýïýïýïýïýïýïýïýïýïýïýïýïýïýïýïýïýïýïýïýïýïýïýïýïýïýïýïýïýïýïýïýïýïýïýïýïýïýïýïýïýïýïýïýïýïýïýïýïýïýïýèì
êïèïé /DPSý7HVW ïýïýïýïýïýïýïýïýïýïýïýïýïýïýïýïýïýïýïýïýïýïýïýïýïýïýïýïýïýïýïýïýïýïýïýïýïýïýïýïýïýïýïýïýïýïýïýïýïýïýïýïýïýïýïýïýïýïýïýïýïýïýïý èì
êïç 6WDUWð8S ýïýïýïýïýïýïýïýïýïýïýïýïýïýïýïýïýïýïýïýïýïýïýïýïýïýïýïýïýïýïýïýïýïýïýïýïýïýïýïýïýïýïýïýïýïýïýïýïýïýïýïýïýïýïýïýïýïýïýïýïýïýïýïý èë
êïçïì 6WDUWð8Sý3URFHGXUH ýïýïýïýïýïýïýïýïýïýïýïýïýïýïýïýïýïýïýïýïýïýïýïýïýïýïýïýïýïýïýïýïýïýïýïýïýïýïýïýïýïýïýïýïýïýïýïýïýïýïýïýïýïýïýïýèë
êïçïë $EQRUPDOý&RQGLWLRQVý'XULQJý6WDUWð8S ïýïýïýïýïýïýïýïýïýïýïýïýïýïýïýïýïýïýïýïýïýïýïýïýïýïýïýïýïýïýïýïýïýïýïýïýïýïýïýïý èç
êïçïê 5HVSRQVHýWRýDQý,QFRUUHFWý6WDUWð8Sý6HTXHQFHýïýïýïýïýïýïýïýïýïýïýïýïýïýïýïýïýïýïýïýïýïýïýïýïýïýïýïýïýïýïýïýïýïýïýïýèæ
êïæ 1RUPDOý2SHUDWLRQïýïýïýïýïýïýïýïýïýïýïýïýïýïýïýïýïýïýïýïýïýïýïýïýïýïýïýïýïýïýïýïýïýïýïýïýïýïýïýïýïýïýïýïýïýïýïýïýïýïýïýïýïýïýïýïý èå
êïå 6KXWGRZQ ýïýïýïýïýïýïýïýïýïýïýïýïýïýïýïýïýïýïýïýïýïýïýïýïýïýïýïýïýïýïýïýïýïýïýïýïýïýïýïýïýïýïýïýïýïýïýïýïýïýïýïýïýïýïýïýïýïýïýïýïýïýïý èä
êïåïì 6KXWGRZQýWRý0DLQWHQDQFHý%\SDVV ýïýïýïýïýïýïýïýïýïýïýïýïýïýïýïýïýïýïýïýïýïýïýïýïýïýïýïýïýïýïýïýïýïýïýïýïýïýïýïýïýïýïýïýèä
êïåïë &RPSOHWHý6KXWGRZQ ïýïýïýïýïýïýïýïýïýïýïýïýïýïýïýïýïýïýïýïýïýïýïýïýïýïýïýïýïýïýïýïýïýïýïýïýïýïýïýïýïýïýïýïýïýïýïýïýïýïýïýïýïýïýïýèä
êïåïê (PHUJHQF\ý6KXWGRZQïýïýïýïýïýïýïýïýïýïýïýïýïýïýïýïýïýïýïýïýïýïýïýïýïýïýïýïýïýïýïýïýïýïýïýïýïýïýïýïýïýïýïýïýïýïýïýïýïýïýïýïýïýïýèä
êïä 5HVSRQVHýWRýDý3RZHUý)DLOXUHýïýïýïýïýïýïýïýïýïýïýïýïýïýïýïýïýïýïýïýïýïýïýïýïýïýïýïýïýïýïýïýïýïýïýïýïýïýïýïýïýïýïýïýïýïýïýïý çí
êïäïì 836ý5HVSRQVH ïýïýïýïýïýïýïýïýïýïýïýïýïýïýïýïýïýïýïýïýïýïýïýïýïýïýïýïýïýïýïýïýïýïýïýïýïýïýïýïýïýïýïýïýïýïýïýïýïýïýïýïýïýïýïýïýïýïýïýïý çí
êïäïë 2SHUDWRUý5HVSRQVHýïýïýïýïýïýïýïýïýïýïýïýïýïýïýïýïýïýïýïýïýïýïýïýïýïýïýïýïýïýïýïýïýïýïýïýïýïýïýïýïýïýïýïýïýïýïýïýïýïýïýïýïýïýïýïýïýçì
êïäïê $Vý%DWWHU\ý7LPHý$SSURDFKHVý=HURïýïýïýïýïýïýïýïýïýïýïýïýïýïýïýïýïýïýïýïýïýïýïýïýïýïýïýïýïýïýïýïýïýïýïýïýïýïýïýïýïýïýïýïýçì
êïìí 5HVSRQVHýWRýDý836ý)DLOXUH ýïýïýïýïýïýïýïýïýïýïýïýïýïýïýïýïýïýïýïýïýïýïýïýïýïýïýïýïýïýïýïýïýïýïýïýïýïýïýïýïýïýïýïýïýïýïýïýïý çë
êïìíïì 836ý5HVSRQVH ïýïýïýïýïýïýïýïýïýïýïýïýïýïýïýïýïýïýïýïýïýïýïýïýïýïýïýïýïýïýïýïýïýïýïýïýïýïýïýïýïýïýïýïýïýïýïýïýïýïýïýïýïýïýïýïýïýïýïýïý çë
êïìíïë 2SHUDWRUý5HVSRQVHýïýïýïýïýïýïýïýïýïýïýïýïýïýïýïýïýïýïýïýïýïýïýïýïýïýïýïýïýïýïýïýïýïýïýïýïýïýïýïýïýïýïýïýïýïýïýïýïýïýïýïýïýïýïýïýïýçë
êïìì $ODUPý0HVVDJHVýïýïýïýïýïýïýïýïýïýïýïýïýïýïýïýïýïýïýïýïýïýïýïýïýïýïýïýïýïýïýïýïýïýïýïýïýïýïýïýïýïýïýïýïýïýïýïýïýïýïýïýïýïýïýïýïýïý çê
4.0 MAINTENANCE
éïì 6DIHW\ý3UHFDXWLRQVýïýïýïýïýïýïýïýïýïýïýïýïýïýïýïýïýïýïýïýïýïýïýïýïýïýïýïýïýïýïýïýïýïýïýïýïýïýïýïýïýïýïýïýïýïýïýïýïýïýïýïýïýïýïýïý çç
éïë :KHQý7Rý&DOO ýïýïýïýïýïýïýïýïýïýïýïýïýïýïýïýïýïýïýïýïýïýïýïýïýïýïýïýïýïýïýïýïýïýïýïýïýïýïýïýïýïýïýïýïýïýïýïýïýïýïýïýïýïýïýïýïýïýïýïý çæ
éïê 6WHSVý7Rý7DNH ïýïýïýïýïýïýïýïýïýïýïýïýïýïýïýïýïýïýïýïýïýïýïýïýïýïýïýïýïýïýïýïýïýïýïýïýïýïýïýïýïýïýïýïýïýïýïýïýïýïýïýïýïýïýïýïýïýïýïý çæ
éïé 3UHYHQWLYHý0DLQWHQDQFH ýïýïýïýïýïýïýïýïýïýïýïýïýïýïýïýïýïýïýïýïýïýïýïýïýïýïýïýïýïýïýïýïýïýïýïýïýïýïýïýïýïýïýïýïýïýïýïýïýïýïý çå
éïéïì 0DLQWDLQLQJýDQý2SHUDWRUªVý/RJýïýïýïýïýïýïýïýïýïýïýïýïýïýïýïýïýïýïýïýïýïýïýïýïýïýïýïýïýïýïýïýïýïýïýïýïýïýïýïýïýïýïýïýïýïýïý çå
éïéïë &KDQJLQJýWKHý$LUý)LOWHUýïýïýïýïýïýïýïýïýïýïýïýïýïýïýïýïýïýïýïýïýïýïýïýïýïýïýïýïýïýïýïýïýïýïýïýïýïýïýïýïýïýïýïýïýïýïýïýïýïýïýïýïý çå
éïéïê 3HULRGLFý5HVWDUWýRIýWKHý836 ïýïýïýïýïýïýïýïýïýïýïýïýïýïýïýïýïýïýïýïýïýïýïýïýïýïýïýïýïýïýïýïýïýïýïýïýïýïýïýïýïýïýïýïýïýïýïýïýïýçå
éïéïé 0DLQWDLQLQJýWKHý%DWWHU\ ýïýïýïýïýïýïýïýïýïýïýïýïýïýïýïýïýïýïýïýïýïýïýïýïýïýïýïýïýïýïýïýïýïýïýïýïýïýïýïýïýïýïýïýïýïýïýïýïýïýïýïýçä
éïè /LHEHUWý&XVWRPHUý6HUYLFHýDQGý6XSSRUW ïýïýïýïýïýïýïýïýïýïýïýïýïýïýïýïýïýïýïýïýïýïýïýïýïýïýïýïýïýïýïýïýïýïýïýïýïýïýïý æé

iii
5.0 SYSTEM OPTIONS
èïì *HQHUDOýïýïýïýïýïýïýïýïýïýïýïýïýïýïýïýïýïýïýïýïýïýïýïýïýïýïýïýïýïýïýïýïýïýïýïýïýïýïýïýïýïýïýïýïýïýïýïýïýïýïýïýïýïýïýïýïýïýïýïýïýïýïýïýïý æè
èïë 2SWLRQDOý([WHUQDOý0DLQWHQDQFHý%\SDVVý&DELQHW ïýïýïýïýïýïýïýïýïýïýïýïýïýïýïýïýïýïýïýïýïýïýïýïýïýïýïýïýïýïýïý æè
èïëïì ,QVWDOODWLRQ ïýïýïýïýïýïýïýïýïýïýïýïýïýïýïýïýïýïýïýïýïýïýïýïýïýïýïýïýïýïýïýïýïýïýïýïýïýïýïýïýïýïýïýïýïýïýïýïýïýïýïýïýïýïýïýïýïýïýïýïýïýïý æç
èïëïë 2SHUDWLRQ ýïýïýïýïýïýïýïýïýïýïýïýïýïýïýïýïýïýïýïýïýïýïýïýïýïýïýïýïýïýïýïýïýïýïýïýïýïýïýïýïýïýïýïýïýïýïýïýïýïýïýïýïýïýïýïýïýïýïýïýïýïýïýïý ææ
èïê 2SWLRQDOý6OLPð/LQHý'LVWULEXWLRQýïýïýïýïýïýïýïýïýïýïýïýïýïýïýïýïýïýïýïýïýïýïýïýïýïýïýïýïýïýïýïýïýïýïýïýïýïýïýïýïýïýïýïýïý åí
èïé 2SWLRQDOý5HPRWHý6WDWXVý3DQHOïýïýïýïýïýïýïýïýïýïýïýïýïýïýïýïýïýïýïýïýïýïýïýïýïýïýïýïýïýïýïýïýïýïýïýïýïýïýïýïýïýïýïýïýïýïý åí
èïè 2SWLRQDOý5HPRWHý&RQWDFWý%RDUG ýïýïýïýïýïýïýïýïýïýïýïýïýïýïýïýïýïýïýïýïýïýïýïýïýïýïýïýïýïýïýïýïýïýïýïýïýïýïýïýïýïýïýïýïý åí
èïç 2SWLRQDOý56ðëêëý,QWHUIDFHý3RUW ïýïýïýïýïýïýïýïýïýïýïýïýïýïýïýïýïýïýïýïýïýïýïýïýïýïýïýïýïýïýïýïýïýïýïýïýïýïýïýïýïýïýïýïýïý åì
èïçïì 8VLQJýDý7HUPLQDOýDVýDý5HPRWHý6WDWLRQ ïýïýïýïýïýïýïýïýïýïýïýïýïýïýïýïýïýïýïýïýïýïýïýïýïýïýïýïýïýïýïýïýïýïýïýïýïýïýïýïý åì
èïçïë 5HPRWHý)URQWý3DQHOýõ7HUPLQDOý0RGHô ýïýïýïýïýïýïýïýïýïýïýïýïýïýïýïýïýïýïýïýïýïýïýïýïýïýïýïýïýïýïýïýïýïýïýïýïýïýïýïýïý åë
èïçïê (PHUVRQý6WDQGDUGý3URWRFROýõ(63ô ýïýïýïýïýïýïýïýïýïýïýïýïýïýïýïýïýïýïýïýïýïýïýïýïýïýïýïýïýïýïýïýïýïýïýïýïýïýïýïýïýïýïýïý åê
èïçïé 5HPRWHý/RDGý&RQWURO ïýïýïýïýïýïýïýïýïýïýïýïýïýïýïýïýïýïýïýïýïýïýïýïýïýïýïýïýïýïýïýïýïýïýïýïýïýïýïýïýïýïýïýïýïýïýïýïýïýïýïýïýïýïý åê
èïçïè 6HWWLQJýWKHý3DVVZRUG ïýïýïýïýïýïýïýïýïýïýïýïýïýïýïýïýïýïýïýïýïýïýïýïýïýïýïýïýïýïýïýïýïýïýïýïýïýïýïýïýïýïýïýïýïýïýïýïýïýïýïýïýïýïý åê
èïæ 2SWLRQDOý,QWHUQDOý6103ýõ6LPSOHý1HWZRUNý0DQDJHPHQWý3URWRFROôý6XSSRUWýïýïýïýïýïýïýïýïýïý åé
èïæïì 8VLQJýDQý6103ý$GDSWHUýõ2SWLRQDOô ïýïýïýïýïýïýïýïýïýïýïýïýïýïýïýïýïýïýïýïýïýïýïýïýïýïýïýïýïýïýïýïýïýïýïýïýïýïýïýïýïýïý åé
èïå 2SWLRQDOý,QWHUQDOý0RGHPïýïýïýïýïýïýïýïýïýïýïýïýïýïýïýïýïýïýïýïýïýïýïýïýïýïýïýïýïýïýïýïýïýïýïýïýïýïýïýïýïýïýïýïýïýïýïýïýïýïý åè
èïåïì 7KHý&RPPXQLFDWLRQý0RGHý6FUHHQïýïýïýïýïýïýïýïýïýïýïýïýïýïýïýïýïýïýïýïýïýïýïýïýïýïýïýïýïýïýïýïýïýïýïýïýïýïýïýïýïýïýïýïý åè
èïåïë 8VLQJýWKHý0RGHP ïýïýïýïýïýïýïýïýïýïýïýïýïýïýïýïýïýïýïýïýïýïýïýïýïýïýïýïýïýïýïýïýïýïýïýïýïýïýïýïýïýïýïýïýïýïýïýïýïýïýïýïýïýïýïýïýïý åç
èïåïê 6HWWLQJýWKHý'DWDý5DWH ýïýïýïýïýïýïýïýïýïýïýïýïýïýïýïýïýïýïýïýïýïýïýïýïýïýïýïýïýïýïýïýïýïýïýïýïýïýïýïýïýïýïýïýïýïýïýïýïýïýïýïýïýïý äí
èïä 2SWLRQDOý6LWH6FDQŠî6LWHPDVWHUý,QWHUIDFHýïýïýïýïýïýïýïýïýïýïýïýïýïýïýïýïýïýïýïýïýïýïýïýïýïýïýïýïýïýïýïýïýïýïýïýïýïý äì
èïìí 2SWLRQDOý,%0Šý$6îéííý6LJQDOý,QWHUIDFH ïýïýïýïýïýïýïýïýïýïýïýïýïýïýïýïýïýïýïýïýïýïýïýïýïýïýïýïýïýïýïýïýïýïýïýïýïýïý äì
èïìì 2SWLRQDOý6\VWHPîêåý3RZHUý:DUQLQJý6LJQDOýïýïýïýïýïýïýïýïýïýïýïýïýïýïýïýïýïýïýïýïýïýïýïýïýïýïýïýïýïýïýïýïýïýïýïý äë
èïìë 2SWLRQDOý%DWWHU\ý&LUFXLWý%UHDNHUýïýïýïýïýïýïýïýïýïýïýïýïýïýïýïýïýïýïýïýïýïýïýïýïýïýïýïýïýïýïýïýïýïýïýïýïýïýïýïýïýïýïýïý äë
èïìê 2SWLRQDOý'&ý*URXQGý)DXOWý$ODUP ïýïýïýïýïýïýïýïýïýïýïýïýïýïýïýïýïýïýïýïýïýïýïýïýïýïýïýïýïýïýïýïýïýïýïýïýïýïýïýïýïýïýïý äë
èïìé 2SWLRQDOý&RPSXWHUý,QWHUIDFHý6\VWHPýïýïýïýïýïýïýïýïýïýïýïýïýïýïýïýïýïýïýïýïýïýïýïýïýïýïýïýïýïýïýïýïýïýïýïýïýïýïýïýïý äë
èïìè 2SWLRQDOý0XOWLð&RPSXWHUý,QWHUIDFHý6\VWHP ïýïýïýïýïýïýïýïýïýïýïýïýïýïýïýïýïýïýïýïýïýïýïýïýïýïýïýïýïýïýïýïýïýïýïý äë
èïìç 2SWLRQDOý,%0Šý$6îéííý0XOWLð,QWHUIDFHý6\VWHP ïýïýïýïýïýïýïýïýïýïýïýïýïýïýïýïýïýïýïýïýïýïýïýïýïýïýïýïýïýïýïýïý äê
6.0 SPECIFICATIONS
çïì (OHFWULFDOý6SHFLILFDWLRQV ïýïýïýïýïýïýïýïýïýïýïýïýïýïýïýïýïýïýïýïýïýïýïýïýïýïýïýïýïýïýïýïýïýïýïýïýïýïýïýïýïýïýïýïýïýïýïýïýïýïý ììë
çïìïì $&ý,QSXWVýWRý836ïýïýïýïýïýïýïýïýïýïýïýïýïýïýïýïýïýïýïýïýïýïýïýïýïýïýïýïýïýïýïýïýïýïýïýïýïýïýïýïýïýïýïýïýïýïýïýïýïýïýïýïýïýïýïýïý ììë
çïìïë $&ý2XWSXWïý836ý,QYHUWHU ýïýïýïýïýïýïýïýïýïýïýïýïýïýïýïýïýïýïýïýïýïýïýïýïýïýïýïýïýïýïýïýïýïýïýïýïýïýïýïýïýïýïýïýïýïýïýïýïýïý ììë
çïë 5DWLQJV ýïýïýïýïýïýïýïýïýïýïýïýïýïýïýïýïýïýïýïýïýïýïýïýïýïýïýïýïýïýïýïýïýïýïýïýïýïýïýïýïýïýïýïýïýïýïýïýïýïýïýïýïýïýïýïýïýïýïýïýïýïýïýïý ììé
çïê (QYLURQPHQWDOý6SHFLILFDWLRQV ýïýïýïýïýïýïýïýïýïýïýïýïýïýïýïýïýïýïýïýïýïýïýïýïýïýïýïýïýïýïýïýïýïýïýïýïýïýïýïýïýïýïýïýïýïý ììé
çïé 0HFKDQLFDOý6SHFLILFDWLRQV ýïýïýïýïýïýïýïýïýïýïýïýïýïýïýïýïýïýïýïýïýïýïýïýïýïýïýïýïýïýïýïýïýïýïýïýïýïýïýïýïýïýïýïýïýïýïýïýïý ììé
çïè %DWWHU\ ýïýïýïýïýïýïýïýïýïýïýïýïýïýïýïýïýïýïýïýïýïýïýïýïýïýïýïýïýïýïýïýïýïýïýïýïýïýïýïýïýïýïýïýïýïýïýïýïýïýïýïýïýïýïýïýïýïýïýïýïýïýïýïý ììè

iv
FIGURES
)LJXUHýì 6LQJOHý/LQHý'LDJUDPýìíðìëèýN9$ý ïýïýïýïýïýïýïýïýïýïýïýïýïýïýïýïýïýïýïýïýïýïýïýïýïýïýïýïýïýïýïýïýïýïýïýïýïýïýïýïýïýïýïýïýïýïýïý ìä
)LJXUHýë 6LQJOHý/LQHý'LDJUDPýìíðìëèýN9$ýZLWKý,QSXWñý%\SDVVñýDQGý/RDGý%UHDNHUV ýïýïýïýïýïýïýïýïýïýïýïýïýïýïý ëí
)LJXUHýê 6LQJOHý/LQHý'LDJUDPýìíðìëèýN9$ýZLWKý%\SDVVý7UDQVIRUPHUñýDQGý/RDGý&LUFXLWý%UHDNHUý ïýïýïýëì
)LJXUHýé 6LQJOHý/LQHý'LDJUDPýìíðìëèýN9$ýZLWKý%\SDVVý7UDQVIRUPHUñý,QSXWñý%\SDVVñý
DQGý/RDGý&LUFXLWý%UHDNHUVý ýïýïýïýïýïýïýïýïýïýïýïýïýïýïýïýïýïýïýïýïýïýïýïýïýïýïýïýïýïýïýïýïýïýïýïýïýïýïýïýïýïýïýïýïýïýïýïýïýïýïýïýïýëë
)LJXUHýè 6LQJOHý/LQHý'LDJUDPýìíðìëèýN9$ýZLWKý0DLQWHQDQFHý%\SDVVý6ZLWFKý ïýïýïýïýïýïýïýïýïýïýïýïýïýïýïýïýïýïýïýëê
)LJXUHýç 6LQJOHý/LQHý'LDJUDPýìíðìëèýN9$ýZLWKý0DLQWHQDQFHý%\SDVVý6ZLWFKñý,QSXWñý%\SDVVñý
DQGý/RDGý&LUFXLWý%UHDNHUVý ýïýïýïýïýïýïýïýïýïýïýïýïýïýïýïýïýïýïýïýïýïýïýïýïýïýïýïýïýïýïýïýïýïýïýïýïýïýïýïýïýïýïýïýïýïýïýïýïýïýïýïýïýëé
)LJXUHýæ 6LQJOHý/LQHý'LDJUDPýìíðìëèýN9$ýZLWKý%\SDVVý,VRODWLRQý7UDQVIRUPHUñý
0DLQWHQDQFHý%\SDVVý6ZLWFKñýDQGý/RDGý&LUFXLWý%UHDNHUý ïýïýïýïýïýïýïýïýïýïýïýïýïýïýïýïýïýïýïýïýïýïýïýïýïýïýïýïýïýëè
)LJXUHýå 6LQJOHý/LQHý'LDJUDPýìíðìëèýN9$ýZLWKý%\SDVVý,VRODWLRQý7UDQVIRUPHUñý
0DLQWHQDQFHý%\SDVVý6ZLWFKñý,QSXWñý%\SDVVñýDQGý/RDGý&LUFXLWý%UHDNHUVý ýïýïýïýïýïýïýïýïýïýïýïýïýïýïýïýëç
)LJXUHýä 836ý&DELQHWý,QVWDOODWLRQý'LDJUDPýìíðêíýN9$ý ýïýïýïýïýïýïýïýïýïýïýïýïýïýïýïýïýïýïýïýïýïýïýïýïýïýïýïýïýïýïýïýïýïýïýïýïýëæ
)LJXUHýìí 836ý&DELQHWý,QVWDOODWLRQý'LDJUDPýéíðèíýN9$ý ýïýïýïýïýïýïýïýïýïýïýïýïýïýïýïýïýïýïýïýïýïýïýïýïýïýïýïýïýïýïýïýïýïýïýïýïýëå
)LJXUHýìì 836ý&DELQHWý,QVWDOODWLRQý'LDJUDPýçèðìëèýN9$ ýïýïýïýïýïýïýïýïýïýïýïýïýïýïýïýïýïýïýïýïýïýïýïýïýïýïýïýïýïýïýïýïýïýïýïýëä
)LJXUHýìë %DWWHU\ý&DELQHWý,QVWDOODWLRQý'LDJUDPýêçðLQFKý)UDPH ýïýïýïýïýïýïýïýïýïýïýïýïýïýïýïýïýïýïýïýïýïýïýïýïýïýïýïýïýïýïýêì
)LJXUHýìê &RQWUROý:LULQJý'LDJUDPýìíðêíýN9$ý ïýïýïýïýïýïýïýïýïýïýïýïýïýïýïýïýïýïýïýïýïýïýïýïýïýïýïýïýïýïýïýïýïýïýïýïýïýïýïýïýïýïýïýïýïýêê
)LJXUHýìé &RQWUROý:LULQJý'LDJUDPýéíðèíýN9$ý ïýïýïýïýïýïýïýïýïýïýïýïýïýïýïýïýïýïýïýïýïýïýïýïýïýïýïýïýïýïýïýïýïýïýïýïýïýïýïýïýïýïýïýïýïýêé
)LJXUHýìè &RQWUROý:LULQJý'LDJUDPýçèðìëèýN9$ý ïýïýïýïýïýïýïýïýïýïýïýïýïýïýïýïýïýïýïýïýïýïýïýïýïýïýïýïýïýïýïýïýïýïýïýïýïýïýïýïýïýïýïýïýêè
)LJXUHýìç )LHOGý:LULQJý7HUPLQDWLRQV ýïýïýïýïýïýïýïýïýïýïýïýïýïýïýïýïýïýïýïýïýïýïýïýïýïýïýïýïýïýïýïýïýïýïýïýïýïýïýïýïýïýïýïýïýïýïýïýïýïýïýïýïýêç
)LJXUHýìæ 2SHUDWRUý&RQWUROVýDQGý,QGLFDWRUVýRQý836ý0RGXOHý&DELQHWý)URQWýýïýïýïýïýïýïýïýïýïýïýïýïýïýïýïýïýïýïýïýïýïýêå
)LJXUHýìå %ORFNý'LDJUDPýRIýWKHý6HULHVýêííý'7ý836ý ýïýïýïýïýïýïýïýïýïýïýïýïýïýïýïýïýïýïýïýïýïýïýïýïýïýïýïýïýïýïýïýïýïýïýïýïýïýïýïýïý êä
)LJXUHýìä 'LVSOD\ý6FUHHQýDQGý6HOHFWLRQý3DGVý ïýïýïýïýïýïýïýïýïýïýïýïýïýïýïýïýïýïýïýïýïýïýïýïýïýïýïýïýïýïýïýïýïýïýïýïýïýïýïýïýïýïýïýïýïýïýéí
)LJXUHýëí 3RZHUý6WDWXVý'LDJUDPýïýïýïýïýïýïýïýïýïýïýïýïýïýïýïýïýïýïýïýïýïýïýïýïýïýïýïýïýïýïýïýïýïýïýïýïýïýïýïýïýïýïýïýïýïýïýïýïýïýïýïýïýïýïýïýïýéí
)LJXUHýëì 5RWDU\ý6ZLWFKýDQGý$GYLVRU\ý'LVSOD\ý ýïýïýïýïýïýïýïýïýïýïýïýïýïýïýïýïýïýïýïýïýïýïýïýïýïýïýïýïýïýïýïýïýïýïýïýïýïýïýïýïýïýïýïýïýéì
)LJXUHýëë 0HQXý6HOHFWLRQý$UUDQJHPHQWýýïýïýïýïýïýïýïýïýïýïýïýïýïýïýïýïýïýïýïýïýïýïýïýïýïýïýïýïýïýïýïýïýïýïýïýïýïýïýïýïýïýïýïýïýïýïýïýïýïýïýéë
)LJXUHýëê ([WHUQDOý0DLQWHQDQFHý%\SDVVý5RWDU\ý6ZLWFKïýïýïýïýïýïýïýïýïýïýïýïýïýïýïýïýïýïýïýïýïýïýïýïýïýïýïýïýïýïýïýïýïýïýïýïýïýïýææ
)LJXUHýëé %ORFNý'LDJUDPýRIýWKHý([WHUQDOý0DLQWHQDQFHý%\SDVV ïýïýïýïýïýïýïýïýïýïýïýïýïýïýïýïýïýïýïýïýïýïýïýïýïýïýïýïýïýïýïýïý æå
)LJXUHýëè &DEOHý&RQQHFWLRQVýEHWZHHQý836ýDQGý7HUPLQDOýïýïýïýïýïýïýïýïýïýïýïýïýïýïýïýïýïýïýïýïýïýïýïýïýïýïýïýïýïýïýïýïýïýïýïýïý åì
)LJXUHýëç 836ý5HPRWHý0RQLWRUî&RQWUROïýïýïýïýïýïýïýïýïýïýïýïýïýïýïýïýïýïýïýïýïýïýïýïýïýïýïýïýïýïýïýïýïýïýïýïýïýïýïýïýïýïýïýïýïýïýïýïýïýïýïýåë
)LJXUHýëæ 2SWLRQDOý0DLQWHQDQFHý%\SDVVý&DELQHWýZLWKý,QSXWñý%\SDVVñýDQGý/RDGý&LUFXLWý%UHDNHUV ýïýïýïýäé
)LJXUHýëå 2SWLRQDOý0DLQWHQDQFHý%\SDVVý&DELQHWýZLWKý,VRODWLRQý7UDQVIRUPHUý
DQGý/RDGý&LUFXLWý%UHDNHU ïýïýïýïýïýïýïýïýïýïýïýïýïýïýïýïýïýïýïýïýïýïýïýïýïýïýïýïýïýïýïýïýïýïýïýïýïýïýïýïýïýïýïýïýïýïýïýïýïýïýïýïýïýïý äè
)LJXUHýëä 2SWLRQDOý0DLQWHQDQFHý%\SDVVý&DELQHWýZLWKý,VRODWLRQý7UDQVIRUPHUñý,QSXWñý
%\SDVVñýDQGý/RDGý&LUFXLWý%UHDNHUV ïýïýïýïýïýïýïýïýïýïýïýïýïýïýïýïýïýïýïýïýïýïýïýïýïýïýïýïýïýïýïýïýïýïýïýïýïýïýïýïýïýïýïýïýïýïý äç
)LJXUHýêí 2SWLRQDOý0DLQWHQDQFHý%\SDVVý&DELQHWýZLWKý0DLQWHQDQFHý%\SDVVý6ZLWFKïýïýïýïýïýïýïýïýïýïýïýïýïýïýïýäæ
)LJXUHýêì 2SWLRQDOý0DLQWHQDQFHý%\SDVVý&DELQHWýZLWKý0DLQWHQDQFHý%\SDVVý6ZLWFKñý,QSXWñý
%\SDVVñýDQGý/RDGý&LUFXLWý%UHDNHUV ïýïýïýïýïýïýïýïýïýïýïýïýïýïýïýïýïýïýïýïýïýïýïýïýïýïýïýïýïýïýïýïýïýïýïýïýïýïýïýïýïýïýïýïýïýïý äå
)LJXUHýêë 2SWLRQDOý0DLQWHQDQFHý%\SDVVý&DELQHWýZLWKý,VRODWLRQý7UDQVIRUPHUñý0DLQWHQDQFHý
%\SDVVý6ZLWFKñýDQGý/RDGý&LUFXLWý%UHDNHUïýïýïýïýïýïýïýïýïýïýïýïýïýïýïýïýïýïýïýïýïýïýïýïýïýïýïýïýïýïýïýïýïýïýïýïýïýïýïýïýïýää
)LJXUHýêê 2SWLRQDOý0DLQWHQDQFHý%\SDVVý&DELQHWýZLWKý,VRODWLRQý7UDQVIRUPHUñý0DLQWHQDQFHý%\SDVVý
6ZLWFKñý,QSXWñý%\SDVVñýDQGý/RDGý&LUFXLWý%UHDNHUVïýïýïýïýïýïýïýïýïýïýïýïýïýïýïýïýïýïýïýïýïýïýïýïýïýïýïýïýïýïýïýïýïýìíí
)LJXUHýêé 2SWLRQDOý6OLPð/LQHý'LVWULEXWLRQ ïýïýïýïýïýïýïýïýïýïýïýïýïýïýïýïýïýïýïýïýïýïýïýïýïýïýïýïýïýïýïýïýïýïýïýïýïýïýïýïýïýïýïýïýïýïýïýìíì
)LJXUHýêè 2SWLRQDOý5HPRWHý6WDWXVý3DQHO ïýïýïýïýïýïýïýïýïýïýïýïýïýïýïýïýïýïýïýïýïýïýïýïýïýïýïýïýïýïýïýïýïýïýïýïýïýïýïýïýïýïýïýïýïýïýïýïýïýìíê
)LJXUHýêç 2SWLRQDOý5HPRWHý&RQWDFWý%RDUG ýïýïýïýïýïýïýïýïýïýïýïýïýïýïýïýïýïýïýïýïýïýïýïýïýïýïýïýïýïýïýïýïýïýïýïýïýïýïýïýïýïýïýïýïýïýïýïýìíé
)LJXUHýêæ 2SWLRQDOý,%0Šý$6îéííý6LJQDOý,QWHUIDFH ýïýïýïýïýïýïýïýïýïýïýïýïýïýïýïýïýïýïýïýïýïýïýïýïýïýïýïýïýïýïýïýïýïýïýïýïýïýïýïýïýïý ìíè
)LJXUHýêå 2SWLRQDOý,%0Šý$6îéííý6LJQDOý,QWHUIDFHýõZLWKý5HPRWHý6WDWXVý3DQHOô ïýïýïýïýïýïýïýïýïýïýïýïýïýïýïýïýïýïýìíç
)LJXUHýêä 2SWLRQDOý%DWWHU\ý&LUFXLWý%UHDNHUýìíðæèýN9$ýïýïýïýïýïýïýïýïýïýïýïýïýïýïýïýïýïýïýïýïýïýïýïýïýïýïýïýïýïýïýïýïýïýïýïýïýïýìíæ
)LJXUHýéí 2SWLRQDOý%DWWHU\ý&LUFXLWý%UHDNHUýìííðìëèýN9$ýïýïýïýïýïýïýïýïýïýïýïýïýïýïýïýïýïýïýïýïýïýïýïýïýïýïýïýïýïýïýïýïýïýïýïýìíå
)LJXUHýéì 2SWLRQDOý&RPSXWHUý,QWHUIDFHý6\VWHP ýïýïýïýïýïýïýïýïýïýïýïýïýïýïýïýïýïýïýïýïýïýïýïýïýïýïýïýïýïýïýïýïýïýïýïýïýïýïýïýïýïýïýïýìíä

v
)LJXUHýéë 2SWLRQDOý0XOWLð&RPSXWHUý,QWHUIDFHý6\VWHP ïýïýïýïýïýïýïýïýïýïýïýïýïýïýïýïýïýïýïýïýïýïýïýïýïýïýïýïýïýïýïýïýïýïýïýïýïýïý ììí
)LJXUHýéê 2SWLRQDOý,%0Šý$6îéííý0XOWLð&RPSXWHUý,QWHUIDFHý6\VWHPýïýïýïýïýïýïýïýïýïýïýïýïýïýïýïýïýïýïýïýïýïýïýïýïýïýïý ììì
TABLES
7DEOHýì 0RGHOý1XPEHUVýDQGý5DWLQJV ïýïýïýïýïýïýïýïýïýïýïýïýïýïýïýïýïýïýïýïýïýïýïýïýïýïýïýïýïýïýïýïýïýïýïýïýïýïýïýïýïýïýïýïýïýïýïýïýïýïýïýïý ê
7DEOHýë 6LWHý3ODQQLQJý'DWDñý6HULHVýêííý'7ñý'XDOý,QSXWýìíýWRýèíýN9$ïýïýïýïýïýïýïýïýïýïýïýïýïýïýïýïýïýïýïýïýïýïýïýïýïýïý å
7DEOHýê 6LWHý3ODQQLQJý'DWDñý6HULHVýêííý'7ñý'XDOý,QSXWýçèýWRýìëèýN9$ïýïýïýïýïýïýïýïýïýïýïýïýïýïýïýïýïýïýïýïýïýïýïýïýïý ä
7DEOHýé 7DEOHýêìíðìçýïýïýïýïýïýïýïýïýïýïýïýïýïýïýïýïýïýïýïýïýïýïýïýïýïýïýïýïýïýïýïýïýïýïýïýïýïýïýïýïýïýïýïýïýïýïýïýïýïýïýïýïýïýïýïýïýïýïýïýïýïýïýïýïý ìç
7DEOHýè &RQQHFWLRQý7\SHýîý:LUHý6L]Hý5DQJHïýïýïýïýïýïýïýïýïýïýïýïýïýïýïýïýïýïýïýïýïýïýïýïýïýïýïýïýïýïýïýïýïýïýïýïýïýïýïýïýïýïýïýïýïýïý ìæ
7DEOHýç 7RUTXHý6SHFLILFDWLRQVýõ8QOHVVý2WKHUZLVHý/DEHOHGô ýïýïýïýïýïýïýïýïýïýïýïýïýïýïýïýïýïýïýïýïýïýïýïýïýïýïýïýïýïýïýïýïýïý ìæ
7DEOHýæ $ODUPý0HVVDJHVý'XULQJý6WDUWð8S ïýïýïýïýïýïýïýïýïýïýïýïýïýïýïýïýïýïýïýïýïýïýïýïýïýïýïýïýïýïýïýïýïýïýïýïýïýïýïýïýïýïýïýïýïýïýïý èç
7DEOHýå $ODUPý0HVVDJHV ïýïýïýïýïýïýïýïýïýïýïýïýïýïýïýïýïýïýïýïýïýïýïýïýïýïýïýïýïýïýïýïýïýïýïýïýïýïýïýïýïýïýïýïýïýïýïýïýïýïýïýïýïýïýïýïýïýïýïýïýïý çê
7DEOHýä 2SWLRQDOý([WHUQDOý0DLQWHQDQFHý%\SDVVý&DELQHW ïýïýïýïýïýïýïýïýïýïýïýïýïýïýïýïýïýïýïýïýïýïýïýïýïýïýïýïýïýïýïýïýïýïýïý æè
7DEOHýìí 7HUPLQDOý0RGHý0HQX ïýïýïýïýïýïýïýïýïýïýïýïýïýïýïýïýïýïýïýïýïýïýïýïýïýïýïýïýïýïýïýïýïýïýïýïýïýïýïýïýïýïýïýïýïýïýïýïýïýïýïýïýïýïýïýïýïý åë
7DEOHýìì 'LDOð2XWý(YHQWV ýïýïýïýïýïýïýïýïýïýïýïýïýïýïýïýïýïýïýïýïýïýïýïýïýïýïýïýïýïýïýïýïýïýïýïýïýïýïýïýïýïýïýïýïýïýïýïýïýïýïýïýïýïýïýïýïýïýïýïýïýïý åç
7DEOHýìë /DVWý$WWHPSWõVôý0HVVDJHV ýïýïýïýïýïýïýïýïýïýïýïýïýïýïýïýïýïýïýïýïýïýïýïýïýïýïýïýïýïýïýïýïýïýïýïýïýïýïýïýïýïýïýïýïýïýïýïýïýïýïýïýïýïý äí
7DEOHýìê 0DWFKLQJý%DWWHU\ý&DELQHWVýïýïýïýïýïýïýïýïýïýïýïýïýïýïýïýïýïýïýïýïýïýïýïýïýïýïýïýïýïýïýïýïýïýïýïýïýïýïýïýïýïýïýïýïýïýïýïýïýïýïýïý ììè

vi

1
IMPORTANT SAFETY INSTRUCTIONS
Save These Instructions.
7KLVýPDQXDOýFRQWDLQVýLPSRUWDQWýLQVWUXFWLRQVýWKDWýVKRXOGýEHýIROORZHGýGXULQJýLQVWDOODWLRQýDQGý
PDLQWHQDQFHýRIý\RXUý6HULHVýêííý'7ý836ýDQGýEDWWHULHVï
$:$51,1*
(;(5&,6(ý(;75(0(ý&$5(ý:+(1ý+$1'/,1*ý836ý$1'ý
%$77(5<ý&$%,1(76ý72ý$92,'ý(48,30(17ý'$0$*(ý25ý
,1-85<ý72ý3(56211(/ïý&$%,1(7ý:(,*+76ý5$1*(ý)520ý
ìñìííý3281'6ýõèííý.*ôý72ýëñæííý3281'6ýõìëëèý.*ôï
7(67ý/,)7ý$1'ý%$/$1&(ý7+(ý&$%,1(76ý%()25(ý
75$163257,1*ïý0$,17$,1ý0,1,080ý7,/7ý)520ý9(57,&$/ý
$7ý$//ý7,0(6ïý%27720ý6758&785(ý:,//ý6833257ý7+(ý
81,7ý21/<ý,)ý7+(ý)25.6ý$5(ý&203/(7(/<ý%(1($7+ý7+(ý
81,7ï
2%6(59(ý$//ý%$77(5<ý6$)(7<ý35(&$87,216ý,1ýéïí ðý
0$,17(1$1&(ý:+(1ý6(59,&,1*ý%$77(5,(6ïý7+(ý+$=$5'ý
2)ý(/(&75,&ý6+2&.ý,6ý35(6(17ý(9(1ý:+(1ý7+(ý836ý,6ý
2))ïý0$,17$,1ý%$77(5,(6ý%(/2:ý0$;,080ý
5(&200(1'('ý7(03(5$785(ý72ý$92,'ý5(/($6,1*ý
68/)85,&ý$&,'ý9$3256ï
,1ý&$6(ý2)ý),5(ý,192/9,1*ý(/(&75,&$/ý(48,30(17ñý
21/<ý&$5%21ý',2;,'(ý),5(ý(;7,1*8,6+(56ñý25ý7+26(ý
$33529('ý)25ý86(ý,1ý(/(&75,&$/ý),5(ý),*+7,1*ñý
6+28/'ý%(ý86('ï
(;75(0(ý&$87,21ý,6ý5(48,5('ý:+(1ý3(5)250,1*ý
0$,17(1$1&(ïý/(7+$/ý92/7$*(6ý(;,67ý:,7+,1ý7+(ý
(48,30(17ý'85,1*ý23(5$7,21ïý2%6(59(ý$//ý:$51,1*6ý
$1'ý&$87,216ý,1ý7+,6ý0$18$/ïý)$,/85(ý72ý&203/<ý0$<ý
5(68/7ý,1ý6(5,286ý,1-85<ý25ý'($7+ïý2%7$,1ý48$/,),('ý
6(59,&(ý)25ý7+,6ý(48,30(17ý$6ý,16758&7('ï
:+(1ý7+(ý527$5<ý6:,7&+ý,6ý,1ý326,7,21ýìñý836ý
&20321(176ý$5(ý'(ð(1(5*,=('ý:,7+ý7+(ý(;&(37,21ý2)ý
(0,ý&$3$&,7256ñý527$5<ý6:,7&+ñý,1387î287387ý
7(50,1$/6ý%$77(5<ý&$%,1(7ñý$1'ý7+(ý,1387ý
75$16)250(5ïý$//ý,1387ý32:(5ý0867ý%(ý5(029('ý72ý
$&+,(9(ý&203/(7(ý,62/$7,21ï
%(ý&2167$17/<ý$:$5(ý7+$7ý7+(ý836ý6<67(0ý&217$,16ý
+,*+ý'&ý$6ý:(//ý$6ý$&ý92/7$*(6ïý:,7+ý,1387ý32:(5ý2))ý
$1'ý7+(ý%$77(5<ý',6&211(&7('ñý+,*+ý92/7$*(ý$7ý
),/7(5ý&$3$&,7256ý$1'ý32:(5ý&,5&8,76ý6+28/'ý%(ý
',6&+$5*('ý:,7+,1ýêíý6(&21'6ïý+2:(9(5ñý,)ý$ý32:(5ý
&,5&8,7ý)$,/85(ý+$6ý2&&855('ñý<28ý6+28/'ý$6680(ý
7+$7ý+,*+ý92/7$*(ý0$<ý67,//ý(;,67ý$)7(5ý6+87'2:1ïý
&+(&.ý:,7+ý$&ý$1'ý'&ý92/70(7(56ý%()25(ý0$.,1*ý
&217$&7ï
:+(1ý86,1*ý7(67ý(48,30(17ý:+,/(ý7+(ý836ý6<67(0ý,6ý
81'(5ý32:(5ñý%27+ý7+(ý23(5$725ý$1'ý$1<ý7(67ý
(48,30(17ý0867ý%(ý,62/$7('ý)520ý',5(&7ý&217$&7ý
:,7+ý($57+ý*5281'ý$1'ý7+(ý836ý&+$66,6ý)5$0(ý%<ý
86,1*ý58%%(5ý0$76ï

2
ý
IBM-PC®, Macintosh®, Procomm®, Microsoft Windows®, CompuServe®, and NEC® are registered trademarks of their
respective companies.
Telix™, IBM™, AS/400™, and System/38™ are trademarks of their respective companies.
620(ý&20321(176ý:,7+,1ý7+(ý&$%,1(76ý$5(ý127ý
&211(&7('ý72ý&+$66,6ý*5281'ïý$1<ý&217$&7ý%(7:((1ý
)/2$7,1*ý&,5&8,76ý$1'ý7+(ý&+$66,6ý,6ý$ý/(7+$/ý6+2&.ý
+$=$5'ï
$:$51,1*
,17(51$/ý%$77(5<ý675$33,1*ý0867ý%(ý9(5,),('ý%<ý
0$18)$&785(5ý35,25ý72ý029,1*ý7+,6ý81,7ï
7+,6ý81,7ý&217$,16ý121ð63,//$%/(ý%$77(5,(6ïý.((3ý
81,7ý835,*+7ïý'2ý127ý67$&.ïý'2ý127ý7,3ï
)$,/85(ý72ý+(('ý7+,6ý:$51,1*ý&28/'ý5(68/7ý,1ý
602.(ñý),5(ñý25ý(/(&75,&ý+$=$5'ï
&$//ýìðåííð/,(%(57ý35,25ý72ý029,1*ý81,7ï
$:$51,1*

Introduction 3
1.0 INTRODUCTION
/LHEHUWý6HULHVýêííý'7ý8QLQWHUUXSWLEOHý3RZHUý6\VWHPVýVXSSO\ýFULWLFDOýORDGVýZLWKýFRQWLQXRXVýFRPð
SXWHUýJUDGHýSRZHUïý5HOLDELOLW\ýDQGýSHUIRUPDQFHýDUHýNH\ýGHVLJQýFRQVLGHUDWLRQVïý7KHý836ýGHVLJQý
DOVRýPD[LPL]HVýLVRODWLRQýRIýWKHýORDGýIURPýGLVWXUEDQFHVýDQGýLQWHUUXSWLRQVñýPLQLPL]HVýPDLQWHQDQFHý
DQGýUHSDLUýWLPHñýDQGýSURYLGHVýPRQLWRULQJýRIýVLJQLILFDQWýV\VWHPýRSHUDWLQJýFKDUDFWHULVWLFVï
3URSHUýLQVWDOODWLRQýDQGýRSHUDWLRQýRIýWKHý836ýDUHýHTXDOO\ýLPSRUWDQWýIDFWRUVýLQýV\VWHPýUHOLDELOLW\ïý
7KLVýPDQXDOýFRQWDLQVýFRPSOHWHýLQIRUPDWLRQýRQýLQVWDOODWLRQñýRSHUDWLRQñýDQGýSUHYHQWLYHýPDLQWHð
QDQFHýRIýWKHý8QLQWHUUXSWLEOHý3RZHUý6\VWHPýõ836ôýDQGý%DWWHU\ý&DELQHWïý,OOXVWUDWLRQVýVKRZLQJýWKHý
IXQFWLRQýRIýDOOýRSHUDWRUýFRQWUROVñýLQVWUXPHQWVñýDODUPVýDQGýLQGLFDWLQJýOLJKWVýDUHýDOVRýJLYHQïý3HUIRUð
PDQFHýVSHFLILFDWLRQVýDWýZKLFKýWKHý836ýZLOOýRSHUDWHýDUHýJLYHQýLQýçïí ðý6SHFLILFDWLRQVïý3OHDVHýQRWHý
WKDWýVRPHýLQIRUPDWLRQýLVýN9$ýVSHFLILFï
7KHý/LHEHUWý6HULHVýêííý'7ý836ýLVýDYDLODEOHýLQýWHQýSRZHUýUDWLQJVãýìíñýìèñýëíñýêíñýéíñýèíñýçèñýæèñý
ìííñýDQGýìëèýN9$ïý6SHFLILFDWLRQVýIRUýHDFKýPRGHOýDSSHDUýLQýçïí ðý6SHFLILFDWLRQVïý7KHýVDPHýSULQFLð
SOHVýRIýRSHUDWLRQýDSSO\ýWRýDOOýPRGHOVïýý
6KRXOGýDVVLVWDQFHýEHýUHTXLUHGñýFDOOý/LHEHUWªVýWROOýIUHHý&XVWRPHUý6HUYLFHýDQGý6XSSRUWýQXPEHUãý
ìðåííðèéêðëêæåïý3OHDVHýKDYHýWKHýIROORZLQJýLQIRUPDWLRQýDYDLODEOHýIRUýIDVWýDVVLVWDQFHãý
$&$87,21
7KLVýHQWLUHýPDQXDOýVKRXOGýEHýUHDGýSULRUýWRýLQVWDOODWLRQñý
SHUIRUPLQJýVWDUWðXSýSURFHGXUHVýRUýV\VWHPýRSHUDWLRQýRUý
PDLQWHQDQFHïý,PSURSHUýLQVWDOODWLRQýKDVýSURYHGýWRýEHýWKHýVLQJOHý
PRVWýVLJQLILFDQWýFDXVHýRIýVWDUWðXSýSUREOHPVï
$:$51,1*
/(7+$/ý92/7$*(6ý(;,67ý:,7+,1ý7+,6ý(48,30(17ý'85,1*ý
23(5$7,21ïý)$,/85(ý72ý2%6(59(ý$//ý6$)(7<ý
35(&$87,216ý0$<ý5(68/7ý,1ý6(5,286ý,1-85<ý25ý'($7+ïý
2%7$,1ý48$/,),('ý6(59,&(ý3(56211(/ý)25ý7+,6ý
(48,30(17ý$6ý,16758&7('ï
0RGHOý1XPEHUã ______________________________________________________________
6HULDOý1XPEHUã ______________________________________________________________
N9$ý5DWLQJã ______________________________________________________________
'DWHý'HOLYHUHGã ______________________________________________________________
'DWHý,QVWDOOHGã ______________________________________________________________
,QSXWý9ROWDJHã ______________________________________________________________
2XWSXWý9ROWDJHã ______________________________________________________________
Table 1 Model Numbers and Ratings
Rating
Model Number
312 322 332 342 347 357 362 367 377 382
kVA 10 15 20 30 40 50 65 75 100 125
kW 8 1216243240526080100

4 Introduction
1.1 Definitions
7KHVHýGHILQLWLRQVýGHVFULEHýWHUPVýDVýWKH\ýUHODWHýVSHFLILFDOO\ýWRý6HULHVýêííý'7ýLQVWDOODWLRQñýRSHUDð
WLRQýRUýPDLQWHQDQFHïý5DWKHUýWKDQýEHLQJýDOSKDEHWL]HGñýWKH\ýDUHýSUHVHQWHGýLQýDQýRUGHUýPRVWýDSSURð
SULDWHýWRýXQGHUVWDQGLQJýWKHý836ï
Uninterruptible Power System (UPS)
$OOýFRPSRQHQWVýZLWKLQý836ý0RGXOHý&DELQHWýDQGýVHSDUDWHý%DWWHU\ý&DELQHWýZKLFKýIXQFWLRQýDVýDý
V\VWHPýWRýSURYLGHýFRQWLQXRXVñýFRQGLWLRQHGý$&ýSRZHUýWRýDýORDGï
UPS Module
5HFWLILHUî&KDUJHUýDQGý,QYHUWHUýXQLWýZKLFKñýXQGHUýVXSHUYLVLRQýRIýWKHý,QWHUQDOý&RQWUROý6\VWHPýDQGý
2SHUDWRUý&RQWUROVñýSURYLGHVýVSHFLILHGý$&ýSRZHUýWRýDýFULWLFDOýORDGï
UPS Module Cabinet
0HWDOýHQFORVXUHýFRQWDLQLQJýUHFWLILHUîFKDUJHUñýLQYHUWHUñýVWDWLFýWUDQVIHUýVZLWFKñýVWDWLFýE\SDVVýOLQHñý
PDLQWHQDQFHýE\SDVVýOLQHñýH[WHUQDOýRSHUDWRUýFRQWUROVñýDQGýLQWHUQDOýFRQWUROýV\VWHPýUHTXLUHGýWRýSURð
YLGHýVSHFLILHGý$&ýSRZHUýWRýDýORDGï
Battery Cabinet
/LHEHUWý0DWFKLQJýõIDFWRU\ýVXSSOLHGôý%DWWHU\ý&DELQHWýFRQWDLQLQJýVHDOHGýEDWWHU\ýFHOOVýVXIILFLHQWýWRý
PDLQWDLQý836ýRXWSXWýDFFRUGLQJýWRýVSHFLILFDWLRQVýLQýçïí ðý6SHFLILFDWLRQVï
Input Power
3RZHUýSURYLGHGýE\ýWKHýHOHFWULFDOýXWLOLW\ýFRPSDQ\ýõRUýDX[LOLDU\ýJHQHUDWRUôýDQGýFRQQHFWHGýWRýWKHý
836ýLQSXWï
Input Filter
5HGXFHVýUHFWLILHUýLQSXWýFXUUHQWýGLVWRUWLRQýWRýìíøý7+'ýDWýIXOOýORDGïý7KLVýILOWHUýDOVRýLPSURYHVýWKHý
LQSXWýSRZHUýIDFWRUï
Input Auto Transformer
3URYLGHVýSURSHUýYROWDJHýWRýWKHýUHFWLILHUîFKDUJHUïý)RUýDGGLWLRQDOýV\VWHPýIOH[LELOLW\ñýRQýPRGXOHVýZLWKý
ëíå9ýRXWSXWñýWKHýWUDQVIRUPHUýFDQýEHýXVHGýZLWKýëíå9ýRUýéåí9ýLQSXWýVRXUFHVýE\ýVHOHFWLQJýWKHýFRUð
UHFWýWDSï
Rectifier/Charger
836ýFRPSRQHQWýFRQWDLQLQJýHTXLSPHQWýDQGýFRQWUROVýIRUýFRQYHUWLQJýLQSXWý$&ýSRZHUýWRýUHJXODWHGý
'&ýSRZHUýUHTXLUHGýIRUýEDWWHU\ýFKDUJLQJýDQGýIRUýVXSSO\LQJýSRZHUýWRýWKHýLQYHUWHUï
Inverter
836ýFRPSRQHQWýFRQWDLQLQJýHTXLSPHQWýDQGýFRQWUROVýIRUýFRQYHUWLQJý'&ýSRZHUýIURPý5HFWLILHUî
&KDUJHUýRUýEDWWHU\ýWRýUHJXODWHGý$&ýSRZHUýUHTXLUHGýE\ýWKHýFULWLFDOýORDGï
Internal Control System
6LJQDOýSURFHVVLQJýFLUFXLWVýZKLFKýUHJXODWHýSRZHUýFRQYHUVLRQýSURFHVVHVñýGHWHFWýIDXOWýFRQGLWLRQVýDQGý
FRQWUROýWKHý836ýRSHUDWLQJýVHTXHQFHï
Operator Controls and Display
5RWDU\ýVZLWFKñýVHOHFWLRQýSDGVñýDQGýGLJLWDOýGLVSOD\ýXVHGýE\ýRSHUDWRUVýWRýPRQLWRUýDQGýFRQWUROýWKHý
836ïý6HHýêïí ðý2SHUDWLRQýRIýWKLVýPDQXDOï
Static Bypass Line
/LQHýFRQGXFWLQJýXQFRQGLWLRQHGýE\SDVVýLQSXWýSRZHUýWRýFULWLFDOýORDGýWKURXJKý6WDWLFý7UDQVIHUý
6ZLWFKïý7UDQVIHUýRIýORDGýEHWZHHQýWKLVýOLQHýDQGýWKHý836ýLQYHUWHUýRXWSXWýRFFXUVýXQGHUýVXSHUYLVLRQý
RIýWKHý,QWHUQDOý&RQWUROý6\VWHPï

Introduction 5
Static Transfer Switch
'HYLFHýWUDQVIHUULQJýWKHýFULWLFDOýORDGýEHWZHHQý836ýLQYHUWHUýRXWSXWýDQGý6WDWLFý%\SDVVý/LQHï
Transfer
7KHýFULWLFDOýORDGýLVýWUDQVIHUUHGýIURPýWKHý836ýLQYHUWHUýRXWSXWýWRýWKHý6WDWLFý%\SDVVý/LQHï
Retransfer
7KHýFULWLFDOýORDGýLVýDXWRPDWLFDOO\ýUHWUDQVIHUUHGýIURPýWKHý6WDWLFý%\SDVVý/LQHýEDFNýWRýWKHý836ý
LQYHUWHUýRXWSXWï
Maintenance Bypass Line
/LQHýFRQGXFWLQJýHOHFWULFLW\ýGLUHFWO\ýIURPýE\SDVVýLQSXWýSRZHUýWRýFULWLFDOýORDGýGXULQJýPDLQWHQDQFHý
RUýZKHQHYHUý836ýLVýQRWýFRPSOHWHO\ýRSHUDWLRQDOïý0DLQWHQDQFHý%\SDVVý/LQHýLVýFRQQHFWHGýZKHQý
URWDU\ýVZLWFKýLVýLQý3RVLWLRQýìñýëñýRUýêï
External Maintenance Bypass Cabinet
$QýH[WHUQDOýPDLQWHQDQFHýE\SDVVýOLQHýLQýDýPDWFKLQJýFDELQHWýZLWKýURWDU\ýVZLWFKLQJýPHFKDQLVPñýWRý
WRWDOO\ýLVRODWHýWKHý836ýPRGXOHýIURPýWKHýHOHFWULFDOýV\VWHPïý7KLVýFDELQHWýLVýDOVRýXVHGýWRýKRXVHýWKHý
RSWLRQDOýE\SDVVýWUDQVIRUPHUýDQGîRUýWKHýRSWLRQýRIýFLUFXLWýEUHDNHUVýIRUýWKHýUHFWLILHUñýE\SDVVñýDQGýRXWð
SXWýRIýWKHý836ï
Slim-Line Distribution Cabinet
$ýFDELQHWýH[WHQVLRQýRIýWKHý836ýPRGXOHýWRýHQFORVHýRQHýRUýWZRýéëðSROHýSDQHOERDUGVñýZLWKýDýPDLQýFLUð
FXLWýEUHDNHUýIRUýHDFKýSDQHOERDUGï

6 Introduction
1.2 Modes of Operation
7KHý836ýSURYLGHVýWKHýIROORZLQJýWKUHHýSRZHUýSDWKVýEHWZHHQýWKHýXWLOLW\ýVRXUFHýDQGýWKHýFULWLFDOýORDGï
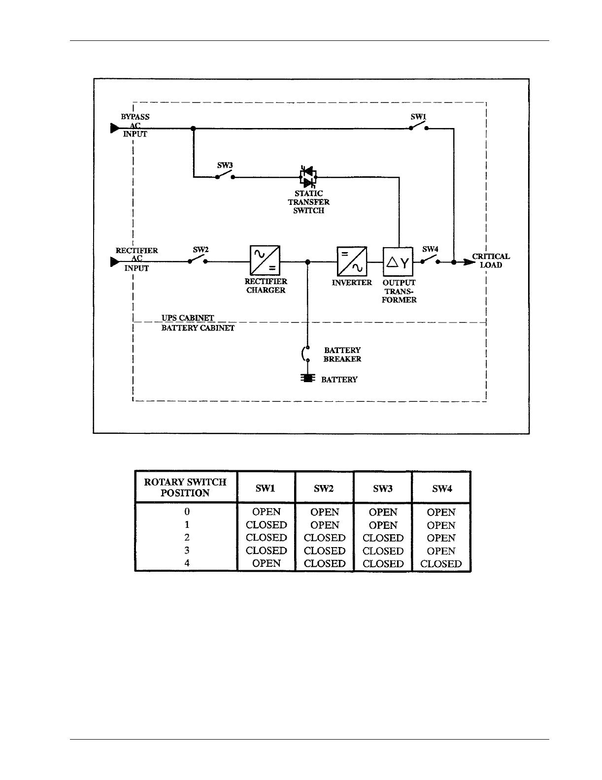
‡ 7KURXJKýWKHý836ý0RGXOH
‡6WDWLFý%\SDVVý/LQH
‡ 0DLQWHQDQFHý%\SDVVý/LQHï
1.2.1 Through the UPS Module
'XULQJýQRUPDOýRSHUDWLRQñýWKHýRXWSXWýRIýWKHý836ý0RGXOHýLQYHUWHUýLVýXVHGïý,QSXWý$&ýSRZHUýWRýWKHý
836ýLVýFRQYHUWHGýWRý'&ýE\ýWKHýUHFWLILHUîFKDUJHUïý7KHý'&ýSRZHUýFKDUJHVýWKHý836ýEDWWHU\ýDQGýSURð
YLGHVýLQSXWýSRZHUýIRUýWKHýLQYHUWHUïý7KHýLQYHUWHUýFRQYHUWVýWKHý'&ýSRZHUýWRýFRQGLWLRQHGý$&ýSRZHUý
ZKLFKýVXSSOLHVýWKHýFULWLFDOýORDGïý7KHýFRQYHUVLRQðLQYHUVLRQýSURFHVVýHOLPLQDWHVýYROWDJHýWUDQVLHQWVý
H[LVWLQJýLQýWKHýLQSXWýSRZHUýEHIRUHýLWýUHDFKHVýWKHýFULWLFDOýORDGïý,IýLQSXWýSRZHUýLVýLQWHUUXSWHGñýWKHý
EDWWHU\ýZLOOýLPPHGLDWHO\ýVXSSO\ýWKHý'&ýSRZHUýUHTXLUHGýE\ýWKHýLQYHUWHUýWRýPDLQWDLQýFRQWLQXRXVý
$&ýSRZHUýWRýWKHýORDGïý$ýIXOO\ýFKDUJHGýEDWWHU\ýZLOOýSURYLGHýSRZHUýIRUýWKHýVSHFLILHGýWLPHýDWýWKHýUDWHGý
ORDGñýRUýORQJHUýDWýDýUHGXFHGýORDGï
1.2.2 Static Bypass Line
7KHý6WDWLFý%\SDVVý/LQHýSURYLGHVýDQýDOWHUQDWHýSRZHUýSDWKýGXULQJýDQýRYHUORDGýFRQGLWLRQýRUý836ý
IDXOWïý,IýWKHýORDGýGHPDQGVýPRUHýSRZHUýWKDQýWKHýLQYHUWHUýFDQýVXSSO\ýõDQýRYHUORDGýFRQGLWLRQôñýWKHý
FRQWUROýV\VWHPýDXWRPDWLFDOO\ýHQHUJL]HVýWKHýVWDWLFýWUDQVIHUýVZLWFKýWRýWUDQVIHUýWKHýORDGýIURPýWKHý
836ý0RGXOHýWRýWKHý6WDWLFý%\SDVVý/LQHïý,IýWKHýLQWHUQDOýFRQWUROýV\VWHPýGHWHFWVýDýIDXOWýLQýWKHý836ý
0RGXOHýZKLOHýLWýLVýVXSSRUWLQJýWKHýORDGñýWKHýVWDWLFýWUDQVIHUýVZLWFKýWUDQVIHUVýWKHýORDGýZLWKRXWýLQWHUð
UXSWLRQýWRýWKHý6WDWLFý%\SDVVý/LQHñýWKHUHE\ýPDLQWDLQLQJýFRQWLQXRXVýSRZHUýWRýWKHýFULWLFDOýORDGï
1.2.3 Maintenance Bypass Line
7KHý0DLQWHQDQFHý%\SDVVý/LQHýLVýDýKDUGðZLUHGýOLQHýWKURXJKýWKHý836ýZKLFKýVXSSOLHVýWKHýFULWLFDOý
ORDGýZLWKýXQFRQGLWLRQHGýSRZHUýZKHQýWKHý5RWDU\ý6ZLWFKýLVýLQý3RVLWLRQýìñýëñýRUýêïý7KHýSXUSRVHýRIý
WKLVýOLQHýLVýWRýURXWHýSRZHUýWRýWKHýFULWLFDOýORDGýGXULQJýVWDUWðXSýRUýZKLOHýWKHý836ý0RGXOHýLVýGHðHQHUð
JL]HGýIRUýPDLQWHQDQFHïý7KHý0DLQWHQDQFHý%\SDVVý/LQHýFDQýRQO\ýEHýVHOHFWHGýPDQXDOO\ñýXVLQJýWKHý
5RWDU\ý6ZLWFKïý:KHQýWKHý5RWDU\ý6ZLWFKýLVýLQý3RVLWLRQýéñýWKHýLQWHUQDOýFRQWUROýV\VWHPýGHWHUPLQHVý
ZKLFKýRIýWKHýRWKHUýWZRýSDWKVýVXSSOLHVýSRZHUýWRýWKHýORDGï

Installation 7
2.0 INSTALLATION
2.1 Safety Precautions
5HDGýWKLVýPDQXDOýWKRURXJKO\ñýSD\LQJýVSHFLDOýDWWHQWLRQýWRýWKHýVHFWLRQVýWKDWýDSSO\ýWRý\RXñýEHIRUHý
ZRUNLQJýZLWKýWKHý836ïý$OVRýUHDGýWKHýEDWWHU\ýPDQXIDFWXUHUªVýPDQXDOýEHIRUHýZRUNLQJýRQýRUýQHDUý
WKHýEDWWHU\ï
8QGHUýW\SLFDOýRSHUDWLRQýDQGýZLWKýDOOý836ýGRRUVýFORVHGñýRQO\ýQRUPDOýVDIHW\ýSUHFDXWLRQVýDUHýQHFHVð
VDU\ïý7KHýDUHDýDURXQGýWKHý836ýV\VWHPýDQGý%DWWHU\ýVKRXOGýEHýNHSWýIUHHýIURPýSXGGOHVýRIýZDWHUñý
H[FHVVýPRLVWXUHñýRUýGHEULVï
6SHFLDOýVDIHW\ýSUHFDXWLRQVýDUHýUHTXLUHGýIRUýSURFHGXUHVýLQYROYLQJýKDQGOLQJñýLQVWDOODWLRQñýDQGýPDLQð
WHQDQFHýRIýWKHý836ýV\VWHPýRUýWKHýEDWWHU\ïý2EVHUYHýSUHFDXWLRQVýLQýëïí ðý,QVWDOODWLRQýEHIRUHýKDQð
GOLQJýRUýLQVWDOOLQJýWKHý836ýV\VWHPïý2EVHUYHýSUHFDXWLRQVýLQýéïí ðý0DLQWHQDQFHñýEHIRUHýDVýZHOOýDVý
GXULQJýSHUIRUPDQFHýRIýDOOýPDLQWHQDQFHýSURFHGXUHVïý2EVHUYHýDOOýEDWWHU\ýVDIHW\ýSUHFDXWLRQVýEHIRUHý
ZRUNLQJýRQýRUýQHDUýWKHýEDWWHU\ï
7KLVýHTXLSPHQWýFRQWDLQVýVHYHUDOýFLUFXLWVýWKDWýDUHýHQHUJL]HGýZLWKýKLJKýYROWDJHïý2QO\ýWHVWý
HTXLSPHQWýGHVLJQDWHGýIRUýWURXEOHVKRRWLQJýVKRXOGýEHýXVHGïý7KLVýLVýSDUWLFXODUO\ýWUXHýIRUýRVFLOORð
VFRSHVïý$OZD\VýFKHFNýZLWKýDQý$&ýDQGý'&ýYROWPHWHUýWRýHQVXUHýVDIHW\ýEHIRUHýPDNLQJýFRQWDFWýRUý
XVLQJýWRROVïý(YHQýZKHQýWKHýSRZHUýLVýWXUQHGý2IIñýGDQJHURXVO\ýKLJKýSRWHQWLDOVýPD\ýH[LVWýDWýWKHý
FDSDFLWRUýEDQNVïý2EVHUYHýDOOýEDWWHU\ýSUHFDXWLRQVýZKHQýQHDUýWKHýEDWWHU\ýIRUýDQ\ýUHDVRQï
21/<ýTXDOLILHGýVHUYLFHýSHUVRQQHOýVKRXOGýSHUIRUPýPDLQWHQDQFHýRQýWKHý836ýV\VWHPïý
:KHQýSHUIRUPLQJýPDLQWHQDQFHýZLWKýDQ\ýSDUWýRIýWKHýHTXLSPHQWýXQGHUýSRZHUñýVHUYLFHýSHUVRQQHOý
DQGýWHVWýHTXLSPHQWýVKRXOGýEHýVWDQGLQJýRQýUXEEHUýPDWVïý7KHýVHUYLFHýSHUVRQQHOýVKRXOGýZHDUýLQVXð
ODWLQJýVKRHVýIRUýLVRODWLRQýIURPýGLUHFWýFRQWDFWýZLWKýWKHýIORRUýõHDUWKýJURXQGôï
8QOHVVýSRZHUýLVýUHPRYHGýIURPýWKHýHTXLSPHQWñýRQHýSHUVRQýVKRXOGýQHYHUýZRUNýDORQHïý$ýVHFRQGýSHUð
VRQýVKRXOGýEHýVWDQGLQJýE\ýWRýDVVLVWýDQGýVXPPRQýKHOSýLQýFDVHýDQýDFFLGHQWýVKRXOGýRFFXUïý7KLVýLVýSDUð
WLFXODUO\ýWUXHýZKHQýZRUNýLVýSHUIRUPHGýRQýWKHýEDWWHU\ï
$ý:DUQLQJýVLJQDOVýWKHýSUHVHQFHýRIýDýSRVVLEOHýVHULRXVñýOLIHðWKUHDWHQLQJýFRQGLWLRQïý)RUýH[DPSOHã
$ý&DXWLRQýLQGLFDWHVýDýFRQGLWLRQýWKDWýFRXOGýVHULRXVO\ýGDPDJHýHTXLSPHQWýDQGýSRVVLEO\ýLQMXUHýSHUð
VRQQHOïý)RUýH[DPSOHã
$ý1RWHýHPSKDVL]HVýLPSRUWDQWýWH[Wïý,IýWKHýQRWHýLVýQRWýIROORZHGñýHTXLSPHQWýFRXOGýEHýGDPDJHGýRUý
PD\ýQRWýRSHUDWHýSURSHUO\ïý)RUýH[DPSOHã
$:$51,1*
/(7+$/ý92/7$*(6ý0$<ý%(ý35(6(17ý:,7+,1ý7+,6ý81,7ý
(9(1ý:+(1ý,7ý,6ý$33$5(17/<ý127ý23(5$7,1*ïý2%6(59(ý
$//ý&$87,216ý$1'ý:$51,1*6ý,1ý7+,6ý0$18$/ïý)$,/85(ý
72ý'2ý62ý&28/'ý5(68/7ý,1ý6(5,286ý,1-85<ý25ý'($7+ïý'2ý
127ý:25.ý21ý25ý23(5$7(ý7+,6ý(48,30(17ý81/(66ý<28ý
$5(ý)8//<ý48$/,),('ý72ý'2ý62üüý1(9(5ý:25.ý$/21(ï
$&$87,21
6WDUWðXSýPXVWýEHýSHUIRUPHGýH[DFWO\ýDVýLQVWUXFWHGïý)ROORZýSURPSWVý
RQýWKHý$GYLVRU\ý'LVSOD\ïý7XUQLQJýWKHý5RWDU\ý6ZLWFKýWRRýVRRQýPD\ý
UHVXOWýLQýLPPHGLDWHýORVVýRIýSRZHUýWRýWKHýFULWLFDOýORDGï
127(
'HWHUPLQHýWLPHýUHTXLUHGýWRýSHUIRUPýDQýRUGHUO\ýVKXWGRZQýRIýWKHýFULWLFDOý
ORDGïý%HJLQýVKXWGRZQýVRýLWýZLOOýEHýFRPSOHWHGýZKLOHýWKHýEDWWHU\ýLVýVWLOOý
VXSSRUWLQJýWKHýORDGï

8 Installation
Notes
1. Nominal (NOM) current is based on full rated output load.
2. Maximum (MAX) current (125% of NOM) is short duration for battery recharge conditions.
3. UPS input and bypass cables must be run in separate conduit from output cables.
4. If the UPS module is to be upgraded in the future, it is recommended that the AC input, bypass AC input, battery, and AC output wiring and overcurrent
protection be sized initially for the future upgraded size.
5. Nominal battery voltage is shown at 2.0 volts/cell per NEC 480-2.
6. Power cables from UPS DC link to batteries should be sized for a total maximum 2.0 volt line drop (measured at UPS) at maximum discharge current.
7. Recommended bypass AC input and AC output overcurrent protection represents 125% of nominal full load current (continuous) per NEC 220-2(a).
8. UPS output load cables must be run in separate conduit from input and bypass cables.
9. Minimum sized grounding conductors to be per NEC 250-95. Parity sized ground conductors are recommended. Neutral conductors to be sized for full
capacity per NEC-16 Note 10.
10. Wiring requirements:
AC INPUT: 3-phase, 3-wire plus ground (unit supplied with input isolation transformer).
3-phase, 4-wire plus ground (unit supplied with input auto transformer).
AC OUTPUT: 3-phase, 4-wire plus ground.
DC INPUT: 2-wire (positive and negative), plus ground.
11. All wiring is to be in accordance with national and local electrical codes.
12. Minimum access clearance is 3 feet front and 1 foot above UPS.
13. Top or bottom cable entry through removable access plates. Cut plate to suit conduit size, then replace.
14. Control wiring and power wiring must be run in separate conduit.
15. Battery cabinet not included.
Additional Notes
1. If site configuration includes a back-up emergency generator, it is recommended that the engine generator set be properly sized and equipped for a UPS
application. Generator options would typically include an isochronous governor (generator frequency regulation) and a UPS compatible regulator
(generator voltage regulation). Consult generator manufacturer for required generator options and sizing.
2. If site configuration includes an automatic transfer switch, refer to the Liebert Power Line titled “Criteria for Application of Automatic Transfer Switches
(ATS) with Uninterruptible Power Supply (UPS) Systems.” 91K-PLT-48-02. It is also recommended that the transfer switch be equipped with auxiliary
contacts for UPS “on generator” current limit. Consult transfer switch manufacturer for required transfer switch options and sizing.
3. If site configuration requires an external isolated maintenance bypass circuit, it should be noted that the Utility AC input is not in phase with the UPS AC
output, with the optional delta-wye input isolation transformer. Consult with sales representative or UPS applications engineer.
Table 2 Site Planning Data, Series 300 DT, Dual Input 10 to 50 kVA
Model Power
Rating Voltage
Rectifier
AC Input
Rectifier
AC Input
with Optional
Input Filter Battery AC Output Mechanical Data
Current Rec
** Current Rec
** Nominal
Voltage Full
Load
Max.
Dis-
charge
Current Current Rec
** Dimen-
sions Weight
DFL
Lb./
Ft.2
Heat
Dis-
sipa-
tion
BTU/
hr.
Cooling
Air
CFM
kVA kW VAC/Freq Nom Max Nom Max kW Nom (WxDxH)
312
*10 8 208/60Hz
240/60Hz
480/60Hz
600/60Hz
35A
29A
15A
12A
44A
36A
19A
15A
60A
50A
25A
20A
30A
26A
13A
11A
37A
32A
16A
14A
50A
40A
20A
20A
204VDC
(102 cells) 9.3 58A 28A
24A
12A
10A
35A
30A
15A
15A
36x28x72 in
91x72x183 cm 1100 lbs
499 kg 157 6000 600
322
*15 12 208/60Hz
240/60Hz
480/60Hz
600/60Hz
50A
43A
22A
18A
63A
54A
28A
23A
80A
70A
40A
30A
44A
38A
19A
15A
55A
48A
24A
19A
70A
60A
30A
25A
204VDC
(102 cells) 13.8 85A 42A
36A
18A
14A
60A
45A
25A
20A
36x28x72 in
91x72x183 cm 1100 lbs
499 kg 157 8000 600
332
*20 16 208/60Hz
240/60Hz
480/60Hz
600/60Hz
65A
56A
28A
23A
81A
70A
35A
29A
100A
90A
50A
40A
57A
50A
25A
20A
72A
62A
31A
25A
90A
80A
40A
30A
360VDC
(180 cells) 17.8 62A 56A
48A
24A
20A
70A
60A
30A
25A
36x28x72 in
91x72x183 cm 1400 lbs
635 kg 200 8900 800
342
*30 24 208/60Hz
240/60Hz
480/60Hz
600/60Hz
96A
83A
42A
33A
120A
104A
53A
41A
150A
125A
70A
50A
85A
74A
37A
29A
106A
92A
46A
37A
150A
110A
60A
50A
360VDC
(180 cells) 26.4 92A 83A
72A
36A
29A
125A
90A
50A
40A
36x28x72 in
91x72x183 cm 1400 lbs
635 kg 200 12300 1050
347
*40 32 208/60Hz
240/60Hz
480/60Hz
600/60Hz
128A
111A
55A
44A
160A
139A
69A
55A
200A
175A
90A
70A
113A
98A
49A
39A
142A
123A
61A
49A
175A
150A
80A
60A
360VDC
(180 cells) 35.2 122A 111A
96A
48A
39A
150A
125A
60A
50A
36x28x72 in
91x72x183 cm 1900 lbs
862 kg 271 16400 1050
357
*50 40 208/60Hz
240/60Hz
480/60Hz
600/60Hz
158A
137A
68A
55A
198A
171A
85A
69A
250A
225A
110A
90A
140A
122A
61A
49A
175A
152A
76A
61A
225A
200A
100A
80A
360VDC
(180 cells) 43.7 150A 139A
120A
60A
48A
175A
150A
80A
60A
36x28x72 in
91x72x183 cm 1900 lbs
862 kg 271 18700 1050
Applicable
Notes: —123,4
9,10
11
13
14
123,4
9,10
11
13
14
5—4,6
9
11
13
14
14,7
8,9
11
13
14
12,13,15 15 15 — —
For explanation of Applicable Notes, see referenced numbers in Notes below.
*Field-upgradeable to next larger model
**Rec = Recommended External Overcurrent Protection
DFL = Distributed Floor Loading

Installation 9
Notes
1. Nominal (NOM) current is based on full rated output load.
2. Maximum (MAX) current (125% of NOM) is short duration for battery recharge conditions.
3. UPS input and bypass cables must be run in separate conduit from output cables.
4. If the UPS module is to be upgraded in the future, it is recommended that the AC input, bypass AC input, battery, and AC output wiring and overcurrent
protection be sized initially for the future upgraded size.
5. Nominal battery voltage is shown at 2.0 volts/cell per NEC 480-2.
6. Power cables from UPS DC link to batteries should be sized for a total maximum 2.0 volt line drop (measured at UPS) at maximum discharge current.
7. Recommended bypass AC input and AC output overcurrent protection represents 125% of nominal full load current (continuous) per NEC 220-2(a).
8. UPS output load cables must be run in separate conduit from input and bypass cables.
9. Minimum sized grounding conductors to be per NEC 250-95. Parity sized ground conductors are recommended. Neutral conductors to be sized for full
capacity per NEC-16 Note 10.
10. Wiring requirements:
AC INPUT: 3-phase, 3-wire plus ground (unit supplied with input isolation transformer).
3-phase, 4-wire plus ground (unit supplied with input auto transformer).
AC OUTPUT: 3-phase, 4-wire plus ground.
DC INPUT: 2-wire (positive and negative), plus ground.
11. All wiring is to be in accordance with national and local electrical codes.
12. Minimum access clearance is 3 feet front and 1 foot above UPS.
13. Top or bottom cable entry through removable access plates. Cut plate to suit conduit size, then replace.
14. Control wiring and power wiring must be run in separate conduit.
15. Battery cabinet not included.
Additional Notes
1. If site configuration includes a back-up emergency generator, it is recommended that the engine generator set be properly sized and equipped for a UPS
application. Generator options would typically include an isochronous governor (generator frequency regulation) and a UPS compatible regulator
(generator voltage regulation). Consult generator manufacturer for required generator options and sizing.
2. If site configuration includes an automatic transfer switch, refer to the Liebert Power Line titled “Criteria for Application of Automatic Transfer Switches
(ATS) with Uninterruptible Power Supply (UPS) Systems.” 91K-PLT-48-02. It is also recommended that the transfer switch be equipped with auxiliary
contacts for UPS “on generator” current limit. Consult transfer switch manufacturer for required transfer switch options and sizing.
3. If site configuration requires an external isolated maintenance bypass circuit, it should be noted that the Utility AC input is not in phase with the UPS AC
output, with the optional delta-wye input isolation transformer. Consult with sales representative or UPS applications engineer.
Table 3 Site Planning Data, Series 300 DT, Dual Input 65 to 125 kVA
Model Power
Rating Voltage
Rectifier
AC Input
Rectifier
AC Input
with Optional
Input Filter Battery AC Output Mechanical Data
Current Rec
** Current Rec
** Nominal
Voltage Full
Load
Max.
Dis-
charge
Current Current Rec
** Dimen-
sions Weight
DFL
Lb./
Ft.2
Heat
Dis-
sipa-
tion
BTU/
hr.
Cooling
Air
CFM
kVA kW VAC/Freq Nom Max Nom Max kW Nom (WxDxH)
362
*65 52 208/60Hz
240/60Hz
480/60Hz
600/60Hz
197A
171A
85A
68A
246A
214A
106A
85A
300A
300A
150A
110A
182A
158A
79A
63A
228A
197A
99A
79A
300A
250A
125A
100A
360VDC
(180 cells) 57.1 198A 180A
155A
78A
63A
225A
200A
100A
80A
54x28x72 in
137x72x183 cm 2500 lbs
1134 kg 238 24200 1200
367 75 60 208/60Hz
240/60Hz
480/60Hz
600/60Hz
234A
203A
101A
81A
293A
254A
126A
101A
400A
350A
175A
125A
208A
180A
90A
72A
260A
225A
113A
90A
350A
300A
150A
125A
360VDC
(180 cells) 65.2 225A 208A
180A
90A
72A
300A
225A
125A
90A
54x28x72 in
137x72x183 cm 2500 lbs
1134 kg 238 25400 1200
377
*100 80 208/60Hz
240/60Hz
480/60Hz
600/60Hz
312A
270A
135A
108A
390A
338A
169A
135A
500A
450A
225A
175A
277A
240A
120A
95A
347A
300A
150A
120A
450A
400A
200A
150A
360VDC
(180 cells) 86.5 307A 278A
241A
120A
96A
350A
300A
150A
125A
54x28x72 in
137x72x183 cm 2700 lbs
1225 kg 257 33800 1600
382 125 100 208/60Hz
240/60Hz
480/60Hz
600/60Hz
386A
334A
167A
134A
483A
418A
209A
168A
600A
600A
300A
225A
343A
297A
148A
119A
429A
371A
185A
149A
600A
450A
225A
175A
360VDC
(180 cells) 108.1 383A 347A
301A
150A
120A
450A
400A
200A
150A
54x28x72 in
137x72x183 cm 2700 lbs
1225 kg 257 38000 1600
Applicable
Notes: —123,4
9,10
11
13
14
123,4
9,10
11
13
14
5—4,6
9,10
11
13
14
1 3,4,7
8,9,10
11
13
14
12,13,15 15 15 — —
For explanation of Applicable Notes, see referenced numbers in Notes below.
*Field-upgradeable to next larger model
**Rec = Recommended External Overcurrent Protection
DFL = Distributed Floor Loading

10 Installation
2.2 UPS Installation
3URSHUýSODQQLQJýZLOOýVSHHGý836ýXQORDGLQJñýORFDWLRQñýDQGýFRQQHFWLRQïý0DNHýVXUHýWKHUHýLVýDGHTXDWHý
FOHDUDQFHýIRUýWKHý836ýPRGXOHýDQGýEDWWHU\ýFDELQHWýGRRUVýWRýRSHQýIXOOýVZLQJïý&KHFNýIRUýDýPLQLPXPý
RIýìëýLQïýFOHDUDQFHýDERYHýERWKýFDELQHWVýIRUýH[KDXVWýDLUýWRýIORZýZLWKRXWýUHVWULFWLRQïý$OVRýDOORZýDGHð
TXDWHýFOHDUDQFHýDWýERWWRPýIURQWýRIýHDFKýFDELQHWýIRUýXQUHVWULFWHGýLQWDNHýDLUýWRýIORZïý0DNHýVXUHýURRPý
KDVýDGHTXDWHýYHQWLODWLRQýDQGýFRROLQJýDQGýLQVWDOOý836ýLQýDýFOHDQîGU\ýORFDWLRQï
,QVWDOOý836ýDFFRUGLQJýWRýGUDZLQJVýõ)LJXUH ìýWKURXJKý)LJXUH ìçôñý7DEOH èýDQGý7DEOH çñýDQGý
WKHýIROORZLQJýSURFHGXUHVïý$IWHUýLQVWDOODWLRQýLVýFRPSOHWHñýFRQWDFWý/LHEHUWý&XVWRPHUý6HUYLFHýDQGý
6XSSRUWýDWýìðåííðèéêðëêæåýWRýVFKHGXOHýFKHFNðRXWýDQGýVWDUWðXSýDVVLVWDQFHï
$ý/LHEHUWýDXWKRUL]HGýUHSUHVHQWDWLYHýPXVWýSHUIRUPýDQýLQLWLDOýV\VWHPýVWDUWðXSýWRýHQVXUHýSURSHUý
836ýRSHUDWLRQïý(TXLSPHQWýZDUUDQWLHVýZLOOýEHýYRLGHGýXQOHVVýV\VWHPýVWDUWðXSýLVýSHUIRUPHGýE\ýDý
/LHEHUWýDXWKRUL]HGýUHSUHVHQWDWLYHï
2.2.1 Installation Considerations
ìï 8WLOL]HýWKHýVKRUWHVWýRXWSXWýGLVWULEXWLRQýFDEOHýUXQVýSRVVLEOHýDWýWKHýLQVWDOODWLRQýVLWHñýFRQVLVWHQWý
ZLWKýORJLFDOýHTXLSPHQWýDUUDQJHPHQWýDQGýLQýFRPSOLDQFHýZLWKý1(&ýDQGýORFDOýHOHFWULFDOýFRGHVïý
$OORZýVSDFHýIRUýIXWXUHýHTXLSPHQWýDGGLWLRQVï
ëï 5HFRPPHQGHGýDPELHQWýWHPSHUDWXUHýIRUýRSHUDWLRQýLVýëíýWRýêíƒý&HOVLXVýõçåýWRýåçƒ)ôïý5HODWLYHý
KXPLGLW\ýPXVWýEHýOHVVýWKDQýäèøýQRQðFRQGHQVLQJïý,QýDOWLWXGHVýDERYHýëíííýPHWHUVýõçñèçíýIHHWôñý
WKHý836ýUDWLQJýZLOOýEHýUHGXFHGï
êï 7KHýURXWHýDQGýIRXQGDWLRQýWRýWKHýLQVWDOODWLRQýVLWHýPXVWýEHýFDSDEOHýRIýVXSSRUWLQJýWKHýZHLJKWýRIý
FDELQHWVýDQGýPRYLQJýHTXLSPHQWïý5HIHUýWRý6LWHý3ODQQLQJý'DWDñý7DEOH ëýDQGý7DEOH êñýIRUý
VSHFLILFýLQIRUPDWLRQýDERXWýFDELQHWýZHLJKWVï
éï 3ODQýWKHýURXWHýWRýHQVXUHýXQLWýZLOOýSDVVýWKURXJKýDOOýHOHYDWRUVñýFRUQHUVñýDQGýGRRUZD\VýWRýSUHYHQWý
GDPDJHï
èï +HDWýRXWSXWýRIý836ýHTXLSPHQWýLVýVLJQLILFDQWïý%HýVXUHýHQYLURQPHQWDOýFRQGLWLRQLQJýV\VWHPVý
FDQýDFFRPPRGDWHýWKLVýKHDWýORDGñýHYHQýGXULQJýXWLOLW\ýRXWDJHVïý2WKHUZLVHñýWKHý836ýPD\ý
VKXWGRZQýGXHýWRýRYHUWHPSHUDWXUHïý5HIHUýWRý6LWHý3ODQQLQJý'DWDñý7DEOH ëýDQGý7DEOH êñýIRUý
PRUHýVSHFLILFýLQIRUPDWLRQï
$&$87,21
5HDGýWKLVýPDQXDOýWKRURXJKO\ýEHIRUHýDWWHPSWLQJýWRýZLUHýRUý
RSHUDWHýWKHýXQLWïý,PSURSHUýLQVWDOODWLRQýLVýWKHýPRVWýVLJQLILFDQWý
FDXVHýRIý836ýVWDUWðXSýSUREOHPVï
'RýQRWýLQVWDOOýWKHýHTXLSPHQWýQHDUýDQ\ýJDVýRUýHOHFWULFýKHDWHUVïý
,QVWDOOýWKHýHTXLSPHQWýLQýDýUHVWULFWHGýORFDWLRQýWRýSUHYHQWýDFFHVVýE\ý
XQDXWKRUL]HGýSHUVRQQHOï
7KLVýHTXLSPHQWýJHQHUDWHVñýXVHVñýDQGýFDQýUDGLDWHýUDGLRýIUHTXHQF\ý
HQHUJ\ýDQGñýLIýQRWýLQVWDOOHGýDQGýXVHGýLQýDFFRUGDQFHýZLWKýWKLVý
PDQXDOñýPD\ýFDXVHýLQWHUIHUHQFHýWRýUDGLRýFRPPXQLFDWLRQVïý,WýKDVý
EHHQýWHVWHGýDQGýIRXQGýWRýFRPSO\ýZLWKýWKHýOLPLWVýIRUýDý&ODVVý$ý
FRPSXWLQJýGHYLFHýSXUVXDQWýWRý3DUWýìèýRIý)&&ýUXOHVñýZKLFKýDUHý
GHVLJQHGýWRýSURYLGHýUHDVRQDEOHýSURWHFWLRQýDJDLQVWýVXFKý
LQWHUIHUHQFHýZKHQýRSHUDWHGýLQýDýFRPPHUFLDOýHQYLURQPHQWïý
2SHUDWLRQýRIýWKLVýHTXLSPHQWýLQýDýUHVLGHQWLDOýDUHDýLVýOLNHO\ýWRýFDXVHý
LQWHUIHUHQFHñýLQýZKLFKýFDVHýWKHýXVHUýDWýKLVýRZQýH[SHQVHýZLOOýEHý
UHTXLUHGýWRýWDNHýZKDWHYHUýPHDVXUHVýPD\ýEHýUHTXLUHGýWRýFRUUHFWý
WKHýLQWHUIHUHQFHï

Installation 11
2.2.2 Unloading and External Inspection
836ýDQGýEDWWHU\ýFDELQHWVýDUHýVKLSSHGýRQýVHSDUDWHýSDOOHWVýWRýDOORZýHDVLHUýKDQGOLQJýDWýWKHýVLWHïý
0RYHýFDELQHWVýDVýFORVHýDVýSRVVLEOHýWRýWKHýLQWHQGHGýORFDWLRQýEHIRUHýUHPRYLQJýIURPýWKHýSDOOHWï
ìï ,QVSHFWýHTXLSPHQWýDQGýVKLSSLQJýFRQWDLQHUõVôýIRUýDQ\ýVLJQVýRIýGDPDJHýRUýPLVKDQGOLQJïý'RýQRWý
DWWHPSWýWRýLQVWDOOýWKHýV\VWHPýLIýGDPDJHýLVýDSSDUHQWïý,IýDQ\ýGDPDJHýLVýQRWHGñýILOHýDýGDPDJHý
FODLPýZLWKýWKHýVKLSSLQJýDJHQF\ýZLWKLQýëéýKRXUVñýDQGýFRQWDFWý/LHEHUWý&XVWRPHUý6HUYLFHýDQGý
6XSSRUWýDWýìðåííðèéêðëêæåýWRýLQIRUPýWKHPýRIýWKHýGDPDJHýFODLPýDQGýWKHýFRQGLWLRQýRIýWKHý
HTXLSPHQWï
ëï &RPSDUHýFRQWHQWVýRIýVKLSPHQWýZLWKýWKHýELOOýRIýODGLQJïý5HSRUWýDQ\ýPLVVLQJýLWHPVýWRýWKHýFDUULHUý
DQGýWRý/LHEHUWý&XVWRPHUý6HUYLFHýDQGý6XSSRUWýLPPHGLDWHO\ï
êï &KHFNýQDPHSODWHýRQýWKHýLQVLGHýRIýFDELQHWýIURQWýGRRUýWRýYHULI\ýPRGHOýQXPEHUñýN9$ýUDWLQJñýDQGý
LQSXWîRXWSXWýYROWDJHýFRUUHVSRQGVýZLWKýWKHýRQHýVSHFLILHGïý5HFRUGýPRGHOýDQGýVHULDOýQXPEHUýLQý
IURQWýRIýWKLVýPDQXDOïý$ýUHFRUGýRIýWKLVýLQIRUPDWLRQýLVýQHFHVVDU\ýVKRXOGýVHUYLFLQJýEHFRPHý
UHTXLUHGï
2.2.3 Internal Inspection of the UPS System
ìï 9HULI\ýWKDWýDOOýLWHPVýKDYHýEHHQýUHFHLYHGï
ëï ,IýVSDUHýSDUWVýZHUHýRUGHUHGñýYHULI\ýDUULYDOï
êï &KHFNýIRUýVKLSSLQJýGDPDJHýLQWHUQDOO\ï
éï &KHFNýIRUýDQ\ýORRVHýFRQQHFWLRQVýRUýXQVHFXUHGýFRPSRQHQWVýLQýWKHý836ýPRGXOHï
èï &KHFNýIRUýLQVWDOODWLRQýRIýVDIHW\ýVKLHOGVýRQýWKHý836ýPRGXOHïý7KHUHýVKRXOGýQRWýEHýDQ\ýH[SRVHGý
WHUPLQDOVýZKHQýWKHýFDELQHWýGRRUVýDUHýRSHQHGï
çï &KHFNýIRUýDQ\ýXQVDIHýIHDWXUHýWKDWýPD\ýEHýDýSRWHQWLDOýVDIHW\ýKD]DUGï
2.2.4 Equipment Location
ìï 8VHýDýIRUNýOLIWýRUýRWKHUýPDWHULDOýKDQGOLQJýGHYLFHýWRýPRYHýWKHýFDELQHWVýDVýFORVHýDVýSRVVLEOHýWRý
WKHýILQDOýLQVWDOODWLRQýVLWHï
ëï &DVWHUVýDUHýSURYLGHGýRQýWKHýXQLWýWRýDLGýLQýILQDOýSRVLWLRQLQJï
êï $VýZLWKýDOOýHOHFWULFDOýHTXLSPHQWñýLQVWDOODWLRQýDQGýVHUYLFHDELOLW\ýZLOOýEHýHDVLHUýLIýDFFHVVýLVý
SURYLGHGýRQýDOOýVLGHVýRIýWKHýHTXLSPHQWïý0LQLPXPýDFFHVVýUHTXLUHPHQWVýDUHýêýIHHWýIURQWñýìýIRRWý
WRSï
éï 9HULI\ýDGHTXDWHýFOHDUDQFHýIRUýFDELQHWýGRRUVýWRýRSHQïý6HHýGUDZLQJVýDQGýORFDWLRQýFRGHVýõé IHHWýLVý
UHFRPPHQGHGôï
èï 9HULI\ýDGHTXDWHýFOHDUDQFHýDERYHýFDELQHWVýDOORZLQJýXQUHVWULFWHGýH[KDXVWýDLUýWRýIORZýõìë LQFKHVý
PLQLPXPôï
çï 9HULI\ý836ýV\VWHPýLVýLQVWDOOHGýLQýDýFOHDQñýFRROñýDQGýGU\ýORFDWLRQï
$&$87,21
'RýQRWýUHPRYHýWKHýVXSSRUWLQJýEDQGVýXQWLOý\RXýLQWHQGýWRýUHPRYHý
XQLWýIURPýSDOOHWïý6KLSSLQJýEDQGVýDUHýXVHGýWRýVHFXUHýXQLWýWRýSDOOHWïý
([WUHPHýFDUHýLVýQHFHVVDU\ýGXULQJýPRYLQJïý7HVWýOLIWýDQGýEDODQFHý
WKHýFDELQHWVýEHIRUHýWUDQVSRUWLQJïý0DLQWDLQýPLQLPXPýWLOWýIURPý
YHUWLFDOýDWýDOOýWLPHVï
$:$51,1*
($&+ý836ý02'8/(ý$1'ý0$7&+,1*ý%$77(5<ý&$%,1(7ý
:(,*+6ý%(7:((1ýììííý$1'ýëæííý3281'6ý'(3(1',1*ý21ý
02'(/ïý(;(5&,6(ý(;75(0(ý&$5(ý:+(1ý+$1'/,1*ý72ý
$92,'ý(48,30(17ý'$0$*(ý25ý,1-85<ý72ý3(56211(/ïý$ý
)25.ý/,)7ý25ý27+(5ý$'(48$7(ý0$7(5,$/ý+$1'/,1*ý
'(9,&(ý6+28/'ý%(ý86('ý)25ý81/2$',1*ñý029,1*ñý$1'ý
326,7,21,1*ý7+(ý&$%,1(76ï

12 Installation
2.3 Battery Installation
Battery Safety Precautions
6HUYLFLQJýRIýEDWWHULHVýVKRXOGýEHýSHUIRUPHGýRUýVXSHUYLVHGýE\ýSHUVRQQHOýNQRZOHGJHDEOHýRIýEDWWHULHVý
DQGýWKHýUHTXLUHGýSUHFDXWLRQVïý.HHSýXQDXWKRUL]HGýSHUVRQQHOýDZD\ýIURPýEDWWHULHVïý5HIHUýWRýéïí ðý
0DLQWHQDQFHýIRUýDGGLWLRQDOýVDIHW\ýSUHFDXWLRQVýUHJDUGLQJýYHQWHGýEDWWHULHVï
:KHQýUHSODFLQJýEDWWHULHVñýXVHýWKHýVDPHýQXPEHUýDQGýW\SHýRIýEDWWHULHVï
$&$87,21
/HDGðDFLGýEDWWHULHVýFRQWDLQýKD]DUGRXVýPDWHULDOVïý%DWWHULHVýPXVWý
EHýKDQGOHGñýWUDQVSRUWHGñýDQGýUHF\FOHGýRUýGLVFDUGHGýLQýDFFRUGDQFHý
ZLWKýIHGHUDOñýVWDWHñýDQGýORFDOýUHJXODWLRQVïý%HFDXVHýOHDGýLVýDýWR[LFý
VXEVWDQFHñýOHDGðDFLGýEDWWHULHVýVKRXOGýEHýUHF\FOHGýUDWKHUýWKDQý
GLVFDUGHGï
'RýQRWýGLVSRVHýRIýEDWWHU\ýRUýEDWWHULHVýLQýDýILUHïý7KHýEDWWHU\ýPD\ý
H[SORGHï
'RýQRWýRSHQýRUýPXWLODWHýWKHýEDWWHU\ýRUýEDWWHULHVïý5HOHDVHGý
HOHFWURO\WHýLVýKDUPIXOýWRýWKHýVNLQýDQGýH\HVïý,WýPD\ýEHýWR[LFï
$ýEDWWHU\ýFDQýSUHVHQWýDýULVNýRIýHOHFWULFDOýVKRFNýDQGýKLJKýVKRUWý
FLUFXLWýFXUUHQWïý7KHýIROORZLQJýSUHFDXWLRQVýVKRXOGýEHýREVHUYHGý
ZKHQýZRUNLQJýRQýEDWWHULHVã
ìï 5HPRYHýZDWFKHVñýULQJVñýRUýRWKHUýPHWDOýREMHFWVï
ëï 8VHýWRROVýZLWKýLQVXODWHGýKDQGOHVï
êï :HDUýUXEEHUýJORYHVýDQGýERRWVï
éï 'RýQRWýOD\ýWRROVýRUýPHWDOýSDUWVýRQýWRSýRIýEDWWHULHVï
èï 'LVFRQQHFWýFKDUJLQJýVRXUFHýSULRUýWRýFRQQHFWLQJýRUý
GLVFRQQHFWLQJýEDWWHU\ýWHUPLQDOVï
çï 'HWHUPLQHýLIýEDWWHU\ýLVýLQDGYHUWHQWO\ýJURXQGHGïý,Iý
LQDGYHUWHQWO\ýJURXQGHGñýUHPRYHýVRXUFHýRIýJURXQGïý&RQWDFWý
ZLWKýDQ\ýSDUWýRIýDýJURXQGHGýEDWWHU\ýFDQýUHVXOWýLQýHOHFWULFDOý
VKRFNïý7KHýOLNHOLKRRGýRIýVXFKýVKRFNýZLOOýEHýUHGXFHGýLIýVXFKý
JURXQGVýDUHýUHPRYHGýGXULQJýLQVWDOODWLRQýDQGýPDLQWHQDQFHï
/HDGðDFLGýEDWWHULHVýFDQýSUHVHQWýDýULVNýRIýILUHýEHFDXVHýWKH\ý
JHQHUDWHýK\GURJHQýJDVïý7KHýIROORZLQJýSURFHGXUHVýVKRXOGýEHý
IROORZHGã
ìï '2ý127ý602.(ýZKHQýQHDUýEDWWHULHVï
ëï '2ý127ýFDXVHýIODPHýRUýVSDUNýLQýEDWWHU\ýDUHDï
êï 'LVFKDUJHýVWDWLFýHOHFWULFLW\ýIURPýERG\ýEHIRUHýWRXFKLQJý
EDWWHULHVýE\ýILUVWýWRXFKLQJýDýJURXQGHGýPHWDOýVXUIDFHï

Installation 13
2.3.1 Matching Battery Cabinets
ìï &DELQHWý,QVSHFWLRQïý5HPRYHýDOOýSDQHOVýDQGýYLVXDOO\ýLQVSHFWýWKHýEDWWHULHVñýEXVýFRQQHFWLRQVñý
DQGýFDELQHWýIRUýDQ\ýGDPDJHïý([HUFLVHýFDXWLRQâýYROWDJHýLVýSUHVHQWýZLWKLQýWKHý%DWWHU\ý
&DELQHWýHYHQýEHIRUHýLQVWDOODWLRQïý,IýWKHUHýDUHýVLJQVýRIýGDPDJHñýGRýQRWýSURFHHGïý&DOOý/LHEHUWý
&XVWRPHUý6HUYLFHýDQGý6XSSRUWýDWýìðåííðèéëðëêæåï
ëï %DWWHU\ý6WRUDJHïý7KHýEDWWHULHVýXVHGýLQýWKHý%DWWHU\ý&DELQHWýKDYHýDQýH[FHOOHQWýFKDUJHý
UHWDLQLQJýFKDUDFWHULVWLFïý7KHýEDWWHULHVýFDQýEHýVWRUHGýIRUýXSýWRýVL[ýPRQWKVýZLWKRXWýDQ\ý
DSSUHFLDEOHýGHWHULRUDWLRQïý6HOIðGLVFKDUJHýUDWHýRIýWKHýEDWWHULHVýLVýDSSUR[LPDWHO\ýêøýSHUýPRQWKý
ZKHQýWKHýEDWWHULHVýDUHýVWRUHGýLQýWHPSHUDWXUHVýRIýìèƒ&ýWRýëèƒ&ýõèäƒ)ýWRýææƒ)ôïý,IýWKHý%DWWHU\ý
&DELQHWýLVýSODQQHGýWRýEHýVWRUHGýIRUýORQJHUýWKDQýVL[ýPRQWKVñýFRQWDFWý/LHEHUWý&XVWRPHUý6HUYLFHý
IRUýUHFRPPHQGHGýDFWLRQï
êï /RFDWLQJïý7KHý%DWWHU\ý&DELQHWýFDQýEHýORFDWHGýLQýRUýRXWVLGHýWKHýFRPSXWHUýURRPñýGHSHQGLQJýRQý
WKHýDSSOLFDWLRQïý7KHýVWDQGDUGýFDELQHWýLVýXVHGýIRUýDSSOLFDWLRQVýRXWVLGHýWKHýFRPSXWHUýURRPïý7KHý
FRPSXWHUýURRPýFDELQHWýPHHWVýWKHýUHTXLUHPHQWVýRIý8/ýìææåýIRUýDSSOLFDWLRQVýLQVLGHýWKHý
FRPSXWHUýURRPïý,WýFDQýDOVRýEHýLQVWDOOHGýRXWVLGHýWKHýFRPSXWHUýURRPïý7KHýIURQWðDFFHVVðRQO\ý
GHVLJQýHOLPLQDWHVýVLGHýDQGýUHDUýVHUYLFHýFOHDUDQFHýUHTXLUHPHQWVïý,WýDOVRýIHDWXUHVýWRSýRUýERWWRPý
FDEOHýHQWU\ýDUHDVïý+RZHYHUñýWKHUHýDUHýVHYHUDOýFRQVLGHUDWLRQVýWRýORFDWLQJý\RXUýQHZý%DWWHU\ý
&DELQHWã
‡6WDQGð$ORQHý&DELQHWVïý0DWFKLQJýEDWWHU\ýFDELQHWVýDUHýGHVLJQHGýDVýDýVWDQGðDORQHýFDELQHWý
IURPýWKHý836ýPRGXOHïý7KHýVWDQGDUGýêçðLQFKýZLGHýEDWWHU\ýFDELQHWVýLQFOXGHýDýEDWWHU\ýFLUð
FXLWýEUHDNHUýZKLFKýLQFOXGHVýXQGHUðYROWDJHýUHOHDVHýõ895ôýDQGýDX[LOLDU\ýFRQWDFWVýIRUýFRQð
WUROýZLULQJýFRQQHFWLRQýWRýWKHý836ýPRGXOHïý7KHýêçðLQFKýZLGHýEDWWHU\ýFDELQHWVýFDQýEHý
FRQQHFWHGýLQýSDUDOOHOýIRUýXVHýZLWKýçèýWRýìëèýN9$ý836ýPRGXOHVýE\ýLQVWDOODWLRQýRIýVHSDUDWHý
SRZHUýZLULQJýFRQQHFWLRQVýEHWZHHQýHDFKýEDWWHU\ýFDELQHWýDQGýWKHý'&ýEXVýEDUVýLQýWKHý836ý
PRGXOHýFDELQHWïý&RQWUROýZLULQJýPXVWýEHýFRQQHFWHGýEHWZHHQýWKHý836ýPRGXOHýDQGýHDFKý
EDWWHU\ýFLUFXLWýEUHDNHUïý836ðWRðEDWWHU\ýFDELQHWýSRZHUýDQGýFRQWUROýFDEOHVýDUHýSURYLGHGýE\ý
RWKHUVïý6HHý)LJXUH ìëï
‡&DEOHý'LVWDQFHïý7KHý%DWWHU\ý&DELQHWýVKRXOGýEHýORFDWHGýDVýFORVHýDVýSRVVLEOHýWRýWKHý836ý
FDELQHWýWRýPLQLPL]HýYROWDJHýGURSýLQýWKHýSRZHUýFDEOHVïý7KHýPD[LPXPýUHFRPPHQGHGýGLVð
WDQFHýLVýìííýFDEOHýIHHWýõêíýPHWHUVôï
‡6HUYLFHý&OHDUDQFHïý$OORZýIURQWýDFFHVVýWRýWKHý%DWWHU\ý&DELQHWýDWýDOOýWLPHVýIRUýPDLQWHð
QDQFHýDQGýVHUYLFLQJïý(OHFWULFDOýFRGHVýUHTXLUHýWKDWýWKHý%DWWHU\ý&DELQHWýEHýLQVWDOOHGýZLWKýQRý
OHVVýWKDQýêýIHHWýõìýPHWHUôýRIýFOHDUDQFHýDWýWKHýIURQWýRIýWKHýFDELQHWýZKHQýRSHUDWLQJïý6LGHýDQGý
UHDUýSDQHOVýGRýQRWýUHTXLUHýVHUYLFHýFOHDUDQFHï
‡(QYLURQPHQWïý/RFDWHýWKHý%DWWHU\ý&DELQHWýLQýDýFOHDQñýGU\ýHQYLURQPHQWïý5HFRPPHQGHGý
WHPSHUDWXUHýUDQJHýIRUýRSWLPXPýSHUIRUPDQFHýDQGýOLIHWLPHýLVýëíƒ&ýõçåƒ)ôýWRýëèƒ&ýõææƒ)ôï
2.3.2 Non-Standard Batteries
:KHQýEDWWHULHVýRWKHUýWKDQýDýPDWFKLQJýEDWWHU\ýFDELQHWýDUHýXVHGñýWKHýFXVWRPHUýPXVWýSXUFKDVHýIURPý
/LHEHUWýDýEDWWHU\ýGLVFRQQHFWýVZLWFKýDQGýRYHUFXUUHQWýSURWHFWLRQýGHYLFHýUDWHGýIRUýèííý9'&ïý0D[Lð
PXPýSHUPLWWHGýDYDLODEOHýIDXOWýFXUUHQWýLVýìíñíííý$,&ï
ìï ,QVWDOOýEDWWHU\ýUDFNVîFDELQHWVýDQGýEDWWHULHVýSHUýPDQXIDFWXUHUªVýLQVWDOODWLRQýDQGýPDLQWHQDQFHý
LQVWUXFWLRQVï
ëï 9HULI\ýEDWWHU\ýDUHDýKDVýDGHTXDWHýYHQWLODWLRQýDQGýEDWWHU\ýRSHUDWLQJýWHPSHUDWXUHýFRPSOLHVý
ZLWKýPDQXIDFWXUHUªVýVSHFLILFDWLRQï
,Iý\RXýKDYHýDQ\ýTXHVWLRQVýFRQFHUQLQJýEDWWHULHVñýEDWWHU\ýUDFNVñýRUýDFFHVVRULHVñýFRQWDFWý/LHEHUWý&XVð
WRPHUý6HUYLFHýDQGý6XSSRUWýDWýìðåííðèéêðëêæåï
$&$87,21
7RýOHYHOýEDWWHU\ýFDELQHWñýGRýQRWýDGMXVWýOHYHOLQJýIHHWýZKLOHýWKH\ýDUHý
VXSSRUWLQJýWKHýFDELQHWýZHLJKWïý8VHýDýSU\ýEDUýRUýRWKHUýH[WHUQDOý
GHYLFHýWRýSRVLWLRQýDQGýVXSSRUWýWKHýFDELQHWïý7KHQýDGMXVWýOHYHOLQJý
IHHWýDQGýUHPRYHýVXSSRUWLQJýGHYLFHï

14 Installation
2.4 Electrical Wiring
5HIHUýWRý6LWHý3ODQQLQJý'DWDñý7DEOH ëýDQGý7DEOH êñýDQGýLQVWDOODWLRQýGUDZLQJVýõ)LJXUH ìýWKURXJKý
)LJXUH ìèôïý5HIHUýWRý7DEOH èýDQGý7DEOH çýDQGý)LJXUH ìçýIRUýZLUHýWHUPLQDWLRQýGDWDïý$OVRýUHIHUýWRý
HTXLSPHQWýQDPHSODWHýIRUýWKHýPRGHOýQXPEHUñýUDWLQJñýDQGýYROWDJHýVRýFRUUHFWýYDOXHVýDUHýXVHGýIURPý
WKHýWDEOHVýDVVRFLDWHGýZLWKýWKHýGUDZLQJVï
2.4.1 UPS Wire Size Guidelines
3URSHUýZLUHýVL]LQJýPXVWýEHýEDVHGýRQýQXPHURXVýVLWHýVSHFLILFýFRQGLWLRQVïý7DEOH éñýDýUHSULQWýRIý7DEOHý
êìíðìçýRIýWKHý1(&ýõ1DWLRQDOý(OHFWULFDOý&RGHñý1)3$ýæíñýìääêñý&RS\ULJKWýìääëôñýLVýLQFOXGHGýZLWKý
SHUPLVVLRQýRIýWKHý1DWLRQDOý)LUHý3URWHFWLRQý$VVRFLDWLRQýDVýDýFRQYHQLHQFHýWRýDVVLVWýLQýGHWHUPLQLQJý
WKHýPLQLPXPýVL]HýZLUHVýIRUý\RXUý836ýDSSOLFDWLRQïý5HIHUýWRýQRWHV ìýWKURXJK çýEHORZñýWKHýSUHVHQWý
HGLWLRQýRIýWKHý1(&ñýDQGýDOOýDSSOLFDEOHýORFDOýFRGHVýIRUý\RXUýSDUWLFXODUýVLWHýUHTXLUHPHQWVï
ìï 5HIHUýWRýWKHý/LHEHUWýFKDUWýRUýGUDZLQJýWKDWýVKRZVýWKHýDPSDFLWLHVýIRUý\RXUý836ï
ëï ,QSXWýDPSDFLW\ýPXVWýEHýEDVHGýRQýìëèøýRIýLQSXWýFXUUHQWýDWýIXOOýUDWHGýORDGýSOXVýìííøýRIýEDWWHU\ý
FKDUJLQJýFXUUHQWï
êï %HýVXUHýWRýUHIHUýWRýDOOýUHTXLUHPHQWVýZLWKLQý$UWLFOHýêìíýRIýWKHý1(&ï
éï 0LQLPXPýVL]HGýJURXQGLQJýFRQGXFWRUVýDUHýWRýEHýSHUý1(&ýëèíðäèï
èï 1HXWUDOýFRQGXFWRUVýDUHýWRýEHýVL]HGýSHUý1(&ýêìíðìçñýQRWHýìíï
çï 7KHý836ýV\VWHPýPXVWýEHýLQVWDOOHGýLQýDFFRUGDQFHýZLWKýWKHýSUHVHQWýHGLWLRQýRIýWKHý1(&ýDQGýDOOý
ORFDOýFRGHVñýLQFOXGLQJýWKHýFRGHVýRIýIRUHLJQýFRXQWULHVýZKHUHýDSSOLFDEOHï
2.4.2 Power and Control Wiring
ìï 9HULI\ýWKDWýLQSXWýDQGýRXWSXWýSRZHUýZLULQJýDUHýHDFKýUXQýLQýLQGLYLGXDOñýVHSDUDWHýFRQGXLWýRUý
FDEOHýWUD\ïý9HULI\ýWKDWýFRQWUROýZLULQJýLVýUXQýLQýLQGLYLGXDOýVHSDUDWHýVWHHOýFRQGXLWïý
ëï 2EVHUYHýORFDOñýVWDWHñýDQGýQDWLRQDOýHOHFWULFDOýFRGHVïý9HULI\ýXWLOLW\ýSRZHUýDQGýLWVýRYHUFXUUHQWý
SURWHFWLRQýUDWLQJýZLOOýDFFRPPRGDWHýWKHý836ý,1387ýUDWLQJñýLQFOXGLQJýEDWWHU\ýUHFKDUJLQJï
êï $ýVDIHW\ýJURXQGýZLUHýPXVWýEHýUXQýIURPýEXLOGLQJýJURXQGýWRýJURXQGýSRLQWýLQýWKHý836ý0RGXOHý
&DELQHWñý%DWWHU\ý&DELQHWñý([WHUQDOý0DLQWHQDQFHý%\SDVVý&DELQHWýõLIýDSSOLFDEOHôñýDQGý6OLPð
/LQHý'LVWULEXWLRQýõLIýDSSOLFDEOHôñýDQGýH[WHUQDOýEDWWHU\ýEUHDNHUýõLIýDSSOLFDEOHôïý7KHýJURXQGLQJý
FRQGXFWRUýVKDOOýFRPSO\ýZLWKýWKHýIROORZLQJýFRQGLWLRQVýRIýLQVWDOODWLRQã
Dï $QýLQVXODWHGýJURXQGLQJýFRQGXFWRUýWKDWýLVýLGHQWLFDOýLQýVL]HñýLQVXODWLRQýPDWHULDOñýDQGý
WKLFNQHVVýWRýWKHýJURXQGHGýDQGýXQJURXQGHGýEUDQFKðFLUFXLWýVXSSO\ýFRQGXFWRUVýH[FHSWýWKDWýLWý
LVýJUHHQýZLWKýRUýZLWKRXWýRQHýRUýPRUHý\HOORZýVWULSHVýLVýWRýEHýLQVWDOOHGýDVýSDUWýRIýWKHýEUDQFKý
FLUFXLWýWKDWýVXSSOLHVýWKHýXQLWýRUýV\VWHPï
$:$51,1*
$//ý32:(5ý&211(&7,216ý0867ý%(ý&203/(7('ý%<ý$ý
/,&(16('ý(/(&75,&,$1ý7+$7ý,6ý(;3(5,(1&('ý,1ý:,5,1*ý
7+,6ý7<3(ý2)ý(48,30(17ïý:,5,1*ý0867ý%(ý,167$//('ý,1ý
$&&25'$1&(ý:,7+ý$//ý$33/,&$%/(ý1$7,21$/ý$1'ý/2&$/ý
(/(&75,&$/ý&2'(6ïý,03523(5ý:,5,1*ý0$<ý&$86(ý'$0ð
$*(ý72ý7+(ý(48,30(17ý25ý,1-85<ý72ý3(56211(/ïý9(5ð
,)<ý7+$7ý$//ý,1&20,1*ý+,*+ý$1'ý/2:ý92/7$*(ý32:(5ý
&,5&8,76ý$5(ý'(ð(1(5*,=('ý$1'ý/2&.('ý287ý%()25(ý
,167$//,1*ý&$%/(6ý25ý0$.,1*ý$1<ý(/(&75,&$/ý&211(&ð
7,216ï
$:$51,1*
$//ý32:(5ý6+28/'ý%(ý7851('ý2))ý%()25(ý$1<ý&$%/(6ý
25ý:,5(6ý$5(ý,167$//('ý25ý&211(&7('ïý$ý48$/,),('ý
3(5621ý6+28/'ý&+(&.ý72ý,1685(ý7+(ý32:(5ý,6ý,1ý)$&7ý
§2))¨ï
$&$87,21
3RZHUýDQGýFRQWUROýZLULQJýPXVWýEHýVHSDUDWHGü

Installation 15
Eï 7KHýJURXQGLQJýFRQGXFWRUýGHVFULEHGýLQýLWHPýìýLVýWRýEHýJURXQGHGýWRýHDUWKýDWýWKHýVHUYLFHý
HTXLSPHQWýRUñýLIýVXSSOLHGýE\ýDýVHSDUDWHO\ýGHULYHGýV\VWHPñýDWýWKHýVXSSO\ýWUDQVIRUPHUýRUý
PRWRUðJHQHUDWRUýVHWï
Fï 7KHýDWWDFKPHQWðSOXJýUHFHSWDFOHVýLQýWKHýYLFLQLW\ýRIýWKHýXQLWýRUýV\VWHPýDUHýDOOýWRýEHýRIýDý
JURXQGLQJýW\SHñýDQGýWKHýJURXQGLQJýFRQGXFWRUVýVHUYLQJýWKHVHýUHFHSWDFOHVýDUHýWRýEHý
FRQQHFWHGýWRýHDUWKýJURXQGýDWýWKHýVHUYLFHýHTXLSPHQWï
éï 2EVHUYHýFORFNZLVHýSKDVHýURWDWLRQýRIýDOOýSRZHUýZLULQJïý3KDVHý$ýOHDGVý3KDVHý%ýOHDGVý3KDVHý&ïý$ý
TXDOLILHGýHOHFWULFLDQýVKRXOGýFKHFNýWKHýSKDVHýURWDWLRQï
èï 1(&ý&ODVVýìýZLULQJýPHWKRGVýDUHýUHTXLUHGýIRUýFRQWUROýDQGýFRPPXQLFDWLRQýõ&ODVVýëôýFLUFXLWVï
2.4.3 Battery Wiring
7KHýPDWFKLQJý%DWWHU\ý&DELQHWýLVýGHVLJQHGýIRUýHDV\ýDQGýFRQYHQLHQWýLQVWDOODWLRQïý2QFHýWKHýXQLWýLVý
ORFDWHGýLQýILQDOýSRVLWLRQñýFRQQHFWýZLULQJýEHWZHHQýEDWWHU\ýFDELQHWýDQGý836ýPRGXOHï
'&ýFDEOHVýPXVWýEHýSURYLGHGýE\ýRWKHUVýIRUýDOOýEDWWHU\ýV\VWHPVï
3RZHUýZLULQJýWRýWKHý%DWWHU\ý&DELQHWýFRQQHFWVýSRVLWLYHñýQHJDWLYHñýDQGýJURXQGýSRZHUýFDEOHVýIURPý
WKHý%DWWHU\ý&DELQHWýWRýWKHýDVVRFLDWHGý836ï
&RQQHFWLRQýRIýWKHý836ýWRýWKHý%DWWHU\ý&DELQHWýVHUYHVýWRýERWKýFKDUJHýDQGýGLVFKDUJHýWKHýEDWWHULHVý
õZKHQýQHHGHGôï
&DEOHVýWRýWKHý%DWWHU\ý&DELQHWýVKRXOGýEHýVL]HGýIRUýDýPD[LPXPýëïíýYROWýWRWDOýOLQHýORVVýDWýWKHýPD[Lð
PXPýGLVFKDUJHýFXUUHQWýIRUýWKHýHTXLSPHQWïý5HIHUýWRý6LWHý3ODQQLQJý'DWDñý7DEOH ëýDQGý7DEOH êñýIRUý
PD[LPXPýEDWWHU\ýGLVFKDUJHýFXUUHQWïý$ýTXDOLILHGýOLFHQVHGýHOHFWULFLDQýFDQýVL]HýWKHýZLULQJýIRUý\RXUý
LQVWDOODWLRQýXVLQJýWKLVýLQIRUPDWLRQï
&DOOý/LHEHUWý&XVWRPHUý6HUYLFHýDQGý6XSSRUWýWRýVFKHGXOHýLQVWDOODWLRQýFKHFNðRXWñýILQDOýEDWWHU\ýLQWHUð
FHOOýFRQQHFWLRQVñýDQGýVWDUWðXSï
$&$87,21
7KHý836ýFRQWDLQVýDýQHXWUDOýWRýJURXQGýERQGïý)RUýDýêðSKDVHýêðZLUHý
VROLGO\ýJURXQGHGýZ\HýE\SDVVýLQSXWýVRXUFHñýDýORFDOýJURXQGLQJý
HOHFWURGHýFRQGXFWRUýPXVWýEHýLQVWDOOHGïý)RUýDýêðSKDVHýéðZLUHý
VROLGO\ýJURXQGHGýZ\HýE\SDVVýLQSXWýVRXUFHñýWKHý836ýRXWSXWý
QHXWUDOýWRýJURXQGýERQGýPXVWýEHýUHPRYHGïý)RUýRWKHUýW\SHVýRIý
E\SDVVýVRXUFHVñýDýGHOWDðWRðZ\HýE\SDVVýWUDQVIRUPHUýPXVWýEHýXVHGïý
5HIHUýWRý1(&ý$UWLFOHýëèíýDQGýORFDOýFRGHVýIRUýSURSHUýJURXQGLQJý
SUDFWLFHVï
$:$51,1*
0$.(ý685(ý$//ý32:(5ýõ$1'ý&21752/ý,)ý$33/,&$%/(ôý
:,5,1*ý)520ý7+(ý836ý,6ý'(ð(1(5*,=('ý$1'ý3523(5/<ý
,167$//('ý%()25(ý&211(&7,1*ý72ý7+(ý%$77(5<ý
&$%,1(7ï
$&$87,21
%HýVXUHýSRODULW\ýLVýFRUUHFWýZKHQýZLULQJýWKHý%DWWHU\ý&DELQHWýWRýWKHý
FRQQHFWHGýHTXLSPHQWýõSRVLWLYHýWRýSRVLWLYHâýQHJDWLYHýWRýQHJDWLYHôïý
,IýSRODULW\ýLVýQRWýFRUUHFWñýIXVHýIDLOXUHVýRUýHTXLSPHQWýGDPDJHýFDQý
UHVXOWï
$&$87,21
$ýEDWWHU\ýLQWHUFHOOýFRQQHFWLRQýRQýHDFKýWLHUýLVýGLVFRQQHFWHGýIRUý
VDIHW\ýGXULQJýVKLSPHQWïý'RýQRWýFRPSOHWHýWKHVHýFRQQHFWLRQVïý7KHý
/LHEHUWý&XVWRPHUý6HUYLFHý5HSUHVHQWDWLYHýZLOOýFRPSOHWHýWKHVHý
FRQQHFWLRQVýDVýSDUWýRIýVWDUWðXSï

16 Installation
Table 4 Table 310-16
Allowable Ampacities of Insulated Conductors Rated 0-2000 Volts, 60° to 90°C (140° to 194°F)1
Not More than Three Conductors in Raceway or Cable or Earth (Directly Buried), based on Ambient Temperature of 30° (86°F)
Size Temperature Rating of Conductor. See Table 310-13. Size
AWG
kcmil
60°C
(140°F) 75°C
(167°F) 90°C
(194°F) 60°C
(140°F) 75°C
(167°F) 90°C
(194°F)
AWG
kcmil
Types
TW†
UF†
Types
FEPW+,
RH,RHW†,
THHW†,
THW†,
THWN†,
XHHW†,
USE†, ZW†
Types
TBS, SA,
SIS,FEP†,
FEPB†,MI,
RHH†, RHW-2
THHN†,THHW†,
THW-2,THWN-2,
USE-2, XHH,
XHHW†
XHHW-2,ZW-2
Types
TW†
UF†
Types
RH†, RHW†,
THHW†,
THW†,
THWN†,
XHHW†,
USE†
Types
TBS,
SA,SIS,
THHN†,
THHW†,
THW-2, THWN-2,
RHH†, RHW-2,
USE-2,
XHH, XHHW†,
XHHW-2, ZW-2
Copper Aluminum or Copper-Clad Aluminum
18
16
14
12
10
8
.......
.......
20†
25†
30
40
.......
.......
20†
25†
35†
50
14
18
25†
30†
40†
55
.......
.......
.......
20†
25
30
.......
.......
.......
20†
30†
40
.......
.......
.......
25†
35†
45
.......
.......
.......
12
10
8
6
4
3
2
1
55
70
85
95
110
65
85
100
115
130
75
95
110
130
150
40
55
65
75
85
50
65
75
90
100
60
75
85
100
115
6
4
3
2
1
1/0
2/0
3/0
4/0
125
145
165
195
150
175
200
230
170
195
225
260
100
115
130
150
120
135
155
180
135
150
175
205
1/0
2/0
3/0
4/0
250
300
350
400
500
215
240
260
280
320
255
285
310
335
380
290
320
350
380
430
170
190
210
225
260
205
230
250
270
310
230
255
280
305
350
250
300
350
400
500
600
700
750
800
900
355
385
400
410
435
420
460
475
490
520
475
520
535
555
585
285
310
320
330
355
340
375
385
395
425
385
420
435
450
480
600
700
750
800
900
1000
1250
1500
1750
2000
455
495
520
545
560
545
590
625
650
665
615
665
705
735
750
375
405
435
455
470
445
485
520
545
560
500
545
585
615
630
1000
1250
1500
1750
2000
Correction Factors
Ambient
Temp °C For ambient temperatures other than 30°C (86°F), multiply the allowable ampacities shown
above by the appropriate factor shown below. Ambient
Temp °F
21-25
26-30
31-35
36-40
41-45
46-50
51-55
56-60
61-70
71-80
1.08
1.00
.91
.82
.71
.58
.41
.......
.......
.......
1.05
1.00
.94
.88
.82
.75
.67
.58
.33
.......
1.04
1.00
.96
.91
.87
.82
.76
.71
.58
.41
1.08
1.00
.91
.82
.71
.58
.41
.......
.......
.......
1.05
1.00
.94
.88
.82
.75
.67
.58
.33
.......
1.04
1.00
.96
.91
.87
.82
.76
.71
.58
.41
70-77
78-86
87-95
96-104
105-113
114-122
123-131
132-140
141-158
159-176
† Unless otherwise specifically permitted elsewhere in this Code, the overcurrent protection for conductor types marked with an
obelisk (†) shall not exceed 15 amperes for No. 14, 20 amperes for No. 12, and 30 amperes for No. 10 copper; or 15 amperes for
No. 12 and 25 amperes for No. 10 aluminum and copper-clad aluminum after any correction factors for ambient temperature and
number of conductors have been applied.
1 Reprinted with permission from NFPA 70-1993, the National Electrical Code®, Copyright 1996, National Fire Protection Association,
Quincy, MA 02269. This reprinted material is not the complete and official position of the National Fire Protection Association, on the
referenced subject which is represented only by the standard in its entirety.

Installation 17
Table 5 Connection Type / Wire Size Range
Connection Type
UPS Module
Rating
kVA AC Input Battery Bypass Input
& AC Output Neutral Ground
10 - 30 Compression
lug
#14 to #1/0
Compression
lug
#14 to #1/0
Compression
lug
#14 to #1/0
Compression
lug
#14 to #1/0
Ground studs
3/8" - 16 x 1.00"
Lug required
40 - 50 Compression
lug
#6 to 250 kcmil
Compression
lug
#6 to 250 kcmil
Compression
lug
#6 to 250 kcmil
Natural studs
3/8" - 16 x 1.00"
Lug required
Ground studs
3/8" - 16 x 1.00"
Lug required
65 - 125 Bus bars (2” x 3-1/4”) with connecting hardware (3/8”) are provided for all power wiring
terminations. A field-supplied lug is required.
Use factory supplied connections for terminations where they are provided. Refer to Figure 16 for field-
supplied wiring termination details. Use commercially available UL listed solderless lugs for the wire size
required for your application. Connect wire to the lug using tool and procedure specified by the lug
manufacturer.
Table 6 Torque Specifications (Unless Otherwise Labeled)
Nut and Bolt Combinations
Bolt Shaft Size
Grade 2
Standard Electrical Connections
with Belleville Washers
Lb-in N-m Lb-in N-m
1/4 53 6.0 46 5.2
5/16 107 12.1 60 6.8
3/8 192 21.7 95 10.7
1/2 428 48.4 256 28.9
Terminal Block Compression Lugs
UPS Module
Rating
kVA Wiring Wire Size or
Range Lb-in N-m
10 - 125 Control #22 - #14 3.5 to 5.3 0.4 to 0.6
10 - 30 Power #6 - #1/0 50 5.6
40 - 50 Power #6 250 28.2
250 kcmil 275 31.1

18 Installation
2.4.4 Wiring Connections
9HULI\ýWKHýIROORZLQJýFRQQHFWLRQVýKDYHýEHHQýPDGHã
ìï $&ýSRZHUýFDEOHVýIURPýLQSXWýSRZHUýVRXUFHýõRUýRSWLRQDOýH[WHUQDOýPDLQWHQDQFHýE\SDVVýFDELQHWôý
WRý836ý0RGXOHý,QSXWïýõ2EVHUYHý$ð%ð&ýSKDVHýURWDWLRQïô
6WDQGDUGý6HULHVýêííý'7ý836ýPRGXOHVýDUHýSURYLGHGýZLWKýDQýLQSXWýDXWRýWUDQVIRUPHUïý$QýLQSXWý
QHXWUDOýFRQGXFWRUýLVýQRWýUHTXLUHGýDQGýWKHý836ýFDQýEHýIHGýIURPýHLWKHUýGHOWDýRUýZ\HýFRQQHFWHGý
XWLOLW\ýVHUYLFHï
ëï $&ýSRZHUýFDEOHVýIURPýE\SDVVýLQSXWýSRZHUýVRXUFHýõRUýRSWLRQDOýH[WHUQDOýPDLQWHQDQFHýE\SDVVý
FDELQHWôýWRý836ýPRGXOHýE\SDVVýLQSXWýõREVHUYHý$ð%ð&ýSKDVHýURWDWLRQôïý)RUýOLQHðWRðQHXWUDOýORDGVý
FRQQHFWHGýWRýWKHý836ýRXWSXWñýWKHýE\SDVVýVRXUFHýPXVWýEHýZ\HýFRQQHFWHGýDQGýKDYHýWKUHHýSKDVHVý
SOXVýQHXWUDOýSOXVýJURXQGï
êï '&ýSRZHUýFDEOHVýõSRVLWLYHýDQGýQHJDWLYHôýIURPýEDWWHU\ýFDELQHWýWRý836ýPRGXOHý'&ýEXVýõREVHUYHý
SURSHUýSRODULW\ôï
:KHQýPXOWLSOHýFRQGXFWRUVýDUHýXVHGýIURPýWKHýEDWWHU\ýWRýWKHý836ýPRGXOHñýLWýLVýQHFHVVDU\ýWRýUXQý
WKHýVDPHýQXPEHUýRIýSRVLWLYHýõòôýDQGýQHJDWLYHýõðôýFDEOHVýLQýWKHýVDPHýFDEOHýWUD\ýRUýFRQGXLWï
éï $&ýSRZHUýFDEOHVýIURPýWKHý836ýRXWSXWýWRýWKHýFULWLFDOýORDGýGLVWULEXWLRQýõRUýRSWLRQDOýH[WHUQDOý
PDLQWHQDQFHýE\SDVVýFDELQHWñýRUýRSWLRQDOýVOLPðOLQHýGLVWULEXWLRQýSDQHOôï
õ2EVHUYHý$ð%ð&ý3KDVHý5RWDWLRQïô
7KHýRXWSXWýVRXUFHýVKRXOGýKDYHýWKUHHýSKDVHVñýSOXVýQHXWUDOýõLIýOLQHðWRðQHXWUDOýORDGVýZLOOýEHýSRZð
HUHGýIURPýWKHý836ýRXWSXWôýSOXVýJURXQGï
èï $Q\ýDGGLWLRQDOýVSHFLDOýFRQWUROýZLULQJýPXVWýEHýUXQýLQýLQGLYLGXDOýVHSDUDWHýFRQGXLWï
çï 836ýE\SDVVýLQSXWýDQGýRXWSXWýQHXWUDOýPXVWýEHýFRQQHFWHGýWRýRQO\ýRQHýFRPPRQýSRLQWýLQýWKHý
836ïý7KLVýQHXWUDOýOLQHýPXVWýEHýJURXQGHGýDWýWKHýVRXUFHïýõ127(ãý$ýE\SDVVýLQSXWýQHXWUDOýLVý
UHTXLUHGýIRUýOLQHýWRýQHXWUDOýORDGVïô
2.4.5 Wiring Inspection
ìï 9HULI\ýDOOýSRZHUýFRQQHFWLRQVýDUHýWLJKWï
ëï 9HULI\ýDOOýFRQWUROýZLUHýWHUPLQDWLRQVýDUHýWLJKWï
êï 9HULI\ýDOOýSRZHUýZLUHVýDQGýFRQQHFWLRQVýKDYHýSURSHUýVSDFLQJýEHWZHHQýH[SRVHGýVXUIDFHVñýSKDVHð
WRðSKDVHñýDQGýSKDVHðWRðJURXQGï
éï 9HULI\ýWKDWýDOOýFRQWUROýZLUHVýDUHýUXQýLQýLQGLYLGXDOñýVHSDUDWHñýULJLGýVWHHOýFRQGXLWï
127(
5HIHUýWRýèïí ðý6\VWHPý2SWLRQVýIRUýLQVWUXFWLRQVýDQGýGUDZLQJVýIRUýRSWLRQDOý
FRPSRQHQWVï

Installation 19
Figure 1 Single Line Diagram 10-125 kVA

20 Installation
Figure 2 Single Line Diagram 10-125 kVA with Input, Bypass, and Load Breakers

Installation 21
Figure 3 Single Line Diagram 10-125 kVA with Bypass Transformer, and Load Circuit Breaker

22 Installation
Figure 4 Single Line Diagram 10-125 kVA with Bypass Transformer, Input, Bypass, and Load Circuit
Breakers

Installation 23
Figure 5 Single Line Diagram 10-125 kVA with Maintenance Bypass Switch

24 Installation
Figure 6 Single Line Diagram 10-125 kVA with Maintenance Bypass Switch, Input, Bypass, and Load
Circuit Breakers

Installation 25
Figure 7 Single Line Diagram 10-125 kVA with Bypass Isolation Transformer, Maintenance Bypass
Switch, and Load Circuit Breaker

26 Installation
Figure 8 Single Line Diagram 10-125 kVA with Bypass Isolation Transformer, Maintenance Bypass
Switch, Input, Bypass, and Load Circuit Breakers

Installation 27
Figure 9 UPS Cabinet Installation Diagram 10-30 kVA

28 Installation
Figure 10 UPS Cabinet Installation Diagram 40-50 kVA

Installation 29
Figure 11 UPS Cabinet Installation Diagram 65-125 kVA

30 Installation
Figure 11 UPS Cabinet Installation Diagram 65-125 kVA (continued)

Installation 31
Figure 12 Battery Cabinet Installation Diagram 36-inch Frame

32 Installation
Figure 12 Battery Cabinet Installation Diagram 36-inch Frame (continued)

Installation 33
Figure 13 Control Wiring Diagram 10-30 kVA

34 Installation
Figure 14 Control Wiring Diagram 40-50 kVA

Installation 35
Figure 15 Control Wiring Diagram 65-125 kVA

36 Installation
Figure 16 Field Wiring Terminations

Installation 37
Figure 16 Field Wiring Terminations (continued)

38 Operation
3.0 OPERATION
3.1 Operator Controls and Indicators
7KHý6HULHVýêííý'7ýRSHUDWRUýFRQWUROVýDQGýLQGLFDWRUVýDUHýORFDWHGýLQýRQHýUHFHVVHGýSDQHOýRQýWKHý836ý
0RGXOHý&DELQHWýGRRUïý6HHý)LJXUH ìæï
7KHýUHFWDQJXODUýSDQHOýFRQWDLQVã
‡ 'LJLWDOýGLVSOD\ýVFUHHQýDQGýVHOHFWLRQýSDGV
‡ 3RZHUý6WDWXVý'LDJUDP
‡ 5RWDU\ý6ZLWFKýDQGý$GYLVRU\ý'LVSOD\ï
3.1.1 Digital Display Screen
7KHýGLVSOD\ýVFUHHQýLVýFRPSRVHGýRIýOLTXLGýFU\VWDOVýDUUDQJHGýLQýIRXUýOLQHVýRIýìçýFKDUDFWHUVýHDFKïý6HHý
)LJXUH ìäïý7KHýLQWHUQDOýFRQWUROýV\VWHPýH[HFXWHVýSURJUDPVýZKLFKýJHQHUDWHýPHVVDJHVýRQýWKLVýGLVð
SOD\ýVFUHHQïý6FUHHQýPHVVDJHVýLQVWUXFWýWKHýXVHUýGXULQJýVWDUWðXSñýRSHUDWLRQñýDQGýVKXWGRZQïý7KHý
VFUHHQýDOVRýGLVSOD\VýVWDWXVýLQIRUPDWLRQýRQýUHTXHVWïý6HHý)LJXUH ìäïý1RWHýWKDWýWKHUHýLVýDQýLQWHUð
QDOýFRQWUROýDGMXVWPHQWýIRUý/&'ýVFUHHQýFRQWUDVWïý+DYHýWKHýFRQWUROýDGMXVWHGýE\ýWKHý/LHð
EHUWý&6÷6ýHQJLQHHUýGXULQJýVWDUWðXSï
Figure 17 Operator Controls and Indicators on UPS Module Cabinet Front

Operation 39
Figure 18 Block Diagram of the Series 300 DT UPS

40 Operation
3.1.2 Selection Pads
7KHýWKUHHýWRXFKðVHQVLWLYHýVHOHFWLRQýSDGVýDUHãý8Sñý'RZQñýDQGý$ODUPý6LOHQFHïý7KHVHýSDGVýDUHý
ODEHOHGýZLWKýV\PEROVýUDWKHUýWKDQýZRUGVïý6HHý)LJXUH ìäï
7KHý8SýDQGý'RZQýVHOHFWLRQýSDGVýDUHýORFDWHGýEHORZýWKHýGLJLWDOýGLVSOD\ýVFUHHQïý8VHýWKHPýWRýPRYHý
WKURXJKýYDULRXVýPHQXVýSUHVHQWýRQýWKHýVFUHHQï
7KHý$ODUPý6LOHQFHýSDGýFDQFHOVýWKHýDXGLEOHýDODUPýZKLFKýLVýHPLWWHGýZKHQýDQýDEQRUPDOýFRQGLWLRQýLVý
GHWHFWHGïý7KHý$ODUPý6LOHQFHýSDGýLVýDOVRýXVHGýWRýPRYHýWKURXJKýWKHýYDULRXVýPHQXVýSUHVHQWýRQýWKHý
VFUHHQï
<RXýZLOOýXVHýWKHý'RZQýSDGýPRUHýRIWHQýWKDQýWKHý8SýSDGïý<RXýGRýQRWýQHHGýWRýSUHVVýWKHý'RZQýSDGý
VHYHUDOýWLPHVýWRýSURJUHVVýWKURXJKýWKHýVFUHHQVïý3UHVVýDQGýKROGýWKHý'RZQýSDGñýDQGýWKHýDYDLODEOHý
VFUHHQVýZLOOýEHýGLVSOD\HGýLQýWKHý'RZQýVHTXHQFHï
Figure 19 Display Screen and Selection Pads
3.1.3 Power Status Diagram
7KHý3RZHUý6WDWXVý'LDJUDPýLVýORFDWHGýDERYHýWKHý5RWDU\ý6ZLWFKïý6HHý)LJXUH ëíïý,WýFRQVLVWVýRIýDýGLDð
JUDPýZLWKýWZRý/('VýWRýLQGLFDWHýIORZýRIýSRZHUýIURPýOHIWýõ,QSXWôýWRýULJKWýõ2XWSXWôïý(DFKý/('ýLVý
HQHUJL]HGýE\ýDýFLUFXLWýFRQQHFWHGýWRýDQý$&ýSRZHUýOHDGñýDQGýLQGLFDWHVýWKDWýSRZHUýLVýSUHVHQWýõ,QSXWý
RUý2XWSXWôïý7KHý0DLQWHQDQFHý%\SDVVý/LQHýLVýUHSUHVHQWHGýE\ýDý\HOORZýOLQHâýWKHý836ý0RGXOHýSDWKýLVý
UHSUHVHQWHGýE\ýDýJUHHQýOLQHï
7KHý0DLQWHQDQFHý%\SDVVý/LQHýLVýDýKDUGðZLUHGýOLQHýWKURXJKýWKHýXQLWñýIURPýWKHýXWLOLW\ñýDQGýSURð
YLGHVýQRýOLQHýFRQGLWLRQLQJýRUýSRZHUýSURWHFWLRQïý7KHý0DLQWHQDQFHý%\SDVVý/LQHýLVýUHSUHVHQWHGýE\ýDý
\HOORZýOLQHýWKDWýH[WHQGVýDURXQGýWKHý836ïý1RWHýWKDWýWKHý\HOORZý0DLQWHQDQFHý%\SDVVý/LQHýPDWFKHVý
WKHý5RWDU\ý6ZLWFKýSRVLWLRQVýìñýëñýDQGýêýZKLFKýDUHýDOVRýFRORUHGý\HOORZïý7KLVýLQGLFDWHVýWKDWýWKHýORDGý
LVýUHFHLYLQJýSRZHUýWKURXJKýWKHý0DLQWHQDQFHý%\SDVVý/LQHýZKHQHYHUýWKHý5RWDU\ý6ZLWFKýLVýLQýSRVLð
WLRQýìñýëñýRUýêïý%RWKýSRZHUý/('VýDUHýRQï
:KHQýWKHý5RWDU\ý6ZLWFKýLVýLQýSRVLWLRQýéýõJUHHQýIRUý1RUPDOý2SHUDWLRQôñýERWKý/('VýDUHýRQýZKHWKHUý
WKHýORDGýLVýUHFHLYLQJýFRQGLWLRQHGýSRZHUýIURPýWKHý836ýRUýXQFRQGLWLRQHGýSRZHUýWKURXJKýWKHý6WDWLFý
%\SDVVý/LQHïý:KHQýWKHýEDWWHU\ýVXSSRUWVýWKHýORDGýGXULQJýDQýLQSXWýSRZHUýIDLOXUHñýWKHý,QSXWý/('ýLVý
RIIýZKLOHýWKHý2XWSXWý/('ýLVýRQï
Figure 20 Power Status Diagram

Operation 41
3.1.4 Rotary Switch
7KHý5RWDU\ý6ZLWFKýLVýORFDWHGýLQýWKHýORZHUýSDUWýRIýWKHýUHFHVVHGýSDQHOïý7KLVýVZLWFKýSURYLGHVýVLQJOHð
SRLQWýFRQWUROýRIýWKHý836ïý6HHý)LJXUH ëìï
7KHýILYHý5RWDU\ý6ZLWFKýSRVLWLRQVýDUHã
‡ 3RVLWLRQýíñý§2II¨ñýGLVFRQQHFWVýDOOýSRZHUýWRýORDGâý836ýLVýVKXWýGRZQïý$OOýDODUPVýDQGýLQGLFDWRUVý
DUHýLQRSHUDWLYHâýQRýSRZHUýLVýVXSSOLHGýWRýWKHýORDGýWKURXJKý836ï
‡ 3RVLWLRQýìñý§2Qý%\SDVV¨ñýFRQQHFWVýWKHýFULWLFDOýORDGýWRýLQSXWýSRZHUýWKURXJKýWKHý0DLQWHQDQFHý
%\SDVVý/LQHïý836ý0RGXOHýLVýGHðHQHUJL]HGýIRUýPDLQWHQDQFHýSXUSRVHVï
‡ 3RVLWLRQýëñý§836ý6WDUW¨ñýFRQQHFWVýSRZHUýWRýFRQWUROVñýUHFWLILHUîFKDUJHUñýLQYHUWHUñýDQGýLQLWLDWHVý
WHVWVýRQý836ýFRPSRQHQWVñýZKLOHýWKHýORDGýLVýVXSSOLHGýWKURXJKýWKHý0DLQWHQDQFHý%\SDVVý/LQHï
‡ 3RVLWLRQýêñý§836ý&KHFN¨ñýFRQQHFWVýWKHýEDWWHU\ýWRýWKHý836ýDQGýLQLWLDWHVýWHVWVýRQýWKHýEDWWHU\ñý
'&ýZDONðLQñýDQGýVWDWLFýE\SDVVýOLQHñýZKLOHýWKHýORDGýLVýVXSSOLHGýWKURXJKýWKHý0DLQWHQDQFHý
%\SDVVý/LQHï
‡ 3RVLWLRQýéñý§2Qý836¨ñýFRQQHFWVýWKHýFULWLFDOýORDGýWRýWKHý836ý0RGXOHýDQGýHVWDEOLVKHVýQRUPDOý
RSHUDWLRQïý
3.1.5 Advisory Display
7KHý$GYLVRU\ý'LVSOD\ýLVýORFDWHGýDERYHýWKHý5RWDU\ý6ZLWFKýDQGýFRQVLVWVýRIã
‡ $ýEDQGýODEHOHGý§3DXVH¨
‡ $ýFORFNZLVHýõDGYDQFHôýDUURZ
‡ $ýFRXQWHUFORFNZLVHýõUHWXUQôýDUURZï
(DFKýLVýKLJKOLJKWHGýZLWKýDQý/('ïý6HHý)LJXUH ëìï
7KHý$GYLVRU\ý'LVSOD\ýJXLGHVýRSHUDWRUVýWKURXJKýVWDUWðXSýDQGýVKXWGRZQñýDVýGLUHFWHGýE\ýWKHýLQWHUð
QDOýFRQWUROýV\VWHPïý7KHý$GYLVRU\ý'LVSOD\ýLQGLFDWHVýõZLWKýLOOXPLQDWLRQýRIýWKHýDSSURSULDWHý/('ôý
ZKHWKHUýWRýWXUQýWKHý5RWDU\ý6ZLWFKýWRýWKHýQH[WýFORFNZLVHýSRVLWLRQýRUýWRýSUHYLRXVýFRXQWHUFORFNZLVHý
SRVLWLRQïý7KHý$GYLVRU\ý'LVSOD\ýDOVRýZDUQVýRSHUDWRUVýõZLWKýLOOXPLQDWLRQýRIý§3DXVH¨ôýQRWýWRýWXUQýWKHý
5RWDU\ý6ZLWFKýGXULQJýVWDUWðXSýWHVWVýRUýGXULQJýDýSRZHUýIDLOXUHïý$OOýWKUHHý$GYLVRU\ý'LVSOD\ý/('Vý
H[WLQJXLVKýZKHQýWKHý5RWDU\ý6ZLWFKýLVýWRýUHPDLQýLQý3RVLWLRQýéýGXULQJýQRUPDOýRSHUDWLRQï
Figure 21 Rotary Switch and Advisory Display
127(
6LQJOHðSRLQWýFRQWUROýVLPSOLILHVýVWDUWðXSýDQGýRSHUDWLRQýRIýWKHý836ïý
+RZHYHUñýUHDGýLQVWUXFWLRQVýFDUHIXOO\ýEHIRUHýRSHUDWLQJýWKHý5RWDU\ý6ZLWFKïý
,PSURSHUýSRVLWLRQLQJýRIý5RWDU\ý6ZLWFKýFRXOGýUHVXOWýLQýXQZDQWHGýDFWLRQVïý
)ROORZýXVHUýSURPSWVýRQýGLVSOD\ýVFUHHQï
$&$87,21
'RýQRWýRSHUDWHý5RWDU\ý6ZLWFKýGXULQJýDýSRZHUýIDLOXUHïý'RLQJýVRý
ZLOOýUHVXOWýLQýDQýLPPHGLDWHýORVVýRIýSRZHUýWRýWKHýORDGï

42 Operation
3.2 Display Screen Menu
2SHUDWLQJýWKHý836ýFRQVLVWVýRIýREVHUYLQJýWKHýLQGLFDWRUVýRQýWKHýRSHUDWRUýFRQWUROýSDQHOýDQGýPDNLQJý
DSSURSULDWHýUHVSRQVHVïý)XUWKHUý836ýPRQLWRULQJýDQGýWHVWLQJýFDQýEHýDFKLHYHGýE\ýPRYLQJýWKURXJKýDý
VHULHVýRIýPHQXýVHOHFWLRQVýSUHVHQWýRQýWKHýGLVSOD\ýVFUHHQïý6HHý)LJXUH ëëï
:KHQýLQSXWýSRZHUýLVýILUVWýDSSOLHGýWRýWKHý836ñýWKHý'LVSOD\ý6FUHHQýGLVSOD\VýDýPHVVDJHýSURPSWLQJý
WKHýRSHUDWRUýWRýFKHFNýWKHý6\VWHPý&RQILJXUDWLRQýDQGýWKHQýWRýSURFHHGýWRýWKHý6WDUWð8SýVFUHHQVïý2QFHý
VWDUWðXSýLVýFRPSOHWHýDQGýQRUPDOýFRQGLWLRQVýH[LVWñýWKHý1250$/ý23(5$7,21ýGHIDXOWýVFUHHQýPHVð
VDJHýZLOOýEHýWKHýRQO\ýVFUHHQýPHVVDJHýGLVSOD\HGïý7KLVýDVVXUHVýWKHýRSHUDWRUýWKDWýSRZHUýWRýWKHýORDGýLVý
EHLQJýFRQGLWLRQHGýDQGýEDFNHGýXSñýDQGýWKDWýQRýRSHUDWRUýDFWLRQýLVýQHFHVVDU\ï
$GGLWLRQDOýPHQXýVHOHFWLRQVýDUHýDYDLODEOHýDQGýDUHýSUHVHQWHGýLQýDýFLUFXODUýDUUDQJHPHQWïý7KH\ýDUHý
FDWHJRUL]HGýDVýIROORZVãý$ODUPý0HVVDJHVñý0HWHUý)XQFWLRQVñý&RQILJXUDWLRQý6FUHHQVñý$ODUPý+LVWRU\ñý
DQGý/DPSî+RUQý7HVWïý7RýPRYHýEHWZHHQýHDFKýFDWHJRU\ñýVLPSO\ýSUHVVýWKHý'RZQñý8SýRUý$ODUPý
6LOHQFHýSDGýDVýSURPSWHGýE\ýWKHýLFRQýSUHVHQWýLQýWKHýORZHUýULJKWýKDQGýFRUQHUýRIýHDFKýPHVVDJHý
VFUHHQï
Figure 22 Menu Selection Arrangement

Operation 43
3.3 Default Screen Messages
2QHýRIýVL[ýGHIDXOWýPHVVDJHVýZLOOýDXWRPDWLFDOO\ýDSSHDUýRQýWKHýGLVSOD\ýVFUHHQïý7KH\ýDUHã
‡ 1RUPDOý2SHUDWLRQ
‡ :DUQLQJý/RDGýRQý0DLQWHQDQFHý%\SDVV
‡ :DUQLQJý/RDGýRQý836
‡ :DUQLQJý/RDGýRQý6WDWLFý%\SDVV
‡ )DXOWãý6\VWHPý6KXWGRZQ
‡ 836ýRQý%DWWHU\
3.3.1 Normal Operation
7KHý1250$/ý23(5$7,21ýPHVVDJHýLVýGLVSOD\HGýGXULQJýQRUPDOýRSHUDWLQJýFRQGLWLRQVïý,WýLQGLð
FDWHVã
‡ 7KDWýV\VWHPýFRQGLWLRQVýDUHýQRUPDOýõDOOýPHWHUýUHDGLQJVýDUHýQRPLQDOýDQGýWKHý836ý0RGXOHýLVý
V\QFKURQL]HGýZLWKýWKHýLQSXWýSRZHUôï
‡ 7KDWýWKHýFULWLFDOýORDGýLVýVXSSRUWHGýE\ýWKHý836ï
‡ 7KHýSHUFHQWDJHýRIýSRZHUýEHLQJýXVHGýE\ýWKHýFULWLFDOýORDGñýUHODWLYHýWRýWKHý836ýUDWLQJïý7KHýYDOXHý
UHSUHVHQWHGýE\ý;;;ýZLOOýDOZD\VýEHýOHVVýWKDQýRUýHTXDOýWRýìííýLQýDý1250$/ý23(5$7,21ý
PHVVDJHïýõ,IýWKHýFULWLFDOýORDGýLVýGUDZLQJýPRUHýWKDQýìííøýRIýWKHý836ýUDWHGýORDGñýDýZDUQLQJý
PHVVDJHýZLOOýDSSHDUïô
‡ 7KHý8Sñý'RZQñýRUý$ODUPý6LOHQFHýV\PEROýIODVKHVýLQýWKHýORZHUýULJKWðKDQGýFRUQHUýRIýWKHýVFUHHQïý
7KLVýLVýQRUPDOýDQGýLQGLFDWHVýWKDWýWKHýRSHUDWRUýPD\ýF\FOHýWKURXJKýYDULRXVýPRQLWRULQJýDQGýWHVWý
IXQFWLRQVñýE\ýSUHVVLQJýWKHýDSSURSULDWHýVHOHFWLRQýSDGï
3.3.2 Warning: Load on Maintenance Bypass
7KLVýPHVVDJHýLQGLFDWHVýWKDWýWKHýFULWLFDOýORDGýLVýEHLQJýVXSSOLHGýSRZHUýWKURXJKýWKHý0DLQWHQDQFHý
%\SDVVý/LQHïý3UHVVýWKHý'RZQýSDGýWRýYLHZýWKHýDFWLYHý$ODUPý0HVVDJHVï
127(
$GGLWLRQDOý$ODUPý0HVVDJHVýPD\ýEHýDFWLYHýDQGýFDQýEHýYLHZHGýE\ýSUHVVLQJý
WKHý'RZQýSDGïý:KHQýWKHýDODUPýFRQGLWLRQýLVýFRUUHFWHGñýWKHýPHVVDJHýZLOOýEHý
FOHDUHGýIURPýWKHýPHVVDJHýOLVWýõEXWýZLOOýUHPDLQýLQýWKHýDODUPýKLVWRU\ýEXIIHUôïý
)RUýDýOLVWýRIý$ODUPý0HVVDJHVýZLWKýWKHLUýPHDQLQJýDQGýUHFRPPHQGHGý
FRUUHFWLYHýDFWLRQVñýUHIHUýWRýêïìì ðý$ODUPý0HVVDJHVï
NORMAL OPERATION
Load on UPS
Load XXX%
➪
WARNING: Load
on Maintenance
Bypass
Check Messages
➪

44 Operation
3.3.3 Warning: Load on UPS
7KLVýPHVVDJHýLQGLFDWHVýWKDWýDQýDODUPýFRQGLWLRQýH[LVWVïý+RZHYHUñýWKHýFULWLFDOýORDGýLVýVWLOOýUHFHLYLQJý
FRQGLWLRQHGýSRZHUýWKURXJKýWKHý836ïý3UHVVýWKHý'RZQýSDGýWRýYLHZýWKHý$ODUPý0HVVDJHVï
3.3.4 Warning: Load on Static Bypass
7KLVýPHVVDJHýPHDQVýWKHýORDGýKDVýEHHQýDXWRPDWLFDOO\ýWUDQVIHUUHGýIURPý836ý0RGXOHýRXWSXWýWRý
6WDWLFý%\SDVVý/LQHýEHFDXVHýRIýDQýDODUPýFRQGLWLRQïý3UHVVýWKHý'RZQýSDGýWRýYLHZýWKHý$ODUPý0HVð
VDJHVï
3.3.5 Fault: System Shutdown
7KLVýPHVVDJHýPHDQVýWKHý836ýKDVýEHHQýVKXWGRZQýE\ýWKHýLQWHUQDOýFRQWUROýV\VWHPïý3UHVVýWKHý'RZQý
SDGýWRýYLHZýWKHý$ODUPý0HVVDJHVýDQGýWKHQýSHUIRUPýDý836ýVWDUWðXSýSURFHGXUHýDIWHUýWKHýDODUPýFRQð
GLWLRQýKDVýEHHQýFRUUHFWHGï
3.3.6 UPS on Battery
7KLVýPHVVDJHýDSSHDUVýZKHQHYHUýWKHýLQSXWýSRZHUýWRýWKHý836ýLVýQRWýDYDLODEOHýRUýLVýRXWVLGHýRIýVSHFLð
ILHGýOLPLWVïý7KHýORDGýLVýEHLQJýVXSSRUWHGýE\ýWKHýEDWWHU\ýZKLFKýKDVýDQýHVWLPDWHGý;;ýPLQXWHVýRIý
SRZHUýUHPDLQLQJýZLWKýWKHýSUHVHQWýFRQQHFWHGýORDGïý3UHVVýWKHý'RZQýSDGýWRýYLHZýWKHý$ODUPý0HVð
VDJHVï
WARNING:
Load on UPS
Check Messages
➪
WARNING:
Load on Static
Switch
Check Messages
➪
FAULT:
SYSTEM SHUTDOWN
Check Messages
➪
UPS ON BATTERY
Time Remaining
>XX Minutes
Check Messages
➪

Operation 45
3.4 Alarm Messages
3.4.1 UPS Response to an Alarm
,IýWKHýLQWHUQDOýFRQWUROýV\VWHPýGHWHFWVýDQýDEQRUPDOýFRQGLWLRQã
ìï $QýDXGLEOHýDODUPýZLOOýVRXQGýDQGýWKHýGLJLWDOýGLVSOD\ýZLOOýLQVWUXFWý\RXýWRý&KHFNý0HVVDJHVï
ëï $Qý$GYLVRU\ý'LVSOD\ý/('ýPD\ýLOOXPLQDWHñýSURPSWLQJý\RXýWRýWXUQýWKHý5RWDU\ý6ZLWFKýLQýDý
FRUUHFWLYHýDFWLRQýõRUýQRWýWRýWXUQýWKHý5RWDU\ý6ZLWFKýDWýDOOôï
êï $Qý$ODUPý0HVVDJHýZLOOýEHýGLVSOD\HGýRQýWKHý$ODUPý0HVVDJHVýVFUHHQïý5HIHUýWRýêïìì ðý$ODUPý
0HVVDJHVýIRUýGHVFULSWLRQVýDQGýUHFRPPHQGHGýFRUUHFWLYHýDFWLRQVï
3.4.2 Operator Response to an Alarm
ìï &DQFHOýWKHýDXGLEOHýDODUPýE\ýSUHVVLQJýWKHý$ODUPý6LOHQFHýSDGï
ëï 3UHVVýWKHý'RZQýSDGýDVýSURPSWHGýWRýYLHZýWKHý$ODUPý0HVVDJHVïý5HIHUýWRýêïìì ðý$ODUPý
0HVVDJHVýIRUýGHVFULSWLRQVýDQGýUHFRPPHQGHGýFRUUHFWLYHýDFWLRQVïý&DOOý/LHEHUWý&XVWRPHUý
6HUYLFHýDQGý6XSSRUWýLIý\RXýUHTXLUHýDVVLVWDQFHï
êï 2EVHUYHýWKHýGHIDXOWýVFUHHQýIRUýWKHý1250$/ý23(5$7,21ýPHVVDJHýRUýWKHýGLVSOD\ýRIý
DGGLWLRQDOýLQVWUXFWLRQVï
éï ,IýDý836ýVWDUWðXSýLVýUHTXLUHGýDIWHUýFRUUHFWLRQýRIýWKHýDODUPýFRQGLWLRQñýUHIHUýWRýêïç ðý6WDUWð8Sï
127(
$IWHUýWKHýDXGLEOHýDODUPýKDVýEHHQýVLOHQFHGýõE\ýSUHVVLQJýWKHý$ODUPý6LOHQFHý
SDGôñýWKHýRFFXUUHQFHýRIýDQRWKHUýDXGLEOHýDODUPýLQGLFDWHVýWKHýH[LVWHQFHýRIý
DQRWKHUýDEQRUPDOýFRQGLWLRQï

46 Operation
3.5 System Status Screens
3HULRGLFDOO\ñýFKHFNýWKHýV\VWHPýVWDWXVýUHDGLQJVýDQGýFRPSDUHýWKHPýWRýWKHýQRUPDOýUHDGLQJVýIRUý\RXUý
6HULHVýêííý'7ý836ýPRGHOïý6HHýçïí ðý6SHFLILFDWLRQVï
3.5.1 Meter Functions
7RýGLVSOD\ýYDULRXVýPHWHULQJýLQIRUPDWLRQýGXULQJýQRUPDOýRSHUDWLQJýFRQGLWLRQVñýSUHVVýWKHý'RZQýSDGñý
IURPýWKHý1250$/ý23(5$7,21ýGHIDXOWýVFUHHQñýXQWLOýWKHýIROORZLQJýPHVVDJHýDSSHDUVã
/RDGïý7KLVýVFUHHQýVKRZVýWKHýSHUFHQWýRIýUDWHGýSRZHUýEHLQJýXVHGýE\ýWKHýFULWLFDOýORDGïý7KHýORDGýRQý
HDFKýSKDVHýõ$ñý%ñýDQGý&ôýLVýDOVRýVKRZQï
ý
'&ý%XVïý7KLVýVFUHHQýVKRZVýWKHýYROWDJHýRQýWKHý'&ýEXVîEDWWHU\ïý%DWWHU\ýFXUUHQWýLVýDOVRýVKRZQïýõ,Iý
WKHýEDWWHU\ýFXUUHQWýLQGLFDWLRQýLVýSRVLWLYHñýWKHýZRUGý&KDUJLQJýZLOOýDSSHDUýRQýWKHýVFUHHQïý,IýWKHýEDWð
WHU\ýFXUUHQWýLVýQHJDWLYHñýWKHýZRUGý'LVFKDUJLQJýZLOOýDSSHDUïô
,QSXWïý7KLVý,QSXWýVFUHHQýLVýGLVSOD\HGýIRUýHDFKýSKDVHýRIýLQSXWýSRZHUýõSKDVHVý$ñý%ñýDQGý&ôïý7KHý
VFUHHQýGLVSOD\VýWKHýLQSXWýOLQHðWRðOLQHýYROWDJHýõ$ð%ñý%ð&ñýRUý&ð$ôñýOLQHðWRðQHXWUDOýYROWDJHñýDQGýFXUð
UHQWýIRUýWKDWýSKDVHï
2XWSXWïý7KLVý2XWSXWýVFUHHQýLVýGLVSOD\HGýIRUýHDFKýSKDVHýRIýRXWSXWýSRZHUýõSKDVHVý$ñý%ñýDQGý&ôïý7KHý
VFUHHQýGLVSOD\VýWKHýRXWSXWýOLQHðWRðOLQHýYROWDJHýõ$ð%ñý%ð&ñýRUý&ð$ôñýOLQHðWRðQHXWUDOýYROWDJHñýDQGýFXUð
UHQWýIRUýWKDWýSKDVHï
LOAD: XXX%
A PHASE XXX kVA
B PHASE XXX kVA
C PHASE XXX kVA
➪
DC BUS
Voltage 410
Amps 15
Charging
➪
INPUT A-PHASE
A - B XXX VOLTS
A - N XXX VOLTS
A XXX AMPS
➪
OUTPUT A-PHASE
A - B XXX VOLTS
A - N XXX VOLTS
A XXX AMPS
➪

Operation 47
)UHTXHQF\ïý7KLVýVFUHHQýGLVSOD\VýWKHýIUHTXHQF\ýRIýERWKýWKHýLQSXWýDQGýRXWSXWýSRZHUï
3.5.2 System Configuration
7RýGLVSOD\ý6\VWHPý&RQILJXUDWLRQýLQIRUPDWLRQýGXULQJýQRUPDOýRSHUDWLRQýFRQGLWLRQVñýSUHVVýWKHý'RZQý
SDGýXQWLOýWKHýIROORZLQJýVFUHHQýDSSHDUVã
8VHýWKHýVHOHFWLRQýSDGVýWRýVHWýFXVWRPHUýDGMXVWDEOHýVLWHýSDUDPHWHUVýZKHQýWKHýDSSURSULDWHýVFUHHQýLVý
GLVSOD\HGïý7KHVHýLQFOXGHýODQJXDJHñýWLPHñýGDWHñýIUHTXHQF\ýVOHZýUDWHñýDQGýORZýEDWWHU\ýZDUQLQJýWLPHïý
7RýPDNHýWKHýDGMXVWPHQWã
‡ 3UHVVýWKHý$ODUPý6LOHQFHýSDGýWRýEHJLQýWKHýVHOHFWLRQýSURFHVVïý7KHýGLJLWýWRýEHýVHOHFWHGýZLOOýIODVKï
‡ 3UHVVýWKHý8SýRUý'RZQýSDGýWRýFKDQJHýWKHýGLJLWýWRýWKHýQHZýYDOXHï
‡ 3UHVVýWKHý$ODUPý6LOHQFHýSDGýWRýVHWý\RXUýVHOHFWLRQýDQGýPRYHýWRýWKHýQH[WýGLJLWýRUýVFUHHQï
‡ 3UHVVýWKHý'RZQýSDGýWRýF\FOHýWKURXJKýWKHýIROORZLQJý6\VWHPý&RQILJXUDWLRQýVFUHHQVï
/DQJXDJHý6HOHFWLRQïý7KLVýVFUHHQýHQDEOHVýWKHýRSHUDWRUýWRýFKRRVHýIURPý*HUPDQñý(QJOLVKñý6SDQð
LVKñý)UHQFKñýRUý,WDOLDQïý3UHVVýWKHý8Sñý'RZQñýDQGý$ODUPý6LOHQFHýSDGVýVLPXOWDQHRXVO\ýWRýUHWXUQýWRý
(QJOLVKï
836ý5DWLQJïý7KLVýVFUHHQýVKRZVýWKHý836ýUDWLQJïý7KHý;;;ýLQGLFDWHVýWKHý836ýUDWLQJýLQýN9$ï
FREQUENCY
60.0 Hz OUTPUT
60.0 Hz INPUT
➪
Press to
review System Options
and Configuration
Deutsche English
Espanol Francais
Italia
Press to set
UPS Rating
XXX kVA
➪

48 Operation
,QSXWý9ROWDJHïý7KLVýVFUHHQýGLVSOD\VýWKHý836ýLQSXWýYROWDJHýUDWLQJï
2XWSXWý9ROWDJHïý7KLVýVFUHHQýGLVSOD\VýWKHý836ýRXWSXWýYROWDJHýUDWLQJï
1RPLQDOý)UHTXHQF\ïý%RWKýLQSXWýDQGýRXWSXWýIUHTXHQF\ýUDWLQJVýDUHýVKRZQýRQýWKLVýVFUHHQï
,QSXWý)UHTXHQF\ý6\QFý5DQJHïý7KLVýVFUHHQýGLVSOD\VýWKHýVHOHFWHGýIUHTXHQF\ýWROHUDQFHïý7KHýLQSXWý
IUHTXHQF\ýV\QFKURQL]DWLRQýUDQJHýLVýDGMXVWDEOHýõE\ýLQWHUQDOýFRQWUROýVZLWFKHVôýDQGýPD\ýEHýVHWýDWýïèñý
ìñýêñýRUýèý+]ïý7KHýLQSXWýSRZHUýPXVWýEHýZLWKLQýWKLVýUDQJHýIRUýWKHý836ýRXWSXWýWRýEHFRPHýV\QFKURð
QL]HGýZLWKýWKHýLQSXWýSRZHUïý7KHý836ýLVýVKLSSHGýZLWKýWKLVýVHWWLQJýDWýíïèý+]ï
6OHZý5DWHïý7KLVýVFUHHQýGLVSOD\VýWKHýVHOHFWHGýIUHTXHQF\ýVOHZýUDWHïý7KHýVOHZýUDWHýLVýDGMXVWDEOHýõE\ý
WKHýVHOHFWLRQýSDGVôýLQýíïìý+]ýLQFUHPHQWVýIURPýíïìýWRýìïíý+]ýSHUýVHFRQGýõWKHýUHFRPPHQGHGýYDOXHýLVý
íïìý+]ôïý7KHýVOHZýUDWHýGHWHUPLQHVýWKHýWUDFNLQJýWLPHýWKHý836ýLQYHUWHUýUHTXLUHVýWRýPDWFKýDýQHZý
LQSXWýIUHTXHQF\ïý)RUýH[DPSOHñýLIýWKHýLQSXWýIUHTXHQF\ýFKDQJHVýIURPýçíýWRýçìý+]ñýWKHý836ýLQYHUWHUý
IUHTXHQF\ýZLOOýHYHQWXDOO\ýFKDQJHýWRýçìý+]ïý7KHýVOHZýUDWHýLVýWKHýVSHHGýDWýZKLFKýWKHýIUHTXHQF\ý
FKDQJHVýIURPýçíýWRýçìý+]ïý
Input Voltage
Rating
XXX/XXX Volts
➪
Output Voltage
Rating
XXX/XXX Volts
➪
Nominal
Frequency
60 Hz
Input / Output
➪
Input Frequency
Sync Range:
0.5 Hz
Slew Rate
0.1 Hz/Second
Press to set

Operation 49
/RZý%DWWHU\ý:DUQLQJïý7KLVýVFUHHQýVKRZVýWKHýVHOHFWHGý/RZý%DWWHU\ý:DUQLQJý7LPHïý7KLVýYDOXHýLVý
IDFWRU\ýVHWýDWýèýPLQXWHVïý+RZHYHUñýLWýLVýDGMXVWDEOHýõE\ýWKHýVHOHFWLRQýSDGVôýLQýRQHýPLQXWHýLQFUHð
PHQWVýIURPýìýWRýääýPLQXWHVïý:KHQýWKHý836ýLVýRSHUDWLQJýRQýEDWWHU\ýSRZHUñýDQý$ODUPý0HVVDJHýZLOOý
DSSHDUýZKHQýWKLVýVHWWLQJýLVýUHDFKHGïý7KLVýZDUQVýWKHýRSHUDWRUýWKDWýEDWWHU\ýVKXWGRZQýLVýLPPLQHQWï
'&ý%XVý:DONðLQïý7KLVýVFUHHQýGLVSOD\VýWKHýFXUUHQWý'&ý%XVý:DONðLQýWLPHïý7KLVýVHWWLQJýLVýVHOHFWð
DEOHýõE\ýLQWHUQDOýFRQWUROýVZLWFKôýWRýSURYLGHýHLWKHUýDýVORZýõëíýVHFRQGVôýRUýIDVWýõèýVHFRQGVôýUDPSýXSý
WLPHýRQýWKHý'&ý%XVïý7KHý836ýLVýVKLSSHGýZLWKýWKLVýVHWWLQJýDWýèýVHFRQGVï
7LPHýDQGý'DWHïý7KLVýVFUHHQýHQDEOHVýWKHýRSHUDWRUýWRýVHWýWKHýFXUUHQWýWLPHñýGD\ñýDQGýGDWHïý7Rý
FKDQJHýWKHýFXUUHQWýWLPHýDQGýGDWHýVHWWLQJVñýSHUIRUPýWKHýIROORZLQJã
ìï 3UHVVýWKHý$ODUPý6LOHQFHýSDGïý7KHý++ýLQGLFDWLRQýEHJLQVýWRýIODVKï
ëï 3UHVVýWKHý8SýRUý'RZQýSDGýWRýFKDQJHýVHWWLQJï
êï 3UHVVýWKHý$ODUPý6LOHQFHýSDGýWRýF\FOHýWKURXJKýWKHýUHPDLQLQJýWLPHýDQGýGDWHýVHWWLQJVï
%DWWHU\ý7HVWïý7KHý6HULHVýêííý'7ý836ýZLOOýDXWRPDWLFDOO\ýSHUIRUPýDýVFKHGXOHGýRQðOLQHýEDWWHU\ý
WHVWýLIýWKLVýIHDWXUHýLVýHQDEOHGýE\ýWKHýXVHUïý'XULQJýDýWHVWñýWKHýFKDUJHUýLVýWXUQHGýRIIýDQGýWKHýEDWWHU\ý
VXSSOLHVýSRZHUýWRýWKHýORDGýIRUýêíýVHFRQGVïý7KHý'&ýEXVýYROWDJHýLVýWKHQýFRPSDUHGýWRýWKHýVHWSRLQWïý
7KHýXVHUýVHOHFWVýWKHýVFKHGXOLQJýRIýWKHýWHVWVñýWKHý'&ýYROWDJHýVHWSRLQWñýDQGýZKHWKHUýWKHýWHVWýLVý
HQDEOHGïý7KHýEDWWHU\ýWHVWýFDQýDOVRýEHýPDQXDOO\ýLQLWLDWHGýE\ý/LHEHUWý&XVWRPHUý6HUYLFHýDQGý6XSð
SRUWï
,IýWKHý'&ýEXVýYROWDJHýUHPDLQVýDERYHýWKHýVHWSRLQWñýWKHýEDWWHU\ýKDVýSDVVHGýWKHýWHVWýDQGýDýPHVVDJHýLVý
VWRUHGýLQýWKHýDODUPýKLVWRU\ïý7KHýFKDUJHUýLVýWXUQýGRZQýDQGýQRUPDOý836ýRSHUDWLRQýLVýUHVXPHGï
Low Battery
Warning Time
05 Minutes
Press to set
Five
Second
DC Bus Walk-in
Time and Date:
HH:MM:SS
DDD DD MMM YY
Press to set

50 Operation
,IýWKHý'&ýEXVýYROWDJHýGHFUHDVHVýWRýWKHýVHWSRLQWýEHIRUHýWKHýWHVWýLVýFRPSOHWHñýWKHýEDWWHU\ýKDVýIDLOHGý
WKHýWHVWýDQGýWKHý836ýSHUIRUPVýWKHýIROORZLQJýVWHSVã
ìï 7UDQVIHUýORDGýWRýE\SDVV
ëï 5HVWDUWýWKHýFKDUJHU
êï 6RXQGýWKHýDXGLEOHýDODUPýKRUQ
éï 'LVSOD\ýDýEDWWHU\ýZDUQLQJýPHVVDJHýõQRWHýWKDWýWKHýRQO\ýZD\ýWRýFOHDUýWKLVýZDUQLQJýPHVVDJHýLVýWRý
SHUIRUPýDý836ýVWDUWðXSô
èï 5HFRUGýDýEDWWHU\ýWHVWýIDLOHGýPHVVDJH
çï 'LVDEOHýIXWXUHýEDWWHU\ýWHVWV
æï 5HWUDQVIHUýORDGýWRýWKHý836ï
7RýVFKHGXOHýDQGýHQDEOHýWKLVýWHVWñýDQGýWRýYLHZýRUýFKDQJHýWKHýVHWSRLQWñýSXVKýWKHý$ODUPý6LOHQFHýSDGý
ZKHQýWKHýIROORZLQJýVFUHHQýDSSHDUVã
7KHý%DWWHU\ý3DUDPHWHUý6FUHHQýZLOOýEHýGLVSOD\HGï
7KLVýVFUHHQýGLVSOD\VýWHVWýSDUDPHWHUVýDQGýWKHýGDWHýDQGýWLPHýRIýWKHýQH[WýVFKHGXOHGýWHVWïý'XULQJýLQLð
WLDOýVWDUWðXSñýVHOHFWýSUHIHUUHGýWHVWýGD\ñýGDWHñýWLPHñýWKUHVKROGýYROWDJHýVHWSRLQWñýWHVWýLQWHUYDOñýDQGý
HQDEOHýRUýGLVDEOHýWKHýDXWRPDWLFýWHVWVïý7HVWýLQWHUYDOýLVýëýWRýäýZHHNVýõIDFWRU\ýVHWýDWýèôïý8VHýWKHý8Sñý
'RZQñýDQGý$ODUPý6LOHQFHýSDGVýWRýHQWHUýSDUDPHWHUVïý1RWHýWKDWýLIýDýVFKHGXOHGýWHVWýFDQQRWýEHýSHUð
IRUPHGýEHFDXVHýWKHýORDGýLVýQRWýRQýWKHý836ñýWKHýWHVWýZLOOýDXWRPDWLFDOO\ýEHýVFKHGXOHGýIRUýìýZHHNý
ODWHUï
$XWRý5HVWDUWïý7KHý836ýFDQýUHVWDUWýWKHýORDGýDIWHUýDQýH[WHQGHGýSRZHUýIDLOXUHýIRUFHVýDýORDGýVKXWð
GRZQïý$VýVKLSSHGýIURPýWKHýIDFWRU\ñýWKLVýIHDWXUHýLVýGLVDEOHGïý7RýHQDEOHýWKHýIHDWXUHñýORFDWHýWKHý$XWRý
5HVWDUWý6WDWXVýVFUHHQã
7KLVýVHWWLQJýFDQýEHýHLWKHUý(1$%/('ýRUý',6$%/('ïý8VHýWKHý83ñý'2:1ñýDQGý$/$50ý6,/(1&(ý
EXWWRQVýWRýFKDQJHýWKHýYDOXHýWRý(1$%/('ï
:KHQýSRZHUýLVýUHDSSOLHGýDIWHUýDQýDXWRPDWLFýORDGýVKXWGRZQñýWKHý836ýZLOOýUHVWDUWýWKHýORDGýìíýVHFð
RQGVýDIWHUýWKHýSRZHUýUHWXUQVïý:KLOHýWKHý836ýLVýUHVWDUWLQJýWKHýORDGñýLWýZLOOýH[HFXWHýVHOIýWHVWVýWRýYHUð
LI\ýWKDWýWKHýPDMRUýLQWHUQDOýSRZHUýDQGýFRQWUROýVHFWLRQVýDUHýRSHUDWLQJýSURSHUO\ýEHIRUHýWUDQVIHUULQJý
WKHýORDGýWRýWKHýLQYHUWHUïý,IýDQ\ýSUREOHPVýRFFXUýGXULQJýWKLVýVHOIýWHVWñýWKHý836ýZLOOýDERUWýWKHýWHVWVý
Auto Battery
Test Parameters:
Press to view or set
MON APR 15 17:30
THRESHOLD: 360 VDC
INTERVAL: 5 WEEKS
TEST ENABLED
Auto Restart:
DISABLED

Operation 51
DQGýGLVDEOHýWKHýORDGïý7KHýORDGýFDQýEHýSRZHUHGýPDQXDOO\ýE\ýWXUQLQJýWKHýSRZHUýURWDU\ýVZLWFKýWRý
SRVLWLRQýìñýDQGýDýTXDOLILHGýVHUYLFHýHQJLQHHUýVKRXOGýLQYHVWLJDWHýWKHýSUREOHPï
3.5.3 Alarm History
7KHý6HULHVýêííý'7ý836ýLVýHTXLSSHGýZLWKýDýGDWDýEXIIHUýWKDWýUHFRUGVýDFWLYHý$ODUPý0HVVDJHVýRYHUýDý
SHULRGýRIýWLPHïý7RýYLHZýWKHý$ODUPý+LVWRU\ýRIýWKHý836ñýSUHVVýWKHý'RZQýSDGýXQWLOýWKHýIROORZLQJý
VFUHHQýDSSHDUVã
3UHVVýWKHý$ODUPý6LOHQFHýSDGýWRýDFFHVVýWKHý$ODUPý+LVWRU\ýVFUHHQïý3UHVVýWKHý'RZQýSDGýWRýYLHZýWKHý
$ODUPý0HVVDJHVï
7KHý$ODUPý0HVVDJHVýDUHýGLVSOD\HGýLQýWKHýUHYHUVHýRUGHUýRIýRFFXUUHQFHýõEHJLQQLQJýZLWKýWKHýPRVWý
UHFHQWôïý7KHýWLPHýõWRýWKHýíïìýVHFRQGôýDQGýGDWHýRIýRFFXUUHQFHýLVýGLVSOD\HGýZLWKýHDFKý$ODUPý0HVVDJHïý
)RUýDýOLVWýRIý$ODUPý0HVVDJHVýZLWKýGHVFULSWLRQVýDQGýUHFRPPHQGHGýFRUUHFWLYHýDFWLRQVñýUHIHUýWRýêïìì ðý
$ODUPý0HVVDJHVï
3.5.4 Lamp Test
3HULRGLFDOO\ñýWKHýRSHUDWRUýVKRXOGýYHULI\ýWKDWýDOOýVHJPHQWVýLQýWKHý/&'ýGLVSOD\ýVFUHHQýDUHýIXQFWLRQð
LQJï
)URPýWKHý1250$/ý23(5$7,21ýGHIDXOWýVFUHHQñýSUHVVýWKHý8SýSDGýRUñýSUHVVýWKHý'RZQýSDGýIURPý
WKHý$ODUPý+LVWRU\ýVFUHHQï
$OOý/('VýLOOXPLQDWHýIRUýDSSUR[LPDWHO\ýëýVHFRQGVýDQGýWKHýKRUQýVRXQGVïý7KHý,QSXWýDQGý2XWSXWý
/('VýRQýWKHý3RZHUý6WDWXVý'LDJUDPýDUHýGLUHFWO\ýZLUHGýWRýWKHLUýUHVSHFWLYHýSRZHUýOLQHVýDQGýDUHýQRWý
LQFOXGHGýLQýWKLVýWHVWïý:KHQýWKHýWHVWýLVýFRPSOHWHñýWKHýVFUHHQýZLOOýDXWRPDWLFDOO\ýGLVSOD\ýWKHýDSSURð
SULDWHýGHIDXOWýVFUHHQýPHVVDJHï
127(
:KHQý$XWRý5HVWDUWýLVýHQDEOHGñýWKHýXQLWýZLOOýUHVWDUWýWKHýORDGýDVýGHVFULEHGïý
+RZHYHUñýWRýUHFRQQHFWýWKHýEDWWHU\ñýWKHýEDWWHU\ýFLUFXLWýEUHDNHUõVôýPXVWýEHý
PDQXDOO\ýUHVHWýDQGýFORVHGï
127(
1RWHýDQ\ý/('VýQRWýLOOXPLQDWHGïý&RQWDFWý/LHEHUWý&XVWRPHUý6HUYLFHýDQGý
6XSSRUWýWRýPDNHýDSSURSULDWHýUHSDLUVï
Alarm History
Press ý
to access

52 Operation
3.6 Start-Up
6WDUWðXSýSURFHGXUHVýDUHýSHUIRUPHGýDWýWKHýFRQWUROýSDQHOýORFDWHGýRQýWKHý836ý0RGXOHý&DELQHWýGRRUïý
3URPSWHGýE\ýWKHý$GYLVRU\ý'LVSOD\ýDQGýVFUHHQýPHVVDJHVñýWXUQý5RWDU\ý6ZLWFKýWRýH[HFXWHýVWDUWðXSï
3.6.1 Start-Up Procedure
,QLWLDOýVWDUWðXSýPXVWýEHýSHUIRUPHGýE\ý/LHEHUWý6HUYLFHýSHUVRQQHOïý6WDUWðXSýSURFHGXUHVýGHVFULEHGýLQý
WKLVýPDQXDOýUHIHUýWRýDýVWDUWðXSýRIýWKHý836ýDIWHUýDýVKXWGRZQýIRUýPDLQWHQDQFHýRUýDIWHUýDQýDEQRUPDOý
FRQGLWLRQýKDVýEHHQýFRUUHFWHGïý'HSHQGLQJýRQýWKHýVLWXDWLRQñýVWDUWðXSýPD\ýEHJLQýZLWKý5RWDU\ý6ZLWFKý
LQý3RVLWLRQýíýRUý3RVLWLRQýìïý%HJLQýDWý6WHSýìýRUý6WHSýéïý)ROORZýGLUHFWLRQVýJLYHQýLQýVFUHHQýPHVVDJHVý
DQGýWKHý$GYLVRU\ý'LVSOD\ïý5HIHUýWRýèïí ðý6\VWHPý2SWLRQVýLIý\RXýKDYHýDQý([WHUQDOý0DLQWHQDQFHý
%\SDVVý&DELQHWï
Start-Up from Position 0
ìï 9HULI\ý5RWDU\ý6ZLWFKýLVýVHWýWRý3RVLWLRQýíï
ëï $SSO\ýSRZHUýWRý836ýIURPýXVHUªVýVXSSO\ýVRXUFHýõQRWýSDUWýRIýWKHý836ôï
êï 7XUQý5RWDU\ý6ZLWFKýWRý3RVLWLRQýìïý7KHýIROORZLQJýFRQGLWLRQVýH[LVWã
Dï ,QSXWýSRZHUýIORZVýWKURXJKý0DLQWHQDQFHý%\SDVVý/LQHýWRýFULWLFDOýORDGïý7KLVýLVýDýKDUGðZLUHGý
OLQHýWKURXJKýWKHý836âýLQSXWýSRZHUýLVýQRWýFRQGLWLRQHGýRUýEDFNHGýXSï
Eï 7KHý,QSXWýDQGý2XWSXWý/('VýRQýWKHý3RZHUý6WDWXVý'LDJUDPýDUHýLOOXPLQDWHGïý0HWHUVýDQGý
DOOýRWKHUýLQGLFDWRUVýDUHýLQRSHUDWLYHïýõ7KLVýLVýDýPDLQWHQDQFHýSRVLWLRQïô
$&$87,21
6WDUWðXSýPXVWýEHýSHUIRUPHGýH[DFWO\ýDVýLQVWUXFWHGïý)ROORZýSURPSWVý
RQýWKHý$GYLVRU\ý'LVSOD\ïý7XUQLQJýWKHý5RWDU\ý6ZLWFKýWRRýVRRQýRUýLQý
WKHýZURQJýVHTXHQFHýPD\ýUHVXOWýLQýLPPHGLDWHýORVVýRIýSRZHUýWRýWKHý
FULWLFDOýORDGï
$:$51,1*
,1ý527$5<ý6:,7&+ý326,7,21ýìñý836ý&20321(176ý$5(ý'(ð
(1(5*,=('ý:,7+ý7+(ý(;&(37,21ý2)ý(0,ý&$3$&,7256ñý
527$5<ý6:,7&+ñý,1387î287387ý7(50,1$/6ñý%$77(5<ý
&$%,1(7ñý$1'ý7+(ý,1387ý75$16)250(5ïý$//ý,1387ý
32:(5ý0867ý%(ý5(029('ý72ý$&+,(9(ý&203/(7(ý
,62/$7,21ï

Operation 53
Start-Up from Position 1
éï 7XUQý5RWDU\ý6ZLWFKýWRý3RVLWLRQýëïý7KHýIROORZLQJýPHVVDJHýZLOOýDSSHDUã
3UHVVý$ODUPý6LOHQFHý3DGýDVýSURPSWHGïý7KHýFRQWUROýV\VWHPýEHJLQVýH[HFXWLQJýLQWHUQDOýWHVWVïý
0HWHUVýDQGýLQGLFDWRUVýDUHýRSHUDWLYHïý2EVHUYHýWKHýIROORZLQJã
Dï $GYLVRU\ý'LVSOD\ý§3DXVH¨ý/('ýLOOXPLQDWHVï
Eï ,QSXWýSRZHUýWRýFULWLFDOýORDGýFRQWLQXHVýWRýEHýVXSSOLHGýWKURXJKý0DLQWHQDQFHý%\SDVVý/LQHýDVý
LQGLFDWHGýE\ýLOOXPLQDWHGý§,QSXW¨ýDQGý§2XWSXW¨ý/('VýRQýWKHý3RZHUý6WDWXVý'LDJUDPï
Fï 7KHýVFUHHQýGLVSOD\VýWKHýIROORZLQJýVHOIýWHVWýPHVVDJHVïý7KHý;;ýLQýHDFKýVFUHHQýLQGLFDWHVýWKHý
VHFRQGVýUHPDLQLQJýLQýWKHýWHVWï
Press button
to start system.
Press to check
configuration.
➪
STARTUP
Checking Input
power
[XX]
STARTUP
Testing charger
[XX
STARTUP
Testing inverter
[XX]

54 Operation
èï $IWHUýWKHý836ýKDVýVXFFHVVIXOO\ýSDVVHGýWKHýWKUHHýSUHYLRXVýWHVWVñýWKHýIROORZLQJýPHVVDJHýZLOOý
DSSHDUã
$GYDQFHýWKHý5RWDU\ý6ZLWFKýWRý3RVLWLRQýêñýDVýSURPSWHGïý7KHýEDWWHU\ýLVýFRQQHFWHGýWRýWKHý836ý
0RGXOHñýDQGýWKHýFRQWUROýV\VWHPýFRQGXFWVýLQWHUQDOýWHVWVýRQýWKHýEDWWHU\ýõXQOHVVýWKHýEDWWHU\ýWHVWý
LVýGLVDEOHGôïý7KHýVFUHHQýZLOOýGLVSOD\ýWKHýIROORZLQJýPHVVDJHVïý7KHý;;ýLQýHDFKýVFUHHQýLQGLFDWHVý
WKHýVHFRQGVýUHPDLQLQJýLQýWKHýWHVWï
STARTUP
Test passed. Turn
rotary switch to
position 3
STARTUP
Testing battery
[XX]
STARTUP
Testing walk-in
[XX]
STARTUP
Testing static
switch
[XX]

Operation 55
:KHQýWKHý3RVLWLRQýêýWHVWVýDUHýFRPSOHWHGñýWKHýIROORZLQJýPHVVDJHýZLOOýDSSHDUã
çï 7XUQý5RWDU\ý6ZLWFKýWRý3RVLWLRQýéñýZKLFKýLQLWLDWHVý836ý0RGXOHýQRUPDOýRSHUDWLRQïý2EVHUYHýWKHý
IROORZLQJã
Dï $GYLVRU\ý'LVSOD\ý/('VýH[WLQJXLVKñýLQGLFDWLQJýWKDWýWKHý5RWDU\ý6ZLWFKýZLOOýUHPDLQýLQý
3RVLWLRQýéýGXULQJýQRUPDOýRSHUDWLRQï
Eï 7KHýVFUHHQýGLVSOD\VýWKHýIROORZLQJýPHVVDJHã
7KLVýVFUHHQýLQGLFDWHVýWKHý836ýLVýWHPSRUDULO\ýXVLQJýWKHý6WDWLFý%\SDVVý/LQHýWRýVXSSO\ýSRZHUýWRý
WKHýFULWLFDOýORDGï
7KHý;;ýLQýWKLVýVFUHHQýLQGLFDWHVýWKHýQXPEHUýRIýVHFRQGVýHODSVHGýZKLOHýWKHý836ýLQWHUQDOýFRQWUROý
V\VWHPýV\QFKURQL]HVýWKHýLQYHUWHUýZLWKýWKHýLQSXWýSRZHUï
:KHQýWKHýLQYHUWHUýLVýV\QFKURQL]HGñýWKHýFRQWUROýV\VWHPýDXWRPDWLFDOO\ýUHWUDQVIHUVýWKHýFULWLFDOý
ORDGýIURPýWKHý6WDWLFý%\SDVVý/LQHýWRýWKHý836ý0RGXOHñýZLWKýQRýLQWHUUXSWLRQýRIýSRZHUýWRýWKHý
ORDGïý7KHýIROORZLQJýGHIDXOWýPHVVDJHýZLOOýDSSHDUã
7KHý1250$/ý23(5$7,21ýPHVVDJHýLQGLFDWHVýWKHýIROORZLQJã
‡ 7KHýV\VWHPýVWDWXVýLVýQRUPDOýõDOOýPHWHUýUHDGLQJVýDUHýQRPLQDOýDQGýWKHý836ý0RGXOHýLVýV\Qð
FKURQL]HGýZLWKýWKHýLQSXWýSRZHUôï
‡ 7KHýFULWLFDOýORDGýLVýEHLQJýVXSSOLHGýFRQGLWLRQHGýSRZHUýWKURXJKýWKHý836ý0RGXOHï
‡ 7KHýSRZHUýEHLQJýVXSSOLHGýWRýWKHýFULWLFDOýORDGýLVýLQGLFDWHGýDVýDýSHUFHQWDJHýRIýWKHý836ý
SRZHUýUDWLQJï
‡ 7KHý8Sñý'RZQñýRUý$ODUPý6LOHQFHýV\PEROýIODVKHVýLQýWKHýORZHUýULJKWðKDQGýFRUQHUýRIýWKHý
VFUHHQïý7KLVýLVýDýQRUPDOýLQGLFDWLRQýDQGýPHDQVýWKDWý\RXýPD\ýF\FOHýWKURXJKýYDULRXVýPRQLð
WRULQJñýDQGýWHVWýIXQFWLRQVýE\ýSUHVVLQJýWKHýDSSURSULDWHýVHOHFWLRQýSDGï
6WDUWðXSýLVýFRPSOHWHýZKHQýWKHý1250$/ý23(5$7,21ýPHVVDJHýDSSHDUVïý1RýIXUWKHUýDFWLRQVýDUHý
UHTXLUHGýRIýWKHýRSHUDWRUýXQOHVVýDQýDEQRUPDOýFRQGLWLRQýRFFXUVï
STARTUP
Test passed. Turn
rotary switch to
position 4
STARTUP
Testing Input
synchronization
[XX]
NORMAL OPERATION
Load on UPS
Load XXX%
➪

56 Operation
3.6.2 Abnormal Conditions During Start-Up
,IýWKHýV\VWHPýGHWHFWVýDQýDEQRUPDOýFRQGLWLRQýGXULQJýVWDUWðXSã
ìï $Qý$GYLVRU\ý'LVSOD\ý/('ýPD\ýLOOXPLQDWHñýSURPSWLQJýPRYHPHQWýRIýWKHý5RWDU\ý6ZLWFKïý5HDGý
WKHýVFUHHQýPHVVDJHýEHIRUHýWXUQLQJýWKHý5RWDU\ý6ZLWFKï
ëï 7KHýVFUHHQýGLVSOD\VýDQýDEQRUPDOýFRQGLWLRQýPHVVDJHïý6HHý7DEOH æýIRUýDQýH[SODQDWLRQýRIý
GLVSOD\HGýPHVVDJHVýDQGýLPSOHPHQWýWKHýFRUUHVSRQGLQJýFRUUHFWLYHýDFWLRQï
êï 5HSHDWýVWDUWðXSýVHTXHQFHýLIýDEQRUPDOýFRQGLWLRQýFDQýEHýFOHDUHGïý&DOOý/LHEHUWý6HUYLFHýDQGý
6XSSRUWýLIý\RXýUHTXLUHýDVVLVWDQFHï
'XULQJýVWDUWðXSñýV\VWHPýFRPSRQHQWVýDUHýWHVWHGýDQGýDQ\ýDEQRUPDOýFRQGLWLRQVýDUHýGLVSOD\HGýLQýDQý
$ODUPý0HVVDJHïý:KHQýDQýDEQRUPDOýFRQGLWLRQýRFFXUVýGXULQJýVWDUWðXSñýWKHýFULWLFDOýORDGýFRQWLQXHVýWRý
UHFHLYHýSRZHUýWKURXJKýWKHý0DLQWHQDQFHý%\SDVVý/LQHïý,IýWKHýGHIDXOWýVFUHHQýLQVWUXFWVý\RXýWRý&KHFNý
0HVVDJHVñýSUHVVýWKHý'RZQýSDGýWRýVHHýWKHýDFWLYHý$ODUPý0HVVDJHVï
7DEOH æýVKRZVý$ODUPý0HVVDJHVý\RXýPD\ýVHHýGXULQJýVWDUWðXSñýDORQJýZLWKýRSHUDWRUýFRUUHFWLYHý
DFWLRQïý$ODUPý0HVVDJHVý\RXýPD\ýVHHýGXULQJýQRUPDOýRSHUDWLRQýDUHýLQýêïìì ðý$ODUPý0HVVDJHVý
õ7DEOH åôïý&RQWDFWý/LHEHUWý&XVWRPHUý6HUYLFHýDQGý6XSSRUWýLIý\RXýUHTXLUHýDVVLVWDQFHï
Table 7 Alarm Messages During Start-Up
Alarm
Message Meaning and
Corrective Action in Brackets [ ]
START-UP SEQUENCE ABORTED Check Messages.
Input phase rotation incorrect The power conductors are not wired to the UPS input in the desired sequence.
[Disconnect power from the UPS input and correct the wiring. A Liebert
Customer Service and Support representative must be present during initial
start-up of your UPS system.]
Incorrect input frequency The frequency of the input power is outside the specified acceptable range.
[Check your utility source.]
Rotary switch is in the wrong position Power has been applied to the UPS with the Rotary Switch in the wrong
position. This message is displayed when the input power is removed, the
battery is discharged, and the UPS system has completely shut down. This
message indicates the Rotary Switch is still in Position 4 when input power is
restored.
[Turn the Rotary Switch to Position 1 and perform a UPS start-up procedure.]
Rotary switch improperly operated The Rotary Switch has been operated improperly. This means the switch has
been operated either too fast or in the wrong direction.
[Turn the Rotary Switch to Position 1 and perform a UPS start-up procedure.]
Battery Failed Test The Start-up test routine has detected a failure in the battery.
[Contact Liebert Customer Service and Support.]
Static Switch Failure The Start-up test routine has detected a failure in the Static Transfer Switch.
[Contact Liebert Customer Service and Support.]

Operation 57
3.6.3 Response to an Incorrect Start-Up Sequence
ìï ,Iý5RWDU\ý6ZLWFKýLVýDGYDQFHGýWKURXJKýVWDUWðXSýEHIRUHýWKHýDSSURSULDWHýV\VWHPýSURPSWVñýWKHý
IROORZLQJýPHVVDJHýLVýGLVSOD\HGã
ëï 3UHVVýWKHý'RZQýVHOHFWLRQýSDGýõDVýSURPSWHGýE\ýWKHýIODVKLQJýDUURZýLQýWKHýORZHUýULJKWðKDQGý
FRUQHUôýWRýYLHZýWKHýIROORZLQJýPHVVDJHã
êï 7XUQýURWDU\ýVZLWFKýFRXQWHUFORFNZLVHýWRý3RVLWLRQýìïý'RýQRWýWXUQýURWDU\ýVZLWFKýWRý3RVLWLRQýíïý
'RLQJýVRýZLOOýFDXVHýDQýLPPHGLDWHýORVVýRIýSRZHUýWRýWKHýORDGï
éï )URPý3RVLWLRQýìñýUHSHDWýVWDUWðXSýVHTXHQFHýEHJLQQLQJýZLWKý6WHSýêñýREVHUYLQJýWKHýSDFHýVHWýE\ý
WKHý$GYLVRU\ý'LVSOD\ýDQGýVFUHHQýPHVVDJHVï
,IýUHSHDWHGýVWDUWðXSýDWWHPSWVýDUHýXQVXFFHVVIXOñýFDOOý/LHEHUWý&XVWRPHUý6HUYLFHýDQGý6XSSRUWýDWý
ìðåííðèéêðëêæåï
$&$87,21
6WDUWðXSýPXVWýEHýSHUIRUPHGýH[DFWO\ýDVýLQVWUXFWHGïý)ROORZýSURPSWVý
RQýWKHý$GYLVRU\ý'LVSOD\ïý7XUQLQJýWKHý5RWDU\ý6ZLWFKýWRRýVRRQýRUýLQý
WKHýZURQJýVHTXHQFHýPD\ýUHVXOWýLQýLPPHGLDWHýORVVýRIýSRZHUýWRýWKHý
FULWLFDOýORDGï
$:$51,1*
&5,7,&$/ý/2$'ý,6ý&211(&7('ý72ý7+(ý0$,17(1$1&(ý
%<3$66ý/,1(ý$6ý6221ý$6ý7+(ý527$5<ý6:,7&+ý,6ý7851('ý
)520ý326,7,21ýéý72ý326,7,21ýêïý+2:(9(5ñý32:(5ý
5(0$,16ý,1ý7+(ý836ñý$1'ý,6ý816$)(ý)25ý0$,17(1$1&(ý
817,/ý7+(ý527$5<ý6:,7&+ý,6ý,1ý326,7,21ýìïý,1ý326,7,21ýìñý
836ý&20321(176ý$5(ý'(ð(1(5*,=('ý:,7+ý7+(ý
(;&(37,21ý2)ý(0,ý&$3$&,7256ñý527$5<ý6:,7&+ñý,1387î
287387ý7(50,1$/6ñý%$77(5<ý&$%,1(7ñý$1'ý7+(ý,1387ý
75$16)250(5ïý$//ý,1387ý32:(5ý0867ý%(ý5(029('ý72ý
$&+,(9(ý&203/(7(ý,62/$7,21ï
STARTUP SEQUENCE
ABORTED
Check Messages
➪
WARNING: Load
on Maintenance
bypass
Check Messages
➪
Rotary Switch
improperly
operated

58 Operation
3.7 Normal Operation
7KHý1250$/ý23(5$7,21ýGHIDXOWýPHVVDJHýLVýGLVSOD\HGýGXULQJýQRUPDOýRSHUDWLQJýFRQGLWLRQVïý,Wý
LQGLFDWHVã
‡ 6\VWHPýFRQGLWLRQVýDUHýQRUPDOýõDOOýPHWHUýUHDGLQJVýDUHýQRPLQDOýDQGýWKHý836ý0RGXOHýLVýV\Qð
FKURQL]HGýZLWKýWKHýLQSXWýSRZHUô
‡ 7KHýFULWLFDOýORDGýLVýVXSSRUWHGýE\ýWKHý836ý0RGXOH
‡ 7KHýDPRXQWýRIýSRZHUýEHLQJýXVHGýE\ýWKHýFULWLFDOýORDGñýUHODWLYHýWRýWKHý836ýUDWLQJïý7KHýYDOXHý
UHSUHVHQWHGýE\ý;;;ýZLOOýDOZD\VýEHýOHVVýWKDQýRUýHTXDOýWRýìííýLQýDý1250$/ý23(5$7,21ý
PHVVDJHïýõ,IýWKHýFULWLFDOýORDGýLVýGUDZLQJýPRUHýWKDQýìííøýRIýWKHý836ýUDWHGýORDGñýDýZDUQLQJý
PHVVDJHýZLOOýDSSHDUïô
‡ 7KHý8Sñý'RZQýRUý$ODUPý6LOHQFHýIODVKHVýLQýWKHýORZHUýULJKWðKDQGýFRUQHUýRIýWKHýVFUHHQïý7KLVýLVý
QRUPDOýDQGýLQGLFDWHVýWKDWýWKHýRSHUDWRUýPD\ýF\FOHýWKURXJKýYDULRXVýPRQLWRULQJýDQGýWHVWýIXQFð
WLRQVñýE\ýSUHVVLQJýWKHýDSSURSULDWHýVHOHFWLRQýSDGï
NORMAL OPERATION
Load on UPS
Load XXX%
➪

Operation 59
3.8 Shutdown
3.8.1 Shutdown to Maintenance Bypass
7RýUHPRYHýWKHý836ýIURPýVHUYLFHýIRUýPDLQWHQDQFHýRUýRWKHUýUHDVRQVýDQGýVWLOOýSURYLGHýSRZHUýWRýWKHý
FULWLFDOýORDGñýLWýLVýQHFHVVDU\ýWRýFRQQHFWýWKHýORDGýWRýWKHý0DLQWHQDQFHý%\SDVVý/LQHýE\ýSHUIRUPLQJý
6WHSV ìýDQG ëýEHORZýõUHIHUýWRýèïí ðý6\VWHPý2SWLRQVýLIý\RXýKDYHýDQý([WHUQDOý0DLQWHQDQFHý%\SDVVý
&DELQHWôã
ìï 7XUQý5RWDU\ý6ZLWFKýFRXQWHUFORFNZLVHýIURPý3RVLWLRQýéýWRý3RVLWLRQýêñýDQGýREVHUYHýWKHýIROORZLQJý
PHVVDJHã
ëï &RQWLQXHýWXUQLQJýWKHýVZLWFKýFRXQWHUFORFNZLVHýWRý3RVLWLRQýìïý'RýQRWýWXUQý5RWDU\ý6ZLWFKýWRý
3RVLWLRQýíïý'RLQJýVRýZLOOýFDXVHýDQýLPPHGLDWHýORVVýRIýSRZHUýWRýWKHýORDGïý7KHUHýLVýQRýSRZHUýWRýWKHý
836ý0RGXOHýFRQWUROýV\VWHPýLQýWKLVýSRVLWLRQïý7KHUHIRUHñýWKHýGLJLWDOýGLVSOD\ýZLOOýEHýEODQNï
3.8.2 Complete Shutdown
7RýUHPRYHýDOOýSRZHUýWRýWKHýORDGñýSHUIRUPý6WHSV ìýDQG ëýDERYHñýWKHQýõUHIHUýWRýèïí ðý6\VWHPý
2SWLRQVýLIý\RXýKDYHýDQý([WHUQDOý0DLQWHQDQFHý%\SDVVý&DELQHWôã
êï 7XUQý5RWDU\ý6ZLWFKýIURPý3RVLWLRQýìýWRý3RVLWLRQýíï
3.8.3 Emergency Shutdown
,QýWKHýXQOLNHO\ýHYHQWýDQýHPHUJHQF\ýVKXWGRZQýLVýQHFHVVDU\ñýWKHýRSHUDWRUýVKRXOGãý7XUQýWKHý5RWDU\ý
6ZLWFKýFRXQWHUFORFNZLVHýGLUHFWO\ýWRý3RVLWLRQýíïý5HIHUýWRýèïí ðý6\VWHPý2SWLRQVýLIý\RXýKDYHýDQý
([WHUQDOý0DLQWHQDQFHý%\SDVVý&DELQHWï
ìï &DOOý/LHEHUWý&XVWRPHUý6HUYLFHýDQGý6XSSRUWï
ëï 7RýUHVWDUWýWKHý836ýDIWHUýWKHýFDXVHýRIýWKHýHPHUJHQF\ýVKXWGRZQýKDVýEHHQýFRUUHFWHGñýSHUIRUPý
WKHýVWDUWðXSýSURFHGXUHï
$:$51,1*
&5,7,&$/ý/2$'ý,6ý&211(&7('ý72ý7+(ý0$,17(1$1&(ý
%<3$66ý/,1(ý$6ý6221ý$6ý7+(ý527$5<ý6:,7&+ý,6ý7851('ý
)520ý326,7,21ýéý72ý326,7,21ýêïý+2:(9(5ñý32:(5ý
5(0$,16ý,1ý7+(ý836ñý$1'ý,6ý816$)(ý)25ý0$,17(1$1&(ý
817,/ý7+(ý527$5<ý6:,7&+ý,6ý,1ý326,7,21ýìïý,1ý326,7,21ýìñý
836ý&20321(176ý$5(ý'(ð(1(5*,=('ý:,7+ý7+(ý
(;&(37,21ý2)ý(0,ý&$3$&,7256ñý527$5<ý6:,7&+ñý,1387î
287387ý7(50,1$/6ñý%$77(5<ý&$%,1(7ñý$1'ý7+(ý,1387ý
75$16)250(5ïý$//ý,1387ý32:(5ý0867ý%(ý5(029('ý72ý
$&+,(9(ý&203/(7(ý,62/$7,21ï
$&$87,21
$OOýSRZHUýZLOOýEHýGLVFRQQHFWHGýIURPýWKHýFULWLFDOýORDGýDQGý836ï
System Shutdown
Please turn
rotary switch to
Position 2.
➪

60 Operation
3.9 Response to a Power Failure
,IýLQSXWýSRZHUýIDLOVýZKLOHýWKHýORDGýLVýRQý836ýõ5RWDU\ý6ZLWFKýLQý3RVLWLRQýéôñýWKHý836ýEDWWHU\ýZLOOý
VXSSO\ýSRZHUýWRýWKHýLQYHUWHUýZKLFKýVXSSRUWVýWKHýORDGï
3.9.1 UPS Response
ìï 836ýEDWWHU\ýEHJLQVýVXSSO\LQJýSRZHUýZLWKRXWýLQWHUUXSWLRQýWRýWKHýLQYHUWHUï
ëï 7KHý,QSXWý/('ýRQýWKHý3RZHUý6WDWXVý'LDJUDPýH[WLQJXLVKHVïý7KHý2XWSXWý/('ýUHPDLQVý
LOOXPLQDWHGï
êï 7KHý§3DXVH¨ý/('ýRQýWKHý$GYLVRU\ý'LVSOD\ýLOOXPLQDWHVñýZDUQLQJýRSHUDWRUýQRWýWRýWXUQýWKHý
5RWDU\ý6ZLWFKï
éï 7KHýDXGLEOHýDODUPýZLOOýVRXQGýLIýWKHýSRZHUýIDLOXUHýODVWVýORQJHUýWKDQýìíýVHFRQGVï
èï 7KHýVFUHHQýGLVSOD\VýWKHýIROORZLQJýPHVVDJHã
7KHýLQWHUQDOýFRQWUROýV\VWHPýEHJLQVýVHQVLQJýDFWXDOýFKDUJHýLQýWKHýEDWWHU\ýLQýRUGHUýWRýFDOFXODWHý
WKHýDPRXQWýRIýWLPHýWKHýEDWWHU\ýFDQýVXSSRUWýWKHýFULWLFDOýORDGïý7KHýLQLWLDOýSURFHVVýRIýVHQVLQJýDQGý
FDOFXODWLRQýUHTXLUHVýDSSUR[LPDWHO\ýIRXUýPLQXWHVï
çï $IWHUýWKHýLQLWLDOýFDOFXODWLRQýSURFHVVñýWKHýIROORZLQJýPHVVDJHýZLOOýDSSHDUã
7KHýWLPHýUHPDLQLQJýQXPEHUýõUHSRUWHGýLQýWKHý§;;¨ýILHOGôýZLOOýEHýWKHýFDOFXODWHGýEDWWHU\ýWLPHý
UHPDLQLQJïý7KHUHDIWHUñýWKHýSURFHVVýRIýVHQVLQJýDQGýUHðFDOFXODWLRQýZLOOýFRQWLQXHýXQWLOýWKHýEDWWHU\ý
WLPHýUHPDLQLQJýKDVýGHFUHDVHGýWRýèýPLQXWHVïý7KHýWLPHýUHPDLQLQJýQXPEHUýLVýXSGDWHGýHYHU\ýêíýVHFð
RQGVïýõ,IýFRQGLWLRQVýFKDQJHñýWKHýWLPHýUHPDLQLQJýQXPEHUýPD\ýEHýLQDFFXUDWHýIRUýDýIHZýPLQXWHVýDVý
WKHýFRQWUROýV\VWHPýPDNHVýLWVýFDOFXODWLRQVïô
:KHQýYHU\ýOLJKWýORDGVýDUHýVXSSRUWHGñýRUýZKHQýPXOWLSOHýEDWWHU\ýEDQNVýDUHýFRQQHFWHGñýWKHýGLVSOD\ý
PHVVDJHýPD\ýVKRZýDýOLPLWHGýSURMHFWLRQýLQGLFDWHGýE\ý§!çí¨ýõRUýDýVPDOOHUýQXPEHUñýEDVHGýRQýORDGôïý
$VýPRUHýGDWDýLVýJDWKHUHGýE\ýWKHýSURFHVVLQJýV\VWHPñýWKHýHVWLPDWHýPD\ýEHýUHYLVHGýDQGýPRUHýWLPHý
DGGHGñýWRýDýPD[LPXPýRIý§!ää¨ïý,QýH[WUHPHýFDVHVýRIýVPDOOýORDGVýRQýPXOWLSOHýEDWWHU\ýEDQNVñýWKHýGLVð
SOD\ýZLOOýVWD\ýDWý§!ää¨ýXQWLOýWKHýEDWWHU\ýGLVFKDUJHVýEHORZýääýPLQXWHVï
æï :KHQýWKHý836ýUHDFKHVýWKHý/RZý%DWWHU\ý:DUQLQJý7LPHñýWKHýDXGLEOHýDODUPýZLOOýVRXQGýDJDLQï
$&$87,21
0RYHPHQWýRIý5RWDU\ý6ZLWFKýGXULQJýDýSRZHUýIDLOXUHýZLOOýUHVXOWýLQý
DQýLPPHGLDWHýORVVýRIýSRZHUýWRýWKHýORDGï
UPS ON BATTERY
Calculating Time
Remaining
Check Messages
➪
UPS ON BATTERY
Time Remaining
>XX Minutes
Check Messages
➪

Operation 61
3.9.2 Operator Response
ìï 3UHVVý$ODUPý6LOHQFHýSDGýWRýFDQFHOýWKHýDXGLEOHýDODUPïýõ,WýZLOOýVRXQGýDJDLQýDWýWKHý/RZý%DWWHU\ý
:DUQLQJý7LPHïô
ëï 9HULI\ýDýSRZHUýIDLOXUHýKDVýRFFXUUHGïý,QýDGGLWLRQýWRýLQGLFDWRUVýDQGýDODUPVýRQýWKHý836ñýWKHUHý
VKRXOGýEHýRWKHUýLQGLFDWLRQVñýVXFKýDVýWKHýURRPýOLJKWVýEHLQJýRIIï
êï :KLOHýWKHýEDWWHU\ýLVýVXSSRUWLQJýWKHýORDGñý\RXýPD\ýUHGXFHýWKHýORDGýWRýH[WHQGýWKHýEDWWHU\ýWLPHïý
õ5HPHPEHUýWKDWýWKHýFDOFXODWLRQVýIRUýEDWWHU\ýWLPHýUHPDLQLQJýPD\ýWDNHýDýIHZýPLQXWHVïô
3.9.3 As Battery Time Approaches Zero
ìï ,IýLQSXWýSRZHUýLVýUHVWRUHGýZKLOHýWKHý836ýEDWWHU\ýLVýVXSSRUWLQJýWKHýORDGñýWKHý836ýZLOOý
DXWRPDWLFDOO\ýEHJLQýFRQGLWLRQLQJýLQSXWýSRZHUïý7KLVýFRQGLWLRQHGýSRZHUýVXSSRUWVýWKHýORDGýDVýLWý
VLPXOWDQHRXVO\ýUHFKDUJHVýWKHýEDWWHU\ï
ëï ,IýHTXLSPHQWýVXSSRUWHGýE\ýWKHý836ýLVýGUDZLQJýSRZHUýIURPýWKHýEDWWHU\ýDVýWLPHýDSSURDFKHVý
]HURñýWKHý836ýFRQWLQXHVýWRýVXSSO\ýSRZHUýWRýWKDWýORDGýXQWLOýWKHýEDWWHU\ýUHDFKHVýDýSUHðVHWý
YROWDJHýOHYHOýõ]HURýWLPHôïý7RýSURWHFWýWKHýEDWWHU\ýIURPýGDPDJHñýWKHý836ýWKHQýVKXWVýLWVHOIýRIIý
DQGýQRýORQJHUýVXSSOLHVýSRZHUýWRýWKHýORDGï
êï ,IýWKHýFRQWUROýV\VWHPýVKXWVýGRZQýWKHý836ýDWý]HURýWLPHýDQGý$XWRý5HVWDUWýLVýGLVDEOHGñýWKHý836ý
UHPDLQVýRIIýHYHQýZKHQýLQSXWýSRZHUýLVýUHVWRUHGïý7RýUHVWRUHýSRZHUýWRýWKHýORDGñýWXUQý5RWDU\ý
6ZLWFKýFRXQWHUFORFNZLVHýWRý3RVLWLRQ ìïý7KHýFULWLFDOýEXVýZLOOýEHýHQHUJL]HGýDVýVRRQýDVýWKHý
5RWDU\ý6ZLWFKýLVýLQý3RVLWLRQ êïý3HUIRUPýVWDUWðXSýõêïç ðý6WDUWð8SôýIURPý3RVLWLRQýìïý
0DQXDOO\ýUHVHWýDQGýFORVHýWKHýEDWWHU\ýFLUFXLWýEUHDNHUõVôýWRýUHFRQQHFWýWKHýEDWWHU\ï
éï ,IýWKHýFRQWUROýV\VWHPýVKXWVýGRZQýWKHý836ýDWý]HURýWLPHýDQGý$XWRý5HVWDUWýLVýHQDEOHGñýWKHý836ý
ZLOOýUHVWDUWýWKHýORDGýìíýVHFRQGVýDIWHUýLQSXWýSRZHUýLVýUHVWRUHGýõUHIHUýWRýêïèïë ðý6\VWHPý
&RQILJXUDWLRQôïý0DQXDOO\ýUHVHWýDQGýFORVHýWKHýEDWWHU\ýFLUFXLWýEUHDNHUõVôýWRýUHFRQQHFWýWKHý
EDWWHU\ï
127(
'HWHUPLQHýWLPHýUHTXLUHGýWRýSHUIRUPýDQýRUGHUO\ýVKXWGRZQýRIýWKHýFULWLFDOý
ORDGïý%HJLQýVKXWGRZQýVRýLWýZLOOýEHýFRPSOHWHGýZKLOHýWKHýEDWWHU\ýLVýVWLOOý
VXSSRUWLQJýWKHýORDGï
:KHQýEDWWHU\ýWLPHýUHPDLQLQJýKDVýGHFUHDVHGýWRýèýPLQXWHVñýUHGXFLQJýWKHý
ORDGýZLOOýQRWýH[WHQGýEDWWHU\ýWLPHï
$&$87,21
7XUQLQJýWKHý5RWDU\ý6ZLWFKýFRXQWHUFORFNZLVHýIURPý3RVLWLRQýéýWRý
3RVLWLRQýêýZLOOýHQHUJL]HýWKHýFULWLFDOýEXVïý0DNHýVXUHýFULWLFDOýORDGý
HTXLSPHQWýLVýUHDG\ýIRUýSRZHUýEHIRUHýWXUQLQJý5RWDU\ý6ZLWFKï
$&$87,21
5HFKDUJHýEDWWHULHVýDVýVRRQýDVýSRVVLEOHýDIWHUýGLVFKDUJHïý%DWWHULHVý
VKRXOGýEHýUHFKDUJHGýZLWKLQýëéýKRXUVýWRýDYRLGýVXOSKDWLRQýDQGýWRý
SUHVHUYHýEDWWHU\ýOLIHï

62 Operation
3.10 Response to a UPS Failure
3.10.1 UPS Response
ìï 7KHý6WDWLFý7UDQVIHUý6ZLWFKýLQVWDQWO\ýWUDQVIHUVýWKHýORDGýWRýWKHý6WDWLFý%\SDVVý/LQHýZLWKRXWý
LQWHUUXSWLRQýRIýSRZHUï
ëï $QýDXGLEOHýDODUPýZLOOýVRXQGï
êï 7KHýIROORZLQJýPHVVDJHýZLOOýDSSHDUã
éï $Qý$GYLVRU\ý'LVSOD\ý/('ýPD\ýLOOXPLQDWHñýSURPSWLQJýPRYHPHQWýRIýWKHýURWDU\ýVZLWFKï
3.10.2 Operator Response
ìï 3UHVVý$ODUPý6LOHQFHýSDGýWRýFDQFHOýWKHýDXGLEOHýDODUPï
ëï 3UHVVýWKHý'RZQýSDGýWRýYLHZýWKHý$ODUPý0HVVDJHVýVFUHHQï
êï 7XUQý5RWDU\ý6ZLWFKýFORFNZLVHýRUýFRXQWHUFORFNZLVHýLQýUHVSRQVHýWRýWKHý$GYLVRU\ý'LVSOD\ï
&RQWLQXHýWXUQLQJý5RWDU\ý6ZLWFKýWRý3RVLWLRQýìñýZKLFKýGHðHQHUJL]HVýWKHý836ýZKLOHýPDLQWDLQLQJý
WKHýFULWLFDOýORDGýWKURXJKýWKHý0DLQWHQDQFHý%\SDVVý/LQHï
éï &DOOý/LHEHUWý&XVWRPHUý6HUYLFHýDQGý6XSSRUWï
$&$87,21
'RýQRWýWXUQý5RWDU\ý6ZLWFKýWRýSRVLWLRQýíïý'RLQJýVRýZLOOýFDXVHýDQý
LPPHGLDWHýORVVýRIýSRZHUýWRýWKHýORDGï
WARNING: Load
on Static
Switch
Check Messages
➪

Operation 63
3.11 Alarm Messages
:KHQýWKHýGHIDXOWýVFUHHQýLQVWUXFWVý\RXýWRý&KHFNý0HVVDJHVñýSUHVVýWKHý'RZQýSDGýWRýVHHýWKHý$ODUPý
0HVVDJHVýVFUHHQïý$FWLYHý$ODUPý0HVVDJHVýZLOOýEHýGLVSOD\HGýDORQJýZLWKýDýVHTXHQFHýQXPEHUýDQGý
WLPHýRIýRFFXUUHQFHïý1RWHýWKDWýWZRýRUýPRUHý$ODUPý0HVVDJHVýFDQýKDYHýWKHýVDPHýVHTXHQFHýQXPEHUý
ZKLFKýPHDQVýWKH\ýRFFXUUHGýVLPXOWDQHRXVO\ïý&RQWLQXHýSUHVVLQJýWKHý'RZQýSDGýXQWLOýDOOýDFWLYHý
$ODUPý0HVVDJHVýKDYHýEHHQýGLVSOD\HGï
7DEOH åýVKRZVý$ODUPý0HVVDJHVýõZLWKýUHODWHGýDODUPVýJURXSHGýWRJHWKHUôýDQGýRSHUDWRUýFRUUHFWLYHý
DFWLRQñýLIýDQ\ïý&RQWDFWý/LHEHUWý&XVWRPHUý6HUYLFHýDQGý6XSSRUWýLIý\RXýUHTXLUHýDVVLVWDQFHï
Table 8 Alarm Messages
Alarm
Message Meaning and
Corrective Action in Brackets [ ]
AC INPUT
Input power out of tolerance Frequency or voltage of the input power is outside the acceptable range. The
battery supplies power to the critical load through the UPS Module.
DC BUS
Charger in reduced current mode Customer has selected reduced current operation of the charger from a contact
external to the UPS.
Battery charger problems The battery is not being charged. The voltage produced by the charger is
insufficient to maintain a charge on the battery.
[Contact Liebert Customer Service and Support.]
Low battery warning issued Battery has been discharging and the Low Battery Warning Time (factory set at
5 minutes, adjustable range 1 to 99 minutes) has been reached.
[Note time stamp on alarm message. Follow appropriate procedures to shut
down the critical load in an orderly sequence.]
Low battery shutdown Battery has discharged to the minimum allowable voltage and the UPS is shut
down. No power is being supplied to the critical load.
[When input power becomes available, perform a UPS start-up procedure.]
DC bus overvoltage DC bus voltage has exceeded the specified limit and the charger has been
turned off. The charger will automatically restart when the DC bus voltage
returns to within tolerance.
[Contact Liebert Customer Service and Support if this condition persists for
more than 2 minutes.]
BYPASS
Bypass frequency out of tolerance Input power frequency is outside of the specified tolerance (adjustable range .5
to 5 Hz). Automatic transfers to the Static Bypass Line are prohibited.
[Do not operate the Rotary Switch while this condition is present.]
Load transferred to bypass due to
overload Critical load connected to the UPS has exceeded the UPS power rating. The
load has been automatically transferred to the Static Bypass Line. Power to the
load is not being conditioned by the UPS. An automatic retransfer will be
attempted when the load is reduced.
[Determine cause of the overload and reduce the load.]
Load transferred to bypass due to DC
overvoltage DC bus voltage has exceeded the specified limit. The load has been
automatically transferred to the Static Bypass Line. An automatic retransfer will
be attempted when the DC bus voltage returns to within tolerance.
[Contact Liebert Customer Service and Support if this condition persists for
more than 2 minutes.]
Excessive retransfers attempted Several automatic retransfer attempts (15 attempts during 20 minutes or less)
have been made to retransfer the load from the Static Bypass Line back to the
UPS. The UPS has not been able to consistently sustain the load because of
an overload condition or an inverter failure. The load will remain on the Static
Bypass Line. Power to the load is not being conditioned by the UPS.
[Check other messages for inverter failure. Determine cause of the overload
and reduce the load.]
Static Switch failure A fault has been detected in the Static Transfer Switch. Automatic transfers to
the Static Bypass Line are prohibited.
[Contact Liebert Customer Service and Support.]

64 Operation
UPS SYSTEM
UPS output not synchronized to input
power UPS inverter output is not synchronized with the input power. Automatic
transfers to the Static Bypass Line are prohibited. This is usually a temporary
condition that is corrected automatically by the UPS internal control system.
Input power single phased This message indicates an input power problem.
[Check all input power phases.]
Input voltage sensor failed Each input voltage phase has two sensors. One of these sensors has failed.
[Contact Liebert Customer Service and Support.]
Inverter leg over current in X-phase A fault has been detected in the inverter, caused by a UPS failure. The load
has been automatically transferred to the Static Bypass Line. Power to the load
is not being conditioned by the UPS.
[Contact Liebert Customer Service and Support.]
Output undervoltage UPS output voltage is below a specified minimum. The load has been
automatically transferred to the Static Bypass Line. Power to the load is not
being conditioned by the UPS. An automatic retransfer will be attempted when
the output voltage is within tolerance.
[Contact Liebert Customer Service and Support if this condition persists.]
Output overvoltage UPS output voltage is above a specified maximum. The load has been
automatically transferred to the Static Bypass Line. Power to the load is not
being conditioned by the UPS. An automatic retransfer will be attempted when
the output voltage is within tolerance.
[Contact Liebert Customer Service and Support if this condition persists.]
Output overcurrent An output overcurrent surge has been detected. The load has been
automatically transferred to the Static Bypass Line. An automatic retransfer will
be attempted when the output current returns to nominal.
[Contact Liebert Customer Service and Support if this condition persists.]
System output overloaded An overload condition is present. If the load is on the UPS inverter, the load will
be automatically transferred to the Static Bypass Line if the overload exceeds
the UPS Module capacity.
[Determine cause of the overload and reduce the load.]
Load transferred to bypass due to
overload The load has been automatically transferred to the Static Bypass Line because
of an overload condition.
[Determine cause of the overload and reduce the load.]
System output overloaded The overload condition is still present and must be reduced or it will soon
exceed the capacity of the Static Bypass Line, resulting in loss of all power to
the critical load. Power to the load is not being conditioned by the UPS.
[Determine cause of the overload and reduce the load.]
System shutdown due to overload An overload condition has exceeded the capacity of the Static Bypass Line.
The UPS has been shut down, resulting in loss of power to the critical load.
[Perform a UPS shutdown procedure. Correct the overload condition and
perform a UPS start-up procedure.]
Control error Automatic diagnostic testing has detected a failure (of hardware or software) in
the UPS internal control system. A second message may indicate internal test
or software timeout. The load has been automatically transferred to the Static
Bypass Line. Power to the load is not being conditioned by the UPS.
[Contact Liebert Customer Service and Support.]
Critical power supply failure A failure has been detected in one of the low voltage power supplies. The load
has been automatically transferred to the Static Bypass Line. Power to the load
is not being conditioned by the UPS.
[Contact Liebert Customer Service and Support.]
Load transferred due to internal
protection A failure has been detected in the UPS. More specific information may be
available in a separate Alarm Message. The load has been automatically
transferred to the Static Bypass Line (provided the power available on the
bypass line is within specifications). Power to the load is not being conditioned
by the UPS.
[Contact Liebert Customer Service and Support.]
Table 8 Alarm Messages (continued)
Alarm
Message Meaning and
Corrective Action in Brackets [ ]

Operation 65
UPS SYSTEM (continued)
External shutdown The UPS has been shut down from an external contact.
[Perform a UPS start-up procedure when the conditions causing the external
shutdown have been corrected.]
COOLING
Fan failure A failure has been detected in at least one of the internal cooling fans.
[Contact Liebert Customer Service and Support.]
System shutdown impending due to
overtemperature An overtemperature condition is present in the UPS cabinet. The UPS will
automatically shutdown if the overtemperature continues.
[Determine the cause of the condition and correct it if possible. Check for
clogged air filter, restricted air flow, or fan failure.]
System shutdown in 5 minutes due to
overtemp Overtemperature condition has persisted. Note the time stamp on the alarm
message.
[Perform an orderly shutdown of the critical load. Perform a UPS shutdown
procedure or allow the UPS to perform an automatic shutdown. Contact Liebert
Customer Service and Support.]
Table 8 Alarm Messages (continued)
Alarm
Message Meaning and
Corrective Action in Brackets [ ]

66 Maintenance
4.0 MAINTENANCE
4.1 Safety Precautions
5HDGýWKLVýVHFWLRQýWKRURXJKO\ñýSD\LQJýVSHFLDOýDWWHQWLRQýWRýWKHýVXEðVHFWLRQVýWKDWýDSSO\ýWRý\RXñýEHIRUHý
ZRUNLQJýZLWKýWKHý836ïý$OVRýUHDGýWKHýEDWWHU\ýPDQXIDFWXUHUªVýPDQXDOýEHIRUHýZRUNLQJýRQýRUýQHDUý
WKHýEDWWHU\ï
8QGHUýW\SLFDOýRSHUDWLRQýDQGýZLWKýDOOý836ýGRRUVýFORVHGñýRQO\ýQRUPDOýVDIHW\ýSUHFDXWLRQVýDUHýQHFHVð
VDU\ïý7KHýDUHDýDURXQGýWKHý836ýV\VWHPýDQGýEDWWHU\ýVKRXOGýEHýNHSWýIUHHýIURPýSXGGOHVýRIýZDWHUñý
H[FHVVýPRLVWXUHñýRUýGHEULVï
6SHFLDOýVDIHW\ýSUHFDXWLRQVýDUHýUHTXLUHGýIRUýSURFHGXUHVýLQYROYLQJýKDQGOLQJñýLQVWDOODWLRQñýDQGýPDLQð
WHQDQFHýRIýWKHý836ýV\VWHPýRUýWKHýEDWWHU\ïý2EVHUYHýSUHFDXWLRQVýLQýëïí ðý,QVWDOODWLRQýEHIRUHýKDQð
GOLQJýRUýLQVWDOOLQJýWKHý836ýV\VWHPïý2EVHUYHýSUHFDXWLRQVýLQýWKLVýVHFWLRQýEHIRUHýDVýZHOOýDVýGXULQJý
SHUIRUPDQFHýRIýDOOýPDLQWHQDQFHýSURFHGXUHVïý2EVHUYHýDOOýEDWWHU\ýVDIHW\ýSUHFDXWLRQVýEHIRUHýZRUNLQJý
RQýRUýQHDUýWKHýEDWWHU\ï
7KLVýHTXLSPHQWýFRQWDLQVýVHYHUDOýFLUFXLWVýWKDWýDUHýHQHUJL]HGýZLWKýKLJKýYROWDJHïý2QO\ýWHVWý
HTXLSPHQWýGHVLJQDWHGýIRUýWURXEOHVKRRWLQJýVKRXOGýEHýXVHGïý7KLVýLVýSDUWLFXODUO\ýWUXHýIRUýRVFLOORð
VFRSHVïý$OZD\VýFKHFNýZLWKýDQý$&ýDQGý'&ýYROWPHWHUýWRýHQVXUHýVDIHW\ýEHIRUHýPDNLQJýFRQWDFWýRUý
XVLQJýWRROVïý(YHQýZKHQýWKHýSRZHUýLVýWXUQHGý2IIñýGDQJHURXVO\ýKLJKýSRWHQWLDOVýPD\ýH[LVWýDWýWKHý
FDSDFLWRUýEDQNVïý2EVHUYHýDOOýEDWWHU\ýSUHFDXWLRQVýZKHQýQHDUýWKHýEDWWHU\ýIRUýDQ\ýUHDVRQï
21/<ýTXDOLILHGýVHUYLFHýSHUVRQQHOýVKRXOGýSHUIRUPýPDLQWHQDQFHýRQýWKHý836ýV\VWHPïý
:KHQýSHUIRUPLQJýPDLQWHQDQFHýZLWKýDQ\ýSDUWýRIýWKHýHTXLSPHQWýXQGHUýSRZHUñýVHUYLFHýSHUVRQQHOý
DQGýWHVWýHTXLSPHQWýVKRXOGýEHýVWDQGLQJýRQýUXEEHUýPDWVïý7KHýVHUYLFHýSHUVRQQHOýVKRXOGýZHDUýLQVXð
ODWLQJýVKRHVýIRUýLVRODWLRQýIURPýGLUHFWýFRQWDFWýZLWKýWKHýIORRUýõHDUWKýJURXQGôï
8QOHVVýSRZHUýLVýUHPRYHGýIURPýWKHýHTXLSPHQWñýRQHýSHUVRQýVKRXOGýQHYHUýZRUNýDORQHïý$ýVHFRQGýSHUð
VRQýVKRXOGýEHýVWDQGLQJýE\ýWRýDVVLVWýDQGýVXPPRQýKHOSýLQýFDVHýDQýDFFLGHQWýVKRXOGýRFFXUïý7KLVýLVýSDUð
WLFXODUO\ýWUXHýZKHQýZRUNýLVýSHUIRUPHGýRQýWKHýEDWWHU\ï
$ý:DUQLQJýLVýXVHGýWRýVLJQDOýWKHýSUHVHQFHýRIýDýSRVVLEOHýVHULRXVñýOLIHðWKUHDWHQLQJýFRQGLWLRQïý)RUý
H[DPSOHã
$ý&DXWLRQýV\PEROýLQGLFDWHVýDýFRQGLWLRQýWKDWýFRXOGýVHULRXVO\ýGDPDJHýHTXLSPHQWýDQGýSRVVLEO\ý
LQMXUHýSHUVRQQHOïý)RUýH[DPSOHã
$ý1RWHýV\PEROýLVýXVHGýWRýHPSKDVL]HýLPSRUWDQWýWH[Wïý,IýWKHýQRWHýLVýQRWýIROORZHGñýHTXLSPHQWýFRXOGý
EHýGDPDJHGýRUýPD\ýQRWýRSHUDWHýSURSHUO\ïý)RUýH[DPSOHã
$:$51,1*
/(7+$/ý92/7$*(6ý0$<ý%(ý35(6(17ý:,7+,1ý7+,6ý81,7ý
(9(1ý:+(1ý,7ý,6ý$33$5(17/<ý127ý23(5$7,1*ïý2%6(59(ý
$//ý&$87,216ý$1'ý:$51,1*6ý,1ý7+,6ý0$18$/ïý)$,/85(ý
72ý'2ý62ý&28/'ý5(68/7ý,1ý6(5,286ý,1-85<ý25ý'($7+ïý'2ý
127ý:25.ý21ý25ý23(5$7(ý7+,6ý(48,30(17ý81/(66ý<28ý
$5(ý)8//<ý48$/,),('ý72ý'2ý62üüý1(9(5ý:25.ý$/21(ï
$&$87,21
6WDUWðXSýPXVWýEHýSHUIRUPHGýH[DFWO\ýDVýLQVWUXFWHGïý)ROORZýSURPSWVý
RQýWKHý$GYLVRU\ý'LVSOD\ïý7XUQLQJýWKHý5RWDU\ý6ZLWFKýWRRýVRRQýRUýLQý
WKHýZURQJýVHTXHQFHýPD\ýUHVXOWýLQýLPPHGLDWHýORVVýRIýSRZHUýWRýWKHý
FULWLFDOýORDGï
127(
'HWHUPLQHýWLPHýUHTXLUHGýWRýSHUIRUPýDQýRUGHUO\ýVKXWGRZQýRIýWKHýFULWLFDOý
ORDGïý%HJLQýVKXWGRZQýVRýLWýZLOOýEHýFRPSOHWHGýZKLOHýWKHýEDWWHU\ýLVýVWLOOý
VXSSRUWLQJýWKHýORDGï

Maintenance 67
4.2 When To Call
&DOOýIRUýVHUYLFHýLIý\RXýHQFRXQWHUýDQ\ýRIýWKHýIROORZLQJýFRQGLWLRQVã
ìï 5HSHDWHGýVWDUWðXSýDWWHPSWVýDUHýXQVXFFHVVIXOï
ëï $ý836ýIDXOWýRFFXUVýZKLFKýZLOOýQRWýFOHDUï
êï 7KHý%DWWHU\ý6WDWXVýPHVVDJHýLQGLFDWHVýDýGLVFKDUJLQJýEDWWHU\ýDOWKRXJKýWKHýLQSXWýSRZHUñýUDWKHUý
WKDQýWKHýEDWWHU\ñýLVýVXSSRUWLQJýWKHýORDGï
éï 7KHýQRUPDOýRSHUDWLRQýRIýWKHýFULWLFDOýORDGýUHSHDWHGO\ýFDXVHVýDQýRYHUORDGýFRQGLWLRQïý$OWKRXJKý
WKLVýLVýQRWýDý836ýIDXOWñýDýTXDOLILHGýSHUVRQýVKRXOGýDQDO\]HýWKHýWRWDOýORDGýFRQQHFWHGýWRýWKHý836ï
èï $Q\ýLQGLFDWRUVýRUýDODUPVýRSHUDWHýLPSURSHUO\ï
çï $Q\ýRWKHUýDEQRUPDOýIXQFWLRQýRIýWKHýV\VWHPýRFFXUVï
4.3 Steps To Take
,IýDQ\ýRIýWKHýDERYHýRFFXUã
ìï )ROORZýLQVWUXFWLRQVýDSSHDULQJýLQýWKHýDODUPýPHVVDJHñýRUýLQýWKHýH[SODQDWLRQýFRUUHVSRQGLQJýWRý
WKHýPHVVDJHýõêïìì ðý$ODUPý0HVVDJHVôïý,IýWKHýVFUHHQýPHVVDJHýLQGLFDWHVýWKHýORDGýLVýEHLQJý
VXSSRUWHGýE\ýWKHýEDWWHU\ñýUHIHUýWRýêïä ðý5HVSRQVHýWRýDý3RZHUý)DLOXUHï
ëï &DOOý/LHEHUWý&XVWRPHUý6HUYLFHýDQGý6XSSRUWýDWýìðåííðèéêðëêæåï
$:$51,1*
/(7+$/ý92/7$*(6ý$5(ý35(6(17ý,16,'(ý7+(ý(48,30(17ý
(9(1ý:+(1ý7+(ý527$5<ý6:,7&+ý,6ý,1ý7+(ý2))ý326,7,21ïý
5()(5ý6(59,&(ý72ý48$/,),('ý3(56211(/ý21/<ï

68 Maintenance
4.4 Preventive Maintenance
6HULHVýêííý'7ý836ý2SHUDWRUýPDLQWHQDQFHýFRQVLVWVýRIýEDVLFýWDVNVýOLVWHGýLQýWKLVýVHFWLRQïý2WKHUý
PDLQWHQDQFHýUHTXLUHVý/LHEHUWý6HUYLFHýSHUVRQQHOï
4.4.1 Maintaining an Operator’s Log
&DUHIXOýUHFRUGýNHHSLQJýZLOOýHQVXUHýDSSURSULDWHýPDLQWHQDQFHýRIýWKHý836ýDQGýIDFLOLWDWHýFRUUHFWLRQý
RIýDQ\ýDEQRUPDOýFRQGLWLRQïý3HULRGLFDOO\ýFKHFNýV\VWHPýVWDWXVýUHDGLQJVýDQGýFRPSDUHýWKHPýWRýQRUð
PDOýUHDGLQJVýIRUý\RXUý6HULHVýêííý'7ý836ýPRGHOïý5HIHUýWRýçïí ðý6SHFLILFDWLRQVï
7KHýRSHUDWRUªVýORJýVKRXOGýFRQWDLQýWKHýIROORZLQJýLQIRUPDWLRQã
‡ 'DWHVýRIýDLUýILOWHUýUHSODFHPHQW
‡ 'DWHVýWKDWýEDWWHU\ýPDLQWHQDQFHýZDVýSHUIRUPHG
‡ 'DWHVýWKDWýLQSXWñýRXWSXWñýDQGýEDWWHU\ýVWDWXVýUHDGLQJVýZHUHýFKHFNHGñýDQGýWKHýYDOXHVýRIýWKRVHý
UHDGLQJV
‡ 7KHýYHUEDWLPýUHFRUGLQJýRIýDQ\ýPHVVDJHýDVVRFLDWHGýZLWKýDQýDEQRUPDOýFRQGLWLRQïý,QLWLDOýPHVð
VDJHVýPD\ýEHýUHSODFHGýZLWKýDGGLWLRQDOýPHVVDJHVïý,IýLWýLVýQHFHVVDU\ýWRýFDOOý/LHEHUWý6HUYLFHñýDý
ZULWWHQýUHFRUGýRIýDOOýPHVVDJHýLQIRUPDWLRQýVKRXOGýEHýDYDLODEOHï
4.4.2 Changing the Air Filter
$QýDLUýILOWHUýLVýLQFOXGHGýLQýWKHý6HULHVýêííý'7ïý&KHFNýWKHýDLUýILOWHUýSHULRGLFDOO\ýõDWýOHDVWýRQFHý
HYHU\ýVL[ýPRQWKVôýDQGýUHSODFHýLWýDVýQHFHVVDU\ï
ìï 2SHQýWKHý836ýFDELQHWýGRRUýDQGýORFDWHýWKHýDLUýILOWHUýDWýWKHýERWWRPýRIýWKHý836ýPRGXOHýFDELQHWï
ëï 6OLGHýWKHýILOWHUýRXWýRIýWKHýFDELQHWýWRZDUGý\RXïý%DVHGýRQýYLVXDOýH[DPLQDWLRQñýGHWHUPLQHýLIýWKHý
ILOWHUýVKRXOGýEHýUHSODFHGï
êï 5HWXUQýWKHýVDPHýDLUýILOWHUýWRýLWVýFRUUHFWýSRVLWLRQýRUýUHSODFHýZLWKýDýQHZýDLUýILOWHUï
4.4.3 Periodic Restart of the UPS
2QFHýRUýWZLFHýDý\HDUñýLWýLVýDGYLVDEOHýWRýSRZHUýGRZQýWKHý836ýWRýWKHý0DLQWHQDQFHý%\SDVVý/LQHñýWKHQý
SHUIRUPýVWDUWðXSïý7KHýVWDUWðXSýSURFHGXUHýLQFOXGHVýVHOIðGLDJQRVWLFýWHVWLQJýRIýWKHý836ýZKLFKýPD\ý
UHYHDOýFRQGLWLRQVýWKDWýUHTXLUHýDWWHQWLRQï
ìï 7XUQýWKHýURWDU\ýVZLWFKýFRXQWHUFORFNZLVHýWRý3RVLWLRQýìýõQRWý3RVLWLRQýíôñýWKHUHE\ýWUDQVIHUULQJý
WKHýFULWLFDOýORDGýWRýWKHý0DLQWHQDQFHý%\SDVVý/LQHï
ëï 3HUIRUPýVWDUWðXSýDFFRUGLQJýWRýêïç ðý6WDUWð8Sï
êï 5HFRUGñýYHUEDWLPñýDQ\ýPHVVDJHVýGLVSOD\HGýGXULQJýVWDUWðXSï
éï )ROORZýLQVWUXFWLRQVýFRQWDLQHGýLQýVFUHHQýPHVVDJHVï

Maintenance 69
4.4.4 Maintaining the Battery
Battery Safety Precautions
6HUYLFLQJýRIýEDWWHULHVýVKRXOGýEHýSHUIRUPHGýRUýVXSHUYLVHGýE\ýSHUVRQQHOýNQRZOHGJHDEOHýRIýEDWWHULHVý
DQGýWKHýUHTXLUHGýSUHFDXWLRQVïý.HHSýXQDXWKRUL]HGýSHUVRQQHOýDZD\ýIURPýEDWWHULHVï
:KHQýUHSODFLQJýEDWWHULHVñýXVHýWKHýVDPHýQXPEHUýDQGýW\SHýRIýEDWWHULHVï
$:$51,1*
7+(6(ý0$,17(1$1&(ý352&('85(6ý:,//ý(;326(ý
+$=$5'286ý/,9(ý3$576ïý5()(5ý6(59,&,1*ý72ý48$/,),('ý
3(56211(/ï
%$77(5<ý'&ý)86(6ý23(5$7(ý$7ý7+(ý5$7('ý%$77(5<ý
92/7$*(ý$7ý$//ý7,0(6ïý$ý%/2:1ý'&ý%86ý)86(ý,1',&$7(6ý
$ý6(5,286ý352%/(0ïý6(5,286ý,1-85<ý25ý'$0$*(ý72ý7+(ý
(48,30(17ý&$1ý5(68/7ý,)ý7+(ý)86(ý,6ý5(3/$&('ý
:,7+287ý.12:,1*ý:+<ý,7ý)$,/('ïý&$//ý/,(%(57ý
&86720(5ý6(59,&(ý$1'ý6833257ý)25ý$66,67$1&(ï
$&$87,21
/HDGðDFLGýEDWWHULHVýFRQWDLQýKD]DUGRXVýPDWHULDOVïý%DWWHULHVýPXVWý
EHýKDQGOHGñýWUDQVSRUWHGñýDQGýUHF\FOHGýRUýGLVFDUGHGýLQýDFFRUGDQFHý
ZLWKýIHGHUDOñýVWDWHñýDQGýORFDOýUHJXODWLRQVïý%HFDXVHýOHDGýLVýDýWR[LFý
VXEVWDQFHñýOHDGðDFLGýEDWWHULHVýVKRXOGýEHýUHF\FOHGýUDWKHUýWKDQý
GLVFDUGHGï
'RýQRWýGLVSRVHýRIýEDWWHU\ýRUýEDWWHULHVýLQýDýILUHïý7KHýEDWWHU\ýPD\ý
H[SORGHï
'RýQRWýRSHQýRUýPXWLODWHýWKHýEDWWHU\ýRUýEDWWHULHVïý5HOHDVHGý
HOHFWURO\WHýLVýKDUPIXOýWRýWKHýVNLQýDQGýH\HVïý,WýPD\ýEHýWR[LFï
$ýEDWWHU\ýFDQýSUHVHQWýDýULVNýRIýHOHFWULFDOýVKRFNýDQGýKLJKýVKRUWý
FLUFXLWýFXUUHQWïý7KHýIROORZLQJýSUHFDXWLRQVýVKRXOGýEHýREVHUYHGý
ZKHQýZRUNLQJýRQýEDWWHULHVã
ìï 5HPRYHýZDWFKHVñýULQJVñýRUýRWKHUýPHWDOýREMHFWVï
ëï 8VHýWRROVýZLWKýLQVXODWHGýKDQGOHVï
êï :HDUýUXEEHUýJORYHVýDQGýERRWVï
éï 'RýQRWýOD\ýWRROVýRUýPHWDOýSDUWVýRQýWRSýRIýEDWWHULHVï
èï 'LVFRQQHFWýFKDUJLQJýVRXUFHýSULRUýWRýFRQQHFWLQJýRUý
GLVFRQQHFWLQJýEDWWHU\ýWHUPLQDOVï
çï 'HWHUPLQHýLIýEDWWHU\ýLVýLQDGYHUWHQWO\ýJURXQGHGïý,Iý
LQDGYHUWHQWO\ýJURXQGHGñýUHPRYHýVRXUFHýRIýJURXQGïý&RQWDFWý
ZLWKýDQ\ýSDUWýRIýDýJURXQGHGýEDWWHU\ýFDQýUHVXOWýLQýHOHFWULFDOý
VKRFNïý7KHýOLNHOLKRRGýRIýVXFKýVKRFNýZLOOýEHýUHGXFHGýLIýVXFKý
JURXQGVýDUHýUHPRYHGýGXULQJýLQVWDOODWLRQýDQGýPDLQWHQDQFHï
/HDGðDFLGýEDWWHULHVýFDQýSUHVHQWýDýULVNýRIýILUHýEHFDXVHýWKH\ý
JHQHUDWHýK\GURJHQýJDVïý7KHýIROORZLQJýSURFHGXUHVýVKRXOGýEHý
IROORZHGã
ìï '2ý127ý602.(ýZKHQýQHDUýEDWWHULHVï
ëï '2ý127ýFDXVHýIODPHýRUýVSDUNýLQýEDWWHU\ýDUHDï
êï 'LVFKDUJHýVWDWLFýHOHFWULFLW\ýIURPýERG\ýEHIRUHýWRXFKLQJý
EDWWHULHVýE\ýILUVWýWRXFKLQJýDýJURXQGHGýPHWDOýVXUIDFHï

70 Maintenance
Battery Safety Precautions in French Per CSA Requirements
Instructions Importantes Concernant La Sécurité
Conserver Ces Instructions
$$'9(57,66(0(17
'(6ý3,(&(6ý6286ý$/,0(17$7,21ý6(5217ý/$,66((6ý6$16ý
3527(&7,21ý'85$17ý&(6ý352&('85(6ý'ª(175(7,(1ïý81ý
3(56211(/ý48$/,),(ý(67ý5(48,6ý3285ý())(&78(5ý&(6ý
75$9$8;ï
/(6ý)86,%/(6ý$ý&ï&ïý'(ý/$ý%$77(5,(ý'ª$&&808/$7(856ý
23(5(17ý(1ý7287ý7(036ý$ý/$ý7(16,21ý120,1$/(ïý/$ý
35(6(1&(ý'ª81ý)86,%/(ý$ý&ï&ïý%58/(ý,1',48(ý81ý
352%/(0(ý6(5,(8;ïý/(ý5(03/$&(0(17ý'(ý&(ý)86,%/(ñý
6$16ý$92,5ý'(7(50,1(ý/(6ý5$,6216ý'(ý/$ý
'()(&7826,7(ñý3(87ý(175$,1(5ý'(6ý%/(6685(6ý28ý'(6ý
'200$*(6ý6(5,(8;ý$ý/ª(48,3(0(17ïý3285ý$66,67$1&(ñý
$33(/(5ý/(ý'(3$57(0(17ý'(ý6(59,&(ý$ý/$ý&/,(17(/(ý
'(ý/,(%(57ï
$'$1*(5
/HVýDFFXPXODWHXUVýSORPEðDFLGHýFRQWLHQQHQWýGHýODýPDWLqUHý
FRPSRUWDQWýXQýFHUWDLQýULVTXHïý/HVýDFFXPXODWHXUVýGRLYHQWýrWUHý
PDQLSXOpVñýWUDQVSRUWpVýHWýUHF\FOpVýRXýpOLPLQpVýHQýDFFRUGýDYHFýOHVý
ORLVýIpGpUDOHVñýSURYLQFLDOHVýHWýORFDOHVïý3DUFHýTXHýOHýSORPEýHVWýXQHý
VXEVWDQFHýWR[LTXHñýOHVýDFFXPXODWHXUVýSORPEðDFLGHýGHYUDLHQWýrWUHý
UHF\FOpVýSOXW{WýTXªpOLPLQpVï
,OýQHýIDXWýSDVýEU€OpýOHýRXýOHVýDFFXPXODWHXUVïý/ªDFFXPXODWHXUý
SRXUUDLWýDORUVýH[SORVpï
,OýQHýIDXWýSDVýRXYULUýRXýHQGRPPDJHUýOHýRXýOHVýDFFXPXODWHXUVïý
/ªpOHFWURO\WHýTXLýSRXUUDLWýVªHQýpFKDSSHUýHVWýGRPPDJHDEOHýSRXUýODý
SHDXýHWýOHVý\HX[ïý8QýDFFXPXODWHXUýUHSUpVHQWHýXQýULVTXHýGHýFKRFý
pOHFWULTXHýHWýGHýKDXWýFRXUDQWýGHýFRXUWðFLUFXLWïý/RUVTXHýGHVý
DFFXPXODWHXUVýVRQWýPDQLSXOHVñýOHVýPHVXUHVýSUpYHQWLYHVýVXLYDQWHVý
GHYUDLHQWýrWUHýREVHUYpHVã
ìï 5HWLUHUýWRXWHVýPRQWUHñýEDJXHVýRXýDXWUHVýREMHWVýPpWDOOLTXHVï
ëï 8WLOLVHUýGHVýRXWLOVýDYHFýPDQFKRQýLVROpï
êï 3RUWHUýGHVýJDQWVýHWýGHVýERWWHVýGHýFDRXWFKRXFï
éï 1HýSDVýGpSRVHUýOHVýRXWLOVýRXýOHVýSLqFHVýPpWDOOLTXHVýVXUýOHý
GHVVXVýGHVýDFFXPXODWHXUVï
èï ,QWHUURPSUHýODýVRXUFHýGHýFKDUJHýDYDQWýGHýUDFFRUGHUýRXýGHý
GpEUDQFKHUýOHVýERUQHVýGHýODýEDWWHULHýGªDFFXPXODWHXUVï
çï 'pWHUPLQHUýVLýOªDFFXPXODWHXUýHVWýPLVýjýODýWHUUHýSDUýHUUHXUïý6Lý
RXLñýGpIDLUHýFHWWHýPLVHýjýODýWHUUHïý7RXWýFRQWDFWýDYHFýXQý
DFFXPXODWHXUýPLVýjýODýWHUUHýSHXWýVHýWUDGXLUHýHQýXQýFKRFý
pOHFWULTXHïý/DýSRVVLELOLWLpýGHýWHOVýFKRFVýVHUDýUpGXLWpýVLýGHýWHOOHVý
PLVHVýjýODýWHUUHýVRQWýGpEUDQFKpHVýSRXUýODýGXUpHýGHý
OªLQVWDOODWLRQýRXýGHýOªHQWUHWLHQï

Maintenance 71
/HVýDFFXPXODWHXUVýSORPEðDFLGHýSUpVHQWHQWýXQýULVTXHýGªLQFHQGLHý
SDUFHýTXªLOVýJpQqUHQWýGHVýJD]ýjýOªK\GURJqQHïý/HVýSURFpGXUHVý
VXLYDQWHVýGHYURQWýrWUHýUHVSHFWpHVï
ìï 1(ý3$6ý)80(5ýORUVTXHýSUpVýGHVýDFFXPXODWHXUVï
ëï 1(ý3$6ýSURGXLUHýGHýIODPPHVýRXýGªpWLQFHOOHVýSUqVýGHVý
DFFXPXODWHXUVï
êï 'pFKDUJHUýWRXWHýpOHFWULFLWpýVWDWLTXHýSUpVHQWHýVXUýYRWUHýFRUSVý
DYDQWýGHýWRXFKHUýXQýDFFXPXODWHXUýHQýWRXFKDQWýGªDERUGýXQHý
VXUIDFHýPpWDOOLTXHýPLVHýjýODýWHUUHï
$'$1*(5
/ªpOHFWURO\WHýHVWýXQýDFLGHýVXOIXULTXHýGLOXpýTXLýHVWýGDQJHUHX[ýDXý
FRQWDFWýGHýODýSHDXýHWýGHVý\HX[ïý&HýSURGXLWýHVWýFRUURVLIýHWýDXVVLý
FRQGXFWHXUýHOHFWULTXHïý/HVýSURFpGXUHVýVXLYDQWHVýGHYURQWýrWUHý
REVHUYpHVã
ìï 3RUWHUýWRXMRXUVýGHVýYrWHPHQWVýSURWHFWHXUVýDLQVLýTXHýGHVý
OXQHWWHVýGHýSURWHFWLRQýSRXUýOHVý\HX[ï
ëï 6LýOªpOHFWURO\WHýHQWUHýHQýFRQWDFWýDYHFýODýSHDXñýQHWWR\HUý
LPPpGLDWHPHQWýHQýULQoDQWýDYHFýGHýOªHDXï
êï 6LýOªpOHFWURO\WHýHQWUHýHQýFRQWDFWýDYHFýOHVý\HX[ñýDUURVHUý
LPPpGLDWHPHQWýHWýJpQpUHXVHPHQWýDYHFýGHýOªHDXïý'HPDQGHUý
SRXUýGHýOªDLGHýPpGLFDOHï
éï /RUVTXHýOªpOHFWURO\WHýHVWýUHQYHUVpHñýODýVXUIDFHýDIIHFWpHýGHYUDLWý
rWUHýQHWWR\pHýHQýXWLOLVDQWýXQýDJHQWýQHXWUDOLVDQWýDGpTXDWïý8QHý
SUDWLTXHýFRXUDQWHýHVWýGªXWLOLVHUýXQýPpODQJHý
GªDSSUR[LPDWLYHPHQWýXQHýOLYUHýõèííýJUDPPHVôýGHýELFDUERQDWHý
GHýVRXGHýGDQVýDSSUR[LPDWLYHPHQWýXQýJDOORQýõéýOLWUHVôýGªHDXïý/Hý
PpODQJHýGHýELFDUERQDWHýGHýVRXGHýGHYUDýrWUHýDMRXWpýMXVTXªjýFFý
TXªLOýQª\ýDLWýSOXVýDSSDUHQFHýGHýUpDFWLRQýõPRXVVHôïý/HýOLTXLGHý
UpVLGXHOýGHYUDýrWUHýQHWWR\pýjýOªHDXýHWýODýVXUIDFHýFRQFHUQpHý
GHYUDýrWUHýDVVpFKpHï

72 Maintenance
Matching Battery Cabinets
$OWKRXJKýWKHýLQGLYLGXDOýEDWWHU\ýFHOOVýDUHýVHDOHGýõYDOYHðUHJXODWHGôýDQGýUHTXLUHýRQO\ýPLQLPDOýPDLQð
WHQDQFHñýWKHý%DWWHU\ý&DELQHWVýVKRXOGýEHýJLYHQýDýSHULRGLFýLQVSHFWLRQýDQGýHOHFWULFDOýFKHFNïý&KHFNVý
VKRXOGýEHýSHUIRUPHGýDWýOHDVWýDQQXDOO\ýWRýHQVXUHý\HDUVýRIýWURXEOHðIUHHýVHUYLFHïý7LJKWQHVVýRIýEDWWHU\ý
WHUPLQDOýFRQQHFWLRQVýVKRXOGýEHýFRPSDUHGýWRýUHFRPPHQGHGýUHWRUTXHýYDOXHïý%DWWHU\ýVHUYLFHýDJUHHð
PHQWVýDUHýDYDLODEOHýWKURXJKý/LHEHUWý&XVWRPHUý6HUYLFHýDQGý6XSSRUWï
9ROWDJHý5HFRUGVïý:LWKýWKHý%DWWHU\ý&DELQHWý'&ýGLVFRQQHFWýFORVHGýDQGýWKHýFRQQHFWHGý836ýRSHUð
DWLQJñýPHDVXUHýDQGýUHFRUGýEDWWHU\ýIORDWýYROWDJHïý:LWKýWKHý'&ýGLVFRQQHFWýRSHQñýPHDVXUHýDQGý
UHFRUGýWKHýQRPLQDOýõRSHQýFLUFXLWôýYROWDJHïý%RWKýWKHVHýPHDVXUHPHQWVýVKRXOGýEHýPDGHýDFURVVýWKHý
ILQDOýSRVLWLYHýDQGýQHJDWLYHýWHUPLQDOýOXJVïý&RPSDUHýWKHVHýYDOXHVýZLWKýWKRVHýVKRZQýEHORZïý7KHý
UHFRUGHGýQRPLQDOýYROWDJHýVKRXOGýEHýQRýOHVVýWKDQýWKHýYDOXHýVKRZQñýZKLOHýWKHýUHFRUGHGýIORDWýYROWDJHý
VKRXOGýEHýZLWKLQýWKHýUDQJHýVKRZQïý,IýDýGLVFUHSDQF\ýLVýIRXQGñýFRQWDFWý/LHEHUWý&XVWRPHUý6HUYLFHý
DQGý6XSSRUWï
3RZHUý&RQQHFWLRQVïý&KHFNýIRUýFRUURVLRQýDQGýFRQQHFWLRQýLQWHJULW\ïý9LVXDOO\ýLQVSHFWýZLULQJýIRUý
GLVFRORUHGýRUýFUDFNHGýLQVXODWLRQïý&OHDQýDQGîRUýUHWLJKWHQýDVýUHTXLUHGïý5HIHUýWRýWRUTXHýVSHFLILFDð
WLRQVñý7DEOH çï
%DWWHU\ý&HOOý7HUPLQDOVïý&KHFNýIRUýGLVFRORUDWLRQñýFRUURVLRQñýDQGýFRQQHFWLRQýLQWHJULW\ïý&OHDQýDQGý
WLJKWHQýLIýQHFHVVDU\ïý1RWHýWKDWýZKHQýLQVWDOOLQJýDýQHZýEDWWHU\ñýWKHýLQLWLDOýWRUTXHýYDOXHýLVýPRUHý
WKDQýWKHýUHWRUTXHýYDOXHïý7RUTXHýYDOXHVýDUHã
,Iý\RXýKDYHýDýGLIIHUHQWýPRGHOýEDWWHU\ñýFRQWDFWý/LHEHUWý&XVWRPHUý6HUYLFHýDQGý6XSSRUWýIRUýWKHý
UHTXLUHGýWRUTXHýYDOXHï
7RýDFFHVVýEDWWHU\ýFHOOýWHUPLQDOVñýUHPRYHýWKHýKDUGZDUHýDQGýWRSýVWUDSVýORFDWHGýDWýWKHýORZHUý
IURQWýRIýWKHýEDWWHU\ýVKHOIïý'LVFRQQHFWýWKHýFDEOHVýFRQQHFWHGýWRýWKHýEDWWHU\ïý2QFHýGLVFRQQHFWHGñýLQVXð
ODWHýõZLWKýSURWHFWLYHýERRWýRUýHOHFWULFDOýWDSHôýWKHýFDEOHVýWRýSUHYHQWýDFFLGHQWDOýVKRUWVïý7KHýEDWWHU\ý
FDQýQRZýEHýSXOOHGýIRUZDUGýXVLQJýWKHýKRUL]RQWDOýVWUDSVïý:KHQýUHSODFLQJýWKHýEDWWHU\ñýWKHýWHUPLQDOý
FRQQHFWLRQVýPXVWýEHýFOHDQHGýDQGýWLJKWHQHGï
Number of Cells
Battery Voltage (VDC)
Nominal Float
102 204 230 - 232
180 360 405 - 409
Battery Model Number Initial Torque Value Retorque Value
UPS12-100(FR)
UPS12-140(FR)
UPS12-170(FR)
UPS12-270(FR)
40 lb-in. 32 lb-in.
UPS12-310(FR)
UPS12-370(FR) 65 lb-in. 52 lb-in.
UPS12-475(FR) 110 lb-in. 110 lb-in.

Maintenance 73
Non-Standard Batteries
,IýWKHý836ýV\VWHPýXVHVýDýEDWWHU\ýRWKHUýWKDQýDýIDFWRU\ýVXSSOLHGý0DWFKLQJý%DWWHU\ý&DELQHWñýSHUð
IRUPýPDLQWHQDQFHýRQýWKHýEDWWHU\ýDVýUHFRPPHQGHGýLQýWKHýEDWWHU\ýPDQXIDFWXUHUªVýPDLQWHQDQFHý
PDQXDOï
$&$87,21
7KHýHOHFWURO\WHýLVýDýGLOXWHýVXOIXULFýDFLGýWKDWýLVýKDUPIXOýWRýWKHýVNLQý
DQGýH\HVïý,WýLVýHOHFWULFDOO\ýFRQGXFWLYHýDQGýFRUURVLYHïý7KHýIROORZLQJý
SURFHGXUHVýVKRXOGýEHýREVHUYHGã
ìï :HDUýIXOOýH\HýSURWHFWLRQýDQGýSURWHFWLYHýFORWKLQJï
ëï ,IýHOHFWURO\WHýFRQWDFWVýWKHýVNLQñýZDVKýLWýRIIýLPPHGLDWHO\ýZLWKý
ZDWHUï
êï ,IýHOHFWURO\WHýFRQWDFWVýWKHýH\HVñýIOXVKýWKRURXJKO\ýDQGý
LPPHGLDWHO\ýZLWKýZDWHUïý6HHNýPHGLFDOýDWWHQWLRQï
éï 6SLOOHGýHOHFWURO\WHýVKRXOGýEHýZDVKHGýGRZQýZLWKýDýVXLWDEOHýDFLGý
QHXWUDOL]LQJýDJHQWïý$ýFRPPRQýSUDFWLFHýLVýWRýXVHýDýVROXWLRQýRIý
DSSUR[LPDWHO\ýRQHýSRXQGýõèííýJUDPVôýELFDUERQDWHýRIýVRGDýWRý
DSSUR[LPDWHO\ýRQHýJDOORQýõéýOLWHUVôýRIýZDWHUïý7KHýELFDUERQDWHý
RIýVRGDýVROXWLRQýVKRXOGýEHýDGGHGýXQWLOýWKHýHYLGHQFHýRIýUHDFWLRQý
õIRDPLQJôýKDVýFHDVHGïý7KHýUHVXOWLQJýOLTXLGýVKRXOGýEHýIOXVKHGý
ZLWKýZDWHUýDQGýWKHýDUHDýGULHGï
Battery Cabinet Voltage Record
Date Float Voltage
(Volts DC) Nominal Voltage
(Volts DC) Ambient Temp.
(°F)
*___________ *______________________ *______________________ *______________________
___________ ______________________ ______________________ ______________________
___________ ______________________ ______________________ ______________________
___________ ______________________ ______________________ ______________________
___________ ______________________ ______________________ ______________________
___________ ______________________ ______________________ ______________________
___________ ______________________ ______________________ ______________________
___________ ______________________ ______________________ ______________________
___________ ______________________ ______________________ ______________________
___________ ______________________ ______________________ ______________________
___________ ______________________ ______________________ ______________________
___________ ______________________ ______________________ ______________________
___________ ______________________ ______________________ ______________________
* To be completed by Liebert Customer Service Representative at time of start-up.

74 Maintenance
4.5 Liebert Customer Service and Support
6WDUWðXSñý836ýPDLQWHQDQFHñýEDWWHU\ýPDLQWHQDQFHñýDQGýWUDLQLQJýSURJUDPVýDUHýDYDLODEOHýIRUýWKHý
6HULHVýêííý'7ý836ýWKURXJKý\RXUý/LHEHUWýVDOHVýUHSUHVHQWDWLYHï
Professional Start-Up
836ý6WDUWð8Sïý/LHEHUWªVý&XVWRPHUý(QJLQHHUVýSHUIRUPýDýWKRURXJKýQRQðSRZHUHGýLQVSHFWLRQýRIýWKHý
XQLWVñýDQGýZLOOýWKHQýFRQGXFWýDýFRPSOHWHýHOHFWULFDOýFKHFNRXWýZKLFKýLQFOXGHVýFDOLEUDWLQJýDOOýFRPSRð
QHQWVýWRýSXEOLVKHGýVSHFLILFDWLRQVïý7KHýEDWWHU\ýLQVWDOODWLRQýLVýDOVRýLQVSHFWHGýDQGýSODFHGýRQýDQýLQLð
WLDOL]DWLRQýFKDUJHýWRýHQVXUHýFHOOýHTXDOL]DWLRQïý&XVWRPHUð2SHUDWLRQýWUDLQLQJýZLOOýEHýFRQGXFWHGý
GXULQJýEDWWHU\ýFKDUJHýWLPHï
/RDGý%DQNý7HVWLQJýDQGý)XOOý6LWHý$FFHSWDQFHý7HVWLQJýDUHýDGGLWLRQDOýVHUYLFHVýWKDWýFDQýEHýSHUð
IRUPHGýGXULQJýDý836ý6WDUWð8Sïý2QHý3UHYHQWLYHý0DLQWHQDQFHý6HUYLFHý&DOOýFDQýEHýDGGHGýWRýWKHýLQLð
WLDOý836ý6WDUWð8Sý$JUHHPHQWï
%DWWHU\ý,QVWDOODWLRQî6WDUWð8Sïý:KHQýSXUFKDVHGýZLWKýDý836ý6WDUWð8SñýWKLVý$JUHHPHQWýSURYLGHVý
FRQVLVWHQWñýSURIHVVLRQDOýVHUYLFHýIRUý\RXUýHQWLUHý836ýV\VWHPïý7KLVýRQHðVRXUFHýDSSURDFKýDYRLGVýFRQð
IOLFWVýWKDWýPD\ýRFFXUýGXULQJýDýPXOWLðVRXUFHýLQVWDOODWLRQïý1RWHýWKDWý/LHEHUWýUHTXLUHVýDýPDQGDWRU\ý
LQVWDOODWLRQýLQVSHFWLRQýIRUýDOOýEDWWHULHVýQRWýLQVWDOOHGýE\ý/LHEHUWý&XVWRPHUý(QJLQHHUVï
%DWWHU\ý,(((ý&HUWLILFDWLRQý,QVSHFWLRQïý7KHý%DWWHU\ý6SHFLDOLVWýZLOOýSHUIRUPýDýGHWDLOHGýLQVSHFð
WLRQýRIýWKHýHQWLUHýEDWWHU\ýV\VWHPýWRýHQVXUHýLWýPHHWVýFXUUHQWý,(((ýVWDQGDUGVï
Maintenance Agreements
836ý6WDQGDUGý)XOOý6HUYLFHý$JUHHPHQWïý7KLVý$JUHHPHQWýRIIHUVýDýWRWDOýVHUYLFHýSDFNDJHýIRUý
836ýV\VWHPVïý7KLVýLQFOXGHVýWZRýVFKHGXOHGý3UHYHQWLYHý0DLQWHQDQFHýõ3ï0ïôý6HUYLFHý&DOOVýSHUý\HDUïý
,WýDOVRýFRYHUVýDOOý5HPHGLDOýDQGý&RUUHFWLYHý0DLQWHQDQFHýYLVLWVñýFRQVLVWLQJýRIýWKHýGLDJQRVLVýDQGýFRUð
UHFWLRQýRIýSURGXFWýPDOIXQFWLRQVýDQGýUHSDLUVñýDQGýSDUWVïý&XVWRPHUý(QJLQHHUVýZLOOýEHýDYDLODEOHýWRý
WKHý&XVWRPHUýëéýKRXUVýDýGD\ñýæýGD\VýDýZHHNï
7KLVýDJUHHPHQWýDOVRýLQFOXGHVýRQHý,QIUDð5HGý6FDQQLQJýYLVLWïý$ýIXOOý7KHUPRJUDSKLFý6XUYH\ýLVý
RIIHUHGýDVýDQýDGGLWLRQDOýVHUYLFHï
836ý3UHYHQWLYHý0DLQWHQDQFHý6HUYLFHïý2QHý3UHYHQWLYHý0DLQWHQDQFHýõ3ï0ïôý6HUYLFHý&DOOýZLOOý
EHýVFKHGXOHGýDQGýSHUIRUPHGýDWýWKHýFXVWRPHUªVýFRQYHQLHQFHïý'XULQJýDý3ï0ïýYLVLWñýWKHý&XVWRPHUý
(QJLQHHUýZLOOýFRQGXFWýDýWKRURXJKýQRQðSRZHUHGýLQVSHFWLRQïý7KHQñýWKHýSRZHUHGýLQVSHFWLRQýZLOOý
LQFOXGHýDýFRPSOHWHýHOHFWULFDOýFKHFNRXWýDQGýFDOLEUDWLRQýRIýDOOýFRPSRQHQWVýWRýVSHFLILFDWLRQVï
%DWWHU\ý%DVLFý6HUYLFHý$JUHHPHQWïý7KLVý$JUHHPHQWýSURYLGHVýWZRýõIRUýVHDOHGýFHOOVôýRUýIRXUýõIRUý
IORRGHGýFHOOVôýYLVLWVýSHUý\HDUïý'XULQJýWKHVHýYLVLWVñýWKHýHQWLUHýEDWWHU\ýV\VWHPýZLOOýEHýLQVSHFWHGýDQGý
FKHFNHGýDJDLQVWýIDFWRU\ýVSHFLILFDWLRQVïý7KHý%DWWHU\ý6SHFLDOLVWýZLOOýFOHDQñýDGGýZDWHUñýDGMXVWýYROWð
DJHVñýDQGýWLJKWHQýFRQQHFWLRQVýDVýQHHGHGïý$ýUHSRUWýRIýDOOýUHFRUGLQJVýWDNHQýGXULQJýHDFKýYLVLWýõYROWð
DJHVñýVSHFLILFýJUDYLW\ñýHWFïôýZLOOýEHýSUHSDUHGýIRUýWKHý&XVWRPHUïý$Q\ýUHFRPPHQGDWLRQVýIRUýFRUUHFWLYHý
DFWLRQñýVXFKýDVýFHOOýUHSODFHPHQWVñýZLOOýEHýQRWHGï
%DWWHU\ý6WDQGDUGý)XOOý6HUYLFHý$JUHHPHQWïý7KLVý$JUHHPHQWýLQFOXGHVýIRXUý3ï0ïýYLVLWVýSHUý\HDUý
DQGýFRUUHFWLYHýPDLQWHQDQFHï
([WHQGHGý)XOOý6HUYLFHý$JUHHPHQWVïý)RUýWKHý836ýV\VWHPýDQGýIRUýWKHýEDWWHU\ñýWKHVHý$JUHHð
PHQWVýSURYLGHýWKHý&XVWRPHUýWKHýFRQYHQLHQFHýRIýVFKHGXOLQJý3ï0ïýYLVLWVýGXULQJýHYHQLQJVýDQGýZHHNð
HQGVïý7KHý%DWWHU\ý([WHQGHGý)XOOý6HUYLFHý$JUHHPHQWýSURYLGHVýIRXUýõIRUýVHDOHGýFHOOVôýRUýWZHOYHýõIRUý
IORRGHGýFHOOVôý3ï0ïýYLVLWVýSHUý\HDUñýFRUUHFWLYHýPDLQWHQDQFHñýDQGýSDUWVï
Training
&XVWRPHUýWUDLQLQJýFRXUVHVýLQFOXGHýWKHýSURSHUýRSHUDWLRQýRIýWKHýV\VWHPñýHPHUJHQF\ýSURFHGXUHVñýSUHð
YHQWLYHýPDLQWHQDQFHñýDQGýVRPHýFRUUHFWLYHýPDLQWHQDQFHï
Warranties
&RQWDFWý&XVWRPHUý6HUYLFHýDQGý6XSSRUWýLIý\RXýKDYHýDQ\ýTXHVWLRQVýUHJDUGLQJýWKHýZDUUDQW\ýRQý\RXUý
6HULHVýêííý'7ý836ýRUýWKHýEDWWHULHVï

System Options 75
5.0 SYSTEM OPTIONS
5.1 General
7KLVýVHFWLRQýGHVFULEHVýRSWLRQVýDYDLODEOHýZLWKýWKHý6HULHVýêííý'7ý836ýLQFOXGLQJýWKHýXVHUýZLULQJý
UHTXLUHPHQWVïý7KHýRSWLRQVýGHVFULEHGýDUHã
‡ ([WHUQDOý0DLQWHQDQFHý%\SDVV
‡ 6OLPð/LQHý'LVWULEXWLRQ
‡ 5HPRWHý6WDWXVý3DQHO
‡ 5HPRWHý&RQWDFWý%RDUG
‡ 56ðëêëý,QWHUIDFHý3RUW
‡6103
‡ 0RGHP
‡6LWH6FDQ
Šî6LWHPDVWHUý,QWHUIDFH
‡,%0
Šý$6îéííý6LJQDOý,QWHUIDFH
‡ 6\VWHPîêåý3RZHUý:DUQLQJý6LJQDO
‡ %DWWHU\ý&LUFXLWý%UHDNHU
‡ '&ý*URXQGý)DXOWý$ODUP
‡ &RPSXWHUý,QWHUIDFHý6\VWHP
‡ 0XOWLð&RPSXWHUý,QWHUIDFHý6\VWHP
‡,%0
Šý$6îéííý0XOWLð,QWHUIDFHý6\VWHPï
5.2 Optional External Maintenance Bypass Cabinet
7KHýH[WHUQDOýPDLQWHQDQFHýE\SDVVýFDELQHWýLVýDýPDWFKLQJýFDELQHWýH[WHQVLRQýWKDWýLVýILHOGýLQVWDOOHGý
RQýWKHýULJKWýVLGHýRIýWKHý836ýPRGXOHïý7KLVýFDELQHWýLVýDYDLODEOHýLQýæýV\VWHPýFRQILJXUDWLRQVïý7KHýFRQð
ILJXUDWLRQVýDUHýOLVWHGýLQý7DEOH äï
$OOýFDELQHWVýDUHýVXSSOLHGýZLWKýLQWHUðFDELQHWýZLULQJñýFDVWHUVñýDQGýOHYHOLQJýIHHWïý)URQWýDFFHVVýRQO\ýLVý
UHTXLUHGýIRUýVHUYLFHýDQGýLQVWDOODWLRQïý7KHýFDELQHWýDGGVýëëûýRUýêçûýWRýWKHýULJKWýVLGHýRIýWKHý836ýPRGð
XOHýGHSHQGLQJýRQýZKLFKýFRQILJXUDWLRQýLVýFKRVHQïý5HIHUýWRý)LJXUH ëýWKURXJKý)LJXUH åýDQGý
)LJXUH ëæýWKURXJKý)LJXUH êêï
‡&DELQHWý,QVSHFWLRQãý5HPRYHýDOOýSDQHOVýDQGýYLVXDOO\ýLQVSHFWýWKHýSK\VLFDOýFRPSRQHQWVñýLQWHUð
QDOýFRQQHFWLRQVñýDQGýFDELQHWýIRUýDQ\ýGDPDJHïý,IýWKHUHýDUHýVLJQVýRIýGDPDJHñýGRýQRWýSURFHHGïý
&DOOý/LHEHUWý&XVWRPHUý6HUYLFHýDQGý6XSSRUWýDWýìðåííðèéëðëêæåï
Table 9 Optional External Maintenance Bypass Cabinet
Configuration Description
Configuration H This cabinet includes input, bypass, and load circuit breakers.
Configuration J This cabinet includes bypass shielded isolation transformer and load circuit breaker.
Configuration K This cabinet includes bypass shielded isolation transformer with input, bypass, and load
circuit breakers.
Configuration L This cabinet includes a maintenance bypass switch that provides “make-before-break”
operation to and from maintenance bypass via a single rotary switch without the need for
interlocking schemes.
Configuration N This cabinet includes a maintenance bypass switch that provides “make-before-break”
operation to and from maintenance bypass via a single rotary switch without the need for
interlocking schemes. Also provides input, bypass, and load circuit breakers.
Configuration P This cabinet includes a maintenance bypass switch that provides “make-before-break”
operation to and from maintenance bypass via a single rotary switch without the need for
interlocking schemes. Also provides bypass shielded isolation transformer and load circuit
breakers.
Configuration Q This cabinet includes a maintenance bypass switch that provides “make-before-break”
operation to and from maintenance bypass via a single rotary switch without the need for
interlocking schemes. Also provides bypass shielded isolation transformer with input,
bypass, and load circuit breakers.

76 System Options
5.2.1 Installation
Location Considerations:
7KHýH[WHUQDOýPDLQWHQDQFHýE\SDVVýFDELQHWýPXVWýEHýEROWHGýWRýWKHýULJKWýVLGHýRIýWKHý836ýPRGXOHïý,Wý
FDQQRWýEHýLQVWDOOHGýVHSDUDWHO\ýIURPýWKHý836ýPRGXOHï
‡%DUULHUý3DQHOãý7KHýEDUULHUýSDQHOýPXVWýEHýLQVWDOOHGýXWLOL]LQJýWKHýSDQHOýDQGýKDUGZDUHýZKLFKý
LVýVXSSOLHGýZLWKýWKHýPDLQWHQDQFHýE\SDVVýFDELQHWï
‡6HUYLFHý&OHDUDQFHãý$OORZýIURQWýDFFHVVýWRýWKHýH[WHUQDOýPDLQWHQDQFHýE\SDVVýFDELQHWýDWýDOOý
WLPHVýIRUýPDLQWHQDQFHýDQGýVHUYLFLQJïý(OHFWULFDOýFRGHVýUHTXLUHýWKDWýWKHýPDLQWHQDQFHýE\SDVVý
FDELQHWýEHýLQVWDOOHGýZLWKýQRýOHVVýWKDQýêýIHHWýDWýWKHýIURQWýRIýWKHýFDELQHWïý6LGHýDQGýUHDUýSDQHOVýGRý
QRWýUHTXLUHýVHUYLFHýFOHDUDQFHï
Electrical Wiring:
5HIHUýWRý6LWHý3ODQQLQJý'DWDñý7DEOH ëýDQGý7DEOH êñýDQGýLQVWDOODWLRQýGUDZLQJVýõ)LJXUH ìýWKURXJKý
)LJXUH ìçñýDQGý)LJXUH êæýWKURXJKý)LJXUH éêôï
‡:LULQJý&RQQHFWLRQVãý9HULI\ýWKHýIROORZLQJýFRQQHFWLRQVýKDYHýEHHQýPDGHýLQýDGGLWLRQýWRýWKHý
ZLULQJýFRQQHFWLRQVýRXWOLQHGýLQýëïéïé ðý:LULQJý&RQQHFWLRQVï
Dï $&ýSRZHUýFDEOHVýIURPýLQSXWýSRZHUýVRXUFHñýLIýQHHGHGñýWRýWKHýH[WHUQDOýPDLQWHQDQFHýE\SDVVý
FDELQHWVïýõ2EVHUYHý$ð%ð&ýURWDWLRQïôý$&ýLQSXWýLVýQHHGHGýRQýFRQILJXUDWLRQVý+ñý.ñý1ñýDQGý4ï
Eï $&ýSRZHUýFDEOHVýIURPýE\SDVVýLQSXWýSRZHUýVRXUFHýWRýWKHýH[WHUQDOýPDLQWHQDQFHýE\SDVVý
FDELQHWVïýõ2EVHUYHý$ð%ð&ýURWDWLRQïô
$ýE\SDVVýLQSXWýQHXWUDOýLVýQRWýUHTXLUHGýLIýWKHýH[WHUQDOýPDLQWHQDQFHýE\SDVVýFDELQHWýLVý
HTXLSSHGýZLWKýDQýLVRODWLRQýWUDQVIRUPHUï
,IýWKHýH[WHUQDOýPDLQWHQDQFHýE\SDVVýFDELQHWýLVýSURYLGHGýZLWKRXWýLVRODWLRQýWUDQVIRUPHUýDQGý
WKHUHýDUHýOLQHðWRðQHXWUDOýORDGVýFRQQHFWHGýWRýWKHý836ýRXWSXWñýWKHýE\SDVVýLQSXWýVRXUFHýPXVWý
EHýZ\HýFRQQHFWHGýDQGýKDYHýWKUHHðSKDVHýSOXVýQHXWUDOýSOXVýJURXQGï
Fï $&ýSRZHUýFDEOHVýODEHOHGý§,QSXW¨ýIURPýWKHýH[WHUQDOýPDLQWHQDQFHýE\SDVVýFDELQHWý
FRQILJXUDWLRQVý+ñý.ñý1ñýDQGý4ñýWRýWKHý836ýPRGXOHý$&ýRXWSXWýDUHýVXSSOLHGýE\ý/LHEHUWïý
7KHVHýFDEOHVýPXVWýEHýURXWHGýIURPýWKHýH[WHUQDOýPDLQWHQDQFHýE\SDVVýFDELQHWýWKURXJKýWKHý
EDUULHUýSDQHOýRQýWKHý836ýPRGXOHïýõ2EVHUYHý$ð%ð&ýURWDWLRQïô
Gï $&ýSRZHUýFDEOHVýODEHOHGý§2XWSXW¨ýIURPýWKHýH[WHUQDOýPDLQWHQDQFHýE\SDVVýFDELQHWýWRýWKHý
836ýPRGXOHý$&ýRXWSXWýDUHýVXSSOLHGýE\ý/LHEHUWïý7KHVHýFDEOHVýPXVWýEHýURXWHGýIURPýWKHý
H[WHUQDOýPDLQWHQDQFHýE\SDVVýFDELQHWýWKURXJKýWKHýEDUULHUýSDQHOýRQýWKHý836ýPRGXOHïý
õ2EVHUYHý$ð%ð&ýURWDWLRQïô
Hï $&ýSRZHUýFDEOHVýIURPýWKHýPDLQWHQDQFHýE\SDVVýFDELQHWýRXWSXWýWRýWKHýFULWLFDOýORDGý
GLVWULEXWLRQýRUý6OLPð/LQHý'LVWULEXWLRQïýõ2EVHUYHý$ð%ð&ýURWDWLRQïô
$&$87,21
$ýEDUULHUýSDQHOýPXVWýEHýSODFHGýEHWZHHQýWKHýH[WHUQDOýPDLQWHQDQFHý
E\SDVVýFDELQHWýDQGýWKHý836ýPRGXOHï
$:$51,1*
$//ý32:(5ý&211(&7,216ý0867ý%(ý&203/(7('ý%<ý$ý
/,&(16('ý(/(&75,&,$1ý7+$7ý,6ý(;3(5,(1&('ý,1ý:,5,1*ý
7+,6ý7<3(ý2)ý(48,30(17ïý:,5,1*ý0867ý%(ý,167$//('ý,1ý
$&&25'$1&(ý:,7+ý$//ý$33/,&$%/(ý1$7,21$/ý$1'ý/2&$/ý
(/(&75,&$/ý&2'(6ïý,03523(5ý:,5,1*ý0$<ý&$86(ý
'$0$*(ý72ý7+(ý(48,30(17ý25ý,1-85<ý72ý3(56211(/ïý
9(5,)<ý7+$7ý$//ý,1&20,1*ý+,*+ý$1'ý/2:ý92/7$*(ý
32:(5ý&,5&8,76ý$5(ý'(ð(1(5*,=('ý$1'ý/2&.('ý287ý
%()25(ý,167$//,1*ý&$%/(6ý25ý0$.,1*ý$1<ý(/(&75,&$/ý
&211(&7,216ïý
127(
5HIHUýWRýëïéïì ðý836ý:LUHý6L]Hý*XLGHOLQHVï

System Options 77
‡ :LULQJý,QVSHFWLRQã
Dï 9HULI\ýDOOýSRZHUýFRQQHFWLRQVýDUHýWLJKWï
Eï 9HULI\ýDOOýFRQWUROýZLUHýWHUPLQDWLRQVýDUHýWLJKWï
Fï 9HULI\ýDOOýSRZHUýZLUHVýDQGýFRQQHFWLRQVýKDYHýSURSHUýVSDFLQJýEHWZHHQýH[SRVHGýVXUIDFHVñý
SKDVHðWRðSKDVHýDQGýSKDVHðWRðJURXQGï
Gï 9HULI\ýWKDWýDOOýFRQWUROýZLUHVýDUHýUXQýLQýLQGLYLGXDOñýVHSDUDWHýVWHHOýFRQGXLWï
5.2.2 Operation
Control (Rotary Switch)
7KHýRSHUDWRUýFRQWUROýVZLWFKýIRUýWKHý6HULHVýêííý'7ýH[WHUQDOýPDLQWHQDQFHýE\SDVVýFDQýEHýDFFHVVHGý
E\ýRSHQLQJýWKHýFDELQHWýIURQWýGRRUï
Figure 23 External Maintenance Bypass Rotary Switch
7KHýWKUHHý5RWDU\ý6ZLWFKýSRVLWLRQVýDUHã
ìï 0DLQWHQDQFHãýFRQQHFWVýSRZHUýWRýWKHýFULWLFDOýORDGýWKURXJKýWKHýH[WHUQDOýPDLQWHQDQFHýE\SDVVý
OLQHïý836ýPRGXOHýLVýGHðHQHUJL]HGýIRUýPDLQWHQDQFHýSXUSRVHVï
ëï 7HVWãýFRQQHFWVýSRZHUýWRýWKHýE\SDVVýLQSXWýRIýWKHý836ýPRGXOHñýZKLOHýWKHýORDGýLVýVWLOOýVXSSOLHGý
WKURXJKýWKHýH[WHUQDOý0DLQWHQDQFHý%\SDVVý/LQHïý$WýWKLVýSRLQWýRSHUDWLRQDOýFKHFNVýFDQýEHý
DFFRPSOLVKHGýRQýWKHý836ýPRGXOHýZKLOHýWKHýORDGýLVýSRZHUHGýE\ýWKHýH[WHUQDOýPDLQWHQDQFHý
E\SDVVï
êï 2Qð/LQHãýFRQQHFWVýWKHýFULWLFDOýORDGýWRýWKHýRXWSXWýRIýWKHý836ýPRGXOHýDQGýHVWDEOLVKHVýQRUPDOý
RSHUDWLRQï
127(
7KHýVLQJOHýFRQWUROýVLPSOLILHVýWKHýRSHUDWLRQýRIýWKHýH[WHUQDOýPDLQWHQDQFHý
E\SDVVïý+RZHYHUñýUHDGýWKHVHýLQVWUXFWLRQVýFDUHIXOO\ýEHIRUHýRSHUDWLQJýWKHý
5RWDU\ý6ZLWFKïý,PSURSHUýSRVLWLRQLQJýRIýWKHý5RWDU\ý6ZLWFKýFRXOGýUHVXOWýLQý
XQZDQWHGýDFWLRQVï

78 System Options
Start-Up from “Maintenance” Position (External Maintenance Bypass Cabinet)
,QLWLDOýVWDUWðXSýPXVWýEHýSHUIRUPHGýE\ý/LHEHUWýVHUYLFHýSHUVRQQHOïý6WDUWðXSýSURFHGXUHVýGHVFULEHGýLQý
WKLVýPDQXDOýUHIHUýWRýVWDUWðXSýRIýWKHý836ýDIWHUýDýVKXWGRZQýIRUýPDLQWHQDQFHýRUýDIWHUýDQýDEQRUPDOý
FRQGLWLRQýKDVýEHHQýFRUUHFWHGï
Figure 24 Block Diagram of the External Maintenance Bypass
ìï 9HULI\ýWKHý836ýPRGXOHýURWDU\ýVZLWFKýLVýLQýSRVLWLRQýíýRUýSRVLWLRQýìñýDQGýH[WHUQDOýPDLQWHQDQFHý
E\SDVVýFDELQHWýURWDU\ýVZLWFKýLVýLQý§0DLQWHQDQFH¨ýSRVLWLRQï
ëï &ORVHýFLUFXLWýEUHDNHUýRUýVZLWFKýWRýDSSO\ýSRZHUýWRýH[WHUQDOýPDLQWHQDQFHýE\SDVVýFDELQHWýIURPý
XVHUªVýVXSSO\ýVRXUFHýõQRWýSDUWýRIýWKHý836ôï
êï õLIýDSSOLFDEOHôý&ORVHýRSWLRQDOýLQSXWýFLUFXLWýEUHDNHUýRQýWKHýH[WHUQDOýPDLQWHQDQFHýE\SDVVý
FDELQHWï
éï õLIýDSSOLFDEOHôý&ORVHýRSWLRQDOýRXWSXWýFLUFXLWýEUHDNHUýRQýWKHýH[WHUQDOýPDLQWHQDQFHýE\SDVVý
FDELQHWïý
èï 7XUQýWKHýURWDU\ýVZLWFKýRQýH[WHUQDOýPDLQWHQDQFHýE\SDVVýFDELQHWýWRý§7HVW¨ýSRVLWLRQï
çï 7XUQýWKHýURWDU\ýVZLWFKýRQý836ýPRGXOHýWRýSRVLWLRQýìý§2Qý%\SDVV¨ýõUHIHUýWRýêïçïì ðý6WDUWð8Sý
3URFHGXUHýIRUýGHWDLOVôï
æï 7XUQýWKHýURWDU\ýVZLWFKýRQý836ýPRGXOHýWRýSRVLWLRQýëý§836ý6WDUW¨ýDQGýIROORZýLQVWUXFWLRQVýRQý
WKHý836ý$GYLVRU\ý'LVSOD\ýõUHIHUýWRýêïçïì ðý6WDUWð8Sý3URFHGXUHýIRUýGHWDLOVôï
åï 7XUQýWKHýURWDU\ýVZLWFKýRQýWKHý836ýPRGXOHýWRýSRVLWLRQýêý§836ý&KHFN¨ýDQGýIROORZýLQVWUXFWLRQVý
RQýWKHý836ý$GYLVRU\ý'LVSOD\ýõUHIHUýWRýêïçïì ðý6WDUWð8Sý3URFHGXUHýIRUýGHWDLOVôï
äï 7XUQýWKHýURWDU\ýVZLWFKýRQýWKHýH[WHUQDOýPDLQWHQDQFHýE\SDVVýFDELQHWýWRýWKHý§2Qð/LQH¨ýSRVLWLRQï
ìíï 7XUQýWKHýURWDU\ýVZLWFKýRQýWKHý836ýPRGXOHýWRýSRVLWLRQýéý§2Qý836¨ýDQGýIROORZýLQVWUXFWLRQVýRQý
WKHý836ý$GYLVRU\ý'LVSOD\ýõUHIHUýWRýêïçïì ðý6WDUWð8Sý3URFHGXUHýIRUýGHWDLOVôï
6WDUWðXSýLVýQRZýFRPSOHWHïý1RýIXUWKHUýDFWLRQVýDUHýUHTXLUHGýRIýWKHýRSHUDWRUýXQOHVVýDQýDEQRUPDOýFRQð
GLWLRQýRFFXUVï
$&$87,21
6WDUWðXSýPXVWýEHýSHUIRUPHGýH[DFWO\ýDVýLQVWUXFWHGïý7XUQLQJýWKHý
URWDU\ýVZLWFKýWRRýVRRQýRUýLQýWKHýZURQJýVHTXHQFHýPD\ýUHVXOWýLQý
LPPHGLDWHýORVVýRIýSRZHUýWRýWKHýFULWLFDOýORDGï

System Options 79
Shutdown to “Maintenance” Position
7RýUHPRYHýWKHý836ýPRGXOHýIURPýVHUYLFHýIRUýPDLQWHQDQFHýRUýRWKHUýUHDVRQVýZKLOHýSURYLGLQJýSRZHUý
WRýWKHýFULWLFDOýORDGýWKURXJKýWKHýH[WHUQDOýPDLQWHQDQFHýE\SDVVýOLQHñýSHUIRUPýWKHýIROORZLQJýVWHSVï
ìï 7XUQýWKHýURWDU\ýVZLWFKýRQýWKHý836ýPRGXOHýFRXQWHUFORFNZLVHýIURPýSRVLWLRQýéýWRýSRVLWLRQýêýDQGý
REVHUYHýWKHýLQVWUXFWLRQVýRQýWKHý836ý$GYLVRU\ý'LVSOD\ýõUHIHUýWRýêïåïì ðý6KXWGRZQýWRý
0DLQWHQDQFHý%\SDVVýIRUýGHWDLOVôï
ëï 7XUQýWKHýURWDU\ýVZLWFKýRQýWKHý836ý0RGXOHVýFRXQWHUFORFNZLVHýIURPýSRVLWLRQýêýWRýSRVLWLRQýëýWRý
SRVLWLRQýìïý'RýQRWýWXUQýWKHýURWDU\ýVZLWFKýWRý3RVLWLRQýíýDWýWKLVýWLPHïý'RLQJýVRýZRXOGýFDXVHýDQý
LPPHGLDWHýORVVýRIýSRZHUýWRýWKHýORDGïý7KHUHýLVýQRýSRZHUýWRýWKHý836ýPRGXOHýFRQWUROýV\VWHPýLQý
WKLVýSRVLWLRQïý7KHUHIRUHýWKHýGLJLWDOýGLVSOD\ýZLOOýEHýEODQNï
êï 7XUQýWKHý5RWDU\ý6ZLWFKýRQýWKHýH[WHUQDOýPDLQWHQDQFHýE\SDVVýFDELQHWýWRýWKHý§7HVW¨ýSRVLWLRQýDQGý
WKHQýWRýWKHý§0DLQWHQDQFH¨ýSRVLWLRQï
éï 7XUQýWKHýURWDU\ýVZLWFKýRQýWKHý836ýPRGXOHýFRXQWHUFORFNZLVHýIURPýSRVLWLRQýìýWRýSRVLWLRQýíïý$Wý
WKLVýSRLQWýWKHý836ýPRGXOHýZLOOýEHýHOHFWULFDOO\ýGHðHQHUJL]HGï
Complete Shutdown
èï õLIýDSSOLFDEOHôý2SHQýRSWLRQDOýRXWSXWýFLUFXLWýEUHDNHUýRQýWKHýH[WHUQDOýPDLQWHQDQFHýE\SDVVý
FDELQHWï
çï õLIýDSSOLFDEOHôý2SHQýRSWLRQDOýLQSXWýFLUFXLWýEUHDNHUýRQýWKHýH[WHUQDOýPDLQWHQDQFHýE\SDVVý
FDELQHWï
æï 2SHQýWKHýFLUFXLWýEUHDNHUýRUýVZLWFKýWKDWýVXSSOLHVýSRZHUýWRýWKHýH[WHUQDOýPDLQWHQDQFHýE\SDVVý
FDELQHWýõQRWýSDUWýRIýWKHý836ýV\VWHPôï

80 System Options
5.3 Optional Slim-Line Distribution
7KHý6OLPð/LQHý'LVWULEXWLRQýLVýDýFDELQHWýH[WHQVLRQñýRQýWKHýULJKWýVLGHýRIýWKHý836ýPRGXOHñýWRýHQFORVHý
RQHýRUýWZRýéëðSROHýSDQHOERDUGVïý$ýPDLQýFLUFXLWýEUHDNHUýLVýSURYLGHGýZLWKýHDFKýSDQHOERDUGïý7KLVý
RSWLRQýLVýGHVLJQHGýIRUýILHOGýLQVWDOODWLRQýRQýWKHýULJKWýVLGHýRIýWKHý836ýPRGXOHñýDQGýDGGVýWHQýõìíôý
LQFKHVýWRýWKHýFDELQHWýZLGWKïý3RZHUýZLULQJýEHWZHHQýWKHý836ýRXWSXWýDQGýWKHý6OLPð/LQHýSDQHOERDUGý
LVýSURYLGHGýE\ýWKHýLQVWDOOLQJýFRQWUDFWRUïý%UDQFKýFLUFXLWýEUHDNHUVýDQGýRXWSXWýGLVWULEXWLRQýFDEOHVý
õERWWRPýHQWU\ôýDUHýILHOGýLQVWDOOHGýE\ýRWKHUVïý$FFHVVýFOHDUDQFHýRIýWKUHHýõêôýIHHWýLVýUHTXLUHGýRQýWKHý
ULJKWýVLGHýRIýWKHýFDELQHWïý)RUýLQVWDOODWLRQýDQGýZLULQJýGHWDLOVýUHIHUýWRý)LJXUH êéï
5.4 Optional Remote Status Panel
7KHý5HPRWHý6WDWXVý3DQHOýLQFOXGHVã
‡ /RDGýRQý836ý,QGLFDWRUýõ*UHHQý/('ô
‡ %DWWHU\ý'LVFKDUJHý$ODUPýõ5HGý/('ô
‡ /RZý%DWWHU\ý5HVHUYHý$ODUPýõ5HGý/('ô
‡ /RDGýRQý%\SDVVý$ODUPýõ5HGý/('ô
‡ 836ý$ODUPý&RQGLWLRQýõ5HGý/('ô
‡ 1HZý$ODUPý&RQGLWLRQýõ5HGý/('ô
‡ $XGLEOHý$ODUP
‡ /DPSý7HVWî5HVHWý3XVKEXWWRQ
‡ $XGLRý5HVHWý3XVKEXWWRQï
7KHýSDQHOýLVýSURYLGHGýLQýDý1(0$ý7\SHýìýHQFORVXUHýVXLWDEOHýIRUýZDOOýPRXQWLQJïý,QWHUIDFHýRIýWKHý
SDQHOýWRýWKHý836ýLVýWKURXJKýFRQQHFWLRQýRIýFRQWUROýZLULQJýEHWZHHQýWHUPLQDOýVWULSVýLQýWKHý836ýFDEð
LQHWýDQGýUHPRWHýVWDWXVýSDQHOïý5HIHUýWRý)LJXUH ìêñý)LJXUH ìéñýRUý)LJXUH ìèýDQGý)LJXUH êèýIRUý
ZLULQJýGHWDLOVï
5.5 Optional Remote Contact Board
7KHý5HPRWHý&RQWDFWý%RDUGýLQFOXGHVýLQGLYLGXDOýLVRODWHGý)RUPý&ýFRQWDFWVýIRUãý%DWWHU\ýGLVFKDUJLQJý
DODUPñýORZýEDWWHU\ýUHVHUYHýDODUPñýORDGýRQýE\SDVVýDODUPñýVXPPDU\ýDODUPñýDQGýQHZýDODUPýIRUýDý
VHFRQGýVXPPDU\ýDODUPýFRQGLWLRQïý$ýWHUPLQDOýVWULSýLVýSURYLGHGýRQýWKHýRSWLRQDOýDODUPýUHOD\ýERDUGý
IRUýXVHUýFRQQHFWLRQýWRýWKHýLQGLYLGXDOýDODUPýFRQWDFWVïý5HIHUýWRý)LJXUH ìêñý)LJXUH ìéñýRUý
)LJXUH ìèýDQGý)LJXUH êçýIRUýZLULQJýGHWDLOVï
127(
7KHýDODUPýUHOD\ýERDUGýLVýLQFOXGHGýDVýSDUWýRIýWKHýUHPRWHýVWDWXVýSDQHOýRSWLRQý
NLWñýDQGýWKHUHIRUHýHOLPLQDWHVýWKHýQHHGýWRýDGGýWKHýUHPRWHýFRQWDFWýERDUGý
RSWLRQýZKHQýDýUHPRWHýVWDWXVýSDQHOýRSWLRQýLVýSURYLGHGï

System Options 81
5.6 Optional RS-232 Interface Port
:LWKýWKLVýRSWLRQñýDOOýIRXUýIRUPVýRIýLQIRUPDWLRQýSUHVHQWýRQýWKHý836ýGLVSOD\ýDUHýDYDLODEOHýWRýWKHý
XVHUýLQýVWDQGDUGý$6&,,ýIRUPDWýYLDýDýëèðSLQý'ýFRQQHFWRUïý7KHVHýLQFOXGHýVWDWXVñýLQVWUXPHQWDWLRQñý
DODUPVñýDQGýGLDJQRVWLFVïý7KLVýLQIRUPDWLRQýõSUHVHQWýVWDWXVôýFDQýEHýWUDQVPLWWHGýWRýDýGXPEýWHUPLQDOý
RQýUHTXHVWñýE\ýSUHVVLQJýWKHýVSDFHEDUýDWýWKHýWHUPLQDOïý$Q\ýWLPHýDQýDODUPýFRQGLWLRQýRFFXUVñýLWýZLOOý
DXWRPDWLFDOO\ýEHýWUDQVPLWWHGïý7KHýSUHVHQWýVWDWXVýZLOOýDXWRPDWLFDOO\ýEHýXSGDWHGýZLWKýWKHýRFFXUð
UHQFHýRIýDQ\ýDODUPïý1RWHãý8VHýRIýWKLVýRSWLRQýSUHFOXGHVýWKHýXVHýRIýWKHýLQWHUQDOýPRGHPñý
LQWHUQDOý6103ñýDQGý6LWH6FDQî6LWHPDVWHUýLQWHUIDFHýRSWLRQVï
5.6.1 Using a Terminal as a Remote Station
,Iý\RXUý836ýLVýQRWýHTXLSSHGýZLWKýHLWKHUýDýPRGHPýRUýDQý6103ýDGDSWHUñýWKHý56ðëêëð&ýFRQQHFWLRQý
ZLOOýEHýIUHHýIRUýXVHýZLWKýDýUHPRWHýWHUPLQDOýRUý3&ïý7KHýFDEOHýXVHGýWRýFRQQHFWýWKHý836ýWRýWKHýWHUPLð
QDOýVKRXOGýEHýZLUHGýDVýVKRZQýLQý)LJXUH ëèï
%HýVXUHý\RXUýWHUPLQDOýLVýVHWýWRýWKHýVDPHýFRPPXQLFDWLRQýSDUDPHWHUVýDVýWKHý836ýõVHHý,QFRPLQJý
&DOOVýLQýèïåïë ðý8VLQJýWKHý0RGHPôï
Figure 25 Cable Connections between UPS and Terminal
óóý127(
6RPHýUHYLVLRQVýRIýWKLVýFLUFXLWýERDUGýKDYHýLQFRUUHFWO\ýLGHQWLILHGýSLQý
QXPEHUVïý7KHýGHIHFWLYHýYHUVLRQVýFDQýEHýLGHQWLILHGýEHFDXVHýWKHýZKLWHý
ODEHOLQJýRQýWKHýERDUGýGRHVýQRWýDJUHHýZLWKýWKHýQXPEHUVýVWDPSHGýRQýWKHý
FRQQHFWRUïý,Iý\RXýHQFRXQWHUýVXFKýDýERDUGñýXVHýWKHýQXPEHUVýRQýWKHýFRQQHFWRUñý
QRWýWKHýQXPEHUVýRQýWKHýERDUGïý

82 System Options
5.6.2 Remote Front Panel (Terminal Mode)
:KHWKHUýWKHýFRQQHFWLRQýLVýPDGHýWKURXJKýDýPRGHPýRUýGLUHFWO\ýWRýDýWHUPLQDOñýSUHVVLQJýWKHý
á63$&( %$5!ýZLOOýFRPPDQGýWKHý836ýWRýHQWHUý5HPRWHý)URQWý3DQHOýPRGHïý7KHý836ýZLOOý§GUDZ¨ý
WKHýIROORZLQJýLPDJHýRQýWKHýUHPRWHýWHUPLQDOýõVHHý)LJXUH ëçôï
Figure 26 UPS Remote Monitor/Control
7KLVýVFUHHQýLVýWKHýUHPRWHýIURQWýSDQHOïý8VLQJýWKHý83ñý'2:1ñýDQGý(17(5ýNH\VýRQý\RXUýNH\ERDUGý
ZLOOýDOORZý\RXýWRýH[DPLQHýVFUHHQVýDQGýPRGLI\ýVHWWLQJVýMXVWýDVýLIý\RXýZHUHýSUHVVLQJýWKHýEXWWRQVýRQý
WKHýIURQWýSDQHOýRIýWKHý836ïý,QýDGGLWLRQñýWKHýPHQXýEDUýDWýWKHýWRSýRIýWKHýVFUHHQýSURYLGHVýWKHýIROORZð
LQJýIXQFWLRQVýõVHHý7DEOH ìíôïý
7KHUHýDUHýVRPHýRSHUDWLRQVýGHILQHGýZKLFKýDUHýQRUPDOO\ýDFWLYDWHGýXVLQJýPRUHýWKDQýRQHýSXVKEXWWRQý
DWýWKHýVDPHýWLPHýDWýWKHýIURQWýSDQHOïý)RUýH[DPSOHñýSUHVVLQJý83ñý'2:1ñýDQGý$/$50ý6,/(1&(ýDOOý
WRJHWKHUýUHWXUQVýWKHýGLVSOD\ýWRý(QJOLVKýIURPýDQ\ýRWKHUýODQJXDJHïý3UHVVLQJýPRUHýWKDQýRQHýEXWWRQý
WRJHWKHUýLVýFDOOHGýDýFKRUGïý&KRUGVýFDQýEHýVLPXODWHGýIURPýDýUHPRWHýNH\ERDUGýXVLQJýWKHýIROORZLQJý
NH\Vã
Table 10 Terminal Mode Menu
Item Key Description
Redraw R Redraws the screen in case data was corrupted during transmission.
Charset C Changes from the ASCII character set to the IBM-PC character set. If your
remote terminal is an IBM-PC or compatible, this may produce a more
attractive screen.
Colors O Redraws the screen with a different color set. There are 4 color sets.
Screen
Number S Displays the current screen number on the top line of the remote 4 by 16
character LCD display.
Alarm Silence A Silences the UPS alarm and the speaker on the terminal.
ESP E Switch to Emerson Standard Protocol. Unless you have an application
program which communicates using ESP, you will not need to use this
option. Should you ever accidentally enter ESP mode, type the word EXIT
to return to terminal mode. If you have entered ESP mode, the keyboard
will stop responding normally.
Good-bye G Use Good-bye to hang up if you are connected over a modem.
Pushbutton Chord Map
Chord Key
UP + DOWN + ALARM SILENCE 7
UP + DOWN K
DOWN + ALARM SILENCE Z

System Options 83
5.6.3 Emerson Standard Protocol (ESP)
(63ýLVýDýEORFNýRULHQWHGýELQDU\ýSURWRFROýZLWKýHUURUýFKHFNLQJýGHVLJQHGýIRUýFRPSXWHUðWRð836ýFRPð
PXQLFDWLRQïý,Iý\RXýZLVKýWRýZULWHýDSSOLFDWLRQVýWRýLQWHUIDFHýZLWKýWKHý836ýGLUHFWO\ñýDVNý\RXUýFXVð
WRPHUýVHUYLFHýUHSUHVHQWDWLYHýIRUýDýFRS\ýRIýWKHý6HULHVýêííý(PHUVRQý6WDQGDUGý3URWRFROý
GRFXPHQWDWLRQï
5.6.4 Remote Load Control
7KHýORDGýFDQýEHýWXUQHGýRQýRUýRIIýIURPý\RXUýUHPRWHýWHUPLQDOýE\ýDFFHVVLQJýWKHý/RDGý&RQWUROý6FUHHQï
,IýWKHýORDGýLVý21ýLQýSRVLWLRQýéý\RXýFDQýWXUQýLWý2))ýE\ýFKDQJLQJýWKHý§21¨ýILHOGýWRý§2))¨ýDQGýSUHVVð
LQJý$/$50ý6,/(1&(ïý&RQYHUVHO\ñýLIýWKHýORDGýLVý2))ýLQýSRVLWLRQýéñýFKDQJHýWKHýILHOGýWRý§21¨ýDQGý
SUHVVý$/$50ý6,/(1&(ïý7KHýORDGýZLOOýUHVWDUWýLQýèýWRýìíýVHFRQGVï
5.6.5 Setting the Password
7KHýSDVVZRUGýLVýXVHGýWRýORFNýRUýXQORFNýWKHýUHPRWHýORDGýFRQWUROýIDFLOLW\ïý:KHQýORFNHGñýWKHýUHPRWHý
ORDGýFRQWUROýVFUHHQýZLOOýQRWýUHVSRQGñýDQGýWKHýORDGýFDQQRWýEHýWXUQHGýRQýRUýRIIýHLWKHUýORFDOO\ýXVLQJý
WKHýSXVKEXWWRQVýRUýUHPRWHO\ýYLDýDýWHUPLQDOïý%\ýGHIDXOWýWKHýORDGýFRQWUROýLVýXQORFNHGïý7RýORFNýWKHý
UHPRWHýORDGýFRQWUROýVFUHHQñýHGLWýWKHýSDVVZRUGïý7KHýSDVVZRUGýFDQýEHýIURPýìýWRýçýFKDUDFWHUVïý7KHý
GHIDXOWýSDVVZRUGýLVý§$$$$$$¨ï
2QFHýWKHýSDVVZRUGýKDVýEHHQýHGLWHGñýLWýZLOOýDSSHDUýDVýVL[ýDVWHULVNVñýDQGýWKHýVWDWXVýILHOGýZLOOýFKDQJHý
IURPý81/2&.('ýWRý/2&.('ã
7RýXQORFNýWKHýORDGýFRQWUROýIHDWXUHñý\RXýPXVWýLQSXWýWKHýSDVVZRUGýE\ýHGLWLQJýHDFKýRIýWKHýDVWHULVNVý
õóôýWRýWKHýFRUUHFWýOHWWHUýRIýWKHýSDVVZRUGïý:KHQýWKHýVL[WKýOHWWHUýKDVýEHHQýHQWHUHGñýSUHVVý$/$50ý
6,/(1&(ïý7KHýSDVVZRUGýILHOGýZLOOýUHWXUQýWRýDOOýDVWHULVNVñýEXWýWKHýVWDWXVýILHOGýZLOOýFKDQJHýWRý
81/2&.('ïý7KHýORDGýFRQWUROýZLOOýUHPDLQýXQORFNHGýIRUýèýPLQXWHVñýDQGýWKHQýZLOOýDXWRPDWLFDOO\ý
127(
,IýSDVVZRUGýSURWHFWLRQýKDVýEHHQýHQDEOHGýWKHýORDGýILHOGýFDQýRQO\ýEHýFKDQJHGý
ZKHQýORDGýFRQWUROýLVý©XQORFNHGªýõVHHýèïçïè ðý6HWWLQJýWKHý3DVVZRUGôï
$:$51,1*
7+(ý5(027(ý/2$'ý&21752/ý)($785(ý2)ý7+(ý836ý
(1$%/(6ý',5(&7ý&21752/ý2)ý7+(ý/2$'ý)520ý$1<ý
7(50,1$/ý25ý3&ý,1ý7+(ý:25/'ý,)ý7+(ý836ý,6ý(48,33('ý
:,7+ý$ý02'(0ý$1'ý7+(ý02'(0ý02'(ý,6ý6(7ý72ý,1ý25ý
%27+ï
,)ý3$66:25'ý3527(&7,21ý2)ý7+,6ý)($785(ý,6ý127ý
(1$%/('ý%<ý7+(ý86(5ñý$1<21(ý:,7+ý$ý02'(0ý&$1ý&$//ý
,1ý$1'ý7851ý2))ý7+(ý/2$'ïý:(ý67521*/<ý5(&200(1'ý
7+$7ý<28ý(1$%/(ý3$66:25'ý3527(&7,21ý2)ý<285ý/2$'ý
%<ý)2//2:,1*ý7+(ý,16758&7,216ý,1ýèïçïè ðý6(77,1*ý7+(ý
3$66:25'ï
LOAD ON/OFF
Turn Load
ON
Password:
******
Status:
LOCKED

84 System Options
UHORFNïý'XULQJýWKLVýèýPLQXWHýLQWHUYDOñýWKHýORDGýFRQWUROýVFUHHQýZLOOýEHýDFWLYHýDQGýZLOOýDOORZý\RXýWRý
WXUQýWKHýORDGýRQýRUýRIIýDWýZLOOï
,Iý\RXýZLVKýWRýFKDQJHýWKHýSDVVZRUGñýILUVWýXQORFNýWKHýORDGýFRQWUROýE\ýHQWHULQJýWKHýROGýSDVVZRUGïý
:KHQýWKHýVWDWXVýILHOGýFKDQJHVýWRý81/2&.('ñýUHðHGLWýWKHýSDVVZRUGýILHOGýWRýWKHýQHZýSDVVZRUGïý
7KLVýQHZýSDVVZRUGýZLOOýEHýDXWRPDWLFDOO\ýDQGýSHUPDQHQWO\ýFKDQJHGýZKHQý\RXýH[LWýWKHýHGLWýRSHUDð
WLRQïý1RWHãý%HýVXUHýWRýZULWHýWKHýSDVVZRUGýGRZQýVRýLWýZRQªWýEHýIRUJRWWHQýRUýORVWïý
,Iý\RXýZLVKýWRýXQORFNýWKHýORDGýFRQWUROýIRUýDýSURORQJHGýSHULRGñýHGLWýWKHýSDVVZRUGýEDFNýWRýWKHýIDFWRU\ý
GHIDXOWýYDOXHýRIý§$$$$$$¨ï
5.7 Optional Internal SNMP (Simple Network Management Protocol) Support
:LWKýWKHýRSWLRQDOý6103ýDGDSWHUñýWKHý836ýFDQýEHýGLUHFWO\ýFRQQHFWHGýWRýDQ\ý,ï3ïýEDVHGýQHWZRUNý
XVLQJý7RNHQý5LQJýRUý(WKHUQHWýPHGLDïý7KHý836ýZLOOýEHFRPHýDýPDQDJHGýGHYLFHýRQýWKHýQHWZRUNïý
)URPýDýQHWZRUNýPDQDJHPHQWýVWDWLRQýWKHýV\VWHPýDGPLQLVWUDWRUýFDQýPRQLWRUýLPSRUWDQWýV\VWHPý
PHDVXUHPHQWVñýDODUPýVWDWXVñýHWFïý+HýFDQýDOVRýH[HFXWHýEDWWHU\ýWHVWVýDQGýREVHUYHýWKHýUHVXOWVñýDQGý
WXUQýWKHýORDGýRQýRUýRIIïý1RWHãý8VHýRIýWKLVýRSWLRQýSUHFOXGHVýWKHýXVHýRIýWKHý56ðëêëýLQWHUIDFHý
SRUWñýLQWHUQDOýPRGHPñýDQGý6LWH6FDQî6LWHPDVWHUýLQWHUIDFHýRSWLRQVï
5.7.1 Using an SNMP Adapter (Optional)
)RUýLQVWUXFWLRQVýRQýXVLQJýWKHý6LPSOHý1HWZRUNý0DQDJHPHQWý3URWRFROýDGDSWHUýRSWLRQñýVHHýWKHýGRFXð
PHQWDWLRQýVXSSOLHGýVHSDUDWHO\ï

System Options 85
5.8 Optional Internal Modem
7KHý836ýFDQýGLDOýRXWýDQGýQRWLI\ýXSýWRýWZRýUHPRWHýFRPSXWHUVñýWHUPLQDOVñý3&VñýRUýSRFNHWýSDJHUVý
ZKHQýLPSRUWDQWýHYHQWVýRFFXUïý$OVRñýLWýLVýQRZýSRVVLEOHýWRýFDOOýDýPRGHPýHTXLSSHGý836ýIURPýDý
UHPRWHýWHUPLQDOñýFRPSXWHUñýRUý3&ýDQGýPRQLWRUýRUýFRQWUROýWKHý836ýIURPýWKLVýUHPRWHýVWDWLRQïý1RWHãý
8VHýRIýWKLVýRSWLRQýSUHFOXGHVýWKHýXVHýRIýWKHý56ðëêëýLQWHUIDFHýSRUWñýLQWHUQDOý6103ñýDQGý
6LWH6FDQî6LWHPDVWHUýLQWHUIDFHýRSWLRQVï
5.8.1 The Communication Mode Screen
6HYHUDOýVFUHHQVýKDYHýEHHQýDGGHGýWRýVXSSRUWýFRPPXQLFDWLRQýRSWLRQVýDQGýVHWWLQJVïý8QGHUVWDQGLQJý
WKHý&RPPXQLFDWLRQý0RGHý6FUHHQýLVýIXQGDPHQWDOýWRýEHLQJýDEOHýWRýXVHýWKHýQHZýFRPPXQLFDWLRQý
IDFLOLWLHVã
Setting the Modem Mode
7KHý0RGHPý0RGHýVHWWLQJýFDQýEHý2))ñý,1ñý287ñýRUý%27+ïý:KHQýWKHý0RGHPý0RGHýLVý2))ñýWKHý
PRGHPýLVýQRWýHQDEOHGâýLQFRPLQJýFDOOVýZLOOýQRWýEHýDFFHSWHGýDQGýRXWJRLQJýFDOOVýZLOOýQRWýEHýPDGHïý
:KHQýWKHýPRGHýLVýVHWýWRý,1ñýRQO\ýLQFRPLQJýFDOOVýZLOOýEHýDFFHSWHGïý:KHQýWKHýPRGHýLVýVHWýWRý287ñý
WKHý836ýZLOOýPDNHýRXWJRLQJýFDOOVýEXWýZLOOýQRWýDFFHSWýLQFRPLQJýFDOOVïý:KHQýWKHýPRGHýLVýVHWýWRý
%27+ñýERWKýLQFRPLQJýDQGýRXWJRLQJýFDOOVýDUHýHQDEOHGï
The Modem Present Field
7KHý836ýSHULRGLFDOO\ýWHVWVýWKHýPRGHPýWRýHQVXUHýWKDWýLWýLVýLQVWDOOHGýDQGýUHVSRQGLQJýSURSHUO\ïý7KHý
UHVXOWýRIýWKHVHýWHVWVýLVýGLVSOD\HGýLQýWKHý0RGHPý3UHVHQWýILHOGïý:KHQýWKHý836ýLVýSRZHUHGýXSñýWKHý
0RGHPý3UHVHQWýILHOGýLVýLQLWLDOO\ýDýTXHVWLRQýPDUNýõ"ôñýLQGLFDWLQJýWKDWýWKHýWHVWýKDVýQRWýEHHQýSHUð
IRUPHGýDQGýWKHý836ýFRQWUROýV\VWHPýGRHVýQRWýNQRZýZKHWKHUýRUýQRWýDýPRGHPýLVýLQVWDOOHGïý$VýORQJýDVý
WKHý0RGHPý0RGHýLVý2))ñýWKHý836ýZLOOýQRWýSHUIRUPýWKHýWHVWñýDQGýWKHý0RGHPý3UHVHQWýILHOGýZLOOýGLVð
SOD\ýDýTXHVWLRQýPDUNïý
:KHQýWKHý0RGHPý0RGHýLVýFKDQJHGýIURPý2))ýWRý,1ñý287ñýRUý%27+ñýWKHýWHVWýZLOOýEHýHQDEOHGïý,IýDý
PRGHPýLVýLQVWDOOHGñýWKHý0RGHPý3UHVHQWýILHOGýZLOOýFKDQJHýWRý©<ªýDIWHUýDýVKRUWýGHOD\ïý,IýDýPRGHPýLVý
QRWýLQVWDOOHGñýQRWýLQVWDOOHGýFRUUHFWO\ñýRUýGHIHFWLYHñýWKHý0RGHPý3UHVHQWýILHOGýZLOOýFKDQJHýWRý©1ªïý7KHý
836ýPD\ýVSHQGýVHYHUDOýPLQXWHVýWU\LQJýWRýJHWýWKHýPRGHPýWRýUHVSRQGñýVRýLWýPD\ýEHýDýZKLOHýEHIRUHý
WKHýILHOGýFKDQJHVýIURPý©"ªýWRý©1ªýLIýWKHýPRGHPýLVýQRWýSUHVHQWýRUýQRWýZRUNLQJï
The Call #2 Field
7KHý§&DOOýúë¨ýILHOGýFRQWUROVýWKHýORJLFýXVHGýE\ýWKHý836ýWRýGHFLGHýZKHQýWRýFDOOýWKHýVHFRQGýRIýWKHýWZRý
SKRQHýQXPEHUVïý,WýKDVýêýSRVVLEOHýVHWWLQJVãý1(9(5ñýúìý)$,/ñýDQGý$/:$<6ïý:KHQýWKHýILHOGýLVýVHWý
WRý1(9(5ñýWKHý836ýZLOOýRQO\ýFDOOýSKRQHýQXPEHUýìïý:KHQýWKHýILHOGýLVýVHWýWRý$/:$<6ñýWKHý836ý
ZLOOýDOZD\VýFDOOýERWKýSKRQHýQXPEHUýìýDQGýSKRQHýQXPEHUýëïý:KHQýWKHýILHOGýLVýVHWýWRýúìý)$,/ñýWKHý
836ýZLOOýFDOOýWKHýVHFRQGýQXPEHUýRQO\ýLIýWKHýILUVWýQXPEHUýLVýDýSDJHUýRUýWKHýILUVWýQXPEHUýLVýDýPRGHPý
DQGýWKHý836ýIDLOVýWRýHVWDEOLVKýDýFRQQHFWLRQï
The Baud Rate Field
7KHý%DXGý5DWHýõLïHïñý§GDWDýUDWH¨ôýILHOGýGLVSOD\VýWKHýUDWHýLQýELWVýSHUýVHFRQGýDWýZKLFKýWKHý836ýZLOOý
FRPPXQLFDWHïý$Q\ýGHYLFHýZKLFKýZDQWVýWRýFRPPXQLFDWHýZLWKýWKHý836ñýZKHWKHUýLWýLVýDýUHPRWHý
PRGHPýRUýDýORFDOýWHUPLQDOñýPXVWýPDWFKýWKHýEDXGýUDWHýGLVSOD\HGýLQýWKLVýILHOGïý7KHý836ýFDQýRSHUDWHý
DWýHLWKHUýëéííýRUýìëííýEDXGýõVHHýèïåïê ðý6HWWLQJýWKHý'DWDý5DWHýIRUýLQVWUXFWLRQVýRQýFKDQJLQJýWKHý
VHWWLQJôï
127(
7KHý0RGHPý0RGHýVHWWLQJýZLOOýRYHUULGHýWKHý&DOOýúëýILHOG¦WKDWýLVñýWKHý&DOOý
úëýILHOGýLVýLUUHOHYDQWýLIýWKHý0RGHPý0RGHýLVýVHWýWRý2))ýRUý,1ñýDVýERWKýRIý
WKHVHýPRGHVýGLVDEOHýRXWJRLQJýFDOOVï
Modem Mode: OFF
Modem Present: ?
Call #2: NEVER
Baud Rate: 2400

86 System Options
5.8.2 Using the Modem
7KHýPRGHPýRSWLRQýDOORZVýWKHý836ýWRýFRPPXQLFDWHýZLWKýWKHý§RXWVLGHýZRUOG¨ýRYHUýDQ\ýVWDQGDUGý
DQDORJýWHOHSKRQHýOLQHïýõ1RWHýWKDWýVRPHýLQðKRXVHýFRPPHUFLDOýSKRQHýV\VWHPVýXVHýGLJLWDOýWHOHSKRQHý
OLQHVýGHVLJQHGýWRýZRUNýZLWKýQRQVWDQGDUGýWHOHSKRQHýHTXLSPHQWïý7KHýPRGHPýLQýWKHý836ýZLOOýQRWýEHý
DEOHýWRýFRPPXQLFDWHýRYHUýWKHVHýOLQHVïô
7KHUHýDUHýVHYHUDOýZD\VýWRýFRPPXQLFDWHýZLWKýWKHý836ýXVLQJýWKHýPRGHPâýWKH\ýDUHýGHWDLOHGýVHSDð
UDWHO\ýLQýWKHýIROORZLQJýVHFWLRQVã
Incoming Calls
7KHý836ýZLOOýDQVZHUýLQFRPLQJýFDOOVýIURPýDQRWKHUýPRGHPýDQ\ýWLPHýWKHý836ýFRQWUROýORJLFýKDVý
SRZHUñýUHJDUGOHVVýRIýZKHWKHUýWKHýORDGýLVýRQýRUýRIIïý$OPRVWýDQ\ý$16,ýFRPSDWLEOHýWHUPLQDOýHTXLSSHGý
ZLWKýDýPRGHPýFDQýEHýXVHGýDVýDýUHPRWHýPRQLWRULQJýDQGîRUýFRQWUROýVWDWLRQïý
$OWHUQDWLYHO\ñý\RXýFDQýXVHýDýFRPSXWHUýõ,%0ð3&ýRUýFRPSDWLEOHñý0DFLQWRVKñýHWFïôýHTXLSSHGýZLWKýDý
PRGHPýDQGýFRPPXQLFDWLRQýVRIWZDUHýDVýDýUHPRWHýVWDWLRQïý0RVWý3&ýFRPPXQLFDWLRQýVRIWZDUHýSURð
JUDPVýSURYLGHýDQý$16,ýWHUPLQDOýHPXODWLRQýPRGHýZKLFKýZLOOýZRUNýZLWKýWKHý836ïý3URJUDPVýVXFKý
DVý3URFRPPñý7HOL[ñýDQGýWKHý0LFURVRIWý:LQGRZVý7(50ï(;(ýKDYHýDOOýEHHQýXVHGýVXFFHVVIXOO\ýDVý
UHPRWHýPRQLWRULQJýVWDWLRQVïý
&DOOLQJýWKHý836ýLVýQRýGLIIHUHQWýWKDQýFDOOLQJýDQýRQOLQHýVHUYLFHýVXFKýDVý&RPSX6HUYHñýRUýDýFRPSXWHUý
EXOOHWLQýERDUGïý7KHý836ýLVýWKHýKRVWñýDQGý\RXUýWHUPLQDOýõRUý3&ôýLVýWKHýUHPRWHïý%HFDXVHýRIýWKHýZLGHý
YDULHW\ýRIýWHUPLQDOVýDQGýFRPPXQLFDWLRQýVRIWZDUHýSURGXFWVýDYDLODEOHñýLWýLVýQRWýSRVVLEOHýWRýSURYLGHý
VWHSðE\ðVWHSýLQVWUXFWLRQVýZKLFKýZLOOýEHýXQLYHUVDOO\ýDSSOLFDEOHïý&RQVXOWýWKHýGRFXPHQWDWLRQýIRUý\RXUý
FRPPXQLFDWLRQVýVRIWZDUHýRUýWHUPLQDOýWRýILQGýRXWýKRZýWRýFRQQHFWýWRýDýUHPRWHýKRVWïý
7KHý836ýXVHVýWKHýIROORZLQJýFRPPXQLFDWLRQýSDUDPHWHUVã
Configuring the UPS to Accept Incoming Calls
%HIRUHýWKHý836ýZLOOýDQVZHUýDQ\ýLQFRPLQJýFDOOVñýWKHý0RGHPý0RGHýVHWWLQJýPXVWýEHýVHWýWRýHLWKHUý,1ý
RUý%27+ýõVHHý6HWWLQJýWKHý0RGHPý0RGHýLQýèïåïì ðý7KHý&RPPXQLFDWLRQý0RGHý6FUHHQôïý%\ý
GHIDXOWñýWKHý0RGHPý0RGHýLVýVHWýWRý2))ï
Outgoing Calls
7KHý836ýFDQýEHýFRQILJXUHGýWRýGLDOýXSýWRýëýQXPEHUVïý(LWKHUýRIýWKHVHýQXPEHUVýFDQýEHýDýSDJHUýRUýDý
PRGHPïý7KHý836ýXVHVýDýSULRULW\ýV\VWHPýEDVHGýRQýWKHýVHWWLQJVýRIýWKHý0RGHPý0RGHýDQGý&DOOýúëý
0RGHýYDOXHVýõVHHý6HWWLQJýWKHý0RGHPý0RGHýLQýèïåïì ðý7KHý&RPPXQLFDWLRQý0RGHý6FUHHQý
ZKHQýSODFLQJýWKHýFDOOVôï
,IýWKHý0RGHPý0RGHýLVýVHWýWRýHLWKHUý287ýRUý%27+ñýWKHý836ýZLOOýGLDOýRXWýRQýDQ\ýRIýWKHýIROORZLQJý
HYHQWVã
Data rate (baud rate) 1200 or 2400 (see 5.8.3 - Setting the Data Rate)
Parity None
Data Bits 8
Stop Bits 1
Terminal Emulation ANSI (a popular “escape sequence” protocol which provides cursor movement and
color control functions). Note that some PC software programs will work using VT-51,
VT-52, VT-100, or other terminal emulation protocols. Many protocols are based on
the basic ANSI set. Feel free to experiment, you can’t hurt the UPS or the computer.
Table 11 Dial-Out Events
ID Code Delay Event
0 0 Dial-out test
1 0 Automatic battery test failed
3 60 Sec. Alarm event, load is on inverter
3 60 Sec. Utility outage, load on inverter, battery discharging
4 0 Low battery warning, load is in danger of shutdown
5 60 Sec. Load has been transferred to static switch. Overload or other alarm condition present.
6 0 Load has been shut down

System Options 87
(DFKýHYHQWýKDVýDýGHOD\ýDQGý,'ýFRGHïý7KHý,'ýFRGHýFDQýEHýWUDQVPLWWHGýWRýDýSRFNHWýSDJHUýWRýLGHQWLI\ý
WKHýHYHQWïý7KHýGHOD\ýLVýWKHýDPRXQWýRIýWLPHýWKDWýWKHýFRQGLWLRQýPXVWýEHýFRQWLQXRXVO\ýSUHVHQWýEHIRUHý
DýGLDOðRXWýZLOOýRFFXUïý7KLVýGHOD\ýH[LVWVýWRýSUHYHQWýWKHý836ýIURPýGLDOLQJýRXWýIUHTXHQWO\ýLQýVLWXDð
WLRQVýWKDWýPD\ýEHýYHU\ýFRPPRQïý)RUýH[DPSOHñýLQýDUHDVýZKHUHýWKHýXWLOLW\ýSRZHUýLVýXQUHOLDEOHñý
SRZHUýIDLOXUHVýPD\ýEHýDýGDLO\ýHYHQWïý7KHý836ýZLOOýQRWýGLDOýRXWýXQOHVVýDýSRZHUýIDLOXUHýODVWVýDWýOHDVWý
çíýVHFRQGVï
Calling a Pager
:KHQýWKHý836ýFDOOVýDýSDJHUñýLWýXVHVýWKHýWRXFKðWRQHýJHQHUDWRUýLQýWKHýPRGHPýWRýFUHDWHýWKHýWRQHVý
UHTXLUHGýE\ýSDJHUýVHUYLFHVïý7KHUHýDUHýWZRýQXPEHUVýLQYROYHGýZKHQýFDOOLQJýDýSDJHU
‡ 7KHýWHOHSKRQHýQXPEHUýRIýWKHýSDJHUýVHUYLFHýDFFHVVýOLQHýõWKHýVHUYLFHýQXPEHUô
‡ 7KHýQXPEHUýWRýEHýWUDQVPLWWHGýDQGýGLVSOD\HGýLQýWKHýSDJHUýZLQGRZýõWKHýGLVSOD\ýQXPEHUôï
&RQVLGHUýZKDWýKDSSHQVýZKHQý\RXýSODFHýDýFDOOýWRýDýSDJHUã
ìï <RXýGLDOýWKHýSDJHUýVHUYLFHýQXPEHU
ëï 7KHýSDJHUýVHUYLFHýHTXLSPHQWýSLFNVýXSýWKHýSKRQHýDIWHUýDýIHZýVHFRQGV¦XVXDOO\ýLWýEHHSVýDýIHZý
WLPHVïý7KLVýLVý\RXUýFXHýWRýHQWHUýWKHýGLVSOD\ýQXPEHU
êï :KHQý\RXªUHýGRQHýHQWHULQJýWKHýGLVSOD\ýQXPEHUñý\RXýKLWýWKHýSRXQGýõúôýNH\ýWRýOHWýWKHýSDJHUý
VHUYLFHýNQRZý\RXªUHýGRQH
éï 8VXDOO\ýWKHýSDJHUýVHUYLFHýSOD\VýDýUHFRUGHGýDFNQRZOHGJPHQWýPHVVDJHï
%HýDZDUHýWKDWýDOWKRXJKýWKHý836ýKDVýWKHýDELOLW\ýWRýJHQHUDWHýWRXFKðWRQHýVLJQDOVýZKLFKýWKHýSDJHUý
VHUYLFHýHTXLSPHQWýFDQýKHDUñýWKHý836ýFDQQRWýKHDUýDQ\ýVRXQGýJHQHUDWHGýE\ýWKHýSDJHUýVHUYLFHïý7KXVý
WKHý836ýPXVWý§GLDOýEOLQG¨¦LWýGLDOVýWKHýGLVSOD\ýQXPEHUýDQGýKRSHVýLWýZDVýUHFHLYHGýSURSHUO\ïý6LQFHý
WKHý836ýFDQQRWýKHDUýHLWKHUýWKHýFXHýRUýWKHýDFNQRZOHGJPHQWñýWKHUHýLVýDýFKDQFHýWKDWýLIýWKHýGLDOðRXWý
IDLOVýWKHý836ýZLOOýKDYHýQRýZD\ýWRýNQRZýWKDWýLWýKDVýIDLOHGïý,IýWKLVýLVýDýFRQFHUQý\RXýPD\ýZDQWýWRýKDYHý
WKHý836ýFDOOýWZRýGLIIHUHQWýSDJHUVñýRUýDýSDJHUýDQGýDýPRGHPïý
7KHUHýDUHýëýILHOGVýRQýHDFKýRIýWKHý836ªýSKRQHýQXPEHUýVFUHHQVýZKLFKý\RXýVKRXOGýXQGHUVWDQGýZKHQý
VHWWLQJýXSýDýSDJHUýõUHDGý(GLWLQJýWKHý3KRQHý1XPEHUVýLQýWKLVýVHFWLRQñýèïåïë ðý8VLQJýWKHý
0RGHPñýIRUýPRUHýDERXWýKRZýWRýHGLWýWKHýILHOGVôïý:KHQýWKHý836ýLVýILUVWýLQVWDOOHGñýWKHýGHIDXOWýSKRQHý
QXPEHUýVFUHHQVýORRNýOLNHýWKLVã
/LQHýëýVKRXOGýEHýHGLWHGýWRýFRQWDLQýWKHýVHUYLFHýQXPEHUïý:KHQý\RXýKDYHýILQLVKHGýHGLWLQJýWKHýVHUYLFHý
QXPEHUñýWKHý§3DJHUý'LVDEOHG¨ýILHOGýZLOOýEHJLQýWRýEOLQNïý$WýWKLVýSRLQWñýSUHVVLQJýHLWKHUýWKHý83ýRUý
'2:1ýEXWWRQVýZLOOýFDXVHýOLQHýêýWRýEHýUHSODFHGýZLWKýDQýHGLWýILHOGýIRUýWKHýGLVSOD\ýQXPEHUã
2QFHýWKLVýILHOGýLVýGLVSOD\HGñýSDJHUýPRGHýLVýHQDEOHGïý1RWHãý,Iý\RXýFKDQJHý\RXUýPLQGýDQGýZDQWýWRý
GLVDEOHýSDJHUýPRGHñýSUHVVýHLWKHUýWKHý83ýRUý'2:1ýEXWWRQVýZKLOHýWKHýILUVWýFKDUDFWHUýRQýOLQHýêýLVý
EOLQNLQJïý$WýVRPHýSRLQWýWKHý§3DJHUý'LVDEOHG¨ýPHVVDJHýZLOOýEHýGLVSOD\HGâý\RXýVKRXOGýWKHQýSUHVVý
$/$50ý6,/(1&(ýWRýFRQWLQXHï
/LQHýêýFDQýEHýHGLWHGýWRýFRQWDLQýWKHýQXPEHUý\RXýZLVKýWRýDSSHDUýLQýWKHýSDJHUýZLQGRZýZKHQýWKHý836ý
GLDOVýRXWïý,WýFDQýEHýDQ\ýQXPEHUýXSýWRýìèýGLJLWVýORQJïý6RPHýXVHUVýPD\ýZDQWýWRýSXWýWKHýWHOHSKRQHý
Phone Number 1
91(000)-000-0000
Pager Disabled
Pager Delay: 13
Phone Number 1
91(000)-000-0000
000*000*000**?#
Pager Delay: 13

88 System Options
QXPEHUýRIýWKHý836ýLQýWKLVýILHOGýVRýWKDWýZKRHYHUýKDVýWKHýSDJHUýFDQýFDOOýWKHý836ýZLWKýDý3&ýZKHQý
DQýHYHQWýRFFXUVïý
7KHUHýDUHýVHYHUDOýVSHFLDOýFKDUDFWHUVýZKLFKýFDQýDSSHDUýLQýWKLVýILHOGïý7KHýDVWHULVNýõóôýZLOOýDSSHDUýDVý
DýGDVKýõðôýLQýWKHýSDJHUýZLQGRZñýPDNLQJýWKHýGLVSOD\ýQXPEHUýHDVLHUýWRýUHDGïý7KHýTXHVWLRQýPDUNýõ"ôý
ZLOOýEHýUHSODFHGýZLWKýWKHýHYHQWý,'ýFRGHýõVHHý7DEOH ììôýLIýLWýLVýSUHVHQWýLQýWKHýILHOGïý7KHýSRXQGýõúôý
FKDUDFWHUýLVýUHTXLUHGýE\ýPRVWýSDJHUýVHUYLFHVýWRýVLJQDOýWKHýHQGýRIýWKHýQXPEHUïý6SDFHýFKDUDFWHUVýFDQý
EHýLQVHUWHGýIRUýHDVLHUýUHDGLQJñýWKH\ýKDYHýQRýHIIHFWýRQýWKHýQXPEHUýWUDQVPLWWHGï
7KHýODVWýILHOGýõOLQHýéôýVSHFLILHVýWKHýQXPEHUýRIýVHFRQGVýRIýGHOD\ýEHWZHHQýWKHýWLPHýWKHý836ýGLDOVýWKHý
SDJHUýVHUYLFHýDQGýWKHýWLPHýLWýWUDQVPLWVýWKHýGLVSOD\ýQXPEHUïý7KHýGHIDXOWýYDOXHýLVýìêýVHFRQGVïý<RXý
PD\ýQHHGýWRýH[SHULPHQWýZLWKýWKLVýYDOXHýWRýDFKLHYHýUHOLDEOHýUHVXOWVïý$QýHDV\ýZD\ýWRýGHWHUPLQHýWKHý
FRUUHFWýYDOXHýLIýWKHýGHIDXOWýGRHVýQRWýZRUNýLVýWRýXVHýDýWHOHSKRQHýWRýFDOOýWKHýSDJHUýVHUYLFHýQXPEHUý
PDQXDOO\ïý&RXQWýWKHýQXPEHUýRIýVHFRQGVýIURPýWKHýWLPHý\RXýKLWýWKHýODVWýGLJLWýRIýWKHýVHUYLFHýQXPEHUý
XQWLOýWKHýPRPHQWý\RXýKHDUýWKHýFXHïý$GGLQJýëýWRýêýVHFRQGVýWRýWKLVýWLPHýVKRXOGýEHýDSSURSULDWHýLQý
PRVWýFDVHVïý,Iý\RXýDGGýPXFKýPRUHýWKDQýWKDWñýVRPHýSDJHUýVHUYLFHVýPD\ýGLVFRQQHFWýEHIRUHýWKH\ý
UHFHLYHýWKHýGLVSOD\ýQXPEHUïý,Iý\RXýVHWýWKHýYDOXHýWRRýVKRUWñýWKHý836ýPD\ýWUDQVPLWýWKHýGLVSOD\ýQXPð
EHUýEHIRUHýWKHýSDJHUýVHUYLFHýHYHQýDQVZHUVýWKHýFDOOï
<RXýFDQýUHDVVXUHý\RXUVHOIýWKDWý\RXýKDYHýFRQILJXUHGýWKHýV\VWHPýFRUUHFWO\ýE\ýSHUIRUPLQJýDýGLDOðRXWý
WHVWïý6HHý7HVWLQJýWKHý'LDOð2XWý6HWXSýLQýWKLVýVHFWLRQñýèïåïë ðý8VLQJýWKHý0RGHPï
Calling a Modem
7KHýPRVWýUHOLDEOHýPHWKRGýRIýUHPRWHýHYHQWýQRWLILFDWLRQýLVýWRýKDYHýWKHý836ýFDOOýDýWHUPLQDOýRUýFRPð
SXWHUýHTXLSSHGýZLWKýDýPRGHPïý:KHQýFDOOLQJýDQRWKHUýPRGHPýWKHý836ýFDQýSRVLWLYHO\ýFRQILUPýWKDWý
WKHýFRQQHFWLRQýVXFFHHGHGýDQGýWKDWýWKHýQRWLILFDWLRQýZDVýWUDQVPLWWHG¦VRPHWKLQJýZKLFKýLVýQRWýSRVð
VLEOHýZKHQýLWýFDOOVýDýSDJHUýVHUYLFHýQXPEHUï
7KHýLQWHUQDOýPRGHPýLQýWKHý836ýLVýFRQILJXUDEOHýIRUýHLWKHUýìëííýRUýëéííýEDXGýRSHUDWLRQýõVHHýèïåïê ðý
6HWWLQJýWKHý'DWDý5DWHôïý:KHQýWKHý836ýGLDOVýRXWñýLWýZLOOýFDOOýHDFKýSKRQHýQXPEHUýDýPD[LPXPýRIý
êýWLPHVýEHIRUHýJLYLQJýXSñýXQOHVVýWKHýOLQHýLVýEXV\¦LQýZKLFKýFDVHýLWýZLOOýFDOOýXSýWRýëíýWLPHVýEHIRUHý
DEDQGRQLQJýWKHýDWWHPSWïý
:KHQýWKHý836ýFRQQHFWVýZLWKýDýUHPRWHýPRGHPñýLWýILUVWýWUDQVPLWVýWKHýPHVVDJHý§3UHVVý
á63$&( %$5!ýWRýHQWHUýWHUPLQDOýPRGHï¨ý7KLVýPHVVDJHýZLOOýDSSHDUýRQýWKHýUHPRWHýVFUHHQýIRUýDýIHZý
VHFRQGVïý,IýVRPHRQHýLVýZDWFKLQJýWKHýVFUHHQýDWýWKHýWLPHýWKHýFDOOýIURPýWKHý836ýDUULYHVñýWKH\ýFDQý
SUHVVýWKHýVSDFHýEDUýRQýWKHýWHUPLQDOñýDQGýWKHý836ýZLOOýHQWHUýWKHýUHPRWHýIURQWýSDQHOýPRGHïý,IýWKHý
UHPRWHýPRGHPýLVýDWWDFKHGýWRýDýFRPSXWHUýZKLFKýXVHVýWKHý(PHUVRQý6WDQGDUGý3URWRFROýõ(63ôýIRUý
SDFNHWðRULHQWHGýFRPPXQLFDWLRQñýWKHýUHPRWHýFRPSXWHUýFDQýXVHýWKLVýRSSRUWXQLW\ýWRýEHJLQýWUDQVPLVð
VLRQýõVHHýèïçïê ðý(PHUVRQý6WDQGDUGý3URWRFROýõ(63ôýIRUýPRUHýDERXWý(63ôï
,IýWKHý836ýGRHVýQRWýUHFHLYHýDýUHVSRQVHýWRýWKHý§3UHVVýá63$&(ý%$5!¨ýSURPSWñýLWýZLOOýWUDQVPLWýDý
VFUHHQýIXOOýRIýLQIRUPDWLRQýGHVFULELQJýWKHýHYHQWýZKLFKýJHQHUDWHGýWKHýGLDOðRXWïý7KLVýVFUHHQýLQFOXGHVý
WKHý6LWHý,'ýVWULQJñýWKHýFXUUHQWýDFWLYHýDODUPVñýDQGýDýRQHýOLQHýVXPPDU\ýPHVVDJHïý:KHQýWKHý836ýLVý
GRQHýWUDQVPLWWLQJýWKLVýVFUHHQñýLWýVHQGVýDQRWKHUý§3UHVVýá63$&(ý%$5!ýWRýHQWHUýWHUPLQDOýPRGH¨ý
SURPSWïý$WýWKLVýSRLQWñýWKHýUHPRWHýXVHUýKDVýDERXWýéèýVHFRQGVýWRýSUHVVýWKHýVSDFHýEDUýRUýHQWHUý(63ý
PRGHïý,IýWKHý836ýUHFHLYHVýQRýUHVSRQVHýWRýWKLVýSURPSWñýLWýZLOOýKDQJýXSï

System Options 89
Editing the Phone Numbers
:KHQýHGLWLQJýWKHýSKRQHýQXPEHUýRUýSDJHUýQXPEHUýILHOGVñýHDFKýWLPHý\RXýSUHVVýWKHý$/$50ý
6,/(1&(ýEXWWRQýWKHýFXUVRUýZLOOýDGYDQFHýWRýWKHýQH[WýFKDUDFWHUýLQýWKHýILHOGïý(DFKýWLPHý\RXýSUHVVý
WKHý83ýRUý'2:1ýDUURZýEXWWRQVýWKHýFKDUDFWHUýORFDWHGýXQGHUýWKHýFXUVRUýZLOOýFKDQJHïý7KHýVHWýRIý
FKDUDFWHUVýZKLFKýFDQýEHýVHOHFWHGýLVýDQ\ýRIýWKHýIROORZLQJã
üýíýìýëýêýéýèýçýæýåýäýðýõýôýñýúý:ý5ý7ý3ý#ýóýâý"
7KHýSXUSRVHýRIýWKHýFKDUDFWHUVýíýWKURXJKýäýLVýREYLRXVñýEXWýVRPHýRIýWKHýRWKHUVýPD\ýQHHGýH[SODQDð
WLRQã
Character Explanation
!Used to force the modem to perform a “hook flash” (i.e., hang up quickly and release)
operation. Although rapidly fading from use, this mechanism is sometimes used in office
phone systems to signal the local switchboard to listen for special codes to follow.
-
( ) <SPACE> These characters are used only to make the field more readable. They are ignored by
the modem, and can be placed anywhere in the field.
,The comma forces the modem to pause 2 seconds before continuing to dial. A typical
use of this feature would be when the UPS is connected to a local phone system which
requires you to dial ‘9’ to get an outside line. Some systems may need the modem to
pause for a bit after dialing 9 before an outside line can be assigned. In such an
instance, you might see the complete dial string looking like this: 9, 555-8243.
WLike the comma, the W command causes the modem to wait before continuing. The
difference is that the comma imposes a fixed 2 second delay, while the W means “wait
for a dial tone”.
#Used in pager display fields to signify the end of the number. Most pager service
equipment require that the pound symbol be used to terminate an entry.
RStands for “Reverse.” The R command is a prefix which tells the modem to connect with
an originate-only modem. If the modem on the remote end answers silently (without
asserting a carrier tone) you may be dealing with an originate-only modem. Such
modems are rare these days. The R should be prefixed to any digits dialed, i.e., R 9,
555-8325.
T, P Select tone or pulse dialing. Only one of these can be used in a given number. They are
both prefixes, the T stands for tone (i.e., touch tone) and the P stands for pulse. By
default, the modem uses tone dialing. If the UPS is connected to a phone line which
requires pulse dialing, a P should be prefixed to the number, i.e., P 555-8325.
@Use @ to dial a service that uses a recorded voice to request further information to be
tone-dialed, such as a password and a transaction code: 555-8325 @ 9876. The
modem dials the phone number, waits for one ring at the remote end, and then waits for
5 seconds before continuing to the next part of the dial string. The @ imposes a 5
second “quiet answer” pause.
*Used in pager display strings to generate a separator character between fields in the
display window. For example, if the pager display string is 555*8325, it will appear in the
pager window as 555-8325.
;Used to force the modem to return to command mode after dialing. Unless you are very
familiar with modems and know exactly what you’re doing, do not use this command.
?This character, if present in a pager display string, will be replaced with the event ID
code before being transmitted to the pager service equipment (see Table 11 for the list
of ID codes and associated events). For example, if the modem is dialing a pager
because of a battery test failed, the ? character would be replaced with the number 1
before being transmitted, and the number 1 would then appear in the pager display
window at the same location in which it appeared in the pager display number field. The
? character has no meaning in a dial number (line 1) field, it should only be used in
pager display (line 2) fields.

90 System Options
Testing the Dial-Out Setup
2QFHý\RXýKDYHýVHWýWKHýSKRQHýQXPEHUVñý0RGHPý0RGHñýDQGý&DOOýúëýILHOGýWKHýZD\ý\RXýZDQWýWKHPñý
\RXªOOýSUREDEO\ýZDQWýWRýNQRZýLIýLWýDOOýZRUNVýSURSHUO\ïý7KDWýLVýZKDWýWKHý'LDOðRXWý7HVWý6FUHHQýLVýIRUã
7RýWHVWý\RXUýGLDOðRXWýVHWXSñýFKDQJHýWKHý'LDOý7HVWýILHOGýIURPý2))ýWRý67$57ïý,Iý\RXýSUHVVý$/$50ý
6,/(1&(ýZKLOHýWKHý'LDOý7HVWýILHOGýUHDGVý67$57ñýWKHýGLDOðRXWýWHVWýZLOOýEHJLQïý7KHýVHTXHQFHýRIý
HYHQWVýZLOOýEHýLGHQWLFDOýWRýWKHýVHTXHQFHýWKDWýRFFXUVýZKHQýDý©UHDOªýGLDOðRXWýHYHQWýKDSSHQVïý)RUý
H[DPSOHñýLIýWKHý&DOOýúëýILHOGýLVýVHWýWRýúìý)$,/ñýWKHý836ýZLOOýRQO\ýFDOOýWKHýVHFRQGýSKRQHýQXPEHUýLIýLWý
FDQªWýFRQQHFWýWRýWKHýILUVWýQXPEHUñýRUýLIýWKHýILUVWýQXPEHUýLVýDýSDJHUï
:KLOHýWKHýGLDOðRXWýWHVWýLVýLQýSURJUHVVñýWKHý/DVWý$WWHPSWõVôýILHOGVýZLOOýUHIOHFWýWKHýSURJUHVVýõRUýODFNýRIý
SURJUHVVôýRIýWKHýGLDOðRXWïý1RWHýWKDWýWKHVHýILHOGVýDUHýDFWLYHýGXULQJýDQ\ýGLDOðRXWñýZKHWKHUýRUý
QRWýLWýLVýDýWHVWïý6LQFHýWKH\ýUHWDLQýWKHýUHVXOWýRIýWKHýODVWýGLDOðRXWýDWWHPSWñý\RXýFDQýFRQVXOWý
WKHPýWRýILQGýRXWýLIýDýSUHYLRXVýDWWHPSWýVXFFHHGHGýRUýIDLOHGïý7KHýILHOGVýZLOOýGLVSOD\ýRQHýRIýWKHý
IROORZLQJýPHVVDJHVã
,IýWKHýFXUUHQWýWHVWýLVýFDOOLQJýDQRWKHUýPRGHPñýWKHý/DVWý$WWHPSWõVôýILHOGýVKRXOGýHQGýZLWKý3$66('ïý
,IýWKHýFXUUHQWýWHVWýLVýFDOOLQJýDýSDJHUñýWKHý/DVWý$WWHPSWõVôýILHOGýVKRXOGýHQGýDWý81.12:1ï
5.8.3 Setting the Data Rate
7KHý836ýKDVýDQý56ðëêëð&ýVHULDOýSRUWýZKLFKýLVýXVHGýWRýFRQQHFWýWRýHLWKHUýDQýLQWHUQDOýPRGHPñýLQWHUð
QDOý6103ýDGDSWHUñýRUýDQýH[WHUQDOýFXVWRPHUýLQWHUIDFHïý$VýVKLSSHGýIURPýWKHýIDFWRU\ñýWKHýVHULDOýSRUWý
LVýVHWýIRUýëéííýEDXGïý,Iý\RXýQHHGýWRýFKDQJHýWRýìëííýEDXGýõIRUýH[DPSOHñýWRýLQWHUIDFHýZLWKýDQýROGHUý
WHUPLQDOýZKLFKýGRHVQªWýVXSSRUWýëéííýEDXGôñý\RXýZLOOýQHHGýWRýPRYHýWKHýEDXGýUDWHýMXPSHUýDQGý
Table 12 Last Attempt(s) Messages
Messages Meaning
NONE No dial-out has been attempted.
UNKNOWN Displayed when UPS has called a pager. The UPS has no way to verify that the pager service
equipment has received the message, and certainly no way to verify that the radio transmission to
the pager was received or displayed. Although less common, this message will also be displayed if
the UPS lost control power at the moment it was transmitting data to another modem. This means
that the UPS is not sure the message got through.
NOT READY The UPS cannot perform a dial-out at the moment because the modem is not ready. Usually this
means that a modem presence test was in progress at the moment a dial-out request occurred. Try
the dial-out test again in a minute or two. When an actual system event causes a dial-out, a NOT
READY state will not be a problem—the UPS will wait until the modem test is done and then restart
the dial-out.
DISABLED Displayed in the #2 field if Call #2 is set to NEVER.
NO MODEM The Modem Mode is set correctly, but the modem is either not installed, installed incorrectly, or
defective.
OUT MODE OFF The Modem Mode is set to OFF or IN, both disable dial-outs.
NO DIAL TONE The modem is responding, but reports no dial tone found. Check the phone line connection.
BUSY The phone line is busy. The UPS will retry the number 20 times before giving up.
NO CARRIER The UPS is calling a remote modem, but the remote modem is not responding with a carrier tone.
DIALING The modem is dialing and/or waiting for a response.
SENDING The modem is transmitting the message to either a remote modem or pager service equipment.
PASSED The dial-out succeeded: the UPS connected with a remote modem and transmitted the message.
FAILED The dial-out failed, UPS was unable to connect and has given up.
Dial Test: OFF
Last Attempt(s):
#1: NONE
#1: NONE

System Options 91
UHVWDUWýWKHý836ýIURPýSRVLWLRQýìïý7KLVýZLOOýPHDQý\RXUýORDGýZLOOýEHýVXSSRUWHGýE\ýWKHýUDZýXWLOLW\ý
SRZHUýIRUýWKHýGXUDWLRQýRIýWKHýFRQYHUVLRQýDQGýUHVWDUWïý,WýVKRXOGýQRWýWDNHýPRUHýWKDQýêýPLQXWHVýLIý
\RXýDUHýSUHSDUHGï
7KHýEDXGýUDWHýMXPSHUýLVýORFDWHGýRQýWKHýPLFURSURFHVVRUýERDUGýõ31ýíëðæäëëíèðëíôïý,WýLVýLGHQWLILHGýDVý
:éýDQGý:èïý:KHQýWKHýMXPSHUýLVýFRQQHFWHGýDFURVVý:éñýWKHýEDXGýUDWHýLVýVHWýIRUýëéííñýWKHýIDFWRU\ý
GHIDXOWïý,Iý\RXýUHPRYHýWKHýMXPSHUýIURPý:éýDQGýFRQQHFWýLWýDFURVVý:èñýWKHýEDXGýUDWHýZLOOýFKDQJHýWRý
ìëííï
5.9 Optional SiteScan®/Sitemaster Interface
7KHý6LWH6FDQî6LWHPDVWHUý,QWHUIDFHýSURYLGHVýFRPPXQLFDWLRQýFDSDELOLW\ýZLWKý/LHEHUWýVLWHýPRQLWRUð
LQJýSURGXFWVïý1RWHãý8VHýRIýWKLVýRSWLRQýSUHFOXGHVýWKHýXVHýRIýWKHý56ðëêëýLQWHUIDFHýSRUWñýLQWHUQDOý
PRGHPñýDQGýLQWHUQDOý6103ýRSWLRQVïý5HTXLUHGýVRIWZDUHýOHYHOýIRUýWKHý836ýPRGXOHýDQGýVLWHýPRQLð
WRULQJýSURGXFWVýLVýDVýIROORZVã
‡ 836ý0RGXOHãý5HYïý%ýRUýODWHU
‡ 6LWHPDVWHUãý9HUVLRQýêïíýRUýODWHU
‡ 6LWH6FDQý0RGHOýèíãý9HUVLRQýìïëýRUýODWHU
‡ 6LWH6FDQý0RGHOýìííãý9HUVLRQýìïëýRUýODWHU
‡ 6LWH6FDQý0RGHOýìíìãý9HUVLRQýæïåýRUýODWHU
$ýWZLVWHGðSDLUýFRQWUROýZLULQJýFRQQHFWLRQýõE\ýRWKHUVôýLVýUHTXLUHGýEHWZHHQýWKHý836ýPRGXOHýDQGýVLWHý
PRQLWRULQJýSURGXFWïý5HIHUýWRý)LJXUH ìêñý)LJXUH ìéñýRUý)LJXUH ìèýIRUýZLULQJýGHWDLOVï
5.10 Optional IBM® AS/400 Signal Interface
7KHý,%0ý$6îéííý6LJQDOý,QWHUIDFHýSURYLGHVýDýVLJQDOýFDEOHýIURPýWKHý/LHEHUWý6HULHVýêííý'7ý836ýWRý
DFWLYDWHýWKHýIROORZLQJýVWDWXVýPHVVDJHVýLQýWKHý,%0ýV\VWHPã
‡ 836ýLVýVXSSO\LQJýSRZHU
‡ %\SDVVýLVýVXSSO\LQJýSRZHU
‡ %DWWHU\ýGLVFKDUJLQJ
‡ /RZýEDWWHU\ï
7KHý$6îéííýUHTXLUHVýWKLVýLQIRUPDWLRQýWRýGHWHUPLQHýZKHQýWRýLQLWLDWHýDýTXLFNýSRZHUýGRZQýWRýSUHð
VHUYHýGDWDýDQGýSURWHFWýKDUGZDUHýGXULQJýDýXWLOLW\ýSRZHUýRXWDJHïý7KHý6HULHVýêííý'7ý836ýSURYLGHVý
LVRODWHGýQRUPDOO\ýRSHQýFRQWDFWVýDQGýDýVKLHOGHGýFDEOHýõèíýIWïôýZLWKýDýäðSLQýVXEPLQLDWXUHý'ðVKHOOý
SOXJýõPDOHôýFRQQHFWRUýWRýILWý-ëéýRQýWKHý,%0ý$6îéííýäéíçýSURFHVVRUïý7KLVýRSWLRQýLVýLQVWDOOHGýLQýWKHý
ILHOGïý)RUýZLULQJýGHWDLOVýUHIHUýWRý)LJXUH êæýRUý)LJXUH êåñýGHSHQGLQJýRQýZKHWKHUýWKHý5HPRWHý6WDð
WXVý3DQHOýRSWLRQýKDVýDOVRýEHHQýVHOHFWHGï
Monitoring Alarms
Input Voltage Output Overload
Output Voltage Load on Bypass
Output Current Static Switch Disabled
Output Frequency Unit Offline (EPO)
Output kVA Module Cooling Failure
Output kW Ambient Overtemperature
DC Voltage Battery Discharging
Battery Current Low Battery Reserve
% Capacity Battery Disconnected
Control Power Failure
Fuse Cleared

92 System Options
5.11 Optional System/38 Power Warning Signal
7KHý6\VWHPîêåý3RZHUý:DUQLQJý6LJQDOýSURYLGHVýDQýLVRODWHGýQRUPDOO\ýRSHQýFRQWDFWýIRUýXVHUýFRQQHFð
WLRQýWRý6\VWHPîêåýFRPSXWHUýSRZHUýZDUQLQJýFLUFXLWU\ïý7KHýFRQWDFWýFORVHVýZKHQýXWLOLW\ýSRZHUýIDLOVý
DQGýWKHý836ýEDWWHU\ýLVýGLVFKDUJLQJïý$ý%1&ýFRQQHFWRUýLVýSURYLGHGýIRUýFRQQHFWLRQýWRýXVHUýVXSSOLHGý
FDEOHï
5.12 Optional Battery Circuit Breaker
$QýH[WHUQDOý%DWWHU\ý&LUFXLWý%UHDNHUýLVýDYDLODEOHýWRýSURYLGHýDýPDQXDOýGLVFRQQHFWLQJýPHDQVýDQGý
RYHUFXUUHQWýSURWHFWLRQýIRUýH[WHUQDOýEDWWHU\ýSODQWVïý7KLVýRSWLRQýLVýQRWýUHTXLUHGýIRUýXVHýZLWKýIDFWRU\ý
VXSSOLHGýPDWFKLQJýEDWWHU\ýFDELQHWVïý7KHýEDWWHU\ýFLUFXLWýEUHDNHUýLVýSURYLGHGýLQýDýVHSDUDWHý1(0$ý
7\SHýìýHQFORVXUHýIRUýZDOOýPRXQWLQJïý7KHýFLUFXLWýEUHDNHUýLQFOXGHVýXQGHUYROWDJHýUHOHDVHýõ895ôýDQGý
DX[LOLDU\ýFRQWDFWVýIRUýILHOGýFRQQHFWLRQýWRýWKHýRSWLRQDOýFRQWDFWýLVRODWRUýERDUGýORFDWHGýLQýWKHý836ý
PRGXOHïý5HIHUýWRý)LJXUH êäýRUý)LJXUH éíýIRUýLQVWDOODWLRQýGHWDLOVï
5.13 Optional DC Ground Fault Alarm
3URYLGHVýDQQXQFLDWLRQýRIýDODUPýFRQGLWLRQýZKHQýHLWKHUýWKHýSRVLWLYHýõòôýRUýQHJDWLYHýõðôý'&ýEXVýLVý
JURXQGHGï
5.14 Optional Computer Interface System
7KHý&RPSXWHUý,QWHUIDFHý6\VWHPýSHUIRUPVýDQýDXWRPDWLFýXQDWWHQGHGýRUGHUO\ýVKXWGRZQýRIýWKHýFXVð
WRPHUªVýRSHUDWLQJýV\VWHPýZKHQýQHFHVVDU\ïý7KLVýRSWLRQýLQFOXGHVýWKHýVRIWZDUHýUHTXLUHGýWRýLQWHUIDFHý
WKHý836ýWRýWKHýFRPSXWHUïý7KHýVRIWZDUHýPRQLWRUVýWKHý836ýIRUýSRZHUýIDLOXUHýDQGýORZýEDWWHU\ýDODUPý
ZKLOHýRSHUDWLQJýDVýDýEDFNJURXQGýWDVNýRQýWKHýFRPSXWHUïý$IWHUýDýSRZHUýIDLOXUHýRFFXUVñýWKHýVRIWZDUHý
SHUIRUPVýDQýDXWRPDWLFýVKXWGRZQýZKHQýWKHýSUHðSURJUDPPHGýWLPHUýH[SLUHVïý,IýWKHý836ýUHDFKHVýDý
ORZýEDWWHU\ýDODUPñýWKHýVRIWZDUHýZLOOýRYHUULGHýWKHýWLPHUýDQGýSHUIRUPýDQýDXWRPDWLFýVKXWGRZQï
7KLVýRSWLRQýUHTXLUHVýWKHýRSWLRQDOýUHPRWHýFRQWDFWýERDUGýWRýSURYLGHýLVRODWHGýQRUPDOO\ýFORVHGýFRQð
WDFWVïý7KLVýRSWLRQýLQFOXGHVýDýVKLHOGHGýLQWHUIDFHýFDEOHýZLWKýDýëèðSLQýVXEPLQLDWXUHý'ðVKHOOýFRQQHFð
WRUýWRýILWýWKHýVHULDOýSRUWýRIýWKHýFRPSXWHUýILOHýVHUYHUïý&DEOHýLVýDYDLODEOHýLQýVHOHFWHGýOHQJWKVýIURPýëèý
WRýêííýIHHWïý7KLVýRSWLRQýLVýLQVWDOOHGýLQýWKHýILHOGïý5HIHUýWRý)LJXUH éìýIRUýZLULQJýGHWDLOVï
5.15 Optional Multi-Computer Interface System
7KHý0XOWLð&RPSXWHUý,QWHUIDFHý6\VWHPýLVýGHVLJQHGýIRUýFRQILJXUDWLRQVýZKHUHýDýVLQJOHý836ýLVýSRZð
HULQJýPXOWLSOHýFRPSXWHUýILOHýVHUYHUVýõXSýWRýéåôïý7KLVýRSWLRQýSHUIRUPVýDQýDXWRPDWLFýXQDWWHQGHGý
RUGHUO\ýVKXWGRZQýRIýWKHýFXVWRPHUªVýRSHUDWLQJýV\VWHPýLQýHDFKýFRPSXWHUýZKHQýQHFHVVDU\ïý7KHý
0XOWLð,QWHUIDFHý8QLWýõ0,8ôýSURYLGHVýWKHýKDUGZDUHýUHTXLUHGýWRýLQWHUIDFHýWKHý836ýWRýHDFKýFRPð
SXWHUïý7KHýVRIWZDUHýSURYLGHGýDOORZVýHDFKýFRPSXWHUýWRýPRQLWRUýWKHý836ýIRUýSRZHUýIDLOXUHýDQGýORZý
EDWWHU\ýDODUPýZKLOHýRSHUDWLQJýDVýDýEDFNJURXQGýWDVNïý$IWHUýDýSRZHUýIDLOXUHýRFFXUVñýWKHýVRIWZDUHý
SHUIRUPVýDQýDXWRPDWLFýVKXWGRZQýRIýHDFKýFRPSXWHUýZKHQýWKHýSUHðSURJUDPPHGýWLPHUýH[SLUHVïý,Iý
WKHý836ýUHDFKHVýDýORZýEDWWHU\ýDODUPñýWKHýVRIWZDUHýZLOOýRYHUULGHýWKHýWLPHUýDQGýSHUIRUPýDQýDXWRð
PDWLFýVKXWGRZQýRIýHDFKýFRPSXWHUï
7KLVýRSWLRQýUHTXLUHVýWKHýRSWLRQDOýUHPRWHýFRQWDFWýERDUGýWRýSURYLGHýLVRODWHGýQRUPDOO\ýFORVHGýFRQð
WDFWVïý7KLVýRSWLRQýLQFOXGHVýDýVKLHOGHGýSULPDU\ýFDEOHýZLWKýDýäðSLQýVXEPLQLDWXUHý'ðVKHOOýFRQQHFWRUñý
WKHý0XOWLð,QWHUIDFHý8QLWýõ0,8ôñýDQGýVKLHOGHGýVHFRQGDU\ýFDEOHVýZLWKý5-ììýDQGýëèðSLQýVXEPLQLDð
WXUHý'ðVKHOOýFRQQHFWRUVïý&DEOHVýDUHýDYDLODEOHýLQýVHOHFWHGýOHQJWKVýIURPýëèýWRýêííýIHHWïý7KLVýRSWLRQýLVý
LQVWDOOHGýLQýWKHýILHOGïý5HIHUýWRý)LJXUH éëýIRUýZLULQJýGHWDLOVï

System Options 93
5.16 Optional IBM® AS/400 Multi-Interface System
7KHý$6îéííý0XOWLð,QWHUIDFHý6\VWHPýLVýGHVLJQHGýIRUýFRQILJXUDWLRQVýZKHUHýDýVLQJOHý836ýLVýSRZHULQJý
PXOWLSOHý$6îéííýXQLWVýõXSýWRýåôïý7KHý0XOWLð,QWHUIDFHý8QLWýõ0,8ôýSURYLGHVýWKHýUHTXLUHGý836ýVWDWXVý
LQIRUPDWLRQýWRýHDFKý$6îéííýVRýLWýFDQýSHUIRUPýDQýDXWRPDWLFýXQDWWHQGHGýRUGHUO\ýVKXWGRZQýZKHQý
QHFHVVDU\ïý(DFKý$6îéííýLQFOXGHVýWKHýVRIWZDUHýUHTXLUHGýWRýLQWHUIDFHýZLWKýWKHý836ïý7KHýIROORZLQJý
VWDWXVýPHVVDJHVýDUHýDFWLYDWHGýLQýWKHý,%0ýV\VWHPã
‡ 836ýLVýVXSSO\LQJýSRZHU
‡ %\SDVVýLVýVXSSO\LQJýSRZHU
‡ %DWWHU\ýGLVFKDUJLQJ
‡ /RZýEDWWHU\
(DFKý$6îéííýLQGLYLGXDOO\ýPRQLWRUVýWKHý836ýVWDWXVýWRýGHWHUPLQHýZKHQýWRýLQLWLDWHýDýTXLFNýSRZHUý
GRZQýWRýSUHVHUYHýGDWDýDQGýSURWHFWýKDUGZDUHýGXULQJýDýXWLOLW\ýSRZHUýRXWDJHï
7KLVýRSWLRQýUHTXLUHVýWKHýRSWLRQDOýUHPRWHýFRQWDFWýERDUGýWRýSURYLGHýLVRODWHGýFRQWDFWVïý7KLVýRSWLRQý
LQFOXGHVýDýVKLHOGHGýSULPDU\ýFDEOHýZLWKýDýäðSLQýVXEPLQLDWXUHý'ðVKHOOýFRQQHFWRUñýWKHý$6îéííý0XOWLð
,QWHUIDFHý8QLWýõ0,8ôñýDQGýVKLHOGHGýVHFRQGDU\ýFDEOHVýZLWKý5-ììýDQGýäðSLQýVXEPLQLDWXUHý'ðVKHOOý
FRQQHFWRUVïý&DEOHVýDUHýDYDLODEOHýLQýVHOHFWHGýOHQJWKVýIURPýëèýWRýêííýIHHWïý7KLVýRSWLRQýLVýLQVWDOOHGýLQý
WKHýILHOGïý5HIHUýWRý)LJXUH éêýIRUýZLULQJýGHWDLOVï

94 System Options
Figure 27 Optional Maintenance Bypass Cabinet with Input, Bypass, and Load
Circuit Breakers

System Options 95
Figure 28 Optional Maintenance Bypass Cabinet with Isolation Transformer and Load
Circuit Breaker

96 System Options
Figure 29 Optional Maintenance Bypass Cabinet with Isolation Transformer, Input, Bypass, and Load
Circuit Breakers

System Options 97
Figure 30 Optional Maintenance Bypass Cabinet with Maintenance Bypass Switch

98 System Options
Figure 31 Optional Maintenance Bypass Cabinet with Maintenance Bypass Switch, Input,
Bypass, and Load Circuit Breakers

System Options 99
Figure 32 Optional Maintenance Bypass Cabinet with Isolation Transformer, Maintenance
Bypass Switch, and Load Circuit Breaker

100 System Options
Figure 33 Optional Maintenance Bypass Cabinet with Isolation Transformer, Maintenance Bypass
Switch, Input, Bypass, and Load Circuit Breakers

System Options 101
Figure 34 Optional Slim-Line Distribution

102 System Options
Figure 34 Optional Slim-Line Distribution (continued)

System Options 103
Figure 35 Optional Remote Status Panel

104 System Options
Figure 36 Optional Remote Contact Board

System Options 105
Figure 37 Optional IBM® AS/400 Signal Interface

106 System Options
Figure 38 Optional IBM® AS/400 Signal Interface (with Remote Status Panel)

System Options 107
Figure 39 Optional Battery Circuit Breaker 10-75 kVA

108 System Options
Figure 40 Optional Battery Circuit Breaker 100-125 kVA

System Options 109
Figure 41 Optional Computer Interface System

110 System Options
Figure 42 Optional Multi-Computer Interface System

System Options 111
Figure 43 Optional IBM® AS/400 Multi-Computer Interface System

112 Specifications
6.0 SPECIFICATIONS
6.1 Electrical Specifications
7KHý836ýVKDOOýPHHWýRUýH[FHHGýWKHýIROORZLQJýHOHFWULFDOýVSHFLILFDWLRQVã
6.1.1 AC Inputs to UPS
5HFWLILHUý,QSXWã
7KUHHð3KDVHñýêðZLUHýSOXVýJURXQG
%\SDVVý,QSXWã
7KUHHð3KDVHñýêðýRUýéðZLUHýSOXVýJURXQG
9ROWDJHý5DQJHã
òìíøñýðìèøýRIýQRPLQDO
)UHTXHQF\ã
1RPLQDOýIUHTXHQF\ý‘ýèø
3RZHUý)DFWRUã
íïåíýODJJLQJýPLQLPXPýDWýQRPLQDOýLQSXWýYROWDJHýDQGýIXOOýUDWHGý836ýRXWSXWýORDG
íïäíýODJJLQJýZLWKýRSWLRQDOýLQSXWýILOWHU
,QUXVKý&XUUHQWã
åííøýRIýIXOOýORDGýFXUUHQWýPD[LPXP
&XUUHQWý/LPLWã
ìëèøýRIýQRPLQDOý$&ýLQSXWýFXUUHQWýPD[LPXP
,QSXWý&XUUHQWý:DONðLQã
ëíýVHFRQGVýWRýIXOOýUDWHGýLQSXWýFXUUHQWýPD[LPXPïý)LHOGýVHOHFWDEOHýèýRUýëíýVHFRQGVï
&XUUHQWý'LVWRUWLRQã
êíøý7+'ýDWýIXOOýORDGïýìíøý7+'ýZLWKýRSWLRQDOýLQSXWýILOWHU
6XUJHý3URWHFWLRQã
6XVWDLQVýLQSXWýVXUJHVýZLWKRXWýGDPDJHýSHUýFULWHULDýOLVWHGýLQý$16,ý&çëïéìðìäåí
6.1.2 AC Output. UPS Inverter
9ROWDJHý&RQILJXUDWLRQã
7KUHHð3KDVHñýéðZLUHðSOXVðJURXQG
9ROWDJHý5HJXODWLRQã
‘ìøýIRUýEDODQFHGýORDG
9ROWDJHý8QEDODQFHã
%DODQFHGýORDGý‘ìø
ëíøýXQEDODQFHGýORDGý‘ìø
èíøýXQEDODQFHGýORDGý‘ëø
ìííøýXQEDODQFHGýORDGý‘èø
9ROWDJHý$GMXVWPHQWý5DQJHã
‘èøýPDQXDOýDGMXVWPHQW

Specifications 113
)UHTXHQF\ã
1RPLQDOýIUHTXHQF\ý‘íïìø
)UHTXHQF\ý6OHZý5DWHã
ìïíý+HUW]ýSHUýVHFRQGýPD[LPXPïý)LHOGýVHOHFWDEOHýIURPýíïìýWRýìïíý+]ýSHUýVHFRQGï
%\SDVVý/LQHý6\QFý5DQJHã
‘íïèñý‘ìïíñý‘êïíý+HUW]ïý)LHOGýVHOHFWDEOHï
/RDGý3RZHUý)DFWRUý5DQJHã
íïäýOHDGLQJýWRýíïèýODJJLQJ
2XWSXWý3RZHUý5DWLQJã
5DWHGýN9$ýDWýíïåýODJJLQJýSRZHUýIDFWRU
9ROWDJHý'LVWRUWLRQã
èøýWRWDOýKDUPRQLFýGLVWRUWLRQýõ7+'ôâýêøýPD[LPXPýIRUýDQ\ýVLQJOHýKDUPRQLFñýIRUýOLQHDUýORDGV
3KDVHý'LVSODFHPHQWã
‘ìƒýIRUýEDODQFHGýORDG
‘êƒýIRUýèíøýXQEDODQFHGýORDG
9ROWDJHý7UDQVLHQWý5HVSRQVHã
ëíøýORDGýVWHSý‘éø
êíøýORDGýVWHSý‘èø
èíøýORDGýVWHSý‘åø
ORVVýRUýUHWXUQýRIý$&ýLQSXWýSRZHUý‘ìøýPDQXDOýWUDQVIHUýRIýìííøýORDGý‘éø
7UDQVLHQWý5HFRYHU\ý7LPHã
7RýZLWKLQýìøýRIýRXWSXWýYROWDJHýZLWKLQýèíýPLOOLVHFRQGV
2YHUORDGý&DSDELOLW\ã
ìëèøýIRUýìíýPLQXWHVýõZLWKRXWýE\SDVVýVRXUFHôïýìèíøýIRUýêíýVHFRQGVýõZLWKRXWýE\SDVVýVRXUFHôï
)DXOWý&OHDULQJã
6XEýF\FOHýFXUUHQWýRIýDWýOHDVWýêííø

114 Specifications
6.2 Ratings
7KHý836ýQDPHSODWHýGLVSOD\VýWKHýUDWHGýN9$ýDQGýN:ýYDOXHVýDVýZHOOýDVýQRPLQDOýYROWDJHVýDQGýFXUð
UHQWVýIRUýRSHUDWLRQýRIýWKHýXQLWïý5HIHUýWRý7DEOH ìýIRUýPRGHOýQXPEHUVýDQGýN9$îN:ýUDWLQJVï
6.3 Environmental Specifications
7HPSHUDWXUHý5DQJHã
‡2SHUDWLQJã
836ãýíƒ&ýWRýéíƒ&
%DWWHU\ãýëèƒ&ý‘èƒ&
‡ 6WRUDJHã
836ãýðëíƒ&ýWRýòæíƒ&
%DWWHU\ãýðéíƒ&ýWRýòéíƒ&
5HODWLYHý+XPLGLW\ã
íýWRýäèøýQRQðFRQGHQVLQJ
$XGLEOHý1RLVHã
çèýG%$ýDWýìýPHWHU
$OWLWXGHã
íýWRýçèçíýIHHWýõëíííýPHWHUVôïý'HUDWHGýIRUýKLJKHUýHOHYDWLRQVï
6.4 Mechanical Specifications
5HIHUýWRý7DEOH ëýDQGý7DEOH êýIRUý836ýPRGXOHýPHFKDQLFDOýVSHFLILFDWLRQVï

Specifications 115
6.5 Battery
%DWWHU\ý7\SHãý6HDOHGñýYDOYHýUHJXODWHGñýOHDGðDFLGñýLQýPDWFKLQJýFDELQHWý
kVA DC Voltage Range Number of Cells
10 - 15 163V - 240V 102
20 - 125 288V - 423V 180
Table 13 Matching Battery Cabinets
Battery Cabinet
Model Number*
UPS
Rating
kVA Dimensions
WxDxH Weight
Lb (Kg)
Dist.
Floor
Loading
Lb/Sq Ft No. of
Cells
Standard
Cabinet
Battery
Model No.*
Computer
Room
Cabinet
Battery
Model No.*
UBCB_140V25YJ 10 - 15 22x28x72 in. 760 (345) 178 1x102 UPS12-140 UPS12-140FR
UBCB_170V25YJ 10 - 15 22x28x72 in. 1000 (454) 234 1x102 UPS12-170 UPS12-170FR
UBCB_270V25YJ 10 - 15 22x28x72 in. 1300 (590) 304 1x102 UPS12-270 UPS12-270FR
UBCB_370V25YJ 10 - 15 22x28x72 in. 1650 (748) 386 1x102 UPS12-370 UPS12-370FR
UBCB_475V25YJ 10 - 15 22x28x72 in. 2100 (953) 491 1x102 UPS12-475 UPS12-475FR
UBCB_100H25YJ 20 - 30 22x28x72 in. 990 (450) 232 1x180 UPS12-100 UPS12-100FR
UBCB_140H25YJ 20 - 50 22x28x72 in. 1150 (522) 269 1x180 UPS12-140 UPS12-140FR
UBCB_170H25YJ 20 - 50 22x28x72 in. 1500 (680) 351 1x180 UPS12-170 UPS12-170FR
UBCP_270H25JJ 20 - 50 36x28x72 in. 2050 (930) 293 1x180 UPS12-270 UPS12-270FR
UBCP_310H25JJ 20 - 50 36x28x72 in. 2500 (1134) 358 1x180 UPS12-310 UPS12-310FR
UBCP_370H25JJ 20 - 50 36x28x72 in. 2750 (1247) 393 1x180 UPS12-370 UPS12-370FR
UBCP_475H25JJ 20 - 50 36x28x72 in. 3500 (1588) 500 1x180 UPS12-475 UPS12-475FR
UBCP_270H25MJ 65 - 125 36x28x72 in. 2050 (930) 293 1x180 UPS12-270 UPS12-270FR
UBCP_310H25MJ 65 - 125 36x28x72 in. 2500 (1134) 358 1x180 UPS12-310 UPS12-310FR
UBCP_370H25MJ 65 - 125 36x28x72 in. 2750 (1247) 393 1x180 UPS12-370 UPS12-370FR
UBCP_475H25MJ 65 - 125 36x28x72 in. 3500 (1588) 500 1x180 UPS12-475 UPS12-475FR
UBPP_270H25SJ 100 - 125 36x28x72 in. 2050 (930) 293 1x180 UPS12-270 UPS12-270FR
UBPP_370H25SJ 100 - 125 36x28x72 in. 2750 (1247) 393 1x180 UPS12-370 UPS12-370FR
UBPP_475H25SJ 100 - 125 36x28x72 in. 3500 (1588) 500 1x180 UPS12-475 UPS12-475FR
*An “O” in the 5th digit of the battery cabinet model number signifies standard batteries are being utilized in the battery cabinet. An “F”
in the 5th digit of the battery cabinet model number signifies flame retardant batteries are being utilized in the battery cabinet.

116 Specifications

5HYLVHGãý-XO\ýìääæ
Series 300™ DT UPS
Dual Input - Three Phase
10 kVA to 125 kVA; 60 Hz
Technical Support
The Company Behind The Products
:LWKýPRUHýWKDQýèííñíííýLQVWDOODWLRQVýDURXQGýWKHýJOREHñý/LHEHUWýLVýWKHýZRUOGýOHDGHUýLQýFRPSXWHUý
SURWHFWLRQýV\VWHPVïýý6LQFHýLWVýIRXQGLQJýLQýìäçèñý/LHEHUWýKDVýGHYHORSHGýDýFRPSOHWHýUDQJHýRIýVXSSRUWý
DQGýSURWHFWLRQýV\VWHPVýIRUýVHQVLWLYHýHOHFWURQLFVã
‡ (QYLURQPHQWDOýV\VWHPVãýFORVHðFRQWUROýDLUýFRQGLWLRQLQJýIURPýìïèýWRýçíýWRQVï
‡ 3RZHUýFRQGLWLRQLQJýDQGý836ýZLWKýSRZHUýUDQJHVýIURPýëèíý9$ýWRýPRUHýWKDQýìíííýN9$ï
‡ ,QWHJUDWHGýV\VWHPVýWKDWýSURYLGHýERWKýHQYLURQPHQWDOýDQGýSRZHUýSURWHFWLRQýLQýDýVLQJOHñýIOH[LEOHý
SDFNDJHï
‡ 0RQLWRULQJýDQGýFRQWUROý¦ýRQðVLWHýRUýUHPRWHý¦ýIURPýV\VWHPVýRIýDQ\ýVL]HýRUýORFDWLRQ
6HUYLFHýDQGýVXSSRUWñýWKURXJKýPRUHýWKDQýìííýVHUYLFHýFHQWHUVýDURXQGýWKHýZRUOGñýDQGýDýëéðKRXU
&XVWRPHUý5HVSRQVHý&HQWHUï
:KLOHýHYHU\ýSUHFDXWLRQýKDVýEHHQýWDNHQýWRýHQVXUHýDFFXUDF\ýDQGýFRPSOHWHQHVVýRIýWKLVýOLWHUDWXUHñý
/LHEHUWý&RUSRUDWLRQýDVVXPHVýQRýUHVSRQVLELOLW\ñýDQGýGLVFODLPVýDOOýOLDELOLW\ýIRUýGDPDJHVýUHVXOWLQJý
IURPýXVHýRIýWKLVýLQIRUPDWLRQýRUýIRUýDQ\ýHUURUVýRUýRPLVVLRQVïý
‹ýìääåý/LHEHUWý&RUSRUDWLRQïý$OOýULJKWVýUHVHUYHGýWKURXJKRXWýWKHýZRUOGïýý6SHFLILFDWLRQVýVXEMHFWýWRý
FKDQJHýZLWKRXWýQRWLFHïý
Šý/LHEHUWýDQGýWKHý/LHEHUWýORJRýDUHýUHJLVWHUHGýWUDGHPDUNVýRIý/LHEHUWý&RUSRUDWLRQïýý$OOýQDPHVý
UHIHUUHGýWRýDUHýWUDGHPDUNVýRUýUHJLVWHUHGýWUDGHPDUNVýRIýWKHLUýUHVSHFWLYHýRZQHUVïý
3ULQWHGýLQý8ï6ï$ïý
6/ðëéèêæ
U.S.A. 1-800-222-5877
Outside the U.S.A. 614-841-6755
U.K. +44 (0) 1793 553355
France +33 1 4 87 51 52
Germany +49 89 99 19 220
Italy +39 2 98250 1
Netherlands +00 31 475 503333
E-mail upstech@liebert.com
Web site http://www.liebert.com
Worldwide FAX
tech support 614-841-5471