Liftmaster 3240 Owners Manual 114A4262
2014-07-19
: Liftmaster Liftmaster-3240-Owners-Manual liftmaster-3240-owners-manual liftmaster pdf
Open the PDF directly: View PDF
.
Page Count: 36
- OWNER'S MANUAL
- TABLE OF CONTENTS
- INTRODUCTION
- ASSEMBLY
- INSTALLATION
- Determine the Header Bracket Location
- Install the Header Bracket
- Attach the Rail to the Header Bracket
- Install The Protector System®
- Position the Opener
- Hang the Opener
- Install the Door Control
- Install the Lights
- Attach the Emergency Release Rope and Handle
- Electrical Requirements
- Complete Safety Reversing Sensor Installation
- Fasten the Door Bracket
- Connect Door Arm to Trolley
- ADJUSTMENT
- OPERATION
- CARE OF YOUR OPENER
- HAVING A PROBLEM?
- PROGRAMMING
- REPAIR PARTS
- ACCESSORIES
- HOW TO ORDER REPAIR PARTS
- WARRANTY
- SPANISH

The Chamberlain Group, Inc.
845 Larch Avenue
Elmhurst, Illinois 60126-1196
www.liftmaster.com
GARAGE DOOR OPENER
Models
Owner’s Manual
■ Please read this manual and the enclosed safety materials carefully!
■ Fasten the manual near the garage door after installation.
■ The door WILL NOT CLOSE unless the Protector System® is connected and properly aligned.
■ Periodic checks of the opener are required to ensure safe operation.
■ The model number label is located on the front panel of your opener.
®
3130M 1/3 HP 3240M 1/2 HP
For Residential Use Only

2
Introduction 2-5
Safety symbol and signal word review . . . . . . . . . . . . . . . 2
Preparing your garage door . . . . . . . . . . . . . . . . . . . . . . . 3
Tools needed. . . . . . . . . . . . . . . . . . . . . . . . . . . . . . . . . . . 3
Planning . . . . . . . . . . . . . . . . . . . . . . . . . . . . . . . . . . . . . . 4
Carton inventory . . . . . . . . . . . . . . . . . . . . . . . . . . . . . . . . 5
Hardware inventory. . . . . . . . . . . . . . . . . . . . . . . . . . . . . . 5
Assembly 6
Fasten rail to the motor unit . . . . . . . . . . . . . . . . . . . . . . . 6
Installation 7-22
Installation safety instructions . . . . . . . . . . . . . . . . . . . . . 7
Determine the header bracket location . . . . . . . . . . . . . . . 8
Install the header bracket . . . . . . . . . . . . . . . . . . . . . . . . . 9
Attach the rail to the header bracket . . . . . . . . . . . . . . . . 10
Install the Protector System® . . . . . . . . . . . . . . . . . . 11-13
Position the opener. . . . . . . . . . . . . . . . . . . . . . . . . . . . . 14
Hang the opener . . . . . . . . . . . . . . . . . . . . . . . . . . . . . . . 15
Install the door control . . . . . . . . . . . . . . . . . . . . . . . . . . 16
Install the lights . . . . . . . . . . . . . . . . . . . . . . . . . . . . . . . 17
Attach the emergency release rope and handle. . . . . . . . 17
Electrical requirements . . . . . . . . . . . . . . . . . . . . . . . . . . 18
Complete safety reversing sensor installation. . . . . . . . . 18
Fasten the door bracket. . . . . . . . . . . . . . . . . . . . . . . 19-20
Connect the door arm to the trolley . . . . . . . . . . . . . 21-22
Adjustment 23-25
Adjust the UP and DOWN travel limits . . . . . . . . . . . . . . 23
Adjust the force. . . . . . . . . . . . . . . . . . . . . . . . . . . . . . . . 24
Test the safety reversal system. . . . . . . . . . . . . . . . . . . . 25
Test the Protector System®. . . . . . . . . . . . . . . . . . . . . . . 25
Operation 26-30
Operation safety instructions . . . . . . . . . . . . . . . . . . . . . 26
Using your garage door opener . . . . . . . . . . . . . . . . . . . 26
Using the wall-mounted door control . . . . . . . . . . . . . . . 27
To open the door manually . . . . . . . . . . . . . . . . . . . . . . . 27
Care of your garage door opener . . . . . . . . . . . . . . . . . . 28
Having a problem? . . . . . . . . . . . . . . . . . . . . . . . . . . . . . 29
Diagnostic chart . . . . . . . . . . . . . . . . . . . . . . . . . . . . . . . 30
Programming 31-32
To add or reprogram a hand-held remote control. . . . . . 31
To erase all codes . . . . . . . . . . . . . . . . . . . . . . . . . . . . . . 31
3-Button remotes . . . . . . . . . . . . . . . . . . . . . . . . . . . . . . 31
To add, reprogram or change a Keyless Entry PIN . . . . . 32
Repair Parts 33-34
Rail assembly parts. . . . . . . . . . . . . . . . . . . . . . . . . . . . . 33
Installation parts . . . . . . . . . . . . . . . . . . . . . . . . . . . . . . . 33
Motor unit assembly parts . . . . . . . . . . . . . . . . . . . . . . . 34
Accessories 35
Repair Parts and Service Back page
Warranty Back page
TABLE OF CONTENTS
When you see these Safety Symbols and Signal Words on
the following pages, they will alert you to the possibility
of serious injury or death if you do not comply with the
warnings that accompany them. The hazard may come
from something mechanical or from electric shock. Read
the warnings carefully.
When you see this Signal Word on the following pages, it
will alert you to the possibility of damage to your garage
door and/or the garage door opener if you do not comply
with the cautionary statements that accompany it. Read
them carefully.
INTRODUCTION
Safety Symbol and Signal Word Review
This garage door opener has been designed and tested to offer safe service provided it is installed, operated, maintained
and tested in strict accordance with the instructions and warnings contained in this manual.
Mechanical
Electrical

3
To prevent damage to garage door and opener:
• ALWAYS disable locks BEFORE installing and
operating the opener.
• ONLY operate garage door opener at 120V, 60 Hz to
avoid malfunction and damage.
To prevent possible SERIOUS INJURY or DEATH:
• ALWAYS call a trained door systems technician if
garage door binds, sticks, or is out of balance. An
unbalanced garage door may NOT reverse when
required.
• NEVER try to loosen, move or adjust garage door,
door springs, cables, pulleys, brackets or their
hardware, ALL of which are under EXTREME tension.
• Disable ALL locks and remove ALL ropes connected
to garage door BEFORE installing and operating
garage door opener to avoid entanglement.
Preparing your garage door
Before you begin:
• Disable locks.
• Remove any ropes connected to garage door.
• Complete the following test to make sure your garage
door is balanced and is not sticking or binding:
1. Lift the door about halfway as shown. Release the
door. If balanced, it should stay in place, supported
entirely by its springs.
2. Raise and lower the door to see if there is any
binding or sticking.
If your door binds, sticks, or is out of balance, call a
trained door systems technician.
Tools needed
During assembly, installation and adjustment of the opener,
instructions will call for hand tools as illustrated below.
Sectional Door
One-Piece Door
2
1
Stepladder
Carpenter’s
Level (optional)
Tape Measure
Drill
1/2", 3/8" Sockets
and Wrench
Pencil
Wire Cutters
Pliers
Adjustable End Wrench
Claw Hammer
Screwdriver
Hack Saw
3/16", 5/16"
and 5/32" Drill Bits

4
— — — — — — — —
SECTIONAL DOOR INSTALLATION
Planning
Identify the type and height of your garage door. Survey your garage area to see if any of the conditions below apply
to your installation. Additional materials may be required. You may fi nd it helpful to refer back to this page and the
accompanying illustrations as you proceed with the installation of your opener.
ONE-PIECE DOOR WITHOUT TRACK
ONE-PIECE DOOR WITH TRACK
Header Wall
Header Wall
FINISHED CEILING
FINISHED CEILING
Horizontal and vertical reinforcement is
needed for lightweight garage doors
(fi berglass, steel, aluminum, door with
glass panels, etc.). See page 19 for details.
Support bracket &
fastening hardware
is required.
See page 15.
Support bracket &
fastening hardware
is required.
See page 15.
Motor unit
Motor unit
Extension
Spring
Vertical
Centerline
of Garage
Door
Wall-
mounted
Door
Control
Wall-mounted
Door Control
Wall-mounted
Door Control
Gap between fl oor and bottom of
door must not exceed 1/4" (6 mm).
Gap between fl oor and bottom of
door must not exceed 1/4" (6 mm). Gap between fl oor and bottom of
door must not exceed 1/4" (6 mm).
Torsion
Spring OR
Access
Door
Access
Door
Access
Door
Safety Reversing Sensor
Safety Reversing Sensor
Safety Reversing Sensor
Rail
Rail
Safety Reversing Sensor
Safety Reversing Sensor Safety Reversing
Sensor

5
UP
CEILING MOUNT ONLY
Your garage door opener is packaged in two cartons
which contain the motor unit and all parts illustrated
below. Accessories will depend on the model purchased.
If anything is missing, carefully check the packing
material. Parts may be stuck in the foam. Hardware for
installation is also listed below.
Carton Inventory
RAIL ASSEMBLY
Coupling Sleeve (1)
Hex Bolt 1/4"-20 x 5/8" (4)
Nut 1/4" - 20 (4)
INSTALLATION HARDWARE
Hex Bolt 5/16"-18x7/8" (4)
Lag Screw 5/16"-9x1-5/8" (2)
Clevis Pin 5/16"x2-3/4" (1)
Clevis Pin 5/16"x1-1/4" (1)
Clevis Pin 5/16"x1" (1)
Nut 5/16"-18 (4)
Lock Washer 5/16" (4)
Screw 6ABx1-1/4" (2)
Screw 6-32x1" (2)
Self-Threading Screw 1/4"-14x5/8" (2)
Insulated Staples
Ring Fastener (3)
Drywall Anchors (2)
Carriage Bolt 1/4"-20x1/2" (2)
Wing Nut 1/4"-20 (2)
Rope
Handle
SECURITY✚®
1-Button Remote Control
SECURITY✚®
3-Button Remote Control
Model 3130M (1)Model 3240M (1)
Model 3240M Model 3130M
Multi-Function Door
Control Panel
Remote Control
Visor Clip
Motor Unit with Light Lens
Model 3130M
Motor Unit with 2 Light Lenses
Model 3240M
Door Bracket
Header Bracket
Curved Door
Arm Section
2 Conductor Bell Wire
White & White/Red
Trolley
Rail Sprocket Coupling
Lighted Door
Control Button
Safety Labels
and Literature Straight Door
Arm Section
The Protector System®
(2) Safety Reversing Sensors
(1 Sending Eye and 1 Receiving
Eye) with 2-Conductor White &
White/Black Bell Wire attached
Safety Reversing
Sensor Brackets (2)

6
ASSEMBLY STEP 1
Fasten the Rail to the Motor Unit
To avoid installation diffi culties, do not run the garage
door opener until instructed to do so.
To aid in assembly and installation, replace the foam
packing around the motor unit. Remove it after Installation
Step 4.
• Working on a level surface, align the rail assembly with
the motor unit, as shown.
• Slip the coupling over the rail sprocket.
• Slide the rail through the motor unit bracket until the
coupling fi ts securely over the motor unit sprocket.
• Align the two bolt holes in the rail with those in the
motor unit bracket. Insert two 1/4"-20x7/16" hex bolts
and lock nuts. Tighten securely with a 3/8" socket
wrench.
• Turn release arm down to disengage trolley.
• Slide the trolley onto and along the bottom of the rail.
Align trolley with rack and turn release arm up to
re-engage trolley. Be certain to install it facing
correctly: the trolley release arm must be horizontal
(lock position).
Trolley
Rack
To motor unit
HARDWARE SHOWN ACTUAL SIZE
Foam Packaging
Motor Unit
Bracket Motor Unit
Sprocket
Coupling
Rail Assembly
Rail Sprocket
Release Arm
Hex Bolts
1/4"-20x7/16"
Hex Bolt 1/4"-20x7/16"
Hex Bolts
1/4"-20x7/16"

7
INSTALLATION
IMPORTANT INSTALLATION INSTRUCTIONS
To reduce the risk of SEVERE INJURY or DEATH:
WARNING
WARNING
WARNING WARNING
1. READ AND FOLLOW ALL INSTALLATION
WARNINGS AND INSTRUCTIONS.
2. Install garage door opener ONLY on properly
balanced and lubricated garage door. An improperly
balanced door may NOT reverse when required and
could result in SEVERE INJURY or DEATH.
3. ALL repairs to cables, spring assemblies and other
hardware MUST be made by a trained door systems
technician BEFORE installing opener.
4. Disable ALL locks and remove ALL ropes connected
to garage door BEFORE installing opener to avoid
entanglement.
5. Install garage door opener 7 feet (2.13 m) or more
above fl oor.
6. Mount the emergency release within reach, but at
least 6 feet (1.8 m) above the fl oor and avoiding
contact with vehicles to avoid accidental release.
7. NEVER connect garage door opener to power source
until instructed to do so.
8. NEVER wear watches, rings or loose clothing while
installing or servicing opener. They could be caught
in garage door or opener mechanisms.
9. Install wall-mounted garage door control:
• within sight of the garage door.
• out of reach of children at minimum height of
5 feet (1.5 m).
• away from ALL moving parts of the door.
10. Place entrapment warning label on wall next to
garage door control.
11. Place manual release/safety reverse test label in
plain view on inside of garage door.
12. Upon completion of installation, test safety reversal
system. Door MUST reverse on contact with a
1-1/2" (3.8 cm) high object (or a 2x4 laid fl at) on
the fl oor.

8
INSTALLATION STEP 1
Determine the Header Bracket Location
Installation procedures vary according to garage door
types. Follow the instructions which apply to your door.
1. Close the door and mark the inside vertical centerline
of the garage door.
2. Extend the line onto the header wall above the door.
You can fasten the header bracket within 4 feet
(1.22 m) of the left or right of the door center only if
a torsion spring or center bearing plate is in the way;
or you can attach it to the ceiling (see page 9) when
clearance is minimal. (It may be mounted on the
wall upside down if necessary, to gain approximately
1/2" (1 cm).
If you need to install the header bracket on a 2x4
(on wall or ceiling), use lag screws (not provided)
to securely fasten the 2x4 to structural supports as
shown here and on page 9.
3. Open your door to the highest point of travel as shown.
Draw an inter secting horizontal line on the header wall
above the high point:
• 3" (7.5 cm) above the high point for sectional door
and one-piece door with track.
• 8" (20 cm) above the high point for one-piece door
without track.
This height will provide travel clearance for the top
edge of the door.
NOTE: If the total number of inches exceeds the height
available in your garage, use the maximum height
possible, or refer to page 9 for ceiling installation.
To prevent possible SERIOUS INJURY or DEATH:
• Header bracket MUST be RIGIDLY fastened to
structural support on header wall or ceiling,
otherwise garage door might NOT reverse when
required. DO NOT install header bracket over
drywall.
• Concrete anchors MUST be used if mounting
header bracket or 2x4 into masonry.
• NEVER try to loosen, move or adjust garage
door, springs, cables, pulleys, brackets, or their
hardware, ALL of which are under EXTREME
tension.
• ALWAYS call a trained door systems technician if
garage door binds, sticks, or is out of balance. An
unbalanced garage door might NOT reverse when
required.
Sectional door with
curved track
One-piece door with
horizontal track
Highest
Point of
Travel
Highest
Point of
Travel Door
Door
Track
Track
Header Wall
Header Wall
3" (7.5 cm)
Header Wall Header Wall
Highest
Point
of Travel
Jamb
Hardware
Highest
Point
of Travel
One-piece door without track:
jamb hardware
One-piece door without track:
pivot hardware
8" (20 cm)
8" (20 cm)
Door
Door
Pivot
Header Wall
Level
(optional)
Unfi nished Ceiling
Vertical Centerline
of Garage Door
OPTIONAL
CEILING
MOUNT
FOR
HEADER
BRACKET
Structural
Supports
2x4
2x4
3" (7.5 cm)

9
INSTALLATION STEP 2
Install the Header Bracket
You can attach the header bracket either to the wall above
the garage door, or to the ceiling. Follow the instructions
which will work best for your particular requirements. Do
not install the header bracket over drywall. If installing
into masonry, use concrete anchors (not provided).
WALL HEADER BRACKET INSTALLATION
• Center the bracket on the vertical centerline with the
bottom edge of the bracket on the horizontal line as
shown (with the arrow pointing toward the ceiling).
• Mark the vertical set of bracket holes (do not use the
holes designated for ceiling mount). Drill 3/16" pilot
holes and fasten the bracket securely to a structural
support with the hardware provided.
CEILING HEADER BRACKET INSTALLATION
• Extend the vertical centerline onto the ceiling as shown.
• Center the bracket on the vertical mark, no more than 6"
(15 cm) from the wall. Make sure the arrow is pointing
toward the wall. The bracket can be mounted fl ush
against the ceiling when clearance is minimal.
• Mark the side holes. Drill 3/16" pilot holes and fasten
bracket securely to a structural support with the
hardware provided.
- Garage Door -
- Header Wall -
Wall Mounting Holes
Optional Wall
Mounting Holes Vertical Centerline
of Garage Door
2x4
Structural
Support
Horizontal
Line
Highest Point
of Garage
Door Travel
Header
Bracket
Lag Screws
5/16"-9x1-5/8"
Vertical Centerline
of Garage Door
Door Spring
Garage Door
- Finished Ceiling -
Ceiling Mounting Holes
Vertical
Centerline
of Garage
Door
Header Wall
Vertical Centerline
of Garage Door
Lag Screws
5/16"-9x1-5/8"
Header
Bracket
Door
Spring
6" (15 cm)
Maximum
HARDWARE SHOWN ACTUAL SIZE
Lag Screw
5/16"-9x1-5/8"

10
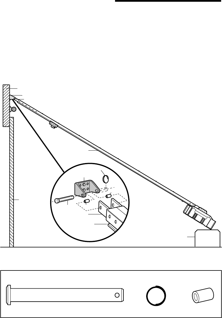
INSTALLATION STEP 3
Attach the Rail to the Header Bracket
• Position the opener on the garage fl oor below the
header bracket. Use packing material as a protective
base. NOTE: If the door spring is in the way you’ll need
help. Have someone hold the opener securely on a
temporary support to allow the rail to clear the spring.
• Position the rail bracket against the header bracket.
• Align the bracket holes and join with a clevis pin
as shown.
• Insert a ring fastener to secure.
HARDWARE SHOWN ACTUAL SIZE
Header Wall
Header Bracket
Rail Bracket
Rail
Rail
Rail
Bracket
Opener Carton or
Temporary Support
Garage Door
Header Bracket
Spacer
Spacer
Ring Fastener
Clevis Pin
5/16"x2-3/4"
Ring Fastener Spacer
Clevis Pin
5/16"x2-3/4"

11
INSTALLATION STEP 4
Install The Protector System®
The safety reversing sensor must be connected and
aligned correctly before the garage door opener will
move in the down direction.
IMPORTANT INFORMATION ABOUT
THE SAFETY REVERSING SENSOR
When properly connected and aligned, the sensor will
detect an obstacle in the path of its electronic beam. The
sending eye (with an amber indicator light) transmits an
invisible light beam to the receiving eye (with a green
indicator light). If an obstruction breaks the light beam
while the door is closing, the door will stop and reverse
to full open position, and the opener lights will fl ash
10 times.
The units must be installed inside the garage so that the
sending and receiving eyes face each other across the
door, no more than 6" (15 cm) above the fl oor. Either can
be installed on the left or right of the door as long as the
sun never shines directly into the receiving eye lens.
The mounting brackets are designed to clip onto the track
of sectional garage doors without additional hardware.
If it is necessary to mount the units on the wall, the
brackets must be securely fastened to a solid surface such
as the wall framing. Extension brackets (see accessories)
are available if needed. If installing in masonry
construction, add a piece of wood at each location to
avoid drilling extra holes in masonry if repositioning is
necessary.
The invisible light beam path must be unobstructed. No
part of the garage door (or door tracks, springs, hinges,
rollers or other hardware) may interrupt the beam while
the door is closing.
Be sure power is NOT connected to the garage door
opener BEFORE installing the safety reversing sensor.
To prevent SERIOUS INJURY or DEATH from a
closing garage door:
• Correctly connect and align the safety reversing
sensor. This required safety device MUST NOT be
disabled.
• Install the safety reversing sensor so beam is NO
HIGHER than 6" (15 cm) above garage fl oor.
Facing the door from inside the garage
Safety Reversing Sensor
6" (15 cm) max.
above floor
Safety Reversing Sensor
6" (15 cm) max.
above floor
Invisible Light Beam
Protection Area

12
INSTALLING THE BRACKETS
Be sure power to the opener is disconnected. Install
and align the brackets so the sensors will face each other
across the garage door, with the beam no higher than 6"
(15 cm) above the fl oor. They may be installed in one of
three ways, as follows:
Garage door track installation (preferred):
• Slip the curved arms over the rounded edge of each
door track, with the curved arms facing the door. Snap
into place against the side of the track. It should lie
fl ush, with the lip hugging the back edge of the track,
as shown in Figure 1.
If your door track will not support the bracket securely,
wall installation is recommended.
Wall installation (Figures 2 & 3):
• Place the bracket against the wall with curved arms
facing the door. Be sure there is enough clearance for
the sensor beam to be unobstructed.
• If additional depth is needed, an extension bracket (see
accessories) or wood blocks can be used.
• Use bracket mounting holes as a template to locate
and drill (2) 3/16" diameter pilot holes on the wall at
each side of the door, no higher than 6" (15 cm) above
the fl oor.
• Attach brackets to wall with lag screws (not provided).
• If using extension brackets or wood blocks, adjust
right and left assemblies to the same distance out from
the mounting surface. Make sure all door hardware
obstructions are cleared.
Floor installation (Figure 4):
• Use wood blocks or extension brackets (see
Accessories) to elevate sensor brackets so the lenses
will be no higher than 6" (15 cm) above the fl oor.
• Carefully measure and place right and left assemblies
at the same distance out from the wall. Be sure all door
hardware obstructions are cleared.
• Fasten to the fl oor with concrete anchors as shown.
Figure 1
Figure 2
Figure 3
Figure 4
DOOR TRACK MOUNT (RIGHT SIDE)
WALL MOUNT (RIGHT SIDE)
WALL MOUNT (RIGHT SIDE)
FLOOR MOUNT (RIGHT SIDE)
Door
Track
Lip
Lens
Lens
Lens
Lens
Safety
Reversing
Sensor
Bracket
Safety
Reversing
Sensor
Bracket
Safety Reversing
Sensor Bracket
Safety
Reversing
Sensor
Bracket
Extension Bracket
(See Accessories)
(Provided with
Extension Bracket)
Attach with
Concrete Anchors
(not provided)
(Provided with
Extension Bracket)
Fasten Wood Block to Wall with
Lag Screws (not provided)
Lag Screws
(not provided)
Indicator
Light
Indicator
Light
Indicator
Light
Indicator
Light

13
Wing Nut
1/4"-20 Staples
Carriage Bolt
1/4"-20x1/2"
Wing Nut
Carriage Bolt
1/4"-20x1/2"
Lens
MOUNTING AND WIRING THE SAFETY SENSORS
• Slide a 1/4"-20x1/2" carriage bolt head into the slot
on each sensor. Use wing nuts to fasten sensors
to brackets, with lenses pointing toward each other
across the door. Be sure the lens is not obstructed by
a bracket extension (Figure 5).
• Finger tighten the wing nuts.
Recommended Wire Routing
1. Using insulated staples, run the wires from both
sensors to the rail at the door header (Figure 6).
2. Run the wires through wire clips at the top of
the rails.
NOTE: If your access door is near the garage door, you
may choose to install the door control at this time and run
the door control wire along the rail with the sensor wires.
Figure 6
Figure 5
Sensor Wire Bell Wire
Safety Reversing Sensor
Safety Reversing Sensor Invisible Light Beam
Protection Area
Rail
Wire Clips
HARDWARE SHOWN ACTUAL SIZE

14
ONE-PIECE DOOR WITHOUT TRACK
A 2x4 on its side is convenient for setting an ideal
door-to-rail distance.
• Remove foam packaging.
• Raise the opener onto a stepladder. You will need help
at this point if the ladder is not tall enough.
• Open the door all the way and place a 2x4 on its side
on the top section of the door beneath the rail.
• The top of the door should be level with the top of the
motor unit. Do not position the opener more than 4"
(10 cm) above this point.
INSTALLATION STEP 5
Position the Opener
Follow instructions which apply to your door type as
illustrated.
SECTIONAL DOOR OR ONE-PIECE DOOR WITH
TRACK
A 2x4 laid fl at is convenient for setting an ideal
door-to-rail distance.
• Raise the opener onto a stepladder. You will need help
at this point if the ladder is not tall enough.
• Open the door all the way and place a 2x4 laid fl at on
the top section beneath the rail.
• If the top section or panel hits the trolley when you
raise the door, pull down on the trolley release arm
to disconnect inner and outer sections. Slide the outer
trolley toward the motor unit. The trolley can remain
disconnected until Installation Step 13 is completed.
To prevent damage to garage door, rest garage door
opener rail on 2x4 placed on top section of door.
Trolley
Release Arm
ENGAGED
RELEASED
Door 2x4 is used to determine
the correct mounting
height from ceiling.
Top of Door
Top of Door
2x4 is used to determine
the correct mounting
height from ceiling.

15
INSTALLATION STEP 6
Hang the Opener
Three representative installations are shown. Yours may
be different. Hanging brackets should be angled
(Figure 1) to provide rigid support. On fi nished ceilings
(Figure 2 and Figure 3), attach a sturdy metal bracket
to structural supports before installing the opener. This
bracket and fastening hardware are not provided.
1. Measure the distance from each side of the motor unit
to the structural support.
2. Cut both pieces of the hanging bracket to required
lengths.
3. Drill 3/16" pilot holes in the structural supports.
4. Attach one end of each bracket to a support with
5/16"-18x1-7/8" lag screws (not provided).
5. Fasten the opener to the hanging brackets with
5/16"-18x7/8" hex bolts, lock washers and nuts.
6. Check to make sure the rail is centered over the door
(or in line with the header bracket if the bracket is not
centered above the door).
7. Remove the 2x4. Operate the door manually. If the
door hits the rail, raise the header bracket.
NOTE: DO NOT connect power to opener at this time.
To avoid possible SERIOUS INJURY from a falling
garage door opener, fasten it SECURELY to structural
supports of the garage. Concrete anchors MUST be
used if installing ANY brackets into masonry.
Figure 1
Figure 2
Figure 3
HARDWARE SHOWN ACTUAL SIZE
Nut 5/16"-18 Lock
Washer 5/16"
Hex Bolt
5/16"-18x7/8"
FINISHED CEILING
FINISHED CEILING
(Not Provided)
Lag Screws 5/16"-18x1-7/8"
(Not Provided)
Lag Screws
5/16"-18x1-7/8"
(Not Provided)
Lag Screws
5/16"-18x1-7/8"
Structural
Supports
Bracket
(Not Provided)
Hidden Support
Measure
Distance
Bolt 5/16"-18x7/8"
Lock Washer 5/16"
Nut 5/16"-18
Bolt 5/16"-18x7/8"
Lock Washer 5/16"
Nut 5/16"-18
Bolt 5/16"-18x7/8"
Lock Washer 5/16"
Nut 5/16"-18
(Not Provided)
Bolt 5/16"-18x7/8"
Lock Washer 5/16"
Nut 5/16"-18
(Not Provided)
Bolt 5/16"-18x7/8"
Lock Washer 5/16"
Nut 5/16"-18

16
INSTALLATION STEP 7
Install the Door Control
Locate door control within sight of the door at a minimum
height of 5 feet (1.5 m) where small children cannot
reach, and away from moving parts of the door and door
hardware. The installation surface must be smooth and fl at.
If installing into drywall (Figure 1), drill 5/32" holes and use
anchors provided. For pre-wired installations (as in new
home construction), it may be mounted to a single gang
box (Figure 2). NOTE: After installation, a green indicator
light behind the cover will indicate proper connection. If not
lit, the Lock and Light features will not function (reverse
wires to correct).
1. Strip 7/16" (11 mm) of insulation from one end of bell
wire and connect to the two screw terminals on back of
door control by color: white wire to 2 and white/red wire
to the 1 (Figure 3).
2. Lighted door control: Fasten to wall with 6ABx1-1/2"
self-threading screws.
Multi-function: Remove white cover by gently prying
at slot in top of the cover with a small fl at head
screwdriver. Fasten with 6ABx1-1/4" self-threading
screws (drywall installation) or 6-32x1" machine screws
(into gang box) as follows:
• Drill and install bottom screw, allowing 1/8" (3 mm) to
protrude above wall surface.
• Position bottom of door control on screw head and
slide down to secure. Adjust screw for snug fi t.
• Install top screw with care to avoid cracking plastic
housing. DO NOT overtighten.
• Insert bottom tabs and snap on cover.
NOTE: The push bar may stick if the door control is not
mounted on a smooth surface. If a click is not heard when
pressing the push bar, loosen the two mounting screws or
relocate the door control to a smoother surface.
3. (Standard installation only) Run bell wire up wall and
across ceiling to motor unit. Use insulated staples to
secure wire in several places. DO NOT pierce wire with
a staple, creating a short or open circuit. If your access
door is near the garage door, you may run this wire with
the safety Reversing Sensor wires along the top of the
rail. See page 13.
4. Insert all wires through the opening on top of motor unit
above the terminal block on the back panel (Figure 4).
5. Strip 7/16" (11 mm) of insulation from each set of wires.
Insert door control wire into quick-connect terminals by
color: white wire to white, white/red wire to red.
Separate white and white/black wires suffi ciently to
connect to the opener quick-connect terminals. Twist
like colored wires together. Insert wires into
quick-connect holes: white to white and white/black to
grey (Figure 4).
NOTE: When connecting multiple door controls to the
opener, twist same color wires together. Insert wires into
quick-connect holes: white to white and red/white to red.
6. Use tacks or staples to permanently attach entrapment
warning label to wall near door control, and manual
release/safety reverse test label in a prominent location
on inside of garage door.
NOTE: DO NOT connect the power and operate the opener
at this time. The trolley will travel to the full open position
but will not return to the close position until the sensor
beam is connected and properly aligned. See Step 11 on
page 18.
To prevent possible SERIOUS INJURY or DEATH from
electrocution:
• Be sure power is NOT connected BEFORE installing
door control.
• Connect ONLY to 24 VOLT low voltage wires.
To prevent possible SERIOUS INJURY or DEATH from a
closing garage door:
• Install door control within sight of garage door, out of
reach of children at a minimum height of 5 feet
(1.5 m), and away from ALL moving parts of door.
• NEVER permit children to operate or play with door
control push buttons or remote control transmitters.
• Activate door ONLY when it can be seen clearly, is
properly adjusted and there are no obstructions to
door travel.
• ALWAYS keep garage door in sight until completely
closed. NEVER permit anyone to cross path of closing
garage door.
Figure 2
Figure 1
Figure 3
To Replace Insert
Bottom Tabs First
To Replace
Insert Bottom
Tabs First
KG
1
3
9
7
5
KG
1
3
9
7
5
Terminal
Screws
Lighted Door
Control Multi-Function
Door Control
To release or insert
wire, push in tab
with screwdriver tip
Red
Strip wire 7/16" (11 mm)
7/16"
(11 mm)
White Grey
Door Control
Connections
24 Volt
Bell Wire
STANDARD
INSTALLATION PRE-WIRED
INSTALLATION
HARDWARE SHOWN ACTUAL SIZE
Multi-Function (std installation)
6ABx1-1/4" Screw
Lighted Door Control Button
6ABx1-1/2" Screw
Drywall Anchors
Insulated Staples
Multi-Function (pre-wired)
Screw 6-32x1"
Figure 4

17
INSTALLATION STEP 8
Install the Lights
• Press the release tabs on both sides of lens. Gently
rotate lens back and downward until the lens hinge is
in the fully open position. Do not remove the lens.
• Install a 100 watt maximum light bulb in each socket.
Light bulb size should be A19, standard neck only. The
lights will turn ON and remain lit for approximately
4-1/2 minutes when power is connected. Then the
lights will turn OFF.
• Reverse the procedure to close the lens.
• Use A19, standard neck garage door opener bulbs for
replacement.
NOTE: Use only standard light bulbs. The use of short
neck or speciality light bulbs may overheat the endpanel
or light socket.
INSTALLATION STEP 9
Attach the Emergency Release Rope
and Handle
• Thread one end of the rope through the hole in the top
of the red handle so “NOTICE” reads right side up as
shown. Secure with an overhand knot at least
1" (2.5 cm) from the end of the rope to prevent
slipping.
• Thread the other end of the rope through the hole in
the release arm of the outer trolley.
• Adjust rope length so the handle is 6 feet (1.83 m)
above the fl oor. Secure with an overhand knot.
NOTE: If it is necessary to cut the rope, heat seal the cut
end with a match or lighter to prevent unraveling.
To prevent possible SERIOUS INJURY or DEATH from
a falling garage door:
• If possible, use emergency release handle to
disengage trolley ONLY when garage door is
CLOSED. Weak or broken springs or unbalanced
door could result in an open door falling rapidly
and/or unexpectedly.
• NEVER use emergency release handle unless garage
doorway is clear of persons and obstructions.
• NEVER use handle to pull door open or closed. If
rope knot becomes untied, you could fall.
NOTICE
To prevent possible OVERHEATING of the endpanel or
light socket:
• DO NOT use short neck or specialty light bulbs.
• DO NOT use halogen bulbs. Use ONLY
incandescent.
To prevent damage to the opener:
• DO NOT use bulbs larger than 100W.
• ONLY use A19 size bulbs.
100 Watt (Max)
Standard Light Bulb
100 Watt (Max)
Standard Light Bulb
Lens
Hinge
Release Tab
Overhand Knot
Trolley Release Arm
Trolley
Emergency
Release Handle

18
INSTALLATION STEP 10
Electrical Requirements
To avoid installation diffi culties, do not run the opener
at this time.
To reduce the risk of electric shock, your garage door
opener has a grounding type plug with a third grounding
pin. This plug will only fi t into a grounding type outlet.
If the plug doesn’t fi t into the outlet you have, contact a
qualifi ed electrician to install the proper outlet.
If permanent wiring is required by your local code, refer
to the following procedure.
To make a permanent connection through the 7/8" hole in
the top of the motor unit:
• Remove the motor unit cover screws and set the cover
aside.
• Remove the attached 3-prong cord.
• Connect the black (line) wire to the screw on the brass
terminal; the white (neutral) wire to the screw on
the silver terminal; and the ground wire to the green
ground screw. The opener must be grounded.
• Reinstall the cover.
To avoid installation diffi culties, do not run the opener
until Step 11 below.
To prevent possible SERIOUS INJURY or DEATH from
electrocution or fi re:
• Be sure power is NOT connected to the opener, and
disconnect power to circuit BEFORE removing cover
to establish permanent wiring connection.
• Garage door installation and wiring MUST be in
compliance with ALL local electrical and building
codes.
• NEVER use an extension cord, 2-wire adapter, or
change plug in ANY way to make it fi t outlet. Be sure
the opener is grounded.
INSTALLATION STEP 11
Complete Safety Reversing Sensor
Installation
ALIGNING THE SAFETY REVERSING SENSORS
Plug in the opener. The indicator lights in both the
sending and receiving eyes will glow steadily if wiring
connections and alignment are correct.
The sending eye amber indicator light will glow regardless
of alignment or obstruction. If the green indicator light in
the receiving eye is off, dim, or fl ickering (and the invisible
light beam path is not obstructed), alignment is required.
• Loosen the sending eye wing nut and readjust, aiming
directly at the receiving eye. Lock in place.
• Loosen the receiving eye wing nut and adjust the
sensor vertically and/or horizontally until it receives the
sender’s beam. When the green indicator light glows
steadily, tighten the wing nut.
TROUBLESHOOTING THE SAFETY
REVERSING SENSORS
1. If the sending eye indicator light does not glow steadily
after installation, check for:
• Electric power to the opener.
• A short in the white or white/black wires. These can
occur at staples, or at opener connections.
• Incorrect wiring between sensors and opener.
• A broken wire.
2. If the sending eye indicator light glows steadily but the
receiving eye indicator light doesn’t:
• Check alignment.
• Check for an open wire to the receiving eye.
3. If the receiving eye indicator light is dim, realign either
sensor.
NOTE: When the invisible beam path is obstructed or
misaligned while the door is closing, the door will reverse.
If the door is already open, it will not close. The opener
lights will blink 10 times. (If bulbs are not installed, 10
clicks can be heard.) See page 11.
PERMANENT WIRING
CONNECTION
Green
Ground
Screw
Ground Tab
Ground Wire
White Wire
White Wire
Black
Wire
Black
Wire
RIGHT WRONG

19
INSTALLATION STEP 12
Fasten the Door Bracket
Follow instructions which apply to your door type
as illustrated below or on the following page.
A horizontal reinforcement brace should be long enough
to be secured to two or three vertical supports. A
vertical reinforcement brace should cover the height of
the top panel.
Figure 1 shows one piece of angle iron as the horizontal
brace. For the vertical brace, 2 pieces of angle iron are
used to create a U-shaped support. The best solution is to
check with your garage door manufacturer for an opener
installation door reinforcement kit.
NOTE: Many door reinforcement kits provide for direct
attachment of the clevis pin and door arm. In this case you
will not need the door bracket; proceed to Step 13.
SECTIONAL DOORS
1. Center the door bracket on the previously marked
vertical centerline used for the header bracket
installation. Note correct UP placement, as stamped
inside the bracket.
2. Position the top edge of the bracket 2"-4" (5-10 cm)
below the top edge of the door, OR directly below any
structural support across the top of the door.
3. Mark, drill holes and install as follows, depending on
your door’s construction:
Metal or light weight doors using a vertical angle iron
brace between the door panel support and the door
bracket:
• Drill 3/16" fastening holes. Secure the door bracket
using the two 1/4"-14x5/8" self-threading screws
(Figure 2A).
• Alternately, use two 5/16" bolts, lock washers and nuts
(not provided) (Figure 2B).
Metal, insulated or light weight factory reinforced doors:
• Drill 3/16" fastening holes. Secure the door bracket
using the self-threading screws (Figure 3).
Wood Doors:
• Use top and bottom or side to side door bracket holes.
Drill 5/16" holes through the door and secure bracket
with 5/16"x2" carriage bolts, lock washers and nuts
(not provided) (Figure 4).
NOTE: The 1/4"-14x5/8" self-threading screws are not
intended for use on wood doors.
HARDWARE SHOWN ACTUAL SIZE
Self-Threading Screw
1/4"-14x5/8"
Figure 1
HORIZONTAL AND VERTICAL
REINFORCEMENT IS NEEDED
FOR LIGHTWEIGHT GARAGE
DOORS (FIBERGLASS,
ALUMINUM, STEEL, DOORS
WITH GLASS PANEL, ETC).
(NOT PROVIDED)
Figure 2A
Figure 3
Figure 4
Figure 2B
Door Bracket
Door
Bracket
Vertical Centerline
of Garage Door
Vertical
Centerline
of Garage
Door
Vertical
Centerline
of Garage
Door
Vertical Reinforcement
Vertical Reinforcement
Self-Threading
Screw 1/4"-14x5/8"
Self-Threading
Screw
1/4"-14x5/8"
Bolt
5/16"-18x2"
(Not
Provided)
Bolt 5/16"-18x2"
(Not Provided)
Nut
5/16"-18
Lock Washer 5/16"
UP
UP
UP
UP
Inside Edge of
Door or
Reinforcement
Board
Vertical
Centerline
of Garage Door
Header
Bracket
Door
Bracket
Location
Vertical
Centerline
of Garage
Door
Fiberglass, aluminum or lightweight steel garage doors
WILL REQUIRE reinforcement BEFORE installation
of door bracket. Contact your door manufacturer for
reinforcement kit.

20
ONE-PIECE DOORS
Please read and comply with the warnings and
reinforcement instructions on the previous page. They
apply to one-piece doors also.
• Center the door bracket on the top of the door, in line
with the header bracket as shown. Mark either the left
and right, or the top and bottom holes.
• Metal Doors: Drill 3/16" pilot holes and fasten the
bracket with the 1/4"-14x5/8" self-threading screws
provided.
• Wood Doors: Drill 5/16" holes and use 5/16"x2"
carriage bolts, lock washers and nuts (not provided) or
5/16"x1-1/2" lag screws (not provided) depending on
your installation needs.
NOTE: The door bracket may be installed on the top edge
of the door if required for your installation. (Refer to the
dotted line optional placement drawing.)
HARDWARE SHOWN ACTUAL SIZE
Self-Threading Screw
1/4"-14x5/8"
METAL DOOR
Finished
Ceiling
WOOD DOOR
Self-Threading
Screw 1/4"-14x5/8"
Door
Bracket
Door
Bracket
Top of Door
(Inside Garage)
Header Wall
Door
Bracket
2x4 Support
Optional
Placement
of Door
Bracket
Header
Bracket
Vertical
Centerline of
Garage Door
HORIZONTAL
AND VERTICAL
REINFORCEMENT
IS NEEDED FOR
LIGHTWEIGHT
GARAGE DOORS
(FIBERGLASS,
ALUMINUM, STEEL,
DOORS WITH GLASS
PANEL, ETC.). (NOT
PROVIDED)
For a door with no exposed framing, or for the
optional installation, use lag screws 5/16"x1-1/2"
(Not Provided) to fasten door bracket.
Top of Door
(Inside Garage)
Top Edge
of Door
Top Edge
of Door
Optional
Placement
Optional
Placement
Nut
5/16"-18
Carriage Bolt
5/16"x2"
(Not Provided)
Lock Washer
5/16"

21
Straight
Door Arm Straight
Door Arm
Curved
Door
Arm
Curved
Door
Arm
(Groove
facing out)
CORRECT INCORRECT
Nuts
5/16"-18
Lock Washers
5/16"
Bolts
5/16"-18x7/8"
Door Bracket
INSTALLATION STEP 13
Connect Door Arm to Trolley
Follow instructions which apply to your door type as
illustrated below and on the following page.
SECTIONAL DOORS ONLY
• Make sure garage door is fully closed. Pull the
emergency release handle to disconnect the outer
trolley from the inner trolley. Slide the outer trolley
back (away from the door) about 2" (5 cm) as shown in
Figures 1, 2 and 3.
• Figure 1:
– Fasten straight door arm section to outer trolley with
the 5/16"x1" clevis pin. Secure the connection with a
ring fastener.
– Fasten curved section to the door bracket in the same
way, using the 5/16"x1-1/4" clevis pin.
IMPORTANT: The groove on the straight door arm MUST
face away from the curved door arm (Figure 4).
• Figure 2:
– Bring arm sections together. Find two pairs of holes
that line up and join sections. Select holes as far apart
as possible to increase door arm rigidity.
• Figure 3, Hole alignment alternative:
– If holes in curved arm are above holes in straight
arm, disconnect straight arm. Cut about 6" (15 cm)
from the solid end. Reconnect to trolley with cut end
down as shown.
– Bring arm sections together.
– Find two pairs of holes that line up and join with
bolts, lock washers and nuts.
• Pull the emergency release handle toward the opener at
a 45° angle so that the trolley release arm is horizontal.
Proceed to Adjustment Step 1, page 23. Trolley will
re-engage automatically when opener is operated.
Figure 1
Figure 2
Figure 3
HARDWARE SHOWN ACTUAL SIZE
Lock Washer 5/16"
Clevis Pin
5/16"x1" (Trolley)
Clevis Pin
5/16"x1-1/4" (Door Bracket)
Hex Bolt
5/16"-18x7/8"
Nut 5/16"-18 Ring Fastener
Figure 4
Outer Trolley
Inner Trolley
Clevis Pin
5/16"x1"
Ring
Fastener
Curved
Door Arm
Door
Bracket
Straight
Door Arm
Clevis Pin
5/16"x1-1/4"
Emergency
Release
Handle
Nuts
5/16"-18
Lock
Washers
5/16"
Bolts
5/16"-18x7/8"
Cut this end

22
ALL ONE-PIECE DOORS
1. Assemble the door arm, Figure 5:
IMPORTANT: The groove on the straight door arm MUST
face away from the curved door arm (Figure 5).
• Fasten the straight and curved door arm sections
together to the longest possible length (with a 2 or 3
hole overlap).
• With the door closed, connect the straight door arm
section to the door bracket with the 5/16"x1-1/4"
clevis pin.
• Secure with a ring fastener.
2. Adjustment procedures, Figure 6:
• On one-piece doors, before connecting the door arm
to the trolley, the travel limits must be adjusted. Limit
adjust ment screws are located on the left side panel
as shown on page 23. Follow adjustment procedures
below.
• Open door adjustment: decrease UP travel limit
- Turn the UP limit adjustment screw
counterclockwise 4 turns.
- Press the Door Control push button. The trolley will
travel to the fully open position.
- Manually raise the door to the open position
(parallel to the fl oor), and lift the door arm to the
trolley. The arm should touch the trolley just in back
of the door arm connector hole. Refer to the fully
open trolley/door arm positions in the illustration.
If the arm does not extend far enough, adjust the
limit further. One full turn equals 2" (5 cm) of trolley
travel.
• Closed door adjustment: decrease DOWN travel
limit
- Turn the DOWN limit adjustment screw clockwise
4 complete turns.
- Press the Door Control push button. The trolley will
travel to the fully closed position.
Figure 5
Figure 6
- Manually close the door and lift the door arm to the
trolley. The arm should touch the trolley just ahead of
the door arm connector hole. Refer to the fully closed
trolley/door arm positions in the illustration. If the arm
is behind the connector hole, adjust the limit further.
One full turn equals 2" (5 cm) of trolley travel.
3. Connect the door arm to the trolley:
• Close the door and join the curved arm to the
connector hole in the trolley with the remaining clevis
pin. It may be necessary to lift the door slightly to
make the connection.
• Secure with a ring fastener.
• Run the opener through a complete travel cycle. If the
door has a slight "backward" slant in full open position
as shown in the illustration, decrease the UP limit until
the door is parallel to the fl oor.
NOTE: When setting the up limit on the following page, the
door should not have a "backward" slant when fully open
as illustrated below. A slight backward slant will cause
unnecessary bucking and/or jerking operation as the door
is being opened or closed from the fully open position.
Straight
Door Arm Straight
Door Arm
Curved
Door
Arm
Curved
Door
Arm
(Groove
facing out)
CORRECT INCORRECT
Door Arm Connector Hole
Door Arm
Inner Trolley Outer Trolley
Emergency
Release Handle
Closed Door
Door Arm
Connector Hole
Inner Trolley
Outer Trolley
Open Door
Correct Angle
Door with
Backward Slant (Incorrect)
Door
Bracket
Straight
Arm
Bolts
5/16"-18x7/8 Curved
Door Arm
Lock
Washers
5/16"
Nuts
5/16"-18
Ring
Fastener
Clevis Pin
5/16"x1-1/4"

23
ADJUSTMENT STEP 1
Adjust the UP and DOWN Travel Limits
Limit adjustment settings regulate the points at which the
door will stop when moving up or down.
To operate the opener, press the Door Control push bar.
Run the opener through a complete travel cycle.
• Does the door open and close completely?
• Does the door stay closed and not reverse
unintentionally when fully closed?
If your door passes both of these tests, no limit
adjustments are necessary unless the reversing test fails
(Adjustment Step 3, page 25).
Adjustment procedures are outlined below. Read the
procedures carefully before proceeding to Adjustment
Step 2. Use a screwdriver to make limit adjustments. Run
the opener through a complete travel cycle after each
adjustment.
NOTE: Repeated operation of the opener during
adjustment procedures may cause the motor to overheat
and shut off. Simply wait 15 minutes and try again.
NOTE: If anything interferes with the door’s upward
travel, it will stop. If anything interferes with the door’s
downward travel (including binding or unbalanced doors),
it will reverse.
HOW AND WHEN TO ADJUST THE LIMITS
• If the door does not open completely but opens at
least 5 feet (1.5 m):
Increase up travel. Turn the UP limit adjustment screw
clockwise. One turn equals 2" (5 cm) of travel.
NOTE: To prevent the trolley from hitting the cover
protection bolt, keep a minimum distance of 2-4"
(5-10 m) between the trolley and the bolt.
• If door does not open at least 5 feet (1.5 m):
Adjust the UP (open) force as explained in Adjustment
Step 2.
• If the door does not close completely:
Increase down travel. Turn the down limit adjustment
screw counterclockwise. One turn equals 2" (5 cm) of
travel.
If door still won’t close completely and the trolley
bumps into the pulley bracket (page 4), try lengthening
the door arm (page 21) and decreasing the down limit.
• If the opener reverses in fully closed position:
Decrease down travel. Turn the down limit adjustment
screw clockwise. One turn equals 2" (5 cm) of travel.
• If the door reverses when closing and there is no
visible interference to travel cycle:
If the opener lights are fl ashing, the Safety Reversing
Sensors are either not installed, misaligned, or
obstructed. See Troubleshooting, page 18.
Test the door for binding: Pull the emergency release
handle. Manually open and close the door. If the
door is binding or unbalanced, call for a trained
door systems technician. If the door is balanced and
not binding, adjust the DOWN (close) force. See
Adjustment Step 2.
Without a properly installed safety reversal system,
persons (particularly small children) could be
SERIOUSLY INJURED or KILLED by a closing garage
door.
• Incorrect adjustment of garage door travel limits
will interfere with proper operation of safety reversal
system.
• If one control (force or travel limits) is adjusted, the
other control may also need adjustment.
• After ANY adjustments are made, the safety reversal
system MUST be tested. Door MUST reverse on
contact with 1-1/2" (3.8 cm) high object (or 2x4 laid
fl at) on fl oor.
To prevent damage to vehicles, be sure fully open
door provides adequate clearance.
Left Side Panel
Limit Adjustment Screws
ADJUSTMENT LABEL

24
ADJUSTMENT STEP 2
Adjust the Force
Force adjustment controls are located on the back panel
of the motor unit. Force adjustment settings regulate the
amount of power required to open and close the door.
If the forces are set too light, door travel may be
interrupted by nuisance reversals in the down direction
and stops in the up direction. Weather conditions can
affect the door movement, so occasional adjustment may
be needed.
The maximum force adjustment range is about 3/4 of a
complete turn. Do not force controls beyond that point.
Turn force adjustment controls with a screwdriver.
NOTE: If anything interferes with the door’s upward
travel, it will stop. If anything interferes with the door’s
downward travel (including binding or unbalanced doors),
it will reverse.
HOW AND WHEN TO ADJUST THE FORCES
1. Test the DOWN (close) force
• Grasp the door bottom when the door is about halfway
through DOWN (close) travel. The door should reverse.
Reversal halfway through down travel does not
guarantee reversal on a 1-1/2" (3.8 cm) obstruction.
See Adjustment Step 3, page 25. If the door is hard to
hold or doesn’t reverse, DECREASE the DOWN (close)
force by turning the control counterclockwise. Make
small adjustments until the door reverses normally.
After each adjustment, run the opener through a
complete cycle.
• If the door reverses during the down (close) cycle
and the opener lights aren’t fl ashing, Increase DOWN
(close) force by turning the control clockwise. Make
small adjustments until the door completes a close
cycle. After each adjustment, run the opener through
a complete travel cycle. Do not increase the force
beyond the minimum amount required to close the
door.
2. Test the UP (open) force
• Grasp the door bottom when the door is about halfway
through UP (open) travel. The door should stop. If the
door is hard to hold or doesn’t stop, DECREASE UP
(open) force by turning the control counterclockwise.
Make small adjustments until the door stops easily
and opens fully. After each adjustment, run the opener
through a complete travel cycle.
• If the door doesn’t open at least 5 feet (1.5 m),
Increase UP (open) force by turning the control
clockwise. Make small adjustments until door opens
completely. Readjust the UP limit if necessary. After
each adjustment, run the opener through a complete
travel cycle.
Without a properly installed safety reversal system,
persons (particularly small children) could be
SERIOUSLY INJURED or KILLED by a closing garage
door.
• Too much force on garage door will interfere with
proper operation of safety reversal system.
• NEVER increase force beyond minimum amount
required to close garage door.
• NEVER use force adjustments to compensate for a
binding or sticking garage door.
• If one control (force or travel limits) is adjusted, the
other control may also need adjustment.
• After ANY adjustments are made, the safety reversal
system MUST be tested. Door MUST reverse on
contact with 1-1/2" (3.8 cm) high object (or 2x4 laid
fl at) on fl oor.
Force
Adjustment
Controls
Back Panel
Antenna
Close ForceOpen Force
FORCE ADJUSTMENT LABEL

25
ADJUSTMENT STEP 3
Test the Safety Reversal System
TEST
• With the door fully open, place a 1-1/2" (3.8 cm) board
(or a 2x4 laid fl at) on the fl oor, centered under the
garage door.
• Operate the door in the down direction. The door must
reverse on striking the obstruction.
ADJUST
• If the door stops on the obstruction, it is not traveling
far enough in the down direction. Increase the DOWN
limit by turning the DOWN limit adjustment screw
counterclockwise 1/4 turn.
NOTE: On a sectional door, make sure limit
adjustments do not force the door arm beyond a
straight up and down position. See the illustration on
page 21.
• Repeat the test.
• When the door reverses on the 1-1/2" (3.8 cm) board,
remove the obstruction and run the opener through 3
or 4 complete travel cycles to test adjustment.
IMPORTANT SAFETY CHECK:
Test the Safety Reverse System after:
• Each adjustment of door arm length, limits, or force
controls.
• Any repair to or adjustment of the garage door
(including springs and hardware).
• Any repair to or buckling of the garage fl oor.
• Any repair to or adjustment of the opener.
ADJUSTMENT STEP 4
Test the Protector System®
• Press the remote control push button to open the door.
• Place the opener carton in the path of the door.
• Press the remote control push button to close the
door. The door will not move more than an inch
(2.5 cm), and the opener lights will fl ash.
The garage door opener will not close from a remote if the
indicator light in either sensor is off (alerting you to the
fact that the sensor is misaligned or obstructed).
If the opener closes the door when the safety reversing
sensor is obstructed (and the sensors are no more
than 6" (15 cm) above the fl oor), call for a trained door
systems technician.
Without a properly installed safety reversing sensor,
persons (particularly small children) could be
SERIOUSLY INJURED or KILLED by a closing garage
door.
Without a properly installed safety reversal system,
persons (particularly small children) could be
SERIOUSLY INJURED or KILLED by a closing garage
door.
• Safety reversal system MUST be tested every
month.
• If one control (force or travel limits) is adjusted, the
other control may also need adjustment.
• After ANY adjustments are made, the safety reversal
system MUST be tested. Door MUST reverse on
contact with 1-1/2" high (3.8 cm) object (or 2x4 laid
fl at) on the fl oor.
1-1/2" (3.8 cm) board
(or a 2x4 laid fl at)
Safety Reversing Sensor Safety Reversing Sensor

26
OPERATION
Using Your Garage Door Opener
Your Security✚® opener and hand-held remote control
have been factory-set to a matching code which changes
with each use, randomly accessing over 100 billion
new codes. Your opener will operate with up to eight
Security✚® remote controls and one Security✚® Keyless
Entry System. If you purchase a new remote, or if you
wish to deactivate any remote, follow the instructions in
the Programming section.
Activate your opener with any of the following:
• The hand-held Remote Control: Hold the large push
button down until the door starts to move.
• The wall-mounted Door Control: Hold the push button
or bar down until the door starts to move.
• The Keyless Entry (See Accessories): If provided with
your garage door opener, it must be programmed
before use. See Programming.
When the opener is activated (with the safety reversing
sensor correctly installed and aligned)
1. If open, the door will close. If closed, it will open.
2. If closing, the door will reverse.
3. If opening, the door will stop.
4. If the door has been stopped in a partially open
position, it will close.
5. If obstructed while closing, the door will reverse. If the
obstruction interrupts the sensor beam, the opener
lights will blink for fi ve seconds.
6. If obstructed while opening, the door will stop.
7. If fully open, the door will not close when the beam is
broken. The sensor has no effect in the opening cycle.
If the sensor is not installed, or is misaligned, the door
won’t close from a hand-held remote. However, you can
close the door with the Door Control, the Outside Keylock,
or Keyless Entry, if you activate them until down travel
is complete. If you release them too soon, the door will
reverse.
The opener lights will turn on under the following
conditions: when the opener is initially plugged in; when
power is restored after interruption; when the opener is
activated.
They will turn off automatically after 4-1/2 minutes or
provide constant light when the Light feature on the
Multi-Function Door Control is activated. Bulb size is A19.
Bulb power is 100 watts maximum.
Security
✚
® light feature: Lights will also turn on when
someone walks through the open garage door. With a
Multi-Function Door Control, this feature may be turned
off as follows: With the opener lights off, press and hold
the light button for 10 seconds, until the light goes on,
then off again. To restore this feature, start with the
opener lights on, then press and hold the light button for
10 seconds until the light goes off, then on again.
IMPORTANT SAFETY INSTRUCTIONS
To reduce the risk of SEVERE INJURY or DEATH:
WARNING
WARNING
WARNING
WARNING
1. READ AND FOLLOW ALL WARNINGS AND
INSTRUCTIONS.
2. ALWAYS keep remote controls out of reach of
children. NEVER permit children to operate or play
with garage door control push buttons or remote
controls.
3. ONLY activate garage door when it can be seen clearly,
it is properly adjusted, and there are no obstructions to
door travel.
4. ALWAYS keep garage door in sight and away from
people and objects until completely closed. NO ONE
SHOULD CROSS THE PATH OF THE MOVING DOOR.
5. NO ONE SHOULD GO UNDER A STOPPED, PARTIALLY
OPEN DOOR.
6. If possible, use emergency release handle to
disengage trolley ONLY when garage door is CLOSED.
Use caution when using this release with the door
open. Weak or broken springs or unbalanced door
could result in an open door falling rapidly and/or
unexpectedly and increasing the risk of SEVERE
INJURY or DEATH.
7. NEVER use emergency release handle unless garage
doorway is clear of persons and obstructions.
8. NEVER use handle to pull garage door open or closed.
If rope knot becomes untied, you could fall.
9. If one control (force or travel limits) is adjusted, the
other control may also need adjustment.
10. After ANY adjustments are made, the safety reversal
system MUST be tested.
11. Safety reversal system MUST be tested every month.
Garage door MUST reverse on contact with 1-1/2" high
(3.8 cm) object (or a 2x4 laid fl at) on the fl oor. Failure
to adjust the garage door opener properly increases
the risk of SEVERE INJURY or DEATH.
12. ALWAYS KEEP GARAGE DOOR PROPERLY
BALANCED (see page 3). An improperly balanced door
may NOT reverse when required and could result in
SEVERE INJURY or DEATH.
13. ALL repairs to cables, spring assemblies and other
hardware, ALL of which are under EXTREME tension,
MUST be made by a trained door systems technician.
14. ALWAYS disconnect electric power to garage door
opener BEFORE making ANY repairs or removing
covers.
15. SAVE THESE
INSTRUCTIONS.

27
To Open the Door Manually
DISCONNECT TROLLEY:
The door should be fully
closed if possible. Pull
down on the emergency
release handle (so that
the trolley release arm
snaps into a vertical
position) and lift the
door manually.
The lockout feature
prevents the trolley from
reconnecting automatically,
and the door can be raised
and lowered manually as often as necessary.
TO RE-CONNECT THE TROLLEY:
Pull the emergency
release handle
toward the opener
at a 45° degree
angle so that the
trolley release arm
is horizontal. The
trolley will reconnect
on the next UP or
DOWN operation,
either manually or by using the
door control or remote.
Using the Wall-Mounted Door Control
Press the push button to open or
close the door. Press again to
reverse the door during the closing
cycle or to stop the door while it’s
opening.
THE MULTI-FUNCTION DOOR
CONTROL
Press the push bar to open or close
the door. Press again to reverse the
door during the closing cycle or to
stop the door while it’s opening.
Light feature
Press the Light button to turn the opener light on or off.
It will not control the opener lights when the door is in
motion. If you turn it on and then activate the opener, the
light will remain on for 4-1/2 minutes. Press again to turn
it off sooner. The 4-1/2 minute interval can be changed to
1-1/2, 2-1/2, or 3-1/2 minutes as follows: Press and hold
the Lock button until the light blinks (about 10 seconds).
A single blink indicates that the timer is reset to 1-1/2
minutes. Repeat the procedure and the light will blink
twice, resetting the timer to 2-1/2 minutes. Repeat again
for a 3-1/2 minute interval, etc., up to a maximum of four
blinks and 4-1/2 minutes.
Lock feature
Designed to prevent operation of the door from
hand-held remote controls. However, the door will open
and close from the Door Control, the Outside Keylock and
the Keyless Entry Accessories.
To activate, press and hold the Lock button for 2 seconds.
The push bar light will fl ash as long as the Lock feature is
on.
To turn off, press and hold the Lock button again for
2 seconds. The push bar light will stop fl ashing. The Lock
feature will also turn off whenever the “Learn” button on
the motor unit panel is activated.
Additional features when used with the 3-Button
hand-held remote
To control the opener lights:
In addition to operating the door, you
may program the remote to operate
the lights.
1. With the door closed, press and hold a small remote
button that you want to control the light.
2. Press and hold the Light button on the
Multi-Function door control.
3. While holding the Light button, press and hold the Lock
button on the door control.
4. After the opener lights fl ash, release all buttons.
To prevent possible SERIOUS INJURY or DEATH from
a falling garage door:
• If possible, use emergency release handle to
disengage trolley ONLY when garage door is
CLOSED. Weak or broken springs or unbalanced
door could result in an open door falling rapidly
and/or unexpectedly.
• NEVER use emergency release handle unless garage
doorway is clear of persons and obstructions.
• NEVER use handle to pull door open or closed. If
rope knot becomes untied, you could fall.
Lockout position
(Manual Disconnect)
Lock
Button
Light
Button
Push
Button
NOTICE
Trolley
Trolley Release
Arm (in Manual
Disconnect
Position)
NOTICE
Trolley
Release Arm
Trolley
Emergency
Release Handle
(Pull at 45° angle)
To Reconnect
Push
Button

28
THE REMOTE CONTROL BATTERY
The lithium battery should
produce power for up
to 5 years. To replace
battery, use the visor clip
or screwdriver blade to pry
open the case as shown.
Insert battery positive side
up (+). Dispose of old
battery properly.
Replace the battery with only
3V2032 coin cell batteries.
Care of Your Opener
LIMIT AND FORCE ADJUSTMENTS:
Weather conditions may
cause some minor changes
in door operation requiring
some re-adjustments,
particularly during the fi rst
year of operation.
Pages 23 and 24 refer to the limit and force adjustments.
Only a screwdriver is required. Follow the instructions
carefully.
Repeat the safety reverse test
(Adjustment Step 3, page 25) after
any adjustment of limits or force.
NOTICE: To comply with FCC and or Industry Canada (IC) rules,
adjustment or modifications of this receiver and/or transmitter are
prohibited, except for changing the code setting or replacing the
battery. THERE ARE NO OTHER USER SERVICEABLE PARTS.
Tested to Comply with FCC Standards FOR HOME OR OFFICE USE.
Operation is subject to the following two conditions: (1) this device
may not cause harmful interference, and (2) this device must accept
any interference received, including interference that may cause
undesired operation.
To prevent possible SERIOUS INJURY or DEATH:
• NEVER allow small children near batteries.
• If battery is swallowed, immediately notify doctor.
To reduce risk of fi re, explosion or chemical burn:
• Replace ONLY with 3V2032 coin batteries.
• DO NOT recharge, disassemble, heat above 100° C
(212° F) or incinerate.
MAINTENANCE SCHEDULE
Every Month
• Manually operate door. If it is unbalanced or binding, call
a trained door systems technician.
• Check to be sure door opens & closes fully. Adjust limits
and/or force if necessary. See pages 23 and 24.
• Repeat the safety reverse test. Make any necessary
adjustments. See Adjustment Step 3.
Every Year
• Oil door rollers, bearings and hinges. The opener does
not require additional lubrication. Do not grease the door
tracks.
FORCE CONTROLS
Battery
positive
side up (+)

29
HAVING A PROBLEM?
1. My door will not close and the light bulbs blink on
my motor unit: The safety reversing sensor must be
connected and aligned correctly before the garage door
opener will move in the down direction.
• Verify the safety reversing sensors are properly
installed, aligned and free of any obstructions. Refer
to Installation Step 4: Install The Protector System®.
• Check diagnostic LED for fl ashes on the motor unit
then refer to the Diagnostic Chart on the following
page.
2. My remotes will not activate the door:
• Verify your Premium door control is not blinking.
If it is blinking, deactivate the Lock Mode following
the instructions for Using the Multi-Function Door
Control.
• Reprogram remotes following the programming
instructions. Refer to Programming.
• If remote will still not activate your door, check
diagnostic LED for fl ashes on motor unit then refer
to Diagnostic Chart on the following page.
3. My door reverses for no apparent reason:
Repeat safety reverse test after adjustments to force
or travel limits. The need for occasional adjustment
for the force and limit settings is normal. Weather
conditions in particular can affect door travel.
• Manually check door for balance or any binding
problems.
• Refer to Adjustment Step 2, Adjust the Force.
4. My door reverses for no apparent reason after fully
closing and touching the fl oor: Repeat safety reverse
test after adjustments to force or travel limits. The
need for occasional adjustment for the force and limit
settings is normal. Weather conditions in particular
can affect door travel.
• Refer to Adjustment Step 1, Adjust the UP and
DOWN Travel Limits. Decrease down travel by
turning down limit adjustment screw clockwise.
5. My lights will not turn off when door is open:
• The garage door opener is equipped with a security
light feature. This feature activates the light on when
the safety sensor beam has been obstructed. Refer
to Operation section; Using the Wall Mounted Door
Control, Light Feature.
KG KG
Sending Eye Safety
Reversing Sensor
(Amber Indicator Light)
Receiving Eye Safety
Reversing Sensor
(Green Indicator Light)
“Learn”
Button
LED or
Diagnostic
LED
Safety Reversing Sensor
Bell Wire

30
KG KG
Your garage door opener is programmed with
self-diagnostic capabilities. The “Learn” button/diagnostic
LED will fl ash a number of times then pause signifying
it has found a potential issue. Consult Diagnostic Chart
below.
Installed
Safety Reversing
Sensor
Safety Reversing Sensor
Diagnostics
Located On
Motor Unit
LED or
Diagnostic
LED“Learn”
Button
Diagnostic Chart
Symptom: One or both of the indicator lights on the safety reversing sensors
do not glow steady.
• Inspect sensor wires for a short (staple in wire), correct wiring polarity
(black/white wires reversed), broken or disconnected wires, replace/attach
as needed.
• Disconnect all wires from back of motor unit.
• Remove sensors from brackets and shorten sensor wires to 1-2 ft. (30-60 cm)
from back each of sensor.
• Reattach sending eye to motor unit using shortened wires. If sending eye
indicator light glows steadily, attach the receiving eye.
• Align sensors, if the indicator lights glow replace the wires for the sensors. If
the sensor indicator lights do not light, replace the safety sensors.
Symptom: LED is not lit on door control.
• Inspect door control/wires for a short (staple in wire), replace as needed.
• Disconnect wires at door control, touch wires together. If motor unit activates,
replace door control.
• If motor unit does not activate, disconnect door control wires from motor unit.
Momentarily short across red and white terminals with jumper wire. If motor
unit activates, replace door control wires.
Symptom: Sending indicator light glows steadily, receiving indicator light is
dim or fl ashing.
• Realign receiving eye sensor, clean lens and secure brackets.
• Verify door track is fi rmly secured to wall and does not move.
Symptom: Motor has over heated; the motor unit does not operate or trolley is
stuck on stop bolt = Motor unit hums briefl y; RPM Sensor = Short travel 6-8"
(15-20 cm).
• Unplug unit to reset. Try to operate motor unit, check diagnostic code.
• If it is still fl ashing 5 times and motor unit moves 6-8" (15-20 cm), replace
RPM sensor.
• If motor unit doesn’t operate, motor unit is overheated. Wait 30 minutes and
retry. If motor unit still will not operate replace logic board.
Symptom: Motor unit doesn’t operate.
• Replace logic board because motor rarely fails.
Motor Circuit Failure.
Replace Receiver Logic
Board.
Motor overheated or possible
RPM sensor failure. Unplug
to reset.
Safety reversing sensors
slightly misaligned
(dim or fl ashing LED).
Door control or wire shorted.
Safety reversing sensors
wire shorted or black/white
wire reversed.
Safety reversing sensors
wire open (broken or
disconnected).
OR
1 FLASH
2 FLASHES
3 FLASHES
6 FLASHES
4 FLASHES
5 FLASHES

31
KG
1
3
9
7
5
KG
1
3
9
7
5
LOCK
LIGHT
*3-Button Remotes (315 MHz)
If provided with your garage door opener, the
large button is factory
programmed to operate it.
Additional buttons on any
Security✚® 3-Button remote
or mini-remote can be
programmed to operate
other Security✚® garage door openers.
To Erase All Codes From Motor
Unit Memory
To deactivate any unwanted remote,
fi rst erase all codes:
Press and hold the “learn”
button on motor unit until the
learn indicator light goes out
(approximately 6 seconds). All previous codes are now
erased. Reprogram each remote or keyless entry you
wish to use.
1. Press and hold the button
on the hand-held remote*
that you wish to operate your
garage door.
2. While holding the remote
button, press and hold the
LIGHT button on the
Multi-Function Door Control.
3. Continue holding both buttons
while you press the push bar
on the door control (all three
buttons are held).
4. Release buttons when the
motor unit lights blink. It has
learned the code. If light bulbs
are not installed, two clicks will
be heard.
1. Press and release the “learn”
button on the motor unit.
The learn indicator light will
glow steadily for 30 seconds.
2. Within 30 seconds, press
and hold the button on the
hand-held remote* that you
wish to operate your garage
door.
3. Release the button when the
motor unit lights blink. It
has learned the code. If light
bulbs are not installed, two
clicks will be heard.
To Add or Reprogram a Hand-held Remote Control
USING THE “LEARN” BUTTON USING THE MULTI-FUNCTION DOOR CONTROL
LOCK
LIGHT
LOCK
LIGHT
PROGRAMMING
Your garage door opener has already been programmed at the factory to operate with your hand-held remote control.
The door will open and close when you press the large push button.
Below are instructions for programming your opener to operate with additional Security✚® remote controls.
NOTICE: If this Security
✚
® garage door opener is operated with a non-rolling code transmitter, the technical measure
in the receiver of the garage door opener, which provides security against code-theft devices, will be circumvented. The
owner of the copyright in the garage door opener does not authorize the purchaser or supplier of the non-rolling code
transmitter to circumvent that technical measure.

32
LOCK
LIGHT
1. Enter a four digit personal
identifi cation number (PIN) of
your choice on the keypad. Then
press and hold enter.
2. While holding the ENTER button,
press and hold the LIGHT button
on the Multi-Function Door
Control.
3. Continue holding the ENTER and
LIGHT buttons while you press
the push bar on the
Multi-Function Door Control
(all three buttons are held).
4. Release buttons when the motor
unit lights blink. It has learned
the code. If light bulbs are not
installed, two clicks will be heard.
To Add, Reprogram or Change a Keyless Entry PIN
NOTE: Your new Keyless Entry must be programmed to operate your garage door opener.
USING THE “LEARN” BUTTON USING THE MULTI-FUNCTION DOOR CONTROL
LOCK
LIGHT
LOCK
LIGHT
To change an existing, known PIN
If the existing PIN is known, it may be changed by one
person without using a ladder.
1. Press the four buttons for the present PIN, then press
and hold the # button.
The opener light will blink twice. Release the # button.
2. Press the new 4-digit PIN you have chosen, then
press ENTER.
The motor unit lights will blink once when the PIN has been
learned.
Test by pressing the new PIN, then press ENTER. The door
should move.
To set a temporary PIN
You may authorize access by visitors or service people with
a temporary 4-digit PIN. After a programmed number of
hours or number of accesses, this temporary PIN expires
and will no longer open the door. It can be used to close
the door even after it has expired. To set a temporary PIN:
1. Press the four buttons for your personal entry PIN
(not the last temporary PIN), then press and hold the ✽
button.
The opener light will blink three times. Release the
button.
2. Press the temporary 4-digit PIN you have chosen, then
press ENTER.
The opener light will blink four times.
3. To set the number of hours this temporary PIN will
work, press the number of hours (up to 255), then
press ✽.
OR
3. To set the number of times this temporary PIN will
work, press the number of times (up to 255), then
press #.
The opener light will blink once when the temporary PIN
has been learned.
Test by pressing the four buttons for the temporary
PIN, then press ENTER. The door should move. If the
temporary PIN was set to a certain number of openings,
remember that the test has used up one opening. To clear
the temporary password, repeat steps 1-3, setting the
number of hours or times to 0 in step 3.
One Button Close: Opener can be closed by pressing only the ENTER button if the one button close feature has been
activated. This feature has been activated at the factory. To activate or deactivate this feature press and hold buttons 1
and 9 for 10 seconds. The keypad will blink twice when the one button close is active. The keypad will blink four times
when one button close is deactivated.
1. Press and release the “learn”
button on motor unit. The learn
indicator light will glow steadily
for 30 seconds.
2. Within 30 seconds, enter a four
digit personal identifi cation
number (PIN) of your choice on
the keypad. Then press and hold
the ENTER button.
3. Release the button when the
motor unit lights blink. It has
learned the code. If light bulbs
are not installed, two clicks will
be heard.
NOTE: This method requires two people if the Keyless
Entry is already mounted outside the garage.

33
UP
CEILING MOUNT ONLY
KEY PART
NO. NO. DESCRIPTION
1 41A5273-1 Multi-function door control (3240M)
2 41A4166 Lighted door control button (3130M)
3 41A2828 Emergency release rope & handle
4 371LM 1-button remote control (3130M)
5 373LM 3-button remote control (3240M)
6 10A20 3V 2032 Lithium battery (1 required)
7 29B137 Visor clip
8 41A5047 Door bracket w/clevis pin & fastener
9 178B34 Straight door arm section
10 41A4353 Header bracket w/clevis pin & fastener
11 41A5034 Safety reversing sensor kit: receiving and
sending eyes with 3' (.9 m) 2-conductor bell
wire attached
12 41A5266-1 Safety reversing sensor bracket
13 41B4494-1 2-conductor bell wire: white & white/red
14 178B35 Curved door arm section
NOT SHOWN
41A4675-7 Installation hardware bag (see page 3)
114A4262 Owner’s manual
114A4262SP Owner’s manual-Spanish
KEY PART
NO. NO. DESCRIPTION
1 41A6353 Hardware bag (includes sprocket coupling)
2 81C275 Rack
3 41A6262 Complete trolley assembly
4 3077SD Screw Drive one-piece rail 7' (2.1 m)
5 3088SD Screw Drive one-piece rail 8' (2.4 m)
6 41A4836 Drive sprocket kit
7 25C20 Coupling
8 41A6312 Rail end bracket
NOT SHOWN
28A143 Wire clips
Installation Parts
REPAIR PARTS
Rail Assembly Parts
1
1
2
2
3
3
4
4
5
5
6
6
7
6
89
10
11
12
13 14
7

34
Motor Unit Assembly Parts
1
2
3
45
6a
6
7
12
11
13
14
14
9
10
9a
8
DN
UP
(Up) Contact
(Down) Contact
Center Limit
Contact Yellow Wire
Brown
Wire
Drive
Gear
LIMIT SWITCH
ASSEMBLY
Grey Wire
KEY PART
NO. NO. DESCRIPTION
1 31C568 Drive shaft cover
2 41B4245 Line cord
3 30B620 Capacitor – 1/2 HP
30B638 Capacitor – 1/3 HP
4 41A3150 Terminal block w/screws
5 41D4671 Limit switch assembly
6 41A6241 Motor drive assembly
6a 20B21-1 Drive belt
7 41C4672 Screw drive RPM kit
KEY PART
NO. NO. DESCRIPTION
8 41A4837-1 Worm gear and retainer
9 41A6635 Low voltage wire harness
9a 41A6634 High voltage wire harness
10 41AS050R1M Receiver logic board
assembly (3130)
41AS050R2M Receiver logic board
assembly (3240)
11 41A5525-57 Cover (Model 3130)
41A5525-53 (Model 3240)
12 41C22-1 Drive coupling hub
13 175C147 Light socket
14 108D79 Light lens

35
LOCK LIGHT
59LM Outside Keylock:
Operates the garage door
automatically from the outside when
remote control is not handy.
373LM
Motion Detecting Control Panel:
Multi-function door control with
motion sensor that automatically
turns opener lights on for 5 minutes
when it detects a person entering
the garage. Sensor can be easily
deactivated when desired.
Model 98LM
1-Button Remote Control
SECURITY✚® :
Includes visor clip.
3-Button Remote Control
SECURITY✚® :
Includes visor clip.
371LM
CLOSED
OPEN
ACCESSORIES
370LM
1702LM
377LM
3-Button Mini-Remote Control with
Security✚® :
With key ring and fastening strip.
902LM/903LM
Garage Door Monitor:
Security for the largest door of your
home!
Tells you if your garage door is open
or closed. Monitors up to 4 garage
doors by adding additional sensor
modules.
915LM
Outside Quick Release:
Required for a garage with NO access
door. Enables homeowner to open
garage door manually from outside
by disengaging trolley.
Wireless Keyless Entry with
Security✚® :
Enables homeowner to operate garage
door opener from outside by entering
a password on a specially designed
keyboard. Also can add a temporary
password for visitors or service
persons. This temporary password can
be limited to a programmable number
of hours or entries.
2 & 3 Door Multi-Function Wall
Control:
Ideal for homes with up to three
garage doors. Combine up to three
controls into one wall control panel
for a neat compact appearance.
Enhanced functions include Lock
Feature to lock out outside radio
signals while you are away from
home and turn opener lights on or off
from the control panel.
Garage Door Monitor Sensor:
Additional accessory sensor for
homes with multiple garage doors.
916LM
CLOSED
OPEN
395LM Remote Light Control :
Enables homeowner to turn on a
lamp, television or other appliance
from their car with their garage door
opener remote or from anywhere
in their home with an additional
LiftMaster Security✚® remote.
CLOSED
OPEN
41A5281 Extension Brackets:
(Optional) For safety sensor
installation onto the wall or fl oor.
CLOSED
OPEN

36
© 2011, The Chamberlain Group, Inc.
114A4262C All Rights Reserved
LIFTMASTER 1 YEAR LIMITED WARRANTY
LIFETIME MOTOR WARRANTY (MODEL 3240M)
2 YEAR LIMITED MOTOR WARRANTY (MODEL 3130M)
The Chamberlain Group, Inc. (“Seller”) warrants to the fi rst retail purchaser of this product, for the residence in which this
product is originally installed, that it is free from defect in materials and/or workmanship for a period of one year from the date
of purchase and that the motor is free from defect in materials and/or workmanship for a lifetime Model 3240M or for a period of
two years Model 3130M from the date of purchase. The proper operation of this product is dependent on your compliance with
the instructions regarding installation, operation, maintenance and testing. Failure to comply strictly with those instructions will
void this limited warranty in its entirety.
If, during the limited warranty period, this product appears to contain a defect covered by this limited warranty, call
1-800-528-9131, toll free, before dismantling this product. Then send this product, pre-paid and insured, to our service center for
warranty repair. You will be advised of shipping instructions when you call. Please include a brief description of the problem and
a dated proof-of-purchase receipt with any product returned for warranty repair. Products returned to Seller for warranty repair,
which upon receipt by Seller are confi rmed to be defective and covered by this limited warranty, will be repaired or replaced (at
Seller's sole option) at no cost to you and returned pre-paid. Defective parts will be repaired or replaced with new or factory-rebuilt
parts at Seller's sole option.
ALL IMPLIED WARRANTIES FOR THE PRODUCT, INCLUDING BUT NOT LIMITED TO ANY IMPLIED WARRANTIES OF
MERCHANTABILITY AND FITNESS FOR A PARTICULAR PURPOSE, ARE LIMITED IN DURATION TO THE 1 YEAR LIMITED
WARRANTY PERIOD SET FORTH ABOVE [EXCEPT THE IMPLIED WARRANTIES WITH RESPECT TO THE MOTOR, WHICH ARE
LIMITED IN DURATION TO THE LIFETIME WARRANTY PERIOD FOR THE MOTOR
MODEL 3240M OR 2 YEARS MODEL 3130M], AND NO IMPLIED WARRANTIES WILL EXIST OR APPLY AFTER SUCH PERIOD.
Some States do not allow limitations on how long an implied warranty lasts, so the above limitation may not apply to you.
THIS LIMITED WARRANTY DOES NOT COVER NON-DEFECT DAMAGE, DAMAGE CAUSED BY IMPROPER INSTALLATION,
OPERATION OR CARE (INCLUDING, BUT NOT LIMITED TO ABUSE, MISUSE, FAILURE TO PROVIDE REASONABLE AND
NECESSARY MAINTENANCE, UNAUTHORIZED REPAIRS OR ANY ALTERATIONS TO THIS PRODUCT), LABOR CHARGES FOR
REINSTALLING A REPAIRED OR REPLACED UNIT, REPLACEMENT OF BATTERIES AND LIGHT BULBS OR UNITS INSTALLED
FOR NON-RESIDENTIAL USE.
THIS LIMITED WARRANTY DOES NOT COVER ANY PROBLEMS WITH, OR RELATING TO, THE GARAGE DOOR OR GARAGE
DOOR HARDWARE, INCLUDING BUT NOT LIMITED TO THE DOOR SPRINGS, DOOR ROLLERS, DOOR ALIGNMENT OR
HINGES. THIS LIMITED WARRANTY ALSO DOES NOT COVER ANY PROBLEMS CAUSED BY INTERFERENCE. ANY SERVICE
CALL THAT DETERMINES THE PROBLEM HAS BEEN CAUSED BY ANY OF THESE ITEMS COULD RESULT IN A FEE TO YOU.
UNDER NO CIRCUMSTANCES SHALL SELLER BE LIABLE FOR CONSEQUENTIAL, INCIDENTAL OR SPECIAL DAMAGES
ARISING IN CONNECTION WITH USE, OR INABILITY TO USE, THIS PRODUCT. IN NO EVENT SHALL SELLER'S LIABILITY FOR
BREACH OF WARRANTY, BREACH OF CONTRACT, NEGLIGENCE OR STRICT LIABILITY EXCEED THE COST OF THE PRODUCT
COVERED HEREBY. NO PERSON IS AUTHORIZED TO ASSUME FOR US ANY OTHER LIABILITY IN CONNECTION WITH THE
SALE OF THIS PRODUCT.
Some states do not allow the exclusion or limitation of consequential, incidental or special damages, so the above limitation or
exclusion may not apply to you. This limited warranty gives you specifi c legal rights, and you may also have other rights which
vary from state to state.
LIFTMASTER® SERVICE IS
ON CALL
OUR LARGE SERVICE ORGANIZATION
SPANS AMERICA
INSTALLATION AND SERVICE INFORMATION IS
AS NEAR AS YOUR TELEPHONE. SIMPLY DIAL
OUR TOLL FREE NUMBER:
1-800-528-9131
www.liftmaster.com
For professional installation, parts and service,
contact your local LIFTMASTER/CHAMBERLAIN
dealer. Look for him in the Yellow Pages, or call our
Service number for a list of dealers in your area.
HOW TO ORDER
REPAIR PARTS
Selling prices will be furnished on request, or parts
will be shipped at prevailing prices and you will be
billed accordingly.
WHEN ORDERING REPAIR PARTS, ALWAYS GIVE
THE FOLLOWING INFORMATION:
• PART NUMBER
• PART NAME
• MODEL NUMBER
ADDRESS ORDERS TO:
THE CHAMBERLAIN GROUP, INC.
Technical Support Group
6050 S. Country Club Road
Tucson, Arizona 85706
SERVICE INFORMATION
TOLL FREE NUMBER:
1-800-528-9131