Lopi Freedom Bay Fireplace Insert Users Manual
Freedom Bay Fireplace Insert to the manual 5f520b0c-09e8-45ae-83ff-7049d6cab63e
2015-02-02
: Lopi Lopi-Freedom-Bay-Fireplace-Insert-Users-Manual-436231 lopi-freedom-bay-fireplace-insert-users-manual-436231 lopi pdf
Open the PDF directly: View PDF
.
Page Count: 32

F r e e d o m B a y Fireplace Insert
Owner's
Manual
Masonry Fireplace
Insert
Save these instructions
for future reference
SAFETY NOTICE:
If this appliance is not properly installed, a house fire may
result. For your safety, follow the installation directions.
Contact local building or fire officials about restrictions and
installation inspection requirements in your area.
Copyright 2007, Travis
Industries, Inc.
$10.00 100-01163
4050922
Listed
Tested to: U.L. 1482

2 Introduction
© Travis Industries 100-01163 4041129
Introduction
We welcome you as a new owner of a Lopi Freedom Bay wood-burning fireplace insert. In purchasing a
Lopi Freedom Bay you have joined the growing ranks of concerned individuals whose selection of an
energy system reflects both a concern for the environment and aesthetics. The Lopi Freedom Bay is one
of the finest appliances the world over. This manual will explain the installation, operation, and
maintenance of this appliance. Please familiarize yourself with the Owner's Manual before operating your
appliance and save the manual for future reference. Included are helpful hints and suggestions which will
make the installation and operation of your new appliance an easier and more enjoyable experience. We
offer our continual support and guidance to help you achieve the maximum benefit and enjoyment from
your appliance.
Important Information
No other Lopi Freedom Bay appliance has the same
serial number as yours. The serial number is
stamped onto the label on the back of the appliance.
This serial number will be needed in case you require
service of any type.
Model: Lopi Freedom Bay ND
Serial Number:
Purchase Date:
Purchased From:
Mail your Warranty Card Today, and Save Your Bill
of Sale.
To receive full warranty coverage, you will need to
show evidence of the date you purchased your
appliance. Do not mail your Bill of Sale to us.
We suggest that you attach your Bill of Sale to this
page so that you will have all the information you need
in one place should the need for service or information
occur.

Table of Contents 3
© Travis Industries 100-01163 4041129
General Information
Introduction ......................................................2
Important Information .........................................2
Safety Precautions.............................................4
Features & Specifications ....................................6
Fireplace Insert Installation
Planning The Installation .....................................7
Preparation for Installation ..............................7
Additional Accessories Needed for Installation ....7
Installation Considerations ..............................7
Fireplace Requirements ......................................8
Insert Placement Requirements ............................9
Hearth Requirements .........................................9
Masonry Fireplace Requirements..........................9
Drafting Performance .........................................10
Leveling Bolt Installation......................................10
Blower Installation..............................................10
Block-Off Plate Installation...................................11
Insert with Positive Connection .............................12
Insert with Direct Connection ...............................12
Insert with Face Seal Connection .....................13
Operating Your Appliance
Safety Notice: ...................................................14
Before Your First Fire .........................................14
Opening the Door ..............................................14
Bypass Operation ..............................................15
Starting a Fire ...................................................15
Adjusting the Burn Rate ......................................17
Ash Removal ....................................................17
Blower Operation...............................................18
Re-Loading the Stove .........................................18
Overnight Burn..................................................18
Normal Operating Sounds ...................................18
Hints for Burning................................................19
Selecting Wood .................................................19
Troubleshooting ................................................20
Maintaining Your Appliance
Daily Maintenance (while stove is in use) ................21
Remove Ash (if necessary)..............................21
Clean the Glass (if necessary) .........................21
Monthly Maintenance (while appliance is in use).......22
Door and Glass Inspection ..............................22
Creosote - Formation and Need for Removal ......2
Yearly Maintenance............................................23
Touch Up Paint.............................................23
Cleaning the Air Duct and Blower .....................23
Firebrick and Baffle Inspection .........................23
Door Parts ........................................................24
Replacing the Glass.......................................24
Replacing the Door Gasket..............................24
Replacing the Door Handle..............................24
Firebox Parts ....................................................25
Floor and Side Firebrick..................................25
Baffle Removal & Replacement.............................26
Air Tube Removal & Replacement .........................26
Warranty
Warranty ..........................................................27
Listing Information
Listing Label .....................................................28
Optional Equipment
Door Shell Installation .........................................29
Surround Panels ...............................................31
Index
Index ...............................................................32

4 Safety Precautions
© Travis Industries 100-01163 4041129
The viewing door must be
closed and latched during
operation.
Never block free airflow through
the air vents on this appliance.
Gas
Gasoline or other flammable
liquids must never be used to
start the fire or "Freshen Up" the
fire. Do not store or use
gasoline or other flammable
liquids in the vicinity of this
appliance.
This appliance is designed and
approved for the burning of cord
wood only. Do not attempt to
burn any other type of fuel other
than cord wood in this
appliance, it will void all
warranties and safety listings.
ASHES
Ashes must be disposed in a
metal container with a tight lid
and placed on a non-
combustible surface well away
from the home or structure.
Do not touch the appliance while
it is hot and educate all children
of the danger of a high-
temperature appliance. Young
children should be supervised
when they are in the same room
as the appliance.
36"
Keep furniture, drapes, curtains,
wood, paper, and other
combustibles a minimum of 36"
away from the front of the
appliance.
This appliance must be properly
installed to prevent the
possibility of a house fire. The
instructions must be strictly
adhered to. Do not use
makeshift methods or
compromise in the installation.
Ok
Contact your local building
officials to obtain a permit and
information on any installation
restrictions or inspection
requirements in your area.
Notify your insurance company
of this appliance as well.
Inspect the chimney connector
and chimney at least twice
monthly and clean if necessary.
Creosote may build up and
cause a house fire.
Do not connect this appliance to
any chimney serving another
appliance.
Type
HT Clay
Liner
This appliance must be
connected to a listed high
temperature (UL 103 HT)
residential type chimney or an
approved masonry chimney with
a standard clay tile, or stainless
steel liner.

Safety Precautions 5
© Travis Industries 100-01163 4041129
Mobile
Home
When installed in a mobile
home, this appliance must be
bolted to the floor, have outside
air, and not be installed in the
bedroom (Per H.U.D.
requirements). Check with local
building officials.
Do not place clothing or other
flammable items on or near this
appliance.
Never try to repair or replace
any part of this appliance unless
instructions are given in this
manual. All other work must be
done by a trained technician.
Do not make any changes or
modifications to an existing
masonry fireplace or chimney to
install this appliance.
Do not make any changes to the
appliance to increase
combustion air.
Allow the appliance to cool
before carrying out any
maintenance or cleaning. Overfiring the appliance may
cause a house fire. If a unit or
chimney connector glows, you
are overfiring.
Maintain the door and glass seal
and keep them in good
condition.
Avoid placing wood against the
glass when loading. Do not
slam the door or strike the glass.
Do not use a grate or other
device to elevate the fire off of
the firebox floor. Burn the fire
directly on the bricks.
This
Manual
Do not throw this manual away.
This manual has important
operating and maintenance
instructions that you will need at
a later time. Always follow the
instructions in this manual.
Travis Industries, Inc. grants
no warranty, implied or
stated, for the installation or
maintenance of your
appliance, and assumes no
responsibility of any
consequential damage(s).

6 Features & Specifications
© Travis Industries 100-01163 4041129
Installation Options:
• Masonry Fireplace Insert
WARNING: Do not install this fireplace insert into a
factory-built metal (Z.C.) fireplace.
Features:
• EPA Phase II Approved
• 3.1 Cubic Foot Firebox Volume
• Single Operating Control
• Accepts Logs Up to 24" Long
• Steel Plate Construction (5/16" & 3/16")
• Heavy Duty Refractory Firebrick
• High-Tech Blower
Heating Specifications:
Approximate Maximum Heating Capacity (in square feet)* 1,200 to 2,250
Maximum BTU's per Hour (Cord Wood Calculation) 74,300
Overall Efficiency (Oregon Method) 70 %
Maximum Burn Time Up to 12 Hours
* Heating capacity will vary depending on the home's floor plan, degree of insulation, and the outside
temperature. It is also affected by the quality and moisture level of the fuel.
Dimensions:
21-3/4"
Measure side clearances
from the side of the insert.
Electrical Line (may
be attached to the
opposite side)
29-1/4"
5-5/8"
Fireplace Opening
15-3/4"
Faceplate
4-3/4"
Measure top
clearances from
the top plate.
43-3/4"
Weight = 470 Lbs.
20-1/4"
6" Diameter Flue
Measure front clearances
from the faceplate.
Figure 1
Emissions:
2.6 Grams Per Hour (EPA Phase II Approved) – Tests conducted by E.E.S.P.C.

Installation (for qualified installers only) 7
© Travis Industries 100-01163 4041129
SAFETY NOTICE:
Please read this entire manual before you install and use your new room heater. Failure
to follow instructions may result in property damage, bodily injury, or even death.
Contact local building or fire officials about restrictions and installation inspection
requirements in your area.
Planning The Installation
We suggest that you have an authorized Travis Industries dealer install your fireplace insert. If you
install the fireplace insert yourself, your authorized dealer should review your installation plans.
Check with local building officials for any permits required for installation of this fireplace insert and
notify your insurance company before proceeding with installation.
Preparation for Installation
• Check for damage to the exterior of the fireplace insert (dents should be reported, scratches can be
fixed by applying touch up paint).
• Check the interior of the firebox (replace cracked firebrick and make sure baffle is in place).
The fireplace insert can be lightened by removing the firebricks and baffle (pg 25) - replace before
operation.
Additional Accessories Needed for Installation
1 Door Shell Kit (Black 99300175 Brass 99300176 or Pewter 99300177 - see pg 29)
2 Surround Panels (see page 31)
Installation Considerations
Installation Type Considerations
Insert with Positive Flue (Full Reline)
(Page 12)
• Provides best draft
• Easiest to clean
Insert with Direct Connect Flue
(Page 12)
• Provides good draft
• Requires fireplace block-off plate - see page 10
Insert with Face Seal Connection
(Page 13)
NOTE: Before installing verify with local building
officials that this type of installation is
approved in your area.
• Utilizes existing masonry fireplaces with cross section
of 28" to 144"
• Provides marginal draft
• Easiest to install
• Requires the optional surround panels and insulation
(see "Surround Panels" on page 31).

8 Installation (for qualified installers only)
© Travis Industries 100-01163 4041129
Fireplace Requirements
Figure 2 shows the minimum size requirements for the type of fireplace used.
a
ce
f
Minimum Fireplace Size
a
b
c
d
e
f
g
h
i
j
Height (front)
Height (rear)
Width (front)
Width (rear)
Depth
Hearth Depth*
Hearth Width
Facing Width
Facing Height
with Mantel Shield
Mantel Height
with Mantel Shield
21-3/4"
21-3/4"
29-1/4"
29-1/4"
15-3/4"
20-3/4"
45-1/4"
56-1/4"
50-1/4"
37-1/4"
52-1/4"
39-1/4"
* This is the distance the insert protrudes from
the fireplace opening plus the required 16" of
hearth extension.
b
d
h
i
j
g
Non-Combustible Hearth
Combustible Mantel
Non-Combustible Facing
Figure 2

Installation (for qualified installers only) 9
© Travis Industries 100-01163 4041129
Insert Placement Requirements
• The insert must be placed so that no combustibles are within, or can swing within (e.g. drapes,
doors), 36" of the front of the insert
• Insert and hearth must be installed on a level, secure floor
• The minimum clearances, facing, and hearth requirements in Figure 3 must be met.
Side
Wall
Combustible Mantel
Combustible Top Facing
Non-Combustible
Hearth
Facing
Minimum Clearances
k
l
m
n
o
p
q
x
Sidewall to Insert
Side Facing
Top Facing
with mantel shield
Mantel to Insert
with mantel shield
Hearth (Front)
Hearth (Side)
Front of Insert
Extension onto Hearth
15"
13-1/2"
30"
17"
32"
19"
16"
8"
36"
4-3/4"
l
k
p
x
o
n
m
Measure side clearances from
the side of the insert.
Measure front clearances from
the faceplate.
q
Figure 3
Hearth Requirements
• Must extend 16" in front of the insert and 8" on both sides
• Must be non-combustible and at least .018" thick (26 gauge)
Masonry Fireplace Requirements
• Chimney must have a clay tile liner or a stainless steel liner (positive connection)
• Entire fireplace, including chimney, must be clean and undamaged. Any damage must be repaired
prior to installation of the insert
• Chimney height: 15' minimum; 33' maximum.
• Entire fireplace, including chimney, must meet local building requirements

10 Installation (for qualified installers only)
© Travis Industries 100-01163 4041129
Drafting Performance
This appliance relies upon natural draft to operate. External forces, such as wind, barometric pressure,
topography, or factors of the home (negative pressure from exhaust fans, chimneys, air infiltration, etc.),
may adversely affect draft. Travis Industries can not be responsible for external forces leading to less
than optimal performance.
Leveling Bolt Installation
Two leveling bolts are included to level the insert if the fireplace has a stepped-up hearth. To install, raise
the rear of the insert up and insert the leveling bolts into the holes in the rear corners of the insert. Adjust
the bolts until they extend the same height as the hearth steps up. After the insert is installed, fine-tune
the leveling bolts to level the insert (see Figure 4).
This distance is the
hearth step-up. The
leveling bolts should
stick out this far from the
base of the insert.
Fireplace
Hearth
The leveling bolts go
into the holes at the
rear corners of the
insert.
Figure 4
Blower Installation
The included blower is fragile and should be installed last (see the directions below).
Remove the two
screws underneath the
ashlip with a 3/8"
nutdriver. Align the
blower under the
ashlip and replace the
two screws to secure.

Installation (for qualified installers only) 11
© Travis Industries 100-01163 4041129
Block-Off Plate Installation
Whenever this appliance is installed with a direct connection a block-off plate, or other non-combustible
seal-off device (e.g. damper adapter), will need to be installed. This device is used to seal the chimney,
insuring no smoke enters the home and providing the chimney system with a seal to promote draft. The
directions below detail the steps for construction and installation of a block-off plate.
1 Determine a location for the block-off plate at the top of the firebox below the damper area (make
it high enough to allow installation of the connection pipe). The location should be level and in an
area where it can be mounted easily. Measure the width at the rear ("A") and front ("B") of the
firebox at the height where the block-off plate will be installed (see Figure 5). Then measure the
depth of the location where the block-off plate will be installed ("C").
2 Make a cardboard template of the measurements, but add a 2" flange to each side. This flange
will be used to mount the block-off plate to the inside of the firebox. Bend the flanges downwards
on the template and place it inside the fireplace. If the template fits correctly in its planned
location, go to the next step. If it does not, make a new template with the appropriate corrections
until it fits correctly.
3 With the template in place, mark the location of the flue (see “Dimensions” on page 6). This
location approximates the center of the flue when the insert is in place (a slight offset may occur
based upon insert and block-off plate placement). Remove the template and cut a 6 1/4"
diameter hole centered on this mark.
4 Make the block-off plate of 24 gage or thicker steel to match the template. Drill two holes in each
flange for mounting the plate.
5 Mount the block-off plate using masonry screws.
6 Insulate the block-off plate using high-temperature fiberglass insulation (Kaowool® or equivalent)
and furnace cement (allow the cement to dry for at least 24 hours before burning).
7 After placing the appliance and installing the pipe through the block-off plate, use high-
temperature fiberglass insulation and furnace cement to seal any cracks between the pipe and
block-off plate.
Firebox
A
C
B
See the
dimensions to
determine the
location of the
center of the
flue.
Damper
Measurement
"A"
Measurement "B"
2" Flanges
(for attaching
the block-off
plate)
Measurement
"C"
See the dimensions to determine the location of
the center of the flue.
Block-Off Plate Template
Figure 5

12 Installation (for qualified installers only)
© Travis Industries 100-01163 4041129
Insert with
Positive
Connection
NOTE:
Most factory-built
chimney manufacturers
make stainless steel
chimney liners, either
flexible or rigid. This
provides a wide variety
of installation options.
Make sure to follow the
manufacturer's
instructions for
installation and
support.
The liner must be
stainless steel
connector or flexible
vent. Follow the liner
manufacturer's
insturctions for
installation and
support.
Remove damper
or wire it open
Airtight Insulated
Clean-Out
Combustible Mantle
Flue Liner
See the section "Insert
Placement Requirements" for
minimum clearances and
hearth required.
Cap (prevents water
from entering)
Install a non-combustible
cover plate to prevent water
from entering the chimney
Surround Panels
Figure 6
Insert with Direct
Connection
NOTE:
Direct connections
require installation of
an airtight block-off
plate or damper
adapter (see "Block-off
Plate Installation" on
page 11).
Block-off plate or
damper adapter
Remove
damper
or wire it
open
Airtight
Insulated
Clean-Out
Stainless steel
chimney connector
must Extend 1' past
the block-off plate or
to the flue liner
Combustible Mantle
Flue
Liner
See the section
"Insert Placement
Requirements" for
minimum clearances
and hearth required.
Surround Panels

Installation (for qualified installers only) 13
© Travis Industries 100-01163 4041129
Insert with Face
Seal Connection
NOTE:
Face seal connections
require installation of the
surround panels and
insulation (see the
"Surround Panel
Installation" on page
31).
Remove damper
or wire it open
Airtight Insulated
Clean-Out
Combustible Mantle
Flue
Liner
See the section "Insert
Placement Requirements"
for minimum clearances
and hearth required.
Surround Panels
with insulation
NOTE: It is
recommended your
chimney have a
minimum 28 and a
maximum of 144
square inch cross-
sectional area to use a
face seal connection,
otherwise your
chimney maynot have
sufficient draw for the
fireplace insert to
operate correctly.

14 Operating Your Appliance
© Travis Industries 100-01163 4041129
Safety Notice:
If this appliance is not properly installed, a house fire may result. For your safety, follow the installation
directions. Contact local building or fire officials about restrictions and installation inspection
requirements in your area.
Read and follow all of the warnings on pages 4 and 5 of this manual.
Before Your First Fire
Verify the Installation
Before starting the stove, verify that it is properly installed and all of the requirements in this manual have
been followed.
Keep all flammable materials 36" away from the front of the stove (drapes, furniture, clothing, etc.).
Curing the Paint
This heater uses a heat-activated paint that will emit some fumes while
starting the first fire. Open doors and windows to the room to vent these
fumes. This typically lasts two to four hours. You may also notice oil burning
off of the interior of the heater. This rust-stopping agent will soon dissipate.
Door Gasket - The door gasket might adhere to the paint on the front of the
heater. Leave the door slightly ajar for the first fire and be careful when
opening the door after the first fire.
2 to 4 hours
Over-Firing the Stove
This stove was designed to operate at a high temperature. But due to differences in vent configuration,
fuel, and draft, this appliance can be operated at an excessive temperature. If the stove top or other area
starts to glow red, you are over-firing the stove. Shut the air control down to low and allow the stove to
cool before proceeding.
Over-firing may lead to damage of plated surfaces. If you are uncertain of over-firing conditions, we
suggest placing a stove thermometer (e.g. Rutland® Model 710) directly over the door on the stove top -
temperatures exceeding 800° are generally considered over-firing and will void the warranty.
Opening the Door
Rotate
the door
handle.
Swing
the door
open.
The door becomes hot during use. Use a glove to open the door if the handle is hot.
To prevent smoke from entering the room, open the bypass before opening the door (see following page
for directions). You can also open the door a small amount and let air enter the firebox.

Operating Your Appliance 15
© Travis Industries 100-01163 4041129
Bypass Operation
The bypass controls the flow of smoke inside the heater. When pulled out, smoke goes directly up the
flue, creating more draft. When pushed in, the smoke goes around the baffle, utilizing the secondary
combustion and making the heater more efficient.
• When starting or re-loading, pull the bypass out.
• During normal operation, push the bypass in.
Bypass Pushed In
Used for normal operation
Bypass Pulled Out
Used for starting and re-loading
Use the included pull tool
to operate the bypass rod

16 Operating Your Appliance
© Travis Industries 100-01163 4041129
Starting a Fire
Since the dawn of time man has debated the best way to start a fire. Some use the boy-scout "tee-pee",
some prefer the "tic-tac-toe" stack. Either way, review the hints and warnings below to ensure proper fire
starting.
• Make sure the air control is pushed in and the by-pass pulled out. If additional air is needed, open the
doors 1/4" during the first five minutes of start-up.
Never use gasoline, gasoline-type lantern fuel, kerosene, charcoal lighter fluid, or similar liquids to start
or "freshen up" a fire in this stove. Keep all such liquids well away from the stove while it is in use.
If using a firestarter, use only products specifically designed for stoves - follow the manufacturer's
instructions carefully.
If the smoke does not pass up the chimney, ball up one sheet of newspaper, place it in the center of the
firebox and light it. This should start the chimney drafting (this eliminates "cold air blockage").
Use plenty of kindling to ensure the stove reaches a proper temperature. Once the kindling is burning
rapidly, place a few larger pieces of wood onto the fire.

Operating Your Appliance 17
© Travis Industries 100-01163 4041129
Adjusting the Burn Rate
Use the air control slider to control the burn rate of the stove. See the illustration below for details.
Low Burn
(air control closed)
High Burn
(air control open)
Use the air control to
change the burn rate.
Approximate Air Control Settings:
Overnight Burn Fully out to 9/32" open
Medium Burn 9/32" to 5/16" open
Medium High Burn 5/16" to 7/16" open
High Burn 7/16" open to fully pushed in
The air control becomes hot during operation - use gloves or a tool to prevent burns.
The air control may take several minutes to influence the burn rate. When making adjustments, you
may wish to let the stove burn for 10 minutes to gauge performance.
Ash Removal
ASHES
Ashes should be placed in a metal container with a tight fitting lid. The closed container of ashes
should be placed on a noncombustible floor or on the ground, away from all combustible
materials, pending final disposal. If the ashes are disposed of by burial in soil or otherwise locally
dispersed, they should be retained in the closed container until all cinders have thoroughly
cooled.

18 Operating Your Appliance
© Travis Industries 100-01163 4041129
Blower Operation
The blower will turn
on once the stove is
up to temperature.
This is typically 15 to
30 minutes after
starting the fire.
Follow the directions
below to alter the
blower speed.
OFF
Turn the dial all
the way counter-
clockwise until it
clicks off.
HIGH
The high position
is all the way
counter-clockwise,
without clicking
off.
LOW
Turn the dial
all the way
clockwise.
The blower may be used to affect heat output (i.e.: to reduce heat output, turn the blower down).
Route the power cord in a location where it will not come in contact with the appliance or become hot.
Re-Loading the Stove
Follow the directions below to minimize smoke spillage while re-loading the stove.
1 Open the air control all the way (push it in). Open the bypass (pull it out).
2 Open the door slightly. Let the airflow inside the firebox to stabilize before opening the doors fully.
3 Load wood onto the fire.
Overnight Burn
This stove is large enough to accommodate burn times up to eight hours. Follow the steps below to
achieve an overnight burn.
1 Move the air control to high burn and let the stove become hot (burn for approximately 15 minutes).
2 Load as much wood as possible. Use large pieces if possible.
3 Let the stove burn on high for 15 minutes to keep the stove hot, then turn the air control to low.
4 In the morning the stove should still be hot, with embers in the coal bed. Stir the coals and load
small pieces of wood to re-ignite the fire, if desired.
Differences if chimney height and draft may lower overall burn times.
Normal Operating Sounds
Creaks and Clicks:
The 3/16" and 5/16" steel may creak or click when
the stove heats up and cools down - this is normal.
Blower Sounds:
The blower will make a slight "humm" as it
pushes air through the stove.

Operating Your Appliance 19
© Travis Industries 100-01163 4041129
Hints for Burning
• Get the appliance hot before adjusting to low burn
• Use smaller pieces of wood during start-up and high burns to increase temperature
• Use larger pieces of wood for overnight or sustained burns
• Stack the wood tightly together to establish a longer burn
• Leave a bed of ashes (1/2" deep) to allow for longer burns
• Be considerate of neighbors & the environment: burn dry wood only
• Burn small, intense fires instead of large, slow burning fires when possible
• Learn your appliance's operating characteristics to obtain optimum performance
Selecting Wood
• Dry Wood is Key
• Dry wood burns hot, emits less
smoke and creates less creosote.
Testing Wood Moisture
• Split wood stored in a dry area will
be fully dry within a year. This
insures dry wood. If purchasing
wood for immediate use, test the
wood with a moisture meter. Some
experienced wood burners can
measure wood moisture by
knocking pieces together and
listening for a clear "knock" and not
a "thud".
Wet
Wood
Leads
To
Leads
To
Dry
Wood
Leads
To
Leads
To
Less
Heat More
Heat
More Smoke
and Creostoe Less Smoke
and Creostoe
Why Dry Wood is Key
Wet wood, when burned, must release water stored within the wood. This cools the fire, creates
creosote, and hampers a complete burn. Ask any experienced wood burner and he or she will agree: dry
wood is crucial to good performance.
Wood Cutting and Storage
Cut wood to length and
chop into quarters. Store the wood off the ground in a
covered area. Allow for airflow
around the wood to dry the wood.
Air Flow
Air Flow
Air Flow

20 Operating Your Appliance
© Travis Industries 100-01163 4041129
Troubleshooting
Problem Possible Cause
Smoke Enters Room During
Start-Up
• Open the bypass (pg. 15).
• Open the air control (pg. 17).
• Cold Air Blockage - burn a piece of newspaper to
establish a draft.
• If the flame is not getting enough air, a small crack in
the door is all that is needed.
Kindling Does Not Start - Fire
Smolders
• Open the bypass (pg. 15).
• Open the air control (pg. 17).
• Not enough starter paper - use additional newspaper if
necessary.
• If the flame is not getting enough air, a small crack in
the door is all that is needed.
Smoke Enters Room While Re-
Loading
• Open the bypass before opening the door (pg. 15).
• Open the air control before opening the door (pg. 17).
• Let the air stabilize before fully opening the door. Then
open the door approximately 1 inch. Let air go into the
firebox for a few seconds. Once the smoke appears to
be flowing up the chimney consistently, open the door.
• Insufficient Draft - Chimney height and outside
conditions can negatively affect draft. In these cases a
small amount of smoke may enter the home. Adding
more pipe or a draft-inducing cap may help.
Stove Does Not Burn Hot Enough • Wood is Wet - see the section "Selecting Wood" on
page 19 for details on wood.
• Make sure the air control is all the way open. Slide the
control back and forth to insure the control is not stuck.
• Insufficient Draft - Chimney height and outside
conditions can negatively affect draft. In these cases
the fire may burn slowly. Adding more pipe or a draft-
inducing cap may help.
Blower Does Not Run • Stove is Not Up to Temperature - This is normal. The
blower will come on when the stove is hot - usually 15
to 30 minutes.
• Electricity is Cut to the Blower - Check the household
breaker or fuse to make sure it is operable.
Stove Does Not Burn Long
Enough
• Depending upon wood, draft, and other factors, the
burn time may be shorter then stated. Make sure the
doors are sealing and not allowing air into the firebox -
See the section "Door and Glass Inspection" on page
22 for details.
• Check the ash bed for coals. Often, coals are still
glowing under a slight bed of flyash. By raking these
into a pile you can re-start your stove quickly.

Maintaining Your Appliance 21
© Travis Industries 100-01163 4041129
Failure to properly maintain and inspect your appliance may reduce the performance and life of the
appliance, void your warranty, and create a fire hazard.
Daily Maintenance (while stove is in use)
Remove Ash (if necessary)
• Ash removal is not required once it builds up. 1/2" to 1" of ash may be desirable because it slows the
burn rate. Generally, remove ash once it has built up over 1". Follow the directions below to remove
ash.
1 Let the stove cool completely (at least two hours after the last coal has extinguished).
2 Place a cloth or cardboard protector over the hearth to catch ash and protect against
scratching.
3 Open the doors and scoop the ash into a metal container with a tight fitting lid. The
closed container of ashes should be placed on a noncombustible floor or on the
ground, away from all combustible materials, pending final disposal.
ASHES
Improperly disposed ashes lead to fires. Hot ashes placed in cardboard boxes, dumped in back yards,
or stored in garages, are recipes for disaster.
Wood-burning stoves are inherently dirty. During cleaning have a vacuum ready to catch spilled ash
(make sure ash is entirely extinguished).
There are vacuum cleaners specifically made to remove ash (even if the ash is warm). Contact your
dealer for details.
Clean the Glass (if necessary)
This appliance has an airwash to keep the glass clean. However, burning un-seasoned wood or burning
on lower burn rates leads to dirtier glass (especially on the sides). Clean the glass by following the
directions below.
For Stubborn Creosote:
Dip newspaper or a paper towel
in cool ashes and wipe it on the
glass. The ash acts as a light
abrasive.
Allow the stove to fully cool. Apply glass
cleaner or soapy water to the inside of
the glass. Wipe with newspaper or a
paper towel.
The glass will develop a very slight haze over time. This is normal and will not affect viewing of the fire.

22 Maintaining Your Appliance
© Travis Industries 100-01163 4041129
Monthly Maintenance (while appliance is in use)
Make sure the appliance has fully cooled prior to conducting service.
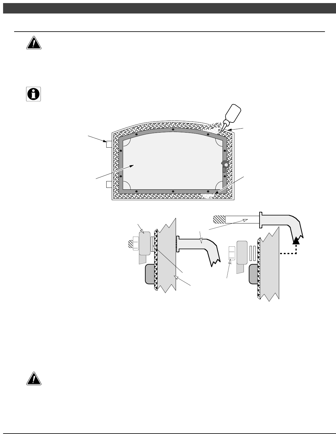
Door and Glass Inspection
The door must form an air-tight seal to the firebox for the stove to work correctly. Inspect the door gasket
to make sure it forms an air-tight seal to the firebox.
The door can be lifted off the hinges if extensive repairs are conducted.
Severely frayed or thread-bare
gasket should be replaced.
Use wood stove gasket
cement to re-adhere
loose gasket.
If the glass is damaged, replace
it - see “Replacement Parts” for
details.
High-Temperature anti-sieze
may be used on the door
hinges to eliminate squeaks.
The door latch should pull the door
against the face of the stove (but
not so tight as to not allow full
handle rotation). If the latch
requires adjustment, follow the
directions below.
Door Cam Door
Handle
Washers
Door Frame Use a 9/16"
socket wrench to
remove this nut.
Side View of Door Handle
Door Cam
Adjustment:
To tighten, remove
a washer from the
inside of the door
frame. To loosen,
place an additional
washers on the
inside of the door
frame or loosen
the nut 1/2 turn.
Exploded View
Creosote - Formation and Need for Removal
When wood is burned slowly, it produces tar and other organic vapors, which combine with expelled
moisture to form creosote. The creosote vapors condense in the relatively cool chimney flue of a slow-
burning fire. As a result, creosote residue accumulates on the flue lining. When ignited, this creosote
makes an extremely hot fire. The chimney and chimney connector should be inspected at least once
every two months during the heating season to determine if a creosote buildup has occurred. If creosote
has accumulated, it should be removed to reduce the risk of a chimney fire.
If you are not certain of creosote inspection, contact your dealer or local chimney sweep for a full
inspection. Excess creosote buildup may cause a chimney fire, that may result in property damage,
injury, or death.

Maintaining Your Appliance 23
© Travis Industries 100-01163 4041129
Yearly Maintenance
Make sure the appliance has fully cooled prior to conducting service.
Touch Up Paint
Included with the owner's pack of this appliance is a can of Stove-Brite®
paint. To touch up nicks or dulled paint, apply the paint while the appliance is
cool. Sand rusted or damaged areas before preparation (use 120 grit
sandpaper). Clean and dry the area to prepare the surface. Wait at least one
hour before starting the appliance. The touched up area will appear darker
than the surrounding paint until it cures from heat. Curing will give off some
fumes while curing – open windows to ventilate.
Touch-Up
Paint
Cleaning the Air Duct and Blower
Use a vacuum to clean the air ducts (channels). This prevents dust from burning and creating odors.
The optional blower should be vacuumed every year to remove any buildup of dust, lint, etc.
Use a vacuum cleaner to
remove any buildup on the
screens of the blower.
Firebrick and Baffle Inspection
Use the illustration on page 25 as a reference for checking the following items. Make sure the appliance
is cool before proceeding.
Baffle Firebricks - check the bricks along the ceiling of the firebox to make sure they are intact and have
no gaps between them. Slide the bricks to eliminate any gaps.
Baffle Supports - make sure the front and back baffle supports in are place and not degraded. Slight
scaling or rusting of the metal is normal.
Secondary Air Tubes - Check the two air tubes and collars to make sure they are intact and not severely
deteriorated. Slight scaling or rusting of the metal is normal. Make sure the push pins hold the air tubes
in place.
Floor and Wall Firebricks - replace any severely damaged firebrick along the side or floor of the firebox.

24 Maintaining Your Appliance
© Travis Industries 100-01163 4041129
Door Parts
9/16" Wrench
5
10
8
9
12
7
6
3
4
1
2
11
NOTE: Place the glass gasket around the
perimeter of the door retainer.
NOTE: Glue the door gasket
to the door retainer.
# 20 Torx Driver
13
14
1/8” Hex Wrench
ID # Description Qty Part # ID # Description Qty Part #
1 Door Shell - Black
Door Shell - Brass
Door Shell - Pewter
1 230-00578
230-00579
230-00577
2Glass (19-1/4" x 9-7/8")1173-01001
3Glass Gasket1224-11086 4 Door Retainer (w gasket) 1 224-23029
5 Gasket Cement 1 99900409 6 Door Gasket 1 99900406
7 Door Handle Asbly - Black
Door Handle Asbly - Brass
Door Handle Asbly - Pewter
1 224-14042
99900410
224-14052
8 Spring - Black
Spring - Brass
Spring - Pewter
1 100-14122
99300100
100-04103
9Washers2100-03501 10 Cam 1 99900417
11 Nut, Brass 1 101-00007 12 Glass Clips - Top
Glass Clip - Bottom
2
1
224-230022
224-230021
13 #8-32 3/8" Type F Screw 8 225-20039 14 Set Screw 2 225-20038
Replacing the Glass
The glass must not contact the door retainer or glass clips directly. The glass gasket and glass clip
gaskets insulate the glass to prevent cracking. Do not over-tighten the glass clips.
See "Door Shell Installation" (pg. 29) for details on removing the door handle and shell. NOTE: The glass
gasket is placed in the grove along the inside perimeter of the door retainer. Make sure the glass clip
screws are all fully tightened - they must be flush with the door retainer for the door shell to install.
Replacing the Door Gasket
The door gasket inserts into the outer groove of the door retainer. Stove gasket cement holds it in place.
Before installing, remove any residual cement. Lay the gasket in place (start at the lower left corner) and
cut off any excess gasket (do not stretch the gasket. The cement fully cures with heat from the stove.
You may need to open and close the door repeatedly to get the gasket to seat fully.
Replacing the Door Handle
See the illustration above for a component list (see pg. 24 for details on adjusting the door).

Maintaining Your Appliance 25
© Travis Industries 100-01163 4041129
Firebox Parts
1
3
2
4
5
10
10
10
10
10
11
6
7
10
10
12
12
10
10
10
10
11
10
10
10
8
9
ID # Description Qty Part # ID # Description Qty Part #
1 Air Tubes & Sleeve 1 98900210 2 Air Tube Roll Pins 6 98900357
3 Air Tube Retainer Sleeve 3 100-11001 4 Baffle Support, Front "Y" 1 99900277
5 Baffle Support, Rear "T" 1 99900278 6 Damper Plate 1 98900320
7 Damper Slider 1 98900338 8 Damper Yoke 1 98900315
9 Damper Extension Rod with
Pull Ring
1 98900334 10 Brick - 9" x 4.5" un-cut 15 175-00001 (1)
98900102 (9)
11 Brick, Cut - 8.25" x 4.5" 2 251-00010 12 Brick, Cut – 6.25” x 4.5” 2 251-00011
Floor and Side Firebrick
Do not pry firebrick - they chip and crack easily. Remove the floor firebricks first. The side firebrick
are removed later because they are pinned in place by the floor firebrick. Clean the firebox prior to
replacing the firebrick.

26 Maintaining Your Appliance
© Travis Industries 100-01163 4041129
Baffle Removal & Replacement
1 Lift up on the front portion of the front three firebricks.
2 Lift the front baffle support “Y” and rotate it forward until it can be removed.
3 Slide the center front firebrick forward and out the door opening. Then slide the side front
firebricks towards the middle then out in the same manner.
4 Slide the center baffle support forward and out of the firebox.
5 Slide the rear firebrick forward and out of the firebox. NOTE: When the center rear firebrick are
slid forward the damper plate will come to rest on the rear secondary air tube and rear air
channel.
6 Slide the damper slider all the way forward.
7 Reach into the firebox and push up on the damper yoke until the damper yoke separates from the
damper slider. Remove both the damper slider and damper plate by sliding them between the
front two secondary air tubes.
REPLACEMENT INSTRUCTIONS:
1 Place the damper plate above the secondary air tubes in the rear center of the firebox.
2 Position the damper slider so the damper yoke inserts into the two tubes on the damper slider
(make sure to have correct orientation). Then slide the damper slider over the damper plate until
both are centered in the firebox.
3 Follow the instructions above in reverse order, starting with step number 5.
Air Tube Removal & Replacement
a
b
Remove the left pin on the air tube collar
Air Tube Collar
Air Tube
Slide the air tube to the left, swing it
down and remove from the firebox.
Roll Pin

Limited 7 Year Warranty 27
© Travis Industries 100-01163 4041129
To register your TRAVIS INDUSTRIES, INC. 7 Year Warranty, complete the enclosed warranty card and mail it within ten (10) days of the appliance purchase
date to: TRAVIS INDUSTRIES, INC., 4800 Harbour Pointe Blvd. SW, Mukilteo, WA 98275. TRAVIS INDUSTRIES, INC. warrants this gas appliance (appliance is
defined as the equipment manufactured by Travis Industries, Inc.) to be defect-free in material and workmanship to the original purchaser from the date of
purchase as follows:
Check with your dealer in advance for any costs to you when arranging a warranty call.
Mileage or service charges are not covered by this warranty. This charge can vary from store to store.
Years 1 & 2 - COVERAGE: PARTS & LABOR
Firebox Assembly:
Firebox, Baffle Supports, Air Tubes, Air Channels, Convection Chamber
Door Assembly:
Solid Brass or Cast Door, Latch Assembly, Glass Retainers
Plated Finish
Plated Door, Legs, etc… See "Conditions & Exclusions" # 9 below.
Air Control Assembly
Slider Plate, Pressure Plate
Ceramic Glass
Glass (breakage from thermal shock)
Firebrick
Breakage from thermal shock
Accessories
Legs, Pedestal, Panels, Blower
Re-Installation Allowance
In cases where heater must be removed from home
for repairs, a partial cost of re-installation is covered
(pre-authorization required)
One-Way Freight Allowance
One-way freight allowance on pre-authorized repair
done at factory is covered.
Exclusions:Paint, Gasketing
Years 3 Through 5 - COVERAGE: PARTS & LABOR
Firebox Assembly:
Firebox, Baffle Supports, Air Tubes, Air Channels, Convection Chamber
Air Control Assembly
Slider Plate, Pressure Plate
Door Assembly:
Solid Brass or Cast Door, Latch
Assembly, Glass Retainers
One-Way Freight Allowance
One-way freight allowance on pre-authorized
repair done at factory is covered.
Exclusions:Paint, Gasketing, Plated Finish, Accessories (Legs, Pedestal, Panels, Blower), Glass, Firebrick, Re-Installation Allowance
Years 6 & 7 - COVERAGE: PARTS ONLY
Firebox Assembly:
Firebox, Baffle Supports, Air Tubes, Air Channels, Convection Chamber
Door Assembly:
Solid Brass or Cast Door, Latch Assembly, Glass Retainers
Air Control Assembly
Slider Plate, Pressure Plate
Exclusions:Paint, Gasketing, Plated Finish, Accessories (Legs, Pedestal, Panels, Blower), Glass, Firebrick, Re-Installation Allowance, One-
Way Freight Allowance, Labor
CONDITIONS & EXCLUSIONS
1. This new appliance must be installed by a qualified installer. It must be installed, operated, and maintained at all times in accordance with the instructions in the
Owner’s Manual. Any alteration, willful abuse, accident, neglect, or misuse of the product shall nullify this warranty.
2. This warranty is nontransferable, and is made to the ORIGINAL purchaser, provided that the purchase was made through an authorized Travis dealer.
3. Discoloration and some minor expansion, contraction, or movement of certain parts and resulting noise, is normal and not a defect and, therefore, not covered
under warranty. Over-firing (operation where the steel may glow red) of this appliance can cause serious damage and will nullify this warranty.
4. The warranty, as outlined within this document, does not apply to the chimney components or other Non-Travis accessories used in conjunction with the
installation of this product. If in doubt as to the extent of this warranty, contact your authorized Travis retailer before installation.
5. Travis Industries will not be responsible for inadequate performance caused by environmental conditions such as nearby trees, buildings, roof tops, wind, hills or
mountains or negative pressure or other influences from mechanical systems such as furnaces, fans, clothes dryers, etc.
6. This Warranty is void if:
a. The unit has been operated in atmospheres contaminated by chlorine, fluorine or other damaging chemicals.
b. The unit is subject to submersion in water or prolonged periods of dampness or condensation.
c. Any damage to the unit, combustion chamber, heat exchanger or other components due to water, or weather damage which is the result of, but not
limited to, improper chimney/venting installation.
7. Exclusions to this 7 Year Warranty include: injury, loss of use, damage, failure to function due to accident, negligence, misuse, improper installation, alteration or
adjustment of the manufacturer's settings of components, lack of proper and regular maintenance, damage incurred while the appliance is in transit, alteration, or
act of God.
8. This 7 Year warranty excludes damage caused by normal wear and tear, such as paint discoloration or chipping, worn or torn gasketing, chipped or cracked
firebrick, etc. Also excluded is damage to the unit caused by abuse, improper installation, modification of the unit, or the use of fuel other than that for which the
unit is configured (use cord wood only).
9. Damage to brass or plated surfaces caused by fingerprints, scratches, melted items, or other external sources left on the surfaces from the use of abrasive
cleaners is not covered in this warranty. Damage to the surfaces from over-firing (operation where the steel may glow red) is not covered in this warranty.
10. TRAVIS INDUSTRIES, INC. is free of liability for any damages caused by the appliance, as well as inconvenience expenses and materials. Incidental or
consequential damages are not covered by this warranty. In some states, the exclusion of incidental or consequential damage may not apply.
11. This warranty does not cover any loss or damage incurred by the use or removal of any component or apparatus to or from the Travis appliance without the
express written permission of TRAVIS INDUSTRIES, INC. and bearing a TRAVIS INDUSTRIES, INC. label of approval.
12. Any statement or representation of Travis products and their performance contained in Travis advertising, packaging literature, or printed material is not part of
this 7 year warranty.
13. This warranty is automatically voided if the appliance’s serial number has been removed or altered in any way. If the appliance is used for commercial purposes,
it is excluded from this warranty.
14. No dealer, distributor, or similar person has the authority to represent or warrant Travis products beyond the terms contained within this warranty. TRAVIS
INDUSTRIES, INC. assumes no liability for such warranties or representations.
15. Travis Industries will not cover the cost of the removal or re-installation of hearths, facing, mantels, venting or other components.
16. If for any reason any section of this warranty is declared invalid, the balance of the warranty remains in effect and all other clauses shall remain in effect.
17. This 7 year warranty is the only warranty supplied by Travis Industries, Inc., the manufacturer of the appliance. All other warranties, whether express or implied,
are hereby expressly disclaimed and purchaser’s recourse is expressly limited to the warranties set forth herein.
IF WARRANTY SERVICE IS NEEDED:
1. If you discover a problem that you believe is covered by this warranty, you MUST REPORT it to your Travis dealer WITHIN 30 DAYS, giving them proof of
purchase, the purchase date, and the model name and serial number.
2. Travis Industries has the option of either repairing or replacing the defective component.
3. If your dealer is unable to repair your appliance’s defect, he may process a warranty claim through TRAVIS INDUSTRIES, INC., including the name of
the dealership where you purchased the appliance, a copy of your receipt showing the date of the appliance’s purchase, and the serial number on your
appliance. At that time, you may be asked to ship your appliance, freight charges prepaid, to TRAVIS INDUSTRIES, INC. TRAVIS INDUSTRIES, INC.,
at its option, will repair or replace, free of charge, your appliance if it is found to be defective in material or workmanship within the time frame stated
within this 7 year warranty. TRAVIS INDUSTRIES, INC. will return your appliance, freight charges (years 1 to 5) prepaid by TRAVIS INDUSTRIES,
INC., to your regional distributor, or dealership.
4. Check with your dealer in advance for any costs to you when arranging a warranty call. Mileage or service charges are not covered by this warranty. This charge
can vary from store to store.

28 Listing Label
© Travis Industries 100-01163 4041129
Listing Label
MODEL:
FREEDOM BAY (FLUSH BAY-96 )
DO NOT REMOVE THIS LABEL
Listed Solid Fuel Burning Appliance
Suitable for use in masonry fireplaces.
SERIAL
NUMBER
4800 Harbour Pointe Blvd. SW Mukilteo,
Manufactured By:
PREVENT HOUSE FIRES - Install and use only in accordance with the
manufacturer's installation and operating instructions. Contact your local
building or fire officials about restrictions and installation inspection in your
area. Refer to local building codes and manufacturer's instructions for
precautions required for passing a chimney through a combustible wall or
ceiling. Do not run a chimney connector through a combustible wall or ceiling.
Do not connect this unit to a chimney flue serving another appliance.
Clearances may be reduced by methods specified in NFPA 211, listed wall
shields, pipe shields, or other means approved by local building or fire officials.
Tested to: UL-1482/UL-907 Report No. 6009 (May 1994)
COMPONENTS REQUIRED FOR MASONRY FIREPLACE INSTALLATION:
Surround Panels.
Direct flue connection is optional. Do not remove bricks or mortar from
masonry fireplace.
Note: Replace glass with 5mm neoceramic or ceramic glass only.
For use with solid wood fuels only. Operate only with feed door closed - open to
feed fire only. Do not use a grate or elevate fire - build fire directly on the hearth.
U.S. ENVIRONMENTAL PROTECTION AGENCY
Certified to comply with July 1990 particulate emission standards.
Date of Manufacture
2004 2005 2006 Jan. Feb. Mar. Apr. May June July Aug. Sept. Oct. Nov. Dec.
DO NOT REMOVE THIS LABEL Made in U.S.A.
Insert Clearance Diagram
Front 16.0 in.
Sides 08.0 in.
MANTEL
HEARTH EXTENSION
FACIA OR TRIM
INSERT
SIDEW
ALL
MN
L
K
816
Mantle
with Mantle Shield
Top Facing
with Shield
Adjacent Sidewall
Side Facing
32.0 in.
19.0 in.
30.0 in.
17.0 in.
15.0 in.
13.5 in.
K.
L.
M.
N.
Freedom Bay
Minimum Clearances
to Combustible Materials
Fireplace Insert Installation
IGN 0228
NER-QA219, TL-116

Optional Equipment 29
© Travis Industries 100-01163 4041129
Door Shell Installation
1. Remove the door retainer shipping latch following the directions below.
Standard
Screwdriver
Rotate this shaft
1/4 turn clockwise
until the door
unlatches.
Swing the door retianer open. Remove and
discard the shipping latch and nut.
9/16" Wrench
Shipping Latch
Door Retainer
2. Place the door shell face down on a non-scratching surface. Lift the door retainer off the hinges.
Insert the retainer into the door shell following the directions below. Note how the door shell is guided
into place
Door Retainer
Door Shell
The indent on the door retainer slides into
the clip on the door shell (on both sides).

30 Optional Equipment
© Travis Industries 100-01163 4041129
3. Attach the retainer to the shell following the directions below.
Make sure the door retainer is centered on the door shell.
You can gauge the alignment by looking at the gaps here.
Once the door is aligned, tighten
the two set screws on the bottom
of the door shell to secure the
door retainer.
1/8” Hex Wrench
4. Attach the door handle
following the directions to
the right.
5. Replace the door on the
hinges and latch the door.
6. Attach the ashlip trim and
side frames following the
directions below.
9/16" Wrench
NOTE: in rare cases the door retainer may not line up with
the door shell, preventing the door handle from lining up
correctly. To adjust the position horizontally, loosen the set
screws (see step 3) and adjust the door retainer position. To
adjust vertically, remove the retainer and adjust the clips on
the door shell (see step 2).
Slide the ashlip trim
into place then
tighten the five set
screws on the
bottom of the ashlip
to secure.
1/16” Hex Wrench
Insert the screws
through the face and
nuts (the nuts are used
as spacers) and secure
to the side frames.
Side Frame
5/16”
Socket

Optional Equipment 31
© Travis Industries 100-01163 4041129
Surround Panels
NOTE: Install the door shell (and side frames) prior to installing the surround panels.
SURROUND PANEL SIZE HEIGHT WIDTH PART #
8" 29-1/2" 45-3/8 " 99300293
10" 31-1/2" 49-3/8 " 99300294
12" 33-1/2" 53-3/8 " 99300295
Installation Instructions
1. With the insert 12” from the
fireplace, install the side
surround panels (see the
directions to the right).
2. Adjust the position of the
side panels so they are: 1)
flush with the bottom of the
insert; 2) both the same
distance back from the
front of the insert; 3)
perpendicular to the floor
(use the top panel, if
necessary, to judge
alignment). Tighten the
screws that hold the side
panels in place.
3. Place the insert into the
fireplace and connect the
flue (if using a positive or
direct connection). Install
the top panel and trim
following the directions
below.
Insulation Installation
(required only for face seal
installations)
1. With the insert drawn 6"
from the fireplace, glue the
insulation strip included
with the insert to the back
of the panels using RTV
silicon or stove gasket
cement. The insulation
should be installed so it
overlaps the fireplace
opening to form a seal
between the panels and
the fireplace face. Let the
silicon or cement dry.
a
Side
Convection
Jacket
Top of Insert
Attach the side panels with the two screws
included with the insert. The screws pass
through the side convection jacket and
attach to the U-Nuts. Do not tighten the
screws fully until the panels are aligned.
Rotate the panel back
and place it so the inside
flange fits inside the side
convection jacket. Note
how the stove top fits
into the notch.
Stove Top
Notch
5/16" Nutdriver
b
c
Place two U-Nuts (included
with the insert) over the inside
flange on one of the side
surround panels (flat side in).
The flat side
faces inwards.
Back Side
of Side
Surround
Panel
"L" Bracket
Right Side
Trim
Top Trim
Optional Trim Installation:
Insert one leg of each "L" bracket into the top
and side trim piece. Align the trim to form a
precise corner, then tighten the two set
screws with a small standard screwdriver.
Slide the trim over the panels. Place the
spring clips behind the panels at the locations
shown. This keeps the trim tight against the
panel.
Micro (1/16”)
Standard
Screwdriver
Install the top panel so the tabs insert
into the joggle clips on the top panel
Top
Panel
Spring
Clips
Optional Knock-Out
An optional knock-out is provided on both
sides if the power cord is routed behind the
surround panel.
2. Push the insert into the fireplace, allowing the insulation to form a seal between the panels and the
fireplace. Use a screwdriver to tuck any exposed insulation behind the panels.

32 Index
© Travis Industries 100-01163 4041129
Air Control (Burn Rate) ...................................17
Air Tube Part Number ....................................25
Air Tube Removal & Replacement ....................26
Ash Disposal ................................................21
Baffle Parts ..................................................25
Baffle Removal and Replacement .....................26
Blower Cleaning............................................23
Blower Does Not Run (Troubleshooting) ............20
Blower Installation .........................................10
Blower Operation (optional) .............................18
Burn Rate ....................................................17
Chimney Cleaning .........................................22
Chimney Inspection (Creosote) ........................22
Cleaning the Ash...........................................21
Cleaning the Glass ........................................21
Clearances ..................................................9
Creosote Check ............................................22
Daily Maintenance.........................................21
Dimensions..................................................6
Door and Glass Inspection ..............................22
Door Assembly .............................................24
Door Gasket Replacement ..............................24
Door Handle Replacement ..............................24
Door Opening...............................................14
Door Parts ...................................................24
Draft Performance .........................................10
Emissions....................................................6
EPA Approval...............................................6
Features......................................................6
Fire Starting .................................................16
Firebox Assembly..........................................25
Firebox Parts................................................25
Firebrick and Baffle Inspection .........................23
Firebrick Removal & Replacement ....................25
Floor Protection Requirements (Hearth) .............9
Glass Cleaning .............................................21
Glass Replacement .......................................24
Hearth (Floor Protection).................................9
Heating Specifications....................................6
Hints for Burning ...........................................19
Installation (planning) .....................................7
Installation Options ........................................6
Installation ...................................................7
Listing Label.................................................28
Maintenance ................................................21
Masonry Fireplace.........................................9
Monthly Maintenance .....................................22
Noise (Normal Operating Sounds) ....................18
Opening the Door..........................................14
Operation ....................................................14
Over-Firing the Stove .....................................14
Overnight Burn .............................................18
Paint (Touch-Up Paint) ...................................23
Paint Curing .................................................14
Re-Loading the Stove.....................................18
Safety Label.................................................28
Safety Precautions ........................................4
Smell ..........................................................14
Smoke Enters Room (Troubleshooting)..............20
Sounds (Normal Operating Sounds) ..................18
Starting a Fire...............................................16
Stove Does Not Burn Long Enough...................20
Stove is Not Hot Enough (Troubleshooting) ........20
Table of Contents..........................................3
Touch-Up Paint.............................................23
Troubleshooting (Operation) ............................20
Warranty Card ..............................................2
Warranty .....................................................27
Wood..........................................................19
Yearly Maintenance .......................................23