Lowrance Electronic Hd Lcx 110C Users Manual 110C, 111C HD, 25C And 26C Owners
LCX-26C to the manual 2c84eb14-a3ef-6154-b1ab-33710b53301e
2015-02-05
: Lowrance-Electronic Lowrance-Electronic-Hd-Lcx-110C-Users-Manual-407739 lowrance-electronic-hd-lcx-110c-users-manual-407739 lowrance-electronic pdf
Open the PDF directly: View PDF
.
Page Count: 208 [warning: Documents this large are best viewed by clicking the View PDF Link!]

Pub. 988-0151-311
www.lowrance.com
LCX-25C; LCX-26C HD
LCX-110C; LCX-111C HD
Fish-finding Sonar & Mapping GPS
Operation Instructions

Copyright © 2005 Lowrance Electronics, Inc.
All rights reserved.
No part of this manual may be copied, reproduced, republished, transmitted or
distributed for any purpose, without prior written consent of Lowrance
Electronics. Any unauthorized commercial distribution of this manual is
strictly prohibited.
Lowrance is a registered trademark of Lowrance Electronics, Inc.
MapCreate, FreedomMaps, and NauticPaths are trademarks of
LEI. Fishing Hot Spots is a registered trademark of Fishing Hot Spots
Inc. Navionics is a registered trademark of Navionics, Inc. NMEA
2000 is a registered trademark of the National Marine Electronics
Association.
Points of Interest Data in this unit are by infoUSA,
copyright 2001-2005, All Rights Reserved. infoUSA is a
trademark of infoUSA, Inc.
eXitSource Database, copyright 2001-2005 Zenrin Co.
Ltd. Exit Authority and eXitSource are trademarks of
Zenrin Co. Ltd.
Additional mapping data: copyright 2005 by Transas Ltd.; copyright
2005 by Maptech Inc.
Lowrance Electronics may find it necessary to change or end our
policies, regulations and special offers at any time. We reserve the right
to do so without notice. All features and specifications subject to change
without notice. All screens in this manual are simulated. On the cover:
GlobalMap® 7600C HD shown.
NMEA 2000® Certification Pending.
For free owner's manuals and other information,
visit our web site:
www.lowrance.com
Lowrance Electronics Inc.
12000 E. Skelly Dr.
Tulsa, OK USA 74128-2486
Printed in USA.
i
Table of Contents
Section 1: Read Me First!........................................................ 1
How Your Sonar Works ................................................................ 3
How Your GPS Works .................................................................. 4
Introduction to GPS and WAAS................................................... 5
How to use this manual: typographical conventions .................. 8
Section 2: Installation & Accessories.................................... 9
Preparations.................................................................................. 9
Transducer Installation................................................................ 9
Recommended Tools and supplies.......................................... 10
Selecting a Transducer Location............................................ 10
How low should you go?.......................................................... 12
Shoot-thru-hull vs. Transom Mounting ................................. 12
Transom Transducer Assembly And Mounting..................... 13
Hulls With Floatation Materials ........................................ 20
Testing Determines Best Location......................................... 21
Shoot-thru-hull Installation ................................................... 23
Speed/Temperature Sensors................................................. 25
GPS Antenna/Receiver Module .................................................. 26
Connecting Directly to the Unit ............................................. 27
Connecting to a NMEA 2000 Network................................... 28
Power Connections...................................................................... 29
Powering a NMEA 2000 Buss .................................................... 30
Powering Your Unit .................................................................... 30
NMEA 2000 Cable Connections ................................................. 32
NMEA 0183 Wiring (Data cable) ........................................... 32
Mounting the Unit: Bracket or In-Dash .................................... 34
MMC or SDC Memory Card Installation................................... 38
Other Accessories........................................................................ 39
MMC and MapCreate ............................................................. 39
Switch Boxes ........................................................................... 40
External Speaker .................................................................... 40
Face Cover ............................................................................... 41
Section 3: Basic Sonar Operation ....................................... 43
Keyboard ..................................................................................... 43
Power/lights on and off ............................................................... 44
Main Menu .................................................................................. 45
Pages ........................................................................................... 46
Satellite Status Page .............................................................. 46
Navigation Page...................................................................... 47
Map Page................................................................................. 47
Sonar Page .............................................................................. 48
Sonar Quick Reference .......................................................... 51
ii
Sonar Operations ........................................................................ 52
Fish Symbols vs. Full Sonar Chart ........................................ 54
Other Free Training Aids ....................................................... 54
Section 4: Sonar Options & Other Features..................... 57
ASP (Advanced Signal Processing)......................................... 57
Alarms ......................................................................................... 58
Depth Alarms .......................................................................... 58
Zone Alarm .............................................................................. 59
Fish Alarm............................................................................... 60
Calibrate Speed........................................................................... 60
Chart Speed................................................................................. 61
ColorLine.................................................................................. 61
Depth Cursor............................................................................... 63
Depth Range - Automatic ........................................................... 64
Depth Range - Manual ............................................................... 65
Depth Range - Upper and Lower Limits ................................... 65
FasTrack.................................................................................. 66
Fish I.D. (Fish Symbols & Depths) ......................................... 67
FishTrack................................................................................. 69
Frequency (Change Transducer Frequency) ............................. 69
HyperScroll.............................................................................. 70
Log Sonar Chart Data ................................................................ 70
Noise Rejection............................................................................ 71
Overlay Data ............................................................................... 71
Overlay Data Style.................................................................. 74
Ping Speed & HyperScroll....................................................... 75
Reset Options .............................................................................. 76
Reset Water Distance ................................................................. 77
Set Keel Offset ............................................................................ 77
Sensitivity & Auto Sensitivity.................................................... 78
Sonar Chart Mode....................................................................... 80
Sonar Page & Sonar Chart Display Options ............................. 80
Full Sonar Chart ..................................................................... 81
Split Zoom Sonar Chart.......................................................... 82
Digital Data/Chart .................................................................. 82
Customize Page Displays ........................................................... 82
FlashGraf............................................................................. 83
Map With Sonar Split Screen................................................. 84
Sonar Simulator.......................................................................... 84
Stop Chart ................................................................................... 86
Surface Clarity............................................................................ 87
Upper and Lower Limits ............................................................ 88
Zoom & Zoom Bar ....................................................................... 88
iii
Zoom Pan..................................................................................... 89
Section 5: Sonar Troubleshooting ....................................... 91
Section 6: Basic GPS Operations ......................................... 95
Keyboard ..................................................................................... 95
Power/lights on and off ............................................................... 96
Main Menu .................................................................................. 96
Pages ........................................................................................... 98
Sonar Page .............................................................................. 98
Satellite Status Page .............................................................. 98
Navigation Page.................................................................... 100
Map Page............................................................................... 101
GPS Quick Reference ........................................................... 107
Find Your Current Position...................................................... 108
Moving Around the Map: Zoom & Cursor Arrow Keys........... 108
Selecting Any Map Item with the Cursor................................ 109
Searching................................................................................... 109
Set a Waypoint.......................................................................... 111
Navigate To a Waypoint ........................................................... 113
Set Man Overboard (MOB) Waypoint...................................... 114
Navigate Back to MOB Waypoint ............................................ 114
Navigate to Cursor Position on Map........................................ 115
Navigate to a Point of Interest................................................. 117
Creating and Saving a Trail..................................................... 117
Displaying a Saved Trail .......................................................... 119
Navigating Trails...................................................................... 119
Visual Trailing ...................................................................... 120
Navigate a Trail (forward).................................................... 120
Transfer Custom Maps and GPS Data Files ........................... 123
Cancel Navigation..................................................................... 125
Section 7: Advanced GPS Operations............................... 127
Find Distance From Current Position ..................................... 127
Find Distance from Point to Point ........................................... 127
Icons........................................................................................... 127
Create Icon on Map............................................................... 128
Create Icon at Current Position ........................................... 128
Delete an Icon ....................................................................... 128
Navigate to an Icon............................................................... 129
Routes........................................................................................ 129
Create and Save a Route ...................................................... 130
Delete a Route ....................................................................... 132
Edit a Route .......................................................................... 132
Navigate a Route................................................................... 133
Navigate a Route in Reverse ................................................ 134
iv
Trails ......................................................................................... 134
Delete a Trail ........................................................................ 134
Edit a Trail Name ................................................................. 135
Edit a Trail Color .................................................................. 135
Edit a Trail Pattern .............................................................. 135
Utilities...................................................................................... 136
Alarm Clock........................................................................... 136
Sun/Moon Rise & Set Calculator.......................................... 136
Trip Calculator...................................................................... 136
Trip Down Timer................................................................... 136
Trip Up Timer ....................................................................... 136
Waypoints.................................................................................. 136
Delete a Waypoint................................................................. 136
Edit a Waypoint .................................................................... 137
Selecting a Waypoint ............................................................ 137
Set a Waypoint by Average Position .................................... 137
Set a Waypoint by Projecting a Position.............................. 138
Section 8 System & GPS Setup Options ...........................139
Alarms ....................................................................................... 139
Auto Satellite Search................................................................ 140
Check MMC Files and Storage Space...................................... 140
Communications Port Configuration ....................................... 141
Configure NMEA ...................................................................... 141
Coordinate System Selection.................................................... 142
Map Fix ..................................................................................... 143
Customize Page Displays ......................................................... 145
GPS Simulator .......................................................................... 146
Simulating Trail or Route Navigation ................................. 146
Hide GPS Features ................................................................... 147
Initialize GPS............................................................................ 147
Map Auto Zoom......................................................................... 148
Map Data................................................................................... 148
Pop-up Map Info.................................................................... 148
Map Boundaries .................................................................... 149
Fill Water With White .......................................................... 149
Map Overlays (Range Rings; Lat/Long Grid) ...................... 149
Map Datum Selection ............................................................... 149
Map Detail Category Selection................................................. 150
Map Orientation ....................................................................... 151
Navionics Charts..................................................................... 152
Port Information ................................................................... 153
Tidal Current Information ................................................... 154
Tide Information ................................................................... 156
v
Overlay Data ............................................................................. 158
Pop-up Help............................................................................... 164
Reset Options ............................................................................ 164
Screen Contrast and Brightness .............................................. 165
Set Language ............................................................................ 166
Set Local Time .......................................................................... 166
Show WAAS Alarm................................................................... 167
Software Version Information.................................................. 168
Sounds and Alarm Sound Styles.............................................. 168
Track Smoothing....................................................................... 169
Trail Options ............................................................................. 169
Delete All Trails .................................................................... 170
Update Trail Option.............................................................. 170
Update Trail Criteria (Auto, Time, Distance) ................. 170
Trail Update Rate (Time, Distance)................................. 170
Delete Trail ........................................................................... 171
New Trail............................................................................... 171
Trail Visible/Invisible and Other Trail Options .................. 171
Units of Measure....................................................................... 172
Section 9: Searching ............................................................173
Find Addresses.......................................................................... 173
Find Any Item Selected by Map Cursor .................................. 176
Find Interstate Highway Exits ................................................ 177
Find Map Places or Points of Interest (POI) ........................... 179
Find Streets or Intersections.................................................... 180
Find Waypoints......................................................................... 184
Section 10: Supplemental Material ................................... 187
vi
WARNING!
A CAREFUL NAVIGATOR NEVER RELIES ON ONLY ONE METHOD
TO OBTAIN POSITION INFORMATION.
CAUTION
When showing navigation data to a position (waypoint), a GPS unit will show
the shortest, most direct path to the waypoint. It provides navigation data to the
waypoint regardless of obstructions. Therefore, the prudent navigator will not
only take advantage of all available navigation tools when traveling to a
waypoint, but will also visually check to make sure a clear, safe path to the
waypoint is always available.
WARNING!
When a GPS unit is used in a vehicle, the vehicle operator is solely
responsible for operating the vehicle in a safe manner. Vehicle
operators must maintain full surveillance of all pertinent driving,
boating or flying conditions at all times. An accident or collision
resulting in damage to property, personal injury or death could occur if
the operator of a GPS-equipped vehicle fails to pay full attention to
travel conditions and vehicle operation while the vehicle is in motion.
1
Section 1:
Read Me First!
How this manual can get you out on the road, fast!
Welcome to the exciting world of digital sonar and GPS! We know
you're anxious to begin navigating and finding fish, but we have a favor
to ask. Before you grab the unit and begin installing it, please give us a
moment or two to explain how our manual can help you get the best
performance from your combination fish finder and GPS receiver.
First, we want to thank you for buying a Lowrance sonar/GPS unit.
Whether you're a first time user or a professional fisherman, you'll
discover that your unit is easy to use, yet capable of handling
demanding navigation and sonar tasks. When you team your unit with
our custom mapping software MapCreate 6, you have an incredible
combination. With a full recording capability and remarkable
resolution, you won't find another GPS/sonar unit with this much
power and this many features for this price!
Our goal for this book is to get you on the water. Like you, we'd rather
spend more time boating or fishing and less time reading the manual!
So, we designed our book so you don't have to read the whole thing from
front to back to find the information you want. At the start (or end) of
each segment, we'll tell you what content is coming up next. If it's a
concept you're already familiar with, we'll show you how and where to
skip ahead for the next important topic. We've also made it easy to look
up any tips you may need from time to time. Here's how:
The manual is organized into 10 sections. This first section is an
introduction to the unit's sonar and GPS. It tells you the basics you
need to know so you’ll easily be able to make the unit, not only tell you
where you are, but also where to find fish.
Section 2 will help you install your unit, the transducer and the GPS
antenna module. We'll also show you how to install the MultiMedia
Card (MMC) and give you some information on available accessories.
Section 3 covers Basic Sonar Operation. It will show you how easy it is
to run your sonar, right out of the box. This section features a one-page
Sonar Quick Reference. (If you've already jumped ahead and
figured out how to install the unit yourself, and you just can't
wait any longer, turn to the Quick Reference on page 51 and
head for the water with your unit!)
After you've gained some experience with your sonar, you'll want to
check out Section 4, which discusses advanced Sonar Options and
Other Features.
2
When you come to a sonar menu command on the unit's screen, you can
look it up in the manual by skimming over the table of contents, flipping
through Section 3, or scanning through the sonar options in Section 4.
If you're having difficulty with your sonar, you can find an answer to
the most common problems in Section 5, Sonar Troubleshooting.
The manual switches from sonar to navigation in Section 6, which
introduces you to Basic GPS Operations. This section features a one-
page GPS Quick Reference on page 107.
Section 6 contains short, easy-to-scan GPS lessons that follow one
another in chronological order. They're all you'll need to know to find
your way on the water quickly.
After you've learned the basics (or if you already have some GPS
experience), you may want to try out some of the unit's many advanced
navigation features. That brings us to Section 7, Advanced GPS
Operations. This section contains the rest of the unit's GPS command
functions, organized in alphabetical order.
When you come to a GPS menu command on the screen, you can look it up
in the manual by skimming over the table of contents, flipping through
Section 6, or scanning through the command portion of Section 7.
This unit is ready to use right out of the box, but you can fine tune and
customize its operation with dozens of options. Since sonar is the unit's
key feature, we put the main sonar options in Section 4. Some options,
such as screen brightness settings, affect both sonar and GPS
operations. We describe how to use those common options along with
GPS options in Section 8, System Setup and GPS Setup Options.
Section 8 is organized in alphabetical order.
In Section 9, we go into more detail on one of the unit's most remarkable
GPS capabilities — Searching. We'll introduce a search example in the
Basic GPS Operation section, but there are so many map items you can
search for, we had to give this function its own section in the manual! For
example, did you know your unit can look up business phone numbers,
like a virtual Yellow Pages? We’ll show you how in Section 9.
Finally, in Section 10, we offer Supplemental Material, including a list
of the GPS datums, warranties and customer service information.
It's important to us (and our power users), but, if you don't care how
many watts of power the unit has, or how many waypoints it can store,
skip ahead to important information on how sonar works, on page 6.
(Background on GPS begins on page 7).

3
How Your Sonar Works
Sonar has been around since the 1940s, so if you already know how it
works, skip down to read about the relatively new technology of GPS.
But, if you've never owned a sonar fish finder, this segment will tell you
the underwater basics.
Sonar is an abbreviation for SOund NAvigation and Ranging, a
technology developed during World War II for tracking enemy
submarines. (Lowrance developed the world's first transistorized
sportfishing sonar in 1957.) A sonar consists of a transmitter,
transducer, receiver and display. Here’s a simple explanation of how it
finds the bottom and the fish.
The transmitter emits an electrical impulse, which the transducer
converts into a sound wave and sends into the water. (The sound
frequency can't be heard by humans or fish.) The sound wave strikes an
object (fish, structure, bottom) and bounces back to the transducer,
which converts the sound back into an electrical signal.
The receiver amplifies this return signal, or echo, and sends it to the
display, where an image of the object appears on the scrolling sonar
chart. The sonar's microprocessor calculates the time lapse between the
transmitted signal and echo return to determine the distance to the
object. The whole process repeats itself several times each second.
Your sonar unit can record a log of the sonar signals that scroll across
the screen and save them to the MMC memory card. (These recordings
are also called sonar charts or sonar graphs.) You can replay this sonar
log in the unit using the Sonar Simulator function, or play it back on a
personal computer using our free Sonar Viewer. The viewer is available
for download from the Lowrance web site, www.lowrance.com.
You can save several different sonar log files, erase 'em and record new
ones, over and over again. The size of your sonar recordings are only
limited by the free space available on your MMC.
4
How Your GPS Works
You'll navigate faster and easier if you understand how this unit scans
the sky to tell you where you are on the earth — and, where you're
going. (But if you already have a working understanding of GPS
receivers and the GPS navigation system, skip on ahead to Section 2,
Installation & Accessories on page 9. If you're new to GPS, read on, and
you can later impress your friends with your new-found knowledge.)
First, think of your unit as a small but powerful computer. (But don't
worry — we made the series easy to use, so you don't need to be a
computer expert to find your way!) The unit includes a keypad and a
screen with menus so you can tell it what to do. The screen also lets the
unit show your location on a moving map, as well as point the way to
your destination.
This gimbal-mounted unit uses an external antenna/receiver module,
which makes the whole system work something like your car radio. But
instead of your favorite dance tunes, this receiver tunes in to a couple of
dozen GPS satellites circling the earth. (It will also listen in to the
WAAS satellites in orbit, but more about that in the upcoming segment
introducing you to GPS and WAAS.)
Your unit listens to signals from as many satellites as it can "see" above
the horizon, eliminates the weakest signals, then computes its location
in relation to those satellites. Once it figures its latitude and longitude,
the unit plots that position on the moving map shown on the screen.
The whole process takes place several times a second!
The performance doesn't stop there. Stored in the permanent memory
of every unit is a basic background map of the entire world. We lock it
in here at the factory — you can't change or erase this map.
The background map is suitable for many navigation chores, but for
maximum accuracy and much more detail, you need our optional map-
making software, MapCreate 6. Some unit features — such as
searching for businesses and addresses — won't work without a custom
MapCreate map. There is so much detail in our background map (and
even more in MapCreate) that we'll describe their contents and
differences in Section 6, Basic GPS Operations, on page 95.
NOTE
The LCX-26CHD and LCX-111CHD have Nautic Path charts,
HotSpots Elite charts and all high detail custom maps preloaded
onto a 20 Gigabyte hard drive. Therefore, if you own either the
LCX-26CHD or the LCX-111CHD, you do not need to load any of
those charts/maps into the unit. The unit can also use Navionics
charts, but they must be loaded into the unit via a Navionics card.
5
MMC and SD cards still will be necessary to log sonar chart data
and to store GPS data files.
Another portion of the unit's onboard memory is devoted to recording
GPS navigation information, which includes waypoints, event marker
icons, trails and routes. This lets you look back the way you came. Think
of this data storage like the hard drive memory in a computer or a tape
in a cassette tape recorder. You can save several different GPS data files,
erase 'em and record new ones, over and over again. Like any computer
file, these GPS Data Files (file format *.usr) can be shared between
other Lowrance GPS or sonar/GPS units and even personal computer.
Your unit has one more thing in common with a personal computer.
Just as computers have a floppy disk drive for storing and exchanging
files, this unit has a slot for an MMC (MultiMedia Card) or SDC
(Secure Digital card) flash memory card. These solid-state memory
devices are about the size of a postage stamp, but can hold data ranging
from 8 MB to 1 GB in size. (Compare that to a floppy disk's 1.44 MB
capacity!) The unit uses all that MMC space for two key GPS purposes.
(The MMC is also used to record sonar logs. See page 6.)
First, you can backup your onboard GPS Data Files by copying them to
the MMC. Since the MMC is removable (like a floppy disk or a cassette
tape), you can store these GPS Data Files on a personal computer
equipped with an MMC card reader. (Or store them on a pocketful of
MMCs, if you don't have a computer.) Our MapCreate mapping
software can save, edit or create its own GPS Data Files, which can be
copied to the MMC and then loaded from the MMC into the unit's
memory.
The other key GPS use for MMCs is storage of special high-detail,
custom maps, which you can produce on your computer with our
MapCreate software. These MapCreate custom maps contain much
greater detail than the basic background map. These Custom Map
Files (file format *.lcm) can also be shared between other Lowrance
GPS or sonar/GPS units and personal computers. (For example, the
exact same MMC, custom map files and GPS data files can be used
interchangeably between your gimbal-mounted unit and the hand-held
iFINDER GPS receiver.)
The unit automatically reads Custom Map Files directly from the MMC
or SDC. To use a custom map, all you need to do is slide an MMC
containing a map into the unit.
Introduction to GPS and WAAS
Well, now you know the basics of how the unit does its work. You might
be ready to jump ahead to Section 2, Installation & Accessories, on page

6
9, so you can mount your unit and plug in the power. Or you might
want to see how our text formatting makes the manual tutorials easy to
skim. If that's the case, move on to "How to Use This Manual" on page
8. But, if you want to understand the current state of satellite
navigation, look over this segment describing how GPS and its new
companion WAAS work together to get you where you're going.
The Global Positioning System (GPS) was launched July 17, 1995 by
the United States Department of Defense. It was designed as a 24-
hour-a-day, 365-days-a-year, all weather global navigation system for
the armed forces of the U.S. and its allies. Civilian use was also
available, but it was less accurate because the military scrambled the
signal somewhat, using a process called Selective Availability (SA.)
GPS proved so useful for civilian navigation that the federal
government discontinued SA on May 2, 2000, after the military
developed other methods to deny GPS service to enemy forces. Reliable
accuracy for civilian users jumped from 100 meters (330 feet) under SA
to the present level of 10 to 20 meters (about 30 to 60 feet.)
Twenty-four satellites orbit 10,900 nautical miles above the Earth,
passing overhead twice daily. A series of ground stations (with precisely
surveyed locations) controls the satellites and monitors their exact
locations in the sky. Each satellite broadcasts a low-power signal that
identifies the satellite and its position above the earth. Three of these
satellites are spares, unused until needed. The rest virtually guarantee
at least four satellites are in view nearly anywhere on Earth at all times.
A minimum of three satellites are required to determine a 2D fix.
The system requires signal reception from three satellites in order to
determine a position. This is called a 2D fix. It takes four satellites to
determine both position and elevation (your height above sea level —
also called altitude). This is called a 3D fix.
Remember, the unit must have a clear view of the satellites in order to
receive their signals. Unlike radio or television signals, GPS works at
7
very high frequencies. These signals can be easily blocked by trees,
buildings, an automobile roof, even your body.
Like most GPS receivers, this unit doesn’t have a compass or any other
navigation aid built inside. It relies solely on the signals from the
satellites to calculate a position. Speed, direction of travel, and distance
are all calculated from position information. Therefore, in order for the
unit to determine direction of travel, you must be moving and the
faster, the better. This is not to say that it won’t work at walking or
trolling speeds — it will. There will simply be more "wandering" of the
data shown on the display.
GPS is plenty accurate for route navigation, but the U.S. Federal
Aviation Administration has special needs for aircraft traffic control
that go beyond basic GPS. The FAA has a plan under way to boost GPS
performance even further with its Wide Area Augmentation System, or
WAAS. This GPS add-on will include a time control element that will
help airliners fly closer together while avoiding collisions. In addition to
carefully spacing airplanes along travel corridors, WAAS will
eventually make instrument landings and takeoffs more accurate as it
replaces existing aviation navigation systems.
Non-aviators can use WAAS signals to make their GPS navigation even
more accurate. Your unit receives both GPS and WAAS signals. WAAS,
however, has some limits you should know about.
First, the U.S. government has not completed construction of the WAAS
system, so it is not yet fully operational. The ground stations are in place,
but only a few of the needed WAAS satellites have been launched.
WAAS can boost the accuracy of land GPS navigation, but the system is
designed for aircraft. The satellites are in a fixed orbit around the
Equator, so they appear very low in the sky to someone on the ground
in North America. Aircraft and vessels on open water can get
consistently good WAAS reception, but terrain, foliage or even large
man-made structures frequently block the WAAS signal from ground
receivers.
You'll find that using your GPS receiver is both easy and amazingly
accurate. It’s easily the most accurate method of electronic navigation
available to the general public today. But remember this receiver is
only a tool. Always have another method of navigation available, such
as a map or chart and a compass.
Also remember this unit will always show navigation information in
the shortest line from your present position to a waypoint, regardless of
terrain! It only calculates position, it can’t know what’s between you
and your destination. It’s up to you to safely navigate around obstacles,
no matter how you’re using this product.
8
How to use this manual: typographical conventions
Many instructions are listed as numbered steps. The keypad and arrow
"keystrokes" appear as boldface type, so you can easily skim the
instructions and pick out what menu command to use.
Arrow Keys
The arrow keys control the movement of dotted cross-hair lines on your
mapping screen called the cursor. The arrow keys also control a
horizontal line depth cursor on the sonar screen. The arrow keys also
help you move around the menus so you can execute different
commands. They are represented by symbols like these, which denote
the down arrow, up arrow, left arrow and right arrow: ↓ ↑ ← →.
Keyboard
The other keys perform a variety of functions. When the text refers to a
key to press, the key is shown in bold. For example, the "Enter/Icons"
key is shown as ENT and the "Menu" key is shown as MENU.
Menu Commands
A menu command or a menu option will appear in small capital letters, in
a bold sans serif type like this: ROUTE PLANNING. These indicate that you are
to select this command or option from a menu or take an action of some
kind with the menu item. Text that you may need to enter or file names
you need to select are show in italic type, such as trail name.
Instructions = Menu Sequences
Most functions you perform with this unit are described as a sequence
of key strokes and selecting menu commands. We've written them in a
condensed manner for quick and easy reading.
For example, instructions for navigating a trail would look like this:
1. From the Map Page, press MENU|MENU|↓ to MY TRAILS|ENT.
2. Press ↓ to Trail 1|ENT|→|↓ to NAVIGATE|ENT.
3. You are asked to wait while it converts the trail into a route.
4. The wait message disappears and the unit begins showing
navigation information along the trail. Now, begin moving and
follow your unit's directions.
In clearer terms, step 1 (above) means: "Start on the Map Page. Press the
Menu key twice. Next, repeatedly press (or press and hold) the down
arrow key to scroll down the menu and select (highlight) the My Trails
menu command. Finally, press the Enter key."
Step 2: "Press the down arrow key repeatedly to scroll to the trail
named Trail 1, and press Enter. Next, press the right arrow key and
then the down arrow key to highlight the Navigate command, then
press Enter."
9
Section 2:
Installation & Accessories
Preparations
You can install the sonar and GPS systems in some other order if you
prefer, but we recommend this installation sequence:
CAUTION:
You should read over this entire installation section before
drilling any holes in your vehicle or vessel!
1. Determine the approximate location for the sonar/GPS unit, so you
can plan how and where to route the cables for the antenna, transducer
and power. This will help you make sure you have enough cable length
for the desired configuration.
2. Determine the approximate location for the transducer and its cable
route.
3. Determine the approximate location for the GPS antenna module
and its cable route.
4. Determine the location of your battery or other power connection,
along with the power cable route.
5. Install the transducer and route the transducer cable to the
sonar/GPS unit.
6. Install the GPS antenna and route the antenna cable to the
sonar/GPS unit.
7. Install the power cable and route it to the sonar/GPS unit.
8. Mount the sonar/GPS unit.
Transducer Installation
These instructions will help you install your Skimmer transducer on a
transom, on a trolling motor or inside a hull. These instructions cover
both single- and dual-frequency Skimmer transducers. Please read all
instructions before proceeding with any installation.
The smaller single-frequency Skimmers typically use a one-piece,
stainless steel mounting bracket. The larger dual-frequency Skimmers
typically use a two-piece, plastic mounting bracket. The trolling motor
mount uses a one-piece plastic bracket with an adjustable strap.
These are all "kick-up" mounting brackets. They help prevent damage if
the transducer strikes an object while the boat is moving. If the
transducer does "kick-up," the bracket can easily be pushed back into
place without tools.
10
Read these instructions carefully before attempting the installation.
Determine which of the mounting positions is right for your boat. Use
extreme care if mounting the transducer inside the hull, because once
the epoxy is applied and it is set into position, the transducer cannot be
removed. Remember, the transducer installation is the most
critical part of a sonar installation.
Recommended Tools and supplies
If you prefer the option of routing the cable through the transom, you
will need a 1" drill bit. A transom mount requires use of a high quality,
marine grade above- or below-waterline caulking compound.
NOTE
The following installation types also call for these recommended
tools and required supplies (supplies are not included):
Single-frequency transom installations
Tools include: two adjustable wrenches, drill, #29 (0.136") drill bit, flat-
head screwdriver. Supplies: high quality, marine grade above- or below-
waterline sealant/adhesive compound.
Dual-frequency transom installations
Tools: two adjustable wrenches, drill, #20 (0.161") drill bit, flat-head
screwdriver. Supplies: four, 1" long, #12 stainless steel slotted wood
screws, high quality, marine grade above- or below-waterline
sealant/adhesive compound.
Single-frequency trolling motor installations
Tools: two adjustable wrenches, flat-head screwdriver. Supplies: plastic
cable ties.
Shoot-through hull installations
Tools: these will vary depending on your hull's composition. Consult your
boat dealer or manufacturer. Other tools are a wooden craft stick or
similar tool for stirring and applying epoxy, and a paper plate or piece
of cardboard to mix the epoxy on. Supplies: rubbing alcohol, 100 grit
sandpaper, specially formulated epoxy adhesive available from LEI (see
ordering information on the inside back cover). A sandwich hull also
requires polyester resin.
Selecting a Transducer Location
1. The location must be in the water at all times, at all operating speeds.
2. The transducer must be placed in a location that has a smooth flow of
water at all times. If the transducer is not placed in a smooth flow of
water, interference caused by bubbles and turbulence will show on
the sonar's display in the form of random lines or dots whenever the
boat is moving.

11
NOTE
Some aluminum boats with strakes or ribs on the outside of the
hull create large amounts of turbulence at high speed. These boats
typically have large outboard motors capable of propelling the boat
at speeds faster than 35 mph. Typically, a good transom location on
aluminum boats is between the ribs closest to the engine.
3. The transducer should be installed with its face pointing straight
down, if possible. For shoot-thru applications: Many popular fishing
boat hulls have a flat keel pad that offers a good mounting surface. On
vee hulls, try to place the transducer where the deadrise is 10° or less.
Left, vee pad hull; right, vee hull. A pod style transducer is shown here,
but the principle is the same for Skimmers inside a hull.
4. If the transducer is mounted on the transom, make sure it doesn't
interfere with the trailer or hauling of the boat. Also, don't mount it
closer than approximately one foot from the engine's lower unit. This
will prevent cavitation (bubble) interference with propeller operation.
5. If possible, route the transducer cable away from other wiring on the
boat. Electrical noise from engine wiring, bilge pumps and aerators
can be displayed on the sonar's screen. Use caution when routing the
transducer cable around these wires.
Good and poor transducer locations.
CAUTION: Clamp the
transducer cable to transom
near the transducer. This will
help prevent the transducer
from entering the boat if it is
knocked off at high speed.
Good location
Good location
Poor angle
Poor location
Good
location
Deadrise less than 10
°
Pad Strakes

12
How low should you go?
For most situations, you should install your Skimmer transducer so
that its centerline is level with the bottom of the boat hull. This will
usually give you the best combination of smooth water flow and
protection from bangs and bumps.
Align transducer centerline with hull bottom.
However, there are times when you may need to adjust the transducer
slightly higher or lower. (The slots in the mounting brackets allow you
to loosen the screws and slide the transducer up or down.) If you
frequently lose bottom signal lock while running at high speed, the
transducer may be coming out of the water as you cross waves or
wakes. Move the transducer a little lower to help prevent this.
If you cruise or fish around lots of structure and cover, your transducer
may be frequently kicking up from object strikes. If you wish, you may
move the transducer a little higher for more protection.
There are two extremes you should avoid. Never let the edge of the
mounting bracket extend below the bottom of the hull. Never let the
bottom – the face – of the transducer rise above the bottom of the hull.
Shoot-thru-hull vs. Transom Mounting
In a shoot-thru-hull installation, the transducer is bonded to the inside
of the hull with epoxy. The sonar "ping" signal actually passes through
the hull and into the water. This differs from a bolt-thru-hull
installation (often called simply "thru-hull"). In that case, a hole is cut in
the hull and a specially designed transducer is mounted through the
hull with a threaded shaft and nut. This puts the transducer in direct
contact with the water.
Typically, shoot-thru-hull installations give excellent high speed
operation and good to excellent depth capability. There is no possibility
of transducer damage from floating objects, as there is with a transom-
mounted transducer. A transducer mounted inside the hull can't be
knocked off when docking or loading on a trailer.
Transom
Hull bottom
Transducer
centerline
13
The shoot-thru-hull installation, however, does have its drawbacks.
First, some loss of sensitivity does occur, even on the best hulls. This
varies from hull to hull, even from different installations on the same
hull. This is caused by differences in hull lay-up and construction.
Second, the transducer angle cannot be adjusted for the best fish arches
on your sonar display. (This is not an issue for flasher-style sonars.)
Lack of angle adjustment can be particularly troublesome on hulls that
sit with the bow high when at rest or at slow trolling speeds.
Third, a transducer CAN NOT shoot through wood and metal hulls.
Those hulls require either a transom mount or a thru-hull installation.
Fourth, if your Skimmer transducer has a built in temp sensor, it will
only show the temperature of the bilge, not the water surface temp.
Follow the testing procedures listed in the shoot-thru-hull installation
section at the end of this lesson to determine if you can satisfactorily
shoot through the hull.
Transom Transducer Assembly And Mounting
The best way to install these transducers is to loosely assemble all of the
parts first, place the transducer's bracket against the transom and see if
you can move the transducer so that it's parallel with the ground.
The following instructions sometimes vary depending on the mounting
bracket that came with your transducer. Single-frequency Skimmers
come with a one-piece stainless steel bracket, while dual-frequency
Skimmers come with a two-piece plastic mounting bracket. Use the set of
instructions that fits your model.
1. Assembling the bracket.
A. One-piece bracket: Press the two small plastic ratchets into the
sides of the metal bracket as shown in the following illustration. Notice
there are letters molded into each ratchet. Place each ratchet into the
bracket with the letter "A" aligned with the dot stamped into the metal
bracket. This position sets the transducer's coarse angle adjustment for a
14° transom. Most outboard and stern-drive transoms have a 14° angle.

14
Align plastic ratchets in bracket.
B. Two-piece bracket: Locate the four plastic ratchets in the
transducer's hardware package. Press two ratchets into the sides of the
plastic bracket and two on either side of the transducer as shown in the
following illustrations. Notice there are letters molded into each ratchet.
Place the ratchets into the bracket with the letter "A" aligned with the
alignment mark molded into the bracket. Place the ratchets onto the
transducer with the letter "A" aligned with the 12 o'clock position on
the transducer stem. These positions set the transducer's coarse angle
adjustment for a 14° transom. Most outboard and stern-drive transoms
have a 14° angle.
Insert and align ratchets.
Dot
Alignment letters
Alignment
positions
Transducer bracket
Transducer

15
Add ratchets to bracket and transducer.
2. Aligning the transducer on the transom.
A. One-piece bracket: Slide the transducer between the two
ratchets. Temporarily slide the bolt though the transducer assembly
and hold it against the transom. Looking at the transducer from the
side, check to see if it will adjust so that its face is parallel to the
ground. If it does, then the "A" position is correct for your hull.
If the transducer's face isn't parallel with the ground, remove the
transducer and ratchets from the bracket. Place the ratchets into the
holes in the bracket with the letter "B" aligned with the dot stamped
in the bracket.
Reassemble the transducer and bracket and place them against the
transom. Again, check to see if you can move the transducer so it's
parallel with the ground. If you can, then go to step 3A. If it doesn't,
repeat step 2A, but use a different alignment letter until you can
place the transducer on the transom correctly.
Insert bolt and check transducer position on transom.
Ratchets
Trans
ducer
bracket
Ratchet Ratchet
Transducer

16
B. Two-piece bracket: Assemble the transducer and bracket as shown
in the following figure. Temporarily slide the bolt though the transducer
assembly but don't tighten the nut at this time. Hold the assembled
transducer and bracket against the transom. Looking at the transducer
from the side, check to see if it will adjust so that its face is parallel to
the ground. If it does, then the "A" positions are correct for your hull.
If the transducer's face isn't parallel with the ground, remove and
disassemble the transducer and ratchets. Place the ratchets into the
bracket holes with the letter "B" aligned with the bracket alignment
mark. Place them on the transducer aligned with the 12 o'clock
position on the transducer stem.
Reassemble the transducer and bracket and place them against the
transom. Again, check to see if you can move the transducer so it's
parallel with the ground. If you can, then go to step 3B. If it doesn't,
repeat step 2B, but use a different alignment letter until you can
place the transducer on the transom correctly.
Assemble transducer and bracket.
3. Assembling the transducer.
A. One-piece bracket: Once you determine the correct position for
the ratchets, assemble the transducer as shown in the following
figure. Don't tighten the lock nut at this time.
Assemble transducer and bracket.
Nut
Metal
washer
Metal washer
Bolt
Rubber
washers
Flat washer
Lock washer
Flat washer
Nut
Bolt

17
B. Two-piece bracket: Once you determine the correct position for
the ratchets, assemble the transducer as shown in the figure in step
2B. Don't tighten the lock nut at this time.
4. Drilling mounting holes.
Hold the transducer and bracket assembly against the transom. The
transducer should be roughly parallel to the ground. The
transducer's centerline should be in line with the bottom of the hull.
Don't let the bracket extend below the hull!
Mark the center of each slot for the mounting screw pilot holes. You
will drill one hole in the center of each slot.
Drill the holes. For the one-piece bracket, use the #29 bit (for the #10
screws). For the two-piece bracket, use the #20 bit (for the #12
screws).
Position transducer mount on transom and mark mounting holes.
Side view shown (left) and seen from above (right).
5. Attaching transducer to transom.
A. One-piece bracket: Remove the transducer from the bracket and
re-assemble it with the cable passing through the bracket over the
bolt as shown in the following figures.
For single-frequency Skimmer, route cable over bolt and through
bracket. Side view shown (left) and seen from above (right).
Transom
Transom

18
Both bracket types: Attach the transducer to the transom. Slide the
transducer up or down until it's aligned properly with the bottom of
the hull as shown in the preceding and following figures. Tighten the
bracket's mounting screws, sealing them with the caulking compound.
Adjust the transducer so that it's parallel to the ground and tighten
the nut until it touches the outer washer, then add 1/4 turn. Don't
over tighten the lock nut! If you do, the transducer won't "kick-up" if
it strikes an object in the water.
Align transducer centerline with hull bottom and attach transducer to
transom. Rear view of dual-frequency Skimmer shown.
6. Route the transducer cable through or over the transom to the sonar
unit. Make sure to leave some slack in the cable at the transducer. If
possible, route the transducer cable away from other wiring on the
boat. Electrical noise from the engine's wiring, bilge pumps, VHF radio
wires and cables, and aerators can be picked up by the sonar. Use
caution when routing the transducer cable around these wires.
WARNING:
Clamp the transducer cable to the transom close to the
transducer. This can prevent the transducer from
entering the boat if it is knocked off at high speed.
If you need to drill a hole in the transom to pass the connector through,
the required hole size be 1".
CAUTION:
If you drill a hole in the transom for the cable, make sure it is
located above the waterline. After installation, be sure to seal the
hole with the same marine grade above- or below-waterline
sealant used for the mounting screws.
Flat-bottom hull
Deep-"vee" hull
Bottom
of
hull

19
7. Make a test run to determine the results. If the bottom is lost at
high speed, or if noise appears on the display, try sliding the
transducer bracket down. This puts the transducer deeper into the
water, hopefully, below the turbulence causing the noise. Be careful
not to install the transducer bracket below the bottom of the hull!
TROLLING MOTOR BRACKET INSTALLATION
(single-frequency only)
1. Attach the optional TMB-S bracket to the transducer as shown in the
following figure, using the hardware supplied with the transducer.
(Note: The internal tooth washer is supplied with the TMB-S.)
Attach motor mounting bracket to transducer.
2. Slide the adjustable strap supplied with the TMB-S through the slot
in the transducer bracket and wrap it around the trolling motor.
Position the transducer to aim straight down when the motor is in
the water. Tighten the strap securely.
3. Route the transducer cable alongside the trolling motor shaft. Use
plastic ties (not included) to attach the transducer cable to the
trolling motor shaft. Make sure there is enough slack in the cable for
the motor to turn freely. Route the cable to the sonar unit and the
transducer is ready for use.
Transducer mounted on trolling motor, side view.
TMB-S bracket
Bolt
Internal tooth washer
Nut
Flat washer

20
TRANSDUCER ORIENTATION AND FISH ARCHES
If you do not get good fish arches on your display, it could be because
the transducer is not parallel with the ground when the boat is at rest
in the water or at slow trolling speeds.
Transducer angles and their effects on fish arches.
If the arch slopes up – but not back down – then the front of the
transducer is too high and needs to be lowered. If only the back half of
the arch is printed, then the nose of the transducer is angled too far
down and needs to be raised.
NOTE:
Periodically wash the transducer's face with soap and water to
remove any oil film. Oil and dirt on the face will reduce the
sensitivity or may even prevent operation.
SHOOT-THRU-HULL PREPARATION
Hulls With Floatation Materials
The transducer installation inside a fiberglass hull must be in an area
that does not have air bubbles in the resin or separated fiberglass
Transducer aimed
too far back Transducer aimed
too far forward
Proper transducer angle
Partial fish arches
Full fish arch

21
layers. The sonar signal must pass through solid fiberglass. A
successful transducer installation can be made on hulls with flotation
materials (such as plywood, balsa wood or foam) between layers of
fiberglass if the material is removed from the chosen area.
Use epoxy to place the transducer in a solid portion of the hull.
For example, some (but not all) manufacturers use a layer of fiberglass,
then a core of balsa wood, finishing with an outer layer of fiberglass.
Removing the inner layer of fiberglass and the balsa wood core exposes
the outer layer of fiberglass. The transducer can then be epoxied
directly to the outer layer of fiberglass. After the epoxy cures for 24
hours, fill the remaining space with polyester resin. When the job is
finished, the hull is watertight and structurally sound. Remember, the
sonar signal must pass through solid fiberglass. Any air bubbles in the
fiberglass or the epoxy will reduce or eliminate the sonar signals.
WARNING:
Do not remove any material from your inner hull unless
you know the hull's composition. Careless grinding or
cutting on your hull can result in damage that could
sink your boat. Contact your boat dealer or
manufacturer to confirm your hull specifications.
Testing Determines Best Location
Ideally, the shoot-thru transducer should be installed as close to the
transom as possible, close to the centerline. This will give you the best
performance during high speed maneuvers.
Inner hull
Epoxy to hull first Outer hull
Flotation material
Fill with resin
Fill with resin

22
Shoot-thru-hull transducer locations for
high speed or trolling speed operation.
To choose the proper location for shoot-thru-hull mounting, follow these
testing procedures: (You may need a helper to complete these steps.)
1. Anchor the boat in about 30 feet of water. Add a little water to the
sump of the boat. Plug the transducer into the sonar unit, turn it on,
then hold the transducer over the side of the boat in the water. Adjust
the sensitivity and range controls until a second bottom echo is seen on
the display. (You'll need to turn off Auto Sensitivity, Auto Depth Range
and ASP. Try a range setting that is two to three times the water
depth. The harder (more rocky) the bottom, the easier it will be to get a
second bottom signal.) Don't touch the controls once they've been set.
Example of a second bottom signal. Unit is in 30 feet of water, with
range set at 80 feet and sensitivity set at 87 percent.
2. Next, take the transducer out of the water and place it in the water in
the sump of the boat, face down. (The transducer face is shown in the
figure on the following page.) Notice how the signal strength
decreases. The second bottom signal will probably disappear and the
bottom signal intensity will likely decrease.
Transducer location
(trolling speed)
Transducer location
(high speed)
Second bottom
True bottom
Manual range setting
23
3. Now move the transducer around to find the best location with the
strongest possible bottom signal. If you find a spot with an acceptable
bottom signal, mark the location and move on to step 4.
If you can't get an acceptable bottom signal, try turning up the
sensitivity by three or five keystrokes and then move the transducer
around once more. If you find a spot that works, mark it and move on to
step 4.
If you have to turn up sensitivity by more than five keystrokes to get a
good signal, the transducer should be mounted on the outside of the
hull. This is especially true if you have to turn sensitivity all the way
up to get a decent bottom signal.
4. Most people can get good results by following steps 1 through 3, so this
step is optional. If you want to make an extra effort to be absolutely sure
that your selected location will work under all conditions, make a test
run with the boat on plane and observe the bottom signal. You'll need to
figure some way to prop the transducer into position while you make
your test run. (A brick or two might be sufficient to hold it in place.)
5. When you're satisfied with a location, mark it and proceed with
the installation.
Shoot-thru-hull Installation
If you are installing the transducer on a hull with floatation material
sandwiched within the hull, refer to the text "Hulls With Flotation
Materials" beginning on page 20.
1. Make sure the area is clean, dry and free of oil or grease, then sand
both the inside surface of the hull and the face of the transducer with
100 grit sandpaper. The sanded hull area should be about 1-1/2 times
the diameter of the transducer. The surface of the hull must be flat
so the entire transducer face is in contact with the hull prior to
bonding. After sanding, clean the hull and transducer with rubbing
alcohol to remove any sanding debris.

24
Epoxy transducer to hull.
WARNING:
Use only the epoxy available from LEI. It has been
formulated to work with these installation procedures.
Other epoxy types may be too thin or may not cure to the
right consistency for optimum transducer performance.
2. The epoxy consists of the epoxy itself and a hardener. Remove the
two compounds from the package and place them on the paper plate.
Thoroughly stir the two compounds together until the mixture has a
uniform color and consistency. Do not mix too fast or bubbles will
form in the epoxy. After mixing, you have 20 minutes to complete the
installation before the epoxy becomes unworkable.
Spread a thin layer of epoxy (about 1/16" or 1.5 mm thick) on the face
of the transducer as shown in the previous figure. Make sure there
are no air pockets in the epoxy layer! Then, apply the remaining
epoxy to the sanded area on the hull.
3. Press the transducer into the epoxy, twisting and turning it to force
any air bubbles out from under the transducer face. Stop pressing
when you bottom out on the hull. When you're finished, the face of
the transducer should be parallel with the hull, with a minimum
amount of epoxy between the hull and transducer.
4. Apply a weight, such as a brick, to hold the transducer in place while
the epoxy cures. Be careful not to bump the transducer while the
epoxy is wet. Leave the weight in place for a minimum of three
hours. Allow the epoxy to cure for 24 hours before moving the boat.
5. After the epoxy has cured, route the cable to the sonar unit and it's
ready to use.
Spread epoxy here
Sand this surface
(unit's face)
Orient the Skimmer
with the nose facing
the bow of the boat.
To bow
25
Speed/Temperature Sensors
Optional Speed Sensor Installation
If you wish to purchase an optional or additional speed sensor for your
unit, visit our website, www.lowrance.com, or refer to the accessory
ordering information inside the back cover of this manual. The
following instructions describe how to install the speed sensor.
Recommended tools for this job include: drill, 7/8" drill bit, 1/8" drill bit
for pilot holes, screwdriver. Required supplies for this job include: four
#8 stainless steel wood screws (3/4" long), high quality, marine grade
above- or below-waterline sealant.
First find a location on the boat's transom where the water flow is
smoothest. Don't mount the sensor behind strakes or ribs. These will
disturb the water flow to the speed sensor. Make sure the sensor will
remain in the water when the boat is on plane. Also make sure the
location doesn't interfere with the boat's trailer. Typically, the sensor is
mounted about one foot to the side of the transom's centerline.
Once you've determined the proper location for the unit, place the
sensor on the transom. The bottom of the bracket should be flush with
the hull's bottom. Using the sensor as a template, mark the hull for the
screws' pilot holes. Drill four 1/8" holes, one in each end of the slots.
Mount the sensor to the hull using #8 stainless steel wood screws (not
included). Use a high quality, marine grade above- or below-waterline
sealant to seal the screws. Make sure the sensor is flush with the
bottom of the hull and tighten the screws.

26
Stern view showing good location for mounting sensor on transom.
Speed sensor mounting configuration:
side view (left) and rear view (right.)
If the base of the transom has a radius, fill the gap between the
transom and the sensor with the sealant. This will help ensure a
smooth water flow.
Route the sensor's cable through or over the transom to the sonar unit.
If you need to drill a hole in the transom to pass the connector through,
the required hole size is 7/8".
CAUTION:
If you drill a hole in the transom for the cable, make sure it is
located above the waterline. After installation, be sure to seal the
hole with the same marine grade above- or below-waterline
sealant used for the screws.
The sensor is now ready for use. Connect the sensor to the sonar socket
on the back of your unit and connect the transducer to the speed
sensor's socket. If you have any questions concerning the installation of
the sensor, please contact your local boat dealer.
GPS Antenna/Receiver Module
The LCX-25C, LCX-26CHD, LCX-110C and LCX-111XCHD packages
include the LGC-2000 GPS module. This device contains the unit's
Good location
Transom
Bottom of hull
Bottom of hull

27
external antenna and receiver for GPS and WAAS signals. The
antenna/receiver module comes with a 25-foot Y-adapter extension
cable. This module can be mounted on a flat surface or pole, or an
optional magnet is available for temporary mounting on any ferrous
surface.
LGC-2000 Module, bottom view (left) and top view (right).
You need to select an antenna installation location that has a clear,
unobstructed view of the sky. After the module is installed, connect it to
the unit. The LGC-2000 can communicate with your GPS unit either
directly (using the supplied extension cable) or through a NMEA 2000
network.
NOTE
See the module’s instruction sheet, publication part number 988-
0147-981, for complete installation instructions.
In an automobile, you may achieve good results by simply placing the
external antenna on the top of the dash, at the base of the windshield. A
piece of the rubber non-skid shelf liner material available in recreational
vehicle supply stores will help hold the antenna in place. This may not
work well if you have a cab-over design pickup truck camper or motor
home. If dashboard reception is poor, simply relocate the antenna module
elsewhere on the vehicle for a clearer view of the sky.
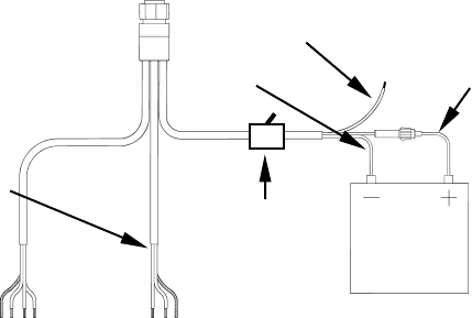
Connecting Directly to the Unit
After the module is installed, attach it to the end of the Y-adapter
extension cable as shown in the following diagram. To connect it to the
unit, insert the extension cable's splitter plug into the Network socket
on the back of the unit and your system is ready to use.

28
LGC-2000 direct connection to GPS unit.
NOTE:
The extension cable’s shorter branch will have a 60-ohm terminator
attached to it. Do not remove this terminator. When you're not
connecting to a NMEA 2000 buss, you must leave the terminator
connected to this socket for your antenna/receiver to function correctly.
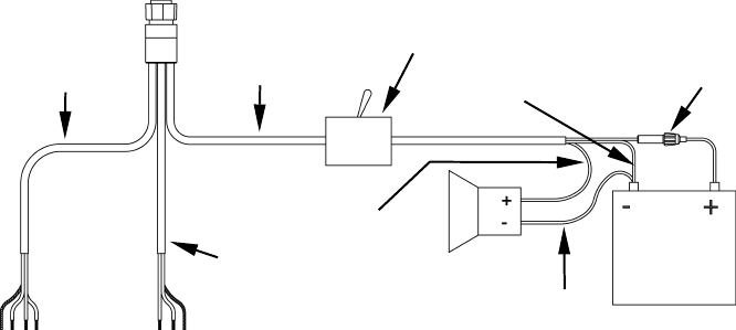
Connecting to a NMEA 2000 Network
The LGC-2000 can be connected to a NMEA 2000 buss, providing GPS
information to any Lowrance GPS units attached to the buss. Contact LEI
Extras (look inside back cover for accessory ordering information) for a
NMEA 2000 buss adapter cable if you would like to do this.
There are two ways to connect the antenna to a NMEA 2000 network
port. One method (shown in the following image) is to use the extension
cable's Y-adapter to connect both the antenna and the unit to the same
network port. To do this, simply remove the 60-ohm terminator shown in
the previous image and attach the NMEA 2000 buss adapter cable to the
shorter branch of the extension cable's Y-adapter. Connect the NMEA
2000 buss adapter cable's other end to an available network port.
LGC-2000 and GPS unit connection to NMEA 2000 buss.
You can also attach the antenna to a remote port on the network, and
pass position information along the network. To do this, simply attach the
LGC-2000's connector to one end of the buss adapter cable and attach the
other to an available port on the NMEA 2000 buss, as shown in the
following image. (You will have to use a similar adapter cable to connect
the GPS unit to the NMEA buss as described later in this section.)
25' Y-adapter
extension cable
60-ohm
terminator
LGC-2000
To unit
Splitter plug
LGC-2000
To NMEA 2000
network port
25' Y-adapter
extension cable
To unit

29
LGC-2000 remote connection to NMEA 2000 buss.
NOTE:
An existing operational NMEA 2000 buss will already have
terminators in place and will already be powered. If you're connecting
to such a network, you won't need the terminators or extension cable
provided. Do not add terminators or power to a functional NMEA
2000 buss!
When the LGC-2000 is connected to the unit (directly or indirectly), it
will begin providing GPS signal information.
Power Connections
Your unit comes with a power/data cable that splits into three ends,
each with several exposed wires (shown in the following figure). The
end with 4 wires (blue, yellow, orange and shield) is a Data cable that
connects to a NMEA 0183 interface. The end with three wires (red,
black and shield) is a power cable that connects to a NMEA 2000 buss.
The thicker three-wire cable (red, black and white) is the Power Supply
for your unit (and optional external speaker connection).
The Power/Data cable for this unit.
Depending on your configuration, you may not use all of these wires.
The following segments include instructions for installing all the wires
that you will use with this unit.
Caution
All of the wires in the power/data cable have bare ends for
easier installation. The bare ends on any unused wires could
cause an electrical short if left exposed. To prevent this, you
should cover the individual wire ends – either by capping them
with wire nuts or wrapping them with electrical tape. (You
should cut off the bare wire before taping off the ends.)
To NMEA 2000
network port
LGC-2000
To unit
Data Cable wires: blue,
yellow, orange and shield
Power Supply wires:
red, black and white
NMEA 2000 Power wires:
red, black and shield

30
Powering a NMEA 2000 Buss
(NMEA 2000 Power cable)
A NMEA 2000 buss must be connected to a power source to operate. If
you have a pre-existing NMEA 2000 installation, it may already be
connected to another power source. If your NMEA 2000 buss is already
powered, you can ignore the NMEA 2000 Power cable. Never attach
two power sources to a single NMEA 2000 buss.
If you do need to power your NMEA 2000 buss, attach the NMEA 2000
Power cable to your boat's battery just as indicated in the following
segment for connecting your unit's Power Supply cable. The NMEA
2000 Power cable's red wire should be attached (with provided 3-amp
fuse) to the boat battery's positive terminal, and the NMEA 2000 Power
cable's black and shield wires should both be attached to the battery's
negative terminal.
NOTE:
If the NMEA 2000 buss draws power directly from the boat's battery,
the LGC-2000 will remain on (drawing power) all the time. The LGC-
2000's current draw is very small and shouldn't decrease the boat's
storage battery life, but if this small draw is a concern, you can
install a switch between the NMEA 2000 buss and the battery.
Powering Your Unit
(Power Supply cable – red and black wires)
The unit works from a 12-volt battery system. For the best results,
attach the power cable directly to the battery. You can attach the power
cable to an accessory or power buss, however you may have problems
with electrical interference. Therefore, it's safer to go ahead and attach
the power cable directly to the battery.
CAUTION:
When using the unit in a saltwater environment, we strongly
recommend that you shut off the power supply to the power cable
when the unit is not in use. When the unit is turned off but still
connected to a power supply, electrolysis can occur in the power
cable plug. This may result in corrosion of the plug body along with
the electrical contacts in the cable and the unit's power socket.
In saltwater environments we recommend you connect the power
cable to the auxiliary power switch included in most boat designs.
If that results in electrical interference, or if such a switch is not
available, we recommend connecting direct to the battery and
installing an inline switch. This will let you shut off power to the

31
power cable when the unit is not in use. When you are not using
the unit, you should always shut off power to the power cable,
especially when the power cable is disconnected from the unit.
If possible, keep the power cable away from other boat wiring, especially
the engine's wires. This will provide the best isolation from electrical
noise. If the cable is not long enough, splice #18 gauge wire onto it. The
power cable has two wires, red and black. Red is the positive lead, black
is negative or ground. (There is also a white wire to power an optional
external speaker for some units.) Make sure to attach the in-line fuse
holder to the red lead as close to the power source as possible.
For example, if you have to extend the power cable to the battery or
power buss, attach one end of the fuse holder directly to the battery or
power buss. This will protect both the unit and the power cable in the
event of a short. It uses a 3-amp fuse.
Power connections for LCX-series sonar/GPS units.
NOTE:
If you're powering a NMEA 2000 buss, you will attach both the
NMEA 2000 Power cable and the unit's Power Supply cable to the
boat's battery. To attach the NMEA 2000 Power cable, connect the
red wire to battery's + and black and shield wires to battery's –.
WARNING:
This product must be independently fused with the
enclosed 3-amp fuse (or equivalent), even if you connect
to a fused accessory or power buss.
If a malfunction happens inside the unit, extensive
damage can occur if the enclosed fuse is not used. As with
12 volt
battery
Black wire Red wire with
3 amp fuse
To unit
Data Cable
Optional power off
switch for salt-
water installations
NMEA 2000 Power Cable
To power a
NMEA 2000
buss, also
connect
NMEA 2000
Power cable
to the boat's
battery.
External speaker wire

32
all electrical devices, this unit could be damaged to a
point that it is unrepairable and could even cause harm
to the user when not properly fused.
CAUTION:
Do not use this product without a 3-amp fuse wired into the power
cable! Failure to use a 3-amp fuse will void your warranty.
This unit has reverse polarity protection. No damage will occur if the
power wires are reversed. However, the unit will not work until the
wires are attached correctly.
NMEA 2000 Cable Connections
NMEA 2000 is a new buss network specifically designed for boats. This is
a very young industry standard and, at the time of printing, few boats
being built now have a NMEA 2000 buss installed. Over the next few
years, however, NMEA 2000 will become much more common. To help
you get the most out of this technology, your Lowrance unit is designed
to work with a NMEA 2000 network as soon as it becomes available.
Connecting to a NMEA 2000 Network
Your unit can be connected to a NMEA 2000 buss, receiving sensor
information from any Lowrance units attached to the buss. Contact LEI
Extras (look inside back cover for accessory ordering information) for a
NMEA 2000 buss adapter cable if you would like to do this. You can
connect both the unit and antenna module through the antenna's
extension cable (as described earlier), or you can connect the unit directly
to a network port. To do so, attach the adapter cable's manual locking
collar connector to the Network port on the back of the sonar unit and
attach the other end to an available port on the NMEA 2000 buss, as
shown in the following image.
Lowrance unit direct connection to NMEA 2000 buss.
As soon as the unit is connected to the network, it will begin receiving
shared information. Please note the buss must be powered to operate.
(See instructions in this section for more on powering NMEA 2000
buss.)
NMEA 0183 Wiring
(Data cable)
To exchange NMEA 0183 data, this unit has one NMEA 0183 version
2.0 communication port. Com port one (Com-1) can be used to receive
NMEA format GPS data. The com port can also transmit NMEA format
GPS data to another device.
To NMEA 2000
network port
To sonar
unit's Network
socket

33
The four wires for the com port are combined with the Power Supply
cable and NMEA 2000 Power cable to form the power/data cable (shown
earlier). Com-1 uses the yellow wire to transmit, the orange wire to
receive and the shield wire for signal ground. Your unit does not use
the blue wire.
Com-1 wiring to receive NMEA position information
from some other GPS receiver.
Com-1 wiring to transmit NMEA position information
to another NMEA-compatible device.
Ground To Other
Device
Com-1
To unit
Yellow (Transmit)
NMEA Receive
Shield (Ground)
Orange (Receive) NMEA Transmit
Shield (Ground) Ground
Com-1
To unit
To Other
GPS Receiver

34
Cable connections.
Mounting the Unit: Bracket or In-Dash
You can install the unit on top of a dash with the gimbal bracket. It can
also be installed in the dash or mounted on a portable power supply.
Sonar unit,
rear view
GPS
antenna
module
Power/Data
socket
LGC 2000 25'
extension cable
NMEA 2000
Power Cable
Sonar socket
Transducer
Power
Supply
Cable
Network
socket
SP-BL optional
speed sensor
60-ohm
terminator
NMEA 0183
Data Cable

35
If you use the supplied bracket, you may be interested in the optional
R-A-M bracket mounting system. This converts the unit's gimbal
bracket to a swivel mount, which can be used on the dash or overhead
mounting positions.
Optional R-A-M mounting system.
Bracket Installation
Mount the unit in any convenient location, provided there is clearance
behind the unit when it's tilted for the best viewing angle. You should
also make sure there is enough room behind the unit to attach the
power, transducer and GPS antenna/receiver module cables. (A
drawing on the next page shows the dimensions of a gimbal-mounted
unit.)
Holes in the bracket's base allow wood screw or through-bolt mounting.
You may need to place a piece of plywood on the back side of thin
fiberglass panels to reinforce the panel and secure the mounting
hardware.

36
Install the gimbal bracket. Place the bracket so the arms slope toward
the front of your unit.
Once a location is determined, use the bracket as a template and mark
the mounting holes and the hole for the cables. Drill a 1-inch (25.4 mm)
hole in the dash for the power, transducer and antenna cables. Screw
the bracket to the mounting surface.
Front
Screw
mounting
hole
Cable hole

37
Front view (left) and side view (right) showing dimensions of the
sonar/GPS unit when mounted on gimbal bracket.
To pass all connectors through the 1" hole, first pass the transducer
connector up through the hole from under the dash, followed by the
antenna connector and any accessory cables. Next, pass the power
cable's bare-wire end down though the hole from the top.
If you wish, you can fill in the hole around the cables with a good
marine caulking compound. No matter what type of installation you
prefer, be sure to leave enough slack in the cables to allow tilting or
swiveling the unit.
Attach the unit to the gimbal bracket using the supplied gimbal knobs
and washers. Attach the cables and the unit is ready to use.
In-Dash Installation
You can mount the unit in the dash with an optional FM-3 In-Dash
Adapter Kit. The kit includes mounting hardware and a template for
cutting the hole.
Millimeter
[Inch]
244
[9.58] 94
[3.61]
56.9
[2.24]
185
[7.34]
37.1
[1.37]

38
In-dash mounting template for this unit, showing dimensions.
NOTE: The figure above is not printed to scale.
MMC or SDC Memory Card Installation
Your unit uses MultiMedia Cards to store information, such as sonar
logs, custom maps, waypoints, trails and other data. The unit can also
use Secure Digital Cards (SD card) to store data. The unit can use up to
two cards; a MMC and a SD card can be used at the same time.
Throughout this manual, we will use the term MMC, but just
remember your unit can use an MMC or SD card to store data.
NOTE
The LCX-26CHD and LCX-111CHD have Nautic Path charts,
HotSpots Elite charts and all high detail custom maps preloaded
onto a 20 Gigabyte hard drive. Therefore, if you own either the
LCX-26CHD or the LCX-111CHD, you do not need to load any of
those charts/maps into the unit. The unit can also use Navionics
charts, but they must be loaded into the unit via a Navionics card.
MMC and SD cards still will be necessary to log sonar chart data
and to store GPS data files.
Both of these solid-state flash memory devices are about the size of a
postage stamp. A SD card is slightly thicker than a MMC. MMCs are

39
available in storage capacities of 8 MB, 16 MB, 32 MB and 64 MB. SD
cards are available in capacities of 8 MB, 16 MB, 32 MB, 64 MB, 128
MB, 256 MB and 1 GB.
Additional MMC cards are available from LEI Extras; see ordering
information inside the back cover of this manual. MMCs and SD cards
are also available at many camera and consumer electronics stores.
The MMC drawer is located on the front of the case. To install an
MMC, twist the drawer retainer counter-clockwise and pull.
The drawer will come out of the unit. Place the MMC in the drawer face
down (see following figures.)
Memory card drawer on the LCX-25C and LCX-26CHD.
Slide the drawer back into the unit and twist the retainer clockwise.
The MMC is now ready for use.
Other Accessories
MMC and MapCreate
Other available accessories include MMC cards, MMC card readers and
MapCreate™ 6 custom mapping software for your computer. MMC card
readers are available in USB versions.
MapCreate™ 6 CD-ROM, left; MMC card reader for USB ports, right.
Insert cards face down
Drawer
retainer
40
Switch Boxes
Two switch boxes are available for this unit. One transducer switch box
switches two transducers to one sonar unit. The other transducer switch
box switches two sonar units to one transducer.
If these accessories are not available from your dealer, see the
accessory ordering information on the inside back cover of this manual.
Visit our web site for a complete listing of all the available accessories
for your unit.
External Speaker
Your unit can play sounds to an external speaker. This feature can be
convenient any time you are away from the unit — especially in a
larger boat — but still want to hear its alarms. You might install a
small speaker at the stern of your boat so you won't miss a dangerous
Shallow Alarm while fishing, or put one in your galley so you can hear
the GPS Arrival Alarm.
You can purchase an external speaker and the wire to connect it at
your nearest audio or marine electronics store. You will need to buy
marine-grade 18 gauge stranded wire. Buy enough of one color (we
suggest white) to run from the unit's Power/Data cable to the speaker.
Buy enough of another color (we suggest black) to run from the speaker
to the battery or fuse box.
The unit is designed to work with most speakers, but make sure you
buy one that meets these minimum requirements:
• Minimum 8-ohm resistance
• Minimum 5-watt power
In your vessel or vehicle, mount the speaker wherever you want to hear
your unit's sounds. (Follow the speaker's installation instructions).
Next, connect the speaker to your unit as shown in the following figure.

41
Connections for optional external speaker.
The speaker should have either two terminals or two exposed wires: a
positive (+) and a negative (–) ground. Your unit's external audio
output is the white wire in the unit power supply cable. Connect this
wire to the speaker's positive (+) wire or terminal with white 18 gauge
wire. Connect the speaker's negative (–) ground wire or terminal to the
negative (–) terminal on your battery or fuse box with black 18 gauge
wire. The unit should automatically begin to play any active sounds
through the attached speaker.
Face Cover
Your unit comes with a white protective cover that snaps on and off the
front of the unit. This cover is intended for use when your unit and the
vehicle it's mounted in are idle.
WARNING:
When the unit is mounted in an unprotected area, such
as an open boat cockpit, the protective face cover must
be removed when the vehicle is moving at high speed.
This includes towing a boat on a trailer at highway
speeds. Otherwise, wind blast can pop off the cover.
Now that you have your unit installed, move on to Sec. 3, Basic Sonar
Operations. In Sec. 3 we'll present a series of step-by-step tutorials to
teach you the basics of your sonar operation.
NOTE:
When you first turn the unit on, the Map Page appears. If you'd
rather start learning about GPS operation first, turn to Sec. 6,
Basic GPS Operations. (Remember, you don't need to read this
manual from cover-to-cover to get going. We designed it so you can
skip around to the section you want to read.)
Unit power
supply cable
NMEA 0183
Data cable
(four wires)
NMEA 2000
Power cable
Black wire
Red wire with
3 amp fuse
Speaker
Optional power off
switch for salt-
water install
a
tions
Black speaker wire
12 volt
battery
White speaker wire
To unit
42
Notes

43
Section 3:
Basic Sonar Operation
This section addresses the unit's most basic sonar operations. The
instructions presented in Sec. 3 follow a chronological order. Sec. 4,
Sonar Options & Other Features, will discuss other more advanced
functions and utilities. Material in Sec. 4 is arranged in alphabetical
order.
Before you turn on the unit, it's a good idea to learn about the different
keys, the Main Menu, the four Page screens and how they all work
together. BUT, if you just can't wait to get on the water, turn to the
one-page Quick Reference on page 51.
Keyboard
LCX-26CHD sonar/GPS unit, front view, showing sonar screen,
keyboard and access door for the MMC compartment.
1. PWR/LIGHT (Power & Light) – The PWR key turns the unit on and
off and activates the backlight.
5
4
2
8
7
9
6
3
1
MMC drawer
44
2. PAGES – Pressing this and the ← → arrow keys switches the unit
between the four different page screens. (Satellite Status Page,
Navigation Page, Map Page and Sonar Page.) Each page represents one
of the unit's major operation modes.
3. MENU – Press this key to show the menus and submenus, which
allow you to select a command or adjust a feature. This also accesses
search functions for streets, intersections, addresses and highway exits.
4. ARROW KEYS – These keys are used to navigate through the
menus, make menu selections, enter data and move the map and sonar
chart cursors.
5. ENT/ICONS (Enter & Icons) – This key allows you to save data,
accept values or execute menu commands. It is also used to create
event marker icons.
6. EXIT – The Exit key lets you return to the previous screen, clear
data and close menus.
7. WPT – (Waypoint) The Waypoint key is used to save and recall
waypoints, search for waypoints and access the waypoint list. It also
launches the Point-of-Interest (POI) search menus and is involved in
some navigation functions.
8. ZOUT – (Zoom Out) – This key lets you zoom the screen out. On the
Sonar Page, this key returns you to a full sonar chart display, showing
the entire water column from surface to bottom. On the Map Page, this
lets you see a larger geographic area on the map. Less detail is seen as
you zoom out.
9. ZIN – (Zoom In) – This key lets you zoom the screen in. On the Sonar
Page, this key enlarges fish signals and bottom detail. On the Map
Page, zooming in lets you see greater detail in a smaller geographic
area on the map.
Power/lights on and off
To turn on the unit, press PWR. As the unit powers up, the Map Page is
displayed first. To switch to the Sonar Page, press PAGES|→|EXIT.
To turn on the backlight, press PWR again. The unit has three backlight
levels to select from. Repeatedly pressing PWR will cycle through the
backlight settings and turn off the backlight.
Turn off the unit by pressing and holding the PWR key for 3 seconds.

45
Main Menu
The unit has a Main Menu, which contains some function commands
and some setup option commands. The instructions in this section will
deal only with sonar functions, the basic commands that make the unit
show sonar signals on your screen. This unit will work fine right out of
the box with the factory default settings. But, if you want to learn
about the various sonar options, see Sec. 4, Sonar Options & Other
Features. (For general system setup and GPS options, see Sec. 8,
System Setup and GPS Setup Options.)
You can access the Main Menu from any of the four Page screens by
pressing MENU|MENU. To clear the menu screen and return to the page
display, press EXIT. (Remember, our text style for "MENU|MENU" means
"press the Menu key twice." See a full explanation of our instruction
text formatting on page 8, Instructions = Menu Sequences.)
Main Menu.
The Main Menu commands and their functions are:
Screen command: changes the contrast or brightness of the display.
Sounds command: enables or disables the sounds for key strokes and
alarms and sets the alarm style.
Alarms command: turns GPS alarms on or off and changes alarm
thresholds.
Route Planning command: used to plan, view or navigate a route.
My Trails command: shows, creates and deletes plot trails. Also used
to navigate or backtrack a trail.
Cancel Navigation command: turns off the various navigation
commands. Used to stop navigating after you have reached your

46
destination waypoint, Point of Interest or map cursor location; or after
you reach the end of a route or trail.
Sonar Setup command: sets various sonar options.
GPS Setup command: sets various GPS receiver options.
System Setup command: sets general configuration options.
Sun/Moon Calculations command: finds the rising and setting time
of the sun and the moon.
Trip Calculator command: shows trip status and statistics.
Timers command: controls the up timer, down timer and alarm clock.
Browse MMC Files command: this allows you to view the installed
MMC card and the files it contains.
Pages
The unit has four Page displays that represent the four major operating
modes. They are the Satellite Status Page, the Navigation Page, the Map
Page and Sonar Page. They are accessed by pressing the PAGES key, then
using → or ← to select a Page. (Clear the Pages Menu by pressing EXIT.)
Pages Menu, showing sonar display options.
Satellite Status Page
The Satellite Status Page provides detailed information on the status of
the unit's satellite lock-on and position acquisition. To get to the
Satellite Status Page, press the PAGES key, then use → or ← to select
STATUS. (Clear the Pages Menu by pressing EXIT). This page represents a
GPS function, so it is discussed in much greater detail in Sec. 6.
No matter what Page you are on, a flashing current position
indicator/question mark symbol and flashing GPS data displays
indicate that satellite lock has been lost and there is no position
confirmed.

47
WARNING:
Do not begin navigating with this unit until the numbers
have stopped flashing!
Satellite Status Page.
Navigation Page
This screen has a compass rose that not only shows your direction of
travel, but also the direction to a recalled waypoint. To get to the
Navigation Page, press PAGES| → or ← to NAVIGATION|EXIT.
This page represents a GPS function, so it is discussed in much greater
detail in Sec. 6.
The Navigation Page (left); navigation with sonar (right).
Map Page
The Map Page screens show your course and track from a "bird's-eye"
view, on a moving map. By default, this unit shows the map with north
always at the top of the screen. The arrow in the center of the screen is
your present position. It points in the direction you're traveling.

48
Map Page, showing position on Bull Shoals Lake, Arkansas. The full
map option (left). Map with sonar option (right).
Map Page is the default screen that appears when you turn on the unit.
To get to the Map Page from another page, press PAGES| → or ← to
MAP|EXIT.
You can display a split screen showing both the Map and Sonar pages
at the same time. This feature is discussed in Sec. 4, Sonar Options &
Other Features.
The Map Page represents a GPS function, so it is discussed in much
greater detail in Sec. 6.
Sonar Page
The Sonar Page displays the sonar chart. This is a "cross-section" view
of the water column beneath the boat. The chart moves across the
screen, displaying sonar signal echoes that represent fish, structure
and the bottom.
To get to the Sonar Page, press the PAGES key, then use → or ← to select
SONAR. (Clear the Pages Menu by pressing EXIT). The Pages Menu offers
four chart display options under the Sonar Page category. To access
them, press PAGES|← or→ to SONAR|↓ to Option Name|EXIT.
The Sonar Page has its own menu, which is used for advanced functions
and for setting various options. (Sonar Options and other features are
discussed in Sec. 4.) To Access the Sonar Page menu, from the Sonar
Page press MENU.

49
Pages Menu, showing sonar chart display option commands (left).
Sonar display options: full sonar chart (left) and split zoom chart.
Sonar chart display options (from left) digital data and FlashGraf.

50
Sonar Page Menu. Most of these functions are discussed in Sec. 4.
Sonar Page, showing full sonar chart mode.
You can customize how the Sonar Page displays its pictures and other data
in many ways. Your unit also includes several special sonar features and
options that can help you better interpret the underwater scene.
We'll discuss all of those features and options in Sec. 4, but to show you
how easy the unit is to operate, the following page contains a simplified,
10-step quick reference that will cover most fish finding situations. The
quick reference describes how your unit will operate with all the sonar
features in their automatic modes, which are set at the factory.
Surface clutter
Structure
Bottom signal
Fish arches
In FasTrack, fish
arches show as
horizontal bars.
Depth scale
Digital data
overlay
(depth &
temperature)
Surface signal
Zoom bar
FasTrack
bar graph
51
LCX-25C, LCX-26CHD, LCX-110C & LCX-111CHD
Sonar Quick Reference
1. Mount the transducer, antenna and unit. Connect the unit to electric
power and the transducer. (If GPS operation is desired, connect GPS
antenna, too.) Make sure the MMC is in. (See complete installation
details beginning on page 9.)
2. Launch your boat.
3. To turn on the unit, press and release PWR key.
4. Opening screen displays Map Page. Rotate through the four main
Page screens (Map Page, Satellite Status Page, Navigation Page, Sonar
Page) by pressing PAGES|← or → to select Page Name|EXIT. Switch
Pages to display Sonar Page.
5. If GPS data is desired, wait while unit locates satellites and calculates
current position. When the unit acquires position, a tone sounds and a
position acquired message appears.
6. With position acquired (if desired), head for your fishing grounds.
Your unit will automatically display digital depth and surface water
temperature in the top left corner of the screen.
The auto settings will track the bottom, displaying it in the lower
portion of the screen. The full sonar chart will scroll from right to left,
showing you what's under the boat as you cruise across the water. You
can change the display by:
Zooming in to enlarge the chart for more detail: press ZIN.
Zooming out to return to full chart mode: press ZOUT.
7. Watch the display for the appearance of fish arches. When you see
arches, you've found fish! Stop the boat and get your lure or bait into
the water at the depth indicated on the sonar chart.
8. Gauge the fish depth by visually comparing the fish arches with the
depth scale on the right side of the screen, or get a more accurate
measure with the Depth Cursor. Press MENU|↓ to DEPTH CURSOR|ENT.
Press ↓ to align the cursor line with the fish arch. The exact depth
appears in a box at the right end of the cursor line. To clear the cursor,
press EXIT.
9. If you are anchored or drifting at a very low speed, you are not
moving fast enough for a fish to return the tell-tale fish arch signal. As
you drift over a fish, or as a fish swims through the transducer's signal
cone, the fish echo will appear as a straight line suspended between the
surface and the bottom.
10. To turn off the unit, press and hold PWR key for three seconds.

52
Sonar Operations
As you can see from the quick reference on the previous page, basic operation
is pretty easy, right out of the box. If you are a sonar novice, try operating the
unit with the factory defaults until you get a feel for how it's working.
As you're learning the basics, there is one setting you might want to tinker
with from time to time — Sensitivity.
Sensitivity controls the unit's ability to pick up echoes. If you want to see
more detail, try increasing the sensitivity, a little at a time. There are
situations when too much clutter appears on the screen. Decreasing the
sensitivity can reduce the clutter and show the strongest fish echoes, if fish
are present. As you change the sensitivity setting, you can see the difference
on the chart as it scrolls.
These figures show results of different sensitivity levels on the same
location. Fig. 1: Sensitivity at 88 percent. Typical of full auto mode. Fig.
2: Sensitivity set at 75 percent. Fig. 3: Sensitivity set at 50 percent. Fig.
4: Sensitivity set at 100 percent.
You can change the sensitivity level whether you are in Auto
Sensitivity mode or Manual Sensitivity mode. The adjustment method
works the same in both modes, but gives you slightly different results.
Fig. 1 Fig. 2
Fig. 3 Fig. 4

53
Adjusting sensitivity in Auto Sensitivity Mode is similar to manually
adjusting a car's speed with the accelerator pedal while cruise control is
on. You can tell the car to run faster, but when you let off the gas the
cruise control automatically keeps you from running slower than the
minimum speed setting. In this unit, auto mode will let you increase
sensitivity to 100 percent, but the unit will limit your minimum setting.
This prevents you from turning sensitivity down too low to allow
automatic bottom tracking. When you change the setting with auto
turned on, the unit will continue to track the bottom and make minor
adjustments to the sensitivity level, with a bias toward the setting you
selected.
Adjusting sensitivity in Manual Sensitivity Mode is similar to driving a
car without cruise control — you have complete control of the car's
speed. In this unit, manual mode allows you to set sensitivity at 100
percent (maximum) or zero percent (minimum.) Depending on water
conditions, the bottom signal may completely disappear from the screen
when you reduce sensitivity to about 50 percent or less!
Try adjusting sensitivity in both auto and manual modes to see how
they work.
To adjust sensitivity:
1. Press MENU|ENT.
2. The Sensitivity Control Bar appears. Press ↓ to decrease sensitivity;
press ↑ to increase sensitivity. When it's set at the desired level, press
EXIT. (When you reach the maximum or minimum limit, a tone sounds.)
Sonar Menu with Sensitivity command selected (left). The Sensitivity
Control Bar (right).
NOTE:
If you want to change the sensitivity in Manual Mode, first turn off
Auto Sensitivity. From the Sonar Page, press MENU|↓ to AUTO
SENSITIVITY|ENT|↑ to SENSITIVITY|ENT. Press ↓ or ↑ to pick a different
sensitivity setting. When it's set at the desired level, press EXIT.

54
Important Tip:
While you are experimenting and learning, it's possible to scramble
the settings so that the sonar picture disappears from your screen.
If that happens, remember that it's easy to switch back to full
automatic operation by simply restoring the factory auto settings.
Here's how:
To Restore Factory Settings
1. Press MENU|MENU|↓ to SYSTEM SETUP|ENT|↓ to RESET
OPTIONS|ENT.
2. The unit asks if you want to reset all the options. Press ← to
YES|ENT. All options are reset and the unit reverts back to the Map
Page at the 4000-mile zoom range. (Any recorded sonar logs or GPS
data will be unchanged.)
Fish Symbols vs. Full Sonar Chart
You may have noticed in the quick reference that we used fish arches in
full sonar chart mode for our example, and not the popular Fish I.D.
fish symbol feature. Here's why.
Fish I.D. is an easier way for a sonar novice to recognize a fish signal
return when he sees it. However, locating a fish via symbol has some
limitations.
Your sonar unit's microprocessor is remarkably powerful, but it can be
fooled. Some of the echoes calculated to be fish could be tree limbs or
turtles! To see what's under your boat in maximum detail, we
recommend you turn off Fish I.D. and begin learning to interpret fish
arches.
Fish I.D. is most handy when you're in another part of the boat or
performing some task that prevents you from watching the sonar
screen. Then, you can turn on Fish I.D. and the audible fish alarm.
When that lunker swims under your boat, you'll hear it!
Fish I.D. can also be useful when you want to screen out some of the
sonar detail gathered by your unit. For example, in one case, fisherman
in San Francisco Bay saw clouds of clutter in the water but no fish
arches. When a downrigger was pulled up, it brought up several small
jellyfish. The fisherman switched their Lowrance sonar to Fish I.D.,
which screened out the schools of jellyfish and clearly showed the game
fish there as fish symbols.
Other Free Training Aids
The sonar options section discusses Fish I.D., fish alarms and other
features in greater detail. If you or a friend has Internet access, you can
also learn more about interpreting what you see on your sonar screen.
55
Visit our web site, www.lowrance.com. Be sure to check out the free
Sonar Tutorial, which includes animated illustrations and more
pictures of actual sonar returns, all described in detail. There's even a
"printer friendly" version of the tutorial available on our web site…it
makes a great supplement to this operation manual!
You can also download a free copy of our Sonar Viewer software. This
PC-based software application plays back any sonar chart log recorded
with a Lowrance sonar product. Features include:
• Adjustable range, zoom, sensitivity, Colorline , noise rejection,
surface clarity, etc. of the recorded file.
• Interpretation of sonar signals can be user defined.
• Operates like a Windows Multimedia Player with forward,
reverse, pause, fast forward, fast reverse, and scroll buttons.
• Adjustments update the entire record displayed
• Window can dynamically be sized on your monitor.
• Mouse cursor shows GPS position, depth and sounding number
anywhere on the visible record.
For the ultimate training aid, be sure to download the free emulator
software for your unit. Aside from being just plain fun, this program
can help you learn both basic and advanced operations without burning
boat fuel! Lowrance is the first sonar manufacturer to provide this type
of training tool for customers.
This PC application simulates the actual sonar/GPS unit on your
computer. You can run it from your computer keyboard or use your
mouse to press the virtual keys. Easy download and installation
instructions are available on our web site.

56
A free training emulator is available for your unit on our web site.
The emulator works exactly like your real sonar/GPS unit. Using the
Sonar Simulator and GPS Simulator features, it allows you to play
back sonar logs, run GPS routes and trails, even create real waypoints
you can use in the field! You can even take snapshots of the Sonar
Chart and print them or e-mail them to friends.

57
Section 4:
Sonar Options & Other Features
Material in this section is arranged in alphabetical order.
ASP (Advanced Signal Processing)
The ASP feature is a noise rejection system built into the sonar unit
that constantly evaluates the effects of boat speed, water conditions
and interference. This automatic feature gives you the best display
possible under most conditions.
The ASP feature is an effective tool in combating noise. In sonar terms,
noise is any undesired signal. It is caused by electrical and mechanical
sources such as bilge pumps, engine ignition systems and wiring, air
bubbles passing over the face of the transducer, even vibration from the
engine. In all cases, noise can produce unwanted marks on the display.
The ASP feature has four settings — Off, Low, Medium and High. If
you have high noise levels, try using the "High" ASP setting. However,
if you are having trouble with noise, we suggest that you take steps to
find the interference source and fix it, rather than continually using the
unit with the high ASP setting.
There are times when you may want to turn the ASP feature off. This
allows you to view all incoming echoes before they are processed by the
ASP feature.
Sonar Menu with Sonar Features selected (left). The Sonar Features
menu (right), Noise Rejection selected with ASP at default low setting.
To change the ASP level:
1. From the Sonar Page, press MENU|↓ to SONAR FEATURES|ENT.
2. Press → then ↓ to NOISE REJECTION|ENT.
3. Press ↓ or ↑ to select a setting, then press ENT.
4. To return to the previous page, press EXIT|EXIT.

58
Alarms
This unit has three different types of sonar alarms. The first is the Fish
Alarm. It sounds when the Fish I.D. feature determines an echo is a
fish.
Another alarm is the Zone Alarm, which consists of a bar on the side of
the screen. Any echo on the chart that appears inside this bar triggers
the alarm.
The last alarm is the Depth Alarm, which has both a Shallow and a
Deep setting. Only the bottom signal will trigger this alarm. This is
useful as an anchor watch, a shallow water alert, or for navigation.
Depth Alarms
The depth alarms sound a tone when the bottom signal goes shallower
than the shallow alarm's setting or deeper than the deep alarm's
setting. For example, if you set the shallow alarm to 10 feet, the alarm
will sound a tone if the bottom signal is less than 10 feet. It will
continue to sound until the bottom goes deeper than 10 feet.
The deep alarm works just the opposite. It sounds a warning tone if the
bottom depth goes deeper than the alarm's setting. Both depth alarms
work only off the digital bottom depth signals. No other targets will trip
these alarms. These alarms can be used at the same time or individually.
Main Menu and Alarms command (left). Sonar Alarms menu (right).
To adjust and turn on the shallow alarm:
1. Press MENU|MENU|↓ to ALARMS|ENT|↓ to SONAR ALARMS|ENT.
2. Press → to SHALLOW ALARM DEPTH|ENT.
3. Press ↑ or ↓ to change the first number, then press → to move the
cursor to the next number and repeat until the depth is correct, then
press ENT.
4. Press ← to SHALLOW ALARM ENABLED|ENT|EXIT|EXIT|EXIT.

59
To switch to a different depth setting, open the Sonar Alarms menu and
repeat the instructions in step 3 above.
To adjust and turn on the deep alarm:
1. Press MENU|MENU|↓ to ALARMS|ENT|↓ to SONAR ALARMS|ENT.
2. Press ↓ to DEEP ALARM ENABLED|→ to DEEP ALARM DEPTH|ENT.
3. Press ↑ or ↓ to change the first number, then press → to move the
cursor to the next number and repeat until the depth is correct, then
press ENT.
4. Press ← to DEEP ALARM ENABLED|ENT|EXIT|EXIT|EXIT.
To switch to a different depth setting, open the Sonar Alarms menu and
repeat the instructions in step 3 above.
Zone Alarm
The zone alarm is triggered when any echo passes inside the zone
alarm bar, shown on the right side of the screen.
To adjust and turn on the zone alarm:
1. Press MENU|MENU|↓ to ALARMS|ENT|↓ to SONAR ALARMS|ENT.
2. Press ↓ to ZONE ALARM ENABLED|→ to ADJUST ZONE|ENT.
Sonar Alarms menu, with Adjust Zone command selected (left); Adjust
Zone Alarm selection box, with Upper Limit selected (right).
3. To set the upper boundary for the Zone Alarm, use ← or→ to select
UPPER, then press ↑ or ↓ to move the top of the bar to the desired depth.
4. To set the lower boundary for the Zone Alarm, use ← or→ to select
LOWER, then press ↑ or ↓ to move the bottom of the bar to the desired
depth.
5. Press EXIT|← to ZONE ALARM ENABLED|ENT|EXIT|EXIT|EXIT. Now, any
echo — fish, bottom, structure — within the zone alarm's depth range
will trigger the zone alarm.
To switch to a different depth setting, open the Sonar Alarms menu and
repeat the instructions in steps 3 and 4 above.

60
Fish Alarm
Use the fish alarm for a distinctive audible alarm when fish or other
suspended objects are detected by the Fish I.D. feature (Fish I.D.
must be turned on for the Fish Alarm to work). A different tone sounds
for each fish symbol size shown on the display.
Sonar Alarms menu with Fish Alarm selected. The checkbox is blank,
indicating the alarm is turned off.
To turn on the fish alarm:
1. Press MENU|MENU|↓ to ALARMS|ENT|↓ to SONAR ALARMS|ENT.
2. Press ↓ to FISH ALARM|ENT|EXIT|EXIT|EXIT.
Calibrate Speed
The speed sensor can be calibrated to compensate for inaccuracies.
Before you change the setting, first calculate the percentage that the
speed is off. You will enter this percentage in a moment.
For example, if you figure the sensor is reading 10 percent faster than
actual speed, you will enter – 10 in the calibration window. If the
sensor is reading 5 percent slower than true speed, you will enter + 5 in
the window.
A good way to gauge your speed sensor's performance is to compare its
reading with the ground speed measured by your unit's GPS functions.
When you make a run to compare GPS ground speed to speed sensor
speed, perform your test in relatively calm water free of current, if
possible. (Unless, of course, you are taking the current speed into
consideration when making your calculation.) After you have a correct
figure, here's how to enter it:
1. Press MENU|MENU|↓ to SONAR SETUP|ENT|↓ to CALIBRATE WATER
SPEED|ENT.

61
2. Enter the number you calculated earlier: press ↑ or ↓ to change the
first character (+ or –), then press → to move the cursor to the next
number and repeat until the percentage is correct, then press EXIT.
Chart Speed
The rate echoes scroll across the screen is called the chart speed. The
default is maximum. We recommend you leave the setting there for
virtually all fishing conditions.
You, however, might consider experimenting with chart speed when
you are stationary or drifting very slowly. You may sometimes achieve
better images as you slow the chart speed to match how fast you are
moving across the bottom.
If you are at anchor, ice fishing or fishing from a dock, experiment with
a chart speed around 50 percent. If you are drifting slowly, try a chart
speed around 75 percent. When you are stationary and a fish swims
through the sonar signal cone, the image appears on the screen as a
long line instead of a fish arch. Reducing the chart speed may result in
a shorter line that more closely resembles a regular fish return.
Sonar Page menu with Chart Speed command selected (left);.
The Chart Speed Control Bar (right).
If you do experiment with chart speed, remember to reset it to
maximum when you resume trolling or moving across the water at
higher speed. To change chart speed:
1. From the Sonar Page, press MENU|↓ to CHART SPEED|ENT.
2. The Chart Speed Control Bar appears. Press ↓ to decrease chart
speed. Press ↑ to increase chart speed.
3. When it's set at the desired level, press EXIT.
ColorLine
ColorLine lets you distinguish between strong and weak echoes. It
"paints" a brighter color on targets that return a stronger signal. This
allows you to tell the difference between a hard and soft bottom. For

62
example, a soft, muddy or weedy bottom returns a weaker signal, which
is shown with a narrow, colored line (dark blue tinged with red or a
little yellow.) Since fish are among the weakest echoes, they show up
mostly as blue arches. A hard bottom or other relatively hard target
returns a strong signal displayed as a wide, brightly colored line
(reddish yellow to bright yellow.)
If you have two signals of equal size, one with red to yellow color and
the other without, then the target with brighter color (yellow) is the
stronger signal. This helps distinguish weeds from trees on the bottom,
or fish from structure.
ColorLine is adjustable. Experiment with your unit to find the
ColorLine setting that's best for you.
Sonar Page menu with ColorLine command selected (left);.
The ColorLine control bar (right).
To adjust the ColorLine level:
1. From the Sonar Page, press MENU|↓ to COLORLINE|ENT.
2. The ColorLine Control Bar appears. Press ↓ to decrease ColorLine;
press ↑ to increase Colorline.
3. When it's set at the desired level, press EXIT.

63
The "A" figures to the left show locations with ColorLine set at the
factory level of 70 percent. The "B" figures on the right show the same
locations with ColorLine increased to 84 percent. In Figure 1B, no fish
are near the left structure, but the right structure shows fish holding
next to the structure.
Depth Cursor
The depth cursor consists of a horizontal line with a digital depth box on
the right side. The numbers inside the box show the depth of the cursor.
ColorLine
Muddy
bottom
Hard
bottom
Muddy
bottom
Fish near
structure
Hard
bottom
Hard
structure
Colorline
Colorline
Fig. 2A
Fig. 3A
Fig. 2B
Fig. 3B
Fig. 1A Fig. 1B

64
Depth Cursor command selected (left). Depth cursor active (right); the
line indicates the large fish is 21.95 feet deep.
The cursor can be moved to any location on the screen, letting you
pinpoint the depth of a target.
1. From the Sonar Page, press MENU|↓ to DEPTH CURSOR|ENT.
2. The depth cursor appears. Press ↓ ↑ to move the cursor line.
3. To clear the depth cursor, press EXIT.
Depth Range - Automatic
When turned on for the first time, the bottom signal is automatically
placed in the lower half of the screen. This is called Auto Ranging and
is part of the automatic function. You can change the range to a
different depth, depending upon the bottom depth and the current
range. To do this:
1. From the Sonar Page, press MENU|↓ to DEPTH RANGE|ENT.
Sonar Page menu with Depth Range command selected (left); The
Depth Range Control Scale (right).
2. The Depth Range Control Scale appears. Press ↑ or ↓ to select a
different depth range. A blue bar highlights the selected range. The
shaded numbers can not be selected.
3. When the new range is selected, press EXIT to clear the menu.
Cursor line Depth box

65
Depth Range - Manual
You have complete control over the range when the unit is in the
manual mode. There are 16 depth ranges, from 5 to 4,000 feet.
To switch to Manual Depth Range:
1. First, turn off automatic depth range. From the Sonar Page, press
MENU|↓ to AUTO DEPTH RANGE|ENT.
2. Press ↑ to DEPTH RANGE|ENT and the Depth Range Control Scale appears.
3. Press ↓ or ↑ to select a different depth range. A horizontal blue bar
highlights the selected range.
4. When the new range is selected, press EXIT to clear the menu.
NOTE
The sonar's depth capability depends on the transducer
installation, water and bottom conditions, and other factors.
Depth Range - Upper and Lower Limits
Virtually any segment of the water column can be displayed by using
the upper and lower limit feature. This lets you pick the shallow and
deep range limits shown on the screen, provided there is at least 10 feet
between the upper and lower limit you select. For example, a range
from 12 feet to 34 feet could be used.
Changing the upper and lower limits gives you far greater control over
the depth range. This feature lets you "zoom in" the display in almost
unlimited combinations. Nearly any segment of the water column, from
the surface to the bottom can be shown. This enlarges the sonar targets
to best suit your fishing needs and water conditions.
Sonar Page Menu with Upper and Lower Limits command selected
(left); Sonar Chart Limits menu, with Upper Limit selected (right).
To change the upper and lower limits:
1. From the Sonar Page, press MENU|↓ to UPPER AND LOWER LIMITS|ENT.
The Sonar Chart Limits menu appears, with Upper Limit selected.

66
2. To set the upper limit, press ENT. Press ↑ or ↓ to change the first
number, then press → to move the cursor to the next number and
repeat until the depth is correct, then press EXIT.
3. To set the lower limit, press ↓ to LOWER LIMIT|ENT. Press ↑ or ↓ to
change the first number, then press → to move the cursor to the next
number and repeat until the depth is correct, then press
EXIT|EXIT|EXIT.
Normal display, in auto depth range mode, (left); Display "zoomed" with
Upper and Lower Limits focusing on the portion of the water column
from 25 feet to 45 feet deep (right). In the "zoomed" image on the right,
note the target definition, showing two fish holding just off the structure.
To turn off upper and lower limits:
From the Sonar Page, press MENU|↓ to AUTO DEPTH RANGE|ENT|EXIT.
FasTrack
This feature automatically converts all echoes to short horizontal lines
on the display's far right side. The rest of the screen continues to
operate normally. FasTrack gives you a rapid update of conditions
directly under the boat. This makes it useful for ice fishing, or when
you're fishing at anchor. When the boat is not moving, fish signals are
long, drawn out lines on a normal chart display. FasTrack converts the
graph to a vertical bar graph that, with practice, makes a useful
addition to fishing at a stationary location.
Fish arches
Area "zoomed"

67
Sonar Page showing FasTrack.
Fish I.D. (Fish Symbols & Depths)
The Fish I.D. feature identifies targets that meet certain conditions as
fish. The microcomputer analyzes all echoes and eliminates surface
clutter, thermoclines, and other undesirable signals. In most instances,
remaining targets are fish. The Fish I.D. feature displays fish symbols
on the screen in place of the actual fish echoes.
There are several fish symbol sizes. These are used to designate the
relative size between targets. In other words, Fish I.D. displays a small
fish symbol when it recognizes a target as a small fish, a medium fish
symbol on a larger target and so on.
The sonar's microcomputer is sophisticated, but it can be fooled. It can't
distinguish between fish and other suspended objects such as trotlines,
turtles, submerged floats, air bubbles, etc. Individual tree limbs
extending outward from a group of limbs are the hardest objects for the
Fish I.D. feature to distinguish from fish.
You may see fish symbols on the screen when actually, there are no
fish. The reverse also is true.
Does that mean Fish I.D. is broken? No. The feature is simply
interpreting sonar returns in a specific way to help take some of the
work out of reading the screen. Remember: Fish I.D. is one of the many
tools we provide so you can analyze your sonar returns for maximum
fish finding information. This and other features can help you
successfully "see" beneath the boat under varied water and fishing
conditions. Practice with Fish I.D. mode on and off to become more
familiar with it. The default for Fish I.D. is off.
Surface
clutter
Structure
Colorline
Bottom
signal
Fish arches
FasTrack,
fish arches
show as
horizontal
bars.
FasTrack
bar graph

68
Sonar Features highlighted (left); Fish I.D. Symbols selected (right).
To turn the Fish I.D. feature on:
1. From the Sonar Page, press MENU|↓ to SONAR FEATURES|ENT.
2. Press ↓ to FISH SYMBOLS|ENT|EXIT|EXIT.
To turn off Fish I.D., repeat the instructions in step 1.
Figures 1A and 2A (left) show Sonar Page in normal chart mode. Figures
1B and 2B (right) show the same underwater scene with Fish I.D. turned
on. Note how arches are replaced with symbols.
Fish arches
above structure
No fish shown
Fig. 1 A Fig. 1 B
Fig. 2 A Fig. 2 B
Many fish
arches visible Fewer fish
symbols visible
Fish symbols appear
in surface clutter

69
FishTrack
The FishTrack feature shows the depth of a fish symbol when it
appears on the display. This lets you accurately gauge the depth of
targets. This feature is available only when the Fish I.D. feature is on.
The default setting for FishTrack is off.
To turn on FishTrack:
(Note: These instructions will turn on FishTrack and Fish I.D. at the
same time.)
1. From the Sonar Page, press MENU|↓ to SONAR FEATURES|ENT.
2. Press ↓ to FISH DEPTHS|ENT|EXIT|EXIT.
To turn off FishTrack, repeat the instructions in step 1. Turning off
FishTrack in this manner will not turn off Fish I.D. symbols.
Sonar Features menu with Fish I.D. Depths selected (left). When the
check box to the left is unchecked, the feature is off. Sonar Page
showing Fish I.D. symbols and FishTrack depths turned on (right).
Frequency (Change Transducer Frequency)
A dual-frequency transducer operates with both 200 kHz and 50 kHz.
The 200 kHz frequency has a 12° cone angle and the 50 kHz frequency
has a 35° cone angle.
The default frequency is 200 kHz, which is best for use in shallow water
(about 300 feet or less). This frequency is the best choice for about 80
percent of the fresh and salt water sport fishing applications. When you
get into very deep salt water, 300 to 500 feet or deeper, the 50 kHz
frequency is the best choice.
The 200 kHz transducer will give you better detail and definition, but
less depth penetration. The 50 kHz transducer will give you greater
depth penetration, but a little less detail and less definition. (Remember,
all sonar units typically read deeper in fresh water than in salt water.)
There is a common exception to these rules of thumb. Some fishermen
on freshwater lakes (or the ocean) using downriggers like to see them
Symbols with
FishTrack depths

70
on the sonar. In many of those cases, you'll see a 50 kHz transducer
frequency in use because the wider cone angle lets them watch the bait.
Sonar Features menu with a frequency of 200 kHz selected.
To change the frequency setting to 50 kHz:
1. From the Sonar Page, press MENU|↓ to SONAR FEATURES|ENT.
2. Press ↓ to 50 KHZ|ENT.
3. Press EXIT|EXIT to clear the menu.
To change the frequency setting to 200 kHz:
1. From the Sonar Page, press MENU|↓ to SONAR FEATURES|ENT.
2. Press ↓ to 200 KHZ|ENT.
3. Press EXIT|EXIT to clear the menu.
HyperScroll
See the entry on Ping Speed, which controls the HyperScroll feature.
Log Sonar Chart Data
If you have an MMC installed in the unit, the sonar data shown on the
screen can be saved to it. This can be played back at any time. (To play
a recorded sonar chart log, see the entry in this section for Sonar
Simulator.) If you have a personal computer and internet access,
download our free Sonar Viewer and your unit’s emulator at our web
site, www.lowrance.com. That will allow you to replay sonar logs on
your personal computer.

71
The Sonar Page menu with the Log Sonar Chart Data command
selected (left). Sonar Chart Logging menu, with the Start Logging
command selected (right). The MMC has 11.7 MB of free space, which
will record the scrolling chart for 20 minutes and 44 seconds.
To record or log chart data:
1. Press MENU|↓ to LOG SONAR CHART DATA|ENT.
2. To record data using the default settings, press ENT. The menu clears
and the Sonar Page title bar shows the name of the file you are
recording. Warning messages will appear as recording time begins to run
out.
NOTE
You can change any of the settings by using the cursor arrows to
highlight different commands. Select FILE NAME if you want to
change the name. Select CHART QUALITY if you want to lower the file
quality and record for a longer period of time. After you've changed
the settings, select START LOGGING.
Noise Rejection
See the entry on Advanced Signal Processing in this section.
Overlay Data
On any page display except the Satellite Status and Navigation pages,
you can "float" or overlay additional data on the screen with the
Overlay Data command. The various data available from your unit are
divided into categories in the Overlay Data menu. These categories
include GPS Data, Navigation, Trip Calculator, Time, Sonar Data and
Miscellaneous Data.
You can select items from any of these categories for display, in any
combination. The category divisions are there only to help you sort
through the information.

72
Overlay Data Shown window (left); Data viewer with the Sonar Data
category expanded (right).
To overlay information on your screen:
1. Press MENU|↓ to OVERLAY DATA|ENT.
2. If you have overlay data on your display, you’ll see a list of that data
on the overlay data shown menu. To add data, select (ENT TO ADD) and
press ENT. The data viewer shows information categories with "+" or "–"
symbols next to each category name. A category with a "+" next to it is
expandable, meaning its contents are hidden.
Selecting the category name and pressing ENT will show the category's
contents, so you can choose items within it. An expanded category (one
with a "–" next to its name) can be collapsed to hide its contents. Just
select the category and press ENT.
3. Expand any categories that might contain data you want to display.
Then press ↓ or ↑ to select a data option.
4. With the data option highlighted, press ENT to check it (turn it on) or
uncheck it (turn it off). As you turn it on, the data will appear on top of
the screen. Every Page display has a maximum number of items you
can show using the Overlay Data command.
5. After the desired changes are made, press EXIT|EXIT to return to the
page display.
To remove overlaid data:
1. While on the Page display that shows the item or items you want to
remove, press MENU|↓ to OVERLAY DATA|ENT.
2. You'll see a list of the overlay data currently displayed. Select the
item you want to remove from your display and press ENT|ENT to
remove the data. To remove another item, select the item and press
ENT|ENT.

73
3. When you have finished removing all the items you want from the
screen, press EXIT to return to the page display.
Overlay Data Shown, with water speed selected (left). Press ENT to
access REMOVE option (right). Press ENT again to remove item and
return to the Overlay Data Shown screen.
To move overlaid data:
You may find it useful to rearrange data floating in your display
window.
1. Press MENU|↓ to OVERLAY DATA|ENT.
2. You'll see a list of the overlay data currently displayed. Select the
item you want to move and press ENT|→ to MOVE|ENT.
3. The data begins to flash on your screen. Use any combination of →,
←, ↑ and ↓ to move the data to a new location.
4. When satisfied, press EXIT|EXIT.
NOTE
The Customize command and the Overlay Data command use the
same information categories. The difference between the two
commands is the Customize command is only used to modify pages
with digital data boxes, while Overlay Data changes information
floating on the screen. See Customize Page Displays, on page 82 for
information on customizing data boxes.
To change displayed data font size:
1. From the Map or Sonar page, press MENU|↓ to OVERLAY DATA|ENT.
2. Press ↓ or ↑ to select Data Type|press → or ← to Data Size|EXIT.
The selected data type will be displayed in the new size. (To change the
font size of another data type repeat these steps, beginning with step
two above.)
3. To return to the previous page, press EXIT.

74
The overlay data on this sonar display includes, Depth, Temperature,
Ground Speed and the Track the boat is following.
NOTE
Some data types can be displayed in only one font size. If that is the
case, the Data Size box will not be displayed for that data type.
Overlay Data Style
Do you like a digital readout or do you prefer an analog gauge look?
With the Overlay Style feature you can mix and match your data to suit
your viewing preferences.
To access overlaid data style menu:
1. Press MENU|↓ to OVERLAY DATA|ENT.
2. This will bring up the Overlay Data Shown menu with a list of
current overlay data. Highlight the data you want to change on the
Overlay Data Shown menu and press ENT, which will launch the data
information menu.
3. Use ↓ to select overlay style, choose analog, and press ENT.
4. Next, press → to enter Analog Setup, which will place a gauge on the
display instead of digital numbers.
The Data Information menu (left) with Overlay style window
activated. Choose analog and the Analog Setup button appears (right).

75
Gauge Setup Menu.
There are four primary setup options in the analog menu: Themes, Tick
Marks, Thresholds and Text. You can make gauges transparent from
all setup menus except Text Setup.
To change the setup menu, scroll down, highlight one of the four setup
options and press ENT. Use ↑ ↓ to select the desired category on the
setup menu, then press ENT. To return to the main sonar display, press
ENT repeatedly. For advanced information on Overlay Data Style skip
ahead to 160.
Ping Speed & HyperScroll
Ping Speed controls the rate at which the transmitter and transducer
broadcast sonar sound waves — pings — into the water. The unit has a
default ping speed of 50 percent. At normal boating speeds, this
automatically provides enough return echoes to refresh the screen and
scroll the chart at maximum chart speed.
However, when you are running at high speeds, or just want the fastest
possible screen update, you may want to use the HyperScroll feature.
When you change the Ping Speed to any setting greater than 50
percent, the unit automatically enters HyperScroll mode.
These faster ping rates allow you to maintain a high-detail picture on
the screen, and the screen refresh rate and chart scroll speed can keep
pace with the boat as it moves quickly over the bottom terrain.
When using HyperScroll, you may also need to manually decrease the
sensitivity for optimum performance. Depending on water depth and
other conditions, HyperScroll may cause a second bottom echo to return
to the transducer during the next ping cycle, or sounding. This can result

76
in a large amount of clutter appearing on the screen. If this occurs, just
decrease the sensitivity to a level that eliminates the clutter. When you
turn HyperScroll off, you can return to your original sensitivity level.
Sonar Menu with Ping Speed command selected (left).
The Ping Speed Control Bar (right) at default setting.
To change Ping Speed:
1. From the Sonar Page, press MENU|↓ to PING SPEED|ENT.
2. The Ping Speed Control Bar appears. Press ↑ to increase ping speed;
press ↓ to decrease ping speed. When it's set at the desired level, press EXIT.
To turn off HyperScroll:
1. From the Sonar Page, press MENU|↓ to PING SPEED|ENT.
2. The Ping Speed Control Bar appears. Press ↓ to decrease ping speed
to 50 percent. When it's set at the desired level, press EXIT.
When you boost ping speed and switch into HyperScroll, the width of
the FasTrack bar graph display doubles at the right side of the screen.
This allows you to better see the virtually instantaneous sonar returns,
just as you would on a flasher sonar unit. For more information on
FasTrack, see its entry in this section.
Reset Options
This command is used to reset all features, options and settings to their
original factory defaults. This is useful when you have changed several
settings and want to return the unit to basic automatic operation.
1. Press MENU|MENU|↓ to SYSTEM SETUP|ENT|↓ to RESET OPTIONS|ENT.
2. Press ← to YES|ENT.
3. All the menus are cleared and the unit reverts to the Map Page at
the 4000-mile zoom range, just as if you had turned it on for the first
time. All options have been returned to the factory settings.

77
System Setup menu with Reset Options command selected (left). The
Reset Options dialog box (right).
NOTE
Reset Options does not erase any waypoints, routes, plot trails, or
sonar logs.
Reset Water Distance
The sonar chart's Digital Data display option includes a window that
shows distance traveled, called Water Distance ("W Distance"). This
information is calculated from an optional water speed sensor, not the
GPS. The Water Distance window can be reset to zero using the Reset
Water Distance command.
Press MENU|MENU|↓ to SONAR SETUP|ENT|↓ to RESET WATER
DISTANCE|ENT. The menus are cleared and water distance is reset to 0.00.
Set Keel Offset
This unit measures water depth from the face of the transducer. Since
the transducer is installed below the water surface, the depth displayed
by the digital depth, chart depth scale, chart cursor or fish symbols is
not exact. If the transducer is 1 foot below the surface, and the screen
shows the water depth as 30 feet, then the actual depth is 31 feet.
On sailboats or other large vessels with deep drafts, the distance
between the transducer installation and the keel or lower engine unit
can be several feet. In those cases, an inexact depth reading could
result in grounding or striking underwater structure. The Keel Offset
feature eliminates the need for the navigator to mentally calculate how
much water is under his keel.
Keel Offset lets you calibrate the digital depth: chart depth scale, chart
cursor depth and fish symbol depth displayed on the screen. To calibrate
the depth indicators, first measure the distance from the face of the
transducer to the lowest part of the boat. In this example, we will use 3.5
78
feet. This will entered as a negative 3.5 feet, which makes the depth
indicators perform as if the transducer's lower in the water than it really
is.
1. Press MENU|MENU|↓ to SONAR SETUP|ENT.
2. Use ↓ to scroll down to KEEL OFFSET, then press ENT. The Keel Offset
dialog box appears. Press ↓ to change the plus (+) sign to a minus (–)
sign.
3. Press → to the first number, then press ↑ to change the number to 3.
4. Press → to the second number, then press ↑ to change the number to
5, then press EXIT. The depth indicators now accurately show the water
depth beneath the keel.
NOTE:
If knowing the exact depth of water beneath the keel is less
important, you can calibrate the depth indicators so that they show
the actual water depth from surface to bottom. To do this, first
measure the distance from the face of the transducer to the surface
(the water line on the boat). In this example, we will use 1.5 feet. This
will be entered as a positive 1.5 feet, which makes the depth
indicators perform as if the transducer's higher in the water than it
really is.
1. Press MENU|MENU|↓ to SONAR SETUP|ENT.
2. Use ↓ to scroll down to KEEL OFFSET, then press ENT. The Keel
Offset dialog box appears with a plus (+) sign at the front of the
box.
3. Press → to the first number, then press ↑ to change the number
to 1.
4. Press → to the second number, then press ↑ to change the
number to 5 and press EXIT. The depth indicator now accurately
shows the water depth from surface to bottom.
Sensitivity & Auto Sensitivity
Sensitivity controls the ability of the unit to pick up echoes. A low
sensitivity level (from zero to 50 percent) excludes much of the bottom
information, fish signals, and other target information.
High sensitivity levels let you see this detail, but it can also clutter the
screen with many undesired signals. Typically, the best sensitivity level
shows a solid bottom signal with some surface clutter.

79
Automatic Sensitivity
The default sensitivity mode is automatic. The unit bases the
sensitivity level on water depth and conditions. When the unit is in the
automatic mode, sensitivity is automatically adjusted to keep a solid
bottom signal displayed, plus a little more power. This gives it the
capability to show fish and other detail.
Situations occur, however, when it becomes necessary to increase or
decrease sensitivity. This typically happens when you wish to see more
detail, so an increase in sensitivity is needed. Or when wave action and
boat wakes create tiny air bubbles that clutter much of the water
column. In that case, a decrease in sensitivity is necessary to reduce
some of the clutter.
The control bar used to adjust sensitivity up or down is the same
whether the unit is in the automatic or manual mode. In automatic you
can adjust sensitivity up to 100 percent but the unit will limit your
minimum setting. In auto, the unit will continue to make small
adjustments, allowing for the setting you selected.
In manual mode, you have complete control over sensitivity, with the
ability to set it anywhere from zero to 100 percent. Once you select a
level in manual, the unit will continue to use that exact sensitivity
setting until you change it or revert to auto mode.
To adjust sensitivity in auto mode:
1. Press MENU|ENT.
2. The Sensitivity Control Bar appears. Press ↓ to decrease sensitivity;
press ↑ to increase sensitivity. When it's set at the desired level, press
EXIT. (When you reach the maximum or minimum limit, a tone sounds.)
Sonar Menu with Sensitivity command selected (left).
The Sensitivity Control Bar (right).
80
To adjust sensitivity in manual mode:
1. First, turn off Auto Sensitivity: from the Sonar Page. Press MENU|↓
to AUTO SENSITIVITY|ENT.
2. Press ↑ to SENSITIVITY|ENT and the Sensitivity Control Bar appears.
Press ↓ or ↑ to pick a different sensitivity setting. When it's set at the
desired level, press EXIT.
To turn Auto Sensitivity back on:
From the Sonar Page, press MENU|↓ to AUTO SENSITIVITY|ENT|EXIT.
NOTE:
To return to the original factory setting for Auto Sensitivity, see the
entry in this section on Reset Options. If sensitivity is in manual
mode, the Reset Options command will switch back to Auto and
reset the factory setting at the same time.
Tip:
For quicker sensitivity adjustments, try leaving the Sensitivity
Control Bar on the screen as the chart scrolls. This is handy when
there's a lot of clutter in the water and you are matching the
sensitivity to rapidly changing water conditions.
Sonar Chart Mode
The default color scheme for the sonar chart is white background, but
we offer other variations to suit your viewing preferences. The chart
can be displayed in Grayscale, Reverse Grayscale, Blue Background,
White Background, Nightview, IceView or Bottom Color Tracking.
To change the chart mode:
1. From the Sonar Page, press MENU|↓ to SONAR FEATURES|ENT.
2.. Press → ↓ to SONAR CHART MODE|ENT.
3. Press ↓ or ↑ to Mode Name|ENT.
4. Press EXIT|EXIT to return to the Sonar Page.
Sonar Page & Sonar Chart Display Options
The Pages Menu has four chart display options. To access them, press
PAGES|← or→ to SONAR|↓ to Option Name|EXIT.

81
Pages Menu, showing sonar chart display options.
Full Sonar Chart
This is the default mode used when the unit is turned on for the first
time or when it's reset to the factory defaults.
The bottom signal scrolls across the screen from right to left. Depth
scales on the right side of the screen aid in determining the depth of
targets. The line at the top of the screen represents the surface. The
bottom depth and surface temperature (if equipped with a temperature
sensor or a transducer with a temp sensor built in) show at the top left
corner of the screen.
The FasTrack™ display shows just to the right of the scale. This
changes all echoes into short horizontal bars, replicating a flasher
sonar. The zoom bar on the far right shows the area magnified when
the zoom is in use. (See the Zoom section on page 92 for more
information.)
Full Sonar Chart. The Overlay Data (depth and water temperature)
are each set to a different text size.

82
Split Zoom Sonar Chart
A split chart shows the underwater world from the surface to the
bottom on the right side of the screen. The left side shows an enlarged
version of the right side. The zoom range shows at the bottom left
corner of the screen.
Split Zoom Sonar Chart (left) shows the left window zoomed
to 2X. The image on the right shows the left window zoomed to 4X.
Digital Data/Chart
This mode shows the chart on the right side of the screen. The left side has
four digital boxes containing, Depth, Track, Bearing and a Temperature
Graph.
Digital Data/Chart.
Customize Page Displays
Every Page display option except Full Map (on the Map Page) has
customizable Digital Data boxes to provide on-screen information.
The various data available from your unit are divided into categories in
the Data Viewer menu. These categories include GPS Data, Navigation,
Trip Calculator, Time, Sonar and Miscellaneous Data. You can select

83
items from any of these categories for display in any data box. The
category divisions are only there to help you sort through the
information.
To change information displayed in a data box:
On the page with the digital data box you wish to change, press
MENU|↓ to CUSTOMIZE|ENT. A data box name will flash, indicating it is
selected. Press ENT to modify the box or hit ↑ or ↓ to select another box,
then press ENT. You'll see a list of categories with "+" or "–" symbols
next to each category. A category with a "+" is expandable, meaning its
contents are hidden.
Data Viewer with the Sonar Data category expanded.
Selecting the category name and pressing ENT will show the category's
contents, so you can choose items within it. An expanded category (one
with a "–" next to its name) can be collapsed to hide its contents. Just
select the category name and press ENT.
Expand any categories that might contain data you want to display.
Then press ↓ or ↑ to select a different data option. With the new option
highlighted, press ENT to switch the contents of the box to the new data
type, then press EXIT. You can now select another box to change. When
you are finished with the settings, press EXIT again and the box name
stops flashing.
NOTE
A Page display can only show a limited number of data boxes.
FlashGraf
The FlashGraf sonar page option represents a flasher style sonar
combined with a scrolling chart. A circular dial shows all returning
echoes at a high screen refresh rate. It uses the Colorline feature to
show weaker targets as darker colors. The bottom depth is shown as a
black bar across the outer circle.

84
You can adjust the size of the chart and the flasher windows by using
the Resize Window command, which is described on page 105.
FlashGraf page.
Map With Sonar Split Screen
There is a page mode that splits the screen in half, with the map on the
left and the sonar on the right. This screen option can be found on the
Pages Menu under the Map Page category.
Map with Sonar split screen.
When this screen is activated, you need to specify which side of the Menu,
is active. To toggle between the two windows, press PAGES|PAGES. The
window with the blue title bar at the top of the screen is the active window.
To switch back, just press PAGES|PAGES again.
Sonar Simulator
This unit has a built-in simulator that lets you run it as if you were on
the water. All sonar features and functions are useable. When in
Bottom signal
Surface
clutter
Fish signal,
approximately
27 feet

85
simulator mode, you will see the chart file name in the Sonar Page title
bar and a play symbol will flash on and off at the right end of the title
bar. To use the simulator:
1. From the Sonar Page, press MENU|MENU|↓ to SONAR SETUP|ENT|↓ to
SONAR SIMULATOR ENT|ENT.
Main Menu with Sonar Setup command selected (left). Sonar
Simulator menu, with simulator turned on (right).
NOTE:
With Simulate Position checked, the simulator will also
automatically run the GPS simulator (if GPS data was recorded
with the sonar log).
2. To use the default sonar chart log stored in the unit, press EXIT. The
recorded chart begins scrolling across the screen, just as if you were on
the water.
3. Turn off the Sonar Simulator by pressing MENU|MENU|↓ to SONAR
SETUP|ENT|↓ to SONAR SIMULATOR|ENT|ENT|EXIT.
The Sonar Page playing a recorded sonar chart in Simulator mode.
Tip:
The Sonar Simulator can use sonar charts recorded (logged) on a
MMC card. (To see how, read the entry in this section on Log Sonar
"Play"
symbol
flashing
Title bar
with chart
file name
86
Chart Data.) To play back a sonar chart, make sure the MMC
containing the chart is installed, then:
1. Press MENU|MENU|↓ to SONAR SETUP|ENT|↓ to SONAR
SIMULATOR|ENT.
2. Press ↓ to CHART USED|ENT.
3. Use ↓ or ↑ to select chart name|ENT|↑ to SONAR SIMULATOR
ON|ENT|EXIT.
While you're in the Sonar Simulator menu, don't forget to check
Simulate Position if you want to run the sonar and GPS simulators
simultaneously. As you review sonar logs, you can create waypoints
to mark sites you want to return to.
While the simulator is running, you can switch from one chart log
to another by opening the Sonar Simulator menu and using the
instructions in step 2 to select a different chart.
NOTE
If you turn on your unit before attaching a transducer, it may enter
a demo mode. The words "demo mode" flash on the bottom of the
screen and a sonar chart plays much like the simulator. Unlike the
simulator, the demo mode is for demonstration only, and will
automatically stop as soon as you turn on the unit with a
transducer attached. The simulator will continue to function
normally.
Stop Chart
If you are running multiple units on a boat or using this unit in a car,
there are times when you may want to turn off the sonar. This
command turns off the sonar and stops the chart from scrolling. Sonar
restarts automatically each time you turn on your unit.
Press MENU|↓ to STOP CHART|ENT|EXIT.
To turn on sonar and start the chart scrolling again, repeat the above step.

87
Sonar Menu with Stop Chart command selected.
Surface Clarity
The markings extending downward from the zero line on the chart are
called "surface clutter." These markings are caused by wave action,
boat wakes, temperature inversion and more.
The surface clarity control reduces or eliminates surface clutter signals
from the display. It does this by changing the sensitivity of the receiver,
decreasing it near the surface and gradually increasing it as the depth
increases.
There are three levels of surface clarity available: low, medium, or high.
It can also be turned off. The default level is off.
To adjust the Surface Clarity level:
1. From the Sonar Page, press MENU|↓ to SONAR FEATURES|ENT.
Sonar Features menu with Surface Clarity selected.
2. Press → to SURFACE CLARITY|ENT.
3. Press ↓ or ↑ to select clarity level|EXIT|EXIT|EXIT.

88
In the illustration on the left, Surface Clarity is turned off.
The view on the right shows Surface Clarity set on high.
Upper and Lower Limits
See the entry in this section for Depth Range - Upper and Lower Limits
Zoom & Zoom Bar
"Zooming in" is a fast and easy method used to enlarge small detail,
fish signals and the bottom with its associated structure. This unit lets
you zoom in quickly and easily by pressing the Zoom In key, ZIN.
Pressing ZIN once doubles the size (2X) of all echoes on the screen.
Pressing it again quadruples the size of the echoes (4X). The zoom bar
on the far right side of the screen shows which echoes will be displayed
on the screen when the ZIN key is pressed.
For example, pressing the ZIN key once will enable a 2X zoom that will
show all echoes that are between the top and bottom of the 2X-zoom
bar. Pressing the key again will give a 4X zoom and only the echoes
between the top and bottom of the 4X bar will show on the screen.
Press the Zoom Out key, ZOUT, to return the display to the normal mode.
Sonar page zoomed 2X (left). The same view zoomed 4X (right).
Surface clutter
89
Zoom Pan
Your unit has the handy ability to quickly zoom in on any portion of the
water column with just the touch of an arrow key. The Zoom Pan feature
lets you rapidly move the zoomed area up and down to different depths.
By "pointing" your zoom at different portions of the chart as it scrolls,
you can get a good, close-up look at structure or cover below you.
To use Zoom Pan, switch to a manual Depth Range setting (see page
65) and turn on 2X or 4X Zoom. Then press ↑ or ↓ to pan up and down
the water column.
90
Notes
91
Section 5:
Sonar Troubleshooting
If your unit is not working, or if you need technical help, please use the
following troubleshooting section before contacting the factory customer
service department. It may save you the trouble of returning your unit
for repair. For contact information, refer to the last page, just inside the
back cover of this manual.
Unit won't turn on:
1. Check the power cable's connection at the unit. Also check the wiring.
2. Make certain the power cable is wired properly. The red wire
connects to the positive battery terminal, black to negative or ground.
3. Check the fuse.
4. Measure the battery voltage at the unit's power connector. It should
be at least 11 volts. If it isn't, the wiring to the unit is defective, the
battery terminals or wiring on the terminals are corroded, or the
battery needs charging.
Unit operates only in demo mode:
The transducer or antenna module have not yet been connected or have
been disconnected. To leave demo mode, make sure that either the
transducer or the antenna is securely connected before turning the unit on.
Unit freezes, locks up, or operates erratically:
1. Electrical noise from the boat's motor, trolling motor, or an accessory
may be interfering with the sonar unit. Rerouting the power and
transducer cables away from other electrical wiring on the boat may
help. Route the sonar unit's power cable directly to the battery instead
of through a fuse block or ignition switch
2. Inspect the transducer cable for breaks, cuts, or pinched wires.
3. Check both the transducer and power connectors. Make certain both
are securely plugged in to the unit.
Weak bottom echo, digital readings erratic, or no fish signals:
1. Make certain the transducer is pointing straight down. Clean the
face of the transducer. Oil, dirt and fuel can cause a film to form on the
transducer, reducing its effectiveness. If the transducer is mounted
inside the hull, be sure it is shooting through only one layer of
fiberglass and that it is securely bonded to the hull. Do NOT use RTV
silicone rubber adhesive or Marine-Tex epoxy.
92
2. Electrical noise from the boat's motor can interfere with the sonar.
This causes the sonar to automatically increase its Discrimination or
noise rejection feature. This can cause the unit to eliminate weaker
signals such as fish or even structure from the display.
3. The water may be deeper than the sonar's ability to find the bottom.
If the sonar can't find the bottom signal while it's in the automatic
mode, the digital sonar display will flash continuously. It may change
the range to limits far greater than the water you are in. If this
happens, place the unit in the manual mode, then change the range to a
realistic one, (for example, 0-100 feet) and increase the sensitivity. As
you move into shallower water, a bottom signal should appear.
4. Check the battery voltage. If the voltage drops, the unit's transmitter
power also drops, reducing its ability to find the bottom or targets.
Bottom echo disappears at high speeds or erratic digital
reading or weak bottom echo while boat is moving
1. The transducer may be in turbulent water. It must be mounted in a
smooth flow of water in order for the sonar to work at all boat speeds. Air
bubbles in the water disrupt the sonar signals, interfering with its ability
to find the bottom or other targets. The technical term for this is
cavitation.
2. Electrical noise from the boat's motor can interfere with the sonar.
This causes the sonar to automatically increase its Discrimination or
noise rejection feature. This can cause the unit to eliminate weaker
signals such as fish or even structure from the display. Try using
resistor spark plugs or routing the sonar unit's power and transducer
cables away from other electrical wiring on the boat.
No fish arches when the Fish I.D. feature is off:
1. Make certain the transducer is pointing straight down. This is the
most common problem if a partial arch is displayed.
2. The sensitivity may not be high enough. In order for the unit to
display a fish arch, it has to be able to receive the fish's echo from the
time it enters the cone until it leaves. If the sensitivity is not high
enough, the unit shows the fish only when it is in the center of the cone.
3. Use the Zoom feature. It is much easier to display fish arches when
zoomed in on a small range of water than a large one. For example, you
will have much better luck seeing fish arches with a 30 to 60 foot range
than a 0 to 60 foot range. This enlarges the targets, allowing the
display to show much more detail.
4. The boat must be moving at a slow trolling speed to see fish arches.
If the boat is motionless, fish stay in the cone, showing on the screen as
straight horizontal lines.
93
NOISE
A major cause of sonar problems is electrical noise. This usually
appears on the sonar's display as random patterns of dots or lines. In
severe cases, it can completely cover the screen with black dots, or
cause the unit to operate erratically, or not at all.
To eliminate or minimize the effects of electrical noise, first try to
determine the cause. With the boat at rest in the water, the first thing
you should do is turn all electrical equipment on the boat off. Make sure
the engine is also off. Turn your sonar on, then turn off Noise Reject
[also known as the ASP feature (Advanced Signal Processing)].
Sensitivity should be set at 90-95 percent. There should be a steady
bottom signal on the display. Now turn on each piece of electrical
equipment on the boat and view the effect on the sonar's display. For
example, turn on the bilge pump and view the sonar display for noise. If
no noise is present, turn the pump off, then turn on the VHF radio and
transmit. Keep doing this until all electrical equipment has been
turned on, their effect on the sonar display noted, then turned off.
If you find noise interference from an electrical instrument, trolling
motor, pump, or radio, try to isolate the problem. You can usually
reroute the sonar unit's power cable and transducer cable away from
the wiring that is causing the interference. VHF radio antenna cables
radiate noise when transmitting, so be certain to keep the sonar's wires
away from it. You may need to route the sonar unit's power cable
directly to the battery to isolate it from other wiring on the boat.
If no noise displays on the sonar unit from electrical equipment, then
make certain everything except the sonar unit is turned off, then start
the engine. Increase the RPM with the gearshift in neutral. If noise
appears on the display, the problem could be one of three things; spark
plugs, alternator, or tachometer wiring. Try using resistor spark plugs,
alternator filters, or routing the sonar unit's power cable away from
engine wiring. Again, routing the power cable directly to the battery
helps eliminate noise problems. Make certain to use the in-line fuse
supplied with the unit when wiring the power cable to the battery.
When no noise appears on the sonar unit after all of the above tests,
then the noise source is probably cavitation. Many novices or persons
with limited experience make hasty sonar installations which function
perfectly in shallow water, or when the boat is at rest. In nearly all
cases, the cause of the malfunction will be the location and/or angle of
the transducer. The face of the transducer must be placed in a location
that has a smooth flow of water at all boat speeds. Read your
transducer owner's manual for the best mounting position.
94
Notes

95
Section 6:
Basic GPS Operations
This section addresses the unit's most basic GPS operations. The
tutorials presented in Sec. 6 follow a chronological order. Sec. 7,
Advanced GPS Operations, will discuss other more advanced functions
and utilities. Material in Sec. 7 is arranged in alphabetical order.
Before you turn on the unit and find where you are, it's a good idea to
learn about the different keys, the four Page screens and how they all
work together. BUT, if you just can't wait to get outside, turn to the
one-page Quick Reference on page 107.
Keyboard
LCX-111CHD sonar/GPS unit, front view, showing sonar screen,
keyboard and access doors for the MMC compartments.
1. PWR/LIGHT (Power & Light) – The PWR key turns the unit on and
off and activates the backlight.
2. PAGES – Pressing this and the ← → arrow keys (4) switches the
unit between the four different page screens. (Satellite Status Page,
5
4
2
8
7
9
6
3
1
MMC drawers
96
Navigation Page, Map Page and Sonar Page.) Each page represents one
of the unit's major operation modes.
3. MENU – Press this key to show the menus and submenus, which
allow you to select a command or adjust a feature. This also accesses
search functions for streets, intersections, addresses and highway exits.
4. ARROW KEYS – These keys are used to navigate through the
menus, make menu selections, move the map and sonar chart cursors
and enter data.
5. ENT/ICONS (Enter & Icons) – This key allows you to save data,
accept values or execute menu commands. It is also used to create
event marker icons.
6. EXIT – The Exit key lets you return to the previous screen, clear
data or close a menu.
7. WPT – (Waypoint) The Waypoint key is used to save and recall
waypoints, search for waypoints and access the waypoint list. It also
launches the Point-of-Interest (POI) search menus and is involved in
some navigation functions.
8. ZOUT – (Zoom Out) – This key lets you zoom out the map. On the
Sonar Page, this key returns you to a full sonar chart display, showing
the entire water column from surface to bottom. On the Map Page, this
lets you see a larger geographic area on the map. Less detail is seen as
you zoom out.
9. ZIN – (Zoom In) – This key lets you zoom in on the map. On the
Sonar Page, this key enlarges fish signals and bottom detail. On the
Map Page, zooming in lets you see greater detail in a smaller
geographic area on the map.
Power/lights on and off
To turn on the unit, press PWR. As the unit powers up, the Map Page is
displayed first. (To switch to another page, press PAGES|← or → to
Page Name|EXIT.)
To turn on the backlight, press PWR again. The unit has three backlight
levels to select from. Repeatedly pressing PWR will cycle through the
backlight settings and turn off the backlight.
Turn off the unit by pressing and holding the PWR key for 3 seconds.
Main Menu
The unit has a Main Menu, which contains some function commands
and some setup option commands. The tutorial lessons in this section

97
will deal only with functions and basic commands that make the Unit
do something. The unit will work fine for these lessons right out of the
box with the factory default settings. But, if you want to learn about
the various options, see Sec. 8, System Setup and GPS Setup Options.
You can access the Main Menu from any of the four Page screens by
pressing MENU|MENU. To clear the menu screen and return to the page
display, press EXIT.
Main Menu.
The Main Menu commands and their functions are:
Screen command: changes the contrast or brightness of the display
screen.
Sounds command: enables or disables the sounds for key strokes and
alarms and sets the alarm style.
Alarms command: turns GPS or sonar alarms on or off and changes
alarm thresholds.
Route Planning command: used to plan, view or navigate a route.
My Trails command: shows, hides, creates and deletes plot trails. Also
used to navigate or backtrack a trail.
Cancel Navigation command: turns off the various navigation
commands. Used to stop navigating after you have reached your
destination waypoint, Point of Interest or map cursor location; or after
you reach the end of a route or trail.
Sonar Setup command: sets various sonar options.
GPS Setup command: sets various GPS receiver options.
System Setup command: sets general configuration options.
Sun/Moon Calculations command: finds the rising and setting time
of the sun and the moon.

98
Trip Calculator command: shows trip status and statistics.
Timers command: controls the up timer, down timer and alarm clock
settings.
Browse MMC Files command: this allows you to view the installed
MMC card and the files it contains.
Pages
The unit has four Page displays that represent the four major operating
modes. They are the Satellite Status Page, the Navigation Page, Map
Page and the Sonar Page. They are accessed by pressing the PAGES key,
then using → or ← to select a Page. (Clear the menu by pressing EXIT.)
Pages Menu, showing Map page display options.
Sonar Page
The Sonar Page displays the sonar chart, a view of the water column
from the surface to the bottom. The chart scrolls across the screen from
right to left, displaying signal echoes that represent fish, structure and
the bottom. The Sonar Page is discussed in detail in Sec. 3. To get to
the Sonar Page: Press the PAGES key, then use → or ← to select SONAR.
(Clear the Pages Menu by pressing EXIT.)
Satellite Status Page
The Satellite Status Page provides detailed information on the status of
the unit's satellite lock-on and position acquisition. To get to the
Satellite Status Page: Press the PAGES key, then use → or ← to select
STATUS. (Clear the Pages Menu by pressing EXIT.)
No matter what Page you are on, a flashing current position
indicator/question mark symbol and flashing GPS data displays
indicate satellite lock has been lost and there is no position confirmed.

99
The Satellite Status Page shows the quality and accuracy of the current
satellite lock-on and position calculation.
WARNING:
Do not begin navigating with this unit until the numbers
have stopped flashing!
The Satellite Status Page.
This screen shows a graphical illustration of the satellites that are in view.
Each satellite is shown on the circular chart relative to your position. The
point in the center of the chart is directly overhead. The small inner ring
represents 45° above the horizon and the large ring represents the horizon.
North is at the top of the screen. You can use this to see which satellites are
obstructed by obstacles in your immediate area if the unit is facing north.
The GPS receiver is tracking satellites represented by a blue bar. The
receiver hasn't locked onto a satellite if the number is a lighter shade,
therefore it isn't being used to solve the position.
Beneath the circular graph are the bar graphs, one for each satellite in
view. Since the unit has twelve channels, it can dedicate one channel
per visible satellite. The taller the bar on the graph, the better the unit
is receiving the signals from the satellite.
The "Estimated Position Error" (horizontal position error) shown in the
upper left corner of the screen is the expected error from a benchmark
location. In other words, if the EPE shows 50 feet, then the position
shown by the unit is estimated to be within 50 feet of the actual
location. This also gives you an indicator of the fix quality the unit
currently has. The smaller the position error number, the better (and
more accurate) the fix is.

100
If the position error flashes dashes, then the unit hasn't locked onto the
satellites, and the number shown isn't valid.
The Satellite Status Page has its own menu, which is used for setting
various options. (Options and setup are discussed in Sec. 8.) To access
the Satellite Status Page menu, from the Status Page, press MENU
Navigation Page
This screen has a compass rose that not only shows your direction of
travel, but also the direction to a recalled waypoint. It also has a
Navigation with Sonar option that will display two windows, one with a
sonar chart, the other with the compass rose. To get to the Navigation
Page: Press PAGES| → or ← to NAVIGATION|EXIT.
The Navigation Page.
NOTE:
Remember, when information displays are flashing, satellite lock
has not been achieved and no position fix has been determined. A
question mark will also flash on the present position arrow in the
center of the compass rose.
Speed (ground speed) is the velocity you are making over the ground. (If
you wish, you can customize the Speed window to display Closing
Speed instead. Closing Speed is also known as velocity made good. It's
the speed that you're making toward the waypoint. For instructions,
see the Customize Page Displays entry in Sec. 8.)
Compass
rose
Navigation
information
displays
Present
position
arrow
Track or compass heading indicator, showing direction of travel
Cross track
error range
101
Track is the heading, or the current direction you are actually
traveling. Bearing is the direction of a line-of-sight from your present
position to the destination. No matter what direction you are steering,
the Bearing window shows the compass direction straight to the
destination from your location at the moment. Distance shows how far
it is to the waypoint you're navigating toward.
The Off Course window shows the current cross track error. This shows
the distance you are off-course to the side of the desired course line. The
course line is an imaginary line drawn from your position when you
started navigating to the destination waypoint. The course line is shown
on the Navigation Page screen (and the Map Page screen) as a line.
The cross track error range is shown on the compass rose as a wide,
white, corridor enclosing the course line. The outer edges of this white
corridor represent lines that show the current cross track error range.
The default for the cross track error range is 0.20 miles.
For example, if the present position symbol touches the right cross
track error line, then you are 0.20 miles to the right of the desired
course. You need to steer left to return to the desired course. You can
use the ZIN or ZOUT keys to change the cross track error range.
A circular symbol depicting your destination (waypoint) appears on the
screen as you approach the waypoint.
Trip Time is the time that it will take to reach your destination at your
present closing speed. (You can also customize the time window to show
Arrival Time instead. Arrival Time is the local time it will be when you
arrive at the destination, based upon your present closing speed and
track.)
The Navigation Page has its own menu, which is used for some
advanced functions and for setting various options. (Options and setup
are discussed in Sec. 8.) To access the Navigation Page Menu, from the
Navigation Page, press MENU.
Map Page
The Map Page screens show your course and track from a "bird's-eye"
view. By default, this unit shows the map with north always at the top
of the screen. (This can be changed. See the topic Map Orientation, in
Sec. 8.) If you're navigating to a waypoint, the map also shows your
starting location, present position, course line and destination. You,
however, don't have to navigate to a waypoint to use the map.
Map Page is the default screen that appears when you turn on the unit.
To get to the Map Page from another page: Press PAGES| → or ← to
MAP|EXIT. When the Map Page is displayed, a screen similar to the
following figure appears.

102
The arrow in the center of the screen is your present position. It points
in the direction you're traveling. The map zoom range is the distance
across the screen. This number shows in the lower right corner. In the
example below, the range is 15 miles from the left edge of the map to
the right edge of the map.
The Zoom In and Zoom Out keys zoom the map to enlarge or reduce its
coverage area and the amount of mapping detail shown. There are 37
available map zoom ranges, from 0.05 miles to 4,000 miles.
The Over Zoomed notice in the top left corner means you have reached
the map’s detail limits for the area. Zooming in closer will reveal no
more detail because a custom map has not been loaded on the MMC.
If you're using only the factory-loaded background map, the maximum
zoom range is 20 miles. You can continue to zoom in closer, but the map
will simply be enlarged without revealing more map content (except for
a few major city streets.) Load your own high-detail custom map made
with MapCreate and you can zoom in to 0.05 miles.
Map Pages with high-detail MapCreate map. Arterial streets appear at
the 6-mile zoom range with a few Point of Interest icons visible (left).
Numerous Points of Interest dots are visible at 3-mile range, along with
minor streets (center). At 0.6-mile zoom, you can see a interstate
highway with an exit, major and minor streets as well as Point of
Interest icons (right).
103
Background map vs. MapCreate map content
The background map includes: low-detail maps of the whole world,
containing cities, major lakes, major rivers, political boundaries, and
medium-detail maps of the United States.
The medium-detail U.S. maps contain: all incorporated cities, shaded
metropolitan areas, county boundaries, shaded public lands (such as
national forests and parks) and some major city streets. Also included
are Interstate, U.S. and state highways, highway exits and exit services
information, large and medium-sized lakes and streams and more than
60,000 navigation aids with 10,000 wrecks and obstructions in U.S.
coastal and Great Lakes waters.
NOTE
The LCX-26CHD and LCX-111CHD have Nautic Path charts,
HotSpots Elite charts and all high detail custom maps preloaded on
a 20 Gigabyte hard drive. Therefore, if you own either the LCX-
26CHD or LCX-111CHD, you do not need to load any of those
charts/maps into the unit. The unit can also use Navionics charts,
but they must be loaded via a Navionics card. MMC and SD cards
still will be necessary to log sonar chart data and to store GPS data
files.
MapCreate custom maps include massive amounts of information not
found in the background map. MapCreate contains: Points of Interest
database, all the minor roads and streets, all the landmark features
(such as summits, schools, radio towers, etc.); more rivers, streams,
smaller lakes and ponds and their names.
What's more important is the large-scale map detail that allows your
GPS unit to show a higher level of position accuracy. For example, the
background map would show you the general outline and approximate
shape of a coastline or water body, but the higher detail in MapCreate
shows the shoreline completely and accurately. Many smaller islands
would not be included in the background map, but are in MapCreate.

104
When the map is zoomed out far enough, most POIs appear as square
dots (left). As you zoom in closer, the symbols become readable icons.
In the 0.6-mile zoom example (right), the cursor has selected the Cupps
Café POI, which triggers a pop-up box with the POI name. This pop-up
box works on POIs at any zoom range.
Tip:
In some urban areas, businesses are so close to one another that
their POI icons crowd each other on the screen. In the preceding
figure, you can see a jumbled pile of POIs along Highway 34. You
can reduce screen clutter and make streets and other map features
easier to see by turning off the display of undesired POIs. (To see
how, check out the Map Detail Category section, page 150.)
The Map Page has its own menu, which is used for several functions
and for setting various options. To access the Map Page Menu, from the
Map Page, press MENU.
The Pages Menu also offers several map display options under the Map
Page category. To access them, press PAGES|← or→ to MAP|↓ to
Option|EXIT.
School POI
Restaurant
POI
POI
Mar
k
er
Minor
Streets
Zoom Range
POI Pop-up,
with position,
distance and
bearing data
Cursor line
Interstate Major Street

105
Digital Data map page (left); Two Position Formats page (right).
Pages Menu with Two Maps option selected (left).
Map Page with two map windows (right). The left map is active.
In pages that have two major windows (such as two maps) you can toggle
back and forth between the two windows by pressing PAGES|PAGES.
This allows you to change which map the cursor, keyboard and menus
operate on. A blue title bar denotes the active window.
Resize Window is another handy feature for pages that have two major
windows. You can change the horizontal size of the windows to suit
your viewing preference. Here's how:
1. From any two-window display, press MENU|↓ to RESIZE WINDOW|ENT.
2. Two flashing arrows appear along the centerline dividing the two
windows. Press ← or → to adjust the window widths. Press EXIT to clear
the menu. When you are using the Two Maps page, four flashing
arrows appear, which allow you to not only resize the window from side
to side, but also gives you the option of stacking the windows, one on
top of the other.

106
The Two Maps page with one window stacked on top of the other.
3. To change the window size again or revert back to the original
display, just follow the steps above. (Most dual-window displays use
half the screen for each window by default.) You can also use the Reset
Options command to revert to the factory default.
Map Menu with Resize Window command selected (left). Pressing →
moves the centerline and enlarges the left window (right).
The following page contains a 12-step quick reference for basic GPS
operations. If you don't want to carry the manual, you might consider
photocopying this reference page and tucking it into your pocket.
107
GPS Quick Reference
Start outdoors, with a clear view of the open sky. As you practice, try
navigating to a location at least a few blocks away. While you're learning,
navigation in too small an area will constantly trigger arrival alarms.
1. Connect the unit to electric power and the antenna module. Make sure
the MMC is in. (See complete installation details beginning on page 9.)
2. To turn on the unit, press and release PWR key.
3. Opening screen displays map of North America at the 4,000-mile
zoom range. Rotate through the four main Page screens (Map Page,
Satellite Status Page, Navigation Page and Sonar Page) by pressing
PAGES|← or → to select Page Name|EXIT. Switch Pages to display
Satellite Status Page.
4. Wait while unit locates satellites and calculates its current position.
Process is visible on Satellite Page. This takes an average of 1 minute or
less under an unobstructed sky. When the unit acquires position, a tone
sounds and a position acquired message appears.
5. With position acquired, press the PAGES key to display the Map
Page, which shows a bird's eye view of earth. Move around the map by:
Zoom in closer to see greater detail: press ZIN (zoom in key.)
Zoom out to see more area, less detail: press ZOUT (zoom out key.)
Scroll map north, south, east or west using arrow keys ↑ ↓ → ←.
To stop scrolling and return to current position on map, press EXIT key.
6. Set a waypoint (Wpt 001) at your current position: press WPT|WPT.
Waypoint symbol and "001" appears.
7. Zoom/scroll the map to find a nearby object or location to visit. Use
arrow keys to center cursor cross-hair over the map object or location.
8. Navigate to the selected destination: press MENU|ENT. Follow the course
line on Map Page or compass bearing arrow on Navigation Page.
9. At destination, Arrival Alarm goes off; to clear it, press EXIT. Cancel
navigation: press MENU|MENU|↓ to CANCEL NAVIGATION|ENT|← to YES|ENT.
10. Return to Wpt 1 by Navigate To Waypoint or Backtrack Trail. To
Waypoint: press WPT|→ to SAVED|ENT|ENT|ENT. Use ↑ or ↓ to select
Wpt 001, press ENT|ENT; follow navigation displays. Trail: press
MENU|MENU|↓ to MY TRAILS|ENT. Press ↓ to Trail 1|ENT|→|↓ to
NAVIGATE|ENT|↓ to NAVIGATE|→ to REVERSE|ENT|← to NAVIGATE|ENT. A
navigation option window will appear asking if you want to be prompted
or directed to intermediate waypoints along the trail. Use → ← to make
your selection, then press ENT.
11. Back home, Arrival Alarm goes off; press EXIT. Cancel navigation:
press MENU|MENU|↓ to CANCEL NAVIGATION|ENT|← to YES|ENT.
12. To turn off the unit, press and hold PWR key for three seconds.
108
Find Your Current Position
Finding your current position is as simple as turning the unit on.
Under an unobstructed sky, the unit automatically searches for
satellites and calculates its position in approximately one minute or
less.
If for some reason satellite acquisition takes longer, you may be inside
a structure, a vehicle or in terrain that is blocking signal reception. To
correct this, be sure you are positioned so the unit's antenna module
has as clear a view of the sky as possible, then turn the unit off and
back on again.
Moving Around the Map: Zoom & Cursor Arrow Keys
The map is presented from a bird's eye view. The current zoom range
shows in the lower right corner of the screen.
1. Press the ZIN key (zoom in) to move in closer and see greater detail in a
smaller geographic area.
2. Press the ZOUT key (zoom out) to move farther away and see less map
detail, but a larger geographic area.
When you are traveling, the map will automatically move as you move.
This keeps your current location roughly centered on the screen.
You can manually pan or scroll the map northward, southward,
eastward or westward by using the arrow keys, which launch the cross-
hair map cursor. This allows you to look at map places other than your
current position. To clear the cursor, press EXIT, which switches the
map back to the current position or the last known position.
Tip:
Use the cursor to determine the distance from your current position
to any map object. Position the cursor over the object or landmark
with the arrow keys. The distance, measured in a straight line,
appears in the pop-up box. Press EXIT to clear the cursor.

109
The selected airport to the northwest is 4.25 miles away.
Selecting Any Map Item with the Cursor
1. Use the zoom keys and the arrow keys to move around the map and
find the item you wish to select.
2. Use the arrow keys and center the cursor cross-hair on the desired
object. On most items, a pop-up box will give the name of the selected
item.
Searching
Now that you've seen how the unit can find where you are, let's search
for something somewhere else. Searching is one of the most powerful
features in the Lowrance GPS product line.
In this example, we'll look for the nearest fast-food restaurant. For more
information on different types of searches, refer to Sec. 9, Searching.
NOTE
This example requires the Point of Interest (POI) database included
with a high detail MapCreate 6 custom map.
After the unit has acquired a position:
1. Press WPT|↓ to POI-RESTAURANTS.
2. You could search the entire restaurant category, but in this example
we will narrow our search. Press → to SUBCATEGORY column|↓ to FAST
FOOD CHAINS|ENT| ↓ to NEAREST|ENT.
3. The unit says it is calculating, then a list of restaurants appears,
with the closest at the top of the list, and the farthest at the bottom of
the list. The nearest is highlighted.
Distance
measured
by cursor
Cursor line
Selected
airport
Cursor line
POI pop-up
name box

110
Category Selection menu (left) and list of the nearest restaurants (right).
4. Select the nearest restaurant highlighted at the top and press ENT.
5. The POI information screen appears. This is how you can use the
unit as a business phone directory! If you wanted to navigate there, you
could press ENT, since the GO TO WAYPOINT command is highlighted. But
we just want to see it on the map, so press ↓ to FIND ON MAP |ENT.
POI information screen on the nearest fast food restaurant, showing
name, street address, phone number, latitude/longitude distance and
compass bearing. The Go To command is selected (left). The figure on
the right has the Find On Map command highlighted.
6. The unit's map appears, with the cross-hair cursor highlighting the
restaurant's POI symbol. A pop-up name box identifies the POI, as well
as its distance and bearing. A data box at the bottom of the screen
continues to display the location's latitude and longitude.

111
Map screen showing the result of a restaurant search.
7. To clear the search and return to the last page displayed, press EXIT
repeatedly. (Before you completely exited out of the Search menus, you
could have gone looking for another place.)
NOTE:
Search works from mapping and POI data loaded in the unit. If you
have not loaded a MMC for the area you are searching, you may not
find anything.
Set a Waypoint
A waypoint is simply an electronic "address," based on the latitude and
longitude of a position on the earth. A waypoint represents a location,
spot or destination that can be stored in memory, then recalled and
used later for navigational purposes.
You can create a waypoint at the cursor position on the map or at your
current position, while you are navigating. You can create a waypoint
at any location by manually entering the position's latitude and
longitude. It is also possible to copy waypoints from your unit to your
personal computer with MapCreate software. When you want to repeat
a trip, these archived waypoints can be reloaded into your GPS unit.
To create and save a Waypoint
These first two techniques use the Quick Save method, the fastest and
easiest way to create a waypoint.
Create Waypoint at Current Position
While you are traveling, press WPT|WPT. The waypoint is saved and
automatically given a name with a sequential number, such as
"waypoint 003." The waypoint symbol and number appear on the map.

112
Sequence for setting a waypoint. Fig. 1: While traveling, press WPT
twice to call up the Find Waypoint screen (Fig. 2) and set a point. Fig.
3: A message says the waypoint has been saved. Fig. 4: vehicle
continues on its way; the waypoint number is visible on map.
NOTE:
The Quick Save method uses the default waypoint symbol until you
edit an existing waypoint and change its symbol. (Edit Waypoint
Symbol is described in Sec. 7.) After you have changed a waypoint
symbol, the unit will remember the one you chose and use it the
next time you "quick save" a waypoint. To revert back to the default
symbol, edit a waypoint and choose it, or use the Reset Options
command (described in Sec. 8).
Create Waypoint on Map
1. Use the arrow keys to move the cursor to a place where you want to
make a waypoint.
2. Press WPT|WPT. The waypoint is saved and automatically given a
name with a sequential number, such as "waypoint 001." The waypoint
symbol and number appear on the map.
Fig 3. Fig 4.
Fig 1. Fig 2.
113
Create Waypoint by Entering a Position
1. Press WPT|→ to SUBCATEGORY column|↓ to NEW|ENT.
2. Press ↓ to ENTERED POSITION|ENT|→ to CREATE|ENT.
3. Press → to LATITUDE|ENT. Enter the latitude by pressing ↑ or ↓ to
change the first character, then press → to the next character and
repeat until the latitude is correct. Press ENT.
4. Press ↓ to LONGITUDE|ENT. Enter the longitude by pressing ↑ or ↓ to
change the first character, then press → to the next character and repeat
until the longitude is correct. Press ENT, then EXIT|EXIT to return to the
previous page display. The waypoint is saved and automatically given a
name with a sequential number, such as "waypoint 001." The waypoint
symbol and number appear on the map and in the waypoint list.
Navigate To a Waypoint
You can select any waypoint visible on the Map Page with the cursor,
then use the Navigate to Cursor command, which will be covered later
in this section. You can avoid scrolling the map to pick your waypoint if
you use the Find Waypoint commands:
1. Press WPT|→ to SAVED|ENT. To look up the nearest waypoint, press
↓ to NEAREST|ENT or, to look by name and scroll through the entire
waypoint list, press ENT. For this example, we’ll look by name.
2. If your waypoint list is a long one, you can spell out the waypoint
name in the FIND BY NAME box. Press ↑ or ↓ to change the first character,
then press → to move the cursor to the next character and repeat until
the name is correct, then press ENT to jump to the list below.
3. If the list is short, you can jump directly to the FIND IN LIST box by
pressing ENT. Use ↑ or ↓ to select the waypoint name, press ENT and
the waypoint information screen appears with the GO TO WAYPOINT
command selected.
4. To begin navigating to the waypoint, press ENT.

114
Navigation Page, navigating toward waypoint 001.
Set Man Overboard (MOB) Waypoint
One of boating's most terrifying events is having a friend or family
member fall overboard. It's particularly dangerous at night or if you're
out of sight of land. Of course, the first thing to do is remain calm and
use all standard safety procedures to rescue the person.
This unit has a man overboard feature that shows navigation data to
the location where the feature was activated. To activate it, press the
ZOUT and ZIN keys at the same time. Your position at the time these
keys are pressed is used as the man overboard position.
Caution:
Saving a new "Man Overboard" waypoint will erase the previous
"Man Overboard" waypoint.
Navigate Back to MOB Waypoint
Find your way back to the accident position with the Navigation Page
or Map Page. When MOB is activated, the Navigation Page
automatically shows the compass rose with its bearing arrow pointing
toward the man overboard position, and the destination name says
"Going To Man Overboard." The Map Page displays a Man Overboard
waypoint, represented by a human figure, and the steering arrow
points where to steer to reach that position.
Waypoint
name
Trail line
Course line
Off course
range, set
at 0.20 mile

115
The cursor is redirected toward the Man Overboard position on the
Map Page. The victim is astern of the vessel. The GPS shows which
direction to steer for the rescue.
The man overboard position is also stored in the waypoint list for future
reference. It can be edited the same as any other waypoint.
To cancel navigation to MOB, press MENU|MENU|↓ to CANCEL
NAVIGATION|ENT|← to YES|ENT. The unit stops showing navigation
information.
Navigate to Cursor Position on Map
The GO TO CURSOR command navigates to the current cursor position on
the map. It's a quick and handy way to navigate to anything you can
see on the map display.
1. Use the cursor (controlled by the arrow keys) with the zoom in and
zoom out keys to maneuver around the map until you find a location
you'd like to visit.
2. Center the cursor over the location to select it. See the example in
the following figure. Many map items such as waypoints, Points of
Interest, towns, etc. can be "selected," and appear "highlighted" with a
pop-up box. Other features, such as a river or a street intersection will
not appear "highlighted," but the cursor will take you to those locations
just the same.

116
Navigate to cursor. In this example, the town of Oologah, Oklahoma
has been selected.
3. Press MENU|ENT and the unit will begin navigating to the cursor
location.
The Map Page will display a course line from your current position to the
cursor position. See the following examples.
The 30-mile zoom figure (left) clearly shows the course line connecting
your current position to your destination. The 30-mile zoom (right) shows
current position and direction to destination on screen.
To stop navigating to the cursor, use the Cancel Navigation command:
press MENU|MENU|↓ to CANCEL NAVIGATION|ENT|← to YES|ENT. The unit
stops showing navigation information.
117
Navigate to a Point of Interest
POIs in view on the map can be located easily by using the Navigate to
Cursor command above. Just use the cursor to select the POI.
The other method involves searching for POIs with the Find Waypoint
command, launched with the WPT key. (See the searching example
earlier in this section or turn to Sec. 9, Searching, for detailed
instructions on POI searches.)
After you have looked up an item with the Find Waypoint command,
use the → to make sure the GO TO command is highlighted at the top of
the screen, then press ENT. The unit begins navigating to the item.
To cancel navigation, press MENU|MENU|↓ to CANCEL NAVIGATION|ENT|←
to YES|ENT. The unit stops showing navigation information.
Creating and Saving a Trail
A trail, or plot trail, is a string of position points plotted by the unit as
you travel. It's a travel history, a record of the path you have taken.
Trails are useful for repeating a journey along the same track. They are
particularly handy when you are trying to retrace your trip and go back
the way you came. The unit is set at the factory to automatically create
and record a trail while it is turned on. The unit will continue recording
the trail until the length reaches the maximum trail point setting.
Default is 2,000, but it can record trails up to 9,999 points long. When
the point limit is reached, the unit begins recording the trail over itself.
By default, the trail flashes once a second, making it easier to see
against the background map. With the default auto setting, the unit
creates a trail by placing a dot (trail point) on the screen every time you
change directions. The methods used for creating a trail and the trail
update rate can be adjusted or even turned off. See Sec. 8 for Trail
Options.
To preserve a trail from point A to point B, you must "turn off" the trail
by making it inactive before heading to point C or even back to point A.
When the current trail is set inactive, the unit automatically creates
and begins recording a new trail.
To Save a Trail
1. Press MENU|MENU|↓ to MY TRAILS|ENT.

118
Sequence for saving a trail and beginning a new one. My Trails
command (left). The Trails Menu (center). The arrow to the right of
Trail 17 indicates the trail is "active," and the check to the left
indicates the trail is visible on the map display. The third figure (right)
shows the Edit Trail menu, with the Active command selected.
2. Press ↓ to the active Trail Name|ENT.
3. Press → then ↓ to ACTIVE|ENT. This unchecks the Active option.
4. To return to the previous page, press EXIT|EXIT|EXIT|EXIT. As you
left the Edit Trail menu, you will notice a new trail was started with a
new sequential number. In the example below, the new trail is number
15, showing zero points. Note Trail 14 is inactive, but is still visible on
the map.
A new trail, "Trail 15," is created when Trail 14 is made inactive. Any
new travel will be recorded in this trail, which is active and visible.
Trails do not need to be visible in order to be active.
You can save and recall up to 10 different plot trails, which can be
copied to your MMC for archiving or for transfer to your MapCreate
software.
Active
symbol
Visible
sy
m
bol
119
Tip:
Another quick way to stop recording one trail and begin a new one
is to use the New Trail command: Press MENU|MENU|↓ to MY
TRAILS|ENT|ENT.
Caution:
You also have the option of completely turning off trail
recording, under the Trail Options command. However, if the
Update Active Trail option is left off, it will cancel the automatic
trail creation feature.
Displaying a Saved Trail
The active trail is automatically displayed on the map (the "Visible"
option) with the factory default settings. You can selectively turn the
trail display off and on for any saved or active trail. In the Saved Trails
List, visible trails have a check mark in front of the trail name.
To turn off trail display:
1. Press MENU|MENU|↓ to MY TRAILS|ENT.
2. Press ↓ to enter the Saved Trail list, then use ↑ or ↓ to select the
desired Trail Name|ENT.
3. Press ↓ → to VISIBLE|ENT. To return to the previous page, press
EXIT|EXIT|EXIT|EXIT.
To turn on trail display:
1. Press MENU|MENU|↓ to MY TRAILS|ENT.
2. Press ↓ to enter the Saved Trail list, then use ↑ or ↓ to select the
desired Trail Name|ENT.
3. Press ↓ → to VISIBLE|ENT. To return to the previous page, press
EXIT|EXIT|EXIT|EXIT.
Navigating Trails
There are three methods for following a trail: visual trailing, navigating
a trail (forward) and backtracking a trail (backward). Try each method
to see which you prefer.
Visual trailing is the simplest method. It uses only the Map Page and
requires no menu commands at all. The technique works the same if
you are running a trail forward (from start to end) or backward (from
end to start.) Visual trailing, however, provides no navigation
information during the trip, such as the time to your destination.
120
The other two methods provide a full range of navigation data and work
with both the Map Page and Navigation Page. The only difference
between them is "navigating a trail" follows a trail forward (from start
to end) while "backtracking" follows a trail in reverse.)
When hiking at walking speed with a hand-held GPS, we often use
visual back trailing because it is a bit better at following each little
turn on a footpath. At faster speeds, such as the highway or on the
water, the Navigate Trail and Backtrack Trail commands are handy.
Visual Trailing
1. On the Map Page, zoom (ZIN or ZOUT) so your flashing trail is visible.
2. Begin moving and watch the Map Page. Simply walk or steer so your
current position arrow traces along the trail you have just made.
Tip:
Generally, when using this method, the smaller the zoom range, the
more accurately you will be able to steer along the trail.
Navigate a Trail (forward)
The following figures illustrate the menu sequence for navigating a
trail.
1. Press MENU|MENU|↓ to MY TRAILS|ENT.
2. Press ↓ to enter the Saved Trail list, then use ↑ or ↓ to select the
desired Trail Name|ENT.
3. Press → to DELETE TRAIL|↓ to NAVIGATE|ENT.
4. Press ↓ to NAVIGATE|ENT. A navigation option window will appear
asking if you want to be prompted or directed to intermediate waypoints
along the trail. Use → ← to make your selection, then press ENT.
After making your selection, the unit will begin to show navigation
information along the trail.

121
Navigation Option window asking if you want to be prompted or
directed to intermediate waypoints along the trail.
NOTE:
If you are already located at or near the beginning of your trail, the
arrival alarm will go off as soon as you hit ENT. Press EXIT to clear
the alarm and proceed.
5. Now, begin moving and let your unit guide you.
6. When you reach your destination, be sure to cancel your navigation:
press MENU|MENU|↓ to CANCEL NAVIGATION|ENT. The unit asks if you're
sure, press ←|ENT.

122
Navigate a trail menu sequence: Fig. 1, My Trails command. Fig. 2,
Trails Menu. Fig. 3, Edit Trail Menu. Fig. 4, Edit Route Menu with
Navigate command highlighted for Trail 6. A trail is always converted
to a "route" when you navigate the trail.
On the Map Page, a course line represents the trail you are navigating.
The bearing arrow on the compass rose points to the next waypoint on
the trail.
As you travel, the arrival alarm will go off when you near a trail
waypoint, and the bearing arrow on the compass rose will swing around
and point to the next trail waypoint. Press EXIT to clear the alarm.
Figure 3. Figure 4.
Figure 1. Figure 2.

123
Navigate trail, map views: the driver (left) is northbound heading
toward trail point 6. The northbound driver (right) has reached point 6
and has turned west to follow trail.
1. Press MENU|MENU|↓ to MY TRAILS|ENT.
2. Press ↓ to enter the Saved Trail list, then use ↑ or ↓ to select the
desired Trail Name|ENT.
3. Press → to DELETE TRAIL|↓ to NAVIGATE|ENT.
4. Press ↓ to NAVIGATE|→ to REVERSE|ENT|← to NAVIGATE|ENT. A
navigation option window will appear asking if you want to be prompted
or directed to intermediate waypoints along the trail. Use → ← to make
your selection, then press ENT.
After making your selection, the unit begins showing reverse
navigation information along the trail.
NOTE:
If you are already located at or near the end of your trail, the
arrival alarm will go off as soon as you hit ENT. Just press EXIT to
clear the alarm and proceed.
5. Now, begin moving and let your unit guide you.
6. When you reach your destination, be sure to cancel your navigation.
Press MENU|MENU|↓ to CANCEL NAVIGATION|ENT. The unit asks if you're
sure, press ←|ENT.
Transfer Custom Maps and GPS Data Files
Custom Maps
Custom maps work only from the MMC card or SDC card. When a card
containing a Custom Map File is loaded into the unit, it automatically
loads the map into memory when the unit is turned on.
Instructions for copying Custom Map Files to a MMC are contained in
the instruction manual for your MMC card reader and MapCreate 6
software. For instructions on inserting a MMC into the Unit, see Sec. 2,
Installation/Accessories.
trail line
Trail point
Present
position
arrow
North

124
NOTE:
To load a Navionics chart, see Sec. 8 for the entry Navionics Charts.
GPS Data files:
GPS Data Files contain waypoints, routes, trails and event marker
icons. Instructions for copying GPS Data Files between your computer
and a MMC are contained in the instruction manual for your MMC
card reader and MapCreate 6 software.
GPS data automatically recorded in the unit's internal memory must be
saved to the MMC as a GPS Data File to store it on your personal
computer. GPS Data Files stored on a MMC must be copied from the
card to the unit's internal memory before the unit can read them.
Here's how:
1. Insert the MMC into your unit. Press MENU|MENU|↓ to SYSTEM
SETUP|ENT|↓ to TRANSFER MY DATA|ENT and the screen below appears.
The Transfer My Data submenu asks if you want to save data to the
MMC or load data from the MMC into the unit's memory.
2. The Transfer My Data menu includes a message that tells you if a
MMC is present or not. If no MMC is present, you must insert a card
into the unit to activate the Load or Save commands.
To transfer data from the unit to the MMC: press ENT (for SAVE.)
To transfer data from the MMC to the unit: press → to LOAD|ENT.
3. Saving to MMC: To accept the default name "Data" for the GPS
Data File, press ↓ to SAVE DATA|ENT. If you wish to rename the file (as
shown in the following figures), press ENT to activate the Data File
name selection box. Press ↑ or ↓ to change the first character, then
press → to the next character and repeat until the name is correct.
Then, press ENT|↓ to SAVE DATA|ENT.

125
The unit will display a completion message when the data transfer is
finished. To return to the Page view, repeatedly press EXIT.
From left to right, these figures show the sequence for naming and
saving a GPS Data File from the unit's memory to an MMC.
4. Loading to unit memory: There may be more than one GPS Data
File (*.USR) on the card. To select a file, press ENT to activate the MMC
Card selection box, use ↓ or ↑ to highlight the file, then press ENT. Next,
press ↓ to LOAD|ENT. The unit will display a completion message when
the data transfer is finished. To return to the Page view, press
EXIT|EXIT|EXIT.
These figures show the menu sequence for loading a GPS Data File
from an MMC into the unit's memory.
Cancel Navigation
You can turn off any of the navigation commands after you reach your
destination or at any other time by using the Cancel Navigation
command. Press MENU|MENU|↓ to CANCEL NAVIGATION|ENT|← to YES|ENT.
Figure 2.
Figure 1.
126
Notes

127
Section 7:
Advanced GPS Operations
Find Distance From Current Position
1. While on the Map Page press: MENU|↓ to FIND DISTANCE|ENT.
2. To find the distance to a specific location, center your cursor over the
position. A rubber band line appears, connecting your current position
to the cursor's location. The distance along that line will appear in a
pop-up box. The box also shows the bearing to location.
3. Press EXIT to return to regular operation.
The distance from Dallas to Little Rock is 292.2 miles (left). The distance
from the boat's current position to the boat ramp is 0.58 miles (right).
Find Distance from Point to Point
You can also measure distance between two other points on the map.
1. While on the Map Page press: MENU|↓ to FIND DISTANCE|ENT.
2. Center your cursor over the first position. (A rubber band line
appears, connecting your current position to the cursor's location.) Press
ENT to set the first point, and the rubber band line disappears.
3. Move the cursor to the second position. The rubber band line
reappears, connecting the first point you set to the cursor. The distance
along that line will appear in a pop-up box.
4. Press EXIT to clear the command and return to the page screen.
Icons
Icons are graphic symbols used to mark some location, personal point of
interest or event. They can be placed on the map screen, saved and
recalled later for navigational purposes. These are sometimes referred
to as event marker icons. The unit has 42 different symbols you can
pick from when creating an icon.

128
Icons are similar to waypoints, but they do not store as much
information. You can't use a menu to navigate to icons like you can
with waypoints. But, you can use the map cursor and navigate to any
icon on the map.
You can create an icon at the cursor position on the map, or at your
current position while you are navigating.
Create Icon on Map
1. Use the arrow keys to move the cursor to the place you want to make
an icon.
2. Press ENT and the screen shows a "Select Icon Symbol" menu.
3. Press ← or ↑ or → or ↓ to select your icon symbol, then press ENT.
The icon appears on the map.
Select Icon Symbol menu (left); Boat Ramp icon on map (right).
(Cursor has been moved for clarity).
Create Icon at Current Position
1. While you are traveling, press ENT and the screen shows the "Select
Icon Symbol" menu.
2. Press ← or ↑ or → or ↓ to select your icon symbol, then press ENT.
The icon appears on the map.
Delete an Icon
You can delete all the icons at one time, delete all icons represented by
a particular symbol, or delete a selected icon from the map.
1. Press MENU|↓ to DELETE MY ICONS|ENT.
2. Press ↓ to DELETE ALL ICONS, DELETE BY SYMBOL, or DELETE FROM MAP and
press ENT.

129
Delete icons menu.
The Delete All Icons command will ask if you are sure. Press ← to
YES|ENT. All icons will be deleted from the map.
The Delete by Symbol command will launch the Select Symbol menu.
Press ← or ↑ or → or ↓ to select the icon symbol to delete, then press
ENT. A message appears saying all icons with the selected symbol have
been deleted.
The Delete From Map command will prompt you to move the cursor
over an icon to select it. After selecting the icon, press ENT and it
disappears from the map.
Navigate to an Icon
Use the cursor and the Navigate to Cursor command to select the
desired icon on the map.
1. Use arrow keys to center cursor cross-hair over the icon.
2. To navigate to the selected icon location, press MENU|ENT. Follow
course line on the Map Page or the compass bearing arrow on the
Navigation Page.
Routes
A route is a series of waypoints, linked together in an ordered sequence
to mark a course of travel. You can visualize a route as a string of
beads. The beads represent waypoints and the string represents the
course of travel connecting waypoint to waypoint.
The course from one waypoint to the next is a leg. Routes are composed
of one or more legs. The legs of all GPS routes are based on straight
lines between waypoints.
A route provides the automatic capability to navigate through several
waypoints without having to reprogram the unit after arriving at each
waypoint. Once programmed into the GPS unit, a route provides the
option of navigating forward through the route waypoints or in reverse
order. You can even begin navigating in the middle of a route!

130
Create and Save a Route
You have the option of creating and editing a route in the unit, or you
can make a route on your computer with our MapCreate 6 software.
PC-created Routes
MapCreate is the easiest method for preparing a route, simply because
your PC's larger screen, keyboard and mouse are easier to manipulate
than the gimbal-mounted unit.
To load a MapCreate route into the unit, follow the instructions in
MapCreate's manual for creating and saving a route as part of a GPS
Data File (file format *.usr). Copy the GPS Data File to an MMC and
insert the MMC in the unit. (See Sec. 2 for instructions on installing
MMCs. To load the GPS Data File into the Unit memory, see the entry
on Transfer Custom Maps & GPS Data Files in Sec. 6, Basic GPS
Operations.
Routes Created in the Unit
You can create a route by selecting saved waypoints from the waypoint
list or you can set a series of route waypoints on the map with cursor
arrows and the ENT key. In this example, we'll create a route from the
map.
1. From the NAVIGATION PAGE (WITH DIGITAL DATA), press MENU|ENT or from
the MAP PAGE, press MENU|MENU|↓ to ROUTE PLANNING|ENT.
Route Planning command on Main Menu (left) will open the Route List
screen (right).
2. Press ↑ or ↓ to route name|ENT|↓ to (END OF ROUTE)|ENT|↓ to ADD
FROM MAP|ENT. The Map Page appears with the cursor showing.

131
Edit Route menu (left). Edit Route Waypoints menu (right)
with Add From Map command selected.
3. Use the Zoom keys and arrow keys to move the map and cursor until
the cursor is centered on the spot where you want your route to begin.
4. To set the first route waypoint press ENT. In this example, we moved
to the intersection of 11th Street and 145th E. Ave. to start our route.
Route creation sequence, from left: (Fig. 1) Set route waypoint (1) at
11th St. & 145th Ave. (Fig. 2) Move cursor north to set point (2) at 145th
& Admiral. (Fig. 3) With point (2) set, move cursor east to mark
interstate on-ramp with waypoint (3). In figures 2 and 3, notice the
rubber band line extending from the previously set waypoint to the
cursor. This line will become the course for the route.
Route creation sequence, continued: (Fig. 4) Point (3) set at on-ramp.
(Fig. 5) Waypoint (4) set at highway exit to frontage road leading to
river. Waypoint (5) ends the route at a tree stand in a hunting area.
(Fig. 6) Press EXIT to save the route and you return to this screen.
5. 6.
4.
2. 3.
1.
132
5. Move the cursor to the next point in the route, a spot where you need
to turn or change direction, and press ENT to set the next waypoint.
6. Repeat step five until the route reaches the destination.
7. To save your route, press EXIT. The unit reverts to the Edit Route
screen, with the route automatically named "Route 1" and stored in the
unit's internal memory. In our example, Route 1 already existed, so the
unit automatically made "Route 2."
You can edit the route and run other commands, but if you are finished
with the route for now, return to the last page displayed by
repeatedly pressing EXIT.
Delete a Route
1. From the NAVIGATION PAGE (WITH DIGITAL DATA), press MENU|ENT or from
the MAP PAGE press MENU|MENU|↓ to ROUTE PLANNING|ENT.
2. Press ↓ to Saved Routes, use ↓ to select route, then press|ENT.
3. Press ↓ to NAVIGATE, then → to DELETE|ENT|← to YES|ENT.
Tip:
You can also delete all routes at once:
1. From the NAVIGATION PAGE (WITH DIGITAL DATA), press MENU|ENT or
from the MAP PAGE press MENU|MENU|↓ to ROUTE PLANNING|ENT.
2. Press → to DELETE ALL|ENT|← to YES|ENT.
Edit a Route
You can edit the route name if you wish.
1. From the NAVIGATION PAGE (WITH DIGITAL DATA), press MENU|ENT or from
the MAP PAGE press MENU|MENU|↓ to ROUTE PLANNING|ENT.
2. Press ↓ to Saved Routes, select a route, then press ENT|ENT.
3. Press ↑ or ↓ to change the first character, then press → to move the
cursor to the next character and repeat until the name is correct, then
press ENT. Return to the previous page by pressing
EXIT|EXIT|EXIT|EXIT.
You can edit the route by adding and removing waypoints.
1. From the NAVIGATION PAGE (WITH DIGITAL DATA), press MENU|ENT or from
the MAP PAGE press MENU|MENU|↓ to ROUTE PLANNING|ENT.
2. Press ↓ to Saved Routes, pick a route and press|ENT|↓ to the
WAYPOINTS list. Use ↓ and ↑ to select a waypoint, then press ENT.

133
Edit Route Waypoints menu.
3. Use ↓ and ↑ to select a command from the Edit Route Waypoints
menu and press ENT. Add From Map lets you insert a waypoint in the
route by clicking on a map location with the cursor. Add Waypoint calls
up the Waypoint list so you can insert a waypoint. The Remove
Waypoint command will delete the waypoint from the route. View
Waypoint will show you where the selected waypoint is on the map.
Navigate a Route
1. From the NAVIGATION PAGE (WITH DIGITAL DATA), press MENU|ENT or from
the MAP PAGE, press MENU|MENU|↓ to ROUTE PLANNING|ENT.
Routes menu (left) and Edit Route menu (right) with Navigate selected.
2. Press ↓ to select Saved Route, pick a route and press|ENT|↓ to
NAVIGATE|ENT. A navigation option window will appear asking if you
want to be prompted or directed to intermediate waypoints along the
trail. Use → ← to make your selection, then press ENT. After making
your selection, the unit will begin to show navigation information along
the trail.

134
3. Upon arrival at your destination, cancel navigation:
press MENU|MENU|↓ to CANCEL NAVIGATION|ENT|← to YES|ENT.
Navigate a Route in Reverse
Here's how you run a route backward, from the end waypoint to the
beginning waypoint:
1. From the NAVIGATION PAGE (WITH DIGITAL DATA), press MENU|ENT or from
the MAP PAGE, press MENU|MENU|↓ to ROUTE PLANNING|ENT.
2. Press ↓ to select route name|ENT|↓ to NAVIGATE|→ to REVERSE|ENT|←
to NAVIGATE|ENT. A navigation option window will appear asking if you
want to be prompted or directed to intermediate waypoints along the
trail. Use → ← to make your selection, then press ENT. After making
your selection, the unit will begin to show navigation information along
the trail.
3. Upon arrival at your destination, cancel navigation:
press MENU|MENU|↓ to CANCEL NAVIGATION|ENT|← to YES|ENT.
Fig. 1 shows the Navigation Page at the start of a route, heading
straight for the waypoint 11. In Fig. 2, the traveler has arrived at the
destination and the arrival alarm has been triggered.
Trails
Delete a Trail
This is the command used to delete a trail. Press MENU|MENU|↓ to MY
TRAILS|ENT|↓ to trail name|ENT|→ to DELETE TRAIL|ENT|← to YES|ENT.
Tip:
You can also delete all trails at once.
1. Press MENU|MENU|↓ to MY TRAILS|ENT.
2. Press → to DELETE ALL|ENT|← to YES|ENT.
Figure 2.
Figure 1.

135
Edit a Trail Name
To edit a trail name, press MENU|MENU|↓ to MY TRAILS|ENT|↓ to trail
name|ENT|ENT. Press ↑ or ↓ to change the first character, then press
→ to the next character and repeat until the name is correct. Press ENT
then EXIT|EXIT|EXIT|EXIT to return to the previous page display.
Tip:
You can quickly call up the Edit Trail menu by selecting a trail on
the map with the cursor. Simply move the cursor over a trail and a
pop-up box appears. Press WPT and the Edit Trail menu opens.
Trail selected with map cursor (left). The pop-up box shows distance
and bearing from the current position to the selected point on the
trail. The Edit Trail menu (right).
Edit a Trail Color
To edit a trail color press MENU|MENU|↓ to MY TRAILS|ENT|↓ to trail
name|ENT| ↓ to COLOR |ENT. Press ↑ or ↓ to select a style, then hit ENT.
Press EXIT|EXIT|EXIT|EXIT to return to the previous page display.
Edit a Trail Pattern
To edit a trail pattern press MENU|MENU|↓ to MY TRAILS|ENT|↓ to trail
name|ENT|↓ to PATTERN |ENT. Press ↑ or ↓ to change the first character,
then press → to the next character and repeat until the pattern is
correct. Press ENT, then EXIT|EXIT|EXIT|EXIT to return to the previous
page display.

136
Edit Trail Menu with Pattern option selected (left). Edited trail with
dotted line pattern (right).
Utilities
Utilities are useful tools for traveling or for outdoor activities.
Alarm Clock
To get to the alarm clock menu: press MENU|MENU|↓ to TIMERS|ENT|↓
to ALARM CLOCK|ENT.
Sun/Moon Rise & Set Calculator
To get to the Sun/Moon menu: press MENU|MENU|↓ to SUN/MOON
CALCULATIONS|ENT.
Trip Calculator
To get to the Calculator menu: press MENU|MENU|↓ to TRIP
CALCULATOR|ENT.
Trip Down Timer
To get to the Down Timer menu: press MENU|MENU|↓ to TIMERS|ENT|↓
to DOWN TIMER|ENT.
Trip Up Timer
To get to the Up Timer menu: press MENU|MENU|↓ to TIMERS|ENT|ENT.
Waypoints
Delete a Waypoint
To delete a waypoint from the waypoint list: press
WPT|ENT|ENT|ENT|↓ to waypoint name|ENT|↓ to DELETE
WAYPOINT|ENT|← to YES|ENT.
To delete a waypoint from the map:
1. Use the arrow keys to select the waypoint with the cursor.
2. Press WPT|↓ to DELETE WAYPOINT|ENT|← to YES|ENT. To return to the
previous page and clear the cursor, press EXIT.
137
To delete all waypoints at one time: press MENU|MENU|↓ to SYSTEM
SETUP|ENT|↓ to DELETE ALL MY WAYPOINTS|ENT|← to YES|ENT. To return
to the previous page, press EXIT|EXIT.
Edit a Waypoint
Waypoint Name
To edit waypoint name: 1. Press WPT|ENT|ENT|ENT|↓ to waypoint
name|ENT|↓ to EDIT WAYPOINT|ENT|ENT.
2. Press ↑ or ↓ to change the first character, then press → to the next
character and repeat until the name is correct. Press ENT then
EXIT|EXIT|EXIT|EXIT to return to the previous page display.
Waypoint Symbol
To edit waypoint symbol: 1. Press WPT|ENT|ENT|ENT|↓ to waypoint
name|ENT|↓ to EDIT WAYPOINT|ENT|↓ to CHOOSE SYMBOL|ENT.
2. Use arrow keys to select desired symbol and press ENT. To return to
the previous page, press EXIT|EXIT|EXIT|EXIT.
Waypoint Position
To edit waypoint position: 1. Press WPT|ENT|ENT|ENT|↓ to waypoint
name|ENT|↓ to EDIT WAYPOINT|ENT.
2. Latitude: press → to LATITUDE|ENT. Press ↑ or ↓ to change the first
character, then press → to the next character and repeat until the
latitude is correct. Press EXIT.
3. Longitude: press ↓ to LONGITUDE|ENT. Press ↑ or ↓ to change the first
character, then press → to the next character and repeat until the
longitude is correct. Press EXIT.
4. When latitude and longitude are correct, return to the previous page:
press EXIT|EXIT|EXIT|EXIT.
Selecting a Waypoint
To select a waypoint on the map (for navigating, editing, etc.,) use the
arrow keys and center the cursor over the waypoint. A highlighted halo
will appear around the waypoint.
Set a Waypoint by Average Position
This feature sets a waypoint at the current position after taking several
position readings and averaging them. This boosts waypoint position
accuracy by helping to eliminate errors caused by atmospheric
conditions and other factors.
1. Press WPT|→ to SUBCATEGORY column|↓ to NEW|ENT.
2. Press ↓ or ↑ to AVERAGE POSITION|ENT|press → to CREATE|ENT.
138
3. Wait while the unit takes points to average for the position. (The greater
the number of points, the greater the accuracy.) When the desired number
of points accumulates, press ENT to create and save the waypoint.
4. The Edit Waypoint menu appears. You can simply save the waypoint
by pressing EXIT|EXIT or you can edit the waypoint.
Set a Waypoint by Projecting a Position
This feature sets a waypoint at a point located a specific distance and
bearing from a reference position. The reference position could be a
waypoint map feature, an item from your waypoint list or a location
from the Points of Interest list.
1. Press WPT|→ to SUBCATEGORY column|↓ to NEW|ENT.
2. Press ↓ to PROJECTED POSITION|ENT|→ to CREATE|ENT.
3. Press → to CHOOSE REFERENCE|ENT. Use ↑ and ↓ to select a waypoint,
map feature or Point of Interest. When the point has been selected,
press ENT and the point's position appears as the reference position.
4. Press ↓ to DISTANCE|ENT. Press ↑ or ↓ to change the first character,
then press → to the next character and repeat until the distance is
correct. Press ENT.
5. Press ↓ to BEARING|ENT. Press ↑ or ↓ to change the first character,
then press → to the next character and repeat until the bearing is
correct. Press ENT.
6. Press ↑ to PROJECT|ENT. The Edit Waypoint menu appears. You can
simply save the new projected waypoint by pressing EXIT|EXIT or you
can edit the waypoint. (Press EXIT|ENT if you want to immediately
begin navigating to the new waypoint.)

139
Section 8
System & GPS Setup Options
Alarms
This unit has several GPS alarms. The factory default setting has all
the alarms turned on. You can turn the alarms off and on and change
their distance settings.
An arrival alarm also can be set to flash a warning message and sound
a tone when you cross a preset distance from a waypoint. For example,
if you have the arrival alarm set to 0.1 mile, then the alarm will flash a
message when you come within 0.1 mile of the recalled waypoint.
The off course alarm warns you when your track drifts too far to the
right or left of the course line to the waypoint. For example, if the
alarm is set to 0.1 mile, then the alarm flashes a message if you drift
0.1 of a mile or more to the right or left of the line to the waypoint.
The anchor alarm is triggered when you drift outside of a preset radius.
Again, using the 0.1 mile as an example, if you're anchored and your
boat moves more than 0.1 mile, the alarm will flash a message and
sound a tone.
Alarms command (left); Alarm menu (right).
To change alarm settings:
1. Press MENU|MENU|↓ to ALARMS|ENT. Choose GPS ALARMS|ENT.
2. Scroll ↓ or ↑ to select the desired category, then press ENT to check or
uncheck the Enabled box. This turns the alarm on (checked) or off
(unchecked.)
3. To change distance settings, scroll ↓ or ↑ to select the desired
category, then press →|ENT to activate the distance dialog box. Press ↑
or ↓ to change the first character, then press → to the next character
and repeat until the name is correct.
140
4. When your adjustments are finished, return to the last page
displayed by repeatedly pressing EXIT.
IMPORTANT ALARM NOTES:
Anchor Alarm - The anchor alarm may be triggered even when
you're sitting still. This typically happens when using small (less
than 0.05 mile) anchor alarm ranges.
Arrival Alarm - If you set the arrival alarm's distance to a small
number and you run a route (see the Navigate Routes segment),
this unit may not show navigation data to the next waypoint, once
you arrive at the first one, since you may not be able to come close
enough to the first waypoint to trip the arrival alarm.
Auto Satellite Search
To lock onto the satellites, the GPS receiver needs to know its current
position, UTC time and date. (Elevation (altitude) is also used in the
equation, but it's rarely required to determine a position.) It needs this
data so that it can calculate which satellites should be in view. It then
searches for only those satellites.
When your GPS receiver is turned on for the first time, it doesn't know
what your position or elevation (altitude) is. It does know the current
UTC time and date since these were programmed into it at the factory
and an internal clock keeps the time while the unit is turned off. (If the
time and/or date are incorrect, you can set it using the "Set Local Time"
menu.)
The unit begins searching for the satellites using the data it acquired
the last time it was turned on. This probably was at the factory. Since
it's almost certain that you're not at our factory, it's probably looking
for the wrong satellites.
If it doesn't find the satellites it's looking for after approximately one
minute, it switches to Auto Search. The receiver looks for any satellite
in the sky. Due to advanced technology, the auto search time has
shrunk significantly from the early days of GPS.
Once the unit locks onto the satellites, it should take less than a minute to
find your position the next time it's turned on, provided you haven't moved
more than 100 miles from the last location it was used.
Check MMC Files and Storage Space
To check MMC Files:
Press MENU|MENU|↓ to BROWSE MMC FILES|ENT.

141
Main Menu (left); MMC File Browser (right).
Communications Port Configuration
The unit has two NMEA 0183 version 2.0 compatible communication
ports, or com ports for short. The Com Port Menu, which is accessed
from the System Setup Menu, allows you to configure the
communications ports to send or receive data to another electronic
device, such as an autopilot. Com port 1 and Com port 2 can be used for
NMEA.
Menus for changing Com Port settings.
For assistance in configuring the unit to communicate with another
device, consult the factory. Customer service phone numbers are in the
back of this manual. Also see the entries below for Configure NMEA. To
set Com Port Configuration:
1. Press MENU|MENU|↓ to SYSTEM SETUP|ENT.
2. Press ↓ to COMMUNICATIONS PORT|ENT.
Configure NMEA
You can configure the unit to use specific NMEA sentences.
1. Press MENU|MENU|↓ to SYSTEM SETUP|ENT.

142
2. Press ↓ to COMMUNICATIONS PORT|ENT|↓ to CONFIGURE NMEA|ENT.
3. A menu appears showing the prefixes of the available NMEA
sentences. A check mark next to a prefix means the prefix is in use. Use
↑ ↓, → ← to select a prefix, then press ENT to turn off the prefix. (Press
ENT again to check the box and turn on a prefix.)
4. When the desired prefixes are checked or unchecked, press
EXIT|EXIT|EXIT|EXIT to return to the previous page.
Coordinate System Selection
The Coordinate System Menu lets you select the coordinate system to
use when displaying and entering position coordinates.
Menus for changing coordinate system.
To get to Coordinate System Selection:
1. Press MENU|MENU|↓ to GPS SETUP|ENT.
2. Press ↓ to COORDINATE SYSTEM|ENT.
This unit can show a position in degrees (36.14952°); degrees, minutes
and thousandths of a minute (36° 28.700'); or degrees, minutes, seconds
and tenths of a second (36° 28' 40.9"). It can also show position in: UTM
(Universal Transverse Mercator) projection; MGRS (Standard); MGRS
(Standard + 10); Map Fix; Loran TD; British, Irish, Finnish, German,
New Zealand, Swedish, Swiss, Taiwan, Greek and Military grids.
UTM's are marked on USGS topographic charts. This system divides
the Earth into 60 zones, each 6 degrees wide in longitude.
British, Irish, Finnish, German, New Zealand, Swedish, Swiss, Taiwan,
and Greek grid systems are each the national coordinate system used
only in their respective countries. In order to use these grid systems,
you must be in the respective country. This unit will pick the matching
datum for you when you select the grid. See the entry on Map Datum
Selection for more information.
The military grid reference system (MGRS) uses two grid lettering
schemes, which are referred to as standard and standard + 10 MGRS

143
on this unit. Your position and datum in use determines which one to
use. If you use standard, and your position is off significantly, then try
the alternate.
NOTE: When the position format is changed, it affects the way all
positions are shown on all screens. This includes waypoints.
To change the coordinate system, press ENT while COORDINATE SYSTEM is
highlighted. Press the ↑ or ↓ keys to highlight the desired format. Press
ENT. Press EXIT to close the menu.
To setup Loran TD:
NOTE
If the Loran TD conversion is chosen, you must enter the local
Loran chain identification for the master and slaves. Do this by
selecting "Setup Loran TD" at the bottom of the "Coordinate
System" menu and select the ID. Press EXIT to close this menu.
Configure Loran TD menu.
Map Fix
Map Fix is used with charts or maps. This system asks for a reference
position in latitude/longitude, which you take from a marked location
on the map. It then shows the present position as distance on the map
from that reference point.
For example, if it shows a distance of UP 4.00" and LEFT 0.50", you
then measure up four inches and to the left a half-inch from the
reference point on the map to find your location.
To configure a map fix:
To use this format, you need to follow these steps in order. First, take
your map of the area and determine a reference latitude/longitude.

144
(Please note that in order for this system to work, the
latitude/longitude lines must be parallel with the edge of the map.
USGS maps are parallel, others may not be. Also, this works better
with smaller scale maps.) The reference position can be anywhere on
the map, but the closer it is to your location, the smaller the numbers
you'll have to manipulate.
Once you've decided on a reference position, you can save it as a
waypoint. See the waypoint section for information on saving a
waypoint. Save the reference position as a waypoint. Exit from the
waypoint screens.
1. Press MENU|MENU|↓ to GPS SETUP|ENT.
2. Press ↓ to COORDINATE SYSTEM|ENT.
3. Press ↓ to SETUP MAP FIX|ENT.
The following screen appears, and MAP SCALE is highlighted. Press ENT
and enter the map's scale. This is generally at the bottom of the paper
map. It's shown as a ratio, for example 1:24000. Press EXIT and the unit
returns to the Configure Map Fix screen.
Configure a map fix so the unit can find your position on a printed
chart or topographical map.
Press ↓ to SELECT ORIGIN |ENT. Press → |ENT, then ↓ or ↑ |ENT to choose
a saved waypoint. Select the waypoint you saved the reference point
under and press ENT. The unit displays a waypoint information screen
with the command SET AS ORIGIN selected; press ENT and the unit
returns to the Configure Map Fix menu. Finally, press EXIT to close this
menu. Now press ↑ to COORDINATE SYSTEM|ENT, select MAP FIX from the

145
list and press ENT|EXIT|EXIT|EXIT. All position information now shows
as a distance from the reference point you chose.
Customize Page Displays
Several page display options have customizable data boxes to provide
constant on-screen information.
The various data available from your unit are divided into categories in
the Data Viewer menu. These categories include GPS Data, Navigation,
Trip Calculator, Time, Sonar Data and Miscellaneous Data. You can
select items from any of these categories for display in any data box.
The category divisions are there to help you sort through the
information.
To change the information displayed in a data box:
On a page with digital data boxes, press MENU|↓ to CUSTOMIZE|ENT. A
data box name flashes, indicating it is selected. Press ENT to change the
box or hit ↑, ↓, → or ← to select another box, then press ENT. You'll see
a list of categories with "+" or "–" symbols next to each category. A
category with a "+" is expandable, meaning its contents are hidden.
Customize Menu with the GPS Data category expanded.
Selecting the category name and pressing ENT will show the category's
contents, so you can choose items within it. An expanded category (one
with a "–" next to its name) can be collapsed to hide its contents. Just
select the category name and press ENT.
Expand any categories that might contain data you want to display.
Then press ↓ or ↑ to select a different data option. With the new option
highlighted, press ENT to switch the contents of the box to the new data
type, then press EXIT. You can now select another box to change. When

146
you are finished with the settings, press EXIT again to end the
Customize command, and the box name stops flashing.
A Page display can show a limited number of data boxes. You can not
turn them off or add more data boxes.
GPS Simulator
The GPS simulator lets you use the unit as if you were navigating
outdoors. It's a great way to practice using your unit. You can set the
starting location from a stored waypoint, map place or POI location or by
entering latitude and longitude. You can steer your position and change
speed on the map by using the arrow keys (STEER WITH ARROWS command)
or by setting the track and speed in the dialog boxes provided on the
simulator menu screen.
To get to the GPS Simulator:
1. Press MENU|MENU|↓ to GPS SETUP|ENT.
2. Press ↓ to GPS SIMULATOR|ENT. The GPS Simulator Menu appears.
GPS Setup Menu (left); GPS Simulator menu (right).
Choose the desired settings, then turn the simulator on by highlighting
the GPS SIMULATOR ON box and pressing ENT key. Press EXIT|EXIT|EXIT
to close this menu. A message and tone appear periodically, warning
you the simulator is on. To turn off the simulator, repeat the above
steps or turn off the unit.
While in simulator mode and using the STEER WITH ARROWS command, you
can press EXIT to clear the steering and speed boxes from the screen.
This will allow you to use the map cursor during a simulation. To turn
steering and speed boxes back on again, return to the GPS Simulator
menu. Select the STEER WITH ARROWS command, press ENT, then EXIT.
Simulating Trail or Route Navigation
In Simulator mode, your unit can automatically follow a trail or route
without manual steering if you use these steps:
147
1. From the Map Page, go to the simulator menu. Pick a STARTING
POSITION at or near the beginning of your trail/route. Enter an
approximate TRACK (shown in compass degrees) that will point you
toward the start of the trail/route.
2. Set SPEED to zero. Select STEER WITH ARROWS command and press ENT,
which turns on the simulator and returns you to the Map Page.
3. Begin navigating along the trail/route. (If you are close enough to the
first waypoint, the arrival alarm will usually go off as soon as
navigation begins. Press EXIT to clear the alarm.) When navigation
starts, press ↑ to increase speed to the desired setting.
4. Press EXIT to turn off the steering and speed boxes. The unit will now
automatically "steer" along the trail or route. When you arrive at your
"destination," cancel navigation as you normally do.
Tip:
You can pick any spot on the map to begin your simulation session
by using the Initialize GPS command. This makes your unit think
it's located at the position you select.
Hide GPS Features
If there is no GPS antenna/receiver module attached to this unit, the
GPS menus and features can be hidden from view with this command.
The default setting is off, allowing you to rotate between the Sonar
Page and the GPS pages and features. To hide GPS features:
Press MENU|MENU|↓ to SYSTEM SETUP|ENT|↓ to HIDE GPS FEATURES|ENT.
The GPS menus and pages are now hidden.
Initialize GPS
This command makes the unit operate as if it is sitting someplace other
than its actual location. So, you and your unit could be located in
Kansas City, but practice navigating in the ocean off Islamorada,
Florida.
1. With the GPS simulator off, press MENU|MENU|↓ to GPS
SETUP|ENT|ENT.
2. A message appears, telling you to move the cursor near the desired
location and press ENT. When the message automatically clears, follow
the message instructions. Turn on the GPS Simulator.
3. In a moment, your present position marker arrow appears on the
map in the location you selected with the cursor. The unit will consider
that spot as its last known position until changed by either a live
satellite lock-on or a new simulator location.

148
Map Auto Zoom
This receiver has an auto zoom feature that eliminates much of the
button-pushing characteristic of other brands of GPS receivers. It
works in conjunction with the navigation features.
First, start navigation to a waypoint. (See the waypoint section for
more information on navigating to a waypoint.) Then, with the auto
zoom mode on, the unit zooms out until the entire course shows, from
the present position to the destination waypoint. As you travel toward
the destination, the unit automatically begins zooming in — one zoom
range at a time — always keeping the destination on the screen.
To turn on this feature, from the MAP PAGE, press MENU|↓ to AUTO
ZOOM|ENT|EXIT. Repeat these steps to turn it off.
Map Data
This menu lets you turn the map off, if desired (which turns the map
screen into a GPS plotter); turn on or off the pop-up map info boxes;
draw the map boundaries or boxes around the areas of high detail or fill
water areas with white. You can also turn on or off Map Overlays,
which display latitude and longitude grid lines or range. This menu lets
you select between Standard, Nautic Path, Hotspots Elite and
Navionics Maps. If you own either the LCX-26CHD or LCX-111CHD
the Nautic Path and Hotspots Elite maps already are loaded into your
unit's 20GB hard drive. Navionic charts still must be loaded via a MMC
card. For instructions, see the Navionics Charts entry in this section.
To get to Map Data:
From the Map Page, press MENU|↓ to MAP DATA|ENT.
Map Menu (left); Map Data Menu with the Nautic Path chart selected
from the Map Dataset Choice window (right).
Pop-up Map Info
From the Map Page, press MENU|↓ to MAP DATA|ENT. Press ↓ to POPUP
149
MAP INFO. With the option highlighted, press ENT to check it (turn on) or
uncheck it (turn off.) After the option is set, press EXIT|EXIT to return
to the page display.
Map Boundaries
From the Map Page, press MENU|↓ to MAP DATA|ENT. Press ↓ and → to
DRAW MAP BOUNDARIES. With the option highlighted, press ENT to check it
(turn on) or uncheck it (turn off.) After the option is set, press
EXIT|EXIT to return to the page display.
Fill Water With White
From the Map Page, press MENU|↓ to MAP DATA|ENT. Press ↓ and → to
FILL WATER WITH WHITE. With the option highlighted, press ENT to check it
(turn on) and uncheck it (turn off.) After the option is set, press
EXIT|EXIT to return to the page display.
Map Overlays (Range Rings; Lat/Long Grid)
The map screen can be customized with four range rings and/or grids
that divide the plotter into equal segments of latitude and longitude.
Range rings are handy for visually estimating distances on the map.
The ring diameters are based on the current zoom range. For example:
at the 100-mile zoom, the screen will show two rings with your current
position in the center. The large ring touching the left and right sides of
the screen is 100 miles in diameter (same as the zoom range). The
second smaller ring is 50 miles in diameter (always 1/2 the zoom
range).
The distance from your current position to the smaller ring (the ring's
radius) is 25 miles. With the arrow keys and map cursor, you can scroll
the map to see the third and fourth rings. In this example, the distance
to the third ring is 75 miles and distance to the fourth ring is 100 miles
from your current position.
To set range rings: From the Map Page, press MENU|↓ to MAP
DATA|ENT. Press ↓ to RANGE RINGS. With the option highlighted, press
ENT to check it (turn on) or uncheck it (turn off.) After the option is set,
press EXIT|EXIT to return to the page display.
To set Lat/Long Grid: From the Map Page, press MENU|↓ to MAP
DATA|ENT. Press ↓ to LAT/LON GRID LINES. With the option highlighted,
press ENT to check it (turn on) or uncheck it (turn off.) After the option
is set, press EXIT|EXIT to return to the page display.
Map Datum Selection
Maps and charts are based on a survey of the area that's covered by the
map or chart. These surveys are called "Datums."

150
Maps that are created using different datums will show the same
latitude/longitude in slightly different locations.
All datums are named. The GPS system is based on the WGS-84
datum, which covers the entire world. Other datums may also cover the
entire world, or just a small portion of it. By default, your unit uses the
WGS-84 datum. It, however, can show your position using one of 191
different datums. To change the datum:
1. Press MENU|MENU|↓ to GPS SETUP|ENT|↓ to DATUM SELECTION|ENT.
2. Scroll ↓ or ↑ to select the desired datum, then press ENT.
3. To return to the last page displayed, press EXIT|EXIT.
A list of the datums used by this unit is in the back of this manual.
GPS Setup Menu (left); Map Datum Menu (right).
Map Detail Category Selection
This menu determines which of the mapping features are shown on the
screen. This includes waypoints, trails, icons, cities, highways, etc. You
can select any of these items, customizing the map to your needs.
To get to Map Categories:
1. From the Map Page, press MENU|↓ to MAP CATEGORIES DRAWN|ENT.
2. Press ↑ or ↓ to select a category or press → then press ↑ or ↓ to select
a subcategory. Press ENT to turn it off (no check) or turn it on (checked.)
3. To return to the last page displayed, press EXIT|EXIT.

151
Map Menu (left); Map Categories Drawn Menu (right).
Map Orientation
By default, this receiver shows the map with north always at the top of
the screen. This is the way most maps and charts are printed on paper.
Map orientation is shown in north up (left) and track up (right).
This is fine if you're always traveling due north. What you see to your
left corresponds to the left side of the map, to your right is shown on the
right side of the map, and so on. If, however, you travel any other
direction, the map doesn't line up with your view of the world.
To correct this problem, a track-up mode rotates the map as you turn.
Thus, what you see on the left side of the screen should always be to
your left, and so on.
Another option is course-up mode, which keeps the map at the same
orientation as the initial bearing to the waypoint. When either the
track-up or course-up mode is on, a "N" is displayed on the map screen
to help you see which direction is north.
To change map orientation: from the Map Page, press MENU|↓ to MAP
ORIENTATION|ENT. Use ↑ or ↓ to select the desired mode, then press ENT.
Press EXIT|EXIT to return to the page display.
In Track Up mode, map shows "N" and arrow to indicate north.

152
Map Orientation menu with the North Up map option selected (right).
Navionics Charts
Your unit can display Navionics electronic charts on MMCs. They
work just like a MapCreate custom map on a MMC.
Entrance to Chesapeake Bay in a MapCreate 6 custom map with a 10-
mile zoom (left). The same position on Navionics chart at
6-mile zoom (center) and with a 5-mile zoom (right).
To display a Navionics chart:
1. Install the Navionics MMC in the memory card compartment and
turn on the unit. (For full card install instructions, see Sec. 2.)
WARNING:
You should never format the MMC containing your
Navionics chart. Formatting the MMC will permanently
erase the chart from the card.
2. From the Map Page, press MENU|↓ to MAP DATA|ENT|→ to MAP
DATASET CHOICE|ENT. Use ↓ key to select the NAVIONICS, then press ENT.

153
These figures show menu sequence (from left to right) for selecting a
Navionics chart for the South Chesapeake Bay area.
3. Use ↓ key to select NAVIONICS MAP CHOICE and press ENT. Use ↑ ↓ keys
to select a map and press ENT|EXIT|EXIT.
4. To turn off a Navionics chart, from the Map Page, press MENU|↓ to
MAP DATA|ENT|→ to MAP DATASET CHOICE|ENT. Use ↑ or ↓ to select one of
the three other options — Standard, Nautic Path or HotSpots Elite —
then press ENT|EXIT|EXIT.
Port Information
Navionics charts contain Port Services information, represented by anchor
icons on the map display. An example is displayed in the following figure.
To view Port Services information:
1. Use the arrow keys to move the cursor over a Port Services icon.
When selected, a pop-up name box appears.
2. Press WPT to display the Port Services Information screen.
The Port Services information screen has two windows. The top window
lists the various service categories. The lower window lists the detailed
services available in each basic category.

154
Navionics chart showing Port Services icon selected by cursor.
3. To scroll through the Service Categories window: press ENT then use
↑ or ↓ to see the types of services available. As you highlight a different
category, the list in the lower window changes. To return to the Map
Page, press EXIT|EXIT.
4. The General Services category includes a long list of items in the
Detailed Services window. To scroll through the Detailed Services
window from SERVICE CATEGORIES, press ↓ to DETAILED SERVICES|ENT, then
use ↑ or ↓ to read the list of available services. To return to the Map
Page, press EXIT|EXIT. To return to the top service category window,
press ENT|↑.
Port Services information screens.
Tidal Current Information
Navionics charts contain Tidal Current information,
represented at large zoom ranges by a box icon with
the letter "C." The icon stands for a Tidal Current
Station location.
When you zoom in to a sufficiently small zoom range, the icon itself
becomes an animated arrow showing tidal current velocity and
direction for the selected tidal station. At larger zoom ranges, you can
Port Services
icons
Pop-up
name box
Cursor lines

155
select the boxed "C" icon and it becomes an animated arrow with a pop-
up name box. An example is displayed in the following figure.
To view Tidal Current information:
1. Use the arrow keys to move the cursor over a Tidal Current Station
icon. When selected, a pop-up name box appears.
2. Press WPT to display the Tidal Current Information screen.
Navionics chart showing Tidal Current Station icon selected by cursor.
In this example, the tidal current is in flood but it's about to enter the
slack water stage. The current is flowing to the west at 0.1 mph.
Current Information screen.
The Tidal Current Information screen displays daily tidal current data
for the station at the present time. The graph at the top of the example
above is an approximate view of the flood and ebb pattern from
Cursor lines
Tidal
Current
Station icon
in animated
mode Pop-up
name box

156
midnight (MN), to noon (NN) to midnight (MN). The velocity scale at
the top left side of the graph changes dynamically based upon the
maximum velocity of the current for that day.
Slack water, the period of little or no current, is represented by the
Slack Water Line (SWL). The flood appears above the SWL and the ebb
appears below the SWL.
You can look up tidal current data for other dates by changing the
month, day and year selection boxes. To select another date:
1. Use → and ← to highlight month, day or year, then press ENT.
2. Use ↑ and ↓ to select the desired month, day or year, then press ENT.
To clear the information screen, press EXIT.
Tide Information
Navionics charts contain Tidal Information,
represented at large zoom ranges by a box icon with
the letter "T." The icon stands for a Tidal Station
location. An example is displayed in the figure on the
right.
When you zoom in to a sufficiently small zoom range, the icon itself
becomes an animated gauge showing a rising or falling tidal height for
the selected station. At larger zoom ranges, you can select the boxed "T"
icon and it becomes an animated gauge with a pop-up name box. An
example is displayed in the following figure.
To view tide information:
1. Select a Tide Station icon: use the arrow keys to move the cursor over
an icon. When it is selected, a pop-up name box appears.
2. After selecting the Tide Station icon, press WPT to display the Tide
Information screen.

157
Navionics chart showing Tide Station icon selected by cursor.
In the example above, the tide is at 2.8 feet and falling,
as shown by the down arrow at the top of the icon.
Tide Information screen.
The Tide Information screen displays daily tidal data for the station at
the present time. The graph at the top of the screen is an approximate
view of the tidal range pattern for the day, from midnight (MN), to
noon (NN) to midnight (MN). The dotted line across the graph is the
Mean Lower Low Water line (MLLW).
The height scale on the top right side of the graph changes, based upon
the maximum range of the tide for that day. The MLLW line also
adjusts its position as the height scale changes.
Tide Station
icon
Cursor line
Pop-up
name box

158
You can look up tidal data for other dates by changing the month, day
and year selection boxes. To select another date:
1. Use → and ← to highlight month, day or year, then press ENT.
2. Use ↑ and ↓ to select the desired month, day or year, then press ENT.
To clear the information screen, press EXIT.
Overlay Data
On any page display except the Satellite Status and Navigation pages,
you can "float" or overlay additional data on the screen with the
Overlay Data command. The various data available from your unit are
divided into categories in the Overlay Data menu. These categories
include GPS Data, Navigation, Trip Calculator, Time, Sonar Data and
Miscellaneous Data.
You can select items from any of these categories for display, in any
combination. The category divisions are there only to help you sort
through the information.
Overlay Data Shown window (left); Data viewer with the Sonar Data
category expanded (right).
To overlay information on your screen:
1. Press MENU|↓ to OVERLAY DATA|ENT.
2. If you have overlay data on your display, you’ll see a list of that data
on the overlay data shown menu. To add data, select (ENT TO ADD) and
press ENT. The data viewer shows information categories with "+" or "–"
symbols next to each category name. A category with a "+" next to it is
expandable, meaning its contents are hidden.
Selecting the category name and pressing ENT will show the category's
contents, so you can choose items within it. An expanded category (one
with a "–" next to its name) can be collapsed to hide its contents. Just
select the category and press ENT.

159
3. Expand any categories that might contain data you want to display.
Then press ↓ or ↑ to select a data option.
4. With the data option highlighted, press ENT to check it (turn it on) or
uncheck it (turn it off). As you turn it on, the data will appear on top of
the screen. Every Page display has a maximum number of items you
can show using the Overlay Data command.
5. After the desired changes are made, press EXIT|EXIT to return to the
page display.
To remove overlaid data:
1. While on the Page display that shows the item or items you want to
remove, press MENU|↓ to OVERLAY DATA|ENT.
2. You'll see a list of the overlay data currently displayed. Select the
item you want to remove from your display and press ENT|ENT to
remove the data. To remove another item, select the item and press
ENT|ENT.
3. When you have finished removing all the items you want from the
screen, press EXIT to return to the page display.
Overlay Data Shown, with bearing selected (left). Press ENT to access
REMOVE option (right). Press ENT again to remove item and return to
the Overlay Data Shown screen.
To move overlaid data:
You may find it useful to rearrange data floating in your display
window.
1. Press MENU|↓ to OVERLAY DATA|ENT.
2. You'll see a list of the overlay data currently displayed. Select the
item you want to move and press ENT|→ to MOVE|ENT.
3. The data begins to flash on your screen. Use any combination of →,
←, ↑ and ↓ to move the data to a new location.
4. When satisfied, press EXIT|EXIT.

160
NOTE:
The Customize command and the Overlay Data command use the
same information categories. The difference between the two
commands is the Customize command is only used to modify pages
with digital data boxes, while Overlay Data changes information
floating on the screen. See Customize Page Displays, on page 82 for
information on customizing data boxes.
To change displayed data font size:
1. From the Map or Sonar page, press MENU|↓ to OVERLAY DATA|ENT.
2. Press ↓ or ↑ to select Data Type|press → or ← to Data Size|EXIT.
The selected data type will be displayed in the new size. (To change the
font size of another data type repeat these steps, beginning with step
two above.)
3. To return to the previous page, press EXIT.
The overlay data on this map display includes, Ground Speed,
Distance, Track and Bearing.
NOTE:
Some data types can be displayed in only one font size. If that is the
case, the Data Size box will not be displayed for that data type.
Overlay Data Style
Do you like a digital readout or do you prefer an analog gauge look?
With the Overlay Style feature you can mix and match your data to suit
your viewing preferences.
To access overlaid data style menu:
1. Press MENU|↓ to OVERLAY DATA|ENT.
2. This will bring up the Overlay Data Shown menu with a list of
current overlay data. Highlight the data you want to change on the

161
Overlay Data Shown menu and press ENT, which will launch the data
information menu.
3. Use ↓ to select overlay style, choose analog, and press ENT.
4. Next, press → to enter Analog Setup, which will place a gauge on the
display instead of digital numbers.
The Data Information menu (left) with Overlay style window
activated. Choose analog and the Analog Setup button appears (right).
Gauge Setup Menu.
There are four primary setup options in the analog menu: Themes, Tick
Marks, Thresholds and Text. You can make gauges transparent from
all setup menus except Text Setup.
To change the setup menu, scroll down and use → or ← to highlight one
of the four setup options and press ENT. Use ↑ ↓ to select the desired
category on the setup menu, then press ENT. To return to the main
sonar display, press EXIT repeatedly.
Themes setup allows you to change gauge style, color scheme, and
needle style.
Gauge Style: There are five gauge settings:

162
Single analog: supports one analog gauge.
Split analog: features two gauge elements and two gauge needles in one
analog gauge. Each element uses one-half of the gauge.
Analog/Digital: a regular analog gauge with digital data in the center.
Dual Analog: a pair of analog gauges.
Analog + Digital: features a large analog gauge coupled with a small
digital gauge.
Gauge Select: There are two choices under gauge select. Primary and
Secondary. The secondary button is not an active button unless you
have more than one gauge set for display, which applies to all gauge
styles except Single Analog.
With a single gauge displayed (left), the Sec. Data button is not active.
After choosing a dual-gauge setting, the Sec. Data button is active.
Choosing the Sec. Data button will take you to the same Data Viewer
screen (right) as Customize Page and Overlay Data commands.
The Secondary Data or Sec. Data button is only active when you have a
dual-gauge setting selected for display. It allows you to choose what
information you want displayed in secondary gauge. The secondary
data button takes you to the same Data Viewer screen as the
Customize Page and Overlay Data commands.
Color Scheme: There are three color options, white, blue and black.
Needle Style: There are four needle styles, Triangular, Beveled, Big
Needle and Compass.
Tick Marks setup menu (left) with Thresholds Setup menu (right).

163
Tick Marks setup gives you the option of modifying the gauges
minimum and maximum angles, values and ticks.
Minimum and Maximum Angles gives you control over the numerical
layout of the gauge. You can spread the numbers out around the gauge
or bunch them together in a smaller area.
Minimum and Maximum Values allows you to decide where the gauge's
numbers will begin and where they will top out. For example: you may
decide to start the gauge at 0, 5 or 10 and top it out at 85, 90 or 100.
Minimum or Maximum Tick controls how many tick marks will be
displayed on the gauge. If you set the minimum tick to 1 and the max
tick to 10, there will be 10 tick marks between 0 and 10, 10 and 20 and
so on. In the case of a speedometer, that's one tick for one mile per
hour. If you change the minimum tick to 2 and leave the maximum tick
at 10, you'll have one tick for every two miles per hour. That's five ticks
between 0 and 10, 10 and 20 and so on.
Thresholds setup can be used as a visual aid to mark portions of the
gauge. It is divided into Upper and Lower Thresholds, each containing
major (warning) and minor (caution) threshold settings. Two sets of
numbers must be entered for each threshold. Minor thresholds ranges
are colored yellow. Major threshold ranges are red.
Gauge Text Setup (left). When Restore Defaults is selected (right) the
unit asks if you're sure you want to replace the current settings with
the default settings.
Text setup allows you to individually label gauges. There are two
windows in Text Setup: Gauge Text and Units Text. Units Text is
positioned at the bottom of the gauge. Gauge Text is located above the
Units Text.
Restore Defaults restores the factory default settings. If you run into
trouble modifying any of the gauge settings, Default is there to bail you
out.

164
A display with a transparent track gauge (left). The screen on the right
is displaying Track and speed gauges.
Pop-up Help
Help is available for virtually all of the menu labels on this unit. By
highlighting a menu item and leaving it highlighted for a few seconds, a
"pop-up" message appears that describes the function of the menu item.
This feature is on by default.
To set up Popup Help: Press MENU|MENU|↓ to SYSTEM SETUP|ENT|↓
to POPUP HELP. With the option highlighted, press ENT to check it (turn
on) or uncheck it (turn off.) After the option is set, press EXIT|EXIT to
return to the page display.
System Setup menu (left) with Pop-up Help highlighted. The example
on the right shows the Pop-up Help message for the Screen command.
Reset Options
To reset all features to factory defaults:
Press MENU|MENU|↓ to SYSTEM SETUP|ENT|↓ to RESET OPTIONS|ENT|← to
YES|ENT.
NOTE
Reset Options does not erase any waypoints, routes, icons, plot trails
or sonar logs.

165
Reset Options command (left) and the Reset Options Menu (right).
Screen Contrast and Brightness
To access the Screen menu, press MENU|MENU|ENT.
Once in the Screen menu:
To adjust the display's contrast:
The CONTRAST slider bar is already selected. Press → or ← to move the
bar. The left end of the scale is minimum contrast; the right end is
maximum contrast.
Screen Command (left) and Screen Menu with Contrast selected, (right).
To adjust the display's brightness:
Press ↓ to BRIGHTNESS. Press → or ← to move the bar. The left end of the
scale is minimum contrast; the right end is maximum contrast.
To adjust the screen's display mode:
Press ↓ to DISPLAY MODE|ENT| press ↑ or ↓ to select mode|EXIT.

166
Display Mode menu.
Set Language
This unit's menus are available in 10 languages: English, French,
German, Spanish, Italian, Danish, Swedish, Russian, Dutch and
Finnish. To select a different language:
1. Press MENU|MENU|↓ to SYSTEM SETUP|ENT.
2. Press ↓ to SET LANGUAGE|ENT.
3. Use ↓ or ↑ to select a different language and press ENT. All menus
now appear in the language you selected.
Set Local Time
Using the correct local time setting is handy when estimating local
arrival time while navigating. Also, the time and date are saved when a
waypoint is created.
To access the Set Local Time menu, you must first acquire your
position. Once that is done press MENU|MENU|↓ to SYSTEM SETUP|ENT|↓
to SET LOCAL TIME|ENT.
Once in the Time Settings menu:
To set Local Time: Press ENT. Use ↑ or ↓ to change the first character,
then press → to move the cursor to the next character. Repeat until the
time is correct, then press ENT.
To set the Month: Press ↓ to MONTH|ENT. Press ↑ or ↓ to select the month,
then press ENT.
To set the Day: Press ↓ and → to DAY|ENT. Press ↑ or ↓ to select the day,
then press ENT.

167
To set the Year: Press ↓ and → to YEAR|ENT. Press ↑ or ↓ to select the
year, then press ENT.
You also may switch the Time Format between 12 and 24-hour options.
The Date Format also may be modified between three options:
Month/Day/Year, Day/Month/Year and Year/Month/Day.
Time Settings Menu.
At the bottom left of the menu is the CONFIG DST button. This feature
allows your unit to automatically adjust with the time change caused
by Daylight Saving Time. It should only have to be set once. You may
select which set of rules matches DST in your region or simply accept
the default.
Once you have each field set the way you want, press EXIT repeatedly to
return to the previous page.
Show WAAS Alarm
When the signal is available, your unit will automatically use WAAS to
boost the accuracy of the position fix. When the WAAS signal is lost or
acquired, an alarm message appears. Since the U.S. government is still
developing the WAAS system, it's not unusual for a GPS/WAAS
receiver to frequently lose and reacquire its lock on a WAAS satellite.
That can result in the alarm repeatedly going on and off. You have the
option of turning off the WAAS Acquired/Lost alarm without affecting
how the unit uses WAAS. Here's how:
1. Press MENU|MENU|↓ to GPS SETUP|ENT|↓ to SHOW WAAS ALARM.
2. With the option highlighted, press ENT to uncheck it (turn off) or
check it (turn on). After the option is set, press EXIT|EXIT to return to
the page display.
3. You can return to this command and press ENT again to turn on the
feature.

168
Software Version Information
From time to time, Lowrance updates the operating system software in
some of its products. These software upgrades are usually offered to
customers as free downloads from our web site, www.lowrance.com.
The upgrades make the unit perform better or introduce a new feature
or function. You can find out what software version is running in your
Unit by using the Software Information command.
Software Information command (left); Software Information (right).
1. Press MENU|MENU|↓ to SYSTEM SETUP|ENT|↓ to SOFTWARE INFO|ENT.
2. Read the information displayed on the screen.
3. To return to the last page displayed, press EXIT|EXIT|EXIT.
Sounds and Alarm Sound Styles
Sounds triggered by key strokes and alarms can be adjusted:
Press MENU|MENU|↓ to SOUNDS|ENT.
Sounds command (left); The Sounds menu (right).
Once in the Sounds menu
To set Key Press Sounds: With the option highlighted, press ENT to
check it (turn on) or uncheck it (turn off). After the option is set, press
EXIT|EXIT to return to the page display.

169
To set Alarm Sounds: Press ↓ to ALARM SOUNDS. With the option
highlighted, press ENT to check it (turn on) or uncheck it (turn off).
After the option is set, press EXIT|EXIT to return to the page display.
To set Alarm Volume: Press ↓ to VOLUME. Press → or ← to move the bar.
The left end of the scale is low volume; the right end is high volume.
After the option is set, press EXIT|EXIT to return to the page display.
To set Alarm Style: Press ↓ to ALARM STYLE|ENT. Press ↑ or ↓ to change
the style, then press ENT. After the option is set, press EXIT|EXIT to
return to the page display.
Track Smoothing
This is a factory setting on the GPS Setup menu that should always be
left on. When stopped or traveling at slow speeds (such as walking or
trolling), Track Smoothing prevents wandering of trails, the steering
arrow, compass rose and the map in track-up mode.
Track Smoothing option, turned on.
Trail Options
There are several options you can use with trails. Some affect all trails,
other options can be applied to a particular trail. You can change the
way trails are updated and the way they’re displayed. Trails also may
be hidden, created or deleted in the trail menu.
General Trail Options
To access the Trails Menu:
Press MENU|MENU|↓ to MY TRAILS|ENT.

170
My Trails command (left); Trails Menu (left); Trail Options (right).
Delete All Trails
To remove all of the trails from memory, from the Trails Menu, press →
to DELETE ALL|ENT|← to YES|ENT.
Update Trail Option
This menu lets you change the way the trail updates occur.
WARNING:
If you uncheck the Update Trail option, automatic trail
creation and recording will be turned off. You must turn
it back on to record trails. The default setting is on.
From the Trails Menu, press → to OPTIONS|ENT. With UPDATE ACTIVE TRAIL
highlighted, press ENT to check it (turn on) or uncheck it (turn off).
Update Trail Criteria (Auto, Time, Distance)
The options are automatic, time or distance. When it's in the default
automatic mode, the unit doesn't update the plot trail while you're
traveling in a straight line. Once you deviate from a straight line, the
unit "drops" a plot point (trail waypoint) onto the trail. This conserves
plot trail points. If a plot trail uses all of the available points allotted to
it, the beginning points are taken away and placed at the end of the trail.
From the Trails Menu, press → to TRAIL OPTIONS|ENT|↓ to UPDATE
CRITERIA. Press ↑ or ↓ to select criteria type|ENT. If you selected Time,
the Update Rate data entry box appears on the menu. If you selected
Distance, the Update Distance data entry box appears on the menu.
Trail Update Rate (Time, Distance)
You can update a trail by time, with a range from 1 second to 9999
seconds; the default is 3 seconds. You can update by distance, with a
range from 0.01 mile/nm/km to 9.99 mile/nm/km; the default is 0.10
miles.
With one of the Update Criteria selected, use the cursor arrows to
highlight either the UPDATE RATE (TIME) or UPDATE DISTANCE data entry
boxes and press ENT. Press ↑ or ↓ to change the first character, then
press → to the next character and repeat until the entry is correct.
Press EXIT to return to the Trail Options Menu.

171
Update Time Rate (left) and Update Distance(right).
Specific Trail Options
Delete Trail
To delete a specific trail, from the Trails Menu, press ↓ to Saved
Trails|ENT. Select a trail and press ENT. The Edit Trail menu appears as
seen in the following figure. Press → to DELETE TRAIL|ENT|← to YES|ENT.
Edit Trail menu.
New Trail
To manually start a new trail in the Trails Menu make sure NEW TRAIL is
highlighted and press ENT|EXIT.
Trail Visible/Invisible and Other Trail Options
The name, maximum number of points in the trail, activity, and
visibility all are changed on the Edit Trail menu screen. The Active
setting determines whether or not the unit is recording new points for a
particular trail.
On the Edit Trail menu, press ↓ or ↑ to highlight the section you wish
to change, then press ENT. Make your changes, then press EXIT to close
this menu.

172
Units of Measure
This menu sets the speed and distance (statute or nautical miles,
meters), depth (feet, fathoms, or meters), temperature (degrees
Fahrenheit or Celsius) and heading (true or magnetic) units. To change
the units:
Press MENU|MENU|↓ to SYSTEM SETUP|ENT|ENT.
System Setup Menu (left); Units of Measure Menu (right).
To set Speed/Distance Unit of Measure: Press ↑ or ↓ to change the
Speed/Distance, then press ENT. After the option is set, press
EXIT|EXIT|EXIT to return to the page display.
To set Heading: Press ↑ or ↓ to change the heading type, then press
ENT. After the option is set, press EXIT|EXIT|EXIT to return to the page
display.
To set Depth: Press → and ↓ to DEPTH. Press ↑ or ↓ to change the
heading type, then press ENT. After the option is set, press
EXIT|EXIT|EXIT to return to the page display.
To set Temperature: Press → to TEMPERATURE. Press ↑ or ↓ to change
the heading type, then press ENT. After the option is set, press
EXIT|EXIT|EXIT to return to the page display.

173
Section 9:
Searching
NOTE:
The background map loaded in your unit lets you search for U.S.
Interstate Highway exits and exit services, as well as some land
features, including cities and lakes. For a full set of searchable land
features, including landmarks, streets, addresses and Points of
Interest, you must load your own high-detail custom map produced
with our MapCreate 6 software. For a complete description of what
detail is found in the background map and custom MapCreate
maps, see page 103.
The unit's varied search functions all begin with either the Find
Waypoint menu or the Map Page menu. Press WPT and the Find
Waypoint menu appears for waypoints and Points of Interest (POI).
From the Map Page, press MENU and the Map Page menu appears with
search options for streets, addresses and highway exits.
Find Waypoint menu (left) and Map Page menu (right).
NOTE:
You can search for items after the unit has acquired a position or
while using it in the simulator mode. Distance and bearing to the
selected item will be calculated from the unit's current position or
the last known position. You can look up items by name, or search
for the nearest location.
Find Addresses
1. From the Map Page, press MENU|↓ to FIND ADDRESS|ENT.
2. Press ENT to search in the Address field.

174
Find Address Menu.
3. To enter an address, press ↑ or ↓ to change the first number, then
press → to move the cursor to the next number and repeat until the
number is correct, then press ENT.
4. To enter a street name, press ↓ to STREET|ENT. There are two options:
A. You can spell out the name in the top selection box. Press ↑ or ↓ to
change the first letter, then press → to move the cursor to the next
letter and repeat until the name is correct, then press ENT|ENT. B. Or
jump down to the lower selection list by pressing ENT, then press ↓ or ↑
to select a street name from the list and press ENT. The street name you
selected is now in the street field.
Find Street menu (left) with Find By Name field active; street name
entry complete (right).
5. To enter a city name, press ↓ to CITY|ENT. You will be asked if you want
to find addresses only within a particular city. This option is designed
to limit an address search to a single city, if necessary.
If you select yes, there are two options: A. You can spell out the city
name in the top selection box. Press ↑ or ↓ to change the first letter,
then press → to move the cursor to the next letter and repeat until the
name is correct, then press ENT|ENT. B. Or jump down to the lower

175
selection list by pressing ENT, then press ↓ or ↑ to select a city name
from the list and press ENT. The city name you selected is now in the
city field.
NOTE:
We recommend you do not enter a city name unless the list is too
long to search through. The unit can search more quickly when you
don’t enter a city name.
Find city field (left); search in particular city only option (center); Find
City by name (right).
6. When the necessary search fields are filled in, press ↓ to FIND
ADDRESS|ENT. Your unit asks you to wait while it searches for the
address. (If an address is not in the database, a message appears
saying the address could not be found.)
7. The unit will display a list of addresses. If the address you are
looking for is highlighted at the top of the list, press ENT. If not, use ↓
and ↑ to select the correct address from the list, then press ENT. The
Map Page will appear with the location selected by the cursor. (In the
example below, there were two addresses found, but we are looking for
12303 East 11th Street, not 11th Court, so we had to scroll down the list
to select the correct address.)
Address search result list (left); Address page options, Find or Go To
(center). After the address is located, you can navigate to it (right).
8. To navigate to the address, press ENT|→|ENT and your unit will
begin showing navigation information to the address pointed out by the
cursor. If you are only looking up an address (not navigating), just
press ENT to see the location pinpointed on the map.

176
Tip:
If the address also happens to be an item in the Point of Interest
database, you can look up the item's phone number in the Waypoint
Information list. With the address location selected by the cursor on
the map, press WPT. The POI's Waypoint Information window
appears, with the GO TO WAYPOINT command highlighted. If you want
to go ahead and navigate to the POI address, just press ENT|EXIT.
Map Page showing location of the address on the map, highlighted by
cursor (left). This address is a business in the POI database, so you can
display the POI information window, then navigate to it (right).
Find Any Item Selected by Map Cursor
On the Map Page with a POI or map feature selected by the cursor
press WPT. To return to the previous page, press EXIT.
A POI selected by the cursor (left); POI information screen (right).
NOTE:
Since the GO TO WAYPOINT command is highlighted, you can navigate
to the selected POI by pressing ENT|EXIT while in the POI
Waypoint Information screen.

177
Find Interstate Highway Exits
1. From the Map Page, press MENU|↓ to HIGHWAY EXITS|ENT, which calls
up the FIND EXIT menu.
Find Highway Exits command (left) and Find Exit menu (right).
2. First, select a highway name by pressing ENT, which calls up the FIND
BY NAME menu. There are two highway search options: A. You can spell
out the highway name in the top selection box. Press ↑ or ↓ to change
the first letter, then press → to move the cursor to the next letter and
repeat until the name is correct, then press ENT|ENT. B. Or jump down
to the lower selection list by pressing ENT, then press ↓ or ↑ to select a
highway from the list, then press ENT.
Find By Name menu.
3. Once you have selected a highway name you can then select an exit.
Press ↓ to switch to the Exit List, then press ↓ or ↑ until you highlight
the exit, then press ENT.

178
Find Exit menu, with an exit selected in the Exit List.
4. In the Exit Information screen you have two choices. A. Press ENT to
navigate or GO TO EXIT. B. Press →|ENT to find the exit on the map.
Go To Exit option (left); Find On Map option (right).
Tip:
You can also look up some additional information on the services
located near this exit. Press ↓ to SERVICES then ↓ or ↑ to select
Service Name|ENT.

179
Exit Information screen (left) with general location and amenities
information screen (right).
Find Map Places or Points of Interest (POI)
1. Press WPT, press ↓ or ↑ to select a map place or POI category, then
press ENT. (To narrow your search, press → then press ↓ or ↑ to select a
subcategory before pressing ENT.) You will be given two options; SEARCH
BY NAME or BY NEAREST.
Find Waypoint menu with Lodging POI category selected (left) and
with the RV Parks subcategory selected (right).
2. Search by nearest POI. Press ↓|ENT. The FIND BY NEAREST menu will
show a calculating screen, then a list of the nearest POI's will appear.
Press ↓ or ↑ to the selected POI and press ENT to call up the POI's
Waypoint Information screen.
Find by Nearest (left); Calculating screen (center); POI list (right).

180
3. Search by name of POI. Press ENT. There are two options: A. You can
spell out the POI in the top selection box. Press ↑ or ↓ to change the
first letter, then press → to move the cursor to the next letter and
repeat until the name is correct, then press ENT|ENT. B. Or jump down
to the lower selection list by pressing ENT and ↓ or ↑ to select a POI,
then press ENT to access the POI's Waypoint Information screen.
Find by Name option (left); Find by Name menu (right).
4. When the POI's Waypoint Information screen is displayed, you can
choose to GO TO the POI waypoint by pressing ENT or to find it on the
map by pressing ↓ |ENT.
Go To Waypoint POI option (left); Find on Map POI option (right).
Find Streets or Intersections
Find a Street
1. From the Map Page, press MENU|↓ to FIND STREETS|ENT and the Find
Streets Menu appears.

181
Find Streets command (left); Find Streets menu (right).
2. You must first fill in a street name in the First Street dialog box. Press
ENT to display the FIND BY NAME menu. There are two options: A. You can
spell out the street in the top selection box. Press ↑ or ↓ to change the
first letter, then press → to move the cursor to the next letter and
repeat until the name is correct, then press ENT|ENT. B. Or you can
jump down to the lower box and pick a street from the selection list.
Press ENT, then press ↓ or ↑ to select a street from the list and press
ENT.
Find Street By Name menu. Spell out name in
the top box or select from the list in the lower box.
3. The Find Streets menu reappears with the street you're searching for
in the First Street box. (In this example, it's 80th Street.) To search for
that street, press ↓ to find FIRST STREET |ENT. A message appears asking
you to wait while the unit finds the street. When the Streets Found list
appears, press ↑ or ↓ to select the street you are searching for and press
ENT.

182
The Find Streets menu (left) with the Find First
Street command highlighted. Streets Found list (right).
4. The Map Page appears, with the cursor pointing to the found street.
Map Page showing results of a street search.
The cursor points to the located street.
If you want to navigate to the found street at the cursor location, just
press MENU|ENT|EXIT.
Find an Intersection
You must enter one street in the First Street dialog box and enter the
next street in the Second Street dialog box.
1. From the Map Page, press MENU|↓ to FIND STREETS|ENT and the FIND
STREETS Menu appears.
2. You must fill in a street name in the First Street dialog box. Press
ENT to display the FIND BY NAME menu. There are two options: A. You can
spell out the street in the top selection box. Press ↑ or ↓ to change the
first letter, then press → to move the cursor to the next letter and

183
repeat until the name is correct, then press ENT|ENT. B. Or you can
jump down to the lower box and pick a street from the selection list.
Press ENT, then use ↓ or ↑ to select a street from the list and press ENT.
3. The Find Streets menu reappears with the street you're searching for
in the First Street box. (In this example, it's 80th Street.)
4. Now fill in the second street. Press ↓ to SECOND STREET|ENT and the
FIND BY NAME menu appears again. Just like before, there are two
options: A. You can spell out the second street in the top selection box.
Press ↑ or ↓ to change the first letter, then press → to move the cursor
to the next letter and repeat until the name is correct, then press
ENT|ENT. B. Or you can jump down to the lower box and pick the
second street from the selection list. Press ENT, then press ↓ or ↑ to
select a street from the list and press ENT.
5. The Find Streets menu reappears with the first and second street
dialog boxes filled in. In this example, we selected 71st Street as our
second street. You could now use similar techniques to select a city or
Zip code, but your search will probably be faster if you leave those
boxes blank. (You can specify a city and/or zip code later on to narrow
the search, if the resulting list is too long.)
Find Intersection command highlighted (left) and
Working message (center). The Intersections Found list (right).
6. To search for the intersection of the two streets, press ↓ to FIND
INTERSECTION |ENT. A message appears asking you to wait while the unit
finds the intersection. When the INTERSECTIONS FOUND list appears, press ↑
or ↓ to select the intersection you are searching for and press ENT. (In
the example on the previous page, we selected the intersection of SW
80th Street and SW 71st Avenue in Miami, Fla.)
7. The Map Page prompt appears, asking you if you want to Find the
intersection or Go To the intersection. Choosing Find will bring up the
map with the cursor centered on the intersection. Selecting the Go To
command will display navigation information to the screen. Use the ←
→ to make your selection, then press ENT.

184
Map Page showing results of an intersection search.
The cursor points to the located intersection.
Find Waypoints
1. Press WPT|ENT.
2. If searching for the waypoint BY NAME, press ENT. If searching for the
NEAREST waypoint, press ↓ to NEAREST |ENT. (To search by name, jump to
step 5 below.)
Find Waypoint menu (left); Find By Nearest command (center); Find
by Name command (right).
3. If you're looking for nearest, the unit says it is calculating, then a list of
waypoints appears. The location closest to you is highlighted at the top
of the list and the one farthest from you is at the bottom of the list.

185
Calculating message (left) and list of the nearest waypoints (right).
4. To see location information on the closest waypoint, press ENT and
the Waypoint Information screen appears. (If you wanted, you could
select another waypoint from the list with the ↑ or ↓ keys.)
A. To navigate to the waypoint, press ENT. (The Go To Waypoint
command is already highlighted.) The unit will show navigation
information to the waypoint.
B. To find the waypoint, press ↓ to FIND ON MAP|ENT. The Map Page
appears with the cursor highlighting the found waypoint.
Waypoint Information screens with the Go To Waypoint command
selected (left) and the Find on Map command selected (right).
To clear these menus and return to the previous page, press EXIT
repeatedly.
5. If you're looking by name, there are two options: A. You can spell out
the name in the top selection box. Press ↑ or ↓ to change the first letter,
then press → to move the cursor to the next letter and repeat until the
name is correct, then press ENT|ENT. B. Or you can jump down to the
lower selection list by pressing ENT, then use ↓ or ↑ to select a waypoint
from the list, then press ENT. The waypoint information screen appears.

186
Find By Name menu (left); Waypoint Information screen (center); The
found waypoint is highlighted by the cursor on the Map Page (right).
A. To navigate to the waypoint, press ENT. (Go To Waypoint
command is already highlighted.) The unit will show navigation
information to the waypoint.
B. To find the waypoint, press ↓ to FIND|ENT. The Map Page appears
with the cursor highlighting the found waypoint.
To clear these menus and return to the previous page, press EXIT
repeatedly.
187
Section 10: Supplemental Material
Datums Used by This Unit
WGS 1984
Default
Adindan
Mean for Ethiopia, Sudan
Adindan
Burkina Faso
Adindan
Cameroon
Adindan
Ethiopia
Adindan
Mali
Adindan
Senegal
Adindan
Sudan
Afgooye
Somalia
Ain el Abd 1970
Bahrain
Ain el Abd 1970
Saudi Arabia
Anna 1 Astro 1965
Cocos Islands
Antigua Island Astro
1943; Antigua (Leeward
Islands)
Arc 1950; Mean for
Botswana, Lesotho,
Malawi, Swaziland, Zaire,
Zambia and Zimbabwe
Arc 1950 - Botswana
Arc 1950 - Burundi
Arc 1950 - Lesotho
Arc 1950 - Malawi
Arc 1950 - Swaziland
Arc 1950 - Zaire
Arc 1950 - Zambia
Arc 1950 - Zimbabwe
Arc 1960 - Mean for
Kenya, Tanzania
Ascension Island 1958 -
Ascension Island
Astro Beacon E 1945 -
Iwo Jima
Astro DOS 71/4 - St.
Helena Island
Astro Tern Island (FRIG)
1961 - Tern Island
Astronomical Station
1952 - Marcus Island
Australian Geodetic 1966
- Australia & Tasmania
Australian Geodetic 1984
- Australia & Tasmania
Ayabelle Lighthouse -
Djibouti
Bellevue (IGN) - Efate &
Erromango Islands
Bermuda 1957 - Bermuda
Bissau - Guinea-Bissau
Bogota Observatory -
Colombia
Bukit Rimpah - Indonesia
(Bangka & Belitung
Islands)
Camp Area Astro -
Antarctica (McMurdo
Camp Area)
Campo Inchauspe -
Argentina
Canton Astro 1966 -
Phoenix Islands
Cape - South Africa
Cape Canaveral -
Bahamas, Florida
Carthage - Tunisia
Switzerland
Chatham Island Astro
1971; New Zealand
(Chatham Island)
Chua Astro
Paraguay
Corrego Alegre
Brazil
Dabola
Guinea
Djakarta (Batavia)
Indonesia (Sumatra)
182
DOS 1968
New Georgia Islands
(Gizo Island)
Easter Island 1967
Easter Island
European 1950
Mean for Austria,
Belgium, Denmark,
Finland, France, West
Germany, Gibraltar,
Greece, Italy,
Luxembourg,
Netherlands, Norway,
Portugal, Spain, Sweden,
Switzerland
European 1950
Mean for Austria,
Denmark, France, West
Germany, Netherlands,
Switzerland
European 1950
Mean for Iraq, Israel,
Jordan, Lebanon, Kuwait,
Saudi Arabia, Syria
European 1950
Cyprus
European 1950
Egypt
European 1950
England, Channel
Islands, Ireland, Scotland,
Shetland Islands
European 1950
Finland, Norway
European 1950
Greece
European 1950
Iran
European 1950
Italy (Sardinia)
European 1950
(Sicily)
European 1950
Malta
Ireland 1965
Ireland
ISTS 061 Astro 1968
South Georgia Islands
ISTS 073 Astro 1969
Diego Garcia
Johnston Island 1961
Johnston Island
Kandawala
Sri Lanka
Kerguelen Island 1949
Kerguelen Island
Kertau 1948
West Malaysia &
Singapore
Kusaie Astro 1951
Caroline Islands
L.C. 5 Astro 1961
Cayman Brac Island
Leigon
Ghana
Liberia 1964
Liberia
Luzon
Philippines (Excluding
Mindanao)
Luzon
Philippines (Mindanao)
Mahe 1971
Mahe Island
Massawa
Ethiopia (Eritrea)
Merchich
Morocco
Midway Astro 1961
Midway Islands
Minna
Cameroon
Minna
Nigeria
Montserrat Island Astro
1958; Montserrat
(Leeward Islands)
M’Poraloko
Gabon, Nahrwan, Oman
(Masirah Island)
Nahrwan
Saudi Arabia
Nahrwan
United Arab Emirates
Naparima BWI
Trinidad & Tobago
North American 1927
Mean for Antigua,
Barbados, Barbuda,
Caicos Islands, Cuba,
Dominican Republic,
Grand Cayman, Jamaica,
Turks Islands
North American 1927
Mean for Belize, Costa
Rica, El Salvador,
Guatemala, Honduras,
Nicaragua
North American 1927
Mean for Canada
183
North American 1927
Mean for CONUS
(Continental United
States)
North American 1927
Mean for CONUS (East
of Mississippi River)
including Louisiana,
Missouri, Minnesota
North American 1927
Mean for CONUS
(West of Mississippi
River)
North American 1927
Alaska
North American 1927
Bahamas (Except San
Salvador Island)
North American 1927
Bahamas (San Salvador
Island)
North American 1927
Canada (Alberta, British
Columbia)
North American 1927
Canada (Manitoba,
Ontario)
North American 1927
Canada (New Brunswick,
Newfoundland, Nova
Scotia, Quebec)
North American 1927
Canada (Northwest
Territories,
Saskatchewan)
North American 1927
Canada (Yukon)
North American 1927
Canal Zone
North American 1927
Cuba
North American 1927
Greenland (Hayes
Peninsula)
North American 1927
Mexico
North American 1983
Alaska, Canada, CONUS
North American 1983
Central America, Mexico
Observaorio Metereo
1939; Azores (Corvo &
Flores Islands)
Old Egyptian 1907
Egypt
Old Hawaiian
Mean for Hawaii, Kauai,
Maui, Oahu
Old Hawaiian
Hawaii
Old Hawaiian
Kauai
Old Hawaiian
Maui
Old Hawaiian
Oahu
Oman
Oman
Ordinance Survey
Great Britain 1936 - Mean
for England, Isle of Man,
Scotland, Shetland
Islands, Wales
Ordinance Survey
Great Britain 1936 -
England
Ordinance Survey
Great Britain 1936 -
England, Isle of Man,
Wales
Ordinance Survey
Great Britain 1936 -
Scotland, Shetland
Islands
Ordinance Survey
Great Britain 1936 -
Wales
Pico de las Nieves
Canary Islands
Pitcairn Astro 1967
Pitcairn Island
Point 58
Sweden
Santo (DOS)
1965 Espirito Santo
Island
Sao Braz
Azores (Sao Miguel,
Santa Maria Islands)
Sapper Hill 1943
East Falkland Island
Schwarzeck
Nambia
Selvagem Grande
Salvage Islands
SGS 85
Soviet Geodetic System
1985
South American 1969
Mean for Argentina,
184
Bolivia, Brazil, Chile,
Colombia, Ecuador,
Guyana, Paraguay, Peru,
Trinidad & Tobago, and
Venezuela
South American 1969
Argentina
South American 1969
Bolivia
South American 1969
Brazil
South American 1969
Chile
South American 1969
Colombia
South American 1969
Ecuador
South American 1969
Ecuador (Baltra,
Galapagos)
South American 1969
Guyana
South American 1969
Paraguay
South American 1969
Peru
South American 1969
Trinidad & Tobago
South American 1969
Venezuela
South Asia
Singapore
Tananarive Observatory
1925; Madagascar
Timbalai 1948
Brunei, East Malaysia
(Sabah, Sarawak)
Tokyo
Mean for Japan, Korea,
Okinawa
Tokyo
Japan
Tokyo
Korea
Tokyo
Okinawa
Tristan Astro 1968
Tristan da Cunha
Viti Levu 1916
Fiji (Viti Levu Island)
Wake
Eniwetok 1960
Marshall Islands
Wake Island Astro 1952
Wake Atoll
WGS 1972
Global Definition
Yacare
Uruguay
Zanderij
Suriname
185
FCC Compliance
This device complies with Part 15 of the U.S. Federal
Communications Commission (FCC) Rules. Operation is subject
to the following two conditions: (1) this device may not cause
harmful interference, and (2) this device must accept any
interference received, including interference that may cause
undesired operation.
Changes or modifications not expressly approved by the
manufacturer could void the user's authority to operate the
equipment.
Note:
This equipment has been tested and found to comply with the
limits for a Class B digital device, pursuant to Part 15 of the
FCC Rules. These limits are designed to provide reasonable
protection against harmful interference in a residential
installation. This equipment generates, uses and can radiate
radio frequency energy and, if not installed and used in
accordance with the instructions, may cause harmful
interference to radio communications. However, there is no
guarantee that interference will not occur in a particular
installation. If this equipment does cause harmful interference to
radio or television reception, which can be determined by turning
the equipment off and on, the user is encouraged to try to correct
the interference by one or more of the following measures:
• Reorient or relocate the receiving antenna.
• Increase the separation between the equipment and receiver.
• Connect the equipment into an outlet on a circuit different
from that to which the receiver is connected.
• Consult the factory customer service department for help.
186
Notes
187
Notes
188
Notes
189
LOWRANCE DATABASES LICENSE AGREEMENT
THIS IS A LEGAL AGREEMENT BETWEEN THE END-USER WHO FIRST
PURCHASES THIS PRODUCT AS A CONSUMER ITEM FOR PERSONAL,
FAMILY, OR HOUSEHOLD USE ("YOU") AND LOWRANCE ELECTRONICS,
INC., THE MANUFACTURER OF THIS PRODUCT ("WE", "OUR", OR "US").
USING THE PRODUCT ACCOMPANIED BY THIS LICENSE AGREEMENT
CONSTITUTES ACCEPTANCE OF THESE TERMS AND CONDITIONS. IF
YOU DO NOT ACCEPT ALL TERMS AND CONDITIONS, PROMPTLY
RETURN THE PRODUCT WITHIN 30 DAYS OF PURCHASE. PLEASE
RETURN USING THE ENCLOSED UPS SHIPPING LABEL AND INCLUDE:
PROOF OF PURCHASE, NAME, ADDRESS, AND PHONE NUMBER. YOUR
PURCHASE PRICE AND ANY APPLICABLE TAXES WILL BE REFUNDED.
PLEASE ALLOW 4-6 WEEKS TO PROCESS YOUR REFUND.
1. This License Agreement applies to the one or more databases that
your product may contain. We refer to these singly as a "Database"
and together as the "Databases." Your product may thus include the
"WBS Database" which contains worldwide background surface
mapping data, the "SmartMap Database" which contains inland
mapping data, or other Databases.
2. The Databases that your product may contain are licensed, not sold.
We grant to you the nonexclusive, nonassignable right to use these
Databases for supplemental navigation reference purposes, but only
as long as you comply with the terms and conditions of this License
Agreement. We reserve the right to terminate this license if you
violate any aspect of this License Agreement. You are responsible for
using official government charts and prudent navigation for safe
travel.
3. The Databases housed in your product are protected by the
copyright notices appearing on the product or its screen(s). You may
NOT modify, adapt, translate, reverse engineer, decompile,
disassemble, rent, lease, or resell any Database, and you may NOT
create derivative works based upon any Database or its contents.
Any unauthorized reproduction, use, or transfer of a Database may
be a crime and may subject you to damages and attorney fees.
4. This License Agreement will terminate immediately without prior
notice from us if you fail to comply with or violate any of the
provisions of this Agreement. Upon termination, you will promptly
return all products containing one or more Databases to us.
5. Prices and programs are subject to change without notice.
6. This License Agreement shall be governed by the laws of the State of
Oklahoma and comprises the complete and exclusive understanding
between you and us concerning the above subject matter.
190
DATABASES LIMITED WARRANTY
"We", "our", or "us" refers to Lowrance Electronics, Inc., the manufacturer of
this product. "You" or "your" refers to the first person who purchases the
product as a consumer item for personal, family, or household use. The
Databases Limited Warranty applies to the one or more databases that your
product may contain. We refer to each of these as a "Database" or together as
the "Databases." Your product may thus include the "WBS Database" which
contains worldwide background surface mapping data, the "SmartMap
Database" which contains inland mapping data, or other Databases.
We warrant to you that we have accurately compiled, processed, and
reproduced the portions of the source material on which the Databases are
based. However, we are under no obligation to provide updates to the
Databases, and the data contained in the Databases may be incomplete when
compared to the source material. WE MAKE NO EXPRESS OR IMPLIED
WARRANTY OF ANY KIND ABOUT THE ACCURACY OF THE SOURCE
MATERIAL ITSELF, INCLUDING BUT NOT LIMITED TO IMPLIED
WARRANTIES OF MERCHANTABILITY OR FITNESS FOR A PARTICULAR
PURPOSE.
If there is a defect in any Database, your exclusive remedy shall be, at our
option, either a refund of the price you paid for the product containing the
defective Database or a replacement of such product. WE WILL NOT UNDER
ANY CIRCUMSTANCES BE LIABLE TO ANYONE FOR ANY SPECIAL,
CONSEQUENTIAL, INCIDENTAL, OR OTHER INDIRECT DAMAGE OF
ANY KIND.
Some states do not allow the exclusion or limitation of incidental or
consequential damages, so the above limitations or exclusions may not apply to
you.
This warranty does NOT apply in the following circumstances: (1) when the
product has been serviced or repaired by anyone other than us; (2) when the
product has been connected, installed, combined, altered, adjusted, or handled
in a manner other than according to the instructions furnished with the
product; (3) when any serial number has been effaced, altered, or removed; or
(4) when any defect, problem, loss, or damage has resulted from any accident,
misuse, negligence, or carelessness, or from any failure to provide reasonable
and necessary maintenance in accordance with the instructions of the owner’s
manual for the product.
We reserve the right to make changes or improvements in our products from
time to time without incurring the obligation to install such improvements or
changes on equipment or items previously manufactured.
This warranty gives you specific legal rights and you may also have other
rights which may vary from state to state.
Your remedies under this warranty will be available so long as you can show in
a reasonable manner that the defect occurred within one (1) year from the date
of your original purchase, and we must receive your warranty claim no later
than 30 days after such 1-year period expires. Your claim must be
substantiated by a dated sales receipt or sales slip.
191
LOWRANCE ELECTRONICS
FULL ONE-YEAR WARRANTY
"We," "our," or "us" refers to LOWRANCE ELECTRONICS, INC., the manufacturer of
this product. "You" or "your" refers to the first person who purchases this product as a
consumer item for personal, family or household use.
We warrant this product against defects or malfunctions in materials and workmanship,
and against failure to conform to this product's written specifications, all for one (1) year
from the date of original purchase by you. WE MAKE NO OTHER EXPRESS
WARRANTY OR REPRESENTATION OF ANY KIND WHATSOEVER CONCERNING
THIS PRODUCT. Your remedies under this warranty will be available so long as you can
show in a reasonable manner that any defect or malfunction in materials or
workmanship, or any non-conformity with the product's written specifications, occurred
within one year from the date of your original purchase, which must be substantiated by
a dated sales receipt or sales slip. Any such defect, malfunction, or non-conformity which
occurs within one year from your original purchase date will either be repaired without
charge or be replaced with a new product identical or reasonably equivalent to this
product, at our option, within a reasonable time after our receipt of the product. If such
defect, malfunction, or non-conformity remains after a reasonable number of attempts to
repair by us, you may elect to obtain without charge a replacement of the product or a
refund for the product. THIS REPAIR, OR REPLACEMENT OR REFUND (AS JUST
DESCRIBED) IS THE EXCLUSIVE REMEDY AVAILABLE TO YOU AGAINST US FOR
ANY DEFECT, MALFUNCTION, OR NON-CONFORMITY CONCERNING THE
PRODUCT OR FOR ANY LOSS OR DAMAGE RESULTING FROM ANY OTHER
CAUSE WHATSOEVER. WE WILL NOT UNDER ANY CIRCUMSTANCES BE LIABLE
TO ANYONE FOR ANY SPECIAL, CONSEQUENTIAL, INCIDENTAL, OR OTHER
INDIRECT DAMAGE OF ANY KIND.
Some states do not allow the exclusion or limitation of incidental or consequential
damages, so the above limitations or exclusions may not apply to you.
This warranty does NOT apply in the following circumstances: (1) when the product has
been serviced or repaired by anyone other than us; (2) when the product has been
connected, installed, combined, altered, adjusted, or handled in a manner other than
according to the instructions furnished with the product; (3) when any serial number has
been effaced, altered, or removed; or (4) when any defect, problem, loss, or damage has
resulted from any accident, misuse, negligence, or carelessness, or from any failure to
provide reasonable and necessary maintenance in accordance with the instructions of the
owner's manual for the product.
We reserve the right to make changes or improvements in our products from time to time
without incurring the obligation to install such improvements or changes on equipment
or items previously manufactured.
This warranty gives you specific legal rights and you may also have other rights which
may vary from state to state.
REMINDER: You must retain the sales slip or sales receipt proving the date of your
original purchase in case warranty service is ever required.
LOWRANCE ELECTRONICS
12000 E. SKELLY DRIVE, TULSA, OK 74128
(800) 324-1356
192
How to Obtain Service…
…in the USA:
We back your investment in quality products with quick, expert service
and genuine Lowrance parts. If you're in the United States and you
have technical, return or repair questions, please contact the Factory
Customer Service Department. Before any product can be returned, you
must call customer service to determine if a return is necessary. Many
times, customer service can resolve your problem over the phone
without sending your product to the factory. To call us, use the
following toll-free number:
800-324-1356
8 a.m. to 5 p.m. Central Standard Time, M-F
Lowrance Electronics may find it necessary to change or end our
shipping policies, regulations, and special offers at any time. We reserve
the right to do so without notice.
…in Canada:
If you're in Canada and you have technical, return or repair questions,
please contact the Factory Customer Service Department. Before any
product can be returned, you must call customer service to determine if
a return is necessary. Many times, customer service can resolve your
problem over the phone without sending your product to the factory. To
call us, use the following toll-free number:
800-661-3983
905-629-1614 (not toll-free)
8 a.m. to 5 p.m. Eastern Standard Time, M-F
…outside Canada and the USA:
If you have technical, return or repair questions, contact the dealer in
the country where you purchased your unit. To locate a dealer near
you, visit our web site, www.lowrance.com and look for the Dealer
Locator.
Accessory Ordering Information
for all countries
To order Lowrance accessories such as power cables or transducers,
please contact:
1) Your local marine dealer or consumer electronics store. Most quality
dealers that handle marine electronic equipment or other consumer
electronics should be able to assist you with these items.
To locate a Lowrance dealer near you, visit our web site,
www.lowrance.com and look for the Dealer Locator. Or, you can consult
your telephone directory for listings.
2) U.S. customers: LEI Extras Inc., PO Box 129, Catoosa, OK 74015-0129
Call 1-800-324-0045 or visit our web site www.lei-extras.com.
3) Canadian customers can write:
Lowrance/Eagle Canada, 919 Matheson Blvd. E. Mississauga, Ontario
L4W2R7 or fax 905-629-3118.
Shipping Information
If it becomes necessary to send a product for repair or replacement, you
must first receive a return authorization number from Customer
Service. Products shipped without a return authorization will not be
accepted. When shipping, we recommend you do the following:
1. Please do not ship the knobs or mounting bracket with your unit.
2. If you are sending a check for repair, please place your check in an
envelope and tape it to the unit.
3. For proper testing, include a brief note with the product describing
the problem. Be sure to include your name, return shipping address
and a daytime telephone number. An e-mail address is optional but
useful.
4. Pack the unit in a suitable size box with packing material to prevent
any damage during shipping.
5. Write the Return Authorization (RA) number on the outside of the
box underneath your return address.
6. For your security, you may want to insure the package through your
shipping courier. Lowrance does not assume responsibility for goods
lost or damaged in transit.

Visit our web site:
Lowrance Pub. 988-0151-311 © Copyright 2005
All Rights Reserved
Printed in USA 030705 Lowrance Electronics, Inc.