Lowrance Electronic Lms 320 Users Manual And 320DF Owners
lms320df 6d363247-1fc5-4f63-8900-973e31a9de04 Lowrance electronic Marine GPS System LMS-320DF User Guide |
2015-02-05
: Lowrance-Electronic Lowrance-Electronic-Lms-320-Users-Manual-407869 lowrance-electronic-lms-320-users-manual-407869 lowrance-electronic pdf
Open the PDF directly: View PDF
.
Page Count: 204 [warning: Documents this large are best viewed by clicking the View PDF Link!]

Pub. 988-0105-971
www.lowrance.com
LMS-320, LMS-320DF
Fish-finding Sonar & Mapping GPS
Operation Instructions

Copyright © 2002 Lowrance Electronics, Inc.
All rights reserved.
Lowrance® is a registered trademark of Lowrance Electronics, Inc.
MapCreate is a trademark of Lowrance Electronics, Inc.
Marine-Tex is a trademark of Illinois Tool Works Inc.
Navionics is a registered trademark of Navionics, Inc.
Points of Interest Data in this unit are by infoUSA,
copyright 2001-2002, All Rights Reserved. infoUSA is a
trademark of infoUSA, Inc.
eXitSource Database, copyright 2001-2002 Zenrin Co.
Ltd. Exit Authority and eXitSource are trademarks of
Zenrin Co. Ltd.
Lowrance Electronics may find it necessary to change or end our
policies, regulations and special offers at any time. We reserve the right
to do so without notice. All features and specifications subject to change
without notice. All screens in this manual are simulated. On the cover:
LMS-320 shown. Other models covered in the manual are similar.
For free owner's manuals and other information,
visit our web site:
www.lowrance.com
Lowrance Electronics Inc.
12000 E. Skelly Dr.
Tulsa, OK USA 74128-2486
Printed in USA.
i
Table of Contents
Sec. 1: Read Me First! ............................................................... 1
Capabilities and Specifications: LMS-320 and LMS-320DF ........ 3
How LMS-320 Sonar Works ......................................................... 5
How LMS-320 GPS Works ........................................................... 6
Introduction to GPS and WAAS................................................... 8
How to Use this Manual: Typographical Conventions.............. 10
Sec. 2: Installation & Accessories ........................................ 13
Preparations................................................................................ 13
Transducer Installation.............................................................. 13
Recommended Tools and Supplies ......................................... 14
Selecting a Transducer Location............................................ 14
Transom Transducer Assembly and Mounting ..................... 16
Trolling Motor Bracket Installation....................................... 22
Transducer Orientation and Fish Arches .............................. 23
Shoot-Thru-Hull Preparation................................................. 23
Shoot-Thru-Hull Installation ................................................. 25
Sensor Chart ............................................................................... 27
Optional Speed Sensor Installation ....................................... 28
GPS Antenna/Receiver Module .................................................. 29
Power Connections...................................................................... 30
NMEA/DGPS Cable Connections............................................... 31
Mounting the Unit: Bracket, in-Dash or Portable .................... 33
Bracket Installation................................................................ 34
in-Dash Installation................................................................ 36
Portable Installation............................................................... 36
MMC or SDC Memory Card Installation................................... 37
Other Accessories........................................................................ 38
Sec. 3: Basic Sonar Operation............................................... 41
Keyboard ..................................................................................... 41
Power/Lights on and Off............................................................. 42
Main Menu .................................................................................. 42
Pages ........................................................................................... 44
Satellite Status Page .............................................................. 44
Navigation Page...................................................................... 45
Map Page................................................................................. 45
Sonar Page .............................................................................. 46
LMS-320 Series Sonar Quick Reference.................................... 49
Sonar Operations ........................................................................ 50
Fish Symbols vs. Full Sonar Chart ........................................ 52
Other Free Training Aids ....................................................... 53
Sec. 4: Sonar Options & Other Features ............................ 55
ASP (Advanced Signal Processing) ......................................... 55
ii
Alarms ......................................................................................... 56
Depth Alarms .......................................................................... 56
Zone Alarm .............................................................................. 57
Fish Alarm............................................................................... 58
Calibrate Speed........................................................................... 58
Chart Speed................................................................................. 59
Depth Cursor............................................................................... 60
Depth Range - Automatic ........................................................... 60
Depth Range - Manual................................................................ 61
Depth Range - Upper and Lower Limits ................................... 61
FasTrack.................................................................................. 63
Fish I.D. (Fish Symbols & Depths) ......................................... 63
FishTrack................................................................................. 65
FishReveal............................................................................... 66
Frequency (Change Transducer Frequency) ............................. 68
Grayline..................................................................................... 69
HyperScroll.............................................................................. 71
Log Sonar Chart Data ................................................................ 71
Noise Rejection............................................................................ 71
Overlay Data ............................................................................... 71
Ping Speed & HyperScroll....................................................... 74
Reset Options .............................................................................. 75
Reset Water Distance ................................................................. 76
Set Keel Offset ............................................................................ 76
Sensitivity & Auto Sensitivity.................................................... 77
Sonar Color Mode........................................................................ 79
Sonar Page & Sonar Chart Display Options ............................. 79
Full Sonar Chart ..................................................................... 79
Split Zoom Sonar Chart.......................................................... 80
Split Frequency Sonar Chart ................................................. 81
Digital Data/Chart .................................................................. 82
Flasher..................................................................................... 83
Map with Sonar Split Screen ................................................. 84
Sonar Simulator.......................................................................... 84
Stop Chart ................................................................................... 86
Surface Clarity............................................................................ 87
Upper and Lower Limits ............................................................ 88
Zoom & Zoom Bar ....................................................................... 88
Zoom & Zoom Pan....................................................................... 89
Sec. 5: Sonar Troubleshooting.............................................. 91
Sec. 6: Basic GPS Operations................................................ 95
Keyboard ..................................................................................... 95
Power/Lights (Turn Unit On and Off) ....................................... 96
iii
Main Menu .................................................................................. 96
Pages ........................................................................................... 98
Sonar Page .............................................................................. 98
Satellite Status Page .............................................................. 99
Navigation Page.................................................................... 100
Map Page............................................................................... 102
LMS-320 GPS Quick Reference................................................ 107
Find your Current Position ...................................................... 108
Moving around the Map: Zoom & Cursor Arrow Keys............ 108
Selecting any Map Item with the Cursor ................................ 109
Searching................................................................................... 109
Set a Waypoint.......................................................................... 111
Create Waypoint at Current Position .............................. 112
Create Waypoint on Map .................................................. 113
Create Waypoint by Entering a Position ......................... 113
Navigate to a Waypoint ............................................................ 113
Set Man Overboard (MOB) Waypoint...................................... 114
Navigate Back to MOB Waypoint ............................................ 114
Navigate to Cursor Position on Map........................................ 115
Navigate to a Point of Interest................................................. 117
Creating and Saving a Trail..................................................... 117
Displaying a Saved Trail .......................................................... 119
Navigating Trails...................................................................... 119
Visual Trailing ...................................................................... 120
Navigate a Trail (Forward)................................................... 120
Navigate a Back Trail (Backtrack, or Reverse) ................... 122
Transfer Custom Maps and GPS Data Files ........................... 122
Custom Maps:........................................................................ 122
GPS Data Files:..................................................................... 123
Cancel Navigation..................................................................... 125
Sec. 7: Advanced GPS Operations ..................................... 127
Find Distance from Current Position to Another Location .... 127
Find Distance from Point to Point ........................................... 127
Icons........................................................................................... 128
Create Icon on Map............................................................... 128
Create Icon at Current Position ........................................... 128
Delete an Icon ....................................................................... 128
Navigate to an Icon............................................................... 129
Routes........................................................................................ 130
Create and Save a Route ...................................................... 130
Delete a Route ....................................................................... 133
Edit a Route .......................................................................... 133
Navigate a Route................................................................... 134
iv
Navigate a Route in Reverse ................................................ 134
Trails ......................................................................................... 135
Delete a Trail ........................................................................ 135
Edit a Trail Name ................................................................. 135
Edit a Trail Color .................................................................. 136
Edit a Trail Pattern .............................................................. 136
Utilities...................................................................................... 137
Alarm Clock........................................................................... 137
Sun/Moon Rise & Set Calculator.......................................... 137
Trip Calculator...................................................................... 137
Trip Down Timer................................................................... 137
Trip Up Timer ....................................................................... 137
Waypoints.................................................................................. 137
Delete a Waypoint................................................................. 137
Edit a Waypoint (Name, Symbol, Position) ......................... 137
Selecting a Waypoint ............................................................ 138
Set a Waypoint by Average Position .................................... 138
Set a Waypoint by Projecting a Position.............................. 138
Sec. 8: System & GPS Setup Options.................................141
Alarms ....................................................................................... 141
Auto Satellite Search................................................................ 142
Check MMC Files and Storage Space...................................... 143
Communications Port Configuration ....................................... 143
Configure DGPS........................................................................ 144
Configure NMEA ...................................................................... 145
Coordinate System Selection.................................................... 145
Map Fix.................................................................................. 146
Customize Page Displays ......................................................... 148
DGPS Status ............................................................................. 148
GPS Simulator .......................................................................... 148
Hide GPS Features ................................................................... 150
Initialize GPS............................................................................ 150
Map Auto Zoom......................................................................... 150
Map Data................................................................................... 151
Show Map Data..................................................................... 151
Pop-Up Map Info................................................................... 151
Map Boundaries .................................................................... 151
Fill Land Gray....................................................................... 152
Map Overlays (Range Rings; Lat/Long Grid) ...................... 152
Map Datum Selection ............................................................... 152
Map Detail Category Selection................................................. 153
Map Orientation ....................................................................... 154
Navionics Charts..................................................................... 155
v
Display a Navionics Chart:................................................... 155
Port Information ................................................................... 156
View Port Services Information: .......................................... 156
Tidal Current Information ................................................... 157
to View Tidal Current Information: ..................................... 158
Tide Information ................................................................... 159
View Tide Information:......................................................... 159
Pop-Up Help.............................................................................. 161
Position Pinning........................................................................ 161
Reset Options ............................................................................ 162
Require DGPS ........................................................................... 162
Screen Contrast and Brightness .............................................. 163
Set Language ............................................................................ 164
Set Local Time .......................................................................... 164
Show WAAS Alarm................................................................... 165
Software Version Information.................................................. 165
Sounds and Alarm Sound Styles.............................................. 166
Track Smoothing....................................................................... 166
Trail Options ............................................................................. 167
Delete All Trails .................................................................... 167
Flash Trails on Screen Option.............................................. 167
Update Trail Option.............................................................. 167
Delete Trail ........................................................................... 168
New Trail............................................................................... 168
Trail Visible/Invisible and Other Trail Options .................. 169
Units of Measure....................................................................... 169
Sec. 9: Searching....................................................................171
Find Addresses.......................................................................... 171
Find any Item Selected by Map Cursor ................................... 174
Find Interstate Highway Exits ................................................ 175
Find Map Places or Points of Interest (POI) ........................... 177
Find Streets or Intersections.................................................... 179
Find Waypoints......................................................................... 182
Sec. 10: Supplemental Material.......................................... 185
vi
WARNING!
A CAREFUL NAVIGATOR NEVER RELIES ON ONLY ONE METHOD
TO OBTAIN POSITION INFORMATION.
CAUTION
When showing navigation data to a position (waypoint), a GPS unit will show
the shortest, most direct path to the waypoint. It provides navigation data to the
waypoint regardless of obstructions. Therefore, the prudent navigator will not
only take advantage of all available navigation tools when traveling to a way-
point, but will also visually check to make sure a clear, safe path to the waypoint
is always available.
WARNING!
When a GPS unit is used in a vehicle, the vehicle operator is solely re-
sponsible for operating the vehicle in a safe manner. Vehicle operators
must maintain full surveillance of all pertinent driving, boating or fly-
ing conditions at all times. An accident or collision resulting in dam-
age to property, personal injury or death could occur if the operator of
a GPS-equipped vehicle fails to pay full attention to travel conditions
and vehicle operation while the vehicle is in motion.
1
Section 1: Read Me First!
How this manual can get you out on the road, fast!
Welcome to the exciting world of digital sonar and GPS! We know
you're anxious to begin navigating and finding fish, but we have a favor
to ask. Before you grab the unit and begin installing it, please give us a
moment or two to explain how our manual can help you get the best
performance from your compact, wide-screen, combination fish finder
and mapping GPS receiver.
First, we want to thank you for buying a Lowrance sonar/GPS unit.
Whether you're a first time user or a professional fisherman, you'll dis-
cover that your unit is easy to use, yet capable of handling demanding
navigation and sonar tasks. When you team your unit with our custom
mapping software MapCreate 6, you have an incredible combination.
You won't find another combination GPS and sonar unit with this much
power and this many features for this price!
Our goal for this book is to get you on the water fast, with a minimum
of fuss. Like you, we'd rather spend more time boating or fishing and
less time reading the manual!
So, we designed our book so that you don't have to read the whole thing
from front to back for the information you want. At the start (or end) of
each segment, we'll tell you what content is coming up next. If it's a
concept you're already familiar with, we'll show you how and where to
skip ahead for the next important topic. We've also made it easy to look
up any tips you may need from time to time. Here's how:
The manual is organized into 10 sections. This first section is an intro-
duction to the LMS-320 or LMS-320DF, sonar and GPS. It tells you the
basics you need to know before you can make the unit look around and
tell you where you are, or look below the surface to find some fish.
Section 2 will help you install your unit, the transducer and the GPS
antenna module. We'll show you how to get the MultiMedia Card
(MMC) correctly installed inside the unit. We'll also tell you about some
of the available accessories.
Section 3 covers Basic Sonar Operation. It will show you how easy it is
to run your LMS-320 series sonar, right out of the box. This section fea-
tures a one-page Sonar Quick Reference. (If you've already jumped
ahead and figured out how to install the unit yourself, and you
just can't wait any longer, turn to the Quick Reference on page
49 and head for the water with your LMS-320!)
2
After you've gained some experience with your sonar, you'll want to
check out Section 4, which discusses more advanced Sonar Options and
Other Features.
When you come to a sonar menu command on the LMS-320 screen, you can
look it up in the manual by skimming over the table of contents, just flip-
ping through Section 3 or scanning through the sonar options in Section 4.
If you're having difficulty with your sonar, you can find an answer to
the most common problems in Section 5, Sonar Troubleshooting.
The manual switches from sonar to navigation in Section 6, which in-
troduces you to Basic GPS Operations. This section features a one-
page GPS Quick Reference on page 107.
Section 6 contains short, easy-to-scan GPS lessons that follow one an-
other in chronological order. They're all you'll need to know to find your
way on the water quickly.
After you've learned the basics (or if you already have some GPS expe-
rience), you may want to try out some of LMS-320's many advanced
navigation features. That brings us to Section 7, Advanced GPS Opera-
tions. This section contains the rest of LMS-320's GPS command func-
tions, organized in alphabetical order.
When you come to a GPS menu command on the LMS-320 screen, you can
look it up in the manual by skimming over the table of contents, just flip-
ping through Section 6 or scanning through the command portion of Sec-
tion 7.
LMS-320 is ready to use right out of the box, but you can fine tune and
customize it's operation with dozens of options. Since sonar is the unit's
key feature, we put the main sonar options in Section 4. Some options,
such as screen brightness settings, affect both sonar and GPS opera-
tions. We describe how to use those common options along with GPS
options in Section 8, System Setup and GPS Setup Options. Section 8 is
organized in alphabetical order.
In Section 9, we go into more detail on one of LMS-320's most remark-
able GPS capabilities — Searching. We'll introduce a search example in
the Basic GPS Operation section, but there are so many map items you
can search for, we had to give this function it's own section in the man-
ual! For example, did you know LMS-320 can look up business phone
numbers, functioning as a virtual Yellow Pages? We’ll show you how in
Section 9.
Finally, in Section 10, we offer Supplemental Material, including a list
of the GPS datums used, warranties and customer service information.
3
Now, if you're into the fine details, glance over the next segment on
specifications to see just how much sonar and GPS power your unit con-
tains. It's important to us (and our power users), but, if you don't care
how many watts of power the unit has, or how many waypoints LMS-320
can store, skip ahead to important information on how LMS-320 sonar
works, on page 5. (Background on GPS begins on page 6.)
Capabilities and Specifications: LMS-320 and LMS-320DF
General
Display:............................ 5.0" (12.7 cm) diagonal high contrast Film
SuperTwist LCD; programmable to viewing
preference.
Resolution:...................... 320 pixel x 320 pixel resolution; 102,400 total
pixels; 10-level gray scale definition.
Backlighting:.................. Incandescent backlit screen with multiple
lighting levels; backlit keypad.
Input power:................... 10 to 15 volts DC.
Current drain: ............... Sonar only: 500 ma lights off; 600 ma lights
on. With GPS and lights on: 700 ma.
Case size:......................... 5.4" H x 6.9" W x 3.4" D (13.8 x 17.6 x 8.6
cm); sealed and waterproof; suitable for
saltwater use.
MMC slots: ...................... One with waterproof door (SD card compati-
ble).
Back-up memory: .......... Built-in memory stores sonar records and
GPS data for decades. User settings are
stored when unit is turned off.
Languages:...................... 10; menu languages selectable by user.
Sonar
Frequency:...................... LMS-320DF: 50/200 kHz.
LMS-320: 200 kHz.
Transducers: .................... A dual-frequency Skimmer transducer with
built-in temperature sensor is packed with the
LMS-320DF. It has 35°/12° cone angles. A sin-
gle-frequency Skimmer transducer with built-
in temperature sensor is packed with the
LMS-320. It has a 20° cone angle. Transducers
operate at speeds up to 70 mph (61 kts).
Transmitter: ................... 3,000 watts peak-to-peak/375 watts RMS.
4
Sonar sounding
depth capability: ........... LMS-320DF: 2,500 feet/762 meters.
LMS-320: 1,000 feet/305 meters.
(Actual capability depends on transducer
configuration and installation, bottom com-
position and water conditions. All sonar
units typically read deeper in fresh water
than in salt water.)
Depth display:................ Continuous display.
Graph recording:........... Up to 256 MB on one MMC (or SD) card
Audible alarms: ............. Deep/shallow/fish/zone.
Automatic ranging:....... Yes, with instant screen updates.
Auto bottom track:........ Yes
Zoom bottom track: ...... Yes.
Split-screen zoom:......... Yes.
Surface water temp: ..... Yes, built into transducer.
Speed/distance log: ....... Yes, with optional speed sensor (sensor in-
cluded with LMS-320DF.)
GPS
Receiver/antenna: ......... External; LGC-12w 12 parallel channel
GPS/WAAS; DGPS beacon receiver optional.
Recording:........................ MMC & SD memory cards for recording GPS
trip details and displaying charts or custom
maps.
Background map:.......... Built-in custom, detailed Lowrance map.
Contains: enhanced detail of continental U.S.
and Hawaii. Includes more than 60,000 nav
aids and 10,000 wrecks/obstructions in
coastal and Great Lakes waters. Metro ar-
eas, selected major streets/highways and in-
terstate exit services details included.
Custom mapping: .......... MapCreate version 6 software optional;
Navionics charts (XL charts or HotMaps)
on MMC cards optional.
Mapping memory: ......... Up to 256 MB on one MMC (or SD) card.
Position updates: .......... Every second.
Position points: ............. 1,000 waypoints; 1,000 event marker icons.

5
Audible alarms: ............. Arrival/off-course/anchor.
Graphic symbols for
waypoints or event
marker icons: ................. 42.
Routes:............................. 100; up to 100 waypoints per route.
Plot Trails: ...................... 10 savable; up to 9,999 points per trail.
Zoom range:.................... 37 ranges; 0.05 to 4,000 miles.
NOTE:
The above memory capacities refer only to LMS-320's on-board
memory. The amount of GPS or sonar data you can record and save
for recall later is only limited by the number of MMC cards you have.
NOTICE!
The storage temperature range for your unit is from -4 degrees to +167
degrees Fahrenheit (-20 degrees to +75 degrees Celsius). Extended stor-
age in temperatures higher or lower than specified will damage the liq-
uid crystal display in your unit. This type of damage is not covered by
the warranty. For more information, contact the factory's Customer
Service Department; phone numbers are listed on the last page.
How LMS-320 Sonar Works
Sonar has been around since the 1940s, so if you already know how it
works, skip down to read about the relatively new technology of GPS.
But, if you've never owned a sonar fish finder, this segment will tell you
the under water basics.
Sonar is an abbreviation for SOund NAvigation and Ranging, a technol-
ogy developed during World War II for tracking enemy submarines.
(Lowrance developed the world's first transistorized sportfishing sonar in
1957.) A sonar consists of a transmitter, transducer, receiver and dis-
play. In simple terms, here's how it finds the bottom, or the fish:
The transmitter emits an electrical impulse, which the transducer con-
verts into a sound wave and sends into the water. (The sound frequency
can't be heard by humans or fish.) The sound wave strikes an object
(fish, structure, bottom) and bounces back to the transducer, which
converts the sound back into an electrical signal.
The receiver amplifies this return signal, or echo, and sends it to the
display, where an image of the object appears on the scrolling sonar
chart. The sonar's microprocessor calculates the time lapse between the
transmitted signal and echo return to determine the distance to the
object. The whole process repeats itself several times each second.
6
Your LMS-320 can record a log of the sonar signals that scroll across
the screen and save them to the MMC memory card. (These recordings
are also called sonar charts or sonar graphs.) You can replay this sonar
log in the unit using the Sonar Simulator function, or play it back on a
personal computer using our free Sonar Viewer. The viewer is available
for download from the Lowrance web site, www.lowrance.com.
You can save several different sonar log files, erase 'em and record new
ones, over and over again. The size of your sonar recordings is only
limited by the free space available on your MMC.
How LMS-320 GPS Works
You'll navigate faster and easier if you understand how the LMS-320
scans the sky to tell you where you are on the earth — and, where
you're going. (But if you already have a working understanding of GPS
receivers and the GPS navigation system, skip on ahead to Section 2,
Installation & Accessories on page 13. If you're new to GPS, read on, and
you can later impress your friends with your new-found knowledge.)
First, think of your LMS-320 as a small but powerful computer. (But
don't worry — we made the LMS-320 series easy to use, so you don't
need to be a computer expert to find your way!) The unit includes a
keypad and a screen with menus so you can tell LMS-320 what to do.
The screen also lets LMS-320 show your location on a moving map, as
well as point the way to your destination.
This gimbal-mounted unit uses an external antenna/receiver module,
which makes the whole system work something like your car radio. But
instead of your favorite dance tunes, this receiver tunes in to a couple of
dozen GPS satellites circling the earth. (It will also listen in to the
WAAS satellites in orbit, but more about that in the upcoming segment
introducing you to GPS and WAAS.)
Your LMS-320 listens to signals from as many satellites as it can "see"
above the horizon, eliminates the weakest signals, then computes its
location in relation to those satellites. Once LMS-320 figures its lati-
tude and longitude, it plots that position on the moving map shown on
the screen. The whole process takes place several times a second!
The performance doesn't stop there. Stored in the permanent memory
of each LMS-320 is a basic background map of the entire world. We lock
it in here at the factory — you can't change or erase this map.
The background map is suitable for many navigation chores, but for
maximum accuracy and much more detail, you need our optional map-
making software, MapCreate 6. Some unit features — such as
7
searching for businesses and addresses — won't work without a custom
MapCreate map. There is so much detail in our background map (and
even more in MapCreate) that we'll describe their contents and differ-
ences in Section 6, Basic GPS Operations, on page 95.
Another portion of LMS-320's onboard memory is devoted to recording
GPS navigation information, which includes waypoints, event marker
icons, trails and routes. This lets you look back the way you came.
Think of this data storage like the hard drive memory in a computer or
a tape in a cassette tape recorder. You can save several different GPS
data files, erase 'em and record new ones, over and over again. Like any
computer file, these GPS Data Files (file format *.usr) can be shared
between LMS-320s, other Lowrance GPS or sonar/GPS units, even per-
sonal computers.
LMS-320 has one more thing in common with a personal computer.
Just as computers have a floppy disk drive for storing and exchanging
files, the LMS-320 has a slot for an MMC (MultiMedia Card) or SDC
(Secure Digital card) flash memory card. These solid-state memory de-
vices are about the size of a postage stamp, but can hold data ranging
from 8 MB to 128 MB in size. (Compare that to a floppy disk's 1.44 MB
capacity!) LMS-320 uses all that MMC space for two key GPS purposes.
(The MMC is also used to record sonar logs…see page 6.)
First, you can backup your onboard GPS Data Files by copying them to
the MMC. Since the MMC is removable (like a floppy disk or a cassette
tape), you can store these GPS Data Files on a personal computer
equipped with an MMC card reader. (Or store them on a pocketful of
MMCs, if you don't have a computer.) Our MapCreate mapping soft-
ware can save, edit or create its own GPS Data Files, which can be
copied to the MMC and then loaded from the MMC into LMS-320's
memory. (NOTE: No matter where they come from, GPS Data Files
must be loaded from the MMC into memory before LMS-320 can use
them.)
The other key GPS use for MMCs is storage of special high-detail, cus-
tom maps, which you can produce on your computer with our MapCre-
ate software. These MapCreate custom maps contain much greater de-
tail than the basic background map. These Custom Map Files (file
format *.lcm) can also be shared between LMS-320s, other Lowrance
GPS or sonar/GPS units and personal computers. (For example, the
exact same MMC, custom map files and GPS data files can be used in-
terchangeably between your gimbal-mounted LMS-320 and the hand-
held iFINDER GPS receiver.)
8
LMS-320 automatically reads Custom Map Files directly from the
MMC or SDC. To use a custom map, all you need to do is slide an MMC
containing a map into the unit.
Introduction to GPS and WAAS
Well, now you know the basics of how LMS-320 does its work. You
might be ready to jump ahead to Section 2, Installation & Accessories,
on page 13, so you can mount your unit and plug in the power. Or you
might want to see how our text formatting makes the manual tutorials
easy to skim. If that's the case, move on to "How to Use This Manual"
on page 10. But, if you want to understand the current state of satellite
navigation, look over this segment describing how GPS and its new
companion WAAS work together to get you where you're going.
The Global Positioning System (GPS) was launched July 17, 1995 by
the United States Department of Defense. It was designed as a 24-
hour-a-day, 365-days-a-year, all weather global navigation system for
the armed forces of the U.S. and its allies. Civilian use was also avail-
able at first, but it was less accurate because the military scrambled
the signal somewhat, using a process called Selective Availability (SA.)
GPS proved so useful for civilian navigation that the federal govern-
ment discontinued SA on May 2, 2000, after the military developed
other methods to deny GPS service to enemy forces. Reliable accuracy
for civilian users jumped from 100 meters (330 feet) under SA to the
present level of 10 to 20 meters (about 30 to 60 feet.)
Twenty-four satellites orbit 10,900 nautical miles above the Earth,
passing overhead twice daily. A series of ground stations (with precisely
surveyed locations) controls the satellites and monitors their exact loca-
tions in the sky. Each satellite broadcasts a low-power signal that identi-
fies the satellite and its position above the earth. Three of these satellites
are spares, unused until needed. The rest virtually guarantee that at
least four satellites are in view nearly anywhere on Earth at all times.

9
A minimum of three satellites are required to determine a 2D fix.
The system requires signal reception from three satellites in order to
determine a position. This is called a 2D fix. It takes four satellites to
determine both position and elevation (your height above sea level —
also called altitude.) This is called a 3D fix.
Remember, the unit must have a clear view of the satellites in order to
receive their signals. Unlike radio or television signals, GPS works at
very high frequencies. These signals can be easily blocked by trees,
buildings, an automobile roof, even your body.
Like most GPS receivers, LMS-320 doesn’t have a compass or any other
navigation aid built inside. It relies solely on the signals from the sat-
ellites to calculate a position. Speed, direction of travel, and distance
are all calculated from position information. Therefore, in order for
LMS-320 to determine direction of travel, you must be moving and the
faster, the better. This is not to say that it won’t work at walking or
trolling speeds — it will. There will simply be more "wandering" of the
data shown on the display.
GPS is plenty accurate for route navigation, but the U.S. Federal Avia-
tion Administration has special needs for aircraft traffic control that go
beyond basic GPS. The FAA has a plan under way to boost GPS per-
formance even further with its Wide Area Augmentation System, or
WAAS. This GPS add-on will include a time control element that will
help airliners fly closer together while avoiding collisions. In addition to
carefully spacing airplanes along travel corridors, WAAS will eventu-
ally make instrument landings and takeoffs more accurate as it re-
places existing aviation navigation systems.
Non aviators can use WAAS signals to make their GPS navigation even
more accurate. Your LMS-320 receives both GPS and WAAS signals.
However, WAAS has some limits you should know about.
10
First, the U.S. government has not completed construction of the WAAS
system, so it is not yet fully operational. The ground stations are in
place, but only a few of the needed WAAS satellites have been launched.
WAAS can boost the accuracy of land GPS navigation, but the system is
designed for aircraft. The satellites are in a fixed orbit around the
Equator, so they appear very low in the sky to someone on the ground
in North America. Aircraft and vessels on open water can get consis-
tently good WAAS reception, but terrain, foliage or even large man-made
structures frequently block the WAAS signal from ground receivers.
You'll find that using your GPS receiver is both easy and amazingly
accurate. It’s easily the most accurate method of electronic navigation
available to the general public today. Remember, however, that this
receiver is only a tool. Always have another method of navigation avail-
able, such as a map or chart and a compass.
Also remember that this unit will always show navigation information
in the shortest line from your present position to a waypoint, regardless
of terrain! It only calculates position, it can’t know what’s between you
and your destination, for example. It’s up to you to safely navigate
around obstacles, no matter how you’re using this product.
How to use this manual: typographical conventions
Many instructions are listed as numbered steps. The keypad and arrow
"keystrokes" appear as boldface type. So, if you're in a real hurry (or
just need a reminder), you can skim the instructions and pick out what
menu command to use by finding the boldface command text. The fol-
lowing paragraphs explain how to interpret the text formatting for
those commands and other instructions:
Arrow Keys
The arrow keys control the movement of dotted cross-hair lines on your
mapping screen called the cursor. The arrow keys also control a hori-
zontal line depth cursor on the sonar screen. The arrow keys help you
move around the menus so you can execute different commands. They
are represented by symbols like these, which denote the down arrow
key, the up arrow, the left arrow and the right arrow: ↓ ↑ ← →.
Keyboard
The other keys perform a variety of functions. When the text refers to a
key to press, the key is shown in bold, sans serif type. For example, the
"Enter/Icons" key is shown as ENT and the "Menu" key is shown as
MENU.
Menu Commands
A menu command or a menu option will appear in small capital letters, in
11
a bold sans serif type like this: ROUTE PLANNING. These indicate that you are
to select this command or option from a menu or take an action of some
kind with the menu item. Text that you may need to enter or file names
you need to select are show in italic type, such as trail name.
Instructions = Menu Sequences
Most functions you perform with LMS-320 are described as a sequence
of key strokes and selecting menu commands. We've written them in a
condensed manner for quick and easy reading.
For example, instructions for navigating a trail would look like this:
1. From the Map Page, press MENU|MENU|↓ to MY TRAILS|ENT.
2. Press ↓ to Trail 1|ENT|→|↓ to NAVIGATE|ENT.
3. You are asked to wait while it converts the trail into a route.
4. The wait message disappears and the unit begins showing
navigation information along the trail. Now, begin moving and
follow your LMS-320.
Translated into complete English, step 1 above would mean: "Start on
the Map Page. Press the Menu key twice. Next, repeatedly press (or
press and hold) the down arrow key to scroll down the menu and select
(highlight) the My Trails menu command. Finally, press the Enter key."
Step 2 would mean: "Press the down arrow key repeatedly to scroll to
the trail named Trail 1, and press Enter. Next, press the right arrow
key and then the down arrow key to highlight the Navigate command,
then press Enter."
12
Notes
13
Section 2:
Installation & Accessories
Preparations
You can install the sonar and GPS systems in some other order if you
prefer, but we recommend this installation sequence:
CAUTION:
You should read over this entire installation section before drill-
ing any holes in your vehicle or vessel!
1. Determine the approximate location for the sonar/GPS unit, so you
can plan how and where to route the cables for the antenna, transducer
and power. This will help you make sure you have enough cable length
for the desired configuration.
2. Determine the approximate location for the transducer and its cable
route.
3. Determine the approximate location for the GPS antenna module
and its cable route.
4. Determine the location of your battery or other power connection,
along with the power cable route.
5. Install the transducer and route the transducer cable to the so-
nar/GPS unit.
6. Install the GPS antenna and route the antenna cable to the so-
nar/GPS unit.
7. Install the power cable and route it to the sonar/GPS unit.
8. Mount the sonar/GPS unit.
Transducer Installation
These instructions will help you install your Skimmer transducer on a
transom, on a trolling motor or inside a hull. These instructions cover
both single- and dual-frequency Skimmer transducers. Please read all
instructions before proceeding with any installation.
The smaller single-frequency Skimmers typically use a one-piece,
stainless steel mounting bracket. The larger dual-frequency Skimmers
typically use a two-piece, plastic mounting bracket. The trolling motor
mount uses a one-piece plastic bracket with an adjustable strap.
These are all "kick-up" mounting brackets. They help prevent damage if
the transducer strikes an object while the boat is moving. If the trans-
14
ducer does "kick-up," the bracket can easily be pushed back into place
without tools.
Read these instructions carefully before attempting the installation.
Determine which of the mounting positions is right for your boat. Use
extreme care if mounting the transducer inside the hull, because once it
is epoxied into position, the transducer usually cannot be removed.
Remember, the transducer installation is the most critical part
of a sonar installation.
Recommended Tools and supplies
If you prefer the option of routing the cable through the transom, you
will need a 1" drill bit. A transom mount requires use of a high quality,
marine grade above- or below-waterline caulking compound. The fol-
lowing installation types also call for these recommended tools and re-
quired supplies (supplies are not included):
Single-frequency transom installations
Tools include: two adjustable wrenches, drill, #29 (0.136") drill bit, flat-
head screwdriver. Supplies: none.
Dual-frequency transom installations
Tools: two adjustable wrenches, drill, #20 (0.161") drill bit, flat-head
screwdriver. Supplies: four, 1" long, #12 stainless steel slotted wood
screws.
Single-frequency trolling motor installations
Tools: two adjustable wrenches, flat-head screwdriver. Supplies: plastic
cable ties.
Shoot-through hull installations
Tools: these will vary depending on your hull's composition. Consult your
boat dealer or manufacturer. Supplies: 100 grit sandpaper, good quality
epoxy adhesive.
Selecting a Transducer Location
1. The transducer must be placed in a location that has a smooth flow of
water at all times. If the transducer is to be mounted inside the hull,
then the chosen location must be in the water at all times. If the
transducer is not placed in a smooth flow of water, interference
caused by bubbles and turbulence will show on the sonar's display in
the form of random lines or dots whenever the boat is moving.
NOTE:
Some aluminum boats with strakes or ribs on the outside of the
hull create large amounts of turbulence at high speed. These boats
typically have large outboard motors capable of propelling the boat

15
at speeds faster than 35 mph. Typically, a good location on alumi-
num boats is between the ribs closest to the engine.
2. The transducer should be installed with its face pointing straight
down, if possible.
3. If the transducer is mounted on the transom, make sure it doesn't inter-
fere with the trailer or hauling of the boat. Also, don't mount it closer
than approximately one foot from the engine's lower unit. This will pre-
vent cavitation (bubble) interference with propeller operation.
4. If possible, route the transducer cable away from other wiring on the
boat. Electrical noise from engine wiring, bilge pumps and aerators
can be displayed on the sonar's screen. Use caution when routing the
transducer cable around these wires.
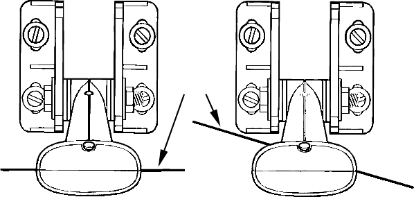
Good and poor transducer locations.
How low should you go?
For most situations, you should install your Skimmer transducer so
that its centerline is level with the bottom of the boat hull. This will
usually give you the best combination of smooth water flow and protec-
tion from bangs and bumps.
CAUTION: Clamp the trans-
ducer cable to transom near
the transducer. This will help
prevent the transducer from
entering the boat if it is
knocked off at high speed.
Good location
Good location
Poor angle
Poor location
Good
location

16
Align transducer centerline with hull bottom.
However, there are times when you may need to adjust the transducer
slightly higher or lower. (The slots in the mounting brackets allow you
to loosen the screws and slide the transducer up or down.) If you fre-
quently lose bottom signal lock while running at high speed, the trans-
ducer may be coming out of the water as you cross waves or wakes.
Move the transducer a little lower to help prevent this.
If you cruise or fish around lots of structure and cover, your transducer
may be frequently kicking up from object strikes. If you wish, you may
move the transducer a little higher for more protection.
There are two extremes you should avoid. Never let the edge of the
mounting bracket extend below the bottom of the hull. Never let the
bottom – the face – of the transducer rise above the bottom of the hull.
Shoot-thru-hull vs. Transom Mounting
Typically, shoot-thru-hull installations give excellent high speed opera-
tion and good to excellent depth capability. There is no possibility of
damage from floating objects. It can't be knocked off when docking or
loading on the trailer.
However, the shoot-thru-hull installation does have its drawbacks.
First, some loss of sensitivity does occur, even on the best hulls. This
varies from hull to hull, even from different installations on the same
hull. This is caused by differences in hull lay-up and construction.
Second, the transducer angle cannot be adjusted for the best fish
arches. This can be a problem on some hulls that sit with the bow high
when at rest or at slow trolling speeds. Follow the procedure listed in
the shoot-thru-hull installation section at the end of this lesson to de-
termine if you can satisfactorily shoot through the hull.
TRANSOM TRANSDUCER ASSEMBLY AND MOUNTING
The best way to install these transducers is to loosely assemble all of the
parts first, place the transducer's bracket against the transom and see if
you can move the transducer so that it's parallel with the ground.
Transom
Hull bottom
Transducer
centerline

17
The following instructions sometimes vary depending on the mounting
bracket that came with your transducer. Single-frequency Skimmers
come with a one-piece stainless steel bracket, while dual-frequency
Skimmers come with a two-piece plastic mounting bracket. Use the set of
instructions that fits your model.
1. Assembling the bracket.
A. One-piece bracket: Press the two small plastic ratchets into the
sides of the metal bracket as shown in the following illustration. Notice
there are letters molded into each ratchet. Place each ratchet into the
bracket with the letter "A" aligned with the dot stamped into the metal
bracket. This position sets the transducer's coarse angle adjustment for a
14° transom. Most outboard and stern-drive transoms have a 14° angle.
Align plastic ratchets in bracket.
B. Two-piece bracket: Locate the four plastic ratchets in the trans-
ducer's hardware package. Press two ratchets into the sides of the plas-
tic bracket and two on either side of the transducer as shown in the fol-
lowing illustrations. Notice there are letters molded into each ratchet.
Place the ratchets into the bracket with the letter "A" aligned with the
alignment mark molded into the bracket. Place the ratchets onto the
transducer with the letter "A" aligned with the 12 o'clock position on
the transducer stem. These positions set the transducer's coarse angle
adjustment for a 14° transom. Most outboard and stern-drive tran-
soms have a 14° angle.
Insert and align ratchets.
Dot
Alignment letters
Alignment
positions
Transducer bracket
Transducer

18
Add ratchets to bracket and transducer.
2. Aligning the transducer on the transom.
A. One-piece bracket: Slide the transducer between the two ratch-
ets. Temporarily slide the bolt though the transducer assembly and
hold it against the transom. Looking at the transducer from the side,
check to see if it will adjust so that its face is parallel to the ground.
If it does, then the "A" position is correct for your hull.
If the transducer's face isn't parallel with the ground, remove the
transducer and ratchets from the bracket. Place the ratchets into the
holes in the bracket with the letter "B" aligned with the dot stamped
in the bracket.
Reassemble the transducer and bracket and place them against the
transom. Again, check to see if you can move the transducer so it's
parallel with the ground. If you can, then go to step 3A. If it doesn't,
repeat step 2A, but use a different alignment letter until you can
place the transducer on the transom correctly.
Insert bolt and check transducer position on transom.
Ratchets
Transducer
bracket
Ratchet Ratchet
Transducer

19
B. Two-piece bracket: Assemble the transducer and bracket as shown
in the following figure. Temporarily slide the bolt though the transducer
assembly but don't tighten the nut at this time. Hold the assembled
transducer and bracket against the transom. Looking at the transducer
from the side, check to see if it will adjust so that its face is parallel to
the ground. If it does, then the "A" positions are correct for your hull.
If the transducer's face isn't parallel with the ground, remove and
disassemble the transducer and ratchets. Place the ratchets into the
bracket holes with the letter "B" aligned with the bracket alignment
mark. Place them on the transducer aligned with the 12 o'clock posi-
tion on the transducer stem.
Reassemble the transducer and bracket and place them against the
transom. Again, check to see if you can move the transducer so it's
parallel with the ground. If you can, then go to step 3B. If it doesn't,
repeat step 2B, but use a different alignment letter until you can
place the transducer on the transom correctly.
Assemble transducer and bracket.
3. Assembling the transducer.
A. One-piece bracket: Once you determine the correct position for
the ratchets, assemble the transducer as shown in the following fig-
ure. Don't tighten the lock nut at this time.
Assemble transducer and bracket.
Nut
Metal
washer
Metal washer
Bolt
Rubber
washers
Flat washer
Lock washer
Flat washer
Nut
Bolt

20
B. Two-piece bracket: Once you determine the correct position for
the ratchets, assemble the transducer as shown in the figure in step
2B. Don't tighten the lock nut at this time.
4. Drilling mounting holes.
Hold the transducer and bracket assembly against the transom. The
transducer should be roughly parallel to the ground. The trans-
ducer's centerline should be in line with the bottom of the hull. Don't
let the bracket extend below the hull!
Mark the center of each slot for the mounting screw pilot holes. You
will drill one hole in the center of each slot.
Drill the holes. For the one-piece bracket, use the #29 bit (for the #10
screws). For the two-piece bracket, use the #20 bit (for the #12
screws).
Position transducer mount on transom and mark mounting holes.
Side view shown at left and seen from above at right.
5. Attaching transducer to transom.
A. One-piece bracket: Remove the transducer from the bracket and
re-assemble it with the cable passing through the bracket over the
bolt as shown in the following figures.
For single-frequency Skimmer, route cable over bolt and through
bracket. Side view shown at left and seen from above at right.
Transom
Transom

21
Both bracket types: Attach the transducer to the transom. Slide the
transducer up or down until it's aligned properly with the bottom of
the hull as shown in the preceding and following figures. Tighten the
bracket's mounting screws, sealing them with the caulking compound.
Adjust the transducer so that it's parallel to the ground and tighten
the nut until it touches the outer washer, then add 1/4 turn. Don't
over tighten the lock nut! If you do, the transducer won't "kick-up" if
it strikes an object in the water.
Align transducer centerline with hull bottom and attach transducer to
transom. Rear view of dual-frequency Skimmer shown.
6. Route the transducer cable through or over the transom to the sonar
unit. Make sure to leave some slack in the cable at the transducer. If
possible, route the transducer cable away from other wiring on the
boat. Electrical noise from the engine's wiring, bilge pumps, VHF radio
wires and cables, and aerators can be picked up by the sonar. Use cau-
tion when routing the transducer cable around these wires.
WARNING:
Clamp the transducer cable to the transom close to the
transducer. This can prevent the transducer from enter-
ing the boat if it is knocked off at high speed.
If you need to drill a hole in the transom to pass the connector through,
the required hole size be 1".
CAUTION:
If you drill a hole in the transom for the cable, make sure it is lo-
cated above the waterline. After installation, be sure to seal the
hole with the same marine grade above- or below-waterline seal-
ant used for the mounting screws.
Flat-bottom hull Deep-"vee" hull
Bottom
of
hull

22
7. Make a test run to determine the results. If the bottom is lost at
high speed, or if noise appears on the display, try sliding the trans-
ducer bracket down. This puts the transducer deeper into the water,
hopefully below the turbulence causing the noise. Don't allow the
transducer bracket to go below the bottom of the hull!
TROLLING MOTOR BRACKET INSTALLATION
(single-frequency only)
1. Attach the optional TMB-S bracket to the transducer as shown in the
following figure, using the hardware supplied with the transducer.
(Note: The internal tooth washer is supplied with the TMB-S.)
Attach motor mounting bracket to transducer.
2. Slide the adjustable strap supplied with the TMB-S through the slot
in the transducer bracket and wrap it around the trolling motor. Po-
sition the transducer to aim straight down when the motor is in the
water. Tighten the strap securely.
3. Route the transducer cable alongside the trolling motor shaft. Use
plastic ties (not included) to attach the transducer cable to the troll-
ing motor shaft. Make sure there is enough slack in the cable for the
motor to turn freely. Route the cable to the sonar unit and the trans-
ducer is ready for use.
Transducer mounted on trolling motor, side view.
TMB-S bracket
Bolt
Internal tooth washer
Nut
Flat washer

23
TRANSDUCER ORIENTATION AND FISH ARCHES
If you do not get good fish arches on your display, it could be because
the transducer is not parallel with the ground when the boat is at rest
in the water or at slow trolling speeds.
Transducer angles and their effects on fish arches.
If the arch slopes up – but not back down – then the front of the trans-
ducer is too high and needs to be lowered. If only the back half of the
arch is printed, then the nose of the transducer is angled too far down
and needs to be raised.
NOTE:
Periodically wash the transducer's face with soap and water to re-
move any oil film. Oil and dirt on the face will reduce the sensitivity
or may even prevent operation.
SHOOT-THRU-HULL PREPARATION
The transducer installation inside a fiberglass hull must be in an area
that does not have air bubbles in the resin or separated fiberglass lay-
ers. The sonar signal must pass through solid fiberglass. A successful
Transducer aimed
too far back
Transducer aimed
too far forward
Proper transducer angle
Partial fish arches
Full fish arch

24
transducer installation can be made on hulls with flotation materials
(such as plywood, balsa wood or foam) between layers of fiberglass if
the material is removed from the chosen area.
Epoxy the transducer to a solid portion of the hull.
For example, some (but not all) manufacturers use a layer of fiberglass,
then a core of balsa wood, finishing with an outer layer of fiberglass.
Removing the inner layer of fiberglass and the balsa wood core exposes
the outer layer of fiberglass. The transducer can then be epoxied di-
rectly to the outer layer of fiberglass. After the epoxy cures, the hull is
watertight and structurally sound. Remember, the sonar signal must
pass through solid fiberglass. Any air bubbles in the fiberglass or the
epoxy will reduce or eliminate the sonar signals.
WARNING:
Do not remove any material from your inner hull unless
you know the hull's composition. Careless grinding or
cutting on your hull can result in damage that could sink
your boat. Contact your boat dealer or manufacturer to
confirm your hull specifications.
To choose the proper location for thru-hull mounting, anchor the boat in
60 feet of water. Add a little water to the sump of the boat. Plug the
transducer into the sonar unit, turn it on, then hold the transducer over
the side of the boat. Adjust the sensitivity and range controls until a sec-
ond bottom echo is seen on the display. (You will need to turn off both
automatic and ASP.) Don't touch the controls once they've been set.
Next, take the transducer out of the water and place it in the water in
the sump of the boat. Observe the sonar signal to see if there is a no-
ticeable decrease in sensitivity. The second bottom signal may disap-
pear and the bottom signal may decrease in intensity.
Move the transducer around to find the best location. If the sensitivity
control must be increased greatly to compensate, then the transducer
should be mounted on the outside of the hull. If not, then mark the lo-
Fill with epoxy
Inner hull
Epoxy to hull first Outer hull
Flotation material

25
cation that shot through the hull the best and follow the instructions on
the following pages for a shoot-thru-hull mounting.
Shoot-thru-hull transducer locations for
high speed or trolling speed operation.
Shoot-thru-hull Installation
1. Make sure the area is clean, dry and free of oil or grease, then sand
both the inside surface of the hull and the face of the transducer with
100 grit sandpaper. The surface of the hull must be flat so the entire
transducer face is in contact with the hull prior to bonding.
Epoxy transducer to hull.
2. Follow the instructions on the epoxy package and mix it thoroughly.
Do not mix it too fast, because it will cause bubbles to form in the ep-
oxy. Apply a small amount on the face of the transducer as shown
above, then spread a small amount onto the sanded area on the hull.
Transducer location
(trolling speed)
Transducer location
(high speed)
Spread epoxy here
Sand this surface
26
Place the transducer into the epoxy, twisting and turning it to force
any air bubbles out from under the transducer face. The face of the
transducer should be parallel with the hull, with a minimum amount
of epoxy between the hull and transducer. After the epoxy dries,
route the cable to the sonar unit.
Speed/Temperature Sensors
This unit accepts up to three temperature sensors which can monitor
surface water, live well, air and virtually any other temperature. If you
want to use more than one temperature sensor or a speed sensor, you
must purchase the optional MY-4X adapter cable. You also need to be
careful when purchasing the temperature sensors, because each tem-
perature sensor has its own fixed electronic "address." The sensors are
labeled "Water," "T-2" (or Temp-2) and "T-3" (or Temp-3).
The first "Water" temperature sensor is built into the transducer. This
is the sensor that measures surface water temperature. If you want two
(or more) temperature readings from other locations, you'll need to use
the proper sensors. For example, you can't use two additional T-3 sen-
sors. The sensors that fit this unit are:
• TS-1X This sensor will over-ride the temperature sensor
built into the transducer and over-ride the tem-
perature sensor in a ST-TGY combination sen-
sor. (This sensor is not recommended.)
• TS-2X One sensor for "T-2" temperature display.
• TS-3X One sensor for "T-3" temperature display.
• SP-X One speed sensor for "Speed" display.
• ST-TGY This combination sensor will provide speed and
temperature readings, but the temperature
reading will be displayed as the "Water" tem-
perature because it will over-ride the tempera-
ture sensor in the transducer. (This sensor is
not recommended.)
See the wiring diagram on the following page for temperature and
speed sensor combinations.

27
Sensor Chart
Two-temperature
sensor installation
Three-temperature sensor
installation with speed
Three-temperature
sensor installation
TS-3X
temperature sensor
SP-X speed sensor
MY-4X
Cable TS-2X
temperature sensor
Temperature
sensor built into
transducer
LMS-320
rear view

28
Optional Speed Sensor Installation
All the units in this series can display speed and distance traveled, but
only the LMS-320DF comes packed with a speed sensor. If you wish to
purchase an optional additional sensor for your unit, refer to the acces-
sory ordering information inside the back cover of this manual. The
following instructions describe how to install the speed sensor.
Recommended tools for this job include: drill, 7/8" drill bit, 1/8" drill bit
for pilot holes, screwdriver. Required supplies for this job include: four
#8 stainless steel wood screws (3/4" long), high quality, marine grade
above- or below-waterline caulking compound.
First find a location on the boat's transom where the water flow is
smoothest. Don't mount the sensor behind strakes or ribs. These will
disturb the water flow to the speed sensor. Make sure the sensor will
remain in the water when the boat is on plane. Also make sure the lo-
cation doesn't interfere with the boat's trailer. Typically, the sensor is
mounted about one foot to the side of the transom's centerline.
Once you've determined the proper location for the unit, place the sen-
sor on the transom. The bottom of the bracket should be flush with the
hull's bottom. Using the sensor as a template, mark the hull for the
screws' pilot holes. Drill four 1/8" holes, one in each end of the slots.
Mount the sensor to the hull using #8 stainless steel wood screws (not
included). Use a high quality, marine grade above- or below-waterline
caulking compound to seal the screws. Make sure the sensor is flush
with the bottom of the hull and tighten the screws.
Stern view showing good location for mounting sensor on transom.
Good location

29
Speed sensor mounting configuration:
side view (left) and rear view (right.)
If the base of the transom has a radius, fill the gap between the tran-
som and the sensor with the caulking compound. This will help ensure
a smooth water flow.
Route the sensor's cable through or over the transom to the sonar unit.
If you need to drill a hole in the transom to pass the connector through,
the required hole size is 7/8".
CAUTION:
If you drill a hole in the transom for the cable, make sure it is lo-
cated above the waterline. After installation, be sure to seal the
hole with the same marine grade above- or below-waterline seal-
ant used for the screws.
The sensor is now ready for use. Connect the sensor to the in-line con-
nector on the MY-4X adapter cable. If you have any questions concern-
ing the installation of the sensor, please contact your local boat dealer.
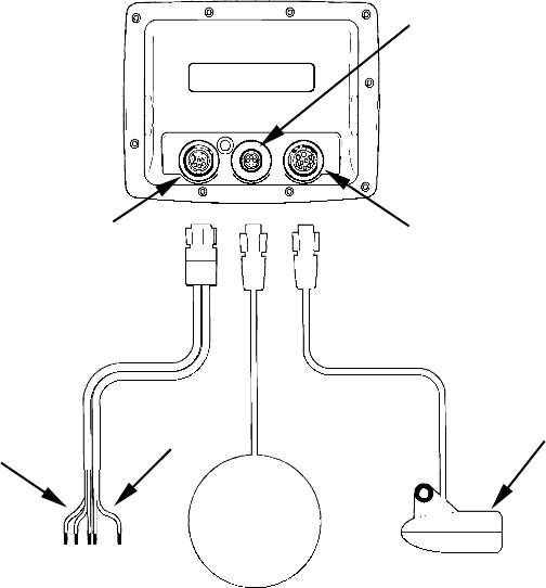
GPS Antenna/Receiver Module
The LMS-320 series package includes the LGC-12w GPS module. This
device contains the unit's external antenna and receiver for GPS and
WAAS signals. The antenna/receiver module comes with a 25-foot ex-
tension cable. This module can be mounted on a flat surface or pole, or
a magnet is included for temporary mounting on any ferrous surface.
(The LGC-12s GPS module sold with earlier Lowrance equipment will
work with your unit, but it will not receive WAAS signals.)
LGC-12 Module, bottom view (left) and top view (right).
Transom
Bottom of hull
Bottom of hull
30
You need to select an antenna installation location that has a clear, un-
obstructed view of the sky. After the module is installed, route the cable
to the LMS-320, plug it in the center socket on the back and your sys-
tem is ready to use. See the module's instruction sheet, publication part
number 988-0147-39, for complete installation directions.
In an automobile, you may achieve good results by simply placing the
external antenna on the top of the dash, at the base of the windshield.
A piece of the rubber non-skid shelf liner material available in recrea-
tional vehicle supply stores will help hold the antenna in place. This
may not work well if you have a cab-over design pickup truck camper or
motor home. If dashboard reception is poor, simply relocate the an-
tenna module elsewhere on the vehicle for a clearer view of the sky.
Power Connections
The unit works from a 12-volt battery system. For the best results, at-
tach the power cable directly to the battery. You can attach the power
cable to an accessory or power buss, however you may have problems
with electrical interference. Therefore, it's safer to go ahead and attach
the power cable directly to the battery.
If possible, keep the power cable away from other boat wiring, espe-
cially the engine's wires. This will provide the best isolation from elec-
trical noise. If the cable is not long enough, splice #18 gauge wire onto
it. The power cable has two wires, red and black. Red is the positive
lead, black is negative or ground. Make sure to attach the in-line fuse
holder to the red lead as close to the power source as possible.
For example, if you have to extend the power cable to the battery or
power buss, attach one end of the fuse holder directly to the battery or
power buss. This will protect both the unit and the power cable in the
event of a short. It uses a 3-amp fuse.

31
Power connections for the LMS-320 series sonar/GPS unit.
CAUTION:
Do not use this product without a 3-amp fuse wired into the power
cable! Failure to use a 3-amp fuse will void your warranty.
This unit has reverse polarity protection. No damage will occur if the
power wires are reversed. However, the unit will not work until the
wires are attached correctly.
An optional 8-foot, CA-4 external power cable with a cigarette lighter
adapter is available from Lowrance.
NMEA/DGPS Cable Connections
NMEA is a standard communications format for marine electronic
equipment. For example, an autopilot can connect to the NMEA inter-
face on the LMS-320 and receive positioning information. The LMS-320
can exchange information with any device that transmits or receives
NMEA 0183 data.
DGPS is an acronym for the Differential Global Positioning System.
DGPS supplements and boosts the accuracy of basic GPS. DGPS was
developed by the U.S. Coast Guard, which is responsible for the sys-
tem's operation in the United States. Since it's creation, DGPS has be-
come the international maritime standard for marine navigation.
The most popular DGPS system relies on a grid of ground-based trans-
mitters that send correction signals to DGPS receivers. These in turn,
connect to the GPS receiver (such as the LMS-320). Lowrance offers an
optional DGPS receiver for your unit.
12 volt
battery
Black wire
Red wire with
3 am
p
fuse
To unit
Data wires

32
See the diagrams on the following page for general wiring connections.
Read your other product’s owner’s manual for more wiring information.
NMEA/DGPS Wiring
To exchange NMEA or DGPS data, the LMS-320 has one NMEA 0183
version 2.0 communication port. Com port one (Com-1) can be used to
receive NMEA format GPS data or DGPS data. The com port can also
transmit NMEA format GPS data to another device.
The three wires for the com port are combined with the two power
wires to form the power/data cable (see the drawing on page 33). Com-1
uses the yellow wire to transmit, the orange wire to receive and the
shield wire for signal ground.
Com-1 wiring to receive DGPS position information
from a DGPS receiver.
Com-1 wiring to receive NMEA position information
from some other GPS receiver.
Com-1 wiring to transmit NMEA position information
to another NMEA-compatible device.
Orange (Receive)
Shield (Ground)
Transmit
Ground
Ground
Com-1
To LMS-320
To DGPS
Receiver
To Other
Device
Orange (Receive) NMEA Transmit
Shield (Ground) Ground
Com-1
To LMS-320
To Other
GPS Receiver
Com-1
To LMS-320
Yellow (Transmit) NMEA Receive
Shield (Ground)
Yellow (Transmit) Receive

33
LMS-320 cable connections.
Mounting the Unit: Bracket, In-Dash or Portable
You can install the LMS-320 on the top of a dash with the supplied
gimbal bracket. It can also be installed in the dash or mounted on a
portable power supply.
If you use the supplied bracket, you may be interested in the optional
R-A-M bracket mounting system. This converts the unit's gimbal
bracket to a swivel mount, which can be used on the dash or overhead
mounting positions. Installation instructions are supplied with the
R-A-M mounting kits.
LMS-320,
rear view
GPS
antenna
module
GPS socket
Power/Data socket
Power wires
(two)
Com port
data wires
(three)
Sonar socket
Transducer

34
Optional R-A-M mounting system.
Bracket Installation
Mount the unit in any convenient location, provided there is clearance
behind the unit when it's tilted for the best viewing angle. You should
also make sure there is enough room behind the unit to attach the
power, transducer and GPS antenna/receiver module cables. (A draw-
ing on the next page shows the dimensions of a gimbal-mounted LMS-
320 unit.)
Holes in the bracket's base allow wood screw or through-bolt mounting.
You may need to place a piece of plywood on the back side of thin fiber-
glass panels to reinforce the panel and secure the mounting hardware.
Install the gimbal bracket. Orient the bracket so the arms slope toward
the front of your unit.
Front

35
Drill a 1-inch (25.4 mm) hole in the dash for the power, transducer and
antenna cables. The best location for this hole is immediately under the
gimbal bracket location. This way, the bracket can be installed so that
it covers the hole, holds the cables in position and results in a neat in-
stallation. Some customers, however, prefer to mount the bracket to the
side of the cable hole — it's a matter of personal preference.
Front view (left) and side view (right) showing dimensions of LMS-320
sonar/GPS unit when mounted on gimbal bracket.
After drilling the hole, pass the transducer connector up through the
hole from under the dash, followed by antenna connector. Pass the
power cable's bare-wire end down though the hole from the top.
If you wish, you can fill in the hole around the cables with a good ma-
rine caulking compound. (Some marine dealers stock cable hole covers
to conceal the opening.) No matter what type of installation you prefer,
be sure to leave enough slack in the cables to allow tilting or swiveling
the unit. If you choose to fill in the hole, be sure to position the cables
against the rear edge of the hole as you apply the fill material.
Before positioning the bracket, be sure to hold the cables against the
rear edge of the hole. Then, slide the bracket over the hole and butt the
rear of the bracket base firmly against the cables, thus pinning them in
place against the side of the hole. Finally, fasten the bracket to the
dash. Attach the unit to the gimbal bracket using the supplied gimbal
knobs and washers.
Millimeter
[Inch]
23.4
[0.92]
72.9
[2.87]
137.9
[5.43]
56.9
[2.24]
157.9
[6.22]
173.9
[6.85]

36
In-Dash Installation
You can mount the unit in the dash with an optional FM-5 In-Dash
Adapter Kit. The kit includes mounting hardware, a template for cut-
ting the hole and an instruction sheet, part 988-0147-43.
In-dash mounting template for LMS-320 sonar/GPS unit, showing
dimensions. NOTE: The figure above is not printed to scale. A scaled
template (FM-5 In-Dash Adapter Kit instructions) is available for free
download from our web site, www.lowrance.com.
Portable Installation
Like many Lowrance products, the LMS-320 is capable of portable op-
eration by using the optional PPP-11 portable power pack. The power
pack, the magnet-equipped antenna module and an optional portable
transducer expand the uses for your sonar/GPS unit. The PPP-11
makes it easy to transfer your unit from a boat to a car, recreational
vehicle, airplane or other vehicle without drilling and mounting a sec-
ond bracket. You can use your unit in your own car or boat, then take it
along when riding in a friend's vehicle that's not equipped with sonar or
GPS. (Or use it as a second sonar, one for each fisherman!)
The PPP-11 Portable Power Pack can be used with eight "D" cell alka-
line batteries or an optional sealed, rechargeable battery. For set-up
directions, refer to the pack's instruction sheet, part 988-0147-46.
113.5
[4.46]
Millimeters
[Inches]
ALWAYS VERIFY DIMENSIONS
In-Dash
Template
R 7.9
[0.31]
146.5
[5.76]
Top

37
Install batteries in power pack battery adapter.
MMC or SDC Memory Card Installation
Your LMS-320 uses a MultiMedia Card to store information, such as
sonar logs, custom maps, waypoints, trails and other GPS data. The
unit can also use Secure Digital Cards (SD card or SDC) to store data.
NOTE:
Throughout this manual, we will use the term MMC, but just re-
member that your unit can use an MMC or SDC to store data.
Both of these solid-state flash memory devices are about the size of a
postage stamp. An SD card is slightly thicker than an MMC. As this
manual went to press, MMCs were available in storage capacities of 8
MB, 16 MB, 32 MB and 64 MB. SD cards were available in capacities of
8 MB, 16 MB, 32 MB, 64 MB, 128 and 256 MB.
Additional MMC cards are available from LEI Extras; see ordering in-
formation inside the back cover of this manual. MMCs and SD cards
are also available at many camera and consumer electronics stores.
The MMC slot is located in a compartment on the front of the case. The
compartment door is located at the lower right corner. The following
figure shows a close-up with the door opened.
"D" cell battery

38
Memory card compartment with a 16 MB MMC card installed.
To remove an MMC
1. Open the card compartment door by unscrewing the thumb screw.
The screw should only be finger tight. If it was over-tightened, use a
thumbnail, a coin or a screwdriver to open the door.
2. Use a thumbnail or fingernail to grab the groove in the bottom of the
MMC. See the figure above for the groove location.
3. Drag the MMC from the slot.
To add an MMC or SDC
1. Open the card compartment door.
2. Grasp the bottom of the MMC and push the top of the card into the
slot. Once the card is started, use your fingernails to slide it the rest of
the way to the left, until it is firmly seated in the slot.
3. Close the compartment door and fasten the thumb screw finger tight.
Other Accessories
Other LMS-320 accessories include MMC cards, MMC card readers and
MapCreate™ 6 custom mapping software for your computer. MMC card
readers are available in USB and parallel port versions.
Two switch boxes are available for this unit. The SB-7X transducer
switch box switches two transducers to one sonar unit. The SB-8X trans-
ducer switch box switches two sonar units to one transducer.
If these accessories are not available from your dealer, see the acces-
sory ordering information on the inside back cover of this manual. Visit
our web site for a complete listing of all the available accessories for
your unit.
Insert card face up,
this way
Thumb
screw
MMC groove for card removal

39
MapCreate™ 6 CD-ROM, left; MMC card reader for USB ports, right.
Now that you have your unit installed, move on to Section 3, Basic So-
nar Operations. There, we'll present a series of step-by-step tutorials to
teach you the basics of LMS-320 sonar operation.
NOTE:
When you first turn the unit on, the Map Page appears. If you'd
rather start learning about GPS operation first, turn over to Sec-
tion 6, Basic GPS Operations. (Remember, you don't need to read
this manual from cover-to-cover to get going. We designed it so you
can skip around to the section you want to read.)
Face Cover
Your LMS-320 comes with a white protective cover that snaps on and
off the front of the unit. This cover is intended for use when your unit
and the vehicle it's mounted in are idle.
WARNING:
When the unit is mounted in an unprotected area, such
as an open boat cockpit, the protective face cover must
be removed when the vehicle is moving at high speed.
This includes towing a boat on a trailer at highway
speeds. Otherwise, wind blast can pop off the cover.
40
Notes

41
Section 3: Basic Sonar Operation
This section addresses the unit's most basic sonar operations. The in-
structions presented in Sec. 3 follow a chronological order. Sec. 4, Sonar
Options & Other Features, will discuss other more advanced functions
and utilities. Material in Sec. 4 is arranged in alphabetical order.
Before you turn on the LMS-320, it's a good idea to learn about the dif-
ferent keys, the Main Menu, the four Page screens and how they all
work together. BUT, if you just can't wait to get on the water, turn to
the one-page Quick Reference on page 49.
Keyboard
LMS-320 series sonar/GPS unit, front view, showing map with sonar
split screen, keyboard and access door for the MMC slot.
1. PWR/LIGHT (Power & Light) – The PWR key turns the unit on and
off and activates the backlight.
2. PAGES – Pressing this and the ← → arrow keys switches the unit
between the four different page screens. (Satellite Status Page, Naviga-
tion Page, Map Page and Sonar Page.) Each page represents one of the
unit's major operation modes.
5
4
2
8
7
9
6
3
1
MMC slot access door
42
3. MENU – Press this key to show the menus and submenus, which
allow you to select a command or adjust a feature. This also accesses
search functions for streets, intersections, addresses and highway exits.
4. ARROW KEYS – These keys are used to navigate through the
menus, make menu selections, move the map and sonar chart cursors
and enter data.
5. ENT/ICONS (Enter & Icons) – This key allows you to save data, ac-
cept values or execute menu commands. It is also used to create event
marker icons.
6. EXIT – The Exit key lets you return to the previous screen, clear
data or erase a menu.
7. WPT – (Waypoint) The Waypoint key is used to save and recall way-
points, search for waypoints and access the waypoint list. It also
launches the Point-of-Interest (POI) search menus and is involved in
some navigation functions.
8. ZOUT – (Zoom Out) – This key lets you zoom the screen out. On the
Sonar Page, this key returns you to a full sonar chart display, showing
the entire water column from surface to bottom. On the Map Page, this
lets you see a larger geographic area on the map. Less detail is seen as
you zoom out.
9. ZIN – (Zoom In) – This key lets you zoom the screen in. On the Sonar
Page, this key enlarges fish signals and bottom detail. On the Map
Page, zooming in lets you see greater detail in a smaller geographic
area on the map.
Power/lights on and off
To turn on the unit, press PWR. As the unit powers up, the Map Page is
displayed first. To switch to the Sonar Page, press PAGES|→|EXIT.
To turn on the backlight, press PWR again. The unit has three backlight
levels to select from. Repeatedly pressing PWR will cycle through the
backlight settings and turn off the backlight.
Turn off the unit by pressing and holding the PWR key for 3 seconds.
Main Menu
The LMS-320 has a Main Menu, which contains some function com-
mands and some setup option commands. The instructions in this sec-
tion will deal only with sonar functions, the basic commands that make
LMS-320 show sonar signals on your screen. LMS-320 will work fine
right out of the box with the factory default settings. But, if you want to

43
learn about the various sonar options, see Sec. 4, Sonar Options &
Other Features. (For general system setup and GPS options, see Sec. 8,
System Setup and GPS Setup Options.)
You can access the Main Menu from any of the four Page screens by
pressing MENU|MENU. To clear the menu screen and return to the page
display, press EXIT. (Remember, our text style for "MENU|MENU" means
"press the Menu key twice." See a full explanation of our instruction
text formatting on page 10, Instructions = Menu Sequences.)
Main Menu.
The Main Menu commands and their functions are:
Screen command: changes the contrast or brightness of the display
screen.
Sounds command: enables or disables the sounds for key strokes and
alarms and sets the alarm style.
Alarms command: turns GPS alarms on or off and changes alarm
thresholds.
Route Planning command: used to plan, view or navigate a route.
My Trails command: shows, creates and deletes plot trails. Also used
to navigate or backtrack a trail.
Cancel Navigation command: turns off the various navigation com-
mands. Used to stop navigating after you have reached your destina-
tion waypoint, Point of Interest or map cursor location; or after you
reach the end of a route or trail.
Sonar Setup command: sets various sonar options.
GPS Setup command: sets various GPS receiver options.

44
System Setup command: sets general configuration options.
Sun/Moon Calculations command: finds the rising and setting time
of the sun and the moon.
Trip Calculator command: shows trip status and statistics.
Timers command: controls the up timer, down timer and alarm clock
settings.
Browse MMC Files command: this allows you to view the installed
MMC card and the files it contains.
Pages
The unit has four Page displays that represent the four major operating
modes. They are the Satellite Status Page, the Navigation Page, the Map
Page and Sonar Page. They are accessed by pressing the PAGES key,
then using → or ← to select a Page. (Clear the Pages Menu by pressing
EXIT.)
Pages Menu, showing some Sonar display options.
Satellite Status Page
The Satellite Status Page provides detailed information on the status of
LMS-320's satellite lock-on and position acquisition. To get to the Sat-
ellite Status Page: Press the PAGES key, then use → or ← to select
STATUS. (Clear the Pages Menu by pressing EXIT.)
This page represents a GPS function, so it is discussed in much greater
detail in Sec. 6.
No matter what Page you are on, a flashing current position indica-
tor/question mark symbol and flashing GPS data displays indicate that
satellite lock has been lost and there is no position confirmed.
WARNING:
Do not begin navigating with this unit until the numbers
have stopped flashing!

45
Satellite Status Page showing satellite lock-on with a 3D position
acquired (latitude, longitude and altitude), including WAAS reception.
Navigation Page
This screen has a compass rose that not only shows your direction of
travel, but also the direction to a recalled waypoint. To get to the Navi-
gation Page: Press PAGES| → or ← to NAVIGATION|EXIT.
This page represents a GPS function, so it is discussed in much greater
detail in Sec. 6.
Navigation Page, recording a trail, traveling southwest.
Map Page
The Map Page screens show your course and track from a "bird's-eye"
view, on a moving map. By default, this unit shows the map with north
always at the top of the screen. The arrow in the center of the screen is
your present position. It points in the direction you're traveling.

46
Map Page, showing position on Bull Shoals Lake, Arkansas. At left is
the full map option. At right, map with sonar option.
Map Page is also the default screen that appears when you turn on the
unit. To get to the Map Page from another page: Press PAGES| → or ←
to MAP|EXIT.
You can display a split screen showing both the Map and Sonar pages
at the same time. This feature is discussed in Sec. 4, Sonar Options &
Other Features.
The Map Page represents a GPS function, so it is discussed in much
greater detail in Sec. 6.
Sonar Page
The Sonar Page displays the sonar chart. This is a "cross-section" view
of the water column beneath the boat. The chart moves across the
screen, displaying sonar signal echoes that represent fish, structure
and the bottom.
To get to the Sonar Page: Press the PAGES key, then use → or ← to se-
lect SONAR. (Clear the Pages Menu by pressing EXIT.) The Pages Menu
also offers five chart display options under the Sonar Page category. To
access them, press PAGES|← or→ to SONAR|↓ to Option Name|EXIT.
The Sonar Page also has its own menu, which is used for some advanced
functions and for setting various options. (Sonar Options and other fea-
tures are discussed in Sec. 4.) To Access the Sonar Page menu, from the
Sonar Page press MENU.

47
At left, Pages Menu, showing sonar chart display option commands.
At right, Sonar Page in full sonar chart display mode.
Sonar chart display options (from left) split zoom and split frequency.
Sonar chart display options (from left) digital data and flasher.

48
Sonar Page Menu. Most of these functions are discussed in Sec. 4.
Sonar Page, showing full sonar chart mode.
You can customize how the Sonar Page displays its pictures and other
data in many ways. Your unit also includes several special sonar fea-
tures and options that can help you better interpret the underwater
scene.
We'll discuss all of those features and options in Sec. 4, but to show you
how easy the LMS-320 is to operate, the following page contains a sim-
plified, 10-step quick reference that will cover most fish finding situa-
tions. The quick reference describes how your unit will operate with all
the sonar features in their automatic modes, which are set at the fac-
tory.
Surface clutter
Structure
Bottom signal
Fish arches
In FasTrack, fish
arches show as
horizontal bars.
Depth scale
Digital data
overlay
(depth &
temperature)
Surface signal
Zoom bar
FasTrack
bar graph
49
LMS-320 Series Sonar Quick Reference
1. Mount the transducer, antenna and unit. Connect the unit to electric
power and the transducer. (If GPS operation is desired, connect GPS
antenna, too.) Make sure the MMC is in. (See complete installation de-
tails beginning on page 13.)
2. Launch your boat.
3. To turn on LMS-320, press and release PWR key.
4. Opening screen displays Map Page. Rotate through the four main
Page screens (Map Page, Satellite Status Page, Navigation Page, Sonar
Page) by pressing PAGES|← or → to select Page Name|EXIT. Switch
Pages to display Sonar Page.
5. If GPS data is desired, wait while unit locates satellites and calculates
current position. When the unit acquires position, a tone sounds and a posi-
tion acquired message appears.
6. With position acquired (if desired), head for your fishing grounds.
Your unit will automatically display digital depth and surface water
temperature in the top left corner of the screen.
The auto settings will track the bottom, displaying it in the lower por-
tion of the screen. The full sonar chart will scroll from right to left,
showing you what's under the boat as you cruise across the water. You
can change the display by:
Zoom in to enlarge the chart for more detail: press ZIN.
Zoom out to return to full chart mode: press ZOUT.
7. Watch the display for the appearance of fish arches. When you see
arches, you've found fish! Stop the boat and get your lure or bait into
the water at the depth indicated on the sonar chart.
8. Gauge the fish depth by visually comparing the fish arches with the
depth scale on the right side of the screen, or get a more accurate
measure with the Depth Cursor. Press MENU|↓ to DEPTH CURSOR|ENT.
Press ↓ to align the cursor line with the fish arch. The exact depth ap-
pears in a box at the right end of the cursor line. To clear the cursor,
press EXIT.
9. If you are drifting at a very low speed or anchored, you are not mov-
ing fast enough for a fish to return the tell-tale fish arch signal. As you
drift over a fish, or as a fish swims through the transducer's signal
cone, the fish echo will appear as a straight line suspended between the
surface and the bottom.
10. To turn off LMS-320, press and hold PWR key for three seconds.

50
Sonar Operations
As you can see from the quick reference on the previous page, basic operation
is pretty easy, right out of the box. If you are a sonar novice, try operating the
unit with the factory defaults until you get a feel for how it's working.
As you're learning the basics, there is one setting you might want to tinker
with from time to time — Sensitivity.
Sensitivity controls the unit's ability to pick up echoes. If you want to see
more detail, try increasing the sensitivity, a little at a time. There are situa-
tions when too much clutter appears on the screen. Decreasing the sensitivity
can reduce the clutter and show the strongest fish echoes, if fish are present.
As you change the sensitivity setting, you can see the difference on the chart
as it scrolls.
These figures show results of different sensitivity levels on the same
location. Fig. 1: Sensitivity at 88 percent, determined by Auto Sensitiv-
ity. Typical of full auto mode. Fig. 2: Sensitivity set at 75 percent. Fig.
3: Sensitivity set at 50 percent. Fig. 4: Sensitivity set at 100 percent.
Fig. 1 Fig. 2
Fig. 3 Fig. 4

51
You can change the sensitivity level whether you are in Auto Sensitiv-
ity mode or Manual Sensitivity mode. The adjustment method works
the same in both modes, but it gives you slightly different results.
Adjusting sensitivity in Auto Sensitivity Mode is similar to manually ad-
justing a car's speed with the accelerator pedal while cruise control is on.
You can tell the car to run faster, but when you let off the gas the cruise
control automatically keeps you from running slower than the minimum
speed setting. In the LMS-320, auto mode will let you increase sensitivity
to 100 percent, but the unit will limit your minimum setting. This pre-
vents you from turning sensitivity down too low to allow automatic bot-
tom tracking. When you change the setting with auto turned on, the unit
will continue to track the bottom and make minor adjustments to the sen-
sitivity level, with a bias toward the setting you selected.
Adjusting sensitivity in Manual Sensitivity Mode is similar to driving a
car without cruise control — you have complete manual control of the
car's speed. In the LMS-320, manual mode allows you to set sensitivity
at 100 percent (maximum) or zero percent (minimum.) Depending on
water conditions, the bottom signal may completely disappear from the
screen when you reduce sensitivity to about 50 percent or less!
Try adjusting sensitivity in both auto and manual modes to see how
they work.
To adjust sensitivity:
1. Press MENU|ENT.
2. The Sensitivity Control Bar appears. Press ↓ to decrease sensitivity;
press ↑ to increase sensitivity. When it's set at the desired level, press
EXIT. (When you reach the maximum or minimum limit, a tone sounds.)
At left, Sonar Menu with Sensitivity command selected. At right, the
Sensitivity Control Bar.

52
NOTE:
If you want to change the sensitivity in Manual Mode, first turn off
Auto Sensitivity: from the Sonar Page, press MENU|↓ to AUTO
SENSITIVITY|ENT|↑ to SENSITIVITY|ENT. Press ↓ or ↑ to pick a different
sensitivity setting. When it's set at the desired level, press EXIT.
Important Tip:
While you are experimenting and learning, it's possible to scramble
the settings so that the sonar picture disappears from your screen.
If that happens, remember that it's easy to switch back to full
automatic operation by simply restoring the factory auto settings.
Here's how:
To Restore Factory Settings
1. Press MENU|MENU|↓ to SYSTEM SETUP|ENT|↓ to RESET OP-
TIONS|ENT.
2. The unit asks if you want to reset all the options. Press ← to
YES|ENT. All options are reset, and the unit reverts back to the Map
Page at the 4000 mile zoom range. (Any recorded sonar logs or GPS
data will be unchanged.)
Fish Symbols vs. Full Sonar Chart
You may have noticed in the quick reference that we used fish arches in
full sonar chart mode for our example, and not the popular Fish I.D.
fish symbol feature. Here's why.
Fish I.D. is an easier way for a sonar novice to recognize a fishy signal
return when he sees it. However, locating fish by symbol only has some
limitations.
Your sonar unit's microprocessor is remarkably powerful, but it can be
fooled. Some of the echoes calculated to be fish could be tree limbs or
turtles! To see what's under your boat in maximum detail, we recom-
mend you turn off Fish I.D. and begin learning to interpret fish arches.
Fish I.D. is most handy when you're in another part of the boat or per-
forming some task that prevents you from watching the sonar screen.
Then, you can turn on Fish I.D. and the audible fish alarm. When that
lunker swims under your boat, you'll hear it!
Fish I.D. can also be useful when you want to screen out some of the
sonar detail gathered by your unit. For example, in one case fisherman
in San Francisco Bay saw clouds of clutter in the water but no fish
arches. When a down rigger was pulled up, it brought up several small
jellyfish. The fisherman switched their Lowrance sonar to Fish I.D.,
which screened out the schools of jellyfish and clearly showed the game
fish there as fish symbols.
53
Other Free Training Aids
The sonar options section discusses Fish I.D., fish alarms and other
features in greater detail. If you or a friend has Internet access, you can
also learn more about interpreting what you see on your sonar screen.
Visit our web site, WWW.LOWRANCE.COM. Be sure to check out the free
Sonar Tutorial, which includes animated illustrations and more pic-
tures of actual sonar returns, all described in detail. There's even a
"printer friendly" version of the tutorial available on our web site…it
makes a great supplement to this operation manual!
You can also download a free copy of our Sonar Viewer software. This
PC-based software application plays back any sonar chart log recorded
with a Lowrance sonar product. Features include:
• Adjustable range, zoom, sensitivity, color line, noise rejection,
surface clarity, etc. of the recorded file.
• Color interpretation of sonar signals can be user defined.
• Operates like a Windows Multimedia Player with forward, re-
verse, pause, fast forward, fast reverse, and scroll buttons.
• Adjustments update the entire record displayed
• Can print in full color.
• Window can dynamically be sized on your monitor.
• Mouse cursor shows GPS position, depth and sounding number
anywhere on the visible record.
For the ultimate training aid, be sure to download the free emulator
software for your unit. Aside from being just plain fun, this program
can help you learn both basic and advanced operations without burning
boat fuel! Lowrance is the first sonar manufacturer to provide this type
of training tool for customers.
This PC application simulates the actual sonar/GPS unit on your com-
puter. You can run it from your computer keyboard or use your mouse
to press the virtual keys. Easy download and installation instructions
are available on our web site.

54
Free training emulator is available for your unit on our web site.
The emulator works exactly like your real sonar/GPS unit. Using the
Sonar Simulator and GPS Simulator features, it allows you to play
back sonar logs, run GPS routes and trails, even create real waypoints
you can use in the field! You can even take snapshots of the Sonar
Chart and print them or e-mail them to friends.

55
Section 4: Sonar Options & Other Features
Material in this section is arranged in alphabetical order.
ASP (Advanced Signal Processing)
The ASP feature is a noise rejection system built into the sonar unit
that constantly evaluates the effects of boat speed, water conditions
and interference. This automatic feature gives you the best display pos-
sible under most conditions.
The ASP feature is an effective tool in combating noise. In sonar terms,
noise is any undesired signal. It is caused by electrical and mechanical
sources such as bilge pumps, engine ignition systems and wiring, air
bubbles passing over the face of the transducer, even vibration from the
engine. In all cases, noise can produce unwanted marks on the display.
The ASP feature has four settings — Off, Low, Medium and High. If
you have high noise levels, try using the "High" ASP setting. However,
if you are having trouble with noise, we suggest that you take steps to
find the interference source and fix it, rather than continually using the
unit with the high ASP setting.
There are times when you may want to turn the ASP feature off. This
allows you to view all incoming echoes before they are processed by the
ASP feature.
At left, Sonar Menu with Sonar Features selected. In the Sonar
Features menu, Noise Rejection is selected with ASP in the default low
setting (center, dual-frequency menu; at right, single-frequency menu).
To change the ASP level:
1. From the Sonar Page, press MENU|↓ to SONAR FEATURES|ENT.
2. Press → ↓ or ↓ to NOISE REJECTION|ENT.
3. Press ↓ or ↑ to select a setting, then press ENT.
4. To return to the previous page, press EXIT|EXIT.

56
Alarms
This unit has three different types of sonar alarms. The first is the Fish
Alarm. It sounds when the Fish I.D. feature determines that an echo
is a fish.
Another alarm is the Zone Alarm, which consists of a bar on the side of
the screen. Any echo on the chart that appears inside this bar triggers
this alarm.
The last alarm is the Depth Alarm, which has both a Shallow and a
Deep setting. Only the bottom signal will trigger this alarm. This is
useful as an anchor watch, a shallow water alert or for navigation.
Depth Alarms
The depth alarms sound a tone when the bottom signal goes shallower
than the shallow alarm's setting or deeper than the deep alarm's set-
ting. For example, if you set the shallow alarm to 10 feet, the alarm will
sound a tone if the bottom signal is less than 10 feet. It will continue to
sound until the bottom goes deeper than 10 feet.
The deep alarm works just the opposite. It sounds a warning tone if the
bottom depth goes deeper than the alarm's setting. Both depth alarms
work only off the digital bottom depth signals. No other targets will trip
these alarms. These alarms can be used at the same time or individually.
At left, Main Menu and Sonar Alarms command.
At right, the Sonar Alarms menu.
To adjust and turn on the shallow alarm:
1. Press MENU|MENU|↓ to ALARMS|ENT|↓ to SONAR ALARMS|ENT.
2. Press → to SHALLOW ALARM DEPTH|ENT.
3. Press ↑ or ↓ to change the first number, then press → to move the
cursor to the next number and repeat until the depth is correct, then
press ENT.

57
4. Press ← to SHALLOW ALARM ENABLED|ENT|EXIT|EXIT|EXIT.
5. To turn off the alarm, press MENU|MENU|↓ to ALARMS|ENT|↓ to
SONAR ALARMS|ENT|ENT|EXIT|EXIT|EXIT.
To switch to a different depth setting, open the Sonar Alarms menu and
repeat the instructions in step 3 above.
To adjust and turn on the deep alarm:
1. Press MENU|MENU|↓ to ALARMS|ENT|↓ to SONAR ALARMS|ENT.
2. Press ↓ to DEEP ALARM ENABLED|→ to DEEP ALARM DEPTH|ENT.
3. Press ↑ or ↓ to change the first number, then press → to move the
cursor to the next number and repeat until the depth is correct, then
press ENT.
4. Press ← to DEEP ALARM ENABLED|ENT|EXIT|EXIT|EXIT.
5. To turn off the alarm, press MENU|MENU|↓ to ALARMS|ENT|↓ to
SONAR ALARMS|ENT|↓ to DEEP ALARM ENABLED|ENT|EXIT|EXIT|EXIT.
To switch to a different depth setting, open the Sonar Alarms menu and
repeat the instructions in step 3 above.
Zone Alarm
The zone alarm is triggered when any echo passes inside the zone
alarm bar, shown on the right side of the screen.
To adjust and turn on the zone alarm:
1. Press MENU|MENU|↓ to ALARMS|ENT|↓ to SONAR ALARMS|ENT.
2. Press ↓ to ZONE ALARM ENABLED|→ to ADJUST ZONE|ENT.
At left, Sonar Alarms menu, with Adjust Zone command selected.
At right, Adjust Zone Alarm selection box, with Upper selected.
3. To set the upper boundary for the Zone Alarm, use ← or→ to select
UPPER, then press ↑ or ↓ to move the top of the bar to the desired depth.
4. To set the lower boundary for the Zone Alarm, use ← or→ to select

58
LOWER, then press ↑ or ↓ to move the bottom of the bar to the desired
depth.
5. Press EXIT|← to ZONE ALARM ENABLED|ENT|EXIT|EXIT|EXIT. Now, any
echo — fish, bottom, structure — within the zone alarm's depth range
will trigger the zone alarm.
6. To turn off the alarm, press MENU|MENU|↓ to ALARMS|ENT|↓ to
SONAR ALARMS|ENT|↓ to ZONE ALARM ENABLED|ENT|EXIT|EXIT|EXIT.
To switch to a different depth setting, open the Sonar Alarms menu and
repeat the instructions in steps 3 and 4 above.
Fish Alarm
Use the fish alarm for a distinctive audible alarm when fish or other
suspended objects are detected by the Fish I.D. feature (Fish I.D.
must be turned on for the Fish Alarm to work). A different tone sounds
for each fish symbol size shown on the display.
Sonar Alarms menu with Fish Alarm selected. The check box to the left
is blank, indicating the alarm is turned off.
To turn the fish alarm on:
1. Press MENU|MENU|↓ to ALARMS|ENT|↓ to SONAR ALARMS|ENT.
2. Press ↓ to FISH ALARM|ENT|EXIT|EXIT|EXIT.
3. To turn off the alarm, press MENU|MENU|↓ to ALARMS|ENT|↓ to
SONAR ALARMS|ENT|↓ to FISH ALARM|ENT|EXIT|EXIT|EXIT.
Calibrate Speed
The speed sensor can be calibrated to compensate for inaccuracies. Be-
fore you change the setting, first calculate the percentage that the
speed is off. You will enter this percentage in a moment.
For example, if you figure the sensor is reading 10 percent faster than
actual speed, you will enter – 10 in the calibration window. If the sen-
sor is reading 5 percent slower than true speed, you will enter + 5 in
the window.

59
A good way to gauge your speed sensor's performance is to compare its
reading with the ground speed measured by your unit's GPS functions.
When you make a run to compare GPS ground speed to speed sensor
speed, perform your test in relatively calm water free of current, if pos-
sible. (Unless, of course, you are taking the current speed into consid-
eration when making your calculation.) After you have a correction fig-
ure, here's how to enter it:
1. Press MENU|MENU|↓ to SONAR SETUP|ENT|↓ to CALIBRATE WATER
SPEED|ENT.
2. Enter the number you calculated earlier: press ↑ or ↓ to change the
first character (+ or –), then press → to move the cursor to the next
number and repeat until the percentage is correct, then press EXIT.
Chart Speed
The rate that echoes scroll across the screen is called the chart speed.
The default is maximum; we recommend that you leave the speed set
there for virtually all fishing conditions.
However, you might consider experimenting with chart speed when you
are stationary or drifting very slowly. You may sometimes achieve bet-
ter images as you slow down the chart speed to match how fast you are
moving across the bottom.
If you are at anchor, ice fishing or fishing from a dock, experiment with
a chart speed around 50 percent. If you are drifting slowly, try a chart
speed around 75 percent. When you are stationary and a fish swims
through the sonar signal cone, the image appears on the screen as a
long line instead of a fish arch. Reducing the chart speed may result in
a shorter line that more closely resembles a regular fish return.
At left, Sonar Page menu with Chart Speed command selected.
At right, Chart Speed Control Bar.
If you do experiment with chart speed, remember to reset it to maxi-
mum when you resume trolling or moving across the water at higher
speed. To change chart speed:

60
1. From the Sonar Page, press MENU|↓ to CHART SPEED|ENT.
2. The Chart Speed Control Bar appears. Press ↓ to decrease chart
speed; press ↑ to increase chart speed.
3. When it's set at the desired level, press EXIT.
Depth Cursor
The depth cursor consists of a horizontal line with a digital depth box
on the right side. The numbers inside the box show the depth of the
cursor.
At left, Sonar Page menu with Depth Cursor command selected. At
right, sonar chart with the depth cursor active. The line indicates the
large fish is 34.64 feet deep.
The cursor can be moved to any location on the screen, letting you pin-
point the depth of a target.
1. From the Sonar Page, press MENU|↓ to DEPTH CURSOR|ENT.
2. The depth cursor appears. Press ↓ to lower the cursor line; press ↑ to
raise the cursor line.
3. To clear the depth cursor, press EXIT.
Depth Range - Automatic
When turned on for the first time, the bottom signal is automatically
placed in the lower half of the screen. This is called Auto Ranging and
is part of the automatic function. However, depending upon the bottom
depth and the current range, you can change the range to a different
depth. To do this:
1. From the Sonar Page, press MENU|↓ to DEPTH RANGE|ENT.
Cursor line Depth box

61
At left, Sonar Page menu with Depth Range command selected. At
right, the Depth Range Control Scale.
2. The Depth Range Control Scale appears. Press ↑ or ↓ to select a dif-
ferent depth range. A black bar highlights the selected range. Range
numbers in gray cannot be selected.
3. When the new range is selected, press EXIT to clear the menu.
Depth Range - Manual
You have complete control over the range when the unit is in the man-
ual mode. There are 16 depth ranges, from 5 feet to 4,000 feet.
To switch to Manual Depth Range:
1. First, turn off automatic depth range. From the Sonar Page, press
MENU|↓ to AUTO DEPTH RANGE|ENT.
2. Press ↑ to DEPTH RANGE|ENT and the Depth Range Control Scale appears.
3. Press ↓ or ↑ to select a different depth range. A horizontal black bar
highlights the selected range.
4. When the new range is selected, press EXIT to clear the menu.
To turn Auto Depth Range on again:
1. From the Sonar Page, press MENU|↓ to AUTO DEPTH RANGE|ENT|EXIT.
NOTE:
The sonar's depth capability depends on the transducer installa-
tion, water and bottom conditions, and other factors.
Depth Range - Upper and Lower Limits
Virtually any segment of the water column can be displayed by using
the upper and lower limit feature. This lets you pick the shallow and
deep depth range limits that are shown on the screen, provided there is
at least 10 feet between the upper and lower limit you select. For ex-
ample, a range from 12 feet to 34 feet could be used.
Changing the upper and lower limits gives you far greater control over
the depth range. This feature lets you "zoom in" the display in almost
unlimited combinations. Nearly any segment of the water column, from

62
the surface to the bottom can be shown. This enlarges the sonar targets
to best suit your fishing needs and water conditions.
At left, Sonar Page Menu with Upper and Lower Limits command se-
lected. At right, Sonar Chart Limits menu, with Upper Limit selected.
To change the upper and lower limits:
1. From the Sonar Page, press MENU|↓ to UPPER AND LOWER LIMITS|ENT.
The Sonar Chart Limits menu appears, with Upper Limit selected.
2. To set the upper limit, press ENT. Press ↑ or ↓ to change the first
number, then press → to move the cursor to the next number and re-
peat until the depth is correct, then press EXIT.
3. To set the lower limit, press ↓ to LOWER LIMIT|ENT. Press ↑ or ↓ to
change the first number, then press → to move the cursor to the next
number and repeat until the depth is correct, then press
EXIT|EXIT|EXIT.
Normal display, in auto depth range mode, left. At right, display
"zoomed" with Upper and Lower Limits focusing on the portion of the
water column from 20 feet to 40 feet deep. In the "zoomed" image, note
the target definition at lower left, showing a fish holding just above the
structure. At top right, two game fish are attacking a school of bait fish.
Area "zoomed"
Fish arches

63
To turn off upper and lower limits:
From the Sonar Page, press MENU|↓ to AUTO DEPTH RANGE|ENT|EXIT.
FasTrack
This feature automatically converts all echoes to short horizontal lines
on the display's far right side. The graph on the rest of the screen con-
tinues to operate normally. FasTrack gives you a rapid update of condi-
tions directly under the boat. This makes it useful for ice fishing, or
when you're fishing at anchor. When the boat is not moving, fish sig-
nals are long, drawn out lines on a normal chart display. FasTrack con-
verts the graph to a vertical bar graph that, with practice, makes a use-
ful addition to fishing at a stationary location.
Sonar Page showing FasTrack.
Fish I.D. (Fish Symbols & Depths)
The Fish I.D. feature identifies targets that meet certain conditions as
fish. The microcomputer analyzes all echoes and eliminates surface
clutter, thermoclines, and other signals that are undesirable. In most
instances, remaining targets are fish. The Fish I.D. feature displays
fish symbols on the screen in place of the actual fish echoes.
There are several fish symbol sizes. These are used to designate the
relative size between targets. In other words, Fish I.D. displays a small
fish symbol when it thinks a target is a small fish, a medium fish sym-
bol on a larger target and so on.
The sonar's microcomputer is sophisticated, but it can be fooled. It can't
distinguish between fish and other suspended objects such as trotlines,
turtles, submerged floats, air bubbles, etc. Individual tree limbs ex-
tending outwards from a group of limbs is the hardest object for the
Fish I.D. feature to distinguish from fish.
Surface clutter
Structure
Grayline
Bottom signal
Fish arches
In FasTrack, fish
arches show as
horizontal bars.
FasTrack
bar graph

64
You may see fish symbols on the screen when actually, there are no
fish. The reverse is also true. The illustrations on the next page show
how Fish I.D. can actually miss fish that are present.
Does that mean Fish I.D. is broken? No — the feature is simply inter-
preting sonar returns in a specific way to help take some of the work
out of reading the screen. Remember: Fish I.D. is one of the many tools
we provide so you can analyze your sonar returns for maximum fish
finding information. This and other features can help you successfully
"see" beneath the boat under varied water and fishing conditions. So,
practice with the unit in both the Fish I.D. mode and without to become
more familiar with the feature. The default for Fish I.D. is off.
Sonar Features menu with Fish I.D. Symbols selected (at left, dual-
frequency menu; at right, single-frequency menu). When the check box
to the left is checked, the feature is on.

65
At left, figures 1A and 2A show Sonar Page in normal chart mode. At
right, figures 1B and 2B show the same underwater scene with Fish I.D.
turned on. Note how arches are replaced with symbols.
To turn the Fish I.D. feature on:
1. From the Sonar Page, press MENU|↓ to SONAR FEATURES|ENT.
2. Press → ↓ or → to FISH ID SYMBOLS|ENT|EXIT|EXIT.
To turn off Fish I.D., repeat the instructions in step 1.
FishTrack
The FishTrack feature shows the depth of a fish symbol when it ap-
pears on the display. This lets you accurately gauge the depth of tar-
gets. This feature is available only when the Fish I.D. feature is on. The
default setting for FishTrack is off.
To turn on FishTrack:
(Note: These instructions will turn on FishTrack and Fish I.D. at the
same time.)
1. From the Sonar Page, press MENU|↓ to SONAR FEATURES|ENT.
Fish arches
above structure No fish shown
FasTrack graph
confirms fish
Fig. 1 A Fig. 1 B
Fig. 2 A Fig. 2 B
Many fish
arches visible
Fewer fish
symbols visible

66
2. Press → ↓ to FISH ID DEPTHS|ENT|EXIT|EXIT.
To turn off FishTrack, repeat the instructions in step 1. Turning off
FishTrack in this manner will not turn off Fish I.D. symbols.
Sonar Features menu with Fish I.D. Depths selected (at left, dual-
frequency menu; center, single-frequency menu). When the check box to
the left is checked, the feature is on. At right, Sonar Page showing Fish
I.D. symbols and FishTrack depths turned on.
FishReveal
When displaying actual sonar returns, the FishReveal feature uses 10
levels of gray tones to show fish targets hidden by surface clutter,
thermoclines, weed beds and other cover.
The normal mode of operation (with FishReveal turned off) shows the
weakest echoes as black and the strongest echoes in light gray. Since
all weak echoes are black, fish arches show boldly against the white
background. The drawback is that all weak echoes – such as thermo-
clines – are also emphasized. This can make it hard to distinguish fish
signals inside thermoclines or other cover.
In FishReveal mode, the weakest echoes are white and the strongest
echoes are black. Echoes in between vary in gray in proportion to their
signal strength. The Grayline control determines the range for black to
white. Also note that when using FishReveal, we recommend that you
turn off Auto Sensitivity and turn up Sensitivity to near maximum.
Symbols with
FishTrack de
p
ths

67
Sonar Color Mode command with FishReveal selected
(at left, dual-frequency menu; at right, single-frequency menu).
To turn FishReveal on:
1. From the Sonar Page, press MENU|↓ to SONAR FEATURES|ENT.
2. Press ↓ to SONAR COLOR MODE|ENT|↓ to FISHREVEAL|ENT.
3. Press EXIT|↑ to AUTO SENSITIVITY|ENT|↑ to SENSITIVITY|ENT.
4. Press ↑ until the Sensitivity Control Bar reads 100% (or close to it),
then press EXIT. (If you reach the maximum limit, a tone sounds.)
Sonar chart in regular grayscale mode, left, and in FishReveal mode,
right. Notice how shallow fish formerly hidden in the surface clutter
become visible in FishReveal mode.
NOTE:
Water conditions vary greatly, and that affects sonar performance.
Under certain conditions, FishReveal will show you more fish than
normal grayscale mode, but the reverse will be true in other circum-
stances. We suggest you become familiar with both modes so you can
best match your sonar's performance to the current water conditions.
Visible
fish
Fish
not
visible
Fish
arch
Fish
arches

68
Frequency (Change Transducer Frequency)
(LMS-320DF only)
The LMS-320DF transducer operates with both 200 kHz and 50 kHz.
The 200 kHz frequency has a 12° cone angle and the 50 kHz frequency
has a 35° cone angle.
The default frequency is 200 kHz, which is best for use in shallow water
(about 300 feet or less). This frequency is the best choice for about 80
percent of the fresh and salt water sport fishing applications. When you
get into very deep salt water, 300 to 500 feet or deeper, the 50 kHz fre-
quency is the best choice.
The 200 kHz transducer will give you better detail and definition, but
less depth penetration. The 50 kHz transducer will give you greater
depth penetration, but a little less detail and less definition. (Remember,
all sonar units typically read deeper in fresh water than in salt water.)
There is a common exception to these rules of thumb. Some fishermen
on freshwater lakes (or the ocean) using downriggers like to see them
on the sonar. In many of those cases, you'll see a 50 kHz transducer
frequency in use because the wider cone angle lets them watch the bait.
Sonar Features menu with a frequency of 200 kHz selected.
To change the frequency setting to 50 kHz:
1. From the Sonar Page, press MENU|↓ to SONAR FEATURES|ENT.
2. Press ↓ to 50 KHZ|ENT.
3. Press EXIT|EXIT to clear the menu.

69
To change the frequency setting to 200 kHz:
1. From the Sonar Page, press MENU|↓ to SONAR FEATURES|ENT|ENT.
2. Press EXIT|EXIT to clear the menu.
Grayline
Grayline lets you distinguish between strong and weak echoes. It
"paints" gray on targets that are stronger than a preset value. This al-
lows you to tell the difference between a hard and soft bottom. For ex-
ample, a soft, muddy or weedy bottom returns a weaker signal which is
shown with a narrow or no gray line. A hard bottom returns a strong
signal which causes a wide gray line.
If you have two signals of equal size, one with gray and the other with-
out, then the target with gray is the stronger signal. This helps distin-
guish weeds from trees on the bottom, or fish from structure.
Grayline is adjustable. Experiment with your unit to find the Grayline
setting that's best for you.
At left, Sonar Page menu with Grayline command selected.
At right, the Grayline control bar.
To adjust the Grayline level:
1. From the Sonar Page, press MENU|↓ to GRAYLINE|ENT.
2. The Grayline Control Bar appears. Press ↓ to decrease Grayline;
press ↑ to increase Grayline.
3. When it's set at the desired level, press EXIT.

70
This series of figures shows how different Grayline settings can reveal
more information. The "A" figures to the left show locations with Gray-
line set at the factory level of 64 percent. At right, the "B" figures show
the same locations with Grayline increased to 84 percent. In Figure 1B,
no fish are near the left structure, but the right structure shows fish
holding next to the structure. Notice in figures 2B and 3B how Gray-
line displays a hard, rocky bottom (the drop-offs) with a wider gray
line. The muddier bottom below those drop-offs appears as a narrower
gray line.
Grayline
Muddy
bottom
Hard
bottom
Muddy
bottom
Fish near
structure
Hard
bottom
Hard
structure
Grayline
Grayline
Fig. 2A
Fig. 3A
Fig. 2B
Fig. 3B
Fig. 1A Fig. 1B

71
HyperScroll
See the entry on Ping Speed, which controls the HyperScroll feature.
Log Sonar Chart Data
If you have an MMC installed in the unit, the sonar data shown on the
screen can be saved to the MMC. This can be played back at any time
(to play a recorded sonar chart log, see the entry in this section for So-
nar Simulator). If you have a personal computer and Internet access,
visit our web site, www.lowrance.com, and download the free Sonar
Viewer and the emulator for your unit. These programs will allow you
to replay sonar logs on your personal computer.
At left, the Sonar Page menu with the Log Sonar Chart Data command
selected. At right, Sonar Chart Logging menu, with the Start Logging
command selected. The menu says the MMC has 5.42 MB of free space,
which will record the scrolling chart for 28 minutes and 44 seconds.
To record or log chart data:
1. Press MENU|↓ to LOG SONAR CHART DATA|ENT.
2. To record data using the default settings, press ENT. The menu clears
and the Sonar Page title bar shows the name of the file you are record-
ing. Warning messages will appear as recording time begins to run out.
NOTE:
You can change any of the settings by using the cursor arrows to
highlight different commands. Select FILE NAME if you want to
change the name. Select CHART QUALITY if you want to lower the file
quality and record for a longer period of time. After you've changed
the settings, select START LOGGING.
Noise Rejection
See the entry on Advanced Signal Processing in this section.
Overlay Data
To change the digital data shown on top of the Sonar Page or the Map
Page:

72
First, press PAGES, use → or ← to select a Page Name, then press EXIT.
To select data for display:
1. From the Map or Sonar page, press MENU|↓ to OVERLAY DATA|ENT.
2. Press ↓ or ↑ to select Data Type|ENT.
Overlay Data command on the Sonar Menu, at left. Overlay Data
Shown selection menu, right. In this example, we scrolled down the
data list to highlight "Ground Speed."
When selected, the data type shifts to the top of the data list and a
check mark appears beside the data type. (If you wish, you may now
use ↓ or ↑ to select other Data Types for display.)
Data list showing "Ground Speed" selected to display on Sonar Page.
3. To return to the previous page, press EXIT|EXIT.
To turn off displayed data:
1. From the Map or Sonar page, press MENU|↓ to OVERLAY DATA|ENT.
2. Press ↓ or ↑ to select Data Type|ENT. The selected data type disap-
pears from the top of the list and reverts to its previous, unchecked po-
sition. (If you wish, you may now use ↓ or ↑ to select other Data Types
to turn off.)

73
3. To return to the previous page, press EXIT|EXIT.
To change displayed data font size:
1. From the Map or Sonar page, press MENU|↓ to OVERLAY DATA|ENT.
2. Press ↓ or ↑ to select Data Type|press → or ← to Data Size|EXIT.
The selected data type will be displayed in the new size. (To change the
font size for another Data Type, press ENT and repeat these steps, be-
ginning with step two above.)
3. To return to the previous page, press EXIT.
Tip:
If you wish, you can change the displayed data font size when you
select a data type:
1. From the Map or Sonar page, press MENU|↓ to OVERLAY
DATA|ENT.
2. Press ↓ or ↑ to select Data Type|press → or ← to select Data
Size|ENT.
The data will be shown in the new font size. To return to the previ-
ous page, press EXIT|EXIT.
At left, Map Page showing boat cruising Puget Sound, Washington,
with Overlay Data turned on. This example shows Depth, Ground
Speed and the Steering Arrow. Note that the Steering Arrow always
points directly to the destination you are navigating toward. In this
case, the boater is headed on a northwesterly course of 275º. Since the
helmsman is on course, the Steering Arrow is pointing straight ahead.
If the helmsman veered off course, the arrow would show which direc-
tion to steer to get back on course toward the destination. At right,
Sonar Page with Overlay Data turned on. This example shows Depth,
Ground Speed and the Track the boat is following.
Steering
arrow

74
Ping Speed & HyperScroll
Ping Speed controls the rate at which the transmitter and transducer
broadcast sonar sound waves — pings — into the water. The unit has a
default ping speed of 50 percent. At normal boating speeds, this auto-
matically provides enough return echoes to refresh the screen and scroll
the chart at maximum chart speed.
However, when you are running at high speeds, or just want the fastest
possible screen update, you may want to use the HyperScroll feature.
When you change the Ping Speed to any setting greater than 50 per-
cent, the unit automatically enters HyperScroll mode.
These faster ping rates allow you to maintain a high-detail picture on
the screen, and the screen refresh rate and chart scroll speed can keep
pace with the boat as it moves quickly over the bottom terrain.
When using HyperScroll, you may also need to manually decrease the
sensitivity for optimum performance. Depending on water depth and
other conditions, HyperScroll may cause a second bottom echo to return
to the transducer during the next ping cycle, or sounding. This can result
in a large amount of clutter appearing on the screen. If this occurs, just
decrease the sensitivity to a level that eliminates the clutter. When you
turn HyperScroll off, you can return to your original sensitivity level.
At left, Sonar Menu with Ping Speed command selected.
Ping Speed Control Bar, right, at default setting.
To change Ping Speed:
1. From the Sonar Page, press MENU|↓ to PING SPEED|ENT.
2. The Ping Speed Control Bar appears. Press ↑ to increase ping speed;
press ↓ to decrease ping speed. When it's set at the desired level, press EXIT.

75
To adjust Sensitivity:
1. From the Sonar Page, press MENU|ENT.
2. The Sensitivity Control Bar appears. Press ↓ to decrease sensitivity;
press ↑ to increase sensitivity. When it's set at the desired level, press
EXIT. (When you reach the maximum or minimum limit, a tone sounds.)
To turn off HyperScroll:
1. From the Sonar Page, press MENU|↓ to PING SPEED|ENT.
2. The Ping Speed Control Bar appears. Press↓ to decrease ping speed
to 50 percent. When it's set at the desired level, press EXIT.
When you boost ping speed and switch into HyperScroll, the width of
the FasTrack bar graph display doubles in width at the right side of the
screen. The allows you to better see the virtually instantaneous sonar
returns, just as you would on a flasher sonar unit. For more informa-
tion on FasTrack, see it's entry in this section.
Reset Options
This command is used to reset all features, options and settings to their
original factory defaults. This is useful when you have changed several
settings and want to return the unit to basic automatic operation.
1. Press MENU|MENU|↓ to SYSTEM SETUP|ENT|↓ to RESET OPTIONS|ENT.
2. Press ← to YES|ENT.
3. All the menus are cleared and the unit reverts to the Map Page at
the 4000 mile zoom range, just as if you had turned it on for the first
time. All options have been returned to the factory settings.
At left, System Setup menu with Reset Options command selected. At
right, the Reset Options dialog box, with "Yes" selected.
76
NOTE:
Reset Options does not erase any waypoints, routes, plot trails, or
sonar logs.
Reset Water Distance
The sonar chart's Digital Data display option includes a window that
shows distance traveled, called Water Distance ("W Distance"). This
information is calculated from an optional water speed sensor, not the
GPS. The Water Distance window can be reset to zero using the Reset
Water Distance command.
Press MENU|MENU|↓ to SONAR SETUP|ENT|↓ to RESET WATER DIS-
TANCE|ENT. The menus are cleared and the water distance is reset to 0.00.
Set Keel Offset
This unit measures water depth from the face of the transducer. Since
the transducer is installed below the water surface, the distance dis-
played by the digital depth, chart depth scale, chart cursor or fish sym-
bols is not the exact water depth. If the transducer is 1 foot below the
surface, and the screen shows the water depth as 30 feet, then the ac-
tual depth is 31 feet.
On sailboats or other large vessels with deep drafts, the distance be-
tween the transducer installation and the keel or lower engine unit can
be several feet. In those cases, an inexact depth reading could result in
grounding or striking underwater structure. The Keel Offset feature
eliminates the need for the navigator to mentally calculate how much
water is under his keel.
Keel Offset lets you calibrate the digital depth: chart depth scale, chart
cursor depth and fish symbol depth displayed on the screen. To calibrate
the depth indicators, first measure the distance from the face of the
transducer to the lowest part of the boat. In this example, we will use 3.5
feet. This will entered as a negative 3.5 feet, which makes the depth indi-
cators perform as if the transducer's lower in the water than it really is.
1. Press MENU|MENU|↓ to SET KEEL OFFSET|ENT.
2. The Keel Offset dialog box appears. Press ↓ to change the plus (+)
sign to a minus (–) sign.
3. Press → to the first number, then press ↑ to change the number to 3
4. Press → to the second number, then press ↑ to change the number to
5, then press EXIT. The depth indicators now accurately show the depth
of water beneath the keel.
77
NOTE:
If knowing the exact depth of water beneath the keel is less impor-
tant, you can calibrate the depth indicators so that they show the ac-
tual water depth from surface to bottom. To do this, first measure the
distance from the face of the transducer up to the surface (the water
line on the boat). In this example, we will use 1.5 feet. This will be en-
tered as a positive 1.5 feet, which makes the depth indicators perform
as if the transducer's higher in the water than it really is.
1. Press MENU|MENU|↓ to SET KEEL OFFSET|ENT.
2. The Keel Offset dialog box appears with a plus (+) sign at the
front of the box.
3. Press → to the first number, then press ↑ to change the number
to 1.
4. Press → to the second number, them press ↑ to change the num-
ber to 5, then press EXIT. The depth indicators now accurately show
the water depth from surface to bottom.
Sensitivity & Auto Sensitivity
The sensitivity controls the ability of the unit to pick up echoes. Sensi-
tivity can be adjusted, because water conditions vary greatly. A low
sensitivity level (from zero to 50 percent) excludes much of the bottom
information, fish signals, and other target information.
High sensitivity levels let you see this detail, but it can also clutter the
screen with many undesired signals. Typically, the best sensitivity level
shows a good solid bottom signal with Grayline and some surface clutter.
Automatic Sensitivity
The default sensitivity mode is automatic. The unit bases the sensitiv-
ity level on water depth and conditions. When the unit is in the auto-
matic mode, sensitivity is automatically adjusted to keep a solid bottom
signal displayed, plus a little more power. This gives it the capability to
show fish and other detail.
However, situations occur when it becomes necessary to increase or de-
crease the sensitivity. This typically happens when you wish to see
more detail, so an increase in sensitivity is indicated. Or, wave action
and boat wakes can create enough tiny air bubbles to clutter much of
the water column. In that case, a decrease in sensitivity is indicated to
reduce some of the clutter.
The control bar used to adjust sensitivity up or down is the same
whether the unit is in the automatic or manual mode. In automatic you

78
can adjust sensitivity up to 100 percent but the unit will limit your
minimum setting. In auto, the unit will continue to make small ad-
justments, allowing for the setting you selected.
In manual mode, you have complete control over sensitivity, with the
ability to set it anywhere from zero to 100 percent. Once you select a
level in manual, the unit will continue to use that exact sensitivity set-
ting until you change it or revert to auto mode.
To adjust sensitivity in auto mode:
1. Press MENU|ENT.
2. The Sensitivity Control Bar appears. Press ↓ to decrease sensitivity;
press ↑ to increase sensitivity. When it's set at the desired level, press
EXIT. (When you reach the maximum or minimum limit, a tone sounds.)
At left, Sonar Menu with Sensitivity command selected. At right, the
Sensitivity Control Bar.
To adjust sensitivity in manual mode:
1. First, turn off Auto Sensitivity: from the Sonar Page, press MENU|↓
to AUTO SENSITIVITY|ENT.
2. Press ↑ to SENSITIVITY|ENT and the Sensitivity Control Bar appears.
Press ↓ or ↑ to pick a different sensitivity setting. When it's set at the
desired level, press EXIT.
To turn Auto Sensitivity back on:
From the Sonar Page, press MENU|↓ to AUTO SENSITIVITY|ENT|EXIT.
NOTE:
To return to the original factory setting for Auto Sensitivity, see the
entry in this section on Reset Options. If sensitivity is in manual
mode, the Reset Options command will switch back to Auto and re-
set the factory setting at the same time.

79
Tip:
For quicker sensitivity adjustments, try leaving the Sensitivity
Control Bar on the screen as the chart scrolls. You can see the
changes on the screen as you press the up or down arrows. This is
handy when there's a lot of clutter in the water, and you are
matching the sensitivity to rapidly changing water conditions.
Sonar Color Mode
The default color scheme for the sonar chart is grayscale, but we offer
other variations to suit your viewing preferences. You can select the
chart to be displayed in reverse grayscale, bottom black or FishReveal
mode. (For more information on FishReveal, see the entry on that topic
elsewhere in this section.)
To change the chart mode color scheme:
1. From the Sonar Page, press MENU|↓ to SONAR FEATURES|ENT.
2. Press ↓ to SONAR COLOR MODE|ENT.
3. Press ↓ or ↑ to Mode Name|ENT.
4. Press EXIT|EXIT to return to the Sonar Page.
Sonar Page & Sonar Chart Display Options
The Pages Menu offers five chart display options for dual-frequency
models and four options for single-frequency models. To access them,
press PAGES|← or→ to SONAR|↓ to Option Name|EXIT.
Pages Menu, showing sonar chart display options.
Full Sonar Chart
This is the default mode used when the unit is turned on for the first
time or when it's reset to the factory defaults.
The bottom signal scrolls across the screen from right to left. Depth
scales on the right side of the screen aid in determining the depth of
targets. The line at the top of the screen represents the surface. The

80
bottom depth and surface temperature (if equipped with a temperature
sensor or a transducer with a temp sensor built in) show at the top left
corner of the screen.
The FasTrack™ display shows just to the right of the scale. This
changes all echoes into short horizontal bars, replicating a flasher so-
nar. The zoom bar on the far right shows the area that's zoomed when
the zoom is in use. (See the Zoom section for more information.)
Full Sonar Chart. The Overlay Data (depth and water temperature)
are both set to the small text size.
Split Zoom Sonar Chart
A split chart shows the underwater world from the surface to the bot-
tom on the right side of the screen. The left side shows an enlarged ver-
sion of the right side. The zoom range shows at the bottom left corner of
the screen.
Split Zoom Sonar Chart. Image at left shows the left window zoomed to
2X. The right image shows the left window zoomed to 4X. The depth
overlay data is set to the default large text size; the water temperature
is set to the small text size.

81
Split Frequency Sonar Chart
(LMS-320DF only)
This page shows sonar data from the 50 kHz transducer element on the
left side of the screen and data from the 200 kHz transducer on the
right side. All other functions and features are the same as the Full
Chart page.
Split Frequency Sonar Chart page, with
50 kHz view at left and 200 kHz view at right.
You can adjust the sensitivity in each window.
To adjust sensitivity in auto mode:
1. Press MENU|ENT.
2. The unit asks which you wish to adjust. Press ← or→ to select the
one you want | ENT.
3. The Sensitivity Control Bar appears. Press ↓ to decrease sensitivity;
press ↑ to increase sensitivity. When it's set at the desired level, press
EXIT. (When you reach the maximum or minimum limit, a tone sounds.)
The Split Frequency Sonar Chart page allows you to adjust
sensitivity separately for each window.

82
Digital Data/Chart
This mode shows the chart on the right side of the screen. The left side has
six large digital boxes or windows containing: Water Depth; Water Speed
(from an optional speed sensor); Water Distance (distance traveled or log, it
also requires a speed sensor); Surface Water Temperature; Temperature #2
and Temperature #3. (Note: Temperature #2 and #3 require additional
optional temperature sensors.)
Digital Data/Chart
Customizing the Digital Data/Chart Screen
The Digital Data/Chart screen can be customized to show digital data
different from the defaults first shown. To customize this screen:
1. From the Sonar Page (in Digital Data mode), press MENU|↓ to
CUSTOMIZE|ENT. (Keep scrolling down and Customize will appear.)
The Customize command will not appear until you begin
scrolling down the Sonar Page menu. At far left, the
pop-up help box conceals part of the menu.
2. The W Speed window title bar flashes, indicating the window con-
tents can be changed. Press ENT|↑ or ↓ to select data type|ENT|EXIT.

83
Options List for customizing Digital Data windows. At left, the list first
appears with Water Speed selected. At right, Maximum Speed has been
picked to replace Water Speed in the top digital data window.
Tip:
You can customize other digital data windows before returning to
the Sonar Page. After changing the first window by selecting the
Data Type and pressing Enter, use the ↓ key to select another win-
dow to change. When the selected window title bar flashes, press
ENT|↑ or ↓ to select data type|ENT. Repeat these steps until you're
finished customizing, then press EXIT to return to the Sonar Page.
Flasher
The Flasher page represents a flasher style sonar. A circular dial shows
all returning echoes at a high screen refresh rate. It uses the Grayline
feature to show weaker targets as shades of gray. The bottom depth is
also shown as a black bar across the outer circle. There is also a narrow
chart display on the left of the screen.
Flasher page.
Bottom signal
Surface clutter
Fish signal,
approximately
16 feet

84
Map With Sonar Split Screen
There is a page mode that splits the screen in half, with the map on the
left and the sonar on the right. This screen option can be found on the
Pages Menu under the Map Page category.
Map With Sonar split screen option. At far right, the full Map Page is
shown. The Pages Menu with the Map option list is shown in the
center. At right, the Map With Sonar split screen is shown.
When this screen is activated, you need to specify which side the Menu,
Zoom In and Zoom Out keys correspond to. To do this, press
PAGES|PAGES. The window with the black title bar at the top of the screen
is the active window. To switch back, just press PAGES|PAGES again.
Sonar Simulator
This unit has a built-in simulator that lets you run it as if you were on
the water. All sonar features and functions are useable. When in
simulator mode, you will see the chart file name in the Sonar Page title
bar and a play symbol will flash on and off at the right end of the title
bar. To use the simulator:
1. From the Sonar Page, press MENU|MENU|↓ to SONAR SETUP|ENT|↓ to
SONAR SIMULATOR|ENT.
At left, Main Menu with Sonar Setup command selected. Center, sub-
menu with Sonar Simulator command selected. At right, Sonar Simu-
lator menu, with simulator turned off (check box is unchecked).

85
NOTE:
With Simulate Position checked, the simulator will also automati-
cally run the GPS simulator (if GPS data was recorded with the so-
nar log).
2. To use the default sonar chart log stored in the unit, press ENT|EXIT.
The recorded chart begins scrolling across the screen, just as if you
were on the water.
3. Turn off Sonar Simulator by pressing MENU|MENU|↓ to SONAR
SETUP|ENT|↓ to SONAR SIMULATOR|ENT|ENT|EXIT.
Sonar Page, playing a recorded sonar chart in Sonar Simulator mode.
Tip:
The Sonar Simulator can use sonar charts that you or a friend have
recorded (logged) on an MMC card. (To see how, read the entry in
this section on Log Sonar Chart Data.) To play back your own sonar
chart, make sure the MMC containing the chart is installed, then:
1. Press MENU|MENU|↓ to SONAR SETUP|ENT|↓ to SONAR SIMULATOR|ENT.
2. Press ↓ to CHART USED|ENT.
3. Press ↓ or ↑ to select chart name|ENT|↑ to SONAR SIMULATOR
ON|ENT|EXIT.
While you're in the Sonar Simulator menu, don't forget to check
Simulate Position if you want to run the sonar and GPS simulators
simultaneously. As you review sonar logs, you can create waypoints
to mark sites you want to return to.
While the simulator is running, you can switch from one chart log
to another by opening the Sonar Simulator menu and using the in-
structions in step 2 to select a different chart.
"Play"
symbol
flashing
Title bar with chart file name

86
Tip:
There's more than one way to play a recorded sonar chart. You can
also turn on the simulator from the MMC files list. Here's how:
1. Press MENU|MENU|↓ to BROWSE MMC FILES|ENT|ENT.
2. Press ↓ or ↑ to chart name|ENT|↓ to PLAY|ENT|EXIT.
Menu sequence for playing a sonar chart log from the MMC File List.
NOTE:
For some great practice, try running the Sonar Simulator and the
GPS Simulator at the same time. This will really give you a feel for
how the unit will work in the field.
NOTE:
If you turn on your unit before attaching a transducer, it may enter
a demo mode. The words "demo mode" flash on the bottom of the
screen and a sonar chart plays much like the simulator. Unlike the
simulator, the demo mode is for demonstration only, and will auto-
matically stop as soon as you turn on the unit with a transducer at-
tached. The simulator will continue to function normally.
Stop Chart
If you are running multiple units on a boat or using this unit in a car,
there are times when you may want to turn off the sonar. This com-
mand turns off the sonar and stops the chart from scrolling. Sonar re-
starts automatically each time you turn on your unit.
Press MENU|↓ to STOP CHART|ENT|EXIT.
To turn on sonar and start the chart scrolling again, repeat the above step.

87
Sonar Menu with Stop Chart command selected. The box is unchecked,
indicating that the chart is scrolling across the screen.
Surface Clarity
The markings extending downward from the zero line on the chart are
called "surface clutter." These markings are caused by wave action,
boat wakes, temperature inversion and more.
The surface clarity control reduces or eliminates surface clutter signals
from the display. It does this by changing the sensitivity of the receiver,
decreasing it near the surface and gradually increasing it as the depth
increases.
There are three levels of surface clarity available: low, medium, or high.
It can also be turned off. The default level is off.
To adjust the Surface Clarity level:
1. From the Sonar Page, press MENU|↓ to SONAR FEATURES|ENT.
Sonar Features menu with Surface Clarity selected (at left, dual-
frequency menu; at right, single-frequency menu).
2. Press → to SURFACE CLARITY|ENT. (For single-frequency units, just
press ENT).
3. Press ↓ or ↑ to select clarity level|EXIT|EXIT|EXIT.

88
In the illustration at left, Surface Clarity is turned off.
The right view shows Surface Clarity set at High.
Upper and Lower Limits
See the entry in this section for Depth Range - Upper and Lower Limits
Zoom & Zoom Bar
"Zooming" the display is a common, fast and easy method used to en-
large small detail, fish signals and the bottom with its associated struc-
ture. This unit lets you zoom the display quickly and easily by pressing
the Zoom In key, ZIN.
Pressing ZIN once doubles the size (2X) of all echoes on the screen.
Pressing it again quadruples the size of the echoes (4X). The zoom bar
on the far right side of the screen shows which echoes will be displayed
on the screen when the ZIN key is pressed.
For example, pressing the ZIN key once will enable a 2X zoom which
will show all echoes that are between the top and bottom of the 2X
zoom bar. Pressing the key again will give a 4X zoom and only the ech-
oes between the top and bottom of the 4X bar will show on the screen.
Press the Zoom Out key, ZOUT, to return the display to the normal mode.
At left, Sonar Page, normal view. Center, same view zoomed to 2X.
Right, same view zoomed to 4X
Surface clutter
89
Zoom & Zoom Pan
Your unit has the handy ability to quickly zoom in on any portion of the
water column with just the touch of an arrow key. The Zoom Pan feature
lets you rapidly move the zoomed area up and down to different depths.
By "pointing" your zoom at different portions of the chart as it scrolls,
you can get a good, close-up look at structure or cover below you.
To use Zoom Pan, switch to a manual depth Range setting (see page 61)
and turn on 2X or 4X Zoom. Then, simply press ↑ or ↓ to pan up and
down the water column.
90
Notes
91
Section 5:
Sonar Troubleshooting
If your unit is not working, or if you need technical help, please use the
following troubleshooting section before contacting the factory customer
service department. It may save you the trouble of returning your unit
for repair. For contact information, refer to the last page, just inside the
back cover of this manual.
Unit won't turn on:
1. Check the power cable's connection at the unit. Also check the wiring.
2. Make certain the power cable is wired properly. The red wire
connects to the positive battery terminal, black to negative or ground.
3. Check the fuse.
4. Measure the battery voltage at the unit's power connector. It should
be at least 11 volts. If it isn't, the wiring to the unit is defective, the
battery terminals or wiring on the terminals are corroded, or the
battery needs charging.
Unit operates only in demo mode:
The transducer has not yet been connected or has been disconnected.
To leave demo mode, make sure the transducer is securely connected
before turning the unit on.
Unit freezes, locks up, or operates erratically:
1. Electrical noise from the boat's motor, trolling motor, or an accessory
may be interfering with the sonar unit. Rerouting the power and
transducer cables away from other electrical wiring on the boat may
help. Route the sonar unit's power cable directly to the battery instead
of through a fuse block or ignition switch
2. Inspect the transducer cable for breaks, cuts, or pinched wires.
3. Check both the transducer and power connectors. Make certain both
are securely plugged in to the unit.
Weak bottom echo, digital readings erratic, or no fish signals:
1. Make certain the transducer is pointing straight down. Clean the
face of the transducer. Oil, dirt and fuel can cause a film to form on the
transducer, reducing its effectiveness. If the transducer is mounted
inside the hull, be sure it is shooting through only one layer of
fiberglass and that it is securely bonded to the hull. Do NOT use RTV
silicone rubber adhesive or Marine-Tex epoxy.
2. Electrical noise from the boat's motor can interfere with the sonar.
92
This causes the sonar to automatically increase its Discrimination or
noise rejection feature. This can cause the unit to eliminate weaker
signals such as fish or even structure from the display.
3. The water may be deeper than the sonar's ability to find the bottom.
If the sonar can't find the bottom signal while it's in the automatic
mode, the digital sonar display will flash continuously. It may change
the range to limits far greater than the water you are in. If this
happens, place the unit in the manual mode, then change the range to a
realistic one, (for example, 0-100 feet) and increase the sensitivity. As
you move into shallower water, a bottom signal should appear.
4. Check the battery voltage. If the voltage drops, the unit's transmitter
power also drops, reducing its ability to find the bottom or targets.
Bottom echo disappears at high speeds or erratic digital
reading or weak bottom echo while boat is moving
1. The transducer may be in turbulent water. It must be mounted in a
smooth flow of water in order for the sonar to work at all boat speeds. Air
bubbles in the water disrupt the sonar signals, interfering with its ability
to find the bottom or other targets. The technical term for this is cavitation.
2. Electrical noise from the boat's motor can interfere with the sonar.
This causes the sonar to automatically increase its Discrimination or
noise rejection feature. This can cause the unit to eliminate weaker
signals such as fish or even structure from the display. Try using
resistor spark plugs or routing the sonar unit's power and transducer
cables away from other electrical wiring on the boat.
No fish arches when the Fish I.D. feature is off:
1. Make certain the transducer is pointing straight down. This is the
most common problem if a partial arch is displayed.
2. The sensitivity may not be high enough. In order for the unit to
display a fish arch, it has to be able to receive the fish's echo from the
time it enters the cone until it leaves. If the sensitivity is not high
enough, the unit shows the fish only when it is in the center of the cone.
3. Use the Zoom feature. It is much easier to display fish arches when
zoomed in on a small range of water than a large one. For example, you
will have much better luck seeing fish arches with a 30 to 60 foot range
than a 0 to 60 foot range. This enlarges the targets, allowing the
display to show much more detail.
4. The boat must be moving at a slow trolling speed to see fish arches.
If the boat is motionless, fish stay in the cone, showing on the screen as
straight horizontal lines.
93
NOISE
A major cause of sonar problems is electrical noise. This usually
appears on the sonar's display as random patterns of dots or lines. In
severe cases, it can completely cover the screen with black dots, or
cause the unit to operate erratically, or not at all.
To eliminate or minimize the effects of electrical noise, first try to
determine the cause. With the boat at rest in the water, the first thing
you should do is turn all electrical equipment on the boat off. Make sure
the engine is also off. Turn your sonar on, then turn off Noise Reject
[also known as the ASP feature (Advanced Signal Processing)].
Sensitivity should be set at 90-95 percent. There should be a steady
bottom signal on the display. Now turn on each piece of electrical
equipment on the boat and view the effect on the sonar's display. For
example, turn on the bilge pump and view the sonar display for noise. If
no noise is present, turn the pump off, then turn on the VHF radio and
transmit. Keep doing this until all electrical equipment has been
turned on, their effect on the sonar display noted, then turned off.
If you find noise interference from an electrical instrument, trolling
motor, pump, or radio, try to isolate the problem. You can usually
reroute the sonar unit's power cable and transducer cable away from
the wiring that is causing the interference. VHF radio antenna cables
radiate noise when transmitting, so be certain to keep the sonar's wires
away from it. You may need to route the sonar unit's power cable
directly to the battery to isolate it from other wiring on the boat.
If no noise displays on the sonar unit from electrical equipment, then
make certain everything except the sonar unit is turned off, then start
the engine. Increase the RPM with the gearshift in neutral. If noise
appears on the display, the problem could be one of three things; spark
plugs, alternator, or tachometer wiring. Try using resistor spark plugs,
alternator filters, or routing the sonar unit's power cable away from
engine wiring. Again, routing the power cable directly to the battery
helps eliminate noise problems. Make certain to use the in-line fuse
supplied with the unit when wiring the power cable to the battery.
When no noise appears on the sonar unit after all of the above tests,
then the noise source is probably cavitation. Many novices or persons
with limited experience make hasty sonar installations which function
perfectly in shallow water, or when the boat is at rest. In nearly all
cases, the cause of the malfunction will be the location and/or angle of
the transducer. The face of the transducer must be placed in a location
that has a smooth flow of water at all boat speeds. Read your
transducer owner's manual for the best mounting position.
94
Notes

95
Section 6:
Basic GPS Operations
This section addresses the unit's most basic GPS operations. The tuto-
rials presented in Sec. 6 follow a chronological order. Sec. 7, Advanced
GPS Operations, will discuss other more advanced functions and utili-
ties. Material in Sec. 7 is arranged in alphabetical order.
Before you turn on LMS-320 and find where you are, it's a good idea to
learn about the different keys, the four Page screens and how they all
work together. BUT, if you just can't wait to get outside, turn to the
one-page Quick Reference on page 107.
Keyboard
LMS-320 sonar/GPS unit, front view, showing map with sonar split
screen, keyboard and access door for the MMC slot.
1. PWR/LIGHT (Power & Light) – The PWR key turns the unit on and
off and activates the backlight.
2. PAGES – Pressing this and the ← → arrow keys (4) switches the
unit between the four different page screens. (Satellite Status Page,
5
4
2
8
7
9
6
3
1
MMC slot access door
96
Navigation Page, Map Page and Sonar Page.) Each page represents one
of the unit's major operation modes.
3. MENU – Press this key to show the menus and submenus, which
allow you to select a command or adjust a feature. This also accesses
search functions for streets, intersections, addresses and highway exits.
4. ARROW KEYS – These keys are used to navigate through the
menus, make menu selections, move the map cursor and sonar chart
cursor and enter data.
5. ENT/ICONS (Enter & Icons) – This key allows you to save data, ac-
cept values or execute menu commands. It is also used to create event
marker icons.
6. EXIT – The Exit key lets you return to the previous screen, clear
data or erase a menu.
7. WPT – (Waypoint) The Waypoint key is used to save and recall way-
points, search for waypoints and access the waypoint list. It also
launches the Point-of-Interest (POI) search menus and is involved in
some navigation functions.
8. ZOUT – (Zoom Out) – This key lets you zoom the screen out. On the
Sonar Page, this key returns you to a full sonar chart display, showing
the entire water column from surface to bottom. On the Map Page, this
lets you see a larger geographic area on the map. Less detail is seen as
you zoom out.
9. ZIN – (Zoom In) – This key lets you zoom the screen in. On the Sonar
Page, this key enlarges fish signals and bottom detail. On the Map
Page, zooming in lets you see greater detail in a smaller geographic
area on the map.
Power/lights on and off
To turn on the unit, press PWR. As the unit powers up, the Map Page is
displayed first. (To switch to another page, press PAGES|← or → to
Page Name|EXIT.)
To turn on the backlight, press PWR again. The unit has three backlight
levels to select from. Repeatedly pressing PWR will cycle through the
backlight settings and turn off the backlight.
Turn off the unit by pressing and holding the PWR key for 3 seconds.
Main Menu
The LMS-320 has a Main Menu, which contains some function com-
mands and some setup option commands. The tutorial lessons in this

97
section will deal only with functions, the basic commands that make
LMS-320 do something. LMS-320 will work fine for these lessons right
out of the box with the factory default settings. But, if you want to
learn about the various options, see Sec. 8, System Setup and GPS
Setup Options.
You can access the Main Menu from any of the four Page screens by
pressing MENU|MENU. To clear the menu screen and return to the page
display, press EXIT.
Main Menu.
The Main Menu commands and their functions are:
Screen command: changes the contrast or brightness of the display
screen.
Sounds command: enables or disables the sounds for key strokes and
alarms and sets the alarm style.
Alarms command: turns GPS or sonar alarms on or off and changes
alarm thresholds.
Route Planning command: used to plan, view or navigate a route.
My Trails command: shows, hides, creates and deletes plot trails. Also
used to navigate or backtrack a trail.
Cancel Navigation command: turns off the various navigation com-
mands. Used to stop navigating after you have reached your destina-
tion waypoint, Point of Interest or map cursor location; or after you
reach the end of a route or trail.

98
Sonar Setup command: sets various sonar options.
GPS Setup command: sets various GPS receiver options.
System Setup command: sets general configuration options.
Sun/Moon Calculations command: finds the rising and setting time
of the sun and the moon.
Trip Calculator command: shows trip status and statistics.
Timers command: controls the up timer, down timer and alarm clock
settings.
Browse MMC Files command: this allows you to view the installed
MMC card and the files it contains.
Pages
The unit has four Page displays that represent the four major operating
modes. They are the Satellite Status Page, the Navigation Page, Map
Page and the Sonar Page. They are accessed by pressing the PAGES key,
then using → or ← to select a Page. (Clear the Pages Menu by pressing
EXIT.)
Pages Menu, showing some Map display options.
Sonar Page
The Sonar Page displays the sonar chart, a view of the water column
from the surface to the bottom. The chart scrolls across the screen from
right to left, displaying signal echoes that represent fish, structure and
the bottom. The Sonar Page is discussed in detail in Sec. 3. To get to
the Sonar Page: Press the PAGES key, then use → or ← to select SONAR.
(Clear the Pages Menu by pressing EXIT.)

99
Satellite Status Page
The Satellite Status Page, shown, provides detailed information on the
status of LMS-320's satellite lock-on and position acquisition. To get to
the Satellite Status Page: Press the PAGES key, then use → or ← to se-
lect STATUS. (Clear the Pages Menu by pressing EXIT.)
No matter what Page you are on, a flashing current position indica-
tor/question mark symbol and flashing GPS data displays indicate that
satellite lock has been lost and there is no position confirmed. The Sat-
ellite Status Page shows you the quality and accuracy of the current
satellite lock-on and position calculation.
WARNING:
Do not begin navigating with this unit until the numbers
have stopped flashing!
Satellite Status Page. Left view indicates unit has not locked on to any
satellites and does not have a fix on its position. Center view shows sat-
ellites being scanned. Right view shows satellite lock-on with a 3D posi-
tion acquired (latitude, longitude and altitude), and WAAS reception.
This screen shows a graphical view of the satellites that are in view. Each
satellite is shown on the circular chart relative to your position. The point in
the center of the chart is directly overhead. The small inner ring represents
45° above the horizon and the large ring represents the horizon. North is at
the top of the screen. You can use this to see which satellites are obstructed
by obstacles in your immediate area if the unit is facing north.
The GPS receiver is tracking satellites that are in bold type. The re-
ceiver hasn't locked onto a satellite if the number is grayed out, there-
fore it isn't being used to solve the position.
Beneath the circular graph are the bar graphs, one for each satellite in
view. Since the unit has twelve channels, it can dedicate one channel
per visible satellite. The taller the bar on the graph, the better the unit
is receiving the signals from the satellite.
The "Estimated Position Error" (horizontal position error) shown in the

100
upper left corner of the screen is the expected error from a benchmark
location. In other words, if the EPE shows 50 feet, then the position
shown by the unit is estimated to be within 50 feet of the actual loca-
tion. This also gives you an indicator of the fix quality the unit cur-
rently has. The smaller the position error number, the better (and more
accurate) the fix is. If the position error flashes dashes, then the unit
hasn't locked onto the satellites, and the number shown isn't valid.
The Satellite Status Page has its own menu, which is used for setting
various options. (Options and setup are discussed in Sec. 8). To access
the Satellite Status Page Menu, from the Status Page, press MENU.
Navigation Page
This screen has a compass rose that not only shows your direction of
travel, but also the direction to a recalled waypoint. To get to the Navi-
gation Page: Press PAGES| → or ← to NAVIGATION|EXIT.
The navigation screen looks like the one below when you're not navi-
gating to a waypoint or following a route or trail. Your position is
shown by an arrow in the center of the screen. Your trail history, or
path you've just taken, is depicted by the line extending from the arrow.
The arrow pointing down at the top of the compass rose indicates the cur-
rent track (direction of travel) you are taking.
Navigation Page, recording a trail, traveling southwest. Page looks
like this when LMS-320 is not navigating to a waypoint , following a
route, or backtracking a trail.
When navigating to a waypoint, the Navigation screen looks like the
Compass
rose
Navigation
information
displays
Present
position
arrow
Trail line
Track or compass heading indicator, showing direction of travel
101
following figure. Your ground speed, track, distance and bearing to
waypoint, and course are all shown digitally on this screen.
NOTE:
Remember, when the Speed, Track and Position information dis-
plays are flashing, satellite lock has not been achieved and no posi-
tion fix has been determined. A question mark will also flash on the
present position arrow in the center of the compass rose.
Speed (ground speed) is the velocity you are making over the ground. (If
you wish, you can customize the Speed window to display Closing
Speed instead. Closing Speed is also known as velocity made good. It's
the speed that you're making toward the waypoint. For instructions,
see the Customize Page Displays entry in Sec. 8.)
Track is the heading, or the current direction you are actually travel-
ing. Bearing is the direction of a line-of-sight from your present position
to the destination. No matter what direction you are steering, the
Bearing window shows the compass direction straight to the destina-
tion from your location at the moment. Distance shows how far it is to
the waypoint you're navigating toward.
The Off Course window shows the current cross track error. This shows
the distance you are off-course to the side of the desired course line. The
course line is an imaginary line drawn from your position when you
started navigating to the destination waypoint. The course line is shown on
the Navigation Page screen (and the Map Page screen) as a dotted line.
The cross track error range is shown on the compass rose as a wide,
white, corridor enclosing the course line. The outer edges of this white
corridor represent lines that show the current cross track error range.
The default for the cross track error range is 0.20 miles.
For example, if the present position symbol touches the right cross
track error line, then you are .20 miles to the right of the desired
course. You need to steer left to return to the desired course. You can
use the ZIN or ZOUT keys to change the cross track error range.
A circular symbol depicting your destination (waypoint) appears on the
screen as you approach the waypoint, as shown on the screen in the
following figure.
Travel Time is the time that it will take to reach your destination at
your present closing speed. (You can also customize the time window to
show Arrival Time instead. Arrival Time is the local time it will be
when you arrive at the destination, based upon your present closing
speed and track.)

102
Navigation Page, backtracking a trail while creating a new trail.
In the example figure above, the driver is headed west (a 266º track)
toward a waypoint 264º (bearing) away. The cross track error range
(white corridor) is 0.20 miles either side of the course. The driver is
headed toward trail waypoint 4, which is 147 feet away. The vehicle is
virtually on course (off course 5 feet to the right). Traveling at a speed
of 5 mph, the driver will arrive at the waypoint in 20 seconds.
The Navigation Page has its own menu, which is used for some ad-
vanced functions and for setting various options. (Options and setup
are discussed in Sec. 8). To access the Navigation Page Menu, from the
Navigation Page, press MENU.
Map Page
The Map Page screens show your course and track from a "bird's-eye"
view. By default, this unit shows the map with north always at the top
of the screen. (This can be changed. See the topic Map Orientation, in
Sec. 8.) If you're navigating to a waypoint, the map also shows your
starting location, present position, course line and destination. You
don't have to navigate to a waypoint, however, to use the map.
Map Page is the default screen that appears when you turn on the unit.
To get to the Map Page from another page: Press PAGES| → or ← to
MAP|EXIT. When the Map Page is displayed, a screen similar to the fol-
lowing figures appears.
The arrow in the center of the screen is your present position. It points
in the direction you're traveling. The solid line extending from the back
of the arrow is your plot trail, or path you've taken.
Destination
name
Navigation
information
displays
Bearing
arrow
Cross track
error range
(off course
indicator)
Course
line
Waypoint
s
y
mbol
Current track or
heading, shown
in degrees
Compass bearing
to destination
Trail line Left cross track error line

103
The map zoom range is the distance across the screen. This number
shows in the lower left corner of the screen. In the first example figure
below, the range is 4,000 miles from the left edge of the map to the
right edge of the map.
The Zoom In and Zoom Out keys zoom the map to enlarge or reduce its
coverage area and the amount of mapping detail shown. There are 37
available map zoom ranges, from 0.05 miles to 4,000 miles.
Far left, Map Page opening screen. Center, zoomed to 100 miles and
right, zoomed to 10 miles. Over Zoomed means you have reached the
detail limits in an area covered only by the basic background map.
Zooming in any closer will reveal no more map details because a high-
detail custom map has not been loaded on the MMC for this area.
If you're using only the factory-loaded background map, the maximum
zoom range for showing additional map detail is 20 miles. You can con-
tinue to zoom in closer, but the map will simply be enlarged without
revealing more map content (except for a few major city streets.) Load
your own high-detail custom map made with MapCreate, and you can
zoom in to 0.05 miles with massive amounts of accurate map detail.
Map Pages with high-detail MapCreate map of an urban area loaded
on the MMC. At left, arterial streets appear at the 4 mile zoom range,
with a few Point of Interest icons visible. Center, numerous dots rep-
resenting Points of Interest become visible at the 2 mile range, along
with minor streets. Right, at the 0.4 mile zoom, you can see an inter-
state highway with an exit, major and minor streets as well as Point of
Interest icons.

104
Background map vs. MapCreate map content
The background map includes: low-detail maps of the whole world (con-
taining cities, major lakes, major rivers, political boundaries); and me-
dium-detail maps of the United States.
The medium-detail U.S. maps contain: all incorporated cities; shaded
metropolitan areas; county boundaries; shaded public lands (such as
national forests and parks); some major city streets; Interstate, U.S.
and state highways; Interstate highway exits and exit services informa-
tion; large- and medium-sized lakes and streams; and more than 60,000
navigation aids and 10,000 wrecks and obstructions in U.S. coastal and
Great Lakes waters
MapCreate custom maps include massive amounts of information not
found in the background map. MapCreate contains: the searchable
Points of Interest database, all the minor roads and streets, all the
landmark features (such as summits, schools, radio towers, etc.); more
rivers, streams, smaller lakes and ponds and their names.
What's more important is the large scale map detail that allows your
GPS unit to show a higher level of position accuracy. For example, the
background map would show you the general outline and approximate
shape of a coastline or water body, but the higher detail in MapCreate
shows the shoreline completely and accurately (finer detail). Many
smaller islands would not be included in the background map, but are,
of course, in MapCreate.
When the map is zoomed out far enough, most POIs appear as square
dots. As you zoom in closer, the symbols become readable icons. In the
0.2 mile zoom example at right, the cursor has selected the Cupps Café
POI, which triggers a pop-up box with the POI name. This pop-up box
works on POIs at any zoom range.
School POI
POI
Pop-up
Restaurant
POI
POI
Marker
Cursor line
Interstate Major Street
Position,
distance and
bearing data
Zoom Range
Minor
Streets

105
Tip:
In some urban areas, businesses are so close to one another that
their POI icons crowd each other on the screen. In the preceding
figure, you can see a jumbled pile of POIs along Highway 34. You
can reduce screen clutter and make streets and other map features
easier to see by simply turning off the display of POIs you're not
watching for. (To see how, check the text on Map Detail Category
Selection, page 153. It shows how to use the Map Categories Drawn
menu to turn individual POI displays off and on.) Even though
their display is turned off, you can still search for POIs and their
icons will pop-up when your unit finds them for you.
The Map Page has its own menu, which is used for several functions
and for setting various options. To access the Map Page Menu, from the
Map Page, press MENU.
The Pages Menu also offers several map display options under the Map
Page category. To access them, press PAGES|← or→ to MAP|↓ to Op-
tion|EXIT.
At left, Digital Data map page; at right, Two Position Formats page.
Pages Menu with Two Maps option selected, left.
Map Page with two map windows, at right. The left map is active.
In pages that have two major windows (such as two maps) you can tog-
gle back and forth between the two windows by pressing

106
PAGES|PAGES. This allows you to change which map the cursor, key-
board and menus operate on. A black title bar denotes the active window.
Resize Window is another extremely handy feature for pages that have
two major windows. You can change the horizontal size of the windows
to suit your viewing preference. Here's how:
1. From any two-window display, press MENU|↓ to RESIZE WINDOW|ENT.
2. Two flashing arrows appear along the centerline dividing the two
windows. Press ← or → to adjust the window widths. Press EXIT to
clear the menu.
3. To change the window size again or revert back to the original dis-
play, just follow the steps above. (Most dual-window displays use half
the screen for each window by default.) You can also use the Reset Op-
tions command to revert to the factory default.
At left, Map Menu with Resize Window command selected. Center,
Resize Window command is active. At right, pressing the → key moves
the centerline to the right and enlarges the left window.
The following page contains a 12-step quick reference for the most basic
GPS operations. If you don't want to carry the manual with you as you
practice with LMS-320, you might consider photocopying this quick ref-
erence page and tucking it into your pocket.
107
LMS-320 GPS Quick Reference
Start outdoors, with a clear view of the open sky. As you practice, try
navigating to a location at least a few blocks away. While you're learning,
navigation in too small an area will constantly trigger arrival alarms.
1. Connect the unit to electric power and the antenna module. Make sure
the MMC is in. (See complete installation details beginning on page 13.)
2. To turn on LMS-320, press and release PWR key.
3. Opening screen displays map of North America at the 4,000 mile
zoom range. Rotate through the four main Page screens (Map Page,
Satellite Status Page, Navigation Page and Sonar Page) by pressing
PAGES|← or → to select Page Name|EXIT. Switch Pages to display Sat-
ellite Status Page.
4. Wait while unit locates satellites and calculates current position. Process
is visible on Satellite Page. This takes an average of 1 minute or less under
clear sky conditions (unobstructed by terrain or structures.) When the unit
acquires position, a tone sounds and a position acquired message appears.
5. With position acquired, press PAGES key to display Map Page, which
shows a bird's eye view of the earth. You can move around the map by:
Zoom in closer to see greater detail: press ZIN (zoom in key.)
Zoom out to see more area, less detail: press ZOUT (zoom out key.)
Scroll map north, south, east or west using arrow keys ↑ ↓ → ← .
To stop scrolling and return to current position on map, press EXIT key.
6. Set a waypoint (Wpt 001) at your current position so you can navi-
gate back here: press WPT|WPT. Waypoint symbol and "001" appears.
7. Zoom/scroll map to find a nearby object or location to go to. Use ar-
row keys to center cursor cross-hair over the map object or location.
8. Navigate to the selected destination: press MENU|ENT|EXIT. Follow dot-
ted course line on Map Page or compass bearing arrow on Navigation Page.
9. At destination, Arrival Alarm goes off; to clear it, press EXIT. Cancel
navigation: press MENU|MENU|↓ to CANCEL NAVIGATION|ENT|← to YES|ENT.
10. Return to Wpt 1 by Navigate To Waypoint or Backtrack Trail. To
Waypoint: press WPT|→ to SAVED|ENT|ENT|ENT. Use ↑ or ↓ to select
Wpt 001, press ENT|ENT; follow navigation displays. Trail: press
MENU|MENU|↓ to MY TRAILS|ENT. Press ↓ to Trail 1|ENT|→|↓ to
NAVIGATE|ENT|↓ to NAVIGATE|ENT|→ to REVERSE|ENT|← to NAVIGATE|ENT.
(If arrival alarm sounds, press EXIT.) Follow navigation displays.
11. Back home, Arrival Alarm goes off; press EXIT. Cancel navigation:
press MENU|MENU|↓ to CANCEL NAVIGATION|ENT|← to YES|ENT.
12. To turn off LMS-320, press and hold PWR key for three seconds.
108
Find Your Current Position
Finding your current position is as simple as turning LMS-320 on. Un-
der clear sky conditions, the unit automatically searches for satellites
and calculates its position in approximately one minute or less.
NOTE:
"Clear sky" means open sky, unobstructed by terrain, dense foliage
or structures. Clouds do not restrict GPS signal reception.
If for some reason satellite acquisition takes longer, you may be inside
a structure or vehicle or in terrain that is blocking signal reception. To
correct this, be sure you are positioned so that the unit's antenna mod-
ule has as clear a view of the sky as possible, then turn the unit off and
back on again.
Moving Around the Map: Zoom & Cursor Arrow Keys
The map is presented from a bird's eye view perspective. The current
zoom range shows in the lower left corner of the screen.
1. Press the ZIN key (zoom in) to move in closer and see greater detail in
a smaller geographic area.
2. Press the ZOUT key (zoom out) to move farther away and see less map
detail, but a larger geographic area.
When you are traveling, the map will automatically move as you move.
This keeps your current location roughly centered on the screen.
You can manually pan or scroll the map northward, southward, east-
ward or westward by using the arrow keys, which launch the cross-hair
map cursor. This allows you to look at map places other than your cur-
rent position. To clear the cursor, press EXIT, which jumps the map
back to the current position or the last known position.
Tip:
Use the cursor to determine the distance from your current position
(or last known position, when working indoors) to any map object or
location. Simply use the arrow keys to position the cursor over the
object or place. The distance, measured in a straight line, appears
in the data box at the bottom of the map. Press EXIT to clear the
cursor.

109
The selected airport to the northwest is 4.2 miles away.
Selecting Any Map Item With the Cursor
1. Use the zoom keys and the arrow keys to move around the map and
find the item you wish to select.
2. Use the arrow keys and center the cursor cross-hair on the desired
object. On most items, a pop-up box will give the name of the selected
item.
Searching
Now that you've seen how LMS-320 can find where you are, let's search
for something somewhere else. Searching is one of the most powerful
features in the Lowrance GPS product line.
In this example, we'll look for the nearest fast-food restaurant. For
more information on different types of searches, refer to Sec. 9, Search-
ing.
NOTE:
This example requires the Point of Interest (POI) database included
with a high detail MapCreate 6 custom map.
After LMS-320 has acquired a position:
1. Press WPT|↓ to POI-RESTAURANTS.
2. You could search the entire restaurant category, but in this example
we will narrow our search. Press → to SUBCATEGORY column|↓ to FAST
FOOD CHAINS|ENT|↓ to NEAREST|ENT.
Distance
measured
by cursor
Cursor line
Selected
airport Cursor line
POI pop-up
name box

110
3. LMS-320 says it is calculating, then a list of restaurants appears,
with the closest at the top of the list, and the farthest at the bottom of
the list. The nearest is highlighted.
Find Waypoint Menu, left; Category Selection menu, center; and list of
the nearest restaurants, right.
4. If you wish, you could scroll ↑ or ↓ here to select another restaurant,
but for now we will just accept the nearest one. Press ENT.
5. The POI information screen appears. (This is how you can use LMS-
320 as a business phone directory!) If you wanted to navigate there, you
could press Enter, since the Go To command is highlighted. But we just
want to see it on the map, so press ↓ to FIND|ENT.
POI information screen on fast food restaurant nearest this position.
Screen shows name, street address, phone number, latitude/longitude,
distance to restaurant and its compass bearing. Figure at left shows
Go To command; right figure shows Find (on map) command.

111
6. LMS-320's map appears, with the cross-hair cursor highlighting the
restaurant's POI symbol. A pop-up name box identifies the POI. A data
box at the bottom of the screen continues to display the location's lati-
tude and longitude, distance and bearing.
Map screen showing Finding Waypoint,
the result of a restaurant search.
7. To clear the search and return to the last page displayed, press
EXIT|EXIT|EXIT|EXIT. (Before you completely exited out of the Search
menus, you could have gone looking for another place.)
NOTE:
Search works from mapping and POI data loaded in LMS-320. If
you do not have a high-detailed custom map (containing POI data)
for the area you are searching loaded on the MMC, you may not
find anything.
Set a Waypoint
A waypoint is simply an electronic "address," based on the latitude and
longitude of a position on the earth. A waypoint represents a location,
spot, or destination that can be stored in memory, then be recalled and
used later on for navigation purposes.
You can create a waypoint at the cursor position on the map, or at your
current position while you are navigating. You can create a waypoint at
any location by manually entering the position's latitude and longitude.
You can copy waypoints from your unit to your personal computer with
MapCreate software. When you want to repeat a trip, these archived
waypoints can be reloaded into your GPS unit.

112
To create and save a Waypoint:
These first two techniques use the Quick Save method, the fastest and
easiest way to create a waypoint.
Create Waypoint at Current Position
While you are traveling, press WPT|WPT. The waypoint is saved and
automatically given a name with a sequential number, such as "way-
point 003." The waypoint symbol and number appear on the map.
Sequence for setting a waypoint. Step 1: while traveling, quickly press
WPT twice to call up Find Waypoint screen (seen in Step 2) and set a
point. Step 3: a message says the waypoint has been saved. Step 4: ve-
hicle continues on its way; number waypoint symbol is visible on map.
Step 1. Step 2.
Step 3. Step 4.
113
NOTE:
The Quick Save method uses the default waypoint symbol until you
edit an existing waypoint and change its symbol. (Edit Waypoint
Symbol is described in Sec. 7.) After you have changed a waypoint
symbol, the unit will remember the one you chose and use it the
next time you "quick save" a waypoint. To revert back to the default
symbol, edit a waypoint and choose it, or use the Reset Options
command (described in Sec. 8).
Create Waypoint on Map
1. Use the arrow keys to move the cursor to the place where you want
to make a waypoint.
2. Press WPT|WPT. The waypoint is saved and automatically given a
name with a sequential number, such as "waypoint 001." The waypoint
symbol and number appear on the map.
Create Waypoint by Entering a Position
1. Press WPT|→ to SUBCATEGORY column|↓ to NEW|ENT.
2. Press ↓ to ENTERED POSITION|ENT|→ to CREATE|ENT.
3. Press → to LATITUDE|ENT. Enter the latitude by pressing ↑ or ↓ to
change the first character, then press → to the next character and re-
peat until the latitude is correct. Press ENT.
4. Press ↓ to LONGITUDE|ENT. Enter the longitude by pressing ↑ or ↓ to
change the first character, then press → to the next character and re-
peat until the longitude is correct. Press ENT, then EXIT|EXIT to return
to the previous page display. The waypoint is saved and automatically
given a name with a sequential number, such as "waypoint 001." The
waypoint symbol and number appear on the map and in the waypoint
list.
Navigate To a Waypoint
You can select any waypoint visible on the Map Page with the cursor,
then use the Navigate to Cursor command (we'll describe how later in
this section.) However, you can avoid scrolling the map to pick your
waypoint if you use the Find Waypoint commands:
1. Press WPT|→ to SAVED|ENT. To look up the nearest waypoint, press
↓ to NEAREST|ENT; or, to look by name (and scroll through the entire
waypoint list), press ENT. For this example, look by name.
2. If your waypoint list is a long one, you can spell out the waypoint
name in the FIND BY NAME box to search for it. (Press ↑ or ↓ to change the
first character, then press → to move the cursor to the next character

114
and repeat until the name is correct, then press ENT to jump to the list
below.)
3. If the list is short, you can jump directly to the FIND IN LIST box by
pressing ENT. Use ↑ or ↓ to select the waypoint name, press ENT and
the waypoint information screen appears with the GO TO command se-
lected.
4. To begin navigating to the waypoint, press ENT.
Navigation Page, navigating toward waypoint 004 and leaving a trail.
Set Man Overboard (MOB) Waypoint
One of boating's most terrifying events is having a friend or family
member fall overboard. This situation can be deadly on any body of wa-
ter — fresh or salt. It's particularly dangerous at night or if you're out
of sight of land. Of course, the first thing to do is remain calm and then
use all standard safety procedures to rescue the person.
This unit has a man overboard feature that shows navigation data to
the location where the feature was activated. To activate it, press the
ZOUT and ZIN keys at the same time. Your position at the time these
keys are pressed is used as the man overboard position.
Caution:
Saving a new "Man Overboard" waypoint will overwrite and
erase the previous "Man Overboard" waypoint.
Navigate Back to MOB Waypoint
Find your way back to the accident position with the Navigation Page
or Map Page. When MOB is activated, the Navigation Page automati-
cally shows the compass rose with its bearing arrow pointing toward
Waypoint
Destination
name
Trail line
(solid)
Course line
(dotted)
Off course
range, set at
0.20 mile

115
the man overboard position, and the destination name says "Going To
Man Overboard." The Map Page displays a Man Overboard waypoint,
represented by a human figure, and the steering arrow points where to
steer to reach that position.
Navigating to Man Overboard: Navigation Page, left, and Map Page,
right. The victim is astern of the vessel; the GPS shows which direc-
tion to steer to for the rescue.
The man overboard position is also stored in the waypoint list for future
reference. It can be edited the same as any other waypoint in Advanced
Mode. This prevents the inadvertent loss of the current Man Overboard
position.
To cancel navigation to MOB, press MENU|MENU|↓ to CANCEL NAVIGA-
TION|ENT|← to YES|ENT. LMS-320 stops showing navigation information.
Navigate to Cursor Position on Map
The GO TO CURSOR command: navigates to the current cursor position on
the map. It's a quick and handy way to navigate to anything you can
see on the map display.
1. Use the cursor (controlled by the arrow keys) with the zoom in and
zoom out keys to maneuver around the map until you find a location
you want to go to.
2. Center the cursor over the location to select it. See the example in
the following figure. (Many map items such as waypoints, Points of In-
terest, towns, etc. can be "selected," and appear "highlighted" with a
pop-up box. Other features, such as a river or a street intersection will
not appear "highlighted," but the cursor will take you to those locations
just the same.)

116
Navigate to cursor. In this example, the cursor has selected the town of
Oologah, Oklahoma.
3. Press MENU|ENT and LMS-320 will begin navigating to the cursor
location.
The Map Page will display a dotted line from your current position to the
cursor position. The Navigation Page displays a compass rose showing
navigation information to your destination. See the following examples.
The 15-mile zoom figure at left clearly shows the dotted course line
connecting your current position to your destination. The 40-mile
zoom, center, shows both current position and destination on screen.
The Navigation Page, right, will also show navigation information.
To stop navigating to the cursor, use the Cancel Navigation command:
press MENU|MENU|↓ to CANCEL NAVIGATION|ENT|← to YES|ENT. LMS-320
stops showing navigation information.
117
Navigate to a Point of Interest
For POIs that are in view on the map, you can easily use the Navigate
to Cursor command above; just use the cursor to select the POI.
The other method involves searching for POIs with the Find Waypoint
command, launched with the WPT key. (See the searching example ear-
lier in this section, or turn to Sec. 9, Searching, for detailed instructions
on POI searches.)
After you have looked up an item with the Find Waypoint command,
use the → to make sure the GO TO command is highlighted at the top of
the screen, then press ENT. LMS-320 begins showing navigation infor-
mation to the item.
To cancel navigation, press MENU|MENU|↓ to CANCEL NAVIGATION|ENT|←
to YES|ENT. LMS-320 stops showing navigation information.
Creating and Saving a Trail
A trail, or plot trail, is a string of position points plotted by LMS-320 as
you travel. It's a travel history, a record of the path you have taken.
Trails are useful for repeating a journey along the same track. They are
particularly handy when you are trying to retrace your trip and go back
the way you came. On the screen, trails are represented by a solid line
extending from the back of the current position arrow.
LMS-320 is set at the factory to automatically create and record a trail
while the unit is turned on. The unit will continue recording the trail
until the length reaches the maximum trail point setting (default is
2,000, but the unit can record trails 9,999 points long). When the point
limit is reached, LMS-320 begins recording the trail over itself.
By default, the trail flashes once a second, making it easier to see
against the background map. With the default auto setting, LMS-320
creates a trail by placing a dot (trail point) on the screen every time you
change directions. (The methods used for creating a trail and the trail
update rate can both be adjusted or even turned off. See Sec. 8 for Trail
Options.)
To preserve a trail from point A to point B, you must "turn off" the trail
by making it inactive before heading to point C or even back to point A.
When the current trail is set inactive, LMS-320 automatically creates
and begins recording a new trail.
To Save a Trail
1. Press MENU|MENU|↓ to MY TRAILS|ENT.

118
Sequence for saving a trail and beginning a new one. At left, My Trails
command. Center, the Trails Menu. The arrow to the right of Trail 14
indicates the trail is "active," and the check to the left indicates the
trail is visible on the map display. The right figure shows the Edit
Trail menu, with the Active command selected.
2. Press ↓ to the Active Trail Name|ENT.
3. Press ↓ to ACTIVE|ENT. This unchecks the Active option.
4. To return to the previous page, press EXIT|EXIT|EXIT|EXIT. As you
left the Edit Trail menu, you will notice that a new trail was started
with a new sequential number. In the example figure below, the new
trail is number 15, showing zero points. Note that Trail 14 is inactive,
but it is still visible on the map.
New trail, named "Trail 15," is created when Trail 14 is made inactive.
Any new travel will be recorded in this trail, which is active and visi-
ble. Trails do not need to be visible in order to be active.
You can save and recall up to 10 different plot trails, which can also be
copied to your MMC for archiving or for transfer to your MapCreate
software.
Active
symbol
Visible
symbol
119
Tip:
Another quick way to stop recording one trail and begin a new one
is to use the New Trail command: Press MENU|MENU|↓ to MY
TRAILS|ENT|ENT.
Caution:
You also have the option of completely turning off trail record-
ing, under the trail Options command. However, if the Update
Active Trail option is left turned off, it will cancel the automatic
trail creation feature.
Displaying a Saved Trail
The active trail is automatically displayed on the map (the "Visible"
option) with the factory default settings. You can selectively turn trail
display off and on for any saved or active trail. In the Saved Trails List,
visible trails have a check mark in front of the trail name.
To turn off trail display:
1. Press MENU|MENU|↓ to MY TRAILS|ENT.
2. Press ↓|↓ to enter the Saved Trail list, then use ↑ or ↓ to select the
desired Trail Name|ENT.
3. Press ↓ to ACTIVE|→ to VISIBLE|ENT. To return to the previous page,
press EXIT|EXIT|EXIT|EXIT.
To turn on trail display:
1. Press MENU|MENU|↓ to MY TRAILS|ENT.
2. Press ↓|↓ to enter the Saved Trail list, then use ↑ or ↓ to select the
desired Trail Name|ENT.
3. Press ↓ to ACTIVE|→ to VISIBLE|ENT. To return to the previous page,
press EXIT|EXIT|EXIT|EXIT.
Navigating Trails
There are three methods for following a trail: visual trailing, navigating
a trail (forward) and backtracking a trail (backward). Try each method
to see which you prefer.
Visual trailing is the simplest method. It uses only the Map Page and
requires no menu commands at all. The technique works the same if
you are running a trail forward (from start to end) or backward (from
end to start.) However, visual trailing provides no navigation informa-
tion during the trip, such as the time to your destination.
120
The other two methods provide a full range of navigation data and work
with both the Map Page and Navigation Page. The only difference be-
tween them is "navigating a trail" follows a trail forward (from start to
end) while "backtracking" follows a trail in reverse (from end to start.)
When hiking at walking speed with a hand-held GPS, we often just use
visual back trailing because it is a bit better at following each little
turn on a foot path. At faster speeds, such as the highway or on the wa-
ter, the Navigate Trail and Backtrack Trail commands are handy.
Visual Trailing
1. On the Map Page, zoom (ZIN or ZOUT) so your flashing trail is visible.
2. Begin moving and watch the Map Page. Simply walk or steer so that
your current position arrow traces along the trail you have just made.
Tip:
Generally, when using this method, the smaller the zoom range, the
more accurately you will be able to steer along the trail.
Navigate a Trail (forward)
The following figures illustrate the menu sequence for navigating a
trail.
1. Press MENU|MENU|↓ to MY TRAILS|ENT.
2. Press ↓|↓ to enter the Saved Trail list, then use ↑ or ↓ to select the
desired Trail Name|ENT.
3. Press → to DELETE TRAIL|↓ to NAVIGATE|ENT.
4. Press ↓ to NAVIGATE|ENT. The unit begins showing navigation infor-
mation along the trail.
NOTE:
If you are already located at or near the beginning of your trail, the
arrival alarm will go off as soon as you hit Enter. Just press EXIT to
clear the alarm and proceed.
5. Now, begin moving and follow your LMS-320.
6. When you reach your destination, be sure to cancel your navigation:
press MENU|MENU|↓ to CANCEL NAVIGATION|ENT. LMS-320 asks if you're
sure; press ← |ENT.

121
Navigate a trail menu sequence: Fig. 1, My Trails command. Fig. 2,
Trails Menu. Fig. 3, Edit Trail Menu. Fig. 4, Edit Route Menu with
Navigate command highlighted for Trail 6. A trail is always converted
to a "route" when you navigate the trail.
On the Map Page, the trail you are navigating is represented by a dot-
ted line that alternates with a flashing solid line. The Navigation Page
will also show the navigated trail as a dotted line. The bearing arrow on
the compass rose points to the next waypoint on the trail.
As you travel, the arrival alarm will go off when you near a trail way-
point, and the bearing arrow on the compass rose will swing around
and point to the next trail waypoint. Press EXIT to clear the alarm.
Navigate trail, map views: at left driver is northbound heading
straight toward trail point 6. At right, northbound driver has reached
point 6 and has turned west to follow trail.
Trail
dotted line
Trail point
Present
position
arrow
North
Figure 3. Figure 4.
Figure 1. Figure 2.

122
Navigate trail, navigation page (compass rose) views: at left, driver is
northbound heading straight toward trail point 6; bearing arrow
shows the trail point is due north (straight ahead.) At right, driver has
reached trail point 6 and must turn west to follow the trail. Arrival
alarm goes off and bearing arrow swings around to say turn left (west),
toward the next waypoint, trail point 7. LMS-320 now shows naviga-
tion information to point 7, which is 1.99 miles away.
Navigate a Back Trail (backtrack, or reverse)
1. Press MENU|MENU|↓ to MY TRAILS|ENT.
2. Press ↓|↓ to enter the Saved Trail list, then use ↑ or ↓ to select the
desired Trail Name|ENT.
3. Press → to DELETE TRAIL|↓ to NAVIGATE|ENT.
4. Press ↓ to NAVIGATE|→ to REVERSE|ENT|← to NAVIGATE|ENT. The unit
begins showing navigation information along the trail, in reverse.
NOTE:
If you are already located at or near the end of your trail, the arri-
val alarm will go off as soon as you hit Enter. Just press EXIT to
clear the alarm and proceed.
5. Now, begin moving and follow your LMS-320.
6. When you reach your destination, be sure to cancel your navigation:
press MENU|MENU|↓ to CANCEL NAVIGATION|ENT. LMS-320 asks if you're
sure; press ← |ENT.
Transfer Custom Maps and GPS Data Files
Custom Maps:
Custom maps work only from the MMC card or SDC card. When a card
containing a Custom Map File is loaded into the unit, LMS-320 auto-
matically loads the map into memory when the unit is turned on.
Instructions for copying Custom Map Files to an MMC are contained in
the instruction manual for your MMC card reader and MapCreate 6
Trail
waypoint
symbol
Track or compass heading indicator
Arrival
alarm
Course
line made
from trail
Cross track
error range
(off course
indicator)
Bearing
arrow

123
software. For instructions on inserting an MMC into LMS-320, see Sec.
2, Installation/Accessories.
NOTE:
To load a Navionics chart, see Sec. 8 for the entry Navionics Charts.
GPS Data files:
GPS Data Files contain waypoints, routes, trails and event marker
icons. Instructions for copying GPS Data Files between your computer
and an MMC are contained in the instruction manual for your MMC
card reader and MapCreate 6 software.
GPS data automatically recorded in the unit's internal memory must be
saved to the MMC (as a GPS Data File) in order to store it on your per-
sonal computer. GPS Data Files stored on an MMC must be copied from
the card to LMS-320's internal memory before the unit can read them.
Here's how:
1. Insert the MMC into your unit. Press MENU|MENU|↓ to SYSTEM
SETUP|ENT|↓ to TRANSFER MY DATA|ENT and the screen below appears.
The Transfer My Data submenu asks if you want to save data to the
MMC or load data from the MMC into LMS-320's memory.
2. The Transfer My Data menu includes a message which tells you if an
MMC is present or not. If no MMC is present, you must first insert a
card into LMS-320 in order to activate the Load or Save commands.
To transfer data from LMS-320 to the MMC: press ENT (for SAVE.)
To transfer data from the MMC to LMS-320: press → to LOAD|ENT.
3. Saving to MMC: To accept the default name "Data" for the GPS
Data File, press ↓ to SAVE DATA|ENT. If you wish to rename the file (as
shown in the following figures), press ENT to activate the selection box.

124
Press ↑ or ↓ to change the first character, then press → to the next
character and repeat until the name is correct. Then, press ENT|↓ to
SAVE DATA|ENT.
The unit will display first a progress then a completion message when
the data transfer is finished. To return to the Page view, repeatedly
press EXIT.
From left to right, these figures show the menu sequence for naming
and saving a GPS Data File from LMS-320's memory to an MMC.
4. Loading to unit memory: There may be more than one GPS Data
File (*.USR) on the card. To select a file, press ENT to activate the selec-
tion box, use ↓ or ↑ to highlight the file, then press ENT to accept the
selection. Next, press ↓ to LOAD|ENT. The unit will display a completion
message when the data transfer is finished. To return to the Page view,
press EXIT|EXIT|EXIT|EXIT.

125
These figures show the menu sequence for loading a GPS Data File
from an MMC into LMS-320's memory.
Cancel Navigation
You can turn off any of the navigation commands after you reach your
destination or at any other time by using the Cancel Navigation com-
mand. Press MENU|MENU|↓ to CANCEL NAVIGATION|ENT|← to YES|ENT.
Figure 3.
Figure 2.
Figure 1.
Figure 4.
126
Notes

127
Section 7:
Advanced GPS Operations
Find Distance From Current
Position To Another Location
1. While on the Map Page press: MENU|↓ to FIND DISTANCE|ENT.
2. Center your cursor over the position you want to find the distance to.
A rubber band line appears, connecting your current position to the
cursor's location. The distance along that line will appear in a pop-up
box. The box also shows the bearing to the point you're measuring to.
3. Press EXIT to return to regular operation.
At left, the distance from Dallas to Little Rock is 292.2 miles. At right.
the distance from the boat's current position to the boat ramp is 0.52
miles.
Find Distance From Point to Point
You can also measure distance between two other points on the map.
1. While on the Map Page press: MENU|↓ to FIND DISTANCE|ENT.
2. Center your cursor over the first position. (A rubber band line ap-
pears, connecting your current position to the cursor's location.) Press
ENT to set the first point, and the rubber band line disappears.
3. Move the cursor to the second position. The rubber band line reap-
pears, connecting the first point you set to the cursor. The distance
along that line will appear in the lower portion of the screen.
4. Press EXIT to clear the command and return to the page screen.

128
Icons
Icons are graphic symbols used to mark some location, personal point of
interest or event. They can be placed on the map screen, saved and re-
called later for navigation purposes. These are sometimes referred to as
event marker icons. LMS-320 has 42 different symbols you can pick
from when creating an icon.
Icons are similar to waypoints, but they do not store as much informa-
tion (like names) as waypoints do. You can't use a menu to navigate to
icons as you can with waypoints. (But, you can use the map cursor and
navigate to any icon on the map.)
You can create an icon at the cursor position on the map, or at your
current position while you are navigating.
Create Icon on Map
1. Use the arrow keys to move the cursor to the place where you want
to make an icon.
2. Press ENT and the screen shows a "Select Icon Symbol" menu.
3. Press ← or ↑ or → or ↓ to select your icon symbol, then press ENT.
The icon appears on the map.
Cursor selects icon location, left; Select Icon Symbol menu, center;
Boat Ramp icon on map, right. (Cursor has been moved for clarity.)
Create Icon at Current Position
1. While you are traveling, press ENT and the screen shows a "Select
Icon Symbol" menu.
2. Press ← or ↑ or → or ↓ to select your icon symbol, then press ENT.
The icon appears on the map.
Delete an Icon
You can delete all the icons at one time, you can delete all icons repre-
sented by a particular symbol, or you can use the cursor to delete a se-
lected icon from the map.

129
1. Press MENU|↓ to DELETE MY ICONS|ENT.
2. Press ↓ to DELETE ALL ICONS, DELETE BY SYMBOL, or DELETE FROM MAP and
press ENT.
Delete icons menu.
The Delete All Icons command will ask if you are sure. Press ← to
YES|ENT. All icons will be deleted from the map.
The Delete by Symbol command will launch the Select Symbol menu.
Press ← or ↑ or → or ↓ to select the icon symbol to delete, then press
ENT. A message appears saying all icons with the selected symbol have
been deleted.
The Delete From Map command will prompt you to move the cursor
over an icon to select it. After selecting the icon, press ENT and it disap-
pears from the map.
Navigate to an Icon
Use the Navigate to Cursor command, and use the cursor to select the
desired icon on the map.
1. Use arrow keys to center cursor cross-hair over the icon.
2. To navigate to the selected icon location: press MENU|ENT|EXIT.
Follow course line on the Map Page or the compass bearing arrow on the
Navigation Page.
130
Routes
A route is a series of waypoints, linked together in an ordered sequence,
that's used to mark a course of travel. You can visualize a route as a
string of beads: The beads represent waypoints and the string repre-
sents the course of travel connecting waypoint to waypoint.
The course from one waypoint to the next is a leg; routes are composed
of one or more legs. The legs of all GPS routes are based on straight
lines between waypoints.
A route provides the automatic capability to navigate through several
waypoints without having to reprogram the unit after arriving at each
waypoint. Once programmed into the GPS unit, a route provides the
option of navigating forward through the route waypoints or in reverse
order (you can even begin navigating in the middle of a route!)
Create and Save a Route
You have the option of creating and editing a route in the unit, or you
can make a route on your computer with our MapCreate 6 software.
PC-created Routes
MapCreate is the easiest method for preparing a route, simply because
your PC's larger screen, keyboard and mouse are easier to manipulate
than the gimbal-mounted LMS-320.
To load a MapCreate route into LMS-320, follow instructions in Map-
Create's manual for creating a route and saving it as part of a GPS
Data File (file format *.usr). Copy the GPS Data File to an MMC and
insert the MMC in LMS-320. (See Sec. 2 for instructions on installing
MMCs. To load the GPS Data File into LMS-320 memory, see the entry
on Transfer Custom Maps & GPS Data Files in Sec. 6, Basic GPS Op-
erations.)
Routes Created in LMS-320
You can create a route by selecting existing waypoints from the way-
point list or you can set a series of route waypoints on the map with
cursor arrows and the Enter key. In this example, we'll create a route
from the map.
1. From the NAVIGATION PAGE, press MENU|ENT or from the MAP PAGE,
press MENU|MENU|↓ to ROUTE PLANNING|ENT.

131
Route Planning command on Main Menu, left,
will open the Route List screen, right.
2. Press ↓ |↓ |↑ or↓ to route name|ENT|↓ to (ROUTE END)|ENT|↓ to ADD
FROM MAP|ENT. The Map Page appears with the cursor showing.
Edit Route menu, left. Edit Route Waypoints menu, right,
with Add From Map command selected.
3. Use the Zoom keys and arrow keys to move the map and cursor until
the cursor is centered on the spot where you want your route to begin.
(If you are starting at your current position or the current cursor posi-
tion, you are already at the starting spot.)
4. Set the first route waypoint: press ENT. In this example, we moved to
the intersection of 11th Street and 145th E. Ave. to start our route to a
public hunting area next to a river. (Creating this example route is il-
lustrated in the following figures.)

132
Route creation sequence, from left: Fig. 1. Set route waypoint (1) at
11th St. & 145th Ave. Fig. 2. Zoom in; move cursor north to set point (2)
at 145th & Admiral. Fig. 3. With point (2) set, move cursor east to mark
interstate on-ramp with waypoint (3). In figures 2 and 3, notice the
rubber band line extending from the previously set waypoint to the
cursor. This line will become the course for the route.
Route creation sequence, continued: Fig. 4. Point (3) set at on-ramp
turn. Fig. 5. Waypoint (4) set at highway exit to frontage road leading
to river. Waypoint (5) ends the route at a tree stand in the hunting
area. Fig. 6. Press EXIT to save the route and you return to this screen.
5. Move the cursor to the next point in the route, a spot where you need
to turn or change direction, and press ENT to set the next waypoint.
6. Repeat step five until the route reaches your destination.
7. To save your route, press EXIT. LMS-320 reverts to the Edit Route
screen, with the route automatically named "Route 1" and stored in
LMS-320's internal memory. (In our example, Route 1 already existed,
so the unit automatically made "Route 2.")
You can edit the route and run other commands, but if you are finished
with the route for now, return to the last page displayed by
pressing EXIT|EXIT|EXIT|EXIT|EXIT.
5. 6.4.
1. 2. 3.

133
Delete a Route
1. From the NAVIGATION PAGE, press MENU|ENT or from the MAP PAGE
press MENU|MENU|↓ to ROUTE PLANNING|ENT.
2. Press ↓ to route name|ENT.
3. Press ↓ to NAVIGATE|ENT|→ to DELETE|ENT|← to YES|ENT.
Tip:
You can also delete all routes at once:
1. From the NAVIGATION PAGE, press MENU|ENT or from the MAP PAGE
press MENU|MENU|↓ to ROUTE PLANNING|ENT.
2. Press → to DELETE ALL|ENT|← to YES|ENT.
Edit a Route
You can edit the route name if you wish.
1. From the NAVIGATION PAGE, press MENU|ENT or from the MAP PAGE
press MENU|MENU|↓ to ROUTE PLANNING|ENT.
2. Press ↓ to route name|ENT|ENT.
3. Press ↑ or ↓ to change the first character, then press → to move the
cursor to the next character and repeat until the name is correct, then
press ENT. Return to the previous page by pressing
EXIT|EXIT|EXIT|EXIT.
You can edit the route by adding and removing waypoints.
1. From the NAVIGATION PAGE, press MENU|ENT or from the MAP PAGE
press MENU|MENU|↓ to ROUTE PLANNING|ENT.
2. Press ↓ to route name|ENT|↓ to ROUTE WAYPOINTS LIST. Use ↓ and ↑ to
select a waypoint, then press ENT.
Edit Route Waypoints menu.
3. Use ↓ and ↑ to select a command from the Edit Route Waypoints
menu and press ENT. Add From Map lets you insert a waypoint in the

134
route by clicking on a map location with the cursor. Add Waypoint calls
up the Waypoint List so you can insert a waypoint from the list. Re-
move Waypoint will delete the waypoint from the route. View Way-
point will show you where the selected waypoint is on the map.
Navigate a Route
1. From the NAVIGATION PAGE, press MENU|ENT or from the MAP PAGE,
press MENU|MENU|↓ to ROUTE PLANNING|ENT.
Route Planning command on Main Menu, left; Routes menu, center;
Edit Route menu, right. Navigate command is selected in the Action box.
2. Press ↓ to select route name|ENT|↓ to NAVIGATE|ENT|ENT.
3. Upon arrival at your destination, cancel navigation:
press MENU|MENU|↓ to CANCEL NAVIGATION|ENT|← to YES|ENT.
The following figures show what the Navigation Page and Map Page
look like while navigating a route.
Navigate a Route in Reverse
Here's how you run a route backward, from the end waypoint to the
beginning waypoint:
1. From the NAVIGATION PAGE, press MENU|ENT or from the MAP PAGE,
press MENU|MENU|↓ to ROUTE PLANNING|ENT.
2. Press ↓ to select route name|ENT|↓ to NAVIGATE|→ to RE-
VERSE|ENT|← to NAVIGATE|ENT.
3. Upon arrival at your destination, cancel navigation:
press MENU|MENU|↓ to CANCEL NAVIGATION|ENT|← to YES|ENT.

135
Navigating along a route: Fig. 1 shows the Navigation Page at the start
of a route, heading straight for the first waypoint (Wpt 1). In Fig. 2, the
traveler has arrived at Wpt 1; the arrival alarm has been triggered and
the bearing arrow on the compass rose has turned to point toward Wpt
2, off to the east. In Fig. 3 the traveler has turned east on his new
course and is heading straight for Wpt 2, which is 2.87 miles away. Fig.
4 shows route navigation on the Map Page. In this figure, the traveler
has reached Wpt 2 and is half-way along the leg between Wpts 2 and 3.
Trails
Delete a Trail
This is the command used to erase or delete a trail:
Press MENU|MENU|↓ to MY TRAILS|ENT|↓ to trail name|ENT|→ to
DELETE TRAIL|ENT|← to YES|ENT.
Tip:
You can also delete all trails at once:
1. Press MENU|MENU|↓ to MY TRAILS|ENT.
2. Press → to DELETE ALL|ENT|← to YES|ENT.
Edit a Trail Name
To edit a trail name: press MENU|MENU|↓ to MY TRAILS|ENT|↓ to trail
name|ENT|ENT. Press ↑ or↓ to change the first character, then press
Figure 4.
Figure 3.
Figure 2.
Figure 1.

136
→ to the next character and repeat until the name is correct. Press ENT
then EXIT|EXIT|EXIT|EXIT to return to the previous page display.
Tip:
You can quickly call up the Edit Trail menu by selecting a trail on
the map with the cursor. Simply move the cursor over a trail and a
pop-up box appears. Press WPT and the Edit Trail menu opens.
At left, trail selected with map cursor. The pop-up box shows distance
and bearing from current position to the selected point on the trail. At
right, the Edit Trail menu.
Edit a Trail Color
To edit a trail color: press MENU|MENU|↓ to MY TRAILS|ENT|↓ to trail
name|ENT|↓ to COLOR|ENT. Press ↑ or ↓ to select a color style, then
press ENT. Press EXIT|EXIT|EXIT|EXIT to return to the previous page
display.
Edit a Trail Pattern
To edit a trail pattern: press MENU|MENU|↓ to MY TRAILS|ENT|↓ to trail
name|ENT|↓ to PATTERN|ENT. Press ↑ or ↓ to change the first character,
then press → to the next character and repeat until the pattern is cor-
rect. Press ENT, then EXIT|EXIT|EXIT|EXIT to return to the previous
page display.
At left, Edit Trail Menu with Pattern option selected. At right, edited
trail with dotted line pattern.
137
Utilities
Utilities are useful tools for traveling or for outdoor activities.
Alarm Clock
To get to the alarm clock menu: press MENU|MENU|↓ to TIMERS|ENT|↓
to ALARM CLOCK|ENT.
Sun/Moon Rise & Set Calculator
To get to the Sun/Moon menu: press MENU|MENU|↓ to SUN/MOON
CALCULATIONS|ENT.
Trip Calculator
To get to the Calculator menu: press MENU|MENU|↓ to TRIP CALCU-
LATOR|ENT.
Trip Down Timer
To get to the Down Timer menu: press MENU|MENU|↓ to TIMERS|ENT|↓
to DOWN TIMER|ENT.
Trip Up Timer
To get to the Up Timer menu: press MENU|MENU|↓ to TIMERS|ENT|ENT.
Waypoints
Delete a Waypoint
To delete a waypoint from the waypoint list: press
WPT|ENT|ENT|ENT|↓ to waypoint name|ENT|↓ to DELETE WAY-
POINT|ENT|← to YES|ENT. To return to the previous page, press
EXIT|EXIT.
To delete a waypoint from the map:
1. Use the arrow keys to select the waypoint with the cursor.
2. Press WPT|→ to DELETE WAYPOINT|ENT|← to YES|ENT. To return to
the previous page and clear the cursor, press EXIT.
To delete all waypoints at one time: press MENU|MENU|↓ to SYSTEM
SETUP|ENT|↓ to DELETE ALL MY WAYPOINTS|ENT|← to YES|ENT. To return
to the previous page, press EXIT|EXIT.
Edit a Waypoint
Waypoint Name
To edit waypoint name: 1. Press WPT|ENT|ENT|ENT|↓ to waypoint
name|ENT|↓ to EDIT WAYPOINT|ENT|ENT.
2. Press ↑ or ↓ to change the first character, then press → to the next
character and repeat until the name is correct. Press ENT then
EXIT|EXIT|EXIT|EXIT to return to the previous page display.
138
Waypoint Symbol
To edit waypoint symbol: 1. Press WPT|ENT|ENT|ENT|↓ to waypoint
name|ENT|↓ to EDIT WAYPOINT|ENT|↓ to CHOOSE SYMBOL|ENT.
2. Use arrow keys to select desired symbol and press ENT. To return to
the previous page, press EXIT|EXIT|EXIT|EXIT.
Waypoint Position
To edit waypoint position: 1. Press WPT|ENT|ENT|ENT|↓ to waypoint
name|ENT|↓ to EDIT WAYPOINT|ENT.
2. Latitude: press → to LATITUDE|ENT. Press ↑ or ↓ to change the first
character, then press → to the next character and repeat until the lati-
tude is correct. Press EXIT.
3. Longitude: press ↓ to LONGITUDE|ENT. Press ↑ or ↓ to change the first
character, then press → to the next character and repeat until the lon-
gitude is correct. Press EXIT.
4. When latitude and longitude are correct, return to the previous page:
press EXIT|EXIT|EXIT|EXIT.
Selecting a Waypoint
To select a waypoint on the map (for navigating to, for editing, etc.,) use
the arrow keys and center the cursor over the waypoint. A highlighted
halo will appear around the waypoint.
Set a Waypoint by Average Position
This feature sets a waypoint at the current position after taking several
position readings and averaging them. This boosts waypoint position
accuracy by helping to eliminate errors caused by atmospheric condi-
tions and other factors.
1. Press WPT|→ to SUBCATEGORY column|↓ to NEW|ENT.
2. Press ↓ or ↑ to AVERAGE POSITION|ENT|press → to CREATE|ENT.
3. Wait while the unit takes points to average for the position. (The greater
the number of points, the greater the accuracy.) When the desired number
of points accumulates, press ENT to create and save the waypoint.
4. The Edit Waypoint menu appears. You can simply save the waypoint
by pressing EXIT|EXIT or you can edit the waypoint.
Set a Waypoint by Projecting a Position
This feature sets a waypoint at a point located a specific distance and
bearing from a reference position. The reference position can be se-
lected from your waypoint list, a map feature or from the Points of In-
terest list.
139
1. Press WPT|→ to SUBCATEGORY column|↓ to NEW|ENT.
2. Press ↓ to PROJECTED POSITION|ENT|→ to CREATE|ENT.
3. Press → to CHOOSE REFERENCE|ENT. Use ↑ and ↓ to select a waypoint,
map feature or Point of Interest. When the point has been selected,
press ENT and the point's position appears as the reference position.
4. Press ↓ to DISTANCE|ENT. Press ↑ or ↓ to change the first character,
then press → to the next character and repeat until the distance is cor-
rect. Press ENT.
5. Press ↓ to BEARING|ENT. Press ↑ or ↓ to change the first character,
then press → to the next character and repeat until the bearing is cor-
rect. Press ENT.
6. Press ↑ to PROJECTION|ENT. The Edit Waypoint menu appears. You
can simply save the new projected waypoint by pressing EXIT|EXIT or
you can edit the waypoint. (Press EXIT|ENT if you want to immediately
begin navigating to the new waypoint.)
140
Notes

141
Section 8:
System & GPS Setup Options
Alarms
This unit has several GPS alarms. The factory default setting has all
the alarms turned on. You can turn the alarms off and on and change
their distance settings.
You can set an arrival alarm to flash a warning message and sound a
tone when you cross a preset distance from a waypoint. For example, if
you have the arrival alarm set to .1 mile, then the alarm will flash a
message when you come within .1 mile of the recalled waypoint.
The off course alarm warns you when your track drifts too far to the
right or left of the course line to the waypoint. For example, if the
alarm is set to .1 mile, then the alarm flashes a message if you drift .1
of a mile or more to the right or left of the line to the waypoint.
The anchor alarm is triggered when you drift outside of a preset radius.
Again, using the .1 mile as an example, if you're anchored and your
boat moves more than .1 of a mile, the alarm will flash a message and
sound a tone.
Alarms command, left; Alarm menu, right.
To change alarm settings:
1. Press MENU|MENU|↓ to ALARMS|ENT.
2. Scroll ↓ or ↑ to select the desired category, then press ENT to check or
clear the Enabled box. This turns the alarm on (checked) or off (un-
checked.)
3. To change distance settings, scroll ↓ or ↑ to select the desired cate-
gory, then press → |ENT to activate the distance dialog box. Press ↑ or
↓ to change the first character, then press → to the next character and
repeat until the name is correct.
142
4. When your adjustments are finished, return to the last page dis-
played by repeatedly pressing EXIT.
IMPORTANT ALARM NOTES:
Anchor Alarm - The anchor alarm may be triggered even when
you're sitting still. This typically happens when using small (less
than .05 mile) anchor alarm ranges.
Arrival Alarm - If you set the arrival alarm's distance to a small
number and you run a route (see the Navigate Routes segment),
this unit may not show navigation data to the next waypoint, once
you arrive at the first one, since you may not be able to come close
enough to the first waypoint to trip the arrival alarm.
Auto Satellite Search
To lock onto the satellites, the GPS receiver needs to know it's current
position, UTC time and date. (Elevation (altitude) is also used in the
equation, but it's rarely required to determine a position.) It needs this
data so that it can calculate which satellites should be in view. It then
searches for only those satellites.
When your GPS receiver is turned on for the first time, it doesn't know
what your position or elevation (altitude) is. It does know the current
UTC time and date since these were programmed into it at the factory
and an internal clock keeps the time while the unit is turned off. (If the
time and/or date are incorrect, you can set it using the "Set Local Time"
menu.)
The unit begins searching for the satellites using the above data that it
acquired the last time it was turned on. This probably was at the fac-
tory. Since it's almost certain that you're not at our factory, it's proba-
bly looking for the wrong satellites.
If it doesn't find the satellites it's looking for after approximately one
minute, it switches to Auto Search. The receiver looks for any satellite
in the sky. Due to advanced technology, the auto search time has
shrunk significantly from the early days of GPS.
Once the unit locks onto the satellites, it should take less than a minute
to find your position the next time it's turned on, provided you haven't
moved more than approximately 100 miles from the last location it was
used.

143
GPS Auto Search on the Satellite Status Menu.
You can force the unit to immediately kick into auto search mode.
Here's how:
1. Press PAGES until you are on the Satellite Status screen.
2. Press MENU|ENT|← to YES|ENT.
Check MMC Files and Storage Space
To check MMC Files:
Press MENU|MENU|↓ to BROWSE MMC FILES|ENT.
Main Menu, left, MMC File Browser, right.
Communications Port Configuration
LMS-320 has one NMEA 0183 version 2.0 compatible communication
port, or com port for short. The Com Port Menu, which is accessed from
the System Setup Menu, allows you to configure the communications
port to send or receive data to another electronic device, such as an
autopilot. The com port can be used for either NMEA or DGPS Binary
data transfer.

144
Menus for changing Com Port settings.
For connectors and wiring information for another device, see page 31.
For assistance in configuring the unit to communicate with another
device, consult the factory; customer service phone numbers are in the
back of this manual. Also see the entries below for Configure DGPS and
Configure NMEA. To set Com Port Configuration:
1. Press MENU|MENU|↓ to SYSTEM SETUP|ENT.
2. Press ↓ to COMMUNICATIONS PORT|ENT.
Configure DGPS
This unit will recognize Starlink, Magnavox and Lowrance DGPS
receivers.
1. Press MENU|MENU|↓ to SYSTEM SETUP|ENT.
2. Press ↓ to COMMUNICATIONS PORT|ENT.
A. If you have a Magnavox receiver, press ↓ to MAGNAVOX|ENT.
B. If you have a Lowrance or Starlink receiver, press ↓ to STARLINK|ENT.
C. If you have a Magnavox or Starlink, press EXIT|EXIT|EXIT. This is
the only setup necessary. If you have a Lowrance receiver or another
Magnavox- or Starlink- compatible brand, continue with these steps:
3. Press ↓ to CONFIGURE NMEA|→ to CONFIGURE DGPS|ENT.
4. Press ENT, then use ↑ ↓ → ← to enter the station frequency, then
press ENT.
5. Press → to BIT RATE|ENT then use ↑ ↓ to select the station bit rate,
then press ENT.
6. A. If you are not using a Starlink DGPS receiver, press
EXIT|EXIT|EXIT|EXIT to return to the previous page.
B. If you are using a Starlink DGPS receiver, press ↓ to STARLINK AUTO
TUNING MODE|press ENT|press EXIT|EXIT|EXIT|EXIT to return to the pre-
vious page.

145
Configure NMEA
You can configure the unit to use specific NMEA sentences.
1. Press MENU|MENU|↓ to SYSTEM SETUP|ENT.
2. Press ↓ to COMMUNICATIONS PORT|ENT|↓ to CONFIGURE NMEA|ENT.
3. A menu appears showing the prefixes of the available NMEA sen-
tences. A check mark next to a prefix means the prefix is in use. Use ↑
↓ → ← to select a prefix, then press ENT to turn off the prefix. (Press
ENT again to check the box and turn a prefix on.)
4. When the desired prefixes are checked or unchecked, press
EXIT|EXIT|EXIT|EXIT to return to the previous page.
Coordinate System Selection
The Coordinate System Menu lets you select the coordinate system to
use when displaying and entering position coordinates.
Menus for changing coordinate system used to display positions.
To get to Coordinate System Selection:
1. Press MENU|MENU|↓ to GPS SETUP|ENT.
2. Press ↓ to COORDINATE SYSTEM|ENT.
This unit can show a position in degrees (36.14952°); degrees, minutes
and thousandths of a minute (36° 28.700'); or degrees, minutes, seconds
and tenths of a second (36° 28' 40.9"). It can also show position in: UTM
(Universal Transverse Mercator) projection; MGRS (Standard); MGRS
(Standard + 10); Map Fix; Loran TD; British, Irish, Finnish, German,
New Zealand, Swedish, Swiss, Taiwan, Greek and Military grids.
UTM's are marked on USGS topographic charts. This system divides
the Earth into 60 zones, each 6 degrees wide in longitude.
British, Irish, Finnish, German, New Zealand, Swedish, Swiss, Taiwan,
and Greek grid systems are the national coordinate system used only in

146
their respective countries. In order to use these grid systems, you must
be in the respective country. This unit will pick the matching datum for
you when you select the grid. See the entry on Map Datum Selection for
more information.
The military grid reference system (MGRS) uses two grid lettering
schemes, which are referred to as standard and standard + 10 MGRS
on this unit. Your position and datum in use determines which one to
use. If you use standard, and your position is off significantly, then try
the alternate.
NOTE: When the position format is changed, it affects the way all posi-
tions are shown on all screens. This includes waypoints.
To change the coordinate system, press ENT while COORDINATE SYSTEM is
highlighted. Press the ↑ or ↓ arrow keys to highlight the desired for-
mat. Press ENT to select it. Press EXIT to erase the menus.
To setup Loran TD:
NOTE:
If the Loran TD conversion is chosen, you must enter the local Lo-
ran chain identification for the master and slaves. Do this by se-
lecting "Setup Loran TD" at the bottom of the "Coordinate System"
menu and select the ID. Press EXIT to erase this menu.
Configure Loran TD menu.
Map Fix
Map Fix is used with charts or maps. This system asks for a reference
position in latitude/longitude, which you take from a marked location
on the map. It then shows the present position as distance on the map
from that reference point.

147
For example, if it shows a distance of UP 4.00" and LEFT 0.50", you
then measure up four inches and to the left a half-inch from the refer-
ence point on the map to find your location.
To configure a map fix:
To use this format, you need to follow these steps in order. First, take
your map of the area and determine a reference latitude/longitude.
(Please note that in order for this system to work, the lati-
tude/longitude lines must be parallel with the edge of the map. USGS
maps are parallel, others may not be. Also, this works better with
smaller scale maps.) The reference position can be anywhere on the
map, but the closer it is to your location, the smaller the numbers will
be that you'll have to deal with.
Once you've decided on a reference position, you can save it as a way-
point. See the waypoint section for information on saving a waypoint.
Save the reference position as a waypoint. Exit from the waypoint
screens.
1. Press MENU|MENU|↓ to GPS SETUP|ENT.
2. Press ↓ to COORDINATE SYSTEM|ENT.
3. Press ↓ to SETUP MAP FIX|ENT.
The screen below appears, and MAP SCALE is highlighted. Press ENT and
enter the map's scale. This is generally at the bottom of the paper map.
It's shown as a ratio, for example 1:24000. Press EXIT and the unit re-
turns to the Configure Map Fix screen.
Configure a map fix so LMS-320 can find your position on a printed
chart or topographical map.
Press ↓ to SELECT ORIGIN|ENT|ENT|ENT to bring up the waypoint list. Se-
lect the waypoint that you saved the reference point under and press
ENT. The unit displays a waypoint information screen with the com-
mand SET AS ORIGIN selected; press ENT and the unit returns to the Con-
figure Map Fix menu. Finally, press EXIT to erase this menu. Now press
148
↑ to COORD SYSTEM|ENT, select MAP FIX from the list and press ENT|EXIT.
All position information now shows as a distance from the reference
point you chose.
Customize Page Displays
The Position, Navigation, and Map pages all have customizable options.
These options decide which information is viewable on each page.
Customize Satellite Status Page
While on the Satellite Status Page, press MENU|↓ to CUSTOMIZE|ENT.
Press ↓ or ↑ to select a display option window. With the display window
highlighted and flashing, press ENT to open a list of options. Scroll ↑
and ↓ to select a different display option, then press ENT. After all op-
tions are set, press EXIT to return to the page display.
Customize Navigation Page
While on the Navigation Page, press MENU|↓ to CUSTOMIZE|ENT. Press ↓
or ↑ to select a display option window. With the display window high-
lighted and flashing, press ENT to open a list of options. Scroll ↑ and ↓
to select a different display option, then press ENT. After all options are
set, press EXIT to return to the page display.
Customize Map Page
While on the Map Page, press PAGES|↓ or ↑ to select Option
Name|ENT.
DGPS Status
The DGPS Status screen shows whether DGPS is off or on, and it de-
scribes the quality of the DGPS signal. This screen is useful if you have
to diagnose a DGPS problem.
1. Press MENU|MENU|↓ to GPS SETUP|ENT|↓ to DGPS STATUS|ENT.
2. The DGPS Status screen is displayed. To return to the previous page,
press EXIT|EXIT|EXIT.
GPS Simulator
The GPS simulator lets you use the unit as if you were outdoors navi-
gating somewhere. It's a great way to practice using your unit. You can
set the starting location by entering latitude/longitude (Starting Posi-
tion) or from a stored waypoint, map place or POI location (CHOOSE START
command). You can steer your position and change speed on the map by
using the arrow keys (STEER WITH ARROWS command) or by setting the track
and speed in the dialog boxes provided on the simulator menu screen.

149
To get to the GPS Simulator:
1. Press MENU|MENU|↓ to GPS SETUP|ENT.
2. Press ↓ to GPS SIMULATOR|ENT. The GPS Simulator Menu appears.
GPS Setup Menu, left; GPS Simulator menu, right.
Make the desired settings, then turn the simulator on by highlighting
the GPS SIMULATOR ON box and pressing ENT key. Press EXIT|EXIT|EXIT
to erase this menu. A message and tone appears periodically, warning
you that the simulator is on. To turn the simulator off, repeat the above
steps or turn the unit off.
While in simulator mode, you can press EXIT to clear the steering and
speed boxes from the screen while continuing the simulation. This will
allow you to use the map cursor during a simulation. To turn steering
and speed boxes back on again, return to the GPS Simulator menu, se-
lect the STEER WITH ARROWS command, press ENT, then Press
EXIT|EXIT|EXIT to return to the previous page.
Simulating Trail or Route Navigation
In Simulator mode, your unit can automatically follow a trail or route
without manual steering if you use these steps:
1. From the Map Page, go to the simulator menu. Pick a STARTING PO-
SITION at or near the beginning of your trail/route. Enter an approximate
TRACK (shown in compass degrees) that will point you toward the start
of the trail/route.
2. Set SPEED to zero. Select STEER WITH ARROWS command and press ENT,
which turns on the simulator and returns you to the Map Page.
3. Begin navigating along the trail/route. (If you are close enough to the
first waypoint, the arrival alarm will usually go off as soon as naviga-
tion begins. Press EXIT to clear the alarm.) When navigation starts,
press ↑ to increase speed to the desired setting.
150
4. Press EXIT to turn off the steering and speed boxes. The unit will now
automatically "steer" along the trail or route. When you arrive at your
"destination," cancel navigation as you normally do.
Tip:
You can pick any spot on the map to begin your simulation session
by using the Initialize GPS command. This makes your unit think
it's located at the position you select. See it's entry following the en-
try for Hide GPS Features.
Hide GPS Features
If there is no GPS antenna/receiver module attached to this unit, the
GPS menus and features can be hidden from view with this command.
The default setting is off, allowing you to rotate between the Sonar
Page and the GPS pages and features. To hide GPS features:
Press MENU|MENU|↓ to SYSTEM SETUP|ENT|↓ to HIDE GPS FEATURES|ENT.
The GPS menus and pages are now hidden.
To restore GPS Features, press MENU|MENU|↓ to SHOW GPS FEA-
TURES|ENT. The GPS menus and pages are available once again.
Initialize GPS
This command is handy when you are practicing in simulator mode.
(See the entry in this section for GPS Simulator.) In simulator mode,
this command makes the unit operate as if it sitting someplace other
than its actual location. So, you and your unit could be located in Kan-
sas City, but easily practice navigating in the ocean off Islamorada,
Florida.
1. Press MENU|MENU|↓ to GPS SETUP|ENT|ENT.
2. A message appears, telling you to move the cursor near the desired
location and press ENT. When the message automatically clears, follow
the message instructions.
3. In a moment, your present position marker arrow appears on the
map in the location you selected with the cursor. The unit will consider
that spot as it's last known position until changed by either a live sat-
ellite lock-on or a new simulator location.
Map Auto Zoom
This receiver has an auto zoom feature that eliminates much of the but-
ton pushing that other brands of GPS receivers force you to make. It
works in conjunction with the navigation features.

151
First, start navigation to a waypoint. (See the waypoint section for
more information on navigating to a waypoint.) Then, with the auto
zoom mode on, the unit zooms out until the entire course shows, from
the present position to the destination waypoint. As you travel toward
the destination, the unit automatically begins zooming in — one zoom
range at a time — always keeping the destination on the screen.
To turn this feature on, from the MAP PAGE, press MENU|↓ to AUTO
ZOOM|ENT|EXIT. Repeat these steps to turn it off.
Map Data
This menu lets you turn the map off, if desired (which turns the map
screen into a GPS plotter); turn off or on the pop-up map info boxes;
draw the map boundaries or boxes around the areas of high detail; or
fill land areas with gray. You can also turn on or off Map Overlays,
which display latitude and longitude grid lines or range rings on the
map. This menu lets you select Navionics Maps; for instructions, see
the Navionics Charts entry in this section.
To get to Map Data:
From the Map Page, press MENU|↓ to MAP DATA|ENT.
Map Menu, left, Map Data Menu, right.
Show Map Data
From the Map Page, press MENU|↓ to MAP DATA|ENT. Press ENT to
check SHOW MAP DATA (turn on) and uncheck it (turn off.) After the option
is set, press EXIT|EXIT to return to the page display.
Pop-up Map Info
From the Map Page, press MENU|↓ to MAP DATA|ENT. Press ↓ to POPUP
MAP INFO. With the option highlighted, press ENT to check it (turn on)
and uncheck it (turn off.) After the option is set, press EXIT|EXIT to re-
turn to the page display.
152
Map Boundaries
From the Map Page, press MENU|↓ to MAP DATA|ENT. Press ↓ to MAP
BOUNDARIES. With the option highlighted, press ENT to check it (turn on)
and uncheck it (turn off.) After the option is set, press EXIT|EXIT to re-
turn to the page display.
Fill Land Gray
From the Map Page, press MENU|↓ to MAP DATA|ENT. Press ↓ to FILL
LAND GRAY. With the option highlighted, press ENT to check it (turn on)
and uncheck it (turn off.) After the option is set, press EXIT|EXIT to re-
turn to the page display.
Map Overlays (Range Rings; Lat/Long Grid)
The map screen can be customized with four range rings and/or grids
that divide the plotter into equal segments of latitude and longitude.
Range rings are handy for visually estimating distances on the map.
The ring diameters are based on the current zoom range. For example:
at the 100 mile zoom, the screen will show two rings with your current
position in the center. The large ring touching the left and right sides of
the screen is 100 miles in diameter (same as the zoom range). The sec-
ond smaller ring is 50 miles in diameter (always 1/2 the zoom range).
The distance from your current position to the smaller ring (the ring's
radius) is 25 miles (always 1/4 the zoom range). With the arrow keys
and map cursor, you can scroll the map to see the third and fourth
rings. In this example, the distance to the third ring is 75 miles and
distance to the fourth ring is 100 miles from your current position.
To set range rings: From the Map Page, press MENU|↓ to MAP
DATA|ENT. Press ↓ to RANGE RINGS. With the option highlighted, press
ENT to check it (turn on) and uncheck it (turn off.) After the option is
set, press EXIT|EXIT to return to the page display.
To set Lat/Long Grid: From the Map Page, press MENU|↓ to MAP
DATA|ENT. Press ↓ to LAT/LON GRID LINES. With the option highlighted,
press ENT to check it (turn on) and uncheck it (turn off.) After the op-
tion is set, press EXIT|EXIT to return to the page display.
Map Datum Selection
Maps and charts are based on a survey of the area that's covered by the
map or chart. These surveys are called "Datums." Maps that are cre-
ated using different datums will show the same latitude/longitude in
slightly different locations.

153
All datums are named. The GPS system is based on the WGS-84 da-
tum, which covers the entire world. Other datums may also cover the
entire world, or just a small portion of it. By default, your position
shows using the WGS-84 datum. However, it can show your position
using one of 191 different datums. Different datums can be selected; to
change the datum:
1. Press MENU|MENU|↓ to GPS SETUP|ENT|↓ to MAP DATUM|ENT.
2. Scroll ↓ or ↑ to select the desired datum, then press ENT.
3. To return to the last page displayed, press EXIT|EXIT.
A list of the datums used by this unit is in the back of this manual.
GPS Setup Menu, left, Map Datum Menu, right.
Map Detail Category Selection
This menu determines which of the mapping features are shown on the
screen. This includes, waypoints, trails, icons, cities, highways, etc. You
can selectively turn on or off any of these items, customizing the map to
your needs.
To get to Map Categories:
1. From the Map Page, press MENU|↓ to MAP CATEGORIES DRAWN|ENT.
2. Press ↑ or ↓ to select a category or press → then press ↑ or ↓ to select
a subcategory. Press ENT to turn it off (no check) or on (checked.)
3. To return to the last page displayed, press EXIT|EXIT.

154
Map Menu, left, Map Categories Drawn Menu, right.
Map Orientation
By default, this receiver shows the map with north always at the top of
the screen. This is the way most maps and charts are printed on paper.
Map orientation at left is shown in north up and at right, track up.
This is fine if you're always traveling due north. What you see to your
left corresponds to the left side of the map, to your right is shown on
the right side of the map, and so on. However, if you travel any other
direction, the map doesn't line up with your view of the world.
To correct this problem, a track-up mode rotates the map as you turn.
Thus, what you see on the left side of the screen should always be to
your left, and so on.
Another option is course-up mode, which keeps the map at the same
orientation as the initial bearing to the waypoint. When either the
track-up or course-up mode is on, an "N" shows on the map screen to
help you see which direction is north.
In Track Up mode, map shows "N" and arrow to indicate north.

155
To change map orientation: from the Map Page, press MENU|↓ to MAP
ORIENTATION|ENT. Use ↑ or ↓ to select the desired mode, then press ENT.
Press EXIT|EXIT to return to the page display.
Map Menu, left; Map Orientation menu with
the North Up map orientation option selected, right.
Navionics Charts
Your LMS-320 can display Navionics electronic charts on MMCs. They
work just like a MapCreate custom map on an MMC.
Left, entrance to Chesapeake Bay in a MapCreate 6 custom map, 10
mile zoom. Center, same position on Navionics chart at 11.15 mile zoom
and right, 5.56 mile zoom.
To display a Navionics chart:
1. Install the Navionics MMC in the memory card compartment and
turn on the unit. (For full card install instructions, see Sec. 2.)
WARNING:
You should never format the MMC containing your
Navionics chart. Formatting the MMC will permanently
erase the chart from the card.

156
2. From the Map Page, press MENU|↓ to MAP DATA|ENT|↓ to MAP
CHOICE|ENT. Use ↑ or ↓ to select the Map Name, then press
ENT|EXIT|EXIT.
These figures show menu sequence (from left to right) for selecting a
Navionics chart for the South Chesapeake Bay area.
3. To turn off a Navionics chart, From the Map Page, press MENU|↓ to
MAP DATA|ENT|↓ to MAP CHOICE|ENT. Use ↑ or ↓ to select LOWRANCE, then
press ENT|EXIT|EXIT.
Port Information
Navionics charts contain Port Services information, represented by an-
chor icons on the map display. An example is displayed in the following
figure.
To view Port Services information:
1. Use the arrow keys to move the cursor over a Port Services icon.
When selected, a pop-up name box appears.
2. Press WPT to display the Port Services Information screen.
The Port Services information screen has two windows. The top window
lists the various service categories. The lower window lists the detailed
services available in each basic category.

157
Navionics chart showing Port Services icon selected by cursor.
3. To scroll through the Service Categories window: press ENT then use
↑ or ↓ to see the types of services available. As you highlight a different
category, the list in the lower window changes. To return to the Map
Page, press EXIT|EXIT.
4. The General Services category includes a long list of items in the De-
tailed Services window. To scroll through the Detailed Services window:
from SERVICE CATEGORIES, press ↓ to DETAILED SERVICES|ENT, then use ↑ or
↓ to read the list of available services. To return to the Map Page, press
EXIT|EXIT. To return to the top service category window, press ENT|↑.
Port Services information screens.
Tidal Current Information
Navionics charts contain Tidal Current information,
represented at large zoom ranges by a box icon with
the letter "C." The icon stands for a Tidal Current
Station location. An example is displayed at right.
Port Services
icons
Pop-up
name box
Cursor lines

158
When you zoom in to a sufficiently small zoom range, the icon itself be-
comes an animated arrow showing tidal current velocity and direction
for the selected tidal station at the present time. At larger zoom ranges,
you can select the boxed "C" icon and it becomes an animated arrow
with a pop-up name box. An example is displayed in the following figure.
To view Tidal Current information:
1. Use the arrow keys to move the cursor over a Tidal Current Station
icon. When selected, a pop-up name box appears.
2. Press WPT to display the Tidal Current Information screen.
Navionics chart showing Tidal Current Station icon selected by cur-
sor. In this example, the tidal current is in flood but it's about to enter
the slack water stage. The current is flowing to the west at 0.1 mph.
Current Information screen.
Cursor lines
Tidal Current
Station icon in
animated mode
Pop-up
name box
Pop-up
name box

159
The Tidal Current Information screen displays daily tidal current data
for this station on this date at the present time. The graph at the top of
the screen is an approximate view of the flood and ebb pattern for the
day, from midnight (MN), to noon (NN) to midnight (MN). The velocity
scale at the top left side of the graph changes dynamically based upon
the maximum velocity of the current for that day.
Slack water, the period of little or no current, is represented by the
Slack Water Line (SWL). The flood appears above the SWL and the ebb
appears below the SWL.
You can look up tidal current data for other dates by changing the
month, day and year selection boxes. To select another date:
1. Use → and ← to highlight month, day or year, then press ENT.
2. Use ↑ and ↓ to select the desired month, day or year, then press ENT.
To clear the information screen, press EXIT.
Tide Information
Navionics charts contain Tidal Information,
represented at large zoom ranges by a box icon with
the letter "T." The icon stands for a Tidal Station
location. An example is displayed at right.
When you zoom in to a sufficiently small zoom range, the icon itself be-
comes an animated gauge showing a rising or falling tidal height for the
selected station at the present time. At larger zoom ranges, you can se-
lect the boxed "T" icon and it becomes an animated gauge with a pop-up
name box. An example is displayed in the following figure.
To view tide information:
1. Select a Tide Station icon: use the arrow keys to move the cursor over
an icon. When it is selected, a pop-up name box appears.
2. After selecting the Tide Station icon, press WPT to display the Tide
Information screen.

160
Navionics chart showing Tide Station icon selected by cursor.
In the example above, the tide is at 2.8 feet and falling,
as shown by the down arrow at the top of the icon.
Tide Information screen.
The Tide Information screen displays daily tidal data for this station on
this date at the present time. The graph at the top of the screen is an
approximate view of the tidal range pattern for the day, from midnight
(MN), to noon (NN) to midnight (MN). The dotted line across the graph
is the Mean Lower Low Water line (MLLW).
The height scale on the top right side of the graph changes, based upon
the maximum range of the tide for that day. The MLLW line also ad-
justs its position as the height scale changes.
Tide Station
icon
Cursor line
Pop-up
name box

161
You can look up tidal data for other dates by changing the month, day
and year selection boxes. To select another date:
1. Use → and ← to highlight month, day or year, then press ENT.
2. Use ↑ and ↓ to select the desired month, day or year, then press ENT.
To clear the information screen, press EXIT.
Pop-up Help
Help is available for virtually all of the menu labels on this unit. By
highlighting a menu item and leaving it highlighted for a few seconds, a
"pop-up" message appears that describes the function of the menu item.
This feature is on by default.
To set up Popup Help: Press MENU|MENU|↓ to SYSTEM SETUP|ENT|↓
to POPUP HELP. With the option highlighted, press ENT to check it (turn
on) and uncheck it (turn off.) After the option is set, press EXIT|EXIT to
return to the page display.
System Setup menu, left, with Pop-up Help command highlighted. At
right, this example shows the Pop-up Help message for the Go To Cur-
sor command, located on the Map Menu.
Position Pinning
When you are standing still or moving at extremely slow speed, a GPS
receiver can have trouble determining the direction you are traveling.
In the past, this resulted in a "wandering" plot trail that moved around
the map, even if you were standing still.
The Position Pinning feature was developed so that when you stopped,
the unit locked the present position on the GPS plotter until you moved
a short distance or exceeded a very slow speed.
The command remains available in the unit's software, but we recom-
mend that you leave it in the default off (unchecked) mode. The "wan-
dering" plot trail issue has now been corrected by the Track Smoothing
feature. Turning on Position Pinning could actually result in an inaccu-

162
rate plot trail if you are moving around in a relatively small area. If you
want to experiment with Position Pinning, the same instructions are
used to turn the feature on (checked) and off (unchecked.)
1. Press MENU|MENU|↓ to GPS SETUP|ENT|↓ to POSITION PINNING|ENT.
2. Press EXIT|EXIT to return to the previous page.
Reset Options
To reset all features to their factory defaults:
1. Press MENU|MENU|↓ to SYSTEM SETUP|ENT|↓ to RESET OPTIONS|ENT|←
to YES|ENT.
NOTE:
Reset Options does not erase any waypoints, routes, icons, plot trails or
sonar logs.
Reset Options command, left,
and the Reset Options Menu, right.
Require DGPS
You can force LMS-320 to require DGPS for reporting a valid position.
(The default setting, off, uses DGPS automatically when an optional
DGPS beacon receiver is connected. However, this auto mode doesn't
require DGPS reception to yield a position.) Here's how to turn manda-
tory DGPS on and off.
1. Press MENU|MENU|↓ to GPS SETUP|ENT|↓ to REQUIRE DGPS|ENT.
2. To return to the last page displayed, press EXIT|EXIT.
3. You can return to this command and press ENT again to turn the fea-
ture off.

163
GPS Setup command, left; Require DGPS
command on the GPS Setup Menu, right.
Screen Contrast and Brightness
To access the Screen menu, press MENU|MENU|ENT.
Once in the Screen menu:
To adjust the display's contrast:
The CONTRAST slider bar is already selected. Press → or ← to move the
bar. The left end of the scale is minimum contrast; the right end is
maximum contrast.
Screen Command, left, and Screen Menu with Contrast bar selected, right.
To adjust the display's brightness:
Press ↓ to BRIGHTNESS. Press → or ← to move the bar. The left end of the
scale is minimum contrast; the right end is maximum contrast.
To adjust the screen's display mode:
Press ↓ to DISPLAY MODE|ENT|press ↑ or ↓ to select mode|EXIT.

164
Display Mode menu.
Set Language
This unit's menus are available in 10 languages: English, French, Ger-
man, Spanish, Italian, Danish, Swedish, Russian, Dutch and Finnish.
To select a different language:
1. Press MENU|MENU|↓ to SYSTEM SETUP|ENT.
2. Press ↓ to SET LANGUAGE…|ENT.
3. Use ↓ or ↑ to select a different language and press ENT. All menus
now appear in the language you selected.
Set Local Time
Using the correct local time setting is handy when estimating local ar-
rival time while navigating. Also, the time and date are saved when a
waypoint is created.
To access the Set Local Time menu, you must first acquire your posi-
tion. Once that is done: press MENU|MENU|↓ to SYSTEM SETUP|ENT|↓ to
SET LOCAL TIME|ENT.
Once in the Time Settings menu:
To set Local Time: Press ENT. Press ↑ or ↓ to change the first charac-
ter, then press → to move the cursor to the next character. Repeat until
the time is correct, then press ENT.
To set the Month: Press ↓ to MONTH|ENT. Press ↑ or ↓ to select the
month, then press ENT.
To set the Day: Press → to DAY|ENT. Press ↑ or ↓ to select the day,
then press ENT.
To set the Year: Press → to YEAR|ENT. Press ↑ or ↓ to select the year,
then press ENT.

165
The last field in this menu is CONFIG DST. This feature allows your unit
to automatically adjust with the time change caused by Daylight Sav-
ing Time (you should only have to set it once). You may select which set
of rules matches DST in your region, or simply accept the default.
Once you have each field set the way you want, press EXIT repeatedly
until you return to the previous page.
Show WAAS Alarm
When the signal is available, your unit will automatically use WAAS to
boost the accuracy of the position fix. When the WAAS signal is lost or
acquired, a alarm message appears. Since the U.S. government is still
developing the WAAS system, it's not unusual for a GPS/WAAS re-
ceiver to frequently lose and reacquire its lock on a WAAS satellite.
That can result in the alarm repeatedly going on and off. If you want,
you have the option of turning off the WAAS Acquired/Lost alarm with-
out affecting how the unit uses WAAS. Here's how:
1. Press MENU|MENU|↓ to GPS SETUP|ENT|↓ to SHOW WAAS ALARM.
2. With the option highlighted, press ENT to uncheck it (turn off) and
check it (turn on.) After the option is set, press EXIT|EXIT to return to
the page display.
3. You can return to this command and press ENT again to turn the fea-
ture on.
Software Version Information
From time to time, Lowrance updates the operating system software in
some of its products. These software upgrades are usually offered to
customers as free downloads from our web site, www.lowrance.com.
These upgrades make the unit perform better or introduce a new fea-
ture or function. You can find out what software version is running in
your LMS-320 by using the Software Information command.
System Setup command left; Software Information command, center.
At right, the Software Information screen.

166
1. Press MENU|MENU|↓ to SYSTEM SETUP|ENT|↓ to SOFTWARE INFO|ENT.
2. Read the information displayed on the screen.
3. To return to the last page displayed, press EXIT|EXIT|EXIT.
Sounds and Alarm Sound Styles
Sounds triggered by key strokes and alarms can be adjusted:
You first press MENU|MENU|↓ to SOUNDS|ENT.
Sounds command, left. At right, the Sounds menu.
Once in the Sounds menu:
To set Key Press Sounds: With the option highlighted, press ENT to
check it (turn on) and uncheck it (turn off.) After the option is set, press
EXIT|EXIT to return to the page display.
To set Alarm Sounds: Press ↓ to ALARM SOUNDS. With the option high-
lighted, press ENT to check it (turn on) and uncheck it (turn off.) After
the option is set, press EXIT|EXIT to return to the page display.
To set Alarm Volume: Press ↓ to VOLUME. Press → or ← to move the
bar. The left end of the scale is low volume; the right end is high volume.
After the option is set, press EXIT|EXIT to return to the page display.
To set Alarm Style: Press ↓ to ALARM STYLE|ENT. Press ↑ or ↓ to
change the style, then press ENT. After the option is set, press
EXIT|EXIT to return to the page display.
Track Smoothing
This is a factory setting on the GPS Setup menu that should always be
left on. When stopped or traveling at slow speeds (such as walking or
trolling), Track Smoothing prevents wandering of trails, the steering
arrow, compass rose and a map in track-up mode.
Track Smoothing option, turned on.

167
Trail Options
There are several options you can use with trails. Some affect all trails,
other options can be applied to a particular trail. You can change the
way trails are updated, you can display or hide trails, make them flash
on the screen or not flash, create a new trail, delete a trail, etc.
General Trail Options
To access the Trails Menu:
1. Press MENU|MENU|↓ to MY TRAILS|ENT.
Main Menu, left, Trails Menu, center, Trail Options, right.
Delete All Trails
To remove all of the trails from memory: from the Trails Menu, press →
to DELETE ALL|ENT|← to YES|ENT.
Flash Trails on Screen Option
From the Trails Menu, press → to OPTIONS|ENT|↓ to FLASH TRAILS. With
the option highlighted, press ENT to check it (turn on) and uncheck it
(turn off.)
Update Trail Option
This menu lets you change the way the trail updates occur.
WARNING:
If you uncheck the Update Trail option, automatic trail
creation and recording will be turned off. You must turn
it back on to record trails. The default setting is on.
From the Trails Menu, press → to OPTIONS|ENT. With UPDATE ACTIVE TRAIL
highlighted, press ENT to check it (turn on) and uncheck it (turn off.)
Update Trail Criteria (Auto, Time, Distance)
The options are automatic, time, or distance. When it's in the default
automatic mode, the unit doesn't update the plot trail while you're
traveling in a straight line. Once you deviate from a straight line, the
unit "drops" a plot point (trail waypoint) onto the trail. This conserves
plot trail points. If a plot trail uses all of the available points allotted to

168
it, the beginning points are taken away and placed at the end of the trail.
From the Trails Menu, press → to OPTIONS|ENT|↓ to UPDATE CRITERIA.
Press → or ← to select criteria type|ENT.
Trail Update Rate (Time, Distance)
You can update a trail by time, with a range from 1 second to 9999 sec-
onds; the default is 3 seconds. You can update by distance, with a range
from 0.01 mile/nm/km to 9.99 mile/nm/km; the default is 0.10 mi.
With one of the Update Criteria selected, use the cursor arrows to
highlight either the UPDATE RATE or UPDATE DISTANCE data entry boxes and
press ENT. Press ↑ or ↓ to change the first character, then press → to
the next character and repeat until the entry is correct. Press EXIT to
return to the Trail Options Menu.
Trail Options menu: Update Time Rate setting, left, and Update Dis-
tance setting, right.
Specific Trail Options
Delete Trail
To delete a specific trail: From the Trails Menu, press ↓ to Trail
Name|ENT. The Edit Trail menu appears as seen in the following fig-
ure. Press → to DELETE TRAIL|ENT|← to YES|ENT.
Edit Trail menu.
New Trail
To manually start a new trail, in the Trails Menu, make sure NEW TRAIL
is highlighted and press ENT.

169
Trail Visible/Invisible and Other Trail Options
The name, maximum number of points in the trail, activity, and visi-
bility are all changed on the Edit Trail menu screen. The Active setting
determines whether or not LMS-320 is recording new points for a par-
ticular trail.
On the Edit Trail menu, press ↓ or ↑ to highlight the section you wish
to change, then press ENT. Make your changes, then press EXIT to erase
this menu.
Units of Measure
This menu sets the speed and distance (statute or nautical miles, me-
ters), depth (feet, fathoms, or meters), temperature (degrees Fahrenheit
or Celsius) and heading (true or magnetic) units. To change the units:
Press MENU|MENU|↓ to SYSTEM SETUP|ENT|ENT.
System Setup Menu, left, Units of Measure Menu, right.
To set Speed/Distance Unit of Measure: Press ↑ or ↓ to change the
Speed/Distance, then press ENT. After the option is set, press
EXIT|EXIT|EXIT to return to the page display.
To set Heading: Press ↑ or ↓ to change the heading type, then press
ENT. After the option is set, press EXIT|EXIT|EXIT to return to the page
display.
170
Notes

171
Section 9: Searching
NOTE:
The background map loaded in your unit lets you to search for U.S.
Interstate Highway exits and exit services, as well as some land
features, including cities and lakes. For a full set of searchable land
features, including landmarks, streets, addresses and Points of In-
terest, you must load your own high-detail custom map produced
with our MapCreate 6 software. For a complete description of what
detail is found in the background map and custom MapCreate
maps, see page 102.
LMS-320's varied search functions all begin with either the Find Way-
point menu or the Map Page menu. Press WPT and the Find Waypoint
menu appears for waypoints and Points of Interest (POI). From the
Map Page, press MENU and the Map Page menu appears for streets,
addresses and highway exits.
Find Waypoint menu, left and Map Page menu, right.
NOTE:
You can search for items after LMS-320 has acquired a position, or
while using LMS-320 in the "indoor" simulator mode. Distance and
bearing to the selected item will be calculated from LMS-320's cur-
rent position, or the last known position if operating indoors (with-
out a position determined). You can look up items by name, or
search for the item nearest to you.
Find Addresses
1. From the Map Page, press MENU|↓ to FIND ADDRESS|ENT.
2. Press ENT to search in the Address field.

172
Find Address Menu.
3. To enter an address number, press ↑ or ↓ to change the first
number, then press → to move the cursor to the next number and re-
peat until the number is correct, then press ENT.
4. To enter a street name, press ↓ to STREET|ENT. There are two op-
tions: A. You can spell out the name in the top selection box. Press ↑
or ↓ to change the first letter, then press → to move the cursor to the
next letter and repeat until the name is correct, then press ENT|ENT. B.
Jump down to the lower selection list by pressing ENT, then press ↓ or ↑
to select a street name from the list, then press ENT. The street name
you selected is now in the street field.
Find Address menu, left; Find Street menu, center,
with Find By Name field active; street name entry complete, right.
5. To enter a city name, press ↓ to CITY|ENT. You will be asked if you
want to find addresses only within a particular city. This option is de-
signed so you can limit an address search to a single city if necessary
(see the note below.)
If you select yes, there are two options: A. You can spell out the city
name in the top selection box. Press ↑ or ↓ to change the first letter, then
press → to move the cursor to the next letter and repeat until the name
is correct, then press ENT|ENT. B. Jump down to the lower selection list

173
by pressing ENT, then press ↓ or ↑ to select a city name from the list,
then press ENT. The city name you selected is now in the city field.
NOTE:
We recommend that you do not enter a city name unless the list you
are given is too large when searching without it. LMS-320 can ac-
tually search quicker without a city and you save time by not en-
tering a city name.
Find city field, left, Search in particular city only option, center; Find
City by name, right.
6. When the necessary search fields are filled in, press ↓ to FIND AD-
DRESS|ENT. You unit asks you to wait while it searches for the address.
(If an address is not in the database, a message appears saying the ad-
dress could not be found.)
7. The unit will display a list of addresses. If the address you are look-
ing for is highlighted at the top of the list, press ENT. If not, use ↓ and ↑
to select the correct address from the list, then press ENT. The Map
Page will then appear with the location selected by the cursor. (In the
example below, we are looking for 12303 East 11th Street in Tulsa, not
11th Court, so we had to scroll down the list to select the right one.)
Address search result list, left. At center, Map Page showing location
of the address on the map, highlighted by cursor. At right, after the
address is located, you can navigate to it ("D" symbol for destination).

174
8. To navigate to the address, press MENU|ENT|EXIT and LMS-320 will
begin showing navigation information to the address pointed out by the
cursor. If you are only looking up an address (not navigating), just
press EXIT to return to the previous page.
Tip:
If the address also happens to be an item in the Point of Interest
database, you can look up the item's phone number in the Waypoint
Information list. With the address location selected by the cursor on
the map, press WPT. The POI's Waypoint Information window ap-
pears, with the Go To Waypoint command highlighted. If you want
to go ahead and navigate to the POI address, just press ENT|EXIT.
Left, Map Page showing location of the address on the map, high-
lighted by cursor. Center, this address is a business in the POI data-
base, so you can display the POI information window, then navigate to
it. At right, this address is not in the POI database, so the Waypoint
key will not display any information for this address.
Find Any Item Selected by Map Cursor
On the Map Page: with a POI or map feature selected by the cursor
press WPT. To return to the previous page, press EXIT.
A POI selected by the cursor, left, POI information screen, right.

175
NOTE:
Since the Go To Waypoint command is highlighted, you can navi-
gate to the selected POI by pressing ENT|EXIT while in the POI
Waypoint Information screen.
Find Interstate Highway Exits
1. From the Map Page, press MENU|↓ to HIGHWAY EXITS|ENT, which calls
up the Find Exit menu.
Find Highway Exits command, left, and Find Exit menu, right.
2. First, select a highway name by pressing ENT, which calls up the
Find By Name menu. There are two highway search options: A. You
can spell out the highway name in the top selection box. Press ↑ or ↓
to change the first letter, then press → to move the cursor to the next
letter and repeat until the name is correct, then press ENT|ENT. B.
Jump down to the lower selection list by pressing ENT, then press ↓ or ↑
to select a highway from the list, then press ENT.
Find By Name menu, right.

176
3. Once you have selected a highway name you can then select an exit.
Press ↓ to switch to the Exit List, then press ↓ or ↑ until you highlight
the exit, then press ENT.
Find Exit menu, with an exit selected in the Exit List.
4. In the Exit Information screen you have two choices. A. Press ENT to
navigate or "go to" the exit. B. Press →|ENT to find the exit on the map.
"Go To Exit" option, left, "Find On Map" option, right.
Tip:
You can also look up some additional information on the Exit Serv-
ices located near this exit. Press ↓ to SERVICES|press ↓ or ↑ to select
Service Name|ENT.

177
Exit Information screen, left; general location
and amenities information, at right.
Find Map Places or Points of Interest (POI)
1. Press WPT, press ↓ or ↑ to select a map place or POI category, then
press ENT. (To narrow your search, press → then press ↓ or ↑ to select a
subcategory before pressing ENT.) You will be given two options; Search
By Name or By Nearest.
Find Waypoint menu with Lodging POI category selected, left, and
with the RV Parks subcategory selected, right.
2. Search by nearest POI. Press ↓|ENT. The "find by nearest" menu
will show a "calculating" screen, then a list of the nearest POI's will
appear. Press ↓ or ↑ to the selected POI and press ENT to call up the
POI's Waypoint Information screen.

178
Find by nearest option, left, Calculating screen, center, POI list, right.
3. Search by name of POI. Press ENT. There are two options: A. You
can spell out the POI in the top selection box. Press ↑ or ↓ to change
the first letter, then press → to move the cursor to the next letter and
repeat until the name is correct, then press ENT|ENT. B. Jump down to
the lower selection list by pressing ENT, then press ↓ or ↑ to select a
POI from the list, then press ENT to call up the POI's Waypoint Infor-
mation screen.
Find by name option, left, Find by name menu, right.
4. When the POI's Waypoint Information screen is displayed, you can
choose to "Go To" the POI waypoint by pressing ENT or find it on the
map by pressing→|ENT.

179
"Go To" POI option, left, "Find on Map" POI option, right.
Find Streets or Intersections
Find a Street
1. From the Map Page, press MENU|↓ to FIND STREETS|ENT and the Find
Streets Menu appears.
Find Streets command, left, Find Streets menu, right.
2. You must first fill in a street name in the First Street dialog box.
Press ENT to display the Find By Name menu. There are two options:
A. You can spell out the street in the top selection box. Press ↑ or ↓ to
change the first letter, then press → to move the cursor to the next let-
ter and repeat until the name is correct, then press ENT|ENT. B. Or you
can jump down to the lower box and pick a street from the selection
list. Press ENT, then press ↓ or ↑ to select a street from the list and
press ENT.

180
Find Street By Name menu. Spell out name in
the top box, or select from the list in the lower box.
3. The Find Streets menu reappears with the street you're searching for
in the First Street box. (In this example, it's 80th Street.) To search for
that street, press ↓ to FIND FIRST STREET|ENT. A message appears asking
you to wait while the unit finds the street. When the Streets Found list
appears, press ↑ or ↓ to select the street you are searching for and press
ENT.
At left, the Find Streets menu with the Find First
Street command highlighted. At right, Streets Found list.
4. The Map Page appears, with the cursor pointing to the found street.

181
Map Page showing results of a street search.
The cursor points to the located street.
If you want to navigate to the found street at the cursor location, just
press MENU|ENT|EXIT.
Find an Intersection
You must enter one street in the First Street dialog box and enter the
next street in the Second Street dialog box.
1. From the Map Page, press MENU|↓ to FIND STREETS|ENT and the Find
Streets Menu appears.
2. You must fill in a street name in the First Street dialog box. Press
ENT to display the Find By Name menu. There are two options: A. You
can spell out the street in the top selection box. Press ↑ or ↓ to change
the first letter, then press → to move the cursor to the next letter and
repeat until the name is correct, then press ENT|ENT. B. Or you can
jump down to the lower box and pick a street from the selection list.
Press ENT, then press ↓ or ↑ to select a street from the list and press
ENT.
3. The Find Streets menu reappears with the street you're searching for
in the First Street box. (In this example, it's 80th Street.)
4. Now fill in the second street. Press ↓ to SECOND STREET|ENT and the
Find By Name menu appears again. Just like before, there are two op-
tions: A. You can spell out the second street in the top selection box.
Press ↑ or ↓ to change the first letter, then press → to move the cursor
to the next letter and repeat until the name is correct, then press
ENT|ENT. B. Or you can jump down to the lower box and pick the sec-

182
ond street from the selection list. Press ENT, then press ↓ or ↑ to se-
lect a street from the list and press ENT.
5. The Find Streets menu reappears with the first and second street
dialog boxes filled in. In this example, we selected 71st Street as our
second street. You could now use similar techniques to select a city or
Zip code, but your search will probably be faster if you leave those
boxes blank. (You can specify a city and/or Zip code later on to narrow
the search, if the resulting list is too long.)
Find Intersection command highlighted, left, and
"Working" message, center. At right is the Intersections Found list.
6. To search for the intersection of the two streets, press ↓ to FIND
INTERSECTION|ENT. A message appears asking you to wait while the unit
finds the intersection. When the Intersections Found list appears, press
↑ or ↓ to select the intersection you are searching for and press ENT. (In
the example on the previous page, we selected the intersection of SW
80th Street and SW 71st Avenue in Miami, Fla.)
7. The Map Page appears, with the cursor pointing to the found inter-
section. The intersection in our example is shown below.
Map Page showing results of an intersection search.
The cursor points to the located intersection.

183
If you want to navigate to the found intersection, just press
MENU|ENT|EXIT.
Find Waypoints
1. Press WPT|ENT.
2. If searching for the waypoint By Name, press ENT. If searching for
the Nearest waypoint, press ↓ to NEAREST|ENT. (To search by name,
jump to step 5 below.)
Find Waypoint menu, left; Find By Nearest command, center,
Find by Name command, right.
3. If you're looking for nearest, LMS-320 says it is calculating, then
a list of waypoints appears. The closest is highlighted at the top of the
list and the farthest at the bottom of the list.
Calculating message, left, and list of the nearest waypoints, right.
4. To see location information on the closest (highlighted) waypoint,
press ENT and the Waypoint Information screen appears. (If you
wanted to, you could select another waypoint from the list with the ↑ or
↓ keys.)
A. To navigate to the waypoint, press ENT. (The Go To Waypoint
command is already highlighted.) The unit will show navigation in-
formation to the waypoint.
B. To find the waypoint, press ↓ to FIND|ENT. The Map Page ap-

184
pears with the cursor highlighting the found waypoint.
Waypoint Information screens with the Go To Waypoint command se-
lected, left, and the Find on Map command selected, right.
To clear these menus and return to the previous page, press EXIT re-
peatedly.
5. If you're looking by name, there are two options: A. You can spell
out the name in the top selection box. Press ↑ or ↓ to change the first
letter, then press → to move the cursor to the next letter and repeat
until the name is correct, then press ENT|ENT. B. Or you can jump
down to the lower selection list by pressing ENT, then press ↓ or ↑ to
select a waypoint from the list, then press ENT. The waypoint informa-
tion screen appears.
Find By Name menu, left. Waypoint Information screen, center. At right,
the found waypoint is highlighted by the cursor on the Map Page.
A. To navigate to the waypoint, press ENT. (Go To Waypoint com-
mand is already highlighted.) The unit will show navigation infor-
mation to the waypoint.
B. To find the waypoint, press ↓ to FIND|ENT. The Map Page ap-
pears with the cursor highlighting the found waypoint.
To clear these menus and return to the previous page, press EXIT re-
peatedly.
185
Section 10: Supplemental Material
Datums Used by This Unit
WGS 1984
Default
Adindan
Mean for Ethiopia, Sudan
Adindan
Burkina Faso
Adindan
Cameroon
Adindan
Ethiopia
Adindan
Mali
Adindan
Senegal
Adindan
Sudan
Afgooye
Somalia
Ain el Abd 1970
Bahrain
Ain el Abd 1970
Saudi Arabia
Anna 1 Astro 1965
Cocos Islands
Antigua Island Astro
1943; Antigua (Leeward
Islands)
Arc 1950; Mean for
Botswana, Lesotho,
Malawi, Swaziland, Zaire,
Zambia and Zimbabwe
Arc 1950 - Botswana
Arc 1950 - Burundi
Arc 1950 - Lesotho
Arc 1950 - Malawi
Arc 1950 - Swaziland
Arc 1950 - Zaire
Arc 1950 - Zambia
Arc 1950 - Zimbabwe
Arc 1960 - Mean for
Kenya, Tanzania
Ascension Island 1958 -
Ascension Island
Astro Beacon E 1945 -
Iwo Jima
Astro DOS 71/4 - St.
Helena Island
Astro Tern Island (FRIG)
1961 - Tern Island
Astronomical Station
1952 - Marcus Island
Australian Geodetic 1966
- Australia & Tasmania
Australian Geodetic 1984
- Australia & Tasmania
Ayabelle Lighthouse -
Djibouti
Bellevue (IGN) - Efate &
Erromango Islands
Bermuda 1957 - Bermuda
Bissau - Guinea-Bissau
Bogota Observatory -
Colombia
Bukit Rimpah - Indonesia
(Bangka & Belitung
Islands)
Camp Area Astro -
Antarctica (McMurdo
Camp Area)
Campo Inchauspe -
Argentina
Canton Astro 1966 -
Phoenix Islands
Cape - South Africa
Cape Canaveral -
Bahamas, Florida
Carthage - Tunisia
Switzerland
Chatham Island Astro
1971; New Zealand
(Chatham Island)
Chua Astro
Paraguay
Corrego Alegre
Brazil
Dabola
Guinea
Djakarta (Batavia)
Indonesia (Sumatra)
186
DOS 1968
New Georgia Islands
(Gizo Island)
Easter Island 1967
Easter Island
European 1950
Mean for Austria,
Belgium, Denmark,
Finland, France, West
Germany, Gibraltar,
Greece, Italy,
Luxembourg,
Netherlands, Norway,
Portugal, Spain, Sweden,
Switzerland
European 1950
Mean for Austria,
Denmark, France, West
Germany, Netherlands,
Switzerland
European 1950
Mean for Iraq, Israel,
Jordan, Lebanon, Kuwait,
Saudi Arabia, Syria
European 1950
Cyprus
European 1950
Egypt
European 1950
England, Channel
Islands, Ireland, Scotland,
Shetland Islands
European 1950
Finland, Norway
European 1950
Greece
European 1950
Iran
European 1950
Italy (Sardinia)
European 1950
(Sicily)
European 1950
Malta
Ireland 1965
Ireland
ISTS 061 Astro 1968
South Georgia Islands
ISTS 073 Astro 1969
Diego Garcia
Johnston Island 1961
Johnston Island
Kandawala
Sri Lanka
Kerguelen Island 1949
Kerguelen Island
Kertau 1948
West Malaysia &
Singapore
Kusaie Astro 1951
Caroline Islands
L.C. 5 Astro 1961
Cayman Brac Island
Leigon
Ghana
Liberia 1964
Liberia
Luzon
Philippines (Excluding
Mindanao)
Luzon
Philippines (Mindanao)
Mahe 1971
Mahe Island
Massawa
Ethiopia (Eritrea)
Merchich
Morocco
Midway Astro 1961
Midway Islands
Minna
Cameroon
Minna
Nigeria
Montserrat Island Astro
1958; Montserrat
(Leeward Islands)
M’Poraloko
Gabon, Nahrwan, Oman
(Masirah Island)
Nahrwan
Saudi Arabia
Nahrwan
United Arab Emirates
Naparima BWI
Trinidad & Tobago
North American 1927
Mean for Antigua,
Barbados, Barbuda,
Caicos Islands, Cuba,
Dominican Republic,
Grand Cayman, Jamaica,
Turks Islands
North American 1927
Mean for Belize, Costa
Rica, El Salvador,
Guatemala, Honduras,
Nicaragua
North American 1927
Mean for Canada
187
North American 1927
Mean for CONUS
(Continental United
States)
North American 1927
Mean for CONUS (East
of Mississippi River)
including Louisiana,
Missouri, Minnesota
North American 1927
Mean for CONUS
(West of Mississippi
River)
North American 1927
Alaska
North American 1927
Bahamas (Except San
Salvador Island)
North American 1927
Bahamas (San Salvador
Island)
North American 1927
Canada (Alberta, British
Columbia)
North American 1927
Canada (Manitoba,
Ontario)
North American 1927
Canada (New Brunswick,
Newfoundland, Nova
Scotia, Quebec)
North American 1927
Canada (Northwest
Territories,
Saskatchewan)
North American 1927
Canada (Yukon)
North American 1927
Canal Zone
North American 1927
Cuba
North American 1927
Greenland (Hayes
Peninsula)
North American 1927
Mexico
North American 1983
Alaska, Canada, CONUS
North American 1983
Central America, Mexico
Observaorio Metereo
1939; Azores (Corvo &
Flores Islands)
Old Egyptian 1907
Egypt
Old Hawaiian
Mean for Hawaii, Kauai,
Maui, Oahu
Old Hawaiian
Hawaii
Old Hawaiian
Kauai
Old Hawaiian
Maui
Old Hawaiian
Oahu
Oman
Oman
Ordinance Survey
Great Britain 1936 - Mean
for England, Isle of Man,
Scotland, Shetland
Islands, Wales
Ordinance Survey
Great Britain 1936 -
England
Ordinance Survey
Great Britain 1936 -
England, Isle of Man,
Wales
Ordinance Survey
Great Britain 1936 -
Scotland, Shetland
Islands
Ordinance Survey
Great Britain 1936 -
Wales
Pico de las Nieves
Canary Islands
Pitcairn Astro 1967
Pitcairn Island
Point 58
Sweden
Santo (DOS)
1965 Espirito Santo
Island
Sao Braz
Azores (Sao Miguel,
Santa Maria Islands)
Sapper Hill 1943
East Falkland Island
Schwarzeck
Nambia
Selvagem Grande
Salvage Islands
SGS 85
Soviet Geodetic System
1985
South American 1969
Mean for Argentina,
188
Bolivia, Brazil, Chile,
Colombia, Ecuador,
Guyana, Paraguay, Peru,
Trinidad & Tobago, and
Venezuela
South American 1969
Argentina
South American 1969
Bolivia
South American 1969
Brazil
South American 1969
Chile
South American 1969
Colombia
South American 1969
Ecuador
South American 1969
Ecuador (Baltra,
Galapagos)
South American 1969
Guyana
South American 1969
Paraguay
South American 1969
Peru
South American 1969
Trinidad & Tobago
South American 1969
Venezuela
South Asia
Singapore
Tananarive Observatory
1925; Madagascar
Timbalai 1948
Brunei, East Malaysia
(Sabah, Sarawak)
Tokyo
Mean for Japan, Korea,
Okinawa
Tokyo
Japan
Tokyo
Korea
Tokyo
Okinawa
Tristan Astro 1968
Tristan da Cunha
Viti Levu 1916
Fiji (Viti Levu Island)
Wake
Eniwetok 1960
Marshall Islands
Wake Island Astro 1952
Wake Atoll
WGS 1972
Global Definition
Yacare
Uruguay
Zanderij
Suriname
189
FCC Compliance
This device complies with Part 15 of the U.S. Federal
Communications Commission (FCC) Rules. Operation is subject
to the following two conditions: (1) this device may not cause
harmful interference, and (2) this device must accept any
interference received, including interference that may cause
undesired operation.
Changes or modifications not expressly approved by the
manufacturer could void the user's authority to operate the
equipment.
Note:
This equipment has been tested and found to comply with the
limits for a Class B digital device, pursuant to Part 15 of the
FCC Rules. These limits are designed to provide reasonable
protection against harmful interference in a residential
installation. This equipment generates, uses and can radiate
radio frequency energy and, if not installed and used in
accordance with the instructions, may cause harmful
interference to radio communications. However, there is no
guarantee that interference will not occur in a particular
installation. If this equipment does cause harmful interference to
radio or television reception, which can be determined by turning
the equipment off and on, the user is encouraged to try to correct
the interference by one or more of the following measures:
• Reorient or relocate the receiving antenna.
• Increase the separation between the equipment and receiver.
• Connect the equipment into an outlet on a circuit different
from that to which the receiver is connected.
• Consult the factory customer service department for help.
190
Notes
191
LOWRANCE DATABASES LICENSE AGREEMENT
THIS IS A LEGAL AGREEMENT BETWEEN THE END-USER WHO FIRST
PURCHASES THIS PRODUCT AS A CONSUMER ITEM FOR PERSONAL,
FAMILY, OR HOUSEHOLD USE ("YOU") AND LOWRANCE ELECTRONICS,
INC., THE MANUFACTURER OF THIS PRODUCT ("WE", "OUR", OR "US").
USING THE PRODUCT ACCOMPANIED BY THIS LICENSE AGREEMENT
CONSTITUTES ACCEPTANCE OF THESE TERMS AND CONDITIONS. IF
YOU DO NOT ACCEPT ALL TERMS AND CONDITIONS, PROMPTLY
RETURN THE PRODUCT WITHIN 30 DAYS OF PURCHASE. PLEASE
RETURN USING THE ENCLOSED UPS SHIPPING LABEL AND INCLUDE:
PROOF OF PURCHASE, NAME, ADDRESS, AND PHONE NUMBER. YOUR
PURCHASE PRICE AND ANY APPLICABLE TAXES WILL BE REFUNDED.
PLEASE ALLOW 4-6 WEEKS TO PROCESS YOUR REFUND.
1. This License Agreement applies to the one or more databases that
your product may contain. We refer to these singly as a "Database"
and together as the "Databases." Your product may thus include the
"WBS Database" which contains worldwide background surface
mapping data, the "SmartMap Database" which contains inland
mapping data, or other Databases.
2. The Databases that your product may contain are licensed, not sold.
We grant to you the nonexclusive, nonassignable right to use these
Databases for supplemental navigation reference purposes, but only
as long as you comply with the terms and conditions of this License
Agreement. We reserve the right to terminate this license if you
violate any aspect of this License Agreement. You are responsible for
using official government charts and prudent navigation for safe
travel.
3. The Databases housed in your product are protected by the
copyright notices appearing on the product or its screen(s). You may
NOT modify, adapt, translate, reverse engineer, decompile,
disassemble, rent, lease, or resell any Database, and you may NOT
create derivative works based upon any Database or its contents.
Any unauthorized reproduction, use, or transfer of a Database may
be a crime and may subject you to damages and attorney fees.
4. This License Agreement will terminate immediately without prior
notice from us if you fail to comply with or violate any of the
provisions of this Agreement. Upon termination, you will promptly
return all products containing one or more Databases to us.
5. Prices and programs are subject to change without notice.
6. This License Agreement shall be governed by the laws of the State of
Oklahoma and comprises the complete and exclusive understanding
between you and us concerning the above subject matter.
192
DATABASES LIMITED WARRANTY
"We", "our", or "us" refers to Lowrance Electronics, Inc., the manufacturer of
this product. "You" or "your" refers to the first person who purchases the
product as a consumer item for personal, family, or household use. The
Databases Limited Warranty applies to the one or more databases that your
product may contain. We refer to each of these as a "Database" or together as
the "Databases." Your product may thus include the "WBS Database" which
contains worldwide background surface mapping data, the "SmartMap
Database" which contains inland mapping data, or other Databases.
We warrant to you that we have accurately compiled, processed, and
reproduced the portions of the source material on which the Databases are
based. However, we are under no obligation to provide updates to the
Databases, and the data contained in the Databases may be incomplete when
compared to the source material. WE MAKE NO EXPRESS OR IMPLIED
WARRANTY OF ANY KIND ABOUT THE ACCURACY OF THE SOURCE
MATERIAL ITSELF, INCLUDING BUT NOT LIMITED TO IMPLIED
WARRANTIES OF MERCHANTABILITY OR FITNESS FOR A PARTICULAR
PURPOSE.
If there is a defect in any Database, your exclusive remedy shall be, at our
option, either a refund of the price you paid for the product containing the
defective Database or a replacement of such product. WE WILL NOT UNDER
ANY CIRCUMSTANCES BE LIABLE TO ANYONE FOR ANY SPECIAL,
CONSEQUENTIAL, INCIDENTAL, OR OTHER INDIRECT DAMAGE OF
ANY KIND.
Some states do not allow the exclusion or limitation of incidental or
consequential damages, so the above limitations or exclusions may not apply to
you.
This warranty does NOT apply in the following circumstances: (1) when the
product has been serviced or repaired by anyone other than us; (2) when the
product has been connected, installed, combined, altered, adjusted, or handled
in a manner other than according to the instructions furnished with the
product; (3) when any serial number has been effaced, altered, or removed; or
(4) when any defect, problem, loss, or damage has resulted from any accident,
misuse, negligence, or carelessness, or from any failure to provide reasonable
and necessary maintenance in accordance with the instructions of the owner’s
manual for the product.
We reserve the right to make changes or improvements in our products from
time to time without incurring the obligation to install such improvements or
changes on equipment or items previously manufactured.
This warranty gives you specific legal rights and you may also have other
rights which may vary from state to state.
Your remedies under this warranty will be available so long as you can show in
a reasonable manner that the defect occurred within one (1) year from the date
of your original purchase, and we must receive your warranty claim no later
than 30 days after such 1-year period expires. Your claim must be
substantiated by a dated sales receipt or sales slip.
193
LOWRANCE ELECTRONICS
FULL ONE-YEAR WARRANTY
"We," "our," or "us" refers to LOWRANCE ELECTRONICS, INC., the manufacturer of
this product. "You" or "your" refers to the first person who purchases this product as a
consumer item for personal, family or household use.
We warrant this product against defects or malfunctions in materials and workmanship,
and against failure to conform to this product's written specifications, all for one (1) year
from the date of original purchase by you. WE MAKE NO OTHER EXPRESS
WARRANTY OR REPRESENTATION OF ANY KIND WHATSOEVER CONCERNING
THIS PRODUCT. Your remedies under this warranty will be available so long as you can
show in a reasonable manner that any defect or malfunction in materials or
workmanship, or any non-conformity with the product's written specifications, occurred
within one year from the date of your original purchase, which must be substantiated by
a dated sales receipt or sales slip. Any such defect, malfunction, or non-conformity which
occurs within one year from your original purchase date will either be repaired without
charge or be replaced with a new product identical or reasonably equivalent to this
product, at our option, within a reasonable time after our receipt of the product. If such
defect, malfunction, or non-conformity remains after a reasonable number of attempts to
repair by us, you may elect to obtain without charge a replacement of the product or a
refund for the product. THIS REPAIR, OR REPLACEMENT OR REFUND (AS JUST
DESCRIBED) IS THE EXCLUSIVE REMEDY AVAILABLE TO YOU AGAINST US FOR
ANY DEFECT, MALFUNCTION, OR NON-CONFORMITY CONCERNING THE
PRODUCT OR FOR ANY LOSS OR DAMAGE RESULTING FROM ANY OTHER
CAUSE WHATSOEVER. WE WILL NOT UNDER ANY CIRCUMSTANCES BE LIABLE
TO ANYONE FOR ANY SPECIAL, CONSEQUENTIAL, INCIDENTAL, OR OTHER
INDIRECT DAMAGE OF ANY KIND.
Some states do not allow the exclusion or limitation of incidental or consequential
damages, so the above limitations or exclusions may not apply to you.
This warranty does NOT apply in the following circumstances: (1) when the product has
been serviced or repaired by anyone other than us; (2) when the product has been
connected, installed, combined, altered, adjusted, or handled in a manner other than
according to the instructions furnished with the product; (3) when any serial number has
been effaced, altered, or removed; or (4) when any defect, problem, loss, or damage has
resulted from any accident, misuse, negligence, or carelessness, or from any failure to
provide reasonable and necessary maintenance in accordance with the instructions of the
owner's manual for the product.
We reserve the right to make changes or improvements in our products from time to time
without incurring the obligation to install such improvements or changes on equipment
or items previously manufactured.
This warranty gives you specific legal rights and you may also have other rights which
may vary from state to state.
REMINDER: You must retain the sales slip or sales receipt proving the date of your
original purchase in case warranty service is ever required.
LOWRANCE ELECTRONICS
12000 E. SKELLY DRIVE, TULSA, OK 74128
(800) 324-1356
194
How to Obtain Service…
…in the USA:
We back your investment in quality products with quick, expert service
and genuine Lowrance parts. If you're in the United States and you
have technical, return or repair questions, please contact the Factory
Customer Service Department. Before any product can be returned, you
must call customer service to determine if a return is necessary. Many
times, customer service can resolve your problem over the phone
without sending your product to the factory. To call us, use the
following toll-free number:
800-324-1356
8 a.m. to 5 p.m. Central Standard Time, M-F
Lowrance Electronics may find it necessary to change or end our
shipping policies, regulations, and special offers at any time. We reserve
the right to do so without notice.
…in Canada:
If you're in Canada and you have technical, return or repair questions,
please contact the Factory Customer Service Department. Before any
product can be returned, you must call customer service to determine if
a return is necessary. Many times, customer service can resolve your
problem over the phone without sending your product to the factory. To
call us, use the following toll-free number:
800-661-3983
905-629-1614 (not toll-free)
8 a.m. to 5 p.m. Eastern Standard Time, M-F
…outside Canada and the USA:
If you have technical, return or repair questions, contact the dealer in
the country where you purchased your unit. To locate a dealer near
you, visit our web site, www.lowrance.com and look for the Dealer
Locator.
Accessory Ordering Information
for all countries
To order Lowrance GPS accessories such as computer cables or MMC
cards, please contact:
1) Your local marine dealer or consumer electronics store. Most quality
dealers that handle marine electronic equipment or other consumer
electronics should be able to assist you with these items.
To locate a Lowrance dealer near you, visit our web site,
www.lowrance.com and look for the Dealer Locator. Or, you can consult
your telephone directory for listings.
2) U.S. customers: LEI Extras Inc., PO Box 129, Catoosa, OK 74015-0129
Call 1-800-324-0045 or visit our web site www.lei-extras.com.
3) Canadian customers can write:
Lowrance/Eagle Canada, 919 Matheson Blvd. E. Mississauga, Ontario
L4W2R7 or fax 905-629-3118.
Shipping Information
If it becomes necessary to send a product for repair or replacement, you
must first receive a return authorization number from Customer
Service. Products shipped without a return authorization will not be
accepted. When shipping, we recommend you do the following:
1. Always use the original shipping container and filler material the
product was packed in.
2. Always insure the parcel against damage or loss during shipment.
Lowrance does not assume responsibility for goods lost or damaged in
transit.
3. For proper testing, include a brief note with the product describing
the problem. Be sure to include your name, return shipping address
and a daytime telephone number.

Visit our web site:
Lowrance Pub. 988-0105-971 © Copyright 2002
All Rights Reserved
Printed in USA 102502 Lowrance Electronics, Inc.