Lowrance Electronic Globalmap 5200C Users Manual
5200C to the manual 5701a053-172b-4552-ae01-e3e1262a2daf
2015-02-05
: Lowrance-Electronic Lowrance-Electronic-Lowrance-Globalmap-5200C-Users-Manual-407765 lowrance-electronic-lowrance-globalmap-5200c-users-manual-407765 lowrance-electronic pdf
Open the PDF directly: View PDF
.
Page Count: 164 [warning: Documents this large are best viewed by clicking the View PDF Link!]

Pub. 988-0151-471
www.lowrance.com
GlobalMap® 5200C GPS
Mapping GPS Receiver
Operation Instructions

Copyright © 2006 Lowrance Electronics, Inc.
All rights reserved.
No part of this manual may be copied, reproduced, republished, trans-
mitted or distributed for any purpose, without prior written consent of
Lowrance. Any unauthorized commercial distribution of this
manual is strictly prohibited.
Lowrance® is a registered trademark of Lowrance Electronics, Inc.
MapCreate™, FreedomMaps™ and NauticPath™ are trademarks of
LEI. Fishing Hot Spots® is a registered trademark of Fishing Hot Spots
Inc. LakeMaster® and Pro Maps are trademarks or registered trade-
marks of WayPoint Technologies, Inc. Navionics® is a registered trade-
mark of Navionics, Inc. DURACELL® is a registered trademark of
Duracell, Inc. RAYOVAC® is a registered trademark of Rayovac Corpo-
ration. Energizer® and e2® are registered trademarks of Energizer Hold-
ings, Inc.
Points of Interest Data in this unit are by infoUSA,
copyright © 2001-2006, All Rights Reserved. infoUSA is a
trademark of infoUSA, Inc.
Lowrance Electronics may find it necessary to change or end our poli-
cies, regulations and special offers at any time. We reserve the right to
do so without notice. All features and specifications subject to change
without notice. On the cover: GlobalMap 5200C GPS. All screens in this
manual are simulated.
For free owner's manuals and the most current information on
this product, its operation and accessories,
visit our web site:
www.lowrance.com
Lowrance Electronics Inc.
12000 E. Skelly Dr.
Tulsa, OK USA 74128-2486
Printed in USA.
i
Table of Contents
Section 1: Read Me First! ................................................................1
Capabilities and Specifications: GlobalMap® 5200c ..........................2
How Lowrance GPS Works..................................................................4
Introduction to GPS and WAAS..........................................................6
How to use this manual: typographical conventions .........................8
Section 2: Installation & Accessories.........................................11
GPS Antenna/Receiver Module .........................................................11
Power Connections.............................................................................12
Powering Your Display Unit .............................................................13
Powering a NMEA 2000 Network Bus .............................................15
NMEA 0183 Cable Connections ........................................................17
Mounting the Unit: Bracket, In-Dash or Portable...........................19
MMC or SD Card Memory Card Installation...................................22
Other Accessories ...............................................................................23
Section 3: Basic GPS Operations ................................................25
Keyboard.............................................................................................25
Power/lights on and off ......................................................................26
Main Menu .........................................................................................26
Pages ...................................................................................................28
(Satellite) Status Page ...................................................................28
Navigation Page .............................................................................31
Map Page.........................................................................................34
Background map vs. MapCreate map content .............................35
Resize Window command...............................................................37
Basic GPS Quick Reference...............................................................39
Find Your Current Position...............................................................40
Moving Around the Map: Zoom & Cursor Arrow Keys ...................40
Selecting Any Map Item With the Cursor........................................41
Searching ............................................................................................42
Set a Waypoint ...................................................................................44
Navigate to a Waypoint .....................................................................46
Set Man Overboard (MOB) Waypoint ..............................................46
Navigate Back to MOB Waypoint .....................................................47
Navigate to Cursor Position on Map.................................................47
Navigate to a Point of Interest..........................................................49
Creating and Saving a Trail..............................................................49
Displaying a Saved Trail ...................................................................51
Navigating Trails ...............................................................................51
Transfer Custom Maps and GPS Data Files....................................55
Cancel Navigation..............................................................................57
Section 4: Advanced GPS Operations........................................59
ii
Find Distance From Current Position to Another Location...........59
Icons ....................................................................................................60
Routes .................................................................................................61
Create and Save a Route................................................................62
Delete a Route ................................................................................63
Edit a Route Name .........................................................................64
Edit Route Waypoints ....................................................................64
Navigate a Route ............................................................................65
Navigate a Route in Reverse .........................................................65
Trails...................................................................................................66
Delete a Trail ..................................................................................66
Edit a Trail Name...........................................................................67
Edit a Trail Color............................................................................67
Edit a Trail Pattern........................................................................67
Utilities ...............................................................................................68
Alarm Clock ....................................................................................68
Sun/Moon Rise & Set Calculator ...................................................68
Trip Calculator ...............................................................................68
Waypoints ...........................................................................................68
Delete a Waypoint ..........................................................................68
Edit a Waypoint..............................................................................69
Selecting a Waypoint......................................................................69
Set a Waypoint by Average Position .............................................69
Set a Waypoint by Projecting a Position.......................................70
Section 5: System & GPS Setup Options...................................71
Alarms.................................................................................................71
Auto Satellite Search .........................................................................72
Check MMC Files and Storage Space...............................................73
Communications Port Configuration................................................73
Configure NMEA................................................................................74
Coordinate System Selection.............................................................74
Map Fix...............................................................................................75
Customize Page Displays ..................................................................77
(GPS) Simulator .................................................................................78
Simulating Trail or Route Navigation ..........................................79
Initialize GPS .....................................................................................79
Map Auto Zoom ..................................................................................80
Map Data ............................................................................................80
Map Datum Selection ........................................................................82
Map Detail Category Selection .........................................................83
Map Orientation.................................................................................84
NauticPath™ USA Marine Charts....................................................85
Nautical Chart Notes .....................................................................85
iii
Port Information.............................................................................86
Tidal Current Information.............................................................87
Tide Information.............................................................................89
Navionics® Charts ..............................................................................90
Overlay Data ......................................................................................91
Pop-up Help ........................................................................................94
Reset Options .....................................................................................95
Screen Contrast and Brightness .......................................................95
Set Language......................................................................................96
Set Local Time....................................................................................97
Show WAAS Alarm ............................................................................98
Software Version Information...........................................................98
Sounds and Alarm Sound Styles.......................................................98
Track Smoothing ................................................................................99
Trail Options ......................................................................................99
Transparency....................................................................................102
Units of Measure..............................................................................103
Section 6: Searching.....................................................................105
Find Addresses .................................................................................106
Find Any Item Selected by Map Cursor .........................................109
Find Interstate Highway Exits .......................................................109
Find Map Places or Points of Interest (POI) ..................................111
Find Streets or Intersections...........................................................113
Find Waypoints ................................................................................117
Section 7: NMEA 2000 Device Configuration.........................119
NMEA 2000 Menu............................................................................119
Bus Setup..........................................................................................119
Engine & Tank Configuration.........................................................120
Fuel Management Menu .................................................................123
Adding Fuel to Tank.....................................................................124
Engine Operations........................................................................125
NMEA 2000 Alarms.........................................................................126
Waypoint Sharing ............................................................................126
Configuring EP Sensors...................................................................127
Calibrating EP Sensors ...................................................................135
EP-10 Fuel Flow Calibration .......................................................135
EP-15 Fluid Level Calibration.....................................................137
Engine Trim Calibration..............................................................141
Reset Trim Calibration ................................................................142
Sec. 8: Supplemental Material...................................................145
iv
WARNING!
A CAREFUL NAVIGATOR NEVER RELIES ON ONLY ONE METHOD
TO OBTAIN POSITION INFORMATION.
CAUTION
When showing navigation data to a position (waypoint), a GPS unit will show
the shortest, most direct path to the waypoint. It provides navigation data to the
waypoint regardless of obstructions. Therefore, the prudent navigator will not
only take advantage of all available navigation tools when traveling to a way-
point, but will also visually check to make sure a clear, safe path to the waypoint
is always available.
WARNING!
When a GPS unit is used in a vehicle, the vehicle operator is solely re-
sponsible for operating the vehicle in a safe manner. Vehicle operators
must maintain full surveillance of all pertinent driving, boating or flying
conditions at all times. An accident or collision resulting in damage to
property, personal injury or death could occur if the operator of a GPS-
equipped vehicle fails to pay full attention to travel conditions and vehi-
cle operation while the vehicle is in motion.
1
Section 1: Read Me First!
How this manual can get you out on the road, fast!
Welcome to the exciting world of digital GPS! We know you're anxious
to begin navigating, but we have a favor to ask. Before you grab the
GlobalMap® 5200c and begin installing it, please give us a moment or
two to explain how our manual can help you get the best performance
from your compact, wide-screen, mapping GPS receiver.
First, we want to thank you for buying a Lowrance GPS unit. Whether
you're a first time user or a professional fisherman, you'll discover that
your GlobalMap® 5200c is easy to use, yet capable of handling demand-
ing navigation tasks. When you team your unit with our custom map-
ping software MapCreate™, you have an incredible combination. You
won't find another GPS unit with this much power and this many fea-
tures for this price!
Our goal for this book is to get you on the road fast, with a minimum of
fuss. Like you, we'd rather spend more time navigating and less time
reading the manual!
So, we designed our book so that you don't have to read the whole thing
from front to back for the information you want. At the start or end of
each segment, we'll tell you what content is coming up next. If it's a
concept you're already familiar with, we'll show you how and where to
skip ahead for the next important topic. We've also made it easy to look
up any tips you may need from time to time. Here's how:
The manual is organized into 7 sections. This first section is an intro-
duction to Lowrance GPS. It tells you the basics you need to know be-
fore you can make the unit look around and tell you where you are.
Section 2 will help you install your unit and the GPS antenna module.
We'll show you how to get the MultiMedia Card (MMC) correctly in-
stalled inside the unit. We'll also tell you about some of the available
accessories.
Section 3 covers Basic GPS Operation. It will show you how easy it is to
run the GlobalMap, right out of the box. This section features a one-
page GPS Quick Reference. (If you've already jumped ahead and
figured out how to install the unit yourself, and you just can't
wait any longer, turn to the Quick Reference on page 39 and
head for the road with your GPS unit!)
Section 3 contains short, easy-to-scan GPS lessons that follow one an-
other in chronological order. They're all you'll need to know to find your
way on the water or in the wilderness quickly.
2
After you've learned the basics (or if you already have some GPS ex-
perience), you may want to try out some of the GlobalMap's many ad-
vanced navigation features. That brings us to Section 4, Advanced GPS
Operations. This section contains the rest of the unit's GPS command
functions.
When you come to a GPS menu command on the GlobalMap's screen, you
can look it up in the manual by skimming over the table of contents, just
flipping through Section 3 or scanning through the command portion of
Section 4.
This unit is ready to use right out of the box, but you can fine tune and
customize its operation with dozens of options. We describe how to use
general system options along with GPS options in Section 5, System Setup
and GPS Setup Options.
In Section 6, we go into more detail on one of the GlobalMap's most re-
markable capabilities — Searching. We'll introduce a search example
in the Basic GPS Operation section, but there are so many map items
you can search for, we had to give this function its own section in the
manual! For example, did you know this unit can look up business
phone numbers, functioning as a virtual Yellow Pages? We’ll show you
how in Section 6.
Finally, in Section 7, we offer Supplemental Material, including a list of
the GPS datum used, warranties and customer service information.
Now, if you're into the fine details, glance over the next segment on speci-
fications to see just how much GPS power your GlobalMap contains. It's
important to us (and our power users), but, if you don't care how many
watts of power the unit has, or how many waypoints it can store, skip
ahead to important information on how our GPS works, on page 4.
Capabilities and Specifications: GlobalMap® 5200c
General
Display: ............................Color 5.0" (12.7 cm) diagonal high contrast
Film SuperTwist LCD; programmable to
viewing preference.
Resolution: ......................480 pixel x 480 pixel resolution; 230,400 to-
tal pixels.
Backlighting: ................... Incandescent cold cathode backlit screen with
multiple lighting levels; backlit keypad.
Input power: ...................10 to 15 volts DC.
3
Case size: .........................5.4" H x 6.9" W x 3.4" D (13.8 x 17.6 x 8.6
cm); sealed and waterproof; suitable for
saltwater use.
MMC slots:.......................One with waterproof door (SD card compati-
ble).
Recording: ........................ MMC & SD memory cards for recording GPS
trip details and displaying charts or custom
maps.
Back-up memory:...........Built-in memory stores GPS data for dec-
ades. User settings are stored when unit is
turned off.
Languages: ......................10; menu languages selectable by user.
GPS
Receiver/antenna: .........External; LGC-3000 12 parallel channel
NMEA-2000-ready GPS/WAAS re-
ceiver/antenna.
Background map: ..........Built-in custom, detailed Lowrance map.
Contains: enhanced detail of continental U.S.
and Hawaii. Includes more than 60,000 nav
aids and 10,000 wrecks/obstructions in
coastal and Great Lakes waters. Metro ar-
eas, selected major streets/highways and in-
terstate exit services details included.
Custom mapping:...........MapCreate™ software optional; optional
plug and play LEI FreedomMaps™ offer the
same high detail without the computer work
of MapCreate. Other plug and play mapping
options include IMS™ Fishing Hot Spots®,
LEI NauticPaths™ charts and Navionics®
charts.
Mapping memory: .........Up to 1 gigabyte on one MMC (or SD) card.
Position updates:...........Every second.
Position points: ..............1,000 waypoints; 1,000 event marker icons.
Audible alarms:..............Arrival/off-course/anchor.
Graphic symbols for
waypoints or event
marker icons:..................42.
Routes: .............................100; up to 100 waypoints per route.
4
Plot Trails:.......................10 savable; up to 9,999 points per trail.
Zoom range: ....................39 ranges; 0.02 to 4,000 miles.
NOTE:
The above memory capacities refer only to the GlobalMap® 5200c's
on-board memory. The amount of GPS data you can record and save
for recall later is limited only by the number of MMC cards you have.
NOTICE!
The storage temperature range for your GlobalMap® 5200c is from -20
degrees to +167 degrees Fahrenheit (-28 degrees to +75 degrees Cel-
sius). Extended storage or operation in temperatures higher or lower
than specified will damage the liquid crystal display in your unit. This
type of damage is not covered by the warranty. For more information,
contact the factory's Customer Service Department; phone numbers are
listed on the last page of the manual.
How Lowrance GPS Works
You'll navigate faster and easier if you understand how the GlobalMap
scans the sky to tell you where you are on the earth — and, where
you're going. But if you already have a working understanding of GPS
receivers and the GPS navigation system, skip on ahead to Section 2,
Installation & Accessories on page 11. If you're new to GPS, read on, and
you can later impress your friends with your new-found knowledge.
First, think of your unit as a small but powerful computer. But don't
worry — we made it easy to use, so you don't need to be a computer ex-
pert to find your way! The GlobalMap includes a keypad and a screen
with menus so you can tell it what to do. The screen also lets the unit
show your location on a moving map, as well as point the way to your
destination.
This gimbal-mounted GlobalMap uses an external antenna/receiver
module, which makes the whole system work something like your car
radio. But instead of your favorite dance tunes, this receiver tunes in to
a couple of dozen GPS satellites circling the earth. It will also listen in
to the WAAS satellites in orbit, but more about that in the upcoming
segment introducing you to GPS and WAAS.
Your unit listens to signals from as many satellites as it can "see"
above the horizon, eliminates the weakest signals, then computes its
location in relation to those satellites. Once the GlobalMap figures its
latitude and longitude, it plots that position on the moving map shown
on the screen. The whole process takes place several times a second!
The performance doesn't stop there. Stored in the permanent memory
of each unit is a basic background map of the entire world.
5
We lock it in here at the factory — you can't change or erase this map.
The background map is suitable for many navigation chores, but for
maximum accuracy and much more detail, you need our optional map-
making software, MapCreate. Some unit features — such as searching
for businesses and addresses — won't work without a custom MapCre-
ate map.
There is so much detail in our background map (and even more in
MapCreate) that we'll describe their contents and differences in Section
3, Basic GPS Operations, on page 35. Another portion of the GlobalMap
5200c's onboard memory is devoted to recording GPS navigation infor-
mation, which includes waypoints, event marker icons, trails and
routes. This lets you look back the way you came.
Think of this data storage like the hard drive memory in a computer or
a tape in a cassette tape recorder. You can save several different GPS
data files, erase 'em and record new ones, over and over again. Like any
computer file, these GPS Data Files (file format *.usr) can be shared
between Lowrance GPS or sonar/GPS units or even personal com-
puters.
This GlobalMap has one more thing in common with a personal com-
puter. Just as computers have a floppy disk drive for storing and ex-
changing files, the unit has a slot for an MMC (MultiMedia Card) or
SDC (Secure Digital card) flash memory card. These solid-state mem-
ory devices are about the size of a postage stamp, but can hold data
ranging from 8 MB to 1 GB in size. (Compare that to a floppy disk's
1.44 MB capacity!) This unit uses all that MMC space for two key GPS
purposes.
First, you can backup your onboard GPS Data Files by copying them to
the MMC. Since the MMC is removable (like a floppy disk or a cassette
tape), you can store these GPS Data Files on a personal computer
equipped with an MMC card reader. (Or store them on a pocketful of
MMCs, if you don't have a computer.)
Our MapCreate mapping software can save, edit or create its own GPS
Data Files, which can be copied to the MMC and then loaded from the
MMC into the unit's memory. (NOTE: No matter where they come
from, GPS Data Files must be loaded from the MMC into memory be-
fore the GlobalMap can use them.)
The other key GPS use for MMCs is storage of special high-detail, cus-
tom maps, which you can produce on your computer with our MapCre-
ate software. These MapCreate custom maps contain much greater de-
tail than the basic background map.
6
These Custom Map Files (file format *.lcm) can also be shared be-
tween Lowrance GPS or sonar/GPS units and personal computers. This
unit automatically reads Custom Map Files directly from the MMC or
SDC. To use a custom map, all you need to do is slide an MMC contain-
ing a map into the GlobalMap.
Introduction to GPS and WAAS
Well, now you know the basics of how the unit does its work. You might
be ready to jump ahead to Section 2, Installation & Accessories, on page
11, so you can mount your GlobalMap and plug in the power. Or you
might want to see how our text formatting makes the manual tutorials
easy to skim.
If that's the case, move on to "How to Use This Manual" on page 8. But,
if you want to understand the current state of satellite navigation, look
over this segment describing how GPS and its new companion WAAS
work together to get you where you're going.
The Global Positioning System (GPS) was launched July 17, 1995 by
the United States Department of Defense. It was designed as a
24-hour-a-day, 365-days-a-year, all weather global navigation system
for the armed forces of the U.S. and its allies.
Civilian use was also available at first, but it was less accurate because
the military scrambled the signal somewhat, using a process called Se-
lective Availability (SA).
GPS proved so useful for civilian navigation that the federal govern-
ment discontinued SA on May 2, 2000, after the military developed
other methods to deny GPS service to enemy forces. Reliable accuracy
for civilian users jumped from 100 meters (330 feet) under SA to the
present level of 10 to 20 meters (about 30 to 60 feet.)
Twenty-four satellites orbit 10,900 nautical miles above the Earth,
passing overhead twice daily. A series of ground stations (with pre-
cisely surveyed locations) controls the satellites and monitors their ex-
act locations in the sky.
Each satellite broadcasts a low-power signal that identifies the satellite
and its position above the earth. Three of these satellites are spares,
unused until needed. The rest virtually guarantee that at least four
satellites are in view nearly anywhere on Earth at all times.

7
A minimum of three satellites are required to determine a 2D fix.
The system requires signal reception from three satellites in order to
determine a position. This is called a 2D fix. It takes four satellites to
determine both position and elevation (your height above sea level —
also called altitude). This is called a 3D fix.
Remember, the unit must have a clear view of the satellites in order to
receive their signals. Unlike radio or television signals, GPS works at
very high frequencies. These signals can be easily blocked by trees,
buildings, an automobile roof, even your body.
Like most GPS receivers, this unit doesn’t have a compass or any other
navigation aid built inside. It relies solely on the signals from the satel-
lites to calculate a position. Speed, direction of travel, and distance are
all calculated from position information. Therefore, in order for the
GlobalMap to determine direction of travel, you must be moving and
the faster, the better. This is not to say that it won’t work at walking or
trolling speeds — it will. There will be more "wandering" of the data
shown on the display.
GPS is plenty accurate for route navigation, but the U.S. Federal Avia-
tion Administration has special needs for aircraft traffic control that go
beyond basic GPS. The FAA has a plan under way to boost GPS per-
formance even further with its Wide Area Augmentation System, or
WAAS.
This GPS add-on will include a time control element that will help air-
liners fly closer together while avoiding collisions. In addition to care-
fully spacing airplanes along travel corridors, WAAS will eventually
make instrument landings and takeoffs more accurate as it replaces
existing aviation navigation systems.
8
Non aviators can use WAAS signals to make their GPS navigation even
more accurate. Your unit receives both GPS and WAAS signals. How-
ever, WAAS has some limits you should know about. First, the U.S.
government has not completed construction of the WAAS system, so it is
not yet fully operational. The ground stations are in place, but only a few
of the needed WAAS satellites have been launched. WAAS can boost the
accuracy of land GPS navigation, but the system is designed for air-
craft. The satellites are in a fixed orbit around the Equator, so they ap-
pear very low in the sky to someone on the ground in North America.
Aircraft and vessels on open water can get consistently good WAAS re-
ception, but terrain, foliage or even large man-made structures fre-
quently block the WAAS signal from ground receivers. You'll find that
using your GPS receiver is both easy and amazingly accurate. It’s eas-
ily the most accurate method of electronic navigation available to the
general public today. Remember, however, that this receiver is only a
tool. Always have another method of navigation available, such as a
map or chart and a compass. Also remember that this unit will always
show navigation information in the shortest line from your present po-
sition to a waypoint, regardless of terrain! It only calculates position; it
can’t know what’s between you and your destination, for example. It’s
up to you to safely navigate around obstacles, no matter how you’re us-
ing this product.
How to use this manual: typographical conventions
Many instructions are listed as numbered steps. The keypad and arrow
"keystrokes" appear as boldface type. So, if you're in a real hurry (or
just need a reminder), you can skim the instructions and pick out what
menu command to use by finding the boldface command text. The fol-
lowing paragraphs explain how to interpret the text formatting for
those commands and other instructions:
Arrow Keys
The arrow keys control the movement of dotted cross-hair lines on your
mapping screen called the cursor. The arrow keys help you move
around the menus so you can execute different commands. They are
represented by symbols like these, which denote the down arrow key,
the up arrow, the left arrow and the right arrow: ↓ ↑ ← →.
Keyboard
The other keys perform a variety of functions. When the text refers to a
key to press, the key is shown in bold, sans serif type. For example, the
"Enter/Icons" key is shown as ENT and the "Menu" key is shown as
MENU.
9
Menu Commands
A menu command or a menu option will appear in small capital letters,
in a bold sans serif type like this: ROUTE PLANNING. These indicate that
you are to select this command or option from a menu or take an action
of some kind with the menu item. Text that you may need to enter or
file names you need to select are show in italic type, such as trail name.
Instructions = Menu Sequences
Most functions you perform with this unit are described as a sequence
of key strokes and selecting menu commands. We've written them in a
condensed manner for quick and easy reading.
For example, instructions for navigating a trail would look like this:
1. From the Map Page, press MENU|MENU|↓ to MY TRAILS|ENT.
2. Press ↓ to Trail 1|ENT|→|↓ to NAVIGATE|ENT.
3. You are asked to wait while it converts the trail into a route.
4. The wait message disappears and the GlobalMap begins showing
navigation information along the trail. Now, begin moving and follow
your GlobalMap.
Translated into complete English, step 1 above would mean: "Start on
the Map Page. Press the Menu key twice. Next, repeatedly press (or
press and hold) the down arrow key to scroll down the menu and select
(highlight) the My Trails menu command. Finally, press the Enter key."
Step 2 would mean: "Press the down arrow key repeatedly to scroll to
the trail named Trail 1, and press Enter. Next, press the right arrow
key and then the down arrow key to highlight the Navigate command,
then press Enter."
10
Notes

11
Section 2:
Installation & Accessories
Preparations
You can install the GPS system in some other order if you prefer, but
we recommend this installation sequence:
Caution:
You should read over this entire installation section before drill-
ing any holes in your vehicle or vessel!
1. Determine the approximate location for the GPS unit, so you can
plan how and where to route the cables for the antenna and power.
This will help you make sure you have enough cable length for the de-
sired configuration.
2. Determine the approximate location for the GPS antenna module
and its cable route.
3. Determine the location of your battery or other power connection,
along with the power cable route.
4. Install the GPS antenna and route the antenna cable to the GPS
unit.
5. Install the power cable and route it to the GPS unit.
6. Mount the GPS unit.
GPS Antenna/Receiver Module
This unit's package includes the LGC-3000 GPS module. This device
contains the unit's external antenna and receiver for GPS and WAAS
signals. This module can be mounted on a flat surface or pole, or an
optional magnet is available for temporary mounting on any ferrous
surface.
LGC-3000 Module, bottom view (left) and top view (right).

12
You need to select an antenna installation location that has a clear,
unobstructed view of the sky. After the module is installed, connect it
to the end of the extension cable. To connect it to the unit, insert the
cable's plug into the Network socket on the back of the unit or a double
T connector attached to the unit. See the module's instruction sheet.
In an automobile, you may achieve good results by placing the external
antenna on the top of the dash, at the base of the windshield. A piece of
the rubber non-skid shelf liner material available in recreational vehi-
cle supply stores will help hold the antenna in place. This may not
work well if you have a cab-over design pickup truck camper or motor
home. If dashboard reception is poor, relocate the antenna module
elsewhere on the vehicle for a clearer view of the sky.
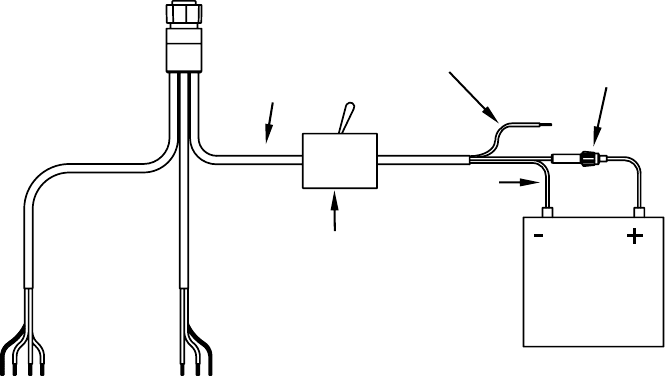
Power Connections
Your unit comes with a power/data cable that splits into three
branches, each with several exposed wires. The thicker three-wire cable
(white, red and black) is the power supply for your display unit. This
cable has no label. The thinner branch with three wires (red, black and
shield) is the power cable for a NMEA 2000 network. It is labeled
"NMEA 2000 POWER."
The branch with four wires (blue, yellow, orange, and shield) is a data
cable, labeled "RS-232 COMM." It supports a serial communication
port. This allows your unit to exchange NMEA 0183 data with another
device, such as an autopilot, DSC marine radio or computer.
The Power/Data cable for this unit.
NOTE:
There are two basic power connection options, which are shown in
the following two diagrams. Read the following instructions
carefully to determine which power connection applies to
your unit. Depending on your configuration, you may not use all of
these wires.
To unit
Display unit power wires:
white, red and black
NMEA 2000 power wires:
red, black and shield
Data cable wires:
blue, yellow, orange,
and shield
13
Caution:
All of the wires in the power/data cable have bare ends for eas-
ier installation. The bare ends on any unused wires could cause
an electrical short if left exposed. To prevent this, you should
cover the individual wire ends – either by capping them with
wire nuts, wrapping them with electrical tape or both. (You
should cut off the bare wire before taping off the ends.)
Powering Your Display Unit
The display unit works from a 12-volt DC battery system. Attach the
display power cable (with provided 3-amp fuse) to an accessory switch
or power bus. If this results in electrical interference, connect direct to
a battery but install an in-line switch on the cable.
Caution:
We strongly recommend that you shut off the power supply to the
power cable when the unit is not in use, especially in saltwater en-
vironments. When the unit is turned off but still connected to a
power supply, electrolysis can occur in the power cable plug. This
may result in corrosion of the plug body along with the electrical
contacts in the cable and the unit's power socket. Risk of electroly-
sis corrosion is even greater when the cable is unplugged from the
unit, but still connected to a power source.
We recommend you connect the power cable to the auxiliary power
switch included in most boat designs. If that results in electrical
interference, or if such a switch is not available, we recommend
connecting direct to the battery and installing an in-line switch.
This will let you shut off power to the power cable when the unit is
not in use. When you are not using the unit, you should always
shut off power to the power cable, especially when the power cable
is disconnected from the unit.
WARNING:
This product must be independently fused with the en-
closed 3-amp fuse (or equivalent), even if you connect to
a fused accessory or power bus. If a malfunction hap-
pens inside the unit, extensive damage can occur if the
enclosed fuse is not used. As with all electrical devices,
this unit could be damaged to a point that it is unrepair-
able and could even cause harm to the user when not
properly fused. Failure to use a 3-amp fuse will void
your warranty.

14
If possible, keep the power cable away from other boat wiring, espe-
cially the engine's wires. This will provide the best isolation from elec-
trical noise. If the cable is not long enough, splice #18 gauge wire onto
it. The display power cable has three wires, white, red and black. Red is
the positive (+) lead, black is negative (–) or ground. The white wire is
unused by your unit and should be capped. Make sure to attach the in-
line fuse holder to the red lead as close to the power source as possible.
For example, if you have to extend the power cable to the power bus or
battery, attach one end of the fuse holder directly to the power bus or
battery. This will protect both the unit and the power cable in the event
of a short. This unit has reverse polarity protection. No damage will
occur if the power wires are reversed. However, the unit will not work
until the wires are attached correctly.
Power Diagram A
Use this method if you are powering the display unit and a GPS mod-
ule or the display unit and a NMEA 2000 network. (Fuses may be dif-
ferent from those shown.).
The network and any NMEA 2000 devices, including the GPS
module, will not operate unless the NMEA 2000 Power Cable is
connected to power. The NMEA 2000 power cable must be connected
to power even if your only NMEA 2000 device is the GPS module and it
is connected to the display unit's Network socket.
Shield
Mandatory
network
power-off
switch
Black
Black
Red
Recommended
display unit
p
ower-off switch
To unit
12 volt DC
power source
Data Cable
NMEA 2000
Power Cable
3-amp fuse
3-amp fuse
Display Unit
Power Cable
White
(unused)

15
(However, never connect multiple power sources to a NMEA 2000
network. If you have a network that is already powered, see diagram
B.)
Power Diagram B
Use this method if you are only powering your display unit and are not
powering a NMEA 2000 network or any NMEA 2000 accessory device,
including a GPS module. (Fuse may be different from that shown.)
The method in diagram B is also used when your display unit is con-
nected to a NMEA 2000 network that is already connected to power.
(Never connect multiple power sources to a NMEA 2000 network.)
Powering a NMEA 2000 Network Bus
A NMEA 2000 bus must be connected to a power source to operate.
NMEA 2000 devices, including GPS modules, draw their power from
the network bus. If you have a pre-existing NMEA 2000 network instal-
lation, it may already be connected to another power source.
If you are not sure about a network's power status, consult the boat
manufacturer or dealer. If your NMEA 2000 bus is already powered, you
can ignore the NMEA 2000 Power cable and use the method shown in
Power Diagram B above.
Never attach two power sources to a single NMEA 2000 bus. If you
do need to power your NMEA 2000 bus, attach the NMEA 2000 Power
cable to an accessory switch as indicated in power diagram A.
Red wire with
3-amp fuse
Black wire
Recommended
power off switch
Data Cable
To unit
NMEA 2000 Power Cable
White wire
(unused)
12 volt DC
power source
All unused Data
or NMEA 2000
power wires
should be
capped with
wire nuts and
electrical tape
to prevent
shorts.
Display Unit
Power Cable

16
The NMEA 2000 Power cable's red wire should be attached (with pro-
vided 3-amp fuse) to the positive (+) terminal. The NMEA 2000 Power
cable's black and shield wires should both be attached to the negative
(–) terminal.
WARNING:
The NMEA 2000 network bus is always on and constantly
drawing power. You must connect NMEA power to a
switched power source so you can turn off the network
when not in use. Failure to connect to and use a power
switch will drain your boat battery, which could stop
your boat's operation.
Connecting to a NMEA Network
Lowrance and LEI provide all the cables you will need to create a
NMEA 2000 network. Lowrance provides T connectors and extension
cables so you can add devices along the backbone wherever you want.
Once you have a working network, every sensor added will come with
its own T connector for easy expansion.
LGC-3000 and display unit as an expandable NMEA 2000 network.
Extension cable
LGC-3000
Double T
Connector
Network port
on display unit
120-ohm
terminator
120-ohm
terminator
Extension cable

17
The diagram above has a double T connector with two 120-ohm (one
male and one female) terminators — one at each end of the connector.
It is easy to expand this network by removing a terminator from one
end of the double T connector, then inserting a new T connector or ex-
tension cable between the double T connector and terminator. Remem-
ber: The simplest NMEA 2000 network is a display unit with the LGC-
3000, one double-T connector and two 120 ohm terminators.
NMEA 0183 Cable Connections
NMEA is a standard communications format for marine electronic
equipment. For example, an autopilot can connect to the NMEA inter-
face on the GlobalMap and receive positioning information. The
GlobalMap can exchange information with any device that transmits or
receives NMEA 0183 data. See the following diagram for general wir-
ing connections. Read your other product’s owner’s manual for more
wiring information.
NMEA Wiring
(Data cable)
To exchange NMEA 0183, the GlobalMap has one NMEA 0183 version
2.0 communication port. Com port one (Com-1) can be used to receive
NMEA format GPS data. The com port can also transmit NMEA format
GPS data to another device.
The four wires for the com port are combined with the Power Supply
cable and NMEA-2000 Power cable to form the power/data cable
(shown earlier). Com-1 uses the yellow wire to transmit, the orange
wire to receive and the shield wire for signal ground. Your unit does
not use the blue wire.
Com-1 wiring to receive NMEA position information from some other
GPS receiver
Com-1 wiring to transmit NMEA position information
to another NMEA-compatible device.
Ground
To Other
Device
Com-1
To GlobalMap
5200c
Y
ellow (Transmit) NMEA Receive
Shield (Ground)
Orange (Receive) NMEA Transmit
Shield (Ground) Ground
Com-1
To GlobalMap
5200c
To Other
GPS Receiver

18
GlobalMap 5200c Cable Connections.
Network
socket
Power/Data
socket
Display unit
power cable
Data cable
NMEA 2000
Power cable
Extension
cable
Ethernet (future
enhancement)
Double T
connector
Extension
cable
LGC-3000
120-ohm
terminator
120-ohm
terminator

19
Mounting the Unit: Bracket, In-Dash or Portable
You can install the GlobalMap on the top of a dash with the supplied
gimbal bracket. It can also be installed in the dash or mounted on a
portable power supply. If you use the supplied bracket, you may be in-
terested in the optional R-A-M® bracket mounting system. This con-
verts the unit's gimbal bracket to a swivel mount, which can be used on
the dash or overhead mounting positions.
Installation instructions are supplied with the R-A-M mounting kits.
R-A-M offers permanent mounts and temporary mounts suitable for many
vehicle types. See your Eagle dealer or visit the LEI web site (www.lei-
extras.com) for the latest options; accessory ordering information is
on the inside back cover of this manual. For a complete look at the
many mounting options, visit the RAM web site at www.ram-mount.com.
Optional R-A-M mounting system.
Bracket Installation
Mount the GlobalMap in any convenient location, provided there is clear-
ance behind the unit when it's tilted for the best viewing angle. You should
also make sure there is enough room behind the GlobalMap to attach the
power and GPS antenna/receiver module cables.
A drawing on the next page shows the dimensions of a gimbal-mounted
GlobalMap. Holes in the bracket's base allow wood screw or through-
bolt mounting. You may need to place a piece of plywood on the back
side of thin fiberglass panels to reinforce the panel and secure the
mounting hardware.

20
Install the gimbal bracket. Orient the bracket so the arms slope to-
ward the front of your unit.
Drill a 1-inch (25.4 mm) hole in the dash for the power and antenna
cables. The best location for this hole is immediately under the gimbal
bracket location. This way, the bracket can be installed so that it covers
the hole, holds the cables in position and results in a neat installation.
Some customers, however, prefer to mount the bracket to the side of
the cable hole — it's a matter of personal preference.
Front view (left) and side view (right) showing dimensions of the
GlobalMap when mounted on gimbal bracket.
After drilling the hole, pass the antenna connector up through the hole
from under the dash. Pass the power cable's bare-wire end down
Millimeter
[Inch]
23.4
[0.92]
72.9
[2.87]
137.9
[5.43]
56.9
[2.24]
Front
157.9
[6.22]
173.9
[6.85]

21
though the hole from the top. If you wish, you can fill in the hole around
the cables with a good marine caulking compound. Some marine dealers
stock cable hole covers to conceal the opening.
No matter what type of installation you prefer, be sure to leave enough
slack in the cables to allow tilting or swiveling the GlobalMap. If you
choose to fill in the hole, be sure to position the cables against the rear
edge of the hole as you apply the fill material.
Before positioning the bracket, be sure to hold the cables against the
rear edge of the hole. Then, slide the bracket over the hole and butt the
rear of the bracket base firmly against the cables, thus pinning them in
place against the side of the hole. Finally, fasten the bracket to the
dash. Attach the unit to the gimbal bracket using the supplied gimbal
knobs and washers.
In-Dash Installation
You can mount the GlobalMap in the dash with an optional FM-5
In-Dash Adapter Kit. The kit includes mounting hardware,
a template for cutting the hole and an instruction sheet, part
988-0147-43.
In-dash mounting template for the GlobalMap 5200c, showing
dimensions. NOTE: The figure above is not printed to scale. A scaled
template (FM-5 In-Dash Adapter Kit instructions) is available for free
download from our web site, www.lowrance.com.
113.5
[4.46]
Millimeters
[Inches]
A
LWAYS VERIFY DIMENSIONS
In-Dash
Template
R 7.9
[0.31]
146.5
[5.76]
Top

22
Portable Installation
Like many Lowrance products, the GlobalMap is capable of portable
operation by using an optional portable power pack. The power pack
and the magnet-equipped antenna module expand the uses for your
GPS unit.
The portable power pack makes it easy to transfer your unit from a
boat to a car, recreational vehicle, airplane or other vehicle without
drilling and mounting a second bracket. You can use the unit in your
car or boat, then take it along when riding in a friend's vehicle that's
not equipped with GPS. The portable power pack includes a sealed, re-
chargeable battery.
MMC or SD Card Memory Card Installation
Your GlobalMap uses a MultiMedia Card to store information, such as
custom maps, waypoints, trails and other GPS data. The unit can also
use Secure Digital Cards (SD card or SDC) to store data.
NOTE:
Throughout this manual, we will use the term MMC, but just re-
member that your unit can use an MMC or SD card to store data.
Both of these solid-state flash memory devices are about the size of a
postage stamp. An SD card is slightly thicker than an MMC. As this
manual went to press, MMCs and SD cards were available in various
storage capacities up to 1 gigabyte. Additional MMC cards are avail-
able from LEI Extras; see ordering information inside the back cover of
this manual.
MMCs and SD cards are also available at many camera and consumer
electronics stores. The MMC slot is located in a compartment on the
front of the case. The compartment door is located at the lower right
corner. The following figure shows a close-up with the door opened.
Memory card compartment with a 16 MB MMC card installed.
Insert card face up,
this way
Thumb
screw
MMC groove for card removal

23
To remove an MMC
1. Open the card compartment door by unscrewing the thumb screw.
The screw should only be finger tight. If it was over-tightened, use a
thumbnail, a coin or a screwdriver to open the door.
2. Just press a finger against the label of the MMC and drag it from the
slot.
3. Drag the MMC from the slot.
To add an MMC or SD Card
1. Open the card compartment door.
2. Grasp the bottom of the MMC and push the top of the card into the
slot. Once the card is started, use your fingernails to slide it the rest of
the way to the left, until it is firmly seated in the slot.
3. Close the compartment door and fasten the thumb screw finger tight.
Other Accessories
Other accessories include MMC cards, MMC card readers and Map-
Create™ custom mapping software for your computer. MMC card read-
ers are available in USB and parallel port versions.
If these accessories are not available from your dealer, see the acces-
sory ordering information on the inside back cover of this manual.
MapCreate™ CD-ROM, left; MMC card reader for USB ports, right.
Now that you have your GlobalMap installed, move on to Section 3, Ba-
sic GPS Operations. There, we'll present a series of step-by-step tutori-
als to teach you the basics of GPS navigation.
24
Face Cover
Your unit comes with a white protective cover that snaps on and off the
front of the unit. This cover is intended for use when your unit and the
vehicle it's mounted in are idle.
WARNING:
When the unit is mounted in an unprotected area, such
as an open boat cockpit, the protective face cover must
be removed when the vehicle is moving at high speed.
This includes towing a boat on a trailer at highway
speeds. Otherwise, wind blast can pop off the cover.
Cleaning Towel
A lint-free microfiber towel is included for cleaning the unit’s screen.
The towel is highly effective in clearing away water spots, smudges and
finger prints. Just wipe the screen with the dry towel — it's not neces-
sary to moisten the towel with water.
If the screen is badly soiled, you may use water or common window or
lens cleaners. However, DO NOT use polishing compounds or any
other abrasive product.
If you lose the towel or wear it out, you can replace it with a similar
microfiber cloth. These are often available where shop towels or auto-
mobile cleaning towels are sold.
Caution:
Cleaning fabrics other than the microfiber towel type may
scratch the screen. Polishing compounds or other abrasive
cleaners will scratch the screen. Damage caused by incorrect
cleaning is not covered by the warranty. You may wash the towel
if it becomes soiled or loses its effectiveness, but do not use fabric
softener. Fabric softener will ruin the towel’s cleaning capabil-
ity.

25
Section 3:
Basic GPS Operations
This section addresses the unit's most basic GPS operations. The tuto-
rials presented in Sec. 3 follow a chronological order. Sec. 4, Advanced
GPS Operations, will discuss other more advanced functions and utili-
ties.
Before you turn on the unit and find where you are, it's a good idea to
learn about the different keys, the four Page screens and how they all
work together. If you just can't wait to get outside, turn to the one-page
Quick Reference on page 39.
Keyboard
The GlobalMap 5200c GPS unit Map Page, keyboard and access door
for the MMC slot.
1. PWR/LIGHT (Power & Light) – The PWR key turns the unit on and
off and activates the backlight.
2. PAGES – Pressing this and the ← → arrow keys (4) switches the
unit between the four different page screens: Status, Navigation, Map
4
2
8
7
9
63
51
MMC access door.
26
and Radar. Each page represents one of the unit's major operation
modes.
3. MENU – Press this key to show the menus and submenus, which
allow you to select a command or adjust a feature. This also accesses
search functions for streets, intersections, addresses and highway exits.
4. ARROW KEYS – These keys are used to navigate through the
menus, make menu selections, move the map cursor and enter data.
5. ENT/ICONS (Enter & Icons) – This key allows you to save data, ac-
cept values or execute menu commands. It is also used to create event
marker icons.
6. EXIT – The Exit key lets you return to the previous screen, clear
data or erase a menu.
7. WPT – (Waypoint) The Waypoint key is used to save and recall way-
points, search for waypoints and access the waypoint list. It also
launches the Point-of-Interest (POI) search menus and is involved in
some navigation functions.
8. ZOUT – (Zoom Out) – This key lets you zoom the screen out. This
lets you see a larger geographic area on the map. Less detail is seen as
you zoom out.
9. ZIN – (Zoom In) – This key lets you zoom the screen in. Zooming in
lets you see greater detail in a smaller geographic area on the map.
Power/lights on and off
To turn on the unit, press PWR. As the unit powers up, the Map Page is
displayed first. To switch to another page, press PAGES|← or → to
Page Name|EXIT.
To turn on the backlight, press PWR again. The unit has three back-
light levels to select from. Repeatedly pressing PWR will cycle through
the backlight settings and turn off the backlight. Turn off the unit by
pressing and holding the PWR key for 3 seconds.
Main Menu
The unit has a Main Menu, which contains some function commands
and some setup option commands. The tutorial lessons in this section
will deal only with functions; the basic commands. The GPS will work
fine for these lessons right out of the box with the factory default set-
tings. But, if you want to learn about the various options, see Sec. 5,
System Setup and GPS Setup Options. You can access the Main Menu
from any of the four Page screens by pressing MENU|MENU. To clear
the menu screen and return to the page display, press EXIT.

27
Main Menu.
The Main Menu commands and their functions are:
Screen command: changes the contrast or brightness of the display
screen.
Sounds command: enables or disables the sounds for key strokes and
alarms and sets the alarm style.
Transparency command: adjust the level of transparency for menus.
Alarms command: turns GPS alarms on or off and changes alarm
thresholds.
Route Planning command: used to plan, view or navigate a route.
My Trails command: shows, hides, creates and deletes plot trails. Also
used to navigate or backtrack a trail.
Cancel Navigation command: turns off the various navigation com-
mands. Use this command to stop navigating after you have reached
your destination waypoint, Point of Interest or map cursor location; or
after you reach the end of a route or trail.
GPS Setup command: sets various GPS receiver options.
System Setup command: sets general configuration options.
NMEA 2000: provides access to all NMEA 2000 network setup options,
including the configuration of devices on the network. For more infor-
mation, see Section 10: NMEA 2000 Menu.
Sun/Moon Calculations command: finds the rising and setting time
of the sun and the moon.
Trip Calculator command: shows trip status and statistics.
Timers command: controls the up timer, down timer and alarm clock
settings.

28
Browse Files command: this allows you to view the installed MMC card
and the files it contains.
Pages
The unit has four Pages that represent the major operating modes.
They are the Status, Navigation, Map and Radar Page. They are ac-
cessed by pressing the PAGES key, then using → or ← to select a Page.
Clear the Pages Menu by pressing EXIT.
Pages Menu.
(Satellite) Status Page
The Satellite Status Page provides detailed information on the status
of the unit's satellite lock-on and position acquisition. To get to the Sat-
ellite Status Page: Press the PAGES key, then use → or ← to select
STATUS. Clear the Pages Menu by pressing EXIT.
No matter what Page you are on, a flashing current position indica-
tor/question mark symbol and flashing GPS data displays indicate that
satellite lock has been lost and there is no position confirmed. The Sat-
ellite Status Page shows you the quality and accuracy of the current
satellite lock-on and position calculation.
WARNING:
Do not begin navigating with this unit until the numbers
have stopped flashing!

29
Satellites Status Page, at left. Custom Gauges feature, right.
This screen shows a graphical view of the satellites that are in view.
Each satellite is shown on the circular chart relative to your position.
The point in the center of the chart is directly overhead. The small in-
ner ring represents 45° above the horizon and the large ring represents
the horizon. North is at the top of the screen.
You can use this to see which satellites are obstructed by obstacles in
your immediate area if the unit is facing north. The GPS receiver is
tracking satellites that are in bold type.
The receiver hasn't locked onto a satellite if the number is grayed out,
therefore it isn't being used to solve the position. Since the unit has
twelve channels, it can dedicate one channel per visible satellite.
You can set up custom digital gauges through the Satellite Status page
menu. The Custom Gauges feature allows you to monitor a wide vari-
ety of data from one page.
To set up Custom Gauge page:
1. From the Satellite Status page press PAGES, highlight CUSTOM GAUGES
and press ENT.
2. Press MENU, select OVERLAY DATA and press ENT. The Overlay Data
Shown menu will appear.
3. Highlight (PRESS ENT TO ADD…) and press ENT to open the Data Viewer
menu with five expandable data categories: GPS Data, Navigation,
Trip Calculator, Time and Sensor Data.

30
Highlight PRESS ENT TO ADD… and press ENT in the Overlay Data Shown
menu (far left) to open the Data Viewer menu (center) with five ex-
pandable data categories: GPS Data, Navigation, Trip Calculator, Time
and Sensor Data. The right figure shows the subcategory list under the
GPS Data category.
4. Highlight the desired data category and press ENT, which will ex-
pand the list, revealing several subcategories with checkboxes next to
them.
5. Select the desired subcategory and press ENT, which will place a
checkmark in the checkbox, showing the selected data is set for display.
6. If you want to display other data types, repeat Steps 4 and 5. Press
EXIT repeatedly to get back to the Custom Gauges page. The data you
selected will be displayed on-screen.
To change Overlay Data size:
1. From the Custom Gauges page, press MENU, select OVERLAY DATA and
press ENT. The Overlay Data Shown menu will appear.
2. Highlight the Data Type and use ← → to resize the data to one of
four different options: Off, Small, Medium, Large and Enormous.
The Overlay Data Shown menu.
The medium
size option has
been selected.
The high-
lighted Data
Type being
resized.

31
NOTE:
One of the data display options for the Satellite Status page is "Po-
sition Error" (horizontal position error), which can appear in one of
the page's data boxes. When Position Error is on, it will show you
the expected error from a benchmark location. In other words, if the
Position Error box shows 50 feet, then the position shown by the
unit is estimated to be within 50 feet of the actual location. This
gives you an indicator of the quality of the satellite fix the unit has.
The smaller the position error number, the more accurate the satel-
lites fix. If the position error flashes dashes, then the unit hasn't
locked onto any satellites, and the number shown isn't valid.
The Satellite Status Page has its own menu, which is used for setting
various options. To access the Satellite Status Page Menu, from the
Status Page, press MENU.
Navigation Page
This screen has a compass rose that not only shows your direction of
travel, but also the direction to a recalled waypoint. To get to the Navi-
gation Page: Press PAGES|→ or ← to NAVIGATION|EXIT. The navigation
screen looks like the one below when you're not navigating to a way-
point or following a route or trail. Your position is shown by an arrow
in the center of the screen. Your trail history, or path you've just taken,
is depicted by the line extending from the arrow. The arrow pointing
down at the top of the compass rose indicates the current track (direction
of travel) you are taking.
Navigation Page, recording a trail, traveling southwest. Page looks
like this when the unit is not navigating to a waypoint, following
a route or backtracking a trail.
Compass
rose
Navigation
information
displays in
customizable
data boxes.
Present
position
arrow.
Trail line
Track or compass heading indicator showing direction of travel
32
When navigating to a waypoint your ground speed, track, distance and
bearing to waypoint, and course are all shown digitally on this screen.
NOTE:
Remember, when the Speed, Track and Position information dis-
plays are flashing, satellite lock has not been achieved and no posi-
tion fix has been determined. A question mark will also flash on the
present position arrow in the center of the compass rose.
Speed (ground speed) is the velocity you are making over the ground. If
you wish, you can customize the Speed data box to display Closing
Speed instead. Closing Speed is also known as velocity made good. It's
the speed that you're making toward the waypoint. For instructions,
see the Customize Page Displays entry in Sec. 5.
Track is the heading, or the current direction you are actually travel-
ing. Bearing is the direction of a line-of-sight from your present posi-
tion to the destination. No matter what direction you are steering, the
Bearing data box shows the compass direction straight to the destina-
tion from your location at the moment. Distance shows how far it is to
the waypoint you're navigating toward.
The Off Course window shows the current cross track error. This shows
the distance you are off-course to the side of the desired course line.
The course line is an imaginary line drawn from your position when
you started navigating to the destination waypoint. The course line is
shown on the Navigation Page screen and the Map Page screen as a
dotted line.

33
Navigation Page, going to a waypoint while creating a new trail.
The cross track error range is shown on the compass rose as a wide,
white, corridor enclosing the course line. The outer edges of this white
corridor represent lines that show the current cross track error range.
The default for the cross track error range is 0.20 miles.
For example, if the present position symbol touches the right cross
track error line, then you are 0.20 miles to the right of the desired
course. You need to steer left to return to the desired course. You can
use the ZIN or ZOUT keys to change the cross track error range. A circu-
lar symbol depicting your destination (waypoint) appears on the screen
as you approach the waypoint, as shown on the screen in the preceding
figure.
Travel Time is the time that it will take to reach your destination at
your present closing speed. You can also customize the time data box to
show Arrival Time instead. Arrival Time is the local time it will be
when you arrive at the destination, based upon your present closing
speed and track.
In the preceding example figure, the driver is headed west (a 265º
track) toward a waypoint 265º (bearing) away. The cross track error
range (white corridor) is 0.20 miles either side of the course. The driver
is headed toward trail waypoint 4, which is 0.3 miles away. The vehicle
is right on course. Traveling at a speed of 8 mph, the driver will arrive
at the waypoint in 2 minutes, 17 seconds.
Destination
name
Navigation
information
displays
in data boxes
Bearing
arrow
Cross track
error range
(off course
indicator)
Waypoint
symbol
Current track or
heading, shown
in degrees
Compass bearing
to destination
Trail line
Course line
Left cross track error line Heading arrow

34
The Navigation Page has its own menu, which is used for some ad-
vanced functions and for setting various options. Options and setup are
discussed in Sec. 5. To access the Navigation Page Menu, from the
Navigation Page, press MENU.
Map Page
The Map Page screens show your course and track from a "bird's-eye"
view. By default, this unit shows the map with north always at the top
of the screen. This can be changed. See the topic Map Orientation, in
Sec. 5. If you are navigating to a waypoint, the map also shows your
starting location, present position, course line and destination. You
don't have to navigate to a waypoint, however, to use the map.
Map Page is the default screen that appears when you turn on the unit.
To get to the Map Page from another page: Press PAGES|→ or ← to
MAP|EXIT. When the Map Page is displayed, a screen similar to the fol-
lowing figures appears.
The arrow in the center of the screen is your present position. It points
in the direction you are traveling. The solid line extending from the
back of the arrow is your plot trail, or path you've taken.
The map zoom range is the distance across the screen. This number
shows in the lower right corner of the screen. In the first of the follow-
ing example figures, the range is 4,000 miles from the left edge of the
map to the right edge of the map.
The Zoom In and Zoom Out keys zoom the map to enlarge or reduce its
coverage area and the amount of mapping detail shown. There are 39
available map zoom ranges, from 0.02 miles to 4,000 miles.
Far left, Map Page opening screen. Center, zoomed to 100 miles and
right, zoomed to 10 miles. Over Zoomed means you have reached the
detail limits in an area covered only by the basic background map.
Zooming in any closer will reveal no more map details because a high-
detail custom map has not been loaded on the MMC for this area.

35
If you're using only the factory-loaded background map, the maximum
zoom range for showing additional map detail is 20 miles. You can con-
tinue to zoom in closer, but the map will be enlarged without revealing
more map content (except for a few major city streets.) Load your own
high-detail custom map made with MapCreate (or a pre-made Free-
domMap from LEI), and you can zoom in to 0.02 miles with massive
amounts of accurate map detail.
Map Pages with high-detail MapCreate map of an urban area loaded
on the MMC. At left, arterial streets appear at the 4 mile zoom range,
with a few Point of Interest icons visible. Center, numerous dots
representing Points of Interest are visible at the 2 mile range, along
with minor streets. Right, at the 0.4 mile zoom, you can see an
interstate highway with an exit, major and minor streets as well
as Point of Interest icons.
Background map vs. MapCreate map content
The background map includes: low-detail maps of the whole world, con-
taining cities, major lakes, major rivers, political boundaries, and me-
dium-detail maps of the United States.
The medium-detail U.S. maps contain: all incorporated cities, shaded
metropolitan areas, county boundaries, shaded public lands (such as
national forests and parks) and some major city streets. Also included
are Interstate, U.S. and state highways, large- and medium-sized lakes
and streams and more than 60,000 navigation aids with 10,000 wrecks
and obstructions in U.S. coastal and Great Lakes waters. New for 2007
are more than 3,000 enhanced lake maps that show better defined
shorelines, depth contours and other underwater features.
MapCreate custom maps include massive amounts of information not
found in the background map. MapCreate contains: the searchable
Points of Interest database, all the minor roads and streets, all the
landmark features (such as summits, schools, radio towers, etc.); more
rivers, streams, smaller lakes and ponds and their names.

36
What's more important is the large scale map detail that allows your
GPS unit to show a higher level of position accuracy.
For example, the background map would show you the general outline
and approximate shape of a coastline or water body, but the higher de-
tail in MapCreate shows the shoreline completely and accurately (finer
detail). Many smaller islands would not be included in the background
map, but are, of course, in MapCreate.
NOTE:
Available through LEI Extras (look inside back cover for accessory
ordering information), FreedomMaps are pre-made maps that con-
tain all of the same information available in a custom MapCreate
map, without any of the work of preparation.
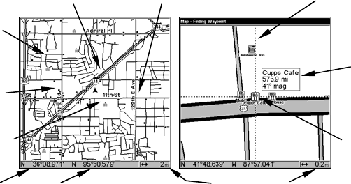
When the map is zoomed out far enough, most POIs appear as square
dots. As you zoom in closer, the symbols become readable icons. In the
0.2 mile zoom example at right, the cursor has selected the Cupps Café
POI, which triggers a pop-up box with the POI name. This
pop-up box works on POIs at any zoom range.
Tip:
In some urban areas, businesses are so close to one another that
their POI icons crowd each other on-screen. You can reduce screen
clutter and make streets and other map features easier to see by
turning off the display of POIs you're not watching for. To see how,
check the text on Map Detail Category Selection, page 83. It shows
how to use the Map Categories Drawn menu to turn individual POI
displays off and on. Even though their display is turned off, you can
still search for POIs and their icons will pop-up when your unit
finds them for you.
School POI
POI
Pop-up
Restau-
rant POI
POI
Marker
Position, distance and bearing data
Cursor line
Interstate Major Street
Minor
Streets
Zoom Range

37
The Map Page has its own menu, which is used for several functions
and for setting various options. To access the Map Page Menu, from the
Map Page, press MENU.
The Pages Menu also offers several map display options under the Map
Page category. To access them, press PAGES while the unit is on the
Map Page. The two different menus are shown in the following figures.
The Map Page Menu is shown at left. The Pages Menu is shown at
right.
These two figures, the Digital Data map page (left) and the Two Posi-
tion Formats map page (right), are features found in the Pages Menu.
Resize Window command
In pages that have two major windows (such as Two Maps) you can
toggle back and forth between the two windows by pressing
PAGES|PAGES. This allows you to change which map your cursor
moves on and which map the menu operates on. A black title bar de-
notes the active window.

38
Pages Menu with Two Maps option selected, at left. The Resize Win-
dow feature was used to make the maps vertical. Map Page with two
horizontal map windows, at right. The bottom map is the active map.
Resize Window is a useful feature for pages that have two major win-
dows. You can change the relative size of the windows, as well as hori-
zontal or vertical layout to suit your viewing preference. Here's how:
From left to right, after selecting the Resize Window command: Fig. 1.
Two Maps page display with four flashing arrows on the dividing cen-
terline. Fig. 2. The centerline has been moved down to enlarge the top
map, which is now zoomed in to 40 miles. Fig. 3. Pressing → has
switched the page layout from horizontal to vertical - note that the
relative sizes remain the same.
1. From any two-window display, press MENU|↓ to RESIZE WINDOW|ENT.
2. Four flashing arrows appear along the centerline dividing the two
windows. Press an arrow key perpendicular to the centerline to adjust
the window widths. Press an arrow key parallel to the centerline to
switch between horizontal and vertical layout.
Fig. 1 Fig. 2 Fig. 3

39
You can only change size, not switch layout, on the Map With Custom
Gauges - it's always two vertical windows. Press EXIT to clear the four
flashing arrows.
3. To change the window size again or revert back to the original dis-
play, just follow the steps above. Most dual-window displays use half
the screen for each window by default. You can also use the Reset Op-
tions command to revert to the factory default. The following is a 12-
step quick reference for the most basic GPS operations.
Basic GPS Quick Reference
Start outdoors, with a clear view of the open sky. As you practice, try
navigating to a location at least a few blocks away. While you're learn-
ing, navigation in too small an area will constantly trigger arrival
alarms.
1. Connect the unit to electric power and the antenna module. Make
sure the MMC is in. See complete installation details beginning on
page 11.
2. To turn on the unit, press and release PWR key.
3. Opening screen displays map of North America at 4,000 mile zoom
range. Rotate through the four main Page screens (Status, Navigation,
Map and Radar) by pressing PAGES|← or → to select Status|EXIT. This
will bring up the Satellites Status Page.
The four main Page screens are Status, Navigation, Map and Radar.
4. Wait while unit locates satellites and calculates current position.
Process is visible on Satellite Page. This takes an average of 1 minute
or less under clear sky conditions. "Clear sky" means open sky, unob-
structed by terrain, dense foliage or structures. Clouds do not restrict
GPS signal reception. When the unit acquires position, a tone sounds
and a position acquired message appears.
5. With position acquired, press PAGES key to display Map Page, which
shows a bird's eye view of the earth. You can move around the map by:
Zoom in closer to see greater detail: press ZIN (zoom in key.)
Zoom out to see more area, less detail: press ZOUT (zoom out key.)
Select the
Satellites
Status page.
40
Scroll map north, south, east or west using arrow keys ↑ ↓ → ← .
To stop scrolling and return to current position on map, press EXIT key.
6. Set a waypoint (Wpt 001) at your current position so you can navi-
gate back here: press WPT|WPT. Waypoint symbol and "001" appears.
7. Zoom/scroll map to find a nearby object or location to go to. Use ar-
row keys to center cursor cross-hair over the map object or location.
8. Navigate to the selected destination: press MENU|ENT|EXIT. Follow
dotted course line on Map Page or compass bearing arrow on Naviga-
tion Page.
9. At destination, Arrival Alarm goes off; to clear it, press EXIT. Cancel
navigation: press MENU|MENU|↓ to CANCEL NAVIGATION|ENT|← to
YES|ENT.
10. Return to Wpt 1 by Navigate To Waypoint or Backtrack Trail. To
Waypoint: press WPT|→ to SAVED|ENT|ENT|ENT. Use ↑ or ↓ to select
Wpt 001, press ENT|ENT; follow navigation displays. Trail: press
MENU|MENU|↓ to MY TRAILS|ENT. Press ↓ to Trail 1|ENT|→|↓ to NAVI-
GATE|ENT|↓ to NAVIGATE|→ to REVERSE|ENT|← to NAVIGATE|ENT. (If arri-
val alarm sounds, press EXIT.) Follow navigation displays.
11. Back home, Arrival Alarm goes off; press EXIT. Cancel navigation:
press MENU|MENU|↓ to CANCEL NAVIGATION|ENT|← to YES|ENT.
12. To turn off the unit, press and hold PWR key for three seconds.
Find Your Current Position
Finding your current position is as simple as turning the unit on. Un-
der clear sky conditions, the unit automatically searches for satellites
and calculates its position in approximately one minute or less. If for
some reason satellite acquisition takes longer, you may be inside a
structure or vehicle or in terrain that is blocking signal reception. To
correct this, be sure you are positioned so that the unit's antenna mod-
ule has as clear a view of the sky as possible, then turn the unit off and
back on again.
Moving Around the Map: Zoom & Cursor Arrow Keys
The map is presented from a bird's eye view perspective. The current
zoom range shows in the lower left corner of the screen.
1. Press the ZIN key (zoom in) to move in closer and see greater detail in
a smaller geographic area.
2. Press the ZOUT key (zoom out) to move farther away and see less map
detail, but a larger geographic area.

41
When you are traveling, the map will automatically move as you move.
This keeps your current location roughly centered on-screen. You can
manually pan or scroll the map north, south, east or west by using the
arrow keys, which launch the cross-hair map cursor. This allows you to
look at map places other than your current position. To clear the cur-
sor, press EXIT, which jumps the map back to your current position or
last known position.
Tip:
Use the cursor to determine the distance from your current position
(or last known position, when working indoors) to any map object or
location. Use the arrow keys to position the cursor over an object or
location. The distance, measured in a straight line, appears in the
popup data box. Press EXIT to clear the cursor.
The selected airport to the northwest is 4.2 miles away.
Selecting Any Map Item With the Cursor
1. Use the zoom keys and the arrow keys to move around the map and
find the item you wish to select.
2. Use the arrow keys and center the cursor cross-hair on the desired ob-
ject. On most items, a pop-up box will give the name of the selected item.
Tip:
This unit has a Cursor Undo feature that lets you instantly return
to the previous location you were looking at without scrolling. It
works like this: Use the cursor (arrow keys) to scroll the map to
some far away location or waypoint. Press EXIT to clear the cursor
and jump back to your current position on the map. When you want
to take another peek at that distant place, just press EXIT again.
Distance
measured
by cursor
Cursor line
Selected
airport
Cursor line
POI pop-up
data box

42
Searching
Now that you've seen how the unit can find where you are, let's search
for something somewhere else. Searching is one of the most powerful
features in the Lowrance GPS product line.
In this example, we'll look for the nearest fast-food restaurant. For more
information on different types of searches, refer to Sec. 6, Searching.
NOTE:
This example requires the Point of Interest (POI) database in-
cluded with a high detail MapCreate custom map.
After the unit has acquired a position:
1. Press WPT|↓ to POI-RESTAURANTS.
2. You could search the entire restaurant category, but in this example
we will narrow our search. Press → to SUBCATEGORY column|↓ to FAST
FOOD CHAINS|ENT|↓ to NEAREST|ENT.
3. The unit says it is calculating, then a list of restaurants appears,
with the closest at the top of the list, and the farthest at the bottom of
the list. The nearest is highlighted.
Find Waypoint Menu, left; Category Selection menu, center;
and list of the nearest restaurants, right.
4. If you wish, you could scroll ↑ or ↓ here to select another restaurant,
but for now we will just accept the nearest one. Press ENT.
5. The POI information screen appears. (This is how you can use this
unit as a business phone directory!) If you wanted to navigate there,
you could press Enter, since the Go To Waypoint command is high-
lighted. But we just want to see it on the map, so press ↓ to FIND ON
MAP|ENT.

43
POI information screen on fast food restaurant nearest this position.
Screen shows name, street address, phone number, latitude/longitude,
distance to restaurant and its compass bearing. Figure at left shows
Go To Waypoint command; right figure shows Find On Map command.
6. The unit's map appears, with the cross-hair cursor highlighting the
restaurant' s POI symbol. A pop-up data box shows the POI's name,
distance and bearing. A data box at the bottom of the screen continues
to display the location's latitude and longitude.
Map screen showing Finding Waypoint,
the result of a restaurant search.
7. To clear the search and return to the last page displayed, press
EXIT|EXIT|EXIT|EXIT.
NOTE:
The search feature works using map and POI data already stored
in the unit. If you have not loaded your own high detailed custom
map made with MapCreate or some pre-made FreedomMap from
LEI, you may not find anything.
44
Set a Waypoint
A waypoint is an electronic "address," based on the latitude and longi-
tude of a position on the earth. A waypoint represents a location, spot
or destination that can be stored in memory, then recalled and used
later for navigation purposes. You can create a waypoint at the cursor
position on the map or at your current position while navigating. You
can create a waypoint at any location by manually entering the posi-
tion's latitude and longitude. You can copy waypoints from your unit to
your personal computer with MapCreate software. When you want to
repeat a trip, these archived waypoints can be reloaded into the GPS
unit.
To create and save a Waypoint:
Two of these techniques use the Quick Save method, the fastest and
easiest way to create a waypoint.
NOTE:
The Quick Save method uses the default waypoint symbol until you
edit an existing waypoint and change its symbol. (Edit Waypoint
Symbol is described in Sec. 4.) After you have changed a waypoint
symbol, the unit will remember the one you chose and use it the
next time you "quick save" a waypoint. To revert back to the default
symbol, edit a waypoint and choose the original symbol, or use the
Reset Options command (described in Sec. 5).
Create Waypoint by Entering a Position
1. Press WPT|→ to SUBCATEGORY column|↓ to NEW|ENT.
2. Press ↓ to ENTERED POSITION|ENT|→ to CREATE|ENT.
3. Press → to LATITUDE|ENT. Enter the latitude by pressing ↑ or ↓ to
change the first character, then press → to the next character and re-
peat until the latitude is correct. Press ENT.
4. Press ↓ to LONGITUDE|ENT. Enter the longitude by pressing ↑ or ↓ to
change the first character, then press → to the next character and re-
peat until the longitude is correct. Press ENT, then EXIT|EXIT to return
to the previous page display. The waypoint is saved and automatically
given a name with a sequential number, such as "waypoint 001." The
waypoint symbol and number appear on the map and in the waypoint
list.

45
Create Waypoint at Current Position
While you are traveling, press WPT|WPT. The waypoint is saved and
automatically given a name with a sequential number, such as "way-
point 003." The waypoint symbol and number appear on the map.
Sequence for setting a waypoint. Step 1: while traveling, quickly press
WPT twice to call up Find Waypoint screen (seen in Step 2) and set a
point. Step 3: a message says the waypoint has been saved. Step 4: ve-
hicle continues on its way; number waypoint symbol is visible on map.
Create Waypoint on Map
1. Use the arrow keys to move the cursor to the place where you want
to make a waypoint.
2. Press WPT|WPT. The waypoint is saved and automatically given a
name with a sequential number, such as "waypoint 001." The waypoint
symbol and number appear on the map.
Step 3. Step 4.
Step 1. Step 2.

46
Navigate to a Waypoint
You can select any waypoint visible on the Map Page with the cursor,
then use the Navigate to Cursor command (we'll describe how later in
this section.) However, you can avoid scrolling the map to pick your
waypoint if you use the Find Waypoint commands.
1. Press WPT|→ to SAVED|ENT. To look up the nearest waypoint, press
↓ to NEAREST|ENT; or, to look by name and scroll through the entire
waypoint list, press ENT. For this example, search by name.
2. If your waypoint list is a long one, you can spell out the waypoint
name in the FIND BY NAME box to search for it. Press ↑ or ↓ to change the
first character, then press → to move the cursor to the next character
and repeat until the name is correct, then press ENT to jump to the list
below.
3. If the list is short, you can jump directly to the FIND IN LIST box by
pressing ENT. Use ↑ or ↓ to select the waypoint name, press ENT and
the waypoint information screen appears with the GO TO command se-
lected.
4. To begin navigating to the waypoint, press ENT.
Navigation Page, navigating toward waypoint 004 and leaving a trail.
Set Man Overboard (MOB) Waypoint
One of boating's most terrifying events is having a friend or family
member fall overboard. This situation can be deadly on any body of
water — fresh or salt. It's particularly dangerous at night or if you're
out of sight of land. Of course, the first thing to do is remain calm and
then use all standard safety procedures to rescue the person. This unit
has a man overboard feature that shows navigation data to the location
where the feature was activated.
Waypoint
Destination
name
Trail line
(solid)
Course line
(dotted)
Off course
range, set at
0.20 mile

47
To activate it, press the ZOUT and ZIN keys at the same time. Your posi-
tion at the time these keys are pressed is used as the man overboard
position.
Caution:
Saving a new "Man Overboard" waypoint will overwrite and
erase the previous "Man Overboard" waypoint.
Navigate Back to MOB Waypoint
Find your way back to the accident position with the Navigation Page
or Map Page. When MOB is activated, the Navigation Page automati-
cally shows the compass rose with its bearing arrow pointing toward
the man overboard position, and the destination name says "Going To
Man Overboard." The Map Page displays a Man Overboard waypoint,
represented by a human figure, and the steering arrow points where to
steer to reach that position.
Navigating to Man Overboard: Man Overboard Activated message, left,
Navigation Page, center, Map Page, right. The MOB is to the starboard
of the vessel; the GPS shows which direction to steer for the rescue.
The man overboard position is also stored in the waypoint list for fu-
ture reference. It can be edited the same as any other waypoint. This
prevents the inadvertent loss of the current Man Overboard position.
To cancel navigation to MOB, press MENU|MENU|↓ to CANCEL NAVIGA-
TION|ENT|← to YES|ENT. The unit stops showing navigation informa-
tion.
Navigate to Cursor Position on Map
The GO TO CURSOR command navigates to the current cursor position on
the map. It's a quick way to navigate to anything you can see on-screen.
1. Use the cursor (controlled by the arrow keys) with the zoom in and
zoom out keys to maneuver around the map until you find a location
you want to go to.

48
2. Center the cursor over the location to select it. See the example in
the following figure. Many map items such as waypoints, Points of In-
terest, towns, etc. can be "selected," and appear "highlighted" with a
pop-up box. Other features, such as a river or a street intersection will
not appear "highlighted," but the cursor will take you to those locations
just the same.
3. Press MENU|ENT and the unit will begin navigating to the cursor
location.
Navigate to cursor. In this example, the cursor has selected
the town of Oologah, Oklahoma.
The Map Page will display a dotted line from your current position to
the cursor position. The Navigation Page displays a compass rose show-
ing navigation information to your destination. See the following ex-
amples.
The 15-mile zoom figure at left clearly shows the dotted course line
connecting your current position to your destination. The 40-mile
zoom, center, shows both current position and destination on screen.
The Navigation Page, right, will also show navigation information.
49
To stop navigating to the cursor, use the Cancel Navigation command:
press MENU|MENU|↓ to CANCEL NAVIGATION|ENT|← to YES|ENT. The unit
stops showing navigation information.
Navigate to a Point of Interest
For POIs that are in view on the map, you can use the Navigate to Cur-
sor command above; use the cursor to select the POI. The other method
involves searching for POIs with the Find Waypoint command,
launched with the WPT key.
After you have looked up an item with the Find Waypoint command,
use ↑ or ↓ to make sure the GO TO WAYPOINT command is highlighted at
the top of the screen, then press ENT. The unit begins showing naviga-
tion information to the item.
To cancel navigation, press MENU|MENU|↓ to CANCEL NAVIGATION|ENT|←
to YES|ENT. The unit stops showing navigation information.
Creating and Saving a Trail
A trail, or plot trail, is a string of position points plotted by the unit as
you travel. It's a travel history, a record of the path you have taken.
Trails are useful for repeating a journey along the same track. They are
particularly handy when you are trying to retrace your trip and go back
the way you came. On the screen, trails are represented by a solid line
extending from the back of the current position arrow.
The unit is set at the factory to automatically create and record a trail
while the unit is turned on. The unit will continue recording the trail
until the length reaches the maximum trail point setting. Default is
2,000, but the unit can record trails 9,999 points long. When the point
limit is reached, the unit begins recording the trail over itself.
By default, the trail flashes once a second, making it easier to see against
the background map. With the default auto setting, this unit creates a
trail by placing a dot (trail point) on the screen every time you change di-
rections. The methods used for creating a trail and the trail update rate
can be adjusted or turned off. See Sec. 5 for Trail Options.
To preserve a trail from point A to point B, you must "turn off" the trail
by making it inactive before heading to point C or even back to point A.
When the current trail is set inactive, the unit automatically creates
and begins recording a new trail.

50
To Save a Trail
1. Press MENU|MENU|↓ to MY TRAILS|ENT.
Sequence for saving a trail and beginning a new one, after My Trails
command is selected. The Trails Menu, at left. The arrow to the right of
Trail 2 indicates the trail is "active" and the check to the left indicates
the trail is visible on the map display. The right figure shows the Edit
Trail menu, with the Active and Visible commands selected.
2. Press ↓ to the Active Trail|ENT.
3. Press ↓ to ACTIVE|ENT. This unchecks the Active option.
4. To return to the previous page, press EXIT|EXIT|EXIT|EXIT. As you
leave the Edit Trail menu, you will notice that a new trail starts with a
new sequential number. In the example figure below, the new trail is
Trail 3, showing zero points. Note that Trail 2 is inactive, but it is still
visible on the map.
New trail, named "Trail 3" is created when Trail 2 is made inactive. Any
new travel will be recorded in this trail, which is active and
visible. Trails do not need to be visible in order to be active.
Active
symbol
Visible
symbol
51
You can save and recall up to 10 different plot trails, which can also be
copied to your MMC for archiving or for transfer to your MapCreate
software.
Tip:
Another quick way to stop recording one trail and begin a new one
is to use the New Trail command: Press MENU|MENU|↓ to MY
TRAILS|ENT|ENT.
Caution:
You also have the option of completely turning off trail re-
cording, under the Trail Options command. However, if the Up-
date Active Trail option is left turned off, it will cancel the
automatic trail creation feature.
Displaying a Saved Trail
The active trail is automatically displayed on the map (the "Visible"
option) with the factory default settings. You can selectively turn trail
display off and on for any saved or active trail. In the Saved Trails List,
visible trails have a check mark in front of the trail name.
To turn off trail display:
1. Press MENU|MENU|↓ to MY TRAILS|ENT.
2. Press ↓|↓ to enter the Saved Trail list, then use ↑ or ↓ to select the
desired Trail Name|ENT.
3. Press ↓ to ACTIVE|↓ to VISIBLE|ENT. To return to the previous page,
press EXIT|EXIT|EXIT|EXIT.
To turn on trail display:
1. Press MENU|MENU|↓ to MY TRAILS|ENT.
2. Press ↓|↓ to enter the Saved Trail list, then use ↑ or ↓ to select the
desired Trail Name|ENT.
3. Press ↓ to ACTIVE|↓ to VISIBLE|ENT. To return to the previous page,
press EXIT|EXIT|EXIT|EXIT.
Navigating Trails
There are three methods for following a trail: visual trailing, navigat-
ing a trail forward and back tracking a trail. Try each method to see
which you prefer. Visual trailing is the simplest method. It uses only
the Map Page and requires no menu commands at all. The technique
works the same if you are running a trail forward or backward. How-
ever, visual trailing provides no navigation information during the trip,
such as the time to your destination.
52
The other two methods provide a full range of navigation data and
work with both the Map Page and Navigation Page. The only difference
between them is "navigating a trail" follows a trail forward (from start
to end) while "backtracking" follows a trail in reverse (from end to
start.)
When hiking at walking speed with a hand-held GPS, we often just use
visual back trailing because it is a bit better at following each little
turn on a foot path. At faster speeds, such as the highway or on the wa-
ter, the Navigate Trail and Backtrack Trail commands are handy.
Visual Trailing
1. On the Map Page, zoom (ZIN or ZOUT) so the flashing trail is visible.
2. Begin moving and watch the Map Page. Walk or steer so that your
current position arrow traces along the trail you have just made.
Tip:
Generally, when using this method, the smaller the zoom range,
the more accurately you will be able to steer along the trail.
Navigate a Trail (forward)
The following figures illustrate the menu sequence for navigating a
trail.
1. Press MENU|MENU|↓ to MY TRAILS|ENT.
2. Press ↓|↓ to enter the Saved Trail list, then use ↑ or ↓ to select the
desired Trail|ENT.
3. Press → to DELETE TRAIL |↓ to NAVIGATE|ENT..
4. Press ↓ to NAVIGATE|ENT. The unit begins showing navigation infor-
mation along the trail.
NOTE:
If you are already located at or near the beginning of your trail, the
arrival alarm will go off as soon as you hit Enter. Just press EXIT to
clear the alarm and proceed.
5. Now, begin moving and follow the trail.
6. When you reach your destination, be sure to cancel your navigation:
press MENU|MENU|↓ to CANCEL NAVIGATION|ENT. The unit asks if you're
sure; press ←|ENT.

53
Navigate a trail menu sequence: Fig. 1, My Trails command. Fig. 2,
Trails Menu. Fig. 3, Edit Trail Menu. Fig. 4, Edit Route Menu for Trail
3. A trail is always converted to a "route" when you navigate the trail.
On the Map Page, the trail you are navigating is represented by a dot-
ted line that alternates with a flashing solid line. The Navigation Page
will also show the navigated trail as a dotted line. The bearing arrow
on the compass rose points to the next waypoint on the trail.
As you travel, the arrival alarm will go off when you near a trail way-
point. The bearing arrow on the compass rose will swing around and
point to the next trail waypoint. Press EXIT to clear the alarm.
Figure 4.
Figure 1.
Figure 3.
Figure 2.

54
Navigate trail, map views: at left driver is northbound heading
straight toward trail point 6. At right, northbound driver has reached
point 6 and has turned west to follow trail.
Navigate trail, navigation page (compass rose) views: at left, driver is
northbound heading straight toward trail point 6; bearing arrow
shows the trail point is due north (straight ahead.) At right, driver has
reached trail point 6 and must turn west to follow the trail. Arrival
alarm goes off and bearing arrow swings around to say turn left (west),
toward the next waypoint, trail point 7. The unit now shows naviga-
tion information to point 7, which is 2.02 miles away.
Navigate a Back Trail (backtrack, or reverse)
1. Press MENU|MENU|↓ to MY TRAILS|ENT.
2. Press ↓|↓ to enter the Saved Trail list, then use ↑ or ↓ to select the
desired Trail|ENT.
3. Press → to DELETE TRAIL|↓ to NAVIGATE|ENT.
4. Press ↓ to NAVIGATE|→ to REVERSE|ENT|← to NAVIGATE|ENT. The unit
begins showing navigation information along the trail, in reverse.
NOTE:
If you are located at or near the end of a trail, the arrival alarm will
go off as soon as you hit ENTER. Press EXIT to clear the alarm and
proceed.
Trail
dotted line
Trail point
Present
position
arrow
North Ï
Trail
waypoint
symbol
Track or compass heading indicator
Arrival
alarm
Course
line made
from trail
Cross track
error range
(off course
indicator)
Bearing
arrow

55
5. Now, begin moving and follow the trail.
6. When you reach your destination, be sure to cancel your navigation:
press MENU|MENU|↓ to CANCEL NAVIGATION|ENT. The unit asks if you're
sure; press ←|ENT.
Transfer Custom Maps and GPS Data Files
Custom Maps:
Custom maps work only from the MMC card or SD card. When a card
containing a Custom Map File is loaded into the unit, the unit auto-
matically loads the map into memory when the unit is turned on.
Instructions for copying Custom Map Files to an MMC are contained in
the instruction manual for your MMC card reader and MapCreate
software. For instructions on inserting an MMC into the unit, see Sec.
2, Installation/Accessories.
GPS Data files:
GPS Data Files contain waypoints, routes, trails and event marker
icons. Instructions for copying GPS Data Files between your computer
and an MMC are contained in the instruction manual for your MMC
card reader and MapCreate software.
GPS data automatically recorded in the unit's internal memory must
be saved to the MMC (as a GPS Data File) in order to store it on your
personal computer. GPS Data Files stored on an MMC must be copied
from the card to the unit's internal memory before the unit can read
them.
The Transfer My Data submenu asks if you want to save data to the
MMC or load data from the MMC into the unit's memory.
1. Insert the MMC into your unit. Press MENU|MENU|↓ to SYSTEM
SETUP|ENT|↓ to TRANSFER MY DATA|ENT and the screen below appears.

56
2. The Transfer My Data menu includes a message which tells you if an
MMC is present or not. If no MMC is present, you must first insert a
card into the unit in order to activate the Load or Save commands.
To transfer data from the unit to the MMC: press ENT (for SAVE.)
To transfer data from the MMC to the unit: press → to LOAD|ENT.
3. Saving to MMC: To accept the default name "Data" for the GPS
Data File, press ↓ to SAVE DATA|ENT. If you wish to rename the file (as
shown in the following figures), press ENT to activate the selection box.
Press ↑ or ↓ to change the first character, then press → to the next
character and repeat until the name is correct. Then, press ENT|↓ to
SAVE DATA|ENT.
The unit will display first a progress then a completion message when
the data transfer is finished. To return to the Page view, repeatedly
press EXIT.
From left to right, these figures show the menu sequence for naming
and saving a GPS Data File from the unit's memory to an MMC.
4. Loading to unit memory: There may be more than one GPS Data
File (*.USR) on the card. To select a file, press ENT to activate the se-
lection box, use ↓ or ↑ to highlight the file, then press ENT to accept the
selection.
Next, press ↓ to LOAD DATA|ENT. The unit will display a completion mes-
sage when the data transfer is finished. To return to the Page view,
press EXIT|EXIT|EXIT|EXIT.

57
These figures show the menu sequence for loading a GPS Data File
from an MMC into the unit's memory.
Cancel Navigation
You can turn off any of the navigation commands after you reach your
destination or at any other time by using the Cancel Navigation com-
mand. Press MENU|MENU|↓ to CANCEL NAVIGATION|ENT|← to YES|ENT.
Figure 3.
Figure 2.
Figure 1.
Figure 4.
58
Notes

59
Section 4:
Advanced GPS Operations
Find Distance From Current
Position to Another Location
1. While on the Map Page press: MENU|↓ to FIND DISTANCE|ENT.
2. Center your cursor over the position you want to find the distance to.
A rubber band line appears, connecting your current position to the
cursor's location. The distance along that line will appear in a pop-up
box. The box also shows the bearing to the point you're measuring to.
3. Press EXIT to return to regular operation.
At left, the distance from Dallas to Little Rock is 292.2 miles. At right, the
distance from the boat's current position to the boat ramp is 0.52 miles.
Find Distance From Point to Point
You can also measure distance between two other points on the map.
1. While on the Map Page press: MENU|↓ to FIND DISTANCE|ENT.
2. Center your cursor over the first position. A rubber band line ap-
pears, connecting your current position to the cursor's location. Press
ENT to set the first point, and the rubber band line disappears.
3. Move the cursor to the second position. The rubber band line reap-
pears, connecting the first point you set to the cursor. The distance
along that line will appear in the pop-up box.
4. Press EXIT to clear the command and return to the page screen. Press
EXIT once more to clear the cursor.

60
Icons
Icons are graphic symbols used to mark a location, personal point of
interest or event. They can be placed on the map screen, saved and re-
called later for navigation purposes. These are sometimes referred to as
event marker icons. This unit has 42 different symbols you can pick
from when creating an icon.
Icons are similar to waypoints, but they do not store as much informa-
tion (like names) as waypoints do. You can't use a menu to navigate to
icons as you can with waypoints. But, you can use the map cursor and
navigate to any icon on the map.
You can create an icon at the cursor position on the map, or at your
current position while you are navigating.
Create Icon on Map
1. Use the arrow keys to move the cursor to the area where you want to
place an icon.
2. Press ENT and the Icon Window will appear.
3. Press ← or ↑ or → or ↓ to select an icon symbol, then press ENT. The
icon appears on the map.
Cursor selects icon location, left; Select Icon Symbol menu, center;
Boat Ramp icon on map, right. Cursor has been moved for clarity.
Create Icon at Current Position
1. While you are traveling, press ENT and the screen shows a "Select
Icon Symbol" menu.
2. Press ← or ↑ or → or ↓ to select your icon symbol, then press ENT.
The icon appears on the map.
Delete an Icon
You can delete all the icons at one time, you can delete all icons repre-
sented by a particular symbol, or you can use the cursor to delete a se-
lected icon from the map.

61
1. Press MENU|↓ to DELETE MY ICONS|ENT.
2. Press ↓ to DELETE ALL ICONS, DELETE BY SYMBOL, or DELETE FROM MAP and
press ENT.
Deleting icons from map screen.
The Delete All Icons command will ask if you are sure. Press ← to
YES|ENT. All icons will be deleted from the map.
The Delete by Symbol command will launch the Select Symbol menu.
Press ← or ↑ or → or ↓ to select the icon symbol to delete, then press
ENT. A message appears saying all icons with the selected symbol have
been deleted.
The Delete From Map command will prompt you to move the cursor
over an icon to select it. After selecting the icon, press ENT and it dis-
appears from the map.
Navigate to an Icon
Use the Navigate to Cursor command, and use the cursor to select the
desired icon on the map.
1. Use arrow keys to center cursor cross-hair over the icon.
2. To navigate to the selected icon location: press MENU|ENT|EXIT. Fol-
low course line on the Map Page or the compass bearing arrow on the
Navigation Page.
Routes
A route is a series of waypoints, linked together in an ordered se-
quence, that's used to mark a course of travel. You can visualize a route
as a string of beads: The beads represent waypoints and the string
represents the course of travel connecting waypoint to waypoint.

62
The course from one waypoint to the next is a leg; routes are composed
of one or more legs. The legs of all GPS routes are based on straight
lines between waypoints. A route provides the automatic capability to
navigate through several waypoints without having to reprogram the
unit after arriving at each waypoint. Once programmed into the GPS
unit, a route provides the option of navigating forward through the
route waypoints or in reverse order; you can even begin navigating
from the middle of a route.
Create and Save a Route
You have the option of creating and editing a route in the unit or mak-
ing a route on your computer using MapCreate software.
PC-created Routes
MapCreate is the easiest method for preparing a route, because your
PC's larger screen, keyboard and mouse are easier to manipulate than
the unit. To load a MapCreate route into the unit, follow instructions in
MapCreate's manual for creating a route and saving it as part of a GPS
Data File (file format *.usr). Copy the GPS Data File to an MMC and
insert the MMC in the unit. To load the GPS Data File into the unit's
memory, see the entry on Transfer Custom Maps & GPS Data Files in
Sec. 3, Basic GPS Operations.
Routes Created in the Unit
You can create a route by selecting existing waypoints from the way-
point list or you can set a series of route waypoints on the map with
cursor arrows and the Enter key. In this example, we'll create a route
from the map.
1. From the MAP PAGE, press MENU|MENU|↓ to ROUTE PLANNING|ENT. You
will see the following screen.
Selecting the Route Planning command from the Main Menu will open
the Routes List screen.

63
2. Press ENT. Now ↓ to (END OF ROUTE)|ENT|↓ to ADD FROM MAP|ENT. The
Map Page appears with the cursor showing.
Edit Route menu, left. Edit Route Waypoints menu, right,
with Add From Map command selected.
3. Use the Zoom keys and arrow keys to move the map and cursor until
the cursor is centered on the spot where you want your route to begin.
If you are starting at your current position or the current cursor posi-
tion, you are already at the starting spot.
4. Set the first route waypoint: press ENT. In this example, we moved to
the intersection of 11th Street and 145th E. Ave. to start our route to a
public hunting area next to a river.
5. Move the cursor to the next point in the route, a spot where you need
to turn or change direction, and press ENT to set the next waypoint.
6. Repeat step five until the route reaches your destination.
7. To save your route, press EXIT. The unit reverts to the Edit Route
screen, with the route automatically named "Route 1" and stored in the
unit's internal memory. In the example, Route 1 already existed, so the
unit automatically made "Route 2."
You can edit the route and run other commands, but if you are finished
with the route for now, return to the last page displayed by
pressing EXIT|EXIT|EXIT|EXIT|EXIT.
Delete a Route
1. From the NAVIGATION PAGE, press MENU|ENT or from the MAP PAGE press
MENU|MENU|↓ to ROUTE PLANNING|ENT.
2. Press ↓ to route name|ENT.
3. Press ↓ to NAVIGATE|ENT|→ to DELETE|ENT|← to YES|ENT.

64
Tip:
You can also delete all routes at once:
1. From the NAVIGATION PAGE, press MENU|ENT or from the MAP PAGE
press MENU|MENU|↓ to ROUTE PLANNING|ENT.
2. Press → to DELETE ALL|ENT|← to YES|ENT.
Edit a Route Name
You can edit the route name if you wish.
1. From the NAVIGATION PAGE, press MENU|ENT or from the MAP PAGE press
MENU|MENU|↓ to ROUTE PLANNING|ENT.
2. Press ↓ to route name|ENT|ENT.
3. Press ↑ or ↓ to change the first character, then press → to move the
cursor to the next character and repeat until the name is correct, then
press ENT. Return to the previous page by pressing
EXIT|EXIT|EXIT|EXIT.
Edit Route Waypoints
You can edit the route by adding and removing waypoints.
1. From the MAP PAGE press MENU|MENU|↓ to ROUTE PLANNING|ENT.
2. Press ↓ to route name|ENT|↓ to ROUTE WAYPOINTS LIST. Use ↓ and ↑ to
select a waypoint, then press ENT.
Edit Route Waypoints menu.
3. Use ↓ and ↑ to select a command from the Edit Route Waypoints
menu and press ENT. Add From Map lets you insert a waypoint in the
route by clicking on a map location with the cursor. Add Waypoint calls
up the Waypoint List so you can insert a waypoint from the list. Re-
move Waypoint will delete the waypoint from the route. View Waypoint
will show you where the selected waypoint is on the map.

65
NOTE:
When adding waypoints to a route, the inserted waypoints will ap-
pear in the route in front of the waypoint you have selected. To in-
sert waypoints at the end of the route, make sure to select "(End of
route)" before adding them.
Navigate a Route
1. From the NAVIGATION PAGE, press MENU|ENT or from the MAP PAGE,
press MENU|MENU|↓ to ROUTE PLANNING|ENT.
Selecting the Route Planning command on Main Menu brings up the
Routes menu, left. Edit Route menu, right. Navigate command is se-
lected in the Action box.
2. Press ↓ to select route name|ENT|↓ to NAVIGATE|ENT.
3. Upon arrival at your destination, cancel navigation:
press MENU|MENU|↓ to CANCEL NAVIGATION|ENT|← to YES|ENT.
The following figures show what the Navigation Page and Map Page
look like while navigating a route.
Navigate a Route in Reverse
Here's how you run a route backward, from the end waypoint to the
beginning waypoint:
1. From the NAVIGATION PAGE, press MENU|ENT or from the MAP PAGE,
press MENU|MENU|↓ to ROUTE PLANNING|ENT.
2. Press ↓ to select route name|ENT|↓ to NAVIGATE|→ to RE-
VERSE|ENT|← to NAVIGATE|ENT.
3. Upon arrival at your destination, cancel navigation:
press MENU|MENU|↓ to CANCEL NAVIGATION|ENT|← to YES|ENT.

66
Navigating along a route: Fig. 1 shows the Navigation Page at the start
of a route, heading straight for the first waypoint (Wpt 1). In Fig. 2, the
traveler has arrived at Wpt 1; the arrival alarm has been triggered and
the bearing arrow on the compass rose has turned to point toward
Wpt 2, off to the east. In Fig. 3 the traveler has turned east on his new
course and is heading straight for Wpt 2, which is 2.37 miles away. Fig.
4 shows route navigation on the Map Page. In this figure, the traveler
has reached Wpt 2 and is half-way along the leg between Wpts 2 and 3.
Trails
Delete a Trail
This is the command used to erase or delete a trail:
Press MENU|MENU|↓ to MY TRAILS|ENT|↓ to trail name|ENT|→ to DE-
LETE TRAIL|ENT|← to YES|ENT.
Tip:
You can also delete all trails at once:
1. Press MENU|MENU|↓ to MY TRAILS|ENT.
2. Press → to DELETE ALL|ENT|← to YES|ENT.
Figure 2.
Figure 1.
Figure 4.
Figure 3.

67
Edit a Trail Name
To edit a trail name: press MENU|MENU|↓ to MY TRAILS|ENT|↓ to trail
name|ENT|ENT. Press ↑ or ↓ to change the first character, then press
→ to the next character and repeat until the name is correct. Press ENT
then EXIT|EXIT|EXIT|EXIT to return to the previous page display.
Tip:
You can quickly call up the Edit Trail menu by selecting a trail on
the map with the cursor. Move the cursor over a trail and a pop-up
box appears. Press WPT and the Edit Trail menu opens.
At left, trail selected with map cursor. The pop-up box shows distance
and bearing from current position to the selected point on the trail. At
right, the Edit Trail menu.
Edit a Trail Color
To edit a trail color: press MENU|MENU|↓ to MY TRAILS|ENT|↓ to trail
name|ENT|↓ to COLOR|ENT. Press ↑ or ↓ to select a color style, then
press ENT. Press EXIT|EXIT|EXIT|EXIT to return to the previous page
display.
Edit a Trail Pattern
To edit a trail pattern: press MENU|MENU|↓ to MY TRAILS|ENT|↓ to trail
name|ENT|↓ to PATTERN|ENT. Press ↑ or ↓ to change the first character,
then press → to the next character and repeat until the pattern is cor-
rect. Press ENT, then EXIT|EXIT|EXIT|EXIT to return to the previous
page display.

68
At left, Edit Trail Menu with Pattern option selected.
At right, edited trail with dotted line pattern.
Utilities
Utilities are useful tools for traveling or for outdoor activities.
Alarm Clock
To get to the alarm clock menu: press MENU|MENU|↓ to TIMERS|ENT|↓
to ALARM CLOCK|ENT.
Sun/Moon Rise & Set Calculator
To get to the Sun/Moon menu: press MENU|MENU|↓ to SUN/MOON CALCU-
LATIONS|ENT.
Trip Calculator
To get to the Calculator menu: press MENU|MENU|↓ to TRIP CALCULA-
TOR|ENT.
Trip Down Timer
To get to the Down Timer menu: press MENU|MENU|↓ to TIMERS|ENT|↓
to DOWN TIMER|ENT.
Trip Up Timer
To get to the Up Timer menu: press MENU|MENU|↓ to TIMERS|ENT|ENT.
Waypoints
Delete a Waypoint
To delete a waypoint from the waypoint list: press
WPT|ENT|ENT|ENT|↓ to waypoint name|ENT|↓ to DELETE WAY-
POINT|ENT|← to YES|ENT. To return to the previous page, press
EXIT|EXIT.
To delete a waypoint from the map:
1. Use the arrow keys to select the waypoint with the cursor.
69
2. Press WPT|→ to DELETE WAYPOINT|ENT|← to YES|ENT. To return to
the previous page and clear the cursor, press EXIT.
To delete all waypoints at one time: press MENU|MENU|↓ to SYSTEM
SETUP|ENT|↓ to DELETE ALL MY WAYPOINTS|ENT|← to YES|ENT. To return
to the previous page, press EXIT|EXIT.
Edit a Waypoint
Waypoint Name
To edit waypoint name:
1. Press WPT|ENT|ENT|ENT|↓ to waypoint name|ENT|↓ to EDIT WAY-
POINT|ENT|ENT.
2. Press ↑ or ↓ to change the first character, then press → to the next
character and repeat until the name is correct. Press ENT then
EXIT|EXIT|EXIT|EXIT to return to the previous page display.
Waypoint Symbol
To edit waypoint symbol:
1. Press WPT|ENT|ENT|ENT|↓ to waypoint name|ENT|↓ to EDIT WAY-
POINT|ENT|↓ to CHOOSE SYMBOL|ENT.
2. Use arrow keys to select desired symbol and press ENT. To return to
the previous page, press EXIT|EXIT|EXIT|EXIT.
Waypoint Position
To edit waypoint position:
1. Press WPT|ENT|ENT|ENT|↓ to waypoint name|ENT|↓ to EDIT WAY-
POINT|ENT.
2. Latitude: press → to LATITUDE|ENT. Press ↑ or ↓ to change the first
character, then press → to the next character and repeat until the lati-
tude is correct. Press EXIT.
3. Longitude: press ↓ to LONGITUDE|ENT. Press ↑ or ↓ to change the first
character, then press → to the next character and repeat until the lon-
gitude is correct. Press EXIT.
4. When latitude and longitude are correct, return to the previous page:
press EXIT|EXIT|EXIT|EXIT.
Selecting a Waypoint
To select a waypoint on the map (for navigating to, for editing, etc.,) use
the arrow keys and center the cursor over the waypoint. A highlighted
halo will appear around the waypoint.
Set a Waypoint by Average Position
This feature sets a waypoint at the current position after taking several
position readings and averaging them.
70
This boosts waypoint position accuracy by helping to eliminate errors
caused by atmospheric conditions and other factors.
1. Press WPT|→ to SUBCATEGORY column|↓ to NEW|ENT.
2. Press ↓ or ↑ to AVERAGE POSITION|ENT|press → to CREATE|ENT.
3. Wait while the unit takes points to average for the position. The
greater the number of points, the greater the accuracy. When the de-
sired number of points accumulates, press ENT to create and save the
waypoint.
4. The Edit Waypoint menu appears. You can save the waypoint by
pressing EXIT|EXIT or you can edit the waypoint.
Set a Waypoint by Projecting a Position
This feature sets a waypoint at a point located a specific distance and
bearing from a reference position. The reference position can be se-
lected from your waypoint list, a map feature or from the Points of In-
terest list.
1. Press WPT|→ to SUBCATEGORY column|↓ to NEW|ENT.
2. Press ↓ to PROJECTED POSITION|ENT|→ to CREATE|ENT.
3. Press → to CHOOSE REFERENCE|ENT. Use ↑ and ↓ to select a waypoint,
map feature or Point of Interest. When the point has been selected,
press ENT and the point's position appears as the reference position.
4. Press ↓ to DISTANCE|ENT. Press ↑ or ↓ to change the first character,
then press → to the next character and repeat until the distance is cor-
rect. Press ENT.
5. Press ↓ to BEARING|ENT. Press ↑ or ↓ to change the first character,
then press → to the next character and repeat until the bearing is cor-
rect. Press ENT.
6. Press ↑ to PROJECTION|ENT. The Edit Waypoint menu appears. You
can save the new projected waypoint by pressing EXIT|EXIT or you can
edit the waypoint. Press EXIT|ENT if you want to immediately begin
navigating to the new waypoint.

71
Section 5:
System & GPS Setup Options
Alarms
This unit has several GPS alarms. The factory default setting has all of
these but the anchor alarm turned on. You can turn the alarms off and
on and change their distance settings.
You can set an arrival alarm to flash a warning message and sound a
tone when you cross a preset distance from a waypoint. For example, if
you have the arrival alarm set to .1 mile, then the alarm will flash a
message when you come within .1 mile of the recalled waypoint.
The off course alarm warns you when your track drifts too far to the
right or left of the course line to the waypoint. For example, if the
alarm is set to .1 mile, then the alarm flashes a message if you drift .1
of a mile or more to the right or left of the line to the waypoint.
The anchor alarm is triggered when you drift outside of a preset radius.
Again, using the .1 mile as an example, if you're anchored and your
boat moves more than .1 of a mile, the alarm will flash a message and
sound a tone.
Selecting the Alarms command on Main Menu brings up Alarm menu.
To change alarm settings:
1. Press MENU|MENU|↓ to ALARMS|ENT|ENT.
2. Scroll ↓ or ↑ to select the desired category, then press ENT to check or
clear the Enabled box. This turns the alarm on (checked) or off (un-
checked.)
72
3. To change distance settings, scroll ↓ or ↑ to select the desired cate-
gory, then press → |ENT to activate the distance dialog box. Press ↑ or
↓ to change the first character, then press → to the next character and
repeat until the name is correct.
4. When your adjustments are finished, return to the last page dis-
played by repeatedly pressing EXIT.
IMPORTANT ALARM NOTES:
Anchor Alarm - The anchor alarm may be triggered even when
you're sitting still. This typically happens when using small (less
than .05 mile) anchor alarm ranges.
Arrival Alarm - If you set the arrival alarm's distance to a small
number and you run a route (see the Navigate Routes segment),
this unit may not show navigation data to the next waypoint, once
you arrive at the first one, since you may not be able to come close
enough to the first waypoint to trip the arrival alarm.
Auto Satellite Search
To lock onto the satellites, the GPS receiver needs to know its current
position, UTC time and date. (Elevation [altitude] is also used in the
equation, but it's rarely required to determine a position.) It needs this
data so that it can calculate which satellites should be in view. It then
searches for only those satellites.
When your GPS receiver is turned on for the first time, it doesn't know
what your position or elevation (altitude) is. It does know the current UTC
time and date since these were programmed into it at the factory and an
internal clock keeps the time while the unit is turned off. (If the time
and/or date are incorrect, you can set it using the "Set Local Time" menu.)
The unit begins searching for the satellites using the above data that it
acquired the last time it was turned on. This probably was at the fac-
tory. Since it's almost certain that you're not at our factory, it's proba-
bly looking for the wrong satellites.
If it doesn't find the satellites it's looking for after approximately one
minute, it switches to Auto Search. The receiver looks for any satellite
in the sky. Due to advanced technology, the auto search time has
shrunk significantly from the early days of GPS.
Once the unit locks onto the satellites, it should take less than a minute to
find your position the next time it's turned on, provided you haven't
moved more than approximately 100 miles from the last location it was
used.

73
Check MMC Files and Storage Space
To check MMC Files:
Press MENU|MENU|↓ to BROWSE FILES|ENT.
Main Menu, left, Browse Files, right.
Communications Port Configuration
The unit has one NMEA 0183 version 2.0 compatible communication
port or com port for short. The Com Port Menu, which is accessed from
the System Setup Menu, allows you to configure the communications
port to send or receive data to another electronic device, such as an
autopilot. The com port can be used for NMEA data transfer.
Menus for changing Com Port settings.
For connectors and wiring information for another device, see page 17.
For assistance in configuring the unit to communicate with another
device, consult the factory; customer service phone numbers are in the
back of this manual. Also see the entry Configure NMEA. To set Com
Port Configuration:
1. Press MENU|MENU|↓ to SYSTEM SETUP|ENT.

74
2. Press ↓ to COMMUNICATIONS PORT|ENT.
Configure NMEA
You can configure the unit to use specific NMEA sentences.
1. Press MENU|MENU|↓ to SYSTEM SETUP|ENT.
2. Press ↓ to COMMUNICATIONS PORT|ENT|↓ to CONFIGURE NMEA 0183|ENT.
3. A menu appears showing the prefixes of the available NMEA sen-
tences. A check mark next to a prefix means the prefix is in use. Use ↑
↓ → ← to select a prefix, then press ENT to turn off the prefix. Press
ENT again to check the box and turn a prefix on.
4. When the desired prefixes are checked or unchecked, press
EXIT|EXIT|EXIT|EXIT to return to the previous page.
Coordinate System Selection
The Coordinate System Menu lets you select the coordinate system to
use when displaying and entering position coordinates.
Menus for changing coordinate system used to display positions.
To get to Coordinate System Selection:
1. Press MENU|MENU|↓ to GPS SETUP|ENT.
2. Press ↓ to COORDINATE SYSTEM|ENT.
This unit can show a position in degrees (36.14952°); degrees, minutes
and thousandths of a minute (36° 28.700'); or degrees, minutes, seconds
and tenths of a second (36° 28' 40.9"). It can also show position in: UTM
(Universal Transverse Mercator) projection; MGRS (Standard); MGRS
(Standard + 10); Map Fix; Loran TD; British, Irish, Finnish, German,
New Zealand, Swedish, Swiss, Taiwan and Greek.

75
UTM's are marked on USGS topographic charts. This system divides
the Earth into 60 zones, each 6 degrees wide in longitude. British,
Irish, Finnish, German, New Zealand, Swedish, Swiss, Taiwan, and
Greek grid systems are the national coordinate system used only in
their respective countries. In order to use these grid systems, you must
be in the respective country. This unit will pick the matching datum for
you when you select the grid. See the entry on Map Datum Selection for
more information.
The Military Grid Reference System (MGRS) uses two grid lettering
schemes, which are referred to as standard and standard + 10 MGRS
on this unit. Your position and datum in use determines which one to
use. If you use standard, and your position is off significantly, then try
the alternate. When the position format is changed, it affects the way
all positions are shown on all screens. This includes waypoints.
To change the coordinate system, press ENT while COORDINATE SYSTEM is
highlighted. Press the ↑ or ↓ arrow keys to highlight the desired for-
mat. Press ENT to select it. Press EXIT to erase the menus.
To setup Loran TD:
NOTE:
If the Loran TD conversion is chosen, you must enter the local Lo-
ran chain identification for the master and slaves. Do this by select-
ing "Setup Loran TD" at the bottom of the "Coordinate System"
menu and select the ID. Press EXIT to erase this menu.
Configure Loran TD menu.
Map Fix
Map Fix is used with charts or maps. This system asks for a reference
position in latitude/longitude, which you take from a marked location
on the map. It then shows the present position as distance on the map

76
from that reference point. For example, if it shows a distance of UP
4.00" and LEFT 0.50", you then measure up four inches and to the left
a half-inch from the reference point on the map to find your location.
To configure a map fix:
To use this format, you need to follow these steps in order. First, take
your map of the area and determine a reference latitude/longitude. In
order for this system to work, the latitude/longitude lines must be par-
allel with the edge of the map. USGS maps are parallel, others may not
be.
Also, this works better with smaller scale maps, such as 1:24000. The
reference position can be anywhere on the map, but the closer it is to
your location, the smaller the numbers will be that you'll have to deal
with.
Once you've decided on a reference position, you can save it as a way-
point. See the waypoint section for information on saving a waypoint.
Save the reference position as a waypoint. Exit from the waypoint
screens.
1. Press MENU|MENU|↓ to GPS SETUP|ENT.
2. Press ↓ to COORDINATE SYSTEM|ENT.
3. Press ↓ to SETUP MAP FIX|ENT.
The screen below appears, and MAP SCALE is highlighted. Press ENT and
enter the map's scale. This is generally at the bottom of the paper map.
It's shown as a ratio, for example 1:24000. Press EXIT and the unit re-
turns to the Configure Map Fix screen.
Configure a map fix so the unit can find your position on a printed
chart or topographical map.

77
Press → to SELECT ORIGIN|ENT|ENT|ENT to bring up the waypoint list.
Select the waypoint that you saved the reference point under and press
ENT. The unit displays a waypoint information screen with the com-
mand SET AS ORIGIN selected; press ENT and the unit returns to the Con-
figure Map Fix menu.
Finally, press EXIT to erase this menu. Now press ↑ to COORD SYS-
TEM|ENT, select MAP FIX from the list and press ENT|EXIT. All position
information now shows as a distance from the reference point you
chose.
Customize Page Displays
Every Page display option except Full Map (on the Map Page) has cus-
tomizable data boxes to provide constant on-screen information. The
various data available from your unit are divided into categories in the
Data Viewer menu.
These categories include GPS Data, Navigation, Trip Calculator, Time
and Miscellaneous Data. You can select items from any of these catego-
ries for display in any data box — the category divisions are only there
to help you sort through the information.
To change the information displayed in a data box:
On the Page display you wish to change, press MENU |↓ to CUSTOM-
IZE|ENT. A data box name flashes, indicating it is selected. Press ENT to
change the box or hit ↑, ↓, → or ← to select another box, then press
ENT. You'll see a list of categories with "+" or "–" symbols next to each
category. A category with a "+" is expandable, meaning its contents are
currently hidden.
Customize Menu, with "GPS Data" and "Navigation"
categories expanded.

78
Selecting the category name and pressing ENT will show the category's
contents, so you can choose items within it. An expanded category (one
with a "–" next to its name) can be collapsed to hide its contents. Just
select the category name and press ENT. Expand any categories that
might contain data you want to display. Then press ↓ or ↑ to select a
different data option.
With the new option highlighted, press ENT to switch the contents of
the box to the new data type, then press EXIT. You can now select an-
other box to change. When you are finished with the settings, press
EXIT again to end the Customize command, and the box name stops
flashing. A Page display can show a limited number of data boxes. You
can not turn them off or add more data boxes.
(GPS) Simulator
The GPS simulator lets you use the unit as if you were navigating. It's
a great way to practice using the unit. Set the starting location by en-
tering latitude/longitude (Starting Position) or from a stored waypoint,
map place or POI location (CHOOSE START command).
Steer your position and change speed on the map by using the arrow
keys (STEER WITH ARROWS command) or by setting the track and speed in
the dialog boxes provided on the simulator menu screen.
To get to the Simulators:
1. Press MENU|MENU|↓ to SYSTEM SETUP|ENT.
2. Press ↓ to SIMULATORS|ENT. The GPS Simulator Menu appears.
GPS Simulator menu.
Make the desired settings, then turn the simulator on by highlighting
the GPS SIMULATOR ON box and pressing ENT key. Press EXIT|EXIT|EXIT
to erase this menu.
79
A message and tone appear periodically, warning you that the simula-
tor is on. To turn the simulator off, repeat the above steps or turn the
unit off.
While in simulator mode, you can press EXIT to clear the steering and
speed boxes from the screen while continuing the simulation. This will
allow you to use the map cursor during a simulation.
To turn steering and speed boxes back on again, return to the GPS
Simulator menu, select the STEER WITH ARROWS command, press ENT, then
Press EXIT|EXIT|EXIT to return to the previous page.
Simulating Trail or Route Navigation
In Simulator mode, your unit can automatically follow a trail or route
without manual steering if you use these steps:
1. From the Map Page, go to the simulator menu. Pick a STARTING POSI-
TION at or near the beginning of your trail/route. Enter an approximate
TRACK (shown in compass degrees) that will point you toward the start
of the trail/route.
2. Set SPEED to zero. Select STEER WITH ARROWS command and press ENT,
which turns on the simulator and returns you to the Map Page.
3. Begin navigating along the trail/route. If you are close enough to the
first waypoint, the arrival alarm will usually go off as soon as naviga-
tion begins. Press EXIT to clear the alarm. When navigation starts,
press ↑ to increase speed to the desired setting.
4. Press EXIT to turn off the steering and speed boxes. The unit will now
automatically "steer" along the trail or route. When you arrive at your
"destination," cancel navigation as you normally do.
Tip:
You can pick any spot on the map to begin your simulation session
by using the Initialize GPS command. This makes your unit think
it's located at the position you select.
Initialize GPS
This command is used when you are practicing in simulator mode. (See
the entry in this section for GPS Simulator.) In simulator mode, this
command makes the unit operate as if it is sitting someplace other
than its actual location. So, you and your unit could be located in Kan-
sas City, but easily practice navigating in the ocean off Islamorada,
Florida.
1. Press MENU|MENU|↓ to GPS SETUP|ENT|ENT.
80
2. A message appears, telling you to move the cursor near the desired
location and press ENT. When the message automatically clears, follow
the message instructions.
3. In a moment, your present position marker arrow appears on the
map in the location you selected with the cursor. The unit will consider
that spot as its last known position until changed by either a live satel-
lite lock-on or a new simulator location.
Map Auto Zoom
This receiver has an auto zoom feature that eliminates much of the
button pushing that other brands of GPS receivers force you to make. It
works in conjunction with the navigation features. First, start naviga-
tion to a waypoint. See the waypoint section for more information on
navigating to a waypoint.
Then, with the auto zoom mode on, the unit zooms out until the entire
course shows, from the present position to the destination waypoint. As
you travel toward the destination, the unit automatically begins zoom-
ing in — one zoom range at a time — always keeping the destination on
the screen.
To turn this feature on, from the MAP PAGE, press MENU|↓ to AUTO
ZOOM|ENT|EXIT. Repeat these steps to turn it off.
Map Data
This menu lets you turn the map off, if desired (which turns the map
screen into a GPS plotter); turn off or on the pop-up map info boxes;
draw the map boundaries or boxes around the areas of high detail; or
show water on the map as white to contrast land.
You can also turn on or off Map Overlays, which display latitude and
longitude grid lines or range rings on the map. This menu lets you se-
lect NauticPath maps; for instructions, see the NauticPath entry in this
section.
To get to Map Data:
From the Map Page, press MENU|↓ to MAP DATA|ENT.

81
Map Data Menu.
Show Map Data
From the Map Page, press MENU|↓ to MAP DATA|ENT. Press ENT to enter
the EARTH MAP DETAIL selection list, and choose how much detail you
want, from Off (so the unit operates like a GPS plotter) to High. After
the option is set, press EXIT repeatedly to return to the page display.
Pop-up Map Information
From the Map Page, press MENU|↓ to MAP DATA|ENT. Press ↓ to POPUP
MAP INFORMATION. With the option highlighted, press ENT to check it (turn
on) and uncheck it (turn off.) After the option is set, press EXIT|EXIT to
return to the page display.
Map Boundaries
From the Map Page, press MENU|↓ to MAP DATA|ENT. Press ↓ to DRAW
MAP BOUNDARIES. With the option highlighted, press ENT to check it (turn
on) and uncheck it (turn off.) After the option is set, press EXIT|EXIT to
return to the page display.
Fill Water With White
From the Map Page, press MENU|↓ to MAP DATA|ENT. Press ↓ to FILL WA-
TER WITH WHITE. With the option highlighted, press ENT to check it (turn
on) and uncheck it (turn off.) After the option is set, press EXIT|EXIT to
return to the page display.
Map Overlays (Range Rings; Lat/Long Grid)
The map screen can be customized with four range rings and/or grids
that divide the plotter into equal segments of latitude and longitude.
Range rings are useful for visually estimating distances on the map.
The ring diameters are based on the current zoom range. For example: at
the 100 mile zoom, the screen will show two rings with your current posi-
tion in the center.
82
The large ring touching the left and right sides of the screen is 100 miles
in diameter (same as the zoom range). The second smaller ring is 50
miles in diameter (always 1/2 the zoom range). The distance from your
current position to the smaller ring (the ring's radius) is 25 miles (al-
ways 1/4 the zoom range).
With the arrow keys and map cursor, you can scroll the map to see the
third and fourth rings. In this example, the distance to the third ring is
75 miles and distance to the fourth ring is 100 miles from your current
position.
To set range rings: From the Map Page, press MENU|↓ to MAP
DATA|ENT. Press ↓ to DRAW MAP BOUNDARIES|→ to RANGE RINGS. With the op-
tion highlighted, press ENT to check it (turn on) and uncheck it (turn off.)
After the option is set, press EXIT|EXIT to return to the page display.
To set Lat/Long Grid: From the Map Page, press MENU|↓ to MAP
DATA|ENT. Press ↓ to POPUP MAP INFORMATION|→ to LAT/LON GRID LINES. With
the option highlighted, press ENT to check it (turn on) and uncheck it
(turn off.) After the option is set, press EXIT|EXIT to return to the page
display.
Map Datum Selection
Maps and charts are based on a survey of the area that's covered by the
map or chart. These surveys are called "Datums." Maps that are cre-
ated using different datums will show the same latitude/longitude in
slightly different locations.
All datums are named. The GPS system is based on the WGS-84 da-
tum, which covers the entire world. Other datums may also cover the
entire world or just a small portion of it. By default, your position
shows using the WGS-84 datum. However, it can show your position
using one of 191 different datums. Different datums can be selected; to
change the datum:
1. Press MENU|MENU|↓ to GPS SETUP|ENT|↓ to DATUM SELECTION|ENT.
2. Scroll ↓ or ↑ to select the desired datum, then press ENT.
3. To return to the last page displayed, press EXIT|EXIT. A list of the
datums used by this unit is in the back of this manual.

83
Map Datum Menu.
Map Detail Category Selection
This menu determines which of the mapping features are shown on the
screen. This includes, waypoints, trails, icons, cities, highways, etc. You
can selectively turn on or off any of these items, customizing the map to
your needs.
To get to Map Categories:
1. From the Map Page, press MENU|↓ to MAP CATEGORIES DRAWN|ENT.
2. Press ↑ or ↓ to select a category or press → then press ↑ or ↓ to select
a subcategory. Press ENT to turn it off (no check) or on (checked.)
3. To return to the last page displayed, press EXIT|EXIT.
The Map Categories Drawn menu.

84
Map Orientation
By default, this receiver shows the map with north always at the top of
the screen. This is the way most maps and charts are printed on paper.
Map orientation at left is shown in north up and at right, track up.
This is fine if you're always traveling due north. What you see to your
left corresponds to the left side of the map, to your right is shown on
the right side of the map, and so on. However, if you travel any other
direction, the map doesn't line up with your view of the world.
To correct this problem, a track-up mode rotates the map as you turn.
Thus, what you see on the left side of the screen should always be to
your left, and so on.
Another option is course-up mode, which keeps the map at the same
orientation as the initial bearing to the waypoint. When either the
track-up or course-up mode is on, an "N" shows on the map screen to
help you see which direction is north.
To change map orientation: from the Map Page, press MENU|↓ to MAP
ORIENTATION|ENT. Use ↑ or ↓ to select the desired mode, then press ENT.
Press EXIT|EXIT to return to the page display.
In Track Up mode, map shows "N" and arrow to indicate north.

85
Map Menu, left; Map Orientation menu with
the North Up map orientation option selected, at right.
NOTE:
In North Up and Course Up, the present position arrow appears in
the center of the map page. In Track Up, the position arrow ap-
pears centered in the lower third of the page.
NauticPath™ USA Marine Charts
The unit can display NauticPath electronic charts on MMCs. They
work just like a MapCreate custom map on a MMC.
Nautical Chart Notes
NauticPath charts contain notes or chart information, represented by
circle-i Chart Note icons on the map display. An example is shown in
the following figure.
NauticPath chart showing Chart Note icon selected by cursor (left).
Note information screen (right).

86
To view Chart Note information:
1. Use the arrow keys to move the cursor over a Chart Note icon. When
it's selected, a pop-up name box appears.
2. Press WPT to display the Note Information screen.
3. To scroll through the Chart Note screen, use ↑ ↓ arrow keys to read the
information. To return to the main page display, press EXIT repeatedly.
Entrance to Aransas Pass on a NauticPath chart with 8-nautical mile
zoom (left). Remaining images (left to right): same position at 4-
nautical mile, 1-nautical mile and 0.3- nautical mile zoom ranges.
Port Information
NauticPath charts contain Port Services information, represented by
anchor icons on the map display. These icons will appear when you are
zoomed in to a 4-nautical mile range. An example is displayed in the
following figures.
To view Port Services information:
1. Use the arrow keys to move the cursor over a Port Services icon.
When it is selected, a pop-up name box appears.
2. Press WPT to display the Port Services Information screen.

87
NauticPath chart showing Port Services icon selected by cursor. When
first highlighted, the Pop-Up name box appears.
The Port Services information screen for a NauticPath chart contains
all the service information in one window.
3. To scroll through the service information window, use ↑ ↓ to see the
types of services available. To return to the main page display, press
EXIT repeatedly.
Port Services information.
Tidal Current Information
NauticPath charts contain Tidal Current information,
represented at large zoom ranges by a box icon with
the letter "C." These icons will appear when you are
zoomed in to a 6-mile range. The icon stands for a
Tidal Current Station location. An example is
displayed on the right. When you zoom in to a sufficiently small zoom
range (0.8 nautical mile), the icon becomes an animated arrow showing
tidal current velocity and direction for the selected tidal station at the
Port Services
icon. Pop-up
name box.

88
present time. At larger zoom ranges, you can select the boxed "C" icon
and it becomes an animated arrow with a pop-up name box. The name
box disappears after a few seconds. Examples are displayed in the fol-
lowing figures.
To view Tidal Current information:
1. Use the arrow keys to move the cursor over a Tidal Current Station
icon. When it is selected, a pop-up name box appears.
2. Press WPT to display the Tidal Current Information screen.
NauticPath chart showing Tidal Current Station icon selected by cur-
sor (left). Tidal Current animated icon at .8-nautical mile range.
Current Information screen.
The Tidal Current Information screen displays daily tidal current data
for this station on this date at the present time. The graph at the top of
the screen is an approximate view of the flood and ebb pattern for the
day, from midnight (MN), to noon (NN) to midnight (MN).
Cursor
lines
Tidal Current
Station icon in
animated mode.
Slack Water
Line.
Current Time Line.
Velocity
Scale.
Tide Tables

89
The velocity scale at the top left side of the graph changes dynamically
based upon the maximum velocity of the current for that day. Slack
water, the period of little or no current, is represented by the Slack Wa-
ter Line (SWL).
The flood appears above the SWL and the ebb appears below the SWL.
You can look up tidal current data for other dates by changing the
month, day and year selection boxes.
To select another date:
1. Use ← → to highlight month, day or year, then press ENT.
2. Use ↑ ↓ to select the desired month, day or year and press ENT.
To clear the information screen, press EXIT.
Tide Information
NauticPath charts contain Tidal Information,
represented at large zoom ranges by a box icon with
the letter "T." These icons will appear when you are
zoomed in to a 6-mile range. The icon stands for a
Tidal Station location. An example is displayed at
right.
When you zoom in to a sufficiently small zoom range (0.8 nautical
mile), the icon becomes an animated gauge showing a rising or falling
tidal height for the selected station at the present time. At larger zoom
ranges, you can select the boxed "T" icon and it becomes an animated
gauge with a pop-up name box. The name box disappears seconds.
NauticPath chart showing Tide Station icon selected by cursor (left).
Icon animates automatically without selection at the 0.8-mile zoom
range (right). In the example above, the tide is at 0.9 feet and falling,
as shown by the down arrow at the top of the icon.
Tide Sta-
tion icon in
animated
mode.
Cursor
lines

90
To view tide information:
1. Use the arrow keys to move the cursor over a tide station icon. When
it is selected, a pop-up name box appears.
2. Press WPT to display the Tide Information screen.
Tide Information screen.
The Tide Information screen displays daily tidal data for this station on
this date at the present time. The graph at the top of the screen is an
approximate view of the tidal range pattern for the day, from midnight
(MN) to noon (NN) to midnight (MN). The dotted line across the graph
is the Mean Lower Low Water line (MLLW).
The height scale on the top right side of the graph changes, based upon
the maximum range of the tide for that day. The MLLW line also ad-
justs its position as the height scale changes. You can look up tidal data
for other dates by changing the month, day and year selection boxes. To
select another date:
1. Use ← → to highlight month, day or year, then press ENT.
2. Use ↑ ↓ to select the desired month, day or year and press ENT.
To clear the information screen, press EXIT.
Navionics® Charts
Your unit can also display Navionics electronic charts on MMCs. Like
NauticPath, Navionics charts contain tide and port service information.
NOTE:
The primary operational difference between a NauticPath chart
and a Navionics chart is the way the chart data is set up for dis-
Height
Scale
MLLW
Line
Tide
Table
Current Time Line.

91
play. NauticPath charts are ready for display as soon as they are
inserted into the unit. Navionics charts must be inserted into the
unit, then selected as a Map Choice option in the Map Data menu.
To display a Navionics chart:
1. Install the Navionics MMC in the memory card compartment and
turn on the unit. (For full card install instructions, see Sec. 2.)
2. From the Map Page, press MENU|↓ to MAP DATA|ENT|↓ to MAP
CHOICE|ENT. Select the Map Name, then press ENT|EXIT|EXIT.
Navionics Map Choice highlighted. Press Ent to select the desired
Navionics map from the Map Choice drop down box.
WARNING:
You should never format the MMC containing your
Navionics chart. Formatting the MMC will permanently
erase the chart from the card.
Overlay Data
On any Page display but Status you can float additional data of your
own choosing in your display window. For example, if you left your
watch at home, you could add the local time to your display. Or, if you
wanted to see details about your route and trip, you could show your
bearing, course, average speed and trip distance.
The various data available from your unit are divided into categories in
the Overlay Data menu. These categories include GPS Data, Naviga-
tion, Trip Calculator, Time and Miscellaneous Data.
You can select items from any of these categories for display, in any
combination — the category divisions are there only to help you sort
through the information.

92
Overlay Data, with "Navigation," "Trip Calculator" and
"Time" categories expanded to show their subcategories.
To overlay information on your screen:
1. While on the Navigation Page or a Map Page, press MENU|↓ to
OVERLAY DATA|ENT.
2. You'll see a list of the overlay data currently shown, if any. Select
(PRESS ENT TO ADD) and press ENT. The data viewer shows information
categories with "+" or "–" symbols next to each category name. A cate-
gory with a "+" next to it is expandable, meaning its contents are cur-
rently hidden.
Selecting the category name and pressing ENT will show the category's
contents, so you can choose items within it. An expanded category (one
with a "–" next to its name) can be collapsed to hide its contents, and
make more room on your screen. Just select the category name and
press ENT.
3. Expand any categories that might contain information you want to
display. Then press ↓ or ↑ to select a display option.
4. With the option highlighted, press ENT to check it (turn on) and un-
check it (turn off). As you turn categories on, data will float in your dis-
play window. Every Page display has a maximum number of items you
can float on your display using the Overlay Data command.
5. After all options are set, press EXIT|EXIT to return to the page dis-
play.

93
From Overlay Data Shown (left) press ENT to see Data Viewer (center).
Select a category and press ENT; then select information to float on
screen and press ENT (right).
To remove overlaid data:
1. While on the Page that shows the item or items you want to remove,
press MENU|↓ to OVERLAY DATA|ENT.
2. You'll see a list of the overlay data currently displayed. Select the
item you want to remove from your display and press ENT|ENT to re-
move the data. To remove another item, select the item and press
ENT|ENT.
3. When you have finished removing all the items you want from the
screen, press EXIT to return to the page display.
Overlay Data Shown, with Date option selected (left). Press ENT to
access REMOVE option (center). Press ENT again to remove item and
return to Overlay Data Shown (right).
To move overlaid data:
You may find it useful to rearrange data that is floating in your display
window.
94
1. From one of the Map Pages, press MENU|↓ to OVERLAY DATA|ENT.
2. You'll see a list of the overlay data currently displayed. Select the
item you want to move and press ENT|→|ENT.
3. The data begins to flash on your screen. Use any combination of →,
←, ↑ and ↓ to move the data to a new location on the screen.
4. When satisfied, press EXIT| EXIT.
To change displayed data font size:
1. From the Map or page, press MENU|↓ to OVERLAY DATA|ENT.
2. Press ↓ or ↑ to select Data Type|press ENT, then use ↓ or ↑ to scroll
to overlay size, press ENT. Press ↓ or ↑ to select the desired data size.
Press ENT|EXIT|EXIT.
The selected data type will be displayed in the new size. (To change the
font size for another Data Type, repeat these steps, beginning with step
two above.)
3. To return to the previous page, press EXIT.
NOTE:
Some data types can be displayed in only one font size. If that is the
case, the Data Size box will not be displayed for that data type. The
Customize command and the Overlay Data command both use the
same information categories.
The difference between the two commands is that Customize
changes the data boxes on your display, and Overlay Data floats in-
formation on the display. See Customize Page Displays, on page 77,
for information on customizing data boxes.
Pop-up Help
Help is available for virtually all of the menu labels on this unit. By
highlighting a menu item and leaving it highlighted for a few seconds,
a "pop-up" message appears that describes the function of the menu
item. This feature is on by default.
To set up Popup Help: Press MENU|MENU|↓ to SYSTEM SETUP|ENT|↓
to POPUP HELP. With the option highlighted, press ENT to check it (turn
on) and uncheck it (turn off.) After the option is set, press EXIT|EXIT to
return to the page display.

95
System Setup menu, left, with Pop-up Help command highlighted.
At right, this example shows the Pop-up Help message for the
Go To Cursor command, located on the Map Menu.
Reset Options
To reset all features to their factory defaults:
1. Press MENU|MENU|↓ to SYSTEM SETUP|ENT|↓ to RESET OPTIONS|ENT|←
to YES|ENT.
NOTE:
Reset Options does not erase any waypoints, routes, icons or plot
trails.
Reset Options command, left, and the Reset Options Menu, right.
Screen Contrast and Brightness
To access the Screen menu, press MENU|MENU|ENT.
Once in the Screen menu:
To adjust the display's contrast:

96
The CONTRAST slider bar is already selected. Press → or ← to move the
bar. The left end of the scale is minimum contrast; the right end is
maximum contrast.
Screen Command, left, and Screen Menu with Contrast bar selected,
right.
To adjust the display's brightness:
Press ↓ to BRIGHTNESS. Press → or ← to move the bar. The left end of the
scale is minimum contrast; the right end is maximum contrast.
To adjust the screen's display mode:
Press ↓ to DISPLAY MODE|ENT|press ↑ or ↓ to select mode|EXIT.
Display Mode menu.
Set Language
This unit's menus are available in 10 languages: English, French,
German, Spanish, Italian, Danish, Swedish, Russian, Dutch and Fin-
nish. To select a different language:

97
1. Press MENU|MENU|↓ to SYSTEM SETUP|ENT.
2. Press ↓ to SET LANGUAGE…|ENT.
3. Use ↓ or ↑ to select a different language and press ENT. All menus
now appear in the language you selected.
Language selection screen.
Set Local Time
Using the correct local time setting is handy when estimating local ar-
rival time while navigating. Also, the time and date are saved when a
waypoint is created.
To access the Set Local Time menu, you must first acquire your posi-
tion. Once that is done: press MENU|MENU|↓ to SYSTEM SETUP|ENT|↓ to
SET LOCAL TIME|ENT.
Once in the Time Settings menu:
To set Local Time: Press ENT. Press ↑ or ↓ to change the first charac-
ter, then press → to move the cursor to the next character. Repeat until
the time is correct, then press ENT.
To set the Month: Press ↓ to MONTH|ENT. Press ↑ or ↓ to select the
month, then press ENT.
To set the Day: Press → to DAY|ENT. Press ↑ or ↓ to select the day,
then press ENT.
To set the Year: Press → to YEAR|ENT. Press ↑ or ↓ to select the year,
then press ENT.
To set the Date Format: Press ↓. Press ↑ or ↓ to select the date for-
mat, then press ENT.
To set the Time Format: Press ←. Press ↑ or ↓ to select the time
format, then press ENT.
98
The last field in this menu is CONFIG DST. This feature allows your unit
to automatically adjust with the time change caused by Daylight Sav-
ing Time. You should only have to set it once.
You may select which set of rules matches DST in your region, or ac-
cept the default. Once you have each field set the way you want, press
EXIT repeatedly until you return to the previous page.
Show WAAS Alarm
When the signal is available, the unit will automatically use WAAS to
boost the accuracy of your position fix. When the WAAS signal is lost or
acquired, an alarm message appears. It's not unusual for a GPS/WAAS
receiver to frequently lose and reacquire its lock on a WAAS satellite.
That can result in the alarm repeatedly going on and off. If you want,
you have the option of turning off the WAAS Acquired/Lost alarm
without affecting how the unit uses WAAS. Here's how:
1. Press MENU|MENU|↓ to GPS SETUP|ENT|↓ to SHOW WAAS ALARM.
2. With the option highlighted, press ENT to uncheck it (turn off) and
check it (turn on.) After the option is set, press EXIT|EXIT to return to
the page display.
3. You can return to this command and press ENT again to turn the fea-
ture on.
Software Version Information
From time to time, Lowrance updates the operating system software in
some of its products. These software upgrades are usually offered to
customers as free downloads from our web site, www.lowrance.com.
These upgrades make the unit perform better or introduce a new fea-
ture or function. You can find out what software version is running in
your unit by using the Software Information command.
1. Press MENU|MENU|↓ to SYSTEM SETUP|ENT|↓ to SOFTWARE INFO|ENT.
2. Read the information displayed on the screen.
3. To return to the last page displayed, press EXIT|EXIT|EXIT.
Sounds and Alarm Sound Styles
Sounds triggered by key strokes and alarms can be adjusted:
You first press MENU|MENU|↓ to SOUNDS|ENT.

99
Sounds command, left. At right, the Sounds menu.
Once in the Sounds menu:
To set Key Press Sounds: With the option highlighted, press ENT to
check it (turn on) and uncheck it (turn off.) After the option is set, press
EXIT|EXIT to return to the page display.
To set Alarm Sounds: Press ↓ to ALARM SOUNDS. With the option high-
lighted, press ENT to check it (turn on) and uncheck it (turn off.) After
the option is set, press EXIT|EXIT to return to the page display.
To set Alarm Volume: Press ↓ to VOLUME. Press → or ← to move the
bar. The left end of the scale is low volume; the right end is high volume.
After the option is set, press EXIT|EXIT to return to the page display.
To set Alarm Style: Press ↓ to ALARM STYLE|ENT. Press ↑ or ↓ to
change the style, then press ENT. After the option is set, press
EXIT|EXIT to return to the page display.
Track Smoothing
This is a factory setting on the GPS Setup menu that should always be
left on. When stopped or traveling at slow speeds (such as walking or
trolling), Track Smoothing prevents wandering of trails, the steering
arrow, compass rose and a map in track-up mode.
Trail Options
There are several options you can use with trails. Some affect all trails;
other options can be applied to a particular trail. You can change the
way trails are updated, display or hide trails, create a new trail, delete
a trail, etc.
General Trail Options
To access the Trails Menu:
1. Press MENU|MENU|↓ to MY TRAILS|ENT.

100
Main Menu, left, Trails Menu, center, Trail Options, right.
Delete All Trails
To remove all of the trails from memory: from the Trails Menu, press →
to DELETE ALL|ENT|← to YES|ENT.
Update Trail Option
This menu lets you change the way the trail updates occur.
WARNING:
If you uncheck the Update Trail option, automatic trail
creation and recording will be turned off. You must turn
it back on to record trails. The default setting is on.
From the Trails Menu, press → to TRAIL OPTIONS|ENT. With UPDATE ACTIVE
TRAIL highlighted, press ENT to check it (turn on) and uncheck it (turn off.)
Update Trail Criteria (Auto, Time, Distance)
The options are automatic, time, or distance. When it's in the default
automatic mode, the unit doesn't update the plot trail while you're
traveling in a straight line. Once you deviate from a straight line, the
unit "drops" a plot point (trail waypoint) onto the trail. This conserves
plot trail points. If a plot trail uses all of the available points allotted to
it, the beginning points are taken away and placed at the end of the trail.
From the Trails Menu, press → to TRAIL OPTIONS|ENT|↓ to UPDATE CRITE-
RIA. Press ↑ or ↓ to select criteria type|ENT.
Trail Update Rate (Time, Distance)
You can update a trail by time, with a range from 1 second to 9999 sec-
onds; the default is 3 seconds. You can update by distance, with a range
from 0.01 mile/nm/km to 9.99 mile/nm/km; the default is 0.10 mi.
With one of the Update Criteria selected, use the cursor arrows to high-
light either the UPDATE RATE or UPDATE DISTANCE data entry boxes and
press ENT. Press ↑ or ↓ to change the first character, then press → to
the next character and repeat until the entry is correct. Press EXIT to
return to the Trail Options Menu.

101
Trail Options menu: Update Time Rate setting, left,
and Update Distance setting, right.
Specific Trail Options
Delete Trail
To delete a specific trail: From the Trails Menu, press ↓ to Trail
Name|ENT. The Edit Trail menu appears as seen in the following fig-
ure. Press → to DELETE TRAIL|ENT|← to YES|ENT.
Edit Trail menu.
Trail Visible/Invisible and Other Trail Options
The name, maximum number of points in the trail, activity, and visibil-
ity are all changed on the Edit Trail menu screen. The Active setting
determines whether or not the unit is recording new points for a par-
ticular trail. On the Edit Trail menu, press ↓ or ↑ to highlight the sec-
tion you wish to change, then press ENT. Make your changes, then
press EXIT to erase this menu. Related trail functions are discussed in
further detail under the Trails topic in Sec. 4, Advanced GPS Opera-
tions.
Delete Trail
command
highlighted.

102
New Trail
To manually start a new trail, in the Trails Menu, make sure NEW TRAIL
is highlighted and press ENT.
New Trail command.
Transparency
Use the transparency menu to adjust the transparency of menu win-
dows. A high transparency allows you to continue monitoring the
screen's display while adjusting feature settings, though the text of the
menus may fade until it is unreadable. A low transparency will usually
make menu text easier to read, at the cost of watching your display.
Experiment with this feature until you find the right level of transpar-
ency for your eyes.
Main Menu, left, and the Transparency slider, at right.
New Trail
command
highlighted.

103
To adjust Menu Transparency level:
Press MENU|MENU|↓ to TRANSPARENCY|ENT. The TRANSPARENCY slider bar
appears. Press ↑ or ↓ to move the bar. The lower end of the scale makes
the menus opaque; the upper end is maximum transparency.
Units of Measure
This menu sets the speed and distance (statute or nautical miles, me-
ters), depth (feet, fathoms, or meters), temperature (degrees Fahren-
heit or Celsius) and heading (true or magnetic) units. To change the
units:
Press MENU|MENU|↓ to SYSTEM SETUP|ENT|ENT.
To set Speed/Distance Unit of Measure: Press ↑ or ↓ to change the
Speed/Distance, then press ENT. After the option is set, press
EXIT|EXIT|EXIT to return to the page display.
To set Heading: Press ↑ or ↓ to change the heading type, then press
ENT. After the option is set, press EXIT|EXIT|EXIT to return to the page
display.
To set Depth: Press ↑ or ↓ to change the heading type, then press ENT.
After the option is set, press EXIT|EXIT|EXIT to return to the page dis-
play.
To set Temperature: Press ↑ or ↓ to change the heading type, then
press ENT. After the option is set, press EXIT|EXIT|EXIT to return to the
page display.
The Units of Measure menu.
104
Notes

105
Section 6: Searching
NOTE:
The Search function depends on the type of map data loaded in
your unit. GlobalMap HD models are fully "searchable" out of the
box because they contain a hard drive loaded with complete map-
ping information. These maps include all the data contained in our
MapCreate custom maps, Fishing Hot Spots lake maps and Nau-
ticPath coastal charts. For all other units, the background map
loaded in your unit's permanent memory lets you search for some
land features, including cities and lakes. For a full set of searchable
land features, including landmarks, streets, addresses, highway ex-
its and Points of Interest, you must load your own high-detail cus-
tom map produced with our MapCreate software. Or, you can use
one of our plug and play map options such as FreedomMaps, Fish-
ing Hot Spots or NauticPath. For a complete description of what
detail is found in the background map and custom MapCreate
maps, see page 35.
This unit's varied search functions all begin with either the Find Way-
point menu or the Map Page menu. Press WPT and the Find Waypoint
menu appears for waypoints and Points of Interest (POI). From the
Map Page, press MENU and the Map Page menu appears for streets,
addresses and highway exits.
Find Waypoint menu, left; Map Page menu, right.
NOTE:
You can search for items once the unit has acquired a position, or while
using the unit in the "indoor" simulator mode. Distance and bearing to
the selected item will be calculated from the unit's current position, or
the last known position if operating indoors (without a position deter-

106
mined). You can look up items by name, or search for the item nearest
to you.
Find Addresses
1. From the Map Page, press MENU|↓ to FIND ADDRESS|ENT.
2. Press ENT to search in the Address field.
3. To enter an address number, press ↑ or ↓ to change the first
number, then press → to move the cursor to the next number and re-
peat until the number is correct, then press ENT.
Find Address Menu.
4. To enter a street name, press ↓ to STREET|ENT. There are two op-
tions: A. You can spell out the name in the top selection box. Press ↑
or ↓ to change the first letter, then press → to move the cursor to the
next letter and repeat until the name is correct, then press ENT|ENT.
B. Jump down to the lower selection list by pressing ENT, then press ↓
or ↑ to select a street name from the list, then press ENT. The street
name you selected is now in the street field.
Find Address menu, left; Find Street menu, center,
with Find By Name field active; street name entry complete, right.

107
5. To enter a city name, press ↓ to CITY|ENT. You will be asked if you
want to find addresses only within a particular city. This option is de-
signed so you can limit an address search to a single city if necessary
(see note below.)
If you select yes, there are two options: A. You can spell out the city
name in the top selection box. Press ↑ or ↓ to change the first letter,
then press → to move the cursor to the next letter and repeat until the
name is correct, then press ENT|ENT.
B. Jump down to the lower selection list by pressing ENT, then press ↓
or ↑ to select a city name from the list, then press ENT. The city name
you selected is now in the city field.
NOTE:
We recommend that you do not enter a city name unless the list
you are given is too large when searching without it. This unit can
actually search quicker without a city and you save time by not en-
tering a city name.
Find City field, left, Search in particular city only option, center;
Find City by name, right.
6. When the necessary search fields are filled in, press ↓ to FIND AD-
DRESS|ENT. You unit asks you to wait while it searches for the address.
If an address is not in the database, a message appears saying the ad-
dress could not be found.
7. The unit will display a list of addresses. If the address you are look-
ing for is highlighted at the top of the list, press ENT. If not, use ↓ and ↑
to select the correct address from the list, then press ENT.
The Map Page will then appear with the location selected by the cursor.
In the example below, we are looking for 12303 East 11th Street in
Tulsa, not 11th Court, so we had to scroll down the list to select the
right one.

108
Address search result list, left. At center, Map Page showing location
of the address on the map, highlighted by cursor. At right, after the
address is located, you can navigate to it ("D" symbol for destination).
8. To navigate to the address, press MENU|ENT|EXIT and the unit will
begin showing navigation information to the address pointed out by the
cursor. If you are only looking up an address (not navigating), just
press EXIT to return to the previous page.
Tip:
If the address also happens to be an item in the Point of Interest
database, you can look up the item's phone number in the Way-
point Information list. With the address location selected by the
cursor on the map, press WPT. The POI's Waypoint Information
window appears, with the Go To Waypoint command highlighted. If
you want to go ahead and navigate to the POI address, just press
ENT|EXIT.
Left, Map Page showing location of the address on the map, high-
lighted by cursor. Center, this address is a business in the POI data-
base, so you can display the POI information window, then navigate to
it. At right, this address is not in the POI database, so the Waypoint
key will not display any information for this address.

109
Find Any Item Selected by Map Cursor
On the Map Page: with a POI or map feature selected by the cursor
press WPT. To return to the previous page, press EXIT.
A POI selected by the cursor, left, POI information screen, right.
NOTE:
Since the Go To Waypoint command is highlighted, you can navi-
gate to the selected POI by pressing ENT|EXIT while in the POI
Waypoint Information screen.
Find Interstate Highway Exits
1. From the Map Page, press MENU|↓ to HIGHWAY EXITS|ENT, which calls
up the Find Exit menu.
Find Highway Exits command, left, and Find Exit menu, right.
2. First, select a highway name by pressing ENT, which calls up the
Find By Name menu. There are two highway search options: A. You
can spell out the highway name in the top selection box.

110
Press ↑ or ↓ to change the first letter, then press → to move the cursor
to the next letter and repeat until the name is correct, then press
ENT|ENT. B. Jump down to the lower selection list by pressing ENT,
then press ↓ or ↑ to select a highway from the list, then press ENT.
Find By Name menu.
3. Once you have selected a highway name you can then select an exit.
Press ↓ to switch to the Exit List, then press ↓ or ↑ until you highlight
the exit, then press ENT.
Find Exit menu, with an exit selected in the Exit List.
4. In the Exit Information screen you have two choices. A. Press ENT to
navigate or "go to" the exit. B. Press →|ENT to find the exit on the
map.

111
"Go To Exit" option, left, "Find On Map" option, right.
Tip:
You can also look up some additional information on the Exit Ser-
vices located near this exit. Press ↓ to SERVICES|press ↓ or ↑ to se-
lect Service Name|ENT.
Exit Information screen, left; general location
and amenities information, at right.
Find Map Places or Points of Interest (POI)
1. Press WPT, press ↓ or ↑ to select a map place or POI category, then
press ENT. (To narrow your search, press → then press ↓ or ↑ to select a
subcategory before pressing ENT.) You will be given two options; Search
By Name or By Nearest.

112
Find Waypoint menu with Lodging POI category selected, left, and
with the RV Parks subcategory selected, right.
2. Search by nearest POI. Press ↓|ENT. The "find by nearest" menu
will show a "calculating" screen, then a list of the nearest POI's will
appear. Press ↓ or ↑ to the selected POI and press ENT to call up the
POI's Waypoint Information screen.
Find by Nearest option, left, Calculating screen, center, POI list, right.
3. Search by name of POI. Press ENT. There are two options: A. You
can spell out the POI in the top selection box. Press ↑ or to change the
first letter, then press → to move the cursor to the next letter and re-
peat until the name is correct, then press ENT|ENT.
B. Jump down to the lower selection list by pressing ENT, then press ↓
or ↑ to select a POI from the list, then press ENT to call up the POI's
Waypoint Information screen.

113
Find by Name option, left, Find by Name menu, right.
4. When the POI's Waypoint Information screen is displayed, you can
choose to "Go To" the POI waypoint by pressing ENT or find it on the
map by pressing ↓|ENT.
"Go To" POI option, left, "Find on Map" POI option, right.
Find Streets or Intersections
Find a Street
1. From the Map Page, press MENU|↓ to FIND STREETS|ENT and the Find
Streets Menu appears.

114
Find Streets command, left, Find Streets menu, right.
2. You must first fill in a street name in the First Street dialog box.
Press ENT to display the Find By Name menu. There are two options:
A. You can spell out the street in the top selection box. Press ↑ or ↓ to
change the first letter, then press → to move the cursor to the next let-
ter and repeat until the name is correct, then press ENT|ENT. B. Or you
can jump down to the lower box and pick a street from the selection
list. Press ENT, then press ↓ or ↑ to select a street from the list and
press ENT.
Find Street By Name menu. Spell out name in
the top box, or select from the list in the lower box.
3. The Find Streets menu reappears with the street you're searching
for in the First Street box. (In this example, it's 80th Street.) To search
for that street, press ↓ to FIND FIRST STREET|ENT. A message appears ask-
ing you to wait while the unit finds the street. When the Streets Found
list appears, press ↑ or ↓ to select the street you are searching for and
press ENT.

115
At left, the Find Streets menu with the Find First
Street command highlighted. At right, Streets Found list.
4. The Map Page appears, with the cursor pointing to the found street.
If you want to navigate to the found street at the cursor location, press
MENU|ENT|EXIT.
Map Page showing results of a street search.
The cursor points to the located street.
Find an Intersection
You must enter one street in the First Street dialog box and enter the
next street in the Second Street dialog box.
1. From the Map Page, press MENU|↓ to FIND STREETS|ENT and the Find
Streets Menu appears.
2. You must fill in a street name in the First Street dialog box. Press
ENT to display the Find By Name menu. There are two options: A. You
can spell out the street in the top selection box. Press ↑ or ↓ to change
the first letter, then press → to move the cursor to the next letter and

116
repeat until the name is correct, then press ENT|ENT. B. Or you can
jump down to the lower box and pick a street from the selection list.
Press ENT, then press ↓ or ↑ to select a street from the list and press
ENT.
3. The Find Streets menu reappears with the street you're searching
for in the First Street box. (In this example, it's 80th Street.)
4. Now fill in the second street. Press ↓ to SECOND STREET|ENT and the
Find By Name menu appears again. Just like before, there are two op-
tions:
A. You can spell out the second street in the top selection box. Press ↑
or ↓ to change the first letter, then press → to move the cursor to the
next letter and repeat until the name is correct, then press ENT|ENT.
B. Or you can jump down to the lower box and pick the second street
from the selection list. Press ENT, then press ↓ or ↑ to select a street
from the list and press ENT.
5. The Find Streets menu reappears with the first and second street
dialog boxes filled in. In this example, we selected 71st Avenue as our
second street. You could now use similar techniques to select a city or
Zip code, but your search will probably be faster if you leave those
boxes blank. You can specify a city and/or Zip code later on to narrow
the search, if the resulting list is too long.
Find Intersection command highlighted, left, and
"Working" message, center. At right is the Intersections Found list.
6. To search for the intersection of the two streets, press ↓|→ to FIND
INTERSECTION|ENT. A message appears asking you to wait while the unit
finds the intersection. When the Intersections Found list appears, press
↑ or ↓ to select the intersection you are searching for and press ENT. In
our example, we selected the intersection of SW 80th Street and SW
71st Avenue in Miami, Fla.

117
7. The Map Page appears, with the cursor pointing to the found inter-
section. The intersection in our example is shown in the following fig-
ure. If you want to navigate to the found intersection, just press
MENU|ENT|EXIT.
Find Waypoints
1. Press WPT|ENT.
2. If searching for the waypoint By Name, press ENT. If searching for
the Nearest waypoint, press ↓ to NEAREST|ENT. To search by name,
jump to step 5.
Find Waypoint menu, left; Find By Nearest command, center,
Find by Name command, right.
3. If you're looking for nearest, the unit says it is "calculating," then
a list of waypoints appears. The closest is highlighted at the top of the
list and the farthest at the bottom of the list.
4. To see location information on the closest (highlighted) waypoint,
press ENT and the Waypoint Information screen appears. If you wanted
to, you could select another waypoint from the list with the ↑ or ↓ keys.
A. To navigate to the waypoint, press ENT. The Go To Waypoint com-
mand is already highlighted. The unit will show navigation information
to the waypoint.
B. To find the waypoint, press ↓ to FIND ON MAP|ENT. The Map Page
appears with the cursor highlighting the found waypoint.

118
Waypoint Information screens with the Go To Waypoint command se-
lected, left, and the Find on Map command selected, right.
To clear these menus and return to the previous page, press EXIT re-
peatedly.
5. If you're looking by name, there are two options: A. You can spell
out the name in the top selection box. Press ↑ or ↓ to change the first
letter, then press → to move the cursor to the next letter and repeat
until the name is correct, then press ENT|ENT.
B. Or you can jump down to the lower selection list by pressing ENT,
then press ↓ or ↑ to select a waypoint from the list, then press ENT. The
waypoint information screen appears.
Find By Name menu, left. Waypoint Information screen, center. At right,
the found waypoint is highlighted by the cursor on the Map Page.
A. To navigate to the waypoint, press ENT. Go To Waypoint command
is already highlighted. The unit will show navigation information to
the waypoint.
B. To find the waypoint, press ↓ to FIND ON MAP|ENT. The Map Page
appears with the cursor highlighting the found waypoint.

119
Section 7: NMEA 2000
Device Configuration
NMEA 2000 Menu
The NMEA 2000 menu on your display unit's main menu allows you to
configure, calibrate and monitor devices on a NMEA 2000 network. The
NMEA 2000 menu provides access to the Bus Setup, Fuel Management
and NMEA 2000 Alarms. You also can turn on/off Waypoint Sharing
and Backlight Synchronization from the NMEA 2000 menu.
Bus Setup
Selecting Bus Setup from the NMEA 2000 menu gives you access to the
Bus Configuration menu and the NMEA Diagnostics and Ethernet Di-
agnostics pages. The Bus Configuration menu allows you to choose an
engine-tank configuration and manage devices on the network. When
the Bus Configuration menu is accessed, a list will appear of all NMEA
2000 devices on the network.
Bus Setup highlighted on the NMEA 2000 menu.
Bus Configuration menu (left). NMEA Diagnostics page (center).
Ethernet Diagnostics (right)

120
The NMEA Diagnostics page displays information about the perform-
ance of the network bus, keeping you updated on bus status, mode, er-
rors and bus traffic.
The Ethernet Diagnostics page keeps you updated on the performance
of an Ethernet connection (if applicable) supplying information ranging
from IP Address to upload and download rates (bytes per second). To
refresh either Diagnostics page, highlight the PING ALL DEVICES button at
the bottom of the page and press ENT.
The network devices list is located in the top half of the Bus Configura-
tion menu. You can configure, calibrate and set alarms for devices ac-
cessed from the Bus Configuration menu network devices list.
The Engine-Tank Configuration and Tank Select menus as well as the
Tank Size dialog box are located on the bottom half of the Bus Configu-
ration menu. The Set Configuration button — positioned next to the
engine-tank configuration menu — allows you to finalize a selected con-
figuration.
NOTE:
If you have not used the LMF-200 or LMF-400 to choose an engine-
tank configuration for your vessel, you must use your display unit
to select a configuration.
Bus Configuration menu with list of network devices. Engine-Tank
Configuration and Tank Select menus are at the bottom of the screen.
Engine & Tank Configuration
The Engine-Tank configuration menu is located below the NMEA 2000
Devices list, but will only be accessible if a Suzuki engine Interface,
EP-10 Fuel Flow, EP-15 Fluid Level, EP-45 Pressure Sensor or EP-50
Storage Device are on the network.

121
When choosing an engine-tank configuration you will use the Tank Se-
lect menu, Tank Size dialog box and Set configuration button, all de-
tailed below.
Tank Select
The Tank Select menu allows you to choose from up to three tanks
(Port, Center and Starboard), depending on the Engine-tank configura-
tion that has been selected. This allows you to set up each tank indi-
vidually.
Tank Size
The Tank Size menu allows you to input the size of a selected tank in
gallons. After selecting the desired tank from the Tank Select menu,
you are ready to enter the tank's size.
Set Configuration button
The Set Configuration button is used to finalize engine-tank configura-
tion settings.
Setting Engine-Tank Configuration:
1. Press MENU| MENU, use ↓ ↑ to highlight NMEA 2000 and press ENT.
2. The NMEA 2000 menu will appear with five options: Bus Setup,
Fuel Management, NMEA 2000 Alarms, Waypoint Sharing and Back-
light Synchronization. Choose BUS SETUP and press ENT.
3. Select ENGINE & TANK CONFIG and press ENT, which will open the Engine
& Tank Configuration menu with the following configuration options: 1
Engine/1 Tank, 1 Engine/2 Tanks, 2 Engines/1 Tank, 2 Engines/2
Tanks, 3 Engines/1 Tank, 3 Engine/3 Tanks and Unconfigured Bus.
1 Engine/1Tank highlighted on Engine and Tank Configuration
menu (left). Starboard highlighted on Tank Select menu (center).
Tank Size set to 40 gallons (right).
4. Choose the configuration that matches the number of engines and
tanks on your vessel and press ENT.
5. Highlight TANK SELECT and press ENT, which will open the Tank Select
menu.

122
6. Select the tank you want to set up and press ENT. Press → to high-
light the Tank Size dialog box and press ENT.
7. Use ↓ ↑, ← → to input the capacity (gallons) of the tank you chose
from the Tank Select menu and press ENT.
8. Repeat Steps 5-7 for each remaining tank.
9. When all tanks have been configured, press the SET CONFIGURATION
button. The following confirmation message will appear: Are you sure
you wish to change the bus configuration? Choose YES and press ENT,
Press EXIT to get back to the main display.
Device Configuration Menu
When a device is selected from the network devices list on the Bus Con-
figuration menu, its Device Configuration menu will appear. Device
configuration menus vary among devices. Available functions on device
configuration menus allow you to change device names, tank sizes,
fluid types and provide access to the Advanced Options menu. We will
cover configuration and calibration later in this section.
Device Information and Device Data
The Device information panel, located to the left of the Device Configu-
ration menu, displays information on the selected device that includes,
software version, model, address, serial number, instance and current
status.
If you do not have an EP-15 Fluid Level, EP-10 Fuel Flow or EP-20 En-
gine Interface on the network, the Bus Configuration menu will not
display the Engine-Tank Configuration menu, Tank Select menu, Tank
Size menu or Set Configuration button.
Device Data is shown in the Device Data window at the bottom of the
device configuration menu. The information displayed in the Device
Data window will vary among devices.

123
If, for example, you are viewing the device configuration menu for an
EP-15 Fluid Level, the device data window will include tank size and
the amount of fuel left in the tank. The Device Data for an EP-10 Fuel
Flow includes Fuel Rate (amount of fuel burned per hour), Fuel Used,
Trip Fuel Used and Seasonal Fuel Used.
NOTE:
If, as in the graphic above, you do not have a Suzuki Engine Inter-
face, EP-15 Fluid Level or EP-10 Fuel Flow on the network, the
Engine & Configuration menu, Tank Select menu, Tank Size dialog
and Set Configuration button will not be displayed on the Bus Con-
figuration menu.
Fuel Management Menu
The Fuel Management menu gives you access to the following options:
Tank Location, Fuel Added, Add Fuel, Fill Tank, Engine Select, Reset
Calibration, Reset Trip and Reset Seasonal. Those options allow you to
configure, calibrate, reset calibration, reset trip fuel and reset seasonal
fuel for select NMEA 2000 devices. We will cover configuration and
calibration procedures later in this section.
Fuel Management highlighted on the NMEA 2000 menu (left).
Fuel Management menu (right).
Tank Location
If you chose an engine-tank configuration with more than one tank, you
will be able to switch the tank location (configuration) in the Tank Lo-
cation menu. When fuel is added to a tank, you will select the correct
tank from the Tank Location menu, then input the amount of fuel
added in the Fuel Added dialog box.
124
Fuel Added
Used in tandem with the Add Fuel command, the Fuel Added dialog
box allows you to input the amount of fuel added to the tank, when an
amount of fuel is added that does not fill up the tank.
Add Fuel
After entering the amount of fuel added to a tank in the Fuel Added
dialog, the Add Fuel command finalizes the entry of the data. Like the
Fuel Added dialog, the Add Fuel command will only be used when an
amount of fuel is added that does not fill up the tank.
Fill Tank
You will use the Fill Tank command when calibrating a fuel flow and
when filling up the tank without calibration.
Adding Fuel to Tank
Tank Location, Fuel Added and Add Fuel commands work together to
keep NMEA 2000 fuel data consistent with the actual amount of fuel
added to the fuel tank(s).
1. Press MENU|MENU, select NMEA 2000 and press ENT.
2. The NMEA 2000 menu will appear with five options: Bus Setup,
Fuel Management, NMEA 2000 Alarms, Waypoint Sharing and Back-
light Synchronization. Select FUEL MANAGEMENT and press ENT.
3. Highlight TANK LOCATION and press ENT. The Tank Location menu will
appear with up to three options: Port, Center and Starboard.
4. Select the tank you added fuel to and press ENT.
5. Follow the steps below that apply to your tank.
If you filled up the tank:
A. Press the FILL TANK button and press ENT. The following message will
appear: Are you sure you wish to Fill Tank? Press ENT. Another mes-
sage will appear: Do you wish to re-calibrate the device? Highlight NO
and press ENT.
If you did not fill up the tank:
B. Highlight FUEL ADDED and press ENT to access the FUEL ADDED dialog
box. Use ↑ ↓ , ← → to input the amount of fuel added to the tank and
press ENT. Select the ADD FUEL button and press ENT. The following
message will appear: Are you sure you wish to Add Fuel? Highlight YES
and press ENT.
6. Press EXIT repeatedly to get back to the main display.
125
Engine Operations
The lower half of the Fuel Management menu contains the following
Engine Operation functions: Engine Select, Reset Calibration, Reset
Trip and Reset Seasonal.
Engine Select
Engine Select allows you to choose the desired engine when resetting
calibration, resetting trip fuel and resetting seasonal fuel.
To Reset Calibration:
Choosing the Reset Calibration command will switch fuel flow calibra-
tion settings back to factory defaults.
1. Press MENU|MENU, select NMEA 2000 and press ENT.
2. Highlight FUEL MANAGEMENT and press ENT. The Fuel Management
menu will appear.
3. Highlight to ENGINE SELECT and press ENT. Select the desired engine —
the engine attached to the desired fuel flow — and press ENT.
4. Highlight RESET CALIBRATION and press ENT. The following confirma-
tion message will appear: Are you sure you wish to Reset Calibration?
Select YES and press ENT. Calibration settings for the selected fuel have
been returned to factory defaults.
To Reset Trip:
The Reset Trip function allows you to reset to zero the running total of
fuel used on a particular trip.
1. Press MENU|MENU, select NMEA 2000 and press ENT.
2. Highlight FUEL MANAGEMENT and press ENT. The Fuel Management
menu will appear.
3. Select RESET TRIP and press ENT. The following confirmation message
will appear: Are you sure you wish to Reset Trip? Highlight YES and
press ENT. The Trip Fuel Used figure has been reset to zero.
To Reset Seasonal:
Your unit can track fuel usage not only for trips, but also for entire sea-
sons. The reset seasonal command allows you to reset to zero the run-
ning total of fuel used during a season.
1. Press MENU|MENU, select NMEA 2000 and press ENT.
2. Highlight FUEL MANAGEMENT and press ENT. The Fuel Management
menu will appear.
3. Select RESET SEASONAL and press ENT. The following confirmation mes-
sage will appear: Are you sure you wish to Reset Seasonal?
Highlight YES and press ENT. The Seasonal Fuel Used figure has been
reset to zero.
126
NMEA 2000 Alarms
The NMEA 2000 Alarms menu allows you to set Full and Empty fuel
alarms for the EP-10 Fuel Flow, EP-15 Fluid Level, EP-50 Storage De-
vice and the Suzuki Engine Interface. The alarms may be set to a per-
centage (0-100%) of tank capacity.
The second tab at the top of the NMEA 2000 Alarms page is the Alarm
Status Tab. When an alarm has been set for a device, the alarm and its
current status will be shown on the Alarm Status window. To view the
Alarm Status window, highlight the Alarm Status tab and press ENT.
To set NMEA 2000 Alarm:
1. Press MENU|MENU, select NMEA 2000 and press ENT.
2. Highlight NMEA 2000 ALARMS and press ENT.
3. Highlight FLUID LEVEL DEVICE and press ENT. Use ↑ ↓ to select the de-
vice you want to set an alarm for and press ENT.
4. Highlight the ENABLED box next to the desired alarm (Full Alarm or
Empty Alarm) and press ENT to turn on the alarm.
5. To set the alarm percentage, press → to highlight PERCENT and press
ENT.
6. Use ↑ ↓, ← → to input the desired percentage and press ENT. Repeat
Steps 3-4 to set the other alarm.
7. Highlight SET CONFIGURATION and press ENT to finalize alarm settings.
Press EXIT repeatedly to get back to the main display.
NOTE:
To turn off (uncheck) an alarm, highlight its ENABLED BOX and press
ENTER.
Waypoint Sharing
Waypoint Sharing allows you to share a waypoint from one display unit
with display units across the network.
To turn on/off Waypoint Sharing:
1. Press MENU|MENU, select NMEA 2000 and press ENT.
2. Highlight WAYPOINT SHARING and press ENT which will turn on/off way-
point sharing.
3. Press EXIT repeatedly to get return to the main display.
Backlight Synchronization
The Backlight Synchronization command will keep all display unit
backlight levels consistent across the NMEA 2000 network. So, if you
127
set the backlight level to 75 percent on one display unit, all other units
on the network will automatically switch to the same setting.
To turn on/off Backlight Synchronization:
1. Press MENU|MENU, select NMEA 2000 and press ENT.
2. Highlight BACKLIGHT SYNCHRONIZATION and press ENT, which will turn
on/off Backlight Synchronization.
3. Press EXIT repeatedly to get back to the main display.
Configuring EP Sensors
All configurable devices are configured through their Device Configura-
tion menus, which may be accessed through the network devices list on
the Bus Configuration menu.
EP-35 Temperature Configuration
To input Device Name:
1. Press MENU|MENU, use ↑ ↓ to select NMEA 2000 and press ENT. The
NMEA 2000 menu will appear with five options: Bus Setup, Fuel Man-
agement, NMEA 2000 Alarms, Waypoint Sharing and Backlight Syn-
chronization.
2. Highlight BUS SETUP and press ENT, which will open the Bus Configu-
ration menu. A list of network devices will be at the top of the page.
3. Select the temp sensor you want to rename and press ENT. The De-
vice Configuration menu will appear with the Device Name dialog box
highlighted.
4. Press ENT and use ↑ ↓, ← → to input the desired name for the temp
sensor. Press ENT. Press EXIT repeatedly to get back to the main dis-
play.
To select Temp Type:
1. Press MENU|MENU, use ↑ ↓ to select NMEA 2000 and press ENT. The
NMEA 2000 menu will appear with five options: Bus Setup, Fuel Man-
agement, NMEA 2000 Alarms, Waypoint Sharing and Backlight Syn-
chronization.
2. Highlight BUS SETUP and press ENT, which will open the Bus Configu-
ration menu. A list of network devices will be at the top of the page.
3. Select the desired temp sensor and press ENT. The Device Configura-
tion menu will appear.
4. Highlight TEMP TYPE and press ENT. The following list of Temp Types
will appear: Water, Outside, Inside, Engine Room, Cabin, Live Well,
Bait Well, Refigeration, Heating System and Unknown.
128
5. Highlight the desired Temp Type and press ENT. The following con-
firmation message will appear: Are you sure you wish to change this
device's configuration?
6. Highlight YES and press ENT. Press EXIT repeatedly to get back to the
main display.
Advanced Options menu
The Temp sensor Advanced Options menu contains two categories: In-
stance and Restore Defaults.
Instance
The Instance command is intended for use only by experienced NMEA
2000 network technicians. Instance allows network technicians to re-
solve certain electronic probe conflicts. This is most likely to occur if the
network includes LMF-200 or LMF-400 digital gauges, which support
the display of fewer electronic probes than your GPS or sonar/GPS unit.
If you want to use your unit in a network including one of these digital
gauges, you may need to consult customer service. You should never
need this command if you are connecting your unit to a network with
similar display units and/or a series of electronic probes.
Restore Defaults
The Restore Defaults command allows you to reset an individual EP-35
Temp Sensor's settings to factory defaults. If, for example, you execute
the Restore Defaults command from your Water Temp's Advanced Op-
tions menu, only the settings for the Water Temp will be reset to fac-
tory defaults. Other temps on the network will not be affected.
To restore default settings:
1. Press MENU| MENU, use ↑ ↓ to select NMEA 2000 and press ENT. The
NMEA 2000 menu will appear with five options: Bus Setup, Fuel Man-
agement, NMEA 2000 Alarms, Waypoint Sharing and Backlight Syn-
chronization.
2. Highlight BUS SETUP and press ENT, which will open the Bus Configu-
ration menu. A list of network devices will be at the top of the page.
3. Select the desired temp sensor and press ENT. The Device Configura-
tion menu will appear.
4. Highlight ADVANCED OPTIONS and press ENT.
5. Select RESTORE DEFAULTS and press ENT. The following message will
appear: Are you sure you wish to change this device's configuration?
6. Highlight YES and press ENT. Press EXIT repeatedly to get back to the
main display.
129
EP-10 Fuel Flow Configuration
To input Device Name:
1. Press MENU| MENU, use ↑ ↓ to select NMEA 2000 and press ENT. The
NMEA 2000 menu will appear with five options: Bus Setup, Fuel Man-
agement, NMEA 2000 Alarms, Waypoint Sharing and Backlight Syn-
chronization.
2. Highlight BUS SETUP and press ENT, which will open the Bus Configu-
ration menu. A list of network devices will be at the top of the page.
3. Select the fuel flow you want to rename and press ENT. The Device
Configuration menu will appear with the Device Name dialog box high-
lighted.
4. Press ENTER and use ↑ ↓, ← → to input the desired name for the fuel
flow. Press ENT. Press EXIT repeatedly to get back to the main display.
To select a Location:
1. Press MENU| MENU, use ↑ ↓ to select NMEA 2000 and press ENT. The
NMEA 2000 menu will appear with five options: Bus Setup, Fuel Man-
agement, NMEA 2000 Alarms, Waypoint Sharing and Backlight Syn-
chronization.
2. Highlight BUS SETUP and press ENT, which will open the Bus Configu-
ration menu. A list of network devices will be at the top of the page.
3. Select the desired fuel flow and press ENT. The Device Configuration
menu will appear.
4. Select LOCATION and press ENT, which will open the Location menu
with following options: Port, Center, Starboard and Unknown.
5. Highlight the desired location and press ENT. The following message
will appear: Are you sure you wish to change this device's configuration?
6. Select YES and press ENT. Press EXIT repeatedly to get back to the
main display.
Advanced Options menu
The Fuel Flow sensor Advanced Options menu contains two categories:
Instance and Restore Defaults.
Instance
The Instance command is intended for use only by experienced NMEA
2000 network technicians. Instance allows network technicians to re-
solve certain electronic probe conflicts. This is most likely to occur if the
network includes LMF-200 or LMF-400 digital gauges, which support
the display of fewer electronic probes than your GPS or sonar/GPS unit.
If you want to use your unit in a network including one of these digital
gauges, you may need to consult customer service.
130
You shouldn't need this command if you are connecting your unit to a
network with similar display units and/or a series of electronic probes.
Restore Defaults
The Restore Defaults command allows you to reset an individual EP-10
Fuel Flow Sensor's settings to factory defaults. If, for example, you exe-
cute the Restore Defaults command from your Port Fuel Flow Ad-
vanced Options menu, only the settings for the Port Fuel Flow will be
reset to factory defaults. Other fuel flows on the network will not be
affected.
To restore default settings:
1. Press MENU| MENU, use ↑ ↓ to select NMEA 2000 and press ENT. The
NMEA 2000 menu will appear with five options: Bus Setup, Fuel Man-
agement, NMEA 2000 Alarms, Waypoint Sharing and Backlight Syn-
chronization.
2. Highlight BUS SETUP and press ENT, which will open the Bus Configu-
ration menu. A list of network devices will be at the top of the page.
3. Use ↑ ↓ to select the desired fuel flow and press ENT. The Device
Configuration menu will appear.
4. Highlight ADVANCED OPTIONS and press ENT.
5. Select RESTORE DEFAULTS and press ENT. The following message will
appear: Are you sure you wish to change this device's configuration?
6. Highlight YES and press ENT. Press EXIT repeatedly to get back to the
main display.
EP-15 Fluid Level Configuration
To input Device Name:
1. Press MENU| MENU, use ↑ ↓ to select NMEA 2000 and press ENT. The
NMEA 2000 menu will appear with five options: Bus Setup, Fuel Man-
agement, NMEA 2000 Alarms, Waypoint Sharing and Backlight Syn-
chronization.
2. Highlight BUS SETUP and press ENT, which will open the Bus Configu-
ration menu. A list of network devices will be at the top of the page.
3. Select a fluid level you want to rename and press ENT. The Device
Configuration menu will appear with the Device Name dialog box high-
lighted.
4. Press ENT and use ↑ ↓, ← → to input the desired name for the fluid
level. Press ENTER. Press EXIT repeatedly to get back to the main dis-
play.
131
To select Tank Instance (Location):
1. Press MENU| MENU, use ↑ ↓ to select NMEA 2000 and press ENT. The
NMEA 2000 menu will appear with five options: Bus Setup, Fuel Man-
agement, NMEA 2000 Alarms, Waypoint Sharing and Backlight Syn-
chronization.
2. Highlight BUS SETUP and press ENT, which will open the Bus Configu-
ration menu. A list of network devices will be at the top of the page.
3. Select the desired fluid level and press ENT. The Device Configura-
tion menu will appear.
4. Highlight TANK INSTANCE and press ENT, which will open the Tank In-
stance menu with the following options: Tank 1, Tank 2, Tank 3 and
Unknown.
5. Select the desired Tank Instance (location) and press ENT. The fol-
lowing confirmation message will appear: Are you sure you wish to
change this device's configuration?
6. Highlight YES and press ENT. Press EXIT repeatedly to get back to the
main display.
To select Fluid Type:
1. Press MENU| MENU, use ↑ ↓ to select NMEA 2000 and press ENT. The
NMEA 2000 menu will appear with five options: Bus Setup, Fuel Man-
agement, NMEA 2000 Alarms, Waypoint Sharing and Backlight Syn-
chronization.
2. Highlight BUS SETUP and press ENT, which will open the Bus Configu-
ration menu. A list of network devices will be at the top of the page.
3. Select the desired fluid level and press ENT. The Fluid Level Device
Configuration menu will appear.
4. Press ↓ to FLUID TYPE and press ENT, which will open the Fluid Type
menu with the following options: Fuel, Water, Gray Water, Live Well,
Oil, Black Water and Unknown.
5. Select the desired fluid type and press ENT. The following message
will appear: Are you sure you wish to change this device's configuration?
6. Highlight YES and press ENT. Press EXIT repeatedly to get back to the
main display.
To input Tank Size:
1. Press MENU| MENU, use ↑ ↓ to select NMEA 2000 and press ENT. The
NMEA 2000 menu will appear with five options: Bus Setup, Fuel Man-
agement, NMEA 2000 Alarms, Waypoint Sharing and Backlight Syn-
chronization.
132
2. Highlight BUS SETUP and press ENT, which will open the Bus Configu-
ration menu. A list of network devices will be at the top of the page.
3. Select the desired fluid level and press ENT. The Fluid Level Device
Configuration menu will appear.
4. Highlight TANK SIZE and press ENT. Use ↑ ↓ ,← → to input the size of
the tank and press Enter. The following message will appear: Are you
sure you wish to change this device's configuration?
5. Select YES and press ENT. Press EXIT repeatedly to get back to the
main display.
Advanced Options menu
The Fuel Flow sensor Advanced Options menu contains two categories:
Instance and Restore Defaults.
Instance
The Instance command is intended for use only by experienced NMEA
2000 network technicians. Instance allows network technicians to re-
solve certain electronic probe conflicts. This is most likely to occur if the
network includes LMF-200 or LMF-400 digital gauges, which support
the display of fewer electronic probes than your GPS or sonar/GPS unit.
If you want to use your unit in a network including one of these digital
gauges, you may need to consult customer service. You should never
need this command if you are connecting your unit to a network with
similar display units and/or a series of electronic probes.
Restore Defaults
The Restore Defaults command allows you to reset an individual EP-15
Fluid Level Sensor's settings to factory defaults. If, for example, you
execute the Restore Defaults command from your Gray Water Fluid
Level Advanced Options menu, only the settings for the Gray Water
Fluid Level will be reset to factory defaults. Other fluid levels on the
network will not be affected.
To restore default settings:
1. Press MENU| MENU, use ↑ ↓ to select NMEA 2000 and press ENT. The
NMEA 2000 menu will appear with five options: Bus Setup, Fuel Man-
agement, NMEA 2000 Alarms, Waypoint Sharing and Backlight Syn-
chronization.
2. Highlight BUS SETUP and press ENT, which will open the Bus Configu-
ration menu. A list of network devices will be at the top of the page.
3. Select the desired fluid level and press ENT. The Device Configura-
tion menu will appear.
4. Highlight ADVANCED OPTIONS and press ENT.
133
5. Select RESTORE DEFAULTS and press ENT. The following message will
appear: Are you sure you wish to change this device's configuration?
6. Highlight YES and press ENT. Press EXIT repeatedly to get back to the
main display.
NOTE:
The Fluid Level Device Configuration menu also contains the Cali-
brate button, but we will address that later in the segment covering
Calibration.
Suzuki Engine Interface Configuration
To input Device Name:
1. Press MENU| MENU, use ↑ ↓ to select NMEA 2000 and press ENT. The
NMEA 2000 menu will appear with five options: Bus Setup, Fuel Man-
agement, NMEA 2000 Alarms, Waypoint Sharing and Backlight Syn-
chronization.
2. Highlight BUS SETUP and press ENT, which will open the Bus Configu-
ration menu. A list of network devices will be at the top of the page.
3. Use ↑ ↓ to select the engine interface you want to rename and press
ENT. The Device Configuration menu will appear with the Device Name
dialog box highlighted.
4. Press ENT and use ↑ ↓, ← → to input a name for the interface. Press
ENT. Press EXIT repeatedly to return to the main display.
To select a Location:
1. Press MENU| MENU, use ↑ ↓ to select NMEA 2000 and press ENT. The
NMEA 2000 menu will appear with five options: Bus Setup, Fuel Man-
agement, NMEA 2000 Alarms, Waypoint Sharing and Backlight Syn-
chronization.
2. Highlight BUS SETUP and press ENT, which will open the Bus Configu-
ration menu. A list of network devices will be at the top of the page.
3. Select the desired engine interface and press ENT. The Device Con-
figuration menu will appear.
4. Highlight LOCATION and press ENT, which will open the Location menu
with the following options: Port, Center, Starboard and Unknown.
5. Select the desired location and press ENT. The following confirmation
message will appear: Are you sure you wish to change this device's con-
figuration?
6. Press ENT. Press EXIT repeatedly to get back to the main display.
To select Engine Type:
1. Press MENU| MENU, use ↑ ↓ to select NMEA 2000 and press ENT. The
NMEA 2000 menu will appear with five options: Bus Setup, Fuel Man-
134
agement, NMEA 2000 Alarms, Waypoint Sharing and Backlight Syn-
chronization.
2. Highlight BUS SETUP and press ENT, which will open the Bus Configu-
ration menu. A list of network devices will be at the top of the page.
3. Use ↑ ↓ to select the desired engine interface and press ENT. The De-
vice Configuration menu will appear.
4. Highlight ENGINE TYPE and press ENT, which will open the Engine
Type menu with the following options: DF40, DF50, DF60, DF70,
DF90/115, DF140, DF150, DF175, DF200/225, DF250 and DF300.
5. Select your engine type and press ENT. The following message will
appear: Are you sure you wish to change this device's configuration?
6. Highlight YES and press ENT. Press EXIT repeatedly to get back to the
main display.
Advanced Options menu
The Engine Interface Advanced Options menu contains three catego-
ries: Instance, Restore Defaults and Reset Trim Calibration.
Instance
The Instance command is intended for use only by experienced NMEA
2000 network technicians. Instance allows network technicians to re-
solve certain electronic probe conflicts. This is most likely to occur if the
network includes LMF-200 or LMF-400 digital gauges, which support
the display of fewer electronic probes than your GPS or sonar/GPS unit.
If you want to use your unit in a network including one of these digital
gauges, you may need to consult customer service. You should never
need this command if you are connecting your unit to a network with
similar display units and/or a series of electronic probes.
Restore Defaults
The Restore Defaults command allows you to reset an individual en-
gine interface's settings to factory defaults. If, for example, you execute
the Restore Defaults command from your Port Engine Interface Ad-
vanced Options menu, only the settings for the Port Engine Interface
will be reset to factory defaults. Other engine interfaces on the network
will not be affected.
To restore default settings:
1. Press MENU| MENU, use ↑ ↓ to select NMEA 2000 and press ENT. The
NMEA 2000 menu will appear with five options: Bus Setup, Fuel Man-
agement, NMEA 2000 Alarms, Waypoint Sharing and Backlight Syn-
chronization.
2. Highlight BUS SETUP and press ENT.
135
3. Use ↑ ↓ to select the desired fluid level and press ENT. The Device
Configuration menu will appear.
4. Highlight ADVANCED OPTIONS and press ENT.
5. Select RESTORE DEFAULTS and press ENT. The following message will
appear: Are you sure you wish to change this device's configuration?
6. Highlight YES and press ENT. Press EXIT repeatedly to get back to the
main display.
NOTE:
The Suzuki Engine Interface Device Configuration menu contains
two Engine Trim calibration commands, which will be addressed in
the next segment of this section, Calibrating EP Sensors.
Calibrating EP Sensors
The factory calibration settings for the EP-10 Fuel Flow, EP-15 Fluid
Level and Suzuki Engine Interface should be adequate for the majority
of applications, so calibration will not be necessary in most cases.
EP-10 Fuel Flow Calibration
The default calibration for the EP-10 Fuel Flow is adequate in most
cases, but if Fuel Used readings are off by more than 3 percent, calibra-
tion is recommended.
To check fuel flow accuracy:
Select Fuel Used to be shown as Overlay Data on your unit's main dis-
play. Refer to the Overlay Data segment of this manual for instructions
on how to select Fuel Used data as Overlay Data.
1. After selecting Fuel Used as overlay data, fill up your tank and press
MENU|MENU.
2. Select NMEA 2000 and press ENT.
3. Highlight FUEL MANAGEMENT and press ENT. Select TANK LOCATION and
press ENT.
4. Use ↑ ↓ to select the location (Port, Center or Starboard) of the fuel
flow you want to calibrate and press ENT.
5. Highlight FILL TANK and press ENT. The following confirmation mes-
sage will appear: Are you sure you wish to Fill Tank?
6. Select YES and press ENT. The following confirmation message will
appear: Do you wish to re-calibrate the device?
7. Highlight NO and press ENT.
136
8. Take your vessel out on the water and burn at least five gallons of
fuel. Be sure you run only ONE engine — the engine connected
to your fuel flow.
9. Fill up your tank again, noting how much fuel you added to the tank.
Compare that number to the Fuel Used figure displayed on the page
you customized. If the amount of fuel you added to the tank and the
fuel used figure are off by more than 3 percent, we recommend the fuel
flow be calibrated.
NOTE:
You must use the gauge's Fill Tank command when filling your fuel
tank to keep the fuel flow updated with correct information on the
amount of fuel in the tank.
To calibrate an EP-10 Fuel Flow:
10. If calibration is necessary, press MENU|MENU, select NMEA 2000 and
press ENT.
11. Highlight FUEL MANAGEMENT and press ENT.
12. Select TANK LOCATION and press ENT to choose the location of the tank
connected to selected fuel flow. Press ENT.
13. Highlight FILL TANK and press ENT. The following message will ap-
pear: Are you sure you wish to Fill Tank? Select YES and press ENT.
14. The following message will appear: Do you wish to re-calibrate the
device? Select YES and press ENT.
15. Repeat these steps for each EP-10 Fuel Flow you want to calibrate.
To Reset Calibration:
1. Press MENU|MENU, select NMEA 2000 and press ENT.
2. Highlight FUEL MANAGEMENT and press ENT.
3. Highlight ENGINE SELECT and press ENT. The Engine Select menu will
appear with up to four options: All Engines, Port, Center and Star-
board. Selecting All Engines will reset calibration for all engines back
to factory defaults.
4. Select All Engines or the engine connected to the desired device and
press ENT.
5. Highlight RESET CALIBRATION and press ENT. The following message
will appear: Are you sure you wish to Reset Calibration?
6. Highlight YES and press ENT. Press EXIT repeatedly to get back to the
main display.
137
EP-15 Fluid Level Calibration
The default calibration for the EP-15 Fluid Level is just as accurate as
standard fluid level gauges. If, however, the tank has an irregular
shape or greater accuracy is needed, calibration is recommended. There
are three calibration options: 2-Point, 3-Point and 5-Point.
2-Point Calibration
A 2-point calibration is best suited for rectangular or square-shaped
tanks, where the capacity of the top half of the tank matches the capac-
ity in the lower half of the tank. In a two-point calibration, you will set
two points, one each for empty and full levels.
You can begin calibration at either of the two points, but we recom-
mend starting with an empty tank. You will fill the tank to complete
calibration.
1. Press MENU| MENU, use ↓ ↑ to select NMEA 2000 and press ENT.
2. Highlight BUS SETUP and press ENT, which will open the Bus Configu-
ration menu. A list of network devices will be at the top of the page.
3. Select the EP-15 Fluid Level and press ENT.
4. Press ↓ to select CALIBRATE and press ENT. The Device Calibration
menu will appear. Instructions on Calibration will be listed at the top
of the menu.
5. Highlight NUM PTS, press ENT and select 2. Press ENT.
6. Select FLUID LEVEL, press ENT, then select EMPTY LEVEL and press ENT.
7. Make sure the fuel tank is empty, highlight CALIBRATE and press ENT.
The following message will appear: Empty Level Calibration Com-
pleted. Press ENT.
8. Fill up your tank, highlight FLUID LEVEL and press ENT.
9. Select FULL LEVEL and press ENT. Highlight CALIBRATE and press ENT.
10. The following message will appear: Full level Calibration Com-
pleted. Press ENT, then press EXIT repeatedly to get back to the main
display.

138
Calibrate is highlighted on the device configuration menu (left). Cali-
bration menu (right) with calibration instructions listed at the top.
3-Point Calibration
3-point calibration is designed for tanks that vary in shape from the top
to the bottom. You can begin calibration at any point in the 3-point
process, but we recommend starting calibration with an empty tank. In
a 3-point calibration, you will set three points, one each for empty, half
and full levels.
1. Press MENU| MENU, use ↓ ↑ to select NMEA 2000 and press ENT.
2. Highlight BUS SETUP and press ENT, which will open the Bus Configu-
ration menu. A list of network devices will be at the top of the page. 3.
Select the EP-15 Fluid Level and press ENT.
4. Press ↓ to select CALIBRATE and press ENT. The Device Calibration
menu will appear.
5. Highlight NUM PTS, press ENT and select 3. Press ENT.
6. Make sure your tank is empty, then highlight FLUID LEVEL and press
ENT. Select EMPTY LEVEL and press ENT.
7. Select CALIBRATE and press ENT. The following message will appear:
Empty Level Calibration Completed. Press ENTER.
8. Add half a tank of fuel, highlight FLUID LEVEL and press ENT. Select
HALF LEVEL and press ENT.
9. Select CALIBRATE and press ENT. The following message will appear:
Half Level Calibration Completed. Press ENT.
10. Fill up the tank, then highlight FLUID LEVEL and press ENT. Select
FULL LEVEL and press ENT.

139
11. Highlight CALIBRATE and press ENT. The following message will ap-
pear: Full Level Calibration Completed. Press ENT, then press EXIT re-
peatedly to get back to the main display.
Num Pts menu with 5-point calibration selected (left). Half level se-
lected on Fluid Level menu (center). Calibration Done window (right).
5-Point Calibration
5-point calibration is best suited tanks that vary greatly in shape from
top to bottom. You can begin calibration at any point in the 5-point
calibration process. We recommend starting calibration with an empty
tank. In a five-point calibration you will set five points: Empty Level, 1
Qtr Level, Half Level, 3 Qtr Level and Full Level. In a 5-point calibra-
tion, you will have four calibration points left after calibrating your
tank's Empty Level.
To figure out how much fuel you should add for the remaining steps of
the calibration process, divide the total capacity of you tank by four. So,
if you have a 40-gallon tank, each quarter tank will equate to 10 gal-
lons.
1. Press MENU| MENU, use ↓ ↑ to select NMEA 2000 and press ENT.
2. Highlight BUS SETUP and press ENT, which will open the Bus Configu-
ration menu. A list of network devices will be at the top of the page. 3.
Select the desired EP-15 Fluid Level and press ENT.
4. Press ↓ to select CALIBRATE and press ENT. The Device Calibration
menu will appear.
5. Highlight NUM PTS, press ENT and select 5. Press ENT.
6. Make sure your tank is empty, then highlight FLUID LEVEL and press
ENT. Select EMPTY LEVEL and press ENT.
7. Select CALIBRATE and press ENT. The following message will appear:
Empty Level Calibration Completed. Press ENT.
8. Add 1 quarter tank of fuel, highlight FLUID LEVEL and press ENT. Select
1 QTR LEVEL and press ENT.
140
9. Select CALIBRATE and press ENT. The following message will appear: 1
Qtr Level Calibration Completed. Press ENT.
10. Add another quarter tank of fuel, which should raise the fuel level
to half a tank. Highlight FLUID LEVEL and press ENT. Select HALF LEVEL and
press ENT.
11. Highlight CALIBRATE and press ENT. The following message will ap-
pear: Half Level Calibration Completed. Press ENT.
12. Add another quarter tank of fuel, which should raise the fuel level
to 3 quarters of a tank. Highlight FLUID LEVEL and press ENT. Select 3 QTR
LEVEL and press ENT.
13. Select CALIBRATE and press ENT. The following message will appear: 3
Qtr Level Calibration Completed. Press ENT.
14. Top off the tank, highlight FLUID LEVEL and press ENT. Select FULL
LEVEL and press ENT.
15. Select CALIBRATE and press ENT. The following message will appear:
Full Level Calibration Completed. Press ENT, then press EXIT repeat-
edly to get back to the main display.
Fuel Flow Calibration in a Suzuki Engine Interface
The default calibration for the Suzuki Engine Interface is adequate in
most cases, but if Fuel Used readings are off by more than 3 percent,
calibration is recommended.
To check engine interface accuracy:
Select Fuel Used to be shown as Overlay Data on your unit's main dis-
play. Refer to the Overlay Data segment of this manual for instructions
on how to select Fuel Used data as Overlay Data.
1. After selecting Fuel Used as overlay data, fill up your tank and press
MENU|MENU.
2. Select NMEA 2000 and press ENT.
3. Highlight FUEL MANAGEMENT and press ENT. Select TANK LOCATION and
press ENT.
4. Use ↑ ↓ to select the location (Port, Center or Starboard) of the en-
gine interface you want to calibrate and press ENT.
5. Highlight FILL TANK and press ENT. The following confirmation mes-
sage will appear: Are you sure you wish to Fill Tank?
6. Select YES and press ENTER. The following confirmation message will
appear: Do you wish to re-calibrate the device?
7. Highlight NO and press ENT. Take your vessel out on the water and
burn at least five gallons of fuel. Be sure you run only ONE engine
— the engine connected to your engine interface.
141
9. Fill up your tank again, noting how much fuel you added to the tank.
Compare that number to the Fuel Used figure displayed on the page
you customized. If the amount of fuel you added to the tank and the
fuel used figure are off by more than 3 percent, we recommend the en-
gine interface be calibrated.
NOTE:
You must use the gauge's Fill Tank command when filling your fuel
tank to keep the engine interface updated with correct information
on the amount of fuel in the tank.
To calibrate a Suzuki Engine Interface:
10. If calibration is necessary, press MENU|MENU, select NMEA 2000 and
press ENT.
11. Highlight FUEL MANAGEMENT and press ENT.
12. Select TANK LOCATION and press ENT to choose the location of the tank
connected to the selected engine interface. Press ENT.
13. Highlight FILL TANK and press ENT. The following message will ap-
pear: Are you sure you wish to Fill Tank? Select YES and press ENT.
14. The following message will appear: Do you wish to re-calibrate the
device? Select YES and press ENT.
15. Repeat these steps for each engine interface you want to calibrate.
Engine Trim Calibration
Engine Trim is calibrated through the Suzuki Engine Interface Device
Configuration menu.
1. Press MENU|MENU, select NMEA 2000 and press ENT.
2. Choose BUS SETUP and press ENTER. Select the Suzuki Engine Inter-
face connected to the desired engine and press ENT.
3. Highlight CALIBRATE TRIM and press ENT. The Device Calibration win-
dow will appear with a list of Calibration Instructions.
4. Highlight START CALIBRATION and press ENT. The following message
will appear: Please fully raise the Engine Trim.
5. After engine trim has been fully raised, press ENT. The following
message will appear: Please fully lower the Engine trim.
6. After engine trim has been fully lowered, press ENT. A Calibration
Completed message will appear. Press ENT.
7. Repeat these instructions to adjust the engine trim for each engine
connected to a Suzuki Engine Interface. Press EXIT repeatedly to return
to the main display.
142
Reset Trim Calibration
If you are not satisfied with your engine trim calibration, you can reset
engine trim calibration from the Suzuki Engine Interface Advanced
Options menu.
1. Press MENU|MENU, select NMEA 2000 and press ENT.
2. Choose BUS SETUP and press ENT. Select the Suzuki Engine Interface
connected to the desired engine and press ENT.
3. Highlight ADVANCED OPTIONS and press ENT. Select Reset TRIM CALIBRA-
TION and press ENT. The following message will appear: Do you wish to
re-calibrate the device?
4. Highlight YES and press ENT. Press EXIT repeatedly to get back to the
main display.
Bennett Trim Tabs Calibration
Trim Tabs will be calibrated through their Device Configuration menu.
To calibrate Trim Tabs:
1. Press MENU|MENU, select BUS SETUP and press ENT. A list of network
devices will appear.
2. Select BENNETT TRIM TABS from the list and press ENT, which will open
the Trim Tab Device Configuration menu.
3. Highlight CALIBRATE and press ENT. The Device Calibration window
will appear with a list of calibration instructions.
4. Select START CALIBRATION and press ENT. The following message will
appear: Please fully raise Trim Tabs.
5. After fully raising the trims tabs, press ENT. The following message
will appear: Please fully lower trim tabs.
6. After fully lowering the trim tabs, press ENT. A Calibration Complete
message will appear. Press ENT. Press EXIT repeatedly to return to the
main display.
To Reset Calibration:
1. Press MENU|MENU, select NMEA 2000 and press ENT.
2. Highlight FUEL MANAGEMENT and press ENT.
3. Highlight ENGINE SELECT and press ENT. The Engine Select menu will
appear with up to four options: All Engines, Port, Center and Star-
board. Selecting All Engines will reset calibration for all engines back
to factory defaults.
4. Select All Engines or the engine connected to the desired device and
press ENT.
143
5. Highlight RESET CALIBRATION and press ENT. The following message
will appear: Are you sure you wish to Reset Calibration?
6. Highlight YES and press ENT. Press EXIT repeatedly to get back to the
main display.
144
Notes
145
Sec. 8: Supplemental Material
Datums Used by This Unit
WGS 1984
Default
Adindan
Mean for Ethiopia,
Sudan
Adindan
Burkina Faso
Adindan
Cameroon
Adindan
Ethiopia
Adindan
Mali
Adindan
Senegal
Adindan
Sudan
Afgooye
Somalia
Ain el Abd 1970
Bahrain
Ain el Abd 1970
Saudi Arabia
Anna 1 Astro 1965
Cocos Islands
Antigua Island Astro
1943; Antigua (Lee-
ward Islands)
Arc 1950; Mean for
Botswana, Lesotho,
Malawi, Swaziland,
Zaire, Zambia and
Zimbabwe
Arc 1950 - Botswana
Arc 1950 - Burundi
Arc 1950 - Lesotho
Arc 1950 - Malawi
Arc 1950 - Swaziland
Arc 1950 - Zaire
Arc 1950 - Zambia
Arc 1950 - Zimbabwe
Arc 1960 - Mean for
Kenya, Tanzania
Ascension Island
1958 - Ascension
Island
Astro Beacon E 1945
- Iwo Jima
Astro DOS 71/4 - St.
Helena Island
Astro Tern Island
(FRIG) 1961 - Tern
Island
Astronomical Station
1952 - Marcus Island
Australian Geodetic
1966 - Australia &
Tasmania
Australian Geodetic
1984 - Australia &
Tasmania
Ayabelle Lighthouse -
Djibouti
Bellevue (IGN) - Efa-
te & Erromango I-
slands
Bermuda 1957 -
Bermuda
Bissau - Guinea-
Bissau
Bogota Observatory -
Colombia
Bukit Rimpah - Indo-
nesia (Bangka & Beli-
tung Islands)
Camp Area Astro -
Antarctica (McMurdo
Camp Area)
Campo Inchauspe -
Argentina
Canton Astro 1966 -
Phoenix Islands
Cape - South Africa
Cape Canaveral -
Bahamas, Florida
Carthage - Tunisia
Switzerland
146
Chatham Island Astro
1971; New Zealand
(Chatham Island)
Chua Astro
Paraguay
Corrego Alegre
Brazil
Dabola
Guinea
Djakarta (Batavia)
Indonesia (Sumatra)
DOS 1968
New Georgia Islands
(Gizo Island)
Easter Island 1967
Easter Island
European 1950
Mean for Austria,
Belgium, Denmark,
Finland, France,
West Germany, Gi-
braltar, Greece, Italy,
Luxembourg, Nether-
lands, Norway, Por-
tugal, Spain, Swe-
den, Switzerland
European 1950
Mean for Austria,
Denmark, France,
West Germany,
Netherlands, Switzer-
land
European 1950
Mean for Iraq, Israel,
Jordan, Lebanon,
Kuwait, Saudi Arabia,
Syria
European 1950
Cyprus
European 1950
Egypt
European 1950
England, Channel
Islands, Ireland,
Scotland, Shetland
Islands
European 1950
Finland, Norway
European 1950
Greece
European 1950
Iran
European 1950
Italy (Sardinia)
European 1950
(Sicily)
European 1950
Malta
Ireland 1965
Ireland
ISTS 061 Astro 1968
South Georgia Is-
lands
ISTS 073 Astro 1969
Diego Garcia
Johnston Island 1961
Johnston Island
Kandawala
Sri Lanka
Kerguelen Island
1949
Kerguelen Island
Kertau 1948
West Malaysia &
Singapore
Kusaie Astro 1951
Caroline Islands
L.C. 5 Astro 1961
Cayman Brac Island
Leigon
Ghana
Liberia 1964
Liberia
Luzon
Philippines (Exclud-
ing Mindanao)
Luzon
Philippines (Min-
danao)
Mahe 1971
Mahe Island
Massawa
Ethiopia (Eritrea)
Merchich
Morocco
Midway Astro 1961
Midway Islands
Minna
Cameroon
Minna
Nigeria
Montserrat Island
Astro 1958; Montser-
rat (Leeward Islands)
M’Poraloko
Gabon, Nahrwan,
Oman (Masirah Is-
land)
Nahrwan
Saudi Arabia
147
Nahrwan
United Arab Emirates
Naparima BWI
Trinidad & Tobago
North American 1927
Mean for Antigua,
Barbados, Barbuda,
Caicos Islands,
Cuba, Dominican
Republic, Grand
Cayman, Jamaica,
Turks Islands
North American 1927
Mean for Belize, Cos-
ta Rica, El Salvador,
Guatemala, Hondu-
ras, Nicaragua
North American 1927
Mean for Canada
North American 1927
Mean for CONUS
(Continental United
States)
North American 1927
Mean for CONUS
(East of Mississippi
River) including Lou-
isiana, Missouri, Min-
nesota
North American 1927
Mean for CONUS
(West of Mississippi
River)
North American 1927
Alaska
North American 1927
Bahamas (Except
San Salvador Island)
North American 1927
Bahamas (San Sal-
vador Island)
North American 1927
Canada (Alberta,
British Columbia)
North American 1927
Canada (Manitoba,
Ontario)
North American 1927
Canada (New
Brunswick, New-
foundland, Nova Sco-
tia, Quebec)
North American 1927
Canada (Northwest
Territories, Sas-
katchewan)
North American 1927
Canada (Yukon)
North American 1927
Canal Zone
North American 1927
Cuba
North American 1927
Greenland (Hayes
Peninsula)
North American 1927
Mexico
North American 1983
Alaska, Canada,
CONUS
North American 1983
Central America,
Mexico
Observaorio Metereo
1939; Azores (Corvo
& Flores Islands)
Old Egyptian 1907
Egypt
Old Hawaiian
Mean for Hawaii,
Kauai, Maui, Oahu
Old Hawaiian
Hawaii
Old Hawaiian
Kauai
Old Hawaiian
Maui
Old Hawaiian
Oahu
Oman
Oman
Ordinance Survey
Great Britain 1936 -
Mean for England,
Isle of Man, Scotland,
Shetland Islands,
Wales
Ordinance Survey
Great Britain 1936 -
England
Ordinance Survey
Great Britain 1936 -
England, Isle of Man,
Wales
Ordinance Survey
Great Britain 1936 -
Scotland, Shetland
Islands
Ordinance Survey
Great Britain 1936 -
Wales
Pico de las Nieves
Canary Islands
Pitcairn Astro 1967
Pitcairn Island
148
Point 58
Sweden
Santo (DOS)
1965 Espirito Santo
Island
Sao Braz
Azores (Sao Miguel,
Santa Maria Islands)
Sapper Hill 1943
East Falkland Island
Schwarzeck
Nambia
Selvagem Grande
Salvage Islands
SGS 85
Soviet Geodetic Sys-
tem 1985
South American 1969
Mean for Argentina,
Bolivia, Brazil, Chile,
Colombia, Ecuador,
Guyana, Paraguay,
Peru, Trinidad & To-
bago, and Venezuela
South American 1969
Argentina
South American 1969
Bolivia
South American 1969
Brazil
South American 1969
Chile
South American 1969
Colombia
South American 1969
Ecuador
South American 1969
Ecuador (Baltra, Ga-
lapagos)
South American 1969
Guyana
South American 1969
Paraguay
South American 1969
Peru
South American 1969
Trinidad & Tobago
South American 1969
Venezuela
South Asia
Singapore
Tananarive Observa-
tory 1925; Madagas-
car
Timbalai 1948
Brunei, East Malaysia
(Sabah, Sarawak)
Tokyo
Mean for Japan, Ko-
rea, Okinawa
Tokyo
Japan
Tokyo
Korea
Tokyo
Okinawa
Tristan Astro 1968
Tristan da Cunha
Viti Levu 1916
Fiji (Viti Levu Island)
Wake
Eniwetok 1960
Marshall Islands
Wake Island Astro
1952
Wake Atoll
WGS 1972
Global Definition
Yacare
Uruguay
Zanderij
Suriname
149
Notes
150
Notes
151
Notes
152
FCC Compliance
This device complies with Part 15 of the U.S. Federal Communi-
cations Commission (FCC) Rules. Operation is subject to the fol-
lowing two conditions: (1) this device may not cause harmful inter-
ference, and (2) this device must accept any interference received,
including interference that may cause undesired operation.
Changes or modifications not expressly approved by the manu-
facturer could void the user's authority to operate the equipment.
Note:
This equipment has been tested and found to comply with the
limits for a Class B digital device, pursuant to Part 15 of the
FCC Rules. These limits are designed to provide reasonable pro-
tection against harmful interference in a residential installation.
This equipment generates, uses and can radiate radio frequency
energy and, if not installed and used in accordance with the in-
structions, may cause harmful interference to radio communica-
tions. However, there is no guarantee that interference will not
occur in a particular installation. If this equipment does cause
harmful interference to radio or television reception, which can
be determined by turning the equipment off and on, the user is
encouraged to try to correct the interference by one or more of
the following measures:
Reorient or relocate the receiving antenna.
Increase the separation between the equipment and receiver.
Connect the equipment into an outlet on a circuit different from
that to which the receiver is connected.
Consult the factory customer service department for help.
153
LOWRANCE DATABASES LICENSE AGREEMENT
THIS IS A LEGAL AGREEMENT BETWEEN THE END-USER WHO FIRST
PURCHASES THIS PRODUCT AS A CONSUMER ITEM FOR PERSONAL,
FAMILY, OR HOUSEHOLD USE ("YOU") AND LOWRANCE ELECTRONICS,
INC., THE MANUFACTURER OF THIS PRODUCT ("WE", "OUR", OR "US").
USING THE PRODUCT ACCOMPANIED BY THIS LICENSE AGREEMENT
CONSTITUTES ACCEPTANCE OF THESE TERMS AND CONDITIONS. IF
YOU DO NOT ACCEPT ALL TERMS AND CONDITIONS, PROMPTLY RE-
TURN THE PRODUCT WITHIN 30 DAYS OF PURCHASE. PLEASE RE-
TURN USING THE ENCLOSED UPS SHIPPING LABEL AND INCLUDE:
PROOF OF PURCHASE, NAME, ADDRESS, AND PHONE NUMBER. YOUR
PURCHASE PRICE AND ANY APPLICABLE TAXES WILL BE REFUNDED.
PLEASE ALLOW 4-6 WEEKS TO PROCESS YOUR REFUND.
1. This License Agreement applies to the one or more databases that
your product may contain. We refer to these singly as a "Database"
and together as the "Databases." Your product may thus include the
"WBS Database" which contains worldwide background surface
mapping data, the "SmartMap Database" which contains inland
mapping data, or other Databases.
2. The Databases that your product may contain are licensed, not sold.
We grant to you the nonexclusive, nonassignable right to use these
Databases for supplemental navigation reference purposes, but only
as long as you comply with the terms and conditions of this License
Agreement. We reserve the right to terminate this license if you vio-
late any aspect of this License Agreement. You are responsible for
using official government charts and prudent navigation for safe
travel.
3. The Databases housed in your product are protected by the copy-
right notices appearing on the product or its screen(s). You may
NOT modify, adapt, translate, reverse engineer, decompile, disas-
semble, rent, lease, or resell any Database, and you may NOT create
derivative works based upon any Database or its contents. Any un-
authorized reproduction, use, or transfer of a Database may be a
crime and may subject you to damages and attorney fees.
4. This License Agreement will terminate immediately without prior
notice from us if you fail to comply with or violate any of the provi-
sions of this Agreement. Upon termination, you will promptly return
all products containing one or more Databases to us.
5. Prices and programs are subject to change without notice.
6. This License Agreement shall be governed by the laws of the State
of Oklahoma and comprises the complete and exclusive understand-
ing between you and us concerning the above subject matter.
154
DATABASES LIMITED WARRANTY
"We", "our", or "us" refers to Lowrance Electronics, Inc., the manufacturer of
this product. "You" or "your" refers to the first person who purchases the prod-
uct as a consumer item for personal, family, or household use. The Databases
Limited Warranty applies to the one or more databases that your product may
contain. We refer to each of these as a "Database" or together as the "Data-
bases." Your product may thus include the "WBS Database" which contains
worldwide background surface mapping data, the "SmartMap Database" which
contains inland mapping data, or other Databases.
We warrant to you that we have accurately compiled, processed, and repro-
duced the portions of the source material on which the Databases are based.
However, we are under no obligation to provide updates to the Databases, and
the data contained in the Databases may be incomplete when compared to the
source material. WE MAKE NO EXPRESS OR IMPLIED WARRANTY OF
ANY KIND ABOUT THE ACCURACY OF THE SOURCE MATERIAL ITSELF,
INCLUDING BUT NOT LIMITED TO IMPLIED WARRANTIES OF MER-
CHANTABILITY OR FITNESS FOR A PARTICULAR PURPOSE.
If there is a defect in any Database, your exclusive remedy shall be, at our op-
tion, either a refund of the price you paid for the product containing the defec-
tive Database or a replacement of such product. WE WILL NOT UNDER ANY
CIRCUMSTANCES BE LIABLE TO ANYONE FOR ANY SPECIAL, CONSE-
QUENTIAL, INCIDENTAL, OR OTHER INDIRECT DAMAGE OF ANY
KIND.
Some states do not allow the exclusion or limitation of incidental or consequen-
tial damages, so the above limitations or exclusions may not apply to you.
This warranty does NOT apply in the following circumstances: (1) when the
product has been serviced or repaired by anyone other than us; (2) when the
product has been connected, installed, combined, altered, adjusted, or handled
in a manner other than according to the instructions furnished with the prod-
uct; (3) when any serial number has been effaced, altered, or removed; or
(4) when any defect, problem, loss, or damage has resulted from any accident,
misuse, negligence, or carelessness, or from any failure to provide reasonable
and necessary maintenance in accordance with the instructions of the owner’s
manual for the product.
We reserve the right to make changes or improvements in our products from
time to time without incurring the obligation to install such improvements or
changes on equipment or items previously manufactured.
This warranty gives you specific legal rights and you may also have other
rights which may vary from state to state.
Your remedies under this warranty will be available so long as you can show in
a reasonable manner that the defect occurred within one (1) year from the date
of your original purchase, and we must receive your warranty claim no later
than 30 days after such 1-year period expires. Your claim must be substanti-
ated by a dated sales receipt or sales slip.
155
LOWRANCE ELECTRONICS
FULL ONE-YEAR WARRANTY
"We," "our," or "us" refers to LOWRANCE ELECTRONICS, INC., the manufacturer of
this product. "You" or "your" refers to the first person who purchases this product as a
consumer item for personal, family or household use.
We warrant this product against defects or malfunctions in materials and workmanship,
and against failure to conform to this product's written specifications, all for one (1) year
from the date of original purchase by you. WE MAKE NO OTHER EXPRESS WAR-
RANTY OR REPRESENTATION OF ANY KIND WHATSOEVER CONCERNING THIS
PRODUCT. Your remedies under this warranty will be available so long as you can show
in a reasonable manner that any defect or malfunction in materials or workmanship, or
any non-conformity with the product's written specifications, occurred within one year
from the date of your original purchase, which must be substantiated by a dated sales
receipt or sales slip. Any such defect, malfunction, or non-conformity which occurs within
one year from your original purchase date will either be repaired without charge or be
replaced with a new product identical or reasonably equivalent to this product, at our
option, within a reasonable time after our receipt of the product. If such defect, malfunc-
tion, or non-conformity remains after a reasonable number of attempts to repair by us,
you may elect to obtain without charge a replacement of the product or a refund for the
product. THIS REPAIR, OR REPLACEMENT OR REFUND (AS JUST DESCRIBED) IS
THE EXCLUSIVE REMEDY AVAILABLE TO YOU AGAINST US FOR ANY DEFECT,
MALFUNCTION, OR NON-CONFORMITY CONCERNING THE PRODUCT OR FOR
ANY LOSS OR DAMAGE RESULTING FROM ANY OTHER CAUSE WHATSOEVER.
WE WILL NOT UNDER ANY CIRCUMSTANCES BE LIABLE TO ANYONE FOR ANY
SPECIAL, CONSEQUENTIAL, INCIDENTAL, OR OTHER INDIRECT DAMAGE OF
ANY KIND.
Some states do not allow the exclusion or limitation of incidental or consequential dam-
ages, so the above limitations or exclusions may not apply to you.
This warranty does NOT apply in the following circumstances: (1) when the product has
been serviced or repaired by anyone other than us; (2) when the product has been con-
nected, installed, combined, altered, adjusted, or handled in a manner other than accord-
ing to the instructions furnished with the product; (3) when any serial number has been
effaced, altered, or removed; or (4) when any defect, problem, loss, or damage has resulted
from any accident, misuse, negligence, or carelessness, or from any failure to provide
reasonable and necessary maintenance in accordance with the instructions of the owner's
manual for the product.
We reserve the right to make changes or improvements in our products from time to time
without incurring the obligation to install such improvements or changes on equipment or
items previously manufactured.
This warranty gives you specific legal rights and you may also have other rights which
may vary from state to state.
REMINDER: You must retain the sales slip or sales receipt proving the date of your
original purchase in case warranty service is ever required.
LOWRANCE ELECTRONICS
13000 E. SKELLY DRIVE, TULSA, OK 74128
(800) 324-1356
156
How to Obtain Service…
…in the USA:
We back your investment in quality products with quick, expert service
and genuine Lowrance parts. If you're in the United States and you
have technical, return or repair questions, please contact the Factory
Customer Service Department. Before any product can be returned,
you must call customer service to determine if a return is necessary.
Many times, customer service can resolve your problem over the phone
without sending your product to the factory. To call us, use the follow-
ing toll-free number:
800-324-1356
8 a.m. to 5 p.m. Central Standard Time, M-F
Lowrance Electronics may find it necessary to change or end our ship-
ping policies, regulations, and special offers at any time. We reserve the
right to do so without notice.
…in Canada:
If you're in Canada and you have technical, return or repair questions,
please contact the Factory Customer Service Department. Before any
product can be returned, you must call customer service to determine if
a return is necessary. Many times, customer service can resolve your
problem over the phone without sending your product to the factory. To
call us, use the following toll-free number:
800-661-3983
905-629-1614 (not toll-free)
8 a.m. to 5 p.m. Eastern Standard Time, M-F
…outside Canada and the USA:
If you have technical, return or repair questions, contact the dealer in
the country where you purchased your unit. To locate a dealer near
you, visit our web site, www.lowrance.com and look for the Dealer Loca-
tor.
Accessory Ordering Information
for all countries
To order Lowrance GPS accessories such as power cables or MMC
cards, please contact:
1) Your local marine dealer, sporting goods or consumer electronics
store. Most quality dealers that handle marine electronic equipment or
other consumer electronics should be able to assist you with these
items.
To locate a Lowrance dealer near you, visit our web site,
www.lowrance.com and click on Support and then click Dealer Locator.
Or, you can consult your telephone directory for listings.
2) U.S. customers: LEI Extras Inc., PO Box 129, Catoosa, OK 74015-0129
Call 1-800-324-0045 or visit our web site www.lei-extras.com.
3) Canadian customers can write:
Lowrance/Eagle Canada, 919 Matheson Blvd. E. Mississauga, Ontario
L4W2R7 or fax 905-629-3118.
Shipping Information
If it becomes necessary to send a product for repair or replacement, you
must first receive a return authorization number from Customer
Service. Products shipped without a return authorization will not be
accepted. When shipping, we recommend you do the following:
1. Please do not ship knobs or mounting brackets with gimbal units.
2. If your unit saves sonar logs or GPS data files to memory cards,
make sure you have saved the data to a memory card and that the card
has been removed from the unit, otherwise your data will be lost.
3. If you are sending a check for repair, please place your check in an
envelope and tape it to the unit.
4. For proper testing, include a brief note with the product describing
the problem. Be sure to include your name, return shipping address
and a daytime telephone number. An e-mail address is optional but
useful.
5. Pack the unit in a suitable size box with packing material to prevent
any damage during shipping.
6. Write the Return Authorization (RA) number on the outside of the
box underneath your return address.
7. For your security, you may want to insure the package through your
shipping courier. Lowrance does not assume responsibility for goods
lost or damaged in transit.

Visit our web site:
Lowrance Pub. 988-0151-471 © Copyright 2006
All Rights Reserved
Printed in USA 120706 Lowrance Electronics, Inc.