Lowrance Electronic X51 Users Manual And X58DF Owners
X51 to the manual 504c89ad-96cf-4815-b417-ea04f7a32bab
2015-02-05
: Lowrance-Electronic Lowrance-Electronic-X51-Users-Manual-407692 lowrance-electronic-x51-users-manual-407692 lowrance-electronic pdf
Open the PDF directly: View PDF
.
Page Count: 64

Pub. 988-0105-951
www.lowrance.com
X51 and X58DF
Fish-finding & Depth Sounding Sonars
Installation and Operation
Instructions
Copyright © 2002 Lowrance Electronics, Inc.
All rights reserved.
Lowrance® is a registered trademark of Lowrance Electronics, Inc.
Marine-Tex is a trademark of Illinois Tool Works Inc.
Lowrance Electronics may find it necessary to change or end our
policies, regulations, and special offers at any time. We reserve the
right to do so without notice. All features and specifications subject to
change without notice. All screens in this manual are simulated.
For free owner's manuals and other information,
visit our web site:
www.lowrance.com
Lowrance Electronics Inc.
12000 E. Skelly Dr.
Tulsa, OK USA 74128-2486
Printed in USA.
i
Table of Contents
Introduction .................................................................................. 1
Capabilities and Specifications: X51 and X58DF........................ 1
Installation.................................................................................. 2
Transducer Installation................................................................ 2
Recommended Tools and Supplies ........................................... 3
Selecting a Transducer Location.............................................. 3
Shoot-Thru-Hull vs. Transom Mounting ................................. 5
Transom Transducer Assembly and Mounting ....................... 5
Trolling Motor Installation (Single-Frequency only) ............ 11
Shoot-Thru-Hull Preparation and Installation ..................... 12
Speed/Temperature Sensors....................................................... 15
Speed Sensor Installation....................................................... 17
Power Connections...................................................................... 18
Mounting the Sonar Unit: In-Dash, Bracket or Portable ......... 19
In-Dash Installation ............................................................... 19
Bracket Installation................................................................ 20
Portable Sonar Installation .................................................... 21
Operation and Features......................................................... 23
Keyboard Basics.......................................................................... 23
Turn On and Off...................................................................... 23
Menus .......................................................................................... 24
Display – Opening Screen .......................................................... 25
Chart Scroll (Stopping and Starting)......................................... 25
Screen Display Modes or Pages.................................................. 26
Full Chart................................................................................ 26
Split Chart............................................................................... 27
Dual-Frequency Split Chart (X58DF only)............................ 28
Lrg Digital (Large Digital) ..................................................... 29
Flasher..................................................................................... 29
Range........................................................................................... 30
Range - Upper and Lower Limits............................................... 30
Zoom ............................................................................................ 31
Sensitivity ................................................................................... 33
Grayline.................................................................................... 35
Fish I.D.................................................................................... 36
FishTrack................................................................................. 37
FishReveal............................................................................... 38
Chart Scroll Speed and HyperScroll....................................... 39
Noise Reject and ASP (Advanced Signal Processing) ............ 40
Alarms ......................................................................................... 41
Fish Alarm............................................................................... 41
Shallow and Deep Alarms ...................................................... 42
ii
System Setup ............................................................................ 44
Backlights................................................................................ 44
Display Contrast ..................................................................... 44
Depth Units of Measure.......................................................... 45
Temperature Units of Measure .............................................. 46
Speed and Distance Log Units of Measure ............................ 46
Reset Distance Log.................................................................. 47
Preset Unit (Reset All Options).............................................. 47
System Info.............................................................................. 48
Simulator................................................................................. 48
Chart Setup............................................................................... 49
Limit Search............................................................................ 49
Frequency (Change Transducer Frequency – X58DF only).. 50
Digital Data Size for Depth,
Temperature, Speed, and Distance Log................................. 51
Scales ....................................................................................... 52
Chart Mode (see FishReveal) ..................................................... 38
Troubleshooting .......................................................................... 53
Warranty and Service Information............................................ 57
1
Introduction
Thank you for buying a Lowrance sonar! Your unit is a high-quality
sonar designed for both professional and novice fishermen. All
Lowrance sonars have an automatic mode that finds and displays the
bottom, fish, underwater structure and more – right out of the box. All
you have to do is press the on (PWR) key.
However, if you want to fine-tune your unit, press the MENU UP key.
The X51 and X58DF have several powerful features you can control by
scrolling through easy-to-use menus with the arrow and menu keys.
To get started with your Lowrance sonar, first read the installation sec-
tion. It contains instructions for mounting the sonar unit, the trans-
ducer and any optional accessories, such as a speed sensor.
Following recommended installation practices will pay off in optimum
performance of your Lowrance sonar. Improper installation can cause
problems down the road, especially if the transducer is badly mounted.
After you've read the installation instructions, install the unit and ac-
cessories. Then, read the rest of the manual. The more you know about
your sonar, the better it will work for you.
Take advantage of the Simulator feature. It allows you to practice oper-
ating your sonar before you get it in the water. And when you finally
head for your favorite fishing hole, take this manual along for reference.
Capabilities and Specifications: X51 and X58DF
General
Case size:......................... 5.2" H x 5.4" W x 2.6" D (13.2 cm H x 13.6 cm
W x 6.6 cm D) sealed, waterproof; suitable
for saltwater use.
Display:............................ High-contrast Film SuperTwist LCD; 4.0"
(10.2 cm) diagonal viewing area.
Resolution:...................... 240 pixels (vert.) x 160 pixel (horiz.) resolu-
tion; 38,400 total pixels
Backlighting:.................. Backlit screen and keypad for night use.
Input power:................... 10 to 17 volts DC.
Current drain: ............... 300 ma lights off; 400 ma lights on.
Back-up memory: .......... Built-in memory stores sonar settings when
unit is turned off.
2
Sonar
Frequency:...................... 200 kHz (or 50/200 kHz – X58DF only).
Transducers: .................. A dual-frequency Skimmer transducer
comes packed with the X58DF. It has 35°/12°
cone angles. Single frequency models for X51
with a 20° cone angle are sold separately.
Both models offer a wide fish detection area
of up to 60º with high sensitivity settings.
Transmitter: ................... 1500 watts peak-to-peak power (typical); 188
watts RMS power (typical).
Sonar sounding
depth capability: ........... 800 feet (244 meters) at 200 kHz; 1500 feet
(450 meters) at 50 kHz (X58DF only). Actual
capability depends on transducer configura-
tion and installation, bottom composition and
water conditions. All sonar units typically
read deeper in fresh water than in salt water.
Depth display:................ Continuous digital readout.
Audible alarms: ............. Deep/shallow/fish.
Automatic ranging:....... Yes, with instant screen updates.
Zoom bottom track: ...... Yes.
Split-screen zoom:......... Yes.
Surface water temp: ..... Yes, with optional external temperature sen-
sor, combo speed/temp sensor or transducer
with built-in temp.
Speed/distance log: ....... Yes, with optional speed sensor or combo
speed/temp sensor.
Key features: FishReveal; HyperScroll; Grayline; ASP; Fish I.D.
symbols; FishTrack; full one-year warranty.
NOTICE!
The storage temperature for your unit is from -4 degrees to +167
degrees Fahrenheit (-20 degrees to +75 degrees Celsius). Extended
storage in temperatures higher or lower than specified will damage
the liquid crystal display in your unit. This type of damage is not
covered by the warranty. For more information, contact the fac-
tory's Customer Service Department; phone numbers are inside the
manual's back cover.
Transducer Installation
These instructions will help you install your Skimmer transducer on a
transom, on a trolling motor or inside a hull. These instructions cover
3
both single- and dual-frequency Skimmer transducers. Please read all
instructions before proceeding with any installation.
The smaller single-frequency Skimmers typically use a one-piece,
stainless steel mounting bracket. The larger dual-frequency Skimmers
typically use a two-piece, plastic mounting bracket. The trolling motor
mount uses a one-piece plastic bracket with an adjustable strap.
These are all "kick-up" mounting brackets. They help prevent damage if
the transducer strikes an object while the boat is moving. If the trans-
ducer does "kick-up," the bracket can easily be pushed back into place
without tools.
Read these instructions carefully before attempting the installation.
Determine which of the mounting positions is right for your boat. Use
extreme care if mounting the transducer inside the hull, because once it
is epoxied into position, the transducer usually cannot be removed.
Remember, the transducer installation is the most critical part
of a sonar installation.
Recommended Tools and supplies
If you prefer the option of routing the cable through the transom, you
will need a 1" drill bit. A transom mount requires use of a high quality,
marine grade above- or below-waterline caulking compound. The fol-
lowing installation types also call for these recommended tools and re-
quired supplies (supplies are not included):
Single-frequency transom installations
Tools include: two adjustable wrenches, drill, #29 (0.136") drill bit, flat-
head screwdriver. Supplies: none.
Dual-frequency transom installations
Tools: two adjustable wrenches, drill, #20 (0.161") drill bit, flat-head
screwdriver. Supplies: four, 1" long, #12 stainless steel slotted wood
screws.
Single-frequency trolling motor installations
Tools: two adjustable wrenches, flat-head screwdriver. Supplies: plastic
cable ties.
Shoot-through hull installations
Tools: these will vary depending on your hull's composition. Consult your
boat dealer or manufacturer. Supplies: 100 grit sandpaper, good quality
epoxy adhesive.
Selecting a Transducer Location
1. The transducer must be placed in a location that has a smooth flow of
water at all times. If the transducer is to be mounted inside the hull,

4
then the chosen location must be in the water at all times. If the
transducer is not placed in a smooth flow of water, interference
caused by bubbles and turbulence will show on the sonar's display in
the form of random lines or dots whenever the boat is moving.
NOTE:
Some aluminum boats with strakes or ribs on the outside of the
hull create large amounts of turbulence at high speed. These boats
typically have large outboard motors capable of propelling the boat
at speeds faster than 35 mph. Typically, a good location on alumi-
num boats is between the ribs closest to the engine.
2. The transducer should be installed with its face pointing straight
down, if possible.
3. If the transducer is mounted on the transom, make sure it doesn't
interfere with the trailer or hauling of the boat. Also, don't mount it
closer than approximately one foot from the engine's lower unit. This
will prevent cavitation (bubble) interference with propeller operation.
4. If possible, route the transducer cable away from other wiring on the
boat. Electrical noise from engine wiring, bilge pumps and aerators
can be displayed on the sonar's screen. Use caution when routing the
transducer cable around these wires.
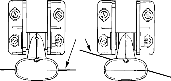
Good and poor transducer locations.
How low should you go?
For most situations, you should install your Skimmer transducer so
that its centerline is level with the bottom of the boat hull. This will
usually give you the best combination of smooth water flow and protec-
tion from bangs and bumps.
CAUTION: Clamp the trans-
ducer cable to transom near
the transducer. This will help
prevent the transducer from
entering the boat if it is
knocked off at high speed.
Good location
Good location
Poor angle
Poor location
Good
location

5
Align transducer centerline with hull bottom.
However, there are times when you may need to adjust the transducer
slightly higher or lower. (The slots in the mounting brackets allow you
to loosen the screws and slide the transducer up or down.) If you fre-
quently lose bottom signal lock while running at high speed, the trans-
ducer may be coming out of the water as you cross waves or wakes.
Move the transducer a little lower to help prevent this.
If you cruise or fish around lots of structure and cover, your transducer
may be frequently kicking up from object strikes. If you wish, you may
move the transducer a little higher for more protection.
There are two extremes you should avoid. Never let the edge of the
mounting bracket extend below the bottom of the hull. Never let the
bottom – the face – of the transducer rise above the bottom of the hull.
Shoot-thru-hull vs. Transom Mounting
Typically, shoot-thru-hull installations give excellent high speed opera-
tion and good to excellent depth capability. There is no possibility of
damage from floating objects. It can't be knocked off when docking or
loading on the trailer.
However, the shoot-thru-hull installation does have its drawbacks.
First, some loss of sensitivity does occur, even on the best hulls. This
varies from hull to hull, even from different installations on the same
hull. This is caused by differences in hull lay-up and construction.
Second, the transducer angle cannot be adjusted for the best fish
arches. This can be a problem on some hulls that sit with the bow high
when at rest or at slow trolling speeds. Follow the procedure listed in
the shoot-thru-hull installation section at the end of this lesson to de-
termine if you can satisfactorily shoot through the hull.
TRANSOM TRANSDUCER ASSEMBLY AND MOUNTING
The best way to install these transducers is to loosely assemble all of the
parts first, place the transducer's bracket against the transom and see if
you can move the transducer so that it's parallel with the ground.
Transom
Hull bottom
Transducer
centerline

6
The following instructions sometimes vary depending on the mounting
bracket that came with your transducer. Single frequency Skimmers
come with a one-piece stainless steel bracket, while dual frequency
Skimmers come with a two-piece plastic mounting bracket. Use the set of
instructions that fits your model.
1. Assembling the bracket.
A. One-piece bracket: Press the two small plastic ratchets into the
sides of the metal bracket as shown in the following illustration. Notice
there are letters molded into each ratchet. Place each ratchet into the
bracket with the letter "A" aligned with the dot stamped into the metal
bracket. This position sets the transducer's coarse angle adjustment for a
14° transom. Most outboard and stern-drive transoms have a 14° angle.
Align plastic ratchets in bracket.
B. Two-piece bracket: Locate the four plastic ratchets in the trans-
ducer's hardware package. Press two ratchets into the sides of the plas-
tic bracket and two on either side of the transducer as shown in the fol-
lowing illustrations. Notice there are letters molded into each ratchet.
Place the ratchets into the bracket with the letter "A" aligned with the
alignment mark molded into the bracket. Place the ratchets onto the
transducer with the letter "A" aligned with the 12 o'clock position on
the transducer stem. These positions set the transducer's coarse angle
adjustment for a 14° transom. Most outboard and stern-drive tran-
soms have a 14° angle.
Insert and align ratchets.
Dot
Alignment letters
Alignment
positions
Transducer bracket
Transducer

7
Add ratchets to bracket and transducer.
2. Aligning the transducer on the transom.
A. One-piece bracket: Slide the transducer between the two ratch-
ets. Temporarily slide the bolt though the transducer assembly and
hold it against the transom. Looking at the transducer from the side,
check to see if it will adjust so that its face is parallel to the ground.
If it does, then the "A" position is correct for your hull.
If the transducer's face isn't parallel with the ground, remove the
transducer and ratchets from the bracket. Place the ratchets into the
holes in the bracket with the letter "B" aligned with the dot stamped
in the bracket.
Reassemble the transducer and bracket and place them against the
transom. Again, check to see if you can move the transducer so it's
parallel with the ground. If you can, then go to step 3A. If it doesn't,
repeat step 2A, but use a different alignment letter until you can
place the transducer on the transom correctly.
Insert bolt and check transducer position on transom.
Ratchets
Transducer
bracket
Ratchet Ratchet
Transducer

8
B. Two-piece bracket: Assemble the transducer and bracket as shown
in the following figure. Temporarily slide the bolt though the transducer
assembly but don't tighten the nut at this time. Hold the assembled
transducer and bracket against the transom. Looking at the transducer
from the side, check to see if it will adjust so that its face is parallel to
the ground. If it does, then the "A" positions are correct for your hull.
If the transducer's face isn't parallel with the ground, remove and
disassemble the transducer and ratchets. Place the ratchets into the
bracket holes with the letter "B" aligned with the bracket alignment
mark. Place them on the transducer aligned with the 12 o'clock posi-
tion on the transducer stem.
Reassemble the transducer and bracket and place them against the
transom. Again, check to see if you can move the transducer so it's
parallel with the ground. If you can, then go to step 3B. If it doesn't,
repeat step 2B, but use a different alignment letter until you can
place the transducer on the transom correctly.
Assemble transducer and bracket.
3. Assembling the transducer.
A. One-piece bracket: Once you determine the correct position for
the ratchets, assemble the transducer as shown in the following fig-
ure. Don't tighten the lock nut at this time.
Assemble transducer and bracket.
Nut
Metal
washer
Metal washer
Bolt
Rubber
washers
Flat washer
Lock washer
Flat washer
Nut
Bolt

9
B. Two-piece bracket: Once you determine the correct position for
the ratchets, assemble the transducer as shown in the figure in step
2B. Don't tighten the lock nut at this time.
4. Drilling mounting holes.
Hold the transducer and bracket assembly against the transom. The
transducer should be roughly parallel to the ground. The trans-
ducer's centerline should be in line with the bottom of the hull. Don't
let the bracket extend below the hull!
Mark the center of each slot for the mounting screw pilot holes. You
will drill one hole in the center of each slot.
Drill the holes. For the one-piece bracket, use the #29 bit (for the #10
screws). For the two-piece bracket, use the #20 bit (for the #12
screws).
Position transducer mount on transom and mark mounting holes.
Side view shown at left and seen from above at right.
5. Attaching transducer to transom.
A. One-piece bracket: Remove the transducer from the bracket and
re-assemble it with the cable passing through the bracket over the
bolt as shown in the following figures.
For single frequency Skimmer, route cable over bolt and through
bracket. Side view shown at left and seen from above at right.
Transom
Transom

10
Both bracket types: Attach the transducer to the transom. Slide the
transducer up or down until it's aligned properly with the bottom of
the hull as shown in the preceding and following figures. Tighten the
bracket's mounting screws, sealing them with the caulking compound.
Adjust the transducer so that it's parallel to the ground and tighten
the nut until it touches the outer washer, then add 1/4 turn. Don't
over tighten the lock nut! If you do, the transducer won't "kick-up" if
it strikes an object in the water.
Align transducer centerline with hull bottom and attach transducer to
transom. Rear view of dual frequency Skimmer shown.
6. Route the transducer cable through or over the transom to the sonar
unit. Make sure to leave some slack in the cable at the transducer. If
possible, route the transducer cable away from other wiring on the
boat. Electrical noise from the engine's wiring, bilge pumps, VHF radio
wires and cables, and aerators can be picked up by the sonar. Use cau-
tion when routing the transducer cable around these wires.
WARNING:
Clamp the transducer cable to the transom close to the
transducer. This can prevent the transducer from enter-
ing the boat if it is knocked off at high speed.
If you need to drill a hole in the transom to pass the connector through,
the required hole size be 1".
Caution:
If you drill a hole in the transom for the cable, make sure it is lo-
cated above the waterline. After installation, be sure to seal the
hole with the same marine grade above- or below-waterline seal-
ant used for the mounting screws.
Flat-bottom hull Deep-"vee" hull
Bottom
of
hull

11
7. Make a test run to determine the results. If the bottom is lost at
high speed, or if noise appears on the display, try sliding the trans-
ducer bracket down. This puts the transducer deeper into the water,
hopefully below the turbulence causing the noise. Don't allow the
transducer bracket to go below the bottom of the hull!
TROLLING MOTOR BRACKET INSTALLATION
(single-frequency only)
1. Attach the optional TMB-S bracket to the transducer as shown in the
following figure, using the hardware supplied with the transducer.
(Note: The internal tooth washer is supplied with the TMB-S.)
Attach motor mounting bracket to transducer.
2. Slide the adjustable strap supplied with the TMB-S through the slot
in the transducer bracket and wrap it around the trolling motor. Po-
sition the transducer to aim straight down when the motor is in the
water. Tighten the strap securely.
3. Route the transducer cable alongside the trolling motor shaft. Use
plastic ties (not included) to attach the transducer cable to the troll-
ing motor shaft. Make sure there is enough slack in the cable for the
motor to turn freely. Route the cable to the sonar unit and the trans-
ducer is ready for use.
Transducer mounted on trolling motor, side view.
TMB-S bracket
Bolt
Internal tooth washer
Nut
Flat washer

12
TRANSDUCER ORIENTATION AND FISH ARCHES
If you do not get good fish arches on your display, it could be because
the transducer is not parallel with the ground when the boat is at rest
in the water or at slow trolling speeds.
Transducer angles and their effects on fish arches.
If the arch slopes up – but not back down – then the front of the trans-
ducer is too high and needs to be lowered. If only the back half of the
arch is printed, then the nose of the transducer is angled too far down
and needs to be raised.
NOTE:
Periodically wash the transducer's face with soap and water to re-
move any oil film. Oil and dirt on the face will reduce the sensitivity
or may even prevent operation.
SHOOT-THRU-HULL PREPARATION
The transducer installation inside a fiberglass hull must be in an area
that does not have air bubbles in the resin or separated fiberglass lay-
ers. The sonar signal must pass through solid fiberglass. A successful
Transducer aimed
too far back
Transducer aimed
too far forward
Proper transducer angle
Partial fish arches
Full fish arch

13
transducer installation can be made on hulls with flotation materials
(such as plywood, balsa wood or foam) between layers of fiberglass if
the material is removed from the chosen area.
Epoxy the transducer to a solid portion of the hull.
For example, some (but not all) manufacturers use a layer of fiberglass,
then a core of balsa wood, finishing with an outer layer of fiberglass.
Removing the inner layer of fiberglass and the balsa wood core exposes
the outer layer of fiberglass. The transducer can then be epoxied di-
rectly to the outer layer of fiberglass. After the epoxy cures, the hull is
watertight and structurally sound. Remember, the sonar signal must
pass through solid fiberglass. Any air bubbles in the fiberglass or the
epoxy will reduce or eliminate the sonar signals.
WARNING:
Do not remove any material from your inner hull unless
you know the hull's composition. Careless grinding or
cutting on your hull can result in damage that could sink
your boat. Contact your boat dealer or manufacturer to
confirm your hull specifications.
To choose the proper location for thru-hull mounting, anchor the boat in
60 feet of water. Add a little water to the sump of the boat. Plug the
transducer into the sonar unit, turn it on, then hold the transducer over
the side of the boat. Adjust the sensitivity and range controls until a sec-
ond bottom echo is seen on the display. (You will need to turn off both
automatic and ASP.) Don't touch the controls once they've been set.
Next, take the transducer out of the water and place it in the water in
the sump of the boat. Observe the sonar signal to see if there is a no-
ticeable decrease in sensitivity. The second bottom signal may disap-
pear and the bottom signal may decrease in intensity.
Move the transducer around to find the best location. If the sensitivity
control must be increased greatly to compensate, then the transducer
should be mounted on the outside of the hull. If not, then mark the lo-
Fill with epoxy
Inner hull
Epoxy to hull first Outer hull
Flotation material

14
cation that shot through the hull the best and follow the instructions on
the following pages for a shoot-thru-hull mounting.
Shoot-thru-hull transducer locations for
high speed or trolling speed operation.
Shoot-thru-hull Installation
1. Make sure the area is clean, dry and free of oil or grease, then sand
both the inside surface of the hull and the face of the transducer with
100 grit sandpaper. The surface of the hull must be flat so the entire
transducer face is in contact with the hull prior to bonding.
Epoxy transducer to hull.
2. Follow the instructions on the epoxy package and mix it thoroughly.
Do not mix it too fast, because it will cause bubbles to form in the ep-
oxy. Apply a small amount on the face of the transducer as shown
above, then spread a small amount onto the sanded area on the hull.
Transducer location
(trolling speed)
Transducer location
(high speed)
Spread epoxy here
Sand this surface

15
Place the transducer into the epoxy, twisting and turning it to force
any air bubbles out from under the transducer face. The face of the
transducer should be parallel with the hull, with a minimum amount
of epoxy between the hull and transducer. After the epoxy dries,
route the cable to the sonar unit.
Speed/Temperature Sensors
The X51 and X58DF can accept as many as two temperature sensors,
which can be used to monitor the temperature of surface water, a live
well or some other location. These units can also accept an optional
speed sensor for showing speed and distance traveled.
The X58DF is packed with a speed sensor and a transducer containing
a built-in temp sensor. If you want a second temp reading, you will
need either an external temp sensor or a combination speed/temp sen-
sor. See the Accessory Ordering Information in the back of this manual.
If a second temp sensor is used, it must be the model TS-2X. This model
has a fixed electronic "address" which designates it as the second of two
temp sensors. Dual temperatures are only displayed on the Full Chart
page. The Large Digital page will only display the primary temperature
sensor.
Full Chart page showing dual temperature display.
Using any additional sensors also requires use of the MY-4X adapter
cable. See the following charts for sample sensor combinations and ca-
ble connections.
Primary temp sensor
built into transducer
TS-2X secondary
external temp sensor
shown as T2

16
X51 or X58DF with external speed sensor.
A temperature sensor is built into the transducer.
X51 using a transducer without built-in temperature sensor.
In this example, an external temperature sensor is used.
MY-4X
Cable
MY-4X
Cable
X51 or X58DF
rear view
Temperature sensor
built into transducer
TS-1X
temperature sensor
Transducer with no
temperature sensor
SP-X speed-only
sensor
X51 or X58DF
rear view

17
X51 or X58DF with external combination speed and temperature sensor.
Speed Sensor Installation
Though only the X58DF comes packed with a speed sensor, both units
are capable of displaying speed and distance traveled. If you wish to
purchase an optional additional sensor for your unit, refer to the acces-
sory ordering information inside the back cover of this manual. The
following instructions describe how to install the speed sensor.
Recommended tools for this job include: drill, 7/8" drill bit, 1/8" drill bit for
pilot holes, screwdriver. Required supplies for this job include: four #8
stainless steel wood screws (3/4" long), high quality, marine grade above-
or below-waterline caulking compound.
First find a location on the boat's transom where the water flow is smooth-
est. Don't mount the sensor behind strakes or ribs. These will disturb the
water flow to the speed sensor. Make sure the sensor will remain in the
water when the boat is on plane. Also make sure the location doesn't inter-
fere with the boat's trailer. Typically, the sensor is mounted about one foot
to the side of the transom's centerline.
Once you've determined the proper location for the unit, place the sen-
sor on the transom. The bottom of the bracket should be flush with the
hull's bottom. Using the sensor as a template, mark the hull for the
screws' pilot holes. Drill four 1/8" holes, one in each end of the slots.
Mount the sensor to the hull using #8 stainless steel wood screws (not
included). Use a high quality, marine grade above- or below-waterline
caulking compound to seal the screws. Make sure the sensor is flush
with the bottom of the hull and tighten the screws.
X51 or X58DF
rear view
ST-TX combination
speed-temp sensor
MY-4X
Cable
Transducer with or
without temp sensor

18
Stern view showing good location for mounting sensor on transom.
Speed sensor mounting configuration:
side view (left) and rear view (right.)
If the base of the transom has a radius, fill the gap between the tran-
som and the sensor with the caulking compound. This will help ensure
a smooth water flow.
Route the sensor's cable through or over the transom to the sonar unit.
If you need to drill a hole in the transom to pass the connector through,
the required hole size is 7/8".
Caution:
If you drill a hole in the transom for the cable, make sure it is lo-
cated above the waterline. After installation, be sure to seal the
hole with the same marine grade above- or below-waterline seal-
ant used for the screws.
The sensor is now ready for use. Connect the sensor to the in-line con-
nector on the MY-4X adapter cable. If you have any questions concern-
ing the installation of the sensor, please contact your local boat dealer.
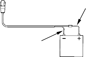
POWER CONNECTIONS
The unit works from a 12-volt battery system. For the best results, at-
tach the power cable directly to the battery. You can attach the power
cable to an accessory or power buss, however you may have problems
with electrical interference. Therefore, it's safer to go ahead and attach
the power cable directly to the battery.
Good location
Transom
Bottom of hull
Bottom of hull

19
Power connections for the X51 and X58DF sonar unit.
If possible, keep the power cable away from other boat wiring, espe-
cially the engine's wires. This will provide the best isolation from elec-
trical noise. If the cable is not long enough, splice #18 gauge wire onto
it. The power cable has two wires, red and black. Red is the positive
lead, black is negative or ground. Make sure to attach the in-line fuse
holder to the red lead as close to the power source as possible.
For example, if you have to extend the power cable to the battery or
power buss, attach one end of the fuse holder directly to the battery or
power buss. This will protect both the unit and the power cable in the
event of a short. It uses a 3-amp fuse.
CAUTION:
Do not use this product without a 3-amp fuse wired into the
power cable! Failure to use a 3-amp fuse will void your warranty.
This unit has reverse polarity protection. No damage will occur if the
power wires are reversed. However, the unit will not work until the
wires are attached correctly.
MOUNTING THE SONAR UNIT: In-Dash, Bracket or Portable
You can install the sonar unit on the top of a dash with the supplied
bracket. It can also be installed in the dash with an optional FM-4
mounting kit.
If you use the supplied gimbal bracket, you may be interested in the
optional GBSA-1 swivel bracket kit. This converts the unit's gimbal
bracket to a swivel mount which can be used on the dash or overhead
mounting positions. Installation instructions for the in-dash and swivel
mounting kits are supplied with the adapter kits.
In-Dash Installation
The following figure shows dimensions for in-dash mounting. The in-
dash adapter kit includes a template for cutting the mounting hole and
complete installation directions on instruction sheet 988-0147-44.
12 volt
battery
Black wire
Red wire with
3 amp fuse
To unit

20
In-dash mounting template for X51 and X58DF sonars, showing dimen-
sions. NOTE: The figure above is not printed to scale. A scaled template
is available for free download from our web site, www.lowrance.com.
Bracket Installation
Mount the unit in any convenient location, provided there is clearance
when it’s tilted for the best viewing angle. Holes in the bracket’s base
allow wood screw or through-bolt mounting. It may be necessary to
place a piece of plywood on the back side of thin panels to reinforce the
panel. Make certain there is enough room behind the unit to attach the
power and transducer cables.
Drill a 1-inch (25.4 mm) hole in the dash for the power and transducer
cables. The best location for this hole is immediately under the gimbal
bracket location. This way, the bracket can be installed so that it covers
the hole, holds the cables in position and results in a neat installation.
Some customers, however, prefer to mount the bracket to the side of the
cable hole — it's a matter of personal preference.
After drilling the hole, pass the transducer connector up through the
hole from under the dash. Drop the power cable's bare-wire end down
though the hole from the top.
Millimeters
[Inches]
Cut on line
Top
In-Dash
Template
112
[4.40]
R 6.35
[0.25] 119
[4.68]
Hole
diameter
3.5
[0.14]
47
[1.85]
121
[4.76]
ALWAYS VERIFY DIMENSIONS

21
Front view (left) and side view (right) showing dimensions of X51 and
X58DF sonar unit when mounted on gimbal bracket.
If you wish, you can fill in the hole around the cables with a good ma-
rine caulking compound. (Some marine dealers stock cable hole covers
to conceal the opening.) No matter what type of installation you prefer,
be sure to leave enough slack in the cables to allow tilting or swiveling
the unit. If you choose to fill in the hole, be sure to position the cables
against the rear edge of the hole as you apply the fill material.
Before positioning the bracket, be sure to hold the cables against the rear
edge of the hole. Then, slide the bracket over the hole and butt the rear
of the bracket base firmly against the cables, thus pinning them in place
against the side of the hole. Finally, fasten the bracket to the dash.
Attach the unit to the gimbal bracket using the supplied gimbal knobs
and washers. Slide the rubber washers onto the gimbal knobs then
loosely screw the knobs into their sockets. Slide the unit into the
bracket with the rubber washers to the outside of the bracket arms. Tilt
the unit to the desired viewing angle and tighten the knobs finger tight
Portable Sonar Installation
Like many Lowrance products, the X51 and X58DF sonars are capable
of portable operation by using the optional PPP-10 portable power pack.
The power pack and portable or floating transducers expand the uses
Millimeter
[Inch]
61.3
[2.42]
23.8
[0.94]
136
[5.35]
147.4
[5.80]
132
[5.20]
66
[2.60]

22
for your sonar. You can use your X51 or X58DF on your boat or take it
to the dock, on a float tube, on an ice fishing trip or use it as a second
sonar in a friend's boat.
The PPP-10 Portable Power Pack can be used with eight "D" cell alkaline
batteries (not included) or an optional sealed, rechargeable battery. For
set-up directions, refer to the pack's instruction sheet, part 988-0147-45.
The following figure shows the proper arrangement for the washers.
This is the preferred method, and is different from the figure in the in-
struction sheet.
For a secure portable mount, attach the unit to the portable power
pack's gimbal bracket using the supplied gimbal knobs and washers.
Install batteries in power case battery adapter.
"D" cell battery
Gimbal bracket
Rubber washer
Plastic washer
Gimbal knob
Sonar unit

23
NOTE:
For optimum operation, the portable transducer should be adjusted
so that it is parallel to the ground. For more information on this,
see the earlier segment on Transducer Orientation and Fish
Arches.
Operation
KEYBOARD BASICS
The unit sounds a tone when you press any key. This tells you the unit
has accepted a command. Numbers in the photo correspond to key ex-
planations below:
Lowrance X58DF Sonar, front view, showing screen and keyboard.
1. PWR/CLEAR (power and clear)
This key appears in the manual text simply as PWR. Press this key to
turn the unit on and off. It also clears menu selections and the menus
from the screen.
NOTE:
You must hold the PWR key down for a countdown of five in order to
turn the unit off.
4
2
3
1

24
2. MENU UP (menu up)
3. MENU DOWN (menu down)
These keys appears in the manual text as MENU UP or MENU DOWN. (In
some units, the keys may appear as MENU FWD or MENU REV, respec-
tively.) Most of the time, the instructions require you to press either
menu key, so the text simply uses the word MENU. Usually, when we
say MENU, you can simply press the MENU UP key for consistency.
This sonar unit has many features that are accessed with the menu
keys. The MENU UP key moves up or forward through the menus, the
MENU DOWN key moves down or backward. To see the first menu, sim-
ply press either MENU key. To see the other menus, press a MENU key
repeatedly to cycle through the menu list.
4. UP and DOWN ARROWS
These keys appear in the manual text as DOWN ARROW or UP ARROW. Use
these keys to adjust virtually every feature and function on the sonar unit.
MEMORY
This unit has permanent memory that saves all user settings, even when
power is removed. It does not require, nor does it use an internal backup
battery, so you never have to worry about replacement batteries.
MENUS
This unit uses menus to guide you through the various functions and fea-
tures. Menu names and settings appear in the manual text as small capital
letters like SENSITIVITY, which represents the Sensitivity menu. The menu
keys access these features, allowing you to customize the unit to your par-
ticular needs and water conditions.
This screen shows a typical menu, the Scroll Speed menu.
Menu

25
All you have to do to leave one menu and enter another is press MENU re-
peatedly. If you ever get lost in the menus, simply press the PWR key. This
clears the menus from the screen.
Menus change depending on the mode the unit is in. Messages may appear
in menu boxes or new menus can appear, depending on previous selections.
DISPLAY – Opening Screen
The lights flash for about 10 seconds when the unit is turned on. The
backlight menu first appears on the screen. To turn the lights on, press
UP ARROW. If you don’t press a key, the menu will disappear after a few
seconds. If you don't want to wait, press PWR to clear the menus from
the screen.
When the sonar unit is first turned on and the backlight menu disap-
pears, the display screen shows the Full Chart Page, or mode. The Fish
I.D. feature is off. The depth range shows on the depth scale on the
right side of the screen. On the screen below, the range is from 0 to 60
feet and the bottom depth is 33.2 feet, shown by the digital sonar.
Opening screen, Full Chart page, or mode.
CHART SCROLL (stopping and starting)
In normal operation, the sonar chart will scroll from right to left across
the screen. You can stop the chart from scrolling across the screen. This
is useful when you want to "freeze" the picture to study it more closely.
To stop or start the chart, press MENU until the CHART menu appears.
Use the arrow keys to select or highlight the desired setting, then press
PWR to clear the menu.
Depth scale
Fish arches
near bait fish
School of bait fish
Grayline
Bottom signal
Thermocline
Digital depth
Speed
Depth range
at bottom of
depth scale
Transducer frequency
(X58DF only)
Surface clutter

26
Chart menu. Chart is running or scrolling normally at left.
Chart is stopped at right, and "Stopped" warning message appears.
SCREEN DISPLAY MODES or PAGES
The X51 has four screen display modes, or "Pages:" Full Chart page,
Split Chart page, Large Digital page and Flasher page. The X58DF also
has a Dual Frequency page.
The Page menu lets you select among the display modes, or pages.
X51 Page menu shown at left; X58DF Page menu shown at right.
To switch from one page to another page, press MENU until the PAGE
menu appears. Press UP ARROW or DOWN ARROW to select the desired
page. (The screen changes as you move through the menu.) When the
page you want is selected, press PWR to clear the menu.
FULL CHART
This shows all echoes scrolling across the full screen. This is the default
page. The bottom signal scrolls across the screen from right to left.
Depth scales on the right side of the screen make it easy to determine

27
the depth of fish, structure, and other targets. The line at the top of the
screen represents the surface. The bottom depth (as determined by the
digital sonar) shows in the upper left corner. If your speed sensor is con-
nected, digital displays for speed and temperature will also be shown.
Full Chart page, showing digital depth at top and speed at bottom.
SPLIT CHART
This shows the normal view of the underwater world from the surface to
the bottom on the right side of the screen. The left side shows an enlarged
or "zoomed" version of the echoes appearing on the right side. A zoom mes-
sage, such as "2X," appears at the bottom of the "zoomed" side of the screen.
Split Chart page with normal view at right; zoomed view at left.

28
DUAL-FREQUENCY SPLIT CHART
(X58DF only)
This page shows sonar data from the 50 kHz transducer element on the
left side of the screen and data from the 200 kHz transducer on the
right side. All other functions and features are the same as the Full
Chart page.
Dual-Frequency Split Chart page, with
50 kHz view at left and 200 kHz view at right.
You can adjust the sensitivity in each window. To change the 200 kHz
window's sensitivity, press MENU until the SENSE 200K menu appears. Press
UP ARROW to increase the sensitivity, DOWN ARROW to decrease it. When
it's set at the desired level, press PWR to clear the menu. Change the 50
kHz window sensitivity in the same way, but use the SENSE 50K menu.
Dual-Frequency Split Chart page. The 50 kHz sensitivity menu is
shown at left and the 200 kHz sensitivity menu is shown at right.

29
Lrg DIGITAL (Large Digital)
The Large Digital page shows all information in big numbers. The digi-
tal depth display is at the top of this screen, followed by the tempera-
ture, speed, and distance readings.
NOTE:
Temperature, speed, and distance require a temperature or speed
sensor. A speed sensor is included with the X58DF.
Large Digital page.
FLASHER
The Flasher page represents a flasher style sonar. A circular dial shows
all returning echoes at a high screen refresh rate. It uses the Grayline
feature to show weaker targets as shades of gray. The bottom depth is
also shown as a digital display in the center of the circle, while tem-
perature and speed are shown at the bottom. (if your speed sensor is
installed).
Flasher page.
Bottom signal
Surface clutter
Fish signal,
approximately
16 feet

30
RANGE
When turned on for the first time, the unit automatically adjusts the
depth range according to water conditions. It always keeps the bottom
displayed in the lower portion of the screen. You can over-ride the
automatic range control and manually select a range.
To do this, press MENU until the RANGE menu appears. Use the arrow
keys to select the desired range. When you're finished, press PWR to
clear the menu from the display.
Range Select menu.
This unit has the following ranges:
10, 15, 20, 30, 40, 60, 80, 100, 150, 200, 300, 500, 800 and 1,000 feet.
RANGE - Upper and Lower Limits
In addition to the unit's Zoom command, which enlarges all the echoes
on the screen, you can "zoom in" on just a portion of the water column
by using the Upper and Lower Limits feature on the Range menu.
The upper and lower limits you set must be separated by a minimum of
10 feet. This range limit feature will not work when the Range feature
is in auto mode.
From left: Use Upper Limit/Lower Limit command and limit menus.
School of bait fish,
enlarged below.

31
To set upper and lower limits, press MENU until the RANGE menu ap-
pears. Press DOWN ARROW to select USE UL/LL, then press MENU UP to
open the Upper Limit menu.
Use the arrow keys to select the upper limit. In the example above, we
have selected 10 feet.
With the upper limit set, press MENU UP to open the Lower Limit menu. Use
the arrow keys to select the lower limit. In the example above, we have selected
20 feet. As you change the limit setting, you can see changes in the depth scale
on the right side of the screen. Press PWR to clear the menu.
With the upper limit at 10 feet and the lower limit at 20 feet, the unit
will now zoom in on and enlarge the detail in the 10-foot range of the
water column defined by the limit settings.
ZOOM
The zoom feature enlarges all echoes on the screen. The 2X zoom doubles
the size of the echoes on the display; the 4X zoom quadruples the echo size.
Zoom screen, showing Zoom menu and the 2X zoom
indicator at the top right of the screen.
To zoom the display, first press the MENU key until the ZOOM menu ap-
pears. Use the arrow keys to select either 2X or 4X zoom, then press
PWR to clear the menu.
When the display is in Zoom mode, the screen will show a zoom indica-
tor box at the top right corner of the screen. This is a reminder that the
display is zoomed, and it tells what level of zoom is in effect.
To turn the zoom feature off, press the MENU key until the ZOOM menu ap-
pears. Use the arrow keys to select OFF, then press PWR to clear the menu.

32
NOTE:
Using the Zoom command while in auto Range mode will always
enlarge the echoes near the bottom, because auto Range always
keeps the bottom displayed in the lower portion of the screen.
When you Zoom in manual Range mode, echoes are enlarged near
the middle of the displayed range. For example, with a manual
depth Range of 100 feet, your screen shows the water column from
zero at the top of the screen to 50 feet in the middle to 100 feet at
the bottom of the screen. Select 2X Zoom and the screen will show
the water column from zero to 50 feet, with 25 feet shown in the
middle of the screen. Select 4X Zoom and the screen shows the wa-
ter column from 13 feet to about 39 feet, with 25 feet still in the
middle of the screen.
Important Tip:
Your unit has the handy ability to quickly zoom in on any portion of
the water column with just the touch of an arrow key. The Zoom
Pan feature lets you rapidly move the zoomed area up and down to
different depths. By "pointing" your zoom at different portions of
the chart as it scrolls, you can get a good, close-up look at structure
or cover below you.
To use Zoom Pan, switch to a manual depth Range setting (see page
33) and turn on 2X or 4X Zoom. Then, simply press the UP ARROW
or DOWN ARROW to pan up and down the water column.
In 34 feet of water, with the Range set manually at 60 feet, the unit
shows the entire water column in Fig. 1. To get a closer look, turn
around and follow your wake to troll over the structure again. With
the unit in 4X zoom, press the down arrow key to look at the six fish
along the ledge, then press the up arrow to pan up the water column to
see four game fish threatening a school of forage fish.
Fig. 1 Fig. 2 Fig. 3

33
SENSITIVITY
Sensitivity controls the unit's ability to pick up echoes. If you want to
see more detail, try increasing the sensitivity, a little at a time. There
are situations when too much clutter appears on the screen. Decreasing
the sensitivity can reduce the clutter and show the strongest fish ech-
oes, if fish are present. As you change the sensitivity setting, you can
see the difference on the chart as it scrolls.
These figures show results of different sensitivity levels on the same
location. Fig. 1: Sensitivity at 87 percent, determined by Auto Sensitiv-
ity. Typical of full auto mode. Fig. 2: Sensitivity set at 50 percent. Fig.
3: Sensitivity set at 20 percent. Fig. 4: Sensitivity set at 100 percent.
You can change the sensitivity level whether you are in Auto Sensitiv-
ity mode or Manual Sensitivity mode. The adjustment method works
the same in both modes, but it gives you slightly different results.
Adjusting sensitivity in Auto Sensitivity Mode is similar to manually ad-
justing a car's speed with the accelerator pedal while cruise control is on.
You can tell the car to run faster, but when you let off the gas the cruise
control automatically keeps you from running slower than the minimum
speed setting. In your unit, auto mode will let you increase sensitivity to
100 percent, but the unit will limit your minimum setting. This prevents
Fig. 3 Fig. 4
Bait
school
Thermocline
with fish
Fish
arches
Fig. 1 Fig. 2

34
you from turning sensitivity down too low to allow automatic bottom
tracking. When you change the setting with auto turned on, the unit will
continue to track the bottom and make minor adjustments to the sensi-
tivity level, with a bias toward the setting you selected.
Adjusting sensitivity in Manual Sensitivity Mode is similar to driving a
car without cruise control — you have complete manual control of the
car's speed. In your unit, manual mode allows you to set sensitivity at
100 percent (maximum) or zero percent (minimum.) Depending on wa-
ter and bottom conditions, the bottom signal may completely disappear
from the screen when you reduce sensitivity to about 20 percent or less!
Try adjusting sensitivity in both auto and manual modes to see how
they work.
Sensitivity menu screens. Left, automatic or manual menu.
Right, Sensitivity Adjustment menu.
To adjust sensitivity:
Press MENU until the SENSITIVITY ADJUSTMENT menu appears. Press UP ARROW
to increase the sensitivity, DOWN ARROW to decrease it. When it's set at the
desired level, press PWR to clear the menu.
The sensitivity percentage in use shows in this menu. As you change the
setting, echoes scrolling onto the screen will show the effects of the change. If
you reach the maximum or minimum sensitivity level, a tone sounds alert-
ing you to the limits.

35
NOTE:
If you want to change the sensitivity in Manual Mode, first turn off
Auto Sensitivity: press MENU until the SENSITIVITY AUTOMATIC/MANUAL
menu appears. Press DOWN ARROW to select MANUAL, then press PWR to
clear the menu. To adjust the sensitivity, follow the same steps used for
adjusting sensitivity in auto mode above.
GRAYLINE®
Grayline lets you distinguish between strong and weak echoes. It
"paints" gray on targets that are stronger than a preset value. This al-
lows you to tell the difference between a hard and soft bottom. For ex-
ample, a soft, muddy or weedy bottom returns a weaker signal which is
shown with a narrow or no gray line. A hard bottom returns a strong
signal which causes a wide gray line.
If you have two signals of equal size, one with gray and the other with-
out, then the target with gray is the stronger signal. This helps distin-
guish weeds from trees on the bottom, or fish from structure.
Grayline is adjustable. The factory default for this unit is 69 percent.
Since Grayline shows the difference between strong and weak signals,
adjusting the sensitivity may also require a different Grayline level.
The level chosen by the sonar unit at power on is usually adequate for
most conditions. Experiment with your unit to find the Grayline setting
that's best for you.
To change the Grayline level, press MENU until the GRAYLINE menu appears.
At left, Grayline menu screen. Center, little Grayline indicates a soft
bottom, probably sand or mud. At right, the wider Grayline indicates a
harder, rocky bottom.
Wider
Grayline
Thin or no Grayline

36
Press UP ARROW to increase the level or press DOWN ARROW to de-
crease it. The percentage of Grayline in use shows in this menu. Echoes
scrolling onto the screen will also show the effects of the Grayline
change. If you reach the maximum or minimum level, a tone sounds
alerting you to the limits. Press PWR to clear the menu.
FISH I.D.
The Fish I.D. feature identifies targets that meet certain conditions
as fish. The microcomputer analyses all echoes and eliminates surface
clutter, thermoclines and other signals that are undesirable. In most
instances, remaining targets are fish.
The Fish I.D. feature displays symbols on the screen in place of the ac-
tual fish echoes. There are three symbol sizes: small, medium, and
large. These show the relative size between targets. In other words, it
displays a small fish symbol when it thinks a target is a small fish, a
medium fish symbol on a larger target and so forth.
At left, underwater scene in normal fish arch mode. Right, Fish I.D.
menu with the feature turned on.
Fish I.D. is an easier way for a sonar novice to recognize a fishy signal
return when he sees it. However, locating fish by symbol only has some
limitations.
Your sonar unit's microcomputer is sophisticated, but it can be fooled.
It can't distinguish between fish and other suspended objects such as
trotlines, turtles, submerged floats, air bubbles, etc. Individual tree
limbs extending outward from a group of limbs are the hardest objects
for the Fish I.D. feature to distinguish from fish.
To see what's under your boat in maximum detail, we recommend you
turn off Fish I.D. and begin learning to interpret fish arches.
Fish I.D.
symbol
Fish arches

37
You may see Fish I.D. symbols on the screen when actually, there are no fish.
The reverse is also true — Fish I.D. can actually miss fish that are present.
Does that mean Fish I.D. is broken? No — the feature is simply inter-
preting sonar returns in a specific way to help take some of the work
out of reading the screen. Remember: Fish I.D. is one of the many tools
we provide so you can analyze your sonar returns for maximum fish
finding information. This and other features can help you successfully
"see" beneath the boat under varied water and fishing conditions. So,
practice with the unit in both the Fish I.D. mode and without to become
more familiar with the feature. The default for Fish I.D. is off.
Fish I.D. is most handy when you're in another part of the boat or per-
forming some task that prevents you from watching the sonar screen.
Then, you can turn on Fish I.D. and the audible fish alarm. When that
lunker swims under your boat, you'll hear it!
Fish I.D. can also be useful when you want to screen out some of the so-
nar detail gathered by your unit. For example, it can help cut through
the clutter of suspended bubbles caused by wave action or boat wakes.
To turn Fish I.D. on, press MENU until the FISH ID menu appears. Press
UP ARROW to select ON, then press PWR. To turn it back off, repeat the
above steps, but press DOWN ARROW to select OFF.
FISHTRACK™
The FishTrack feature shows the depth of a fish symbol when it ap-
pears on the display. To turn it on, press MENU until the FISH ID menu
appears. Press UP ARROW to select TRACK ON, then press PWR. To turn it
off, repeat the above steps, but press DOWN ARROW to select OFF. (If you
want to turn off FishTrack depths but leave Fish I.D. on, press DOWN
ARROW to select ON, then press PWR.) Remember, Fish I.D. must be on
in order to use the FishTrack feature.
Fish ID menu and symbol with FishTrack on. The fish is 44 feet deep.
Fish I.D. symbol
showing FishTrack
depth indicator

38
FISHREVEAL
When displaying actual sonar returns, the FishReveal feature helps
show fish targets hidden by surface clutter, thermoclines, weed beds
and other cover with 10 levels of gray tones.
Normal operation (with FishReveal turned off) shows the weakest ech-
oes as black and the strongest in light gray. Since all weak echoes are
black, fish arches show boldly against the white background. The
drawback is that all weak echoes — such as thermoclines — are also
accentuated. This can make it hard to distinguish fish signals inside
thermoclines or other cover.
At left FishReveal menu screen. The feature is off and screen is in
normal mode. Right, Fish Reveal is on, in standard mode.
There are two FishReveal modes: standard and inverted. In standard
mode, the weakest echoes are white and the strongest echoes are black.
Echoes in between vary in gray in proportion to their signal strength.
In Inverted FishReveal mode, the weakest echoes are black and the
strongest echoes are white. Again, echoes in between vary in gray in
proportion to their signal strength. In all modes, the Grayline control
determines the range for black to white.
To turn FishReveal on, press MENU DOWN until CHART SETUP appears,
then press UP ARROW. Press MENU DOWN until CHART MODE appears.
Press DOWN ARROW to select the desired FishReveal mode. Press PWR
to clear the menu. To return to normal operation, repeat the above
steps, but select NORMAL before clearing the menu.

39
At left, standard FishReveal mode. Right, Inverted Fish Reveal mode.
CHART SCROLL SPEED and HYPERSCROLL
The rate that echoes scroll across the screen is called the chart scroll
speed. The default for this unit is 60 percent; we recommend that you
leave the scroll speed set there for virtually all fishing conditions.
However, you might consider experimenting with chart speed when you
are stationary or drifting very slowly. You may sometimes achieve bet-
ter images as you slow down the chart speed to match how fast you are
moving across the bottom.
Switching to a scroll speed faster than 60 percent can be helpful when
running at high speed. Any setting greater than 60 switches the unit to
HyperScroll. This feature scrolls the echoes at an extremely high rate
of speed, giving you the maximum screen update.
If you are at anchor, ice fishing or fishing from a dock, experiment with
a chart speed of 20 percent. If you are drifting slowly, try a chart speed
of 40 percent. When you are stationary and a fish swims through the
sonar signal cone, the image appears on the screen as a long line in-
stead of a fish arch. Reducing the chart speed may result in a shorter
line that more closely resembles a regular fish return.

40
At right, Scroll Speed menu at default 60 percent setting. At left, Scroll
Speed menu, with unit set to HyperScroll mode.
If you are running fast, try a HyperScroll setting of 80 to 100 percent.
When using HyperScroll, you may also need to manually decrease the
sensitivity for best performance. Depending on water conditions, Hy-
perScroll may cause a second bottom echo and large amounts of clutter
to appear on the screen. If this occurs, just decrease the sensitivity to a
level that eliminates the clutter. When you turn HyperScroll off, you
can return to your original sensitivity level.
Adjust scroll speed by pressing MENU until SCROLL SPEED appears. Press
UP ARROW to increase it and press DOWN ARROW to decrease it. Press
PWR to clear the menu.
To return to the original setting, repeat the above steps, but use the
arrow keys to set the speed at 60 percent before clearing the menu.
NOISE REJECT and ASP (Advanced Signal Processing)
The ASP (Advanced Signal Processing) feature is a noise rejection
system built into the sonar unit. It constantly evaluates the effects of
boat speed, water conditions and electrical interference and automati-
cally gives you the best display possible under most conditions.
ASP is an effective tool in combating noise. In sonar terms, noise is any
undesired signal. It is caused by electrical and mechanical sources such
as bilge pumps, engine ignition systems and wiring, air bubbles passing
over the face of the transducer, even vibration from the engine. In all
cases, noise can produce unwanted marks on the display.

41
The ASP noise rejection feature is especially useful because it typically
lets you operate the boat at all speeds without adjusting the sensitivity
or other controls.
Noise Reject menu.
The ASP feature has four settings — Off, Low, Medium and High.
When first turned on, noise rejection is set on low. If you have high
noise levels, try using the medium or high ASP setting. However, if you
are having trouble with noise, we suggest that you take steps to find
the interference source and fix it, rather than continually using the
unit with the high ASP setting.
There are times when you may want to turn ASP off. This allows you to
view all incoming echoes before they are processed by the ASP feature.
To change the ASP setting, press MENU DOWN until NOISE REJECT ap-
pears. Use the up and down arrow keys to select the desired setting,
then press PWR to clear the menu.
ALARMS
The sonar unit has two different types of alarms, fish and depth.
Fish Alarm
The Fish Alarm sounds a tone when a fish symbol appears on the
screen. The default setting is on, but the Fish I.D. feature must be
turned on for fish alarms to work.
To turn Fish I.D. on, press MENU until the FISH ID menu appears. Press
UP ARROW to select ON, then press PWR.

42
To turn off the fish alarm without turning off fish symbols, press MENU
DOWN until FISH ALARM appears. Press DOWN ARROW to select OFF, then
press PWR to clear the menu. Repeat the above steps to turn the alarm
back on, but press UP ARROW to select ON before clearing the menu.
Fish Alarm menu.
Depth Alarms
The depth alarms are triggered only by the bottom signal. No other
echoes will activate these alarms. The depth alarms consist of a shallow
and a deep alarm. The shallow alarm sounds an alarm tone when the
bottom goes shallower than the alarm's setting. The deep alarm sounds
a tone when the bottom goes deeper than its setting. Both alarms ad-
just the same way, although through different menus.
Shallow Alarm
To set the shallow alarm depth, press MENU DOWN repeatedly until
SHALLOW ALARM appears.
Shallow Alarm menu.

43
Press UP ARROW to increase the shallow alarm's depth setting or press
DOWN ARROW to decrease it. The number in the shallow alarm’s menu
box shows the current shallow alarm setting. When the number reaches
the desired setting, press PWR to clear the menu. When the bottom
depth goes shallower than the alarm’s setting, an alarm tone sounds
and a message box appears on the screen.
Press UP ARROW to silence the alarm. This turns the alarm sound off
until the shallow alarm is triggered again.
To turn the alarm off, press MENU DOWN repeatedly until SHALLOW
ALARM appears. Press DOWN ARROW until the words OFF FEET appear,
then press PWR to clear the menu.
Deep Alarm
To set the deep alarm depth, press MENU DOWN repeatedly until DEEP
ALARM appears.
Press UP ARROW to increase the deep alarm's depth setting or press
DOWN ARROW to decrease it. The number in the deep alarm’s menu box
shows the current deep alarm setting. When the number reaches the
desired setting, press PWR to clear the menu. When the bottom depth
goes deeper than the alarm’s setting, an alarm tone sounds and a mes-
sage box appears on the screen.
Deep Alarm menu.
Press UP ARROW to silence the alarm. This turns the alarm sound off
until the deep alarm is triggered again.
To turn the alarm off, press MENU DOWN repeatedly until DEEP ALARM
appears. Press DOWN ARROW until the words OFF FEET appear, then
press PWR to clear the menu.

44
SYSTEM SETUP
To customize the display, press MENU DOWN until the SYSTEM SETUP
menu appears, then press UP ARROW. The display contrast, units of
measure, temperature, and system information screens are all under
this menu. The Contrast menu appears first. Press the MENU UP or
MENU DOWN keys to cycle through the menus. When you're finished,
press the PWR key to clear the menus.
System Setup menu.
DISPLAY ADJUSTMENTS
BACKLIGHTS
The display is backlit for night use. To turn the backlight on or off,
press MENU repeatedly until the BACK LIGHT menu appears. Press UP
ARROW to turn the light on or the DOWN ARROW to turn it off.
Backlight menu.
DISPLAY CONTRAST
The unit’s display contrast is adjustable to suit different lighting condi-
tions. This will help you see the screen from different angles or at vari-
ous times of the day. The default setting is 50 percent.

45
To adjust the contrast, press MENU DOWN until the SYSTEM menu ap-
pears, press UP ARROW, and the CONTRAST menu appears. To decrease
screen contrast, press the DOWN ARROW key. Press the UP ARROW key
to increase screen contrast. The bar graph in the Contrast menu box
shows a graph of the contrast. The screen will also show the effects of
the change. If you reach the maximum or minimum level, a tone sounds
alerting you to the limits. Press the PWR key to clear the menu.
Display Contrast menu.
DEPTH UNITS OF MEASURE
This unit can show the depth in feet, fathoms or meters.
To change the depth units of measure, press MENU DOWN until the
SYSTEM menu appears, press UP ARROW, then press MENU until the
DEPTH menu appears. Use the arrow keys to select the desired unit of
measure, then press the PWR key to clear the menu.
Depth menu controls the unit of measure used to show depth.

46
TEMPERATURE UNITS OF MEASURE
This unit can show the temperature (if a temperature sensor is attached)
in degrees Fahrenheit or Celsius. To change the unit of measure, press
MENU DOWN until the SYSTEM menu appears. Press UP ARROW, then
press MENU until the TEMPERATURE menu appears. Use the arrow keys to
select the measurement unit, then press PWR to clear the menu.
Temperature unit of measure menu.
SPEED and DISTANCE LOG UNITS OF MEASURE
The speed and distance log can be displayed in statute miles (MPH),
Nautical miles (knots), or Metric (kilometers per hour) if a speed sensor
is attached. To change the unit of measure, press MENU DOWN until the
SYSTEM menu appears. Press UP ARROW, then press MENU until the
SPEED/LOG menu appears. Use the arrow keys to select the desired
measurement unit, then press PWR to clear the menu.
Speed menu.

47
RESET DISTANCE LOG
You can reset the distance log to zero with this command. Press MENU
DOWN until SYSTEM appears, then press UP ARROW. Press MENU until
the RESET LOG menu appears. Press UP ARROW and the log returns to
zero. Press PWR to clear the menu.
Reset Log menu.
PRESET UNIT (reset all options)
This command is used to reset all features, options and settings to their
original factory defaults. This is useful when you have changed several
settings and want to return the unit to basic automatic operation.
Press MENU DOWN until SYSTEM appears, then press UP ARROW. Press MENU
DOWN until the PRESET UNIT menu appears. Press UP ARROW and the unit will
turn itself off and reset all options. Turn the unit back on by pressing PWR.
Preset Unit menu resets all options to the factory settings.

48
SYSTEM INFO
To show the operating software system information, press MENU DOWN
until the SYSTEM menu appears, then press UP ARROW. Press MENU DOWN
until the SYSTEM INFO screen appears. Press PWR to clear the screen.
System Info screen.
SIMULATOR
This unit has a built-in simulator that shows a simulated bottom signal
with fish signals. This lets you practice with the unit as if you were on
the water; all features and functions of the unit are usable. A message
appears occasionally to remind you that the simulator is on.
To use the simulator, press DOWN MENU repeatedly until the SYSTEM
menu appears, then press UP ARROW. Press DOWN MENU until the
SIMULATOR menu appears. Now press UP ARROW to turn it on, and press
PWR to clear the menu. Repeat the above steps to turn it off, or you can
simply turn the unit off and back on again.
Simulator menu.

49
NOTE:
If you turn on your unit before attaching a transducer, it may enter
a demo mode. The words "demo mode" flash on the bottom of the
screen and a sonar chart plays much like the simulator. Unlike the
simulator, the demo mode is for demonstration only, and will auto-
matically stop as soon as you turn on the unit with a transducer at-
tached. The simulator will continue to function normally.
CHART SETUP
The Chart Setup menu lets you further customize the display. The size
of the digital numbers for the depth, temperature, speed and distance
log can be customized from this menu. The depth scales shown on the
right side of the screen can be modified, and the Fish Reveal modes can
be turned on or off.
To enter the Chart Setup menu sequence, press MENU DOWN until the
CHART SETUP menu appears. Press UP ARROW and then you can use the
menu keys to cycle through the chart setup menus.
Chart Setup menu.
LIMIT SEARCH
The Limit Search command helps you maintain maximum chart detail
when you are moving fast in deep water (about 200 feet.) When turned
on, Limit Search prevents the digital sonar from over-riding the sonar
chart's depth range setting.
Limit Search does this by preventing the digital sonar from slowing
down the ping speed as it automatically searches for and tracks the bot-
tom. The default setting is off, and this should fit most freshwater
fishing situations.

50
High boat speed and slow ping speed (caused by the deeper bottom) can
reduce the screen refresh rate. This in turn can reduce the amount of
detail seen on the sonar chart. Try this command only if you are in deep
water, traveling at high speed, and notice a reduction in detail on the
sonar chart. When Limit Search is turned on, the digital sonar will
limit its search for the bottom to the depth range you have set for the
sonar chart.
NOTE:
Turning Limit Search on can cause the digital sonar to lose the bot-
tom in some situations. The digital depth will flash if that occurs.
The sonar chart must be in manual depth range mode to use the Limit
Search command. To switch from auto depth range to manual, press
MENU until the RANGE menu appears. Use the arrow keys to select the
desired range. When you're finished, press PWR to clear the menu from
the display.
Next, press MENU DOWN until the CHART SETUP menu appears, then
press UP ARROW to enter the list of Chart Setup commands, where the
LIMIT SEARCH menu appears. Press UP ARROW to turn it on and press
PWR to clear the menu.
Limit Search menu.
To turn Limit Search off, repeat the above steps but press the DOWN
ARROW to select "Off." Also remember to switch the depth range setting
back to automatic. This will restore the digital sonar's ability to auto-
matically track the bottom.
FREQUENCY (Change Transducer Frequency)
(X58DF only)
The X58DF transducer operates with both 200 kHz and 50 kHz. The
200 kHz frequency has a 12° cone angle and the 50 kHz frequency has a
35° cone angle.

51
The default frequency is 200 kHz, which is best for use in shallow water
(about 300 feet or less). This frequency is the best choice for about 80
percent of the fresh and salt water sport fishing applications. When you
get into very deep salt water, 300 to 500 feet or deeper, the 50 kHz fre-
quency is the best choice.
The 200 kHz transducer will give you better detail and definition, but
less depth penetration. The 50 kHz transducer will give you greater
depth penetration, but a little less detail and less definition. (Remember,
all sonar units typically read deeper in fresh water than in salt water.)
There is a common exception to these rules of thumb. Some fishermen
on freshwater lakes (or the ocean) using downriggers like to see them
on the sonar. In many of those cases, you'll see a 50 kHz transducer
frequency in use because the wider cone angle lets them watch the bait.
Frequency menu with 200 kHz selected.
To change the frequency setting, press MENU DOWN until the CHART
SETUP menu appears, then press UP ARROW to enter the list of Chart
Setup commands. Press MENU UP until the FREQUENCY menu appears.
Press DOWN ARROW to select 50 KHZ, then press the PWR key to clear
the menu. To return to 200 kHz, repeat the steps above, but use the UP
ARROW to select 200 KHZ.
DIGITAL DATA SIZE FOR DEPTH, TEMPERATURE, SPEED,
and DISTANCE LOG
The size of the digital numbers for the depth, temperature, speed and
distance log can individually be changed to any one of three sizes. The
digital displays can also be turned off or on.
To change any of these options, press MENU DOWN until CHART SETUP
appears, then press UP ARROW. Use the MENU keys to cycle through the
list and display the desired menu, then use the ARROW keys to select
the desired number size or turn the numbers off. Press the PWR key to
clear the menus.

52
Menus for changing digital number size.
SCALES
The depth scale between the upper and lower limit on the right side of
the screen can be turned on or off. The default is on.
Scales menu, with scale on (left) and off (right). With the scale off, only
the upper and lower limits (zero and 60 in this case) are displayed
To turn the scale off, press MENU DOWN until CHART SETUP appears, then
press UP ARROW. Press MENU DOWN until SCALES appears, then press
DOWN ARROW to select UPPER LOWER ONLY. Press the PWR key to clear
the menus.
To turn scale on, press MENU DOWN until CHART SETUP appears, then
press UP ARROW. Press MENU DOWN until SCALES appears, then press
UP ARROW to select SHOW INTERMEDIATE. Press the PWR key to clear the
menus.
53
Troubleshooting
If your unit is not working, or if you need technical help, please use the
following troubleshooting section before contacting the factory customer
service department. It may save you the trouble of returning your unit
for repair. For contact information, refer to the last page, just inside the
back cover of this manual.
Unit won't turn on:
1. Check the power cable's connection at the unit. Also check the wiring.
2. Make certain the power cable is wired properly. The red wire con-
nects to the positive battery terminal, black to negative or ground.
3. Check the fuse.
4. Measure the battery voltage at the unit's power connector. It should
be at least 11 volts. If it isn't, the wiring to the unit is defective, the
battery terminals or wiring on the terminals are corroded, or the bat-
tery needs charging.
Unit operates only in demo mode:
1. The transducer has not yet been connected or has been disconnected.
To leave demo mode, make sure the transducer is securely connected
before turning the unit on.
Unit freezes, locks up, or operates erratically:
1. Electrical noise from the boat's motor, trolling motor, or an accessory
may be interfering with the sonar unit. Rerouting the power and trans-
ducer cables away from other electrical wiring on the boat may help.
Route the sonar unit's power cable directly to the battery instead of
through a fuse block or ignition switch
2. Inspect the transducer cable for breaks, cuts, or pinched wires.
3. Check both the transducer and power connectors. Make certain both
are securely plugged in to the unit.
Weak bottom echo, digital readings erratic, or no fish signals:
1. Make certain the transducer is pointing straight down. Clean the
face of the transducer. Oil, dirt and fuel can cause a film to form on the
transducer, reducing its effectiveness. If the transducer is mounted in-
side the hull, be sure it is shooting through only one layer of fiberglass
and that it is securely bonded to the hull. Do NOT use RTV silicone
rubber adhesive or Marine-Tex epoxy.
2. Electrical noise from the boat's motor can interfere with the sonar.
This causes the sonar to automatically increase its Discrimination or
54
noise rejection feature. This can cause the unit to eliminate weaker
signals such as fish or even structure from the display.
3. The water may be deeper than the sonar's ability to find the bottom.
If the sonar can't find the bottom signal while it's in the automatic
mode, the digital sonar display will flash continuously. It may change
the range to limits far greater than the water you are in. If this hap-
pens, place the unit in the manual mode, then change the range to a
realistic one, (for example, 0-100 feet) and increase the sensitivity. As
you move into shallower water, a bottom signal should appear.
4. Check the battery voltage. If the voltage drops, the unit's transmitter
power also drops, reducing its ability to find the bottom or targets.
Bottom echo disappears at high speeds or erratic digital read-
ing or weak bottom echo while boat is moving
1. The transducer may be in turbulent water. It must be mounted in a
smooth flow of water in order for the sonar to work at all boat speeds. Air
bubbles in the water disrupt the sonar signals, interfering with its ability
to find the bottom or other targets. The technical term for this is cavitation.
2. Electrical noise from the boat's motor can interfere with the sonar.
This causes the sonar to automatically increase its Discrimination or
noise rejection feature. This can cause the unit to eliminate weaker
signals such as fish or even structure from the display. Try using resis-
tor spark plugs or routing the sonar unit's power and transducer cables
away from other electrical wiring on the boat.
No fish arches when the Fish I.D. feature is off:
1. Make certain the transducer is pointing straight down. This is the
most common problem if a partial arch is displayed.
2. The sensitivity may not be high enough. In order for the unit to dis-
play a fish arch, it has to be able to receive the fish's echo from the time
it enters the cone until it leaves. If the sensitivity is not high enough,
the unit shows the fish only when it is in the center of the cone.
3. Use the Zoom feature. It is much easier to display fish arches when
zoomed in on a small range of water than a large one. For example, you
will have much better luck seeing fish arches with a 30 to 60 foot range
than a 0 to 60 foot range. This enlarges the targets, allowing the dis-
play to show much more detail.
4. The boat must be moving at a slow trolling speed to see fish arches.
If the boat is motionless, fish stay in the cone, showing on the screen as
straight horizontal lines.
55
NOISE
A major cause of sonar problems is electrical noise. This usually ap-
pears on the sonar's display as random patterns of dots or lines. In se-
vere cases, it can completely cover the screen with black dots, or cause
the unit to operate erratically, or not at all.
To eliminate or minimize the effects of electrical noise, first try to de-
termine the cause. With the boat at rest in the water, the first thing
you should do is turn all electrical equipment on the boat off. Make sure
the engine is also off. Turn your sonar on, then turn off Noise Reject
[also known as the ASP feature (Advanced Signal Processing)]. Sensi-
tivity should be set at 90-95 percent. There should be a steady bottom
signal on the display. Now turn on each piece of electrical equipment on
the boat and view the effect on the sonar's display. For example, turn
on the bilge pump and view the sonar display for noise. If no noise is
present, turn the pump off, then turn on the VHF radio and transmit.
Keep doing this until all electrical equipment has been turned on, their
effect on the sonar display noted, then turned off.
If you find noise interference from an electrical instrument, trolling mo-
tor, pump, or radio, try to isolate the problem. You can usually reroute
the sonar unit's power cable and transducer cable away from the wiring
that is causing the interference. VHF radio antenna cables radiate
noise when transmitting, so be certain to keep the sonar's wires away
from it. You may need to route the sonar unit's power cable directly to
the battery to isolate it from other wiring on the boat.
If no noise displays on the sonar unit from electrical equipment, then
make certain everything except the sonar unit is turned off, then start
the engine. Increase the RPM with the gearshift in neutral. If noise ap-
pears on the display, the problem could be one of three things; spark
plugs, alternator, or tachometer wiring. Try using resistor spark plugs,
alternator filters, or routing the sonar unit's power cable away from
engine wiring. Again, routing the power cable directly to the battery
helps eliminate noise problems. Make certain to use the in-line fuse
supplied with the unit when wiring the power cable to the battery.
When no noise appears on the sonar unit after all of the above tests,
then the noise source is probably cavitation. Many novices or persons
with limited experience make hasty sonar installations which function
perfectly in shallow water, or when the boat is at rest. In nearly all
cases, the cause of the malfunction will be the location and/or angle of
the transducer. The face of the transducer must be placed in a location
that has a smooth flow of water at all boat speeds. Read your trans-
ducer owner's manual for the best mounting position.
56
Notes
57
LOWRANCE ELECTRONICS
FULL ONE-YEAR WARRANTY
"We," "our," or "us" refers to LOWRANCE ELECTRONICS, INC., the manufacturer of
this product. "You" or "your" refers to the first person who purchases this product as a
consumer item for personal, family or household use.
We warrant this product against defects or malfunctions in materials and workmanship,
and against failure to conform to this product's written specifications, all for one (1) year
from the date of original purchase by you. WE MAKE NO OTHER EXPRESS
WARRANTY OR REPRESENTATION OF ANY KIND WHATSOEVER CONCERNING
THIS PRODUCT. Your remedies under this warranty will be available so long as you can
show in a reasonable manner that any defect or malfunction in materials or
workmanship, or any non-conformity with the product's written specifications, occurred
within one year from the date of your original purchase, which must be substantiated by
a dated sales receipt or sales slip. Any such defect, malfunction, or non-conformity which
occurs within one year from your original purchase date will either be repaired without
charge or be replaced with a new product identical or reasonably equivalent to this
product, at our option, within a reasonable time after our receipt of the product. If such
defect, malfunction, or non-conformity remains after a reasonable number of attempts to
repair by us, you may elect to obtain without charge a replacement of the product or a
refund for the product. THIS REPAIR, OR REPLACEMENT OR REFUND (AS JUST
DESCRIBED) IS THE EXCLUSIVE REMEDY AVAILABLE TO YOU AGAINST US FOR
ANY DEFECT, MALFUNCTION, OR NON-CONFORMITY CONCERNING THE
PRODUCT OR FOR ANY LOSS OR DAMAGE RESULTING FROM ANY OTHER
CAUSE WHATSOEVER. WE WILL NOT UNDER ANY CIRCUMSTANCES BE LIABLE
TO ANYONE FOR ANY SPECIAL, CONSEQUENTIAL, INCIDENTAL, OR OTHER
INDIRECT DAMAGE OF ANY KIND.
Some states do not allow the exclusion or limitation of incidental or consequential
damages, so the above limitations or exclusions may not apply to you.
This warranty does NOT apply in the following circumstances: (1) when the product has
been serviced or repaired by anyone other than us; (2) when the product has been
connected, installed, combined, altered, adjusted, or handled in a manner other than
according to the instructions furnished with the product; (3) when any serial number has
been effaced, altered, or removed; or (4) when any defect, problem, loss, or damage has
resulted from any accident, misuse, negligence, or carelessness, or from any failure to
provide reasonable and necessary maintenance in accordance with the instructions of the
owner's manual for the product.
We reserve the right to make changes or improvements in our products from time to time
without incurring the obligation to install such improvements or changes on equipment
or items previously manufactured.
This warranty gives you specific legal rights and you may also have other rights which
may vary from state to state.
REMINDER: You must retain the sales slip or sales receipt proving the date of your
original purchase in case warranty service is ever required.
LOWRANCE ELECTRONICS
12000 E. SKELLY DRIVE, TULSA, OK 74128
(800) 324-1356
58
How to Obtain Service…
…in the USA:
We back your investment in quality products with quick, expert service
and genuine Lowrance parts. If you're in the United States and you
have technical, return or repair questions, please contact the Factory
Customer Service Department. Before any product can be returned, you
must call customer service to determine if a return is necessary. Many
times, customer service can resolve your problem over the phone
without sending your product to the factory. To call us, use the
following toll-free number:
800-324-1356
8 a.m. to 5 p.m. Central Standard Time, M-F
Lowrance Electronics may find it necessary to change or end our
shipping policies, regulations, and special offers at any time. We reserve
the right to do so without notice.
…in Canada:
If you're in Canada and you have technical, return or repair questions,
please contact the Factory Customer Service Department. Before any
product can be returned, you must call customer service to determine if
a return is necessary. Many times, customer service can resolve your
problem over the phone without sending your product to the factory. To
call us, use the following toll-free number:
800-661-3983
905-629-1614 (not toll-free)
8 a.m. to 5 p.m. Central Standard Time, M-F
…outside Canada and the USA:
If you have technical, return or repair questions, contact the dealer in
the country where you purchased your unit. To locate a dealer near
you, visit our web site, www.lowrance.com and look for the Dealer
Locator.
Accessory Ordering Information
for all countries
To order Lowrance GPS accessories such as computer cables or MMC
cards, please contact:
1) Your local marine dealer or consumer electronics store. Most quality
dealers that handle marine electronic equipment or other consumer
electronics should be able to assist you with these items.
To locate a Lowrance dealer near you, visit our web site,
www.lowrance.com and look for the Dealer Locator. Or, you can consult
your telephone directory for listings.
2) U.S. customers: LEI Extras Inc., PO Box 129, Catoosa, OK 74015-0129
Call 1-800-324-0045 or visit our web site www.lei-extras.com.
3) Canadian customers can write:
Lowrance/Eagle Canada, 919 Matheson Blvd. E. Mississauga, Ontario
L4W2R7 or fax 905-629-3118.
Shipping Information
If it becomes necessary to send a product for repair or replacement, you
must first receive a return authorization number from Customer
Service. Products shipped without a return authorization will not be
accepted. When shipping, we recommend you do the following:
1. Always use the original shipping container and filler material the
product was packed in.
2. Always insure the parcel against damage or loss during shipment.
Lowrance does not assume responsibility for goods lost or damaged in
transit.
3. For proper testing, include a brief note with the product describing
the problem. Be sure to include your name, return shipping address
and a daytime telephone number.

Visit our web site:
Lowrance Pub. 988-0105-951 © Copyright 2002
All Rights Reserved
Printed in USA 092402 Lowrance Electronics, Inc.