MEILOON WT50 Wirless Transmitter User Manual
Meiloon Industrial Co., Ltd. Wirless Transmitter Users Manual
MEILOON >
Users Manual

WT 50 Transmitter Receiver
Power supply cord
L R LFE DC 18V
4 3 2 1
Transmisor WT 50 Receptor
Cable de alimentación
L R LFE DC 18V
4 3 2 1
Émetteur WT 50 Récepteur
Cordon d’alimentation
L R LFE DC 18V
4 3 2 1
1. Read these instructions.
2. Keep these instructions.
3. Heed all warnings.
4. Follow all instructions.
5. Do not use this apparatus near water.
6. Clean only with dry cloth.
7. Do not block any ventilation openings. Install in accordance with
the manufacturer’s instructions.
8. Do not install near any heat sources such as radiators, heat
registers, stoves, or other apparatus (including amplifiers) that
produce heat.
9. Do not defeat the safety purpose of the polarized or grounding-
type plug. A polarized plug has two blades with one wider than the
other. A grounding-type plug has two blades and a third grounding
prong. The wide blade or the third prong is provided for your
safety. If the provided plug does not fit into your outlet, consult an
electrician for replacement of the obsolete outlet.
10. Protect the power cord from being walked on or pinched particularly
at plugs, convenience receptacles, and the point where they exit
from the apparatus.
11. Only use attachments/accessories specified by the manufacturer.
12. Unplug this apparatus during lightning storms or when unused for
long periods of time.
IMPORTANT SAFETY INSTRUCTIONS
13. Refer all servicing to qualified service personnel. Servicing is
required when the apparatus has been damaged in any way, such
as power-supply cord or plug is damaged, liquid has been spilled
or objects have fallen into the apparatus, the apparatus has been
This class B digital apparatus complies with Canadian ICES-003.
Cet appareil numérique de classe B est conforme á la norme
NMB-003 du Canada.
exposed to rain or moisture, does not operate normally, or has
been dropped.
14. Maintain a minimum distance of 2" (50mm) around the front, rear,
and sides of the apparatus for sufficient ventilation. The ventilation
should not be impeded by covering the ventilation openings or
placing on or around the apparatus items such as newspapers,
table-cloths, curtains, etc.
15. No open flame sources, such as lighted candles, should be
placed on the apparatus.
16. The apparatus shall not be exposed to dripping or splashing.
17. Either the power inlet connector on the rear of the apparatus or
the power plug at the wall must remain accessible, to be able to
disconnect power from the apparatus.
18. To completely disconnect this apparatus from the AC Mains,
disconnect the power supply cord plug from the AC receptacle.
No objects filled with liquids, such as vases, shall be placed on
the apparatus.
Note: This equipment has been tested and found to comply with
the limits for a Class B digital device, pursuant to part 15 of the FCC
American Users:
Rules. These limits are designed to provide reasonable protection
against harmful interference in a residential installation. This equip-
ment generates, uses, and can radiate radio frequency energy and, if
not installed and used in accordance with the instructions, may cause
harmful interference to radio communications. However, there is no
guarantee that interference will not occur in a particular installation. If
this equipment does cause harmful interference to radio or television
reception, which can be determined by turning the equipment off and
on, the user is encouraged to try to correct the interference by one or
more of the following measures:
•Reorient or relocate the receiving antenna.
•Increase the separation between the equipment and receiver.
•Connect the equipment into an outlet on a circuit different from
that to which the receiver is connected.
•Consult the dealer or an experienced radio/TV technician for help.
’
Caution: Unauthorized changes or modifications to the receiver could
void the user s authority to operate the equipment.
This symbol found on the apparatus indicates hazards
arising from dangerous voltages.
This symbol found on the apparatus indicates the user
should read all safety statements found in the user manual.
This symbol found on the apparatus indicates
double insulation.
Warning!
To reduce the risk of fire or electrical shock, do not
expose this apparatus to rain or moisture.
Canadian Users:
RLAN - Radio Local Area Network Equipment
This equipment may only be used indoors in FR.
This equipment may only be used in one’s own premises in IT.
This equipment is for private use only in LU
Operation is not allowed within a radius of 20 km from the centre
of Ny-Ålesund in NO.
Hereby, Boston Acoustics, Inc. 100 Corporate Drive, Mahwah, NJ,
07430 USA, declares that this WT 50 is in compliance with the
essential requirements and other relevant provisions of Directive
1999/5/EC.A copy of the Declaration of Conformity (DOC) may be
obtained from:
Oliver Kriete
Boston Acoustics, Division of D&M Europe B.V.
Beemdstraat 11
5653 MA Eindhoven
The Netherlands
European Users:
AT CZ FI IS LT PT SE FR
BE DK DE IE MT SK CH IT
EE GR LV NL SI TR LU CY
HU PL ES GB NO
INSTRUCCIONES DE SEGURIDAD IMPORTANTES
Este aparato digital de clase B cumple con Canadian ICES-003.
Este aparato digital de clase B es conforme a la norma NMB-003
del Canadá.
Usuarios americanos:
’
Este símbolo que aparece en el aparato indica los riesgos
derivados de voltajes peligrosos.
Este símbolo que aparece en el aparato indica que el usuario
debe leer todas las declaraciones de seguridad que aparecen
en el manual del usuario.
Este símbolo que aparece en el aparato indica la presencia
de un doble aislamiento.
¡Advertencia!
Para reducir el riesgo de incendio o de descarga eléctrica,
no exponga este aparato a la lluvia o a la humedad.
Usuarios canadienses:
RLAN - Radio Local Area Network Equipment
Este equipo sólo puede utilizarse en interiores en FR.
Este equipo sólo puede utilizarse en instalaciones propias en IT.
Este equipo es sólo de uso privado en LU.
No se permite un funcionamiento dentro de un radio de 20 km
desde el centro de Ny-Ålesund en NO.
Por la presente, Boston Acoustics, Inc., 100 Corporate Drive,
Mahwah, NJ 07430 USA, declara que este WT 50 cumple
los requisitos esenciales y otras disposiciones relevantes de la
Directiva 1999/5/EC. Puede obtenerse una copia de la
Declaración de Conformidad (DOC) de:
Oliver Kriete
Boston Acoustics,
División de D&M Europe B.V.
Beemdstraat 11
5653 MA Eindhoven
Países Bajos
Usuarios Europeos:
AT CZ FI IS LT PT SE FR
BE DK DE IE MT SK CH IT
EE GR LV NL SI TR LU CY
HU PL ES GB NO
Nota: Este equipo ha sido probado y ha demostrado para cumplir los
límites de un dispositivo digital de Clase B, según el apartado 15 de
las Normas FCC. Estos límites están diseñados para proporcionar
una protección razonable contra interferencias nocivas en una
instalación residencial. Este equipo genera, utiliza y puede irradiar
energía de radio frecuencia y, si no se instala y utiliza de acuerdo
con las instrucciones, puede causar interferencias nocivas a las
radiocomunicaciones. Sin embargo, no hay garantía de que no se
produzcan interferencias en una instalación en particular. Si este
equipo causa interferencias nocivas a la recepción de radio o
televisión, lo que puede determinarse apagando y encendiendo el
equipo, se aconseja que el usuario trate de corregir la interferencia
mediante una o más de las siguientes medidas:
• Reorientación o recolocación de la antena receptora.
• Aumento de la separación entre el equipo y el receptor.
• Conexión del equipo en una toma de un circuito diferente al
cual está conectado el receptor.
• Consulta con el distribuidor o un técnico de radio/TV
experimentado para obtener ayuda.
Precaución: Los cambios o modificaciones no autorizados en el
receptor pueden anular la capacidad de los usuarios para hacer
funcionar el equipo.
1.
Lea estas instrucciones.
2. Conserve estas instrucciones.
3. Haga caso de todas las advertencias.
4. Siga todas las instrucciones.
5. No utilice este aparato cerca del agua.
6. Límpielo sólo con un trapo seco.
7. No tapone ninguna apertura de ventilación. Instálelo de acuerdo
con las instrucciones del fabricante.
8. No lo instale cerca de ninguna fuente de calor, tales como
radiadores, rejillas de calefacción, estufas u otros aparatos
(incluidos amplificadores) que produzcan calor.
9.
No anule el propósito de seguridad del enchufe polarizado o del
tipo puesta a tierra. Un enchufe polarizado tiene dos púas con una
de ellas más ancha que la otra .Un enchufe del tipo puesta a tierra
tiene dos púas y una tercera púa de puesta a tierra. La púa ancha
o la tercera púa se proporciona para su seguridad. Si el enchufe
que se suministra no encaja en su toma de pared, consulte con un
electricista para que sustituya la toma de pared obsoleta.
10. Proteja el cable de alimentación para evitar que sea pisado o
quede pinzado, en particular en los enchufes, las tomas de
corriente, y en el punto en el cual sale del aparato.
11. Utilice sólo las conexiones/accesorios especificados por el
fabricante.
12. Desenchufe este aparato durante las tormentas eléctricas o
cuando no vaya a utilizarse durante largos periodos de tiempo.
13. Remita todo el servicio al personal de servicio cualificado. Se
requiere servicio cuando el aparato ha sido dañado de algún
modo, por ejemplo si el cable de alimentación o el enchufe están
dañados, si se ha vertido líquido o han caído objetos dentro del
aparato, si el aparato se ha expuesto a la lluvia o a la humedad,
si no funciona normalmente, o se ha caído.
14. Mantenga una distancia mínima de 2" (50 mm) alrededor de la
parte delantera, trasera y de los laterales del aparato para tener
una ventilación suficiente. La ventilación no debe quedar
obstruida mediante la cobertura de las aperturas de ventilación o
la colocación sobre o alrededor del aparato de elementos tales
como periódicos, tapetes, cortinas, etc.
15. No deben colocarse en el aparato fuentes de llamas desnudas,
tales como velas encendidas.
16. No debe exponerse el aparato al goteo o a salpicaduras.
17. Tanto el conector de entrada de energía de la parte trasera del
aparato como el enchufe de pared deben ser accesibles, para
poder desconectar la energía del aparato.
18.
Para desconectar completamente este aparato de la red de CA,
desconecte el enchufe del cable de alimentación de la toma de CA.
INSTRUCTIONS IMPORTANTES RELATIVES À LA SÉCURITÉ
Cet appareil numérique de classe B est conforme á la
norme NMB-003 du Canada.
Utilisateurs américains :
’
Ce symbole rencontré sur l’appareil indique les risques
résultant des tensions dangereuses.
Ce symbole rencontré sur l’appareil indique que l’utilisateur
doit lire toutes les déclarations de sécurité rencontrées dans
le guide de l’utilisateur.
Ce symbole rencontré sur l’appareil indique
une double-isolation.
Attention !
Afin de réduire le risque d’incendie ou de choc électrique,
ne pas exposer cet appareil à la pluie ou à l’humidité
Utilisateurs canadiens :
RLAN - Radio Local Area Network Equipment –
Équipement utilisant le réseau local hertzien
Cet équipement peut uniquement être utilisé à l’intérieur en FR.
Cet équipement ne peut être utilisé qu’au domicile particulier en IT.
Cet équipement est réservé exclusivement à une utilisation privée en LU
L’utilisation de cet équipement n’est pas autorisée dans un rayon
de 20 km du centre de Ny-Ålesund en NO.
Par la présente, Boston Acoustics, Inc. 100 Corporate Drive, Mahwah,
NJ 07430 États-Unis, déclare que ce WT 50 est conforme
aux exigences essentielles et autres provisions pertinentes de la
Directive 1999/5/EC. Une copie de la Déclaration de conformité
(DOC) peut être obtenue auprès de :
Oliver Kriete
Boston Acoustics, Division of D&M Europe B.V.
Beemdstraat 11
5653 MA Eindhoven
Pays-Bas
Utilisateurs européens :
AT CZ FI IS LT PT SE FR
BE DK DE IE MT SK CH IT
EE GR LV NL SI TR LU CY
HU PL ES GB NO
Remarque : Cet équipement a été testé et a été trouvé conforme aux
limites pour un dispositif numérique de Classe B, en vertu de la partie
15 des Règles de la FCC. Ces limites sont conçues pour procurer une
protection raisonnable contre les interférences négatives dans une
installation résidentielle. Cet équipement génère, utilise et peut irradier
de l’énergie de radiofréquence et, s’il n’est pas installé et utilisé en
respectant les instructions, peut provoquer des interférences négatives
pour les communications radio. Toutefois, nous ne pouvons pas
garantir qu’il ne se produira pas d’interférences dans une installation
particulière. Si cet équipement provoque effectivement des
interférences négatives pour la réception radio ou télé, ce qui peut être
déterminé en éteignant puis en rallumant l’équipement, nous
conseillons à l’utilisateur d’essayer de corriger cette interférence en
appliquant une ou plusieurs des mesures suivantes :
•
Réorienter ou repositionner l’antenne de réception.
•
Augmenter la distance séparant l’équipement et le récepteur.
•
Connecter l’équipement dans une prise appartenant à un
circuit différent de celui auquel le récepteur est raccordé.
•
Consulter le revendeur ou un technicien radio/télé compétent
pour assistance.
Attention : Les changements ou modifications non autorisés
apportés au récepteur pourraient avoir pour conséquence d’annuler
l’autorité des utilisateurs à faire fonctionner cet équipement.
1.
Veuillez lire ces instructions.
2. Conservez ces instructions.
3. Tenez compte de tous les avertissements.
4. Respectez toutes les instructions.
5. N’utilisez pas cet appareil à proximité d’une source d’eau.
6. Nettoyez l’appareil uniquement à l’aide d’un chiffon sec.
7. Ne bloquez aucun des orifices de ventilation. Procédez à
l’installation conformément aux instructions du fabricant.
8. N’installez pas cet appareil près de sources de chaleur telles que
radiateurs, bouches d’air chaud, cuisinières, ou d’autres appareils
(y compris des amplificateurs) produisant de la chaleur.
9. Ne supprimez pas la fonction de sécurité de la fiche polarisée ou
de la fiche avec tige de mise à la masse. Une fiche polarisée
comporte deux broches dont l’une est plus large que l’autre. Une
fiche avec tige de mise à la masse comporte deux broches et une
troisième tige permettant de connecter l’appareil à la masse. La
broche large ou la troisième broche est prévue pour votre
sécurité. Si la fiche fournie ne s’adapte pas à votre prise
électrique, consultez un électricien afin de procéder au
remplacement de la prise obsolète.
10. Évitez de marcher sur le cordon électrique ou de le pincer, en
particulier au niveau des prises d’alimentation, des socles des
prises d’alimentation et du point de sortie du cordon de l’appareil.
11. N’utilisez que des accessoires spécifiés par le fabricant.
12. Débranchez cet appareil durant les orages ou lorsqu’il n’est pas
utilisé pendant des périodes prolongées.
13. Utilisez du personnel d’entretien qualifié pour tous les travaux de
réparation. Une réparation est requise lorsque l’appareil a été
endommagé d’une manière quelconque ; c’est le cas, par
exemple, lorsqu’un cordon d’alimentation ou une fiche est
endommagé(e), en cas de renversement d’un liquide sur
l’appareil ou lorsque des objets sont tombés dans l’appareil par
les orifices de ventilation, si l’appareil a été exposé à la pluie ou à
l’humidité, s’il ne fonctionne pas correctement ou si vous l’avez
fait tomber.
14. Maintenez une distance minimale de 50mm à l’avant, à l’arrière et
sur les côtés de l’appareil afin de permettre une ventilation
suffisante. Il convient de ne pas restreindre la ventilation en
couvrant les orifices d’aération ou en plaçant sur ou autour de
l’appareil des objets tels que des journaux, des nappes, des
rideaux, etc.
15. Ne placez aucune source de flammes, comme des bougies
allumées, sur l’appareil.
16. L’appareil ne doit pas être exposé à des risques d’éclaboussure
ou de renversement de liquide. Ne posez dessus aucun objet
rempli de liquide, tel que des vases.
17. Le connecteur d’alimentation à l’arrière de l’appareil ou la prise
d’alimentation murale doit rester accessible, de manière à pouvoir
débrancher l’appareil.
18.
Pour débrancher complètement cet appareil du secteur,
déconnectez la fiche du cordon d’alimentation du socle de la prise
de courant.
E
N
G
L
I
S
H
E
S
P
A
Ñ
O
L
F
R
A
N
Ç
A
I
S
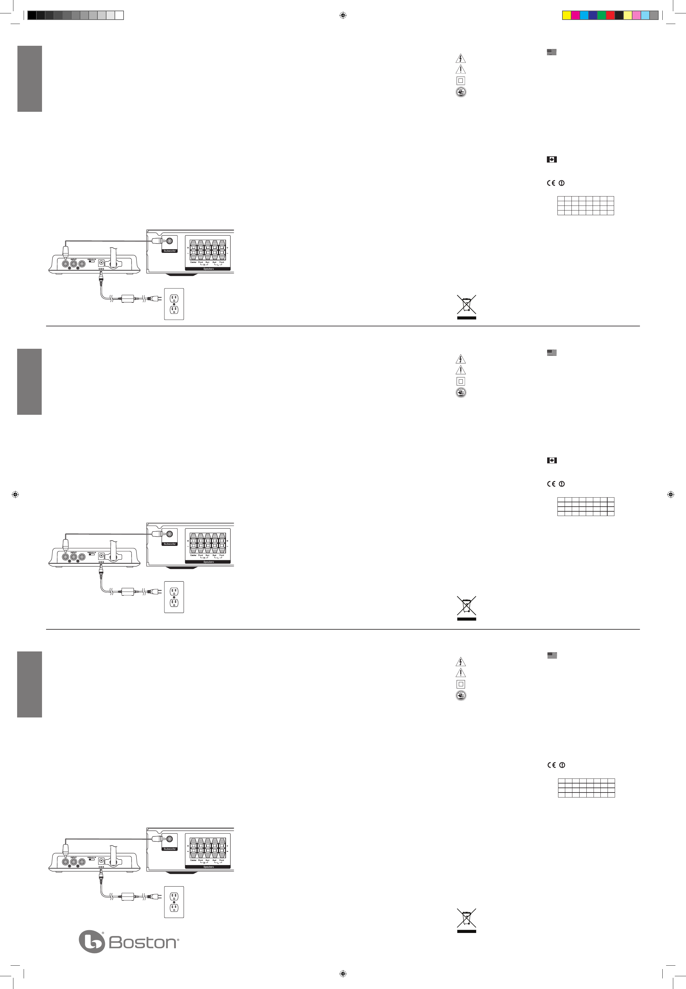
WT 50 Wireless Transmitter
WT 50 Wireless Transmitter
Thank you for choosing Boston Acoustics
Transmitter Power
Plug the transmitter power supply into a power outlet. The transmitter power supply
requires very little power so you can plug it into an auxiliary power outlet on an AV
receiver. Plug the connector on the power supply cable into the transmitter power
input labeled 18V DC.
Wireless ID Switches
Both the Boston wireless subwoofer and optional WT 50 Wireless Transmitter have
Wireless ID switches (located on the rear of the subwoofer and transmitter). The various
switch settings change the digital identification code of the wireless signal the WT 50
sends to the subwoofer. The two switches must be set to the same position. Typically
you’ll never need to adjust these switches. They are included in case you have more
than one Boston wireless subwoofer in your house. Use different Wireless ID switch
settings so the subwoofers won’t interfere with each other.
Note: Do not connect the same audio source to the subwoofer and WT 50 wireless
transmitter at the same time.
Transmisor inalámbrico WT 50
Gracias por elegir Boston Acoustics
Alimentación del transmisor
Enchufe el suministro de alimentación del transmisor en un toma. El suministro
de alimentación del transmisor requiere muy poca energía, de manera que puede
enchufarlo en un toma auxiliar de un receptor AV. Enchufe el conector del cable de
alimentación en la entrada de suministro del transmisor que lleva la etiqueta 18V DC
(18V CC).
Interruptores ID inalámbricos
Tanto el subwoofer Boston wireless subwoofer como el transmisor inalámbrico WT
50 opcional tienen interruptores ID inalámbricos (ubicados en la parte posterior del
subwoofer y del transmisor). Las diversas configuraciones de interruptor cambian
el código de identificación digital de la señal inalámbrica que el WT 50 envía al subwoofer.
Los dos interruptores deben seleccionarse a la misma posición. Es frecuente que nunca
necesite ajustar estos interruptores. Se los incluye por si usted tuviera más
de un subwoofer en su casa. Use las diferentes configuraciones de interruptores
ID inalámbricos para que los subwoofers no interfieran entre sí.
Nota: No conecte la misma fuente de audio al subwoofer y al transmisor
inalámbrico WT 50 al mismo tiempo.
Émetteur sans fil WT 50
Merci d’avoir choisi Boston Acoustics
Alimentation de l’émetteur
Branchez l’alimentation de l’émetteur à une prise électrique. L’émetteur nécessite
une alimentation très faible. Vous pouvez donc le brancher à une prise auxiliaire
du récepteur AV. Branchez le connecteur du câble d’alimentation à l’entrée
d’alimentation dénommée 18V DC de l’émetteur.
Commutateurs ID sans l
Le caisson de basse CPS Wi et l’émetteur sans fil WT 50 en option disposent de
commutateurs ID sans l (situés à l’arrière du caisson de basse et de l’émetteur).
Les différents réglages des commutateurs modifient le code d’identification numérique
du signal sans fil que l’émetteur WT 50 envoie au caisson de basse. Les deux
commutateurs doivent être réglés sur la même position. En général, vous n’aurez
jamais à régler ces commutateurs. Ils sont présents pour les situations où plusieurs
caissons de basse CPS Wi sont installés dans la maison. Réglez différemment les
commutateurs ID sans l afin que les caissons de basse n’interfèrent pas les uns
avec les autres.
Note : ne branchez pas en même temps le caisson de basse et l’émetteur sans fil WT
50 à la même source audio.
Limited Warranty
Boston Acoustics warrants to the original purchaser of our WT 50 Wireless Transmitter
that it will be free of defects in materials and workmanship in its mechanical parts for
a period of 1 year from the date of purchase.
Your responsibilities are to install and use the transmitter according to the instructions
supplied, to provide safe and secure transportation to an authorized Boston Acoustics
service representative, and to present proof of purchase in the form of your sales slip
when requesting service.
Excluded from this warranty is damage that results from abuse, misuse, improper
installation, accidents, shipping, or repairs/modifications by anyone other than an
authorized Boston Acoustics service representative.
This warranty is limited to the Boston Acoustics product and does not cover damage
to any associated equipment. This warranty does not cover the cost of removal or
reinstallation. This warranty is void if the serial number has been removed or defaced.
This warranty gives you specific legal rights, and you may also have other rights
which vary from state to state.
If Service Seems Necessary
First, contact the dealer from whom you purchased the product. If that is not
possible, write to:
Boston Acoustics, Inc.
100 Corporate Drive
Mahwah, NJ 07430 USA
Or contact us via e-mail at:
US: support@bostona.com
Japan: ba_info@dm-holdings.com
Asia Pacific: service@dm-singapore.com
We will promptly advise you of what action to take. If it is necessary to return your
WT 50 Wireless Transmitter to the factory, please ship it prepaid. After it has been
repaired, we will return it freight prepaid in the United States and Canada.
Boston Acoustics continually strives to update and improve its products.
The specifications and construction details are subject to change without notice.
Garantía Limitada
Boston Acoustics garantiza al comprador original de nuestro transmisor inalámbrico
WT 50 que no tendrá defectos de materiales ni de mano de obra en sus piezas
mecánicas durante un período de 1 año desde la fecha de compra.
Es responsabilidad suya instalarlos y utilizarlos de acuerdo con las instrucciones
suministradas, proporcionar un transporte seguro hasta un representante de servicio
autorizado de Boston Acoustics, y presentar la prueba de compra en forma de recibo
de compra cuando sea necesario este servicio.
Quedan excluidos de esta garantía los daños que resulten del uso incorrecto, del mal
uso, de una instalación inadecuada, de accidentes, del transporte, o de reparaciones/
modificaciones que no sean realizadas por el representante de servicio autorizado de
Boston Acoustics.
Esta garantía se limita al producto de Boston Acoustics y no cubre daños de equipos
afines. Esta garantía no cubre los costos de desinstalación o reinstalación. Esta garantía
será nula cuando se haya retirado o borrado el número de serie.
Esta garantía le otorga derechos legales específicos y también le podrían corresponder
otros derechos que varían de un país a otro.
Si cree que necesita servicio técnico
Primero, póngase en contacto con el distribuidor al cual ha comprado el producto. Si
esto no es posible, escriba a:
Boston Acoustics, Inc.
100 Corporate Drive
Mahwah, NJ 07430 EE.UU.
O póngase en contacto con nosotros por correo electrónico a:
En EE.UU.: support@bostona.com
Japón: ba_info@dm-holdings.com
En Asia Pacífico: service@dm-singapore.com
Le indicaremos de inmediato qué acción tomar. Si fuera necesario devolver su
transmisor inalámbrico WT 50 a fábrica, le pedimos que haga el envío con los gastos
pagados por anticipado. Después de la reparación, lo devolveremos con costos de
transporte pagados sólo en Estados Unidos y Canadá.
Boston Acoustics busca continuamente actualizar y mejorar sus productos.
Las especificaciones y detalles de construcción están sujetos a cambios sin previo aviso.
Garantie limitée
Boston Acoustics garantit à l’acheteur d’origine que les pièces mécaniques de
l’émetteur sans fil WT 50 ne comportent aucun défaut de pièce et main d’œuvre
pendant une période d’un (1) an à partir de la date d’achat.
Votre responsabilité consiste à installer et à utiliser les appareils en accord avec les
instructions fournies, à assurer un transport sécurisé vers un représentant de service
agréé de Boston Acoustics, et à présenter une preuve d’achat sous la forme d’un ticket
de caisse en cas de demande de service après-vente.
Les dommages résultant d’une utilisation abusive ou erronée, d’une installation
incorrecte, d’un accident, d’une expédition inadaptée ou de réparations /
modifications par une personne autre qu’un représentant de service agréé de Boston
Acoustics sont exclus de cette garantie.
La présente garantie est réservée au produit de Boston Acoustics et ne couvre pas
les dommages d’un quelconque équipement associé. Elle ne couvre pas le coût de
l’enlèvement ou de la réinstallation. La présente garantie est annulée si le numéro de
série a été enlevé ou abîmé.
Cette garantie vous accorde des droits légaux spécifiques. Vous pouvez disposer de
droits complémentaires qui diffèrent d’un État à l’autre.
Demande de service après-vente
Veuillez contacter en premier lieu le revendeur auprès duquel vous avez acheté ce
produit. Si aucune assistance n’est possible, veuillez écrire à :
Boston Acoustics, Inc.
100 Corporate Drive
Mahwah, NJ 07430 États-Unis
Ou veuillez nous contacter par e-mail :
États-Unis : support@bostona.com
Japon : ba_info@dm-holdings.com
Asie du Pacifique : service@dm-singapore.com
Nous vous informerons rapidement des mesures à prendre. Si vous devez retourner
votre émetteur sans fil WT 50 à l’usine, veuillez l’expédier dans un colis prépayé. Après
la réparation, elle vous sera retournée en fret prépayé aux États-Unis et au Canada.
Boston Acoustics s’efforce d’actualiser et d’améliorer constamment ses produits.
Les spécifications et les informations détaillées sur la construction peuvent être
modifiées sans avis préalable.
For EU Customers Only
This symbol found on the product indicates that the product must not be disposed of with household
waste. Instead, it may be placed in a separate collection facility for electronic waste or returned to a retailer
when purchasing similar product. The producer paid to recycle this product. Doing this contributes to reuse
and recycling, minimizes adverse effects on the environment and human health and avoids any fines for
incorrect disposal.
Sólo para clientes de la UE
Este símbolo que aparece en el producto indica que éste no debe ser eliminado con los residuos domiciliari-
os. En vez de ello debe colocarse en un punto de recogida especial para desechos electrónicos o ser devuelto
a un comercio minorista cuando compre un producto similar. El fabricante ha pagado para reciclar este
producto. Al hacerlo contribuye a la reutilización y el reciclado, minimiza los efectos adversos sobre el medio-
ambiente y la salud humana, y evita cualquier multa por una eliminación incorrecta.
Uniquement pour les clients des États-Unis
Ce symbole placé sur l’appareil indique que celui-ci ne doit pas être éliminé dans les ordures ménagères.
Il doit plutôt être recyclé séparément dans un centre de collecte d’appareils électroniques, ou retourné
au détaillant lors de l’achat d’un appareil similaire. Le fabricant est rémunéré pour le recyclage de ce produit.
Une telle pratique contribue à la réutilisation et au recyclage de composants réduisant ainsi les effets néfastes
pour l’environnement et la santé humaine et à éviter des amendes prévues pour une élimination incorrecte.
142-003799-0_WT_50_Manual_ALL Languages.indd 1 7/6/09 2:57 PM

300 Jubilee Drive, Peabody, MA 01960 USA
www.bostonacoustics.com
© 2009 Boston Acoustics, Inc. Boston, and Boston Acoustics are registered trademarks and the B/A ellipse symbol are trademarks
of Boston Acoustics, Inc. Specications are subject to change without notice. 142-003799-0
IMPORTANTI ISTRUZIONI PER LA SICUREZZA
Questo dispositivo è stato classificato come dispositivo digitale di
Classe B in conformità con le norme ICES-003 canadesi. Cet
appareil numérique de classe B est conforme á la norme NMB-003
du Canada.
Utenti americani:
’
Questo simbolo riportato sul dispositivo indica la presenza
di rischi derivanti da voltaggi pericolosi.
Questo simbolo riportato sul dispositivo indica che l'utente
deve leggere tutte le istruzioni di sicurezza riportate nel
Manuale dell'utente.
Questo simbolo riportato sul dispositivo indica la presenza
di una doppia coibentazione.
Attenzione!
Per ridurre il rischio di incendio o di folgorazione, non
esporre il dispositivo alla pioggia o all'umidità.
Utenti canadesi:
RLAN - Radio Local Area Network Equipment
Il presente dispositivo può essere utilizzato esclusivamente in interni in FR.
Il presente dispositivo può essere utilizzato esclusivamente in
ambienti privati in IT.
Il presente dispositivo può essere utilizzato solo privatamente in LU.
Funzionamento non consentito entro un raggio di 20 km dal centro
di Ny-Ålesund in NO.
Con il presente manuale, Boston Acoustics, Inc. 100 Corporate Drive,
Mahwah, NJ 07430 USA, dichiara che il dispositivo WT 50
è conforme ai requisiti essenziali e ad altre importanti condizioni
definite nella Direttiva 1999/5/EC. Per ottenere una copia della
Dichiarazione di Conformità (DOC) rivolgersi a:
Oliver Kriete
Boston Acoustics, Division of D&M Europe B.V.
Beemdstraat 11
5653 MA Eindhoven
Olanda
Utenti europei:
AT CZ FI IS LT PT SE FR
BE DK DE IE MT SK CH IT
EE GR LV NL SI TR LU CY
HU PL ES GB NO
Nota: Il presente dispositivo è stato testato e ritenuto conforme ai limiti
di Classe B per i dispositivi digitali, riportati nella Parte 15 delle Norme
FCC. Tali limiti sono stati sviluppati ai fini di fornire una protezione
ragionevole contro interferenze pericolose in installazioni residenziali.
Il presente dispositivo genera, usa e può emettere energia di
radiofrequenza e, se non installato e utilizzato in conformità con le
istruzioni riportate, potrebbe comportare interferenze pericolose alle
comunicazioni via radio. Tuttavia, non vi è alcuna garanzia che le
interferenze non si verifichino in una particolare installazione. Se il
presente dispositivo dovesse comportare interferenze pericolose nella
ricezione radiotelevisiva, il che può essere determinato tramite
l'accensione e lo spegnimento del dispositivo stesso, si invita l'utente a
tentare di correggere l'interferenza, prendendo una o più delle
seguenti misure:
•
Riorientare o ricollocare l'antenna di ricezione.
•
Aumentare la distanza tra il dispositivo e il ricevitore.
•
Connettere il dispositivo a un'uscita di un circuito diverso da
quello al quale è connesso il ricevitore.
•
Consultare il rivenditore o un tecnico radio/TV con esperienza,
per ottenere assistenza.
Attenzione: Modifiche o variazioni non autorizzate apportate al
ricevitore potrebbero compromettere il funzionamento del dispositivo
da parte dell'utente.
1. Leggere le istruzioni.
2. Conservare le istruzioni.
3. Prestare attenzione a tutte le avvertenze.
4. Seguire tutte le istruzioni.
5. Non utilizzare il dispositivo vicino all'acqua.d’une source d’eau
.
6. Pulire esclusivamente con un panno asciutto.
7. Non ostruire le aperture di ventilazione. Installare in conformità
con le istruzioni fornite dal produttore.
8. Non installare nelle vicinanze di fonti di calore come termosifoni,
stufe o qualsiasi altro dispositivo (amplificatori inclusi) che possa
generare calore.
9.
Non modificare la spina polarizzata o dotata di spinotto di
protezione. Una spina polarizzata è dotata di due lame, una più
larga dell'altra. Una spina con spinotto è dotata di due lame e di
un terzo polo di messa a terra. La lama più larga e il terzo polo
hanno lo scopo di tutelare l'incolumità dell'utente. Se la spina in
dotazione non si adatta alla presa di corrente disponibile,
rivolgersi a un elettricista per far eseguire le modifiche necessarie.
10. Proteggere il cavo di alimentazione da possibili calpestamenti o
compressioni, in particolare in corrispondenza di spine, prese di
corrente e punto di uscita dall'apparecchio.
11.
Utilizzare esclusivamente prese/accessori specificati dal produttore.
12. Scollegare l'apparecchio dalla presa di corrente in caso di
temporali o di non utilizzo per un lungo periodo di tempo.
13. Rivolgersi esclusivamente a personale di assistenza qualificato
per qualsiasi intervento. È necessario intervenire sull'apparecchio
ogniqualvolta esso risulti danneggiato in qualsiasi modo, per
esempio in caso di danneggiamento della spina o del cavo di
alimentazione, versamento accidentale di liquido sull'apparecchio
o caduta di oggetti su di esso, esposizione a pioggia o umidità,
funzionamento irregolare o caduta.
14. Collocare l'apparecchio mantenendo una distanza minima di 2"
(50 mm) davanti, dietro e sui lati, per garantire una ventilazione
ottimale. Non ostruire la ventilazione coprendo le aperture di
ventilazione o collocando sul dispositivo o attorno a esso
materiali quali giornali, tessuti, tende e così via.
15. Non collocare sull'apparecchio fonti di fiamme libere quali
candele accese.
16. Non esporre il dispositivo a sgocciolamenti o spruzzi d'acqua.
Non appoggiare sopra il dispositivo oggetti contenenti liquidi,
quali vasi da fiori.
17. Fare in modo che il connettore di alimentazione in ingresso posto
sul pannello posteriore del dispositivo o la spina di alimentazione
inserita nella presa restino accessibili, in modo da rendere
possibile lo scollegamento del dispositivo.
18.
Per scollegare completamente il dispositivo dalla presa di corrente,
staccare la spina del cavo di alimentazione dall'uscita AC.
VIKTIGA SÄKERHETSANVISNINGAR
Denna digitala apparat klass B motsvarar den kanadensiska
standarden ICES-003.Cet appareil numérique de classe B est
conforme á la norme NMB-003 du Canada.
Amerikanska användare:
’
Denna symbol som sitter på apparaten indikerar risker för
hög spänning.
Denna symbol som sitter på apparaten indikerar att
användarna måste läsa alla säkerhetsanvisningar i
bruksanvisningen.
Denna symbol som sitter på apparaten indikerar en dubbel
isolering.
Varning!
För att minska risken för elektrisk stöt, ska du inte utsätta
denna apparat för regn eller fukt.
Användare i Kanada
RLAN - Radio Local Area Network Equipment
Denna utrustning får endast användas inomhus i Frankrike.
Denna utrustning får endast användas i det egna hemmet i Italien.
Denna utrustning är avsedd endast för privat bruk i LU.
Denna utrustning är avsedd för privat användning och får inte
användas inom 20 km från centrum i NY-Ålesund i Norge.
Härmed deklarerar Boston Acoustics, Inc. 100 Corporate Drive,
Mahwah, NJ 07430 USA, att WT 50 överensstämmer
med de grundläggande kraven och andra relevanta bestämmelser
i Direktivet 1999/5/EC. En kopia på Konformitetsdeklarationen
(DOC) kan erhållas från:
Oliver Kriete
Boston Acoustics, Division of D&M Europe B.V.
Beemdstraat 11
5653 MA Eindhoven
Nederländerna
Användare i Europa
AT CZ FI IS LT PT SE FR
BE DK DE IE MT SK CH IT
EE GR LV NL SI TR LU CY
HU PL ES GB NO
Obs: denna utrustning har testats och godkänts som
överensstämmande med gränsvärdena för digital utrustning av Klass
B, enligt del 15 av FCC-reglerna för amerikanska användare. Dessa
gränsvärden har framtagits för att tillhandahålla ett skäligt skydd mot
skadliga störningar i hemmainstallationer. Denna utrustning genererar,
använder och utsänder radiofrekvensenergi och om den inte
installeras enligt anvisningarna, kan den leda till skadliga störningar i
radiokommunikationer. Men det finns inga garantier för att störningar
inte kommer att ske i en viss installation. Om denna utrustning inte ger
upphov till skadliga störningar i radio- eller TV-mottagningar, vilket kan
avgöras genom att stänga av och sätta på apparaten, uppmuntras
användaren att korrigera störningarna genom att tillämpa ett eller fler
av följande åtgärder:
• Ändra riktning för att lokalisera mottagarantennen.
• Öka separationen mellan utrustningen och mottagaren.
• Anslut utrustningen till ett uttag i en krets som skiljer sig från
den som mottagaren anslutits till.
• Konsultera återförsäljaren eller en erfaren radio- och
TV-tekniker för hjälp.’
Obs otillåtna ändringar eller modifieringar på mottagaren kan göra så
att användaren förlorar rättigheten att använda apparaten.
1. Läs dessa anvisningar.
2. Bevara dessa anvisningar.
3. Följ alla varningar.
4. Följ alla anvisningar.
5. Använd inte apparaten nära vatten
.
6. Rengör den endast med en torr trasa.
7. Blockera inga ventilationsöppningar. Installera den enligt
tillverkarens anvisningar.
8. Installera den inte nära värmekällor som element, värmepannor,
ugnar eller andra apparater som genererar värme (inklusive
förstärkare).
9.
Förstör inte säkerhetsfunktionen på polariserade eller
jordningskontakter. En polariserad kontakt har två stift och en
bredare jordningskontakt. En polariserad kontakt har två stift och ett
tredje jordningsstift. Det bredare stiftet eller det tredje stiftet finns där
av säkerhetsskäl. Om den medföljande kontakten inte passar ditt
uttag, ska du kontakta en elektriker för byte av det felaktiga uttaget.
10. Se till att man inte kan kliva på elkabeln eller att den kläms,
speciellt vid kontakterna och vid de platser där de kommer ut
ur apparaten.
11. Använd endast tillbehör som specificeras av tillverkaren.
12. Koppla bort denna apparat under stormoväder eller då du inte
ska använda apparaten under en längre tid.
13. Anförtro all service till kvalificerad servicepersonal. Service krävs
när apparaten har skadats, som då elkabeln eller uttaget har
skadats, om vätska har spillts ut eller föremål har fallit ned i
apparaten eller om apparaten har utsatts för regn eller fukt, inte
fungerar normalt eller har tappats.
14. Bibehåll ett minsta avstånd på 50 mm runt framsidan, baksidan
och vid apparatens sidor för att garantera en tillräcklig ventilation.
Ventilationen ska inte hindras genom att täcka över ventilation-
söppningarna eller placera föremål runt apparaten som tidningar,
dukar, gardiner osv.
15. Inga öppna eldslågor som tända ljus, får placeras på apparaten.
16. Apparaten får inte utsättas för droppar eller stänk.
17. Strömkontakten bak på apparaten eller strömkontakten på
väggen måste vara tillgängliga för att man lätt ska kunna koppla
bort strömmen från apparaten.
18.
För att helt koppla bort apparaten från AC-systsemet, ska du
koppla bort strömkabelns kontakt från AC-uttaget. Inga föremål
som är fyllda med vätska som vaser får placeras på apparaten.
Wichtige Sicherheitshinweise
Amerikanische Anwender:
’
Dieses Symbol auf dem Gerät weist auf gefährliche
Stromspannungen hin
Dieses Symbol auf dem Gerät weist darauf hin, dass der
Anwender alle Sicherheitshinweise dieser Anleitung
lesen sollte.
Dieses Symbol auf dem Gerät weist auf doppelte Isolierung hin.
Warnung!
Zur Vermeidung von Bränden oder elektrischer Stromschläge
setzen Sie das Gerät keinem Regen oder Feuchtigkeit aus.
RLAN - Radio Local Area Network Equipment
Denna utrustning får endast användas inomhus i Frankrike.
Denna utrustning får endast användas i det egna hemmet i Italien.
Denna utrustning är avsedd för privat användning och får inte
användas inom 20 km från centrum i NY-Ålesund i Norge.
Dieses Gerät darf in Frankreich nur innerhalb
geschlossener Räume verwendet werden.
Dieses Gerät darf in Italien nur in eigenen
Räumlichkeiten verwendet werden.
Dieses Gerät darf in Luxemburg nur zu privaten
Zwecken verwendet werden.
Der Betrieb ist nicht erlaubt in einem Umkreis von 20 km
um das Zentrum von Ny-Alesund in Norwegen
Oliver Kriete
Boston Acoustics, Division of D&M Europe B.V.
Beerndstraat 11
NL-5663 MA Eindhoven
(Niederlande)
Europäische Anwender:
AT CZ FI IS LT PT SE FR
BE DK DE IE MT SK CH IT
EE GR LV NL SI TR LU CY
HU PL ES GB NO
Hinweis: Dieses Gerät wurde geprüft und entspricht den Beschränkun-
gen für digitale Geräte der Klasse C, entsprechend den Regelungen in
Teil 5 der FCC Regeln. Diese Beschränkungen dienen einem
vernünftigen Schutz vor schädlichen Interferenzen bei Installation in
einer Wohnumgebung. Dieses Gerät erzeugt, verwendet und sendet
Strahlungsenergie aus, was bei unsachgemäßer Installation zu
störenden Interferenzen mit dem Empfang von Radio- und Fernsehsend-
ungen führen kann. Es kann jedoch nicht garantiert werden, dass bei
einer gegebenen Installation keine Interferenzen auftreten. Falls dieses
Gerät störende Interferenzen beim Radio- oder Fernsehempfang
verursacht, was durch Ein- und Ausschalten des Gerätes festgestellt
werden kann, sollte der Anwender versuchen, die Interferenzen durch
eine oder mehrere der folgenden Maßnahmen zu unterbinden:
•
Richten Sie die Empfangsantenne neu aus oder
verändern Sie deren Standort.
•
Vergrößern Sie den räumlichen Abstand
zwischen dem Gerät und dem Empfänger.
•
Schließen Sie das Gerät an einen von dem
des Empfängers getrennten Stromkreis an.
•
Ziehen den Händler oder einen erfahrenen
Radio-Fernsehtechniker zu Rate.
Achtung: Unautorisierte Veränderungen oder Modifikationen am
Empfänger können die Betriebserlaubnis des Empfängers erlöschen lassen.
1. Lesen Sie diese Anleitung
2. Verwahren Sie diese Anleitung
3. Beachten Sie alle Warnungen
4. Folgen Sie allen Anweisungen
5. Verwenden Sie dieses Gerät nicht in der Nähe von Wasser
6.
Reinigen Sie es nur mit einem trockenen Tuch
7. Blockieren Sie keine Belüftungsöffnungen. Installieren Sie es
nach den Anweisungen des Herstellers.
8. Installieren Sie es nicht in der Nähe von Wärmequellen wie
Heizkörpern, Herdplatten oder anderen Geräten (einschließlich
Verstärkern), die Wärme abgeben.
9. Missachten Sie nicht den Sicherheitszweck codierter oder
erdbarer Stecker. Ein codierte Stecker hat zwei verschieden
breite Pole. Ein erdbarer Stecker hat zwei Pole und einen dritten
Stift, der zur Erdung dient. Dieser dient Ihrer Sicherheit. Falls der
gelieferte Stecker nicht in Ihre Steckdose passt, lassen Sie die
Steckdose durch einen Elektriker auswechseln.
10. Treten Sie nicht auf das Netzkabel und knicken Sie es nicht,
insbesondere nicht in der Nähe des Steckers, von Mehrfach-
steckdosen und am Gehäuseaustritt.
11. Verwenden Sie nur vom Hersteller empfohlene Verlängerungen
und anderes Zubehör.
12. Trennen Sie das Gerät vom Stromnetz bei Gewitter oder längerer
Nichtbenutzung.
13. Wartungsarbeiten sollten nur von qualifiziertem Personal
durchgeführt werden. Eine Wertung ist erforderlich, wenn das
Gerät in irgendeiner Weise beschädigt wurde, falls beispiels-
weise ein Netzkabel oder Stecker beschädigt wurde, Flüssigkeit
in das Gerät eingedrungen ist oder Objekte in das Gerät gefallen
sind, das Gerät Regen oder Feuchtigkeit ausgesetzt war, nicht
normal funktioniert oder zu Boden gefallen ist.
14. Achten Sie auf einen minimalen Abstand des Gerätes zu anderen
Gegenständen und Wänden von 5 Zentimetern, um eine
ausreichende Belüftung zu gewährleisten. Die Belüftung darf
nicht durch Abdeckung der Belüftungsöffnungen durch
Gegenstände wie Zeitungen, Tüchern Vorhängen etc
beeinträchtigt werden.
15. Es sollten keine offenen Feuerquellen wie angezündete Kerzen
auf das Gerät gestellt werden.
16. Das Gerät sollte keinem Spritzwasser ausgesetzt werden. Keine
mit Flüssigkeit gefüllten Objekte wie Vasen sollten auf das Gerät
gestellt werden.
17. Die Stromeingangsbuches oder die Wandsteckdose des Gerätes
sollten zugänglich bleiben, damit das Gerät vom Stromnetz
getrennt werden kann.
18. Um das Gerät vollständig vom Stromnetz zu trennen ziehen Sie
den Netzstecker des Netzteils aus der Steckdose.
I
T
A
L
I
A
N
O
S
V
E
N
S
K
A
D
E
U
T
S
C
H
Trasmettitore WT 50 Ricevitore
Cavo di alimentazione
L R LFE DC 18V
4 3 2 1
WT 50-sändare Receiver
Strömkabel
L R LFE DC 18V
4 3 2 1
WT 50 Transmitter Receiver
Netzanschlusskabel
L R LFE DC 18V
4 3 2 1
Trasmettitore WT 50 Wireless
Grazie per aver scelto Boston Acoustics
Alimentazione del trasmettitore
Collegare il trasmettitore ad una presa elettrica. L’alimentazione richiesta dal
trasmettitore è minima, quindi è possibile collegarlo ad una presa di alimentazione
ausiliaria a livello del ricevitore AV. Inserire il connettore del cavo di alimentazione
nell’ingresso di alimentazione 18V DC del trasmettitore.
Interruttori ID Wireless
Sia il Subwoofer CPS Wi che il trasmettitore WT 50 Wireless sono dotati di interruttori
Wireless ID (situati a livello della parte posteriore del subwoofer e del trasmettitore).
Le varie impostazioni dell’interruttore modificano il codice di identificazione digitale
del segnale wireless che il WT 50 invia al subwoofer. I due interruttori devono essere
impostati nella stessa posizione. Normalmente non sarà mai necessario regolare tali
interruttori. Sono inclusi nel caso in cui nella vostra casa fosse presente più di un
subwoofer CPS Wi. Servirsi di diverse impostazioni dell’interruttore Wireless ID in modo
che i subwoofer non interferiscano a vicenda.
Nota bene: non collegare la stessa sorgente audio al subwoofer ed al trasmettitore
WT 50 wireless allo stesso tempo.
WT 50 trådlös sändare
Tack för att du valde Boston Acoustics
Sändareekt
Sätt sändarens kontakt i ett eluttag. Sändarens effektbehov kräver mycket lite ström
så du kan ansluta den till ett reservuttag på en AV-receiver. Anslut kontakten på
elkabeln till sändarens elingång som är märkt 18V DC.
Trådlösa ID-brytare
Både CPS Wi subwoofer och valfri WT 50 trådlös sändare har trådlösa ID-brytare (på
subwooferns och sändarens baksida). Olika brytarinställningar ändrar den trådlösa
signalens digitala identifieringskod som WT 50 sänder till subwoofern. De två brytarna
måste ställas in på samma läge. Normalt behöver du aldrig justera dessa brytare. De är
inkluderade om du skulle vilja ha mer än en CPS Wi subwoofer i ditt hem. Använd andra
trådlösa ID-brytarinställningar, så att subwoofrarna inte stör varandra.
OBS! Anslut inte samma ljudkälla till subwoofern och den trådlösa WT 50-sändaren
samtidigt.
WT 50 Wireless Transmitter
Vielen Dank, dass Sie Boston Acoustics gewählt haben
Power für den Transmitter
Stecken Sie den Netzstecker des Transmitters in eine Netzsteckdose ein. Die
Stromversorgung des Transmitters benötigt sehr wenig Strom, daher können Sie ihn
in eine Hilfssteckdose a einem AV-Receiver einstecken. Stecken Sie den Stecker am
Netzkabel in den mit 18V DC beschrifteten Stromeingang am Transmitter ein.
Drahtlos-ID-Schalter
Sowohl der CPS Wi Subwoofer als auch der optionale Wireless Transmitter verfügen
über Drahtlos- ID-Schalter (zu finden jeweils auf der Rückseite des Subwoofers und
des Transmitters). Die verschiedenen Schaltereinstellungen ändern den digitalen
Identifikationscode des drahtlosen Signals, das der WT 50 an den Subwoofer sendet.
Die beiden Schalter müssen sich in derselben Position befinden. Normalerweise müssen
Sie diese Schalter nie neu einstellen. Sie werden dann genutzt, wenn Sie zuhause mehr
als einen CPS Wi Subwoofer betreiben. Verwenden Sie unterschiedliche Einstellungen
bei den Drahtlos-ID-Schaltern, damit die Subwoofer sich nicht gegenseitig stören.
Hinweis: Schließen Sie dieselbe Audioquelle nicht gleichzeitig an den Subwoofer
und den WT 50 Wireless Transmitter an.
Garanzia limitata
Boston Acoustics garantisce all’acquirente originale del Trasmettitore WT 50 Wireless
che questo non presenta alcun difetto nei materiali e nella fattura per un periodo di 1
anno dalla data dell’acquisto.
In fase di richiesta di assistenza, è di responsabilità dell’acquirente l’installazione e
l’impiego del dispositivo in conformità con le istruzioni fornite, al fine di fornire un
trasporto sicuro e protetto presso un rappresentante di assistenza autorizzato Boston
Acoustics, nonché di presentare eventuali prove d’acquisto sotto forma di documento
di vendita.
La presente garanzia non include danni derivanti da abuso, cattivo uso, installazione
non corretta, incidenti, spedizione o riparazioni/modifiche effettuate da personale non
autorizzato da Boston Acoustics.
Questa garanzia è limitata al prodotto Boston Acoustics e non copre i danni di alcun
dispositivo associato. Questa garanzia non copre i costi di rimozione o reinstallazione.
Questa garanzia non è valida in mancanza del numero di serie del dispositivo.
Questa garanzia fornisce all’utente diritti legali specifici e gli consente di fruire di altri
diritti che variano da uno Stato all’altro.
In caso di necessità di assistenza
Contattare innanzitutto il rivenditore presso il quale è stato acquistato il prodotto.
Qualora ciò non fosse possibile, scrivere a:
Boston Acoustics, Inc.
100 Corporate Drive
Mahwah, NJ 07430 USA
O contattateci tramite e-mail all’indirizzo:
STATI UNITI: support@bostona.com
Giappone: ba_info@dm-holdings.com
Asia Pacifico: service@dm-singapore.com
Vi informeremo immediatamente su come procedere. Se è necessario restituire un
trasmettitore WT 50 Wireless alla fabbrica, effettuare una spedizione prepagata. In se-
guito alla riparazione, ve lo restituiremo franco spedizione negli Stati Uniti e Canada.
Boston Acoustics si impegna costantemente per aggiornare e migliorare i propri
prodotti.
Le specifiche e i dettagli di costruzione sono soggetti a variazioni senza preavviso.
Begränsad garanti
Boston Acoustics garanterar originalköparen av vår trådlösa WT 50-sändare att den
är fri från defekter vad beträffar material och utförande under en period av 1 år från
inköpsdatumet.
Ditt ansvar är att installera och använda dem enligt den medföljande
bruksanvisningen, att ombesörja en säker och varlig transport till en auktoriserad
Boston Acoustics-servicerepresentant, och att framlägga bevis på inköpet i form av ditt
inköpskvitto när du begär service.
Undantag från denna garanti är skador som orsakas av oaktsamhet, felaktigt
användande, felaktig installation, olyckor, frakt eller reparationer/modifieringar som har
utförts av någon annan än en auktoriserad Boston Acoustics-servicerepresentant.
Denna garanti är begränsad till Boston Acoustics-produkten och täcker inte skador
på någon extrautrustning. Denna garanti täcker inte kostnaderna för avlägsnande
eller ominstallation. Garantin är ogiltig om serienumret har avlägsnats eller har gjorts
oläsligt.
Denna garanti ger dig specifika lagliga rättigheter och du kan även inneha andra
rättigheter som kan variera från stat till stat.
Om service verkar behövas
Kontakta i första hand den återförsäljare där du köpte produkten. Om detta inte
är möjligt, skriv till:
Boston Acoustics, Inc.
100 Corporate Drive
Mahwah, NJ 07430 USA
Eller kontakta oss via e-post på:
USA: support@bostona.com
Japan: ba_info@dm-holdings.com
Asien Stilla havet: service@dm-singapore.com
Vi hör snarast av oss med råd om lämplig åtgärd. Om du skulle behöva returnera
en trådlös WT 50-sändare till fabriken, ska transporten förskottsbetalas. Efter
reparationen, kommer vi att returnera enheten med frakten betald inom USA och
Kanada.
Boston Acoustics strävar konstant efter att uppdatera och förbättra sina produkter.
Specifikationerna och tillverkningsdetaljerna kan ändras utan föregående meddelande.
Eingeschränkte Garantie
Boston Acoustics garantiert dem Erstkäufer unseres WT 50 Wireless Transmitters für
einen Zeitraum von 1 Jahr ab Kaufdatum, dass dessen mechanische Teile frei sind
von Materialfehlern und Verarbeitungsmängeln.
Ihre Verantwortung besteht darin, sie entsprechend der beigefügten Anleitung
zu installieren und zu betreiben, sie sicher bei einer autorisierten Boston Acoustics
Service-Vertretung anzuliefern und den Kauf durch Vorlage des Verkaufsbelegs
nachzuweisen, falls Garantieleistungen in Anspruch genommen werden.
Von dieser Garantie ausgeschlossen sind Schäden, die auf Missbrauch, unsachgemäße
Installation, Unfall, Fracht oder Reparaturen/Modifikationen zurückzuführen sind, die
von jemand anderem als einer autorisierten Boston Acoustics Service-Vertretung
durchgeführt wurden.
Diese Garantie ist auf das Boston Acoustics Produkt beschränkt und erstreckt sich
nicht auf etwaige damit verbundene Geräte. Diese Garantie deckt auch keine Kosten
für den Ausbau oder die erneute Installation. Diese Garantie ist verwirkt, falls die
Seriennummer entfernt wurde oder unleserlich ist.
Diese Garantie verleiht Ihnen bestimmte Rechte. Darüber hinaus haben Sie unter
Umständen weitere Rechte, die von Staat zu Staat variieren.
Reparaturanforderung
Nehmen Sie zunächst Kontakt mit dem Händler auf, bei dem Sie das Produkt gekauft
haben. Wenn dies nicht möglich ist, schreiben Sie an:
Boston Acoustics, Inc.
100 Corporate Drive
Mahwah, NJ 07430 USA
Oder kontaktieren Sie uns per E-Mail unter:
US: support@bostona.com
Japan: ba_info@dm-holdings.com
Asien und Pazifik: service@dm-singapore.com
Wir werden Ihnen unverzüglich mitteilen, wie Sie weiter vorgehen sollten. Falls
es notwendig sein sollte, Ihren WT 50 Wireless Transmitter an den Hersteller
zurückzusenden, so versenden Sie diesen bitte frei. Nach der Reparatur werden wir
ihn in den USA und in Kanada ebenfalls frachtfrei zurücksenden.
Boston Acoustics ist ständig bestrebt, seine Produkte zu aktualisieren und zu
verbessern.
Spezifikationen und Konstruktionsdetails können ohne vorherige Ankündigung
geändert werden.
Solo per i clienti dell’UE
Questo simbolo sull’apparecchio indica che lo stesso non può essere trattato come rifiuto domestico
ma deve essere smaltito separatamente in un contenitore apposito per rifiuti di apparecchiature elettriche
ed elettroniche (RAEE) o deve essere restituito al venditore quando viene acquistato un prodotto nuovo dello
stesso tipo. Il produttore ha pagato per lo smaltimento di questo prodotto; ciò contribuisce al riutilizzo
e al riciclaggio dello stesso, riducendo al minimo gli effetti dannosi sull’ambiente e sulla salute delle persone,
e inoltre evita sanzioni dovute ad un errato smaltimento.
För kunder inom EU
Den här symbolen på produkten upplyser om att produkten inte får kasseras tillsammans med hushållsavfall.
Istället får den placeras i ett separat kärl för elektroniskt avfall eller returneras till återförsäljaren i samband
med inköp av en likadan produkt. Fabrikanten har betalat för återvinning av denna produkt. Detta bidrar till
återanvändning och återvinning, minskar allvarlig inverkan på miljön och människors hälsa, samt förhindrar
böter för felaktig avfallshantering.
Nur für Kunden in der EU
Dieses Symbol auf dem Produkt gibt an, dass das Produkt nicht mit dem Hausmüll entsorgt werden darf.
Es muss bei einer besonderen Sammelstelle für Elektromüll entsorgt oder beim Kauf eines ähnlichen
Produkts an den Händler zurückgegeben werden. Der Hersteller hat für die Wiederverwertung dieses
Produkts bezahlt. Dies trägt zu Wiederverwendung und Rückgewinnung von Rohstoffen bei, verringert
ungünstige Folgen für Umwelt und Gesundheit und vermeidet Geldbußen für unsachgemäße Entsorgung.
142-003799-0_WT_50_Manual_ALL Languages.indd 2 7/6/09 2:57 PM
Federal Communication Commission Interference Statement
This equipment has been tested and found to comply with the limits for a Class B digital device, pursuant to
Part 15 of the FCC Rules. These limits are designed to provide reasonable protection against harmful
interference in a residential installation.
This equipment generates, uses and can radiate radio frequency energy and, if not installed and used in
accordance with the instructions, may cause harmful interference to radio communications. However, there
is no guarantee that interference will not occur in a particular installation. If this equipment does cause
harmful interference to radio or television reception, which can be determined by turning the equipment off
and on, the user is encouraged to try to correct the interference by one of the following measures:
. Reorient or relocate the receiving antenna.
. Increase the separation between the equipment and receiver.
. Connect the equipment into an outlet on a circuit different from that to which the receiver is connected.
. Consult the dealer or an experienced radio/TV technician for help.
FCC Caution: To assure continued compliance, any changes or modifications not expressly approved
by the party responsible for compliance could void the user's authority to operate this equipment. (Example
- use only shielded interface cables when connecting to computer or peripheral devices).
FCC Radiation Exposure Statement
This equipment complies with FCC RF radiation exposure limits set forth for an uncontrolled environment.
This equipment should be installed and operated with a minimum distance of 20 centimeters between the
radiator and your body.
This device complies with Part 15 of the FCC Rules. Operation is subject to the following two conditions:
(1) This device may not cause harmful interference, and (2) This device must accept any interference
received, including interference that may cause undesired operation.
Canada (Industry Canada)
Operation is subject to the following two conditions:
(1) this device may not cause interference, and
(2) this device must accept any interference, including interference that may cause undesired operation of
the device.
To prevent radio interference to the licensed service (i.e. co-channel Mobile Satellite systems) this device is
intended to be operated indoors and away from windows to provide maximum shielding. Equipment (or its
transmit antenna) that is installed outdoors is subject to licensing.