CONSEW 199RB 1A 1 PARTS BOOK
2016-09-22
: Manual Consew 199Rb-1A-1 Parts Book CONSEW 199RB-1A-1 PARTS BOOK CONSEW NEW CONSEW PDF
Open the PDF directly: View PDF
.
Page Count: 18

PARTS
LIST
J~-'Y
I) A "
146RB- *
A-1
199RB- *
A-1
199R -*
A-1
~
CONSOLIDATED SEWING MACHINE CORP.
~
U.S.A'
JAPAN

*
*{*il1l7t
BODY & IT'S ACCESSORIES
*
#JltJ!M~
SEWING MECHANISM
*
¥I';t1mt1lJ
PRESSER
FOOT
MECHANISM
*
UPPER
FEED
MECHANISM
*
#JH!
~
lliL
r
i!
'?
1mt1lJ
INDEX
STITCH LENGTH REGULATOR & LOWER FEED MECHANISM
*
it
;Wf,UJJ
1mffil'
NEEDLE ROCK MECHANISM
*
11
~,fl,
ACCESSORIES
OPTION PARTS
#I!fi
:lJb. itJUtJ
if
7 itiIR)t
if
7
Model
Cam
Needle
vibrating
"'orm
wheel
Needle
vibrating
worm
gear
1A
606a
601a
603a
2A
606
601
603
3A
606b
601a
603a
pages
1-2
3-6
7-8
9-10
11-12
13-14
15-16
~1%~
Form
N\/\
/',
"-
, ,
, ,

109
704
142~
143 ,.
705
If
705. I
140
115
0
102A
114
113A
131
130 134
129
15
16
-1-
r
I
~-112A
r 107
~-144
0
,
(
703a
CO
0
701
701a
701b
701c
701d
121
@ 0
0
124
127

)$:1*$7.)-
BODY & IT'S ACCESSORIES
NO
f$.r.J.
~}
146RB- 199RB- 199R-
1J7J~
PARTS
NAME
PART
NO
*A
1
*A-I
*A-I
1
102A
I 1 1 7
J...J:OO
11
J{
Top cover .
2
103A
2 2 2
...,
-
J...
.r.mi
h
J\
-ttfj~,
>/
Screw 31l6"(4.76)x321l8
3 105 2 2 2
W;fJ;(!i1i
,.
'/
Screw 9/64"(3.S7)x40/1O
4 107 2 2 2
IPj;fJ;(
(;k)
flU
'/
Screw 9/64"(3.57)x40/6.S
5 109 1 2 2
IP.~;fJ;(
('l')
,~,.
'/
Screw 9/64"(3.S7)x40/6.5
6
112A
1 1 1
J:;fJ;(*,Uf
Thread
guide
7
113A
1 1 1
-='/
i'I
*,Uf
Three hole
thread
eyelet
8 114 1 1 1
::::
~
§
*'
IJJ!i1i
,.
,;,
Screw 11/64"(4.37)x40/S.5
9 115 2 2 2
7-"*,Uf
U:T)
Arm
thread
guide
10 116 2 2 2
7-"*,1Jt
U:T)
!i1ij.
'/
Screw 9/64"(3.57)x40/6
11
117 I I 1 ;k*,1Jt Tension post
thread
guide
12 118 I 1 I ;k
*'
1Jt!i1i"
'/
Screw
9/64"(3.57)x40/6
13 119 I 1 I
*~Tl*~
Tension post
rocket
14
120 1 1 1
*,~Tl*~!i1i
j.
'/
Screw IS/64"(S.9S)x28/1O
15 121 I I I
*,~Tl*
Tension post
16
122 1 I I
*'~Tl*.!l:
j.
'/
Screw 9/64"(3.57)x40/4
17
123 I 1
*,l\l[
'J
"
j.
Take
up
spring
18 123a I
*,l\l[
'J
"
j.
Take
up
spring
19 124 2 2 2
*~TIDl
Tension disk
20 125 I I I
*,~TIDljljl'"
Tension release
washer
21
126 I I
*,~T/
j.
Tension spring
22 126a I
*~T/
,. Tension spring
23 127 I I I
*,~Tr
' f Tension
nut
24 128 I I I
iIll~"1
(
$)
!ilHffi
Oil wick
25
129 I I I
iIll~"1
($)
7
"'''
f Felt
26 130 I I I
iIll
~
"1
(mf)
IJ
}{-
Oil
tank
(Front) cover
27 131 2 2 2
iIll
~
"1
(nu)
f!fH
'/
Screw 9/64"(3.57)x40/6.S
28 132 I I I I
iIll~"1
(lit
) Oil tank (Rear)
29 133 2 2 2
iIll~"1
(lit)!i!/ij·,/
Screw 9/64"(3.S7)x401l1
30
134 7 7 7
iIll
~
"1
(ilt)
~Jl!.ffi
Oil
wick
31
135 I I I
iIll~"1
(lit
)
7.x.
JL-
I-
Felt
32 136 I I 1
iIll~"1
(lit
) 1;
/\.:-
Oil
tank
(Rear)
cover
33 137 2 2 2
·iIll~"1
(
lit)
:IJ
,.,
-ti$
:f.
!l Screw 9/64"(3.57)x40/6.5
34
138A
I 1 1
-*.
:1-
JI.-;f
t::"
;.-
Tension
releasing
pin
35 140 2 2 ' 2
l:t;fJ;(!i1i
j.
'/
Screw
IlI64"(4.37)x40
36 141 1 1 1
1ft
'J
;fJ;(
Bed
slide
37 142 1 1 1 m
1)
:{&/'::f-
Bed
slide spring
38 143 2 2 2
1ft
'J
;fJ;("
,.!i1i
j.
'/
Screw 3/32"(2.38)xS6
39 144 I 1 1 f " f Nut7132"(S.S6)x32
40 145 I I I Y:'" Holder
41 146 2 2 2
!i1i
j.
'/
Screw 3/16"(4.76)x281l2
42 701 I
7-J..."'-')'
f Arm
bed
43 701a I
7-J..."<';I
f Arm
bed
44 701b I
7-t..«7
f Arm bed
45 702 I
W;fJ;(
Face
plate
46 702a 1 I
W;fJ;(
Faceplate
47 703 I
fJl11;fJ;(
(;k)
Arm side cover (Large)
48
703.
I I
fJlj;fJ;(
(;k)
Arm side
cover
(Large)
49 704 I
fJl~;fJ;(
t'l')
Arm side
cover
(Small)
50 704a I 1
fJlj;fJ;(
('l')
Arm
side
cover
(Small)
51 705 1
l:t;fJ;(
Needle
plate
52 705a 1 I
H;fJ;(
Needle
plate
53 I
IJ
}\-
Cover (For
cam)
54 2
~.
'l
Screw
-2-

773A
202
---;;;;:-,
201
203-,L;..
210A 232A
287A
206A~J~
4)F~227
707
-,IT
1::
205A
~
: 226
209
277
286 278
709
--€llmD
~708
W----216
,---
711
283
~
2830 •
283b
~710
712
7120
,------
275
271
~'m
e274
~
267
""'-c::::'
):::..r
281A------
282-------
e
713 714
7130
7140
257A
-3-
237 239
240
l i
"'::::~"';i;::'~
241
245A
,--------
249
J»
,----------------1
I I
I I
248A
: L
243A
I I
I I
I I
I I
I
_J
L
______________
_
247A---
I
250A-----,
,-------:::==-
251
.J
,--
--
----1
i I
I L
254A
I I
I I
i I
252A---
I I
I I
L
________________
J
)g----258A
i~·
262A
261
~
I:
I
!
I
!
I
I
I.
I
\,
I,

~11It:f'A
SEWING MECHANISM
NO
$~~-q
146RB-
199RB- 199R-
.flJ~
PARTS
NAME
PART
NO
*A
I *A-I
*A
I
I
201
I I I
~tWW
Need
Ie
bar
frame
2
202
I I I
HWW1I:
t'
;.- Hinge
pin
3
203
I I I HI¥I'l-1I: t"
;.-
.tl:
,.
>'
Screw
11164
"(4.37)x40/6
4
205A
I I I
j;tW1fJ
Needle
bar
connecting stud bushing
5
206A
I I I HI¥1fJx>-
Needle
bar
connecting stud
6
207A
I I I HW1fJx>-!lli
Washer
7
208A
I I I HWJtlx
>-!lli1\1i
,.
'/
Screw 11/64"(4.37)x40
8
209
I I I HW1I:'·
'/
Screw 11/64"(4.37)x4015.5
9
210A
I I I
i+W
lJ
.,
;.-
'J
Cl
:I
r
Needle
bar
connecting link
10
211
I I I
J:tW
1 7 " 1
Jill,·
>'
Screw
!
II
216
I I I
it
11:
,.
;'
Screw
12
217
I I I
'iCfi'x>-1iIII
Take-up
lever
link
hinge
pin
13
218
I I 1
'iC;P1'
X
>-
,iii
11:
,.
;'
Screw 15/64"(5.95)x281l0
14
220A
1 1
it~
17
"1
Take-up
crank
15
220Aa
I
it~17"1
Take-up
crank
16
221
3 3 3
.t~
1 7 " 1
.tl:
oj.
'/
(:X)
Screw 1I4"(6.3S)x40/6
17
223A
1 1 1 'iCfi'1 7 " 1
Needle
crank
18
224
1 1 1 'iCfi'1 7 " 1
.tl:
,.
'/
(:X)
Screw (Large)
19
226
1 I I
H~
1 7 " 1 C 7 r
~i*Jjj(
Needle
bar connecting link guide plate
20
227
2 2 2
it~
1 7 " 1 C 7 r
~i*Jjj(1I:
,.
;'
Screw 9/64"(3.57)x40/6.5
21
230A
I 1 1
.t1illl;<
1
JO
(lr:)
Arm shaft bushing (Left)
22
231
1 I I .tflli;< 1
JL-
(lr:)
11:
,.
;'
Screw IS/64"(S.9S)x28/1O
23
232A
1 I I
.tWlIi
h
7-
Arm
shaft collar
24
233
2 2 2
.t~lIi
h 7 -11:
oj.
>'
Screw
25
236A
1 I 1
.t~dJJlIjfli:
Arm
shaft (Horizontal) lever
gear
26
237
4 4 4
.1:.MhTIl!lfli:1I:
,.
;'
Screw 1/4"(6.3S)x40n
27
238
I 1 1
J:~lh;<
1
JL-
(:ti)
Arm
shaft bushing (Right)
28
239
I 1 I
.tf~1
;<
1
JO
(:ti)
11:
,. 'J Screw IS/64"(S.9S)x281l0
29
240
I I I
J\
,:
~
]\[
Hand wee}
30
241
2 2 2
J\
-X
~
If!.Lt;f~
:;-
Screw IS/64"(S.9S)x28/16
31
242A
I I I " ,:
~.i¥iZ'f,;f~
:J
Positioning screw 11I32"(8.73)x28
32
243A
I 1 1 l.TIl!l1¥7-7- On) Gear
case
complete
33
245A
I I 1 j):tlli
JlIj
!¥
(.t)
Upright shaft gear (Upper)
34
247A
I
I'
I
j):~h
Upright shaft
35
248A
I I I
j):flli;<
1
JO
(.t)
Upright shaft bushing (Upper)
36
249
I 1 1
j):~dJ;<
?
JL-
(.t)
.tl:
,.
;'
Screw IS/64"(S.9S)x28/1O
37
250A
I 1 1
iL4iIb
j.
?
)L.-
Cf)
Upright shaft bushing (Lower)
38
251
I 1 1
j):1iIII;<
?
JL-
Cf)
.tl:
oj.
;'
Screw IS/64"(S.9S)x28/1O
39
252A
I 1 1
j):1iIIITIl!l>li
(T)
Upright
shaft
gear
(Lower)
40
254A
1 1 1 TJlIjfli:7-7-
(m)
Upright
shaft
gear
case complete
41
257A
I 1 1
Hili
Hook
drive
shaft
42
258A
1 1 1
T1iIIIilIiifli:
(:ti)
Hook
drive
shaft
gear
(Right)
43
259
4 4 4
Hili
TIl!l
fIi:
(
:ti)
11:
,.
;'
Screw 1/4"(6.3S)x40n
44
260A
1 I 1
T1iIII;<1JL-
(:ti)
(m)
Hook
driye
shaft
bushing
(Right)
complete
45
261
1 I 1
T1iIII;<
1
JL-
(:ti).tl:oj.;'
Screw IS/64"(S.9S)x28n
46
262A
1 1 1
T1iIIIh
7-
Hook
drive
shaft
collar
47
263
2 2 2
T~
h 7 -
.tl:
,.
;'
Screw IS/64"(S.95)x28/4.5
48
264A
I 1 1
T1iIII;<
?
JL-
(lr:)
(~JD
Hook
drive
shaft
bushing
(Left)
complete
49
265
1 1 1
T1iIII;<?
JL-
(lr:)
.tl:,.;,
Screw IS/64"(S.9S)x2817
50
266A
1 1 1
T1iIIIilIii1¥
(lr:)
Hook drive shaft gear (Left)
51
267
2 2 2
T1iIIIJlIjfli:
(.6:)
1I:oj.;' Screw
114
"(6.3S)x4017
52
268
I I 1
i£1iIIIilIiiJlj.
Hook
shaft
gear
53
269
2 2 2
i£1iIIIMofli:.tl:
,. " Screw 11164"(4.37)x40/6
54
271
1 1 1
i£1iIIITIl!l1¥
7 -
7-11:
,.
;'
Screw 9/64"(3.57)x40/6.5
55
273
1 1 1
i£~b;<?
JL-
(JliJ) Hook shaft bushing (Front)
56
274
2 2 2
i£1iIII;<
1
JL-
(Ji1J)
11:
,.
;'
Screw IS/64"(S.9S)x28/4.5
57
275
1 1 I
i£'lh;<?"
11
7-
Hook
shaft
bushing
collar
58
276
2 2 2
i£o/liJ;<
?
JL-
h 7
-.tl:
,.
';/
Screw 11/64"(4.37)x40J3.8
-4-

202
----,::-,
201
203--j-t
283
~
283.
283b
~708
1&----216
~710
712
712.
281A------
282------"il
713
714
713.
714.
773A
232A
287A
~--711
~-275
271
~
U lU
(J
715
-5-
257A
237
245A
248A
247A
------j
250A-----,
252A---
262A
240
242A
j
"'=--'";;;;:=-----
241
,--------------
249
J)
r----------------l
I I
I I
i L
243A
I I
I I
I I
I I
I I
L
________________
J
,--------------:::-:-
251
J
r---------
------1
: L- 254A
I I
I I
I I
I I
I I
L
________________
J
1----258A
j-
261
,
I
L
I
I

~tllm
SEWING MECHANISM
NO
fffl
Jlr:m=
.~}
146RB- 199RB- 199R-
Jl,:g
pARTS
NAME
PART
NO
*A-I
*A-I *A-I
59
277 I I I
if~11
~
9 " (l!t )
Hook
shaft
bushing
(Rear)
60 278 I I I
if~j~
~
9 " ( l!t)
J.t
j,
'/
Screw
15/64"(5.95)x28n
61
281A
I I I
Pl~J.t
Bobbin
case
position
bracket
62 282 I I I
Pl
~J.tJ.t
j,
'.f
Screw
11/64"(4.37)x40/1O
63 283 I
it
Needle
(DPxI7
18#)
64 283a I
it
Needle(DPx5 16#)
65
283b I H Needle(DPx5 14#)
66 286 2 2 2
?'Y~"'(_
Washer
67
287A
I I
1(.,:'--7-
Balance weight
68 288 2 2
j,
'.f
Screw
15/64"(5.95)x28/10
69
706A
I I
'J
" 'l:Rf'i'
(iiIl)
Take
up
lever complete
70
706Aa
I
'J
" 'l:Rf'i'
(!iH)
Take
up
lever complete
71
707 I I I
HW
Needle
bar
72 708 I I I
HWWjIp"'-
Needle
bar frame holder
73
709 I I I
mil'W~r
"'-
~;j'i'i'
'.f
Screw
9/64 "(3..57)x40/6..5
74 710 I I I
itw*m
Needle
bar
thread
guide
75 711 I I I
if*ill
Hook
shaft
76 712 I 1
if
Hook
77
712a 1
if
Hook
78 713 1 1
;f.1:;';
Bobbin
79 713a 1
;f.~::"'-
Bobbin
80 714 1 I
:F-~/7-"
Bobbin
case
81 714a I
;f.t;/7-7-
Bobbin
case
82 715 1 1 1
if*illi\l!;JI;.'F-"
Hook
shaft
gear case
83
773A
1 1 1
J:*ill
Arm
shaft
,
-6-

720---{{
386
--------1
379 -
____
omi';;;;)
380----1
387-----1
;~:.
\p
775
__
775.
382
381
ad)-722
-7-
~718A.
l.-"..'-';::~-
718A
i::=~--311
,
I
,
J
,
I

'lIp
X
tim
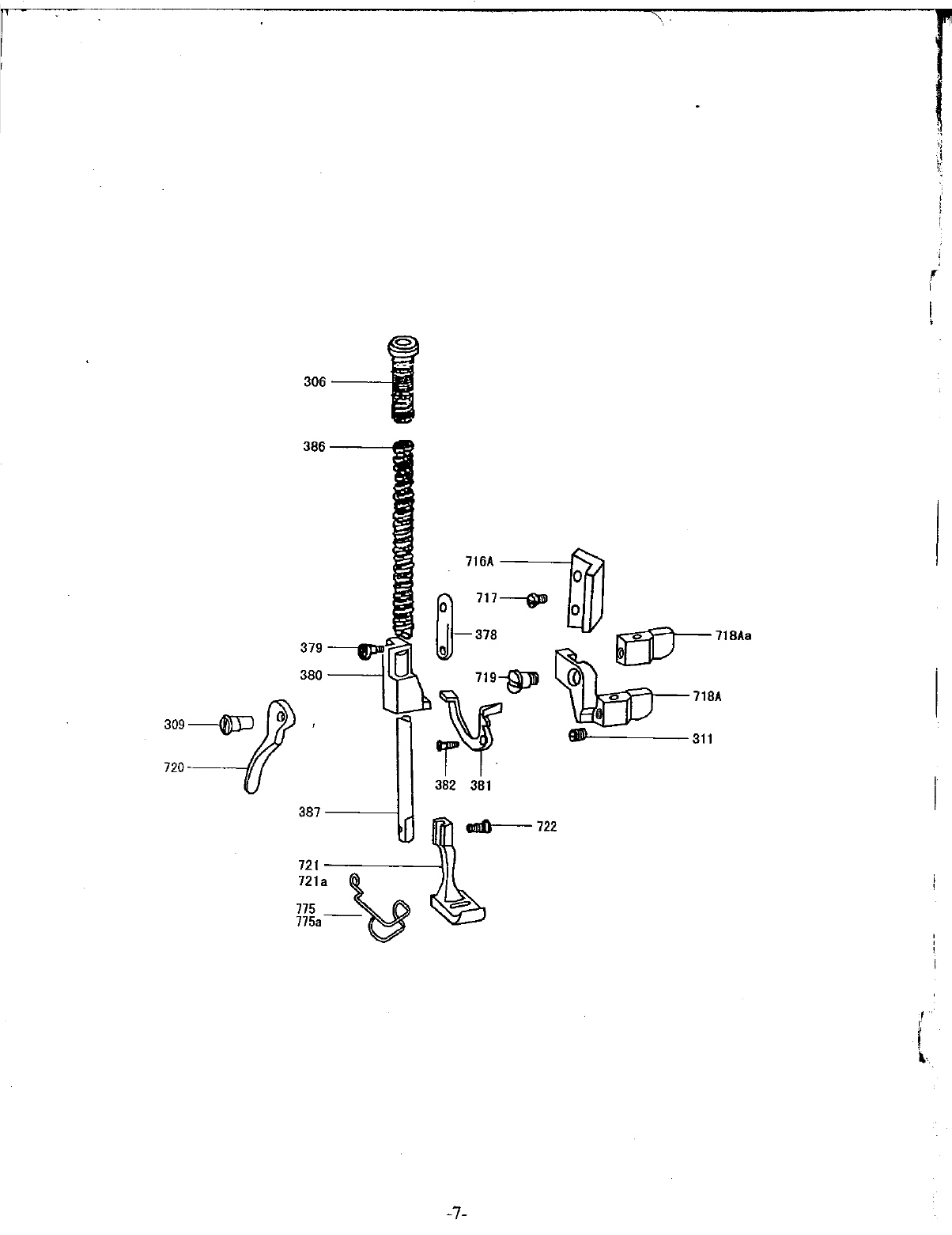
PRESSER FOOT MECHANISM
l1il.r.1I}~
146RB- 199RB- 199R- .
NO
~~
PARTS
NAME
PART
NO
*A-I
*A-I *A-I
I 306 I I I
J<I'
~
W!l1'i!
j.
oJ
Screw
2 309 I I I
J<I'
~
J: Y
j.
el
Screw 15/64"(5.95)x28/8
3
311
I I I
J<I'
~
~;a.!l:
j.
oJ
Screw 15/64"(5.95)x28n
4 378 I I I
ijlJ:~
Lifting lever
link
5 379 I I I
ij
IJ:~.!I:
j.
oJ
Screw 3/16"(4.76)x32
6 380 I I I
J<I'
~
~'1
'J
Presser bar lifting and releasing lever bracke
7
381
I I I
~.:z.}l-
j.
t-
,,_
Tension releasing lever
8 382 I I I
~
.:z.
)t.-;I.
I.-
1\
-~
*
~
Screw 11/64"(4.37)x40/8
9 386 I I 1
W.z.
J\~'
Spring
10
387 1 1 1
J<I'~~
Presser
bar
11
716A
I
J<I'
~~;a
jj
1 r Presser
bar
guide
12
717 2
J<I'
~ ~;a
jj
1
~.
**
j.
oJ
Screw 9/64"(3.57)x40/8
13
718A
1
J<I'~~;a
Presser bar holder
14
718A.
I 1
J<I'~~;a
Presser
bar
holder
15
719 1
J<I'
~
~;ai\!i.g.
j.
oJ
Screw
16
720 1 I 1
J<I'~J:Y
Presser
bar
lifter
17
721
1
9'J<I'~
Presser foot (Inside)
18
721.
I I
J<I'~
Presser foot
19
722 1 I 1
9'l'I'~**
j.
oJ
Screw 9/64"(3.57)x40/8
20
775
1 7 1
;"'n-Ji-f
Finger guard
21
775.
I I
71~:If-Jf-r
Finger guard
,
-8-

_
-------------==========;=:J:Jt----760
[ e 764
)
..-_---c-
750
(6)
}-763
749
742
741
750
C
761
751
HBH:Jl-752
1J--756
753
""
~~----748
t----746
~itt----745
736
740-
~
772
-------
~
0
739A~
738A
733A
~~~~~~~~rttJt----737
732A
744A
728
727
:
h11):
1!:!1
, ,
.....
, I
,
-~
••
.1
_--766
~~r---765
768
I
767
755
756
757
769
770
-9-
r
\\

L
{ffl~
'7
fmf14
UPPER FEED MECHANISM
iflh
..
'1.
-fj-
146RB-
199RB-
199R
.
NO
~~
PARTS
NAME
PART
NO
*A-I
*A-I
*A-I
I
727
I
:$HI'~~
Walking foot
2
728
I
9~jlJl
~
~t<1i
,. '/ Walking foot screw 9/64"(3.57)x40/8
3
729
I
~I'
~
1itrjg1
0 ? f
'l1'Lt
,.
'/ Screw IJ/64"(4.37)x40n
4
730
I
.plr.x.mr~o
-:/
~
~
Feed
arm
5
731A
I
1fI1
.x.
ffiJ
1i 0
-:/
r
5l:
fj:
~,
'.I Screw
J/4"(6.3S)x40
6
732A
I
1itr
1$1:
~
"Ii
•• Walking foot connecting
link
7
733A
I
1itr
jg1
0 ? r fl(
j.
'/
Screw ISI64"(S.9S)x28
8
734
I
1itrjg1
0 7 r
fl("
'/
J!l1~
Washer
9
735
I
1itr1$1:
0 7 r
fl("
'/
T ? r Nut ISI64"(S.9S)x28
10
736
I
9~~r
~
± €i"'l1'*liiH· '/
Lt.·
'/
Screw 9/64"(3.57)x40/8
11
737
I
Mr
~
±
€I
'l1'
Guide
12
738A
I
l\trjg1.:x.
Feed
connecting lever
13
.
739A
I
1itr
jg1.:x.
t'
>"
Hinged pin
14
740
I
1itrjg1.:x.1IJ.3i
Feed connecting slick block complete
15
741
I
1itr
jg1.:x.1IJ.3i
T 7 r Nut 9/32"(7.14)x28
16
742
1
'l'i/ill!
9'1"
"'
Feed
driving
shaft
crank
17
743
1
rpiJidJ~J[..",,<
/
"/
7
e;,
Knock pin
18
744A
1
MP±€i"
Walking
foot
guide
link
19
745
1 W
""
..r.rJ!!*Ii*'il*lii:""
'/
Screw
20
746
1
W~..r.rJ!!*Ii*'il
Bell crank
21
747
1 ..r.r
~
1i
,.
*liiH-
" Screw
22
748
1 ..r.r
~
1i
,.
Feed lifting rock shaft link
23
749
2
7-/~-;j,,:/
Taper screw
9/32"(7.14)x28
24
750
2
jlFf
if
,"
"'
"
..,
Bushing
25
751
2
-r-H-;j.
yJiliilt
Washer
26
752
2
7-J(-;j.:.It
'7 r Nut
9/32"(7.14)x28
27
753
1
*'f
if
'""'
('J' ) Feed lifting rock shaft crank (Small)
28
755
1
*'f
if
'""'
(X)
Feed lifting rock shaft crank (Big)
29
756
4
*'fY
,"",
(X)
ll:
-I-
" Screw lSI64"(S.9S)x28/4.S
30
757
1
11).,.07
r
Feed
connecting
crank
rod
31
758A
1
..r.r"
to.
Feed
lifting
eccentric
32
759
2 ..r.r
iJ
to.ll:-I-
'/
Screw ISI64"(S.9S)x28114
33
760
1 ,
'l'~
Feed
driving
shaft
34
761
1
*'fi/i~1
Feed lifting rock shaft
35
763
1 'l'
i/ii1ijg1
~
7
,"
Feed driving shaft bushing (Rear)
36
764
1
'P
4iI1i1$1:
~
7
,"
1.1:<.
" Screw ISI64"(S.9S)x28n
37
765
1
'P~$ii
Feed
driving
shaft
crank
38
766
2
'P~$iit<1i-l-"
Screw 11/64"(4.37)x40112
39
767
1
'P~$iiT-'<-
t'
>"
Taper
screw
40
768
1
'P~$iiT-'<-
t'
>"
T?
r Nut 9/32"(7.14)x28
41
769
1 1itrjg107r
Feed
driving
connecting
link
42
770
1
iitr~o
'7
r
7-1'(-1::";'-
Taper
screw
43
771
1
mr~o
'7
r
r-/t-t:";.-t
'7 Nut 9/32"(7.14)x28
44
772
1
1itrjg1.:x.
t'
>"
ll:
oj.
'/
Screw ISI64"(S.9S)x28/8
-10-

r-~----------------:
L~bL
__
~
r-
4'9A
___________
J r------------------
i
426
1
___
....J
i
@427i
IF~o~
\\>,:t~~L-W-
~
I
r-------------
I 425 1
o
1tl3r----
I Ci3 444.
44"
723
---!
424
l !
i.L)=
L-
__
_
4~6---~
724 W
72Aa---~·
,
....
_----------------------
417A
__________
428-8!
-------!
i
, I
! I
: I
464A
418A
"
~.---
458A~r
__
_
~".J---
e9
430A
j
429
!
[-1----
I i I
I I I
-----.--
T"
,
..,
....
< i i
ier
~
I
~~:!
l J)l--4_iO
___
42_'
__
-"4-20-A
___
4i-'
__
4-6
'_3A
__
.
__
4_31
l'JI
__
43
-:'
~
'~-1
~:
rt' I - 1
..
~L_~i
~
4'4
4'2
--if=--,
=0
==1
==4~~
~
,.~:"
..
-
~
-,
[-=::=-.::c4
462 :
460A
: I 438 :
, '
, '
, '
, '
449
448
4S1A
452
725:
436 1
. , '
L--------T------j
or-
435A
437
40lA
-11-
i
4
I
i
,
I
i
,
,
I
,
I
,
I

I
I
l
!
1
tIi§ir.J1r!,r~IJt!!t.m
STITCH LENGTH REGULA
TOR
& LOWER FEED MECHANISM
NO
$~.J'J-
146RB-
199RB- 199R-
.Il.~
PARTS
NAME
PART
NO
*A
I *A-I *A-I
I
40lA
I I I
Jeri!
'J~11i
Feed
lifting rock shaft
2
402
I I I
*-
'l'i!
'J
*11i
Feed
rock
shaft
3
403
2 2 2 i!'J
~rli'·
""'''?-
Screw 3/8"(953)x28
4
404
4 4 4 i!'JfJIi<''''''
"?-r
7 f Nut 3/8"(9.53)x28
5
405A
I I I
J::
r
i!
'J
JBi!
Feed lifting
rock
shaft
crank
6
406
I I I
J::ri!
'J
, °
Feed
lifting rock shaft roller
7
407
I I I
J::
r
i!
'J
JBi!!.®
,. " Screw 11/64"(4.37)x40/12
8
410
2 2 2
i!
'J
il
~.II!ll:
,. " Screw 11I64"(4.37)x40/3.8
9
411
I I I
i!
1)
€I'
Feed bar
10
412
I I I i!'J
il~11i
Feed
bar shaft
11
413
I I I
i!
'J
il~rIi
II
'7
-Feed
bar
shaft collar
12
414
I I I
i!
'J
il
i/jli
II
'7
-
ll:
,. " Screw
13
416
2 2 2
J!llI!;!.®
l' " Screw
14
417A
I I I
=Xo
7 f
Feed
forked connection
15
418A
I I I 77/P'tl?'~
Feed
lifting rock shaft connecting
rod
16
419A
I 1 1
i!
'J
II
A
(li!!)
Feed
cam
complete
17
420A
I I 1
""
Hinge screw 9/32"(7.14)28
18
421
2 2 2
7-Jf-~,
"./t"Y
r Nut 9/32"(7.14)28
19
423
I 1 1
t'fJ::~7',,!.®t"
Hinge screw 5/16"(7.94)x24
20
424
1 1 I
1:-1fJ:~7::rt:"/
Knee
lifter
lifting
lever
pin
21
425
1 1 I
t'fJ::~7'"t:'''ll:''''
Screw 15/64"(5.95)x2B/4.5
22
426
I I I
7'
,
~'¥
t
"1'
<-
" Hinge screw
23
427
I 1 1
7'''
~'¥
Knee
lifter lifting lever connecting
rod
joint
24
428
I I 1 t
'f
J::
~~I~r
7 f Nut 3/16"(4.76)x32
25
429
1 1 I t
'f
J::
~~I~
Knee
lifter
lifting lever connecting
rod
26
430A
1 1 I
1:-1fJ:~€i'
Knee
lifter
bell
crank
complete
27
431
1 1 I
I:.
'+f
J:
'J'
}'
:f.
Knee
lifter
bell
crank
spring
28
432
2 2 2 t
'f
J::
~
il~
<-
" Screw 1I/64"(4.37)x40/12
29
435A
1 1 I
i!
'J
~1irfJBi!li!!.ll:
Stitch length regulator complete
30
436
1 I I
i!
~
~1irf
L-
"-~I"
i· Spring
31
437
I I I
i!
'J
~1irf
L-
"-ll:
i· " en Screw (Lower) 9/64"(3.57)x40/6.5
32
438
I 1 I
i!
'J
~1irf
L-
"-ll:
i· "
(J::
l Screw (Upper) 9/64"(3.57)x40IB
33
441A
I 1 I X
fti!
'J
~1irf~
Feed regulator (Forked)
34
442A
I 1 I
i!
'J
'J
"
~
ll:
,-
" Screw 15/64"(5.95)x2BILO
35
443A
I I 1
iii
'J
~1irflm
ll:
<-
" Screw 9/32"(7.14)x28
36
444A
1 1 1
i!
'J
'J
"
~
$111(-)
Hinge
stud
37
445
1 1 I 1-:/ Screw 15/64"(S.95)x28/l 0
38
446A
1 1 1
i!'J'J"~
Feed
connecting
link
39
447A
1 1 I
i!
'J
'J
"~$III(=)
Hinge
stud
40
448
I 1 I §
JiIi:
~
fi'l:i1i'i'R;!
t' " Feed regulating dial lock
pin
41
449
I 1 I §
JiIi:
ry
fi'l:i1i'i'R;!
''i-
Spring
42
450A
1 1 I
iii
'J
~1irf
i-
" Feed regulating
stud
43
451A
1 1 I
i!
'J
§JiIi:~
Feed
regulating dial
44
452
1 1 1
i!
'J
§llIi;~
i- " Screw 3/16"(4.76)x28/B
45
464A
I 1 1
iii
'J
~1irf
L-
,'-
(li!!l
Feed
reverse
lever complete
46
453A
1 1 1
i!
'J
~1irf
L-
,,-
Feed
reverse
lever
47
454
2 2 2
i!
~
~1irf
L-
"-ll:
<-
'" Screw lSI64"(5.95)x2BI1O
48
455
2 2 2
iii
'J
~1irf
L-
"-$ili~
~
" Screw 3/16"(4.76)x28/6.5
49
456A
2 2 2
i!
'J
~1irf
L-
"-$ili~~
Spring
washer
50
457A
1 I 1
i!
'J
~1irf
L-
"-$iii
Feed
reverse
lever
shaft
51
458A
I 1 1
iii
'J
~1irf
<-
,/;!
9
)"
Bushing
for
stitch
length
regulator
screw
52
459
1 1 I
i!
'J
~1irf
<-
,,;!
9
)"
ll: i· " Screw 15/64"(5.95)x2B/8
53
460A
1 1 1
i!
'J
~1irf~3<
il
Stitch
length
regulator
complete
54
461
2 2 2
i!
'J
~
1irf
lm
3<
illl:
<.
'/
Screw 15/64"(S.95)x28n
55
462
2 2 2 iii'J
$111<-
""'''
9-
Screw3/8"(9.53)x28
56
463A
1 1 I
""
Screw 9/32"(7.14)x28
57
723A
1 1 1
t'fJ::~
(tIll Knee lifter lifting lever complete
58
724
I
iii
'J
llI!;
Feed dog
59
724a 1 1
i!
'J
llI!;
Feed dog
60
725
1
*-
-'jLi!
'J
JBi!
Feed
rock
shaft
crank
61
725a I 1
*-
-'jLi!
'J
JBi!
Feed
rock
shaft
crank
62
726
2 2 2 lk-¥i* I)
~~;f.
:;
1;:
............
l1/J::.II"fJl
'l"'7\
..
An/,..,

'I
628
~
®---
629
360
4 613
361-14.,
'0. m
'-'''-
611
',,-
"""1!1OT/
cy
-'
615
__
619
,,,-,,,,
'
b618
8-617
''''_
~
0
616',
0>
\
607
1--
606
606a
'L-__
606b
(
321
.--='
320
"'-----
319
1;1
318
Ii-
604
603
(])
-"'1;---
603.
620
337
"'~e7
'Tf I',
623
!
!
I
!
i
!
I
L
___
_
624
345-1
09~
,-
1
344
~~+
--EO>:Y
" f I i
627
-13-
352
359
ole
~349
4:=;;
~
0
:::!.'"
•
328
(
I
!
I
t
I
r
I
,
I
I'
I
\

I .
NEEDLE ROCK MECHANISM
NO
tma.&-~~·
146RB- 199RB- 199R-
~~
PARTS
NAME
PART
NO
*A-I
*A
I
*A
I
I 315 I I I
~~.tf:;;t:"/
Eccentric stud
2 316 I I I
:r..~.tf:;'-t:'/ll:;j,»
Screw 1I4"(6.35)x4017
3 318 I I I mil'"
"#111
h 7 - (llt) Collar (Rear)
4 319 2 2 2
H~h
"~lIh
7 - (ilt)
It
j.
'/
Screw
II/64"(4.37)x40/3.8
5 320 I I I
H~h
"Will)
?"
(to
Bushing (Rear)
6
321
I I I H~ h
"#111)
?
'"
<1lt)
It
j.
'l
Screw 15/64"(5.95)x2817
7 322 I I I HlIl'h
"iliJllh
7-
(wil Collar (Front)
8 323 2 2 2
H~h
"iIJIlh
7-
(ii1f)
It
j.
'l
Screw
9 328 I I I HlIl'iJ
"~~I)
?
J"
(ii1f)
Bushing
(Front)
10
329 I I I
H~
h
"'~11l)
? ,"
(ii1f)
It
j.
'l
Screw I5/64"(5.95)x2817
11
337 I I I
.tlll'iiJ!J~ff
lm
Zig-zag
regulator
12
338 I I I
H~~lll.~
j.
'l
Screw I5/64"(5.95)x28/8
13
339 1 I I
ltMJ!JW~Ji.
Zig-zag
regulator slide block
14
340 I 1 I
H~iiJ!J'JfJllmeli
e " Stud
15
341 I I I
Jit:";;~t7r
Nut 9/32"(7.14)x28
16
344 I I 1 HlIl'
~
7
,,~
;!
?
J"
Zig-zag
regulator
bushing
17
345 1 I I
HlIl'~
7"
~;!
!'I"lt.·
'l
Screw 15/64"(5.95)x2817
,
I
18
346 I I I HiIiU 7
"~~JIJ
Zig-zag
regulator
stud
19
348 1 1 1 HlIl'iiIlW
'7
."
~
It
j.
'l
Screw 15/64"(5.95)x28/14
20
349 I I 1 HlIl'!' f
","
1!E:lflc
Spring
washer
21
350 I 1 I 'I'
ttl
il!l~P
."
~
!.i.H
'l
Screw 31l6"(4.76)x28/6.5
22 352 4 4 4
H~
t'i
llIH&lf:;!·
.:/
Screw 9/64 "(3.57)x4017
23
353 2 2 2 HlIl''' f
7,<_
Stopper 3/16"(4.76)x32
24
354 I 1 I
H~
').
" ';I
If
_?
';I
:/
-"\ -
Washer
25
355 I 1 I HlIl''' f 7
"-ltt
7 f Nut 31l6"(4.76)x32
i
26 358 I I 1
HlIl'~
Needle
vibrating
shaft
27
359 I I I ltWt'ililltli Zig-zag indicator
plate
28
360 1 I I
If
;j_
Spring
I,
29 361 1 1 I
i<!
Screw 9/64"(3.57) X 40/6.5
30 373 I 1 I
'I'::!jiJI;JW'7."
~
Dial
31
374 I I I
HWt:m
Index finger
32 377 1 1 I
H~mHltj·
'l
Screw 11/64"(4.37)x40
33
601
I I I
H~lVJ¥
7 Needle
vibrating
worm
wheel
(2A)
34
601a I I I
.tWlW
¥ 7
Needle
vibrating worm wheel
(lA
...
2A)
35
602 2 2 2
itWiIW
¥ 7
It.·
'l
Screw 11/64"(4.37)x40/6
36 603 1 , 1 I
HW:'ll:¥
7 Needle
vibrating
worm
gear
(2A)
37 603a I I I itW'li: ¥ 7 Needle
vibrating
worm
gear
(lA,
3A)
38
604 2 2 2 .tW'li: ¥ 7
It
..
'l
Screw 15/64"(5.95)x28/4.5
39 605 I I I
HWiJt.~
Needle
vibrating
cam
shaft
40 606 1 I 1
~tW
iJ
"'
Carn(2A)
41 606a 1 1 1
ltWiJ"
Cam
(IA)
42 606b 1 I I
HWiJ"
Carn(3A)
43 607 2 2 2
HWiJ
"'It'·
>/ Screw 11/64"(4.37)x40/6
44 608 1 1 I ltlll'
~
7 "
~
1411
Zig-zag
regulator
stud
45 609 1 1 1
itW?
7 "
~
~ili;!
? J" Zig-zag
regulator
stud
bushing
46 610 I I I
HW
~
7 "
~
~lli;!
? J"
.II:
•.
'l
Screw 15/64"(5.95)x28/8
47 611 1 1 I
.3i~±€t
Needle
vibrating
cam
roller
arm
48
612 1 I I .3i'H€t.Il:"
'l
Screw 15/64"(5.95)x2817
49 613 1 1 1
eli
Needle
vibrating
cam
roller
50 614 1 1 1
.3i'lIi
Needle
vibrating
cam
roller
stud
51
615 1 1 1
.3i~T>f
Nut 15/64"(5.95)x28
52 616 I 1 1
.tWilIlWIJjjj
Needle vibrating bell crank (Rear)
53 617 2 2 2
H~ilIlWlJjjjlt
j.
'l
Screw 15/64"(5.95)x2817
54
618 1 I 1
HW14lJiJ
7-
Collar
55
619 I I I
itW~lli
iJ
7 -
.II:
•.
'l
Screw 1I4"(6.35)x40/4
56 620 I 1 1
ltWiJ\lW
=.lZ.
Forked
lever
57
621 2 2 2
stWiJI;J~ff
=.lZ.lt
j.
'/
Screw 15/64"(5.95)x2817
58 622 1 I I ltW'J
,,~
Connecting link
59 623 2 2 2
itW
'J
"
~
g[
••
'l
Screw 3/16"(4.76)x32
60 624 1 I 1
itWiJl;JW.3i€t
Needle
bar
vibrating
bell
crank
(Front)
61
625 1 I 1
itJ1;(il!lWeli€t~o
Forked
lever driving
stud
62
626 I 1 I
H~'VIilW.1<
I't
It
j.
'/
Screw 15/64"(5.95)x2817
6:3
627 1 I I
HJ1;(
0 > f Needle
vibrating
connection
64
628 I I I
~,
:J Screw 9/64"(3.57) X
40114

6
.
D.
0
7
~:
----II
14-5
14-6
~
ij--
10
14-7
~
oo
3 _
I·
-
~Lj
~9
~~~
14-1
11
12
15
16
\
5
---
~13
""
____
",-=:.'--------'------
18
-15-

t
I
I
~.----------------------------------~---------------------------,
H
{iJI,
&'/.
ACCESSORIES
$J1~
~~.
146RB-
NO
PART
NO
*A-l
1 1 4
2
la
3 Ib
4 2 2
5 2a
6 3 1
7 4 1
8 5 1
9 6 1
10
7 1
11
8 1
12
9 1
13
10
4
14
11
4
15 12
2
16
13
1
17 14
1
18
14-1 1
19
14-2 2
20 14-3 1
21
14-4 1
22 14-5 1
23
14-6 2
24 14-7 2
25
15
4
26
16
1
27
17
1
28
18
1
199RB- 199R-
*A-l
*A-l
4
4
2
2
1 1
1 1
1 1
1 1
1 1
1 1
1 1
4 4
4 4
2 2
1 1
1 1
1 1
2 2
1 1
1 1
1 1
2 2
2 2
4 4
1 1
1 1
1 1
,
.
afl.!g
PARTS
NAME
it"
7 r Needle
DPxl7
18#
it"
7 r Needle DPx5 16#
itt
'Y
r Needle DPx5 14#
.i!"
I:
;.-
Bobbin (Large)
;f-"
I:
;...-
Bobbin (Small)
*:@;~t"7
r Bobbin winder complete
i\Jfj
L.-
>'
1-
( 3 ,
'J
) Wrench (3mm)
iIIi~~
Oiler
r'7 1
)\'-
(:)()
Screw driver (Large)
r71J(-
('"
) Screw driver (Middle)
f 7
-{
"-
('J' ) Screw driver (Small)
*J'r€i't'Y r
Thread
stand
assy
iT
Nail
IlIj~"
b.
Vibration
preventing
rubber
1-"'7/(:;;-t':l
r
Table
hinge
with
rubber
cushion
'}.
,~
T
Spanner
"'-)(..
r
iJ
J\'-
(*'l)
Belt cover complete
At
J['
r
iJ
1\-1
Belt cover 1
i- ;) Screw
15/64"
(5. 95) X 28/8
r-.;;)L.-
r "
j\'-2
(lill ) Belt cover 2 complete
:t."'.)
Screw
M4
X 12. 5
«)1-
J-
h
}"-3
Belt cover 3
:1-1.*
i- ;) Screw 4.5x20
'fi"~Ji):
Washer
iT
Nail
iIIi?
;.-?
Oil
tank
complete
"'f.t.~"7
r Knee lifter assy
I:
=--}!,
h
l'i:-
Vinyl cover
-16-