Maytag Mtw5807Tq0 Users Manual
MTW5807TQ0 to the manual caf2a68c-465d-407d-b213-e73e73c9795c
2015-01-23
: Maytag Maytag-Mtw5807Tq0-Users-Manual-270922 maytag-mtw5807tq0-users-manual-270922 maytag pdf
Open the PDF directly: View PDF
.
Page Count: 13

TOP AND CABINET PARTS
1
For Model: MTW5807TQ0
(White/Gold)
3−07 Litho in U.S.A. (slc) Part No. W10130106 Rev. A
AUTOMATIC
WASHER

TOP AND CABINET PARTS
2
For Model: MTW5807TQ0
(White/Gold)
W10130106
Illus. Part
No. No. DESCRIPTION
1 Literature Parts
W10092720
Use & Care Guide
W10092744
Feature Sheet
W10092736
Energy Guide
W10111392
Wiring Diagram
2 8054939 Seal, Lid
3 21097 Pad, Lid Hinge (2)
4
W10093680
Lid
5
W10119828
Screw, Lid Hinge
Mounting (4)
6 8319539 Bearing, Lid
Hinge (2)
7 3351614 Screw, Ground
8 8318084 Switch, Lid
9 8559336 Hinge, Lid (L.H.)
10 54583 Hinge, Lid (R.H.)
11 19119 Bumper, Lid Hinge
12 62780 Clip, Top &
Cabinet & Rear
Panel (2)
13 8565967 Dispenser, Bleach
14 3357011 Screw, 10−16 x 1/2
15 8543479 Top
16 62750 Spacer, Cabinet
To Top (4)
17 63424 Cabinet
18 3390631 Screw,
10−16 x 3/8 (4)
19 3976348 Absorber, Cabinet
Sound (3)
20
W10112592
Toe Plate Assembly

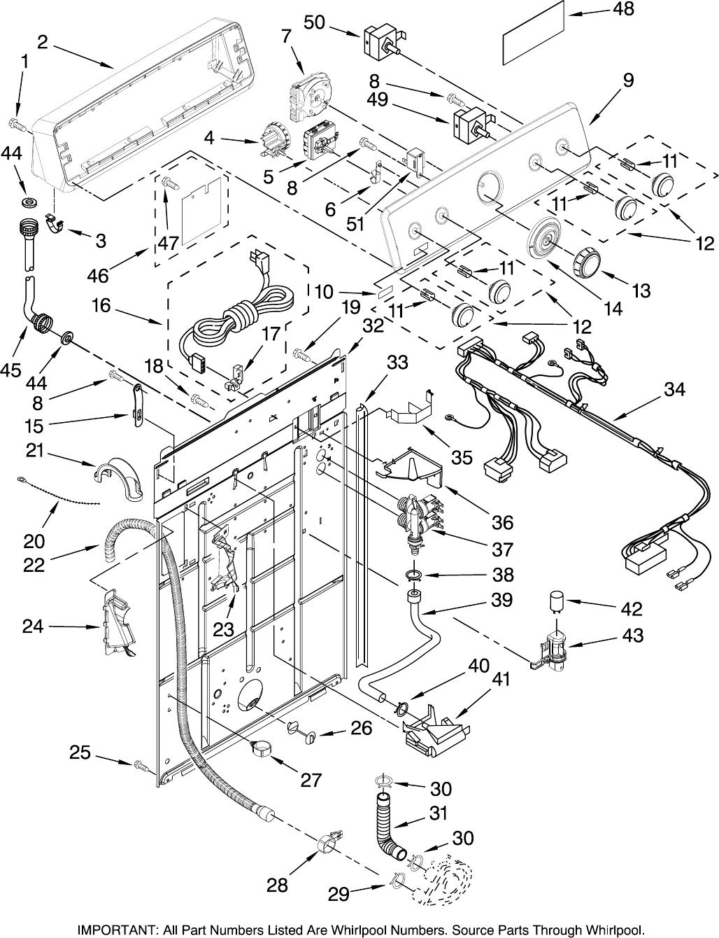
CONTROLS AND REAR PANEL PARTS
3
For Model: MTW5807TQ0
(White/Gold)
W10130106

4
CONTROLS AND REAR PANEL PARTS
For Model: MTW5807TQ0
(White/Gold)
W10130106
Illus. Part
No. No. DESCRIPTION Illus. Part
No. No. DESCRIPTION Illus. Part
No. No. DESCRIPTION
1 359625 Screw, 8−18 x 1/2
2 8579715 Console Shell
(Includes Item 3)
3 8312709 Clip, Console (2)
4 8577843 Switch,
Water Level
5 8578335 Switch, Water
Temperature (ATC)
6 8317975 Retainer, Harness
7
W10111389
Timer
(Motor Not A
Service Part)
8 90767 Screw, 8−18 x 3/8
9
W10089710
Panel, Control
(Includes Item 10)
10
W10112589
Badge Assembly
11 8536939 Clip, Knob
12
W10112583
Knob, Control
13
W10112579
Knob, Timer
14
W10112581
Dial, Timer
15 8568314 Strap, Console
16 8578842 Cord, Power
17 3952821 Strain Relief,
Power Cord
18 9740848 Screw, 8−18 x 1/2
19 3351614 Screw, Ground
20 3347868 Cable Tie
21 8577378 U−Bend,
Drain Hose
22 8559373 Drain Hose
Assembly (Includes
Items 27 & 28)
23 8541669 Bucket, Drain Hose
(Left Half)
24 8541658 Bucket, Drain Hose
(Right Half)
25 62863 Screw, 10−16 x 3/8
26 8519200 Support, Rear
Panel
27 8541667 Clamp, Hose
28 8541668 Clamp, Hose
29 8317496 Clamp, Hose
30 3363366 Clamp, Hose
31 3951449 Hose, Pump To Tub
(Includes Item 30)
32 8318015 Panel, Rear
33 62747 Pad, Rear Panel
34
W10113814
Harness, Wiring
(For Detail See
Pages 9 & 10)
35 8055003 Clip, Harness
& Pressure Hose
36 8539874 Shield, Suds
37 3979347 Valve, Water Inlet
& Thermistor Assy.
38 301958 Clamp, Hose
39 8317974 Hose, Vacuum Break
40 370450 Clamp, Hose
41 387606 Break, Vacuum
42 8572717 Capacitor,
Motor Start
43 8318046 Clip, Capacitor
44 3976300 Washer, Water
Inlet Hose (4)
(1−1/16 x 5/8)
45 Hose, Water
Inlet (2)
8571377 Blue Coupler
8571378 Red Coupler
46
W10093726
Shield, Assembly
Lower
47
W10000080
Rivet
48
W10093725
Shield, Upper
49 3949187 Switch, Rotary
50 3949180 Switch, Rotary
51 694419 Buzzer, Mini

5
AGITATOR, BASKET AND TUB PARTS
For Model: MTW5807TQ0
(White/Gold)
W10130106

AGITATOR, BASKET AND TUB PARTS
6
For Model: MTW5807TQ0
(White/Gold)
W10130106
Illus. Part
No. No. DESCRIPTION
1 8565968 Dispenser,
Fabric Softener
2 3354733 Cap, Barrier
3 3348855 Seal, Inner Cap
4 358237 Screw & Washer
(5/16−24 x 1)
5 3949550 Washer
6
W10093672
Agitator
(Complete)
7 3363663 Cam, Driven
8 3366877 Dog, Agitator
Clutch (4)
9 3363661 Bearing,
Driven Cam
10 3349019 Clothes Mover
11 3350389 Spacer, Thrust
12
W10110020
Agitator
13 8528150 Tub Ring
14 3976308 Gasket, Tub Ring
15 3354845 Clip, Agitator
16 8543666 Washer, Agitator
17
W10116603
Nut, Spanner
18
W10118233
Balance Ring
19 8579546 Basket & Balance
Ring
20 2219077 Clip, Pressure
Switch Hose
21 3347780 Hose, Pressure
Switch
22 389140 Block, Basket
Drive
23 63849 Tub
24 383727 Gasket, Centerpost

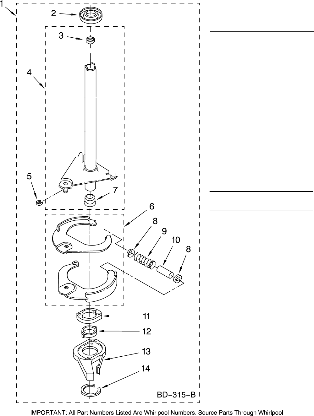
BRAKE, CLUTCH, GEARCASE, MOTOR AND PUMP PARTS
7
For Model: MTW5807TQ0
(White/Gold)
W10130106
Illus. Part
No. No. DESCRIPTION Illus. Part
No. No. DESCRIPTION
1 388952 Brake & Drive
Tube (Complete)
(Refer to Page 11
For Further
Breakdown)
2 63292 Washer, Spin
Tube Thrust
3 62697 Ring, Spin
Tube Support
4 63283 Ring, Retainer
5 3951311 Clutch (Complete)
6 3951308 Band & Lining,
Clutch (Includes
Items 7 & 8)
7 62646 Cap, Clutch
Spring (2)
8 3946792 Spring & Damper
Assembly
9 3360630 Gearcase
(Complete)
(Refer To Page 12
For Further
Breakdown)
10 3357334 Screw, Gearcase
To Base (3)
11 62611 Plate, Motor
Mount To
Gearcase
12 62691 Grommet, Motor (4)
13 3978849 Coupling, Motor
& Isolation
14 8577374 Seal
15 3355454 Clip,
Anti−Rattle
16 3400516 Screw
17 3349637 Retainer, Motor (2)
18 3362089 Shield, Tub
To Motor
19 8528157 Motor, Main
Drive
20 3952056 Switch, Main
Drive Motor
21 8546127 Retainer, Pump (2)
22 3363394 Pump (Complete)
23 3387485 Screw, 10−16 x 5/8
24 3946532 Shield, Motor

MACHINE BASE PARTS
8
For Model: MTW5807TQ0
(White/Gold)
W10130106
Illus. Part
No. No. DESCRIPTION
1 3400076 Screw, Bracket
Mounting
(10−32 x 5/8)
2 64067 Bracket, Spring
Outer (2)
3 63907 Spring
Suspension,(3)
4 8575214 Support & Brake,
Tub
5 64065 Bracket, Spring
Outer (L.F.)
6 63466 Link, Leveling
Mechanism (2)
7 62597 Spring, Leveling
Mechanism
8 62837 Pin, Knurled
9 62596 Foot, Rear (2)
10 8546455 Bearing,
Centerpost (2)
11 357409 Seal, Centerpost (3)
12 388492 Spring,
Counterweight
13 62568 Pad, Plate
14 3946509 Plate, Suspension
(Includes Item 13)
15 3363660 Pad, Base
16 3946512 Base Assembly
(Includes Items 6,
7, 8, 9, 13, 14
15 & 22)
17 3359452 Nut, Lock (2)
(3/8−16)
18
W10001130
Foot, Front (2)
19 8577376 Seal, Centerpost
20 285203 Centerpost
Bearing Kit
(Includes Items
10, 11 & 19)
21 63134 Ring, Sound
Deadening
22 63806 Retainer,
Suspension Spring

WIRING HARNESS PARTS
9
For Model: MTW5807TQ0
(White/Gold)
W10130106

WIRING HARNESS PARTS
Illus. Part
No. No. DESCRIPTION Illus. Part
No. No. DESCRIPTION Illus. Part
No. No. DESCRIPTION
1 3349557 Retainer, Harness
2 388498 Clip, Harness
3 3347812 Clip, Harness
4 3352501 Clip, Harness
(Push−In)
5 90016 Clip, Harness
(Half−Harness)
6 3390496 Clip, Harness
7 389379 Retainer, Harness
8 Timer, Block
Disconnect
3948614 Natural
352089 Black
9 62889 Receptacle,
Terminal
(3−Way)
10 353424 Plug, Terminal
(3−Way)
11 62505 Block, Disconnect
(Motor 2 Speed)
12 3347243 Block, Disconnect
13 63523 Protector
14 717252 Connector
(2−Way)
15 3352944 Clip, Harness
16 3390423 Block, Disconnect
(12−Way)
17 3347730 Receptacle
(6−Way)
18 3948617 Connector (T.P.A.)
(3−Circuit)
19 3360056 Plug (T.P.A)
(3−Circuit)
(Pressure Switch)
20 Block, Connector
3354925 Natural
3354926 Red
FOR COMPLETE WIRING HARNESS REFER TO
CONTROL AND REAR PANEL PARTS PAGE
10
For Model: MTW5807TQ0
(White/Gold)
W10130106

Illus. Part
No. No. DESCRIPTION
BRAKE AND DRIVE TUBE PARTS
1 388952 Brake And Drive
Tube (Complete)
2 62658 Ring, Thrust
3 356427 Seal, Drive Tube
4 64027 Tube, Basket
Drive (Includes
Illus. 3, 4, 5 & 9)
5 64035 Ring, Retaining
6 64232 Shoe, Brake (2)
7 62703 "T" Bearing,
Spin Tube
8 3353956 Cap, Brake
Spring (2)
9 387806 Spring, Brake
10 3355360 Sleeve, Brake
Spring
11 661516 Cam, Brake
Release
12 63022 Sleeve, Cam
13 64194 Driver, Brake
Cam
14 90368 Ring, Retaining
FOLLOWING PARTS
NOT ILLUSTRATED
285208 Lubricant
(Use Only In
Brake Shoe
Assembly On
Roller & Pin)
11
For Model: MTW5807TQ0
(White/Gold)
W10130106

GEARCASE PARTS
Illus. Part
No. No. DESCRIPTION
1 3360630 Gearcase
(Complete)
2 285202 Cover, Gearcase
3 3349985 Seal, Gearcase
Cover
4 285195 Sealer, Gasket
(.20 Fl. Oz.) (6 ml)
5 63320 Pinion, Spin
(Includes Illus. 25)
6 356427 Seal, Spin
Pinion
7 389387 Shaft, Agitator
(Complete)
8 90369 Ring, Retaining (2)
9 62677 Retainer, Spring
10 62676 Spring, Agitate
11 63273 Gear, Agitate
(Includes 15 and 29)
12 62619 Washer, Agitate
Gear
13 62580 Cam Follower
(Includes 14)
14 62581 Cam, Agitate
(Includes 13)
15 285509 Shaft, Agitator
(Includes 11 and 29)
16 62618 Washer, Cam Thrust
17 16018 Bearing, Thrust
18 85529 Ball, Bearing
19 389230 Bottom and Pinion,
Gearcase
21 285352 Seal, Thrust Plug
22 3351614 Screw, Gearcase
Cover, Mounting (8)
(10−24 x 3/8)
23 3362552 Ring, Retaining
24 285735 Washer Kit,
Thrust
25 62570 Gear, Spin
26 388253 Neutral Assembly
27 3349296 Rack, Connecting
28 62621 Actuator, Shift
29 388815 Washer,
Intermediate
12
For Model: MTW5807TQ0
(White/Gold)
W10130106

OPTIONAL PARTS (NOT INCLUDED)
13
For Model: MTW5807TQ0
(White/Gold)
W10130106
Illus. Part
No. No. DESCRIPTION
PAINT, TOUCH−UP (1/2oz.)
72017 White
PAINT, PRESSURIZED SPRAY
(12 oz.)
350938 Primer, Gray
350930 White
PAINT, BULK (1 qt.)
799344 White (Uncut)
OIL
350572 Oil, Gearcase
(16 Oz.)
LUBRICANT
285208 Lubricant (Use
Only in Brake
Shoe Assembly
On Roller and
Pin)
SEALER
285195 Sealer, Gasket
(.20 Fl. Oz.) (6 ml)
ACCESSORY PARTS
367031 Drain Protector
280129 Siphon Break Kit
280130 Drain Hose
Adapter Kit
280131 Drain Hose
Extension Kit