Metrologic Instruments Laser Scanner Users Manual 00 02554B MS7220 ArgusScan Presentation
Laser Scanner to the manual 64ce49ff-aefd-4502-b13d-7a46c154e215
2015-02-02
: Metrologic-Instruments Metrologic-Instruments-Laser-Scanner-Users-Manual-436994 metrologic-instruments-laser-scanner-users-manual-436994 metrologic-instruments pdf
Open the PDF directly: View PDF
.
Page Count: 56
- MS7220 ArgusScan
- Locations
- Table of Contents
- Introduction
- Scanner and Accessories
- Getting Started
- Installation
- Scanner Parts
- Power Save Modes and the Multi-Function Button
- Indicators
- Labels
- Scan Volume (Default)
- Depth of Field Minimum Bar Code Element Width
- EAS Deativation Antenna
- Maintenance
- Troubleshooting Guide
- RS232 Demonstration Program
- Applications and Protocols
- Design Specifications
- Default Settings
- MS7220 Stands
- Scanner and Cable Terminations
- Limited Warranty
- Laser and Product Safety
- Patents
- Index
- Manual Date Code


ii
LOCATIONS
CORPORATE HEADQUARTERS
North America Metrologic Instruments, Inc. Customer Service: 1-800-ID-METRO
90 Coles Road Tel: 856-228-8100
Blackwood, NJ 08012-4683 Fax: 856-228-6673
Email: info@metrologic.com
Internet: www.metrologic.com
EUROPEAN HEADQUARTERS
Germany, Metrologic Instruments GmbH Tel: +49 89 89019 0
Middle East and Africa Dornierstrasse 2 Fax: +49 89 89019 200
82178 Puchheim b. Email: info@europe.metrologic.com
Munich, Germany Germany Email: info@de.metrologic.com
Spain Metrologic Eria lbérica SL Tel: +34 913 272 400
Julián Camarillo 29, D-1 Fax: +34 913 273 829
Edificio Diapasón Email: info@es.metrologic.com
28037 Madrid
Italy Metrologic Instruments Italia srl Tel: +39 0 51 6511978
Via Emilia 70 Fax: +39 0 51 6521337
40064 Ozzano dell’Emilia (BO) Email: info@it.metrologic.com
France Metrologic Eria France SA Tel: +33 (0) 1 48.63.78.78
69 Rue de la Belle Etoile Fax: +33 (0) 1 48.63.24.94
ZI Paris Nord II, BP 50057 Email: info@fr.metrologic.com
95947 – ROISSY CDG CEDEX
United Kingdom Metrologic Instruments UK Limited Tel: +44 (0) 1256 365900
58 Tempus Business Centre Fax: +44 (0) 1256 365955
Kingsclere Road, Basingstoke Email: info@uk.metrologic.com
Hampshire RG21 6XG
Russia Metrologic Russia Tel: +7 095 5093 485
Bolshaya Novodmitrovskaya 14
RU-125015 Email: info@ru.metrologic.com
Moscow Russia
ASIA
Singapore Metrologic Asia (Pte) Ltd Tel: 65-6842-7155
No. 8 Kaki Bukit Place Fax: 65-6842-7166
4th Floor Email: info@sg.metrologic.com
Singapore 416186
China Metro (Suzhou) Technologies Co., Ltd. Tel: 86-512-62572511
221 Xing Hai Street Fax: 86-512-62571517
Suzhou Industrial Park Email: info@cn.metrologic.com
Suzhou, China
215021
Japan Metrologic Japan Co., Ltd. Tel: 81-03-3839-8511
Matsunoya Building, 6 Floor Fax: 81-03-3839-8519
3-14-8 Higashiueno Email: info@jp.metrologic.com
Taitou-Ku, Tokyo 110-0015 Japan
SOUTH AMERICA
Brazil Metrologic do Brasil Ltda. Tel: 55-11-5182-8226
Rua da Paz 2059 Fax: 55-11-5182-8315
CEP 04713-002 Email: info@br.metrologic.com
Chácara Santo Antônio
São Paulo, SP, Brasil
Outside Brazil Metrologic South America Tel: 55-11-5182-7273
Rua da Paz 2059 Fax: 55-11-5182-7198
CEP 04713-002 Email: info@sa.metrologic.com
Chácara Santo Antônio
São Paulo, SP, Brasil
Copyright
© 2003 by Metrologic Instruments, Inc. All rights reserved. No part of this work may be reproduced, transmitted, or stored
in any form or by any means without prior written consent, except by reviewer, who may quote brief passages in a review,
or provided for in the Copyright Act of 1976.
Products and brand names mentioned in this document are trademarks of their respective companies.

iii
TABLE OF CONTENTS
Introduction .......................................................................................................... 1
Scanner and Accessories .................................................................................... 2
Getting Started ..................................................................................................... 3
Installation
OCIA Interface.................................................................................................. 5
Keyboard Wedge Interface............................................................................... 6
Stand-Alone Keyboard Interface ...................................................................... 7
USB Interface ................................................................................................... 8
RS232 or Light Pen Interfaces ......................................................................... 9
Auxiliary Scanner............................................................................................ 11
Scanner Parts .................................................................................................... 13
Power Save Modes and The Multi-Function Button ........................................... 14
Indicators
Audible............................................................................................................ 16
Failure Modes................................................................................................. 17
Visual.............................................................................................................. 18
Labels................................................................................................................. 19
Scan Volume...................................................................................................... 20
Depth of Field by Minimum Bar Code Element Width........................................ 21
EAS Deactivation Antenna................................................................................. 23
Maintenance....................................................................................................... 23
Troubleshooting Guide....................................................................................... 24
RS232 Demonstration Program ......................................................................... 29
Applications and Protocols................................................................................. 30
Design Specifications......................................................................................... 31
Default Settings.................................................................................................. 33
MS7220 Stands
Vertical Stand Parts [MLPN 46-46405 ] ............................................................ 39
Optional Flex Stand Parts [MLPN 46-46404 ]................................................... 39
Vertical Stand Installation............................................................................... 40
Optional Flex Stand Installation...................................................................... 41
Scanner and Cable Terminations....................................................................... 42
Limited Warranty................................................................................................ 46
Laser and Product Safety................................................................................... 47
Patents ............................................................................................................... 49
Index................................................................................................................... 50

1
INTRODUCTION
ArgusScan® is an aggressive, omnidirectional laser barcode scanner ideal for
retail, convenience, liquor, and specialty store applications. Engineered with a
large, easy-to-find optimal scan area, ArgusScan increases the first pass read
rate for maximum productivity.
ArgusScan is equipped with a multitude of standard features including:
• A bright 650 nm laser
• Programmable depth of field
• PowerLink user replaceable cables
• MetroSet®2, MetroSelect® and MetrOPOS® compatible
• Data editing (parsing) capability using Bits n' Pieces®
• A 2 year warranty
SCANNER INTERFACE
MS7220-13 RS232, IBM 46xx, OCIA, Aux
MS7220-37 RS232, Light Pen, Keyboard Wedge,
Stand-Alone Keyboard, USB, Aux

2
SCANNER and Accessories
BASIC KIT
Part # Description
MS7220 ArgusScan Presentation Scanner
00-02407 MetroSelect® Programming Guide**
00-02554 MS7220 User’s and Installation Guide**
46-46406 Standard Horizontal Stand
46-46405 Standard Vertical Stand
**Also available for download at www.metrologic.com
OPTIONAL ACCESSORIES
Part # Description
AC to DC Power Transformer - Regulated 5.2V @ 1 A output
46-46759 120V United States
46-46616 220V – 240V Continental European
46-46615 220V – 240V United Kingdom
46-46984 220V – 240V China
46-46985 220V – 240V Australia
54-54xxx* Straight PowerLink Cable with built in power jack.
2.1 m (7’) cord with short strain relief
53-53xxx* Coiled PowerLink Cable with built in power jack.
2.7 m (9’) cord with long strain relief
* xxx specifies connection to the host
54-54002 Keyboard Wedge PowerLink Cable w/ Adapter Cable
54-54020 Stand Alone Keyboard Wedge PowerLink Cable
54-54667 RS232 AUX PowerLink Cable
46-46404 Optional Flex Stand
Other items may be ordered for the specific protocol being used. To order additional items,
contact the dealer, distributor or call Metrologic’s Customer Service Department at 1-800-ID-
METRO or 1-800-436-3876.

3
GETTING STARTED
Tools needed:
• Phillips head screwdriver
• ¼”-20 wrench
• Drill with a #39 drill bit (drill for hard-mount installation only)
Slide off the cable cover. Slide off the horizontal stand.
Slide on the cable door and
remove the foam insert.
Loosen the lock nut, push back
the metal base plate and then
slide the cable through the cable
opening.
Mounting the MS7220: Peel off the base plate’s tape backing and affix it to
the countertop or drill four #39 pilot holes and secure the base plate to the
countertop with the four #8 wood screws provided.
Continued on next
p
a
g
e.

4
GETTING STARTED
See the “MS7220 Stands” section of this guide for additional information on the vertical
[ MLPN 46-46405 ] and flexible [ MLPN 46-46406 ] stand options.
Return the metal base plate to its
original position then tighten the
lock nut.
Return the foam insert to its
original position then slide
the horizontal stand back
into place on the scanner.
Before continuing, determine what communication interface is needed
then follow the installation procedure for that interface on pages 5-12.
It is important to use the correct communication jack on the back of
the scanner (see pages 5-12 for cable the proper connections).
Incorrect cable connections can cause communication problems or
potential damage to the scanner
After the communication cable has been connected properly, slide the
cable cover down then secure in place with the three M3x .5 x 6 mm pan
head screws provided.

5
INSTALLATION FOR OCIA INTERFACE
1. Follow the “Getting Started” steps on
page 3.
2. Turn off the host system.
3. Connect the MVC cable to the 10-pin
OCIA interface jack. It is the
2nd round opening from the left side of the
MS7220 (see figure 1).
4. Connect the other end of the MVC cable
to the host.
Before continuing verify that the MVC
cable is connected to the appropriate
interface jack on the scanner. An
incorrect cable connection can cause
communication problems or potential
damage to the scanner.
Plugging the scanner into the serial port
of the PC does not guarantee that
scanned information will appear at the
PC. A software driver and correct
configuration settings are also required
for proper communication.
5. Slide the cable cover into place on the
back of the scanner then secure it with the
three M3 screws provided.
6. Turn on the host system.
7. Scan the Load OCIA Defaults bar code to
configure the MS7220 for OCIA
communication.
For additional communication options for OCIA interfaces refer to the
MetroSelect Programming Guide (MLPN 00-02407).
Caution:
To maintain compliance with applicable standards, all circuits connected to the scanner must meet the requirements
for SELV (Safety Extra Low Voltage) according to EN 60950.
To maintain compliance with standard CSA C22.2 No. 60950-00//UL 60950 and norm EN 60950, the power source
should meet applicable performance requirements for a limited power source.
³999993
Load OCIA Defaults
Figure 1: OCIA, Interface

6
³999994
Load Keyboard
Wedge Defaults
Figure 2: Keyboard Wedge
Interface
INSTALLATION FOR KEYBOARD WEDGE INTERFACE
1. Follow the “Getting Started” steps on
page 3.
2. Turn off the host system.
3. Disconnect the keyboard from the host.
4. Connect the PowerLink cable to the 10-pin
KBW interface jack. It is the 2nd round
opening from the left side of the MS7220 (see
figure 2).
5. Connect the “Y” end of the PowerLink cable
to the keyboard and the keyboard port on the
host. If necessary use the male/female
adapter cable supplied with the scanner for
proper connections.
Before continuing verify that the PowerLink
cable is connected to the appropriate
interface jack on the scanner. An incorrect
cable connection can cause communication
problems or potential damage to the scanner.
6. Connect the external power supply to the
power jack on the PowerLink cable.
7. Check the AC input requirements of the
power supply to make sure the voltage
matches the AC outlet.
8. Connect AC power to the transformer. The
outlet should be near the equipment and
easily accessible.
9. Slide the cable cover into place on the back
of the scanner then secure it with the three
M3 screws provided.
10. Turn on the host system.
11. Scan the bar code below to configure the
MS7220 for Keyboard Wedge
communication.
Caution:
To maintain compliance with applicable standards, all circuits connected to the scanner must meet the requirements
for SELV (Safety Extra Low Voltage) according to EN 60950.
To maintain compliance with standard CSA C22.2 No. 60950-00/UL 60950 and norm EN 60950, the power source
should meet applicable performance requirements for a limited power source.

7
Figure 3: Stand-Alone
Keyboard Interface
INSTALLATION FOR STAND-ALONE KEYBOARD INTERFACE
1. Follow the “Getting Started” steps on
page 3.
2. Turn off the host system.
3. Disconnect the keyboard from the host.
4. Connect the PowerLink cable to the jack
labeled “Stand-Alone Keyboard” on the
MS7220.
5. Connect the other end of the PowerLink
cable to the keyboard port on the host.
Before continuing verify that the
powerlink cable is connected to the
proper communication jack on the
scanner. Incorrect cable connection
can cause communication problems or
potential damage to the scanner.
6. Connect the external power supply to
the power jack on the PowerLink cable.
7. Check the AC input requirements of the
power supply to make sure the voltage
matches the AC outlet.
8. Connect AC power to the transformer.
The outlet should be near the
equipment and easily accessible.
9. Slide the cable cover into place on the
back of the scanner then secure it with
the three M3 screws provided.
10. Turn on the host system.
11. Scan the two bar codes in order to
configure the MS7220 for
Stand-Alone Keyboard communication.
Note: When scanning the bar codes, cover the code not being scanned to
ensure the codes are read in the proper sequence.
Caution:
To maintain compliance with applicable standards, all circuits connected to the scanner must meet the requirements
for SELV (Safety Extra Low Voltage) according to EN 60950.
To maintain compliance with standard CSA C22.2 No. 60950-00/UL 60950 and norm EN 60950, the power source
should meet applicable performance requirements for a limited power source.
³999994
Scan 1S
t
Load Keyboard Wedge Defaults
³5155153
Scan 2nd
Enable Stand-Alone Keyboard Wedge

8
Fi
g
ure 4a: POS Di
p
Switch
Fi
g
ure 4b: USB, Interface
INSTALLATION FOR USB INTERFACE
1. Follow the “Getting Started” steps on page 3.
2. Turn off the host system.
3. Determine if your application requires USB
Keyboard communication protocols or USB
Point-of-Sale communication protocols.
4. If you require USB Keyboard
communication protocols, skip to step 5.
If you require USB Point-of Sale
communication protocols set the dip
switches shown in figure 4a to positions
1 and 2.
5. Connect the PowerLink cable to the
10-pin USB interface jack. It is the 2nd
round opening from the left side of the
MS7220 (see figure 4b).
6. Connect the other end of the USB cable to
the host.
Before continuing verify that the USB cable
is connected to the appropriate interface
jack on the scanner. An incorrect cable
connection can cause communication
problems or potential damage to the
scanner.
Plugging the scanner into the USB port of
the PC does not guarantee that scanned
information will appear at the PC. A
software driver and correct configuration
setting are also required for proper
communication.
7. Slide the cable cover into place on the back
of the scanner then secure it with the three
M3 screws provided.
8. Turn on the host system.
9. Scan the Enable USB Defaults bar
code to configure the MS7220 for
USB communication.
Caution:
To maintain compliance with applicable standards, all circuits connected to the scanner must meet the requirements
for SELV (Safety Extra Low Voltage) according to EN 60950.
To maintain compliance with standard CSA C22.2 No. 60950-00/UL 60950 and norm EN 60950, the power source
should meet applicable performance requirements for a limited power source.
³999978
Enable USB Defaults

9
INSTALLATION FOR RS232 OR LIGHT PEN INTERFACES
1. Follow the “Getting Started” steps on
page 3.
2. Turn off the host system.
3. Connect the PowerLink cable to the
10-pin RS232/Light Pen interface jack. It
is the 1st round opening from the left side
of the MS7220.
4. Connect the other end of the PowerLink
cable to the host.
Before continuing verify that the
powerlink cable is connected to the
appropriate communication jack on the
scanner. An incorrect cable connection
can cause communication problems or
potential damage to the scanner.
5. Connect the external power supply to the
power jack on the PowerLink cable.
6. Check the AC input requirements of the
power supply to make sure the voltage
matches the AC outlet.
7. Connect AC power to the transformer.
The outlet should be near the equipment
and easily accessible.
8. Slide the cable cover into place on the
back of the scanner then secure it with
the three M3 screws provided.
9. Turn on the host system.
10. Scan the appropriate bar codes on page 10 to configure
the MS7220 for RS-232 or Light Pen communication.
Caution:
To maintain compliance with applicable standards, all circuits connected to the scanner must meet the requirements
for SELV (Safety Extra Low Voltage) according to EN 60950.
To maintain compliance with standard CSA C22.2 No. 60950-00/UL 60950 and norm EN 60950, the power source
should meet applicable performance requirements for a limited power source.
Figure 5: RS232 or
Light Pen Interface

10
INSTALLATION FOR RS232 OR LIGHT PEN INTERFACES
Step 10, page 9 continued.
For RS232 Communication:
Scan 1st ³999998
Recall Defaults
Scan 2nd ³415554
Enable RS-232
For Light Pen Communication:
Scan 1st ³999998
Recall Defaults
Scan 2nd ³415524
Enable Light Pen/Wand

11
INSTALLATION OF AN AUXILIARY SCANNER
1. Turn off the host system.
2. Connect the round end of the PowerLink RS232 AUX cable
[ MLPN 54-54667A ] to the RS232 jack of the auxiliary scanner (see figure 6).
3. Connect the other end of the PowerLink RS232 AUX cable into the 1st jack
from the left side of the MS7320. The Aux jack has a square opening.
The following Metrologic scanners can be used in the “Aux” input of the
MS7220: the MS9520, MS9540, MS6220, MS7120, MS6520, MS6720,
MS7320 or another MS7220.
Important: The MS7220 aux port requires the signals: transmit, receive,
RTS & CTS from the auxiliary scanner.
4. Connect the MS7220/Host PowerLink* cable to the appropriate interface
jack on the back of the MS7220.
5. Connect the other end of the MS7220/Host PowerLink cable to the Host.
6. Connect the external power supplies for the auxiliary scanner and the
MS7220 to the power jacks on the two PowerLink cables.
Before continuing verify that the powerlink cable is connected to the
appropriate interface jack on the scanner. An incorrect cable connection
can cause communication problems or potential damage to the scanner.
7. Check the AC input requirements of both power supplies to make sure the
voltage matches the AC outlets.
8. Slide the cable cover into place on the back of the scanner then secure it
with the three M3 screws provided.
9. Connect AC power to the transformers. The outlets should be near the
equipment and easily accessible.
10. Configure the MS7220 for the appropriate interface configuration settings.*
* The MS7220/host cable connection is interface dependent. Refer to the
installation steps provided for the type of interface required for your
application.
Continued on page 12.
Caution:
To maintain compliance with applicable standards, all circuits connected to the scanner must meet the requirements
for SELV (Safety Extra Low Voltage) according to EN 60950.
To maintain compliance with standard CSA C22.2 No. 60950-00/UL 60950 and norm EN 60950, the power source
should meet applicable performance requirements for a limited power source.

12
INSTALLATION OF AN AUXILIARY SCANNER
11. Configure the auxiliary scanner to send formatted
data to the MS7220. Normal slave mode operation
will only require reserve Code 32 to be set in the
auxiliary scanner. The Reserve Code 32 bar code
applies for all scanners, except the MS6720, to be
used as an auxiliary scanner. Contact a Metrologic
representative for information on the MS6720.
12. Configure the MS7220 to activate the auxiliary port. Enable the auxiliary
port and configure it to recognize slave formatted data with the following bar
code:
³437330
Enable Aux Port
13. Turn on the host system.
Figure 6: Auxiliary Scanner Setup
³124817
Reserve Code 32

13
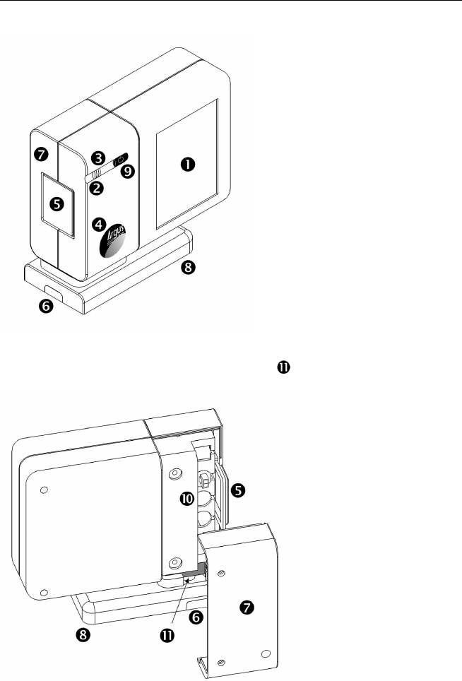
SCANNER PARTS
n Output Window
o Red LED
p Green LED
q Speaker
r Side Cover
s Cable Door
t Cable Jack Cover
u Horizontal Mount Base
vMulti-Function Button
(see page 15)
wCable Connection Area
Foam Insert
Figure 7b: Scanner Parts
Figure 7a: Scanner Parts

14
POWER SAVE MODES AND THE MULTI-FUNCTION BUTTON
The MS7220 has five programmable power save modes. Refer to the
MetroSelect Programming Guide for additional information on Power Save
Modes.
1. Blink Power Save Mode (Default):
“Blinks” the laser OFF & ON after a programmed period of non-use.
When the scanner recognizes a bar code it will exit the Blink mode.
2. Laser Off Power Save Mode:
Turns the laser OFF after a programmed period of non-use.
The motor continues to spin allowing for a faster “wake” up time. Pressing
the Multi-Function button will “wake” the scanner from the Laser Off power
save mode (see figure 8d).
3. Laser & Motor Off Power Save Mode:
Turns the laser and motor OFF after a programmed period of non-use.
Pressing the Multi-Function button will “wake” the scanner from the power
save mode (see figure 8d). This mode is the only power save mode that can
be activated by the Multi-Function Button (see figure 8c). This mode’s
“wake up” time is slightly longer due to the motor’s need to restart.
4. Dual Action Power Save Mode #1:
“Blinks” the laser OFF & ON after a programmed period of non-use turns the
laser and motor OFF at thirty-minute intervals.
Example:
If the power save timeout
is set to 15 minutes.
Pressing the Multi-Function button will “wake” the scanner from the power
save mode (see figure 8d).
5. Dual Action Power Save Mode #2:
Turns the laser OFF after a programmed period of non-use then turns the
motor OFF after thirty-minute intervals.
Example:
If the power save timeout
is set to 15 minutes.
Pressing the Multi-Function button will “wake” the scanner from the power save
mode (see figure 8d).
Laser starts
“Blinking”
Laser & Motor
turn OFF
Last
Scan
Laser turns
OFF
Motor turns
OFF
Last
Scan

15
POWER SAVE MODES AND THE MULTI-FUNCTION BUTTON
CHANGING THE BEEPER TONE
A Short (<3 second) depression and the beeper
tone will change. The new tone will be heard,
followed by a short pause. Then two more of the
new tones will be heard signifying the new
setting has been stored in memory. The silent
(no beep) tone is also selectable.
PLACING THE UNIT IN LASER & MOTOR OFF
POWER SAVE MODE
Long (>3 seconds) depression
The Laser & Motor Off Power Save Mode is the
only power save mode that can be activated with
the multi-function button.
WAKING THE UNIT FROM ALL POWER SAVE MODES
The next button depression will awaken the
scanner for normal operation.
Figure 8a: Multi-Function Button
Figure 8b: Changing the
Beeper Tone
Figure 8c: Laser & Motor
Power Save mode
Figure 8d: Normal Operation

16
AUDIBLE INDICATORS
When the MS7220 scanner is in operation, it provides audible feedback. These
sounds indicate the status of the scanner. Eight settings are available for the
tone of the beep (normal, 6 alternate tones and no tone). To change the tone,
use the Multi-Function Button or refer to the MetroSelect Programming Guide
(MLPN 00-02407).
One Beep
When the scanner first receives power, the green LED will turn on,
the red LED will flash and the scanner will beep once. The red LED
will remain on for the duration of the beep. The scanner is now
ready to scan.
When the scanner successfully reads a bar code, the red LED will
flash and the scanner beeps once (if programmed to do so). If the
scanner does not beep once and the red light does not flash, then
the bar code has not been successfully read.
Razzberry Tone
This is a failure indicator. Refer to failure modes page 17.
Three Beeps - during operation
When placing the scanner in program mode, the red LED will flash
while the scanner simultaneously beeps three times. The red and
green LEDs will continue to flash until the unit exits program mode.
Upon exiting program mode, the scanner will beep three times and
the red LED will stop flashing.
When configured, 3 beeps can also indicate a communications
timeout during normal scanning mode.
When using one-code-programming, the scanner will beep three
times (the current selected tone), followed by a short pause, a high
tone and a low tone. This tells the user that the single
configuration bar code has successfully configured the scanner.
Three beeps will also occur during a manual adjustment of the
beeper tone. With each short depression of the Multi-Function
Button, the new tone will be heard, followed by a short pause then
two more of the new current tones.
Three Beeps - on power up
This is a failure indicator. Refer to failure modes page 17.

17
FAILURE MODES
Flashing Green and One Razzberry Tone
This indicates the scanner has experienced a laser subsystem
failure. Return the unit for repair at an authorized service
center.
Flashing Red and Green and Two Razzberry Tones
This indicates the scanner has experienced a motor failure.
Return the unit for repair at an authorized service center.
Continuous Razzberry Tone with both LEDs off
If, upon power up, the scanner emits a continuous razzberry
tone, then the scanner has an electronic failure. Return the
unit for repair at an authorized service center.
Three Beeps - on power up
If the scanner beeps 3 times on power up then, the nonvolatile
memory that holds the scanner configuration has failed.
Return the unit for repair at an authorized service center.

18
VISUAL INDICATORS
There is a red LED and a green LED on the front of the MS7220. When the
scanner is on, the flashing or constant illumination of the LEDs indicates the
status of the current scan and the scanner.
No Red or Green LED
The LEDs will not be illuminated if the scanner is not receiving power
from the host or transformer.
Steady Green
When the laser is active, the green LED is illuminated. The green
LED will remain illuminated until the laser is deactivated.
During the power save mode, the laser will turn on and off. During
this period, the green LED remains illuminated.
Steady Green and Single Red Flash
When the scanner successfully reads a bar code, the red LED will
flash and the scanner will beep once. If the red LED does not flash
or the scanner does not beep once, then the bar code has not been
successfully read.
Steady Green and Steady Red
After a successful scan, the scanner transmits the data to the host
device. Some communication modes require that the host inform the
scanner when data is ready to be received. If the host is not ready to
accept the information, the scanner’s red LED will remain on until the
data can be transmitted.
Flashing Green then Flashing Red
This indicates the scanner is in program mode. A razzberry tone
indicates that an invalid bar code has been scanned in this mode.
or
If the unit is in sleep mode, each LED will flash once every 15
seconds.
Steady Red, Green off
This indicates the scanner may be waiting for communication from
the host.

19
LABELS
Each scanner has a label on the back of the unit. The label contains information
such as the model number, date of manufacture, and the serial number.
Additional CE and caution information has been molded into the back of the
case. The following is an example of the back of the case with the label and
molded text.
Figure 9: Back view of the case. (Top)
Interface Label, Located Under the Cable Jack Cover (Bottom)

20
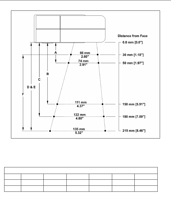
SCAN VOLUME (DEFAULT)
(BASED ON 100% UPC BAR CODES)
Figure 10: Top View Scan Volume (Default)
Figure 11: Side View Scan Volume (Default)
Specifications subject to change without notice.

21
DEPTH OF FIELD BY MINIMUM BAR CODE ELEMENT WIDTH
(BASED ON 100% UPC BAR CODES)
Figure 12: Top View of Default Depth of Field
Specifications subject to change without notice.
Minimum Bar Code Element Width
ABCDEF
mm .13 .19 .26 .33 .48 .66
mils 5.2 7.5 10.4 13 19 26

22
DEPTH OF FIELD BY MINIMUM BAR CODE ELEMENT WIDTH
(BASED ON 100% UPC BAR CODES)
Figure 13: Side View of Default Depth of Field
Specifications subject to change without notice.
Minimum Bar Code Element Width
ABCDEF
mm .13 .19 .26 .33 .48 .66
mils 5.2 7.5 10.4 13 19 26

23
EAS DEACTIVATION ANTENNA
SW1 and SW2 are the switch banks inside the CheckPoint Device that set the
deactivation range. Metrologic recommends end users program the MS7220 to
the Fixed Low-Density depth of field, so that the unit does not scan out beyond
the deactivation range.
Unit # CheckPoint Recommended
Switch Bank Settings
MS7220 Depth of Field
Settings
MS7320 SW1 & SW2
switches 2, 3, 4, 5, and 6 set to ON Default
*Note: Minimum element width changes to 6.8 mil when in this mode.
Figure 14: EAS Deactivation Antenna
Contact Checkpoint Systems directly for additional EAS support.
MAINTENANCE
Smudges and dirt can interfere with the proper scanning of a bar code.
Therefore, the output window will need occasional cleaning.
1. Spray glass cleaner onto lint free, non-abrasive cleaning cloth.
2. Gently wipe the scanner window.

24
TROUBLESHOOTING GUIDE
The following guide is for reference purposes only. Contact a Metrologic
representative at 1-800-ID-METRO or 1-800-436-3876 to preserve the limited
warranty terms.
MS7220 Series Troubleshooting Guide
SYMPTOMS POSSIBLE CAUSE(S) SOLUTION
All Interfaces
No LEDs,
No beep or
No motor spin
No power is being
supplied to the
scanner.
Check the transformer,
outlet and power strip.
Make sure the cable is
plugged into the scanner.
No LEDs,
No beep
No power is being
supplied to the
scanner from host.
Some host systems cannot
supply enough current to
power an ArgusScan. Use
the power supply included
with the scanner.
The unit beeps 3
times on power
up.
There has been a
Non-volatile RAM
failure.
Contact a Metrologic
service representative, if the
unit will not hold the
programmed configuration.
The unit razzes
continuously on
power up.
There is a RAM or
ROM failure.
Contact a Metrologic
service representative if the
unit will not function.
At power up, there
is a Razz tone and
the green LED
flashes.
There has been a
VLD failure.
Contact a Metrologic
service representative.
At power up,
there is a Razz
tone and both
LEDs flash.
There has been a
scanner motor
failure.
Contact a Metrologic
service representative.
There are multiple
scans upon
presentation of a
bar code.
The same symbol
timeout is set too
short.
Adjust the same symbol
timeout for a longer time.
The unit powers
up, but does not
beep.
The beeper is
disabled.
No volume is selected.
No tone is selected.
Enable the beeper.
Select a volume
(programmable).
Select a tone.

25
TROUBLESHOOTING GUIDE (CONTINUED)
SYMPTOMS POSSIBLE CAUSE(S) SOLUTION
The unit is scanning
a particular
symbology that is not
enabled.
UPC/EAN, Code 39,
interleaved 2 of 5, Code 93,
Code 128 and Codabar are
enabled by default. Verify
that the type of bar code
being read has been
enabled.
The unit powers
up, but does not
scan and/or
beep. The scanner has
been programmed
for a character length
lock, or a minimum
length and the bar
code being scanned
does not satisfy the
programmed criteria.
Verify that the bar code
being scanned falls into the
programmed criteria.
(Typical of Non-UPC/EAN
codes. The scanner
defaults to a minimum of 4
character bar code.)
The unit scans a
bar code, but
locks up after
the first scan
(the red LED
stays on).
The scanner is
configured to support
some form of host
handshaking but is
not receiving the
signal.
If the scanner is setup to
support ACK/NAK,
RTS/CTS, XON/XOFF or
D/E, verify that the host
cable and host are
supporting the handshaking
properly.
The unit scans,
but the data
transmitted to
the host is
incorrect.
The scanner’s data
format does not
match the host
system requirements.
Verify that the scanner’s
data format matches the
host systems requirements.
Make sure that the scanner
is connected to the proper
host port.
The print quality of
the bar code is
suspect.
Check the character
length lock.
The unit beeps
for some bar
codes and NOT
for others of the
same bar code
symbology. The aspect ratio of
the bar code is out of
tolerance.
Check the print mode. The
type of printer could be the
problem. Change print
settings. For example
change the print mode to
econo or high speed.

26
TROUBLESHOOTING GUIDE (CONTINUED)
SYMPTOMS POSSIBLE CAUSE(S) SOLUTION
The bar code may
have been printed
incorrectly.
Check if it is a check
digit/character/or border
problem.
The scanner is not
configured correctly
for the type of bar
code.
Check if the check digits are
set properly.
The unit beeps
for some bar
codes and NOT
for others of the
same bar code
symbology
The minimum symbol
length setting does
not work with the bar
code.
Check if the correct
minimum symbol length is
set.
Keyboard Wedge Only
The unit scans
the bar code but
there is no data.
The configuration is
not correct.
Make sure the scanner is
configured for the
appropriate mode.
The unit scans
but the data is
not correct.
The configuration is
not correct.
Make sure that the proper
PC type (AT, PS2 or XT) is
selected. Verify the correct
country code and data
formats are selected. Adjust
the intercharacter delay.
The unit is
transmitting
each character
The configuration is
not correct.
Increase the interscan code
delay setting. Adjust
whether the F0 break is
transmitted. It may be
necessary to try this in both
settings.

27
TROUBLESHOOTING GUIDE (CONTINUED)
SYMPTOMS POSSIBLE CAUSE(S) SOLUTION
Alpha
characters
show as lower
case.
The computer is in
Caps Lock mode.
Enable Caps Lock Detect
setting of the scanner to
detect whether the PC is
operating in Caps Lock.
Everything
works except
for a couple of
characters.
The characters may
not be supported by
that country’s key look
up table.
Try operating the scanner in
the Alt mode.
RS-232 Only
The unit is
transmitting
each character.
The configuration is
not set correctly.
Increase the interscan code
delay setting. Adjust if the
F0 break is transmitted. It
may be necessary to try this
in both settings.
Alpha
characters
show as lower
case.
The computer is in
Caps Lock mode.
Enable the Caps Lock
detect setting of the scanner
to detect whether the PC is
operating in Caps Lock.
Com port at the host is
not working or
configured properly
Com port not
operating properly.
Power-up OK
and scans OK
but does not
communicate
properly to the
host
Cable not connected
to the proper com port
Check to make sure that the
baud rate and parity of the
scanner and the
communication port match
and the program is looking
for “RS-232" data
The host is
receiving data but
the data does not
look correct.
The scanner and host
may not be configured
for the same interface
font.
Check that the scanner and
the host are configured for
the same interface font.

28
TROUBLESHOOTING GUIDE (CONTINUED)
SYMPTOMS POSSIBLE CAUSE(S) SOLUTION
Characters are
being dropped.
Intercharacter delay
needs to be added to
the transmitted output.
Add some intercharacter
delay to the transmitted
output by using the
MetroSelect Programming
Guide (MLPN 00-02407).
Slave operation with any interface
Trouble with the
Slave Scanner.
Refer to the user’s guide
provided with the slave
scanner.
Cable [MLPN 54-54667]
may not be connected
to the proper port.
Ensure slave scanner is
connected to the MS7220
com port marked “Aux” port.
* The MS7220 must be
programmed to enable the
“Aux” port.
Slave Scanner
powers up but
data is not
relayed to the
host. The “Aux” com port
may not be operating
properly. The slave scanner must be
configured to send “slave”
formatted data (reserve
code 32).
* Use MetroSet®. For the Auxiliary interface, choose “HoloTrak Decode”. All
remaining parameters will be automatically chosen.
USB Only
Check that the scanner is
programmed for USB
operation.
The unit powers
and scans but
does not
communicate.
The USB Port is not
operating correctly. Check that the host’s USB
port is enabled.
The unit emits a
razz tone and the
LEDs flash three
times when
configured for
USB.
The USB port is not
operating correctly.
Disconnect then reconnect
the USB cable at the host
end. Contact a Metrologic
service representative if
symptoms persist.

29
RS232 DEMONSTRATION PROGRAM
If an RS232 scanner is not communicating with your IBM compatible PC,
key in the following BASIC program to test that the communication port
and scanner are working. This program is for demonstration purposes
only. It is only intended to prove that cabling is correct, the com port is
working, and the scanner is working. If the bar code data displays on the
screen while using this program, it only demonstrates that the hardware
interface and scanner are working. At this point, investigate whether the
application software and the scanner configuration match. If the
application does not support RS-232 scanners, a software wedge
program that will take RS-232 data and place it into a keyboard buffer
may be needed. This program tells the PC to ignore RTS-CTS, Data Set
Ready (DSR) and Data Carrier Detect (DCD) signals. If the
demonstration program works and yours still does not, jumper RTS to
CTS and Data Terminal Reading (DTR) to DCD and DSR on the back of
your PC.
110 CLS
110 ON ERROR GOTO 100
110 OPEN “COM1:9600,S,7,1,CS0,DS0,CD0,LF” AS #1
110 PRINT “SCAN A FEW BAR CODES”
110 LINE INPUT #1, BARCODE$
110 PRINT BARCODE$
110 K$ = INKEY$: IF K$ = CHR$(27) THEN GOTO 32766
110 GOTO 40
110 PRINT “ERROR NO.”; ERR; “ PRESS ANY KEY TO TERMINATE.”
110 K$ = INKEY$: IF K$ = “” THEN GOTO 110
32766 CLOSE: SYSTEM
32767 END

30
APPLICATIONS AND PROTOCOLS
The model number on each scanner includes the scanner number and factory
default communications protocol.
Scanner Version
Identifier Communication Protocol(s)
7220 13 RS232, IBM 46xx, OCIA, Aux
7220 37 RS232, Light Pen, Keyboard Wedge, Stand-
Alone Keyboard, USB, Aux
The MS7220 with Built-in PC Keyboard Wedge Interface is designed to be used
for keyboard emulation only. Many RS-232 programmable functions available in
other Metrologic scanners are also available as keyboard wedge functions.
The following are the most important selectable options specific to the keyboard
wedge.
Keyboard Type
• ** AT (includes IBM® PS2 models 50, 55, 60, 80)
•XT
• IBM PS2 (includes models 30, 70, 8556)
Keyboard Country Type
• ** USA • United Kingdom
• French • German
• Italian • Spanish
• Belgium • Swiss
• Japanese
** Refer to pages 33-38 for complete information on the factory default
settings. Refer to the MetroSelect® Programming Guide
(MLPN 00-02407) or MetroSet® 2’s help files for information on how to
change the default settings.

31
DESIGN SPECIFICATIONS
MS7220 DESIGN SPECIFICATIONS
OPERATIONAL
Light Source: VLD 650 ± 10 nm
Laser Power: 0.678 mW maximum
Depth of Field: 0 mm to 215 mm 8.5" at default (programmable)
Scan Speed: 2000 scans/second
Scan Pattern: 5 fields of 4 parallel lines (omnidirectional)
Scan Lines: 20
Min Bar Width: 0.13 mm (5.2 mil)
Decode Capability: Autodiscriminates all standard bar codes; for
other symbologies call Metrologic
System Interfaces: PC Keyboard Wedge, RS-232, OCIA, Light Pen,
Stand Alone PC Keyboard
Print Contrast: 35% minimum reflectance difference
No. Characters
Read:
up to 80 data characters(Maximum number will
vary based on symbology and density)
Roll, Pitch, Yaw: 360°, 60°, 60°
Beeper Operation: 7 tones or no beep
Indicators (LED): green = laser on, ready to scan
red = good read, decoding
MECHANICAL
Height: 123 mm (4.8")
Depth: 65mm (2.6")
Width: 168 mm (6.6")
Weight: 0.91 Kg (2 lbs)
Termination: Four 10-pin modular RJ45 Jacks
Cable: Standard 2.1m (7’) straight; optional 2.7m (9')
coiled; for other cables call Metrologic
Specifications subject to change without notice

32
DESIGN SPECIFICATIONS
MS7220 DESIGN SPECIFICATIONS
ELECTRICAL
Input Voltage: 5.2VDC ± 0.25V
Power: 1.9 W
Operating Current: 360 mA
DC Transformers: Class II; 5.2 V @ 1A
Laser Class 1:
CDRH: Class IIa;
EN 60825-1: 1994/A11:1996
IEC 60825-1:1993+A1:1997+A2:2001
EMC: FCC, ICES-003 & EN 55022 Class B
ENVIRONMENTAL
Operating Temperature: 0°C to 40°C (32°F to 104°F)
Storage Temperature: -40°C to 60°C (-40°F to 140°F)
Humidity: 5% to 95% relative humidity, non-condensing
Light Levels: 4842 LUX (450 foot candles)
Contaminants: Sealed to resist airborne particulate
contaminants
Ventilation: None required
Specifications subject to change without notice.

33
DEFAULT SETTINGS
Many functions of the scanner can be "programmed" - that is, enabled or
disabled. The scanner is shipped from the factory programmed to a set of
default conditions. The default parameter of the scanner has an asterisk
( * ) in the charts on the following pages. If an asterisk is not in the default
column then the default setting is Off or Disabled. Every communication does
not support every parameter. If the communication supports a parameter listed
in the charts on the following pages, a check mark will appear.
PARAMETER DEFAULT OCIA RS-232 LIGHT
PEN
IBM
46XX KBW USB
UPC/EAN *aaaaaa
Code 128 *aaaaaa
Code 93 *aaaaaa
Codabar *aaaaaa
Interleaved 2 of 5 (ITF) *aaaaaa
MOD 10 Check on ITF aaaaaa
Code 11 aaaaaa
Code 39 *aaaaaa
Full ASCII Code 39 aaaaaa
MOD 43 Check on
Code 39 aaaaaa
MSI-Plessey aaaaaa
Airline (15 Digit) 2 of 5 aaaaaa
Airline (13 Digit) 2 of 5 aaaaaa
Matrix 2 of 5 aaaaaa
Telepen aaaaaa
UK Plessey aaaaaa
STD 2 of 5 aaaaaa
MSI-Plessey 10/10 Check Digit aaaaaa
MSI-Plessey MOD 10 Check
Digit *aaaaaa
Paraf Support aaaaaa
ITF Symbol Lengths Variable aaaaaa
Minimum Symbol Length 4 aaaaaa
Symbol Length Lock None aaaaaa
Bars High as Code 39 *a

34
DEFAULT SETTINGS (CONTINUED)
Parameter Default OCIA RS-232 Light
Pen
IBM
46XX KBW USB
Spaces High as Code 39 a
Bars High as Scanned a
Spaces High as Scanned a
DTS/SIEMENS a
DTS/NIXDORF *a
NCR F a
NCR S a
Poll Light Pen Source a
Beeper Tone Normal aaaaa a
Beep/Transmit Sequence Before
Transmit aaaaa a
Beeper Volume Loudest aaaaa a
Communication Timeout None aaaaa a
Razzberry Tone on Timeout aaaaa a
Three Beeps on Timeout aaaaa a
No Beeps on Timeout *aaaaa a
Enter Power Save Mode 10 mins. aaaaa a
Blink Power Save Mode *aaaaa a
Laser OFF Power Save Mode aaaaa a
Laser & Motor OFF Power
Save Mode aaaaa a
Dual Action Power Save
Mode #1 aaaaa a
Dual Action Power Save
Mode #2 aaaaa a
Same Symbol Rescan
Timeout: 200 msecs aaaaa a
Same Symbol Rescan
Timeout: 500 msecs
Programmable in 50 msec
steps (MAX 6.35 seconds)
*aaaaa a
Same Symbol Rescan
Timeout: 1250 msecs aaaaa a

35
DEFAULT SETTINGS (CONTINUED)
Parameter Default OCIA RS-232 Light
Pen
IBM
46XX KBW USB
Same Symbol Rescan
Timeout: 2000 msecs aaaaa a
Intercharacter Delay
Programmable in 1 msec
steps (MAX 255 msecs)
1 msecs
10 msecs in
KBW aa aa
Number of Scan Buffers 1 aaaaa a
Transmit EAN-8 Check Digit *aa aa a
Transmit EAN-13 Check Digit *aa aa a
Transmit UPC-A Check Digit *aa aa a
Transmit UPC-E Check Digit aaaa
Expand UPC-E aa aa a
Convert UPC-A to
EAN-13 aa aa a
UPC GTIN-14 Format aa aa a
Transmit Lead Zero on
UPC-E aaaaa a
Convert EAN-8 to
EAN-13 aa aa a
Transmit UPC-A Number
System *aa a aa a
Transmit UPC-A
Manufacturer ID# *aa a a a a
Transmit UPC-A Item ID# *aa a a a a
Transmit Codabar
Start/Stop Characters aa aa a
CLSI Editing (Enable) aa aa a
Transmit Mod 43 Check Digit
on Code 39 aa aa a
Transmit Code 39
Stop/Start Characters aa aa a
Transmit Mod 10/ITF aa aa a
Transmit MSI-Plessey Check
Characters aa aa a
Parity Space a
Baud Rate 9600 a

36
DEFAULT SETTINGS (CONTINUED)
Parameter Default OCIA RS-232 Light
Pen
IBM
46XX KBW USB
8 Data Bits a
7 Data Bits *a
Transmit Sanyo ID
Characters aaa
Nixdorf ID aaa
LRC Enabled aaa
UPC Prefix aaa
UPC Suffix aaa
Transmit AIM ID Characters aaa
STX Prefix aaa
ETX Suffix aaa
Carriage Return *aaa
Line Feed - disabled by
default in KBW *aaa
Tab Prefix aaa
Tab Suffix aaa
"DE" Disable Command aa
"FL" Laser Enable Command aa
DTR Handshaking Support a
RTS/CTS Handshaking a
Character RTS/CTS *a
Message RTS/CTS a
XON/XOFF Handshaking a
ACK/NAK a
Two Digit Supplements aa
as code
39 aaa
Five Digit Supplements aa
as code
39 aaa
Bookland 978 aa
as code
39 aaa

37
DEFAULT SETTINGS (CONTINUED)
Parameter Default OCIA RS-232 Light
Pen
IBM
46XX KBW USB
Bookland 977 (2 digit)
Supplemental Requirement aaaaaa
Supplements are not
Required *aaaaaa
Two Digit Redundancy *aaaaaa
Five Digit Redundancy aaaaaa
100 msec to Find
Supplement Programmable
in 100 msec steps
(MAX 800 msec)
*aaaaaa
Coupon Code 128 aa
as code
39 aaa
Programmable Code Lengths 7 avail. aaaaaa
Programmable Prefix
Characters 10 avail. aaa
Suffix Characters aaa
Prefixes for individual Code
Types aaa
Editing aaaaaa
Inter Scan-Code Delay
Programmable
(100 µsec steps)
800 µsec aa
Function/Control Key
Support aa
Minimum Element Width
Programmable in 5.6 µsec
steps
1 msec a
Depth of Field
Variable Depth of Field *aaaaaa
Normal Depth of Field *aaaaaa
Extended Depth of Field aaaaaa
Long Depth of Field *a aaaaa
Ultra Close Depth of Field aaaaaa

38
DEFAULT SETTINGS (CONTINUED)
Default settings for “Aux” interface
The secondary scanner and the MS7320 always communicate via RS232. Data
is relayed to the host via various primary interfaces.
Parameter Default OCIA RS-232 Light
Pen
IBM
46XX KBW USB
Aux Baud Rate 38400 aaaa aa
Aux parity space aaaa aa
Aux data bits 7 aaaa aa
Aux stop bits 2 aaa a aa
Aux character RTS *aaa a aa
Aux message RTS aaaa aa
Aux Ack/Nak *aaaa aa
Aux Xon/Xoff *aaaa aa
Aux D/E commands aaaa aa
Aux M/O commands aaaa aa
Aux F/L commands aaaa aa
Aux Intercharacter Delay 1 msec aaaa aa
Aux Port Data Format None
(Disabled) aaaa aa

39
MS7220 STANDS
Vertical Stand Kit [ MLPN 46-46405 ]
See page 40 for installation instructions.
Kit Includes:
a. #8 x 1 round head wood screw [ MLPN 18-18057 ] Qty. 4
b. M3 x .5 x 6mm pan head screw [ MLPN 18-18670 ] Qty. 3
c. Vertical base cover [ MLPN 36-00363 ] Qty. 1
d. Cable door [
MLPN 18-18057 ] Qty. 2
Tools required for installation:
• Flat head screw driver
• Phillips head screw driver
• ¼”-20 wrench
• Drill with #39 drill bit (Needed for hard mount installation only)
Optional Flex Stand Kit [ MLPN 46-46404 ]
See 41 for installation instructions.
Kit Includes:
a. Long coupler [
MLPN 36-00324 ] Qty. 1
b. Bearing plate [
MLPN 36-00501 ] Qty. 1
c. Bellows [
MLPN 36-36615 ] Qty. 1
d. Flex pole [
MLPN 36-00351 ] Qty. 1
e. ¼ -20 x 3/8 pan head screw [ MLPN 18-18602 ] Qty. 1
Tools required for installation:
• Flat head screw driver
• Phillips head screw driver
• ¼”-20 wrench
• Drill with #39 drill bit (Needed for hard mount installation only)

40
MS7220 STANDS
Vertical Stand Installation [ MLPN 46-46405 ]
Remove the three screws
securing the cable cover to the
unit and slide it up and off the
scanner. Disconnect the cable
and slide the horizontal stand
up and off the unit.
Disassemble the horizontal stand and
remove the horizontal cover plate.
Mounting the MS7220: Peel off the base plate’s tape backing and affix it to the
countertop or drill four #39 pilot holes and secure the base plate to the counterto
p
with the four #8 wood screws provided.
Replace the horizontal base
cover with the vertical base cover
[ 36-00363 ] then reassemble.
Move the side cover from the vertical
to the horizontal position on the unit.
Slide the vertical stand onto the
unit.
Reattach the cable and secure the cable
cover with the three M3 screws.

41
MS7220 STANDS
Optional Flexible Stand Installation [ MLPN 46-46404 ]
Remove the three screws
securing the cable cover to the
unit and slide it up and off the
scanner. Disconnect the cable
and slide the horizontal stand
up and off the unit.
Disassemble the horizontal stand. Remove
the lock nut and the short coupler. They will
not be used on the flex stand.
Mounting the MS7220: Peel off the base plate’s tape backing and affix it to the
countertop or drill four #39 pilot holes and secure the base plate to the
countertop with the four #8 wood screws provided.
Slide the bearing plate over the
stud on the base plate then
attach the flex pole.
Slide the bellows over the flex pole and
cable. Position the long coupler over the
top of the bellows. Secure the long coupler
in place with the ¼-20 pan head screw
provided then position the foam insert over
the screw head.
Slide the flex stand on the unit. Reconnect the cable and secure the cable
cover with the three M3 screws.

42
SCANNER AND CABLE TERMINATIONS
Scanner Pinout Connections
The MS7220 scanner interfaces terminate to 10-pin modular jacks located on
the back of the unit. The serial # label indicates the interface enabled when the
scanner is shipped from the factory.
Figure 15: EAS Scanner Interface Ports
MS7220-13
OCIA
MS7220-13
IBM 46xx
Pin Function Pin Function
1 Ground 1 Ground
2 NC 2 RS232 Transmit Output
3 NC 3 RS232 Receive Input
4 RDATA 4 RTS Output
5 RDATA Return 5 CTS Input
6 Clock in 6 DTR
7 Clock out 7 IBM B- (D-)
8Clock in Return/
Clock out Rtrn 8 IBM A+ (D+)
9 +5VDC 9 +5V IN
10 Shield Ground 10 NC
Continued next page

43
SCANNER AND CABLE TERMINATIONS (CONTINUED)
Figure 16: Scanner Interface Ports
MS7220-37
Keyboard Wedge, Stand
Alone Keyboard or USB
MS7220-37
RS-232 or Light Pen
Pin Function Pin Function
1 Ground 1 Ground
2 USB D- 2 RS-232 Transmit Output
3 USB D+ 3 RS-232 Receive Input
4 PC Data 4 RTS Output
5 PC Clock 5 CTS Input
6 KB Clock 6 DTR Input/LTPN Source
7 PC +5V, V-USB 7 Reserved
8 KB Data 8 LTPN Data
9+5VDC 9+5VDC
10 Shield Ground 10 Shield Ground
MS7220-13/-37
Auxilary Port RS232 IN Only
Pin Function
1 Ground
2 RS-232 Receive Input
3 RS-232 Transmit Output
4RTS in
5 CTS out
6-10 NC

44
SCANNER AND CABLE TERMINATIONS (CONTINUED)
Cable Connector Configurations (Host End)
PowerLink Cable MLPN 54-54xxx*
Pin Function
1 Shield Ground
2 RS-232 Transmit Output
3 RS-232 Receive Input
4 DTR Input
5 Power/Signal Ground
6 Reserved
7 CTS Input
8 RTS Output
9+5VDC
xxx* specifies connection to the host
USB PowerLink Cable
(MLPN 54-54165, Type A)
Pin Function
1N/C
2D-
3D+
4 Ground
PowerLink, RS232 AUX Cable
MLPN 54-54667
Pin Function
1 Ground
2 RS-232 Transmit Output
3 RS-232 Receive Input
4 RTS Output
5 CTS Input
6-10 N/C
Stand Alone Keyboard Cable
MLPN 54-54020
Pin Function
1 PC Data
2NC
3 Power Ground
4 +5VDC PC Power to KB
5 PC Clock
6NC
9-Pin D-Type Conn.
95
61
110
10-pin Modular Plug
USB Type A (Top)
Locking Type A (Bottom)
1
4
1
4
4
21
3
65
6-Pin Male Mini-DIN Conn.

45
SCANNER AND CABLE TERMINATIONS (CONTINUED)
Cable Connector Configuration
The PowerLink cable is terminated with a 5-pin DIN female connector on
one end, and a 6-pin mini DIN male on the other.
Metrologic will supply an adapter cable with a 5-pin DIN male connector
on one end and a 6-pin mini DIN female connector on the other.
According to the termination required, connect the appropriate end of the
adapter cable to the PowerLink cable, leaving the necessary termination
exposed for connecting to the keyboard and the keyboard port on the PC.
The pin assignments are as follows:
PowerLink Cable Adapter Cable
5-pin Female DIN 5-pin Male DIN
Pin Function Pin Function
1 Keyboard Clock 1 PC Clock
2 Keyboard Data 2 PC Data
3 No Connect 3 No Connect
4 Power Ground 4 Power Ground
5 +5 Volts DC 5 +5 Volts DC
6-pin Male Mini-DIN 6-pin Female Mini-DIN
Pin Function Pin Function
1 Keyboard Data 1 Keyboard Data
2 No Connect 2 No Connect
3 Power Ground 3 Power Ground
4 +5 Volts DC 4 +5 Volts DC
5 PC Clock 5 Keyboard Clock
6 No Connect 6 No Connect
4
21
3
65
6-Pin DIN, Male
2
1
45
3
5-Pin DIN, Female
PowerLink Cable
6-pin Mini Din, Female
Adapter Cable
3
12
4
56
2
3
54
1
5-Pin Din, Male

46
LIMITED WARRANTY
The MS7220 scanners are manufactured by Metrologic at its Blackwood, New Jersey,
U.S.A. facility. The MS7220 scanners have a two (2) year limited warranty from the date of
manufacture. Metrologic warrants and represents that all MS7220 scanners are free of all
defects in material, workmanship and design, and have been produced and labeled in
compliance with all applicable U.S. Federal, state and local laws, regulations and
ordinances pertaining to their production and labeling.
This warranty is limited to repair, replacement of Product or refund of Product price at the
sole discretion of Metrologic. Faulty equipment must be returned to the Metrologic facility in
Blackwood, New Jersey, U.S.A. or Puchheim, Germany. To do this, contact Metrologic’s
Customer Service/Repair Department to obtain a Returned Material Authorization (RMA)
number.
In the event that it is determined the equipment failure is covered under this warranty,
Metrologic shall, at its sole option, repair the Product or replace the Product with a
functionally equivalent unit and return such repaired or replaced Product without charge
for service or return freight, whether distributor, dealer/reseller, or retail consumer, or
refund an amount equal to the original purchase price.
This limited warranty does not extend to any Product which, in the sole judgement of
Metrologic, has been subjected to abuse, misuse, neglect, improper installation, or
accident, nor any damage due to use or misuse produced from integration of the Product
into any mechanical, electrical or computer system. The warranty is void if the case of
Product is opened by anyone other than Metrologic’s repair department or authorized
repair centers.
THIS LIMITED WARRANTY, EXCEPT AS TO TITLE, IS IN LIEU OF ALL OTHER
WARRANTIES OR GUARANTEES, EITHER EXPRESS OR IMPLIED, AND
SPECIFICALLY EXCLUDES, WITHOUT LIMITATION, WARRANTIES OF
MERCHANTABILITY AND FITNESS FOR A PARTICULAR PURPOSE UNDER THE
UNIFORM COMMERCIAL CODE, OR ARISING OUT OF CUSTOM OR CONDUCT.
THE RIGHTS AND REMEDIES PROVIDED HEREIN ARE EXCLUSIVE AND IN LIEU OF
ANY OTHER RIGHTS OR REMEDIES. IN NO EVENT SHALL METROLOGIC BE
LIABLE FOR ANY INDIRECT OR CONSEQUENTIAL DAMAGES, INCIDENTAL
DAMAGES, DAMAGES TO PERSON OR PROPERTY, OR EFFECT ON BUSINESS OR
PROPERTY, OR OTHER DAMAGES OR EXPENSES DUE DIRECTLY OR INDIRECTLY
TO THE PRODUCT, EXCEPT AS STATED IN THIS WARRANTY. IN NO EVENT SHALL
ANY LIABILITY OF METROLOGIC EXCEED THE ACTUAL AMOUNT PAID TO
METROLOGIC FOR THE PRODUCT. METROLOGIC RESERVES THE RIGHT TO
MAKE ANY CHANGES TO THE PRODUCT DESCRIBED HEREIN.
Corporate Headquarters
Metrologic Instruments, Inc. Customer Service: 1-800-ID-METRO
90 Coles Road Tel: 856-228-8100
Blackwood, NJ 08012-4683 Fax: 856-228-6673
Email: info@metrologic.com
Website: www.metrologic.com
Germany
Metrologic Instruments GmbH Tel: 49-89-89019-0
Dornierstrasse 2 Fax: 49-89-89019-200
82178 Puchheim b. Email: info@europe.metrologic.com
Munich, Germany

47
LASER AND PRODUCT SAFETY
Notice
This device complies with Part 15 of the FCC Rules. Operation is subject to the
following two conditions: (1) This device may not cause harmful interference,
and (2) this device must accept any interference received, including interference
that may cause undesired operation.
This equipment has been tested and found to comply with the limits for a Class
B digital device, pursuant to Part 15 of the FCC rules. These limits are designed
to provide reasonable protection against harmful interference in a residential
installation. This equipment generates, uses and can radiate radio frequency
energy and, if not installed and used in accordance with the instructions, may
cause harmful interference to radio communications. However, there is no
guarantee that interference will not occur in a particular installation. If this
equipment does cause harmful interference to radio or television reception,
which can be determined by turning the equipment off and on, the user is
encouraged to try to correct the interference by one or more of the following
measures:
• Reorient or relocate the receiving antenna
• Increase the separation between the equipment and receiver
• Connect the equipment into an outlet on a circuit different from that to which
the receiver is connected
• Consult the dealer or an experienced radio/TV technician for help
Notice
This Class B digital apparatus complies with Canadian ICES-003.
Avertissement
Cet appareil numérique de la class B est conforme à la norme NMB-003.

48
LASER AND PRODUCT SAFETY
Caution
Use of controls or adjustments or performance of procedures other than those
specified herein may result in hazardous laser light exposure. Under no
circumstances should the customer attempt to service the laser scanner. Never
attempt to look at the laser beam, even if the scanner appears to be
nonfunctional. Never open the scanner in an attempt to look into the device.
Doing so could result in hazardous laser light exposure. The use of optical
instruments with the laser equipment will increase eye hazard.
Atención
La modificación de los procedimientos, o la utilización de controles o ajustes
distintos de los especificados aquí, pueden provocar una luz de láser peligrosa.
Bajo ninguna circunstancia el usuario deberá realizar el mantenimiento del láser
del escáner. Ni intentar mirar al haz del láser incluso cuando este no esté
operativo. Tampoco deberá abrir el escáner para examinar el aparato. El
hacerlo puede conllevar una exposición peligrosa a la luz de láser. El uso de
instrumentos ópticos con el equipo láser puede incrementar el riesgo para la
vista.
Attention
L'emploi de commandes, réglages ou procédés autres que ceux décrits ici peut
entraîner de graves irradiations. Le client ne doit en aucun cas essayer
d'entretenir lui-même le scanner ou le laser. Ne regardez jamais directement le
rayon laser, même si vous croyez que le scanner est inactif. N'ouvrez jamais le
scanner pour regarder dans l'appareil. Ce faisant, vous vous exposez à une
rayonnement laser qú êst hazardous. L'emploi d'appareils optiques avec cet
équipement laser augmente le risque d'endommagement de la vision.
Achtung
Die Verwendung anderer als der hier beschriebenen Steuerungen, Einstellungen
oder Verfahren kann eine gefährliche Laserstrahlung hervorrufen. Der Kunde
sollte unter keinen Umständen versuchen, den Laser-Scanner selbst zu warten.
Sehen Sie niemals in den Laserstrahl, selbst wenn Sie glauben, daß der
Scanner nicht aktiv ist. Öffnen Sie niemals den Scanner, um in das Gerät
hineinzusehen. Wenn Sie dies tun, können Sie sich einer gefährlichen
Laserstrahlung aussetzen. Der Einsatz optischer Geräte mit dieser
Laserausrüstung erhöht das Risiko einer Sehschädigung.
Attenzione
L’utilizzo di sistemi di controllo, di regolazioni o di procedimenti diversi da
quelli descritti nel presente Manuale può provocare delle esposizioni a raggi
laser rischiose. Il cliente non deve assolutamente tentare di riparare egli
stesso lo scanner laser. Non guardate mai il raggio laser, anche se credete
che lo scanner non sia attivo. Non aprite mai lo scanner per guardare dentro
l’apparecchio. Facendolo potete esporVi ad una esposizione laser rischiosa.
L’uso di apparecchi ottici, equipaggiati con raggi laser, aumenta il rischio di
danni alla vista.

49
PATENTS
“Patent Information
This METROLOGIC product may be covered by one or more of the following
U.S. Patents:
U.S. Patent No.;
4,960,985; 5,081,342; 5,216,232; 5,260,553; 5,340,971; 5,343,027;
5,557,093; 5,627,359; 5,637,852; 5,661,292; 5,686,717; 5,777,315;
5,789,731; 5,828,049; 6,029,894; 6,098,885; 6,209,789;
4,360,798; 4,369,361; 4,387,297; 4,460,120; 4,496,831; 4,593,186;
4,607,156; 4,673,805; 4,736,095; 4,758,717; 4,816,660; 4,845,350;
4,896,026; 4,923,281; 4,933,538; 4,992,717; 5,081,342; 5,015,833;
5,017,765; 5,059,779; 5,117,098; 5,124,539; 5,130,520; 5,132,525;
5,140,144; 5,149,950; 5,180,904; 5,200,599; 5,229,591; 5,247,162;
5,250,790; 5,250,791; 5,250,792; 5,260,553; 5,262,628; 5,280,162;
5,280,164; 5,304,788; 5,321,246; 5,324,924; 5,340,973; 5,396,053;
5,396,055; 5,408,081; 5,410,139; 5,424,525; 5,436,440; 5,449,891;
5,468,949; 5,468,951; 5,479,000; 5,484,992; 5,525,789; 5,528,024;
5,532,469; 5,545,889; 5,591,953; 5,616,908; 5,627,359
No license right or sublicense is granted, either expressly or by implication,
estoppel, or otherwise, under any METROLOGIC or third party intellectual
property rights (whether or not such third party rights are licensed to
METROLOGIC), including any third party patent listed above, except for an
implied license only for the normal intended use of the specific equipment,
circuits, and devices represented by or contained in the METROLOGIC products
that are physically transferred to the user, and only to the extent of
METROLOGIC’S license rights and subject to any conditions, covenants and
restrictions therein.”
Other worldwide patents pending.

50
INDEX
A
Accessories...................................2
Adapter....................................2, 45
Audible ........................................16
Autodiscriminates........................31
B
Bar Code .........................20, 21, 22
Beep......................................16, 34
C
Cable......2, 5, 9, 13, 27, 28, 31, 39,
42-45
Caution....................5, 6, 7, 8, 9, 11
CE ...............................................48
Communication .....................30, 34
Connector..............................44, 45
Customer Service....................2, 46
D
Decode Capability .......................31
Default Settings......................33-38
Design Specifications............31, 32
E
EAS .............................................23
Electrical......................................32
Extended Depth of Field..............37
F
Failure Modes..............................17
Function ...........................37, 42-45
G
Ground ...................................42-45
H
Host.............................................11
I
Indicators.........................16, 18, 31
Input Voltage ...............................32
Installation ..2, 5, 6, 9-12, 39, 40, 41
Interfaces .......................5, 7-10, 24
K
Keyboard Type ............................30
Keyboard Wedge 1, 2, 6, 30, 31, 43
L
Labels..........................................19
LED ...............13, 16, 18, 24, 25, 31
Light Levels .................................32
Light Pen 1, 2, 10, 30-31, 33-38, 43
Light Source ................................31
M
Maintenance ............................... 23
Mechanical.................................. 31
Min Bar Width ............................. 31
Modes ......................................... 14
N
Normal Depth of Field................. 37
Notices........................................ 48
O
OCIA ........ 1, 2, 5, 30, 31, 33-38, 42
Operating Current ....................... 32
Operation .................................... 31
Operational ................................. 31
Output Window ........................... 13
P
Parts ........................................... 13
Patents........................................ 48
Port ....................................... 38, 43
Power Save................................. 14
Programming Guide.... 2, 16, 28, 30
Protocols..................................... 30
R
Razzberry Tone .............. 16, 17, 34
RDATA........................................ 42
Repair ......................................... 46
S
Scan Lines .................................. 31
Scan Pattern ............................... 31
Scan Speed ................................ 31
Specifications............. 20-22, 31, 32
Stand .................... 2, 31, 39, 40, 41
Storage ....................................... 32
System Interfaces ....................... 31
T
Termination................................. 31
Transformers .............................. 32
Troubleshooting .....................24-28
V
Ventilation ................................... 32
Visual .......................................... 18
Voltage.................................5-9, 11
W
Warranty ..................................... 46
Weight ........................................ 31

July 2003
Printed in USA
00-02554B