MICROCHIP TECHNOLOGY BM78ABCDEFGH Bluetooth Module User Manual BM78 RN4678 datasheet 20150922 f

Microchip Technology Inc. Bluetooth Module BM78 RN4678 datasheet 20150922 f

Manual

Advance Information  2015 Microchip Technology Inc. page 1             BM78SPPS5MC2,RN4678  Bluetooth® 4.0 Dual mode Module   Features: • Bluetooth Classic (BR/EDR) and Low Energy (LE) • Complete , Fully Certified, Embedded 2.4 GHz Bluetooth® Version 4.0 IC • Bluetooth SIG Certified • Transparent UART mode for seamless serial data over UART interface • Easy to configure with Windows GUI or direct by MCU • Firmware can be field upgradable via UART • Compact surface mount module: 22 x 12 x 2.4 mm • Castellated surface mount pads for easy and reliable host PCB mounting • Perfect for Portable Battery  Operated Devices • Internal Battery Regulator Circuitry • Worldwide regulatory certifications • 1 LED and it has 16 steps Brightness.  Operational: • Single operating voltage: 3.2V to 4.3V • Temperature range: -20℃ to 70℃ Industrial • Simple, UART interface • Integrated crystal, internal voltage regulator, and matching circuitry • Multiple I/O pins for control and status  RF/Analog: • Frequency: 2.402 to 2.480 GHz • Receive Sensitivity: -90 dBm (BR/EDR); -92 dBm (LE) • Power Output: +2 dBm (typ.)  Data Throughput: • 11k bps (BR/EDR)@ UART baud Rate is 115200 bps • 8 Kbps (LE) UART baud Rate is 115200 bps  MAC/Baseband/Higher Layer: • Secure AES128 encryption • BTv3.0: GAP, SPP, SDP, RFCOMM and L2CAP • BTv4.0: GAP, GATT, ATT, SMP and L2CAP.   FIGURE 1: BM78 TOP VIEW        General Description: The BM78 is a fully-certified Bluetooth® Version 4.0 (BR/EDR/LE) IC for designers who want to easily add dual mode Bluetooth® wireless capability to their products.
Advance Information  2015 Microchip Technology Inc. page 2 Delivering local connectivity for the Internet of Things (IoT), the IC bridges your product to Smart Phones and Tablets for convenient data transfer, control and access to cloud applications. It supports GAP, SDP, SPP, and GATT profiles. Data is transferred over the Bluetooth link by sending/receiving data via transparent UART mode, making it easy to integrate with any processor or Microcontroller with a UART interface. Configuration is made easy using a Windows® based GUI or directly via UART by a MCU  Applications: • Mobile Point of Sales (mPOS) • LED lighting (16 step) • Wearables • Digital Sports • Fitness Devices • Health Care/ Medical • Automotive Accessories • Home Automation • Remote Control Toys
Advance Information  2015 Microchip Technology Inc. page 3BM78SPPS5MC2 , RN4678       TO OUR VALUED CUSTOMERS  It is our intention to provide our valued customers with the best documentation possible to ensure successful use of your Microchip products. To this end, we will continue to improve our publications to better suit your needs. Our publications will be refined and enhanced as new volumes and updates are introduced. If you have any questions or comments regarding this publication, please contact the Marketing Communications Department via E-mail at docerrors@microchip.com. We welcome your feedback.  Most Current Data Sheet  To obtain the most up-to-date version of this data sheet, please register at our Worldwide Web site at: http://www.microchip.com You can determine the version of a data sheet by examining its literature number found on the bottom outside corner of any page. The last character of the literature number is the version number, (e.g., DS30000000A is version A of document DS30000000).  Errata  An errata sheet, describing minor operational differences from the data sheet and recommended workarounds, may exist for current devices. As device/documentation issues become known to us, we will publish an errata sheet. The errata will specify the revision of silicon and revision of document to which it applies. To determine if an errata sheet exists for a particular device, please check with one of the following:   Microchip’s Worldwide Web site; http://www.microchip.com   Your local Microchip sales office (see last page) When contacting a sales office, please specify which device, revision of silicon and data sheet (include literature number) you are using.  Customer Notification System  Register on our web site at www.microchip.com to receive the most current information on all of our products.
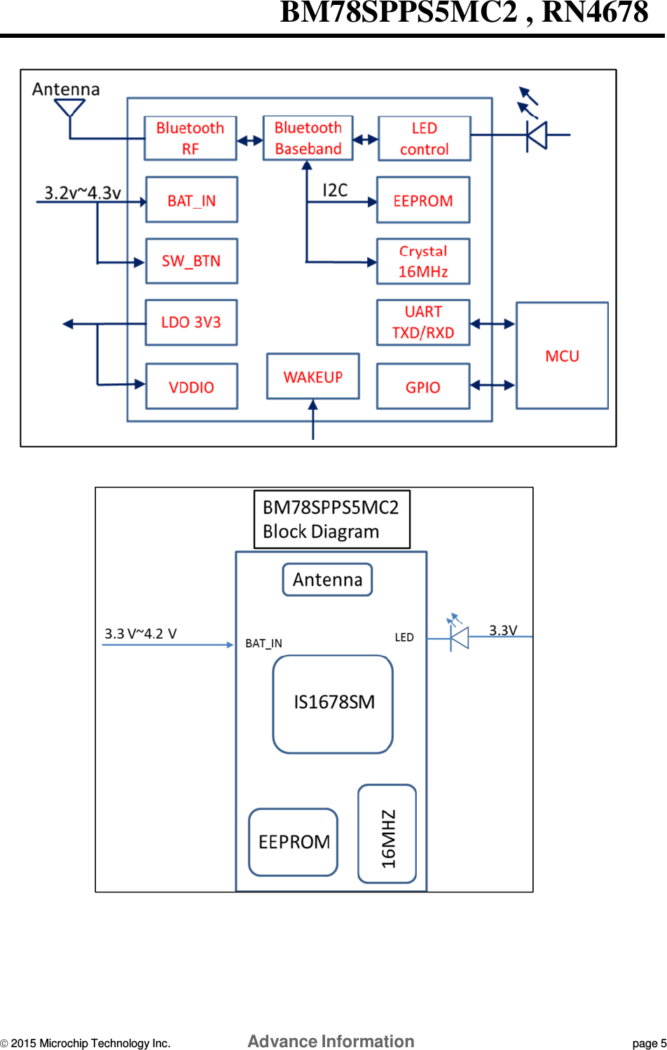
Advance Information  2015 Microchip Technology Inc. page 4BM78SPPS5MC2 , RN4678   1.0  DEVICE OVERVIEW  The BM78 is a complete, fully certified, embedded 2.4 GHz Bluetooth® version 4.0 (BR/EDR/LE) wireless IC. It incorporates an on-board Bluetooth stack, cryptographic accelerator, power management subsystem, 2.4 GHz transceiver, and RF power amplifier (see Figure 1). With the BM78, designers can embed Bluetooth functionality rapidly into virtually any device.  The BM78 provides cost and time-to-market savings as a self-contained Bluetooth solution. The IC has been designed to provide integrators with a simple Bluetooth solution that features: • Ease of integration and programming • Vastly reduced development time • Minimum system cost • Interoperability with Bluetooth hosts • Maximum value in a range of applications  The BM78 can independently maintain a low-power wireless connection. Low-power usage and flexible power management maximize the IC’s lifetime in battery-operated devices. A wide operating temperature range allows use in indoor and outdoor environments (industrial temperature range).  The  BM78  module  comes  in  two  varieties.  The  BM78SPPS3MC2  is  a  complete,  fully regulatory certified module with integral ceramic chip antenna and shield.  The BM78SPP03MC2 is a lower cost alternative with external antenna and no shield.  The integrator is responsible for the antenna, antenna matching, and regulatory certifications.  The BM78 is a small, compact, surface mount module with castellated pads for easy and reliable host PCB mounting.  The module is compatible with standard pick-and-place equipment.  TABLE 1‐1:  BM78 MODULE FAMILY TYPES Device Antenna Shield Regulatory Certifications BM78SPPS5NC2 Integral ceramic chip Yes FCC, IC, CE, KCC, NCC, Japan BM78SPP05NC2 External No NO   FIGURE 1: Block Diagram
Advance Information  2015 Microchip Technology Inc. page 5BM78SPPS5MC2 , RN4678
Advance Information  2015 Microchip Technology Inc. page 6BM78SPPS5MC2 , RN4678   FIGURE 1‐2:  BM78SPPS5NC2 PIN DIAGRAM     FIGURE 1‐3:  BM78SPP05NC2 PIN DIAGRAM
Advance Information  2015 Microchip Technology Inc. page 7BM78SPPS5MC2 , RN4678    TABLE 1‐1: PIN DESCRIPTION S5 pin 03 pin  Symbol  Type  Description 1  --  GND  Power  Ground reference 2 -- GND Power Ground reference 3  1  GND  Power  Ground reference 4  2  BAT_IN  Power  Battery Input. Main positive supply input. Connect to 10uF  (X5R/X7R) capacitor. 5  3  SW_BTN  DI  Software Button H: Power On / L: Power Off 6  4  LDO33_O  Power  Internal 3.3V LDO regulator output. Connect to 10uF (X5R/X7R) capacitor. 7  5  VDD_IO  Power  I/O positive supply input.  Ensure VDD_IO and MCU I/O voltages are compatible. 8  6  LDO18_O  Power  Internal 1.8V LDO regulator output. Connect to 10uF  (X5R/X7R) capacitor. 9  7  WAKEUP  DI  Wakeup from shutdown mode (active low) (internal pull-up) 10  8  PMULDO_O  Power  Power management unit output. Connect to 1uF  (X5R/X7R) capacitor. 11  9  P0_4  DO  UART_TX_IND: H: BM78 indicate UART data will be transmitted out after certain timing. (Setting by UI@ “MCU setting”, default wait  5ms)*1 L: Otherwise. STATUS_IND_2: BM78 State indication , refer to P1_5 12  10  P1_5  DO  STATUS_IND: Bluetooth link status indication 13 11 P1_2/SCL DO I2C SCL (Do Not Connect) 14 12 P1_3/SDA DIO I2C SDA (Do Not Connect) 15  13  P1_7/CTS  DIO  Configurable Control or Indication pin or  UART CTS (input) 16 14 P0_5 DIO Configurable Control or Indication pin 17  15  P0_0/RTS  DIO  Configurable Control or Indication pin or  UART RTS (output) 18 16 P2_0 DI System configuration (internal pull-up) 19  17  P2_4  DI  System configuration (internal pull-up) 20 18 EAN DI System configuration (internal pull-down) 21  19  RST_N  DI  Module reset (active low) (internal pull-up) Apply a pulse of at least 63 ns. 22 20 RXD DI UART data input 23 21 TXD DO UART data output 24  22  P3_1  DIO  Configurable Control or Indication pin  (when configured as input: internal pull-up) 25  23  P3_2  DIO  Configurable Control or Indication pin (when configured as input: internal pull-up)
Advance Information  2015 Microchip Technology Inc. page 8BM78SPPS5MC2 , RN4678    26  24  P3_3  DIO  Configurable Control or Indication pin (when configured as input: internal pull-up) 27  25  P3_4  DIO  Configurable Control or Indication pin (when configured as input: internal pull-up) 28  26  P3_6  DIO  (Do Not Connect) 29  27  P3_7  DIO  Configurable Control or Indication pin (when configured as input: internal pull-up) 30  28  LED1  DO  Status LED  31 29 GND Power Ground reference -- 30       BT_RF AIO External antenna connection (50 ohm) 32  --  GND  Power  Ground reference 33 -- GND Power Ground reference Note 1: Pin type abbreviation: A = Analog, D = Digital, I = Input, O = Output.  UI setting:
Advance Information  2015 Microchip Technology Inc. page 9BM78SPPS5MC2 , RN4678     1.1  Power Tree Figures 2-1 : Power Tree   1.2   UART  Interface Figures 2-2 : Power and MCU interface examples.   Figure 2‐2 shows an example power scheme using a 3.3 volt to MCU VDD. Battery power is applied to BAT_IN pin. From the LDO33_O pin, voltage can be routed the VDD_IO pin and external circuitry including the MCU. This power scheme ensures that BM78 and MCU I/O voltages are compatible.            CAUTION: The internal 3.3volt LDO current source: 50mA maximum!!
Advance Information  2015 Microchip Technology Inc. page 10BM78SPPS5MC2 , RN4678     2.0 Bluetooth behavior auto/manual pattern configuration               2.1 auto pattern  Power ONAuto Pattern SettingAuto Pattern Manual PatternConfigure ModeEnabledDisabled
Advance Information  2015 Microchip Technology Inc. page 11BM78SPPS5MC2 , RN4678       Access State Configure mode Standby mode Link back mode Pairing Procedure Link state  Connected mode Shutdown state  Shutdown mode  2.2 Manual pattern
Advance Information  2015 Microchip Technology Inc. page 12BM78SPPS5MC2 , RN4678     2.3 UI setting   NOTE: Please reference “Application Note_IS1678S_Draft.docx” and “IS1678S Command Set v0 97 20140924.docx.”
Advance Information  2015 Microchip Technology Inc. page 13BM78SPPS5MC2 , RN4678     3.0 Control and Indication I/O Pins    I/O pins P0_0, P0_5, P1_7, P3_1, P3_2, P3_3, P3_4 and P3_7 are configurable control and indication I/O. Control signals are input to the BM78. Indication signals are output from the BM78. Table 4‐1 shows configurable I/O pin assignment to control and indication signals.  Note: that RTS can only be assigned to P0_0 and CTS is assigned to P1_7.  Configuring the BM78 can reference the “Application Note_IS1678S_Draft.docx” and “IS1678S Command Set v0 97 20140924.docx.”  TABLE 3‐1: CONFIGURATION AND INDICATION I/O ASSIGNMENTS  N/C UART_RTS UART_CTS LOW_BATTERY_IND RSSI_IND GET WIFI INFO KEY LINK_DROP_CONTROL (DISCONNECT) UART_RX_IND PAIRING_KEY  INQUIRY CONTROL PROFILE_IND P0_0  ■          P0_5 ■           P1_7   ■         P3_1          ■  P3_2       ■     P3_3        ■    P3_4         ■   P3_7    ■
Advance Information  2015 Microchip Technology Inc. page 14BM78SPPS5MC2 , RN4678                 3.1 UI setting
Advance Information  2015 Microchip Technology Inc. page 15BM78SPPS5MC2 , RN4678     4.0 Status Indication I/O Pins  I/O pins P1_5 and P0_4 are Status Indicator 1 and 2 signals respectively. Together they provide status indication to the MCU as shown in Table 4‐1.  TABLE 4‐1: STATUS INDICATION P1_5 /STATUS_IND_1 P0_4 /STATUS_IND_2 Indication H  H  Power-on to setting default and Shutdown State. HH status should be stable for at least 500ms H  L  Access state L  H  Link state  (UART data between being and stop transmitted) L  L  Link state (UART data stop transmitted)   4.1 System Configuration  I/O pins P2_0, P2_4, and EAN place the BM78 into operation modes as shown in  Table 4‐2. P2_0 , P2_4and EAN each have internal pull-ups.   TABLE 4‐2: SYSTEM CONFIGURATION SETTINGS IC  P2_0 P2_4 EAN Operational Mode IS1678S  Low  High  High  Write EEPROM and test mode High  High  High  Normal operation / APP Mode
Advance Information  2015 Microchip Technology Inc. page 16BM78SPPS5MC2 , RN4678    5.0  Software Button (SW_BTN)  The Software Button (SW_BTN) input pin powers the BM78 on (high) or off (low) in to S4 mode.         Figures 5‐1 : SW_BTN Time (high) @APP mode                     Note:  A. P0_4/P1_5 state: Refer to table5-1 B. Reset is floating.  Figures 5‐2 : SW_BTN Time (low) at access states.                   Note:  A. SW_BTN pull low can’t active on Shutdown State. B. Reset is floating.  Figures 5‐3 : SW_BTN Time (low) at link states.
Advance Information  2015 Microchip Technology Inc. page 17BM78SPPS5MC2 , RN4678                         Note:  C. *1: this time by iPhone LE mode disconnect time. D. SW_BTN pull low can’t active on Shutdown State. E. Reset is floating.  6.0  WAKE UP The Wake Up input pin wakes the BM78 from shutdown mode (active low).     Figures 6‐1 : WAKE_UP Time at Shutdown State.               7.0  EXTERNAL RESET   A  watchdog  timer  capable  of  reset  the  chip.  It  has  an  integrated  Power-On  Reset  (POR) circuit  that  resets  all  circuits  to  a  known  power-on  state.  This  action  can  also  be  driven  by  an external reset signal that can be used to externally control the device, forcing it into a power-on reset state. The RST signal input is active low and no connection is required in most applications.  Figures 7 ‐1 : Reset Time at Shutdown State.
Advance Information  2015 Microchip Technology Inc. page 18BM78SPPS5MC2 , RN4678                Note:      a. Auto pattern can use external reset. b. Manual pattern can use external reset and reset command.   8.0 LED DRIVER   There are one dedicate LED drivers to control the LEDs. The LED can be connected directly with BM78. The LED max current is 4 mA and it has 16 steps to trim Brightness. BM78LED1LDO33_O  The status LED (LED1) indicates:  Standby                          Link Back  Low Battery                   Inquiry  Link                                 Page Each indication is a configurable flashing sequence. LED brightness can also be configured.  9.0 MEMORY   A  synchronous  single  port  RAM  interface  is  used.  There  are  sufficient  ROM  and  RAM  to fulfill the requirement of processor. A register  bank, a dedicated single port memory and a flash memory  are  connected  to  the  processor  bus.  The  processor  coordinates  all  the  link  control procedures and data movement using a set of pointers registers.
Advance Information  2015 Microchip Technology Inc. page 19BM78SPPS5MC2 , RN4678
Advance Information  2015 Microchip Technology Inc. page 20BM78SPPS5MC2 , RN4678    10.0 Throughput  The BM78 UART pins TXD and RXD connect to the UART pins of the host MCU. It is highly recommended to use hardware flow control pins RTS and CTS. The BM78 hardware flow control is disabled by default and must be configured to enable. The UART Baud is configurable. The available signal rates are listed in Table 10‐1.  TABLE 10‐1: UART BAUD Baud Crystal Frequency  (MHz) Actual Baud Error Rate (%) 921600  16  941176  2.12 460800  16  457143  -0.79 307200  16  307692  0.16 230400  16  231884  0.64 115200  16  117647  2.1 57600  16  57145  -0.97 38400  16  38462  0.16 28800  16  28623  -0.62 19200  16  19231  0.16 14400  16  14480  0.55 9600  16  9615  0.16 4800  16  4808  0.16 2400  16  2399  -0.03  TABLE 10‐2: APP mode Throughput report        BR/EDR mode       iPad mini (Wi‐Fi disable){iOS 7.0.4 (11B554a)}  921600 bps  echo Tx  echo Rx  Tx  Rx  Burst Throughput(byte/s) 14384.46 9845.31  14521.5 14333.3  Normal Throughput(byte/s)  8437.462 8375.28  6674.11 14399.4        BR/EDR mode      iPad mini (Wi‐Fi disable){iOS 7.0.4 (11B554a)}  115200 bps  echo Tx  echo Rx  Tx  Rx  Burst Throughput(byte/s) 11080.55 9284.37  11640.3 11134.8  Normal Throughput(byte/s)  6248.758 6211.69  11513  11158.4        BR/EDR mode      Android   Samsung Note3/Android 4.3  921600 bps  echo Tx  echo Rx  Tx  Rx  Normal Throughput(byte/s)  9727.704 9041.34  17030.1 10233.6
Advance Information  2015 Microchip Technology Inc. page 21BM78SPPS5MC2 , RN4678     BR/EDR mode      Android   Samsung Note3/Android 4.3  115200 bps  echo Tx  echo Rx  Tx  Rx  Normal Throughput(byte/s)  11312.2  10548.5  9842.5  11436.4         LE mode       iPad mini (Wi‐Fi disable){iOS 7.0.4 (11B554a)} 115200 bps  TX  RX (response) Rx  (Reliable Burst Transmit) Normal Throughput(byte/s)  7935.2  3337.3  7082.1       LE mode        iPad mini (Wi‐Fi disable){iOS 7.0.4 (11B554a)} 921600 bps  TX  RX (response) Rx  (Reliable Burst Transmit) Normal Throughput(byte/s)  8063.2  3384.5  6839.9
Advance Information  2015 Microchip Technology Inc. page 22BM78SPPS5MC2 , RN4678    11.0 Mounting Details  The BM78 SPPS5NC2 physical dimensions are shown in Figure 11-1, recommended host PCB footprint in Figure 11-2, and mounting suggestion in Figure 11-3.  There should not be top copper layer near the test pin area shown in Figure 11-2.  When laying out the host PCB, the areas under the antenna should not contain any top, inner layer, or bottom copper as shown in Figure 11-3.  A low-impedance ground plane will ensure best radio performance (best range, lowest noise).  Figure 11-3 shows a minimum ground plane area to the left and right of the module for best antenna performance.  The ground plane can be extended beyond the minimum recommended as need for host PCB EMC noise reduction.  For best range performance, keep all external metal away from the ceramic chip antenna at least 31 mm.  The BM78SPP03MC2 physical dimensions are shown in Figure 11-4, recommended host PCB footprint in Figure 11-5, and mounting suggestion in Figure 11-6.  It is highly recommended to layout the host PCB as suggested in Figure 11-6.  A low-impedance ground plane will ensure best radio performance (best  range, lowest noise).  Pin 30 (BT_RF) is a 50 ohm connection to an external antenna connector, PCB trace antenna, or component (ceramic chip) antenna through a host PCB 50 ohm micro-strip trace.  This trace can be extended to include passive parts for antenna attenuation padding, impedance matching,   or to provide test posts.  It is recommended that the micro-strip trace be as short as possible for minimum loss and best impedance matching.  If the micro-strip trace is longer, it should be a 50 ohm impedance.  Figure 11-6 shows an example connection to U.FL connector.  Soldering Recommendations  The BM78 wireless module was assembled using standard lead-free reflow profile IPC/JEDEC J-STD-020. The module can be soldered to the host PCB using standard leaded and lead-free solder reflow profiles. To avoid damaging the module, the following recommendations are given:  • Microchip Technology Application Note AN233 Solder Reflow Recommendation (DS00233) provides solder reflow recommendations • Do not exceed peak temperature (TP) of 250 deg C • Refer to the solder paste data sheet for specific reflow profile recommendations • Use no-clean flux solder paste • Do not wash as moisture can be trapped under the shield • Use only one flow.  If the PCB requires multiple flows, apply the module on the final flow.
Advance Information  2015 Microchip Technology Inc. page 23BM78SPPS5MC2 , RN4678    FIGURE 11‐1:  BM78SPPS5NCS MODULE DIMENSIONS    FIGURE 11‐2:  BM78SPPS5NC2 RECOMMEDED PCB FOOTPRINT
Advance Information  2015 Microchip Technology Inc. page 24BM78SPPS5MC2 , RN4678     FIGURE 11‐3:  BM78SPPS5NCS HOST PCB MOUNTING SUGGESTION  Top and Bottom Copper layer keep out areaTop Copper LayerBottom Copper Layer>6.4mm>4.7mmEdge ofhost PCB
Advance Information  2015 Microchip Technology Inc. page 25BM78SPPS5MC2 , RN4678    FIGURE 11‐4:  BM78SPP05NCS MODULE DIMENSIONS     FIGURE 11‐5:  BM78SPP05NC2 RECOMMEDED PCB FOOTPRINT
Advance Information  2015 Microchip Technology Inc. page 26BM78SPPS5MC2 , RN4678    FIGURE 11‐6:  BM78SPP05NCS HOST PCB MOUNTING SUGGESTION  Top Copper LayerBottom Copper Layer
Advance Information  2015 Microchip Technology Inc. page 27BM78SPPS5MC2 , RN4678    12.0  ANTENNA PLACEMENT RULE  For Bluetooth product, antenna placement will affect whole system performance. Antenna need free space to transmit RF signal, it can’t be surround by GND plane.  Here are some examples of good and poor placement on a Main Application board with GND plane.  FIGURE 12-1: KEEP OUT AREA SUGGESTION FOR ANTENNA     For more detail free space of antenna placement design, you can reference the design rule of antenna produce vendor.
Advance Information  2015 Microchip Technology Inc. page 28BM78SPPS5MC2 , RN4678    12-2 BM78SPPS5NC2 Ceramic Chip Antenna  The BM78SPPS5NC2 module contains an integral ceramic chip antenna.  The antenna performance on the module is shown in Figure 12-2.  FIGURE 12‐2:  BM78SPPS5NC2 ANTENNA RADIATION PATTERN  Gain (dBi)0.05.0-5.0-10.0-15.0-20.0-25.0-30.0-35.0X-axisY-axisZ-axis  Frequency 2450 MHz Max Gain 1.63 dBi Efficiency 71.55%
  13.0  Electrical Characteristics  Recommended Operating Conditions  Rating   Min  Typ  Max Storage temperature range  -65ºC  +25ºC  +150ºC Ambient Operating temperature range  -20ºC  +25ºC  +70ºC Relative Humidity (Operating)  10%    90% Relative Humidity (Storage)  10%    90% ESD HBM    ±2KV   MM    200V   HTOL (*1)  1000 hrs   Supply voltage : BAT_IN   3.2V    4.3V SW_BTN  1.7V    4.3V LED1      3.6V Reset  VTH,res threshold voltage   1.6V   IOH      12mA IOL      12mA VIL input logic levels low -0.3V    0.8V VIH input logic levels high  2.0V    3.6V VOL output logic levels low      0.4V VOH output logic levels high  2.4V     RF TX mode      43 mA  RF RX mode      37 mA  1) HTOL life test condition : +125ºC , BAT_IN=4.2V, LDO33_O= 3.3V, LDO18_O=1.9V
  1.8V LDO   (*1)(*2)  Min  Typ  Max  Unit Operation Temperature  -20    70  ℃ Input Voltage (Vin) (*3)  2.0    3.6  V Output  Current  (VIN=3.0v/load  regulation  with 80mV drop)   100  mA Quiescent Current (Vin <3.0V)    13    uA  1) With 1uF capacitors at LDO18_O as the condition of IP verification. 2) Output voltage can calibration by MP tool     3.3V LDO    (*1)(*2)  Min  Typ  Max  Unit Operation Temperature  -20    70  ℃ Input Voltage (Vin)  3.2    4.3  V Output Current (VIN=3.6v / load regulation with 100mV drop)      100   mA Quiescent Current(VIN=3.6v)    150    uA  1) With 10uF capacitor at LDO33_O as the condition of IP verification 2) Output voltage can calibration by MP tool    PMU LDO   (*1)(*2)  Min  Typ  Max  Unit Operation Temperature  -20    70  ℃ Input Voltage (Vin)  3.2    4.3  V  Output  Current  (VIN=3.6v  /  load  regulation with 0.3mV drop)   100    uA Quiescent Current(VIN=3.6v)    120    uA  1) With 1uF capacitor at PMULDO_O as the condition of IP verification. 2) Output voltage can calibration by MP tool   SAR‐ADC and Battery Voltage Detector    Min  Typ  Max  Unit Operation Temperature  -20    70  ℃ AVDD_SAR power supply  1.8  V SAR_BAT(BAT_IN)  1.1    4.5  V Resolution    10    bit
   1) SAR_BAT is shorted to BAT_IN internally for battery voltage detection.  Intensity controllable LED driver     Min  Typ  Max  Unit Operation Temperature  -20    70  ℃ Open-drain Voltage      3.6  V Current Step    0.3  mA Programmable Current Range  0    5  mA Intensity control    16    step Power down open-drain current      1   uA Shutdown Current      1   uA     Operating Current (including bandgap)      1  mA Shutdown Current      1  uA
   14.0  Radio Characteristics:   Transmitter Performance (25℃℃℃℃)   Min  Typ  Max  Bluetooth specification Unit BDR power   2  -6 ~ +4 dBm EDR power    0    -6 ~ +4 LE power    2    -20 ~ +10  NOTE: 1)  The  RF  Transmit  power  calibrated  during  production  using  MP  Tool  software  and  MT8852 Bluetooth Test equipment. 2)  Test condition: VCC_RF= 1.80V, temperature=25 ºC.   Receiver Performance (25℃℃℃℃)  Basic Data Rate  Min  Typ  Max  Bluetooth specification Unit BDR  Sensitivity     -90   ≤-70  dBm EDR  2M Sensitivity    -90   EDR  3M Sensitivity    -82   LE Sensitivity    -92           NOTE: 1)   Test condition: VCC_RF= 1.80V, temperature=25 ºC.
  15.0  System Current Consumption SUPPLY CONSUMPTION – CLASSIC (1)  Parameter Current   (avg.) Units : mA Current  Notes Standby mode 2.543  shutdown mode 0.187  Connected + Sniff, Master (no data) 0.541 No data was transmitted Sniff interval = 500ms Connected + Sniff, Slave (no data) 0.551 No data was transmitted Sniff interval = 500ms Data, Master 10.67 (Data transmitted at 115200 bps;  block size=500) Data, Slave 14.87 (Data transmitted at 115200 bps;  block size=500) Note 1: Classic BR/EDR, RX_IND Function Enabled           2. The DATA from IS1678S-151  SUPPLY CONSUMPTION –LOW ENERGY (1)  Parameter Current   (avg.) Units : mA  Notes Shutdown mode 0.13   LE fast advertising  1.21 LE fast advertising interval =100 ms 0.88 LE fast advertising interval = 160 ms 0.48 LE fast advertising interval = 500 ms 1.72  LE fast advertising interval = 100 ms + Beacon 100 ms 0.62 LE fast advertising interval = 500 ms + Beacon 500 ms Reduced Power advertising 0.39 LE Reduced Power advertising   interval = 961 ms    1.00 LE Reduced Power advertising    interval = 961 ms+ Beacon 100 ms   0.51 LE Reduced Power advertising   interval = 961 ms + Beacon 500 ms  Connected (No data) 0.39 Connection interval = 1500 ms 0.43 Connection interval = 600 ms  Connected (iPhone6IC) 0.45 Connection interval = 500 ms 0.60 Connection interval = 200 ms Connected (ICiPhone6) 6.6 Connection interval = 500 ms 7.0 Connection interval = 200 ms Note   1.  Only Low Energy, RX_IND Function Enabled                2.  The DATA from IS1678S-151
   16.0  REFERENCE CIRCUIT BM78 Reference Circuit          P3_7P3_3P3_1P3_2P3_4P3_6UART_RXDUART_TXDRST_NP1_7P0_5P0_0P2_0EANP2_4SW_BTNVDD_IOWAKEUPP1_3P1_2P1_5P0_4LED1LED-B12LDO33_OBAT_INLDO33_O LDO33_0FP1FP-BM78SPPAG1G2GND3BAT_IN4SW_BTN5LDO33_O6VDD_IO7LDO18_O8WAKEUP9PMULDO_O10P0_411P1_512P12 / SCL13P13 / SDA14P1_715P0_516P0_017P2_018P2_419EAN20RST_N21GND 31LED1 30P3_7 29P3_6 28P3_4 27P3_3 26P3_2 25P3_1 24HCI_TXD 23HCI_RXD 22G33G32C110u/16VBAT_I NBo a r d   N a m eSiz eTit le RevDa t e : S h e e t ofP/ NMAIN CIRCUIT1.0BM78S REFERANCE CIRCUITCustom2 4Friday , April 24, 201502225F, No.5, Industry E. Rd. VII, Hsinchu Science Park,Hsinchu City  30078, TaiwanTEL.   886-3-5778385P3_4P3_71MCUP3_1P3_3P3_2UART_TXDUART_RXDP0_4P1_5P3_6P0_51Reset for I2C IC1Functional GPIORST_NSW_BTNWAKEUP1RST_N1WAKEUP1UART TXD / RXD1Status_INDP1_71UART CTS / RTS1SW_BTNP0_0TP2 TP-2TP10TP-2TP6 TP-2TP3 TP-2TP7 TP-2TP5 TP-2TP11TP-2TP9 TP-2TP13TP-2SW_BTNUART_RXDEANP2_0RST_N1Test PINBAT_INP2_4UART_TXDTP8 TP-2TP4 TP-2PMULDO_OTP12TP-2LDO18_OLDO33_O
   1.0 REGULATORY APPROVAL This section outlines the regulatory information for the BM78SSPS5MC2 module for the following countries: • United States • Canada • Europe • Australia • Japan • Korea • Taiwan • China  1.2 United States The BM78SSPS5MC2 module has received Federal Communications Commission (FCC) CFR47 Telecommunications, Part 15 Subpart C “Intentional Radiators” modular approval in accordance with Part 15.212 Modular Transmitter approval. Modular approval allows the end user to integrate the BM78 module into a finished product without obtaining subsequent and separate FCC approvals for intentional radiation, provided no changes or modifications are made to the module circuitry. Changes or modifications could void the user’s authority to operate the equipment. The end user must comply with all of the instructions provided by the Grantee, which indicate installation and/or operating conditions necessary for compliance.  The finished product is required to comply with all applicable FCC equipment authorizations regulations, requirements and equipment functions not associated with the transmitter module portion. For example, compliance must be demonstrated to regulations for other transmitter components within the host product; to requirements for unintentional radiators (Part 15 Subpart B “Unintentional Radiators”), such as digital devices, computer peripherals, radio receivers, etc.; and to additional authorization requirements for the non-transmitter functions on the transmitter module (i.e., Verification, or Declaration of Conformity) (e.g., transmitter modules may also contain digital logic functions) as appropriate.  1.2.1 LABELING AND USER INFORMATION REQUIREMENTS The BM78 module has been labeled with its own FCC ID number, and if the FCC ID is not visible when the module is installed inside another device, then the outside of the finished product into which the module is installed must also display a label referring to the enclosed module. This exterior label can use wording as follows:   A user’s manual for the finished product should include the following statement: Contains Transmitter Module FCC ID: A8TBM78ABCDEFGH or Contains FCC ID: A8TBM78ABCDEFGH This device complies with Part 15 of the FCC Rules. Operation is subject to the following two conditions: (1) this device may not cause harmful interference, and (2) this device must accept any interference received, including interference that may cause undesired operation PENDING
   Additional information on labeling and user information requirements for Part 15 devices can be found in KDB Publication 784748 available at the FCC Office of Engineering and Technology (OET) Laboratory Division Knowledge Database (KDB) http://apps.fcc.gov/oetcf/kdb/index.cfm.   1.2.2 RF EXPOSURE All transmitters regulated by FCC must comply with RF exposure requirements. KDB 447498 General RF Exposure Guidance provides guidance in determining whether proposed or existing transmitting facilities, operations or devices comply with limits for human exposure to Radio Frequency (RF) fields adopted by the Federal Communications Commission (FCC).  From the FCC Grant: Output power listed is conducted. This grant is valid only when the module is sold to OEM integrators and must be installed by the OEM or OEM integrators. This transmitter is restricted for use with the specific antenna(s) tested in this application for Certification and must not be co-located or operating in conjunction with any other antenna or transmitters within a host device, except in accordance with FCC multi-transmitter product procedures.  1.2.3 HELPFUL WEB SITES Federal Communications Commission (FCC): http://www.fcc.gov FCC Office of Engineering and Technology (OET) Laboratory Division Knowledge Database (KDB): http://apps.fcc.gov/oetcf/kdb/index.cfm      This equipment has been tested and found to comply with the limits for a Class B digital device, pursuant to part 15 of the FCC Rules. These limits are designed to provide reasonable protection against harmful interference in a residential installation. This equipment generates, uses and can radiate radio frequency energy, and if not installed and used in accordance with the instructions, may cause harmful interference to radio communications. However, there is no guarantee that interference will not occur in a particular installation. If this equipment does cause harmful interference to radio or television reception, which can be determined by turning the equipment off and on, the user is encouraged to try to correct the interference by one or more of the following measures: • Reorient or relocate the receiving antenna. • Increase the separation between the equipment and receiver. • Connect the equipment into an outlet on a circuit different from that to which the receiver is connected. • Consult the dealer or an experienced radio/TV technician for help.
  1.3 Canada The BM78SPPS5MC2 module has been certified for use in Canada under Industry Canada (IC) Radio Standards Specification (RSS) RSS-210 and RSS-Gen. Modular approval permits the installation of a module in a host device without the need to recertify the device.  1.3.1 LABELING AND USER INFORMATION REQUIREMENTS Labeling Requirements for the Host Device (from Section 3.2.1, RSS-Gen, Issue 3, December 2010): The host device shall be properly labeled to identify the module within the host device.  The Industry Canada certification label of a module shall be clearly visible at all times when installed in the host device, otherwise the host device must be labeled to display the Industry Canada certification number of the module, preceded by the words “Contains transmitter module”, or the word “Contains”, or similar wording expressing the same meaning, as follows:    User Manual Notice for License-Exempt Radio Apparatus (from Section 7.1.3 RSS-Gen, Issue 3, December 2010): User manuals for license-exempt radio apparatus shall contain the following or equivalent notice in a conspicuous location in the user manual or alternatively on the device or both:       Contains transmitter module IC: 12246A-BM78SPPS5M2 This device complies with Industry Canada license-exempt RSS standard(s). Operation is subject to the following two conditions: (1) this device may not cause interference, and (2) this device must accept any interference, including interference that may cause undesired operation of the device.  Le présent appareil est conforme aux CNR d'Industrie Canada applicables aux appareils radio exempts de licence. L'exploitation est autorisée aux deux conditions suivantes: (1) l'appareil ne doit pas produire de brouillage, et (2) l'utilisateur de l'appareil doit accepter tout brouillage radioélectrique subi, même si le brouillage est susceptible d'en compromettre le fonctionnement. PENDING
   1.3.2 RF EXPOSURE All transmitters regulated by IC must comply with RF exposure requirements listed in RSS-102 - Radio Frequency (RF) Exposure Compliance of Radiocommunication Apparatus (All Frequency Bands).  (Get direct quote from Certificate and place here)  1.3.3 HELPFUL WEB SITES Industry Canada: http://www.ic.gc.ca/      1.4 Europe The BM78SPPS5MC2 module is an R&TTE Directive assessed radio module that is CE marked and has been manufactured and tested with the intention of being integrated into a final product.    The BM78 module has been tested to R&TTE Directive 1999/5/EC Essential Requirements for Health and Safety (Article (3.1(a)), Electromagnetic Compatibility (EMC) (Article 3.1(b)), and Radio (Article 3.2) and are summarized in Table 3‐1: European Compliance Testing. A Notified Body Opinion has also been issued.  All test reports are available on the BM78 product web page at http://www.microchip.com/bm78.  The R&TTE Compliance Association provides guidance on modular devices in document Technical Guidance Note 01 available at http://www.rtteca.com/html/download_area.htm.      1.4.1 LABELING AND USER INFORMATION REQUIREMENTS The label on the final product which contains the BM77 module must follow CE marking requirements. The R&TTE Compliance Association Technical Guidance Note 01 provides guidance on final product CE marking.  1.4.2 ANTENNA REQUIREMENTS From R&TTE Compliance Association document Technical Guidance Note 01: Provided the integrator installing an assessed radio module with an integral or specific antenna and installed in conformance with the radio module manufacturer’s installation instructions requires no further evaluation under Article 3.2 of the R&TTE Directive and does not require further involvement of an R&TTE Directive Notified Body for the final product. [Section 2.2.4]  The European Compliance Testing listed in Table 3‐1 was performed using the integral ceramic chip antenna.  TABLE 3‐1: EUROPEAN COMPLIANCE TESTING Certification Standards Article Laboratory Report Number Date Safety  EN 60950-1:2006+A11:2009+A1:2010 (3.1(a))    Health EN 50371:2002-03   Note: To maintain conformance to the testing listed in Table 3‐1: European Compliance Testing, the module shall be installed in accordance with the installation instructions in this data sheet and shall not be modified.  When integrating a radio module into a completed product the integrator becomes the manufacturer of the final product and is therefore responsible for demonstrating compliance of the final product with the essential requirements of the R&TTE Directive. PENDING
  EMC EN 301 489-1 V1.8.1 (2008-04) (3.1(b))   EN 301 489-17 V2.1.1 (2009-05)  Radio EN 300 328 V1.7.1 (2006-10) (3.2)   Notified Body Opinion       1.4.3 HELPFUL WEB SITES A document that can be used as a starting point in understanding the use of Short Range Devices (SRD) in Europe is the European Radio Communications Committee (ERC) Recommendation 70-03 E, which can be downloaded from the European Radio Communications Office (ERO) at: http://www.ero.dk/.   Additional helpful web sites are: • Radio and Telecommunications Terminal Equipment (R&TTE):  http://ec.europa.eu/enterprise/rtte/index_en.htm • European Conference of Postal and Telecommunications Administrations (CEPT):  http://www.cept.org • European Telecommunications Standards Institute (ETSI):  http://www.etsi.org • European Radio Communications Office (ERO):  http://www.ero.dk • The Radio and Telecommunications Terminal Equipment Compliance Association (R&TTE CA):  http://www.rtteca.com/  1.5 Australia The Australia radio regulations do not provide a modular approval policy similar to the United States (FCC) and Canada (IC). However, BM77 module RF transmitter test reports can be used in part to demonstrate compliance in accordance with ACMA Radio communications “Short Range Devices” Standard 2004 (The Short Range Devices standard calls up the AS/NZS 4268:2008 industry standard). The BM77 module test reports can be used as part of the product certification and compliance folder. For more information on the RF transmitter test reports, contact Microchip Technology Australia sales office.  To meet overall Australian final product compliance, the developer must construct a compliance folder containing all relevant compliance test reports e.g. RF, EMC, electrical safety and DoC (Declaration of Conformity) etc. It is the responsibility of the integrator to know what is required in the compliance folder for ACMA compliance. All test reports are available on the BM78 product web page at http://www.microchip.com. For more information on Australia compliance, refer to the Australian Communications and Media Authority web site http://www.acma.gov.au/.   1.5.1 HELPFUL WEB SITES The Australian Communications and Media Authority: www.acma.gov.au/.    1.6 Japan The BM78SPPS5MC2 module has received type certification and is labeled with its own technical conformity mark and certification number as required to conform to the technical standards regulated by the Ministry of Internal Affairs and Communications (MIC) of Japan pursuant to the Radio Act of Japan.   Integration of this module into a final product does not require additional radio certification provided installation instructions are followed and no modifications of the module are allowed.  Additional testing may be required:  • If the host product is subject to electrical appliance safety (for example, powered from an AC mains), the host product may require Product Safety Electrical Appliance and Material (PSE) PENDING PENDING
  testing. The integrator should contact their conformance laboratory to determine if this testing is required. • There is an voluntary Electromagnetic Compatibility (EMC) test for the host product administered by VCCI: http://www.vcci.jp/vcci_e/index.html   1.6.1 LABELING AND USER INFORMATION REQUIREMENTS The label on the final product which contains the BM78 module must follow Japan marking requirements. The integrator of the module should refer to the labeling requirements for Japan available at the Ministry of Internal Affairs and Communications (MIC) website.   The BM78module is labeled with its own technical conformity mark and certification number. The final product in which this module is being used must have a label referring to the type certified module inside:   1.6.2 HELPFUL WEB SITES Ministry of Internal Affairs and Communications (MIC): http://www.tele.soumu.go.jp/e/index.htm  Association of Radio Industries and Businesses (ARIB): http://www.arib.or.jp/english/   1.7 Korea The BM78SPPS5MC2 module has received certification of conformity in accordance with the Radio Waves Act. Integration of this module into a final product does not require additional radio certification provided installation instructions are followed and no modifications of the module are allowed.  1.7.1 LABELING AND USER INFORMATION REQUIREMENTS The label on the final product which contains the BM77 module must follow KC marking requirements. The integrator of the module should refer to the labeling requirements for Korea available on the Korea Communications Commission (KCC) website.   The BM78 module is labeled with its own KC mark. The final product requires the KC mark and certificate number of the module:     1.7.2 HELPFUL WEB SITES Korea Communications Commission (KCC): http://www.kcc.go.kr  National Radio Research Agency (RRA): http://rra.go.kr  1.8 Taiwan The BM78SPPS5MC2 module has received compliance approval in accordance with the Telecommunications Act. Customers seeking to use the compliance approval in their product should contact Microchip Technology sales or distribution partners to obtain a Letter of Authority.  Integration of this module into a final product does not require additional radio certification provided installation instructions are followed and no modifications of the module are allowed.  Contains transmitter module with certificate number:  (Number) 202-XXXXXX PENDING PENDING
  1.8.1 LABELING AND USER INFORMATION REQUIREMENTS The BM77 module is labeled with its own NCC mark and certificate number as below:    The user’s manual should contain below warning (for RF device) in traditional Chinese:  注意 ! 依據 低功率電波輻射性電機管理辦法 第十二條 經型式認證合格之低功率射頻電機,非經許可, 公司、商號或使用者均不得擅自變更頻率、加大功率或變更原設計 之特性及功能。 第十四條 低功率射頻電機之使用不得影響飛航安全及干擾合法通信; 經發現有干擾現象時,應立即停用,並改善至無干擾時方得繼續使用。 前項合法通信,指依電信規定作業之無線電信。 低功率射頻電機須忍受合法通信或工業、科學及醫療用電波輻射性 電機設備之干擾。  1.8.2 HELPFUL WEB SITES National Communications Commission (NCC): http://www.ncc.gov.tw   1.9 Other Regulatory Jurisdictions Should other regulatory jurisdiction certification be required by the customer, or the customer need to recertify the module for other reasons, a certification utility is available.  For further regulatory Certification Utility and documentation, contact ISSC Technologies Corp.      (Number)
   FIGURE 20-1: Reflow Profile  Standard : IPC/JEDEC J-STD-020  Condition : Preheat:150~200℃、60~120 seconds Average ramp-up rate (217℃ to peak): 3℃/sec max. Temperature maintained above 217℃ : 60~150 seconds Time within 5℃ of peak temperature: 30 ~ 40 seconds. Peak temperature:260 +5/-0 ℃ Ramp-down rate (peak to 217℃) : 6℃/sec. max. Time 25℃ to peak temperature : 8 minutes max. Cycle interval:5 minutes
   Soldering Recommendations  Stereo  module  was  assembled  using  standard  lead-free  reflow  profile  IPC/JEDEC  J-STD-020. The module can be soldered to the main PCB using standard leaded and lead-free solder reflow profiles. To avoid damaging of the module, the recommendations are listed as follows:  • Refer to Microchip Technology Application Note AN233 Solder Reflow Recommendation (DS00233) for the soldering reflow recommendations • Do not exceed peak temperature (TP) of 250 degree C • Refer to the solder paste data sheet for specific reflow profile recommendations • Use no-clean flux solder paste • Do not wash as moisture can be trapped under the shield • Use only one flow.  If the PCB requires multiple flows, apply the module on the final flow.        ORDERING INFORMATION  TABLE 4‐1:  ORDERING INFORMATION Part Number Description BM78SPPS5NC2-000--- Bluetooth® 4.0 Dual Mode, Class 2, Surface Mount module with integral antenna, with shield BM78SPP05NC2-000--- Bluetooth® 4.0 Dual Mode, Class 2, Surface Mount module, external antenna, no shield
  A.3.3 HELPFUL WEB SITES  A document that can be used as a starting point in understanding the use of Short Range Devices (SRD)   in Europe is the European Radio Communications Committee (ERC) Recommendation 70‐03 E, which can be downloaded from the European Radio Communications Office (ERO) at: http://www.ero.dk/.  Additional helpful web sites are: •  Radio and Telecommunications Terminal Equipment (R&TTE): http://ec.europa.eu/enterprise/rtte/index_en.htm  •  European Conference of Postal and Telecommunications Administrations (CEPT): http://www.cept.org  •  European Telecommunications Standards Institute (ETSI): http://www.etsi.org  •  European Radio Communications Office (ERO): http://www.ero.dk  •  The Radio and Telecommunications Terminal Equipment Compliance Association (R&TTE CA): http://www.rtteca.com/
      Worldwide Sales and Service  AMERICAS Corporate Office 2355 West Chandler Blvd. Chandler, AZ 85224-6199 Tel: 480-792-7200 Fax: 480-792-7277 Technical Support: http://www.microchip.com/ support Web Address: www.microchip.com Atlanta Duluth, GA Tel: 678-957-9614 Fax: 678-957-1455 Austin, TX Tel: 512-257-3370 Boston Westborough, MA Tel: 774-760-0087 Fax: 774-760-0088 Chicago Itasca, IL Tel: 630-285-0071 Fax: 630-285-0075 Cleveland Independence, OH Tel: 216-447-0464 Fax: 216-447-0643 Dallas Addison, TX Tel: 972-818-7423 Fax: 972-818-2924 Detroit Novi, MI Tel: 248-848-4000 Houston, TX Tel: 281-894-5983 Indianapolis Noblesville, IN Tel: 317-773-8323 Fax: 317-773-5453 Los Angeles Mission Viejo, CA Tel: 949-462-9523 Fax: 949-462-9608 New York, NY Tel: 631-435-6000 San Jose, CA Tel: 408-735-9110 Canada - Toronto Tel: 905-673-0699 Fax: 905-673-6509 ASIA/PACIFIC Asia Pacific Office  Suites 3707-14, 37th Floor Tower 6, The Gateway Harbour City, Kowloon Hong Kong Tel: 852-2943-5100 Fax: 852-2401-3431 Australia - Sydney Tel: 61-2-9868-6733 Fax: 61-2-9868-6755 China - Beijing Tel: 86-10-8569-7000 Fax: 86-10-8528-2104 China - Chengdu Tel: 86-28-8665-5511 Fax: 86-28-8665-7889 China - Chongqing Tel: 86-23-8980-9588 Fax: 86-23-8980-9500 China - Hangzhou Tel: 86-571-8792-8115 Fax: 86-571-8792-8116 China - Hong Kong SAR Tel: 852-2943-5100 Fax: 852-2401-3431 China - Nanjing Tel: 86-25-8473-2460 Fax: 86-25-8473-2470 China - Qingdao Tel: 86-532-8502-7355 Fax: 86-532-8502-7205 China - Shanghai Tel: 86-21-5407-5533 Fax: 86-21-5407-5066 China - Shenyang Tel: 86-24-2334-2829 Fax: 86-24-2334-2393 China - Shenzhen Tel: 86-755-8864-2200 Fax: 86-755-8203-1760 China - Wuhan Tel: 86-27-5980-5300 Fax: 86-27-5980-5118 China - Xian Tel: 86-29-8833-7252 Fax: 86-29-8833-7256 China - Xiamen Tel: 86-592-2388138 Fax: 86-592-2388130 China - Zhuhai Tel: 86-756-3210040 Fax: 86-756-3210049 ASIA/PACIFIC India - Bangalore Tel: 91-80-3090-4444 Fax: 91-80-3090-4123 India - New Delhi Tel: 91-11-4160-8631 Fax: 91-11-4160-8632 India - Pune Tel: 91-20-3019-1500 Japan - Osaka Tel: 81-6-6152-7160 Fax: 81-6-6152-9310 Japan - Tokyo Tel: 81-3-6880- 3770 Fax: 81-3-6880-3771 Korea - Daegu Tel: 82-53-744-4301 Fax: 82-53-744-4302 Korea - Seoul Tel: 82-2-554-7200 Fax: 82-2-558-5932 or 82-2-558-5934 Malaysia - Kuala Lumpur Tel: 60-3-6201-9857 Fax: 60-3-6201-9859 Malaysia - Penang Tel: 60-4-227-8870 Fax: 60-4-227-4068 Philippines - Manila Tel: 63-2-634-9065 Fax: 63-2-634-9069 Singapore Tel: 65-6334-8870 Fax: 65-6334-8850 Taiwan - Hsin Chu Tel: 886-3-5778-366 Fax: 886-3-5770-955 Taiwan - Kaohsiung Tel: 886-7-213-7830 Taiwan - Taipei Tel: 886-2-2508-8600 Fax: 886-2-2508-0102 Thailand - Bangkok Tel: 66-2-694-1351 Fax: 66-2-694-1350 EUROPE Austria - Wels Tel: 43-7242-2244-39 Fax: 43-7242-2244-393 Denmark - Copenhagen Tel: 45-4450-2828 Fax: 45-4485-2829 France - Paris Tel: 33-1-69-53-63-20 Fax: 33-1-69-30-90-79 Germany - Dusseldorf Tel: 49-2129-3766400 Germany - Munich Tel: 49-89-627-144-0 Fax: 49-89-627-144-44 Germany - Pforzheim Tel: 49-7231-424750 Italy - Milan Tel: 39-0331-742611 Fax: 39-0331-466781 Italy - Venice Tel: 39-049-7625286 Netherlands - Drunen Tel: 31-416-690399 Fax: 31-416-690340 Poland - Warsaw Tel: 48-22-3325737 Spain - Madrid Tel: 34-91-708-08-90 Fax: 34-91-708-08-91 Sweden - Stockholm Tel: 46-8-5090-4654 UK - Wokingham Tel: 44-118-921-5800 Fax: 44-118-921-5820

Navigation menu