Microsoft NSB-9 GSM850/1900 Cellular Telephone User Manual FCC draft 2
Microsoft Mobile Oy GSM850/1900 Cellular Telephone FCC draft 2
manual

[ i ]
FCC Draft
User Guide for
Nokia 6800 Phone
Phone notes
What information is
needed? Numbers Where is the number?
My number Wireless service provider
Voice mail number Wireless service provider
Wireless provider’s number Wireless service provider
Provider’s customer care Wireless service provider
Model number Label on back of phone
(under battery)
Phone type Back of title page
Electronic serial number
(ESN)
Label on back of phone
(under battery). See “Find
your phone’s label” on
page 9.

[ ii ]
The wireless phone described in this guide is approved for use in GSM 850 and GSM 1900
networks.
LEGAL INFORMATION
Part No. 9357899, Issue No. 1.
Copyright ©2002 Nokia. All rights reserved.
Nokia, Nokia Connecting People, Nokia 6800, and the Nokia Original Accessories logos are
trademarks or registered trademarks of Nokia Corporation. All other product and company
names mentioned herein may be trademarks or tradenames of their respective owners.
Printed in Canada 03/2003
US Patent No 5818437 and other pending patents.
T9 text input software Copyright ©1999-2002. Tegic Communications, Inc. All rights reserved.
Includes RSA BSAFE cryptographic or security protocol software from RSA Security.
Java is a trademark of Sun Microsystems, Inc.
The information in this user guide was written for the Nokia 6800 phone. Nokia operates a
policy of ongoing development. Nokia reserves the right to make changes and improvements
to any of the products described in this document without prior notice.
UNDER NO CIRCUMSTANCES SHALL NOKIA BE RESPONSIBLE FOR ANY LOSS OF DATA OR
INCOME OR ANY SPECIAL, INCIDENTAL, AND CONSEQUENTIAL OR INDIRECT DAMAGES
HOWSOEVER CAUSED.
THE CONTENTS OF THIS DOCUMENT ARE PROVIDED “AS IS.” EXCEPT AS REQUIRED BY
APPLICABLE LAW, NO WARRANTIES OF ANY KIND, EITHER EXPRESS OR IMPLIED, INCLUDING,
BUT NOT LIMITED TO, THE IMPLIED WARRANTIES OF MERCHANTABILITY AND FITNESS FOR A
PARTICULAR PURPOSE, ARE MADE IN RELATION TO THE ACCURACY AND RELIABILITY OR
CONTENTS OF THIS DOCUMENT. NOKIA RESERVES THE RIGHT TO REVISE THIS DOCUMENT OR
WITHDRAW IT AT ANY TIME WITHOUT PRIOR NOTICE.
EXPORT CONTROLS
This product contains commodities, technology or software exported from the United States in
accordance with the Export Administration regulations. Diversion contrary to U.S. law is
prohibited.
FCC/INDUSTRY CANADA NOTICE
Your phone may cause TV or radio interference (for example, when using a telephone in close
proximity to receiving equipment). The FCC or Industry Canada can require you to stop using
your telephone if such interference cannot be eliminated. If you require assistance, contact
your local service facility. This device complies with part 15 of the FCC rules. Operation is
subject to the condition that this device does not cause harmful interference.
The term “IC:” before the certification/registration number only signifies that Industry Canada
technical specifications were met.
[ iii ]
Contents
1. For your safety . . . . . . . . . . . . . . . . . . . . . . . . . . . . . . . . . . 1
About accessories . . . . . . . . . . . . . . . . . . . . . . . . . . . . . . . . . . . . . . . . .3
2. An overview of functions . . . . . . . . . . . . . . . . . . . . . . . . . . 4
Messaging concept. . . . . . . . . . . . . . . . . . . . . . . . . . . . . . . . . . . . . . . .4
Multimedia messaging service (MMS) . . . . . . . . . . . . . . . . . . . . . . . .4
Polyphonic sound (MIDI) . . . . . . . . . . . . . . . . . . . . . . . . . . . . . . . . . . .4
General Packet Radio Service (GPRS) . . . . . . . . . . . . . . . . . . . . . . . . .4
Speakerphone . . . . . . . . . . . . . . . . . . . . . . . . . . . . . . . . . . . . . . . . . . . .5
MIDP JavaTM applications. . . . . . . . . . . . . . . . . . . . . . . . . . . . . . . . . .5
FM stereo radio. . . . . . . . . . . . . . . . . . . . . . . . . . . . . . . . . . . . . . . . . . .6
3. Welcome and quick guide . . . . . . . . . . . . . . . . . . . . . . . . . . 7
Get the most out of this guide . . . . . . . . . . . . . . . . . . . . . . . . . . . . . .7
Understand wireless network services . . . . . . . . . . . . . . . . . . . . . . . .8
Register your phone . . . . . . . . . . . . . . . . . . . . . . . . . . . . . . . . . . . . . . .8
E-Newsletters . . . . . . . . . . . . . . . . . . . . . . . . . . . . . . . . . . . . . . . . . . . .9
Get help . . . . . . . . . . . . . . . . . . . . . . . . . . . . . . . . . . . . . . . . . . . . . . . . .9
Understand your phone . . . . . . . . . . . . . . . . . . . . . . . . . . . . . . . . . . .11
Switch your phone on or off . . . . . . . . . . . . . . . . . . . . . . . . . . . . . . .19
Check the start screen . . . . . . . . . . . . . . . . . . . . . . . . . . . . . . . . . . . .19
Get started with the Quick Guide . . . . . . . . . . . . . . . . . . . . . . . . . .21
Menu shortcuts. . . . . . . . . . . . . . . . . . . . . . . . . . . . . . . . . . . . . . . . . .22
Get help . . . . . . . . . . . . . . . . . . . . . . . . . . . . . . . . . . . . . . . . . . . . . . . .23
Use the selection and Joystick keys . . . . . . . . . . . . . . . . . . . . . . . . .26
Browse phone menus . . . . . . . . . . . . . . . . . . . . . . . . . . . . . . . . . . . . .27
4. Basic operations . . . . . . . . . . . . . . . . . . . . . . . . . . . . . . . . 33
Set the clock . . . . . . . . . . . . . . . . . . . . . . . . . . . . . . . . . . . . . . . . . . . .33
Make and answer calls . . . . . . . . . . . . . . . . . . . . . . . . . . . . . . . . . . . .33
Call and setup your voicemail . . . . . . . . . . . . . . . . . . . . . . . . . . . . . .35
Options during a call . . . . . . . . . . . . . . . . . . . . . . . . . . . . . . . . . . . . .37
Set up your phone . . . . . . . . . . . . . . . . . . . . . . . . . . . . . . . . . . . . . . .38
5. Text entry . . . . . . . . . . . . . . . . . . . . . . . . . . . . . . . . . . . . . 39
Writing with the messaging keyboard . . . . . . . . . . . . . . . . . . . . . . .39
[ iv ]
Writing with the flip closed . . . . . . . . . . . . . . . . . . . . . . . . . . . . . . .40
6. Manage phone security. . . . . . . . . . . . . . . . . . . . . . . . . . . 44
Security levels . . . . . . . . . . . . . . . . . . . . . . . . . . . . . . . . . . . . . . . . . . .44
Fixed dialing . . . . . . . . . . . . . . . . . . . . . . . . . . . . . . . . . . . . . . . . . . . .45
Access codes . . . . . . . . . . . . . . . . . . . . . . . . . . . . . . . . . . . . . . . . . . . .47
7. The Phone book . . . . . . . . . . . . . . . . . . . . . . . . . . . . . . . . 51
View the Phone book menu . . . . . . . . . . . . . . . . . . . . . . . . . . . . . . . .51
Save names and numbers. . . . . . . . . . . . . . . . . . . . . . . . . . . . . . . . . .52
Copy Phone book entries . . . . . . . . . . . . . . . . . . . . . . . . . . . . . . . . . .55
1-touch dialing . . . . . . . . . . . . . . . . . . . . . . . . . . . . . . . . . . . . . . . . . .57
View Info, Service, and Own numbers. . . . . . . . . . . . . . . . . . . . . . . .58
8. Menu functions . . . . . . . . . . . . . . . . . . . . . . . . . . . . . . . . 61
Write and send a text message . . . . . . . . . . . . . . . . . . . . . . . . . . . . .63
Picture messages. . . . . . . . . . . . . . . . . . . . . . . . . . . . . . . . . . . . . . . . .64
E-mail . . . . . . . . . . . . . . . . . . . . . . . . . . . . . . . . . . . . . . . . . . . . . . . . .67
Multimedia messages . . . . . . . . . . . . . . . . . . . . . . . . . . . . . . . . . . . . .70
Voice messages . . . . . . . . . . . . . . . . . . . . . . . . . . . . . . . . . . . . . . . . . .76
Automate voicemail . . . . . . . . . . . . . . . . . . . . . . . . . . . . . . . . . . . . . .77
Message options . . . . . . . . . . . . . . . . . . . . . . . . . . . . . . . . . . . . . . . . .79
Organize messages with folders . . . . . . . . . . . . . . . . . . . . . . . . . . . .80
Erase messages . . . . . . . . . . . . . . . . . . . . . . . . . . . . . . . . . . . . . . . . . .82
Call log options . . . . . . . . . . . . . . . . . . . . . . . . . . . . . . . . . . . . . . . . . .87
View missed calls . . . . . . . . . . . . . . . . . . . . . . . . . . . . . . . . . . . . . . . .88
View received calls . . . . . . . . . . . . . . . . . . . . . . . . . . . . . . . . . . . . . . .88
View dialed numbers . . . . . . . . . . . . . . . . . . . . . . . . . . . . . . . . . . . . .89
Erase call lists . . . . . . . . . . . . . . . . . . . . . . . . . . . . . . . . . . . . . . . . . . .89
View call duration. . . . . . . . . . . . . . . . . . . . . . . . . . . . . . . . . . . . . . . .90
Select a profile . . . . . . . . . . . . . . . . . . . . . . . . . . . . . . . . . . . . . . . . . .91
Customize a profile. . . . . . . . . . . . . . . . . . . . . . . . . . . . . . . . . . . . . . .91
Set a timed profile . . . . . . . . . . . . . . . . . . . . . . . . . . . . . . . . . . . . . . .92
Call settings. . . . . . . . . . . . . . . . . . . . . . . . . . . . . . . . . . . . . . . . . . . . .95
Phone settings. . . . . . . . . . . . . . . . . . . . . . . . . . . . . . . . . . . . . . . . . . .99
Display settings. . . . . . . . . . . . . . . . . . . . . . . . . . . . . . . . . . . . . . . . 103
Tone settings . . . . . . . . . . . . . . . . . . . . . . . . . . . . . . . . . . . . . . . . . . 105
Set an alarm . . . . . . . . . . . . . . . . . . . . . . . . . . . . . . . . . . . . . . . . . . 107
Turn off an alarm . . . . . . . . . . . . . . . . . . . . . . . . . . . . . . . . . . . . . . 108
[ v ]
Calendar . . . . . . . . . . . . . . . . . . . . . . . . . . . . . . . . . . . . . . . . . . . . . .108
The Monthly view . . . . . . . . . . . . . . . . . . . . . . . . . . . . . . . . . . . . . . .109
Go to a date . . . . . . . . . . . . . . . . . . . . . . . . . . . . . . . . . . . . . . . . . . .109
Send a Calendar note to another device. . . . . . . . . . . . . . . . . . . . .112
Make a to-do list . . . . . . . . . . . . . . . . . . . . . . . . . . . . . . . . . . . . . . .113
Turn the radio on and off. . . . . . . . . . . . . . . . . . . . . . . . . . . . . . . . .115
Use the radio. . . . . . . . . . . . . . . . . . . . . . . . . . . . . . . . . . . . . . . . . . .115
Save a radio channel . . . . . . . . . . . . . . . . . . . . . . . . . . . . . . . . . . . .116
9. Gallery (Menu 8). . . . . . . . . . . . . . . . . . . . . . . . . . . . . . . 118
Open the Gallery . . . . . . . . . . . . . . . . . . . . . . . . . . . . . . . . . . . . . . . .118
View folders. . . . . . . . . . . . . . . . . . . . . . . . . . . . . . . . . . . . . . . . . . . .119
10. Games (Menu 9) . . . . . . . . . . . . . . . . . . . . . . . . . . . . . . . 120
Launch a game . . . . . . . . . . . . . . . . . . . . . . . . . . . . . . . . . . . . . . . . .120
Game services . . . . . . . . . . . . . . . . . . . . . . . . . . . . . . . . . . . . . . . . . .121
Launch an application . . . . . . . . . . . . . . . . . . . . . . . . . . . . . . . . . . .122
Application options . . . . . . . . . . . . . . . . . . . . . . . . . . . . . . . . . . . . .123
Download applications. . . . . . . . . . . . . . . . . . . . . . . . . . . . . . . . . . .123
Use the calculator. . . . . . . . . . . . . . . . . . . . . . . . . . . . . . . . . . . . . . .125
Use the currency converter . . . . . . . . . . . . . . . . . . . . . . . . . . . . . . .125
Use the countdown timer . . . . . . . . . . . . . . . . . . . . . . . . . . . . . . . .126
Use the stopwatch . . . . . . . . . . . . . . . . . . . . . . . . . . . . . . . . . . . . . .128
Nokia PC Suite™ . . . . . . . . . . . . . . . . . . . . . . . . . . . . . . . . . . . . . . . .131
Download PC Suite software . . . . . . . . . . . . . . . . . . . . . . . . . . . . . .131
GPRS . . . . . . . . . . . . . . . . . . . . . . . . . . . . . . . . . . . . . . . . . . . . . . . . .132
Infrared . . . . . . . . . . . . . . . . . . . . . . . . . . . . . . . . . . . . . . . . . . . . . . .133
Notes on wireless Internet access . . . . . . . . . . . . . . . . . . . . . . . . . .135
Set up for browsing . . . . . . . . . . . . . . . . . . . . . . . . . . . . . . . . . . . . .136
Sign on to the wireless Internet . . . . . . . . . . . . . . . . . . . . . . . . . . .136
Use browser options . . . . . . . . . . . . . . . . . . . . . . . . . . . . . . . . . . . . .136
Navigate the wireless Internet . . . . . . . . . . . . . . . . . . . . . . . . . . . .137
Use bookmarks . . . . . . . . . . . . . . . . . . . . . . . . . . . . . . . . . . . . . . . . .139
GPRS icons . . . . . . . . . . . . . . . . . . . . . . . . . . . . . . . . . . . . . . . . . . . .140
11. Accessories . . . . . . . . . . . . . . . . . . . . . . . . . . . . . . . . . . . 143
12. Reference information. . . . . . . . . . . . . . . . . . . . . . . . . . . 146
Battery statements . . . . . . . . . . . . . . . . . . . . . . . . . . . . . . . . . . . . . .146
[ vi ]
Use proper CARE AND MAINTENANCE . . . . . . . . . . . . . . . . . . . . . 147
Understand IMPORTANT SAFETY INFORMATION . . . . . . . . . . . . . 148
Emergency calls . . . . . . . . . . . . . . . . . . . . . . . . . . . . . . . . . . . . . . . 151
13. Troubleshooting . . . . . . . . . . . . . . . . . . . . . . . . . . . . . . . 155
14. Frequently Asked Questions . . . . . . . . . . . . . . . . . . . . . . 156
15. Glossary . . . . . . . . . . . . . . . . . . . . . . . . . . . . . . . . . . . . . 159
16. Technical information . . . . . . . . . . . . . . . . . . . . . . . . . . . 161
17. Nokia One-Year Limited Warranty . . . . . . . . . . . . . . . . . 162
Appendix A . . . . . . . . . . . . . . . . . . . . . . . . . . . . . . . . . . 167
Appendix B. . . . . . . . . . . . . . . . . . . . . . . . . . . . . . . . . . . 171

[FCC Draft 1 FCC Draft ]
For your safety
1 For your safety
Read these simple guidelines. Breaking the rules may be dangerous or
illegal. Further detailed information is given in this manual.
Do not switch the phone on when wireless phone use is
prohibited or when it may cause interference or danger.
ROAD SAFETY COMES FIRST
Don't use a hand-held phone while driving.
INTERFERENCE
All wireless phones may get interference, which could affect
performance.
SWITCH OFF IN HOSPITALS
Follow any regulations or rules. Switch the phone off near
medical equipment.
SWITCH OFF IN AIRCRAFT
Wireless devices can cause interference in aircraft.
SWITCH OFF WHEN REFUELLING
Don't use the phone at a refuelling point. Don't use near fuel
or chemicals.
SWITCH OFF NEAR BLASTING
Don't use the phone where blasting is in progress. Observe
restrictions, and follow any regulations or rules.
USE SENSIBLY
Use only in the normal position. Don't touch the antenna
unnecessarily.
QUALIFIED SERVICE
Only qualified personnel may install or repair phone
equipment.

[FCC Draft 2 FCC Draft ]
OBSERVE INFRARED PRECAUTIONS
Do not point the IR beam at anyone’s eyes or allow it to
interfere with other IR devices.
ACCESSORIES AND BATTERIES
Use only approved accessories and batteries. Do not connect
incompatible products.
WATER-RESISTANCE
Your phone is not water-resistant. Keep it dry.
BACKUP COPIES
Remember to make backup copies of all important data.
CONNECTING TO OTHER DEVICES
When connecting to any other device, read its user's guide for
detailed safety instructions. Do not connect incompatible
products.
FUSE REPLACEMENT
Replace a blown fuse with a fuse of the same type and size.
Never use a fuse with a higher rating!
CALLING
Ensure the phone is switched on and in service. Enter the phone
number, including the area code, then press d. To end a call,
press e. To answer a call, press d.
EMERGENCY CALLS
Ensure the phone is switched on and in service. Press e as
many times as needed (e.g. to exit a call, to exit a menu, etc.)
to clear the display. Enter the emergency number, then press
e . Give your location. Do not end the call until told to do so.

[FCC Draft 3 FCC Draft ]
For your safety
• ABOUT ACCESSORIES
Check the model number of any charger before use with this device.
This device is intended for use when supplied with power from ACP-12
and LCH-12.
Warning: Use only batteries, chargers and accessories
approved by the phone manufacturer for use with this
particular phone model. The use of any other types
may invalidate any approval or warranty applying to
the phone, and may be dangerous.
For availability of approved accessories, please check
with
your dealer.
When you disconnect the power cord of any accessory, grasp and pull the
plug, not the cord.

[FCC Draft 4 FCC Draft ]
2 An overview of functions
• MESSAGING CONCEPT
Your phone combines the functions of a normal mobile phone and a
messaging device. With the flip closed, you can use all the functions of
the phone like in any other mobile. By opening the flip of the phone, you’ll
find an additional mesaging keyboard that’s especially desinged for easy
text writing. See __________
• MULTIMEDIA MESSAGING SERVICE (MMS)
Your phone is able to send and receive multimedia messages made up of
text and pictures. You may also be able to receive polyphonic ringing
tones. You can also save pictures and ringing tones to personalize your
phone. See “Multimedia messages” on page 70 for more information.
• POLYPHONIC SOUND (MIDI)
Polyphonic sounds are used in ringing tones and message alert tones. They
consist of several sound components played at the same time, like an
actual melody through a speaker. Your phone has sound components from
over 40 instruments that can be used for polyphonic sounds but the
phone can play four instruments simultaneously. The phone supports
Scalable Polyphonic MIDI (SP-MIDI) format.
You can receive polyphonic ringing tones via multimedia service,
(see “Read and reply to a multimedia message” on page 74), or
download them via the gallery menu, see “Gallery (Menu 8)” on page 118
for more information.
• GENERAL PACKET RADIO SERVICE (GPRS)

[FCC Draft 5 FCC Draft ]
An overview of functions
GPRS technology allows mobile phones to send and receive data
over a mobile network. Applications such as WAP, MMS and SMS
messaging, and JavaTM may use GPRS.
Your phone supports up to three simultaneous GPRS connections. For
more information on GPRS, see “GPRS” on page 132. Also, consult the PC
Connectivity Guide. The PC Connectivity guide, Nokia PC Suite, and all
related software can be downloaded from the U.S. Mobile Phone products
section of www.nokia.com.
Before you can use GPRS technology
Contact your network operator or service provider for availability and
subscription to the GPRS service. Also, save the GPRS settings for each of
the applications used over GPRS.
PRICING FOR GPRS AND APPLICATIONS
Your wireless provider may charge for GPRS services. For more
information on pricing, contact your wireless provider.
• SPEAKERPHONE
You can use your phone as a speakerphone during a call. To activate the
speakerphone, press Loudsp. To deactivate the speakerphone during a call,
press Handset. The speakerphone deactivates when you end the call, or
when you connect a headset.
• MIDP JAVATM APPLICATIONS
Your phone supports JavaTM and includes some Java applications and
games that have been specially designed for mobile phones. You may be
able to download new applications and games to your phone from a PC
with a Java installer software or from some Mobile Internet services. See
“Applications (Menu 10)” on page 122 for more information.

[FCC Draft 7 FCC Draft ]
Welcome and quick guide
3 Welcome and quick guide
Congratulations on your purchase of the Nokia 6800’ mobile phone.
Your phone provides many functions which are practical for daily use,
such as a Calendar, Radio, Alarm clock, Calculator, Notepad and more.
Your phone can also connect to a PC, laptop, or other device using the
built-in IR port. For more information on connectivity, refer to the PC
Connectivity Guide. The PC Connectivity guide, Nokia PC Suite, and all
related software can be downloaded from the U.S. Mobile Phone products
section of www.nokia.com/us.
• GET THE MOST OUT OF THIS GUIDE
The tips that follow can help you get the most from this guide as you learn
to use your phone.
Learn text conventions
This user guide provides text clues to help make instructions clear and
easy to follow. These clues are called conventions.
Follow graphic clues
This guide uses certain icons to alert you to important information.
Tip: Indicates a shortcut or alternate method of doing
something.
Convention What it means
bold The word or phrase appears on the phone’s display
bold and blue The text refers to an address on the world wide web
italics Indicates emphasis. Pay close attention to any
information in italics

[FCC Draft 8 FCC Draft ]
Note: Explains a feature or points out an important
concept.
Note:Indicates critical information on using a feature.
Note: Warns when you may lose information.
Note:Helps you avoid personal injury, damage to the
phone, or property damage.
Access alternate formats
This user guide is available in alternate formats, such as Braille, Large
print, Audiocassette, and E-text (documents on disk, in Microsoft Word or
WordPerfect format).
Look for updates
From time to time, Nokia updates this guide to reflect changes. The latest
version may be available at www.nokia.com/us.
Also, an interactive tutorial may be available at www.nokiahowto.com.
• UNDERSTAND WIRELESS NETWORK SERVICES
The wireless phone described in this guide is approved for use on the
GSM 850 and GSM 1900 networks.
A number of features in this guide are called Network Services. These are
special services that you arrange through your wireless service provider.
Before you can take advantage of any of these Network Services, you
must subscribe to them through your wireless provider and obtain
instructions for their use from your service provider.
• REGISTER YOUR PHONE
Make sure to register your phone at www.warranty.nokiausa.com or
1-888-NOKIA-2U (1-888-665-4228) so that we can serve your needs
better if you should need to call the center or have your phone repaired.

[FCC Draft 9 FCC Draft ]
Welcome and quick guide
• E-NEWSLETTERS
When you register your phone, you can sign up for Nokia's e-newsletter
Nokia Connections if you would like. You will receive tips and tricks on
using your phone, accessory information, and special offers.
•GET HELP
Find your phone’s label
If you ever need to call Nokia Customer Care or your service provider, you
will need to provide specific information about your phone. This information
is provided on the phone’s label. We also recommend that you write down
the following information on the inside cover of this guide (see “Phone
notes” inside the front cover) and have it available if you call.
The label is on the back of the phone
(under the battery). It shows the
following:
• Model number
• Phone type (a technical
designation)
• International Mobile Equipment
Identification (IMEI)
Do not remove or deface the label.
Contact Nokia
When you need help, Nokia Customer Care can provide information about
Nokia products. Before calling, however, please read “Frequently Asked
Questions” on page 156.
HAVE THE RIGHT INFORMATION AVAILABLE
Have the following information available before you contact Nokia
Customer Care:
• The phone’s model number
Information
label

[FCC Draft 10 FCC Draft ]
• Phone type (a technical designation)
• The IMEI (serial number)
• Your ZIP code
CONTACT YOUR SERVICE PROVIDER
Some service providers program a one-key customer support number into
the phone. This number can be useful if you’re having trouble dialing a
number, especially when you’re traveling outside your home area.
This one-key feature may not be available on all systems. Contact your
service provider for availability.
When you need to get in touch with your wireless service provider:
Your phone will automatically dial the provider’s customer support
number if your provider offers this feature.
If your service provider determines that the problem is Nokia-related,
their representative will direct you to the Nokia Customer Care Center
(USA) or Nokia Customer Service (Canada).

[FCC Draft 11 FCC Draft ]
Welcome and quick guide
• UNDERSTAND YOUR PHONE
With flip closed
1Power key
Switches the
phone on and off.
Also when the
keypad is locked,
to turn on the
phone’s display
lights for
approximately 15
seconds.
2Volume key
Adjusts the volume
of the earpiece,
the headset and
the loudspeaker.
3Selection keys
c and b
The function of the
keys depends on the text shown on the display above the keys; for
example Menu and Names in Standby mode.
44-way joystick a
Enables scrolling through names, phone numbers, menus or settings.
The 4-way joystick also moves the cursor up and down, and right and
left in text writing, calendar, and in some game applications.
5e dials a phone number, and answers a call. In Standby mode it
shows the most recently called number.
6 d ends an active call, or exits from any function.
7Use the keypad to enter numbers and characters.

[FCC Draft 12 FCC Draft ]
Opening the flip
1Hold the phone with
both hands and open
the flip as shown in
picture (1)
2Turn the flip until you
hear it click into place (2)

[FCC Draft 13 FCC Draft ]
Welcome and quick guide
3Turn the phone to horizontal position and hold it as shown in picture
(3).

[FCC Draft 14 FCC Draft ]
With flip open
1Keyboard light key k switches the keyboard light on or off to provide
additional lighting while using the keyboard. See also Switching the
keyborad lights on or off on page
2Profile key opens a list of profiles. Press and hold down the key to
switch the phone off.
3Backspace h deletes characters
4Enter key i forces line feed in text editing. The enter key also opens
a highlighted link on a WAP page, see Using the phone keys while
browsing on
5Shift keys g and ? enter a space.
6Space bar keys j and ? enter upper case letters and symbols. You
can either press the shift key first and then the desired key or press
both keys at the same time.
7Power key/ Left selection key f switches the power on, when the
phone’s messaging keyboard is open and the phone is switched off.
8Character key l opens a set of characters and symbols.

[FCC Draft 15 FCC Draft ]
Welcome and quick guide
Use the antenna
Your phone has a built-in antenna. As with any
other radio transmitting device, avoid touching
the antenna while the phone is powered up.
Contact with the antenna affects call quality
and may cause the phone to operate at a higher
power level than necessary. Hold the phone as
you would any other telephone with the
antenna area pointed up and over your shoulder.
Add graphic showing phone in filp mode.
Use the battery
CHARGE THE BATTERY
1Plug the charger transformer in to a standard AC outlet.
2Insert the charger output jack into
the round connector at the
bottom end of the phone.
After a few seconds, the battery
indicator in the display starts to
scroll from bottom to top. If the
battery is completely discharged, it may take a few minutes before
the charging indicator appears on the display or any calls can be
made.
Tip: You can use the phone while the charger is connected.
IMPORTANT BATTERY INFORMATION
Important: Your phone is powered by a rechargeable
battery.
Use only batteries approved by Nokia and recharge your battery only with
the chargers approved by Nokia. Never use any charger or battery which
is damaged.

[FCC Draft 16 FCC Draft ]
The battery can be charged and discharged hundreds of times but it will
eventually wear out. When the operating time (talk-time and standby
time) is noticeably shorter than normal, it is time to buy a new battery.
The BLC-2 battery doesn't need a full discharge before recharging.
PROLONG THE BATTERY
Use the following guidelines to obtain the best performance from
your battery:
• With your phone turned off, charge your new battery for three hours
before its first use. Use the battery until it is fully discharged. Repeat
this procedure twice for a total of three charging cycles.
• Note that a new battery's full performance is achieved only after two
or three complete charge and discharge cycles. Battery operation
time may be less than the estimated times during the first charges.
This condition is normal.
• You can use your phone while the battery is charging. However, if the
battery is completely empty, it may need to recharge a few minutes
before you can make or receive calls or the battery indicator appears.
• After the first charge, you can make and receive calls during the
charging cycle, but the calls interrupt the charge. When the phone
call ends, the charge will resume.
• The bars on the screen stop scrolling and remain constant when the
phone is fully charged. If you switch the phone on when charging is
complete, the message Battery full momentarily appears in the
display.
Charging time depends on the charger and the battery used. For example,
charging a BLC-2 battery with the ACP-12 charger takes about two hours
in standby mode.
Important: When the phone’s battery is fully charged,
be sure to disconnect the phone from the charger.

[FCC Draft 17 FCC Draft ]
Welcome and quick guide
REMOVE THE BACK COVER
With the back of the phone facing
you, push the back cover
release button.
REMOVE THE BATTERY
After you’ve removed the back cover, insert
your finger into the finger grip and lift the
battery from its compartment.
Install the SIM card
Warning: Keep all SIM
cards out of reach of small children.
• The SIM card and its contacts can easily be damaged by scratches or
bending, so be careful when handling, inserting or removing the card.
• Before installing the SIM card, always make sure that the phone is
switched off and that you’ve removed the cover and battery.
1Slide the SIM card holder toward the left..
2Swing the SIM card holder open.
3Insert the SIM card into the holder, (beveled
corner last) and the gold contacts facing
toward the top end of the phone.

[FCC Draft 18 FCC Draft ]
4Close the SIM
card holder and
slide it back into
place.
REPLACE THE
BATTERY
Note: The SIM card must be installed
before installing the battery.
Position the battery so the gold contacts
match up with those on the phone. The
battery label should be facing away from
the phone.
REPLACE THE BACK COVER
1Place the top of the back cover on the
locking catches on the front in the
top of the phone.
2Slide the back cover until it locks into
place.

[FCC Draft 19 FCC Draft ]
Welcome and quick guide
• SWITCH YOUR PHONE ON OR OFF
Warning:Do not switch the phone on when wireless
phone use is prohibited or when it may cause
interference or danger.
1To turn your phone on or off, press and hold the power key on for at
least 3 seconds.
Note: In the flip open mode, the “right soft key” also is
used as the power key.
If the phone displays Insert SIM card even though the SIM card is
properly inserted, or SIM card not supported, contact your wireless
provider.
2Enter the PIN code or security code if necessary and press OK.
• CHECK THE START SCREEN
The Start screen is “home base” and indicates
your phone is in idle mode.
1 Indicates in which cellular network the
phone is currently being used, when no
wallpaper is displayed.
2 Shows the signal strength of the cellular
network at your current location. The
higher the bar, the stronger the signal.
Flip closed Flip open

[FCC Draft 20 FCC Draft ]
3Shows the battery charge level. The higher the bar, the more power in
the battery
4The left selection key is Menu.
5The right selection key is Names.

[FCC Draft 21 FCC Draft ]
Welcome and quick guide
• GET STARTED WITH THE QUICK GUIDE
Make a call Enter phone number, press e
Answer a call Press Answer or e
Answer a call with a
call waiting
Press e or Options and select Answer call
End a call Press d
Ignore a call Press Silence when your phone rings
Redial last number Press twice
Adjust call volume Press up or down on the side volume key
Use the in-call menu While in a call, press Options
Use 1-touch dialing Press and hold any key 2 through 9
Save a name and number Enter a number, press Options and select Save, then enter
a name and press OK
Recall a name/number Press Names, select Find. Enter name and press Find or List
Check voice mail Press and hold 1 OR dial your voice mailbox number
Write and send a
text message
Press Menu 01-1-1. After a pause, write the message.
Press Options, scroll to Send, press Select, enter the
recipient’s number, press OK
Write and send an
E-mail message
Press Menu 01-1-2. After a pause, enter the recipient’s
e-mail address. Press OK, enter a subject, and press OK.
Write your e-mail message, press Options, scroll to Send
e-mail and press Select. Enter the e-mail server number
if necessary and press OK. Your e-mail is sent.
Read a new message Press Show, then press Select
Reply to a message Press Options, select Reply, write the reply, press Options,
select Send, and press OK
Reply to an
E-mail message
Press Options, scroll to Reply, and press Select. Compose
your message and press Options. Scroll to Sending options
and press Select. Scroll to Sending profile and press Select.
Highlight your email profile and press Select. Press Options,
Accept, enter the e-mail address, press OK.
Send a business card Recall a name from the phone book. Press Details, then
press Options, scroll to Send bus. card, scroll to Via text
message and press Select. Enter the recipient’s number
or press Find to retrieve a number from the Phone book.
Press OK. The business card is sent.

[FCC Draft 22 FCC Draft ]
• MENU SHORTCUTS
1 MESSAGES
1 Text messages01-1-1
2 Multimedia messages01-
2
3 Chat01-3
4Voice messages01-4
5 Info messages01-5
6 Message settings01-7
7 Service commands01-7
2 CALL LOG
1 Missed calls2-1
2 Received calls2-2
3 Dialed numbers2-3
4 Delete recent call lists2-4
5Call timers2-5
6Call costs2-6
7 GPRS Data counter2-7
8 GPRS Connection timer2-
8
3PROFILES
1Normal3-1
2 Silent3-2
3 Meeting3-3
4 Outdoor3-4
5Pager3-5
4 SETTINGS
1 Time and date settings4-1
2 Call settings4-2
3 Phone settings4-3
4 Display settings4-4
5 Tone settings4-5
6 Security settings4-8
7 Restore factory settings4-
7
5 ALARM CLOCK
1
6RADIO
1
7 GALLERY
1View folders7-1
2 Delete folder7-2
3 Rename folder7-3
4 Add folder7-4
5 Gallery services7-5
8ORGANIZER
1Calendar8-1
2 To-do list8-2
9 GAMES
1 Select game9-1
2 Game services9-2
3Memory9-3
4 Settings9-4
10 APPLICATIONS
1 Select application10-1
2 App. services10-2
3Memory10-3
11 EXTRA S
4Calculator11-1
5 Countdown timer11-2
6 Stopwatch11-3
12 CONNECTIVITY
7 Infrared12-3
8 GPRS12-2
13 SERVICES
9Home13-1
10 Bookmarks13-2
11 Service inbox13-3
12 Settings13-4
13 Go to address13-5
14 Clear the cache13-6

[FCC Draft 23 FCC Draft ]
Welcome and quick guide
•GET HELP
Find your phone’s label
If you need help, Nokia Customer
Care is available for assistance.
Before calling, however, please read
“Frequently Asked Questions” on
page 156.
We also recommend that you write
down the following information and
have it available if you call. The
information can be found on back of the phone, beneath the battery.
• The International Mobile Equipment Identifier (IMEI)
• We also ask that you write down your zip code.
Contact Nokia
Please have your phone or accessory with you when contacting either of
the numbers below.
Nokia Customer Care Center, USA Customer Interaction
Center, Canada
Nokia, Inc.
7725 Woodland Center Boulevard
Suite #150
Tampa, Florida 33614
Tel: 1-888-NOKIA2U (1-888-665-4228)
Fax: 1-813-249-9619
TTY: 1-800-24NOKIA (hearing impaired only)
(1-800-246-6542)
Nokia Products Ltd.
601 Westney Road South
Ajax, Ontario L1S 4N7
Tel: 1-888-22NOKIA
(1-888-226-6542)
Fax: 1-905-427-1070
Information label

[FCC Draft 24 FCC Draft ]
Contact your service provider
To use the network services available in your phone, you’ll need to sign
up with a wireless provider. In many cases, the wireless provider will
make available descriptions of their services and instructions for using
features such as:
• Voice mail and voice privacy
• Call waiting, call forwarding, and caller ID
• Messaging
• News and information services
• Selected Internet services
Wireless providers may differ in their support of features. Before you sign
up, make sure a wireless provider supports the features that you need.
Receive accessibility information
Note:Nokia is committed to making mobile phones easy to
use for all individuals, including those with disabilities. For
more information, visit www.nokiaaccessibility.com. If the
language that appears in your display is not correct, see
“Set the display language” on page 99 for information on
changing your phone’s display language.

[FCC Draft 25 FCC Draft ]
Welcome and quick guide
Understand indicators and icons
Icon Indicates...
You have one or more text or picture messages. See
“Reply to a message or e-mail” on page 69.
You have one or more multimedia messages. See
“Read and reply to a multimedia message” on page 74
You have one or more voice messages. See “Voice
messages” on page 76
Your phone’s keypad is locked, see “Lock the keypad
(Keyguard)” on page 44.
Your phone is set to the Silent profile. “Profiles (Menu
3)” on page 91
The alarm clock is set to On. See “Organizer(Menu 5)”
on page 107
The countdown timer is running. See “Use the
countdown timer” on page 126
The stopwatch timing is running in the background,
see “Use the stopwatch” on page 128
A GPRS dial-up connection is established, see “GPRS
dial-up connections” on page 132
You have an incoming or outgoing call during a GPRS
dial-up connection. GPRS is suspended
IR connection indicator, see “Infrared” on page 133
Forward all voice calls. All calls are forwarded to
another number. If you have two phone lines, the
indicator for line 1 is and for line 2
or If you have two phone lines, indicates the selected
phone line. See “Phone settings” on page 99

[FCC Draft 26 FCC Draft ]
• USE THE SELECTION AND JOYSTICK KEYS
Below each corner of the display
are the selection keys. Press c
when Menu appears above it to
show the first of numerous menus.
Page through the rest of the
menus using the joystick key a.
Press b when Names appears
above it to enter the Phone book.
Tip: Press a up or down from the Start screen to view any
entries in your Phone book. Press a left to begin writing a
text message, or press a right to view the calendar.
Use four-way scrolling
In features such as the calendar monthly view, text messages, and special
characters, you can move the cursor up and down as well as left and right
with the joystick key.
Integrated handsfree is active, see “Speakerphone” on
page 5
Calls are limited to a closed user group; see “Closed
user groups” on page 50
The timed profile is selected, see “Profiles (Menu 3)”
on page 91
, or A headset, handsfree or loopset accessory is
connected to the phone.
Icon Indicates...
Right
select
Left
select

[FCC Draft 27 FCC Draft ]
Welcome and quick guide
• BROWSE PHONE MENUS
Your phone's features are grouped according to function and are accessed
through your phone's main menus. Each main menu contains submenus
and lists from which you can select or view items, and customize your
phone's features. You can access these menus and submenus by using the
scroll method or by using a shortcut.
Note: Some features may not be available, depending
on your network. For more information, contact your
wireless provider.
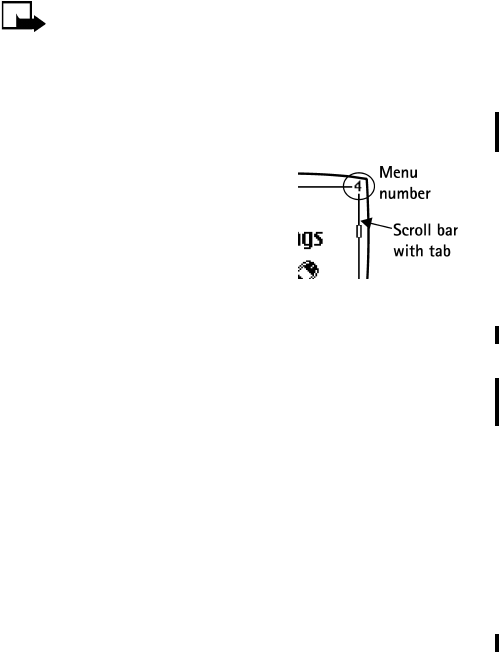
Use the scroll method
1At the Start screen, press Menu, then press a to scroll through the
main menus.
As you scroll through the menus, the menu
number appears in the upper right corner of
the display. Below the menu number is a scroll
bar with a tab. The tab moves up or down as
you scroll through the menus, providing a
visual representation of your current position
in the menu structure
2When you arrive at a menu, press Select (c) to enter that
menu’s submenus.
• Press Back (b) to return to the previous menu
• Press d to return to the Start screen from any menu or submenu
Use a shortcut
You can go directly to almost any menu or submenu, as well as activate
most features by using a shortcut.
• Press Menu, then within 3 seconds, press the key or keys associated
with the menu function you’d like to view or activate.

[FCC Draft 28 FCC Draft ]
For example, to select the Meeting profile, press Menu 3-3-1 from
the Start screen (Menu - 3Profiles - 3Meeting - 1Select). After a brief
pause, the Meeting profile is activated.
A complete list of shortcuts begins on the following page.
Check in-phone help
Many features have brief descriptions (help text) which can be viewed on
the display. To view these descriptions, scroll to a feature and wait for
about 10 seconds. Press More to view all of the description (if necessary),
or press Back to exit.
ACTIVATE OR DEACTIVATE HELP TEXT
1At the Start screen, press Menu 4-3-7 (Settings > Phone settings >
Help text activation).
2After a brief pause, On and Off appear in the display.
3Scroll to On or Off and press Select. A confirmation message appears
in the display indicating your selection.

[FCC Draft 29 FCC Draft ]
Welcome and quick guide
Menu shortcuts
1 MESSAGES
1 TEXT MESSAGES01-1
1 Create message01-1-1
2 Create e-mail01-1-2
3 Inbox01-1-3
4 Sent items01-1-4
5Archive01-1-5
6 Templates01-1-6
7My folders01-1-7
8 Delete messages01-1-
8
2 MULTIMEDIA MSGS01-2
1 Create message01-2-1
2 Inbox01-2-2
3 Outbox01-2-3
4 Sent items01-2-4
5 Saved items01-2-5
6 Delete messages01-2-
6
3 DISTRIBUTION LISTS01-3
4 VOICE MESSAGES01-4
7 Listen to
voice messages01-4-1
8 Voice mailbox number
01-4-2
5 INFO MESSAGES01-5
1 Info service01-5-1
2 Topics01-5-2
3Language01-5-3
4 Info topics
saved on SIM card01-
5-4
5 Read (if received only)
01-5-5
6 SERVICE COMMAND
EDITOR
01-6
7 MESSAGE SETTINGS01-7
1 Text messages01-7-1
2 Multimedia msgs.01-
7-2
3Other settings01-7-3
2CALL LOG
1
1MISSED CALLS2-1
2 RECEIVED CALLS2-2
3 DIALED NUMBERS2-3
4 DELETE RECENT
CALL LISTS2-4
1 All2-4-1
2Missed2-4-2
3 Received2-4-3
4 Dialed2-4-4
5 CALL DURATION2-5
1 Last call duration2-5-
1
2 Received calls’
duration2-5-2
3 Dialed calls’ duration
2-5-3
4 All calls’ duration2-5-
4
5Clear timers2-5-5
6 GPRS DATA COUNTER2-6
1 Data sent in last
session2-6-1

[FCC Draft 30 FCC Draft ]
2Data received
in last session2-6-2
3 All sent data2-6-3
4 All received data2-6-4
5 Clear counters2-6-5
7 GPRS CONNECTION TIMER
2-7
1 Duration of last
session2-7-1
2 Duration of all sessions
2-7-2
3Clear timers2-7-3
3PROFILES
1
GENERAL3-1
1Activate3-1-1
2 Customize3-1-2
1 Incoming call alert
3-1-2-1
2 Ringing tone3-1-2-
2
3 Ringing volume3-1-
2-3
4 Vibrating alert3-1-
2-4
5 Message alert tone
3-1-2-5
6 Keypad tones3-1-2-
6
7 Warning tones3-1-
2-7
8 Alert for3-1-2-8
3Timed3-1-3
2SILENT3-2
1Activate3-2-1
2 Customize3-2-2
1 Incoming call alert
3-2-2-1
2 Ringing tone3-2-2-
2
3 Ringing volume3-2-
2-3
4 Vibrating alert3-2-
2-4
5 Message alert tone
3-2-2-5
6 Keypad tones3-2-2-
6
7 Warning tones3-2-
2-7
8 Alert for3-2-2-8
9 Profile name3-2-2-
9
1 Submenus for Meeting,
Outdoor, and Pager are the
same as Silent
3MEETING3-3
4OUTDOOR 3-4
5 PAGER3-5
4SETTINGS
1
TIME AND DATE SETTINGS4-1
1 Clock4-1-1
2Date4-1-2
3
Auto-update
of date & time4-1-3
1 CALL SETTINGS4-2
1 Call forwarding4-2-1
2 Anykey answer4-2-2
3 Automatic redial4-2-4
4 1-touch dialling4-2-4

[FCC Draft 31 FCC Draft ]
Welcome and quick guide
5 Call waiting4-2-5
6 Summary after call4-
2-6
7 Send my caller identity
4-2-7
8Line for outgoing
calls14-2-8
1PHONE SETTINGS4-3
1Language4-3-1
2 Automatic keyguard4-
3-2
3 Cell info display4-3-3
4 Welcome note4-3-3
5 System selection4-3-5
6 Confirm SIM
service actions4-3-6
7 Help text activation4-
3-7
8 Start-up tone4-3-8
1 DISPLAY SETTINGS4-4
1 Wallpaper4-4-1
2 Color schemes4-4-2
3 Operator logo4-4-4
4 Screen saver timeout
4-4-3
5 Display brightness4-4-
5
1 TONE SETTINGS4-5
1 Incoming call alert4-
5-1
2 Ringing tone4-5-2
3 Ringing volume4-5-3
4 Vibrating alert4-5-4
5 Message alert tone4-
5-5
6 Keypad tones4-5-6
7 Warning tones4-5-7
8 Alert for4-5-8
1 SOFTKEY FUNCTION4-6
9 Choose function4-6-1
10 Organize funciton4-6-
2
1 ACCESSORY SETTINGS4-7
11 Headset4-7-1
12 Handsfree4-7-2
13 Loopset4-7-3
14 TTY4-7-4
1 SECURITY SETTINGS4-8
15 PIN code request4-8-1
16 Call restrictions4-8-2
17 Fixed dialing4-8-3
18 Closed user group4-8-
4
19 Security level4-8-5
20 Access codes4-8-6
1RESTORE
FACTORY SETTINGS4-9
5ORGANIZER
1 ALARM CLOCK5-1
1 CALENDAR5-2
2TO-DO LIST5-3
1
6NOTES
7RADIO
8 GALLERY
1 For availability, contact your wireless provider.

[FCC Draft 32 FCC Draft ]
1 VIEW FOLDERS8-1
2 DELETE FOLDER8-2
3 RENAME FOLDER8-3
4 ADD FOLDER8-4
5 GALLERY SERVICES8-5
9 GAMES
1 SELECT GAME9-1
2 GAME SERVICES9-2
3MEMORY9-3
4 SETTINGS9-4
1 Game sounds9-4-1
2 Game lights9-4-2
3 Shakes9-4-3
Club Nokia ID9-4-4
10 APPLICATIONS
1 SELECT APPLICATION10-1
2 APP. SERVICES10-2
3MEMORY10-3
11 EXT R A S
1 CALCULATOR11-1
2 VOICE RECORDER11-2
3 VOICE COMMANDS11-3
1 Wallett11-4
12 CONNECTIVITY
1 GPRS12-3
2 SYNCHRONIZE12-2
3 INFRARED12-3
13 SERVICES
1 HOME13-1
2 BOOKMARKS13-2
3 SERVICE INBOX13-3
4 SETTINGS13-4
1 Active service settings
13-4-1
2 Edit active
service settings13-4-2
3 Appearance settings
13-4-3
4 Cookie settings13-4-4
5 Authority certificates
13-4-5
6 Security module
settings13-4-6
7 Service inbox settings
13-4-6
5 GO TO ADDRESS13-5
6 CLEAR THE CACHE13-6

[FCC Draft 33 FCC Draft ]
Basic operations
4 Basic operations
• SET THE CLOCK
Before many functions such as call timers and other features will operate
properly, you need to set the clock.
1At the Start screen, press Menu 4-1-1 (Settings - Time and date
settings - Clock).
After a brief pause, Show clock (or Hide clock) Set the time,
and Time format appear in the display with Show clock (or Hide
clock) highlighted.
2Scroll to Set the time and press Select.
3Enter the time (in hh:mm format) and press OK.
4Scroll to am or pm and press Select. The time is set.
• MAKE AND ANSWER CALLS
Use the keypad
1Enter the phone number (including the area code), and press e.
• To delete a character to the left of the cursor, press Clear.
• With the flip open in standby mode, pressing any number key starts a
call procedure.
2Press d to end the call or to cancel the call attempt.
Use the phone book
1At the Start screen, move the joystick up or down and scroll to the
entry you wish to view.
2Press e to make the call or press Details to view details of the entry.

[FCC Draft 34 FCC Draft ]
Tip: To quickly search the list of entries in your Phone book,
press any key in which the letters match the first letter of the
name for which you’re searching.
Answer or reject an incoming call
• Press e to answer the call
• Press d to reject the call; the caller receives a busy signal
If you press Silence, only the ringing tone is muted. You can then
either answer or reject the incoming call.
Tip: If the HDB-4 or HDS-3 headset is connected, you can
answer or end a call by pressing the key on the headset.
Answer a call with the keypad locked
To answer a call with keyguard on, simply press e. During the call, all
features function as normal. When you end or reject the call, the keypad
automatically re-locks.
Note: When Keyguard is on, calls may be possible to dial
emergency numbers (for example, 911 or other official
emergency numbers). Key in the emergency number and
press e. The number is displayed only after you have
keyed in its last digit.
Redial the last number
1At the Start screen, press e to display the last 20 numbers you
have dialed.
2Press e to redial the last number.
OR
Scroll to the number (or name) you wish to redial and press e .

[FCC Draft 35 FCC Draft ]
Basic operations
Adjust the earpiece volume
•(verify)To increase the volume of a call, press
the volume up key on the left side of the
phone.
• To decrease the volume of a call, press
the volume down key on the left side of
the phone.
When adjusting the volume, a bar chart
appears in the display indicating the
volume level.
Loudspeaker
You can use your phone as a loudspeaker during a call. Do not hold the
phone to your ear during loudspeaker operation.
TO ACTIVATE THE LOUDSPEAKER:
• Open the flip or:
• With the flip closed, press Options and select Loudspeaker or
press Loudsp., if available.
TO DEACTIVATE THE LOUDSPEAKER DURING A CALL:
• Close the flip or:
• With the flip closed, press Options and select Handset, if available.
If you have connected the handsfree unit CARK126 or the headset to the
phone, Handset in the options list is replaced with Handsfree or Headset
and the selection key Handset with Handsfr. or Headset respectively.
The loudspeaker is automatically deactivated when you end the call,
connect the handsfree unit or headset to the phone or close the flip.
• CALL AND SETUP YOUR VOICEMAIL
1Once you’ve saved the voice mailbox number, press and hold 1.
2When you connect and the pre-recorded greeting begins, follow the
Volume key

[FCC Draft 36 FCC Draft ]
automated instructions to setup your voicemail.
Listen to your voice messages
Once you’ve setup voicemail, you can dial the number one of 3 ways:
• Dial the number using the keypad
• Press and hold c.
• Press Listen if there’s a notification message in the display
When you connect and the pre-recorded greeting begins, follow the
automated instructions to listen to your voice messages.
Make a conference call
Conference calling is a network service that allows up to six persons to
take part in a conference call.
1Make a call to the first participant.
2To call a new participant, press Options, scroll to New call, and
press Select.
3Enter the phone number of the new participant (or press Find to
retrieve a number from your Phone book) and press Call. The first call
is put on hold.
4When the new call picks up, press Options, scroll to Conference, and
press Select to connect the calls.
5To add a new participant to the call, repeat steps 2 through 4.
HAVE A PRIVATE CONVERSATION WITH ONE OF THE PARTICIPANTS:
6Press Options, select Private and select the desired participant. Rejoin
the conference call as described in step 4.
7To end the conference call, press d.

[FCC Draft 37 FCC Draft ]
Basic operations
• OPTIONS DURING A CALL
Many of the options that you can use during a call, are network services.
Press Options during a call to display those listed in the following table.
• Scroll to an option and press Select to view the option or its submenu
Option Function
Hold Place the current call on hold
Unhold Remove the current call from hold status
Lock keypad? Activate keyguard
Record
End call End the call
New call Place a new call; the first call is put on hold
End all calls End all calls within a conference call
Conference Call another party and invite them into the call
Touch tones Send touch tones generated by your phones keypad
Phone book Open the Phone book menu
Menu Display the main menus
Unmute Return to normal from mute status
Mute Mute your voice; you can hear the other party but
they can’t hear you
Loudspeaker Enable the handsfree feature in your phone
Private Have a private conversation with one participant in a
conference call
Answer Answer another incoming call
Reject Reject a call; the calling party receives a busy signal
Handset Disable handsfree and return to normal use (earpiece)
Swap Switch between the active call and the call on hold

[FCC Draft 38 FCC Draft ]
• SET UP YOUR PHONE
Use the Optional headset
The HDB-4 may be purchased with your phone or separately as
an accessory.
Connect the headset
1Plug the headset jack into the
Pop-PortTM connector at the bottom end
of your phone.
2Position the headset on your ear
as it appears in the illustration to
the right.
With the headset connected, you
can make, answer, and end calls
as usual.
• Use the keypad to enter numbers
• Press e to place a call
• Press d to end a call
Adjust display brightness
1Press Menu 4-4-5 (Settings - Display settings - Display brightness).
After a brief pause, a bar chart appears in the display indicating the
current brightness level.
2Move the joystick left or right to adjust the brightness to your
preference.

[FCC Draft 39 FCC Draft ]
Text entry
5 Text entry
Your phone is especially designed for easy and comfortable text writing.
The easiest way is to write with your thumbs using the messaging
keyboard. You can, for example, start writing a message with the
keyboard, close the flip and continue writing the same text using either
traditional or predictive text input.
• WRITING WITH THE MESSAGING KEYBOARD
For writing and sending text messages, see Writing and sending messages
on page ??.
You can use the following keys for writing text:
• To write a text message, press any of the letter keys in standby mode.
• To insert a number, press any of the number keys. Pressing the number
key in standby mode starts a normal call initiating procedure.
• (In French UG: To insert a number, press shift and the corresponding
number key.
• To switch between the lower and upper case, indicated by ,
or or to key in symbols, press one of the shift keys j or .
You can either press the shift key and the desired character
consecutively or press and hold both the shift and the desired letter
key at the same time. To write in upper case only, press j or
twice.
• To delete characters from the display, press h or Clear. Pressing
backspace briefly clears one character at a time, while longer keypress
deletes characters more quickly.
• To add a space, press one of the space keys g or ) at the
bottom of the keyboard.
• To force line feed, press i.

[FCC Draft 40 FCC Draft ]
Typing accented characters
To type any of the accented characters or symbols not printed on the
keyboard, do one of the following:
• To open a set of punctuation marks, accented characters and symbols,
press the character key l. Scroll through the set by moving the joystick
and press Use to select a character.
• To type an accented character not found in the list of special characters
under l, such as á, press and hold l and, at the same time, press ’a’
repeatedly until the desired accented variant of ’a’ appears on the display.
Typing language-specific accented characters
Your language may have accented characters that are not on the
keyboard nor may not be included in the set of characters under l. To key
in the accent mark on the key, press the key and space bar in succession.
To key in a specific character, press the key with the corresponding
symbol (~) and then .
• WRITING WITH THE FLIP CLOSED
You can write using predictive or traditional text input when the phone’s
flip is closed .When you are writing text, the predictive text input is
indicated by and the traditional text input by on the top left of
the display. You can change the character case, indicated by ,
or by pressing . The number mode is indicated by , and
you can switch between the letter and number modes by pressing and
holding .
Setting predictive text input on or off
1When writing text, press Options and select Dictionary.
2To set the predictive text input on, select a language in the dictionary
options list. Predictive text input is only available for the languages
on the list.
3To revert to traditional text input, select Dictionary off.

[FCC Draft 41 FCC Draft ]
Text entry
Tip: To quickly set the predictive text input on or off when writing
text, press p twice, or press and hold Options.
Using predictive text input
You can key in any letter with a single keypress. The predictive text input
is based on a built-in dictionary to which you can also add new words.
1Start writing a word using the keys 2 to 9. Press each key only
once for one letter. The word changes after each keystroke.
Example: To write Nokia when the English dictionary is selected,
press 6 once for N, 6 once for o, 5 once for k, 4 once for i
and 2 once for a.
To insert a number while in letter mode, press and hold the desired number
key.
2When you have finished writing the word and it is correct, confirm it
by adding a space with 0 or by moving the joystick to the right.
If the word is not correct, press s repeatedly or press Options and select
Matches. When the word you want appears, confirm it.
3If the ? character is displayed after the word, the word you intended
to write is not in the dictionary. To add the word to the dictionary,
press Spell, key in the word (traditional text input is used) and press
Save. When the dictionary becomes full, the new word replaces the
oldest one that was added.
4Start writing the next word.
Writing compound words
Key in the first part of the word and confirm it by moving a to the right.
Write the last part of the word and confirm it by moving a to the right.
Using traditional text input
Press a number key, 1 to 9, repeatedly until the desired character
appears. Not all characters available under a number key are printed on
the key. The characters available depend on the language selected in the
Language menu, see Language on page ??

[FCC Draft 42 FCC Draft ]
To insert a number while in letter mode, press and hold the desired
number key.
• If the next letter you want is located on the same key as the present
one, wait until the cursor appears or move the joystick to the right,
and then key in the letter.
• The most common punctuation marks and special characters are
available under the number key 1.
Tips for writing text
The following functions may also be available for writing text in predictive
or traditional input:
• To insert a space, press 0.
• To move the cursor to the right, left, up or down, move the joystick
respectively.
• To delete a character to the left of the cursor, press Clear. Press and
hold Clear to delete the characters more quickly.
• To delete all the characters at once when writing a message, press
Options and select Clear text.
• To insert a word when using predictive text input, press Options and
select Insert word. Write the word using the traditional text input
and press Save. The word is also added to the dictionary.
• To insert a special character when using the traditional text input,
press s or when using the predictive text input, press and hold s,
or press Options and select Insert symbol.
Move the joystick to a character and press Use to select the character.
You can also scroll to a character by pressing 2, 4, 6 or 8, and select
the character by pressing 5 .
The following options are available when writing text messages:
• To insert a number while in the letter mode, press Options and select
Insert number. Key in the number or search for it in the phone book
and press OK.

[FCC Draft 43 FCC Draft ]
Text entry
To insert a name from the phone book, press Options and select Insert
name. To insert a phone number or a text item attached to the name,
press Options and select View details.
You can use two methods for entering text and numbers.
• The standard mode is the only way to enter names into such things
as the Phone book, calendar notes, and renaming caller groups
•Predictive text input is a quick and easy method for writing messages
CLEAR THE SCREEN
• Press Clear to backspace the cursor and erase a character
• Press and hold Clear to backspace continuously, and erase

[FCC Draft 44 FCC Draft ]
6 Manage phone security
Lock the keypad (Keyguard)
Remember to lock your phone’s keypad to prevent accidental calls. If the
keypad is locked, it unlocks when you receive a call. After the call, the lock
automatically reactivates.
Important: When Keyguard is on, calls may be
possible to dial emergency numbers (for example, 911
or other official emergency numbers). Key in the
emergency number and press e. The number appears
in the display after you’ve keyed in the last digit.
• To lock the keypad, press Menu s.
Unlock the keypad
• At the Start screen, press Unlock s.
• SECURITY LEVELS
The security level determines your access to features when a “non-owner”
SIM card is used. A “non-owner” SIM card is one (other than the original)
that is inserted after you power off the phone. There are 3 security levels:
Security levels
Off Owner and Non-owner cards are treated the same
Memory
Non-owner cards can access SIM memory. Any changes to
the memory setting requires the security code.
The owner card has access to all features, but the security
code is required to change a memory setting
Phone The security code is required upon power-up

[FCC Draft 45 FCC Draft ]
Manage phone security
Set your security level
1At the Start screen, press Menu 4-8-5 (Settings - Security settings -
Security level).
2After a brief pause, you’re prompted to enter the security code.
The default code is 12345. Enter the security code and press OK.
3Scroll to Off, Memory, or Phone and press Select. A message appears
in the display confirming your selection
• FIXED DIALING
Once you setup and activate a fixed dialing list, your phone can make
calls only to those numbers that you’ve defined in the fixed dialing list.
Fixed dialing is a network feature and must be supported by your wireless
provider.
Note: When fixed dialing is set on, calls may be possible to
certain emergency numbers in some networks (such as 911
or other official emergency numbers).
Set up and activate a fixed dialing list
1At the Start screen, press Menu 4-8-3 (Settings - Security Settings -
Fixed dialing). After a brief pause, the options in the following table
appear in the display.
Note: If you activate fixed dialing and the number list is
empty, all outgoing calls, except for emergency numbers
such as 911, require entry of the PIN2 code.
Fixed dialing options
On Activate fixed dialing (see note above)
Off Deactivate fixed dialing
Number list View the numbers in your fixed dialing list

[FCC Draft 46 FCC Draft ]
2Scroll to Number list and press Select. Fixed dialing not active and
then Fixed dialing list empty appear in the display.
3You’re prompted to enter the PIN2 code. Enter the PIN2 code and
press OK.
4Enter the fixed dialing number, or press Find to retrieve a number
from your Phone book, and press OK.
5Enter a name for the number and press OK. A confirmation note
appears in the display and you’re returned to the fixed dialing
number list.
6Press Back, scroll to On and press Select to activate fixed dialing.
View or edit the fixed dialing list
1At the Start screen, press Menu 4-8-3 (Settings - Security Settings -
Fixed dialing).
2Scroll to Number list and press Select.
3You’re prompted to enter the PIN2 code. Enter the PIN2 code and
press OK.
4Any numbers which you’ve assigned to fixed dialing appear in
the display.
5Scroll to a number and press Options.
6The options in the following table appear in the display.
Fixed dialing number options
View number View the number for an entry
Add Add a number to your fixed dialing list
Edit Edit the highlighted entry
Erase Erase the highlighted entry
Erase all Erase all entries in your fixed dialing list

[FCC Draft 47 FCC Draft ]
Manage phone security
• Use the joystick to highlight an option
• Press Select to activate or enter an option’s submenu
Notes about fixed dialing
• If a SIM card with fixed dialing that is activated is inserted into a
phone that doesn’t support fixed dialing, the SIM card is rejected
• If you try to add a name (without a number) to the fixed dialing list,
you’ll receive an error message
• If you try to browse the fixed dialing list, but haven’t stored any
numbers, Fixed dialing list empty appears in the display
• You cannot access SIM memory manually (view or copy numbers on
the SIM card) while fixed dialing is active
• ACCESS CODES
Use access codes to change your security code, PIN code, and PIN2 code.
Note: Avoid using codes similar to emergency numbers
such as 911 to prevent accidental dialing of the emergency
number.
The security code
The security code controls access to features such as the security level and
is supplied with the phone. The preset code is 12345.
Note: If you enter the wrong security code five times in
succession, you won’t be able to enter a code for five
minutes, even if you power off the phone between
incorrect entries.
CHANGE YOUR SECURITY CODE
Once you change the security code from its preset of 12345, keep the new
code secret, and in a safe place separate from your phone.
1Press Menu 4-8-6-1 (Settings - Security settings - Access codes -
Change security code).

[FCC Draft 48 FCC Draft ]
After a brief pause, you’re prompted to enter the current security code
(default is 12345).
2Enter the current security code and press OK. You’re prompted to
enter the new security code.
3Enter the new security code (up to 10 characters) and press OK.
You’re asked to re-enter the new security code for verification.
4Enter the new security code again and press OK. A message appears
in the display confirming your security code has been changed.
The PIN code
The PIN code protects the SIM card from unauthorized access. The PIN code
can be 4- 8 digits in length. After three successive incorrect entries the
PIN code is blocked and you’ll be asked to enter the personal unblocking
key (PUK) code.
Note: The PIN code must be obtained from your wireless
provider. The PIN code is typically provided with your SIM
card.
PIN CODE REQUEST
Enable your phone to request the PIN code upon power-up. This provides
extra security in case your phone is lost or stolen.
1Press Menu 4-8-1 (Settings - Security settings - PIN code request).
2After a brief pause, you’re prompted to enter the current PIN code.
Enter the PIN code and press OK.
3Scroll to On and press OK. A message appears in the display
confirming your selection.
CHANGE YOUR PIN CODE
Before you can change your PIN code, you’ll need to enable PIN code
request. See “PIN code request” immediately preceding this section.
1Press Menu 4-8-6-2 (Settings - Security settings - Access codes -
Change PIN code).

[FCC Draft 49 FCC Draft ]
Manage phone security
2After a brief pause, you’re prompted to enter the current PIN code.
Enter the PIN code and press OK.
3You’re prompted to enter the new PIN code. Enter the new PIN code
and press OK.
4You’re prompted to re-enter the new PIN code for verification.
Enter the new PIN code again and press OK.
A message appears in the display confirming your PIN code has
been changed.
The PIN2 Code
The PIN2 code is required for features such as Fixed dialing. If you enter
an incorrect PIN2 code three times in succession, the PIN2 code is blocked
and you’ll have to enter the PUK2 code.
Note: The original PIN2 code must be obtained from your
wireless provider.
CHANGE YOUR PIN2 CODE
1Press Menu 4-8-6-3 (Settings - Security settings - Access codes -
Change PIN2 code). You’re prompted to enter the current PIN2 code.
2Enter the current PIN2 code and press OK. You’re prompted to enter
the new PIN2 code.
3Enter the new PIN2 code and press OK. You’re asked to verify the new
PIN2 code by entering it again.
4Enter the new PIN2 code again and press OK. A message appears in
the display confirming you’ve changed the PIN2 code.
Personal unblocking key (PUK) codes
PUK and PUK2 codes are used to restore blocked PIN and PIN2 codes.
Both PUK and PUK2 codes are eight characters in length and cannot
be changed. PUK and PUK2 codes must be obtained from your
wireless provider.

[FCC Draft 50 FCC Draft ]
Important: If you enter an incorrect PUK or PUK2
code 10 times in succession, the message SIM
rejected appears in the display and the SIM card can
no longer be used. You must contact your wireless
provider for a new SIM card.
Closed user groups
A closed user group is a network service that specifies the group of people
whom you can call and who can call you. For more information contact
your network operator or service provider.

[FCC Draft 51 FCC Draft ]
The Phone book
7 The Phone book
Your Phone book can save up to 300 names, with multiple numbers and
text notes for each name. The amount of numbers and text entries that
you can save may vary, depending on their length and the total number
of entries in the Phone book.
• VIEW THE PHONE BOOK MENU
1At the Start screen, press the right selection key (b) under
Names. The menu items in the left column of the following table
appear in the display.
2Scroll to an item. Press Select to activate the feature or enter
its submenu.
Menu item Function
Search Find a name or select from a list
Add name Add a name to your Phone book
Edit name Edit an existing name
Erase Erase a name and its associated numbers
Copy Copy entries from Phone memory to SIM and vice versa
Add number Add a number to an existing name
Settings Set memory in use (Phone or SIM), change your Phone
book view, and check the memory status of your Phone
and SIM card
1-touch
dialing
Display the list of 1-touch dialing numbers saved
to memory

[FCC Draft 52 FCC Draft ]
• SAVE NAMES AND NUMBERS
You can save names and numbers to phone memory or to SIM memory.
Quickly save a name and number
1At the Start screen, enter the phone number you wish to save.
2Press Options, ensure Save is highlighted, and press Select.
3Enter a name for the number and press OK. A confirmation message
appears in the display indicating your entry has been saved.
Quickly save (only) a number
You can save a phone number as a stand-alone entry in your phonebook.
1At the Start screen, enter the number you wish to save.
2Press and hold Options. A message appears in the display confirming
your number is saved.
Save an entry using the Phone book menu
1At the Start screen, press Names, scroll to Add name and press Select.
2Enter a name using the keypad and press OK.
3Enter a number and press OK.
Info numbers Contact your wireless provider to obtain information
Service
numbers
Display a list of numbers related to your
wireless provider
My numbers View the numbers (line 1, line 2, data) in use by your
SIM card
Caller groups View and edit the properties (such as the ring tone) for
any of the caller groups
Menu item Function

[FCC Draft 53 FCC Draft ]
The Phone book
4Press Done to return to the Start screen.
Save addresses and notes
To save an email address, you’ll need to add it to an existing entry (name).
1Find the entry (name) in your Phone book to which you’d like to add
an address or note.
2With the entry highlighted, press Details.
3Press Options, scroll to Add detail and press Select.
4Scroll to the address or note of your choice and press Select.
5Enter the text for the note or address and press OK.
Select your Phone book view and memory
1Press Names, scroll to Settings, and press Select.
2Scroll to any of the options in the following table. Press Select to
enter the option’s submenu.
Option Function
Memory
in use
Select the memory you wish to use. Options are Phone, SIM,
or Phone and SIM combined. With Phone and SIM selected,
names and numbers are saved to phone memory but entries
saved to both memories appear in the display
Phone
book
view
Select the list view or name and number (takes up
more display space)
Memory
status
View the amount of phone memory used as well as the
amount of phone memory available

[FCC Draft 54 FCC Draft ]
Save multiple numbers and text items per name
You can save different types of phone numbers and short text items per
name to the Phone book. The first number you save for any entry is
automatically set as the default, or primary number.
1At the Start screen, move the joystick up or down and scroll to the
entry to which you wish to add a number or text item.
2Press Details, and then press Options.
3Scroll to Add number or Add detail and press Select.
4Scroll to one of the following types and press Select:
5Enter the number or text for the type you’ve selected and press OK.
To change the type, select Change type in the options list.
CHANGE THE DEFAULT (PRIMARY) NUMBER
1At the Start screen, move the joystick up or down to the entry you
wish to change and press Details.
2Scroll to the number you wish to set as default and press Options.
3Scroll to As primary no. and press Select.
Search for a name in the Phone book
1At the Start screen, move the joystick up or down to display the
contents of your Phone book.
2Press the key which corresponds to the first letter of the name for
which you are performing a search.
3Move the joystick up or down to scroll through names in the list.
Move the joystick left or right to move the cursor left or right in the
search window at the bottom of the display, if necessary.
4Press Details to view the details of the selected name.
General Mobile Home Work Fax
E-mail add. Web address Postal add. Note

[FCC Draft 55 FCC Draft ]
The Phone book
Edit a name, number or text item
1Search for the entry as described in the previous section and
press Details.
2Scroll to the name, number or text item you wish to edit and
press Options.
3Scroll to Edit name, Edit number, or Edit detail and press Select.
4Edit the name, number, or detail to your preference and press OK.
Erase names and numbers
1At the Start screen, press Names, scroll to Erase, and press Select.
2To delete individual names and numbers, scroll to One by one and
press Select.
3Scroll to the entry you wish to erase, press Erase, and press OK to
confirm the erasure.
4To delete the entire contents of your Phone book, scroll to Erase all,
then scroll to the phone book you wish to erase (Phone or SIM card).
5Press Erase, then press OK to confirm. You’re asked to enter the
security code.
6Enter the security code and press OK.
• COPY PHONE BOOK ENTRIES
1At the Start screen, press Names, scroll to Copy, and press Select.
2Scroll to From phone to SIM card or From SIM card to phone and
press Select. The following options appear in the display:
One by one Select and copy entries one by one
All Copies all entries from the SIM card or Phone
*Primary nos. Copies only primary numbers. This appears only if you
select From phone to SIM.

[FCC Draft 56 FCC Draft ]
3Scroll to the copy method of your choice and press Select.
a) If you selected One by one, go to step 4.
b) If you selected All or Primary nos., go to step 6.
4Scroll to the entry you wish to copy and press Copy.
5Scroll to Keep original or Move original and press Select. The entry
is copied and you’re returned to the list of Phone book entries.
6If you selected All or Primary nos. in step 3, scroll to Keep original or
Move original and press Select.
7Press OK to confirm your choice. All entries are copied to the selected
destination. Press Back to return to the list of Phone book entries, or
press d to exit and return to the Start screen.
Caution: Select Keep original if you’re unsure of which
copy method to use. This ensures original entries are
merely copied to the new location. Move original
deletes files after copying.
Send and receive business cards
You can send and receive an entry in your Phone book via IR or SMS if
supported by your wireless provider.
RECEIVE A BUSINESS CARD VIA IR
1Press Menu 12-3 (Connectivity - Infrared) to ensure IR is activated.
When you receive the business card, your phone beeps and Show
appears in the display.
2Press Options and select Save to save the business card in the phone’s
memory, or Discard to discard the business card.
SEND A BUSINESS CARD
You can send a business card via IR or as an SMS message to a compatible
phone or other handheld device.
1Highlight an entry from the Phone book that you wish to send and
press Details.
2Press Options, scroll to Send bus. card and press Select.

[FCC Draft 57 FCC Draft ]
The Phone book
• To send the business card via IR, make sure the receiving device
is set up to receive data via its IR port and select Via infrared.
• To send the business card as a message, select Via text message.
3If you selected Via infrared (and the entry has multiple sub-entries)
scroll to Primary no. or All details and press Select. Your business
card is sent.
4If you selected Via text message (and the entry has multiple sub-
entries), scroll to Primary no. or All details and press Select.
5Enter the number for your recipient or press Find to retrieve a number
from your Phone book.
6Press OK and the business card is sent.
• 1-TOUCH DIALING
You can associate any entry in your Phone book with keys 2 through 9
and then dial those entries by pressing and holding the assigned key.
Assign a key to 1-touch dialing
1At the Start screen, press Names, scroll to 1-touch dialing and
press Select.
2Scroll to any empty slot and press Assign.
3Enter the number (including the area code) and press OK, or press
Find to retrieve a number from your Phone book.
4Enter a name for the number and press OK. The entry appears in the
slot you’ve assigned.
Make a call with 1-touch dialing
• Press and hold the key to which an entry has been assigned. Your
phone dials the entry assigned to the key.

[FCC Draft 58 FCC Draft ]
CHANGE 1-TOUCH DIALING NUMBERS
1At the Start screen, press Names, scroll to 1-touch dialing and
press Select.
2Scroll to the 1-touch dialing entry you wish to change and
press Options.
3Scroll to Change and press Select.
4Enter the new number, or press Find to retrieve a number from your
Phone book, and press OK.
5Enter a name for the entry and press OK.
ERASE 1-TOUCH DIALING NUMBERS
1At the Start screen, press Names, scroll to 1-touch dialing and
press Select.
2Scroll to the 1-touch dialing location you wish to erase and
press Options.
3Scroll to Erase and press Select. You’re asked to confirm the erasure.
4Press OK to erase the key assignment.
• VIEW INFO, SERVICE, AND OWN NUMBERS
Your wireless provider may have saved your phone’s operating number, as
well as various information and service numbers to your SIM card.
Note: This feature may not be supported by your SIM card.
If so, contact your wireless provider for more information.
1Press Names at the Start screen, scroll to one of the number types in
the following table, and press Select.
2To view details of any of the number types in the previous table, press
Details when the number type appears in the display.
Number type Used this number to...
Info numbers Contact your wireless provider to obtain information

[FCC Draft 59 FCC Draft ]
The Phone book
Caller groups
You can add Phone book entries to any of 5 caller groups, and then assign
a unique ringing tone or graphic to that group. This enables you to
identify callers from the group by their unique ringing tone or graphic. A
caller group can be as small as one person or as large as your entire Phone
book. Caller groups can be renamed to suit your preference.
CALLER GROUP OPTIONS
1At the Start screen, press Names, scroll to Caller groups, and press
Select. The following Caller groups are available.
2Use the joystick (a) to highlight a group. Press Select to display the
following caller group options:
Setup a caller group
1At the Start screen, move the joystick up or down to display a list of
entries in your Phone book.
Service numbers Contact your wireless provider to obtain service
Own numbers Display the operating number, or numbers which have
been assigned to your phone by your wireless provider
Family VIP Friends Business Other
Rename group Rename the group to your preference
Group ringing tone Set the ringing tone for the group
Group logo Turn the graphic for the caller group on or off
Group members Add or remove members from the caller group
Number type Used this number to...

[FCC Draft 60 FCC Draft ]
Tip: Perform a “quick find” when Phone book entries are
displayed by entering the first letter of a name. appears
at the bottom of the display to indicate you’re performing a
search.
2Scroll to a name you’d like to add to a caller group and press Details.
3Press Options, scroll to Caller groups, and press Select.
4Scroll to the caller group to which you’d like to add the name and
press Select. A confirmation message appears in the display.

[FCC Draft 61 FCC Draft ]
Menu functions
8 Menu functions
Messages menu
If you’ve subscribed to a message service, you can
send and receive messages to compatible phones
that are also subscribed to a message service. You
can also send and receive picture messages,
multimedia messages, and e-mail if supported by
your network. Messages can contain up to 600 characters divided in up to
4 parts.
Before you can send and receive messages
You’ll need the following to send and receive messages:
• A messaging service through your wireless provider
• A message center number, which must be saved to your phone (if your
wireless provider hasn’t done so already)
Message icons
Icons that precede the title of a message indicate the following:
The message has not been read
The message has been read
A message (which you’ve composed) has not been sent
The message has a picture attached
iThe message is a delivery report
The message is a MMS (multimedia message)

[FCC Draft 62 FCC Draft ]
Choose your message type
You can choose the type of message sent by your phone. Types include
Text, E-mail, Page, and Fax.
Note:The default message type is Text.
This feature must be supported by your wireless provider.
1At the Start screen, press Menu 01-7 (Messages - Message settings).
2After a brief pause, Text messages appears highlighted. Press Select.
3Sending profile is highlighted. Press Select.
4Default profile is highlighted. Press Select.
5Scroll to Messages sent as and press Select.
6Scroll to the message type of your choice and press Select. A message
appears in the display confirming your selection.
Save your message center number
Messages sent by your phone are routed through your wireless provider’s
message center. Normally, this number is saved to your phone by your
wireless provider. To save the number manually, do the following:
1At the Start screen, press Menu 01-7 (Messages - Message settings).
2Text messages is highlighted. Press Select.
3Sending profile is highlighted. Press Select.
4Default profile is highlighted. Press Select.
5Message center number is highlighted. Press Select.
6If the box in the display is empty, enter the number given by your
wireless provider and press OK.
7If the box is in the display is full, edit the number only if you are
sure the number is incorrect, or you’d like to change the number, and
press OK.
A message appears in the display confirming your number is saved.

[FCC Draft 63 FCC Draft ]
Menu functions
• WRITE AND SEND A TEXT MESSAGE
1At the Start screen, press Menu 01-1-1 (Messages - Text messages
> Create message).
Tip: To go quickly to the Create message display, press c
at the Start screen.
2After a brief pause, the message entry screen appears in the display.
3Compose a message using the keypad and press Options.
4Scroll to Send and press Select.
5Enter the recipient’s phone number, or press Find to retrieve a number
from your Phone book, and press OK. Your message is sent.
Read messages
When you receive a message, your phone beeps and Message received
appears in the display as well as the unopened letter icon ( ).
1Press Show to read the message, or Exit to move it to your inbox.
Note: When you have unopened messages in your inbox,
is shown in the upper left corner of the Start screen as
a reminder.
2Use the joystick a to view the whole message if necessary.
Tip: Keep scrolling to view other information, such as the
sender number and time the message was sent.
3Press Back to move the message to the Inbox, or press Options for
other choices, such as Reply or Forward.
Read linked messages
Your phone can receive one long message (up to 600 characters) in up to
four parts. You can start reading the first part before the phone has
received the entire message.
While viewing the message, you may see *some text missing* on the
display. This is normal, and the message content will be updated as soon
as the missing sequence arrives.

[FCC Draft 64 FCC Draft ]
If the memory is full, you may have to delete a message from your inbox
or outbox before your phone can update the missing text.
Reply to a message
1While viewing a message, press Options, scroll to Reply, and
press Select.
2Compose your reply using the keypad, then press press Options, scroll
to Send, and press Select.
3The number of the original sender appears in the display.. Press OK
and your reply is sent.
Forward a message
1While viewing a message, press Options.
2Scroll to Forward and press Select.
3Enter the recipient’s phone number, or press Find to retrieve a number
from your Phone book.
4Press OK. The message is forwarded.
• PICTURE MESSAGES
Your phone comes with 10 pre-loaded pictures. You can, however, over-
write any of the 10 pictures that come with your phone. Pictures can be
attached to a message and sent via SMS to compatible phones. Picture
messages behave the same as text messages, but pictures take up more
space than text. Pictures are stored in the “Templates” folder under
Messages - Templates.
Note: You cannot send a picture message via e-mail.
Download pictures
Your phone can download pictures, or receive them from compatible
phones via SMS to use in messages. You can also create pictures and
send them to your phone or other compatible phones using Nokia PC
Suite.

[FCC Draft 65 FCC Draft ]
Menu functions
Note: This function can be used only if it is supported by
your wireless provider. Only phones that offer picture
message features can receive and display picture
messages. Contact your wireless provider for details.
When you receive a picture message
When you receive a picture message, your phone beeps and Message
received appears in the display as well picture message icon ( ).
1Press Show to view the picture message, or press Exit to move it to
your inbox.
2If you have more than one picture message, scroll to the message of
your choice and press Select to view the message.
Note: When you have unopened picture messages in your
inbox, is shown in the upper left corner of the Start
screen
as a reminder.
3Use the joystick to view the whole picture if necessary.
Tip: Keep scrolling to view other information, such as the
sender number and time the message was sent.
4Once you’re finished, press Back to move the picture message to the
Inbox, or press Options for other choices, such as Reply or Forward.
TO SAVE THE PICTURE
If you’d like to save the picture to your Templates folder for later use:
1Press Options, scroll to Save, and press OK.
Note: If your templates folder is full of pictures, just scroll
to the picture you’d like to replace and press Select.

[FCC Draft 66 FCC Draft ]
Compose and send a picture message
One picture message is equivalent in size (and cost) to 3 text messages.
When you attach a picture to a message, you’ll have enough remaining
space for about 121 characters in the message. If you try and attach a
picture to a message that is almost full of text, a beep sounds and you’re
prompted to erase some text before proceeding.
1At the Start screen, press Menu 01-1-1 (Messages - Text messages
- Create message).
After a brief pause, the message edit screen appears in the display.
2Write a message using the keypad (or enter nothing if you choose to
just send a picture), and press Options.
Tip: Attach pictures before adding text. You can then check
remaining space for text in the upper right corner of the
display.
3Scroll to Attach picture and press Select. A list of pictures appear in
the display.
4Scroll to a picture and press View.
5Press Attach to insert the picture into your message, otherwise:
a) Press Back, scroll to another picture, and press View again.
b) Press Attach to insert the picture into your message.
6To send the picture message, press Options, scroll to Send, and
press Select.
7Enter the phone number for your recipient (or press Find to retrieve a
number from your Phone book) and press OK. The message is sent.
PREVIEW, CHANGE, OR ERASE A PICTURE MESSAGE
1After a picture has been attached to your message, press Options at
the message edit screen.
2Scroll to one of the following options and press Select.
a) Preview - Previews the attached message before sending.

[FCC Draft 67 FCC Draft ]
Menu functions
Press Back to return to the list of options.
b) Change picture - Takes you back to the picture list.
Scroll to highlight a new picture, press View and then press
Attach to replace the previous picture in your message.
c) Erase picture - Press OK to erase the picture from your message,
or press Back to return to the list of options.
•E-MAIL
You can send e-mail up to 160 characters in length to anyone with an
e-mail address. First, you’ll need to setup an e-mail profile and modify a
few other settings. It takes just a few minutes, and you only need to do
this once.
Tip: The e-mail address is included in the total character
count for an e-mail message, which is 160 characters. Leave
enough space for the e-mail address while composing your
message or you’ll be taken back to the editor, where you’ll
have to delete some text before sending.
Tip: You cannot send picture messages with e-mail.
Tip: Service providers may customize the SMS message
settings interface. For more details about SMS services,
please contact your service provider.
Write down the e-mail server number
Write down your e-mail server number (also known as the “e-mail
gateway” number) in the following table. You’ll need this number when
setting up an e-mail profile in the next section. You can get this number
from your wireless provider.
Number Where to find it Write the
number below
e-mail
server number
Your wireless provider

[FCC Draft 68 FCC Draft ]
Setup an e-mail profile
1At the Start screen, press Menu - Select and scroll until Message
Settings appears in the display.
2Press Select, scroll to Text messages, if necessary, and press
Select again.
3Scroll to Sending profile (if necesary) and press Select.
4Scroll to an empty profile slot and press Select.
5Scroll to Messages sent as and press Select.
6Scroll to E-mail and press Select. A confirmation message appears in
the display and you’re returned to the previous menu.
7Scroll to E-mail server and press Select.
8Enter the e-mail server number (sometimes referred to as a “gateway”
number). You can obtain this number from your wireless provider.
9Scroll to Accept and press Select. A message appears confirming the
e-mail server number has been saved.
Select again.
Next, we recommend you rename this sending profile to “e-mail,”
which will simplify things later when you’re ready to send e-mail.
10 Scroll until Rename sending profile appears in the display and
press Select.
11 Enter a name for the profile (such as e-mail) and press OK.
Write and send e-mail
Note: See “Tips for composing a message” on page 59 for
ways to write messages faster.
1At the Start screen, press Menu 01-1-2 (Messages - Text messages
- Create e-mail).
After a brief pause, you’re prompted to enter the e-mail address.
2Enter the e-mail address, or press Find to retrieve an e-mail address
from your Phone book, and press OK.

[FCC Draft 69 FCC Draft ]
Menu functions
3Enter a subject for the e-mail and press OK.
4Compose your e-mail using the keypad and press Options.
Tip: Be sure and leave enough space in the total character
count (160) for the e-mail address.
5Scroll to Send e-mail (if necessary) and press Select. Your e-mail
is sent.
If you haven’t saved your e-mail server number, you’re prompted to
enter the number. See “Setup an e-mail profile” in the previous
section for more information on the e-mail server number.
Reply to a message or e-mail
When you have received a text message or e-mail, , the number of
new messages and ___ Message(s) received appears in the display.
Note: The blinking indicates that the message
memory is
full. Before you can receive new messages, delete some of
your old messages. See “Erase messages” on page 82 for
more information.
• Press Show to view the message now, or Exit to view it later.
READING THE MESSAGE LATER:
1Press Menu, and select Messages, Text messages and Inbox.
2If more than one message is received, select the message you want to
read and press Select.
An unread text message is indicated by in front of the message,
and an unviewed picture message by .

[FCC Draft 70 FCC Draft ]
• MULTIMEDIA MESSAGES
A multimedia message (MMS) can contain text, images, and sounds. Your
phone has a multimedia message viewer for playing messages and a
multimedia inbox for storing saved messages. Once you save the
multimedia message, you can use the image as a screen saver or the
sound as a ringing tone.
Note: This function can be used only if it is supported by
your wireless provider. Only compatible devices can receive
and display multimedia messages.
A multimedia message can contain text, images and sounds. Your phone
supports multimedia messages of up to 30 kB. Once you save the
multimedia message, you can use the image as a screen saver or the
sound as a ringing tone.If the maximum size is exceeded, the phone may
not be able to receive the message. Depending upon your network, you
may receive a message that includes an Internet address where you can
go to view the multimedia message.
Pictures included in multimedia messages are scaled down to fit the size
of your display.
Note: The default setting of the multimedia message
service is on, and your wireless provider may charge for
messages received.
Multimedia messaging supports the following formats:
• Picture: JPEG, GIF, PNG, OTA-BMP and WBMP.
• Sound: MIDI
Note: If a received message contains unsupported
elements, they may be replaced with the the text Object
format not supported
Define MMS settings
Before you can use the multimedia message feature, you need to first
define the way you want to receive the messages.

[FCC Draft 71 FCC Draft ]
Menu functions
ALLOW MULTIMEDIA RECEPTION
You can choose to receive all messages or to receive messages only when
you are in the service provider’s home network.
1At the Start screen, press Menu 01-7-2-2 (Messages - Message
settings - Multimedia msgs. - Allow multimedia reception). After a
brief pause, a list of options appear in the display.
•Yes to allow all incoming messages
•In home system to allow incoming messages only if you are in the
service provider’s home system.
2After selecting one of the reception options, scroll to Incoming
multimedia messages, then press Select.
3Scroll to Retrieve, then press Select.
BLOCK MULTIMEDIA RECEPTION
1At the Start screen, press Menu 01-2-2 (Messages - Message
settings - Multimedia msgs. - Allow multimedia reception). After a
brief pause, a list of options appear in the display.
2Scroll to No and press Select.
ALLOW OR NOT ALLOW ADVERTISEMENTS
1At the Start screen, press Menu 01-7-2-5 (Messages - Message
settings - Multimedia msgs. - Allow advertisements). After a brief
pause, Yes and No appear in the display.
2Scroll to the setting of your choice and press Select.
Other MMS settings
Other multimedia settings include saving your messages to the Sent
items folder and editing your connection settings.
1At the Start screen, press Menu 01-1-2 (Messages - Message
settings - Multimedia msgs.). After a brief pause, a list of options
appear in the display.

[FCC Draft 72 FCC Draft ]
2Scroll to an option. Press Select to activate the option or to enter
its submenu.
Edit multimedia connection settings
1At the Start screen, press Menu 01-7-2-4 (Messages - Message
settings - Multimedia msgs. - Connection settings).
2Scroll to Edit active multimedia settings and press Select.
3The connection settings in the following table appear in the display.
Scroll to a setting. Press Select to enter the setting’s submenu.
Message
Setting Function
Save sent
messages
Saves sent multimedia messages to the Sent
items folder
Allow
multimedia
reception
Chooses Yes, No, or In home network for your
multimedia service. In home network can’t receive
multimedia messages outside the home network.
Incoming
multimedia
messages
Select Retrieve to receive multimedia messages, or
Reject if you don’t wish to receive multimedia
messages.
Connection
settings
Define WAP settings for retrieving multimedia
messages. Activate the set where you want to save
the connection settings and then edit the settings.
Allow
advertisements
Allows you to enable or disable reception of
automatic multimedia advertismenets
Connection
setting Function
Settings’ name Rename the setting to your preference
Homepage Enter the homepage where your browser retrieves
multimedia messages

[FCC Draft 73 FCC Draft ]
Menu functions
ABOUT CONNECTION SETTINGS
You may be able to receive multimedia connection settings as a text
message from your wireless provider. For more information, contact your
wireless provider.
SELECT A FONT SIZE FOR YOUR MESSAGES
1Press Menu 01-7-3-1 (Messages - Message settings - Other settings
- Font size). After a brief pause a list of choices appear in the display.
2Scrll to Small font or Large font and press Select. A message appears
in the display confirming your selection.
Write and send a multimedia message
For availability and subscription to the multimedia messaging service,
contact your wireless provider.
1At the Start screen, press Menu 01-2-1 (Messages - Multimedia
messages - Write message). After a brief pause, the message entry
screen appears in the display.
Session mode Select session modes Temporary or Permanent
Data bearer Select the data bearer
GPRS access
point
Define the access point
IP address Enter or change the IP address
Authentication
type
Select from Normal or Secure
User name Edit or enter your user name
Password Edit or enter a password
Connection
setting Function

[FCC Draft 74 FCC Draft ]
2Enter the text of your message and press Options.
3Scroll to Insert image or Insert sound clip and press Select.
4Choose your image or sound clip from the list and press Select.
5Scroll to Send to number or Send to e-mail and press Select.
Note:If you’ve attached a picture or sound clip to the
message, you cannot send the message via e-mail.
6Enter the number of the recipient, or the email address and press
Select. The message is sent.
Read and reply to a multimedia message
When a multimedia message is being received, appears (blinking) in
the display. Once the message has been fully downloaded, and
Multimedia message received appears in the display.
1To view the message, press Show. To view the message later, press
Exit (and then No when asked to discard).
2While viewing the message, press Options. Some or all of the
following options may appear in the display. Scroll to an option and
press Select to activate the option or enter its submenu.
Option Function
Delete
message
Delete a saved message
Reply Reply to the message. Press Options and then Send. The
sender’s phone number or e-mail is used as the default
Forward to no. Forward the message to another number
Forward to
e-mail
Forward the message to an e-mail address
Edit Edit the message. You can only edit messages that
you’ve written
Details View the message subject, size, and class

[FCC Draft 75 FCC Draft ]
Menu functions
Tip: If blinks and Multimedia memory full, view waiting
msg. appears in the display, memory for multimedia
messages is full. You need to delete some of your old
messages. See “Erase messages” on page 82 for more
information.
Instant messaging
(verify)You can have a conversation with another person using this “faster
text messaging” application. You can’t save messages, but you can view
them while chatting. Chat messages cost about the same as text
messages.
START AN IM SESSION
1At the Start screen, press Menu ??? (Messages - Chat). After a brief
pause, you’re prompted to enter the recipient’s phone number.
2Enter the recipient’s number or press Find to retrieve a number from
the phone book, and press OK.
3Enter your nickname name (up to 5 characters) and press OK.
Another way to start IM: When you have received a message, press Show
to read it. To start IM, press Options and select IM.
4Enter your message using the keypad. For faster ways to write a
message, see “Write with predictive text” on page 40.
5When you’re ready to send the message, press Options, scroll to Send,
and press Select.
6When you receive a reply, the message from the other person is shown
above your original message.
Play Listen to a sound clip in the message, if one is included
Save tone Save a ringing tone, if included, to the gallery
Zoom in Enlarge the picture
Save image Save any picture that is attached to your picture gallery
Option Function

[FCC Draft 76 FCC Draft ]
7To reply to the message, press OK and repeat the steps 4 and 5.
8To end the IM session, press OK and select Quit.
• To view the latest messages of the current session, press Options and
select IM history. The message that you have sent are indicated by "<"
and your nickname. The messages from your IM partner are indicated
by ">" and that sender’s nickname.
• Press Back to return to the message you are writing. To edit your
nickname, press Options, scroll to IM name and press Select.
• VOICE MESSAGES
If you subscribe to voicemail, your wireless provider will furnish you with
a voice mailbox number. You need to save this number to your phone to
use voicemail. When you receive a voice message, your phone lets you
know by beeping, displaying a message, or both. If you receive more than
one message, your phone shows the number of messages received.
Save your voice mailbox number
Your wireless provider may have already saved your voice mailbox number
to your phone. If so, the number will appear in the display in step 2. Press
OK to leave the number unchanged.
1At the Start screen, press Menu 01-4-2 (Messages - Voice messages -
Voice mailbox number).
2After a brief pause, the Voice mailbox number screen appears in
the display.
3If the box is empty, enter the voice mailbox area code and number.
4Press OK. Your phone confirms the number has been saved.
Tip: Save yourself the trouble of entering the mailbox codes
each time you dial voicemail. See “Automate voicemail” later
in this section for more information.
Call and setup your voicemail
1Once you’ve saved the voice mailbox number, press and hold 1.

[FCC Draft 77 FCC Draft ]
Menu functions
2When you connect to voicemail and the pre-recorded greeting begins,
follow the service’s automated instructions to setup your voicemail.
Listen to your voice messages
Once you’ve setup voicemail, you can dial the number one of 4 ways:
• Dial the number using the keypad
• Press and hold 1.
• Press Listen if there’s a notification message in the display
• Press Menu 01-4-1 (Messages - Voice messages - Listen to
voice messages). After a brief pause, your phone dials the
voicemail number.
Once you connect and the pre-recorded greeting begins, follow the
automated instructions to listen to your voice messages.
• AUTOMATE VOICEMAIL
You can insert special characters called “dialing codes” into phone numbers
such as voicemail and then save the number to a 1-touch dialing location.
Dialing codes instruct the receiving system to pause, wait, bypass, or
accept the numbers that follow them in the dialing string.
Note: Each voicemail service can vary. The examples and
steps that follow are for clarification. Check with your
wireless provider if you have specific questions about your
voicemail service.
Write down some information
1Write down your voice mailbox number.
2Call and check your voicemail as you normally would.
3Write down your interaction with the recorded prompts step-by-step.
Keep in mind that each voicemail service may vary. However, it should
look something like this:
Dial 2145551212, pause 5 seconds, press 1, pause 2 seconds, press

[FCC Draft 78 FCC Draft ]
1234, press pound key.
Important: Be precise, you’ll need this information in
“Setup voicemail with dialing codes” on page 78.
LEARN HOW TO INSERT DIALING CODES
Press s repeatedly to cycle through dialing codes. Once the desired code
appears in the display, pause briefly and the code is inserted into the
dialing string.
For example, press s four times to display the “w” (wait character). Pause
briefly and the wait character is inserted into the dialing string. Available
dialing codes are as follows:
Setup voicemail with dialing codes
1At the Start screen, press Names, scroll to 1-touch dialing, and
press Select.
2Scroll to an empty 1-touch dialing slot and press Assign.
3Enter your voice mailbox number, including the area code.
4Refer to the table entitled “dialing codes,” and enter any codes as
necessary using the information that you wrote down earlier.
For example, if you pause for 5 seconds after connecting to voicemail,
enter p twice after the voice mailbox number, such as 2145551212pp.
5Enter any remaining pauses, PIN codes, and other information that
allows you to listen to your messages, then press OK.
Dialing codes
*Bypasses a set of instructions
+Precedes an international telephone number
pPauses for 2.5 seconds before sending any numbers that follow
wWait. Your phone waits for you to press e before it sends any
numbers or codes that follow.

[FCC Draft 79 FCC Draft ]
Menu functions
6Enter a name (such as Voicemail) and press OK. A message appears in
the display confirming your 1-touch dialing location has been saved.
Now, to dial and listen to your voicemail, just press and hold the
assigned 1-touch dialing key at the Start screen. No other keypresses
should be necessary to connect and listen to your messages.
• MESSAGE OPTIONS
Some or all of the options in the following table are available for text
messages, picture messages, multimedia messages, and e-mail.
1While viewing a text, picture, multimedia message, or e-mail
press Options.
2Scroll to highlight an option. Press Select to activate the option or
enter its submenu.
Option Function
Delete Delete the message you’re viewing
Forward Forward the message to another recipient
Edit Edit the message
Move Move the message to a folder you specify
Rename Rename the message before it’s saved to a folder
Copy to
Calendar
Copy text from the beginning of the message to your
phone’s calendar as a reminder note for the current day.
Details View the sender’s name and phone number, the
message center used, reception date and time.
Use Detail Extract numbers, e-mail addresses and website
addresses from the current message

[FCC Draft 80 FCC Draft ]
• ORGANIZE MESSAGES WITH FOLDERS
Save messages to folders
You can save messages to an existing folder or to a folder that
you’ve created.
1Press Menu 01-1-1 (Messages - Text message - Write message).
After a brief pause, the message entry screen appears in the display.
2Write your message and press Options.
3Scroll to Save message and press Select.
4Scroll to the Archive, Templates, or My folders (if you’ve created a
folder of your own) and press Select. The message is saved.
View saved messages
1At the Start screen, press Menu 01-1 (Messages - Text messages).
2After a brief pause, scroll to the folder containing the message you
wish to view and press Select.
3Once the folder opens, scroll to the message you wish to view and
press Select.
Inbox folder
Messages are automatically stored in the inbox after they’ve been read or
if you press Back when Message received appears on the Start screen.
Outbox folder
Store messages that you’d like to send at a later date in the Outbox folder.
Save picture Save a picture message to the Templates folder
Reply Reply to the message; you’ve the option to include the
Original text in the reply, a template, or empty screen
Option Function

[FCC Draft 81 FCC Draft ]
Menu functions
Archive folder
Store messages that have been read in the Archive folder.
Templates folder
Pictures and pre-written templates are stored in the Templates folder.
My folders
Keep your messages organized by creating custom folders and saving
some of your messages there.
ADD A FOLDER OF YOUR OWN
1At the Start screen, press Menu 01-1-7 (Messages - Text messages
- My folders). After a brief pause, the folder opens.
2Press Options. Scroll to Add folder and press Select.
3Enter a name for the new folder and press OK. The folder is added.
REMOVE A FOLDER
Only folders created in My folders can be deleted. The Inbox, Outbox,
Archive, and Template folders are protected. When you delete a folder, all
messages in the folder are also deleted.
1At the Start screen, press Menu 01-1-7 (Messages - Text messages
- My folders). After a brief pause, the folder opens.
2Any folders that you’ve created appear in the display. Scroll to the
folder you wish to remove and press Options.
3Scroll to Delete folder and press Select. You’re asked to confirm the
deletion.
4Press OK to delete or Back to exit.
Move a message to a folder
1While viewing the message, press Options.
2Scroll to Move and press Select.
3Scroll to the destination folder and press Select.

[FCC Draft 82 FCC Draft ]
Distribution lists
You can save up to 30 distribution lists in the phone’s memory for sending
text messages to several people at once. Failed sendings are collected to
a separate folder.
1Press Menu, select Messages and Distribution lists.
2Select Add list to add a new distribution list. The option is shown, if
you have not saved any lists in the folder.
3At List name: key in the name for the list and press OK.
To view one of the following options, press Options. Select:
•View list to view or add names and phone numbers in the selected list
•Rename list to change the name of the selected list.
•Clear list to delete all names from the selected list.
•Delete list to remove the selected list from the folder.
4Failed messages is a fixed list of the recipients to whom the latest
message sending failed. In the list you can, for example, select View
message to view the failed message or Resend to list to send the
message again.
• ERASE MESSAGES
If your message memory is full and you have more messages waiting at
the network, blinks in on Start screen. You can do the following to
create more space:
• Read some of the unread messages and then erase them
• Erase messages from some of your folders
Delete a single message
To erase a single message, you need to open it first.
1Press Menu 01-1 (Messages - Text messages). After a brief pause, a
list of options appear in the display.

[FCC Draft 83 FCC Draft ]
Menu functions
2Scroll to the folder containing the message you wish to erase and
press Select. A list of messages, if you have any, appears in the display.
3Scroll to the message you wish to erase and press Select. The
message opens.
4Press Options, scroll to Delete, and press Select.
5You’re asked to confirm the erasure. Press OK to delete the message
or Back to exit.
Delete all messages in a folder
1At the Start screen, press Menu 01-1-8 (Messages - Text messages
- Delete messages). After a brief pause, a list of your folders appears
in the display.
2Scroll to the folder containing the messages you wish to delete and
press Select. You’re asked to confirm your erasure.
Important: If you select All read, it erases any
messages which have been read in all of the folders.
3Press OK to empty the folder.
Change text, e-mail and picture message settings
1At the Start screen, press Menu 01-6-1-1 (Messages - Message
Settings - Text messages - Sending profile).
2If more than one message profile set is supported by your SIM card,
scroll to the set you wish to change and press Select.
Message
Setting Function
Message
center
number
Save the phone number of the message center, which is
necessary for sending text messages; obtain this
number is from your wireless provider
Messages
sent as
Select the message type Text, E-mail, Page, or Fax

[FCC Draft 84 FCC Draft ]
OVERWRITE SETTINGS FOR TEXT, E-MAIL, AND PICTURE MESSAGES
When the message memory is full, your phone can’t send or receive any
new messages. However, you can set your phone to automatically replace
old messages in the Inbox and Outbox folders when new ones arrive.
1Press Menu, 01-7-1 (Messages - Message settings - Text messages).
After a brief pause, a list of options appear in the display.
2Scroll to Overwriting in sent items or Overwriting in inbox and
press Select.
3Scroll to Allowed and press Select to replace the old messages with
new ones in the Sent items or Inbox folder, respectively.
Message
validity
Define how long the network attempts to send your
messages before it gives up
Default
recipient
number
For text messages, the default number used to
send messages
E-mail server
number
For e-mail messages, the default number used to
send e-mail
Delivery
reports
Request the network to send delivery reports on
your messages
Use GPRS Set GPRS as the preferred method of sending SMS
Reply via
same center
Allow the recipient of your message to send you a reply
message via your message centre (network service).
Rename
sending
profile
Change the name of the selected sending profile;
the sending profile sets display only if your SIM card
supports more than one set
Message
Setting Function

[FCC Draft 85 FCC Draft ]
Menu functions
Use the info message service
With the info message network service, you can receive short text
messages on various topics, such as weather and traffic conditions, from
your wireless provider.
1At the Start screen, press Menu 01-5 (Messages - Info messages).
After a brief pause, the list of options in the following table appear in
the display.
2Scroll to an option. Press Select to activate the option or to enter
its submenu.
Note:For more information on topics, contact your
wireless provider.
Use service commands
Use the Service commands editor to enter and send service requests (also
known as USSD commands) to your wireless provider. Contact your
wireless provider for information about specific service commands.
1At the Start screen, press Menu 01-6 (Messages -
Service commands).
2Enter a service request, such as an activation command for a specific
network service, and press Send.
Message
setting Function
Info service Select On or Off to activate or deactivate the service
Topics Options for selecting, adding, editing, and deleting
info topics
Language Select the language in which info messages
are received. The language you select does not affect the
language you select under the Phone settings menu
Info topics
saved on
SIM card
Select one or more info topics to save to your SIM card

[FCC Draft 86 FCC Draft ]
Call log (Menu 2)
Call log stores information about the last 20
missed, received, or dialed calls. It also adds the
total duration of all calls. When the number of calls
exceed 20, the most recent call replaces the oldest.
For Call log to work properly:
• Your wireless provider must support caller ID, and it must be enabled
• Your calls can’t be blocked
• Your phone must be on and within the service area
• CALL LOG OPTIONS
Whether you are viewing missed, received, or dialed calls, each of the
menu options will be the same. Please refer to the following table
regarding menu options for these features.
Missed, received, and dialed call options
Call time Display the date and time of the call
Send message Send a message to the number
View number Display the number
Edit number Edit the number and associate a name with the number
Save Enter a name for the number and save it to your
Phone book
Add to name Add the number to an existing entry in your Phone
book, if the number is not associated with a name
Erase Delete the number from memory
Call Call the number

[FCC Draft 87 FCC Draft ]
Menu functions
• VIEW MISSED CALLS
Missed calls are calls that were never answered. You can check for missed
calls two ways:
1If # missed call appears in the display, press List. The phone number
appears in the display.
2Press Options to display the options listed in the table on page 87.
3Scroll to an option, press Select to activate the option or to enter
its submenu.
OR
1At the Start screen, press Menu 2-1 (Call log - Missed calls).
After a brief pause, a list of missed calls appear in the display
(if any exist).
2Scroll to a number and press Options to display the options listed in
the table on page 87.
3Scroll to an option, press Select to activate the option or to enter
its submenu.
• VIEW RECEIVED CALLS
Received calls are calls that have been answered.
1At the Start screen, press Menu 2-2 (Call log - Received calls).
After a brief pause, a list of received calls appears in the display
(if any exist).
2Scroll to a number and press Options to display the options listed
in the table on page 87.
3Scroll to an option, press Select to activate the option or enter
its submenu.

[FCC Draft 88 FCC Draft ]
• VIEW DIALED NUMBERS
You can view dialed numbers one of two ways:
1At the Start screen, press e. Your most recently dialed numbers
appear in the display.
OR
2At the Start screen, press Menu 2-3 (Call log - Dialed numbers).
After a brief pause, your most recently dialed numbers appear in
the display.
3Scroll to a number and press Options to display the options listed in
the table on page 87.
4Scroll to an option, press Select to activate the option or enter
its submenu.
Call times
You can receive up to five calls from the same number, and view the time
each call occurred. Your clock must be set for this feature to work accurately.
See “Set the clock” on page 33 for instructions on setting your clock.
1While viewing a missed or received call, press Options, scroll to Call
time, and press Select.
2The time that the last call occurred appears in the display.
3Press a to view other call times from this number. Press Back to
return to the options list.
• ERASE CALL LISTS
To erase any missed, dialed, or received calls from your phone’s memory:
1At the Start screen, press Menu 2-4 (Call log - Erase recent call lists).
After a brief pause, All, Missed, Received and Dialed appear in
the display.
2Scroll to the call type you’d like to clear and press Select.

[FCC Draft 89 FCC Draft ]
Menu functions
• VIEW CALL DURATION
1Duration of last call. At the Start screen, press Menu 2-5-1
(Call log - Call duration - Duration of last call). The duration of
your last call appears in the display.
2Duration of dialed calls. At the Start screen, press Menu 2-5-3
(Call log - Call timers - Duration of dialed calls). The duration of
all dialed calls appears in the display.
3Duration of received calls. At the Start screen, press Menu 2-5-2
(Call log - Call timers - Duration of received calls). The duration of all
received calls appears in the display.
4Duration of all calls. At the Start screen, press Menu 2-5-4
(Call log - Call timers - Duration of all calls). The duration of all
calls (missed, dialed, and received) appears in the display.

[FCC Draft 90 FCC Draft ]
Profiles (Menu 3)
Profiles define how your phone reacts when you
receive a call or a message, how your keypad sounds
when you press a key, and more. Ringing options,
keypad tones, and other settings for each of the 5
available profiles can be left at their default setting, or customized to suit
your needs. Select and customize the most suitable profile for your
situation, such as when you are in a meeting or outdoors. The following
profiles are available:
Note: Profiles are also available for accessories such as a
headset and car kit. See “Accessory settings” on page 105
for more information about accessory profiles.
• SELECT A PROFILE
1At the Start screen, press Menu 3 (Profiles).
After a brief pause, the list of profiles appear in the display.
2Scroll through the available profiles and press Select once the profile
of your choice is highlighted.
3Scroll to Select and press Select.
Tip: You can briefly press the power key to display the list of
profiles. Each press of the power key thereafter scrolls
through the list. Once a profile is highlighted, press and hold
the power key to select the profile.
• CUSTOMIZE A PROFILE
You can customize any of the profiles a variety of ways.
• Normal • Silent • Meeting • Outdoor • Pager

[FCC Draft 91 FCC Draft ]
Menu functions
1At the Start screen, press Menu 3 (Profiles).
After a brief pause, the list of profiles appears in the display.
2Scroll to the profile you wish to customize and press Select.
3Scroll to Customize and press Select.
4Use the joystick to display each of the options in the following table.
Once you arrive at the option you’d like to customize, press Select.
Note: You cannot rename the Normal profile.
• SET A TIMED PROFILE
Timed profiles can be used to prevent missed calls. For example, suppose
you attend an event that requires your phone be set to Silent before the
event starts, but you forget to return it to Normal until long after the
Custom profile options
Ringing options Select the ringing tone style
Ringing tone Select the ringing tone for incoming calls
Ringing volume Set the volume of your ringing tone
Vibrating alert Turn the vibrating alert on or off
Message alert tone Select the tone for received messages
Keypad tones Set the volume of your keypad tones (or turn
them off)
Warning tones Turn warning and confirmation tones on or off
Alert for Define which caller groups the selected profile
will accept or decline. See “Caller groups” on
page 59 for more information.
Profile name Rename the profile (up to 16 characters)

[FCC Draft 92 FCC Draft ]
event. During this time, you’ve missed several calls because the ringing
tone was silent. A timed profile can prevent this by automatically
returning your phone to the default profile at a time you specify.
Note: Timed profiles can be set up to 24 hours in advance.
1At the Start screen, press Menu 3 (Profiles).
After a brief pause, the list of profiles appears in the display.
2Scroll to the profile you wish to activate and set for timed expiration,
then press Select.
3Scroll to Timed and press Select.
4Enter the time for the profile to expire and press OK.
The profile you’ve set for expiration is now active and appears in the
Start screen along with a small “clock” icon

[FCC Draft 93 FCC Draft ]
Menu functions
Settings (Menu 4)
Set the clock
1At the Start screen, press Menu 4-1-1
(Settings - Time and date settings - Clock).
After a brief pause, Show clock (or Hide clock)
Set the time, and Time format appear in the display with Show clock
(or Hide clock) highlighted.
2Scroll to Set the time and press Select.
3Enter the time (in hh:mm format) and press OK.
4Scroll to am or pm and press Select. The time is set.
Show/hide the clock
You have the option of displaying (or not displaying) the clock on the
Start screen.
1At the Start screen, press Menu 4-1-1 (Settings - Time and date
settings - Clock).
After a brief pause, Show clock (or Hide clock) Set the time,
and Time format appear in the display with Show clock (or Hide
clock) highlighted.
2Press Select.
• If your clock was previously “hidden,” (not shown on the display), it
will now appear in the upper right corner of the Start screen.
• If your clock was previously shown in the display, it will now be
hidden from view.
Change the time format
You can set the time format for am/pm or 24 hour format (military time).
1At the Start screen, press Menu 4-1-1 (Settings - Time and date
settings - Clock).

[FCC Draft 94 FCC Draft ]
After a brief pause, Show clock (or Hide clock) Set the time,
and Time format appear in the display with Show clock (or Hide
clock) highlighted.
2Scroll to Time format and press Select.
3Scroll to 24-hour or am/pm and press Select. A message appears in
the display confirming your selection.
Set the date
1At the Start screen, press Menu 4-1-2 (Settings - Time and
date settings - Date). After a brief pause, a list of options appear in
the display.
2Scroll to Set the date and press Select.
3Enter the date and press OK. The date is set.
Set or change the date format
1At the Start screen, press Menu 4-1-2 (Settings - Time and date
settings - Date).
2Scroll to Date format and press Select.
3Scroll to the format of your choice and press Select.
SET THE DATE SEPARATOR
1At the Start screen, press Menu 4-1-2-4 (Settings - Time and date
settings - Date - Date separator).
2Scroll to the date separator of your choice (period, slash, or hyphen)
and press Select. A message appears in the display confirming your
selection.
• CALL SETTINGS
Call forwarding
Call forwarding tells your network to redirect incoming calls to
another number.

[FCC Draft 95 FCC Draft ]
Menu functions
Important: Call forwarding is network-dependent
and may not work the same in all networks. Contact
your wireless provider
for availability.
ACTIVATE CALL FORWARDING
1At the Start screen, press Menu 4-2-1 (Settings - Call settings -
Call forwarding).
2After a brief pause, the forwarding options listed in the following
table appear in the display.
3Scroll to the option of your choice and press Select.
4Scroll to Activate and press Select.
5Scroll to the destination to which your calls will be forwarded
(such as To other no.) and press Select.
6Enter the number to which your calls, data, or other information will
be forwarded and press OK.
Your phone calls the network to activate the feature you’ve requested.
The network sends a confirmation note when the feature has been
activated successfully.
Forward all
voice calls
Forward all calls to the number you specify
Forward if
not answered
Forward incoming calls to another number if
you’re unable to answer. You can also set a
delay before forwarding takes place
Forward if out of
reach
Forward incoming calls when your phone is off
Forward all fax calls Forward all fax calls to a fax mailbox
Forward all data calls Forward all data calls to a data mailbox
Cancel all
call forwarding
Cancel any call forwarding options you may
have set

[FCC Draft 96 FCC Draft ]
CANCEL CALL FORWARDING
• At the Start screen, press Menu 4-2-1-8 (Settings - Call settings -
Call forwarding - Cancel all call forwarding).
Note:Cancel all call forwarding may affect your ability to
receive voice mail messages. Contact your wireless provider
for specific details.
Anykey answer
Anykey answer allows you to answer an incoming call by briefly presing
any key except f, c , b, and d.
1At the Start screen, press Menu 4-2-2 (Settings - Call settings -
Anykey answer). After a brief pause, On and Off appear in the display.
2Scroll to your choice and press Select.
Automatic redial
Occasionally, your network may experience heavy traffic, resulting in a
“fast” busy signal when you dial. With automatic redial activated, your
phone redials the number up to 10 times, and notifies you once the
network becomes available.
ACTIVATE OR DEACTIVATE AUTOMATIC REDIAL
1At the Start screen, press Menu 4-2-3 (Settings - Call settings -
Automatic redial). After a brief pause, On and Off appear in the
display.
2Scroll to your choice and press Select.
1-touch dialing
You can assign any entry in your Phone book to keys 2 through 9, and
then dial those entries by pressing and holding the assigned key.
ASSIGN A KEY TO 1-TOUCH DIALING
1At the Start screen, press Names, scroll to 1-touch dialing and
press Select.
2Scroll to any empty slot and press Assign.

[FCC Draft 97 FCC Draft ]
Menu functions
3Enter the number (including the area code) and press OK, or press
Find to retrieve a number from your Phone book.
4Enter a name for the number and press OK.
MAKE A CALL WITH 1-TOUCH DIALING
•Press and hold the key to which an entry has been assigned.
OR
• Press the key to which an entry has been assigned and then press e.
Call waiting
If supported by your wireless provider, call waiting notifies you of an
incoming call even while you’re in a call. You can then accept, reject, or
ignore the incoming call.
ACTIVATE CALL WAITING
1Press Menu, scroll to Settings, and press Select.
2Scroll to Call settings and press Select.
3Scroll to Call waiting and press Select.
4Scroll to Activate and press Select.
USE CALL WAITING
• During a call, press e to answer the waiting call. The first call is put
on hold.
• Press d to end the active call.
Activate/deactivate summary after call
To show (or not show) the duration of each call after you hang up:
1At the Start screen, press Menu 4-2-6 (Settings - Call settings -
Summary after call).
After a brief pause, On and Off appear in the display.
2Scroll to On or Off and press Select.

[FCC Draft 98 FCC Draft ]
Send own caller ID with next call
You can prevent your number from being displayed on the receiving
party’s caller ID. This feature is network dependent and works on a
call-by-call basis. Contact your wireless provider for more information.
1At the Start screen, press Menu 4-2-7 (Settings - Call settings -
Send my caller identity). After a brief pause, Default, Yes, and No
appear in the display.
2Scroll to the selection of your choice and press Select. A message
appears in the display confirming your selection.
Line for outgoing calls
Line for outging calls is a network service to select the phone line 1 or 2,
that is, the subscriber number, for making calls.
1Press Menu 4-2-8 (Settings-Call settings-Line for outgoing calls).
2Scroll to Line 1 or Line 2 and press Select.
OR
At the Start screen, press and hold p.
• PHONE SETTINGS
Set the display language
1At the Start screen, press Menu 4-3-1 (Settings - Phone
settings - Language).
After a brief pause, Automatic, English, Français, and Español appear
in the display.
2Scroll to the language of your choice and press Select.
Note: The Language setting affects the time and date
formats of the Clock, Alarm clock, and Calendar.

[FCC Draft 99 FCC Draft ]
Menu functions
ACTIVATE OR DEACTIVATE AUTOMATIC KEYGUARD
Important: When keyguard is on, it may be possible
to dial emergency numbers (for example, 911 or other
official emergency numbers). Key in the emergency
number and press e. The number is displayed only
after you have keyed in its last digit.
You can set the keypad of your phone to lock automatically after a preset
time delay (10 seconds 60 minutes). When the preset delay expires, the
keypad locks automatically.
1At the Start screen, press Menu 4-3-2 (Settings - Phone settings -
Automatic keyguard). After a brief pause, On and Off appear in
the display.
2Scroll to On (or Off to deactivate) and press Select.
3If you selected On, Set delay appears in the display.
4Enter the delay (in minutes and seconds) and press OK.
Cell info display
When this function is selected, your phone will indicate when it is used in
a system cell based on Micro- Cellular Network technology. MCN
technology increases the capacity of wireless networks in urban areas. The
setting will remain in effect even if the SIM card is changed or the phone
is switched off.
1Press Menu 4-3-3 (Settings - Phone settings - Cell info display). After
a brief pause, On and Off appear in the display.
2Scroll to On (or Off)and press Select. A message appears in the display
confirming your selection.
Note: If the GPRS connection is set to Always online, info
messages may not be received. In that case, set the GPRS
connection to When needed, see “GPRS” on page 132 for
more information.

[FCC Draft 100 FCC Draft ]
Welcome note
You can write a welcome note which shows up briefly on your display
whenever you power up your phone.
Note:Predictive text input is unavailable for entering
Welcome note text.
1At the Start screen, press Menu 4-3-3 (Settings - Phone settings -
Welcome note).
After a brief pause, the message edit screen appears in the display
awaiting text input.
2Enter a note (up to 44 characters).
• Press s to display and select from available special characters. For
more information on special characters, “Enter punctuation and
special characters” on page 39.
3When you’re finished, press Options, scroll to Save, and press Select.
Scroll to Delete and press Select if you want to erase the previous text
and begin writing another note.
System selection
You may be able to manually search for another network which has a
roaming agreement with your home wireless provider.
1At the Start screen, press Menu 4-3-5 (Settings - Phone settings -
System selection). After a brief pause, Automatic and Manual appear
in the display.
2Scroll to Automatic or Manual and press Select.
Option Function
Automatic Your phone defaults to those settings which have been
preset by your wireless provider
Manual Your phone searches for a network which has a
roaming agreement with your wireless provider

[FCC Draft 101 FCC Draft ]
Menu functions
Note: If No access appears in the display, you’ll need to
switch to Automatic mode, or insert another SIM card into
the phone.
Confirm SIM service actions
This option allows you to request notification when your service provider
makes changes to SIM-related services (such as activating GPRS service).
1Press Menu 4-3-6 (Settings - Phone settings - Confirm SIM service
actions). After a brief pause, Yes and No appear in the display.
2Scroll to the selection of your choice and press Select. A message
appears in the display confirming your selection.
Help text
Your phone displays brief descriptions for most menu items. When you
arrive at a feature or menu, pause for about 10 seconds. Use the joystick
to page through the full help text, if necessary.
ACTIVATE/DEACTIVATE HELP TEXT
The default setting for Help text is On. However, you can turn help text on
or off by doing the following from the Start screen.
1Press Menu 4-3-7 (Settings - Phone settings - Help text activation).
After a brief pause, On and Off appear in the display.
2Scroll to your choice and press Select. A message appears in the
display confirming your selection.
START-UP TONE
You can set your phone to play (or not to play) a start-up tone when the
phone is switched on.
1At the Start screen, press Menu 4-3-8 (Settings - Phone settings -
Start-up tone). After a brief pause, On and Off appear in the display.
2Scroll to your choice and press Select. A message appears in the
display confirming your selection.

[FCC Draft 102 FCC Draft ]
• DISPLAY SETTINGS
Wallpaper
You can set your phone to display a background picture (wallpaper) on the
Start screen. Some pictures are presaved in the Gallery menu. You can
also receive pictures via multimedia message, download them from WAP
pages or transfer them with PC Suite from your PC and then save them in
the Gallery. Your phone supports JPEG, GIF and PNG formats.
SELECT WALLPAPER
1Press Menu 4-4-1 (Settings - Display settings - Wallpaper). After a
brief pause, On, Off, and Change image appear in the display.
2Scroll to Change image and press Select to browse the gallery for
another image.
3Use the joystick (a) to browse the image gallery. When you arrive at
the image of your choice, press Options, scroll to Set as wallpaper,
and press Select.
ACTIVATE/DEACTIVATE WALLPAPER
1Press Menu 4-4-1 (Settings - Display settings - Wallpaper). After a
brief pause, On, Off, and Change image appear in the display.
2Scroll to On or Off and press Select.
Color schemes
You can change the color of some display components in your phone, such
as indicators and signal bars.
1At the Start screen, press Menu 4-4-2 (Settings - Display settings -
Color Schemes). After a brief pause, a list of color schemes appear in
the display.
2Scroll to the color scheme of your choice and press Select. A message
appears in the display confirming your selection.
Operator logo
Your phone ca display your operator’s logo.

[FCC Draft 103 FCC Draft ]
Menu functions
1Press Menu 4-4-3 (Menu-Settings-Operator logo).
2?????
Note: If you have not saved an operator logo, the Operator logo menu
is dimmed out (terminology?). For more information on the
availability of operator logos, check with your service provider.
SCREEN SAVER TIMEOUT
You can set your phone to display a screen saver after a preset time or
after a custom time (up to 60 minutes) of your choosing.
Screen saver
The screen saver is activated when no function of the phone is used after
a preset period of time. Press any key to deactivate the screen saver. The
screen saver is also deactivated when the phone is out of the network
coverage area.
1At the Start screen, press Menu 4-4-4 (Settings - Display settings -
Screen saver timeout). After a brief pause, 30 seconds, 2 minutes,
and Other appear in the display.
2Scroll to the 30 seconds or 2 minutes and press Select.
3If you want to set a custom time (up to 60 minutes), scroll to Other
and press Select. Enter the custom time and press OK. A message
appears in the display confirming your selection.
Display birghtness
You can change the brightness level of the phone’s screen.
1Press Menu 4-4-5 (Settings - Display settings - Display brightness).
After a brief pause, a bar chart appears in the display indicating the
brightness level.
2Use the joystick to adjust the birghtness level to your preference.
3Press OK to accept your settings.

[FCC Draft 104 FCC Draft ]
• TONE SETTINGS
You can adjust the ringing volume, keypad tones, and more for the
currently active profile. The same options are described in detail under
“Customize a profile” on page 91.
Accessory settings
The Accessory settings menu is shown only if the phone is or has been
connected to one of the following accessories: headsets HDB-4 or HDS-
3, handsfree unit CARK126, or mobile inductive loopset LPS-4.
1At the Start screen, press Menu 4-6 (Settings - Accessory settings).
The following options may be available:
Note:The list accessories that appears depends on whether
or not the accessory is or has been connected to your
phone.
2Scroll to Headset, Handsfree or Loopset and press Select.
IF YOU SELECTED HEADSET
The following options are available. Scroll to the option of your choice and
press Select to enter the option’s submenu and modify its settings.
•Default profile - Choose the profile you wish to be automatically
activated when a headset is connected
•Automatic answer - Calls are answered automatically after 1 ring
when a headset is connected. Scroll to On or Off and press Select
IF YOU SELECTED HANDSFREE
The following options are available. Scroll to the option of your choice and
press Select to enter the option’s submenu and modify its settings.
•Default profile - Choose the profile you wish to be automatically
activated when your phone is connected to a car kit.
•Automatic answer - Calls are answered automatically after 1 ring
when a car kit is connected. Scroll to On or Off and press Select.
•Lights - Choose to keep the phone lights always on, or to shut off
automatically after several seconds. Scroll to On or Automatic and

[FCC Draft 105 FCC Draft ]
Menu functions
press Select.
IF YOU SELECTED LOOPSET
The following options are available. Scroll to the option of your choice and
press Select to enter the option’s submenu and modify its settings.
•Use loopset - Enable use of the LPS-4 mobile inductive loopset. Scroll
to Yes or No and press Select.
•Default profile - Choose the profile you wish to be automatically
activated when a loopset is connected.
•Automatic answer - Calls are answered automatically after 1 ring
when a loopset is connected. Scroll to On or Off and press Select.
Security settings
For information on PIN code request, Call restrictions, Fixed dialing, and
other security features, see “Manage phone security” on page 44.
Restore factory settings
You can reset some of the menu settings to their original values.
1At the Start screen, press Menu 4-7 (Settings - Restore factory
settings). After a brief pause, you’re prompted to enter the security
code.
2Enter the security code (the default is 12345) and press OK. A
message appears in the display confirming your original settings have
been restored.
Note: Any data that you have entered, such as names and
numbers in your Phone book will not be deleted.

[FCC Draft 106 FCC Draft ]
Organizer(Menu 5)
The alarm clock is based on your phone’s internal
clock. It sounds an alert any time you specify and
even works if the phone is off.
• SET AN ALARM
1At the Start screen, press Menu 5-1 (Organizer>Alarm clock).
IF AN ALARM HAS PREVIOUSLY BEEN SET
After a brief pause, On and Off appear in the display.
2Scroll to On and press Select. You’re prompted to set the alarm time.
3Enter the time for the alarm in hh:mm format and press OK.
4Scroll to am or pm and press Select. Alarm on appears briefly in the
display and appears on the Start screen.
IF AN ALARM HAS NOT BEEN SET
1At the Start screen, press Menu 5-1 (Organizer>Alarm clock).
2After a brief pause, you’re prompted to enter a time for the alarm.
3Enter the time for the alarm in hh:mm format and press OK.
4Scroll to am or pm and press Select. Alarm on appears briefly in the
display and appears on the Start screen.
When the alarm sounds
Your phone beeps, vibrates, and the display lights up. Stop and Snooze
appear in the bottom of the display.
WITH THE PHONE ON
Press Stop to shut the alarm off.
OR

[FCC Draft 107 FCC Draft ]
Menu functions
Press Snooze. The alarm stops for 10 minutes and Snoozing appears in the
display.
Note: If you don’t press a key, the alarms stops (snoozes)
for 5 minutes, and then sounds again.
WITH THE PHONE OFF
1The alarm sounds. If you press Stop the following appears in
the display:
Switch the phone on?
Note: The phone will only power up if you select Yes when
Switch the phone on? appears in the display.
2Press Yes to power up the phone. Press No to keep it switched off.
Warning: Do not switch the phone on when wireless
phone use is prohibited or when it may cause
interference or danger.
• TURN OFF AN ALARM
1At the Start screen, press Menu 5-1 (Organizer>Alarm clock).
2After a brief pause, On and Off appear in the display.
Scroll to Off and press Select. Alarm off appears briefly
in the display
• CALENDAR
The calendar keeps track of reminders, calls you need to make, meetings,
and birthdays. It can even sound an alarm for any of these events.

[FCC Draft 108 FCC Draft ]
OPEN THE CALENDAR
At the Start screen, press Menu 8-1 (Organizer -
Calendar). After a brief pause, the Monthly
view appears in the display with the current
date highlighted by a black box.
Tip: To quickly open the Calendar,
press r at the Start screen.
USE FOUR-WAY SCROLLING
You can move the cursor in some calendar views using the joystick.
• THE MONTHLY VIEW
The monthly view provides an overview of the selected
month and weeks. It also allows you to jump to a
specific date. Any days or dates that appear in bold font
contain calendar notes such as a meeting or reminder.
• GO TO A DATE
1Press Menu 8-1 (Organizer - Calendar). After a brief pause, the
monthly view appears in the display.
2Press Options, scroll to Go to date, and press Select.
3Enter the date (for example 12/15/2002) and press OK. The monthly
view appears in the display with the “jump date” highlighted.
Make a note for a specific date
You can choose from five types of notes; Meeting, Call, Birthday, Memo,
and Reminder. Your phone asks for further information depending on
which note you choose. You also have the option to set an alarm for any
note that you select.
Monthly view

[FCC Draft 109 FCC Draft ]
Menu functions
1Go to the date for which you wan to set a reminder. See “Go to a date”
in the previous section if you need more information.
2From the monthly view (with the go to date highlighted),
press Options.
3Scroll to Make a note, and press Select.
4Scroll to one of the following note types and press Select
5Enter your note, press Options, scroll to Save, and press Select.
•For a Meeting note, you’re prompted to enter a start and end time.
You’re then given the option to set an alarm.
•For a Call note, you’re prompted to enter a phone number, a name,
and the time. You’re then given the option to set an alarm.
•For a Birthday note, you’re prompted to enter the person’s name, and
year of birth. You’re then given the option to set an alarm.
•For a Memo note, you’re prompted to enter a subject for the memo.
You’re then given the option to set an alarm.
•For a Reminder note, you’re prompted to enter the subject you wish
to be reminded about, you’re then given the option to set an alarm.
View calendar notes - the Day view
After you’ve created some calendar notes, you can view them as follows:
1At the Start screen, press Menu 8-1 (Organizer - Calendar).
After a brief pause, the monthly view appears in the display with the
current date highlighted. Any dates that contain calendar notes will
be in bold font.
2Use four-way scrolling to go to the date containing the note.
3Press Options, scroll to View day, and press Select. Any notes you
have for the day will appear in a list format.
4To view the body of a highlighted note, press Options, scroll to View
Meeting Call Birthday Memo Reminder

[FCC Draft 110 FCC Draft ]
and press Select.
Options while viewing a list of notes
1Press Options while viewing a day’s notes to display those options
listed in the following table.
2Scroll to an option. Press Select to activate the option or to enter
its submenu.
*Indicates an option that is available only while viewing the body of
a note (not the header).
Calendar note options
View View the full note
Make a note Make another note for the selected date
*Delete Delete the note
*Edit Edit the note
*Move Move the note to another date on your calendar
*Repeat Enable the note to recur on a regular basis (daily,
weekly, bi-weekly, monthly, and yearly)
Go to date Jump to another date on your calendar
*Send note Send the note to another device via Infrared or SMS as
text or in vCal format
*Copy Copy the note. You can then “paste” the note to
another date
*Settings
Set the date and time, date and time format, the day
each week starts, and whether you want your notes to
auto-erase after a specified time
Go to
to-do list
Takes you to the to-do list for today’s date

[FCC Draft 111 FCC Draft ]
Menu functions
• SEND A CALENDAR NOTE TO ANOTHER DEVICE
Send a note via Infrared or SMS
Note: If sending via IR (infrared), ensure the other device
is set to receive data via IR. For more information on
enabling the receiving device’s IR, refer to the user guide
for the receiving device.
1At the Start screen, press Menu 8-1 (Organizer - Calendar). After a
brief pause, the monthly view appears in the display.
2Jump, or scroll to the date containing the note you wish to send.
Tip: Any days containing notes will be in bold font.
3Press Options, scroll to View day, and press Select.
4Scroll to the note you wish to send and press Options.
5Scroll to Send note and press Select.
6Scroll to Send via IR, Send as note, or Send as text, and press Select.
7If you selected Send via IR, align the infrared ports of both devices
and press Select. The note is sent.
8If you selected Send as note, enter the number for the recipient
(or press Find to retrieve a number from your Phone book), and
press OK. The note is sent.
If you selected Send as text, the note appears in the display.
9Press Options, scroll to Send, and press Select.
10 Enter the number for the recipient (or press Find to retrieve a number
from your Phone book), and press OK. The note is sent.
RECEIVE CALENDAR NOTES FROM ANOTHER DEVICE
When you receive a Calendar note, your phone displays Calendar note
received. You can then save the note in your Calendar and set an alarm
for any date and time.

[FCC Draft 112 FCC Draft ]
VIEW RECEIVED CALENDAR NOTES
1When your phone displays Calendar note received, press Show.
2The text of your note appears in the display. Use the joystick
to view the entire message, if necessary.
SAVE RECEIVED CALENDAR NOTES
1After viewing the Calendar note, press Options.
2Scroll to Save and press Select.
DISCARD VIEWED CALENDAR NOTES
1After viewing the Calendar note, press Options.
2Scroll to Discard and press Select.
• MAKE A TO-DO LIST
You can keep track of your tasks with the to-do list feature. You may be
able to save up to 30 notes, depending on their length.
Note: To-do notes are not related to specific dates.
Add a to-do note
1At the Start screen, press Menu 8-2 (Organizer - To-do list).
2After a brief pause, press Options. If this is your first time to use the
to-do list, Add is highlighted. You also have the option of going to the
Calendar.
3Press Select, enter your to-do note and press Options.
4Scroll to Save and press Select.
5Scroll to High, Medium, or Low priority and press Select. The to-do
note is saved.

[FCC Draft 113 FCC Draft ]
Menu functions
Options while viewing the body of a note
While viewing the body of a to-do note, you have the following options:
Option Function
Edit Edit the contents of a note
Set deadline Set a deadline for the note
Mark note
as done
Mark a note or task as complete; no more reminders
will follow
Delete Change the priority of a note to high, medium, or low
Edit priority View notes for a specific priority level, such as all of
your High priority notes
Send Send the note as a text message to another phone
Go to
calendar
Leave the to-do list and go to the calendar
Save to
calendar
Save the to-do note to a specific date on your calendar

[FCC Draft 114 FCC Draft ]
Radio (Menu 7)
Note: Your phone must be
switched on to use this function.
Do not switch the phone on when
wireless phone use is prohibited or
when it may cause interference or
danger.
To listen to the FM radio on your phone connect
the HDS-3 stereo headset or HDB-4 mono headset to the connector on
the bottom of the phone. The leads of the headset function as the
antenna, so let it hang freely.
Note: The quality of the radio broadcast depends on the
radio station’s coverage in that particular area.
• TURN THE RADIO ON AND OFF
• At the Start screen, press Menu 7 (Radio).
• To quickly turn off the radio, press and hold d.
• USE THE RADIO
Note: When you place or receive a call, the radio
automatically mutes. Once the call is ended, the radio
automatically switches back on.
• With the radio on, press Options to choose from the options listed in
the following table. Move the joystick up or down to scroll to an
option. Press Select to activate the option or enter its submenu.
Option Function
Turn off Turn off the radio
Save channel Save the current station to one of 20 locations

[FCC Draft 115 FCC Draft ]
Menu functions
Tip: To quickly set the radio frequency, press s with the
radio on.
Tip: To manually tune the radio, press p with the radio on.
Note: When an application using a GPRS connection is
sending or receiving data, it may interfere with the radio.
• SAVE A RADIO CHANNEL
You can save a preset station to any one of 20 locations in memory, and
then tune to that station by simply pressing u or d with the radio on.
1With the radio on, press and hold the joystick up or down to start the
channel search. Searching stops when a channel is found.
2To save the channel, press Options, scroll to Save channel, and press
Select.
3Enter a name for the channel and press OK.
4Next, scroll to an (empty) location to save the channel and
press Select.
Automatic
tuning
Briefly press either scroll key to start the channel
search up or down. Press OK when a channel is found.
Manual tuning move the joystick up or down to search in increments
of 0.1 MHz
Set frequency Manually enter the frequency of a known radio station
Delete
channel
Delete a saved channel
Loudspeaker Listen to the radio through the speakerphone
Mono output Listen to the radio in monaural mode
Option Function

[FCC Draft 116 FCC Draft ]
Tip: To quickly save an FM station to a memory location from
1 to 9, press and hold the corresponding number key while
the radio is playing. Then, enter the name of the channel and
press OK.

[FCC Draft 117 FCC Draft ]
Gallery (Menu 8)
9 Gallery (Menu 8)
Note: Your phone must be
switched on
to use this function. Do not switch
the phone on when wireless phone
use is prohibited or when it may
cause interference or danger.
You can save pictures and ringing tones to folders
in the gallery, or create folders of your own and save them there. You can
also connect to image and tone services of Club Nokia from the gallery.
You must be subscribed to a WAP service through your wireless provider
in order to download images and tones.
• OPEN THE GALLERY
• At the Start screen, press Menu 8 (Gallery). After a brief pause, the
submenus in the following table appear in the display.
Option Function
View folders Explore the folders in the gallery menu. See “View
folders” in the following section for more info
Delete folder Delete a folder you’ve created
Rename folder Rename a folder you’ve created
Add folder Add a folder of your own
aImages and tones
a. The phone tries to connect to the WAP page of Club Nokia
by using the currently active set of service settings. If the
connection fails, you may not be able Club Nokia using
those settings. In this case, see “Set up for browsing” on
page 136 for more information.
Use the image and tone services of Club Nokia; see
the following for more information

[FCC Draft 118 FCC Draft ]
• VIEW FOLDERS
1At the Start screen, press Menu 8-1 (Gallery - View folders). After a
brief pause, a list of folders appear in the display.
2Scroll to a folder, such as Graphics or Ringing tones and press Open.
3Scroll through the list of graphics or ringing tones, and press Options.
Press Select to activate the option or to enter its submenu.
Option Function
Open/Play Open the selected file; in the Ringing tones folder, this
option is named Play
Delete Delete the selected file
Move Move the file to another folder
Rename Rename the selected file
Set as
wallpaper
Set the graphic as wallpaper. In the Ringing tones
folder, this option is Set as ringing tone; the tone is
applied to profile in use
Details View details of the file, such as the name, time and date
the file was created
Sort Sort the files according to date, type, name, or size

[FCC Draft 119 FCC Draft ]
Games (Menu 9)
10 Games (Menu 9)
Note: Your phone must be
switched on
to use this function. Do not switch
the phone on when wireless phone
use is prohibited or when it may
cause interference or danger.
1At the Start screen, press Menu 9 (Games).
After a brief pause, the list of game submenus in the following table
appear in the display.
2Scroll to a submenu. Press Select to enter the submenu and choose
other settings.
• LAUNCH A GAME
1Press Menu 9-1 (Games - Select game). After a brief pause, a list of
games appears in the display.
2Scroll to a game and press e. If the selection is a single game it
will launch. Otherwise, a list of games within the selected game set
appears in the display. To launch a single game, scroll to the desired
Submenu Function
Select game Select a game or enter a game’s option list. See “Game
options” on page 121 for more info on game options
Game services Connect to game services on the Internet using a
GPRS connection. See “Game services” on page 121.
Memory Check the available memory for games and game
related applications
Settings Turn game sounds, lights, and shakes on or off; enter
and save your Club Nokia ID

[FCC Draft 120 FCC Draft ]
game and press e.
Tip: If a game uses the whole display area, selection keys
such as Options or Back will not appear in the display. Move
the joystick left or right to show the options keys Select or
Back (returns to the game).
Game options
• While viewing the games list, press Options to display those listed in
the following table. Scroll to an option and press Select to activate
the option or enter its submenu.
• GAME SERVICES
Game services connects to the WAP pages of Club Nokia using the
currently active set of WAP settings. If the connection fails, enter the
Services menu and activate another set of service settings. See “Use
browser options” on page 136 for more info on settings.
Option Function
Open Play the game
Delete Delete the game
Web access Options for restricting network access
Check version Display the version of the highlighted game
Details Display details of the game

[FCC Draft 121 FCC Draft ]
Games (Menu 9)
Applications (Menu 10)
The phone must be switched on to use this
function. Do not switch on the phone when
the use of a wireless phone is prohibited or
when it may cause interference or danger.
With the Applications menu you can manage the
Java applications installed on your phone, or those
that may be offered by your
wireless provider.
• LAUNCH AN APPLICATION
1At the Start screen, press Menu 10-1 (Applications - Select
application). After a brief pause, one or more applications appear in
the display.
2Scroll to an application or an application set and press Options.
3Press Select, or press e. If the selection is a single application it will
be launched. Otherwise, a list of applications in the selected
application set is displayed.
• To launch a single application within the set, scroll to the desired
application and press Options, then press Select or press e.

[FCC Draft 122 FCC Draft ]
• APPLICATION OPTIONS
• DOWNLOAD APPLICATIONS
You can download new java applications in different ways.
Use Application Services
1At the Start screen, press Menu 10-2 (Applications - App. services).
After a brief pause, the list of available WAP bookmarks appears in
the display.
• Scroll to More bookmarks (if necessary) and press Select to access
the list of WAP bookmarks in your Services menu.
2Scroll to the appropriate bookmark that contains the application you
wish to download, and press Select to connect to the WAP page. See
“Navigate the wireless Internet” on page 137 for information on
browsing WAP pages.
Option Function
Delete Delete the application or application set from
your phone.
Web access Provides options for restricting network access
Ask first (ask for net access)
Allowed (allow net access)
Not allowed (to not allow net access)
Check version Check if a new version of the application is available
for download
Web page Provides further information or data for the
application from an Internet page; this feature is
network dependent and only appears if an Internet
address has been provided with the application
Details Shows additional information about the application

[FCC Draft 123 FCC Draft ]
Games (Menu 9)
Use the game services menu
• At the Start screen, press Menu 9-2 (Games - Game services). After a
brief pause, your phone connects to the WAP pages of Club Nokia.
using the currently active set of WAP settings.
Note:If the connection fails, enter the Services menu and
activate another set of service settings. See “Use browser
options” on page 136 for more info on browser settings.
Use PC Suite
Use the Java Application installer from PC Suite to download the
applications in your phone.
Note:Nokia does not warrant for applications from non-
Nokia sites. If you choose to download Java applications
from non-Nokia sites, take precautions for security or
content.
Note:When you download a game or an application,
it may be saved in the Games menu instead of the
Applications menu.
Memory status for applications
You can view the size of memory available for game and
application installations.
• At the Start screen, press Menu 10-3 (Applications - Memory). After
a brief pause, the amount of free memory appears in the display.

[FCC Draft 124 FCC Draft ]
Extras (Menu 11)
• USE THE CALCULATOR
The calculator in your phone adds, subtracts,
multiplies, divides, counts the square and the
square root and converts currency values.
Note: Calculator has a limited
accuracy and rounding errors may occur, especially in long
divisions.
1Press Menu 11-1 (Extras - Calculator). After a brief pause, the
calculator screen appears in the display.
2Enter the first number in the calculation Press p for a decimal point
if necessary.
3Press s to cycle through the add (+), subtract (-), multiply (*), and
divide (/) characters. Pause briefly to select the currently displayed
character.
Note: To perform a square or square root calculation,
press Options, scroll to Square or Square root and press
Select.
4Enter the second number in your calculation.
5Press Options. Equals is highlighted. Press Select. The sum of your
calculation appears in the display.
• USE THE CURRENCY CONVERTER
You can convert foreign currency to domestic, or vice versa directly from
the Start screen.

[FCC Draft 125 FCC Draft ]
Games (Menu 9)
1At the Start screen, enter a currency amount to convert.
2Press Options, scroll to one of the following and press Select:
If you haven’t done so already, you’re prompted to enter the
exchange rate.
3Enter the exchange rate and press OK. Press p to insert a decimal.
The converted amount appears in the display.
Edit the exchange rate
1At the Start screen, press Menu 11-1 (Extras > Calculator). After a
brief pause, the calculator screen appears in the display.
2Press Options (Exchange rate is highlighted), then press Select and
scroll to highlight or display one of the following options:
3Press Select to edit your choice.
4Enter the exchange rate and press OK. The exchange rate is saved.
• USE THE COUNTDOWN TIMER
The countdown timer is like an egg-timer or the timer on your microwave
oven. You can enter a specified time (up to 99 hours and 59 minutes), and
when the time runs out, your phone sounds an alarm.
To home Converts foreign currency to domestic currency
To foreign Converts domestic currency to foreign currency
Foreign units converted to
home units
Enter the number of home units it takes to
make one unit of foreign currency
Home units converted to
foreign units
Enter the number of foreign units it takes
to make one unit of your home currency

[FCC Draft 126 FCC Draft ]
Note: Your phone must be switched on to use this function.
Do not switch the phone on when wireless phone use is
prohibited or when it may cause interference or danger.
Note: The countdown timer only works when the phone is on.
Once you turn off your phone, the timer is no longer active.
Set the countdown timer
1At the Start screen, press Menu 11-2 (Extras - Countdown timer).
2After a brief pause, you’re prompted to enter the time. Enter 2 digits
for hours, 2 digits for minutes, then press OK.
3Enter a note for the timer, then press OK. The timer begins running.
CHANGE THE TIME
After you’ve set the timer, you can change the time.
1At the Start screen, press Menu 11-2 (Extras - Countdown timer).
After a brief pause, Change time and Stop timer appear in
the display.
2Scroll to Change time and press Select.
3Enter the new time and press OK.
4Leave the note as it was, or enter a new note and press OK. The timer
begins running.
WHEN THE ALARM SOUNDS
When the time runs out, your phone sounds an alarm, displays the timer
note, and flashes its lights.
• Press any key during the alarm to stop the timer.
• After 30 seconds the timer alert expires automatically.
STOP THE TIMER BEFORE THE ALARM SOUNDS
1At the Start screen, press Menu 11-2 (Extras - Countdown timer).
After a brief pause, Change time and Stop timer appear in
the display.

[FCC Draft 127 FCC Draft ]
Games (Menu 9)
2Scroll to Stop timer and press Select. Timer stopped appears in
the display.
• USE THE STOPWATCH
Your phone has a stopwatch that can be used to track time at sporting
events or other occasions. The stopwatch displays time in hours, minutes,
seconds and fractions of a second. 00:00:00:0
Note: Your phone must be switched on to use this function. Do
not switch the phone on when wireless phone use is prohibited or
when it may cause interference or danger.
Measure time
1Press Menu 11-3 (Extras - Stopwatch). After a brief pause, a list of
options appear in the display.
2Scroll to Split timing and press Select.
3Press Start to begin split timing. The running time appears on
the screen.
Measure split time
You can use the split time function for such things as a long distance race
when you need to pace yourself.
1Press Menu 11-3 (Extras - Stopwatch). After a brief pause, a list of
options appear in the display.
2Scroll to Split timing, then press Select.
3Press Start.
4Take an intermediate time by pressing Split. The timer continues
to run. The split time appears below the running time.
If you split the time more than once, the new measured time appears at
the beginning of the list. You can scroll to see previous measured times.

[FCC Draft 128 FCC Draft ]
Measure lap time
You can use the lap time function when you want to track how long it
takes to complete each cycle or lap.
1Press Menu 11-3 (Extras - Stopwatch). After a brief pause, a list of
options appear in the display.
2Scroll to Lap timing and press Select.
3Press Start. The running time appears on the screen.
4Take a lap time by pressing Lap.
The clock stops, then starts immediately from zero. The lap time appears
below the running time.
If you take more than 1 lap time, the new measured time appears at
the beginning of the list. You can scroll to see previous measured times.
When you press Stop, the total time appears at the top.
SAVE THE LAP TIME
1While the clock is running, press Stop, then press Options.
2Scroll to Save and press Select.
3Enter a name for the measurement and press OK. If you don’t enter a
name, the total time is used as the default title for the lap time.
STOP THE LAP TIMER
Press Stop to end the lap timer.
Choose other stopwatch options
You can choose the following options when using the Stopwatch.
Choice Function
Continue Shows up when the Stopwatch is working in the
background.
Show last
time
Allows you to view the last measured time.

[FCC Draft 129 FCC Draft ]
Games (Menu 9)
NOTE ABOUT STOPWATCH OPERATION
Using the stopwatch consumes the battery and the phone's operating
time will be reduced. Be careful not to let it run in the background when
performing other operations with your phone.
If you press d and return to the Start screen, the clock continues to run
in the background and the icon appears in the upper left corner of the
screen.
To return to the Stopwatch screen, take the following steps:
1Press Menu 11-3 (Extras - Stopwatch). After a brief pause, a list of
options appear in the display.
2Scroll to Continue and press Select.
• To stop the clock, press Stop.
View times Allows you to browse the saved times.
Erase times Allows you to delete any saved times. You can delete
the saved times one by one or all at once.
Choice Function

[FCC Draft 130 FCC Draft ]
Connectivity (Menu 12)
You can make a serial connection between your
phone and a PC using the DKU-5 cable. This cable is
available for purchase as an accessory, or may be
included in your sales package. Once you establish
this connection, you can access phone information
from your PC, or use your phone as a wireless modem. It may also be
possible to make this same serial connection between your phone and an
Infrared-equipped laptop or IR-equipped desktop PC using your phone’s
infrared port.
• NOKIA PC SUITE™
Once your phone is connected to your PC, you can use PC Suite to:
• Make a backup copy of the data in your phone (Content Copier)
• Edit Phone book names and numbers, profiles, and settings via your
PC's keyboard (Phone Editor)
• Synchronize the Phone book and reminders with PIM applications such
as Microsoft Outlook, Outlook Express, and Lotus Organizer (PC Sync)
Please refer to the Nokia PC Suite Connectivity Guide for installation and
setup instructions.
• DOWNLOAD PC SUITE SOFTWARE
PC Suite software and documentation for the Nokia 6800 can be
downloaded from the U.S. Mobile Phone products section of
www.nokia.com.

[FCC Draft 131 FCC Draft ]
Games (Menu 9)
• GPRS
General Packet Radio Service (GPRS) is a technology used to send and
receive data via short bursts or packets over the wireless network. With
GPRS, you can stay connected to the Internet and allow for faster
downloads without completing a dial-up connection. Applications using
GPRS include the WAP browser, text messaging, instant messaging, e-
mail, and dial-up connections for making digital data calls.
GPRS dial-up connections
When you use your Nokia phone as a wireless modem, you have the option
of enabling GPRS connectivity from your PC or laptop computer.
Note: Before you can use GPRS for dial-up connections you must
first subscribe to the GPRS network service. Contact your service
provider for details on pricing and availability.
Some service providers may have already set up information for your
GPRS dial-up connection.
For more information, see the PC/PDA connectivity guide. This document
can be downloaded from the Nokia website at http://www.nokia.com.
Using data communication applications
For information on using a data communication application, refer to the
documentation provided with the application.
If you use IR connection:
• Activate the IR connection in your phone by pressing Menu 12-3
(Connectivity - Infrared). Also, make sure that the connection is active
in your PC.
If you use the DKU-5 cable:
1Connect the cable to the USB port on the back of your computer and
to the connector on your phone.
2Start using the data communications application on the computer.

[FCC Draft 132 FCC Draft ]
Note: Making or answering phone calls during a
computer connection is not recommended as it might
disrupt the operation.
For better performance during data calls, place the phone
on a stationary surface with the keypad facing downward.
Do not move the phone by holding it in your hand during
a data call.
• INFRARED
You can set up the phone to receive data through its infrared (IR) port. To
use an IR connection, transmission and reception must be to or from an
infrared compatible phone or device. You can send or receive data such as
business cards and calendar notes to or from a compatible phone or data
device (such as a computer) via the IR port of your phone.
Important: Do not point the IR (infrared) beam at
anyone's eye or allow it to interfere with other IR
devices. This device is a Class 1 Laser product.
Note: Your phone must be switched on to use this
function. Do not switch the phone on when wireless
phone use is prohibited or when it may cause interference
or danger.
SEND AND RECEIVE DATA VIA IR
• Ensure that the IR ports of the sending and receiving devices are
pointing at each other and that there are no obstructions between
the devices. The preferable distance between the two devices in an
infrared connection is from 3 inches to 2.5 feet (7.6 cm to 76 cm).
• Activate IR in your phone by pressing Menu 12-3 (Connectivity -
Infrared) at the Start screen.
• The user of the other device should activate IR as well.
If data transfer is not started within two minutes after the activation of
the IR port, the connection is cancelled and has to be started again.

[FCC Draft 133 FCC Draft ]
Games (Menu 9)
IR CONNECTION INDICATOR
• When is shown continuously, the IR connection is activated and
your phone is ready to send or receive data via its IR port.
• When blinks, your phone is trying to connect to the other device
or a connection has been lost.

[FCC Draft 134 FCC Draft ]
Services (Menu 13)
Your phone has a built-in browser you can use
to connect to selected services on the
Internet. You can view weather reports, check
news or flight times, view financial
information, and much more.
• NOTES ON WIRELESS INTERNET ACCESS
This section gives a brief overview of wireless Internet technology.
Technology background
WAP
A technology called Wireless Application Protocol (WAP) is to mobile
devices what the World Wide Web (WWW) is to personal computers.
The mobile community began developing WAP several years ago to
provide access to the Internet for mobile users.
Today, most WAP sites are made up of text and hyperlinks. Some pages
even contain low-resolution graphics, or require data input. Your service
provider and others are free to design WAP sites as they choose, so the
sites are as variable as Web pages on the Internet.
Internet content on your personal computer is called a “web page.”
Internet content on your mobile phone is called a “page,” or “WAP card.”
The wireless provider’s role
Because wireless Internet content is designed to be viewed from your
phone, your wireless provider now becomes your “wireless Internet service
provider” as well.
It’s likely that your wireless provider has created a home page and set up
your browser to go to this page when you log on to the Internet. Once at
your service provider’s home page, you may find links to a number of
other sites.

[FCC Draft 135 FCC Draft ]
Games (Menu 9)
• SET UP FOR BROWSING
It shouldn’t be necessary to manually configure the browser on your
phone. Normally this is done by your wireless provider once you’ve
subscribed to the feature. Contact your wireless provider if you have
problems using the browser.
• SIGN ON TO THE WIRELESS INTERNET
Use the Services menu to connect to the Internet.
Note: Your phone must be switched on to use this function. Do not
switch the phone on when wireless phone use is prohibited or
when it may cause interference or danger.
Press Menu 13-1 (Services - Home). After a brief pause, you’re phone
attempts to connect to your wireless provider’s home page.
OR
At the Start screen, press and hold 0.
Your phone connects to the Internet and to your service provider’s
home page.
If you see the message Check service settings, the phone may not be set
up for browsing. Contact your wireless provider to make sure that your
phone is configured properly.
• USE BROWSER OPTIONS
The Services menu gives you the options shown in the following list.
Some wireless providers may have customized the options on the Services
menu. Contact your wireless provider for more information if any of the
options shown here are not available.

[FCC Draft 136 FCC Draft ]
• NAVIGATE THE WIRELESS INTERNET
Since your phone’s screen is much smaller than a computer screen,
Internet content is displayed differently than you may be accustomed to
seeing. This section contains guidelines for using phone keys to navigate a
WAP site. Examples of how to read a WAP site follow the guidelines.
General guidelines for using the phone keys
• Use the joystick to browse the WAP site.
• To select a highlighted item, press e.
• To enter letters and numbers, press the keys 2 through 9.
• To enter special characters, press the s key.
Choice What it does
Home Starts the browser and takes you to your service
provider’s home page.
Bookmarks Shows a list of all saved bookmarks. Bookmarks help
you find a WAP site quickly.
Service
inbox
Allows you to receive notifications from your service
provider about new e-mail messages, changes in stock
prices, and so on
Settings Provides options for changing connection settings,
appearance settings, and authority certificate.
Go to
address
Accepts an address you enter.
Clear the
cache
Empties the browser’s temporary memory. It’s advisable
to empty the cache at the end of each session.

[FCC Draft 137 FCC Draft ]
Games (Menu 9)
Examples of wireless Internet sites
The following illustrations show most of the elements you may find on a
wireless Internet site. These are examples only.
1) Header line: shows the
current Internet site.
2) Active link: appears as a
highlighted word.
3) Inactive link: appears as an
underlined word.
Scroll through the list of links
using the joystick.
4) Selection list: Brackets [ ]
appear when you have the
option to enter information.
5) Options: Press Options to
go to the site’s menu and/or
browser page.
6) Back: Press Back to return
to the previous page.
7) Data entry field: Brackets
[ ] that enclose dots indicate
when you need to enter
information. In this example,
you can enter your zip
code to receive the local
weather forecast.
1)
2)
3)
6)
4)
5)
7)

[FCC Draft 138 FCC Draft ]
• USE BOOKMARKS
You can save addresses for your favorite sites as bookmarks. A bookmark
helps you find a site again, just as a slip of paper helps you find a page in
a book.
Set a bookmark while browsing
You can add up to 25 bookmarks.
1Press Menu 13-2 (Services - Home). After a brief pause, a list of
bookmarks (if any) appear in the display.
2Press Options, scroll to New bookmark and press Select.
3Enter an address for the bookmark and press OK.
4Enter a title for the bookmark and pres OK.
Disconnect from the Internet
To close your connection, simply press d twice.
Security issues
BE SURE TO CLEAR THE CACHE MEMORY
The information or services you access with the WAP browser are temporarily
saved in the cache memory of the phone. A cache is a buffer memory,
which is used to store data temporarily.
If you tried to access or have accessed confidential information requiring
passwords (for example, your bank account), empty the cache of your
phone after each use.
CLEAR THE CACHE
1Press Menu 13-1 (Services - Home). After a brief pause, a list of
options appear in the display.
2Scroll to Clear the cache and press Select.
CLEAR THE CACHE WHILE BROWSING
• Press Options, scroll to Clear the cache and press Select.

[FCC Draft 139 FCC Draft ]
Games (Menu 9)
About authority certificates
To use some WAP services, such as banking services, you need an authority
certificate. Using the certificate can help you to improve the security of
connections between your phone and a WAP server.
You can download the certificate from a WAP page if the WAP service
supports the use of authority certificates. After the download, you can
view the certificate, then save or delete it. If you save the certificate, it is
added to the list of certificates in the phone.
Your phone alerts you if the identity of the WAP server or WAP gateway
cannot be verified or is not authentic.
VIEW THE LIST OF AUTHORITY CERTIFICATES
1Press Menu 13-4 (Services - Settings). After a brief pause, a list of
settings appears in the display.
2Scroll to Authority certificates and press Select.
• GPRS ICONS
The following icons appear on the screen to show you the status of your
GPRS connection.
Note: In order to use GPRS, you must first subscribe to the
network service. Contact your service provider for details
on availability and pricing.
Shows up in the upper left corner of the screen. Indicates an
active GPRS connection, for example, when you are using
the WAP browser.
Indicates that circuit switched (CS) or voice calls are not
possible when using GPRS.
Indicates that the GPRS connection has been interrupted by
a voice call.

[FCC Draft 140 FCC Draft ]
Set up an automatic connection
Some service providers may have customized the options on the Services
menu. Contact your service provider for more information if the options
shown here are not available.
Important: GPRS may not be available in all wireless
networks. The establishment and continuation of a
GPRS and Internet connection depends on network
availability, service provider support, and signal
strength.
You can choose one of the following options from the Services
settings menu:
•Always online: the phone is automatically registered to a GPRS network
when you turn your phone on. When you use the WAP browser, the
connection between your phone and the network is created and data
transfer is possible. When you exit the WAP browser, the GPRS
connection ends but the registration to the GPRS network remains.
•When needed: the GPRS connection is established when you use the
WAP browser and is closed when you exit the WAP browser.
Receive a call while online
If you are using the WAP browser over GPRS, you can still receive a voice
call. Your data call is put on hold and you can choose to answer the call.
• To answer the incoming call, press e.
• To reject the incoming call, press d.
Note: After you end your voice call, the GPRS connection
automatically resumes.
Make a call while online
When you are browsing a WAP card and want to make a call, you can
select Use number. Your phone then searches the information on the WAP
card for a string of numbers. You can then choose from the number or
numbers displayed to place the call.

[FCC Draft 141 FCC Draft ]
Games (Menu 9)
An alternate way is to press d to disconnect from the Internet, then
place your call by searching the phone book for a name and number or
by keying in the phone number.
Make an emergency call while online
If you are using GPRS to connect to the Internet, you can end your data
connection and then make an emergency call.
1To close your Internet connection, simply press d.
2Enter the emergency number for your present location (for example,
911 or any other official emergency number—emergency numbers
vary by location).
3Press d.

[FCC Draft 142 FCC Draft ]
11 Accessories
Extended 1000mAh Battery BLC-2
Provides up to 4.5 hours of talk time.
Provides up to 10 days of standby time.
Note: Operation times are estimates and
may vary depending on network conditions, charging and
phone use.
ACP-7
ACP-8
ACP-12)
This lightweight (85g) AC charger can be used with all
battery options. To use the charger, plug it into a standard
120V AC wall outlet, and connect the lead from the
charger to the base of your phone. Calls can be made
during charging, even with a fully discharged battery. The
charger can also be used together with the optional
Compact Desktop Charging Stand (DCH-8).

[FCC Draft 143 FCC Draft ]
Accessories
BHF-1
HS-5
HDB-4
Stereo Headset (HDS-3)
Distinctive Nokia design enabling the use of stereo FM
radio available on some Nokia phones. Provides
excellent audio quality and handsfree functionality with
an integral send/end button.
HDB-4
New over-the-ear design concept boom headset is small and
lightweight. Provides excellent audio quality and handsfree
functionality with an integral send/end button.
HS-10
HS-1C
HS-2R
LPS-4
With the Nokia Loopset, people who use a T-coil equipped
hearing aid have the freedom to talk on a digital mobile
phone. The loopset goes around your neck - so it can be worn comfortably
and discreetly.

[FCC Draft 144 FCC Draft ]
DDC-1
DCV-14
DT-1
CARK-144
MBC-13L
CARK-126
Rapid Travel Charger (ACP-12
LCH-9
LCH-12
Quickly charges the phone’s battery from
your vehicle.
Complete Car Kit (CARK-144)
Provides handsfree use and connection to an external antenna.
Mobile Holder (MBC-13L)
Holds phone securely in place while driving
or during charging. Can be used with Rapid Cigarette Lighter Charger
LCH-9.
Data Cable (DKU-5)
For e-mail, faxes, Internet and data transmissions. Easy and convenient
connection with no modem or PC
card needed.
HDA-10

[FCC Draft 145 FCC Draft ]
Reference information
12 Reference information
• BATTERY STATEMENTS
Charging and Discharging
Your phone is powered by a rechargeable battery.
Note that a new battery's full performance may be achieved only after
two or three complete charge and discharge cycles!
The battery can be charged and discharged hundreds of times but it will
eventually wear out. When the operating time (talk time and standby
time) is noticeably shorter than normal, it is time to buy a new battery.
Use only batteries approved by the phone manufacturer and recharge
your battery only with the chargers approved by the manufacturer.
Unplug the charger when not in use. Do not leave the battery connected
to a charger for longer than a week, since overcharging may shorten its
lifetime. If left unused, a fully charged battery will discharge itself over
time.
Temperature extremes can affect the ability of your battery to charge;
allow it to cool down or warm up first.
Use the battery only for its intended purpose.
Never use any charger or battery which is damaged or worn out.
Do not short-circuit the battery. Accidental short-circuiting can occur
when a metallic object (coin, clip, or pen) causes direct connection of the
+ and - terminals of the battery (metal strips on the battery), for example,
when you carry a spare battery in your pocket or purse. Short-circuiting
the terminals may damage the battery or the connecting object.
Leaving the battery in hot or cold places, such as in a closed car in summer
or winter conditions, will reduce the capacity and lifetime of the battery.
Always try to keep the battery between 59°F and 77°F (15°C and 25°C). A

[FCC Draft 146 FCC Draft ]
phone with a hot or cold battery may temporarily not work, even when
the battery is fully charged. Batteries' performance is particularly limited
in temperatures well below freezing.
Do not dispose of batteries in a fire!
Dispose of batteries according to applicable local regulations (for
example, recycling). Do not dispose of as household waste.
• USE PROPER CARE AND MAINTENANCE
Your phone is a product of superior design and craftsmanship and should
be treated with care. The suggestions below will help you to fulfill any
warranty obligations and to enjoy this product for many years:
• Keep the phone and all its parts and accessories out of the reach of
small children.
• Keep the phone dry. Precipitation, humidity and all types of liquids or
moisture can contain minerals that will corrode electronic circuits.
• Do not use or store the phone in dusty, dirty areas. Its moving parts
can be damaged.
• Do not store the phone in hot areas. High temperatures can shorten
the life of electronic devices, damage batteries, and warp or melt
certain plastics.
• Do not store the phone in cold areas. When it warms up (to its normal
temperature), moisture can form inside which may damage electronic
circuit boards.
• Do not attempt to open the phone. Nonexpert handling may damage
it.
• Do not drop, knock, or shake the phone. Rough handling can break
internal circuit boards.
• Do not use harsh chemicals, cleaning solvents, or strong detergents
to clean the phone.
• Do not paint the phone. Paint can clog the moving parts and prevent

[FCC Draft 147 FCC Draft ]
Reference information
proper operation.
• Use only the supplied or an approved replacement antenna.
Unauthorized antennas, modifications, or attachments could damage
the phone and may violate regulations governing radio devices.
All of the above suggestions apply equally to your phone, battery, charger
or any accessory. If any of them are not working properly, take them to
your nearest qualified service facility. The personnel there will assist you,
and if necessary, arrange for service.
• UNDERSTAND IMPORTANT SAFETY INFORMATION
Traffic Safety
Do not use a handheld telephone while driving a vehicle. Always secure
the phone in its holder; do not place the phone on the passenger seat or
where it can break loose in a collision or sudden stop.
Remember road safety always comes first!
Operating environment
Remember to follow any special regulations in force in any area and
always switch off your phone whenever it is forbidden to use it, or when
it may cause interference or danger.
Use the phone only in its normal operating positions.
Electronic devices
Most modern electronic equipment is shielded from radio frequency (RF)
signals. However, certain electronic equipment may not be shielded
against the RF signals from your wireless phone.
PACEMAKERS
Pacemaker manufacturers recommend that a minimum separation of 6
inches (20 cm) be maintained between a handheld wireless phone and a
pacemaker to avoid potential interference with the pacemaker. These

[FCC Draft 148 FCC Draft ]
recommendations are consistent with the independent research by and
recommendations of Wireless Technology Research. Persons with
pacemakers:
• Should always keep the phone more than 6 inches (20 cm) from their
pacemaker when the phone is switched on
• Should not carry the phone in a breast pocket
• Should use the ear opposite the pacemaker to minimize the potential
for interference.
• If you have any reason to suspect that interference is taking place,
switch off your phone immediately.
HEARING AIDS
Some digital wireless phones may interfere with some hearing aids. In the
event of such interference, you may want to consult your service provider.
Other medical devices
Operation of any radio transmitting equipment, including cellular phones,
may interfere with the functionality of inadequately protected medical
devices. Consult a physician or the manufacturer of the medical device to
determine if they are adequately shielded from external RF energy or if
you have any questions. Switch off your phone in health care facilities
when any regulations posted in these areas instruct you to do so.
Hospitals or health care facilities may be using equipment that could be
sensitive to external RF energy.
Vehicles
RF signals may affect improperly installed or inadequately shielded
electronic systems in motor vehicles (for example, electronic fuel
injection systems, electronic antiskid/antilock braking systems, electronic
speed control systems, air bag systems). Check with the manufacturer or
its representative regarding your vehicle. You should also consult the
manufacturer of any equipment that has been added to your vehicle.

[FCC Draft 149 FCC Draft ]
Reference information
Posted facilities
Switch your phone off in any facility where posted notices so require.
Potentially explosive atmospheres
Switch off your phone when in any area with a potentially explosive
atmosphere and obey all signs and instructions. Sparks in such areas could
cause an explosion or fire resulting in bodily injury or even death.
Users are advised to switch off the phone when at a refueling point
(service station). Users are reminded of the need to observe restrictions on
the use of radio equipment in fuel depots (fuel storage and distribution
areas), chemical plants, or where blasting operations are in progress.
Areas with a potentially explosive atmosphere are often but not always
clearly marked. They include below deck on boats; chemical transfer or
storage facilities; vehicles using liquefied petroleum gas (such as propane
or butane); areas where the air contains chemicals or particles, such as
grain, dust, or metal powders; and any other area where you would
normally be advised to turn off your vehicle engine.
Vehicles
Only qualified personnel should service the phone or install the phone in
a vehicle. Faulty installation or service may be dangerous and may
invalidate any warranty which may apply to the unit.
Check regularly that all wireless phone equipment in your vehicle is
mounted and operating properly.
Do not store or carry flammable liquids, gases, or explosive materials in
the same compartment as the phone, its parts, or accessories.
For vehicles equipped with an air bag, remember that an air bag inflates
with great force. Do not place objects, including both installed or portable
wireless equipment in the area over the air bag or in the air bag
deployment area. If in-vehicle wireless equipment is improperly installed
and the air bag inflates, serious injury could result.

[FCC Draft 150 FCC Draft ]
FCC regulations prohibit using your phone while in the air. Switch off your
phone before boarding an aircraft. The use of wireless telephones in an
aircraft may be dangerous to the operation of the aircraft, disrupt the
wireless telephone network, and may be illegal.
Failure to observe these instructions may lead to suspension or denial of
telephone services to the offender, legal action, or both.
• EMERGENCY CALLS
Important: This phone, like any wireless phone,
operates using radio signals, wireless, and landline
networks as well as user-programmed functions.
Because of this, connections in all conditions
cannot be guaranteed. Therefore you should never
rely solely upon any wireless phone for essential
communications (for example, medical emergencies).
Emergency calls may not be possible on all wireless phone networks or
when certain network services and/or phone features are in use. Check
with local service providers.
To make an emergency call:
1If the phone is not on, switch it on. Check for adequate signal
strength.
Some networks may require that a valid SIM card is properly
inserted in the phone.
2Press [handset down] as many times as needed (for example, to exit
a call, to exit a menu, etc.) to clear the display and ready the phone
for calls.
3Key in the emergency number for your present location (for example,
911 or other official emergency number). Emergency numbers vary by
location.
4Press the e key.

[FCC Draft 151 FCC Draft ]
Reference information
If certain features are in use, you may first need to turn those features off
before you can make an emergency call. Consult this user guide and your
local cellular service provider.
When making an emergency call, remember to give all the necessary
information as accurately as possible. Remember that your wireless phone
may be the only means of communication at the scene of an accident -
do not end the call until given permission to do so.
.

[FCC Draft 152 FCC Draft ]
CERTIFICATION INFORMATION (SAR)
THIS MODEL PHONE MEETS THE GOVERNMENT'S REQUIREMENTS FOR
EXPOSURE TO RADIO WAVES.
Your wireless phone is a radio transmitter and receiver. It is designed and
manufactured not to exceed the emission limits for exposure to radio
frequency (RF) energy set by the Federal Communications Commission of
the U.S. Government. These limits are part of comprehensive guidelines
and establish permitted levels of RF energy for the general population. The
guidelines are based on standards that were developed by independent
scientific organizations through periodic and thorough evaluation of
scientific studies. The standards include a substantial safety margin
designed to assure the safety of all persons, regardless of age and health.
The exposure standard for wireless mobile phones employs a unit of
measurement known as the Specific Absorption Rate, or SAR. The SAR
limit set by the FCC is 1.6W/kg.* Tests for SAR are conducted using
standard operating positions accepted by the FCC with the phone
transmitting at its highest certified power level in all tested frequency
bands. Although the SAR is determined at the highest certified power
level, the actual SAR level of the phone while operating can be well below
the maximum value. This is because the phone is designed to operate at
multiple power levels so as to use only the power required to reach the
network. In general, the closer you are to a wireless base station antenna,
the lower the power output.
Before a phone model is available for sale to the public, it must be tested
and certified to the FCC that it does not exceed the limit established by
the government-adopted requirement for safe exposure. The tests are
performed in positions and locations (for example, at the ear and worn on
the body) as required by the FCC for each model. The highest SAR value
for this model phone as reported to the FCC when tested for use at the
ear is 1.20 W/kg, and when worn on the body, as described in this user
guide, is 1.02 W/kg. (Body-worn measurements differ among phone
models, depending upon available accessories and FCC requirements).

[FCC Draft 153 FCC Draft ]
Reference information
While there may be differences between the SAR levels of various phones
and at various positions, they all meet the government requirement.
The FCC has granted an Equipment Authorization for this model phone
with all reported SAR levels evaluated as in compliance with the FCC RF
exposure guidelines. SAR information on this model phone is on file with
the FCC and can be found under the Display Grant section of LJPNSB-9.
For body worn operation, this phone has been tested and meets the FCC
RF exposure guidelines for use with an accessory that contains no metal
and that positions the handset a minimum of 5/8 inch (1.5 cm) from the
body. Use of other accessories may not ensure compliance with FCC RF
exposure guidelines. If you do not use a body-worn accessory and are not
holding the phone at the ear, position the handset a minimum of 5/8 inch
(1.5 cm) from your body when the phone is switched on.
*In the United States and Canada, the SAR limit for mobile phones used
by the public is 1.6 watts/kilogram (W/kg) averaged over one gram of
tissue. The standard incorporates a substantial margin of safety to give
additional protection for the public and to account for any variations in
measurements. SAR values may vary depending on national reporting
requirements and the network band. For SAR information in other regions
please look under product information at www.nokia.com/us.

[FCC Draft 154 FCC Draft ]
13 Troubleshooting
The following table lists some common problems and their solutions.
Problem Possible cause Possible solution
My phone isn’t
charging
The charger and phone aren’t
properly connected
Securely connect the
charger to the phone
The charger is not properly
plugged into the wall
Ensure the charger is
plugged in correctly
My phone isn’t
making/
receiving calls
The battery isn’t charged Charge the battery
The signal strength is poor If you are indoors,
move toward a
window
I can’t listen to
my voice
messages
You don’t have voicemail
service
Call your wireless
provider
You haven’t setup your
voicemail service with your
wireless provider
Call your wireless
provider
You haven’t saved your
voicemail number to
your phone
See “Save your voice
mailbox number” on
page 76.
You’ve forgotten your password
or are entering it incorrectly
Call your wireless
provider
The voicemail number you’ve
saved to your phone is incorrect
Call your wireless
provider
When I insert
my SIM card
into another
phone, it’s
rejected
Fixed dialing is activated on
your SIM card and the receiving
phone doesn’t support fixed
dialing
Deactivate fixed
dialing on the SIM

[FCC Draft 155 FCC Draft ]
Frequently Asked Questions
14 Frequently Asked Questions
This section lists answers to the most frequently asked questions. Some of
the answers contain menu shortcuts. For a list of shortcuts, see “Menu
shortcuts” on page 22.
Q. What is my security code?
A. The default security code is 12345. However, Nokia recommends that
you change this code immediately. Certain features can be used only
after the correct security code has been successfully entered.
Q. How do I lock and unlock the keypad?
A. Lock the keypad by pressing Menu s. To unlock the keypad, press
Unlock s.
Q. How do I make the phone ring louder?
A. Press Menu 3 (Profiles), and scroll through the list of profiles until you
find the one for which you want to set the ringing volume. Then press
Select.
• Scroll to Customize and press Select.
• Scroll to Ringing volume and press Select.
• Scroll to the volume level of your preference and press Select.
Q. How do I change the ringing tone?
A. Press Menu 3 (Profiles) and scroll through the list of profiles until
you find the one for which you want to set the ringing tone. Then
press Select.
• Scroll to Customize and press Select.
• Scroll to Ringing tone, and then press Select.
• Scroll through the options. After you hear the tone you want to
use, press Select.

[FCC Draft 156 FCC Draft ]
Q. How do I store my voice mailbox number?
A. Press Menu 01-4-2 (Messages - Voice messages - Voice mailbox
number). Enter your voice mailbox phone number, and press OK.
Q. How do I call my voice mailbox number (retrieve voice messages)?
A. When your phone alerts you to new voice messages, press Listen and
follow the instructions on the phone. If you’d rather listen to your
messages later, press Exit.
To listen to your voice messages at a later time, perform one of the
following actions:
• Press and hold 1.
• Press Menu 01-4-1 (Messages > Voice messages > Listen to
voice messages). Follow the recorded voice prompts to listen to
your messages.
Q. How do I redial the last-dialed number?
A. Press e twice.
Q. How do I assign a key to 1-touch dialing?
A. Press Names and scroll to 1-touch dialing.
Press Select.
Scroll to the first (empty) slot and press Assign.
Enter or retrieve the name/number you want to assign to the key and
press OK. Repeat these steps as many times as necessary.
Q. How do I check the memory status?
A. Press Names, scroll to Settings, and press Select. Scroll to Memory
status and press Select. Scroll to Phone or SIM card and press Select.
The memory status for your selection appears in the display.
Q. How do I find my phone’s Model number and IMEI number?

[FCC Draft 157 FCC Draft ]
Frequently Asked Questions
A. The model number and IMEI numbers are located on a label under the
phone’s battery. Turn your phone off, remove the back cover and then
remove the battery from the phone.
Q. How do I clear my call timers?
Important:Clearing call timers cannot be undone.
A. Press Menu 2-5-5 (Call log - Call timers - Clear timers).
When the security code prompt appears, enter your security code
and press OK.

[FCC Draft 158 FCC Draft ]
15 Glossary
Business card A business card is the same as an entry in the phone
book. It may contain a name, phone number, and text
entry. It can also be sent to other devices.
Call forwarding A network services feature you use to forward
incoming calls to another number.
Call lists A list used to track numbers for incoming, outgoing,
or missed calls.
Call log A log that registers information about calls you make
and receive.
Call timers Timers used to track the amount of time you spend
on calls.
Call waiting A network services feature that enables your phone
to beep while you are in the middle of a call. The beep
lets you know that someone else is calling you.
Electronic serial
number (ESN)
The identification number that is assigned to the
phone. This number is located under the battery.
In-call options Features available for use while you are in a call.
Keyguard Locks the keypad to prevent accidental key presses.
Keypad tones The tone you hear when you press a key.
Menu A list of choices you can make to change settings on
your phone or use various phone features.
Predictive text A method of entering information in your phone
that uses a dictionary to predict, or guess, what you
are writing.

[FCC Draft 159 FCC Draft ]
Glossary
Profile A group of settings you can use to customize the way
your phone works.
Quick save A fast method for saving a number.
Ringing tone The sound your phone makes when you receive a call.
Ringing tones can be ringing sounds or short tunes.
Scroll bar A bar that appears on the right side of the screen
when you scroll through the main menus.
SMS Acronym for “short message service.”
Start screen Your phone’s idle screen.
Voice mail A network services feature that enables people who
call and miss you to leave a voice message on your
phone.
Warning tones Sounds your phone makes during error conditions,
during confirmations, when the battery is low, and
when you need to recharge the battery.

[FCC Draft 160 FCC Draft ]
16 Technical information
Feature Specification
Weight 4.3 oz (122 grams) with BLC-2 1000 mAh Li-ion
Battery
Size Length: 118.7mm
Width: 54.6mm at hinges, 43.7mm at bottom
Depth: 23.2mm at top, 22.2mm at bottom
Frequency Range Lowband
824 - 849 MHz (TX)
869 - 894 MHz (RX)
Highband
1850 - 1910 MHz (TX)
1930 - 1990 MHz (RX)
Tx Output Power Lowband - Up to 2 W
Highband - up to 1 W
Battery Voltage 3.6 V nominal
Operating
Temperature
14°F to +131°F (-10°C to +55°C)
aTalk/Standby time
a.Battery operation times
Battery talk and standby times are estimates only and depend on signal strength,
network conditions, features used, battery age and condition (including the effect of
charging habits), temperatures to which battery is exposed, use in digital mode, and
many other factors. Please note that the amount of time a phone is used for calls
will affect its standby time. Likewise, the amount of time that the phone is turned
on and in standby mode will affect its talk time.
Talk Time: up to 4.5 hours
Talk Time with Speaker: up to 4 hours
Stand by Time: up to 10 days
Radio + Headset: up to 30 hours
Radio + Speaker: up to 16 hours

[FCC Draft 161 FCC Draft ]
Nokia One-Year Limited Warranty
17 Nokia One-Year Limited
Warranty
Nokia Inc. (“Nokia”) warrants that this cellular phone (“Product”) is free
from defects in material and workmanship that result in Product failure
during normal usage, according to the following terms and conditions:
1The limited warranty for the Product extends for ONE (1) year beginning
on the date of the purchase of the Product. This one year period is
extended by each whole day that the Product is out of your possession
for repair under this warranty.
2The limited warranty extends only to the original purchaser (“Consumer”)
of the Product and is not assignable or transferable to any subsequent
purchaser/end- user.
3The limited warranty extends only to Consumers who purchase the
Product in the United States of America.
4During the limited warranty period, Nokia will repair, or replace, at
Nokia’s sole option, any defective parts, or any parts that will not
properly operate for their intended use with new or refurbished
replacement items if such repair or replacement is needed because
of product malfunction or failure during normal usage. No charge
will be made to the Consumer for any such parts. Nokia will also
pay for the labor charges incurred by Nokia in repairing or replacing
the defective parts. The limited warranty does not cover defects in
appearance, cosmetic, decorative or structural items, including
framing, and any non-operative parts. Nokia’s limit of liability under
the limited warranty shall be the actual cash value of the Product at
the time the Consumer returns the Product for repair, determined by
the price paid by the Consumer for the Product less a reasonable
amount for usage. Nokia shall not be liable for any other losses or
damages. These remedies are the Consumer’s exclusive remedies for
breach of warranty.

[FCC Draft 162 FCC Draft ]
5Upon request from Nokia, the Consumer must prove the date of the
original purchase of the Product by a dated bill of sale or dated
itemized receipt.
6The Consumer shall bear the cost of shipping the Product to Nokia in
Melbourne, Florida. Nokia shall bear the cost of shipping the Product
back to the Consumer after the completion of service under this
limited warranty.
7The Consumer shall have no coverage or benefits under this limited
warranty if any of the following conditions are applicable:
a) The Product has been subjected to abnormal use, abnormal
conditions, improper storage, exposure to moisture or dampness,
unauthorized modifications, unauthorized connections,
unauthorized repair, misuse, neglect, abuse, accident, alteration,
improper installation, or other acts which are not the fault of
Nokia, including damage caused by shipping.
b) The Product has been damaged from external causes such as
collision with an object, or from fire, flooding, sand, dirt,
windstorm, lightning, earthquake or damage from exposure to
weather conditions, an Act of God, or battery leakage, theft,
blown fuse, or improper use of any electrical source, damage
caused by computer or Internet viruses, bugs, worms, Trojan
Horses, cancelbots or damage caused by the connection to other
products not recommended for interconnection by Nokia.
c) Nokia was not advised in writing by the Consumer of the alleged
defect or malfunction of the Product within fourteen (14) days
after the expiration of the applicable limited warranty period.
d) The Product serial number plate or the accessory data code has
been removed, defaced or altered.
e) The defect or damage was caused by the defective function of the
cellular system or by inadequate signal reception by the external
antenna, or viruses or other software problems introduced into
the Product.

[FCC Draft 163 FCC Draft ]
Nokia One-Year Limited Warranty
8Nokia does not warrant uninterrupted or error-free operation of the
Product. If a problem develops during the limited warranty period, the
Consumer shall take the following step-by-step procedure:
a) The Consumer shall return the Product to the place of purchase
for repair or replacement processing.
b) If “a” is not convenient because of distance (more than 50 miles)
or for other good cause, the Consumer shall ship the Product
prepaid and insured to:
Nokia Inc., Attn.: Repair Department
795 West Nasa Blvd.
Melbourne, FL 32901
c) The Consumer shall include a return address, daytime phone
number and/or fax number, complete description of the problem,
proof of purchase and service agreement (if applicable). Expenses
related to removing the Product from an installation are not
covered under this limited warranty.
d) The Consumer will be billed for any parts or labor charges not
covered by this limited warranty. The Consumer will be
responsible for any expenses related to reinstallation of the
Product.
e) Nokia will repair the Product under the limited warranty within
30 days after receipt of the Product. If Nokia cannot perform
repairs covered under this limited warranty within 30 days, or
after a reasonable number of attempts to repair the same defect,
Nokia at its option, will provide a replacement Product or refund
the purchase price of the Product less a reasonable amount for
usage. In some states the Consumer may have the right to a
loaner if the repair of the Product takes more than ten (10) days.
Please contact the Customer Service Center at Nokia at the
telephone number listed at the end of this warranty if you need
a loaner and the repair of the Product has taken or is estimated
to take more than ten (10) days.

[FCC Draft 164 FCC Draft ]
f) If the Product is returned during the limited warranty period, but
the problem with the Product is not covered under the terms and
conditions of this limited warranty, the Consumer will be notified
and given an estimate of the charges the Consumer must pay to
have the Product repaired, with all shipping charges billed to the
Consumer. If the estimate is refused, the Product will be returned
freight collect. If the Product is returned after the expiration of
the limited warranty period, Nokia’s normal service policies shall
apply and the Consumer will be responsible for all shipping charges.
9YOU (THE CONSUMER) UNDERSTAND THAT THE PRODUCT MAY CONSIST
OF REFURBISHED EQUIPMENT THAT CONTAINS USED COMPONENTS,
SOME OF WHICH HAVE BEEN REPROCESSED. The used components
comply with Product performance and reliability specifications.
10 ANY IMPLIED WARRANTY OF MERCHANTABILITY, OR FITNESS FOR A
PARTICULAR PURPOSE OR USE, SHALL BE LIMITED TO THE DURATION
OF THE FOREGOING LIMITED WRITTEN WARRANTY. OTHERWISE, THE
FOREGOING LIMITED WARRANTY IS THE CONSUMER’S SOLE AND
EXCLUSIVE REMEDY AND IS IN LIEU OF ALL OTHER WARRANTIES,
EXPRESS OR IMPLIED. NOKIA SHALL NOT BE LIABLE FOR SPECIAL,
INCIDENTAL, PUNITIVE OR CONSEQUENTIAL DAMAGES, INCLUDING
BUT NOT LIMITED TO LOSS OF ANTICIPATED BENEFITS OR PROFITS,
LOSS OF SAVINGS OR REVENUE, LOSS OF DATA, PUNITIVE DAMAGES,
LOSS OF USE OF THE PRODUCT OR ANY ASSOCIATED EQUIPMENT,
COST OF CAPITAL, COST OF ANY SUBSTITUTE EQUIPMENT OR
FACILITIES, DOWNTIME, THE CLAIMS OF ANY THIRD PARTIES,
INCLUDING CUSTOMERS, AND INJURY TO PROPERTY, RESULTING
FROM THE PURCHASE OR USE OF THE PRODUCT OR ARISING FROM
BREACH OF THE WARRANTY, BREACH OF CONTRACT, NEGLIGENCE,
STRICT TORT, OR ANY OTHER LEGAL OR EQUITABLE THEORY, EVEN IF
NOKIA KNEW OF THE LIKELIHOOD OF SUCH DAMAGES. NOKIA SHALL
NOT BE LIABLE FOR DELAY IN RENDERING SERVICE UNDER THE
LIMITED WARRANTY, OR LOSS OF USE DURING THE PERIOD THAT THE
PRODUCT IS BEING REPAIRED.

[FCC Draft 165 FCC Draft ]
Nokia One-Year Limited Warranty
11 Some states do not allow limitation of how long an implied warranty
lasts, so the one year warranty limitation may not apply to you (the
Consumer). Some states do not allow the exclusion or limitation of
incidental and consequential damages, so certain of the above
limitations or exclusions may not apply to you (the Consumer). This
limited warranty gives the Consumer specific legal rights and the
Consumer may also have other rights which vary from state to state.
12 Nokia neither assumes nor authorizes any authorized service center
or any other person or entity to assume for it any other obligation or
liability beyond that which is expressly provided for in this limited
warranty including the provider or seller of any extended warranty or
service agreement.
13 This is the entire warranty between the Nokia and the Consumer, and
supersedes all prior and contemporaneous agreements or understandings,
oral or written, relating to the Product, and no representation, promise
or condition not contained herein shall modify these terms.
14 This limited warranty allocates the risk of failure of the Product
between the Consumer and Nokia. The allocation is recognized by
the Consumer and is reflected in the purchase price.
15 Any action or lawsuit for breach of warranty must be commenced
within eighteen (18) months following purchase of the Product.
16 Questions concerning this limited warranty may be directed to:
Nokia Inc.
Attn.: Customer Service
7725 Woodland Center Blvd., Suite. 150
Tampa, FL 33614
Telephone: 1-888-NOKIA-2U (1-888-665-4228)
Facsimile: (813) 287-6612
TTY/TDD Users Only: 1-800-24-NOKIA (1-800-246-6452)
17 The limited warranty period for Nokia supplied attachments and
accessories is specifically defined within their own warranty cards
and packaging.
*Nokia is a registered trademark of Nokia Corporation.

[FCC Draft 166 FCC Draft ]
Appendix A
Message from the CTIA
(Cellular Telecommunications
& Internet Association)
to all users of mobile phones.
© 2001 Cellular Telecommunications & Internet Association. All Rights
Reserved.1250 Connecticut Avenue, NW Suite 800, Washington, DC 20036.
Phone: (202) 785-0081

[FCC Draft 167 FCC Draft ]
Nokia One-Year Limited Warranty
Safety is the most important call you will ever make.
A Guide to Safe and Responsible Wireless Phone Use
Tens of millions of people in the U.S. today take advantage of the unique
combination of convenience, safety and value delivered by the wireless telephone.
Quite simply, the wireless phone gives people the powerful ability to communicate
by voice--almost anywhere, anytime--with the boss, with a client, with the kids,
with emergency personnel or even with the police. Each year, Americans make
billions of calls from their wireless phones, and the numbers are rapidly growing.
But an important responsibility accompanies those benefits, one that every wireless
phone user must uphold. When driving a car, driving is your first responsibility. A
wireless phone can be an invaluable tool, but good judgment must be exercised at
all times while driving a motor vehicle--whether on the phone or not.
The basic lessons are ones we all learned as teenagers. Driving requires alertness,
caution and courtesy. It requires a heavy dose of basic common sense---keep your
head up, keep your eyes on the road, check your mirrors frequently and watch out
for other drivers. It requires obeying all traffic signs and signals and staying within
the speed limit. It means using seatbelts and requiring other passengers to do the
same.
But with wireless phone use, driving safely means a little more. This brochure is a
call to wireless phone users everywhere to make safety their first priority when
behind the wheel of a car. Wireless telecommunications is keeping us in touch,
simplifying our lives, protecting us in emergencies and providing opportunities to
help others in need.
When it comes to the use of wireless phones, safety is your most important call.
Wireless Phone "Safety Tips"
Below are safety tips to follow while driving and using a wireless phone which
should be easy to remember.
1 Get to know your wireless phone and its features such as speed dial and redial.
Carefully read your instruction manual and learn to take advantage of valuable
features most phones offer, including automatic redial and memory. Also, work
to memorize the phone keypad so you can use the speed dial function without
taking your attention off the road.
2 When available, use a hands free device. A number of hands free wireless phone
accessories are readily available today. Whether you choose an installed mounted
device for your wireless phone or a speaker phone accessory, take advantage of
these devices if available to you.
3 Position your wireless phone within easy reach. Make sure you place your
wireless phone within easy reach and where you can grab it without removing
your eyes from the road. If you get an incoming call at an inconvenient time, if
possible, let your voice mail answer it for you.
4 Suspend conversations during hazardous driving conditions or situations. Let
the person you are speaking with know you are driving; if necessary, suspend the

[FCC Draft 168 FCC Draft ]
call in heavy traffic or hazardous weather conditions. Rain, sleet, snow and ice
can be hazardous, but so is heavy traffic. As a driver, your first responsibility is
to pay attention to the road.
5 Do not take notes or look up phone numbers while driving. If you are reading an
address book or business card, or writing a "to do" list while driving a car, you
are not watching where you are going. It’s common sense. Don’t get caught in a
dangerous situation because you are reading or writing and not paying attention
to the road or nearby vehicles.
6 Dial sensibly and assess the traffic; if possible, place calls when you are not
moving or before pulling into traffic. Try to plan your calls before you begin your
trip or attempt to coincide your calls with times you may be stopped at a stop
sign, red light or otherwise stationary. But if you need to dial while driving,
follow this simple tip--dial only a few numbers, check the road and your mirrors,
then continue.
7 Do not engage in stressful or emotional conversations that may be distracting.
Stressful or emotional conversations and driving do not mix--they are
distracting and even dangerous when you are behind the wheel of a car. Make
people you are talking with aware you are driving and if necessary, suspend
conversations which have the potential to divert your attention from the road.
8 Use your wireless phone to call for help. Your wireless phone is one of the
greatest tools you can own to protect yourself and your family in dangerous
situations--with your phone at your side, help is only three numbers away. Dial
9-1-1 or other local emergency number in the case of fire, traffic accident, road
hazard or medical emergency. Remember, it is a free call on your wireless phone!
9 Use your wireless phone to help others in emergencies. Your wireless phone
provides you a perfect opportunity to be a "Good Samaritan" in your
community. If you see an auto accident, crime in progress or other serious
emergency where lives are in danger, call 9-1-1 or other local emergency number,
as you would want others to do for you.
10 Call roadside assistance or a special wireless non-emergency assistance number
when necessary. Certain situations you encounter while driving may require
attention, but are not urgent enough to merit a call for emergency services. But
you still can use your wireless phone to lend a hand. If you see a broken-down
vehicle posing no serious hazard, a broken traffic signal, a minor traffic accident
where no one appears injured or a vehicle you know to be stolen, call roadside
assistance or other special non-emergency wireless number.
Careless, distracted individuals and people driving irresponsibly represent a hazard
to everyone on the road. Since 1984, the Cellular Telecommunications Industry
Association and the wireless industry have conducted educational outreach to
inform wireless phone users of their responsibilities as safe drivers and good
citizens. As we approach a new century, more and more of us will take advantage of
the benefits of wireless telephones. And, as we take to the roads, we all have a
responsibility to drive safely.
The wireless industry reminds you to use your phone safely when driving.

[FCC Draft 169 FCC Draft ]
Nokia One-Year Limited Warranty
For more information, please call 1-888-901-SAFE.
For updates: http://www.wow-com.com/consumer/issues/driving/
articles.cfm?ID=85
© 2001 Cellular Telecommunications & Internet Association. All Rights
Reserved.1250 Connecticut Avenue, NW Suite 800, Washington, DC 20036. Phone:
(202) 785-0081

[FCC Draft 170 FCC Draft ]
Appendix B Message from the
FDA (U.S. Food and Drug
Administration) to all users
of mobile phones.
July 18, 2001.......... For updates: http://www.fda.gov/cdrh/phones

[FCC Draft 171 FCC Draft ]
Nokia One-Year Limited Warranty
Consumer Update on Wireless Phones
U.S. Food and Drug Administration
1. Do wireless phones pose a health hazard?
The available scientific evidence does not show that any health problems are associated with using
wireless phones. There is no proof, however, that wireless phones are absolutely safe. Wireless
phones emit low levels of radiofrequency energy (RF) in the microwave range while being used.
They also emit very low levels of RF when in the stand-by mode. Whereas high levels of RF can
produce health effects (by heating tissue), exposure to low level RF that does not produce heating
effects causes no known adverse health effects. Many studies of low level RF exposures have not
found any biological effects. Some studies have suggested that some biological effects may occur,
but such findings have not been confirmed by additional research. In some cases, other researchers
have had difficulty in reproducing those studies, or in determining the reasons for inconsistent
results.
2. What is FDA's role concerning the safety of wireless phones?
Under the law, FDA does not review the safety of radiation-emitting consumer products such as
wireless phones before they can be sold, as it does with new drugs or medical devices. However,
the agency has authority to take action if wireless phones are shown to emit radiofrequency energy
(RF) at a level that is hazardous to the user. In such a case, FDA could require the manufacturers
of wireless phones to notify users of the health hazard and to repair, replace or recall the phones
so that the hazard no longer exists.
Although the existing scientific data do not justify FDA regulatory actions, FDA has urged the
wireless phone industry to take a number of steps, including the following:
• Support needed research into possible biological effects of RF of the type emitted by wireless
phones;
• Design wireless phones in a way that minimizes any RF exposure to the user that is not
necessary for device function; and
• Cooperate in providing users of wireless phones with the best possible information on
possible effects of wireless phone use on human health.
FDA belongs to an interagency working group of the federal agencies that have responsibility for
different aspects of RF safety to ensure coordinated efforts at the federal level. The following
agencies belong to this working group:
• National Institute for Occupational Safety and Health
• Environmental Protection Agency
• Federal Communications Commission
• Occupational Safety and Health Administration
• National Telecommunications and Information Administration
The National Institutes of Health participates in some interagency working group activities, as
well.
FDA shares regulatory responsibilities for wireless phones with the Federal Communications
Commission (FCC). All phones that are sold in the United States must comply with FCC safety
guidelines that limit RF exposure. FCC relies on FDA and other health agencies for safety
questions about wireless phones. FCC also regulates the base stations that the wireless phone
networks rely upon. While these base stations operate at higher power than do the wireless phones
themselves, the RF exposures that people get from these base stations are typically thousands of
times lower than those they can get from wireless phones. Base stations are thus not the subject
of the safety questions discussed in this document.
3. What kinds of phones are the subject of this update?

[FCC Draft 172 FCC Draft ]
The term wireless phone refers here to hand-held wireless phones with built-in antennas, often
called cell mobile or PCS phones. These types of wireless phones can expose the user to
measurable radiofrequency energy (RF) because of the short distance between the phone and the
user’s head. These RF exposures are limited by Federal Communications Commission safety
guidelines that were developed with the advice of FDA and other federal health and safety
agencies. When the phone is located at greater distances from the user, the exposure to RF is
drastically lower because a person's RF exposure decreases rapidly with increasing distance from
the source. The so-called cordless phones; which have a base unit connected to the telephone
wiring in a house, typically operate at far lower power levels, and thus produce RF exposures far
below the FCC safety limits.
4. What are the results of the research done already?
The research done thus far has produced conflicting results, and many studies have suffered from
flaws in their research methods. Animal experiments investigating the effects of radiofrequency
energy (RF) exposures characteristic of wireless phones have yielded conflicting results that often
cannot be repeated in other laboratories. A few animal studies, however, have suggested that low
levels of RF could accelerate the development of cancer in laboratory animals. However, many of
the studies that showed increased tumor development used animals that had been genetically
engineered or treated with cancer-causing chemicals so as to be pre-disposed to develop cancer in
the absence of RF exposure. Other studies exposed the animals to RF for up to 22 hours per day.
These conditions are not similar to the conditions under which people use wireless phones, so we
don’t know with certainty what the results of such studies mean for human health.
Three large epidemiology studies have been published since December 2000. Between them, the
studies investigated any possible association between the use of wireless phones and primary
brain cancer, glioma, meningioma, or acoustic neuroma, tumors of the brain or salivary gland,
leukemia, or other cancers. None of the studies demonstrated the existence of any harmful health
effects from wireless phone RF exposures. However, none of the studies can answer questions
about long-term exposures, since the average period of phone use in these studies was around
three years.
5.What research is needed to decide whether RF exposure from wireless
phones poses a health risk?
A combination of laboratory studies and epidemiological studies of people actually using wireless
phones would provide some of the data that are needed. Lifetime animal exposure studies could
be completed in a few years. However, very large numbers of animals would be needed to provide
reliable proof of a cancer promoting effect if one exists. Epidemiological studies can provide data
that is directly applicable to human populations, but 10 or more years follow-up may be needed
to provide answers about some health effects, such as cancer. This is because the interval between
the time of exposure to a cancer-causing agent and the time tumors develop - if they do - may be
many, many years. The interpretation of epidemiological studies is hampered by difficulties in
measuring actual RF exposure during day-to-day use of wireless phones. Many factors affect this
measurement, such as the angle at which the phone is held, or which model of phone is used.
6. What is FDA doing to find out more about the possible health effects
of wireless phone RF?
FDA is working with the U.S. National Toxicology Program and with groups of investigators
around the world to ensure that high priority animal studies are conducted to address important
questions about the effects of exposure to radiofrequency energy (RF).
FDA has been a leading participant in the World Health Organization International
Electromagnetic Fields (EMF) Project since its inception in 1996. An influential result of this
work has been the development of a detailed agenda of research needs that has driven the
establishment of new research programs around the world. The Project has also helped develop a
series of public information documents on EMF issues.

[FCC Draft 173 FCC Draft ]
Nokia One-Year Limited Warranty
FDA and the Cellular Telecommunications & Internet Association (CTIA) have a formal
Cooperative Research and Development Agreement (CRADA) to do research on wireless phone
safety. FDA provides the scientific oversight, obtaining input from experts in government,
industry, and academic organizations. CTIA-funded research is conducted through contracts to
independent investigators. The initial research will include both laboratory studies and studies of
wireless phone users. The CRADA will also include a broad assessment of additional research
needs in the context of the latest research developments around the world.
7. How can I find out how much radiofrequency energy exposure I can
get by using my wireless phone?
All phones sold in the United States must comply with Federal Communications Commission
(FCC) guidelines that limit radiofrequency energy (RF) exposures. FCC established these
guidelines in consultation with FDA and the other federal health and safety agencies. The FCC
limit for RF exposure from wireless telephones is set at a Specific Absorption Rate (SAR) of 1.6
watts per kilogram (1.6 W/kg). The FCC limit is consistent with the safety standards developed
by the Institute of Electrical and Electronic Engineering (IEEE) and the National Council on
Radiation Protection and Measurement. The exposure limit takes into consideration the body’s
ability to remove heat from the tissues that absorb energy from the wireless phone and is set well
below levels known to have effects.
Manufacturers of wireless phones must report the RF exposure level for each model of phone to
the FCC. The FCC website (http://www.fcc.gov/oet/rfsafety) gives directions for locating the
FCC identification number on your phone so you can find your phone’s RF exposure level in the
online listing.
8. What has FDA done to measure the radiofrequency energy coming
from wireless phones?
The Institute of Electrical and Electronic Engineers (IEEE) is developing a technical standard for
measuring the radiofrequency energy (RF) exposure from wireless phones and other wireless
handsets with the participation and leadership of FDA scientists and engineers. The standard,
Recommended Practice for Determining the Spatial-Peak Specific Absorption Rate (SAR) in the
Human Body Due to Wireless Communications Devices: Experimental Techniques, sets forth the
first consistent test methodology for measuring the rate at which RF is deposited in the heads of
wireless phone users. The test method uses a tissue-simulating model of the human head.
Standardized SAR test methodology is expected to greatly improve the consistency of
measurements made at different laboratories on the same phone. SAR is the measurement of the
amount of energy absorbed in tissue, either by the whole body or a small part of the body. It is
measured in watts/kg (or milliwatts/g) of matter. This measurement is used to determine whether
a wireless phone complies with safety guidelines.
9. What steps can I take to reduce my exposure to radiofrequency
energy from my wireless phone?
If there is a risk from these products--and at this point we do not know that there is--it is probably
very small. But if you are concerned about avoiding even potential risks, you can take a few
simple steps to minimize your exposure to radiofrequency energy (RF). Since time is a key factor
in how much exposure a person receives, reducing the amount of time spent using a wireless
phone will reduce RF exposure.
If you must conduct extended conversations by wireless phone every day, you could place more
distance between your body and the source of the RF, since the exposure level drops off
dramatically with distance. For example, you could use a headset and carry the wireless phone
away from your body or use a wireless phone connected to a remote antenna.

[FCC Draft 174 FCC Draft ]
Again, the scientific data do not demonstrate that wireless phones are harmful. But if you are
concerned about the RF exposure from these products, you can use measures like those described
above to reduce your RF exposure from wireless phone use.
10. What about children using wireless phones?
The scientific evidence does not show a danger to users of wireless phones, including children and
teenagers. If you want to take steps to lower exposure to radiofrequency energy (RF), the
measures described above would apply to children and teenagers using wireless phones. Reducing
the time of wireless phone use and increasing the distance between the user and the RF source will
reduce RF exposure.Some groups sponsored by other national governments have advised that
children be discouraged from using wireless phones at all. For example, the government in the
United Kingdom distributed leaflets containing such a recommendation in December 2000. They
noted that no evidence exists that using a wireless phone causes brain tumors or other ill effects.
Their recommendation to limit wireless phone use by children was strictly precautionary; it was
not based on scientific evidence that any health hazard exists.
11. What about wireless phone interference with medical equipment?
Radiofrequency energy (RF) from wireless phones can interact with some electronic devices. For
this reason, FDA helped develop a detailed test method to measure electromagnetic interference
(EMI) of implanted cardiac pacemakers and defibrillators from wireless telephones. This test
method is now part of a standard sponsored by the Association for the Advancement of Medical
instrumentation (AAMI). The final draft, a joint effort by FDA, medical device manufacturers,
and many other groups, was completed in late 2000. This standard will allow manufacturers to
ensure that cardiac pacemakers and defibrillators are safe from wireless phone EMI. FDA has
tested hearing aids for interference from handheld wireless phones and helped develop a voluntary
standard sponsored by the Institute of Electrical and Electronic Engineers (IEEE). This standard
specifies test methods and performance requirements for hearing aids and wireless phones so that
no interference occurs when a person uses a compatible phone and a accompanied hearing aid at
the same time. This standard was approved by the IEEE in 2000.
FDA continues to monitor the use of wireless phones for possible interactions with other medical
devices. Should harmful interference be found to occur, FDA will conduct testing to assess the
interference and work to resolve the problem.
12. Where can I find additional information?
For additional information, please refer to the following resources:
• FDA web page on wireless phones
http://www.fda.gov/cdrh/phones/index.html
• Federal Communications Commission (FCC) RF Safety Program
http://www.fcc.gov/oet/rfsafety
• International Commission on Non-Ionizing Radiation Protection
http://www.icnirp.de
• World Health Organization (WHO) International EMF Project
http://www.who.int/emf
• National Radiological Protection Board (UK)
http://www.nrpb.org.uk/
July 18, 2001For updates: http://www.fda.gov/cdrh/phones

[FCC Draft 175 FCC Draft ]
Nokia One-Year Limited Warranty
[ 176 ]
Index
Numerics
1-touch dialing
assign a key 57, 97
change numbers 58
erase numbers 58
make a call 57, 98
A
accented characters 40
accessories
cigarette lighter charger (LCH-9)
145
data cable (DLR-3P) 145
mobile holder (MBC-1) 145
activate
automatic redial 97
call forwarding 96
loopset 105
adding folders 81
alarm
setting 107
snooze 108
turning off 108
with phone off 108
with phone on 107
alarm clock 107
antenna
contact with 15
authority certificates 140
automate voicemail 77
automatic redial 97
B
backspace key 39
battery
operation times 161
prolonging battery life 16
birthday note 110
bookmark
set while browsing 139
bookmarks 139
browser
use bookmarks 139
browser options 136
C
cache memory 139
calculator
currency conversion 125
calendar
4-way scrolling 109
birthday note 110
call note 110
date notes 109
jump to date 109
meeting note 110
memo note 110
monthly view 109
note options 111
note types 110
opening 109
saving notes 109
uses 108
view notes 110
view received notes 113
call duration 90
viewing 90
call forwarding 96
activate 96
cancelling 97
[ 177 ]
definition 95
call log
about 87
call duration 98
clear call lists 89
view call duration 90
view dialed calls 89
view missed calls 88
view received calls 88
call note 110
call waiting 98
caller groups
options 59
setup 59
calls
forwarding 96
ignoring 21
redial last 21
cancel call forwarding 97
car kit 145
change
1-touch dialing numbers 58
date format 95
keypad tones 92
message alert tone 92
PIN code 48
PIN2 code 49
profile names 92
ringing options 92
ringing tone 92
ringing volume 92
security codes 47
security levels 45
time format 94
character key (Chr) 14, 40
charger
connecting 15
information 146
clear call lists 89
clock
alarm 107
set the date 95
show/hide 94
time format 94
codes
access 47
dialing 78
PIN 48
PIN2 49
PUK 49
security 47
setup voicemail with 78
compose a picture message 66
connect to other devices 131
content copier (PC suite) 131
countdown timer 126
currency
converting 125
exchange rate 126
to foreign 126
to home 126
currency conversion 125
customer care
Canada 23
USA 23
customize
display language 99
D
data cable 145
data synchronization 131
date, setting 95
[ 178 ]
deactivate automatic redial 97
default recipient number 67
definition of terms 161
dialed calls, viewing 89
dialing codes
how to use 78
setup voicemail with 78
disconnect from wireless Internet
139
display language 99
distribution list (for text messages)
82
download
pictures 64
software 131
E
e-mail
gateway number 67
receive and reply to 63
setup 68
emergency call
make while using GPRS 142
emergency calls
with keypad locked 44, 100
erase
1-touch dialing numbers 58
messages 82
F
fixed dialing
edit number list 46
emergency numbers 45
notes about 47
setup and activate 45
flip
activating the loudspeaker 35
folders
adding 81
list of 81
organize messages with 80
removing 81
four-way scrolling
in calendar 109
G
glossary 161
GPRS
dial-up connections 132
make a call while online 141
phone symbols 140
receive a call while online 141
I
IMEI 10
location on the phone 23
Infrared connections 133
International Mobile Equipment
Identification 10
Internet
connect with your phone 136
J
jump to a date 109
K
keyboard
writing text 39
keys
joystick 11
left and right selection key 11
power key 14
profile key 14
[ 179 ]
volume keys 11
when flip closed 11
when flip open 14
character key 14
L
label 9
languages
available 99
setting 99
loudspeaker
activating/deactivating 35
adjusting volume 11
connecting a carkit/headset 35
M
make an emergency call while online
142
meeting note 110
memo note 110
messages
erasing 82
forwarding 64
message center number 62
message icons 61
moving 82
reading 63
replying to 64
save to folders 80
sending text messages using dis-
tribution lists 82
view saved 80
write and send 63
writing with predictive text input
41
writing with the keyboard 39
writing with traditional text in-
put 41
missed calls 88
mobile holder 145
model number 9
Modem setup
download 132
moving messages 82
N
Nokia Customer Care
phone information 9
Nokia PC suite 131
Nokia website 132
O
one-touch dialing 97
P
PC Suite 131
download 132
PC suite 131
instructions 131
PC sync 131
PC sync 131
phone label 9
phone security
security code 47
security levels 44
picture messages
compose and send 66
downloading pictures for 64
modifying 66
phone behavior when received 65
PIN 2 code 49
PIN code
changing 48
definition of 48
[ 180 ]
PIN code request 48
power key 14
predictive text input
setting on or off 40
writing compound words 41
primary number
copying 55
profile key 14
profiles
customizing 91
definition of 91
list of 91
selecting 91
timed 92
PUK codes 49
R
read messages 63
received calls 88
reference information
batteries and chargers 146
removing folders 81
S
save
calendar notes 109
security
security code 47
security levels 44
selection key 11
sending
calendar notes 112
messages 63
picture messages 64
serial number 10
set the display language 99
setup
voicemail 77
shift keys 39
show/hide clock 94
SIM card
if rejected 50
non-owner 44
PIN code 48
security levels 44
service numbers 58
SMS messages. See messages
software download 131
speed dialing 97
assign a key 57, 97
make a call 57, 98
standby time 161
stopwatch 128
measure lap time 129
measure split time 128
stop the clock 129
T
talk time 161
text messages
send calendar notes as 114
sending 63
time format 94
timed profiles 92
troubleshooting 155
V
vibrating alert
turn on or off 92
view
calendar notes 110
call duration 90
clock on the Start screen 94
[ 181 ]
dialed numbers 89
fixed dialing numbers 46
missed calls 88
monthly view, calendar 109
picture messages 65
received calendar notes 113
received calls 88
received messages 63
saved messages 80
voice messages 36, 77
voicemail
automate 77
automating 77
call and setup 77
listen to voice messages 36, 77
setup 77
using dialing codes 78
volume
using volume keys 11
W
WAP 135
WAP broswer 136
use phone keys 137
WAP page
active link 138
enter information 138
examples 138
header line 139
warning tones
turn on or off 92
wireless Internet
clear the cache 139
security issues 139
sign off 139
sign on 136
wireless Internet site
examples 138
how to read 138
write and send a message 63
writing
accented characters 40
changing character case 39
deleting/correcting text 39
special characters 14, 40
symbols 39
tips for writing 42
upper and lower case letters 39
using the keyboad 39
with predictive text input 41
with traditional text input 41
www.nokia.com 132
