Midland Radio 713200A BASE STATION User Manual 71 999000 BTII OG rev A
Midland Radio Corporation BASE STATION 71 999000 BTII OG rev A
Operators guide

OPERATOR'S MANUAL
BASE TECH II BASE/REPEATER STATION
05/09
Part Number 71-999000
Revision A

Base Tech II Base/Repeater Station Operator’s Manual
2 © Midland Radio Corporation
Introduction............................................................................................................................................3
Description...............................................................................................................................................3
Features ..................................................................................................................................................3
Controls, Indicators and Connectors.......................................................................................................4
Operation................................................................................................................................................8
Installation and Programming..................................................................................................................8
Basic Operation.......................................................................................................................................8
Front Panel Operation...........................................................................................................................10
Signaling................................................................................................................................................12
Scanning................................................................................................................................................15
Locking the Keypad...............................................................................................................................18
Changing Tone Signaling Systems........................................................................................................18
Displaying the Channel Information ......................................................................................................19
Display of Received Tone Frequencies.................................................................................................20
Bar Graph Displays ...............................................................................................................................21
LCD Display Back Light.........................................................................................................................21
Transmit Power Change........................................................................................................................21
Calling Party ID Display.........................................................................................................................22
Displaying any Radio's ID Number........................................................................................................22
Emergency Caller Display .....................................................................................................................23
Automatic Transmit in Repeater Mode..................................................................................................23
TX Test Mode ........................................................................................................................................24
Keypad Test Mode.................................................................................................................................24
Frequency Band Test Mode ..................................................................................................................25
Starting Message...................................................................................................................................25
Serial Number Display...........................................................................................................................26
EEROM Data Check Mode ...................................................................................................................26
Hardware Error Detection......................................................................................................................27
RS232C Communications Error............................................................................................................28
External Option Port/ Remote Control pin out………… …………………………………… ……………..29

Base Tech II Base/Repeater Station Operator’s Manual
3 © Midland Radio Corporation
INTRODUCTION
Description
The Base Tech II Base Repeater represents a technological advancement over previous models. The Base
Tech II Base Repeater is comprised of separate modules all housed within one 2RU equipment cabinet.
The receiver, transmitter, and PA unit are each enclosed within their own die-cast housing. Each one is then
mounted directly on the large upper heatsink. A microprocessor-controlled interface module controls the
channel selection, LCD Display, timers, interfaces, and signaling features.
The RF power output is 25 — 50/ 60 watts or 50 — 100/ 110 watts on a continuous duty basis. The CTCSS
module supports all EIA tones. All tones and different encode and decode tones can be set on a per channel
basis during radio programming.
Attention
The antenna(s) used for this transmitter must be fixed-mounted on outdoor permanent
structures with a separation distance of at least 6 meters from all persons during normal
operation. The peak conducted output power at each antenna terminal must not exceed
250 Watts and the peak radiated output power must not exceed 1000 Watts EIPR. Users
and installers must ensure that FCC requirements for satisfying RF exposure compliance
are met. (See FCC Rules Part 1, Sections 1307 and 1310)
Features
o Simplex or two frequency Duplex
operation
o EEPROM programmable with a PC
computer
o 99 programmable multi-mode channels
o Full dot matrix LCD
o Front-facing speaker
o Transmit time out timer to prevent
channel jamming
o TX and RX encryption optional
o Two channel scanning modes
o 5-Tone encoder and decoder plus DTMF
encoder and decoder
o Up to 99 channels with channel labels
o Two-stage front end allows mixed
Simplex and Duplex operation (Optional)
o Channel selectable Wide or Narrow
channel spacing (per channel basis)
o CTCSS on a per channel basis (DCS
available as an option; 71-8219 DCS Kit)
o 5 X 4 Keypad for channel change, etc
o 2RU equipment cabinet
o Step-up VCO voltage for superior
selectivity
o Low stand-by current is ideal for solar
installations
o Watchdog timer

Base Tech II Base/Repeater Station Operator’s Manual
4 © Midland Radio Corporation
The Base Tech II Base Repeater includes 5-tone selective calling encoder/decoder with non-predictive decoder,
as well as a DTMF encoder and voice encryption option. It supports both all channel scanning and programmed
channel scanning for base use.
The Base Tech II Base Repeater is fitted with a large full dot matrix LCD that is used to display the channel
numbers and names, frequency and tone programmed information and signaling information. All user-interface
keys and knobs are conveniently located on the front of the radio. All user-entered functions are easily activated in
a logical manner via the keypad.
The Base Tech II Base Repeater is supplied with an "N" type connector for the transmitter, and a BNC (early
models) or “N” type connector for the receiver to allow easy connection to the duplexer or feeder cables.
The rear panel includes a 9-pin D-sub connector for the attachment of an external shared tone panel. Also
included is a 25-pin D-sub connector that enables external interface to other radios or control equipment.
The Base Tech II Base Repeater is supplied complete with the following items:
o Base Tech II Base Repeater
o Operators Manual
o Hand Microphone with Microphone clip
o Spare DC Fuse
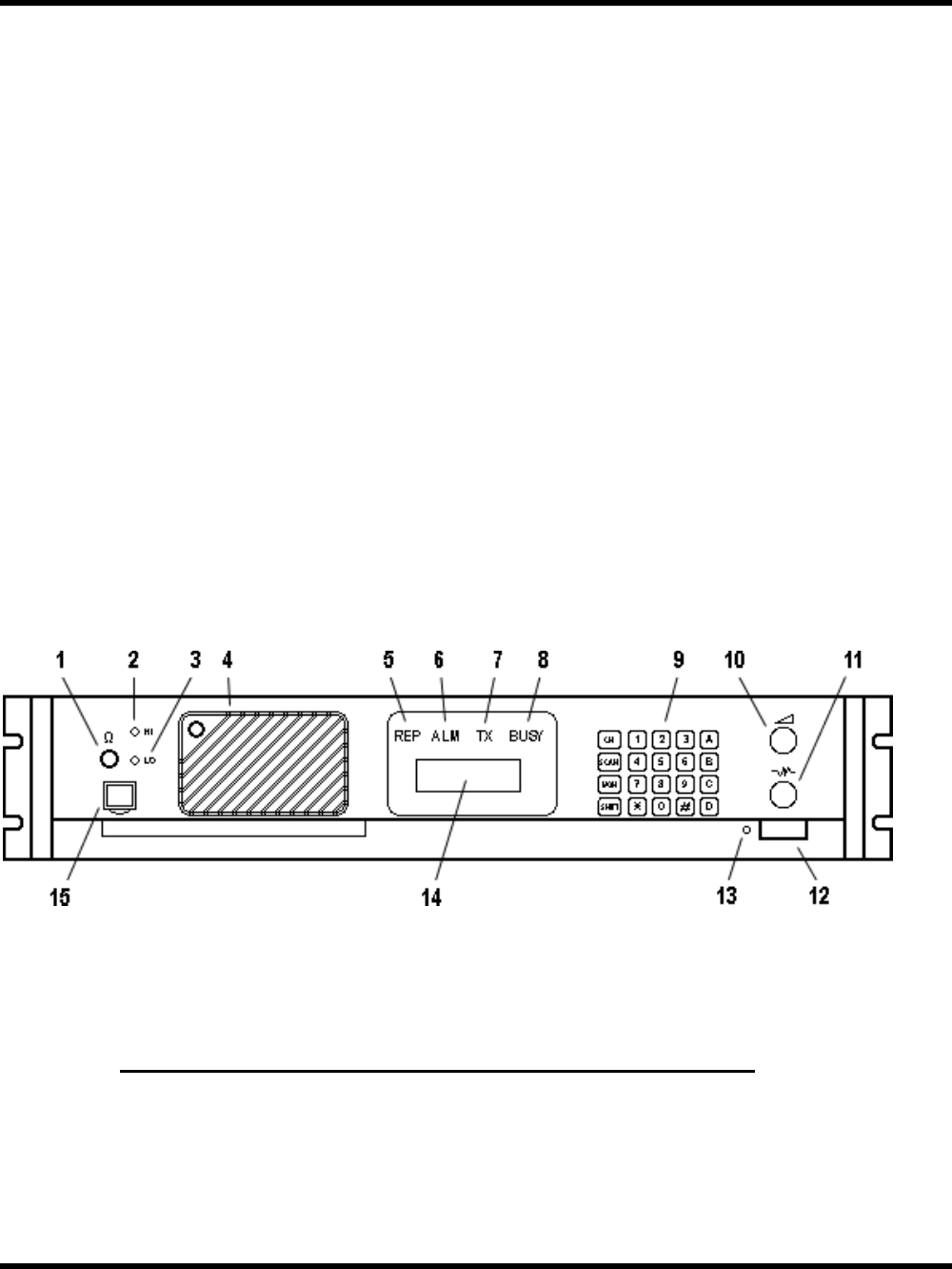
Controls, Indicators and Connectors
• Front Panel Controls
1. Headphone Socket
This socket is provided to allow users to listen to the Base Tech II Base Repeater using headphones. Plugging a
headphone into this socket will disconnect the built-in speaker. It does NOT include a microphone input or TX PTT
facility. Note: Do not ground either speaker line as this is a bridged output amplifier.
2. High TX Power Adjust
This is a service point and is not used by the radio operators
3. Low TX Power Adjust
This is a service point and is not used by the radio operators

Base Tech II Base/Repeater Station Operator’s Manual
5 © Midland Radio Corporation
4. Loud Speaker*
The receiver audio signals are heard from this speaker (provided that the volume setting is loud enough and
provided that the speaker has not been muted by one of the tone signaling formats).
5. Repeater Mode Indicator LED
The Repeater Mode Indicator LED will illuminate "REP" in yellow when the selected channel has been
programmed for Repeater operation. This LED is NOT illuminated on any channel that is programmed to operate
in Base mode.
6. Alarm Mode Indicator LED
The Alarm Mode Indicator LED will illuminate (Flashing) "ALM" in orange whenever the transceiver detects a fault
in the receiver module, the transmitter module, or the PA module on the selected channel.
7. Transmit Mode Indicator LED
The Transmit Mode Indicator LED will illuminate "TX" in red whenever the Base Tech II Base Repeater is
transmitting.
8. Busy Mode Indicator LED
The Busy Mode Indicator LED will illuminate "BUSY" in green whenever the Base Tech II Base Repeater receives
a carrier signal on the selected channel that is greater than the Squelch setting.
9. Keypad*
The 5 x 4 key Keypad is used to enter channel selection, tone information, and other data into the Base Tech II
Base Repeater. Specific key sequences are described fully in section 4 of this document. It includes the following
keys: CH, SCAN, MON, SHIFT, 1, 2, 3, 4, 5, 6, 7, 8, 9, 0, , #, A, B, C, and D.
10. Volume Control*
The Volume Control is used to set the audio output level from the loudspeaker. Rotate this knob clockwise to
increase the audio level, or counter-clockwise to reduce the audio level.
11. Squelch Control*
The Squelch Control is used to set the squelch threshold. Select a channel that is not being used and slowly rotate
this knob clockwise until the annoying background noise ceases. It may be desirable to rotate this knob clockwise,
slightly past the squelch threshold, to compensate for varying background noise levels.
12. Power ON/OFF Switch
The Power ON/OFF Switch is used to switch the Base Tech II Base Repeater "ON" or "OFF". Press this knob to
switch the Base Tech II Base Repeater "ON". Press this knob again to switch the Base Tech II Base Repeater
"OFF". This knob is slightly more depressed when in the "ON" position.

Base Tech II Base/Repeater Station Operator’s Manual
6 © Midland Radio Corporation
13. Power On Indicator LED
The Power ON Indicator LED will illuminate in green whenever the Power ON/OFF switch is in the "ON" position.
14. Liquid Crystal Display (LCD))
NOTE: When operating under extreme cold temperature conditions (below 0 deg C) allow a 30 minute
warm up period for full display functionality.
The LCD comprises of four (4) lines each of which is capable of displaying twenty-one (21) characters. The first
line, under normal operating conditions, displays the strength of the signal being received on the selected channel
as a bar graph. The second line displays the strength of the transmitting power as a bar graph. The third line
displays the selected channel number (up to four characters) in the first five left hand character spaces, and
displays the channel name (up to eight characters) in the next eight character spaces.
Any combination of the following characters may be used in the channel name:
0-9, A-Z, a-z, / + - * # ! $ % ( ) = [ ] < > ? and space
This area of the LCD is left blank when channel names are not used.
The six character spaces on the right hand side of this line are used to display status symbols as follows:
Symbol Status
The monitor status.
The key lock status.
The tone encode status.
The scan mode status.
The high power transmit status.
[SHIFT] key is depressed.
On the left hand side of the fourth line, the type of tone signaling system selected by the user is displayed. For
example, "5TON" indicates 5 Tone signaling while “DTMF” indicates Dual Tone Multi Frequency signaling.
The right hand side of the fourth line is used to display data that the user enters (for example, 5 Tone calling
sequences). These character spaces are also used by the Base Tech II Base Repeater to display messages and
information directed to the user.
15. Microphone Input Socket
Connect the microphone into this socket.

Base Tech II Base/Repeater Station Operator’s Manual
7 © Midland Radio Corporation
• Rear Panel Connectors (Early Models)
16. 25 position External Options Connector/ Optional Tone Remote Termination Connector (See pg 29)
17. 9 position Programming Connector
18. DC Input Fuse Holder
19. 3 pin DC Input Socket
20. TX/Antenna Connector (N type)
21. Ventilation Slots
22. RX Connector (BNC type)
• Rear Panel Connectors (Current Models)
16. 25 position External Options Connector/ Optional Tone Remote Termination Connector (See pg 29)
17. 9 position Programming Connector
18. DC Input Fuse Holder
19. 3 pin DC Input Socket
20. TX/Antenna Connector (N type)
21. Ventilation Slots
22. RX Connector (N type)
23. OPTIONAL (On Some Models) 10 MHZ TX Reference Input (BNC)

Base Tech II Base/Repeater Station Operator’s Manual
8 © Midland Radio Corporation
Operation
Installation and Programming
As the Base Tech II Base Repeater can be installed to operate as either a Base Station or as a Repeater, some of
the instructions in this document may apply to one application only, some may apply in both cases, while others
may only apply if the particular function has been enabled during programming of the Base Tech II Base Repeater.
The Base Tech II Base Repeater must be programmed before it will operate correctly. This should be done by the
equipment supplier or a qualified radio technician. They will require the Base Tech II Base Repeater programming
software (71-1480CD) and either 71-1303(A) Serial) or 91-1303B (USB) Programming cable to do this correctly.
It is important that the Base Tech II Base Repeater be correctly installed at its working location by a qualified radio
technician.
As a minimum, it is necessary to:
o Connect the DC Input power lead to a suitable 13.8 Volt Regulated DC Power supply that has sufficient
capacity. (Ensure that the DC Polarity is correct).
o For repeaters connect the two antenna connectors to suitable antennas (ensure that the VSWR of the
antennas is correct). One connector for the base station
o Insert the microphone into the microphone connector on the front panel.
Basic Operation
• Switch On
Switch the Base Tech II Base Repeater "ON" by pressing the knob (12). Then check that the LED indicator (13) is
illuminated.
• Adjust the Volume Setting
Rotate the Volume Knob (10) clockwise (from the fully counterclockwise position) until the audio level from the
speaker is suitable.
• Adjust the Squelch Setting
Rotate the Squelch Knob clockwise (from the fully counter clockwise position) slowly until the background noise
can no longer be heard. It is wise to rotate the knob slightly further in the clockwise direction so that variations in
the background noise level do not "break" the squelch setting and cause annoying squelch noises to be heard
from the speaker.
• Select the Channel
Select the required channel by pressing the CH key followed by the channel number key. The channel number
keys must be selected within two seconds. For example, [CH] + [0] + [1] to select Channel 1. The LCD Display
should now display CH01 and (if programmed with a channel label) the channel name: "CH01 NAME".
• Receiving
You should now be able to hear any radio traffic that occurs on channel #1 on the Base Tech II Base Repeater. It
may be necessary to adjust the Volume setting to suit your listening requirements.

Base Tech II Base/Repeater Station Operator’s Manual
9 © Midland Radio Corporation
• Transmitting
Depending on the legal requirements in your country, and the operating requirements within your organization, it
may be necessary to announce your Call Sign. In addition, it will probably be necessary to announce the Call Sign
of the party you are calling at the start of your transmission.
When transmitting, it is necessary to hold the microphone about 3 inches from your mouth and speak clearly into
the front of the microphone.
It is also necessary to press and hold the “Press To Talk” (PTT) bar on the side of the microphone while speaking
into the microphone.

Base Tech II Base/Repeater Station Operator’s Manual
10 © Midland Radio Corporation
Front Panel Operation
This section describes most signaling and other advanced features that are available on the Base Tech II Base
Repeater. The availability of some features is dependent on the programming of the transceiver and installed
options. You may find it worthwhile to discuss these features in detail with your radio supplier to obtain a full
understanding of their benefits.
• Keypad Operation
The Keypad is the interface between the user and the Base Tech II Base Repeater. It is used to enable or disable
various functions and to enter the required data for signaling purposes.
The word (5-Tone) or (DTMF) shown after the described feature indicates that the described feature applies to the
particular signaling format.
The following keys are used for the purposes described:
[0] - [9] Entering new channel numbers
Entering the "KILL" password
Entering signaling encoding numbers (5-Tone) (DTMF)
Entering DTMF numbers (DTMF)
[A] Advancing the Base Tech II Base Repeater to the next higher channel
Entering the signaling "A" tone (5-Tone) (DTMF)
Encodes the "A" Tone (DTMF)
[B] Advancing the Base Tech II Base Repeater to the next lower channel
Entering the signaling "B" tone (5-Tone) (DTMF)
Encodes the "B" Tone (DTMF)
[C] Entering the signaling "C" tone (5-Tone) (DTMF)
Encodes the "C" Tone (DTMF)
[D] Entering the signaling "D" tone (5-Tone) (DTMF)
Encodes the "D" Tone (DTMF)
[] Displays the previously entered encode numbers (5-Tone) (DTMF)
Encodes the "" -Tone (DTMF)
[#] Encodes the signaling numbers that are displayed in the LCD display (5-Tone) (DTMF)
Encodes the "#"-Tone (DTMF)
[CH] Used with two channel numbers [0] - [9] to change the active channel on the Base Tech II Base
Repeater. E.g. [CH]+[9]+[0] will change the active channel to Channel 90 (provided Ch 90 has
been programmed into the Base Tech II Base Repeater.
[SCN] Used to place the Base Tech II Base Repeater into the "All-Scan" mode where the Base Tech II
Base Repeater will scan all programmed channels. Pressing the [SCN] key again will cause
the Base Tech II Base Repeater to exit from the "All-Scan" mode.
[MON] Switches the Base Tech II Base Repeater between "Monitor ON" mode and "Monitor OFF"
mode and is used to "Un-mute" the radio when using selective calling (depending on the
programming of the Base Tech II Base Repeater).

Base Tech II Base/Repeater Station Operator’s Manual
11 © Midland Radio Corporation
• Keypad Operation using the [SHIFT] Key
Some of the Base Tech II Base Repeater's features and related functions can be changed by using the [SHIFT]
key. To make these changes, it is necessary to first press the [SHIFT] key followed by the other keys within a two
second timeframe.
The following key sequences are used for the purposes described:
[SHIFT]+[0] Toggles the tone system between 5-Tone signaling and DTMF signaling
[SHIFT]+[1] Switches the LCD back-light to the ON or OFF position
[SHIFT]+[2] Toggles the transmitting power between High power and Low power
[SHIFT]+[3] Invalid Key
[SHIFT]+[4] Toggles between "Single Tone Encoding" mode and "5-Tone" or "DTMF" signaling
mode
[SHIFT]+[5] Invalid Key
[SHIFT]+[6] Enters the KILL mode to allow entry of the KILL password
[SHIFT]+[7] Displays the programmed information for the selected (active) channel in the LCD
display
[SHIFT]+[8] Locks or Unlocks the Base Tech II Base Repeater's Keypad
[SHIFT]+[9] Toggles the Base Tech II Base Repeater between "Normal Channel Scanning" mode
and "Priority Channel Scanning" mode
[SHIFT]+[A] Restores a channel to the Channel Scanning List. (The user must first select the
channel to be restored as the active channel)
[SHIFT]+[B] Invalid Key
[SHIFT]+[C] Indicates to the Base Tech II Base Repeater that you have entered the last number of
a DTMF encoding sequence
[SHIFT]+[D] Invalid Key
[SHIFT]+[] Deletes the active channel from the Channel Scanning List
[SHIFT]+[#] Will attach the "R-Number" data to the active encode number and transmit the whole
sequence
[SHIFT]+[CH] Will start or stop the display of the TX and RX bar graphs in the LCD display
[SHIFT]+[SCN] Will place the Base Tech II Base Repeater in the Program Scan mode or exit from the
Program Scan mode
[SHIFT]+[MON] Invalid Key

Base Tech II Base/Repeater Station Operator’s Manual
12 © Midland Radio Corporation
• Changing Channels
To change to another channel, simply press the [CH] key followed by the number of the required channel within
two seconds.
For example: To select Channel 8, press [CH] [0] [8]
To select Channel 99, press [CH] [9] [9]
Note that it is always necessary to enter two digits for the Channel Number. The channel # location displayed in
the LCD will become blank as soon as the [CH] key is pressed. The cursor will blink at the location of the channel
number, and display the new numbers as they are entered.
It is also possible to change channels by using the [CH], [A] and [B] keys instead of entering the channel numbers.
Pressing the [CH] then the [A] key will advance the channel to the next higher programmed channel, while
pressing [B] will advance the channel to the next lower programmed channel.
Note that this action will ignore channels that have not been programmed into the Base Tech II Base Repeater.
Accordingly, the LCD display may appear to advance more than one channel if the missed channel is not
programmed into the Base Tech II Base Repeater.
Signaling
The Base Tech II Base Repeater includes some very sophisticated signaling capabilities. We suggest that you
have your radio supplier conduct some training on the use of these capabilities prior to using them.
While it is possible to use these signaling capabilities in both repeater mode, and in base station mode, many will
only be useful in practice when the Base Tech II Base Repeater is used in base station configuration.
The Base Tech II Base Repeater supports the 5-Tone sequential, and/or the DTMF, and the Single Tone signaling
formats. The required signaling format(s) must be enabled when the Base Tech II Base Repeater is programmed.
• 5-Tone Signaling
Available Tones
5-Tone signaling is commonly referred to as “Selective Calling” (or Selcall) and usually comprises of a series of 5
tones sequentially transmitted or received in accordance with certain international standards. It is possible to use
longer sequences to enhance the signaling capabilities and to provide additional functions.
Accordingly, the Base Tech II Base Repeater will encode up to sixteen (16) tones and decode up to eight (8) tones.
These tones can be any of the following letter/number combinations:
[0] - [9], and [A] - [D]
The most recently entered tone can be recalled and deleted by pressing the [] key repeatedly.

Base Tech II Base/Repeater Station Operator’s Manual
13 © Midland Radio Corporation
Entering a 5-Tone Encode Sequence
When switched "ON", the Base Tech II Base Repeater carries out its self-test routine, then waits ready to accept
5-Tone encode numbers. Accordingly, it is necessary to enter the required 5-Tone digits directly using the keypad,
then pressing the [#] key to transmit the 5-Tone sequence. (Up to sixteen digits can be entered).
If it is necessary to enter the "R" number sequence to activate the repeater, the [SHIFT] key must be pressed
before pressing the [#] key.
If a 5-Tone number is NOT displayed in the LCD, and the [#] key is pressed, then the Base Tech II Base Repeater
will recall the most recent 5-Tone number and transmit it.
Recalling the last encoded sequence
Pressing the [] will recall the most recent 5-Tone encode sequence and display the sequence in the LCD display.
Continuing to press the [] key will delete the last digit of the sequence until all digits are deleted. In practice, users
will usually delete the last one or two digits before entering the new digits.
• DTMF Signaling
Available Tones
The following DTMF tones can be used in any number/letter combination:
[0] - [9], [A] - [D], [], and [#]
NOTE: Tone [B] is NOT available if the "Attach Decode No" field in the DTMF Encode Menu has been set to "ON".
Up to sixteen (16) DTMF digits can be encoded in one calling sequence.
DTMF Tone Entry
There are two methods of entering DTMF tones. The specific tone encoding format is selected during the
programming of the Base Tech II Base Repeater in the <Main Menu><Encode Set><DTMF Encode><Attach
Decode No.> field.
Attach Decode No. "OFF" format
Pressing the PTT lever first automatically selects the DTMF encoding format and allows direct entry of DTMF
tones.
Hold the PTT lever on the microphone while pressing the required DTMF tones. The tones will be transmitted as
the keys are being pressed.

Base Tech II Base/Repeater Station Operator’s Manual
14 © Midland Radio Corporation
Attach Decode No. "ON" format
Attach Decode No. "ON" automatically encodes the user’s DTMF decode number after the encode number. This
can be used for any purpose.
Enter the required DTMF tones (up to sixteen tones, except "B" tone) and then transmit the total tone sequence
(including the users decode number) by pressing the [#] key. All tones will be transmitted in one continuous
sequence after pressing the [#] key.
Pressing the [] key will delete the last number entered.
Always confirm that the LCD is clear before proceeding, as it may take up to 5 seconds for the tones to be sent.
For example, assume that your decode number is 12345, and that you wish to encode number 12346. You will
input 12346, and then press the [#] key. The Base Tech II Base Repeater will encode "12346B12345". The called
radio will display “12345” in their LCD indicating the calling party's number is "12345".
NOTE: The "B" tone is used as the delimiter in this encoding format and therefore CANNOT be used as a DTMF
tone.
Pressing the [SHIFT] key and then the [#] will encode ONLY the encode number (and not the decode number).
Redialing with DTMF
If, during the programming of the Base Tech II Base Repeater, the <Attach Decode No> field has been set to
"OFF", the redialing function operates as follows:
Press [SHIFT], then press [#] and the Base Tech II Base Repeater will redial the last encoded DTMF number.
If, during the programming of the Base Tech II Base Repeater, the <Attach Decode No> field has been set to "ON",
the redialing function operates as follows:
Press [#] and the Base Tech II Base Repeater will redial the last encoded DTMF number with the Base Tech II
Base Repeater's programmed decode number.
Press [SHIFT], then press [#] and the Base Tech II Base Repeater will redial the last encoded DTMF number
without the Base Tech II Base Repeater's programmed decode number.
Restoring the last DTMF number to the LCD Display
It is possible to restore the last encoded DTMF number to the LCD display, provided the <Attach Decode No> field
has been set to "ON" during the programming of the Base Tech II Base Repeater. First, confirm that the LCD is
NOT displaying any DTMF numbers. Then press [V] and the last encoded DTMF number will be displayed in the
LCD display. It is possible to edit this number at this time by pressing the [V] key (which will erase the last number)
or by pressing the required keys to add additional numbers.
Encoding DTMF numbers with the 5-Tone system enabled
It is possible to enter DTMF numbers even with the 5-Tone system enabled. This function must be enabled during
the programming of the Base Tech II Base Repeater by setting the <DTMF Encode> field in the <5Tone Encode
Menu> to "ENABLE".
To enter a DTMF number (with 5-Tone signaling enabled), the user must press the PTT lever while entering the
first DTMF number. Second and subsequent numbers do NOT require the PTT lever to be pressed, provided all
numbers are entered within a few seconds (before the display reverts to 5-Tone mode and displays "5TON" in the
LCD display).

Base Tech II Base/Repeater Station Operator’s Manual
15 © Midland Radio Corporation
• Single Tone Encoding
The Base Tech II Base Repeater has the ability to encode one of six single tone frequencies for 1, 2, 3, or 4
seconds. This function is enabled during programming of the Base Tech II Base Repeater by selecting the <Single
Tone ON> field in the <Encode Menu>, and setting the encode period.
Press the [SHIFT] and the [4] keys to put the Base Tech II Base Repeater into Single Tone Encoding mode. "S1"
and the tone frequency ("xxxxHz") will be displayed in the tone area of the LCD display for about 4 seconds until
the Base Tech II Base Repeater reverts back to the normal signaling mode.
While the Base Tech II Base Repeater is in Single Tone Encoding mode, it is possible to advance to the next tone
frequency by pressing the [A] key, or to return to the previous tone by pressing the [B] key.
Pressing the [#] key will encode the displayed tone (for the programmed time period). It also automatically exits the
Single Tone Encoding mode and returns the Base Tech II Base Repeater to the normal signaling mode.
Scanning
The Base Tech II Base Repeater is supplied with two scanning modes. These are All Channel Scan mode in
which the Base Tech II Base Repeater will scan all channels that are programmed into the Base Tech II Base
Repeater, and the Program Channel Scan mode in which the Base Tech II Base Repeater will scan only the
channels that have been designated during the programming of the Base Tech II Base Repeater. One HIGH
priority and one LOW priority scan channel can be set for each scan mode during the programming of the radio.
• All Channel Scan Operation
Pressing the [SCAN] key places the Base Tech II Base Repeater into All Channel Scan mode. The Scan mode
symbol "∞" is displayed in the LCD display. Also the LCD will also display "All Scan Mode-in" for two seconds
as shown below:
RX====
TX
CH01 ∞
All Scan Mode In
• Program Channel Scan Operation
Pressing the [SHIFT] and then the [SCAN] key places the Base Tech II Base Repeater into Program Channel Scan
mode. The Scan mode symbol "∞" is displayed in the LCD display. The LCD will also display "PRG Scan
Mode-in" for two seconds as shown below:
RX====
TX
CH01 ∞
PRG Scan Mode In

Base Tech II Base/Repeater Station Operator’s Manual
16 © Midland Radio Corporation
• Exiting All Channel Scan and Program Channel Scan modes
Pressing the [SCAN] key will take the Base Tech II Base Repeater out of either scanning mode and return the
Base Tech II Base Repeater to normal mode. The scan symbol "∞" will be removed from the LCD display. The LCD
will display "Scan Mode-out" for two seconds as shown below:
RX====
TX
CH01
Scan Mode Out
• Priority Scanning
The Base Tech II Base Repeater allows users to enter the required scanning mode first, then enable Priority
Scanning for the particular scanning mode chosen.
Pressing the [SHIFT] key then the [9] key places the Base Tech II Base Repeater into Priority Scanning mode as
shown below:
RX====
TX
CH01
Priority Scan
Pressing the [SHIFT] and the [9] key again will take the Base Tech II Base Repeater out of Priority Scan mode and
return it to the Normal Scan mode as shown below:
RX====
TX
CH01 ∞
Normal Scan

Base Tech II Base/Repeater Station Operator’s Manual
17 © Midland Radio Corporation
• Removing an Active Channel from the Scan List
It is possible to temporarily delete an active channel from the scan list by pressing [SHIFT] and the [] key and
holding them down for more than one second. Multiple channels can be deleted from the Scan list, provided that at
least one channel remains in the Scan List.
A "beep" sound from the radio confirms correct deletion of the channel from the scan list. This function CANNOT
be used in the Priority Scan mode. The Base Tech II Base Repeater automatically restores all channels to their
respective scanning list as soon as the Base Tech II Base Repeater exits from the scan mode.
• Restoring Channels to the Scan List
Channels can be restored to the scanning list without exiting from the scan mode by pressing the [SHIFT] key and
pressing and holding the [A] key for more than one second. This action will restore all channels to the scan list.
This action CANNOT be used in the Priority Scan mode.

Base Tech II Base/Repeater Station Operator’s Manual
18 © Midland Radio Corporation
Locking the Keypad
Pressing the [SHIFT] key and then the [8] key will lock all keys (except the [SHIFT] and [MON] keys) on the Base
Tech II Base Repeater's keypad to prevent accidental or inadvertent data entry. After pressing the [SHIFT] and [8]
keys, the keypad becomes locked and the Key-Lock symbol “” is displayed in the LCD display. The display also
shows "Key-Lock" for two seconds as shown below:
RX====
TX
CH01
Key Lock
Pressing [SHIFT] and [8] again will Unlock the keypad, remove the Key-Lock symbol from the LCD display, and
display "Key-Unlock" in the LCD display for two seconds as shown below:
RX====
TX
CH01
Key Unlock
Changing Tone Signaling Systems
It is possible to switch the Base Tech II Base Repeater's tone signaling system among 5-Tone sequential signaling,
DTMF signaling and Non (No-Tone), providing the <Miscellaneous Menu> <Tone System Change> field was set to
"ENABLE" during the programming of the Base Tech II Base Repeater.
Press [SHIFT] and hold down the [0] key for more than one second to change among the 5-Tone system, DTMF
system and Non system. The new signaling system will show up on the LCD display as follows:
RX====
TX
CH01
System is DTMF
Pressing [SHIFT] and holding down the [0] key for more than one second again will change the Base Tech II Base
Repeater to the next signaling system. The new signaling system will show up on the LCD display as shown
below:
RX====
TX
CH01
System is Non

Base Tech II Base/Repeater Station Operator’s Manual
19 © Midland Radio Corporation
Displaying the Channel Information
The Base Tech II Base Repeater can display information pertaining to the selected channel (provided that the
<Miscellaneous Menu> <Information Display> field was set to "ENABLE" during the programming of the radio).
This information includes:
o The RX frequency of the selected channel.
o The TX frequency of the selected channel.
o The channel spacing for the selected channel (Wide or Narrow).
o The operating mode for the selected channel (Base, Repeater, Simplex, Duplex)
o The RX CTCSS/DCS tone for the selected channel (provided CTCSS/DCS has been programmed for use
on the selected channel).
o The TX CTCSS/DCS tone for the selected channel (provided CTCSS/DCS has been programmed for use
on the selected channel).
o The tone encoding format (providing 5-Tone signaling was selected during programming of the Base Tech
II Base Repeater).
o The tone set (providing 5-Tone signaling was selected during programming of the Base Tech II Base
Repeater).
o The ANI mode.
o The tone decoding set (provided 5-Tone or DTMF signaling was selected during programming of the Base
Tech II Base Repeater).
o The decode number (provided 5-Tone or DTMF signaling was selected during programming of the Base
Tech II Base Repeater).
To view this information in the LCD display, first select the required channel. Then press the [SHIFT] key, then the
[7] key. You will need to keep the [7] key pressed until the Base Tech II Base Repeater has cycled through the
information steps.
This function is NOT available if the <Miscellaneous Menu> <Information Display> field has been set to
"DISABLE" during the programming of the Base Tech II Base Repeater.

Base Tech II Base/Repeater Station Operator’s Manual
20 © Midland Radio Corporation
Display of Received Tone Frequencies.
It is possible to set the Base Tech II Base Repeater to display the received tone frequencies in the LCD display.
They will appear in the area normally used to display the strength of the received signals.
Press [SHIFT] and then press [D] to enable this function.
Once enabled, the LCD will show "RCV" in the area of the LCD display that normally shows the strength of the
received signal, as well as, "Tone Display on" for two seconds as shown below:
RCV
TX
CH01
Tone Display On
Whenever a tone frequency is decoded, the frequency number will be displayed in the LCD display to the right of
"RCV" as shown below:
RCV 12345
TX
CH01
5TON
Pressing the [SHIFT] key, then the [D] key once again will disable this function and return the LCD display to
normal as shown below:
RX
TX
CH01
Tone Display Off

Base Tech II Base/Repeater Station Operator’s Manual
21 © Midland Radio Corporation
Bar Graph Displays
The Base Tech II Base Repeater will normally show the strength of the received signal to the right of "RX" in the
LCD display and the strength of the transmitted signal to the right of "TX" in the LCD display. Both will be displayed
in the form of a bar graph.
This function can be disabled by pressing the [SHIFT] key, then the [CH] key. The LCD display will indicate "RX
Display Off" and "TX Display Off" as shown below:
RX Display Off
TX Display Off
CH01
Pressing the [SHIFT] key, then the [CH] key once again will return the Base Tech II Base Repeater to normal. The
LCD display will show the normal bar graph display for both the RX signal strength and TX signal strength.
LCD Display Back Light
The LCD Display has a Back-Light to illuminate the display. It normally switches "ON" whenever any key or the
PTT lever is pressed, and will remain illuminated for five seconds. Some users may prefer the Back-Light to
remain illuminated to assist viewing the LCD display in poor viewing situations.
Press the [SHIFT] key, then press the [1] key for more than one second and the LCD Back-light will remain
illuminated.
When finished, press the [SHIFT] key and then press the [1] key for more than one second and the LCD Back-light
will revert to normal operation.
Transmit Power Change
It is possible to change the Base Tech II Base Repeater's transmit power from the high power setting to the low
power setting (and vice versa) from the keypad, provided that this function has been enabled during the
programming of the Base Tech II Base Repeater.
To enable this function, the <Miscellaneous Menu> <TX Power Change> field must be set to "ENABLE".
Press the [SHIFT] key, then the [2] key and the Base Tech II Base Repeater will change from the high transmit
power setting to the low transmit power setting. The " “symbol will be removed from the third line of the LCD
display.
Press the [SHIFT] key and the [2] key a second time, and the Base Tech II Base Repeater will change from the low
transmit power setting to the high transmit power setting. The " " symbol will be displayed in the third line of the
LCD display.
If this function is NOT required, the <Miscellaneous Menu> <TX Power Change> field must be set to "DISABLE".

Base Tech II Base/Repeater Station Operator’s Manual
22 © Midland Radio Corporation
Calling Party ID Display
The Base Tech II Base Repeater has the capability to display a calling radio's ID (ANI) number after being called.
When the Base Tech II Base Repeater is called, "CALL" will be displayed on the fourth line of the LCD display (and
continue to flash). The calling radio's ID number will be displayed to the right of "CALL" as shown below:
RX
TX
CH01
CALL 12346
If the Base Tech II Base Repeater user presses the [#] key (when "CALL" is flashing and the caller's ID number is
displayed), the Base Tech II Base Repeater will automatically call the identified radio.
In the case of 5-Tone signaling systems, this function is enabled in the <5Tone Encode Menu> <Encode Format>
field, by selecting one of the following parameters:
"Encode + B + Decode"
"Encode + A.Pause + Decode"
"Decode + A.Pause + Encode"
"Encode + ANI"
In the case of DTMF signaling systems, this function is enabled by setting the <DTMF Encode Menu> <Attach
Decode No> field to "ON" during the programming of the Base Tech II Base Repeater.
Displaying any Radio's ID Number
The Base Tech II Base Repeater has the capability to display any calling radio's ID (ANI) number. When the Base
Tech II Base Repeater receives an ANI number, "DISP" will be displayed on the fourth line of the LCD display (and
continue to flash). The radio's ID number will be displayed to the right of "DISP" as shown below:
RX
TX
CH01
DISP 1234
In the case of 5-Tone signaling systems, this function is enabled by setting the <5Tone Decode Menu> <ANI
Receive> field to "ON" during the programming of the Base Tech II Base Repeater.
In the case of DTMF signaling systems, this function is enabled by setting the <DTMF Decode Menu> <ANI
Receive> field to "ON" during the programming of the Base Tech II Base Repeater.

Base Tech II Base/Repeater Station Operator’s Manual
23 © Midland Radio Corporation
Emergency Caller Display
The Base Tech II Base Repeater has the ability to accept and display emergency calls from other radios within the
radio system.
This function is enabled by setting the <Emg Call Receive> field to "ON" in the <5Tone Decode Menu> or <DTMF
Decode Menu> during the programming of the radio.
The calling (Emergency) radio must encode its emergency data in the following format:
"000" + the calling radio's ID (decode number).
This format applies to both 5-Tone and DTMF signaling systems.
When the Base Tech II Base Repeater receives an emergency call, it will sound a warning tone from the speaker.
The LCD will display "EMG" (flashing) in the fourth line, and display the emergency radio's ID to the right of "EMG" as
shown below:
RX
TX
CH01
EMG 12346
Upon receipt of an emergency call, the Base Tech II Base Repeater will automatically respond to the emergency
radio by sending the emergency radio's ID number to it.
If the Base Tech II Base Repeater user presses the [#] key, the Base Tech II Base Repeater will resend the
emergency radio's ID number.
While the Base Tech II Base Repeater is in the Emergency Mode, all keys (except the [#] key) on the keyboard
become disabled.
Pressing the [SHIFT] key and the [] key will return the Base Tech II Base Repeater to the normal operating mode.
Automatic Transmit in Repeater Mode
The Base Tech II Base Repeater can be programmed to automatically repeat valid incoming messages. First, the
active channel of the Base Tech II Base Repeater must be programmed to operate as a repeater. It must then
receive a carrier frequency on the designated channel. If the Base Tech II Base Repeater has been programmed
for CTCSS or DCS operation, it must also receive a valid CTCSS or DCS tone. It will then automatically retransmit
any received signals.
When the Base Tech II Base Repeater ceases to receive a carrier frequency, or a valid CTCSS or DCS tone, it
activates the <Auto TX Reset Time> timer. This will keep the Base Tech II Base Repeater repeating (for up to 9.9
seconds depending on the programming of the Base Tech II Base Repeater), and allow other users with a valid
CTCSS or DCS tone to access the repeater.

Base Tech II Base/Repeater Station Operator’s Manual
24 © Midland Radio Corporation
TX Test Mode
The Base Tech II Base Repeater comes equipped with a TX (Transmit) Test Mode. When the Base Tech II Base
Repeater is placed in the TX Test Mode, it will transmit a carrier frequency modulated with a 1kHz tone on the
selected active channel. It is possible to change channels while in TX Test Mode.
Pressing the [SHIFT] key, then the [B] key places the Base Tech II Base Repeater in TX Test Mode and displays
the message in the LCD as shown below:
RX
TX
CH01
TXT TX Test Mode-in
Pressing the [SHIFT] key and the [B] key a second time will return the Base Tech II Base Repeater to normal mode
and displays the message in the LCD as shown below:
RX
TX
CH01
TXT TX Test Mode-out
Keypad Test Mode
The Base Tech II Base Repeater comes equipped with a Keypad Test Mode that allows the user to electrically test
all keypad keys as well as the PTT Key.
Holding the [C] key while switching the POWER SWITCH "ON" places the Base Tech II Base Repeater in Keypad
Test Mode and displays the message in the LCD Display as shown below:
KEY TEST
Please Key-in
Then press the keys to be tested one at a time. The respective key will be displayed in the LCD when the key is
operating correctly. For example, if you press the [CH] key, the LCD Display will indicate correct operation as
shown below:
KEY TEST
CH Key
Switch the Base Tech II Base Repeater "OFF" to exit the Keypad Test Mode.

Base Tech II Base/Repeater Station Operator’s Manual
25 © Midland Radio Corporation
Frequency Band Test Mode
It is possible to display the Base Tech II Base Repeater's operating Frequency Band in the LCD display when in
Frequency Band Test Mode.
Holding the [B] key while switching the POWER SWITCH "ON" places the Base Tech II Base Repeater in
Frequency Band Test Mode and displays the operating Frequency Band in the LCD Display as shown below:
<PLL Band Check>>
40D OK
"40D" indicates the frequency band for a particular Base Tech II Base Repeater radio.
Switch the Base Tech II Base Repeater "OFF" to exit the Frequency Band Test Mode.
Starting Message
When the Base Tech II Base Repeater is Switched "ON", it will display a Starting Message in the LCD display for
two seconds. The default Starting Message (using all dots) is shown below:
<51MD V405 510>
A personalized message for your business may be shown as the Starting Message. If you require a personalized
message, then it should be entered in the <Miscellaneous Menu> <Starting Message> field during the
programming of the radio. Such a message is shown below:
Midland Radio
<51MD V405 510>

Base Tech II Base/Repeater Station Operator’s Manual
26 © Midland Radio Corporation
Serial Number Display
It is possible to display the Base Tech II Base Repeater's Serial Number in the LCD Display. To do so, the serial
number must be entered into the <Configuration Menu> <Serial No.> field during the programming of the radio.
The serial number can be up to eight characters long and can comprise of any of these characters:
"A - Z" & "0 - 9".
Holding the [D] key while switching the POWER SWITCH "ON" places the Base Tech II Base Repeater in Serial
Number Display Mode and displays the Base Tech II Base Repeater's Serial Number in the LCD Display as shown
below:
Serial 5000227
Switch the Base Tech II Base Repeater "OFF" to exit from the Serial Number Display Mode.
EEROM Data Check Mode
As soon as the Base Tech II Base Repeater is switched "ON", it will automatically read and check all the data in the
EEROM. If this check finds damaged or corrupted data, the Base Tech II Base Repeater will automatically enter
the Programming Mode and display the following message in the LCD Display:
EROM Data Error
Should this happen, it is necessary to return the Base Tech II Base Repeater to your radio supplier or to a qualified
radio technician who has the facilities to re-program the Base Tech II Base Repeater. Generally the technician
should just “Read” the radio programming and “Rewrite” it back to recover from his error.

Base Tech II Base/Repeater Station Operator’s Manual
27 © Midland Radio Corporation
Hardware Error Detection
The Base Tech II Base Repeater automatically tests for certain hardware faults or failures, and when a fault is
found, it will blink the "ALM" LED display above the LCD Display and indicate the nature of the fault in the LCD
Display as shown below:
RX
TX
CH01
RX PLL Error
This figure indicates an RX PLL error. Common if a Remote Control is used and tries to direct the station to a
Channel position that has not been programmed.
RX
TX
CH01
TX PLL Error
This figure indicates a TX PLL error.
RX
TX
CH01
PA Error
This figure indicates a PA error. PA Error can be tripped by:
a) Low TX Power, generally if TX output is at 40% of rated output or lower.
b) High VSWR
c) Actual failure of the Power Amplifier.
Should the Base Tech II Base Repeater indicate any of these errors, it is necessary to return the Base Tech II Base
Repeater to your radio supplier or to a qualified radio technician to have the fault corrected.

Base Tech II Base/Repeater Station Operator’s Manual
28 © Midland Radio Corporation
RS232C Communications Error
If a fault is encountered during programming of the Base Tech II Base Repeater, one of the following messages
may be displayed in the LCD Display:
o Over Run Error
o Framing Error
o Parity Error
o Unknown Command
o Data Unmatch
o Send Error
o Answer Timeout
o Receive Timeout
Please switch the Base Tech II Base Repeater "OFF", and then back "ON", and try re-programming the Base Tech
II Base Repeater.

Base Tech II Base/Repeater Station Operator’s Manual
29 © Midland Radio Corporation
EXTERNAL OPTION PORT/ REMOTE CONTROL
25 pin D-sub connector for remote control is provided on the rear panel. The functions of each pin are as
follows:
Pin
No. Name Description I/O Levels Comments
1 CH0 LSB external binary channel selection I 0-+5VDC 000000 is Channel 1
2 CH1 External binary channel selection I 0-+5VDC
3 CH2 External binary channel selection I 0-+5VDC
4 CH3 External binary channel selection I 0-+5VDC 1111 is Channel 16
5 CH4/SCAN
External binary channel selection
(Scan on/off) I 0-+5VDC Remote Scan and Monitor are
enabled under scan options and
6 CH5/MON
MSB external binary channel selection
(Remote Monitor) I 0-+5VDC reduce external channel selection
to 4 bits.
7 GND
8 RSSI Receive signal strength indicator O 0-+2VDC analog
9 DISC OUT Discriminator audio out O
≈
330mVrms 1KHz @
±
3KHz
10 SQ CONT Squelch control I
11 BUSY Channel busy indication O 0-+5VDC 5V=busy
12 MUTE External audio mute I 0-+5VDC 0V=muted
13 MOD1 External audio modulation input I
≈
50mVrms 1Khz for
±
3KHz
14 GND
15 PTT Push to talk I 0-+5VDC 0V=transmit
16 MOD2 External modulation input I
≈
400mVrms 1KHz for
±
3KHz After limiter and filtering
17 SIMP Simplex mode selected O 0-+5VDC 0V=simplex
18 ERR Alarm indication O 0-+5VDC 5V=alarm
19 DECODE Decode valid indication O 0-+5VDC 5V=valid signaling
20 RX AUD1 Buffered receive audio O
≈
700mVrms 1KHz @
±
3KHz 1&2 Can produce 0 dBm into 600
21 RX AUD2 Buffered receive audio O
≈
700mVrms 1KHz @
±
3KHz ohm input
22 TX OUT O
23 EXT PW/SW External power switch I 0-Open collector 0V=off
24 REMOTE External channel selection mode I 0-+5VDC 0V=external
25 +12V Regulated +12 VDC O + 12 VDC 850mA max
NOTE: In order for Remote Channel Selection to work, the “Low” signal on pin 24 MUST be present when the unit
is turned on. Optional Remote Terminations may have a different pin out connections.
If Remote Scan is enabled in programming (ON), 16 channels are accessible,
If Remote Scan is OFF then 64 channels are accessible, but SCAN and MON are no longer available from
Remote.
‡@@@
@‡
Pin 13 Pin 1
Pin 25 Pin 14

5900 PARRETTA DRIVE • KANSAS CITY • MISSOURI • 64120
PHONE: (816) 241-8500 • FAX: (816) 241-5713
www.midlandradio.com