Miele Washing Machine W3240 Users Manual FastIron 07300j FIPS And Common Criteria Configuration Guide
2015-01-24
: Miele Miele-Washing-Machine-W3240-Users-Manual-222726 miele-washing-machine-w3240-users-manual-222726 miele pdf
Open the PDF directly: View PDF
.
Page Count: 64
- Contents
- Caring for our environment 2
- Warning and Safety instructions 6
- Description of the machine 10
- Before using for the first time 12
- Washing environmentally and economically 13
- How to wash correctly 14
- Additional options 19
- Spinning 20
- Programme chart 21
- Programme sequence 23
- Garment care label symbols 25
- Changing the programme sequence 26
- Detergent 28
- Cleaning and care 31
- Problem solving guide 34
- The programme does not start 34
- The wash programme stops and a fault indicator light comes on 35
- A fault indicator light comes on but the wash programme continues as normal 36
- General problems 37
- An unsatisfactory wash result 38
- The drum door does not open when you press the Door button 39
- Opening the drum door in the event of a blocked drain outlet and/or power failure 40
- After sales service 42
- Installation and connection 43
- Consumption data 54
- Technical data 55
- Programmable functions 57
- Optional accessories 62

Operating instructions
for Washing machine
W 3240
To avoid the risk of accidents or
damage to the machine it is
essential to read these instructions
before it is installed and used for the
first time. M.-Nr. 07 616 410
en-GB

Disposal of the packing
material
The transport and protective packing
has been selected from materials which
are environmentally friendly for disposal
and can normally be recycled.
Ensure that any plastic wrappings,
bags etc. are disposed of safely and
kept out of the reach of babies and
young children. Danger of suffocation!
Rather than just throwing these
materials away, please ensure they are
offered for recycling.
Disposal of your old machine
Electrical and electronic machines
often contain materials which, if
handled or disposed of incorrectly,
could be potentially hazardous to
human health and to the environment.
They are, however, essential for the
correct functioning of your machine.
Please do not therefore dispose of it
with your household waste.
Please dispose of it at your local
community waste collection / recycling
centre or contact your Dealer for
advice. Ensure that it presents no
danger to children while being stored
for disposal.
It should be unplugged or disconnected
from the mains electricity supply by a
competent person.
Caring for our environment
2

Caring for our environment . . . . . . . . . . . . . . . . . . . . . . . . . . . . . . . . . . . . . . . . . 2
Warning and Safety instructions . . . . . . . . . . . . . . . . . . . . . . . . . . . . . . . . . . . . . 6
Description of the machine. . . . . . . . . . . . . . . . . . . . . . . . . . . . . . . . . . . . . . . . . 10
Control panel .....................................................10
Before using for the first time. . . . . . . . . . . . . . . . . . . . . . . . . . . . . . . . . . . . . . . 12
Washing environmentally and economically . . . . . . . . . . . . . . . . . . . . . . . . . . 13
Energy and water consumption ....................................13
Detergent .....................................................13
Choosing the correct additional option (Short, Soak, Pre-wash)............13
When drying with a tumble dryer ...................................13
How to wash correctly. . . . . . . . . . . . . . . . . . . . . . . . . . . . . . . . . . . . . . . . . . . . . 14
Additional options . . . . . . . . . . . . . . . . . . . . . . . . . . . . . . . . . . . . . . . . . . . . . . . . 19
Short............................................................19
Pre-wash ........................................................19
Soak ............................................................19
Water plus .......................................................19
Spinning . . . . . . . . . . . . . . . . . . . . . . . . . . . . . . . . . . . . . . . . . . . . . . . . . . . . . . . . 20
Final spin speed ..................................................20
Rinse and interim spin ...........................................20
To omit the final spin (Rinse hold) ..................................20
To omit rinse and interim spin and the final spin .......................20
Programme chart . . . . . . . . . . . . . . . . . . . . . . . . . . . . . . . . . . . . . . . . . . . . . . . . . 21
Programme sequence . . . . . . . . . . . . . . . . . . . . . . . . . . . . . . . . . . . . . . . . . . . . . 23
Garment care label symbols . . . . . . . . . . . . . . . . . . . . . . . . . . . . . . . . . . . . . . . . 25
Contents
3

Changing the programme sequence . . . . . . . . . . . . . . . . . . . . . . . . . . . . . . . . . 26
Cancelling a programme ............................................26
Interrupting a programme ...........................................26
Changing a programme ............................................26
Skipping a programme stage ........................................26
Adding or removing laundry after a programme has started ................27
Detergent . . . . . . . . . . . . . . . . . . . . . . . . . . . . . . . . . . . . . . . . . . . . . . . . . . . . . . . 28
The correct detergent ..............................................28
Water softeners ...................................................29
Washing with several components ....................................29
Fabric conditioners and liquid starch ..................................30
Automatic dispensing of fabric conditioner or liquid starch to laundry at the
end of a programme .............................................30
Adding fabric conditioner or starch separately ........................30
Colour run and dye removers / dyes ...................................30
Cleaning and care . . . . . . . . . . . . . . . . . . . . . . . . . . . . . . . . . . . . . . . . . . . . . . . . 31
External casing and fascia panel .....................................31
Extra cleaning ..................................................31
Cleaning the detergent dispenser drawer...............................31
Cleaning the water inlet filters ........................................33
Problem solving guide . . . . . . . . . . . . . . . . . . . . . . . . . . . . . . . . . . . . . . . . . . . . 34
The programme does not start .......................................34
The wash programme stops and a fault indicator light comes on ............35
A fault indicator light comes on but the wash programme continues as normal. . 36
General problems .................................................37
An unsatisfactory wash result ........................................38
The drum door does not open when you press the Door button..............39
Opening the drum door in the event of a blocked drain outlet and/or power failure 40
Blocked drain outlet .............................................40
Contents
4

After sales service . . . . . . . . . . . . . . . . . . . . . . . . . . . . . . . . . . . . . . . . . . . . . . . . 42
Future updates (PC) .............................................42
Appliance guarantee ............................................42
Optional spare parts and accessories ...............................42
Installation and connection . . . . . . . . . . . . . . . . . . . . . . . . . . . . . . . . . . . . . . . . 43
Front view........................................................43
Rear view ........................................................44
Installation surface.................................................45
Installing the washing machine ....................................45
Removing the transit bars ...........................................45
Re-fitting the transit bars ............................................47
Levelling the machine ..............................................48
Screwing out and adjusting the feet .................................48
Building under a continuous worktop/in a kitchen run ...................49
Washer and Dryer stack ..........................................49
The Miele water protection system ....................................50
Connection to the water supply .......................................51
Connection to the drainage system....................................52
Electrical connection U.K. ...........................................53
Consumption data . . . . . . . . . . . . . . . . . . . . . . . . . . . . . . . . . . . . . . . . . . . . . . . . 54
Technical data . . . . . . . . . . . . . . . . . . . . . . . . . . . . . . . . . . . . . . . . . . . . . . . . . . . 55
Programmable functions. . . . . . . . . . . . . . . . . . . . . . . . . . . . . . . . . . . . . . . . . . . 57
Water plus system .................................................57
Gentle action .....................................................58
Top-up rinse for Cottons ............................................59
Memory function ..................................................60
Soak ............................................................61
Optional accessories. . . . . . . . . . . . . . . . . . . . . . . . . . . . . . . . . . . . . . . . . . . . . . 62
CareCollection ....................................................62
Contents
5

This washing machine conforms to
current safety requirements.
Inappropriate use can, however,
lead to personal injury and damage
to property.
To avoid the risk of accidents and
damage to the washing machine,
please read these instructions
carefully before using it for the first
time. They contain important
information on its installation, safety,
use and maintenance.
Keep these instructions in a safe
place and ensure that new users are
familiar with the content. Pass them
on to any future owner.
Correct application
~This washing machine is for
domestic use only and can only be
used to wash items which are specified
by the manufacturer to be
machine-washable on the wash care
label, and textiles composed of
hand-washable wool or wool blend
fabrics as well as satin, lace, silk and
other hand-washable garments.
Any other applications may be
dangerous. Miele cannot be held liable
for damage resulting from incorrect or
improper use or operation.
~This washing machine is not
intended for use by persons (including
children) with reduced physical,
sensory or mental capabilities, or lack
of experience and knowledge, unless
they are supervised whilst using it or
have been shown how to use it by a
person responsible for their safety.
Safety with children
~Keep children away from the
washing machine at all times. It is not a
toy! To avoid the risk of injury do not
allow children to play on or near it or to
play with its controls. Supervise
children whilst you are using it.
~Older children may only use the
washing machine if its operation has
been clearly explained to them and
they are able to use it safely,
recognising the dangers of misuse.
~For machines with a 'porthole' door,
remember that the porthole glass will
be hot when washing at very high
temperatures.
Do not let children touch it.
Warning and Safety instructions
6

Technical safety
~Before setting up the washing
machine, check it for any externally
visible damage.
Do not install or use a damaged
washing machine.
~Before connecting the washing
machine, ensure that the connection
data on the data plate (voltage and
connected load) match the mains
electricity supply. If in any doubt,
consult a qualified electrician.
~The electrical safety of this washing
machine can only be guaranteed when
continuity is complete between it and
an effective earthing system which
complies with current local and national
safety regulations. It is most important
that this basic safety requirement is
present and regularly tested, and
where there is any doubt the household
wiring system should be inspected by a
qualified electrician. The manufacturer
cannot be held liable for the
consequences of an inadequate
earthing system (e.g. electric shock).
~Do not connect the washing
machine to the mains electricity supply
by an extension lead. Extension leads
do not guarantee the required safety of
the appliance (e.g. danger of
overheating).
~Faulty components must only be
replaced by genuine Miele original
spare parts. Only when these parts are
fitted can the safety standards of the
machine be guaranteed.
~Unauthorised repairs could result in
unforeseen dangers for the user, for
which Miele cannot accept liability.
Repairs should only be undertaken by a
Miele approved service technician.
Ensure current is not supplied to the
machine until after maintenance or
repair work has been carried out.
~If the connection cable is faulty it
must only be replaced by a Miele
approved service technician to protect
the user from danger.
~In the event of a fault or for cleaning
purposes, the washing machine is only
completely isolated from the electricity
supply when:
– it is switched off at the wall socket
and the plug is withdrawn, or
– it is switched off at the mains, or
– the mains fuse is withdrawn, or the
screw-out fuse is removed (in
countries where this is applicable).
~This washing machine must only be
connected to the on-site water supply
using a new hose kit. Old hoses must
not be re-used.
~In countries where there are areas
which may be subject to infestation by
cockroaches or other vermin, pay
particular attention to keeping the
machine and its surroundings in a
clean condition at all times. Any
damage which may be caused by
cockroaches or other vermin will not be
covered by the guarantee.
Warning and Safety instructions
7

~This washing machine may only be
used in mobile installations such as
ships if a risk assessment of the
installation has been carried out by a
suitably qualified engineer.
~Do not make any alterations to the
washing machine, unless authorised to
do so by Miele.
Correct use
~Do not install your washing machine
in rooms where temperatures below
freezing may occur. Frozen hoses may
burst or split. The reliability of the
electronic control unit may be impaired
at temperatures below freezing point.
~Before using the washing machine
for the first time, check that the transit
bars at the rear of the machine have
been removed (see section on
"Installation and connection"). During
spinning, a transit bar which is still in
place may result in damage to both the
machine and adjacent furniture or
appliances.
~Turn off the stopcock if the machine
is to be left for any length of time (e.g.
holiday), especially if there is no floor
drain (gully) in the immediate vicinity.
~Flooding danger.
If hooking the drain hose into a wash
basin, check that the water can drain
off quickly enough to prevent the sink
from overflowing. Make sure the drain
hose is secure, so that the force of the
water flowing out of the hose does not
dislodge it.
~Take care to ensure that foreign
objects (e.g. nails, pins, coins, paper
clips) do not find their way into the
machine with the laundry. These may
damage components of the machine
(e.g. suds container, drum), which in
turn can result in damage to the
laundry.
~If the correct amount of detergent is
dispensed, the machine should not
need to be descaled. If, however, you
do wish to descale the machine only
use proprietary non-corrosive descaling
agents and strictly observe the
instructions on the packaging. A
special descaling agent is available to
order from the Miele Spare Parts
Department or via the internet on
www.miele-shop.com.
Warning and Safety instructions
8

~Textiles which have been
pre-treated in solvent based cleaning
agents must be thoroughly rinsed in
clean water before being washed in the
machine.
~Never use solvent based cleaning
agents, e.g. those containing benzene,
in this machine, as this may result in
damage to component parts and create
toxic fumes. Such agents also pose a
fire and explosion hazard.
~Never use solvent based cleaning
agents, e.g. those containing benzene,
to clean the outside surfaces of this
machine. They can cause damage to
plastic surfaces.
~Only use dyes specified by the
manufacturer as being suitable for use
in a domestic washing machine. Always
observe the manufacturer's instructions
carefully.
~Colour run and dye removers
contain sulphur compounds which can
cause damage such as corrosion. Do
not use these products in this machine.
~If liquid detergent comes into
contact with the eyes, rinse them
thoroughly with lukewarm water imme-
diately. If swallowed, seek medical
assistance immediately and retain the
packaging or label for reference. Those
with skin problems or sensitive skin
should avoid their skin coming into
contact with liquid detergent.
~Only remove laundry from the
washing machine once the drum has
stopped turning. Reaching into a
moving drum is extremely dangerous
and could result in injury.
Accessories
~Accessory parts may only be fitted
when expressly approved by Miele. If
other parts are used, guarantee,
performance and product liability
claims will be invalidated.
Miele cannot be held liable for
damage caused by non-compliance
with these Warning and Safety
instructions.
Warning and Safety instructions
9

Control panel
aDisplay
See the following page for more
information.
bStart button
Starts the wash programme.
cAdditional option buttons
Additional options can be added to
the basic programme.
Use the top button to select either
the Short,Pre-wash,orSoak option.
Use the lower button to select the
Water plus option.
Indicator light on = option selected
Indicator light off = option not
selected
dIndicator lights for spin speed,
Rinse hold or Without spin.
eSpin button
For selecting the final spin speed,
Rinse hold or Without spin.
fProgramme selector
For selecting the wash programme
and temperature for that programme.
The programme selector can be
turned clockwise or anti-clockwise.
gProgramme sequence indicator
lights
Show which section of the wash
programme has been reached.
hCheck lights
iI-On/0-Off button
For switching the machine on or off
or interrupting a programme.
jDoor button
Opens the machine door.
Description of the machine
10

Display
The display shows:
–the programme duration (Time left
display)
–the programmable functions
Programme duration
After the start of a programme, the
estimated programme duration will
appear in the display in hours and
minutes.
During the first 10 minutes the washing
machine measures how much water is
being absorbed by the laundry and
uses this to calculate the load. The
programme duration may be longer or
shorter depending on this absorbency
rate.
Programmable functions
The programmable functions can be
used to tailor washing programmes to
suit your individual requirements. In
programming mode, the display will
show the function selected.
Description of the machine
11

Before using the machine for the first
time ensure that it is correctly
installed and connected. See
"Installation and connection". Also
check that the drain filter is securely
tightened. Otherwise there is a risk
of water leakage during use.
This washing machine has
undergone a thorough functional test
in the factory and there will be some
residual water in the drum from this
process.
For safety reasons spinning is not
possible until the machine has been
prepared for using for the first time. To
activate the spinning function you must
run a wash programme without laundry
and without detergent.
Using detergent could result in an
excessive build-up of foam.
This also activates the ball valve. The
ball valve prevents detergent escaping
from the suds container into the sump
during a wash programme, thus making
maximum use of the detergent.
^Open the stopcock.
^Press the I-On/0-Off button in.
^Turn the programme selector to
Cottons 60°C.
^Press Start.
When this programme has finished turn
the programme selector to Finish. Your
washing machine is ready for using for
the first time.
Before using for the first time
12

Energy and water consumption
–Water consumption and energy
usage are determined by the size of
the load.
To make the most out of your
machine, load the maximum dry load
for the programme you are using.
–Use the Automatic and Express
programmes for small loads.
–When smaller amounts of laundry are
washed using the Cottons
programmes, the automatic load
recognition system will reduce the
amount of water, time and energy
used. This may mean that the time
left shown in the display is adjusted
during the course of the wash
programme.
– Using the Cottons 60°C programme
instead of the Cottons 95°C
programme will give energy savings
of between 35% and 45%. This is
sufficient for most levels of soiling.
For stubborn or old stains, use the
Soak option.
–Use the additional option Soak
instead of Pre-wash. If Soak is
followed immediately by a main
wash, the same suds are used.
Detergent
–Do not exceed the amounts of
detergent recommended by the
manufacturer on the packaging.
–Reduce the amount of detergent with
smaller loads (approx. 1/3less than
the amount recommended can be
used when washing a half load).
Choosing the correct additional
option (Short, Soak, Pre-wash)
Select:
–A wash programme together with the
Short option for light to normal soiling
where there are no obvious marks.
– A wash programme without any
additional options for normal to
heavy soiling with visible staining.
– A wash programme together with the
Soak option for heavily soiled
laundry.
– The Pre-wash additional option for
laundry with large amounts of dirt
(e.g. dust, sand).
When drying with a tumble dryer
Selecting the highest possible spin
speed for the wash programme will
save energy when drying in a tumble
dryer afterwards.
Washing environmentally and economically
13

Brief instructions
The headings numbered A,B,C,...
show the operating sequence and can
be used as brief instructions.
ASort the laundry
^Empty all pockets.
,Foreign objects (e.g. nails,
coins, paper clips, etc.) can cause
damage to garments and
components in the machine.
^Badly soiled areas, stains etc. should
be cleaned as soon as possible,
preferably whilst still fresh. Spillages
should be carefully dabbed off using
a soft colourfast cloth. Do not rub!
Badly soiled areas can be pre-treated
with liquid detergent, stain removers
etc. first, following the manufacturer's
instructions. With particularly stubborn
stains ask your dry cleaner for advice.
,If you use a solvent-based clean-
ing agent (e.g. one containing ben-
zene) to pre-treat a stain, make sure
that any plastic parts (e.g. buttons)
are protected, and that the cleaning
agent is rinsed off before washing the
garment in the machine.
,Do not use solvent-based
cleaning agents in this machine.
^Sort the laundry by colour and by
care label. Most garments have a
textile care label in the collar or side
seam.
Dark textiles often contain excess dye
and should be washed separately
several times before being included in
a mixed load. Always wash whites and
coloureds separately.
– Curtains: Remove lead weights first
or place in a laundry bag.
–Underwiring and collar stiffeners:
Any loose wiring in bras, shirt collar
stiffeners, etc. should be removed or
sewn in.
–Knitted garments, trousers and
jeans, T-shirts and sweat shirts: Turn
inside out, if recommended by the
manufacturer.
–Close any zips, fasten hooks and
eyes etc before washing.
–Fasten duvet covers etc. to prevent
small items from being rolled up
inside them.
Do not wash any items in this machine
which are specified by the
manufacturer as not washable on the
care label. (hsymbol)
How to wash correctly
14

BSwitch on the washing machine
CLoad the drum
^Press the Door button to open the
drum door.
^Unfold the laundry and load loosely
in the drum. Mixing both large and
small items gives better wash results
and also helps distribute the load
evenly during spinning.
The most efficient use of energy and
water is achieved when a full load is
washed. Do not overload as this causes
creases and reduces cleaning
efficiency.
Make sure that no garments are
caught between the drum door and
seal.
^Shut the door with a gentle swing.
DSelect a programme
^Turn the programme selector to the
required programme.
The estimated programme duration will
then show in the display.
How to wash correctly
15

ESelect additional option(s)
Each press of the top button selects the
additional options in the following order:
Short,Pre-wash,Soak, no selection.
Use the lower button to select the Water
plus option.
^Select the option you want.
Not all the additional options are
suitable for every programme.
You can only select additional
options which are compatible with
the programme being used.
FSelect a spin speed
^Press the "Spin" button repeatedly
until the indicator light for the spin
speed you want comes on.
How to wash correctly
16

GAdd detergent
It is important to dispense the correct
amount, because...
. . . too little detergent results in:
–Laundry not getting properly clean
and with time it may become grey
and hard to the touch.
–Greasy particles clinging to the
laundry.
–Limescale deposits on the heater
elements.
. . . too much results in:
– Excessive foam which causes a low
level of agitation and poor wash,
rinse and spin results.
– Higher water consumption (an
additional rinse cycle will
automatically switch in).
– A burden to the environment.
^Pull out the detergent drawer and
place detergent in the compartments
as follows:
i
Detergent for the pre-wash (divide
the total recommended amount as
follows: add 1/3to compartment i
and 2/3to compartment j).
j
Detergent for the main wash,
including Soak if selected
§
Fabric conditioners or liquid starch
^Close the detergent drawer.
See "Detergent" for further information.
How to wash correctly
17

HStart the programme
^Press the flashing Start button.
The estimated programme duration will
show in the display. During the first
10 minutes the washing machine
measures how much water is being
absorbed by the laundry. The
programme duration may be longer or
shorter depending on this absorbency
rate.
IRemove the laundry
Only remove laundry from the
machine once the drum has
stopped turning. Reaching into a
moving drum is extremely
dangerous and could result in injury.
When the programme has finished, the
Anti-crease/Finish indicator light will
come on.
^Press the Door button to open the
drum door.
^Remove the laundry.
Check that all items have been
removed from the drum. Items left in
the drum could discolour other items
in the next wash or become
discoloured themselves.
^Check the folds in the door seal for
any small articles, e.g. buttons which
might be lodged there.
^Press and release the I-On/0-Off
button and turn the programme
selector to Finish.
^Close the drum door. Otherwise there
is the danger of objects being placed
inadvertently in the drum. If these
remained unnoticed and were
washed in the next load, they could
damage the laundry.
How to wash correctly
18

You can use the additional option
buttons to augment the basic wash
programmes.
Short
For light to nomal soiling with no
visible staining.
The duration of the main wash is
reduced.
In the Dark garments and Denim
programmes, 2 rinses will be carried
out instead of 3.
Pre-wash
For laundry with large amounts of dirt
e.g. dust, sand.
Soak
For heavily soiled and stained items
with protein stains (e.g. blood, fats
and oils, cocoa).
–A length of time of between 30
minutes and 2 hours can be
programmed in 30 minute
increments for the soak process.
–The default setting is 2 hours.
To programme in a different soak
period see "Programmable functions –
Soak duration".
Water plus
If you want to increase the water level
for a wash process you can choose one
of four settings for the Water plus
button. See "Programmable functions -
Water plus system".
The machine is set at the factory so that
the water level in the main wash and
rinses will be increased if the Water
plus button is pressed.
Additional options
19

Final spin speed
Programme rpm
Cottons 1400
Minimum iron 1200
Delicates 600
Automatic 900
Dark garments 1200
Shirts 600
Denim 900
Express 1400
Silks 400
Woollens 1200
Drain/Spin 1400
Separate rinse/Starch 1200
You can reduce the final spin speed.
However, you cannot select a final spin
speed higher than that shown in the
chart above.
Rinse and interim spin
There is a spin after the main wash and
between the rinses. A reduction in the
final spin speed will also reduce the
interim spin speed. If a spin speed of
less than 700 rpm is selected for a
Cottons programme, an additional rinse
is introduced.
To omit the final spin (Rinse hold)
^Select the Rinse hold setting. The
laundry will not be spun and will
remain suspended in the final rinse
water. This reduces creasing if the
laundry is not going to be removed
from the drum immediately after the
end of the programme.
–To start the final spin:
The Rinse hold indicator light above
the "Spin" button will be lit up. Use
the "Spin" button to select the spin
speed you want. The final spin will
then begin.
– To end the programme:
Press the Door button. The water will
drain away. Press the Door button
again to open the door.
To omit rinse and interim spin and
the final spin
^Select the Without spin setting. The
laundry is not spun after the final
rinse. The water will drain away and
the machine will go straight into the
anti-crease stage. An additional rinse
is introduced if this setting is selected
with the Cottons,Minimum Iron and
Automatic programmes.
Spinning
20

Cottons 9876* 30°C to 95°C Max. load 6.0 kg
Fabric Cottons, linens or cotton mix fabrics.
Additional options Short or Pre-wash or Soak, Water plus
Note for test institutes:
Short programme: 3.0 kg load and additional option Short
Minimum iron
876421*
30°C to 60°C Max. load 3.0 kg
Fabric Synthetics, mixed fibres and easy care cottons. Reduce the
spin speed for fabrics which crease easily.
Additional options Short or Pre-wash or Soak, Water plus
Delicates 21ac* cold to 40°C Max. load 2.0 kg
Fabric For delicate garments made of synthetic fibres, mixed
fibres, rayon and easy care cottons.
Curtains, including net curtains, specified as
machine-washable by the manufacturer.
Additional option Short or Pre-wash or Soak
Notes – Dust in curtains usually makes using a programme with
Pre-wash advisable.
– For curtains which crease easily, reduce the spin speed
or select Without spin.
Automatic 72* 40°C Max. load 3.5 kg
Fabric Mixed loads of garments suitable for the Cottons and
Minimum iron programmes. Sort according to colour.
Additional options Short or Pre-wash or Soak, Water plus
Dark garments 72* 40°C Max. load 3.0 kg
Item Dark garments made from cotton or mixed fibres.
Additional option Short or Pre-wash or Soak
Note Wash inside out.
Programme chart
21

Shirts 40°C Max. load 2.0 kg
Additional option Pre-wash or Soak
Notes –Pre-treat collars and cuffs if necessary.
–Wash silk garments in the Silks programme.
Denim 40°C Max. load 3.0 kg
Additional option Short or Pre-wash or Soak
Notes –Wash denim inside out.
–Denim often contains excess dye and will run during the
first few washes. Wash light and dark coloured items
separately.
Express 72* 40°C Max. load 3.0 kg
Fabric Small loads of items which require freshening up and which
can be washed in a Cottons programme.
Silks c/* 30°C Max. load 1.0 kg
Fabric Silks and other handwashable fabrics with no wool content,
e.g. satin, lace and silk.
Additional option Water plus
Note Place socks, tights, bras etc. in a washing bag.
Woollens ac/* cold to 40°C Max. load 2.0 kg
Fabric Machine-washable or hand-washable wool or wool blend
fabrics. If the care label does not specify a temperature,
wash using the cold setting.
Drain/Spin Max. load 6.0 kg
Note Make sure you select the appropriate spin speed.
Drain only: Select Without spin.
Separate rinse/Starch Max. load 6.0 kg
Note When using starch, laundry should be washed but not
treated with fabric conditioner.
* Please note that the "buckets" represent garment care label symbols. See
"Garment care label symbols".
Programme chart
22

Main wash Rinses Spinning
Water
level
Wash
rhythm
Water
level
Rinses Interim
spin
Final spin
Cottons dad2-41) LL
Minimum iron da(2-32) LL
Delicates ebe3–L
Automatic da(2-32) LL
Dark garments da(3LL
Shirts (a(2–L
Denim (a(3–L
Express dad2LL
Silks (d(2–L
Woollens (c(2LL
Drain/Spin –––– – L
Separate
rinse/Starch
––(1–L
d= Low water level
(= Medium water level
e= High water level
a= Normal wash rhythm
b= Gentle action
c= Woollens
d= Silks
See the following page for more information about the programme sequences.
Programme sequence
23

This washing machine has fully
electronic controls with automatic load
recognition. It takes in the right amount
of water required for the programme
depending on the amount of laundry
and its absorbency rate. This means
that programme cycles and durations
can vary.
The programme sequences outlined in
the chart are based on the basic
programme with a full load. Additional
options which can be selected have not
been taken into account.
The programme sequence display
shows the stage the programme has
reached.
Special features in the programme
sequences:
Anti-crease:
At the end of every programme, with
the exception of the Woollens
programme, the drum continues to turn
at intervals for up to 30 minutes to help
prevent creasing. The door can be
opened and laundry removed at any
time during the anti-crease phase.
1) A second rinse is carried out when a
temperature of 60°C to 95°C has
been selected. A third rinse is
carried out when a temperature
below 60°C is selected.
A third/fourth rinse is carried out if:
– there is too much foam in the drum
– a spin speed lower than 700 rpm has
been selected
–No uhas been selected
2) A third rinse is carried out if:
No uhas been selected
Programme sequence
24

Washing
The figure quoted in the bucket is the
maximum temperature the garment
can be washed at. The number of
bars under the symbol indicate the
level of agitation permitted.
9No bar under the symbol:
= normal agitation
4One bar under the symbol:
= reduced agitation
cTwo bars under the symbol:
= much reduced agitation
/Hand wash (if no temperature
is specified use the lowest
temperature or cold)
hDo not wash
Drying
The number of dots indicates the
drying temperature
qNormal temperature
rLow temperature
sDo not tumble dry
Ironing
The number of dots indicates the
ironing temperature
IHot iron (max sole plate temp.
approx. 200°C)
HMedium hot iron (max sole
plate temp. approx. 150°C)
GCool iron (max sole plate
temp. approx. 110°C). Do not
steam iron garments carrying
this symbol.
JDo not iron
Professional cleaning
fDry clean only. The letters
indicate the type of cleaning
agent required.
p
wProfessional Wet Clean only
DDo not dry clean
Bleaching
xAny oxidising bleaching
agent can be used
{Only use an oxygen based
bleach or a non-chlorine
bleach
zDo not bleach
Garment care label symbols
25

Cancelling a programme
You can cancel a programme at any
time after it has started.
^Turn the programme selector to
Finish.
The programme has been cancelled
when the Anti-crease/Finish indicator
light comes on (this can take up to 30
seconds).
If you want to select a different
programme:
^Switch the machine off and then back
on again with the I-On/0-Off button.
^Check that there is still detergent in
the detergent drawer. Add detergent,
if necessary.
^Select and start a new programme.
If you want to remove the laundry:
^Turn the programme selector to
Drain/Spin. Make sure the spin speed
is appropriate for the laundry.
^Press the Start button.
The suds will be pumped away.
^Press the Door button.
Interrupting a programme
^Switch the machine off with the
I-On/0-Off button.
To continue with the same programme:
^Switch the machine on with the
I-On/0-Off button.
Changing a programme
After the start of a programme it is no
longer possible to select a different
programme.
Temperature
It is possible to select a different
temperature up to 6 minutes after the
programme has started.
Spin speed
It is possible to change the spin speed
at any time.
Additional options
It is possible to select or deselect the
Water plus additional option up to 6
minutes after the programme has
started.
Skipping a programme stage
^Turn the programme selector to
Finish.
As soon as the programme sequence
indicator light for the programme stage
you want the programme to continue at
starts flashing:
^Turn the programme selector back to
the appropriate programme again
within 4 seconds.
Changing the programme sequence
26

Adding or removing laundry
after a programme has started
^Press the Door button in until the
drum door springs open.
^Add or remove items.
^Close the door.
The programme will continue
automatically.
Please note:
Once a programme has started the
machine cannot recognise any
adjustment to the load.
For this reason, if laundry is added or
removed after the start of a programme,
the machine will always complete the
programme cycle assuming a full load
which can lead to an increase in the
programme duration shown in the
display.
The door cannot be opened, if:
–the suds temperature is above 55°C.
–the water is above a certain level.
–the programme has reached the
Final spin stage.
Changing the programme sequence
27

The correct detergent
All modern detergents produced for automatic washing machines are suitable.
Use dispensing aids, e.g. balls, if these are supplied with the detergent. Tablets
are suitable for full loads but note that it may be impractical to reduce tablets for
smaller loads. Some tablets do not dissolve as rapidly as others and may not be
suitable for programmes with short durations.
Do not use biological detergents on silk as the enzymes may damage the silk!
Instructions for use and recommended amounts for a full load are given on the
detergent packaging.
Liquid detergent should be dispensed using a ball provided by the manufacturer
for programmes without a pre-wash.
For programmes with a pre-wash you will need to purchase a special container
from the Miele Spare Parts department which sits in the main wash compartment
jof the detergent dispenser drawer. Add liquid detergent to this container for
the main wash and to compartment ifor the pre-wash.
See "Optional accessories" at the end of this booklet for details of Miele branded
care products, including detergents and fabric conditioners.
Universal
detergent
Detergent for
coloureds
Detergent for
delicates
Cottons X X
Minimum iron X X
Delicates X
Automatic X X
Dark garments X1)
Shirts X X
Denim X1)
Express X X
Silks Liquid detergent for machine-washable silk and woollens
Woollens Liquid detergent for machine-washable woollens
Separate
rinse/Starch
Liquid starch, starch formulations, viscous liquid starch, starch
1) Only use liquid detergent
Detergent
28

The right amount to dispense will
depend on the following:
–The quantity of laundry.
–The soiling level of the laundry.
Lightly soiled
No visible dirt or stains. Possibly
slight body odour.
Normally soiled
Visibly dirty and/or just a few slight
stains.
Heavily soiled
Visible dirt and stains and/or dried on
soiling.
– The water hardness level.
Check with your local water supplier
if you do not know the hardness level
in your area.
Water softeners
A water softener can be used to cut
down on the use of detergents in hard
water areas. Dispense according to the
amount specified on the packaging.
First add detergent and then the water
softener.
Miele branded water softening tablets
are available from the Miele Spare Parts
Department or via the internet on
www.miele-shop.com
Use a quantity of detergent as for soft
water.
Miele do not recommend connecting
the machine to a household water
softener.
Washing with several
components
If you wash using several components
(e.g. special application detergents),
we recommend always dispensing the
agents into compartment jin the
following order:
1. Detergent
2. Water softener
3. Stain remover
This way the agents are distributed
more evenly.
Detergent
29

Fabric conditioners and liquid
starch
Fabric conditioners make garments soft
to handle and help prevent static cling
when tumble drying.
Starch stiffens and gives body to items
of laundry, e.g. shirts, tablecloths and
bed linen.
Automatic dispensing of fabric
conditioner or liquid starch to
laundry at the end of a programme
^Add the fabric conditioner or liquid
starch to compartment §.Do not
exceed the maximum level mark.
It will be automatically dispensed in the
last rinse. At the end of the programme
a small amount of water remains in the
fabric conditioner compartment §.
If starching frequently, the dispenser
compartment and especially the
siphon tube and fabric conditioner
channel will need regular cleaning to
remove any residual starch. See
"Cleaning the detergent dispenser
drawer". Do not add powder starch
formulations or viscous liquid starch
to the §compartment as it will clog
up. See below.
Adding fabric conditioner or starch
separately
^Dispense in accordance with
manufacturer's instructions on the
packaging.
^Add powder or viscose starch to
compartment i.
^Add the fabric conditioner or liquid
starch to compartment §.
^Turn the programme selector to
Separate rinse/Starch
^Select a spin speed.
^Press the Start button.
Colour run and dye removers /
dyes
^Do not use colour run or dye
removers in this washing machine.
^Dyes suitable for use in domestic
washing machines can be used.
However, please note that the salt
used in the dyeing process can
cause corrosion to stainless steel
components in the machine if you
dye frequently. Always observe the
manufacturer's instructions carefully.
Detergent
30

,Disconnect the machine from the
mains electricity supply and
withdraw the plug from the socket
before cleaning the machine.
,The washing machine must not
be hosed down.
A range of Miele branded cleaning and
conditioning agents is available to
order from the Miele Spare Parts
Department, or via the internet on
www.miele-shop.com.
External casing and fascia
panel
Clean the casing using a Miele E-Cloth,
or with a mild, non-abrasive cleaning
agent or soap and water using a well
wrung-out cloth. Wipe dry with a soft
cloth.
^The drum and any stainless steel
outer panels can be cleaned using a
suitable stainless-steel cleaning
agent following the instructions on
the packaging.
,Do not use solvents, abrasive
cleaners, glass cleaners or
all-purpose cleaning agents.
These might damage plastic
surfaces and other components
because of the chemicals they
contain.
Extra cleaning
Carry out a hot wash (70°C or above)
with powder detergent approx. every 6
weeks to help prevent deposits building
up in the machine. These can occur
when washing is mainly done at low
temperatures, and can lead to
unpleasant smells. If you have no
reason to wash occasionally at this high
temperature, then run a Cottons 95°C
programme with detergent but no
laundry at regular intervals.
Cleaning the detergent
dispenser drawer
Remove detergent residues regularly.
^Pull out the detergent dispenser
drawer until a resistance is felt. Press
down the release catch and at the
same time pull the drawer right out of
the machine.
^Clean the detergent drawer with
warm water.
Cleaning and care
31

^Clean the siphon.
1. Remove the siphon from
compartment §and rinse under
warm running water. Clean the
siphon tube in the same way.
2. Replace the siphon.
If starching frequently, thoroughly
clean the siphon and siphon tube
regularly. A build-up of starch will
cause them to get clogged.
Cleaning the detergent dispenser
drawer housing
^Use a bottle brush to remove
detergent residues and limescale
from the jets inside the detergent
dispenser drawer housing.
Cleaning and care
32

Cleaning the water inlet filters
The washing machine has two filters to
protect the inlet valves.
These filters should be checked every
six months or so, or more often if there
are frequent interruptions to the water
supply.
To clean the filter in the union in the
open end of the inlet hose:
^First turn off the stopcock.
^Unscrew the threaded union
connecting the free end of the inlet
hose to the stopcock.
^Remove rubber seal 1from the
recess.
^Using pointed pliers, take hold of
plastic filter bar 2, remove the filter
and clean it.
^Put the filter and seal back in the
reverse order and reconnect the
hose.
^Turn on the stopcock and check the
connection is watertight. If it leaks,
tighten the connection.
To clean the filter in the water inlet
valve:
^Using pliers, carefully loosen the
ribbed plastic nut on the inlet valve
and unscrew.
^Use pointed nose pliers to withdraw
the plastic filter by the bar (see
illustration). Clean, put back and
secure.
The two filters must be put back in
place after cleaning.
Cleaning and care
33

With the help of the following notes minor faults in the performance of the
machine, some of which may result from incorrect operation, can be put right
without contacting the Service Department.
,Repair work to electrical appliances should only be carried out by a
suitably qualified person in strict accordance with local and national safety
regulations. Repairs and other work by unqualified persons could be
dangerous. The manufacturer cannot be held liable for unauthorised work.
The programme does not start
Problem Possible cause Remedy
The Anti-crease/Finish
indicator light is not on,
or the indicator light for
the Start button is not
flashing.
There is no power to
the machine.
Check whether
– the mains plug is plugged
in and switched on.
– the fuse or circuit breaker
has tripped.
– the drum door is closed
properly.
Problem solving guide
34

The wash programme stops and a fault indicator light comes
on
Problem Possible cause Remedy A
The Check drain light
flashes. "– – –" appears
in the display.
The water outlet is
blocked.
Clean the drain filter and the
drain pump as described in
"Problem solving guide -
Opening the drum door in
the event of a blocked drain
outlet and/or power failure".
The drain hose has
been fixed too high.
The maximum delivery head
is1m.
The Check inlet light
flashes. "– – –" appears
in the display.
The water inlet is
blocked.
Open the stopcock.
The filter in the water
inlet hose is dirty.
Clean the filter.
The Check inlet and
Check drain lights are
flashing. "– – –"
appears in the display.
The water protection
system has reacted.
Call the Service Department.
The Soak/Pre-wash or
Rinses indicator light is
flashing. "– – –"
appears in the display.
There is a fault. Start the programme again.
If the fault indicators occur
again, contact the Service
Department.
ATo switch off the fault indicator: switch the washing machine off with the
I-On/0-Off button and turn the programme selector to Finish.
Problem solving guide
35

A fault indicator light comes on but the wash programme
continues as normal
Problem Possible cause Remedy A
The Check drain light
flashes.
The drain outlet is
restricted.
Clean the drain filter and the drain
pump as described in "Problem
solving guide - Opening the drum
door in the event of a blocked
drain outlet and/or power failure".
The Check inlet light
flashes.
The water inlet is
restricted.
Check whether
–the stopcock is opened wide
enough.
– the inlet hose is kinked.
The filter in the
water inlet hose is
dirty.
Clean the filter.
The Excess detergent
check light comes on.
Excessive foam
has built up
during washing.
Use less detergent next time and
follow the manufacturer’s
instructions on dosage given on
the packaging.
The Main wash
indicator light is
flashing.
There is a fault. Start the programme again.
If the fault indicator occurs again,
contact the Service Department.
The Anti-crease/Finish
indicator light is
flashing.
The position of the programme selector was altered
after the start of the programme. Turn the programme
selector back to the programme previously chosen.
ATo switch off the fault indicator: switch the washing machine off with the
I-On/0-Off button and turn the programme selector to Finish.
Problem solving guide
36

General problems
Problem Possible cause Remedy
The machine shakes
during the spin cycle.
The machine feet are not
level.
Level the machine (see
"Installation and
connection").
The laundry has not
been spun properly and
is still wet.
The machine detected an
imbalance during the final
spin and reduced the
spin speed automatically.
Include both large and
small items in the load as
this will give better
distribution.
The laundry has not
been spun satisfactorily.
The spin speed selected
was too low.
Select a higher spin
speed next time.
The pump makes
strange noises.
This is not a fault! These noises occur at the end of
a pump sequence as a normal part of the operation.
There is a lot of
detergent residue in the
detergent drawer.
The water pressure is too
low.
– Clean the filter in the
water inlet.
– Select Water plus.
Powder detergent used
with water softeners can
be sticky.
– Clean the detergent
drawer.
– Add washing powder
and then add the
water softener.
Fabric conditioner is not
completely dispensed or
too much water remains
in the §compartment.
The siphon tube is not
correctly positioned or is
clogged up.
Clean the siphon, (see
"Cleaning and care -
Cleaning the detergent
dispenser drawer").
When laundry is dry it
feels hard to the touch.
Too vigorous wash
action.
Programme in gentle
action and more water.
Not enough detergent
used.
Increase detergent dose
to prevent limescale
build up in laundry.
No fabric conditioner
used.
Use fabric conditioner in
last rinse.
Problem solving guide
37

An unsatisfactory wash result
Problem Possible cause Remedy
Liquid detergent
does not give the
required result.
Liquid detergents
usually contain no
bleaching agents.
They do not remove
fruit, coffee and tea
stains.
–Use a general purpose
detergent containing a
bleaching agent.
–Pour stain removers into
compartment jof the
dispenser drawer and liquid
detergent into a dispenser ball.
–Never put stain removers and
liquid detergent together in the
dispenser drawer.
Grey, greasy
particles cling to
washed laundry.
Insufficient amounts of
detergent were used
to break down the
particles of grease in
heavily soiled laundry.
– Use more detergent.
– Before washing the next load
run a Cottons 95°C programme
with powder detergent but
without a load.
A stale smell is in
the drum and on
laundry.
Low temperature
washing.
– Before washing the next load
run a Cottons 95°C programme
with powder detergent but
without a load.
White residues
which look like
powder detergent
are seen on dark
textiles after
washing.
The detergent
contained compounds
(zeolites) to aid water
softening which are
not soluble in water.
They have ended up
on the laundry.
–Try and brush off the residues
with a soft brush once the
laundry is dry.
–Wash dark textiles using a
detergent which contains no
zeolites. Liquid detergents
usually contain no zeolites.
–Use the Dark garments
programme.
Clothes are coming
out creased.
The machine was
overloaded.
–Reduce quantity of clothes in
drum.
The wrong
programme was used.
–Check care labels and the
programme chart.
–Use easy iron conditioners.
Problem solving guide
38

The drum door does not open when you press the Door button
Possible cause Remedy
The machine is not
connected to the
electricity supply and / or
is not switched on.
Insert the plug in the socket and switch on and / or
switch the machine on with the I-On/0-Off button.
Power cut. Open the drum door as described in "Opening the
drum door in the event of a blocked drain outlet
and/or power failure".
The door was not
correctly engaged.
Press hard against the lock side of the drum door
and then press the Door button.
There is still water in the
drum and the machine is
unable to drain.
Clean the drain filter and the drain pump as
described in the next section.
For safety reasons the drum door cannot be opened if the suds temperature is
higher than 55°C.
Problem solving guide
39

Opening the drum door in the
event of a blocked drain outlet
and/or power failure
^Switch the washing machine off.
There is a lever behind the detergent
drawer fascia panel.
^Remove the lever.
^Use it to open the access flap.
Blocked drain outlet
If the drain outlet is blocked, up to
25 litres of water will be retained in the
machine.
,Caution: if laundry has been
washed at a high temperature, water
draining out of the machine will still
be hot. Danger of scalding!
Procedure for draining the machine
^Place a suitable container under the
access flap.
When draining water from the
machine, do not unscrew the drain
filter completely or take it right out.
^Unscrew the drain filter lid until water
runs out.
To interrupt the flow of water:
^Tighten the drain filter back up again.
Problem solving guide
40

Once the flow of water ceases:
^Remove the drain filter completely.
^Clean it thoroughly.
^Remove any foreign objects (e.g.
buttons, coins, etc.) and fluff from the
filter housing. Turn the impeller by
hand to check that it rotates freely.
Any foreign object causing an
obstruction should be removed.
^Put the drain filter back in place and
secure.
,Make sure the drain filter is
securely tightened. Otherwise there
is a risk of water leakage during use.
Opening the drum door
,Always make sure that the drum
is stationary before reaching into the
machine to remove laundry.
Reaching into a moving drum is
extremely dangerous.
^Pull the emergency release
downwards (see illustration). The
drum door will open.
Problem solving guide
41

In the event of any faults which you
cannot remedy yourself, please
contact:
–your Miele Dealer or
–Miele (see back cover for contact
details).
When contacting your Dealer or Miele,
please quote the model and serial
number of your machine, both of which
are shown on the data plate visible
above the porthole glass when the door
is open.
N.B. A call-out charge will be applied
for service visits where the problem
could have been resolved as
described in these instructions.
Future updates (PC)
The indicator light marked PC is the
interface used by Miele service
technicians during servicing work for
testing purposes and for updating the
machine's programme data.
Appliance guarantee
Please see the guarantee card
supplied with your machine.
Optional spare parts and accessories
Optional spare parts and accessories
for this washing machine are available
from your Miele Dealer, the Miele Spare
Parts Department or via the internet at
www.miele-shop.com.
Please note that telephone calls may
be monitored and recorded for
training purposes.
After sales service
42

Front view
aInlet hose (tested to withstand
pressure of at least 7,000 kPa)
bElectricity supply cable
c-fFlexible drain hose (with
detachable swivel elbow)
gControl panel
hDetergent dispenser drawer
iDrum door
jAccess to drain filter, drain pump
and emergency release
kHandle recesses for moving the
machine
lFour height adjustable feet
Installation and connection
43

Rear view
aProtruding lid for holding when
moving the machine
bElectricity supply cable
cInlet hose (tested to withstand
pressure of at least 7,000 kPa)
dDrain hose
eTransit bar covers
fRestraining clip for inlet hose and
drain hose
gRestraining clips for transit bars
when removed
Installation and connection
44

Installation surface
A concrete floor is the most suitable
installation surface for a washing
machine, being far less prone to
vibration during the spin cycle than
wooden floorboards or a carpeted
surface.
Please note the following points:
^The machine must be level and
securely positioned.
^To avoid vibrations during spinning,
the machine should not be installed
on soft floor coverings.
If installing on a wooden joist floor:
^We recommend a plywood base
(at least 59x52x3 cm). The base
should span several joists and be
bolted to the joists and not only to the
floorboards. Check for the presence
of pipes and cables.
If possible, install the machine in a
corner, as this is usually the most stable
part of the floor.
,If the machine is installed on a
raised plinth, it has to be secured
against slippage during spinning
using retaining clips (available from
the Miele Spare Parts Dept).
Otherwise there is a danger of the
machine moving about.
Installing the washing machine
To manoeuvre the machine out of its
packing case to its installation site hold
it by the edge of the lid where it
protrudes to the rear of the washing
machine as well as by the handle
recesses at the front.
,Ensure that the machine feet and
the floor are dry to prevent the
machine from slipping during the
spin cycle.
Removing the transit bars
^To remove the left and right covers
1. Use a screwdriver to prise out the
cover as illustrated.
2. Pull the cover forwards to remove.
Installation and connection
45

^Using the spanner supplied turn the
left-hand transit bar 90°, then
^withdraw the transit bar.
^Turn the right-hand transit bar 90°,
then
^withdraw the transit bar.
Installation and connection
46

,To avoid the risk of injury the
holes for the transit bars must be
covered after the transit bars have
been removed.
^Fit the covers on to the two holes.
Then plug the holes as shown with
the caps.
^Secure the transit bars to the back of
the washing machine. Make sure that
holes bare fitted over retainers a.
,The washing machine must not
be moved without the transit bars in
place.
Store them as shown or keep them
in a safe place for future use. They
must be re-fitted if the machine is to
be moved again (e.g.when moving
house).
Re-fitting the transit bars
Re-fitting is carried out by reversing the
procedure.
Installation and connection
47

Levelling the machine
The machine must stand perfectly level
on all four feet to ensure safe and
proper operation.
Incorrect installation may increase
electricity and water consumption and
may cause the machine to move about.
Screwing out and adjusting the feet
The four adjustable screw feet are used
to level the machine. All four feet are
screwed in when the machine is
delivered.
^Using the spanner supplied turn
counternut 2in a clockwise direction.
Then turn counternut 2together with
foot 1to unscrew.
^Use a spirit level to check the
machine is standing level.
^Hold foot 1securely with a pipe
wrench. Turn counternut 2again
using the spanner supplied until it
sits firmly up against the housing.
,All four counternuts must be
firmly up against the housing. Please
also check this for the feet which did
not need adjustment. Otherwise
there is the danger of the machine
moving about.
Installation and connection
48

The fitting of building-under kits and
stacking kits must only be
undertaken by qualified and
competent persons, in accordance
with the instructions supplied with
the kit.
Building under a continuous
worktop/in a kitchen run
If you wish to push your machine under
a worktop and there is space to do this
without removing the lid, the
conversion kit is not necessary.
Otherwise the conversion kit is
essential.
– A special building-under conversion
kit* is required.
To ensure electrical safety, the
washing machine lid must be
replaced by the cover plate supplied
with the conversion kit.
– For installation under a work surface
900/910 mm from the floor, a raising
kit* is required.
–Connections for electricity, water and
drainage should be installed in such
a way that they remain accessible
when the machine is in place.
Fitting instructions are supplied with the
conversion kit.
All parts marked* are available from
your Dealer, the Miele Spare Parts
Department or via the internet at
www.miele-shop.com.
Washer and Dryer stack
A Miele tumble dryer can be stacked
with the washing machine. A "WTV"
stacking kit* is necessary.
Please note:
aSafety distance to wall:
at least 2 cm
bHeight:
Stacking kit with pull-out shelf:
approx. 169 cm
Stacking kit without pull-out shelf:
approx. 170 cm
Replacing the lid
If the lid has been removed in order to
fit a stacking kit or cover plate, ensure
that, if the lid is replaced, it fits securely
into the rear holders. Otherwise, it is not
properly secure for transport.
Installation and connection
49

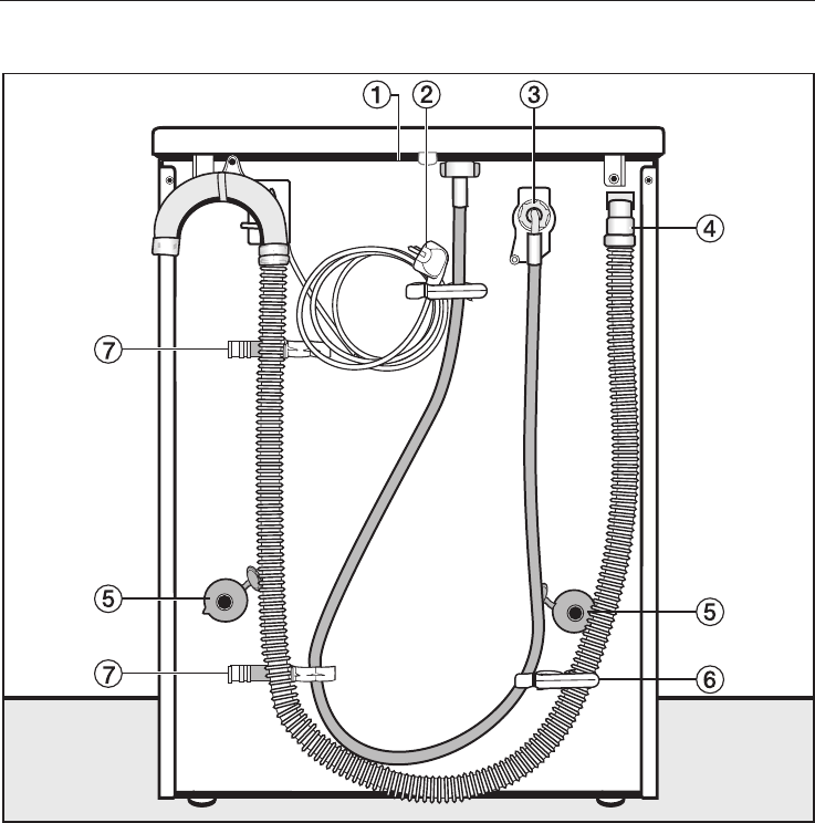
The Miele water protection
system
The Miele water protection system
protects the washing machine from
water damage.
The system consists of three main
components:
1) the inlet hose
2) the electronic unit and the washing
machine housing
3) the drain hose
1) Inlet hose
The inlet hose can withstand
pressure of more than 7,000 kPa.
2) Electronic unit and washing
machine housing
– Sump
Any leaking water is collected in a
sump in the base of the machine. A
float switches off the safety valves,
preventing any more water flowing
into the machine and water in the
suds container is pumped away.
–Overflow protection
This prevents the washing machine
taking in too much water. If the water
level exceeds a certain level, the
drain pump switches in and pumps
the excess water away.
3) Drain hose
The drain hose is protected by a
ventilation system which prevents the
washing machine from being
emptied completely.
Installation and connection
50

Connection to the water
supply
The machine should be connected to a
mains water supply in accordance with
local and national safety regulations.
The German authorities do not require it
to have a non-return valve as the
washing machine has been designed
to comply with DIN regulations.
The machine is designed to operate
with a flow pressure of between
100 kPa and 1,000 kPa. If it is higher
than 1,000 kPa it is essential to fit a
pressure reducing valve.
Connection to the mains water supply
should incorporate a mains stopcock
with 3/4" thread. The stopcock should
be fitted by a qualified plumber.
,The connection point is subject
to mains water pressure. Turn on the
stopcock slowly and check for leaks.
Correct the position of the washer
and union if appropriate.
The washing machine is not suitable
for connection to a hot water supply
and connection to a household
water softener is not recommended.
Maintenance and care
Only use a genuine Miele hose should
you ever need a replacement or
extension. These are tested to
withstand pressure of at least
7,000 kPa.
In order to protect the water inlet
valve, the two dirt filters - one in the
open end of the inlet hose, one at
the inlet point in the machine - must
not be removed.
Extension hose
–Longer hoses 2.5 or 4.0 m in length
are available from your Miele dealer
or the Miele Spare Parts Department
as optional extras.
Installation and connection
51

Connection to the drainage
system
The machine drains via a drain pump
with a delivery head of 1 metre*. The
drain hose must not be kinked as this
restricts drainage. The swivel elbow at
the end of the hose can be turned in
either direction, or can be detached if
required, with a sharp twist and pull.
If required, the drain hose can be
extended to a length of 5 m. The
necessary parts can purchased from
the Miele Spare Parts Department or
your Miele dealer.
* For a delivery head of more than 1 m
(up to a max. of 1.8 m) a replacement
drain pump will need to be fitted.
Please contact the Miele Spare Parts
Department or your Miele Dealer.
Drain hose connection:
1. Direct into a sink or basin:
Please note the following:
–Hook the hose over the edge and
secure.
–Make sure that the water can drain
away freely without hindrance.
Otherwise there is a risk of water
overflowing or of some of the drained
water being sucked back into the
machine.
2. Connected securely to a plastic
drain pipe with a rubber nipple.
There is no need to use a non-return
valve.
3. Connected securely to a standpipe.
4. Connected securely to a floor gully.
Please note:
aAdapter
bNut
cHose clip
dEnd of the hose
^Fit adapter ato the sink drain outlet
using nut b.
^Attach the end of the hose dto
adapter a.
^Use a screwdriver to tighten hose
clip cup close to the nut.
Installation and connection
52

Electrical connection U.K.
All electrical work should be carried out
by a suitably qualified and competent
person, in strict accordance with
current national and local safety
regulations (BS 7671 in the UK).
Ensure power is not supplied to the
appliance until after installation work
has been carried out.
The appliance is supplied with a mains
cable with moulded plug ready for
connection to a 230-240V mains
supply.
Please ensure the connection data
quoted on the data plate match the
household mains supply.
Connection should be made via a
suitable switched socket which is easily
accessible after installation.
For extra safety it is advisable to install
a suitable residual current device
(RCD). Contact a qualified electrician
for advice.
Do not connect via an extension lead.
Extension leads do not guarantee the
required safety of the appliance (e.g.
danger of overheating).
Non-rewireable plugs BS 1363
The fuse cover must be refitted when
changing the fuse, and if the fuse cover
is lost, the plug must not be used until a
suitable replacement is obtained. The
colour of the correct replacement cover
is that of the coloured insert in the base
of the plug, or the colour that is
embossed in words on the base of the
plug (as applicable to the design of
plug fitted).
Replacement fuses should be ASTA
approved to BS 1362 and have the
correct rating. Replacement fuses and
fuse covers may be purchased from
your local electrical supplier.
WARNING: THIS APPLIANCE
MUST BE EARTHED
Installation and connection
53

Load Consumption data
Energy Water Duration
in kWh in litres Short Normal
Cottons 95°C 6.0 kg 1.99 49 2 h 09 min
60°C1) 6.0 kg 1.02 49 1 h 49 min
60°C 3.0 kg 0.75 39 59 min
40°C1) 6.0 kg 0.65 55 2 h 05 min
40°C2) 3.0 kg 0.40 39 59 min
Minimum iron 40°C1) 3.0 kg 0.50 55 1 h 02 min 1 h 19 min
Delicates 30°C 2.0 kg 0.35 69 43 min 59 min
Automatic 40°C 3.5 kg 0.35 - 0.50 40 - 55 58 min 1 h 13 min
Dark garments 40°C 3.0 kg 0.60 60 1 h 03 min 1 h 13 min
Shirts 40°C 2.0 kg 0.50 45 – 56 min
Denim 40°C 3.0 kg 0.50 52 53 min 1 h 00 min
Express 40°C 3.0 kg 0.30 34 – 33 min
Silks /30°C 1.0 kg 0.25 39 – 36 min
Woollens /30°C 2.0 kg 0.23 39 – 40 min
1) EN 60456 test programme
2) Short programme for test institutes; the Short additional option must be
selected.
Consumption data can vary from the nominal values given depending on water
pressure, water hardness, water inlet temperature, room temperature, type and
volume of load, fluctuations in the electricity supply and any additional options
selected.
Consumption data
54

Height 850 mm
Width 595 mm
Depth 580 mm
Depth with door open 975 mm
Height for building under 820 mm
Width for building under 600 mm
Depth for building under 600 mm
Weight 93 kg
Maximum floor load 1,600 Newton (approx. 160 kg)
Capacity 6 kg dry laundry
Voltage see data plate
Connected load see data plate
Fuse rating (UK) see data plate / plug
Consumption data see "Consumption data"
Water flow pressure min. 100 kPa (1 bar)
Water flow pressure max. 1,000 kPa (10 bar)
Inlet hose length 1.60 m
Drain hose length 1.50 m
Mains connection cable length 1.60 m
Delivery head max. 1.00 m
Maximum drainage length 5.00 m
Test certificates awarded see data plate
Technical data
55

Programmable functions
for changing default settings
The programmable functions can be used to tailor washing programmes to suit
your individual requirements.

The programmable functions are
activated with the help of the Start
button and the programme selector.
Water plus system
This is used to select the water intake
setting for the Water plus additional
option.
There are four different options:
Setting 1:
an increase in the rinse water level
Setting 2:
an increase in the water level in the
main wash and rinses (the washing
machine is delivered with setting 2
programmed as standard)
Setting 3:
an extra rinse cycle in the Cottons and
Minimum iron programmes
Setting 4:
an increase in the water level in the
main wash and rinses and also an extra
rinse cycle in the Cottons and Minimum
iron programmes
Follow steps Ato Gto programme
and store a setting in memory.
Before you begin, first ensure that:
–The washing machine is switched off.
–The machine is properly closed.
–The programme selector is at Finish.
APress the Start button and keep it
pressed in whilst carrying out steps
B-C.
BSwitch the machine on with the
I-On/0-Off button.
CWait until the Start button indicator
light comes on . . .
D. . . and then release the Start
button.
ETurn the programme selector to the
Cottons 60°C position:
APwill flash in the display alternating
with the number 1, 2, 3 or 4.
FEach subsequent press on the Start
button selects a different setting.
The number alternating with the Pin the
display refers to the settings as follows:
1= Setting 1 is selected
2= Setting 2 is selected
3= Setting 3 is selected
4= Setting 4 is selected
GSwitch the machine off with the
I-On/0-Off button.
The Water plus button has now been
allocated the setting you have chosen.
This setting will remain in memory until
another setting is programmed.
Programmable functions
57

Gentle action
Activating gentle action reduces the
drum action and is suitable for
washing slightly soiled articles more
gently.
Gentle action can be used with the
Cottons,Express and Automatic
programmes.
If Gentle action is programmed into the
machine, every wash cycle in these
programmes will be carried out with
gentle action rhythm.
The washing machine is delivered with
the Gentle action setting deactivated.
Follow steps Ato Gto programme
and store in memory.
Before you begin, first ensure that:
– The washing machine is switched off.
– The machine is properly closed.
–The programme selector is at Finish.
APress the Start button and keep it
pressed in whilst carrying out steps
B-C.
BSwitch the machine on with the
I-On/0-Off button.
CWait until the Start button indicator
light comes on . . .
D. . . and then release the Start
button.
ETurn the programme selector to the
Cottons 40°C position:
APwill flash in the display alternating
with the number 0or 1.
0= Gentle action is deactivated.
1= Gentle action is activated.
FPress the Start button to change the
display from 0to 1or from 1to 0.
GSwitch the machine off with the
I-On/0-Off button.
The setting you have selected is now
stored in memory and will remain so
until you alter it.
Programmable functions
58

Top-up rinse for Cottons
When this is activated, additional
water flows into the drum at the end
of the main wash to cool the suds
down. Hot suds can damage plastic
drainage pipes.
Top-up rinse takes place when a
temperature of 95°C is selected.
Top-up rinse should be activated:
–to prevent the danger of scalding if
the drain hose is hooked over the
edge of a sink or basin.
– where the drainage pipes do not
comply with DIN 1986.
The washing machine is delivered with
the Top-up rinse for Cottons
deactivated.
Follow steps Ato Gto programme
and store in memory.
Before you begin, first ensure that:
–The washing machine is switched off.
–The machine is properly closed.
–The programme selector is at Finish.
APress the Start button and keep it
pressed in whilst carrying out steps
B-C.
BSwitch the machine on with the
I-On/0-Off button.
CWait until the Start button indicator
light comes on . . .
D. . . and then release the Start
button.
ETurn the programme selector to the
Cottons 30°C position:
APwill flash in the display alternating
with the number 0or 1.
0= Top-up rinse is deactivated.
1= Top-up rinse is activated.
FPress the Start button to change the
display from 0to 1or from 1to 0.
GSwitch the machine off with the
I-On/0-Off button.
The setting you have selected is now
stored in memory and will remain so
until you alter it.
Programmable functions
59

Memory function
If an additional option is selected for
a programme, and / or the spin
speed is altered, the machine stores
these changes in memory at the start
of a programme.
When that particular programme is
chosen again, the washing machine will
display the additional option(s) and / or
spin speed which have been stored for
that programme in the memory.
The washing machine is delivered with
the memory function deactivated.
Follow steps Ato Gto programme
and store in memory.
Before you begin, first ensure that:
– The washing machine is switched off.
– The machine is properly closed.
– The programme selector is at Finish.
APress the Start button and keep it
pressed in whilst carrying out steps
B-C.
BSwitch the machine on with the
I-On/0-Off button.
CWait until the Start button indicator
light comes on . . .
D. . . and then release the Start
button.
ETurn the programme selector to
Minimum iron 60°C:
APwill flash in the display alternating
with the number 0or 1.
0= the memory function is
deactivated.
1= the memory function is
activated.
FPress the Start button to change the
display from 0to 1or from 1to 0.
GSwitch the machine off with the
I-On/0-Off button.
The setting you have selected is now
stored in memory and will remain so
until you alter it.
Programmable functions
60

Soak
A length of time of between 30 minutes
and 2 hours can be programmed in
30 minute increments for the soak
process.
If the Soak option is pressed, the
selected soak time will be carried out
for the period selected before the wash
programme is run.
The machine is delivered with a two
hour soak time set as standard.
Follow steps Ato Gto programme
and store in memory.
Before you begin, first ensure that:
– The washing machine is switched off.
– The machine is properly closed.
– The programme selector is at Finish.
APress the Start button and keep it
pressed in whilst carrying out steps
B-C.
BSwitch the machine on with the
I-On/0-Off button.
CWait until the Start button indicator
light comes on . . .
D. . . and then release the Start
button.
ETurn the programme selector to
Minimum iron 40°C:
APwill flash in the display alternating
with the number 1, 2, 3 or 4.
FEach subsequent press on the Start
button selects a different setting.
The number alternating with the Pin the
display refers to the settings as follows:
1= the soak time is 2 hours
(default setting)
2= the soak time is 1 hour 30 minutes
3= the soak time is 1 hour
4= the soak time is 30 minutes
GSwitch the machine off with the
I-On/0-Off button.
The Soak button has now been
allocated the setting you have chosen.
This setting will remain in memory until
another setting is programmed.
Programmable functions
61

Miele washing machines offer perfect
care for your laundry and feature a
wide range of special programmes
designed to suit the fabric being
washed. Miele have also developed a
range of specialist CareCollection
detergents and conditioning products
to offer you a complete package for
cleaning and caring for your laundry.
The Miele CareCollection detergents
and conditioning products are listed
below. You can order these and many
other useful products via the internet at:
All the products can also be ordered
via the Miele Customer Contact Centre
(see back cover for contact details).
CareCollection
Miele specialist detergents
"Outdoor wear"
This specialist detergent will clean your
water-repellent outerwear with care.
"Sportswear"
The Miele Sportswear detergent is
designed to clean sportswear whilst
taking care of the special microfibres
used in these garments. It will help to
neutralise and remove odours whilst
protecting the colour of the fabric and
preventing static build-up.
"Down Items"
This special-purpose detergent
contains a mild tenside and has been
specially formulated to keep down-filled
items supple and to give them bounce.
Miele proofing agent
This special finishing agent reproofs
garments against wind and water and
provides a dirt-repellent finish whilst
retaining elasticity and breathability.
Optional accessories
62

"UltraWhite" detergent
This multi-purpose powder detergent
has excellent stain removal properties
and is suitable for white and light
coloured laundry as well as heavily
soiled coloured items.
"UltraColor" detergent for coloured
garments
This liquid detergent is particularly
suitable for cleaning coloured and dark
garments. The special formulation
offers effective stain removal, even at
low temperatures, while helping to
prevent colours fading.
Liquid detergent "For Delicates"
This liquid detergent is ideal for the
gentle treatment of delicate fabrics,
such as wool and silk. Its special
formulation cleans effectively at
temperatures as low as 20°C, while
protecting the colour of your delicate
garments.
Fabric conditioner
The Miele fabric conditioner will give
your laundry a fresh, natural fragrance.
It makes garments soft to handle and
prevents static build-up during tumble
drying.
Optional accessories
63

Alteration rights reserved/2609/W 3240 M.-Nr. 07 616 410 / 00