Miele Washing Machine W3922 Users Manual W3922_WPS_gb.vp
W3922 to the manual 6674b340-33ac-4b42-bdea-322300bc5ad2
2015-01-24
: Miele Miele-Washing-Machine-W3922-Users-Manual-222732 miele-washing-machine-w3922-users-manual-222732 miele pdf
Open the PDF directly: View PDF
.
Page Count: 72
- Contents
- Caring for our environment 2
- Warning and Safety instructions 6
- Operating the washing machine 10
- Before using for the first time 13
- Washing environmentally and economically 15
- How to wash correctly 16
- Extra options 22
- Spinning 23
- Delay start 24
- Programme chart 26
- Programme sequence 30
- Garment care label symbols 32
- Changing the programme sequence 33
- Detergent 35
- Cleaning and care 38
- Problem solving guide 41
- After sales service 49
- Installation and connection 50
- Consumption data 62
- Technical data 63
- Settings menu 65
- Optional accessories 70

Operating instructions
for Washing machine
W 3922 WPS
To avoid the risk of accidents or
damage to the machine it is
essential to read these instructions
before it is installed and used for the
first time. M.-Nr. 07 170 880
en-GB

Disposal of the packing
material
The transport and protective packing
has been selected from materials which
are environmentally friendly for disposal
and can normally be recycled.
Ensure that any plastic wrappings,
bags etc. are disposed of safely and
kept out of the reach of babies and
young children. Danger of suffocation!
Rather than just throwing these
materials away, please ensure they are
offered for recycling.
Disposal of your old appliance
or machine
Electrical and electronic appliances /
machines often contain materials
which, if handled or disposed of
incorrectly, could be potentially
hazardous to human health and to the
environment. They are, however,
essential for the correct functioning of
your appliance or machine. Please do
not therefore dispose of your old
machine or appliance with your
household waste.
Please dispose of it at your local
community waste collection / recycling
centre or contact your Dealer for
advice. Ensure that it presents no
danger to children while being stored
for disposal.
It should be unplugged or disconnected
from the mains electricity supply by a
competent person.
Caring for our environment
2

Caring for our environment . . . . . . . . . . . . . . . . . . . . . . . . . . . . . . . . . . . . . . . . . 2
Warning and Safety instructions . . . . . . . . . . . . . . . . . . . . . . . . . . . . . . . . . . . . . 6
Operating the washing machine. . . . . . . . . . . . . . . . . . . . . . . . . . . . . . . . . . . . . 10
Control panel .....................................................10
Display ..........................................................11
Before using for the first time. . . . . . . . . . . . . . . . . . . . . . . . . . . . . . . . . . . . . . . 13
Washing environmentally and economically . . . . . . . . . . . . . . . . . . . . . . . . . . 15
Energy and water consumption ....................................15
Detergent .....................................................15
How to wash correctly. . . . . . . . . . . . . . . . . . . . . . . . . . . . . . . . . . . . . . . . . . . . . 16
Extra options . . . . . . . . . . . . . . . . . . . . . . . . . . . . . . . . . . . . . . . . . . . . . . . . . . . . 22
Short............................................................22
Water plus .......................................................22
Pre-wash ........................................................22
Further extras.....................................................22
Soak .........................................................22
Rinse hold .....................................................22
Extra rinse .....................................................22
Spinning . . . . . . . . . . . . . . . . . . . . . . . . . . . . . . . . . . . . . . . . . . . . . . . . . . . . . . . . 23
Final spin speed ..................................................23
Rinse and interim spin ...........................................23
To omit the final spin (Rinse hold) ..................................23
To omit rinse and interim spin and the final spin (No spin) ...............23
Delay start. . . . . . . . . . . . . . . . . . . . . . . . . . . . . . . . . . . . . . . . . . . . . . . . . . . . . . . 24
Programme chart . . . . . . . . . . . . . . . . . . . . . . . . . . . . . . . . . . . . . . . . . . . . . . . . . 26
Programme sequence . . . . . . . . . . . . . . . . . . . . . . . . . . . . . . . . . . . . . . . . . . . . . 30
Garment care label symbols . . . . . . . . . . . . . . . . . . . . . . . . . . . . . . . . . . . . . . . . 32
Changing the programme sequence . . . . . . . . . . . . . . . . . . . . . . . . . . . . . . . . . 33
Cancelling a programme ............................................33
Interrupting a programme ...........................................33
Changing a programme ............................................33
Adding or removing laundry after a programme has started ................34
Safety lock .......................................................34
Contents
3

Detergent . . . . . . . . . . . . . . . . . . . . . . . . . . . . . . . . . . . . . . . . . . . . . . . . . . . . . . . 35
The correct detergent ..............................................35
Water softener ....................................................36
Washing with several components ....................................36
Fabric conditioners and liquid starch ..................................37
Automatic dispensing of fabric conditioner or liquid starch to laundry at the
end of a programme .............................................37
Adding fabric conditioner or starch separately ........................37
Colour run and dye removers/dyes ....................................37
Cleaning and care . . . . . . . . . . . . . . . . . . . . . . . . . . . . . . . . . . . . . . . . . . . . . . . . 38
External casing and fascia panel .....................................38
Extra cleaning ..................................................38
Cleaning the detergent dispenser drawer...............................38
Descaling the machine .............................................39
Cleaning the filter in the water inlet ....................................40
Problem solving guide . . . . . . . . . . . . . . . . . . . . . . . . . . . . . . . . . . . . . . . . . . . . 41
The programme does not start .......................................41
Fault messages in the display ........................................42
Problems with the load size indicator or calibrating to zero .................43
General problems .................................................44
An unsatisfactory wash result ........................................45
The door will not open ..............................................46
Opening the drum door in the event of a blocked drain outlet and/or power failure . 47
Blocked drain outlet .............................................47
After sales service . . . . . . . . . . . . . . . . . . . . . . . . . . . . . . . . . . . . . . . . . . . . . . . . 49
Future updates (PC) .............................................49
Appliance guarantee ............................................49
Optional accessories ............................................49
Installation and connection . . . . . . . . . . . . . . . . . . . . . . . . . . . . . . . . . . . . . . . . 50
Front view........................................................50
Rear view ........................................................51
Installation surface.................................................52
Installing the washing machine ....................................52
Removing the transit bars ...........................................52
Contents
4

Re-fitting the transit bars ............................................54
Levelling the machine ..............................................55
Screwing out and adjusting the feet .................................55
Building under a continuous worktop/in a kitchen run ...................56
Washer and Dryer stack ..........................................56
The Miele Waterproof system ........................................57
Connection to the water supply .......................................58
Connection to the drainage system....................................60
Electrical connection U.K. ...........................................61
Consumption data . . . . . . . . . . . . . . . . . . . . . . . . . . . . . . . . . . . . . . . . . . . . . . . . 62
Notes for test institutes: ..........................................62
Technical data . . . . . . . . . . . . . . . . . . . . . . . . . . . . . . . . . . . . . . . . . . . . . . . . . . . 63
Settings menu . . . . . . . . . . . . . . . . . . . . . . . . . . . . . . . . . . . . . . . . . . . . . . . . . . . 65
To open the Settings menu........................................65
Language F......................................................65
Time (of day) .....................................................65
Gentle action .....................................................66
Longer pre-wash ..................................................66
Suds cooling .....................................................66
Lock code .......................................................67
Temperature unit ..................................................68
Buzzer ..........................................................68
Keypad tone .....................................................68
Brightness .......................................................68
Contrast .........................................................68
Standby display ...................................................69
Memory .........................................................69
Anti-crease.......................................................69
Optional accessories. . . . . . . . . . . . . . . . . . . . . . . . . . . . . . . . . . . . . . . . . . . . . . 70
CareCollection ....................................................70
Contents
5

This washing machine conforms to
current safety requirements.
Inappropriate use can, however,
lead to personal injury and damage
to property.
To avoid the risk of accidents and
damage to the washing machine,
please read these instructions
carefully before using it for the first
time. They contain important
information on its installation, safety,
use and maintenance.
Keep these instructions in a safe
place and ensure that new users are
familiar with the content. Pass them
on to any future owner.
Correct application
~This washing machine is for
domestic use only and can only be
used to wash items which are specified
by the manufacturer to be
machine-washable on the wash care
label, and textiles composed of
hand-washable wool or wool blend
fabrics as well as satin, lace, silk and
other hand-washable garments.
Any other applications may be
dangerous. Miele cannot be held liable
for damage resulting from incorrect or
improper use or operation.
~This washing machine is not
intended for use by persons (including
children) with reduced physical,
sensory or mental capabilities, or lack
of experience and knowledge, unless
they are supervised whilst using it or
have been shown how to use it by a
person responsible for their safety.
Safety with children
~Keep children away from the
washing machine at all times. It is not a
toy! To avoid the risk of injury do not
allow children to play on or near it or to
play with its controls. Supervise
children whilst you are using it.
~Older children may only use the
washing machine if its operation has
been clearly explained to them and
they are able to use it safely,
recognising the dangers of misuse.
~For machines with a 'porthole' door,
remember that the porthole glass will
be hot when washing at very high
temperatures.
Do not let children touch it.
Warning and Safety instructions
6

Technical safety
~Before setting up the washing
machine, check it for any externally
visible damage.
Do not install or use a damaged
washing machine.
~Before connecting the washing
machine, ensure that the connection
data on the data plate (voltage and
connected load) match the mains
electricity supply. If in any doubt,
consult a qualified electrician.
~The electrical safety of this washing
machine can only be guaranteed when
continuity is complete between it and
an effective earthing system which
complies with current local and national
safety regulations. It is most important
that this basic safety requirement is
present and regularly tested, and
where there is any doubt the household
wiring system should be inspected by a
qualified electrician. The manufacturer
cannot be held liable for the
consequences of an inadequate
earthing system (e.g. electric shock).
~Do not connect the washing
machine to the mains electricity supply
by an extension lead. Extension leads
do not guarantee the required safety of
the appliance (e.g. danger of
overheating).
~Faulty components must only be
replaced by genuine Miele original
spare parts. Only when these parts are
fitted can the safety standards of the
machine be guaranteed.
~Unauthorised repairs could result in
unforeseen dangers for the user, for
which Miele cannot accept liability.
Repairs should only be undertaken by a
Miele approved service technician.
Ensure current is not supplied to the
machine until after maintenance or
repair work has been carried out.
~If the connection cable is faulty it
must only be replaced by a Miele
approved service technician to protect
the user from danger.
~In the event of a fault or for cleaning
purposes, the washing machine is only
completely isolated from the electricity
supply when:
– it is switched off at the wall socket
and the plug is withdrawn, or
– it is switched off at the mains, or
– the mains fuse is withdrawn, or the
screw-out fuse is removed (in
countries where this is applicable).
~The Miele "Water protection system"
protects from water damage provided
the following conditions have been met:
–the machine is correctly plumbed in
and connected to the electricity
supply.
–if a fault has been identified, the
machine must be examined by a
competent person before further use,
and repaired if necessary.
~In countries where there are areas
which may be subject to infestation by
cockroaches or other vermin, pay
particular attention to keeping the
machine and its surroundings in a
clean condition at all times. Any
damage which may be caused by
cockroaches or other vermin will not be
covered by the machine guarantee.
Warning and Safety instructions
7

~This washing machine may only be
used in mobile installations such as
ships if a risk assessment of the
installation has been carried out by a
suitably qualified engineer.
~Do not make any alterations to the
washing machine, unless authorised to
do so by Miele.
Correct use
~Do not install your washing machine
in rooms where temperatures below
freezing may occur. Frozen hoses may
burst or split. The reliability of the
electronic control unit may be impaired
at temperatures below freezing point.
~Before using the washing machine
for the first time, check that the transit
bars at the rear of the machine have
been removed (see section on
"Installation"). During spinning, a transit
bar which is still in place may result in
damage to both the machine and
adjacent furniture or appliances.
~Turn off the stopcock if the machine
is to be left for any length of time (e.g.
holiday), especially if there is no floor
drain (gully) in the immediate vicinity.
~Flooding danger.
If hooking the drain hose into a wash
basin, check that the water can drain
off quickly enough to prevent the sink
from overflowing. Make sure the drain
hose is secure, so that the force of the
water flowing out of the hose does not
dislodge it.
~Take care to ensure that foreign
objects (e.g. nails, pins, coins, paper
clips) do not find their way into the
machine with the laundry. These may
damage components of the machine
(e.g. suds container, drum), which in
turn can result in damage to the
laundry.
~If the correct amount of detergent is
dispensed, the machine should not
need to be descaled. If, however, you
do wish to descale the machine only
use proprietary non-corrosive descaling
agents and strictly observe the
instructions on the packaging. A
special descaling agent is available to
order from the Miele Spare Parts
Department or via the internet on
www.miele-shop.com.
Warning and Safety instructions
8

~Textiles which have been
pre-treated in solvent based cleaning
agents must be thoroughly rinsed in
clean water before being washed in the
machine.
~Never use solvent based cleaning
agents, e.g. those containing benzene,
in this machine, as this may result in
damage to component parts and create
toxic fumes. Such agents also pose a
fire and explosion hazard.
~Never use solvent based cleaning
agents, e.g. those containing benzene,
to clean the outside surfaces of this
machine. They can cause damage to
plastic surfaces.
~Only use dyes specified by the
manufacturer as being suitable for use
in a domestic washing machine. Always
observe the manufacturer's instructions
carefully.
~Colour run and dye removers
contain sulphur compounds which can
cause damage such as corrosion. Do
not use these products in this machine.
~If liquid detergent comes into
contact with the eyes, rinse them
thoroughly with lukewarm water imme-
diately. If swallowed, seek medical
assistance immediately and retain the
packaging or label for reference. Those
with skin problems or sensitive skin
should avoid their skin coming into
contact with liquid detergent.
~Only remove laundry from the
washing machine once the drum has
stopped turning. Reaching into a
moving drum is extremely dangerous
and could result in injury.
Accessories
~Accessory parts may only be fitted
when expressly approved by Miele. If
other parts are used, guarantee,
performance and product liability
claims will be invalidated.
Miele cannot be held liable for
damage caused by non-compliance
with these Warning and Safety
instructions.
Warning and Safety instructions
9

Control panel
aStart/Stop button
For starting the programme selected
and cancelling a programme once it
has started.
bDisplay with Menu buttons
See the next pages for more
information.
c+button
For selecting delay start.
dPC / Optical interface
This is used by service technicians
to run diagnostic checks on your
machine and can also be used to
update programming data in the
future.
eLoad/Detergent button
For calling up the load size or the
recommended amount of detergent,
and for calibrating the load size
sensor to zero.
fExtra options buttons
Various extra options can be added
to the washing programmes.
gProgramme selector
For selecting the wash programme
and temperature for that programme.
The programme selector can be
turned clockwise or anti-clockwise.
hI-On/0-Off button
For switching the machine on or off.
iDoor button
Opens the machine door.
Operating the washing machine
10

Display
The display is used for the following:
Selecting and displaying settings
–Temperature
–Spin speed
–Soak duration
–Delay start
–Cancelling a programme
–Safety lock
–Estimated programme duration
Selecting programmes via the
display
With the programme selector at the
Further programmes position, you can
select one of the following
programmes:
–Dark garments
–Curtains
–Pillows
–Sportswear
–Outerwear
– Proofing
– Separate rinse
Selecting extra options via the
display
By pressing the Further extras button,
you can select (depending on the
programme) the following extra options:
– Soak
–Rinse hold
–Extra rinse
Operating the washing machine
11

Menu buttons
Various settings are made via the Menu
buttons.
They are used to alter or confirm the
value displayed above the vertical line.
To alter a setting:
Cottons
Duration: 1:49 h
60°C 1600 rpm
Pressing the left hand Menu button
under 60°C alters the temperature and
pressing the right hand Menu button
under 1600 rpm alters the spin speed.
To confirm a setting:
Further programmes
Dark garments
Continue OK
Pressing the left hand Menu button
under Continue calls up further
programmes, and you can then confirm
your selection of the highlighted
programme by pressing the right hand
Menu button under OK.
Operating the washing machine
12

Before using the machine for the first
time ensure that it is correctly
installed and connected. See
"Installation and connection". Also
check that the drain filter is securely
tightened to prevent the risk of water
leaks during use.
This washing machine has
undergone a thorough functional test
in the factory and there will be some
residual water in the drum from this
process.
The washing machine has a sensor
which measures the amount of laundry
in the drum. This determines the
amount of detergent required. To allow
the load size indicator to function
correctly, you must first run a wash
programme without any laundry and
without detergent.
^Open the stopcock.
^Press the I-On/0-Off button in.
If the washing machine is being
switched on for the first time, the
welcome screen will appear.
The welcome screen will appear in the
display every time the machine is
switched on until a programme lasting
longer than 1 hour has been
completed.
The display for setting the language will
then appear.
Setting the language
You will be asked to select the
language you require for the display. It
is possible to change the language at
any time via the Settings menu.
Sprache
deutsch
.OK
^If the language shown is not the one
you want, select the language you do
want by pressing the left hand Menu
button under .. Confirm your
selection by pressing the right hand
Menu button under OK.
Setting the time of day
The display for setting the time will then
appear.
12:00
Change OK
^Select the hours you want by
pressing the left hand Menu button
under Change, and confirm this with
the right hand Menu button under
OK.
^Then set and confirm the minutes.
Before using for the first time
13

Reminder to remove transport struts
To avoid the risk of damage, the
transport struts must be removed
before the machine is used for the
first time. See "Installation and
connection" for instructions on how
to do this.
^After removing the transport struts (if
this has not already been done by
your fitter) press the right hand Menu
button under OK.
Running your first programme
Your machine is now ready for the first
programme to be run.
15:00
Select programme
^Turn the programme selector to the
Cottons position.
^Press the Start/Stop button.
^At the end of the programme switch
the machine off.
Before you can use the washing
machine, the load sensor has to be
calibrated to zero as you would with
bathroom scales.
Calibrating the load sensor to zero
^Switch on the washing machine.
^Open the drum door.
^Turn the programme selector to the
Cottons position.
^Press and hold the Load/Detergent
button pressed in until the following
message appears in the display:
:Zero setting
OK
^Switch off the washing machine.
The machine is now ready for use.
Before using for the first time
14

Energy and water consumption
–Water consumption and energy
usage are determined by the size of
the load.
To make the most out of your
machine, load the maximum dry load
for the programme you are using.
–Use the Automatic and Express
programmes for small loads.
–When smaller amounts of laundry are
washed using the Cottons
programme, the automatic load
recognition system will reduce the
amount of water, time and energy
used. This may mean that the time
left shown in the display is adjusted
during the course of the wash
programme.
– Using the Cottons 60°C programme
instead of the Cottons 95°C
programme will give energy savings
of between 35% and 45%. This is
sufficient for most levels of soiling.
For stubborn or old stains, use the
Soak extra option.
Detergent
–Do not exceed the amounts of
detergent recommended by the
manufacturer on the packaging.
–Adjust the dosage to the degree of
soiling of the laundry.
–Reduce the amount of detergent for
smaller loads. Use the
Load/Detergent button.
Choosing the correct Extra option
(Short, Soak, Pre-wash)
Select:
– A wash programme together with the
Short extra option for light to normal
soiling where there are no obvious
marks.
– A wash programme without any extra
options for normal to heavy soiling
with visible staining.
– A wash programme together with the
Soak extra option for heavily soiled
laundry.
–The Pre-wash extra option for laundry
with large amounts of dirt (e.g. dust,
sand).
When drying with a tumble dryer
Selecting the highest possible spin
speed for the wash programme will
save energy when drying in a tumble
dryer afterwards.
Washing environmentally and economically
15

Brief instructions
The headings numbered A,B,C,...
show the operating sequence and can
be used as brief instructions.
ASort the laundry
^Empty all pockets.
,Foreign objects (e.g. nails,
coins, paper clips, etc.) can cause
damage to garments and
components in the machine.
^Badly soiled areas, stains etc. should
be cleaned as soon as possible,
preferably whilst still fresh. Spillages
should be carefully dabbed off using
a soft colourfast cloth. Do not rub!
Badly soiled areas can be pre-treated
with liquid detergent, stain removers
etc. first, following the manufacturer's
instructions. With particularly stubborn
stains ask your dry cleaner for advice.
,If you use a solvent-based clean-
ing agent (e.g. one containing ben-
zene) to pre-treat a stain, make sure
that any plastic parts (e.g. buttons)
are protected, and that the cleaning
agent is rinsed off before washing the
garment in the machine.
,Do not use solvent-based
cleaning agents in this machine.
^Sort the laundry by colour and by
care label. Most garments have a
textile care label in the collar or side
seam.
Dark textiles often contain excess dye
and should be washed separately
several times before being included in
a mixed load. Always wash whites and
coloureds separately.
– Curtains: Remove lead weights first
or place in a laundry bag.
–Underwiring and collar stiffeners:
Any loose wiring in bras, shirt collar
stiffeners, etc. should be removed or
sewn in.
–Knitted garments, trousers and
jeans, T-shirts and sweat shirts: Turn
inside out, if recommended by the
manufacturer.
–Close any zips, fasten hooks and
eyes etc before washing.
–Fasten duvet covers etc. to prevent
small items from being rolled up
inside them.
Do not wash any items in this machine
which are specified by the
manufacturer as not washable on the
care label. (hsymbol)
How to wash correctly
16

BSwitch on the washing machine
The interior drum lighting will come on.
The programme selector will light up
and the display will ask you to select a
programme.
CSelect a programme
^Turn the programme selector to the
required programme.
The programme selected will appear
in the display.
DSelect a temperature / spin speed
The suggested temperature and/or spin
speed can be changed if required.
Cottons
Duration: 1:49 h
60°C 1600 rpm
^By pressing the left hand Menu
button under 60°C you can alter the
temperature, and by pressing the
right hand Menu button under
1600 rpm you can alter the spin
speed.
When you turn the programme selector
to Further programmes, these will
appear in the display.
Further programmes
Dark garments
Continue OK
^Pressing the left hand Menu button
under Continue calls up the further
programmes, and you can then
confirm your selection of the
highlighted programme by pressing
the right hand Menu button under
OK.
Dark garments
Duration: 1:15 h
40°C 1200 rpm
^The suggested temperature and/or
spin speed can now be changed if
required.
How to wash correctly
17

^Select any extra options by pressing
the appropriate button. The relevant
indicator light will come on to show
which extra option has been
selected.
^Press the Further extras button to
select the following extra options
(depending on the programme
selected): Soak,Rinse hold and Extra
rinse.
Not all the extra options are suitable for
use with every programme.
You can only select extra options which
are compatible with the basic
programme being used.
ELoad the drum
^Press the Door button to open the
drum door.
The load size indicator display will
appear.
Load <25%
BContinue
The display shows the amount of
laundry loaded in the drum asa%(in
25% steps) of the maximum load
permissible for the programme
selected.
^Unfold the laundry and load loosely
in the drum. Mixing both large and
small items gives better wash results
and also helps distribute the load
evenly during spinning.
The most efficient use of energy and
water is achieved when a full load is
washed. However, do not overload as
this causes creases and reduces
cleaning efficiency.
Make sure that no garments are
caught between the drum door and
seal.
^Shut the door with a gentle swing.
How to wash correctly
18

FAdd detergent
When the door is closed, the load size
indicator will be replaced with the
detergent percentage display.
Detergent 75%
ABack A
The percentage shown relates to the
amount of detergent recommended by
the manufacturer on the packaging.
40% = Add slightly less than half
the amount recommended
50% = Add half the amount
recommended
60% = Add slightly more than half
the amount recommended
75% = Add three quarters of
the amount recommended
100% = the full amount of detergent
recommended
You also need to take the level of
soiling and water hardness into
account.
It is important to dispense the correct
amount because...
. . . too little detergent results in:
–Laundry not getting properly clean
and with time it may become grey
and hard to the touch.
–Greasy particles clinging to the
laundry.
–Limescale deposits on the heater
elements.
. . . too much detergent results in:
–Excessive foam which causes a low
level of agitation and poor wash,
rinse and spin results.
– High water consumption (an
additional rinse cycle will
automatically switch in).
– A burden to the environment.
How to wash correctly
19

^Pull out the detergent drawer and
add detergent to the compartments
as follows:
i
Detergent for the pre-wash (divide
the total recommended amount as
follows: add 1/3to compartment i
and 2/3to compartment j)
j
Detergent for the main wash,
including Soak if selected
§
Fabric conditioner or liquid starch
^Close the detergent drawer.
See "Detergent" for further information.
GSelect Delay start (if required)
^Press the +button to set the time
you wish to programme to end at.
See "Delay start" for more information.
HStart the programme
^Press the flashing Start/Stop button.
If a delay start time has been set, then
this will count down in the display. At
the end of the delay start time or
immediately after the programme has
started (if no delay start time has been
selected) the estimated programme
duration will appear in the display.
During the first 8 minutes the machine
measures how much water is being
absorbed by the laundry. The
programme duration may be longer or
shorter depending on this absorbency
rate.
The programme sequence is also
shown in the display. The machine lets
you know which section of the
programme has been reached.
The drum lighting switches off once the
programme has started.
How to wash correctly
20

IRemove the laundry when the
programme has finished
In the anti-crease phase after the
programme has finished, the following
will appear alternately in the display:
Cottons
Anti-crease
60°C 1600 rpm
and
:Programme finished
Unload the drum
before switching off
^Press the Door button to open the
drum door.
^Remove the laundry.
Check that all items have been
removed from the drum. Items left in
the drum could discolour other items
in the next wash or become
discoloured themselves.
^Check the folds in the door seal for
any small articles, e.g. buttons, which
might be lodged there.
Important
Always remove the laundry before
switching the machine off. This is
important to ensure that the load size
indicator works correctly.
^Turn the programme selector to Stop.
^Switch the machine off with the
I-On/0-Off button.
^Close the drum door. Otherwise there
is the danger of objects being placed
inadvertently in the drum. If these
remained unnoticed and were
washed in the next load, they could
damage the laundry.
How to wash correctly
21

Short
For light to nomal soiling with no visible
staining.
The duration of the main wash is
reduced.
Water plus
The water level in the main wash and
the rinses will be increased if the Water
plus option is selected.
Pre-wash
For laundry with large amounts of dirt
e.g. dust, sand.
Further extras
Soak
For heavily soiled and stained items
with protein stains (e.g. blood, fats and
oils, cocoa).
A length of time of between 30 minutes
and 6 hours can be chosen in 30
minute increments for the soak
process.
–To select the soak duration
^Press the Further extras button.
Further extras
8Soak
Continue OK
^Select Soak by pressing the right
hand Menu button under OK.
You can now use the display to select
the soak time you require.
Soak duration
Duration: 0:30 h
Increase OK
^Each time the left hand Menu button
under Increase is pressed, the soak
duration is increased by 30 minutes.
Confirm the duration required by
pressing the right hand Menu button
under OK.
Further extras
9Soak
Continue OK
^Press the left hand Menu button
under Continue until Back appears
in the display and confirm this with
the right hand Menu button under
OK.
– To delete the soak time
^Press the Further extras button, and
then the right hand Menu button
under OK to switch off Soak.
Rinse hold
See the next page.
Extra rinse
An additional rinse cycle is carried out
to achieve a better rinse result.
Extra options
22

Final spin speed
Programme rpm
Cottons 1600
Minimum iron 1200
Delicates 600
Woollens 1200
Automatic 1200
Shirts 600
Express 1600
Denim 900
Hygiene 1600
Dark garments 1200
Curtains 600
Pillows 1200
Silks 400
Sportswear 1200
Outerwear 800
Proofing 1000
Drain / Spin 1600
Separate rinse 1200
Starch 1500
You can reduce the final spin speed.
However, you cannot select a final spin
speed higher than that shown in the
chart above.
Rinse and interim spin
There is a spin after the main wash and
between the rinses. A reduction in the
final spin speed will also reduce the
interim spin speed. If a spin speed of
less than 700 rpm is selected in the
Cottons and Hygiene programmes, an
additional rinse is introduced.
To omit the final spin (Rinse hold)
^Press the Further extras button and
select the Rinse hold setting. The
laundry will not be spun and will
remain suspended in the final rinse
water. This reduces creasing if the
laundry is not going to be removed
from the drum immediately after the
end of the programme.
–To start the final spin:
The washing machine will display the
maximum spin speed possible. You
can select a spin speed lower than
this. Start the final spin by pressing
the Start/Stop button.
– To end the programme:
Press the Door button. The water will
drain away. Press the Door button
again to open the door.
To omit rinse and interim spin and
the final spin (No spin)
^Select No spin from the spin speed
menu. The laundry is not spun after
the final rinse. The water will drain
away and the machine will go straight
into the anti-crease stage. An
additional rinse is introduced if this
setting is selected with the Cottons,
Hygiene,Minimum iron,Express and
Automatic programmes.
Spinning
23

With delay start you can choose when
you want the programme to end. The
start of a programme can be delayed
from 30 minutes up to a maximum of 24
hours, allowing you to make use of
night-time economy electricity rates, for
example.
The current time of day needs to
have been set for delay start to work
correctly.
To select delay start
ASelect the programme you want and
then press the +button.
The display shows the start time: from
xxx, the time for the programme to end:
to xxx, and the current time.
Delay start 9:05
from 9:05 to 10:49
Change Back A
BUse the left hand Menu button under
Change to select the time you want
the programme to end at.
The first press on the button will adjust
the programme end time to the next
half or full hour. Each subsequent press
on the button will delay the programme
end time by 30 minutes.
Delay start 9:05
from 16:16 to 18:00
Change OK
CConfirm the time you require by
pressing the right hand Menu button
under OK.
To begin delay start
DPress the Start/Stop button.
Cottons
Start in: 7:11 h
60°C 1600 rpm
The display will show when the
programme will be started in hours and
minutes.
Delay start
24

To alter delay start
You can subsequently select a later
programme end time if you wish.
^Press the +button.
Delay start 9:05
from 16:16 to 18:00
Change Delete
^Use the left hand Menu button under
Change to alter the time you want the
programme to end at.
^Confirm by pressing the right hand
Menu button under OK.
To delete delay start
You can delete the delay start time and
start the selected programme straight
away.
^Press the +button.
Delay start 9:05
from 16:16 to 18:00
Change Delete
^Press the right hand Menu button
under Delete.
^Press the Start/Stop button to start
the programme straight away.
To cancel delay start
^Press the Start/Stop button.
The following will appear in the display:
Stopped:
Cancel delay start
Continue OK
^Confirm by pressing the right hand
Menu button under OK.
^Now you can select a different
programme, or
^Press the Start/Stop button to start
the programme straight away.
The actual load size can only be
determined accurately by the
machine once the programme has
started. The programme end time
may, therefore, be a bit later or
earlier than first indicated.
Delay start
25

Cottons 98E76* 30°C to 95°C Max. load 6.0 kg
Fabric Cottons, linens or cotton mix fabrics, e.g. table linen, towelling,
underwear, T-shirts etc.
Extra options Pre-wash, Soak, Short, Water plus, Rinse hold, Extra rinse
Note for test institutes:
Short programme: 3.0 kg load and Short extra option
Minimum iron
43218E76*
30°C to 60°C Max. load 3.0 kg
Fabric Synthetics, mixed fibres and easy care cottons. If fabrics have a
high proportion of man-made fibres, it is advisable to programme
the machine for "Gentle action". See "Settings menu".
Note Reduce the spin speed for fabrics which crease easily.
Extra options Pre-wash, Soak, Short, Water plus, Rinse hold, Extra rinse
Delicates 4321ac* cold to 60°C Max. load 2.0 kg
Fabric For delicate garments made of synthetic fibres, mixed fibres,
rayon and easy care cottons.
Extra options Pre-wash, Soak, Short, Rinse hold
Woollens /ac* cold to 40°C Max. load 2.0 kg
Fabric Machine-washable or hand-washable wool or wool blend fabrics.
If the care label does not specify a temperature, wash using the
cold setting.
Extra option Rinse hold
Automatic 7621* cold to 40°C Max. load 3.5 kg
Fabric Mixed loads of garments suitable for the Cottons and Minimum
iron programmes. Sort according to colour.
Note The wash parameters (e.g. water level, wash rhythm and spin
speed) are adjusted automatically in this programme to ensure
the best possible care and wash result for each item.
Extra option Rinse hold
Programme chart
26

Shirts cold to 60°C Max. load 2.0 kg
Notes –Pre-treat collars and cuffs if necessary.
–Wash silk garments in the Silks programme.
Extra options Short, Water plus, Rinse hold
Express 76* cold to 40°C Max. load 3.0 kg
Fabric Small loads of items which require freshening up and which can
be washed in a Cottons programme.
Extra options Water plus, Rinse hold, Extra rinse
Denim cold to 60°C Max. load 3.0 kg
Notes –Wash denim inside out.
–Denim often contains excess dye and will run during the first
few washes. Wash light and dark coloured items separately.
Extra options Pre-wash, Soak, Short, Rinse hold
Hygiene 8* 60°C Max. load 6.0 kg
Fabric Fabrics which will be in direct contact with the skin, e.g.
underwear, nappies, towelling, bed linen, pillow and mattress
covers.
Note There is a longer temperature holding time in the main wash.
Extra options Pre-wash, Soak, Water plus, Rinse hold, Extra rinse
Dark garments cold to 40°C Max. load 3.0 kg
Item Dark garments made from cotton or mixed fibres.
Note Wash inside out.
Extra options Short, Rinse hold
Programme chart
27

Curtains cold to 40°C Max. load 2.0 kg
Item Curtains, including net curtains, specified as machine-washable
by the manufacturer. A pre-rinse without detergent is carried out
automatically to remove dust.
Note For curtains which crease easily, reduce the spin speed or
deselect it.
Extra options Water plus, Rinse hold
Pillows 40°C to 60°C 2 pillows (40 x 80 cm) or
1 pillow (80 x 80 cm)
Item Washable pillows with feather, down or synthetic fillings.
Note Please observe the instructions on the wash care label.
Extra options Water plus, Rinse hold
Silks /c* cold to 30°C Max. load 1.0 kg
Fabric Silks and other handwashable fabrics with no wool content, e.g.
satin, lace and silk.
Note Place tights, bras etc. in a washing bag.
Extra options Water plus, Rinse hold, Extra rinse
Sportswear 30°C to 60°C Max. load 2.0 kg
Item Lightly soiled sports garments which require washing or
freshening up.
Extra options Pre-wash, Soak, Short, Water plus, Rinse hold
Programme chart
28

Outerwear cold to 40°C Max. load 2.0 kg
Item Outerwear made from micro-fibres such as Gore-Tex®,
SYMPATEX®, WINDSTOPPER®etc.
Notes –Zip up jackets before washing.
–Do not use fabric conditioner.
Extra options Pre-wash, Soak, Short, Water plus, Rinse hold
Proofing 40°C Max. load 2.0 kg
Item For treating microfibre fabrics, skiwear, fine, closeweave cotton
garments (poplin) or tablecloths to provide a water and dirt
resistant finish.
Notes –The items should be freshly washed and spun or dried before
proofing.
– For best results, the items should be heat-treated afterwards,
either in a tumble dryer or by ironing.
Extra option Rinse hold
Spin Max. load 6.0 kg
Notes – Drain only: Select No spin.
– Make sure you select the appropriate spin speed.
Separate rinse Max. load 6.0 kg
Extra option Rinse hold
Starch Max. load 6.0 kg
Note The laundry (table cloths, napkins, overalls) should be washed
but not treated with fabric conditioner.
Extra option Rinse hold
* Please note that the "buckets" represent garment care label symbols. See
"Garment care label symbols".
Programme chart
29

Main wash Rinses Spinning
Water
level
Wash
rhythm
Water
level
Rinses Interim
spin
Final spin
Cottons da(2-43)4) LL
Minimum iron (ce2-35) LL
Delicates ede3–L
Woollens eee2LL
Automatic (abc e2-35) LL
Shirts ece2–L
Express dbd2-35) LL
Denim (ce3–L
Hygiene (b(3-44) LL
Dark garments (bd3LL
Curtains1) (dd3–L
Pillows2) (de3–L
Silks eee2–L
Sportswear dcd2LL
Outerwear ede3L6) L
Proofing (d–– – L
Drain / Spin –––– – L
Separate rinse ––e2–L
Starch (c–– – L
d= Low water level
(= Medium water level
e= High water level
a= Intensive rhythm
b= Normal rhythm
c= Gentle rhythm
d= Sensitive rhythm
e= Handwash rhythm
See the following page for more information about the programme sequences.
Programme sequence
30

This machine has fully electronic
controls with automatic load
recognition. It takes in the right amount
of water required for the programme
depending on the amount of laundry
and its absorbency rate. This means
that programme cycles and durations
can vary.
The programme sequences outlined in
the chart are based on the basic
programme with a full load. Extra
options which can be selected have not
been taken into account.
The display shows the stage the
programme has reached.
Special features in the programme
sequences:
Anti-crease:
At the end of every programme, with
the exception of the Woollens
programme, the drum continues to turn
at intervals for up to 30 minutes to help
prevent creasing. The door can be
opened and laundry removed at any
time during the anti-crease phase.
1) Pre-rinse: A pre-rinse without
detergent is carried out automatically
to remove dust.
2) Run-up to spin: A run-up to spin is
carried out before the wash process
begins to deflate the pillows.
Subsequent water intake for the main
wash is through compartment j.
3) A second rinse is carried out when a
temperature of 60°C to 95°C has
been selected. A third rinse is
carried out when a temperature
below 60°C is selected.
4) A third/fourth rinse is carried out if:
–there is too much foam in the drum
–a spin speed lower than 700 rpm has
been selected
–No spin has been selected
5) A third rinse is carried out if:
No spin has been selected
6) In the Outerwear programme,
laundry is only spun after the main
wash.
Programme sequence
31

Washing
The figure quoted in the bucket is the
maximum temperature the garment
can be washed at. The number of
bars under the symbol indicates the
level of agitation permitted.
9No bar under the symbol: =
normal agitation
4One bar under the symbol: =
reduced agitation
cTwo bars under the symbol: =
much reduced agitation
/Hand wash (if no temperature
is specified use the lowest
temperature or cold)
hDo not wash
Drying
The number of dots indicates the
drying temperature
qNormal temperature
rLow temperature
sDo not tumble dry
Ironing
The number of dots indicates the
ironing temperature
IHot iron (max sole plate temp.
approx. 200°C)
HMedium hot iron (max sole
plate temp. approx. 150°C)
GCool iron (max sole plate
temp. approx. 110°C). Do not
steam iron garments carrying
this symbol.
JDo not iron
Professional cleaning
fDry clean only. The letters
indicate the type of cleaning
agent required.
p
wProfessional Wet Clean only
DDo not dry clean
Bleaching
xAny oxidising bleaching
agent can be used
{Only use an oxygen based
bleach or a non-chlorine
bleach
zDo not bleach
Garment care label symbols
32

Cancelling a programme
You can cancel a programme at any
time after it has started.
^Press the Start/Stop button.
Stopped:
Cancel programme
Continue OK
^Press the right hand Menu button
under OK.
The suds will be pumped away.
If you want to remove the laundry:
^Press the Door button.
If you want to select a different
programme:
^Switch the machine off with the
I-On/0-Off button.
^Switch the washing machine back on
again.
^Check that there is still detergent in
the detergent drawer. Add detergent,
if necessary.
^Select and start a new programme.
Interrupting a programme
^Switch the machine off with the
I-On/0-Off button.
To continue with the same programme:
^Switch the machine back on with the
I-On/0-Off button.
Changing a programme
After the start of a programme it is no
longer possible to select a different
programme.
Temperature
It is possible to select a different
temperature up to 5 minutes after the
programme has started.
Spin speed
It is possible to change the spin speed
up until the final spin begins.
Extra options
It is possible to select or deselect the
Short and Water plus extra options up
to 5 minutes after the programme has
started.
It is not possible to make any
changes if the safety lock has been
activated.
Changing the programme sequence
33

Adding or removing laundry
after a programme has started
^Press the Door button to open the
drum door.
^Add or remove items.
^Close the drum door.
The programme will continue
automatically.
Please note:
Once a programme has started the
machine cannot recognise any
adjustment to the load.
For this reason, if laundry is added or
removed after the start of a programme,
the machine will always complete the
programme cycle assuming a full load
which can lead to an increase in the
programme duration shown in the
display.
The door cannot be opened, if:
–the suds temperature is above 55°C.
–the water is above a certain level.
–the programme has reached the
Final spin stage.
If you press the Door button when the
above conditions are present, the
following will appear in the display:
/Door locked
Safety lock
The safety lock prevents the machine
from being opened or the
programme cancelled during a wash
programme.
To activate the safety lock
^Press and hold in the Start/Stop
button after the programme has
started.
Stopped:
Cancel programme
Continue OK
By pressing the left hand Menu button
under Continue, the following will
appear in the display:
Activate safety lock
^Confirm by pressing the right hand
Menu button under OK.
The following will appear in the display:
0Locked
The safety lock is now activated. It is
deactivated automatically at the end of
the programme.
To deactivate the safety lock
^Press the Start/Stop button.
The following will appear in the display:
Deactivate safety lock
^Press the right hand Menu button
under OK, and then the following will
come up in the display:
1Unlocked
Changing the programme sequence
34

The correct detergent
All modern detergents produced for automatic washing machines are suitable.
Use dispensing aids, e.g. balls, if these are supplied with the detergent. Tablets
are suitable for full loads, but note that it may be impractical to reduce tablets for
smaller loads. Some tablets do not dissolve as rapidly as others, and may not be
suitable for programmes with short durations.
Do not use biological detergents on silk as the enzymes may damage the silk!
Instructions for use and recommended dosage amounts are given on the
detergent packaging.
Liquid detergent should be dispensed using a ball provided by the manufacturer
for programmes without a pre-wash.
For programmes with a pre-wash you will need to purchase a special container
from the Miele Spare Parts department which sits in the main wash compartment
jof the detergent dispenser drawer. Add liquid detergent to this container for
the main wash and to compartment ifor the pre-wash.
All purpose detergent
for whites*
Detergent for coloured
fabrics*
Detergent for delicates
Cottons X X
Minimum iron X X
Delicates X
Woollens Liquid detergent for machine-washable woollens
Automatic X X
Shirts X X
Express X X
Denim X1)
Hygiene X
Dark garments X1)
Curtains X2) X2)
Pillows X1) X1)
Silks Liquid detergent for machine-washable silk and woollens
Sportswear X X
Outerwear X
Proofing Only use proofing agents which are stated by the manufacturer as being "suitable
for use on membrane textiles" as these consist of fluorochemical compounds. Do
not use proofing agents which contain paraffin. Add proofing agents to
compartment §.
Starch Liquid starch, starch formulations, viscous liquid starch, starch
1) Only use liquid detergent
2) Only use powder detergent or detergent specifically designed for washing
curtains
* Powder detergent, tablet detergent, liquid detergent and liquid tab detergent.
Detergent
35

The right amount to dispense will
depend on the following:
–The quantity of the laundry
–The soiling level of the laundry
Lightly soiled
No visible dirt or stains. Possibly
slight body odour.
Normally soiled
Visibly dirty and/or just a few slight
stains.
Heavily soiled
Stains and soiling clearly visible.
– The water hardness level.
Check with your local water supplier
if you do not know the hardness level
in your area.
Water softener
A water softener can be used to cut
down on the use of detergents in hard
water areas. Dispense according to the
amount specified on the packaging.
First add detergent and then the water
softener.
Miele branded water softening tablets
are available from the Miele Spare Parts
Department or via the internet on
www.miele-shop.com.
Use a quantity of detergent as for soft
water.
Miele do not recommend connecting
the machine to a household water
softener.
Washing with several
components
If you wash using several components
(e.g. special application detergents),
we recommend always dispensing the
agents into compartment jin the
following order:
1. Detergent
2. Water softener
3. Stain remover
This way the agents are distributed
more evenly.
Detergent
36

Fabric conditioners and liquid
starch
Fabric conditioners make garments soft
to handle and help prevent static cling
when tumble drying.
Starch stiffens and gives body to items
of laundry, e.g. shirts, tablecloths and
bed linen.
Automatic dispensing of fabric
conditioner or liquid starch to
laundry at the end of a programme
^Add the fabric conditioner or liquid
starch to compartment §.Do not
exceed the maximum level mark.
It will be automatically dispensed in the
last rinse. At the end of the programme
a small amount of water remains in the
fabric conditioner compartment §.
If starching frequently, thoroughly
clean the dispenser compartment,
especially the siphon tube and
fabric conditioner channel, regularly.
See "Cleaning the detergent
dispenser drawer". Do not use
powder starch formulations or
viscious liquid starch in the §
compartment as it will clog up. See
below.
Adding fabric conditioner or starch
separately
^Dispense in accordance with
manufacturer's instructions on the
packaging.
^Add powder or viscose starch to
compartment i.
^Add the fabric conditioner or liquid
starch to compartment §.
^Turn the programme selector to
Starch.
^Select a spin speed or the Rinse hold
extra option.
^Press the Start/Stop button.
Colour run and dye
removers/dyes
^Do not use colour run or dye
removers in this machine.
^Dyes suitable for use in domestic
washing machines can be used.
However, please note that the salt
used in the dyeing process can
cause corrosion to stainless steel
components in the machine if you
dye frequently. Follow the
manufacturer's instructions carefully.
Detergent
37

,Disconnect the machine from the
mains electricity supply and
withdraw the plug from the socket
before cleaning the machine.
,The washing machine must not
be hosed down.
A range of Miele branded cleaning and
conditioning agents are available to
order from your Miele dealer, the Miele
Spare Parts Department, or via the
internet on www.miele-shop.com
External casing and fascia
panel
Clean the casing using a Miele E-Cloth,
or with a mild non-abrasive cleaning
agent or soap and water using a well
wrung-out cloth. Wipe dry with a soft
cloth.
^The drum and any stainless steel
outer panels can be cleaned using a
suitable proprietary stainless-steel
cleaning agent following the
manufacturer's instructions on the
packaging.
,Do not use solvents, abrasive
cleaners, glass cleaners or
all-purpose cleaning agents.
These might damage plastic
surfaces and other components
because of the chemicals they
contain.
Extra cleaning
Carry out a hot wash (70°C or above)
with powder detergent approx. every 6
weeks to help prevent deposits building
up in the machine. These can occur
when washing is mainly done at low
temperatures, and also lead to
unpleasant smells. If you have no
reason to wash occasionally at this high
temperature, then run a Cottons 95°C
programme with detergent but no
laundry at regular intervals.
Cleaning the detergent
dispenser drawer
Remove detergent residues regularly.
^Pull out the detergent dispenser
drawer until a resistance is felt. Press
down the release catch and at the
same time pull the drawer right out of
the machine.
^Clean the detergent drawer with
warm water.
Cleaning and care
38

^Clean the siphon.
1. Remove the siphon from
compartment §and rinse under
warm running water. Clean the
siphon tube in the same way.
2. Replace the siphon.
If starching frequently, thoroughly
clean the siphon and siphon tube
regularly. A build-up of starch will
cause them to get clogged.
Cleaning the detergent dispenser
drawer housing
^Use a bottle brush to remove
detergent residues and limescale
from the jets inside the detergent
dispenser drawer housing.
Descaling the machine
If the correct amount of detergent is
dispensed, the machine should not
need to be descaled. If, however, you
do wish to descale the machine only
use proprietary non-corrosive descaling
agents and strictly observe the
instructions on the packaging.
Cleaning and care
39

Cleaning the filter in the water
inlet
The washing machine has a filter to
protect the water inlet valve.
The accessible filter in the union in the
open end of the inlet hose should be
checked every six months, or more
often if there are frequent interruptions
to the external water supply.
^First turn off the stopcock.
^Unscrew the threaded union
connecting the free end of the inlet
hose to the stopcock.
^Remove the rubber seal 1from the
recess.
^Using pointed pliers, take hold of the
plastic filter bar 2and remove.
^Clean the plastic filter.
^Put the filter and seal back in the
reverse order and reconnect the
hose.
Turn on the stopcock and check the
connection is watertight. If water drips
out, tighten the connection.
Never forget to put the filter back in
place after cleaning.
Cleaning and care
40

With the help of the following notes, minor faults in the performance of the
machine, some of which may result from incorrect operation, can be put right
without contacting the Service Department.
,Repair work to electrical appliances should only be carried out by a
suitably qualified person in strict accordance with current local and national
safety regulations. Repairs and other work by unqualified persons could be
dangerous. The manufacturer cannot be held liable for unauthorised work.
The programme does not start
Problem Possible cause Remedy
The display remains
dark and the
programme selector is
not lit up.
There is no power to
the machine.
Check whether
– the mains plug is plugged
in and switched on.
– the fuse or circuit breaker
has tripped.
You are asked to enter
a code.
Access via a code has
been activated.
Enter the code and confirm
the entry. Deactivate the
code if you do not wish this
message to appear in the
display the next time the
machine is switched on.
The display is dark. The display has
switched off
automatically to save
energy (Standby
mode).
Press a button. Standby
comes to an end.
Problem solving guide
41

Fault messages in the display
Problem Possible cause Remedy A
2Fault
Check drainage
system
–The water outlet is
blocked or
restricted.
–The drain hose has
been fixed too high.
–Clean the drain filter and
the drain pump.
–The maximum delivery
head is 1 m.
2Fault
Water intake
Open stopcock
The water inlet is
blocked or restricted.
Check whether
–the stopcock is opened
properly.
–the inlet hose is kinked.
LWaterproof system
activated
Close the stopcock
The water protection
system has reacted.
Call the Service
Department.
;Technical fault.
Call the Service
Department
There is a fault. Start the programme again.
If the fault message
appears again, contact the
Service Department.
The following flashes in
the display:
Anti-crease
alternately with
Check detergent
Excessive foam has
built up during
washing.
Use less detergent next
time and follow the
manufacturer's instructions
on dosage given on the
packaging.
ATo switch off the fault message: Switch the machine off with the I-On/0-Off
button.
Problem solving guide
42

Problems with the load size indicator or calibrating to zero
Problem Possible cause Remedy
The display indicates
a load of <25% or no
load size is indicated
when the drum is
full.
There was already
laundry in the drum
when the machine
was switched on.
This has decalibrated
the sensor from the
zero setting.
^To recalibrate the sensor to the
zero setting:
–Remove the laundry from the
drum.
–Switch off the washing
machine and leave the door
open.
–Switch on the washing
machine.
– Turn the programme selector
to the Cottons position.
– Press and hold the
Load/Detergent button
pressed in until the following
message appears in the
display:
Zero setting
OK.
The display indicates
a load of 25%,50%,
75% or 100% when
the drum is empty
The load size sensor
has been
decalibrated from the
zero setting.
Rotate the drum once. If the
display still indicates a load of
25%,50%,75% or 100%,
recalibrate the sensor to zero
again (see above section).
The fault message:
Zero setting
not possible
appears in the
display.
The drum door is
closed.
–Open the drum door.
–Switch off the washing
machine and leave the door
open.
–Switch on the washing
machine.
–Try and recalibrate to zero
again.
Problem solving guide
43

General problems
Problem Possible cause Remedy
The machine shakes
during the spin cycle.
The machine feet are not
level.
Level the machine (see
"Installation).
The laundry has not
been spun properly and
is still wet.
The machine detected an
imbalance during the final
spin and reduced the
spin speed automatically.
Include both large and
small items in the load as
this will give better
distribution.
The laundry has not
been spun satisfactorily.
The spin speed selected
was too low.
Select a higher spin
speed next time.
The pump makes
strange noises.
This is not a fault! These noises occur at the end of
a pump sequence as a normal part of the operation.
There is a lot of
detergent residue in the
detergent drawer.
The water pressure is too
low.
– Clean the water inlet
filter.
– Select Water plus.
Powder detergent used
with water softeners can
be sticky.
Add washing powder
and then add the water
softener.
Fabric conditioner is not
completely dispensed or
too much water remains
in the §compartment.
The siphon tube is not
correctly positioned, or is
clogged up.
Clean the siphon, (see
“Cleaning and care" -
"Cleaning the detergent
dispenser drawer”).
The display is in a
different language.
A different language has
been selected in Settings
Language J.
Set the language you
want. The flag symbol
will guide you.
When laundry is dry it
feels hard to the touch.
Too vigorous wash
action.
Programme in gentle
action and more water.
Not enough detergent
used.
Increase detergent dose
to prevent limescale
build up in laundry.
No fabric conditioner
used.
Use fabric conditioner in
last rinse.
Problem solving guide
44

An unsatisfactory wash result
Problem Possible cause Remedy
Liquid detergent
does not give the
required result.
Liquid detergents
usually contain no
bleaching agents.
They do not remove
fruit, coffee and tea
stains.
–Use a general purpose
detergent containing a
bleaching agent.
–Pour stain removers into
compartment jof the
dispenser drawer and liquid
detergent into a dispenser ball.
–Never put stain removers and
liquid detergent together in the
dispenser drawer.
Grey, greasy
particles cling to
washed laundry.
Insufficient amounts of
detergent were used
to break down the
particles of grease in
heavily soiled laundry.
– Use more detergent.
– Before washing the next load
run a Cottons 95°C programme
with powder detergent but
without a load.
A stale smell is in
the drum and on
laundry.
Low temperature
washing.
– Before washing the next load
run a Cottons 95°C programme
with powder detergent but
without a load.
White residues
which look like
powder detergent
are seen on dark
textiles after
washing.
The detergent
contained compounds
(zeolites) to aid water
softening which are
not soluble in water.
They have ended up
on the laundry.
–Try and brush off the residues
with a soft brush once the
laundry is dry.
–Wash dark textiles using a
detergent which contains no
zeolites. Liquid detergents
usually contain no zeolites.
–Use the Dark garments
programme.
Clothes are coming
out creased.
Programme was
overloaded.
–Reduce quantity of clothes in
drum.
The wrong
programme was used.
–Check care labels and the
programme chart.
–Use easy iron conditioners.
Problem solving guide
45

The door will not open
Possible cause Remedy
The machine is not
connected to the
electricity supply and/or is
not switched on.
Insert the plug in the socket and switch on and/or
switch the machine on with the I-On/0-Off button.
The safety lock has been
activated.
Deactivate the safety lock as described in
"Changing the programme sequence - Safety
lock".
Access via a code has
been activated.
Deactivate the code as described in "Settings
menu".
Power cut. Open the drum door as described in the next
section.
The door was not correctly
engaged.
Press hard against the lock side of the drum door
and then press the Door button.
There is still water in the
drum and the machine is
unable to drain.
Clean the drain filter and drain pump as described
in the next section.
For safety reasons the drum door cannot be opened if the suds temperature is
higher than 55°C.
Problem solving guide
46

Opening the drum door in the
event of a blocked drain outlet
and/or power failure
^Switch the washing machine off.
There is a lever behind the detergent
drawer fascia panel.
^Remove the lever.
^Use it to open the access flap.
Blocked drain outlet
If the drain outlet is blocked, up to
25 litres of water will be retained in the
machine.
,Caution: if laundry has been
washed at a high temperature, water
draining out of the machine will still
be hot. Danger of scalding!
Procedure for draining the machine
^Place a suitable container under the
access flap.
When draining water from the
machine, do not unscrew the drain
filter completely or take it right out.
^Unscrew the drain filter lid until water
runs out.
To interrupt the flow of water:
^Tighten the drain filter back up again.
Problem solving guide
47

Once the flow of water ceases:
^Remove the drain filter completely.
^Clean it thoroughly.
^Remove any foreign objects (e.g.
buttons, coins, etc.) and fluff from the
filter housing. Turn the impeller by
hand to check that it rotates freely.
Any foreign object causing an
obstruction should be removed.
^Put the drain filter back in place and
secure.
,Make sure the drain filter is
securely tightened. Otherwise there
is a risk of water leakage during use.
Opening the drum door
,Always make sure that the drum
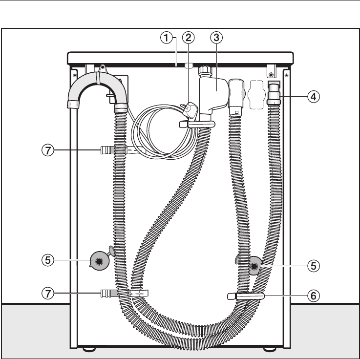
is stationary before reaching into the
machine to remove laundry.
Reaching into a moving drum is
extremely dangerous.
^Pull the emergency release
downwards (see illustration). The
drum door will open.
Problem solving guide
48

In the event of any faults which you
cannot remedy yourself, please
contact:
–your Miele Dealer or
–the Miele Customer Contact Centre
(see back cover for contact details).
When contacting your Dealer or Miele,
please quote the model and serial
number of your machine, both of which
are shown on the data plate visible
above the porthole glass when the door
is open.
Future updates (PC)
The indicator light marked PC is the
interface used by Miele service
technicians during servicing work for
testing purposes and for updating the
machine's programme data.
Appliance guarantee
Please see the guarantee card
supplied with your machine.
Optional accessories
Optional accessories for this washing
machine are available from your Miele
Dealer, the Miele Spare Parts
Department or via the internet at
www.miele-shop.com.
Please note that telephone calls may
be monitored and recorded for
training purposes.
After sales service
49

Front view
aInlet hose with "Waterproof" system
bElectricity supply cable
c-fFlexible drain hose (with
detachable swivel elbow)
gControl panel
hDetergent dispenser drawer
iDrum door
jAccess to drain filter, drain pump
and emergency release
kHandle recesses for moving the
machine
lFour height adjustable feet
Installation and connection
50

Rear view
aProtruding lid for holding when
moving the machine
bElectricity supply cable
cInlet hose with "Waterproof" system
dDrain hose
eTransit bar covers
fRestraining clip for inlet hose and
drain hose
gRestraining clips for transit bars
when removed
Installation and connection
51

Installation surface
A concrete floor is the most suitable
installation surface for a washing
machine, being far less prone to
vibration during the spin cycle than
wooden floorboards or a carpeted
surface.
Please note the following points:
^The machine must be level and
securely positioned.
^To avoid vibrations during spinning,
the machine should not be installed
on soft floor coverings.
If installing on a wooden joist floor:
^We recommend a plywood base
(at least 59x52x3 cm). The base
should span several joists and be
bolted to the joists and not only to the
floorboards. Check for the presence
of pipes and cables.
If possible, install the machine in a
corner, as this is usually the most stable
part of the floor.
,If the machine is installed on a
raised plinth, it has to be secured
against slippage during spinning
using retaining clips (available from
the Miele Spare Parts Dept).
Installing the washing machine
To manoeuvre the machine out of its
packing case to its installation site hold
it by the edge of the lid where it
protrudes to the rear of the washing
machine as well as by the handle
recesses at the front.
,Ensure that the machine feet and
the floor are dry to prevent the
machine from slipping during the
spin cycle.
Removing the transit bars
^To remove the left and right covers
1. Use a screwdriver to prise out the
cover as illustrated.
2. Pull the cover forwards to remove.
Installation and connection
52

^Using the spanner supplied turn the
left-hand transit bar 90°, then
^withdraw the transit bar.
^Turn the right-hand transit bar 90°,
then
^withdraw the transit bar.
Installation and connection
53

,To avoid the risk of injury the
holes for the transit bars must be
covered after the transit bars have
been removed.
^Fit the covers on to the two holes.
Then plug the holes as shown with
the caps.
^Secure the transit bars to the back of
the washing machine. Make sure that
holes bare fitted over retainers a.
,The washing machine must not
be moved without the transit bars in
place.
Store the transit bars as shown or
keep them in a safe place for future
use. They must be re-fitted if the
machine is to be moved again
(e.g.when moving house).
Re-fitting the transit bars
Re-fitting is carried out by reversing the
procedure.
Installation and connection
54

Levelling the machine
The machine must stand perfectly level
on all four feet to ensure safe and
proper operation.
Incorrect installation may increase
electricity and water consumption and
may cause the machine to move about.
Screwing out and adjusting the feet
The four adjustable screw feet are used
to level the machine. All four feet are
screwed in when the machine is
delivered.
^Using the spanner supplied turn
counter nut 2in a clockwise
direction. Then turn counter nut 2
together with foot 1to unscrew.
^Use a spirit level to check the
machine is standing level.
^Hold foot 1securely with a pipe
wrench. Turn counter nut 2again
using the spanner supplied until it
sits firmly up against the housing.
,All four counternuts must be
firmly up against the housing. Please
also check this for the feet which did
not need adjustment. Otherwise
there is the danger of the machine
moving about.
Installation and connection
55

The fitting of building under kits and
stacking kits must only be
undertaken by qualified and
competent persons, in accordance
with the instructions supplied with
the kit.
Building under a continuous
worktop/in a kitchen run
If you wish to push your machine under
a worktop and there is space to do this
without removing the lid, the
conversion kit is not necessary.
Otherwise the conversion kit is
essential.
– A special building under conversion
kit* is required.
To ensure electrical safety, the
washing machine lid must be
replaced by the cover plate supplied
with the conversion kit.
– For installation under a work surface
900/910 mm from the floor, a raising
kit* is required.
–Connections for electricity, water and
drainage should be installed in such
a way that they remain accessible
when the machine is in place.
Fitting instructions are supplied with the
conversion kit.
All parts marked* are available from
your Dealer or the Miele Spare Parts
Department.
Washer and Dryer stack
A Miele tumble dryer can be stacked
with the washing machine. A "WTV"
stacking kit* is necessary and can be
purchased from the Miele Spare Parts
Department or via the internet at
www.miele-shop.com.
Please note:
aSafety distance to wall:
at least 2 cm
bHeight:
Stacking kit with pull-out shelf:
approx. 169 cm
Stacking kit without pull-out shelf:
approx. 170 cm
Replacing the lid
If the lid has been removed in order to
fit a stacking kit or cover plate, ensure
that, if the lid is replaced, it fits securely
into the rear holders. Otherwise, it is not
properly secure for transport.
Installation and connection
56

The Miele Waterproof system
The Miele Waterproof system protects
the washing machine from water
damage.
The system consists of three main
components:
1) the inlet hose
2) the electronic unit and the washing
machine housing
3) the drain hose
1) Inlet hose
– The inlet hose is fitted with an
additional electrical safety valve
which works like an automatic
stopcock and is housed in the inlet
hose connection box.
– It is pressure tested to between
7,000 and 10,000 kPa.
– The inlet hose has a protective
sleeve.
Any leaking water from the inlet hose
is fed into the sump through this
protective sleeve. A float switches off
the safety valve, preventing any
more water from flowing into the
machine and water in the suds
container is pumped away.
2) Electronic unit and washing
machine housing
–Sump
Any leaking water is collected in a
sump in the base of the machine. A
float switches off the safety valves,
preventing any more water from
flowing into the machine and water in
the suds container is pumped away.
–Overflow protection
This prevents the washing machine
taking in too much water. If the water
level exceeds a certain level, the
drain pump switches in and pumps
the excess water away.
3) Drain hose
The drain hose is protected by a
ventilation system which prevents the
washing machine from being
emptied completely.
Installation and connection
57

Connection to the water supply
,The plastic casing of the safety
valve contains electrical
components. The Waterproof system
must only be connected to its own
stopcock. It must not be connected
to mixer taps or similar and must not
be fitted in areas where there is the
risk of water or other liquids
reaching it.
Do not get wet.
The protective sleeve of the hose
must not be damaged or kinked.
The machine should be connected to
the mains water supply in accordance
with local and national safety
regulations. The German authorities do
not require it to have a non-return valve
as the washing machine has been
designed to comply with DIN
regulations.
The machine is designed to operate
with a flow pressure of between 100
and 1,000 kPa (1-10 bar). If it is higher
than 1,000 kPa it is essential to fit a
pressure reducing valve.
Connection to the mains water supply
should incorporate a mains stopcock
with 3/4" thread. The stopcock should
be fitted by a qualified plumber.
,The connection point is subject
to mains water pressure. Turn on the
stopcock slowly and check for leaks.
Correct the position of the washer
and union if appropriate.
The washing machine is not suitable
for connection to a hot water supply
and connection to a household
water softener is not recommended.
Installation and connection
58

Maintenance and care
If you intend to unscrew the Miele
Waterproof system hose from the
stopcock it is essential to disconnect
the machine from the electricity supply
first.
Only use a Miele Waterproof system
hose should you need a replacement.
In order to protect the water inlet
valve, the dirt filter in the water inlet
valve connection must not be
removed.
Extension hose
A 1.5 metre long (metal) extension hose
is available from your Miele dealer or
the Miele Spare Parts Department as an
optional extra.
This hose is tested to withstand
pressures of up to 14,000 kPa and can
be used as a flexible extension to the
water supply.
N.B. Using this hose renders the
Waterproof system safety valve on the
inlet hose ineffective.
Installation and connection
59

Connection to the drainage
system
The machine drains via a drain pump
with a delivery head of 1 metre*. The
drain hose must not be kinked as this
restricts drainage. The swivel elbow at
the end of the hose can be turned in
either direction, or can be detached if
required, with a sharp twist and pull.
If required, the drain hose can be
extended to a length of 5 m. The
necessary parts can purchased from
the Miele Spare Parts Department or
your Miele dealer.
* For a delivery head of more than 1 m
(up to a max. of 1.8 m) a replacement
drain pump will need to be fitted.
Please contact the Miele Spare Parts
Department or your Miele Dealer.
Drain hose connection:
1. Direct into a sink or basin:
Please note the following:
–Hook the hose over the edge and
secure.
–Make sure that the water can drain
away freely without hindrance.
Otherwise there is a risk of water
overflowing or of some of the drained
water being sucked back into the
machine.
2. Connected securely to a plastic
drain pipe with a rubber nipple.
There is no need to use a non-return
valve.
3. Connected securely to a standpipe.
4. Connected securely to a floor gully.
Please note:
aAdapter
bNut
cHose clip
dEnd of the hose
^Fit adapter ato the sink drain outlet
using nut b.
^Attach the end of the hose dto
adapter a.
^Use a screwdriver to tighten hose
clip cup close to the nut.
Installation and connection
60

Electrical connection U.K.
All electrical work should be carried out
by a suitably qualified and competent
person, in strict accordance with
current national and local safety
regulations (BS 7671 in the UK).
Ensure power is not supplied to the
appliance until after installation work
has been carried out.
The appliance is supplied with a mains
cable with moulded plug ready for
connection to a 230-240V mains
supply.
Please ensure the connection data
quoted on the data plate match the
household mains supply.
Connection should be made via a
suitable switched socket which is easily
accessible after installation.
For extra safety it is advisable to install
a suitable residual current device
(RCD). Contact a qualified electrician
for advice.
Do not connect via an extension lead.
Extension leads do not guarantee the
required safety of the appliance (e.g.
danger of overheating).
Non-rewireable plugs BS 1363
The fuse cover must be refitted when
changing the fuse, and if the fuse cover
is lost, the plug must not be used until a
suitable replacement is obtained. The
colour of the correct replacement cover
is that of the coloured insert in the base
of the plug, or the colour that is
embossed in words on the base of the
plug (as applicable to the design of
plug fitted).
Replacement fuses should be ASTA
approved to BS 1362 and have the
correct rating. Replacement fuses and
fuse covers may be purchased from
your local electrical supplier.
WARNING: THIS APPLIANCE
MUST BE EARTHED
Installation and connection
61

Load Consumption data
Energy Water Duration
in kWh in litres Short Normal
Cottons 95°C 6.0 kg 1.99 47 2 h 09 min
60°C1) 6.0 kg 1.02 47 1 h 49 min
60°C 3.0 kg 0.73 39 1 h 03 min
40°C1) 6.0 kg 0.65 59 2 h 04 min
40°C2) 3.0 kg 0.36 39 59 min
Minimum iron 40°C1) 3.0 kg 0.50 55 59 min 1 h 19 min
Delicates 30°C 2.0 kg 0.35 69 49 min 59 min
Woollens /30°C 2.0 kg 0.23 39 – 39 min
Automatic 40°C 3.5 kg 0.35 - 0.50 40-55 – 1 h 18 min
Shirts 60°C 2.0 kg 1.00 59 1 h 02 min 1 h 12 min
Express 40°C 3.0 kg 0.30 34 – 30 min
Denim 40°C 3.0 kg 0.50 52 50 min 1 h 00 min
Hygiene 60°C 6.0 kg 1.40 55 – 2 h 20 min
Dark garments 40°C 3.0 kg 0.60 60 1 h 05 min 1 h 15 min
Curtains 40°C 2.0 kg 0.45 38 – 55 min
Pillows 60°C 1 pillow 0.80 44 – 1 h 20 min
Silks /30°C 1.0 kg 0.25 39 – 36 min
Sportswear 40°C 2.0 kg 0.35 35 47 min 1 h 07min
Outerwear 40°C 2.0 kg 0.45 59 53 min 1 h 03 min
Proofing 40°C 2.0 kg 0.30 12 – 29 min
Notes for test institutes:
1) EN 60456 test programme
2) Short programme for test institutes; the Short extra option must be selected.
Consumption data can vary from the nominal values given depending on water
pressure, water hardness, water inlet temperature, room temperature, type and
volume of load, fluctuations in the electricity supply and any extra options
selected.
Consumption data
62

Height 850 mm
Width 595 mm
Depth 580 mm
Depth with door open 975 mm
Height for building under 820 mm
Width for building under 600 mm
Depth for building under 600 mm
Weight 94 kg
Maximum floor load 1600 Newton (approx. 160 kg)
Capacity 6 kg dry laundry
Voltage see data plate
Connected load see data plate
Fuse rating see data plate / plug
Consumption data see "Consumption data"
Water flow pressure minimum 100 kPa (1 bar)
Water flow pressure maximum 1000 kPa (10 bar)
Inlet hose length 1.60 m
Drain hose length 1.50 m
Mains connection cable length 1.60 m
Delivery head max. 1.00 m
Maximum drainage length 5.00 m
LEDs Class 1
Test certificates awarded see data plate
Technical data
63

Settings menu
for changing default settings
The Settings menu can be used to alter the machine's electronics to suit
changing requirements.
Settings can be altered at any time.

To open the Settings menu
^Connect the machine to the
electricity supply.
^Switch on the washing machine.
^Press both menu buttons at the same
time until the following appears in the
display:
Settings
Language !
Continue OK
You are now in the Settings menu.
^Select the setting you want with the
left hand Menu button under
Continue, and confirm your selection
with the right hand Menu button
under OK.
Language F
The display can be set to appear in
one of several different languages.
You can select the language you want
via the Language sub-menu.
The flag after the word Language acts
as a guide to prevent a language which
will not be understood from being set.
A tick Lwill appear beside the
language to show that it has been set.
Time (of day)
First select either a 24 hour or 12 hour
clock. You can then set the current time
of day.
Clock format
^Select the clock format you want with
the left hand Menu button under
Continue, and confirm your selection
with the right hand Menu button
under OK.
Set the time of day
^Select the Set the time of day
sub-menu and use the Menu buttons
to set the time.
Settings menu
65

Gentle action
Activating gentle action reduces the
drum action and is suitable for
washing slightly soiled items more
gently. It should be activated for
garments with a single bar under the
care label and for articles which feel
too hard after they have been dried.
Gentle action can be activated for the
Cottons and the Minimum iron
programmes.
The machine is delivered with the
Gentle action setting deactivated.
A tick Lwill appear beside the option
to show that it has been set.
Longer pre-wash
The pre-wash for the Cottons
programme can be extended by 6, 9
or 12 minutes.
The default setting for the pre-wash is
25 minutes.
If you require a longer pre-wash, it can
be extended.
A tick Lwill appear beside the option
to show that it has been set.
Suds cooling
When this is activated, additional
water flows into the drum at the end
of the main wash to cool the suds
down. Hot suds can damage plastic
drainage pipes.
Suds cooling takes place when
temperatures of 95°C and 75°C are
selected.
Suds cooling should be activated:
–to prevent the danger of scalding if
the drain hose is hooked over the
edge of a sink or basin.
– where the drainage pipes do not
comply with DIN 1986.
The machine is delivered with Suds
cooling deactivated.
A tick Lwill appear beside the option
to show that it has been set.
Settings menu
66

Lock code
The code prevents your machine
being used without your knowledge.
When the code has been activated, you
have to enter a code after switching the
washing machine on. Otherwise the
washing machine cannot be operated.
To activate the Lock code
Lock code
Activate
Continue OK
^Press the right hand Menu button
under OK.
^The display will now request that a
code is entered. The code is 125 and
cannot be altered.
To enter the Lock code
Lock code
000
*OK
^Enter the first number with the left
hand Menu button under *. Confirm
your selection of this number by
pressing the right hand Menu button
under OK. Now enter the second
number.
^Repeat the process until all three
numbers have been entered.
Lock code
125
Back AOK
^Confirm the code by pressing the
right hand Menu button under OK or,
if you have made a mistake, press
the left hand Menu button under
Back A.
The following will appear in the display:
XLock code activated.
Entry OK
Once the machine is switched off, it
can only be used again if the code is
entered.
To use the washing machine when
the code is activated
When the machine is switched on
again, the display will request the code.
^Enter code 125 as described above
and confirm the entry.
The washing machine is now unlocked
and ready for use.
To deactivate the Lock code
Proceed as for activating the code.
Settings menu
67

Temperature unit
You can chose for the temperature to
be displayed in °C/Celsius or
°F/Fahrenheit.
A tick Lwill appear beside the option
to show that it has been set.
Buzzer
An audible tone sounds repeatedly at
the end of a programme and when
Rinse hold is reached.
There are two volumes:
Off
(default setting)
The buzzer is switched off.
Normal
The buzzer sounds at the end of a
programme or when Rinse hold is
reached.
Loud
The buzzer sounds at maximum volume
Loud at the end of a programme or
when Rinse hold is reached.
A tick Lwill appear beside the option
to show that it has been set.
Keypad tone
An audible tone sounds each time a
button is pressed.
The machine is delivered with the
keypad tone switched off.
A tick Lwill appear beside the option
to show that it has been set.
Brightness
There are ten different display
brightness settings.
The machine is delivered with the
display brightness on setting 5.
This will change as soon as a different
setting is chosen.
Contrast
There are ten different display
contrast settings.
The machine is delivered with the
display contrast on setting 5.
This will change as soon as a different
setting is chosen.
Settings menu
68

Standby display
To save energy, the display goes out
and the indicator light for the
Start/Stop button will start flashing
slowly.
The display will always go out,
–if a programme is not selected within
10 minutes of the machine being
switched on.
–10 minutes after the end of a
programme.
Pressing one of the buttons switches
the display back on again.
You can also choose whether you want
the display to go out 10 minutes after a
programme has started or to remain
visible throughout the programme.
On
The standby function is switched on.
When this option is selected, the
display will go out 10 minutes after a
programme has started.
Not in current programme
(the machine is delivered with this
option selected)
The standby function is switched off.
The display will remain visible during a
programme.
Memory
If an extra option has been selected
for a programme, or the
recommended temperature or spin
speed has been altered, the machine
will store the changes in memory at
the start of a programme.
When this programme is chosen again
these settings will appear in the
display.
The machine is delivered with the
memory function deactivated.
Anti-crease
Anti-crease helps prevent creasing if
laundry is not normally removed im-
mediately after the end of a
programme.
The drum will turn at intervals for up to
30 minutes after the programme has
finished. The door can be opened and
laundry removed at any time during the
anti-crease phase.
On
(the machine is delivered with this
option selected)
Anti-crease is activated.
Off
Anti-crease is deactivated.
To close the Settings menu
Settings
Back A
Continue OK
^Press the right hand Menu button
under OK.
Settings menu
69

Miele washing machines offer perfect
care for your laundry and feature a
wide range of special programmes
designed to suit the fabric being
washed. And now Miele have
developed a range of specialist
CareCollection detergents and
conditioning products to offer you a
complete package for cleaning and
caring for your laundry.
The Miele CareCollection detergents
and conditioning products are listed
below. You can order these and many
other useful products via the internet at:
All the products can also be ordered
via the Miele Customer Contact Centre
(see back cover for contact details).
CareCollection
Miele specialist detergents
"Outdoor wear"
This specialist detergent will clean your
water-repellent outerwear with care.
"Sportswear"
The Miele Sportswear detergent is
designed to clean sportswear whilst
taking care of the special microfibres
used in these garments. It will help to
neutralise and remove odours whilst
protecting the colour of the fabric and
preventing static build-up.
"Down Items"
This special-purpose detergent
contains a mild tenside and has been
specially formulated to keep down-filled
items supple and to give them bounce.
Miele proofing agent
This special finishing agent reproofs
garments against wind and water and
provides a dirt-repellent finish whilst
retaining elasticity and breathability.
Optional accessories
70

"UltraWhite" detergent
This multi-purpose powder detergent
has excellent stain removal properties
and is suitable for white and light
coloured laundry as well as heavily
soiled coloured items.
"UltraColor" detergent for coloured
garments
This liquid detergent is particularly
suitable for cleaning coloured and dark
garments. The special formulation
offers effective stain removal, even at
low temperatures, while helping to
prevent colours fading.
Liquid detergent "For Delicates"
This liquid detergent is ideal for the
gentle treatment of delicate fabrics,
such as wool and silk. Its special
formulation cleans effectively at
temperatures as low as 20°C, while
protecting the colour of your delicate
garments.
Fabric conditioner
The Miele fabric conditioner will give
your laundry a fresh, natural fragrance.
It makes garments soft to handle and
prevents static build-up during tumble
drying.
Optional accessories
71

Alteration rights reserved/0309/W 3922 WPS M.-Nr. 07 170 880 / 02