Mitsubishi Motors Automobile R4A51 Users Manual TRANSMISSION Workshop FR A/T(W E)
R4A51 to the manual 5af21d6b-d179-477d-9556-001c08f977dc
2015-01-24
: Mitsubishi Mitsubishi-Mitsubishi-Motors-Automobile-R4A51-Users-Manual-231400 mitsubishi-mitsubishi-motors-automobile-r4a51-users-manual-231400 mitsubishi pdf
Open the PDF directly: View PDF
.
Page Count: 141 [warning: Documents this large are best viewed by clicking the View PDF Link!]
- AUTOMATIC TRANSMISSION <R4A51, V4A51> [23D]
- GENERAL INFORMATION
- 1. SPECIFICATIONS
- 2. SPECIAL TOOLS
- 3. TRANSMISSION AND EXTENSION HOUSING <R4A51>
- 4. TRANSMISSION AND TRANSFER <V4A51>
- 5. EXTENSION HOUSING <R4A51>
- 6. TRANSFER CASE ADAPTER <V4A51>
- 7. TRANSMISSION
- 8. REVERSE AND OVERDRIVE CLUTCH
- 9. SECOND BRAKE
- 10. LOW/REVERSE ANNULUS GEAR
- 11. CENTER SUPPORT
- 12. UNDERDRIVE CLUTCH
- 13. VALVE BODY
- 14. TRANSFER <V4A51>
- 14a. TRANSFER <V4A51 - Super Select 4WD II>
- 15. TRANSFER CASE PLATE <V4A51>
- 16. INPUT GEAR <V4A51>
- 17. COUNTER GEAR <V4A51>
- 18. REAR OUTPUT SHAFT <V4A51>
- 18a. READ OUTPUT SHAFT <V4A51 - Super Select 4WD II>
- 19. FRONT OUTPUT SHAFT <V4A51>
- 20. SPEEDOMETER GEAR
- 21. TRANSFER DRIVE SHAFT <V4A51 - Super Select 4WD II>
- 22. SHIFT RAIL DRIVE GEAR <V4A51 - Super Select 4WD II>
- 23. 2-4WD SHIFT RAIL AND H-L SHIFT RAIL <V4A51 - Super Select 4WD II>








R4A51, V4A51 - Specifications 23D-1-1
1. SPECIFICATIONS
TRANSMISSION MODEL TABLE - MODEL 2000
Transmission models Vehicle model Engine model
EUR V4A51-5-DHA3 K96W 6G72
V4A51-5-DHA4 K96W 6G72
EXP R4A51-5-DCA K86W 6G72
R4A51-5-DEA K86W 6G72
V4A51-5-DHA3 K96W 6G72
V4A51-5-DHA4 K96W 6G72
V4A51-5-QIA K97W 4M40
V4A51-5-QIA1 K97W 4M40
TRANSMISSION MODEL TABLE - MODEL 2001
Transmission models Vehicle model Engine model
EUR V4A51-5-DHA3 K96W 6G72
V4A51-5-DHA4 K96W 6G72
EXP V4A51-7-QBA V66W, V76W 4M40
V4A51-7-DCA V63W, V73W 6G72
V4A51-7-DCA1 V63W, V73W 6G72
R4A51-5-DCA K86W 6G72
R4A51-5-DEA1 K86W 6G72
V4A51-5-DHA3 K96W 6G72
V4A51-5-DHA4 K96W 6G72
V4A51-5-QIA K97W 4M40
V4A51-5-QIA1 K97W 4M40
MMAL R4A51-4-DHA K66T 6G72
R4A51-4-GDA K66T 6G72
V4A51-4-DIA K76T 6G72
V4A51-5-DHA4 K96W 6G72
RevisedPWEE8920-J
EJuly 2000Mitsubishi Motors Corporation





















































































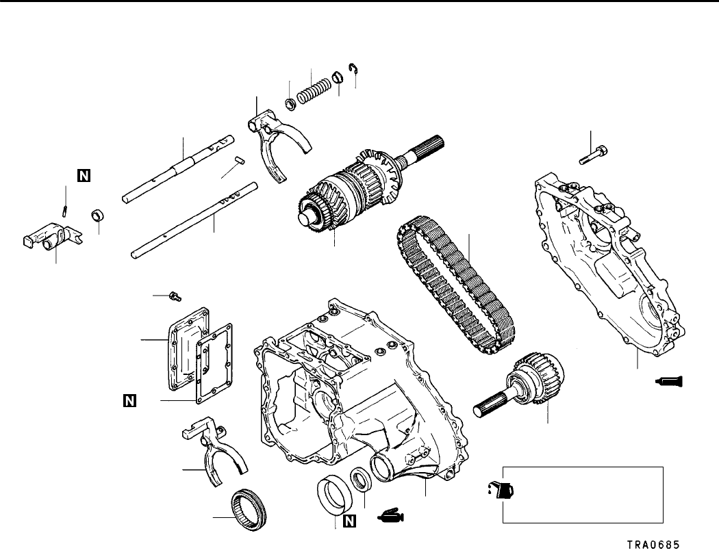
R4A51, V4A51 - Transfer <V4A51> 23D-14-1
14. TRANSFER <V4A51>
DISASSEMBLY AND ASSEMBLY - V4A51-4 PART TIME 4WD
1
2
3
4
5
6
7
8
910 11
12
13
14
15
34 Nm
35 Nm
35 Nm
34 Nm
35 Nm
18 Nm
Apply gear oil to all
moving parts before
installation.
Disassembly steps
1. 2-4WD detection switch
2. Gasket
3. H-L detection switch
4. Gasket
5. Steel ball
"LA6. Plug
"PA7. Spring
8. Steel ball
"LA9. Plug
"PA10. Spring
11. Steel ball
"LA12. Plug
"LA13. Plug
14. Speedometer sleeve clamp
"OA15. Speedometer gear
RevisedPWEE8920-J
EJuly 2000Mitsubishi Motors Corporation



R4A51, V4A51 - Transfer <V4A51>
23D-14-3a
DISASSEMBLY AND ASSEMBLY - V4A51-5 PART TIME 4WD
1
2
3
4
5
6
7
8
910 11
12
13
14
15
34 Nm
35 Nm
35 Nm
34 Nm
35 Nm
18 Nm
Apply gear oil to all
moving parts before
installation.
Disassembly steps
1. 2-4WD detection switch
2. Gasket
3. H-L detection switch
4. Gasket
5. Steel ball
"LA6. Plug
"PA7. Spring
8. Steel ball
"LA9. Plug
"PA10. Spring
11. Steel ball
"LA12. Plug
"LA13. Plug
14. Speedometer sleeve clamp
"OA15. Speedometer gear
RevisedPWEE8920-J
EJuly 2000Mitsubishi Motors Corporation

R4A51, V4A51 - Transfer <V4A51> 23D-14-3b
18 Nm
16 17
18
19
20 21
22
23
24
25
26
27
28
29
30
32
33
34
21 Nm
35 Nm
35 Nm
35 Nm
32 Nm
35 Nm
35 Nm
35 Nm
Apply gear oil to all
moving parts before
installation.
31
Disassembly steps
"NA16. Transfer case plate
17. Needle bearing
18. Countershaft gear
"MA19. Spacer
"LA20. Plug
"KA21. H-L shift rail plug
22. Low switch
23. Gasket
24. Dynamic damper
25. Harness bracket
"JA26. Control housing
"IA27. Support pin
"IA28. Return spring
"HA29. Rear cover
"QA30. Oil cover
"GA31. Spacer
32. Dust seal guard
"FA33. Oil seal
"EA34. Spring pin (H-L shift fork)
RevisedPWEE8920-J
EJuly 2000Mitsubishi Motors Corporation

R4A51, V4A51 - Transfer <V4A51>
23D-14-3c
39
40
41
42
43
44
45
46
47
48
49
50
51
52
53
54
55
35
36
37
38
35 Nm
8.8 Nm
44
Apply gear oil to all
moving parts before
installation.
Disassembly steps
AA""
EA35. H-L shift rail
AA""
DA36. Chain cover
37. H-L shift fork
38. H-L clutch sleeve
"DA39. Interlock plunger
"CA40. Spring pin
41. 2-4WD shift lug
42. Distance piece
43. E-clip
44. Spring seat
45. Spring
46. 2-4WD shift rail
47. 2-4WD shift fork
AB""
BA48. Rear output shaft
AB""
BA49. Chain
AB""
BA50. Front output shaft
51. Side cover
52. Side cover gasket
53. Dust seal guard
"AA54. Oil seal
55. Transfer case
RevisedPWEE8920-J
EJuly 2000Mitsubishi Motors Corporation

R4A51, V4A51 - Transfer <V4A51> 23D-14-3d
DISASSEMBLY AND ASSEMBLY - V4A51-7 PART TIME 4WD
1
2
4
5
6
7
8
9
10
11
14
16
35 Nm
34 Nm
35 Nm
34 Nm
35 Nm
18 Nm
17
35 Nm
15
3
12
13
35 Nm
Apply gear oil to all
moving parts before
installation.
Disassembly steps
1. 4WD switch
2. Gasket
3. Transfer switch
4. Gasket
5. Steel ball
"LA6. Plug
"PA7. Spring
8. Steel ball
"LA9. Plug
"PA10. Spring
11. Steel ball
"LA12. Plug
"LA13. Plug
14. Dynamic damper
15. Dust seal guard
16. Vehicle speed sensor
17. Under guard
RevisedPWEE8920-J
EJuly 2000Mitsubishi Motors Corporation

R4A51, V4A51 - Transfer <V4A51>
23D-14-3e
18 Nm
19
20
21
25
26
27
28
29
30
35 Nm
35 Nm
32 Nm
35 Nm
35 Nm
35 Nm
24
23
22
Apply gear oil to all
moving parts before
installation.
18
Disassembly steps
"NA18. Transfer case plate
19. Needle bearing
20. Countershaft gear
"MA21. Spacer
"LA22. Plug
"KA23. H-L shift rail plug
24. Low switch
25. Gasket
"JA26. Control housing
"HA27. Rear cover
"GA28. Spacer
"FA29. Oil seal
"EA30. Spring pin (H-L shift fork)
AddedPWEE8920-J
EJuly 2000Mitsubishi Motors Corporation

R4A51, V4A51 - Transfer <V4A51> 23D-14-3f
38
36
37
41
42
40
44
45
46
47
49
48
34
35
39
35 Nm
43
31
32
33
40
Apply gear oil to all
moving parts before
installation.
Disassembly steps
AA""
EA31. H-L shift rail
AA""
DA32. Chain cover
33. H-L shift fork
34. H-L clutch sleeve
"DA35. Interlock plunger
"CA36. Spring pin
37. 2-4WD shift lug
38. Distance piece
39. E-clip
40. Spring seat
41. Spring
42. 2-4WD shift rail
43. 2-4WD shift fork
AB""
BA44. Rear output shaft
AB""
BA45. Chain
AB""
BA46. Front output shaft
47. Dust seal guard
"AA48. Oil seal
49. Transfer case
AddedPWEE8920-J
EJuly 2000Mitsubishi Motors Corporation






R4A51, V4A51 - Transfer <V4A51> 23D-14-9
"QAOIL COVER INSTALLATION
Install the oil cover so that the oil hole is located as shown
in the illustration.
INSPECTION
2-4WD, H-L DETECTION SWITCH
Check for the continuity between the connector terminal and
switch body.
Switch state Continuity
Switch end pressed No
Switch end released Yes
LOW RANGE OPERATION DETECTION SWITCH
Check for the continuity between the connector terminal and
switch body.
Switch state Continuity
Switch end pressed Yes
Switch end released No
Oil cover
Oil hole
RevisedPWEE8920-J
EJuly 2000Mitsubishi Motors Corporation













R4A51, V4A51 - Transfer Case Plate <V4A51> 23D-15-1
15. TRANSFER CASE PLATE <V4A51>
DISASSEMBLY AND ASSEMBLY <V4A51-4, 5>
18 Nm
1
2
3
4
5
6
Apply gear oil to all
moving parts before
installation.
Disassembly steps
"BA1. Bolt
2. Bearing retainer
3. Transfer input gear
"AA4. Oil seal
5. Baffle plate
6. Transfer case plate
RevisedPWEE8920-J
EJuly 2000Mitsubishi Motors Corporation







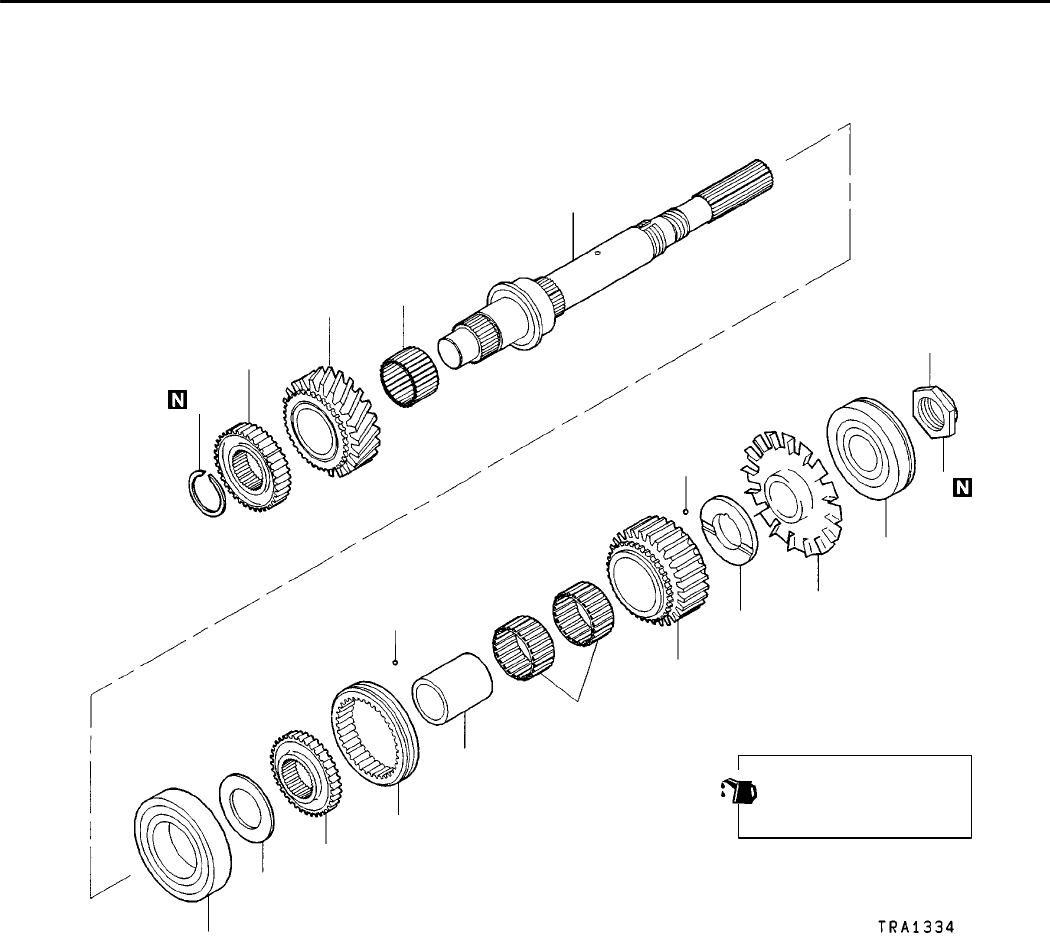
R4A51, V4A51 - Rear Output Shaft
<V4A51 - Part Time 4WD> 23D-18-1
18. REAR OUTPUT SHAFT <V4A51 - Part Time 4WD>
DISASSEMBLY AND ASSEMBLY <V4A51-4>
1
2
34
5
6
7
8
9
10
11
12
13
255 Nm
14
15
16
17
18
Apply gear oil to all
moving parts before
installation.
Disassembly steps
"FA1. Snap ring
AA""
EA2. Clutch hub
3. Low speed gear
4. Needle bearing
AB""
DA5. Jam nut
AC""
CA6. Ball bearing
7. Oil guide
8. Sprocket spacer
9. Steel ball
10. Drive sprocket
11. Needle bearing
12. Sprocket sleeve
13. Steel ball
14. Clutch sleeve
AD""
BA15. Clutch hub
AD""
AA16. Stopper plate
AD""
AA17. Ball bearing
18. Rear output shaft
RevisedPWEE8920-J
EJuly 2000Mitsubishi Motors Corporation

R4A51, V4A51 - Rear Output Shaft
<V4A51 - Part Time 4WD>
23D-18-2
DISASSEMBLY AND ASSEMBLY <V4A51-5, 7>
1
2
3
4
5
6
7
8
9
10
11
12
13
255 Nm
14
15
16
17
18
19
20
21
22
23
24
25
<V4A51-7>
<V4A51-5>
10
Apply gear oil to all
moving parts before
installation.
Disassembly steps
"FA1. Snap ring
AA""
EA2. Clutch hub
3. Low speed gear
4. Needle bearing
5. Snap ring (V4A51-7)
6. Rotor (V4A51-7)
7. Steel ball
AB""
DA8. Jam nut
AC""
CA9. Ball bearing
10. Spacer (V4A51-7)
Oil guide (V4A51-5)
11. Sprocket spacer
12. Steel ball
13. Drive sprocket
14. Needle bearing
15. Sprocket sleeve
16. Steel ball
17. Synchronizer inner ring
18. Synchronizer cone
19. Synchronizer outer ring
20. Synchronizer spring
21. Clutch sleeve
AD""
BA22. Clutch hub
AD""
AA23. Stopper plate
AD""
AA24. Ball bearing
25. Rear output shaft
RevisedPWEE8920-J
EJuly 2000Mitsubishi Motors Corporation








R4A51, V4A51 - Speedometer Gear <R4A51-4, 5, V4A51-4, 5> 23D-20-1
20. SPEEDOMETER GEAR <R4A51-4, 5, V4A51-4, 5>
DISASSEMBLY AND ASSEMBLY
1
2
3
4
5
Apply gear oil to all
moving parts before
installation.
Disassembly steps
1. O-ring
"AA2. Spring pin
3. Driven gear
4. O-ring
5. Sleeve
ASSEMBLY SERVICE POINT
"AASPRING PIN INSTALLATION
Drive the spring pin in, while making sure that slit does not
face gear shaft.
RevisedPWEE8920-J
EJuly 2000Mitsubishi Motors Corporation
Slit
Spring
pin




