Mitsubishi Motors Automobile R5M3 Users Manual TRANSMISSION Workshop FR M/T (W E)
R5M3 to the manual de50d207-d631-4872-9318-faee556a2138
2015-01-24
: Mitsubishi Mitsubishi-Mitsubishi-Motors-Automobile-R5M3-Users-Manual-231401 mitsubishi-mitsubishi-motors-automobile-r5m3-users-manual-231401 mitsubishi pdf
Open the PDF directly: View PDF
.
Page Count: 155 [warning: Documents this large are best viewed by clicking the View PDF Link!]
- MANUAL TRANSMISSION <R5M3, V5M3> [22C]
- GENERAL INFORMATION
- 1. SPECIFICATIONS
- 2. SPECIAL TOOLS
- 3. TRANSMISSION
- 4. MAIN DRIVE PINION
- 5. COUNTERSHAFT CLUSTER GEAR
- 6. MAIN SHAFT
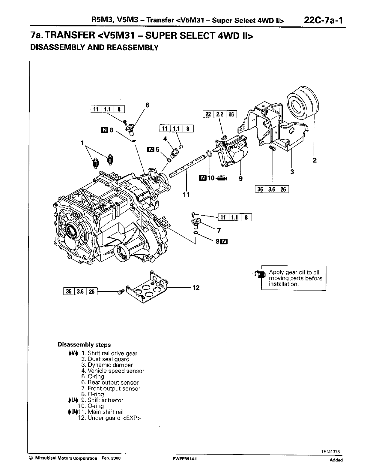
- 7. TRANSFER <V5M31>
- 7a. TRANSFER <V5M31 - SUPER SELECT 4WD II>
- 8. TRANSFER CASE PLATE <V5M31>
- 9. TRANSFER INPUT GEAR <V5M31>
- 9a. TRANSFER INPUT GEAR <V5M31 - SUPER SELECT 4WD II>
- 10. COUNTERSHAFT GEAR <V5M31>
- 10a. COUNTERSHAFT GEAR <V5M31 - SUPER SELECT 4WD II>
- 11. H-L SHIFT FORK <V5M31>
- 11a. SHIFT FORK AND SHIFT RAIL <V5M31 - SUPER SELECT 4WD II>
- 12. 2-4WD SYNCHRONIZER <V5M31-SUPER SELECT 4WD>
- 13. CENTER DIFFERENTIAL CASE <V5M31-SUPER SELECT 4WD>
- 14. REAR OUTPUT SHAFT <V5M31-SUPER SELECT 4WD>
- 14a. REAR OUTPUT SHAFT <V5M31-SUPER SELECT 4WD II>
- 15. REAR OUTPUT SHAFT <V5M31-PART TIME 4WD>
- 16. TRANSFER DRIVE SHAFT <V5M31-SUPER SELECT 4WD>
- 16a. TRANSFER DRIVE SHAFT <V5M31-SUPER SELECT 4WD II>
- 17. FRONT OUTPUT SHAFT
- 17a. FRONT OUTPUT SHAFT <V5M31 - SUPER SELECT 4WD II>
- 18. SPEEDOMETER GEAR
- 19. CONTROL HOUSING <R5M31>
- 20. SHIFT RAIL DRIVE GEAR <V5M31 - SUPER SELECT 4WD II>






NOTES


22C-1-2 R5M3, V5M3 - Specifications
TRANSMISSION MODEL TABLE - MODEL 1996
Transmission model Speedometer
gear ratio
Vehicle model Engine model
EC R5M31-7-NI
R5M31-7-NIL
29/9
29/9
L400-2WD
L400-2WD
4D56
4D56
V5M31-5-SH
V5M31-5-SHL
V5M31-5-SI
V5M31-5-SIL
V5M31-5-SJ
V5M31-5-SJL
V5M31-5-SJTL
28/9
28/9
29/9
29/9
30/9
30/9
30/9
PAJERO/MONTERO
PAJERO/MONTERO
PAJERO/MONTERO
PAJERO/MONTERO
PAJERO/MONTERO
PAJERO/MONTERO
PAJERO/MONTERO
4M40 Turbocharger with charge air cooler
4M40 Turbocharger with charge air cooler
4M40 Turbocharger with charge air cooler
4M40 Turbocharger with charge air cooler
4M40 Turbocharger with charge air cooler
4M40 Turbocharger with charge air cooler
4M40 Turbocharger with charge air cooler
V5M31-7-NKL 31/9 L400-4WD 4D56
EXP V5M31-5-DIL
V5M31-5-REA
V5M31-5-REAL
V5M31-5-RGA
V5M31-5-RGAL
V5M31-5-SHT
V5M31-5-SI
V5M31-5-SIL
V5M31-5-SKT
V5M31-5-YG
V5M31-5-YGL
V5M31-5-YH
V5M31-5-YHL
29/9
25/9
25/9
27/9
27/9
28/9
29/9
29/9
31/9
27/9
27/9
28/9
28/9
PAJERO/MONTERO
PAJERO/MONTERO
PAJERO/MONTERO
PAJERO/MONTERO
PAJERO/MONTERO
PAJERO/MONTERO
PAJERO/MONTERO
PAJERO/MONTERO
PAJERO/MONTERO
PAJERO/MONTERO
PAJERO/MONTERO
PAJERO/MONTERO
PAJERO/MONTERO
4M40 Turbocharger with charge air cooler
4M40 Turbocharger with charge air cooler
4M40 Turbocharger with charge air cooler
4M40 Turbocharger with charge air cooler
4M40 Turbocharger with charge air cooler
4M40 Turbocharger with charge air cooler
4M40 Turbocharger with charge air cooler
4M40 Turbocharger with charge air cooler
4M40 Turbocharger with charge air cooler
6G74
6G74
6G74
6G74
AUS V5M31-5-SI
V5M31-5-SJ
29/9
30/9
PAJERO
PAJERO
4M40 Turbocharger with charge air cooler
4M40 Turbocharger with charge air cooler
RevisedPWEE8914-JMitsubishi Motors Corporation Aug. 2000
E

22C-1-2a
R5M3, V5M3 - Specifications
TRANSMISSION MODEL TABLE - MODEL 1997
Transmission model Speedometer
gear ratio
Vehicle model Engine model
EUR R5M31-7-NG
R5M31-7-NGDL
V5M31-7-NIL
V5M31-5-YEL
V5M31-5-YF
V5M31-5-YFL
27/9
27/9
29/9
25/9
26/9
26/9
L400-2WD
L400-2WD
L400-4WD
PAJERO/MONTERO
PAJERO/MONTERO
PAJERO/MONTERO
4D56
4D56
4D56
6G74
6G74
6G74
EXP V5M31-5-YG
V5M31-5-YGL
V5M31-5-YH
V5M31-5-YHL
27/9
27/9
28/9
28/9
PAJERO/MONTERO
PAJERO/MONTERO
PAJERO/MONTERO
PAJERO/MONTERO
6G74
6G74
6G74
6G74
AUS V5M31-5-YG
V5M31-5-YI
27/9
29/9
PAJERO/MONTERO
PAJERO/MONTERO
6G74
6G74
RevisedPWEE8914-JMitsubishi Motors Corporation Aug. 2000
E

22C-1-2b R5M3, V5M3 - Specifications
TRANSMISSION MODEL TABLE - MODEL 1998, 1999
Transmission model Speedometer
gear ratio
Vehicle model Engine model
EUR R5M31-7-NGDL
V5M31-7-NIL
V5M31-5-YEL
V5M31-5-YFL
V5M31-5-YF
27/9
29/9
25/9
26/9
26/9
L400-2WD
L400-4WD
PAJERO/MONTERO
PAJERO/MONTERO
PAJERO/MONTERO
4D56
4D56
6G74
6G74
6G74
EXP V5M31-5-YEL
V5M31-5-YGL
V5M31-5-YG
V5M31-5-YHL
25/9
27/9
27/9
28/9
PAJERO/MONTERO
PAJERO/MONTERO
PAJERO/MONTERO
PAJERO/MONTERO
6G74
6G74
6G74
6G74
AUS V5M31-5-YG
V5M31-5-YI
27/9
29/9
PAJERO/MONTERO
PAJERO/MONTERO
6G74
6G74
RevisedPWEE8914-JMitsubishi Motors Corporation Aug. 2000
E

22C-1-2c
R5M3, V5M3 - Specifications
TRANSMISSION MODEL TABLE - MODEL 2000
Transmission model Speedometer
gear ratio
Vehicle model Engine model
EUR R5M31-7-NGDL 27/9 L400-2WD 4D56
V5M31-7-NIL 29/9 L400-4WD 4D56
V5M31-5-YEL
V5M31-5-YFL
V5M31-5-YF
V5M31-5-SH
V5M31-5-SHL
V5M31-5-SHTL
V5M31-5-SI
V5M31-5-SIL
V5M31-5-SJ
V5M31-5-SJL
V5M31-5-SJTL
25/9
26/9
26/9
28/9
28/9
28/9
29/9
29/9
30/9
30/9
30/9
PAJERO/MONTERO
PAJERO/MONTERO
PAJERO/MONTERO
PAJERO/MONTERO
PAJERO/MONTERO
PAJERO/MONTERO
PAJERO/MONTERO
PAJERO/MONTERO
PAJERO/MONTERO
PAJERO/MONTERO
PAJERO/MONTERO
6G74
6G74
6G74
4M40
4M40
4M40
4M40
4M40
4M40
4M40
4M40
EXP R5M31-B-MFDL
R5M31-B-MHDL
26/9
28/9
L200-2WD
L200-2WD
6G72
6G72
V5M31-5-YEL
V5M31-5-YGL
V5M31-5-SI
V5M31-5-SIL
V5M31-5-SKT
V5M31-5-SHT
25/9
27/9
29/9
29/9
31/9
28/9
PAJERO/MONTERO
PAJERO/MONTERO
PAJERO/MONTERO
PAJERO/MONTERO
PAJERO/MONTERO
PAJERO/MONTERO
6G74
6G74
4M40
4M40
4M40
4M40
V5M31-B-SIGL
V5M31-B-SIGL
29/9
29/9
L200-4WD
L200-4WD
4M40
4M40
AUS R5M31-4-MKD
R5M31-4-MJD
31/9
30/9
L200-2WD
L200-2WD
6G72
6G72
V5M31-5-YG
V5M31-5-YI
V5M31-5-SJ
27/9
29/9
30/9
PAJERO/MONTERO
PAJERO/MONTERO
PAJERO/MONTERO
6G74
6G74
4M40
RevisedPWEE8914-JMitsubishi Motors Corporation Aug. 2000
E

22C-1-2d R5M3, V5M3 - Specifications
TRANSMISSION MODEL TABLE - MODEL 2001
Transmission model Speedometer
gear ratio
Vehicle model Engine model
EUR V5M31-6-XCL
V5M31-6-XC
V5M31-6-NFL
V5M31-6-WDL
V5M31-6-WD
-
-
-
-
-
PAJERO/MONTERO
PAJERO/MONTERO
PAJERO/MONTERO
PAJERO/MONTERO
PAJERO/MONTERO
4M41
4M41
4D56 Turbocharger with
charge air cooler
6G74 GDI
6G74 GDI
EXP R5M31-B-MFDL
R5M31-B-MHDL
V5M31-B-SIG2
V5M31-B-SIG3
V5M31-6-SFCL
V5M31-6-SFC
V5M31-6-SFBL
V5M31-6-SFB
V5M31-6-XCB
V5M31-6-MEL
V5M31-6-ME
V5M31-6-YDCL
V5M31-6-YDBL
V5M31-6-YDB
26/9
28/9
29/9
29/9
-
-
-
-
-
-
-
-
-
-
L200-2WD
L200-2WD
L200-4WD
L200-4WD
PAJERO/MONTERO
PAJERO/MONTERO
PAJERO/MONTERO
PAJERO/MONTERO
PAJERO/MONTERO
PAJERO/MONTERO
PAJERO/MONTERO
PAJERO/MONTERO
PAJERO/MONTERO
PAJERO/MONTERO
6G72
6G72
4M40
4M40
4M40
4M40
4M40
4M40
4M41
6G72
6G72
6G74
6G74
6G74
AUS R5M31-4-MKD
R5M31-4-MJD
V5M31-6-SFT
V5M31-6-SF
V5M31-6-YDT
V5M31-6-YD
31/9
30/9
-
-
-
-
L200-2WD
L200-2WD
PAJERO/MONTERO
PAJERO/MONTERO
PAJERO/MONTERO
PAJERO/MONTERO
6G72
6G72
4M40
4M40
6G74
6G74
RevisedPWEE8914-JMitsubishi Motors Corporation Aug. 2000
E















NOTES
















































NOTES


















































NOTES




NOTES




NOTES






NOTES



NOTES




NOTES


NOTES






