Mitsumi Electronic Cmy R100Vbk Users Manual
CMY-R200VBK to the manual 3b3b1f84-4072-405b-82ff-af60500223d3
2015-02-09
: Mitsumi-Electronic Mitsumi-Electronic-Cmy-R100Vbk-Users-Manual-557185 mitsumi-electronic-cmy-r100vbk-users-manual-557185 mitsumi-electronic pdf
Open the PDF directly: View PDF
.
Page Count: 4

When installing or relocating the unit, check
that no substance other than the specified
refrigerant (R410A) enters the refrigerant circuit.
¡Any presence of foreign substance or air can cause abnormal
pressure rise or explosion.
¡For your safety, thoroughly read the following instructions prior to installation.
Safety Precautions
¡Thoroughly read the following “Safety Precautions” to ensure proper installation.
¡Observe the following important safety precautions at all times.
¡Hazards that can occur from incorrect handling are classified by the symbols below:
Mitsubishi Electric Air Conditioner CITY MULTI
Twinning Kit Installation Manual
WARNING
CAUTION
WARNING
Incorrect handling can result in death or serious injury.
Incorrect handling can result in bodily injury and/or structure damage.
❈See the Installation Manual that came with the outdoor unit for installation instructions.
CAUTION
Only a dealer or qualified technician should
perform installation.
¡Improper installation may result in refrigerant gas leakage
and equipment damage.
Do not make any modifications or alterations.
Consult your dealer for repair.
¡Improper installation may result in water leakage, electric shock,
or fire.
In the event of a refrigerant leak, thoroughly
ventilate the room.
¡If refrigerant leaks and comes in contact with an open flame,
toxic gases will be generated.
Properly install all parts according to the
instructions in the Installation Manual.
¡If the wrong twinning pipe or wrong size connecting pipe is
used, air conditioning performance will suffer.
After installation, check for a refrigerant leak.
¡If leaked refrigerant comes in contact with a heat source,
such as a fan heater, stove, or electric grill, toxic gases will be
generated.
Properly dispose of packing materials.
¡Plastic bags can pose suffocation and choking hazards: keep
them out of the reach of children. Tear the plastics bags
before disposing of them.
Do not touch the refrigerant pipes and
refrigerant circuit components with bare
hands during and immediately after operation.
¡During or immediately after operation, certain parts of the unit
such as pipes and compressor may be either very cold or hot,
depending on the state of the refrigerant in the unit at the
time. To reduce the risk of frostbites and burns, do not touch
these parts with bare hands.
1
CMY-R100VBK, CMY-R200VBK
WT05221X02

1. Confirming the Package Contents
The following items are included with the Twinning Kit (CMY-R100VBK, CMY-R200VBK). Verify that all items are present before
starting installation.
❈ Always use the twinning pipes included in the kit when preparing the twinning kit.
If the pipes field-supplied do not fit the parts in the kit, use the accessory piping parts listed below.
(1) Package contents
Model
CMY-R100VBK
CMY-R200VBK
1
1
1
1
2
1
1
-
1
1
-
1
3
1
3
1
1
1
1
Low-pressure
twinning kit
2
High-pressure
twinning pipe
3
Fixing screw
4
Elbow pipe
Ø22.2 [7/8]
5
Elbow pipe
Ø28.58 [1-1/8]
6
Elbow pipe
Ø31.75 [1-1/4]
7
High-pressure pipe
(for routing through
the bottom)
8
High-pressure pipe
(for routing through
the front)
9
Pipe cover
Model
CMY-R100VBK
CMY-R200VBK
-
2
1
-
-
1
-
1
1
-
1
-
1
-
1
-
1
-
BCD E FU-PIPE
ID25.4 [1]
GU-PIPE
ID19.05 [3/4]
-ID25.4 [1] HSaddle
2
-
0
1
1
IPacking
1
-
A
1
1
J
Fixing plate
2
2
K
Installation Manual
(this booklet) L
Insulation cover
MCable tie
OD19.05 [3/4]
-ID15.88 [5/8] OD22.2 [7/8]
-ID19.05 [3/4]
OD19.05 [3/4]
-ID22.2 [7/8] OD22.2 [7/8]
-ID28.58 [1-1/8]
OD28.58 [1-1/8]
-ID22.2 [7/8] OD31.75[1-1/4]
-ID34.93 [1-3/8]
(2) List of field-supplied parts
· Refrigerant pipes other than the ones provided in the kit
· Heat-resistant insulation material (for field-supplied refrigerant pipes)
· Insulation cover tape
Package unit name
Outdoor Twinning Kit
Component unit name
Outdoor unit 1
Outdoor unit 2
BC controller ~ Twinning pipe
High-pressure
Low-pressure
A
B
A0
B0
C0
D0
E0
F0
PURY-**Y(S)HM
PURY-**Y(S)HMU
PURY-**T(S)HMU
A0
P450
P500
P550
P600
P650
P700
P750
P800
EP400
EP450
EP500
EP550
EP600
P144
P168
P192
P216
P240
P144
P168
P192
P216
P240
B0
P250
P250
P300
P300
P350
P400
P400
P400
EP200
P250
EP300
EP300
EP300
P72
P96
P96
P120
P120
P72
P96
P96
P120
P120
C0
P200
P250
P250
P300
P300
P300
P350
P400
EP200
EP200
EP200
P250
EP300
P72
P72
P96
P96
P120
P72
P72
P96
P96
P120
D0
CMY-R100VBK
CMY-R200VBK
CMY-R100VBK
CMY-R100VBK
CMY-R100VBK
F0
Twinning pipe ~ Outdoor unit
Low-pressure
E or F
A3
B3
C3
D3
E3
PURY-**YHM
PURY-**YHMU
PURY-**THMU
A1
A2
A3
P200
Ø15.88(*)
Ø19.05(*)
EP200
Ø15.88(*)
Ø19.05(*)
P72
Ø15.88(*)
Ø19.05(*)
P72
Ø15.88(*)
Ø19.05(*)
B1
B2
B3
P250
Ø19.05
Ø22.2
EP300
Ø19.05
Ø22.2
P96
Ø19.05
Ø22.2
P96
Ø19.05
Ø22.2
C1
C2
C3
P300
Ø19.05
Ø22.2(*A)
-
-
-
P120
Ø19.05
Ø28.58
P120
Ø19.05
Ø28.58
D1
D2
D3
P350
Ø19.05
Ø28.58
-
-
-
-
-
-
-
-
-
E1
E2
E3
P400
Ø22.2(*)
Ø28.58
-
-
-
-
-
-
-
-
-
-
Unit model
A1
B1
C1
D1
E1
High-pressure
C or D
A2
B2
C2
D2
E2
( Unit : mm [in] )
( Unit : mm [in] )
*A : In case of CMY-R200VBK
Ø34.93(*)
[1-3/8]
E0
Ø22.2
[7/8]
Ø22.2
[7/8]
Ø22.2
[7/8]
Ø22.2
[7/8]
Ø28.58(*)
[1-1/8]
Ø28.58
[1-1/8]
Ø28.58
[1-1/8]
Ø28.58
[1-1/8]
Ø28.58
[1-1/8]
Ø28.58(*)
[1-1/8]
Ø28.58(*)
[1-1/8]
Ø28.58(*)
[1-1/8]
Ø28.58(*)
[1-1/8]
[5/8]
[3/4]
[5/8]
[3/4]
[5/8]
[3/4]
[5/8]
[3/4]
[3/4]
[7/8]
[3/4]
[7/8]
[3/4]
[7/8]
[3/4]
[7/8]
[3/4]
[7/8]
[3/4]
[1-1/8]
[3/4]
[1-1/8]
[3/4]
[1-1/8]
[7/8]
[1-1/8]
2. Selecting the Correct Size Refrigerant Pipes and Using the Twinning Kit
(1) Pipe size
1Field-supply the pipes to be connected to the kit.
2Choose the correct size pipe using the table below. Connect the field-
supplied pipe to the twinning kit for the sizes in the table that are marked
with an asterisk (*).
3If the pipe was cut with a pipe cutter, remove the burrs and eliminate
foreign materials before connecting.
❈
On the low-pressure side, the twinning kit connects to the pipes field-
supplied inside the outdoor unit.
The distributor on the low-pressure side must be placed in the outdoor unit
that has a larger capacity index of the two, regardless of the relative
positions of the outdoor units or their addresses.
If the distributor is placed in the outdoor unit that has a smaller capacity,
refrigerant will not be properly distributed and compressor failure may result.
( If outdoor units that have the same capacity are used in combination, the
distributor can be placed in either outdoor unit.)
Twinning pipe (high pressure)
Twinning Kit (low pressure)
CE
DA
B
To BC controller
To BC controller
Outdoor unit 2
Outdoor unit 1
F
2
See reverse.

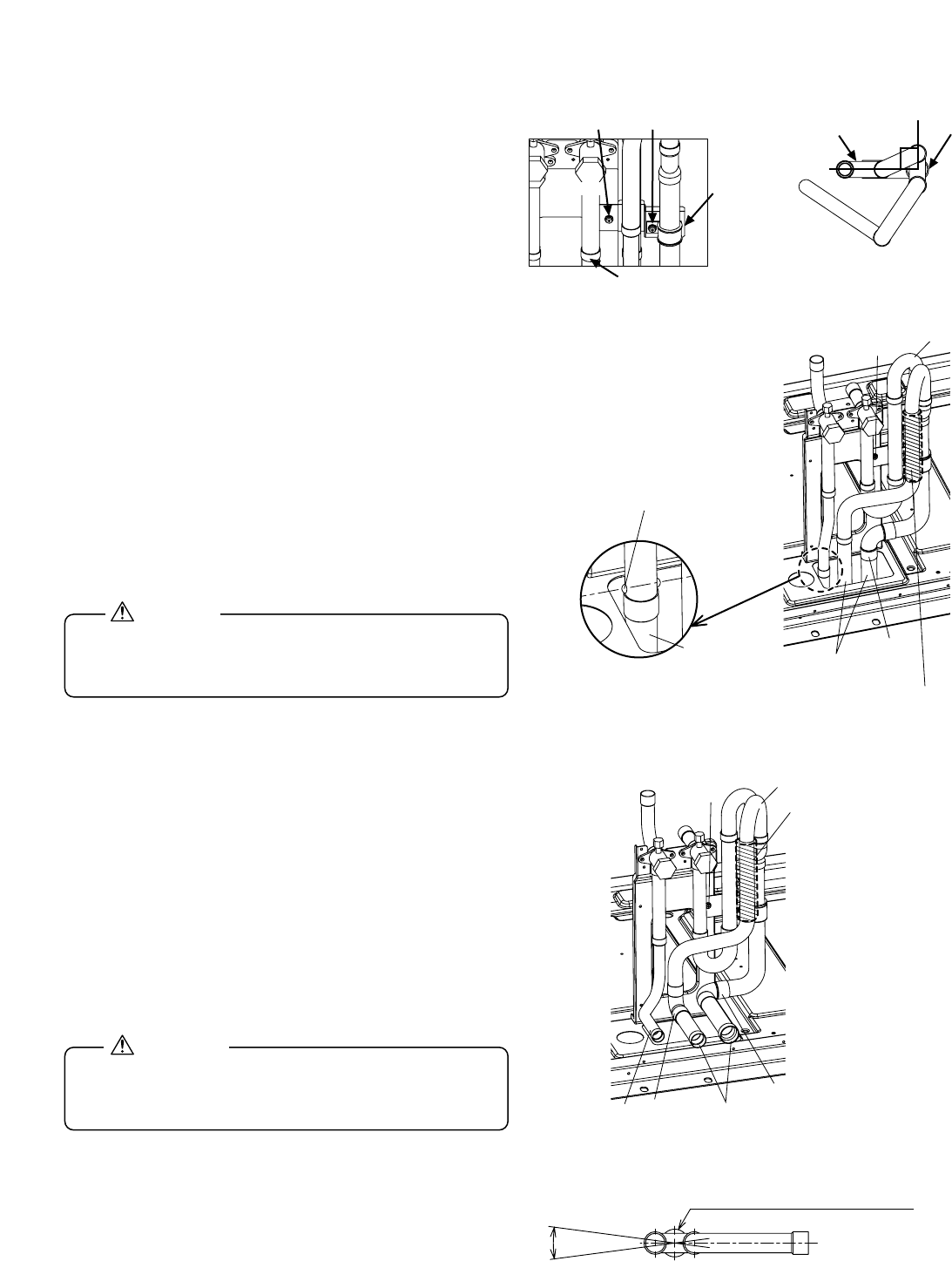
(3) Routing the pipe through the bottom
(1) Braze item 7high-pressure pipe to the stop valve so that the
dimples on the pipe are parallel to the edge of the cutout hole.
Expand the end of the field-supplied pipes, and braze them
to item 7high-pressure pipe.
(2) Attach item 1low-pressure twinning kit to the sheet metal of the
control valve with item 3screw, and braze it to the control valve.
(3) Braze item 5or 6elbow pipe to the field-supplied pipe first,
and then braze it to item 1low-pressure twinning kit.
(4) Flare the field-supplied pipe end, and braze the pipe to the
low-pressure pipe in the middle.
(5) Wrap the pipe in front of item 1low-pressure twinning kit with item
9pipe cover, and attach compressor cables to item 9pipe cover with
item Mcable tie to keep them out of direct contact with the pipes.
Twinning pipe on the high-pressure side
±15˚
Slope of the twinning pipe is at an angle within ±15˚ to the horizontal plane.
Note. Refer to the figure below for the installation position of the twinning pipe.
3
(4) Routing the pipe through the front
(1) Braze item 8high-pressure pipe to the control valve.
(2) Attach item 1low-pressure twinning kit to the sheet metal of the
control valve with item 3screw, and braze it to the control valve.
(3) Braze item 5or 6elbow pipe to the field-supplied pipe first,
and then braze it to item 1 low-pressure twinning kit.
(4) Braze either item 4or 5elbow pipe to the low-pressure pipe in
the middle.
(5) Wrap the pipe in front of item 1low-pressure twinning kit with
item 9pipe cover, and attach compressor cables to item 9pipe
cover with item Mcable tie to keep them out of direct contact
with the pipes.
1
3
5,6
Field-supplied pipes
Field-supplied
pipes
Connect the pipe so that the
dimples on the 7 high pressure
pipe are on an imaginary line
parallel to the edge of the
cutout hole.
9
Wrap the pipe cover here.
Attach compressor cables to
Pipe cover with Cable tie
to keep them out of direct
contact with the pipes.
1
3
5,6
4,5
8Field-supplied pipes
9
Wrap the pipe cover here.
Attach compressor cables to
Pipe cover with Cable tie
to keep them out of direct
contact with the pipes.
· Before heating the pipes, place a wet towel on the control valve to
keep its temperature below 120
˚C [248˚F]
.
· Direct the flame away from the cables and sheet metals inside the
unit so as not to burn them.
CAUTION
· Before heating the pipes, place a wet towel on the control valve to
keep its temperature below 120
˚C [248˚F]
.
· Direct the flame away from the cables and sheet metals inside the
unit so as not to burn them.
CAUTION
(2) Low-pressure twinning kit in CMY-R100VBK
Use either For Gin table 1,(1) Package Contents
depending on the size of the pipe at the control valve on
the unit to be combined with. Attach items H, I, and J
to the stop valve sheet metal and then to the low-pressure
twinning kit to hold it into place.
1. Attach item Jto the stop valve sheet metal.
2. Attach the packing and saddle.
3. Secure the low pressure twinning kit.
F or G1
H,I,J
33
Section to be brazed field-supplied
Stop valve
(5) Slope of twinning pipes (high-pressure side only)
Make sure the slope of the twinning pipes are at an angle
within ±15˚ to the horizontal plane.
If the slope exceeds the specified angle, the unit may be
damaged.

WT05221X02
4. Insulation Cover Installation
Install the insulation cover on the twinning kit after brazing the pipes and twinning kit.
Insulate all refrigerant pipes. Insulate the high-pressure and low-pressure pipes separately, and pipes located inside the unit as well as
the outside. Use heat-resistant insulation material (Heat resistant : at least 120˚C [248˚F], Thickness: high-pressure = 10 mm [13/32 in],
low-pressure = 20 mm [13/16 in] ). Position the edges of the insulation cover and heat-resistant insulation material so as not to leave a
gap, and then wrap the exterior perimeter of the pipe joints and middle with tape (field-supplied).
Downward slope
To BC controller
High-pressure twinning pipe
100mm [4 in]
or more
A B
Upward slope
To BC controller
Total pipe length = A + B < 5m [16-7/16 ft]
Tape (field-supplied)
Overlap margin of the tape
Insulation cover Heat-resistant insulation material (field-supplied)
Insulation covers can shrink.
Overlap the tape as shown in the left
figure so that there will be no gap in
between the insulation cover or
field-installed insulation material.
field-supplied pipe
Heat-resistant insulation material (field-supplied)
Heat-resistant insulation material (field-supplied)
field-supplied pipe
field-supplied pipe
2High-pressure
twinning pipe LInsulation cover
Tape (field-supplied)
To be gap free
To be gap free
4
See reverse.
3. Pipe Connection Example
Connect the pipes between outdoor units,
using the figure below as a reference.
Main low-pressure pipe (field-supplied)
Main high-pressure pipe (field-supplied)
2High-pressure twinning pipe
Low-pressure connecting pipe
(field-supplied)
High-pressure connecting pipe
(field-supplied)
1Low-pressure twinning kit
·
If high-pressure twinning pipe is installed above the base of the
outdoor unit, it should be no more than 200mm [7-7/8 in].
Outdoor unit 2Outdoor unit 1
High-pressure
twinning pipe
200mm max.
To indoor unit
5. Miscellaneous Notes
Secure the field-supplied pipes with a pipe cover and a cable tie in place to keep them from coming in contact with other pipes as
necessary.
(7) Pipe connection (high-pressure side)
Make sure pipes from the twinning pipe to the outdoor unit are sloped downwards.
(6) The length of the straight pipe between indoor units and the twinning pipe (high-pressure pipe)
Use the pipes supplied in the twinning kit, and make sure the section of the field-supplied pipe that connects to the twinning
pipe has at least 500 mm [19-11/16 in] of straight section. (The section of the field-supplied pipe that connects to the twinning
pipe must have at least 500 mm [19-11/16 in] of straight section.) If the straight section is less than 500 mm [19-11/16 in],
it may result in equipment damage.