Motorola Solutions 89FT4899 2-way portable radio User Manual MN000350A02
Motorola Solutions, Inc. 2-way portable radio MN000350A02
Contents
- 1. Users Manual
- 2. Safety Booklet
- 3. User Manual
User Manual

APX™ VEHICULAR
ADAPTER
QUICK START MANUAL:
PRODUCT SAFETY, INSTALLATION,
AND USER INFORMATION
MN000350A02.book Page 1 Tuesday, December 2, 2014 3:01 PM
MN000350A02.book Page 2 Tuesday, December 2, 2014 3:01 PM

1
APX Vehicular Adapter (VA) System Compatibility
Matrix
Table 1: APX Vehicular Adapter (VA) Compatible Radios
Model Number Description
APX6000
P25 Portable Radio.
Available in 700/800 MHz, VHF, UHF R1, and UHF R2 bands.
APX6000XE
APX6000Li
APX5000
SRX2200
Table 2: APX Vehicular Adapter (VA) Compatible Batteries
Kit Number Description
NNTN7038 Li-Ion IMPRES IP67 Battery (2900 mAh)
NNTN8092 Li-Ion FM IMPRES Ruggedized Battery (2300 mAh)
NNTN8182 Li-Ion Ruggedized Battery (2900 mAh)
PMNN4403 Li-Ion Slim IMPRES IP67 Battery (2150 mAh)
Table 3: APX Vehicular Adapter (VA) Compatible Audio Parts
Compatible Option/Kit Kit Number Description
GLN7278 Switch, External Push-to-Talk (PTT)
HLN5113 Footswitch, Emergency
HLN5131 Push Button, Emergency
HLN5391 Clip, Hang-Up, Microphone
HMN1090 Handheld Palm Microphone
HMN4079 Keypad Microphone
PMKN4093 Extension Cable, 2-feet, Microphone
RLN5926 Switch, External Push-to-Talk (PTT)
RMN5054 IMPRES Visor Microphone
HSN4038 PA Speaker, 7.5W
Table 4: APX Vehicular Adapter (VA) Compatible Antennas
Compatible Option/Kit Kit Number Description
HAD4006 ¼-wave (136 – 144)
HAD4007 ¼-wave (144 – 150.8)
HAD4008 ¼-wave (150.8 – 162)
HAD4009 ¼-wave (162 – 174)
HAD4021 Wideband (136 – 174)
HAD4022 3 dB gain (136 – 174)
HAE4003 ¼-wave (450 – 470)
HAE4004 ¼-wave (470 – 512)
MN000350A02.book Page 1 Tuesday, December 2, 2014 3:01 PM

2
HAE4011 3.5 dB gain (450-470)
HAE4012 3.5 dB gain (470 – 495)
HAE4013 3.5 dB gain (494 – 512)
HAE6010 3.5 dB gain (380 – 433)
HAE6011 5 dB gain (380 – 433)
HAE6012 ¼-wave (380 – 433)
HAE6013 2 dB gain (380 – 470)
HAF4013 3 dB gain, Stubby (762 – 870)
HAF4014 3 dB gain, Elevated Feed (762 – 870)
HAF4016 ¼-wave (762 – 870)
HAF4017 3 dB gain, Co – Linear (762 – 870)
Table 5: Other Compatible Miscellaneous Items
In-Box Compatible
Option/Kit Kit Number Description
NTN8940 Kit, Trunnion Mount (reuse of XTVA accessory)
FN000125A01 Trunnion Mounting Bolts
5586126A02 Lock Keys
3005297Y04 Power Cable
MN000350A01 Safety, Installation and User Guide (Online)
MN000350A02 Safety Leaflet / Quick Start Guide
Table 4: APX Vehicular Adapter (VA) Compatible Antennas
Compatible Option/Kit Kit Number Description
MN000350A02.book Page 2 Tuesday, December 2, 2014 3:01 PM

3
ASTRO™ APX™ Vehicular Adapter (APX VA) RF
Energy Exposure and Product Safety
The information provided in this document supersedes the general safety
information contained in user guides published prior to January 2008.
RF Energy Exposure Awareness and Control
Information, and Operational Instructions for Federal
Communication Commission (FCC) Occupational Use
Requirements
Note: This radio is intended for use in occupational or controlled conditions,
where users have full knowledge of their exposure and can exercise
control over their exposure to meet Federal Communication
Commission (FCC) limits. This radio device is NOT authorized for
general population, consumer, or any other user.
This two-way radio uses electromagnetic energy in the RF spectrum to provide
communications between two or more users over a distance. It uses RF
energy or radio waves to send and receive calls. RF energy is one form of
electromagnetic energy. Other forms include, but not limited to, sunlight and
X-rays. RF energy, however, should not be confused with these other forms of
electromagnetic energy, which when used improperly, can cause biological
damage. Very high level of X-rays, for example, can damage tissues and
genetic material.
Experts in science, engineering, medicine, health, and industry work with
organizations to develop standards for safe exposure to RF energy. These
standards provide recommended levels of RF exposure for both workers and
the general public. These recommended RF exposure levels include
substantial margins of protection.
Before using this radio, read the information in this section which
contains important operating instructions for safe usage and radio
RF energy awareness and control information for compliance with
RF energy exposure limits in applicable national and international
standards.
MN000350A02.book Page 3 Tuesday, December 2, 2014 3:01 PM
4
All Motorola two-way radios are designed, manufactured, and tested to ensure
that they meet government-established RF exposure levels. In addition,
manufacturers also recommend specific operating instructions to users of
two-way radios. These instructions are important because they inform users
about RF energy exposure and provide simple procedures on how to control it.
Please refer to the following web sites for more information on what RF energy
exposure is and how to control your exposure to ensure compliance with
established RF exposure limits.
http://www.fcc.gov/oet/rfsafety/rf-faqs.html
http://www.osha.gov/SLTC/radiofrequencyradiation/index.html
Federal Communication Commission (FCC)
Regulations
The FCC rules require manufacturers to comply with the FCC RF energy
exposure limits for mobile two-way radios before they can be marked in the
U.S. When two-way radios are used as a consequence of employment, the
FCC requires users to be fully aware of and able to control their exposure to
meet occupational requirements. Exposure awareness can be facilitated by
the use of a label directing users to specific user awareness information. Your
Motorola two-way radio has a RF exposure product label. Also, your Motorola
user manual, and this RF Energy Exposure and Product Safety section,
includes information and operating instructions required to control your RF
exposure and to satisfy compliance requirements.
Compliance with RF Exposure Standard
Your Motorola two-way radio is designed and tested to comply with a number
of national and international standards and guidelines (listed below) regarding
human exposure to RF electromagnetic energy. This radio complies with the
Institute of Electrical and Electronics Engineers (IEEE) and International
Commission on Non-Ionizing Radiation Protection (ICNIRP) exposure
limits for occupational or controlled RF exposure environment at duty
factors of up to 50% talk-50% listen and is authorized by the FCC for
occupational use only. In terms of measuring RF energy for compliance with
the FCC exposure guidelines, your radio antenna radiates measurable RF
energy only while it is transmitting (during talking), not when it is
receiving (listening) or in standby mode.
Your Motorola two-way radio complies with the following RF energy
exposure standards and guidelines:
MN000350A02.book Page 4 Tuesday, December 2, 2014 3:01 PM
5
• United States Federal Communications Commission (FCC), Code of
Federal Regulations; 47 CFR et seq.
• FCC, OET Bulletin 65.
• Institute of Electrical and Electronic Engineers (IEEE) C95.1.
• International Commission on Non-Ionizing Radiation Protection (ICNIRP).
• Ministry of Health (Canada) Safety Code 6.
• Industry Canada RSS-102, Australian Communications Authority
Radiocommunications Standard et seq.
• ANATEL ANNEX to Resolution No. 303 et seq.
RF Exposure Compliance and Control Guidelines and
Operating Instructions
To control exposure to yourself and others and to ensure compliance with the
RF exposure limits, always adhere to the following procedures.
Guidelines
• User awareness instructions should accompany device when transferred
to other users.
• DO NOT use this device if the operational requirements described herein
are not met.
Instructions
•Transmit no more than the rated duty factor of 50% of the time. To
transmit (talk), push the Push-to-Talk (PTT) button or, for radios equipped
with Voice Activation (VOX), speak into the microphone. The red LED will
illuminate when the radio is transmitting. To receive calls, release the PTT
button, or, for radios equipped with VOX, stop talking. The red LED will
extinguish when the radio stops transmitting. Transmitting 50% of the
time, or less, is important because this radio generates measurable RF
energy exposure only when transmitting (in terms of measuring for
standards compliance).
• Transmit only when people outside the vehicle are at least the
recommended minimum lateral distance away, shown in Table 1, from the
body of a vehicle with a properly installed antenna. This separation
distance will ensure that there is sufficient distance from a properly
installed (according to installation instructions)
externally-mounted antenna to satisfy the RF exposure requirements in
the standards listed above.
MN000350A02.book Page 5 Tuesday, December 2, 2014 3:01 PM

6
Note: Table 1 below lists the recommended lateral distance for people in an
uncontrolled environment from the body of a vehicle with an approved,
properly installed transmitting antenna (such as monopoles over a
ground plane, or dipoles).
• When a mobile radio is used in conjunction with another co-located
transmitter such as a Vehicular Repeater, it is the vehicle operator’s
responsibility to take appropriate steps to keep bystanders at the
required separation distance from the vehicle to ensure compliance
with the FCC’s RF energy exposure limits for the general population.
See the co-located transmitter’s user manual for more details.
Mobile Antenna Installation Guidelines
• These mobile antenna installation guidelines are limited to metal body
motor vehicles or vehicles with appropriate ground planes.
• Antennas should be installed in the center area of the roof or the trunk lid
taking into account exposure conditions of backseat passengers and
according to the specific instructions and restrictions in the Radio
Installation Manual along with the requirements of the antenna supplier.
• Trunk lid installations are limited to vehicles with clearly defined flat trunk
lids, and in some cases, to specific radio models and antennas. See the
Radio Installation Manual for the specific information on how and where to
install specific types of approved antennas to facilitate recommended
operating distances to all potentially exposed persons.
Use only the Motorola-approved, supplied antenna or a
Motorola-approved replacement antenna. Unauthorized antennas,
modifications, or attachments could damage the radio and may result in non-
compliance with RF Safety Standard.
Approved Accessories
• This radio has been tested and meets RF Safety Standards when used
with the Motorola accessories supplied or designated for this product.
Use of other accessories may result in non-compliance with RF Safety
Standards.
Table 1: Recommended Minimum Lateral Distance from Vehicle Body of
Vehicle-Installed Mobile Two-Way Radio
Minimum Lateral Distance from Vehicle Body
3 ft. (90 cm)
MN000350A02.book Page 6 Tuesday, December 2, 2014 3:01 PM
7
• For a list of Motorola-approved antennas and other accessories, visit the
following web site which lists the approved accessories for the APX VA or
refer to “APX Vehicular Adapter (VA) System Compatibility Matrix” on
page 1.
http://www.motorolasolutions.com
Additional Information
For additional information on exposure requirements or other training
information, visit:
http://responsibility.motorolasolutions.com/index.php/downloads/dow07-
rfexposureassessmentstand/
Compliance and Control Guidelines and Operating
Instructions for Mobile Two-Way Radios Installed as
Fixed Site Control Stations
If mobile radio equipment is installed at a fixed location and operated as a
control station or as a fixed unit, the antenna installation must comply with the
following requirements in order to ensure optimal performance and compliance
with the RF energy exposure limits in the standards and guidelines listed on
page 3.
• The antenna should be mounted outside the building on the roof or a
tower if at all possible.
• As with all fixed site antenna installations, it is the responsibility of the
licensee to manage the site in accordance with applicable regulatory
requirements and may require additional compliance actions such as site
survey measurements, signage, and site access restrictions in order to
ensure that exposure limits are not exceeded.
• For additional installation information, see the guidelines for minimum
separation distances provided above in the RF Exposure Compliance and
Control Guidelines and Operating Instructions section of this document.
MN000350A02.book Page 7 Tuesday, December 2, 2014 3:01 PM
8
Compliance and Control Guidelines and Operating
Instructions for Mobile Two-Way Radios Installed on
Maritime Vessels
If mobile radio equipment is installed on a vessel and operated as a fixed unit,
the antenna installation must comply with the following requirements in order
to ensure optimal performance and compliance with RF energy exposure limits
in the standards and guidelines listed on page 3.
• An antenna intended for Maritime operation should be chosen and
installed according to the manufacturer’s recommendations.
• The antennas should be mounted solidly to the vessel structure at the
highest location possible.
• As with all radio antenna installations, it is the responsibility of the
operator to maintain adequate distances from the antenna and all
personnel on board the vessel or adjacent to the vessel.
• For additional installation information, see the guidelines for minimum
separation distances proved above in the RF Exposure Compliance and
Control Guidelines and Operating Instructions section of this document.
Electromagnetic Interference or Compatibility
Note: Nearly every electronic device is susceptible to electromagnetic
interference (EMI) if inadequately shielded, designed, or otherwise
configured for electromagnetic compatibility. It may be necessary to
conduct compatibility testing to determine if any electronic equipment
used in or around vehicles or near fixed site antenna is sensitive to
external RF energy or if any procedures need to be followed to eliminate
or mitigate the potential for interaction between the radio transmitter and
the equipment or device.
Facilities
To avoid electromagnetic interference and/or compatibility conflicts, turn off
your radio in any facility where posted notices instruct you to do so.
Hospitals or health care facilities may be using equipment that is sensitive to
external RF energy.
MN000350A02.book Page 8 Tuesday, December 2, 2014 3:01 PM
9
Vehicles
To avoid possible interaction between the radio transmitter and any vehicle
electronic control modules, such as ABS, engine, or transmission controls, the
radio should be installed only by an experienced installer and the following
precautions should be used when installing the radio.
1. Refer to the manufacturer’s instructions or other technical bulletins for
recommendations on radio installation.
2. Before installing the radio, determine the location of the electronic control
modules and their harnesses in the vehicle.
3. Route all radio wiring, including the antenna transmission line, as far
away as possible from the electronic control units and associated wiring.
Driver Safety
Check the laws and regulations on the use of radios in the area where you
drive. Always obey them.
When using your radio while driving, please:
• Give full attention to driving and to the road.
• Pull off the road and park before making or answering a call if driving
conditions so require.
Acoustic Safety
Exposure to loud noises from any source for extended periods of time may
temporarily or permanently affect your hearing. The louder the radio’s volume,
the less time is required before your hearing can be affected. Hearing damage
from loud noises is sometimes undetectable at first and can have a cumulative
effect.
To protect your hearing:
• Use the lowest volume necessary to do your job.
• Increase the volume only if you are in noisy surroundings.
• Reduce the volume before connecting headset or earpiece.
• Limit the amount of time you use headsets or earpieces at high volume.
• When using the radio without a headset or earpiece, do not place the
radio’s speaker directly against your ear.
MN000350A02.book Page 9 Tuesday, December 2, 2014 3:01 PM

10
If you experience hearing discomfort, ringing in your ears, or muffled speech,
you should stop listening to your radio through your headset or earpiece, and
have your hearing checked by your doctor.
Operational Warnings
!
W A R N I N G
!
For Vehicles with an Air Bag
Do not mount or place a mobile radio in the area over an air bag
or in the air bag deployment area. Air bags inflate with great force.
If a radio is placed in the air bag deployment area and the air bag inflates,
the radio may be propelled with great force and cause serious injury to
occupants of the vehicle.
Potentially Explosive Atmospheres
Turn off your radio prior to entering any area with a potentially explosive
atmosphere. Sparks in a potentially explosive atmosphere can cause an
explosion or fire resulting in bodily injury or even death. The areas with
potentially explosive atmospheres include fuelling areas such as below
decks on boats, fuel or chemical transfer or storage facilities, and areas
where the air contains chemicals or particles such as grain, dust, or metal
powders. Areas with potentially explosive atmospheres are often, but not
always, posted.
Blasting Caps and Blasting Areas
To avoid possible interference with blasting operations, turn off your radio
when you are near electrical blasting caps, in a blasting area, or in areas
posted: “Turn off two-way radio”. Obey all signs and instructions.
For radios installed in vehicles fueled by liquefied petroleum gas, refer to the
(U.S.) National Fire Protection Association standard, NFPA 58, for storage,
handling, and/or container information. For a copy of the LP-gas standard,
NFPA 58, contact the National Fire Protection Association, One Battery
Park, Quincy, MA.
MN000350A02.book Page 10 Tuesday, December 2, 2014 3:01 PM
11
Installation Instructions
Introduction
This publication describes the installation procedure for the ASTRO APX6000
Vehicular Adapter (APX VA), used ONLY with APX6000 series radios, and
basic user guide instructions. Complete installation, user guide, and
troubleshooting details are explained in publication part number
MN000350A01 located at Motorola Solutions Online.
https://businessonline.motorolasolutions.com
Installation Requirements for Compliance with RF
Energy Exposure Safety Standards
ATTENTION!
This radio system is intended for use in occupational controlled conditions,
where users have full knowledge of their exposure and can exercise control
over their exposure to meet FCC limits. This radio device is NOT authorized for
general population, consumer, or any other use.
To ensure compliance to RF Energy Safety Standards:
• Install only Motorola-approved antenna and accessories.
• Ensure that antenna installation is per “Antenna Installation” section of
this manual.
• Ensure that RF Energy Exposure and Product Safety section of this
manual is available to the end user upon completion of the installation of
this APX VA system.
Before using this product, read the RF Energy Exposure and Safety Section of
this manual enclosed with your radio which contains important operating
instructions for safe usage and RF energy awareness and control for
compliance with applicable standards and regulations.
For a list of Motorola-approved antennas and other accessories, visit the
following web site which lists the approved accessories for the APX VA or refer
to “APX Vehicular Adapter (VA) System Compatibility Matrix” on page 1.
http://www.motorolasolutions.com
MN000350A02.book Page 11 Tuesday, December 2, 2014 3:01 PM
12
Installation Planning
The Motorola ASTRO™ APX™ Vehicular Adapter (APX VA) is an accessory
designed to adapt APX6000 series portable radios for vehicular operation and
battery charging. The APX VA System consists of the following components:
•console
• hand-held microphone
• power cable
• trunnion or U-bracket (with its mounting hardware)
• mounting hardware (trunnion to console screws)
• external speaker (optional)
• roof-top antenna (not supplied)
• other optional accessories (installation not covered in this manual)
Before starting the installation, plan the location of the console, microphone,
antenna and external speaker (optional). Identify the routing path for all cables.
Verify that the cable lengths are sufficient.
Also, check the mounting penetrations required. On most vehicles, it is
necessary to penetrate the firewall to reach the battery. Check the opposite
side of the firewall for cable clearance before drilling holes, and protect the
cable where it passes through the firewall by using grommets (not provided) or
other similar protective measures. Survey the firewall for existing holes
occupied by vehicle wire harnesses. Often there is an opportunity to route
other cables using the same path. Because of the wide variations in vehicle
design, these instructions may be modified to suit each particular installation.
Note: This manual assumes that the Console is mounted under the dash.
Other mounting configurations are possible but not addressed in this
manual.
A properly installed APX VA will minimize service calls and equipment
downtime. Motorola recommends adherence to all of the guidelines and
instruction when planning the installation:
•Do insert S-hooks (not provided) on cables into restraining holes for strain
relief.
•Do use heat-shrink tubing (not provided) on all splices.
•Do ensure that unit cables are not placed under stress, are not exposed
to weather, and are not subjected to damage due to engine heat.
•Do retain in-line cable fuses when trimming cables to fit. Locate in-line
fuses as close as practical to the supply voltage connection.
MN000350A02.book Page 12 Tuesday, December 2, 2014 3:01 PM

13
•Do not attach the unit to any part of the vehicle that is not rigid or is
subject to excessive vibration.
•Do not install unit in areas where rain or snow can easily get into them,
such as next to a vehicle window which may be left open.
•Do not dress cables over sharp edges that could cause wear or tearing of
cable insulation.
•Do not install the units in locations where they might interfere with the
vehicle’s operator or operating controls.
•Do not install the unit where it will be difficult for the operator to reach.
•Do not install the unit where it will interfere with vehicle safety air bag
deployment.
Console Location
The optional trunnion (“U”) bracket can be used to mount the APX VA console
either off the vehicle floor or under the vehicle dash. The console should first
be attached to the bracket, and then the console-bracket combination can be
evaluated for the proper mounting location. The console should be mounted to
provide:
• 12 inches (30.48cm) of clearance in front of the console for inserting and
removing the radio.
• clearance on either side of the console is necessary for inserting and
tightening screws to secure the console to the bracket.
• a 6-inch (15.24cm) clearance in back of the console for connection of
power, microphone, antenna, and speaker cables.
• a 1-inch (2.54cm) clearance above the vents on the top of the console.
Consider accessibility to the controls by the operator. Other considerations in
deciding on the best mounting location are:
• the hang-up location for the microphone.
• the microphone’s coil cord length (extended) during operation.
• the operability of the radio’s controls while it is in the console.
• a substantial structure for accepting mounting screws.
• the speaker mounting location and cable length.
Before drilling, check the opposite sides of all mounting surfaces
for obstruction, such as vehicle wiring and fluid lines.
MN000350A02.book Page 13 Tuesday, December 2, 2014 3:01 PM

14
When possible, mount the console on the floor near the center of the vehicle
within easy reach of the operator.
Microphone Bracket Location
When possible, mount the microphone bracket on the dash near the operator
side of the console. The location should be within easy reach of the operator,
and it should be convenient to remove and hang-up the microphone in its
mounting bracket without interfering with any of the vehicle controls.
Visor Microphone Location
The hands-free visor microphone is designed to clip onto the vehicle’s sun
visor.
Antenna Location
Follow the guidance given in the Antenna Installation section of this manual to
ensure compliance with RF Exposure standards.
Battery Connections
Determine the best cable route from the rear of the console to the vehicle
battery through the engine compartment firewall. The best route should include
the shortest path to the battery terminals, yet provide the cable with protection
from engine heat. Cut off any excess cable. Be sure to use a grommet (not
provided) or similar protective measure wherever a cable must pass through a
hole in a metal panel, such as a firewall. Route the power cables in a way that
protects them from being pinched, chafed, or crushed. Cable fuses must be
retained and located as close to the battery as practical to protect against cable
or equipment shorts. Secure the cable along its length through the engine
compartment to prevent displacement during vehicle operation and service.
• Do not reuse trunnion (“U”) bracket hardware (screws)
from a legacy product.
• Do use the trunnion (“U”) bracket hardware (screws)
provided with the APX VA kit.
Do not attach the microphone bracket to the console housing.
MN000350A02.book Page 14 Tuesday, December 2, 2014 3:01 PM
15
Optional Speaker Location
Select a location for the speaker that will neither be dangerous to the operator
nor damaging to the speaker. A trunnion bracket is provided for mounting the
speaker. The speaker is normally hung under the dash near the right side of
the console, however, the trunnion bracket permits mounting the speaker
against a wall or other vertical surface, if desired.
A location close to the operator, such as on a door pillar, will minimize APX VA
volume adjustments that might otherwise be needed when ambient noise
conditions worsen (such as when a siren is used). This location is also
desirable if the user wishes to keep the volume level outside of the vehicle low
while on patrol.
Note: Mounting the speaker on the dashboard or rear package tray is not
recommended. For optimum radio performance, install the speaker
under the dashboard.
Console Installation
Referring to Figure 1, install the console using the following procedure, or
modify the procedure as necessary to conform to the vehicle type. Using the
optional trunnion (“U”) bracket as a template, drill the mounting holes and
mount the bracket with the hardware supplied (see Figure 1).
Note: 1. The hardware for mounting the bracket to the vehicle is part of the
NTN8940B kit; not part of the NNTN8527A kit.
2. Failure to use the four outermost holes on the trunnion bracket, or
mounting the bracket on a non-flat surface (such as a transmission
hump) could degrade vibration performance. Additionally, the VA
trunnion bracket should be mounted on a metal surface.
3. When the bracket is mounted in carpet, the self-tapping screws tend
to bind up. To overcome this, tap the screw through the carpet, back
out the screw, then tighten the screw down.
1. Use the console to trunnion screws from the kit packaging (unit box).
2. Ensure that the plastic guides of the trunnion are aligned (horizontally)
with the corresponding grooves of the console (see Figure 1). Slide the
APX VA console into the plastic guides until it reaches the mechanical
stop. Verify that the holes in the trunnion bracket are aligned with the
holes on the APX VA.
MN000350A02.book Page 15 Tuesday, December 2, 2014 3:01 PM

16
3. Insert the Allen-screws provided through the trunnion bracket and screw
them into the console. Since the console may have to be removed later to
connect the cables, do not tighten the screws at this time.
Figure 1: Console Installation Detail
Legend:
1. No. 10-12 x 1-1/4” Self-Drilling,
Self-Tapping Screw (Quantity 4)
2. M5 x 18mm Screws (Quantity 2)
Cut-Away of Dash
0.125” (0.3175 cm) Dia. Holes
Trunnion Bracket (Optional)
Console
1
Plastic
Guides
Groove
2
Trunnion Bracket (Optional)
2
1
Dash
Mount
Floor
Mount
or
MN000350A02.book Page 16 Tuesday, December 2, 2014 3:01 PM

17
Figure 2: Console Installation Detail
Antenna Installation
IMPORTANT: To ensure optimum performance and compliance with RF
Energy Safety Standards, these antenna installation guidelines and
instructions are limited to metal body vehicles with appropriate ground planes
and take into account the potential exposure of back seat passengers and
bystanders outside the vehicle.
Selecting an Antenna Site/Location on a Metal Body Vehicle:
1. External installation – Check the requirements of the antenna supplier
and install the vehicle antenna external to a metal body vehicle in
accordance with those requirements.
2. Roof top – For optimum performance and compliance with RF Energy
Safety Standards, mount the antenna in the center area of the roof.
3. Trunk lid – On some vehicles with clearly defined, flat trunk lids, the
antennas (see restrictions below) can also be mounted on the center area
of the trunk lid. For vehicles without clearly defined, flat trunk lids (such as
hatchback autos, sports utility vehicles, and pick-up trucks), mount the
antenna in the center area of the roof.
Before installing an antenna on the trunk lid,
• Ensure that the distance from the antenna location on the trunk lid will
be at least 36 inches (90 cm) from the front surface of the rear
seat-back to ensure compliance with RF Energy Safety Standards.
• Ensure that the trunk lid is grounded by connecting grounding straps
between the trunk lid and the vehicle chassis.
Note: Use only the M5 x 18mm
screws supplied with the unit.
M5 x 18mm Mounting
Bracket Hardware
MN000350A02.book Page 17 Tuesday, December 2, 2014 3:01 PM

18
Mounting restrictions for certain radio models:
a. For all VHF and UHF models, the 1/4 wave antenna should be
mounted only in the center area of the roof, not on the trunk lid, to
ensure compliance with RF Energy Safety Standards.
b. Ensure that the antenna cable can be easily routed to the APX VA.
Route the antenna cable as far away as possible from any vehicle
electronic control units and associated wiring.
c. Check that the antenna location for any electrical interference.
d. Ensure that any transmitting radio antennas on this vehicle are
separated from each other by at least 3 feet (92 cm). See Figure 3.
Figure 3: Multiple Antenna Separation
e. The minimum distance between the antenna and the radio or
accessories should be at least 3 feet (92 cm).
Note: Any two metal pieces rubbing against each other (such as seat springs,
shift levers, trunk and hood lids, exhaust pipes, and others) in close
proximity to the antenna can cause severe receiver interference.
Mini-UHF Connection
Note: The RF connector (J3) on APX VA console is a mini-UHF jack, and must
be mated with either an antenna mini-UHF plug (P3) or an appropriate
adapter (part numbers: 5880367B21 [mini-UHF-to-N]; 5880367B22
[mini-UHF-to-UHF]; or 5880367B24 [mini-UHF-to-TNC]).
To ensure a secure connection of an antenna cable’s mini-UHF plug to
an APX VA mini-UHF jack, their interlocking features must be properly
engaged. If they are not properly engaged, the system will loosen.
Using a tool (pliers or wrench) will not overcome a poor engagement,
and is not recommended.
If these conditions cannot be satisfied, then mount the antenna on
the roof top.
MN000350A02.book Page 18 Tuesday, December 2, 2014 3:01 PM

19
Note: Applying excessive force with a tool can cause damage to the antenna
or the connector (such as stripping threads, deforming the collar or
connector, or causing the connector to twist in the housing opening and
break).
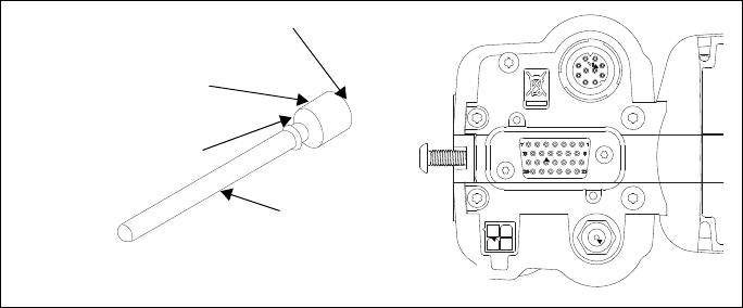
The mini-UHF connector tool (part number HLN6695) is designed to
securely tighten the antenna plug-APX VA jack connection without
damaging either the plug or the jack.
Motorola recommends the following sequence to ensure proper
attachment of the system (see Figure 4).
Figure 4: Antenna / Mini-UHF Connection
1. Ensure that there is sufficient slack in the antenna cable.
2. Ensure that the collar of the antenna cable plug is loose and does not
bind.
3. Ensure that the mini-UHF jack is tight in the APX VA housing.
4. Slide the collar back against the flange. Insert the antenna cable plug’s
pin fully into the APX VA jack, but do not engage the threads.
5. Ensure that the plug’s and jack’s interlocking features are fully seated.
Check this by grasping the crimp on the cable jack, rotating the cable, and
noting any movement. If the features are seated correctly, there should be
NO movement.
6. Finger-tighten the antenna cable plug’s collar onto the APX VA’s jack.
7. Give a final tug, by hand, to the collar, and retighten by hand as firmly as
possible.
Note: Do not use pliers or any other device to grip the tightening tool. It has
been designed to allow you to achieve proper torque on the collar
without over tightening. Over tightening the collar can damage the
connector and the APX VA.
Cable
Flange
Collar Pulled Back
to Flange
Coax Conductor
Plug (Pin)
MN000350A02.book Page 19 Tuesday, December 2, 2014 3:01 PM

20
Console Cabling
Refer to Figure 5 and Figure 6 before routing or connecting any console cable.
The console should be cabled using the following procedure:
Note: 1. Due to space restrictions, it may be necessary to remove the console
before making connections to the connectors at the back of the
console. If this is the case, make all connections and remount the
console before replacing the 5-amp fuses.
2. For applications where the mounting structure of the console is
hinged (for example, swing cab), make sure to provide sufficient
service length for cables.
1. After setting the 2-foot (61 cm) section of the main power cable’s red lead
aside for later use, route the main power cable through the firewall and
into the vehicle battery area. Use an existing opening or, if necessary, drill
a 3/8-inch (1 cm) hole through the firewall. Insert a grommet (not
provided) into the hole to prevent damage to the power cable.
Figure 5: Console Connections
• This product is designed for a 12-volt, negative-ground
system.
• Remove the 5-amp fuses from the power cable (red and
yellow wires) before proceeding.
Microphone Connector (J4)
Antenna Connector (J3)
Speaker and
Interface
Connector (J1)
Supply
Connector (J2)
MN000350A02.book Page 20 Tuesday, December 2, 2014 3:01 PM

21
Figure 6: Console Cabling
2. Connect the supply cable wires as shown in the table, below.
Wire Color Connect to
Red Vehicle battery (+)
Black Vehicle Chassis (GND)
Yellow Fuse box (see below for details)
The yellow wire controls whether or not the APX VA radio battery charger will be “live” at all times.
Consider the functionality and vehicle battery drain current below during installation.
Standard Wiring to Vehicle Switched A+ – Charging OFF with Vehicle OFF
For installations where the radio may be left in the APX VA with the vehicle’s ignition switched
OFF and minimal vehicle battery drain current is important, the standard wiring connection of the
yellow wire to vehicle switched A+ will disable charging.
Optional Wiring to Vehicle A+ – Charging ON with Vehicle OFF
When the radio is left in the APX VA for charging with the vehicle’s ignition switched OFF, the
optional wiring connection of the yellow wire to always-live vehicle (A+) will keep the charger ON.
When the operator takes the radio from the APX VA, low vehicle battery drain current will occur.
See (*) below.
5-AMP
BLADE-TYPE
FUSE
5-AMP
BLADE-TYPE
FUSE
VEHICLE
ANTENNA
FUSE
BOX
MOBILE
MICROPHONE
13.8 VOLT
VEHICLE
BATTERY
RED
YELLOW
BLACK
OPTIONAL
SPEAKER
A+
SWITCHED
A+
FIREWALL
GROMMET
VEHICLE
CHASSIS
OR
Important Note: Failure to mount the red lead of the power cable kit
directly to the battery may result in severe alternator whine interference.
If severe alternator whine interference is present when the power cable
is properly installed, a power line filter kit, TLN5277_, can be purchased
to reduce the interference.
MN000350A02.book Page 21 Tuesday, December 2, 2014 3:01 PM

22
*After vehicle has been off for 30 minutes (Note: Standard Wiring Configuration).
**Does not include Boost Current (to support transmit) under totally discharged battery.
3. Cut the long red lead to the desired length (as long as possible so that the
in-line fuse is located as close as practical to the vehicle battery). Then,
after running the lead through the firewall, connect (crimp) it to the plug on
the 2-foot (61 cm) red lead section that was set aside in step 1. Make sure
that the plug and jack in the lead are connected securely together.
4. Cut the yellow lead to the desired length, and then connect it to the supply
side of the fuse box, according to the above table. It is important not to
connect the yellow wire to the red lead.
5. Cut the black lead to the desired length, then connect it to the vehicle
chassis.
6. Dress the cable so that it does not obstruct any vehicle controls nor touch
any hot or moving parts of the engine.
7. Connect power cable plug P2 to console jack J2.
8. If the optional external speaker is being installed, connect speaker cable
plug P1 to console jack J1. Attach strain-relief S-hook (not provided) to
the console; crimp the S-hook with a pair of pliers.
9. Connect external antenna cable plug P3 to console jack J3. If your model
has a mini-UHF type connector, use Mini-UHF Connector Tool (part
number REX4584_) to tighten the connector.
10. Connect microphone cable plug P4 to console jack J4. Attach a
strain-relief S-hook (not provided) to the console; crimp the S-hook with a
pair of pliers (Required when a hand microphone is installed.)
11. Make certain that no radio is installed in the console, and then replace the
two cable wire 5-amp fuses.
Condition Standard Wiring Optional Wiring
Vehicle = ON Vehicle = OFF* Vehicle = ON or OFF
Battery Charging Yes No Yes
Vehicle Battery Drain
Radio OUT 20 mA 2.5 mA 20 mA
Radio IN but OFF 30 – 900 mA 11 mA 30 – 900 mA
Radio In and ON** 125 – 2000 mA 30 – 1000 mA 125 – 2000 mA
It is NOT a good practice to connect the supply cable black lead
directly to the negative (-) battery terminal; the APX VA could be
damaged if there is a malfunction in the vehicle’s electrical system.
MN000350A02.book Page 22 Tuesday, December 2, 2014 3:01 PM

23
LED Surveillance Configuration (Option Wiring – User
Configurable)
The APX VA’s LED indicator can be disabled for night use or surveillance
operations by using the optional wiring connections below (refer to the Speaker
and Interface Connector (J1) from Figure 5 and Figure 7.
• The LED indicator can be disabled by adding a jumper wire between J1
Connector Pin 17 (SURV) to Pin 14 (GND); this solution supports ONLY
LED OFF Configuration; this would disable ALL LEDs including the
Purple LED.
• The LED Indicator can be selectably disabled by installing a wired toggle
switch (not provided) between J1 Connector Pin 17 (SURV) to Pin 14
(GND); this solution allows all use to readily enable or disable LED
Surveillance Mode. In the LED Surveillance Mode, ALL LED indications
are disabled, including error indications.
Note: If the switch option is chosen, a switch change only takes effect when
the radio is inserted.
Figure 7: J1 Connector Definitions
Table 2: J1 Connector Definition
Pin No. Pin Name Signal Definition
1Ground Ground return, power
6D- USB D- signal (USB white wire)
7D+ USB D+ signal (USB green wire)
12 Vbus USB Vbus power (USB red wire)
14 Ground Ground return, audio
15 Emergency Emergency switch input
16 PTT PTT input
17 Surveillance Surveillance mode input
20 Spkr+ Speaker+
23 Visor Mic Visor microphone input
26 Spkr- Speaker-
Note: Unlabeled pins are not
connected and unsupported.
1
8
7
13
20
26
14
21
MN000350A02.book Page 23 Tuesday, December 2, 2014 3:01 PM
24
Installation Verification
After completing the installation of the vehicular adapter, check all electrical
wiring for tight connections. Also, check all mechanical parts and wiring for tight
and secure mounting. Check for proper operation of the console, microphone,
speaker, and radio as described in the User Guide, Motorola Solutions
publication MN000350A01-AA. Before placing the radio in the APX VA, check
to see that the universal connector cover has been removed from the radio’s
universal connector. Check existing equipment (sirens, lights, and other radio
equipment) for proper operation.
Note: If alternator or other vehicular noise is present in the received signal or
in the transmission, refer to “Reducing Noise Interference in Mobile
Two-Way Radios,” Motorola Solutions publication 68P81109E33. This
publication may be ordered separately from Motorola Solutions
Accessories and Aftermarket Division (1-800422-4210).
Maintenance
For maintenance and service information, please refer to publication part
number 68P81088C78, available from Motorola Solutions’ Accessories and
Aftermarket Division (1-800-422-4210).
MN000350A02.book Page 24 Tuesday, December 2, 2014 3:01 PM

25
Operational Warnings
!
W A R N I N G
!
Vehicles With an Air Bag
Do not place a portable radio or install radio communications
equipment in the area over an air bag or in the air bag deployment
area. Air bags inflate with great force. If a portable radio is placed in the air
bag deployment area and the air bag inflates, the radio may be propelled with
great force and cause serious injury to occupants of the vehicle.
• Installation of vehicle communication equipment should be performed by
a professional installer or technician qualified in the requirements for
such installations. An airbag’s size, shape, and deployment area can
vary by vehicle make, model, and front compartment configuration (such
as bench seat vs. bucket seats).
• Contact the vehicle manufacturer’s corporate headquarters, if
necessary, for specific airbag information for the vehicle make, model,
and front compartment configuration involved in your communication
equipment installation.
Potentially Explosive Atmospheres
Turn your radio OFF and eject it from the APX VA in any area with a
potentially explosive atmosphere. It is rare, but your APX VA or its
accessories could generate sparks. Sparks in such areas could cause an
explosion or fire, resulting in bodily injury or even death.
Note: The areas with potentially explosive atmospheres referred to above
include fueling areas such as: below decks on boats; fuel or chemical
transfer or storage facilities; areas where the air contains chemicals or
particles, such as grain, dust, or metal powders; and any other area
where you would normally be advised to turn off a vehicle engine.
Areas with potentially explosive atmospheres are often, but not
always, posted.
Do not transport or store flammable gas, liquid, or explosives in the
compartment of your vehicle that contains your APX VA or accessories.
Vehicles powered by liquefied petroleum gas (such as propane or butane)
must comply with the National Fire Protection standard (NFPA-58). For a
copy of this standard, contact the National Fire Protection Association, One
Battery Park, Quincy, MA, Attn.: Publications Sales Division.
MN000350A02.book Page 25 Tuesday, December 2, 2014 3:01 PM

26
Operational Warnings (continued)
Operational Cautions
Blasting Caps and Blasting Areas
To avoid possible interference with blasting operations, turn your
radio off and eject it from the APX VA when you are near electrical
blasting caps, in a blasting area, or in areas posted “Turn off two-way radio.”
Obey all signs and instructions.
!
W A R N I N G
!
Antenna Information
Antennas should be installed according to the installation
instructions supplied with the equipment. To ensure compliance
with the standards listed above, use only Motorola-approved, supplied
antenna or a Motorola-approved replacement antenna.
Electronic Devices
Most modern electronic equipment, for example, equipment in ambulances,
navigation equipment, and so on, is shielded from RF energy, however, RF
energy from your APX VA may affect some electronic equipment.
Consult your physician or the manufacturer of any personal medical devices
(such as pacemakers, hearing aids, and so on) to determine if they are
adequately shielded from external RF energy. The operation of inadequately
shielded medical devices may be adversely affected when operated near an
APX VA.
Turn the radio OFF in health-care facilities when any regulations posted in
the areas instruct you to do so. Always request permission before using the
radio or APX VA near medical equipment.
RF energy may affect electronics systems in some motor vehicles. Check
with your vehicle manufacturer’s representative to be sure that the APX VA
will not affect your vehicle’s electronic system.
MN000350A02.book Page 26 Tuesday, December 2, 2014 3:01 PM

27
Efficient System Operation
•Do not operate your APX VA unless all RF connectors are properly
terminated.
• All equipment must be properly grounded according to Motorola’s
installation instructions for safe operation.
All equipment should be serviced only by an authorized technician.
User Guide
Description
The APX™ Vehicular Adapter (APX VA) is an accessory that adapts APX6000
series radios to operate in a vehicular (mobile) environment, and allows
in-vehicle battery charging.
Note: The APX VA will require the APX Radio (APX6000, APX6000Li,
APX6000XE, APX5000, and SRX2200) to have at least Radio Firmware
version R13.00.00 and above for full compatibility.
The APX VA is designed to operate only with the combination of an APX series
radio and one of the following batteries:
• PMMN4403 Li-Ion Slim IMPRES IP67
• NNTN7038 Li-Ion IMPRES IP67
• NNTN8092 Li-Ion FM IMPRES Ruggedized
• NNTN8182 Li-Ion Ruggedized
The use of batteries not made by Motorola is not recommended.
The APX VA has no On/Off switch. In order to charge the radio’s battery, the
vehicle’s ignition switch must be turned on (if employing the “Standard Wiring
to Vehicle Switched A+”). However, the transmit and receive audio functions of
the APX VA are always operational regardless of the ignition switch condition.
These circuits activate whenever the APX VA detects that a radio has been
loaded and turned on.
Before using this product, read the operating instructions for safe
usage contained in the RF Energy Exposure and Product Safety
section of this manual.
MN000350A02.book Page 27 Tuesday, December 2, 2014 3:01 PM

28
Note: Turning the vehicle’s ignition switch off WILL NOT turn the radio off. To
avoid long-term radio battery run-down, do not leave the radio on (or off)
in the APX VA with the vehicle’s ignition off (Even when radio is off, the
system still draws current from the car battery.)
Loading the Radio Into the APX VA
1. Remove the universal connector cover or any accessories attached to the
radio universal connector (see your radio’s User Guide).
2. Referring to Figure 8 and Figure 9, orient the radio with battery
attached-speaker or keypad facing upward or outward. Then, slide the
radio into the APX VA’s radio pocket as far as it can go until the radio is
fully inserted in the pocket.
3. Push inward on the Engage Button (see Figure 10) until the radio is
securely latched into the APX VA pocket.
Keep foreign objects from falling into the APX VA. Trying to retrieve
items that have accidentally fallen into the APX VA is not
recommended. Consult a service technician for maintenance.
Retrieve radio and disconnect VA until serviced.
In some installations, the ignition switch is bypassed so that the
APX VA charges the radio battery with the ignition switch turned off.
If this describes your installation, be careful not to discharge the
vehicle battery by allowing the APX VA to operate for extended
periods of time with a radio loaded and the vehicle ignition switch
turned off.
Make sure that all the labels on the radio and battery that are not shipped
with the standard product are removed. These labels, if not removed, may
peel off and interfere with proper operation or damage the APX VA.
Do not insert the battery alone for charging.
MN000350A02.book Page 28 Tuesday, December 2, 2014 3:01 PM

29
Figure 8: Radio with Keypad Orientation and Speaker Orientation
(respectively)
Figure 9: Radio Installation into APX VA Unit
Figure 10: APX VA Mechanisms for Radio Installation/Extraction
Note: 1. Do not push on the purple disengage button during radio insertion.
This will prevent the radio from staying latched in the pocket.
Note: Ensure radio is fully seated to
bottom of pocket for proper
orientation.
Lock
Engage button
Disengage
Button
LED Status
Indicator
MN000350A02.book Page 29 Tuesday, December 2, 2014 3:01 PM

30
2. Avoid running the starter motor while turning the radio on or inserting
it into the APX VA as this can provide a False LED Indication (light
solid purple). To clear, refer to the Troubleshooting Guide in the online
manual, part number MN000350A01.
3. The radio must be turned on to operate with the APX VA. It may be
turned on before or after it is loaded into the APX VA.
4. If the key is horizontal, radio is unlocked. If the key is vertical, the radio
is locked.
Keylock Security
The APX VA’s keylock secures the radio in the APX VA when the vehicle is left
unattended. To lock the radio into the APX VA, turn the security key clockwise.
The key should be removed after locking or unlocking the APX VA.
LED Indications
A light-emitting diode (LED), located within the Engage Button of the APX VA
(see Figure 10), indicate charging conditions and audio accessory
(microphone) operating modes.
LED Indication Description
LED not lit Normal (with radio not fully inserted into APX VA) or ignition off
(in most installations), or in covert mode.
Solid RED Rapid charging; radio in APX VA.
Flashing GREEN Rapid charge complete; radio in APX VA.
Solid GREEN Charge complete; radio in APX VA
Flashing RED A charging fault condition exists; check radio battery and its
charging contacts. If the fault condition continues, contact your
local Motorola representative for assistance.
Flashing AMBER Radio battery temperature out-of-range. Allow time for the
battery to cool down or warm up.
Alternating RED/GREEN Battery end-of-service indication
Alternating AMBER/GREEN
(during first 4 seconds after
insertion and during charge
complete)
Battery need re-calibration/reconditioning
Solid PURPLE Audio Accessory Error
• No microphone connected.
• Incompatible microphone connected.
• Microphone connected or disconnected after the radio is
inserted in the APX VA and turned on.
MN000350A02.book Page 30 Tuesday, December 2, 2014 3:01 PM
31
Note: 1. A portable radio battery may not quickly recharge in the APX VA if the
battery is very hot or cold. To maximize battery life, and to avoid
charger LED indication flashing AMBER (rapid-charging paused),
avoid leaving your radio in a very hot or cold vehicle.
2. The unit has a label, which explains the LED indications. Another
label is supplied in the Console Kit that allows the user to place to
ensure visibility based on installation configuration.
3. All references to LED indication assumes that Surveillance Mode has
been disabled.
4. If the Surveillance Mode switch option is configured, a switch change
only takes effect when the radio is inserted.
Operating the Radio
All operating conditions of the radio, as described in the applicable radio’s User
Guide, apply to operating the radio with the APX VA, except that the hand-held
mobile microphone (PTT) is used rather than the radio’s push-to-talk (PTT)
switch.
Setting the Volume
•For an APX VA without the optional external speaker — the audio is
routed to the radio speaker and the volume is adjusted using the radio
volume knob.
•For an APX VA with the optional external speaker — audio is routed
through the external speaker and the volume is adjusted using the radio
volume knob.
Battery Charging
One of the functions of the APX VA is to supply power to the radio and charge
the radio’s battery. In order for the radio’s battery to be charged, the vehicle’s
ignition switch must be turned on. However, once the ignition switch is turned
off, the APX VA continues to charge for either a period of up to 30 minutes, or
until the radio’s battery is fully charged, whichever comes first. It is important
to prevent the APX VA from discharging the vehicle’s battery. The radio may
be turned on or off without affecting the charging cycle. The charger will fully
charge a completely discharged battery in three hours.
MN000350A02.book Page 31 Tuesday, December 2, 2014 3:01 PM
32
While the battery is charging, the charging LED indicator will be illuminated
Solid RED. When battery charging is complete, the charging LED will switch
from Solid RED to Flashing GREEN to Solid GREEN, indicating that charging
is complete. If the charge indicator is not on, the battery is not being charged.
If this occurs, ensure that:
• the radio is properly installed in the APX VA and the Engage Button is
latched,
• the battery is a rechargeable nickel-cadmium, nickel-metal-hydride, or
lithium ion type,
• the battery contacts are clean and free from foreign material, and
• the vehicle’s ignition switch is turned on.
If the battery temperature is out-of-range, the Charge LED will illuminate
Flashing AMBER and charging will temporarily stop.
One of the features of the APX VA’s charger is its ability to change from rapid
charge (Solid RED LED indication) to trickle charge (Flashing GREEN LED
indication), and complete charge (Solid GREEN LED indication) once full
battery charge has been achieved. A fully-charged battery that has just been
re-inserted into the charger may require a few minutes to change to complete
charging and give a Solid GREEN LED indication.
If a totally discharged battery is placed in the APX VA, the radio’s receiver will
begin to function normally within a few seconds. Transmission should not be
attempted for about 30 seconds (longer if the radio battery is hot or cold) when
using a high-power radio, and should be kept to a minimum for the first few
minutes. Low-power radios will allow normal operation sooner.
Removing the Radio from the APX VA
1. If applicable, unlock the radio by turning the key clockwise.
2. Press the purple disengage button (see Figure 10) to release the radio
from the APX VA.
If the radio fails to eject, hold down the purple disengage button and pull out
the radio. To ensure proper ejection in the future, insert and remove the radio
several times.
MN000350A02.book Page 32 Tuesday, December 2, 2014 3:01 PM
MN000350A02.book Page 1 Tuesday, December 2, 2014 3:01 PM

MOTOROLA, MOTO, MOTOROLA SOLUTIONS and the Stylized M logo are trademarks or registered
trademarks of Motorola Trademark Holdings, LLC and are used under license. All other trademarks are the
property of their respective owners.
© 2014 Motorola Solutions, Inc. All rights reserved.
*MN000350A02*
MN000350A02-AA
MN000350A02.book Page 2 Tuesday, December 2, 2014 3:01 PM