Motorola Solutions 92FT5823 Astro XTL5000 User Manual Exhibit D Users Manual per 2 1033 c3
Motorola Solutions, Inc. Astro XTL5000 Exhibit D Users Manual per 2 1033 c3
Exhibit D Users Manual per 2 1033 c3

W4, W5, W7, W9 Control Heads
User's Guide
ASTRO
®
XTLTM 5000
Digital Mobile Radio

ASTRO® XTL™ 5000 Digital
Mobile Radio with W4
Control Head
Quick Reference Card
BASIC OPERATION
Turn the Radio On and Off
Set the Volume and Squelch
Change Modes
Transmit
Transmit (Conventional Modes)
Activate Scan
Program a Scan List
Select Scan Mode Priority
PHONE
PAGE
or
SECURE
or
EMERGENCY
Page
Emer
CALL DIRECT
XMIT
BUSY
Mode Volume
Pwr
Phon Call SelScan
Mic
Home
Dim
H/L
Dir Mon
SCAN SELECT MONITOR
MODE
KNOB POWER ON/OFF/
VOLUME KNOB
HOME
HORN/
IGHTS
PRIORITY/
NON-PRIORITY
INDICATORS DIRECT
INDICATOR
Rotate the Vol (Volume) knob clockwise.
1Turn the Vol knob clockwise to increase volume or
counterclockwise to decrease volume as desired.
2On conventional modes with Private-Line or Digital
Private-Line, press Mon or remove the microphone
from the hang-up clip to defeat the coded squelch.
3Press Mon again, or replace the microphone on the
hang-up clip to return to coded-squelch operation.
4To adjust squelch level, hold Mon until a tone sounds.
5Turn Mode knob to select squelch level.
6Press Home.
Turn the Mode knob to select the desired mode
OR
Press Home to access the preprogrammed Home
mode.
1Press and hold the microphone PTT button.
2When the transmit light comes on solid and no alert
tones sound (or a talk-permit tone or ID sidetone
sounds), speak into the microphone in a normal voice.
3State your FCC call sign at the beginning of each
transmission.
1Press Dir (Direct). The Dir indicator lights.
2Press Dir again to return to repeater operation.
1Press Scan to start a scan. If no activity exists, the
display shows your selected mode. When a scanned
channel or talkgroup becomes active, the display
shows the active mode name. The PRI and NPRI
indicators show priority.
2Press Scan again to stop scanning.
1Hold Scan until a tone sounds and the scan indicator
blinks.
2Turn the Mode knob to select the mode you want to
program.
3Press the Sel button as indicated in the table below to
add or remove the displayed mode from the scan list.
4Repeat the previous steps to continue editing the list.
5Press Home or Scan to exit.
Press Sel Mode Indicator
One time Non-Priority NPRI lit
Two times Second Priority PRI lit
Three times First Priority PRI blinks
Four times Delete from List No indicator
1Press the Sel button as indicated in the table above
to designate up to two modes as priorities.
2Press Home or Scan to end scan list selection.

Send an Emergency Alarm or Call
Send a Status Transmission
Send a Direct-Entry Keyboard Status
Transmission
Send a Direct-Entry Enhanced Private
Conversation Call
Initiate a Call Alert Page
Answer a Call Alert Page
Press the emergency actuator (Emer button,
footswitch, hidden pushbutton) to begin an
emergency transmission.
For conventional modes, a silent or non-silent
emergency alarm data transmission is sent.
For trunked modes, emergency call (priority access
to a voice channel), silent or non-silent emergency
alarm, or emergency alarm and call is entered.
Depending on your radio’s programming, one of the
emergency sequences described in the table below
occur.
Alarm Type Indications/Actions
Non-Silent A tone sounds and the display
alternates between EMERGNCY and the
zone/channel. When acknowledged,
four more tones sound and the display
shows ACK RCVD, then the radio
returns to normal operation.
Silent The audio is muted and no display
changes take place during the alarm.
Press the PTT button, or press and
hold the emergency button to stop the
emergency condition and unmute the
radio.
Call (Trunked
Modes only) A tone sounds and the display
alternates between EMERGNCY and the
zone/channel.
Press the PTT button and talk.
After completing the call, press and
hold the emergency actuator until a
tone sounds to return to normal
operation.
Alarm and Call After ACK RCVD (see Non-Silent Alarm
above) is displayed, the radio has
priority voice-channel access.
Press the PTT button and talk.
After completing the call, press and
hold the emergency actuator until a
tone sounds to return to normal
operation.
1Press Sts. The display shows the last acknowledged
status or first status name.
2Rotate Mode to select other statuses.
3Press Sel to send the transmission. The display
flashes the selected status/message name until the
dispatcher acknowledges, at which time alert tones
sound and the display shows ACK RCVD. The radio
then returns to normal operation.
Press the appropriate Sts # button you wish to send.
The associated indicator blinks until an
acknowledgment is received, then it lights steadily.
1Press Sel or the PTT button. A single tone sounds
and the display changes to PLS WAIT, followed by
telephone-type ringing if the receiving unit is in
service.
Alarm Type Indications/Actions 2If the receiving unit answers, press the PTT button to
identify yourself and proceed with your call.
OR
If the called unit does not respond, press Sel or the
PTT button again to leave a Call Alert page message
and your ID.
A single tone followed by four tones sounds if the
called unit acknowledges the page.
1Press the Page button.
2Follow the instructions for initiating a Private
Conversation to select a unit ID.
3Press Sel or the PTT button to send a Call Alert page
to the displayed ID,
OR
To send a Call Alert page following an Enhanced
Private Conversation attempt, follow the instructions
for sending a direct-entry Enhanced Private
Conversation call.
Four tones sound and PAGE RCV flashes on the
display. The tone and display repeat every five
seconds.
1Press the PTT button,
OR
Initiate an Enhanced Private Conversation call to the
caller.

Select a Zone/Mode (Optional)
Select a Home Zone/Home Mode
Select Secure Mode
Select an Encryption Key
Select a Key Index
Erase an Encryption Key
DISPLAY AND LIGHT INDICATORS
1Press the Zone Up button or Zone Down
button to scroll to the desired zone.
2Turn the Mode knob to select the mode.
Press the Home button.
Press and release the D button. The D indicator
lights up.
1Press and hold the D button until a tone sounds.
2Turn the Mode knob to scroll to KEY SEL.
3Press Sel to enter the Key Selection Menu.
4Turn the Mode knob to select desired key.
5Press Sel to select key.
6Press Home or the PTT button to quit.
1Press and hold the D button until a tone sounds.
2Turn the Mode knob to scroll to INDX SEL.
3Press Sel to enter the Index Selection Menu.
4Turn the Mode knob to select desired index.
5Press Sel to select index.
6Press Home or the PTT button to quit.
1Press and hold the D button until a tone sounds.
2Turn the Mode knob to scroll to ERASE KY.
3Press Sel to enter the Key Erase Menu.
4Turn the Mode knob to select desired index.
5Press Sel to select index.
6Press Home or the PTT button to quit.
Display/Light Meaning
BUSY light on Displayed conventional mode has
activity on it, or selected trunked
system is currently busy. Wait for
callback.
XMIT light on Indicates you are transmitting.
Dir indicator lit Radio is in direct (mobile-to-
mobile) operation.
PRI, NPRI
indicators lit Display shows a mode in the scan
list with the indicated priority level.
P displayed Telephone dialing pause. Press
Sel to continue the dialing.
NO ACK displayed Unit being called with the
Enhanced Private Conversation or
Call Alert Page feature is not in
service, or emergency alarm or
status/message transmission is
not acknowledged by dispatcher.
NO ANSWR
displayed Unit being called with Enhanced
Private Conversation or Call Alert
Page does not respond, but is
operational.
EMERGNCY
displayed Radio is in emergency alarm or call
state.
NO EMERG
displayed A mode incapable of emergency
transmission has been selected.
OUT RNG displayed Radio is out of range of the
trunking system.

Examples: Not exiting phone mode after a call (radio
cannot receive fleet or subfleet calls), transmitting in
receive-only conventional mode, trying to select a dynamic
mode when no dynamic ID assignment has been made.
ALERT TONES
Type of Tone Name Explanation
1 Low-Pitched
Tone Invalid Key
Alert Feature button
pressed is not valid
in selected mode, or
a Call Alert or
emergency alarm
was not
acknowledged.
1 High-Pitched
Tone Central
Acknowledge
or Valid Key
Central controller
has received request
for Call Alert or
emergency alarm
transmission.
You pressed a valid
key.
4 High-Pitched
Tones Dispatcher or
Mobile Unit
Acknowledge
Dispatcher is
acknowledging your
emergency
transmission. Mobile
unit has received
your Call Alert.
5 High-Pitched
Tones The above two
acknowledge tones,
heard in tandem.
2 High-Pitched
Tones Private
Conversation You have an
incoming call. Press
Call, then the PTT
button, then talk.
4 High-Pitched
Tones every 6
seconds
Call Alert Page Call Alert page has
been received.
Phone-Type
Busy Tone
(when pressing
the PTT button)
System Busy All system radio
channels in use.
Release the PTT
button, and wait for
callback.
3 Short High-
Tones (after
requesting a
busy channel)
upon pressing
the PTT button)
Automatic Call
Back or Talk
Permit
Channel is available
for previously
requested
transmission.
System is accepting
your transmission.
Low-Pitched
Tone (upon
pressing the
PTT button
during Transmit)
(Operation
Error)
Talk Prohibit/
Out-of-Range
or Time-Out
Timer or Illegal
Mode
Out of trunked radio
system range or
system is out of
service.
Present transmission
will soon be disabled.
You have entered a
mode where normal
system traffic will be
missed, or you
attempted something
that is not allowed.
(See examples
below.)
High-Pitched
Tone every 10
seconds in
unmuted receive
condition
Failsoft System central
controller failure. The
radio reverts from
trunked operation to
operation similar to a
conventional
repeater.
Others may share
the channel.
ALERT TONES (Continued)
Type of Tone Name Explanation

ASTRO® XTL™ 5000 Digital
Mobile Radios with W5
Control Head
Quick Reference Card
BASIC OPERATION
Turn the Radio On and Off
Set the Volume and Squelch
Change Modes
Transmit
Transmit (Conventional Modes)
Activate Scan
Program a Scan List
Select Scan Mode Priority
Mode
Vol
Mic
Phon Call Sel
H/L Mon Dir
PWR Scan
XMIT
BUSY
DIM
HOME
MODE
POWER
ON/OFF
PAGE
or
SECURE
or
EMERGENCY
Page
Emer
PHONE
SCAN
CALL
SELECT
VOLUME PRIORITY/
NON-PRIORITY
INDICATORS
DIRECT
INDICATOR HORN/
LIGHTS
MONITOR
DIRECT
HOME
Press the PWR button once.
1Hold the Vol rocker button down to increase or
decrease volume as desired, then release.
The display shows volume levels from 0 to 15.
2On conventional modes with Private-Line or Digital
Private-Line, press Mon or remove the microphone
from the hang-up clip to defeat the coded squelch.
3Press Mon again, or replace the microphone on the
hang-up clip to return to coded-squelch operation.
4To adjust squelch level, hold Mon until a tone sounds.
5Press the Mode rocker button to select squelch level.
6Press HOME.
Press the Mode rocker button to select the desired
mode
OR
Press HOME to access the preprogrammed Home
mode.
1Press and hold the microphone PTT button.
2When the transmit light comes on solid and no alert
tones sound (or a talk-permit tone or ID sidetone
sounds), speak into the microphone in a normal voice.
3State your FCC call sign at the beginning of each
transmission.
1Press Dir (Direct). The Dir indicator lights.
2Press Dir again to return to repeater operation.
1Press Scan to start a scan. If no activity exists, the
display shows your selected mode. When a scanned
channel or talkgroup becomes active, the display
shows the active mode name. The PRI and NPRI
indicators show priority.
2Press Scan again to stop scanning.
1Hold Scan until a tone sounds and the scan indicator
blinks.
2Press the Mode rocker button to select the mode you
want to program.
3Press the Sel button as indicated in the table below to
add or remove the displayed mode from the scan list.
4Repeat the previous steps to continue editing the list.
5Press HOME or Scan to exit.
Press Sel Mode Indicator
One time Non-Priority NPRI lit
Two times Second Priority PRI lit
Three times First Priority PRI blinks
Four times Delete from List No indicator
1Press the Sel button as indicated in the table above
to designate up to two modes as priorities.
2Press HOME or Scan to end scan list selection.

Send an Emergency Alarm or Call
Send a Status Transmission
Send a Direct-Entry Keyboard Status
Transmission
Send a Direct-Entry Enhanced Private
Conversation Call
Initiate a Call Alert Page
Answer a Call Alert Page
Press the emergency actuator (Emer button,
footswitch, hidden pushbutton) to begin an emergency
transmission.
For conventional modes, a silent or non-silent
emergency alarm data transmission is sent.
For trunked modes, emergency call (priority access to
a voice channel), silent or non-silent emergency
alarm, or emergency alarm and call is entered.
Depending on your radio’s programming, one of the
emergency sequences described in the table below
occur.
Alarm Type Indications/Actions
Non-Silent A tone sounds and the display flashes
EMERGNCY. When acknowledged, four
more tones sound and the display
shows ACK RCVD, then the radio
returns to normal operation.
Silent The audio is muted and no display
changes take place during the alarm.
Press the PTT button, or press and
hold the emergency button to stop the
emergency condition and unmute the
radio.
Call (Trunked
Modes only) A tone sounds and the display flashes
EMERGNCY.
Press the PTT button and talk.
After completing the call, press and
hold the emergency actuator until a
tone sounds to return to normal
operation.
Alarm and Call After the display shows ACK RCVD (see
Non-Silent Alarm above), the radio has
priority voice-channel access.
Press the PTT button and talk.
After completing the call, press and
hold the emergency actuator until a
tone sounds to return to normal
operation.
1Press Sts. The display shows the last acknowledged
status or the first status name.
2Press the Mode rocker button to select other
statuses.
3Press Sel to send the transmission. The display
flashes the selected status name until the dispatcher
acknowledges, at which time alert tones sound and
the display shows ACK RCVD. The radio then returns
to normal operation.
Press the appropriate Sts # button that you wish to
send. The associated indicator blinks until an
acknowledgment is received, then it lights steadily.
1Press Sel or the PTT button. A single tone sounds
and the display changes to PLS WAIT, followed by
telephone-type ringing if the receiving unit is in
service.
Alarm Type Indications/Actions 2If the receiving unit answers, press the PTT button to
identify yourself and proceed with your call.
OR
If the called unit does not respond, press Sel or the
PTT button again to leave a Call Alert page message
and your ID.
A single tone followed by four tones sounds if the
called unit acknowledges the page.
1Press the Page button.
2Follow the instructions for initiating a Private
Conversation to select a unit ID.
3Press Sel or the PTT button to send a Call Alert page
to the displayed ID,
OR
To send a Call Alert page following an Enhanced
Private Conversation attempt, follow the instructions
for sending a direct-entry Enhanced Private
Conversation call.
Four tones sound and PAGE RCV flashes on the
display. The tone and display repeat every five
seconds.
1Press the PTT button,
OR
Initiate an Enhanced Private Conversation call to the
caller.

Select a Zone/Mode (Optional)
Select a Home Zone/Home Mode
Select Secure Mode
Select an Encryption Key
Select a Key Index
Erase an Encryption Key
DISPLAY AND LIGHT INDICATORS
1Press the Zone Up button or Zone Down
button to scroll to the desired zone.
2Press the Mode rocker button to select the mode.
Press the HOME button.
Press and release the D button. The D indicator
lights up.
1Press and hold the D button until a tone sounds.
2Press the Mode rocker button to scroll to KEY SEL.
3Press Sel to enter the Key Selection Menu.
4Press the Mode rocker button to select the desired
key.
5Press Sel to select the key.
6Press HOME or the PTT button to quit.
1Press and hold the D button until a tone sounds.
2Press the Mode rocker button to scroll to INDX SEL.
3Press Sel to enter the Index Selection Menu.
4Press the Mode rocker button to select the desired
index.
5Press Sel to select the index.
6Press HOME or the PTT button to quit.
1Press and hold the D button until a tone sounds.
2Press the Mode rocker button to scroll to ERASE KY.
3Press Sel to enter the Key Erase Menu.
4Press the Mode rocker button to select the desired
index.
5Press Sel to select the index.
6Press HOME or the PTT button to quit.
Display/Light Meaning
BUSY light on The conventional mode in the
display has activity on it, or
selected trunked system is
currently busy. Wait for callback.
XMIT light on Indicates you are transmitting.
Dir indicator lit Radio is in direct (mobile-to-
mobile) operation.
PRI, NPRI
indicators lit The display shows the mode in the
scan list with the indicated priority
level.
P displayed Telephone dialing pause. Press
Sel to continue the dialing.
NO ACK displayed Unit being called with the
Enhanced Private Conversation or
Call Alert Page feature is not in
service, or emergency alarm or
status/message transmission is
not acknowledged by dispatcher.
NO ANSWR
displayed Unit being called with Enhanced
Private Conversation or Call Alert
Page does not respond, but is
operational.
EMERGNCY
displayed Radio is in emergency alarm or
call state.
NO EMERG
displayed A mode incapable of emergency
transmission has been selected.
OUT RNG displayed Radio is out of range of the
trunking system.

Examples: Not exiting phone mode after a call (radio
cannot receive fleet or subfleet calls), transmitting in
receive-only conventional mode, trying to select a dynamic
mode when no dynamic ID assignment has been made.
ALERT TONES
Type of Tone Name Explanation
1 Low-Pitched
Tone Invalid Key
Alert Feature button
pressed is not valid
in selected mode, or
a Call Alert or
emergency alarm
was not
acknowledged.
1 High-Pitched
Tone Central
Acknowledge
or Valid Key
Central controller
has received request
for Call Alert or
emergency alarm
transmission.
You pressed a valid
key.
4 High-Pitched
Tones Dispatcher or
Mobile Unit
Acknowledge
Dispatcher is
acknowledging your
emergency
transmission. Mobile
unit has received
your Call Alert.
5 High-Pitched
Tones The above two
acknowledge tones,
heard in tandem.
2 High-Pitched
Tones Private
Conversation You have an
incoming call. Press
Call, then the PTT
button, then talk.
4 High-Pitched
Tones every 6
seconds
Call Alert Page Call Alert page has
been received.
Phone-Type
Busy Tone
(when pressing
the PTT button)
System Busy All system radio
channels in use.
Release the PTT
button, and wait for
callback.
3 Short High-
Tones (after
requesting a
busy channel)
upon pressing
the PTT button)
Automatic Call
Back or Talk
Permit
Channel is available
for previously
requested
transmission.
System is accepting
your transmission.
Low-Pitched
Tone (upon
pressing the
PTT button
during Transmit)
(Operation
Error)
Talk Prohibit/
Out-of-Range
or Time-Out
Timer or Illegal
Mode
Out of trunked radio
system range or
system is out of
service.
Present transmission
will soon be disabled.
You have entered a
mode where normal
system traffic will be
missed, or you
attempted something
that is not allowed.
(See examples
below.)
High-Pitched
Tone every 10
seconds in
unmuted receive
condition
Failsoft System central
controller failure. The
radio reverts from
trunked operation to
operation similar to a
conventional
repeater.
Others may share
the channel.
ALERT TONES (Continued)
Type of Tone Name Explanation

i
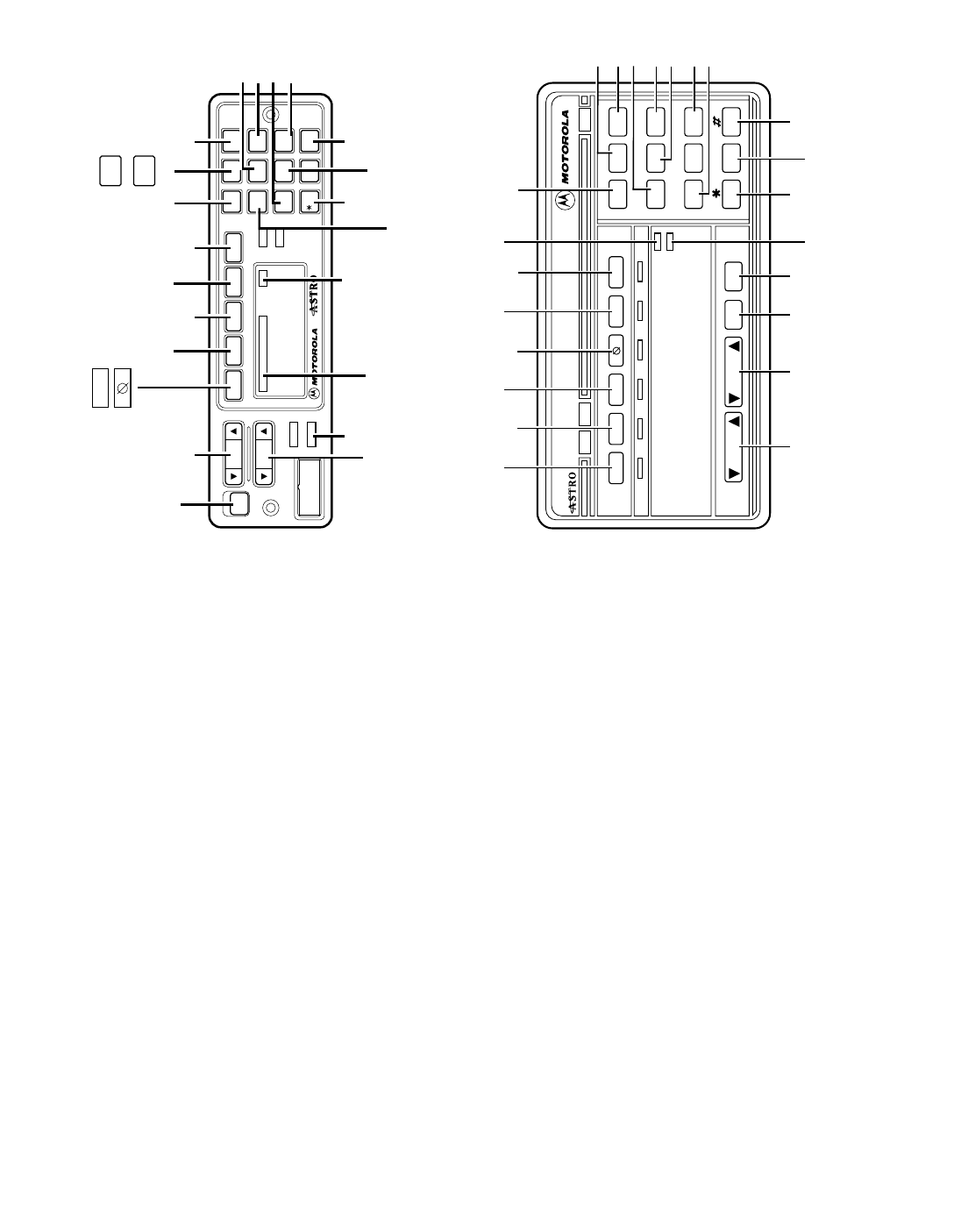
Control Head Front Foldout
W4 Control Head
W5 Control Head
PHONE
PAGE
or
SECURE
or
EMERGENCY
Page
Emer
CALL DIRECT
XMIT
BUSY
Mode Volume
Pwr
Phon Call SelScan
Mic
Home
Dim
H/L
Dir Mon
SCAN SELECT MONITOR
MODE
KNOB POWER ON/OFF/
VOLUME KNOB
HOME
HORN/
LIGHTS
PRIORITY/
NON-PRIORITY
INDICATORS DIRECT
INDICATOR
Mode
Vol
Mic
Phon Call Sel
H/L Mon Dir
PWR Scan
XMIT
BUSY
DIM
HOME
MODE
POWER
ON/OFF
PAGE
or
SECURE
or
EMERGENCY
Page
Emer
PHONE
SCAN
CALL
SELECT
VOLUME PRIORITY/
NON-PRIORITY
INDICATORS
DIRECT
INDICATOR HORN/
LIGHTS
MONITOR
DIRECT
HOME
ii

ASTRO XTL 5000 Digital Mobile Radio with W4, W5, W7, and W9 iii
ASTRO® XTL™ 5000
Digital Mobile Radio
with
W4, W5, W7, and W9
Control Heads
User’s Guide
68P81096C68-O
Document Creation Date: 3/12/03
Document Modification Date: 0/00/03

iv
Product Safety and RF Exposure Compliance
ATTENTION!
This radio is restricted to occupational use only to satisfy FCC RF energy
exposure requirements. Before using this product, read the RF energy
awareness information and operating instructions in the Product Safety and RF
Exposure booklet enclosed with your radio (Motorola Publication part number
68P81095C99) to ensure compliance with RF energy exposure limits.
Computer Software Copyrights
The Motorola products described in this manual may include copyrighted Motorola
computer programs stored in semiconductor memories or other media. Laws in the
United States and other countries preserve for Motorola certain exclusive rights for
copyrighted computer programs, including, but not limited to, the exclusive right to copy
or reproduce in any form the copyrighted computer program. Accordingly, any
copyrighted Motorola computer programs contained in the Motorola products described
in this manual may not be copied, reproduced, modified, reverse-engineered, or
distributed in any manner without the express written permission of Motorola.
Furthermore, the purchase of Motorola products shall not be deemed to grant either
directly or by implication, estoppel, or otherwise, any license under the copyrights,
patents or patent applications of Motorola, except for the normal non-exclusive license
to use that arises by operation of law in the sale of a product.
Documentation Copyrights
No duplication or distribution of this document or any portion thereof shall take place
without the express written permission of Motorola. No part of this manual may be
reproduced, distributed, or transmitted in any form or by any means, electronic or
mechanical, for any purpose without the express written permission of Motorola.
Disclaimer
The information in this document is carefully examined, and is believed to be entirely
reliable. However, no responsibility is assumed for inaccuracies. Furthermore, Motorola
reserves the right to make changes to any products herein to improve readability,
function, or design. Motorola does not assume any liability arising out of the
applications or use of any product or circuit described herein; nor does it cover any
license under its patent rights, nor the rights of others.
MOTOROLA, the Stylized M Logo, ASTRO, SmartZone, and FLASHport are registered
in the U.S. Patent & Trademark Office. All other product or service names are the
property of their respective owners. P25 radios contain technology patented by Digital
Voice Systems, Inc.
© Motorola, Inc. 2003. All Rights Reserved. Printed in the U.S.A. 4/03.
Before using this product, read the operating instructions for safe
usage contained in the Product Safety and RF Exposure booklet
enclosed with your radio.
!
C
a u t i o
n

ASTRO XTL 5000 Digital Mobile Radio with W4, W5, W7, and W9 v
Notations Used in This Manual
Throughout the text in this publication, you will notice the use of WARNINGS,
CAUTIONS, and Notes. These notations are used to emphasize that safety
hazards exist, and care that must be taken or observed.
The following special notations identify certain items:
WARNING: An operational procedure, practice, or other
condition, which might result in injury or death if not carefully
observed.
CAUTION: An operational procedure, practice, or other
condition, which might result in damage to the equipment if not
carefully observed.
Note: Note: An operational procedure, practice, or other condition,
which is essential to emphasize.
Example Description
Light button or >Buttons and keys are shown in bold print or as a key
symbol.
PHONE Menu items (softkeys) are similar to the way they
appear on the radio’s display.
WARNING
!
CAUTION
!

vi
Notes

ASTRO XTL 5000 Digital Mobile Radio with W4, W5, W7, and W9 vii
Contents
Control Head Front Foldout . . . . . . . . . . . . . . . . . . . . . i
W4 Control Head ............................................................................... i
W5 Control Head ............................................................................... i
Computer Software Copyrights ........................................................ iv
Documentation Copyrights ............................................................... iv
Disclaimer ........................................................................................ iv
Notations Used in This Manual ......................................................... v
Introduction . . . . . . . . . . . . . . . . . . . . . . . . . . . . . . . . . . 1
Using Your Radio: The Basics .......................................................... 1
Getting Started .................................................................................. 2
Identifying Your Radio ....................................................................... 4
W4 Control Head ........................................................................ 4
W5 Control Head ........................................................................ 4
W7 Control Head ........................................................................ 4
W9 Control Head ........................................................................ 4
Control Head Operation .................................................................... 5
Trunked or Conventional ............................................................ 5
Field Programming ..................................................................... 5
Display Status ................................................................................... 6
Feature Control ................................................................................. 6
Alert Tones ........................................................................................ 6
Basic Operating Procedures . . . . . . . . . . . . . . . . . . . . 9
Basic Functions ................................................................................. 9
Turn On the Radio ...........................................................................10
Set the Volume ................................................................................ 11
Adjust Display Brightness ............................................................... 11
Select a Zone or Mode .................................................................... 12
Select or Change a Zone .......................................................... 12
Select or Change a Mode in the Current Zone ......................... 13
Select or Change to a Mode Not in the Current Zone .............. 13
Select the Home Mode ................................................................... 14
Transmit (Conventional Modes Only) .............................................. 15
Transmit (Trunked Modes Only) ...................................................... 15
Select Transmit Power Level .......................................................... 16
Monitor Conventional Mode Activity ................................................ 17
Adjust the Squelch Level ................................................................ 18

viii
General Radio Features . . . . . . . . . . . . . . . . . . . . . . . 19
Often-used Features ........................................................................19
Emergency Call and Alarm ..............................................................20
Emergency Call .........................................................................20
Initiate an Emergency Alarm .....................................................21
Initiate an Emergency Call ........................................................22
Initiate an Emergency Call and Alarm .......................................23
Initiate a Silent Emergency Alarm .............................................24
Special Considerations for Emergencies ..................................25
Scan Operation ................................................................................26
Turn On Scan ............................................................................27
Turn Scan On While Disregarding the Squelch Code (Convention-
al Modes Only) .......................................................................28
View a Scan List .......................................................................29
Transmit While Scan Is On .......................................................30
Temporarily Delete a Nuisance Mode With Scan On (W7 and W9
Control Heads Only) ..............................................................31
Restore a Nuisance Mode
(W7 and W9 Control Heads Only) .........................................32
Change Mode Priorities While Scan Is On
(W7 and W9 Control Heads Only) .........................................33
Restore Mode Priorities in a Scan List
(W7 and W9 Control Heads Only) .........................................33
Program a Scan List .................................................................34
Hang Up Box (HUB) ..................................................................36
Optional External Alarms (Horn and Lights) ....................................36
Activate the External Alarm(s) ..................................................36
Change the Selected Alarms ....................................................38
Receiving a Call While Alarms Are Turned On .........................39
Time-Out Timer ................................................................................40
Push-To-Talk Identification (PTT-ID) ................................................40
Conventional Radio Features . . . . . . . . . . . . . . . . . . 41
Features Used in Conventional Operation ......................................41
Status Calls (Digital Modes Only) ....................................................42
Send a Status Call (W7 and W9 Control Heads Only) ..............42
Send a Direct-Entry Keyboard (DEK) Status
(Digital Modes Only) ..............................................................44
Smart PTT .......................................................................................45
Conventional Talkgroup Calls ..........................................................45

ASTRO XTL 5000 Digital Mobile Radio with W4, W5, W7, and W9 ix
Digital Modes Only ................................................................... 45
Select a Conventional Talkgroup .............................................. 46
Conventional Talkaround ................................................................ 47
Talk Direct (Mobile-To-Mobile) ................................................. 47
Trunking Operation. . . . . . . . . . . . . . . . . . . . . . . . . . . 49
Features Used on Trunking Systems .............................................. 49
Telephone Interconnect List ............................................................ 50
Answer a Phone Call ................................................................ 51
Initiate a Telephone Call From the List ..................................... 51
Unlimited Telephone Interconnect (W7 and W9 Control Heads Only)
53 Call a Phone Number Not in the List ........................................ 53
Store a Number in the List ........................................................ 55
Edit a Name in the List
(W7 and W9 Control Heads Only) ......................................... 56
Enhanced Private Conversation (Digital Modes Only) .................... 58
Answer an Enhanced Private Conversation Call ...................... 59
Initiate an Enhanced Private Conversation Call ....................... 60
View Your Unit ID Number ....................................................... 62
Store a Unit ID Number in the List
(W7 and W9 Control Heads Only) ......................................... 63
Edit a Name in the List (W7 and W9 Control Heads Only) ....... 64
Call Alert Page (Digital Modes Only) ............................................... 66
Send a Call Alert Page ............................................................. 67
Store a Unit ID Number In the List
(W7 and W9 Control Heads Only) ......................................... 70
Edit a Name in the List (W7 and W9 Control Heads Only) ....... 71
Failsoft ............................................................................................. 74
Dynamic Regrouping (Digital Modes Only) .....................................75
Receive a Dynamic Regrouping ID Assignment
(W7 and W9 Control Heads Only) ......................................... 75
Select Enable and Disable (Digital Modes Only) ...................... 76
Request a Dynamic Regrouping
(W7 and W9 Control Heads Only) (Digital Modes Only) ....... 76
SmartZone® (W7 and W9 Control Heads Only) ............................. 78
Site-Button Operation ............................................................... 79
Lock Onto a Site ....................................................................... 80
Site Trunking ............................................................................81
Out-of-Range Indication .................................................................. 81

x
Trunked Announcement ..................................................................82
Initiate an Announcement .........................................................83
Secure Operation . . . . . . . . . . . . . . . . . . . . . . . . . . . . 85
Features Available on Secure XTL 5000 .........................................85
Receive a Private Message .............................................................86
Transmit a Private Message ............................................................86
System Considerations ....................................................................87
Loss Indication .................................................................................88
Select an Encryption Key (Conventional Only) ................................89
Select an Encryption Index (Conventional Only) .............................91
Troubleshooting . . . . . . . . . . . . . . . . . . . . . . . . . . . . . 92
Glossary . . . . . . . . . . . . . . . . . . . . . . . . . . . . . . . . . . . 93
Patent Disclosure ............................................................................97
Commercial Warranty (Standard) ....................................................97
Index . . . . . . . . . . . . . . . . . . . . . . . . . . . . . . . . . . . . . . 99
Control Head Back Foldout . . . . . . . . . . . . . . . . . . . 105
W7 Control Head ...........................................................................105
W9 Control Head ...........................................................................105

ASTRO XTL 5000 Digital Mobile Radio with W4, W5, W7, and W9 1
Introduction
Using Your Radio: The Basics
This chapter gives you the basic knowledge you need in order to use
your radio. The following topics are covered:
• Getting Started (page 2)
• Identifying Your Radio (page 4)
• Operating Your Control Head (page 5)
• Display Status (page 6)
• Feature Control (page 6)
• Alert Tones (page 6)

2
Introduction
Getting Started
The ASTRO® XTL™ 5000 Digital Mobile Radio is among the most
sophisticated two-way radios available. It can operate in the following
frequency ranges:
These channels provide maximum communications capability under
varying operating conditions.
One of the newest in a long line of quality Motorola products, the
ASTRO XTL 5000 Digital Mobile Radio provides improved voice
quality across more of your coverage area. The digital process called
embedded signaling intermixes system signaling information with
digital voice, resulting in improved system reliability and the capability
of supporting a multitude of advanced features. Such features add up
to better, more cost-effective two-way radio communications.
ASTRO digital technology is also helping to provide the solution to
improved spectral efficiency requiring only half as much bandwidth
per channel (12.5kHz) compared to analog technology (25/30kHz).
The net benefit to you is fewer users per channel or more users per
system.
The ASTRO XTL 5000 Digital Mobile radio can include an optional
RS-232 data port to interface with external devices, such as certain
fax machines and laptop computers. ASTRO XTL 5000 Digital Mobile
voice radios and data terminals can access the same channel without
interfering with each other.
VHF UHF 700/800 MHz
136-174 MHz 380-470 MHz 764-776 MHz
794-824 MHz
851-870 MHz

ASTRO XTL 5000 Digital Mobile Radio with W4, W5, W7, and W9 3
Introduction
Note: In this manual—
Analog mode refers to a mode that uses traditional, non-ASTRO-
digital signaling.
ASTRO mode refers to a mode that uses ASTRO digital signaling.
Your ASTRO XTL 5000 Digital Mobile Radio utilizes Motorola’s
revolutionary FLASHport™ technology. This allows your radio’s
capabilities to be flexible, because FLASHport makes it possible to
add software that drives these capabilities both at the time of
purchase and later on. Previously, changing a radio’s features and
capabilities meant significant modifications, or buying a new radio.
But now, similar to how a computer can be loaded with different
software, your radio’s features and capabilities can be upgraded with
software.
FLASHport allows you to add software to your radio as your needs
change and as technology advances, making your radio investment
go further.
FLASHport is the future of radio communications, and it’s yet another
example of Motorola’s commitment to your satisfaction.
LOGO BLACK / FLASHport BLACK

4
Introduction
Identifying Your Radio
The ASTRO XTL Digital Mobile Radio’s capabilities, and the
operation of its features, differ depending on which control head is
ordered. Your radio has one of the following control heads:
W4 Control Head
Keep the foldout in the front of this guide (page i) open as a reference
to the W4.
The W4 has rotary Mode and Volume knobs and a limited set of
control buttons, eight-digit display, and no 12-button keypad.
W5 Control Head
Keep the foldout in the front of this guide (page i) open as a reference
to the W5.
The W5 features a limited set of control buttons, eight-digit display,
and no 12-button keypad.
W7 Control Head
Keep the foldout in the back of this guide (page 105) open as a
reference to the W7.
The W7 has the same keys and display as the W5 control head, plus
a 12-button keypad.
W9 Control Head
Keep the foldout in the back of this guide (page 105) open as a
reference to the W9.
The W9 has the identical keys and keypad as the W7 control head,
but features an 11-digit display.

ASTRO XTL 5000 Digital Mobile Radio with W4, W5, W7, and W9 5
Introduction
Control Head Operation
Your advanced control head is designed for ease of use and flexibility
of feature control. Before operating the radio, familiarize yourself with
the various controls, indicators, and alert tones. Please consult the
foldout diagrams in the front and back of this manual for your
particular control head.
Trunked or Conventional
Depending on how your radio is programmed, you can select
conventional channels or trunked talkgroup. Conventional channels
consist of a transmit and receive frequency pair, an associated
squelch code pair, and a time-out timer value. See “Conventional
Radio Features” on page 41.
Trunked modes consist of the system/announcement group/talkgroup
combination and a time-out timer value. See “Trunking Operation” on
page 49.
Field Programming
Other radio features may be slaved to the selected mode by field
programming. This mode slaving means that the radio is
preprogrammed to automatically give you the proper operation for
each mode you select.
You may use the control head to program your own mode names.
The names you assign are clearly shown in the alphanumeric display.
You can see all the key operating information, including the mode
selected or being scanned, and the on/off status of various features.
The operating conditions are shown either by the display or by visual/
audio indicators, or by both.

6
Introduction
Display Status
The control head display indicates your selected mode, or the
currently active receive mode when scan is on.
Feature Control
You can turn the various radio features on or off, change modes, and
adjust the volume.
To exit a feature, such as phone, press the HOME button or the
feature button (for example, Phon).
Alert Tones
Tone Type Name Description
Two high-
pitched tones Private
Conversation™ Indicate that a private call has been
received.
Four high-
pitched tones
every six
seconds
Call Alert Indicate that a Call Alert page has been
received.
Single, high-
pitched tone Central
Acknowledge Indicates that a Call Alert, emergency
alarm, reprogram request, or status/
message transmission has been
received by the system’s central
controller.
Four high-
pitched tones Mobile Unit
Acknowledge Indicate that a Call Alert page has been
received by the intended unit, or the
emergency alarm, reprogram request, or
status/message transmission has been
acknowledged by the intended
dispatcher.

ASTRO XTL 5000 Digital Mobile Radio with W4, W5, W7, and W9 7
Introduction
Sound similar
to a telephone
busy signal
System Busy Indicates, when you press the
microphone push-to-talk (PTT) button,
that you cannot transmit because all
system radio channels are in use.
Release the PTT button and wait for call
back.
A series of
three short,
high-pitched
tones
Automatic Call
Back Indicate that a channel is now available
for your previously requested
transmission.
A series of
three short,
high-pitched
tones (same
as automatic
call back)
Talk Permit
(optional) Indicate, when you press the
microphone PTT button, that the system
is accepting your transmission.
Continuous,
low-pitched
tone
Talk-Prohibit/
Out-of-Range Indicates, when you press the
microphone PTT button, that either you
are out of the range of the trunked radio
system, or the system is out of service,
or the channel is busy with the Smart
PTT feature enabled.
Single, high-
pitched tone
every ten
seconds
Failsoft In an unmuted receive condition,
indicates a trunked system central
controller failure. The radio reverts from
trunked operation to a system similar to
conventional radio repeater operation.
Other system users can be heard
sharing the channel.
Tone Type Name Description

8
Introduction
Continuous,
low-pitched
tone
Illegal Mode Indicates that you have entered a mode
where normal system traffic will be
missed, or you are attempting something
which is not allowed. Examples include:
forgetting to exit the telephone
interconnect mode after a call ends (fleet
and subfleet calls cannot be received),
attempting to transmit on a receive-only
conventional mode, attempting to select
a dynamic mode where no dynamic ID
assignment has been made.
Brief tone Volume-Set
Tone Indicate the volume level when you
press the Vol rocker button on a quiet
channel (W5, W7, and W9 control heads
only).
Brief low-
pitched tone Time-Out Timer
Warning Indicates that your present transmission
will soon be disabled.
Single, short,
high-pitched
tone
Valid Key Indicates that you pressed a valid key, or
you entered a feature configuration
state, or you are receiving or
transmitting in the clear mode on secure
models (with TX Clear Alert Tones
enabled).
Single, low-
pitched tone Invalid Key Indicates that you tried to make an
invalid key press, or that an emergency
alarm, reprogram request, or status/
message was not acknowledged.
Unique
chirping
sound
Dynamic
Reprogram-
ming
Indicates that a dynamic ID is assigned.
Tone Type Name Description

ASTRO XTL 5000 Digital Mobile Radio with W4, W5, W7, and W9 9
Basic Operating Procedures
Basic Functions
This chapter shows you how to access the basic functions. The
following topics are covered:
• Turning On the Radio (page 10)
• Setting the Volume (page 11)
• Adjusting the Display Brightness (page 11)
• Selecting the Zone or Mode (page 12)
• Selecting the Home Mode (page 14)
• Transmitting (Conventional Modes Only) (page 15)
• Transmitting (Trunked Modes Only) (page 15)
• Selecting the Transmit Power Level (page 16)
• Monitoring Conventional Mode Activity (page 17)
• Adjusting the Squelch Level (page 18)

10
Basic Operating Procedures
Turn On the Radio
Basic operation is the same for all radio control heads. Control heads
with additional features are noted.
Do one of the following:
•W4 Control Heads: Rotate the Volume knob clockwise.
•W5 and W7 Control Heads: Press the power button in the
upper left corner of the control unit.
•W9 Control Heads: Slide the power switch on the bottom of
the control unit to the left.
The display and graphics illuminate, indicating that the radio is
on.
When the ASTRO XTL 5000 Digital Mobile Radio is turned on,
the display shows XTL 5000.
The radio then checks itself for problems.
Note: If FL##/## (W4,W5,W7) or FAIL ##/## (W9) appears in the
display, the radio will not function until the condition has
been corrected.
If ER##/## (W4,W5,W7) or ERROR ##/## (W9) appears,
some non-critical data has been changed. If either of these
displays appear, if the display goes blank, or if the unit
appears to be locked up, refer to the “Troubleshooting”
section.

ASTRO XTL 5000 Digital Mobile Radio with W4, W5, W7, and W9 11
Basic Operating Procedures
Set the Volume
Adjust Display Brightness
Choose one of the following:
•W4 Control Head: Rotate the Volume knob clockwise to
increase the volume and counterclockwise to decrease the
volume.
A volume indication
(0-15) appears on the display; for example,
VOL 10.
•W5, W7, and W9 Control Heads: Press and hold the Vol
rocker button.
A volume indication
(0-15) appears on the display. For example,
VOL 10 (W5, W7) or VOLUME 10 (W9).
Hold the button until the sound level increases (or
decreases) to the desired level.
Press the dimmer button (Dim on W4, or DIM on W5, W6, and
W7) to change the display brightness to one of four levels:
• Off to high
• High to medium
• Medium to low
• Low to off.
In Off, both the display and backlight are off (used for
surveillance operations).

12
Basic Operating Procedures
Select a Zone or Mode
A zone is a grouping of modes. A mode is a group of characteristics
such as transmit/receive frequencies, Private-Line™ codes, radio
parameters, and an alphanumeric name.
Select or Change a Zone
Press the (Zone up) button or (Zone down) button.

ASTRO XTL 5000 Digital Mobile Radio with W4, W5, W7, and W9 13
Basic Operating Procedures
Select or Change a Mode in the Current Zone
Select or Change to a Mode Not in the Current Zone
To access a mode in the current zone, do one of the following:
•W4 Control Head: Turn the Mode knob until the display
shows the desired mode name.
•W5 Control Head: Press the Mode rocker button until the
display shows the desired mode name.
•W7 and W9 Control Heads:
1. Press and hold the HOME button.The zone/mode flashes.
2. Release the HOME button.
3. Enter the number by the keypad, and press the HOME
button again.
1To access a mode that is not in the current zone, press the
Zone up button or Zone down button to move to the zone
containing the mode.
Note: The Zone up and Zone down buttons are optional
buttons included with the radio when zone/mode is ordered.
2Do one of the following:
•W4 Control Head: Turn the Mode knob to select the desired
mode.
•W5, W7, and W9 Control Heads: Press the Mode rocker
button to select the desired mode.

14
Basic Operating Procedures
Select the Home Mode
Press the Home button (W4, W9) or HOME button (W5, W7) to
select the home mode contained within the home zone, from
any other zone and mode in the radio.
This feature must first be enabled by a qualified radio
technician.

ASTRO XTL 5000 Digital Mobile Radio with W4, W5, W7, and W9 15
Basic Operating Procedures
Transmit (Conventional Modes Only)
Transmit (Trunked Modes Only)
1Lift the microphone off-hook, and listen for activity on that mode.
2If you hear no activity, press and hold the microphone PTT
button.
1Lift the microphone off-hook, and press the microphone PTT
button.
2Do one of the following:
• If you hear three quick tones, or if you hear no tone and the
red XMIT (transmit) indicator lights steadily, proceed with
your message.
Release the PTT button to receive.
OR
• If you hear a continuous low-pitched tone, you are out of the
system's range.
The red XMIT indicator may flash several times as the radio
tries to access the system.
Release the PTT button and try again when the vehicle is
driven within range of the system.

16
Basic Operating Procedures
Select Transmit Power Level
The L PWR button lets you select (toggle) the transmit power level.
This feature must first be enabled by a qualified radio technician.
Press the L PWR button.
The display momentarily shows LOW PWR or HIGH PWR (W4, W5,
W7), or LOW POWER or HIGH POWER (W9) to indicate the transmit
power level selected.
Also, when low-power transmission is selected, the L PWR
indicator lights.

ASTRO XTL 5000 Digital Mobile Radio with W4, W5, W7, and W9 17
Basic Operating Procedures
Monitor Conventional Mode Activity
This feature allows you to monitor channel traffic on conventional
channels by defeating the coded squelch.
Do one of the following:
• Take the microphone off hook,
OR
•W4, W5, and W7 Control Heads: Pressing the Mon button
momentarily toggles between MON ON and MON OFF.
MON ON shown on the display indicates that the radio is
monitoring.
•W9 Control Head: Press the Sql button momentarily.
MONITOR ON shown on the display indicates that the radio is
monitoring.

18
Basic Operating Procedures
Adjust the Squelch Level
1Choose one of the following:
•W4, W5, and W7 Control Heads: Press and hold the Mon
button
The display shows SQL XX; where XX is a squelch level
setting of 0 to 15.
•W9 Control Head: Press and hold the Sql button
momentarily.
The dis[play shows SQUELCH XX, where XX is a squelch level
setting of 0 to 15.
2Adjust the squelch level by turning the Mode knob (W4) or by
pressing the Mode rocker button (W5, W7, W9) to reach the
desired squelch level setting.
3Press the Home button (W4, W9) or the HOME button (W5,
W7) to return to the selected channel.

ASTRO XTL 5000 Digital Mobile Radio with W4, W5, W7, and W9 19
General Radio Features
Often-used Features
This chapter shows you how to access the most frequently used
features. The following topics are covered:
• Emergency Call and Alarm (page 20)
• Scan Operation (page 26)
• Optional External Alarms (Horn and Lights) (page 36)
• Time-Out Timer (page 40)
• Push-To-Talk Identification (PTT-ID) (page 40)

20
General Radio Features
Emergency Call and Alarm
The emergency call and alarm features allow you to have priority
channel access and/or send an emergency data transmission to the
dispatcher in an emergency situation.
The desired type of emergency feature—alarm, call, call and alarm,
or silent alarm—can be preprogrammed by a qualified radio
technician.
The radio must be turned on to activate any emergency feature.
Emergency Call
Emergency call gives you priority access to a voice channel for all
subsequent transmissions after you press the emergency button. The
level of priority access is determined by the system manager.
SmartZone® Emergency Call Receive Operation
A radio configured for SmartZone operation displays EMER RCV
whenever it receives an emergency call. The display alternates with
the selected-mode display as long as the radio is unmuted to the
emergency call.

ASTRO XTL 5000 Digital Mobile Radio with W4, W5, W7, and W9 21
General Radio Features
Initiate an Emergency Alarm
The emergency alarm feature sends a data transmission to alert the
dispatcher of your emergency condition and identify your unit ID.
Press the emergency button.
A tone sounds and the display alternates EMERGNCY (W4, W5,
W7) or EMERGENCY (W9) with the current zone/channel.
For trunking modes, a high-pitched tone indicates that the
alarm has been received by the trunked system’s central
controller.
A dispatcher acknowledgment (four high-pitched tones) and an
ACK RCVD display follow.
The radio automatically returns to normal operation. No further
action is required.

22
General Radio Features
Initiate an Emergency Call
1Press the emergency button.
A tone sounds and the display alternates EMERGNCY (W4, W5,
W7) or EMERGENCY (W9) with the current zone/channel.
2Press the PTT button and announce your emergency.
3After completing the emergency call, press and hold the
emergency button until a tone sounds.
The alternating EMERGNCY (W4, W5, W7) or EMERGENCY (W9)
display disappears, and the radio returns to normal operation.

ASTRO XTL 5000 Digital Mobile Radio with W4, W5, W7, and W9 23
General Radio Features
Initiate an Emergency Call and Alarm
If the radio has both emergency call and alarm features, it
automatically proceeds to the call mode after the alarm is
acknowledged.
1Press the emergency button to activate the emergency call/
alarm feature.
The display begins alternating EMERGNCY (W4, W5, W7) or
EMERGENCY (W9) with the current zone/channel.
For trunking modes, a high-pitched tone sounds, indicating
that the alarm has been received by the trunked system’s
central controller.
A dispatcher acknowledgment (four high-pitched tones) follows,
accompanied by an ACK RCVD display.
2Press the PTT button and announce your emergency.
3To exit from the emergency state altogether, press and hold the
emergency button until a tone sounds.
The alternating EMERGNCY (W4, W5, W7) or EMERGENCY (W9)
display disappears, and the radio returns to normal operation.
Note: Turning the radio off also cancels the emergency state.

24
General Radio Features
Initiate a Silent Emergency Alarm
1Press the emergency button to activate the silent alarm feature.
During a silent emergency alarm, there are no display changes,
and the receiver audio mutes so that no indication is given that
an emergency alarm has been sent.
2To exit the silent alarm mode, press and hold the emergency
button until a tone sounds.
Note: If silent emergency alarm is used with emergency call,
pressing the PTT button exits the silent mode and initiates
the emergency call.

ASTRO XTL 5000 Digital Mobile Radio with W4, W5, W7, and W9 25
General Radio Features
Special Considerations for Emergencies
• If you press the emergency button while in a mode that has no
emergency capability, a low-pitched tone sounds.
• If the unit is out of the range of the system and/or the emergency
alarm is not acknowledged, a tone sounds and the display shows
NO ACK.
• If you press the emergency button, then change to a mode that
has no emergency capability, a NO EMERG (W4, W5, W7) or NO
EMERGNCY (W9) display alternates with the mode name display,
and a continuous low-pitched tone sounds until a valid emergency
mode is selected or until the emergency is cancelled.
• When an emergency is active, changing to another mode where
emergency is enabled (trunked or conventional) causes an
emergency alarm and/or emergency call to be active on the new
mode.

26
General Radio Features
Scan Operation
The scan feature allows you to monitor activity on different
conventional or trunked modes by scanning a scan list of modes. The
modes to be scanned in a scan list are programmed by a qualified
radio technician. You can select the modes to be scanned in a scan
list if operator-selectable scan is enabled.
There are three types of scan lists available:
• Conventional—Comprises up to 15 different conventional-only
modes
• Trunked Priority Monitor—Comprises up to 15 modes that are all
from the same trunked system
• Talkgroup Scan—Comprises up to 10 combined conventional
modes and modes from one trunking system
The radio supports both priority and non-priority scanning. With
priority scanning enabled, a scan list can have one mode assigned as
the first-priority mode and a second as the second-priority mode.
The XTL 5000 Digital Mobile Radio supports automatic scanning
(autoscan), which can be programmed into the radio by a qualified
radio technician. With this feature, the radio begins scanning
whenever you select a mode to which a scan list is assigned.
Note: You cannot turn scan off on a mode that has autoscan
enabled.
If multiple scan types are enabled in the radio, the type of scan that is
activated depends on the personality of the mode selected when the
Scan button is pressed. For all types of scan, the selected mode is,
by default, a member of its own scan list.
Scan lists stay in memory when you turn scan off, turn the radio off, or
disconnect the radio from the battery.

ASTRO XTL 5000 Digital Mobile Radio with W4, W5, W7, and W9 27
General Radio Features
Turn On Scan
Press the Scan button momentarily on a non-autoscan mode to
start scanning.
The Scan indicator lights and a list of modes is scanned for
activity.
When a scanned mode becomes active, the display changes to
show the active mode name, the appropriate priority indicator
lights, and the radio unmutes.
The radio will not begin scanning again for a predetermined
hang time after the call ends, giving you time to respond. The
hang time is typically three seconds (by default), but can be
changed by a qualified radio technician.
Note: A lit N PRI (non-priority) indicator means that the active
mode is a non-priority member of the scan list (for all scan
types).
A solidly-lit PRI (priority) indicator means that the active
mode is the priority 2 member of the scan list (Trunking
Priority Monitor and Conventional scan types only).
A blinking PRI indicator means that the active mode is the
priority 1 member of the scan list (Trunking Priority Monitor
and Conventional scan types only).

28
General Radio Features
Turn Scan On While Disregarding the Squelch Code
(Conventional Modes Only)
Choose one of the following:
•W4, W5, and W7 Control Heads: Press the Mon button
momentarily. The brief MON ON display indicates that the
radio is disregarding the squelch code.
•W9 Control Heads: Press the Sql button momentarily. The
brief MONITOR ON display indicates that the radio is
disregarding the squelch code.
Note: While scanning for activity, you can still receive fleetwide,
system-wide, dynamic regrouping, incoming telephone
interconnect and Private Conversation/Call Alert calls.
Respond to these types of calls as you would normally on
the selected mode. However, when scanning different
modes while in talkgroup scan, incoming Private
Conversation/Call Alert calls may be missed.

ASTRO XTL 5000 Digital Mobile Radio with W4, W5, W7, and W9 29
General Radio Features
View a Scan List
1Press and hold the Scan button until the Scan indicator blinks
and a beep is heard.
The radio suspends scanning while a scan list is being
reviewed.
2Choose one of the following:
•W4 and W5 Control Heads: Turn the Mode knob or press
the Mode rocker button to scroll up or down through the
programmed modes. Those modes that are in the scan list
are indicated by a N PRI, PRI or blinking PRI indicator
(indicating the mode’s assigned priority).
•W7 and W9 Control Heads: Press the Mode rocker button
to scroll up or down through the programmed modes. Those
modes that are in the scan list are indicated by a N PRI, PRI
or blinking PRI indicator (indicating the mode’s assigned
priority as previously described). Press the Rcl button to
review only the modes that are already in the scan list.
3Press the HOME or Scan button momentarily to exit the scan
list and resume scanning.

30
General Radio Features
Transmit While Scan Is On
Radio Programmed for Talkback Scan
Radio Programmed for Non-Talkback Scan
Press the microphone PTT button to transmit on the mode
indicated by the display.
The radio does not begin scanning again for a predetermined
hang time (programmable by a qualified radio technician) after
you release the PTT button, allowing the other party to respond.
If the other party responds within the hang time, scanning does
not resume until the full hang time expires after they have
finished speaking, allowing the conversation to be completed.
Note: To transmit on the selected channel if another channel is
active, first turn scan off by pressing the Scan button
momentarily.
In selected mode or fixed mode, press the microphone PTT
button at any time to transmit on the selected mode or fixed
mode.
Note: To make a Call Alert page, or Private Conversation call while
scanning, press the Page or Call button. The call is entered
on the selected mode and scanning is halted until the call is
exited by pressing HOME or the feature button, Page or
Call.

ASTRO XTL 5000 Digital Mobile Radio with W4, W5, W7, and W9 31
General Radio Features
Temporarily Delete a Nuisance Mode With Scan On
(W7 and W9 Control Heads Only)
To temporarily delete a mode that you do not wish to hear
(nuisance mode), press the Del button once while the mode is
active (indicated by the display).
You can delete undesired modes.
Note: Priority modes, the selected mode, and the designated
transmit mode cannot be deleted.

32
General Radio Features
Restore a Nuisance Mode
(W7 and W9 Control Heads Only)
To restore the original scan list, do one of the following:
• Press the Rcl button.
• Turn scan off, then on.
• Change modes.
• Turn off the radio, and then turn it back on.
Note: Nuisance mode delete can be disabled by a qualified radio
technician.

ASTRO XTL 5000 Digital Mobile Radio with W4, W5, W7, and W9 33
General Radio Features
Change Mode Priorities While Scan Is On
(W7 and W9 Control Heads Only)
When active, this dynamic priority feature allows you to change the
priority of a non-priority mode in the scan list to priority 2,
Restore Mode Priorities in a Scan List
(W7 and W9 Control Heads Only)
To change the priority of a non-priority channel in the scan list to
priority 2, press the Sel button.
You cannot alter the status of the priority 1 member.
To restore the original mode priorities in a scan list, do one of
the following:
• Press the Rcl button.
• Turn scan off, then on.
• Change modes.
• Turn off the radio, and then turn it back on.

34
General Radio Features
Program a Scan List
To program a scan list, operator-selectable scan list members first
must be enabled in the radio programming by a qualified radio
technician.
Add a Channel to the Scan List
1Press and hold the Scan button until the scan indicator blinks
and a good-key chirp is heard.
2Using the Mode knob (W4) or Mode rocker button (W5, W7,
W9), locate the channel to be added.
Note: If the desired channel resides in a different zone, press the
Zone up or Zone down button to change zones, then
use the mode changer to find the desired channel.
3Press the Sel button to add the channel.
4Scroll through of the available priority choices, and press the
Sel button to choose one.
The new channel becomes a member of the scan list assigned
to the selected channel when scan list programming was
entered.
Note: If a scan list is full, you will hear a bad-key chirp each time
you press the Sel button, and the desired channel will not
be assigned to the list.
5Press either the Scan or HOME button to exit scan list
programming and return to normal scan operation.

ASTRO XTL 5000 Digital Mobile Radio with W4, W5, W7, and W9 35
General Radio Features
Delete a Channel from the Scan List
1Press and hold the Scan button until the scan indicator blinks
and a good-key chirp is heard.
2Using the Mode knob (W4) or the Mode rocker button (W5, W7,
W9), locate the channel to be deleted.
Note: If the desired channel resides in a different zone, press the
Zone up or Zone down button to change zones, then
use the mode changer to find the desired channel.
3Press the Sel button to scroll through the available priority
choices until the priority choice disappears.
This indicates that the channel is no longer a member of the
scan list that was assigned to the selected channel.
(Optionally for W7 and W9 Control Heads) Delete a channel
from a scan list by pressing the Del button.
Note: If you delete all members of a scan list, and scan is
subsequently turned on, you will hear a continuous low-
pitched tone, and the display will change to NO LIST (W4,
W5, W7) or EMPTY LIST (W9).
You cannot delete the designated transmit mode, the
selected mode, or the fixed scan list members. The selected
mode, by default, is always scanned when scan is turned
on, regardless of whether or not it is explicitly programmed
as a scan list member.
4Press the Scan or HOME button to exit scan list programming
and return to normal scan operation.

36
General Radio Features
Hang Up Box (HUB)
If the hang up box feature is enabled, scanning of non-priority
members is suspended whenever the microphone is removed from
the holding clip (hang-up box). This allows the user to complete a
conversation while scan is suspended. Scan is resumed once the
microphone is returned to the holding clip and the preprogrammed
hang time has elapsed.
Note: Priority members continue to be scanned while the
microphone is removed from the holding clip only if the
Designated Transmit Talkback Channel is selected to be
Talkback in the radio programming.
Optional External Alarms (Horn and Lights)
All control heads can be equipped for external alarms (horn and
lights) that are activated when a Call Alert page, Private Conversation
call, or phone call is received.
These features are useful when you must leave the vehicle, but need
to receive any incoming messages.
The radio always powers up with the horn and lights feature enabled.
Activate the External Alarm(s)
Non-Permanent Horn and Lights
1Press the H/L button momentarily.
The last selected alarm(s) are enabled, and the display
alternately shows the enabled alarm(s), then the selected
mode.
2Press the H/L button a second time to turn off the alarm(s).

ASTRO XTL 5000 Digital Mobile Radio with W4, W5, W7, and W9 37
General Radio Features
Permanent Horn and Lights
1Press the H/L button momentarily.
The last selected alarm(s) are enabled.
The display briefly shows the enabled alarms, and then reverts
back to the selected mode.
2Press the H/L button a second time to turn off the alarm(s).

38
General Radio Features
Change the Selected Alarms
1Press and hold the H/L button until a tone sounds and the
display indicates the currently selected alarm.
2Turn the Mode knob (W4) or press the Mode rocker button
(W5, W7, W9) to review the choices until the display shows the
desired alarm:
¥ HORN ON
•LITES ON (W4, W5, W7) or LIGHTS ON (W9)
•H/L ON (both horn and lights)
3Press the HOME or H/L button to select the desired alarm and
return to normal operation.

ASTRO XTL 5000 Digital Mobile Radio with W4, W5, W7, and W9 39
General Radio Features
Receiving a Call While Alarms Are Turned On
When a call is received, the vehicle’s horn sounds for four seconds,
and/or the car lights turn on for 60 seconds. The time interval can be
modified by a qualified radio technician.
The display alternates between the type of call received (CALL,
PAGE, or PHONE) and the selected mode name.
Turn Off Non-Rearmable External Alarm
Turn Off Rearmable External Alarms
1To turn off the external alarm(s), press the PTT button or any
control-head button.
Note: Pressing the Call, Page, or Phon button will turn off the
external alarm(s) and place you directly in that feature.
The Vol rocker button (or knob) and the Dim button have no
effect on the state of the external alarm(s).
2To rearm the horn and lights feature, press the H/L button
momentarily.
To turn off the external alarm(s), press the PTT button or any
control head button other than the H/L button.
Pressing the Call, Page, or Phon button turns off the external
alarm(s) and places you directly in that feature. When the
external alarm(s) are turned off, they will be automatically
rearmed.
Note: Pressing the H/L button turns off the external alarm(s) and
exits the horn and lights feature. To rearm the feature, press
the H/L button momentarily.
The Vol rocker button (or knob) and the Dim button have no
effect on the state of the external alarms.

40
General Radio Features
Time-Out Timer
All ASTRO XTL 5000 Digital Mobile Radios provide a time-out timer
function that prevents locking up a repeater or channel by prolonged
keying of the transmitter. You cannot transmit longer than the preset
timer setting. If you attempt to do so, the radio automatically stops
your transmission, and you hear a talk-prohibit tone.
Note: You will hear a brief, low-pitched, warning tone four seconds
before the transmission times out.
The timer is set for 60 seconds at the factory, but it can be
reprogrammed by a qualified radio technician for between 15 and 465
seconds, in 15-second intervals, or it can be disabled entirely for each
radio mode.
Push-To-Talk Identification (PTT-ID)
When you press the PTT button to send a message, your radio ID
number is transmitted as part of each voice message. This PTT-ID
number is then shown on the receiving radio’s display.
For the digital mode, the display shows up to eight right-justified
digits.
If the receiving radio is changing channels, the PTT-ID display that
indicates activity on the new channel is alternately displayed and
inhibited for short periods of time.
Pressing the HOME button erases the PTT-ID from the display.
The display conditions of PTT-ID must be programmed by a qualified
radio technician.

ASTRO XTL 5000 Digital Mobile Radio with W4, W5, W7, and W9 41
Conventional Radio Features
Features Used in Conventional Operation
This chapter shows you how to access features available in
conventional operation. The following topics are covered:
• Status Calls (Digital Modes Only) (page 42)
• Smart PTT (page 45)
• Conventional Talkgroup Calls (page 45)
• Conventional Talkaround (page 47)

42
Conventional Radio Features
Status Calls (Digital Modes Only)
Radio status calls are used to inform the dispatcher of the present
state of the mobile unit. For example, a status might be ENROUTE or
AT SITE.
Status names are field programmable. Each radio can have up to 8
separate statuses.
Send a Status Call (W7 and W9 Control Heads Only)
1Press the Sts button, and the display shows the last-
acknowledged status name.
2Press the Mode rocker button to review the list of status names,
or use the keypad to enter the number of the status you wish to
send.
Note: If no button is pressed for a period of time, an inactivity
warning will sound.
3With the display shows the desired status name or number,
press the Sel or the PTT button to send the transmission.
One of the following conditions occur:
• The radio display shows PLS WAIT (W7) or PLEASE WAIT
(W9) until the transmission is received and acknowledged.
When the dispatcher acknowledges the status, four high-
pitched tones sound, and the display shows ACK RCVD.
The radio then returns to normal dispatch operation.
• If the status is not acknowledged after approximately six
seconds, the display alternates between NO ACK and the
associated status name. A low-pitched tone also sounds
continuously.

ASTRO XTL 5000 Digital Mobile Radio with W4, W5, W7, and W9 43
Conventional Radio Features
• If there is no acknowledgment, do one of the following:
Press the microphone PTT button or the Sel button to
resend the status transmission.
OR
Press the HOME button to return to normal dispatch
operation.

44
Conventional Radio Features
Send a Direct-Entry Keyboard (DEK) Status
(Digital Modes Only)
Press the desired Sts # button on the DEK.
The red indicator flashes while the radio is waiting for an
acknowledgment. The control head momentarily displays the
selected status, then shows PLS WAIT (W7) or PLEASE WAIT
(W9).
One of the following conditions occur:
• When the dispatcher-acknowledge is received, four high-
pitched tones sound, and the status indicator lights solid and
remains on to show the last status acknowledged by the
dispatch terminal.
The display also temporarily shows ACK RCVD.
The radio then returns to normal dispatch operation.
• If the dispatcher-acknowledge is not received, the red
indicator continues to flash, the display temporarily shows
NO ACK, and a low-pitched tone sounds. At the same time,
the indicator above the last-acknowledged status lights.
The radio then returns to normal dispatch operation.
Resend the last status.

ASTRO XTL 5000 Digital Mobile Radio with W4, W5, W7, and W9 45
Conventional Radio Features
Smart PTT
Smart PTT is a per-mode feature that gives the system manager
better control of radio operations. When smart PTT is enabled in your
radio, you will not be able to transmit on an active mode. If you try to
transmit (press the PTT button) on a busy or active smart PTT
channel, a continuous tone sounds until you release the PTT button,
and the transmission is inhibited.
The yellow BUSY LED lights when the radio is receiving to indicate
that the mode is busy.
Three radio-wide variations of smart PTT can be enabled on your
radio:
Conventional Talkgroup Calls
Digital Modes Only
This feature allows you to define talkgroups for your conventional
system. Talkgroups, combined with selective squelch operation, allow
groups of users to transparently share a conventional channel.
Talkgroups can be slaved to a personality through programming, or
you can select them.
Encryption keys are slaved to talkgroups. When conventional
talkgroups are enabled, encryption keys are changed by changing the
active talkgroup.
Transmit Inhibit on
Busy Mode with
Carrier
You will not be able to transmit if any
activity is detected on the mode.
Transmit Inhibit on
Busy Mode with
Wrong Squelch Code
You will not be able to transmit on an active
mode that has a squelch code other than
your own.
Quick-Key Override You can override either of the two previous
transmit-inhibit states by quick-keying the
radio (two quick PTT button presses).

46
Conventional Radio Features
Select a Conventional Talkgroup
The Talkgroup Select feature allows you to manually select any one
of the available talkgroups.
1Press the Tgrp button.
The display changes to show the last-selected talkgroup.
2Turn the Mode knob (W4) or the Mode rocker button (W5, W7,
W9) to choose a different talkgroup.
(W7 and W9 Control Heads) Talkgroups can be accessed by
direct keypad entry.
3Press the Sel button to save the talkgroup.
The radio returns to the home display.
Note: To select the default talkgroup, press the Sel button while
the radio displays PRESET.
Selecting PRESET causes the radio to return to its
preprogrammed talkgroup.
To abort the talkgroup menu, press the HOME button or the
PTT button:
– Pressing the HOME button exits the talkgroup select menu
without saving the selected talkgroup choice.
– Pressing the PTT button exits the menu without saving the
selected talkgroup and allows the radio to transmit.
Note: If the encryption key slaved to the new talkgroup is erased,
the display shows KEY FAIL and a momentary tone is
generated. If the encryption key that is slaved to the new
talkgroup is not allowed, the display shows ILLEGAL KEY
and a momentary tone is generated.

ASTRO XTL 5000 Digital Mobile Radio with W4, W5, W7, and W9 47
Conventional Radio Features
Conventional Talkaround
Talk Direct (Mobile-To-Mobile)
To talk directly to another unit without going through the conventional
repeater system:
1Press the Dir button momentarily.
The Dir indicator lights, indicating that the radio is now
transmitting directly to another unit.
2To return to repeater operation, press the Dir button again.
The Dir indicator goes out.
Note: A conventional personality can be configured to always
transmit on the direct mobile-to-mobile frequency. In this
case, the Dir indicator is lit continuously while the mode is
selected.

48
Conventional Radio Features
Notes

ASTRO XTL 5000 Digital Mobile Radio with W4, W5, W7, and W9 49
Trunking Operation
Features Used on Trunking Systems
This chapter shows you how to access features available on trunking
systems. The following topics are covered:
• Telephone Interconnect List (page 50)
• Unlimited Telephone Interconnect (W7 and W9 Control Heads
Only) (page 53)
• Enhanced Private Conversation (Digital Modes Only) (page 58)
• Call Alert Page (Digital Modes Only) (page 66)
• Failsoft (page 74)
• Dynamic Regrouping (Digital Modes Only) (page 75)
• SmartZone® (W7 and W9 Control Heads Only) (page 78)
• Out-of-Range Indication (page 81)
• Trunked Announcement (page 82)

50
Trunking Operation
Telephone Interconnect List
With any of the control heads, you can initiate and receive telephone
calls if the trunked system is properly equipped. All calls between the
mobile operator and the land line are private, regardless of who
initiates the call.
All control heads feature a phone list capability of up to 100
preprogrammed phone numbers. The radios can be programmed by
a qualified radio technician so that a name can be assigned to each
number in the list.
In addition to the 100 preprogrammed phone numbers, the W7 and
W9 Control Heads feature unlimited dialing capability with their 12-
button telephone keypad.

ASTRO XTL 5000 Digital Mobile Radio with W4, W5, W7, and W9 51
Trunking Operation
Answer a Phone Call
Initiate a Telephone Call From the List
When a phone call is received, telephone-type ringing sounds
and the display shows PHONE.
1Press the Phon button.
2Press the PTT button to talk; release it to listen.
3When the call is completed, press the HOME or Phon button to
hang up and return to normal operation.
1Press the Phon button momentarily to select the phone
function.
(All Control Heads) A valid-key chirp is heard.
(W4, W5, and W7 Control Heads Only) The phone indicator
lights.
The display shows the last number dialed or a blank scratchpad
appearing as a series of dashes.
2Turn the Mode knob (W4), or press the Mode rocker button
(W5, W7, W9) to locate the number you want to call.
The display first shows the name, and then the number.
3Press the Sel button or the PTT button.
The display shows the number that is automatically dialed.

52
Trunking Operation
Note: If the number contains a programmed pause, the dialing
pauses briefly when the display shows P. After the brief
pause, the rest of the numbers is dialed.
If you are out of range of the trunked system, the display
shows NO PHONE, and a continuous low-pitched tone
sounds. Press the HOME or Phon button to resume normal
operation.
If the trunked phone interconnect is in use or the phone
interconnect is out of service, a telephone-type busy tone
sounds, and the display shows PHON BSY (W4, W5, W7) or
PHONE BUSY (W9). Your number is automatically dialed
when the phone interconnect becomes available. If you
hang up, you lose your place in the queue.
If the display shows PHON BSY (W4, W5, W7) or PHONE
BUSY (W9) with a low-pitched tone rather than a telephone-
type busy tone, the call is not queued. You must hang up
and try again.
4When your party answers, press the PTT button to talk, and
release it to listen.
5When the call is completed, press the HOME or Phon button to
hang up and return to normal operation.

ASTRO XTL 5000 Digital Mobile Radio with W4, W5, W7, and W9 53
Trunking Operation
Unlimited Telephone Interconnect (W7 and W9
Control Heads Only)
Call a Phone Number Not in the List
1Press the Phon button momentarily to select the phone function.
The Phone indicator lights (W7 only), and the display shows the
last number dialed (W7 and W9).
2Enter the desired phone number from the keypad.
The display updates as the numbers are entered.
Note: To include a pause in the dialing sequence, press the *
button followed by the # button. A P appears in the display.
To backspace, press the Mode down rocker button once, or
the # Del button twice.
3Press the Sel button or the microphone PTT button to
automatically dial the number in the display.
Note: If the number contains a programmed pause, the dialing
pauses briefly when the display shows P. After the brief
pause, the rest of the numbers are dialed.
4When your party answers, press the PTT button to talk, and
release it to listen.

54
Trunking Operation
Note: If you are out of range of the trunked system, the display
shows NO PHONE, and a continuous low-pitched tone
sounds. Press the HOME or Phon button to resume normal
operation.
If the trunked phone interconnect is in use or the phone
interconnect is out of service, a telephone-type busy tone
sounds, and the display shows PHON BSY (W7) or PHONE
BUSY (W9). Your number is automatically dialed when the
phone interconnect becomes available. If you hang up, you
lose your place in the queue.
If the display shows PHON BSY (W7) or PHONE BUSY (W9)
with a low-pitched tone, rather than a telephone-type busy
tone, the call is not queued. You must hang up and try again.
If your radio is programmed for live overdial, every digit
pressed after the phone call is established is sent to the
telephone system.
If your radio is programmed for buffered overdial, the digits
pressed are entered into the radio’s memory, and they are all
sent together when the PTT button is next pressed. You
cannot send digits and talk on the same PTT button press. If
you press the PTT button to send the digits, you must
release the PTT button and press it again to transmit.
5When the call is completed, press the HOME or Phon button to
hang up and return to normal operation.

ASTRO XTL 5000 Digital Mobile Radio with W4, W5, W7, and W9 55
Trunking Operation
Store a Number in the List
1Press and hold the Phon button to select the phone
programming function.
The phone indicator flashes (W7 only).
2Do one of the following:
• Press the Mode rocker button to locate the number you want
to change.
OR
• Use the keypad to move directly to the phone number you
want to change.
3Press the Sel button to edit the number in the display.
4Enter the new phone number on the keypad.
Note: To backspace, press the # button twice or the Mode down
button once. Enter a pause by pressing the * button, then the
# button.
5Press the Sel button to store the new number.
6Do one of the following:
•Press the HOME button to return to normal radio operation.
OR
•Press the Phon button to return to normal phone operation.

56
Trunking Operation
Edit a Name in the List
(W7 and W9 Control Heads Only)
1Press and hold the Phon button to enter Phon ID list
programming.
The Phon indicator flashes and a high-pitched tone sounds.
2Press the Mode rocker button to locate the list member you
want to change.
3Change the characters or numbers using any of the numeric
keys (0 through 9) and special function keys
(*, #).
Note: The maximum number of characters permitted in a text line
is 8 for W7 Control Head and 11 for W9 Control Head. If you
try to add too many characters, you will hear a low-pitched
tone.
To edit, do any or all of the following:
• To enter a character at the blinking cursor, refer to the table
on page 57.
Press the key of the desired character the number of times
shown in the table. For example, to enter the character C,
press the 2 key three times.
• To leave a space in the text, press the Mode up rocker
button to move the blinking cursor to the next character
position, and then enter the character.
• To delete characters, press the Mode down rocker button
to move backwards over existing characters.
When the last character on the display has been erased,
press the Mode down rocker button again to leave the
name-edit mode, without making any changes, and begin
the procedure again at step 2.
4To save the changes, press and hold the Sel button.

ASTRO XTL 5000 Digital Mobile Radio with W4, W5, W7, and W9 57
Trunking Operation
5Repeat steps 2 through 4 until you have modified all the desired
names,
OR
Do one of the following:
• Press the HOME button to return to normal radio operation.
OR
• Press the Phon button to return to normal phone operation.
Table 1: Entering Characters Using the Keypad
Key
Number of times the key is pressed
123456789
00()<>
11&%
2ABC2abc
3DEF3def
4GHI 4gh i
5JKL5 j k l
6MNO6mn o
7PQRS7pqrs
8TUV8 t u v
9WXYZ9wxyz
**/+-=
##.!?, ;

58
Trunking Operation
Enhanced Private Conversation (Digital
Modes Only)
The enhanced Private Conversation feature not only allows you to
carry on a conversation that is heard only by the two parties involved,
but also enables you to determine whether the unit you are calling is
in service.
All Control Heads are capable of responding to a Private
Conversation call initiated by another radio. The following further
describes each Control Head’s capability:
•All Control Heads: Feature a unique list of preprogrammed ID
numbers. A name may be assigned to each ID in the list for your
convenience.
•W7 and W9 Control Heads: In addition to a list of IDs, these
Control Heads feature unlimited enhanced Private Conversation
capability using a full, 12-button keypad to call any ID in the
system.

ASTRO XTL 5000 Digital Mobile Radio with W4, W5, W7, and W9 59
Trunking Operation
Answer an Enhanced Private Conversation Call
When a Private Conversation call is received, two high-pitched
tones sound and the display alternates between CALL RCV
and the home display.
1Press the Call button within 20 seconds of receiving the call.
(This time is programmable by a qualified radio technician.)
The display shows the ID number of the calling unit.
2To respond to the call, press the PTT button and talk.
If 20 seconds pass before you press the Call button, you will not
respond privately to the call just received. Instead, when you
press Call, you enter the Private Conversation Call state, as
described in “Initiate an Enhanced Private Conversation Call”
on page 60.
If the system is busy when you attempt to answer the call, a
telephone-type busy tone sounds and your radio’s BUSY
indicator lights. When a channel becomes available, you
receive a call back, and your radio automatically keys up for
three seconds so that you can begin talking.
Note: If you do not press the Call button before pressing the PTT
button, your conversation will be heard by all members of
the talk group.

60
Trunking Operation
Initiate an Enhanced Private Conversation Call
To initiate an Enhanced Private Conversation Call, select a unit to
call, then place the call.
1Press the Call button.
The Call indicator lights, and the display shows the last
transmitted/received unit ID number.
2Select a unit in one of the following ways:
•From the ID number list:
– Do nothing if you want to call the unit ID in the display.
OR
– Use the prestored list by turning the Mode knob (W4) or by
pressing the Mode rocker button (W5, W7, W9) to locate the
name/ID you want to call.
OR
– Press the Mode up rocker button once, and then use the
keypad to directly advance to the desired list member.
OR
– Enter, using the keypad, the ID of the desired unit.
Note: Using the keypad to enter the ID of another unit can only be
accomplished from the first display shown when CALL was
entered. If the list has been entered, scroll to the first display.
3Press the Sel button or the microphone PTT button.
A telephone-type ringing sounds if the unit you are calling is in
service. The display shows PLS WAIT (W4, W5, W7) or PLEASE
WAIT (W9).

ASTRO XTL 5000 Digital Mobile Radio with W4, W5, W7, and W9 61
Trunking Operation
4Choose one of the following conditions that applies to your
current call:
• If the receiving unit answers, identify yourself and begin your
Private Conversation.
• If, after a programmable time period, you are not connected,
the display shows NO ACK and a momentary, low-pitched
tone sounds.
Try again, or press the HOME or Call button to return to
normal operation.
• If you are out of the system’s range, a low-pitched tone
sounds.
Try again, or press the HOME or Call button to return to
normal operation.
• If the system is busy when you attempt to make a call, the
radio you are calling hears a telephone-type busy tone.
When a channel becomes available, the called radio
receives a call back and automatically keys up for three
seconds so that conversation can begin.
5To return to normal operation, press the HOME or Call button.
Note: If you do not press the HOME or Call button to hang up,
your unit will remain in the Private Conversation state with
the other unit. You will miss all subfleet traffic and incoming
phone calls.

62
Trunking Operation
View Your Unit ID Number
1Press the Call button momentarily to select the Private
Conversation feature.
The Call indicator lights.
2Do one of the following:
• Turn the Mode knob (W4) counterclockwise or press the
Mode down rocker button (W5, W7, W9) to locate the MY
ID display.
OR
•W7 and W9 Control Heads only: When not in the
scratchpad, press the * button.
The display will alternate between MY ID and your ID
number.
3To return to normal operation, press the HOME or Call button.

ASTRO XTL 5000 Digital Mobile Radio with W4, W5, W7, and W9 63
Trunking Operation
Store a Unit ID Number in the List
(W7 and W9 Control Heads Only)
The Private Conversation and Call Alert page features share the
same prestored list of units’ IDs.
1Press and hold the Call, Page, or 2Pge button to review the
Call ID list.
The Call indicator flashes and a high-pitched tone sounds.
2Press the Mode rocker button to locate the list member you
want to change.
3Press the Sel button to select the unit ID store function.
4Enter the new unit ID number on the keypad.
Note: If you make an error, press the Mode down rocker button
or #Del to erase each incorrect digit.
5When all the digits of the ID are entered, press Sel to store the
new ID.
6Repeat steps 2 through 5 until all the desired IDs have been
entered.
OR
Do one of the following:
• Press the HOME button to return to normal radio operation.
OR
• Press the Call button to return to normal Call operation.

64
Trunking Operation
Edit a Name in the List (W7 and W9 Control Heads
Only)
The Private Conversation and Call Alert page features share the
same prestored list of unit IDs.
1Press and hold the Call, Page, or 2Pge button to enter the Call
ID list.
The Call indicator flashes and a high-pitched tone sounds.
2Press the Mode rocker button to locate the list member you
want to change.
3Press and hold the Sel button to select the name- editing
function.
4Change the characters or numbers using any of the numeric
keys (0 through 9) and special function keys
(*, #).
Note: The maximum number of characters permitted in a text line
is 8 for W7 Control Head and 11 for W9 Control Head. If you
try to add too many characters, you will hear a low-pitched
tone.
To edit, do any or all of the following:
• To enter a character at the blinking cursor, refer to the table
on page 66.
Press the key of the desired character the number of times
shown in the table. For example, to enter the character C,
press the 2 key three times.
• To leave a space in the text, press the Mode up rocker
button to move the blinking cursor to the next character
position, and then enter the next character.

ASTRO XTL 5000 Digital Mobile Radio with W4, W5, W7, and W9 65
Trunking Operation
• To delete characters, press the Mode down rocker button
to move backwards over existing characters.
When the last character on the display has been erased,
press the Mode down rocker button again to leave the
name-edit mode, without making any changes, and begin
the procedure again at step 2.
5To save the changes, press and hold the Sel button.
6Repeat steps 2 through 6 until you have modified all the desired
names.
OR
Do one of the following:
• Press the HOME button to return to normal radio operation.
OR
• Press the Call button to return to normal Call operation.

66
Trunking Operation
Call Alert Page (Digital Modes Only)
The Call Alert feature allows a unit to selectively alert another unit,
and to determine whether or not that unit received the alert. A Call
Alert page can be initiated after an unsuccessful Private Conversation
call or as a separate feature.
All Control Heads are capable of responding to a Call Alert initiated by
another radio. The following further describes each Control Head’s
capability:
•All Control Heads: Feature a unique list of up to 19
preprogrammed ID numbers. A name can be assigned to each ID
in the list for your convenience.
•W7 and W9 Control Heads: In addition to a list of 19 IDs, these
Control Heads feature unlimited Call Alert page capability using a
full,12-button keypad.
Table 2: Entering Characters Using the Keypad
Key
Number of times the key is pressed
123456789
00()<>
11&%
2ABC2abc
3DEF3def
4GHI 4gh i
5JKL5 j k l
6MNO6mn o
7PQRS7pqrs
8TUV8 t uv
9WXYZ9wxyz
**/+-=
##.!?,;

ASTRO XTL 5000 Digital Mobile Radio with W4, W5, W7, and W9 67
Trunking Operation
Send a Call Alert Page
1Press the Page button.
The Page indicator lights and a valid-key chirp sounds.
The display shows the last transmitted/received unit ID number.
2Select a unit in one of the following ways:
•From the ID number list:
– Do nothing if you want to call the unit ID in the display.
OR
– Use the prestored list by turning the Mode knob (W4) or by
pressing the Mode rocker button (W5, W7, W9) to locate the
name/ID you want to call.
OR
– Press the Mode up rocker button once, and then use the
keypad to directly advance to the desired list member.
OR
– Enter, using the keypad, the ID of the desired unit.
Note: Using the keypad to enter the ID of another unit can only be
accomplished from the first display shown when Page was
entered. If the list has been entered, scroll to the first display.
3Press the Sel button or the microphone PTT button.
The display changes to PLS WAIT (W4, W5, W7) or PLEASE
WAIT (W9).

68
Trunking Operation
Answer a Call Alert Page
4Choose one of the following:
• When the called unit acknowledges the page, four additional
tones sound and the display changes to ACK RCVD.
The radio returns to normal operation.
• If you are out of the range of the system, a low-pitched tone
sounds.
Try again by pressing the PTT button or Sel button,
OR
Press the HOME or Page button to return to normal
operation.
• If, after six seconds, the called unit fails to acknowledge the
alert, a low-pitched tone sounds and the display changes to
NO ACK.
Try again by pressing the PTT button or Sel button,
OR
Press the HOME button or Page button to exit.
If you are not available when a caller sends you a Call Alert
page, a PAGE RCV message and the caller’s ID are left.
If the page also triggers an external alarm, the display shows
PAGE RCV and four tones repeat every five seconds.

ASTRO XTL 5000 Digital Mobile Radio with W4, W5, W7, and W9 69
Trunking Operation
1Do one of the following:
• Make a normal dispatch call. Press the PTT button and ask
about the page.
OR
• Press Call. The display shows the unit ID of the caller.
Press the Sel button to initiate an enhanced Private
Conversation or the PTT button to initiate a Private
Conversation call to the caller.
Note: Pressing any button, the PTT button, changing systems, or
pressing Call or Page clears the PAGE RCV display. The
original unit ID is retained until another Call Alert or Private
Conversation call is received.

70
Trunking Operation
Store a Unit ID Number In the List
(W7 and W9 Control Heads Only)
The Private Conversation and Call Alert page features share the
same prestored list of unit IDs.
1Press and hold the Page button to review the list.
The Page indicator flashes and a valid-key chirp sounds.
2Press the Mode rocker button to locate the list member you
want to change.
3Press the Sel button to select the unit ID store function.
4Enter the new unit ID number on the keypad.
Note: If you make an error, press the Mode down rocker button
or the #Del button to erase each incorrect digit.
5Press the Sel button to store the new ID.
6Repeat steps 2 through 5 until all the desired IDs have been
entered.
OR
Do one of the following:
• Press the HOME button to return to normal radio operation.
OR
• Press the Page button to return to normal Call Alert
operation.

ASTRO XTL 5000 Digital Mobile Radio with W4, W5, W7, and W9 71
Trunking Operation
Edit a Name in the List (W7 and W9 Control Heads
Only)
The Private Conversation and Call Alert page features share the
same prestored list of unit IDs.
1Press and hold the Call, Page, or 2Pge button to enter Call ID
list programming.
The Call indicator flashes and a high-pitched tone sounds.
2Press the Mode rocker button to locate the list member you
want to change.
3Press and hold the Sel button to select the name- editing
function.
4Change the characters or numbers using any of the numeric
keys (0 through 9) and special function keys
(*, #).
Note: The maximum number of characters permitted in a text line
is 8 for W7 Control Head and 11 for W9 Control Head. If you
try to add too many characters, you will hear a low-pitched
tone.
To edit, do any or all of the following:
• To enter a character at the blinking cursor, refer to the table
on page 73.
Press the key of the desired character the number of times
shown in the table. For example, to enter the character C,
press the 2 key three times.
• To leave a space in the text, press the Mode up rocker
button to move the blinking cursor to the next character
position, and then enter the next character.

72
Trunking Operation
• To delete characters, press the Mode down rocker button
to move backwards over existing characters.
When the last character on the display has been erased,
press the Mode down rocker button again to leave the
name-edit mode, without making any changes, and begin
the procedure again at step 2.
5To save the changes, press and hold the Sel button.
6Repeat steps 2 through 5 until you have modified all the desired
names,
OR
Do one of the following:
• Press the HOME button to return to normal radio operation.
OR
• Press the Page button to return to normal Call Alert
operation.

ASTRO XTL 5000 Digital Mobile Radio with W4, W5, W7, and W9 73
Trunking Operation
Table 3: Entering Characters Using the Keypad
Key
Number of times the key is pressed
123456789
00()<>
11&%
2ABC2abc
3DEF3def
4GHI 4gh i
5JKL5 j k l
6MNO6mn o
7PQRS7pqrs
8TUV8 t u v
9WXYZ9wxyz
**/+-=
##.!?, ;

74
Trunking Operation
Failsoft
If the trunked system’s central controller fails for any reason, the radio
indicates failsoft. In this condition, the radio transmits and receives on
a pre-determined frequency in a conventional mode.
Failsoft ensures that you will have communications capability at all
times. Radios can be programmed by a qualified radio technician so
that units that normally communicate on the same trunked mode will
be assigned to the same failsoft repeater frequency.
Since the normal trunking features do not operate during failsoft,
much of the privacy of trunked systems is lost. You must share the
channel with other users until the failure is corrected.
To continue, in failsoft, to communicate with other talkgroups:
If a system that is in failsoft is accessed while in scan, the radio
freezes scan and remains on the failsoft frequency for a period of six
seconds. This time period can be changed by a qualified radio
technician. This time allows the operator to monitor the failsoft
frequency for activity before resuming scanning.
On W7 and W9 Control Heads, the nuisance-delete feature can be
used to temporarily delete the system in failsoft from the scan list, if
desired.
1Rotate the Mode knob (W4) or press the Mode (W5, W7, W9)
rocker button to change to a different repeater frequency.
The failsoft condition is indicated by a faint beeping tone every
ten seconds (radio unsquelched).
When the trunking system returns to normal operation, the
beeping tone stops.
2Press the PTT button to talk, and release the button to listen.

ASTRO XTL 5000 Digital Mobile Radio with W4, W5, W7, and W9 75
Trunking Operation
Dynamic Regrouping (Digital Modes Only)
The dynamic regrouping feature allows the dispatcher to temporarily
reassign selected individuals, operating in separate trunked
talkgroups, into a single group so that they can communicate.
Receive a Dynamic Regrouping ID Assignment
(W7 and W9 Control Heads Only)
When your unit receives a dynamic regrouping ID assignment, a
unique chirp sounds to alert you that your unit has been
dynamically regrouped. The display shows the new dynamic
mode name assignment. Examples of the field-programmable
dynamic mode names include 16 DYNMC, 8 TACTCL.
Press the PTT button. The radio makes a chirp and transmits on
the dynamically assigned mode.
After the dispatcher releases your mobile from the dynamic ID
assignment, your radio returns to the last selected, non-dynamic
regrouping mode.
If no dynamic regrouping assignment has been made, a low-
pitched tone sounds if you attempt to select a dynamic mode.

76
Trunking Operation
Select Enable and Disable (Digital Modes Only)
The dispatcher may classify regrouped units into one of two
categories: select-enabled or select-disabled.
Request a Dynamic Regrouping
(W7 and W9 Control Heads Only) (Digital Modes Only)
Select-enabled Units are free to make mode changes to any of
the available talkgroups, including the dynamic
group.
Select-disabled Units cannot change modes because the
dispatcher has specifically chosen to force the
unit to remain in the dynamic mode.
1Press the Rpg (W7) or Rpgm (W9) button to request
regrouping.
A high-pitched tone sounds, indicating your request was
received by the system’s central controller.
The display changes to RPGM (W7) or RPGM RQST (W9) while the
request is being processed.
If the regrouping request is acknowledged, a dispatcher-
acknowledge signal sounds (four high-pitched tones), and the
display shows ACK RCVD.
The radio then returns to normal operation.

ASTRO XTL 5000 Digital Mobile Radio with W4, W5, W7, and W9 77
Trunking Operation
If the regrouping request is not acknowledged within six to
eight seconds, the display alternates between showing NO ACK
and RPGM or (W9 Control Head) RPGM RQST, and a low-pitched
tone sounds.
At this time, do one of the following:
• Press the microphone PTT button or the Sel button to
resend the regroup request.
OR
• Press the HOME button to return to normal operation.

78
Trunking Operation
SmartZone® (W7 and W9 Control Heads Only)
The SmartZone feature extends communications beyond the reach of
a single-trunked site (antenna location) when operating in a
SmartZone system. SmartZone units provide expanded wide-area
coverage.
SmartZone automatically switches the radio to a different site when
the current site signal becomes unacceptable. This usually happens
when the vehicle in which the radio is located is driven out of the
range of one site, and into the range of another.
Under normal conditions, a SmartZone-enabled radio functions
invisibly to the operator. However, the operator does have some
manual controls on the W7 and W9 Control Heads: the Site and Lock
buttons. These buttons can be used to check, or change, the
SmartZone operation.

ASTRO XTL 5000 Digital Mobile Radio with W4, W5, W7, and W9 79
Trunking Operation
Site-Button Operation
To check which site the radio has currently selected:
Press the Ste (W7) or Site (W9) button momentarily.
The display momentarily shows the current site name and RSSI
(received signal strength indicator).
One of the following conditions can also occur:
• If the radio is not locked onto a site, but is scanning for a new
site, the display shows SCANNING.
• If the radio has not yet received site ID information for the
current site, the radio displays SITE XX.
Note: You can also initiate scanning to another site by holding
down the Ste button until the display shows SCANNING.

80
Trunking Operation
Lock Onto a Site
In areas that commonly have weak signals, use the SmartZone lock
function to prevent the radio from automatically scanning for a new
site.
1Press the Lck (W7) or Lock (W9) button momentarily to display
the current lock status.
W7 Control Head: Either the display shows LOCKED or
UNLOCKED.
W9 Control Head: Either the display shows SITE LOCKED or
SITE UNLCKD.
2To change the locked or unlocked condition, press and hold the
Lck (W7) or Lock (W9) button until a tone sounds and the
display changes.
After temporarily displaying the new condition, the radio returns
to normal operation.

ASTRO XTL 5000 Digital Mobile Radio with W4, W5, W7, and W9 81
Trunking Operation
Site Trunking
In a SmartZone system, if the zone controller for a particular site fails,
the site enters into a site-trunking operational mode. In this mode of
operation, the user can only communicate with other units at the
same site.
Radios in a SmartZone system can be programmed by a qualified
radio technician to display STE TRNK (W7) or STE TRUNK (W9) when
site trunking becomes active. The display alternates with the current
mode display as long as the radio remains in site trunking. The radio
also sounds a valid-key chirp when it first detects site trunking.
Out-of-Range Indication
The out-of-range display/audible indication feature can be enabled by
a qualified radio technician. The display alternately shows OUT OF
RANGE and the current selected mode, and a low-pitched tone sounds
every six seconds:
• When the radio is out of range of the system and can no longer
lock onto the control channel
OR
• When the radio is in failsoft and cannot lock onto the failsoft
channel.
The out-of-range indication remains in effect until one of the following
conditions occur:
• The radio locks on a control channel
• The radio locks on a failsoft channel
• The radio is turned off

82
Trunking Operation
Trunked Announcement
The announcement capability allows a user to make announcements
to the entire user group, as well as monitor talkgroup calls and other
announcements.
Announcement calls are handled in two different ways, depending on
the trunked central controller configuration. The two types are called
ruthless and non-ruthless preemption.
•Ruthless Preemption: When a ruthless preemption
announcement call is initiated, the requesting radio begins
transmitting immediately. All associated talkgroup calls taking
place on other channels are immediately halted, and the radios
are steered to the announcement call.
Transmitting radios continue to transmit until the PTT button is
released, at which time they also unmute for the announcement
call. Individual calls (Private Conversation and telephone
interconnect) are not affected.
•Non-Ruthless Preemption: When a non-ruthless preemption
announcement is initiated, the initiating unit receives a telephone-
type busy tone, followed by a call back when all associated
talkgroup conversations end.
Once an announcement call is pending, any attempts by other
users to initiate a talkgroup call will result in a telephone-type busy
tone. These users will not receive a call back until the
announcement call is complete.

ASTRO XTL 5000 Digital Mobile Radio with W4, W5, W7, and W9 83
Trunking Operation
Initiate an Announcement
If your radio has been programmed to allow announcement calls:
1Turn the Mode knob (W4) or press the Mode rocker button (W5,
W7, W9) to locate the announcement-group mode.
2Press the microphone PTT button to initiate the announcement.

84
Trunking Operation
Notes

ASTRO XTL 5000 Digital Mobile Radio with W4, W5, W7, and W9 85
Secure Operation
Features Available on Secure XTL 5000
This chapter covers features available on XTL 5000 Digital Mobile
Radios with secure encryption. The following topics are covered:
• Receiving a Private Message (page 86)
• Transmitting a Private Message (page 86)
• System Considerations (page 87)
• Loss Indication (page 88)
• Selecting an Encryption Key (Conventional Only) (page 89)
• Selecting an Encryption Index (Conventional Only) (page 91)

86
Secure Operation
Receive a Private Message
Transmit a Private Message
1Select a mode by turning the Mode knob (W4) or pressing the
Mode rocker button (W5, W7, W9).
2Using the Volume knob (W4) or the Vol rocker button (W5, W7,
W9), adjust the volume to a comfortable listening level.
In conventional modes and, if enabled, in trunking modes, the
BUSY light blinks and the radio unmutes when the radio is
receiving a private message.
Note: The secure on/off state does not affect received messages.
The radio automatically receives coded or clear messages.
1Press the D button to turn on the coded mode.
Some radio modes may have secure automatically set on or off
if the mode-strapped Secure feature is enabled.
The display shows the current key if multi-key has been
enabled.
Note: If the coded mode is selected, the D is on. If the standard
(clear) mode is selected, the D indicator is off.
2Monitor the mode to be sure it is not in use.
3Press and hold the PTT button to transmit.
The XMIT indicator lights, and the display shows the current key
selected when transmitting in the coded mode, if multikey and
Display on PTT are enabled.

ASTRO XTL 5000 Digital Mobile Radio with W4, W5, W7, and W9 87
Secure Operation
System Considerations
•Trunked Systems only: If you press the PTT button when no
secure-voice channel is available, the display shows NO SEC (W4,
W5, W7) or NO SECURE (W9), and a continuous talk-prohibit tone
sounds until you release the PTT button.
•Analog trunking systems: You are not allowed to change from
a secure transmission to a clear transmission during a secure
trunked call. If you attempt to change from a secure to a clear
transmission during a call, the radio generates a talk-prohibit tone,
and the display will show SEC ONLY or SECURE ONLY.
•Digital trunking systems: You are allowed to change from a
secure transmission to a clear transmission during a secure
trunked call.

88
Secure Operation
Loss Indication
When you press the PTT button while in the coded mode and without
the encryption module containing a valid key, the speaker generates
bursts of alert tones, and the display shows KEY FAIL until you
release the PTT button.
When the radio is first turned on, six medium-pitched tones sound
and the display momentarily shows KEY FAIL to indicate that the
encryption module does not contain a valid key for the current mode.
If the periodic keyfail tone feature is enabled, six medium-pitched
tones are generated every five to ten seconds while the radio is not
transmitting or receiving to remind you that the radio does not have a
valid key for the current mode. The keyfail reminder will not sound
when the radio is in clear mode.

ASTRO XTL 5000 Digital Mobile Radio with W4, W5, W7, and W9 89
Secure Operation
Select an Encryption Key (Conventional Only)
The Select Key feature allows you to manually select any one of the
16 encryption keys.
If the current mode is programmed with key selection being strapped
to force the current mode to use a predetermined key, the Select Key
menu will not appear as a Secure menu item.
1Press and hold down the D button until a tone sounds, which
indicates entry into the Advanced Secure menu.
2Turn the Mode knob (W4) or press the Mode rocker button
(W5, W7, W9) to locate the KEY SEL option.
3Press the Sel button to enter the Key Selection menu.
The display changes to show the last user-selected key.
4Do one of the following:
• Turn the Mode knob (W4) or press the Mode rocker button
(W5, W7, W9) to review the encryption keys,
OR
• Use direct keypad entry to access the encryption keys.
5Choose one of the following:
• To save a key, press the Sel button.
The radio returns to the home display.
• To select the default encryption keys on a radio-wide basis,
press the Sel button while the radio displays PRESET.
Selecting preset causes the radio to return to its
preprogrammed keys on a per-zone/-mode basis.
Note: When you scroll to an erased key, the display alternates
between the key name and ERASED.

90
Secure Operation
6To abort this menu, press the HOME button or the PTT button.
Pressing the HOME button exits the key-select menu without
saving the selected key choice.
Pressing the PTT button exits the menu without saving the
selected key choice and allows the radio to transmit.
When you abort the key-select menu, the radio uses the key
that was selected prior to entry into the menu.

ASTRO XTL 5000 Digital Mobile Radio with W4, W5, W7, and W9 91
Secure Operation
Select an Encryption Index (Conventional
Only)
The Select an Index feature allows you to select one or more groups
of several encryption keys from among the available keys stored in
the radio. For example, you could have a group of three keys
structured to one index, and another group of three different keys
structured to another index. By changing indices, you would
automatically switch from one set of keys to the other.
If the mobile does not support indexing, the index menu will not
appear as a Secure menu item.
1Press and hold down the D button until a tone sounds, which
indicates entry into the Advanced Secure menu.
2 Turn the Mode knob (W4) or press the Mode rocker button
(W5, W7, W9) to locate the INDX SEL option.
3Press the Sel button to enter the Index Selection menu.
The display changes to show the last index that was selected
and stored after the Index Selection menu was entered.
4Turn the Mode knob (W4) or press the Mode rocker button
(W5, W7, W9) to locate the desired key index.
5Choose one of the following:
• To save an index key, press the Sel button. The radio will
save the index and return to normal operation,
• To abort from the Index Selection menu, press the HOME
button or the PTT button. (Pressing the PTT button allows
the radio to transmit.)

92
Troubleshooting
Troubleshooting
The following are suggestions to assist you in troubleshooting
possible operating problems.
If your radio is locked up or the display shows FL 01/90 (W4, W5,
W7) or FAIL 01/90 (W9), turn the radio off and then back on. If this
does not correct the condition, take the radio to a qualified radio
technician for service.
If radio operation is intermittent, check with other persons using the
system for similar problems before taking the radio in for service.
Similar problems indicate a system malfunction rather than a radio
failure.
If symptoms persist or, if your unit exhibits other problems, contact a
qualified radio technician.
The cables that connect to the rear of
the radio could have live voltage on
some of their pins. Do not remove or
reconnect these cables. Only a
qualified radio technician should
perform this task. Service performed
by unauthorized personnel may cause
the radio to transmit an emergency
alarm even if the unit is turned off.
CAUTION
!

ASTRO XTL 5000 Digital Mobile Radio with W4, W5, W7, and W9 93
Glossary
ACK Acknowledgment of communication.
Channel A group of characteristics, such as transmit/
receive frequency pairs, radio parameters, and
encryption encoding.
Coded Squelch Tone Private-Line™ or Digital Private-Line.
Used on conventional channels to make sure
you hear only the communication meant for
you.
Control Channel In a trunking system, one of the channels that
is used to provide a continuous, two-way/data
communications path between the central
controller and all radios on the system.
Conventional Typically refers to radio-to-radio
communications, sometimes through a
repeater. You share a frequency, or
frequencies, with other users without the aid of
a central controller to assign communication
channels. Therefore, you should monitor each
channel before transmitting to avoid interfering
with another user who may be transmitting.
Cursor A visual tracking marker (a blinking line) that
indicates a location on the display.
Digital Private-
Line (DPL) Coded
Squelch
A continuous, sub-audible data signal,
transmitted with the carrier.
Dispatcher An individual who has radio system
management duties.
Failsoft A back-up system allowing you to
communicate in a non-trunked, conventional
mode should the trunked system fail.
FCC Federal Communications Commission.

94
Glossary
Hang Up Disconnect.
Home Display The first display information after the radio
completes its self test.
LCD Liquid-Crystal Display.
Mode A programmed combination of operating
parameters; for example, a channel or
talkgroup.
Mode-Slaving Radio programmed to automatically give the
proper operation for a given mode you have
selected.
Monitoring
(Conventional
Operation)
Press a programmed monitor button to listen to
another user active on the channel. This way,
you may be prevented from talking over
someone else’s conversation.
Page A one-way alert, with audio and/or display
messages.
Push-To-Talk
(PTT) button The PTT button engages the transmitter and
puts the radio in transmit (send) operation
when pressed. Press this button to transmit;
release it to receive.
Repeater A conventional radio feature, in which you talk
through a receive/transmit facility (repeater)
that re-transmits received signals in order to
improve communications range and coverage.
RF Radio Frequency. A part of the general
frequency spectrum between the audio and
infrared light regions (about 10 kHz to
10,000,000 MHz).
RSSI Received Signal Strength Indicator.

ASTRO XTL 5000 Digital Mobile Radio with W4, W5, W7, and W9 95
Glossary
Squelch The muting of audio circuits when received
signal levels fall below a pre-determined
threshold. With carrier squelch, you hear all
channel activity which exceeds the radio’s
preset squelch level.
Standby An operating condition whereby the radio’s
speaker is muted but still continues to receive
data.
Talkgroup An organization (or group) of radio users who
communicate with each other, using the same
communication path.
Tone Private-Line
(PL) Coded
Squelch
A continuous sub-audible tone transmitted with
the carrier.
Trunking The automatic sharing of communications
paths between a large number of users (see
Conventional). Allows radio users to share a
smaller number of frequencies because a
repeater, or communications path, is assigned
to a talkgroup for the length of a conversation.
Zone A grouping of channels or talkgroups.

96
Glossary
Notes
ASTRO XTL 5000 Digital Mobile Radio with W4, W5, W7, and W9 97
Patent Disclosure
This product is covered by one or more of the following United States patents:
4,512,035 4,551,856 4,653,117 4,816,774 4,829,594 4,837,853 4,864,252
4,885,550 4,914,321 4,918,403 4,959,617 4,975,650 4,994,768 5,006,730
5,021,754 5,079,526
Commercial Warranty (Standard)
Motorola radio communications products are warranted to be free from
defects in material and workmanship for a period of ONE (1) YEAR, (except
for crystals and channel elements which are warranted for a period of ten [10]
years) from the date of shipment. Parts, including crystals and channel
elements, will be replaced free of charge for the full warranty period, but the
labor to replace defective parts will only be provided for one-hundred-twenty
(120) days from the date of shipment. Thereafter, purchaser must pay for the
labor involved in repairing the product or replacing the parts at the prevailing
rates together with any transportation charges to or from the place where
warranty service is provided. This express warranty is extended by Motorola
Communications and Electronics, Inc., 1301 E. Algonquin Road,
Schaumburg, Illinois 60196, to the original purchaser only, and only to those
purchasing for purpose of leasing or solely for commercial, industrial, or
governmental use.
THIS WARRANTY IS GIVEN IN LIEU OF ALL OTHER WARRANTIES
EXPRESS OR IMPLIED WHICH ARE SPECIFICALLY EXCLUDED,
INCLUDING WARRANTIES OR MERCHANTABILITY OR FITNESS FOR A
PARTICULAR PURPOSE. IN NO EVENT SHALL MOTOROLA BE LIABLE
FOR INCIDENTAL OR CONSEQUENTIAL DAMAGES TO THE FULL
EXTENT SUCH MAY BE DISCLAIMED BY LAW.
In the event of a defect, malfunction, or failure to conform to specifications
established by seller, or if appropriate, to specifications accepted by seller in
writing, during the period shown, Motorola, at its option, will either repair or
replace the product or refund the purchase price thereof, and such action on
the part of Motorola shall be the full extent of Motorola’s liability hereunder.
This warranty is void if:
a. the product is used in other than its normal and customary manner;
b. the product has been subject to misuse, accident, neglect, or
damage;
c. unauthorized alterations or repairs have been made, or unapproved
parts used in the equipment.
This warranty extends only to individual products, batteries are excluded, but
carry their own separate limited warranty. Because each radio system is
unique, Motorola disclaims liability for range, coverage, or operation of the
system as a whole under this warranty except by a separate written
agreement signed by an officer of Motorola.
98
Non-Motorola manufactured products are excluded from this warranty, but
subject to the warranty provided by their manufacturers, a copy of which will
be supplied to you on specific written request.
In order to obtain performance of this warranty, purchaser must contact a
Motorola salesperson or Motorola at the address shown above, Attention
Quality Assurance Department.
This warranty applies only within the United States.

ASTRO XTL 5000 Digital Mobile Radio with W4, W5, W7, and W9 99
Index
Symbols
800 MHz frequencies ....................2
A
add scan list channel ..................34
adjust
display brightness ...................11
squelch level ...........................18
volume .....................................11
alarms
activate non-permanent ..........36
activate permanent ..................37
change selected ......................38
horn and lights .........................36
initiate
emergency ...........................21
emergency call and alarm ....23
silent emergency .................24
non-permanent horn and lights
activation ................................36
non-rearmable external ...........39
optional external ......................36
permanent horn and lights
activation ................................37
rearmable external ..................39
receiving call when turned on ..39
alert tones .....................................6
analog
mode .........................................3
trunking system considerations 87
answer
Call Alert page .........................68
Enhanced Private Conversation
call .........................................59
phone call ................................51
ASTRO mode ...............................3
automatic scanning .....................26
autoscan .....................................26
B
basic operation .............................9
box, hang up (HUB) ....................36
buffered overdial ......................... 54
button
Call .......................................... 30
Del .......................................... 31
Dim ......................................... 39
H/L (horn and lights) ............... 37
Home ...................................... 29
Mon (monitor) .......................... 28
Page ....................................... 30
Phon (phone) .......................... 51
PTT ......................................... 30
scan ........................................ 27
Site .......................................... 79
Sql (squelch) ........................... 28
Sts (status) .............................. 42
Zone down .............................. 34
Zone up ................................... 34
C
call
answer phone ......................... 51
conventional talkgroup ............ 45
emergency .............................. 20
Enhanced Private Conversation .
60
initiate
emergency .......................... 22
Enhanced Private Conversation
60
from phone list ..................... 51
phone number not in list ......... 53
receiving when alarms turned on
39
Call Alert page
answering ............................... 68
description .............................. 66
placing .................................... 67
selecting unit to call ................ 67
sending ................................... 67
Call button .................................. 30
calls, status ................................. 42
change
mode ....................................... 12

100
Index
mode in current zone ...............13
mode not in current zone .........13
mode priorities .........................33
selected alarms .......................38
zone .........................................12
channels, conventional ..................5
considerations
analog trunking systems ..........87
digital trunking systems ...........87
trunked systems ......................87
control head
operation ...................................5
status display .............................6
conventional
channel ......................................5
mode .......................................15
scan list ...................................26
selecting talkgroup ...................46
talkaround ................................47
talkgroup calls ..........................45
conventional mode, monitoring
activity ........................................17
current zone
change mode ...........................13
select mode .............................13
D
Del button ....................................31
delete
nuisance mode ........................31
scan list channel ......................35
Designated Transmit Talkback
Channel .....................................36
digital trunking system considerations
....................................................87
Dim (dimmer) button ...................39
direct-entry keyboard, send status ..
44
display, brightness adjustment ....11
dynamic regrouping
receiving an ID assignment .....75
requesting ................................76
E
edit name in list .....................56, 71
embedded signaling ......................2
emergencies, special considerations
25
emergency call
initiating ...................................22
trunking ...................................20
emergency call and alarm
description ...............................20
initiating ...................................23
encryption key
index selection ........................91
selecting ..................................89
Enhanced Private Conversation
answer a call ...........................59
description ...............................58
initiate call ...............................60
select unit to call ......................60
entering keypad characters .57, 66,
73
external alarms ...........................36
activate non-permanent horn and
lights ......................................36
activate permanent horn and lights
................................................37
non-rearmable .........................39
rearmable ................................39
F
failsoft .........................................74
FLASHport technology ..................3
frequency ranges
800 MHz ....................................2
UHF ...........................................2
VHF ...........................................2
G
glossary ......................................93
H
H/L (horn and lights) button ........37

ASTRO XTL 5000 Digital Mobile Radio with W4, W5, W7, and W9 101
Index
hang time ....................................27
hang up box (HUB) .....................36
Home
button ......................................29
mode, selecting .......................14
horn and lights alarms .................36
HUB (hang up box) .....................36
I
identification, radio ........................4
indicator
N PRI (non-priority) .................27
Phone ......................................53
PRI (priority) ............................27
scan .........................................27
initiate
emergency alarm .....................21
emergency call and alarm .......23
Enhanced Private Conversation
call .........................................60
phone call from list ..................51
silent emergency alarm ...........24
trunked announcement ...........83
interconnect, unlimited telephone 53
introduction to radios ....................1
K
key, encryption
index selection ........................91
selecting ..................................89
keypad
character selection sequence .57,
66, ..........................................73
entering characters .....57, 66, 73
knob
Mode ...................................4, 29
Volume ......................................4
L
list
edit name ................................56
editing a name .........................71
phone, place call ..................... 51
scan ........................................ 26
store phone number ................ 55
storing unit ID number ............. 70
telephone interconnect ........... 50
live overdial ................................ 54
lock on a site, SmartZone ........... 80
loss indication, secure operation 88
M
Mode
knob .................................... 4, 29
rocker button ........................... 29
mode
analog ....................................... 3
ASTRO ..................................... 3
changing ................................. 13
changing outside current zone 13
Mode
knob .................................... 29
rocker button ....................... 29
priorities, changing .................. 33
selecting .................................. 13
selecting Home ....................... 14
selecting outside current zone 13
selection .................................. 12
slaving .......................................5
transmitting (conventional) ...... 15
transmitting (trunked) .............. 15
trunked ...................................... 5
Mon (monitor) button ..................28
monitoring
conventional mode activity ...... 17
N
N PRI (non-priority) indicator ...... 27
non-priority scanning .................. 26
non-rearmable external alarms ... 39
non-ruthless preemption ............. 82
non-talkback scan ...................... 30
nuisance mode
deleting ................................... 31
restoring .................................. 32

102
Index
O
operation
basic ..........................................9
control head ...............................5
scan .........................................26
secure ......................................85
SmartZone site-button .............79
trunking ....................................49
operator-selectable scan .............26
out-of-range indication ................81
overdial
buffered ...................................54
live ...........................................54
P
Page button .................................30
patent disclosure .........................97
Phon (phone) button ...................51
Phone indicator ...........................53
phone numbers, preprogrammed 50
place phone call from list .............51
placing Call Alert page ................67
power level selection ...................16
powering on radio ........................10
preemption
non-ruthless .............................82
ruthless ....................................82
preprogrammed phone numbers .50
PRI (priority) indicator .................27
priority scanning ..........................26
private message
receive .....................................86
transmit ....................................86
programming scan list .................34
PTT button ..................................30
PTT-ID (Push-to-Talk identification)
40
Push-to-Talk identification (PTT-ID)
40
R
radio identification .........................4
rearmable external alarms ..........39
receive
call with alarms turned on .......39
private message ......................86
requesting a dynamic regrouping 76
restore
mode priorities .........................33
nuisance mode ........................32
rocker button
Mode .......................................29
Vol (volume) ............................39
ruthless preemption ....................82
S
scan
autoscan .................................26
button ......................................27
indicator ..................................27
non-priority ..............................26
non-talkback ............................30
operation .................................26
operator-selectable .................26
priority .....................................26
talkback ...................................30
transmit while on .....................30
turning on ................................27
scan list
add a channel .........................34
conventional ............................26
delete a channel ......................35
modes .....................................26
programming ...........................34
restore mode priorities ............33
talkgroup scan .........................26
trunked priority ........................26
viewing ....................................29
secure operation .........................85
select
Call Alert page unit ..................67
conventional talkgroup ............46
encryption key .........................89
encryption key index ...............91
Home mode .............................14

ASTRO XTL 5000 Digital Mobile Radio with W4, W5, W7, and W9 103
Index
mode .......................................12
mode in current zone ..............13
mode not in current zone ........13
power level ..............................16
volume level ............................11
zone ........................................12
selected-disabled units ...............76
selected-enabled units ................76
send
Call Alert page .........................67
status call ................................42
Site button ...................................79
site trunking
SmartZone ..............................81
site-button operation, SmartZone 79
slaved programming .....................5
slaving, mode ................................5
smart PTT ...................................45
SmartZone
description ...............................78
lock on a site ...........................80
site trunking .............................81
site-button operation ...............79
Sql (squelch) button ....................28
squelch, adjusting level ...............18
status calls
description ...............................42
sending ....................................42
status display, control head ..........6
store phone number in list ...........55
Sts (status) button .......................42
T
talk direct (mobile-to-mobile) .......47
talkback scan ..............................30
talkgroup scan list .......................26
telephone interconnect list ..........50
time-out timer ..............................40
tones, alert ....................................6
transmit
conventional modes ................15
private message ......................86
trunked modes ........................15
with scan on ............................ 30
transmitting ................................. 15
troubleshooting ........................... 92
trunked
announcement
capability ............................. 82
initiate .................................. 83
Call Alert page ........................ 66
mode ................................... 5, 15
priority scan list ....................... 26
system considerations ............ 87
trunking
answer phone call ................... 51
emergency call ........................ 20
Enhanced Private Conversation .
58
failsoft ..................................... 74
initiating emergency call .......... 22
operation ................................. 49
status calls .............................. 42
telephone interconnect list ...... 50
unlimited telephone interconnect
53
turn on
radio ........................................ 10
scan ........................................ 27
U
UHF frequencies ...........................2
unit ID number, store in list ......... 70
units
select-disabled ........................ 76
select-enabled ........................ 76
troubleshooting ....................... 92
unlimited telephone interconnect 53
V
VHF frequencies ........................... 2
viewing scan list .......................... 29
Vol (volume) rocker button ......... 39
Volume knob ................................ 4
volume, adjusting ....................... 11

104
Index
W
W4 Control Head Foldout ...............i
W5 Control Head Foldout ...............i
W7 Control Head Foldout ..........105
W9 Control Head Foldout ..........105
warranty, standard commercial ...97
Z
Zone down button .......................34
zone selection .............................12
Zone up button ............................34

ASTRO XTL 5000 Digital Mobile Radio with W3 Control Head 105
Control Head Back Foldout
W7 Control Head
W9 Control Head
POWER
ON/OFF
2
2Pge
or
SITE
LOCK
MESSAGE
REPROGRAM
DIRECT
O
#
Del Rcl
Mode
Vol
Mic
Phon Call Sel
PWR
Scan
XMIT
BUSY
DIM
HOME
1Ste 23Lck
4Sts 5Rpg 6Msg
7
H/L
8
Mon
9
Dir
MAEPF A
MODE
EMERGENCY
or
SECURE
Emer
PHONE
SCAN
CALL
SELECT
PAGE
VOLUME
DIRECT
INDICATOR DELETE
RECALL
MONITOR
STATUS
HORN/LIGHTS
HOME
PRIORITY/
NON-PRIORITY
INDICATORS
XMIT BUSY
123
456
789
0
DIM
Pri
Non
Pri
Emer Dir Scan Call
Mode Vol Sel Home
Page Rpgm Site
Phon H/L Lock
Rcl Sql Del
MODE SELECTVOLUME HOME
PAGE
DELETE
Sts Msg
Srch
RECALL
SQUELCHNON-PRIORITY
INDICATOR
PRIORITY
INDICATOR
CALL
SCAN
DIRECT
EMERGENCY
SECURE
SEARCH
MESSAGE
STATUS
HORN/LIGHTS
LOCK
PHONE
SITE
REPROGRAM

ASTRO® XTL™ 5000 Digital
Mobile Radio with W7
Control Head
Quick Reference Card
BASIC OPERATION
Turn the Radio On and Off
Set the Volume and Squelch
Change Modes
Transmit
Transmit (Conventional Modes)
Activate Scan
Program a Scan List
POWER
ON/OFF
2
2Pge
or
SITE
LOCK
MESSAGE
REPROGRAM
DIRECT
O
#
Del Rcl
Mode
Vol
Mic
Phon Call Sel
PWR
Scan
XMIT
BUSY
DIM
HOME
1Ste 23Lck
4Sts 5Rpg 6Msg
7
H/L
8
Mon
9
Dir
MAEPF 23213 A
MODE
EMERGENCY
or
SECURE
Emer
PHONE
SCAN
CALL
SELECT
PAGE
VOLUME
DIRECT
INDICATOR DELETE
RECALL
MONITOR
STATUS
HORN/LIGHTS
HOME
PRIORITY/
NON-PRIORITY
INDICATORS
Press the PWR button once.
1Hold the Vol rocker button down to increase or
decrease volume as desired, then release.
The display shows volume levels from 0 to 15.
2On conventional modes with Private-Line or Digital
Private-Line, press Mon or remove the microphone
from the hang-up clip to defeat the coded squelch.
3Press Mon again, or replace the microphone on the
hang-up clip to return to coded-squelch operation.
4To adjust squelch level, hold Mon until a tone sounds.
5Press the Mode rocker button to select squelch level.
6Press HOME.
Press the Mode rocker button to select the desired
mode
OR
Press HOME to access the preprogrammed Home
mode.
1Press and hold the microphone PTT button.
2When the transmit light comes on solid and no alert
tones sound (or a talk-permit tone or ID sidetone
sounds), speak into the microphone in a normal voice.
3State your FCC call sign at the beginning of each
transmission.
1Press Dir (Direct). The Dir indicator lights.
2Press Dir again to return to repeater operation.
1Press Scan to start a scan. If no activity exists, the
display shows your selected mode. When a scanned
channel or talkgroup becomes active, the display
shows the active mode name. The PRI and NPRI
indicators show priority.
2Press Scan again to stop scanning.
1Hold Scan until a tone sounds and the scan indicator
blinks.
2Press the Mode rocker button to select the mode you
want to program.
OR
Press the Rcl button to scroll through the modes
currently in the scan list.
3Press the Sel button as indicated in the table below to
add or remove the displayed mode from the scan list.
4Repeat the previous steps to continue editing the list.
5Press HOME or Scan to exit.
Press Sel Mode Indicator
One time Non-Priority NPRI lit
Two times Second Priority PRI lit
Three times First Priority PRI blinks
Four times Delete from List No indicator

Select Scan Mode Priority
Send an Emergency Alarm or Call
Send a Status Transmission
Send a Direct-Entry Keyboard Status
Transmission
Send a Direct-Entry Enhanced Private
Conversation Call
Initiate a Call Alert Page
1Press the Sel button as indicated in the table above
to designate up to two modes as priorities.
2Press HOME or Scan to end scan list selection.
Press the emergency actuator (Emer button,
footswitch, hidden pushbutton) to begin an emergency
transmission.
For conventional modes, a silent or non-silent
emergency alarm data transmission is sent.
For trunked modes, emergency call (priority access to
a voice channel), silent or non-silent emergency
alarm, or emergency alarm and call is entered.
Depending on your radio’s programming, one of the
emergency sequences described in the table below
occur.
Alarm Type Indications/Actions
Non-Silent A tone sounds and the display flashes
EMERGNCY. When acknowledged, four
more tones sound and the display
shows ACK RCVD, then the radio
returns to normal operation.
Silent The audio is muted and no display
changes take place during the alarm.
Press the PTT button, or press and
hold the emergency button to stop the
emergency condition and unmute the
radio.
Call (Trunked
Modes only) A tone sounds and the display flashes
EMERGNCY.
Press the PTT button and talk.
After completing the call, press and
hold the emergency actuator until a
tone sounds to return to normal
operation.
Alarm and Call After the display shows ACK RCVD (see
Non-Silent Alarm above), the radio has
priority voice-channel access.
Press the PTT button and talk.
After completing the call, press and
hold the emergency actuator until a
tone sounds to return to normal
operation.
1Press Sts. The display shows the last acknowledged
status or first status name.
2Press the Mode rocker button to select other
statuses.
3Press Sel to send the transmission. The display
flashes the selected status name until the dispatcher
acknowledges, at which time alert tones sound and
the display shows ACK RCVD. The radio then returns
to normal operation.
Press the appropriate Sts # button that you wish to
send. The associated indicator blinks until an
acknowledgment is received, then it lights steadily.
Alarm Type Indications/Actions
1Press Sel or the PTT button. A single tone sounds
and the display changes to PLS WAIT, followed by
telephone-type ringing if the receiving unit is in
service.
2If the receiving unit answers, press the PTT button to
identify yourself and proceed with your call.
OR
If the called unit does not respond, press Sel or the
PTT button again to leave a Call Alert page message
and your ID.
A single tone followed by four tones sounds if the
called unit acknowledges the page.
1Press the Page button.
2Follow the instructions for initiating a Private
Conversation to select a unit ID.
3Press Sel or the PTT button to send a Call Alert page
to the displayed ID,
OR
To send a Call Alert page following an Enhanced
Private Conversation attempt, follow the instructions
for sending a direct-entry Enhanced Private
Conversation call.

Answer a Call Alert Page
Select a Zone/Mode (Optional)
Select a Home Zone/Home Mode
Request Dynamic Regrouping
Automatic Multiple Site Selection (AMSS)
View the Current Site
Initiate a Site Scan
Lock on a Site
Select Secure Mode
Select an Encryption Key
Select a Key Index
Erase an Encryption Key
Four tones sound and PAGE RCV flashes on the
display. The tone and display repeat every five
seconds.
1Press the PTT button,
OR
Initiate an Enhanced Private Conversation call to the
caller.
1Press the Zone Up button or Zone Down
button to scroll to the desired zone.
2Press the Mode rocker button to select the mode.
Press the HOME button.
Press Rpg. A central acknowledgement tone sounds
and the display shows RPGM RQST while the request
is being processed.
When the dispatcher acknowledges, four additional
tones sound, the display shows ACK RCVD, and your
radio returns to normal operation.
Press Ste momentarily. If the radio is scanning for a
new site, the display shows SCANNING.
Press and hold Ste until a tone sounds and the
display shows SCANNING.
1Press Lck to lock the radio onto the current site.
2To view its condition (locked or unlocked), press Lck
momentarily. The display shows LOCKED or
UNLOCKED.
OR
To toggle to the opposite condition, press and hold
Lck until a beep sounds and the display changes to
the other condition.
The radio then returns to normal operation.
Press and release the D button. The D indicator
lights up.
1Press and hold the D button until a tone sounds.
2Press the Mode rocker button to scroll to KEY SEL.
3Press Sel to enter the Key Selection Menu.
4Press the Mode rocker button to select the desired
key.
5Press Sel to select the key.
6Press HOME or the PTT button to quit.
1Press and hold the D button until a tone sounds.
2Press the Mode rocker button to scroll to INDX SEL.
3Press Sel to enter the Index Selection Menu.
4Press the Mode rocker button to select the desired
index.
5Press Sel to select the index.
6Press HOME or the PTT button to quit.
1Press and hold the D button until a tone sounds.
2Press the Mode rocker button to scroll to ERASE KY.
3Press Sel to enter the Key Erase Menu.
4Press the Mode rocker button to select the desired
index.
5Press Sel to select the index.
6Press HOME or the PTT button to quit.

DISPLAY AND LIGHT INDICATORS
Examples: Not exiting phone mode after a call (radio
cannot receive fleet or subfleet calls), transmitting in
receive-only conventional mode, trying to select a dynamic
mode when no dynamic ID assignment has been made.
Display/Light Meaning
BUSY light on The display shows a conventional
mode with activity on it, or selected
trunked system is currently busy.
Wait for callback.
XMIT light on Indicates you are transmitting.
Dir indicator lit Radio is in direct (mobile-to-
mobile) operation.
PRI, NPRI
indicators lit The display shows a mode in the
scan list with the indicated priority
level.
P displayed Telephone dialing pause. Press
Sel to continue the dialing.
NO ACK displayed Unit being called with the
Enhanced Private Conversation or
Call Alert Page feature is not in
service, or emergency alarm or
status/message transmission is
not acknowledged by dispatcher.
NO ANSWR
displayed Unit being called with Enhanced
Private Conversation or Call Alert
Page does not respond, but is
operational.
EMERGNCY
displayed Radio is in emergency alarm or
call state.
NO EMERG
displayed A mode incapable of emergency
transmission has been selected.
OUT RNG displayed Radio is out of range of the
trunking system.
ALERT TONES
Type of Tone Name Explanation
1 Low-Pitched
Tone Invalid Key
Alert Feature button
pressed is not valid
in selected mode, or
a Call Alert or
emergency alarm
was not
acknowledged.
1 High-Pitched
Tone Central
Acknowledge
or Valid Key
Central controller
has received request
for Call Alert or
emergency alarm
transmission.
You pressed a valid
key.
4 High-Pitched
Tones Dispatcher or
Mobile Unit
Acknowledge
Dispatcher is
acknowledging your
emergency
transmission. Mobile
unit has received
your Call Alert.
5 High-Pitched
Tones The above two
acknowledge tones,
heard in tandem.
2 High-Pitched
Tones Private
Conversation You have an
incoming call. Press
Call, then the PTT
button, then talk.
4 High-Pitched
Tones every 6
seconds
Call Alert Page Call Alert page has
been received.
3 Short High-
Tones (after
requesting a
busy channel)
(upon pressing
the PTT button)
Automatic Call
Back or Talk
Permit
Channel is available
for previously
requested
transmission.
System is accepting
your transmission.
Low-Pitched
Tone (upon
pressing the
PTT button
during Transmit)
(Operation
Error)
Talk Prohibit/
Out-of-Range,
or Time-Out
Timer, or Illegal
Mode
Out of trunked radio
system range or
system is out of
service.
Present transmission
will soon be disabled.
You have entered a
mode where normal
system traffic will be
missed, or you
attempted something
that is not allowed.
(See examples
below.)
High-Pitched
Tone every 10
seconds in
unmuted receive
condition
Failsoft System central
controller failure. The
radio reverts from
trunked operation to
operation similar to a
conventional
repeater.
Others may share
the channel.
ALERT TONES (Continued)
Type of Tone Name Explanation

ASTRO® XTL™ 5000 Digital
Mobile Radio with W9
Control Head
Quick Reference Card
BASIC OPERATION
Turn the Radio On and Off
Set the Volume and Squelch
Change Modes
Transmit
Transmit (Conventional Modes)
TELEPHONE OPERATION
Make a Phone Call
Dial the Number in the Display
Dial a Number from the Pre-Stored List
Dial or Direct Dial a New Number
XMIT BUSY
123
456
789
0
DIM
Pri
Non
Pri
Emer Dir Scan Call
Mode Vol Sel
Home
Page
Rpgm
Site
Phon H/L Lock
Rcl Sql Del
MODE SELECT HOME
PHONE
DELETE
Sts Msg
Srch
RECALL
SQUELCHNON-PRIORITY
INDICATOR
PRIORITY
INDICATOR
CALLSCAN
Slide the power switch on the bottom of the control
unit to the left.
1Hold the Vol rocker button down to increase or
decrease volume as desired, then release.
The display shows volume levels from 0 to 15.
2On conventional modes with Private-Line or Digital
Private-Line, press Sql or remove the microphone
from the hang-up clip to defeat the coded squelch.
3Press Sql again to return to coded-squelch operation.
4To adjust squelch level, hold Sql until a tone sounds.
5Press the Mode rocker button to select squelch level.
6Press Home.
Press the Mode rocker button to scroll to the desired
mode
OR
Press Home to access the preprogrammed Home
mode.
1Press and hold the microphone PTT button.
2When the transmit light comes on solid and no alert
tones sound (or a talk-permit tone or ID sidetone
sounds), speak into the microphone in a normal voice.
3State your FCC call sign at the beginning of each
transmission.
1Press Dir (Direct). The Dir indicator lights.
2Press Dir again to return to repeater operation.
Press Phon to select the phone function. The display
shows the last phone number dialed or a series of
dashes.
1Press Sel or the PTT button, and wait for dial tone.
2Press Sel or the PTT button again to dial the number
in the display.
1Press the Mode rocker button to scroll to the number
or name you want to call.
2Press Sel or the PTT button, and wait for dial tone.
3Press Sel or the PTT button again to dial the number
in the display.
1Using the keypad, enter the telephone number.
2Press Sel or the PTT button, and wait for dial tone.
3Press Sel or the PTT button again to dial the number
in the display.

Answer a Phone Call in Trunked Modes
Make a Call (Trunked Modes Only)
Alarm and Call
Send a Status Transmission
Send a Direct-Entry Keyboard Status
Transmission
Initiate an Enhanced Private Conversation Call
Initiate a Private Conversation II
Initiate a Call Alert Page
Answer a Call Alert Page
Answer a Private Conversation Call
When a call is received, ringing tones are heard from
the speaker, and the display shows PHONE.
1Press PHON and begin your conversation.
2Press Home to hang up.
A tone sounds and the display alternates between
EMERGENCY and the zone/channel.
1Press the PTT button and talk.
2After completing the call, press and hold the
emergency actuator until a tone sounds to return to
normal operation.
After the display shows ACK RCVD, your radio has
priority voice-channel access.
1Press the PTT button and talk.
2After completing the call, press and hold the
emergency actuator until a tone sounds to return to
normal operation.
1Press Sts. The display shows the last acknowledged
status or first status name.
2Press the Mode rocker button or use the keypad to
select other statuses.
3Press Sel or the PTT button to send the
transmission. The display flashes the PLEASE WAIT
until the dispatcher acknowledges, at which time alert
tones sound and the display shows ACK RCVD. The
radio then returns to normal operation.
Press the appropriate Sts # button that you wish to
send. The associated indicator blinks until an
acknowledgment is received, then it lights steadily.
1Press Sel or the PTT button. A single tone sounds
and the display changes to PLEASE WAIT, followed
by telephone-type ringing if the receiving unit is in
service.
2If the receiving unit answers, press the PTT button to
identify yourself and proceed with your call.
OR
If the called unit does not respond, press Sel or the
PTT button again to leave a Call Alert page message
and your ID.
A single tone followed by four tones sounds if the
called unit acknowledges the page.
1Press the PTT button to initiate a Private
Conversation I or II call.
2Pause for a second, then begin the conversation.
3Press Home or Call to hang up.
1Press the Page button.
2Follow the instructions for initiating an Enhanced
Private Conversation to select a unit ID.
3Press Sel or the PTT button to send a Call Alert page
to the ID in the display,
OR
To send a Call Alert page following an Enhanced
Private Conversation attempt, follow the instructions
for sending an Enhanced Private Conversation call.
Four tones sound and PAGE RCV flashes on the
display.
1Press either the microphone PTT button or the Call
button to clear the Call Alert state.
Two tones sound and CALL RCV flashes on the
display.
1Press the Call button.
2Press the microphone PTT button, and speak into
the microphone.
3Press Home or Call to hang up.

Request Dynamic Regrouping
Automatic Multiple Site Selection (AMSS)
View the Current Site
Initiate a Site Scan
Lock on a Site
Select Secure Mode
Select an Encryption Key
Select a Key Index
Erase an Encryption Key (Single-Key Option
Only)
Erase an Encryption Key
Press Rpgm. A central acknowledgement tone
sounds and the display shows RPGM RQST while the
request is being processed.
When the dispatcher acknowledges, four additional
tones sound, the display shows ACK RCVD, and your
radio returns to normal operation.
Press Site momentarily. If the radio is scanning for a
new site, the display shows SCANNING.
Press and hold Site until a tone sounds and the
display shows SCANNING.
1Press Lock to lock the radio onto the current site.
2To view its condition (locked or unlocked), press
Lock momentarily. The display shows SITE LOCKED
or SITE UNLCKD.
OR
To toggle to the opposite condition, press and hold
Lock until a tone sounds and the display changes to
the other condition.
The radio then returns to normal operation.
Press and release the D button. The D indicator
lights up.
1Press and hold the D button until a tone sounds.
2Press the Mode rocker button to scroll to KEY SEL.
3Press Sel to enter the Key Selection Menu.
4Press the Mode rocker button to select the desired
key.
5Press Sel to select the key.
6Press HOME or the PTT button to quit.
1Press and hold the D button until a tone sounds.
2Press the Mode rocker button to scroll to INDX SEL.
3Press Sel to enter the Index Selection Menu.
4Press the Mode rocker button to select the desired
index.
5Press Sel to select the index.
6Press HOME or the PTT button to quit.
1Press and hold the D button until a tone sounds. The
display changes to ERASE KY.
2Press Sel to erase the key.
3Press HOME or the PTT button to quit.
1Press and hold the D button until a tone sounds.
2Press the Mode rocker button to scroll to ERASE KY.
3Press Sel to enter the Key Erase Menu.
4Press the Mode rocker button to select the desired
index.
5Press Sel to select the index.
6Press HOME or the PTT button to quit.

DISPLAY AND LIGHT INDICATORS
Message Meaning
BUSY light on Displayed conventional mode has
activity on it, or selected trunked
system is currently busy. Wait for
callback.
XMIT light on Indicates you are transmitting.
Pri indicator blinks Mode displayed is first priority.
Pri indicator lit Mode displayed is second priority.
Non Pri lit Mode displayed is non-priority.
P displayed Telephone dialing pause. Press
Sel to continue the dialing.
NO ACK displayed Unit being called with the
Enhanced Private Conversation or
Call Alert Page feature is not in
service, or emergency alarm or
status/message transmission is
not acknowledged by dispatcher.
LIST FULL
displayed Scan list full. Delete a mode
before adding another.
PHON BSY displayed Trunked phone interconnect is
busy.
NO ANSWER
displayed Unit being called with Enhanced
Private Conversation or Call Alert
Page does not respond, but is
operational.
EMERGENCY
displayed Radio is in emergency alarm or
call state.
NO EMERGNCY
displayed A mode incapable of emergency
transmission has been selected.
OUT OF RNGE
displayed Radio is out of range of the
trunking system.
ALERT TONES
Type of Tone Name Explanation
1 Low-Pitched
Tone Invalid Key
Alert Feature button
pressed is not valid
in selected mode, or
a Call emergency
alarm was not
acknowledged.
1 High-Pitched
Tone Central
Acknowledge
or Valid Key
Central controller
has received request
for Call Alert,
emergency alarm,
reprogram request,
or status/message
transmission.
You pressed a valid
key.
4 High-Pitched
Tones Dispatcher or
Mobile Unit
Acknowledge
Dispatcher is
acknowledging your
emergency
transmission. Mobile
unit has received
your Call Alert.
5 High-Pitched
Tones The above two
acknowledge tones,
heard in tandem.
2 High-Pitched
Tones Private
Conversation You have an
incoming call. Press
Call, then the PTT
button and talk.
4 High-Pitched
Tones every 6
seconds
Call Alert Page Call Alert page has
been received.
Phone-Type
Busy Tone
(when pressing
the PTT button)
System Busy All system radio
channels in use.
Release the PTT
button, and wait for
callback.

68P81096C68-O
*6881096C68*
MOTOROLA, the Stylized M Logo, and ASTRO are registered
in the U.S. Patent and Trademark Office. All other product or
service names are the property of their respective owners.
© Motorola, Inc. 2003.
All rights reserved. Printed in U.S.A.
Motorola, Inc.
8000 West Sunrise Boulevard
Ft. Lauderdale, FL 33322