Motorola Dvr Qip7000 Users Manual Hybrid QAM/IP HD Set Top Terminal
Motorola DVR QIP7000 motorola_7232p2_use_c774
QIP7000 to the manual 890fa4e9-3af2-4baa-bf8e-5f7d44596392
2015-01-23
: Motorola Motorola-Motorola-Dvr-Qip7000-Users-Manual-271610 motorola-motorola-dvr-qip7000-users-manual-271610 motorola pdf
Open the PDF directly: View PDF
.
Page Count: 86
- Features
- Getting Help
- Front Panel
- Rear Panel
- M-Card™
- System Overview
- Whole Home IP Video Network Installation
- Before You Begin
- Connecting to the ONT
- Connecting to the ONT with embedded MoCA
- Connecting Homes with Multiple Existing Cable Drops
- Connecting the Home Router
- Connecting the Home Router - embedded MoCA ONT
- Installation Overview
- Verifying the MoCA Network
- Operational Check for the Remote Control
- Optimizing the HighDefinition Settings
- Graphics Overlaying the Video
- Using the Diagnostics
- d01 General Status
- d02 Purchase Status
- d03 OutOfBand (OOB) Status
- d04 InBand Status
- d05 Unit Address/Security
- Separable Security
- d06 Current Channel Status
- d07 Upstream Status
- d08 Code Modules
- d09 Memory Configuration
- d10 Audio/Video Status
- d11 Interface/Port Status
- d12 User Setting Status
- d13 DVR/Hard Drive Status
- d14 Application Specific Information
- d15 Interactive Status
- d16 Connected Home
- d17 Key Pad / LED Test
- IP Network Issues

M
Installation Manual
QIP7000 (P2) Series
Hybrid QAM/IP HD Set-top Terminal
© 2009 Motorola, Inc. All rights reserved. No part of this publication may be reproduced in any form or by any means
or used to make any derivative work (such as translation, transformation, or adaptation) without written permission
from Motorola, Inc.
Motorola reserves the right to revise this publication and to make changes in content from time to time without
obligation on the part of Motorola to provide notification of such revision or change. Motorola provides this guide
without warranty of any kind, implied or expressed, including, but not limited to, the implied warranties of
merchantability and fitness for a particular purpose. Motorola may make improvements or changes in the product(s)
described in this manual at any time.
MOTOROLA and the Stylized M logo are registered in the US Patent and Trademark Office. CableCARDTM, and M-
CardTM are trademarks or registered trademarks of Cable Television Laboratories, Inc. HDMI is a trademark of HDMI
Licensing LLC. Manufactured under license from Dolby Laboratories. “Dolby,” “Pro Logic,” and the double-D symbol are
trademarks of Dolby Laboratories. Rovi and Macrovision are trademarks owned by Rovi Corp. formerly known as
Macrovision Corp. All other product or service names are the property of their respective owners. All rights reserved.
© Copyright 2009 Multimedia over Coax Alliance. All Rights Reserved. MoCA and the MoCA logo is a trademark of
Multimedia over Coax Alliance. The Multimedia over Coax Alliance (MoCA), www.mocalliance.org, is an open,
standard body promoting networking of digital video and entertainment through existing coaxial cable in the home.

B
QIP7000 (P2) Series Hybrid QAM/IP HD Set-top Terminal • Installation Manual i
574702-001 a This document is uncontrolled pending incorporation in a Motorola CMS
i Safety and Compliance
IMPORTANT SAFETY INSTRUCTIONS
• Read these instructions.
• Keep these instructions.
• Heed all warnings.
• Follow all instructions.
• Do not use this apparatus near water. The apparatus shall not be exposed to dripping or splashing and no objects
filled with liquids, such as vases, shall be placed on the apparatus.
• Clean only with dry cloth.
• Do not block any ventilation openings. Install in accordance with the manufacturers instructions.
• Do not install near any heat sources such as radiators, heat registers, stoves, or other apparatus (including
amplifiers) that produce heat.
• Do not defeat the safety purpose of the polarized or grounding-type plug. A polarized plug has two blades with one
wider than the other. A grounding type plug has two blades and a third grounding prong. The wide blade or the third
prong is provided for your safety. If the provided plug does not fit into your outlet, consult an electrician for
replacement of the obsolete outlet.
• Protect the power cord from being walked on or pinched particularly at plugs, convenience receptacles, and the point
where they exit from the apparatus.
• Only use attachments/accessories specified by the manufacturer.
• Unplug this apparatus during lightning storms or when unused for long periods of time.
• Refer all servicing to qualified service personnel. Servicing is required when the apparatus has been damaged in any
way, such as the power-supply cord or plug is damaged, liquid has been spilled or objects have fallen into the
apparatus, the apparatus has been exposed to rain or moisture, does not operate normally, or has been dropped.
Important Safety Considerations
WARNING - to reduce the risk of fire or electric shock, do not expose this apparatus to rain or moisture.
The QIP7000 series requires careful handling to avoid potential damage to its internal components such as the hard
disk drive which can lead to the loss of recorded data. Be sure to follow these requirements during transportation and
installation.
During Transportation to the Subscriber Home
Transport the cable terminal in its shipping box or an equally padded container.
Do not expose the terminal to rain or moisture.

B
QIP7000 (P2) Series Hybrid QAM/IP HD Set-top Terminal • Installation Manual ii
574702-001 a This document is uncontrolled pending incorporation in a Motorola CMS
During Installation
• Do not place the cable terminal in an enclosed area where the cooling vents are blocked or impede the flow of air
through the ventilation openings.
• Install the terminal so that its position does not interfere with its proper ventilation. For example, do not place the
terminal on a bed, sofa, rug, or similar surface that could block the ventilation openings.
• Install the terminal away from heat sources such as radiators, heat registers and stoves. Installation of the terminal
near consumer electronics devices, such as stereo receiver/amplifiers and televisions, is permitted as long as the air
surrounding the terminal does not exceed 40º C (104º F).
• Place the terminal on a flat surface not prone to vibration or impact.
• Do not install the terminal in an area where condensation occurs.
• To prevent the temporary loss of guide data and cause a temporarily non-responding terminal, do not plug the AC
power cord into a switched power outlet.
• To avoid shock and vibration damage to the internal hard drive, do not move the terminal while it is plugged in.
• To allow the hard drive to spin down and park its heads, wait at least 10 seconds after disconnecting power before
moving the terminal.
FCC Compliance
This equipment has been tested and found to comply with the limits for a Class B digital device, pursuant to part 15 of
the FCC Rules. These limits are designed to provide reasonable protection against harmful interference in a residential
installation. This equipment generates uses and can radiate radio frequency energy and, if not installed and used in
accordance with the instructions, may cause harmful interference to radio communications. However, there is no
guarantee that interference will not occur in a particular installation. If this equipment does cause harmful interference
to radio or television reception, which can be determined by turning the equipment off and on, the user is encouraged
to try to correct the interference by one or more of the following measures:
• Reorient or relocate the receiving antenna.
• Increase the separation between the equipment and receiver.
• Connect the equipment into an outlet on a circuit different from that to which the receiver is connected.
• Consult the dealer or an experienced radio/TV technician for help.
Caution Changes or modifications not expressly approved by Motorola for compliance could void
the user’s authority to operate the equipment.

B
QIP7000 (P2) Series Hybrid QAM/IP HD Set-top Terminal • Installation Manual iii
574702-001 a This document is uncontrolled pending incorporation in a Motorola CMS
This device complies with part 15 of the FCC Rules. Operation is subject to the following two conditions: (1) This device
may not cause harmful interference, and (2) this device must accept any interference received, including interference
that may cause undesired operation.
FCC Declaration of Conformity
Motorola Inc., Connected Home Solutions, 101 Tournament Drive, Horsham, PA 19044, 1-215-323-1000, declares that
the QIP7000 series set-tops comply with 47 CFR Parts 2 and 15 of the FCC rules as a Class B digital device.
Canada Industry Canada (IC)
This Class B digital device complies with Canadian ICES-003.
Cet appareil numérique de la classe B est conforme à la norme NMB-003 du Canada.
Caring for the Environment by Recycling
When you see this symbol on a Motorola product, do not dispose of the product with residential or
commercial waste.
Recycling your Motorola Equipment
Please do not dispose of this product with your residential or commercial waste. Some countries or
regions, such as the European Union, have set up systems to collect and recycle electrical and
electronic waste items. Contact your local authorities for information about practices established for
your region. If collection systems are not available, call Motorola Customer Service for assistance.
Please visit www.motorola.com/recycle for instructions on recycling.

B
QIP7000 (P2) Series Hybrid QAM/IP HD Set-top Terminal • Installation Manual iv
574702-001 a This document is uncontrolled pending incorporation in a Motorola CMS
Contents
Safety and Compliance .................................................................................................................. i
Introduction.................................................................................................................................... 1
Features........................................................................................................................................... 3
Getting Help..................................................................................................................................... 5
Calling for Repairs ..................................................................................................................... 5
Overview ........................................................................................................................................ 6
Front Panel....................................................................................................................................... 6
Rear Panel........................................................................................................................................ 6
M-Card™.......................................................................................................................................... 7
System Overview ............................................................................................................................ 8
PON Overview .......................................................................................................................... 8
Whole Home IP Video Customer Premises Network—Embedded MoCA BHR...................... 9
MoCA ...................................................................................................................................... 11
Multi-Room DVR ..................................................................................................................... 12
Installation.................................................................................................................................... 13
Whole Home IP Video Network Installation .................................................................................. 13
Before You Begin........................................................................................................................... 14
During the installation: ............................................................................................................ 14
Checking the Home Coaxial Network Topology ..................................................................... 15
Video Connection Options ...................................................................................................... 16
Audio Connection Options ...................................................................................................... 17
Clearing the Hard Drive ........................................................................................................... 17
Connecting to the ONT.................................................................................................................. 18
Connecting to the ONT with embedded MoCA ............................................................................ 19
Connecting Homes with Multiple Existing Cable Drops ............................................................... 21
Connecting the Home Router........................................................................................................ 21
Connecting the Home Router - embedded MoCA ONT ............................................................... 21
Installation Overview ..................................................................................................................... 22
Cabling to an HDTV for Video ................................................................................................. 23
Cabling to an HDTV for Audio ................................................................................................. 24
Cabling to a High-Definition TV and an A/V Receiver for Video .............................................. 25
Cabling to a High-Definition TV and an A/V Receiver for Audio .............................................. 26
Cabling to a Standard-Definition TV ........................................................................................ 27
Cabling to a Standard-Definition TV, A/V Receiver and VCR................................................... 28
Data Device Connections........................................................................................................ 29
Verifying the MoCA Network ........................................................................................................ 30

B
QIP7000 (P2) Series Hybrid QAM/IP HD Set-top Terminal • Installation Manual v
574702-001 a This document is uncontrolled pending incorporation in a Motorola CMS
Operational Check for the Remote Control ................................................................................... 30
Optimizing the High-Definition Settings ........................................................................................ 30
Graphics Overlaying the Video ...................................................................................................... 33
Diagnostics................................................................................................................................... 34
Using the Diagnostics.................................................................................................................... 34
d01 General Status ........................................................................................................................ 35
d02 Purchase Status...................................................................................................................... 38
d03 Out-Of-Band (OOB) Status ..................................................................................................... 40
d04 In-Band Status ........................................................................................................................ 43
d05 Unit Address/Security............................................................................................................. 45
Separable Security ......................................................................................................................... 46
d06 Current Channel Status .......................................................................................................... 48
d07 Upstream Status..................................................................................................................... 51
d08 Code Modules ........................................................................................................................ 53
d09 Memory Configuration............................................................................................................ 56
d10 Audio/Video Status ................................................................................................................. 57
d11 Interface/Port Status............................................................................................................... 60
d12 User Setting Status ................................................................................................................ 63
d13 DVR/Hard Drive Status ........................................................................................................... 65
d14 Application Specific Information............................................................................................. 67
d15 Interactive Status.................................................................................................................... 68
d16 Connected Home ................................................................................................................... 70
d17 Key Pad / LED Test................................................................................................................. 72
Troubleshooting .......................................................................................................................... 73
IP Network Issues ......................................................................................................................... 76
Insufficient RF Network Throughput....................................................................................... 76
Bypassing an Amplifier............................................................................................................ 185H77
Tab les
64HTable 1 – DVR Recording Time Guidelines...................................................................................... 186H4
65HTable 2 – Front panel ....................................................................................................................... 187H6
66HTable 3 – Rear panel connections.................................................................................................... 188H7
67HTable 4 – Sample table listing signal levels and MAC Addresses ................................................. 189H15
68HTable 5 – QIP7000 series video outputs........................................................................................ 190H16
69HTable 6 – ONT1000M Connections ............................................................................................... 191H20
70HTable 7 – TX Data Rate .................................................................................................................. 192H71
71HTable 8 – Troubleshooting Guidelines............................................................................................193H73

B
QIP7000 (P2) Series Hybrid QAM/IP HD Set-top Terminal • Installation Manual vi
574702-001 a This document is uncontrolled pending incorporation in a Motorola CMS
Figures
Figure 1 – QIP7232 Front and rear views........................................................................................ 2
Figure 2 – QIP7100 Front and rear views........................................................................................ 2
Figure 3 – QIP7232 front panel........................................................................................................ 6
Figure 4 – Rear panel ....................................................................................................................... 7
Figure 5 – PON overview................................................................................................................. 8
Figure 6 – Whole Home IP Video CPE overview........................................................................... 10
Figure 7 – MoCA RF spectrum ...................................................................................................... 11
Figure 8 – Multi room DVR network.............................................................................................. 12
Figure 9 – Network with multi room DVR playback and additional set tops ................................. 12
Figure 10 – MoCA Set-Tops .......................................................................................................... 13
Figure 11 – QIP Set-Top MAC Addresses ..................................................................................... 14
Figure 12 – Connecting to the ONT1000....................................................................................... 18
Figure 13 – Connecting to the ONT1000M ................................................................................... 19
Figure 14 – Cabling to an HDTV..................................................................................................... 23
Figure 15 – Cabling to an HDTV for Audio..................................................................................... 24
Figure 16 – Cabling to an HDTV and A/V Receiver for Video ........................................................ 25
Figure 17 – Cabling to an HDTV and A/V Receiver ........................................................................ 26
Figure 18 – Cabling to a Standard Definition stereo TV................................................................. 27
Figure 19 – Cabling to a Standard Definition TV, A/V Receiver and VCR ...................................... 28
Figure 20 – Sample data devices you can connect to the QIP7000 series ................................... 29
Figure 21 – Example of the front panel display for the main menu .............................................. 34
Figure 22 – Example General Status display (no error).................................................................. 36
Figure 23 – Front panel display for Purchase Status diagnostic.................................................... 38
Figure 24 – Front panel display for the OOB diagnostic................................................................ 40
Figure 4-5 Front panel display for in-band diagnostic .................................................................... 43
Figure 25 – Front panel display for in band diagnostic .................................................................. 43
Figure 26 – Front panel display of a unit address .......................................................................... 45
Figure 27 – Current channel status front panel displays ............................................................... 49
Figure 28 – Ethernet Return front panel display............................................................................ 51
Figure 29 – Front panel display for code modules......................................................................... 54
Figure 30 – Interactive status front panel display.......................................................................... 68
Figure 31 – Using a diplexer to bypass a line amplifier ................................................................. 225H77

Introduction B
QIP7000 (P2) Series Hybrid QAM/IP HD Set-top Terminal • Installation Manual 1
574702-001 a This document is uncontrolled pending incorporation in a Motorola CMS
1 Introduction
This manual provides instructions for cable operator personnel to install the Motorola
QIP7000 series High-Definition Set-top. This unit includes a high-end processor,
expanded memory, and enhanced graphics to support digital, on-demand, and interactive
services. It provides a full complement of interconnection options.
The QIP7000 series provides advanced capabilities, including:
• Authorization and purchase of on-demand programming
• High-Definition television (HDTV) video decoding
• HDTV output through component video (YPbPr), High-Definition Multimedia
Interface™ (HDMI™), or IEEE-1394
• Surround-sound audio through a variety of analog and digital interconnection options
• Dual-tuner DVR functionality on the QIP7200 to pause and time shift live video and
seamlessly record in conjunction with the Interactive Programming Guide (IPG)
• Built-in MoCA
• Adaptability to various software platforms
As with all Motorola digital cable set-tops, the hardware features are enabled by core
operating and third party application software.

Introduction B
QIP7000 (P2) Series Hybrid QAM/IP HD Set-top Terminal • Installation Manual 2
574702-001 a This document is uncontrolled pending incorporation in a Motorola CMS
Figure 1 – QIP7232 Front and rear views
Figure 2 – QIP7100 Front and rear views

Introduction B
QIP7000 (P2) Series Hybrid QAM/IP HD Set-top Terminal • Installation Manual 3
574702-001 a This document is uncontrolled pending incorporation in a Motorola CMS
Features
Tuners
• Two 54 to 864 MHz video tuners with digital video processor (Dual tuners available
only with the QIP7200)
• One dedicated tuner for the out-of-band (OOB) control channel
Standard Audio/Video Features
• ITU standard 64/256 QAM/FEC/enhanced adaptive equalizer
• CSA based encryption/DCII (via inserted CableCARD™) access control
• Out-of-band data receiver (70-130 MHz) 2.048 Mbps
• Digital video scaling (picture in graphics)
• Macrovision® copy protection
• High-Definition video output through:
HDMI (also compatible with DVI using an HDMI-to-DVI converter cable)
Component Video (YPbPr)
IEEE-1394
• Standard-Definition video output through:
S-Video
Baseband (Composite)
RF
• Audio output through:
Digital audio (S/PDIF) ATSC standard Dolby® Digital coaxial or optical
Baseband L/R
Standard DVR Functionality (Only available with the QIP7232)
• DVR functionality integrated with the IPG enables subscribers to:
Pause, rewind, fast-forward, or record live TV
Maintain a personal recorded program library and access it using the IPG
Select programs to record across multiple channels and time slots
Rewind and replay recorded programs
Simultaneously watch two programs, switching easily between them using the
swap key (Dependent upon program guide support and provided remote control)
Record a program in the background while viewing another live program

Introduction B
QIP7000 (P2) Series Hybrid QAM/IP HD Set-top Terminal • Installation Manual 4
574702-001 a This document is uncontrolled pending incorporation in a Motorola CMS
Simultaneously record programs from two channels while watching a different
pre-recorded program, with the ability to switch viewing between any of the
three programs
Motorola cannot guarantee the exact amount of programming that each subscriber will
be able to record. The approximate time depends on the programming type and the drive
size:
Table 1 – DVR Recording Time Guidelines
Estimated Recording Hours For:
Internal Drive
Size Standard Digital Channels HDTV Channels
160 GB 55 to 100 14 to 21
250 GB 80 to 150 20 to 30
320 GB 110 to 210 30 to 45
500 GB 175 to 222 45 to 73
All times are approximate. The actual hours a subscriber can record are a function of
program bit rate, the IPG type, and the reserved buffer space.
Standard Data Features
• 32 MB flash memory
• 256 MB SDRAM
• One rear and one front Universal Serial Bus (USB) 2.0 port (dual connector interface)
• 10/100 Mbps Ethernet Port (RJ-45)
Standard Miscellaneous Features
• Switched AC accessory outlet
• Messaging capabilities
• Digital diagnostics
• Full feature access from front panel using a four-digit, seven-segment LED display

Introduction B
QIP7000 (P2) Series Hybrid QAM/IP HD Set-top Terminal • Installation Manual 5
574702-001 a This document is uncontrolled pending incorporation in a Motorola CMS
Getting Help
If you need assistance with your Motorola product, contact the Motorola Technical
Support Call Center (TSCC):
• Toll-free: 1 888 944 HELP (1 888 944 4357)
• Direct: 1 847 725 4011
• Motorola Online: http://businessonline.motorola.com
The TSCC is available 24 hours a day, 7 days a week, in addition, Motorola Online offers
a technical documentation, repair status, shipping information and low priority issue
creation/tracking. For specific Toll Free numbers when calling from outside of the United
States please refer to your product manual or our web page.
Calling for Repairs
If a Motorola set-top requires repair service, please call one of the following Motorola
Authorized Service Centers:
Company From USA or Canada Outside USA or Canada
World Wide Digital 1-800-227-0450 1-956-541-0600
Teleplan 1-800-352-5274 1-302-322-6088
To ensure efficient service, request a Return for Service Authorization (RSA) number. Be
sure to display the RSA number prominently on all equipment boxes.
The Service Center will provide the shipping address of the location performing your
repairs.
To ship your equipment for repair:
• Pack the unit securely, if possible in its original factory shipping carton.
• Print or display the RSA number so it is easily visible on all equipment boxes.
• Enclose a note describing the exact problem. Complete and enclose the checklist
provided with the unit.
• Ship the unit PREPAID to the address provided by the Service Center.

Overview B
QIP7000 (P2) Series Hybrid QAM/IP HD Set-top Terminal • Installation Manual 6
574702-001 a This document is uncontrolled pending incorporation in a Motorola CMS
2 Overview
Front Panel
The front panel controls provide functional navigation if the remote control is lost or is
temporarily out of service. Certain functions, such as those requiring a numeric entry,
require a remote control. Some connectors are not enabled and require the support of
application software.
Figure 3 – QIP7232 front panel
Table 2 – Front panel
Label Description
1 USB connector
2 Cursor — 4-way menu navigation
3 Display Panel —
4 Power — Turns the set-top on and off (standby)
Rear Panel
The rear panel contains a switched power outlet; connectors for video, audio, and RF
cabling; data output; and data interface connectors. Some connectors are not enabled
and require the support of application software.

Overview B
QIP7000 (P2) Series Hybrid QAM/IP HD Set-top Terminal • Installation Manual 7
574702-001 a This document is uncontrolled pending incorporation in a Motorola CMS
Figure 4 – Rear panel
Table 3 – Rear panel connections
Lable Description
1 FiOS TV In — Connects to FiOS signal from your service provider
2 RF Out — Ch 3/4 modulated audio/video (SDTV) to TV or VCR
3 IEEE-1394 — Audio and video device connection
4 YPbPr — Component video output (HDTV)
5 Audio — Composite Audio L/R outputs
6 Video — Composite Video (SDTV) output
7 Digital Audio (RCA)* — Provides Dolby® Digital 5.1 audio or PCM output
8 Optical Audio (S/PDIF)* — Provides Dolby® Digital 5.1 audio or PCM output
9 S-Video — Connects to S-Video (SDTV) input of TV or VCR
10 IR Remote Input — Connects to a remote control set-top accessory cable
11 HDMI — High-Definition TV (HDTV) connector
12 eSATA* — External Serial ATA disk interface (QIP7200 Only)
13 Ethernet* — Network connection
14 USB* 2.0 — High-Speed peripheral device connection
15 Reserved – Service only
16 Power cord connector — switched accessory 2 prong AC outlet
*Feature is dependent upon application setting and availability in content
M-Card™
The M-Card is required to view television programs, previously recorded programs on
the DVR, or interactive on-demand programs. The M-Card should not be removed.

Overview B
QIP7000 (P2) Series Hybrid QAM/IP HD Set-top Terminal • Installation Manual 8
574702-001 a This document is uncontrolled pending incorporation in a Motorola CMS
System Overview
This section introduces key concepts relevant to installing the Motorola Whole Home IP
Video Network CPE. It describes:
• The passive optical network (PON) connecting the customer premises to the
headend
• The Motorola Whole Home IP Video Network that you install at the customer
premises
• Multimedia Over Coax Alliance (MoCA) technology
• Multi-room DVR
The Motorola Whole Home IP Video Network connects to the fiber-to-the-premises
(FTTP) passive optical network (PON). It uses MoCA technology to provide an integrated
Ethernet, IP, and coaxial radio frequency (RF) network. This network enables the delivery
of services such as interactive video, high-speed data, and IP telephony to residential and
small-business customers using existing RF coaxial cabling.
PON Overview
A passive optical network (PON) is a fiber optic network capable of carrying a high
volume of traffic over a single fiber. The same fiber carries data:
• Downstream from the optical line terminator (OLT) at the headend to the optical
network terminator (ONT) at the customer premises
• Upstream from the ONT back to the headend (also referred to as the return path)
Figure 5 – PON overview

Overview B
QIP7000 (P2) Series Hybrid QAM/IP HD Set-top Terminal • Installation Manual 9
574702-001 a This document is uncontrolled pending incorporation in a Motorola CMS
The FTTP PON carries the following services:
Service Description
Two-way
video service
Video services include enhanced interactive services such as video on demand (VoD). Video
is carried over the PON to the ONT and then over the in-home coaxial network. Digital and
out-of-band (OOB) carriers are supported on the 50 to 862 MHz spectrum.
Video traffic on the PON consists of:
• Downstream digital standard- and high-definition television (HDTV) video services; for
example, local broadcast channels, Disney®, ESPN®, and other services.
• Downstream IP data; for example, streaming VoD channels.
• Upstream IP data; for example, VoD purchase data.
• The Motorola MediaCipher® conditional access system:
• Provides subscription, event, firmware download, and set-top terminal management
• Performs real-time encryption for broadcast programs and pre-encryption for VoD
content
• Uses the OOB RF downstream channel for all control and management functions
• Standard and high-definition VoD services are delivered using constant bit rate MPEG-2
single program transport streams. The MPEG-2 video is transported in User Datagram
Protocol (UDP) packets addressed to the set-top that are metered to avoid congestion.
All return communication is through IP.
High-speed
data service
The PON provides data service using the same management infrastructure as digital
subscriber loop (DSL) service.
Telephony A separate private virtual circuit carries telephone service over the PON.
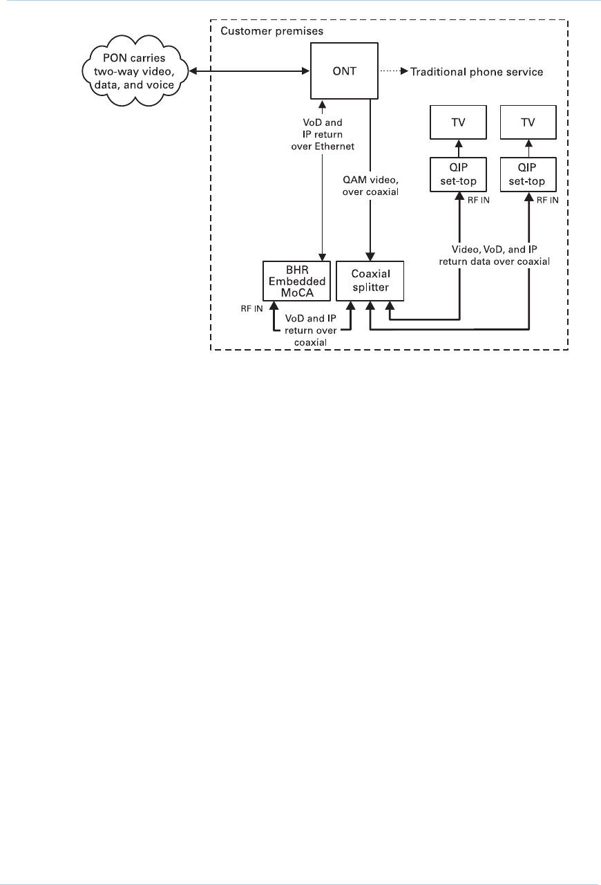
Whole Home IP Video Customer Premises Network—Embedded MoCA BHR
The Motorola Whole Home IP Video Network carries the following over coaxial cable:
• Video QAM MPEG-2 encoded broadcast services over the full 50 to 864 MHz
spectrum
• IP over coaxial for interactive traffic and VoD Streaming over the 1125 to 1525 MHz
spectrum

Overview B
QIP7000 (P2) Series Hybrid QAM/IP HD Set-top Terminal • Installation Manual 10
574702-001 a This document is uncontrolled pending incorporation in a Motorola CMS
Figure 6 – Whole Home IP Video CPE overview
The components include:
• Motorola or similar optical network
• Broadband Home Router (BHR) with embedded MoCA
• Motorola QAM/IP set-tops containing embedded MoCA technology:
• QIP7200 advanced digital set-top supporting HDTV and digital video recording (DVR)
• QIP7100 advanced digital set-top supporting HDTV
• QIP2500 core digital set-top supporting standard definition TV
You must connect the BHR to an RF coaxial splitter connecting to the coaxial cable wall
outlets in the other rooms in the customer’s premises.

Overview B
QIP7000 (P2) Series Hybrid QAM/IP HD Set-top Terminal • Installation Manual 11
574702-001 a This document is uncontrolled pending incorporation in a Motorola CMS
MoCA
MoCA technology bridges Ethernet traffic onto the coaxial cable network. MoCA
operates from 975 to 1025 MHz on the MoCA WAN channel and 1125 to 1525 MHz,
above the standard RF spectrum of 5 to 862 MHz.
Upstream
Video MoCA
11
WAN LAN
123456136
050 860 975 1125 1525
1025 (MHz)
OOB
6 50
78
Figure 7 – MoCA RF spectrum
Each MoCA set-top requires an IP address for configuration and management, but do not
require any other IP services. To minimize network IP address requirements, the MoCA
uses the Link-Local IP address space.
Link-Local IP addressing enables MoCA set-tops to operate on a private local area
network (LAN) using a defined range of reserved IP addresses. The MoCA set-tops in a
home automatically self-assign an IP address in the range above 169.254.1.18.
The Link-Local address space is registered with the Internet Assigned Numbers
Authority (IANA). For detailed information about Link-Local addressing, visit
www.faqs.org/rfcs/rfc3927.html.

Overview B
QIP7000 (P2) Series Hybrid QAM/IP HD Set-top Terminal • Installation Manual 12
574702-001 a This document is uncontrolled pending incorporation in a Motorola CMS
Multi-Room DVR
Multi-room DVR enables the customer to simultaneously play back programs recorded
on a QIP7232 media hub (server) on up to two connected QIP7100 or QIP3100 media
terminals (clients). Service providers can enable multi-room DVR for all customers or
provide multi-room DVR as an extra-cost option.
One QIP7232 media hub is required.
QIP7100
media terminal
QIP3100
media terminal
QIP7232
media hub
(outlet A)
Figure 8 – Multi room DVR network
Viewers in the home can simultaneously:
• Record up to two programs
• View one recorded program on the TV connected to the media hub
• View a recorded program on the TVs connected to up to two media terminals
Any connected QIP7100 or QIP3100 can act as a media terminal, but only two can
simultaneously play back content.
QIP3100
QIP7100
media terminal
QIP3100
media terminal
QIP7232
media hub
(outlet A)
QIP7100
(standalone) QIP3100
QIP7232
(standalone)
Figure 9 – Network with multi room DVR playback and additional set tops

Installation B
QIP7000 (P2) Series Hybrid QAM/IP HD Set-top Terminal • Installation Manual 13
574702-001 a This document is uncontrolled pending incorporation in a Motorola CMS
3 Installation
Whole Home IP Video Network Installation
This section provides instructions to connect the Motorola Whole Home IP Video
Network.
ONT
Embedded
MoCA
RF
Ethernet
Ethernet
Phone
RF
Splitter
BHR
Embedded
MoCA
QIP3100
media
terminal
QIP7232
media hub
Standard
TV
HDTV
RF IN
RF IN
RF IN
Figure 10 – MoCA Set-Tops
Note: Always be sure to follow all of the Important Safety Considerations.

Installation B
QIP7000 (P2) Series Hybrid QAM/IP HD Set-top Terminal • Installation Manual 14
574702-001 a This document is uncontrolled pending incorporation in a Motorola CMS
Before You Begin
Before you move or change components on the subscriber’s entertainment system:
• Be sure you have all required tools and equipment.
• Review the installation instructions.
• Check the home coaxial topology. Be sure no cable network or satellite dish is
connected. Be sure there are no amplifiers that could interfere with the MoCA
network. Determine the numbers and type of splitters used. Verify that the signal at
each coaxial outlet you will use is in the range -10 to +10 dBmV. If necessary,
replace or move amplifiers or splitters.
• Check the home entertainment system. Determine if you are connecting to a
Standard-Definition (analog NTSC supporting RF input, Baseband Composite video,
or S-Video) or a High-Definition TV (Component video, HDMI, DVI or IEEE 1394).
• Determine if the subscriber has other equipment to be connected to the terminal
(Home Theater or A/V receiver, VCR, etc.). Verify that you have the necessary cables
and other required items.
• If the customer ordered multi-room DVR, have the customer specify one QIP7200 as
the media hub. Be sure you install the media hub before connecting any other set-
tops.
• If the customer ordered a QIP7200 but did not order multi-room DVR, install the
QIP7200 at the most likely media hub location before connecting the other set-tops.
• For the QIP7200 only, be sure all previously-recorded programs are erased from the
hard drive.
• From the labels on the bottom of each device, record the STB MAC address and
serial number of each set-top.
STB MAC: 1234567890987654
Figure 11 – QIP Set-Top MAC Addresses
During the installation:
1. Connect to the ONT.
2. Connect the home router.
3. Connect the RF coaxial cable to the RF connector in on each set-top.
4. Connect the A/V connections for each set-top to the home theater equipment.

Installation B
QIP7000 (P2) Series Hybrid QAM/IP HD Set-top Terminal • Installation Manual 15
574702-001 a This document is uncontrolled pending incorporation in a Motorola CMS
• After you finish connecting the components:
1. Perform the Operational Check for the Remote Control. Be sure regular and VoD
channels display.
2. Optimize the high-definition settings.
Checking the Home Coaxial Network Topology
This section assumes you are networking two or more QIP set-tops. Before you install
the Motorola Whole Home IP Video Network hardware:
1. Create a table listing:
• Every room where you plan to install a set-top
• The signal levels you measured at the RF cable outlets
• The HFC MAC Address on the label beneath the set-top used in that room
Optionally, you can include information such as the set-top type, serial numbers, and
anything else you or the service provider considers useful.
Table 4 – Sample table listing signal levels and MAC Addresses
Room
Cable Outlet
Signal Level Set-Top MAC Address Set-top Type Serial Number
Router -2 dBmV 001225xxxxxx None
Living room -6 dBmV 001225xxxxxx QIP7200
Den -8 dBmV 001225xxxxxx QIP7100
Master bedroom -16 dBmV 001225xxxxxx QIP2500
2. Use your TV signal tester at the coaxial outlet where you will connect any MoCA set-
top box and router. Verify that the signal level of the highest downstream digital
channel frequency is between -10 and 10 dBmV. Record your readings in a table
similar to Table 4-1. A signal level of +0 dBmV is ideal.
Note: If the signal level is less than -10 dBmV, you must correct the problem before
installing the set-top.
3. If possible, determine whether there are one or more in-line coaxial RF amplifiers. If
possible, move the existing amplifier to a position near the point of entry. See
Bypassing an Amplifier in Section 5, Troubleshooting.
4. If possible, determine how many splitters, and what kind, are in use. An older
splitter, such as an old eight-way splitter, may have unacceptably high throughput
loss. Replace any splitter cascades having a loss of 18 dB or more.

Installation B
QIP7000 (P2) Series Hybrid QAM/IP HD Set-top Terminal • Installation Manual 16
574702-001 a This document is uncontrolled pending incorporation in a Motorola CMS
5. If the signal level at one or more coaxial outputs remains unacceptably low, the
power loss may be caused by long coaxial cable runs using cable of insufficient
quality. For example, a 330 ft (100 m) cable can reduce the power by 20 to 27 dB,
depending on the cable quality. This results in a very low power level at the outlet of
about -5 to -10 dBmV or lower. This loss, combined with loss from a splitter, causes
marginal MoCA network performance.
6. If you make any changes to the network, repeat steps 1 and 2.
CAUTION! Be sure all connections are properly secured. Poor F-connector fittings or poor grounding
can cause ingress.
Video Connection Options
Use the following guidelines to determine the best video connection for the subscriber’s
home entertainment system. To determine the available video inputs on the TV, check
the manual supplied with the TV or the TV itself.
The QIP7000 series offers the following video outputs:
Table 5 – QIP7000 series video outputs
Connection
Type
TV Type Description
Component
(YPbPr)
HDTV
and
SDTV
The YPbPr outputs provide component video, the most widely
supported HD video connection.
HDMI or IEEE-
1394
HDTV
and
SDTV
HDMI and IEEE-1394 offer higher quality HD video than component
video. If the TV has an HDMI or a DVI input, use the HDMI output
instead of the IEEE-1394 output.
HDMI and IEEE-1394 are video and audio connections. If you use
HDMI or IEEE-1394, no separate audio connection to the TV is
required.
HDMI is compatible with DVI. If the TV has a DVI input, you can use
an HDMI-to-DVI converter cable or adapter to connect to the QIP7000
series HDMI connector.
If you use IEEE-1394, on-screen graphics do not display.
S-Video SDTV
only
If the TV has an S-Video input, use S-Video. S-Video is the highest
quality standard-definition video output on the QIP7000 series.
Video
(composite)
SDTV
only
If the TV does not have an S-Video input, use the composite video
(video) output.
RF SDTV
only
If the TV only has a coaxial RF input, connect it to the QIP7000 series
RF out connector.

Installation B
QIP7000 (P2) Series Hybrid QAM/IP HD Set-top Terminal • Installation Manual 17
574702-001 a This document is uncontrolled pending incorporation in a Motorola CMS
Audio Connection Options
When connecting to a home theater receiver, depending on its inputs, you can use the
following QIP7000 series audio outputs:
Connection Type Description
Digital audio optical
(S/PDIF) or digital
audio coaxial (RCA)
If the receiver supports it, use the digital audio optical (S/PDIF) or digital
audio coaxial (RCA) audio output to deliver Dolby Digital audio to a Dolby
Digital home theater receiver.
Audio is available via HDMI and IEEE-1394 and no further audio connection
is required. For RF output, no further audio connection is required.
Baseband
Audio L and R
If the audio receiver does not support Dolby Digital, use the baseband
AUDIO L and R outputs to connect to the audio receiver.
Connect the stereo audio cable to the AUDIO L and R connectors on the QIP7000 series
and the audio left and right connectors on the TV. If the equipment supports it, use the
optical S/PDIF or coaxial digital RCA output instead of the AUDIO L and R outputs. In most
cases, these outputs offer better audio quality, including support for 5.1 Surround Sound.
The cabling diagrams show sample audio/video (A/V) connections to an audio receiver,
where the receiver functions as an A/V router.
When connecting to an audio receiver, reference its installation instructions for directions
on connecting to baseband and digital (S/PDIF) audio ports.
Note: The VCR and TV receive their A/V signals from the currently selected input device
on the audio receiver. This is important when the subscriber has another A/V device such
as a DVD player, a secondary VCR, a CD player, or other electronic component. We
recommend connecting the TV to the monitor output so on-screen menus for the
receiver can be displayed. (In many cases, the receivers themselves have interactive
on-screen menus.)
Clearing the Hard Drive
On a previously-used cable terminal, delete all recorded programs from the hard drive
before installing it at a new subscriber location. This prevents your new subscriber from
viewing programming they may not have purchased or may not want to see.
To prevent subscribers from accidentally deleting all of their recorded programs, a
specific set of keystrokes is required to clear the hard drive. Having a TV connected is
optional.
To clear the hard drive:
1. Start the diagnostics as described in the Diagnostics section; d01 is displayed on the
front-panel display.
2. Using a remote control, within five seconds, press REPLAY, MY DVR three times, and
LIVE TV. On some remote controls, the MY DVR key may be labeled LIST.
3. If you correctly enter this key sequence in five seconds or less, the hard drive is
cleared and the front-panel displays Clr.
4. If Clr is not displayed, re-enter the key sequence in step 2.

Installation B
QIP7000 (P2) Series Hybrid QAM/IP HD Set-top Terminal • Installation Manual 18
574702-001 a This document is uncontrolled pending incorporation in a Motorola CMS
5. If Clr is displayed, press any other key to reset the terminal and turn it off to
complete the clearing process.
Connecting to the ONT
If necessary, connect to the ONT to the home coaxial network. This example shows
connecting the Motorola ONT1000 model which does not have embedded Multimedia
over Coax Alliance (MoCA) technology.
CAUTION Be sure the coaxial cabling on the customer premises is not connected to any digital
network or satellite dish.
Determine how to route the coaxial and Ethernet cables from the ONT into the home.
You may need to move an existing cable drop from its present location to where the
ONT is mounted.
To connect to the Motorola ONT1000:
1. Open its door.
2. Connect the customer’s premises coaxial cable wiring to the CABLE OUT port.
3. Connect the customer’s premises Ethernet cabling to the ETHERNET port.
4. If necessary, route the coaxial and Ethernet cables into the house.
5. Close the ONT door and secure the ONT.
Figure 12 – Connecting to the ONT1000

Installation B
QIP7000 (P2) Series Hybrid QAM/IP HD Set-top Terminal • Installation Manual 19
574702-001 a This document is uncontrolled pending incorporation in a Motorola CMS
Connecting to the ONT with embedded MoCA
If necessary, connect to the ONT to the home coaxial network. This example shows
connecting the Motorola ONT1000M with embedded Multimedia over Coax Alliance
(MoCA) technology.
CAUTION Be sure the coaxial cabling on the customer premises is not connected to any digital
network or satellite dish.
Determine how to route the coaxial and Ethernet cables from the ONT into the home.
You may need to move an existing cable drop from its present location to where the
ONT is mounted.
To connect to the Motorola ONT1000M:
• Open its door.
• Connect the customer’s premises coaxial cable wiring to the CABLE OUT port.
• If necessary, route the coaxial cables into the house.
• Replace the lower half enclosure and secure the ONT1000M.
Figure 13 – Connecting to the ONT1000M

Installation B
QIP7000 (P2) Series Hybrid QAM/IP HD Set-top Terminal • Installation Manual 20
574702-001 a This document is uncontrolled pending incorporation in a Motorola CMS
Table 6 – ONT1000M Connections
Key Name Description
1 Telco ground
terminal
Connects the ONT1000M and the subscriber’s telephone, data, and
cable TV wiring networks to protective ground at the electrical service
ground electrode.
2 Fiber in OptiFit connector provides input to the ONT1000M from the PON
network.
3 UPS input
terminal strip
Connects the ONT1000M to an external Uninterruptible Power Supply
(UPS), as follows:
• POS — connects to the +12 VDC output terminal on the external
power supply (UPS).
• NEG — connects to the –RTN output terminal on the external power
supply (UPS).
• Signal RTN — connects to the SIG RTN output terminal on the
external power supply (UPS).
• ON BATT — ONT1000M is operating off of the battery. Connects to
the ON BATT terminal on the UPS.
• REPLACE BATT — battery present but not operational. Connects to
the BATT MISSING terminal on the UPS.
• LOW BATT — battery low, needs changing. Connects to the LOW
BATT terminal on the UPS.
• Using a UPS is optional for a network-powered ONT1000M.
4 Telephone
terminal strip
Termination point for subscriber’s telephone lines. These are insulation
displacement type connectors (IDCs) and serve as input for four
separate lines.
5 Ethernet
connection
RJ-45 Ethernet high-speed data connection to the subscriber’s
computer.
6 Cable out Cable TV output for distribution of video services to the customer
premises.

Installation B
QIP7000 (P2) Series Hybrid QAM/IP HD Set-top Terminal • Installation Manual 21
574702-001 a This document is uncontrolled pending incorporation in a Motorola CMS
Connecting Homes with Multiple Existing Cable Drops
Some customer premises may have multiple coaxial inputs from one or more taps,
typically entering different locations in the home. For the PON, it is practical to have one
connection only per customer premises. You must use a splitter and cabling to connect
any additional drops to the ONT. The routing will depend on the layout of the home and
customer preference.
Connecting the Home Router
To connect the home router:
Connect the Ethernet cable you routed from the ONT to one of the Ethernet ports on the
home router.
Be sure the router is powered on.
Enable Dynamic Host Configuration Protocol (DHCP) on the router. Follow the
instructions provided with the router.
Connecting the Home Router - embedded MoCA ONT
To connect the home router:
Connect the coaxial cable you routed from the ONT to the coax/MoCA port on the home
router.
Be sure the router is powered on.
Enable Dynamic Host Configuration Protocol (DHCP) on the router. Follow the
instructions provided with the router.

Installation B
QIP7000 (P2) Series Hybrid QAM/IP HD Set-top Terminal • Installation Manual 22
574702-001 a This document is uncontrolled pending incorporation in a Motorola CMS
Installation Overview
1. Determine if you are connecting to a:
High-Definition
TV or monitor
Use the component video (YPbPr), HDMI, or IEEE-1394 outputs. No other video
connection supports HDTV.
If the TV has no HDMI input but does have a DVI input, connect a DVI-to-HDMI
adapter or cable to the HDMI out connector on the QIP set-top instead of the
IEEE-1394 connection, and the DVI-HDTV connector on your TV.
Standard-
Definition TV
Connect the S-Video connector using an S-video cable, or connect the
composite video connector using a composite (RCA phono) cable. If the TV only
has a coaxial RF input, connect it to the QIP7000 series RF OUT connector.
2. Determine if you are connecting the audio to a home theater receiver or directly to
the TV:
For an HDMI or IEEE-1394 video connection, no additional audio connections to
the TV are required.
For a DVI video connection, additional audio connections to the TV are required.
If the receiver or TV has a digital audio (S/PDIF) input, use the digital audio
OPTICAL (S/PDIF) or COAXIAL (S/PDIF) outputs.
Otherwise, use the baseband left and right audio outputs.
3. Locate the cabling diagram(s) that best match the subscriber’s configuration.
4. Connect the audio and video cables in a manner matching that diagram.
5. Determine if you are connecting to a data device (see Data Device Connections in
this section). For installation details, refer to the instructions included with the data
device.
6. Connect the cable terminal to the coaxial cable wall outlet.
7. Perform the operational check for the remote control.
8. Optimize the high-definition settings. See Optimizing the High-Definition Settings in
this section.

Installation B
QIP7000 (P2) Series Hybrid QAM/IP HD Set-top Terminal • Installation Manual 23
574702-001 a This document is uncontrolled pending incorporation in a Motorola CMS
Cabling to an HDTV for Video
For the best possible HDTV video quality:
1. If the TV has an HDMI input, connect it to the QIP7000 series HDMI output. If the TV
has a DVI input, you can connect it to the QIP7000 series HDMI output using and
HDMI-to-DVI converter cable or adapter.
2. If the TV has neither an HDMI nor a DVI input but has an IEEE-1394 input, connect it
to the QIP7000 series IEEE-1394 output. If you use IEEE-1394, on-screen graphics
do not display.
3. Otherwise, use the component video (Y, Pb, and Pr) connectors.
• L/R audio connection or digital audio S/PDIF connection is required for sound with
component video.
Note: Be sure to match up each signal to the same connection on the TV. Otherwise,
the colors will not appear correctly on your TV.
Figure 14 – Cabling to an HDTV
Note: Because HDMI provides both video and audio output, no additional audio
connections to the TV are required.

Installation B
QIP7000 (P2) Series Hybrid QAM/IP HD Set-top Terminal • Installation Manual 24
574702-001 a This document is uncontrolled pending incorporation in a Motorola CMS
Cabling to an HDTV for Audio
Figure 15 – Cabling to an HDTV for Audio

Installation B
QIP7000 (P2) Series Hybrid QAM/IP HD Set-top Terminal • Installation Manual 25
574702-001 a This document is uncontrolled pending incorporation in a Motorola CMS
Cabling to a High-Definition TV and an A/V Receiver for Video
Figure 16 – Cabling to an HDTV and A/V Receiver for Video
Note: If the A/V receiver includes an HDMI input & output, the QIP7000 series HDMI
output can be connected directly to the A/V receiver. Because HDMI provides both video
and audio output, no additional audio connections to the A/V Receiver and TV are
required.

Installation B
QIP7000 (P2) Series Hybrid QAM/IP HD Set-top Terminal • Installation Manual 26
574702-001 a This document is uncontrolled pending incorporation in a Motorola CMS
Cabling to a High-Definition TV and an A/V Receiver for Audio
Figure 17 – Cabling to an HDTV and A/V Receiver
Note: If the A/V receiver includes an HDMI input & output, the QIP7000 series HDMI
output can be connected directly to the A/V receiver. Because HDMI provides both video
and audio output, no additional audio connections to the A/V Receiver and TV are
required.
Note: If the receiver can check the baseband and digital audio (S/PDIF) ports for
appropriate channels, connect both the baseband and digital audio connections.
Otherwise, do not connect both the baseband left/right composite connections and the
coaxial digital connection. The baseband connections are not necessary because the
digital audio port provides a single audio interface for digital and analog channels.

Installation B
QIP7000 (P2) Series Hybrid QAM/IP HD Set-top Terminal • Installation Manual 27
574702-001 a This document is uncontrolled pending incorporation in a Motorola CMS
Cabling to a Standard-Definition TV
Figure 18 – Cabling to a Standard Definition stereo TV

Installation B
QIP7000 (P2) Series Hybrid QAM/IP HD Set-top Terminal • Installation Manual 28
574702-001 a This document is uncontrolled pending incorporation in a Motorola CMS
Cabling to a Standard-Definition TV, A/V Receiver and VCR
Figure 19 – Cabling to a Standard Definition TV, A/V Receiver and VCR
Note: Because some entertainment equipment cannot simultaneously support
composite video and S-Video, never simultaneously connect both video inputs.
Note: This connection method does not support HDTV. For information, see Cabling to
an HDTV for Video in this section.

Installation B
QIP7000 (P2) Series Hybrid QAM/IP HD Set-top Terminal • Installation Manual 29
574702-001 a This document is uncontrolled pending incorporation in a Motorola CMS
Data Device Connections
The QIP7000 series provides optional high-speed data services such as Internet access,
USB, Ethernet, and more. The functionality of each data device port requires, and
depends on, installed application software.
The QIP7000 series rear panel provides the following data ports:
Port type Description
USB 2.0 Can be used to daisy-chain USB devices such as printers and storage
devices, or to interface with keyboards, joysticks, and other USB PC
peripherals
Ethernet 10/100 Mbps RJ-45 port
eSATA Can be used to connect an external hard drive to increase DVR capacity
(QIP7200 only)
IEEE-1394 Can be used to connect an MPEG-2 compatible display device
The QIP7000 series front panel provides:
Port type Description
USB 2.0 Can be used in the same manner as the rear panel USB 2.0 port
Figure 20 – Sample data devices you can connect to the QIP7000 series

Installation B
QIP7000 (P2) Series Hybrid QAM/IP HD Set-top Terminal • Installation Manual 30
574702-001 a This document is uncontrolled pending incorporation in a Motorola CMS
Verifying the MoCA Network
To verify that the nodes are connected, check the rates on the Connected Home Status
diagnostic (see Troubleshooting).
Operational Check for the Remote Control
The operational check tests communication with the remote control:
Feature Testing Procedure
Power on Press POWER on the remote control to turn on the QIP7000 series.
Tune to the output channel (3 or 4) if using the RF output.
Channel selection Scan through the channels using the CHANNEL + or - keys.
Tune to several channels by entering the channel number using the
numeric keys.
Volume control Press VOLUME + or - on the remote control to increase the volume to its
upper limit, lowest level, and to a comfortable level.
Press MUTE to turn the sound off. Press MUTE again to restore the sound.
If the QIP7000 series does not operate properly, refer to the Troubleshooting section.
Optimizing the High-Definition Settings
This subsection describes how to optimize SD and HD video settings and closed
captioning based on subscriber preferences.
Before you optimize the output settings:
1. Connect the QIP7000 series set-top to other home entertainment devices.
2. Plug the QIP7000 series set-top into a power outlet.
3. Initialize the QIP7000 series set-top and authorize services.
4. Turn the TV on.
Note: For an HDMI connection, be sure the TV is on and connected to the HDMI
connector before adjusting the settings. Motorola recommends using HDMI cables less
than 20 meters long.
To optimize the output settings:
1. Power off the QIP7000 series and then immediately press the MENU key on the front
panel twice. If the TV is on, the on-screen menu lists the settings you can configure:

Installation B
QIP7000 (P2) Series Hybrid QAM/IP HD Set-top Terminal • Installation Manual 31
574702-001 a This document is uncontrolled pending incorporation in a Motorola CMS
Use the remote control or the cursor keys on the front panel to navigate the on-screen
menus:
• Press the ▲ and ▼ keys to highlight the setting you wish to change.
• Press the ► key to select an option.
• To exit the setting and move to another setting, press the ▲ or ▼ key.
• To exit the menu and save your settings, press the power or menu key.
If the User Settings menu does not display on the HDTV screen, the TV may not support
the default video output setting. Use the front panel display to adjust the settings as
described in “There is no video on the TV screen” in the Troubleshooting section.
The User Settings menu options are:
Setting Description
TV Type Allows you to specify the style of television connected to the QIP set-top. Options
include 16:9, 4:3 LETTERBOX, and 4:3 PAN SCAN. By default, the 16:9 option is
selected. The options are used as follows:
• 16:9 designates that a widescreen television is connected to the QIP set-top.
• 4:3 LETTERBOX designates that a standard screen television is connected to the
QIP set-top and that widescreen programs should be scaled to fit the screen with
black bars above and below the picture.
• 4:3 PAN SCAN designates that a standard screen television is connected to the
QIP set-top and that widescreen programs should be cropped so that the picture
fills the entire screen.
HDMI/YPbPr
Output
Allows you to specify the video output format of the QIP set-top for all content
(when the 4:3 override setting is Off) or for all 480p, 720p, and 1080i content (when
the 4:3 override is used). Options include 1080i, 720p, 480p, and 480i. By default,
the 1080i option is selected. The options are used as follows:
• 1080i — The QIP set-top will present programs in the High-Definition 1080i
format (1920 x 1080 pixels).
• 720p — The QIP set-top will present programs in the High-Definition 720p format
(1280 x 720 pixels).
• 480p — The QIP set-top will present programs in the Enhanced-Definition 480p
format (720 x 480 pixels).
• 480i — The QIP set-top will present programs in the Standard-Definition 480i
format (720 x 480 pixels).

Installation B
QIP7000 (P2) Series Hybrid QAM/IP HD Set-top Terminal • Installation Manual 32
574702-001 a This document is uncontrolled pending incorporation in a Motorola CMS
Setting Description
Some televisions may only support certain video formats. Please consult your
television’s user manual for more information on format compatibility.
The QIP set-top can detect when the HDMI connection is in use. If you are not
using the HDMI connection on the QIP set-top, the HDMI/YPbPr Output setting will
display as YPbPr Output in the User Settings Menu.
4:3 Override The 4:3 Override setting allows you to specify the video output format of the QIP
set-top when it is tuned to a standard-definition program or playing back a standard-
definition program from the DVR. Options include 480i, 480p, Stretch, and Off. By
default, the 480i option is selected. The options are used as follows:
• 480i — The QIP set-top will present standard-definition programs in the Standard-
Definition 480i format (720 x 480 pixels).
• 480p — The QIP set-top will present standard-definition programs in the
Enhanced-Definition 480p format (720 x 480 pixels).
• Stretch — The QIP set-top will automatically stretch all standard-definition
programs to a widescreen aspect ratio and present the video in the format
designated by the HDMI/YPbPr Output setting. Note that the Stretch option is
only available when the TV Type setting is 16:9.
• Off — The QIP will create a widescreen version of a standard-definition program
by adding black bars to the left and the right of the picture and present the video
in the format designated by the HDMI/YPbPr Output setting.
Some televisions may only support certain video formats. Please consult your
television’s user manual for more information on format compatibility.
If the HDMI/YPbPr Output setting is 480i, the 4:3 Override feature is disabled and is
no longer selectable in the menu. The 4:3 Override feature is available when the
HDMI/YPbPr Output setting is 1080i, 720p, or 480p.
Closed
Caption
Turns closed captions off or on. The front panel display indicates the status of the
closed captions. Defaults to DISABLED. Options are ENABLED or DISABLED.
Service
Selection
Sets the service used for closed captions:
Digital: PRIMARY LANGUAGE, SECONDARY LANGUAGE, 3, 4, 5, or 6. The default
is PRIMARY LANGUAGE.
Font Size Sets the font size for closed captions. Defaults to AUTO. Options are AUTO,
STANDARD, LARGE, or SMALL.
Font Style Sets the font style for closed captions. Defaults to AUTO. Options are AUTO,
MONO SERIF, PROPORTION SERIF, MONO NO SERIF, PROPORTION NO SERIF,
CASUAL, CURSIVE, or SMALL.
Font Color Sets the font color. Defaults to AUTO. Options are AUTO, WHITE, BLACK, RED,
GREEN, BLUE, YELLOW, MAGENTA, or CYAN.
Font Opacity Sets the opacity. Defaults to AUTO. Options are AUTO, TRANSPARENT,
TRANSLUCENT, SOLID, or FLASHING.
Font Edge
Type
Sets the edge appearance — AUTO, NONE, RAISED, DEPRESSED, UNIFORM,
LEFT SHADOWED, or RIGHT SHADOWED. The default is AUTO.
Font Edge
Color
Sets the edge color — AUTO, WHITE, BLACK, RED, GREEN, BLUE, YELLOW,
MAGENTA, or CYAN. The default is AUTO.
Background
Color
Sets the background color for closed captions. Defaults to AUTO. Options are
AUTO, WHITE, BLACK, RED, GREEN, BLUE, YELLOW, MAGENTA, or CYAN.
Background
Opacity
Sets the background opacity for closed captions. Defaults to AUTO. Options are
AUTO, TRANSPARENT, TRANSLUCENT, SOLID, or FLASHING.
Settings Sets the default settings for closed captions (AUTO) or the settings you have

Installation B
QIP7000 (P2) Series Hybrid QAM/IP HD Set-top Terminal • Installation Manual 33
574702-001 a This document is uncontrolled pending incorporation in a Motorola CMS
Setting Description
configured (USER). Defaults to AUTO. Options are AUTO or USER.
Restore All
Defaults
To reset all User Settings to their defaults, select this option and press the ► key.
Graphics Overlaying the Video
The QIP7000 series can generate graphics that overlay the video programming or fill the
entire television screen. Common examples include on-screen menus (such as the User
Setting menu), closed captions, and IPG. The QIP7000 series overlays these graphics
whenever you open a menu, enable closed captions, or scroll through a program grid.
On-screen graphics are available for all QIP7000 series video outputs except IEEE-1394.

Diagnostics B
QIP7000 (P2) Series Hybrid QAM/IP HD Set-top Terminal • Installation Manual 34
574702-001 a This document is uncontrolled pending incorporation in a Motorola CMS
4 Diagnostics
Diagnostics are displayed on the on-screen display (OSD) and front-panel display. They
confirm proper installation, including:
• Checking error states and signal integrity
• Identifying the cable terminal on the network
• Verify communications with the headend
For the diagnostics described in this section:
• All indicators are in decimal notation, unless otherwise noted
• All signal-level and quality indicators use a 1% to 100% scale, unless otherwise
noted
• All sample displays are illustrative; actual data may differ from the examples
Using the Diagnostics
To use the diagnostics:
1. Ensure that the QIP7000 series is installed with the Thin Client software and that it is
connected to an AC outlet.
2. Press power and immediately press select to enable diagnostic mode. The
Diagnostics main menu is displayed on the OSD and “d01” is displayed on the
front-panel display.
Figure 21 – Example of the front panel display for the main menu
You can use the following keys to navigate the diagnostics menus:
1. Press channel ▲, channel ▼, cursor ▲, or cursor ▼ to select d01 through E.
2. Press cursor ◄, cursor ►, select or enter to execute the selected diagnostic.
3. Select E from the main menu or press power to exit.

Diagnostics B
QIP7000 (P2) Series Hybrid QAM/IP HD Set-top Terminal • Installation Manual 35
574702-001 a This document is uncontrolled pending incorporation in a Motorola CMS
d01 General Status
This diagnostic displays system status information on the OSD and front panel. The
information is updated each time the diagnostic is displayed.

Diagnostics B
QIP7000 (P2) Series Hybrid QAM/IP HD Set-top Terminal • Installation Manual 36
574702-001 a This document is uncontrolled pending incorporation in a Motorola CMS
Environment
code indicator
Error code
indicator
Figure 22 – Example General Status display (no error)

Diagnostics B
QIP7000 (P2) Series Hybrid QAM/IP HD Set-top Terminal • Installation Manual 37
574702-001 a This document is uncontrolled pending incorporation in a Motorola CMS
The General Status fields are:
Field Description
Error Error codes display on the front panel and OSD when an error occurs. If multiple errors
occur, the last recorded error is displayed:
Error Code Description
EP00 No error
EP01 Not connected
EP03 DRAM error
EP04 SRAM error
EP07 ROM verification failure
EP08 RAM test failure
EP09 Battery test failure
EP11 Invalid unit address
EP12 Power on self test failure
EP14 GITV startup failure
EP15 TSI structure corrupt
EP18 Driver initialization failure
Connected State A QIP-operations connect or disconnect message determines whether the QIP7000
series is CONNECTED or DISCONNECTED.
Platform ID A unique, 16-bit hexadecimal number that identifies the platform image (also called the
ROM ID).
Family ID The manufacturer and product family, in hexadecimal.
Model ID The model, in hexadecimal.
Remod Chan The interface to the subscriber TV; channel 3 or 4 in the USA.
Set-top Time The current OOB time displayed in global positioning system (GPS) seconds from Jan 6,
1980. It is an integer from 0 to 4294967295.
Decryption Mode Indicates secure processor decrypt scheme:
• CSA — connect scrambler algorithm
• DES — Data Encryption Standard

Diagnostics B
QIP7000 (P2) Series Hybrid QAM/IP HD Set-top Terminal • Installation Manual 38
574702-001 a This document is uncontrolled pending incorporation in a Motorola CMS
d02 Purchase Status
This diagnostic displays the status of subscriber event purchases on the OSD and front
panel. The displays are updated each time this diagnostic is viewed:
ON when IPPV
is enabled
Number of
unsent purchase
s
P
urc
h
ase
indicator
Figure 23 – Front panel display for Purchase Status diagnostic

Diagnostics B
QIP7000 (P2) Series Hybrid QAM/IP HD Set-top Terminal • Installation Manual 39
574702-001 a This document is uncontrolled pending incorporation in a Motorola CMS
The Purchase Status fields are:
Field Description
Unsent The number of purchases in the QIP remaining to be polled. It can be an
integer from 0 to 63.
Unack The number of reports that have not been acknowledged by the controller. It is
an integer.
Last Seq Num The last acknowledged sequence number of a purchase sent by the controller.
It is a 16-bit, unsigned hexadecimal number.
Last RB Time The last time the QIP7000 series attempted to report back purchases to the
controller, in GPS seconds.
IPPV Status If IPPV is enabled, the IPPV status indicator is on. If IPPV is disabled, the IPPV
status indicator is off.
Prep CMD “Last Prepare for Poll Command” sequence number and time of the last
prepare for poll request command that was sent by the controller. Note that
each requesting process maintains an independent sequence of poll requests
to uniquely identify the poll responses.
Prep ACK “Last Prepare for Poll Acknowledge” sequence number and time of the last
Report Purchase request sent by the controller.
Poll Request Sequence number and time of the last send poll buffer command that was
sent by the controller.
Poll Acknowledge Sequence number and time of the last Poll Acknowledge message sent by the
controller.
Stack Unit Unit used in purchase processing.
Show Count Count used in purchase processing.
Credit Total Credit used for purchase processing.
Debit Total Debit used for purchase processing.

Diagnostics B
QIP7000 (P2) Series Hybrid QAM/IP HD Set-top Terminal • Installation Manual 40
574702-001 a This document is uncontrolled pending incorporation in a Motorola CMS
d03 Out-Of-Band (OOB) Status
This diagnostic indicates the out-of-band control channel status. The information is
updated every five seconds.
OOB
diagnostic
indicator
Carrier lock indicator
(L=locked, U=unlocked)
D
ata activity
indicator
EMM
d
ata activity
indicator
Figure 24 – Front panel display for the OOB diagnostic

Diagnostics B
QIP7000 (P2) Series Hybrid QAM/IP HD Set-top Terminal • Installation Manual 41
574702-001 a This document is uncontrolled pending incorporation in a Motorola CMS
The Out-Of-Band Status fields are:
Field Description
OOB Frequency Indicates the OOB tuner center frequency, from 70 to 130 MHz.
Carrier Lock Indicates whether the OOB receiver is locked to the carrier:
OSD Front Panel Description
YES L Carrier locked
NO U Carrier unlocked
Data Indicates whether data is being carried by the OOB and EMM traffic, which is
tracked separately:
OSD Front Panel Description
YES On OOB data detected within last 5 seconds
NO Off OOB data not detected within last 5 seconds
EMM Data Indicates whether EMM data is being carried on the OOB stream:
OSD Front Panel Description
YES On EMM data detected within last 5 seconds
NO Off EMM data not detected within last 5 seconds
SNR When carrier lock has been established, displays an estimate of the carrier
signal-to-noise ratio in dB, with an explanation:
• GOOD — Good value
• FAIR — Marginal signal level, check the signal
• POOR — Unusable signal
• INVALID — Invalid SNR value
AGC When carrier lock has been established, displays an estimate of the AGC as a
percentage, with an explanation:
• GOOD — Good value
• FAIR — Marginal signal level, check the signal
• POOR — Unusable signal
• INVALID — Invalid AGC value
EMM Provider ID Displays the conditional access stream for the QIP7000 series, in hexadecimal.
EMM PID Displays the packet identifier (PID) stream the QIP7000 series tunes to for EMM
data, in hexadecimal.
Network PID Displays the network PID to which the QIP7000 series is tuned to receive
network messages, in hexadecimal.
Hunt Mode The hunt mode includes Hunted, None, Round Robin (RR), Search (SRCH), Fixed
Frequency (FIX), or EMM Provider ID (EMM).
LKC The last known carrier is the last valid OOB frequency displayed in MHz and
ranges from 70 to 130 MHz, with the specific values of: 75.25, 104.20, 72.75,
92.25, 98.25, 107.25, 107.40, 110.25, 116.25, and 103.75.
LKC will remain blank during hunting if a valid carrier has not been found, and will
be populated once a valid OOB is found.
Man Pag Only displayed when QIP7000 series is not hunting and the operator presses
“menu” button. The operator can then scroll up or down to one of the specific
OOB frequencies.

Diagnostics B
QIP7000 (P2) Series Hybrid QAM/IP HD Set-top Terminal • Installation Manual 42
574702-001 a This document is uncontrolled pending incorporation in a Motorola CMS
Agile OOB Tuner Hunting
An OOB frequency can be selected manually by pressing the MENU button while in the
OOB Status diagnostics screen. To exit this mode, press the MENU button a second time,
or press the POWER button.
If the set-top is in the process of hunting for an OOB frequency, control of frequency
selection is suspended, i.e. when the set-top is hunting, the ability to press the Menu
button on the OOB status screen to display MAN FREQ is not available.
Summary of Manual Selection of the OOB Frequency (OSD Frequency Override in Hunted
Mode)
The manual override frequency capability is only displayed if the box is not currently
hunting and the operator presses the MENU key while OOB OSD diagnostics are
displayed. The MAN Freq displays the LKC and allows the operator to select (via scroll
up/down) a specific frequency to check if a valid OOB is on that specific frequency. The
MAN Freq parameter is the OOB frequency selected in the frequency selection mode
and displayed in MHz, with the specific values of 75.25, 104.20, 72.75, 92.25, 98.25,
107.25, 107.40, 110.25, 116.25, and 103.75.
1. When in the OOB Receiver Status Diagnostic, press the MENU button to enter the
frequency selection mode. The frequency of the last known carrier is displayed on
the Front Panel. The OSD displays a new “MAN FREQ” line at the bottom of the
screen, which indicates the last known carrier frequency. At this point, if desired, the
frequency change mode can be exited by pressing the MENU key a second time.
2. Use the UP/DOWN channel or cursor keys to scroll through all 10 frequencies until
the desired new OOB frequency is found. The new frequency selections will appear
on the Front Panel and on the “MAN FREQ” line of the OSD. When the last known
frequency is selected, a DOT will appear in the middle-upper part of the Front Panel.
3. When the desired new frequency has been selected, press the SELECT key to start
the search. The manual frequency search will last up to 40 seconds. As the set-top
searches, the frequency being searched for will flash on the front panel. On the
OSD, the “MAN FREQ” line of text will be cleared, the “HUNT MODE” will display
“FIX” to indicate a search on a fixed frequency, and the “OOB FREQ” field will
change to the frequency being searched for.
4. If the frequency is found with the proper EMM Provider ID, then the front panel will
display the normal OOB receiver status. The OSD “LKC” field will change to display
the new frequency.
5. If after 40 seconds the frequency search is not successful, the product will perform a
warm reset.
6. TO ABORT A Search without waiting the 40 seconds, the POWER key can be pressed
to cause an immediate warm reset.
Note: The front panel will display “hunt” after a cold reset from the front panel. This
indicates that the product is in a Round Robin Hunt Mode. The message “hunt” will
continue to be displayed until the proper stream is detected.

Diagnostics B
QIP7000 (P2) Series Hybrid QAM/IP HD Set-top Terminal • Installation Manual 43
574702-001 a This document is uncontrolled pending incorporation in a Motorola CMS
d04 In-Band Status
This diagnostic displays the in-band status for the last attempted tuned channel. The
information is updated every 5 seconds.
Figure 4-5 Front panel display for in-band diagnostic
IB diagnostic
indicator
Carrier lock indicator
(LA = locked, U=unlocked)
T
uner 1
D
ata
activity indicator
Tuner 2 Data
activity indicator
Figure 25 – Front panel display for in band diagnostic

Diagnostics B
QIP7000 (P2) Series Hybrid QAM/IP HD Set-top Terminal • Installation Manual 44
574702-001 a This document is uncontrolled pending incorporation in a Motorola CMS
The In-Band Status fields are:
Field Description
Mode The values displayed on the OSD are:
• 64 QAM — 64 QAM digital channel
• 256 QAM — 256 QAM digital channel
Carrier Lock Indicates whether the in-band receiver is locked to the carrier. If a digital carrier is not
present, it indicates the carrier is not locked:
OSD Front Panel Description
YES L Carrier locked
NO U Carrier not locked
PCR Lock Indicates whether the in-band receiver is locked to the current program clock reference for
a digital video service on the specified tuner. If a digital carrier is not present, it indicates
the PCR is not locked.
Data Indicates whether data is being carried on the in-band stream. The indicators cover all
packet processors regardless of the stream they are monitoring:
OSD Front Panel Description
YES On In-band data detected within last 5 seconds
NO Off In-band data not detected within last 5 seconds
Frequency The in-band frequency is center RF carrier frequency tuned for the digital service on the
specified tuner. The frequency is displayed in MHz in xxxx.xxx format and ranges from 54
to 860 MHz.
SNR When carrier lock has been established, displays an estimate of the carrier signal-to-noise
ratio in dB, with an explanation:
• GOOD — Good value
• FAIR — Marginal signal level, check the signal
• POOR — Unusable signal
• INVALID — Invalid SNR value
5 Second Error
Counts
Indicates the number of correctable and uncorrectable digital multiplex errors, up to 9999.
It is updated every 5 seconds and reset each time the QIP7000 series is power cycled or
another digital multiplex is tuned. The maximum value displayed is 9999, even if there
were more than 9999 errors.

Diagnostics B
QIP7000 (P2) Series Hybrid QAM/IP HD Set-top Terminal • Installation Manual 45
574702-001 a This document is uncontrolled pending incorporation in a Motorola CMS
d05 Unit Address/Security
This diagnostic displays the unit address of the CableCARD, if inserted:
Figure 26 – Front panel display of a unit address

Diagnostics B
QIP7000 (P2) Series Hybrid QAM/IP HD Set-top Terminal • Installation Manual 46
574702-001 a This document is uncontrolled pending incorporation in a Motorola CMS
The Unit Address fields are:
Field Description
TvPC Installed Indicates whether the TvPC renewable security system is installed:
NO — TvPC is not installed (Note: the QIP7000 series does not include a TvPC slot)
CableCARD
Inserted
YES — CableCARD is inserted
NO — CableCARD is not inserted
Unit Address A unique decimal number that indicates the unit address or physical address.
OOB Addresses
Network The QIP7000 series network address displayed in decimal format.
Multicast 16
Address
Specifies the stream to which the OOB multicast 16 addresses are assigned. The stream
type and multicast 16 addresses cycle on the OSD every 5 seconds. The valid stream types
are:
• Net — Network
• EMM — EMM
• SCC — SCC_ECM
• Dnld — Download
• Data — Data
• Poll — Polling packet identifier (PID)
The 16-bit multicast address is displayed in 4-byte hexadecimal format. The Multicast 16
addressed messages filter on a 16-bit multicast address. The user processor can define up
to four multicast addresses in hardware, and any message matching one of the four is
processed. Messages not matching the multicast address are discarded.
Serial Number The Host Serial Number is displayed on the Unit Address diagnostic screen.
MAC
Addresses
The MoCA, Ethernet, 1394, USB, and MAC addresses are stored in protected flash and
displayed in hexadecimal.
Separable Security
This diagnostic displays information on the inserted M-CARD and CableCARD Interface
with the QIP.

Diagnostics B
QIP7000 (P2) Series Hybrid QAM/IP HD Set-top Terminal • Installation Manual 47
574702-001 a This document is uncontrolled pending incorporation in a Motorola CMS
The Separable Security fields are:
Field Description
CARD Interface CableCARD Interface is a status indication of the interface between the QIP and
CableCARD. It will indicate ‘Good’ if no errors were detected, ‘Error’ if there is a
problem detected with establishing the CableCARD interface, or ‘Unsupported
CARD’ if the inserted CableCARD is not an M-Card.
CableCARD ID The unique identifier provided by the CableCARD.
Host ID The unique identifier in the QIP Device Certificate.
Data ID A value generated by the CableCARD for the Pairing report.
Validation • UKNOWN if a Validation message was not received by the product
• VALID or INVALID as set by the Host Validation Message received from the
headend
• BINDING if the CableCARD is busy with the binding authentication process
• NOT BOUND if Card validation status in not bound for CableCARD reasons
• HOST CERTIFICATE INVALID if the status is not bound because the Host
Certificate was invalid
• HOST SIGN FAILED if status is not bound because of failure to verify Host’s
SIGN
• AUTH KEY FAILED if status is not bound because of failure to match AuthKey
from the Host Device
• FAILED if binding failed for other reasons
Pairing Rpt Method Set to ‘MMI’ or ‘Reportback’ as received by a message from the headed, or set to
‘Unknown’ if the headend message was not received.
MSO Phone Number MSO Phone Number as configured at the headend.
CableCARD
Object Name Code object name executing on the CableCARD.
Object Ver. Code object version executing on the CableCARD.
Manufacturer CableCARD manufacturer.
HW Version Version number provided by the CableCARD.

Diagnostics B
QIP7000 (P2) Series Hybrid QAM/IP HD Set-top Terminal • Installation Manual 48
574702-001 a This document is uncontrolled pending incorporation in a Motorola CMS
d06 Current Channel Status
This diagnostic displays a status of the last attempted tuned channel on the in-band
stream. The channel type determines the status display.
This diagnostic displays a status of the last attempted tuned channel on the in-band
stream. The channel type determines the status display.

Diagnostics B
QIP7000 (P2) Series Hybrid QAM/IP HD Set-top Terminal • Installation Manual 49
574702-001 a This document is uncontrolled pending incorporation in a Motorola CMS
Digital channel
indicator
Epoch authorizatio
n
code
P
urc
h
asa
bl
e
indicator
P
review
indicator
Figure 27 – Current channel status front panel displays
The Current Channel status fields are:
Field Description
Type Indicates the channel type:
OSD Front Panel Description
DIGITAL d Digital
bb (Digital channels only) The current epoch authorization reason is displayed in the
hexadecimal format 0xbb on the OSD and front panel.
In-Band
Frequency
(Digital channels only) The center RF carrier frequency for the digital service. It
can be from 54 to 860 MHz.
Authorized Indicates whether the QIP7000 series is authorized for the currently tuned
service:
YES — authorized
NO — not authorized
Purchasable Indicates whether the current program can be purchased for viewing:
OSD Front Panel Description
YES On Can be purchased

Diagnostics B
QIP7000 (P2) Series Hybrid QAM/IP HD Set-top Terminal • Installation Manual 50
574702-001 a This document is uncontrolled pending incorporation in a Motorola CMS
Field Description
NO Off Cannot be purchased
Preview Indicates whether the current program is in preview mode:
OSD Front Panel Description
YES On In preview mode
NO Off Not in preview mode
MPEG Video
Lock
Indicates whether the video processor is locked to the video stream:
YES — locked
NO — not locked
MPEG Audio
Lock
Indicates whether the audio processor is locked to the audio stream:
YES — locked
NO — not locked
PCR Lock Indicates whether the in-band receiver is locked to the program clock reference
(PCR):
YES — locked
NO — not locked
CCI The copy control information:
00 — copy free
01 — no more copies
10 — copy once
11 — never copy
N/A — the value is invalid or cannot be retrieved
APS The Analog Protection System; for example, Macrovision:
00 — No Macrovision
11 — Type 3 Macrovision
N/A — the value is invalid or cannot be retrieved
RC Flag Displays whether the broadcast flag is present:
0 — no flag/not defined
1 — the flag is present/enabled
N/A — the value is invalid or cannot be retrieved
CIT The constrained image trigger as delivered in the PRK or the Set DRM API:
1 — set
0 — not set
N/A — the value is invalid or cannot be retrieved
DRM The digital rights management valid flag bit:
1 — set
0 — not set
N/A — the value is invalid or cannot be retrieved
RS The retention state:
Forever, 1 week, 2 days, 1 day, 12 hours, 6 hours, 3 hours, 90 minutes, or
Not Defined
N/A — the value is invalid or cannot be retrieved

Diagnostics B
QIP7000 (P2) Series Hybrid QAM/IP HD Set-top Terminal • Installation Manual 51
574702-001 a This document is uncontrolled pending incorporation in a Motorola CMS
d07 Upstream Status
This diagnostic displays the Ethernet Return status. The information is updated each
time this diagnostic is displayed.
Frequency in MHz
Power level
indicator
Power level in dB
(blank if modem
not confi
g
ured)
F
requency
indicator
D
ec
i
ma
l
point
Alternating with
Figure 28 – Ethernet Return front panel display

Diagnostics B
QIP7000 (P2) Series Hybrid QAM/IP HD Set-top Terminal • Installation Manual 52
574702-001 a This document is uncontrolled pending incorporation in a Motorola CMS
The Ethernet Return fields are:
Field Description
IP Set-top
Enabled
Displays YES if the set-top uses Ethernet return; otherwise NO. N/A if the value is invalid
or cannot be retrieved.
DHCP Offer Displays YES if the set-top has received the DHCP offer; otherwise NO. N/A if the value is
invalid or cannot be retrieved.
DHCP Ack Displays YES if the set-top has received the DHCP acknowledge; otherwise NO. N/A if the
value is invalid or cannot be retrieved.
DNS Server
Address
Displays YES if the set-top has received the DNS Server IP address; otherwise NO. N/A if
the value is invalid or cannot be retrieved.
Domain Name
Resolved
Displays YES if the set-top has received a domain name; otherwise NO. N/A of the value
is invalid or cannot be retrieved.
IP Address • Displays the IP address assigned to Ethernet return MAC Address1:
• For IPv4, a 32-bit IP address in dotted-decimal format xxx.xxx.xxx.xxx with each xxx
from 0 to 255. Each 1-byte value is padded with zeros. For example. 10.0.1.10 is
displayed as 010.000.001.010.
• For IPv6, a 128-bit address in the format x:x:x:x:x:x:d.d.d.d that is convenient for a
mixed environment of IPv4 and IPv6 nodes. An x is a hexadecimal value of six high-
order 16-bit piece of the address. A d is a decimal value of a four low-order 8-bit piece
(standard IPv4 representation). Examples:
0000:0000:0000:0000:0000::0000.013.001.068.003 and
0000:0000:0000:0000:0000:FFFF:129.144.052.038
MAC Address • Displays the Ethernet return MAC Address1, saved in hardware and displayed in
hexadecimal.

Diagnostics B
QIP7000 (P2) Series Hybrid QAM/IP HD Set-top Terminal • Installation Manual 53
574702-001 a This document is uncontrolled pending incorporation in a Motorola CMS
d08 Code Modules
This diagnostic includes information about the firmware loaded in flash memory and all
non-volatile code versions are installed on the QIP7000 series. When the native suite is
running, the diagnostics of the application operating system and all associated objects
should be accessible.

Diagnostics B
QIP7000 (P2) Series Hybrid QAM/IP HD Set-top Terminal • Installation Manual 54
574702-001 a This document is uncontrolled pending incorporation in a Motorola CMS
Indicator separating major and
min
o
r r
e
visi
o
n numb
e
rs
Number of segments
remaining for download
to complete. (Figure reflects
17012 segments remaining.)
Code module identifier
(bPC for the base platform; CODE
or SYS for the system object)
Alternating with:
OR
Download
status
Download data received
indicator
Figure 29 – Front panel display for code modules

Diagnostics B
QIP7000 (P2) Series Hybrid QAM/IP HD Set-top Terminal • Installation Manual 55
574702-001 a This document is uncontrolled pending incorporation in a Motorola CMS
The Code Modules fields are:
Field Description
Boot Code The boot code version in ASCII format.
Version The firmware version and build date in ASCII format.
Digital Secure
Processor
The digital secure processor version in ASCII format (N/A is indicated if the
platform does not detect a digital secure processor).
Downloadable
Object Information
Table
Lists all objects loaded, or being loaded, onto the QIP7000 series in ASCII format. The
information displayed for each object depends on the running environment. If a
download is not in progress, the front panel displays the currently running environment
and version number, as shown in Figure 4-9. On the front panel, “bPC” represents Thin
Client code.
Object The object name.
Ver The object version.
Status The object status, updated on the OSD and front panel display every 5 seconds while
you display the diagnostic:
OSD Status Description
MEM ALLOC Allocated Memory for object is allocated
LOADING Loading Object is being loaded
STARTING Enabling Object is being started (the
constructor is running)
ENABLED Enabled Object is running
ENA–NOT RUN Enabled_Not_ Runnable Object is enabled, but cannot run
STOPPING Disabling Object is being stopped (the
destructor is running)
DISABLED Disabled Object has been disabled
DIS-NOT RUN Disabled_Not_ Runnable Object is disabled and cannot run
DELETING Deleting Object is being deleted
POSTPONED Postponed Object cannot run on the current
system; it will be enabled during the
next boot
CONNECTED Connect Connected to download PID —
awaiting data
PEND CONNECT TryingToConnect Trying to connect
ID The object identifier.

Diagnostics B
QIP7000 (P2) Series Hybrid QAM/IP HD Set-top Terminal • Installation Manual 56
574702-001 a This document is uncontrolled pending incorporation in a Motorola CMS
d09 Memory Configuration
This diagnostic displays the QIP7000 series memory configuration. The information is
updated when you display the diagnostic.
Note: There is no front panel display for this diagnostic.
The Memory Configuration fields are:
Field Description
System RAM The allocated system RAM in MB
Flash The allocated flash memory in MB
NVRAM The allocated NVRAM in KB

Diagnostics B
QIP7000 (P2) Series Hybrid QAM/IP HD Set-top Terminal • Installation Manual 57
574702-001 a This document is uncontrolled pending incorporation in a Motorola CMS
d10 Audio/Video Status
Audio/Video Status diagnostics display information regarding audio and video content
and settings configured for the set-top.
The Audio/Video Status fields are:
Field Description
AUDIO SPDIF Indicates S/PDIF Mode as set by application software.
OSD Display
N/A Audio S/PDIF mode is not applicable.
IEC958PCM PCM audio selected.
Dolby Digital For Dolby Digital selection, the following speaker selection is set:
1/0 right front or left front.
2/0 right front and left front.
3/0 right front and left front and center.
2/1 right front and left front and (right rear or left rear).
3/1 right front and left front and center and (right rear or left rear).
2/2 right front and left front and right rear and left rear.
3/2 right front and left front and center and right rear and left rear.
LFE: Low Frequency
Effect
The LFE indicates if the nomenclature low frequency effects are available in the Dolby
Digital audio stream as indicated if the ‘0.1’ is present in the Dolby Digital 5.1
nomenclature (for example, ‘Dolby 5.1 Digital surround’). Valid values include:
OSD Display

Diagnostics B
QIP7000 (P2) Series Hybrid QAM/IP HD Set-top Terminal • Installation Manual 58
574702-001 a This document is uncontrolled pending incorporation in a Motorola CMS
Field Description
0 LFE is not available.
1 LFE is available (for example, ‘Dolby Digital 5.1 surround’).
Muting State and
Method
The Audio and Video Mute Status indicates if the audio and/or video has been muted
by the software. The audio mute is either ‘On’ or ‘Off’. The Video Mute describes the
MPEG muting method selected by the software and indicates if the output video is in
the mute state by displaying ‘On’ or ‘Off,’ followed by the mute method. Methods
include:
OSD Display
UNMUTED Displayed if mute method is not selected.
MUTE to STILL Displayed if the mute method includes stopping video and
presenting a still frame, similar to a pause function.
MUTE to
BLACK
Displayed if mute method presents a black screen.
Captions The captions mode displays captions present on the service. Note: The caption
options are set via the User Setting Menu, where the subscriber can enable closed
captions and select options.
1st Caption Row: Caption Detected:
OSD Display
708 EIA-708 captions detected.
608 EIA-608 captions detected.
608 and 708 Both EIA-608 and EIA-708 captions detected.
None No Captions detected.
2nd Caption Row: Caption Options Set, followed by Service Selected:
OSD Display
708 Set
xxxxxxxxxxxx
EIA-708 captions enabled, with options set by user.
708 Default
xxxxxxxxxxxx
EIA-708 captions enabled, with no options set by user.
608 Set
xxxxxxxxxxxx
EIA-608 captions enabled, with options set by user.
608 Default
xxxxxxxxxxxx
EIA-608 captions enabled, with no options set by user.
None Set Captions detected but not enabled.
CC 1 Closed Caption service CC 1 (default).
CC 2 Closed Caption service CC 2.
CC 3 Closed Caption service CC 3.
CC 4 Closed Caption service CC 4.
T 1 Closed Caption service T 1.
T 2 Closed Caption service T 2.
T 3 Closed Caption service T 3.

Diagnostics B
QIP7000 (P2) Series Hybrid QAM/IP HD Set-top Terminal • Installation Manual 59
574702-001 a This document is uncontrolled pending incorporation in a Motorola CMS
Field Description
T 4 Closed Caption service T 4.
Primary Lang Primary language established by the provider (default, Service 1).
Second Lang Secondary language established by the provider (Service 2).
Service 3 Set by the provider Service 3.
Service 4 Set by the provider Service 4.
Service 5 Set by the provider Service 5.
Service 6 Set by the provider Service 6.
Digital Subtitle Status The subtitle parameter indicates if subtitles are enabled and, if enabled, what
language is selected and if the subtitle is being rendered. The language is displayed
as the 3-character ISO639.2/B language code.
• Enabled is indicated with Yes or No.
• The language is displayed as the 3-character ISO639.2 language code.
• Enhanced mode is indicated with Yes or No.
• Rendered status is indicated with Yes or No.
Input Sources The input source list information on ADP Lock, Audio Mode, VP lock, and Input
Format.
The ADP Lock indicates whether the audio stream is locked. Valid values are
• YES: Audio Processor is locked to the audio stream.
• NO: Audio Processor is not locked to the audio stream.
Audio Mode indicates the audio Mode of in incoming digital service. Valid values
include:
• N/A: the audio mode is not applicable to the currently tuned stream.
• Mono: the audio mode is monophonic.
• Stereo: the audio mode is stereo.
• Surround: the audio mode is surround sound.
• 5.1: the audio mode is Dolby Digital 5.1 surround sound.
VP Lock indicates whether the video stream is locked. Valid values are:
• YES: Video Processor is locked to the video stream.
• NO: Video Processor is not locked to the video stream.
The input format includes the aspect ratio (4:3 or 16:9), the screen pixel size
(nnnnXnnnn), pixel display (‘i’ for interlaced, ‘p’ for progressive), and frames per
second (24, 25, 30, 60).

Diagnostics B
QIP7000 (P2) Series Hybrid QAM/IP HD Set-top Terminal • Installation Manual 60
574702-001 a This document is uncontrolled pending incorporation in a Motorola CMS
d11 Interface/Port Status
The Interface Status diagnostic displays when running in Thin Client. There is no front
panel display. The information on the OSD is updated when you display the diagnostic.

Diagnostics B
QIP7000 (P2) Series Hybrid QAM/IP HD Set-top Terminal • Installation Manual 61
574702-001 a This document is uncontrolled pending incorporation in a Motorola CMS

Diagnostics B
QIP7000 (P2) Series Hybrid QAM/IP HD Set-top Terminal • Installation Manual 62
574702-001 a This document is uncontrolled pending incorporation in a Motorola CMS
The Interface Status fields are:
Field Description
1394 I/O Device Indicates if enabled; indicates if active.
USB I/O Device Indicates if enabled; indicates if active.
Ethernet Device Indicates if enabled; indicates if active.
Parallel Port Indicates if enabled; indicates if active.
IR Xmit Indicates if enabled; indicates if active.
Hard Drive Status Indicates if enabled; indicates if active.
Smart Card Indicates if enabled; indicates if active.
HDMI Port If a device is connected to the HDMI port only, the following diagnostics display to help
troubleshoot the HDMI interface. They all display “N/A” if no device is connected to the
HDMI port or the value is invalid or cannot be retrieved.
• Device Connected — indicates whether a device is connected to the HDMI port —
Yes or No.
• Repeater — indicates whether the connected device is a repeater — Yes or No.
• Video Xmission (transmission) — Indicates whether the QIP7000 series is
transmitting video over the HDMI port — Not Active or Active.
• HDCP Enabled — Indicates whether the QIP7000 series is using HDCP to encrypt
video transmitted over the HDMI link — Yes or No. If the Video Xmission status is
Not Active, the HDCP Enabled status is No
• Output Format — Indicates the timing format of the video sent through HDMI:
• 1920 x 1080i — 1920 pixels wide by 1080 pixels high, interlaced
• 1280 x 720p — 1280 pixels wide by 720 pixels high, progressive
• 720 x 480p — 720 pixels wide by 480 pixels high, progressive
• 720 x 480i — 720 pixels wide by 480 pixels high, interlaced
• 640 x 480p — 640 pixels wide by 480 pixels high, progressive
Aspect Ratio — indicates the aspect ratio of the video sent through HDMI —
4:3 or 16:9.
EDID Data Indicates the video timing formats that were read from the Extended Display
Identification Data (EDID) register for the connected device, in particular the detailed
timing description blocks. The list displays all of the formats that the QIP7000 series
could read, up to a maximum of 12 formats. If the QIP7000 series cannot read any
formats, EDID Data is blank. An asterisk (*) after the aspect ratio means the QIP7000
series supports the format. If more than twelve video timing formats are discovered,
the supported formats only are listed first, followed by up to twelve remaining formats.

Diagnostics B
QIP7000 (P2) Series Hybrid QAM/IP HD Set-top Terminal • Installation Manual 63
574702-001 a This document is uncontrolled pending incorporation in a Motorola CMS
d12 User Setting Status
This diagnostic displays the user settings. The format may vary. The information on the
OSD and front panel is updated when you display the diagnostic.
The User Setting Status fields are:
Setting Description
TV Type Allows you to specify the style of television connected to the QIP set-top. Options
include 16:9, 4:3 LETTERBOX, and 4:3 PAN SCAN. The 16:9 option is the default
selection. The options are used as follows:
• 16:9 designates that a widescreen television is connected to the QIP set-top.
• 4:3 LETTERBOX designates that a standard screen television is connected to the
QIP set-top and that widescreen programs should be scaled to fit the screen with
black bars above and below the picture.
• 4:3 PAN SCAN designates that a standard screen television is connected to the
QIP set-top and that widescreen programs should be cropped so that the picture
fills the entire screen.
HDMI/YPbPr
Output
Allows you to specify the video output format of the QIP set-top for all content
(when the 4:3 override setting is Off) or for all 480p, 720p, and 1080i content (when
the 4:3 override is used). Options include 1080i, 720p, 480p, and 480i. By default,
the 1080i option is selected. The options are used as follows:
• 1080i — The QIP set-top will present programs in the High-Definition 1080i
format (1920 x 1080 pixels).
• 720p — The QIP set-top will present programs in the High-Definition 720p format
(1280 x 720 pixels).
• 480p — The QIP set-top will present programs in the Enhanced-Definition 480p
format (720 x 480 pixels).
• 480i — The QIP set-top will present programs in the Standard-Definition 480i
format (720 x 480 pixels).
Some televisions only support certain video formats. Please consult your
television’s user manual for more information on format compatibility.
The QIP set-top can detect when the HDMI connection is in use. If you are not
using the HDMI connection on the QIP set-top, the HDMI/YPbPr Output setting will
display as YPbPr Output in the User Settings Menu.

Diagnostics B
QIP7000 (P2) Series Hybrid QAM/IP HD Set-top Terminal • Installation Manual 64
574702-001 a This document is uncontrolled pending incorporation in a Motorola CMS
Setting Description
4:3 Override The 4:3 Override setting allows you to specify the video output format of the QIP
set-top when it is tuned to a Standard-Definition program or playing back a
Standard-Definition program from the DVR. Options include 480i, 480p, Stretch, and
Off. By default, the 480i option is selected. The options are used as follows:
• 480i — The QIP set-top will present standard-definition programs in the Standard-
Definition 480i format (720 x 480 pixels).
• 480p — The QIP set-top will present standard-definition programs in the
Enhanced-Definition 480p format (720 x 480 pixels).
• Stretch — The QIP set-top will automatically stretch all Standard-Definition
programs to a widescreen aspect ratio and present the video in the format
designated by the HDMI/YPbPr Output setting. Note that the Stretch option is
only available when the TV Type setting is 16:9.
• Off—The QIP will create a widescreen version of a Standard-Definition program
by adding black bars to the left and the right of the picture and present the video
in the format designated by the HDMI/YPbPr Output setting.
Some televisions may only support certain video formats. Please consult your
television’s user manual for more information on format compatibility.
If the HDMI/YPbPr Output setting is 480i, the 4:3 Override feature is disabled and is
no longer selectable in the menu. The 4:3 Override feature is available when the
HDMI/YPbPr Output setting is 1080i, 720p, or 480p.
Closed
Caption
Turns closed captions off or on. The front panel display indicates the status of the
closed captions. Defaults to DISABLED. Options are ENABLED or DISABLED.
Service
Selection
Sets the service used for closed captions:
• Analog: CC1, CC2, CC3, CC4, T1, T2, T3, or T4. The default is CC1.
• Digital: PRIMARY LANGUAGE, SECONDARY LANGUAGE, 3, 4, 5, or 6. The
default is PRIMARY LANGUAGE.
Font Size Sets the font size for closed captions. Defaults to AUTO. Options are AUTO,
STANDARD, LARGE, or SMALL.
Font Style Sets the font style for closed captions. Defaults to AUTO. Options are AUTO,
MONO SERIF, PROPORTION SERIF, MONO NO SERIF, PROPORTION NO SERIF,
CASUAL, CURSIVE, or SMALL.
Font Color Sets the font color. Defaults to AUTO. Options are AUTO, WHITE, BLACK, RED,
GREEN, BLUE, YELLOW, MAGENTA, or CYAN.
Font Opacity Sets the opacity. Defaults to AUTO. Options are AUTO, TRANSPARENT,
TRANSLUCENT, SOLID, or FLASHING.
Font Edge
Type
Sets the edge appearance — AUTO, NONE, RAISED, DEPRESSED, UNIFORM,
LEFT SHADOWED, or RIGHT SHADOWED. The default is AUTO.
Font Edge
Color
Sets the edge color — AUTO, WHITE, BLACK, RED, GREEN, BLUE, YELLOW,
MAGENTA, or CYAN. The default is AUTO.
Background
Color
Sets the background color for closed captions. Defaults to AUTO. Options are
AUTO, WHITE, BLACK, RED, GREEN, BLUE, YELLOW, MAGENTA, or CYAN.
Background
Opacity
Sets the background opacity for closed captions. Defaults to AUTO. Options are
AUTO, TRANSPARENT, TRANSLUCENT, SOLID, or FLASHING.
Settings Sets the default settings for closed captions (AUTO) or the settings you have
configured (USER). Defaults to AUTO. Options are AUTO or USER.
Restore All
Defaults
To reset all User Settings to their defaults, select this option and press the ► key.

Diagnostics B
QIP7000 (P2) Series Hybrid QAM/IP HD Set-top Terminal • Installation Manual 65
574702-001 a This document is uncontrolled pending incorporation in a Motorola CMS
d13 DVR/Hard Drive Status
This two-page diagnostic displays the DVR and hard-drive status.

Diagnostics B
QIP7000 (P2) Series Hybrid QAM/IP HD Set-top Terminal • Installation Manual 66
574702-001 a This document is uncontrolled pending incorporation in a Motorola CMS
The DVR/Hard Drive Status fields are:
Field Description
Enabled Indicates whether the DVR is enabled, based on the QIP7000 series Connected
State (CONNECTED or DISCONNECTED) and resource availability (resource
authorized; hard disk installed and functional):
OSD Front Panel Description
True En DVR enabled
False Un DVR disabled
Stream Indexer
Ver.
The stream indexer version number, without leading zeros; for example,
version 0000000065 is displayed as “65”.
Content Record
Ver.
The content record version number, displayed without leading zeros.
Drive The drive type — IDE (internal), 1394, USB (external), or NOT AVAILABLE
(neither enabled nor configured).
Record Capacity
Remaining
The remaining recording capacity, in bytes.
Number of
Installed Drives
The number of internal and external hard drives, up to a maximum of 9.
Drive The identification number sequentially assigned to each installed drive and
whether the drive is Internal or External.
Model Number The drive model number assigned at the factory.
Device ID A text string of up to 20 characters that identifies the disk drive; “N/A” is
displayed if the value is invalid or cannot be retrieved.
Type The drive type — IDE, 1394, USB, or Unknown).
Total Size The drive size in decimal GB. (1 decimal GB = 1x109 bytes. For example,
120 decimal GB = 120x109 bytes).
System, GPFS,
DVR Content,
and DVR Index
The space used and allocated in MB for each of the internal hard drive’s
partitions —System, GPFS, DVR Content, and DVR Index (1 binary MB = 220
bytes). “N/A” displays if the value is invalid or cannot be retrieved.
State The hard drive state:
Standby — The hard drive is working normally, but is at rest (the State returns
to Active any time disc access is necessary).
Active — The hard drive is accessing data.
Failed — The hard drive hardware has failed.
Temp (F) For an internal hard drive only, its temperature in degrees F.
Max Temp For an internal hard drive only, its maximum temperature in degrees F.
Over Temp Indicates whether the drive is excessively hot:
Yes — The internal drive temperature exceeds 140º F (60º C). The front panel
Over-Temp Indicator is on and remains lit until the next over-temp sample is
taken (at least once an hour).
No — There is no over-temp problem.
Count The cumulative number of times that the hard drive temperature has been
measured over 60º C, with the temperature checked at least once an hour.

Diagnostics B
QIP7000 (P2) Series Hybrid QAM/IP HD Set-top Terminal • Installation Manual 67
574702-001 a This document is uncontrolled pending incorporation in a Motorola CMS
d14 Application Specific Information
This diagnostic displays information about application servers:
The Application Specific Information fields are:
Field Description
Server# Name The application server name of up to 14 alphanumeric characters. It is
blank if the value is invalid or no value can be retrieved.
Srvr # IP Addr The application server’s IP address in dotted-decimal format
xxx.xxx.xxx.xxx; each xxx is from 0 to 255. It is blank if the value is
invalid or no value can be retrieved.

Diagnostics B
QIP7000 (P2) Series Hybrid QAM/IP HD Set-top Terminal • Installation Manual 68
574702-001 a This document is uncontrolled pending incorporation in a Motorola CMS
d15 Interactive Status
This diagnostic describes the interactive information that is displayed only when Thin
Client platform is running. The information on the OSD and front panel is updated at least
once every 5 seconds while the diagnostic is displayed. This is an example of a code
module display with status descriptions:
Figure 30 – Interactive status front panel display
The Interactive Status fields are:
Field Description
IP Address The IP address in dotted-decimal format xxx.xxx.xxx.xxx assigned by the NC
1500 to the QIP7000 series. 0.0.0.0 is displayed if the IP address is not
configured or unknown.
Downstream ID A four-digit decimal value from 0000 to 9999 assigned by the DAC 6000 to the
QIP7000 series. 0000 is displayed if the Downstream ID is not configured or if
it is unknown.
State The interactive status of the QIP7000 series:
Front
panel
OSD Description
U UNCONFIG The QIP7000 series is not configured for
the interactive system, and the platform
should run as pre-interactive.
C MAC_CONNECT The QIP7000 series is waiting to establish

Diagnostics B
QIP7000 (P2) Series Hybrid QAM/IP HD Set-top Terminal • Installation Manual 69
574702-001 a This document is uncontrolled pending incorporation in a Motorola CMS
Field Description
connection to MAC PID Stream.
I dc INIT_WAIT_DC_OR_C The QIP7000 series is in the interactive
initialization state and waiting for the
default configuration or the contention
channel list messages.
I L WAIT_LM_ACK The QIP7000 series is in the interactive
initialization state and waiting for Link
Management Response ACK for Local
Address Message.
I SO WAIT_SO_ACK The QIP7000 series is in the interactive
initialization state and waiting for a Sign On
acknowledgement.
I LA WAIT_LA_OR_SO The QIP7000 series is in the interactive
initialization state and waiting for Logical
Address or Sign On with verification
Frequency message.
S I INIT_STOPPED The QIP7000 series is in the interactive
initialization state and the TransMode has
stopped.
r dc RUN_WAIT_DC_OR_C The QIP7000 series is in the interactive
state and waiting for the default
configuration or the contention channel list
messages.
r RUNNING Interactive state is running, sending idle
messages, and waiting for any prepare for
poll or MAC messages.
S RUN_STOPPED The interactive run state has stopped and
the QIP7000 series is waiting for status or
a transmission control message.
00 INVALID The interactive state is unknown or invalid.
MAC Abort Cntr This counter increments every time the MAC layer reaches the cell abort count
limit. It is reset when the QIP7000 series receives an ACK. If the counter
reaches the MAC abort count limit, the QIP7000 series assumes the MAC layer
is unavailable due to noise, congestion, or some other problem. The QIP7000
series stops transmitting data, reports an error to the calling function, and
attempts to re-enter the network using the initialization process. 0000 is
displayed as the default or if the MAC Abort CNTR is not configured or
unknown.
Socket Port
State
The socket mode and activity:
• UNUSED — The socket is not being used.
• OPENED — The socket is open.
• READY — The socket is ready to send or receive.
• RECEIVING — The socket is receiving data from the application server.
• SENDING — The socket is sending data to the application server.
• UNKNOWN — The socket state is invalid or unknown.

Diagnostics B
QIP7000 (P2) Series Hybrid QAM/IP HD Set-top Terminal • Installation Manual 70
574702-001 a This document is uncontrolled pending incorporation in a Motorola CMS
d16 Connected Home
This diagnostic displays the MoCA network status:
CONNECTED HOME STATUS
RF Freq: 1150 MHz
MoCA Node/ Set-top
Node
Dev (#Ses)/
Ver
MAC/IP
-/1 M ETerm (0)
02.51
xx:xx:xx:xx:xx:xx
169.254.001.xxx
-/2 EHub (2)
02.51
xx:xx:xx:xx:xx:xx
169.254.001.xxx
-/3 ETerm (1)
02.51
xx:xx:xx:xx:xx:xx
169.254.001.xxx
-/4 ETerm (0)
02.51
xx:xx:xx:xx:xx:xx
169.254.001.xxx
3/5 ETerm (0)
02.51
xx:xx:xx:xx:xx:xx
169.254.001.xxx
0/- ETerm (0)
02.51
xx:xx:xx:xx:xx:xx
169.254.001.002
The Connected Home Status fields are:
Field Description
RF Freq Displays the frequency of the MoCA RF channel in use by the set-top, in
MHz, from 1150 to 1500 MHz. The default is 1150 MHz.
Table Displays data from each detected MoCA set-top:
• * — Indicates the set-top on which you are viewing the diagnostic
• N — Indicates the MoCA network coordinator.
• M — Indicates the master set-top.
The columns are:
• MoCA Node/Set-top Node — Displays the MoCA node ID, which can be
0 to 8.
• Dev — ETerm indicates a media terminal. EHub indicates a media hub.
• (#Ses) — The Number actually shown on the screen is actually the number
of sessions on the Hub's hard drive.
a. There is always one session on a working hard drive. This session
supports the pause function.
b. There are 0 or 1 additional sessions, depending if the Hub is recording
something or not.
c. There is 1 more session if the Hub user is playing back a recorded
session on the hub itself.
d. There are 1 or two sessions if terminal(s) are playing MRDRV sessions.
Ver — Displays the MoCA software version in xx.yy format (for example,
02.51).
MAC/IP — Displays the MAC address and the link-local IP address
169.254.001.xxx; xxx ranges from 0 to 255.

Diagnostics B
QIP7000 (P2) Series Hybrid QAM/IP HD Set-top Terminal • Installation Manual 71
574702-001 a This document is uncontrolled pending incorporation in a Motorola CMS
Scrolling down displays a table showing the Transmission (TX) Data Rate between
Nodes for up to 8 nodes, in Mbps. The MoCA Node IDs displayed on this table are the
same as on the Connected Home Status screen.
Table 7 – TX Data Rate
Connected Home Link Status
TX Data Rate Between Nodes (Mbps)
Collecting Data: Complete
To Node 0 1 2 3 4
From Node
0 *** 253 233 253 253
1 234 *** N/A N/A N/A
2 253 N/A *** N/A N/A
3 233 N/A N/A *** N/A
4 253 N/A N/A N/A ***
5 N/A N/A N/A N/A N/A
6 N/A N/A N/A N/A N/A
7 N/A N/A N/A N/A N/A
Note: In the example above, the speed between any STB and the router is important for
troubleshooting and VOD problems.
Note: Additionally, the speed between any terminal and the HUB is important for
troubleshooting MRDVR problems.
The Connected Home Link Status fields are:
Field Description
Collecting Data Displays the data collection status: In Progress or Complete.
To Node (column heading) The column shows the data rate to the device.
From Node (row heading) The row shows the data rate from the device.
If any of the following warning indicators is displayed next to a MoCA Node ID, perform
remediation as described in IP Network Issues in Section 5, Troubleshooting:
• Bw — The node has a link supporting less than 100 Mbps (the associated BHR RF
LED will also be blinking).
• Fr — The node received significant packet errors caused by thermal noise or
interfering signals.
• Pw — There is insufficient power at the node.

Diagnostics B
QIP7000 (P2) Series Hybrid QAM/IP HD Set-top Terminal • Installation Manual 72
574702-001 a This document is uncontrolled pending incorporation in a Motorola CMS
d17 Key Pad / LED Test
This diagnostic verifies the functionality of the front panel indicators and the front-panel
keypad. Each highlighted character corresponds with a front-panel key press.

Troubleshooting B
QIP7000 (P2) Series Hybrid QAM/IP HD Set-top Terminal • Installation Manual 73
574702-001 a This document is uncontrolled pending incorporation in a Motorola CMS
5 Troubleshooting
Troubleshooting guidelines follow. If problems still occur after performing the
diagnostics, call the TRC for assistance as described in the Introduction.
Table 8 – Troubleshooting Guidelines
Problem Possible Solution
The QIP set-top
will not power on
The QIP set-top may have received a software update and may not power on
while the new software is being installed. Try again in a few minutes.
• Verify that the AC power cord is connected to the QIP set-top and an AC
outlet. Unplug the QIP set-top from the AC outlet, plug it back in, and then
press the POWER button.
• If the QIP set-top is connected to a switched outlet on another unit, verify
that that unit is powered on. Unplug the power cord from the QIP set-top’s
AC outlet, plug it back it in, and then press the POWER button. It is
recommended that you use an unswitched outlet, if possible.
• Press the POWER button on the QIP set-top’s front panel instead of the
remote control. The batteries in the remote control may be depleted.
The remote control
does not work
• Verify that the remote control is in “STB” mode.
• Verify that there are no obstructions between the remote control and the
QIP set-top. Aim the remote control directly at the QIP set-top front panel,
not the TV or VCR.
The angle between the remote control and the QIP set-top may be too large.
Stand in front of the QIP set-top and not too far to either side.
• Press and release operation keys one at a time, firmly and deliberately.
• Try changing channels using the buttons on the QIP set-top front panel.
• Check the batteries in the remote control. Install new batteries if needed.
There is no audio
when viewing
cable channels
• Verify that the mute button on the QIP set-top or the remote control has
not been pressed. Press MUTE on the remote control to restore sound.
• If the QIP set-top audio output is connected to the TV, verify that the mute
button on the TV has not been pressed.
• If the QIP set-top audio output is connected to a home theater receiver,
verify that the receiver is set to the appropriate input source and the mute
button on the receiver has not been pressed.
• Verify that you have the correct cables for the audio connections.
• Verify that the audio cables are firmly connected between the QIP set-top
and the audio playback device (TV, receiver, DVD player, etc.).

Troubleshooting B
QIP7000 (P2) Series Hybrid QAM/IP HD Set-top Terminal • Installation Manual 74
574702-001 a This document is uncontrolled pending incorporation in a Motorola CMS
Problem Possible Solution
There is no audio
from the center
and/or surround
speakers of a
home theater
receiver connected
to the QIP set-top
Not all Dolby® Digital programs feature full 5.1 surround sound. In some
cases, the programs may only contain left and right stereo audio.
• Verify that the S/PDIF cable (coaxial or optical) is firmly connected to the
QIP set-top and the home theater receiver.
• Verify that the home theater receiver is set to a surround sound audio
mode (Dolby Digital, Dolby Pro Logic II®, Dolby Pro Logic®).
• Verify that the receiver is properly configured to work with all connected
speakers.
There is no video
on the TV screen
• Verify that the TV is powered on and set to the appropriate input source for
the QIP set-top.
• Verify that the QIP set-top is powered on and tuned to an authorized cable
channel.
• Verify that all video cables between the QIP set-top and the TV are firmly
connected.
• Verify that the coaxial cable feed is firmly connected to the QIP set-top and
the wall jack.
• If the QIP set-top video output is connected to a home theater unit, verify
that the home theater unit is powered on and set to the appropriate input
source.
• If the QIP set-top video output is connected to a TV through an HDMI
connection, power off the TV and then power off the QIP set-top. Wait one
second and then power on the devices.
Not all HDTVs can display every output format (1080i, 720p, 480p, or 480i)
available on the QIP set-top. To select a different format:
1. Ensure that your QIP set-top is plugged into a power outlet and is turned
off.
2. Ensure the TV is turned on and tuned to the appropriate channel for the
set-top
3. Press the MENU key on the front panel. Your settings are displayed on
the QIP set-top front panel display.
4. Use the ▲ and ▼ keys on the front panel to display the HDMI/YPbPr
OUTPUT setting.
5. Press the ► key to cycle through the available output formats until a
picture displays on the TV.
No graphics or
program guides
appear on the TV
screen
If you use the IEEE-1394 connection, on-screen graphics, including closed
captions and program guides, are not displayed by the QIP set-top. On-
screen graphics and captions may still be overlaid by your TV, if enabled.
Alternatively, use HDMI or component video instead.
No closed captions
display
• Verify on the User Settings menu that closed captions are enabled on the
QIP set-top.
• Verify that closed captions are enabled on the TV.
Note: Closed captioning may not be available on the current program.
There are black
bars to the right
and left of the
picture
Widescreen TVs display 4:3 programs in this format unless set to Stretch.
Turn on the 4:3 OVERRIDE feature in the User Settings menu. This enables
most widescreen TVs to stretch the video to fill the screen (see your TV
manual for information about stretching 4:3 video).
• If the QIP7000 series is connected to a widescreen TV, verify that the TV
TYPE is set to 16:9 in the User Settings menu.
Many HD programs are broadcast in pillar-box format with black bars to the
left and right of the picture. These programs are broadcast in 16:9 HD
formats, even though the video is not 16:9.

Troubleshooting B
QIP7000 (P2) Series Hybrid QAM/IP HD Set-top Terminal • Installation Manual 75
574702-001 a This document is uncontrolled pending incorporation in a Motorola CMS
Problem Possible Solution
There are black
bars above and
below the picture
All 4:3 HDTVs display HD programs in letterbox format (black bars above and
below the picture) because of the shape of the display screen.
• Turn on the 4:3 OVERRIDE feature in the User Settings menu. This
enables most standard screen TVs to display a full screen picture when the
QIP7000 series is tuned to a 4:3 program.
• Set the TV TYPE to 4:3 Pan-Scan. This enables the QIP7000 series to
remove the black bars above and below the picture when possible.
Some SD programs are broadcast in the letterbox format with black bars
above and below the picture. Some widescreen TVs offer a zoom feature
that may be able to remove the black bars (see your TV manual for
information about zooming 4:3 video).
There are black
bars on all four
sides of the picture
This may occur on a 4:3 TV if the 4:3 OVERRIDE setting is OFF. To set 4:3
SD programming to fill the screen, depending on the capabilities of the TV,
set 4:3 OVERRIDE to 480i or 480p.
This may occur on a 16:9 TV if the active video for an SD broadcast is in
letterbox format. To confirm, wait for a commercial or look for a graphic,
such as a network logo. If the commercial fills the screen from top to
bottom, or the graphic appears below the active video, the program is being
letterboxed by the broadcaster. You can minimize this by activating the zoom
feature on the TV.
A broadcaster may include black bars on either side of a widescreen
broadcast. This is called a “hybrid” aspect ratio and results in a black border
surrounding the video on a 4:3 TV. Because this is part of the broadcast, the
QIP7000 series cannot correct the video. You may be able to minimize the
border using the zoom feature on the TV.
Colors do not
appear correctly
Be sure to match up each signal to the same YPbPr connection on the TV.
Otherwise, colors will not appear correctly on your TV.
The QIP set-top is
making a humming
noise
The QIP7200 includes an integrated hard drive and a fan for cooling. During
normal operation, the QIP7200 emits a low humming noise, similar to a
personal computer. The noise varies in volume occasionally when the speed
of the internal fan adjusts to changes in the temperature around the QIP set-
top. Please note the hard drive will stay on even when the QIP7200 is turned
off (standby).

Troubleshooting B
QIP7000 (P2) Series Hybrid QAM/IP HD Set-top Terminal • Installation Manual 76
574702-001 a This document is uncontrolled pending incorporation in a Motorola CMS
IP Network Issues
Insufficient RF Network Throughput
If the RF light on the BHR is flashing after you connect it to a set-top, use the Connected
Home Status diagnostic to display the data rate for each MoCA network link (see
Troubleshooting)
The Transmit data rate between each MoCA node is shown on the Link Status page. The
MoCA node can be correlated to the MAC address of each device on the Connected
Home diagnostic.
The Link Status table also shows which MoCA nodes have insufficient throughput
between links (evident by the ‘Bw’ indicator that precedes the MoCA node ID). Make
note of the MoCA node ID on the Link Status page and the associated MAC address on
the preceding Connected Home page for each device to track insufficient RF Network
Throughput.
The Link Status page displays a table with entries for each MoCA network device:
1. Rows and columns representing each MoCA device on the network are labeled with
the MoCA Node ID.
2. In the Link Status table, asterisks (***) are displayed when there is no link, i.e., the
‘To Node’ = ‘From Node’.
If all displayed Data Rates in the Link Status table are above the required threshold and
the ‘Bw’ indicator does not appear, the network links to the BHR are normal.
If any displayed Data Rate is below the required threshold, the network may not meet
the throughput requirements. Replace the splitter nearest the ONT with a 2 GHz splitter.
After replacing the splitter, reenter the OSD diagnostics for Link Status. If all Data Rates
are above the required threshold, the network links to the connected BHR are normal. If
any Data Rate remains below the required threshold, continue replacing splitters until all
Data Rates are above the required threshold.
If you have replaced every splitter and any Data Rate remains below the required
threshold, there may be a faulty coaxial cable in one or more branches.
A difference of 10 to 20 Mbps in the To and From rates for the same connection may
indicate an active device, such as an in-line amplifier, in the coaxial cable between the
two devices. See “Bypassing” an Amplifier below.
As long as the RF light on the BHR continues to flash, repeat this procedure.
If you make any changes, repeat all tests.

Troubleshooting B
QIP7000 (P2) Series Hybrid QAM/IP HD Set-top Terminal • Installation Manual 77
574702-001 a This document is uncontrolled pending incorporation in a Motorola CMS
Bypassing an Amplifier
To bypass the MoCA signal around an in-line amplifier that cannot handle two-way traffic
nor has insufficient bandwidth for MoCA:
1. Locate the line amplifier by tracing the coaxial cable back towards the ONT.
2. Disconnect the existing RF cable from the amplifier.
3. Move the existing amplifier to a position near the point of entry.
As shown in the figure below, connect each existing coaxial cable to the diplexer.
Connect a new coaxial cable between the high pass ports on the diplexers. Connect the
existing amplifier between the low pass ports on the diplexers.
Existing Line Amp
to
Root
Node
to
NIM
Install Line Amp between
the Low-Pass ports on the
Diplexers
Install straight Coax
between the High-Pass
ports on the Diplexers
Figure 31 – Using a diplexer to bypass a line amplifier
m
Motorola, Inc.
101 Tournament Drive
Horsham, PA 19044 U.S.A.
http://www.motorola.com
574702-001 a 09/2009