Multiquip Chainsaw Mt 74Fa Users Manual Rammer REV 3.PMD
mt74fa ad9b4878-79b4-48ac-a717-264305153b0a Multiquip Chainsaw MT-74FA User Guide |
2015-02-09
: Multiquip Multiquip-Multiquip-Chainsaw-Mt-74Fa-Users-Manual-558255 multiquip-multiquip-chainsaw-mt-74fa-users-manual-558255 multiquip pdf
Open the PDF directly: View PDF
.
Page Count: 50

OPERATION AND PARTS MANUAL
Revision #3 (11/08/07)
SERIES
MODEL MT-74FA
TAMPING RAMMER
(ROBIN GASOLINE ENGINE)
THIS MANUAL MUST ACCOMPANY THE EQUIPMENT AT ALL TIMES.
To find the latest revision of this
publication, visit our website at:
www.multiquip.com

PAGE 2 — MT-74FA — OPERATION AND PARTS MANUAL — REV. #3 (11/08/07)
MT-74FA — PROPOSITION 65 WARNING

MT-74FA — OPERATION AND PARTS MANUAL — REV. #3 (11/08/07) — PAGE 3
NOTE PAGE

PAGE 4 — MT-74FA — OPERATION AND PARTS MANUAL — REV. #3 (11/08/07)
MT-74FA — TABLE OF CONTENTS
Multiquip Tamping Rammer
MT-74FA
Proposition 65 Warning ......................................... 2
Table Of Contents ................................................. 4
Parts Ordering Procedures ................................... 5
Safety Message Alert Symbols .......................... 6-7
Rules For Safe Operation ..................................8-9
Operation and Safety Decals .............................. 10
General Information ............................................ 11
Specifications ...................................................... 12
Controls and Components .................................. 13
Operation .......................................................14-16
Maintenance ....................................................... 17
Troubleshooting Guide ...................................18-19
Explanation Of Codes In Remarks Column ........ 20
Suggested Spare Parts ....................................... 21
Name Plate and Decals .................................22-23
Crankcase and Engine Assembly ..................24-27
Guide Cylinder and Foot Assembly ...............28-29
Tank and Handle Assembly ...........................30-33
ROBIN EH-12-2D46420
ENGINE
Crankcase and Cylinder Assembly ................34-35
Crankshaft and Piston Assembly ...................36-37
Muffler, Air Cleaner, Camshaft,& Carb. Assy. .38-39
Governor Assembly .......................................40-41
Recoil Starter and Blower Assembly .............42-43
Magneto Assembly ........................................44-45
Carburetor Assembly .....................................46-47
Terms and Condition Of Sale — Parts ................ 48
Specification and part number are
subject to change without notice.
NOTE

MT-74FA — OPERATION AND PARTS MANUAL — REV. #3 (11/08/07) — PAGE 5
www.multiquip.com
Ordering parts has never been easier!
Choose from three easy options:
WE ACCEPT ALL MAJOR CREDIT CARDS!
When ordering parts, please supply:
❒❒
❒❒
❒
Dealer Account Number
❒❒
❒❒
❒
Dealer Name and Address
❒❒
❒❒
❒
Shipping Address (if different than billing address)
❒❒
❒❒
❒
Return Fax Number
❒❒
❒❒
❒
Applicable Model Number
❒❒
❒❒
❒
Quantity, Part Number and Description of Each Part
❒❒
❒❒
❒
Specify Preferred Method of Shipment:
✓
UPS/Fed Ex
✓ DHL
■
Priority One
✓
Tr uck
■
Ground
■Next Day
■
Second/Third Day
All orders are treated as
Standard Orders
and will ship the same day if received prior
to 3PM PST.
If you have an MQ Account, to obtain a
Username and Password, E-mail us at:
parts@multiquip.com.
To obtain an MQ Account, contact you
r
District Sales Manager for more information.
Order via Internet (Dealers Only):
Order parts on-line using Multiquip’s SmartEquip website!
■
View Parts Diagrams
■
Order Parts
■
Print Specification Information
Note: Discounts Are Subject To Change
Goto www.multiquip.com and click on
Order Parts to log in and save!
Use the
internet
and qualify for a 5% Discount
on
Standard orders
for all orders which include
complete part numbers.*
Order via Fax (Dealers Only):
All customers are welcome to order parts via Fax.
Domestic (US) Customers dial:
1-800-6-PARTS-7 (800-672-7877)
Fax
your order in and qualify for a 2% Discount
on
Standard orders
for all orders which include
complete part numbers.*
Order via Phone: Domestic (US) Dealers Call:
1-800-427-1244
Best Deal!
International Customers
should contact
their local Multiquip Representatives for
Parts Ordering information.
Non-Dealer Customers:
Contact your local Multiquip Dealer for
parts or call 800-427-1244 for help in
locating a dealer near you.
Note: Discounts Are Subject To Change
Effective:
January 1st, 2006

PAGE 6 — MT-74FA — OPERATION AND PARTS MANUAL — REV. #3 (11/08/07)
Safety precautions should be followed
at all times when operating this
equipment. Failure to read and
understand the Safety Messages and
Operating Instructions could result in
injury to yourself and others.
FOR YOUR SAFETY AND THE SAFETY OF OTHERS!
This Owner's Manual has been
developed to provide complete
instructions for the safe and efficient
operation of the MQ Mikasa Model
MT-74FA Tamping Rammer. Refer to
the engine manufacturers instructions
for data relative to its safe operation.
SAFETY MESSAGE ALERT SYMBOLS
The three (3) Safety Messages shown below will inform you
about potential hazards that could injure you or others. The
Safety Messages specifically address the level of exposure to
the operator, and are preceded by one of three words: DANGER,
MT-74FA — SAFETY MESSAGE ALERT SYMBOLS
NOTE
You WILL be
KILLED
or
SERIOUSLY INJURED
if you DO NOT follow these directions.
You CAN be KILLED or
SERIOUSLY INJURED
if
you DO NOT follow these directions.
You CAN be
INJURED
if you DO NOT follow
these directions.
CAUTICAUTI
CAUTICAUTI
CAUTION
DANGERDANGER
DANGERDANGER
DANGER
WARNINGWARNING
WARNINGWARNING
WARNING
Lethal Exhaust Gases
HAZARD SYMBOLS
Potential hazards associated with the operation of a
MT-74FA Tamping Rammer
will be referenced with Hazard
Symbols which appear throughout this manual, and will be
referenced in conjunction with Safety Message Alert
Symbols.
Engine exhaust gases contain
poisonous carbon monoxide. This gas
is colorless and odorless, and can
cause death if inhaled. NEVER operate
this equipment in a confined area or
enclosed structure that does not provide
ample free flow air.
Gasoline is extremely flammable, and
its vapors can cause an explosion if
ignited. DO NOT start the engine near
spilled fuel or combustible fluids.
DO NOT fill the fuel tank while the engine is running or
hot. DO NOT overfill tank, since spilled fuel could ignite if
it comes into contact with hot engine parts or sparks from
the ignition system. Store fuel in approved containers, in
well-ventilated areas and away from sparks and flames.
Engine components can generate extreme
heat. To prevent burns, DO NOT touch
these areas while the engine is running or
immediately after operations. Never
operate the engine with heat shields or heat
guards removed.
ALWAYS wear approved
respiratory
protection when required.
Lethal Exhaust Gas Hazards
WARNINGWARNING
WARNINGWARNING
WARNING
Explosive Fuel Hazards
WARNINGWARNING
WARNINGWARNING
WARNING
Burn Hazards
WARNINGWARNING
WARNINGWARNING
WARNING
Respiratory Hazards
WARNINGWARNING
WARNINGWARNING
WARNING
Before using this rammer, ensure that the operating
individual has read and understands all instructions in this
manual.

MT-74FA — OPERATION AND PARTS MANUAL — REV. #3 (11/08/07) — PAGE 7
MT-74FA — SAFETY MESSAGE ALERT SYMBOLS
ALWAYS place the ON/OFF switch in
the OFF position when the rammer is
not in use.
ALWAYS wear approved eye and
hearing protection.
NEVER operate equipment with covers,
or guards removed. Keep fingers, hands,
hair and clothing away from all moving
parts to prevent injury.
Rotating Parts Hazards
CAUTIONCAUTION
CAUTIONCAUTION
CAUTION
Accidental Starting Hazards
CAUTIONCAUTION
CAUTIONCAUTION
CAUTION
Eye and Hearing Hazards
CAUTIONCAUTION
CAUTIONCAUTION
CAUTION
Other important messages are provided throughout this
manual to help prevent damage to your light tower, other
property, or the surrounding environment.
Equipment Damage
Hazards
CAUTIONCAUTION
CAUTIONCAUTION
CAUTION
NEVER refuel rammer when placed in truck bed with
plastic liner. The possibility exists of explosion due to static
electricity. When adding fuel, remove rammer from truck
bed and place on ground.
Refueling Hazard
DANGERDANGER
DANGERDANGER
DANGER

PAGE 8 — MT-74FA — OPERATION AND PARTS MANUAL — REV. #3 (11/08/07)
The following safety guidelines should always be used when
operating the MT-74FA Tamping Rammer:
GENERAL SAFETY
■
DO NOT operate or service this
equipment before reading this entire
manual.
■
This equipment should not be operated by persons under
18 years of age.
■
NEVER operate this equipment without proper protective
clothing, shatterproof glasses, steel-toed boots and other
protective devices required by the job.
■
High Temperatures – Allow the engine to cool before
adding fuel or performing service and maintenance
functions. Contact with
hot!
components can cause serious
burns.
■
The engine section of this rammer requires an adequate
free flow of cooling air.
NEVER
operate the rammer in
any enclosed or narrow
area where free flow of the
air is restricted. If the air
flow is restricted it will
cause serious damage to
the rammer or engine and
may cause injury to people.
Remember the rammer's
engine gives off
DEADLY
carbon monoxide gas.
■
ALWAYS refuel in a well-ventilated area, away from
sparks and open flames.
■
ALWAYS use extreme caution when working with
flammable liquids. When refueling, stop the engine and
allow it to cool. DO NOT
smoke
around
or near the machine. Fire or explosion
could result from fuel vapors, or if fuel
is spilled on a hot engine.
■
NEVER operate the rammer in an
explosive atmosphere or near
combustible materials. An explosion or fire could result
causing severe
bodily harm or even death.
DANGERDANGER
DANGERDANGER
DANGER
Failure to follow instructions in this manual may lead
to serious injury or even death! This equipment is to
be operated by trained and qualified personnel only!
This equipment is for industrial use only.
■
NEVER operate this equipment under the influence of
drugs
or
alcohol
.
Read this manual!
■
NEVER touch the hot exhaust
manifold, muffler or cylinder. Allow
these parts to cool before servicing
engine or rammer.
■
ALWAYS wear proper respiratory (mask),
hearing and eye protection equipment when
operating the rammer.
■
Whenever necessary, replace nameplate, operation and
safety decals when they become difficult read.
■
Manufacturer does not assume responsibility for any
accident due to equipment modifications.
■
NEVER use accessories or attachments, which are not
recommended by Multiquip for this equipment. Damage
to the equipment and/or injury to user may result.
■
NEVER operate this equipment when not
feeling well due to fatigue, illness or taking
medicine.
MT-74FA — RULES FOR SAFE OPERATION
■
Topping-off to filler port is dangerous, as it tends to spill
fuel.
■
Stop the engine when leaving the rammer unattended.
■
Maintain this equipment in a safe operating condition at
all times.
■
DO NOT
smoke
around or near the
machine. Fire or explosion could result
from fuel vapors, or if fuel is spilled on a
hot engine.

MT-74FA — OPERATION AND PARTS MANUAL — REV. #3 (11/08/07) — PAGE 9
■
ALWAYS stop the engine before servicing, adding fuel and
oil.
■
NEVER run engine without air filter. Severe engine may
occur.
■
ALWAYS service air cleaner frequently to prevent carburetor
malfunction.
■
ALWAYS check the machine for loosened threads or bolts
before starting.
■
ALWAYS be sure the operator is familiar with proper safety
precautions and operations techniques before using rammer.
■
ALWAYS store equipment properly when it is not being used.
Equipment should be stored in a clean, dry location out of
the reach of children.
■
DO NOT operate this equipment unless all guards and
safety devices are attached and in place.
■
CAUTION must be exercised while servicing this equipment.
Rotating and moving parts can cause injury if contacted.
■
Keep all
inexperienced
and
unauthorized
people away
from the equipment at all times.
■
Unauthorized equipment modifications will void all
warranties.
■
NEVER pour or spray water over the engine.
■
Test the engine ON
/OFF
switch before operating. The
purpose of this switch is to shut down the engine of the
rammer.
■
Refer to the
ROBIN Engine Owner's Manual
for engine
technical questions or information recommended by
Multiquip for this equipment.
TRANSPORTING
■
ALWAYS shutdown engine before transporting.
■
Tighten fuel tank cap securely and close fuel cock to
prevent fuel from spilling.
■
Drain fuel when transporting rammer over long distances
or bad roads.
■
When placing the rammer inside a truck-bed for transport,
always tie-down the rammer
MAINTENANCE
■
NEVER lubricate components or attempt service on a
running rammer.
■
ALWAYS allow the rammer a proper amount of time to
cool before servicing.
■
Keep the rammer in proper running condition.
■
Fix damage to the rammer immediately and always
replace broken parts.
■
Dispose of hazardous waste properly. Examples of
potentially hazardous waste are used motor oil, fuel
and fuel filters.
■
DO NOT use food or plastic containers to dispose of
hazardous waste.
MT-74FA — RULES FOR SAFE OPERATION
■
In emergencies
always
know the location of
the nearest phone or
keep a phone on the job
site
. Also know the phone numbers of the
nearest
ambulance
,
doctor
and
fire
department
. This information will be invaluable
in the case of an emergency.
EMERGENCIES
■
ALWAYS know the location of the nearest
fire
extinguisher
and first aid kit.

PAGE 10 — MT-74FA — OPERATION AND PARTS MANUAL — REV. #3 (11/08/07)
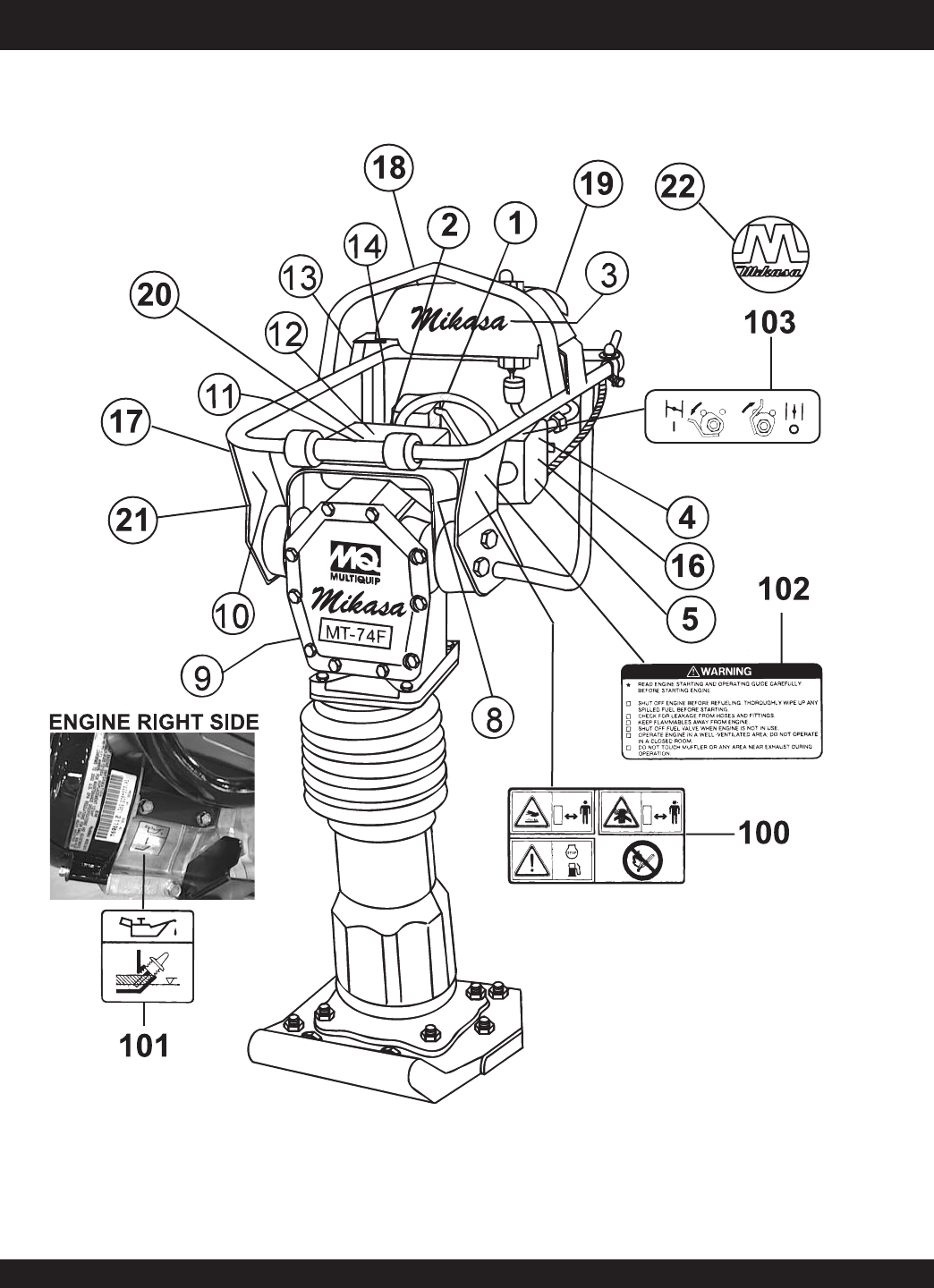
MT-74FA — OPERATION AND SAFETY DECALS
Machine Safety Decals
The MQ Mikasa tamping rammer is equipped with a number of safety decals. These decals are provided for operator safety and
maintenance information. Figure 1 and 1A below and preceeding page illustrates these decals as they appear on the machine.
Should any of these decals become unreadable, replacements can be obtained from your dealer.
Figure 1. Rammer Operation and Safety Decals

MT-74FA — OPERATION AND PARTS MANUAL — REV. #3 (11/08/07) — PAGE 11
MT-74FA — OPERATION AND SAFETY DECALS
Figure 1A. Rammer Operation and Safety Decals

PAGE 12 — MT-74FA — OPERATION AND PARTS MANUAL — REV. #3 (11/08/07)
Definition of Tamping Rammer
The Mikasa MT-74FA tamping rammer is a powerful compacting
tool capable of applying a tremendous force in consecutive
impacts to a soil surface. Its applications include soil compacting
for road, embankments and reservoirs as well as backfilling for
gas pipelines, water pipelines and cable installation work.
The impact force of the MT-74FA levels and uniformly compacts
voids between soil particles to increase dry density.
Circular motion is converted to create impact force. The MT-74FA
tamping rammer develops a powerful compacting force at the
foot of the rammer. To maintain optimum performance, proper
operation and service are essential.
Construction of Tamping Rammer
The Mikasa MT-74FA is equipped with an air-cooled, 4-cycle
gasoline engine. Transmission of the power takes place by
increasing the engine speed to engage the centrifugal clutch.
Rammer Gearbox and Spring Cylinder
The Mikasa MT-74FA uses an oil bath lubrication system. Always
check the oil level through the oil level sight glass at the rear of
the tamper foot.
Controls
Before starting the MT-74FA Tamping Rammer, identify and
understand the function of the controls. See Figure 2.
MT-74FA — GENERAL INFORMATION
Handle Operation
CAUTIONCAUTION
CAUTIONCAUTION
CAUTION
Before starting operation check the lifting
handle to:
1. Make sure that there is no damage on the bolts.
2. Make sure that there is no crack or breakage on handle.
3. Make sure that there is no fissure on the surface. If there
is any abnormality or damage, replace with new one.
For operation:
This handle is to be used to lift up the shoe part of the machine
with the body laid down on the ground or truck bed.
1. Use proper lifting techniques to avoid back injury. This
handle is for manual lifting only.
2. Do not use this handle as a rammer lift point. Use the
lifting point on the top of the machine.
3. Do not move the rammer with the lifting handle and the
front rollers more than (16 feet) 5 meters.

MT-74FA — OPERATION AND PARTS MANUAL — REV. #3 (11/08/07) — PAGE 13
MT-74FA — SPECIFICATIONS
snoitacificepSremmaRAF47-TM.1elbaTsnoitacificepSremmaRAF47-TM.1elbaT snoitacificepSremmaRAF47-TM.1elbaT snoitacificepSremmaRAF47-TM.1elbaTsnoitacificepSremmaRAF47-TM.1elbaT
LEDOMAF47-TM
thgieHllarevO)mm5501(ni5.14
htdiWllarevO)mm014(ni1.61
htgneLrevO)mm537(ni9.82
)WxL(eziSeohS)mm582
x043(ni2.11x4.31
etunim/swolB086-046
ecroFtcapmI)gk004,1(bl001,3
ekortS)mm08(.ni51.3
deepSlevarT)nim/m21-9(ni
m/tf4.93-5.92
thgieWgnitarepO)gk18(sbl971
Specifications are general and are subject to change without notice. If exact
measurements are required, equipment should be weighed and measured.
NOTE
snoitacificepSenignE02464D2-21HE.2elbaTsnoitacificepSenignE02464D2-21HE.2elbaT snoitacificepSenignE0246
4D2-21HE.2elbaT snoitacificepSenignE02464D2-21HE.2elbaTsnoitacificepSenignE02464D2-21HE.2elbaT
LEDOM02464D2-21HENIBOR
epyTenignEenilosaGekortS4delooC-riA
tnemecalpsiDnotsiPmc121(.ni.uc83.7
3
)
tuptuO.xaM)wk6.2(PH5.3
deepSgnitteSmpr006,3-004,3
metsySgnilooCdelooC-riA
metsySnoitacirbuLliOrotoM03W01-htaBliO
yticapaCknaTliO)retil4.0(tnip8.0
leuFenilosagdedaelnU
yticapaCknaTleuF)sretil2(trauq1.2
metsySgnitratSr
etratSlioceR
metsySroterubraCmgarhpaiD

PAGE 14 — MT-74FA — OPERATION AND PARTS MANUAL — REV. #3 (11/08/07)
Figure 2 shows the location of the controls and components
for the MT-74FA Tamping Rammer. The functions of each
control is described below:
L1. A Returned Material Authorization must be approved by Multiquip prior to shipment. A copy of the Authorization must
accompany the shipment to the designated Warehouse. A copy of the original Multiquip invoice to the customer must
also accompany the shipment.
1. Throttle Lever – Controls engine speed and the tamping
action of the rammer.
2. Engine Stop Switch – Controls the starting and stopping
of the engine. Switch must be in the "ON" position when
starting the engine.
3. Choke Lever – Used when starting the engine. Normally
used in cold weather conditions. In cold weather turn the
choke lever to the fully closed position, in warm weather
set choke lever half way or completely open.
4. Fuel Shut-Off Valve – Supplies fuel from the fuel tank to
the engine. To begin fuel flow move the fuel shut-off valve
downward.
5. Oil Bath Fill Plug – Open this plug to add oil to the oil
bath reservoir.
6. Drain Valve – Open this valve to remove oil from the
bellows.
7. Pre-Cleaner – Pre-cleans (first stage) dirt and other
debris from entering the engine.
8. Foot – Laminated wood with tempered steel plate for
superior shock absorption.
9. Oil Level Sight Glass – Indicates the level of oil in the oil
bath reservoir.
10. Recoil Starting Handle – Used when starting the engine.
Pull starter handle sharply and quickly, then return
starter handle to starter case before releasing.
11. Fuel Tank/Cap – Poly fuel tank to avoid rust and
corrosion, remove this cap to add gasoline.
12. Engine Air Cleaner – Prevents dirt (second stage) and
other debris from entering the engine.
13. Bellows – Reservoir for oil bath.
14. Handle – To operate rammer, grip
handle assembly
firmly on both sides.
15. Muffler– Used to reduce noise and emissions.
16. Spark Plug – Provides spark to the ignition system,
replace with engine manufactures recommended type
spark plug.
17. Nameplate – Displays information regarding the rammer.
Figure 2. MT-74FA Rammer
MT-74FA — CONTROLS AND COMPONENTS

MT-74FA — OPERATION AND PARTS MANUAL — REV. #3 (11/08/07) — PAGE 15
MT-74FA — BASIC ENGINE
WARNING
WARNING
Figure 3. Robin EH-12-2D Engine Controls and Components
INITIAL SERVICING
The engine (Figure 3) must be checked for proper lubrication and
filled with fuel prior to operation. Refer to the manufacturer's Engine
manual for instructions & details of operation and servicing.
1. Secondary Air Cleaner – Prevents dirt and other debris
from entering the fuel system. Remove wing-nut on top of
air filter cannister to gain access to filter element.
2. Choke Lever –Used when starting the engine. Normally
used in cold weather conditions. In cold weather turn the
choke lever to the fully closed position, in warm weather
set choke lever half way or completely open.
3. Spark Plug – Provides spark to the ignition system. Set
spark plug gap to 0.6 - 0.7 mm (0.024 - 0.028 inch). Clean
spark plug once a week.
4. Muffler – Used to reduce noise and emissions.
Operating the engine without an
air filter, with a damaged air filter,
or a filter in need of replacement
will allow dirt to enter the engine,
causing rapid engine wear.
5. Recoil Starter (pull rope) – Manual-starting method. Pull
the starter grip until resistance is felt, then pull briskly and
smoothly.
6. Engine ON/OFF Switch – Controls the starting and
stopping of the engine. Switch must be in the "ON" position
when starting the engine.
NOTE
WARNING
Engine components can generate extreme heat.
To prevent burns, DO NOT touch these areas
while the engine is running or immediately after operating. NEVER
operate the engine with the muffler removed.

PAGE 16 — MT-74FA — OPERATION AND PARTS MANUAL — REV. #3 (11/08/07)
Failure to understand the operation of
the MT-74FA Tamping Rammer could
result in severe damage to the trowel
or personal injury.
Rammer Gearbox and Spring Cylinder Oil Bath
This unit uses an oil bath lubrication system. Perform the following:
1. Check the oil level through the oil level sight glass (Figure 4)
at the rear of the tamper foot.
This section is intended to assist the operator with the initial
start-up of the MT-74FA Tamping Rammer. It extremely important
that this section be read carefully before attempting to operate
the rammer.
DO NOT use your rammer until this section is thoroughly
understood.
The oil level should be kept at the half
way point of the sight glass.
2. Low levels of oil may result in engine seizure due to high
levels of consumption during operations.
3. Check the engine oil level and if the engine oil level is low, it
should be refilled. Use the proper motor oil as suggested in
the Table 3 below.
Figure 6. Engine Oil Dipstick
Figure 4. Foot Housing Sight Glass
2. If oil is not visible, add 10W-30 motor oil into the oil fill plug
opening (Figure 4). The bath contains approximately 0.8
pints (0.4 liters)
Figure 5. Fuel Tank
Engine
1. Fill the fuel tank (Figure 5) with unleaded gasoline. At the
same time, check the engine oil and make it a habit to
replenish it often.
MT-74FA — OPERATION
edarGliOrotoM3elbaT
erutarepmeTronosaeS liorotomfoedarG
)ssalcSMnahtrehgih(
nmutuAroremmuS,gnirpS
F°51+otF°021+ 03EAS
retniW
F°5
1+otF°04+ 03EAS
F°51+woleB03-W01EAS
NOTE
CAUTICAUTI
CAUTICAUTI
CAUTION
Read Manual

MT-74FA — OPERATION AND PARTS MANUAL — REV. #3 (11/08/07) — PAGE 17
MT-74FA — OPERATION
Inspection
1 . Check all nuts, bolts fasteners for tightness. Retighten as
necessary.
2. Clean any dirt from the recoil starter and foot pedestal. Wipe
the entire unit clean before operating.
3. Replace any missing or damaged Safety Operation decals.
4. Adjust height of handle. Adjust handle by loosening nuts and
moving handle to suit operation. Retighten nuts.
Initial Start-up
When starting the MT-74FA Tamping Rammer perform the
following:
1. Open the fuel shut-off valve by moving the
fuel cock
lever
to the
open
position (Figure 7) then set the engine start/
stop switch (Figure 6) to the "START" position.
3. Close the choke lever (Figure 9) and move the throttle lever
to the "Full Open" position. Turning the choke lever 90
degrees clockwise closes the choke . In cold weather, start the
unit with choke fully closed. In warm weather or when the
engine is warm, the unit can be started with choke halfway
or completely open.
Figure 8. On Off Switch
Figure 7. Fuel Cock
2. Set the engine ON/OFF switch (Figure 8) to the "ON"
position (start).
Figure 9. Choke Lever
4. Grip the recoil starter (Figure10) handle and pull it until you
feel a slight resistance. Then pull sharply and quickly. Return
the recoil starter handle to the starter case before releasing.
5. If engine fails to start, move the choke lever (Figure 9) to the
half open position to avoid flooding.
6. Repeat steps 1 thru 4.
7. If the engine does not start after repeated attempts,
check the spark plug for excess fuel. Clean and replace
the spark plug as needed.
Figure 10. Recoil Starter

PAGE 18 — MT-74FA — OPERATION AND PARTS MANUAL — REV. #3 (11/08/07)
Operation
1. To start the rammer tamping action, move the throttle lever
(Figure 11) quickly from IDLE (close) to the FULL OPEN
position . DO NOT move the throttle lever slowly as this may
cause damage to the clutch or spring.
Stopping The Engine
Normal Shutdown
1. Move throttle lever quickly from the FULL OPEN to IDLE
position (Figure 12) and run the engine for three minutes at
low speed. After the engine
cools
, turn the engine start/stop
switch to the “STOP” position (Figure 8) until engine comes
to a complete stop.
2. Close the fuel shut- off valve by moving the fuel cock lever to
the CLOSED position. See Figure 5.
Emergency Showdown
1. Move the throttle lever quickly to the
IDLE
position, and turn
the engine start/stop switch to the
STOP
position.
Figure 12. Throttle Lever (Idle)
MT-74FA — OPERATION
CAUTION:CAUTION:
CAUTION:CAUTION:
CAUTION:
Make sure that the throttle lever is moved to the
FULL OPEN position. Operating the rammer at
less than full speeds can result in damage to
the clutch springs or foot
2. The MT-74FA tamping rammer is designed to run at 4,000
rpm. At optimum rpm the foot hits at the rate of 680 impacts
per minute. Increasing throttle speed past factory set rpm
does not increase impacts and may damage unit. The
MT-74FA is designed to advance while tamping. For faster
advance, pull back slightly on the handle so that rear of foot
contacts soil first.
3. To stop the tamping action, move throttle lever quickly from
the FULL OPEN to IDLE position.
Figure 11. Throttle Lever (Full Open)

MT-74FA — OPERATION AND PARTS MANUAL — REV. #3 (11/08/07) — PAGE 19
Maintenance
Perform the scheduled maintenance procedures as indicated:
DAILY
■
Thoroughly remove dirt and oil from the engine and control
area. Clean or replace the air cleaner elements as necessary.
Check and retighten all fasteners as necessary. Check the
spring box and bellows for oil leaks. Repair or replace as
needed.
WEEKLY
■
Remove the fuel filter cap and clean the inside of the fuel
tank.
■
Remove or clean the filter at the bottom of the tank.
■
Remove and clean the spark plug, then adjust the spark gap
to 0.02~0.03 inch (0.6~0.7 mm). This unit has electronic
ignition, which requires no adjustments.
■
Clean air cleaner cover.
200 - 300 HOURS (Pre-Cleaner)
■
Remove the element from the pre-cleaner (Figure 11) at the
top of the crankcase (body side) and clean it with cleaning oil
(kerosene).
MT-74FA — MAINTENANCE
Figure 11. Pre-Cleaner
■
Lubricate the top element (yellow) with 2~5 cc of engine oil
SAE-30.
■
Lubricate bottom element (gray) with 13 ~15 cc of engine oil
SAE-30 and completely squeeze out the excess oil from the
element before installing.
200 - 300 HOURS (Oil Bath)
■
Drain oil reservoir on foot housing (Figure 13). Refill with
approximately 1.7 pt. (800cc) of 10W-30 motor oil. Oil should
be midway in sight glass. Break in oil should be changed
after first 50 hours.
■
The air cleaner (Figure 12 ) on the engine side will hardly
be contaminated, if it is, however after cleaning the element
with kerosene, dip it in mixed oil consisting of 3 parts of
gasoline and 1 part of engine oil. Then tightly squeeze outer
primary element (sponge) and shake off well the inner
secondary element before installing them.
Figure 12. Engine Air Cleaner
Yearly
■
Check the fuel line and the oil line regularly for damage and
to ensure that there are no leaks.
■
Replace the oil and fuel lines every two years to maintain the
performance and flexibility lines.
Long Term Storage
■
Drain fuel from fuel tank, fuel line and carburetor.
■
Remove spark plug and pour a few drops of motor oil into
cylinder. Crank engine 3 to 4 times so that oil reaches all
internal parts.
■
Clean exterior with a cloth soaked in clean oil.
■
Store unit covered with plastic sheet in moisture free and
dust free location out of direct sunlight
Figure 13. Foot Housing Drain Plug
YELLOW
GRAY
13 -15 CC
SAE 30
2-5 CC
SAE 30
PRE-CLEANER

PAGE 20 — MT-74FA — OPERATION AND PARTS MANUAL — REV. #3 (11/08/07)
MT-74FA — TROUBLESHOOTING GUIDE
GNITOOHSELBUORTENIGNE.4ELBAT
MOTPMYS MELBORPELBISSOP NOITULOS
tratsottluciffiD
gulpkrapstubelbaliavasileuF
elbaliavarewoP(.etingitonlliw
.)elbacnoisnethgihta
?egdirbgniebgulpnoitingI .metsysnoitingikcehC
?noitingitatisopednobraC .noitingiecalperronaelC
evitcefedoteudtiucrictrohS
?srotalusni
.srotalusniecalpeR
?pagkrapsreporpmI .pagtcerrocehtotpaggulpkrapsteS
gulpkrapstubelbaliavasileuF
rewoP(.etingitonlliw
TON
.)elbacnoisnethgihtaelbaliava
?hctiwspotstatiucrictrohS .evitcefedfihctiwspotsecalpeR.tiucrichctiwspotskcehC
?evitcefedliocnoitingI .liocnoitingiecalpeR
gulpkrapsdnaelbaliavasileuF
noisserpmoc(setingi
)lamron
.
nobrachtiwdeggolcrelffuM
?stisoped
.relffumecalperronaelC
,retaw(etauqedaniesunileuF
?)tsud
.leufhserfhtiwecalperdnametysleufhsulF
?deggolcrenaelCriA .renaelcriaecalperronaelC
gulpkrapsdnaelbaliavasileuF
noisserpmoc(setingi
wol
.)
?teksagdaehrednilycevitcefeD .teksagdaehecalperrostlobdaehrednilycnethgiT
?nrowrednilyC .rednilycecalpeR
?esoolgulpkrapS .gulpkrapsnehgiT
yrotcafsitastonnoitarepO
elbaliavarewophguonetoN
on,lamronnoisserpmoc(
.)gnirifsim
?deggolcrenaelcriA .renaelcriaecalperronaelC
?enilleufniriA .enilleufmorf)riaevomer(deelB
?rednilycnistisopednobraC .rednilycecalperronaelC
elbaliavarewophguonetoN
.)gnirifsim,lamronnoisserpmoc(
?evitcefedliocnoitingI .leufhserfhtiwecalperdnametysleufhsulF
?strohsnetfogulpnoitingI .noitinginaelc,seriwnoitingiecalpeR
,retaw(etauqedaniesunileuF
?)tsud
.leufhserfhtiwecalperdnametysleufhsulF
.staehrevoenignE
?etauqedanisiytilauqleufdeniM .erutximliootleufkcehC
nistisopednobracevissecxE
?rebmahcnoitsubmoc
.esacknarcecalperronaelC
htiwdeggolcrelffumrotsuahxE
?nobrac
.relffumecalperronaelC
?tcerrocnieulavtaehgulpkrapS .gulpkrapsepyttcerrochtiwgulpkrapsecalpeR

MT-74FA — OPERATION AND PARTS MANUAL — REV. #3 (11/08/07) — PAGE 21
MT-74FA — TROUBLESHOOTING GUIDE
ENGINEENGINE
ENGINEENGINE
ENGINE
)deunitnoc(GNITOOHSELBUORTENIGNE.4ELBAT
MOTPMYS MELBORPELBISSOP NOITULOS
yrotcafsitastonnoitarepO
.setautculfdeepslanoitatoR
?reporpmitnemtsujdaronrevoG .leveltcerrocotronrevogtsujdA
?evitcefedgnirpsronrevoG .noitingiecalperronaelC
?citarrewolfleuF .enilleufkcehC
noitcushguorhtninekatriA
?enil .enilnoitcuskcehC
gnikrowtonretratslioceR
.ylreporp
?trapgnitatornitsuD .ylbmessaretratsliocernaelC
?eruliafgnirpslaripS .gnirpslaripsecalpeR
GNITOOHSELBUORTREMMAR.5ELBAT
MOTPMYS MELBORPELBISSOP NOITULOS
spmujremmartubsnurenignE
.llatatonroyllacitarre
revelelttorhtfodeepsgnitarepO
?tesyltcerrocnisi
.noitisoptcerrocotrevelelttorhtteS
?ssecxeniliO .leveltcerrocotgnirB.liossecxeniarD
?spilshctulC .hctulctsujdaroecalpeR
?eruliaFgnirpS .gnirpslairpsecalpeR
?reporpmienignefodeepS .gnittesMPRgnitarepotcerrocotdeepsenignetsujdA
?detcapmoc-revolioS .liostsetdnaenihcamnwodtuhS

PAGE 22 — MT-74FA — OPERATION AND PARTS MANUAL — REV. #0 (05/11/05)
The contents and part numbers listed in the parts section are
subject to change
without notice
. Multiquip does not
guarantee the availibility of the parts listed.
When ordering a part that has more than one
item number listed, check the remarks column
for help in determining the proper part to order.
The following section explains the different symbols and
remarks used in the Parts section of this manual. Use the help
numbers found on the back page of the manual if there are any
questions.
NO. Column
Unique Symbols - All items with same unique symbol
(*, #, +, %, or >) in the number column belong to the same
assembly or kit, which is indicated by a note in the “Remarks”
column.
Duplicate Item Numbers - Duplicate numbers indicate
multiple part numbers are in effect for the same general
item, such as different size saw blade guards in use or a
part that has been updated on newer versions of the same
machine.
Sample Parts List:
NO. PART NO. PART NAME QTY.REMARKS
1 12345 BOLT ...................... 1 ......INCLUDES ITEMS W/*
2*WASHER, 1/4 IN. .............
NOT SOLD SEPARATELY
2*12347 WASHER, 3/8 IN. ... 1 ......
MQ-45T ONLY
3 12348 HOSE ................... A/R ....MAKE LOCALLY
4 12349 BEARING ............... 1 ...... S/N 2345B AND ABOVE
PART NO. Column
Numbers Used - Part numbers can be indicated by a
number, a blank entry, or TBD.
TBD (To Be Determined) is generally used to show a part
that has not been assigned a formal part number at time of
publication.
A blank entry generally indicates that the item is not sold
separately or is not sold by Multiquip. Other entries will be
clarified in the “Remarks” Column.
QTY. Column
Numbers Used - Item quantity can be indicated by a
number, a blank entry, or A/R.
A/R (As Required) is generally used for hoses or other parts
that are sold in bulk and cut to length.
A blank entry generally indicates that the item is not sold
separately. Other entries will be clarified in the “Remarks”
Column.
REMARKS Column
Some of the most common notes found in the “Remarks”
Column are listed below. Other additional notes needed to
describe the item can also be shown.
Assembly/Kit
- All items on the parts list with the same
unique symbol will be included when this item is purchased.
Indicated by:
“INCLUDES ITEMS W/(unique symbol)”
Serial Number Break
- Used to list an effective serial
number range where a particular part is used.
Indicated by:
“S/N XXXXX AND BELOW”
“S/N XXXX AND ABOVE”
“S/N XXXX TO S/N XXX”
Specific Model Number Use
- Indicates that the part is
used only with the specific model number or model number
variant listed. It can also be used to show a part is NOT
used on a specific model or model number variant.
Indicated by:
“XXXXX ONLY”
“NOT USED ON XXXX”
“Make/Obtain Locally”
- Indicates that the part can be
purchased at any hardware shop or made out of available
items. Examples include battery cables, shims, and certain
washers and nuts.
“Not Sold Separately”
- Indicates that an item cannot be
purchased as a separate item and is either part of an
assembly/kit that can be purchased, or is not available for
sale through Multiquip.
EXPLANATION OF CODE IN REMARKS COLUMN

MT-74FA — OPERATION AND PARTS MANUAL — REV. #0 (05/11/05) — PAGE 23
MT-74FA — SUGGESTED SPARE PARTS
Part numbers on this Suggested Spare
Parts List may supersede/replace the
P/N shown in the text pages of this
book.
NOTE
MT-74FA RAMMER 1 TO 3 UNITS
QTYPART NO DESCRIPTION REMARKS
1 .. 362910060 ..... THROTTLE LEVER ASSY
1 .. 956100045 ..... THROTTLE WIRE
3 .. 354030030 ..... ELEMENT, YELLOW
3 .. 354030040 ..... ELEMENT, GRAY
1 .. 361910070 ..... CAP, FUEL TANK
1 .. 954300720 ..... COCK, FUEL ASSY.
1 .. 26365012A3 ... FILTER, FUEL
3 .. 2523260207 ... ELEMENT, SET, ENGINE
1 .. 0660000371 ... STOP SWITCH ASSY
3 .. 0650140580 ... SPARK PLUG
1 .. 954406010 ..... STRAINER, FUEL TANK
1 .. 2695011008 ... STARTER ROPE
MT-74FA RAMMER 3 TO 5 UNITS
QTYPART NO DESCRIPTION REMARKS
1 .. 362910060 ...... THROTTLE LEVER ASSY .. S/N L1292 AND ABOVE
1 .. 956100045 ...... THROTTLE WIRE
5 .. 354030030 ..... ELEMENT, YELLOW
5 .. 354030040 ..... ELEMENT, GRAY
2 .. 354336352 ..... CLAMP, BELLOWS
1 .. 354010010 ..... BELLOWS
1 .. 361910070 ..... CAP, FUEL TANK
1 .. 954300720 ..... COCK, FUEL ASSY.
5 .. 2523260207 ... ELEMENT, SET, ENGINE
1 .. 0660000371 ... STOP SWITCH ASSY
5 .. 0650140580 ... SPARK PLUG
1 .. 954406010 ..... STRAINER, FUEL TANK
1 .. 2695011008 ... STARTER ROPE

PAGE 24 — MT-74FA — OPERATION AND PARTS MANUAL — REV. #3 (11/08/07)
NAME PLATE AND DECALS
MT-74FA— NAMEPLATE AND DECAL

MT-74FA — OPERATION AND PARTS MANUAL — REV. #3 (11/08/07) — PAGE 25
MT-74FA— NAMEPLATE AND DECAL
NAME PLATE AND DECALS
NO PART NO PART NAME QTY.REMARKS
1 920202930 DECAL: START SWITCH ................. 1 .......... NPA293
2 920206020 DECAL: 3400 ~ 3600 RPM ............... 1.......... NPA602
3 920106460 DECAL: MIKASA 1
4 920210160 DECAL: SERVICE MONTHLY .......... 1 .......... NPA1016
5 920108310 DECAL: CLEANER ELEMENT ......... 1.......... NPA-831
8 920203290 DECAL: CAUTION ............................ 1 .......... NPA329
9 PLATE, SERIAL NO. ........................ 1 .......... CONTACT MQ SERVICE DEPT. W/ MODEL & S/N
10 920107000 DECAL: PRE-CLEANER .................. 1.......... NP700
11 920204370 DECAL: PRE-CLEANER .................. 1.......... NPA437
12 920209750 DECAL: CAUTION 4 CYCLE ............ 1 .......... NPA975
13 920203330 DECAL: EAR PROTECTION ............ 1 .......... NPA333
14 920203990 DECAL: CAUTION (FUEL COCK) .... 1 .......... NPA399
16 920203980 DECAL: ELEMENT SET .................. 1.......... NPA398
17 920207690 DECAL: CAUTION (MANUAL) .......... 1 .......... NPA769
18 920210170 DECAL: GASOLINE ONLY ............... 1 .......... NPA1017
19 920208960 TAG, GASOLINE .............................. 1 .......... NPA896
20 920210180 DECAL, CHECK DAILY (FILTER) ..... 1 .......... NPA1018
21 920209100 DECAL, CAUTION (RAMMER) ........ 1 .......... NPA910
22 920100240 DECAL (M-MARK) ........................... 1 .......... NP24
100 0732004450 LABEL, CAUTION 1
101 0732004520 LABEL, OIL CAUTION 1
102 0732003900 LABEL, WARNING 1
103 0732005020 LABEL, CHOKE 1

PAGE 26 — MT-74FA — OPERATION AND PARTS MANUAL — REV. #3 (11/08/07)
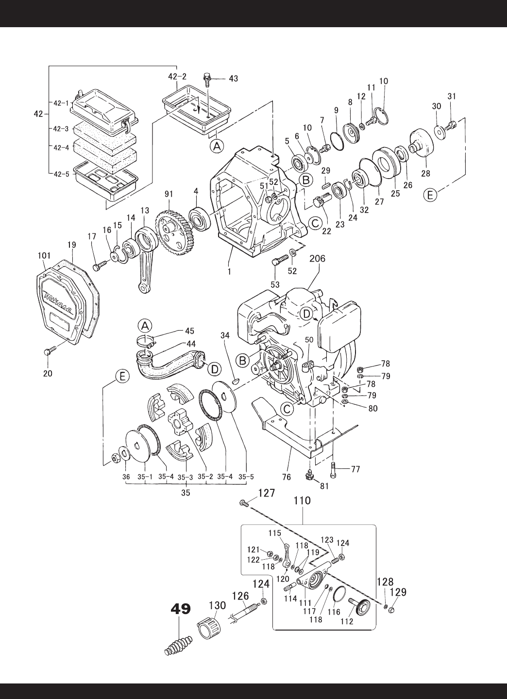
MT-74FA — CRANKCASE AND ENGINE ASSY.
CRANKCASE AND ENGINE ASSY.

MT-74FA — OPERATION AND PARTS MANUAL — REV. #3 (11/08/07) — PAGE 27
MT-74FA — CRANKCASE AND ENGINE ASSY.
CLUTCH GUIDE / A 1
45 0053204201 WOODRUFF KEY 1
46 301010210 LOCK WASHER CLUTCH 1
47 956300130 THROTTLE LEVER AY 25 1
CRANKCASE AND ENGINE ASSY.
NO. PART NO. PART NAME QTY. REMARKS
1 361118270 CRANK CASE 1
4 040006207 BEARING 6207 1
5 040006204 BEARING 6204 1
6 952400130 WASHER 9304 1
7 002210825 BOLT 8X25 H, SW 1
8 371447650 BEARING COVER 1
9 050300480 O-RING S-48 1
10 080100480 STOP RING R-48 2
11 001220610 BOLT 6X10 T 1
12 031106100 WASHER M5 1
13 371334730 CONNECTING ROD 1
14 040006304 BEARING 6304 1
15 080100520 STOP RING R-52 1
16 952400130 WASHER 9304 1
17 002210825 BOLT 8X25 H, SW 1
19 352444450 PACKING, FRONT COVER 1
20 002200620 BOLT 6X20 H, SW 9
22 361449320 PINION 1
23 040006204 BEARING 6204 1
24 080200350 STOP RING S-35 1
25 371449600 SPACER 1
26 060404010 OIL SEAL TC-40528 1
27 050101000 O-RING G-100 1
28 361449330 CLUTCH DRUM 1
29 951407340 KEY 5X5X20R 1
30 952405490 LOCK WASHER 1
31 002210820 BOLT 8X20 H, SW 1
32 041006007 BEARING 6007Z 1
34 0053204201 WOODRUFF KEY 1
35 362454441 CLUTCH ASSY CE120P ................. 1 .......... INCLUDES ITEMS W/ *
35-1*943060020 CLUTCH GUIDE/B 1
35-2*943050050 CLUTCH BOSS C812 1
35-3*943020020 CLUTCH SHOE C812 4
35-4*943030021 CLUTCH SPRING C812 2
35-5*943060100 CLUTCH GUIDE/A 1.6T 1
36*301010210 LOCK WASHER, CLUTCH 1
42 361213800 AIR CLEANER ASSY ..................... 1 .......... INCLUDES ITEMS W/ #
42-1# 354030011 BODY /W-CLEANER 1
42-2# 361010020 BACK PLATE CP 1
42-3# 354030030 ELEMENT, YELLOW 1
42-4# 354030040 ELEMENT, GRAY 1
42-5# 354030050 ELEMENT FRAME 1

PAGE 28 — MT-74FA — OPERATION AND PARTS MANUAL — REV. #3 (11/08/07)
MT-74FA — CRANKCASE AND ENGINE ASSY.

MT-74FA — OPERATION AND PARTS MANUAL — REV. #3 (11/08/07) — PAGE 29
CRANKCASE AND ENGINE ASSY. CONTINUED
NO PART NO PART NAME QTY.REMARKS
43 002200820 BOLT 8X20 H, SW 4
44 361336010 INTAKE PIPE 1
45 954010230 HOSE BAND (B) 1
49 0830000010 COIL SPRING 1
50 959006120 CLIP 1
51 020310080 NUT M10 2
52 030210250 SW M10 4
53 001221050 BOLT 10X50 H, SW 2
76 361214201 UNDER PROTECTOR 1
77 001220840 BOLT 8X40 T 3
78 020308060 NUT M8 3
79 030208200 SW M8 3
80 031108160 PW M8 3
81 0011308180 BOLT AND WASHER ASSY 2
91 361335870 CRANK GEAR 1
101 361010030 FRONT COVER 1
110 362910060 THROTTLE LEVER ASSY .............. 1 ........... INCLUDES ITEMS W/ %
111% 362341550 THROTTLE BODY 1
112% 362910090 THROTTLE GEAR CP, W/ BOLT 1
114% 362455620 SLIDER 1
115% 362455630 THROTTLE LEVER 1
116% 050100450 O-RING G-45 1
117% 050200100 O-RING P-10 1
118% 031110160 PW M10 3
119% 033910070 CONICAL SPRING WASHER 2
119 032110180 CONICAL SPRING WASHER M10 2
120% 096206006 SOCKET HEAD SCREW 6 X 6 1
121% 022131008 CAP NUT M10 1
122% 020410060 NUT M10 1
123% 096208020 SOCKET HEAD SCREW 8X20 1
124 020408050 NUT M8 2
126 956100045 THROTTLE WIRE 1
127 001220620 BOLT 6X20 T 2
128 030206150 SW M6 2
129 022130605 CAP NUT M6 2
130 303010450 BAND 1
206 911211214 ENGINE, EH-12-2D 1
MT-74FA — CRANKCASE AND ENGINE ASSY.

PAGE 30 — MT-74FA — OPERATION AND PARTS MANUAL — REV. #3 (11/08/07)
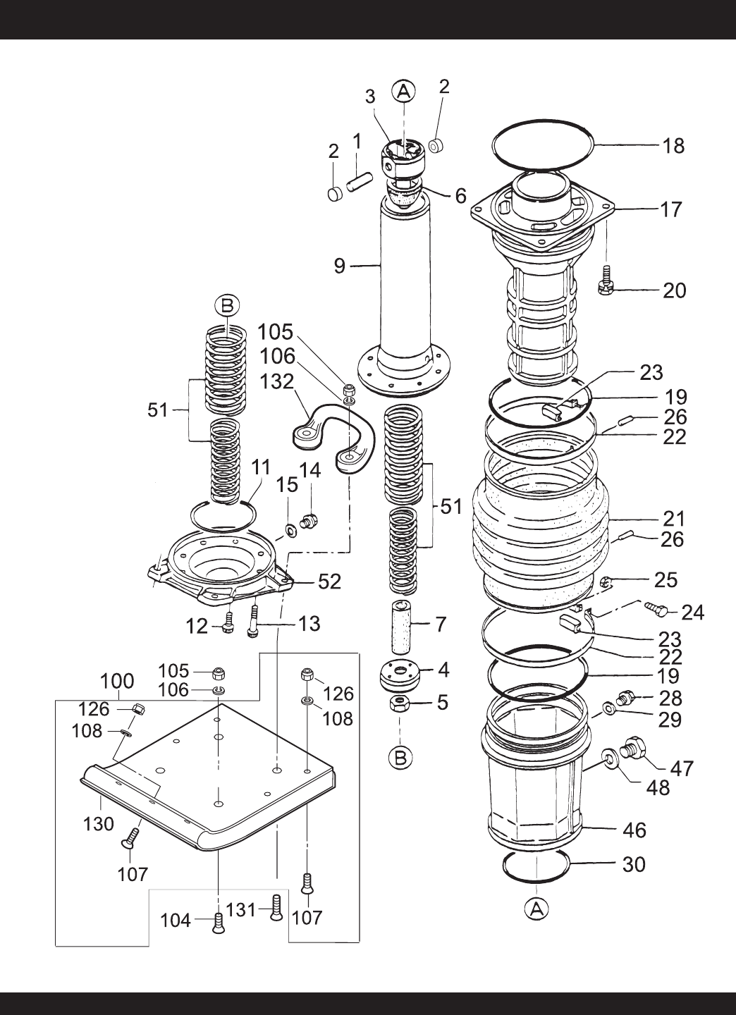
MT-74FA — GUIDE CYLINDER AND FOOT ASSY.
GUIDE CYLINDER AND FOOT ASSY.

MT-74FA — OPERATION AND PARTS MANUAL — REV. #3 (11/08/07) — PAGE 31
MT-74FA — GUIDE CYLINDER AND FOOT ASSY.
GUIDE CYLINDER AND FOOT ASSY.
NO. PART NO. PART NAME QTY. REMARKS
1 352423290 PISTON PIN 1
2 363457870 PISTON PIN PLUG 2
3 361344360 PISTON ROD 1
4 355452340 PISTON END 1
5 020118150 NUT M18, P1.5 1
6 355447250 STOPPER UPPER 1
7 355447260 STOPPER, LOWER 1
8 355447270 MAIN SPRING 2
9 355334310 SPRING CYLINDER 1
11 050100900 O-RING G-90 1
12 014210020 SOCKET HEAD BOLT 10X20 T .......... 4 ............ REPLACES 001521020
13 014210040 SOCKET HEAD BOLT 10X40 T .......... 4 ............ REPLACES 001521040
14 953405270 PLUG 1/4X14 13L 1
15 953405260 PACKING 1/4 (CU) 1
17 355213010 GUIDE CYLINDER 1
18 050201500 O-RING P-150 1
19 050931500 O-RING JASO3150 2
20 012710035 BOLT 10X35 H, SW ............................. 4 ............REPLACES 002211035
21 354010010 BELLOWS(L) ORANGE 1
22 354336352 BELLOWS CLAMP .............................. 2 ............REPLACES 354329380
23 354442340 BAND GUIDE, BELLOWS 2
24 011008040 BOLT 8X40 H ....................................... 2 ............ REPLACES 001220840
25 020108060 NUT M8 ................................................ 2 ............REPLACES 020308060
26 354446170 PIN 6D-8.5L 2
28 953405270 PLUG 1/4X14 13L 2
29 953405260 PACKING 1/4 (CU) 2
30 050100950 O-RING G-95 ....................................... 1 ............S/N R5624 AND BELOW
30 050200950 O-RING P-95 ........................................ 1 ............S/N R5625 AND ABOVE
46 355113960 PROTECTION SLEEVE ...................... 1 ............S/N R5624 AND BELOW
46 355119030 PROTECTION SLEEVE ...................... 1 ............S/N R5625 AND ABOVE
47 959010150 LEVEL GAUGE, PLUG TYPE 1
48 953404670 COPPER PACKING 17X25.5X1 1
51 355447270 MAIN SPRING 2
52 355213000 FOOT PLATE 16 1
100 362910130 FOOT ASSY ......................................... 1 ............INCLUDES ITEMS W/ *
104 001611253 SUNK HEAD BOLT 12 X65 H 2
105 021112140 NYLON NUT M12 ................................ 4 ............REPLACES 022711214
106 030212300 WASHER SW M12 4
107*015110055 SUNK HEAD BOLT 10X55 H ............... 7 ............REPLACES 001611051
108*030210250 WASHER SW M10 7
126*021110120 NYLON NUT M10 ................................ 7 ............ REPLACES 022711012
130*362910130 FOOT ASSY 285W-SF-EXP 1
131 001611259 SUNK HEAD BOLT 12X95 H 2
132 363343390 HANDLE 1

PAGE 32 — MT-74FA — OPERATION AND PARTS MANUAL — REV. #3 (11/08/07)
MT-74FA — TANK AND HANDLE ASSY.
TANK AND HANDLE ASSY.

MT-74FA — OPERATION AND PARTS MANUAL — REV. #3 (11/08/07) — PAGE 33
TANK AND HANDLE ASSY.
NO PART NO PART NAME QTY.REMARKS
A 305910032 FUEL TANK ASSY .................................. 1 ............... INCLUDES ITEMS W/ #
1 361118300 HANDLE 1
5 351337070 SHOCK ABSORBER 2
6 009110007 GT CAP SA, 10X20 4
7 012210020 BOLT 10X20 H, SW ................................ 4 ................REPLACES 002211020
9# 362116890 FUEL TANK, GRAY 1
12 011208030 BOLT 8X30 T ........................................... 2 ................REPLACES 001220830
13 022710809 NYLON NUT M8 2
14 030208200 WASHER, SW M8 2
15 952401450 WASHER 8.5X22X3 2
16 954300720 FUEL COCK ASSY 1
17# 351437785 HOLDER, FUEL COCK 1
18# 954406020 PACKING, COCK FUEL 1
21# 954406010 STRAINER 1
22# 361910070 CAP ASSY, TANK ................................... 1 ................INCLUDES ITEM W/ %
22-1#% 353449010 STRAP, FUEL TANK CAP 1
22-2#% 361455740 SUB CAP (B) 1
22-3# 920208960 TAG, GASOLINE 1
41 955200053 ROLLER, W/ PIN 2
42 091005025 SCREW 5 X 25 4
43 022610505 FLANGE NUT M5 H 4
44 031105080 PW M5 4
51 959021721 FUEL HOSE/D4.5 X D9 X150L 1
51 950014500150M FUEL HOSE (1M) 1
52 950024085008 CLAMP, TUBE 2
53 26365012A3 FILTER, FUEL 1
54 959026121 FUEL HOSE/D5.5 X D11.5 X 170L 1
54 959026199 FUEL HOSE/1M 1
55 954406420 HOSE BAND 10.5 2
91 361458840 STAY, SHOCK ABSORBER/R 1
92 361458850 STAY, SHOCK ABSORBER/L 1
93 002211025 BOLT 10 X 25 H, SW 4
94 022131008 CAP NUT M10 4
96 939010270 STOPPER RUBBER (70) 1
97 030208200 SW M8 1
98 020308060 NUT M8 1
MT-74FA — TANK AND HANDLE ASSY.

PAGE 34 — MT-74FA — OPERATION AND PARTS MANUAL — REV. #3 (11/08/07)
ROBIN EH-12-2D46420 ENGINE — CRANKCASE AND CYLINDER ASSY.
CRANKCASE AND CYLINDER ASSY.

MT-74FA — OPERATION AND PARTS MANUAL — REV. #3 (11/08/07) — PAGE 35
ROBIN EH-12-2D46420 ENGINE — CRANKCASE AND CYLINDER ASSY.
CRANKCASE AND CYLINDER ASSY.
NO. PART NO. PART NAME QTY.REMARKS
10 2521030131 CRANK CASE ............................ 1 ...................... INCLUDES ITEMS W/ %
20# 2371420203 VALVE GUIDE, OVERSIZE 2
26# 2771601001 STEM SEAL 1
30% 0440250150 OIL SEAL 1
40% 0600250100 BALL BEARING 1
50% 0310060020 DOWEL PIN 2
60# 0105080480 STUD 2
70# 0105060131 STUD 1
71# 0013906600 STUD 1
75% 0440080010 OIL SEAL VC 8X14X4 1
80 0401140030 PLUG 2
90 0211140020 GASKET 2
210 2521110121 MAIN BEARING COVER CP ..... 1 ...................... INCLUDES ITEMS W/ $
220$ 0440250160 OIL SEAL 1
230$ 0600250010 BALL BEARINGS 6205C3 1
250 2274500301 GOVERNOR GEAR COMPL 1
260 2054190103 GOVERNOR SLEEVE 1
265$ 0108100020 STUD 2
270 2686360301 OIL GAUGE CP 1
280 0213160020 GASKET 1
294 2521700201 BRACKET CP (M.B.C.) 1
295 2521700101 SUPPORT (M.B.C) 1
297 0011308160 BOLT & WASHER ASSY 1
298 0011308160 BOLT & WASHER ASSY 2
300 0130060200 BOLT & WASHER ASSY 8
610 2681310121 CYLINDER HEAD CP ................ 1 ....................... INCLUDES ITEMS W/ #
620 2531500123 GASKET, HEAD 1
630 0110080100 FLANGE BOLT 4
680 2521550203 ROCKER COVER 1
690 2691600403 GASKET, ROCKER COVER 2
700 0310060020 DOWEL PIN 2
710 0110060170 FLANGE BOLT EY45V 4
720 2521560120 SPACER ASSY, BREATHER ..... 1 ...................... INCLUDES ITEMS W/ *
721*2521560113 SPACER, BREATHER 1
722*2521600103 LEAF VALVE 1
723*2521610103 RETAINER PLATE 1
724*2521440123 PLATE 1
725*0110060150 FLANGE BOLT EH11 2
726*0043506120 SCREW & WASHER 1
830 2681620103 GASKET, BREATHER COVER 1
850 2521800203 RUBBER PIPE 1
860 0011306160 BOLT AND WASHER ASSY 2
900 0566000250 CLAMP 1
901 0110060020 FLANGE BOLT 1
960 2539900117 GASKET SET 1

PAGE 36 — MT-74FA — OPERATION AND PARTS MANUAL — REV. #3 (11/08/07)
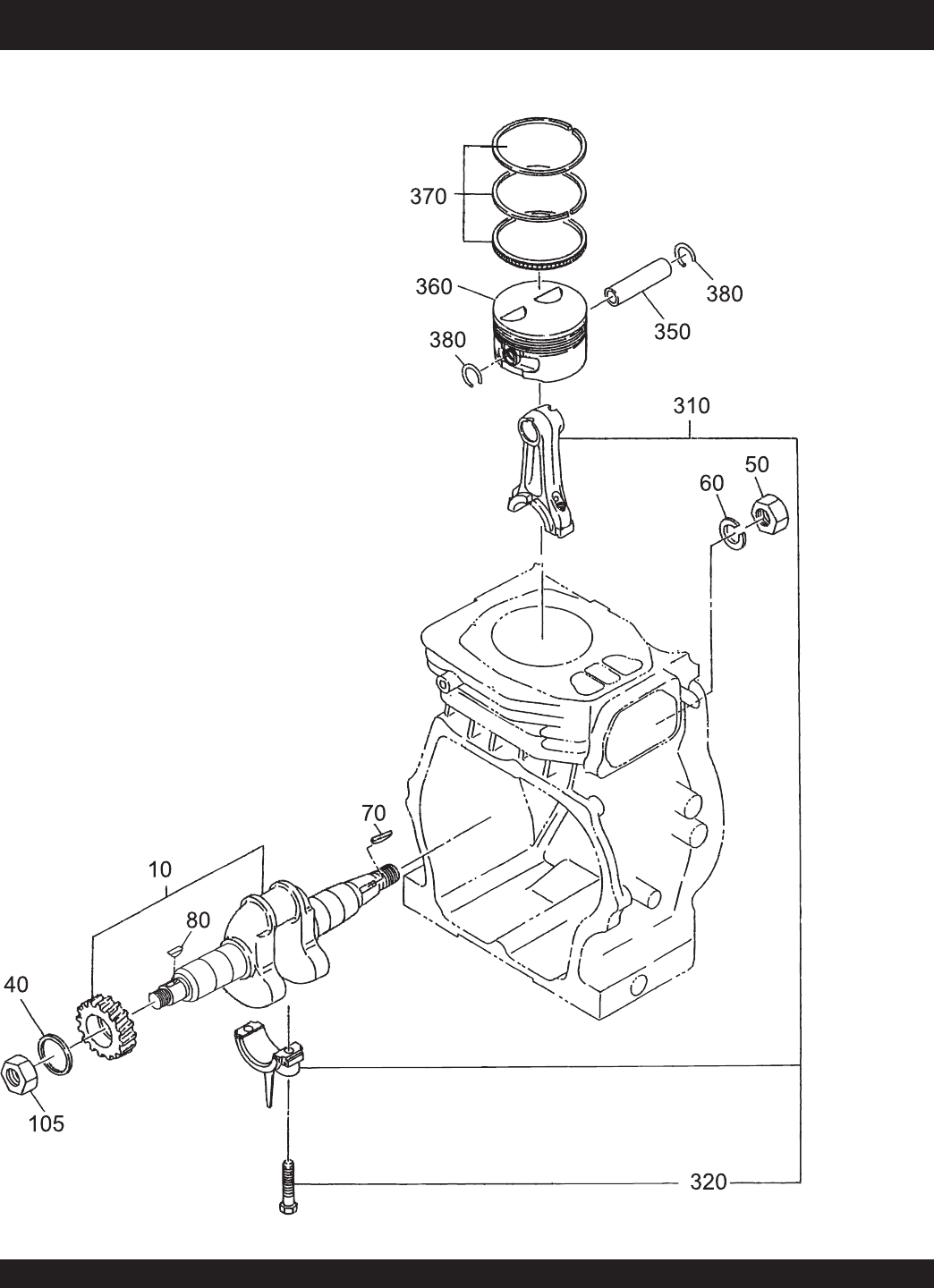
CRANKSHAFT AND PISTON ASSY.
ROBIN EH-12-2D46420 ENGINE — CRANKSHAFT AND PISTON ASSY.
MT-74FA — EH12-2D ROBIN ENGINE— CRANKSHAFT AND PISTON

MT-74FA — OPERATION AND PARTS MANUAL — REV. #3 (11/08/07) — PAGE 37
CRANKSHAFT AND PISTON ASSY.
NO. PART NO. PART NAME QTY.REMARKS
10 6821901111 CRANKSHAFT CP 1
40 0230250110 SPACER T=0.6 .......................... 1 ...................... SELECT
40 0230250120 SPACER T=0.8 .......................... 1 ...................... SELECT
40 0230250130 SPACER T=1.0 .......................... 1 ...................... SELECT
50 0021814000 NUT 1
60 0032014000 SPRING WASHER 1
70 0323030010 WOODRUFF KEY 1
80 0053204201 WOODRUFF KEY 1
105 0173120010 LOCK NUT 1
310 2522250110 CONNECTING ROD ASSY ........ 1 ...................... INCLUDES ITEM W/ *
320*2362300103 CONNECTING ROD BOLT 2
350 2682330103 PISTON PIN 1
360 2682340103 PISTON STD. 1
360 2682340203 PISTON O.S. 0.25MM 1
360 2682340303 PISTON O.S. 0.50MM 1
370 2522350117 PISTON RING SET STD 1
370 2522350217 PISTON RING SET 0.25 O.S. 1
370 2522350307 PISTON RING SET 0.50 O.S. 1
380 2152500403 CLIP 2
ROBIN EH-12-2D46420 ENGINE — CRANKSHAFT AND PISTON ASSY.

PAGE 38 — MT-74FA — OPERATION AND PARTS MANUAL — REV. #3 (11/08/07)
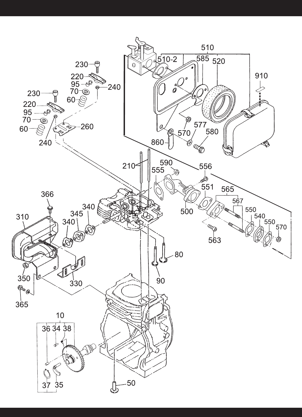
MUFFLER, AIR CLEANER, CAMSHAFT & CARBURETOR ASSY.
ROBIN EH-12-2D46420 ENGINE—MUFFLER, AIR CLEANER, CAM& CARB. ASSY.

MT-74FA — OPERATION AND PARTS MANUAL — REV. #3 (11/08/07) — PAGE 39
MUFFLER, AIR CLEANER, CAMSHAFT & CARBURETOR ASSY.
NO. PART NO. PART NAME QTY.REMARKS
10 2533170111 CAMSHAFT CP ......................... 1 ...................... INCLUDES ITEMS W/ *
34*2273860123 PIN (SPRING) 1
35*2273640113 RELEASE LEVER 1
36*0051904100 SPRING PIN 1
37*0031522000 SNAP RING 1
38*2273870103 RETURN SPRING 1
50 2393330113 TAPPET 2
60 2533360103 VALVE SPRING 2
70 2693370103 SPRING RETAINER 2
80 2683340103 INTAKE VALVE 1
90 2683350103 EXHAUST VALVE 1
95 13210KA031 COLLECT VALVE 4
210 2683530103 PUSH ROD 2
220 2693600103 ROCKER ARM 2
230 2693580103 BOLT, PIVOT 2
240 0170060090 NUT 2
260 2693650103 GUIDE PLATE 1
310 2523040111 MUFFLER CP 1
330 2523700111 BRACKET CP 1
340 2533520103 GASKET, MUFFLER 2
345 2523650103 SPACER, EXHAUST 1
350 0176080020 SELF-LOCK NUT 2
365 0011308160 BOLT & WASHER ASSY 2
366 0011408160 BOLT & WASHER 8 X 16 2
500 2683300413 INTAKE PIPE CP 1
505 0105060230 STUD 2
510 2683271500 AIR CLEANER ASSY ............... 1 ....................... INCLUDES ITEMS W/ $
510-2$ 1063272308 PACKING 1
520$ 2523260207 ELEMENT, SET 1
540 2523290103 INSULATOR 1
550 2373590303 GASKET (CARBURETOR) 2
551 1066500203 GASKET 2 (INSULATOR) 1
555 2823590103 GASKET (INSULATOR) 1
556 0011406400 BOLT AND WASHER ASSY 1
563 0119060020 BOLT (SOCKET HEAD) 2
565 2523310221 INTAKE FLANGE ....................... 1 ...................... INCLUDES ITEM W/ #
567# 0105050060 STUD 2
570 0176050010 SELF LOCK NUT 2
577 0200080080 WASHER 1
580 0011308180 BOLT & WASHER ASSY 1
585 2683650303 PLATE, AIR CLEANER 2
590 0023806000 FLANGE NUT 2
860 0566000250 CLAMP 1
910 0732005020 LABEL CHOKE 1
ROBIN EH-12-2D46420 ENGINE—MUFFLER, AIR CLEANER, CAM& CARB. ASSY.

PAGE 40 — MT-74FA — OPERATION AND PARTS MANUAL — REV. #3 (11/08/07)
GOVERNOR ASSY.
ROBIN EH-12-2D46420 ENGINE — GOVERNOR ASSY.

MT-74FA — OPERATION AND PARTS MANUAL — REV. #3 (11/08/07) — PAGE 41
GOVERNOR ASSY.
NO. PART NO. PART NAME QTY.REMARKS
10 2524230303 GOVERNOR LEVER CP 1
20 2264230207 GOVERNOR SHAFT .................. 1 ...................... REPLACES 2274220103
26 0031108000 WASHER 1
30 2544270101 GOVERNOR ROD CP 1
40 2544280103 ROD SPRING 1
50 0031306000 CLIP 2
60 0011406300 BOLT & WASHER ASSY 1
70 0186060020 NUT 1
80 2524250323 GOVERNOR SPRING 1
200 2524340230 SPEED CONTROL ASSY 1
210 0116040030 BOLT 1
230 0043105250 SCREW, PANHEAD 1
231 0043104250 SCREW 1
235 2684500113 CONTROL SPRING 1
240 0021705000 NUT 1
280 2264310101 LINK PIVOT 1
290 2524420213 WIRE BRACKET 1
293 0110060030 FLANGE BOLT 1
710 2524280111 PROTECTOR CP, GOVERNOR 1
715 0011308160 BOLT & WASHER ASSY 1
716 0110060030 FLANGE BOLT 1
ROBIN EH-12-2D46420 ENGINE — GOVERNOR ASSY.

PAGE 42 — MT-74FA — OPERATION AND PARTS MANUAL — REV. #3 (11/08/07)
RECOIL STARTER AND BLOWER ASSY.
ROBIN EH-12-2D46420 ENGINE —RECOIL STARTER AND BLOWER ASSY.

MT-74FA — OPERATION AND PARTS MANUAL — REV. #3 (11/08/07) — PAGE 43
ROBIN EH-12-2D46420 ENGINE —RECOIL STARTER AND BLOWER ASSY.
RECOIL STARTER AND BLOWER ASSY.
NO. PART NO. PART NAME QTY.REMARKS
10 2525165221 BLOWER HOUSING CP 2 1
20 920100240 DECAL, M-MARK 1
40 0011406550 BOLT & WASHER ASSY 4
90 2685270303 HEAD COVER 1
95 0110060140 FLANGE BOLT 2
200 2685020130 RECOIL STARTER ASSY .......... 1 ...................... INCLUDES ITEMS W/*
201*2705011508 SPIRAL SPRING 1
202*2695012008 REEL 1
203*2695011008 STARTER ROPE 1
204*2615010008 STARTER KNOB 1
205*2705012508 RATCHET 2
206*2275013108 FRICTION SPRING 1
207*2275013508 RETURN SPRING 2
208*2705026108 RATCHET GUIDE 1
211*2685014508 STARTER PULLEY 1
220 0110060010 FLANGE BOLT 4
249*2275015208 SET SCREW 1

PAGE 44 — MT-74FA — OPERATION AND PARTS MANUAL — REV. #3 (11/08/07)
ROBIN EH-12-2D46420 ENGINE — MAGNETO ASSY.
MAGNETO ASSY.

MT-74FA — OPERATION AND PARTS MANUAL — REV. #3 (11/08/07) — PAGE 45
MAGNETO ASSY.
NO PART NO PART NAME QTY.REMARKS
10 2687933201 FLYWHEEL CP 1
11 2697943011 IGNITION COIL CP 1
30 0011406250 BOLT & WASHER ASSY 2
60 0660000371 STOP SWITCH ASSY (ON-OFF)1
70 0150040090 TAPPING SCREW 2
75 0566030010 CLAMP 1
90 0566000250 CLAMP 1
95 0659000010 SPARK PLUG CLIP 1
100 0650140580 SPARK PLUG, BR6ES 1
110 2307510113 SPARK PLUG CAP 1
ROBIN EH-12-2D46420 ENGINE — MAGNETO ASSY.

PAGE 46 — MT-74FA — OPERATION AND PARTS MANUAL — REV. #3 (11/08/07)
ROBIN EH-12-2D46420 ENGINE — CARBURETOR ASSY.
CARBURETOR ASSY.

MT-74FA — OPERATION AND PARTS MANUAL — REV. #3 (11/08/07) — PAGE 47
ROBIN EH-12-2D46420 ENGINE — CARBURETOR ASSY.
CARBURETOR ASSY.
NO PART NO PART NAME QTY.REMARKS
210 2526257000 CARBURETOR ASSY. ..................... 1 ................ INCLUDES ITEMS W/ *
900*5016004010 SCREEN INLET 1
901*2526260508 COVER, METALLING DIAPHRAGM 1
902*2526260408 COVER PUMP 1
903*2526261208 THROTTLE SHAFT 1
904*1616233508 VALVE THROTTLE 1
905*2846260308 SHAFT ASSY CHOKE 1
906*5106045040 CLIP 1
907*2846260408 VALVE, CHOKE 1
908*1616255208 VALVE, INLET NEEDLE 1
909*1476258408 BALL 1
910*1616238008 GASKET PLUG 1
911*1616238108 GASKET, METALLING DIAPHRAGM 1
912*2526261008 DIAPHRAGM PUMP 1
914*1616238308 DIAPHRAGM ASSY, METALLING 1
915*1066257508 SCREW 1
916*1066257608 SCREW ASSY 5
917*1476257308 SCREW 2
918*2846260008 SCREW 1
919*1616245408 SPRING, IDLE ADJUST 1
920*1616245108 SPRING, METALLING LEVER 1
921*1476258308 SPRING, CHOKE 1
925*1616236808 PIN, METALLING LEVER 1
926*1616236908 LEVER, METALLING 1
927*1476257508 PLUG 1
929*1616238508 SCREW, IDLE ADJUST 1
943*2526261108 SPRING PUMP 1
945*1616255108 STOPPER, THROTTLE 1
946*2526260308 LEVER, THROTTLE 1
947*1616255308 SCREW VALVE 2
948*2526260208 SPACER, THROTTLE LEVER 1
949*2526260108 WASHER 1

PAGE 48 — MT-74FA — OPERATION AND PARTS MANUAL — REV. #3 (11/08/07)
PAYMENT TERMS
Terms of payment for parts are net 30 days.
FREIGHT POLICY
All parts orders will be shipped collect or
prepaid with the charges added to the invoice.
All shipments are F.O.B. point of origin.
Multiquip’s responsibility ceases when a signed
manifest has been obtained from the carrier,
and any claim for shortage or damage must be
settled between the consignee and the carrier.
MINIMUM ORDER
The minimum charge for orders from Multiquip
is $15.00 net. Customers will be asked for
instructions regarding handling of orders not
meeting this requirement.
RETURNED GOODS POLICY
Return shipments will be accepted and credit
will be allowed, subject to the following provi-
sions:
1. A Returned Material Authorization must
be approved by Multiquip prior to ship-
ment.
2. To obtain a Return Material Authorization,
a list must be provided to Multiquip Parts
Sales that defines item numbers, quanti-
ties, and descriptions of the items to be
returned.
a. The parts numbers and descriptions
must match the current parts price
list.
b. The list must be typed or computer
generated.
c. The list must state the reason(s) for
the return.
d. The list must reference the sales
order(s) or invoice(s) under which the
items were originally purchased.
e. The list must include the name and
phone number of the person request-
ing the RMA.
3. A copy of the Return Material Authoriza-
tion must accompany the return shipment.
4. Freight is at the sender’s expense. All
parts must be returned freight prepaid to
Multiquip’s designated receiving point.
5. Parts must be in new and resalable con-
dition, in the original Multiquip package (if
any), and with Multiquip part numbers
clearly marked.
6. The following items are not returnable:
a. Obsolete parts. (If an item is in the
price book and shows as being re-
placed by another item, it is obsolete.)
b. Any parts with a limited shelf life
(such as gaskets, seals, “O” rings,
and other rubber parts) that were pur-
chased more than six months prior to
the return date.
c. Any line item with an extended dealer
net price of less than $5.00.
d. Special order items.
e. Electrical components.
f. Paint, chemicals, and lubricants.
g. Decals and paper products.
h. Items purchased in kits.
7. The sender will be notified of any material
received that is not acceptable.
8. Such material will be held for five working
days from notification, pending instruc-
tions. If a reply is not received within five
days, the material will be returned to the
sender at his expense.
9. Credit on returned parts will be issued at
dealer net price at time of the original
purchase, less a 15% restocking charge.
10. In cases where an item is accepted, for
which the original purchase document
can not be determined, the price will be
based on the list price that was effective
twelve months prior to the RMA date.
11. Credit issued will be applied to future
purchases only.
PRICING AND REBATES
Prices are subject to change without prior
notice. Price changes are effective on a spe-
cific date and all orders received on or after that
date will be billed at the revised price. Rebates
for price declines and added charges for price
increases will not be made for stock on hand
at the time of any price change.
Multiquip reserves the right to quote and sell
direct to Government agencies, and to Original
Equipment Manufacturer accounts who use
our products as integral parts of their own
products.
SPECIAL EXPEDITING SERVICE
A $35.00 surcharge will be added to the invoice
for special handling including bus shipments,
insured parcel post or in cases where Multiquip
must personally deliver the parts to the carrier.
LIMITATIONS OF SELLER’S LIABILITY
Multiquip shall not be liable hereunder for
damages in excess of the purchase price of the
item with respect to which damages are
claimed, and in no event shall Multiquip be
liable for loss of profit or good will or for any
other special, consequential or incidental dam-
ages.
LIMITATION OF WARRANTIES
No warranties, express or implied, are made
in connection with the sale of parts or trade
accessories nor as to any engine not manufac-
tured by Multiquip. Such warranties made in
connection with the sale of new, complete units
are made exclusively by a statement of war-
ranty packaged with such units, and Multiquip
neither assumes nor authorizes any person to
assume for it any other obligation or liability
whatever in connection with the sale of its
products. Apart from such written statement of
warranty, there are no warranties, express,
implied or statutory, which extend beyond the
description of the products on the face hereof.
Effective: February 22, 2006
TERMS AND CONDITIONS OF SALE — PARTS

MT-74FA — OPERATION AND PARTS MANUAL — REV. #3 (11/08/07) — PAGE 49
NOTE PAGE

OPERATION & PARTS MANUAL
Your Local Dealer is:
HERE'S HOW TO GET HELP
PLEASE HAVE THE MODEL AND SERIAL
NUMBER
ON-HAND
WHEN CALLING
© COPYRIGHT 2007, MULTIQUIP INC.
Multiquip Inc, the MQ logo and the Mikasa logo are registered trademarks of Multiquip Inc. and may not be used, reproduced, or altered without written permission. All other
trademarks are the property of their respective owners and used with permission.
This manual MUST accompany the equipment at all times. This manual is considered a permanent part of the equipment and should remain with the unit if resold.
The information and specifications included in this publication were in effect at the time of approval for printing. Illustrations, descriptions, references and technical data
contained in this manual are for guidance only and may not be considered as binding. Multiquip Inc. reserves the right to discontinue or change specifications, design or
the information published in this publication at any time without notice and without incurring any obligations.
UNITED STATES
Multiquip Corporate Office MQ Parts Department
18910 Wilmington Ave. Tel. (800) 421-1244 800-427-1244 Fax: 800-672-7877
Carson, CA 90746 Fax (800) 537-3927 310-537-3700 Fax: 310-637-3284
Contact: mq@multiquip.com
Mayco Parts Warranty Department
800-306-2926 Fax: 800-672-7877 800-421-1244, Ext. 279 Fax: 310-537-1173
310-537-3700 Fax: 310-637-3284 310-537-3700, Ext. 279
Service Department Technial Assistance
800-421-1244 Fax: 310-537-4259 800-478-1244 Fax: 310-631-5032
310-537-3700
MEXICO UNITED KINGDOM
MQ Cipsa Multiquip (UK) Limited Head Office
Carr. Fed. Mexico-Puebla KM 126.5 Tel: (52) 222-225-9900 Hanover Mill, Fitzroy Street, Tel: 0161 339 2223
Momoxpan, Cholula, Puebla 72760 Mexico Fax: (52) 222-285-0420 Ashton-under-Lyne, Fax: 0161 339 3226
Contact: pmastretta@cipsa.com.mx Lancashire OL7 0TL
Contact: sales@multiquip.co.uk
CANADA BRAZIL
Multiquip Multiquip
4110 Industriel Boul. Tel: (450) 625-2244 Av. Evandro Lins e Silva, 840 - grupo 505 Tel: 011-55-21-3433-9055
Laval, Quebec, Canada H7L 6V3 Fax: (450) 625-8664 Barra de Tijuca - Rio de Janeiro Fax: 011-55-21-3433-9055
Contact: jmartin@multiquip.com Contact: cnavarro@multiquip.com.br, srentes@multiquip.com.br