Multiquip Plate Compactor Mvc 40G Users Manual REV 4.PMD
MVC-40G to the manual 626630d4-0113-433b-8d4b-3efdaa3fbac8
2015-02-09
: Multiquip Multiquip-Plate-Compactor-Mvc-40G-Users-Manual-558700 multiquip-plate-compactor-mvc-40g-users-manual-558700 multiquip pdf
Open the PDF directly: View PDF
.
Page Count: 62

OPERATION AND PARTS MANUAL
Plate Compactor
Model
MVC-40G
(Robin EH09-2D Gasoline Engine)
Revision #4 (06/06/07)
THIS MANUAL MUST ACCOMPANY THE EQUIPMENT AT ALL TIMES.
To find the latest revision of this
publication, visit our website at:
www.multiquip.com

l
PAGE 2 — MVC-40G PLATE COMPACTOR — OPERATION & PARTS MANUAL — REV. #4 (06/06/07)

MVC-40G PLATE COMPACTOR — OPERATION & PARTS MANUAL — REV. #4 (06/06/07) — PAGE 3
NOTE PAGE

l
PAGE 4 — MVC-40G PLATE COMPACTOR — OPERATION & PARTS MANUAL — REV. #4 (06/06/07)
TABLE OF CONTENTS
ROBIN EH09-2D Engine
(EPA)
Crankcase Assembly .........................................36-37
Camshaft Assembly ........................................... 38-39
Crankshaft and Piston Assembly .......................40-41
Intake and Exhaust Assembly ............................ 42-43
Air Cleaner Assembly.........................................44-45
Muffler Assembly ...............................................47-47
Governor Assembly ........................................... 48-49
Cooling and Starting Assembly..........................50-51
Fuel Tank Assembly ...........................................52-53
Carburetor Assembly .........................................54-55
Electric Device....................................................56-57
Tool Kiit ...............................................................58-59
Terms and Conditions Of Sale — Parts .................. 60
Specification and part number
are subject to change without
notice.
NOTE
NOTE
Multiquip MVC-40G
Plate Compactor
Table Of Contents ..................................................... 4
Parts Ordering Procedures ....................................... 5
Specifications ............................................................ 6
Dimensions ............................................................... 7
Safety Message Alert Symbols .............................. 8-9
Rules For Safe Operation.....................................10-11
General Information ................................................ 12
Components (Plate Compactor) ............................. 13
Components (ROBIN EH09-2D Engine) ................. 14
Inspection ........................................................... 15-16
Initial Start-Up .................................................... 17-18
Operation ................................................................ 19
Maintenance ...................................................... 20-21
Preparation For Long Term Storage ....................... 22
Troubleshooting (Engine) ................................... 23-24
Troubleshooting (Plate Compactor) ........................ 25
Explanation Of Codes In Remarks Column ............ 26
Suggested Spare Parts ........................................... 27
Component Drawings
Nameplate and Decals....................................... 28-29
Base and Handle Assembly ............................... 30-31
Vibrating Plate and Vibrator Assembly ............... 32-33
Engine Assembly ............................................... 34-35
As a continuing effort to
update our parts book, contact
the MULTIQUIP literature
department for the latest
revision of your "Operation
and Parts Manual"

MVC-40G PLATE COMPACTOR — OPERATION & PARTS MANUAL — REV. #4 (06/06/07) — PAGE 5
PARTS ORDERING PROCEDURES
www.multiquip.com
Ordering parts has never been easier!
Choose from three easy options:
WE ACCEPT ALL MAJOR CREDIT CARDS!
When ordering parts, please supply:
❒❒
❒❒
❒
Dealer Account Number
❒❒
❒❒
❒
Dealer Name and Address
❒❒
❒❒
❒
Shipping Address (if different than billing address)
❒❒
❒❒
❒
Return Fax Number
❒❒
❒❒
❒
Applicable Model Number
❒❒
❒❒
❒
Quantity, Part Number and Description of Each Part
❒❒
❒❒
❒
Specify Preferred Method of Shipment:
✓
Fed Ex/UPS
✓ DHL
■
Priority One
✓
Tr uck
■
Ground
■Next Day
■
Second/Third Day
Unless otherwise indicated by customer, all orders are treated as
Standard Orders
and will ship
within 24 hours. We will make every effort to ship
Air Shipments
the same day the order is received,
if received prior to 2PM PST.
Stock Orders
must be noted on fax or web order form.
If you have an MQ Account, to obtain a
Username and Password, E-mail us at:
parts@multiquip.com.
To obtain an MQ Account, contact your
District Sales Manager for more information.
Order via Internet (Dealers Only):
Order parts on-line using Multiquip’s SmartEquip website!
■
View Parts Diagrams
■
Order Parts
■
Print Specification Information
Note: Discounts Are Subject To Change
Goto www.multiquip.com and click on
Order Parts to log in and save!
Use the
internet
and qualify for a 5% Discount
on
Standard orders
for all orders which include
complete part numbers.*
Order via Fax (Dealers Only):
All customers are welcome to order parts via Fax.
Domestic (US) Customers dial:
1-800-6-PARTS-7 (800-672-7877)
Fax
your order in and qualify for a 3% Discount
on
Standard orders
for all orders which include
complete part numbers.*
Order via Phone: Domestic (US) Dealers Call:
1-800-427-1244
Best Deal!
International Customers
should contact
their local Multiquip Representatives for
Parts Ordering information.
Non-Dealer Customers:
Contact your local Multiquip Dealer for
parts or call 800-427-1244 for help in
locating a dealer near you.
Note: Discounts Are Subject To Change
NOTE

l
PAGE 6 — MVC-40G PLATE COMPACTOR — OPERATION & PARTS MANUAL — REV. #4 (06/06/07)
MVC-40G — SPECIFICATIONS
SNOITACIFICEPSENIGNE.2elbaT
enignE
ledoM01004D290HENIBOR
epyT
elgniS,ekorts4delooc-riA
,tfahSlatnoziroH,rednilyC
enignEenilosaGVHO
tneme
calpsiD.cc68
tuptuOxaM.M.P.R002,4/Wk1.2
tuptuOsuounitnoC.M.P.R006,3/Wk5.1
yticapaCknaTleuF snollag.S.U04..xorppA
)sretil5.1(
leuF elibomotuAdedaelnU
enilosaG
yticapaCliOebuL)sretil3.0(.stq713.
gulPkrapS A4RMBKGN
)41JCRnoipmahC(
noisnemiD
)HxWxL(
.ni0.51x8.11x08.9
)mm083x992x942(
yrD
thgieWteN ).gK9.9(.sbl8.12
ELBATSNOITACIFICEPSROTCAPMOC.1
ledoMG04-CVM
)swolB(ecroFlagufirtneC)Nk2.7(sbl-tf375,1
ycneuqerFnoitarbiV)zH301(mpv002,6
deepSdrawroFmumixaM )nim/sretem52~32(nim/tf28~57
)WxL(eziSetalP )mm092x024(ni14.11x35.61
thgieWgnitarepO)gk34(.sbl79
noitcapmoCfoaerAmumixaM )rh/m.qs834(rh/tf.qs117,4

MVC-40G PLATE COMPACTOR — OPERATION & PARTS MANUAL — REV. #4 (06/06/07) — PAGE 7
MVC-40G — DIMENSIONS
Figure 1. MVC-40G Plate Compactor Dimensions
SNOISNEMID.3ELBAT
RETTELECNEREFER NOITPIRCSED )mm(.niNOISNEMID
A)elaBgnitfiL(thgieH )mm795(.ni5.32
B)eldnaHgnitfiL(thgieH )mm125(.ni5.02
ChtdiW )mm682(.ni52.11
D)etalP(htgneL )mm314(.ni52.61
E)rotcapmoC(htgneL )mm384(.nI00.91
F)thgirpUeldnaH(thgieH )mm920,1(.ni05.04
G)detliTeldnaH(thgieH )mm419(.ni00.63
)WxL(snoisnemiDetalP .ni14.11x35.61
)092x024(

l
PAGE 8 — MVC-40G PLATE COMPACTOR — OPERATION & PARTS MANUAL — REV. #4 (06/06/07)
Lethal Exhaust Gases
MVC-40G — SAFETY MESSAGE ALERT SYMBOLS
Lethal Exhaust Gases
Safety precautions should be followed at all times when operating
this equipment. Failure to read and understand the Safety
Messages and Operating Instructions could result in injury to
yourself and others.
FOR YOUR SAFETY AND THE SAFETY OF OTHERS!
This Owner's Manual has been
developed to provide complete
instructions for the safe and efficient
operation of the
MQ Model MVC-
40G Plate Compactor.
Refer to the
engine manufacturers instructions
for data relative to its safe operation.
Before using this plate compactor, ensure that the operating
individual has read and understands all instructions in this
manual.
NOTE
SAFETY MESSAGE ALERT SYMBOLS
The three (3) Safety Messages shown below will inform
you about potential hazards that could injure you or others.
The Safety Messages specifically address the level of
exposure to the operator, and are preceded by one of
three words: DANGER, WARNING, or CAUTION.
HAZARD SYMBOLS
Potential hazards associated with the operation of the
MQ
Model MVC-40G Plate Compactor.
will be referenced with
Hazard Symbols which appear throughout this manual, and
will be referenced in conjunction with Safety Message Alert
Symbols.
ALWAYS wear approved
respiratory
protection when required.
WARNING - Respiratory Hazards
Engine exhaust gases contain
poisonous carbon monoxide. This gas
is colorless and odorless, and can
cause death if inhaled. NEVER operate
this equipment in a confined area or
enclosed structure that does not provide ample free flow
air.
WARNING - Lethal Exhaust Gas Hazards
Gasoline is extremely flammable, and
its vapors can cause an explosion if
ignited. DO NOT start the engine near
spilled fuel or combustible fluids.
DO NOT fill the fuel tank while the engine is running or
hot. DO NOT overfill tank, since spilled fuel could ignite if
it comes into contact with hot engine parts or sparks from
the ignition system. Store fuel in approved containers, in
DANGER - Explosive Fuel Hazards
Engine components can generate extreme
heat. To prevent burns, DO NOT touch
these areas while the engine is running or
immediately after operations. Never
operate the engine with heat shields or heat
guards removed.
WARNING - Burn Hazards
You WILL be
KILLED
or
SERIOUSLY
injured if you DO
NOT follow directions.
DANGERDANGER
DANGERDANGER
DANGER
You CAN be
KILLED
or
SERIOUSLY
injured if you DO
NOT follow directions.
WARNINGWARNING
WARNINGWARNING
WARNING
You CAN be
INJURED
if you DO NOT follow directions.
CAUTION
CAUTIONCAUTION
CAUTIONCAUTION
CAUTION

MVC-40G PLATE COMPACTOR — OPERATION & PARTS MANUAL — REV. #4 (06/06/07) — PAGE 9
MVC-40G — SAFETY MESSAGE ALERT SYMBOLS
Other important messages are provided throughout this
manual to help prevent damage to your light tower, other
property, or the surrounding environment.
CAUTION - Equipment Damage Hazards
ALWAYS wear approved eye and
hearing protection.
CAUTION - Eye and Hearing Hazards
ALWAYS place the power source, circuit
breakers or ON/OFF switch in the OFF
position, when the generator is not in use,
unless connected to transfer switch.
CAUTION - Accidental Starting Hazards
NEVER operate equipment with covers,
or guards removed. Keep fingers, hands,
hair and clothing away from all moving
parts to prevent injury.
CAUTION - Rotating Parts Hazards
Before attempting to operate
the plate compactor, and to
avoid serious injury to
personnel, always read and
understand operation manual.
Failure to read and understand
operation manual could
result in serious harm or even
death!
WARNING - Read Manual
DO NOT refuel plate copmpactor if compactor is placed
inside truck bed with PLASTIC LINER. Possibility exists
of explosion or fire due to
static electricity
.
DANGER - Refueling Hazard

l
PAGE 10 — MVC-40G PLATE COMPACTOR — OPERATION & PARTS MANUAL — REV. #4 (06/06/07)
MVC-40G — RULES FOR SAFE OPERATION
The following safety guidelines should always be used when
operating the
MQ Mikasa Model MVC-40G Plate Compactor.
GENERAL SAFETY
■
DO NOT operate or service this equipment before reading
this entire manual.
■
This equipment should not be operated by persons under
18 years of age.
■
NEVER operate this equipment without proper protective
clothing, shatterproof glasses, steel-toed boots and other
protective devices required by the job.
■
High Temperatures – Allow the
engine to cool before adding fuel or
performing service and maintenance functions. Contact
with
hot!
components can cause serious burns.
■
The engine section of this mixer requires an adequate
free flow of cooling air.
NEVER
operate the compactor
in any enclosed or narrow
area where free flow of the
air is restricted. If the air
flow is restricted it will
cause serious damage to
the compactor or engine
and may cause injury to
people. Remember the
plate compactor's engine gives off
DEADLY
carbon
monoxide gas.
■
NEVER operate this equipment under the
influence of
drugs
or
alcohol
.
■
NEVER touch the hot exhaust
manifold, muffler or cylinder. Allow
these parts to cool before servicing
engine or mixer.
■
NEVER operate this equipment when not
feeling well due to fatigue, llness or taking
medicine.
■
Topping-off to filler port is dangerous, as it tends to spill
fuel.
■
Maintain this equipment in a safe operating condition at
all times.
■
ALWAYS store equipment properly when it is not being used.
Equipment should be stored in a clean, dry location out of the
reach of children.
■
NEVER operate the plate compactor in
an explosive atmosphere or near
combustible materials. An explosion or
fire could result causing severe
bodily
harm or even death.
■
ALWAYS refuel in a well-ventilated area, away from sparks
and open flames.
■
ALWAYS use extreme caution when
working with flammable liquids. When
refueling, stop the engine and allow it to
cool. DO NOT
smoke
around or near the
machine. Fire or explosion could result
from fuel vapors, or if fuel is spilled on a
hot engine.
■
ALWAYS wear proper respiratory (mask),
hearing and eye protection equipment when
operating the plate compactor.
■
Whenever necessary, replace nameplate, operation and
safety decals when they become difficult read.
■
Manufacture does not assume responsibility for any
accident due to equipment modifications.
■
NEVER use accessories or attachments, which are not
recommended by Multiquip for this equipment. Damage
to the equipment and/or injury to user may result.
Failure to follow instructions in this
manual may lead to serious injury or
even death! This equipment is to be
operated by trained and qualified
personnel only! This equipment is for
industrial use only.
CAUTION - Read Manual!

MVC-40G PLATE COMPACTOR — OPERATION & PARTS MANUAL — REV. #4 (06/06/07) — PAGE 11
MVC-40G — RULES FOR SAFE OPERATION
TRANSPORTING
■
ALWAYS shutdown engine before transporting.
■
Tighten fuel tank cap securely and close fuel cock to
prevent fuel from spilling.
■
Drain fuel when transporting compactor over long
distances or bad roads.
MAINTENANCE
■
NEVER lubricate components or attempt service on a
running compactor.
■
ALWAYS allow the plate compactor a proper amount of
time to cool before servicing.
■
Keep the compactor in proper running condition.
■
Fix damage to the plate compactor immediately and
always replace broken parts.
■
Dispose of hazardous waste properly. Examples of
potentially hazardous waste are used motor oil, fuel and
fuel filters.
■
DO NOT use food or plastic containers to dispose of
hazardous waste.
EMERGENCIES
■
ALWAYS know the location of the nearest
fire
extinguisher
and first aid kit.
■
In emergencies
always
know the location of the
nearest phone or
keep a phone on the job site
.
Also know the phone numbers of the nearest
ambulance
,
doctor
and
fire department
. This
information will be invaluable in the case of an
emergency.
■
NEVER run engine without air filter. Severe engine damage
may occur.
■
ALWAYS service air cleaner frequently to prevent carburetor
malfunction.
■
ALWAYS be sure the operator is familiar with proper safety
precautions and operations techniques before using
compactor.
■
ALWAYS read, understand, and follow procedures in
Operator’s Manual before attempting to operate equipment.
■
Refer to the
ROBIN Engine Owner's Manual
for engine
technical questions or information.
Loading and Unloading (Crane)
■
Before lifting, make sure that machine parts (lifting bale and
vibration insulator) are not damaged and screws are not
loosened or lost.
■
ALWAYS make sure crane or lifting device has been properly
secured to the lifting bale on the compactor.
■
NEVER lift the compactor while the engine is running.
■
Use adequate lifting cable (wire or rope) of sufficient strength.
■
Use one point suspension hook and lift straight upwards.
■
NEVER allow any person or animal to stand underneath the
machine while lifting.
■
Try not to lift compactor to unnecessary heights.

l
PAGE 12 — MVC-40G PLATE COMPACTOR — OPERATION & PARTS MANUAL — REV. #4 (06/06/07)
MVC-40G — GENERAL INFORMATION
Definition of Plate Compactor
The Mikasa MVC-40G is a one direction (forward) walk behind,
plate compactor designed for the compaction of sand, mixed
soils and asphalt. This plate compactor is a powerful compacting
tool capable of applying a tremendous force in consecutive high
frequency vibrations to a soil surface. Its applications include
compacting for road, embankments and reservoirs as well as
backfilling for gas pipelines, water pipelines and cable installation
work.
The MVC-40G is small and lightweight. It can be easily handled
by one person in confined areas. It has an accessible front-
mounted vibrator assembly. The sealed belt cover keeps dirt
and rocks away from the belt.
Vibratory Plate
The vibratory plate of the compactor produces low amplitude
high frequency vibrations, designed to compact granular soils
and asphalt.
The resulting vibrations cause forward motion. The engine and
handle are vibration isolated from the vibrating plate.
Frequency/Speed
The compactor's vibrating plate has a frequency of 6,200 vpm
(vibrations per minute). The travel speed of the compactor is
approximately 82 ft./minute (25 meters/minute).
Engine
The MQ Mikasa MVC-40G Plate Compactor is equipped with a
air-cooled, 4-stroke ROBIN EH09-2D gasoline engine. When
adding fuel, always use unleaded gasoline.
Controls
Before starting the MVC-40G Plate Compactor identify and
understand the function of the controls and components as
indicated Figure 3.

MVC-40G PLATE COMPACTOR — OPERATION & PARTS MANUAL — REV. #4 (06/06/07) — PAGE 13
MVC-40G — COMPONENTS (PLATE COMPACTOR)
Figure 3. MVC-40G Plate Compactor Components
Figure 3 shows the location of the components and general
maintenance parts. The function of each component is described
below:
1. Hand Lift Handle – When lifting of the compactor by
personnel is required, use this hand lift handle. DO NOT
attach a crane or heavy lifting device to this handle to lift
the compactor.
2. Lifting Bale – When lifting of the compactor is required
either by forklift, crane etc., tie rope or chain around this
lifting point.
3. Handle Bar – When operating the compactor use this
handle bar to maneuver the compactor.
4. Belt Cover – Remove this cover to gain acess to the V-
belts. NEVER run the compactor without the V-belt cover. If
the V-belt cover is not installed, the possibility exist that
your hand may get caught between the V-belt and clutch,
thus causing serious injury and bodily harm.
5. Vibrating Plate – A flat, open plate made of durable cast
iron construction used in the compacting of soil.
6. Vibration Case – Encloses the eccentric, gears and
counter weights.
7. Gasoline Engine – This plate compactor uses a 4-stroke,
air cooled ROBIN EH09-2D gasoline engine. Refer to the
ROBIN owner's manual for engine information.

l
PAGE 14 — MVC-40G PLATE COMPACTOR — OPERATION & PARTS MANUAL — REV. #4 (06/06/07)
MVC-40G — COMPONENTS (ENGINE)
Figure 4. Engine Controls and Components
INITIAL SERVICING
The engine (Figure 4) must be checked for proper lubrication and
filled with fuel prior to operation. Refer to the ROBIN engine service
manual for instructions and details for proper operation and servicing.
9. Carburetor – Regulates fuel flow.
10. Oil Dipstick/ Filler Cap– Remove the filler cap dipstick
when checking the engine oil level. Add engine oil through
this filler port. See Table 4 for recommended type engine
oil.
11. Oil Drain Plug – Remove this plug to drain engine oil from
the crankcase.
12. Muffler – Used to reduce noise and emissions. ALWAYS
allow a sufficient amount of time for the muffler to cool before
touching.
Operating the engine without an air
filter, with a damaged air filter, or a
filter in need of replacement will
allow dirt to enter the engine,
causing rapid engine wear.
NOTE
1. Throttle Lever – Used to adjust engine RPM. Push lever
upwards for
SLOW
, and down for
FAST
.
2. Recoil Starter (pull rope) – Manual-starting method. Pull
the starter grip until resistance is felt, then pull briskly and
smoothly
3. Air Cleaner – Prevents dirt and other debris from entering
the fuel system. Release clips on side of air filter cannister
to gain access to filter element.
4. Fuel Valve Lever – OPEN to let fuel flow, CLOSE to stop
the flow of fuel.
5. Choke Lever – Used in the starting of a cold engine, or in
cold weather conditions. The choke enriches the fuel
mixture.
6. Fuel Tank – Holds .40 gals (1.5 liters)unleaded gasoline.
For additional information refer to ROBIN engine owner's
manual.
7. Fuel Filler Cap – Remove this cap to add unleaded
gasoline to the fuel tank. Make sure cap is tightened
securely. DO NOT over fill.
8. Start/Stop Switch – Place this switch in the "ON" position
(1) to start the engine. Place in the "OFF" position (0) to
stop the engine.
Engine components can generate extreme heat.
To prevent burns, DO NOT touch these areas
while the engine is running or immediately after
operating. NEVER operate the engine with the
muffler removed.
Warning - Hot Surface
13. Spark Plug – Provides spark to the ignition system. Set
spark plug gap to 0.6 - 0.7 mm (0.028 - 0.031 inch)
Clean spark plug once a week.

MVC-40G PLATE COMPACTOR — OPERATION & PARTS MANUAL — REV. #4 (06/06/07) — PAGE 15
MVC-40G — INSPECTION
Before Starting
1. Read safety instructions at the beginning of manual.
2. Clean the compactor, removing dirt and dust. Particularly, the
bottom of the plate, engine cooling air inlet, carburetor and
air cleaner.
3. Check the air filter for dirt and dust. If the air filter is dirty, blow
through the air filter cartridge from the inside, moving a jet of
dry compressed air up and down until all dust is removed.
Otherwise replace air filter with a new one.
4. Check carburetor for external dirt and dust. Clean with dry
compressed air.
5. Check fastening nuts and bolts for tightness. Loosened
screws or bolts due to vibration, could lead to unexpected
accident.
Engine Oil Check
1. To check the engine oil level, place the plate compactor on
secure level ground with the engine stopped.
2. Remove the filler cap/dipstick from the engine oil filler hole
(Figure 5) and wipe it clean.
Figure 5. Engine Oil Dipstick
3. Insert and remove the dipstick without screwing it into the filler
neck. Check the oil level shown on the dipstick.
4. If the oil level is low (Figure 6), fill to the edge of the oil filler
hole with the recommended oil type (Table 4).
Figure 6. Engine Oil Dipstick
The Oil Alert system will
automatically shut-down the
engine if the engine oil level falls
below safe operating limits.
Always be sure to check the
engine oil level prior to starting
the engine.
UPPER LIMIT
LOWER LIMIT
NOTE
Fuel Check
1. Remove the gasoline cap located on top of fuel tank.
2. Visually inspect to see if fuel level is low. If fuel is low,
replenish with unleaded fuel.
3. When refueling, be sure to use a strainer for filtration. DO
NOT top-off fuel. Wipe up any spilled fuel.
Motor fuels are highly flammable and can
be dangerous if mishandled. DO NOT
smoke while refueling. DO NOT attempt to
refuel the compactor if the engine is
hot!
,
running or in the dark
.
Danger - Flammable Fuel
Adding fuel to the tank should be done only
when the engine is stopped and has had an
opportunity to cool down. In the event of a fuel
spill, DO NOT attempt to start the engine until
the fuel residue has been completely wiped
up, and the area surrounding the engine is
dry.
Danger - Flammable Fuel
epyTliO.4elbaT
nosaeS erutarepmeT epyTliO
remmuS rehgiHroC°52 03-W01EAS
llaF/gnirpS C°01~C°52 02/03-W01EAS
retniW rewoLroC°0 01-W01EAS

l
PAGE 16 — MVC-40G PLATE COMPACTOR — OPERATION & PARTS MANUAL — REV. #4 (06/06/07)
2. The V-belt tension is proper if the V-belt bends 10 to 15 mm
(Figure 9) when depressed with finger at midway between
the clutch and vibration pulley shafts.
MVC-40G — INSPECTION
CLUTCH
PULLEY
VIBRATOR
PULLEY
Figure 7. V-Belt Hazard
1. To check the V-belt tension, remove the bolts that secure
the belt cover to the frame as shown in Figure 8.
Figure 8. V-Belt Cover Removal
3. A loose V-belt will decrease the power transmission output,
causing reduced compaction and premature wear of the
belt.
4. If the V-belt becomes worn or loose, replace it .
Figure 9. V-Belt Tension
Vibrator Oil Check
1. Place the MVC-40Gplate compactor horizontally on a flat
surface. Make sure the compactor is level when checking the
oil in the vibrator assembly.
2. Check vibrator oil level by removing the plug (vibrator oil gauge)
as shown in Figure 10. The oil level should be up to the oil plug.
If oil is required, replace using only SAE 10W-30 motor oil.
NEVER attempt to check the V-belt with the engine running.
Severe injury can occur if your hand (Figure 7) gets caught
between the V-belt and the clutch. Always use safety gloves.
Caution - V-Belt check
Figure 10. Vibrator Oil Plug
V-Belt Check

MVC-40G PLATE COMPACTOR — OPERATION & PARTS MANUAL — REV. #4 (06/06/07) — PAGE 17
MVC-40G — INITIAL START-UP
Starting the Engine
1. Place the engine
fuel valve lever
(Figure 11) in the "ON"
position.
Figure 11. Engine Fuel Valve Lever (ON Position)
4. Place the
throttle lever
(Figure 14) in the
slow
position
(idle)
Figure 13. Engine Choke Lever (Closed)
2. Place the
engine ON/OFF switch
(Figure 12) in the "
ON
"
position.
This section is intended to assist the operator with the
initial
start-up
of the plate compactor. It is extremely important that
this section be read carefully before attempting to use the
compactor in the field.
DO NOT attempt to operate the plate compactor
until the Safety, General Information and
Inspection sections of this manual have been
read and thoroughly understood
.
Caution - Read Manual
Figure 15. Starter Grip
5. Grasp the starter grip (Figure 15) and slowly pull it out. The
resistance becomes the hardest at a certain position, corre-
sponding to the compression point. Pull the starter grip briskly
and smoothly for starting.
Figure 14. Throttle Lever (Slow)
3. Place the
choke lever
(Figure 13) in the "
CLOSED
" position
if starting a
cold
engine, if starting a
warm engine
or the
temperature is warm,
place the
choke lever
in the "
OPEN"
position
6. Let the engine warm for a few minutes without a load and
check for fuel leaks, and noises that would associate with a
lose component.
Figure 12. Engine ON/OFF Switch (ON Position)

l
PAGE 18 — MVC-40G PLATE COMPACTOR — OPERATION & PARTS MANUAL — REV. #4 (06/06/07)
MVC-40G — INITIAL START-UP
7. If the engine is running properly, slowly return (push inward)
the choke lever (Figure 13) to the
“OPEN”
position. If the
engine has not started repeat steps 1 through 6.
8. To begin compacting, place the throttle lever (Figure 16) in
the "
fast
" (run) position.
Stopping The Engine
Normal Shutdown
1. Move the throttle lever to the IDLE position (Figure 17) and
run the engine for three minutes at low speed.
Figure 17. Throttle Lever (Idle)
2. After the engine
cools
, turn the engine ON/OFF switch to the
“OFF” position (Figure 18).
3. Place the
fuel shut-off lever
(Figure 19) in the OFF
position.
Figure 18. Engine ON/OFF Switch (OFF)
Figure 19. Fuel Valve Lever (OFF)
Emergency Shutdown
1. Move the throttle lever quickly to the
SLOW
position, and
place the engine ON/OFF switch in the
OFF
position.
ALWAYS run engine at
full speed
while compacting.
CAUTION - Compacting Speed
Figure 16. Throttle Lever (Fast)

MVC-40G PLATE COMPACTOR — OPERATION & PARTS MANUAL — REV. #4 (06/06/07) — PAGE 19
MVC-40G — OPERATION
Operation
1. Once the engine has started, move the engine throttle lever
quickly to the
fast
position.
2. With the throttle lever in the fast position, the engine speed
should be around 2,300 RPM, therefore engaging the cen-
trifugal clutch.
Always move the throttle lever
quickly without hesitation, because
increasing the engine speed slowly
causes the clutch to slip.
3. Firmly gasp the compactor's handle bar with both hands , the
compactor will begin moving forward.
4. Slowly walk behind the compactor and be on the lookout for
any large objects or foreign matter that might cause damage
to the compactor or bodily injury.
5. Compactor traveling speed may drop on soils which contain
clay, however there may be cases where traveling speed
drops because the compaction plate does not leave the
ground surface easily due to the composition of the soil. To
rectify this problem do the following:
z
Check the bottom plate to see if clay or
equivalent material has been lodged in the plate
mechanism. If so, wash with water and remove.
z
Remember the compactor does not work as
efficiently on clay or soils that have a high
moisture content level.
z
If the soil has a high moisture level, dry soil to
appropriate moisture content level or carry out
compaction twice.
NOTE
Make sure to follow all safety rules referenced in the safety
section of this manual before operating compactor. Keep work
area clear of debris and other objects that could cause
damage to the compactor or bodily injury.
CAUTION - Safety Rules

l
PAGE 20 — MVC-40G PLATE COMPACTOR — OPERATION & PARTS MANUAL — REV. #4 (06/06/07)
Inspection and Maintenance Service Tables.
1. To make sure your plate compactor is always in good
working condition before using, carry out the maintenance
inspection in accordance with Tables 5 through 7.
MVC-40G — MAINTENANCE
z
Check for leakage of fuel or oil.
z
Remove soil and clean the bottom of compaction plate.
z
Check engine oil, see page 15.
z
Check for loose screws including tightness. See Table 7
below (tightening torque ), for retightening:
Daily Service
ENGINE OIL
1. Drain the engine oil when the oil is
warm
as shown in
Figure 20.
2. Remove the oil drain bolt and sealing washer and allow
the oil to drain into a suitable container.
3. Replace engine oil with recommended type oil as listed
in Table 4. Engine oil capacity is .317 quarts (.3 liters). DO
NOT overfill.
4. Install drain bolt with sealing washer and tighten se-
curely.
Inspection and other services should
always
be carried out
on hard and level ground with the engine shut down.
CAUTION - Inspection
These inspection intervals are for operation under normal
conditions. Adjust your inspection intervals based on the
number of hours plate compactor is in use, and particular
working conditions.
CAUTION - Inspection Intervals
CAUTION - Inspection Intervals
Fuel piping and connections should be replaced every 2
years.
ECNANETNIAMENIGNE.6elbaT
)3(NOITPIRCSEDNOITAREPOEROFEB
TSRIF
HTNOM
RO
.SRH01
YREVE
SHTNOM3
RO
.SRH52
YREVE
SHTNOM6
RO
.SRH05
YREVE
RAEY
RO
.SRH0
01
YREVE
SRAEY2
RO
.SRH002
liOenignE
KCEHCX
EGNAHCX
renaelCriA
KCEHCX
EGNAHC)1(X
stloB&stuNllA fInethgit-eR
yrasseceN X
gulPkrapS
NAELC-KCEHCX
ECALPER X
sniFgnilooCKCEHCX
retserrAkrapSNAELC X
knaTleuFNAELC X
retliFleuFKCEHC X
deepSeldITSUJ
DA-KCEHC )2(X
ecnaraelCevlaVTSUJDA-KCEHC )2(X
senilleuFKCEHC )2()yrassecenfiecalper(sraey2yrevE
nidesunehwylt
neuqerferomecivreS)1( YTSUD .saera
yllacinahcemeradnaslootreporpehtevahuoysselnu,relaedcivresruoyybdeciv
resebdluohssmetiesehT)2(
serudecorpecivresroflaunaMNIBORehtotrefeR.tneiciforp
.slavretniecnanetniamrepo
rpenimretedotnoitarepofosruohgol,esulaicremmocroF)3(
.7ELBAT
retemaiD)mc/gk.ni(EUQROTGNINETHGIT
lairetaM mm6 mm8 mm01 mm21 mm41 mm61 mm81 mm02
T4 07 051 003 005 057 001,1 004,1 000,2
T8-6 001 052 005 008 003,1 000,2 007,2 008,3
T11 051 004 008 002,1 000,2 009,2 002,4 006,5
* )mm01(007~056)mm8(053~003)mm6(001
)munimulafositrap-retnuocesacnI(*
)dednahthgirllaeraenihcamsihthtiwesunisdaerhT(
,tlobhcaenodekramsilairetamfoytilauqdnalairetaM
.wercsdna
G04-CVM.5ELBATNOITCEPSNIENIHCAM
METI FOSRUOH
NOITAREPO SKRAMER
straPdegamaD sruoh8yrevE
)yadyreve(
swercStsoLroesooL sruoh8yrevE
)yadyreve(
gni
llortnoCfonoitcnuF
traPmetsyS
sruoh8yrevE
)yadyreve(
kcehCliOrotarbiVsruoh001yrevE61egapeeS
liOrotarbiV
tneme
calpeR sruoh003yrevE12egapeeS
kcehC)hctulc(tleb-Vsruoh002yrevE12egapeeS

MVC-40G PLATE COMPACTOR — OPERATION & PARTS MANUAL — REV. #4 (06/06/07) — PAGE 21
MVC-40G — MAINTENANCE
Changing Vibrator Oil
1. When changing the vibrator oil, remove the drain plug
(Figure 10), and simply tip the compactor to drain the oil.
Note that the oil will drain more easily while it is hot.
Remember to use only 10W-30 motor oil when replacing
vibrator oil.
Checking and Replacing the V-Belt and Clutch
1. After 200 hours of operation, remove the upper belt cover to
check the V-belt tension. Tension is proper if the belt bends
about 10 mm when depressed strongly with finger between
shafts. Loose or worn V-belts reduces power transmission
efficiency, causing weak compaction and reduces the life of
the belt itself.
Figure 20. Engine Oil (Draining)
Engine Air Cleaner
1. Remove the air cleaner cover and foam filter element as
shown in Figure 21.
2. Wash the gray foam outer filter element in kerosene or
diesel fuel. Then saturate it in a mixture of 3 parts kero-
sene or diesel fuel and 1 part engine oil. Completely
squeeze the element to remove the mixture and re-install
it back into the air cleaner.
Figure 21. Air Cleaner
Spark Plug
1. Remove and clean the spark plug (Figure 22).
2. Adjust the spark gap to 0.028 ~0.031 inch (0.6~0.7 mm). This
unit has electronic ignition, which requires no adjustments.
Figure 22. Spark Plug Gap
NEVER attempt to check the V-belt with the engine running.
Severe injury can occur if your hand (Figure 7) gets caught
between the V-belt and the clutch. Always use safety gloves.
WARNING - V-belt Hazard
Whenever the compactor's vibration becomes weak or lost
during normal operation regardless of operation hours, check
the V-belt and clutch immediately.
CAUTION - Vibration Check
z
Checking Clutch
Check the clutch simultaneously with V-belt checking. With belt
removed, check outer drum of the clutch for seizure and "V"
groove for wear or damage with your eyes. Clean the "V" groove
as necessary. Wear of lining or shoe should be checked with
running check. If the shoe is worn, power transmission becomes
deficient and slipping will result.
z
Reinstalling the V-belt
Engage V-belt to lower vibrator pulley and push the V-belt to left
side of upper clutch and, in the same manner as in removal,
rotate offset wrench clockwise so that the V-belt goes back on.
z
Replacing the V-belt
Remove the upper and lower belt covers. Engage an offset
wrench (13 mm) or the like to vibrator pulley (lower) fastening
bolt. Engage waste cloth or the like at midway of V-belt on the left
side and while pulling it back strongly, rotate the offset wrench
clockwise so that the V-belt will come off.

l
PAGE 22 — MVC-40G PLATE COMPACTOR — OPERATION & PARTS MANUAL — REV. #4 (06/06/07)
Compactor Storage
For storage of the compactor for over 30 days, the following
is required:
z
Drain the fuel tank completely, or add STA-BIL to the
fuel.
z
Run the engine until the fuel in the fuel in the carburetor
is completely consumed.
z
Completely drain the oil from the engine crankcase and
follow procedures described in the
ROBIN
engine
Owner's Manual for engine storage.
z
Completely drain the compactor's oil from the vibrating
case.
z
Clean entire plate compactor, especially the bottom plate
removing all dirt and foreign matter.
z
Cover plate compactor and engine with plastic covering
or equivalent and store in a clean, dry place.
MVC-40G— PREPARATION FOR LONG -TERM STORAGE

MVC-40G PLATE COMPACTOR — OPERATION & PARTS MANUAL — REV. #4 (06/06/07) — PAGE 23
MVC-40G — TROUBLESHOOTING (ENGINE)
Practically all breakdowns can be prevented by proper handling and maintenance inspections, but in the event of a
breakdown, please take a remedial action following the diagnosis based on the Engine Troubleshooting (Table 8) information
shown below and on the proceeding page. If the problem cannot be remedied, please leave the unit just as it is and consult
our company's business office or service plant.
GNITOOHSELBUORTENIGNE.8ELBAT
MOTPMYSESUACELBISSOPNOITULOS
ontub,elbaliavasileuf",tratsottluciffiD
."gulpkrapstaKRAPS
?gnigdirbgulpkrapS ronoitalusni,pagkcehC
.gulpkrapsecalper
?gulpkrapsnotisopednobraC .gulpkrapsecalperronaelC
gulpkrapstneic
ifedoteudtiucrictrohS
?noitalusni
,noitalusnigulpkrapskcehC
.nrowfiecalper
?paggulpkrapsreporpmI.pagreporp
otteS
dna,elbaliavasileuf",tratsottluciffiD
."gulpkrapsehttatneserpsiKRAPS
?detrohssihctiwsFFO/NO ecalper
,gniriwhctiwskcehC
.hctiws
?evitcefedliocnoitingI.liocnoitingiecalpeR
?yrtridstniop,pagkrapsreporpmI dnapa
gkrapstcerrocteS
.stniopnaelc
trohsronrownoitalusniresnednoC
?gnitiucric .resnednocecalpeR
?gnitiucrictroh
sronekorberiwgulpkrapS gulpkrapsevitcefedecalpeR
.gniriw
kraps,elbaliavasileuf",tratsottluciffiD
"lamrons
inoisserpmocdnatneserpsi
?epytleufgnorW ecalperdna,metsysleufhsulF
.leuffoepyttcerrochtiw
?metsysleufnits
udroretaW.metsysleufhsulF
?ytridrenaelcriA .renaelcriaecalperronaelC
kraps,elbaliavasileuf",tratsottlucif
fiD
"wolsinoisserpmocdnatneserpsi
?dedurtorprokcutsevlavtsuahxe/noitcuS.sevlavtaes-eR
?nrowrednilycro/dna
gnirnotsiP rodnasgnirnotsipecalpeR
.notsip
tongulpkrapsro/dnadaehrednilyC
?ylreporpdenethgit
dnastlobdaehr
ednilyceuqroT
.gulpkraps
teksaggulpkrapsro/dnateksagdaeH
?degamad
gulpkrapsdnadaehecalpeR
.steksag
.roterub
ractatneserpleufoN
?knatleufnielbaliavatonleuF .leuffoepyttcerrochtiwlliF
?ylreporpnepotonseodkcocleuF le
ufnesoolottnacirbulylppA
.yrassecenfiecalper,revelkcoc
?deggolcretlifleuF.retlifleufecalpeR
?deggolcelohr
ehtaerbpacknatleuF .packnatleufecalperronaelC
?enilleufniriA.enilleufdeelB

l
PAGE 24 — MVC-40G PLATE COMPACTOR — OPERATION & PARTS MANUAL — REV. #4 (06/06/07)
MVC-40G — TROUBLESHOOTING (ENGINE)
)DEUNITNOC(GNITOOHSELBUORTENIGNE.8ELBAT
MOTPMYSESUACELBISSOPNOITULOS
sinoisserpmoc"rewopnikaeW"
.erifsimtonseoddnareporp
?naelctonrenaelcriA renael
criaecalperronaelC
?roterubracnilevelreporpmI dliub-er,tnemtsujdataolfkcehC
.rotaerubrac
?gulpkrapSevitce
feD .gulpkrapsecalperronaelC
?gulpkrapSevitcefeD
sinoisserpmoc"rewopnikaeW"
.serifsimtubreporp
?metsysleuf
niretaW ecalperdna,metsysleufhsulF
.leuffoepyttcerrochtiw
?gulpkrapsytriD .gulpkrapsecalperronaelC
?evitce
fedliocnoitingI.liocnoitingiecalpeR
.staehrevoenignE
?reporpmieulavtaehgulpkrapS foepyttcerrochtiwecalpeR
.gulpkraps
?leuffoepyttcerroC leuffoepyttcerrochtiwecalpeR
?ytridsnifgnilooC.snifgniloocnaelC
.setautculfd
eepslanoitatoR
?yltcerrocdetsujdaronrevoG.ronrevogtsujdA
?evitcefedgnirpsronrevoG.gnirpsronrevogecalpeR
?d
etcirtserwolfleuF rofmetsysleuferitnekcehC
.sgolcroskael
.noitcnuflamretratslioceR
dnatsudhtiwdeggolcmsin
ahcemlioceR
?trid
paoshtiwylbmessaliocernaelC
.retawdna
?esoolgnirpslairpS.gnirpslairpsecalpeR

MVC-40G PLATE COMPACTOR — OPERATION & PARTS MANUAL — REV. #4 (06/06/07) — PAGE 25
MVC-40G — TROUBLESHOOTING (PLATE COMPACTOR)
Practically all breakdowns can be prevented by proper handling and maintenance inspections, but in the event of a
breakdown, please take a remedial action following the diagnosis based on the Compactor Troubleshooting (Table 9)
information shown below and on the proceeding page. If the problem cannot be remedied, please leave the unit just as it is
and consult our company's business office or service plant.
GNITOOHSELBUORTROTCAPMOCETALP.9ELBAT
MOTPMYSESUACELBISSOPNOITULOS
sinoitarbivdna,wolootdeepslevarT
.kaew
?wolootdeepsenignE .MPRtcerrocotdeepsen
igneteS
?spilshctulC.hctulcecalperrokcehC
?spilstleb-V.tleb-VecalperrotsujdA
?rotarbivnilioevissecxE .level
reporpotllifdnaliossecxeniarD
?gnisuohrotarbivninoitcnuflaM retnuocdnasraeg,cirtneccekcehC
.sthgiew
.draw
roflevarttonseoD
?spilstleb-V.tleb-VecalpeR
?spilshctulC .seohsdnasgnirpshctulckcehC
?dekcolrotarbiV ,cirtn
ecce(gnisuohrotarbivkcehC
)sthgiewretnuocdnasraeg

l
PAGE 26 — MVC-40G PLATE COMPACTOR — OPERATION & PARTS MANUAL — REV. #4 (06/06/07)
MVC-40G— EXPLANATION OF CODE IN REMARKS COLUMN
The contents and part numbers listed in the parts section are
subject to change
without notice
. Multiquip does not
guarantee the availibility of the parts listed.
NOTE
When ordering a part that has more
than one item number listed, check
the remarks column for help in
determining the proper part to order.
QTY. Column
Numbers Used - Item quantity can be indicated by a number,
a blank entry, or A/R.
A/R (As Required) is generally used for hoses or other parts
that are sold in bulk and cut to length.
A blank entry generally indicates that the item is not sold
separately. Other entries will be clarified in the “Remarks”
Column.
REMARKS Column
Some of the most common notes found in the “Remarks”
Column are listed below. Other additional notes needed to
describe the item can also be shown.
Assembly/Kit
- All items on the parts list with the same unique
symbol will be included when this item is purchased.
Indicated by:
“INCLUDES ITEMS W/(unique symbol)”
Serial Number Break
- Used to list an effective serial number
range where a particular part is used.
Indicated by:
“S/N XXXXX AND BELOW”
“S/N XXXX AND ABOVE”
“S/N XXXX TO S/N XXX”
Specific Model Number Use
- Indicates that the part is used
only with the specific model number or model number variant
listed. It can also be used to show a part is NOT used on a
specific model or model number variant.
Indicated by:
“XXXXX ONLY”
“NOT USED ON XXXX”
“Make/Obtain Locally”
- Indicates that the part can be
purchased at any hardware shop or made out of available
items. Examples include battery cables, shims, and certain
washers and nuts.
“Not Sold Separately”
- Indicates that an item cannot be
purchased as a separate item and is either part of an
assembly/kit that can be purchased, or is not available for
sale through Multiquip.
The following section explains the different symbols and remarks
used in the Parts section of this manual. Use the help numbers
found on the back page of the manual if there are any questions.
NO. Column
Unique Symbols - All items with same unique symbol
(*, #, +, %, or >) in the number column belong to the same
assembly or kit, which is indicated by a note in the “Remarks”
column.
Duplicate Item Numbers - Duplicate numbers indicate
multiple part numbers are in effect for the same general item,
such as different size saw blade guards in use or a part that
has been updated on newer versions of the same machine.
PART NO. Column
Numbers Used - Part numbers can be indicated by a number,
a blank entry, or TBD.
TBD (To Be Determined) is generally used to show a part that
has not been assigned a formal part number at time of
publication.
A blank entry generally indicates that the item is not sold
separately or is not sold by Multiquip. Other entries will be
clarified in the “Remarks” Column.
Sample Parts List:
NO. PART NO. PART NAME QTY. REMARKS
1 12345 BOLT ....................... 1 .... INCLUDES ITEMS W/*
2*WASHER, 1/4 IN. ...........
NOT SOLD SEPARATELY
2*12347 WASHER, 3/8 IN. .... 1....
MQ-45T ONLY
3 12348 HOSE .................... A/R .. MAKE LOCALLY
4 12349 BEARING ................ 1.... S/N 2345B AND ABOVE

MVC-40G PLATE COMPACTOR — OPERATION & PARTS MANUAL — REV. #4 (06/06/07) — PAGE 27
MVC-40G— SUGGESTED SPARE PARTS
MQ MIKASA MVC-40G PLATE COMPACTOR WITH
ROBIN EH09-2D GASOLINE ENGINE
1 to 3 Units
Qty.P/N Description
3 ......... 070100272 ......... V-BELT, A-27 BLUE
4 ......... 939010160 ......... SHOCK ABSORBER
6 ......... 2263261007 ....... ELEMENT SET, AIR CLEANER
3 ......... 0650140380 ....... SPARK PLUG
1 ......... 2745011208 ....... ROPE STARTER
1 ......... 0430440132 ....... FUEL TANK CAP, ASSY.
1 ......... 0641420040 ....... FUEL FILTER, TANK
3 ......... 0642004420 ....... FILTER, V-STD, FUEL STRAINER

l
PAGE 28 — MVC-40G PLATE COMPACTOR — OPERATION & PARTS MANUAL — REV. #4 (06/06/07)
MVC-40G— NAME PLATE AND DECALS
Machine Safety Decals
The MVC-40GPlate Compactor is equipped with a number of safety decals. These decals are provided for operator safety and
maintenance information. The illustration below shows these decals as they appear on the machine. Should any of these decals
become unreadable, replacements can be obtained from your dealer.

MVC-40G PLATE COMPACTOR — OPERATION & PARTS MANUAL — REV. #4 (06/06/07) — PAGE 29
MVC-40G— NAMEPLATE AND DECALS
NAMEPLATE AND DECALS
NO. PART NO. PART NAME QTY.REMARKS
1 920203330 DECAL; EAR PROTECTION LABEL ............................... 1 ......... NPA-333
2 0732005181 DECAL; WARNING, HOT SURF., FUMES, GAS, READ . 1
3 920206280 DECAL; DANGER ............................................................ 1 ......... NPA-628
4 920209150 DECAL; V-BELT/ RPF-3270 ............................................. 1 ......... NPA-915
5 920207690 DECAL; CAUTION, READ MANUAL ................................ 1 ......... NPA-769
6 NAMEPLATE ................................................................... 1 ......... CONTACT MQ PARTS DEPT.
7 920210330 DECAL; EC NOISE REQ. LWA105 .................................. 1 ......... NPA-1033
8 920109530 DECAL; MIKASA, 125MM YELLOW ............................... 1 ......... NP-953
9 920203060 DECAL; CAUTION ........................................................... 1 ......... NPA-929
10 920203290 DECAL; CAUTION ........................................................... 1 ......... NPA-329
11 920212320 DECAL: CAUTION REFUELING ...................................... 1 ......... NPA-1232

l
PAGE 30 — MVC-40G PLATE COMPACTOR — OPERATION & PARTS MANUAL — REV. #4 (06/06/07)
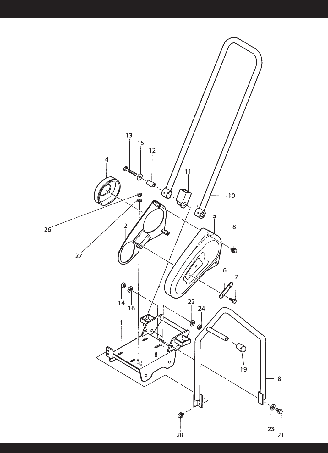
MVC-40G— BASE AND HANDLE ASSY.
BASE AND HANDLE ASSY.

MVC-40G PLATE COMPACTOR — OPERATION & PARTS MANUAL — REV. #4 (06/06/07) — PAGE 31
BASE AND HANDLE ASSY.
NO. PART NO. PART NAME QTY.REMARKS
1 417116270 BASE 1
2 417116820 BELT COVER, IN 1
4 417339980 COVER SEAL, E/G 1
5 417116290 BELT COVER, OUT 1
6 417454400 PLATE, BELT COVER 1
7 002210820 BOLT, 8X20 H, SW 2
8 002410815 BOLT, 8X15 H, SW, PW 2
10 417118330 HANDLE 1
11 417454410 HANDLE STOPPER 2
12 417454420 COLLAR, 10.5-20-37.5L 2
13 001221052 BOLT, 10X60 T 2
14 020310080 NUT, M10 1
15 952401660 WASHER, 103045 2
16 030210250 WASHER, LOCK M10 1
18 417215510 HOOK 1
19 953406430 RUBBER CAP, 16D KP-622 1
20 002410820 BOLT, 8X20 H, SW, PW 2
21 001211025 BOLT, 10X25 H 1
22 030210250 WASHER, LOCK M10 2
23 031110160 WASHER, FLAT M10 1
24 020310080 NUT, M10 2
26 020308060 NUT, M8 3
27 030208200 WASHER, LOCK M8 3
MVC-40G— BASE AND HANDLE ASSY.

l
PAGE 32 — MVC-40G PLATE COMPACTOR — OPERATION & PARTS MANUAL — REV. #4 (06/06/07)
VIBRATING PLATE AND VIBRATOR ASSY.
MVC-40G— VIBRATING PLATE AND VIBRATOR ASSY.

MVC-40G PLATE COMPACTOR — OPERATION & PARTS MANUAL — REV. #4 (06/06/07) — PAGE 33
MVC-40G— VIBRATING PLATE AND VIBRATOR ASSY.
VIBRATING PLATE AND VIBRATOR ASSY.
NO. PART NO. PART NAME QTY.REMARKS
1# 417116663 VIBRATING PLATE 1
2 939010160 SHOCK ABSORBER TAK-50 4
3 020310080 NUT, M10 4
4 030210250 WASHER, LOCK M10 4
5 002411025 BOLT, 10X25 H, SW, PW 4
7# 417215500 ECCENTRIC ROTATOR 1
8# 417339920 PULLEY, A1-82-S22 1
9# 952400130 WASHER, FLAT
10# 002210825 BOLT, 8X25 H, SW 1
11# 951405240 KEY, 7X7X19 R 1
12# 040406208 BEARING, 6208C4 2
13# 417454390 PACKING, VIB 2
15# 417339890 CASE COVER, R 1
16# 002210820 BOLT, 8X20 H, SW 4
17# 031108160 WASHER, FLAT M8 4
18# 953400270 PLUG, 1/4X14 10L 1
19# 953405260 PACKING, 1/4 CU 1
21# 417339900 CASE COVER, L 1
22# 060403020 OIL SEAL, TC-30458 1
23# 001520820 SOCKET HEAD BOLT, 8X20 T 4
24# 417339910 COVER SEAL, VIB. 1
26 417342700 SUPPORT OF STOPPER 1
27 031110160 WASHER, FLAT M10 2
28 417910010 VIBRATING PLATE ASSY ................. 1 .................... INCLUDES ITEMS W/#

l
PAGE 34 — MVC-40G PLATE COMPACTOR — OPERATION & PARTS MANUAL — REV. #4 (06/06/07)
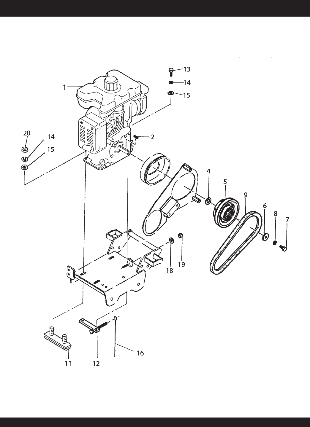
MVC-40G— ENGINE ASSY.
ENGINE ASSY.

MVC-40G PLATE COMPACTOR — OPERATION & PARTS MANUAL — REV. #4 (06/06/07) — PAGE 35
MVC-40G— ENGINE ASSY.
ENGINE ASSY.
NO. PART NO. PART NAME QTY.REMARKS
1 911210907 ENGINE ASSY., EH09-2D 1
2 951401740 KEY, 5X5X20 1
4 952404610 COLLAR, 17X30X3 1
5 417456390 CLUTCH ASSY. D-17 1
6 952400130 WASHER, FLAT 1
7 001220820 BOLT, 8X20 T 1
8 030208200 WASHER, LOCK M8 1
9 070100272 V-BELT, A-27 BLUE/RPF-3270 1
11 417456380 PLATE, BOLT W/RUBBER 1
12 413436870 ENGINE NUT 1
13 001220825 BOLT, 8X25 T 4
14 030208200 WASHER, LOCK M8 4
15 031108160 WASHER, FLAT M8 4
16 959404350 EARTH WIRE 1
18 031108160 WASHER, FLAT M8 1
19 022710809 NYLON, NUT M8 1
20 020308060 NUT, M8 2

l
PAGE 36 — MVC-40G PLATE COMPACTOR — OPERATION & PARTS MANUAL — REV. #4 (06/06/07)
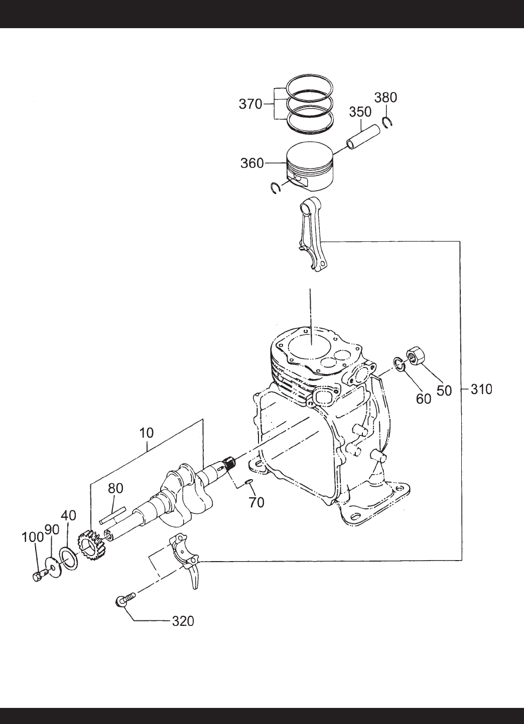
ROBIN EH09-2D — CRANKCASE ASSY.
CRANKCASE ASSY.

MVC-40G PLATE COMPACTOR — OPERATION & PARTS MANUAL — REV. #4 (06/06/07) — PAGE 37
ROBIN EH09-2D — CRANKCASE ASSY.
CRANKCASE ASSY.
NO. PART NO. PART NAME QTY.REMARKS
10 2841010101 CRANKCASE ASSY. ............................... 1 ............ INCLUDES ITEMS W/%
20 # 2371420203 VALVE GUIDE O/S 2
26 # 2771601001 STEM SEAL 1
30%0440200070 OIL SEAL TB20326 1
40%0600200110 BALL BEARING 6004C3 1
50%0310060020 DOWEL PIN 2
70 # 0105060430 STUD 2
75%0440060020 OIL SEAL 1
80 0401140030 PLUG 2
90 0211140020 GASKET 2
150 2841340101 BASE 1
160 0011308180 BOLT AND WASHER ASSY. 4
210 2841100121 MAIN BEARING COVER ASSY. .............1 ............ INCLUDES ITEMS W/*
230*0600200110 BALL BEARING 6004C3 1
250 2844500301 GOVERNOR GEAR 1
260 2054190103 GOVERNOR SLEEVE 1
270 2306360101 DIPSTICK 1
280 TBD O-RING 1
290*2841600303 GASKET, BEARING COVER 1
300 0110060101 FLANGE BOLT 8
610 2841300110 CYLINDER HEAD ASSY. ........................1 ............ INCLUDES ITEMS W/ #
620 2841500113 GASKET, HEAD 1
630 0110080210 FLANGE BOLT 1
631 0100080410 BOLT 1
632 0100080420 BOLT 1
633 0110080301 FLANGE BOLT 1
637 0200080210 WASHER, FLAT 1
680 2841550103 ROCKET COVER 1
690 2841600703 GASKET, ROCKET COVER 1
700 2771501103 PIPE KNOCK 2
710 0100060400 BOLT 4
810 2841430101 BREATHER COVER 1
820 2841440101 BREATHER PLATE 1
830 2301600613 GASKET TAPPET COVER 2
860 0110060020 FLANGE BOLT 2

l
PAGE 38 — MVC-40G PLATE COMPACTOR — OPERATION & PARTS MANUAL — REV. #4 (06/06/07)
ROBIN EH09-2D — CAMSHAFT ASSY.
CAMSHAFT ASSY.

MVC-40G PLATE COMPACTOR — OPERATION & PARTS MANUAL — REV. #4 (06/06/07) — PAGE 39
ROBIN EH09-2D — CAMSHAFT ASSY.
CAMSHAFT ASSY.
NO. PART NO. PART NAME QTY.REMARKS
10 2843170211 CAMSHAFT ASSY. ................................ 1 ............ INCLUDES ITEMS W/*
34*2273860123 PIN, SPRING 1
35*2843640103 RELEASE LEVER 1
36*0051904100 SPRING PIN 1
37*0031517000 SNAP RING 1
38*2743870123 RETURN SPRING 1
50 2743330103 TAPPET 1

l
PAGE 40 — MVC-40G PLATE COMPACTOR — OPERATION & PARTS MANUAL — REV. #4 (06/06/07)
ROBIN EH09-2D — CRANKSHAFT AND PISTON ASSY.
CRANKSHAFT AND PISTON ASSY.

MVC-40G PLATE COMPACTOR — OPERATION & PARTS MANUAL — REV. #4 (06/06/07) — PAGE 41
ROBIN EH09-2D — CRANKSHAFT AND PISTON ASSY.
CRANKSHAFT AND PISTON ASSY.
NO. PART NO. PART NAME QTY.REMARKS
10 2842070111 CRANKSHAFT CP .................................. 1 ............ INCLUDES ITEMS W/*
40 0230200100 SPACER 0.8T 1
40 0230200110 SPACER 1.0T 1
40 0230200120 SPACER 1.2T 1
50#0021814000 NUT 1
60#0032014000 SPRING WASHER 1
70#0053203101 WOODRUFF KEY 1
80*0320050010 KEY 1
90 0200080050 WASHER 1
100 0011308160 BOLT AND WASHER ASSY. 1
310 2842250120 CONNECTING ROD ASSY. ..................... 1 ............ INCLUDES ITEMS W/#
320 2842300103 CONNECTING ROD BOLT 2
350 2302330103 PISTON PIN 1
360 2742340103 PISTON STD. 1
360 2742340203 PISTON 25 MM. O.S. 1
360 2742340303 PISTON 50 MM. O.S. 1
370 2842352107 PISTON RING SET, STD. 1
370 2842352207 PISTON RING SET, 25 MM. 1
370 2842352307 PISTON RING SET, 50 MM. 1
380 0565110010 CLIP 2

l
PAGE 42 — MVC-40G PLATE COMPACTOR — OPERATION & PARTS MANUAL — REV. #4 (06/06/07)
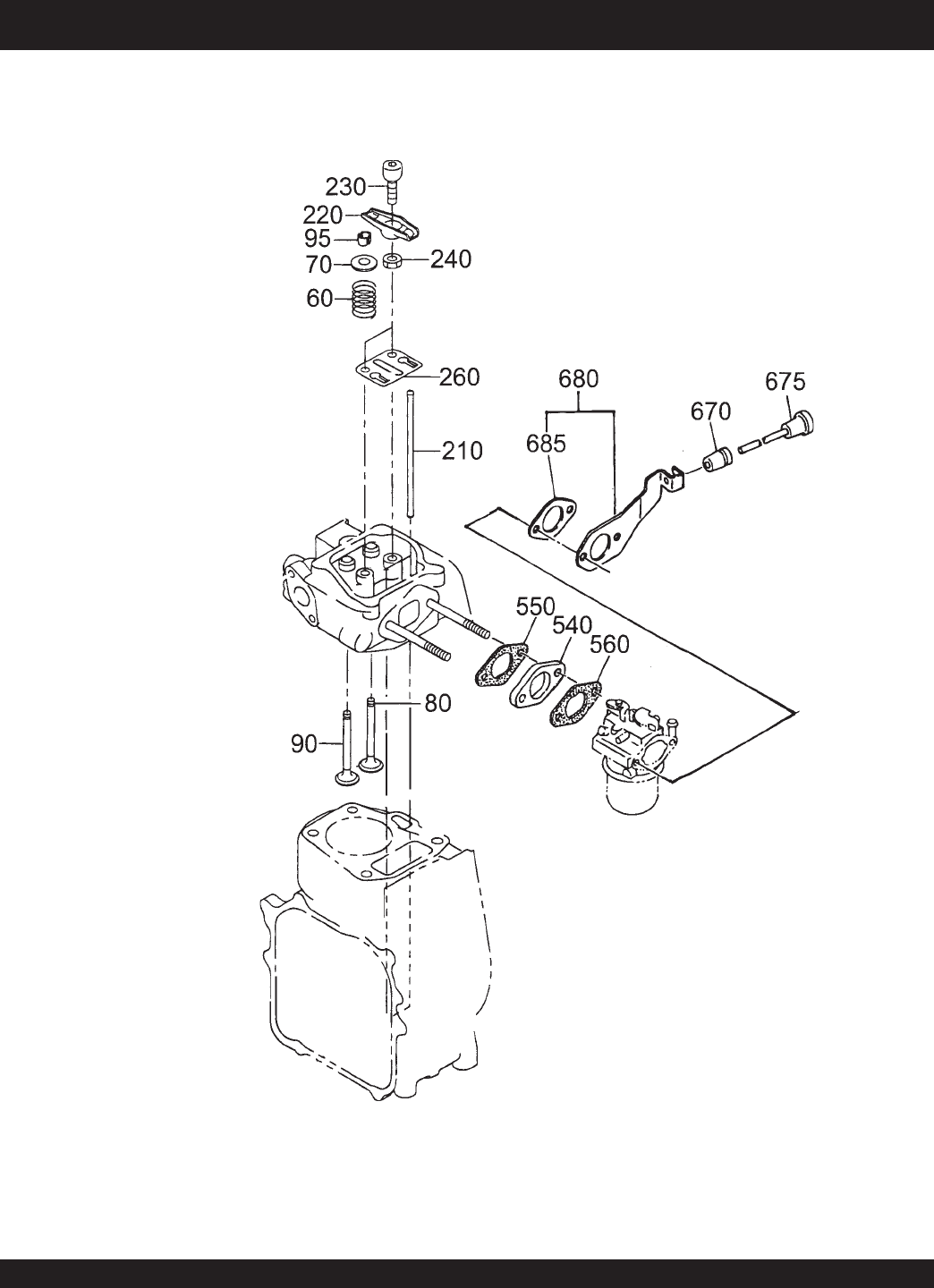
ROBIN EH09-2D — INTAKE EXHAUST ASSY.
INTAKE EXHAUST ASSY.
REF. ONLYREF

MVC-40G PLATE COMPACTOR — OPERATION & PARTS MANUAL — REV. #4 (06/06/07) — PAGE 43
ROBIN EH09-2D — INTAKE EXHAUST ASSY.
INTAKE EXHAUST ASSY.
NO. PART NO. PART NAME QTY.REMARKS
60 2743360103 VALVE SPRING 2
70 2743370203 SPRING RETAINER 2
80 2743340103 INTAKE VALVE 1
90 2743350103 EXHAUST VALVE 1
95 13210KA031 COLLET VALVE 4
210 2743530103 PUSH ROD 2
220 2743600303 ROCKER ARM 2
230 2693580103 BOLT, PIVOT 2
240 0170060090 NUT 2
260 2743650103 GUIDE PLATE 1
540 1063291203 INSULATOR 1
550 2843590203 GASKET, INTAKE 1
560 1573500103 GASKET, INSULATOR 1
670 0241020010 GROMMET 1
675 2064390101 KNOB 1
680 2844710101 CHOKE BRACKET 1
685 2273590403 GASKET, 2 IN. NEWPUSTD 1

l
PAGE 44 — MVC-40G PLATE COMPACTOR — OPERATION & PARTS MANUAL — REV. #4 (06/06/07)
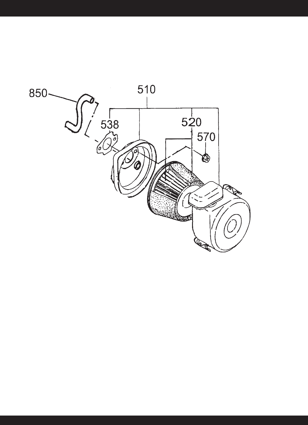
ROBIN EH09-2D — AIR CLEANER ASSY.
AIR CLEANER ASSY.

MVC-40G PLATE COMPACTOR — OPERATION & PARTS MANUAL — REV. #4 (06/06/07) — PAGE 45
ROBIN EH09-2D — AIR CLEANER ASSY.
AIR CLEANER ASSY.
NO. PART NO. PART NAME QTY.REMARKS
510 2843261000 AIR CLEANER ASSY. .......................... 1 .............. INCLUDES ITEMS W/*
520*2263261007 ELEMENT SET 1
538*2273590403 GASKET, 2 IN. NEW PU STD. 1
570*2263921200 NUT & WASHER ASSY. 2
850 2841610103 RUBBER PIPE 1

l
PAGE 46 — MVC-40G PLATE COMPACTOR — OPERATION & PARTS MANUAL — REV. #4 (06/06/07)
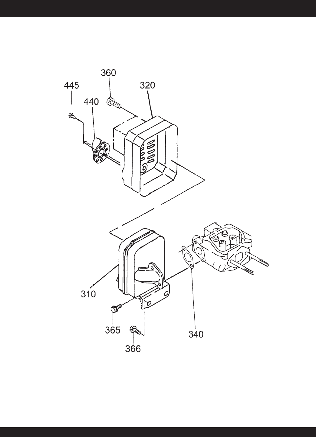
ROBIN EH09-2D — MUFFLER ASSY.
MUFFLER ASSY.
REF. ONLY

MVC-40G PLATE COMPACTOR — OPERATION & PARTS MANUAL — REV. #4 (06/06/07) — PAGE 47
ROBIN EH09-2D — MUFFLER ASSY.
MUFFLER ASSY.
NO. PART NO. PART NAME QTY.REMARKS
310 2843010112 MUFFLER 1
320 2843420101 MUFFLER COVER 1
340 2843520103 GASKET, EXHAUST 1
360 0152060090 TAPPING BOLT 3
365 0011306160 BOLT & WASHER ASSY 2
366 0011408160 BOLT/WASHER 8X16 2
440 2363700101 DEFLECTOR 1
445 0150040050 TAPPING SCREW 2

l
PAGE 48 — MVC-40G PLATE COMPACTOR — OPERATION & PARTS MANUAL — REV. #4 (06/06/07)
ROBIN EH09-2D — GOVERNOR ASSY.
GOVERNOR ASSY.

MVC-40G PLATE COMPACTOR — OPERATION & PARTS MANUAL — REV. #4 (06/06/07) — PAGE 49
ROBIN EH09-2D — GOVERNOR ASSY.
GOVERNOR ASSY.
NO. PART NO. PART NAME QTY.REMARKS
10 2844230603 GOVERNOR LEVER 1
20 2304220103 GOVERNOR SHAFT 1
30 2344270101 GOVERNOR ROD 1
40 2344280113 ROD SPRING 1
50 0031305000 CLIP 2
60 0011406250 BOLT & WASHER ASSY. 1
70 0186060020 NUT 1
80 2844250603 GOVERNOR SPRING 1
200 2844330101 SPEED CONTROL CP 1
201 2304500111 BASE PLATE CP 1
207 0110060010 FLANGE BOLT 2
230 0043106300 SCREW 1
240 0022706000 NUT 1
250 2274350113 STOP PLATE STD. 1
252 2274500203 SPRING WASHER 1
255 0217060030 FRICTION WASHER 1
280 0110060030 FLANGE BOLT 1

l
PAGE 50 — MVC-40G PLATE COMPACTOR — OPERATION & PARTS MANUAL — REV. #4 (06/06/07)
ROBIN EH09-2D — COOLING, AND STARTING ASSY.
COOLING STARTING ASSY.

MVC-40G PLATE COMPACTOR — OPERATION & PARTS MANUAL — REV. #4 (06/06/07) — PAGE 51
ROBIN EH09-2D — COOLING, STARTING ASSY.
COOLING STARTING ASSY.
NO. PART NO. PART NAME QTY.REMARKS
10 2845130101 BLOWER HOUSING 1
20 2849510203 LABEL, MODEL 1
21 0732005470 LABEL, TM 1
40 0010408160 FLANGE BOLT 3
41 0010408505 FLANGE BOLT 1
60 2845260123 CYLINDER BAFFLE 1
80 0110060010 FLANGE BOLT 1
92 0023808000 FLANGE NUT 1
110 2845410103 COOLING BLOWER 1
210 2845021120 RECOIL STARTER ASSY. ................. 1 .............. INCLUDES ITEMS W/*
210-1*2745011508 SPIRAL SPRING 1
210-2*2745012018 REEL 1
210-3*2745011208 STARTER ROPE 1
210-4*2615010008 STARTER KNOB 1
210-5*2705012508 RATCHET 1
210-6*2745013108 FRICTION SPRING 1
210-7*2275013508 RETURN SPRING 1
210-8*2705026108 RATCHET GUIDE 1
210-11*2845014508 STARTER PULLEY 1
210-24*2745015208 SLIDE PLATE B 1
210-25*1315015008 SLIDE PLATE 1
210-49*22745015208 SET SCREW 1
220 0110060010 FLANGE BOLT 3
230 0110060020 FLANGE BOLT 4

l
PAGE 52 — MVC-40G PLATE COMPACTOR — OPERATION & PARTS MANUAL — REV. #4 (06/06/07)
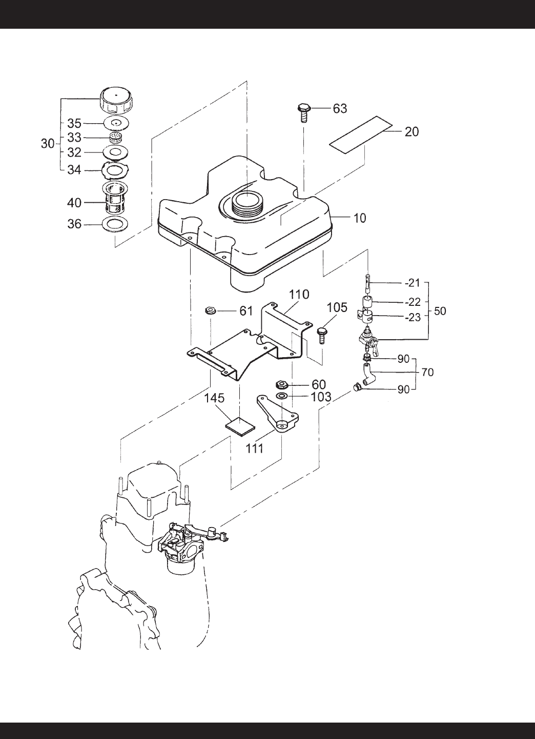
ROBIN EH09-2D — FUEL TANK ASSY.
FUEL TANK ASSY.

MVC-40G PLATE COMPACTOR — OPERATION & PARTS MANUAL — REV. #4 (06/06/07) — PAGE 53
ROBIN EH09-2D — FUEL TANK ASSY.
FUEL TANK ASSY.
NO. PART NO. PART NAME QTY.REMARKS
10 2846010102 FUEL 1
20 0732005181 LABEL, EXP. 1
30 0430440132 FUEL TANK CAP ASSY. .................... 1 .............. INCLUDES ITEMS W/*
32*0434180012 INNER CAP 1
33*0841260020 SPONGE 1
34*0210260050 GASKET CAP 1
35*0232420012 PARTITION PLATE 1
36 0213310020 GASKET (FILTER) 1
40 0641420040 FUEL FILTER 1
50 0642004402 FUEL STRAINER ASSY. ................... 1 .............. INCLUDES ITEMS/W#
50-21# 0642004420 FILTER, V-STD 1
50-22# 0642004490 JYOINT PIPE, V-STD 1
50-23# 0642004460 HOSE BAND ASSY. V-STD. 1
60 0023808000 FLANGE NUT 1
61 0023806000 FLANGE NUT 4
63 0110060020 FLANGE BOLT 4
70 2846260201 FUEL PIPE ASSY. 1 INCLUDES ITEMS/W%
90%0561080020 HOSE CLAMP 2
103 0200080220 WASHER 1
105 0110060570 FLANGE BOLT 2
110 2846160102 FUEL TANK BRACKET 1
111 2846160203 BRACKET, 2 TANK 1
145 2846500103 SPONGE, TANK BRACKET 1

l
PAGE 54 — MVC-40G PLATE COMPACTOR — OPERATION & PARTS MANUAL — REV. #4 (06/06/07)
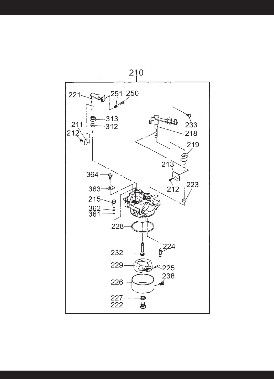
ROBIN EH09-2D — CARBURETOR ASSY.
CARBURETOR ASSY.

MVC-40G PLATE COMPACTOR — OPERATION & PARTS MANUAL — REV. #4 (06/06/07) — PAGE 55
ROBIN EH09-2D — CARBURETOR ASSY.
CARBURETOR ASSY.
NO. PART NO. PART NAME QTY.REMARKS
210 2846232200 CARBURETOR ASSY. ....................... 1 .............. INCLUDES ITEMS W/*
211*2846253508 THROTTLE VALVE 1
212*2846245508 CSREW 2
213*2846252708 VALVE CHOKE 1
215*2846242008 SLOW JET 1
218*2846252208 LEVER ASSY. CHOKE 1
219*2796256318 COLLAR SHAFT, 1 1
221*2846253208 SHAFT SUB. ASSY. TH. 1
222*2846235508 SCREW 1
223*2796256408 COLLAR SHAFT, 2 1
224*2796250008 VALVE NEEDLE ASSY. 1
225*2846251508 PIN, FLOAT LEVER 1
226*2846255208 CHAMBER ASSY. FLOAT 1
227*2516235008 GASKET 1
228*2846254008 GASKET CHAMBER 1
229*2846250508 FLOAT ASSY. 1
232*2846240008 MAIBN JET 1
233*2846245608 SCREW 1
238*2516266108 DRAIN SCREW 1
250*2776258108 SCREW ADJUST 1
251*2516244908 SPRING 2
312*2516255908 BUSH 1
313*2846256008 COLLAR 1
361*2846245008 O-RING 1
362*2846245108 O-RING 1
363*2846256308 PLATE 1
364*2846245608 SCREW 1

l
PAGE 56 — MVC-40G PLATE COMPACTOR — OPERATION & PARTS MANUAL — REV. #4 (06/06/07)
ROBIN EH09-2D — ELECTRIC DEVICE ASSY.
ELECTRIC DEVICE ASSY.

MVC-40G PLATE COMPACTOR — OPERATION & PARTS MANUAL — REV. #4 (06/06/07) — PAGE 57
ROBIN EH09-2D — ELECTRIC DEVICE ASSY.
ELECTRIC DEVICE ASSY.
NO. PART NO. PART NAME QTY.REMARKS
10 2847934001 FLY WHEEL CP 1
11 2847943021 IGITION COIL CP 1
30 0011706250 BOLT & WASHER ASSY. 2
60 0660000371 STOP SWITCH ASSY., ON-OFF 1
70 0150040090 TAPPING SCREW 2
75 0566030010 CLAMP 1
100 0650140380 SPARK PLUG 1
110 2847510203 SPARK PLUG CAP 1

l
PAGE 58 — MVC-40G PLATE COMPACTOR — OPERATION & PARTS MANUAL — REV. #4 (06/06/07)
ROBIN EH09-2D — ELECTRIC DEVICE ASSY.
ACCESSORY TOOL KIT

MVC-40G PLATE COMPACTOR — OPERATION & PARTS MANUAL — REV. #4 (06/06/07) — PAGE 59
ROBIN EH09-2D — ACCESSORY TOOL KIT.
ACCESSORY TOOL KIT
NO. PART NO. PART NAME QTY.REMARKS
10 2269030710 ACCESSORY TOOL KIT 1

l
PAGE 60 — MVC-40G PLATE COMPACTOR — OPERATION & PARTS MANUAL — REV. #4 (06/06/07)
Effective: February 22, 2006 TERMS AND CONDITIONS OF SALE — PARTS
PAYMENT TERMS
Terms of payment for parts are net 30 days.
FREIGHT POLICY
All parts orders will be shipped collect or
prepaid with the charges added to the invoice.
All shipments are F.O.B. point of origin.
Multiquip’s responsibility ceases when a signed
manifest has been obtained from the carrier,
and any claim for shortage or damage must be
settled between the consignee and the carrier.
MINIMUM ORDER
The minimum charge for orders from Mul-
tiquip is $15.00 net. Customers will be asked
for instructions regarding handling of orders
not meeting this requirement.
RETURNED GOODS POLICY
Return shipments will be accepted and credit
will be allowed, subject to the following provi-
sions:
1. A Returned Material Authorization must
be approved by Multiquip prior to ship-
ment.
2. To obtain a Return Material Authorization,
a list must be provided to Multiquip Parts
Sales that defines item numbers, quanti-
ties, and descriptions of the items to be
returned.
a. The parts numbers and descriptions
must match the current parts price
list.
b. The list must be typed or computer
generated.
c. The list must state the reason(s) for
the return.
d. The list must reference the sales
order(s) or invoice(s) under which the
items were originally purchased.
e. The list must include the name and
phone number of the person request-
ing the RMA.
3. A copy of the Return Material Authoriza-
tion must accompany the return shipment.
4. Freight is at the sender’s expense. All
parts must be returned freight prepaid to
Multiquip’s designated receiving point.
5. Parts must be in new and resalable con-
dition, in the original Multiquip package (if
any), and with Multiquip part numbers
clearly marked.
6. The following items are not returnable:
a. Obsolete parts. (If an item is in the
price book and shows as being re-
placed by another item, it is obsolete.)
b. Any parts with a limited shelf life
(such as gaskets, seals, “O” rings,
and other rubber parts) that were pur-
chased more than six months prior to
the return date.
c. Any line item with an extended dealer
net price of less than $5.00.
d. Special order items.
e. Electrical components.
f. Paint, chemicals, and lubricants.
g. Decals and paper products.
h. Items purchased in kits.
7. The sender will be notified of any material
received that is not acceptable.
8. Such material will be held for five working
days from notification, pending instruc-
tions. If a reply is not received within five
days, the material will be returned to the
sender at his expense.
9. Credit on returned parts will be issued at
dealer net price at time of the original
purchase, less a 15% restocking charge.
10. In cases where an item is accepted, for
which the original purchase document
can not be determined, the price will be
based on the list price that was effective
twelve months prior to the RMA date.
11. Credit issued will be applied to future
purchases only.
PRICING AND REBATES
Prices are subject to change without prior
notice. Price changes are effective on a spe-
cific date and all orders received on or after that
date will be billed at the revised price. Rebates
for price declines and added charges for price
increases will not be made for stock on hand
at the time of any price change.
Multiquip reserves the right to quote and sell
direct to Government agencies, and to Original
Equipment Manufacturer accounts who use
our products as integral parts of their own
products.
SPECIAL EXPEDITING SERVICE
A $35.00 surcharge will be added to the invoice
for special handling including bus shipments,
insured parcel post or in cases where Multiquip
must personally deliver the parts to the carrier.
LIMITATIONS OF SELLER’S LIABILITY
Multiquip shall not be liable hereunder for
damages in excess of the purchase price of the
item with respect to which damages are
claimed, and in no event shall Multiquip be
liable for loss of profit or good will or for any
other special, consequential or incidental dam-
ages.
LIMITATION OF WARRANTIES
No warranties, express or implied, are made
in connection with the sale of parts or trade
accessories nor as to any engine not manufac-
tured by Multiquip. Such warranties made in
connection with the sale of new, complete units
are made exclusively by a statement of war-
ranty packaged with such units, and Multiquip
neither assumes nor authorizes any person to
assume for it any other obligation or liability
whatever in connection with the sale of its
products. Apart from such written statement of
warranty, there are no warranties, express,
implied or statutory, which extend beyond the
description of the products on the face hereof.

MVC-40G PLATE COMPACTOR — OPERATION & PARTS MANUAL — REV. #4 (06/06/07) — PAGE 61
NOTE PAGE

OPERATION AND PARTS MANUAL
Your Local Dealer is:
HERE'S HOW TO GET HELP
PLEASE HAVE THE MODEL AND SERIAL
NUMBER
ON-HAND
WHEN CALLING
© COPYRIGHT 2007, MULTIQUIP INC.
Multiquip Inc, the MQ logo and the Mikasa logo are registered trademarks of Multiquip Inc. and may not be used, reproduced, or altered without written permission. All other
trademarks are the property of their respective owners and used with permission.
This manual MUST accompany the equipment at all times. This manual is considered a permanent part of the equipment and should remain with the unit if resold.
The information and specifications included in this publication were in effect at the time of approval for printing. Illustrations are based on the
MVC-40G Plate Compactor.
Illustrations, descriptions, references and technical data contained in this manual are for guidance only and may not be considered as binding. Multiquip Inc. reserves the
right to discontinue or change specifications, design or the information published in this publication at any time without notice and without incurring any obligations.
UNITED STATES
Multiquip Corporate Office MQ Parts Department
18910 Wilmington Ave. Tel. (800) 421-1244 800-427-1244 Fax: 800-672-7877
Carson, CA 90746 Fax (800) 537-3927 310-537-3700 Fax: 310-637-3284
Contact: mq@multiquip.com
Mayco Parts Warranty Department
800-306-2926 Fax: 800-672-7877 800-421-1244, Ext. 279 Fax: 310-537-1173
310-537-3700 Fax: 310-637-3284 310-537-3700, Ext. 279
Service Department Technial Assistance
800-421-1244 Fax: 310-537-4259 800-478-1244 Fax: 310-631-5032
310-537-3700
MEXICO UNITED KINGDOM
MQ Cipsa Multiquip (UK) Limited Head Office
Carr. Fed. Mexico-Puebla KM 126.5 Tel: (52) 222-225-9900 Hanover Mill, Fitzroy Street, Tel: 0161 339 2223
Momoxpan, Cholula, Puebla 72760 Mexico Fax: (52) 222-285-0420 Ashton-under-Lyne, Fax: 0161 339 3226
Contact: pmastretta@cipsa.com.mx Lancashire OL7 0TL
Contact: sales@multiquip.co.uk
CANADA BRAZIL
Multiquip Multiquip
4110 Industriel Boul. Tel: (450) 625-2244 Av. Evandro Lins e Silva, 840 - grupo 505 Tel: 011-55-21-3433-9055
Laval, Quebec, Canada H7L 6V3 Fax: (450) 625-8664 Barra de Tijuca - Rio de Janeiro Fax: 011-55-21-3433-9055
Contact: jmartin@multiquip.com Contact: cnavarro@multiquip.com.br, srentes@multiquip.com.br