Murata Electronics North America HN1010 Data Transceiver User Manual 276217
Murata Electronics North America Data Transceiver 276217
Contents
- 1. Users Manual
- 2. Users Manual Revised 071402
- 3. Revised Users Manual
Revised Users Manual

HN-1010/HN-1510
Outdoor/Indoor Units
User’s Guide
5375 Oakbrook Parkway
Norcross, Georgia 30093
www.cirronet.com
+1 678 684-2000

ii
Important Regulatory Information
FCC ID, HSW-HN-1010
and
FCC ID, HSW-HN-1510
Maximum Permissible Exposure (MPE) Limits
• Notice to users/installers using the 24 dBi parabolic dish antenna in conjunction
with all Cirronet RF products.
FCC rules limit the use of this antenna, when connected to Cirronet RF products for
point-to-point applications only. It is the responsibility of the installer to ensure that the
system is prohibited from being used in point-to-multipoint applications, omni-directional
applications, and applications where there are multiple co-located intentional radiators
transmitting the same information. Any other mode of operation using this antenna is
forbidden.
• Information to user/installer regarding FCC s Maximum Permissible Exposure
(MPE) limits.
• Notice to users/installers using the following fixed antennas, with Cirronet RF
products:
Andrews 24dBi parabolic dish,
Andrews 18dBi parabolic dish,
Cushcraft 15dBi Yagi,
Mobile Mark 14dBi Corner Reflector,
Mobile Mark 9dBi Corner Reflector
The field strength radiated by any one of these antennas, when connected to Cirronet RF
Note: This unit has been tested and found to comply with the limits for a class A digital
device, pursuant to part 15 of the FCC Rules. These limits are designed to provide
reasonable protection against harmful interference when the equipment is operated in a
commercial environment. This equipment generates, uses, and can radiate radio
frequency energy and, if not installed and used in accordance with the instruction manual,
may cause harmful interference to radio communications. Operation of this equipment in
a residential area is likely to cause harmful interference in which case the user will be
required to correct the interference at their own expense. Commensurate with EIRP limits
specified in FCC Rules 15.247b, this device may not be used with antennas that exceed
36dB of gain in point-to-point applications or 16dB of gain in multi-point applications.

iii
M-2410-0003 Rev. B
products, may exceed FCC mandated RF exposure limits. FCC rules require
professional installation of these antennas in such a way that the general public will not
be closer than 2 m from the radiating aperture of any of these antennas. End users of
these systems must also be informed that RF exposure limits may be exceeded if
personnel come closer than 2 m to the apertures of any of these antennas.
• Notice to users/installers using the following mobile antennas, with Cirronet RF
products:
Mobile Mark 12dBi omni-directional,
Mobile Mark 9dBi omni-directional,
MaxRad 5dBi whip,
Cirronet Patch antenna,
Ace 2dBi dipole,
Mobile Mark 2dBi Stub
The field strength radiated by any one of these antennas, when connected to Cirronet RF
products, may exceed FCC mandated RF exposure limits. FCC rules require professional
installation of these antennas in such a way that the general public will not be closer than
20 cm from the radiating aperture of any of these antennas. End users of these systems
must also be informed that RF exposure limits may be exceeded if personnel come closer
than 20 cm to the apertures of any of these antennas.
European Community Notice
This device complies with ETS 300.328 of the European Community. Operation is
subject to the following conditions:
• This device may not cause interference.
• This device must accept interference, including undesired interference that may
impede the operation of this device.
End of Regulatory Information
Repairs
Cirronet does not recommend field repairs of the radio equipment. Surface
Mount Technology (SMT) has been used in the production of the transceiver
module, which requires specialized training and equipment for proper
servicing. The equipment should be returned to the factory for any repair.
Steps have been taken to insure the accuracy of the contents of this manual. Nevertheless,
Cirronet Incorporated cannot guarantee the accuracy of this manual.
Copyright 2001 Cirronet™ Incorporated
WaveBolt is a trademark of Cirronet Incorporated. Windows is a registered
trademark of Microsoft Corporation.
ii
Table of Contents
FCC ID HSW-2410M ............................................ Error! Bookmark not defined.
COPYRIGHT 2001 CIRRONET™ INCORPORATED ....ERROR! BOOKMARK NOT DEFINED.
Maximum Permissible Exposue (MPE) Limits ...... Error! Bookmark not defined.
FCC NOTICE, U.S.A. ..........................................ERROR! BOOKMARK NOT DEFINED.
EUROPEAN COMMUNITY NOTICE...........................ERROR! BOOKMARK NOT DEFINED.
REPAIRS .............................................................ERROR! BOOKMARK NOT DEFINED.
Table of Contents................................................................................................. iii
Overview...............................................................................................................1
INTRODUCTION .....................................................................................................1
HOPNET PRODUCTS.............................................................................................1
External Antenna ...........................................................................................1
Built-In Antenna .............................................................................................1
Accessories ...................................................................................................1
DESIGN FEATURES ...............................................................................................1
GLOSSARY OF TERMS...........................................................................................2
About HopNet Products ........................................................................................5
INTRODUCTION .....................................................................................................5
OPERATING FREQUENCY.......................................................................................5
HOPNET FREQUENCY HOPPING SPREAD SPECTRUM ADVANTAGES ..........................5
HOPNET DATA INTEGRITY .....................................................................................5
FLEXIBLE POWER MANAGEMENT ...........................................................................5
HN-1010 Outdoor Base/Remote Station...............................................................7
INTRODUCTION .....................................................................................................7
DATA TRANSMISSION ............................................................................................7
JUMPER SETTINGS ...............................................................................................8
POWER CONNECTION ...........................................................................................8
ANTENNA CONNECTION ........................................................................................8
TECHNICAL SPECIFICATIONS ...............................................................................10
General........................................................................................................10
Mechanical...................................................................................................11
Environmental..............................................................................................11
HN-1510 Outdoor Base/Remote Station.............................................................13
INTRODUCTION ...................................................................................................13
DATA TRANSMISSION ..........................................................................................13
LED STATUS .....................................................................................................14
POWER CONNECTION .........................................................................................14
ANTENNA CONNECTION ......................................................................................14
TECHNICAL SPECIFICATIONS ...............................................................................15
General........................................................................................................15
Mechanical...................................................................................................16
Environmental..............................................................................................16
HN-3500 Adapter ................................................................................................17
INTRODUCTION ...................................................................................................17
FLOW CONTROL INDICATORS...............................................................................18
DB-9 CONNECTOR .............................................................................................18

iii
M-2410-0003 Rev. B
TERMINAL BLOCK ...............................................................................................18
TERMINAL BLOCK ...............................................................................................19
POWER SUPPLY .................................................................................................21
Introduction..................................................................................................21
AC to DC Conversion ..................................................................................21
Alternate Power Sources .............................................................................21
Configuring the Network .....................................................................................23
OVERVIEW .........................................................................................................23
Introduction..................................................................................................23
Five Command Types..................................................................................23
INSTALLING THE WINCOM24 SOFTWARE ..............................................................24
MODEM COMMANDS ...........................................................................................25
SERIAL COMMANDS ............................................................................................26
Set Data Rate Divisor ..................................................................................26
Set Protocol Mode .......................................................................................27
NETWORK COMMANDS........................................................................................28
Set Transceiver Mode..................................................................................28
Set Default Handle.......................................................................................28
Enable Global Network Mode ......................................................................29
Set Hopping Pattern ....................................................................................29
Set Transmit Power .....................................................................................29
Read Receive Signal Strength Indicator (RSSI) ..........................................29
Set Range Optimization...............................................................................30
PROTOCOL COMMANDS ......................................................................................31
Set Alternative Frequency Band ..................................................................32
Set Hop Duration .........................................................................................32
Set Minimum Data Length ...........................................................................32
Get Maximum Data Length (read only)........................................................32
Set Maximum Number of Remotes (base only) ...........................................33
Set Packet Attempts Limit............................................................................33
Set Data Transmit Delay..............................................................................33
Set Slot Assignment Mode (base station only) ............................................33
Set Base Slot Size (base station only).........................................................34
Set ARQ Mode.............................................................................................34
STATUS COMMANDS ...........................................................................................35
Banner Display Disable ...............................................................................35
Set Escape Sequence Mode .......................................................................35
Read Factory Serial Number High, Middle and Low Bytes. .........................36
Set Duty Cycle .............................................................................................36
Enable Low Power Acquisition Mode...........................................................36
MEMORY COMMANDS .........................................................................................37
Recall Factory Defaults................................................................................37
Recall Memory.............................................................................................37
Store Memory ..............................................................................................37
MODEM COMMAND SUMMARY .............................................................................38
GUIDELINES FOR INSTALLATION ...........................................................................39
Typical HopNet Applications ...............................................................................41
INTRODUCTION ...................................................................................................41
ii
POINT TO MULTIPOINT ........................................................................................41
POINT-TO-POINT ................................................................................................42
Troubleshooting ..................................................................................................43
OVERVIEW .........................................................................................................43
Introduction..................................................................................................43
Transceiver Requirements...........................................................................43
COMMON SYSTEM PROBLEMS .............................................................................44
GUIDELINES FOR REDUCING INTERFERENCE .........................................................45
Introduction..................................................................................................45
Guidelines for Setting Up the Network.........................................................45
Guidelines for Selecting Your Site ...............................................................45
GUIDELINES FOR AVOIDING TERRAIN OBSTRUCTIONS............................................46
CUSTOMER SUPPORT .........................................................................................47
Introduction..................................................................................................47
Technical Assistance ...................................................................................47
Factory Repairs ...........................................................................................47
Warranty .............................................................................................................48
Notes: .................................................................................................................49

Overview
M-2410-0010, Rev - HopNet Family of Products 1
Overview
Introduction
The HopNet 10 Series family of products provides reliable wireless connectivity for
either point-to-point or point-to-multipoint applications. The HopNet products are
built around the WIT2410 radio transceiver, which employs frequency hopping
spread spectrum technology. This technology ensures:
• Maximum resistance to noise
• Maximum resistance to multipath fading
• Robustness in the presence of interfering signals
HopNet Products
The HopNet family of products is built with rugged enclosures compliant with IP 66
and NEMA 4X standards for outdoor and harsh industrial environments. All Hopnet
products work with each other and can be mixed and matched in a single network. All
HopNet Products are WIT2410 compatible and can be used with the WIT2410 OEM
based products as well as with the SNAP2410 10Base T access point. The HopNet
family consists of the following products:
External Antenna
HN-210X Base/Remote Unit
HN-510 Indoor Base/Remote Station
HN-1010 Outdoor Base/Remote Station
HN-1510 Indoor Base/Remote Station
HN-2010 Repeater
Built-In Antenna
HN-210 Base/Remote Unit
HN-3010 Base/Remote Unit
Accessories
Antennas
Adapter
Power Supplies
Design Features
The HopNet modems have many advanced features:

Overview
2 HopNet Family of Products M-2410-0010, Rev -
• Employ frequency hopping technology with up to 75 channels in the 2401 to 2475
MHz frequency range
• Support RS-232 and RS 485 interfaces (HN-210 and HN-510 are RS-232 only)
• Support digital addressing for up to 64 networks, with 62 remotes per network.
• Use transparent ARQ protocol
• Use same hardware for all supported data rates
• Supports up to 230 Kbps asynchronous data rates
• Full Duplex
• Stores setup configuration in nonvolatile memory (FLASH)
• Provide fast acquisition – less than 2 seconds is the typical time to acquire hopping
pattern
• Use smart power management features
Glossary of Terms
Refer to the following list of terms that may be unfamiliar to you. These terms are
used throughout this document.
Term Definition
ARQ Automatic Repeat Request. The operation in which the radio
will re-send the data until it is received correctly.
bps Bits-per-second. A measure of information transfer rate of
digital data across a channel.
Decibel A measure of the ratio between two signal levels. Used to
express either loss or gain.
dBi Decibels referenced to an ideal isotropic radiator in free space.
Used to express antenna gain.
dBm Decibels referenced to 1 milliwatt. An absolute unit used to
measure signal power. Transmitter power output or received
signal strength.
DCE Data Communications Equipment. A device that receives data in
the form of digital signals at its input. The modem side of a
computer-to-modem connection.
DCD Data Carrier Detect.
DTE Data Terminal Equipment. A device that provides data in the
form of digital signals at its output. The computer side of a
computer-to-modem connection.
EIRP Effective Isotropic Radiated Power.
ISM Industrial, Scientific, or Medical band operating at 2.4 GHz.
Allows use of a radio without a license, but the equipment must
be immune to interference from other users in the band and

Overview
M-2410-0010, Rev - HopNet Family of Products 3
approved for use in the intended country.
Latency The delay between when data is received on TX until it is output
on RX.
RMA Return Material Authorization.
Term Definition
RTU Remote Terminal Unit. A device used in data collection.
TDMA Time Division Multi Access. A time slot multiplexing protocol
for multinode networking.

About HopNet Products
M-2410-0010, Rev - HopNet Family of Products 5
About HopNet Products
Introduction
This section provides operational information about the HopNet products.
Operating Frequency
The HopNet family operates in the 2.4 GHz ISM band that allows for license-free use
and worldwide compliance.
HopNet Frequency Hopping Spread Spectrum Advantages
In the frequency domain, a multipath fade can be described as a frequency selective
notch that shifts in location and depth over time. Multipath fades typically occupy
five percent of the band. A conventional radio system typically has a five percent
chance of signal impairment at any given time due to multipath fading.
Frequency Hopping Spread Spectrum reduces the vulnerability of a radio system to
both interference from jammers and multipath fading by distributing or spreading the
signal over a larger region of the frequency band.
The fade resistant, HopNet frequency-hopping technology employs up to 75 channels
and switches channels over 100 times a second to achieve high reliability throughput.
HopNet Data Integrity
An on-board 3 KB buffer and error correcting over-the-air protocol ensure data
integrity even in the presence of weak signals or jammers. The serial interface
handles both data and control of asynchronous data rates of up to 230 Kbps.
Flexible Power Management
You can set the transmit power at 10 milliwatts or 100 milliwatts. Reduced power can
reduce the size of the coverage zone, which may be desirable for multiple network
indoor applications. You can also place the transceiver module in a power-save mode,
which enables smart power management. Smart power management allows a remote
unit to drop into a lower current standby mode during transmission or receiving gaps.
This feature also allows Hopnet products to be used in various countries where the
output power requirements may vary due to regulation.

HN-1010 Outdoor Base/Remote Station
M-2410-0010, Rev - HopNet Family of Products 7
HN-1010 Outdoor Base/Remote Station
Introduction
The HopNet Outdoor Base/Remote Station (HN-1010) features a low-cost, rugged,
compact, NEMA 4X/IP 66 enclosure for outdoor or harsh industrial environments.
You can use the HN-1010 with all HopNet products and with any existing WIT2410
network.
Data Transmission
The HN-1010 supports up to 62 remotes on a single network. You can operate 16
different networks in the same area without conflicts. The HN-1010 can easily
transmit over 1.0 mile line of sight. You can extend this range by adding a HopNet
Repeater (HN-2010) or by using gain antennas.
Automatic repeat requests (ARQ) and acknowledgments inside the radio are
transparent to the user equipment. User data rates of 230 Kbps are supported with
built-in CRC/ARQ error protocols. See below for jumper settings. The HN-3500
adapter can be used to adapt RS-232 signals to RS-485 in situations where long data
cable runs are required. The HN-1010 uses a 9-pin Conxall weatherproof connector
for power, data, and control signals. See the illustration below of the 9-pin Conxall
connector.
2
8
1
3
4
7
6
5
9

HN-1010 Outdoor Base/Remote Station
8 HopNet Family of Products M-2410-0010, Rev -
Data throughput is RS-485 Hybrid or RS-232 while flow control signals are single-
ended RS-232. Factory default is RS-485 Hybrid. RS-232 is selectable through
internal user configurable jumpers.
Jumper Settings
The HN-1010 is shipped from the factory as an RS-485 Hybrid device. To change the
interface to the RS-232 option the following tasks must be performed:
− Remove Top cover.
− Change jumper settings so that J11, J12, J13 and J15 only are inserted
− Replace top cover.
The RS-232 option allows the HN-1010 to operate as a true RS-232 device
Power Connection
You can operate the HN-1010 from any well-filtered 7.5 to 24 VDC power source.
The power supply should be capable of providing 750 mA peak current. Power
connects through the 9-pin connector. A polyfuse on the transceiver board protects
against short circuits.
Antenna Connection
The RF signal is brought in on a standard female TNC jack connector located on the
front panel. Use the following guidelines when installing the antenna:
• Be sure to strictly follow the antenna manufacturer’s installation instructions for
proper operation of the antenna.
1 Transmit Data
(TXD+)
4 Receive Data (RXD-) 7 Data Carrier Detect
(DCD)
2 Transmit Data
(TXD-)
5 Clear to Send (CTS) 8 VCC
3 Receive Data
(RXD+)
6 Data Terminal Ready
(DTR)
9 Ground
Jumper Configuration of HN-1010

HN-1010 Outdoor Base/Remote Station
M-2410-0010, Rev - HopNet Family of Products 9
• Be sure that you use the proper polarization for a gain type antenna. If you orient
the antenna with wrong polarization, a signal reduction of greater than 20 dB could
result.
• Use a low-loss RF feedline between the antenna and the HN-1010. Make the
feedline as short as possible to keep signal loss to a minimum.
• When installing the feedline, do not twist, stretch, or kink the cable.
• Be sure to securely fasten the cable and only use connectors that have been
recommended by the cable manufacturer.

HN-1010 Outdoor Base/Remote Station
10 HopNet Family of Products M-2410-0010, Rev -
Technical Specifications
Refer to the following table for the technical specifications for the HN-1010.
General
Specification Value
Frequency Band • 2401-2475 MHz (USA)
• 2448-2478 MHz (France)
• 2448-2473 MHz (Spain)
• 2473-2495 MHz (Japan)
• 2452-2478 MHz ( Canada)
Number of Channels • 75 US; 25 France,Spain, Japan & Canada
Approvals • US FCC: Part 15. 203
• European Community: ETS 300.328
Compliance
Data Rate • Up to 230 Kbps Async Throughput
RF Channel Data Rate • 460 Kbps
Serial Data Interface • RS-232 / RS-485 Async
Network Protocol • ARQ: Elastic TDMA (E/TDMA)
Connector • 9-pin Conxall 4282-9PG-300
Mating Connector • 3282-9SG-Sxx
TX Power Output • +18 dBm
Receive Sensitivity • -93 dBM
RF Bandwidth • 750 KHz
Modulation Type • GMSK
Output Impedance • 50 Ω
Input Power at Connector • 9 VDC Nominal
• 7.5-24 VDC Operating
• 160 mA Typical (750 mA surge) Remote

HN-1010 Outdoor Base/Remote Station
M-2410-0010, Rev - HopNet Family of Products 11
Mechanical
Specification Value
Case • Nema 4X Standards, IP66
Antenna Connector • TNC RF
Size • 5.6 in. x 2.09 in. x 8.39 in.
• 142mm x 53mm x 213mm
Weight • 1.8 lb
• 816.5 g
Environmental
Specification Value
Temperature • -30° to 70° C
Humidity • 95% at + 40°C, Non-condensing

HN-1510 Outdoor Base/Remote Station
M-2410-0010, Rev - HopNet Family of Products 13
HN-1510 Outdoor Base/Remote Station
Introduction
The HopNet Indoor Base/Remote Station (HN-1510) features a rugged, compact,
enclosure for indoor or harsh industrial environments.
Data Transmission
The HN-1510 supports up to 62 remotes on a single network, with up to 16 different
networks in the same area. The HN-1510 can usually transmit over a range of 300 to
1000 feet indoors with obstructions. You can extend this range by adding a HopNet
Repeater (HN-2010) or using gain antennas.
The automatic repeat requests (ARQ) and multinode protocol are transparent to the
user equipment. User data rates of 230 Kbps are supported with built-in CRC/ARQ
error protocols. Data signals are EIA RS-232 standard for Data Communications
Equipment (DCE) devices.
Data and control of the radio are passed through a standard DB9 connector. See the
following illustration for the signal description.
9 Not Used
8 Clear to Send (CTS)
7 Request to Send (RTS)
6 Data Set Ready (DTR)
5 Ground
4 Not Used
3 Transmit Data (TX)
2 Receive Data (RX)
1 Data Carrier Detect
(
DCD
)

HN-1510 Outdoor Base/Remote Station
14 HopNet Family of Products M-2410-0010, Rev -
LED Status
Four LED indicators are included on the front panel to provide the status of the HN-
1510 Indoor Base/Remote station. See the illustration below. These built-in flow
control indicators allow you to quickly check the operational status.
The table below describes the function of each LED.
Name Color Description
PWR Green Continuous DC power is applied
TX Red RS-232 signal input
RX Red RS-232 signal output
CD Red Normal operation is asserted
Power Connection
The HN-1510 is supplied with a 110/ 220 wall mount power supply. However, you
can operate the HN-1510 from any well-filtered 7.5 to 24 VDC power source. The
power supply should be capable of providing 500 milliamperes of current.
The indoor base station uses a separate 2-pin power connector that accepts
7.5 to 24 VDC. Power connects to the 2-pin connector on the front panel of the
transceiver. A polyfuse is on the transceiver board to protect against short circuits.
Antenna Connection
The RF signal is brought in on a standard female TNC jack connector located on the
front panel.
Use the following guidelines when installing the antenna:
• Strictly follow the antenna manufacturer’s installation instructions for proper
operation of the antenna.
• Be sure to use proper polarization for any system using a gain type antenna. If you
orient the antenna with the wrong polarization, a signal reduction of greater than 20
dB could result.
• Use a low-loss feedline with the HN-1510. Keep the feedline as short as possible to
minimize signal loss.
• Use proper care when installing the feedline to prevent damage. Do not twist,
stretch, or kink the cable.
• Be sure to securely fasten the cable and only use connectors that have been
recommended by the cable manufacturer.
PWR TX RX CD

HN-1510 Outdoor Base/Remote Station
M-2410-0010, Rev - HopNet Family of Products 15
Technical Specifications
Refer to the following table for the technical specifications for the HN-1510.
General
Specification Value
Frequency Band • 2401-2475 MHz (USA)
• 2448-2478 MHz (France)
• 2448-2473 MHz (Spain)
• 2473-2495 MHz (Japan)
• 2452-2478 MHz ( Canada)
Number of Channels • 75 US; 25 France, Spain, Japan, Canada
Approvals • US FCC: Part 15. 203
• European Community: ETS 300.328
Compliance
• CE Marked
Data Rate • Up to 230 Kbps Async Throughput
Channel Data Rate • 460 Kbps
Serial Data Interface • RS-232 Async
Network Protocol • ARQ: E/TDMA
TX Power Output • + 18 dBm
Receive Sensitivity • -93 dBm
RF Bandwidth • 750 KHz
Modulation Type • GMSK
Output Impedance • 50 Ω
Antenna Connector • TNC RF Jack
Input Power at
Connector
• 9 VDC Nominal
• 7.5-24 VDC Operating
• 160 mA Typical (750 mA surge)

HN-1510 Outdoor Base/Remote Station
16 HopNet Family of Products M-2410-0010, Rev -
Mechanical
Specification Value
Case • Aluminum
Size • 7.9 in. x 5.7 in. x 2 in.
• 201mm x 145mm x 51mm
Weight • 1.6 lb
• 726 g
Data Connector • DB-9 Receptacle
2-pin Power Connector • Conxall 1728822PG-300
Mating Connector • Conxall 16282-2SG-3xx
Environmental
Specification Value
Temperature Range • -30° to 70° C
Humidity • 95% at +40°C, Non-condensing

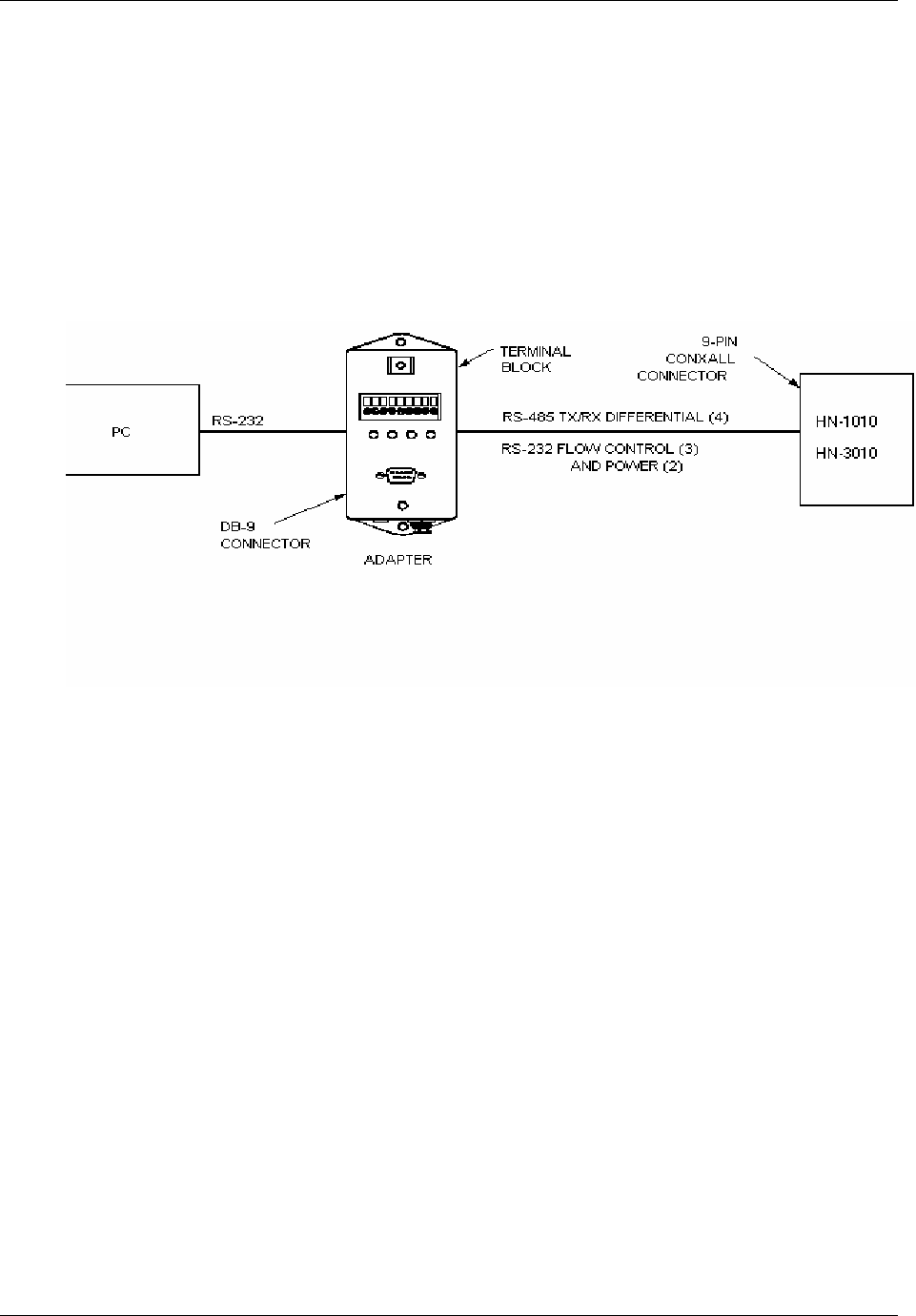
HN-3500 Adapter
M-2410-0010, Rev - HopNet Family of Products 17
HN-3500 Adapter
Introduction
The HN-1010 and HN-3010 can be used with an RS-232 to RS-485 adapter
(the HN-3500). The HN-3500 enables you to configure the HN-1010 and HN-3010
for RS-485 operation yet drive them from an RS-232 controller. The adapter housing
is designed for an indoor environment.

HN-3500 Adapter
18 HopNet Family of Products M-2410-0010, Rev. -
Flow Control Indicators
The HN-3500 has flow control indicators for testing and as a way to quickly check
the operation of the adapter. Refer to the illustration below.
The table below describes the function of each LED.
Name Color Description
TXD Red Transmit Data
RXD Red Receive Data
DTR Red Data Terminal Ready
CD Red Carrier Detect
PWR Green Continuous DC power is applied
DB-9 Connector
The HN-3500 is equipped with a DB-9 connector to link the RS-232 interface to a
terminal block for the RS-485 interface. See the following illustration for the signal
description.
TXD RXD DTR CD
POWER
COMM
FLOW CONTROL INDICATORS
9 Not Used
8 Clear to Send (CTS)
7 Request to Send (RTS)
6 Data Set Ready (DTR)
5 Ground
4 Not Used
3 Transmit Data (TX)
2 Receive Data (RX)
1 Data Carrier Detect
(
DCD
)

HN-3500 Adapter
M-2410-0010, Rev - HopNet Family of Products 19
Terminal Block
The terminal block on the connector converts RX and TX RS-232 signals into RS-
485 differential. The terminal block also passes the following signals to the HN-1010
and HN-3010:
• CTS
• DTR
• DCD
• 9 VDC
See the illustration below of the terminal block.
12345 7689
+TXD- +RXD- CTS DTR DCD + 9V -

HN-3500 Adapter
M-2410-0010, Rev - HopNet Family of Products 21
Power Supply
Introduction
The HN-3500 provides the power necessary to operate the HopNet products. This
power supply can also power the HN-2010. The power supply is designed for an
indoor environment. The part number for this power supply is A-3200-1000.
AC to DC Conversion
The external power supply connects to a 2-pin Conxall connector on the HN-3500
adapter. The adapter converts 115 AC to +9 VDC.
Alternate Power Sources
Any filtered 9v to 24 VDC supply can be used to power HopNet products directly.
Solar panels may be used provided they are capable of providing sufficient power.

Configuring the Network
M-2410-0010, Rev. - HopNet Family of Products 23
Configuring the Network
Overview
Introduction
You can configure the HopNet network using a PC and the WinCom 24 software
provided by Cirronet, Inc. WinCom24 is a software package that runs under Windows
95/98/NT/2000/XP. This chapter provides the information you need to configure your
network.
Five Command Types
The WinCom24 software enables you to configure five types of commands:
• Serial Interface Commands
• Network Commands
• Protocol Commands
• Status Commands
• Memory Commands

Configuring the Network
24 HopNet Family of Products M-2410-0010, Rev. -
Installing the WinCom24 Software
Follow these steps to install the WinCom24 software.
1. Be sure that your monitor is set up for 800 by 600 pixels.
2. Insert the WinCom24 diskette into the floppy drive of your computer.
3. Click on My Computer from the Desktop and do the following:
• Select the A: drive
• Click on the Setup.exe and follow the install directions

Configuring the Network
M-2410-0010, Rev. - HopNet Family of Products 25
Modem Commands
The HopNet is configured and controlled through a series of commands. These
commands are sent to the modem directly when the modem is in Control Mode or
when the modem is in Data Mode if the escape sequence is enabled. The command
syntax is the same for either method, a one- or two-letter command followed by one
or more parameters. The modem will respond with a two-byte message that indicates
the new modem parameter value. The commands are loosely grouped into five
different categories: Serial commands, Network commands, Protocol commands,
Status commands and Memory commands. Each command is described in detail
below. In the descriptions, brackets ([,]) are used to denote a set of optional
arguments. Vertical slashes (|) separate selections. For example, given the string
wn[?|0..3f], some legal commands are wn?, wn0, wn3 and wna. Most commands
which set a parameter also have a ? option which causes the modem to respond with
the current parameter setting, e.g., wn? Each modem command must be followed by
either a carriage return or a line feed.

Configuring the Network
26 HopNet Family of Products M-2410-0010, Rev. -
Serial Commands
These commands affect the serial interface between the modem and the host. The
default settings are 9600 bps and protocol mode 0.
Command Description
sd[?|00..FF] Set Data Rate Divisor
Data Rate Divisor (hex)
1200 bps = BF
2400 bps = 5F
9600 bps = 17
14400 bps = 0F
19200 bps = 0B
28800 bps = 07
38400 bps = 05
57600 bps = 03
115200 bps = 01
230400 bps = 00
sp[?|00..14] Set Protocol Mode
00 = point-to-point transparent mode
01 = basic command and data only
02 = command, data and connection notification
04 = WIT2400 protocol mode
05 – 08 = reserved for future use
09 = mode 01 during transmit, transparent receive
0C = mode 04 during transmit, transparent receive
0D – 10 = reserved for future use
11 = transparent transmit, mode 01 during receive
12 = transparent transmit, mode 02 during receive
14 = transparent transmit, mode 04 during receive
Set Data Rate Divisor
Sets the serial bit rate between the modem and the host. This command takes effect
immediately and will require adjusting the host serial rate to agree. Nonstandard rates
may be programmed by entering a data rate divisor computed with the following
formula:
DIVISOR = (230400/RATE)-1
Round all non-integer values down.

Configuring the Network
M-2410-0010, Rev. - HopNet Family of Products 27
Set Protocol Mode
Enables the base station to operate in a multipoint network. Depending on the user
application, more or less acknowledgment may be desired by the application.
Remotes can operate in transparent mode even though the base station is operating in
one of the nontransparent modes.
When using a protocol mode, make sure to count in packet overhead when calculating
network performance. Refer to the section on Protocol Modes for details on each
format.

Configuring the Network
28 HopNet Family of Products M-2410-0010, Rev. -
Network Commands
Network commands are used to set up a HopNet network and to set radio addressing
and configuration.
Command Description
wb[?|0|1] Set Transceiver Mode
0 = remote (default)
1 = base station
wd[?|1-3f] (base
only)
Set Default Handle
Used to override automatic handle assignment by the base station
30 = default
wg[?|0|1|2] Enable Global Network Mode
0 = Link only to hop pattern specified by wn parameter (default)
1 = Link to any hop pattern, regardless of wn parameter
2 = Seamless roaming mode
wn[?|0-3f] Set Hopping Pattern (Network Number)
0 = default
wp[?|0|1] Set Transmit Power
0 = 10mW
1 = 100mW (default)
wr? Read Receive Signal Strength (remote only)
dx[?|0-FF] (remote
only)
Set Range optimization
0 = default
Set Transceiver Mode
Sets modem operation as either base station or remote. Default is remote.
Set Default Handle
This handle will override the automatic handle assignment by the base station. When
specified for the base, the default handle determines which remote it will address
when transparent protocol mode is in effect. When 3FH is specified for the base,
broadcast mode is entered.

Configuring the Network
M-2410-0010, Rev. - HopNet Family of Products 29
Enable Global Network Mode
For networks with multiple base stations, remotes are ordinarily only able to link to
one base station, set by the hopping pattern. Mode 1 enables the global mode that
allows remotes to link to any base station they can hear, acquiring whatever hop
pattern is required. In this mode a remote can only change base stations once it is no
longer registered with a base station. Mode 2 enables seamless roaming where a
remote will seamlessly register with a new base station based on received signal
strength before it has lost registration with the old base station. To implement
seamless roaming without the potential for data loss, synchronization between base
stations is required. This feature is available in the SNAP2410 family of products
only. Bases and remotes must be set to the same mode.
Set Hopping Pattern
The HopNet has 64 preprogrammed hopping patterns (also referred to as network
numbers). By using different hopping patterns, nearby or co-located networks can
avoid interfering with each other’s transmissions. Even if both networks tried to use
the same frequency, on the next hop they would be on different frequencies.
Set Transmit Power
The HopNet has two preset transmit power levels, 10mW (10dBm) and 100mW
(20dBm). Control of the transmit power is provided through this command. Default
is 100mW.
Read Receive Signal Strength Indicator (RSSI)
This command reports the relative signal strength averaged over the last 10 hops.
This command returns a one byte value that is proportional to received signal strength
and can range from 00H to FFH. Typical values range from 30H to 80H where the
lower the number the lower the received signal strength and the higher the number the
higher the received signal strength. This is a relative indication and does not directly
correspond to a field strength number. This is available only at the remotes as the
base station is the only source that transmits on a regular basis. Plus, in a point-to-
multipoint network the base will receive different signal strengths from each remote.

Configuring the Network
30 HopNet Family of Products M-2410-0010, Rev. -
Set Range Optimization
This command applies an adjustment factor to the over-the-air timing of remotes to
compensate for the effects of propagation delay at long ranges. The default setting of
00H is suitable for ranges of 0 to 0.8 miles (1287 m), with optimal performance at 0.1
miles (162m). Each increment of this parameter adds 0.1 miles (162 m) to the
working range. Thus the optimal and max ranges are determined by:
optimal = 0.1mi + 0.1mi x dx = 0.17km + 0.17km x dx
max = 0.8mi + 0.1mi x dx = 1.33km = 0.17km x dx
The following table presents various values of dx and the associated optimal and max
ranges.
dx
setting
range:
min
optimal
max
00H 0mi/0km 0.1mi/0.2km 0.8mi/1.3km
01H 0mi/0km 0.2mi/0.3km 0.9mi/1.5km
04H 0mi/0km 0.5mi/0.8km 1.2 mi/2.0km
06H 0.1mi/0.2km 0.7mi/1.2km 1.4mi/2.3km
09H 0.4mi/0.7km 1.0mi/1.6km 1.8 mi/3.0km
13H 1.4mi/2.3km 2.0mi/3.3km 2.8mi/4.7km
31H 4.4mi/7.3km 5.0mi/8.3km 5.8 mi/9.7km
45H 6.4mi/10.7km 7.0mi/11.7km 7.8mi/13.0km
64H 9.4mi/15.7km 10.0mi/16.7km 10.8mi/18.0km
C8H 9.4mi/32.3km 20.0mi/33.3km 20.8mi/34.7km
FAH 4.4mi/40.7km 25.0mi/41.7km 25.8mi/43.0km
Optimal 'dx' setting for various distances.

Configuring the Network
M-2410-0010, Rev. - HopNet Family of Products 31
Protocol Commands
These commands can be used to tune the transceiver for optimum transmission of
data across the RF link. For most applications, the default values are adequate.
Command
Description
pe[?|0-4] Set Alternative Frequency Band
0 = FCC/ETSI operation. (~2401 – 2471MHz) (default)
1 = France (~2448 – 2473MHz)
2 = Spain (~2448 – 2473MHz)
3 = Japan (~2473 – 2495MHz)
4 = Canada (~2452 – 2478MHz)
ph[?|00-fe]
(base only)
Set Hop Duration
90H = default (=10ms)
pk[?|00-d0]
Set Minimum Data Length
01 = default
pl?
Get Maximum Data Length
D4 = default (=212 bytes)
pn[?|01-3e]
(base only)
Set Maximum Number of Remotes
3e = default (=62 remotes)
pr[?|00-ff]
Set Packet Attempts Limit
10H = default
FFH = Infinite retry (RF flow control point-to-point
only)
pt[?|00-ff]
Set Data Transmit Delay
00H = default
pv[?|0|1]
(base only)
Set Slot Assignment Mode
0 = default (dynamic slot assignment)
1 = static slot assignment
pw[?|00-34]
(base only)
Set Base Slot Size
08H = default (=32 bytes)
px[?|0|1] Set ARQ mode.
0 = ARQ enabled (default)
1 = ARQ disabled (redundant transmission)
Note: Incorrect setting of these parameters may result in reduced throughput or loss of data
packets.

Configuring the Network
32 HopNet Family of Products M-2410-0010, Rev. -
Set Alternative Frequency Band
When set to 1, limits the operating RF channel set to the 2448 to 2473MHz
frequency band for compliance with French regulatory standards. When set to 2, sets
appropriate operation for Spain. When set to 3, sets appropriate operation for Japan.
This setting should be set to 0, for FCC-compliant operation in the US (this is the
default). For Canadian operation, set this parameter to 4.
Set Hop Duration
Sets the length of time the transceiver spends on each frequency channel. A smaller
value will allow the remote to lock on to the base signal faster at system startup, and
will generally decrease packet latency. A larger value increases network capacity,
due to decreased overhead in channel switching. The hop duration is specified in
69.4µs increments. The default value of 90H corresponds to a duration of 10ms. The
maximum value of FEH is 17.627ms. For best results, do not specify a duration of
less than 3 ms. This value only needs to be set in the base which broadcasts the
parameter to all remotes. However, link time can be reduced if this value is also
programmed into the remotes, which use it as a starting value when scanning for the
base.
Set Minimum Data Length
This sets the minimum threshold number of bytes required to form a packet in
transparent mode. The radio will wait until the data transmit delay elapses before
sending a data packet with less than this number of bytes. Can be used to keep short,
intermittent transmissions contiguous. In packet modes, the length parameter in the
data packet will override this value (See Section 3.1). This value is subject to the
maximum data length even in packet mode. See Get Maximum Data Length below.
Get Maximum Data Length (read only)
This parameter indicates the largest number of bytes that a remote will transmit per
hop, based on the size of the slot it has been allocated by the base. In general more
remotes mean less data can be transmitted per remote. By reading this parameter and
dividing by the hop duration, the remote's data rate capacity can be determined.
Attempting to send protocol mode packets longer than maximum data length will
result in the packet being discarded without being sent. See Section 2.3.3 on the
tradeoffs between hop duration and data length.

Configuring the Network
M-2410-0010, Rev. - HopNet Family of Products 33
Set Maximum Number of Remotes (base only)
This parameter limits the number of remotes that can register with a given base. The
default is 62 remotes which is the maximum number of remotes that can be registered
with a base at one time. This command is useful when used in conjunction with
global roaming for load balancing when base stations are collocated. It is also useful
to assure a minimum remote throughput.
Set Packet Attempts Limit
If ARQ Mode is set to 0, sets the number of times the radio will attempt to send an
unsuccessful transmission before discarding it. If ARQ Mode is set to 1, it is the
number of times every transmission will be sent, regardless of success or failure of a
given attempt. When this parameter is set to FFH, RF flow control mode is entered
for transmissions from the radio (See Section 2.3.4). This mode can be entered for
one or both radios in a point-to-point system. Using this mode in a point-to-multipoint
system will stop transmissions to all radios when any one radio has a full buffer.
Set Data Transmit Delay
When used in conjunction with the minimum data length parameter, this sets the
amount of time from the receipt of a first byte of data from the host until the radio
will transmit in transparent mode. Default is 00H which causes transmission to occur
without any delay. When a host is sending a group of data that needs to be sent
together, setting this parameter will provide time for the group of data to be sent by
the host before the radio transmits. If the length of data to be sent together is longer
than the time slot can send, the data will not be sent together but will be broken up
over multiple hops. The length of time the radio will wait is equal to the specified
value times the hop duration.
Set Slot Assignment Mode (base station only)
Sets whether the base station will assign remote transmit slots dynamically, based on
the number of remotes currently registered or whether the base station will assign
remote transmit slots staticly, based on the maximum number of remotes parameter. If
static slot assignment is selected, make sure maximum number of remotes is correctly
set. Otherwise remote transmit performance will suffer as transmit time will be
reserved for remotes that may not exist. The dynamic assignment mode will generally
be preferred; however, the static assignment mode will result in a static maximum
data length parameter.

Configuring the Network
34 HopNet Family of Products M-2410-0010, Rev. -
Set Base Slot Size (base station only)
Sets the amount of time allocated for transmission on each hop for the base station
time slot in 69.4µs increments, corresponding to 4 bytes per unit. Maximum value is
34H which corresponds to 208 bytes. If using a protocol mode, attempting to send a
packet with a length longer than this setting will cause the packet to be discarded.
Set ARQ Mode
Sets ARQ mode when set to 0 which is the default. In this mode the radio will resend
an unsuccessful transmission until either successful or packet attempt limit attempts
have been made. When set to 1 selects redundant transmit mode that will send every
transmission packet attempt limit times regardless of success or failure of any given
attempt. When redundant transmit mode is used, receiving radios will discard all
subsequent retransmissions once the transmission has been successfully received.
Thus the receiving host will receive just one copy of the transmission.

Configuring the Network
M-2410-0010, Rev. - HopNet Family of Products 35
Status Commands
These commands deal with general interface aspects of the operation of the HopNet.
Command
Description
zb[?|0|1]
Banner Display Disable
0 = disabled
1 = enabled (default)
zc[?|0..2]
Set Escape Sequence Mode
0 = disabled
1 = once after reset (default)
2 = unlimited times
zh? Read factory serial number high byte.
zm? Read factory serial number middle byte.
zl? Read factory serial number low byte.
zp[?|0-5]
(base only)
Set the duty cycle at which the modem will wake up to send and
receive data. Duty cycle equals 1/2N where the argument of the
command equals N.
zq[?|0|1]
(remote only)
Low Power Acquisition Mode Enable
0 = Disabled (default)
1 = Enabled
z>
Exit Modem Control Mode
Banner Display Disable
Enables or disables display of the banner string and revision code automatically at
power-up. May be disabled to avoid being mistaken for data by the host.
Set Escape Sequence Mode
Enables or disables the ability to use the in-data-stream escape sequence method of
accessing Control Mode by transmitting the string ":wit2410". When this mode is set
to 1, the escape sequence only works immediately after reset (this is the default).
When set to 2, the escape sequence may be used at any time in the data stream when
preceded by a pause of 20 ms. For backwards compatibility with the WIT2400, the
string ":wit2400" is also accepted for entering Control Mode. Note that the escape
sequence must be interpreted as data by the radio until the last character is received,
and as such will be transmitted to a receiving radio station.

Configuring the Network
36 HopNet Family of Products M-2410-0010, Rev. -
Read Factory Serial Number High, Middle and Low Bytes.
These read only commands return one of the three bytes of the unique factory-set
serial number, which are also visible in the startup banner.
Set Duty Cycle
Allows reduced power consumption by having a remote wake up only every 2N hops
to receive and transmit. Power consumption is roughly proportional to the duty cycle
selected. For example, if N=2, the remote will wake up every fourth hop. Power
consumption will be roughly ¼ the consumption as when N=0. This parameter must
be set to the appropriate value when more than 16 remotes are in use.
Enable Low Power Acquisition Mode
When a remote is searching for a base to acquire and register with, it scans the
frequency band very rapidly. This mode consumes about 80mA of current during this
mode. To reduce the frequency consumption when a remote is in acquisition mode, a
low power acquisition mode is provided. In this mode, the remote only scans the
frequency band every other hop. This will reduce the average current consumption
during acquisition to about 40mA. The tradeoff is it can take twice as long to acquire
and register with a base, or up to 4 seconds.

Configuring the Network
M-2410-0010, Rev. - HopNet Family of Products 37
Memory Commands
The user is able to store a configuration in nonvolatile memory, which is loaded
during the initialization period every time the radio is powered up. Note that changes
to the serial port baud rate- from recalling the factory defaults or recalling memory -
will not take effect until DTR is toggled or power to the radio is cycled.
Command
Description
m0
Recall Factory Defaults
m<
Recall Memory
m>
Store Memory
Recall Factory Defaults
Resets the HopNet to its factory default state. This is useful for testing purposes or if
there is a problem in operation of the system and the configuration is suspect. Use
the Store Memory command afterwards if you wish the factory default settings to be
remembered the next time you cycle power or reset the radio.
Recall Memory
Useful for restoring the power-on settings after experimenting with temporary
changes to data rate, protocol or network parameters, etc.
Store Memory
This command is necessary after any command to change the data rate, transceiver
address, or other radio setting that you wish to make permanent.

Configuring the Network
38 HopNet Family of Products M-2410-0010, Rev. -
Modem Command Summary
Serial Commands
sd[?|00..ff] Set Data Rate Divisor
sp[?|00..14] Set Protocol Mode
Network Commands
wb[?|0|1] Set Transceiver Mode
wd[?|1..3f] Set Default Handle
wn[?|00..3f] Set Hopping Pattern
wg[?|0|1|2] Enable Global Network Modes
wp[?|0|1] Set Transmit Power
wr? Read Receive Signal Strength (remote only)
dx[?|0..62] Set Range Optimization (remote only)
Protocol Commands
pe[?|0..4] Set Alternative Frequency Band
ph[?|00..fe] Set Hop Duration (base only)
pl? Get Maximum Data Length
pn[?|01..3e] Set Maximum Number of Remotes(base only)
pk[?|00..d4] Set Minimum Data Length
pr[?|00..ff] Set Packet Attempts Limit
pt[?|00..ff] Set Data Transmit Delay (remote only)
pv[?|0|1] Set Slot Assignment Mode (base only)
pw[?|00..40] Set Base Slot Size (base only)
px[?|0|1] Set ARQ Mode
Status Commands
zb[?|0|1] Banner Display Disable
zc[?|0..2] Set Escape Sequence Mode
zh? Read Factory Serial Number High Byte
zm? Read Factory Serial Number Middle Byte
zl? Read Factory Serial Number Low Byte
zp[?|0..4] Set Duty Cycle(base only)
zq[?|0|1] Enable Low Power Acquisition (remote only)
z> Exit Modem Control Mode
Memory Commands
m0 Recall Factory Defaults
m< Recall Memory
m> Store Memory

Configuring the Network
M-2410-0010, Rev. - HopNet Family of Products 39
Guidelines for Installation
When installing your system, always consider the following points:
• Directional antennas are best for remote unit sites. They may increase the cost, but
they confine the transmission path to a narrow lobe and minimize the interference
from nearby stations.
• For systems with constant interference present, you may need to change the
polarity of the antenna system and reduce data streams. Groups of short data
streams are more reliable and have a better chance of success in the presence of
interference than do long streams.
• Systems installed in rural areas are least likely to encounter urban interference.
• Multiple HopNet systems can operate in close proximity to each other but require a
unique network address.
• Poor quality coaxial cables will seriously degrade system performance. Use low-
loss cable that is suitable for 2.4 GHz operation.
• Short cable runs minimize signal loss.

Typical HopNet Applications
M-2410-0010, Rev. - HopNet Family of Products 41
Typical HopNet Applications
Introduction
The illustration below shows a complete network of multiple data sources connected
to a central base. Units that are out of range are connected through a repeater. See the
illustration of a point-to-point application on the next page.
Point to Multipoint
This common application consists of a central host and remote terminal units or other
data collection devices. The automatic repeat requests (ARQ) and acknowledgments
inside the radio are transparent to the computer system.
HN-1010/1510
HN-1010/1510
HN-210
HN-3010
HN-210X

Typical HopNet Applications
42 HopNet Family of Products M-2410-0010, Rev. -
Point-to-Point
A point-to-point application as shown below provides a communication data link
between two locations.
HN-1000
HN-1000
HN-1010/1510
HN-1010/1510

Troubleshooting
M-2410-0010, Rev. - HopNet Family of Products 43
Troubleshooting
Overview
Introduction
Troubleshooting the HopNet products is not difficult, but it does require a logical
approach. It is best to begin troubleshooting at the base station because the rest of the
system synchronizes to it. If the base station has problems, the entire network will be
compromised.
This chapter provides troubleshooting information for your HopNet products.
Transceiver Requirements
For proper operation, all transceivers in the network must meet these basic
requirements:
• Adequate and stable power
• Secure connections ( Power, RF, and Data)
• Proper programming especially Hop Duration and Network Address

Troubleshooting
44 HopNet Family of Products M-2410-0010, Rev. -
Common System Problems
The following table offers suggestions for resolving some common system problems
that the operator may experience from the radio system. If problems persist, contact
the factory for further assistance.
Problem System Checks
Unit is inoperative 1. Check for proper DC voltage at the power
connector.
2. Momentarily remove and reapply power.
No Carrier Detect at
remote units or
intermittent
1. Check for secure interface connections at the
transceiver.
2. Check antenna, feedline, connectors, and reflective
power.
3. If remote unit is in synchronization but
performance is poor, it may indicate antenna
problems. Check for properly aligned antenna
headings.
4. Verify proper programming of the system
parameters.
Interference is
suspected
1. Verify that the system has a unique network
address. Nearby systems with same address will
cause interference problems.
2. If Omni-directional antennas are used with the
remote units, consider using a directional type
instead. This will often limit interference to and
from other stations.
3. Check RSSI value at the remote. A low value
would correspond to a weak signal strength.

Troubleshooting
M-2410-0010, Rev. - HopNet Family of Products 45
Guidelines for Reducing Interference
Introduction
The transceivers share the same frequency spectrum with other services and other
Part 15 devices in the US. Because of this, you may not achieve 100 percent error free
communications in a given location. You should also expect some level of
interference. However, the flexible design of the radio and the hopping pattern should
allow for adequate performance as long as care is taken in choosing station location,
configuration parameters of the transceivers, and protocols techniques.
Use the following guidelines to reduce interference in your HopNet system.
Guidelines for Setting Up the Network
In general, the following points should be followed when setting up a network:
• Systems installed in rural areas are least likely to encounter interference.
• If possible, use directional antennas at remote sites. The directional antennas
confine the transmission path and reception pattern to a comparatively narrow lobe,
which minimizes interference from stations located outside the pattern.
• Multiple HopNet systems can co-exist in close proximity to each other with very
minor interface as long as they are assigned a unique network address. Each
network address has a different hop pattern.
• If interference is suspected from a similar operating system, change the antenna
polarization. This will provide an additional 20dB of attenuation to interference.
• For indoor applications, set all transceivers for the lowest level necessary for
reliable communications. This lessens the chance of interference from nearby
systems.
Guidelines for Selecting Your Site
Use these guidelines to select a proper site for the master remote stations. Suitable
sites must provide the following:
• An adequate and stable source of primary power.
• Antenna location that provides an unobstructed transmission path in the direction of
the associated units.
• Proper antenna selection, data access, and feedline cabling
• A clear line-of-sight. Microwave radio signals travel primarily by line-of-sight, and
obstructions between the sending and receiving stations will affect system
performance.

Troubleshooting
46 HopNet Family of Products M-2410-0010, Rev. -
Guidelines for Avoiding Terrain Obstructions
The HopNet transceivers operate in the 2.4 GHz frequency band. While this band
offers many advantages over the VHF band for data transmission, it is also more
prone to signal attenuation from obstructions such as terrain, foliage, buildings and
anything else in the transmission path.
Use the following guidelines to avoid terrain obstructions:
• A line-of-sight transmission path between the base and the associated remote sites
provides for the most reliable transmission path.
• A line-of-sight path can be achieved by mounting the station antenna on a tower or
elevated structure that raises it to a sufficient level to clear surrounding terrain and
other obstructions.
• The importance of a clear transmission path relates closely to the distance to be
covered. If the system is to cover only a limited geographical area such as 1-3
miles, then some obstructions may be tolerated with minimal impact.
• For longer-range systems, any substantial obstruction in the transmission path
could compromise the performance of the system.

Troubleshooting
M-2410-0010, Rev. - HopNet Family of Products 47
Customer Support
Introduction
Cirronet, Inc. products are designed for long life and trouble free operation. The
following information is provided if servicing becomes necessary.
Technical Assistance
Technical assistance for Cirronet products is available during the hours of 9:00 A.M –
5:30 P.M. Eastern Standard Time. When calling, please have available the complete
model name, serial number, and a complete description of the problem. Most
problems can be resolved without returning the unit to the factory.
The following telephone numbers are available for assistance.
Phone 678-684-2000
Fax 678-684-2001
Factory Repairs
If return of equipment is necessary, you will be issued a Return Material
Authorization number (RMA #). The RMA # will help expedite the repair so that
equipment can be returned as quickly as possible. Please be sure to include the
RMA number (#) on the outside of the shipping box and on any correspondence
relating to the repair. Any equipment returned without an RMA # may be delayed in
the repair cycle.
Please be sure to carefully package all items to be returned and address to:
CIRRONET, INC.
5375 Oakbrook Parkway
Norcross, GA 30093
RMA # ***

Warranty
48 HopNet Family of Products M-2410-0010, Rev. -
Warranty
Seller warrants solely to Buyer that the goods delivered hereunder shall be free from defects in
materials and workmanship, when given normal, proper and intended usage, for twelve (12)
months from the date of delivery to Buyer. Seller agrees to repair or replace at its option and
without cost to Buyer all defective goods sold hereunder, provided that Buyer has given Seller
written notice of such warranty claim within such warranty period. All goods returned to Seller
for repair or replacement must be sent freight prepaid to Seller’s plant, provided that Buyer first
obtain from Seller a Return Goods Authorization before any such return. Seller shall have no
obligation to make repairs or replacements which are required by normal wear and tear, or which
result, in whole or in part, from catastrophe, fault or negligence of Buyer, or from improper or
unauthorized use of the goods, or use of the goods in a manner for which they are not designed, or
by causes external to the goods such as, but not limited to, power failure. No suit or action shall
be brought against Seller more than twelve (12) months after the related cause of action has
occurred. Buyer has not relied and shall not rely on any oral representation regarding the goods
sold hereunder, and any oral representation shall not bind Seller and shall not be a part of any
warranty.
THE PROVISIONS OF THE FOREGOING WARRANTY ARE IN LIEU OF ANY OTHER
WARRANTY, WHETHER EXPRESS OR IMPLIED, WRITTEN OR ORAL (INCLUDING
ANY WARRANTY OR MERCHANT ABILITY OR FITNESS FOR A PARTICULAR
PURPOSE). SELLER’S LIABILITY ARISING OUT OF THE MANUFACTURE, SALE
OR SUPPLYING OF THE GOODS OR THEIR USE OR DISPOSITION, WHETHER
BASED UPON WARRANTY, CONTRACT, TORT OR OTHERWISE, SHALL NOT
EXCEED THE ACTUAL PURCHASE PRICE PAID BY BUYER FOR THE GOODS. IN
NO EVENT SHALL SELLER BE LIABLE TO BUYER OR ANY OTHER PERSON OR
ENTITY FOR SPECIAL, INCIDENTAL OR CONSEQUENTIAL DAMAGES,
INCLUDING, BUT NOT LIMITED TO, LOSS OF PROFITS, LOSS OF DATA OR LOSS
OF USE DAMAGES ARISING OUT OF THE MANUFACTURE, SALE OR SUPPLYING
OF THE GOODS. THE FOREGOING WARRANTY EXTENDS TO BUYER ONLY AND
SHALL NOT BE APPLICABLE TO ANY OTHER PERSON OR ENTITY INCLUDING,
WITHOUT LIMITATION, CUSTOMERS OF BUYERS.
Notes: