MyBinding Gbc Ultima 65 Operating Instructions User Manual
2013-06-04
User Manual: MyBinding Gbc-Ultima-65-Operating-Instructions
Open the PDF directly: View PDF
.
Page Count: 11

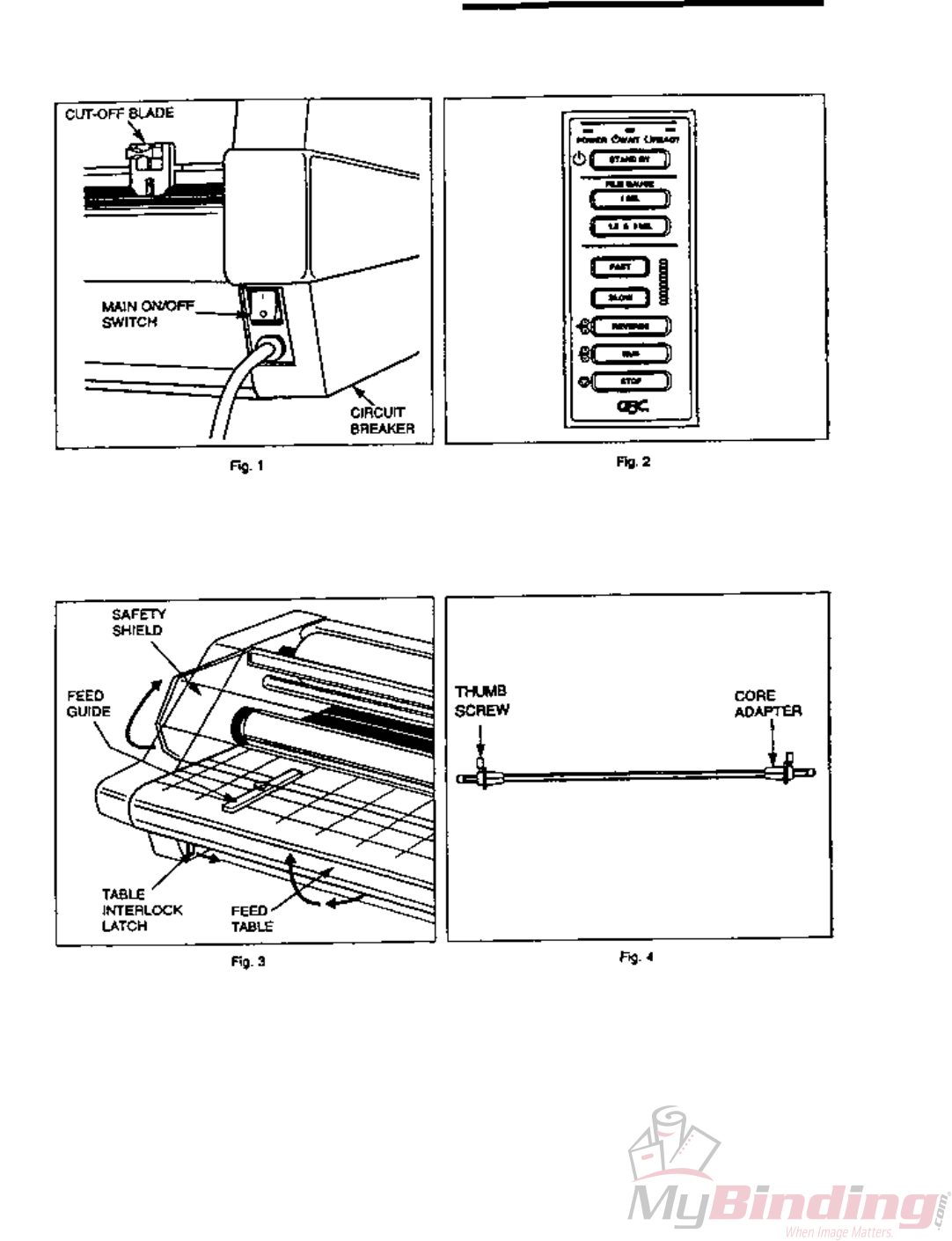
ULTIMA 65
OPERATING INSTRUCTIONS
Copyright General Binding Corporation, Northbrook, IL U.S.A

2

3

4


0




