Users Manual

NL-RF1000 UHF RFID Reader
Hardware User's Manual
August 2009
WARNING This is a class A product. In a domestic environment this product may cause radio
interference in which case the user may be required to take adequate measures.
The sale person or the user wishes, paying attention to this piece, uses from the area of
the residence outside the fact that in goal.
www.nesslab.com

RFID Reader Hardware User Guide
2
Contents
1. Introduction
1.1 Overview
1.2 Composition
1.3 Reader Configuration
1.4 Reader Installation
1.5 Reader Physical Size
1.6 Specification
1.7 RS-232 & GPIO Interface
2. Antenna
2.2.1 Scope
2.2.2 Composition and Materials.
2.2.3 Mechanical Dimensions.
2.2.4 Electrical specifications.
3. FCC Information to User
4. WARNING TO USER

RFID Reader Hardware User Guide
3
1. INTRODUCTION
1.1 Overview
NL-RF1000 is a Fixed Type 900MHz RFID Reader, enables user to use RS232 or Ethernet Interface
for efficient and convenient use. It is suitable for various applications such as Logistic, Asset tracking,
Stock management, Parking lot management, Healthcare, Security, Transportation and bank system.
User can use up to 4 antennas per one reader, perfect for wide range reading application than
longer distance reading application.
1.2 Composition
◈ System configuration ◈
RS-232
LAN
PC
Network Tag #1
Tag #2
Tag #N
Reader main body
DC5V/4A adapter RS-232 Cable
Antenna
Antenna cable (6m) Instruction

RFID Reader Hardware User Guide
4
1.3 Reader Configuration
ANT1 / ANT2 / ANT3 / ANT4 :
Connecting antenna up to 4 using
cable.
DC5V : Using DC5V/3A adapter to supply power to RFID
reader.
LED : Yellow – Ethernet cable connection indicator
Green – Recognition of Ethernet cable and Tag
Reading indicator
Red – Power indicator
LAN : To connect to PC or other device for data transmission or software upgrade.
RS-232 : To connect to PC or other device for data transmission or software upgrade.

RFID Reader Hardware User Guide
5
1.4 Reader Installation
◈ How to install antenna correctly ◈
1. Avoid metal material the front side of antenna in 2M due to cause of low performance.
2. Make the antenna stay still.
3. Antenna Cable per each ports should be not tangled and tied up.
◈ How to install or connect reader with antenna ◈
◈ When connection Antenna cable
for each port, connect SMA Type
connecter to main body and N Type
connecter to Antenna.
◈ Connect RS-232 cable for serial communication
checking with right direction of the connecter.
◈ Connect adapter with power
supply code then connect adapter
jack to main body.
◈ In case of use of multi connect or
extension cable, avoid to exceed
voltage(rated current) over than
mentioned.
1. Make the reader stay still.
2. Connect each cable in the package.
◈ Connect LAN cable to main body
LAN port for Ethernet
communication.

RFID Reader Hardware User Guide
6
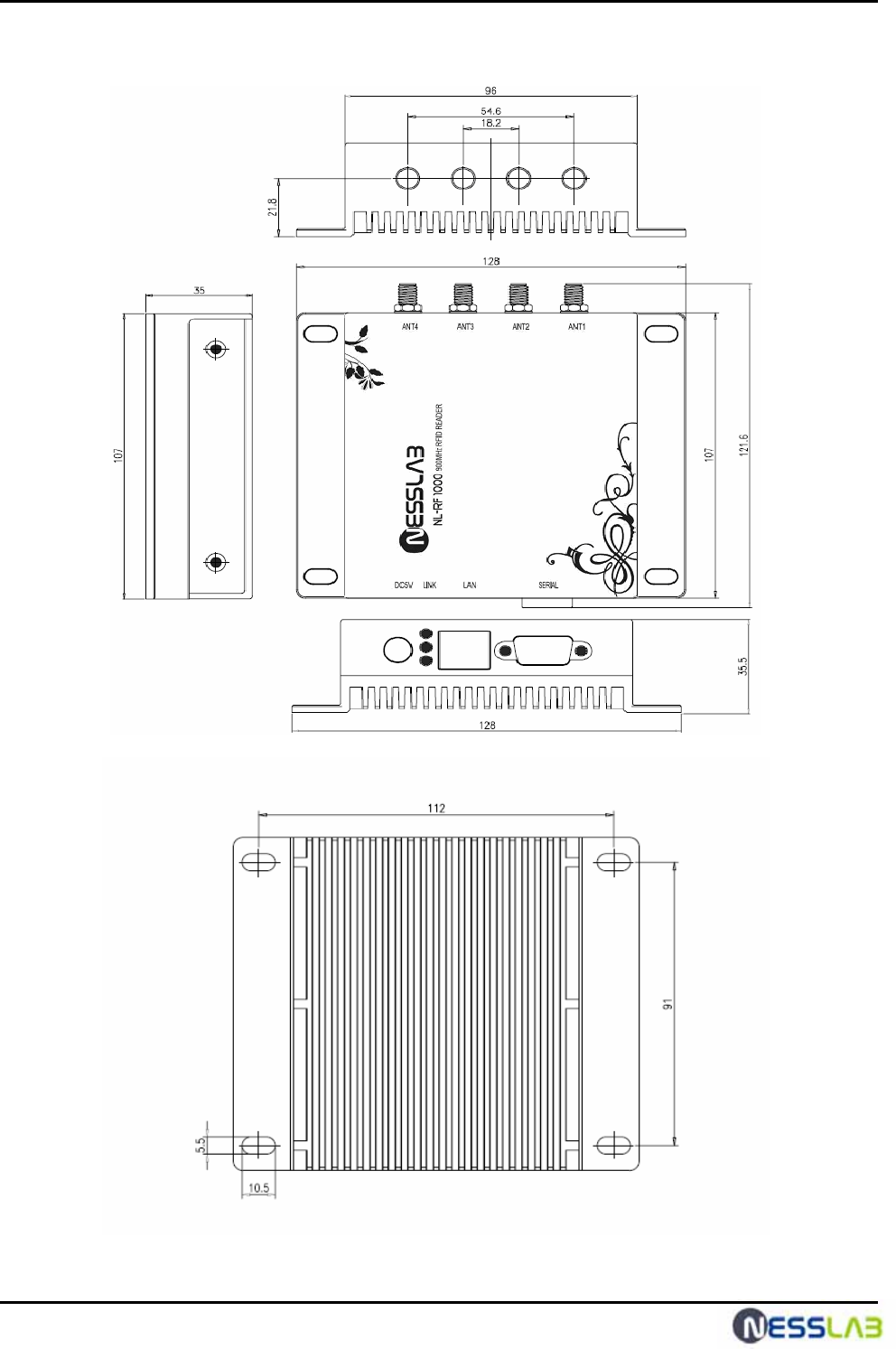
1.5 Reader Physical Size
☞ unit: mm

RFID Reader Hardware User Guide
7
1.6 Specification
ITEM SPECIFICATION
Model Number NL-RF1000
Operating Frequency 902.75 MHz ~ 927.25 MHz
RF Output Port 4
Hopping Channels 50
Channel Spacing 500 KHz
Channel Dwell Time < 0.4 seconds
Modulation Phase Reversal-Amplitude Shift Keying (PR-ASK)
RF Transmitter < 1W (30 dBm)
Communication Interface RS-232 (DB-9F), TCP/IP (RJ-45)
GPIO Support 2-Input / 2-Output
Dimensions 107 x 98 x 32 mm
Weight 473g
Operating Temperature -10 ~ +50 ℃
LED Indicators Link, ACT, Power
Power Consumption DC 5V Adaptor, 1.8A
Protocols Support ISO 18000-6 Type C/ EPC Class1-Gen2
Software Support Reader Manager (API)
Compliance Certifications NES-NL-RF1000

RFID Reader Hardware User Guide
8
1.7 RS-232 & GPIO Interface
Pin NO. RS-232 Interface GPIO Interface (Option)
1 Not Connected Output 1
2 Transmit Data Not Connected
3 Receive Data Not Connected
4 Not Connected I nput 1
5 Ground Ground
6 Not Connected Output 2
7 Not Connected Input 2
8 Not Connected I nput 3
9 Not Connected Output 3

RFID Reader Hardware User Guide
9
2. Antenna
2.2.1 Scope
This specification covers the characteristics of the ceramic patch antenna element
for the ISM band
2.2.2 Composition and Materials.
1. Substrate : Air & Insulator
2. Electrode Plating : Copper & Aluninum
3. Terminal pin : Heat-resisting ABS
2.2.3 Mechanical Dimensions.
☞ unit: mm

RFID Reader Hardware User Guide
10
2.4. Electrical specifications.
NO. Parameters Spec. Typical value Unit Remark
1 Center Frequency 919 MHz
2 Band Width @ - 10 dB R.L. 60 min. 80 MHz
3 VSWR 2.0 : 1 max. 1.1 : 1 Ratio @919 MHz
4 Gain @ Zenith 5.0 min. 5.0~6.0 dBiL @919 MHz
5 Axial Ratio 3.0 1.5~2.0 dB @919 MHz
6 Impedance 50 Ohms
7 Polarization RHCP

RFID Reader Hardware User Guide
11
3. FCC Information to User
This equipment has been tested and found to comply with the limits for a Class A
digital device, pursuant to part 15 of the FCC Rules.
These limits are designed to provide reasonable protection against harmful
interference when the equipment is operated in a commercial environment.
This equipment generates, uses, and can radiate radio frequency energy and, if not
installed and used in accordance with the instruction manual, may cause harmful
interference to radio communications. Operation of this equipment in a residential
area is likely to cause harmful interference in which case the user will be required to
correct the interference at his own expense.
This device complies with Part 15 of FCC Rules.
Operation is subject to the following two conditions:
(1) the device may not cause interference, and
(2) the device must accept any interference, including interference that may cause
undesired operation of this device.
4. WARNING TO USER
- Change or modifications not expressly approved the manufacturer can void the
user's authority to operate this equipment.
- This equipment must not be co-located or operated in conjunction with any other
antenna or transmitter.
This equipment complies with FCC radiation exposure limits set forth for uncontrolled
equipment and meets the FCC radio frequency (RF) Exposure Guidelines in
Supplement C to OET65. This equipment must be installed and operated with at least
20cm and more between the radiator and person’s body (excluding extremities: hands,
wrists, feet and ankles).