NPG Display Branch NL1501 LCD Monitor User Manual 15501031 E lang b
NPG Display Ltd Taiwan Branch LCD Monitor 15501031 E lang b
users manual

MultiSync LCD1535VI
User’s Manual
UÏivatelská pfiíruãka
Bedienerhandbuch
Οδηγίες Χρήσης
Manual del usuario
Manuel Utilisateur
Manuale utente
Gebruikershandleiding
Podr´cznik u˝ytkowinka
Руководство пользователя
Kullan∂c∂ Klavuzu
00Cover_all.p65 11.09.2000, 7:56 Uhr1

English-1
English
TO PREVENT FIRE OR SHOCK HAZARDS, DO NOT EXPOSE THIS UNIT TO RAIN
OR MOISTURE. ALSO, DO NOT USE THIS UNIT’S POLARIZED PLUG WITH AN
EXTENSION CORD RECEPTACLE OR OTHER OUTLETS UNLESS THE PRONGS
CAN BE FULLY INSERTED.
REFRAIN FROM OPENING THE CABINET AS THERE ARE HIGH VOLTAGE
COMPONENTS INSIDE. REFER SERVICING TO QUALIFIED SERVICE
PERSONNEL.
CAUTION
TO REDUCE THE RISK OF ELECTRIC SHOCK, DO NOT REMOVE COVER
(OR BACK). NO USER SERVICEABLE PARTS INSIDE. REFER SERVICING
TO QUALIFIED SERVICE PERSONNEL.
This symbol warns user that uninsulated voltage within the unit may have
sufficient magnitude to cause electric shock. Therefore, it is dangerous to make
any kind of contact with any part inside this unit.
This symbol alerts the user that important literature concerning the operation
and maintenance of this unit has been included. Therefore, it should be read
carefully in order to avoid any problems.
CAUTION
WARNING
RISK OF ELECTRIC SHOCK • DO NOT OPEN
Caution:
When operating the MultiSync LCD1535VI (LCD1535VI-BK) with a 100-240V AC power
source in Europe, use the power cord provided with the monitor.
In the UK, a BS approved power cord with a moulded plug has a Black (five Amps) fuse
installed for use with this equipment. If a power cord is not supplied with this equipment
please contact your supplier.
When operating the MultiSync LCD1535VI (LCD1535VI-BK) with a 100-240V AC power
source in Australia, use the power cord provided with the monitor.
For all other cases, use a power cord that matches the AC voltage of the power outlet
and has been approved by and complies with the safety standard of your particular
country.
ENERGYSTA R is a U.S. trademark.
As an ENERGYSTA R ® Partner, NEC-Mitsubishi Electronics Display of America, Inc. has
determined that this product meets the ENERGYSTA R guidelines for energy efficiency. The
ENERGYSTA R emblem does not represent EPA endorsement of any product or service.
IBM PC/XT/AT, PS/2, MCGA, VGA, 8514/A and XGA are registered trademarks of
International Business Machines Corporation.
Apple and Macintosh are registered trademarks of Apple Computer Inc.
Microsoft and Windows are registered trademarks of the Microsoft Corporation.
NEC is a registered trademark of NEC Corporation.
All other trademarks or registered trademarks are property of their respective owners.

English-2
Declaration
Declaration of the Manufacturer
We hereby certify that the colour monitor
MultiSync LCD1535VI (LCD1535VI-BK)
is in compliance with
Council Directive 73/23/EEC:
– EN 60950
Council Directive 89/336/EEC:
– EN 55022
– EN 61000-3-2
– EN 61000-3-3
– EN 55024
(IEC 61000-4-2)
(IEC 61000-4-3)
(IEC 61000-4-4)
(IEC 61000-4-5)
(IEC 61000-4-6)
(IEC 61000-4-8)
(IEC 61000-4-11)
and marked with
NEC-Mitsubishi Electric Visual Systems, Corp.
MS Shibaura Bldg., 13-23,
Shibaura 4-chome,
Minato-Ku, Tokyo 108-0023, Japan
Power consumption of the monitor is less
than 3 W when in power-saving mode.

English-3
English
For the Customer to use in
U.S.A. or Canada
Canadian Department of Communications
Compliance Statement
DOC: This Class B digital apparatus meets all requirements of the
Canadian Interference-Causing Equipment Regulations.
Cet appareil numérique de la classe B respecte toutes les exigences du
Règlement sur le matériel brouiller du Canada.
C-UL: Bears the C-UL Mark and is in compliance with Canadian Safety
Regulations according to CSA C22.2 #950.
Ce produit porte la marque ‘C-UL’ et se conforme aux règlements de
sûrele Canadiens selon CAN/CSA C22.2 No. 950.
FCC Information
1. Use the attached specified cables with the MultiSync LCD1535VI
(LCD1535VI-BK) colour monitor so as not to interfere with radio
and television reception.
(1)The power supply cord you use must have been approved by and
comply with the safety standards of U.S.A. & Europe, and meet
the following condition.
Power supply cord Non shield type, 2-power code
Length conductor(1.8 m)
Plug shape
U.S.A. Europe
(2)Shielded video signal cable. Use of other cables and adapters
may cause interference with radio and television reception.

English-4
2. This equipment has been tested and found to comply with the limits
for a Class B digital device, pursuant to part 15 of the FCC Rules.
These limits are designed to provide reasonable protection against
harmful interference in a residential installation. This equipment
generates, uses, and can radiate radio frequency energy, and, if not
installed and used in accordance with the instructions, may cause
harmful interference to radio communications. However, there is no
guarantee that interference will not occur in a particular installation.
If this equipment does cause harmful interference to radio or
television reception, which can be determined by turning the
equipment off and on, the user is encouraged to try to correct the
interference by one or more of the following measures:
• Reorient or relocate the receiving antenna.
• Increase the separation between the equipment and receiver.
• Connect the equipment into an outlet on a circuit different from that
to which the receiver is connected.
• Consult your dealer or an experienced radio/TV technician for help.
Changes or modifications not expressly approved by the party
responsible for complicance could void the user‘s authority to
operate the equipment.
If necessary, the user should contact the dealer or an experienced
radio/television technician for additional suggestions. The user may
find the following booklet, prepared by the Federal Communications
Commission, helpful: “How to Identify and Resolve Radio-TV
Interference Problems.” This booklet is available from the U.S.
Government Printing Office, Washington, D.C., 20402,
Stock No. 004-000-00345-4.
Declaration of conformity
This device complies with Part 15 of FCC Rules. Operation is subject to the following
two conditions. (1) This device may not cause harmful interference, and (2) this device
must accept any interference received, including interference that may cause undesired
operation.
U.S. Responsible party: NEC-Mitsubishi Electronics
Display of America, Inc.
Address: 1250 N. Arlington Heights Road
Itasca, Illinois 60143-1248
Tel. No.: (630)467-3000
Type of Product: Computer Monitor
Equipment Classification: Class B Peripheral
Models: M6JNL1501, M6JNL1502

English-5
English
Contents
Your new NEC MultiSync LCD monitor box* should contain the
following:
• MultiSync LCD1535VI(LCD1535VI-BK) monitor with tilt base
• Power Cord
• Video Signal Cable (15-pin mini D-SUB male to DVI-A)
• Video Signal Cable (DVI-D to DVI-D Cable)
• User’s Manual
* Remember to save your original box and packing material to transport
or ship the monitor.
User’s Manual
Video Signal Cable
(15-pin mini D-SUB male to DVI-A)
MultiSync LCD
1535VI
Power Cord (EU)
Video Signal Cable
(DVI-D to DVI-D Cable)

English-6
Quick Start
To attach the MultiSync LCD monitor to your system, follow these
instructions:
1. Turn off the power to your computer.
2. For the PC or Mac with DVI digital output: Connect the DVI-D to
DVI-D signal cable to the connector of the display card in your
system (Figure A.1). Tighten all screws.
For the PC with Analog output: Connect the 15-pin mini D-SUB to
DVI-A signal cable to the connector of the display card in your
system (Figure A.2).
For the Mac: Connect the MultiSync Macintosh cable adapter to the
computer (Figure B.1). Attach the 15-pin mini D-SUB signal cable to
the MultiSync Macintosh cable adapter (Figure B.1).
NOTE: Some Macintosh systems do not require a Macintosh cable
adapter.
3. Remove connector cover. Connect the DVI signal cable to the
connector on the back of the monitor. Place the video signal cable
(Figure C.1).
Replace connector cover.
NOTE: Incorrect cable connections may result in irregular operation,
damage display quality/components of LCD module and/or
shorten the module’s life.
4. Remove connector cover. Connect one end of the power cord to the
AC inlet on the back of the monitor and the other end to the power
outlet (Figure D.1). Replace the connector cover.
5. Press an arrow point “ ” portion with take off connector cover.
NOTE: Please refer to Caution section of this manual for proper
selection of AC power cord.
6. Check the Vacation Switch on the right hand side of the monitor is in
the ON position. Turn on the monitor with the Power Button
(Figure E.1) and the computer.
NOTE: There are two power switches: one on the right side and one
on the front side of the monitor. DO NOT switch on/off quickly.

English-7
English
7. To complete the setup of your MultiSync LCD monitor, use the
following OSM controls:
• Auto Adjust Contrast (Analog input only)
• Auto Adjust (Analog input only)
Refer to the Controls section of this User’s Manual for a full description
of these OSM controls.
NOTE: If you have any problems, please refer to the Troubleshooting
section of this User’s Manual.
Figure B.1
Macintosh Cable
Adapter (not included)
Macintosh G3 and G4 do not
need a Macintosh cable adapter
Figure A.1 Figure A.2

English-8
Figure E.1
Figure C.1
Vacation Switch
Power Button
Connector cord
Press an arrow point “ ”
portion with take off power
cover
Input2
Input1
Figure D.1
Connector Cover
Power Cord
Power Cord
Power Cord(U.S.A)
Power Cord(EU)

English-9
English
Tilt
Grasp both sides of the monitor screen with your hands and adjust the
tilt as desired (Figure F.1).
The movable scope for elevation and depression of LCD is -5°~30°
angle.(Figure F.2).
Remove Monitor Stand for Mounting
To prepare the monitor for alternate mounting purposes:
1. Disconnect all cables.
2. Place monitor face down on a non-abrasive surface (Place the
screen on a 36 mm platform so that the stand is parallel with the
surface.) (Figure G.1).
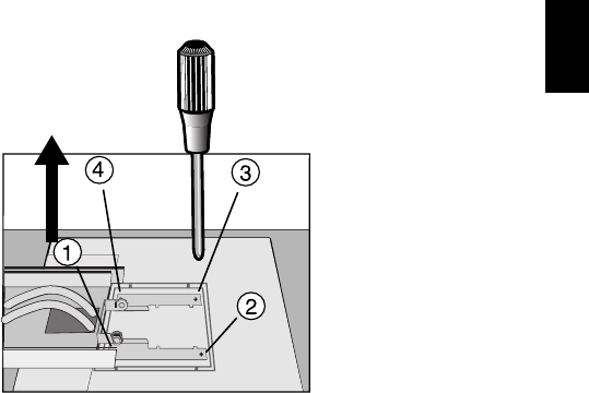
3. To take off back cover, please follow the instructions of arrow while
pressing two side of monitor.(Figure G.2)
Next, lift up the stand, dismantle upper cover, then go on to
dismantle the stand cover. (Figure G.3)
Return the stand to its original position, remove the 4 screws that
connect the monitor to the stand, and lift off the stand assembly.
(Figure G.4)
4. Reverse this process to reattach stand.
NOTE: Use only VESA-compatible alternative mounting method.
Figure F. 2Figure F.1

English-10
Figure G.1
Figure G.3
36mm
Figure G.2

English-11
English
Figure G.4
Caution: Please use the attached screws (4pcs) when mounting.
To fulfil the safety requirements the monitor must be
mounted to an arm which guaranties the necessary
stability under consideration of the weight of the monitor.
The LCD monitor shall only be used with an approved arm
(e.g. GS mark).

English-12
Menu
Exits the OSM controls.
Exits to the OSM main menu.
Moves the highlighted area left/right to select control
menus.
Moves the highlighted area up/down to select one of the
controls.
Moves the bar left/right to increase or decrease the
adjustment.
Activates Auto Adjust function.
Enter the sub menu.
Moves the highlighted area of main menu right to select
one of the controls.
Resets the highlighted control menu to the factory
setting.
Resets the highlighted control to the factory setting.
Controls
OSM (On-Screen-Manager) Controls
The OSM controls on the front of the monitor function as follows:
To access OSM press any of the control buttons ( , , -, +).
To change DVI/D-SUB signal input, auto detect.
NOTE: When RESET is pressed in the main and sub-menu, a warning
window will appear allowing you to cancel the RESET function
by pressing the EXIT button.
Control
EXIT
CONTROL /
ADJUST -/+
NEXT
RESET
Brightness/Contrast Controls
BRIGHTNESS
Adjusts the overall image and background screen
brightness.
CONTRAST
Adjusts the image brightness in relation to the
background.
AUTO ADJUST (Analog input only)
Adjusts the image displayed for non-standard
video inputs.

English-13
English
Auto Adjust (Analog input only)
Automatically adjusts the Image Position, the H. Size
and Fine setting.
Position Controls (Analog input only)
LEFT/RIGHT
Controls Horizontal Image Position within the display
area of the LCD.
DOWN/UP
Controls Vertical Image Position within the display area
of the LCD.
H. SIZE
Adjusts the horizontal size by increasing or decreasing
this setting.
FINE
Improves focus, clarity and image stability by increasing
or decreasing this setting.
Colour Control Systems
Six colour presets select the desired colour setting
(sRGB and NATIVE colour presets are standard and
cannot be changed). Colour temperature increases or
decreases in each preset.
R,Y,G,C,B,M,S
Increases or decreases Red, Yellow, Green, Cyan,
Blue, Magenta and Saturation depending upon which is
selected. The change in colour will appear on screen
and the direction (increase or decrease) will be shown
by the colour bars.
sRGB
sRGB mode dramatically improves the colour fidelity in
the desktop environment by a single standard RGB
colour space. With this colour supported environment,
the operator could easily and confidently communicate
colours without further colour management overhead in
the most common situations.

English-14
NATIVE
Original colour presented by the LCD panel that is
unadjustable.
Tools 1
SHARPNESS
This function is digitally capable to keep crisp image at
any timings. It is continuously adjustable to get distinct
image or soft one as you prefer, and set independently
by different timings.
EXPANSION MODE
Sets the zoom method.
H-EXPANSION
The horizontal image is expanded to approximately
2 times.
V-EXPANSION
The vertical image is changeable.
DVI SELECTION
This function selects EDID Data for ANALOG signal or
DIGITAL signal on the DVI input.
When the DVI-D is connected to DVI, DVI Selection is
recommended to be selected to DIGITAL.
When the DVI-A is connected to DVI, DVI Selection is
recommended to be selected to ANALOG.
DIGITAL
EDID DATA for DVI DIGITAL input is available.
ANALOG
EDID DATA for DVI ANALOG input is available.

English-15
English
Tools 2
LANGUAGE
OSM control menus are available in seven languages.
OSM POSITION
You can choose where you would like the OSM control
image to appear on your screen. Selecting OSM
Location allows you to manually adjust the position of
the OSM control menu left, right, down or up.
OSM TURN OFF
The OSM control menu will stay on as long as it is use.
In the OSM Turn Off submenu, you can select how long
the monitor waits after the last touch of a button to shut
off the OSM control menu. The preset choices are 10,
20, 30, 45, 60 and 120 seconds.
OSM LOCK OUT
This control completely locks out access to all OSM
control functions. When attempting to activate OSM
controls while in the Lock Out mode, a screen will
appear indicating the OSM controls are locked out.
To activate the OSM Lock Out function, press , then
and hold down simultaneously. To de-activate the OSM
Lock Out, press , then and hold down
simultaneously.
RESOLUTION NOTIFIER
This optimal resolution is 1024 x 768. If ON is selected,
a message will appear on the screen after 30 seconds,
notifying you that the resolution is not at 1024 x 768.
FACTORY PRESET
Selecting Factory Preset allows you to reset all OSM
control settings back to the factory settings. Individual
settings can be reset by highlighting the control to be
reset and pressing the RESET button.

English-16
Information
DISPLAY MODE
Provides information about the current resolution
display and technical data including the preset timing
being used and the horizontal and vertical frequencies.
Increases or decreases the current resolution. (Analog
input only)
MONITOR INFO
Indicates the model and serial numbers of your monitor.
OSM Warning
OSM Warning menus disappear with Exit button.
NO SIGNAL: This function gives a warning when there
is no Horizontal or Vertical Sync Signal present and
advises you to check all Video Inputs on the monitor
and computer to make sure they are properly
connected. After power is turned on or when there is a
change of input signal or video is inactive, the No
Signal window will appear.
RESOLUTION NOTIFIER: This function gives a
warning of use with optimized resolution. After power is
turned on or when there is a change of input signal or
the video signal doesn’t have proper resolution, the
Resolution Notifier window will open. This function
can be disabled in the TOOL menu.
OUT OF RANGE: This function gives a
recommendation of the optimized resolution and refresh
rate. After the power is turned on or there is a change of
input signal or the video signal doesn’t have proper
timing, the Out Of Range menu will appear.
NOTE: If “ CHANGE DVI SELECTION” is displayed, switch to
DVI SELECTION.

English-17
English
Recommended Use
Safety Precautions and Maintenance
FOR OPTIMUM PERFORMANCE, PLEASE NOTE
THE FOLLOWING WHEN SETTING UP AND
USING THE MULTISYNC LCD COLOUR MONITOR:
•DO NOT OPEN THE MONITOR. There are no user serviceable parts
inside and opening or removing covers may expose you to dangerous
shock hazards or other risks. Refer all servicing to qualified service
personnel.
• Do not spill any liquids into the cabinet or use your monitor near water.
• Do not insert objects of any kind into the cabinet slots, as they may
touch dangerous voltage points, which can be harmful or fatal or may
cause electric shock, fire or equipment failure.
• Do not place any heavy objects on the power cord. Damage to the cord
may cause shock or fire.
• Do not place this product on a sloping or unstable cart, stand or table, as
the monitor may fall, causing serious damage to the monitor.
• Do not place any objects onto the monitor and do not use the monitor
outdoors.
• The inside of the flourescent tube located within the LCD monitor
contains mercury. Please follow the bylaws or rules of your municipality
to dispose of the tube properly.
Immediately unplug your monitor from the wall outlet and refer servicing to
qualified service personnel under the following conditions:
• When the power supply cord or plug is damaged.
• If liquid has been spilled, or objects have fallen into the monitor.
• If the monitor has been exposed to rain or water.
• If the monitor has been dropped or the cabinet damaged.
• If the monitor does not operate normally by following operating
instructions.
• Do not bend power cord.
• Do not use monitor in high temperatured, humid, dusty, or oily areas.
• Do not cover vent on monitor.
• If monitor is broken, do not come in contact with the liquid crystal.
• If glass is broken. Handle with care.

English-18
CAUTION
• Allow adequate ventilation around the monitor so that
heat can properly dissipate. Do not block ventilated
openings or place the monitor near a radiator or other
heat sources. Do not put anything on top of monitor.
• The power cable connector is the primary means of
detaching the system from the power supply. The
monitor should be installed close to a power outlet which
is easily accessible.
• Handle with care when transporting. Save packaging for
transporting.
CORRECT PLACEMENT AND ADJUSTMENT OF
THE MONITOR CAN REDUCE EYE, SHOULDER
AND NECK FATIGUE. CHECK THE FOLLOWING
WHEN YOU POSITION THE MONITOR:
• For optimum performance, allow
20 minutes for warm-up.
• Adjust the monitor height so that the top of
the screen is at or slightly below eye level.
Your eyes should look slightly downward
when viewing the middle of the screen.
• Position your monitor no closer than 40 cm
and no further away than 70 cm from your
eyes. The optimal distance is 58 cm.
• Rest your eyes periodically by focusing on
an object at least 6 m away. Blink often.
• Position the monitor at a 90° angle to windows and other light sources to
minimize glare and reflections. Adjust the monitor tilt so that ceiling lights
do not reflect on your screen.
• If reflected light makes it hard for you to see your screen, use an
antiglare filter.
• Clean the LCD monitor surface with a lint-free, non-abrasive cloth. Avoid
using any cleaning solution or glass cleaner!
• Adjust the monitor’s brightness and contrast controls to enhance
readability.
• Use a document holder placed close to the screen.
• Position whatever you are looking at most of the time (the screen or
reference material) directly in front of you to minimize turning your head
while you are typing.

English-19
English
• Avoid displaying fixed patterns on the monitor for long periods of time to
avoid image persistence (after-image effects).
• Get regular eye checkups.
Ergonomics
To realize the maximum ergonomics benefits, we recommend the following:
• Use the preset Size and Position controls with standard signals.
• Use the preset Colour Setting.
• Use non-interlaced signals with a vertical refresh rate between
60-75 Hz.
• Do not use primary colour blue on a dark background, as it is difficult to
see and may produce eye fatigue to insufficient contrast.

English-20
16,777,216
30 kHz to 60 kHz
50 Hz to 75 Hz
640 x 350 at 31.5 to 70.1 Hz
640 x 480 at 35 Hz to 75 Hz
720 x 400 at 31.5 Hz to 70.1 Hz
800 x 600 at 35.2 Hz to 75 Hz
832 x 624 at 49.7 Hz to 74.5 Hz
1024 x 768 at 48.4 Hz to 75Hz
304 mm/12.0 inches
228 mm/9.0 inches
AC 100-240 V , 50-60 Hz
1 A @ 100-240 V
Monitor Specifications
LCD Module Diagonal:
Viewable Image Size:
Native Resolution (Pixel Count):
Display Colours Analog input:
Synchronization Range Horizontal:
Vertical:
Resolutions Supported Landscape:
Active Display Horizontal:
Area (Lanscape) Vertical:
Power Supply
Input Signal Video:
Sync:
Current Rating
38 cm/15 inches
38 cm/15 inches
1024 x 768
DVI-I (TMDS)
Separate sync.TTL Level
Horizontal sync. Positive/Negative
Vertical sync. Positive/Negative
Compostite sync. Positive/Negative
Notes
Active matrix; thin film
transistor (TFT) liquid
crystal display (LCD);
0.297 mm dot pitch;
300cd/m2 white luminence,
typical; 350:1 contrast ratio,
typical
Depends on display card
used.
Automatically
Automatically
Some systems may not
support all modes listed.
Dependent upon signal
timing used, and does not
include border area.
Specifications
Viewing Angle Left/Right:
Up/Down:
±75°
-60° to + 50°
DVI Digital Input TMDS, 80 MHz max., Single Link
345.2 mm (W) x 361.1 mm (H) x 160.7 mm (D)
13.6 inches (W) x 14.2 inches (H) x 6.3 inches (D)
Dimensions Landscape:
Image Formation Time 25ms (Typ.) tr=6 ms,tf=19ms
5 °C to 35 °C
30% to 80%
0 to 3,050 m
-20 °C to +60 °C
10% to 85%
0 to 14,000 m
EnvironmentalConsiderations
Operating Temperature:
Humidity:
Altitude:
Storage Temperature:
Humidity:
Altitude:
4.8 kg (10.6 lbs)
Weight
(NL1502)
MultiSync LCD1535VI
(LCD1535VI-BK) Monitor

English-21
English
*1 Interpolated Resolutions: When resolutions are shown that are lower than the pixel count of the
LCD module, text may appear different. This is normal and necessary for all current flat panel
technologies when displaying non-native resolutions full screen. In flat panel technologies, each dot
on the screen is actually one pixel, so to expand resolutions to full screen, an interpolation of the
resolution must be done.
*2 NEC-Mitsubishi Electronics Display cites recommended resolutions at 60 Hz for optimal display
performance.
NOTE: Technical specifications are subject to change without notice.

English-22
Features
sRGB Colour Control: A new optimized colour management standard
which allows for colour matching on computer displays and other
peripherals. The sRGB, which is based on the calibrated colour space,
allows for optimal colour representation and backward compatibility with
other common colour standards.
Reduced Footprint: Provides the ideal solution for environments
requiring superior image quality but with size and weight limitations.
The monitor’s small footprint and low weight allow it to be moved or
transported easily from one location to another.
Colour Control System: Allows you to adjust the colours on your
screen and customize the colour accuracy of your monitor to a variety of
standards.
OSM (On-Screen Manager) Controls: Allow you to quickly and easily
adjust all elements of your screen image via simple to use on-screen
menus.
ErgoDesign Features: Enhance human ergonomics to improve the
working environment, protect the health of the user and save money.
Examples include OSM controls for quick and easy image adjustments,
tilt base for preferred angle of vision, small footprint and compliance with
MPRII and TCO guidelines for lower emissions.
Plug and Play: The Microsoft solution with the Windows 95/98/2000
operating system facilitates setup and installation by allowing the
monitor to send its capabilities (such as screen size and resolutions
supported) directly to your computer, automatically optimizing display
performance.
IPM (Intelligent Power Manager) System: Provides innovative
power-saving methods that allow the monitor to shift to a lower power
consumption level when on but not in use, saving two-thirds of your
monitor energy costs, reducing emissions and lowering the air
conditioning costs of the workplace.
Multiple Frequency Technology: Automatically adjusts monitor to the
display card’s scanning frequency, thus displaying the resolution
required.
FullScan Capability: Allows you to use the entire screen area in most
resolutions, significantly expanding image size.

English-23
English
Wide Viewing Angle Technology: Allows the user to be able to see the
monitor from any angle (±75° degrees) from any orientation – Portrait or
Landscape. Provides full ±75° viewing angles either up, down, left
or right.
VESA Standard Mounting Interface: Allows users to connect their
MultiSync monitor to any VESA standard (100 mm pitch) third party
mounting arm or bracket. Allows for the monitor to be mounted on a wall
or an arm using any third party compliant device.
DVI-I: The integrated interface ratified by the Digital Display Working
Group (DDWG) that allows both digital and analog connectors through
one port. The “I” stands for integration for both digital and analog. The
digital portion is TMDS based.
DVI-D: The digital only subset of DVI ratified by the Digital Display
Working Group (DDWG) for digital connections between computers and
displays. As a digital only connector, analog support is not provided for
through a DVI-D connector. As a TMDS based digital only connection,
only a simple adapter is necessary for compatibility between DVI-D and
other TMDS based digital connectors such as DFP and P&D.
P&D: Plug and Display - The VESA standard for digital flat panel
monitor interfaces. It is more robust than DFP since it allows for other
options through a single connector (options like USB, analog video and
IEEE-1394-995). The VESA committee has recognized that DFP is a
subset of P&D. As a TMDS based connector (for the digital input pins),
only a simple adapter is necessary for compatibility between P&D and
other TMDS based digital connectors such as DVI and DFP.

English-24
Troubleshooting
No picture
• The signal cable should be completely connected to the display card/
computer.
• The display card should be completely seated in its slot.
• Check the Vacation Switch should be in the ON Position. Front power
Switch and computer power switch should be in the ON position.
• Check to make sure that a supported mode has been selected on the
display card or system being used. (Please consult display card or
system manual to change graphics mode.)
• Check the monitor and your display card with respect to compatibility
and recommended settings.
• Check the signal cable connector for bent or pushed-in pins.
• Check the signal input.
Power Button does not respond
• Unplug the power cord of the monitor from the AC outlet to turn off
and reset the monitor.
• Check the Vacation Switch on the right hand side of the monitor.
Image persistence
• Image persistence is when a “ghost” of an image remains on the
screen even after the monitor has been turned off. Unlike CRT
monitors, LCD monitors’ image persistence is not permanent.
To alleviate image persistence, turn the monitor off for as long as an
image was displayed. If an image was on the monitor for one hour
and a “ghost” of that image remains, the monitor should be turned off
for one hour to erase the image.
NOTE: As with all personal display devices, NEC-Mitsubishi Electronic
Displays recommends using a screen saver at regular intervals
whenever the screen is idle.

English-25
English
Image is unstable, unfocused or swimming is
apparent
• Signal cable should be completely attached to the computer.
• Use the OSM Image Adjust controls to focus and adjust display by
increasing or decreasing the fine total. When the display mode is
changed, the OSM Image Adjust settings may need to be readjusted.
• Check the monitor and your display card with respect to compatibility
and recommended signal timings.
• If your text is garbled, change the video mode to non-interlace and
use 60 Hz refresh rate.
Message “OUT OF RANGE” is displayed (screen is
either blank or shows rough images only)
• Image is displayed only roughly (pixels are missing) and OSM
warning “OUT OF RANGE” is displayed: Either signal clock or
resolution is too high. Choose one of the supported modes.
• OSM warning “OUT OF RANGE” is displayed on a blank screen:
Signal frequency is out of range. Choose one of the supported
modes.
LED on monitor is not lit (no green or amber colour
can be seen)
• Power Switch should be in the ON position and power cord should be
connected.
Display image is not sized properly
• Use the OSM Image Adjust controls to increase or decrease the
Coarse total.
• Check to make sure that a supported mode has been selected on the
display card or system being used. (Please consult display card or
system manual to change graphics mode.)
No Video
• If no video is present on the screen, turn the Power button off and
on again.
• Make certain the computer is not in a power-saving mode (touch the
keyboard or mouse).

English-26
TCO’99
This is a translation of the original English TCO'99 document.
MultiSync LCD1535VI (LCD1535VI)
Congratulations! You have just purchased a TCO’99
approved and labeled product! Your choice has
provided you with a product developed for
professional use. Your purchase has also
contributed to reducing the burden on the
environment and also to the further development
of environmentally adapted electronics products.
Why do we have environmentally labelled computers?
In many countries, environmental labelling has become an established
method for encouraging the adaptation of goods and services to the
environment. The main problem, as far as computers and other
electronics equipment are concerned, is that environmentally harmful
substances are used both in the products and during the manufacturing.
Since it has not been possible for the majority of electronics equipment
to be recycled in a satisfactory way, most of these potentially damaging
substances sooner or later enter Nature.
There are also other characteristics of a computer, such as energy
consumption levels, that are important from the viewpoints of both the
work (Internal) and natural (external) environments. Since all methods of
conventional electricity generation have a negative effect on the
environment (acidic and climate-influencing emissions, radioactive
waste, etc.), it is vital to conserve energy. Electronics equipment in
offices consume an enormous amount of energy since they are often left
running continuously.
What does labelling involve?
This product meets the requirements for the TCO’99 scheme which
provides for international and environmental labelling of personal
computers. The labelling scheme was developed as a joint effort by the
TCO (The Swedish Confederation of Professional Employees), Svenska
Naturskyddsforeningen (The Swedish Society for Nature Conservation)
and Statens Energimyndighet (The Swedish National Energy
Administration).

English-27
English
The requirements cover a wide range of issues: environment,
ergonomics, usability, emission of electrical and magnetic fields, energy
consumption and electrical and fire safety.
The environmental demands concern restrictions on the presence and
use of heavy metals, brominated and chlorinated flame retardants,
CFCs (freons) and chlorinated solvents, among other things. The
product must be prepared for recycling and the manufacturer is obliged
to have an environmental plan which must be adhered to in each
country where the company implements its operational policy. The
energy requirements include a demand that the computer and/or
display, after a certain period of inactivity, shall reduce its power
consumption to a lower level in one or more stages. The length of time
to reactivate the computer shall be reasonable for the user.
Labelled products must meet strict environmental demands, for
example, in respect of the reduction of electric and magnetic fields,
physical and visual ergonomics and good usability.
Environmental Requirements
Flame retardants
Flame retardants are present in printed circuit boards, cables, wires,
casings and housings. In turn, they delay the spread of fire. Up to thirty
percent of the plastic in a computer casing can consist of flame
retardant substances. Most flame retardants contain bromine or chloride
and these are related to another group of environmental toxins, PCBs,
which are suspected to give rise to severe health effects, including
reproductive damage in fisheating birds and mammals, due to the
bioaccumulative* processes. Flame retardants have been found in
human blood and researchers fear that disturbances in foetus
development may occur.
TCO’99 demand requires that plastic components weighing more than
25 grams must not contain flame retardants with organically bound
chlorine and bromine. Flame retardants are allowed in the printed circuit
boards since no substitutes are available.
Lead**
Lead can be found in picture tubes, display screens, solders and
capacitors. Lead damages the nervous system and in higher doses,
causes lead poisoning.
TCO’99 requirement permits the inclusion of lead since no replacement
has yet been developed.
English-28
Cadmium**
Cadmium is present in rechargeable batteries and in the
colourgenerating layers of certain computer displays. Cadmium
damages the nervous system and is toxic in high doses.
TCO’99 requirement states that batteries, the colourgenerating layers of
display screens and the electrical or electronics components must not
contain any cadmium.
Mercury**
Mercury is sometimes found in batteries, relays and switches, Mercury
damages the nervous system and is toxic in high doses.
TCO’99 requirement states that batteries may not contain any Mercury.
It also demands that no mercury is present in any of the electrical or
electronics components associated with the display unit.
CFCs (freons)
CFCs (freons) are sometimes used for washing printed circuit boards.
CFCs break down ozone and thereby damage the ozone layer in the
stratosphere, causing increased reception on Earth of ultraviolet light
with consequent increased risks of skin cancer (malignant melanoma).
The relevant TCO’99 requirement; Neither CFCs nor HCFCs may be
used during the manufacturing and assembly of the product or its
packaging.
* Bio-accumulative is defined as substances which accumulate within
living organisms.
** Lead, Cadmium and Mercury are heavy metals which are
Bioaccumulative.
To obtain complete information on the environmental criteria document,
order from:
TCO Development Unit
SE-114 94 Stockholm
SWEDEN
FAX Number: +46 8 782 92 07
E-mail (Internet): development@tco.se
You may also obtain current information on TCO’99 approved and
labelled products by visiting their website at:
http://www.tco-info.com/

English-29
English
TCO’95
MultiSync LCD1535VI Model (LCD1535VI-BK)
Congratulations! You have just purchased a TCO’95
approved and labelled product! Your choice has
provided you with a product developed for
professional use. Your purchase has also
contributed to reducing the burden on the
environment and also, to the further development
of environmentally adapted electronics products.
Why do we have environmentally labelled computers?
In many countries, environmental labelling has become an established
method for encouraging the adaptation of goods and services to the
environment. The main problem, as far as computers and other
electronics equipment are concerned, is that environmentally harmful
substances are used both in the products and during the manufacturing.
Since it has not been possible for the majority of electronics equipment
to be recycled in a satisfactory way, most of these potentially damaging
substances sooner or later enter Nature.There are also other
characteristics of a computer, such as energy consumption levels, that
are important from the viewpoints of both the work (Internal) and natural
(external) environments. Since all methods of conventional electricity
generation have a negative effect on the environment (acidic and
climate-influencing emissions, radioactive waste, etc.), it is vital to
conserve energy. Electronics equipment in offices consume an
enormous amount of energy since they are often left running
continuously.
What does labelling involve?
This product meets the requirements for the TCO’95 scheme which
provides for international and environmental labelling of personal
computers. The labelling scheme was developed as a joint effort by the
TCO (The Swedish Confederation of Professional Employees),
Naturskyddsforeningen (The Swedish Society for Nature Conservation)
and NUTEK (The National Board for Industrial and Technical
Development in Sweden).The requirements cover a wide range of
issues: environment, ergonomics, usability, emission of electrical and
magnetic fields, energy consumption and electrical and fire safety.
English-30
The environmental demands concern restrictions on the presence and
use of heavy metals, brominated and chlorinated flame retardants,
CFCs (freons) and chlorinated solvents, among other things. The
product must be prepared for recycling and the manufacturer is obliged
to have an environmental plan which must be adhered to in each
country where the company implements its operational policy. The
energy requirements include a demand that the computer and/or
display, after a certain period of inactivity, shall reduce its power
consumption to a lower level in one or more stages. The length of time
to reactivate the computer shall be reasonable for the user.Labelled
products must meet strict environmental demands, for example, in
respect of the reduction of electric and magnetic fields, physical and
visual ergonomics and good usability.
TCO’95 is a co-operative project between TCO (The Swedish
Confederation of Professional Employees), Naturskyddsforeningen
(The Swedish Society for Nature Conservation) and NUTEK (The
National Board for Industrial and Technical Development in Sweden).
Environmental Requirements
Brominated flame retardants
Brominated Flame retardants are present in printed circuit boards,
cables, wires, casings and housings. In turn, they delay the spread of
fire. Up to thirty percent of the plastic in a computer casing can consist
of flame retardant substances. These are related to another group of
environmental toxins, PCB’s, which are suspected to give rise to similar
harm, including reproductive damage in fisheating birds and mammals,
due to the bio-accumulative* processes. Flame retardants have been
found in human blood and researchers fear that disturbances in foetus
development may occur.
TCO’95 demand requires that plastic components weighing more than
25 grams must not contain organically bound chlorine and bromine.
Lead**
Lead can be found in picture tubes, display screens, solders and
capacitors. Lead damages the nervous system and in higher doses,
causes lead poisoning.
TCO’95 requirement permits the inclusion of lead since no replacement
has yet been developed.

English-31
English
Cadmium**
Cadmium is present in rechargeable batteries and in the
colourgenerating layers of certain computer displays. Cadmium
damages the nervous system and is toxic in high doses.
TCO’95 requirement states that batteries may not contain more than 25
ppm (parts per million) of cadmium. The colourgenerating layers of
display screens must not contain any cadmium.
Mercury**
Mercury is sometimes found in batteries, relays and switches, Mercury
damages the nervous system and is toxic in high doses.TCO’95
requirement states that batteries may not contain more than 25 ppm
(parts per million) of mercury. It also demands that no mercury is
present in any of the electrical or electronics components concerned
with the display unit.
CFCs (freons)
CFCs (freons) are sometimes used for washing printed circuit boards.
CFCs break down ozone and thereby damage the ozone layer in the
stratosphere, causing increased reception on Earth of ultraviolet light
with consequent increased risks of skin cancer (malignant melanoma).
The relevant TCO’95 requirement; Neither CFCs nor HCFCs may be
used during the manufacturing and assembly of the product or its
packaging.
* Bio-accumulative is defined as substances which accumulate within
living organisms.
** Lead, Cadmium and Mercury are heavy metals which are
Bioaccumulative.
To obtain complete information on the environmental criteria document,
order from:
TCO Development Unit
SE-114 94 Stockholm
SWEDEN
FAX Number: +46 8 782 92 07
E-mail (Internet): development@tco.se
You may also obtain current information on TCO’95 approved and
labelled products by visiting their website at:
http://www.tco-info.com/

Printed in China
15501031