Neoway Technology 1705 LTE Module User Manual
Shenzhen Neoway Technology Co., Ltd LTE Module
User manual

N
720 Hardware User Guide
Copyright © Neoway Technology Co., Ltd i
N720 Hardware User
Guide
Version 1.3

N
720 Hardware User Guide
Copyright © Neoway Technology Co., Ltd i
Copyright © 2017 Neoway Technology Co., Ltd. All rights reserved.
is the trademark of Neoway Technology Co., Ltd.
All other trademarks and trade names mentioned in this document are the property of their
respective holders.
Remarks
This document is intended for system engineers (SEs), development engineers, and test
engineers.
The information in this document is subject to change without notice due to product version
update or other reasons.
Every effort has been made in preparation of this document to ensure accuracy of the
contents, but all statements, information, and recommendations in this document do not
constitute a warranty of any kind, express or implied.
Neoway provides customers complete technical support. If you have any question, please
contact your account manager or email to
Sales@neoway.com
Support@neoway.com
Website: http://www.neoway.com

N
720 Hardware User Guide
Copyright © Neoway Technology Co., Ltd ii
Revision Record
Version Changes Date
V1.0 Initial draft 2016-08
V1.1 Added bands information of different areas 2016-09
V1.2 Modified pin the description 2016-10
V1.3 Modify the UIM card part and delete the UIM2 part
Improve band information
Modify part of the pin definition (the original pin78 RING,
pin80 LIGHT are modified to pin13 RING, pin83 LIGHT.
Pin13 and pin83 are NC)
Modify part of description
2016-12

N
720 Hardware User Guide
Copyright © Neoway Technology Co., Ltd iii
Contents
1 Introduction to N720 ........................................................................................................ 1
1.1 Overview ........................................................................................................................................... 1
1.2 Block Diagram .................................................................................................................................. 2
1.3 Features ............................................................................................................................................ 2
2 Application Interfaces ..................................................................................................... 5
2.1 Specifications and Pin Definition ................................................................................................... 5
2.2 Pin Description ................................................................................................................................. 6
2.3 Power Control Interfaces .............................................................................................................. 13
2.3.1 VBAT ...................................................................................................................................... 13
2.3.2 VDDIO_1P8 ........................................................................................................................... 17
2.3.3 ON/OFF ................................................................................................................................. 17
2.3.4 RESET ................................................................................................................................... 19
2.4 USB Interface ................................................................................................................................. 21
2.5 UIM Card Interface ........................................................................................................................ 22
2.6 GPIO ................................................................................................................................................ 24
1.1.1 UART ...................................................................................................................................... 24
2.6.2 ADC ........................................................................................................................................ 26
2.6.3 NET_LIGHT ........................................................................................................................... 26
2.6.4 DTR ........................................................................................................................................ 27
2.6.5 RING Signal Indicator .......................................................................................................... 27
2.7 Commissioning Interfaces ............................................................................................................ 28
2.7.1 FORCE_USB_BOOT ........................................................................................................... 28
3 RF Interface ...................................................................................................................... 29
3.1 2G/3G/4G RF Design and PCB Layout ...................................................................................... 29
3.2 GPS RF Design and PCB Layout ............................................................................................... 31
3.2.1 GPS Impedance ................................................................................................................... 31
3.2.2 Active GPS Antenna Design ............................................................................................... 31
4 Electric Feature and Reliability ................................................................................... 33
4.1 Electric Feature .............................................................................................................................. 33
4.2 Temperature.................................................................................................................................... 33
4.3 ESD Protection ............................................................................................................................... 34
5 RF Feature ........................................................................................................................ 35
5.1 Work Band ...................................................................................................................................... 35

N
720 Hardware User Guide
Copyright © Neoway Technology Co., Ltd iv
5.2 TX Power and RX Sensitivity ....................................................................................................... 36
6 Mechanical Feature ........................................................................................................ 37
6.1 Dimensions ..................................................................................................................................... 37
6.2 PCB Foot Print ............................................................................................................................... 38
7 Mounting and Packaging ............................................................................................. 39
7.1 Mounting the Module onto the Application Board ..................................................................... 39
7.2 Package .......................................................................................................................................... 39
8 SMT TemperatureCurve ................................................................................................ 40
9 Abbreviations .................................................................................................................. 41

N
720 Hardware User Guide
Copyright © Neoway Technology Co., Ltd v
Table of Figures
Figure 1-1 N720 block diagram ........................................................................................................... 2
Figure 2-1 Top view of N720 ................................................................................................................ 5
Figure 2-2 Current peaks and voltage drops ................................................................................... 14
Figure 2-3 Capacitors used for the power supply ........................................................................... 14
Figure 2-4 Reference design of power supply control .................................................................... 15
Figure 2-5 Reference design of power supply controlled by p-MOSFET .................................... 15
Figure 2-6 Reference designs of separated power supply ............................................................ 17
Figure 2-7 Push switch controlling .................................................................................................... 18
Figure 2-8 MCU controlling ................................................................................................................ 18
Figure 2-9 N720 power-on/off sequence .......................................................................................... 18
Figure 2-10 N720 power-off sequence ............................................................................................. 19
Figure 2-11 Reset controlled by button ............................................................................................. 20
Figure 2-12 Reset circuit with triode separating .............................................................................. 20
Figure 2-13 N720 reset sequence ..................................................................................................... 20
Figure 2-14 USB circuit ....................................................................................................................... 21
Figure 2-15 Reference design of SIM card interface ...................................................................... 22
Figure 2-16 Encapsulation .................................................................................................................. 23
Figure 2-17 Reference design of the UART interface .................................................................... 25
Figure 2-18 Recommended level shifting circuit ............................................................................. 25
Figure 2-19 LED indicator driven by transistor ................................................................................ 26
Figure 2-20 RING indicator for incoming call ................................................................................... 28
Figure 2-21 RING indicator for SMS ................................................................................................. 28
Figure 2-22 Reference design of the fast boot interface ................................................................ 28
Figure 3-1 Reference of antenna matching design ......................................................................... 29
Figure 3-2 Recommended RF PCB design ..................................................................................... 30
Figure 3-3 Encapsulation specifications of Murata RF connector ................................................ 30
Figure 3-4 RF connections ................................................................................................................. 30
Figure 3-5 GPS RF structure ............................................................................................................. 31
Figure 3-6 Power supply reference for active antenna .................................................................. 32
Figure 6-1 Dimensions of N720 ......................................................................................................... 37
Figure 6-2 N720PCBFoot Print(Top View) ....................................................................................... 38

N
720 Hardware User Guide
Copyright © Neoway Technology Co., Ltd vi
Figure 8-1 Temperature curve ............................................................................................................ 40

N
720 Hardware User Guide
Copyright © Neoway Technology Co., Ltd vii
Table of Tables
Table 1-1 N720 baseband and wireless features ............................................................................. 2
Table 2-1 N720 dimensions ................................................................................................................. 5
Table 2-2 N720 pin description ............................................................................................................ 6
Table 2-3 GPIO .................................................................................................................................... 24
Table 4-1 N720 Electric Feature ........................................................................................................ 33
Table 4-2 Temperature Feature ......................................................................................................... 33
Table 4-3 N720 ESD feature .............................................................................................................. 34
Table 5-1 N720 work band ................................................................................................................. 35
Table 5-2 N720 RF power and RX sensitivity .................................................................................. 36

N
720 Hardware User Guide
Copyright © Neoway Technology Co., Ltd 1
1 Introduction to N720
1.1 Overview
N720 is an industrial 4G module that is developed on Qualcomm platform. Its dimensions are
30mm x 28 mm x 2.8mm and it is with industrial-grade high-performance: ultra-wide operating
temperature of -40 ℃ to +85 ℃, electrostatic capacity of 8KV. It is well applicable to electric
terminals, in-vehicle computers, POS, industrial routers, and other IoT terminals with the
following features:
ARM Cortex-A7 processors, 1.2 GHz main frequency, 256 kB L2 cache, 28 nm
GSM/GPRS/EDGE &WCDMA R99
SIM/ADC/UART
N720 series include the following versions:
Band
Version
LTE
B
1 B2 B3 B4 B5 B
7
B
8B9 B1
2
B1
7
B1
9
B2
0
B2
8
B3
8
B3
9
B4
0
B4
1
CN ● ● ● ● ● ● ● ●
JP ● ● ● ● ●
EU ● ● ● ● ● ●
US ● ● ● ● ● ●
Band
Version
UMTS GSM
B1 B2 B4 B5 B8 B9 B19 850 900 1800 1900
CN ● ● ● ●
JP ● ● ● ●
EU ● ● ● ● ● ●
US ● ● ● ● ● ● ●
CN: China JP: Japan EU: Europe US:The United States

N
720 Hardware User Guide
Copyright © Neoway Technology Co., Ltd 2
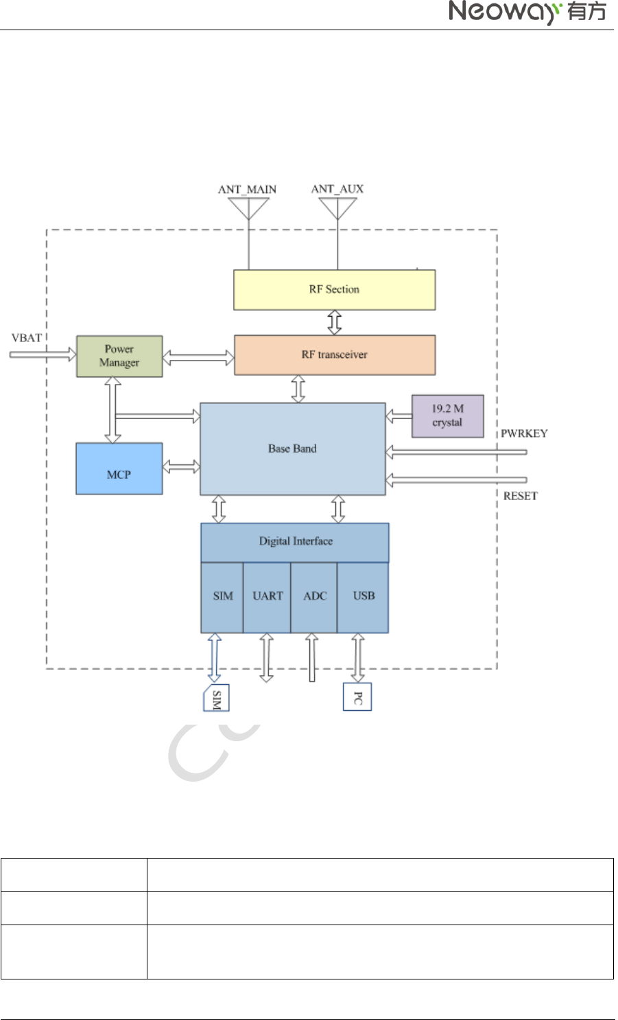
1.2 Block Diagram
Figure 1-1 shows the block diagram of N720 Modular only,
Figure 1-1 N720 block diagram
1.3 Features
Table 1-1 N720 baseband and wireless features
Specifications Description
Power supply VBAT: 3.3V to 4.3V, TYP: 3.8 V
Current in sleep
mode 4mA

N
720 Hardware User Guide
Copyright © Neoway Technology Co., Ltd 3
Temperature
Operating temperature: -40°C to +85°C
Limited: -40°C to +85°C
Storage temperature: -40°Cto +85°C
Processor
ARM Cortex-A7 processor
Main frequency: 1.2 GHz
256kB L2 cache
Band
CN:
GSM/GPRS/EDGE:900M/1800M
TD_SCDMA:B34/B39
UMTS:B1/B8
LTE-FDD B1/B3/B5
LTE-TDD B38/B39/B40/B41
JP:
UMTS: B1/B8/B9/B19
FDD-LTE: B1/B3/B8/B9/B19
EU:
GSM/GPRS/EDGE:850M/ 900M/1800M/1900M
UMTS: B1/B8
FDD-LTE: B1/B3/B5/B7/B8/B20
TDD-LTE: B40;
US:
GSM/GPRS/EDGE: 850M/1900M
UMTS: B2/B4/B5
FDD-LTE: B2/B4/B5/B7/B12/B17
Rate
GSM:GPRS,EDGE
WCDMA:
LTE FDD: non-CA cat4, Max 150Mbps(DL)/Max 50Mbps(UL)
LTE TDD: non-CA cat4,Max 130Mbps(DL)/Max 35Mbps(UL)
Transmit power
GSM850: +34dBm (Power Class 4)
EGSM900: +34dBm (Power Class 4)
DCS1800: +31.5dBm (Power Class 1)
PCS1900: +31.5dBm (Power Class 1)
EDGE 850MHz: +28.5dBm (Power Class E2)
EDGE 900MHz: +28.5dBm (Power Class E2)

N
720 Hardware User Guide
Copyright © Neoway Technology Co., Ltd 4
EDGE1800MHz: +27.5dBm (Power Class E2)
EDGE1900MHz: +27.5dBm (Power Class E2)
UMTS: 24dBm (Power Class 3)
LTE: +23dBm (Power Class 3)
Antenna feature 50 impedance
UART At most 4 Mbps, 1 group
UIM 1 groups, 1.8V/3V dual-voltage adaptive
USB 1 group of USB2.0 high-speed interface
ADC 2 groups of 16-bit ADC, input voltage ranging from 0.1 to 1.7V

N
720 Hardware User Guide
Copyright © Neoway Technology Co., Ltd 5
2 Application Interfaces
N720 adopts 100-pins LGA encapsulation.
2.1 Specifications and Pin Definition
Table 2-1 N720 dimensions
Specifications N720
Dimensions 30mm*28 mm*2.8mm(H*W*D)
Weight 5.1g
Package 100-Pin LGA
Figure 2-1 Top view of N720

N
720 Hardware User Guide
Copyright © Neoway Technology Co., Ltd 6
2.2 Pin Description
IO: input/output
DI: Digital input
DO: Digital output
PI: Power input
PO: Power output
AI: Analog input
AO: Analog output
Table 2-2 N720 pin description
Name Pin I/O Function Level Feature (V) Power
Domain Remarks
Power Supply
VABT 27, 28, 29 PI Main power supply input Vmax=4.3V The power supply can
provide up to 3A current
VDDIO _1P8
45 PO 1.8 V power supply output Vnorm=1.8V;
Imax=100mA 1.8V
Supply power for IO level
shifting circuit. Leave it
disconnected if you do not
use it.
GND 1, 14, 17, 20, GND

N
720 Hardware User Guide
Copyright © Neoway Technology Co., Ltd 7
26, 30, 31,
44, 49, 74,
75, 77, 91,
93, 95, 97,
98, 99, 100
Power on/off and reset
RESET
32 DI Reset input
VIL min=-0V;
VIL max=0.5V;
VIH min=1.2V;
VIH max=2.1V;
1.8V
Low level triggers the ON
status and can control the
power off and reset.
PWRKEY 33 DI Power ON/OFF 1.8V
Low level triggers the ON
status.
It is pulled up by an internal
200 Kresistor.
PON_TRIG 34 DI PON_TRIG 1.8V
High level triggers the ON
status.
It is pulled up by an internal
200 Kresistor.
Ground it if you do not use it.
UART
UART2_TXD 46 DO UART data transmit VOL max=0.45V;
VOH min=1.35V; 1.8V Data communication
Leave them disconnected if
you do not use them.
UART2_RXD 47 DI UART data receive VIL min=-0.3V; 1.8V

N
720 Hardware User Guide
Copyright © Neoway Technology Co., Ltd 8
VIL max=0.45V;
VIH min=1.35V;
VIH max=2.1V
UART2_CTS 51 DI Clear to send VOL max=0.45V;
VOH min=1.35V; 1.8V Leave it disconnected if you
do not use it.
UART2_RTS 52 DO Request to send
VIL min=-0.3V;
VIL max=0.45V;
VIH min=1.35V;
VIH max=2.1V
1.8V Leave it disconnected if you
do not use it.
UIM
VUIM 35 PO UIM power supply output
1.8V USIM:
Vmax = 1.9V ;
Vmin = 1.7V;
3V USIM:
Vmax = 3.05V;
Vmin = 2.7V;
IO max =50mA
1.8V/3V
Compatible with 1.8/3V UIM
card
UIM_RESET 38 DO UIM reset
1.8V USIM:
VOL max = 0.45V;
VOH min = 1.35V;
3V USIM:
1.8V/3V

N
720 Hardware User Guide
Copyright © Neoway Technology Co., Ltd 9
VOL max = 0.4V;
VOH min = 2.6V;
Compatible with 1.8/3V UIM
card
UIM_DATA
36 IO UIM data input, output
1.8V USIM:
VIL max = 0.6V;
VIH min = 1.2V;
VOL max = 0.45V;
VOH min = 1.35V;
3V USIM:
VIL max = 0.8V
VIH min = 1.95V
VOL max = 0.45V
VOH min = 2.6V
1.8V/3V
UIM_CLK 37 DO UIM clock output
1.8V USIM:
VOL max = 0.45V
VOH min = 1.35V
3V USIM:
VOL max = 0.4V
VOH min = 2.6V
1.8V/3V
UIM_DETECT 39 DI UIM detect VIL min = -0.3V
VIL max = 0.63V 1.8V
USB

N
720 Hardware User Guide
Copyright © Neoway Technology Co., Ltd 10
USB_DM 41 IO USB data negative signal USB2.0 Used for firmware download
and data transmission
Differential trace for DM and
DP
90 impedance resistance
USB_DP 42 IO USB data positive signal USB2.0
VBUS 40 PI USB voltage test 3.3V~5.2V, typically 5V
USB _ID 43 AI Identify host and device 1.8V Leave it disconnected if you
do not use it.
ADC
ADC2 88 AI
Analog-to-digital signal
conversion
Vmax=1.7V
Vmin=0.1V 1.8V
16-bit, detectable voltage
range: 0.1 V to 1.7 V
ADC1 89 AI
Analog-to-digital signal
conversion
Vmax=1.7V
Vmin=0.1V 1.8V
Network LED Indicator
NET_LIGHT 83 DO Indicate network status VOL max=0.45V;
VOH min=1.35V; 1.8V Leave it disconnected if you
do not use it.
Sleep Mode Control
DTR 79 DI Sleep mode control
VIL min=-0.3V;
VIL max=0.45V;
VIH min=1.35V;
VIH max=2.1V
1.8V Leave it disconnected if you
do not use it.
RING

N
720 Hardware User Guide
Copyright © Neoway Technology Co., Ltd 11
RING 13 DO Incoming call ring VOL max=0.45V;
VOH min=1.35V; 1.8V Leave it disconnected if you
do not use it.
Other Pins
FORCE_USB_BOOT 48 DI Force to download and
upgrade control pin
VIL min=-0.3V;
VIL max=0.45V;
VIH min=1.35V;
VIH max=2.1V
1.8V Leave it disconnected if you
do not use it.
ANT_MAIN 76 Main antenna 50 impedance
ANT_GPS 92 GPS antenna 50 impedance
ANT_AUX 94 4Gdiversity aerial 50 impedance
NC
2、3、4、5、
6、7、8、9、
10、11、12、
15、16、18、
19、21、22、
23、24、25、
50、53、54、
55、56、57、
58、59、60、
61、62、63、
64、65、66、
67、68、69、
70、71、72、
NC Leave them disconnected.
Do not use them.

N
720 Hardware User Guide
Copyright © Neoway Technology Co., Ltd 12
73、78、80、
81、82、84、
85、86、87、
90、96

N
720 Hardware User Guide
Copyright © Neoway Technology Co., Ltd 13
2.3 Power Control Interfaces
Name Pin I/O Function Remarks
VABT 17/18/1
9 P Main power supply
input 3.3 V to 4.3 V (TYP: 3.8 V )
VDDIO_1P8 45 P 1.8 V power supply
output
Supply power for IO level shifting
circuit.
Load capability: <100 mA
Advise to add ESD to protect while
using.
RESET 32 DI Reset input Low level
PON_TRIG 34 DI PON_TRIG High level triggers the ON status
PWRKEY 33 DI Power ON/OFF Low level triggers the ON status
2.3.1 VBAT
VBAT is the power supply input pin of the module. Its input voltage ranges from 3.3 V to 4.3 V and
the preferable value is 3.8V. In addition to baseband, it supplies power for RF power amplifier.
The performance of the VBAT power supply is a critical path to module's performance and
stability. The peak input current at the VBAT pin can be up to3A when the signal is weak and the
module works at the maximum transmitting power. The voltage will encounter a drop in such a
situation. The module might restart if the voltage drops lower than 3.3 V.

N
720 Hardware User Guide
Copyright © Neoway Technology Co., Ltd 14
Figure 2-2 Current peaks and voltage drops
Figure 2-3 shows the reference design of the VRTC power supply.
Figure 2-3 Capacitors used for the power supply
In Figure 2-3, you can use TVS at D1 to enhance the performance of the module during a burst.
SMF5.0AG (Vrwm=5V&Pppm=200W) is recommended. A large bypass tantalum capacitor (220
F or 100 F) or aluminum capacitor (470 F or 1000 F) is expected at C1 to reduce voltage
drops during bursts together with C2 (10-F ceramics capacitor). It is recommended that you add
0.1 F, 100 pF, and 33 pF filter capacitors to enhance the stability of the power supply.
The module might fail to reset or power on/offin remote or unattended applications, or in an
environment with great electromagnetic interference (EMI). A controllable power supply is

N
720 Hardware User Guide
Copyright © Neoway Technology Co., Ltd 15
preferable if used in harsh conditions. You can use the EN pin on the LDO or DC/DC chipset to
control the switch of the power supply as shown inFigure 2-4if a 5V power supply is used.
MIC29302WU in Figure 2-4 is an LDO and outputs 3 A current to ensure the performance of the
module.
Figure 2-4 Reference design of power supply control
The alternative way is to use an enhancement mode p-MOSFET to control the module's power,
as shown inFigure 2-5. When the external MCU detects the exceptions such as no response
from the module or the disconnection of GPRS, power off/on can rectify the module exceptions.
InFigure 2-5, the module is turned on when PWR_EN is set to high level.
Figure 2-5 Reference design of power supply controlled by p-MOSFET

N
720 Hardware User Guide
Copyright © Neoway Technology Co., Ltd 16
Q2 is added to eliminate the need for a high enough voltage level of the host GPIO. In case that
the GPIO can output a high voltage greater than VCCIN - |VGS(th)|, where VGS(th) is the Gate
Threshold Voltage, Q2 is not needed.
Reference components:
Q1 can be IRML6401 or low Rds(on) pMOSFET, which has higher, withstand voltage and
drain current.
Q2: a common NPN tripolar transistor, e.g. MMBT3904; or a digital NPN tripolar transistor,
e.g. DTC123. If digital tripolar transistor is used, delete R1 and R2.
C3: 470-F tantalum capacitor rated at 6.3V, or 1000 F aluminum capacitor. If lithium
battery is used to supply power, C3 can be 220-F tantalum capacitor.
Power Supply Protection
Add TVS diodes (VRWM=5 V) on the VBAT power supply, especially in automobile applications.
For some stable power supplies, Zener diodes can decrease the power supply overshoot.
SMF5.0AG from ONSEMI is an option.
Line Rules
The width of primary loop lines for VBAT on PCB must be able to support the safe transmission of
2 A current and ensure no obvious loop voltage decrease. Therefore, the loop line width of VBAT
is required 2 mm and the ground level should be as complete as possible.
Separation
The module works in burst mode that generates voltage drops on power supply. Furthermore,
this results in a 217Hz TDD noise through power (One of the way generating noise. Another way
is through RF radiation). Analog parts, especially the audio circuits, are subjected to this noise,
known as a "buzz noise" in GSM systems. To prevent other parts from being affected, it is better
to use separated power supplies. The module shall be supplied by an independent power, like a
DC/DC or LDO. SeeFigure 2-6.
DC/DC or LDO should output rated peak current larger than 2 A.
The inductor used in Reference Design (b), should be a power inductor and have a very low
resistance. The value of 10 H, with average current ability greater than 1.2A and low DC
resistance, is recommended.

N
720 Hardware User Guide
Copyright © Neoway Technology Co., Ltd 17
Figure 2-6 Reference designs of separated power supply
Never use a diode to make the drop voltage between a higher input and module power.
Otherwise, Neoway will not provide warranty for product issues caused by this. In this situation,
the diode will obviously decrease the module performances, or result in unexpected restarts, due
to the forward voltage of diode will vary greatly in different temperature and current.
EMC Considerations for Power Supply
Place transient overvoltage protection components like TVS diode on power supply, to absorb
the power surges. SMAJ5.0A/C could be a choice.
2.3.2 VDDIO_1P8
VDDIO_1P8 supports output voltages of 1.8V. It is recommended that VDDIO_1.8V@100mAbe
used only for interface level shifting and to add ESD to protect while using.
2.3.3 ON/OFF
Power-On
After powering on the VBAT pin, you can use PWRKEY to start the module by inputting low-level
pulse for 100 ms (200 ms is recommended). This pin is pulled up by 200 internally. Its typical
high-level voltage is 1.8 V. The following circuit Figure 2-7 or Figure 2-8 is recommended to
control PWRKEY.

N
720 Hardware User Guide
Copyright © Neoway Technology Co., Ltd 18
Figure 2-7 Push switch controlling
Figure 2-8 MCU controlling
If the module is powered on but the power-on sequence has not been completed, the states of
each pin are uncertain. The power-on sequence of the module is shown in Figure 2-9.
Figure 2-9 N720 power-on/off sequence
If your application does not require ON/OFF control, you can pull the PWRKEY pin down to GND
through 1.5K resistor. Then the module can start automatically after it is powered on. If you do

N
720 Hardware User Guide
Copyright © Neoway Technology Co., Ltd 19
not use the PWRKEY pin, it must be left disconnected. The PON_TRIG pin can trigger the ON
status of the module by high level.
Power-off
Power off can be achieved through two methods, one is to use PWRKEY input pin; the other is to
use RESET pin.
1. Use PWRKEY pin. Low-level pulse input for 2 seconds can trigger the power-off status of the
module. This pin is pulled up internally. Its typical high-level voltage is 1.8 V. Leave this pin
disconnected if you do not use it.
2. Use RESET pin. Input more than 900ms low pulse when the module is at working status can
trigger the module power off.
If 2.8V / 3.3V IO system is used, it is recommended to use external triode isolation. For details,
refer to Section 2.3.4 RESET Pin Descriptions. Figure 2-10 shows the hard power-off sequence.
Figure 2-10 N720 power-off sequence
2.3.4 RESET
The RESET pin is used to reset and power off the module. It triggers module reset when you
input low-level pulse less than 900ms and the module will power off when input low-level pulse
more than 900ms. (One second is recommended.). This pin is pulled up internally. Its typical

N
720 Hardware User Guide
Copyright © Neoway Technology Co., Ltd 20
high-level voltage is 1.8 V. Leave this pin disconnected if you do not use it. If you use a 2.8V/3.3V
IO system, it is recommended that you add a triode to separate it. Refer to the following design.
Figure 2-11 Reset controlled by button
Figure 2-12 Reset circuit with triode separating
In a circuit shown in Figure 2-12, VDD_EXT=2.8V/3.3V/3.0V, R2=4.7K, R3=47K. Figure 2-13
shows the reset sequence.
Figure 2-13 N720 reset sequence

N
720 Hardware User Guide
Copyright © Neoway Technology Co., Ltd 21
2.4 USB Interface
Name Pin I/O Function Remarks
VBUS 40 P USB voltage test 3.3V~5.2V, typically 5V
USB_DM 41 IO USB data negative
signal USB2.0, used for firmware
download and data transmission
USB_DP 42 IO USB data positive
signal
You can download programs for N720 and establish data communication for commissioning
through the USB interface. If the module is used only as USB Device, the recommended USB
circuit is shown in Figure 2-14.
Figure 2-14 USB circuit
Micro USB
VBUS
22PF
ESD9X5VU
ESD9X5VU
PESD5V0S1BL
DNI-18PF
0Ω
0Ω
USB_DM
USB_DP
1UF
Parallel a 1F and 22pF filter capacitors to the VBUS pin as close to the pin as possible. TVS
components are required for the VBUS power line. The junction capacitance of the TVS
protection diodes for USB_DP and USB_DM should be lower than 12pF as possible. USB data

N
720 Hardware User Guide
Copyright © Neoway Technology Co., Ltd 22
lines adopt differential trace design, in which the differential impedance is limited to 90
characteristics impedance. Isolate the traces from other signal traces.
2.5 UIM Card Interface
Name Pin I/O Function Remarks
VUIM 35 PO UIM power supply output Compatible with 1.8/3 V
UIM card
UIM_DATA 36 IO UIMdata I/O
A 10K resistor is required
between VUIM and
UIM-DATA.
UIM_CLK 37 DO UIMclock output
UIM_RESET 38 DO UIMreset
UIM_DETECT 39 DI UIM detect Advise to use a pull-up
resistor
N720 supports 1.8V/3V UIM cards.. VUIM is the power supply pin of the UIM card and its
maximum load is 30 mA. The UIM_DATA pin is not pulled up internally, so you need to reserve
external pull-up resistor in your design. UIM_CLK is the clock signal pin, supporting 3.25 GHz of
clock frequency. Figure 2-15 shows the reference design of the UIM card interface.
Figure 2-15 Reference design of SIM card interface

N
720 Hardware User Guide
Copyright © Neoway Technology Co., Ltd 23
ESD protectors, such as ESD diodes or ESD varistors (with a junction capacitance of less than
33 pF), are recommended to be added on the SIM signals, especially in automotive electronics or
other applications with badly ESD. Replace the ESD diodes with 27 pF to 33 pF capacitors
connecting to GND in common applications. The ESD diodes or small capacitors should be close
to UIM card.
N720 supports SIM card detection. UIM_DETECT is 1.8V interrupt pins. Low level means UIM
card detected while high level mean no UIM card detected.
If you apply N720 to some electric terminals, MUP-C713(H2.8) is recommended.
Figure 2-16 Encapsulation
The antenna should be installed far away from the UIM card and UIM card traces, especially to
the build-in antenna.
The UIM traces on the PCB should be as short as possible and shielded with GND copper.
The ESD protection diodes or small capacitors should be close to UIM card on the PCB.

N
720 Hardware User Guide
Copyright © Neoway Technology Co., Ltd 24
2.6 GPIO
N720supports UART. You can configure the GPIO to meet your requirements for connecting to
different devices. For the open multi-function GPIO interface, please inquiry our technical support
engineers. The level of the module interface is 1.8 V. Table 2-3lists GPIO pins.
Table 2-3 GPIO
Name Pin I/O Function Remarks
UART2_TXD 46 DO UART data transmit
Data communication
UART2_RXD 47 DI UART data receive
UART2_CTS 51 DI Clear to send
UART2_RTS 52 DO Request to send
ADC2 88 AI ADC2input 16-bit, detectable voltage
range: 0.1 V to 1.7 V
ADC1 89 AI ADC1input
NET_LIGHT 83 DO Indicate network status
DTR 79 DI Sleep mode control
RING 13 DO Incoming call ring
1.1.1 UART
N720 provides one group of UART interfaces, which support hardware flow control and 4Mbps at
most. The high level is 1.8V. Figure 2-17 shows the reference design of the UART interface.

N
720 Hardware User Guide
Copyright © Neoway Technology Co., Ltd 25
Figure 2-17 Reference design of the UART interface
If the UART does not match the logic voltage of the MCU, it is recommended that you add a level
shifting circuit outside of the module as shown in Figure 2-18.
Figure 2-18 Recommended level shifting circuit

N
720 Hardware User Guide
Copyright © Neoway Technology Co., Ltd 26
Components:
R2/R4: 2K-10K. The greater the UART baud rate is, the lower the R2 value is.
R1/R3: 4.7K-10K The greater the UART baud rate is, the lower the R3 value is.
Q1: MMBT3904 or MMBT2222 High-speed transistor is better.
MCU_UTXD and MCU_URXD are respectively the TX and RX ports of the MCU while TXD and
RXD are respectively the TX and RX ports of the module.
Voltage at VCC_IO is the voltage at the UART of the MCU while voltage at VDDIO_1V8 is the
voltage at the UART of the module.
2.6.2 ADC
N720 provides two ADC channels, and the input voltage ranges from 0.1 to 1.7V. ADC pin
supports highest precision of 16-bit and it can be used for temperature and other check. If you
apply this pin to SIM card temperature check on electric terminals, refer to Neoway GPRS
Module ADC User Guide.
2.6.3 NET_LIGHT
NET_LIGHT can output 1.8 V high level and is forbidden to be used to drive the LED indicator.
Users can drive the LED with a transistor instead, as shown in Figure 2-18.
Figure 2-19 LED indicator driven by transistor

N
720 Hardware User Guide
Copyright © Neoway Technology Co., Ltd 27
When the module is running, the LED indicator is driven by the NET_LIGHT pin to indicate
different module status with its various blink behaviors. N720 supports multiple blink style and
you can configure it using AT commands.
2.6.4 DTR
Generally, DTR is used to control sleep mode together with AT commands. Enable the sleep
mode function by AT command. Then pulling DTR low will bring the module into sleep mode if the
module is idle. In this mode, the idle current is less than 4 mA, depending on the DRX setting of
network.
In sleep mode, the module can respond to the incoming call, SMS, and GPRS data. The host
MCU can also control the module to exit sleep mode by controlling DTR.
Process of entering sleep mode:
1. Keep DTR high level in normal working mode. Activate the sleep mode by using the
AT+ENPWRSAVE=1 command.
2. Pull DTR low, and the module will enter sleep mode, but only after process and pending data
finished.
3. In sleep mode, the external MCP can pull DTR high so that the module will exit from sleep
mode actively. Then the module can transmit data and initiate calls. After processing is
finished, pull DTR low again to take the module back to sleep mode.
4. In sleep mode, the module can be woken up by the events of incoming voice call, received
data, or SMS. Meanwhile the module will send out the unsolicited messages through the
UART.
Upon receipt of the unsolicited messages, the host MCU should pull DTR high firstly,
otherwise the module will resume sleep mode in two minutes after the service processing.
Then the host MCU can process the voice call, received data, or SMS. After processing is
finished, pull DTR low again to put the module into sleep mode.
2.6.5 RING Signal Indicator
Calling: Once a voice call is incoming, UART outputs "RING" character strings and
meanwhile the RING pin outputs 30 ms low pulses at 5s period. After the call is answered,
the high level restores.

N
720 Hardware User Guide
Copyright © Neoway Technology Co., Ltd 28
Figure 2-20 RING indicator for incoming call
SMS: Upon receipt of SMS, the module outputs one 35 ms low pulse.
Figure 2-21 RING indicator for SMS
2.7 Commissioning Interfaces
To facilitate software update and commissioning, reserve the commissioning interfaces.
2.7.1 FORCE_USB_BOOT
The module can enter the fastboot mode by short connecting the FORCE_USB_BOOT pin and
VDDIO_1P8V during the startup. This is the last method to troubleshoot the abnormality that the
module cannot start or operation properly.
Figure 2-22 Reference design of the fast boot interface
5s
30 ms 30 ms
35 ms

N
720 Hardware User Guide
Copyright © Neoway Technology Co., Ltd 29
3 RF Interface
Name Pin I/O Function Remarks
ANT_MAIN 76 AI/O 2G/3G/4G main antenna
50 characteristic
impedance
ANT_GPS 92 AI GPS antenna
ANT_AUX 94 AI 4Gdiversity aerial
3.1 2G/3G/4G RF Design and PCB Layout
ANT_MAIN and ANT_AUX is the antenna pin of N720. A 50 antenna is required. VSWR
ranges from 1.1 to 1.5. The antenna should be well matched to achieve best performance. It
should be installed far away from high-speed logic circuits, DC/DC power, or any other strong
disturbing sources.
A 50 antenna is required. VSWR ranges from 1.1 to 1.5. The antenna should be well matched
to achieve best performance.
For multiple-layer PCB, the trace between the antenna pad of module and the antenna connector,
should have a 50 characteristic impedance, and be as short as possible. The trace should be
surrounded by ground copper. Place plenty of via holes to connect this ground copper to main
ground plane, at the copper edge.
For dual-layer PCB, the width of recommended impedance trace is 0.8 mm to 1 mm and the
grounding copper should away from the trace for 1 to 1.5 time of the trace width.
If the trace between the module and connector has to be longer, or built-in antenna is used, a
-type matching circuit is needed, as shown in Figure 3-1.
Figure 3-1 Reference of antenna matching design

N
720 Hardware User Guide
Copyright © Neoway Technology Co., Ltd 30
Big RF solder pad can result in great parasitic capacitance, which will affect the antenna
performance. Remove the copper on the first and second layers under the RF solder pad.
Figure 3-2 Recommended RF PCB design
If you adopt RF antenna connections, the GSC RF connector MM9329-2700RA1 from Murata is
recommended..Figure 3-3shows the encapsulation specifications.
Figure 3-3 Encapsulation specifications of Murata RF connector
RF antenna can also be connected to the module by soldering. In this manner, you must ensure
proper soldering in case of damage that lowers RF performance. Figure 3-4shows the pictures of
these two connections.
Figure 3-4 RF connections

N
720 Hardware User Guide
Copyright © Neoway Technology Co., Ltd 31
3.2 GPS RF Design and PCB Layout
3.2.1 GPS Impedance
The 92nd pin is the GPS interface of the module, which also requires a 50 . The PCB layout for
GPS is similar to that for GPRS. For details, refer to the previous section. Figure 3-5 shows the
internal structure of the GPS RF.
Figure 3-5 GPS RF structure
In addition to the basic rules, the GPS routing has higher requirements because the air wireless
GPS signal has lower strength, which results in weaker electrical signal after the antenna
receives. Weaker signals are more susceptible to interference. Therefore, active antenna are
commonly used for GPS. The active GPS antenna amplifies the weak signals received to
stronger signals through the low-noise amplifier (LNA) and then transmits the signals through the
feeder.
If you use a passive antenna, add LNA near the feeder because the module does not embed
one.
If the antenna and layout are not designed reasonably, the GPS will be insensitive, resulting in
long time on positioning or inaccurate position.
Keep the GPRS and GPS far away from each other in layout and antenna layout.
3.2.2 Active GPS Antenna Design
Ceramic GPS chip antenna is monly used. In general, it is recommended that you use the active
ceramic antenna. After the antenna receives GPS satellite signals, the LNA amplifies them first
and then they are transmitted to the 92nd pin (GPS_ANT) through the feeder and PCB traces.
50 resistance is required for both the feeder and PCB traces and the traces should be as short

N
720 Hardware User Guide
Copyright © Neoway Technology Co., Ltd 32
as possible. The power supply of the active antenna is fed by the 100 nH inductance through the
signal traces.
Common active antenna requires 3.3V to 5V power supply. Though the active antenna has a low
power consumption, it requires stable and clean power supply. You are advised to use
high-performance LDO to supply power for the antenna through a 100 nH inductance, as shown
inFigure 3-6.
Figure 3-6 Power supply reference for active antenna
It is recommended that you add an ESD protection diode to the antenna interface in an
environment with great electromagnetic interference and other applications with badly ESD. The
ESD protection diode must have ultra-low capacitance (lower than 0.5 pF). Otherwise, it will
affect the impedance of the RF loop or result in attenuation of RF signals. RCLAMP0521P from
Semtech or ESD5V3U1U from Infineon is recommended.
On the PCB, keep the RF signals and RF components away from high-speed circuits, power
supplies, transformers, great inductors, the clock circuit of single-chip host, etc.

N
720 Hardware User Guide
Copyright © Neoway Technology Co., Ltd 33
4 Electric Feature and Reliability
4.1 Electric Feature
Table 4-1 N720 Electric Feature
Module Status Minimum Value Typical Value Maximum Value
VBAT
Vin 3.3V 3.8V 4.3V
Iin / / 3A
If the voltage is too low, the module might fail to start. If the voltage is too high or there is a
voltage burst during the startup, the module might be damaged permanently.
If you use LDO or DC-DC to supply power for the module, ensure that it output at least 3 A
current.
4.2 Temperature
Table 4-2 Temperature Feature
Module Status Minimum Value Typical Value Maximum Value
Work -40°C 25°C 85°C
Limit -40°C 85°C
Storage -40°C 85°C
If the module works in temperature exceeding the thresholds, its RF performance might be worse
but it can still work properly.

N
720 Hardware User Guide
Copyright © Neoway Technology Co., Ltd 34
4.3 ESD Protection
Electronics need to pass sever ESD tests. The following table shows the ESD capability of key
pins of our module. It is recommended that you add ESD protection to those pins in accordance
to the application to ensure your product quality when designing your products.
Humility: 45%Temperature: 25°C
Table 4-3 N720 ESD feature
Testing Point Contact Discharge Air Discharge
VBAT ±8KV ±15KV
GND ±8KV ±15KV
ANT ±8KV ±15KV
Cover ±8KV ±15KV
Others ±2KV ±4KV

N
720 Hardware User Guide
Copyright © Neoway Technology Co., Ltd 35
5 RF Feature
5.1 Work Band
Table 5-1 N720 work band
Work band Uplink Downlink
GSM850 824~849MHz 869~894MHz
PCS1900 1850~1910MHz 1805~1880MHz
UMTS B2 1850~1910MHz 1805~1880MHz
UMTS B4 1710~1755MHz 2110~2155MHz
UMTS B5 824~849MHz 869~894MHz
LTE-FDD B2 1850~1910MHz 1805~1880MHz
LTE-FDD B4 1710~1755MHz 2110~2155MHz
LTE-FDD B5 824~849MHz 869~894MHz
LTE-FDD B7 2500~2570MHz 2620~2690MHz
LTE-FDD B12 699.7 – 715.3 MHz 729.7– 745.3 MHz
LTE-FDD B17 704~716MHz 734~746MHz

N
720 Hardware User Guide
Copyright © Neoway Technology Co., Ltd 36
5.2 TX Power and RX Sensitivity
Table 5-2 N720 RF power and RX sensitivity
Band Transmitting Power Receiving Sensitivity
GSM850 34 dBm <-108 dBm
PCS1900 31.5 dBm <-108 dBm
UMTS B2 24 dBm <-108 dBm
UMTS B4 24 dBm <-108 dBm
UMTS B5 24 dBm <-108 dBm
LTE-FDD B2 23 dBm <-95 dBm
LTE-FDD B4 23 dBm <-97 dBm
LTE-FDD B5 23 dBm <-95 dBm
LTE-FDD B7 23 dBm <-95 dBm
LTE-FDD B12 23 dBm <-95 dBm
LTE-FDD B17(10MHz) 23 dBm <-95 dBm
All the values above are obtained in the lab environment. In your actual applications, there
might be a difference because of the network environment.

N
720 Hardware User Guide
Copyright © Neoway Technology Co., Ltd 37
6 Mechanical Feature
6.1 Dimensions
Figure 6-1 Dimensions of N720

N
720 Hardware User Guide
Copyright © Neoway Technology Co., Ltd 38
6.2 PCB Foot Print
Figure 6-2 N720PCBFoot Print(Top View)
A test point is reserved at the Silk Area. It is recommended that you add a layer of white ink in
case short circuit. Do not lay out any trace under the JTAG pin.

N
720 Hardware User Guide
Copyright © Neoway Technology Co., Ltd 39
7 Mounting and Packaging
7.1 Mounting the Module onto the Application Board
N720 is compatible with industrial standard reflow profile for lead-free SMT process.
The reflow profile is process dependent, so the following recommendation is just a start point
guideline:
Only one flow is supported.
Quality of the solder joint depends on the solder volume. Minimum of 0.12 mm to 0.15stencil
thickness is recommended.
Use bigger aperture size of the stencil than actual pad size.
Use a low-residue, no-clean type solder paste.
For information about cautions in N720 storage and mounting, refer to Neoway Module Reflow
Manufacturing Recommendations.
When you maintain and manually solder it, use heat guns with great opening, adjust the
temperature to 250 degrees (depending on the type of the solder paste), and heat the module till
the solder paste is melt. Then remove the module using tweezers. Do not shake the module in
high temperature when you remove it. Otherwise, the components inside the module might be
misplaced.
7.2 Package
N720 modules are packaged in sealed bags on delivery to guarantee a long shelf life. Package
the modules again in case of opening for any reasons.
If exposed in air for more than 48 hours at conditions not worse than 30°C/60% RH, a baking
procedure should be done before SMT. Or, if the indication card shows humidity greater than
20%, the baking procedure is also required. Do not bake modules with the package tray directly.

N
720 Hardware User Guide
Copyright © Neoway Technology Co., Ltd 40
8 SMT TemperatureCurve
Figure 8-1 Temperature curve
X: Time (s) Y Temperature (°C)
Technicalparameters:
Ramp up rate: 1to 4°C/sec; Ramp down rate: -3 to-1°C/sec
Soaking zone: 150-180°CTime: 60-100s
Reflow zone:>220°CTime: 40-90s
Peak temperature: 235-250°C
It is not recommended that you use the kind of solder paste different from our module technique.
The melting temperature of solder paste with lead is 35°Clower than that of solder paste
without lead. It is easy to cause faulty joints for BGA inside the module after second reflow
soldering.
If you can use only solder pastes with lead, please ensure that the reflow temperature is kept
at 220°C for more than 45 seconds and the peak temperature reaches 240°C.
Neoway will not provide warranty for heat-responsive element abnormalities caused by improper
temperature control.

N
720 Hardware User Guide
Copyright © Neoway Technology Co., Ltd 41
9 Abbreviations
A
DC
A
nalog-Digital Converter
CPU Central Processing Unit
DTR Data Terminal Ready
EGSM Enhanced GSM
ESD Electronic Static Discharge
GPRS General Packet Radio Service
GSM Global Standard for Mobile Communications
IMEI International Mobile Equipment Identity
LED Light Emitting Diode
PCB Printed Circuit Board
RF Radio Frequency
SIM Subscriber Identification Module
UART Universal asynchronous receiver-transmitter

N720 Hardware User Guide
Copyright © Neoway Technology Co., Ltd 42
FCC Information
This equipment has been tested and found to comply with the limits for a Class B digital device,
pursuant to part 15 of the FCC rules. These limits are designed to provide residential protection
against harmful interference in a residential installation. This equipment generates, uses and can
radiate radio frequency energy and, if not installed and used in accordance with the instructions,
may cause harmful interference to radio communications. However, there is no guarantee that
interference will not occur in a particular installation. If this equipment does cause harmful
interference to radio or television reception, which can be determined by turning the equipment
off and on. The user is encouraged to try to correct the interference by one or more of the
following measures:
Reorient or relocate the receiving antenna.
Increase these paration between the equipment and receiver.
Connect the equipment into an outlet on the circuit different from that to which the receiver is
connected.
Consult the dealer or an experienced radio/TV technician for help.
CAUTION!
The manufacturer is not responsible for any radio or TV interference caused by unauthorized
modifications to this equipment. Such modifications could void the user authority to operate the
equipment.
If the FCC identification number is not visible when the module is installed inside another device,
then the outside of the device into which the module is installed must also display a label
referring to the enclosed module. This exterior label can use wording such as the following:
“Contains Transmitter Module FCC ID: PJ7-1705 Or Contains FCC ID: PJ7-1705”
FCC RADIATION EXPOSURE STATEMENT
This equipment complies with FCC RF radiation exposure limits set for an uncontrolled
environment. This transmitters must not be co-located or operating in conjunction with any other
antenna or transmitter. This device complies with part 15 of the FCC rules. Operation is subject
to the following two conditions: (1)This device may not cause harmful interference, and (2) This
device must accept any interference, including interference that may cause undesired operation.
The distance between user and product include antenna should be no less than 25 cm.
The maximum permissible antenna gain is 0 dBi for each band, and under no conditions may
an antenna gain be used that would exceed the ERP and EIRP power limits as specified in
Parts 22, 24 and 27.