Nissan 2012 Titan Owners Manual | Owner's USA
Nissan-2012-Titan-Owners-Manual-762850 nissan-2012-titan-owners-manual-762850
2015-10-24
: Nissan Nissan-2012-Nissan-Titan-Owners-Manual-818568 nissan-2012-nissan-titan-owners-manual-818568 nissan pdf
Open the PDF directly: View PDF
.
Page Count: 406 [warning: Documents this large are best viewed by clicking the View PDF Link!]

®
2012 TITAN
OWNER’S MANUAL
For your safety, read carefully and keep in this vehicle.
2012 NISSAN TITAN A60-D
A60-D
Printing : July 2011 (17)
Publication No.: OM1E 0A60U0
Printed in U.S.A.
OM2E 0A60U0

Welcome to the growing family of new NISSAN
owners. This vehicle is delivered to you with
confidence. It was produced using the latest
techniques and strict quality control.
This manual was prepared to help you under-
stand the operation and maintenance of your
vehicle so that you may enjoy many miles (kilome-
ters) of driving pleasure. Please read through this
manual before operating your vehicle.
A separate Warranty Information Booklet
explains details about the warranties cov-
ering your vehicle. The “NISSAN Service
and Maintenance Guide” explains details
about maintaining and servicing your ve-
hicle. Additionally, a separate Customer
Care/Lemon Law Booklet (U.S. only) will
explain how to resolve any concerns you
may have with your vehicle, as well as
clarify your rights under your state’s lemon
law.
Your NISSAN dealership knows your vehicle
best. When you require any service or have any
questions, they will be glad to assist you with the
extensive resources available to them.
In addition to factory installed options, your ve-
hicle may also be equipped with additional ac-
cessories installed by NISSAN or by your
NISSAN dealer prior to delivery. It is important
that you familiarize yourself with all disclosures,
warnings, cautions and instructions concerning
proper use of such accessories prior to operating
the vehicle and/or accessory. See a NISSAN
dealer for details concerning the particular ac-
cessories with which your vehicle is equipped.
Before driving your vehicle, please read this
Owner’s Manual carefully. This will ensure famil-
iarity with controls and maintenance require-
ments, assisting you in the safe operation of your
vehicle.
WARNING
IMPORTANT SAFETY INFORMATION RE-
MINDERS FOR SAFETY!
Follow these important driving rules to
help ensure a safe and comfortable trip
for you and your passengers!
●NEVER drive under the influence of al-
cohol or drugs.
●ALWAYS observe posted speed limits
and never drive too fast for conditions.
●
ALWAYS give your full attention to driving
and avoid using vehicle features or taking
other actions that could distract you.
●
ALWAYS use your seat belts and appro-
priate child restraint systems. Pre-teen
children should be seated in the rear seat.
●ALWAYS provide information about the
proper use of vehicle safety features to
all occupants of the vehicle.
●ALWAYS review this Owner’s Manual
for important safety information.
FOREWORD READ FIRST—THEN DRIVE SAFELY

For descriptions specified for four-wheel drive
models, a mark is placed at the begin-
ning of the applicable sections/items.
As with other vehicles with features for
off-road use, failure to operate four-wheel
drive models correctly may result in loss of
control or an accident. Be sure to read
“Driving safety precautions” in the “Start-
ing and driving” section of this manual.
ON-PAVEMENT AND OFF-ROAD DRIV-
ING
This vehicle will handle and maneuver
differently from an ordinary passenger
car because it has a higher center of
gravity for off-road use. As with other
vehicles with features of this type, fail-
ure to operate this vehicle correctly may
result in loss of control or an accident.
Be sure to read “On-pavement and off-
road driving precautions”, and “Avoid-
ing collision and rollover”, and “Driving
safety precautions”, in the “Starting and
driving” section of this manual.
MODIFICATION OF YOUR VEHICLE
This vehicle should not be modified.
Modification could affect its
performance, safety or durability, and
may even violate governmental
regulations. In addition, damage or per-
formance problems resulting from modi-
fications may not be covered under
NISSAN warranties.
This manual includes information for all options
available on this model. Therefore, you may find
some information that does not apply to your
vehicle.
All information, specifications and illustrations in
this manual are those in effect at the time of
printing. NISSAN reserves the right to change
specifications or design without notice and with-
out obligation.
IMPORTANT INFORMATION ABOUT
THIS MANUAL
You will see various symbols in this manual. They
are used in the following ways:
WARNING
This is used to indicate the presence of a
hazard that could cause death or serious
personal injury. To avoid or reduce the
risk, the procedures must be followed
precisely.
CAUTION
This is used to indicate the presence of a
hazard that could cause minor or moder-
ate personal injury or damage to your ve-
hicle. To avoid or reduce the risk, the pro-
cedures must be followed carefully.
WHEN READING THE MANUAL

If you see this symbol, it means “Do not do this”
or “Do not let this happen.”
If you see a symbol similar to these in an illustra-
tion, it means the arrow points to the front of the
vehicle.
Arrows in an illustration that are similar to these
indicate movement or action.
Arrows in an illustration that are similar to these
call attention to an item in the illustration.
CALIFORNIA PROPOSITION 65
WARNING
WARNING
Engine exhaust, some of its constituents,
and certain vehicle components contain
or emit chemicals known to the State of
California to cause cancer and birth de-
fects or other reproductive harm. In addi-
tion, certain fluids contained in vehicles
and certain products of component wear
contain or emit chemicals known to the
State of California to cause cancer and
birth defects or other reproductive harm.
CALIFORNIA PERCHLORATE
ADVISORY
Some vehicle parts, such as lithium batter-
ies, may contain perchlorate material. The
following advisory is provided: “Perchlorate
Material – special handling may apply, See
www.dtsc.ca.gov/hazardouswaste/perchlorate/”.
BLUETOOTH威is a
trademark owned by
Bluetooth SIG, Inc.,
U.S.A. and licensed
to Visteon.
XM Radio威requires
subscription, sold
separately. Not avail-
able in Alaska, Hawaii
or Guam. For more
information, visit
www.xmradio.com.
© 2011 NISSAN NORTH AMERICA, INC.
All rights reserved. No part of this Owner’s
Manual may be reproduced or stored in a retrieval
system, or transmitted in any form, or by any
means, electronic, mechanical, photocopying,
recording or otherwise, without the prior written
permission of Nissan North America, Inc.
APD1005
NISSAN CARES...
Both NISSAN and your NISSAN dealer are dedicated to serving all your automotive needs. Your satisfaction with your vehicle and your NISSAN dealer are
our primary concerns. Your NISSAN dealer is always available to assist you with all your automobile sales and service needs.
However, if there is something that your NISSAN
dealer cannot assist you with or you would like to
provide NISSAN directly with comments or
questions, please contact the NISSAN Con-
sumer Affairs Department using our toll-free
number:
For U.S. customers
1-800-NISSAN-1
(1-800-647-7261)
For Canadian customers
1-800-387-0122
The Consumer Affairs Department will ask for the
following information:
– Your name, address, and telephone number
– Vehicle identification number (attached to the
top of the instrument panel on the driver’s
side)
– Date of purchase
– Current odometer reading
– Your NISSAN dealer’s name
– Your comments or questions
OR
You can write to NISSAN with the information at:
For U.S. customers
Nissan North America, Inc.
Consumer Affairs Department
P.O. Box 685003
Franklin, TN 37068-5003
For Canadian customers
Nissan Canada Inc.
5290 Orbitor Drive
Mississauga, Ontario L4W 4Z5
or via e-mail at:
For U.S. customers
nnaconsumeraffairs@nissan-usa.com
For Canadian customers
information.centre@nissancanada.com
We appreciate your interest in NISSAN and thank you for buying a quality NISSAN vehicle.
NISSAN CUSTOMER CARE PROGRAM

Table of
Contents
Illustrated table of contents
Safety—Seats, seat belts and supplemental restraint system
Instruments and controls
Pre-driving checks and adjustments
Display screen, heater, air conditioner, audio and phone systems
Starting and driving
In case of emergency
Appearance and care
Maintenance and do-it-yourself
Technical and consumer information
Index
0
1
2
3
4
5
6
7
8
9
10

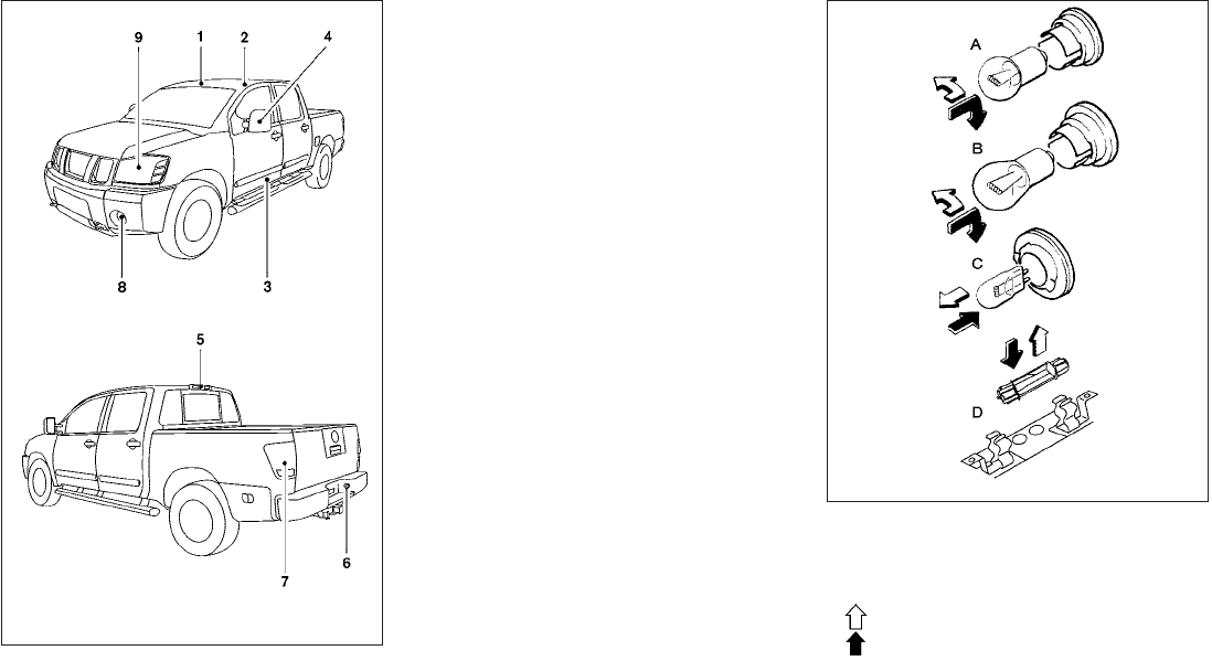
0 Illustrated table of contents
Air bags, seat belts and child restraints ..............0-2
Exterior front ......................................0-3
Exterior rear.......................................0-4
Passenger compartment ...........................0-5
Instrument panel...................................0-6
Engine compartment check locations ................0-8
Warning/indicator lights ............................0-9

1. 2nd row seat belts (P. 1-15)
2. Roof-mounted curtain side-impact and
rollover supplemental air bag (P. 1-47)
3. Front seat belts (P. 1-15)
4. Front-seat Active Head Restraints
5. Supplemental front-impact air bags
(P. 1-47)
6. Seats (P. 1-2)
7. Occupant classification sensor
(pressure sensor) (P. 1-56)
8. Seat belt with pretensioner (P. 1-60)
9. Front seat-mounted side-impact
supplemental air bag (P. 1-47)
10. LATCH (Lower Anchors and Tethers for
Children) (P. 1-28)
11. Top tether strap anchor point (P. 1-30)
See the page number indicated in paren-
theses for operating details.
LII2021
AIR BAGS, SEAT BELTS AND CHILD
RESTRAINTS
0-2 Illustrated table of contents

1. Engine hood (P. 3-11)
2. Windshield wiper and washer switch
(P. 2-27)
3. Windshield (P. 8-19)
4. Moonroof (if so equipped) (P. 2-52)
5. Power windows (P. 2-48)
6. Door locks, keyfob, keys
(P. 3-3, 3-7, 3-2)
7. Mirrors (P. 3-17)
8. Tire pressure (P. 9-12)
9. Flat tire (P. 6-2)
10. Tire chains (P. 8-40)
11. Replacing bulbs (P. 8-30)
12. Headlight and turn signal switch
(P. 2-29)
13. Fog light switch (if so equipped)
(P. 2-33)
14. Tow hooks (if so equipped) (P. 6-13)
See the page number indicated in paren-
theses for operating details.
WII0116
EXTERIOR FRONT
Illustrated table of contents 0-3

1. Rear sliding window (if so equipped)
(P. 2-51)
2. Vehicle loading (P. 9-13)
3. Tailgate/Truckbox (P. 3-22)
4. Trailer hitch/Towing (if so equipped)
(P. 9-24)
5. Replacing bulbs (P. 8-30)
6. Bedside storage compartment
(if so equipped) (P. 2-48)
7. Fuel-filler cap, fuel recommendation
(P. 3-12, P. 9-3, 9-4)
8. Fuel-filler door (P. 3-12)
9. Child safety rear door lock (Crew Cab
models only) (P. 3-7)
See the page number indicated in paren-
theses for operating details.
LII0027
EXTERIOR REAR
0-4 Illustrated table of contents

1. DVD entertainment system
(if so equipped) (P. 4-56)
2. Moonroof (if so equipped) (P. 2-52)
3. Map lights (if so equipped) (P. 2-55)
4. Sun visors (P. 3-15)
5. HomeLink姞(if so equipped) (P. 2-56)
6. Glove box (P. 2-42)
7. Cup holders (P. 2-45)
8. Front seats (P. 1-2)
9. Folding rear bench seat (P. 1-13)
See the page number indicated in paren-
theses for operating details.
LII0029
PASSENGER COMPARTMENT
Illustrated table of contents 0-5

1. Vents (P. 4-13)
2. Headlight/fog light (if so equipped)/turn
signal switch (P. 2-29)
3. Steering wheel switch for audio
control/Bluetooth姞Hands-Free Phone
System (if so equipped)
(P. 4-54, P. 4-71)
4. Instrument brightness control (P. 2-32)
5. Driver supplemental air bag/horn
(P. 1-47, P. 2-34)
6. Meters, gauges and warning/indicator
lights (P. 2-4, 2-13)
7. Cruise control main/set switches
(if so equipped) (P. 5-20)
8. Shift selector (column) (if so equipped)
(P. 5-16)
9. Ignition switch (P. 5-9)
10. Navigation system* (if so equipped)
(P. 4-2)
11. Navigation system* controls
(if so equipped) (P. 4-2)
12. Audio system controls (P. 4-30)
13. Front passenger supplemental air bag
(P. 1-47)
14. Glove box (P. 2-42)
15. Climate controls (P. 4-14, P. 4-21,
P. 4-28)
WIC1563
INSTRUMENT PANEL
0-6 Illustrated table of contents
16. Aux jack (if so equipped) (P. 4-52)
17. Power outlet (P. 2-38)
18. Heated seat switch (if so equipped)
(P. 2-35)
19. Cup holder (P. 2-45)
20. Vehicle Dynamic Control (VDC) off
switch (P. 2-36)
21. Tow mode switch (P. 2-38)
22. Electronic locking rear differential
(E-Lock) system switch
(if so equipped) (P.2-36)
23. Shift selector (console)
(if so equipped) (P. 5-16)
24. Hazard warning flasher switch (P. 2-33)
25. Front passenger air bag status light
(P. 1-56)
26. Power outlet (P. 2-38)
27. 4WD shift switch (if so equipped)
(P. 5-27)
28. Windshield wiper/washer switch
(P. 2-27)
29. Tilt steering wheel control (P. 3-14)
30. Cargo lamp switch (if so equipped)
(P. 2-34)
31. Rear sonar system off switch
(if so equipped) (P. 2-37)
32. Pedal position adjustment switch
(if so equipped) (P. 3-14)
33. Rear power window switch
(if so equipped) (P. 2-51)
*: Refer to the separate Navigation System Own-
er’s Manual (if so equipped).
See the page number indicated in paren-
theses for operating details.
Illustrated table of contents 0-7

1. Battery (P. 8-14)
2. Fuse/fusible link box (P. 8-21)
3. Transmission dipstick (P. 8-11)
4. Engine oil filler cap (P. 8-9)
5. Brake fluid reservoir (P. 8-13)
6. Windshield-washer fluid reservoir
(P. 8-13)
7. Air cleaner (P. 8-17)
8. Drive belt location (P. 8-16)
9. Radiator cap (P. 8-7)
10. Power steering fluid reservoir (P. 8-12)
11. Engine oil dipstick (P. 8-9)
12. Engine coolant reservoir (P. 8-7)
NOTE:
Engine cover removed for clarity.
See the page number indicated in paren-
theses for operating details.
WDI0630
ENGINE COMPARTMENT CHECK
LOCATIONS
0-8 Illustrated table of contents

Warning
light
Name Page
or
Anti-lock Braking
System (ABS) warn-
ing light
2-14
Automatic transmis-
sion check warning
light
2-14
Automatic transmis-
sion park warning
light (
model)
2-14
or
Brake warning light 2-14
Charge warning
light
2-15
Warning
light
Name Page
Engine oil pressure
low/engine coolant
temperature high
warning light
2-15
4WD warning light
(model)
2-16
Low fuel warning
light
2-16
Low tire pressure
warning light
2-16
Master warning light
(if so equipped)
2-18
Seat belt warning
light and chime
2-18
Supplemental air
bag warning light
2-19
Indicator
light
Name Page
Electronic locking
rear differential (E-
Lock) system on
indicator light (if so
equipped)
2-18
Front passenger air
bag status light
2-19
High beam indicator
light (Blue)
2-19
Malfunction indica-
tor light (MIL)
2-19
Security indicator
light (if so equipped)
2-20
Slip indicator light 2-20
WARNING/INDICATOR LIGHTS
Illustrated table of contents 0-9

Indicator
light
Name Page
Turn signal/hazard
indicator lights
2-20
Vehicle Dynamic
Control (VDC) off
indicator light
2-20
0-10 Illustrated table of contents

1 Safety—Seats, seat belts and
supplemental restraint system
Seats . ...........................................1-2
Front manual captain’s chair seat adjustment
(if so equipped) ................................1-2
Front manual bench seat adjustment
(if so equipped) ................................1-3
Front power seat adjustment
(if so equipped) ................................1-4
Armrests (if so equipped)........................1-6
Head restraints (1st row only)....................1-6
Head restraints (2nd row – outboard
positions only) .................................1-9
Flexible seating................................1-11
Seat belts .......................................1-15
Precautions on seat belt usage..................1-15
Pregnant women ..............................1-18
Injured persons................................1-18
Three-point type seat belt with retractor..........1-18
Two-point type seat belt without retractor
(center of the front bench seat)
(if so equipped) ...............................1-21
Seat belt extenders ............................1-23
Seat belt maintenance .........................1-23
Child safety ......................................1-24
Infants........................................1-25
Small children.................................1-25
Larger children ................................1-25
Child restraints ...................................1-26
Precautions on child restraints ..................1-26
LATCH (Lower Anchors and Tethers for
CHildren) System .............................1-28
Rear-facing child restraint installation using
LATCH.......................................1-30
Rear-facing child restraint installation using
the seat belts . . ...............................1-32
Forward-facing child restraint installation
using LATCH. . . ...............................1-35
Forward-facing child restraint installation
using the seat belts — front passenger and
rear bench seat ...............................1-37
Forward-facing child restraint installation
using the seat belts — front bench center
position ......................................1-40
Installing top tether strap (Rear bench seat) ......1-43
Booster seats .................................1-43
Supplemental restraint system .....................1-47
Precautions on supplemental restraint
system .......................................1-47
Supplemental air bag warning labels.............1-61
Supplemental air bag warning light ..............1-62

WARNING
●Do not ride in a moving vehicle when
the seatback is reclined. This can be
dangerous. The shoulder belt will not
be against your body. In an accident,
you could be thrown into it and receive
neck or other serious injuries. You
could also slide under the lap belt and
receive serious internal injuries.
●For the most effective protection when
the vehicle is in motion, the seat should
be upright. Always sit well back in the
seat with both feet on the floor and
adjust the seat properly. See “Precau-
tions on seat belt usage” later in this
section.
●After adjustment, gently rock in the seat
to make sure it is securely locked.
●Do not leave children unattended inside
the vehicle. They could unknowingly ac-
tivate switches or controls. Unattended
children could become involved in seri-
ous accidents.
●The seatback should not be reclined
any more than needed for comfort. Seat
belts are most effective when the pas-
senger sits well back and straight up in
the seat. If the seatback is reclined, the
risk of sliding under the lap belt and
being injured is increased.
CAUTION
When adjusting the seat positions, be
sure not to contact any moving parts to
avoid possible injuries and/or damage.
FRONT MANUAL CAPTAIN’S CHAIR
SEAT ADJUSTMENT (if so equipped)
ARS1152
SEATS
1-2 Safety—Seats, seat belts and supplemental restraint system

Forward and backward
Pull the lever up and hold it while you slide the
seat forward or backward to the desired position.
Release the lever to lock the seat in position.
Reclining
To recline the seatback, pull the lever up and lean
back. To bring the seatback forward, pull the lever
up and lean your body forward. Release the lever
to lock the seatback in position.
The reclining feature allows adjustment of the
seatback for occupants of different sizes for
added comfort and to help obtain proper seat
belt fit. See “Precautions on seat belt usage”later
in this section. Also, the seatback can be reclined
to allow occupants to rest when the vehicle is
stopped and the transmission is in the P (Park)
position.
FRONT MANUAL BENCH SEAT
ADJUSTMENT (if so equipped)
Forward and backward
Pull the lever up and hold it while you slide the
seat forward or backward to the desired position.
Release the lever to lock the seat in position.
LRS0419 LRS0420 WRS0847
Safety—Seats, seat belts and supplemental restraint system 1-3

Reclining
To recline the seatback, pull the lever up and lean
back. To bring the seatback forward, pull the lever
up and lean your body forward. Release the lever
to lock the seatback in position.
The reclining feature allows adjustment of the
seatback for occupants of different sizes for
added comfort and to help obtain proper seat
belt fit (see “Precautions on seat belt usage” later
in this section). Also, the seatback can be re-
clined to allow occupants to rest when the ve-
hicle is stopped and the transmission is in P
(Park).
FRONT POWER SEAT ADJUSTMENT
(if so equipped)
Operating tips
●The power seat motor has an auto-reset
overload protection circuit. If the motor
stops during operation, wait 30 seconds,
then reactivate the switch.
●Do not operate the power seat switch for a
long period of time when the engine is off.
This will discharge the battery.
See “Automatic drive positioner” in “Pre-driving
checks and adjustments” for automatic drive po-
sitioner operation.
Forward and backward
Moving the switch forward or backward will slide
the seat forward or backward to the desired
position.
Reclining
Move the recline switch backward until the de-
sired angle is obtained. To bring the seatback
forward again, move the switch forward and
move your body forward. The seatback will move
forward.
LRS0427 LRS0633
1-4 Safety—Seats, seat belts and supplemental restraint system

The reclining feature allows adjustment of the
seatback for occupants of different sizes for
added comfort and to help obtain proper seat
belt fit. See “Precautions on seat belt usage”later
in this section. Also, the seatback can be reclined
to allow occupants to rest when the vehicle is
stopped and the shift selector is in P (Park).
Seat lifter (if so equipped for driver’s
seat)
Push the front or rear end of the switch up or
down to adjust the angle and height of the seat
cushion.
Lumbar support (driver’s seat)
The lumbar support feature provides lower back
support to the driver. Move the lever up or down
to adjust the seat lumbar area.
LRS0634 LRS0635
Safety—Seats, seat belts and supplemental restraint system 1-5

ARMRESTS (if so equipped)
To use the armrests on the captain’s chairs (type
A, if so equipped), pull them down to the resting
position.
To use the center armrest on the bench seat (type
B, if so equipped), pull on the tab in the center of
the seat and fold it down to the resting position.
HEAD RESTRAINTS (1st row only)
WARNING
Head restraints supplement the other ve-
hicle safety systems. They may provide
additional protection against injury in cer-
tain rear end collisions. Adjust the head
restraints properly, as specified in this
section. Check the adjustment after
someone else uses the seat. Do not attach
anything to the head restraint stalks or
remove the head restraint. Do not use the
seat if the head restraint has been re-
moved. If the head restraint was removed,
reinstall and properly adjust the head re-
straint before an occupant uses the seat-
ing position. Failure to follow these in-
structions can reduce the effectiveness of
the head restraints. This may increase the
risk of serious injury or death in a
collision.
Type A
䊊
AStowed position
䊊
BResting position
WRS0368
Type B
LRS0425
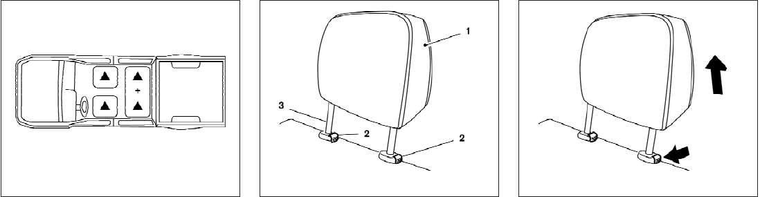
1-6 Safety—Seats, seat belts and supplemental restraint system

The illustration shows the seating positions
equipped with head restraints. The first row head
restraints are adjustable.
䉱Indicates the seating position is equipped with
a head restraint.
Components
1. Head restraint
2. Adjustment notches
3. Lock knob
4. Stalks
Adjustment
Adjust the head restraint so the center is level
with the center of the seat occupant’s ears.
LRS2020 LRS0887 WRS0134
Safety—Seats, seat belts and supplemental restraint system 1-7

To raise the head restraint, pull it up. To lower, push and hold the lock knob and push
the head restraint down. Removal
Use the following procedure to remove the ad-
justable head restraints.
1. Pull the head restraint up to the highest
position.
2. Push and hold the lock knob.
3. Remove the head restraint from the seat.
4. Store the head restraint properly so it is not
loose in the vehicle.
5. Reinstall and properly adjust the head re-
straint before an occupant uses the seating
position.
LRS0888 LRS0889 LRS0890
1-8 Safety—Seats, seat belts and supplemental restraint system

Install
1. Align the head restraint stalks with the holes
in the seat. Make sure the head restraint is
facing the correct direction. The stalk with
the adjustment notches 䊊
1must be installed
in the hole with the lock knob 䊊
2.
2. Push and hold the lock knob and push the
head restraint down.
3. Properly adjust the head restraint before an
occupant uses the seating position.
Front-seat Active Head Restraints
The Active Head Restraint moves forward utiliz-
ing the force that the seatback receives from the
occupant in a rear-end collision. The movement
of the head restraint helps support the occu-
pant’s head by reducing its backward movement
and helping absorb some of the forces that may
lead to whiplash-type injuries.
Active Head Restraints are effective for collisions
at low to medium speeds in which it is said that
whiplash injury occurs most.
Active Head Restraints operate only in certain
rear-end collisions. After the collision, the head
restraints return to their original position.
Adjust the Active Head Restraints properly as
described in this section.
HEAD RESTRAINTS (2nd row –
outboard positions only)
WARNING
Head restraints supplement the other ve-
hicle safety systems. They may provide
additional protection against injury in cer-
tain rear end collisions. Adjust the head
restraints properly, as specified in this
section. Check the adjustment after
someone else uses the seat. Do not attach
anything to the head restraint stalks or
remove the head restraint. Do not use the
seat if the head restraint has been re-
moved. If the head restraint was removed,
reinstall and properly adjust the head re-
straint before an occupant uses the seat-
ing position. Failure to follow these in-
structions can reduce the effectiveness of
the head restraints. This may increase the
risk of serious injury or death in a
collision.
LRS0891 SPA1025
Safety—Seats, seat belts and supplemental restraint system 1-9

The illustration shows the seating positions
equipped with head restraints. The second row
head restraints are removable but not adjustable.
䉱Indicates the seating position is equipped with
a head restraint.
+ Indicates the seating position is not equipped
with a head restraint or adjustable headrest.
Components
1. Head restraint
2. Lock knob(s)
3. Stalks
Removal
Use the following procedure to remove the head
restraints.
1. Adjust the seat or seatback as necessary.
2. Push and hold the lock knob(s).
3. Pull the head restraint up until it is removed
from the seat.
4. Store the head restraint properly so it is not
loose in the vehicle.
5. Reinstall the head restraint and properly ad-
just the seat or seatback before an occupant
uses the seating position.
LRS2020 LRS2073 LRS2074
1-10 Safety—Seats, seat belts and supplemental restraint system

Install
1. Align the head restraint stalks with the holes
in the seat. Make sure the head restraint is
facing the correct direction.
2. Push the head restraint down until it locks in
place.
FLEXIBLE SEATING
WARNING
●Never allow anyone to ride in the cargo
area or on the rear seats when they are
in the fold-down position. In a collision,
people riding in these areas without
proper restraints are more likely to be
seriously injured or killed.
●Do not allow people to ride in any area
of your vehicle that is not equipped with
seats and seat belts. Be sure everyone
in your vehicle is in a seat and using a
seat belt properly.
●Do not fold down the rear seats when
occupants are in the rear seat area or
any luggage is on the rear seats.
●Head restraints should be adjusted
properly as they may provide significant
protection against injury in an accident.
Always replace and adjust them prop-
erly if they have been removed for any
reason.
●If the head restraints are removed for
any reason, they should be securely
stored to prevent them from causing
injury to passengers or damage to the
vehicle in case of sudden braking or an
accident.
●When returning the seatbacks to the
upright position, be certain they are
completely secured in the latched posi-
tion. If they are not completely secured,
passengers may be injured in an acci-
dent or sudden stop.
●Properly secure all cargo to help pre-
vent it from sliding or shifting. Do not
place cargo higher than the seatbacks.
In a sudden stop or collision, unsecured
cargo could cause personal injury.
LRS2075
Safety—Seats, seat belts and supplemental restraint system 1-11

Folding the front passenger’s seatback
flat (if so equipped)
To fold the front passenger’s seatback flat for
extra storage length when transporting long
items:
䊊
1Slide the seat to the rear most position. Then
lift up on the recline lever, located on the
outside of the seat, and fold the seatback
forward as far as it will go.
䊊
2Lift up on the latch located on the upper
corner of the seatback to release the back of
the seat. This will enable you to fold the front
passenger seatback flat over the seat cush-
ion.
3. To return the front passenger’s seat to a
seating position, lift up on the seatback and
push it up to an upright position. Then pull up
on the recline lever and lean the seatback to
a proper seating position. Release the lever
to lock the seatback in position.
WARNING
●If you fold the front passenger’s seat-
back flat forward to carry longer ob-
jects, be sure this cargo is properly se-
cured and not near an air bag. In a
crash, an inflating air bag might force
that object toward a person. This could
cause severe injury or even death. Se-
cure objects away from the area in
which an air bag would inflate. See
“Precautions on supplemental restraint
system” later in this section.
●When returning the seatbacks to the
upright position, be certain they are
completely secured in the latched posi-
tion. If they are not completely secured,
passengers may be injured in an acci-
dent or sudden stop.
LRS0341 LRS0342
1-12 Safety—Seats, seat belts and supplemental restraint system

Folding the rear bench seat
To fold the rear bench seat up for storage capac-
ity behind the front seats or to remove the jacking
tools from the storage area:
䊊
1Lift up on the lever, located on the side of the
seat, while lifting the front of the seat cushion
up.
䊊
2Fold the bottom of the seat cushion toward
the back of the vehicle until it locks in place.
䊊
3Repeat this process to raise and secure the
seat cushion on the other side of the vehicle
for maximum storage capacity.
To return the rear bench seat to a seating posi-
tion, reverse the process. Make sure to prop-
erly push the seat cushion down into place.
LRS0398 LRS0399 LRS0400
Safety—Seats, seat belts and supplemental restraint system 1-13

WARNING
●When the vehicle is being used to carry
cargo, properly secure all cargo to help
prevent it from sliding or shifting. Do
not place cargo higher than the seat-
backs. In a sudden stop or collision,
unsecured cargo could cause personal
injury.
●Do not allow people to ride in any area
of your vehicle that is not equipped with
seats and seat belts. Be sure everyone
in your vehicle is in a seat and using a
seat belt properly. Never ride in the rear
seat unless the seat bottom cushions
are in place and latched.
●When returning the seatbacks to the
upright position, be certain they are
completely secured in the latched posi-
tion. If they are not completely secured,
passengers may be injured in an acci-
dent or sudden stop.
Folding the rear bench seatback down
The rear bench seatback can be tilted forward to
access the child restraint anchor point locations.
To tilt the seatback forward, pull the strap up 䊊
1
and tilt the seatback. The child restraint anchor
points 䊊
2can be accessed behind the rear
bench seatback.
WARNING
Never allow anyone to ride in the cargo
area or on the rear seat when it is in the
fold-down position. Use of these areas by
passengers without proper restraints
could result in serious injury in an acci-
dent or sudden stop.
WRS0920
1-14 Safety—Seats, seat belts and supplemental restraint system

PRECAUTIONS ON SEAT BELT
USAGE
If you are wearing your seat belt properly ad-
justed and you are sitting upright and well back in
your seat with both feet on the floor, your chances
of being injured or killed in an accident and/or the
severity of injury may be greatly reduced.
NISSAN strongly encourages you and all of your
passengers to buckle up every time you drive,
even if your seating position includes a supple-
mental air bag.
Most U.S. states and Canadian provinces
or territories specify that seat belts be worn
at all times when a vehicle is being driven.
SSS0136
SEAT BELTS
Safety—Seats, seat belts and supplemental restraint system 1-15

WARNING
●Every person who drives or rides in this
vehicle should use a seat belt at all
times. Children should be properly re-
strained in the rear seat and, if appro-
priate, in a child restraint.
WARNING
●The seat belt should be properly ad-
justed to a snug fit. Failure to do so may
reduce the effectiveness of the entire
restraint system and increase the
chance or severity of injury in an acci-
dent. Serious injury or death can occur
if the seat belt is not worn properly.
SSS0134 SSS0016
1-16 Safety—Seats, seat belts and supplemental restraint system

WARNING
●Always route the shoulder belt over
your shoulder and across your chest.
Never put the belt behind your back,
under your arm or across your neck. The
belt should be away from your face and
neck, but not falling off your shoulder.
●Position the lap belt as low and snug as
possible AROUND THE HIPS, NOT THE
WAIST. A lap belt worn too high could
increase the risk of internal injuries in
an accident.
●Be sure the seat belt tongue is securely
fastened to the proper buckle.
●Do not wear the seat belt inside out or
twisted. Doing so may reduce its
effectiveness.
●Do not allow more than one person to
use the same seat belt.
●Never carry more people in the vehicle
than there are seat belts.
●If the seat belt warning light glows con-
tinuously while the ignition is turned
ON with all doors closed and all seat
belts fastened, it may indicate a mal-
function in the system. Have the system
checked by a NISSAN dealer.
●No changes should be made to the seat
belt system. For example, do not modify
the seat belt, add material, or install
devices that may change the seat belt
routing or tension. Doing so may affect
the operation of the seat belt system.
Modifying or tampering with the seat
belt system may result in serious per-
sonal injury.
●Once a seat belt pretensioner has acti-
vated, it cannot be reused and must be
replaced together with the retractor.
See your NISSAN dealer.
●Removal and installation of preten-
sioner system components should be
done by a NISSAN dealer.
●All seat belt assemblies, including re-
tractors and attaching hardware,
should be inspected after any collision
by a NISSAN dealer. NISSAN recom-
mends that all seat belt assemblies in
use during a collision be replaced un-
less the collision was minor and the
belts show no damage and continue to
operate properly. Seat belt assemblies
not in use during a collision should also
be inspected and replaced if either
damage or improper operation is noted.
●All child restraints and attaching hard-
ware should be inspected after any col-
lision. Always follow the restraint
manufacturer’s inspection instructions
and replacement recommendations.
The child restraints should be replaced
if they are damaged.
SSS0014
Safety—Seats, seat belts and supplemental restraint system 1-17

PREGNANT WOMEN
NISSAN recommends that pregnant women use
seat belts. The seat belt should be worn snug and
always position the lap belt as low as possible
around the hips, not the waist. Place the shoulder
belt over your shoulder and across your chest.
Never run the lap/shoulder belt over your ab-
dominal area. Contact your doctor for specific
recommendations.
INJURED PERSONS
NISSAN recommends that injured persons use
seat belts. Check with your doctor for specific
recommendations.
THREE-POINT TYPE SEAT BELT
WITH RETRACTOR
WARNING
●Every person who drives or rides in this
vehicle should use a seat belt at all
times.
●Do not ride in a moving vehicle when
the seatback is reclined. This can be
dangerous. The shoulder belt will not
be against your body. In an accident,
you could be thrown into it and receive
neck or other serious injuries. You
could also slide under the lap belt and
receive serious internal injuries.
●For the most effective protection when
the vehicle is in motion, the seat should
be upright. Always sit well back in the
seat with both feet on the floor and
adjust the seat belt properly.
Fastening the seat belts
1. Adjust the seat. See “Seats” earlier in this
section.
Manual front seat shown
LRS0419
1-18 Safety—Seats, seat belts and supplemental restraint system

䊊
2Slowly pull the seat belt out of the retractor
and insert the tongue into the buckle until
you hear and feel the latch engage.
●The retractor is designed to lock dur-
ing a sudden stop or on impact. A
slow pulling motion permits the seat
belt to move, and allows you some
freedom of movement in the seat.
●If the seat belt cannot be pulled from
its fully retracted position, firmly pull
the belt and release it. Then
smoothly pull the belt out of the re-
tractor.
䊊
3Position the lap belt portion low and snug
on the hips as shown.
䊊
4Pull the shoulder belt portion toward the
retractor to take up extra slack. Be sure the
shoulder belt is routed over your shoulder
and across your chest.
The front passenger seat and the rear seating
positions three-point seat belts have two modes
of operation:
●Emergency Locking Retractor (ELR)
●Automatic Locking Retractor (ALR)
The Emergency Locking Retractor (ELR) mode
allows the seat belt to extend and retract to allow
the driver and passengers some freedom of
movement in the seat. The ELR locks the seat belt
when the vehicle slows down rapidly or during
certain impacts.
The Automatic Locking Retractor (ALR) mode
(child restraint mode) locks the seat belt for child
restraint installation.
When the ALR mode is activated, the seat belt
cannot be extended again until the seat belt
tongue is detached from the buckle and fully
retracted. The seat belt returns to the ELR mode
after the seat belt fully retracts. See “Child re-
straints” later in this section for more information.
The ALR mode should be used only for
child restraint installation. During normal
seat belt use by a passenger, the ALR mode
should not be activated. If it is activated it
may cause uncomfortable seat belt ten-
sion. It can also change the operation of
the front passenger air bag. See “Front
passenger air bag and status light” later in
this section.
WRS0137 WRS0138
Safety—Seats, seat belts and supplemental restraint system 1-19

WARNING
When fastening the seat belts, be certain
that the seatbacks are completely se-
cured in the latched position. If they are
not completely secured, passengers may
be injured in an accident or sudden stop.
Unfastening the seat belts
䊊
1To unfasten the seat belt, press the button on
the buckle. The seat belt automatically re-
tracts.
Checking seat belt operation
Seat belt retractors are designed to lock seat belt
movement by two separate methods:
●When the seat belt is pulled quickly from the
retractor.
●When the vehicle slows down rapidly.
To increase your confidence in the seat belts,
check the operation as follows:
●Grasp the shoulder belt and pull forward
quickly. The retractor should lock and re-
strict further belt movement.
If the retractor does not lock during this check or
if you have any questions about seat belt opera-
tion, see a NISSAN dealer.
WRS0139
1-20 Safety—Seats, seat belts and supplemental restraint system

Shoulder belt height adjustment (front
outboard seats)
The shoulder belt anchor height should be ad-
justed to the position best for you. (See “Precau-
tions on seat belt usage” earlier in this section.)
To adjust, pull out 䊊
1the adjustment button and
move the shoulder belt anchor 䊊
2to the desired
position, so the belt passes over the center of the
shoulder. The belt should be away from your face
and neck, but not falling off your shoulder. Re-
lease the adjustment button to lock the shoulder
belt anchor into position.
WARNING
●After adjustment, release the adjust-
ment button and try to move the shoul-
der belt anchor up and down to make
sure it is securely fixed in position.
●The shoulder belt anchor height should
be adjusted to the position best for you.
Failure to do so may reduce the effec-
tiveness of the entire restraint system
and increase the chance or severity of
injury in an accident.
TWO-POINT TYPE SEAT BELT
WITHOUT RETRACTOR (center of
the front bench seat) (if so equipped)
Front seats
LRS0242 LRS0642
Safety—Seats, seat belts and supplemental restraint system 1-21

Fastening the seat belts
䊊
1Insert the tongue into the buckle until you
hear and feel the latch engage.
䊊
2Tighten the belt by pulling the free end of the
belt away from the tongue.
䊊
3Position the lap belt low and snug on the
hips as illustrated.
LRS0643 LRS0644 LRS0645
1-22 Safety—Seats, seat belts and supplemental restraint system

䊊
4Loosen the belt by holding the tongue at a
right angle to the belt, then pull on the belt. Unfastening the seat belts
䊊
1To unfasten the seat belt, press the button on
the buckle.
SEAT BELT EXTENDERS
If, because of body size or driving position, it is
not possible to properly fit the lap/shoulder belt
and fasten it, an extender that is compatible with
the installed seat belts is available that can be
purchased. The extender adds approximately 8 in
(200 mm) of length and may be used for either
the driver or front passenger seating position.
See a NISSAN dealer for assistance with pur-
chasing an extender if an extender is required.
WARNING
●Only NISSAN seat belt extenders, made
by the same company which made the
original equipment seat belts, should
be used with NISSAN seat belts.
●Adults and children who can use the
standard seat belt should not use an
extender. Such unnecessary use could
result in serious personal injury in the
event of an accident.
●Never use seat belt extenders to install
child restraints. If the child restraint is
not secured properly, the child could be
seriously injured in a collision or a sud-
den stop.
SEAT BELT MAINTENANCE
●To clean the seat belt webbing, apply a
mild soap solution or any solution recom-
mended for cleaning upholstery or carpet.
Then wipe with a cloth and allow the seat
belts to dry in the shade. Do not allow the
seat belts to retract until they are completely
dry.
●If dirt builds up in the shoulder belt
guide of the seat belt anchors, the seat
belts may retract slowly. Wipe the shoulder
belt guide with a clean, dry cloth.
LRS0646 LRS0647
Safety—Seats, seat belts and supplemental restraint system 1-23

●Periodically check to see that the seat
belt and the metal components, such as
buckles, tongues, retractors, flexible wires
and anchors, work properly. If loose parts,
deterioration, cuts or other damage on the
webbing is found, the entire seat belt as-
sembly should be replaced.
Children need adults to help protect them.
They need to be properly restrained.
In addition to the general information in this
manual, child safety information is available from
many other sources, including doctors, teachers,
government traffic safety offices, and community
organizations. Every child is different, so be sure
to learn the best way to transport your child.
There are three basic types of child restraint
systems:
●Rear-facing child restraint
●Forward-facing child restraint
●Booster seat
The proper restraint depends on the child’s size.
Generally, infants up to about 1 year and less
than 20 lbs (9 kg) should be placed in rear-facing
child restraints. Forward-facing child restraints
are available for children who outgrow rear-
facing child restraints and are at least 1 year old.
Booster seats are used to help position a vehicle
lap/shoulder belt on a child who can no longer
use a forward-facing child restraint.
WARNING
Infants and children need special protec-
tion. The vehicle’s seat belts may not fit
them properly. The shoulder belt may
come too close to the face or neck. The
lap belt may not fit over their small hip
bones. In an accident, an improperly fit-
ting seat belt could cause serious or fatal
injury. Always use appropriate child
restraints.
All U.S. states and Canadian provinces or terri-
tories require the use of approved child restraints
for infants and small children. See “Child re-
straints” later in this section.
A child restraint may be secured in the vehicle by
using either the LATCH (Lower Anchor and Teth-
ers for CHildren) system or with the vehicle seat
belt. See the “Child restraints” section for more
information.
NISSAN recommends that all pre-teens
and children be restrained in the rear seat.
Studies show that children are safer when
properly restrained in the rear seat than in
the front seat.
CHILD SAFETY
1-24 Safety—Seats, seat belts and supplemental restraint system

This is especially important because your
vehicle has a supplemental restraint sys-
tem (air bag system) for the front passen-
ger. See “Supplemental restraint system”
later in this section.
INFANTS
Infants up to at least 1 year old should be placed
in a rear-facing child restraint. NISSAN recom-
mends that infants be placed in child restraints
that comply with Federal Motor Vehicle Safety
Standards or Canadian Motor Vehicle Safety
Standards. You should choose a child restraint
that fits your vehicle and always follow the manu-
facturer’s instructions for installation and use.
SMALL CHILDREN
Children that are over 1 year old and weigh at
least 20 lbs (9 kg) should remain in a rear-facing
child restraint as long as possible up to the height
or weight limit of the child restraint. Forward-
facing child restraints are available for children
who outgrow rear-facing child restraints and are
at least 1 year old. Refer to the manufacturer’s
instructions for minimum and maximum weight
and height recommendations. NISSAN recom-
mends that small children be placed in child
restraints that comply with Federal Motor Vehicle
Safety Standards or Canadian Motor Vehicle
Safety Standards. You should choose a child
restraint that fits your vehicle and always follow
the manufacturer’s instructions for installation
and use.
LARGER CHILDREN
Children who are too large for child restraints
should be seated and restrained by the seat belts
which are provided. The seat belt may not fit
properly if the child is less than 4 ft 9 in (142.5
cm) tall and weighs between 40 lbs (18 kg) and
80 lbs (36 kg). A booster seat should be used to
obtain proper seat belt fit.
NISSAN recommends that a child be placed in a
commercially available booster seat if the shoul-
der belt fits close to the face or neck or if the lap
portion of the seat belt goes across the abdo-
men. The booster seat should raise the child so
that the shoulder belt is properly positioned
across the top, middle portion of the shoulder
and the lap belt is low on the hips. A booster seat
can only be used in seating positions that have a
three-point type seat belt. The booster seat
should fit the vehicle seat and have a label certi-
fying that it complies with Federal Motor Vehicle
Safety Standards or Canadian Motor Vehicle
Safety Standards. Once the child has grown so
the shoulder belt is no longer on or near the face
and neck, use the shoulder belt without the
booster seat.
WARNING
Never let a child stand or kneel on any
seat and do not allow a child in the cargo
area. The child could be seriously injured
or killed in a sudden stop or collision.
Safety—Seats, seat belts and supplemental restraint system 1-25

PRECAUTIONS ON CHILD
RESTRAINTS WARNING
●Failure to follow the warnings and in-
structions for proper use and installa-
tion of child restraints could result in
serious injury or death of a child or
other passengers in a sudden stop or
collision:
– The child restraint must be used and
installed properly. Always follow all
of the child restraint manufacturer’s
instructions for installation and use.
– Infants and children should never be
held on anyone’s lap. Even the stron-
gest adult cannot resist the forces of
a collision.
– Do not put a seat belt around both a
child and another passenger.
– NISSAN recommends that all child
restraints be installed in the rear
seat. Studies show that children are
safer when properly restrained in the
rear seat than in the front seat. If you
must install a forward-facing child
restraint in the front seat, see
“Forward-facing child restraint in-
stallation using the seat belts” later
in this section.
– Even with the NISSAN Advanced Air
Bag System, never install a rear-
facing child restraint in the front
seat. An inflating air bag could seri-
ously injure or kill a child. A rear-
facing child restraint must only be
used in the rear seat.
– Be sure to purchase a child restraint
that will fit the child and vehicle.
Some child restraints may not fit
properly in your vehicle.
ARS1098 WRS0256
CHILD RESTRAINTS
1-26 Safety—Seats, seat belts and supplemental restraint system

– Child restraint anchor points are de-
signed to withstand loads from child
restraints that are properly fitted.
– Never use the anchor points for adult
seat belts or harnesses.
– A child restraint with a top tether
strap should not be used in the front
passenger seat.
– Keep seatbacks as upright as pos-
sible after fitting the child restraint.
– Infants and children should always
be placed in an appropriate child re-
straint while in the vehicle.
●When the child restraint is not in use,
keep it secured with the LATCH system
or a seat belt. In a sudden stop or colli-
sion, loose objects can injure occu-
pants or damage the vehicle.
CAUTION
A child restraint in a closed vehicle can
become very hot. Check the seating sur-
face and buckles before placing a child in
the child restraint.
This vehicle is equipped with a universal child
restraint anchor system, referred to as the LATCH
(Lower Anchors and Tethers for CHildren) sys-
tem. Some child restraints include rigid or
webbing-mounted attachments that can be con-
nected to these anchors. For details, see “LATCH
(Lower Anchors and Tethers for CHildren) sys-
tem” later in this section.
If you do not have a LATCH compatible child
restraint, the vehicle seat belts can be used.
Several manufacturers offer child restraints for
infants and children of various sizes. When se-
lecting any child restraint, keep the following
points in mind:
●Choose only a restraint with a label certifying
that it complies with Federal Motor Vehicle
Safety Standard 213 or Canadian Motor
Vehicle Safety Standard 213.
●Check the child restraint in your vehicle to be
sure it is compatible with the vehicle’s seat
and seat belt system.
●If the child restraint is compatible with your
vehicle, place your child in the child restraint
and check the various adjustments to be
sure the child restraint is compatible with
your child. Choose a child restraint that is
designed for your child’s height and weight.
Always follow all recommended procedures.
All U.S. states and Canadian provinces or
territories require that infants and small
children be restrained in an approved child
restraint at all times while the vehicle is
being operated. Canadian law requires the
top tether strap on forward-facing child
restraints be secured to the designated an-
chor point on the vehicle.
Safety—Seats, seat belts and supplemental restraint system 1-27

LATCH (Lower Anchors and Tethers
for CHildren) SYSTEM
Your vehicle is equipped with special anchor
points that are used with LATCH (Lower Anchors
and Tethers for CHildren) system compatible
child restraints. This system may also be referred
to as the ISOFIX or ISOFIX compatible system.
With this system, you do not have to use a vehicle
seat belt to secure the child restraint.
LATCH lower anchor
WARNING
Failure to follow the warnings and instruc-
tions for proper use and installation of
child restraints could result in serious in-
jury or death of a child or other passen-
gers in a sudden stop or collision:
– Attach LATCH system compatible
child restraints only at the locations
shown in the illustration.
– Do not secure a child restraint in the
center rear seating position using
the LATCH lower anchors. The child
restraint will not be secured properly.
– Inspect the lower anchors by insert-
ing your fingers into the lower anchor
area. Feel to make sure there are no
obstructions over the anchors such
as seat belt webbing or seat cushion
material. The child restraint will not
be secured properly if the lower an-
chors are obstructed.
LATCH lower anchor location
The LATCH lower anchors are located at the rear
of the seat cushion near the seatback. A label is
attached to the seatback to help you locate the
LATCH lower anchors.
LATCH system lower anchor locations
LRS0429
LATCH lower anchor location
LRS0748
1-28 Safety—Seats, seat belts and supplemental restraint system

Installing child restraint LATCH lower
anchor attachments
LATCH compatible child restraints include two
rigid or webbing-mounted attachments that can
be connected to two anchors located at certain
seating positions in your vehicle. With this sys-
tem, you do not have to use a vehicle seat belt to
secure the child restraint. Check your child re-
straint for a label stating that it is compatible with
LATCH. This information may also be in the in-
structions provided by the child restraint manu-
facturer.
When installing a child restraint, carefully read
and follow the instructions in this manual and
those supplied with the child restraint.
LATCH lower anchor point locations
LRS0395
LATCH webbing-mounted attachment
LRS0661
LATCH rigid-mounted attachment
LRS0662
Safety—Seats, seat belts and supplemental restraint system 1-29

Top tether anchor point locations
Anchor points are located under the rear window
behind the rear bench seat.
REAR-FACING CHILD RESTRAINT
INSTALLATION USING LATCH
Refer to all Warnings and Cautions in the “Child
Safety” and “Child Restraints” sections before
installing a child restraint.
Follow these steps to install a rear-facing child
restraint in the 2nd row seats using the LATCH
system:
1. Position the child restraint on the seat. Al-
ways follow the child restraint manufactur-
er’s instructions.
2. Secure the child restraint anchor attach-
ments to the LATCH lower anchors. Check
to make sure the LATCH attachment is prop-
erly attached to the lower anchors.
LRS0393
Rear-facing web-mounted – step 2
WRS0801
1-30 Safety—Seats, seat belts and supplemental restraint system

3. For child restraints that are equipped with
webbing-mounted attachments, remove any
additional slack from the anchor attach-
ments. Press downward and rearward firmly
in the center of the child restraint with your
hand to compress the vehicle seat cushion
and seatback while tightening the webbing
of the anchor attachments.
4. After attaching the child restraint, test it be-
fore you place the child in it. Push it from side
to side while holding the child restraint near
the LATCH attachment path. The child re-
straint should not move more than 1 inch (25
mm), from side to side. Try to tug it forward
and check to see if the LATCH attachment
holds the restraint in place. If the restraint is
not secure, tighten the LATCH attachment
as necessary, or put the restraint in another
seat and test it again. You may need to try a
different child restraint or try installing by
using the vehicle seat belt (if applicable).
Not all child restraints fit in all types of ve-
hicles.
Rear-facing rigid-mounted – step 2
WRS0802
Rear-facing – step 3
LRS0673
Rear-facing – step 4
LRS0674
Safety—Seats, seat belts and supplemental restraint system 1-31

5. Check to make sure the child restraint is
properly secured prior to each use. If the
child restraint is loose, repeat steps 2
through 4.
REAR-FACING CHILD RESTRAINT
INSTALLATION USING THE SEAT
BELTS
WARNING
The three-point seat belt with Automatic
Locking Retractor (ALR) must be used
when installing a child restraint. Failure to
use the ALR mode will result in the child
restraint not being properly secured. The
restraint could tip over or be loose and
cause injury to a child in a sudden stop or
collision. Also, it can change the opera-
tion of the front passenger air bag. See
“Front passenger air bag and status light”
later in this section.
WRS0256
1-32 Safety—Seats, seat belts and supplemental restraint system

Refer to all Warnings and Cautions in the “Child
safety” and “Child restraints” sections before in-
stalling a child restraint.
Follow these steps to install a rear-facing child
restraint using the vehicle seat belts in the rear
seats:
1. Child restraints for infants must be
used in the rear-facing direction and
therefore must not be used in the front
seat. Position the child restraint on the seat.
Always follow the restraint manufacturer’s
instructions.
2. Route the seat belt tongue through the child
restraint and insert it into the buckle until you
hear and feel the latch engage. Be sure to
follow the child restraint manufacturer’s in-
structions for belt routing.
3. Pull the shoulder belt until the belt is fully
extended. At this time, the seat belt retractor
is in the Automatic Locking Retractor (ALR)
mode (child restraint mode). It reverts to the
Emergency Locking Retractor (ELR) mode
when the seat belt is fully retracted.
Rear-facing – step 1
WRS0256
Rear-facing – step 2
WRS0761
Rear-facing – step 3
LRS0669
Safety—Seats, seat belts and supplemental restraint system 1-33

4. Allow the seat belt to retract. Pull up on the
shoulder belt to remove any slack in the belt.
5. Remove any additional slack from the seat
belt; press downward and rearward firmly in
the center of the child restraint to compress
the vehicle seat cushion and seatback while
pulling up on the seat belt.
6. After attaching the child restraint, test it be-
fore you place the child in it. Push it from side
to side while holding the child restraint near
the seat belt path. The child restraint should
not move more than 1 inch (25 mm), from
side to side. Try to tug it forward and check
to see if the belt holds the restraint in place.
If the restraint is not secure, tighten the seat
belt as necessary, or put the restraint in
another seat and test it again. You may need
to try a different child restraint. Not all child
restraints fit in all types of vehicles.
Rear-facing – step 4
LRS0670
Rear-facing – step 5
WRS0762
Rear-facing – step 6
WRS0763
1-34 Safety—Seats, seat belts and supplemental restraint system

7. Check to make sure that the child restraint is
properly secured prior to each use. If the
seat belt is not locked, repeat steps 1
through 6.
After the child restraint is removed and the seat
belt fully retracted, the ALR mode (child restraint
mode) is canceled.
FORWARD-FACING CHILD
RESTRAINT INSTALLATION USING
LATCH
Refer to all Warnings and Cautions in the “Child
Safety” and “Child Restraints” sections before
installing a child restraint.
Follow these steps to install a forward-facing
child restraint in the 2nd row seats using the
LATCH system:
1. Position the child restraint on the seat. Al-
ways follow the child restraint manufactur-
er’s instructions.
2. Secure the child restraint anchor attach-
ments to the LATCH lower anchors. Check
to make sure the LATCH attachment is prop-
erly attached to the lower anchors.
If the child restraint is equipped with a top
tether strap, route the top tether strap and
secure the tether strap to the tether anchor
point. See “Installing top tether strap” in this
section. Do not install child restraints that
require the use of a top tether strap in seat-
ing positions that do not have a top tether
anchor.
3. The back of the child restraint should be
secured against the vehicle seatback.
If necessary, adjust or remove the head re-
straint to obtain the correct child restraint fit.
If the head restraint is removed, store it in a
secure place. Be sure to reinstall the
head restraint when the child restraint
is removed. See “Head restraints” in this
section for head restraint adjustment infor-
mation.
Forward-facing web-mounted – step 2
WRS0799
Forward-facing rigid-mounted – step 2
WRS0800
Safety—Seats, seat belts and supplemental restraint system 1-35

If the seating position does not have an
adjustable head restraint and it is interfering
with the proper child restraint fit, try another
seating position or a different child restraint.
4. For child restraints that are equipped with
webbing-mounted attachments, remove any
additional slack from the anchor attach-
ments. Press downward and rearward firmly
in the center of the child restraint with your
knee to compress the vehicle seat cushion
and seatback while tightening the webbing
of the anchor attachments.
5. Tighten the tether strap according to the
manufacturer’s instructions to remove any
slack.
6. After attaching the child restraint, test it be-
fore you place the child in it. Push it from side
to side while holding the child restraint near
the LATCH attachment path. The child re-
straint should not move more than 1 inch (25
mm), from side to side. Try to tug it forward
and check to see if the LATCH attachment
holds the restraint in place. If the restraint is
not secure, tighten the LATCH attachment
as necessary, or put the restraint in another
seat and test it again. You may need to try a
different child restraint. Not all child re-
straints fit in all types of vehicles.
Forward-facing – step 4
LRS0671
Forward-facing – step 6
WRS0697
1-36 Safety—Seats, seat belts and supplemental restraint system

7. Check to make sure the child restraint is
properly secured prior to each use. If the
child restraint is loose, repeat steps 3
through 6.
FORWARD-FACING CHILD
RESTRAINT INSTALLATION USING
THE SEAT BELTS — FRONT
PASSENGER AND REAR BENCH
SEAT
WARNING
The three-point seat belt with Automatic
Locking Retractor (ALR) must be used
when installing a child restraint. Failure to
use the ALR mode will result in the child
restraint not being properly secured. The
restraint could tip over or be loose and
cause injury to a child in a sudden stop or
collision. Also, it can change the opera-
tion of the front passenger air bag. See
“Front passenger air bag and status light”
later in this section.
Refer to all Warnings and Cautions in the “Child
Safety” and “Child Restraints” sections before
installing a child restraint.
Follow these steps to install a forward-facing
child restraint using the vehicle seat belt in the
rear seats or in the front passenger seat:
1. If you must install a child restraint in
the front seat, it should be placed in a
forward-facing direction only. Move
the seat to the rearmost position. Child
restraints for infants must be used in
the rear-facing direction and therefore
must not be used in the front seat.
2. Position the child restraint on the seat. Al-
ways follow the child restraint manufactur-
er’s instructions.
The back of the child restraint should be
secured against the vehicle seatback.
If necessary, adjust or remove the head re-
straint to obtain the correct child restraint fit.
If the head restraint is removed, store it in a
secure place. Be sure to reinstall the
head restraint when the child restraint
is removed. See “Head restraints” in this
section for head restraint adjustment, re-
moval and installation information.
If the seating position does not have an
adjustable head restraint and it is interfering
with the proper child restraint fit, try another
seating position or a different child restraint.
Forward-facing (front passenger seat) –
step 1
WRS0699
Safety—Seats, seat belts and supplemental restraint system 1-37

3. Route the seat belt tongue through the child
restraint and insert it into the buckle until you
hear and feel the latch engage. Be sure to
follow the child restraint manufacturer’s in-
structions for belt routing.
If the child restraint is equipped with a top
tether strap, route the top tether strap and
secure the tether strap to the tether anchor
point (rear seat installation only). See “In-
stalling top tether strap” in this section. Do
not install child restraints that require the use
of a top tether strap in seating positions that
do not have a top tether anchor.
4. Pull the shoulder belt until the belt is fully
extended. At this time, the seat belt retractor
is in the Automatic Locking Retractor (ALR)
mode (child restraint mode). It reverts to
Emergency Locking Retractor (ELR) mode
when the seat belt is fully retracted.
5. Allow the seat belt to retract. Pull up on the
shoulder belt to remove any slack in the belt.
Forward-facing – step 3
WRS0680
Forward-facing – step 4
LRS0667
Forward-facing – step 5
LRS0668
1-38 Safety—Seats, seat belts and supplemental restraint system

6. Remove any additional slack from the seat
belt; press downward and rearward firmly in
the center of the child restraint with your
knee to compress the vehicle seat cushion
and seatback while pulling up on the seat
belt.
7. Tighten the tether strap according to the
manufacturer’s instructions to remove any
slack.
8. After attaching the child restraint, test it be-
fore you place the child in it. Push it from side
to side while holding the child restraint near
the seat belt path. The child restraint should
not move more than 1 inch (25 mm), from
side to side. Try to tug it forward and check
to see if the seat belt holds the restraint in
place. If the restraint is not secure, tighten
the seat belt as necessary, or put the re-
straint in another seat and test it again. You
may need to try a different child restraint. Not
all child restraints fit in all types of vehicles.
9. Check to make sure the child restraint is
properly secured prior to each use. If the
seat belt is not locked, repeat steps 3
through 8.
Forward-facing – step 6
WRS0681
Forward-facing – step 8
WRS0698
Safety—Seats, seat belts and supplemental restraint system 1-39

10. If the child restraint is installed in the front
passenger seat, place the ignition switch in
the ON position. The front passenger air bag
status light should illuminate. If this
light is not illuminated see ⬙Front passenger
air bag and status light⬙in this section.
Move the child restraint to another
seating position. Have the system
checked by a NISSAN dealer.
After the child restraint is removed and the seat
belt is fully retracted, the ALR mode (child re-
straint mode) is canceled.
FORWARD-FACING CHILD
RESTRAINT INSTALLATION USING
THE SEAT BELTS — FRONT BENCH
CENTER POSITION
WARNING
●Never install a rear-facing child re-
straint in the front passenger seat.
Front air bags inflate with great force. A
rear-facing child restraint could be
struck by the front air bag in a crash and
could seriously injure or kill your child.
●NISSAN recommends that child re-
straints be installed in the rear seat.
However, if you must install a forward
facing child restraint in the front center
bench seat, follow these instructions
carefully.
●A child restraint with a top tether strap
should not be used in the front passen-
ger seat.
Forward-facing – step 10
LRS0865 WRS0256
1-40 Safety—Seats, seat belts and supplemental restraint system

Refer to all Warnings and Cautions in the “Child
Safety” and “Child Restraints” sections before
installing a child restraint.
Follow these steps to install a child restraint in the
front center bench seat:
1. If you must install a child restraint in
the front seat, it should be placed in a
forward-facing direction only. Move
the seat to the rearmost position. Child
restraints for infants must be used in
the rear-facing direction and therefore
must not be used in the front seat.
2. Position the child restraint on the seat. Al-
ways follow the child restraint manufactur-
er’s instructions.
The back of the child restraint should be
secured against the vehicle seat back. If
necessary, adjust or remove the head re-
straint to obtain the correct child restraint fit.
See “Head restraints” earlier in this section.
If the head restraint is removed, store it in a
secure place. Be sure to install the head
restraint when the child restraint is removed.
If the seating position does not have an
adjustable head restraint and it is interfering
with the proper child restraint fit, try another
seating position or a different child restraint.
3. Route the seat belt tongue through the child
restraint and insert it into the buckle until you
hear and feel the latch engage.
Be sure to follow the child restraint manu-
facturer’s instructions for seat belt routing.
Foward-Facing — step 1
WRS0914
Forward-Facing — step 3
WRS0915
Safety—Seats, seat belts and supplemental restraint system 1-41

4. Remove any additional slack from the seat
belt. Press downward and rearward firmly in
the center of the child restraint with your
knee to compress the vehicle seat cushion
and seatback while pulling up on the seat
belt.
5. After attaching the child restraint, test it be-
fore you place the child in it. Push it from side
to side while holding the child restraint near
the seat belt path. The child restraint should
not move more than 1 inch (25 mm), from
side to side. Try to tug it forward and check
to see if the seat belt holds the restraint in
place. If the restraint is not secure, tighten
the seat belt as necessary, or put the re-
straint in another seat and test it again. You
may need to try a different child restraint. Not
all child restraints fit in all types of vehicles.
6. Check to make sure the child restraint is
properly secured prior to each use. If the
seat belt is not locked, repeat steps 3
through 5.
Forward-Facing — step 4
WRS0916
Forward-Facing — step 5
WRS0917
1-42 Safety—Seats, seat belts and supplemental restraint system

INSTALLING TOP TETHER STRAP
(Rear bench seat)
To access the anchor points 䊊
2behind the rear
bench seat, tilt the rear seatback forward by
lifting up on the pull strap 䊊
1behind the seat-
back.
Before securing the child restraint with the
LATCH lower anchors (rear outboard seating po-
sitions only) or the seat belt, as applicable, follow
these steps.
1. If necessary, raise or remove the head re-
straint to position the top tether strap 䊊
1
over the top of the seatback. If the head
restraint is removed, store it in a secure
place. Be sure to reinstall the head restraint
when the child restraint is removed. See
“Head restraints” in this section for
head restraint adjustment, removal
and installation information.
2. Position the top tether strap over the top of
the seatback and under the head restraint.
3. Secure the tether strap 䊊
2to the tether
anchor point 䊊
3on the seat directly behind
the child restraint.
4. Return the seatback to the locked position.
5. Refer to the appropriate child restraint in-
stallation procedure steps in this section
before tightening the tether strap.
If you have any questions when installing a
top tether strap, consult your NISSAN
dealer for details.
BOOSTER SEATS
Precautions on booster seats
WARNING
If a booster seat and seat belt are not used
properly, the risk of a child being injured
in a sudden stop or collision greatly
increases:
– Make sure the shoulder portion of
the belt is away from the child’s face
and neck and the lap portion of the
belt does not cross the stomach.
Anchor point access
LRS0392
Rear bench seat
WRS0423
Safety—Seats, seat belts and supplemental restraint system 1-43

– Make sure the shoulder belt is not
behind the child or under the child’s
arm.
– A booster seat must only be installed
in a seating position that has a
lap/shoulder belt.
LRS0455 LRS0453
1-44 Safety—Seats, seat belts and supplemental restraint system

Booster seats of various sizes are offered by
several manufacturers. When selecting any
booster seat, keep the following points in mind:
●Choose only a booster seat with a label
certifying that it complies with Federal Motor
Vehicle Safety Standard 213 or Canadian
Motor Vehicle Safety Standard 213.
●Check the booster seat in your vehicle to be
sure it is compatible with the vehicle’s seat
and seat belt system.
●Make sure the child’s head will be properly
supported by the booster seat or vehicle
seat. The seatback must be at or above the
center of the child’s ears. For example, if a
low back booster seat 䊊
1is chosen, the
vehicle seatback must be at or above the
center of the child’s ears. If the seatback is
lower than the center of the child’s ears, a
high back booster seat 䊊
2should be used.
●If the booster seat is compatible with your
vehicle, place the child in the booster seat
and check the various adjustments to be
sure the booster seat is compatible with the
child. Always follow all recommended pro-
cedures.
All U.S. states and Canadian provinces or
territories require that infants and small
children be restrained in an approved child
restraint at all times while the vehicle is
being operated.
The instructions in this section apply to booster
seat installation in the rear seats or the front
passenger seat.
Booster seat installation on front
passenger seat and rear seat
CAUTION
Do not use the lap/shoulder belt in the
Automatic Locking Retractor mode when
using a booster seat with the seat belts.
Refer to all Warnings and Cautions in the “Child
Safety”, “Child Restraints” and “Booster Seats”
sections before installing a child restraint.
Follow these steps to install a booster seat in the
rear seat or in the front passenger seat:
LRS0464
Safety—Seats, seat belts and supplemental restraint system 1-45

1. If you must install a booster seat in the
front seat, move the seat to the rear-
most position.
2. Position the booster seat on the seat. Only
place it in a front-facing direction. Always
follow the booster seat manufacturer’s in-
structions.
3. The booster seat should be positioned on
the vehicle seat so that it is stable.
If necessary, adjust or remove the head re-
straint to obtain the correct booster seat fit. If
the head restraint is removed, store it in a
secure place. Be sure to reinstall the
head restraint when the booster seat is
removed. See “Head restraints” in this sec-
tion for head restraint adjustment, removal
and installation information.
If the seating position does not have an
adjustable head restraint and it is interfering
with the proper booster seat fit, try another
seating position or a different booster seat.
4. Position the lap portion of the seat belt low
and snug on the child’s hips. Be sure to
follow the booster seat manufacturer’s in-
structions for adjusting the seat belt routing.
5. Pull the shoulder belt portion of the seat belt
toward the retractor to take up extra slack.
Be sure the shoulder belt is positioned
across the top, middle portion of the child’s
shoulder. Be sure to follow the booster seat
manufacturer’s instructions for adjusting the
seat belt routing.
6. Follow the warnings, cautions and instruc-
tions for properly fastening a seat belt
shown in “Three-point type seat belt with
retractor” earlier in this section.
WRS0699
Front passenger position
LRS0454
1-46 Safety—Seats, seat belts and supplemental restraint system

7. If the booster seat is installed in the front
passenger seat, place the ignition switch in
the ON position. The front passenger air bag
status light may or may not illuminate,
depending on the size of the child and the
type of booster seat being used. See “Front
passenger air bag and status light” later in
this section.
PRECAUTIONS ON SUPPLEMENTAL
RESTRAINT SYSTEM
This Supplemental Restraint System (SRS) sec-
tion contains important information concerning
the following systems:
●Driver and passenger supplemental front-
impact air bag (NISSAN Advanced Air Bag
System)
●Front seat-mounted side-impact supple-
mental air bag
●Roof-mounted curtain side-impact and roll-
over supplemental air bag
●Seat belt with pretensioner
Supplemental front-impact air bag system:
The NISSAN Advanced Air Bag System can help
cushion the impact force to the head and chest of
the driver and right front passenger in certain
frontal collisions.
Front seat-mounted side-impact supple-
mental air bag system: This system can help
cushion the impact force to the chest area of the
driver and right front passenger in certain side
impact collisions. The side air bag is designed to
inflate on the side where the vehicle is impacted.
Roof-mounted curtain side-impact and
rollover supplemental air bag system: This
system can help cushion the impact force to the
head of occupants in front and rear outboard
seating positions in certain side impact or rollover
collisions. In a side impact, the curtain and roll-
over air bags are designed to inflate on the side
where the vehicle is impacted. In a rollover, both
curtain and rollover air bags are designed to
inflate and remain inflated for a short time.
These supplemental restraint systems are de-
signed to supplement the crash protection pro-
vided by the seat belts and are not a substitute
for them. Seat belts should always be correctly
worn and the occupant seated a suitable dis-
tance away from the steering wheel, instrument
panel and door finishers. See “Seat belts” earlier
in this section for instructions and precautions on
seat belt usage.
The supplemental air bags operate only
when the ignition switch is in the ON or
START position.
After turning the ignition key to the ON
position, the supplemental air bag warning
light illuminates. The supplemental air bag
warning light will turn off after about 7
seconds if the system is operational.
LRS0865
SUPPLEMENTAL RESTRAINT
SYSTEM
Safety—Seats, seat belts and supplemental restraint system 1-47

WARNING
●The front air bags ordinarily will not
inflate in the event of a side impact, rear
impact, rollover, or lower severity fron-
tal collision. Always wear your seat
belts to help reduce the risk or severity
of injury in various kinds of accidents.
●The front passenger air bag will not
inflate if the passenger air bag status
light is lit or if the front passenger seat
is unoccupied. See “Front passenger air
bag and status light” later in this
section.
●The seat belts and the front air bags are
most effective when you are sitting well
back and upright in the seat. The front
air bags inflate with great force. Even
with the NISSAN Advanced Air Bag Sys-
tem, if you are unrestrained, leaning
forward, sitting sideways or out of posi-
tion in any way, you are at greater risk of
injury or death in a crash. You may also
receive serious or fatal injuries from the
front air bag if you are up against it
when it inflates. Always sit back against
the seatback and as far away as practi-
cal from the steering wheel or instru-
ment panel. Always use the seat belts.
●The driver and front passenger seat belt
buckles are equipped with sensors that
detect if the seat belts are fastened. The
Advanced Air Bag System monitors the
severity of a collision and seat belt us-
age then inflates the air bags as
needed. Failure to properly wear seat
belts can increase the risk or severity of
injury in an accident.
●The front passenger seat is equipped
with an occupant classification sensor
(pressure sensor) that turns the front
passenger air bag OFF under some
conditions. This sensor is only used in
this seat. Failure to be properly seated
and wearing the seat belt can increase
the risk or severity of injury in an acci-
dent. See “Front Passenger air bag and
status light” later in this section.
●Keep hands on the outside of the steer-
ing wheel. Placing them inside the
steering wheel rim could increase the
risk that they are injured when the front
air bag inflates.
WRS0031
1-48 Safety—Seats, seat belts and supplemental restraint system

WARNING
●Never let children ride unrestrained or
extend their hands or face out of the
window. Do not attempt to hold them in
your lap or arms. Some examples of
dangerous riding positions are shown
in the illustrations.
ARS1133 ARS1041
Safety—Seats, seat belts and supplemental restraint system 1-49

WARNING
●Children may be severely injured or
killed when the front air bags, side air
bags or curtain and rollover air bags
inflate if they are not properly re-
strained. Pre-teens and children should
be properly restrained in the rear seat, if
possible.
ARS1042 ARS1043 ARS1044
1-50 Safety—Seats, seat belts and supplemental restraint system

WARNING
●Even with the NISSAN Advanced Air
Bag System, never install a rear-facing
child restraint in the front seat. An in-
flating front air bag could seriously in-
jure or kill your child. See “Child re-
straints” earlier in this section for
details.
WARNING
Front seat-mounted side-impact supple-
mental air bags and roof-mounted curtain
side-impact and rollover supplemental air
bags:
●The side air bags and curtain and roll-
over air bags ordinarily will not inflate in
the event of a frontal impact, rear im-
pact, or lower severity side collision.
Always wear your seat belts to help
reduce the risk or severity of injury in
various kinds of accidents.
ARS1045 WRS0256
Do not lean against doors or windows.
WRS0431
Safety—Seats, seat belts and supplemental restraint system 1-51

WARNING
●The seat belts, the side air bags and
curtain and rollover air bags are most
effective when you are sitting well back
and upright in the seat. The side air bag
and curtain and rollover air bag inflate
with great force. Do not allow anyone to
place their hand, leg or face near the
side air bag on the side of the seatback
of the front seat or near the side roof
rails. Do not allow anyone sitting in the
front seats or rear outboard seats to
extend their hand out of the window or
lean against the door. Some examples
of dangerous riding positions are
shown in the previous illustrations.
Do not lean against doors or windows.
LRS0396
Do not lean against doors or windows.
SSS0162
1-52 Safety—Seats, seat belts and supplemental restraint system

WARNING
●When sitting in the rear seat, do not
hold onto the seatback of the front seat.
If the side air bag inflates, you may be
seriously injured. Be especially careful
with children, who should always be
properly restrained. Some examples of
dangerous riding positions are shown
in the illustrations.
●Do not use seat covers on the front
seatbacks. They may interfere with side
air bag inflation.
LRS0421 SSS0159
Safety—Seats, seat belts and supplemental restraint system 1-53

1. Roof-mounted curtain side-impact and
rollover supplemental air bag
2. Roof-mounted curtain side-impact and
rollover supplemental air bags inflators
3. Air bag Control Unit (ACU)
4. Supplemental front-impact air bag mod-
ules
5. Crash zone sensor
6. Occupant classification system control
unit
7. Occupant classification sensor
(pressure sensor)
8. Seat belt buckle switches
9. Seat belt with pretensioner
10. Satellite sensors
11. Front seat-mounted side-impact
supplemental air bag modules
NISSAN Advanced Air Bag System
(front seats)
This vehicle is equipped with the NISSAN Ad-
vanced Air Bag System for the driver and right
front passenger seats. This system is designed to
meet certification requirements under U.S. regu-
lations. It is also permitted in Canada. However,
all of the information, cautions and warn-
ings in this manual still apply and must be
followed.
LRS2093
1-54 Safety—Seats, seat belts and supplemental restraint system
The driver supplemental front-impact air bag is
located in the center of the steering wheel. The
passenger supplemental front-impact air bag is
mounted in the dashboard above the glove box.
The supplemental front air bags are designed to
inflate in higher severity frontal collisions, al-
though they may inflate if the forces in another
type of collision are similar to those of a higher
severity frontal impact. They may not inflate in
certain frontal collisions. Vehicle damage (or lack
of it) is not always an indication of proper front air
bag system operation.
The NISSAN Advanced Air Bag System has dual
stage inflators. It also monitors information from
the crash zone sensor, the Air Bag Control Unit
(ACU), seat belt buckle sensors, occupant clas-
sification sensor (pressure sensor) and right front
passenger seat belt tension sensor. Inflator op-
eration is based on the severity of a collision and
seat belt usage for the driver. For the right front
passenger, it additionally monitors the weight of
an occupant or object on the seat and seat belt
tension. Based on information from the sensors,
only one front air bag may inflate in a crash,
depending on the crash severity and whether the
front occupants are belted or unbelted. Addition-
ally, the right front passenger air bag may be
automatically turned OFF under some conditions,
depending on the weight detected on the pas-
senger seat and how the seat belt is used. If the
front passenger air bag is OFF, the passenger air
bag status light will be illuminated (if the seat is
unoccupied, the light will not be illuminated, but
the air bag will be off). See “Front passenger air
bag and status light” later in this section for
further details. One front air bag inflating does not
indicate improper performance of the system.
If you have any questions about your air bag
system, please contact NISSAN or your NISSAN
dealer. If you are considering modification of your
vehicle due to a disability, you may also contact
NISSAN. Contact information is contained in the
beginning of this Owner’s Manual.
When a front air bag inflates, a fairly loud noise
may be heard, followed by the release of smoke.
This smoke is not harmful and does not indicate a
fire. Care should be taken to not inhale it, as it may
cause irritation and choking. Those with a history
of a breathing condition should get fresh air
promptly.
Front air bags, along with the use of seat belts,
help to cushion the impact force on the face and
chest of the driver and right front passenger. They
can help save lives and reduce serious injuries.
However, an inflating front air bag may cause
facial abrasions or other injuries. Front air bags
do not provide restraint to the lower body.
Even with NISSAN advanced air bags, seat belts
should be correctly worn and the driver and pas-
senger seated upright as far as practical away
from the steering wheel or instrument panel. The
front air bags inflate quickly in order to help
protect the front occupants. Because of this, the
force of the front air bag inflating can increase the
risk of injury if the occupant is too close to, or is
against, the front air bag module during inflation.
The front air bags deflate quickly after a collision.
The front air bags operate only when the
ignition switch is in the ON or START posi-
tion.
After turning the ignition key to the ON
position, the supplemental air bag warning
light illuminates. The supplemental air bag
warning light will turn off after about 7
seconds if the system is operational.
Safety—Seats, seat belts and supplemental restraint system 1-55

Front passenger air bag and status light
WARNING
The front passenger air bag is designed to
automatically turn OFF under some con-
ditions. Read this section carefully to
learn how it operates. Proper use of the
seat, seat belt and child restraints is nec-
essary for most effective protection. Fail-
ure to follow all instructions in this
manual concerning the use of seats, seat
belts and child restraints can increase the
risk or severity of injury in an accident.
Status light
The right front passenger air bag status
light is located under the climate controls.
After the ignition switch is placed in the ⬙ON⬙
position, the front passenger air bag status light
on the instrument panel illuminates for about 7
seconds and then turns off or operates depend-
ing on the front passenger seat occupied status.
The light operates as follows:
●Unoccupied passenger’s seat: The is
OFF and the front passenger air bag is OFF
and will not inflate in a crash.
●Passenger’s seat occupied by a small adult,
child or child restraint as outlined in this
section: The illuminates to indicate
that the front passenger air bag is OFF and
will not inflate in a crash.
●Occupied passenger seat and the passen-
ger meets the conditions outlined in this
section: The light is OFF to indicate
that the front passenger air bag is opera-
tional.
Front passenger air bag
The right front passenger air bag is designed to
automatically turn OFF when the vehicle is oper-
ated under some conditions as described below
in accordance with U.S. regulations. If the front
passenger air bag is OFF, it will not inflate in a
crash. The driver air bag and other air bags in your
vehicle are not part of this system.
The purpose of the regulation is to help reduce
the risk of injury or death from an inflating air bag
to certain front passenger seat occupants, such
as children, by requiring the air bag to be auto-
matically turned OFF. Certain sensors are used
to meet the requirements.
One sensor used is the occupant classification
sensor (pressure sensor). It is in the bottom of the
right front passenger seat cushion and is de-
signed to detect an occupant and objects on the
right front seat by weight. It works together with
seat belt sensors described later. For example, if
a child is in the right front passenger seat, the
Advanced Air Bag System is designed to turn the
passenger air bag OFF in accordance with the
regulations. Also, if a child restraint of the type
specified in the regulations is on the seat, its
weight and the child’s weight can be detected
and cause the air bag to turn OFF. Occupant
classification sensor operation can vary depend-
ing on the right front passenger seat belt sensors.
The front passenger seat belt sensors are de-
signed to detect if the seat belt is buckled and the
amount of tension on the seat belt, such as when
it is in the Automatic Locking Retractor (ALR)
mode (child restraint mode). Based on the
LRS0865
1-56 Safety—Seats, seat belts and supplemental restraint system
weight on the seat detected by the occupant
classification sensor and the belt tension de-
tected on the seat belt, the Advanced Air Bag
System determines whether the front passenger
air bag should be automatically turned OFF, as
required by the regulations.
Front passenger seat adult occupants who are
properly seated and using the seat belt as out-
lined in this manual should not cause the passen-
ger air bag to be automatically turned OFF. For
small adults it may be turned OFF; however, if the
occupant takes his/her weight off the seat cush-
ion (for example, by not sitting upright, by sitting
on an edge of the seat, or by otherwise being out
of position), this could cause the sensor to turn
the air bag OFF. In addition, if the occupant
improperly uses the seat belt in the ALR mode
(child restraint mode), this could cause the air
bag to be turned OFF. Always be sure to be
seated and wearing the seat belt properly for the
most effective protection by the seat belt and
supplemental air bag.
NISSAN recommends that pre-teens and chil-
dren be properly restrained in a rear seat.
NISSAN also recommends that appropriate child
restraints and booster seats be properly installed
in a rear seat. If this is not possible, the occupant
classification sensor and seat belt sensors are
designed to operate as described above to turn
the front passenger air bag OFF for specified
child restraints as required by the regulations.
Failing to properly secure child restraints and to
use the ALR mode (child restraint mode) may
allow the restraint to tip or move in an accident or
sudden stop. This can also result in the passen-
ger air bag inflating in a crash instead of being
OFF. See “Child restraints” earlier in this section
for proper use and installation.
If the right front passenger seat is not occupied
the passenger air bag is designed not to inflate in
a crash. However, heavy objects placed on the
seat could result in air bag inflation, because of
the object’s weight detected by the occupant
classification sensor. Other conditions could also
result in air bag inflation, such as if a child is
standing on the seat, or if two children are on the
seat, contrary to the instructions in this manual.
Always be sure that you and all vehicle occupants
are seated and restrained properly.
Using the passenger air bag status light, you can
monitor when the front passenger air bag is au-
tomatically turned OFF with the seat occupied.
The light will not illuminate when the right front
passenger seat is unoccupied.
If an adult occupant is in the seat but the passen-
ger air bag status light is illuminated (indicating
that the air bag is OFF), it could be that the
person is a small adult, or is not sitting on the seat
properly or not using the seat belt properly.
If a child restraint must be used in the front seat,
the passenger air bag status light may or may not
be illuminated, depending on the size of the child
and the type of child restraint being used. If the air
bag status light is not illuminated (indicating that
the air bag might inflate in a crash), it could be
that the child restraint or seat belt is not being
used properly. Make sure that the child restraint is
installed properly, the seat belt is used properly
and the occupant is positioned properly. If the air
bag status light is not illuminated, reposition the
occupant or child restraint in a rear seat.
If the passenger air bag status light will not illu-
minate even though you believe that the child
restraint, the seat belts and the occupant are
properly positioned, the system may be sensing
an unoccupied seat (in which case the air bag is
OFF). Your NISSAN dealer can check that the
system is OFF by using a special tool. However,
until you have confirmed with your dealer that
your air bag is working properly, reposition the
occupant or child restraint in a rear seat.
The air bag system and passenger air bag status
light will take a few seconds to register a change
in the passenger seat status. For example, if a
large adult who is sitting in the front passenger
seat exits the vehicle, the passenger air bag
status light will go from OFF to ON for a few
seconds and then to OFF. This is normal system
operation and does not indicate a malfunction.
Safety—Seats, seat belts and supplemental restraint system 1-57

If a malfunction occurs in the front passenger air
bag system, the supplemental air bag warning
light , located in the meter and gauges area
on the driver’s side of the instrument panel, will
blink. Have the system checked by a NISSAN
dealer.
Other supplemental front-impact air bag
precautions
WARNING
●Do not place any objects on the steer-
ing wheel pad or on the instrument
panel. Also, do not place any objects
between any occupant and the steering
wheel or instrument panel. Such ob-
jects may become dangerous projec-
tiles and cause injury if the front air
bags inflate.
●Immediately after inflation, several
front air bag system components will be
hot. Do not touch them; you may se-
verely burn yourself.
●No unauthorized changes should be
made to any components or wiring of
the supplemental air bag system. This is
to prevent accidental inflation of the
supplemental air bag or damage to the
supplemental air bag system.
●Do not make unauthorized changes to
your vehicle’s electrical system, sus-
pension system or front end structure.
This could affect proper operation of
the front air bag system.
●Tampering with the front air bag system
may result in serious personal injury.
Tampering includes changes to the
steering wheel and the instrument
panel assembly by placing material
over the steering wheel pad and above
the instrument panel or by installing
additional trim material around the air
bag system.
●Modifying or tampering with the front
passenger seat may result in serious
personal injury. For example, do not
change the front seats by placing mate-
rial on the seat cushion or by installing
additional trim material, such as seat
covers, on the seat that are not specifi-
cally designed to assure proper air bag
operation. Additionally, do not stow any
objects under the front passenger seat
or the seat cushion and seatback. Such
objects may interfere with the proper
operation of the occupant classifica-
tion sensor (pressure sensor).
●No unauthorized changes should be
made to any components or wiring of
the seat belt system. This may affect the
front air bag system. Tampering with
the seat belt system may result in seri-
ous personal injury.
●Work on and around the front air bag
system should be done by a NISSAN
dealer. Installation of electrical equip-
ment should also be done by a NISSAN
dealer. The Supplemental Restraint
System (SRS) wiring should not be
modified or disconnected. Unauthor-
ized electrical test equipment and prob-
ing devices should not be used on the
air bag system.
●A cracked windshield should be re-
placed immediately by a qualified re-
pair facility. A cracked windshield could
affect the function of the supplemental
air bag system.
*The SRS wiring harness connectors are
yellow and orange for easy identification.
When selling your vehicle, we request that you
inform the buyer about the front air bag system
and guide the buyer to the appropriate sections
in this Owner’s Manual.
1-58 Safety—Seats, seat belts and supplemental restraint system

Front seat-mounted side-impact
supplemental air bag and roof-
mounted curtain side-impact and
rollover supplemental air bag systems
The side air bags are located in the outside of the
seatback of the front seats. The curtain and roll-
over air bags are located in the side roof rails.
These systems are designed to meet voluntary
guidelines to help reduce the risk of injury to
out-of-position occupants. However, all of the
information, cautions and warnings in this
manual still apply and must be followed.
The side air bags and curtain and rollover air bags
are designed to inflate in higher severity side
collisions, although they may inflate if the forces
in another type of collision are similar to those of
a higher severity side impact. They are designed
to inflate on the side where the vehicle is im-
pacted. They may not inflate in certain side colli-
sions.
Curtain and rollover air bags are also designed to
inflate in certain types of rollover collisions or near
rollovers. As a result, certain vehicle movements
(for example, during severe off roading) may
cause the curtain and rollover air bags to inflate.
Vehicle damage (or lack of it) is not always an
indication of proper side air bag and curtain and
rollover air bag operation.
When the side air bags and curtain and rollover
air bags inflate, a fairly loud noise may be heard,
followed by release of smoke. This smoke is not
harmful and does not indicate a fire. Care should
be taken not to inhale it, as it may cause irritation
and choking. Those with a history of a breathing
condition should get fresh air promptly.
Side air bags, along with the use of seat belts,
help to cushion the impact force on the chest of
the front occupants. Curtain and rollover air bags
help to cushion the impact force to the head of
occupants in the front and rear outboard seating
positions. They can help save lives and reduce
serious injuries. However, an inflating side air bag
or curtain and rollover air bag may cause abra-
sions or other injuries. Side air bags and curtain
and rollover air bags do not provide restraint to
the lower body.
The seat belts should be correctly worn and the
driver and passenger seated upright as far as
practical away from the side air bag. Rear seat
passengers should be seated as far away as
practical from the door finishers and side roof
rails. The side air bags and curtain and rollover air
bags inflate quickly in order to help protect the
occupants. Because of this, the force of the side
air bag and curtain and rollover air bag inflating
can increase the risk of injury if the occupant is
too close to, or is against, these air bag modules
during inflation. The side air bag will deflate
quickly after the collision is over.
The curtain and rollover air bags will remain in-
flated for a short time.
The side air bags and curtain and rollover
air bags operate only when the ignition
switch is in the ON or START position.
After placing the ignition switch in the ON
position, the supplemental air bag warning
light illuminates. The supplemental air bag
warning light will turn off after about 7
seconds if the system is operational.
LRS2094
Safety—Seats, seat belts and supplemental restraint system 1-59

WARNING
●Do not place any objects near the seat-
back of the front seats. Also, do not
place any objects (an umbrella, bag,
etc.) between the front door finisher
and the front seat. Such objects may
become dangerous projectiles and
cause injury if a side air bag inflates.
●Right after inflation, several side air bag
and curtain and rollover air bag system
components will be hot. Do not touch
them; you may severely burn yourself.
●No unauthorized changes should be
made to any components or wiring of
the side air bag and curtain and rollover
air bag systems. This is to prevent dam-
age to or accidental inflation of the side
air bag and curtain and rollover air bag
systems.
●Do not make unauthorized changes to
your vehicle’s electrical system, sus-
pension system or side panel. This
could affect proper operation of the
curtain and rollover air bag systems.
●Tampering with the side air bag system
may result in serious personal injury.
For example, do not change the front
seats by placing material near the seat-
backs or by installing additional trim
material, such as seat covers, around
the side air bag.
●Work around and on the side air bag
and curtain and rollover air bag systems
should be done by a NISSAN dealer.
Installation of electrical equipment
should also be done by a NISSAN
dealer. The SRS wiring harnesses*
should not be modified or discon-
nected. Unauthorized electrical test
equipment and probing devices should
not be used on the side air bag or cur-
tain and rollover air bag systems.
* The SRS wiring harness or connectors are
yellow or orange for easy identification.
When selling your vehicle, we request that you
inform the buyer about the side air bag and
curtain and rollover air bag systems and guide the
buyer to the appropriate sections in this Owner’s
Manual.
Seat belts with pretensioners (Front
seats)
WARNING
●The pretensioners cannot be reused af-
ter activation. They must be replaced
together with the retractor and buckle
as a unit.
●If the vehicle becomes involved in a
collision but a pretensioner is not acti-
vated, be sure to have the pretensioner
system checked and, if necessary, re-
placed by your NISSAN dealer.
●No unauthorized changes should be
made to any components or wiring of
the pretensioner system. This is to pre-
vent damage to or accidental activation
of the pretensioners. Tampering with
the pretensioner system may result in
serious personal injury.
●Work around and on the pretensioner
system should be done by a NISSAN
dealer. Installation of electrical equip-
ment should also be done by a NISSAN
dealer. Unauthorized electrical test
equipment and probing devices should
not be used on the pretensioner system.
1-60 Safety—Seats, seat belts and supplemental restraint system

●If you need to dispose of a pretensioner
or scrap the vehicle, contact a NISSAN
dealer. Incorrect disposal procedures
could cause personal injury.
Working with the seat belt retractor, the preten-
sioner helps tighten the seat belt when the ve-
hicle becomes involved in certain types of colli-
sions, helping to restrain front seat occupants.
The pretensioner is encased with the seat belt
retractor. These seat belts are used the same way
as conventional seat belts.
When a pretensioner activates, smoke is re-
leased and a loud noise may be heard. This
smoke is not harmful and does not indicate a fire.
Care should be taken not to inhale it, as it may
cause irritation and choking. Those with a history
of a breathing condition should get fresh air
promptly.
After pretensioner activation, load limiters allow
the seat belt to release webbing (if necessary) to
reduce forces against the chest.
The supplemental air bag warning light is
used to indicate malfunctions in the pretensioner
system. (See ⬙SUPPLEMENTAL AIR BAG
WARNING LIGHT⬙in this section for more de-
tails.) If the operation of the supplemental air bag
warning light indicates there is a malfunction,
have the system checked by a NISSAN dealer.
When selling your vehicle, we request that you
inform the buyer about the pretensioner system
and guide the buyer to the appropriate sections
in this Owner’s Manual.
1. SRS Air bag warning labels
The warning labels are located on the sur-
face of the sun visor.
SUPPLEMENTAL AIR BAG
WARNING LABELS
Warning labels about the supplemental front-
impact air bag system are placed in the vehicle as
shown in the illustration.
WRS0885
Safety—Seats, seat belts and supplemental restraint system 1-61

SUPPLEMENTAL AIR BAG
WARNING LIGHT
The supplemental air bag warning light,
displaying in the instrument panel, moni-
tors the circuits for the air bag systems, preten-
sioners and all related wiring.
When the ignition key is in the ON or START
position, the supplemental air bag warning light
illuminates for about 7 seconds and then turns
off. This means the system is operational.
If any of the following conditions occur, the front
air bag, side air bag, curtain and rollover air bag
and pretensioner systems need servicing:
●The supplemental air bag warning light re-
mains on after approximately 7 seconds.
●The supplemental air bag warning light
flashes intermittently.
●The supplemental air bag warning light does
not come on at all.
Under these conditions, the front air bag, side air
bag and curtain and rollover air bag or preten-
sioner systems may not operate properly. They
must be checked and repaired. Take your vehicle
to the nearest NISSAN dealer.
WARNING
If the supplemental air bag warning light
is on, it could mean that the front air bag,
side air bag, curtain and rollover air bag
and/or pretensioner systems will not op-
erate in an accident. To help avoid injury
to yourself or others, have your vehicle
checked by a NISSAN dealer as soon as
possible.
Repair and replacement procedure
The front air bags, side air bags, curtain and
rollover supplemental air bags and pretensioners
are designed to inflate on a one-time-only basis.
As a reminder, unless it is damaged, the supple-
mental air bag warning light remains illuminated
after inflation has occurred. Repair and replace-
ment of these supplemental air bag systems
should be done only by a NISSAN dealer.
When maintenance work is required on the ve-
hicle, the front air bags, side air bags, curtain and
rollover air bags, pretensioners and related parts
should be pointed out to the person performing
the maintenance. The ignition key should always
be in the LOCK position when working under the
hood or inside the vehicle.
WARNING
●Once a front air bag, side air bag or
curtain and rollover air bag has inflated,
the air bag module will not function
again and must be replaced. Addition-
ally, the activated pretensioners must
also be replaced. The air bag module
and pretensioners should be replaced
by a NISSAN dealer. The air bag module
and pretensioner cannot be repaired.
●The front air bag, side air bag, curtain
and rollover air bag systems and the
pretensioner system should be in-
spected by a NISSAN dealer if there is
any damage to the front end or side
portion of the vehicle.
LRS0100
1-62 Safety—Seats, seat belts and supplemental restraint system

●If you need to dispose of a supplemen-
tal air bag or pretensioners or scrap the
vehicle, contact a NISSAN dealer. Cor-
rect supplemental air bag and preten-
sioner system disposal procedures are
set forth in the appropriate NISSAN
Service Manual. Incorrect disposal pro-
cedures could cause personal injury.
Safety—Seats, seat belts and supplemental restraint system 1-63
2 Instruments and controls
Instrument panel...................................2-2
Meters and gauges ................................2-4
Speedometer and odometer . . ...................2-5
Tachometer ....................................2-6
Engine coolant temperature gauge ...............2-6
Fuel gauge ....................................2-7
Engine oil pressure gauge (if so equipped) ........2-7
Voltmeter (if so equipped) .......................2-8
Automatic transmission fluid temperature
gauge (if so equipped) ..........................2-8
Compass display (if so equipped) ...................2-9
Compass display ..............................2-10
Warning/indicator lights and audible reminders ......2-13
Checking bulbs ...............................2-13
Warning lights ................................2-13
Indicator lights ................................2-18
Audible reminders .............................2-20
Vehicle Information Display (if so equipped) .........2-21
How to use the Vehicle Information Display .......2-21
Security systems (if so equipped) ..................2-25
Vehicle security system (if so equipped)..........2-25
NISSAN vehicle immobilizer system
(if so equipped) ...............................2-26
Windshield wiper and washer switch ...............2-27
Switch operation ..............................2-27
Rear window and outside mirror (if so equipped)
defroster switch ..................................2-28
Headlight and turn signal switch....................2-29
Headlight control switch........................2-29
Daytime running light system (Canada only) ......2-32
Instrument brightness control ...................2-32
Turn signal switch .............................2-33
Fog light switch (if so equipped) ................2-33
Hazard warning flasher switch .....................2-33
Cargo lamp switch (if so equipped).................2-34
Horn ............................................2-34
Heated seat (if so equipped).......................2-35
Vehicle Dynamic Control (VDC) off switch...........2-36
Electronic locking rear differential (E-Lock) system
switch (if so equipped) ............................2-36
Rear sonar system off switch (if so equipped)........2-37
Tow mode switch.................................2-38
Power outlet .....................................2-38
Storage .........................................2-40
Instrument panel storage trays ..................2-40
Console box (if so equipped) ...................2-41

Center armrest storage (if so equipped)..........2-42
Glove box ....................................2-42
Sunglasses holder (if so equipped) ..............2-43
Map pockets..................................2-43
Seatback pocket (if so equipped) ...............2-44
Overhead console (if so equipped) ..............2-44
Cup holders ..................................2-45
Grocery hooks (if so equipped) .................2-47
Lockable bedside storage compartment
(if so equipped) ...............................2-48
Windows ........................................2-48
Power windows (if so equipped) ................2-48
Manual windows (if so equipped)................2-51
Rear sliding window (if so equipped) ............2-51
Rear power window switch (if so equipped) ......2-51
Moonroof (if so equipped) .........................2-52
Automatic moonroof ...........................2-52
Interior light ......................................2-54
Console light (if so equipped)...................2-55
Personal lights (if so equipped) ....................2-55
Map lights (if so equipped) ........................2-55
HomeLink姞universal transceiver (if so equipped).....2-56
Programming HomeLink姞.......................2-56
Programming HomeLink姞for Canadian
customers ....................................2-57
Operating the HomeLink姞universal
transceiver....................................2-58
Programming trouble-diagnosis .................2-58
Clearing the programmed information ............2-58
Reprogramming a single HomeLink姞button ......2-58
If your vehicle is stolen .........................2-58

1. Vents (P. 4-13)
2. Headlight/fog light (if so equipped)/turn
signal switch (P. 2-29)
3. Steering wheel switch for audio
control/Bluetooth姞Hands-Free Phone
System (if so equipped) (P. 4-54,
P. 4-71)
4. Instrument brightness control (P. 2-32)
5. Driver supplemental air bag/horn
(P. 1-47, P. 2-34)
6. Meters, gauges and warning/indicator
lights (P. 2-4, 2-13)
7. Cruise control main/set switches
(if so equipped) (P. 5-20)
8. Shift selector (column) (if so equipped)
(P. 5-16)
9. Ignition switch (P. 5-9)
10. Navigation system* (if so equipped)
(P. 4-2)
11. Navigation system* controls
(if so equipped) (P. 4-2)
12. Audio system controls (P. 4-30)
13. Front passenger supplemental air bag
(P. 1-47)
14. Glove box (P. 2-42)
15. Climate controls (P. 4-14, P. 4-21,
P. 4-28)
WIC1563
INSTRUMENT PANEL
2-2 Instruments and controls
16. Aux jack (if so equipped) (P. 4-52)
17. Power outlet (P. 2-38)
18. Heated seat switch (if so equipped)
(P. 2-35)
19. Cup holder (P. 2-45)
20. Vehicle Dynamic Control (VDC) off
switch (P. 2-36)
21. Tow mode switch (P. 2-38)
22. Electronic locking rear differential
(E-Lock) system switch
(if so equipped) (P.2-36)
23. Shift selector (console)
(if so equipped) (P. 5-16)
24. Hazard warning flasher switch (P. 2-33)
25. Front passenger air bag status light
(P. 1-56)
26. Power outlet (P. 2-38)
27. 4WD shift switch (if so equipped)
(P. 5-27)
28. Windshield wiper/washer switch
(P. 2-27)
29. Tilt steering wheel control (P. 3-14)
30. Cargo lamp switch (if so equipped)
(P. 2-34)
31. Rear sonar system off switch
(if so equipped) (P. 2-37)
32. Pedal position adjustment switch
(if so equipped) (P. 3-14)
33. Rear power window switch
(if so equipped) (P. 2-51)
*: Refer to the separate Navigation System Own-
er’s Manual (if so equipped).
See the page number indicated in paren-
theses for operating details.
Instruments and controls 2-3

1. Warning/indicator lights
2. Tachometer
3. Engine coolant temperature gauge
4. Voltmeter (if so equipped)
5. Fuel gauge
6. Speedometer
7. Automatic transmission fluid tempera-
ture gauge (if so equipped)
8. Odometer/Twin trip odometer/Vehicle
Information Display
9. Engine oil pressure gauge
(if so equipped)
WIC1243
METERS AND GAUGES
2-4 Instruments and controls

1. Speedometer
2. Odometer/twin trip display
3. Change button
SPEEDOMETER AND ODOMETER
Speedometer
The speedometer indicates vehicle speed.
Odometer/Twin trip odometer
The odometer/twin trip odometer is displayed
when the ignition switch is placed in the ON
position.
The odometer records the total distance the ve-
hicle has been driven.
The twin trip odometer records the distance of
individual trips.
Changing the display:
Pushing the change button changes the display
as follows:
Trip →Trip →Odometer only
Elapsed time , driving distance and average
speed information is also available for vehicles
with a navigation system. Refer to “Control panel
buttons” in the “Display screen, heater, air condi-
tioner, audio and phone systems”.
Resetting the trip odometer:
Pushing the change button for more than 1 sec-
ond resets the currently displayed trip odometer
to zero.
WIC1244 WIC1245
Instruments and controls 2-5

TACHOMETER
The tachometer indicates engine speed in revo-
lutions per minute (rpm). Do not rev the engine
into the red zone 䊊
1.
CAUTION
When engine speed approaches the red
zone, shift to a higher gear or reduce en-
gine speed. Operating the engine in the
red zone may cause serious engine
damage.
ENGINE COOLANT TEMPERATURE
GAUGE
The gauge indicates the engine coolant tempera-
ture. The engine coolant temperature is within the
normal range 䊊
1when the gauge needle points
within the zone shown in the illustration.
The engine coolant temperature varies with the
outside air temperature and driving conditions.
CAUTION
If the gauge indicates coolant tempera-
ture near the hot (H) end of the normal
range, reduce vehicle speed to decrease
temperature. If the gauge is over the nor-
mal range, stop the vehicle as soon as
safely possible. If the engine is over-
heated, continued operation of the ve-
hicle may seriously damage the engine.
See “If your vehicle overheats” in the “In
case of emergency” section for immediate
action required.
WIC1246 LIC1135
2-6 Instruments and controls

FUEL GAUGE
The gauge indicates the approximate fuel level
in the tank.
The gauge may move slightly during braking,
turning, acceleration, or going up or down hills.
The gauge needle returns to E (Empty) after the
ignition key is turned to OFF.
The low fuel warning light comes on when the
amount of fuel in the tank is getting low.
Refill the fuel tank before the gauge regis-
ters E (Empty).
The indicates that the fuel-filler door is
located on the driver’s side of the vehicle.
CAUTION
●If the vehicle runs out of fuel, the
Malfunction Indicator Light (MIL) may
come on. Refuel as soon as possible.
After a few driving trips. the light
should turn off. If the light remains on
after a few driving trips, have the ve-
hicle inspected by a NISSAN dealer.
●For additional information, see “Mal-
function Indicator Light (MIL)” later in
this section.
ENGINE OIL PRESSURE GAUGE (if
so equipped)
The gauge indicates the engine lubrication sys-
tem oil pressure while the engine is running. The
needle should be in the middle of the gauge when
the engine is running.
LIC1199 LIC1198
Instruments and controls 2-7

CAUTION
●This gauge is not designed to indicate
low engine oil level. Use the dipstick to
check the oil level. (See “Engine oil” in
the “Maintenance and do-it-yourself”
section.)
●If the gauge needle does not move with
the proper amount of engine oil, have
the vehicle checked by a NISSAN
dealer. Continued vehicle operation in
such a condition could cause serious
damage to the engine.
VOLTMETER (if so equipped)
When the ignition switch is placed in the ON
position, the voltmeter indicates the battery volt-
age. When the engine is running, it indicates the
generator voltage.
While cranking the engine, the volts drop below
the normal range. If the needle is not in the normal
range (11 - 15 volts) 䊊
1while the engine is
running, it may indicate that the charging system
is not functioning properly. Have the system
checked by a NISSAN dealer.
AUTOMATIC TRANSMISSION FLUID
TEMPERATURE GAUGE (if so
equipped)
This gauge indicates the temperature of the au-
tomatic transmission fluid. The automatic trans-
mission fluid temperature is in the normal range
䊊
1when the gauge needle points within the zone
shown in the illustration.
LIC1136 WIC1247
2-8 Instruments and controls

CAUTION
●This gauge is not designed to indicate
low automatic transmission fluid level.
Use the dipstick to check the fluid level.
(See “5-speed automatic transmission
fluid” in the “Maintenance and do-it-
yourself” section.)
●If the gauge indicates automatic trans-
mission fluid temperature over the nor-
mal range, stop the vehicle as soon as
safely possible. Have the vehicle
checked by a NISSAN dealer. Contin-
ued operation of the vehicle may seri-
ously damage the transmission.
This unit measures terrestrial magnetism and in-
dicates the heading direction of the vehicle.
With the ignition switch in the ON position, press
the or button as described in the
charts below to activate various features of the
automatic anti-glare rearview mirror.
Type A
Push and hold
the
button for about:
Feature:
(Push button again for about 1 sec-
ond to change settings)
1 second Compass display toggles on/off
8 seconds Automatic anti-glare/indicator light
toggles on/off
11 seconds Compass zone can be changed to
correct false compass readings
13 seconds Compass enters calibration mode
Type B
Push and hold
the
button for about:
Feature:
(Push button again for about 1 sec-
ond to change settings)
1 second Compass display toggles on/off
8 seconds Compass zone can be changed to
correct false compass readings
10 seconds Compass enters calibration mode
For information about the automatic anti-glare
feature, refer to “Automatic anti-glare rearview
mirror” in the “Pre-driving checks and adjust-
ments” section.
COMPASS DISPLAY (if so equipped)
Instruments and controls 2-9

COMPASS DISPLAY
Push the or button for about 1 sec-
ond when the ignition switch is placed in the ON
position to toggle the compass direction display
䊊
1on or off. The display will indicate the direction
that the vehicle is heading.
N: North
E: East
S: South
W: West
If the display reads “C”, calibrate the compass by
driving the vehicle in three complete circles at
less than 5 MPH (8 km/h).
You can also calibrate the compass by driving
your vehicle on your everyday route. The com-
pass will be calibrated once it has tracked three
complete circles.
Type A
WIC0904
Type B
LIC0583
2-10 Instruments and controls

Zone variation change procedure
The difference between magnetic north and geo-
graphical north is known as variance. In some
areas, this difference can sometimes be great
enough to cause false compass readings. Follow
these instructions to set the variance for your
particular location if this happens:
1. Press and hold the button for about
11 seconds or the button for about 8
seconds. The current zone number will ap-
pear in the display. Release the button.
2. Find your current location on the zone map.
Refer to the illustration.
3. Press the or the button repeat-
edly to toggle through the zone numbers
until the desired number appears in the dis-
play. Once you have selected a zone num-
ber, the display will show a compass direc-
tion within a few seconds.
NOTE:
Use zone number 5 for Hawaii.
Inaccurate compass direction
The compass display is equipped with automatic
correction function. If the correct direction is not
shown, follow this procedure.
WIC0355
Instruments and controls 2-11

1. With the display turned on, press and hold
the button for about 13 seconds or
the for about 10 seconds. The “C” or
“CAL” icon in the compass display will illu-
minate.
2. Calibrate the compass by driving the vehicle
in three complete circles at a maximum
speed of 5 MPH (8 km/h).
3. After completing the circles, the display
should return to normal.
CAUTION
●Do not install a ski rack, antenna, etc.,
which are attached to the vehicle by
means of a magnet. They affect the op-
eration of the compass.
●When cleaning the mirror, use a paper
towel or similar material dampened
with glass cleaner. Do not spray glass
cleaner directly on the mirror as it may
cause the liquid cleaner to enter the
mirror housing.
2-12 Instruments and controls

or Anti-lock Braking System (ABS)
warning light
Low fuel warning light High beam indicator light (Blue)
Automatic transmission check warning light Low tire pressure warning light Malfunction indicator light (MIL)
Automatic transmission park warning light
(model)
Master warning light (if so equipped) Security indicator light (if so equipped)
or Brake warning light Seat belt warning light and chime Slip indicator light
Charge warning light Supplemental air bag warning light Turn signal/hazard indicator lights
Engine oil pressure low/engine coolant
temperature high warning light
Electronic locking rear differential (E-Lock)
system on indicator light (if so equipped)
Vehicle Dynamic Control (VDC) off indicator
light
4WD warning light ( model) Front passenger air bag status light
CHECKING BULBS
With all doors closed, apply the parking brake
and place the ignition switch in the ON position
without starting the engine. The following lights
will come on:
, or , , , ,
The following lights come on briefly and then go
off:
or , , , ,
If any light fails to come on, it may indicate
a burned-out bulb or an open circuit in the
electrical system. Have the system repaired
promptly.
WARNING LIGHTS
For additional information on warnings and indi-
cators, see “Vehicle information display” later in
this section.
WARNING/INDICATOR LIGHTS AND
AUDIBLE REMINDERS
Instruments and controls 2-13

or Anti-lock Braking
System (ABS)
warning light
When the ignition switch is placed in the ON
position, the Anti-lock Braking System (ABS)
warning light illuminates and then turns off. This
indicates the ABS is operational.
If the ABS warning light illuminates while the
engine is running, or while driving, it may indicate
the ABS is not functioning properly. Have the
system checked by a NISSAN dealer.
If an ABS malfunction occurs, the anti-lock func-
tion is turned off. The brake system then operates
normally, but without anti-lock assistance. See
“Brake system” in the “Starting and driving” sec-
tion.
Automatic Transmission check
warning light
When the ignition switch is placed in the ON
position, the light comes on for about 2 seconds.
If the light comes on at any other time, it may
indicate the automatic transmission system is not
functioning properly. Have the system checked
by a NISSAN dealer.
Automatic transmission park
warning light ( model)
WARNING
●If the ATP light is ON, this indicates that
the automatic transmission P (Park) po-
sition will not function and the transfer
case is in neutral.
●When parking, always make sure that
the 4WD shift indicator light illuminates
and the parking brake is set. Failure to
engage the transfer position in 2WD, 4H
or 4LO could result in the vehicle mov-
ing unexpectedly, resulting in serious
personal injury or property damage.
●Shift the 4WD switch into the 2WD, 4H
or 4LO position again to turn off the ATP
warning light when the shift selector to
the P position and the ATP warning light
is ON. (Before shifting the 4WD switch
into the 4LO position, move the shift
selector to the N position once, shift the
shift selector into P again and make
sure the ATP warning light is OFF.)
This light indicates that the automatic transmis-
sion parking function is not engaged. If the trans-
fer control is not secured in any drive position
while the shift selector is in the P (Park) position,
the transmission will disengage and the drive
wheels will not lock.
or Brake warning light
This light functions for both the parking brake and
the foot brake systems.
Parking brake indicator
When the ignition switch is placed in the ON
position, the light comes on when the parking
brake is applied.
Low brake fluid warning light
When the ignition switch is placed in the ON
position, the light warns of a low brake fluid level.
If the light comes on while the engine is running
with the parking brake not applied, stop the ve-
hicle and perform the following:
1. Check the brake fluid level. Add brake fluid
as necessary. See “Brake fluid” in the “Main-
tenance and do-it-yourself” section of this
manual.
2. If the brake fluid level is correct, have the
warning system checked by a NISSAN
dealer.
2-14 Instruments and controls

WARNING
●Your brake system may not be working
properly if the warning light is on. Driv-
ing could be dangerous. If you judge it
to be safe, drive carefully to the nearest
service station for repairs. Otherwise,
have your vehicle towed because driv-
ing it could be dangerous.
●Pressing the brake pedal with the en-
gine stopped and/or a low brake fluid
level may increase your stopping dis-
tance and braking will require greater
pedal effort as well as pedal travel.
●If the brake fluid level is below the
MINIMUM or MIN mark on the brake
fluid reservoir, do not drive until the
brake system has been checked at a
NISSAN dealer.
Anti-lock Braking System (ABS) warning
indicator
When the parking brake is released and the
brake fluid level is sufficient, if both the brake
warning light and the Anti-lock Braking System
(ABS) warning light illuminate, it may indicate the
ABS is not functioning properly. Have the brake
system checked, and if necessary, repaired by a
NISSAN dealer promptly. Avoid high-speed driv-
ing and abrupt braking. (See “Anti-lock Braking
System (ABS) warning light” in this section.)
Charge warning light
If this light comes on while the engine is running,
it may indicate the charging system is not func-
tioning properly. Turn the engine off and check
the generator belt. If the belt is loose, broken,
missing, or if the light remains on, see a NISSAN
dealer immediately.
CAUTION
●Do not ground electrical accessories
directly to the battery terminal. Doing
so will bypass the variable control sys-
tem and the vehicle battery may not
charge completely. Refer to “Variable
voltage control system” in the “Mainte-
nance and do-it-yourself” section later
in this manual.
●Do not continue driving if the generator
belt is loose, broken or missing.
Engine oil pressure low/
Engine coolant temperature
high warning light
This light warns of low engine oil pressure or high
engine coolant temperature.
If the light flickers or comes on during normal
driving, pull off the road in a safe area, stop the
engine and allow it to cool. If the light remains on
after checking the oil and coolant, stop the en-
gine immediately and call a NISSAN dealer or
other authorized repair shop.
This light is not designed to indicate a low
oil or low coolant level. Check the oil level
with the dipstick and check the coolant level on
the reservoir. See “Engine oil” and “Checking
engine coolant level” in the “Maintenance and
do-it-yourself” section of this manual. Also see “If
your vehicle overheats” in the “In case of emer-
gency” section of this manual.
CAUTION
●Running the engine with the engine oil
pressure warning light on could cause
serious damage to the engine almost
immediately. Such damage is not cov-
ered by warranty. Turn off the engine as
soon as it is safe to do so.
Instruments and controls 2-15

●If the gauge indicates engine coolant
temperature over the normal range,
stop the vehicle as soon as safely pos-
sible. If the engine is overheated, con-
tinued operation of the vehicle may se-
riously damage the engine. See “If your
vehicle overheats” in the “In case of
emergency” section for immediate ac-
tion required.
4WD warning light (
model)
The 4WD warning light comes on when the key
switch is turned to ON. It turns off soon after the
engine is started.
If the engine or vehicle is not functioning properly,
the warning light will either remain illuminated or
blink. See “4WD warning light” in the “Starting
and driving” section.
CAUTION
●If the warning light comes on or blinks
during operation, have your vehicle
checked by a NISSAN dealer as soon as
possible.
●Do not drive on dry hard surface roads
in the 4H or 4LO position. If the 4WD
warning light turns on when you are
driving on dry hard surface roads:
– in the 4H position, shift the 4WD shift
switch to 2WD.
– in the 4LO position, stop the vehicle,
move the shift selector to the N posi-
tion with the brake pedal depressed,
and shift the 4WD shift switch to
2WD.
●If the warning light is still on after the
above operation, have your vehicle
checked by a NISSAN dealer as soon as
possible.
Low fuel warning light
This light comes on when the fuel level in the fuel
tank is getting low. Refuel as soon as it is conve-
nient, preferably before the fuel gauge reaches E
(Empty). There will be a small reserve of fuel
in the tank when the fuel gauge needle
reaches E (Empty).
Low tire pressure warning light
Your vehicle is equipped with a Tire Pressure
Monitoring System (TPMS) that monitors the tire
pressure of all tires except the spare.
The low tire pressure warning light warns of low
tire pressure or indicates that the TPMS is not
functioning properly.
After the ignition switch is placed in the ON
position, this light illuminates for about 1 second
and turns off.
Low tire pressure warning:
If the vehicle is being driven with low tire
pressure, the warning light will illuminate.
A CHECK TIRE PRESSURE warning also
appears in the vehicle information display.
If you select the tire pressure information
in the display (if so equipped), the LOW
PRESSURE warning message will be dis-
played. The tire pressure for each tire will
also be displayed.
When the low tire pressure warning light
illuminates, you should stop and adjust the
tire pressure of all 4 tires to the recom-
mended COLD tire pressure shown on the
Tire and Loading Information label located
in the driver’s door opening. The low tire
pressure warning light does not automati-
cally turn off when the tire pressure is ad-
justed. After the tire is inflated to the rec-
ommended pressure, the vehicle must be
driven at speeds above 16 MPH (25 km/h)
to activate the TPMS and turn off the low
2-16 Instruments and controls

tire pressure warning light. Use a tire pres-
sure gauge to check the tire pressure.
The CHECK TIRE PRESSURE warning is active
as long as the low tire pressure warning light
remains illuminated.
For additional information, see “Vehicle informa-
tion display” in the “Instruments and controls”
section and “Tire Pressure Monitoring System
(TPMS)” in the “Starting and driving” section and
in the “In case of emergency” section.
TPMS malfunction:
If the TPMS is not functioning properly, the low
tire pressure warning light will flash for approxi-
mately 1 minute when the ignition switch is
placed in the ON position. The light will remain on
after the 1 minute. Have the system checked by a
NISSAN dealer. The CHECK TIRE PRESSURE
warning does not appear if the low tire pressure
warning light illuminates to indicate a TPMS mal-
function.
For additional information, see “Tire Pressure
Monitoring System (TPMS)” in the “Starting and
driving” section and “Tire pressure” in the “Main-
tenance and do-it-yourself” section in this
manual.
WARNING
●If the light does not illuminate with the
ignition switch in the ON position, have
the vehicle checked by a NISSAN dealer
as soon as possible.
●If the light illuminates while driving,
avoid sudden steering maneuvers or
abrupt braking, reduce vehicle speed,
pull off the road to a safe location and
stop the vehicle as soon as possible.
Driving with under-inflated tires may
permanently damage the tires and in-
crease the likelihood of tire failure. Se-
rious vehicle damage could occur and
may lead to an accident and could re-
sult in serious personal injury. Check
the tire pressure for all four tires. Adjust
the tire pressure to the recommended
COLD tire pressure shown on the Tire
and Loading Information label located
in the driver’s door opening to turn the
low tire pressure warning light OFF. If
the light still comes on while driving
after adjusting the tire pressure, a tire
may be flat. If you have a flat tire, re-
place it with a spare tire as soon as
possible.
●When a spare tire is mounted or a wheel
is replaced, tire pressure will not be
indicated, the TPMS will not function
and the low tire pressure warning light
will flash for approximately 1 minute.
The light will remain on after 1 minute.
Contact your NISSAN dealer as soon as
possible for tire replacement and/or
system resetting.
●Replacing tires with those not originally
specified by NISSAN could affect the
proper operation of the TPMS.
CAUTION
●The TPMS is not a substitute for the
regular tire pressure check. Be sure to
check the tire pressure regularly.
●If the vehicle is being driven at speeds
of less than 16 MPH (25 km/h), the
TPMS may not operate correctly.
●Be sure to install the specified size of
tires to the 4 wheels correctly.
Instruments and controls 2-17

Master warning light (if so
equipped)
This light comes on when various vehicle infor-
mation display warnings appear.
●No key warning
●Low fuel warning
●Low windshield-washer fluid warning
●Parking brake release warning
●Door open warning
●Loose fuel cap warning
●Check tire pressure warning
Seat belt warning light and
chime
The light and chime remind you to fasten your
seat belts. The light illuminates whenever the
ignition switch is placed in the ON or START
position and remains illuminated until the driver’s
seat belt is fastened. At the same time, the chime
sounds for about 6 seconds unless the driver’s
seat belt is securely fastened.
The seat belt warning light may also illuminate if
the front passenger’s seat belt is not fastened
when the front passenger’s seat is occupied . For
7 seconds after the ignition switch is placed in
the ON position, the system does not activate the
warning light for the front passenger.
Refer to “Seat belts” in the “Safety—Seats, seat
belts and supplemental restraint system” section
for precautions on seat belt usage.
Supplemental air bag warning
light
When the ignition switch is placed in the ON or
START position, the supplemental air bag warn-
ing light illuminates for about 7 seconds and then
turns off. This means the system is operational.
If any of the following conditions occur, the front
air bag, side air bag, curtain and rollover air bag,
and pretensioner systems need servicing and
your vehicle must be taken to a NISSAN dealer:
●The supplemental air bag warning light re-
mains on after approximately 7 seconds.
●The supplemental air bag warning light
flashes intermittently.
●The supplemental air bag warning light does
not come on at all.
Unless checked and repaired, the supplemental
restraint system (air bag system) and/or the seat
belts with pretensioner system may not function
properly. For additional details see “Supplemen-
tal restraint system” in the “Safety—Seats, seat
belts and supplemental restraint system” section
of this manual.
WARNING
If the supplemental air bag warning light
is on, it could mean that the front air bag,
side air bag, curtain and rollover air bag
and/or pretensioner systems will not op-
erate in an accident. To help avoid injury
to yourself or others, have your vehicle
checked by a NISSAN dealer as soon as
possible.
INDICATOR LIGHTS
For additional information on warnings and indi-
cators, see “Vehicle information display” later in
this section.
Electronic locking rear
differential (E-Lock) system on
indicator light (if so equipped)
This light comes on when the electronic locking
rear differential (E-Lock) system clutch is fully
engaged.
2-18 Instruments and controls

The indicator light flashes when the system is first
turned on. When the system fully engages, the
light remains on. If the switch is on and the
indicator light continues to flash, the system is
not engaged.
For additional information, see “Electronic lock-
ing rear differential (E-Lock) system switch” later
in this section and “Electronic locking rear differ-
ential (E-Lock) system” in the “Starting and driv-
ing” section of this manual.
Front passenger air bag status
light
The front passenger air bag status light will be lit
and the passenger front air bag will be OFF
depending on how the front passenger seat is
being used.
For front passenger air bag status light operation,
see “Front passenger air bag and status light” in
the “Safety — Seats, seat belts and supplemental
restraint system” section of this manual.
High beam indicator light
(blue)
This blue light comes on when the headlight high
beams are on and goes out when the low beams
are selected.
The high beam indicator light also comes on
when the passing signal is activated.
Malfunction Indicator Light
(MIL)
If this indicator light comes on steady or blinks
while the engine is running, it may indicate a
potential emission control malfunction.
The Malfunction Indicator Light may also come
on steady if the fuel-filler cap is loose or missing,
or if the vehicle runs out of fuel. Check to make
sure the fuel-filler cap is installed and closed
tightly, and that the vehicle has at least 3 gallons
(11.4 liters) of fuel in the fuel tank.
After a few driving trips, the light should
turn off if no other potential emission control
system malfunction exists.
If this indicator light comes on steady for 20
seconds and then blinks for 10 seconds when
the engine is not running, it indicates that the
vehicle is not ready for an emission control sys-
tem inspection/maintenance test. See “Readi-
ness for inspection/maintenance (I/M) test” in the
“Technical and consumer information” section of
this manual.
Operation
The Malfunction Indicator Light will come on in
one of two ways:
●Malfunction Indicator Light on steady — An
emission control system malfunction has
been detected. Check the fuel-filler cap if
the LOOSE FUEL CAP warning appears in
the vehicle information display. If the fuel-
filler cap is loose or missing, tighten or install
the cap and continue to drive the vehicle.
The light should turn off after a few
driving trips. If the light does not turn
off after a few driving trips, have the vehicle
inspected by a NISSAN dealer. You do not
need to have your vehicle towed to the
dealer.
●Malfunction Indicator Light blinking — An
engine misfire has been detected which may
damage the emission control system. To re-
duce or avoid emission control system dam-
age:
– do not drive at speeds above 45 MPH
(72 km/h).
– avoid hard acceleration or deceleration.
– avoid steep uphill grades.
– if possible, reduce the amount of cargo
being hauled or towed.
Instruments and controls 2-19

The Malfunction Indicator Light may stop blinking
and come on steady. Have the vehicle inspected
by a NISSAN dealer. You do not need to have
your vehicle towed to the dealer.
CAUTION
Continued vehicle operation without hav-
ing the emission control system checked
and repaired as necessary could lead to
poor driveability, reduced fuel economy,
and possible damage to the emission con-
trol system.
Security indicator light (if so
equipped)
This light blinks whenever the ignition switch is in
the LOCK, OFF or ACC position. This function
indicates the security system equipped on the
vehicle is operational.
For additional information, see “Security sys-
tems” later in this section.
Slip indicator light
This indicator will blink when the VDC system or
the traction control system is operating, thus
alerting that the vehicle is nearing its traction
limits. The road surface may be slippery.
Turn signal/hazard indicator
lights
The appropriate light flashes when the turn signal
switch is activated.
Both lights flash when the hazard switch is turned
on.
Vehicle Dynamic Control
(VDC) off indicator light
This indicator light comes on when the Vehicle
Dynamic Control off switch is pushed to OFF, the
transfer case is in the 4LO position (
model), or when the Vehicle Dynamic Control
system is not functioning properly. This indicates
the Vehicle Dynamic Control system is not oper-
ating.
Push the Vehicle Dynamic Control off switch
again or restart the engine and the system will
operate normally. See “Vehicle Dynamic Control
(VDC) system” in the “Starting and driving” sec-
tion of this manual.
The Vehicle Dynamic Control light also comes on
when you place the ignition switch in the ON
position. The light will turn off after about 2 sec-
onds if the system is operational. If the light stays
on or comes on along with the indicator
light while you are driving, have the Vehicle Dy-
namic Control system checked by a NISSAN
dealer.
While the Vehicle Dynamic Control system is
operating, you might feel slight vibration or hear
the system working when starting the vehicle or
accelerating, but this is normal.
The VDC system will be disabled and the VDC
light will illuminate when the electronic locking
rear differential (E-lock) system switch (if so
equipped) is turned on and the E-lock system is
engaged. If the E-lock system disengages or the
switch is turned off, the VDC system will be
enabled and the VDC light will turn off.
AUDIBLE REMINDERS
Brake pad wear warning
The disc brake pads have audible wear warnings.
When a disc brake pad requires replacement, it
makes a high pitched scraping sound when the
vehicle is in motion, whether or not the brake
pedal is depressed. Have the brakes checked as
soon as possible if the warning sound is heard.
Key reminder chime
A chime sounds if the driver’s door is opened
while the key is left in the ignition switch. Remove
the key and take it with you when leaving the
vehicle.
2-20 Instruments and controls

Light reminder chime
With the ignition switch placed in the OFF posi-
tion, a chime sounds when the driver’s door is
opened if the headlights or parking lights are on.
Turn the headlight control switch off before leav-
ing the vehicle.
The vehicle information display 䊊
1is located to
the left of the speedometer. It displays such items
as:
●automatic transmission position indicator
●cruise control system information (if so
equipped)
●some indicators and warnings
HOW TO USE THE VEHICLE
INFORMATION DISPLAY
Press the vehicle information display INFO but-
ton 䊊
1located on the instrument panel to toggle
through the following modes.
MPG →Range →Warning
Rotate the INFO button 䊊
2to highlight the de-
sired menu option within the selected mode.
Press the INFO button 䊊
1to enter the high-
lighted menu.
WIC1248 WIC1249
VEHICLE INFORMATION DISPLAY (if
so equipped)
Instruments and controls 2-21

The icons at the bottom of the display screen
show the options available:
ENTER — Press the INFO button to select
a highlighted option.
NEXT — Rotate the INFO button to high-
light an option.
Warning mode (if so equipped)
The warning mode can be selected to view any
warnings that may be present. Once the screen is
selected you have the option of skipping the
warning or viewing it in detail.
Warnings can be present for issues such as an
open door or low fuel. For more information about
potential warnings, see “Vehicle information dis-
play warnings and indicators” later in this section.
WIC1166
2-22 Instruments and controls

Vehicle information display warnings
and indicators
1. Door open warning
2. Low fuel warning
3. Low windshield-washer fluid warning
4. Parking brake warning
5.
Cruise main switch indicator (if so equipped)
6. Cruise set switch indicator (if so equipped)
7. Transfer 4LO position indicator (
model)
8. 4WD shift indicator ( model)
9. Automatic transmission position indicator
10. Loose fuel cap warning
11. Check tire pressure warning
LIC2006
Instruments and controls 2-23

Door open warning
This warning illuminates when a door has been
opened and the engine is running.
Low fuel warning
This warning illuminates when the fuel level in the
fuel tank is getting low. Refuel as soon as it is
convenient, preferably before the fuel gauge
reaches E (Empty). There will be a small re-
serve of fuel in the tank when the fuel
gauge needle reaches E (Empty).
Low windshield-washer fluid warning
This warning illuminates when the windshield-
washer fluid is at a low level. Add windshield-
washer fluid as necessary. See “Windshield-
washer fluid” in the “Maintenance and do-it-
yourself” section of this manual.
Parking brake warning
This warning illuminates when the parking brake
is set and the vehicle is driven.
Cruise main switch indicator (if so
equipped)
This indicator illuminates when the cruise control
main switch is pushed. The indicator turns off
when the main switch is pushed again. When the
cruise main switch indicator illuminates, the
cruise control system is operational.
Cruise set switch indicator (if so
equipped)
This indicator illuminates while the vehicle speed
is controlled by the cruise control system. If the
indicator blinks while the engine is running, it may
indicate the cruise control system is not function-
ing properly. Have the system checked by a
NISSAN dealer.
Transfer 4LO position indicator (
model)
This indicator illuminates when the 4WD shift
switch is set in the 4LO position with the ignition
switch placed in the ON position.
If the 4WD shift switch is set in the 4LO position
and the indicator blinks, stop the vehicle, drive
slowly forward and the indicator will turn on.
When you shift between 4H and 4LO, stop the
vehicle, move the shift selector to the N (Neutral)
position, then depress and turn the 4WD shift
switch to 4LO or 4H.
The transfer case may be damaged if you shift the
switch while driving.
You cannot move the transfer 4WD shift switch
between 4H and 4LO unless you have first
stopped the vehicle and moved the shift selector
to N (Neutral). Make sure the transfer 4LO posi-
tion indicator illuminates when you shift the 4WD
shift switch to 4LO.
The indicator may blink while shifting from
one drive mode to the other.
4WD shift indicator ( model)
While the engine is running, the 4WD shift indi-
cator will illuminate the position selected by the
4WD shift switch.
The 4WD shift indicator may blink while
shifting from one drive mode to the other.
Automatic transmission position indicator
When the ignition switch is placed in the ON
position, this indicator shows the shift selector
position. See “Driving the vehicle” in the “Starting
and driving” section of this manual.
Loose fuel cap warning
This warning appears when the fuel-filler cap is
not tightened correctly after the vehicle has been
refueled. See “Fuel-filler cap” in the “Pre-driving
checks and adjustments” section.
Check tire pressure warning
This warning appears when the low tire pressure
warning light in the meter illuminates and low tire
pressure is detected. If this warning appears,
stop the vehicle and adjust the tire pressure to
2-24 Instruments and controls

the recommended COLD tire pressure shown on
the Tire and Loading Information label. See “Low
tire pressure warning light” earlier in this section
and “Tire Pressure Monitoring System (TPMS)”
in the “Starting and driving” section.
Your vehicle may have two types of security sys-
tems:
●Vehicle security system (if so equipped)
●NISSAN Vehicle Immobilizer System (if so
equipped)
VEHICLE SECURITY SYSTEM (if so
equipped)
The vehicle security system provides visual and
audible alarm signals if someone opens the doors
when the system is armed. It is not, however, a
motion detection type system that activates when
a vehicle is moved or when a vibration occurs.
The system helps deter vehicle theft but cannot
prevent it, nor can it prevent the theft of interior or
exterior vehicle components in all situations. Al-
ways secure your vehicle even if parking for a
brief period. Never leave your keys in the ignition,
and always lock the vehicle when unattended. Be
aware of your surroundings, and park in secure,
well-lit areas whenever possible.
Many devices offering additional protection, such
as component locks, identification markers, and
tracking systems, are available at auto supply
stores and specialty shops. Your NISSAN dealer
may also offer such equipment. Check with your
insurance company to see if you may be eligible
for discounts for various theft protection features.
How to arm the vehicle security
system
1. Close all windows. (The system can be
armed even if the windows are open.)
2. Remove the from the ignition switch.
3. Close all doors. Lock all doors. The doors
can be locked with the key, power door lock
switch (if the door is opened, locked and
then closed), or with the keyfob.
LIC0644
SECURITY SYSTEMS (if so equipped)
Instruments and controls 2-25

Keyfob operation:
●Push the button on the keyfob.
All doors lock. The hazard lights flash
twice and the horn beeps once to indicate
all doors are locked.
●When the button is pushed with
all doors locked, the hazard lights flash
twice and the horn beeps once as a re-
minder that the doors are already locked.
The horn may or may not beep. Refer to
“Silencing the horn beep feature” (vehicles
without navigation system) in the “Pre-
driving checks and adjustments” section or
“Vehicle electronic systems” (vehicles with
navigation system) in the “Display screen,
heater, air conditioner, audio and phone sys-
tems” section.
4. Confirm that the indicator light comes
on. The light stays on for about 30
seconds. The vehicle security system is now
pre-armed. After about 30 seconds the ve-
hicle security system automatically shifts
into the armed phase. The light begins
to flash once every 3 seconds. If, during the
30-second pre-arm time period, the door is
unlocked by the key or the keyfob, or the
ignition switch is placed to ACC or ON, the
system will not arm.
●If the key is turned slowly when locking
the door, the system may not arm. Fur-
thermore, if the key is turned beyond
the vertical position toward the unlock
position to remove the key, the system
may be disarmed when the key is re-
moved. If the indicator light fails to
glow for a period of time, unlock the
door once and lock it again.
●
Even when the driver and/or passengers
are in the vehicle, the system will arm
with all doors closed and locked with the
ignition switch in the OFF position.
●The lockable bedside storage com-
partment (if so equipped) is not pro-
tected by the vehicle security system.
Vehicle security system activation
The vehicle security system will give the following
alarm:
●The headlights blink and the horn sounds
intermittently.
●The alarm automatically turns off after a pe-
riod of time. However, the alarm reactivates if
the vehicle is tampered with again. The alarm
can be shut off by unlocking the driver’s door
with the key or by pressing the button
on the keyfob.
The alarm is activated by:
●opening a door without using the key or
keyfob (even if the door is unlocked by using
the inside lock knob or the power door lock
switch).
How to stop an activated alarm
The alarm stops only by unlocking the driver’s
door with the key or by pressing the button
on the keyfob.
NISSAN VEHICLE IMMOBILIZER
SYSTEM (if so equipped)
The NISSAN Vehicle Immobilizer System will not
allow the engine to start without the use of a
registered key.
If the engine fails to start using a registered key
(for example, when interference is caused by
another registered key, an automated toll road
device or automatic payment device on the key
ring), restart the engine using the following pro-
cedures:
1. Leave the ignition switch in the ON position
for approximately 5 seconds.
2. Turn the ignition switch to the OFF or LOCK
position, and wait approximately 10 sec-
onds.
2-26 Instruments and controls

3. Repeat steps 1 and 2.
4. Restart the engine while holding the device
(which may have caused the interference)
separate from the registered key.
If the no start condition re-occurs, NISSAN rec-
ommends placing the registered key on a sepa-
rate key ring to avoid interference from other
devices.
Statement related to Section 15 of FCC
Rules for NISSAN Vehicle Immobilizer Sys-
tem (CONT ASSY — IMMOBILIZER, ANT
ASSY — IMMOBILIZER)
This device complies with part 15 of the
FCC Rules and RSS-210 of Industry
Canada. Operation is subject to the follow-
ing two conditions;
(1) This device may not cause harmful in-
terference, and (2) this device must accept
any interference received, including inter-
ference that may cause undesired opera-
tion of the device.
CHANGES OR MODIFICATIONS NOT EX-
PRESSLY APPROVED BY THE PARTY RE-
SPONSIBLE FOR COMPLIANCE COULD
VOID THE USER’S AUTHORITY TO OPER-
ATE THE EQUIPMENT.
Security indicator light
The security indicator light blinks whenever the
ignition switch is placed in the LOCK, OFF or ACC
position. This function indicates the NISSAN Ve-
hicle Immobilizer System is operational.
If the NISSAN Vehicle Immobilizer System is mal-
functioning, the light will remain on while the
ignition switch is placed in the ON position.
If the light still remains on and/or the en-
gine will not start, see a NISSAN dealer for
NISSAN Vehicle Immobilizer System ser-
vice as soon as possible. Please bring all
registered keys that you have when visiting
your NISSAN dealer for service.
SWITCH OPERATION
The windshield wiper and washer operates when
the ignition switch is in the ON position.
Push the lever down to operate the wiper at the
following speed:
䊊
1Intermittent (INT) — intermittent operation
can be adjusted by turning the knob toward
䊊
A(Slower) or 䊊
B(Faster). Also, the inter-
mittent operation speed varies in accor-
dance with the vehicle speed. (For example,
when the vehicle speed is high, the intermit-
tent operation speed will be faster.)
LIC0474 LIC0965
WINDSHIELD WIPER AND WASHER
SWITCH
Instruments and controls 2-27

NOTE:
You can turn on or turn off the driving
speed dependent intermittent wiper func-
tion for vehicles with navigation system.
Refer to “Vehicle electronic systems” in the
“Display screen, heater, air conditioner, au-
dio and phone systems” section later in this
manual.
䊊
2Low (LO) — continuous low speed operation
䊊
3High (HI) — continuous high speed opera-
tion
Push the lever up 䊊
4to have one sweep opera-
tion (MIST) of the wiper.
Pull the lever toward you 䊊
5to operate the
washer. The wiper will also operate several times.
WARNING
In freezing temperatures the washer solu-
tion may freeze on the windshield and
obscure your vision which may lead to an
accident. Warm the windshield with the
defroster before you wash the windshield.
CAUTION
●Do not operate the washer continu-
ously for more than 30 seconds.
●Do not operate the washer if the
windshield-washer reservoir is empty.
●Do not fill the windshield-washer reser-
voir with washer fluid concentrates at
full strength. So methyl alcohol based
windshield-washer fluid concentrates
may permanently stain the grille if
spilled with filling the windshield-
washer fluid reservoir.
●Pre-mix windshield-washer fluid con-
centrates with water to the manufactur-
er’s recommended levels before pour-
ing the fluid into the windshield-washer
reservoir. Do not use the windshield-
washer reservoir to mix the windshield-
washer fluid concentrate and water.
To defrost the rear window glass and outside
mirrors (if so equipped), start the engine and
push the rear window defroster switch on. The
rear window defroster indicator light on the
switch comes on. Push the switch again to turn
the defroster off.
The rear window defroster automatically turns off
after approximately 15 minutes.
Type A
LIC0488
REAR WINDOW AND OUTSIDE
MIRROR (if so equipped)
DEFROSTER SWITCH
2-28 Instruments and controls

NOTE:
If the rear power window (if so equipped) is
lowered while the defroster switch is on,
the rear window defroster will automati-
cally shut off. The heated outside mirrors (if
so equipped) will remain on. The rear win-
dow defroster will automatically turn on
when the rear power window is fully closed
if the switch is on.
CAUTION
When cleaning the inner side of the rear
window, be careful not to scratch or dam-
age the rear window defroster.
HEADLIGHT CONTROL SWITCH
Lighting
䊊
1When turning the switch to the posi-
tion, the front parking, tail, license plate and
instrument panel lights come on.
䊊
2When turning the switch to the posi-
tion, the headlights come on and all the other
lights remain on.
Type B
LIC1173
Type C
LIC1158
Type A
SIC2745
HEADLIGHT AND TURN SIGNAL
SWITCH
Instruments and controls 2-29

CAUTION
Use the headlights with the engine run-
ning to avoid discharging the vehicle
battery.
Autolight system (if so equipped)
The autolight system allows the headlights to be
set so they turn on and off automatically. The
autolight system can:
●Turn on the headlights, front parking, tail,
license plate and instrument panel lights au-
tomatically when it is dark.
●Turn off all the lights when it is light.
●Keep all the lights on for a period of time after
you place the ignition switch in the OFF
position and all doors are closed.
Type B
WIC1250
Type C
SIC3019 WIC1251
2-30 Instruments and controls

To turn on the autolight system:
1. Turn the headlight switch to the AUTO posi-
tion 䊊
1.
2. Place the ignition switch in the ON position.
3. The autolight system automatically turns the
headlights on and off.
Initially, if the ignition switch is placed in the OFF
position and a door is opened and left open, the
headlights remain ON for a period of time. If
another door is opened while the headlights are
on, then the timer is reset.
To turn the autolight system off, turn the switch to
the OFF, ,or position. Be sure you do not put anything on top of
the autolight sensor 䊊
1located on the top
side of the instrument panel. The autolight
sensor controls the autolight; if it is cov-
ered, the autolight sensor reacts as if it is
dark out and the headlights will illuminate.
If this occurs while parked with the engine
off and the ignition switch placed in the ON
position, your vehicle’s battery could be-
come discharged.
Headlight beam select
䊊
1To select the high beam function, push the
lever forward. The high beam lights come on
and the light illuminates.
䊊
2Pull the lever back to select the low beam.
䊊
3Pulling and releasing the lever flashes the
headlight high beams on and off.
Battery saver system
If the ignition switch is placed in the OFF position
while the headlight switch is in the
or position, the headlights will turn off after
a period of time.
LIC0836 WIC1252
Instruments and controls 2-31

After the headlights automatically turn off with the
headlight switch in the or position,
the headlights will illuminate again if the headlight
switch is moved to the OFF position and then
turned to the or position.
CAUTION
Even though the battery saver feature au-
tomatically turns off the headlights after a
period of time, you should turn the head-
light switch to the OFF position when the
engine is not running to avoid discharging
the vehicle battery.
DAYTIME RUNNING LIGHT SYSTEM
(Canada only)
The headlights automatically illuminate at a re-
duced intensity when the engine is started with
the parking brake released. The daytime running
lights operate with the headlight switch in the
OFF position or in the position. Turn the
headlight switch to the position for full
illumination when driving at night.
If the parking brake is applied before the engine is
started, the daytime running lights do not illumi-
nate. The daytime running lights illuminate when
the parking brake is released. The daytime run-
ning lights will remain on until the ignition switch
is placed in the OFF position.
WARNING
When the daytime running light system is
active, tail lights on your vehicle are not
on. It is necessary at dusk to turn on your
headlights. Failure to do so could cause
an accident injuring yourself and others.
INSTRUMENT BRIGHTNESS
CONTROL
The instrument brightness control operates when
the headlight control switch is in
the , or AUTO position (with auto-
lights activated).
Turn the control to adjust the brightness of instru-
ment panel lights when driving at night.
WIC1506
2-32 Instruments and controls

TURN SIGNAL SWITCH
Turn signal
䊊
1Move the lever up or down to signal the
turning direction. When the turn is com-
pleted, the turn signals cancel automatically.
Lane change signal
䊊
2To signal a lane change, move the lever up or
down to the point where the indicator light
begins to flash, but the lever does not latch.
FOG LIGHT SWITCH (if so equipped)
To turn the fog lights on, turn the headlight switch
to the position, then turn the fog light
switch to the position.
To turn the fog lights on with the headlight switch
in the AUTO position (if so equipped), the head-
lights must be on, then turn the fog light switch to
the position.
To turn the fog lights off, turn the fog light switch
to the OFF position.
The headlights must be on and the low beams
selected for the fog lights to operate. The fog
lights automatically turn off when the high beam
headlights are selected.
Push the switch on to warn other drivers when
you must stop or park under emergency condi-
tions. All turn signal lights flash.
WARNING
●If stopping for an emergency, be sure to
move the vehicle well off the road.
●Do not use the hazard warning flashers
while moving on the highway unless
unusual circumstances force you to
drive so slowly that your vehicle might
become a hazard to other traffic.
●Turn signals do not work when the haz-
ard warning flasher lights are on.
WIC1253 WIC1254 LIC0394
HAZARD WARNING FLASHER
SWITCH
Instruments and controls 2-33

The flashers will operate with the ignition switch
placed in any position.
Some state laws may prohibit the use of
the hazard warning flasher switch while
driving.
To turn on the cargo lamp, push the switch down
to the ON position. The tailgate lights (if so
equipped) will also illuminate when the cargo
lamp switch is in the ON position.
CAUTION
Be sure to turn the light switch to the OFF
position when you leave the vehicle for
extended periods of time, otherwise the
battery will go dead.
To sound the horn, push near the horn icon of the
steering wheel.
WARNING
Do not disassemble the horn. Doing so
could affect proper operation of the
supplemental front air bag system. Tam-
pering with the supplemental front air bag
system may result in serious personal
injury.
LIC0616 LIC0604
CARGO LAMP SWITCH (if so
equipped)
HORN
2-34 Instruments and controls

1. Start the engine.
2. Push the LO or HI position of the switch, as
desired, depending on the temperature. The
indicator light in the switch will illuminate.
The heater is controlled by a thermostat,
automatically turning the heater on and off.
The indicator light will remain on as long as
the switch is on.
3. When the seat is warmed or before you
leave the vehicle, be sure to turn the switch
off.
WARNING
Do not use or allow occupants to use the
seat heater if you or the occupants cannot
monitor elevated seat temperatures or
have an inability to feel pain in body parts
that contact the seat. Use of the seat
heater by such people could result in se-
rious injury.
CAUTION
●Do not use the seat heater for extended
periods or when no one is using the
seat.
●Do not put anything on the seat which
insulates heat, such as a blanket, cush-
ion, seat cover, etc. Otherwise, the seat
may become overheated.
●Do not place anything hard or heavy on
the seat or pierce it with a pin or similar
object. This may result in damage to the
heater.
●Any liquid spilled on the heated seat
should be removed immediately with a
dry cloth.
●When cleaning the seat, never use
gasoline, benzine, thinner, or any simi-
lar materials.
●If any malfunctions are found or the
heated seat does not operate, turn the
switch off and have the system checked
by your NISSAN dealer.
●The battery could run down if the seat
heater is operated while the engine is
not running.
WIC1441
HEATED SEAT (if so equipped)
Instruments and controls 2-35

The vehicle should be driven with the Vehicle
Dynamic Control (VDC) system on for most driv-
ing conditions.
If the vehicle is stuck in mud or snow, the VDC
system reduces the engine output to reduce
wheel spin. The engine speed will be reduced
even if the accelerator is depressed to the floor. If
maximum engine power is needed to free a stuck
vehicle, turn the VDC system off.
To turn off the VDC system, push the VDC OFF
switch. The indicator will come on.
Push the VDC OFF switch again or restart the
engine to turn on the system. See “Vehicle Dy-
namic Control (VDC) system”in the “Starting and
driving” section.
The Electronic Locking Rear Differential (E-Lock)
system can help provide added traction if the
vehicle is stuck or becoming stuck.
To activate the E-Lock system:
●the 4WD switch must be in the 4LO position
(4-wheel drive vehicles),
●the vehicle must be stopped or moving at 4
MPH (7 km/h) or less, and
●the E-Lock system switch must be turned
ON.
When the E-Lock switch is turned ON, the indi-
cator light will flash until the system engages.
However, if all operation conditions listed above
are not met or the system becomes disengaged,
the indicator light will continue to flash.
The Anti-Lock Brake (ABS) system is disabled
and the ABS light illuminates when the E-Lock
system is ON. Also, the Vehicle Dynamic Control
(VDC) system is disabled and the VDC light
illuminates when the E-Lock system is ON.
See “Electronic locking rear differential (E-Lock)
system” in the “Starting and Driving” section for
further explanation and system limitations.
WARNING
●Never leave the E-Lock system ON
when driving on paved or hard-surfaced
roads. Turning the vehicle may result in
the rear wheels slipping and result in an
accident and personal injury. After us-
ing the E-Lock system to free the ve-
hicle, turn the system OFF.
LIC1548 LIC0729
VEHICLE DYNAMIC CONTROL (VDC)
OFF SWITCH
ELECTRONIC LOCKING REAR
DIFFERENTIAL (E-Lock) SYSTEM
SWITCH (if so equipped)
2-36 Instruments and controls

●Use the E-Lock system only when free-
ing a stuck vehicle. Try the 4LO position
before using the E-Lock system. Never
use the E-Lock system on a slippery
road surface such as snow or ice sur-
face. Using the E-Lock system when
driving in these road conditions may
cause unexpected movement of the ve-
hicle during engine braking, accelerat-
ing or turning, which may result in an
accident and serious personal injury.
CAUTION
●After using the E-Lock system, turn the
switch OFF to prevent possible damage
to driveline components from extended
use.
●Do not drive over 12 MPH (20 km/h)
when the system is engaged. Doing so
could result in possible damage to the
driveline.
●Do not turn on the E-lock system while
the tires are spinning. Doing so could
damage drivetrain components.
WARNING
The rear sonar system is a convenience
but it is not a substitute for proper back-
ing. Always turn and check that it is safe to
do so before backing up. Always back up
slowly.
The rear sonar system is active when the ignition
switch is placed to the ON position and the shift
selector is in R (Reverse).
When sensors detect obstacles within 5.9 ft (1.8
m) of the rear bumper, a beeping tone is emitted.
The rear sonar system can be disabled by push-
ing the OFF switch. When the system is disabled,
the indicator light on the switch will illuminate.
Push the switch again to enable the system. The
indicator light will go off.
The system will automatically reset the next time
the ignition switch is turned on.
See “Rear sonar system” in the “Starting and
driving” section.
LIC0471
REAR SONAR SYSTEM OFF SWITCH
(if so equipped)
Instruments and controls 2-37

Tow mode should be used when pulling a heavy
trailer or hauling a heavy load. Driving the vehicle
in the tow mode with no trailer/load or light
trailer/light load will not cause any damage. How-
ever, fuel economy may be reduced, and the
transmission/engine driving characteristics may
feel unusual.
Press the tow mode switch to activate tow mode.
The indicator light on the tow mode switch illumi-
nates when tow mode is selected. Press the tow
mode switch again to turn tow mode OFF.
Tow mode is automatically canceled when the
ignition switch is placed in the OFF position.
For additional information, refer to “Tow mode” in
the “Technical and consumer information” sec-
tion later in this manual.
LIC0594
Front row
WIC1404
TOW MODE SWITCH POWER OUTLET
2-38 Instruments and controls

The power outlets are for powering electrical
accessories such as cellular telephones.
The power outlets located on the driver’s side of
the instrument panel and in the truck box are
powered directly by the vehicle’s battery.
The power outlets located on the passenger’s
side of the instrument panel, inside the center
armrest, and in the 2nd row are powered only
when the ignition switch is placed in the ACC or
ON position.
Open the cap to use a power outlet.
CAUTION
●The outlet and plug may be hot during
or immediately after use.
●Only certain power outlets are designed
for use with a cigarette lighter unit. Do
not use any other power outlet for an
accessory lighter. See your NISSAN
dealer for additional information.
●Do not use with accessories that ex-
ceed a 12 volt, 120W (10A) power draw.
Do not use double adapters or more
than one electrical accessory.
●
Use power outlets with the engine running
to avoid discharging the vehicle battery.
●Avoid using power outlets when the air
conditioner, headlights or rear window
defroster is on.
●Before inserting or disconnecting a
plug, be sure the electrical accessory
being used is turned OFF.
●Push the plug in as far as it will go. If
good contact is not made, the plug may
overheat or the internal temperature
fuse may open.
●When not in use, be sure to close the
cap. Do not allow water or any other
liquid to contact the outlet.
2nd row (if so equipped)
WIC0643
Inside center armrest (if so equipped)
LIC0618
Instruments and controls 2-39

Do not use the outlet located in the truck box with
accessories that exceed 12 volt, 120W (15A)
power draw . Do not use double adapters or more
than one electrical accessory.
CAUTION
For the power outlet located in the bed of
the truck, do not use with accessories that
exceed a 12 volt, 120W (15A) power draw.
Do not use double adapters or more than
one electrical accessory.
INSTRUMENT PANEL STORAGE
TRAYS
WARNING
Do not place sharp objects in the trays to
help prevent injury in an accident or sud-
den stop.
The rubber mats can be removed for cleaning.
In truck box (if so equipped)
LIC0617
Side tray
LIC0565
Center tray (if so equipped)
LIC0566
STORAGE
2-40 Instruments and controls

CONSOLE BOX (if so equipped)
Console box storage trays
Console box storage
Pull up on the lever 䊊
1to open the console box lid
䊊
2.
Console box lock
Use the master key to lock 䊊
1or unlock 䊊
2the
console box.
LIC1369 LIC1370 LIC1371
Instruments and controls 2-41

CENTER ARMREST STORAGE (if so
equipped)
To access the center armrest storage area, lower
the center armrest and lift the lid.
GLOVE BOX
Open the glove box by pulling the handle.
Use the master key to lock or unlock the glove box
lock (if so equipped). The valet key cannot be
used.
WARNING
Keep glove box lid closed while driving to
help prevent injury in an accident or a
sudden stop.
LIC0621 LIC0578
2-42 Instruments and controls

SUNGLASSES HOLDER (if so
equipped)
To open the sunglasses holder, push and release.
WARNING
●Keep the sunglasses holder closed
while driving to prevent an accident.
CAUTION
●Do not use for anything other than
sunglasses.
●Do not leave sunglasses in the sun-
glasses holder while parking in direct
sunlight. The heat may damage the
sunglasses.
MAP POCKETS
LIC0567 LIC0589
Instruments and controls 2-43

SEATBACK POCKET (if so equipped)
The seatback pocket is located on the back of the
driver’s seat. The pocket can be used to store
maps.
OVERHEAD CONSOLE (if so
equipped)
Storage bins
WARNING
Keep storage bins closed while driving to
help prevent injury in an accident or a
sudden stop.
Push the button to open a storage bin.
Push the lid up to close.
LIC0575
Small bin (if so equipped)
LIC0568
Medium bin (if so equipped)
LIC0569
2-44 Instruments and controls

CUP HOLDERS
CAUTION
●Avoid abrupt starting and braking when
the cup holder is being used to prevent
spilling the drink. If the liquid is hot, it
can scald you or your passenger.
●Use only soft cups in the cup holder.
Hard objects can injure you in an
accident.
Position the arm on the adjustable cup holder so
that the cup is held securely.
Front — Type A
LIC1372
Front — Type B
LIC0620
Adjustable (if so equipped)
LIC1373
Instruments and controls 2-45

To open the 2nd row cup holders (rear of front
console), lower the lid. To close, raise the lid.
Armrest (if so equipped)
LIC0622
2nd row (rear of front console)
(if so equipped)
LIC0554
2nd row bench (if so equipped)
LIC0556
2-46 Instruments and controls

CAUTION
●Do not use bottle holder for any other
objects that could be thrown about in
the vehicle and possibly injure people
during sudden braking or an accident.
●Do not use bottle holder for open liquid
containers.
GROCERY HOOKS (if so equipped)
The grocery hooks allow for standard size plastic
grocery bags to hang side by side.
To access the grocery hooks, fold up the rear
bench seat. See “Folding the rear bench seat” in
the “Safety — Seats, seat belts and supplemental
restraint system” section earlier in this manual.
CAUTION
Do not apply a total load of more than 18
lbs (8 kg) to a single grocery hook.
Bottle holder — Type A
LIC0558
Bottle holder — Type B
LIC0624 LIC0626
Instruments and controls 2-47

LOCKABLE BEDSIDE STORAGE
COMPARTMENT (if so equipped)
To access the bedside storage compartment,
hold the key hole cover open and insert the
master key. Turn the key clockwise to unlock the
lid.
The tray inside the bedside storage compartment
is adjustable.
The bedside storage compartment will automati-
cally lock when the lid is closed. You do not need
to use the key.
CAUTION
●Do not store a total load of more than 22
lbs (10 kg) inside the storage
compartment.
●Do not use the storage compartment or
storage compartment lid as a step. Do-
ing so may damage them.
POWER WINDOWS (if so equipped)
WARNING
●Make sure that all passengers have
their hands, etc. inside the vehicle while
it is in motion and before closing the
windows. Use the window lock switch
to prevent unexpected use of the power
windows.
●Do not leave children unattended inside
the vehicle. They could unknowingly ac-
tivate switches or controls and become
trapped in a window. Unattended chil-
dren could become involved in serious
accidents.
The power windows operate when the ignition
switch is placed in the ON position, or for a
period of time after the ignition switch is placed in
the OFF position. If the driver’s or passenger’s
door is opened during this period of time, the
power to the windows is canceled.
LIC0625
WINDOWS
2-48 Instruments and controls

1. Window lock button
2. Power door lock switch
3. Front passenger side automatic switch
4. Right rear passenger window switch
5. Left rear passenger window switch
6. Driver side automatic switch
Driver’s side power window switch
The driver’s side control panel is equipped with
switches to open or close the front and rear
passenger windows.
To open a window, push the switch and hold it
down. To close a window, pull the switch and
hold it up. To stop the opening or closing function
at any time, simply release the switch.
Front passenger’s power window
switch
The passenger’s window switch operates only
the corresponding passenger’s window. To open
the window, push the switch and hold it down 䊊
1.
To close the window, pull the switch up 䊊
2.
WIC0845 LIC0580
Instruments and controls 2-49

Rear power window switch
The rear power window switches open or close
only the corresponding windows. To open the
window, push the switch and hold it down 䊊
1.To
close the window, pull the switch up 䊊
2.
Locking passengers’ windows
When the window lock button is depressed, only
the driver’s side window can be opened or
closed. Push it again to cancel the window lock
function.
Automatic operation
To fully open a window equipped with automatic
operation, press the window switch down (only
driver’s side shown) to the second detent and
release it; it need not be held. The window auto-
matically opens all the way. To stop the window,
lift the switch up while the window is opening.
To fully close a window equipped with automatic
operation, pull the switch up to the second detent
and release it; it need not be held. To stop the
window, press the switch down while the window
is closing.
Auto-reverse function
The auto-reverse function can be activated when
a window is closed by automatic operation.
Depending on the environment or driving
conditions, the auto-reverse function may
be activated if an impact or load similar to
something being caught in the window oc-
curs.
WARNING
There are some small distances immedi-
ately before the closed position which
cannot be detected. Make sure that all
passengers have their hands, etc., inside
the vehicle before closing the window.
If the vehicle’s battery is disconnected, replaced,
or jump started, the power window auto-reverse
function may not operate properly. If this occurs,
please contact the dealer to re-initialize the
power window auto-reverse system.
If the control unit detects something caught in a
window equipped with automatic operation as it
is closing, the window will be immediately low-
ered.
LIC0581 LIC0410
2-50 Instruments and controls

MANUAL WINDOWS (if so equipped)
The side windows can be opened or closed by
turning the hand crank on each door.
REAR SLIDING WINDOW (if so
equipped)
Squeeze the handles of the lever 䊊
1, then slide
the window open 䊊
2.
REAR POWER WINDOW SWITCH
(if so equipped)
To open the rear power window, push in and hold
the switch.
To close the rear power window, pull out and hold
the switch.
To stop the opening or closing function at any
time, simply release the switch.
WIC0263 LIC0627 LIC1553
Instruments and controls 2-51

NOTE:
If the rear power window (if so equipped) is
lowered while the defroster switch is on,
the rear window defroster will automati-
cally shut off. The heated outside mirrors (if
so equipped) will remain on. The rear win-
dow defroster will automatically turn on
when the rear power window is fully closed
if the switch is on.
AUTOMATIC MOONROOF
The moonroof will only operate when the ignition
switch is placed in the ON position. The auto-
matic moonroof is operational for a period of time,
even if the ignition switch is placed in the ACC or
OFF position. If the driver’s door or the front
passenger’s door is opened during this period of
time, the power to the moonroof is canceled.
Sliding the moonroof
To fully open the moonroof, push the switch to-
ward the open position 䊊
3.
To fully close the moonroof, push the switch
toward the close position 䊊
4.
To open or close the moonroof part way, push the
switch in any direction 䊊
5while the moonroof is
sliding open or closed to stop it in the desired
position.
Tilting the moonroof
To tilt the moonroof up, push the tilt switch to-
ward the up position 䊊
1.
To tilt the moonroof down, push the tilt switch
toward the down position 䊊
2.
Restarting the moonroof sliding switch
The sliding switch will become inoperable after
the battery terminal is disconnected, the electri-
cal supply interrupted and/or some abnormality
detected. Use the following reset procedure to
return moonroof operation to normal.
1. If the moonroof lid is open, push the tilting
switch repeatedly toward the down position
䊊
2to fully close the lid.
2. Push and hold the tilting switch for more
than 2 seconds toward the down position
䊊
2to reestablish the lid’s home position.
The moonroof should now operate normally.
WIC0812
MOONROOF (if so equipped)
2-52 Instruments and controls

Auto-reverse function (when closing or
tilting down the moonroof)
The auto-reverse function can be activated when
the moonroof is closed or tilted down by auto-
matic operation when the ignition switch is
placed in the ON position or for a period of time
after the ignition switch is placed in the OFF
position.
Depending on the environment or driving
conditions, the auto-reverse function may
be activated if an impact or load similar to
something being caught in the moonroof
occurs.
WARNING
There are some small distances immedi-
ately before the closed position which
cannot be detected. Make sure that all
passengers have their hands, etc., inside
the vehicle before closing the moonroof.
When closing:
If the control unit detects something caught in the
moonroof as it moves to the front, the moonroof
will immediately open backward.
When tilting down:
If the control unit detects something caught in the
moonroof as it tilts down, the moonroof will im-
mediately tilt up.
If the auto-reverse function malfunctions and re-
peats opening or tilting up the moonroof, keep
pushing the tilt down switch within 5 seconds
after it happens; the moonroof will fully close
gradually. Make sure nothing is caught in the
moonroof.
WARNING
●In an accident you could be thrown from
the vehicle through an open moonroof.
Always use seat belts and child
restraints.
●Do not allow anyone to stand up or
extend any portion of their body out of
the moonroof opening while the vehicle
is in motion or while the moonroof is
closing.
CAUTION
●Remove water drops, snow, ice or sand
from the moonroof before opening.
●Do not place heavy objects on the
moonroof or surrounding area.
Sunshade
Open and close the sunshade by sliding it for-
ward or backward.
If the moonroof does not close
Have your NISSAN dealer check and repair the
moonroof.
Instruments and controls 2-53

The interior light has a three-position switch and
operates regardless of ignition switch position.
When the switch is in the ON position 䊊
1, the
interior lights illuminate, regardless of door posi-
tion. The lights will go off after a period of time
unless the ignition switch is placed in the ON
position.
When the switch is in the DOOR or normal
operation position 䊊
2, the interior lights, puddle
lights (if so equipped) and cargo light will stay on
for a period of time when:
●The doors are unlocked by the keyfob, a key
or the power door lock switch while all doors
are closed and the ignition switch is in the
OFF position.
●The driver’s door is opened and then closed
while the key is removed from the ignition
switch.
●The key is removed from the ignition switch
while all doors are closed.
The lights will turn off while the timer is activated
when:
●The driver’s door is locked by the keyfob, a
key, or the power door lock switch.
●The ignition switch is turned ON.
When the switch is in the OFF position 䊊
3, the
interior lights do not illuminate, regardless of door
position. The puddle lights (if so equipped) and
cargo light come on when any front or rear pas-
senger door is opened.
The lights will turn off automatically after a period
of time while doors are open to prevent the bat-
tery from becoming discharged.
NOTE:
The footwell and door step lights (if so
equipped) illuminate when the driver and
passenger doors are open regardless of
the interior light switch position. These
lights will turn off automatically after a
period of time while doors are open to
prevent the battery from becoming dis-
charged.
CAUTION
Do not use for extended periods of time
with the engine stopped. This could result
in a discharged battery.
Type A
LIC0585
Type B
LIC0630
INTERIOR LIGHT
2-54 Instruments and controls

CONSOLE LIGHT (if so equipped)
The console light 䊊
1will turn on whenever the
parking lights or headlights are illuminated.
The console light brightness can be adjusted
with the illumination brightness control.
The personal lights on the overhead console can
be swiveled 360 degrees. To turn on the light,
press the button. Press the button again to turn
off the light.
To turn the map lights on, press the switches. To
turn them off, press the switches again.
CAUTION
Do not use for extended periods of time
with the engine stopped. This could result
in a discharged battery.
LIC0587 LIC0623 LIC0586
PERSONAL LIGHTS (if so equipped) MAP LIGHTS (if so equipped)
Instruments and controls 2-55

The HomeLink姞Universal Transceiver provides a
convenient way to consolidate the functions of up
to three individual hand-held transmitters into
one built-in device.
HomeLink姞Universal Transceiver:
●Will operate most Radio Frequency (RF)
devices such as garage doors, gates, home
and office lighting, entry door locks and se-
curity systems.
●Is powered by your vehicle’s battery. No
separate batteries are required. If the vehi-
cle’s battery is discharged or is discon-
nected, HomeLink姞will retain all program-
ming.
Once the HomeLink姞Universal Transceiver
is programmed, retain the original trans-
mitter for future programming procedures
(Example: new vehicle purchases). Upon
sale of the vehicle, the programmed
HomeLink姞Universal Transceiver buttons
should be erased for security purposes. For
additional information, refer to “Program-
ming HomeLink姞” later in this section.
WARNING
●Do not use the HomeLink姞Universal
Transceiver with any garage door
opener that lacks safety stop and re-
verse features as required by federal
safety standards. (These standards be-
came effective for opener models
manufactured after April 1, 1982). A ga-
rage door opener which cannot detect
an object in the path of a closing garage
door and then automatically stop and
reverse, does not meet current federal
safety standards. Using a garage door
opener without these features in-
creases the risk of serious injury or
death.
●During the programming procedure
your garage door or security gate will
open and close (if the transmitter is
within range). Make sure that people or
objects are clear of the garage door,
gate, etc. that you are programming.
●Your vehicle’s engine should be turned
off while programming the HomeLink姞
Universal Transceiver.
PROGRAMMING HOMELINK姞
1. To begin, press and hold the two outer
HomeLink姞buttons (to clear the memory)
until the indicator light 䊊
1blinks (after 20
seconds). Release both buttons.
2. Position the end of the hand-held transmitter
1 - 3 inches (26 - 76 mm) away from the
HomeLink姞surface.
WIC0986
HOMELINK姞UNIVERSAL
TRANSCEIVER (if so equipped)
2-56 Instruments and controls

3. Using both hands, simultaneously press and
hold both the HomeLink姞button you want to
program and the hand-held transmitter but-
ton.
DO NOT release the buttons until step 4 has
been completed.
4. Hold down both buttons until the indicator
light on the HomeLink姞flashes, changing
from a “slow blink” to a “rapidly flashing
blink”. This could take up to 90 seconds.
When the indicator light flashes rapidly, both
buttons may be released. The rapidly flash-
ing light indicates successful programming.
To activate the garage door or other pro-
grammed device, press and hold the pro-
grammed HomeLink姞button — releasing
when the device begins to activate.
5. If the indicator light on the HomeLink姞blinks
rapidly for 2 seconds and then turns solid,
HomeLink姞has picked up a “rolling code”
garage door opener signal. You will need to
proceed with the next steps to train the
HomeLink姞to complete the programming
which may require a ladder and another per-
son for convenience.
6. Press and release the “smart” or “learn” pro-
gram button located on the garage door
opener’s motor to activate the “training
mode”. This button is usually located near
the antenna wire that hangs down from the
motor. If the wire originates from under a
light lens, you will need to remove the lens to
access the program button.
NOTE:
Once you have pressed and released the
program button on the garage door open-
er’s motor and the “training light” is lit, you
have 30 seconds in which to perform step 7.
Use the help of a second person for conve-
nience to assist when performing this step.
7. Within 30 seconds of pressing and releas-
ing the garage door opener’s program but-
ton, quickly and firmly press and release the
HomeLink姞button you’ve just programmed.
Press and release the HomeLink姞button up
to 3 times to complete the training.
8. Your HomeLink姞button should now be pro-
grammed. (To program the remaining
HomeLink姞buttons for additional door or
gate openers, follow steps 2-4 only.)
NOTE:
Do not repeat step 1 unless you want to
“clear” all previously programmed
HomeLink姞buttons.
If you have any questions or are having difficulty
programming your HomeLink姞buttons, refer to
the HomeLink姞web site at: www.homelink.com
or call 1-800-355-3515.
PROGRAMMING HOMELINK姞FOR
CANADIAN CUSTOMERS
Prior to 1992, D.O.C. regulations required hand-
held transmitters to stop transmitting after 2 sec-
onds. To program your hand-held transmitter to
HomeLink姞, continue to press and hold the
HomeLink姞button (see steps2-4under “Pro-
gramming HomeLink姞”) while you press and re-
press (“cycle”) your hand-held transmitters every
2 seconds until the indicator light flashes rapidly
(indicating successful programming).
WIC0987
Instruments and controls 2-57
NOTE:
When programming a garage door opener,
etc., it is advised to unplug the device dur-
ing the “cycling” process to prevent pos-
sible damage to the garage door opener
components.
OPERATING THE HOMELINK姞
UNIVERSAL TRANSCEIVER
The HomeLink姞Universal Transceiver (once pro-
grammed) may now be used to activate the ga-
rage door, etc. To operate, simply press the ap-
propriate programmed HomeLink姞Universal
Transceiver button. The amber indicator light will
illuminate while the signal is being transmitted.
PROGRAMMING TROUBLE-
DIAGNOSIS
If the HomeLink姞does not quickly learn the hand-
held transmitter information:
●replace the hand-held transmitter batteries
with new batteries.
●position the hand-held transmitter with its
battery area facing away from the
HomeLink姞surface.
●press and hold both the HomeLink姞and
hand-held transmitter buttons without inter-
ruption.
●position the hand-held transmitter1-3
inches (26 - 76 mm) away from the
HomeLink姞surface. Hold the transmitter in
that position for up to 15 seconds. If
HomeLink姞is not programmed within that
time, try holding the transmitter in another
position – keeping the indicator light in view
at all times.
If you continue to have programming difficulties,
please contact the NISSAN Consumer Affairs
Department. The phone numbers are located in
the Foreword of this manual.
CLEARING THE PROGRAMMED
INFORMATION
Individual buttons cannot be cleared. However,
to clear all programming, press and hold the two
outside buttons and release when the indicator
light begins to flash (approximately 20 seconds).
REPROGRAMMING A SINGLE
HOMELINK姞BUTTON
To reprogram a HomeLink姞Universal Transceiver
button, complete the following.
1. Press and hold the desired HomeLink姞but-
ton. Do not release the button until step 4
has been completed.
2. When the indicator light begins to flash
slowly (after 20 seconds), position the
hand-held transmitter1-3inches (26 - 76
mm) away from the HomeLink姞surface.
3. Press and hold the hand-held transmitter
button.
4. The HomeLink姞indicator light will flash, first
slowly and then rapidly. When the indicator
light begins to flash rapidly, release both
buttons.
The HomeLink姞Universal Transceiver button has
now been reprogrammed. The new device can
be activated by pushing the HomeLink姞button
that was just programmed. This procedure will
not affect any other programmed HomeLink姞
buttons.
IF YOUR VEHICLE IS STOLEN
If your vehicle is stolen, you should change the
codes of any non-rolling code device that has
been programmed into HomeLink姞. Consult the
Owner’s Manual of each device or call the manu-
facturer or dealer of those devices for additional
information.
When your vehicle is recovered, you will
need to reprogram the HomeLink姞Univer-
sal Transceiver with your new transmitter
information.
2-58 Instruments and controls
FCC Notice:
For USA:
This device complies with Part 15 of the
FCC Rules. Operation is subject to the fol-
lowing two conditions: (1) This device may
not cause harmful interference, and (2) this
device must accept any interference re-
ceived, including interference that may
cause undesired operation. Note: Changes
or modifications not expressly approved by
the party responsible for compliance could
void the user’s authority to operate the
equipment.
For Canada:
This device complies with RSS-210 of In-
dustry Canada. Operation is subject to the
following two conditions: (1) this device
may not cause interference, and (2) this
device must accept any interference, in-
cluding interference that may cause unde-
sired operation of the device.
Instruments and controls 2-59
MEMO
2-60 Instruments and controls

3 Pre-driving checks and adjustments
Keys.............................................3-2
NISSAN vehicle immobilizer system keys
(if so equipped) ................................3-2
Doors ............................................3-3
Locking with key................................3-3
Locking with inside lock knob ....................3-4
Locking with power door lock switch
(if so equipped) ................................3-4
Wide Open doors (if so equipped) ...............3-5
Automatic door locks (if so equipped).............3-6
Child safety rear door lock
(Crew Cab models only) ........................3-7
Remote keyless entry system (if so equipped).........3-7
How to use remote keyless entry system ..........3-8
Hood ...........................................3-11
Fuel-filler door ...................................3-12
Fuel-filler cap .................................3-12
Steering wheel ...................................3-14
Tilt operation..................................3-14
Pedal position adjustment (if so equipped) ..........3-14
Sun visors .......................................3-15
Vanity mirrors (if so equipped)...................3-16
Mirrors ..........................................3-17
Rearview mirror (if so equipped).................3-17
Automatic anti-glare rearview mirror
(if so equipped) ...............................3-17
Outside mirrors ...............................3-18
Truck box ........................................3-22
Tailgate.......................................3-22
Tie down hooks ...............................3-24
Automatic drive positioner (if so equipped) ..........3-24
Memory storage function .......................3-25
Entry/exit function .............................3-26
System operation..............................3-27

1. Two master keys (black) with transpon-
der chip (if so equipped) and chrome
NISSAN brand symbol on one side
2. Valet key (black) with transponder chip
(if so equipped)
3. Key number plate
4. Transponder chip (if so equipped)
A key number plate is supplied with your keys.
Record the key number and keep it in a safe place
(such as your wallet), not in the vehicle. If you lose
your keys, see a NISSAN dealer for duplicates by
using the key number. NISSAN does not record
key numbers so it is very important to keep track
of your key number plate.
A key number is only necessary when you have
lost all keys and do not have one to duplicate
from. If you still have a key, your NISSAN dealer
can duplicate it.
NISSAN VEHICLE IMMOBILIZER
SYSTEM KEYS (if so equipped)
You can only drive your vehicle using the master
or valet keys which are registered to the NISSAN
Vehicle Immobilizer System components in your
vehicle. These keys have a transponder chip in
the key head.
The master key can be used for all the locks.
The valet key cannot be used for the console box
lock, the bedside storage compartment lock, or
the glove box lock (if so equipped).
To protect belongings when you leave a key with
someone, give them the valet key only.
Never leave these keys in the vehicle.
Additional or replacement keys:
If you still have a key, the key number is not
necessary when you need extra NISSAN Vehicle
Immobilizer System keys. Your dealer can dupli-
cate your existing key. As many as five NISSAN
Vehicle Immobilizer System keys can be used
with one vehicle. You should bring all NISSAN
Vehicle Immobilizer System keys that you have to
your NISSAN dealer for registration. This is be-
cause the registration process will erase the
memory of all key codes previously registered
into the NISSAN Vehicle Immobilizer System.
After the registration process, these components
will only recognize keys coded into the NISSAN
Vehicle Immobilizer System during registration.
Any key that is not given to your dealer at the time
of registration will no longer be able to start your
vehicle.
Do not allow the immobilizer system key, which
contains an electrical transponder, to come into
contact with salt water. This could affect system
function.
WPD0128
KEYS
3-2 Pre-driving checks and adjustments

When the doors are locked using one of the
following methods, the doors can not be opened
using the inside or outside door handles. The
doors must be unlocked to open the doors.
WARNING
●Always have the doors locked while
driving. Along with the use of seat belts,
this provides greater safety in the event
of an accident by helping to prevent
persons from being thrown from the
vehicle. This also helps keep children
and others from unintentionally open-
ing the doors, and will help keep out
intruders.
●Before opening any door, always look
for and avoid oncoming traffic.
●Do not leave children unattended inside
the vehicle. They could unknowingly ac-
tivate switches or controls. Unattended
children could become involved in seri-
ous accidents.
LOCKING WITH KEY
Manual (if so equipped)
To lock a door, turn the key toward the front of the
vehicle 䊊
1. To unlock, turn the key toward the rear
䊊
2.
Power (if so equipped)
The power door lock system allows you to lock or
unlock all doors at the same time.
Turning the key toward the front 䊊
1of the vehicle
locks all doors.
Turning the key one time toward the rear 䊊
2of the
vehicle unlocks that door. From that position,
returning the key to neutral 䊊
3(where the key can
only be removed and inserted) and turning it
toward the rear again within 5 seconds unlocks
all doors 䊊
4.
Driver’s side
WPD0311 LPD0240
DOORS
Pre-driving checks and adjustments 3-3

Opening and closing windows
The driver’s door key operation allows you to
open and close windows equipped with auto-
matic operation at the same time.
●To open the windows, turn the driver’s door
key toward the rear of the vehicle for longer
than 1 second after the door is unlocked.
●To close the windows, turn the driver’s door
key toward the front of the vehicle for longer
than 1 second after the door is locked.
Windows stop when the key cylinder is released.
LOCKING WITH INSIDE LOCK
KNOB
To lock the door without the key, move the inside
lock knob to the lock position 䊊
1, then close the
door.
To unlock the door without the key, move the
inside lock knob to the unlock position 䊊
2.
LOCKING WITH POWER DOOR
LOCK SWITCH (if so equipped)
To lock all the doors without a key, push the door
lock switch (driver’s or front passenger’s side) to
the lock position 䊊
1. When locking the door this
way, be certain not to leave the key inside the
vehicle.
To unlock all the doors without a key, push the
door lock switch (driver’s or front passenger’s
side) to the unlock position 䊊
2.
Inside lock
LPD0241 WPD0381
3-4 Pre-driving checks and adjustments

Lockout protection
When the power door lock switch (driver’s or
front passenger’s side) is moved to the lock
position with the key in the ignition switch and any
door open, all doors will lock and then unlock
automatically. This helps to prevent the keys from
being accidently locked inside the vehicle.
WIDE OPEN DOORS (if so equipped)
CAUTION
Do not open the Wide Open door to the
full open position while the fuel-filler door
is open; only open it as far as the first
detent. Opening the door to the full open
position may damage the fuel-filler door
and Wide Open door.
The Wide Open doors open nearly 180° to allow
access to the rear of the cab.
1. Open the driver’s or passenger’s door.
2. From the outside, pull the door handle 䊊
1
toward you.
LPD0278 LPD0266
Pre-driving checks and adjustments 3-5

From the inside, pull the inside door handle to-
ward you. The door will unlock automatically.
3. Open the door to the desired position.
AUTOMATIC DOOR LOCKS (if so
equipped)
●All doors lock automatically when the vehicle
speed reaches 15 MPH (24 km/h).
●All doors unlock automatically when the
transmission is placed in the P (Park) posi-
tion.
The automatic unlock function can be de-
activated or activated. To deactivate or acti-
vate the automatic door unlock system, perform
the following procedure:
1. Close all doors.
2. Place the ignition switch in the ON position.
3. Within 20 seconds of performing Step 2,
push and hold the power door lock switch to
the position (UNLOCK) for more than
5 seconds.
4. When activated, the hazard indicator will
flash twice. When deactivated, the hazard
indicator will flash once.
LPD0267 LPD0265
3-6 Pre-driving checks and adjustments

5. The ignition switch must be placed in the
OFF and ON position again between each
setting change.
When the automatic door unlock system is deac-
tivated, the doors do not unlock when the trans-
mission is placed in the P (Park) position. To
unlock the door manually, use the inside lock
knob or the power door lock switch (driver’s or
front passenger’s side).
CHILD SAFETY REAR DOOR LOCK
(Crew Cab models only)
Child safety locks help prevent the rear doors
from being opened accidentally, especially when
small children are in the vehicle.
The child safety lock levers are located on the
edge of the rear doors.
When the lever is in the LOCK position, the
door can be opened only from the outside.
WARNING
●Radio waves could adversely affect
electric medical equipment. Those who
use a pacemaker should contact the
electric medical equipment manufac-
turer for the possible influences before
use.
●The remote keyless entry keyfob trans-
mits radio waves when the buttons are
pushed. The FAA advises radio waves
may affect aircraft navigation and com-
munication systems. Do not operate the
remote keyless entry keyfob while on
an airplane. Make sure the buttons are
not operated unintentionally when the
unit is stored for a flight.
It is possible to lock/unlock all doors, turn on the
interior lights and puddle lights (if so equipped),
and activate the panic alarm by using the keyfob
from outside the vehicle.
Some settings for the keyfob, such as horn beep,
can be adjusted. For vehicles without navigation
system, refer to “Silencing the horn beep feature”
in this section. For vehicles with navigation sys-
tem, refer to “Vehicle electronic systems” in the
“Display screen, heater, air conditioner, audio
and phone systems” section in this manual.
LPD0242
REMOTE KEYLESS ENTRY SYSTEM
(if so equipped)
Pre-driving checks and adjustments 3-7

Be sure to remove the key from the vehicle
before locking the doors.
The keyfob can operate at a maximum distance of
approximately 33 ft (10 m) from the vehicle. The
effective distance depends upon the conditions
around the vehicle.
As many as 5 keyfobs can be used with one
vehicle. For information concerning the purchase
and use of additional keyfobs, contact a NISSAN
dealer.
The keyfob will not function when:
●the battery is discharged.
●the distance between the vehicle and the
keyfob is over 33 ft (10 m).
The panic alarm will not activate when the
key is in the ignition switch.
CAUTION
Listed below are conditions or occur-
rences which will damage the keyfob:
●Do not allow the keyfob, which contains
electrical components, to come into
contact with water or salt water. This
could affect the system function.
●Do not drop the keyfob.
●Do not strike the keyfob sharply against
another object.
●Do not change or modify the keyfob.
●Wetting may damage the keyfob. If the
keyfob gets wet, immediately wipe until
it is completely dry.
●Do not place the keyfob for an extended
period in an area where temperatures
exceed 140°F (60°C).
●Do not attach the keyfob with a key
holder that contains a magnet.
●Do not place the keyfob near equip-
ment that produces a magnetic field,
such as a TV, audio equipment and per-
sonal computers.
If a keyfob is lost or stolen, NISSAN rec-
ommends erasing the ID code of that key-
fob. This will prevent the keyfob from un-
authorized use to unlock the vehicle. For
information regarding the erasing proce-
dure, please contact a NISSAN dealer.
HOW TO USE REMOTE KEYLESS
ENTRY SYSTEM
Locking doors
1. Close all windows.
2. Remove the key from the ignition switch.
3. Close the hood and all doors.
4. Press the button on the keyfob. All
the doors lock. The hazard warning lights
flash twice and the horn beeps once to
indicate all doors are locked.
LPD0209
3-8 Pre-driving checks and adjustments

●When the button is pressed with all
doors locked, the hazard warning lights flash
twice and the horn beeps once as a re-
minder that the doors are already locked.
●If a door is open and you press the
button, the doors will lock but the horn will
not beep and the hazard warning lights will
not flash.
The horn may or may not beep. For vehicles
without navigation system, refer to “Silencing the
horn beep feature” later in this section. For ve-
hicles with navigation system, refer to “How to
use the setting button” in the “Display screen,
heater, air conditioner, audio and phone systems”
section later in this manual. Unlocking doors
Press the button on the keyfob once.
●Only the driver’s door unlocks.
●The hazard warning lights flash once if all
doors are completely closed with the ignition
switch in any position except the ON posi-
tion.
●The interior lights and puddle lights (if so
equipped) turn on and the light timer acti-
vates for a period of time when the interior
light switch is in the DOOR position with the
ignition switch in any position except the ON
position.
Press the button on the keyfob again
within 5 seconds.
●All doors unlock.
●The hazard warning lights flash once if all
doors are completely closed.
The interior lights can be turned off without wait-
ing by inserting the key into the ignition switch
and placing it in the ON or START position,
locking the doors with the keyfob or pushing the
interior light switch to the OFF position.
Auto relock
When the button on the keyfob is pressed,
all doors will lock automatically within 1 minute
unless one of the following operations is per-
formed:
●Any door is opened.
●A key is inserted into the ignition switch and
the switch is cycled from OFF to ON.
Linking the keyfob to automatic drive
positioner memory
If the vehicle is equipped with automatic drive
positioner, the keyfob can be linked to a memory
setting.
See “Automatic drive positioner” in this section.
LPD0210
Pre-driving checks and adjustments 3-9

Using the panic alarm
If you are near your vehicle and feel threatened,
you may activate the panic alarm to call attention
by pressing and holding the button on the
keyfob for longer than 0.5 seconds.
The panic alarm and headlights will stay on for a
period of time.
The panic alarm stops when:
●it has run for a period of time, or
●any button is pressed on the keyfob.
Using the interior lights
Press the button on the keyfob once to
turn on the interior lights and puddle lights (if so
equipped).
For additional information, refer to “Interior light”
in the “Instruments and controls” section in this
manual.
Silencing the horn beep feature
If desired, the horn beep feature can be deacti-
vated using the keyfob.
NOTE:
If you change the horn beep and light flash
feature with the keyfob, the display screen
(if so equipped) will not show the current
mode and cannot be used to change the
mode. Use the keyfob to return to the pre-
vious mode and re-enable the display
screen control.
LPD0211 LPD0262
3-10 Pre-driving checks and adjustments

To deactivate: Press and hold the
and buttons for at least 2 seconds.
The hazard warning lights will flash 3 times to
confirm that the horn beep feature has been
deactivated.
To activate: Press and hold the
and buttons for at least 2 seconds
once more.
The hazard warning lights will flash once and the
horn will sound once to confirm that the horn
beep feature has been reactivated.
Deactivating the horn beep feature does not si-
lence the horn if the alarm is triggered. 䊊
1Pull the hood lock release handle located
below the driver side instrument panel. The
hood will spring up slightly.
䊊
2Push the lever at the front of the hood to the
side as illustrated with your fingertips and
raise the hood.
When closing the hood, lower it slowly and make
sure it locks into place.
WARNING
●Make sure the hood is completely
closed and latched before driving. Fail-
ure to do so could cause the hood to fly
open and result in an accident.
●If you see steam or smoke coming from
the engine compartment, to avoid injury
do not open the hood.
LPD0244
HOOD
Pre-driving checks and adjustments 3-11

FUEL-FILLER CAP
WARNING
●Gasoline is extremely flammable and
highly explosive under certain condi-
tions. You could be burned or seriously
injured if it is misused or mishandled.
Always stop the engine and do not
smoke or allow open flames or sparks
near the vehicle when refueling.
●Do not attempt to top off the fuel tank
after the fuel pump nozzle shuts off
automatically. Continued refueling may
cause fuel overflow, resulting in fuel
spray and possibly a fire.
●Use only an original equipment type
fuel-filler cap as a replacement. It has a
built-in safety valve needed for proper
operation of the fuel system and emis-
sion control system. An incorrect cap
can result in a serious malfunction and
possible injury. It could also cause
the Malfunction Indicator Light
(MIL) to come on.
●Never pour fuel into the throttle body to
attempt to start your vehicle.
●Do not fill a portable fuel container on a
truck bed liner, rubber truck bed mat, or
other insulating material. Static elec-
tricity can cause an explosion of flam-
mable liquid, vapor or gas in any vehicle
or trailer. To reduce the risk of serious
injury or death when filling portable fuel
containers:
– Always place the container on the
ground when filling.
– Do not use electronic devices when
filling.
– Keep the pump nozzle in contact
with the container while you are fill-
ing it.
– Use only approved portable fuel con-
tainers for flammable liquid.
CAUTION
●Only vehicles with the E-85 filler door
label can operate on E-85. Fuel system
or other damage can occur if E-85 is
used in vehicles that are not designed
to run on E-85.
●The LOOSE FUEL CAP warning will ap-
pear if the fuel-filler cap is not properly
tightened. It may take a few driving trips
for the message to be displayed. Failure
to tighten the fuel-filler cap properly
after the LOOSE FUEL CAP warning ap-
pears may cause the Malfunction
Indicator Light (MIL) to illuminate.
LPD0263
FUEL-FILLER DOOR
3-12 Pre-driving checks and adjustments

●Failure to tighten the fuel-filler cap
properly may cause the Malfunc-
tion Indicator Light (MIL) to illuminate.
If the light illuminates because
the fuel-filler cap is loose or missing,
tighten or install the cap and continue
to drive the vehicle. The light
should turn off after a few driving trips.
If the light does not turn off after a
few driving trips, have the vehicle in-
spected by a NISSAN dealer.
●For additional information, see the
“Malfunction Indicator Light (MIL)” in
the “Instruments and Controls” section
in this manual.
●If fuel is spilled on the vehicle body,
flush it away with water to avoid paint
damage.
For additional information, see “Fuel recommen-
dation (without Flexible Fuel Vehicle option)” and
“Flexible fuel vehicle (FFV) fuel recommendation”
in the “Technical and consumer information” sec-
tion in this manual.
To remove the fuel-filler cap:
1. Turn the fuel-filler cap counterclockwise to
remove.
2. Loop the tether strap around the hook 䊊
1
while refueling.
To install the fuel-filler cap:
1. Insert the fuel-filler cap straight into the fuel-
filler tube.
2. Turn the fuel-filler cap clockwise until a
single click is heard.
Loose Fuel Cap warning
The LOOSE FUEL CAP warning appears in the
odometer when the fuel-filler cap is not tightened
correctly after the vehicle has been refueled. It
may take a few driving trips for the message to be
displayed. To turn off the warning, perform the
following:
1. Remove and install the fuel-filler cap as pre-
viously described as soon as possible.
2. Tighten the fuel-filler cap until it clicks.
LPD0325 LRS2005
Pre-driving checks and adjustments 3-13

3. Press the loose fuel cap warning reset but-
ton 䊊
Aon the instrument panel located be-
hind the steering wheel for about 1 second
to turn off the LOOSE FUEL CAP warning
䊊
Bafter tightening the fuel-filler cap.
TILT OPERATION
WARNING
Do not adjust the steering wheel while
driving. You could lose control of your
vehicle and cause an accident.
Pull the lock lever forward and hold it to adjust the
steering wheel up or down to the desired posi-
tion.
Release the lock lever to lock the steering wheel
in place.
The accelerator and brake pedals can be ad-
justed for driving comfort.
Use the pedal adjusting switch to adjust the
brake and accelerator pedal position away from
the driver 䊊
1or toward the driver 䊊
2.
The brake and accelerator pedals cannot be ad-
justed separately.
WARNING
Do not adjust the pedal position while
driving. You can lose control of your ve-
hicle and cause an accident.
LPD0254 LPD0255
STEERING WHEEL PEDAL POSITION ADJUSTMENT (if so
equipped)
3-14 Pre-driving checks and adjustments

CAUTION
Do not adjust the pedal position with your
foot on the pedal.
䊊
1To block glare from the front, swing down the
main sun visor.
䊊
2To block glare from the side, remove the
main sun visor from the center mount and
swing the visor to the side.
䊊
3To block glare from the side and front, swing
down the sub-sun visor (if so equipped).
䊊
4Slide the extension sun visor (if so equipped)
in or out as needed.
Type A
LPD0273
Type B
LPD0264
SUN VISORS
Pre-driving checks and adjustments 3-15

CAUTION
●Do not store the sun visor before return-
ing the extension to its original
position.
●Do not pull the extension sun visor
forcedly downward.
VANITY MIRRORS (if so equipped)
To access the vanity mirror, pull the sun visor
down and flip open the mirror cover (if so
equipped). Some vanity mirrors are illuminated
and turn on when the mirror cover is open.
Type A
WPD0168
Type B
LPD0257
3-16 Pre-driving checks and adjustments

REARVIEW MIRROR (if so equipped)
The night position 䊊
1reduces glare from the
headlights of vehicles behind you at night.
Use the day position 䊊
2when driving in daylight
hours.
WARNING
Use the night position only when neces-
sary, because it reduces rear view clarity.
AUTOMATIC ANTI-GLARE
REARVIEW MIRROR (if so equipped)
The inside mirror is designed so that it automati-
cally dims during night time conditions and ac-
cording to the intensity of the headlights of the
vehicle following you. The automatic anti-glare
feature is activated when the ignition switch is in
the ON position.
The indicator light will illuminate when the auto-
matic anti-glare feature is operating.
NOTE:
Do not hang any objects over the sensors
䊊
1or apply glass cleaner to the sensors.
Doing so will reduce the sensitivity of the
sensors, resulting in improper operation. Type A
With the ignition switch placed in the ON posi-
tion, press the button as described:
●To turn off the anti-glare feature, press
the button. The indicator light will turn
off.
●To turn on the anti-glare feature, press
the button again. The indicator light
will turn on.
The indicator light will illuminate when the auto-
matic anti-glare feature is operating.
WPD0126
Type A
LPD0446
MIRRORS
Pre-driving checks and adjustments 3-17

For more information about the compass and
compass features 䊊
2(if so equipped), see
“Compass display” in the “Instruments and con-
trols” section of this manual.
Type B
With the ignition switch in the ON position, press
the button as described:
●To turn off the automatic anti-glare feature,
press the button. The indicator light
will turn off.
●To turn on the automatic anti-glare feature,
press the button again. The indicator
light will turn on.
The indicator light will illuminate when the auto-
matic anti-glare feature is operating.
For information on HomeLink姞Universal Trans-
ceiver operation, see “HomeLink姞Universal
Transceiver” in the “Instruments and controls”
section of this manual.
For information on the compass and compass
features 䊊
2, see “Compass display” in the “In-
struments and controls” section of this manual.
OUTSIDE MIRRORS
WARNING
●Objects viewed in the outside mirror on
the passenger side are closer than they
appear. Be careful when moving to the
right. Using only this mirror could cause
an accident. Use the inside mirror or
glance over your shoulder to properly
judge distances to other objects.
Type B
LPD0447
3-18 Pre-driving checks and adjustments

Manual control type (if so equipped)
The outside mirror can be moved in any direction
for a better rear view.
Electric control type (if so equipped)
The outside mirror remote control will operate
only when the ignition switch is placed in the
ACC or ON position.
Move the small switch 䊊
1to select the right or left
mirror. Adjust each mirror to the desired position
using the large switch 䊊
2.
Trailer tow mirrors (if so equipped)
WARNING
Objects viewed in the convex portion of
the trailer tow mirror are closer than they
appear. Be careful when changing lanes
or turning. Using only the convex mirror
could cause an accident. Use the other
mirrors or glance over your shoulder to
properly judge distances to other objects.
Use the outside mirror remote control to adjust
the top portion of the trailer tow mirror.
WPD0170 LPD0237 LPD0279
Pre-driving checks and adjustments 3-19

The lower portion of the trailer tow mirror can be
moved manually in any direction for a better rear
view.
Pull the trailer tow mirror outward to extend it to
the desired position for better visibility while tow-
ing a trailer.
WARNING
Do not extend or retract mirrors while driv-
ing. You may lose control of your vehicle
and cause an accident.
CAUTION
Driving in tight spaces with mirrors ex-
tended may cause damage to the vehicle.
Manual folding outside mirrors (if so
equipped)
Pull the outside mirror toward the door to fold it.
LPD0268
Type A
LPD0259
3-20 Pre-driving checks and adjustments

Power folding outside mirrors (if so
equipped)
CAUTION
Do not manually fold the power folding
mirrors. Manually folding the mirrors can
damage the mirrors.
Push the switch to open or close the mirrors.
If one of the mirrors are manually operated or
bumped, the mirror body can become loose at
the pivot point. To correct electronic mirror op-
eration, cycle the mirrors by pushing the
“CLOSE” switch until completely closed, then
push the “OPEN” switch until the mirrors are in
the open position.
Automatic anti-glare outside mirror
(Driver’s side only) (if so equipped)
The outside mirror will automatically dim during
nighttime conditions to reduce the glare from the
headlights of trailing vehicles. The automatic anti-
glare feature operates only when the ignition
switch is placed in the ON position.
The automatic anti-glare feature will be on when
starting the vehicle. The indicator light on the
automatic anti-glare rearview mirror will illuminate
when the automatic anti-glare feature is operat-
ing.
To turn off the anti-glare feature, press the
button on the rearview mirror. The indicator light
will turn off.
To turn on the anti-glare feature again, press
the button on the rearview mirror. The in-
dicator light will turn on.
For information on the automatic anti-glare rear-
view mirror, see “Automatic anti-glare rearview
mirror” in this section.
Type B
LPD0269 LPD0196
Pre-driving checks and adjustments 3-21

Heated mirrors (if so equipped)
Some outside mirrors can be heated to defrost,
defog, or de-ice for improved visibility. For addi-
tional information, see “Rear window and outside
mirror defroster switch” in the “Instruments and
controls” section of this manual.
TAILGATE
Opening the tailgate
Pull the tailgate handle upward and lower the
tailgate. The support cables hold the tailgate
open.
When closing the tailgate, make sure the latches
are securely locked.
Do not drive the vehicle with the tailgate
down, unless equipped with NISSAN’s Bed
Extender (accessory) or equivalent in the
extended position.
For proper truck box loading see “Vehicle loading
information” in the “Technical and consumer in-
formation” section of this manual.
WARNING
●It is extremely dangerous to ride in a
cargo area inside a vehicle. In a colli-
sion, people riding in these areas are
more likely to be seriously injured or
killed.
●Do not allow people to ride in any area
of your vehicle that is not equipped with
seats and seat belts.
●Be sure everyone in your vehicle is in a
seat and using a seat belt properly.
LPD0270
TRUCK BOX
3-22 Pre-driving checks and adjustments

Removing the tailgate
1. Release the tailgate support cables.
CAUTION
●The tailgate is heavy. Two people
should remove or install it. Be careful
not to drop it during removal.
●After releasing the support cables, do
not let the tailgate rest on the bumper.
2. Hold the tailgate at a 45 degree angle.
3. Pull the tailgate out from the left side hinge.
4. Slide the tailgate out of the right side hinge.
Installing the tailgate
1. Insert the tailgate into the right side hinge.
2. Hold the tailgate at a 45 degree angle and
insert into the left side hinge.
3. Continue to hold the tailgate at a 45 degree
angle and attach the tailgate support cables.
4. Close the tailgate securely.
Locking the tailgate
To unlock the tailgate, turn the key toward the
passenger side of the vehicle 䊊
1. To lock, turn the
key toward the driver side 䊊
2.
Both the master key and the valet key can be
used to lock and unlock the tailgate.
LPD0271 LPD0272
Pre-driving checks and adjustments 3-23

TIE DOWN HOOKS
For your convenience, tie down hooks are placed
at each corner of the truck box. These may be
used to help secure cargo loaded into the truck
box.
●The weight of the cargo load must be evenly
distributed over both the front and the rear
axles.
●All cargo should be securely fastened with
ropes or straps to prevent it from shifting or
sliding within the vehicle.
WARNING
●Properly secure all cargo with ropes or
straps to help prevent it from sliding or
shifting. In a sudden stop or collision,
unsecured cargo could cause personal
injury.
The automatic drive positioner system has two
features:
●Memory storage function
●Entry/exit function
LTI0102
AUTOMATIC DRIVE POSITIONER (if
so equipped)
3-24 Pre-driving checks and adjustments

MEMORY STORAGE FUNCTION
Two positions for the driver’s seat, accelerator
and brake pedals, and outside mirrors can be
stored in the automatic drive positioner memory.
Follow these procedures to use the memory sys-
tem.
1. Place the shift selector in the P (Park) posi-
tion.
2. Place the ignition switch in the ON position.
3. Adjust the driver’s seat, accelerator and
brake pedals, and outside mirrors to the
desired positions by manually operating
each adjusting switch. For additional infor-
mation, see “Seats” in the “Safety—Seats,
seat belts and supplemental restraint sys-
tem” section of this manual and “Pedal posi-
tion adjustment” and “Outside mirrors” ear-
lier in this section.
During this step, do not place the ignition
switch in any position other than ON.
4. Push the SET switch and, within 5 seconds,
push the memory switch (1 or 2).
The indicator light for the pushed memory
switch will come on and stay on for approxi-
mately 5 seconds after pushing the switch.
After the indicator light goes off, the se-
lected positions are stored in the selected
memory (1 or 2).
If a new memory is stored in the same memory
switch, the previous memory will be deleted.
Linking a keyfob to a stored memory
position
Each keyfob can be linked to a stored memory
position (memory switch 1 or 2) with the follow-
ing procedure.
1. Follow the steps for storing a memory posi-
tion.
2. While the indicator light for the memory
switch being set is illuminated for 5 sec-
onds, press the button on the keyfob.
The indicator light will blink. After the indica-
tor light goes off, the keyfob is linked to that
memory setting.
With the key removed from the ignition switch,
press the button on the keyfob. The driv-
er’s seat, accelerator and brake pedals, and out-
side mirrors will move to the memorized position.
NOTE:
If a new memory position is saved to the
memory switch, the keyfob automatically
re-links.
Confirming memory storage
●Place the ignition switch in the ON position
and push the SET switch. If the main memory
has not been stored, the indicator light will
come on for approximately 0.5 seconds.
When the memory has stored the position,
the indicator light will stay on for approxi-
mately 5 seconds.
LPD0260
Pre-driving checks and adjustments 3-25
●If the battery cable is disconnected, or if the
fuse opens, the memory storage function will
be canceled and must be restarted before a
stored memory position can be set again.
Drive the vehicle over 25 MPH (40 km/h) to
restart the memory storage function. You
can also restart the memory storage function
using the following procedure.
1. Connect the battery cable or replace the
fuse.
2. Open and close the driver’s door more than
2 times with the ignition switch in the LOCK
position.
Once the memory storage function has been
restarted, you can store a memory position.
See “Memory storage function” in this sec-
tion.
Selecting the memorized position
Set the shift selector to the P (Park) position,
then:
●Within 45 seconds of opening the driver’s
door, push the memory switch (1 or 2) or
●Place the ignition switch in the ON position
and push the memory switch (1 or 2).
The driver’s seat, accelerator and brake pedals,
and outside mirrors will move to the memorized
position with the indicator light blinking, and then
the light will stay on for approximately 5 seconds.
ENTRY/EXIT FUNCTION
This system is designed so that the driver’s seat
will automatically move when the shift selector is
placed in the P (Park) position. This allows the
driver to get into and out of the driver’s seat more
easily.
The driver’s seat will slide backward:
●When the key is removed from the ignition
switch and the driver’s door is opened.
●When the driver’s door is opened with the
ignition switch placed in the LOCK position.
●When the ignition switch is turned from
ACC to LOCK with the driver’s door open.
The driver’s seat will return to the previous posi-
tion:
●When the key is inserted into the ignition
switch and the driver’s door is closed.
●When the driver’s door is closed with the
ignition switch placed in the LOCK position.
●When the ignition switch is turned from
ACC to ON while the shift selector is in the P
(Park) position.
The entry/exit function can be adjusted or can-
celed. For vehicles with a navigation system, see
“Vehicle electronic systems” in the “Display
screen, heater, air conditioner, audio and phone
systems” section of this manual. For vehicles
without navigation system, see your NISSAN
dealer.
Restarting the entry/exit function
If the battery cable is disconnected or if the fuse
opens, the entry/exit function will be disabled.
Drive the vehicle over 25 MPH (40 km/h) to
restart the entry/exit function. You can also restart
the entry/exit function using the following proce-
dure.
1. Connect the battery cable or replace the
fuse.
2. Open and close the driver’s door more than
2 times with the ignition switch in the LOCK
position.
The entry/exit function should now work properly.
3-26 Pre-driving checks and adjustments
SYSTEM OPERATION
The automatic drive positioner system will not
work or will stop operating under the following
conditions:
●When the vehicle speed is above 4 MPH (7
km/h).
●When any of the memory switches are
pushed while the automatic drive positioner
is operating.
●When the adjusting switch for the driver’s
seat is turned on while the automatic drive
positioner is operating.
●When the seat has already been moved to
the memorized position.
●When no seat position is stored in the
memory switch.
●When the shift selector is moved from P
(Park) to any other position.
●When the driver’s door remains open more
than 45 seconds and the ignition switch is
not in the ON position.
The automatic drive positioner system can be
adjusted and canceled. For vehicles with a navi-
gation system, see “Vehicle electronic systems”
in the “Display screen, heater, air conditioner,
audio and phone systems” section of this manual.
For vehicles without navigation system, see your
NISSAN dealer.
Pre-driving checks and adjustments 3-27

4 Display screen, heater, air conditioner,
audio and phone systems
Control panel buttons (if so equipped) ...............4-2
How to use the joystick and ENTER button ........4-3
How to use the BACK button ....................4-3
Setting up the start-up screen ...................4-3
How to use the TRIP button . . ...................4-4
How to use the SETTING button .................4-7
button..................................4-13
Vents . ..........................................4-13
Heater and air conditioner (manual) (Type A)
(if so equipped) ..................................4-14
Controls......................................4-14
Heater operation ..............................4-15
Air conditioner operation .......................4-16
Air flow charts.................................4-17
Heater and air conditioner (manual) (Type B)
(if so equipped) ..................................4-21
Controls......................................4-21
Heater operation ..............................4-22
Air conditioner operation .......................4-24
Air flow charts.................................4-25
Heater and air conditioner (automatic)
(if so equipped) ..................................4-28
Automatic operation ...........................4-28
Manual operation ..............................4-29
Operating tips.................................4-29
Servicing air conditioner...........................4-30
Audio system ....................................4-30
Radio ........................................4-30
FM radio reception ............................4-31
AM radio reception ............................4-31
Satellite radio reception (if so equipped) . . . ......4-31
Audio operation precautions ....................4-32
FM/AM radio with compact disc (CD) player
(if so equipped) ...............................4-37
FM/AM/SAT radio with compact disc (CD)
changer (Type A, B, C, D and E)
(if so equipped) ...............................4-45
CD care and cleaning..........................4-52
Steering wheel switch for audio control
(if so equipped) ...............................4-54
Rear audio controls (if so equipped) .............4-55
Antenna ......................................4-56
NISSAN mobile entertainment system (MES)
(if so equipped) ..................................4-56
Digital video disc (DVD) player controls ..........4-57
Remote control................................4-58
Flip-down screen ..............................4-58

Playing a digital video disc (DVD) ...............4-60
Care and maintenance .........................4-63
How to handle the DVD ........................4-63
Car phone or CB radio. . ..........................4-66
Bluetooth姞Hands-Free Phone System
(if so equipped) ..................................4-67
Regulatory Information .........................4-68
Using the system ..............................4-69
Control buttons ...............................4-71
Getting started ................................4-71
List of voice commands ........................4-73
Speaker adaptation (SA) mode..................4-79
Troubleshooting guide .........................4-81

WARNING
●Positioning of the heating or air condi-
tioning controls and display controls
should not be done while driving in or-
der that full attention may be given to
the driving operation.
●Do not disassemble or modify this sys-
tem. If you do, it may result in accidents,
fire, or electrical shock.
●Do not use this system if you notice any
abnormality, such as a frozen screen or
lack of sound. Continued use of the
system may result in accident, fire or
electric shock.
●In case you notice any foreign object in
the system hardware, spill liquid on it,
or notice smoke or smell coming from
it, stop using the system immediately
and contact your nearest NISSAN
dealer. Ignoring such conditions may
lead to accidents, fire or electrical
shock.
1. brightness control button (P. 4-13)
2. BACK (previous) button (P. 4-3)
3. Joystick and ENTER button (P. 4-3)
4. SETTING button (P. 4-7)
5. TRIP button (P. 4-4)
6. DEST button*
7. ROUTE button*
8. MAP button*
WHA0854
CONTROL PANEL BUTTONS (if so
equipped)
4-2 Display screen, heater, air conditioner, audio and phone systems

9. GUIDE VOICE button*
10. zoom out button*
11. zoom in button*
*For Navigation system control buttons, refer to
the separate Navigation System Owner’s Manual
(if so equipped).
CAUTION
●The glass screen on the liquid crystal
display may break if it is hit with a hard
or sharp object. If the glass breaks, do
not touch the liquid crystalline material,
which contains a small amount of mer-
cury. In case of contact with skin, wash
immediately with soap and water.
●To clean the display, never use a rough
cloth, alcohol, benzine, thinner or any
kind of solvent or paper towel with a
chemical cleaning agent. They will
scratch or deteriorate the panel.
●Do not splash any liquid such as water
or car fragrance on the display. Contact
with liquid will cause the system to
malfunction.
When you use this system, make sure the engine
is running.
If you use the system with the engine not
running (ignition ON or ACC) for a long
time, it will use up all the battery power,
and the engine will not start.
Reference symbols:
ENTER button — This is a button on the control
panel.
“Display”key — This is a select key on the screen.
By selecting this key you can proceed to the next
function.
HOW TO USE THE JOYSTICK AND
ENTER BUTTON
Use the joystick to choose an item on the display
screen. Move the joystick up, down, left or right to
highlight an item. Then press the ENTER button
to select the item or perform the action.
HOW TO USE THE BACK BUTTON
This button has two functions.
●Go back to the previous display (cancel).
If you press the BACK button during setup, the
setup will be canceled and/or the display will
return to the previous screen.
●Finish setup.
In some screens pressing the BACK button ac-
cepts the changes made during setup.
SETTING UP THE START-UP
SCREEN
When you place the ignition switch in the ACC or
ON position, the system start-up warning is dis-
played on the screen. Read the warning and
select the “OK” key by pressing the ENTER but-
ton.
If you do not press the ENTER button, the Navi-
gation system will not proceed to the next step in
the Navigation display.
If you do not touch a button or screen key for
more than 1 minute on the system start-up warn-
ing screen, the screen will change to the audio
screen automatically.
To proceed to the next step, refer to the separate
Navigation System Owner’s Manual.
Display screen, heater, air conditioner, audio and phone systems 4-3

HOW TO USE THE TRIP BUTTON
When the TRIP button is pressed, the following
modes will display on the screen.
Warning message (if any) →TRIP 1 →TRIP 2 →
FUEL ECONOMY →MAINTENANCE →Audio
or OFF →TRIP 1
Each trip display tracks an independent trip and
displays the following:
●Elapsed Time - Journey time since the last
reset up to a maximum of 99 hours and 59
minutes.
●Driving Distance - Distance driven (mile or
km) since the last reset.
●Average Speed - Average speed driven
(MPH or km/h) since the last reset.
Resetting trip 1 and trip 2
Each trip screen can be reset to 0. Press the TRIP
button to select the TRIP screen to be reset.
●Select the “Reset” key on screen by press-
ing the ENTER button, or
●Press the TRIP button for more than approxi-
mately 1.5 seconds.
Fuel economy
Press the TRIP button to display Average Fuel
Economy and Distance To Empty.
Average fuel economy (MPG or L/100 km)
The Average Fuel Economy is calculated based
on fuel consumption since the last reset. The
display is updated every 30 seconds and 1/3
mile (500 m). After a reset or connecting the
battery cables, the display will show (**.*).
LHA0552 LHA0553
4-4 Display screen, heater, air conditioner, audio and phone systems

Resetting fuel economy
The average fuel economy calculation can be
reset to 0. Press the TRIP button repeatedly until
the FUEL ECONOMY menu is shown, then ei-
ther:
●Select the “Reset” key on screen by press-
ing the ENTER button, or
●Press the TRIP button for more than approxi-
mately 1.5 seconds.
Distance to empty (MI or km)
The Distance To Empty (DTE) mode provides you
with an estimation of the distance that can be
driven before refueling. The DTE is constantly
calculated based on the amount of fuel in the fuel
tank and the actual fuel consumption. The display
is updated every 30 seconds. When the fuel level
is low, the DTE display will change to (*).
NOTE:
●If the amount of fuel added while the ignition
switch is in the OFF position is small, the
display just before the ignition switch is
placed in the OFF position may continue to
be displayed.
●When driving uphill or rounding curves, the
fuel in the tank shifts, which may momentarily
change the display.
Maintenance items
Press the TRIP button to display maintenance
information or set maintenance intervals for the
following:
●Engine Oil
●Tire Rotation
●Tire Pressure (if so equipped)
For setting the Tire Pressure display, refer to “Tire
pressure information” later in this section.
Changing the maintenance interval
Select the “Engine Oil” or “Tire Rotation” key
using the joystick and press the ENTER button to
display the screen to change the maintenance
interval.
Select the “Maintenance Schedule”key using the
joystick and move the joystick to right or left to set
the maintenance interval.
LHA0554 LHA0555
Display screen, heater, air conditioner, audio and phone systems 4-5

Resetting the maintenance interval
The ENGINE OIL and TIRE ROTATION mainte-
nance intervals can be reset to 0 miles (kilome-
ters).
Select the “Reset” key using the joystick and
press the ENTER button.
Displaying the maintenance notice re-
minder
Select the “Display Maintenance Notification”
key and press the ENTER button to display the
MAINTENANCE INFORMATION automatically
at the set maintenance interval.
The MAINTENANCE NOTICE screen (ENGINE
OIL and TIRE ROTATION) will be automatically
displayed as shown when both of the following
conditions are met:
●The vehicle is driven the set distance and the
ignition switch is placed in the OFF position.
●The ignition switch is placed in the ON po-
sition the next time the vehicle will be driven.
To return to the previous display after the MAIN-
TENANCE NOTICE screen is displayed, press
the BACK button.
The MAINTENANCE NOTICE screen displays
each time the key is turned ON until one of the
following conditions are met:
●“Reset” key is selected.
●“Display Maintenance Notification” is set to
OFF.
●The maintenance interval is set again.
LHA0556 LHA0483
4-6 Display screen, heater, air conditioner, audio and phone systems

Tire pressure information
To display tire pressure information, press the
TRIP button repeatedly until the MAINTENANCE
screen is displayed. Select the “Tire Pressure”
key using the joystick and press the ENTER but-
ton.
Pressure indication in ** psi on the screen indi-
cates that the pressure is being measured. After
a few driving trips, the pressure for each tire will
be displayed randomly.
The order of tire pressure figures displayed on
the screen does not correspond with the actual
order of the tire position.
Tire pressure rises and falls depending on the
heat caused by the vehicle’s operation and the
outside temperature.
In case of low tire pressure, a message is dis-
played on the screen:
LOW PRESSURE — Check All Tires.
WARNING
●When a spare tire is mounted or a wheel
is replaced, tire pressure will not be
indicated, the Tire Pressure Monitoring
System (TPMS) will not function and
the low tire pressure warning light will
flash for approximately 1 minute. The
light will remain on after 1 minute. Con-
tact your NISSAN dealer as soon as
possible for tire replacement and/or
system resetting.
●Replacing tires with those not originally
specified by NISSAN could affect the
proper operation of the TPMS.
HOW TO USE THE SETTING
BUTTON
When the SETTING button is pressed, the SET-
TINGS screen will appear on the display. You can
select and/or adjust several functions, features
and modes that are available for your vehicle.
Move the joystick and press the ENTER button to
select each item to be set.
LHA0557 LHA0558
Display screen, heater, air conditioner, audio and phone systems 4-7

Display settings
Select the “Display” key and press the ENTER
button. The DISPLAY SETTINGS screen will ap-
pear.
Brightness/contrast:
Select the “Brightness/Contrast” key to adjust
the brightness and contrast of the map back-
ground. Use the joystick to adjust the brightness
to darker or brighter and the contrast to lower or
higher.
The new settings are automatically saved when
you exit the setting screen by pressing the BACK
button or any other mode button.
Display off:
Select the “Display Off” key. The indicator of the
“Display Off” turns amber and the message
above will be displayed briefly. When the audio,
HVAC (Heater and air conditioner), or any mode
button on the control panel is operated, the dis-
play turns on for that operation. If one of the
control panel buttons is pressed, the display will
not automatically turn off until that operation is
finished. Otherwise, the screen turns off auto-
matically after 5 seconds.
WHA0855 WHA0716 LHA0642
4-8 Display screen, heater, air conditioner, audio and phone systems

To turn the screen on,
●Press the SETTING button and select the
“Display” key and then select the “Display
Off” key. Then set the screen to on by press-
ing the ENTER button, or
●Hold the button for approximately 2
seconds and the message “resuming dis-
play” will appear and the “Display Off” key
will be automatically turned on (no amber
indicator).
Vehicle electronic systems
Select the “Vehicle Electronic Systems” key by
using the joystick and pressing the ENTER but-
ton. The VEHICLE ELECTRONIC SYSTEMS
screen will be displayed.
You can set the following operating conditions by
selecting the desired item using the joystick, then
pressing the ENTER button. The indicator light,
box at the left of the selected item, alternately
turns on and off each time the ENTER button is
pressed.
Indicator light is illuminated — ON
Indicator light is not illuminated — OFF
Adjust Driver Seat When Exiting Vehicle:
Select so the driver’s seat automatically moves
back and returns to the original position for ease
of exit and entry.
Remote Unlock Driver’s Door First: Select to
change which doors will unlock first during an
unlocking operation:
Only the driver’s door ←→ All the doors
Keyless Remote Response — Horn: Select
to turn on or turn off the horn chirp mode used
when the LOCK button on the keyfob is pressed.
LHA0559 LHA0564
Display screen, heater, air conditioner, audio and phone systems 4-9

NOTE:
If you change the horn beep or the lamp
flash feature with the keyfob, the display
screen will not show the current mode. Use
the keyfob to return to the previous mode
and re-enable the display screen control.
Keyless Remote Response — Lights: Select
to turn on or turn off the hazard indicator flash
mode used when the LOCK or UNLOCK button
on the keyfob is pressed.
NOTE:
If you change the horn beep or the lamp
flash feature with the keyfob, the mode will
not be changed with the display. Use the
keyfob to return to the previous mode and
re-enable the display control.
Auto Re-Lock Time: Select to set the length of
time before doors automatically re-lock.
Sensitivity of Automatic Headlights: Select
to change the sensitivity setting of the automatic
headlights:
●Lower: less sensitive, automatic headlights
will take longer to come on when the head-
light sensor senses less ambient light.
●Higher: more sensitive, automatic headlights
will come on quicker when the headlight
sensor senses less ambient light.
Automatic Headlights Off Delay: Select to
change the setting for the length of time the
automatic headlights remain on after exiting the
vehicle.
Speed Dependent Wiper: Select to turn on or
turn off the driving speed dependent intermittent
wiper function.
Return All Settings to Default: Select to
change all VEHICLE ELECTRONICS SYSTEMS
to their default settings.
System settings
Select the “System Settings” key by using the
joystick and pressing the ENTER button. The
SYSTEM SETTINGS screen will be displayed.
Language/unit
The LANGUAGE/UNIT screen will appear when
selecting the “Language/Unit” key and pressing
the ENTER button.
Language: English or French
Unit: US — mile, °F, MPG
Metric — km, °C, L/100 km
LHA0565 LHA0561
4-10 Display screen, heater, air conditioner, audio and phone systems

You can select the language and unit using the
joystick or pressing the ENTER button.
The settings are automatically saved when you
exit the menu by pressing the BACK button or
any other mode button.
Clock
Adjusting the time:
Select the “Hours” or “Minutes” key and move the
joystick to the right or left to adjust the time.
The time will change step by step.
The new settings are automatically saved when
you exit the setting screen by pressing the BACK
button or any other mode button.
Setting daylight savings time:
Use the “Daylight Saving Time” key to adjust the
clock to daylight savings time.
ON: Automatically adjusts for daylight savings
time.
OFF: The current time is displayed.
LHA0562 LHA0566
Display screen, heater, air conditioner, audio and phone systems 4-11

Adjusting the time to the GPS:
Select the “Auto Adjust” key.
The time will be reset to the GPS time.
Selecting the time zone:
1. Select the “Select Time Zone” key.
The TIME ZONE screen will appear.
2. Select one of the following zones, depend-
ing on the current location.
●Pacific zone
●Mountain zone
●Central zone
●Eastern zone
●Atlantic zone
●Newfoundland zone
After selection, the CLOCK SETTINGS screen
will appear.
LHA0567 LHA0568 LHA0563
4-12 Display screen, heater, air conditioner, audio and phone systems

The GPS time (manual time) corresponding to
the selected zone will be displayed. Pacific zone
has been set as the initial (default) setting.
Beep setting
With this option ON, a beep will sound if any
audio button is pressed.
Navigation settings
Refer to the separate Navigation System Own-
er’s Manual for information regarding these set-
tings.
Guidance voice settings
Refer to the separate Navigation System Own-
er’s Manual for information regarding these set-
tings.
BUTTON
To change the display brightness, press
the button. Pressing the button again will
change the display to “DAY” or “NIGHT” display.
Then, adjust the brightness by moving the joy-
stick right or left.
If no operation is done within 10 seconds, or if the
BACK button is pressed, the display will return to
the previous display.
Adjust air flow direction for the driver’s and pas-
senger’s side vents 䊊
1, center vents 䊊
2, and rear
passengers’ (if so equipped) vents 䊊
3by moving
the vent slide and/or vent assemblies.
WHA1128
VENTS
Display screen, heater, air conditioner, audio and phone systems 4-13

WARNING
●The air conditioner cooling function op-
erates only when the engine is running.
●Do not leave children or adults who
would normally require the assistance
of others alone in your vehicle. Pets
should also not be left alone. They
could accidentally injure themselves or
others through inadvertent operation of
the vehicle. Also, on hot, sunny days,
temperatures in a closed vehicle could
quickly become high enough to cause
severe or possibly fatal injuries to
people or animals.
●Do not use the recirculation mode for
long periods as it may cause the interior
air to become stale and the windows to
fog up.
1. Fan speed control dial
2. Front window defroster button
3. Rear window defroster button
4. Air recirculation button
5. Temperature control dial
6. Max A/C button
7. Air flow control buttons
8. Air conditioner ON/OFF button
CONTROLS
Fan control dial
The fan control dial turns the fan on and off, and
controls fan speed.
Air flow control buttons
The air flow control buttons allow you to select
the air flow outlets.
MAX
A/C
— Air flows from center and side
vents with maximum cooling (air
conditioning).
Type A
WHA1406
HEATER AND AIR CONDITIONER
(manual) (Type A) (if so equipped)
4-14 Display screen, heater, air conditioner, audio and phone systems

— Air flows from center and side
vents.
— Air flows from center and side
vents and the front and rear floor
outlets.
— Air flows mainly from the front and
rear floor outlets.
— Air flows from defroster outlets and
the front and rear floor outlets.
Temperature control dial
The temperature control dial allows you to adjust
the temperature of the outlet air. To lower the
temperature, turn the dial to the left. To increase
the temperature, turn the dial to the right.
Air recirculation button
ON position:
Push the button to recirculate air inside
the vehicle.
Push the button to the on position when:
●driving on a dusty road.
●to prevent traffic fumes from entering pas-
senger compartment.
●for maximum cooling when using the air con-
ditioner.
The air recirculation mode is only functional when
the air flow control mode is in the following
positions: or .
OFF position:
Push the button again to turn air recircula-
tion off. Outside air is drawn into the passenger
compartment and distributed through the se-
lected outlet.
Use the off position for normal heater or air con-
ditioner operation.
Air conditioner button
Start the engine, turn the fan control dial to the
desired position and push the button to
turn on the air conditioner. The indicator light
comes on when the air conditioner is operating.
To turn off the air conditioner, push the
button again.
The air conditioner cooling function oper-
ates only when the engine is running.
HEATER OPERATION
Heating
This mode is used to direct heated air to the foot
outlets. Some air also flows from the defrost
outlets.
1. Press the button to the OFF position
for normal heating. The indicator light on
the button will go off.
2. Press the air flow control button.
3. Turn the fan control dial to the desired posi-
tion.
4. Turn the temperature control dial to the de-
sired position between the middle and the
hot position.
Ventilation
This mode directs outside air to the side and
center ventilators.
1. Press the button to the OFF position.
The indicator light on the button will
go off.
2. Press the air flow control button.
3. Turn the fan control dial to the desired posi-
tion.
4. Turn the temperature control dial to the de-
sired position.
Defrosting or defogging
This mode directs the air to the defrost outlets to
defrost/defog the windows.
Display screen, heater, air conditioner, audio and phone systems 4-15

1. Turn the air flow control dial to the
position.
2. Turn the fan control dial to the desired posi-
tion.
3. Turn the temperature control dial to the de-
sired position between the middle and the
hot position.
●To quickly remove ice or fog from the win-
dows, turn the fan control dial to the right
and the temperature control to the full HOT
position.
●When the position is selected, the air
conditioner automatically turns on (however,
the indicator light on the button will
not come on) if the outside temperature is
more than 36°F (2°C). If in defrost mode for
more than one minute, the air conditioning
system will continue to operate until the ve-
hicle is shut off, the fan is turned off or the
A/C button is used to turn off the compres-
sor, even if the air flow control dial is turned
to a position other than the position.
This dehumidifies the air which helps defog
the windshield. The mode automati-
cally turns off, allowing outside air to be
drawn into the passenger compartment to
further improve the defogging performance.
Bi-level heating
The bi-level mode directs warmed air to the side
and center vents and to the front and rear floor
outlets.
1. Press the button to the OFF position.
The indicator light on the button will
go off.
2. Press the air flow control button.
3. Turn the fan control dial to the desired posi-
tion.
4. Turn the temperature control dial to the de-
sired position.
Heating and defogging
This mode heats the interior and defogs the wind-
shield.
1. Press the air flow control button.
2. Turn the fan control dial to the desired posi-
tion.
3. Turn the temperature control dial to the de-
sired position between the middle and the
hot position.
●When the position is selected, the air
conditioner automatically turns on (however,
the indicator light on the button will
not come on) if the outside temperature is
more than 36°F (2°C). If in defrost mode for
more than one minute, the air conditioning
system will continue to operate until the ve-
hicle is shut off, the fan is turned off or the
A/C button is used to turn off the compres-
sor, even if the air flow control dial is turned
to a position other than the position.
This dehumidifies the air which helps defog
the windshield. The mode automati-
cally turns off, allowing outside air to be
drawn into the passenger compartment to
further improve the defogging performance.
Operating tips
Clear snow and ice from the wiper blades
and air inlet in front of the windshield. This
improves heater operation.
AIR CONDITIONER OPERATION
Start the engine, turn the fan control dial to the
desired position, and push in the button to
activate the air conditioner. When the air condi-
tioner is on, cooling and dehumidifying functions
are added to the heater operation.
4-16 Display screen, heater, air conditioner, audio and phone systems

The air conditioner cooling function oper-
ates only when the engine is running.
Cooling
This mode is used to cool and dehumidify the air.
1. Press the button to the OFF position.
2. Press the air flow control button.
3. Turn the fan control dial to the desired posi-
tion.
4. Press the button. The indicator light
on the button will come on.
5. Turn the temperature control dial to the de-
sired position.
●For quick cooling when the outside tem-
perature is high, push the button to
the ON position. The indicator light on
the button will come on. Be sure to
return the to the OFF position for nor-
mal cooling. The indicator light on the
button will go off. You may also select MAX
A/C for quick cooling.
Dehumidified heating
This mode is used to heat and dehumidify the air.
1. Press the button to the OFF position.
The indicator light on the button will
go off.
2. Press the air flow control button.
3. Turn the fan control dial to the desired posi-
tion.
4. Press the button on. The indicator
light on the button will come on.
5. Turn the temperature control dial to the de-
sired position.
Operating tips
●Keep the windows closed while the air con-
ditioner is in operation.
●After parking in the sun, drive for 2 or 3
minutes with the windows open to vent hot
air from the passenger compartment. Then,
close the windows. This allows the air con-
ditioner to cool the interior more quickly.
●The air conditioning system should be
operated for approximately 10 minutes
at least once a month. This helps pre-
vent damage to the system due to lack
of lubrication.
●A visible mist may be seen coming from the
ventilators in hot, humid conditions as the air
is cooled rapidly. This does not indicate a
malfunction.
●If the engine coolant temperature
gauge indicates engine coolant tem-
perature over the normal range, turn
the air conditioner off. See “If your
vehicle overheats” in the “In case of
emergency” section of this manual.
AIR FLOW CHARTS
The following charts show the button and dial
positions for MAXIMUM AND QUICK heating,
cooling or defrosting. For additional information
on heating and cooling see “Heater and air con-
ditioner” in this section. The air recirculation
() button should always be in the OFF
position for heating and defrosting.
Display screen, heater, air conditioner, audio and phone systems 4-17

Type A
WHA0916
Type A
WHA0917
4-18 Display screen, heater, air conditioner, audio and phone systems

Type A
WHA0918
Type A
WHA0919
Display screen, heater, air conditioner, audio and phone systems 4-19

Type A
WHA1362
4-20 Display screen, heater, air conditioner, audio and phone systems

WARNING
●The air conditioner cooling function op-
erates only when the engine is running.
●Do not leave children or adults who
would normally require the assistance
of others alone in your vehicle. Pets
should also not be left alone. They
could accidentally injure themselves or
others through inadvertent operation of
the vehicle. Also, on hot, sunny days,
temperatures in a closed vehicle could
quickly become high enough to cause
severe or possibly fatal injuries to
people or animals.
●Do not use the recirculation mode for
long periods as it may cause the interior
air to become stale and the windows to
fog up.
1. Fan speed control dial
2. Air recirculation button
3. Temperature control dial
4. Air conditioner button
5. Air flow control dial
6. Rear window defroster switch (if so
equipped)
CONTROLS
Fan control dial
The fan control dial turns the fan on and off, and
controls fan speed.
Air flow control dial
The air flow control dial allows you to select the
air flow outlets.
MAX
A/C
— Air flows from center and side
vents with maximum cooling (air
conditioning).
— Air flows from center and side
vents.
— Air flows from center and side
vents and the front and rear floor
outlets.
Type B
WHA0535
HEATER AND AIR CONDITIONER
(manual) (Type B) (if so equipped)
Display screen, heater, air conditioner, audio and phone systems 4-21

— Air flows mainly from the front and
rear floor outlets.
— Air flows from defroster outlets
and the front and rear floor outlets.
— Air flows mainly from defroster
outlets.
The air flow control dial also has intermediate
positions which allow the air flow to be distrib-
uted between 2 of the icon positions on the air
flow control dial.
Temperature control dial
The temperature control dial allows you to adjust
the temperature of the outlet air. To lower the
temperature, turn the dial to the left. To increase
the temperature, turn the dial to the right.
Air recirculation button
ON position:
Push the button to recirculate air inside
the vehicle.
Push the button to the on position when:
●driving on a dusty road.
●to prevent traffic fumes from entering pas-
senger compartment.
●for maximum cooling when using the air con-
ditioner.
The air recirculation mode is only functional when
the air flow control mode is in the following
positions: or .
OFF position:
Push the button again to turn air recircula-
tion off. Outside air is drawn into the passenger
compartment and distributed through the se-
lected outlet.
Use the off position for normal heater or air con-
ditioner operation.
Air conditioner button
Start the engine, turn the fan control dial to the
desired position and push the button to
turn on the air conditioner. A/C will appear on the
display when the air conditioner is operating. To
turn off the air conditioner, push the button
again. The display will show A/C OFF.
The air conditioner cooling function oper-
ates only when the engine is running.
Rear window and outside mirror (if so
equipped) defroster switch
For more information about the rear window and
outside mirror (if so equipped) defroster switch,
see “Rear window and outside mirror defroster
switch” in the “Instruments and controls” section
of this manual.
HEATER OPERATION
Heating
This mode is used to direct heated air to the foot
outlets. Some air also flows from the defrost
outlets.
1. Push the button to the OFF position
for normal heating. The indicator light on
the button will go off. ( will ap-
pear on the display, if so equipped.)
2. Turn the air flow control dial to the
position.
3. Turn the fan control dial to the desired posi-
tion.
4. Turn the temperature control dial to the de-
sired position between the middle and the
hot position.
Ventilation
This mode directs outside air to the side and
center ventilators.
1. Push the button to the OFF position.
The indicator light on the button will
go off. ( will appear on the display, if so
equipped.)
4-22 Display screen, heater, air conditioner, audio and phone systems

2. Turn the air flow control dial to the
position.
3. Turn the fan control dial to the desired posi-
tion.
4. Turn the temperature control dial to the de-
sired position.
Defrosting or defogging
This mode directs the air to the defrost outlets to
defrost/defog the windows.
1. Turn the air flow control dial to the
position.
2. Turn the fan control dial to the desired posi-
tion.
3. Turn the temperature control dial to the de-
sired position between the middle and the
hot position.
●To quickly remove ice or fog from the win-
dows, turn the fan control dial to the right
and the temperature control to the full HOT
position.
●When the position is selected, the air
conditioner automatically turns on (however,
the indicator light on the button will
not come on) if the outside temperature is
more than 36°F (2°C). If in defrost mode for
more than one minute, the air conditioning
system will continue to operate until the ve-
hicle is shut off. This dehumidifies the air
which helps defog the windshield.
The mode automatically turns off, al-
lowing outside air to be drawn into the pas-
senger compartment to further improve the
defogging performance.
Bi-level heating
The bi-level mode directs warmed air to the side
and center vents and to the front and rear floor
outlets.
1. Push the button to the OFF position.
The indicator light on the button will
go off. ( will appear on the display, if so
equipped.)
2. Turn the air flow control dial to the
position.
3. Turn the fan control dial to the desired posi-
tion.
4. Turn the temperature control dial to the de-
sired position.
Heating and defogging
This mode heats the interior and defogs the wind-
shield.
1. Turn the air flow control dial to the
position.
2. Turn the fan control dial to the desired posi-
tion.
3. Turn the temperature control dial to the de-
sired position between the middle and the
hot position.
●When the position is selected, the air
conditioner automatically turns on (however,
the indicator light on the button will
not come on and A/C will not appear on the
display, if so equipped) if the outside tem-
perature is more than 36°F (2°C). If in
the mode for more than one minute,
the air conditioning system will continue to
operate until the vehicle is shut off. This
dehumidifies the air which helps defog the
windshield. The mode automatically
turns off, allowing outside air to be drawn
into the passenger compartment to further
improve the defogging performance.
Display screen, heater, air conditioner, audio and phone systems 4-23

Operating tips
Clear snow and ice from the wiper blades
and air inlet in front of the windshield. This
improves heater operation.
AIR CONDITIONER OPERATION
Start the engine, turn the fan control dial to the
desired position, and push in the button to
activate the air conditioner. When the air condi-
tioner is on, cooling and dehumidifying functions
are added to the heater operation.
The air conditioner cooling function oper-
ates only when the engine is running.
Cooling
This mode is used to cool and dehumidify the air.
1. Push the button to the OFF position.
2. Turn the air flow control dial to the
position.
3. Turn the fan control dial to the desired posi-
tion.
4. Push the button. The indicator light
on the button will come on. (A/C will
appear on the display, if so equipped.)
5. Turn the temperature control dial to the de-
sired position.
●For quick cooling when the outside tem-
perature is high, push the button to
the ON position. The indicator light on
the button will come on. ( will
appear on the display, if so equipped.) Be
sure to return the to the OFF position
for normal cooling. The indicator light on
the button will go off. ( will ap-
pear on the display, if so equipped.) You may
also select MAX A/C for quick cooling.
Dehumidified heating
This mode is used to heat and dehumidify the air.
1. Push the button to the OFF position.
The indicator light on the button will
go off. ( will appear on the display, if so
equipped.)
2. Turn the air flow control dial to the
position.
3. Turn the fan control dial to the desired posi-
tion.
4. Push the button on. The indicator
light on the button will come on. (A/C
will appear on the display, if so equipped.)
5. Turn the temperature control dial to the de-
sired position.
Operating tips
●Keep the windows closed while the air con-
ditioner is in operation.
●After parking in the sun, drive for 2 or 3
minutes with the windows open to vent hot
air from the passenger compartment. Then,
close the windows. This allows the air con-
ditioner to cool the interior more quickly.
●The air conditioning system should be
operated for approximately 10 minutes
at least once a month. This helps pre-
vent damage to the system due to lack
of lubrication.
●A visible mist may be seen coming from the
ventilators in hot, humid conditions as the air
is cooled rapidly. This does not indicate a
malfunction.
●If the engine coolant temperature
gauge indicates engine coolant tem-
perature over the normal range, turn
the air conditioner off. See “If your
vehicle overheats” in the “In case of
emergency” section of this manual.
4-24 Display screen, heater, air conditioner, audio and phone systems

AIR FLOW CHARTS
The following charts show the button and dial
positions for MAXIMUM AND QUICK heating,
cooling or defrosting. For additional information
on heating and cooling see “Heater and air con-
ditioner” in this section. The air recirculation
() button should always be in the OFF
position for heating and defrosting.
Type B
WHA1079
Display screen, heater, air conditioner, audio and phone systems 4-25

Type B
WHA1080
Type B
WHA1081
4-26 Display screen, heater, air conditioner, audio and phone systems

Type B
WHA1082
Type B
WHA1471
Display screen, heater, air conditioner, audio and phone systems 4-27

1. Driver temperature control dial
2. A/C ON/OFF button
3. Front window defroster button
4. Fan speed control dial
5. System OFF button
6. Rear window defroster button
7. Air recirculation button
8. Passenger temperature control dial
9. DUAL button
10. Air flow control buttons
11. AUTO button
WARNING
●The air conditioner cooling function op-
erates only when the engine is running.
●Do not leave children or adults who
would normally require the assistance
of others alone in your vehicle. Pets
should also not be left alone. They
could accidentally injure themselves or
others through inadvertent operation of
the vehicle. Also, on hot, sunny days,
temperatures in a closed vehicle could
quickly become high enough to cause
severe or possibly fatal injuries to
people or animals.
●Do not use the recirculation mode for
long periods as it may cause the interior
air to become stale and the windows to
fog up.
Start the engine and operate the controls to
activate the air conditioner.
AUTOMATIC OPERATION
Cooling or heating (auto)
This mode may be normally used all year round as
the system automatically works to keep a con-
stant temperature. Air flow distribution and fan
speed are also controlled automatically.
1. Press the AUTO button on.
2. Turn the temperature dial to the left or right
to set the desired temperature. Driver and
passenger temperatures can be set inde-
pendently. Press DUAL to activate dual cli-
mate control functions. Turn the passenger’s
side temperature control dial to the left or
right to set the desired passenger’s tem-
perature.
●Adjust the temperature dial to about 75°F
(24°C) for normal operation.
LHA0877
HEATER AND AIR CONDITIONER
(automatic) (if so equipped)
4-28 Display screen, heater, air conditioner, audio and phone systems

●The temperature of the passenger compart-
ment will be maintained automatically. Air
flow distribution, fan speed and A/C on/off
are also controlled automatically.
●A visible mist may be seen coming from the
vents in hot, humid conditions as the air is
cooled rapidly. This does not indicate a mal-
function.
Dehumidified defrosting or defogging
1. Press the defroster control button to
turn the system on. The indicator light in the
button will illuminate.
2. Turn the temperature dial to the left or right
to set the desired temperature.
●To quickly remove ice from the outside of the
windows, turn the manual fan control to the
maximum position.
●As soon as possible after the windshield is
clean, press the AUTO button to return to
the auto mode.
●When the control is activated, the air
conditioner will automatically be turned on at
outside temperatures above 36°F (2°C). If in
defrost mode for more than one minute, the
air conditioning system will continue to op-
erate until the fan control is turned OFF, the
vehicle is shut off or the A/C button is used
to turn off the compressor even if an air flow
button other than is selected. This
dehumidifies the air which helps defog the
windshield. The air recirculation mode auto-
matically turns off, allowing outside air to be
drawn into the passenger compartment to
further improve the defogging performance.
MANUAL OPERATION
Fan speed control dial
Turn the fan speed control dial left or right
to manually control the fan speed or turn the
system on or off.
Press the AUTO button to return to automatic
control of the fan speed.
Air recirculation
Push the air recirculation button to recir-
culate interior air inside the vehicle. Push the
AUTO button to return to automatic mode.
The air recirculation button will not be activated
when the air conditioner is in DEF, floor, or
floor/defrost mode.
Air flow control
Press the air flow control buttons to manually
control air flow and select the air outlet:
— Air flows from center and side
vents.
— Air flows from center and side
vents and foot outlets.
— Air flows mainly from foot outlets.
— Air flows from defroster and foot
outlets.
— Air flows from defroster outlets.
To turn system off
Press the /OFF button.
OPERATING TIPS
●When the engine coolant temperature and
outside air temperature are low, the air flow
from the foot outlets may not operate for a
maximum of 150 seconds. However, this is
not a malfunction. After the coolant tempera-
ture warms up, air flow from the foot outlets
will operate normally.
Display screen, heater, air conditioner, audio and phone systems 4-29

The sunload sensor 䊊
1, located on the top center
of the instrument panel, helps the system main-
tain a constant temperature. Do not put anything
on or around this sensor.
The air conditioner system in your NISSAN ve-
hicle is charged with a refrigerant designed with
the environment in mind.
This refrigerant does not harm the earth’s
ozone layer.
Special charging equipment and lubricant is re-
quired when servicing your NISSAN air condi-
tioner. Using improper refrigerants or lubricants
will cause severe damage to your air conditioner
system. See “Air conditioner system refrigerant
and oil recommendations” in the “Technical and
consumer information” section of this manual.
A NISSAN dealer is able to service your “environ-
mentally friendly” air conditioning system.
WARNING
The air conditioner system contains re-
frigerant under high pressure. To avoid
personal injury, any air conditioner ser-
vice should be done only by an experi-
enced technician with proper equipment.
RADIO
Place the ignition switch in the ACC or ON
position and press the PWR (power)/VOL (vol-
ume) knob to turn the radio on. If you listen to the
radio with the engine not running, the ignition
switch should be placed in the ACC position.
Radio reception is affected by station signal
strength, distance from radio transmitter, build-
ings, bridges, mountains and other external influ-
ences. Intermittent changes in reception quality
normally are caused by these external influences.
Using a cellular phone in or near the ve-
hicle may influence radio reception quality.
Radio reception
Your NISSAN radio system is equipped with
state-of-the-art electronic circuits to enhance ra-
dio reception. These circuits are designed to
extend reception range, and to enhance the qual-
ity of that reception.
However, there are some general characteristics
of both FM and AM radio signals that can affect
radio reception quality in a moving vehicle, even
when the finest equipment is used. These char-
acteristics are completely normal in a given re-
ception area and do not indicate any malfunction
in your NISSAN radio system.
LIC0836
SERVICING AIR CONDITIONER AUDIO SYSTEM
4-30 Display screen, heater, air conditioner, audio and phone systems
Reception conditions will constantly change be-
cause of vehicle movement. Buildings, terrain,
signal distance and interference from other ve-
hicles can work against ideal reception. De-
scribed below are some of the factors that can
affect your radio reception.
Some cellular phones or other devices may
cause interference or a buzzing noise to come
from the audio system speakers. Storing the de-
vice in a different location may reduce or elimi-
nate the noise.
FM RADIO RECEPTION
Range: FM range is normally limited to 25 – 30 mi
(40 – 48 km), with monaural (single channel) FM
having slightly more range than stereo FM. Exter-
nal influences may sometimes interfere with FM
station reception even if the FM station is within
25 mi (40 km). The strength of the FM signal is
directly related to the distance between the
transmitter and receiver. FM signals follow a line-
of-sight path, exhibiting many of the same char-
acteristics as light. For example, they will reflect
off objects.
Fade and drift: As your vehicle moves away from
a station transmitter, the signals will tend to fade
and/or drift.
Static and flutter: During signal interference from
buildings, large hills or due to antenna position
(usually in conjunction with increased distance
from the station transmitter), static or flutter can
be heard. This can be reduced by adjusting the
treble control to reduce treble response.
Multipath reception: Because of the reflective
characteristics of FM signals, direct and reflected
signals reach the receiver at the same time. The
signals may cancel each other, resulting in mo-
mentary flutter or loss of sound.
AM RADIO RECEPTION
AM signals, because of their low frequency, can
bend around objects and skip along the ground.
In addition, the signals can be bounced off the
ionosphere and bent back to earth. Because of
these characteristics, AM signals are also sub-
ject to interference as they travel from transmitter
to receiver.
Fading: Occurs while the vehicle is passing
through freeway underpasses or in areas with
many tall buildings. It can also occur for several
seconds during ionospheric turbulence even in
areas where no obstacles exist.
Static: Caused by thunderstorms, electrical
power lines, electric signs and even traffic lights.
SATELLITE RADIO RECEPTION (if so
equipped)
When the satellite radio is used for the first time
or the battery has been replaced, the satellite
radio may not work properly. This is not a mal-
function. Wait more than 10 minutes with satellite
radio ON and the vehicle outside of any metal or
large building for satellite radio to receive all of
the necessary data.
No satellite radio reception is available and “NO
SAT” is displayed when the SAT band option is
selected unless optional satellite receiver and
antenna are installed and an XM姞satellite radio
service subscription is active. Satellite radio is
not available in Alaska, Hawaii and Guam.
Satellite radio performance may be affected if
cargo carried on the roof blocks the satellite radio
signal.
If possible, do not put cargo over the satellite
antenna.
A build up of ice on the satellite radio antenna can
affect satellite radio performance. Remove the
ice to restore satellite radio reception.
Display screen, heater, air conditioner, audio and phone systems 4-31

AUDIO OPERATION PRECAUTIONS
Compact disc (CD) player
CAUTION
●Do not force a compact disc into the CD
insert slot. This could damage the CD
and/or CD changer/player.
●Trying to load a CD with the CD door
closed could damage the CD and/or CD
changer.
●Only one CD can be loaded into the CD
player at a time.
●Only use high quality 4.7 in (12 cm)
round discs that have the “COMPACT
disc DIGITAL AUDIO” logo on the disc
or packaging.
●During cold weather or rainy days, the
player may malfunction due to the hu-
midity. If this occurs, remove the CD
and dehumidify or ventilate the player
completely.
●The player may skip while driving on
rough roads.
●The CD player sometimes cannot func-
tion when the compartment tempera-
ture is extremely high or low.
Decrease/increase the temperature
before use.
●Do not expose the CD to direct sun-
light.
●CDs that are in poor condition or are
dirty, scratched or covered with finger-
prints may not work properly.
●The following CDs may not work prop-
erly:
●Copy control compact discs (CCCD)
●Recordable compact discs (CD-R)
●Rewritable compact discs (CD-RW)
●Do not use the following CDs as they
may cause the CD player to malfunc-
tion:
●3.1 in (8 cm) discs with an adapter
●CDs that are not round
●CDs with a paper label
●CDs that are warped, scratched, or
have abnormal edges
●This audio system can only play pre-
recorded CDs. It has no capability to
record or burn CDs.
●If the CD cannot be played, one of the
following messages will be displayed.
LHA0099
4-32 Display screen, heater, air conditioner, audio and phone systems
CHECK DISC:
●Confirm that the CD is inserted cor-
rectly (the label side is facing up,
etc.).
●Confirm that the CD is not bent or
warped and it is free of scratches.
PRESS EJECT:
This is an error due to excessive tem-
perature inside the player. Remove the
CD by pressing the EJECT button. After
a short time, reinsert the CD. The CD
can be played when the temperature of
the player returns to normal.
UNPLAYABLE:
The file is unplayable in this audio sys-
tem (only MP3 or WMA CD).
Compact disc with MP3 or WMA
Terms:
●MP3 — MP3 is short for Moving Pictures
Experts Group Audio Layer 3. MP3 is the
most well-known compressed digital audio
file format. This format allows for near “CD
quality” sound, but at a fraction of the size of
normal audio files. MP3 conversion of an
audio track from CD-ROM can reduce the
file size by approximately a 10:1 ratio with
virtually no perceptible loss in quality. MP3
compression removes the redundant and
irrelevant parts of a sound signal that the
human ear doesn’t hear.
●WMA — Windows Media Audio (WMA)* is a
compressed audio format created by Micro-
soft as an alternative to MP3. The WMA
codec offers greater file compression than
the MP3 codec, enabling storage of more
digital audio tracks in the same amount of
space when compared to MP3s at the same
level of quality.
●Bit rate — Bit rate denotes the number of
bits per second used by a digital music file.
The size and quality of a compressed digital
audio file is determined by the bit rate used
when encoding the file.
●Sampling frequency — Sampling frequency
is the rate at which the samples of a signal
are converted from analog to digital (A/D
conversion) per second.
●Multisession — Multisession is one of the
methods for writing data to media. Writing
data once to the media is called a single
session, and writing more than once is called
a multisession.
●ID3/WMA Tag — The ID3/WMA tag is the
part of the encoded MP3 or WMA file that
contains information about the digital music
file such as song title, artist, encoding bit
rate, track time duration, etc. ID3 tag infor-
mation is displayed on the Artist/song title
line on the display.
* Windows姞and Windows Media姞are regis-
tered trademarks and trademarks in the United
States of America and other countries of Micro-
soft Corporation of the USA.
Display screen, heater, air conditioner, audio and phone systems 4-33

Playback order:
Music playback order of a CD with MP3 or WMA
files is as illustrated.
●The names of folders not containing MP3 or
WMA files are not shown in the display.
●If there is a file in the top level of the disc,
“Root Folder” is displayed.
●The playback order is the order in which the
files were written by the writing software.
Therefore, the files might not play in the
desired order.
Playback order chart
WHA1078
4-34 Display screen, heater, air conditioner, audio and phone systems

Specification chart:
Supported media CD, CD-R, CD-RW
Supported file systems ISO9660 LEVEL1, ISO9660 LEVEL2, Apple ISO, Romeo, Joliet * ISO9660 Level 3 (packet writing) is not supported.
Supported
versions*1
MP3
Version MPEG1, MPEG2, MPEG2.5
Sampling frequency 8 kHz - 48 kHz
Bit rate 8 kbps - 320 kbps, VBR
WMA Version WMA7, WMA8, WMA9
Sampling frequency 32 kHz - 48 kHz
Bit rate 48 kbps - 192 kbps, VBR
Tag information ID3 tag VER1.0, VER1.1, VER2.2, VER2.3 (MP3 only)
Folder levels Folder levels: 8, Max folders: 255 (including root folder), Files: 512 (Max. 255 files for one folder)
Text character number limitation 128 characters
Displayable character codes*2 01: ASCII, 02: ISO-8859-1, 03: UNICODE (UTF-16 BOM Big Endian), 04: UNICODE (UTF-16 Non-BOM Big Endian), 05:
UNICODE (UTF-8), 06: UNICODE (Non-UTF-16 BOM Little Endian)
*1 Files created with a combination of 48 kHz sampling frequency and 64 kbps bit rate cannot be played.
*2 Available codes depend on what kind of media, versions and information are going to be displayed.
Display screen, heater, air conditioner, audio and phone systems 4-35

Troubleshooting guide:
Symptom Cause and Countermeasure
Cannot play
Check if the disc was inserted correctly.
Check if the disc is scratched or dirty.
Check if there is condensation inside the player. If there is, wait until the condensation is gone (about 1 hour) before using the player.
If there is a temperature increase error, the CD player will play correctly after it returns to the normal temperature.
If there is a mixture of music CD files (CD-DA data) and MP3/WMA files on a CD, only the music CD files (CD-DA data) will be played.
Files with extensions other than “.MP3”,“.WMA”, “.mp3” or “.wma” cannot be played. In addition, the character codes and number of characters for
folder names and file names should be in compliance with the specifications.
Check if the finalization process, such as session close and disc close, is done for the disc.
Check if the disc is protected by copyright.
Poor sound quality Check if the disc is scratched or dirty.
Bit rate may be too low.
It takes a relatively long time
before the music starts
playing.
If there are many folders or file levels on the MP3/WMA disc, or if it is a multisession disc, some time may be required before the music starts playing.
Music cuts off or skips The writing software and hardware combination might not match, or the writing speed, writing depth, writing width, etc., might not match the
specifications. Try using the slowest writing speed.
Skipping with high bit rate
files
Skipping may occur with large quantities of data, such as for high bit rate data.
Moves immediately to the
next song when playing
When a non-MP3/WMA file has been given an extension of “.MP3”, “.WMA”, .“mp3”or “.wma”, or when play is prohibited by copyright protection, there
will be approximately 5 seconds of no sound and then the player will skip to the next song.
Songs do not play back in
the desired order
The playback order is the order in which the files were written by the writing software. Therefore, the files might not play in the desired order.
4-36 Display screen, heater, air conditioner, audio and phone systems

1. PRESET A·B·C button
2. CD eject button
3. MENU button
4. CD insert slot
5. CD button
6. FM·AM button
7. TUNE buttons
8. RPT button
9. PWR button/VOL control knob
10. RDM button
11. Station select (1 - 6) buttons
12. SEEK buttons
FM/AM RADIO WITH COMPACT
DISC (CD) PLAYER (if so equipped)
For all operation precautions, see ⬙Audio opera-
tion precautions⬙earlier in this section.
Audio main operation
Power button and VOL control knob
Place the ignition switch in the ACC or ON
position, then press the PWR (power) button. If
you listen to the radio with the engine not running,
place the ignition switch in the ACC position. The
mode (radio or CD) that was playing immediately
before the system was turned off resumes play-
ing.
When no CD is loaded, the radio comes on.
Pressing the PWR button again turns the system
off.
Turn the VOL control knob to the right to increase
volume or to the left to decrease volume.
MENU button (BASS, TREBLE, FADE,
BALANCE and CLOCK):
Press the MENU button to change the mode as
follows:
BAS →TRE →FAD →BAL →CLOCK →Audio
→BAS
WHA1075
Display screen, heater, air conditioner, audio and phone systems 4-37

To adjust Bass, Treble, Fade and Balance, press
the MENU button until the desired mode appears
in the display. Press the SEEK button to adjust
Bass and Treble to the desired level. You can also
use the SEEK button to adjust Fade and Balance
modes. Fade adjusts the sound level between the
front and rear speakers and Balance adjusts the
sound between the right and left speakers.
Once you have adjusted the sound quality to the
desired level, press the MENU button repeatedly
until the radio or CD display reappears. Other-
wise, the radio or CD display will automatically
reappear after about 10 seconds.
NOTE:
If the clock is enabled, pressing the MENU
button will change the mode as follows:
BAS →TRE →FAD →BAL →CLOCK →
Hour adjustment →Minute adjustment →
Audio →BAS
For more information on setting the clock, see
“Clock set” later in this section.
Clock operation
Press the MENU button until CLOCK is dis-
played; use the SEEK button to turn the clock
display on (CLK ON) or off (CLK OFF).
Clock set
If the clock is not displayed with the ignition
switch in the ACC or ON position, you need to
select the CLK ON mode. Press the MENU but-
ton repeatedly until CLOCK is displayed. Use the
SEEK button to enable CLK ON mode.
1. Press the MENU button repeatedly until
CLOCK mode appears; press the SEEK
button until CLK ON appears.
2. Press the MENU button again; the hours will
start flashing.
3. Press the SEEK button or to
adjust the hour.
4. Press the MENU button again; the display
will switch to the minute adjustment mode.
5. The minutes will start flashing. Press SEEK
button or to adjust the minutes.
6. Press the MENU button again to exit the
clock set mode.
The display will return to the regular clock display
after 10 seconds, or press the MENU button
again to return to the regular clock display.
Resetting the time
Hold the MENU button down and then press the
TUNE/SEEK button; the time will reset as fol-
lows:
●If the displayed minutes before the reset are
in the range of :00 - :29, the hour displayed
before the reset will stay the same and the
minutes will be reset to :00.
●If the displayed minutes before the reset are
in the range of :30 - :59, the hour displayed
before the reset will advance by one hour
and the minutes will be reset to :00.
For example, if the MENU button and the
TUNE/SEEK button are pressed while the time
displayed is between 8:00 and 8:29, the display
will be reset to 8:00. If the buttons were pressed
while the time was between 8:30 and 8:59, the
display will be reset to 9:00. At the same time the
display will return to the audio.
FM/AM radio operation
FM·AM button:
Press the FM·AM button to change from AM ←→
FM reception.
The FM stereo indicator, ST, illuminates during
FM stereo reception. When the stereo broadcast
signal is weak, the radio automatically changes
from stereo to monaural reception.
4-38 Display screen, heater, air conditioner, audio and phone systems

TUNE buttons:
Manual tuning
Press the TUNE or button for less
than 0.5 seconds for manual tuning.
To move quickly through the channels, press and
hold either TUNE or button down
for more than 1.5 seconds.
SEEK buttons:
SEEK tuning
Press the SEEK or button to seek
through the frequencies. Seek tuning begins
from low to high frequencies, or high to low
frequencies, depending on which button is
pressed, and stops at the next broadcasting sta-
tion. Once the highest broadcasting station is
reached, the radio continues in the seek mode at
the lowest broadcasting station.
Station memory operations:
18 stations can be set for the FM and AM radio to
the A, B and C preset button in any combination
of AM or FM stations.
1. Press the PRESET A·B·C button to change
between storage banks. The radio displays
the icon A, B or C to indicate which set of
presets are active.
2. Tune to the desired station using manual
TUNE or SEEK tuning. Press and hold any of
the desired station memory buttons (1 – 6)
until a beep sound is heard. (The radio mutes
when the select button is pressed.)
3. The channel indicator will then come on and
the sound will resume. Programming is now
complete.
4. Other buttons can be set in the same man-
ner.
If the battery cable is disconnected, or if the fuse
opens, the radio memory will be canceled. In that
case, reset the desired stations.
Compact disc (CD) player operation
If the radio is already operating, it automatically
turns off and the compact disc begins to play.
CD button:
When the CD button is pressed with a compact
disc loaded and the radio playing, the radio turns
off and the last used compact disc starts to play.
TUNE (rewind and fast
forward) buttons:
When the TUNE or button is
pressed while the compact disc is playing, the
compact disc plays at an increased speed while
rewinding or fast forwarding. When the button is
released, the compact disc returns to normal play
speed.
SEEK buttons:
When is pressed while the compact disc
is playing, the next track following the present
one starts to play from the beginning.
Press several times to skip several tracks.
Each time the button is pressed, the CD ad-
vances 1 additional track. The track number ap-
pears in the display window. (When the last track
on the compact disc is skipped, the first track is
played.)
When is pressed, the track being played
returns to the beginning. Press several
times to skip back several tracks. Each time the
button is pressed, the CD moves back one track.
Display screen, heater, air conditioner, audio and phone systems 4-39

SEEK (Scan CDs) button:
Press and hold the SEEK button for more
than 1.5 seconds to scan through the first 10
seconds of a track on the compact disc. The
SCAN icon is flashed during scan mode.
The scan mode is canceled once it scans through
all the tracks on the disc, or if the SEEK
or button is pressed during the scan
mode.
RPT button:
When the RPT button is pressed while the com-
pact disc is being played, the play pattern can be
changed as follows:
1←→ Normal
1: The track that is currently playing will be re-
peated.
RDM button:
When the RDM button is pressed while the com-
pact disc is being played, the play pattern can be
changed as follows:
RDM ←→ Normal
RDM: Tracks from the disc that is currently play-
ing will be played randomly.
CD EJECT button:
When the button is pressed with a com-
pact disc loaded, the compact disc will be
ejected.
When the button is pressed while the
compact disc is being played, the compact disc
will eject and the system will turn off.
CD IN indicator:
CD IN indicator appears on the display when the
CD is loaded with the system on.
4-40 Display screen, heater, air conditioner, audio and phone systems

1. SEEK/TRACK button
2. TUNE/FOLDER·CAT button
3. DISP button
4. SCAN RPT button
5. PRESET A·B·C button
6. CD·DVD button
7. RADIO button*
8. AUX button
9. REAR ON·OFF button
10. speaker control button
11. LOAD button
12. CD insert slot
13. CD eject button
14. POWER/VOLUME control knob
15. Station and CD select (1 - 6) buttons
16. Tuning and AUDIO control knob
(BASS, MID, TREBLE, FADE and BAL-
ANCE)
*No satellite radio reception is available
and “NO SAT” is displayed when the
RADIO button is pressed to access
satellite radio stations unless optional
satellite receiver and antenna are in-
stalled and an XM姞satellite radio ser-
vice subscription is active. Satellite ra-
dio is not available in Alaska, Hawaii
and Guam.
Type A
WHA0864
Display screen, heater, air conditioner, audio and phone systems 4-41

1. SEEK/TRACK button
2. TUNE/FOLDER·CAT button
3. DISP button
4. SCAN RPT button
5. PRESET A·B·C button
6. CD button
7. FM button
8. AM button
9. SAT (satellite) button*
10. AUX button
11. LOAD button
12. CD insert slot
13. CD eject button
14. POWER/VOLUME control knob
15. Station and CD select (1 - 6) buttons
16. Tuning and AUDIO control knob
(BASS, MID, TREBLE, FADE and BAL-
ANCE)
*No satellite radio reception is available
and “NO SAT” is displayed when the
SAT button is pressed to access satel-
lite radio stations unless optional satel-
lite receiver and antenna are installed
and an XM姞satellite radio service sub-
scription is active. Satellite radio is not
available in Alaska, Hawaii and Guam.
Type B
WHA0865
4-42 Display screen, heater, air conditioner, audio and phone systems

1. SEEK/TRACK button
2. TUNE/FOLDER·CAT button
3. Display
4. SCAN button
5. RPT RDM button
6. H/M button (clock set buttons)
7. PRESET A·B·C button
8. CD button
9. FM AM button
10. SAT (satellite) radio button*
11. AUX button
12. DISP button
13. LOAD button
14. CD insert slot
15. CD eject button
16. POWER/VOLUME control knob
17. Station and CD select (1 - 6) buttons
18. Tuning and AUDIO control knob
(BASS, MID, TREBLE, FADE and BAL-
ANCE)
*No satellite radio reception is available
and “NO SAT” is displayed when the
SAT button is pressed unless optional
satellite receiver and antenna are in-
stalled and an XM姞satellite radio ser-
vice subscription is active. Satellite ra-
dio is not available in Alaska, Hawaii
and Guam.
Type C
WHA0866
Display screen, heater, air conditioner, audio and phone systems 4-43

1. SEEK/TRACK button
2. TUNE/FOLDER·CAT button
3. Display
4. SCAN RPT button
5. DISP button
6. H/M button (clock set buttons)
7. PRESET A·B·C button
8. CD·DVD button
9. RADIO button*
10. AUX button
11. REAR ON·OFF button
12. speaker control button
13. LOAD button
14. CD insert slot
15. CD eject button
16. POWER/VOLUME control knob
17. Station and CD select (1 - 6) buttons
18. Tuning and AUDIO control knob
(BASS, MID, TREBLE, FADE and BAL-
ANCE)
*No satellite radio reception is available
and “NO SAT” is displayed when the
RADIO button is pressed to access
satellite radio stations unless optional
satellite receiver and antenna are in-
stalled and an XM姞satellite radio ser-
vice subscription is active. Satellite ra-
dio is not available in Alaska, Hawaii
and Guam.
Type D
WHA0867
4-44 Display screen, heater, air conditioner, audio and phone systems

1. PRESET A·B·C button
2. Display
3. DISP/CLOCK button
4. SEEK/TRACK button
5. CD button
6. RADIO button*
7. AUX button
8. SCAN RPT button
9. CAT FOLDER button
10. CD LOAD button
11. CD insert slot
12. CD eject button
13. PWR/VOL (power/volume) control
knob
14. Station and CD select (1 - 6) buttons
15. Tuning and AUDIO control knob
(BASS, MID, TREBLE, FADE and BAL-
ANCE)
*No satellite radio reception is available
and “NO SAT” is displayed when the
RADIO button is pressed to access
satellite radio stations unless optional
satellite receiver and antenna are in-
stalled and an XM姞satellite radio ser-
vice subscription is active. Satellite ra-
dio is not available in Alaska, Hawaii
and Guam.
FM/AM/SAT RADIO WITH
COMPACT DISC (CD) CHANGER
(Type A, B, C, D and E) (if so
equipped)
For all operation precautions, see “Audio opera-
tion precautions” earlier in this section.
No satellite radio reception is available and “NO
SAT” is displayed when the SAT or RADIO button
Type E
WHA1127
Display screen, heater, air conditioner, audio and phone systems 4-45

is pressed to select satellite radio stations unless
optional satellite receiver and antenna are in-
stalled and an XM姞satellite radio service sub-
scription is active. Satellite radio is not available
in Alaska, Hawaii and Guam.
Audio main operation
POWER/VOLUME control:
Place the ignition switch in the ACC or ON
position, and then push the POWER/VOLUME
or PWR/VOL control knob while the system is off
to call up the mode (radio or CD) which was
playing immediately before the system was
turned off.
To turn the system off, press the
POWER/VOLUME or PWR/VOL control knob.
Turn the POWER/VOLUME or PWR/VOL con-
trol knob to adjust the volume.
This vehicle may be equipped with Speed Sen-
sitive Volume (SSV) for audio. The audio volume
changes as the driving speed changes.
AUDIO knob (BASS, MIDRANGE, TREBLE,
FADE, BALANCE and SSV if so equipped):
Press the AUDIO knob to change the mode as
follows:
BASS →MID →TREBLE →FADE →BALANCE
→SSV (if so equipped)
To adjust Bass, Mid (Midrange), Treble, Fade and
Balance, press the AUDIO knob until the desired
mode appears in the display. Turn the Tuning
knob to adjust Bass and Treble to the desired
level. You can also use the Tuning knob to adjust
Fader and Balance modes. Fader adjusts the
sound level between the front and rear speakers
and Balance adjusts the sound between the right
and left speakers.
To change the SSV mode to OFF, LOW, MID or
HIGH, turn the Tuning knob to the right or left.
Once you have adjusted the sound quality to the
desired level, press the AUDIO knob repeatedly
until the radio or CD display reappears. Other-
wise, the radio or CD display will automatically
reappear after about 10 seconds.
Clock set (Type C and D only)
1. Press and hold the H button to advance
hours.
2. Press and hold the M button to advance
minutes.
For setting the clock on Type A and B audio
systems see “Adjusting the time” in this section.
Clock set (Type E only)
1. Press the DISP/CLOCK button until it
beeps (>1.5 seconds).
2. The hours will start flashing. Press the CAT
FOLDER or button or SEEK
TRACK or button, to adjust the
hours.
3. Press the DISP/CLOCK button again to
switch to the minute adjustment.
4. Press the CAT FOLDER or
button or SEEK TRACK or
button to adjust the minutes.
5. Press the DISP/CLOCK button again to exit
the clock set mode.
The display will return to the regular clock display
after 7 seconds, or you may press the
DISP/CLOCK button again to return to the regu-
lar clock display.
For setting the clock on Type A and B audio
systems see “Adjusting the time” in this section.
DISP (display) button:
The DISP (display) button will show text about
MP3, SAT or CD information in the audio display.
CD display mode
To change the text displayed while playing a CD
with text, press the DISP button. The DISP button
will allow you to scroll through CD text as follows:
Disc title ←→ Track title.
4-46 Display screen, heater, air conditioner, audio and phone systems
To change the default display mode, press the
AUDIO knob repeatedly until DISPLAY MODE
appears on the display, then rotate the knob to
select the following display modes:
Type A, B and E: Disc number ←→ Folder
number.
Type C and D: Disc title ←→ Track number ←→
Track title.
Once the display mode is selected, press the
AUDIO knob again to store the setting. If the
AUDIO knob is not pressed within 8 seconds, the
display will refresh with the last selected display
mode setting.
●Disc number mode displays the current disc
number playing in the changer.
●Folder number mode displays the selected
folder number and the track number that is
currently being played.
●Disc title mode displays the title of the CD
being played.
●Track number mode displays the number
selected disc and the track that is currently
being played on the disk.
●Track title mode displays the title of the se-
lected CD track.
MP3 display mode
To change the text displayed when listening to an
MP3/WMA CD with MP3/WMA text (when CD
with text is being used), press the DISP button.
The DISP button will scroll through the CD text as
follows:
Type A, B, C and D: Track title ←→ Artist
title ←→ Folder title.
Type E: Track title ←→ Folder title ←→ Artist title
←→ Disc number ←→ Folder number.
To change the default display mode, press the
AUDIO knob repeatedly until DISPLAY MODE
appears on the display, then rotate the knob to
select the following display modes:
Type A, B and E: Disc number ←→ Folder
number.
Type C and D: Disc number ←→ Folder number
←→ Track title ←→ Artist title ←→ Folder title.
Once a display mode is selected, press the AU-
DIO knob again to store the setting.
●Disc number mode displays the selected
disc number and the track number that is
currently being played.
●Folder number mode displays the selected
folder number and the track number that is
currently being played.
●Track title mode displays the track title of the
MP3/WMA file.
●Artist title mode displays the artist title of the
MP3/WMA file.
●Folder title mode displays the folder name
given to the MP3/WMA folder.
Display satellite radio display mode (if so
equipped)
To change the text displayed when listening to
satellite radio (if so equipped) press the DISP
button. The DISP button will scroll through the
broadcast information as follows: Name ←→
Title ←→ Current display mode.
To change the default display mode press the
AUDIO button to display mode and press the
TUNE button to select the following display
modes: Channel number ←→ Channel name
←→ Name ←→ Title. Once the display mode is
selected press the AUDIO button again to store
the setting. If the AUDIO button is not pressed
after 8 seconds the display will refresh with the
last selected display mode setting.
●Channel number mode displays the channel
number of the selected satellite radio sta-
tion.
●Channel name mode displays the channel
name of the selected satellite radio station.
Display screen, heater, air conditioner, audio and phone systems 4-47

●Name mode displays the name of the artist,
host or weather condition of the selected
satellite radio station.
●Title mode displays the song title, show
name, or temperature of the selected satel-
lite radio station.
FM/AM/SAT radio operation
FM/AM/SAT band select (Type B and C
only):
Pressing the FM, AM, FM/AM or SAT radio select
button will change the band to either FM, AM or
SAT (satellite - if so equipped) radio stations.
When the FM, AM, FM/AM or SAT* radio select
button is pushed while the ignition switch is in the
ACC or ON, the radio will come on at the station
last played.
The last station played will also come on when
the POWER/VOLUME control knob is pressed
ON.
*No satellite radio reception is available and “NO
SAT” is displayed when the SAT button is
pressed unless optional satellite receiver and
antenna are installed and an XM姞satellite radio
service subscription is active. Satellite radio is
not available in Alaska, Hawaii and Guam.
If a compact disc is playing when the FM, AM,
FM/AM or SAT radio select button is pressed, the
compact disc will automatically be turned off and
the last radio station played will come on.
The FM stereo indicator ST will illuminate during
FM stereo reception. When the stereo broadcast
signal is weak, the radio will automatically change
from stereo to monaural reception.
FM/AM/SAT band select (Type A, D and E
only):
Pressing the RADIO button will change the band
as follows:
AM ←→ FM or SAT* (satellite, if so equipped)
When the RADIO button is pressed while the
ignition switch is in the ACC or ON position, the
radio will come on at the station last played.
The last station played will also come on when
the POWER/VOLUME control knob is pressed
ON.
*No satellite radio reception is available and “NO
SAT” is displayed when the RADIO button is
pressed to access satellite radio stations unless
optional satellite receiver and antenna are in-
stalled and an XM姞satellite radio service sub-
scription is active. Satellite radio is not available
in Alaska, Hawaii and Guam.
If a compact disc is playing when the RADIO
button is pressed, the compact disc will auto-
matically be turned off and the last radio station
played will come on.
The FM stereo indicator ST will illuminate during
FM stereo reception. When the stereo broadcast
signal is weak, the radio will automatically change
from stereo to monaural reception.
TUNE/FOLDER·CAT
button (Type A, B, C and
D only):
Manual tuning
To manually tune the radio, press the
TUNE/FOLDER·CAT button or ,or
turn the tuning knob to right or left.
To move quickly through the channels, press and
hold either the or button down for
more than 1.5 seconds.
CAT FOLDER (tuning)
button (Type E only):
Manual tuning
To manually tune the radio, press the CAT
FOLDER button or , or turn the tun-
ing knob to right or left.
4-48 Display screen, heater, air conditioner, audio and phone systems

To move quickly through the channels, press and
hold either the or button down for
more than 1.5 seconds.
SEEK/TRACK button:
Seek tuning
Press the SEEK/TRACK button or
for less than 1.5 seconds to tune from high to low
or low to high frequencies and stop at the next
broadcasting station.
To seek quickly through the channels, press and
hold the SEEK/TRACK button for more than 1.5
seconds. When the button is released the radio
will seek to the next broadcasting station.
SCAN tuning (Type C only):
Press the SCAN button to stop at each broad-
casting station for 5 seconds. Pressing the
SCAN button again during this 5 second period
will stop scan tuning and the radio will remain
tuned to that station. If the SCAN button is not
pressed within 5 seconds, scan tuning moves to
the next station.
SCAN RPT tuning (Type A, B and D only):
Press the SCAN RPT button for more than 1.5
seconds to stop at each broadcasting station
(AM, FM or SAT if so equipped) for 5 seconds.
Pressing the button again during this 5 second
period will stop scan tuning and the radio will
remain tuned to that station. If the SCAN RPT
button is not pressed within 5 seconds, scan
tuning moves to the next station.
PRESET A·B·C (Station memory opera-
tions):
18 stations can be set for the FM, AM and SAT
(satellite, if so equipped) radio to the A, B and C
preset button in any combination of FM, AM or
SAT stations.
1. Choose preset bank A, B or C using the
PRESET A·B·C select button.
2. Select the desired FM, AM or SAT station
band.
3. Tune to the desired station using manual,
SEEK or SCAN tuning. Press and hold any
of the desired station memory buttons (1 –
6) until a beep sound is heard.
4. The channel indicator will then come on and
the sound will resume. Programming is now
complete.
5. Other buttons can be set in the same man-
ner.
If the battery cable is disconnected, or if the fuse
opens, the radio memory will be canceled. In that
case, reset the desired stations.
Radio data system (RDS):
RDS stands for Radio Data System, and is a data
information service transmitted by some radio
stations on the FM band (not AM band). Cur-
rently, most RDS stations are in large cities, but
many stations are now considering broadcasting
RDS data.
RDS can display:
●Station call sign, such as “WHFR 98.3”.
●Station name, such as “The Groove”.
●Music or programming type such as “Clas-
sical”, “Country”, or “Rock”.
●Artist and song information.
If the station broadcasts RDS information, the
RDS icon is displayed.
Compact disc (CD) changer operation
Place the ignition switch in the ACC or ON
position and press the LOAD or button,
then press one of the CD insert slots (1 – 6) .
Insert the compact disc into the slot with the label
side facing up. The compact disc will be guided
automatically into the slot and start playing.
If the radio is already operating, it will automati-
cally turn off and the compact disc will play.
Display screen, heater, air conditioner, audio and phone systems 4-49

If the system has been turned off while the com-
pact disc was playing, pressing the
POWER/VOLUME or PWR/VOL control knob
will start the compact disc.
LOAD button (Type A, B, C and D only):
To insert a CD in the CD changer, press the
LOAD button for less than 1.5 seconds. Select
the loading slot by pressing a CD insert select
button (1 – 6), then insert the CD.
To insert 6 CDs to the CD changer, press the
LOAD button for more than 1.5 seconds.
The slot numbers (1 – 6) will illuminate on the
display when CDs are loaded into the changer.
LOAD button (Type E only):
To insert a CD in the CD changer, press
the button for less than 1.5 seconds. Se-
lect the loading slot by pressing a CD insert
select button (1 – 6), then insert the CD.
To insert 6 CDs to the CD changer, press and
hold the button for more than 1.5 seconds.
The slot numbers (1 – 6) will illuminate on the
display when CDs are loaded into the changer.
CD button (Type B, C and E only):
When the CD button is pressed with the system
off and the compact disc loaded, the system will
turn on and the compact disc will start to play.
When the CD button is pressed with the com-
pact disc loaded with the radio playing, the radio
will automatically be turned off and the compact
disc will start to play.
CD·DVD button (Type A and D only):
Press the CD·DVD button to toggle the radio
between CD and DVD modes.
When the CD·DVD button is pressed with the
system off and the compact disc loaded, the
system will turn on and the compact disc will start
to play.
When the CD·DVD button is pressed with the
compact disc loaded with the radio playing, the
radio will automatically be turned off and the
compact disc will start to play.
For more information on the DVD system see
“Playing a digital video disc (DVD)” later in this
section.
SEEK/TRACK button:
When the button is pressed while a com-
pact disc is playing, the track being played re-
turns to its beginning. Press several times to skip
back through tracks. The compact disc will go
back the number of times the button is pressed.
When the button is pressed while the
compact disc is playing, the next track will start to
play from its beginning. Press several times to
skip through tracks. The compact disc will ad-
vance the number of times the button is pressed.
(When the last track on the compact disc is
skipped through, the first track will be played.)
TUNE/FOLDER·CAT
button (Type A, B, C and
D only):
CD:
●While playing a CD, press and hold the
TUNE/FOLDER·CAT button or
to fast forward or rewind a track on a CD.
MP3 CD:
●While playing an MP3 CD, press the
TUNE/FOLDER·CAT button or
to scan backward or forward through avail-
able folders.
●Press and hold the TUNE/FOLDER·CAT
button or to fast forward or re-
wind a track on an MP3 CD.
4-50 Display screen, heater, air conditioner, audio and phone systems

CAT FOLDER button
(Type E only):
CD:
●While playing a CD press the CAT FOLDER
button or to fast forward or re-
wind a track on a CD.
MP3 CD:
●While playing an MP3 CD, press the CAT
FOLDER button or to scan
backward or forward through available fold-
ers.
●Press and hold the CAT FOLDER
button or to fast forward or re-
wind a track on an MP3 CD.
CD select buttons:
To play another CD that has been loaded, press a
CD select button (1 – 6).
SCAN/RPT button (Type A, B, D and E
only):
When the SCAN/RPT play button is pressed
while the compact disc is played, the play pattern
can be changed as follows:
ALL DISC RPT →1 DISC RPT→1 TRACK RPT
→ALL DISC RDM →1 DISC RDM →ALL DISC
RPT
ALL DISC RPT: All discs loaded will be repeated.
1 DISC RPT: The disc that is currently playing will
be repeated.
1 TRACK RPT: The track that is currently playing
will be repeated
ALL DISC RDM: Tracks from all discs will be
played randomly
1 DISC RDM: Tracks from the disc that is cur-
rently playing will be played randomly
RPT RDM button (Type C only):
When the RPT RDM play button is pressed while
the compact disc is played, the play pattern can
be changed as follows:
ALL DISC RPT →1 DISC RPT→1 TRACK RPT
→ALL DISC RDM →1 DISC RDM →ALL DISC
RPT
ALL DISC RPT: All discs loaded will be repeated.
1 DISC RPT: The disc that is currently playing will
be repeated.
1 TRACK RPT: The track that is currently playing
will be repeated
ALL DISC RDM: Tracks from all discs will be
played randomly
1 DISC RDM: Tracks from the disc that is cur-
rently playing will be played randomly
REAR ON·OFF (if so equipped):
Pressing the REAR ON·OFF button for less than
1.5 seconds turns the rear seat audio controller
on. REAR CONT ON will display. Pressing it
again will turn the rear seat audio controller off.
REAR CONT OFF will display. If the vehicle is not
equipped with a rear seat audio controller, the
display will show “REAR AV N/A”.
(SPEAKER CONTROL) button
(Type A and D only):
Press the button to turn the rear speakers
off and the headphones on. Press the but-
ton again to turn rear seat speakers back on and
the headphones off.
CD EJECT:
Current/Selected disc:
●Press the button, then press the slot
number (1 – 6) for the desired disc. The
compact disc will be ejected. If no slot num-
ber (1 – 6) is pressed, the current loaded
disc will be ejected. If the ejected disc is not
removed within 15 seconds, the disc will
reload.
Display screen, heater, air conditioner, audio and phone systems 4-51

All discs:
●Press and hold the button for more
than 1.5 seconds. The compact discs will be
ejected one by one. If a disc is not removed
within 20 seconds or the button is
pressed again during the eject sequence,
the entire disc eject sequence will be can-
celed.
When this button is pressed while a compact
disc is playing, the compact disc will eject and
the last source will be played.
CD IN indicator:
The slot numbers (1 – 6) will illuminate if CDs
have been loaded into the changer in CD mode
only.
AUX jack (if so equipped)
The AUX jack 䊊
1is located below the air condi-
tioner controls. The AUX audio input jack accepts
any standard analog audio input such as from a
portable cassette tape player, MP3 player or a
laptop computer.
Press the AUX button to play a compatible device
when it is plugged into the AUX jack.
CD CARE AND CLEANING
●Handle a CD by its edges. Do not bend the
disc. Never touch the surface of the disc.
●Always place the discs in the storage case
when they are not being used.
●To clean a disc, wipe the surface from the
center to the outer edge using a clean, soft
cloth. Do not wipe the disc using a circular
motion.
●Do not use a conventional record cleaner or
alcohol intended for industrial use.
WHA0869 LHA0049
4-52 Display screen, heater, air conditioner, audio and phone systems

●A new disc may be rough on the inner and
outer edges. Remove the rough edges by
rubbing the inner and outer edges with the
side of a pen or pencil as illustrated.
1. Volume control switch
2. MODE select switch
3. POWER on/off switch
4. Tuning switch
1. Volume control switch
2. Phone operation switch
3. Power on and MODE select switch
4. Tuning switch
Type A
WHA0611
Type B
WHA0612
Display screen, heater, air conditioner, audio and phone systems 4-53

STEERING WHEEL SWITCH FOR
AUDIO CONTROL (if so equipped)
The audio system can be operated using the
controls on the steering wheel.
POWER on/off switch
If you have the Type A switch, with the ignition
switch placed in the ACC or ON position, push
the POWER switch to turn the audio system on
or off.
If you have the Type B switch, with the ignition
switch placed in the ACC or ON position, push
the MODE switch to turn the audio system on.
MODE select switch
Push the mode select switch to change the mode
in the following sequence: PRESET A →PRE-
SET B →PRESET C →CD* →DVD** (if so
equipped) →AUX***.
*This mode is only available when a CD is loaded.
**This mode is only available when a DVD is
loaded into the DVD player.
***This mode is only available when a compatible
auxiliary device is plugged into the AUX jack.
Volume control switch
Push the volume control switch up or down to
increase or decrease the volume.
Tuning
Memory change (radio):
While in one of the preset radio station banks (A,
B or C), push the tuning switch or
for less than 1.5 seconds to change to the next
preset station in memory.
Seek tuning (radio):
Push the tuning switch or for more
than 1.5 seconds to seek the next or previous
radio station.
Next/Previous track (CD):
Push the tuning switch or for less
than 1.5 seconds to return to the beginning of the
present track or skip to the next track. Push
several times to skip back or skip through tracks.
This system searches for the blank intervals be-
tween selections. If there is a blank interval within
1 program or there is no interval between pro-
grams, the system may not stop in the desired or
expected location.
Change disc (CD):
Push the tuning switch or for more
than 1.5 seconds to change the playing disc up
or down.
4-54 Display screen, heater, air conditioner, audio and phone systems

1. VOL (volume) control button
2. MODE select button
3. speaker control button
4. NEXT button
5. SEEK button
6. Headphone jacks
7. Infrared headphone transmitter lens*
*Red transmitters will be visible when
infrared headphones are on.
REAR AUDIO CONTROLS (if so
equipped)
The headphones symbol illuminates on the front
display when the rear audio controls are on. Two
headphone jacks are provided so two rear seat
passengers may listen to the audio system pri-
vately.
The rear volume controls can only increase the
volume to the level at which the front radio volume
control is set.
One or two infrared headphones are included if
the vehicle is equipped with the DVD entertain-
ment system. Most portable radio headphones
work with the rear audio controls.
VOL (volume) button:
(SPEAKER CONTROL) button:
Press this button to turn the rear speakers
off and headphones on. Press this button
again to turn rear seat speakers back on and
headphones off.
LHA0322
Display screen, heater, air conditioner, audio and phone systems 4-55

MODE button:
The MODE button allows the rear passengers to
change between AM, FM, CD, DVD and AUX.
The media options are listed on the face plate of
the rear audio controls. When a source of media
is selected, the media label will be illuminated.
SEEK button:
In AM or FM mode, the SEEK button allows the
rear seat passengers to find the next radio station
up or down the station band frequency.
In CD mode, the SEEK button allows the rear
passengers to find the next or previous selection
on the CD.
NEXT button:
When the NEXT button is pressed while in AM or
FM mode, the radio will change to the next preset.
The NEXT button does not function while in SAT
radio mode or when playing a DVD or CD.
ANTENNA
The antenna cannot be shortened, but can be
removed. When you need to remove the antenna,
turn the antenna rod counterclockwise.
To install the antenna rod, turn the antenna clock-
wise. Tighten the antenna rod to specification
using a suitable tool such as an open-end
wrench. The antenna rod tightening specification
is 3.4 – 3.6 N·m (30 – 32 in-lb). Do not use pliers
to tighten the antenna as they can leave marks on
the antenna surface. The antenna rod cannot be
hand tightened to the proper specification.
CAUTION
Always properly tighten the antenna rod
during installation or the antenna rod may
break during vehicle operation.
WARNING
●The Mobile Entertainment System is
designed for rear seat passenger view-
ing only.
●The driver must not attempt to operate
the Mobile Entertainment System while
the vehicle is in motion so that full at-
tention may be given to vehicle
operation.
LHA0389
NISSAN MOBILE ENTERTAINMENT
SYSTEM (MES) (if so equipped)
4-56 Display screen, heater, air conditioner, audio and phone systems

CAUTION
●The glass screen on the liquid crystal
display may break if hit with a hard or
sharp object. If the glass breaks, do not
touch the liquid crystalline material,
which contains a small amount of mer-
cury. In case of contact with skin, wash
immediately with soap and water.
●Use a damp, soft cloth when cleaning
the Mobile Entertainment System com-
ponents. Do not use solvents or clean-
ing solutions.
Do not attempt to use the system in extreme
temperature conditions [below -4°F (-20°C) or
above 158°F (70°C)].
To avoid discharging the vehicle battery, do not
operate the system more than 15 minutes without
starting the engine.
1. EJECT button
2. DVD slot
3. ENTER button
4. POWER on/off button
5. MODE button
6. Input jacks
7. STOP button
8. PLAY/PAUSE button
9. MENU button
10. DISPLAY button
11. NAVIGATION keys
DIGITAL VIDEO DISC (DVD) PLAYER
CONTROLS
Refer to “Playing a digital video disc (DVD)” later
in this section for the function of each button.
LHA0316
Display screen, heater, air conditioner, audio and phone systems 4-57

1. POWER button
2. STOP button
3. NEXT TRACK/CHAPTER and PREVI-
OUS TRACK/CHAPTER button
4. TITLE button
5. ENTER button
6. DISPLAY button
7. MODE button
8. SUBTITLE button
9. AUDIO button
10. ANGLE button
11. CLEAR button
12. PAUSE button
13. PLAY button
14. FAST FORWARD/FAST REVERSE
button
15. MENU button
16. NAVIGATION keys
17. BACK button
18. NUMERIC KEYPAD
REMOTE CONTROL
Refer to “Playing a digital video disc (DVD)” later
in this section for the function of each button.
FLIP-DOWN SCREEN
The flip-down screen has a wireless remote con-
trol receiver 䊊
1located at the bottom of the
screen.
LHA0317
LHA0315
4-58 Display screen, heater, air conditioner, audio and phone systems

CAUTION
●The glass screen on the liquid crystal
display may break if hit with a hard or
sharp object. If the glass screen breaks,
do not touch it. Doing so could result in
an injury.
●The screen rotates down to view and up
into the housing to store when not in
use. Ensure that the screen is latched
securely into the housing when stored.
Headphones
Power ON/OFF:
Press the power button to turn the headphones
on or off.
Volume control:
Turn the volume control knob to adjust the vol-
ume.
The headphones will automatically be turned off
in 30 seconds if there is no sound during that
period. To prevent the battery from being dis-
charged, keep the power supply turned off when
not in use.
NOTE:
For optimum infrared headphone perfor-
mance, increase the volume on the rear
seat controller to the maximum level and
adjust the infrared headphone volume us-
ing the volume control on the headphones.
Using a lower volume setting on the rear
seat controller can cause static noise in the
infrared headphones.
SAA0720 SAA0721
Display screen, heater, air conditioner, audio and phone systems 4-59

PLAYING A DIGITAL VIDEO DISC
(DVD)
CAUTION
●Only operate the DVD while the vehicle
engine is running. Operating the DVD
for extended periods of time with the
engine OFF can discharge the vehicle
battery.
●Do not allow the system to get wet.
Excessive moisture such as spilled liq-
uids may cause the system to
malfunction.
The driver must not attempt to wear the head-
phones while the vehicle is in motion so that full
attention may be given to vehicle operation.
While playing video CD media, this DVD player
does not guarantee complete functionality of all
video CD formats.
With the DVD player, you can hear DVD videos,
video CDs and CDs using headphones. Passen-
gers in the rear seat can enjoy the sound inde-
pendently of the front seat.
Press the CD·DVD button located on the front
controls to hear the sound of the DVD play
through the speakers.
Press the REAR ON·OFF button located on the
front controls to disable or enable rear seat audio
controls. For more information on rear seat audio
controls see, “Rear Audio Controls” earlier in this
section.
Pressing the button on the front controls
turns the rear speakers on or off and enables or
disables the wireless headphones .
It is possible to operate the DVD player by remote
control.
Headphones are a wireless type and no cables
are necessary. You can use them in almost all the
ranges in the rear seat. (It is not possible to use
the headphones in the front seat.)
POWER on/off button:
With the ignition switch placed in the ACC or ON
position, press the POWER button to turn the
DVD player on or off.
Insert the DVD into the slot with the label side
facing up. The DVD will be guided automatically
into the slot.
If the DVD player is off and a DVD is inserted, the
DVD player will automatically turn on.
CAUTION
Do not force the compact disc into the
slot. This could damage the player.
MODE select button:
Press the MODE button to select Audio/Video
source between DVD and AUX input (input jacks
on the faceplate, Red = right channel audio input,
White = left channel audio input, and Yellow =
Video input).
The display will show the “AUX” in the upper left
corner of the display for 4 seconds once the
Mode is changed to AUX.
To use the input jacks, refer to “Auxiliary input
jacks” in this section.
or PLAY:
When the PLAY/PAUSE button on the player or
the PLAY button on the remote control is
pressed, the player will play.
In play mode, the display will briefly show
on the upper left corner of the display.
4-60 Display screen, heater, air conditioner, audio and phone systems

FF (Fast Forward), REW
(Remote control only):
Press the FAST FORWARD/FAST REVERSE
buttons to carry out the fast forward or fast re-
verse presentation at 5 times normal play speed.
Press the FAST FORWARD/FAST REVERSE
buttons again or PLAY button to resume the
normal play speed.
NEXT
CHAPTER/PREVIOUS
CHAPTER (Remote con-
trol only):
When the (NEXT CHAPTER) button is
pressed while the DVD is playing, the program
next to the present one will start to play from its
beginning. Press several times to skip through
programs. The DVD will advance the number of
times the button is pressed. When the
(PREVIOUS CHAPTER) button is pressed, the
program being played returns to its beginning.
Press several times to skip back through pro-
grams. The DVD will go back the number of times
the button is pressed.
or PAUSE:
When the PLAY/PAUSE button on the player or
the PAUSE button on the remote control is
pressed, the player will pause playing of the
media. In pause mode, the player will show
on the upper left corner of the display until the
player is changed to another mode.
STOP:
Press the STOP button once to stop playing the
media. The display will show in the upper
left corner of the display for 4 seconds, and the
last disc position will be stored. When the PLAY
button is pressed again, it will resume at the
stored disc track and time position.
If the STOP button is pressed again when the
player is already in Stop mode, it will reinitialize
the pointer to the beginning of the disc. In effect,
it will ignore the last stored disc position and
upon receipt of the next play message, will begin
at the Title Menu or at “the beginning of the disc”.
EJECT:
When the EJECT button is pressed with the DVD
loaded, it will be ejected.
The display will show the EJECT symbol in
the upper left corner of the display for 4 seconds
once the EJECT button is pressed.
If the DVD is not loaded, the display will show
“NO DISC”.
If the DVD comes out and is not removed within
25 seconds, it will be pulled back into the slot to
protect it.
DISPLAY:
If the DISPLAY control is pressed for less than 2
seconds, the display menu will appear on the
screen.
●The display menu will remain on the screen
for 10 seconds if no subsequent control
activations occur.
●Use the NAVIGATION KEYS to navigate
within the display menu and use ENTER to
select the item.
●Holding the DISPLAY control on the face-
plate for longer than approximately 2 sec-
onds while in the display menu will reset the
display characteristics to their nominal val-
ues. (Faceplate feature only)
Display screen, heater, air conditioner, audio and phone systems 4-61

If the DISPLAY control button on the faceplate is
pressed for more than 2 seconds, the media
track/time information will be displayed along the
bottom of the display. Pressing the DISPLAY
control for more than 2 seconds will remove the
media track/time information from the display.
(Faceplate feature only)
NAVIGATION KEYS:
If media is in PLAY mode, activation of the NAVI-
GATION KEYS (Up, Down, Left, and Right) will
perform the following functions: next
chapter/track, previous chapter/track, fast re-
verse and fast forward, and the display will
show , , and respec-
tively in the upper left corner of the display for 4
seconds. (Faceplate feature only)
If media is in PAUSE mode, activation of the
NAVIGATION KEYS (Up, Down and Right) will
perform the following functions: next
chapter/track, previous chapter/track and slow
forward, and the display will show ,
and a forward arrow symbol respectively in the
upper left corner of the display for 4 seconds.
(Faceplate feature only)
If media is in activated MENU mode, the NAVI-
GATION KEYS will be used to navigate Up,
Down, Left, and Right within the menu.
If display control menu is on, the NAVIGATION
KEYS will be used to navigate Up, Down, Left,
and Right within the menu.
ENTER:
In MENU mode, press the ENTER button to se-
lect MENU items.
In the display menu, press the ENTER button to
select items for modification, as per the on-
screen instructions.
MENU:
If the media is in PLAY mode and the MENU
button is pressed, the DVD menu will appear on
the screen. Use the Navigation Keys to navigate
within the menu and use ENTER to select the
item.
Press the MENU button again to return to PLAY
mode.
TITLE (Remote control only):
Press the TITLE button to return the DVD media
to the “title” of the DVD.
Press the TITLE button again to return to the
previous stop point and play.
BACK (Remote control only):
Press the BACK button to exit the current active
menu and return to the previous menu.
SUBTITLE (Remote control only):
Press the SUBTITLE button to call up subtitle
selection menu.
Repeatedly press the SUBTITLE button to cycle
through each available subtitle.
AUDIO (Remote control only):
Press the AUDIO button to call up the audio
menu.
Repeatedly press the AUDIO button to cycle
through each available audio track.
ANGLE (Remote control only):
Press the ANGLE button to call up the camera
angle menu.
Repeatedly press the ANGLE button to cycle
through each available angle.
CLEAR (Remote control only):
Press the CLEAR button to clear all numeric
inputs, if actuated prior to expiration of the
3-second timer.
NUMERIC KEYPAD (0–9 & ≥10) (Remote
control only):
Press the NUMERIC KEYPAD to directly access
disc chapters, titles or tracks by inputting their
numeric value.
4-62 Display screen, heater, air conditioner, audio and phone systems

Use the “≥10” button to input numbers greater
than or equal to 10. Up to three digits can be
inputted when selecting the chapter/title/track
number.
The subsequent actuation of numeric buttons will
continuously shift the previously input number to
the “left”.
The chapter/title/track number will be automati-
cally selected (if valid, based on media content) if
3 seconds expire without any keypad inputs.
The operator can cancel the input
chapter/title/track number by actuating the
CLEAR control prior to the expiration of the
3-second timer.
These functions can be used only for the DVD
discs which correspond to them.
Auxiliary input jacks
The auxiliary input jacks are located on the control
panel. Compatible devices such as video games,
camcorders and portable video players can be
connected to the auxiliary jacks.
The auxiliary jacks are color coded for identifica-
tion purposes.
●Yellow - video input
●White - left channel audio input
●Red - right channel audio input
To view the compatible device connected to the
AUX jacks, press the MODE button. For more
information, see “Mode select button” earlier in
this section.
CARE AND MAINTENANCE
Use a lightly dampened, lint free cloth to clean the
surfaces of your NISSAN Mobile Entertainment
System (DVD player face, screen, remote control,
etc.).
Do not attempt to use the system in extreme
temperature conditions [below -4°F (-20°C) or
above 158°F (70°C)].
Do not attempt to operate the system in extreme
humidity conditions (less than 10% or more than
75%).
CAUTION
●Do not use any solvents or cleaning
solutions when cleaning the video
system.
●Do not use excessive force on the moni-
tor screen.
●Avoid touching or scratching the moni-
tor screen as it may become dirty or
damaged.
HOW TO HANDLE THE DVD
CAUTION
●Handle a DVD by its edges. Never touch
the surface of the disc.
●To clean a disc, wipe the surface from
the center to the outer edge using a
clean, soft cloth. Do not wipe the disc
using a circular motion.
●Do not use a conventional record
cleaner, benzine, thinner or alcohol in-
tended for industrial use.
LHA0049
Display screen, heater, air conditioner, audio and phone systems 4-63

●A new disc may be rough on its inner
and outer edges. Remove the rough
edges using the side of a pen or pencil
as illustrated.
●Never attempt to use a DVD that has
been cracked, deformed, or repaired
using adhesive. Doing so may cause
damage to the equipment.
●Handle the DVD carefully to avoid contami-
nation or flaws. Otherwise, signals may not
be read properly.
●Do not write, draw or attach anything on any
side of the DVD.
●Do not store the DVD in locations with direct
sunlight or in high temperatures or humidity.
●Always place discs in the storage case when
they are not being used.
●Do not put on any sticker or write anything
on either surface of the DVD.
DVD player operation precautions
Do not use the following DVDs as they may
cause the DVD player to malfunction:
●3.1 in (8 cm) discs with an adapter.
●DVDs with a region code other than
“1”. The region code 䊊
Ais displayed in
a small symbol printed on the top of
the DVD 䊊
B.
●DVDs that are not round.
●DVDs with a paper label.
●DVDs that are warped, scratched, or
have unequal edges.
●Recordable digital video discs
(DVD+R).
●Rewritable digital video discs
(DVD+RW).
If a DVD with a paper label is used and
becomes jammed, you may be able to reset
the unit and eject the jammed disc with the
following procedure:
1. Record the radio presets.
2. Disconnect the negative terminal from
the battery for five minutes.
3. Reconnect the negative battery termi-
nal.
4. Check to see if the jammed DVD has
been ejected. If it has not, try to eject
the DVD by pushing the eject button.
LHA0484
4-64 Display screen, heater, air conditioner, audio and phone systems

5. If the disc cannot be ejected see your
NISSAN dealer for further assistance.
6. Re-program the radio presets.
Remote control and headphones
battery replacement
Replace the battery as follows:
1. Open the lid.
2. Replace batteries with new ones.
●Size AA (remote control)
●Size AAA (headphones)
Make sure that the and ends on
the batteries match the markings inside the
compartment.
3. Close the lid securely.
If the battery is removed for any reason
other than replacement, close the lid se-
curely.
●If you will not be using the remote control for
long periods of time, remove the batteries.
●Replacement of the batteries is needed
when the remote control only functions at
extremely close distances to the DVD player
or not at all.
●Be careful not to touch the battery terminal.
●An improperly disposed battery can harm
the environment. Always confirm local regu-
lations for battery disposal.
LHA0318 SAA0723
Display screen, heater, air conditioner, audio and phone systems 4-65

●When changing batteries, do not let dust or
oil get on the remote control and head-
phones.
FCC Notice:
Changes or modifications not expressly ap-
proved by the party responsible for compli-
ance could void the user’s authority to op-
erate the equipment. This device complies
with Part 15 of the FCC Rules and RSS-210
of Industry Canada. Operation is subject to
the following two conditions: (1) This de-
vice may not cause harmful interference,
and (2) this device must accept any inter-
ference received, including interference
that may cause undesired operation of the
device.
When installing a CB, ham radio or car phone in
your NISSAN, be sure to observe the following
precautions; otherwise, the new equipment may
adversely affect the engine control system and
other electronic parts.
WARNING
●A cellular telephone should not be used
for any purpose while driving so full
attention may be given to vehicle op-
eration. Some jurisdictions prohibit the
use of cellular telephones while driving.
●If you must make a call while your ve-
hicle is in motion, the hands free cellu-
lar phone operational mode (if so
equipped) is highly recommended. Ex-
ercise extreme caution at all times so
full attention may be given to vehicle
operation.
●If you are unable to devote full attention
to vehicle operation while talking on
the phone, pull off the road to a safe
location and stop your vehicle.
CAUTION
●Keep the antenna as far away as pos-
sible from the electronic control
modules.
●Keep the antenna wire more than 8 in
(20 cm) away from the electronic con-
trol system harnesses. Do not route the
antenna wire next to any harness.
●Adjust the antenna standing-wave ratio
as recommended by the manufacturer.
●Connect the ground wire from the CB
radio chassis to the body.
●For details, consult a NISSAN dealer.
CAR PHONE OR CB RADIO
4-66 Display screen, heater, air conditioner, audio and phone systems

WARNING
●Use a phone after stopping your vehicle
in a safe location. If you have to use a
phone while driving, exercise extreme
caution at all times so full attention may
be given to vehicle operation.
●If you are unable to devote full attention
to vehicle operation while talking on
the phone, pull off the road to a safe
location and stop your vehicle.
CAUTION
To avoid discharging the vehicle battery,
use a phone after starting the engine.
Your NISSAN is equipped with the Bluetooth姞
Hands-Free Phone System. If you have a com-
patible Bluetooth姞enabled cellular phone, you
can set up the wireless connection between your
cellular phone and the in-vehicle phone module.
With Bluetooth姞wireless technology, you can
make or receive a hands-free telephone call with
your cellular phone in the vehicle.
Once your cellular phone is paired to the in-
vehicle phone module, no other phone connect-
ing procedure is required. Your phone is auto-
matically connected with the in-vehicle phone
WHA0878
BLUETOOTH姞HANDS-FREE PHONE
SYSTEM (if so equipped)
Display screen, heater, air conditioner, audio and phone systems 4-67
module when the ignition switch is placed in the
ON position with the paired cellular phone turned
on and carried in the vehicle.
You can register up to 5 different Bluetooth姞
cellular phones to the in-vehicle phone module.
However, you can talk on only one cellular phone
at a time.
Before using the Bluetooth姞Hands-Free Phone
System, refer to the following notes.
●Set up the wireless connection between a
cellular phone and the in-vehicle phone
module before using the hands-free phone
system.
●Some Bluetooth姞enabled cellular phones
may not be recognized by the in-vehicle
phone module. Please visit
www.nissanusa.com/bluetooth for a recom-
mended phone list and pairing.
●You will not be able to use a hands-free
phone under the following conditions:
– Your vehicle is outside of the cellular ser-
vice area.
– Your vehicle is in an area where it is
difficult to receive a cellular signal; such
as in a tunnel, in an underground parking
garage, near a tall building or in a moun-
tainous area.
– Your cellular phone is locked to prevent it
from being dialed.
●When the radio wave condition is not ideal
or ambient sound is too loud, it may be
difficult to hear the other person’s voice dur-
ing a call.
●Do not place the cellular phone in an area
surrounded by metal or far away from the
in-vehicle phone module to prevent tone
quality degradation and wireless connection
disruption.
●While a cellular phone is connected through
the Bluetooth姞wireless connection, the bat-
tery power of the cellular phone may dis-
charge quicker than usual. The Bluetooth姞
Hands-Free Phone System cannot charge
cellular phones.
●If the hands-free phone system seems to be
malfunctioning, see “Troubleshooting guide”
later in this section. You can also visit
www.nissanusa.com/bluetooth for trouble-
shooting help.
●Some cellular phones or other devices may
cause interference or a buzzing noise to
come from the audio system speakers. Stor-
ing the device in a different location may
reduce or eliminate the noise.
●Refer to the cellular phone Owner’s Manual
regarding the telephone charges, cellular
phone antenna and body, etc.
REGULATORY INFORMATION
FCC Regulatory information
– CAUTION: To maintain compliance with
FCC’s RF exposure guidelines, use only the
supplied antenna. Unauthorized antenna,
modification, or attachments could damage
the transmitter and may violate FCC regula-
tions.
– Operation is subject to the following two con-
ditions:
1. This device may not cause interference and
2. this device must accept any interference,
including interference that may cause unde-
sired operation of the device.
IC Regulatory information
– Operation is subject to the following two con-
ditions: (1) this device may not cause interfer-
ence, and (2) this device must accept any
interference, including interference that may
cause undesired operation of the device.
– This Class B digital apparatus meets all re-
quirements of the Canadian Interference-
Causing Equipment Regulations.
4-68 Display screen, heater, air conditioner, audio and phone systems

BLUETOOTH威is a
trademark owned by
Bluetooth SIG, Inc.,
U.S.A. and licensed
to Visteon.
USING THE SYSTEM
The NISSAN Voice Recognition system allows
hands-free operation of the Bluetooth姞Phone
System.
If the vehicle is in motion, some commands may
not be available so full attention may be given to
vehicle operation.
Initialization
When the ignition switch is placed in the ON
position, NISSAN Voice Recognition is initialized,
which takes a few seconds. When completed,
the amber light on the overhead console illumi-
nates and the system is ready to accept voice
commands. If the button is pressed before
the initialization completes, the system will an-
nounce “Hands-free phone system not ready”
and will not react to voice commands.
Operating tips
To get the best performance out of the NISSAN
Voice Recognition system, observe the following:
●Keep the interior of the vehicle as quiet as
possible. Close the windows to eliminate
surrounding noises (traffic noises, vibration
sounds, etc.), which may prevent the system
from recognizing voice commands correctly.
●Wait until the tone sounds before speaking a
command. Otherwise, the command will not
be received properly.
●Start speaking a command within 5 seconds
after the tone sounds.
●Speak in a natural voice without pausing
between words.
Giving voice commands
To operate NISSAN Voice Recognition, press
and release the button located on the
steering wheel. After the tone sounds, speak a
command.
The command given is picked up by the micro-
phone, and voice feedback is given when the
command is accepted.
●If you need to hear the available commands
for the current menu again, say “Help” and
the system will repeat them.
●If a command is not recognized, the system
announces, “Command not recognized.
Please try again.” Repeat the command in a
clear voice.
●If you want to go back to the previous com-
mand, you can say “Go back” or “Correc-
tion” any time the system is waiting for a
response.
●You can cancel a command when the sys-
tem is waiting for a response by saying,
“Cancel” or “Quit.” The system announces
“Cancel” and ends the VR session. You can
also press the button on the steering
wheel at any time. Whenever the VR session
is cancelled, a double beep is played to
indicate you have exited the system.
●If you want to adjust the volume of the voice
feedback, press the volume control switches
(+ or -) on the steering wheel while being
provided with feedback. You can also use
the radio volume control knob.
●In most cases you can interrupt the voice
feedback to speak the next command by
pressing the button on the steering
wheel.
Display screen, heater, air conditioner, audio and phone systems 4-69

●To speed the operation you can say multiple
commands. For example, press the
button then say “Phonebook, New entry”
rather than “Phonebook.” Wait for the voice
feedback prompt then say “New entry”.
How to say numbers
NISSAN Voice Recognition requires a certain
way to speak numbers in voice commands. Refer
to the following rules and examples.
●Either “zero” or “oh” can be used for “0”.
Example: 1-800-662-6200
– “One eight oh oh six six two six two oh
oh”, or
– “One eight zero zero six six two six two oh
oh”
●Words can be used for the first 4 digits
places only.
Example: 1-800-662-6200
– “One eight hundred six six two six two oh
oh”,
– NOT “One eight hundred six six two sixty
two hundred, and
– NOT “One eight oh oh six six two sixty two
hundred.
●Numbers can be spoken in small groups.
The system will prompt you to continue en-
tering digits, if desired.
Example: 1-800-662-6200
– “One eight zero zero”
The system repeats the numbers and
prompts you to enter more.
– “six six two”
The system repeats the numbers and
prompts you to enter more.
– “six two zero zero”
●Say “pound” for “#”. Say “star” for “*” (avail-
able when using the “Call International”
command and the “Send” command during
a call).
●Say “plus” for “+” (available only when using
the “Call International” command).
●Say “pause” for a 2 second pause (available
only when storing a phone book number).
●You can say “star” for “*” and “pound” for “#”
at any time in any position of the phone
number (available only when using “Call In-
ternational” command).
See “List of voice commands” and “Interna-
tional” in this section for more information.
Example: 1-555-1212 *123
– “One five five five one two one two star
one two three”
NOTE:
For best results, say phone numbers as
single digits.
The voice command “Help” is available at any
time. Please use the “Help” command to get
information on how to use the system.
4-70 Display screen, heater, air conditioner, audio and phone systems

CONTROL BUTTONS
The control buttons for the Bluetooth姞Hands-
Free Phone System are located on the steering
wheel.
PHONE/SEND
Press the button to initiate a VR
session or answer an incoming call.
You can also use the button to
skip through system feedback and to
enter commands during a call. See “List
of voice commands” and “During a call”
later in this section for more information.
PHONE/END
Press the button to cancel a VR
session or end a call.
GETTING STARTED
The following procedures will help you get
started using the Bluetooth姞Hands-Free Phone
System with NISSAN Voice Recognition. For ad-
ditional command options, refer to “List of voice
commands” in this section.
Choosing a language
You can interact with the Bluetooth姞Hands-Free
Phone System using English, Spanish or French.
To change the language, perform the following.
1. Press and hold the button for more
than 5 seconds.
2. The system announces: “Press the
PHONE/SEND ( ) button for the
hands-free phone system to enter the
speaker adaptation mode or press the
PHONE/END ( ) button to select a dif-
ferent language.”
3. Press the button.
For information on speaker adaptation, see
“Speaker Adaptation (SA) mode”later in this
section.
4. The system announces the current language
and gives you the option to change the lan-
guage to Spanish (in Spanish) or French (in
French). Use the following chart to select
the language.
NOTE:
You must press the button or
the button within 5 seconds to
change the language.
Current
language
Press
(PHONE/SEND)
to select
Press
(PHONE/END)
to select
English Spanish French
Spanish English French
French English Spanish
5. If you decide not to change the language, do
not press either button. After 5 seconds, the
VR session will end, and the language will
not be changed.
WHA0879
Display screen, heater, air conditioner, audio and phone systems 4-71

Pairing procedure
NOTE:
The pairing procedure must be performed
when the vehicle is stationary. If the vehicle
starts moving during the procedure, the
procedure will be cancelled.
Main Menu
“Setup” 䊊
A
“Pair phone” 䊊
B
“New phone” 䊊
C
Initiate from handset 䊊
D
Name phone 䊊
E
Assign priority 䊊
F
Choose ringtone 䊊
G
1. Press the button on the steering
wheel. The system announces the available
commands.
2. Say: “Setup” 䊊
A. The system acknowledges
the command and announces the next set of
available commands.
3. Say: “Pair phone” 䊊
B. The system acknowl-
edges the command and announces the
next set of available commands.
4. Say: “New phone” 䊊
C. The system acknowl-
edges the command and asks you to initiate
pairing from the phone handset 䊊
D.
The pairing procedure of the cellular phone
varies according to each cellular phone
model. See the cellular phone Owner’s
Manual for details. You can also visit
www.nissanusa.com/bluetooth for instruc-
tions on pairing NISSAN recommended cel-
lular phones.
When prompted for a Passkey code, enter
“1234” from the handset. The Passkey code
“1234” has been assigned by NISSAN and
cannot be changed.
5. The system asks you to say a name for the
phone 䊊
E.
If the name is too long or too short, the
system tells you, then prompts you for a
name again.
Also, if more than one phone is paired and
the name sounds too much like a name
already used, the system tells you, then
prompts you for a name again.
6. The system asks you to assign a priority level
䊊
F. The priority level determines which
phone is active when more than one paired
Bluetooth姞phone is in the vehicle. Follow
the instructions provided by the system or
refer to “Setup” later in this section for more
information on changing priorities.
7. The system will ask if you would like to select
a custom ring tone 䊊
G. Follow the instruc-
tions provided by the system or refer to
“Setup” later in this section for more infor-
mation on selecting ringtones.
Making a call by entering a phone
number
Main Menu
“Call” 䊊
A
Number (speak digits) 䊊
B
“Dial” 䊊
C
1. Press the button on the steering
wheel. A tone will sound.
2. Say: “Call” 䊊
A. The system acknowledges
the command and announces the next set of
available commands.
Say: “Call International” to dial more than 10
digits or any special characters.
3. Say the number you wish to call starting with
the area code in single digit format 䊊
B.Ifthe
system has trouble recognizing the correct
phone number, try entering the number in
the following groups: 3-digit area code,
4-72 Display screen, heater, air conditioner, audio and phone systems

3-digit prefix and the last 4-digits. For ex-
ample, 555-121-3354 can be said as “five
five five” as the 1st group, then “one two
one” as the 2nd group, and “three three five
four” as the 3rd group. For dialing more than
10 digits or any special characters, say “In-
ternational”. See “How to say numbers” in
this section, for more information.
4. When you have finished speaking the phone
number, the system repeats it back and an-
nounces the available commands.
5. Say: “Dial” 䊊
C. The system acknowledges
the command and makes the call.
For additional command options, see “List of
voice commands” in this section.
Receiving a call
When you hear the ring tone, press the
button on the steering wheel.
Once the call has ended, press the button
on the steering wheel.
NOTE:
If you do not wish to take the call when you
hear the ring tone, press the button
on the steering wheel.
For additional command options, see “List of
voice commands” later in this section.
LIST OF VOICE COMMANDS
Main Menu
“Call” or “Call International”
“Phone Book”
“Memo Pad”
“Setup”
When you press and release the button on
the steering wheel, you can choose from the
commands on the Main Menu. The following
pages describe these commands and the com-
mands in each sub-menu.
Remember to wait for the tone before
speaking.
You can say “Help” to hear the list of commands
currently available any time the system is waiting
for a response.
If you want to end an action without completing it,
you can say “Cancel” or “Quit” at any time the
system is waiting for a response. The system will
end the VR session. Whenever the VR session is
cancelled, a double beep is played to indicate
you have exited the system.
If you want to go back to the previous command,
you can say “Go back” or “Correction” any time
the system is waiting for a response.
When you get used to the menus in the system,
you can talk ahead by saying more than one
command at a time. For example, say, “Call five
five five one two one two” or “Memo pad record.”
Also, when you get used to the system re-
sponses, you can skip ahead to the tone by
pressing the button on the steering wheel.
However, if you press the button when the
system is waiting for a response from you it will
end the VR session.
“Call”
Main Menu
“Call” or “Call International”
Name (speak name) 䊊
A
Number (speak digits) 䊊
B
“Redial” 䊊
C
“Call Back” 䊊
D
Name (speak name) 䊊
A
If you have stored entries in the Phone Book, you
can dial a number associated with a name and
location.
Display screen, heater, air conditioner, audio and phone systems 4-73

See “Phone book” later in this section to learn
how to store entries.
When prompted by the system, say the name of
the phone book entry you wish to call. The system
acknowledges the name.
If there are multiple locations associated with the
name, the system asks you to choose the loca-
tion.
Once you have confirmed the name and location,
the system begins the call.
Number (speak digits) 䊊
B
When prompted by the system, say the number
you wish to call. Refer to “How to say numbers”
and “Making a call by entering a phone number”
in this section for more details.
“Redial” 䊊
C
Use the Redial command to call the last number
that was dialed within the vehicle.
NOTE:
The system will not redial the last number
dialed by the handset keypad.
The system acknowledges the command, re-
peats the number and begins dialing.
If a redial number does not exist, the system
announces, “There is no number to redial” and
ends the VR session.
“Call back” 䊊
D
Use the Call Back command to dial the number of
the last incoming call within the vehicle.
The system acknowledges the command, re-
peats the number and begins dialing.
If a call back number does not exist, the system
announces, “There is no number to call back” and
ends the VR session.
International
For dialing more than 10 digits or any special
characters, please say “international”. When the
system acknowledges the command, the system
will prompt you to speak the number.
During a call
During a call there are several command options
available. Press the button on the steering
wheel to mute the receiving voice and enter com-
mands.
●“Help” — The system announces the avail-
able commands.
●“Go back/Correction” — The system an-
nounces “Go back,” ends the VR session
and returns to the call.
●“Cancel/Quit” — The system announces
“Cancel,” ends the VR session and returns
to the call.
●“Send/Enter/Call/Dial” — Use the Send
command to enter numbers, “*” or “#” during
a call. For example, if you were directed to
dial an extension by an automated system:
Say: “Send one two three four.”
The system acknowledges the command
and sends the tones associated with the
numbers. The system then ends the VR ses-
sion and returns to the call. Say “star” for “*”,
Say “pound” for “#”.
●“Transfer call” — Use the Transfer Call com-
mand to transfer the call from the Bluetooth姞
Hands-Free Phone System to the cellular
phone when privacy is desired.
The system announces, “Transfer call. Call
transferred to privacy mode.” The system
then ends the VR session.
You can also issue the Transfer Call com-
mand again to return to a hands-free call
through the vehicle.
●“Mute” — Use the Mute command to mute
your voice so the other party cannot hear it.
Use the mute command again to unmute
your voice.
4-74 Display screen, heater, air conditioner, audio and phone systems

NOTE:
If a call is ended or the cellular phone
network connection is lost while the Mute
feature is on, the Mute feature will be reset
to “off” for the next call so the other party
can hear your voice.
“Phone book”
NOTE:
Phone book commands are not available
when the vehicle is moving.
Main Menu
“Phone Book”
“New Entry” 䊊
A
“Edit” 䊊
B
“Delete” 䊊
C
“List Names” 䊊
D
The Phone Book stores up to 40 names for each
phone paired with the system. Each name can
have up to 4 locations/phone numbers associ-
ated with it.
NOTE:
Each phone has its own separate phone
book. You cannot access Phone A’s phone
book if you are currently connected with
Phone B.
“New entry” 䊊
A
Use the New Entry command to store a new
name in the system.
When prompted by the system, say the name you
would like to give the new entry.
For example, say: “Mary.”
If the name is too long or too short, the system
tells you, then prompts you for a name again.
Also, if the name sounds too much like a name
already stored, the system tells you, then prompts
you for a name again.
Once the system accepts the name and you
confirm it is correct, the system asks for a location
(Home, Office, Mobile or Other).
For example, say: “Home.”
The system acknowledges the location.
The system will ask you to say a phone number or
to transfer a phone number stored in the cellular
phone’s memory.
Enter a phone number by voice command:
For example, say: “five five five one two one two.”
See “How to say numbers” in this section for
more information.
To transfer a phone number stored in the cellular
phone’s memory:
Say “Transfer entry.” The system acknowledges
the command and asks you to initiate the transfer
from the phone handset. The new contact phone
number will be transferred from the cellular
phone via the Bluetooth姞communication link.
The transfer procedure varies according to each
cellular phone. See the cellular phone Owner’s
Manual for details. You can also visit
www.nissanusa.com/bluetooth for instructions
on transferring phone numbers from NISSAN
recommended cellular phones.
The system repeats the number and prompts you
for the next command. When you have finished
entering numbers or transferring an entry, choose
“Store.”
The system confirms the name, location and
number. The system then asks if you would like to
store another location for the same name. If you
do not wish to store another location, the system
ends the VR session.
Display screen, heater, air conditioner, audio and phone systems 4-75

“Edit” 䊊
B
Use the Edit command to alter an existing phone
book entry or to add a 2nd, 3rd or 4th phone
number to an existing entry.
When prompted by the system, say the name of
the entry you wish to edit.
The system acknowledges the name and asks
you for the location you would like to edit.
Say the name of the location.
The system acknowledges the location.
The system will ask you to say a phone number or
to transfer a phone number stored in the cellular
phone’s memory.
Enter a phone number by voice command:
For example, say: “five five five one two one two.”
See “How to say numbers” in this section for
more information.
To transfer a phone number stored in the cellular
phone’s memory:
Say “Transfer entry.” The system acknowledges
the command and asks you to initiate the transfer
from the phone handset. The new contact phone
number will be transferred from the cellular
phone via the Bluetooth姞communication link.
The transfer procedure varies according to each
cellular phone. See the cellular phone Owner’s
Manual for details. You can also visit
www.nissanusa.com/bluetooth for instructions
on transferring phone numbers from NISSAN
recommended cellular phones.
The system repeats the number and prompts you
for the next command. When you have finished
entering numbers, choose “Store.”
The system confirms the name, location and
number, then announces that the entry has been
stored. The system then ends the VR session.
“Delete” 䊊
C
Use the Delete command to erase one entry from
the phone book, all entries from the phone book,
the current redial number or the current call back
number.
To delete entries from the phone book, say a
name or “All entries” when prompted by the sys-
tem.
The system acknowledges the command and
asks you to confirm the deletion.
To delete the current redial number or call back
number, say “redial number” or “call back num-
ber” when prompted by the system.
If a redial number or a call back number exists, the
system deletes them without asking for confirma-
tion.
If there is no number for the entry you are trying to
delete, the system says so and ends the VR
session.
“List names” 䊊
D
Use the List Names command to hear all the
names and locations in the phone book.
The system recites the phone book entries but
does not include the actual phone numbers.
When the playback of the list is complete, the
system goes back to the main menu.
You can stop the playback of the list at any time
by pressing the button on the steering
wheel. The system ends the VR session.
“Memo pad”
Main Menu
“Memo Pad”
“Record” 䊊
A
“Play” 䊊
B
“Delete” 䊊
C
The Memo Pad records a maximum of 6 voice
memos, each up to 20 seconds long.
4-76 Display screen, heater, air conditioner, audio and phone systems

“Record” 䊊
A
The system announces “Recording” and a tone
sounds, signaling you to begin.
Speak the information you wish to record clearly.
When you are done, press the or
button on the steering wheel.
A tone sounds and the system announces
“Memo recorded.” Another tone sounds to end
the VR session.
If the memo pad is full, the system asks if you wish
to record over the oldest memo.
“Play” 䊊
B
The system plays back all the memos in the order
of newest to oldest. The system ends the VR
session.
If there are no memos recorded, the system an-
nounces “No messages to play.” The system
ends the VR session.
“Delete” 䊊
C
The Delete command erases all memos. The
system asks you to confirm this action before
deleting all memos.
“Setup”
Main Menu
“Setup”
“Pair Phone” 䊊
A
“List Phone” 䊊
B
“Select Phone” 䊊
C
“Change Priority” 䊊
D
“Delete Phone” 䊊
E
“Select Ringtone” 䊊
F
“Bluetooth Off” 䊊
G
Use the Setup command to change options as-
sociated with the Bluetooth姞Hands-Free Phone
System.
“Pair phone” 䊊
A
Use the Pair Phone command to pair a compat-
ible phone to the Bluetooth姞Hands-Free Phone
System.
NOTE:
The pairing procedure must be performed
when the vehicle is stationary. If the vehicle
starts moving during the procedure, the
procedure will be cancelled. Also, see
“Pairing procedure” in this section for ad-
ditional information.
Up to 5 phones can be paired. If you try to pair a
sixth phone, the system announces that you must
first delete one phone or replace an existing
phone.
If you try to pair a phone that has already been
paired to your vehicle’s system, the system an-
nounces the name the phone is already using.
The pairing procedure will then be cancelled.
When prompted by the system, choose from the
following commands:
●“New phone” — Refer to “Pairing proce-
dure” in this section.
●“Replace phone” — The system announces
the names of the phones already paired and
asks which you would like to replace.
Once you say the name of the phone you
wish to replace, the pairing procedure will
begin. Refer to “Pairing procedure” in this
section.
●“List phone” – See the description below.
“List phone” 䊊
B
Use the List Phone command to hear the names
of the phones currently paired. If no phones are
paired, the system announces, “No paired
phones to list.” The system then ends the VR
session.
Display screen, heater, air conditioner, audio and phone systems 4-77
“Select phone” 䊊
C
Use the Select Phone command to select a
phone of lesser priority when two or more phones
paired with Bluetooth姞Hands-Free Phone Sys-
tem are in the vehicle at the same time.
The system asks you to name the phone and
confirm the selection.
Once the selection is confirmed, the selected
phone remains active until the ignition switch is
placed in the OFF position or you select a new
phone.
“Change priority” 䊊
D
Use the Change Priority command to change the
priority level of the active phone.
The priority level determines which phone is ac-
tive when more than one paired Bluetooth姞
phone is in the vehicle.
The system states the priority level of the active
phone and asks for a new priority level (1, 2, 3, 4, 5).
If the new priority level is already being used for
another phone, the two phones will swap priority
levels.
For example, if the current priority levels are:
Priority Level 1 = Phone A
Priority Level 2 = Phone B
Priority Level 3 = Phone C
and you change the priority level of Phone C to
Level 1, then:
Priority Level 1 = Phone C
Priority Level 2 = Phone B
Priority Level 3 = Phone A
“Delete phone” 䊊
E
Use the Delete Phone command to delete a
specific phone or all phones from the Bluetooth姞
Hands-Free Phone System.
The system announces the names of the phones
already paired with the system and their priority
level. The system then gives you the option to
delete a specific phone, all phones or listen to the
list again.
Once you choose to delete a phone or all phones,
the system asks you to confirm this action.
NOTE:
When you delete a phone, the associated
phone book for that phone will also be
deleted.
“Select ringtone” 䊊
F
Use the Select Ringtone command to select the
tone heard in the vehicle when an incoming call is
received.
The system announces the name of the active
phone and asks you to choose from the following
commands:
●“Ringtone” — The system plays a ringtone
and asks if you would like to select that tone.
If you say “No”, the system plays the next
ringtone available and continues to cycle
through the ringtones until you select one or
quit.
●“Silent” — The system asks you to confirm
your wish to disable the ringtone.
“Bluetooth off” 䊊
G
Use the Bluetooth Off command to turn off the
Bluetooth姞Hands-Free Phone System.
When the Bluetooth姞Hands-Free Phone Sys-
tem is off, you will not be able to make or receive
calls using NISSAN Voice Recognition. Also, you
will not have access to the Phone Book.
You can still use the Memo Pad and access
Setup.
4-78 Display screen, heater, air conditioner, audio and phone systems

SPEAKER ADAPTATION (SA) MODE
Speaker Adaptation allows up to two out-of-
dialect users to train the system to improve rec-
ognition accuracy. By repeating a number of
commands, the users can create a voice model of
their own voice that is stored in the system. The
system is capable of storing a different speaker
adaptation model for memory A and memory B.
If memory A is available, the system will use
memory A to store the model. If memory A is in
use and memory B is available, the system will
use memory B to store the model. If both of the
memory locations are in use, the system will ask
the user to select which memory location should
be overwritten.
Training procedure
The procedure for training a voice is as follows.
1. Position the vehicle in a reasonably quiet
outdoor location.
2. Sit in the driver’s seat with the engine run-
ning, the parking brake on, and the transmis-
sion in P (Park).
3. Press and hold the button for more
than 5 seconds.
4. The system announces: “Press the
PHONE/SEND ( ) button for the
hands-free phone system to enter the
speaker adaptation mode or press the
PHONE/END ( ) button to select a dif-
ferent language.”
5. Press the button.
For information on selecting a different lan-
guage, see “Choosing a language” earlier in
this section.
6. Voice memory A or memory B is selected
automatically. If both memory locations are
already in use, the system will prompt you to
overwrite one. Follow the instructions pro-
vided by the system.
7. When preparation is complete and you are
ready to begin, press the button.
8. The SA mode will be explained. Follow the
instructions provided by the system.
9. When training is finished, the system will tell
you an adequate number of phrases have
been recorded.
10. The system will ask you to say your name.
Follow the instructions to register your
name.
11. The system will announce that speaker ad-
aptation has been completed and the sys-
tem is ready.
The SA mode will stop if:
●The button is pressed for more than 5
seconds in SA mode.
●The vehicle begins moving during SA mode.
●The ignition switch is placed in the OFF or
LOCK position.
Training phrases
During the SA mode, the system instructs the
trainer to say the following phrases. (The system
will prompt you for each phrase.)
●phone book new entry
●dial three oh four two nine
●delete call back number
●setup pair phone
●memo pad play
●eight pause nine three two pause seven
●delete all entries
●call seven two four zero nine
●phone book delete entry
●memo pad record
●dial star two one seven oh
●Yes
Display screen, heater, air conditioner, audio and phone systems 4-79
●No
●select ring tone
●dial eight five six nine two
●Bluetooth on
●setup change priority
●call three one nine oh two
●nine seven pause pause three oh eight
●Cancel
●call back number
●call star two zero nine five
●delete phone
●dial eight three zero five one
●Home
●four three pause two nine pause zero
●delete redial number
●phone book list names
●call eight oh five four one
●Correction
●setup change ring tone
●dial seven four oh one eight
●setup main menu
●Delete
●dial nine seven two six six
●memo pad delete
●call seven six three oh one
●go back
●call five six two eight zero
●dial six six four three seven
4-80 Display screen, heater, air conditioner, audio and phone systems

TROUBLESHOOTING GUIDE
The system should respond correctly to all voice
commands without difficulty. If problems are en-
countered, try the following solutions.
Where the solutions are listed by number, try
each solution in turn, starting with number 1, until
the problem is resolved.
Symptom Solution
System fails to interpret the command correctly.
1. Ensure that the command is valid. See “List of voice commands” in this section.
2. Ensure that the command is spoken after the tone.
3. Speak clearly without pausing between words and at a level appropriate to the ambient noise level in the vehicle.
4. Ensure that the ambient noise level is not excessive (for example, windows open or defroster on). NOTE: If it is too
noisy to use the phone, it is likely that the voice commands will not be recognized.
5. If more than one command was said at a time, try saying the commands separately.
6. If the system consistently fails to recognize commands, the voice training procedure should be carried out to im-
prove the recognition response for the speaker. See “Speaker Adaptation (SA) mode” in this section.
The system consistently selects the wrong entry from the
phone book.
1. Ensure that the phone book entry name requested matches what was originally stored. This can be confirmed by
using the “List Names” command. See “Phone book” in this section.
2. Replace one of the names being confused with a new name.
Display screen, heater, air conditioner, audio and phone systems 4-81

5 Starting and driving
Precautions when starting and driving................5-2
Exhaust gas (carbon monoxide) ..................5-2
Three-way catalyst..............................5-2
On-pavement and off-road driving
precautions ....................................5-3
Tire Pressure Monitoring System (TPMS)..........5-3
Avoiding collision and rollover....................5-6
Off-road recovery...............................5-6
Rapid air pressure loss ..........................5-6
Drinking alcohol/drugs and driving................5-7
Driving safety precautions .......................5-7
Ignition switch.....................................5-9
Automatic transmission.........................5-10
Key positions .................................5-11
NISSAN Vehicle Immobilizer System
(if so equipped) ...............................5-11
Before starting the engine .........................5-11
Starting the engine ...............................5-12
Driving the vehicle ................................5-12
Engine protection mode ........................5-12
Automatic transmission.........................5-13
Parking brake ....................................5-20
Cruise control (if so equipped) .....................5-20
Precautions on cruise control ...................5-20
Cruise control operations.......................5-21
Break-in schedule ................................5-22
Increasing fuel economy...........................5-22
Using four wheel drive (4WD)
(if so equipped) ..................................5-23
Transfer case shifting procedures ...............5-24
Electronic locking rear differential (E-Lock) system
(if so equipped) ..................................5-29
Parking/parking on hills............................5-30
Power steering ...................................5-31
Brake system ....................................5-31
Brake precautions .............................5-31
Anti-lock Braking System (ABS).................5-32
Active brake limited slip (ABLS) system .............5-33
Vehicle Dynamic Control (VDC) system .............5-34
Rear sonar system (if so equipped) .................5-36
Cold weather driving..............................5-37
Freeing a frozen door lock ......................5-37
Anti-freeze....................................5-37
Battery .......................................5-37
Draining of coolant water .......................5-37
Tire equipment ................................5-37

WARNING
●Do not leave children or adults who
would normally require the assistance
of others alone in your vehicle. Pets
should also not be left alone. They
could accidentally injure themselves or
others through inadvertent operation of
the vehicle. Also, on hot, sunny days,
temperatures in a closed vehicle could
quickly become high enough to cause
severe or possibly fatal injuries to
people or animals.
●Properly secure all cargo with ropes or
straps to help prevent it from sliding or
shifting. Do not place cargo higher than
the seatbacks. In a sudden stop or col-
lision, unsecured cargo could cause
personal injury.
EXHAUST GAS (carbon monoxide)
WARNING
●Do not breathe exhaust gases; they
contain colorless and odorless carbon
monoxide. Carbon monoxide is danger-
ous. It can cause unconsciousness or
death.
●If you suspect that exhaust fumes are
entering the vehicle, drive with all win-
dows fully open, and have the vehicle
inspected immediately.
●Do not run the engine in closed spaces
such as a garage.
●Do not park the vehicle with the engine
running for any extended length of time.
●Keep the rear vent windows, lift gates,
doors and trunk lids (if so equipped)
closed while driving, otherwise exhaust
gases could be drawn into the passen-
ger compartment. If you must drive with
one of these open, follow these
precautions:
1. Open all the windows.
2. Set the air recirculation but-
ton to off and the fan control dial to
high to circulate the air.
●If electrical wiring or other cable con-
nections must pass to a trailer through
the seal on the lift gate or the body,
follow the manufacturer’s recommen-
dation to prevent carbon monoxide en-
try into the vehicle.
●The exhaust system and body should be
inspected by a qualified mechanic
whenever:
a. The vehicle is raised for service.
b. You suspect that exhaust fumes are
entering into the passenger
compartment.
c. You notice a change in the sound of
the exhaust system.
d. You have had an accident involving
damage to the exhaust system, un-
derbody, or rear of the vehicle.
THREE-WAY CATALYST
The three-way catalyst is an emission control
device installed in the exhaust system. Exhaust
gases in the three-way catalyst are burned at
high temperatures to help reduce pollutants.
WARNING
●The exhaust gas and the exhaust sys-
tem are very hot. Keep people, animals
or flammable materials away from the
exhaust system components.
PRECAUTIONS WHEN STARTING
AND DRIVING
5-2 Starting and driving

●Do not stop or park the vehicle over
flammable materials such as dry grass,
waste paper or rags. They may ignite
and cause a fire.
CAUTION
●Do not use leaded gasoline. Deposits
from leaded gasoline will seriously re-
duce the three-way catalyst’s ability to
help reduce exhaust pollutants.
●Keep your engine tuned up. Malfunc-
tions in the ignition, fuel injection, or
electrical systems can cause overrich
fuel flow into the three-way catalyst,
causing it to overheat. Do not keep driv-
ing if the engine misfires, or if notice-
able loss of performance or other un-
usual operating conditions are
detected. Have the vehicle inspected
promptly by a NISSAN dealer.
●Avoid driving with an extremely low fuel
level. Running out of fuel could cause
the engine to misfire, damaging the
three-way catalyst.
●Do not race the engine while warming it
up.
●Do not push or tow your vehicle to start
the engine.
ON-PAVEMENT AND OFF-ROAD
DRIVING PRECAUTIONS
Utility vehicles have a significantly higher
rollover rate than other types of vehicles.
They have higher ground clearance than passen-
ger cars to make them capable of performing in a
variety of on-pavement and off-road applications.
This gives them a higher center of gravity than
ordinary cars. An advantage of higher ground
clearance is a better view of the road, allowing
you to anticipate problems. However, they are not
designed for cornering at the same speeds as
conventional two-wheel drive vehicles any more
than low-slung sports cars are designed to per-
form satisfactorily under off-road conditions. If at
all possible, avoid sharp turns at high speeds. As
with other vehicles of this type, failure to operate
this vehicle correctly may result in loss of control
or vehicle rollover. In a rollover crash, an unbelted
person is significantly more likely to die than a
person wearing a seat belt.
Be sure to read the driving safety precautions
later in this section.
TIRE PRESSURE MONITORING
SYSTEM (TPMS)
Each tire, including the spare (if provided),
should be checked monthly when cold and in-
flated to the inflation pressure recommended by
the vehicle manufacturer on the vehicle placard
or tire inflation pressure label. (If your vehicle has
tires of a different size than the size indicated on
the vehicle placard or tire inflation pressure label,
you should determine the proper tire inflation
pressure for those tires.)
As an added safety feature, your vehicle has been
equipped with a Tire Pressure Monitoring System
(TPMS) that illuminates a low tire pressure telltale
when one or more of your tires is significantly
under-inflated. Accordingly, when the low tire
pressure telltale illuminates, you should stop and
check your tires as soon as possible, and inflate
them to the proper pressure. Driving on a signifi-
cantly under-inflated tire causes the tire to over-
heat and can lead to tire failure. Under-inflation
also reduces fuel efficiency and tire tread life, and
may affect the vehicle’s handling and stopping
ability.
Starting and driving 5-3
Please note that the TPMS is not a substitute for
proper tire maintenance, and it is the driver’s
responsibility to maintain correct tire pressure,
even if under-inflation has not reached the level to
trigger illumination of the TPMS low tire pressure
telltale.
Your vehicle has also been equipped with a
TPMS malfunction indicator to indicate when the
system is not operating properly. The TPMS mal-
function indicator is combined with the low tire
pressure telltale. When the system detects a
malfunction, the telltale will flash for approxi-
mately one minute and then remain continuously
illuminated. This sequence will continue upon
subsequent vehicle start-ups as long as the mal-
function exists. When the malfunction indicator is
illuminated, the system may not be able to detect
or signal low tire pressure as intended. TPMS
malfunctions may occur for a variety of reasons,
including the installation of replacement or alter-
nate tires or wheels on the vehicle that prevent
the TPMS from functioning properly. Always
check the TPMS malfunction telltale after replac-
ing one or more tires or wheels on your vehicle to
ensure that the replacement or alternate tires and
wheels allow the TPMS to continue to function
properly.
Additional information:
●The TPMS does not monitor the tire
pressure of the spare tire.
●The TPMS will activate only when the vehicle
is driven at speeds above 16 MPH (25
km/h). Also, this system may not detect a
sudden drop in tire pressure (for example a
flat tire while driving).
●The low tire pressure warning light does not
automatically turn off when the tire pressure
is adjusted. After your tires are inflated to the
recommended pressure, the vehicle must be
driven at speeds above 16 MPH (25 km/h)
to activate the TPMS and turn off the low tire
pressure warning light. Use a tire pressure
gauge to check the tire pressure.
●The CHECK TIRE PRESSURE warning ap-
pears in the vehicle information display when
the low tire pressure warning light is illumi-
nated and low tire pressure is detected. The
CHECK TIRE PRESSURE warning turns off
when the low tire pressure warning light
turns off.
●The CHECK TIRE PRESSURE warning
does not appear if the low tire pressure
warning light illuminates to indicate a TPMS
malfunction.
●Tire pressure rises and falls depending on
the heat caused by the vehicle’s operation
and the outside temperature. Low outside
temperature can lower the temperature of
the air inside the tire which can cause a
lower tire inflation pressure. This may cause
the low tire pressure warning light to illumi-
nate. If the warning light illuminates in low
ambient temperature, check the tire pres-
sure for all four tires.
●You can also check the pressure of all tires
(except the spare tire) on the display screen.
The order of the tire pressure figures dis-
played on the screen does not correspond
with the actual order of the tire position. See
“Tire pressure information” in the “Display
screen, heater, air conditioner, audio and
phone systems” section.
●The Tire and Loading Information label (also
referred to as the vehicle placard or tire
inflation pressure label) is located in the
driver’s door opening.
For additional information, see “Low tire pressure
warning light” in the “Instruments and controls”
section, “Tire Pressure Monitoring System
(TPMS)” in the “In case of emergency” section.
5-4 Starting and driving

WARNING
●If the low tire pressure warning light
illuminates while driving, avoid sudden
steering maneuvers or abrupt braking,
reduce vehicle speed, pull off the road
to a safe location and stop the vehicle
as soon as possible. Driving with under-
inflated tires may permanently damage
the tires and increase the likelihood of
tire failure. Serious vehicle damage
could occur and may lead to an acci-
dent and could result in serious per-
sonal injury. Check the tire pressure for
all four tires. Adjust the tire pressure to
the recommended COLD tire pressure
shown on the Tire and Loading Informa-
tion label to turn the low tire pressure
warning light OFF. If you have a flat tire,
replace it with a spare tire as soon as
possible. (See “Flat tire” in the “In case
of emergency” section for changing a
flat tire.)
●When a spare tire is mounted or a wheel
is replaced, tire pressure will not be
indicated, the TPMS will not function
and the low tire pressure warning light
will flash for approximately 1 minute.
The light will remain on after 1 minute.
Contact your NISSAN dealer as soon as
possible for tire replacement and/or
system resetting.
●Replacing tires with those not originally
specified by NISSAN could affect the
proper operation of the TPMS.
●Do not inject any tire liquid or aerosol
tire sealant into the tires, as this may
cause a malfunction of the tire pressure
sensors.
CAUTION
Do not place metalized film or any metal
parts (antenna, etc.) on the windows. This
may cause poor reception of the signals
from the tire pressure sensors, and the
TPMS will not function properly.
Some devices and transmitters may temporarily
interfere with the operation of the TPMS and
cause the low tire pressure warning light to illu-
minate.
Some examples are:
– Facilities or electric devices using similar radio
frequencies are near the vehicle.
– If a transmitter set to similar frequencies is
being used in or near the vehicle.
– If a computer (or similar equipment) or a
DC/AC converter is being used in or near the
vehicle.
FCC Notice:
For USA:
This device complies with Part 15 of the
FCC Rules. Operation is subject to the fol-
lowing two conditions:
1. This device may not cause harmful in-
terference, and
2. This device must accept any interfer-
ence received, including interference
that may cause undesired operation.
Note: Changes or modification not ex-
pressly approved by the party respon-
sible for compliance could void the us-
er’s authority to operate the
equipment.
Starting and driving 5-5

For Canada:
This device complies with RSS-210 of In-
dustry Canada. Operation is subject to the
following two conditions:
1. This device may not cause interfer-
ence, and
2. This device must accept any interfer-
ence, include interference that may
cause undesired operation of the de-
vice.
AVOIDING COLLISION AND
ROLLOVER
WARNING
Failure to operate this vehicle in a safe
and prudent manner may result in loss of
control or an accident.
Be alert and drive defensively at all times. Obey
all traffic regulations. Avoid excessive speed,
high speed cornering, or sudden steering ma-
neuvers, because these driving practices could
cause you to lose control of your vehicle. As with
any vehicle, loss of control could result in a
collision with other vehicles or objects or
cause the vehicle to roll over, particularly if
the loss of control causes the vehicle to
slide sideways. Be attentive at all times, and
avoid driving when tired. Never drive when under
the influence of alcohol or drugs (including pre-
scription or over-the-counter drugs which may
cause drowsiness). Always wear your seat belt
as outlined in the “Safety – Seats, seat belts and
supplemental restraint system” section of this
manual, and also instruct your passengers to do
so.
Seat belts help reduce the risk of injury in colli-
sions and rollovers. In a rollover crash, an
unbelted or improperly belted person is
significantly more likely to be injured or
killed than a person properly wearing a
seat belt.
OFF-ROAD RECOVERY
If the right side or left side wheels unintentionally
leave the road surface, maintain control of the
vehicle by following the procedure below. Please
note that this procedure is only a general guide.
The vehicle must be driven as appropriate based
on the conditions of the vehicle, road and traffic.
1. Remain calm and do not overreact.
2. Do not apply the brakes.
3. Maintain a firm grip on the steering wheel
with both hands and try to hold a straight
course.
4. When appropriate , slowly release the accel-
erator pedal to gradually slow the vehicle.
5. If there is nothing in the way, steer the ve-
hicle to follow the road while vehicle speed
is reduced. Do not attempt to drive the ve-
hicle back onto the road surface until vehicle
speed is reduced.
6. When it is safe to do so, gradually turn the
steering wheel until both tires return to the
road surface. When all tires are on the road
surface, steer the vehicle to stay in the ap-
propriate driving lane.
●If you decide that it is not safe to return the
vehicle to the road surface based on vehicle,
road or traffic conditions, gradually slow the
vehicle to a stop in a safe place off the road.
RAPID AIR PRESSURE LOSS
Rapid air pressure loss or a “blow-out” can occur
if the tire is punctured or is damaged due to
hitting a curb or pothole. Rapid air pressure loss
can also be caused by driving on under-inflated
tires.
Rapid air pressure loss can affect the handling
and stability of the vehicle, especially at highway
speeds.
5-6 Starting and driving

Help prevent rapid air pressure loss by maintain-
ing the correct air pressure and visually inspect
the tires for wear and damage. See “Wheels and
tires” in the “Maintenance and do-it-yourself”
section of this manual. If a tire rapidly loses air
pressure or “blows-out” while driving, maintain
control of the vehicle by following the procedure
below. Please note that this procedure is only a
general guide. The vehicle must be driven as
appropriate based on the conditions of the ve-
hicle, road and traffic.
WARNING
The following actions can increase the
chance of losing control of the vehicle if
there is a sudden loss of tire air pressure.
Losing control of the vehicle may cause a
collision and result in personal injury.
●The vehicle generally moves or pulls in
the direction of the flat tire.
●Do not rapidly apply the brakes.
●Do not rapidly release the accelerator
pedal.
●Do not rapidly turn the steering wheel.
1. Remain calm and do not over react.
2. Maintain a firm grip on the steering wheel
with both hands and try to hold a straight
course.
3. When appropriate, slowly release the accel-
erator pedal to gradually slow the vehicle.
4. Gradually steer the vehicle to a safe location
off the road and away from traffic if possible.
5. Lightly apply the brake pedal to gradually
stop the vehicle.
6. Turn on the hazard warning flashers and
either contact a roadside emergency service
to change the tire or see “Changing a flat
tire” in the “In case of emergency” section of
this manual.
DRINKING ALCOHOL/DRUGS AND
DRIVING
WARNING
Never drive under the influence of alcohol
or drugs. Alcohol in the bloodstream re-
duces coordination, delays reaction time
and impairs judgement. Driving after
drinking alcohol increases the likelihood
of being involved in an accident injuring
yourself and others. Additionally, if you
are injured in an accident, alcohol can
increase the severity of the injury.
NISSAN is committed to safe driving. However,
you must choose not to drive under the influence
of alcohol. Every year thousands of people are
injured or killed in alcohol-related accidents. Al-
though the local laws vary on what is considered
to be legally intoxicated, the fact is that alcohol
affects all people differently and most people
underestimate the effects of alcohol.
Remember, drinking and driving don’t mix! And
that is true for drugs, too (over-the-counter, pre-
scription, and illegal drugs). Don’t drive if your
ability to operate your vehicle is impaired by alco-
hol, drugs, or some other physical condition.
DRIVING SAFETY PRECAUTIONS
Your NISSAN is designed for both normal and
off-road use. However, avoid driving in deep wa-
ter or mud as your NISSAN is mainly designed for
leisure use, unlike a conventional off-road ve-
hicle.
Remember that two-wheel drive models are less
capable than four-wheel drive models for rough
road driving and extrication when stuck in deep
snow or mud, or the like.
Starting and driving 5-7

Please observe the following precautions:
WARNING
●Drive carefully when off the road and
avoid dangerous areas. Every person
who drives or rides in this vehicle
should be seated with their seat belt
fastened. This will keep you and your
passengers in position when driving
over rough terrain.
●Do not drive across steep slopes. In-
stead drive either straight up or straight
down the slopes. Off-road vehicles can
tip over sideways much more easily
than they can forward or backward.
●Many hills are too steep for any vehicle.
If you drive up them, you may stall. If
you drive down them, you may not be
able to control your speed. If you drive
across them, you may roll over.
●Do not shift gears while driving on
downhill grades as this could cause
loss of control of the vehicle.
●Stay alert when driving to the top of a
hill. At the top there could be a drop-off
or other hazard that could cause an
accident.
●If your engine stalls or you cannot make
it to the top of a steep hill, never at-
tempt to turn around. Your vehicle
could tip or roll over. Always back
straight down in R (Reverse) gear and
apply brakes to control your speed.
●Heavy braking going down a hill could
cause your brakes to overheat and fade,
resulting in loss of control and an acci-
dent. Apply brakes lightly and use a low
gear to control your speed.
●Unsecured cargo can be thrown around
when driving over rough terrain. Prop-
erly secure all cargo so it will not be
thrown forward and cause injury to you
or your passengers.
●Secure heavy loads in the cargo area as
far forward and as low as possible. Do
not equip the vehicle with tires larger
than specified in this manual. This
could cause your vehicle to roll over
●Do not grip the inside or spokes of the
steering wheel when driving off-road.
The steering wheel could move sud-
denly and injure your hands. Instead
drive with your fingers and thumbs on
the outside of the rim.
●Before operating the vehicle, ensure
that the driver and all passengers have
their seat belts fastened.
●Lower your speed when encountering
strong crosswinds. With a higher center
of gravity, your NISSAN is more af-
fected by strong side winds. Slower
speeds ensure better vehicle control.
●Do not drive beyond the performance
capability of the tires, even with 4WD
engaged.
●For 4WD equipped vehicles, do not at-
tempt to raise two wheels off the
ground and shift the transmission to
any drive or reverse position with the
engine running. Doing so may result in
drivetrain damage or unexpected ve-
hicle movement which could result in
serious vehicle damage or personal
injury.
5-8 Starting and driving

●Do not attempt to test a 4WD equipped
vehicle on a 2-wheel dynamometer
(such as the dynamometers used by
some states for emissions testing), or
similar equipment even if the other two
wheels are raised off the ground. Make
sure you inform test facility personnel
that your vehicle is equipped with 4WD
before it is placed on a dynamometer.
Using the wrong test equipment may
result in drivetrain damage or unex-
pected vehicle movement which could
result in serious vehicle damage or per-
sonal injury.
●Accelerating quickly, sharp steering
maneuvers or sudden braking may
cause loss of control.
●If at all possible, avoid sharp turning
maneuvers, particularly at high speeds.
Your NISSAN four-wheel drive vehicle
has a higher center of gravity than a
passenger car. The vehicle is not de-
signed for cornering at the same
speeds as passenger cars. Failure to
operate this vehicle correctly could re-
sult in loss of control and/or a rollover
accident.
●Always use tires of the same type, size,
brand, construction (bias, bias-belted,
or radial), and tread pattern on all four
wheels. Install tire chains on the rear
wheels when driving on slippery roads
and drive carefully.
●Be sure to check the brakes immedi-
ately after driving in mud or water. See
“Brake system” later in this section for
“Wet brakes”.
●Avoid parking your vehicle on steep
hills. If you get out of the vehicle and it
rolls forward, backward or sideways,
you could be injured.
●Whenever you drive off-road through
sand, mud or water as deep as the
wheel hub, more frequent maintenance
may be required. See “Periodic mainte-
nance” in the “NISSAN Service and
Maintenance Guide.”
WARNING
●Never remove the ignition key or place
the ignition switch in the LOCK position
while driving. The steering wheel will
lock (for models without NISSAN ve-
hicle immobilizer system). This may
cause the driver to lose control of the
vehicle and could result in serious ve-
hicle damage or personal injury.
IGNITION SWITCH
Starting and driving 5-9

AUTOMATIC TRANSMISSION
The ignition lock is designed so the ignition
switch cannot be placed in the LOCK position
and the key cannot be removed until the shift
selector is moved to the P (Park) position.
When removing the key from the ignition switch,
make sure the shift selector is in the P (Park)
position.
If the shift selector is not returned to P (Park)
position, the ignition switch cannot be placed in
the LOCK position.
To remove the key from the ignition switch:
1. Shift the shift selector to the P (Park) posi-
tion with the ignition switch in the ON posi-
tion.
2. Place the ignition switch in the LOCK posi-
tion.
3. Remove the key from the ignition switch.
If the shift selector is shifted to the P (Park)
position after the ignition switch is placed in the
OFF position or when the ignition switch cannot
be placed in the LOCK position, proceed as
follows to remove the key.
1. Move the shift selector into the P (Park)
position.
2. Place the ignition switch slightly toward the
ON position.
3. Place the ignition switch in the LOCK posi-
tion.
4. Remove the key.
The shift selector is designed so it cannot move
out of P (Park) and into any of the other gear
positions if the ignition switch is placed in the
OFF position or if the key is removed from the
switch.
The shift selector can be moved if the igni-
tion switch is in the ON position and the
foot brake pedal is depressed.
There is an OFF position between the
LOCK and ON positions. The OFF position
is indicated by a “1” on the ignition switch.
For models without NISSAN vehicle immo-
bilizer system: when the ignition switch is
in the OFF position, the steering wheel is
not locked.
In order for the steering wheel to be locked, it
must be turned about 1/8 of a turn clockwise
from the straight up position.
To lock the steering wheel, turn the ignition
to the LOCK position. Remove the key. To
unlock the steering wheel, insert the key
and turn it gently while rotating the steer-
ing wheel slightly right and left.
If the key will not turn from the LOCK posi-
tion, turn the steering wheel to the left or
right while turning the key to unlock the
key cylinder.
WSD0041
5-10 Starting and driving
KEY POSITIONS
LOCK: Normal parking position (0)
OFF: (Not used) (1)
ACC: (Accessories) (2)
This position activates electrical accessories
such as the radio when the engine is not running.
ON: Normal operating position (3)
This position turns on the ignition system and the
electrical accessories.
START: (4)
This position starts the engine. As soon as the
engine has started, release the key. It automati-
cally returns to the ON position.
NISSAN VEHICLE IMMOBILIZER
SYSTEM (if so equipped)
The NISSAN Vehicle Immobilizer System will not
allow the engine to start without the use of the
registered key.
If the engine fails to start using a registered key
(for example, when interference is caused by
another registered key, an automated toll road
device or automatic payment device on the key
ring), restart the engine using the following pro-
cedures:
1. Leave the ignition switch in the ON position
for approximately 5 seconds.
2. Turn the ignition switch to the OFF or LOCK
position, and wait approximately 10 sec-
onds.
3. Repeat steps 1 and 2.
4. Restart the engine while holding the device
(which may have caused the interference)
separate from the registered key.
If the no start condition re-occurs, NISSAN rec-
ommends placing the registered key on a sepa-
rate key ring to avoid interference from other
devices.
●Make sure the area around the vehicle is
clear.
●Check fluid levels such as engine oil, cool-
ant, brake fluid, and windshield-washer fluid
as frequently as possible, or at least when-
ever you refuel.
●Check that all windows and lights are clean.
●Visually inspect tires for their appearance
and condition. Also check tires for proper
inflation.
●Check that all doors are closed.
●Position seat and adjust head restraints.
●Adjust inside and outside mirrors.
●Fasten seat belts and ask all passengers to
do likewise.
●Check the operation of warning lights when
the ignition switch is placed in the ON posi-
tion. See “Warning/indicator lights and au-
dible reminders” in the “Instruments and
controls” section of this manual.
BEFORE STARTING THE ENGINE
Starting and driving 5-11

1. Apply the parking brake.
2. Move the shift selector to P (Park) or N
(Neutral). P (Park) is recommended.
The shift selector cannot be moved out
of P (Park) and into any of the other
gear positions if the ignition switch is
turned to the OFF position or if the key
is removed from the ignition switch.
The starter is designed not to operate if
the shift selector is in any of the driving
positions.
3. Crank the engine with your foot off the
accelerator pedal by placing the ignition
switch in the START position. Release the
key when the engine starts. If the engine
starts, but fails to run, repeat the above
procedure.
●If the engine is very hard to start in ex-
tremely cold weather or when restarting,
depress the accelerator pedal a little (ap-
proximately 1/3 to the floor) and hold it
and then crank the engine. Release the
key and the accelerator pedal when the
engine starts.
●If the engine is very hard to start because
it is flooded, depress the accelerator
pedal all the way to the floor and hold it.
Crank the engine for 5 to 6 seconds. After
cranking the engine, release the accel-
erator pedal. Crank the engine with your
foot off the accelerator pedal by turn-
ing the ignition key to START. Release the
key when the engine starts. If the engine
starts, but fails to run, repeat the above
procedure.
CAUTION
Do not operate the starter for more than
15 seconds at a time. If the engine does
not start, turn the key off and wait 10
seconds before cranking again, otherwise
the starter could be damaged.
4. Allow the engine to idle for at least 30 sec-
onds after starting. Do not race the engine
while warming it up. Drive at moderate
speed for a short distance first, especially in
cold weather.
In cold weather, keep the engine running for
a minimum of 2–3 minutes before shutting it
off. Starting and stopping the engine over a
short period of time may make the vehicle
more difficult to start.
ENGINE PROTECTION MODE
The engine has an engine protection mode to
reduce the chance of damage if the coolant tem-
perature becomes too high (for example, when
climbing steep grades in high temperature with
heavy loads, such as when towing a trailer).
When the engine temperature reaches a certain
level:
●The engine coolant temperature gauge will
move toward the H position.
●Engine power may be reduced.
●The air conditioning cooling function may be
automatically turned OFF for a short time
(the blower will continue to operate).
Engine power and, under some conditions, ve-
hicle speed will decrease. Vehicle speed can be
controlled with the accelerator pedal, but the
vehicle may not accelerate at the desired speed.
The transmission will downshift or upshift as it
reaches prescribed shift points. You can also
shift manually.
As driving conditions change and engine coolant
temperature is reduced, vehicle speed can be
increased using the accelerator pedal, and air
conditioning cooling function will automatically
be turned back ON.
STARTING THE ENGINE DRIVING THE VEHICLE
5-12 Starting and driving

If:
1. The engine coolant temperature is not re-
duced.
2. The air conditioning cooling function does
not turn back ON.
3. The engine oil pressure low/engine coolant
temperature high warning light illumi-
nates, this may indicate a malfunction. Move
the vehicle off the road in a safe area and
allow the engine to cool. If after checking the
oil and coolant, the remains on, do not
continue to drive and call a NISSAN dealer.
The malfunction indicator light (MIL) may also
come ON. If only it remains on, you do not need
to have your vehicle towed, but have it inspected
soon by a NISSAN dealer. See “Malfunction in-
dicator light (MIL)” in the “Instruments and con-
trols ” section of this manual.
WARNING
Overheating can result in reduced engine
power and vehicle speed. The reduced
speed may be lower than other traffic,
which could increase the chance of a col-
lision. Be especially careful when driving.
If the vehicle cannot maintain a safe driv-
ing speed, pull to the side of the road in a
safe area. Allow the engine to cool and
return to normal operation. See “If your
vehicle overheats” in the “In case of emer-
gency” section of this manual.
CAUTION
Running the engine with the engine oil
pressure warning light on could cause se-
rious damage to the engine almost imme-
diately. Such damage is not covered by
warranty. Turn off the engine as soon as it
is safe to do so.
AUTOMATIC TRANSMISSION
WARNING
●Do not depress the accelerator pedal
while shifting from P (Park) or N (Neu-
tral) to R (Reverse), or L (Low). Always
depress the brake pedal until shifting is
completed. Failure to do so could cause
you to lose control and have an
accident.
●Cold engine idle speed is high, so use
caution when shifting into a forward or
reverse gear before the engine has
warmed up.
●Never shift to P (Park) or R (Reverse)
while the vehicle is moving. This could
cause an accident.
●Except in an emergency, do not shift to
the N (Neutral) position while driving.
Doing so can cause a loss of engine
braking which may result in a collision,
serious personal injury or death. In ad-
dition, coasting with the transmission
in the N (Neutral) position may cause
serious damage to the transmission.
Starting and driving 5-13

CAUTION
●When stopping the vehicle on an uphill
grade, do not hold the vehicle by de-
pressing the accelerator pedal. The foot
brake should be used for this purpose.
●Do not downshift abruptly on slippery
roads. This may cause a loss of control.
The automatic transmission in your vehicle is
electronically controlled to produce maximum
power and smooth operation.
The recommended operating procedures for this
transmission are shown on the following pages.
Follow these procedures for maximum vehicle
performance and driving enjoyment.
Starting the vehicle
1. After starting the engine, fully depress the
foot brake pedal before moving the shift
selector out of the P (Park) position.
2. Keep the foot brake pedal depressed and
move the shift selector into a driving gear.
3. Release the foot brake, then gradually start
the vehicle in motion.
The automatic transmission is designed so
the foot brake pedal MUST be depressed
before shifting from P (Park) to any drive
position while the ignition switch is in the
ON position.
The shift selector cannot be moved out of
the P (Park) position and into any of the
other gear positions if the ignition switch is
placed in the LOCK or OFF position.
To move the shift selector:
: Shift while depressing the brake pedal
: Shift without depressing brake pedal
Shifting – console
After starting the engine, fully depress the brake
pedal and move the shift selector out of the P
(Park) position.
WSD0187
5-14 Starting and driving

WARNING
Apply the parking brake if the shift selec-
tor is in any position while the engine is
not running. Failure to do so could cause
the vehicle to move unexpectedly or roll
away and result in serious personal injury
or property damage
If the key is turned to the OFF position for any
reason while the vehicle is in N (Neutral), or any D
(Drive) position, the key cannot be turned to the
LOCK position and be removed from the ignition
switch. Move the shift selector to the P (Park)
position, then the key can be turned to LOCK.
P (Park):
CAUTION
To prevent transmission damage, use the
P (Park) or R (Reverse) position only when
the vehicle is completely stopped.
Use the P (Park) shift selector position when the
vehicle is parked or when starting the engine.
Make sure the vehicle is completely stopped.
The brake pedal should be depressed to
move the shift selector from N (Neutral) or
any drive position to P (Park). Apply the
parking brake. When parking on a hill, apply the
parking brake first, then move the shift selector
into the P (Park) position.
R (Reverse):
CAUTION
To prevent transmission damage, use the
P (Park) or R (Reverse) position only when
the vehicle is completely stopped.
Use the R (Reverse) position to back up. Make
sure the vehicle is completely stopped before
selecting the R (Reverse) position. The brake
pedal must be depressed to move the shift
selector from P (Park), N (Neutral) or any
drive position to R (Reverse).
N (Neutral):
Neither forward nor reverse gear is engaged. The
engine can be started in this position. You may
shift to N (Neutral) and restart a stalled engine
while the vehicle is moving.
D (Drive):
Use this position for all normal forward driving.
4 (Fourth gear):
Use this position for driving up and down long
slopes where engine braking would be advanta-
geous.
Do not downshift into the 4 position at speeds
over the following and do not exceed the follow-
ing speeds in the 4 position.
4H:
62 MPH (100 km/h)
4LO:
31 MPH (50 km/h)
3 (Third gear):
Use this position for driving up and down long
slopes where engine braking would be advanta-
geous.
2 (Second gear):
Use this position for hill climbing or engine brak-
ing on downhill grades.
Do not downshift into the 2 position at speeds
over the following and do not exceed the follow-
ing speeds in the 2 position.
2WD and AUTO:
71 MPH (115 km/h) w/o tow mode
62 MPH (100 km/h) w/tow mode
4H:
62 MPH (100 km/h) w/o tow mode
62 MPH (100 km/h) w/tow mode
Starting and driving 5-15

4LO:
31 MPH (50 km/h) w/o tow mode
27 MPH (44 km/h) w/tow mode
1 (Low gear):
Use this position when climbing steep hills slowly
or slow driving through deep snow, sand or mud,
or for maximum engine braking on steep downhill
grades.
Do not downshift into the 1 position at speeds
over the following and do not exceed the follow-
ing speeds in the 1 position.
2WD and AUTO:
43 MPH (70 km/h) w/o tow mode
37 MPH (60 km/h) w/tow mode
4H:
43 MPH (70 km/h) w/o tow mode
37 MPH (60 km/h) w/tow mode
4LO:
19 MPH (30 km/h) w/o tow mode
16 MPH (27 km/h) w/tow mode
To move the shift selector:
: Shift while depressing the brake pedal
: Shift without depressing brake pedal
Shifting – column
After starting the engine, fully depress the brake
pedal and move the shift selector out of the P
(Park) position.
WARNING
Apply the parking brake if the shift selec-
tor is in any position while the engine is
not running. Failure to do so could cause
the vehicle to move unexpectedly or roll
away and result in serious personal injury
or property damage.
If the key is turned to the OFF or ACC position for
any reason while the vehicle is in N (Neutral), or any
D (Drive) position, the key cannot be turned to the
LOCK position and be removed from the ignition
switch. Move the shift selector to the P (Park)
position, then the key can be turned to LOCK.
P (Park):
CAUTION
To prevent transmission damage, use the
P (Park) or R (Reverse) position only when
the vehicle is completely stopped.
Use the P (Park) shift selector position when the
vehicle is parked or when starting the engine.
Make sure the vehicle is completely stopped.
The brake pedal should be depressed to
move the shift selector from N (Neutral) or
any drive position to P (Park). Apply the
parking brake. When parking on a hill, apply the
parking brake first, then move the shift selector
into the P (Park) position.
LSD0099
5-16 Starting and driving

R (Reverse):
CAUTION
To prevent transmission damage, use the
P (Park) or R (Reverse) position only when
the vehicle is completely stopped.
Use the R (Reverse) position to back up. Make
sure the vehicle is completely stopped before
selecting the R (Reverse) position. The brake
pedal must be depressed to move the shift
selector from P (Park), N (Neutral) or any
drive position to R (Reverse).
N (Neutral):
Neither forward nor reverse gear is engaged. The
engine can be started in this position. You may
shift to N (Neutral) and restart a stalled engine
while the vehicle is moving.
D (Drive):
Use this position for all normal forward driving.
Manual shift mode
When the manual shift mode button 䊊
Ais
pressed while driving, the transmission enters the
manual shift mode. Shift ranges can be selected
manually.
In the manual shift mode, the shift range is dis-
played on the position indicator in the meter. After
pressing the manual shift mode button, the posi-
tion indicator first displays M4 (Fourth)
Shift ranges up or down one by one as follows:
M1←→ M2 ←→ M3 ←→ M4←→D
M4 (Fourth):
For driving up or down long slopes where engine
braking would be advantageous.
Shift ranges up or down one by one as follows:
M1 ←→ M2 ←→ M3 ←→ M4
M4 will be displayed on the position indicator in
the meter.
M3 (Third):
Use for hill climbing or engine braking on downhill
grades.
Shift ranges up or down one by one as follows:
M1 ←→ M2 ←→ M3
M3 will be displayed on the position indicator in
the meter.
M2 (Second):
Use for hill climbing or engine braking on downhill
grades.
Shift ranges up or down one by one as follows:
M1 ←→ M2
M2 will be displayed on the position indicator in
the meter.
WSD0188
Starting and driving 5-17

M1 (First):
Use this position when climbing steep hills slowly
or driving slowly through deep snow, sand or
mud, or for maximum engine braking on steep
downhill grades.
M1 will be displayed on the position indicator on
the meter.
●Remember not to drive at high speeds for
extended periods of time in lower than M4
range. This reduces fuel economy.
When shifting up:
Move the shift selector to the + (up) side. (Shifts
to higher range.)
When shifting down:
Move the shift selector to the ⫺(down) side.
(Shifts to lower range.)
●The transmission will automatically down-
shift the gears. (For example, if you select the
3rd range, the transmission will shift down
between the 3rd and 1st gears.)
●Moving the shift selector rapidly to the same
side twice will shift the ranges in succession.
When canceling the manual shift mode:
Press the manual shift mode button 䊊
Ato return
the transmission to the normal driving mode.
●In the manual shift mode, the transmis-
sion may not shift to the selected gear
immediately because of vehicle speed.
The transmission will up or down shift
when vehicle speed matches the pro-
grammed transmission shift points.
This helps maintain driving perfor-
mance and reduces the chance of ve-
hicle damage or loss of control.
●In the manual shift mode, the transmis-
sion will not up shift to a higher gear
than is manually selected. When the
vehicle speed decreases, the transmis-
sion automatically shifts down and
shifts to 1st gear before the vehicle
comes to a stop.
Shift lock release
If the battery is discharged, the shift selector may
not be moved from the P (Park) position even with
the brake pedal depressed.
To move the shift selector, release the shift lock.
The shift selector can be moved to N (Neutral).
However, for models without the NISSAN vehicle
immobilizer system, the steering wheel will be
locked unless the ignition switch is turned to the
ON position. This allows the vehicle to be moved
if the battery is discharged.
Console shift
LSD0090
5-18 Starting and driving

To push the shift lock release, complete the fol-
lowing procedure:
1. Turn the ignition key to the LOCK position
and remove the key
2. Apply the parking brake.
3. On vehicles equipped with a column shifter,
tilt the steering wheel down to the lowest
position.
4. Remove the shift lock release cover as
shown.
5. Use a protective cloth on the end of a small
screwdriver before inserting it in the shift
lock release slot and pushing down.
6. Move the shift selector to the N (Neutral)
position while holding down the shift lock
release.
7. For models without the NISSAN vehicle im-
mobilizer system, turn the key to the ON
position to unlock the steering wheel.
8. Now the vehicle may be moved to the de-
sired location.
If the shift selector cannot be moved out of P
(Park), have a NISSAN dealer check the auto-
matic transmission system as soon as possible.
WARNING
If the shift selector cannot be moved from
the P (Park) position while the engine is
running and the brake pedal is depressed,
the stop lights may not work. Malfunction-
ing stop lights could cause an accident
injuring yourself and others.
Accelerator downshift
— in D position —
For passing or hill climbing, depress the accel-
erator pedal to the floor. This shifts the transmis-
sion down into a lower gear, depending on the
vehicle speed.
Fail-safe
When the fail-safe operation occurs, please note
that the transmission will be locked in any of the
forward gears according to the condition.
If the vehicle is driven under extreme con-
ditions, such as excessive wheel spinning
and subsequent hard braking, the fail-safe
system may be activated. This will occur
even if all electrical circuits are functioning
properly. In this case, turn the ignition
switch OFF and wait for 3 seconds. Then
turn the ignition switch back to the ON
position. The vehicle should return to its
normal operating condition. If it does not
return to its normal operating condition,
have a NISSAN dealer check the transmis-
sion and repair it if necessary.
Column shift
LSD0101
Starting and driving 5-19

WARNING
●Be sure the parking brake is fully re-
leased before driving. Failure to do so
can cause brake failure and lead to an
accident.
●Do not release the parking brake from
outside the vehicle.
●Do not use the shift selector in place of
the parking brake. When parking, be
sure the parking brake is fully engaged.
●Do not leave children unattended in a
vehicle. They could release the parking
brake and cause an accident.
To engage: Firmly depress the parking brake.
To release:
1. Firmly apply the foot brake.
2. Move the shift selector to the P (Park) posi-
tion.
3. Firmly depress the parking brake pedal and it
will release.
4. Before driving, be sure the brake warning
light goes out.
1. ACCEL/RES switch
2. COAST/SET switch
3. CANCEL switch
4. ON·OFF switch
PRECAUTIONS ON CRUISE
CONTROL
●If the cruise control system malfunctions, it
cancels automatically. The SET indicator
light in the vehicle information display then
blinks to warn the driver, see “Vehicle infor-
mation display” in the “Instruments and con-
trols” section.
LSD0158 LSD0159
PARKING BRAKE CRUISE CONTROL (if so equipped)
5-20 Starting and driving

●If the SET indicator light blinks, push the
cruise control ON·OFF switch off and have
the system checked by a NISSAN dealer.
●The SET indicator light may blink when the
cruise control ON·OFF switch is pushed ON
while pushing the ACCEL/RES,
COAST/SET, or CANCEL switch. To prop-
erly set the cruise control system, use the
following procedures.
WARNING
Do not use the cruise control when driving
under the following conditions:
●When it is not possible to keep the
vehicle at a set speed.
●In heavy traffic or in traffic that varies in
speed.
●On winding or hilly roads.
●On slippery roads (rain, snow, ice, etc.).
●In very windy areas.
Doing so could cause a loss of vehicle
control and result in an accident.
CRUISE CONTROL OPERATIONS
The cruise control allows driving at a speed be-
tween 25 - 89 MPH (40 - 144 km/h) without
keeping your foot on the accelerator pedal.
To turn on the cruise control, push the
ON·OFF switch on. The CRUISE indicator light in
the vehicle information display will illuminate.
To set cruising speed, accelerate the vehicle to
the desired speed, push the COAST/SET switch
and release it. The SET indicator light in the
vehicle information display will illuminate. Take
your foot off the accelerator pedal. Your vehicle
maintains the set speed.
●To pass another vehicle, depress the ac-
celerator pedal. When you release the
pedal, the vehicle returns to the previously
set speed.
●The vehicle may not maintain the set speed
when going up or down steep hills. If this
happens, drive without the cruise control.
To cancel the preset speed, use one of the
following three methods.
●Push the CANCEL button; the SET indicator
light in the vehicle information display goes
out.
●Tap the brake pedal; the SET indicator light
goes out.
●Push the ON·OFF switch off. Both the
CRUISE indicator light and SET indicator
light in the vehicle information display go out.
The cruise control is automatically canceled and
the SET light in the vehicle information display
goes out if:
●you depress the brake pedal while pushing
the ACCEL/RES or SET/COAST switch.
The preset speed is deleted from memory.
●the vehicle slows down more than 8 MPH
(13 km/h) below the set speed.
●you move the shift selector to N (Neutral).
To reset at a faster cruising speed, use one
of the following three methods.
●Depress the accelerator pedal. When the
vehicle attains the desired speed, push and
release the COAST/SET switch.
●Push and hold the ACCEL/RES switch.
When the vehicle attains the speed you de-
sire, release the switch.
●Push and release the ACCEL/RES switch.
Each time you do this, the set speed in-
creases by about 1 MPH (1.6 km/h).
Starting and driving 5-21

To reset at a slower cruising speed, use one
of the following three methods.
●Lightly tap the brake pedal. When the ve-
hicle attains the desired speed, push the
COAST/SET switch and release it.
●Push and hold the COAST/SET switch. Re-
lease the switch when the vehicle slows to
the desired speed.
●Push and release the COAST/SET switch.
Each time you do this, the set speed de-
creases by about 1 MPH (1.6 km/h).
To resume the preset speed, push and re-
lease the ACCEL/RES switch. The vehicle re-
turns to the last set cruising speed when the
vehicle speed is over 25 MPH (40 km/h).
CAUTION
During the first 1,200 miles (2,000 km),
follow these recommendations to obtain
maximum engine performance and en-
sure the future reliability and economy of
your new vehicle. Failure to follow these
recommendations may result in short-
ened engine life and reduced engine
performance.
●Avoid driving for long periods at constant
speed, either fast or slow, and do not run the
engine over 4,000 rpm.
●Do not accelerate at full throttle in any gear.
●Avoid quick starts.
●Avoid hard braking as much as possible.
●Do not tow a trailer for the first 500 miles
(800 km). Your engine, axle or other parts
could be damaged.
●Accelerate slowly and smoothly. Maintain
cruising speeds with a constant accelerator
position.
●Drive at moderate speeds on the highway.
Driving at high speed lowers fuel economy.
●Avoid unnecessary stopping and braking.
Maintain a safe distance behind other ve-
hicles.
●Use a proper gear range which suits road
conditions. On level roads, shift into high
gear as soon as possible.
●Avoid unnecessary engine idling.
●Keep your engine tuned up.
●Follow the recommended periodic mainte-
nance schedule.
●Keep the tires inflated to the correct pres-
sure. Low tire pressure increases tire wear
and lowers fuel economy.
●Keep the front wheels in correct alignment.
Improper alignment increases tire wear and
lowers fuel economy.
●Air conditioner operation lowers fuel
economy. Use the air conditioner only when
necessary.
BREAK-IN SCHEDULE INCREASING FUEL ECONOMY
5-22 Starting and driving

●When cruising at highway speeds, it is more
economical to use the air conditioner and
leave the windows closed to reduce drag.
●For vehicles equipped with , use 4H
or 4L position only when necessary. Four-
wheel drive operation lowers fuel economy.
WARNING
●For 4WD equipped vehicles, do not at-
tempt to raise two wheels off the
ground and shift the transmission to
any drive or reverse position with the
engine running. Doing so may result in
drivetrain damage or unexpected ve-
hicle movement which could result in
serious vehicle damage or personal
injury.
●Do not attempt to test a 4WD equipped
vehicle on a 2-wheel dynamometer
(such as the dynamometers used by
some states for emissions testing), or
similar equipment even if the other two
wheels are raised off the ground. Make
sure you inform test facility personnel
that your vehicle is equipped with 4WD
before it is placed on a dynamometer.
Using the wrong test equipment may
result in drivetrain damage or unex-
pected vehicle movement which could
result in serious vehicle damage or per-
sonal injury.
CAUTION
●Do not drive the vehicle in the 4H or 4LO
position on dry hard surface roads. Driv-
ing on dry, hard surfaces in 4H or 4LO
may cause unnecessary noise, tire wear
and increased fuel consumption.
If the 4WD warning light turns on when
you are driving on dry hard surface
roads:
– in the 4H position, shift the 4WD shift
switch to 2WD.
– in the 4LO position, stop the vehicle,
move the shift selector to the N (Neu-
tral) position with the brake pedal
depressed, and shift the 4WD shift
switch to 2WD.
●If the warning light is still on after the
above operation, have your vehicle
checked by a NISSAN dealer as soon as
possible.
USING FOUR WHEEL DRIVE
(4WD) (if so equipped)
Starting and driving 5-23

TRANSFER CASE SHIFTING
PROCEDURES
The part time 4WD system provides 3 positions
(2WD, 4H and 4LO), so you can select the desired
drive mode according to the driving conditions.
2WD or 4WD shift procedure:
4WD Shift
Switch Position Wheels Driven Indicator Light Use Conditions 4WD Shift Procedure
4WD shift Transfer 4LO position
2WD
Rear wheels For driving on dry, paved roads (Economy
drive)
Move the 4WD switch.
2WD <—> 4H
4WD shift indicator light will indicate trans-
fer shift position engaged.
IT IS NOT NECESSARY TO MOVE THE
SHIFT SELECT TO THE N POSITION IN
THIS OPERATION. PERFORM THIS OP-
ERATION WHEN DRIVING STRAIGHT.
4H
4 wheels For driving on rocky, sandy or snow-covered
roads
Neutral
*1
May blink
Neutral disengages the automatic transmis-
sion mechanical parking lock, which will
allow the vehicle to roll. Do not leave the
transfer shift position in Neutral.*2
1. Stop the vehicle.
2. With the brake pedal depressed, move
the shift selector to the N position.
3. With the brake pedal depressed, de-
press and turn the 4WD shift switch to
4LO or 4H.
THE TRANSFER CASE DOES NOT EN-
GAGE BETWEEN 4H AND 4LO (OR 4LO
TO 4H) UNLESS YOU HAVE FIRST
STOPPED THE VEHICLE, DEPRESSED
THE BRAKE PEDAL AND MOVED THE
SHIFT SELECTOR TO NEUTRAL. *3
4LO 4 wheels
Illuminated
For use when maximum power and traction
is required (for example: on steep grades or
rocky, sandy, muddy roads)
*1: Before moving the shift selector from neutral, wait until the 4LO indicator light stays on steady. This indicates that the 4WD shift procedure is completed
and the transfer gear is correctly set in the 4LO position. If the vehicle is shifted into gear before the indicator is on steady, the transfer gear may grind,
not engage correctly or stay in the neutral position.
5-24 Starting and driving

- If the 4WD warning light illuminates, perform the following procedure to return the transfer case to correct operating condition.
1. Turn off the engine by turning the ignition switch ⬙OFF⬙.
2. Start the engine.
- Check that the 4WD warning light turns off. If the 4WD light illuminates, have the system checked by a NISSAN dealer.
3. Apply the parking brake, depress the brake pedal and move the shift selector to Neutral position.
4. With the brake pedal depressed, move the 4WD shift switch to desired mode.
- Be sure to wait until the transfer gear change completes before shifting the shift selector from Neutral position.
*2: While changing in and out of 4LO, the ignition key must be ON and the vehicle’s engine must be running for a shift to take place and for the indicator
lights (4WD shift and 4LO position indicator) to be operable. Otherwise, the shift will not take place and no indicator lights will be on or flashing.
*3: Make sure the transfer 4LO position indicator light turns on when you shift the 4WD shift switch to 4LO. The indicator light will also turn on when
4LO is selected. See “Vehicle Dynamic Control (VDC) system” later in this section.
Starting and driving 5-25

The transfer case 4WD shift switch is used to
select either 2WD or 4WD depending on the
driving conditions. There are three types of drive
modes available, 2WD, 4H and 4LO.
The 4WD shift switch electronically controls the
transfer case operation. Rotate the switch to
move between each mode, 2WD, 4H and 4LO.
To change into or out of 4LO, the vehicle
MUST be stationary, shift the shift selector
to neutral, and depress the brake pedal.
The switch must be pushed and turned to
select 4LO.
WARNING
●When parking, apply the parking brake
before stopping the engine and make
sure that the 4WD shift indicator light is
on and the ATP warning light goes off.
Otherwise, the vehicle could unexpect-
edly move even if the automatic trans-
mission is in the P position.
●The 4LO indicator light must stop blink-
ing and remain illuminated or turn off
before shifting the transmission into
gear. If the shift selector is shifted from
the “N” position to any other gear when
the 4LO indicator light is blinking, the
vehicle may move unexpectedly.
CAUTION
●Never shift the 4WD shift switch be-
tween 4LO and 4H while driving.
●The 4H position provides greater trac-
tion. Avoid excessive speed, as it will
cause increased fuel consumption and
higher oil temperatures, and could
damage drivetrain components.
Speeds over 62 MPH (100 km/h) in 4H is
not recommended.
●The 4LO position provides maximum
power and traction. Avoid raising ve-
hicle speed excessively, as the maxi-
mum speed is approximately 31 MPH
(50 km/h).
●When driving straight, shift the 4WD
shift switch to the 2WD or 4H position.
Do not move the 4WD shift switch when
making a turn or reversing.
●Do not shift the 4WD shift switch (be-
tween 2WD and 4H) while driving on
steep downhill grades. Use the engine
brake and low automatic transmission
gears (D1 or D2) for engine braking.
●Do not operate the 4WD shift switch
(between 2WD and 4H) with the rear
wheels spinning.
●Do not drive on dry hard surface roads
in the 4H or 4LO position. Driving on dry
hard surfaces in 4H or 4LO may cause
unnecessary noise and tire wear.
NISSAN recommends driving in the
2WD position under these conditions.
●The 4WD transfer case may not be
shifted between 4H and 4LO at low am-
bient temperatures and the transfer
4LO position indicator light may blink
even when the 4WD shift switch is
shifted. After driving for a while you can
change the 4WD transfer case between
4H and 4LO.
When driving on rough roads,
●Set the 4WD shift switch to 4H or 4LO.
●Drive carefully according to the road surface
conditions.
When the vehicle is stuck,
●Set the 4WD shift switch to 4H or 4LO.
●Use the Electronic Locking Rear Differential
(E-Lock) system (if so equipped). Turn the
switch ON while the vehicle is stationary and
apply the throttle to try to free the vehicle.
5-26 Starting and driving

●If it is difficult to free the vehicle, rock the
vehicle back and forth between reverse and
drive gears.
●If the vehicle is stuck deep in mud, place
stones or wooden blocks under the tires.
Then try the recovery procedures above. Tire
chains may be effective.
CAUTION
●Do not spin the tires excessively. Tires
will sink deep into the mud, making it
difficult to free the vehicle.
●Avoid shifting gears with the engine
running at high speeds as this may
cause malfunction. 4WD shift switch operations
●Shift the 4WD shift switch to either the
2WD, 4H or 4LO position, depending on
driving conditions.
●If the 4WD shift switch is operated
while making a turn, accelerating or
decelerating or if the key switch is
turned off while in the 4H or 4LO, you
may feel a jolt. This is not abnormal.
●When the vehicle is stopped after mak-
ing a turn, you may feel a slight jolt
after the shift selector is shifted to N or
P. This occurs because the transfer
clutch is released and not because of a
malfunction.
CAUTION
●When driving straight, shift the 4WD
shift switch to the 2WD or 4H position.
Do not move the 4WD shift switch when
making a turn or reversing.
●Do not shift the 4WD shift switch while
driving on steep downhill grades. Use
the engine brake and low automatic
transmission gears (D1 or D2) for en-
gine braking.
●Do not operate the 4WD shift switch
with the rear wheels spinning.
●Before placing the 4WD shift switch in
the 4H position from 2WD, ensure the
vehicle speed is less than 62 MPH (100
km/h). Failure to do so can damage the
4WD system.
●Never shift the 4WD shift switch be-
tween 4LO and 4H while driving.
LSD0145
Starting and driving 5-27

4WD shift indicator light
The 4WD shift indicator light is located in the
vehicle information display.
The light should turn off within 1 second after
turning the ignition switch to the ON position.
While the engine is running, the 4WD shift indi-
cator light will illuminate the position selected by
the 4WD shift switch.
●The 4WD shift indicator light may blink
while shifting from one drive mode to
the other. When the shifting is com-
pleted, the 4WD shift indicator light
will come on.
●If the 4WD warning light comes on, the
4WD indicator light goes out.
CAUTION
●If the 4WD shift indicator light indica-
tion changes to 2WD when the 4WD
shift switch is shifted to the 4H position
at low ambient temperatures, the 2WD
mode may be being engaged due to
malfunctioning drive system. If the indi-
cator does not return to normal and the
4WD warning light comes on, have the
system checked by the nearest NISSAN
dealer.
4WD warning light
Warning light Comes on or blinks
when:
Comes on
There is a mal-
function in the
4–wheel drive
system
Blinks
slowly
The difference in
wheel rotation is
large
The 4WD warning light is located in the meter.
The 4WD warning light comes on when the key
switch is turned to ON. It turns off soon after the
engine is started.
If any malfunction occurs in the 4WD system
when the key switch is ON, the warning light will
either remain illuminated or blink.
If the 4WD warning light comes on, the 4WD
shift indicator light goes out.
A large difference between the diameters of front
and rear wheels will make the warning light blink
slowly (about once per two seconds). Change
the 4WD shift switch into 2WD and do not drive
fast.
CAUTION
●If the warning light comes on or blinks
slowly during operation or rapidly after
stopping the vehicle for a while, have
your vehicle checked by a NISSAN
dealer as soon as possible.
●Shifting between 4H and 4LO is not
recommended when the 4WD warning
light turns on.
LSD0147
5-28 Starting and driving

●When the warning light comes on, the
2WD mode may be engaged even if the
4WD shift switch is in 4H. Be especially
careful when driving. If corresponding
parts are malfunctioning, the 4WD
mode will not be engaged even if the
4WD shift switch is shifted.
●Do not drive the vehicle in the 4H or 4LO
position on dry hard surface roads. Driv-
ing on dry, hard surfaces in 4H or 4LO
may cause unnecessary noise, tire wear
and increased fuel consumption.
If the 4WD warning light turns on when
you are driving on dry hard surface roads:
– in the 4H position, shift the 4WD shift
switch to 2WD.
– in the 4LO position, stop the vehicle,
move the automatic transmission
shift selector to the N position with
the brake pedal depressed, and shift
the 4WD shift switch to 2WD.
●If the warning light is still on after the
above operation, have your vehicle
checked by a NISSAN dealer as soon as
possible.
●The transfer case may be damaged if
you continue driving with the warning
light blinking.
The E-Lock system can provide additional trac-
tion and should only be used when a vehicle has
become or is becoming stuck. This system oper-
ates by electronically “locking” the two rear drive
wheels together, allowing them to turn at the
same speed. The system is used when it is not
possible to free a stuck vehicle even when using
the 4LO position (4 wheel drive vehicles).
When added traction is required, activate the
E-Lock system by pushing the switch ON. See
“Electronic locking rear differential (E-Lock) sys-
tem switch” in the “Instruments and Controls”
section. Once the system fully engages, the indi-
cator light in the instrument panel will remain ON.
When the system is activated, both rear wheels
will engage, providing added traction.
The rear wheels may momentarily slip or move to
engage the system, and the system will only
engage up to approximately 4 MPH (7 km/h).
Once the vehicle is free, the system should be
turned OFF and driving resumed.
The Anti-Lock Brake (ABS) system is disabled
and the ABS light illuminates when the E-Lock
system is ON. Also, the Vehicle Dynamic Control
(VDC) system is disabled and the VDC light
illuminates when the E-Lock system is ON.
WARNING
●Never leave the E-Lock system ON
when driving on paved or hard-surfaced
roads. Turning the vehicle may result in
the rear wheels slipping and result in an
accident and personal injury. After us-
ing the E-Lock system to free the ve-
hicle, turn the system OFF.
●Use the E-Lock system only when free-
ing a stuck vehicle. Try the 4LO position
before using the E-Lock system. Never
use the E-Lock system on a slippery
road surface such as snow or ice sur-
face. Using the E-Lock system when
driving in these road conditions may
cause unexpected movement of the ve-
hicle during engine braking, accelerat-
ing or turning, which may result in an
accident and serious personal injury.
ELECTRONIC LOCKING REAR
DIFFERENTIAL (E-Lock) SYSTEM (if
so equipped)
Starting and driving 5-29

CAUTION
●After using the E-Lock system, turn the
switch OFF to prevent possible damage
to driveline components from extended
use.
●Do not drive the vehicle at speeds faster
than 12 mph (20 km/h) when the system
is engaged. Doing so could damage
drivetrain components.
●Do not turn on the E-lock system while
the tires are spinning. Doing so could
damage drivetrain components.
WARNING
●Do not stop or park the vehicle over
flammable materials such as dry grass,
waste paper or rags. They may ignite
and cause a fire.
●
Safe parking procedures require that
both the parking brake be set and the
transmission placed into P (Park). Fail-
ure to do so could cause the vehicle to
move unexpectedly or roll away and re-
sult in an accident. Make sure the shift
selector has been pushed as far forward
as it can go and cannot be moved without
depressing the foot brake pedal.
●Never leave the engine running while
the vehicle is unattended.
●Do not leave children unattended inside
the vehicle. They could unknowingly ac-
tivate switches or controls. Unattended
children could become involved in seri-
ous accidents.
1. Firmly apply the parking brake.
2. Move the shift selector to the P (Park) posi-
tion.
3. To help prevent the vehicle from rolling into
traffic when parked on an incline, it is a good
practice to turn the wheels as illustrated.
WSD0050
PARKING/PARKING ON HILLS
5-30 Starting and driving

●HEADED DOWNHILL WITH CURB: 䊊
A
Turn the wheels into the curb and move the
vehicle forward until the curb side wheel
gently touches the curb.
●HEADED UPHILL WITH CURB: 䊊
B
Turn the wheels away from the curb and
move the vehicle back until the curb side
wheel gently touches the curb.
●HEADED UPHILL OR DOWNHILL, NO
CURB: 䊊
C
Turn the wheels toward the side of the road
so the vehicle will move away from the cen-
ter of the road if it moves.
4. Place the ignition switch in the LOCK posi-
tion.
The power assisted steering uses a hydraulic
pump, driven by the engine, to assist steering.
If the engine stops or the drive belt breaks, you
will still have control of the vehicle. However,
much greater steering effort is needed, especially
in sharp turns and at low speeds.
WARNING
If the engine is not running or is turned off
while driving, the power assist for the
steering will not work. Steering will be
harder to operate.
The brake system has two separate hydraulic
circuits. If one circuit malfunctions, you will still
have braking at 2 wheels.
BRAKE PRECAUTIONS
Vacuum assisted brakes
The brake booster aids braking by using engine
vacuum. If the engine stops, you can stop the
vehicle by depressing the brake pedal. However,
greater foot pressure on the brake pedal will be
required to stop the vehicle and stopping dis-
tance will be longer.
Using the brakes
Avoid resting your foot on the brake pedal while
driving. This will overheat the brakes, wear out the
brake pads faster, and reduce gas mileage.
To help reduce brake wear and to prevent the
brakes from overheating, reduce speed and
downshift to a lower gear before going down a
slope or long grade. Overheated brakes may
reduce braking performance and could result in
loss of vehicle control.
POWER STEERING BRAKE SYSTEM
Starting and driving 5-31

WARNING
●While driving on a slippery surface, be
careful when braking, accelerating or
downshifting. Abrupt braking or accel-
erating could cause the wheels to skid
and result in an accident.
●If the engine is not running or is turned
off while driving, the power assist for
the brakes will not work. Braking will be
harder.
Wet brakes
When the vehicle is washed or driven through
water, the brakes may get wet. As a result, your
braking distance will be longer and the vehicle
may pull to one side during braking.
To dry the brakes, drive the vehicle at a safe
speed while lightly pressing the brake pedal to
heat up the brakes. Do this until the brakes return
to normal. Avoid driving the vehicle at high
speeds until the brakes function correctly.
Parking brake break-in
Break-in the parking brake shoes whenever the
stopping effect of the parking brake is weakened
or whenever the parking brake shoes and/or
drum/rotors are replaced, in order to assure the
best brake performance.
This procedure is described in the vehicle service
manual and can be performed by a NISSAN
dealer.
ANTI-LOCK BRAKING SYSTEM
(ABS)
WARNING
●The Anti-lock Braking System (ABS) is a
sophisticated device, but it cannot pre-
vent accidents resulting from careless
or dangerous driving techniques. It can
help maintain vehicle control during
braking on slippery surfaces. Remem-
ber that stopping distances on slippery
surfaces will be longer than on normal
surfaces even with ABS. Stopping dis-
tances may also be longer on rough,
gravel or snow covered roads, or if you
are using tire chains. Always maintain a
safe distance from the vehicle in front
of you. Ultimately, the driver is respon-
sible for safety.
●Tire type and condition may also affect
braking effectiveness.
– When replacing tires, install the
specified size of tires on all four
wheels.
– When installing a spare tire, make
sure that it is the proper size and type
as specified on the Tire and Loading
Information label. See “Tire and
Loading Information label” in the
“Technical and consumer informa-
tion” section of this manual.
– For detailed information, see
“Wheels and tires” in the “Mainte-
nance and do-it-yourself” section of
this manual.
The Anti-lock Braking System (ABS) controls the
brakes so the wheels do not lock during hard
braking or when braking on slippery surfaces.
The system detects the rotation speed at each
wheel and varies the brake fluid pressure to pre-
vent each wheel from locking and sliding. By
preventing each wheel from locking, the system
helps the driver maintain steering control and
helps to minimize swerving and spinning on slip-
pery surfaces.
Using the system
Depress the brake pedal and hold it down. De-
press the brake pedal with firm steady pressure,
but do not pump the brakes. The ABS will oper-
ate to prevent the wheels from locking up. Steer
the vehicle to avoid obstacles.
5-32 Starting and driving

WARNING
Do not pump the brake pedal. Doing so
may result in increased stopping
distances.
Self-test feature
The ABS includes electronic sensors, electric
pumps, hydraulic solenoids and a computer. The
computer has a built-in diagnostic feature that
tests the system each time you start the engine
and move the vehicle at a low speed in forward or
reverse. When the self-test occurs, you may hear
a “clunk”noise and/or feel a pulsation in the brake
pedal. This is normal and does not indicate a
malfunction. If the computer senses a malfunc-
tion, it switches the ABS off and illuminates the
ABS warning light on the instrument panel. The
brake system then operates normally, but without
anti-lock assistance.
If the ABS warning light illuminates during the
self-test or while driving, have the vehicle
checked by a NISSAN dealer.
Normal operation
The ABS operates at speeds above3-6MPH(5
- 10 km/h). The speed varies according to road
conditions.
When the ABS senses that 1 or more wheels are
close to locking up, the actuator rapidly applies
and releases hydraulic pressure. This action is
similar to pumping the brakes very quickly. You
may feel a pulsation in the brake pedal and hear a
noise from under the hood or feel a vibration from
the actuator when it is operating. This is normal
and indicates that the ABS is operating properly.
However, the pulsation may indicate that road
conditions are hazardous and extra care is re-
quired while driving.
●ABLS system uses automatic braking to
transfer power from a slipping drive wheel to
the wheel on the same axle with more trac-
tion. The ABLS system applies braking to
the slipping wheel, which helps redirect
power to the other wheel.
●On 4WD models the ABLS system operates
in both 4H and 4LO modes. If 4WD mode is
engaged, the ABLS system operates for
both drive axles. On 2WD vehicles, the
ABLS system operates on the drive axle
only.
●The ABLS system is always ON. In some
conditions, the system may automatically
turn the ABLS system off. If the system is
automatically turned off, normal brake func-
tion will continue. ABLS will function even
when the VDC system is turned OFF.
●The ABLS does not operate if both wheels
on a drive axle are slipping.
ACTIVE BRAKE LIMITED SLIP (ABLS)
SYSTEM
Starting and driving 5-33

WARNING
●The ABLS system helps provide in-
creased traction, but will not prevent
accidents due to abrupt steering opera-
tion or by careless driving or dangerous
driving practices. Reduce vehicle speed
and be especially careful when driving
and cornering on slippery surfaces. Al-
ways drive carefully.
●
Do not modify the vehicle’s suspension.
If suspension parts such as shock ab-
sorbers, struts, springs, stabilizer bars,
bushings and wheels are not NISSAN ap-
proved for your vehicle or are extremely
deteriorated, the ABLS system may not
operate properly. This could adversely af-
fect vehicle handling performance, and
the slip indicator light may illuminate.
●If brake related parts such as brake
pads, rotors and calipers are not
NISSAN recommended or are extremely
deteriorated, the ABLS system may not
operate properly and the slip indicator
light may illuminate.
●If wheels or tires other than the NISSAN
recommended ones are used, the ABLS
system may not operate properly and
the slip indicator light may illuminate.
The Vehicle Dynamic Control (VDC) system uses
various sensors to monitor driver inputs and ve-
hicle motion. Under certain driving conditions,
the VDC System helps to perform the following
functions:
●Controls brake pressure to reduce wheel
slip on one slipping drive wheel so power is
transferred to a non slipping drive wheel on
the same axle.
●Controls brake pressure and engine output
to reduce drive wheel slip based on vehicle
speed (traction control function).
●If the 4WD transfer case is shifted into 4LO
the indicator light will come on and
the VDC system will be turned off. See “Us-
ing four wheel drive (4WD)” earlier in this
section.
●Controls brake pressure at individual wheels
and engine output to help the driver maintain
control of the vehicle in the following condi-
tions:
– understeer (vehicle tends to not follow
the steered path despite increased steer-
ing input)
– oversteer (vehicle tends to spin due to
certain road or driving conditions)
The VDC system can help the driver to maintain
control of the vehicle, but it can not prevent loss
of vehicle control in all driving situations.
When the VDC system operates, the indi-
cator in the instrument panel flashes so note the
following:
●The road may be slippery or the system may
determine some action is required to help
keep the vehicle on the steered path.
●You may feel a pulsation in the brake pedal
and hear a noise or vibration from under the
hood. This is normal and indicates that the
VDC system is working properly.
●Adjust your speed and driving to the road
conditions.
See “Slip indicator light” and ”Vehicle Dynamic
Control (VDC) OFF indicator light” in the ”Instru-
ments and controls” section.
If a malfunction occurs in the system, the
and indicator lights come on in the instru-
ment panel. The VDC system automatically turns
off when these indicator lights are on.
The VDC OFF switch is used to turn off the VDC
system. The indicator illuminates to indi-
cate the VDC system is off.
VEHICLE DYNAMIC CONTROL (VDC)
SYSTEM
5-34 Starting and driving

When the VDC switch is used to turn off the
system, the VDC system still operates to prevent
one drive wheel from slipping by transferring
power to a non slipping drive wheel. The
indicator flashes if this occurs. All other VDC
functions are off and the indicator will not
flash.
The VDC system is automatically reset to on
when the ignition switch is placed in the off
position then back to the on position.
The computer has a built in diagnostic feature
that tests the system each time you start the
engine and move the vehicle forward or in reverse
at a slow speed. When the self-test occurs, you
may hear a clunk noise and/or feel a pulsation in
the brake pedal. This is normal and is not an
indication of a malfunction.
WARNING
●The VDC system is designed to help the
driver maintain stability but does not
prevent accidents due to abrupt steer-
ing operation at high speeds or by care-
less or dangerous driving techniques.
Reduce vehicle speed and be especially
careful when driving and cornering on
slippery surfaces and always drive
carefully.
●Do not modify the vehicle’s suspension.
If suspension parts such as shock ab-
sorbers, struts, springs, stabilizer bars,
bushings and wheels are not NISSAN
recommended for your vehicle or are
extremely deteriorated, the VDC system
may not operate properly. This could
adversely affect vehicle handling per-
formance, and the indicator may
flash or both the and indi-
cator lights may illuminate.
●If brake related parts such as brake
pads, rotors and calipers are not
NISSAN recommended or are extremely
deteriorated, the VDC system may not
operate properly and both the
and the indicator lights may
illuminate.
●If engine control related parts are not
NISSAN recommended or are extremely
deteriorated, both the and
indicator lights may illuminate.
●When driving on extremely inclined sur-
faces such as higher banked corners,
the VDC system may not operate prop-
erly and the indicator may flash or
both the and indicator
lights may illuminate. Do not drive on
these types of roads.
●When driving on an unstable surface
such as a turntable, ferry, elevator or
ramp, the indicator may flash or
both the and indicator
lights may illuminate. This is not a mal-
function. Restart the engine after driv-
ing onto a stable surface.
●If wheels or tires other than the NISSAN
recommended ones are used, the VDC
system may not operate properly and
the indicator may flash or both
the and indicator lights may
illuminate.
●The VDC system is not a substitute for
winter tires or tire chains on a snow
covered road.
Starting and driving 5-35

WARNING
●Always turn and look back before back-
ing up. The RSS is not a substitute for
proper backing procedures.
●Read and understand the limitations of
the rear sonar system as contained in
this section. Inclement weather may af-
fect the function of the RSS; this may
include reduced performance or a false
activation.
●This system is not designed to prevent
contact with small or moving objects.
●The system is designed as an aid to the
driver in detecting large stationary ob-
jects to help avoid damaging the ve-
hicle. The system will not detect small
objects below the bumper, and may not
detect objects close to the bumper or
on the ground.
●If your vehicle sustains damage to the
rear bumper fascia, leaving it mis-
aligned or bent, the sensing zone may
be altered causing inaccurate measure-
ment of obstacles or false alarms.
The Rear Sonar System (RSS) sounds a tone to
warn the driver of obstacles near the rear bumper
when the shift selector is in R (Reverse). The
system may not detect objects at speeds above 3
mph (5 km/h) and may not detect certain angular
or moving objects.
The RSS detects obstacles up to 5.9 feet (1.8 m)
from the rear bumper with a decreased coverage
area at the outer corners of the bumper, (refer to
the illustration for approximate zone coverage
areas). As you move closer to the obstacle, the
rate of the tone increases. When the obstacle is
less than 10 inches (25.0 cm) away, the tone will
sound continuously. If the RSS detects a station-
ary or receding object further than 10 inches
(25.0 cm) from the side of the vehicle, the tone
will sound for only three seconds. Once the sys-
tem detects an object approaching, the tone will
sound again.
The RSS automatically turns on when the shift
selector is placed in R (Reverse) and the ignition
is ON. The RSS OFF switch on the instrument
panel allows the driver to turn the RSS on and off.
To turn the RSS off, the ignition must be ON, and
the shift selector in R (Reverse). An indicator light
on the switch will illuminate when the system is
turned off. If the indicator light illuminates when
the RSS is not turned off, it may indicate a mal-
function in the RSS.
Keep the RSS sensors (located on the rear bum-
per fascia) free from snow, ice and large accumu-
lations of dirt (do not clean the sensors with sharp
objects). If the sensors are covered, it will affect
the accuracy of the RSS.
WSD0103
REAR SONAR SYSTEM (if so
equipped)
5-36 Starting and driving

FREEING A FROZEN DOOR LOCK
To prevent a door lock from freezing, apply de-
icer through the key hole. If the lock becomes
frozen, heat the key before inserting it into the key
hole or use the remote keyless entry keyfob (if so
equipped).
ANTI-FREEZE
In the winter when it is anticipated that the tem-
perature will drop below 32°F (0°C), check the
anti-freeze to assure proper winter protection.
For details, see “Engine cooling system” in the
“Maintenance and do-it-yourself” section of this
manual.
BATTERY
If the battery is not fully charged during extremely
cold weather conditions, the battery fluid may
freeze and damage the battery. To maintain maxi-
mum efficiency, the battery should be checked
regularly. For details, see “Battery” in the “Main-
tenance and do-it-yourself” section of this
manual.
DRAINING OF COOLANT WATER
If the vehicle is to be left outside without anti-
freeze, drain the cooling system, including the
engine block. Refill before operating the vehicle.
For details, see “Changing engine coolant” in the
“Maintenance and do-it-yourself” section of this
manual.
TIRE EQUIPMENT
1. SUMMER tires have a tread designed to
provide superior performance on dry pave-
ment. However, the performance of these
tires will be substantially reduced in snowy
and icy conditions. If you operate your ve-
hicle on snowy or icy roads, NISSAN recom-
mends the use of MUD & SNOW or ALL
SEASON TIRES on all four wheels. Please
consult a NISSAN dealer for the tire type,
size, speed rating and availability informa-
tion.
2. For additional traction on icy roads, studded
tires may be used. However, some U.S.
states and Canadian provinces prohibit their
use. Check local, state and provincial laws
before installing studded tires.
Skid and traction capabilities of studded
snow tires on wet or dry surfaces may be
poorer than that of non-studded snow tires.
3. Tire chains may be used. For details see
“Tire chains” in the “Maintenance and do-it-
yourself” section of this manual.
SPECIAL WINTER EQUIPMENT
It is recommended that the following items be
carried in the vehicle during winter:
●A scraper and stiff-bristled brush to remove
ice and snow from the windows and wiper
blades.
●A sturdy, flat board to be placed under the
jack to give it firm support.
●A shovel to dig the vehicle out of snowdrifts.
●Extra washer fluid to refill the windshield-
washer fluid reservoir.
DRIVING ON SNOW OR ICE
WARNING
●Wet ice (32°F, 0°C and freezing rain),
very cold snow or ice can be slick and
very hard to drive on. The vehicle will
have much less traction or “grip” under
these conditions. Try to avoid driving on
wet ice until the road is salted or
sanded.
COLD WEATHER DRIVING
Starting and driving 5-37

●Whatever the condition, drive with cau-
tion. Accelerate and slow down with
care. If accelerating or downshifting too
fast, the drive wheels will lose even
more traction.
●Allow more stopping distance under
these conditions. Braking should be
started sooner than on dry pavement.
●Allow greater following distances on
slippery roads.
●Watch for slippery spots (glare ice).
These may appear on an otherwise
clear road in shaded areas. If a patch of
ice is seen ahead, brake before reach-
ing it. Try not to brake while on the ice,
and avoid any sudden steering
maneuvers.
●Do not use the cruise control (if so
equipped) on slippery roads.
●Snow can trap dangerous exhaust
gases under your vehicle. Keep snow
clear of the exhaust pipe and from
around your vehicle.
ENGINE BLOCK HEATER (if so
equipped)
WARNING
●Do not use your engine block heater
with an ungrounded electrical system
or a 2-pronged adapter. You can be se-
riously injured by an electrical shock if
you use an ungrounded connection.
●Disconnect and properly store the en-
gine block heater cord before starting
the engine. Damage to the cord could
result in an electrical shock and can
cause serious injury.
●Use a heavy-duty 3-wire, 3-pronged ex-
tension cord rated for at least 10 A. Plug
the extension cord into a Ground Fault
Interrupt (GFI) protected, grounded
110-VAC outlet. Failure to use the
proper extension cord or a grounded
outlet can result in a fire or electrical
shock and cause serious personal
injury.
Engine block heaters are available through
NISSAN dealers to assist in cold temperature
starting. The engine block heater should be used
when the outside temperature is 20° F (-7° C) or
lower.
To use the engine block heater:
1. Turn the engine off.
2. Open the hood and unwrap the engine block
heater cord.
3. Plug the engine block heater cord into a
grounded 3-wire, 3-pronged extension
cord.
4. Plug the extension cord into a Ground Fault
Interrupt (GFI) protected, grounded 110-
volt AC (VAC) outlet.
5. The engine block heater must be plugged in
for at least2-4hours, depending on outside
temperatures, to properly warm the engine
coolant. Use an appropriate timer to turn the
engine block heater on.
6. Before starting the engine, unplug and prop-
erly store the cord to keep it away from
moving parts.
5-38 Starting and driving

6 In case of emergency
Flat tire ...........................................6-2
Tire Pressure Monitoring System (TPMS)..........6-2
Changing a flat tire .............................6-2
Jump starting .....................................6-8
Push starting.....................................6-10
If your vehicle overheats ...........................6-10
Towing your vehicle ...............................6-11
Towing recommended by NISSAN ..............6-12
Vehicle recovery (freeing a stuck vehicle). . . ......6-13

TIRE PRESSURE MONITORING
SYSTEM (TPMS)
This vehicle is equipped with the Tire Pressure
Monitoring System (TPMS). It monitors tire pres-
sure of all tires except the spare. When the low
tire pressure warning light is lit, and the CHECK
TIRE PRESSURE warning appears in the vehicle
information display, one or more of your tires is
significantly under-inflated. If equipped, the sys-
tem also displays pressure of all tires (except the
spare tire) on the display screen by sending a
signal from a sensor that is installed in each
wheel. If the vehicle is being driven with low tire
pressure, the TPMS will activate and warn you of
it by the low tire pressure warning light. This
system will activate only when the vehicle is
driven at speeds above 16 MPH (25 km/h). For
more details, refer to “Warning/indicator lights
and audible reminders” in the “Instruments and
controls” section, “Tire pressure information” in
the “Display screen, heater, air conditioner, audio
and phone systems” section and “Tire Pressure
Monitoring System (TPMS)” in the “Starting and
driving” section.
WARNING
●If the low tire pressure warning light
illuminates while driving, avoid sudden
steering maneuvers or abrupt braking,
reduce vehicle speed, pull off the road
to a safe location and stop the vehicle
as soon as possible. Driving with under-
inflated tires may permanently damage
the tires and increase the likelihood of
tire failure. Serious vehicle damage
could occur and may lead to an acci-
dent and could result in serious per-
sonal injury. Check the tire pressure for
all four tires. Adjust the tire pressure to
the recommended COLD tire pressure
shown on the Tire and Loading Informa-
tion label to turn the low tire pressure
warning light OFF. If you have a flat tire,
replace it with a spare tire as soon as
possible.
●When a spare tire is mounted or a wheel
is replaced, tire pressure will not be
indicated, the TPMS will not function
and the low tire pressure warning light
will flash for approximately 1 minute.
The light will remain on after 1 minute.
Contact your NISSAN dealer as soon as
possible for tire replacement and/or
system resetting.
●Replacing tires with those not originally
specified by NISSAN could affect the
proper operation of the TPMS.
●Do not inject any tire liquid or aerosol
tire sealant into the tires, as this may
cause a malfunction of the tire pressure
sensors.
CHANGING A FLAT TIRE
If you have a flat tire, follow the instructions be-
low:
Stopping the vehicle
1. Safely move the vehicle off the road and
away from traffic.
2. Turn on the hazard warning flashers.
3. Park on a level surface and apply the parking
brake. Move the shift selector to P (Park).
4. Turn off the engine.
5. Raise the hood to warn other traffic and to
signal professional road assistance person-
nel that you need assistance.
6. Have all passengers get out of the vehicle
and stand in a safe place, away from traffic
and clear of the vehicle.
FLAT TIRE
6-2 In case of emergency

WARNING
●Make sure the parking brake is securely
applied and the automatic transmission
is shifted into P (Park).
●Never change tires when the vehicle is
on a slope, ice or slippery areas. This is
hazardous.
●Never change tires if oncoming traffic is
close to your vehicle. Wait for profes-
sional road assistance.
Blocking wheels
Place suitable blocks 䊊
1at both the front and
back of the wheel diagonally opposite the flat tire
䊊
2to prevent the vehicle from moving when it is
jacked up.
WARNING
Be sure to block the wheel as the vehicle
may move and result in personal injury.
Getting the spare tire and tools
1. Fold up the rear bench seat. Refer to “Fold-
ing the rear bench seat” in the “Safety –
Seats, seat belts and supplemental restraint
system” section of this manual.
WCE0044
In case of emergency 6-3

2. Unscrew and remove the jack and tool kit. 3. Assemble the two pieces of the jack rod.
Find the oval-shaped opening above the
middle of the license plate. Pass the
T-shaped end of the jack rod through the
opening and direct it toward the spare tire
winch, located directly above the spare tire.
CAUTION
Do not insert the jack rod straight as it is
designed to be inserted at an angle as
shown.
4. Fit the square end of the jack rod into the
square hole of the wheel nut wrench to form
a handle.
5. Seat the T-shaped end of the jack rod into
the T-shaped opening of the tire winch. Ap-
ply pressure to keep the jack rod engaged in
the spare tire winch and turn the jack rod
counterclockwise to lower the spare tire.
6. Once the spare tire is completely lowered,
reach under the vehicle, remove the retainer
chain, and carefully slide the tire from under
the rear of the vehicle.
LCE0093 WCE0150 WCE0151
6-4 In case of emergency

CAUTION
Be sure to center the spare tire suspend-
ing plate on the wheel and then lift the
spare tire.
Jacking up vehicle and removing the
damaged tire
WARNING
●Never get under the vehicle while it is
supported only by the jack. If it is nec-
essary to work under the vehicle, sup-
port it with safety stands.
●Use only the jack provided with your
vehicle to lift the vehicle. Do not use the
jack provided with your vehicle on other
vehicles. The jack is designed for lifting
only your vehicle during a tire change.
●Use the correct jack-up points. Never
use any other part of the vehicle for jack
support.
●Never jack up the vehicle more than
necessary.
●Never use blocks on or under the jack.
●Do not start or run the engine while
vehicle is on the jack. It may cause the
vehicle to move. This is especially true
for vehicles with limited slip
differentials.
●Do not allow passengers to stay in the
vehicle while it is on the jack.
●Never run the engine with a wheel(s) off
the ground. It may cause the vehicle to
move.
Always refer to the illustration for the correct
placement and jack-up points for your specific
vehicle model and jack type.
Carefully read the caution label attached to
the jack body and the following instruc-
tions.
1. Loosen each wheel nut one or two turns by
turning counterclockwise with the wheel nut
wrench. Do not remove the wheel nuts
until the tire is off the ground.
In case of emergency 6-5

2. Place the jack directly under the jack-up
point as illustrated so the top of the jack
contacts the vehicle at the jack-up point. The
jack-up points are indicated by stamped ar-
rows on the side of the frame.
The jack should be used on firm and
level ground.
3. Install the assembled jack rod into the jack
as shown.
4. To lift the vehicle, securely hold the jack lever
and rod. Carefully raise the vehicle until the
tire clears the ground.
5. Remove the wheel nuts and then remove the
tire.
WCE0152 LCE0087
6-6 In case of emergency

Installing the spare tire
The spare tire is designed for emergency
use. See specific instructions under the
heading “Wheels and tires” in the “Mainte-
nance and do-it-yourself” section of this
manual.
1. Clean any mud or dirt from the surface be-
tween the wheel and hub.
2. Carefully put the spare tire on and tighten
the wheel nuts finger tight.
3. With the wheel nut wrench, tighten wheel
nuts alternately and evenly as illustrated until
they are tight.
4. Lower the vehicle slowly until the tire
touches the ground. Then, with the wheel
nut wrench, tighten the wheel nuts securely
in the sequence illustrated. Lower the ve-
hicle completely.
WARNING
●Incorrect wheel nuts or improperly
tightened wheel nuts can cause the
wheel to become loose or come off.
This could cause an accident.
●Do not use oil or grease on the wheel
studs or nuts. This could cause the nuts
to become loose.
●Retighten the wheel nuts when the ve-
hicle has been driven for 600 miles
(1,000 km) (also in cases of a flat tire,
etc.).
As soon as possible, tighten the wheel nuts
to the specified torque with a torque
wrench.
Wheel nut tightening torque:
98 ft-lb (133 N·m)
The wheel nuts must be kept tightened to
specification at all times. It is recom-
mended that wheel nuts be tightened to
specifications at each lubrication interval.
Adjust tire pressure to the COLD pressure.
COLD pressure: After vehicle has been
parked for three hours or more or driven
less than 1 mi. (1.6 km).
COLD tire pressures are shown on the Tire
and Loading Information label affixed to
the driver side center pillar.
After adjusting tire pressure to the COLD
tire pressure, the display (if so equipped) of
the tire pressure information may show
higher pressure than the COLD tire pres-
sure after the vehicle has been driven more
than 1 mi. (1.6 km). This is because the tire
pressure increases as the tire temperature
rises. This does not indicate a system mal-
function.
5. Securely store the flat tire and jacking equip-
ment in the vehicle.
WCE0063
In case of emergency 6-7

WARNING
●Always make sure that the spare tire
and jacking equipment are properly se-
cured after use. Such items can become
dangerous projectiles in an accident or
sudden stop.
●The spare tire is designed for emer-
gency use. See specific instructions un-
der the heading “Wheels and tires” in
the “Maintenance and do-it-yourself”
section of this manual.
To start your engine with a booster battery, the
instructions and precautions below must be fol-
lowed.
WARNING
●If done incorrectly, jump starting can
lead to a battery explosion, resulting in
severe injury or death. It could also
damage your vehicle.
●Explosive hydrogen gas is always pres-
ent in the vicinity of the battery. Keep all
sparks and flames away from the
battery.
●Do not allow battery fluid to come into
contact with eyes, skin, clothing or
painted surfaces. Battery fluid is a cor-
rosive sulfuric acid solution which can
cause severe burns. If the fluid should
come into contact with anything, imme-
diately flush the contacted area with
water.
●Keep battery out of the reach of
children.
●The booster battery must be rated at 12
volts. Use of an improperly rated battery
can damage your vehicle.
●Whenever working on or near a battery,
always wear suitable eye protectors (for
example, goggles or industrial safety
spectacles) and remove rings, metal
bands, or any other jewelry. Do not lean
over the battery when jump starting.
●Do not attempt to jump start a frozen
battery. It could explode and cause se-
rious injury.
JUMP STARTING
6-8 In case of emergency

WARNING
Always follow the instructions below.
Failure to do so could result in damage to
the charging system and cause personal
injury.
1. If the booster battery is in another vehicle,
position the two vehicles to bring their bat-
teries near each other.
Do not allow the two vehicles to touch.
2. Apply the parking brake. Move the shift se-
lector to P (Park). Switch off all unnecessary
electrical systems (lights, heater, air condi-
tioner, etc.).
3. Remove vent caps on the battery (if so
equipped). Cover the battery with an old
cloth to reduce explosion hazard.
4. Connect jumper cables in the sequence il-
lustrated (䊊
A,䊊
B,䊊
C,䊊
D).
CAUTION
●Always connect positive (⫹) to positive
(⫹) and negative (⫺) to body ground (for
example, strut mounting bolt, engine
lift bracket, etc.) — not to the battery.
●Make sure the jumper cables do not
touch moving parts in the engine com-
partment and that the cable clamps do
not contact any other metal.
5. Start the engine of the booster vehicle and
let it run for a few minutes.
6. Keep the engine speed of the booster ve-
hicle at about 2,000 RPM, and start the
engine of the vehicle being jump started.
CAUTION
Do not keep the starter motor engaged for
more than 10 seconds. If the engine does
not start right away, turn the key off and
wait 3 to 4 seconds before trying again.
7. After starting the engine, carefully discon-
nect the negative cable and then the positive
cable.
8. Replace the vent caps (if so equipped). Be
sure to dispose of the cloth used to cover
the vent holes as it may be contaminated
with corrosive acid.
WCE0054
In case of emergency 6-9

WARNING
Do not push start this vehicle. The three-
way catalyst may be damaged.
CAUTION
Automatic transmission models cannot
be push-started or tow-started. Attempt-
ing to do so may cause transmission
damage.
WARNING
●Do not continue to drive if your vehicle
overheats. Doing so could cause engine
damage or a vehicle fire.
●To avoid the danger of being scalded,
never remove the radiator or coolant
reservoir cap while the engine is still
hot. When the radiator or coolant reser-
voir cap is removed, pressurized hot
water will spurt out, possibly causing
serious injury.
●Do not open the hood if steam is com-
ing out.
If your vehicle is overheating (indicated by an
extremely high temperature gauge reading and
the illumination of the engine oil pressure/engine
coolant temperature high indicator light), or if you
feel a lack of engine power, detect abnormal
noise, etc. take the following steps.
1. Move the vehicle safely off the road, apply
the parking brake and move the shift selector
to P (Park).
Do not stop the engine.
2. Turn off the air conditioner. Open all the
windows, move the heater or air conditioner
temperature control to maximum hot and fan
control to high speed.
3. Get out of the vehicle. Look and listen for
steam or coolant escaping from the radiator
before opening the hood. (If steam or cool-
ant is escaping, turn off the engine.) Do not
open the hood further until no steam or
coolant can be seen.
4. Open the engine hood.
WARNING
If steam or water is coming from the en-
gine, stand clear to prevent getting
burned.
5. Visually check drive belts for damage or
looseness. Also check if the cooling fan is
running. The radiator hoses and radiator
should not leak water. If coolant is leaking,
the water pump belt is missing or loose, or
the cooling fan does not run, stop the en-
gine.
WARNING
Be careful not to allow your hands, hair,
jewelry or clothing to come into contact
with, or get caught in, engine belts or the
engine cooling fan. The engine cooling
fan can start at any time.
PUSH STARTING IF YOUR VEHICLE OVERHEATS
6-10 In case of emergency

6. After the engine cools down, check the cool-
ant level in the engine coolant reservoir tank
with the engine running. Add coolant to the
engine coolant reservoir tank if necessary.
Have your vehicle repaired at a NISSAN
dealer.
When towing your vehicle, all State (Provincial in
Canada) and local regulations for towing must be
followed. Incorrect towing equipment could dam-
age your vehicle. Towing instructions are avail-
able from a NISSAN dealer. Local service opera-
tors are generally familiar with the applicable laws
and procedures for towing. To assure proper
towing and to prevent accidental damage to your
vehicle, NISSAN recommends having a service
operator tow your vehicle. It is advisable to have
the service operator carefully read the following
precautions:
WARNING
●Never ride in a vehicle that is being
towed.
●Never get under your vehicle after it has
been lifted by a tow truck.
CAUTION
●When towing, make sure that the trans-
mission, axles, steering system and
powertrain are in working condition. If
any of these conditions apply, dollies or
a flatbed tow truck must be used.
●Always attach safety chains before
towing.
For information about towing your vehicle behind
a recreational vehicle (RV), refer to “Flat towing”
in the “Technical and consumer information” sec-
tion of this manual.
TOWING YOUR VEHICLE
In case of emergency 6-11

TOWING RECOMMENDED BY
NISSAN
Two-wheel drive models
NISSAN recommends that your vehicle be towed
with the driving (rear) wheels off the ground or
place the vehicle on a flat bed truck as illustrated.
CAUTION
●Never tow automatic transmission
models with the rear wheels on the
ground or four wheels on the ground
(forward or backward), as this may
cause serious and expensive damage to
the transmission. If it is necessary to
tow the vehicle with the front wheels
raised always use towing dollies under
the rear wheels.
●When towing automatic transmission
models with the front wheels on the
ground or on towing dollies:
– Place the ignition switch in the OFF
position and secure the steering
wheel in a straight-ahead position
with a rope or similar device. Never
secure the steering wheel by placing
the ignition switch in the LOCK posi-
tion. This may cause damage to the
lock mechanism (if so equipped).
If the speed or distance must necessarily be
greater, remove the propeller shaft before towing
to prevent damage to the transmission.
ACE1019
6-12 In case of emergency

Four-wheel drive models
NISSAN recommends that towing dollies be
used when towing your vehicle or place the ve-
hicle on a flat bed truck as illustrated.
CAUTION
Never tow 4WD models with any of the
wheels on the ground as this may cause
serious and expensive damage to the
transfer case and transmission.
VEHICLE RECOVERY (freeing a stuck
vehicle)
Pulling a stuck vehicle
WARNING
To avoid vehicle damage, serious per-
sonal injury or death when recovering a
stuck vehicle:
●Contact a professional towing service
to recover the vehicle if you have any
questions regarding the recovery
procedure.
WCE0161
Hooks (if so equipped)
LCE0083
In case of emergency 6-13

●Attach recovery devices only to main
structural members of the vehicle or the
recovery hooks.
●Do not use the vehicle tie-downs to tow
or free a stuck vehicle.
●Only use devices specifically designed
for vehicle recovery and follow the
manufacturer’s instructions.
●Always pull the recovery device straight
out from the front of the vehicle. Never
pull at an angle.
●Route recovery devices so they do not
touch any part of the vehicle except the
attachment point.
If your vehicle is stuck in sand, snow, mud, etc.,
use a tow strap or other device designed specifi-
cally for vehicle recovery. Always follow the
manufacturer’s instructions for the recovery de-
vice.
Do not use the tie-down hooks for towing or
vehicle recovery.
Rocking a stuck vehicle
WARNING
●Stand clear of a stuck vehicle.
●Do not spin your tires at high speed.
This could cause them to explode and
result in serious injury. Parts of your
vehicle could also overheat and be
damaged.
If your vehicle is stuck in sand, snow, mud, etc.,
use the following procedure:
1. Turn off the Vehicle Dynamic Control (VDC)
system.
2. Activate the Electronic Locking Rear Differ-
ential (E-Lock) System (if so equipped).
3. Make sure the area in front and behind the
vehicle is clear of obstructions.
4. Turn the steering wheel right and left to clear
an area around the front tires.
5. Slowly rock the vehicle forward and back-
ward.
●Shift back and forth between R (Reverse)
and D (Drive).
●Apply the accelerator as little as possible
to maintain the rocking motion.
●Release the accelerator pedal before
shifting between R and D.
●Do not spin the tires above 35 MPH (55
km/h) or above 12 MPH (20 km/h) if the
E–Lock System is engaged.
6. If the vehicle cannot be freed after a few
tries, contact a professional towing service
to remove the vehicle.
6-14 In case of emergency

7 Appearance and care
Cleaning exterior ..................................7-2
Washing ......................................7-2
Waxing........................................7-2
Removing spots ................................7-3
Underbody ....................................7-3
Glass .........................................7-3
Aluminum alloy wheels ..........................7-3
Chrome parts ..................................7-3
Tire dressings ..................................7-3
Cleaning interior...................................7-4
Air fresheners ..................................7-4
Floor mats .....................................7-4
Seat belts .....................................7-5
Corrosion protection ...............................7-5
Most common factors contributing to vehicle
corrosion ......................................7-5
Environmental factors influence the rate of
corrosion ......................................7-5
To protect your vehicle from corrosion ............7-6

In order to maintain the appearance of your ve-
hicle, it is important to take proper care of it.
To protect the paint surfaces, please wash your
vehicle as soon as you can:
●after a rainfall to prevent possible damage
from acid rain.
●after driving on coastal roads.
●when contaminants such as soot, bird drop-
pings, tree sap, metal particles or bugs get
on the paint surface.
●when dust or mud builds up on the surface.
Whenever possible, store or park your vehicle
inside a garage or in a covered area.
When it is necessary to park outside, park in a
shady area or protect the vehicle with a body
cover.
Be careful not to scratch the paint surface
when putting on or removing the body
cover.
WASHING
Wash dirt off with a wet sponge and plenty of
water. Clean the vehicle thoroughly using a mild
soap, a special vehicle soap or general purpose
dishwashing liquid mixed with clean, lukewarm
(never hot) water.
CAUTION
●Do not use car washes that use acid in
the detergent. Some car washes, espe-
cially brushless ones, use some acid for
cleaning. The acid may react with some
plastic vehicle components, causing
them to crack. This could affect their
appearance, and also could cause them
not to function properly. Always check
with your car wash to confirm that acid
is not used.
●Do not wash the vehicle with strong
household soap, strong chemical deter-
gents, gasoline or solvents.
●Do not wash the vehicle in direct sun-
light or while the vehicle body is hot, as
the surface may become water-spotted.
●Avoid using tight-napped or rough
cloths, such as washing mitts. Care
must be taken when removing
caked-on dirt or other foreign sub-
stances so the paint surface is not
scratched or damaged.
Rinse the vehicle thoroughly with plenty of clean
water.
Inside flanges, seams and folds on the doors,
hatches and hood are particularly vulnerable to
the effects of road salt. Therefore, these areas
must be cleaned regularly. Take care that the
drain holes in the lower edge of the door are
open. Spray water under the body and in the
wheel wells to loosen the dirt and wash away
road salt.
A damp chamois can be used to dry the vehicle to
avoid water spots.
WAXING
Regular waxing protects the paint surface and
helps retain new vehicle appearance. Polishing is
recommended to remove built-up wax residue
and to avoid a weathered appearance before
re-applying wax.
A NISSAN dealer can assist you in choosing the
proper product.
●Wax your vehicle only after a thorough wash-
ing. Follow the instructions supplied with the
wax.
●Do not use a wax containing any abrasives,
cutting compounds or cleaners that may
damage the vehicle finish.
Machine compounding or aggressive polishing
on a base coat/clear coat paint finish may dull the
finish or leave swirl marks.
CLEANING EXTERIOR
7-2 Appearance and care

REMOVING SPOTS
Remove tar and oil spots, industrial dust, insects,
and tree sap as quickly as possible from the
surface of the paint to avoid lasting damage or
staining. Special cleaning products are available
at a NISSAN dealer or any automotive accessory
store.
UNDERBODY
In areas where road salt is used in winter, it is
necessary to clean the underbody regularly in
order to prevent dirt and salt from building up and
causing the acceleration of corrosion on the un-
derbody and suspension. Before the winter pe-
riod and again in the spring, the underseal must
be checked and, if necessary, retreated.
GLASS
Use glass cleaner to remove smoke and dust film
from the glass surfaces. It is normal for glass to
become coated with a film after the vehicle is
parked in the hot sun. Glass cleaner and a soft
cloth will easily remove this film.
CAUTION
When cleaning the inside of the windows,
do not use sharp-edged tools, abrasive
cleaners or chlorine-based disinfectant
cleaners. They could damage the electri-
cal conductors, radio antenna elements or
rear window defroster elements.
ALUMINUM ALLOY WHEELS
Wash the wheels regularly with a sponge damp-
ened in a mild soap solution, especially during
winter months in areas where road salt is used. If
not removed, road salt can discolor the wheels.
CAUTION
Follow the directions below to avoid
staining or discoloring the wheels:
●Do not use a cleaner that uses strong
acid or alkali contents to clean the
wheels.
●Do not apply wheel cleaners to the
wheels when they are hot. The wheel
temperature should be the same as am-
bient temperature.
●Rinse the wheel to completely remove
the cleaner within 15 minutes after the
cleaner is applied.
CHROME PARTS
Clean all chrome parts regularly with a non-
abrasive chrome polish to maintain the finish.
TIRE DRESSINGS
NISSAN does not recommend the use of tire
dressings. Tire manufacturers apply a coating to
the tires to help reduce discoloration of the rub-
ber. If a tire dressing is applied to the tires, it may
react with the coating and form a compound. This
compound may come off the tire while driving and
stain the vehicle paint.
If you choose to use a tire dressing, take the
following precautions:
●Use a water-based tire dressing. The coat-
ing on the tire dissolves more easily than
with an oil-based tire dressing.
●Apply a light coat of tire dressing to help
prevent it from entering the tire
tread/grooves (where it would be difficult to
remove).
●Wipe off excess tire dressing using a dry
towel. Make sure the tire dressing is com-
pletely removed from the tire tread/grooves.
●Allow the tire dressing to dry as recom-
mended by the tire dressing manufacturer.
Appearance and care 7-3

Occasionally remove loose dust from the interior
trim, plastic parts and seats using a vacuum
cleaner or soft bristled brush. Wipe the vinyl and
leather surfaces with a clean, soft cloth damp-
ened in mild soap solution, then wipe clean with a
dry, soft cloth.
Regular care and cleaning is required in order to
maintain the appearance of the leather.
Before using any fabric protector, read the manu-
facturer’s recommendations. Some fabric pro-
tectors contain chemicals that may stain or
bleach the seat material.
Use a cloth dampened only with water to clean
the meter and gauge lens.
WARNING
Do not use water or acidic cleaners (hot
steam cleaners) on the seat. This can
damage the seat or occupant classifica-
tion sensor. This can also affect the opera-
tion of the air bag system and result in
serious personal injury.
CAUTION
●Never use benzine, thinner or any simi-
lar material.
●Small dirt particles can be abrasive and
damaging to leather surfaces and
should be removed promptly. Do not
use saddle soap, car waxes, polishes,
oils, cleaning fluids, solvents, deter-
gents or ammonia-based cleaners as
they may damage the leather’s natural
finish.
●Never use fabric protectors unless rec-
ommended by the manufacturer.
●Do not use glass or plastic cleaner on
meter or gauge lens covers. It may dam-
age the lens cover.
AIR FRESHENERS
Most air fresheners use a solvent that could affect
the vehicle interior. If you use an air freshener,
take the following precautions:
●Hanging-type air fresheners can cause per-
manent discoloration when they contact ve-
hicle interior surfaces. Place the air fresh-
ener in a location that allows it to hang free
and not contact an interior surface.
●Liquid-type air fresheners typically clip on
the vents. These products can cause imme-
diate damage and discoloration when
spilled on interior surfaces.
Carefully read and follow the manufacturer’s in-
structions before using the air fresheners.
FLOOR MATS
WARNING
To avoid potential pedal interference that
may result in a collision or injury:
●NEVER place a floor mat on top of an-
other floor mat in the driver front
position.
●Use only genuine NISSAN floor mats
specifically designed for use in your ve-
hicle model. See your NISSAN dealer
for more information.
●Properly position the mats in the floor-
well using the floor mat positioning aid.
See ⴖFloor mat positioning aidⴖin this
section.
The use of genuine NISSAN floor mats can ex-
tend the life of your vehicle carpet and make it
easier to clean the interior. Mats should be main-
tained with regular cleaning and replaced if they
become excessively worn.
CLEANING INTERIOR
7-4 Appearance and care

Floor mat positioning aid
This vehicle includes two driver’s side front floor
mat brackets and one passenger’s side front floor
mat bracket to help keep your floor mats in place.
Genuine NISSAN floor mats have been specially
designed for your vehicle model. The driver’s side
floor mat has two grommet holes incorporated in
it and the passenger’s side has one grommet
hole. Position each mat by placing the floor mat
bracket hook through the floor mat grommet
holes while centering the mat in the floorwell.
Periodically check to make certain the mats are
properly positioned.
SEAT BELTS
The seat belts can be cleaned by wiping them
with a sponge dampened in a mild soap solution.
Allow the belts to dry completely in the shade
before using them. See “Seat belt maintenance”
in the “Safety – Seats, seat belts and supplemen-
tal restraint system” section of this manual.
WARNING
Do not allow wet seat belts to roll up in the
retractor. NEVER use bleach, dye or
chemical solvents to clean the seat belts,
since these materials may severely
weaken the seat belt webbing.
MOST COMMON FACTORS
CONTRIBUTING TO VEHICLE
CORROSION
●The accumulation of moisture-retaining dirt
and debris in body panel sections, cavities,
and other areas.
●Damage to paint and other protective coat-
ings caused by gravel and stone chips or
minor traffic accidents.
ENVIRONMENTAL FACTORS
INFLUENCE THE RATE OF
CORROSION
Moisture
Accumulation of sand, dirt and water on the ve-
hicle body underside can accelerate corrosion.
Wet floor coverings will not dry completely inside
the vehicle and should be removed for drying to
avoid floor panel corrosion.
Relative humidity
Corrosion will be accelerated in areas of high
relative humidity, especially those areas where
the temperatures stay above freezing and where
atmospheric pollution exists and road salt is
used.
LAI0009
CORROSION PROTECTION
Appearance and care 7-5

Temperature
High temperatures accelerate the rate of corro-
sion to those parts which are not well ventilated.
Air pollution
Industrial pollution, the presence of salt in the air
in coastal areas, or heavy road salt use acceler-
ates the corrosion process. Road salt also accel-
erates the disintegration of paint surfaces.
TO PROTECT YOUR VEHICLE
FROM CORROSION
●Wash and wax your vehicle often to keep the
vehicle clean.
●Always check for minor damage to the paint
and repair it as soon as possible.
●Keep drain holes at the bottom of the doors
open to avoid water accumulation.
●Check the underbody for accumulation of
sand, dirt or salt. If present, wash with water
as soon as possible.
CAUTION
●NEVER remove dirt, sand or other de-
bris from the passenger compartment
by washing it out with a hose. Remove
dirt with a vacuum cleaner or broom.
●Never allow water or other liquids to
come in contact with electronic compo-
nents inside the vehicle as this may
damage them.
Chemicals used for road surface de-icing are
extremely corrosive. They accelerate corrosion
and deterioration of underbody components
such as the exhaust system, fuel and brake lines,
brake cables, floor pan and fenders.
In winter, the underbody must be cleaned
periodically.
For additional protection against rust and corro-
sion, which may be required in some areas, con-
sult a NISSAN dealer.
7-6 Appearance and care

8 Maintenance and do-it-yourself
Maintenance requirements..........................8-2
General maintenance ..............................8-2
Explanation of general maintenance items .........8-2
Maintenance precautions ...........................8-5
Engine compartment check locations ................8-6
Engine cooling system .............................8-7
Checking engine coolant level ...................8-8
Changing engine coolant ........................8-8
Engine oil.........................................8-9
Checking engine oil level ........................8-9
Changing engine oil ...........................8-10
Changing engine oil filter .......................8-11
5-speed automatic transmission fluid ...............8-11
Power steering fluid...............................8-12
Brake fluid .......................................8-12
Brake fluid ....................................8-13
Windshield-washer fluid...........................8-13
Windshield-washer fluid reservoir ...............8-13
Battery ..........................................8-14
Jump starting .................................8-15
Variable voltage control system.....................8-15
Drive belt ........................................8-16
Spark plugs......................................8-17
Replacing spark plugs .........................8-17
Air cleaner .......................................8-17
In-cabin microfilter.............................8-18
Windshield wiper blades ..........................8-19
Cleaning .....................................8-19
Replacing ....................................8-20
Brakes ..........................................8-21
Fuses ...........................................8-21
Engine compartment...........................8-22
Passenger compartment .......................8-23
Battery replacement ..............................8-25
Keyfob (if so equipped) ........................8-26
Lights ...........................................8-27
Headlights....................................8-27
Fog lights (if so equipped) ......................8-27
Exterior and interior lights.......................8-29
Wheels and tires .................................8-33
Tire pressure. . . ...............................8-33
Tire labeling...................................8-37
Types of tires..................................8-39
Tire chains....................................8-40
Changing wheels and tires .....................8-40
Your NISSAN has been designed to have mini-
mum maintenance requirements with long ser-
vice intervals to save you both time and money.
However, some day-to-day and regular mainte-
nance is essential to maintain your NISSAN’s
good mechanical condition, as well as its emis-
sions and engine performance.
It is the owner’s responsibility to make sure that
the scheduled maintenance, as well as general
maintenance, is performed.
As the vehicle owner, you are the only one who
can ensure that your vehicle receives proper
maintenance. You are a vital link in the mainte-
nance chain.
Scheduled maintenance
For your convenience, both required and optional
scheduled maintenance items are described and
listed in your “NISSAN Service and Maintenance
Guide”. You must refer to that guide to ensure
that necessary maintenance is performed on your
NISSAN at regular intervals.
General maintenance
General maintenance includes those items which
should be checked during normal day-to-day op-
eration. They are essential for proper vehicle op-
eration. It is your responsibility to perform these
maintenance procedures regularly as prescribed.
Performing general maintenance checks requires
minimal mechanical skill and only a few general
automotive tools.
These checks or inspections can be done by you,
a qualified technician, or, if you prefer, a NISSAN
dealer.
Where to go for service
If maintenance service is required or your vehicle
appears to malfunction, have the systems
checked and corrected by a NISSAN dealer.
NISSAN technicians are well-trained specialists
who are kept up-to-date with the latest service
information through technical bulletins, service
tips, and in-dealership training programs. They
are completely qualified to work on NISSAN ve-
hicles before they work on your vehicle, rather
than after they have worked on it.
You can be confident that a NISSAN dealer’s
service department performs the best job to meet
the maintenance requirements on your vehicle —
in a reliable and economical way.
During the normal day-to-day operation of the
vehicle, general maintenance should be per-
formed regularly as prescribed in this section. If
you detect any unusual sounds, vibrations or
smells, be sure to check for the cause or have a
NISSAN dealer do it promptly. In addition, you
should notify a NISSAN dealer if you think that
repairs are required.
When performing any checks or maintenance
work, closely observe the “Maintenance precau-
tions” later in this section.
EXPLANATION OF GENERAL
MAINTENANCE ITEMS
Additional information on the following
items with“*”isfound later in this section.
Outside the vehicle
The maintenance items listed here should be
performed from time to time, unless otherwise
specified.
Doors and engine hood Check that the doors
and engine hood operate properly. Also ensure
that all latches lock securely. Lubricate hinges,
latches, latch pins, rollers and links as necessary.
Make sure that the secondary latch keeps the
hood from opening when the primary latch is
released.
MAINTENANCE REQUIREMENTS GENERAL MAINTENANCE
8-2 Maintenance and do-it-yourself
When driving in areas using road salt or other
corrosive materials, check lubrication frequently.
Lights* Clean the headlights on a regular basis.
Make sure that the headlights, stop lights, tail
lights, turn signal lights, and other lights are all
operating properly and installed securely. Also
check headlight aim.
Road wheel nuts (lug nuts)* When checking
the tires, make sure no wheel nuts are missing,
and check for any loose wheel nuts. Tighten if
necessary.
Tire rotation* Tires should be rotated every
7,500 miles (12,000 km).
Tires* Check the pressure with a gauge often
and always prior to long distance trips. If neces-
sary, adjust the pressure in all tires, including the
spare, to the pressure specified. Check carefully
for damage, cuts or excessive wear.
Tire Pressure Monitoring System (TPMS)
transmitter components Replace the TPMS
transmitter grommet seal, valve core and cap
when the tires are replaced due to wear or age.
Wheel alignment and balance If the vehicle
should pull to either side while driving on a
straight and level road, or if you detect uneven or
abnormal tire wear, there may be a need for wheel
alignment. If the steering wheel or seat vibrates at
normal highway speeds, wheel balancing may be
needed.
●For additional information regarding tires,
refer to “Important Tire Safety Information”
(US) or “Tire Safety Information” (Canada) in
the Warranty Information Booklet.
Windshield Clean the windshield on a regular
basis. Check the windshield at least every six
months for cracks or other damage. Have a dam-
aged windshield repaired by a qualified repair
facility.
Windshield wiper blades* Check for cracks or
wear if they do not wipe properly.
Inside the vehicle
The maintenance items listed here should be
checked on a regular basis, such as when per-
forming periodic maintenance, cleaning the ve-
hicle, etc.
Additional information on the following
items with an “*” is found later in this sec-
tion.
Accelerator pedal Check the pedal for smooth
operation and make sure the pedal does not bind
or require uneven effort. Keep the floor mat away
from the pedal.
Automatic transmission P (Park) position
mechanism On a fairly steep hill check that your
vehicle is held securely with the shift selector in
the P (Park) position without applying any brakes.
Brake pedal Check the pedal for smooth opera-
tion. If the brake pedal suddenly goes down fur-
ther than normal, the pedal feels spongy or the
vehicle seems to take longer to stop, see a
NISSAN dealer immediately. Keep the floor mat
away from the pedal.
Brakes Check that the brakes do not pull the
vehicle to one side when applied.
Parking brake Check the parking brake opera-
tion regularly. The vehicle should be securely held
on a fairly steep hill with only the parking brake
applied. If the parking brake needs adjustment,
see a NISSAN dealer.
Seats Check seat position controls such as seat
adjusters, seatback recliner, etc. to ensure they
operate smoothly and all latches lock securely in
every position. Check that the head restraints
move up and down smoothly and the locks (if so
equipped) hold securely in all latched positions.
Seat belts Check that all parts of the seat belt
system (for example, buckles, anchors, adjusters
and retractors) operate properly and smoothly,
and are installed securely. Check the belt web-
bing for cuts, fraying, wear or damage.
Maintenance and do-it-yourself 8-3
Steering wheel Check for changes in the steer-
ing system, such as excessive freeplay, hard
steering or strange noises.
Warning lights and chimes Make sure all
warning lights and chimes are operating properly.
Windshield wiper and washer* Check that
the wipers and washer operate properly and that
the wipers do not streak.
Windshield defroster Check that the air
comes out of the defroster outlets properly and in
sufficient quantity when operating the heater or
air conditioner.
Under the hood and vehicle
The maintenance items listed here should be
checked periodically (for example, each time you
check the engine oil or refuel).
Battery* Check the fluid level in each cell. It
should be between the MAX and MIN lines. Ve-
hicles operated in high temperatures or under
severe conditions require frequent checks of the
battery fluid level.
Brake fluid level* Make sure that the brake fluid
level is between the MIN and MAX lines on the
reservoir.
Engine coolant level* Check the coolant level
when the engine is cold.
Engine drive belts* Make sure the drive belts
are not frayed, worn, cracked or oily.
Engine oil level* Check the level after parking
the vehicle on a level surface with the engine off.
Wait more than 10 minutes for the oil to drain
back into the oil pan.
Exhaust system Make sure there are no loose
supports, cracks or holes. If the sound of the
exhaust seems unusual or there is a smell of
exhaust fumes, immediately have the exhaust
system inspected by a NISSAN dealer. See the
carbon monoxide warning in the “Starting and
driving” section of this manual.
Fluid leaks Check under the vehicle for fuel, oil,
water or other fluid leaks after the vehicle has
been parked for a while. Water dripping from the
air conditioner after use is normal. If you should
notice any leaks or if gasoline fumes are evident,
check for the cause and have it corrected imme-
diately.
Power steering fluid level* and lines Check
the level when the fluid is cold, with the engine
off. Check the lines for proper attachment, leaks,
cracks, etc.
Radiator and hoses Check the front of the
radiator and clean off any dirt, insects, leaves,
etc., that may have accumulated. Make sure the
hoses have no cracks, deformation, rot or loose
connections.
Underbody The underbody is frequently ex-
posed to corrosive substances such as those
used on icy roads or to control dust. It is very
important to remove these substances from the
underbody, otherwise rust may form on the floor
pan, frame, fuel lines and exhaust system. At the
end of winter, the underbody should be thor-
oughly flushed with plain water, in those areas
where mud and dirt may have accumulated. See
the “Appearance and care” section of this
manual.
Windshield-washer fluid* Check that there is
adequate fluid in the reservoir.
8-4 Maintenance and do-it-yourself

When performing any inspection or maintenance
work on your vehicle, always take care to prevent
serious accidental injury to yourself or damage to
the vehicle. The following are general precau-
tions which should be closely observed.
WARNING
●Park the vehicle on a level surface, ap-
ply the parking brake securely and
block the wheels to prevent the vehicle
from moving. Move the shift selector to
P (Park)
●Be sure the ignition key is in the OFF or
LOCK position when performing any
parts replacement or repairs.
●If you must work with the engine run-
ning, keep your hands, clothing, hair
and tools away from moving fans, belts
and any other moving parts.
●It is advisable to secure or remove any
loose clothing and remove any jewelry,
such as rings, watches, etc. before
working on your vehicle.
●Always wear eye protection whenever
you work on your vehicle.
●If you must run the engine in an en-
closed space such as a garage, be sure
there is proper ventilation for exhaust
gases to escape.
●Never get under the vehicle while it is
supported only by a jack. If it is neces-
sary to work under the vehicle, support
it with safety stands.
●Keep smoking materials, flame and
sparks away from the fuel tank and
battery.
●On gasoline engine models, the fuel
filter or fuel lines should be serviced by
a NISSAN dealer because the fuel lines
are under high pressure even when the
engine is off.
CAUTION
●Do not work under the hood while the
engine is hot. Turn the engine off and
wait until it cools down.
●Avoid contact with used engine oil and
coolant. Improperly disposed engine
oil, engine coolant and/or other vehicle
fluids can damage the environment. Al-
ways conform to local regulations for
disposal of vehicle fluid.
●Never leave the engine or automatic
transmission related component har-
nesses disconnected while the ignition
switch is in the ON position.
●Never connect or disconnect the battery
or any transistorized component while
the ignition switch is in the ON position.
This “Maintenance and do-it-yourself” section
gives instructions regarding only those items
which are relatively easy for an owner to perform.
A genuine NISSAN service manual is also avail-
able. See “Owner’s Manual/Service Manual or-
der information” in the “Technical and consumer
information” section of this manual.
You should be aware that incomplete or improper
servicing may result in operating difficulties or
excessive emissions, and could affect warranty
coverage. If in doubt about any servicing,
have it done by a NISSAN dealer.
MAINTENANCE PRECAUTIONS
Maintenance and do-it-yourself 8-5

1. Battery
2. Fuse/fusible link box
3. Transmission dipstick
4. Engine oil filler cap
5. Brake fluid reservoir
6. Windshield-washer fluid reservoir
7. Air cleaner
8. Drive belt location
9. Radiator cap
10. Power steering fluid reservoir
11. Engine oil dipstick
12. Engine coolant reservoir
NOTE:
Engine cover removed for clarity.
WDI0630
ENGINE COMPARTMENT CHECK
LOCATIONS
8-6 Maintenance and do-it-yourself

The engine cooling system is filled at the factory
with a pre-diluted mixture of 50% Genuine
NISSAN Long Life Antifreeze/Coolant (blue) and
50% water to provide year-round anti-freeze and
coolant protection. The antifreeze solution con-
tains rust and corrosion inhibitors. Additional en-
gine cooling system additives are not necessary.
WARNING
●Never remove the radiator or coolant
reservoir cap when the engine is hot.
Wait until the engine and radiator cool
down. Serious burns could be caused
by high pressure fluid escaping from
the radiator. See precautions in “If your
vehicle overheats” found in the “In case
of emergency” section of this manual.
●The radiator is equipped with a pres-
sure type radiator cap. To prevent en-
gine damage, use only a genuine
NISSAN radiator cap.
CAUTION
●Never use any cooling system additives
such as radiator sealer. Additives may
clog the cooling system and cause
damage to the engine, transmission
and/or cooling system.
●When adding or replacing coolant, be
sure to use only Genuine NISSAN Long
Life Antifreeze/Coolant (blue) or
equivalent. Genuine NISSAN Long Life
Antifreeze/Coolant (blue) is pre-diluted
to provide antifreeze protection to -34°
F (-37° C). If additional freeze protec-
tion is needed due to weather where
you operate your vehicle, add Genuine
NISSAN Long Life Antifreeze/Coolant
(blue) concentrate following the direc-
tions on the container. If an equivalent
coolant other than Genuine NISSAN
Long Life Antifreeze/Coolant (blue) is
used, follow the coolant manufacturer’s
instructions to maintain minimum anti-
freeze protection to -34° F (-37° C). The
use of other types of coolant solutions
other than Genuine NISSAN Long Life
Antifreeze/Coolant (blue) or equivalent
may damage the engine cooling
system.
●The life expectancy of the factory-fill
coolant is 105,000 miles (168,000 km) or
7 years. Mixing any other type of cool-
ant other than Genuine NISSAN Long
Life Antifreeze/Coolant (blue), includ-
ing Genuine NISSAN Long Life
Antifreeze/Coolant (green), or the use
of non-distilled water will reduce the
life expectancy of the factory-fill cool-
ant. Refer to the Nissan Service and
Maintenance Guide for more details.
ENGINE COOLING SYSTEM
Maintenance and do-it-yourself 8-7

CHECKING ENGINE COOLANT
LEVEL
Check the coolant level in the reservoir when
the engine is cold. If the coolant level is below
the MIN level, add coolant to the MAX level. If the
reservoir is empty, check the coolant level in the
radiator when the engine is cold. If there is
insufficient coolant in the radiator, fill the radiator
with coolant up to the filler opening and also add
it to the reservoir up to the MAX level.
This vehicle contains Genuine NISSAN Long Life
Antifreeze/Coolant (blue). The life expectancy of
the factory-fill coolant is 105,000 miles (168,000
km) or 7 years. Mixing any other type of coolant or
the use of non-distilled water will reduce the life
expectancy of the factory-fill coolant. Refer to the
NISSAN Service and Maintenance Guide for
more details.
The engine coolant reservoir is a pressur-
ized tank. When installing the cap, tighten.
If the cooling system frequently requires
coolant, have it checked by a NISSAN
dealer.
CHANGING ENGINE COOLANT
A NISSAN dealer can change the engine coolant.
The service procedure can be found in the
NISSAN Service Manual.
Improper servicing can result in reduced
heater performance and engine overheat-
ing.
WARNING
●To avoid the danger of being scalded,
never change the coolant when the en-
gine is hot.
●Never remove the radiator or engine
coolant reservoir cap when the engine
is hot. Serious burns could be caused
by high pressure fluid escaping from
the radiator.
●Avoid direct skin contact with used
coolant. If skin contact is made, wash
thoroughly with soap or hand cleaner
as soon as possible.
●Keep coolant out of the reach of chil-
dren and pets.
Engine coolant must be disposed of properly.
Check your local regulations.
LDI0369
8-8 Maintenance and do-it-yourself

CHECKING ENGINE OIL LEVEL
1. Park the vehicle on a level surface and apply
the parking brake.
2. Start the engine and let it idle until it reaches
operating temperature.
3. Turn off the engine. Wait more than 10
minutes for the oil to drain back into
the oil pan.
4. Remove the dipstick and wipe it clean. Re-
insert it all the way.
5. Remove the dipstick again and check the oil
level. It should be between the H (High) and
L (Low) marks 䊊
B. This is the normal oper-
ating oil level range. If the oil level is below
the L (Low) mark 䊊
A, remove the oil filler cap
and pour recommended oil through the
opening. Do not overfill 䊊
C.
6. Recheck oil level with the dipstick.
It is normal to add some oil between oil
maintenance intervals or during the
break-in period, depending on the severity
of operating conditions.
CAUTION
Oil level should be checked regularly. Op-
erating the engine with an insufficient
amount of oil can damage the engine, and
such damage is not covered by warranty.
LDI0370 LDI0371
ENGINE OIL
Maintenance and do-it-yourself 8-9

CHANGING ENGINE OIL
1. Park the vehicle on a level surface and apply
the parking brake.
2. Start the engine and let it idle until it reaches
operating temperature, then turn it off.
3. Remove the oil filler cap 䊊
Aby turning it
counterclockwise.
4. Place a large drain pan under the drain plug
䊊
B.
5. Remove the drain plug 䊊
Bwith a wrench by
turning it counterclockwise and completely
drain the oil.
If the oil filter is to be changed, remove and
replace it at this time. See “Changing engine
oil filter” in this section.
●Waste oil must be disposed of prop-
erly.
●Check your local regulations.
WARNING
●Prolonged and repeated contact with
used engine oil may cause skin cancer.
●Try to avoid direct skin contact with
used oil. If skin contact is made, wash
thoroughly with soap or hand cleaner
as soon as possible.
●Keep used engine oil out of reach of
children.
CAUTION
Be careful not to burn yourself. The engine
oil may be hot.
6. Clean and reinstall the drain plug and a new
washer. Securely tighten the drain plug with
a wrench. Do not use excessive force.
Drain plug tightening torque:
22 - 29 ft-lb (29 - 39 N·m)
7. Refill engine with recommended oil through
the oil filler opening, then install the oil filler
cap securely.
See “Capacities and recommended
fuel/lubricants” in the “Technical and con-
sumer information” section of this manual for
drain and refill capacity.
The drain and refill capacity depends on the
oil temperature and drain time. Use these
specifications for reference only. Always use
the dipstick to determine when the proper
amount of oil is in the engine.
8. Start the engine. Check for leakage around
the drain plug and oil filter. Correct as re-
quired.
9. Turn the engine off and wait more than 10
minutes. Check the oil level with the dipstick.
Add engine oil if necessary.
WDI0504
8-10 Maintenance and do-it-yourself

CHANGING ENGINE OIL FILTER
1. Park the vehicle on a level surface and apply
the parking brake.
2. Turn the engine off.
3. Place a large drain pan under the oil filter 䊊
A.
4. Loosen the oil filter 䊊
Awith an oil filter
wrench by turning it counterclockwise. Then
remove the oil filter by turning it by hand.
CAUTION
Be careful not to burn yourself. The engine
oil may be hot.
5. Wipe the engine oil filter sealing surface with
a clean rag.
CAUTION
Be sure to remove any old gasket material
remaining on the sealing surface of the
engine. Failure to do so could lead to an
oil leak and engine damage.
6. Coat the gasket on the new filter with clean
engine oil.
7. Screw on the oil filter until a slight resistance
is felt, then tighten an additional 2/3 turn.
8. Start the engine and check for leakage
around the oil filter. Correct as required.
9. Turn the engine off and wait more than 10
minutes. Check the oil level. Add engine oil if
necessary.
When checking or replacement is required, we
recommend your NISSAN dealer for servicing.
CAUTION
●Use Genuine NISSAN Matic S ATF. If
Genuine NISSAN Matic S ATF is not
available, Genuine NISSAN Matic J ATF
may also be used.
●Using automatic transmission fluid
other than Genuine NISSAN Matic S
ATF or Matic J ATF will cause deteriora-
tion in driveability and automatic trans-
mission durability, and may damage the
automatic transmission, which is not
covered by the NISSAN new vehicle lim-
ited warranty.
The specified automatic transmission fluid is also
described on caution labels located in the engine
compartment.
WDI0505
5-SPEED AUTOMATIC
TRANSMISSION FLUID
Maintenance and do-it-yourself 8-11

The fluid level should be checked using the HOT
MAX range on the power steering fluid reservoir
at fluid temperatures of 122° - 176°F (50° -
80°C) or using the COLD MAX range on the
power steering fluid reservoir at fluid tempera-
tures of 32° - 86°F (0° - 30°C).
If the fluid is at or below the MIN line, add Genu-
ine NISSAN PSF to HOT MAX or COLD MAX
depending on system fluid temperature. Remove
the cap and fill through the opening.
CAUTION
●DO NOT OVERFILL.
●Recommended fluid is Genuine
NISSAN PSF or equivalent.
For further brake fluid specification information,
refer to “Capacities and recommended
fuel/lubricants” in the “Technical and consumer
information” section of this manual.
WARNING
●Use only new fluid from a sealed con-
tainer. Old, inferior or contaminated
fluid may damage the brake system.
The use of improper fluids can damage
the brake system and affect the vehi-
cle’s stopping ability.
●Clean the filler cap before removing.
●Brake fluid is poisonous and should be
stored carefully in marked containers
out of reach of children.
CAUTION
Do not spill the fluid on any painted sur-
faces. This will damage the paint. If fluid is
spilled, immediately wash the surface
with water.
WDI0256
POWER STEERING FLUID BRAKE FLUID
8-12 Maintenance and do-it-yourself

BRAKE FLUID
Check the brake fluid level in the reservoir. If the
fluid level is below the MIN line or the brake
warning light comes on, add Genuine NISSAN
Super Heavy Duty Brake Fluid or equivalent DOT
3fluid up to the MAX line. If fluid must be added
frequently, the system should be checked by a
NISSAN dealer.
WINDSHIELD-WASHER FLUID
RESERVOIR
Fill the windshield-washer fluid reservoir periodi-
cally. Add windshield-washer fluid when the low
windshield-washer fluid warning light comes on
(if so equipped).
To fill the windshield-washer fluid reservoir, lift
the cap off the reservoir and pour the windshield-
washer fluid into the reservoir opening.
Add a washer solvent to the washer for better
cleaning. In the winter season, add a windshield-
washer antifreeze. Follow the manufacturer’s in-
structions for the mixture ratio.
Refill the reservoir more frequently when driving
conditions require an increased amount of
windshield-washer fluid.
Recommended fluid is Genuine NISSAN Wind-
shield Washer Concentrate Cleaner & Anti-
freeze or equivalent.
CAUTION
●Do not substitute engine anti-freeze
coolant for windshield-washer fluid.
This may result in damage to the paint.
●Do not fill the windshield-washer fluid
reservoir with washer fluid concen-
trates at full strength. Some methyl al-
cohol based washer fluid concentrates
may permanently stain the grille if
spilled while filling the windshield-
washer fluid reservoir.
●Pre-mix washer fluid concentrates with
water to the manufacturer’s recom-
mended levels before pouring the fluid
into the windshield-washer fluid reser-
voir. Do not use the windshield-washer
fluid reservoir to mix the washer fluid
concentrate and water.
LDI0374 WDI0405
WINDSHIELD-WASHER FLUID
Maintenance and do-it-yourself 8-13

●Keep the battery surface clean and dry.
Clean the battery with a solution of baking
soda and water.
●Make certain the terminal connections are
clean and securely tightened.
●If the vehicle is not to be used for 30 days or
longer, disconnect the negative (-) battery
terminal cable to prevent discharge.
WARNING
●Do not expose the battery to flames, an
electrical spark or a cigarette. Hydro-
gen gas generated by the battery is ex-
plosive. Explosive gases can cause
blindness or injury. Do not allow battery
fluid to contact your skin, eyes, fabrics
or painted surfaces. Sulfuric acid can
cause blindness or injury. After touch-
ing a battery or battery cap, do not
touch or rub your eyes. Thoroughly
wash your hands. If the acid contacts
your eyes, skin or clothing, immediately
flush with water for at least 15 minutes
and seek medical attention.
●Do not operate the vehicle if the fluid in
the battery is low. Low battery fluid can
cause a higher load on the battery
which can generate heat, reduce bat-
tery life, and in some cases lead to an
explosion.
●When working on or near a battery, al-
ways wear suitable eye protection and
remove all jewelry.
●Battery posts, terminals and related ac-
cessories contain lead and lead com-
pounds. Wash hands after handling.
●Keep battery out of the reach of
children.
●Do not tip the battery. Keep the vent
caps tight and the battery level.
1. Remove the vent caps with a screwdriver as
shown. Use a cloth to protect the battery
case.
WDI0224
BATTERY
8-14 Maintenance and do-it-yourself

2. Check the fluid level in each cell. If it is
necessary to add fluid, add only distilled
water to bring the level up to the bottom of
the filler opening. Do not overfill. Reinstall
the vent caps.
Vehicles operated in high temperatures or under
severe conditions require frequent checks of the
battery fluid level.
JUMP STARTING
If jump starting is necessary, see “Jump starting”
in the “In case of emergency” section of this
manual. If the engine does not start by jump
starting, the battery may have to be replaced.
Contact a NISSAN dealer.
CAUTION
●Do not ground accessories directly to
the battery terminal. Doing so will by-
pass the variable voltage control sys-
tem and the vehicle battery may not
charge completely.
●Use electrical accessories with the en-
gine running to avoid discharging the
vehicle battery.
Your vehicle is equipped with a variable voltage
control system. This system measures the
amount of electrical discharge from the battery
and controls voltage generated by the generator.
WDI0529
WDI0566
VARIABLE VOLTAGE CONTROL
SYSTEM
Maintenance and do-it-yourself 8-15

The current sensor 䊊
Ais located near the battery
along the negative battery cable. If you add elec-
trical accessories to your vehicle, be sure to
ground them to a suitable body ground such as
the frame or engine block area.
1. Power steering fluid pump
2. Automatic belt tensioner
3. Water pump
4. Cooling fan
5. Air conditioner compressor
6. Crankshaft pulley
7. Generator
WARNING
Be sure the ignition switch is in the OFF or
LOCK position before servicing drive belt.
The engine could rotate unexpectedly.
1. Visually inspect the belt for signs of unusual
wear, cuts, fraying or looseness. If the belt is
in poor condition or is loose, have it replaced
or adjusted by a NISSAN dealer.
2. Have the belt checked regularly for condi-
tion and tension in accordance with the
maintenance schedule found in the
“NISSAN Service and Maintenance Guide”.
WDI0661
DRIVE BELT
8-16 Maintenance and do-it-yourself

REPLACING SPARK PLUGS
Platinum-tipped spark plugs
It is not necessary to replace platinum-tipped 䊊
A
spark plugs as frequently as conventional type
spark plugs because they last much longer. Fol-
low the maintenance log shown in the “NISSAN
Service and Maintenance Guide”. Do not service
platinum-tipped spark plugs by cleaning or re-
gapping.
●Always replace spark plugs with rec-
ommended or equivalent ones.
WARNING
Be sure the engine and ignition switch are
off and that the parking brake is engaged
securely.
CAUTION
Be sure to use the correct socket to re-
move the spark plugs. An incorrect socket
can damage the spark plugs.
The air cleaner filter should not be cleaned and
reused. Replace it according to the maintenance
log shown in the “NISSAN Service and Mainte-
nance Guide.”
To remove the air cleaner filter:
䊊
1Unlatch the clips and move the air cleaner
cover upward.
2. Remove the air cleaner filter.
3. Wipe the inside of the air cleaner filter hous-
ing and the cover with a damp cloth.
SDI1895 WDI0712
SPARK PLUGS AIR CLEANER
Maintenance and do-it-yourself 8-17

NOTE:
After installing a new air cleaner, make
sure the air cleaner cover is seated in the
housing and latch the clips.
WARNING
●Operating the engine with the air
cleaner removed can cause you or oth-
ers to be burned. The air cleaner not
only cleans the air, it stops the flame if
the engine backfires. If it isn’t there, and
the engine backfires, you could be
burned. Do not drive with the air cleaner
removed, and be careful when working
on the engine with the air cleaner
removed.
●Never pour fuel into the throttle body or
attempt to start the engine with the air
cleaner removed. Doing so could result
in serious injury.
IN-CABIN MICROFILTER
The in-cabin microfilter restricts the entry of air-
borne dust and pollen particles and reduces
some objectionable outside odors. The filter is
located behind the glove box. Refer to the
“NISSAN Service and Maintenance Guide” for
change intervals.
To replace the filter, perform the following proce-
dure:
1. Remove the 2 lower glove box hinge pins
䊊
A. Remove the glove box from the opening
and let it hang by the cord.
WDI0619
8-18 Maintenance and do-it-yourself

2. Remove the filter cover bolt and remove the
filter cover.
NOTE:
The filters are marked with air flow arrows.
The end of the filter with the arrow should
face the rear of the vehicle. The arrows
should face downward.
3. Insert the first filter into the housing and slide
it over to the right. Insert the second filter
into the housing.
4. Replace the filter cover.
5. Install the glove box door.
6. Fill out the date information on the small
replacement label and attach it to the glove
box lid.
CLEANING
If your windshield is not clear after using the
windshield washer or if a wiper blade chatters
when running, wax or other material may be on
the blade or windshield.
Clean the outside of the windshield with a washer
solution or a mild detergent. Your windshield is
clean if beads do not form when rinsing with clear
water.
Clean each blade by wiping it with a cloth soaked
in a washer solution or a mild detergent. Then
rinse the blades with clear water. If your wind-
shield is still not clear after cleaning the blades
and using the wiper, replace the blades.
CAUTION
Worn windshield wiper blades can dam-
age the windshield and impair driver
vision.
LDI0387 LDI0404
WINDSHIELD WIPER BLADES
Maintenance and do-it-yourself 8-19

REPLACING
Replace the wiper blades if they are worn.
1. Lift the wiper arm away from the windshield.
䊊
2Push the release tab, then move the wiper
blade down the wiper arm to remove.
䊊
3Remove the wiper blade.
4. Insert the new wiper blade onto the wiper
arm until it clicks into place.
5. Rotate wiper blade so the dimple is in the
groove.
6. Return the wiper to its original position and
release it until it has made contact with the
windshield.
CAUTION
●After wiper blade replacement, return
the wiper arm to its original position;
otherwise it may be damaged when the
hood is opened.
●Make sure the wiper blades contact the
glass; otherwise the arms may be dam-
aged from wind pressure.
If you wax the surface of the hood, be careful not
to let wax get into the windshield washer nozzle
䊊
A. This may cause clogging or improper wind-
shield washer operation. If wax gets into the
nozzle, remove it with a needle or small pin 䊊
B.
WDI0408
WDI0629
8-20 Maintenance and do-it-yourself

If the brakes do not operate properly, have the
brakes checked by a NISSAN dealer.
Self-adjusting brakes
Your vehicle is equipped with self-adjusting
brakes.
The front and rear disc-type brakes self-adjust
every time the brake pedal is applied.
WARNING
See a NISSAN dealer for a brake system
check if the brake pedal height does not
return to normal.
Brake pad wear indicators
The disc brake pads on your vehicle have audible
wear indicators. When a brake pad requires re-
placement, a high pitched scraping or screech-
ing sound will be heard when the vehicle is in
motion. The noise will be heard whether or not the
brake pedal is depressed. Have the brakes
checked as soon as possible if the wear indicator
sound is heard.
Under some driving or climate conditions, occa-
sional brake squeak, squeal or other noise may
be heard. Occasional brake noise during light to
moderate stops is normal and does not affect the
function or performance of the brake system.
Proper brake inspection intervals should
be followed. For more information regarding
brake inspections, see the appropriate mainte-
nance schedule information in the “NISSAN Ser-
vice and Maintenance Guide”.
Two types of fuses are used. Type 䊊
Ais used in
the fuse boxes in the engine compartment. Type
䊊
Bis used in the passenger compartment fuse
box.
Type A fuses are provided as spare fuses. They
are stored in the passenger compartment fuse
box.
Type A fuses can be installed in the engine com-
partment and passenger compartment fuse
boxes.
LDI0455
BRAKES FUSES
Maintenance and do-it-yourself 8-21

If a type A fuse is used to replace a type B fuse,
the type A fuse will not be level with the fuse
pocket as shown in the illustration. This will not
affect the performance of the fuse. Make sure the
fuse is installed in the fuse box securely.
Type B fuses cannot be installed in the under-
hood fuse boxes. Only use type A fuses in the
underhood fuse boxes.
ENGINE COMPARTMENT
CAUTION
Never use a fuse of a higher or lower
amperage rating than specified on the
fuse box cover. This could damage the
electrical system or cause a fire.
If any electrical equipment does not come on,
check for an open fuse.
1. Be sure the ignition switch and the headlight
switch are OFF.
2. Open the engine hood.
3. Remove the fuse box cover by pushing the
tab and lifting the cover up.
4. Remove the fuse with the fuse puller. The
fuse puller is located in the center of the fuse
block in the passenger compartment.
LDI0457 LDI0380
8-22 Maintenance and do-it-yourself

5. If the fuse is open 䊊
A, replace it with a new
fuse 䊊
B.
6. If a new fuse also opens, have the electrical
system checked and repaired by a NISSAN
dealer.
Fusible links
If the electrical equipment does not operate and
fuses are in good condition, check the fusible
links. If any of these fusible links are melted,
replace with only Genuine NISSAN parts.
PASSENGER COMPARTMENT
CAUTION
Never use a fuse of a higher or lower
amperage rating than specified on the
fuse box cover. This could damage the
electrical system or cause a fire.
If any electrical equipment does not operate,
check for an open fuse.
1. Be sure the ignition switch and the headlight
switch are OFF.
2. Open the glove box to access the fuse box
cover.
3. Pull the fuse box cover to remove.
4. Remove the fuse with the fuse puller.
WDI0452 LDI0618
Maintenance and do-it-yourself 8-23

5. If the fuse is open 䊊
A, replace it with an
equivalent good fuse 䊊
B.
6. Push the fuse box cover to install.
7. If a new fuse also opens, have the electrical
system checked and repaired by a NISSAN
dealer.
Extended storage switch
If any electrical equipment does not operate,
remove the extended storage switch and check
for an open fuse.
NOTE:
The extended storage switch is used for
long term vehicle storage. Even if the ex-
tended storage switch is broken it is not
necessary to replace it. Replace only the
open fuse in the switch with a new fuse.
Type A
WDI0452
Type B
LDI0456 LDI2035
8-24 Maintenance and do-it-yourself

How to replace the extended storage switch:
1. To remove the extended storage switch, be
sure the ignition switch is in the OFF or
LOCK position.
2. Be sure the headlight switch is in the OFF
position.
3. Remove the fuse box cover.
4. Pinch the locking tabs 䊊
1found on each
side of the storage switch.
5. Pull the storage switch straight out from the
fuse box 䊊
2.
CAUTION
Be careful not to allow children to swallow
the battery or removed parts.
BATTERY REPLACEMENT
Maintenance and do-it-yourself 8-25

KEYFOB (if so equipped)
Replace the battery in the keyfob as follows:
䊊
1Open the lid using a coin 䊊
A.
䊊
2Remove the battery 䊊
B.
䊊
3Install a new battery 䊊
Cwith the “+” facing
down.
●Hold the battery by the edges. Holding the
battery across the contact points will seri-
ously deplete the storage capacity.
●Do not touch the internal circuit and electric
terminals as it could cause a malfunction.
●When changing the battery, do not let dust
or oil get on the keyfob.
●There is danger of explosion if a lithium bat-
tery is incorrectly replaced. Replace only
with the same or equivalent type.
Recommended battery: CR2025 or equivalent.
䊊
4Close the lid securely.
5. Press the button, then the
button two or three times to check the key-
fob operation.
If the battery is removed for any reason
other than replacement, perform step 5.
●An improperly disposed battery can
hurt the environment. Always confirm
local regulations for battery disposal.
●The keyfob is water-resistant; how-
ever, if it does get wet, immediately
wipe completely dry.
●The operational range of the keyfob
extends to approximately 33 ft (10 m)
from the vehicle. This range may vary
with conditions.
LDI2026
8-26 Maintenance and do-it-yourself

FCC Notice:
For USA:
This device complies with Part 15 of the
FCC Rules. Operation is subject to the fol-
lowing two conditions: (1) This device may
not cause harmful interference, and (2) this
device must accept any interference re-
ceived, including interference that may
cause undesired operation. Note: Changes
or modifications not expressly approved by
the party responsible for compliance could
void the user’s authority to operate the
equipment.
For Canada:
This device complies with RSS-210 of In-
dustry Canada. Operation is subject to the
following two conditions: (1) this device
may not cause interference, and (2) this
device must accept any interference, in-
cluding interference that may cause unde-
sired operation of the device.
HEADLIGHTS
Replacing the halogen headlight bulb
The headlight is a semi-sealed beam type which
uses a replaceable headlight (halogen) bulb. Be-
cause the headlight assembly must be removed
from the vehicle for bulb replacement, see your
NISSAN dealer.
CAUTION
●High pressure halogen gas is sealed
inside the halogen bulb. The bulb may
break if the glass envelope is scratched
or the bulb is dropped.
●When handling the bulb, do not touch
the glass envelope.
●DO NOT TOUCH THE BULB WITH BARE
HANDS.
●Do not leave the bulb out of the head-
light reflector for a long period of time
as dust, moisture and smoke may enter
the headlight body and affect the per-
formance of the headlight.
●Aiming is not necessary after replacing
the bulb. When aiming adjustment is
necessary, contact a NISSAN dealer.
NOTE:
Use the same number and wattage as
shown in the chart.
Fog may temporarily form inside the lens of the
exterior lights in the rain or in a car wash. A
temperature difference between the inside and
the outside of the lens causes the fog. This is not
a malfunction. If large drops of water collect
inside the lens, contact a NISSAN dealer.
FOG LIGHTS (if so equipped)
Replacing the fog light bulb
CAUTION
●High pressure halogen gas is sealed
inside the halogen bulb. The bulb may
break if the glass envelope is scratched
or the bulb is dropped.
●When handling the bulb, do not touch
the glass envelope.
●Use the same number and wattage as
originally installed as shown in the
chart.
LIGHTS
Maintenance and do-it-yourself 8-27

●Do not leave the bulb out of the fog light
for a long period of time as dust, mois-
ture and smoke may enter the fog light
body and affect the performance of the
fog light.
1. Disconnect the negative (-) battery cable.
2. The fog light is accessible in front of the
front tire and behind the bumper.
3. Disconnect the bulb connector 䊊
1.
4. Rotate the bulb counterclockwise and re-
move.
5. Remove by pulling it straight out of the fog
light assembly. Do not shake or rotate the
bulb when removing it. Do not touch the
glass envelope.
6. Install in the reverse order of removal.
NOTE:
To adjust the fog light vertical aim: Access
the aiming screw from underneath the front
bumper. The aiming screw is located on the
bottom of the fog light housing. Turn the
screw clockwise to raise the pattern. Turn
the screw counterclockwise to lower the
pattern.
LDI0382
8-28 Maintenance and do-it-yourself

EXTERIOR AND INTERIOR LIGHTS
Item Wattage (W) Bulb No.
Headlight assembly
High 65 9005 (HB3)
Low 55 9006 (HB4)
Park/Turn 28/8 3457K
Sidemarker 3.8 194
Side turn signal light* (if so equipped) — LED
Front fog light (if so equipped) 27.5 880
Puddle light (if so equipped) 9 906LF
Room/map lights (front) 6 –
Personal lights 8 AL67
Footwell (if so equipped) 3.4 158
Vanity mirror light (if so equipped) 1.8 –
Step light (if so equipped) 3.8 194
High-mounted stop light/cargo lights* 12.8 912LF
Rear combination light
Tail/Stop 27/8 3157K
Backup (reversing) 18 921LF
Turn 27 3156K
Tailgate light (if so equipped) 18 921
License plate light 5 W5W
* See a NISSAN dealer for replacement.
Always check with the Parts Department at a NISSAN dealer for the latest parts information.
Maintenance and do-it-yourself 8-29

1. Room/map light (if so equipped)
2. Personal lights (if so equipped)
3. Step light (if so equipped)
4. Puddle light/Side turn signal light (if so
equipped)
5. High-mount stoplight/cargo lights
6. License plate light
7. Rear combination/tailgate light (if so
equipped) assembly
8. Fog light (if so equipped)
9. Headlight assembly
Replacement procedures
All other lights are either type A, B, C or D. When
replacing a bulb, first remove the lens, lamp
and/or cover.
Indicates bulb removal
Indicates bulb installation
WDI0409
WDI0263
8-30 Maintenance and do-it-yourself

Use a cloth 䊊
1to protect the housing.
Use a cloth 䊊
1to protect the housing. Use a cloth 䊊
1to protect the housing.
Interior/map lights
LDI0389
Personal lights (If so equipped)
LDI0364
Vanity mirror (If so equipped)
LDI0385
Maintenance and do-it-yourself 8-31

Use a cloth 䊊
1to protect the housing. Use a cloth 䊊
1to protect the housing.
Step light (If so equipped)
LDI0341
Puddle light (If so equipped)
LDI0388
License plate light
WDI0411
8-32 Maintenance and do-it-yourself

If you have a flat tire, see “Flat tire” in the
“In case of emergency” section of this
manual.
TIRE PRESSURE
Tire Pressure Monitoring System
(TPMS)
This vehicle is equipped with the Tire
Pressure Monitoring System (TPMS). It
monitors tire pressure of all 4 tires except
the spare. When the low tire pressure
warning light is lit and the CHECK TIRE
PRESSURE warning appears in the ve-
hicle information display, one or more of
your tires is significantly under-inflated. If
equipped, the system also displays pres-
sure of all tires (except the spare tire) on
the display screen by sending a signal
from a sensor that is installed in each
wheel.
The TPMS will activate only when the
vehicle is driven at speeds above 16 MPH
(25 km/h). Also, this system may not de-
tect a sudden drop in tire pressure (for
example a flat tire while driving).
For more details, refer to
“Warning/Indicator Lights and Audible
Reminders” in the “Instruments and con-
trols” section, “Tire pressure information”
in the “Display screen, heater, air condi-
tioner, audio and phone systems” section,
“Tire Pressure Monitoring System
(TPMS)” in the “Starting and driving” sec-
tion, and “Flat tire” in the “In case of emer-
gency” section.
Tire inflation pressure
Check the tire pressures (including the
spare) often and always prior to long dis-
tance trips. The recommended tire pres-
sure specifications are shown on the
F.M.V.S.S./C.M.V.S.S. certification label
or the Tire and Loading Information label
under the “Cold Tire Pressure” heading.
The Tire and Loading Information label is
affixed to the driver side center pillar. Tire
pressures should be checked regularly
because:
●Most tires naturally lose air over time.
Rear combination light
LDI0410
WHEELS AND TIRES
Maintenance and do-it-yourself 8-33

●Tires can lose air suddenly when
driven over potholes or other objects
or if the vehicle strikes a curb while
parking.
The tire pressures should be checked
when the tires are cold. The tires are
considered COLD after the vehicle has
been parked for 3 or more hours, or driven
less than 1 mile (1.6 km) at moderate
speeds.
Incorrect tire pressure, including un-
der inflation, may adversely affect
tire life and vehicle handling.
WARNING
●Improperly inflated tires can fail
suddenly and cause an accident.
●The Gross Vehicle Weight Rating
(GVWR) is located on the
F.M.V.S.S./C.M.V.S.S. certifica-
tion label. The vehicle weight ca-
pacity is indicated on the Tire and
Loading Information label. Do
not load your vehicle beyond this
capacity. Overloading your ve-
hicle may result in reduced tire
life, unsafe operating conditions
due to premature tire failure, or
unfavorable handling character-
istics and could also lead to a
serious accident. Loading be-
yond the specified capacity may
also result in failure of other ve-
hicle components.
●Before taking a long trip, or
whenever you heavily load your
vehicle, use a tire pressure gauge
to ensure that the tire pressures
are at the specified level.
●For additional information re-
garding tires, refer to “Important
Tire Safety Information” (US) or
“Tire Safety Information”
(Canada) in the Warranty Infor-
mation Booklet.
8-34 Maintenance and do-it-yourself

Tire and loading information label
䊊
1Seating capacity: The maximum num-
ber of occupants that can be seated
in the vehicle.
䊊
2Vehicle load limit: See loading infor-
mation in the “Technical and con-
sumer information” section.
䊊
3Original tire size: The size of the tires
originally installed on the vehicle at
the factory.
䊊
4Cold tire pressure: Inflate the tires to
this pressure when the tires are cold.
Tires are considered COLD after the
vehicle has been parked for 3 or more
hours, or driven less than 1 mile (1.6
km) at moderate speeds. The recom-
mended cold tire inflation is set by the
manufacturer to provide the best bal-
ance of tire wear, vehicle handling,
driveability, tire noise, etc., up to the
vehicle’s GVWR.
䊊
5Tire size - refer to “Tire labeling” later
in this section.
䊊
6Spare tire size.
LDI0485
Maintenance and do-it-yourself 8-35

Checking tire pressure
1. Remove the valve stem cap from the
tire.
2. Press the pressure gauge squarely
onto the valve stem. Do not press too
hard or force the valve stem side-
ways, or air will escape. If the hissing
sound of air escaping from the tire is
heard while checking the pressure,
reposition the gauge to eliminate this
leakage.
3. Remove the gauge.
4. Read the tire pressure on the gauge
stem and compare to the specifica-
tion shown on the Tire and Loading
Information label.
5. Add air to the tire as needed. If too
much air is added, press the core of
the valve stem briefly with the tip of
the gauge stem to release pressure.
Recheck the pressure and add or
release air as needed.
6. Install the valve stem cap.
7. Check the pressure of all other tires,
including the spare.
Size Cold Tire Inflation
Pressure
Front Original Tire:
P265/70R18
P275/70R18
P275/60R20
240 kPa, 35 PSI
Rear Original Tire:
P265/70R18
P275/70R18
P275/60R20
240 kPa, 35 PSI
Spare Tire:
P265/70R18
P275/70R18
P275/60R20
240 kPa, 35 PSI
LDI0393
8-36 Maintenance and do-it-yourself

TIRE LABELING
Federal law requires tire manufacturers to
place standardized information on the
sidewall of all tires. This information iden-
tifies and describes the fundamental
characteristics of the tire and also pro-
vides the tire identification number (TIN)
for safety standard certification. The TIN
can be used to identify the tire in case of a
recall.
䊊
1Tire size (example: P215/65R15 95H)
1. P: The “P” indicates the tire is de-
signed for passenger vehicles (not all
tires have this information).
2. Three-digit number (215): This num-
ber gives the width in millimeters of
the tire from sidewall edge to side-
wall edge.
3. Two-digit number (65): This number,
known as the aspect ratio, gives the
tire’s ratio of height to width.
4. R: The “R” stands for radial.
5. Two-digit number (15): This number
is the wheel or rim diameter in inches.
6. Two- or three-digit number (95): This
number is the tire’s load index. It is a
measurement of how much weight
each tire can support. You may not
find this information on all tires be-
cause it is not required by law.
7. H: Tire speed rating. You should not
drive the vehicle faster than the tire
speed rating.
Example
WDI0394
Example
WDI0395
Maintenance and do-it-yourself 8-37

䊊
2TIN (Tire Identification Number) for a
new tire (example: DOT XX XX XXX
XXXX)
1. DOT: Abbreviation for the “Depart-
ment Of Transportation”. The symbol
can be placed above, below or to the
left or right of the Tire Identification
Number.
2. Two-digit code: Manufacturer’s
identification mark.
3. Two-digit code: Tire size.
4. Three-digit code: Tire type code
(Optional).
5. Three-digit code: Date of Manufac-
ture.
6. Four numbers represent the week
and year the tire was built. For ex-
ample, the numbers 3103 means the
31st week of 2003. If these numbers
are missing, then look on the other
sidewall of the tire.
䊊
3Tire ply composition and material
The number of layers or plies of rubber-
coated fabric in the tire. Tire manufactur-
ers also must indicate the materials in the
tire, which include steel, nylon, polyester,
and others.
䊊
4Maximum permissible inflation pres-
sure
This number is the greatest amount of air
pressure that should be put in the tire. Do
not exceed the maximum permissible in-
flation pressure.
䊊
5Maximum load rating
This number indicates the maximum load
in kilograms and pounds that can be car-
ried by the tire. When replacing the tires
on the vehicle, always use a tire that has
the same load rating as the factory in-
stalled tire.
䊊
6Term of “tubeless” or “tube type”
Indicates whether the tire requires an in-
ner tube (“tube type”) or not (“tubeless”).
Example
WDI0396
8-38 Maintenance and do-it-yourself

䊊
7The word “radial”
The word “radial” is shown if the tire has
radial structure.
䊊
8Manufacturer or brand name
Manufacturer or brand name is shown.
Other Tire-related Terminology
In addition to the many terms that are
defined throughout this section, Intended
Outboard Sidewall is (1) the sidewall that
contains a whitewall, bears white lettering
or bears manufacturer, brand, and/or
model name molding that is higher or
deeper than the same molding on the
other sidewall of the tire, or (2) the out-
ward facing sidewall of an asymmetrical
tire that has a particular side that must
always face outward when mounted on a
vehicle.
TYPES OF TIRES
WARNING
●When changing or replacing tires, be
sure all four tires are of the same type
(i.e., Summer, All Season or Snow) and
construction. A NISSAN dealer may be
able to help you with information about
tire type, size, speed rating and
availability.
●Replacement tires may have a lower
speed rating than the factory equipped
tires, and may not match the potential
maximum vehicle speed. Never exceed
the maximum speed rating of the tire.
●Replacing tires with those not originally
specified by NISSAN could affect the
proper operation of the low tire pres-
sure warning system.
●For additional information regarding
tires, refer to “Important Tire Safety In-
formation” (US) or “Tire Safety Informa-
tion” (Canada) in the Warranty Informa-
tion Booklet.
All season tires
NISSAN specifies All Season tires on some mod-
els to provide good performance all year, includ-
ing snowy and icy road conditions. All Season
tires are identified by ALL SEASON and/or M&S
on the tire sidewall. Snow tires have better snow
traction than All Season tires and may be more
appropriate in some areas.
Summer tires
NISSAN specifies summer tires on some models
to provide superior performance on dry roads.
Summer tire performance is substantially re-
duced in snow and ice. Summer tires do not have
the tire traction rating “M&S” on the tire sidewall.
If you plan to operate your vehicle in snowy or icy
conditions, NISSAN recommends the use of
SNOW tires or ALL SEASON tires on all four
wheels.
Snow tires
If snow tires are needed, it is necessary to select
tires equivalent in size and load rating to the
original equipment tires. If you do not, it can
adversely affect the safety and handling of your
vehicle.
Generally, snow tires have lower speed ratings
than factory equipped tires and may not match
the potential maximum vehicle speed. Never ex-
ceed the maximum speed rating of the tire.
Maintenance and do-it-yourself 8-39

If you install snow tires, they must be the same
size, brand, construction and tread pattern on all
four wheels.
For additional traction on icy roads, studded tires
may be used. However, some U.S. states and
Canadian provinces prohibit their use. Check
local, state and provincial laws before installing
studded tires. Skid and traction capabilities of
studded snow tires on wet or dry surfaces may be
poorer than that of non-studded snow tires.
TIRE CHAINS
CAUTION
Tire chains/cables should not be installed
on P275/60R20 size tires. Installation of
the tire chains/cables on P275/60R20 size
tires will cause damage to the vehicle. If
you plan to use tire chains/cables, you
should install P265/70R18 size tires on
your vehicle.
Use of tire chains may be prohibited according to
location. Check the local laws before installing
tire chains. When installing tire chains, make sure
they are the proper size for the tires on your
vehicle and are installed according to the chain
manufacturer’s suggestions. Use only SAE
class “S” chains. Class “S” chains are used on
vehicles with restricted tire to vehicle clearance.
Vehicles that can use Class “S” chains are de-
signed to meet the minimum clearances between
the tire and the closest vehicle suspension or
body component required to accommodate the
use of a winter traction device (tire chains or
cables). The minimum clearances are determined
using the factory equipped tire size. Other types
may damage your vehicle. Use chain tensioners
when recommended by the tire chain manufac-
turer to ensure a tight fit. Loose end links of the
tire chain must be secured or removed to prevent
the possibility of whipping action damage to the
fenders or underbody. If possible, avoid fully load-
ing your vehicle when using tire chains. In addi-
tion, drive at a reduced speed. Otherwise, your
vehicle may be damaged and/or vehicle handling
and performance may be adversely affected.
Tire chains must be installed only on the
rear wheels and not on the front wheels.
Do not use tire chains on dry roads. Driving with
chains in such conditions can cause damage to
the various mechanisms of the vehicle due to
some overstress.
Use only the 2WD range when driving on clear
paved roads.
CHANGING WHEELS AND TIRES
Tire rotation
NISSAN recommends rotating the tires
every 7,500 miles (12,000 km).
See “Flat tire” in the “In case of emer-
gency” section in this manual for tire re-
placing procedures.
As soon as possible, tighten the
wheel nuts to the specified torque
with a torque wrench.
WDI0258
8-40 Maintenance and do-it-yourself

Wheel nut tightening torque:
98 ft-lb (133 N·m)
The wheel nuts must be kept tight-
ened to specifications at all times. It
is recommended that wheel nuts be
tightened to specification at each
tire rotation interval.
WARNING
●After rotating the tires, check and
adjust the tire pressure.
●Retighten the wheel nuts when
the vehicle has been driven for
600 miles (1,000 km) (also in
cases of a flat tire, etc.).
●Do not include the spare tire in
the tire rotation.
●For additional information re-
garding tires, refer to “Important
Tire Safety Information” (US) or
“Tire Safety Information”
(Canada) in the Warranty Infor-
mation Booklet.
1. Wear indicator
2. Location mark
Tire wear and damage
WARNING
●Tires should be periodically in-
spected for wear, cracking, bulg-
ing or objects caught in the tread.
If excessive wear, cracks, bulging
or deep cuts are found, the tire(s)
should be replaced.
●The original tires have built-in
tread wear indicators. When the
wear indicators are visible, the
tire(s) should be replaced.
●Tires degrade with age and use.
Have tires, including the spare,
over 6 years old checked by a
qualified technician because
some tire damage may not be ob-
vious. Replace the tires as neces-
sary to prevent tire failure and
possible personal injury.
●Improper service of the spare tire
may result in serious personal in-
jury. If it is necessary to repair the
spare tire, contact a NISSAN
dealer.
●For additional information re-
garding tires, refer to “Important
Tire Safety Information” (US) or
“Tire Safety Information”
(Canada) in the Warranty Infor-
mation Booklet.
WDI0259
Maintenance and do-it-yourself 8-41

Replacing wheels and tires
When replacing a tire, use the same size, tread
design, speed rating and load carrying capacity
as originally equipped. Recommended types and
sizes are shown in “Wheels and tires” in the
“Technical and consumer information” section of
this manual.
WARNING
●The use of tires other than those recom-
mended or the mixed use of tires of
different brands, construction (bias,
bias-belted or radial), or tread patterns
can adversely affect the ride, braking,
handling, VDC system, ground clear-
ance, body-to-tire clearance, tire chain
clearance, speedometer calibration,
headlight aim and bumper height.
Some of these effects may lead to acci-
dents and could result in serious per-
sonal injury.
●If your vehicle was originally equipped
with 4 tires that were the same size and
you are only replacing 2 of the 4 tires,
install the new tires on the rear axle.
Placing new tires on the front axle may
cause loss of vehicle control in some
driving conditions and cause an acci-
dent and personal injury.
●If the wheels are changed for any rea-
son, always replace with wheels which
have the same off-set dimension.
Wheels of a different off-set could
cause premature tire wear, degrade ve-
hicle handling characteristics, affect
the VDC system and/or interference
with the brake discs. Such interference
can lead to decreased braking effi-
ciency and/or early brake pad wear. Re-
fer to “Wheels and tires” in the “Techni-
cal and consumer information” section
of this manual for wheel off-set
dimensions.
●When a spare tire is mounted or a wheel
is replaced, tire pressure will not be
indicated, the TPMS will not function
and the low tire pressure warning light
will flash for approximately 1 minute.
The light will remain on after 1 minute.
Contact your NISSAN dealer as soon as
possible for tire replacement and/or
system resetting.
●Replacing tires with those not originally
specified by NISSAN could affect the
proper operation of the TPMS.
●Do not install a damaged or deformed
wheel or tire even if it has been re-
paired. Such wheels or tires could have
structural damage and could fail with-
out warning.
●The use of retread tires is not
recommended.
●For additional information regarding
tires, refer to “Important Tire Safety In-
formation” (US) or “Tire Safety Informa-
tion” (Canada) in the Warranty Informa-
tion Booklet.
Four-wheel drive models
CAUTION
Always use tires of the same type, size,
brand, construction (bias, bias-belted or
radial), and tread pattern on all four
wheels. Failure to do so may result in a
circumference difference between tires
on the front and rear axles which will
cause excessive tire wear and may dam-
age the transmission, transfer case and
differential gears.
8-42 Maintenance and do-it-yourself
If excessive tire wear is found, it is recommended
that all four tires be replaced with tires of the
same size, brand, construction and tread pattern.
The tire pressure and wheel alignment should
also be checked and corrected as necessary.
Contact a NISSAN dealer.
Wheel balance
Unbalanced wheels may affect vehicle handling
and tire life. Even with regular use, wheels can get
out of balance. Therefore, they should be bal-
anced as required.
Wheel balance service should be per-
formed with the wheels off the vehicle.
Spin balancing the wheels on the vehicle
could lead to mechanical damage.
●For additional information regarding
tires, refer to “Important Tire Safety
Information” (US) or “Tire Safety Infor-
mation” (Canada) in the Warranty In-
formation Booklet.
Care of wheels
●Wash the wheels when washing the vehicle
to maintain their appearance.
●Clean the inner side of the wheels when the
wheel is changed or the underside of the
vehicle is washed.
●Do not use abrasive cleaners when washing
the wheels.
●Inspect wheel rims regularly for dents or
corrosion. Such damage may cause loss of
pressure or poor seal at the tire bead.
●NISSAN recommends waxing the road
wheels to protect against road salt in areas
where it is used during winter.
Maintenance and do-it-yourself 8-43
MEMO
8-44 Maintenance and do-it-yourself

9 Technical and consumer information
Capacities and recommended fuel/lubricants .........9-2
Fuel recommendation
(without Flexible Fuel Vehicle option). .............9-3
Flexible fuel vehicle (FFV) fuel
recommendation (if so equipped).................9-4
Engine oil and oil filter recommendations ..........9-6
Air conditioner system refrigerant and oil
recommendations ..............................9-7
Specifications.....................................9-8
Engine ........................................9-8
Wheels and tires ...............................9-9
Dimensions and weights ........................9-9
When traveling or registering your vehicle in
another country ..................................9-10
Vehicle identification ..............................9-10
Vehicle identification number (VIN) plate .........9-10
Vehicle identification number
(chassis number) ..............................9-10
Engine serial number...........................9-11
F.M.V.S.S./C.M.V.S.S. certification label ..........9-11
Emission control information label ...............9-11
Tire and loading information label................9-12
Air conditioner specification label................9-12
Installing front license plate ........................9-12
Vehicle loading information ........................9-13
Terms ........................................9-13
Vehicle load capacity ..........................9-13
Securing the load..............................9-15
Utili-track™ channel system (if so equipped) ......9-16
Loading tips . . . ...............................9-21
Truck-camper loading information ..................9-22
Crew Cab Models .............................9-22
King Cab models ..............................9-22
Special Body vehicles..........................9-22
Location for center of gravity....................9-22
Payload weight capacity........................9-23
Measurement of weights .......................9-23
Towing a trailer ...................................9-24
Maximum load limits ...........................9-24
Towing load/specification.......................9-28
Towing safety .................................9-30
Flat towing....................................9-39
Snow plow ......................................9-39
Uniform tire quality grading ........................9-40
Emission control system warranty ..................9-41
Reporting safety defects ..........................9-41
Readiness for inspection/maintenance (I/M) test .....9-42
Event Data Recorders (EDR).......................9-42
Owner’s Manual/Service Manual order information . . .9-43

The following are approximate capacities. The actual refill capacities may be a little different. When refilling, follow the procedure
described in the “Maintenance and do-it-yourself” section to determine the proper refill capacity.
Capacity (Approximate) Recommended Fluids and Lubricants
US measure Imp measure Liter
Fuel 28 gal 23-1/4 gal 105.8 See “Fuel Recommendation (without Flexible Fuel Vehicle Option)” or “Flexible Fuel Ve-
hicle (FFV) Fuel Recommendation” later in this section.
Engine oil *7
Drain and Refill
With oil filter change 6-7/8 qt 5-3/4 qt 6.5 • Engine oil with API Certification Mark *1
• Viscosity SAE 5W-30
Without oil filter
change 6-1/2 qt 5-1/2 qt 6.2
Cooling system With reservoir 3-1/4 gal 2-5/8 gal 12.2 Pre-diluted Genuine NISSAN Long Life Antifreeze/Coolant (blue) or equivalent
Automatic transmission fluid Refill to the proper level according to the instruc-
tions in the “Maintenance and do-it-yourself” section. Genuine NISSAN Matic S ATF *2
Power steering fluid (PSF) Genuine NISSAN PSF or equivalent *3
Brake fluid Genuine NISSAN Super Heavy Duty Brake Fluid *4 or equivalent DOT 3
Multi-purpose grease — — — NLGI No. 2 (Lithium Soap base)
Air conditioning system refrigerant — — — HFC-134a (R-134a) *5
Air conditioning system oil — — — Genuine NISSAN A/C System Oil Type S or equivalent *5
Transfer fluid 2-1/8 qt 1-3/4 qt 2.0 Genuine NISSAN Matic D ATF recommended*6
Front final drive oil 3-3/8 pt 2-7/8 pt 1.6 Genuine NISSAN Differential Oil Hypoid Super GL-5 80W-90 or API GL-5, Viscosity
SAE 80W-90 *8
Rear final drive oil 4-1/4 pt 3-1/2 pt 2.0 Genuine NISSAN Differential Oil Synthetic 75W-140 or API GL-5 synthetic gear oil, Vis-
cosity SAE 75W-140 *9
Windshield-washer fluid (shared be-
tween front and rear wipers) 1-1/4 gal 1 gal 4.5 Genuine NISSAN Windshield Washer Concentrate Cleaner & Antifreeze or equivalent
*1: For further details, see “Engine oil and oil filter recommendations” in this section.
*2: If Genuine NISSAN Matic S ATF is not available, Genuine NISSAN Matic J ATF may also be used. Using automatic transmission fluid other than Genuine NISSAN Matic S ATF or
Genuine NISSAN Matic J AFT will cause deterioration in driveability and automatic transmission durability, and may damage the automatic transmission, which is not covered by the
NISSAN new vehicle limited warranty.
*3: DEXRON™ VI type ATF may also be used.
*4: Available in mainland USA through a NISSAN dealer.
*5: For further details, see “Air conditioner specification label” in this section.
*6: Using fluid other than Genuine NISSAN Matic D ATF will cause deterioration in driveability and transfer durability, and may damage the transfer, which is not covered by the NISSAN
new vehicle limited warranty.
*7: For further details, see “Changing engine oil” in the “Maintenance and do-it-yourself” section.
*8: For hot climates, Viscosity SAE 90 is suitable for ambient temperatures above 0° C (32° F).
*9: See a NISSAN dealer for service for synthetic oil.
CAPACITIES AND RECOMMENDED
FUEL/LUBRICANTS
9-2 Technical and consumer information

FUEL RECOMMENDATION (without
Flexible Fuel Vehicle option)
Use unleaded regular gasoline with an octane
rating of at least 87 AKI (Anti-Knock Index) num-
ber (Research octane number 91).
CAUTION
●Only vehicles with the E-85 filler door
label can operate on E-85. Fuel system
or other damage can occur if E-85 is
used in vehicles that are not designed
to run on E-85.
●Using a fuel other than that specified
could adversely affect the emission
control system, and may also affect the
warranty coverage.
●Under no circumstances should a
leaded gasoline be used, because this
will damage the three-way catalyst.
●Do not use E-85 fuel in your vehicle.
Your vehicle is not designed to run on
E-85 fuel. Using E-85 fuel can damage
the fuel system components and is not
covered by the NISSAN new vehicle lim-
ited warranty.
Gasoline specifications
NISSAN recommends using gasoline that meets
the World-Wide Fuel Charter (WWFC) specifi-
cations where it is available. Many of the automo-
bile manufacturers developed this specification
to improve emission control system and vehicle
performance. Ask your service station manager if
the gasoline meets the WWFC specifications.
Reformulated gasoline
Some fuel suppliers are now producing reformu-
lated gasolines. These gasolines are specially
designed to reduce vehicle emissions. NISSAN
supports efforts towards cleaner air and sug-
gests that you use reformulated gasoline when
available.
Gasoline containing oxygenates
Some fuel suppliers sell gasoline containing oxy-
genates such as ethanol, MTBE and methanol
with or without advertising their presence.
NISSAN does not recommend the use of fuels of
which the oxygenate content and the fuel com-
patibility for your NISSAN cannot be readily de-
termined. If in doubt, ask your service station
manager.
If you use oxygenate-blend gasoline, please take
the following precautions as the usage of such
fuels may cause vehicle performance problems
and/or fuel system damage.
●The fuel should be unleaded and have
an octane rating no lower than that
recommended for unleaded gasoline.
●If an oxygenate-blend other than
methanol blend is used, it should con-
tain no more than 10% oxygenate.
(MTBE may, however, be added up to
15%.)
●If a methanol blend is used, it should
contain no more than 5% methanol
(methyl alcohol, wood alcohol). It
should also contain a suitable amount
of appropriate cosolvents and corro-
sion inhibitors. If not properly formu-
lated with appropriate cosolvents and
corrosion inhibitors, such methanol
blends may cause fuel system damage
and/or vehicle performance problems.
At this time, sufficient data is not avail-
able to ensure that all methanol blends
are suitable for use in NISSAN ve-
hicles.
If any driveability problems such as engine stall-
ing and difficult hot-starting are experienced after
using oxygenate-blend fuels, immediately
change to a non-oxygenate fuel or a fuel with a
low blend of MTBE.
Technical and consumer information 9-3

Take care not to spill gasoline during refu-
eling. Gasoline containing oxygenates can
cause paint damage.
E–85 fuel
E-85 fuel is a mixture of approximately 85% fuel
ethanol and 15% unleaded gasoline. E-85 can
only be used in a Flexible Fuel Vehicle (FFV). Do
not use E-85 in your vehicle. U.S. government
regulations require fuel ethanol dispensing
pumps to be identified by a small, square, orange
and black label with the common abbreviation or
the appropriate percentage for that region.
Aftermarket fuel additives
NISSAN does not recommend the use of any
aftermarket fuel additives (for example, fuel injec-
tor cleaner, octane booster, intake valve deposit
removers, etc.) which are sold commercially.
Many of these additives intended for gum, varnish
or deposit removal may contain active solvents or
similar ingredients that can be harmful to the fuel
system and engine.
Octane rating tips
Using unleaded gasoline with an octane
rating lower than recommended can cause
persistent, heavy “spark knock.” (“Spark
knock” is a metallic rapping noise.) If se-
vere, this can lead to engine damage. If you
detect a persistent heavy spark knock even
when using gasoline of the stated octane
rating, or if you hear steady spark knock
while holding a steady speed on level
roads, have a NISSAN dealer correct the
condition. Failure to correct the condition
is misuse of the vehicle, for which NISSAN
is not responsible.
Incorrect ignition timing may result in spark
knock, after-run and/or overheating, which may
cause excessive fuel consumption or engine
damage. If any of the above symptoms are en-
countered, have your vehicle checked at a
NISSAN dealer.
However, now and then you may notice
light spark knock for a short time while
accelerating or driving up hills. This is not a
cause for concern, because you get the
greatest fuel benefit when there is light
spark knock for a short time under heavy
engine load.
CAUTION
●Your vehicle is not designed to run on
E-85 fuel. Using E-85 fuel in a vehicle
not specifically designed for E-85 fuel
can damage fuel system components
and is not covered by the NISSAN new
vehicle limited warranty.
●E-85 is a mixture of approximately 85%
fuel ethanol and 15% unleaded
gasoline.
●U.S. government regulations require
ethanol dispensing pumps to be identi-
fied by a small, square, orange and
black label with the common abbrevia-
tion or the appropriate percentage for
that region.
FLEXIBLE FUEL VEHICLE (FFV) FUEL
RECOMMENDATION (if so equipped)
Your vehicle is designed to use (E-85) Fuel Etha-
nol, “Regular” unleaded regular gasoline or any
percentage of the two fuels combined.
U.S. government regulations require Fuel
Ethanol dispensing pumps to have a small,
square, orange and black label with the
common abbreviation or the appropriate
percentage for that region.
CAUTION
Use of other fuels such as Fuel Methanol
may cause powertrain damage or a loss of
vehicle performance.
9-4 Technical and consumer information

General information
This information is for Flexible Fuel vehicles (FFV)
only. FFV vehicles can be identified by the fuel
filler door label that states Ethanol (E-85) or
Unleaded Gasoline Only. This section only cov-
ers those subjects that are unique to Flexible Fuel
vehicles.
CAUTION
Only vehicles with the E-85 filler door label
can operate on E-85. Fuel system or other
damage can occur if E-85 is used in vehicles
that are not designed to run on E-85.
Ethanol Fuel (E-85)
E-85 is a mixture of approximately 85% fuel etha-
nol and 15% unleaded gasoline.
WARNING
●Ethanol vapors are extremely flam-
mable and could cause serious per-
sonal injury.
●Never have any smoking materials lit in
or near the vehicle when removing the
fuel filler cap or filling the tank.
●Do not use E-85 as a cleaning agent and
never use it near an open flame.
Fuel requirements
Your vehicle will operate on both unleaded regular
gasoline with an octane rating of at least 87 AKI
(Anti-Knock Index) number (Research octane num-
ber 91), or E-85 fuel, or any mixture of these two.
For the best starting and vehicle driveability re-
sults, do not continually switch between E-85
and unleaded regular gasoline. If you must switch
fuels, NISSAN recommends the following:
●do not switch when the fuel gauge indicates
less than 1/4 full
●add more than 5 gallons of fuel
●operate the vehicle immediately after refuel-
ing for a period of at least 5 minutes
NOTE:
When the ambient temperature is above
90°F (32°C), you may experience hard start-
ing and rough idle following start up even if
the above recommendations are followed.
Starting
The characteristics of E-85 fuel make it unsuit-
able for use when ambient temperatures fall be-
low 0°F (-18°C). In the range of 0°F (-18°C) to
32°F (0°C), you may experience an increase in
the time it takes for you engine to start, and a
deterioration in drivability (sags and/or hesita-
tions) until the engine is fully warmed up.
Fuel consumption
Because E-85 fuel contains less energy per gal-
lon than gasoline, you will experience an increase
in fuel consumption. You can expect your fuel
mileage to decrease by about 30% compared to
gasoline operation.
Replacement parts
Many components in your Flexible Fuel Vehicle
(FFV) are designed to be compatible with etha-
nol. Always be sure that your vehicle is serviced
with correct ethanol compatible parts.
CAUTION
Replacing fuel system components with
non-ethanol compatible components can
damage your vehicle and may also affect
the warranty coverage.
Maintenance
If you operate your vehicle using E-85 fuel, follow
the correct maintenance log shown in the
“NISSAN Service and Maintenance Guide”.
CAUTION
Do not use ethanol mixture greater than
85% in your vehicle. It will cause difficulty
in cold starting and may affect drivability.
Technical and consumer information 9-5

ENGINE OIL AND OIL FILTER
RECOMMENDATIONS
Selecting the correct oil
It is essential to choose the correct grade, quality
and viscosity engine oil to ensure satisfactory
engine life and performance. See “Capacities
and recommended fuel/lubricants” earlier in this
section. NISSAN recommends the use of an
energy conserving oil in order to improve fuel
economy.
Select only engine oils that meet the American
Petroleum Institute (API) certification or Interna-
tional Lubricant Standardization and Approval
Committee (ILSAC) certification and SAE vis-
cosity standard. These oils have the API certifica-
tion mark on the front of the container. Oils which
do not have the specified quality label should not
be used as they could cause engine damage.
Oil additives
NISSAN does not recommend the use of oil
additives. The use of an oil additive is not neces-
sary when the proper oil type is used and main-
tenance intervals are followed.
Oil which may contain foreign matter or has been
previously used should not be used.
Oil viscosity
The engine oil viscosity or thickness changes
with temperature. Because of this, it is important
to select the engine oil viscosity based on the
temperatures at which the vehicle will be oper-
ated before the next oil change. Choosing an oil
viscosity other than that recommended could
cause serious engine damage.
Selecting the correct oil filter
Your new NISSAN vehicle is equipped with a
high-quality genuine NISSAN oil filter. When re-
placing, use a genuine NISSAN oil filter or its
equivalent for the reason described in “Change
intervals.”
Change intervals
The oil and oil filter change intervals for your
engine are based on the use of the specified
quality oils and filters. Using engine oil and filters
that are not of the specified quality, or exceeding
recommended oil and filter change intervals
could reduce engine life. Damage to the engine
caused by improper maintenance or use of incor-
rect oil and filter quality and/or viscosity is not
covered by the NISSAN new vehicle limited war-
ranty.
WTI0183
9-6 Technical and consumer information

Your engine was filled with a high-quality engine
oil when it was built. You do not have to change
the oil before the first recommended change
interval. Oil and filter change intervals depend
upon how you use your vehicle.
Operation under the following conditions may
require more frequent oil and filter changes:
●repeated short distance driving at cold out-
side temperatures
●driving in dusty conditions
●extensive idling
●towing a trailer
●stop and go commuting
Refer to the “NISSAN Service and Maintenance
Guide” for the maintenance schedule.
AIR CONDITIONER SYSTEM
REFRIGERANT AND OIL
RECOMMENDATIONS
The air conditioner system in your NISSAN
vehicle must be charged with the refriger-
ant HFC-134a (R-134a) and NISSAN A/C
system oil Type S or the exact equivalents.
CAUTION
The use of any other refrigerant or oil will
cause severe damage to the air condition-
ing system and will require the replace-
ment of all air conditioner system
components.
The refrigerant HFC-134a (R-134a) in your
NISSAN vehicle does not harm the earth’s ozone
layer. Although this refrigerant does not affect the
earth’s atmosphere, certain government regula-
tions require the recovery and recycling of any
refrigerant during automotive air conditioner sys-
tem service. A NISSAN dealer has the trained
technicians and equipment needed to recover
and recycle your air conditioner system refriger-
ant.
Contact a NISSAN dealer when servicing your air
conditioner system.
Technical and consumer information 9-7

ENGINE
Model VK56DE
Type Gasoline, 4-cycle, DOHC
Cylinder arrangement 8-cylinder, V-block, Slanted at 90°
Bore x Stroke in (mm) 3.858 x 3.622 (98 x 92)
Displacement cu in (cm
3
) 338.78 (5,552)
Firing order 1–8–7–3–6–5–4–2
Idle speed
No adjustment is necessary.
A/T (in “N” position)
Ignition timing (degree B.T.D.C. at idle
speed)
CO % at idle
Spark plug Standard Model FFV Model
DILFR5A-11 DILFR5A-11D
Spark plug gap (Nominal) in (mm) 0.043 (1.1)
Camshaft operation Timing chain
This spark ignition system complies with the Canadian standard ICES-002.
SPECIFICATIONS
9-8 Technical and consumer information

WHEELS AND TIRES
Wheels
18 x 8.0JJ
20 x 8.0JJ
Tires
P265/70R18
P275/70R18
P275/60R20
Spare tire Full size
DIMENSIONS AND WEIGHTS
Overall length
Short wheel base (SWB) in (mm) 224.6 (5,704)
Long wheel base (LWB) in (mm) 244.3 (6,204)
Overall width in (mm) 79.5 (2,019)
Overall height
King Cab - SWB 4x2 (S, SV) in (mm) 74.6 (1,896)
4x4 (S, SV) in (mm) 76.1 (1,934)
4x4 (Pro-4X) in (mm) 76.6 (1,946)
King Cab - LWB 4x2 (S, SV) in (mm) 74.4 (1,891)
4x4 (S, SV) in (mm) 76.0 (1,931)
Crew Cab - SWB 4x2 (S, SV) in (mm) 74.7 (1,898)
4x2 (SL) in (mm) 75.1 (1,908)
4x4 (S, SV) in (mm) 76.3 (1,939)
4x4 (Pro-4X) in (mm) 76.9 (1,954)
4x4 (SL) in (mm) 76.7 (1,949)
Crew Cab - LWB 4x2 (S, SV) in (mm) 74.7 (1,898)
4x2 (SL) in (mm) 74.9 (1,903)
4x4 (S, SV) in (mm) 76.3 (1,939)
4x4 (Pro-4X) in (mm) 76.6 (1,946)
4x4 (SL) in (mm) 76.4 (1,941)
Front Track
18 inch tire in (mm) 67.9 (1,725)
20 inch tire in (mm) 68.1 (1,729)
Rear Track
18 inch tire in (mm) 67.9 (1,725)
20 inch tire in (mm) 68.1 (1,729)
Wheelbase
Short wheel base in (mm) 139.8 (3,550)
Long wheel base in (mm) 159.5 (4,050)
Gross vehicle weight rating lb (kg) See the “F.M.V.S.
S./C.M.V.S.S. cer-
tification label” on
the center pillar
between the driv-
er’s side front and
rear doors.
Gross axle weight rating
Front lb (kg)
Rear lb (kg)
Technical and consumer information 9-9

When planning to drive your NISSAN ve-
hicle in another country, you should first find
out if the fuel available is suitable for your vehi-
cle’s engine.
Using fuel with an octane rating that is too low
may cause engine damage. All gasoline vehicles
must be operated with unleaded gasoline. There-
fore, avoid taking your vehicle to areas where
appropriate fuel is not available.
When transferring the registration of your
vehicle to another country, state, province
or district, it may be necessary to modify the
vehicle to meet local laws and regulations.
The laws and regulations for motor vehicle emis-
sion control and safety standards vary according
to the country, state, province or district; there-
fore, vehicle specifications may differ.
When any vehicle is to be taken into an-
other country, state, province or district
and registered, its modifications, transpor-
tation, and registration are the responsibil-
ity of the user. NISSAN is not responsible
for any inconvenience that may result.
VEHICLE IDENTIFICATION NUMBER
(VIN) PLATE
The vehicle identification number (VIN) plate is
attached as shown. This number is the identifica-
tion for your vehicle and is used in the vehicle
registration.
VEHICLE IDENTIFICATION NUMBER
(chassis number)
The vehicle identification number is located as
shown.
LTI0085 LTI0086
WHEN TRAVELING OR REGISTERING
YOUR VEHICLE IN ANOTHER
COUNTRY
VEHICLE IDENTIFICATION
9-10 Technical and consumer information

ENGINE SERIAL NUMBER
The number is stamped on the engine as shown.
F.M.V.S.S./C.M.V.S.S.
CERTIFICATION LABEL
The Federal/Canadian Motor Vehicle Safety
Standard (F.M.V.S.S./C.M.V.S.S.) certification la-
bel is affixed as shown. This label contains valu-
able vehicle information, such as: Gross Vehicle
Weight Ratings (GVWR), Gross Axle Weight
Rating (GAWR), month and year of manufacture,
Vehicle Identification Number (VIN), etc. Review
it carefully.
EMISSION CONTROL
INFORMATION LABEL
The emission control information label is at-
tached to the underside of the hood as shown.
WTI0095 WTI0099 WTI0189
Technical and consumer information 9-11

TIRE AND LOADING INFORMATION
LABEL
The cold tire pressure is shown on the Tire and
Loading Information label. The label is located as
shown.
AIR CONDITIONER SPECIFICATION
LABEL
The air conditioner specification label is affixed to
the underside of the hood as shown.
Use the following steps to mount the front license
plate:
1. Make holes on the plastic finisher at the
location mark (small dimple) using a 0.20 in
(5 mm) drill. Apply light pressure to the drill.
Install the license plate holder using the two
screws provided with the holder.
2. Mount the license plate using two M6-
14mm bolts.
License plate bolt tightening torque:
3.8 - 4.7 ft-lb (5.10 - 6.37 N·m)
WTI0100 WTI0220 LTI0093
INSTALLING FRONT LICENSE PLATE
9-12 Technical and consumer information

WARNING
●It is extremely dangerous to ride
in a cargo area inside a vehicle. In
a collision, people riding in these
areas are more likely to be seri-
ously injured or killed.
●Do not allow people to ride in any
area of your vehicle that is not
equipped with seats and seat
belts.
●Be sure everyone in your vehicle
is in a seat and using a seat belt
properly.
TERMS
It is important to familiarize yourself with
the following terms before loading your
vehicle:
●Curb Weight (actual weight of your
vehicle) - vehicle weight including:
standard and optional equipment, flu-
ids, emergency tools, and spare tire
assembly. This weight does not in-
clude passengers and cargo.
●GVW (Gross Vehicle Weight) - curb
weight plus the combined weight of
passengers and cargo.
●GVWR (Gross Vehicle Weight Rat-
ing) - maximum total combined
weight of the unloaded vehicle, pas-
sengers, luggage, hitch, trailer
tongue load and any other optional
equipment. This information is lo-
cated on the F.M.V.S.S./C.M.V.S.S.
certification label.
●GAWR (Gross Axle Weight Rating) -
maximum weight (load) limit specified
for the front or rear axle. This informa-
tion is located on the
F.M.V.S.S./C.M.V.S.S. certification
label.
●GCWR (Gross Combined Weight
rating) - The maximum total weight
rating of the vehicle, passengers,
cargo, and trailer.
●Vehicle Capacity Weight, Load limit,
Total load capacity - maximum total
weight limit specified of the load
(passengers and cargo) for the ve-
hicle. This is the maximum combined
weight of occupants and cargo that
can be loaded into the vehicle. If the
vehicle is used to tow a trailer, the
trailer tongue weight must be in-
cluded as part of the cargo load. This
information is located on the Tire and
Loading Information label.
●Cargo capacity - permissible weight
of cargo, the subtracted weight of
occupants from the load limit.
VEHICLE LOAD CAPACITY
Before driving a loaded vehicle, confirm
that you do not exceed the Gross Vehicle
Weight Rating (GVWR) or the Gross Axle
Weight Rating (GAWR) for your vehicle.
Both the GVWR and GAWR are located
on the F.M.V.S.S./C.M.V.S.S. certification
label. See “Measurement of weights” later
in this section.
VEHICLE LOADING INFORMATION
Technical and consumer information 9-13

Do not exceed the load limit of your ve-
hicle shown as “The combined weight of
occupants and cargo” on the Tire and
Loading Information label. Do not exceed
the number of occupants shown as
“Seating Capacity” on the Tire and Load-
ing Information label.
To get “the combined weight of occu-
pants and cargo”, add the weight of all
occupants, then add the total luggage
weight. Examples are shown in the follow-
ing illustration.
Example
LTI0152
9-14 Technical and consumer information

Steps for determining correct load
limit
1. Locate the statement “The combined
weight of occupants and cargo
should never exceed XXX kg or XXX
lbs” on your vehicle’s placard.
2. Determine the combined weight of
the driver and passengers that will be
riding in your vehicle.
3. Subtract the combined weight of the
driver and passengers from XXX kg
or XXX lbs.
4. The resulting figure equals the avail-
able amount of cargo and luggage
load capacity. For example, if the
XXX amount equals 1,400 lbs. and
there will be five 150 lb. passengers
in your vehicle, the amount of avail-
able cargo and luggage load capac-
ity is 650 lbs. (1,400-750 (5 X 150)
= 650 lbs) or (640-340 (5 X 70) =
300 kg.)
5. Determine the combined weight of
luggage and cargo being loaded on
the vehicle. That weight may not
safely exceed the available cargo and
luggage load capacity calculated in
Step 4.
6. If your vehicle will be towing a trailer,
load from your trailer will be trans-
ferred to your vehicle. Consult this
manual to determine how this re-
duces the available cargo and lug-
gage load capacity of your vehicle.
Before driving a loaded vehicle, confirm
that you do not exceed the Gross Vehicle
Weight Rating (GVWR) or the Gross Axle
Weight Rating (GAWR) for your vehicle.
See “Measurement of weights” later in
this section.
Also check tires for proper inflation pres-
sures. See the Tire and Loading Informa-
tion label.
SECURING THE LOAD
For your convenience, tie down hooks are placed
at each corner of the truck box. These may be
used to help secure cargo loaded into the truck
box.
LTI0102
Technical and consumer information 9-15

WARNING
●Properly secure all cargo with ropes or
straps to help prevent it from sliding or
shifting. Do not place cargo higher than
the seatbacks. In a sudden stop or col-
lision, unsecured cargo could cause
personal injury.
●Do not load your vehicle any heavier
than the GVWR or the maximum front
and rear GAWRs. If you do, parts of your
vehicle can break, tire damage could
occur, or it can change the way your
vehicle handles. This could result in
loss of control and cause personal
injury. 1. Side channels
2. Header channel
3. Channel sections
4. Floor channels
UTILI-TRACK™ CHANNEL SYSTEM
(if so equipped)
WARNING
●Properly install and tighten the tie-
down cleats into the Utili-track™ chan-
nel system. Also, do not attach any rope
or straps directly to the channel. Failure
to properly install the tie-down cleats or
attaching ropes or straps directly to the
channel can cause the cargo to become
unsecured. In a sudden stop or colli-
sion, unsecured cargo could cause per-
sonal injury.
●Properly secure all cargo with ropes or
straps to help prevent it from sliding or
shifting. In a sudden stop or collision,
unsecured cargo could cause personal
injury.
The Utili-track™ channel system allows you to
move tie-down clamps in the bed to the best
location to secure a load.
The tie-down cleats must be installed so the
clamp is properly seated in the notches in the rail.
If the tie-down cleat is not seated in the notches,
it will not be flush with the rail and cannot be
properly tightened. The bolt in the center of the
cleat must be tightened hand tight (20 – 40 inch
pounds)
LTI0107
9-16 Technical and consumer information

Check the tightness of the tie-down cleat peri-
odically during a trip to make sure the center bolt
has not become loose.
Install the tie-down cleat as follows:
1. Remove the channel protectors by sliding
them out the back of the truck bed. Properly
store the channel protectors.
2. Loosen the center bolt completely.
3. Insert the cleat into the channel perpendicu-
lar to the channel as shown. Then rotate the
cleat clockwise 90° and slide it to the de-
sired location.
4. Position the cleat so the nubs on the bottom
fully seat into the channel detents.
LTI0103
LTI0104
Technical and consumer information 9-17

5. There should be no gap between the bottom
of the cleat and the top of the channel.
Tighten the center bolt hand tight (20-40
inch pounds).
WTI0124
9-18 Technical and consumer information

CAUTION
●Install only one cleat per section of
channel.
●Applying loads at angles to the cleats
greater then 45° or loads greater than
150 lbs. (header and floor channels) or
200 lbs. (side channels) may cause
damage to the channel or bed.
LTI0106
Technical and consumer information 9-19

WARNING
Do not install accessories over the gap
between the front and rear side channels.
Doing this could affect the rear structure
in certain rear impacts, which could result
in serious injury.
CAUTION
Properly secure all cargo with ropes or
straps to prevent it from sliding or shifting.
Use the channel end stoppers to help se-
cure items in the channels from sliding off
the end of the truck bed.
Channel end stoppers
The channel end stoppers should be used to help
prevent accessories installed in the channels
from sliding or shifting off the end of the truck
bed.
They must be installed so they are properly
seated in the detents in the channel.
1 correct installation, 2 incorrect installation
LTI0123 WTI0119
9-20 Technical and consumer information

Install the channels end stoppers as follows:
1. Remove the channel protectors by sliding
them out the back of the truck bed. Properly
store the channel protectors.
2. Loosen the bolt on the center of the end
stopper with the provided wrench and insert
it into the channel.
3. Position the end stopper to the desired lo-
cation on the channel so the nubs on the
bottom of the end stopper fully seat into the
channel detents.
4. Tighten the bolt on the center of the end
stopper with the provided wrench.
LOADING TIPS
●The GVW must not exceed GVWR
or GAWR as specified on the
F.M.V.S.S./C.M.V.S.S. certification
label.
●Do not load the front and rear axle to
the GAWR. Doing so will exceed the
GVWR.
WARNING
●Properly secure all cargo with
ropes or straps to help prevent it
from sliding or shifting. Do not
place cargo higher than the seat-
backs. In a sudden stop or colli-
sion, unsecured cargo could
cause personal injury.
●Do not load your vehicle any
heavier than the GVWR or the
maximum front and rear GAWRs.
If you do, parts of your vehicle
can break, tire damage could oc-
cur, or it can change the way your
vehicle handles. This could result
in loss of control and cause per-
sonal injury.
●Overloading not only can shorten
the life of your vehicle and the
tire, but can also cause unsafe
vehicle handling and longer brak-
ing distances. This may cause a
premature tire failure which
could result in a serious accident
and personal injury. Failures
caused by overloading are not
covered by the vehicle’s
warranty.
Technical and consumer information 9-21

CREW CAB MODELS
Crew Cab short wheel base models should
not be used to carry a slide-in camper.
KING CAB MODELS
This information is provided for you to properly
install a slide-in camper and is based on the
National Highway Traffic Safety Administration
regulations. It is recommended that, before in-
stalling the camper, you carefully read the follow-
ing information and ensure that the camper
meets the specifications.
This information may not apply to some Canada
model vehicles.
SPECIAL BODY VEHICLES
Some vehicles are equipped with commercial or
camper bodies. However, this Owner’s Manual
does not cover these options. For further infor-
mation, please refer to the body manufacturer’s
instruction manual.
LOCATION FOR CENTER OF
GRAVITY
The illustration indicates the recommended
cargo center of gravity location.
King Cab short wheel base:
L1 = 43.9 in (1,115.7 mm)
Crew Cab long wheel base:
L1 = 47.9 in (1,215.7 mm)
WARNING
Improper loading may be dangerous. If a
load is too far back, it can affect handling
characteristics. If a load is too far forward,
the front axle may be overloaded.
WTI0195
TRUCK-CAMPER LOADING
INFORMATION
9-22 Technical and consumer information

When the truck is used to carry a slide-in camper,
the total cargo load of the truck consists of the
camper manufacturer’s weight figure, plus:
●the weight of installed additional camper
equipment not included in the camper
manufacturer’s weight figure,
●the weight of camper cargo,
●and the weight of occupants in the camper.
The total cargo load should not exceed the
truck’s pay load weight rating and the camper’s
center of gravity should fall within the truck’s
recommended center of gravity location when
installed.
WARNING
Overloading or improper loading can ad-
versely affect vehicle handling, braking
and performance and may lead to
accidents.
PAYLOAD WEIGHT CAPACITY
The vehicle payload weight capacity shown on
the Tire and Loading Information label, see “Tire
and Loading Information label” in this section,
indicates the maximum total weight of passen-
gers, optional equipment (air conditioning, trailer
hitch, etc) and cargo that your vehicle is designed
to carry.
Before driving a loaded vehicle, confirm that you
do not exceed the Gross Vehicle Weight Rating
(GVWR) or the Gross Axle Weight Rating
(GAWR) for your vehicle. See ’’Vehicle Loading
Information’’ earlier in this section for details.
Also check tires for proper inflation pressures.
See the Tire and Loading Information label.
MEASUREMENT OF WEIGHTS
Secure loose items to prevent weight
shifts that could affect the balance of your
vehicle. When the vehicle is loaded, drive
to a scale and weigh the front and the rear
wheels separately to determine axle
loads. Individual axle loads should not ex-
ceed either of the gross axle weight rat-
ings (GAWR). The total of the axle loads
should not exceed the gross vehicle
weight rating (GVWR). These ratings are
given on the vehicle certification label. If
weight ratings are exceeded, move or re-
move items to bring all weights below the
ratings.
LTI0129
Technical and consumer information 9-23

WARNING
Overloading or improper loading of a
trailer and its cargo can adversely affect
vehicle handling, braking and perfor-
mance and may lead to accidents.
CAUTION
●Do not tow a trailer or haul a heavy load
for the first 500 miles (800 km). Your
engine, axle or other parts could be
damaged.
●For the first 500 miles (800 km) that you
tow a trailer, do not drive over 50 mph
(80 km/h) and do not make starts at full
throttle. This helps the engine and other
parts of your vehicle wear in at the
heavier loads.
Your new vehicle was designed to be used pri-
marily to carry passengers and cargo. Remember
that towing a trailer places additional loads on
your vehicle’s engine, drive train, steering, brak-
ing and other systems.
A NISSAN Towing Guide (U.S. only) is available
on the website at www.nissanusa.com. This
guide includes information on trailer towing ca-
pability and the special equipment required for
proper towing.
MAXIMUM LOAD LIMITS
Maximum trailer loads
Never allow the total trailer load to exceed the
value specified in the “Towing
Load/Specification” chart found later in this sec-
tion. The total trailer load equals trailer weight
plus its cargo weight.
●When towing a trailer load of 3,500 lbs.
(1,587 kg) or more, trailers with a brake
system MUST be used.
The maximum Gross Combined Weight Rating
(GCWR) should not exceed the value specified
in the following “Towing Load/Specification”
chart. The GCWR equals the combined weight of the
towing vehicle (including passengers and cargo)
plus the total trailer load. Towing loads greater
than these or using improper towing equipment
could adversely affect vehicle handling, braking
and performance.
The ability of your vehicle to tow a trailer is not
only related to the maximum trailer loads, but also
the places you plan to tow. Tow weights appro-
priate for level highway driving may have to be
reduced for low traction situations (for example,
on slippery boat ramps).
LTI0161
TOWING A TRAILER
9-24 Technical and consumer information

Temperature conditions can also affect towing.
For example, towing a heavy trailer in high outside
temperatures on graded roads can affect engine
performance and cause overheating. The engine
protection mode, which helps reduce the chance
of engine damage, could activate and automati-
cally decrease engine power. Vehicle speed may
decrease under high load. Plan your trip carefully
to account for trailer and vehicle load, weather
and road conditions.
WARNING
Overheating can result in reduced engine
power and vehicle speed. The reduced
speed may be lower than other traffic,
which could increase the chance of a col-
lision. Be especially careful when driving.
If the vehicle cannot maintain a safe driv-
ing speed, pull to the side of the road in a
safe area. Allow the engine to cool and
return to normal operation. See “If your
vehicle overheats” in the “In case of emer-
gency” section of this manual.
CAUTION
Vehicle damage resulting from improper
towing procedures is not covered by
NISSAN warranties.
Tongue load
When using a weight carrying or a weight distrib-
uting hitch, keep the tongue load between 10 -
15 percent of the total trailer load or use the
trailer tongue load specified by the trailer manu-
facturer. The tongue load must be within the
maximum tongue load limits shown in the follow-
ing “Towing Load/Specification” chart. If the
tongue load becomes excessive, rearrange cargo
to allow for proper tongue load.
King pin load
When using a 5th wheel hitch, keep the tongue
load between 15 - 25 percent of the total trailer
load within the maximum king pin load limits
shown in the following “Towing
Load/Specification” chart. If the king pin load
becomes excessive, rearrange cargo to allow for
proper king pin load.
WTI0160
Technical and consumer information 9-25

Maximum Gross Vehicle Weight
(GVW)/maximum Gross Axle Weight
(GAW)
The GVW of the towing vehicle must not exceed
the Gross Vehicle Weight Rating (GVWR)
shown on the F.M.V.S.S./C.M.V.S.S. certification
label. The GVW equals the combined weight of
the unloaded vehicle, passengers, luggage,
hitch, trailer tongue load and any other optional
equipment. In addition, front or rear GAW must
not exceed the Gross Axle Weight Rating
(GAWR) shown on the F.M.V.S.S./C.M.V.S.S.
certification label.
Towing capacities are calculated assuming a
base vehicle with driver and any options required
to achieve the rating. Additional passengers,
cargo and/or optional equipment, such as the
trailer hitch, will add weight to the vehicle and
reduce your vehicle’s maximum towing capacity
and trailer tongue load.
The vehicle and trailer need to be weighed to
confirm the vehicle is within the GVWR, Front
GAWR, Rear GAWR, Gross Combined Weight
Rating (GCWR) and Towing capacity.
All vehicle and trailer weights can be measured
using platform type scales commonly found at
truck stops, highway weigh stations, building
supply centers or salvage yards.
To determine the available payload capacity for
tongue/king pin load, use the following proce-
dure.
1. Locate the GVWR on the
F.M.V.S.S./C.M.V.S.S. certification label.
2. Weigh your vehicle on the scale with all of
the passengers and cargo that are normally
in the vehicle when towing a trailer.
3. Subtract the actual vehicle weight from the
GVWR. The remaining amount is the avail-
able maximum tongue/king pin load.
To determine the available towing capacity, use
the following procedure.
1. Find the GCWR for your vehicle on the
⬙Towing Load/Specification⬙chart found
later in this section.
2. Subtract the actual vehicle weight from the
GCWR. The remaining amount is the avail-
able maximum towing capacity.
To determine the Gross Trailer Weight, weigh
your trailer on a scale with all equipment and
cargo, that are normally in the trailer when it is
towed. Make sure the Gross trailer weight is not
more than the Gross Trailer Weight Rating shown
on the trailer and is not more than the calculated
available maximum towing capacity.
Also weigh the front and rear axles on the scale to
make sure the Front Gross Axle Weight and Rear
Gross Axle Weight are not more than Front
Gross Axle Weight and Rear Gross Axle Weight
on the F.M.V.S.S./C.M.V.S.S. certification label.
The cargo in the trailer and vehicle may need to
be moved or removed to meet the specified rat-
ings.
Example:
●Gross Vehicle Weight (GVW) as weighed
on a scale - including passengers, cargo and
hitch - 6,200 lb. (2,812 kg).
CA0036
9-26 Technical and consumer information

●Gross Vehicle Weight Rating (GVWR) from
F.M.V.S.S./C.M.V.S.S. certification label -
7,100 lb. (3,220 kg).
●Gross Combined Weight Rating (GCWR)
from “Towing Load/Specification⬙chart -
15,100 lb. (6,848 kg).
●Maximum Trailer towing capacity from “Tow-
ing Load/Specification⬙chart - 9,200 lb.
(4,173 kg).
7,100 lb. (3,220 kg) GVWR
– 6,200 lb. (2,812 kg) GVW
= 900 lb. (408 kg) Available for tongue/
king pin weight
15,100 lb. (6,848 kg) GCWR
– 6,200 lb. (2,812 kg) GVW
= 8,900 lb. (4,036 kg) Capacity available for
towing
900 lb. (408 kg) Available tongue weight
/ 8,900 lb. (4,036 kg) Available capacity
= 10 % tongue weight
The available towing capacity may be less than
the maximum towing capacity due to the passen-
ger and cargo load in the vehicle.
Remember to keep trailer tongue weight be-
tween 10 - 15% of the trailer weight or within the
trailer tongue load specification recommended
by the trailer manufacturer. If the tongue load
becomes excessive, rearrange the cargo to ob-
tain the proper tongue load. Do not exceed the
maximum tongue weight specification shown in
the “Towing load/specification” chart even if the
calculated available tongue weight is greater
than 15%. If the calculated tongue weight is less
than 10% , reduce the total trailer weight to
match the available tongue weight.
Always verify that available capacities are within
the required ratings.
Technical and consumer information 9-27

TOWING LOAD/SPECIFICATION
Towing load specification chart with tow package — short wheel base
2WD 4WD
KC CC KC CC
SV SV SL SV Pro-4X SV Pro-4X SL
Maximum Towing
Capacity *1, *2, *3
9,500 lb.
(4,309 kg)
9,400 lb.
(4,263 kg)
9,200 lb.
(4,173 kg)
9,400 lb.
(4,263 kg)
9,300 lb.
(4,218 kg)
9,300 lb.
(4,218 kg)
9,300 lb.
(4,218 kg)
9,100 lb.
(4,127 kg)
Maximum Tongue load *2, *3 950 lb. (431 kg) 940 lb. (426 kg) 920 lb. (417 kg) 940 lb. (426 kg) 930 lb. (422 kg) 930 lb. (422 kg) 930 lb. (422 kg) 910 lb. (413 kg)
Maximum King pin load 1,425 lb.
(646 kg)
1,410 lb.
(639 kg)
1,380 lb.
(626 kg)
1,410 lb.
(639 kg)
1,395 lb.
(633 kg)
1,395 lb.
(633 kg)
1,395 lb.
(633 kg)
1,365 lb.
(619 kg)
Maximum Gross Combined
Weight Rating
15,100 lb.
(6,848 kg)
15,100 lb.
(6,848 kg)
15,100 lb.
(6,848 kg)
15,100 lb.
(6,848 kg)
15,100 lb.
(6,848 kg)
15,100 lb.
(6,848 kg)
15,100 lb.
(6,848 kg)
15,100 lb.
(6,848 kg)
Towing load specification chart with tow package — long wheel base
2WD 4WD
CC CC
SV SV
Maximum Towing
Capacity *1, *2, *3
9,300 lb. (4,218 kg) 9,100 lb. (4,127 kg)
Maximum Tongue load *2, *3 930 lb. (422 kg) 910 lb. (413 kg)
Maximum King pin load 1,395 lb. (633 kg) 1,365 lb. (619 kg)
Maximum Gross Combined Weight Rating 15,100 lb. (6,848 kg) 15,100 lb. (6,848 kg)
9-28 Technical and consumer information

Towing load specification chart without tow package — short wheel base
2WD 4WD
KC CC KC CC
S SV S SV SL S SV S SV SL
Maximum Towing
capacity*1, *2, *3
7,400 lb.
(3,356 kg)
7,400 lb.
(3,356 kg)
7,400 lb.
(3,356 kg)
7,400 lb.
(3,356 kg)
7,100 lb.
(3,220 kg)
7,400 lb.
(3,356 kg)
7,400 lb.
(3,356 kg)
7,300 lb.
(3,111 kg)
7,300 lb.
(3,111 kg)
7,000 lb.
(3,175 kg)
Maximum Tongue load
*2, *3
740 lb.
(336 kg)
740 lb.
(336 kg)
740 lb.
(336 kg)
740 lb.
(336 kg)
710 lb.
(322 kg)
740 lb.
(336 kg)
740 lb.
(336 kg)
730 lb.
(311 kg)
730 lb.
(311 kg)
700 lb.
(318 kg)
Maximum King pin load 1,110 lb.
(504 kg)
1,110 lb.
(504 kg)
1,110 lb.
(504 kg)
1,110 lb.
(504 kg)
1,065 lb.
(483 kg)
1,110 lb.
(504 kg)
1,110 lb.
(504 kg)
1,095 lb.
(496 kg)
1,095 lb.
(496 kg)
1,050 lb.
(476 kg)
Maximum Gross Com-
bined Weight Rating
12,800 lb.
(5,806 kg)
12,800 lb.
(5,806 kg)
12,800 lb.
(5,806 kg)
12,800 lb.
(5,806 kg)
12,800 lb.
(5,806 kg)
13,000 lb.
(5,897 kg)
13,000 lb.
(5,897 kg)
13,000 lb.
(5,897 kg)
13,000 lb.
(5,897 kg)
13,000 lb.
(5,897 kg)
Towing load specification chart without tow package — long wheel base
2WD 4WD
CC CC
SV SV
Maximum Towing
capacity*1, *2, *3
7,100 lb. (3,220 kg) 7,000 lb. (3,175 kg)
Maximum Tongue load *2, *3 710 lb. (322 kg) 700 lb. (318 kg)
Maximum King pin load 1,065 lb. (483 kg) 1,050 lb. (476 kg)
Maximum Gross Combined
Weight Rating
12,800 lb. (5,806 kg) 13,000 lb. (5,897 kg)
*1: The towing capacity values are calculated assuming a base vehicle with driver and any options required to achieve the rating. Additional passengers,
cargo and/or optional equipment will add weight to the vehicle and reduce your vehicle’s maximum towing capacity.
*2: Use of a weight-distributing hitch system is recommended when towing over 5,000 lbs. (2,268 kg).
*3: The maximum towing capacity when using the genuine NISSAN step bumper as a ball mount is 5,000 lb. (2,268 kg) and 500 lb. (227 kg) tongue load.
Technical and consumer information 9-29

TOWING SAFETY
Trailer hitch
Your vehicle may be equipped with an optional
trailer tow package. The trailer tow package in-
cludes a receiver-type frame mounted hitch. This
hitch is rated for the maximum towing capacity of
this vehicle when the proper towing equipment is
used. Choose a proper ball mount and hitch ball
that is rated for the trailer to be towed. Genuine
NISSAN ball mounts and hitch balls are available
from your NISSAN dealer.
If your vehicle is not equipped with the optional
trailer tow package, check the towing capacity of
your bumper hitch or receiver-type frame
mounted hitch. Choose a proper hitch for your
vehicle and trailer. A genuine NISSAN trailer
hitch is available from your NISSAN dealer. Make
sure the trailer hitch is securely attached to the
vehicle to help avoid personal injury or property
damage due to sway caused by crosswinds,
rough road surfaces or passing trucks.
A hitch used for towing 5th wheel and gooseneck
trailers can also be installed on your vehicle.
Contact a professional supplier of towing equip-
ment to purchase and have a 5th wheel or goose-
neck hitch installed.
WARNING
Trailer hitch components have specific
weight ratings. Your vehicle may be ca-
pable of towing a trailer heavier than the
weight rating of the hitch components.
Never exceed the weight rating of the
hitch components. Doing so can cause
serious personal injury or property
damage.
Hitch ball
Choose a hitch ball of the proper size and weight
rating for your trailer:
●The required hitch ball size is stamped on
most trailer couplers. Most hitch balls also
have the size printed on the top of the ball.
●Choose the proper class hitch ball based on
the trailer weight.
●The diameter of the threaded shank of the
hitch ball must be matched to the ball mount
hole diameter. The hitch ball shank should
be no more than 1/16” smaller than the hole
in the ball mount.
●The threaded shank of the hitch ball must be
long enough to be properly secured to the
ball mount. There should be at least 2
threads showing beyond the lock washer
and nut.
Ball mount
The hitch ball is attached to the ball mount and
the ball mount is inserted into the hitch receiver.
Choose a proper class ball mount based on the
trailer weight. Additionally, the ball mount should
be chosen to keep the trailer tongue level with the
ground.
9-30 Technical and consumer information

Bumper towing
The genuine NISSAN step bumper has provi-
sions to install a trailer hitch ball and is designed
to tow trailers of a maximum weight of 5,000 lb
(2,268 kg).
To install a trailer hitch ball cut out the circle in the
center of the step bumper 䊊
A, then remove it to
install the trailer hitch ball.
Weight carrying hitches
A weight carrying or “dead weight” ball mount is
one that is designed to carry the whole amount of
tongue weight and gross weight directly on the
ball mount and on the receiver.
Weight distribution hitch
This type of hitch is also called a “load-leveling”or
“equalizing” hitch. A set of bars attach to the ball
mount and to the trailer to distribute the tongue
weight (hitch weight) of your trailer. Many ve-
hicles can’t carry the full tongue weight of a given
trailer, and need some of the tongue weight
transferred through the frame and pushing down
on the front wheels. This gives stability to the tow
vehicle.
A weight-distributing hitch system (Class IV) is
recommended if you plan to tow trailers with a
maximum weight over 5,000 lbs (2,268 kg) .
Check with the trailer and towing equipment
manufacturers to determine if they recommend
the use of a weight-distributing hitch system.
NOTE:
A weight-distributing hitch system may af-
fect the operation of trailer surge brakes. If
you are considering use of a weight-
distributing hitch system with a surge
brake-equipped trailer, check with the
surge brake, hitch or trailer manufacturer
to determine if and how this can be done.
Follow the instructions provided by the manufac-
turer for installing and using the weight-
distributing hitch system.
General set-up instructions are as follows:
1. Park unloaded vehicle on a level surface.
With the ignition on and the doors closed,
allow the vehicle to stand for several minutes
so that it can level.
2. Measure the height of a reference point on
the front and rear bumpers at the center of
the vehicle.
3. Attach the trailer to the vehicle and adjust
the hitch equalizers so that the front bumper
height is within0-.5inches (0 – 13 mm) of
the reference height measured in step 2. The
rear bumper should be no higher than the
reference height measured in step 2.
WARNING
Properly adjust the weight distributing
hitch so the rear of the bumper is no
higher than the measured reference
height when the trailer is attached. If the
rear bumper is higher than the measured
reference height when loaded, the vehicle
may handle unpredictably which could
cause a loss of vehicle control and cause
serious personal injury or property
damage.
LTI0131
Technical and consumer information 9-31

Sway control device
Sudden maneuvers, wind gusts, and buffeting
caused by other vehicles can affect trailer han-
dling. Sway control devices may be used to help
control these affects. If you choose to use one,
contact a reputable trailer hitch supplier to make
sure the sway control device will work with the
vehicle, hitch, trailer and the trailer’s brake sys-
tem. Follow the instructions provided by the
manufacturer for installing and using the sway
control device.
Class I hitch
Class I trailer hitch equipment (receiver, ball
mount and hitch ball) can be used to tow trailers
of a maximum weight of 2,000 lb (907 kg).
Class II hitch
Class II trailer hitch equipment (receiver, ball
mount and hitch ball) can be used to tow trailers
of a maximum weight of 3,500 lb (1,587 kg).
Class III hitch
Class III trailer hitch equipment (receiver, ball
mount and hitch ball) can be used to tow trailers
of a maximum weight of 5,000 lb (2,268 kg).
Class IV hitch
Class IV trailer hitch equipment (receiver, ball
mount and hitch ball) can be used to tow trailers
of a maximum weight of 10,000 lb (4,535 kg). A
weight distributing hitch should be used to tow
trailers that weigh over 5,000 lb (2,268 kg).
Your vehicle may be equipped with Class IV
trailer hitch equipment that has a 10,000 lb
(4,535 kg) maximum weight rating, but your ve-
hicle is only capable of towing the maximum
trailer weights shown in the “Towing
Load/Specification” chart earlier in this section.
5th wheel/gooseneck
A 5th wheel or gooseneck trailer can be towed by
installing a 5th wheel or gooseneck trailer hitch.
These types of hitches are mounted in the bed of
the pick-up. A professional trailer equipment sup-
plier should install these hitches as it is very
important to mount the hitch correctly to distrib-
ute the king pin weight for the proper load carry-
ing and sway control performance.
The king pin weight should be 15 to 25 percent of
the fully loaded trailer. Make sure the king pin
weight does not cause the gross vehicle weight
to exceed the Gross Maximum Weight Rating or
the rear axle weight to exceed the Rear Gross
Axle Weight rating, see “Maximum load limits”
earlier in this section.
The weight of the trailer should not exceed the
maximum towing capacity for the vehicle, see
“Towing Load/Specification” chart earlier in this
section.
Make sure the trailer design allows for the correct
vehicle to trailer clearances before purchasing a
5th wheel trailer.
CAUTION
●Special hitches which include frame re-
inforcements are required for towing
above 2,000 lb (907 kg). Suitable genu-
ine NISSAN hitches, ball mounts and
hitch balls for pickup trucks and sport
utility vehicles are available at a
NISSAN dealer.
●The hitch should not be attached to or
affect the operation of the impact-
absorbing bumper.
●Do not use axle-mounted hitches.
●Do not modify the vehicle exhaust sys-
tem, brake system, etc. to install a
trailer hitch.
●To reduce the possibility of additional
damage if your vehicle is struck from
the rear, where practical, remove the
receiver when not in use.
9-32 Technical and consumer information

●Regularly check that all trailer hitch
mounting bolts are securely mounted.
●When towing with the hitch ball
mounted to the rear bumper, do not
make sharp turns. The trailer may con-
tact the bumper and cause damage to
the bumper or trailer.
●When towing a 5th wheel trailer, do not
make sharp turns while driving or back-
ing. The trailer may contact the vehicle
and cause damage to both the trailer
and vehicle.
Tire pressures
●When towing a trailer, inflate the ve-
hicle tires to the recommended cold
tire pressure indicated on the Tire
and Loading Information label.
●Trailer tire condition, size, load rating
and proper inflation pressure should
be in accordance with the trailer and
tire manufacturer’s specifications.
Safety chains
Always use suitable safety chains between your
vehicle and the trailer. The safety chains should
be crossed and should be attached to the hitch,
not to the vehicle bumper or axle. The safety
chains can be attached to the bumper if the hitch
ball is mounted to the bumper. Be sure to leave
enough slack in the chains to permit turning
corners.
Trailer lights
CAUTION
When splicing into the vehicle electrical
system, a commercially available power-
type module/converter must be used to
provide power for all trailer lighting. This
unit uses the vehicle battery as a direct
power source for all trailer lights while
using the vehicle tail light, stoplight and
turn signal circuits as a signal source. The
module/converter must draw no more
that 15 milliamps from the stop and tail
lamp circuits. Using a module/converter
that exceeds these power requirements
may damage the vehicle’s electrical sys-
tem. See a reputable trailer dealer to ob-
tain the proper equipment and to have it
installed.
Trailer lights should comply with federal and/or
local regulations. For assistance in hooking up
trailer lights, contact a NISSAN dealer or repu-
table trailer dealer. Vehicles equipped with the
optional trailer tow package are equipped with a
7-pin trailer harness connector. If your trailer is
equipped with a flat 4-pin connector, an adapter
will be needed to connect the trailer lights to the
vehicle. Adapters are available at NISSAN deal-
ers as well as auto parts stores and hitch retail-
ers.
Trailer brakes
When towing a trailer load of 3,500 lbs.
(1,587 kg) or more, trailers with a brake
system MUST be used. However, most states
require a separate braking system on trailers with
a loaded weight above a specific amount. Make
sure the trailer meets the local regulations and
the regulations where you plan to tow.
Several types of braking systems are available.
Surge Brakes - The surge brake actuator is
mounted on the trailer tongue with a hydraulic line
running to each trailer wheel. Surge brakes are
activated by the trailer pushing against the hitch
ball when the tow vehicle is braking. Hydraulic
surge brakes are common on rental trailers and
some boat trailers. In this type of system, there is
no hydraulic or electric connection for brake op-
eration between the tow vehicle and the trailer.
Technical and consumer information 9-33

Electric Trailer Brakes - Electric braking sys-
tems are activated by an electronic signal sent
from a trailer brake controller (special brake-
sensing module). If electric trailer brakes are
used, see “Electric trailer brake controller” in this
section.
Have a professional supplier of towing equip-
ment make sure the trailer brakes are properly
installed and demonstrate proper brake function
testing.
WARNING
Never connect a trailer brake system di-
rectly to the vehicle brake system.
Electric trailer brake controller
Trailers equipped with electric brakes may re-
quire the installation of an aftermarket trailer
brake controller.
Your vehicle is equipped with a connector and
jumper harness that is specifically designed to be
used when installing an aftermarket brake con-
troller.
To install the electric trailer brake controller
jumper harness, perform the following proce-
dure:
1. Open the driver door. Move the seat to the
rearmost position.
example
LTI0117
9-34 Technical and consumer information

2. Apply the parking brake to access the
jumper harness connector.
3. Locate the jumper harness connector under
the lower portion of the instrument panel.
The connector is taped to the wiring harness
䊊
1as indicated.
●The connector is marked with a white tag
with “elec brake conn”.
Wire color designation for electric trailer brake
controller jumper harness.
WIRE COLOR NOTE
RED/GREEN Vehicle stop lamp switch
to trailer brake controller.
BLACK Brake controller ground
(-).
BROWN/WHITE Trailer brake controller
switched output.
RED/BLUE Trailer brake controller
illumination.
RED Fused trailer brake con-
troller battery feed (B+).
LTI0118 LTI0115
Technical and consumer information 9-35

4. Peel off the tape and connect the jumper
harness to the connector 䊊
2.
5. Release the parking brake.
6. Install the aftermarket electric trailer brake
controller according to the manufacturer’s
instructions.
Pre-towing tips
●Be certain your vehicle maintains a level
position when a loaded and/or unloaded
trailer is hitched. Do not drive the vehicle if it
has an abnormal nose-up or nose-down
condition; check for improper tongue load,
overload, worn suspension or other possible
causes of either condition.
●Always secure items in the trailer to prevent
load shift while driving.
●Keep the cargo load as low as possible in
the trailer to keep the trailer center of gravity
low.
●Load the trailer so approximately 60% of the
trailer load is in the front half and 40% is in
the back half. Also make sure the load is
balanced side to side.
●Check your hitch, trailer tire pressure, ve-
hicle tire pressure, trailer light operation, and
trailer wheel lug nuts every time you attach a
trailer to the vehicle.
●Be certain your rearview mirrors conform to
all federal, state or local regulations. If not,
install any mirrors required for towing before
driving the vehicle.
●Determine the overall height of the vehicle
and trailer so the required clearance is
known.
Trailer towing tips
In order to gain skill and an understanding of the
vehicle’s behavior, you should practice turning,
stopping and backing up in an area which is free
from traffic. Steering stability and braking perfor-
mance will be somewhat different than under
normal driving conditions.
●Always secure items in the trailer to prevent
load shift while driving.
●Lock the trailer hitch coupler with a pin or
lock to prevent the coupler from inadver-
tently becoming unlatched.
●Avoid abrupt starts, acceleration or stops.
●Avoid sharp turns or lane changes.
●Always drive your vehicle at a moderate
speed.
●When backing up, hold the bottom of the
steering wheel with one hand. Move your
hand in the direction in which you want the
trailer to go. Make small corrections and
back up slowly. If possible, have someone
guide you when you are backing up.
LTI0116
9-36 Technical and consumer information

Always block the wheels on both vehicle and
trailer when parking. Parking on a slope is not
recommended; however, if you must do so:
CAUTION
If you move the shift selector to the P
(Park) position before blocking the
wheels and applying the parking brake,
transmission damage could occur.
1. Apply and hold the brake pedal.
2. Have someone place blocks on the downhill
side of the vehicle and trailer wheels.
3. After the wheel blocks are in place, slowly
release the brake pedal until the blocks ab-
sorb the vehicle load.
4. Apply the parking brake.
5. Shift the transmission into P (Park).
6. Make sure the indicator light (if so
equipped) indicates the transfer case is in
4H, 4L, or 2H and that the ATP light is off. If
the indicator light is flashing, or the
ATP light is ON, make sure the transmission
is in P (Park) (A/T) and turn the 4WD switch
to 2WD or 4H. See “Automatic transmission
park warning light” in the “Instruments and
controls” section and “Using four wheel
drive (4WD)” in the “Starting and driving”
section.
7. Turn off the engine.
To drive away:
1. Start the vehicle.
2. Apply and hold the brake pedal.
3. Shift the transmission into gear.
4. Release the parking brake.
5. Drive slowly until the vehicle and trailer are
clear from the blocks.
6. Apply and hold the brake pedal.
7. Have someone retrieve and store the blocks.
●While going downhill, the weight of the
trailer pushing on the tow vehicle may de-
crease overall stability. Therefore, to main-
tain adequate control, reduce your speed
and shift to a lower gear. Avoid long or
repeated use of the brakes when descend-
ing a hill, as this reduces their effectiveness
and could cause overheating. Shifting to a
lower gear instead provides “engine brak-
ing” and reduces the need to brake as fre-
quently.
●If the engine coolant temperature rises to a
high temperature, refer to “If your vehicle
overheats” in the “In case of emergency”
section of this owner’s manual.
●Trailer towing requires more fuel than normal
circumstances.
●Avoid towing a trailer for your vehicle’s first
500 miles (805 km).
●For the first 500 miles (805 km) that you do
tow, do not drive over 50 MPH (80 km/h).
●Have your vehicle serviced more often than
at intervals specified in the recommended
Maintenance Schedule in the “NISSAN Ser-
vice and Maintenance Guide”.
●When making a turn, your trailer wheels will
be closer to the inside of the turn than your
vehicle wheels. To compensate for this,
make a larger than normal turning radius
during the turn.
●Crosswinds and rough roads will adversely
affect vehicle/trailer handling, possibly caus-
ing vehicle sway. When being passed by
larger vehicles, be prepared for possible
changes in crosswinds that could affect ve-
hicle handling.
Technical and consumer information 9-37
Do the following if the trailer begins to sway:
1. Take your foot off the accelerator pedal to
allow the vehicle to coast and steer as
straight ahead as the road conditions allow.
This combination will help stabilize the ve-
hicle
– Do not correct trailer sway by steering or
applying the brakes.
2. When the trailer sway stops, gently apply the
brakes and pull to the side of the road in a
safe area.
3. Try to rearrange the trailer load so it is bal-
anced as described earlier in this section.
●Be careful when passing other vehicles.
Passing while towing a trailer requires con-
siderably more distance than normal pass-
ing. Remember, the length of the trailer must
also pass the other vehicle before you can
safely change lanes.
●Use the Tow Mode or downshift the trans-
mission to a lower gear for engine braking
when driving down steep or long hills. This
will help slow the vehicle without applying
the brakes.
●Avoid holding the brake pedal down too long
or too frequently. This could cause the
brakes to overheat, resulting in reduced
braking efficiency.
●Increase your following distance to allow for
greater stopping distances while towing a
trailer. Anticipate stops and brake gradually.
●NISSAN recommends that the cruise con-
trol (if so equipped) not be used while tow-
ing a trailer.
●Some states or provinces have specific
regulations and speed limits for vehicles that
are towing trailers. Obey the local speed
limits.
●Check your hitch, trailer wiring harness con-
nections, and trailer wheel lug nuts after 50
miles (80 km) of travel and at every break.
●When launching a boat, don’t allow the wa-
ter level to go over the exhaust tail pipe or
rear bumper.
●Make sure you disconnect the trailer lights
before backing the trailer into the water or
the trailer lights may burn out.
When towing a trailer, final drive gear oil
should be replaced and transmission
oil/fluid should be changed more fre-
quently. For additional information, see the
“Maintenance and do-it-yourself” section
earlier in this manual.
Tow mode
Using tow mode is recommended when pulling a
heavy trailer or hauling a heavy load. Press the
TOW MODE switch to activate tow mode. The
indicator light on the TOW MODE switch illumi-
nates when tow mode is selected. Press the
TOW MODE switch again to turn tow mode off.
Tow mode is automatically cancelled when the
ignition switch is turned OFF.
Tow mode includes the following features:
●Grade logic — Adjusts transmission shifts
when pulling a trailer or hauling a load up a
grade.
●Downhill Speed Control (DSC) — automati-
cally downshifts when driving down a grade
with a trailer or heavy load to help control
vehicle speed.
Driving the vehicle in the tow mode with no
trailer/load or light trailer/light load will not cause
any damage. However, fuel economy may be
reduced and the transmission/engine driving
characteristics may feel unusual.
9-38 Technical and consumer information

When towing a trailer, final drive gear oil
should be replaced and transmission
oil/fluid should be changed more fre-
quently. For additional information, see the
“Maintenance and do-it-yourself” section
earlier in this manual.
FLAT TOWING
Towing your vehicle with all four wheels on the
ground is sometimes called flat towing. This
method is sometimes used when towing a vehicle
behind a recreational vehicle, such as a motor
home.
CAUTION
●Failure to follow these guidelines can
result in severe transmission damage.
●Whenever flat towing your vehicle, al-
ways tow forward, never backward.
●DO NOT tow any automatic transmis-
sion vehicle with all four wheels on the
ground (flat towing). Doing so WILL
DAMAGE internal transmission parts
due to lack of transmission lubrication.
●For emergency towing procedures refer
to “Towing recommended by NISSAN”
in the “In case of emergency” section of
this manual.
Automatic Transmission
To tow a vehicle equipped with an automatic
transmission, an appropriate vehicle dolly MUST
be placed under the towed vehicle’s drive
wheels. Always follow the dolly manufacturer’s
recommendations when using their product.
WARNING
Do not use this vehicle for snowplowing.
Installing a snowplow may affect vehicle
handling. This may cause the driver to lose
control of the vehicle and could result in
serious vehicle damage or personal injury.
SNOW PLOW
Technical and consumer information 9-39

DOT (Department of Transportation) Quality
Grades: All passenger car tires must conform to
federal safety requirements in addition to these
grades.
Quality grades can be found where applicable on
the tire sidewall between tread shoulder and
maximum section width. For example:
Treadwear 200 Traction AA Temperature A
Treadwear
The treadwear grade is a comparative rating
based on the wear rate of the tire when tested
under controlled conditions on a specified gov-
ernment test course. For example, a tire graded
150 would wear one and one-half (1 1/2) times
as well on the government course as a tire graded
100. The relative performance of tires depends
upon the actual conditions of their use, however,
and may depart significantly from the norm due to
variations in driving habits, service practices and
differences in road characteristics and climate.
Traction AA, A, B and C
The traction grades, from highest to lowest, are
AA, A, B, and C. Those grades represent the
tire’s ability to stop on wet pavement as mea-
sured under controlled conditions on specified
government test surfaces of asphalt and con-
crete. A tire marked C may have poor traction
performance.
WARNING
The traction grade assigned to this tire is
based on straight-ahead braking traction
tests, and does not include acceleration,
cornering, hydroplaning, or peak traction
characteristics.
Temperature A, B and C
The temperature grades are A (the highest), B,
and C, representing the tire’s resistance to the
generation of heat, and its ability to dissipate heat
when tested under controlled conditions on a
specified indoor laboratory test wheel. Sustained
high temperature can cause the material of the
tire to degenerate and reduce tire life, and exces-
sive temperature can lead to sudden tire failure.
The grade C corresponds to a level of perfor-
mance which all passenger car tires must meet
under the Federal Motor Safety Standard No.
109. Grades B and A represent higher levels of
performance on the laboratory test wheel than
the minimum required by law.
WARNING
The temperature grade for this tire is es-
tablished for a tire that is properly inflated
and not overloaded. Excessive speed,
under-inflation, or excessive loading, ei-
ther separately or in combination, can
cause heat build-up and possible tire
failure.
UNIFORM TIRE QUALITY GRADING
9-40 Technical and consumer information
Your NISSAN vehicle is covered by the following
emission warranties:
For USA
1. Emission Defects Warranty
2. Emissions Performance Warranty
Details of this warranty may be found with other
vehicle warranties in your Warranty Information
Booklet which comes with your NISSAN vehicle.
If you did not receive a Warranty Information
Booklet, or it is lost, you may obtain a replace-
ment by writing to:
●Nissan North America, Inc.
Consumer Affairs Department
P.O. Box 685003
Franklin, TN 37068-5003
For Canada
Emission Control System Warranty
Details of this warranty may be found with other
vehicle warranties in your Warranty Information
Booklet which comes with your NISSAN vehicle.
If you did not receive a Warranty Information
Booklet, or it is lost, you may obtain a replace-
ment by writing to:
●Nissan Canada Inc.
5290 Orbitor Drive
Mississauga, Ontario, L4W 4Z5
For USA
If you believe that your vehicle has a de-
fect which could cause a crash or could
cause injury or death, you should immedi-
ately inform the National Highway Traffic
Safety Administration (NHTSA) in addi-
tion to notifying NISSAN.
If NHTSA receives similar complaints, it
may open an investigation, and if it finds
that a safety defect exists in a group of
vehicles, it may order a recall and remedy
campaign. However, NHTSA cannot be-
come involved in individual problems be-
tween you, your dealer, or NISSAN.
To contact NHTSA, you may call the Ve-
hicle Safety Hotline toll-free at 1-888-
327-4236 (TTY: 1-800-424-9153); go
to http://www.safercar.gov; or write to:
Administrator, NHTSA, 400 Seventh
Street, SW., Washington, D.C. 20590.
You can also obtain other information
about motor vehicle safety from
http://www.safercar.gov.
You may notify NISSAN by contacting our
Consumer Affairs Department, toll-free, at
1-800-NISSAN-1.
For Canada
If you believe that your vehicle has a de-
fect which could cause a crash or could
cause injury or death, you should immedi-
ately inform Transport Canada in addition
to notifying NISSAN.
If Transport Canada receives complaints,
it may open an investigation, and if it finds
that a safety defect exists in a group of
vehicles, it may request that NISSAN con-
duct a recall campaign. However, Trans-
port Canada cannot become involved in
individual problems between you, your
dealer, or NISSAN.
You may contact Transport Canada’s De-
fect Investigations and Recalls Division
toll free at 1-800-333-0510. You may
also report safety defects online at:
https://wwwapps.tc.gc.ca/Saf-Sec-
Sur/7/PCDB-BDPP/Index.aspx.
EMISSION CONTROL SYSTEM
WARRANTY
REPORTING SAFETY DEFECTS
Technical and consumer information 9-41
Additional information concerning motor
vehicle safety may be obtained from Trans-
port Canada’s Road Safety Information
Centre at 1-800-333-0371 or online at
www.tc.gc.ca/roadsafety (English speak-
ers) or www.tc.gc.ca/securiteroutiere
(French speakers).
To notify NISSAN of any safety concerns
please contact our Consumer Information
Centre toll free at 1-800-387-0122.
Due to legal requirements in some states and
Canadian Provinces, your vehicle may be re-
quired to be in what is called the “ready condi-
tion” for an Inspection/Maintenance (I/M) test of
the emission control system.
The vehicle is set to the “ready condition” when it
is driven through certain driving patterns. Usually,
the ready condition can be obtained by ordinary
usage of the vehicle.
If a powertrain system component is repaired or the
battery is disconnected, the vehicle may be reset to
a “not ready” condition. Before taking the I/M test,
check the vehicle’s inspection/maintenance test
readiness condition. Place the ignition switch in the
ON position without starting the engine. If the
Malfunction Indicator Light (MIL) comes on steady
for 20 seconds and then blinks for 10 seconds , the
I/M test condition is “not ready”. If the MIL does not
blink after 20 seconds, the I/M test condition is
“ready”. Contact a NISSAN dealer to set the “ready
condition” or to prepare the vehicle for testing.
This vehicle is equipped with an Event Data Re-
corder (EDR). The main purpose of an EDR is to
record, in certain crash or near crash-like situa-
tions, such as an air bag deployment or hitting a
road obstacle, data that will assist in understand-
ing how a vehicle’s systems performed. The EDR
is designed to record data related to vehicle
dynamics and safety systems for a short period of
time, typically 30 seconds or less. The EDR in this
vehicle is designed to record such data as:
●How various systems in your vehicle were
operating;
●Whether or not the driver and passenger
safety belts were buckled/fastened;
●How far (if at all) the driver was depressing
the accelerator and/or brake pedal; and,
●How fast the vehicle was traveling.
●Sounds are not recorded.
These data can help provide a better understand-
ing of the circumstances in which crashes and
injuries occur. NOTE: EDR data are recorded by
your vehicle only if a nontrivial crash situation
occurs; no data are recorded by the EDR under
normal driving conditions and no personal data
(e.g. name, gender, age and crash location) are
recorded. However, other parties, such as law
enforcement, could combine the EDR data with
the type of personally identifying data routinely
acquired during a crash investigation.
READINESS FOR INSPECTION/
MAINTENANCE (I/M) TEST
EVENT DATA RECORDERS (EDR)
9-42 Technical and consumer information
To read data recorded by an EDR, special equip-
ment is required and access to the vehicle or the
EDR is needed. In addition to the vehicle manu-
facturer and NISSAN dealer, other parties, such
as law enforcement, that have the special equip-
ment, can read the information if they have ac-
cess to the vehicle or the EDR. EDR data will only
be accessed with the consent of the vehicle
owner or lessee or as otherwise required or per-
mitted by law.
A genuine NISSAN Service Manual is the best
source of service and repair information for your
vehicle. Filled with wiring diagrams, illustrations
and step-by-step diagnostic and adjustment pro-
cedures, this manual is the same one used by the
factory-trained technicians working at NISSAN
dealerships. Also available are genuine NISSAN
Owner’s Manuals, and genuine NISSAN Service
and Owner’s Manuals for older NISSAN models.
For USA
For current pricing and availability of genuine
NISSAN Service Manuals for the 2000 model
year and later contact:
1-800-450-9491
www.nissan-techinfo.com
For current pricing and availability of genuine
NISSAN Service Manuals for the 1999 model
year and prior, see a NISSAN dealer, or contact:
1-800-247-5321
For current pricing and availability of genuine
NISSAN Owner’s Manuals for this model year
and prior, see a NISSAN dealer, or contact:
1-800-247-5321
For Canada
To purchase a copy of a genuine NISSAN Ser-
vice Manual or Owner’s Manual please contact
your nearest NISSAN dealer. For the phone num-
ber and location of a NISSAN dealer in your area
call the NISSAN Information Center at 1-800-
387-0122 and a bilingual NISSAN representa-
tive will assist you.
Also available are genuine NISSAN Service and
Owner’s Manuals for older NISSAN models.
OWNER’S MANUAL/SERVICE
MANUAL ORDER INFORMATION
Technical and consumer information 9-43
MEMO
9-44 Technical and consumer information

10 Index
4WD warning light ...............2-16
A
Active brake limited slip (ABLS) system . . .5-33
Adjusting pedal position ............3-14
Air bag (See supplemental restraint
system) .....................1-47
Air bag system
Front (See supplemental front impact
air bag system) ...............1-54
Air bag warning labels .............1-61
Air bag warning light...........1-62, 2-18
Air cleaner housing filter ............8-17
Air conditioner
Air conditioner operation ......4-16, 4-24
Air conditioner service ...........4-30
Air conditioner specification label .....9-12
Air conditioner system refrigerant and
oil recommendations .............9-7
Heater and air conditioner
controls ............4-14, 4-21, 4-28
Servicing air conditioner ..........4-30
Air flow charts ..............4-17, 4-25
Alarm system
(See vehicle security system) .........2-25
Anchor point locations .............1-30
Antenna .....................4-56
Anti-lock brake warning light ......2-13, 2-14
Anti-lock Braking System (ABS)........5-32
Audible reminders ...............2-20
Audio system ..................4-30
Compact Disc (CD) changer .......4-49
Compact disc (CD) player .........4-39
FM/AM radio with compact disc
(CD) player .................4-37
FM/AM/SAT radio with compact disc
(CD) changer ................4-45
Radio ....................4-30
Rear audio controls.............4-55
Steering wheel audio control switch . . .4-54
Autolight switch.................2-30
Automatic
Automatic drive positioner .........3-24
Automatic power window switch .....2-50
Automatic transmission position indicator
light .....................2-24
Driving with automatic transmission . . . .5-13
Transmission shift selector lock release . .5-18
Automatic anti-glare inside mirror .......3-17
Automatic door locks ..............3-6
Automatic transmission fluid temperature
gauge .......................2-8
AUX jack ....................4-52
B
Back button....................4-3
Battery......................8-14
Charge warning light ............2-15
Before starting the engine ...........5-11
Belt (See drive belt) ..............8-16
Block heater
Engine ....................5-38
Bluetooth姞hands-free phone system .....4-67
Booster seats ..................1-43
Brake
Anti-lock Braking System (ABS)......5-32
Brake fluid ..................8-12
Brake light (See stop light).........8-29
Brake system ................5-31
Brake warning light .............2-14
Brake wear indicators ........2-20, 8-21
Parking brake operation ..........5-20
Self-adjusting brakes ............8-21
Brakes ......................8-21
Break-in schedule ...............5-22
Brightness/contrast button...........4-13
Brightness control
Instrument panel ..............2-32
Bulb check/instrument panel..........2-13
Bulb replacement ................8-29
C
Capacities and recommended
fuel/lubricants...................9-2
Cargo light switch ...............2-34
Cargo (See vehicle loading information) . . .9-13
Car phone or CB radio .............4-66
CD care and cleaning .............4-52
CD changer (See audio system) .......4-49
CD player (See audio system) .........4-39
Check tire pressure...............2-24

Child restraints .......1-24, 1-25, 1-26, 1-28
Precautions on child
restraints.........1-26, 1-32, 1-37, 1-43
Top tether strap anchor point locations . .1-30
Child safety rear door lock ............3-7
Chimes, audible reminders ...........2-20
Cleaning exterior and interior ...........7-2
Clock ...................4-38, 4-46
(models with navigation system) ......4-11
Clock set .....................4-11
C.M.V.S.S. certification label ..........9-11
Cold weather driving ..............5-37
Compact disc (CD) player ...........4-39
Control panel buttons ...............4-2
Back button ..................4-3
Brightness/contrast button .........4-13
Enter button ..................4-2
Setting button .................4-7
Startup screen.................4-3
Trip button ...................4-4
Controls
Audio controls (steering wheel).......4-54
Heater and air conditioner
controls .............4-14, 4-21, 4-28
Rear audio controls .............4-55
Coolant
Capacities and recommended
fuel/lubricants .................9-2
Changing engine coolant ...........8-8
Checking engine coolant level ........8-8
Engine coolant temperature gauge .....2-6
Corrosion protection ...............7-5
Cruise control ..................5-20
Cup holders ...................2-45
Curtain side-impact and rollover air bag . . . .1-59
D
Daytime running light system (Canada only) . .2-32
Defroster switch
Rear window and outside mirror defroster
switch.....................2-28
Digital video disc DVD..............4-56
Dimensions and weights .............9-9
Dimmer switch for instrument panel ......2-32
Display controls (see control panel buttons) . .4-2
Distance to empty .................4-5
Door locks .....................3-3
Drive belt .....................8-16
Drive positioner, Automatic ...........3-24
Driving
Cold weather driving ............5-37
Driving with automatic transmission . . . .5-13
Precautions when starting and driving . . . .5-2
E
Economy - fuel ..................5-22
Electronic locking rear differential
(E-Lock) system .................5-29
Electronic locking rear differential
(E-Lock) system switch .............2-36
Emission control information label .......9-11
Emission control system warranty .......9-41
Engine
Before starting the engine..........5-11
Block heater .................5-38
Capacities and recommended
fuel/lubricants .................9-2
Changing engine coolant ...........8-8
Changing engine oil .............8-10
Changing engine oil filter ..........8-11
Checking engine coolant level ........8-8
Checking engine oil level ...........8-9
Engine compartment check locations . . . .8-6
Engine coolant temperature gauge .....2-6
Engine cooling system ............8-7
Engine oil ...................8-9
Engine oil and oil filter recommendation . . .9-6
Engine oil viscosity ..............9-6
Engine serial number ............9-11
Engine specifications .............9-8
Starting the engine .............5-12
Engine oil pressure gauge ............2-7
Engine oil pressure low/engine coolant
temperature high warning light .........2-15
English/metric setting ..............4-10
Enter button ....................4-2
Event data recorders ..............9-42
Exhaust gas (Carbon monoxide) .........5-2
Extended storage switch ............8-24
F
Flashers
(See hazard warning flasher switch) ......2-33
Flat tire .......................6-2
Floor mat positioning aid .............7-5
Fluid
Brake fluid ..................8-12
Capacities and recommended
fuel/lubricants .................9-2
Engine coolant.................8-7
Engine oil ...................8-9
Power steering fluid .............8-12
10-2

Windshield-washer fluid...........8-13
F.M.V.S.S. certification label...........9-11
Fog light switch .................2-33
Front air bag system
(See supplemental restraint system) ......1-54
Front seats .....................1-2
Fuel
Capacities and recommended
fuel/lubricants .................9-2
Fuel economy ................5-22
Fuel-filler door and cap ...........3-12
Fuel gauge ...................2-7
Fuel octane rating ...............9-4
Fuel recommendation .............9-3
Loose fuel cap warning........2-24, 3-12
Fuel economy setting ...............4-4
Fuses .......................8-21
Fusible links ...................8-23
G
Garage door opener, HomeLink姞Universal
Transceiver ....................2-56
Gascap .....................3-12
Gauge
Automatic transmission fluid temperature
gauge .....................2-8
Engine coolant temperature gauge .....2-6
Engine oil pressure gauge ..........2-7
Fuel gauge ...................2-7
Odometer ...................2-5
Speedometer .................2-5
Tachometer ..................2-6
Trip odometer .................2-5
Voltmeter....................2-8
General maintenance ...............8-2
Glove box.....................2-42
Glove box lock ..................2-42
Grocery hooks ..................2-47
H
Hands-free phone system, Bluetooth姞.....4-67
Hazard warning flasher switch .........2-33
Headlight and turn signal switch ........2-29
Headlight control switch ............2-29
Headlights ....................8-27
Headphones (See NISSAN mobile
entertainment system) ..............4-59
Heated seats ...................2-35
Heater
Heater and air conditioner
controls .............4-14, 4-21, 4-28
Heater operation ........4-15, 4-22, 4-29
HomeLink姞Universal Transceiver........2-56
Hood release...................3-11
Horn .......................2-34
I
Ignition switch ...................5-9
Immobilizer system .........2-26, 3-2, 5-11
Important vehicle information label .......9-11
In-cabin microfilter ................8-18
Increasing fuel economy.............5-22
Indicator lights and audible reminders
(See warning/indicator lights and audible
reminders) ....................2-13
Inside automatic anti-glare mirror ........3-17
Inside mirror ...................3-17
Instrument brightness control ..........2-32
Instrument panel ...............0-6, 2-2
Instrument panel dimmer switch ........2-32
Interior light....................2-54
ISOFIX child restraints .............1-28
J
Jump starting ...................6-8
K
Key.........................3-2
Keyfob battery replacement ...........8-25
Keyless entry system
(See remote keyless entry system)........3-7
L
Labels
Air conditioner specification label .....9-12
C.M.V.S.S. certification label ........9-11
Emission control information label .....9-11
Engine serial number ............9-11
F.M.V.S.S. certification label.........9-11
Tire and Loading Information label .....9-12
Vehicle identification number (VIN) plate. .9-10
Warning labels (for SRS) ..........1-61
Language setting ................4-10
LATCH (Lower Anchors and Tethers for CHildren)
System ......................1-28
10-3

License plate
Installing the license plate ..........9-12
Light
Air bag warning light .........1-62, 2-18
Brake light (See stop light) .........8-29
Bulb check/instrument panel ........2-13
Bulb replacement ..............8-29
Charge warning light ............2-15
Fog light switch ...............2-33
Headlight and turn signal switch ......2-29
Headlight control switch ..........2-29
Headlights ..................8-27
Interior light..................2-54
Light bulbs ..................8-27
Low tire pressure warning light .......2-16
Low windshield-washer fluid warning
light ......................2-24
Passenger air bag and status light .....1-56
Personal lights ................2-55
Security indicator light............2-20
Warning/indicator lights and audible
reminders...................2-13
Lights
Map lights ..................2-55
Lock
Child safety rear door lock ..........3-7
Door locks ...................3-3
Glove box lock ................2-42
Power door locks ...............3-4
Loose fuel cap warning..........2-24, 3-12
Low fuel warning light .......2-16, 2-18, 2-24
Low tire pressure warning light .........2-16
Low windshield-washer fluid warning light. . .2-24
Luggage (See vehicle loading information) . .9-13
M
Maintenance
Changing the maintenance interval .....4-5
Displaying the maintenance notice
reminder ....................4-6
General maintenance .............8-2
Inside the vehicle ...............8-3
Maintenance precautions ...........8-5
Outside the vehicle ..............8-2
Resetting the maintenance interval......4-6
Seat belt maintenance............1-23
Setting .....................4-5
Under the hood and vehicle .........8-4
Malfunction indicator light ............2-19
Manual front seat adjustment ........1-2, 1-3
Manual windows .................2-51
Map lights ....................2-55
Map pocket....................2-43
Meters and gauges ................2-4
Instrument brightness control ........2-32
Mirror
Automatic anti-glare inside mirror......3-17
Inside mirror .................3-17
Outside mirrors ...............3-18
Vanity mirror .................3-16
Moonroof .....................2-52
N
NISSAN mobile entertainment system
(MES).......................4-56
NISSAN vehicle immobilizer
system ................2-26, 3-2, 5-11
O
Octane rating (See fuel octane rating)......9-4
Odometer .....................2-5
Oil
Capacities and recommended
fuel/lubricants .................9-2
Changing engine oil .............8-10
Changing engine oil filter ..........8-11
Checking engine oil level ...........8-9
Engine oil ...................8-9
Engine oil and oil filter recommendation . . .9-6
Engine oil pressure low/engine coolant
temperature high warning light .......2-15
Engine oil viscosity ..............9-6
Outside mirrors .................3-18
Overheat
If your vehicle overheats...........6-10
Owner’s manual order form ...........9-43
Owner’s manual/service manual order
information ....................9-43
P
Parking
Parking brake operation ...........5-20
Parking/parking on hills ...........5-30
Pedal position adjustment............3-14
Personal lights ..................2-55
Phone, Bluetooth姞hands-free system .....4-67
Power
Front seat adjustment .............1-4
Power door locks ...............3-4
Power outlet .................2-38
10-4

Power rear windows.............2-50
Power steering fluid .............8-12
Power steering system ...........5-31
Power windows ...............2-48
Rear power windows ............2-50
Precautions
Maintenance precautions ...........8-5
On-pavement and off-road driving
precautions ..................5-3
Precautions on child
restraints.........1-26, 1-32, 1-37, 1-43
Precautions on seat belt usage .......1-15
Precautions on supplemental restraint
system ....................1-47
Precautions when starting and driving . . . .5-2
Pre-tensioner seat belt system .........1-60
Programmable features ..............4-7
Push starting ...................6-10
R
Radio
Car phone or CB radio ...........4-66
Compact Disc (CD) changer ........4-49
FM/AM radio with compact disc
(CD) player ..................4-37
FM/AM/SAT radio with compact disc
(CD) changer ................4-45
Rear audio controls .............4-55
Steering wheel audio control switch . . . .4-54
Readiness for inspection maintenance
(I/M) test .....................9-42
Rear audio controls ...............4-55
Rear power windows ..............2-50
Rear sliding window ...............2-51
Rear sonar system ................5-36
Rear sonar system off switch ..........2-37
Rear window and outside mirror defroster
switch.......................2-28
Recorders
Event data ..................9-42
Refrigerant recommendation ...........9-7
Registering your vehicle in another country . .9-10
Remote controller (See NISSAN mobile
entertainment system) ..............4-58
Remote keyless entry system...........3-7
Reporting safety defects (US only) .......9-41
Resetting the fuel economy............4-5
Resetting trip 1 and trip 2 ............4-4
S
Safety
Child safety rear door lock ..........3-7
Child seat belts .....1-26, 1-32, 1-37, 1-43
Reporting safety defects (US only) .....9-41
Screen (See NISSAN mobile entertainment
system) ......................4-58
Seat adjustment
Front manual seat adjustment......1-2, 1-3
Front power seat adjustment .........1-4
Seatback pockets ................2-44
Seat belt
Child safety..................1-24
Infants and small children ..........1-25
Injured Person ................1-18
Larger children ................1-25
Precautions on seat belt usage .......1-15
Pregnant women...............1-18
Pre-tensioner seat belt system .......1-60
Seat belt extenders .............1-23
Seat belt maintenance............1-23
Seat belts...................1-15
Shoulder belt height adjustment ......1-21
Three-point type with retractor .......1-18
Two-point type without retractor
(rear center lap belt) .............1-21
Seat belt warning light..............2-18
Seats
Adjustment...................1-2
Automatic drive positioner..........3-24
Front seats ...................1-2
Heated seats .................2-35
Manual front seat adjustment ......1-2, 1-3
Security indicator light..............2-20
Security system (NISSAN vehicle immobilizer
system), engine start ........2-26, 3-2, 5-11
Self-adjusting brakes ..............8-21
Service manual order form ...........9-43
Servicing air conditioner.............4-30
Setting button ...................4-7
Shifting
Automatic transmission........5-14, 5-16
Shift lock release.................5-18
Shoulder belt height adjustment ........1-21
Side air bag system (See supplemental side air
bag, curtain and rollover air bag systems) . . .1-59
Sonar
Rear system .................5-36
Spark plug replacement .............8-17
Speedometer ...................2-5
SRS warning label ................1-61
Starting
Before starting the engine..........5-11
Jump starting .................6-8
Precautions when starting and driving . . . .5-2
10-5

Push starting .................6-10
Starting the engine .............5-12
Startup screen...................4-3
Steering
Power steering fluid .............8-12
Power steering system ...........5-31
Tilting steering wheel ............3-14
Steering wheel audio control switch ......4-54
Stop light .....................8-29
Storage ......................2-40
Lockable bedside storage compartment . .2-48
Overhead storage compartment ......2-44
Storage bin....................2-44
Storage tray ...................2-40
Sunglasses case.................2-43
Sunroof ......................2-52
Sunroof (see Moonroof) .............2-52
Sun visors ....................3-15
Supplemental air bag warning labels ......1-61
Supplemental air bag warning light . . .1-62, 2-18
Supplemental front impact air bag system . . .1-54
Supplemental restraint system
Information and warning labels .......1-61
Precautions on supplemental restraint
system ....................1-47
Supplemental restraint system
(Supplemental air bag system) .........1-47
Switch
Autolight switch ...............2-30
Automatic power window switch ......2-50
Electronic locking rear differential (E-Lock)
system switch ................2-36
Fog light switch ...............2-33
Hazard warning flasher switch .......2-33
Headlight and turn signal switch ......2-29
Headlight control switch ..........2-29
Ignition switch .................5-9
Power door lock switch ............3-4
Rear sonar system off switch ........2-37
Rear window and outside mirror defroster
switch.....................2-28
Turn signal switch ..............2-33
Vehicle dynamic control (VDC) off
switch.....................2-36
Windshield wiper and washer switch . . .2-27
T
Tachometer ....................2-6
Tailgate latch ...................3-22
Temperature gauge
Engine coolant temperature gauge .....2-6
Engine oil pressure low/engine coolant
temperature high warning light .......2-15
Theft (NISSAN vehicle immobilizer system),
engine start .............2-26, 3-2, 5-11
Three-way catalyst ................5-2
Tie down hooks .................3-24
Tilting steering wheel ..............3-14
Tire
Flat tire .....................6-2
Spare tire ...................6-3
Tire and Loading Information label .....9-12
Tire chains ..................8-40
Tire placard..................9-12
Tire pressure .................8-33
Tire rotation..................8-40
Tires of 4-wheel drive ............8-42
Types of tires .................8-39
Uniform tire quality grading .........9-40
Wheels and tires...............8-33
Wheel/tire size.................9-9
Tire pressure
Low tire pressure warning light .......2-16
Tire pressure display ...............4-7
Tire Pressure Monitoring System (TPMS) . . . .5-3
Tire rotation maintenance reminder .......4-7
Towing
2-wheel drive models ............6-12
4-wheel drive models ............6-13
Flat towing ..................9-39
Towing load/specification ..........9-28
Tow truck towing...............6-11
Trailer towing .................9-24
Tow mode switch ................2-38
Transceiver
HomeLink姞Universal Transceiver......2-56
Transmission
Driving with automatic transmission . . . .5-13
Shift selector lock release..........5-18
Travel (See registering your vehicle in
another country) .................9-10
Trip button .....................4-4
Trip odometer ...................2-5
Truck - camper loading .............9-22
Turn signal switch ................2-33
U
Uniform tire quality grading ...........9-40
V
Vanity mirror ...................3-16
Variable voltage control system .........8-16
10-6

Vehicle dimensions and weights .........9-9
Vehicle dynamic control (VDC) off switch . . .2-36
Vehicle dynamic control (VDC) system.....5-34
Vehicle electronic system .............4-9
Vehicle identification...............9-10
Vehicle identification number (VIN)
(Chassis number) ................9-10
Vehicle identification number (VIN) plate. . . .9-10
Vehicle loading information ...........9-13
Vehicle recovery .................6-13
Vehicle security system .............2-25
Vehicle security system (NISSAN vehicle immobi-
lizer system), engine start ......2-26, 3-2, 5-11
Ventilators ....................4-13
Visors .......................3-15
Voltmeter......................2-8
W
Warning
4WD warning light..............2-16
Air bag warning light .........1-62, 2-18
Anti-lock brake warning light.....2-13, 2-14
Battery charge warning light ........2-15
Brake warning light .............2-14
Engine oil pressure low/engine coolant
temperature high warning light .......2-15
Hazard warning flasher switch .......2-33
Low fuel warning light .....2-16, 2-18, 2-24
Low tire pressure warning light .......2-16
Low windshield-washer fluid warning
light ......................2-24
Passenger air bag and status light .....1-56
Seat belt warning light............2-18
Vehicle security system ...........2-25
Warning/indicator lights and audible
reminders...................2-13
Warning labels (for SRS) ..........1-61
Warning lights ..................2-13
Washer switch
Windshield wiper and washer switch . . .2-27
Weights (See dimensions and weights) .....9-9
Wheels and tires.................8-33
Wheel/tire size...................9-9
When traveling or registering your vehicle
in another country ................9-10
Windows
Locking passengers’ windows .......2-50
Manual windows ...............2-51
Power rear windows.............2-50
Power windows ...............2-48
Rear power windows ............2-50
Rear sliding window .............2-51
Windshield-washer fluid.............8-13
Windshield wiper and washer switch .....2-27
Wiper
Windshield wiper and washer switch . . .2-27
Wiper blades.................8-19
10-7

RECOMMENDED FUEL (without
Flexible Fuel Vehicle [FFV] option):
Use unleaded regular gasoline with an octane
rating of at least 87 AKI (Anti-Knock Index) num-
ber (Research octane number 91).
CAUTION
●Only vehicles with the E-85 filler door
label can operate on E-85. Fuel system
or other damage can occur if E-85 is
used in vehicles that are not designed
to run on E-85.
●Using a fuel other than that specified
could adversely affect the emission
control system, and may also affect the
warranty coverage.
●Under no circumstances should a
leaded gasoline be used, because this
will damage the three-way catalyst.
●Do not use E-85 fuel in your vehicle.
Your vehicle is not designed to run on
E-85 fuel. Using E-85 fuel can damage
the fuel system components and is not
covered by the NISSAN new vehicle lim-
ited warranty.
For additional information, see “Capacities and
recommended fuel/lubricants” in the “Technical
and consumer information” section.
FLEXIBLE FUEL VEHICLE (FFV)
FUEL RECOMMENDATION (if so
equipped):
If your vehicle is equipped as a Flexible Fuel
vehicle (FFV) your vehicle is designed to use
(E-85) Fuel Ethanol, “Regular” unleaded regular
gasoline or any percentage of the two fuels com-
bined.
CAUTION
●Using a fuel other than that specified
could adversely affect the emission
control system, and may also affect the
warranty coverage.
●Under no circumstances should a
leaded gasoline be used, because this
will damage the three-way catalyst.
For additional information, see “Capacities and
recommended fuel/lubricants in the “Technical
and consumer information” section of this
manual.
RECOMMENDED ENGINE OIL:
●Engine oil with API Certification Mark
●Viscosity SAE 5W-30
See “Engine oil and oil filter recommendations” in
the “Technical and consumer information” sec-
tion of this manual.
COLD TIRE PRESSURE:
See Tire and Loading Information label.
The label is typically located on the driver side
center pillar or on the driver’s door. For additional
information, see “Wheels and tires” in the “Main-
tenance and do-it-yourself” section of this
manual.
RECOMMENDED NEW VEHICLE
BREAK-IN PROCEDURE:
During the first 1,200 miles (2,000 km) of vehicle
use, follow the recommendations outlined in the
“Break-in schedule” information found in the
“Starting and driving” section of this manual. Fol-
low these recommendations for the future reli-
ability and economy of your new vehicle. Failure
to follow these recommendations may result in
vehicle damage or shortened engine life.
GAS STATION INFORMATION

®
2012 TITAN
OWNER’S MANUAL
For your safety, read carefully and keep in this vehicle.
2012 NISSAN TITAN A60-D
A60-D
Printing : July 2011 (17)
Publication No.: OM1E 0A60U0
Printed in U.S.A.
OM2E 0A60U0
