Northstar Navigation Gm1708 961X Users Manual 961 Install A1
961X to the manual 9e91d516-4753-4f77-b0ad-702aec08eec1
2015-02-05
: Northstar-Navigation Northstar-Navigation-Gm1708-961X-Users-Manual-495796 northstar-navigation-gm1708-961x-users-manual-495796 northstar-navigation pdf
Open the PDF directly: View PDF
.
Page Count: 86
- SECTION ONE - Introduction
- SECTION TWO - Installation
- Safety considerations
- System overview
- Installation considerations
- Choosing a system location
- Wiring the 961
- Installing the antenna
- Turning the unit on and off
- Testing and troubleshooting the 961
- SECTION THREE - Interfacing
- SECTION FOUR - Service/Maintenance
- APPENDIX A - Technical Specifications

961X/XD
GPS CHART NAVIGATOR
INSTALLATION MANUAL
Revision A
Part Number GM1708
Northstar Technologies
30 Sudbury Road
Acton, Massachusetts 01720
www.northstarcmc.com
Service: 978/897-0770
Sales: 978/897-6600


Limited warranty policy
Northstar Technologies warrants the Northstar 961 to be free from defects
in materials and workmanship for a period of two (2) years. This warranty
applies to the original purchaser and to any subsequent owner during the
warranty period, which begins on the date of shipment of the unit, F.O.B.
Acton, Massachusetts, to an authorized Northstar dealer.
Systems may not be returned to Northstar without a Returned Materials
Authorization (RMA) number. Call the Northstar dealer or Northstar for
instructions.
During the unit’s warranty period, Northstar will repair or replace, at its
option, any part of the unit it finds to be defective due to faulty mate-
rial(s) or workmanship. All such repairs and/or replacements will be
promptly performed by Northstar free-of-charge to the owner, excluding
freight costs incurred in shipping to the factory. Return shipments from
Northstar to points within the United States are made via ground trans-
portation, freight prepaid. Special shipping charges (overnight, two-day,
and so on) are the responsibility of the owner.
To be covered by this warranty, the Northstar equipment must have been
in normal use. This warranty does not apply to units with defects caused
by improper installation, physical damage, abuse, tampering, lightning or
other abnormal electrical discharge, or to units with defaced or altered
serial numbers, or to units repaired by unauthorized persons or repaired
in a manner that violates Northstar’s recommended service procedures.
All repairs and/or replacements made under this warranty must be per-
formed at Northstar’s facilities in Acton, Massachusetts. Performance of
warranty work elsewhere will not be authorized, and Northstar will not
pay for any charges for such work. Northstar will not be responsible for
payment of any charges imposed by a Northstar dealer or other party for
services requested by and/or performed for a unit’s owner in connection
with this warranty. Such services might include removal of the unit from
a vessel, inspection, packaging, handling, reinstallation, and the like.
Northstar Technologies assumes no responsibility for any consequential
losses of any nature with respect to any of its products or services sold,
rendered, or delivered. The foregoing is the only warranty expressed or
implied. No other warranty exists.


961 INSTALLATION MANUAL Revision A Page i
Contents
SECTION ONE - Introduction. . . . . . . . . . . . . . . . . . . . . . . . . . . . . . . . . . . . . . . . . . . . . . . . 1
Welcome . . . . . . . . . . . . . . . . . . . . . . . . . . . . . . . . . . . . . . . . . . . . . . . . . . . . . . . . . . . . . . . . . . . . . . . . . 1
Who should read this manual . . . . . . . . . . . . . . . . . . . . . . . . . . . . . . . . . . . . . . . . . . . . . . . . . . . . . . 1
Scope of this manual . . . . . . . . . . . . . . . . . . . . . . . . . . . . . . . . . . . . . . . . . . . . . . . . . . . . . . . . . . . . . .1
Getting technical support . . . . . . . . . . . . . . . . . . . . . . . . . . . . . . . . . . . . . . . . . . . . . . . . . . . . . . . . . . 2
Servicing the unit . . . . . . . . . . . . . . . . . . . . . . . . . . . . . . . . . . . . . . . . . . . . . . . . . . . . . . . . . . . . . . . . . 3
Returning a unit for service . . . . . . . . . . . . . . . . . . . . . . . . . . . . . . . . . . . . . . . . . . . . . . . . . . . . . . . . . 3
Ordering information . . . . . . . . . . . . . . . . . . . . . . . . . . . . . . . . . . . . . . . . . . . . . . . . . . . . . . . . . . . . . .4
SECTION TWO - Installation . . . . . . . . . . . . . . . . . . . . . . . . . . . . . . . . . . . . . . . . . . . . . . . . 5
Safety considerations . . . . . . . . . . . . . . . . . . . . . . . . . . . . . . . . . . . . . . . . . . . . . . . . . . . . . . . . . . . . . .5
System overview . . . . . . . . . . . . . . . . . . . . . . . . . . . . . . . . . . . . . . . . . . . . . . . . . . . . . . . . . . . . . . . . . .6
Installation considerations . . . . . . . . . . . . . . . . . . . . . . . . . . . . . . . . . . . . . . . . . . . . . . . . . . . . . . . . . .6
Choosing a system location . . . . . . . . . . . . . . . . . . . . . . . . . . . . . . . . . . . . . . . . . . . . . . . . . . . . . . . .9
Wiring the 961 . . . . . . . . . . . . . . . . . . . . . . . . . . . . . . . . . . . . . . . . . . . . . . . . . . . . . . . . . . . . . . . . . . .12
Installing the antenna . . . . . . . . . . . . . . . . . . . . . . . . . . . . . . . . . . . . . . . . . . . . . . . . . . . . . . . . . . . .14
Turning the unit on and off . . . . . . . . . . . . . . . . . . . . . . . . . . . . . . . . . . . . . . . . . . . . . . . . . . . . . . .26
Testing and troubleshooting the 961 . . . . . . . . . . . . . . . . . . . . . . . . . . . . . . . . . . . . . . . . . . . . . . .32
SECTION THREE - Interfacing . . . . . . . . . . . . . . . . . . . . . . . . . . . . . . . . . . . . . . . . . . . . . 45
Interfacing the unit . . . . . . . . . . . . . . . . . . . . . . . . . . . . . . . . . . . . . . . . . . . . . . . . . . . . . . . . . . . . . . .45
Configuring the NMEA output ports . . . . . . . . . . . . . . . . . . . . . . . . . . . . . . . . . . . . . . . . . . . . . . . .46
Setting the auxiliary port . . . . . . . . . . . . . . . . . . . . . . . . . . . . . . . . . . . . . . . . . . . . . . . . . . . . . . . . . .53
Setting PPNM . . . . . . . . . . . . . . . . . . . . . . . . . . . . . . . . . . . . . . . . . . . . . . . . . . . . . . . . . . . . . . . . . . . .55
Using VGA output . . . . . . . . . . . . . . . . . . . . . . . . . . . . . . . . . . . . . . . . . . . . . . . . . . . . . . . . . . . . . . . .56
SECTION FOUR - Service/Maintenance . . . . . . . . . . . . . . . . . . . . . . . . . . . . . . . . . . . . 57
Service functions . . . . . . . . . . . . . . . . . . . . . . . . . . . . . . . . . . . . . . . . . . . . . . . . . . . . . . . . . . . . . . . . .57
Maintenance functions . . . . . . . . . . . . . . . . . . . . . . . . . . . . . . . . . . . . . . . . . . . . . . . . . . . . . . . . . . . .68
APPENDIX A - Technical Specifications . . . . . . . . . . . . . . . . . . . . . . . . . . . . . . . . . . . . 69
Northstar 961 . . . . . . . . . . . . . . . . . . . . . . . . . . . . . . . . . . . . . . . . . . . . . . . . . . . . . . . . . . . . . . . . . . . .69
Physical features . . . . . . . . . . . . . . . . . . . . . . . . . . . . . . . . . . . . . . . . . . . . . . . . . . . . . . . . . . . . . . . . .70
Internal beacon receiver specifications (961XD) . . . . . . . . . . . . . . . . . . . . . . . . . . . . . . . . . . . . . .71
AN150 Active GPS Antenna . . . . . . . . . . . . . . . . . . . . . . . . . . . . . . . . . . . . . . . . . . . . . . . . . . . . . . .71
8410 Antenna Coupling Unit . . . . . . . . . . . . . . . . . . . . . . . . . . . . . . . . . . . . . . . . . . . . . . . . . . . . . .72
AN205-P GPS/DGPS antenna . . . . . . . . . . . . . . . . . . . . . . . . . . . . . . . . . . . . . . . . . . . . . . . . . . . . . .72

Page ii 961 INSTALLATION MANUAL Revision A

961 INSTALLATION MANUAL Revision A Page iii
Figures
Figure 1: 961 control head yoke-mount dimensions (side) . . . . . . . . . . . . . . . . . . . . . . . . . . . . . . . . . . .10
Figure 2: 961 control head yoke-mount dimensions (front) . . . . . . . . . . . . . . . . . . . . . . . . . . . . . . . . . .10
Figure 3: 961 control head flush-mount drilling dimensions . . . . . . . . . . . . . . . . . . . . . . . . . . . . . . . . .11
Figure 4: Processor connectors (back of unit) . . . . . . . . . . . . . . . . . . . . . . . . . . . . . . . . . . . . . . . . . . . . . . .13
Figure 5: Separation distances between antennas . . . . . . . . . . . . . . . . . . . . . . . . . . . . . . . . . . . . . . . . . . .15
Figure 6: GPS-only antenna (AN150) . . . . . . . . . . . . . . . . . . . . . . . . . . . . . . . . . . . . . . . . . . . . . . . . . . . . . .17
Figure 7: Stripping the coax cable jacket . . . . . . . . . . . . . . . . . . . . . . . . . . . . . . . . . . . . . . . . . . . . . . . . . . .18
Figure 8: Flared cable braid . . . . . . . . . . . . . . . . . . . . . . . . . . . . . . . . . . . . . . . . . . . . . . . . . . . . . . . . . . . . . .18
Figure 9: Completed BNC connector . . . . . . . . . . . . . . . . . . . . . . . . . . . . . . . . . . . . . . . . . . . . . . . . . . . . . .19
Figure 10: Combo GPS/DGPS antenna (AN205-P) . . . . . . . . . . . . . . . . . . . . . . . . . . . . . . . . . . . . . . . . . . .19
Figure 11: Correct AN205-P (combo antenna) splitter wiring . . . . . . . . . . . . . . . . . . . . . . . . . . . . . . . . .20
Figure 12: Stripping the coax cable jacket . . . . . . . . . . . . . . . . . . . . . . . . . . . . . . . . . . . . . . . . . . . . . . . . . .21
Figure 13: Flared cable braid . . . . . . . . . . . . . . . . . . . . . . . . . . . . . . . . . . . . . . . . . . . . . . . . . . . . . . . . . . . . .21
Figure 14: Completed TNC connector . . . . . . . . . . . . . . . . . . . . . . . . . . . . . . . . . . . . . . . . . . . . . . . . . . . . .21
Figure 15: ACU assembly . . . . . . . . . . . . . . . . . . . . . . . . . . . . . . . . . . . . . . . . . . . . . . . . . . . . . . . . . . . . . . . .23
Figure 16: Correct AN150 and 8410 wiring . . . . . . . . . . . . . . . . . . . . . . . . . . . . . . . . . . . . . . . . . . . . . . . .24
Figure 17: PL-259 (UHF) connector . . . . . . . . . . . . . . . . . . . . . . . . . . . . . . . . . . . . . . . . . . . . . . . . . . . . . . .26
Figure 18: Initial startup screen . . . . . . . . . . . . . . . . . . . . . . . . . . . . . . . . . . . . . . . . . . . . . . . . . . . . . . . . . . .27
Figure 19: System test screen . . . . . . . . . . . . . . . . . . . . . . . . . . . . . . . . . . . . . . . . . . . . . . . . . . . . . . . . . . . . .27
Figure 20: Owner’s message screen . . . . . . . . . . . . . . . . . . . . . . . . . . . . . . . . . . . . . . . . . . . . . . . . . . . . . . .28
Figure 21: Advisory message . . . . . . . . . . . . . . . . . . . . . . . . . . . . . . . . . . . . . . . . . . . . . . . . . . . . . . . . . . . . .29
Figure 22: GPS satellite status screen . . . . . . . . . . . . . . . . . . . . . . . . . . . . . . . . . . . . . . . . . . . . . . . . . . . . . .30
Figure 23: Interface cabling wiring screen . . . . . . . . . . . . . . . . . . . . . . . . . . . . . . . . . . . . . . . . . . . . . . . . .45
Figure 24: Port 1 output setup screen . . . . . . . . . . . . . . . . . . . . . . . . . . . . . . . . . . . . . . . . . . . . . . . . . . . . .47

Page iv 961 INSTALLATION MANUAL Revision A
Figure 25: Port 1 output setup (sentences) screen . . . . . . . . . . . . . . . . . . . . . . . . . . . . . . . . . . . . . . . . . . .49
Figure 26: Port 1 output setup screen . . . . . . . . . . . . . . . . . . . . . . . . . . . . . . . . . . . . . . . . . . . . . . . . . . . . .51
Figure 27: Auxiliary port setup screen . . . . . . . . . . . . . . . . . . . . . . . . . . . . . . . . . . . . . . . . . . . . . . . . . . . . .54
Figure 28: PPNM output setup screen . . . . . . . . . . . . . . . . . . . . . . . . . . . . . . . . . . . . . . . . . . . . . . . . . . . . .55
Figure 29: Product information screen . . . . . . . . . . . . . . . . . . . . . . . . . . . . . . . . . . . . . . . . . . . . . . . . . . . .57
Figure 30: Receiver information screen . . . . . . . . . . . . . . . . . . . . . . . . . . . . . . . . . . . . . . . . . . . . . . . . . . . .59
Figure 31: GPS satellite status screen . . . . . . . . . . . . . . . . . . . . . . . . . . . . . . . . . . . . . . . . . . . . . . . . . . . . . .62
Figure 32: Database function screen . . . . . . . . . . . . . . . . . . . . . . . . . . . . . . . . . . . . . . . . . . . . . . . . . . . . . .64
Figure 33: Select database to save dialog box . . . . . . . . . . . . . . . . . . . . . . . . . . . . . . . . . . . . . . . . . . . . . . .65
Figure 34: Select database to restore dialog box . . . . . . . . . . . . . . . . . . . . . . . . . . . . . . . . . . . . . . . . . . . .66
Figure 35: Select a restored database to undo dialog box . . . . . . . . . . . . . . . . . . . . . . . . . . . . . . . . . . . .67
Figure 36: Save log data dialog box . . . . . . . . . . . . . . . . . . . . . . . . . . . . . . . . . . . . . . . . . . . . . . . . . . . . . . .68

961 INSTALLATION MANUAL Revision A Page v
Tables
Table 1: Contacting Northstar . . . . . . . . . . . . . . . . . . . . . . . . . . . . . . . . . . . . . . . . . . . . . . . . . . . . . . . . . . . . . 2
Table 2: Troubleshooting the installation . . . . . . . . . . . . . . . . . . . . . . . . . . . . . . . . . . . . . . . . . . . . . . . . . 32
Table 3: Troubleshooting the GPS/DGPS antenna installation . . . . . . . . . . . . . . . . . . . . . . . . . . . . . . . . 39
Table 4: Troubleshooting the radar interface . . . . . . . . . . . . . . . . . . . . . . . . . . . . . . . . . . . . . . . . . . . . . . . 42
Table 5: Interface cable wiring . . . . . . . . . . . . . . . . . . . . . . . . . . . . . . . . . . . . . . . . . . . . . . . . . . . . . . . . . . 46
Table 6: Port setup options. . . . . . . . . . . . . . . . . . . . . . . . . . . . . . . . . . . . . . . . . . . . . . . . . . . . . . . . . . . . . . . 47
Table 7: NMEA 0183 sentence identifiers . . . . . . . . . . . . . . . . . . . . . . . . . . . . . . . . . . . . . . . . . . . . . . . . . . 49
Table 8: Aux port setup parameters . . . . . . . . . . . . . . . . . . . . . . . . . . . . . . . . . . . . . . . . . . . . . . . . . . . . . . . 54
Table 9: PPNM output setup parameters . . . . . . . . . . . . . . . . . . . . . . . . . . . . . . . . . . . . . . . . . . . . . . . . . . . 56

Page vi 961 INSTALLATION MANUAL Revision A

SECTION ONE - Introduction
961 INSTALLATION MANUAL Revision A Page 1
SECTION ONE - Introduction
Welcome The Northstar 961 Installation Manual describes how to install the entire
961 system (control head, processor, and antenna). It describes the physi-
cal, mechanical, and electrical characteristics of the unit, as well as how to
select the right location, and mount and wire the system. This manual
also describes how to interface, troubleshoot, and maintain the Northstar
961 GPS chart navigator. For complete details on operating the unit, see
the Northstar 961 Operations and Reference Manual (part number
GM1700).
The terms “unit” and “961” are used throughout this manual to refer to
the 961 GPS chart navigator. The 961X is differential-ready so you can
interface it to an external differential receiver. The 961XD has a built-in
differential receiver. Unless specifically indicated, all information in this
manual refers to both the X (non-differential) and XD (differential) ver-
sions of the unit.
Who should read this manual
The Northstar 961 Installation Manual is intended for marine technicians
who are configuring and installing the 961 GPS chart navigator.
Scope of this manual
In this manual, you’ll find information on the following procedures:
•choosing a location
•mounting and wiring the unit
•installing the antenna
•testing the unit
•interfacing the 961 to other instruments
•troubleshooting the unit
•configuring the NMEA output ports
•setting the auxiliary port
CAUTION!
To obtain the best performance from your 961, Northstar
strongly recommends that you have an authorized Northstar
dealer perform the installation. Proper installation of the North-
star 961 is of utmost importance to accurately receive and
effectively use GPS signals under a variety of weather condi-
tions.

SECTION ONE - Introduction
Page 2 961 INSTALLATION MANUAL Revision A
•setting pulses per nautical mile (PPNM)
•service functions
•maintaining the unit
•installing software updates and saving and restoring the database
The unit’s technical specifications can be found in Appendix A at the back
of this manual.
The rest of this section explains how to obtain technical support and how
to return a unit for service.
Getting technical support
After you’ve followed the instructions in this installation guide, if you
require additional technical support or have any other service-related
questions, you can contact either your dealer or the Northstar Service
Department. Northstar’s Service Department can be reached by email, fax,
U.S. mail, or phone as described in the table below. Whether you send an
email or fax, or write or phone, please have the unit’s serial number avail-
able, and be as complete and accurate as possible when describing the
problem so that a service technician can research the problem and pro-
vide the quickest possible response.
Northstar’s Service Department is available between 9:00 AM and 5:00
PM Eastern Time, Monday through Friday, excluding major holidays.
Table 1: Contacting Northstar
Hearing from you Your feedback is important and helps ensure that this manual is a valu-
able resource for all marine technicians. Send your questions, comments,
or suggestions about this manual to:
Email:
Service: service@northstarcmc.com
Sales: sales@northstarcmc.com
Fax:
Service: 978/897-1595
Sales: 978/897-7241
Telephone:
Main number: 978/897-6600 or 800/628-4487
Sales: 978/897-0770
Service: 978/897-6600
U.S. mail:
30 Sudbury Road
Acton, MA 01720
Website:
www.northstarcmc.com (you can send email to
Northstar directly from this site)
You can email the Ser-
vice Department directly
from Northstar’s website.
The address is
www.northstarcmc.com.
From here, you also can
access additional techni-
cal information under
either the Manuals or
Support links.

SECTION ONE - Introduction
961 INSTALLATION MANUAL Revision A Page 3
service@northstarcmc.com
Servicing the unit
Repair of the unit is performed only at the Northstar factory. Service
includes a complete hardware and software check-out.
For a system under warranty, shipping charges to the factory are the only
cost for factory repair. Repaired units will be returned via prepaid econ-
omy ground freight (units returned overseas are chargeable).
Units and accessories returned for warranty repair that are determined to
be without fault are subject to a handling charge.
Returning a unit for service
The unit is covered by a two-year hardware-only warranty, which, in
summary, states that if the unit is returned to the factory by the owner or
dealer during the warranty period, Northstar will repair or replace, free of
charge, any part found to be defective due to faulty materials or work-
manship, if the system has been properly installed and hasn’t been
abused. See the Limited Warranty Policy at the front of this manual for
further details. The only cost to the owner will be the one-way shipping
charges and any associated charges that may be imposed by the dealer. If
you have overnight or second-day shipping requirements, before ship-
ping the unit, please call the factory for turnaround time, freight charges,
and payment arrangements.
The unit should be shipped only in a properly designed carton with pack-
ing material. Shipments to the Northstar factory should be made to the
following address:
Northstar Technologies
Service Department
30 Sudbury Road
Acton, MA 01720 USA
NOTE:
Field repairs are not authorized and will void the warranty!
CAUTION!
You may want to ensure that the user has backed-up any of
their waypoints and routes before returning the unit for repair;
see “Saving and restoring databases and system logs” begin-
ning on page 63 for information on backing up waypoints and
routes.
Before returning the unit
to the Northstar factory,
to prevent delays it is
critical that you first
obtain a Return Materi-
als Authorization (RMA)
number from the North-
star Service Department.
If you purchased your
unit through a dealer,
call the dealer and pro-
vide your serial number
so they can get you an
RMA number.
Shipments without a
proper RMA number will
not be accepted!

SECTION ONE - Introduction
Page 4 961 INSTALLATION MANUAL Revision A
Ordering information
To order spare parts or replacement/missing parts, call the Northstar Sales
Department at 978-897-0770.

SECTION TWO - Installation
961 INSTALLATION MANUAL Revision A Page 5
SECTION TWO - Installation
This chapter includes all the information needed to install the 961. It
begins with a review of the system components and then provides infor-
mation on basic installation and powering on the unit. The rest of the
chapter describes how to wire the unit, install the antenna, and trouble-
shoot. Proper installation of the Northstar 961 is of utmost importance to
accurately receive and effectively use GPS signals under a wide variety of
weather conditions.
Safety considerations
WARNING!
Be sure to turn the power off at the main switchboard
before starting the installation. Further, it is highly
recommended that you post a sign by this switch tell-
ing others to keep power off while you’re performing
the installation. If power is left on or turned on during
the installation, fire, electrical shock, or other serious
injury may occur.
WARNING!
Be sure that the voltage of the power supply is
compatible with the unit’s voltage rating, which
can be found on the label at the rear of the unit.
Connecting to the wrong power supply can
result in fire or damage to the equipment.
Be sure to ground the equipment in order to pre-
vent electrical shock or mutual interference.
WARNING!
Be sure to use the proper fuse. Using the incorrect
fuse can result in fire or damage to the equipment.
CAUTION!
Make sure that the 961 does not interfere with
any of the on-board systems. Check all other
systems to ensure that their performance
doesn’t degrade when the unit is turned on.
CAUTION!
The 961 processor can only be mounted horizontally
due to its rubber vibration mounts.
CAUTION!
If you must cut the processor’s 10-foot power
cord shorter, be sure to keep the external fuse
intact. If the power cable must be longer than 10
feet, use a heavier gauge wire for those applica-
tions and be sure to use an external fuse.

SECTION TWO - Installation
Page 6 961 INSTALLATION MANUAL Revision A
System overview
The unit is shipped ready to install and operate.
It is recommended that you follow the steps below:
1. Check the shipping carton for any damage, and immediately report
any damage to the carrier. Save all packing material in case you have
to return the unit to the factory for repair or evaluation. For return
procedures, see “Returning a unit for service” beginning on page 3.
2. Unpack the cartons. Compare the 961 Packing List (P/N GM1703),
included in the 961’s packaging against the contents in those cartons
and with what you ordered.
3. Make sure you have the tools necessary to complete the installation.
4. After reviewing the components, next, review the components of a
proper installation. For details, see “Installation considerations”
beginning on page 6.
5. Choose the best location to mount the control head(s) and processor.
For suggestions and further information, see “Choosing a system
location” beginning on page 9.
6. Choose the best location to mount the antenna. For suggestions and
further information, see “Installing the antenna” beginning on
page 14.
7. Review the section on wiring the system. For details, see “Wiring the
961” beginning on page 12.
8. Install the control head(s), processor, and antenna. (You may want to
temporally install the antenna, then try operating the 961 to ensure
the antenna location works well before permanently installing the
antenna.)
9. Turn on the unit. For details, see “Turning the unit on and off” begin-
ning on page 26.
10.To ensure that the system is installed correctly and running properly,
perform a functional test. For details, see “Testing and troubleshoot-
ing the 961” beginning on page 32.
11.If desired, interface the NMEA output ports; for details, see “Config-
uring the NMEA output ports” beginning on page 46. If desired,
interface the auxiliary port, see “Setting the auxiliary port” beginning
on page 53.
Installation considerations
CAUTION!
The following basic installation considerations aren’t a substi-
tute for all the details in SECTION TWO. To ensure that you
meet all critical installation parameters, be sure to read and fol-
low everything in this section.

SECTION TWO - Installation
961 INSTALLATION MANUAL Revision A Page 7
Ensuring a proper
961 installation
To ensure a proper installation, it is highly recommended that you per-
form all of the following activities before starting the installation:
•preview/survey the vessel’s layout and existing equipment
•review all the installation materials
•review all the installation requirements, including:
- the physical requirements (spacing, location with regard to other
equipment, etc.)
- the electrical and electronic requirements (interference between
other pieces of equipment, power requirements, etc.)
Although the unit itself is very straightforward and easy-to-understand, it
has a few basic requirements that must be met before safe and proper
operation can be assured. The major parts of the rest of this section
address several topics regarding the minimum installation requirements
for the unit to:
•minimize electrical wiring hazards
•be mounted correctly
•accurately receive GPS and DGPS signals
•navigate safely
Avoiding
shortcuts
The majority of installation problems are caused by shortcuts taken with
system cables. When installing your 961, be sure to:
•assemble the connectors carefully
•don’t make sharp bends in the cables
•leave service and drip loops
•tie-wrap all cables to keep them secure
•if cables are lengthened, seal all wiring splices
Using the GPS
antenna (AN150)
The “active” GPS antenna is best mounted in the clear, and low on the
vessel to avoid extra motion from pitching and rolling. It should be
mounted lower than directional high-power transmitting antennas such
as radar or satcom. The length of coaxial cable to the “active” AN150
antenna (supplied with the unit) must be a minimum of 20 feet, but not
more than 100 feet. Coil up any unused length of cable; do not cut it to
less than 20 feet! Be sure that all cable connectors are securely fastened,
and that the cable itself is not subject to any tight bends.
For complete details about installing the AN150, see “Installing the
antenna” beginning on page 14.

SECTION TWO - Installation
Page 8 961 INSTALLATION MANUAL Revision A
Using DGPS with
an AN150 and
8410 ACU
If the unit is equipped with a differential receiver (and you’re using the
AN150 GPS antenna, not the AN205-P GPS/DGPS combo antenna), this
receiver must be connected to a Northstar 8410 differential Antenna
Coupling Unit (ACU). The ACU’s four-foot whip antenna should be
mounted as high as conveniently possible (but not at the highest point)
and as far away as possible from other antennas. The ACU can be
mounted on a standard marine antenna mount (1" diameter, 14 threads
per inch).
For complete details about installing the AN150/8410 ACU, see “Install-
ing an 8410 ACU (for use with the AN150 only)” beginning on page 22.
Using the DGPS
antenna
(AN205-P)
For complete details about installing the AN205-P, see “Installing the
antenna” beginning on page 14.
Bench-testing the
961
It is recommended that you bench-test the unit before installing it on the
vessel. Bench testing ensures that the equipment is fully operational, and
allows the GPS receiver to collect its almanac and ephemeris data for the
installed location, which results in less on-board installation time.

SECTION TWO - Installation
961 INSTALLATION MANUAL Revision A Page 9
Choosing a system location
The 961 consists of two major parts—a processor and a control head. The
961 supports two fully functional control heads (the second head is
optional). The 961 system comprises the processor and control head, GPS
receiver, optional differential receiver, controls, and the specially-coated
display screen.
Mounting the
control head
You can either yoke- or flush-mount the control head: Use the
yoke-mount kit as a framework for holding the control head, or
flush-mount the control head directly onto a flat surface of your choice.
Using the Northstar-supplied yoke mounting kit usually provides a
quicker and less expensive installation than a flush-mount installation.
Regardless of the type of mount, here are a few helpful hints about where
to mount the control head. Choose the mounting location care-
fully—before any drilling or cutting takes place. Choose a location that:
•is convenient, accessible, and within comfortable reach
•gives you easy access to the function keys
•is where you can clearly see the display screen from your normal
vantage point when navigating
•for best display contrast, is viewed from below, looking up at the
display screen
•provides a reasonably direct path for running the required electrical
cables
•has minimal glare from windows or other bright objects (even
though the unit has a high-contrast, anti-reflective LCD screen
that’s specially coated and readable in direct sunlight, you’ll want to
make the screen as visible as possible)
•if flush-mounting the head, make sure you choose an area that’s
well-ventilated; poor ventilation may cause overheating, resulting
in potential backlighting problems
Yoke mounting
For yoke mounts, leave ample room—usually two inches—all around the
sides and top to avoid crowding the unit. Also allow a clearance of at least
2½ inches in the rear just for the cables and connectors. For the recom-
mended yoke-mount installation dimensions, see Figure 1, and Figure 2.
Before drilling holes, rotate the unit to the desired angle to ensure proper
clearance for cables and operation of the unit.

SECTION TWO - Installation
Page 10 961 INSTALLATION MANUAL Revision A
Figure 1: 961 control head yoke-mount dimensions (side)
Figure 2: 961 control head yoke-mount dimensions (front)
6.1
12.4
1.9
8.2
2.5
13.5
12.4
11.6

SECTION TWO - Installation
961 INSTALLATION MANUAL Revision A Page 11
Flush mounting
For flush-mounting the unit, allow at least 2½-inch clearance at the rear
for cables and connectors.
For the recommended flush mounting drilling dimensions, see Figure 3
below. For the full-size version of the flush-mount installation measure-
ments and instructions, refer to the full-size flush-mount template (P/N
GT1600) included in the 961 shipping carton.
Make sure you provide for adequate ventilation, especially if the unit is
installed in a closed area that’s usually poorly ventilated. Poor ventilation
will cause the head to overheat, which in turn may cause the display
screen to darken.
Figure 3: 961 control head flush-mount drilling dimensions
CAUTION!
When flush-mounting, be sure to mount the unit on a flat sur-
face. Mounting on a curved surface can distort or break the
plastic and cause a breech in the waterproof seal.

SECTION TWO - Installation
Page 12 961 INSTALLATION MANUAL Revision A
Installing the
processor
For the processor installation measurements and instructions, refer to the
full-size flush-mount templates, “961 Processor Mounting Template, top
view” (P/N GM1700) and the “961 Processor Mounting Template, front
view” (P/N GM 1701) included in the 961 shipping carton.
To properly install the processor, you must first install the mounting
bracket to the surface of the vessel, then attach the processor to the
bracket.
Processor installation tips
•check the dimensions of the processor mounting bracket; these
dimension are provided on the enclosed template.
•follow the recommended clearance around the sides and front of
the unit.
•install the processor in a spacious, well-ventilated area to minimize
heat-related problems.
•mount the processor on a hard, solid, vibration-free surface of at
least 3/4-inch thickness. If the surface is carpeted, make sure that
the carpet doesn’t block the bottom ventilation holes or interfere
with the mounting plate vibration/shock mounts.
•10-foot power cable goes to 10-36 Volts DC.
Wiring the 961
The majority of installation problems are caused by shortcuts taken with
system cables. When installing the unit, be sure that you:
•assemble connectors carefully
•don’t make sharp bends
•leave service and drip loops
•tie-wrap all cables to keep them secure
•if cables are lengthened, seal all wiring splices
The 961 operates on DC power from a 10-volt minimum to a 40-volt
maximum connected by at least 16-gauge wire. The 10-foot power cable
supplied with your 961 should be long enough for most installations, but
if you must lengthen the power cable, you can extend it to a maximum of
25 feet without adversely affecting the 961’s operation. For lengths up to
15 feet, the power connections to the battery must use 16-gauge wire or
heavier. For lengths of 15 feet or more, use 14-gauge wire or heavier.
Regardless of the length of the cable, you should use a 20-amp external
fuse as an added safety precaution ((the 961 has an external fuse in its
standard 10-foot power cable). The external fuse protects the vessel wir-

SECTION TWO - Installation
961 INSTALLATION MANUAL Revision A Page 13
ing and prevents electrical fires. The power wiring should be connected
directly to the battery when possible for optimum noise immunity.
Electrical power
requirements
The 961 is a negative-ground system. After the processor has been
installed—but before you turn the 961 on—verify that the wires in the
10-foot power cable are connected as follows:
•Red — positive (+) 10 to 40 Volts DC (VDC)
•Black — negative (–)
Wiring the
system
The back of the processor, with all the proper wiring and connections, is
shown in “Figure 4: Processor connectors (back of unit)” below.
Figure 4: Processor connectors (back of unit)
CAUTION!
Ensure that fuse or circuit-breaker protection is provided at the
power source. If you must cut the processor’s 10-foot power
cable shorter, be sure to keep the external fuse intact. If the
power cable must be longer than 10 feet, use a heavier gauge
wire for those applications, and be sure to use an external fuse.

SECTION TWO - Installation
Page 14 961 INSTALLATION MANUAL Revision A
Connectors
•Power connector (3-wire)
•TNC connector (control head #1)
•TNC connector (control head #2)
•I/O #1 interface connector (18-wire)
•I/O #2 interface connector (18-wire)
•GPS antenna connector (BNC)
•DGPS antenna connector (UHF)
•PC connectors (variable)
•VGA
Installing the antenna
Choosing an
antenna
Three antenna choices are available for the 961X or 961XD:
•one for reception of GPS-only signals (the standard one-piece
“active” AN150 antenna)
•one for reception of both GPS and DGPS signals (a two-piece
antenna system comprising the standard AN150 GPS antenna and
the 8410 DGPS coupler)
•one for reception of both GPS and DGPS signals (optional one-piece
AN205-P “combination” antenna)
Choosing an
antenna location
Choosing the AN150 antenna location
The GPS receiving antenna is a vital link between the unit’s receiver and
the outside world. Aesthetics and easy access should be secondary to pro-
viding strong and reliable GPS signals to the unit’s receiver. You should
select a location for the antenna that meets the following requirements:
•The antenna should have a reasonably clear view of the horizon,
but be no higher than necessary (side-to-side motion of the
antenna caused by rolling of the vessel may degrade the SOG and
COG readings); however, the antenna should be 12 to 18 inches
above the surrounding surfaces to avoid interference.
•The antenna must be out of the radiation path of any on-board
radar sets or strong magnetic fields.
•The antenna must be lower than any INMARSAT communications
antenna.
•The antenna should be as far as possible from other high-power
transmitting antennas.
•Watch out for electromagnetic “shading” of antennas from rigging,
other vessels, shoreline buildings, and so on. Secure the cable well.

SECTION TWO - Installation
961 INSTALLATION MANUAL Revision A Page 15
To avoid mutual interferences among different antennas on the vessel,
refer to the drawing of recommended separation distances in Figure 5:
‘Separation distances between antennas,’ below.
Figure 5 shows the minimum recommended distances for the separation
of the GPS antenna from other antennas and physical mounting surfaces.
Under normal circumstances, following these guidelines usually result in
a relatively trouble-free installation.
The installer may want to adjust these distances, however, depending on
the particular equipment and how it is configured. Since each installation
is unique—according to the wishes of the customer—this information
should be used only as a guideline. It is not absolution in determining
the best locations for every possible equipment configuration.
Figure 5: Separation distances between antennas
Choosing the AN205-P combination antenna location
A combination GPS/DGPS antenna is available for applications involving
serious grounding problems (which creates noise issues with the beacon
receiver), where optimum portability is required, or when only a single
NOTE:
Be especially careful about the distance between the combo
antenna and any sources of magnetic interference (for exam-
ple, the INMARSAT antenna).

SECTION TWO - Installation
Page 16 961 INSTALLATION MANUAL Revision A
antenna is desired. The AN205-P doesn’t require any ground and is porta-
ble, an advantage when it must be moved from one vessel to another. The
“combo” antenna should be located where it has a clear view of the hori-
zon, but is not the highest point on the vessel. Keep the combo antenna
at least six feet away from objects that can “shade” GPS or differential sig-
nals.
If poor GPS Signal-to-Noise Ratio (SNR) readings are obtained after the
unit has been running for several minutes, check that you have the
proper length of cable, and verify the quality of the antenna location and
the quality and proper termination of the connectors. SNR should be as
high as possible. Values of 15 and higher are preferable; anything below
10 could indicate poor reception.
About the
antenna cabling
Supplied with your 961 system is a 50 foot-length of RG-59 coaxial cable
to use with either the AN150 or the AN205-P. The length of coax cable to
the AN150 antenna must be no less than 50 feet and no more than 100 feet;
to the AN205-P, no less than 20 feet and no more than 50 feet. When
installing antenna cable, don’t bend it tightly in any places, and fasten the
cable along its length to avoid chafing or whipping of any kind. Coil up
any unused length of cable. Secure the cable well (the center conductor is
solid wire), and securely fasten all cable connectors.
Installing the
AN150 antenna
Whereas a loran or differential antenna should be mounted high on the
vessel for best performance, the GPS antenna should be mounted as low
as possible and out in the open to avoid “shading” (placement of the
antenna where it is partially obscured by another object from the signals
it must receive). If mounting on top of a tower or mast, understand that
the unit will be affected by the pitch and roll of the vessel. Often the bow
or stern will provide a location where shading is minimized, while serving
to keep the antenna low. Be sure that any directional L-band transmitting
antennas (such as radar or satellite communication antennas) can never
point at the GPS antenna--its internal preamplifier is quickly destroyed by
such radiation.

SECTION TWO - Installation
961 INSTALLATION MANUAL Revision A Page 17
Figure 6: GPS-only antenna (AN150)
Wiring the AN150 antenna
Supplied with the antenna is a 50-foot length of RG-59 coaxial cable for
use with either the GPS-only AN150 “active” antenna (as well as the GPS/
DGPS AN205-P “combo” antenna).
Mounting the AN150 antenna
Too l s n e ede d:
•flat-bladed screwdriver
•knife blade
•Amphenol crimp tools
One TNC connector is pre-attached to the antenna-end of the RG-59
coaxial cable. Connection to the antenna itself involves the following
steps:
1. Remove the antenna base by loosening the four captive screws in the
base.
2. Screw the base onto the top of the antenna mount (standard 1"-14
marine thread).
CAUTION!
The GPS-only antenna must be used with a minimum of 20
feet of cable, and no more than 100 feet. Any unused length
must be coiled up; do not cut it to less than 20 feet!
O-RING
ADAPTER
ANTENNA
3.00
.91
1.82
CAPTIVE SCREW

SECTION TWO - Installation
Page 18 961 INSTALLATION MANUAL Revision A
3. Feed the open end of the supplied coax cable down through the
antenna base and through the hollow core of the antenna mount.
4. Affix the TNC connector-end of the coax to the mating connector
inside the upper half of the GPS antenna. Be sure to tighten it
securely, as vibration can loosen the connection over time. In addi-
tion, protect the coax-to-antenna connection with liquid electrical
tape or self-vulcanizing electrical tape.
5. Align the upper half of the antenna with the bottom half and tighten
the four screws. Be careful not to over-tighten the screws, as this may
deform the watertight seal between the two antenna halves.
6. Make a termination for a male BNC connection—as described in the
following steps—then connect the antenna to the female BNC con-
nection at the back of the unit.
1. Strip cable jacket to the following dimensions (in
inches), as illustrated in Figure 7: ‘Stripping the coax
cable jacket,’ below: a=0.57, b=0.34, c=0.14, d=0.43. Do
not nick the center conductor.
Figure 7: Stripping the coax cable jacket
2. See Figure 8: ‘Flared cable braid,’ below: Slide outer
ferrule on as shown. Slightly flare the end of cable
braid, as shown, to facilitate insertion into inner fer-
rule.
Figure 8: Flared cable braid
3. Place center contact onto center conductor so that it
butts against the cable dielectric. Crimp the contact in
place using Amphenol tool handle #227-944 and Cav-
ity B of Die Set 227-980-3.
4. Install cable assembly into body assembly so inner fer-
rule slides over dielectric and under braid. Push cable

SECTION TWO - Installation
961 INSTALLATION MANUAL Revision A Page 19
assembly forward until contact seats in insulator. Slide
outer ferrule over braid and up against connector
body. Crimp outer ferrule using Cavity A of tools spec-
ified above. The connector ferrule-to-cable junction
can be sealed and protected using adhesive-lined heat
shrink.
Figure 9: Completed BNC connector
Installing the
AN205-P
antenna
The combo antenna provides for an easier, more compact, and bet-
ter-looking installation, and in many cases, the loop antenna design
improves the noise rejection of signals interfering with differential signals.
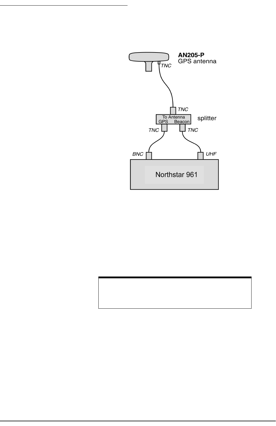
Figure 10: Combo GPS/DGPS antenna (AN205-P)
Wiring the AN205-P antenna
When you use the AN205-P combo antenna, a cable “splitter” is required
to separate the signal path of the single cable from the antenna into two
cables for connection to the 961. For the proper installation of the splitter,
refer to “Figure 11: Correct AN205-P (combo antenna) splitter wiring”
below. The splitter should be located near the unit for convenience, but
may be situated virtually anywhere along the length of the maximum
100 feet of RG-59 GPS cable, without appreciable signal loss. Note, how-
CAUTION!
The combo antenna must be used with a minimum of 20 feet
of cable, and no more than 100 feet. Any unused length must
be coiled up; do not cut it to less than 20 feet!
7.00
2.5
3.5
TNC

SECTION TWO - Installation
Page 20 961 INSTALLATION MANUAL Revision A
ever, that the splitter isn’t weatherproof and should be placed in a pro-
tected area where it won’t be subjected to direct water splash or spray.
Figure 11: Correct AN205-P (combo antenna) splitter wiring
Avoid tight bends when installing any antenna cable. Be sure to fasten
the cable along its length to avoid chafing or whipping of any kind.
After the antenna has been mounted and the cable has been cut to
length—not less than 20 feet—install the supplied TNC connector at the
other (961X) end. See Figure 12, Figure 13, and Figure 14 below. A satis-
factory crimp for this connector may be made with a commonly available,
high-quality crimping tool designed for use with TNC connectors.
NOTE:
Be sure that you properly install the TNC connector: Most sys-
tem failures—whether continuous or intermittent—can be
traced to poor connector installation.
AS105/AS110

SECTION TWO - Installation
961 INSTALLATION MANUAL Revision A Page 21
Mounting the AN205-P antenna
1. Strip cable jacket to the following dimensions (in inches), as illus-
trated in Figure 12: ‘Stripping the coax cable jacket,’ below: a=0.57,
b=0.34, c=0.14, d=0.43. Do not nick the center conductor.
Figure 12: Stripping the coax cable jacket
2. “Figure 13: Flared cable braid” below: Slide outer ferrule on as shown.
Slightly flare the end of cable braid, as shown, to facilitate insertion
into inner ferrule.
Figure 13: Flared cable braid
3. Place center contact onto center conductor so that it butts against
the cable dielectric. Crimp the contact in place using Amphenol tool
handle #227-944 and Cavity B of Die Set 227-980-3.
4. “Figure 14: Completed TNC connector” below: Install cable assembly
into body assembly so inner ferrule slides over dielectric and under
braid. Push cable assembly forward until contact seats in insulator.
Slide outer ferrule over braid and up against connector body. Crimp
outer ferrule using Cavity A of tools specified above. The connector
ferrule-to-cable junction can be sealed and protected using adhe-
sive-lined heat shrink.
Figure 14: Completed TNC connector

SECTION TWO - Installation
Page 22 961 INSTALLATION MANUAL Revision A
Installing an 8410
ACU (for use with
the AN150 only)
If you want to receive differential corrections with the 961 and you’re
using the AN150 antenna, you must use the Northstar 8410 Antenna
Coupling Unit (ACU). Although similar in appearance to Northstar loran
ACUs, only the unit labeled “8410” will work with the internal DGPS
receiver. The ACU also serves as a sturdy mounting base for the whip
antenna.
Mounting the 8410
The Northstar 8410 differential receiver antenna should be mounted as
high as conveniently possible (but not at the highest point) and as far
away as possible from other antennas. If you have several possible
antenna locations, you may evaluate each by operating the unit with the
DGPS antenna temporarily mounted in each location.
The best location is one providing the lowest “noise” count (atmospheric
impulse noise generated by thunderstorms and other conditions, includ-
ing vessel-generated noise and any on-board interference) and highest
Signal-to-Noise Ratio (SNR). You can view both of these values after you
turn the unit’s power on; see “Turning the unit on” beginning on page 26.
Another major concern, precipitation static (called “P-static”), must be
addressed when installing the differential antenna. The 8410 receives
weak AM signals and can be sensitive to nearby noise sources and
P-static. P-static generally appears only during rain or snow; conse-
quently, it can easily be overlooked during installation. Much like a loran
antenna, the effects of P-static are minimized if the differential antenna is
mounted so that it isn’t the highest metallic object on the vessel. The
highest metal object acts much like a lightning rod, attracting tiny static
discharges in the atmosphere. If the differential receiver antenna is the
highest object, these discharges can totally override the differential sig-
nals and cause poor operation in bad weather. The optimum antenna
location is high and clear for fair-weather operation, but below the top of
a metal mast or other antenna for best foul-weather operation. On sailing
vessels, the ACU might be mounted on top of a low mast, or on the stern
rail if no other suitable location is available.
The 8410 differential receiver ACU can be mounted on a standard marine
antenna mount (one inch diameter, 14 threads per inch).
For special applications involving serious grounding problems, or where
optimum portability is required, you can use the AN205-P combination
GPS/DGPS antenna; for details, see “Installing the AN205-P antenna”
beginning on page 19.
The ACU consists of two pieces, the body and the base. The circuitry is
sealed in a rugged, waterproof, fiberglass polycarbonate body, the upper
end of which is threaded to accept a standard 4-foot whip antenna. A
large female thread is molded into the lower portion, or base, of the ACU

SECTION TWO - Installation
961 INSTALLATION MANUAL Revision A Page 23
body into which the upper half is secured (see Figure 15, “ACU Assem-
bly”). A gasket and rubber O-ring on the upper half provide weathertight
sealing when the two halves are secured. The bottom of the base is
threaded (1"–14) to mount onto an antenna mast or onto a standard deck
mount.
Figure 15: ACU assembly
The ACU connects to the 961X with RG-58U coaxial cable, which carries
signals to the differential receiver and DC power to the ACU amplifier.
See Figure 16 below for the correct AN150/8410 wiring. A 25-foot length
of this cable is supplied with the unit; this cable may be extended up to a
length of 300 feet. The cable passes up through the hollow ACU base and
connects to the PL-259 (UHF) connector at the bottom of the ACU. For
UHF connector preparation, see“Differential GPS antenna cable connec-
tors” beginning on page 25.
CAUTION!
Maintaining the ACU’s weathertight seal between its upper and
lower halves requires only hand-tightening the two together.
Using a wrench or other tool may distort the gasket or housing/
rubber O-ring inside, or break the coupler base.

SECTION TWO - Installation
Page 24 961 INSTALLATION MANUAL Revision A
Figure 16: Correct AN150 and 8410 wiring
RF grounding
The grounding system is an equal partner with the antenna in producing
quality differential beacon signals for the 961 differential receiver. Lack of
proper grounding can adversely affect differential signal strength, as well
as SNRs, and is the most common source of problems with differential
antenna installations. The same grounding techniques that have worked
well for loran systems will work equally well for differential antenna sys-
tems. Essentially, the ground system provides a secure connection to a
large electrical mass; ideally, the earth itself. On a vessel, this means
establishing electrical contact with “seawater” ground. On a steel vessel, a
good connection to the hull or steel pilothouse is sufficient. Wood or
fiberglass vessels require a metal ground plate or a thru-hull fitting. If the
metal ground plate is impractical, the engine block or the negative (–)
battery terminal can sometimes be used, but only as a last choice due to
stray electrical noise that may be present at these locations.
NOTE:
This connection must be made before the ACU is screwed into
its base.

SECTION TWO - Installation
961 INSTALLATION MANUAL Revision A Page 25
The 8410 ACU has a separate black ground wire inside the coupler base,
this wire should be connected to an electrically quiet ground location.
This wire is the AC signal ground connection from the antenna input cir-
cuit. The purpose of bringing it out is to make available a separate signal
ground path. Use #16 AWG minimum for grounding. If possible, use a
grounding “strap” that is designed for this purpose.
Other electrical equipment onboard can cause large amounts of electrical
noise, even at points that appear well-grounded. Try several ground
points (ground plate, vessel ground, engine block, and so on) to deter-
mine which works best under different conditions.
Differential GPS antenna cable connectors
Both ends of the differential beacon receiver antenna cable end in UHF
connectors. To prepare UHF connectors, follow the assembly instructions
in Figure 17. For best results, coat these connectors with silicone dielec-
tric grease (DC 4 or equivalent) to protect the connector junction against
water intrusion and surface corrosion of the contacts.
In addition, the connector area including the shield-to-connector junc-
tion and jacket-to-crimp ferrule area can be protected with liquid electri-
cal tape (Starbright Liquid Tape comes in color-coordinating black or
white), or self-vulcanizing electrical tape (Tommy Tape).
WARNING!
Whenever any antenna is disconnected from on-board equip-
ment, be sure to ground the antenna shield in order to dis-
charge extremely large static voltages that can quickly build up
on an ungrounded antenna system. These voltages are haz-
ardous to personnel and equipment!

SECTION TWO - Installation
Page 26 961 INSTALLATION MANUAL Revision A
Figure 17: PL-259 (UHF) connector
Turning the unit on and off
Turning t h e u ni t
on
To activate the unit, briefly press the PWR key. This activates the control
head and the processor. After several minutes, the INITIAL STARTUP
screen appears (as shown in Figure 18 below). This screen displays for
about five to ten seconds. The unit will then perform a series of system
self-tests in which it checks critical components and functions for any
errors, as shown in Figure 19.

SECTION TWO - Installation
961 INSTALLATION MANUAL Revision A Page 27
Figure 18: Initial startup screen
Figure 19: System test screen
After the SYSTEM TEST screen, the 961 automatically displays the
OWNER’S MESSAGE screen, as shown in Figure 20, for about 10 seconds.
For information on creating a personal owner’s message (such as the
owner’s name and name of the vessel), see “System security” in the North-
star 961 Operations and Reference Manual (GM1700).

SECTION TWO - Installation
Page 28 961 INSTALLATION MANUAL Revision A
Figure 20: Owner’s message screen
Advisory
message
After the OWNER’S MESSAGE screen, the special advisory message is dis-
played as a precautionary reminder that the unit’s chart cartography
must not be relied upon as the sole means of safe navigation. Although
every effort has been made to ensure that the data used by the unit is as
close to paper charts as possible, errors and omissions are inevitable.
Therefore, extreme care must be used when navigating by means of
electronic charts. It is the captain’s responsibility to cross-check the 961
against other sources of navigation data. To proceed, accept the advisory
message by pressing any key.
NOTE:
A brief warm-up period may be required for the unit’s display
screen to achieve its full intensity, if the unit’s power has been
off and its display screen is “cold.”

SECTION TWO - Installation
961 INSTALLATION MANUAL Revision A Page 29
Figure 21: Advisory message
If chart CDs for your geographical area have been installed onto the 961’s
hard drive, and after the unit acquires GPS signals, you’ll see your vessel
symbol centered on the CHART screen at your present position. Until the
961 acquires GPS signals, the small position-fix circle will be located at
the last known position.
If there aren’t any charts covering your geographic location installed on
the hard drive, the 961 displays a plotter grid instead of a chart.
For new units
only
When you first turn your 961 on, you’ll see your present vessel position
at the center of the chart, represented as a small circle. A 961 that
recently has been used either at or near that same position will usually be
ready to navigate within several minutes.
If the 961 doesn’t acquire GPS signals soon enough, however, your last
position fix (from the last time the unit ran) will be represented by a small
position-fix circle; you’ll see an alarm message in the upper portion of the
CHART screen, and you’ll hear the GPS alarm beep. This sequence often
occurs when a 961 is used for the first time in a new location hundreds of
miles from where it was last used, and means you’re being notified that
the 961 is searching for the necessary satellites. This take should take two
to five minutes to acquire, after which the 961 is ready to navigate.
GPS signals The 961 uses a high-performance GPS receiver as its primary source of
position data. Calculated directly from the received satellite data are your
present position in lat/lon coordinates, time of day and date,
speed-over-ground (SOG) and course-over-ground (COG), and an esti-
mate of the 961’s accuracy.

SECTION TWO - Installation
Page 30 961 INSTALLATION MANUAL Revision A
Once the unit is turned on and has acquired satellite data, you can check
the quality of the GPS signals being received by viewing the various satel-
lites’ SNR (Signal-to-Noise Ratio) readings.
GPS receiver status summary
To display information about the GPS satellites, press the STAR key to
display the SERVICE MENU screen, then press the GPS STATUS key. The
961 displays the GPS SATELLITE STATUS screen, showing the status of
the GPS receiver. This screen also displays the status of the DGPS
receiver, if installed (961XD).
Figure 22: GPS satellite status screen
The GPS SATELLITE STATUS screen shows the received Signal-to-Noise
Ratio (SNR) for each satellite (up to 12), and a map indicating where the
satellites are now located in the sky. Satellites are identified by their pseu-
dorandom number (PRN), a two-digit number assigned by the U.S. gov-
ernment. The center of the satellite map represents the center of the sky,
and the outer ring is the horizon. The view is looking down from above,
with East to your right and West to your left.
Also displayed on the screen is the following GPS data:
•ACCURACY
•HDOP (horizontal dilution of precision)
Accuracy is the estimated accuracy of the GPS system to be expected at
the current time. Your position readings should be more accurate than
this estimate 95 percent of the time.
HDOP is a technical measure of how good the satellite pattern is in the
sky for fix-taking purposes. HDOP depends on how many operational sat-
ellites are in view and where they’re currently located. HDOP is calcu-
lated from the satellites’ current positions, not on actual received signals,

SECTION TWO - Installation
961 INSTALLATION MANUAL Revision A Page 31
and doesn’t consider atmospheric conditions, Selective Availability, and
signal interference, all of which affect accuracy. HDOP can range from an
ideal value of slightly less than one, up to a poor value of 10 or more; any
value less than two indicates excellent performance.
Lat/lon coordinates
On the CHART screen INFO BARS, the 961 displays lat/lon as degrees,
minutes, and thousandths of minutes. To display this data, press the INFO
key several times. After press the first INFO key, a second INFO key is dis-
played, letting you display additional data on the second INFO BAR.
SOG and COG
You can display SOG and COG in the INFO BAR on the CHART screen, or
on the 3-D STEER screen or numeric STEER screen. To display SOG and
COG on either the STEER or 3-D STEER screens, press the STEER key
once or twice.
SOG and COG readings result from ongoing measurements derived from
the satellite signals; SOG speed is updated every second. You can set the
961 to display its SOG and COG readings more smoothly by setting the
GPS speed averaging value up to 10 seconds. Increasing this averaging
time, however, may reduce overall reaction time. For more details about
GPS speed averaging value, see Chapter 14 in the Northstar 961 Opera-
tions and Reference Manual (GM1700).
Loran-C TDs
The 961 also calculates Loran-C TDs from the GPS coordinates, and dis-
plays them on the CHART-screen INFO BARs. For more details, see “View-
ing loran TDs” in Chapter 5 of the Northstar 961 Operations and Reference
Manual (GM1700).
About
auto-dimming
mode
If you don’t touch any key on the control head for one hour or more, its
LCD screen automatically dims to about half its normal brightness (based
on its current brightness), if required by the system. Pressing any key at
any time automatically restores the display’s previous brightness level.
This function helps maintain the integrity of the display screen and
reduce power consumption when the 961 is on for many hours at a time.
It is still recommended, however that you keep the lighting level lower
when you don’t actually need it.
Turning t h e u ni t
off
The procedure for turning off a system with two control heads is slightly
different than turning off a system with one head.
To turn off an entire system (both the head and the processor) with one
control head:

SECTION TWO - Installation
Page 32 961 INSTALLATION MANUAL Revision A
1. Press and hold the PWR key for three seconds, and the 961 will turn
off.
To turn off an entire system (the two heads and the processor) with two
control heads that are on:
1. Press and hold the PWR key for approximately two seconds until the
POWER-OFF dialog appears, as shown.
2. To turn off only one head (where you pressed the PWR key, press the
THIS HEAD key. Otherwise, to turn off the entire system, press the
BOTH HEADS key.
Testing and troubleshooting the 961
To test the system after installation, first apply power to the control head:
Pressing the control head’s PWR key automatically turns the entire sys-
tem on, including the processor. Next, check for the presence of GPS and
DGPS signals: For GPS signals, the time-to-first-fix (TTFF) is about two to
five minutes; for DPGS signals, it may take at least 20 minutes for the first
channel of the 961’s internal beacon receiver to lock onto a transmit-
ter–keep checking for the presence of the word DGPS in the upper-left
corner of the CHART screen.
Troubleshooting
common
installation
problems
Typical problems you may encounter during or after the installation pro-
cess are outlined in Tables 2, 3, and 4. If you’ve followed the troubleshoot-
ing steps below and are still experiencing difficulties, call the Northstar
Service Department at 978-897-6600 and ask to speak with a marine ser-
vice technician.
Table 2: Troubleshooting the installation
Problem Area Symptom Possible Solutions/Reasons
POWER Pressing the PWR button doesn’t power-up
the unit.
•Check the fuse and the power to the
head.

SECTION TWO - Installation
961 INSTALLATION MANUAL Revision A Page 33
POWER (cont’d) The control head powers-up, but not the
processor (the processor’s power indicator
at the back of the unit is not lit).
•Check the fuse and the power to the
processor.
•Check the coax cable between the
head and the processor.
•Set the TEST-POWER switch on
the processor to the TEST position; if
the processor doesn’t power-up, then
power to the processor is faulty, or the
entire unit may be defective.
POWER (cont’d) The control head powers up, beeps, and the
backlight can be operated up and down, but
there isn’t any video.
•Verify that the processor’s power indi-
cator at the back of the unit is lit.
•Check the fuse and the power to the
processor.
•Check the coax cable between the
head and the processor and make
sure it’s properly terminated and con-
nected. If a spare known-good cable
is available, temporarily substitute it to
see if the problem goes away.
DISPLAY There is continuous or intermittent system
failure as evidenced by the display screen
flashing a "plaid" or multi-colored "waffle
weave" pattern.
There is continuous or intermittent system
failure as evidenced by the display screen
flashing a pulsing white flash in a continu-
ous repeating pattern.
•Verify that the processor’s power indi-
cator at the back of the unit is lit.
•Check the fuse and the power to the
processor.
•Check the coax cable between the
head and the processor and make
sure it’s properly terminated and con-
nected. If a spare known-good cable
is available, temporarily substitute it to
see if the problem goes away.
•If a test setup with a VGA monitor and
keyboard is available, call Northstar
technical support for guidance con-
cerning in-depth troubleshooting of
the system to determine if the prob-
lem is the display or the processor.
•This may be radar interference; for
additional guidance, see Table 4,
“Troubleshooting the radar interface,”
on page 42.
Table 2: Troubleshooting the installation (continued)
Problem Area Symptom Possible Solutions/Reasons

SECTION TWO - Installation
Page 34 961 INSTALLATION MANUAL Revision A
DISPLAY (cont’d) The display screen dims, either slightly or
more, after the unit has been on for a cer-
tain time.
If the display screen dims and also displays
the error message “unit too hot, backlighting
dimmed.”
•The unit may be implementing its
auto-dimming mode, which occurs
when no keys have been pressed for
an hour or more (pressing any key
restores the previous brightness
level). When this occurs the display
screen dims to about half its normal
brightness (based on its current
brightness). Auto-dimming helps
maintain the integrity of the display
and reduce power consumption when
the unit is on for many hours at a time.
•The unit may be running too hot
based on its current environment. In
this case, the display screen dims
only about or notch or so, which is
normal.
•There are two covered external fans
at the back of the control head. When
one or both of these fans needs ser-
vicing, the 961’s backlighting dims
substantially to reduce the unit’s over-
all temperature. These fans are
dealer-serviceable; call your Northstar
dealer.
PROCESSOR
System lock-ups
Software-related:
System locks up under certain conditions,
such as when configuring screens, routes,
or waypoints. This maybe followed by a col-
ored screen indicating that you may want to
call the Northstar Service Department to
report an EIP (software) error.
•Install the latest software upgrade (to
order, call the Northstar Service
Department).
Table 2: Troubleshooting the installation (continued)
Problem Area Symptom Possible Solutions/Reasons

SECTION TWO - Installation
961 INSTALLATION MANUAL Revision A Page 35
PROCESSOR
(cont’d)
System lock-ups
Vibration-related:
The system locks up while underway under
certain conditions. Systems tend to lock up
on those vessels that are 35-55 feet in
length with varying beam widths, having
twin large displacement engines, moving
approximately 20 to 35 knots, and with their
processors installed at/or below the water-
line and close the outside hull.
•Vibration induced into the hull and
surrounding structure from the engine
and the running gear.
•The action of the waves against the
hull while the vessel is underway at a
medium-to-high rate of speed.
•Cavitation of the water pumps in jet
boat propulsion systems.
•Incorrect installation practices, includ-
ing improperly fitted lower attachment
clips for the internal hard drive
assembly. If this is the case, to rem-
edy the problem, ensure that the tabs
are engaged and tightly secured in
their respective slots on the
power-supply frame so that the bot-
tom of the drive mounting bracket is
properly restrained. Use the mounting
bracket with the ME500-series vibra-
tion mount.
PROCESSOR
(cont’d)
System lock-ups
Hardware-related:
The system locks up on a random basis with
no apparent pattern.
•Ensure that the processor internal
cooling fans are operating and that
the processor is not overheating. If
you can not comfortably place your
hand on the top of the processor
when it is operating then it is most
likely overheating and the reason
needs to be determined and cor-
rected. Make sure that the compart-
ment where the processor is mounted
has adequate ventilation to prevent
heat build up.
Table 2: Troubleshooting the installation (continued)
Problem Area Symptom Possible Solutions/Reasons

SECTION TWO - Installation
Page 36 961 INSTALLATION MANUAL Revision A
PROCESSOR
(cont’d)
Configuration No GPS or DGPS •Possible incorrect installation of the
AS110/AS105 splitter cables; they
may be reversed at the splitter for the
GPS and differential output ports
going to the 961XD processor.
•For verification and troubleshooting of
the antenna system, see Table 3,
“Troubleshooting the GPS/DGPS
antenna installation,” on page 39.
•The 961XD processor BIOS may be
improperly configured. This normally
wouldn’t occur unless the BIOS mem-
ory battery has failed or the BIOS set-
tings were intentionally changed.
Consult with the Northstar Service
Department for information on how to
troubleshoot and correct this problem.
DGPS
(DIFFERENTIAL)
There’s no DGPS indicator on the Chart
screen, and:
The BEACON RX SELF-TEST AND SOFT-
WARE message says FAILED (press the
STAR key to access the SERVICE MENU
screen, then press the GPS STATUS
key).
•Wait 30 minutes after start-up (only if
a new unit).
•Check for an open or shorted bea-
con-antenna cable connector.
•Check for proper ground.
•The Northstar 8410 ACI or the 961
processor may be defective; call the
Northstar Service Department.
Table 2: Troubleshooting the installation (continued)
Problem Area Symptom Possible Solutions/Reasons

SECTION TWO - Installation
961 INSTALLATION MANUAL Revision A Page 37
DGPS (cont’d) There’s no DGPS indicator on the Chart
screen, and:
The BEACON RX SELF-TEST AND SOFT-
WARE message reads PASSED, AND
THE DGPS STATUS message reads
SEARCHING.
•Wait 30 minutes after start-up (only if
a new unit) so the receiver can find a
differential transmitter within range)
check local knowledge or transmit-
ters).
•Check for high noise level, possibly
due to a storm front, or for local inter-
ference at the marina or on the ves-
sel. See the Northstar 961 Operations
and Reference Manual (GM1700) for
details about noise-level meanings.
•Turn off power to each and all of the
vessel’s other instruments, one at a
time, to isolate the source of the inter-
ference.
•Try manually selecting and setting a
DGPS beacon station to be used to
see if the signal can be received.
•Consult the Coast Guard's Local
Notice to Mariners to determine if
there may be a scheduled mainte-
nance outage for the station you’re
trying to use.
•For additional guidance, call the
Northstar Service Department.
DGPS (cont’d) There’s no DGPS indicator on the CHART
screen, and:
The BEACON RX SELF-TEST AND SOFT-
WARE reads PASSED, and the DGPS
STATUS message reads OLD CORREC-
TIONS.
•No DGPS corrections have been
received, and the system has
returned to non-differential operation.
You may be out of range of a transmit-
ter, or if you’re experiencing bad
weather, noise may be interfering. In
either case, you must wait.
DGPS (cont’d) There’s no DGPS indicator on the CHART
screen, and:
The BEACON RX SELF-TEST AND SOFT-
WARE reads PASSED, and the DGPS
STATUS message reads POOR DOPS.
•Wait for the satellite configuration to
automatically update, which should
only take a few minutes.
DGPS (cont’d) There’s no DGPS indicator on the CHART
screen, and:
BCN UNHEALTHY is displayed. •Wait—the transmitter is switching to
another beacon. You can try manually
switching to another transmitter.
Table 2: Troubleshooting the installation (continued)
Problem Area Symptom Possible Solutions/Reasons

SECTION TWO - Installation
Page 38 961 INSTALLATION MANUAL Revision A
Troubleshooting the GPS/DGPS antenna installation
In the following table (troubleshooting the GPS/DGPS antenna installa-
tion), the Northstar AN150 refers to the 12-dB GPS antenna, the North-
star 8410 coupler with whip antenna refers to the beacon receiver
whip-type (E-field) antenna, and the Northstar AN205-P refers to the
combination (combo) GPS/DGPS loop antenna with splitter. Whenever
possible, the best and most efficient way to troubleshoot is to use a
known-good set of cables, a splitter for combo antennas (when applica-
ble), and working antennas as spares for swapping.
INTERFERENCE Electrical, magnetic, or radio frequency (RF)
energy is interfering with the reliable opera-
tion of the unit as shown by high levels of
noise on the DGPS status screen.
•Turn off power to each and all of the
vessel’s other instruments and sys-
tems, one at a time, to isolate the
source of the interference.
•Attempt to eliminate the noise through
earth grounding or RF filtering tech-
niques as appropriate to the type of
noise encountered.
GPS The head and processor power up, but poor
GPS SNR readings are obtained even after
running the unit for several minutes.
•Check that you have the proper
length of cable and that all connec-
tions are clean and secure.
•Verify the quality of the antenna loca-
tion (the antenna should have a clear
view of the sky). For the correct
antenna placement, see Figure 5.
•See Table 3, “Troubleshooting the
GPS/DGPS antenna installation,” on
page 39.
Table 2: Troubleshooting the installation (continued)
Problem Area Symptom Possible Solutions/Reasons
NOTE:
Concerns for the AN205-P that aren’t explained in the GPS/
DGPS antenna troubleshooting table below include the fact
that mounting a loop-type antenna in close proximity to a
radome (radar-set antenna) can cause signal degradation or a
complete loss of the beacon signal. The klystron or magnetron
contained in the radar antenna produces a very dense mag-
netic field whether or not the radar set is turned on. These
magnetic field effects are also present during the operation of
the servo motors located on gyro-stabilized TV or IMARSAT
communications dish platforms. Signal degradation checks
should be performed before finalizing the installation.

SECTION TWO - Installation
961 INSTALLATION MANUAL Revision A Page 39
Table 3: Troubleshooting the GPS/DGPS antenna installation
Antenna Symptom Possible Solutions/Reasons
GPS ANTENNA Poor or no GPS signal while using the
AN150 antenna.
If 5.5 VDC low or missing with load con-
nected:
If 5.5 VDC low is missing with load discon-
nected:
If 5.5 VDC is present:
•Turn off any onboard transmitting
devices.
•Check for 5.5 VDC at antenna with
and without antenna load connected.a
•Check for 5.5 VDC at 961 processor
BNC connector (1710 board).
•It indicates a bad connector installa-
tion, bad 1710 board, or bad AN150
antenna.
•It indicates a bad 1710 board.
Replace the 1710 board.
•It indicates a bad AN150. Replace the
AN150.
DGPS ANTENNA No GPS or DGPS •Bad splitter configuration.b
•Splitter cables may be reversed for
GPS and DGPS output.
DGPS ANTENNA
(cont’d)
Poor or no GPS signal while using the
AN205-P antenna with splitter:
If 7.75 VDC is low or missing with load con-
nected:
If 7.75 VDC is low or missing with load dis-
connected:
If 7.75 VDC is present at processor UHF
connector but not at antenna:
•Check installation for correct cabling.
•Check for 7.75 VDC at antenna with
and without antenna load (cables and
splitter) connected.c (Use “T” connec-
tors to measure VDC under load.)
•Check for 7.75 VDC at 961 processor
UHF connector.
•It indicates a bad connector installa-
tion, bad 1710 board, bad AN2xx. The
load is too great or the 1710 board is
defective.
•It indicates a bad 1710 board.
•It indicates bad cabling, bad connec-
tors, or a bad splitter.

SECTION TWO - Installation
Page 40 961 INSTALLATION MANUAL Revision A
DGPS ANTENNA
(cont’d)
No beacon signal (applies to all DGPS
antennas):
If the BCN RCVR ST reads “failed:”
If the coax and antenna are okay and there
is 7.75 VDC:
•Press the STAR key to display the
SETUP MENU screen, then press
the RECEIVER SETUP key. Check
that the DGPS SYSTEM option and
BEACON FREQ options are set to
“on,” and that the BAUD RATE
option is set to “auto.”
•Press the STAR key to display the
SETUP MENU screen, then press
the PRODUCT INFO key. Check
that the BCN RCVR ST reads
“PASSED.”
•Check the coax and antenna for open/
short, and check for 7.75 VDC at the
UHF connector, under load.
•The 1710 board in the processor may
be bad.
Table 3: Troubleshooting the GPS/DGPS antenna installation (continued)
Antenna Symptom Possible Solutions/Reasons

SECTION TWO - Installation
961 INSTALLATION MANUAL Revision A Page 41
DGPS ANTENNA
(cont’d)
High beacon SNR or low signal.
When vessel interference is still present:
When the source of the interference is
found:
•Turn off all electrical devices and
equipment on the vessel, then check
for improvement. Check fluorescent
lights, gauges, and so forth. Be cre-
ative! Check for power-line interfer-
ence by moving away from the dock
and/or the marina. Verify that the
antenna is mounted in accordance
with the recommendations shown in
Figure 5.
•Isolate to the interfering device, with
breaker panel if necessary.
•Experiment with different grounding
locations (the best ground is the
ocean). Drop a temporary wire
attached to 8410 black wire over the
side of the vessel to see if the interfer-
ence source can be fixed by ground-
ing techniques.
•Disconnect shore power and move
away from the dock and/or marina
(power lines and lights can cause
interference).
•Temporarily relocate the 8410 or
combo antenna as far away from the
interfering source as possible, and
monitor the effect on reception. If it
improves, consider relocating the
antenna or try to determine if the inter-
ference can be eliminated at its
source.
•Normally, noise that affects an 8410
DGPS coupler won’t affect a combo
antenna and vice versa. Consider
temporarily changing antenna types
to determine the effects on signal
reception.
DGPS ANTENNA
(cont’d)
Poor, intermittent, or no beacon signal using
a known-good loop or combo antenna.
•Check the proximity of the antenna to
radar antennas or other transmitting
devices, such as INMARSAT. A
radome can affect H-field antennas
even when power is off. Hint: To test
for the best location, move the
antenna and coax to temporary loca-
tions using an over-the-deck length of
coax, then relocate as necessary.
a. The GPS receiver AA180 supplies the 5.5 VDC to the AN150 active GPS antenna.
Table 3: Troubleshooting the GPS/DGPS antenna installation (continued)
Antenna Symptom Possible Solutions/Reasons

SECTION TWO - Installation
Page 42 961 INSTALLATION MANUAL Revision A
b. Testing the GPS portion of the splitter and a combo antenna: When using a combo antenna and split-
ter, the splitter gets 7.75 VDC from the beacon receiver, and then feeds the combo pre-amp with that
same voltage level. The splitter must have this 7.75 VDC supplied to the differential port in order for
the GPS and the differential signal to be passed through the splitter. To test the GPS portion of the
combo antenna, disconnect the splitter and plug the combo antenna directly into the GPS BNC con-
nector (provided that the 5.5 VDC is present). This troubleshooting technique effectively eliminates
the splitter from the equation. If the splitter is bad, GPS may not work when connected normally
(provided that the 7.75 VDC from the beacon receiver is present). Note that the combo antenna
should never be plugged directly into the GPS port under normal circumstances because the voltage
feeding the amplifier is too low and this will result in low GPS signal levels being sent to the GPS
receiver.
c. The beacon receiver (8500) supplies the 7.75 VDC to the 8410 (in the case of a whip-type antenna
installation), or the splitter (in the case of a combo antenna installation), which in turn feeds the
combo antenna.
Table 4: Troubleshooting the radar interface
Component Symptom Possible Solutions/Reasons
961 CONTROL HEAD The display is either knocked out
completely, or the screen flashes
after the radar is turned on (a white
flash corresponds to each revolution
of the radar, when the radar range is
set to 6 nm or above).
•Stand directly in front of the display to
determine if the problem is related to
interference to the control head.
•Put the radar into “standby” mode; if the
display still flashes, a non-radar type of
interference is occurring.
•Call the Northstar Service Department
to determine if the necessary internal
radar shielding has been installed. If
yes, ensure that the 961 head (and pro-
cessor) aren’t in the direct path of the
radar aperture.
•Ensure that there’s a maximum separa-
tion between the 961 control head/pro-
cessor and the radar cables. Whenever
possible, run the cables of the radar
and the 961 on opposite sides of the
vessel.
961 PROCESSOR The display is either knocked out
completely, or the screen flashes
after the radar is turned on (a white
flash corresponds to each revolution
of the radar, when the radar range is
set to 6 nm or above).
•Stand directly in front of the processor
to determine if the problem is related to
interference to the processor.
•Be sure that the processor is mounted
as far away vertically from the radome.
The best location for the processor is
out of the weather, so try to mount it in
the salon or as low as possible.
•Determine if the 961 processor has the
RF-125 shielding modification installed
(if you need assistance, call the North-
star Service Department).

SECTION TWO - Installation
961 INSTALLATION MANUAL Revision A Page 43
RADAR DEVICE There’s bearing-pulse interference
from the radar (this also applies to
depth sounders).
•The radar’s scanning cables may be too
closely bundled with the 961’s control
head-to-processor coax cable: Run the
cables of the radar and the 961 on
opposite sides of the vessel.
•The 961 display-to-processor coax
cable may be damaged or improperly
terminated. Temporarily substitute a
known-good cable to determine if the
cable is defective.
•The radar scanner cable may be dam-
aged, improperly terminated, or the sys-
tem/vessel grounds need attention.
•Ensure that the radar display is properly
grounded to an earth ground.
•There maybe a lack of or improper
shielding for the radar’s scanning cable.
Inspect the radar scanning
cable-to-scanner base grounding for a
low impedance connection (less than .5
ohms (1/2) between the display end
and the scanner base termination is
optimal; if it’s higher, consult the radar
manufacturers). Shielding material can
be used to attenuate interference
effects. Lead, copper, and Mu metal
(Mu is the most expensive) are all good
choices for flat-sheet shielding. There
are a number of different sheet, strap,
or mesh copper products that can be
purchased off-the-shelf. Also, a tinned
“expando sleeve” type copper braided
strap can be used for shielding cable
bunches as long as it is not exposed to
saltwater or corrosive environments.
There are numerous different sizes of
grounding plates available for installa-
tion outside the vessel hull, in water,
that provide a good “seawater-earth”
grounding plate.
Table 4: Troubleshooting the radar interface (continued)
Component Symptom Possible Solutions/Reasons

SECTION TWO - Installation
Page 44 961 INSTALLATION MANUAL Revision A

SECTION THREE - Interfacing
961 INSTALLATION MANUAL Revision A Page 45
SECTION THREE - Interfacing
This chapter includes the information needed to interface the 961 to
other equipment on the vessel. Major topics include:
•interfacing the unit
•setting PPNM
•configuring the NMEA output ports
•setting the auxiliary port
Interfacing the unit
The unit is easily interfaced to other equipment as described below.
NMEA 0183 is the most common interface data format used with installa-
tions, and it is a widely-accepted standard of data transfer between most
all types of marine electronics today, enabling completely different instru-
ments to “speak” a common language.
The unit has the following ports:
•three bi-directional NMEA input/output ports
•one bi-directional auxiliary (aux) port that you can use for commu-
nicating data to or from other instruments.
Connector pin
wiring
A list of wire designations for the interface connector is displayed on the
unit’s PORT SETUP screen, accessed from the SERVICE MENU screen by
pressing the PORT SETUP key.
Figure 23: Interface cabling wiring screen

SECTION THREE - Interfacing
Page 46 961 INSTALLATION MANUAL Revision A
Configuring the NMEA output ports
Each output port can be programmed to meet most any special require-
ments of devices that conform to the NMEA 0183—and other—data for-
mat specifications. The service function described below allows the
selection of the specific 0183 sentences that will be transmitted by the
961.
1. Press the STAR key until you see the SERVICE MENU screen.
2. Press the PORT SETUP key to display the PORT SETUP OPTION
screen.
3. Press the PORT 1, PORT 2, or PORT 3 key. A list of configurable port
options (identical for all three ports) is displayed, as shown below.
Table 5: Interface cable wiring
Plug 1 Plug 2
Pin Function Pin Function
1 Alarm Out 1 Reserved
2 Alarm Out 2 Reserved
3 Reserved 3 Reserved
4 Reserved 4 Reserved
5Gnd 5Gnd
6 PPNM Out 6 MOB In
7 Reserved 7 Gnd
8 Reserved 8 SAVE In
9 Port 3 In (A) 9 Aux Port In (B)
10 Port 3 In (B) 10 Aux Port In (A)
11 Gnd 11 Gnd
12 Port 3 Out (A) 12 Aux Port Out (B)
13 Port 3 Out (B) 13 Aux Port Out (A)
14 Port 1 In (A) 14 Port 2 In (A)
15 Port 1 In (B) 15 Port 2 In (B)
16 Gnd 16 Gnd
17 Port 1 Out (A) 17 Port 2 Out (A)
18 Port 1 Out (B) 18 Port 2 Out (B)

SECTION THREE - Interfacing
961 INSTALLATION MANUAL Revision A Page 47
Figure 24: Port 1 output setup screen
Check the installation instructions of the equipment to which you’re
interfacing for any special requirements. The Northstar factory settings
will be adequate for most peripheral equipment, but the following options
are available, if needed:
Table 6: Port setup options
Parameter Options
OUTPUT FORMAT
(see below)
choose OFF, 0180, 0183,
0183-R, or CDX
NMEA 0183 Talker ID
(see page 51)
choose GP or II to make the unit
look like a GPS receiver or an
“integrated instrument” (II)
NMEA 0183 lat/lon precision
(see page 52)
choose hundredths of minutes,
thousandths of minutes, or
ten-thousandths of minutes
OUTPUT RATE
(see page 53)
choose 1 to 199 seconds
NMEA 0183 waypoint ID as
(see page 53)
choose NAMES or NUMBERS
for the identifier of waypoints
sent to the external device
NMEA 0183 checksums
(see page 53)
choose ON or OFF for compati-
bility with some older devices
NMEA 0183 baud rate The baud rate is fixed at 4800

SECTION THREE - Interfacing
Page 48 961 INSTALLATION MANUAL Revision A
Setting the
output format
The unit will output navigation data in any of several standard formats as
required by the receiving, or “listener,” device. Upon pressing the EDIT
menu key at this option, you’ll find the following choices available:
NMEA 0180, NMEA 0183, (DATAMARINE) CDX, 0183-R, and OFF.
•NMEA 0180 is an infrequently-used format, developed in the late
1970’s and required by certain older autopilots.
•NMEA 0183 V2.1 is a general-use interface output format is used by
most autopilots, radars, plotters and other equipment. The NMEA
0183 Version 1.5 sentences (BWC, GLL, and RNN) enable the 961 to
be backward-compatible with marine equipment previously
designed for this earlier version of 0183. For details on using the
0183 format, see ”About NMEA 0183 and RAY 0183” starting on
page 48.
•0183 RAY is used when transmitting/receiving position information
to/from Raytheon equipment. It uses Raytheon’s non-standard
NMEA 0183 checksum, where, on output, the checksum is not
included, and on input to the 961, the checksum is ignored. (It
should be noted that, with the checksum ignored on input, there is
a possibility of the unit receiving contaminated NMEA data when it
is connected to an external Raytheon loran.) Format is supported
on PORT 1, PORT 2, and PORT 3.
•DATAMARINE CDX is required by Datamarine’s cross-track error
indicators, the latest of which display distance and bearing to the
waypoint.
•The Off setting helps to isolate noise problems potentially caused
by I/O.
About NMEA
0183 and RAY
0183
Displaying NMEA output sentences
When you select either NMEA 0183 or NMEA 0183 RAY as the output for-
mat, you can display all the available NMEA 0183 sentences that the 961
can output. From the PORT 1, PORT 2, or PORT 3 output screens, high-
NOTE:
If you’re viewing and editing information on the PORT OUTPUT
SETUP screen, and you press one of the five function keys to
view other data, the 961 immediately cancels your
edit-in-progress so that you can view the data requested by your
function keypress. To resume editing at the PORT OUTPUT
screen, you must return to that screen and re-enter the data that
you lost when you pressed the function key. To purposely cancel
an edit-in-progress, however, you’d normally press the CANCEL
key.

SECTION THREE - Interfacing
961 INSTALLATION MANUAL Revision A Page 49
light the FORMAT field (for either 0183 or 0183 RAY), then press the 0183
DATA key to display the sentences.
Figure 25: Port 1 output setup (sentences) screen
About the NMEA
TLL sentence
The 961 also supports the NMEA TLL sentence, sometimes referred to as
the “rattle” sentence. This sentence allows the 961 to communicate its
position to an interfaced radar device, which tracks a user-defined target.
In turn, the interfaced radar device communicates to the 961 the target’s
position in lat/lon coordinates so that you can see the target symbol dis-
played right on the 961’s CHART screen. To have the TLL sentence input
properly, you must set to “output” the port to which you are connecting.
Three-letter abbreviations identify each sentence and are listed alphabet-
ically. The meanings of the NMEA 0183 three-letter identifiers are
described in the table below.
Table 7: NMEA 0183 sentence identifiers
0183 identifier Meaning
APB Autopilot Sentence “B”
BOD Bearing to Destination
BWC Bearing & Distance to Wpt. (Great Circle)
BWC V1.5 Bearing & Distance to Wpt. (Great Circle),
version 1.5
GGA GPS Fix Data
GLC Geographic Position, Loran-C
GLL Latitude/Longitude
GLL V1.5 Latitude/Longitude, version 1.5
GSA GPS DOP and Active Satellites

SECTION THREE - Interfacing
Page 50 961 INSTALLATION MANUAL Revision A
Modifying NMEA output sentences
On the screen, the highlighted sentences will be output, as shown earlier
in Figure 25. Some devices can’t handle all of these sentences correctly, so
you can use this screen to customize the output by turning individual
sentences on or off. In general, you might want to turn on only those sen-
tences used by the particular equipment to which you’re interfacing the
961.
Figure 26 shows the PORT 1 OUTPUT SETUP screen where you can set
the output sentences to the factory default settings.
GSV GPS Satellites In View
HSC Heading Steering Command
MSS MSK Receiver Signal Status
RMA Recommended Min. Sentence A
RMB Recommended Min. Sentence B
RMC Recom. Min. Specific GPS/Transit Data
RNN V1.5 Navigation Route, version 1.5
VTG SOG/COG
WCV Waypoint Closure Velocity (SOA)
WPL Waypoint Location
XTE Cross-track Error
ZDA Estimated Time of Arrival
ZTG Time-To-Go
Table 7: NMEA 0183 sentence identifiers
0183 identifier Meaning

SECTION THREE - Interfacing
961 INSTALLATION MANUAL Revision A Page 51
Figure 26: Port 1 output setup screen
To set the output sentences to the factory default settings, press the
DEFAULTS ON key. To turn on only a select few sentences, press the
CLEAR ALL key, then turn the desired sentences back on.
To modify the unit’s NMEA 0183 sentence output format, first follow the
above description to display the 0183 sentence screen, then perform the
following steps:
1. At the PORT 1 OUTPUT SETUP (SENTENCES) screen, display the list
of sentences, then press the EDIT key.
2. Press the CURSOR PAD to select the desired sentence.
3. Press the ON/OFF key.
4. Press the ACCEPT key.
5. Repeat for each sentence requiring modification. Press the RETURN
menu key to go back to the PORT OUTPUT SETUP screen.
Choosing the
NMEA 0183
talker ID
Part of the NMEA 0183 standard requires that the equipment you are
interfaced to—the “listener”—know what type of device is transmitting the
data. The talker ID tells the listener that it is receiving information from a
navigation source (the 961) and not a communications or sensor device,
which transmit completely different—and therefore unusable—forms of
data.
The “talker ID” enables you to configure the 961’s output data to tell the
listener it is receiving data from either a GPS (GP) navigator or Integrated
Instrument (II). The choice you make depends on what the listener device
is expecting.
1. Check the listener device’s instruction manual to determine which
“talker ID” codes it will respond to.

SECTION THREE - Interfacing
Page 52 961 INSTALLATION MANUAL Revision A
2. At the PORT OUTPUT SETUP screen, select the desired port, then
highlight the TALKER ID field.
3. Press the EDIT key, and highlight the desired ID.
4. Press ACCEPT key (or CANCEL to leave the option unchanged). The
interfaced equipment will now receive the 0183 data in the specified
talker ID.
Setting NMEA
0183 lat/lon
precision
For added versatility in communicating with a variety of other devices,
you can control how precisely the 961 outputs its lat/lon information.
The choice you make is dependent upon the equipment to which you’re
outputting NMEA data. The 961 conforms to the NMEA version 2.1 stan-
dard, and is also compatible with version 1.5. Equipment typically benefit-
ing the most from three and four decimal places of precision are
electronic and pen plotting devices. However, most all older devices
designed to operate with the original 0183, and other formats, can only
function with two-place precision. Refer to the manufacturer’s instruc-
tions for the number of digits of precision required for that particular
device.
The factory setting is .XXX’ (thousandths of minutes). To change the lat/
lon precision setting:
1. From the PORT SETUP screen, select the desired port by pressing the
PORT 1, PORT 2, or PORT 3 key. At the PORT OUTPUT SETUP screen,
highlight the 0183 PREC field, then press the EDIT key.
2. Press the CURSOR PAD to select the following options:
•XX.XX ’ (lat/lon precision to two decimal places / hundredths of minutes / or
60 feet)
•XX.XXX ’ (three decimal places / thousandths of minutes / or 6 feet)
•XX.XXXX ’ (four decimal places / ten-thousands of minutes / or roughly ½
foot)
3. Press the ACCEPT key (or CANCEL to leave the option unchanged).
NOTE:
Setting the output precision to three or four decimal places
doesn’t mean that the 961 will navigate with that accuracy.
Position information can be output and displayed to four deci-
mal places, but the user’s actual ability to navigate with such
accuracy is limited by the accuracy of the GPS system; see
Chapter 2 of the Northstar 961 Operations and Reference
Manual (GM1700) for more information. Therefore, specifying
more decimal places in the data output doesn’t necessarily
result in greater navigating accuracy, but it may improve the
smoothness of plotted data.

SECTION THREE - Interfacing
961 INSTALLATION MANUAL Revision A Page 53
Changing the
output rate
The 961 normally uses a two-second update interval for data transmis-
sion. Some applications require a longer update period, so the 961 lets
you increase that span to 199 seconds. You can choose a one-second
interval, but at that rate, the bandwidth of 4800-baud NMEA data only
allows the output of a reduced set of sentences.
To change the output rate:
1. From the PORT OUTPUT SETUP screen, press the CURSOR PAD to
highlight the SEND EVERY field.
2. Enter a number, then press the ACCEPT key (or press CANCEL to
leave the option unchanged).
Changing the
NMEA 0183
waypoint ID
Many marine electronic devices (such as radars and electronic plotters)
can display your waypoint names, rather than a number, if they’re output
by the 961.
If the peripheral equipment has this capability, at the PORT OUTPUT
SETUP screen, change the 961’s 0183 WAYPTS field from NUMBERS to
NAMES, by highlighting the field, making the change, and pressing the
ACCEPT key. The listening device will now display the nine-character
waypoint names. Included spaces will be output. When exporting to
another device, be aware that the numerical identifiers aren’t assigned
sequentially and may be re-used by the system on a random basis.
Setting the NMEA
0183 checksums
Certain older devices may not accept sentences containing the NMEA
0183 checksum that’s output by the 961. In such cases, the device may
not operate properly, if at all.
If you encounter difficulty when interfacing to older equipment, the 961
offers you the flexibility of turning off the NMEA 0183 checksum:
1. At the PORT OUTPUT SETUP screen, press the CURSOR PAD to high-
light the 0183 SUM field, then press the EDIT key.
2. Press the CURSOR PAD to change the setting from ON to OFF.
3. Press the ACCEPT key (or press CANCEL to leave the option
unchanged).
4. Press the RETURN key to go back to the PORT SETUP screen.
Setting the auxiliary port
The auxiliary (aux) port is a general-purpose port used to transmit differ-
ential corrections (interfacing with an external device that accepts SC-104
NOTE:
Be sure to verify this capability in the listening device before
changing the 0183 WAYPTS field. Most older equipment
won’t understand this identifier, and using it may cause prob-
lems with the display of the waypoint information.

SECTION THREE - Interfacing
Page 54 961 INSTALLATION MANUAL Revision A
differential corrections). If the 961 already has an internal differential
receiver, you can use the aux port to transmit its differential corrections
to another device that accepts them.
To access the aux port options:
1. Press the STAR key to access the SERVICE MENU screen.
2. Press the PORT SETUP key, then press the AUX PORT key. The 961
displays the AUXILIARY PORT SETUP screen with configurable
options for format and baud rate.
Figure 27: Auxiliary port setup screen
The following configuration parameters are available, as outlined in Table
8, detailed in the text that directly follows:
•output format
•NMEA 0183 baud rate
To change the aux port settings:
1. Press the CURSOR PAD down to highlight either FORMAT or BAUD,
then press the EDIT key.
2. Press the CURSOR PAD left or right to highlight the desired setting,
then press the ACCEPT key (or press CANCEL to leave the option
unchanged).
Table 8: Aux port setup parameters
Parameter Options
Output format Choose 104-O (out), 104-I (in), P1 (port 1), P2
(port 2), P3 (port 3), or DIAG (diagnostic)
NMEA 0183 baud rate Choose 300, 1200, 2400, 4800, 9600, or
19200

SECTION THREE - Interfacing
961 INSTALLATION MANUAL Revision A Page 55
Aux port format Outputting DGPS corrections to another source
SC-104 OUT outputs differential corrections from your 961XD’s internal
differential receiver to an external device that accepts the standard
SC-104 data stream. When using the SC-104 OUT setting, be sure that the
BAUD setting also matches the baud rate requirements of the receiving
device.
Diagnostics
The aux port’s DIAG option is for factory diagnosis of 961 operating
parameters. Do not turn this function on.
Port off
Use the OFF setting when the aux port’s input or output functions aren’t
needed.
Aux port baud
rate
The aux port’s baud rate must match the external device’s baud rate; refer
to the external device’s instructions for the correct baud rate setting, then
follow the instructions on the previous page for changing an aux port set-
ting.
Setting PPNM
To access the pulses per nautical minute (PPNM) options:
1. Press the STAR key to access the SERVICE MENU screen.
2. Press the PORT SETUP key, then press the PPNM key.
3. The 961 displays the PPNM OUTPUT SETUP screen with options for
number of pulses, pulse-time minimum, and pulse-separation mini-
mum.
Figure 28: PPNM output setup screen

SECTION THREE - Interfacing
Page 56 961 INSTALLATION MANUAL Revision A
The following configuration parameters are available as outlined in Table
9 below.
Table 9: PPNM output setup parameters
The 961’s PPNM default settings are 200 ppnm, 100 milliseconds, and
200 milliseconds.
To change the PPNM settings:
1. Press the CURSOR PAD down to highlight PULSES PER NAUTICAL
MILE, PULSE TIME MINIMUM, or PULSE SEPARATION MINIMUM, then
press the EDIT key.
2. Enter the desired parameters, then press the ACCEPT key (or press
CANCEL to leave the option unchanged).
Using VGA output
The 961XD supports an external VGA monitor output from the female
15-pin standard VGA video connector located on the back of the proces-
sor (See Figure 14 on page 21). Conversion of the signal to an NTSC or
PAL video output is possible using VGA converters. Use a VGA-to-NTSC/
PAL converter that doesn’t require separate software. This should be
plug-and-play hardware for standard VGA video input conversion, sup-
porting frame buffering at 75-Hz refresh rate. Also, consider the require-
ments for power: A unit requiring a DC power source is less likely to
cause interference.
Parameter Options
Pulses per nautical mile Enter 1 to 999 pulses
Pulse time minimum Enter 1 to 999 milliseconds
Pulse separation time Enter 1 to 999 milliseconds

SECTION FOUR - Service/Maintenance
961 INSTALLATION MANUAL Revision A Page 57
SECTION FOUR - Service/Maintenance
Service functions
This section explains the options at the SERVICE MENU screen for view-
ing product information, configuring the receivers, viewing GPS status,
and saving and restoring databases and system logs. The port setup
option is also introduced here, but described in detail in this manual in
“Section Three, Interfacing.”
Viewing product
information
The 961’s PRODUCT INFORMATION screen provides you with access to
current information about the 961’s control head, processor, GPS
receiver, and DGPS receiver (if installed). To display these functions, press
the STAR key until you reach the SERVICE MENU screen, then press the
PRODUCT INFORMATION key to display the following screen:
Figure 29: Product information screen
Viewing head 1 serial number and software revision
The complete 961 system comprises two or three serial numbers—one for
each control head and one for the processor. The serial number of the
control head is affixed to the back of the unit, and also is permanently
programmed into the 961’s database. You can view this serial number at
the PRODUCT INFORMATION screen, in the HEAD 1 SN/SW REVS field.
Viewing head 2 serial number and software revision
For systems with two control heads, each head has its own serial number
located at the back of the unit. You can view this serial number at the
PRODUCT INFORMATION screen, in the HEAD 2 SN/SW REVS field.

SECTION FOUR - Service/Maintenance
Page 58 961 INSTALLATION MANUAL Revision A
Processor serial number and software revision
The serial number of the processor is affixed to the back of the unit, and
also has been permanently programmed into the unit’s database. You can
view this serial number at the PRODUCT INFORMATION screen in the
PROCESSOR SN/REV field.
Serial numbers ending with the letter D indicate that the unit contains an
internal DGPS differential receiver.
Beacon receiver self-test and software revision
The 961 automatically self-tests the internal beacon receiver, if installed,
each time you power-up the unit. The BCN RCVR ST/ REV field displays
the software version used by your 961’s DGPS receiver (if installed), as
well as the self-test message PASS or FAIL. If all test parameters are met,
the field says PA S S . If the differential receiver fails any of the test criteria,
the field says FAIL. If the field says FAIL, the 961 won’t be receiving DGPS
signals; for details about troubleshooting the DGPS receiver, see ”Testing
and troubleshooting the 961” beginning on page 32. In many cases, the
reason for the failure is an open or shorted antenna cable, which can be
repaired in the field. If this isn’t the source of the failure, call the North-
star Service Department for further instructions.
If a beacon receiver isn’t installed, this field is blank.
GPS receiver self-test and software revision
The GPS RCVR ST/REV field displays the software version used by your
961’s GPS receiver, as well as the self-test message PA S S or FAILED. This
field should read PASS, not FAIL. If the 961 displays the message FAIL,
return the 961 to Northstar for service.
Configuring the
receivers
The 961’s RECEIVER INFORMATION screen provides you with access to
several of the 961’s GPS and DGPS (if installed) receiver functions. To dis-
play these functions, press the STAR key until you reach the SERVICE
MENU screen, then press the RECEIVER SETUP key.

SECTION FOUR - Service/Maintenance
961 INSTALLATION MANUAL Revision A Page 59
Figure 30: Receiver information screen
Changing GPS speed averaging value
When you aren’t using DGPS or you’re out of range, you may notice that
the SOG readings obtained from the GPS satellite system are slightly
erratic, varying by up to several knots. The 961’s GPS SPEED AV function
often can improve the steadiness of these readings, although you’ll see a
slightly longer display-reaction time when the speed changes.
With GPS speed averaging, you can select the time over which the 961
averages your speed, with available values between one and ten seconds.
A longer averaging time is useful at lower speeds when you require the
highest accuracy. With this high degree of accuracy, you’ll see a steady
display of your speed that’s slow to change. A shorter averaging time,
however, provides less accuracy and a quicker-changing display of your
speed.
You also can turn off speed averaging completely for the quickest possi-
ble display-reaction time.
NOTE:
If you’re viewing and editing information on the RECEIVER
INFORMATION screen, and you press one of the five func-
tion keys to view other data, the 961 immediately cancels your
edit-in-progress so that you can view the data requested by
your function keypress. To resume editing at the RECEIVER
INFORMATION screen, you must return to that screen and
re-enter the data you lost when you pressed the function key.
To purposely cancel an edit-in-progress, however, you’d nor-
mally press the CANCEL key.

SECTION FOUR - Service/Maintenance
Page 60 961 INSTALLATION MANUAL Revision A
You can change the speed averaging value at any time without affecting
other navigation functions.
To change the speed averaging value:
1. At the RECEIVER INFORMATION screen, press the CURSOR PAD to
highlight the GPS SPEED AV field, then press the EDIT key.
2. Press the CURSOR PAD left or right to select an averaging time in
seconds of 1, 2, 5, 10, or OFF.
3. Press ACCEPT to make the change, or CANCEL to leave the option
unchanged.
Adjusting satellite elevation
You can prohibit the 961 from tracking satellites that are close to the
horizon and don’t provide high accuracy. The tracking of low satellites
during GPS calculations is used primarily for technical applications, in
which the 961 must track all visible satellites, regardless of how low
they’re situated.
In other cases, however, when high-precision fixes are necessary, the
advanced user can change this option to hide any low satellites. This
option prevents the use of low satellites as sources of GPS position infor-
mation, and avoids potential errors.
You can adjust this option to 0°, 5°, 8°, 10°, or 15°; however, Northstar rec-
ommends that you leave this option at the factory setting of 10°.
To change the satellite elevation:
1. At the RECEIVER INFORMATION screen, press the CURSOR PAD to
highlight the MIN SAT ELEV field, then press the EDIT key.
2. Press the CURSOR PAD left or right to select either 0, 5, 8, 10, or 15
degrees.
3. When done, press the ACCEPT key, or CANCEL to leave the option
unchanged.
Viewing the GPS software version
The software version of the GPS receiver is indicated in the GPS RCVR
REV field.
Setting DGPS operation
You can enable or disable the use of differential information.
1. At the RECEIVER INFORMATION screen, press the CURSOR PAD to
highlight the DGPS SYSTEM field, then press the EDIT key.
2. Press the CURSOR PAD left or right to select either ON or OFF.
3. When done, press the ACCEPT key (or CANCEL to leave the option
unchanged).

SECTION FOUR - Service/Maintenance
961 INSTALLATION MANUAL Revision A Page 61
Setting beacon frequency and baud rate
You can set the receiver to operate automatically or be controlled manu-
ally.
Automatic tuning
Northstar’s two-channel differential receiver enters automatic differential
mode as soon as corrections are received, and doesn’t require any further
supervision for differential operation, automatically tuning to the appro-
priate differential frequency as you move from one differential coverage
area to another or as weather conditions change. First, it finds the differ-
ential frequency and data transfer (baud) rate, then it receives data fully
automatically. The receiver constantly evaluates available radio beacon
signals for signal quality, and selects only the best station. The receiver is
prepared to switch to another frequency automatically, as you travel, as
conditions require.
The unit maintains automatic operation by using its two independent
receiver channels: Channel 1 tracks the best available differential signal
(the one with the lowest data error rate) and sends the demodulated
DGPS corrections to the 961’s GPS receiver. Channel 2 continuously
scans the entire differential frequency band (283.5 to 325 kHz), locating
and measuring received DGPS differential signals, which is then stored as
a DGPS differential directory in its battery-powered memory.
If the signal that’s received and monitored by Channel 1 degrades for any
reason, such as bad weather between you and the transmitter, the unit
tries to select a better frequency from the differential directory it has
compiled. This feature enables it to switch to the best differential sig-
nal—before affecting your GPS accuracy.
For normal operation, Northstar recommends that you leave both beacon
frequency and baud rate at the AUTO setting. Generally, you’ll use auto-
matic mode for everything except specialized applications.
To choose automatic mode:
1. At the RECEIVER INFORMATION screen, press the CURSOR PAD to
highlight the BEACON FREQ field, then press the EDIT key.
2. Press the CURSOR pad left to highlight the AUTO field, then press
the ACCEPT key (or CANCEL to leave the option unchanged).
Manual tuning
You can override the receiver’s selection of automatic differential stations
at any time. Under manual control, you manually set the differential fre-
quency and baud rate to tune in a particular differential transmitter. In
manual mode, the differential receiver outputs DGPS corrections only
from the selected station. Although the need for manual operation is rare,
it is easily accessed at the RECEIVER INFORMATION screen. Here, you

SECTION FOUR - Service/Maintenance
Page 62 961 INSTALLATION MANUAL Revision A
can set the differential frequency to any value between 283.5kHz and
325kHz. You can set the baud rate to any of the four standard rates: 25
bps, 50 bps, 100 bps, or 200 bps.
To ch oo s e m anu a l m ode :
1. At the RECEIVER INFORMATION screen, press the CURSOR PAD to
highlight the BEACON FREQ field, then press the EDIT DATA key.
the cursor defaults to the MAN field.
2. Use the KEYPAD to enter the desired frequency.
3. When done, press the ACCEPT key (or CANCEL to leave the option
unchanged).
Manually setting baud rate
It is strongly recommended that you leave the beacon baud rate setting at
AUTO. To manually set the baud rate for the selected differential fre-
quency:
1. At the RECEIVER INFORMATION screen, press the CURSOR PAD to
highlight the BEACON BAUD field, then press the EDIT key.
2. Press the CURSOR PAD left or right to highlight 200, 100, 50, or 25
bps.
3. When done, press the ACCEPT key (or CANCEL to leave the option
unchanged).
Viewing GPS
status
The 961’s GPS SATELLITE STATUS screen lets you see a display of all
available satellites, including their signal strength and your expected
accuracy, as well as the frequency, baud rate, and status of DGPS trans-
mitters (961XD only). To display this information, press the STAR key
until you reach the SERVICE MENU screen, then press the GPS STATUS
key.
Figure 31: GPS satellite status screen

SECTION FOUR - Service/Maintenance
961 INSTALLATION MANUAL Revision A Page 63
For an overview of GPS and DGPS, see “Introducing GPS and DGPS” in
Chapter 2 of the Northstar 961 Operations and Reference Manual
(GM1700). For details about the GPS satellite status screen, see “Under-
standing Position Coordinates” in Chapter 5 of the Northstar 961 Opera-
tions and Reference Manual (GM1700).
Changing port
setup
The PORT SETUP option lets you connect, or interface, directly with a
variety of external devices, such as autopilots, radars, depth sounders,
personal computers, and so on.
You make the connection through any of four data transmission ports
located at the back of the 961: three NMEA ports and one aux port. Each
can operate independently, giving you the flexibility to control four sepa-
rate devices simultaneously. The ports are also independently config-
urable to meet the specifications of most peripheral navigation
equipment, a feature that ensures a customized setup for virtually any
NMEA 0183-compatible device. Once configured, the 961 will continu-
ously send a stream of data to the device(s).
For complete details about changing port setup options to interface your
961 with other equipment, see Section Three, Interfacing.”
Saving and
restoring
databases and
system logs
The DATABASE FUNCTION screen provides access to several database
maintenance options. To display these options, press the STAR key until
you reach the SERVICE MENU screen, then press the DATABASES AND
LOG key.
Saving and restoring a 961 database
You can easily save, or backup, your entire database of user-defined way-
points and routes as well as your user preferences, to either floppy or Zip
disks. (User preferences are the display, navigation, chart, receiver, and
port-setup features of your 961.) The 961 is sold with a standard 1.44-MB
floppy disk drive. If you want a larger capacity, removable storage disk
drive, you must order the 100-MB Zip drive to replace the 961’s standard
floppy drive.
After saving, you can then restore these databases back to the 961. Why
save and restore? One, you may want to keep separate sets of waypoints
and routes for different cruising areas so you won’t have to sort through
one large database of waypoints and routes to select the ones you want
(even though the 961’s search function is always quick and easy). Two, if
you ever have to return the 961 to the factory for service, it’s a good idea
to have a separate copy of your waypoints, routes, and user preferences
from the system’s hard drive, since it’s possible that this information may
be lost during repair.

SECTION FOUR - Service/Maintenance
Page 64 961 INSTALLATION MANUAL Revision A
A blank, properly formatted floppy disk always has enough space to store
your backed-up databases (a Zip disk also has enough space). If you
receive the message “Unable to copy data to the removable disk,” check if
the disk is write-protected: To change the write-protection status of a
floppy disk, use the tip of a pen to switch the position of the small square
on the outer corner of the disk.
Saving a database
To save the waypoint and route or user preference databases to a disk:
1. Press the STAR key until you reach the SERVICE MENU screen, then
press the DATABASES AND LOG key. The DATABASE FUNCTION
screen appears.
Figure 32: Database function screen
2. Press the SAVE DATABASES key. The SELECT DATABASE TO SAVE
dialog box appears.
NOTE:
The save and restore function isn’t designed to be used for
your tracks, charts, alarm settings, or the trip. This data can’t
be saved to either type of disk as described above.

SECTION FOUR - Service/Maintenance
961 INSTALLATION MANUAL Revision A Page 65
Figure 33: Select database to save dialog box
>To save only your setup and service options (user preferences),
press the USER PREFERENCE key.
>To save only your waypoints and routes, press the WAYPOINTS
AND ROUTES key (the 961 always saves waypoints and routes
together, since routes are comprised of waypoints).
>To save all of the above, press the ALL key.
The SAVE DATA dialog box appears, defined as either user preference
data, waypoint and route data, or all data, depending on which of the
above options you chose.
3. Insert the disk into the drive (either a floppy disk or a Zip disk), then
press the CONFIRM key. The SAVING DATA dialog box appears
(defined as either user preference data, waypoint and route data, or
all data), asking you to wait while the 961 saves the data. This dialog
box is followed by the SUMMARY OF DATA SAVED dialog box, show-
ing the number of files saved.
4. Press the CONFIRM key to return to the DATABASE FUNCTION
screen.
Restoring a database
To restore a previously saved database to the 961 (note that after you
restore a database, you must restart the 961 for the system to “accept” the
restored database):
1. Press the STAR key until you reach the SERVICE MENU screen, then
press the DATABASES AND LOGS key.
2. At the DATABASE FUNCTION screen, press the RESTORE DATA-
BASES key. This key only appears after you’ve saved a database to
the 961 (a database that hasn’t been saved can’t be restored). The
SELECT DATABASE TO RESTORE dialog box appears.

SECTION FOUR - Service/Maintenance
Page 66 961 INSTALLATION MANUAL Revision A
Figure 34: Select database to restore dialog box
>To restore only your setup and service options (user preferences),
press the USER PREFERENCE key.
>To restore only your waypoints and routes, press the WAYPOINTS
AND ROUTES key (the 961 always restores waypoints and routes
together, since routes are comprised of waypoints).
>To restore all of the above, press the ALL key.
The RESTORE DATA dialog box appears, defined as either user preference
data, waypoint and route data, or all data, depending on which of the
above options you chose.
3. Insert the disk into the drive (either a floppy disk or a Zip disk), then
press the CONFIRM key. The RESTORING DATA dialog box appears
(defined as either user preference data, waypoint and route data, or
all data), asking you to wait while the 961 restores the data. This dia-
log box is followed by the SUMMARY OF DATA RESTORED dialog
box, showing the number of files restored.
4. Press the CONFIRM key to return to the DATABASE FUNCTION
screen. To use the restored database, you must restart the 961: Press
the PWR key to turn the 961 off, then press it again to restart. The
961 will now use the restored database.
Undoing a restore
After the 961 restores a database, you’ll have the option to undo the
restore operation. As long as the 961 power is on, you’ll always have this
option; however, if you restart the 961 by turning it off and then on, you’ll
lose the option to undo the restore.
1. At the DATABASE FUNCTION screen, press the UNDO RESTORE key.
This key only appears after you’ve restored a database to the 961 (a
database that hasn’t been restored can’t be undone). The SELECT A
RESTORED DATABASE TO UNDO dialog box appears. Depending on

SECTION FOUR - Service/Maintenance
961 INSTALLATION MANUAL Revision A Page 67
which database you’ve just restored, press either the USER PREFER-
ENCE key, the WAYPOINTS AND ROUTES key, or the ALL key. In
the sample screen below, only the USER PREFERENCE key appears.
Figure 35: Select a restored database to undo dialog box
2. Press the CONFIRM key. The 961 removes the restore files from the
database.
Saving log data
Occasionally, the 961 may have a problem that requires looking at its log
files to determine the cause. If this happens, you’ll be prompted to save
the 961’s log files, which should then be sent to the Northstar Service
Department. If you have any questions, call Northstar and ask to speak
with a marine service technician.
To save the log files:
1. Press the STAR key until you reach the SERVICE MENU screen, then
press the DATABASES AND LOG key.
2. At the DATABASE FUNCTION screen, press the SAVE LOGS key. The
SAVE LOG DATA dialog box appears.

SECTION FOUR - Service/Maintenance
Page 68 961 INSTALLATION MANUAL Revision A
Figure 36: Save log data dialog box
3. Insert the disk into the drive (either a floppy disk or a Zip disk), then
press the CONFIRM key. The SAVING LOG DATA dialog box appears,
asking you to wait while the 961 saves the log data. This dialog box
is followed by the SUMMARY OF LOG DATA dialog box, showing the
number of log files saved.
4. Press the CONFIRM key to return to the DATABASE FUNCTION
screen.
Maintenance functions
Cleaning the 961 To clean the glass lens of the control head, use a commercially available
glass cleaner. Periodically, dust the processor, especially around its floppy
or Zip drive, and the CD-ROM drive.
Installing 961
software updates
Periodically, you’ll receive a notice from Northstar about the release of a
new version of 961 software. When you receive this notice, call the
Northstar Service Department to request the current software update on
CD-ROM (installation instructions are provided with the CD). To ensure
that you receive the correct CD-ROM, however, be sure to give the North-
star service technician your current software version. To access this infor-
mation about your unit, press the STAR key to display the SERVICE
MENU screen, then press the PRODUCT INFORMATION key; the software
version number is located in the PROCESSOR SN/REV field.

APPENDIX A - Technical Specifications
961 INSTALLATION MANUAL Revision A Page 69
APPENDIX A - Technical Specifications
Northstar 961
Power Power Source: 10-36 VDC
Power Consumption: 80-110W @ 24V
Fuse: Standard supplied fuse: 3 amps
Operating Power: 100 watts nominal (single head)
GPS receiver Type: 12-channel, continuous tracking
L1 Frequency, C/A code (SPS)
Sensitivity: C/N0 > 34dB-Hz
Navigation Accuracy:
3m 2DRMS with Differential
100m 2DRMS w/o Differential (S/A on)
Navigation Update Rate: 1 per second
Time To First Fix: 30 seconds (typical)
Dynamics: Velocity:1800 km/h
Acceleration:4g
Jerk:2 m/sec³
Operating Modes: 2D nav, 3 or more satellites; 3D nav, 4
or more satellites visible
SC-104: Processes all USCG SC-104 message
types,
including 1-9
Interfacing •IR link on control heads
•Three bi-directional NMEA I/O ports
•One bi-directional aux port
•Two fully functional control head ports
•200 PPNM speed output
•VGA output
•External MOB input
•External alarm output

APPENDIX A - Technical Specifications
Page 70 961 INSTALLATION MANUAL Revision A
•External SAVE input
•Waypoint download capability
•Operating software upload (updates)
•NMEA output sentences: APB, BOD, BWC, GGA, GLC, GLL, GSA,
GSV, HSC, MSS, RMA, RMB, RMC, WCV, WPL, XTE, VTG, ZDA, ZTG.
(Conforms to NMEA v 2.0 and later. Supports 1.5 GLL, BWC, RNN.)
•NMEA input sentences: TLL, WPL, and others
Physical features
Control head •Waterproof control head
•Unsurpassed sunlight viewability
•Two fully functional control heads (second head optional)
•640 x 480 pixel (10.4-inch diagonal), high temperature, backlit
transmissive, 65,536 color LCD
•Flush- and yoke-mounts standard
•High contrast, anti-reflection screen
•Large, easy-to-use backlit controls
•Control heads connect with single RG-59 coax cable
•Two audio beepers for alarms and configuration of action
•Protective plastic cover
Processor •CD-ROM drive for charts and software upgrades
•4.3 GB hard drive
•Standard 1.44 MB floppy backup drive
•Optional 100 MB Zip drive (replaces floppy drive)
Environmental Head
•Wate r pr o of – meets IEC 529 IPX-6
•Temperature: 0ºC – 55ºC maximum; 95 percent relative humidity,
non-condensing
Processor
•Temp era tu re – 0º to 50ºC maximum

APPENDIX A - Technical Specifications
961 INSTALLATION MANUAL Revision A Page 71
Internal beacon receiver specifications (961XD)
Signal processing Noise Blanker: Predictive variable length
Signal Detection: Acquisition via FLL, tracking via PLL
Turning Resolution: < 2 Hz
Type: 2-channel, fully automatic
Frequency Range: 283.5–325.0 kHz (includes European
frequencies)
Minimum Signal Strength: <5µV/m @ 100bps
Dynamic Range > 100 dB
Adjacent Channel Rejection: > 50 dB @ 1 kHz
Acquisition Time 15 seconds
Data processing Demodulation: MSK (Minimum Shift Keying)
Bit Rates: 25, 50, 100, 200 (automatically
selected)
Data Decoding: 2 parallel matched digital filters
Power Power consumption: 2 watts
AN150 Active GPS Antenna
Height: 2.7 inches
Diameter: 3.0 inches
Weight: 0.5 pounds

APPENDIX A - Technical Specifications
Page 72 961 INSTALLATION MANUAL Revision A
8410 Antenna Coupling Unit
Height: 11 inches
Diameter: 2.6 inches
Weight: 1.5 pounds
DGPS Whip Antenna: 48-inch fiberglass whip (not supplied)
(Shakespeare 4' #173 loaded, or Radio
Shack #21-934)
AN205-P GPS/DGPS antenna
•Frequency: 1575 MHz ±2 MHz
•Finish: Outdoor Weatherable Polymer
•Polarization: Right-Hand Circular
•Weight: 22 Ounces
•Axial Ration: 3 dB Max.
•Dimensions: 152 mm(W) x 152 mm(L) x 67 mm(H)
6.00”(W) x 6.00”(L) x 2.63”(H)
•Altitude: 12,000 Feet
•Noise Figure: 2.5 dB Max.
•Temperature: -40º C to +70º C
•Impedance: 50 Ohm
•VSWR: <2.0 : 1
•Band Rejection: 35dB @ 1625 MHz
•Power Handling: 1 Watt
•Gain, beacons: 20 dB
•Gain, GPS: 23 dB

961 INSTALLATION MANUAL Revision A Page 73
Numerics
8410 ACU
assembly diagram 23
cables 23
components 22
evaluating temporary locations before
mounting 22
mounting 22
technical specifications 72
using the AN205-P antenna with 22
using with the AN150 antenna 22
wiring with AN150 antenna 24
961
activating 26
interfacing 45
servicing and maintaining 57
testing and troubleshooting 32
turning off 31
wiring 12
A
accuracy, viewing estimated 30
advisory message 28, 29
Alarm Out pins 46
AN150 antenna 17
cable lengths 16
choosing the location 14
flaring the end of the cable braid 18
mounting recommendations 7
stripping the coax cable jacket 18
tools needed for installation 17
using an 8410 ACU with 22
wiring 17
wiring with 8410 ACU 24
AN205-P antenna
cable lengths 16
choosing the location 15
dimensions 19
installing 19
mounting recommendations 8, 21
troubleshooting poor reception 16
wiring 19
antenna
8410. See 8410 ACU
AN150. See AN150 antenna
AN205-P. See AN205-P antenna
cautions with L-band transmitting 16
choosing 14
COG and SOG readings and location 14
combination GPS/DGPS. See AN205-P an-
tenna
electromagnetic shading and 14
evaluating temporary locations before
mounting 22
grounding when disconnected 25
INMARSAT 14
separation distances between 15
troubleshooting installation 39
using a cable splitter 19
Antenna Coupling Unit. See8410 ACU
APB 0183 identifier 49
aux port
outputting DGPS corrections 55
pins 46
setting 53
setup parameters 54
turning input or output functions off 55
B
baud rate 47, 55
BCN UNHEALTHY message 37
beacon receiver 22
BEACON RX SELF-TEST AND SOFTWARE
message 36, 37
bench-testing the 961 8
BOD 0183 identifier 49
BWC 0183 identifier 49
C
cables
8410 ACU 23
AN150 length requirements 16
AN150 requirements 7
AN205-P length requirements 16
avoiding shortcuts 7
flaring the end of the braid (AN150) 18
flaring the end of the braid (AN205-P) 21
interface wiring 46
interface wiring screen 45
stripping the coax jacket (AN150) 18
stripping the coax jacket (AN205-P) 21
using a splitter 19
cautions
external fuse 13
fuse or circuit-breaker protection 13
checksums 47, 48, 53
clearance
yoke-mount 9, 10
COG
antenna location and 14
displaying 31
combo antenna. See AN205-P antenna
compatibility 5
components 9
configuring output formats 48
connections
illustration of 961 processor 13
verifying proper power cable 13
connectors
pin wiring 45
PL-259 (UHF) 23, 26
control head
flush-mount drilling dimensions 11
mounting 9
yoke mounting 9
yoke-mount dimensions 10

Page 74 961 INSTALLATION MANUAL Revision A
D
data transmission, changing update intervals
53
database, saving and restoring 63
DATAMARINE CDX output format 48
DGPS
antenna connector (UHF) 14
antenna. See AN205-P antenna
checking for the presence of signals 32
outputting aux port corrections 55
receiver
setting beacon frequency and baud
rate 61
turning DGPS on and off 60
troubleshooting 36
troubleshooting antenna installation 39
using the AN205-P antenna 8
differential antenna. See 8410 ACU
differential corrections, receiving 22
display screen, troubleshooting 33
E
electromagnetic shading
antennas and 14
avoiding 16
ephemeris 8
external fuse 13
F
factory default settings, setting output sen-
tences to 51
FAILED message 36
flush-mounts
control head drilling dimensions 11
full size template 11
fuse
keeping external intact 5
troubleshooting power problems 32
G
GGA 0183 identifier 49
GLC 0183 identifier 49
GLL 0183 identifier 49
GPS
accuracy 52
antenna 14, 16
checking for the presence of signals 32
installing the AN150 antenna 16
receiver
adjusting satellite tracking 60
changing the speed averaging value
59
viewing status 62
viewing the GPS software version 60
satellite status screen 30
troubleshooting antenna installation 39
viewing information about satellites 30
GPS antenna. See AN150 antenna
GPS-only antenna. See AN150 antenna
ground
cautions when disconnecting antenna 25
Ground pins 46
grounding 24
problems 22
GSA 0183 identifier 49
GSV 0183 identifier 50
H
HDOP, viewing 30
horizontal dilution of precision. See HDOP
HSC 0183 identifier 50
I
I/O #1 interface connector 14
I/O #2 interface connector 14
INMARSAT communications antenna 14
input ports 48
installation time, reducing 8
installing software updates 68
interfacing 45, 63
cable wiring 46
compatibility 45, 47, 51
general 45
setting the auxiliary port baud rate 54
setting the auxiliary port output format
54
wiring information 45
interference
avoiding with AN150 antenna 14
troubleshooting 961 installation 38
L
lat/lon
changing the precision setting 52
L-band transmitting antennas, using caution
with GPS antennas 16
liquid electrical tape 18, 25
location, choosing system 9
log data, saving 67
M
magnetic interference, antenna location and
15
maintaining the 961 68
messages
BCN UNHEALTHY 37
BEACON RX SELF-TEST AND SOFTWARE
FAILED 36, 37
FAILED 36
OLD CORRECTIONS 37
POOR DOPS 37
MOB In pin 46
mounting 9
8410 ACU 22
AN150 antenna 17
AN205-P antenna 21
evaluating temporary antenna locations
before 22

961 INSTALLATION MANUAL Revision A Page 75
yoke vs. flush 9
mounting bracket 12
MSS 0183 identifier 50
N
NMEA 0180 output format 48
NMEA 0183
baud rate 47
checksums 47, 53
lat/lon precision 47
output format 48
sentence identifiers 49
Talker ID 47
talker ID 51
waypoint ID 47, 53
NMEA output
configuring ports 46
displaying sentences 48
NMEA TLL sentence 49
noise
antenna location and 22
electrical and RF grounding 25
Northstar Service Department 2
O
OLD CORRECTIONS message 37
output formats 48
output ports 46
output rate 47, 53
output sentences 50, 51
owner’s message screen 28
P
parts
comparing against order 6
ordering spare or replacement 4
PC connectors (variable) 14
pins, connector 46
PL-259 (UHF) connector 23, 26
POOR DOPS message 37
Port 1 output setup (sentences) screen 49
Port 1 output setup screen 47
port setup options
programming the ports 46
wiring information screen 45
portability, using 8410 ACU and AN205-P an-
tenna 22
ports, types of interfacing 45
position fix 29
power 32
power cable 12, 13
Power connector 14
PPNM Out pin 46
precipitation static 22
preinstallation tasks 7
PRN, identifying satellites by 30
processor
installing 12
mounting restrictions 5
troubleshooting 34
product information
about the DGPS receiver 57
about the GPS receiver 57
viewing control head serial number and
software revision 57
pseudorandom number. See PRN
P-static 22
pulses per nautical minute
setting 55
PWR key 26
R
radar antennas, using caution with GPS an-
tennas 16
range, troubleshooting DGPS corrections 37
rattle sentence 49
Raytheon, 0183 RAY output format and 48
receiver information
See also DGPS and GPS
setting the DGPS receiver 58
setting the GPS receiver 58
reception, troubleshooting poor 16
restoring the 961 database 63
Return Materials Authorization 3
RF grounding
RMA 0183 identifier 50
RMA number 3
RMB 0183 identifier 50
RMC 0183 identifier 50
RNN V1.5 0183 identifier 50
routes
backing up prior to service 3
RS-232 46
S
sailing vessels, 8410 ACU location on 22
Satellite status
of GPS receiver 62
satellites
pseudorandom number 30
using caution with GPS antennas 16
viewing GPS status 30
waiting for configuration to update 37
Saving 67
saving log data 67
screens
GPS satellite status 30
owner’s message 28
Port 1 output setup 47
Port 1 output setup (sentences) 49
Port Setup 45
screen-saver mode 31
self-vulcanizing electrical tape 18, 25
sentences
identifiers 49
NMEA TLL 49
rattle 49
serial number, viewing control head 57

Page 76 961 INSTALLATION MANUAL Revision A
service 3
setup parameters
aux port 54
PPNM output 56
shading
avoiding electromagnetic 16
shipping carton, checking for damage 6
shipping charges 3
shortcuts, avoiding 7
Signal-to-Noise Ratio 22
grounding and
showing for each satellite 30
troubleshooting poor readings 16, 19
silicone dielectric grease 25
SNR. See Signl-to-Noise Ratio
software revision, viewing 57
software updates, installing 68
SOG
antenna location and 14
displaying 31
spare parts 4
specifications 69
splitter, antenna 19
Starbright Liquid Tape 25
system lock-ups, troubleshooting 34
system logs, saving and restoring 63
T
talker ID 51
tape, types of 18, 25
technical specifications 69
technical support 2
templates
flush-mount 11
mounting 12
testing
961 32
bench-testing 961 prior to installation 8
yoke-mount clearance 9
test-power switch 33
time-to-first-fix 32
TNC connector 14, 17, 20
Tommy Tape 25
tools, mounting the AN150 antenna 17
troubleshooting 32
DGPS 36
DGPS range corrections 37
poor SNR readings 16
power problems 32
testing 961 and 32
TTFF 32
U
UHF connector 23, 25, 26
update intervals, changing 53
V
ventilation, allowing for adequate 11
vessel symbol 29
vessels
grounding for different types of 24
sailing and 8410 ACU locations 22
surveying layout prior to installation 7
VGA connector 14
video, troubleshooting 33
voltage, ensuring compatibility 5
VTG 0183 identifier 50
W
WARNING 5
waypoints
backing up prior to service 3
changing NMEA 0183 53
setting identifier 47
WCV 0183 identifier 50
weather
antenna location and 22
wiring
961 12
AN150 and 8410 24
AN150 antenna 17
AN205-P antenna 19
connector pin 45
viewing Port Setup screen for informa-
tion 45
WPL 0183 identifier 50
X
XTE 0183 identifier 50
Y
yoke 9
yoke-mounting
clearance 9
control head dimensions 10
Z
ZDA 0183 identifier 50
ZTG 0183 identifier 50