Novatron NTD37L MULTIMEDIA PLAYER User Manual 8F11V2 NTD37L Manual Eng for CE
Novatron Co., Ltd MULTIMEDIA PLAYER 8F11V2 NTD37L Manual Eng for CE
Novatron >
Contents
- 1. USERS MANUAL 1
- 2. USERS MANUAL 2
USERS MANUAL 1



CONTENTS
1 Introduction ············································································· 4
Multimedia Functions····················································································· 4
Input/Output Functions··················································································· 5
Kinds of format to be supported····································································· 6
TV Out set-up and change·········································································· 7
LCD-Display Information············································································ 8
Precautions··································································································· 9
How to handle and other precautions························································· 10
Name of each point – Top & Front································································ 11
Name of each point – Rear side····································································· 12
Contents in package······················································································ 13
Accessories available at shops······································································ 14
2 Preparation to use ····································································· 15
Procedure···································································································· 15
Kinds of HDD to be installed········································································· 15
HDD Installation····························································································· 16
Connecting with PC······················································································· 17
To create folder and to copy files···································································· 18
Disconnecting from PC··············································································· 19
Connecting to TV with Composite(AV) cable················································ 20
Connecting with Component cable or HDMI connector································· 21
Connecting with 5.1CH audio system······················································ 22
Connecting with Optical or Coaxial connector··············································· 23
Connecting to Network··················································································· 24
3 Remote Controller & SET-UP Menu········································· 25
Structure of Remote Controller······································································ 25
Booting Message & Main Menu····································································· 26
Review of each Icon on Main Menu······························································· 27
SETUP Menu and How to set up···································································· 28
VIDEO setting change················································································ 29
AUDIO setting change················································································ 30
ETC(Other) settings······················································································ 31
NETWORK setting························································································ 32
WIRELESS (Auto setting)··········································································· 33
WIRELESS (Manual setting) ······································································· 35
WIRELESS (AD-HOC setting)······································································ 38
LAN Sharing setting(PC) ············································································ 40
Network configuration under window 2000·················································· 41
IP Address Setup: Ethernet Network using a direct connection·············· 46
4 MULTIMEDIA FILE PLAYBACK ·············································· 48
How to use JUKEBOX CREATOR(BGM ON) ·············································· 48
Enjoying movie file···················································································· 49
Creating DVD Library and Enjoying it··························································· 56
Enjoying Music Library··············································································· 58
Enjoying Photo Library··············································································· 59
External USB devices connection································································· 60
5 Firmware update ······································································ 61
6 HDD Partition and Formatting ·················································· 62
Under Window 98SE/ME environment··························································· 62
Under Window 2000/XP environment···························································· 66
A Troubleshooting ······································································· 70
B SPECIFICATION·········································································· 74

- 4 -
Introduction
Multimedia Functions
To playback a recorded digital HD file
As this device supports up to 1920 x 1080 progressive scan, you can enjoy playing back
a pre-recorded HDTV program by a digital TV set-top box or person digital video
contents taken by a HD camcorder with fantastic displaying quality.
To support various video formats
This device supports various latest video formats such as a pre-recorded HD file(tp, ts),
WMV9, WMV9 HD, MPEG1/2, MPG, MPEG4(DivX, Xvid), etc.
DVD JUKE BOX Function
As this device supports ISO file and IFO file, you can store DVD titles in it and playback
those files just like DVD Player. You can store various DVD titles into this device and
manage them forever and easily.
Auto Playback, Bookmark and Section Repeat Functions
After one file playback is ended, the next file (different in file name only) is play-backed
automatically. If you mark a specific position of a movie during playback with
“BOOKMARK” button of remote controller, you can start from the marked position again.
The function of ‘Section Repeat’ lets you repeat a specific section. Section Repeat
function is useful for language study or enjoying sports moving pictures.
Music JUKE BOX Function
As this device supports various music files like MP3, Ogg Vorbis, WMA, M3U and PLS,
you can store these files in it and enjoy them with easy. And, in case that you make its
own playlist by using ‘JUKE BOX CREATOR’ function, you can enjoy music files
(playlisted) as background music(BGM function) with easy and convenient.
Digital Photo Album
You can enjoy photo with this device together with your family through big screen of TV
in your living room, as this device has ‘Photo Slide Show’ and ‘BGM(Background Music)’
functions.

- 5 -
Input/Output Functions
Analog 5.1CH Audio Output and 2CH Down Mix
This player can output analog audio signal(decoded signal), as it can decode digital
signal(high quality audio sound signal like AC3, DTS) into analog signal internally by
itself. So, you can enjoy 5.1CH high quality sound without an expansive additional
device like DTS decoder or Receiver. And, as this device supports 2CH down mix, users
who have 2CH speaker only also can enjoy multi channel audio track..
High Quality HDMI Connector
As this device has HDMI connector which output high quality digital and audio signal,
you can enjoy high quality display and sound without any distortion.
Streaming through Wired/Wireless Network
Without the procedure to copy files from PC to this device through USB cable, you can
stream various media files in your PC to it and playback them back with TV directly
through its Network solution.
Installed Wireless LAN Module and Antenna
As this device has Wired LAN as well as Wireless LAN module which supports turbo
function, WEP security function and high sensitive 5dBi antenna, you can connect this
device easily with any wireless network environment.
HOST USB2.0 lets you connect with various external USB devices
As this device has two (2) USB2.0 HOST, you can attaché various external USB devices
such as external HDD, USB memory, digital camera, etc.
External Mass Storage
As this device works perfectly as an external USB mass-storage for your PC through
high speed USB2.0, you can store huge data in it and manage it with easy.

- 6 -
Kinds of format to be supported
Video MPEG1/2/4, XviD, DivX, WMV9, WMV9HD, H.264, HD File(.tp, .trp, .ts),
.MKV, .WMV, AVI, .ISO, .IFO, .VOB, .MPG, .ASF, .DAT
Subtitle SMI, .SUB, .SRT
Audio MP3, WMV, WMA, Ogg Vorbis, AC3, PCM, DTS
Picture JPEG, BMP, PNG, GIF
Needed minimum transferring rate
Format Wired, Wireless LAN USB2.O(HOST)
MPEG1/2 12Mbps 10Mbps
DivX, Xvid 1.5Mbps 1.5Mbps
WMV9 8Mbps 8Mbps
• Even though a video file format is corresponding to the above table, the video file may
not be played-back properly in case that the resolution and transferring rate of the
video file is over specific value.
• Although a video file format is corresponding to the above table, the video file may not
be played-back properly according to the speed(performance) of external USB devices
or the speed(performance) of the devices to compose a network environment.
• Even though video file format is one of the above classification, the file is not played if
the file is encoded with GMC or QPEL option.
• AVI(Audio Video Interleaved) is a container format. This means that it may contain
many different combinations of codec. So, even if this device supports most of AVI files,
but, there could be AVI files not played back properly by this device
• Subtitle is supported properly in case only that the file name of subtitle is exactly same
as that of the moving picture.
• The audio file encoded with copy protection technology is not played back properly.
• Even if this device can playback 2048 x 1352(JPEG), it may not work properly if the
JPEG size is over 1920 x 1080.

- 7 -
TV OUT set-up and change
TV Standard for each country
Korea, North America Europe and else
NTSC PAL
※ TV out mode is originally set as PAL/Composite
※ If you want to change TV out mode, you can use TV OUT button of remote controller or TV OUT button
of the front side of this device
※ LED light of the front side of this device moves to corresponding position when you press TV OUT
button with 2~3sec time interval.
Front LED
TV OUT button for changing TV Out mode
Reference
※ Each pressing TV OUT button : PAL(Composite)Î480p(Component)Î576p(Component)Î
480p HDMI Î576p HDMI.
You can change and ※select more subdivided TV out mode in SET UP menu
In case of no display on TV screen, try pressing TV OUT button several times to fit TV OUT mode※

- 8 -
LCD-Display Information
This section allows you to playback the music file without connecting this device to
TV.
Main Menu
All the options of this screen may be chosen by
pressing the function button of remote controller and
please refer to “PART3 – Structure of Remote
Controller” on the usage of remote controller.
This option allows you to see the list of movie or picture
file but playback the selected file.
Sub Menu
Select each icon
Change the mode of music playback
Refresh
Create JUKEBOX
Playback JUKEBOX music subsequently
Stop played JUKEBOX music
Playback previous music from played one
In JUKEBOX
Playback next music from played one in
JUKEBOX
Exit the mode
Edit JUKEBOX
Delete the selected file

- 9 -
Precautions
Do not drop or give a shock. It may cause
serious damage to internal Hard Disk Drive.
Keep it away from high temperature, high
humidity, nearby magnetic filed and direct
sunlight.
Do not block a ventilation opening
Keep it unplugged during lightning storms or
when unused for long period time.
Do not try disassembling. It may cause an
electric shock, defect or unexpected problem.
For installing or changing HDD, you may open
the door on bottom side.
Do not touch the plug of the AC power cord
with wet hands

- 10 -
• Make sure that you have to use the AC adapter supplied together with this device. If
not, it may cause unexpected problem like breakdown, fire, etc.
• In case that this device is used or left in a completely covered and high temperature
space(like in a car) for long time, it may cause unexpected problem.
• Do not see the light of OPTICAL connector directly. It may have a bad effect on your
eyes.
• In case of no use for long time, get rid of battery from remote controller.
• To clean the exterior of this device, soak a soft cloth in a mild detergent solution diluted
with water, tightly squeeze the cloth to remove the excess liquid, wipe the affected area
of the exterior, and finish by wiping with a dry cloth.
• Make sure that this device is not powered off suddenly during its working (playing-back,
file transferring, firmware upgrading, etc). In case of sudden power-off during working,
you need to check HDD with Windows utility (Scan Disk) after connecting with your PC
system.
• When you try disconnecting the USB cable between this device and your PC system
after finishing jobs, make sure to follow ‘USB device safety removal’ procedure.
• When try connecting HDD to SATA cable, S-Video cable, HDMI cable, be careful not to
give some damage to pins of each connector.
How to handle and other precautions

11
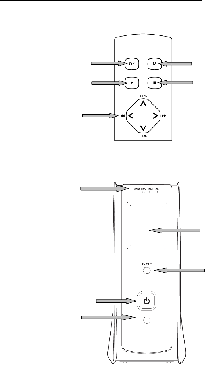
Name of each point – Top & Front
Button of top side
Button & LED of front side
OK BUTTON
PLAY/PAUSE
Direction,
REW/FWD and
+15/-15sec move
Button
(▲, ▼, ◀, ▶)
SETUP Button
STOP Button
Power(On/Off) Button
IR receiver
Video / S-Video or
Component(DVD) LED
HDTV LED
HDMI LED
LCD LED
2” TFT-LCD Display
TV OUT Button

12
Name of each point – Rear Side
External IR receiver
Connector
USB connector
for PC
S-Video
Digital Sound
Optical Connector
Composite
Video Connector
2CH Stereo
or
5.1CH Analog
Audio Connector
USB Host port
Power12V DC
Component Video
Connector
HDMI Out connector
Digital Sound
Coaxial Connector
DC FAN
For Wireless Antenna
Wired LAN
Port(RJ-45)

13
Contents in package
Below items are in the package of this product
□ Remote Controller □ AAA size Batteries
□ User’s Manual □ 12V DC Power Adaptor □ Poewr Cord
□ A to B USB Cable □ Composite AV Cable □ Component Video
□ 5dBi Wireless Antenna
(Wireless Model Only)
□ Unit

14
Accessories available at shops
If below accessories is needed, you can buy them at shops by yourself.
□ HDMI to DVI Converter
□ Coaxial Cable □ Optical Cable □ S-Video Cable
□ HDMI Cable □ LAN Cable

15
Preparation for Usage
To introduce preparation before you enjoy this device.
Procedure
1. Check whether all accessories are supplied properly.
2. Install HDD(Hard Disk Drive) into this device according to the procedure of HDD
installation(※ note : HDD jumper should be set as Master)
3. Connect AC adapter into this device, and connect it with PC through USB cable
4. Power on this device (with power button of top side, or with power button of remote
controller)
5. In case that the installed HDD is not formatted, please format it first according to
normal HDD format procedure
6. Copy media files in your PC to the HDD of this device.
7. After finishing copying files, disconnect this device from your PC system
8. Connect this device to TV set and(or) to audio system
9. Power on this device and change set-up value in SET-UP menu if needed. It is
recommended that it should be rebooted if you set up Network newly
10. Now, you are ready to enjoy this device freely
HDD Size HDD Type HDD Capacity HDD RPM HDD buffer
Memory
3.5” SATA HDD SATA I or II
Any capacity
available in
market
Over 7200 RPM Over 8M
Kinds of HDD to be installed

- 16 -
HDD Installation
1. Push the locker to the direction(“OPENÎ).
Open up the HDD door slowly.
4. Fix HDD with HDD fixture like below picture.
2. There is HDD fixture inside. Push it
forward(#1) slightly and pull it up(#2).
5. Connect SATA cable and power cable
like picture.
6 Close HDD door and push the locker to the
direction(“ÍCLOSE”).
3. . Insert HDD carefully inside this device
laid down slightly to minimize
impact to HDD.

- 17 -
To copy files in your PC to this device, follow below procedure.
For Windows ME/ 2000/XP/Vista Users
1. Power on your PC system.
2. Connect this device to your PC with USB Cable. Connect AC adapter to this device. And power it
on.
3. Wait until your PC recognizes this device as USB mass storage.
4. Check whether this device is properly recognized as USB mass storage by clicking and opening
“My Computer” on Windows.
For Windows 98SE Users
1. Before connecting this device to your PC, you need to install Driver for Windows 98SE to your
PC. You may download the Driver for Windows 98SE from our website
2. After downloading it, unzip it and run the file(xxxx_98setup)
3. Connect this device to your PC with USB cable. And connect AC adapter to this device and
power it on. Wait until your PC recognizes this device as USB mass storage.
4. Check whether this device is properly recognized as USB mass storage by clicking and
opening “My Computer” on Windows.
Connecting with PC

- 18 -
Follow below procedure to copy folder and file from PC to this device.
• If the HDD has no partition or the HDD is not formatted, you need to do it first.
- We recommend NTFS instead of FAT32. this device supports multi partitions.
- Note : Primary partition should be over one(1)
※ For HDD partition, refer to Chapter 6.
• When you make folder in the HDD of this device, it is recommended that you make
folders like ‘MOVIE’, ‘MUSIC’, ‘PHOTO’. And, you copy files to each folder
corresponding to kind of file.
- ‘MOVIE’ folder responds to ‘MOVIE’ button of remote controller and ‘MOVIE’ icon of main
menu.
- ‘MUSIC’ folder responds to ‘MUSIC’ button of remote controller and ‘MUSIC’ icon of main
menu. And, ‘PHOTO’ folder is also same.
- You may make any name of folders freely.
• Do not store too many files into one folder.
- It is recommended that you make several sub folders and store files divisionally.
- In case that you did HDD partition with FAT32, it is recommended that you do not store
over 3GB files into one folder.
• In case that file name(folder name) is too long or has so many specific characters,
blanks or period marks, the file(folder) may cause some problem.
- In this case, change or reduce file (folder) name.
• Moving picture file and subtitle file should be in same folder.
- Moving picture file and subtitle file should be in same folder. And, both files name should
be same except for ‘extension name’.
Disconnecting this device from PC after
finishing file copy
After finishing file copy, make sure that you need to next page procedure for
disconnecting this device from PC. Otherwise, copied files may have some damage.
To create folder and to copy files

- 19 -
When try disconnecting USB cable between this device and PC, make sure to follow
below procedure.
1. Do double-click the icon of “Safely
remove USB……”.
2. Click “Stop” button after selecting
“USB Mass Storage Device”..
3. When the message like picture is
shown, disconnect USB cable
between this device and PC.
Disconnecting from PC

- 20 -
After power off this device and TV, connect them like below procedure..
• The Composite AV cable is needed to connect with normal TV or Video and is for connecting
Composite video signal and 2CH audio signal simultaneously.
• Connect yellow cable to the Composite connector of this device and to the VIDEO connector of
TV set.
• Connect red cable to the FRONT-R connector of this device and to the Sound Input(Right) of
TV or Audio system.
• Connect white cable to the FRONT-L connector of this device and to the Sound Input(Left) of
TV or Audio system.
• You may refer to cable colors and connector colors.
• Please do not misunderstand Composite connectors and Component(Y, Pb, Pr) connector
which is located on rear side of this device as shown here.
• If you want to use digital audio output(Optical, Coaxial), you don’t need to connect with red
cable and white cable.
• In case that your TV set has S-Video input connector, you may enjoy higher display quality by
connecting with S-Video cable.(note : As we do not supply S-Video cable, you need to
purchase it by yourself from shop)
• For more information, refer to user’s manual supplied by TV maker
Connecting to TV with Composite(AV) cable

- 21 -
When connecting HDTV or other high quality displaying devices, connect like below
picture..
Connecting with Component cable
Connecting with HDMI cable
• For safety, connect cables after power off this device, TV and audio system.
• You have to purchase HDMI cable and other accessories by yourselves from shop
Connecting with Component cable or HDMI
connector

- 22 -
If you want to connect analog 5.1Ch sound output to your speaker, please connect
audio cables like below picture.
• You need to prepare below cables or gender by yourself as those are not supplied
together with this device. (audio cable for analog 5.1Ch, 3.5 pie gender cable, etc)
• Connect with analog 5.1Ch cables like upper picture.
• If the input connector of speaker or audio system is the stereo jack(3.5 pie) type, you
need 3.5 pie gender cable. According to below picture, connect it to each speaker
properly..
Connecting with 5.1CH audio system
CENTER
FRONT-R
(Front-Right)
FRONT-R
(Front-Left)
REAR-L
(Rear-Left)
WOOFER
REAR-R
(Rear-Right)

- 23 -
If you want to enjoy high quality digital audio, connect with Optical or Coaxial
connector.
• As the audio output through Optical or Coaxial is digital signal, separate devices like
DTS Decoder(or Receiver) is needed additionally.
• For safety, connect cables after power off this device and audio system.
• You have to purchase Optical cable or Coaxial cable by yourselves from shop.
• Make sure that Optical cable is not bent severely.
• Do not see optical light which comes from Optical connector. It may have a bad effect
on your eyes.
Connecting with Optical, Coaxial connector

- 24 -
To connect this device to a network, some equipment is required.
Ethernet Network using a direct connection to a PC(IP Address setup : 31 page)
Connect this device to a PC with a crossed
cable.
◈ Equipment required.
• A crossed cable.
• A window PC with an Ethernet
connection.
Ethernet Network using a router
Connect this device and a PC to a router or
switch HUB with 2 straight cables.
◈ Equipment required.
• 2 straight cables.
• A window PC with an Ethernet
connection
• A router or Switch HUB
Wireless connection using a wireless router
Connect this device and a PC to a wireless
router with a straight cable for PC.
◈ Equipment required.
• A straight cable for PC.
• A window PC with an Ethernet
connection
• A wireless router
Wireless Range.
z Radio signals may be reflected by some obstacles or be absorbed by
others depends on their construction.
z Heavy or big media file like HD file or DVD file is not streamed properly with
wireless connection.
Connecting to Network

- 25 -
Remote Controller & SET-UP Menu
To introduce remote controller structure and set-up.
Structure of Remote Controller
POWER
MOVIE FOLDER HOTKEY
MUSIC FOLDER HOTKEY
GOTO KEY
CLEAR ALL(JUKE BOX)
DELETE FILE(JUKE BOX)
MUTE
SETUP KEY
PLAY & PAUSE
STOP
+15SEC FWD / UP
REVERSE / LEFT
-15SEC REV / DOWN
VOLUME UP / DOWN
PREV / NEXT (DVD CHAPTER)
ZOOM / SCROLL
SYNC SUBTITLE
DVD TITLE / MENU
DVD ANGLE
TV OUT SELECT
JUKEBOX CREATOR
PHOTO FOLDER HOTKEY
SLEEP TIMER
BOOK MARK KEY
RETURN / CANCEL
INFO / CURRENT TIME
SLOW FOWARDING
BGM ON / OFF
FORWARD / RIGHT
OK / SELECT
-32 ~ +32x FWD / REV
REPEAT / SHUFFLE
COLOR SETTING
ODD EJECT
DUBBING AUDIO
SUBTITLE
AUDIO OUT SELECT
POINT TO POINT

- 26 -
Booting Message & Main Menu
If this device is powered on, it is booted up like below picture.
1. Booting Message
This picture is displayed during booting-up.
In case of no –display.
TV Out mode is originally set as PAL/Composite. If no-display on TV screen
after booting up, try changing TV Out mode by pressing TV OUT button of
remote controller or on the front side of this device with 2~3seconds time
interval.
2. Screen of Main Menu
Main Menu screen is displayed like below picture after completing booting up.
Main Menu is composed of several icons such as MOVIE, MUSIC, PHOTO, USB HOST, Network
and JUKE BOX(BGM). For explanation of each icon, refer to next page.

- 27 -
Review of each icon on Main Menu
Main Menu has several icons like below. If you select each icon, you can see
files stored in corresponding folder or storage.
MOVIE icon
If selecting MOVIE icon, it shows all contents in MOVIE folder of the basic
HDD. It will be convenient for you to use or manage files if you make “MOVIE”
folder in the root directory of HDD in advance.
MUSIC icon
If selecting MUSIC icon, it shows all contents in MUSIC folder of the basic
HDD. It will be convenient for you to use or manage files if you make “MUSIC”
folder in the root directory of HDD in advance.
PHOTO icon
If selecting PHOTO icon, it shows all contents in PHOTO folder of the basic
HDD. It will be convenient for you to use or manage files if you make “PHOTO”
folder in the root directory of HDD in advance.
USB 1 or 2 icon
In case that some devices are connected to USB HOST ports, these USB Icons
are activated. Once activated, those icons can be selected. Otherwise, you can
not click or select it.
NETWORK icon
In case that this device is connected to network properly through Wired or
Wireless LAN, this icon is activated and can be selected. Otherwise, you can
not select it.
JUKE BOX icon
In case that you made PLAYLIST with “JUKEBOX CREATOR” function, you
can enjoy music at any time by pressing BGM button of remote controller. The
title of playing music is displayed in the box of JUKE BOX icon.
In case of no folder like MOVIE, MUSIC, PHOTO.
In case of no folder (‘MOVIE’, ‘MUSIC’, or ‘PHOTO’ ) in HDD, all files and all folders in
the root directory of HDD are shown.

- 28 -
SETUP Menu and How to set up
If needed to change setting values before using this device, you can open SETUP
Menu like below picture by pressing SETUP button of remote controller.
• SETUP Menu is classified like VIDEO, AUDIO, ETC, NETWORK, WIRELESS, EXIT. You can
select each item with Left/Right (◀, ▶) button of remote controller or this device.
• To change setting values, if selecting main item, sub items are listed up. You can select each
item with Up/Down(▼, ▲) button.
• After selecting sub item, press OK button. Then, changeable setting values are displayed.
• Once you select one of changeable setting values with Up/Down(▼, ▲) button, press OK
button. Then, the value is saved and applied.
• If you want to go out without changing setting values, press RETURN button before you press
OK button for confirming any selected value. Pressing RETURN button, it makes you go to
previous step.
• After completing new setting, you can go back to main menu by pressing RETURN button
several times, by pressing SETUP button or selecting EXIT icon.

- 29 -
VIDEO Setting Change
In SETUP Menu, if selecting VIDEO
icon, sub items related to video are
listed up like picture.
• TV Standard
Ö NTSC :Korea, North America
Ö PAL : Europe and else
• TV Type
Ö 4:3 (for normal TV)
Ö16:9(for Wide TV such as HDTV or
Plasma TV
• Display
Ö Original(Letter Box) :
Select this option in case of playing a wide movie(16:9) with an ordinary
4:3 TV. There will be margins on the upper and lower sides of the screen.
Ö Pan & Scan :
Select this option if you want a wide movie(16:9) to be adjusted fully to the
screen of ordinary 4:3 TV. The left/right of the movie is cut, and the margin of
top/bottom is disappeared.
Ö Full Screen : Select this option if you want to adjust a movie fully to the
screen of TV with no consideration of original ratio. In this case, according to
the ratio of original movie, displaying size is enlarged upward/downward or to
the left/right.
• Video Out
Ö Composite/S-Video : In case of connecting with TV through Composite, S-Video or
Component 480i output connector.
Ö Component(each Mode) : In case of connecting with TV through Component(Y, Pb, Pr)
output connector.
Ö HDMI (Auto or each Mode ) : In case of connecting with TV through HDMI connector.
※ By pressing TV OUT button of remote controller or this device several times, you
can change TV standard and Video Out mode in order. Standard modes changeable
in order is six(6) level.