OSIM OS-838 BT Module User Manual 635017884427812500
OSIM INTERNATIONAL LTD BT Module 635017884427812500
OSIM >
ARG-OS-838 User Manual Ver.2

Operation description
Bluecore5 MM-Ext
MX29LV160C
FI212C245036
(6pins)
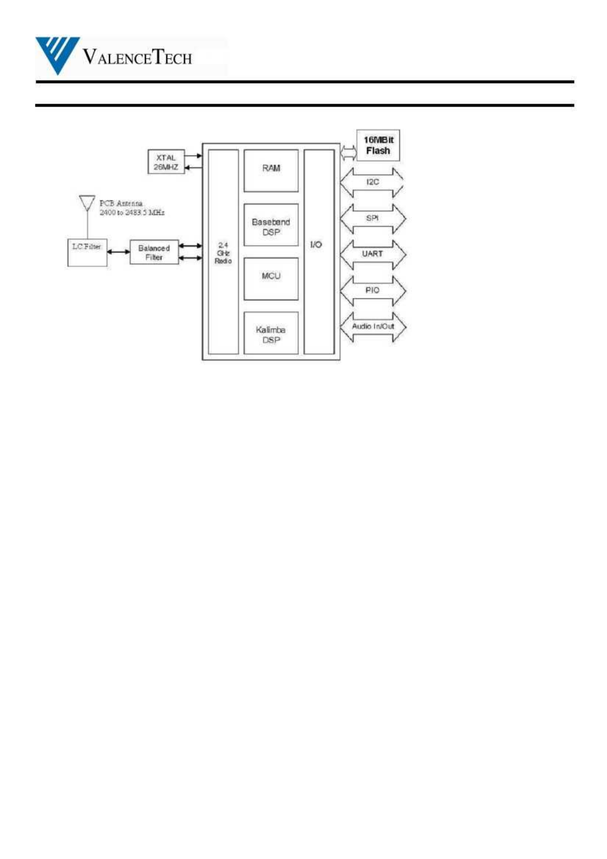
iBT05(C) is a Class 2 Bluetooth sub-system using BlueCore5 –Multimedia Ext Flash chipset from leading Bluetooth
chipset supplier Cambridge Silicon Radio. It interfaces to a 16 MBit parallel Flash. The software stack running on the
BlueCore5 MM Ext chipset is fully compliant to Bluetooth Specification v2.1 + EDR. iBT05 also has necessary balun and
bandpass filters to interface with a build-in PCB antenna, which forms a very cost effective radio subsystem. The
modulations are GFSK. Operating frequency is 2.402G to 2.480G. The printed antenna used with
antenna gain 0dBi.
X’TAL: Generate 26MHz system clock.
BALUN: 2.4GHz Balun, the unbalanced signal to balanced signal.
LC filter: 2.4GHz Bandpass filter
FLASH: It used to save the firmware.
1

Operation description
2

Operation description
3