Olympus Accura View Zoom 90 Users Manual English
Olympus-Accura-View-Zoom-90-Operating-Instructions-776906 olympus-accura-view-zoom-90-operating-instructions-776906
Accura-Zoom-90-Instruction-Manual-English-729-Kb accura-zoom-90-instruction-manual-english-729-kb
Accura Zoom 90 English Accura Zoom 90 English
Accura Zoom 90 English Accura Zoom 90 English
Accura View Zoom 90 - Operating Instructions AccuAZ90_english Free User Guide for Olympus Camera, Manual - page1
2015-01-26
: Olympus Olympus-Accura-View-Zoom-90-Users-Manual-344184 olympus-accura-view-zoom-90-users-manual-344184 olympus pdf
Open the PDF directly: View PDF
.
Page Count: 71
- Table of Contents
- NAMES OF PARTS
- VIEW/FINDER DISPLAY/ LCD PANEL
- DIOPTER ADJUSTMENT
- USING THE STRAP
- LOADING THE BATTERY
- CHECKING THE BATTERY
- PROPER SHUTTER RELEASE
- LOADING THE FILM
- TAKING PICTURES
- USING THE FOCUS LOCK
- AFTER SHOOTING
- UNLOADING THE FILM
- USING THE FLASH MODES
- SELFTIMER
- PRINTING THE DATE AND TIME
- CORRECTING THE DATA
- REPLACING THE DATE UNIT'S BATTERY
- CARE AND STORAGE
- TROUBLESHOOTING
- SPECIFICATIONS
- SPECIFICATIONS FOR DATE UNIT

INSTRUCTIONS
Read this manual carefully before using your
camera.

Indicates
circumstances under
which mishandling
resulting from ignoring
this symbol could result
in personal injury or
property damage.
KEEP THE BATTERIES AWAY
FROM FIRE. NEVER TRY TO
DISASSEMBLE, RECHARGE, OR
SHORT-CIRCUIT BATTERIES.
KEEP THE BATTERY OUT OF
THE REACH OF CHILDREN. IF
A CHILD SWALLOWS A
BATTERY, CONTACT A
DOCTOR IMMEDIATELY.
WARNING
2

NEVER ATTEMPT TO
DISASSEMBLE THE CAMERA; IT
CONTAINS A HIGH-VOLTAGE
CIRCUIT. IF THE INTERNAL
PARTS OF THE CAMERA ARE
EXPOSED DUE TO DROPPING
OR DAMAGE, REMOVE THE
BATTERIES IMMEDIATELY TO
PREVENT FURTHER USAGE.
IN CASE OF MALFUNCTION,
CONSULT YOUR NEAREST
OLYMPUS DEALER OR
OLYMPUS SERVICE CENTER.
3
Names of parts ......................... 6
Viewfinder display/LCD panel .... 8
Diopter adjustment ................. 11
Using the strap ........................ 11
Loading the battery................. 12
Checking the battery .............. 14
Proper shutter release ............ 15
Loading the film ...................... 16
Taking pictures ....................... 19
Using the focus lock ............... 25
After shooting.......................... 27
Unloading the film ................... 28
Using the flash modes ............ 29
Selftimer.................................. 38
4
Printing the date and time* ..... 40
Correcting the data* ............... 42
Replacing the date unit's
battery* ................................... 44
Care and storage .................... 46
Troubleshooting ...................... 51
Specifications ......................... 64
Specifications for date unit*.... 70
* QUARTZDATE model only.
5

NAMES OF PARTS
Shutter release button
Power button
Autofocus windows*
Flash mode button
Selftimer button
Mid-roll rewind button
LCD panel
Flash*
Zoom buttons
Selftimer indicator
Lens*
Viewfinder*
* Keep clean. Otherwise you
may get blurred pictures.
Wipe clean with a soft cloth.
6

Battery compartment cover
Date/time indicator"
Diopter adjustment dial
Viewfinder
Film window
Back cover release
Strap eyelet
Tripod socket
Date/time MODE /SELECT/
SET
buttons"
Back cover
** QUARTZDATE model only.
7

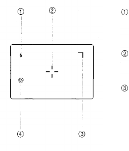
Viewfinder Display
Flash indicator (orange)
Lights: Flash is ready.
Blinks: Flash is recharging.
• Lights when the shutter
release button is pressed
halfway.
Autofocus mark (red)
If this starts blinking after the
shutter release button is
pressed halfway, it means that
the subject is out of focus.
Close-up correction mark
(orange)
The area inside this mark
(which lights) when the shutter
release button is pressed
halfway is the picture area.
VIEW/FINDER DISPLAY/
LCD PANEL
8

Shutter release indicator
(green)
Lights when the camera starts
releasing the shutter. Goes out
when the camera finishes
releasing the shutter.
When the camera is turned on,
only the autofocus mark (red)
will light. When the camera is
turned off, all the indicators will
go
out.
9

Selftimer
Battery check
Exposure counter
Night Scene Flash mode
Red-Eye Reducing Flash
mode
Off (Flash Override) mode
Fill-In Flash mode
LCD Panel
Notes:
• If you don't use the camera, the
LCD goes off after four and half
minutes.
• The LCD panel does not
actually display all indications
simultaneously as shown.
10

Press the power button to
turn on the camera. Then
turn the diopter adjustment
dial until the autofocus mark
is clear.
Turn to the right if you are
farsighted. Turn to the left if you
are nearsighted.
USING THE STRAP
Attach the strap as shown.
DIOPTER ADJUSTMENT
11

1. Press the power button to
turn off the camera. Push
OPEN to open the
battery compartment
cover
2. Insert the new battery
correctly. (One 3V lithium
battery. CR123A or
DL123A)
Notes:
• Dispose of used batteries in the
battery recycling boxes at
stores selling batteries.
• If lithium batteries are not fully
discharged, protect against
short-circuit (e.g. by taping the
contacts) before disposing.
LOADING THE BATTERY
12
Notes:
• About 15 rolls of 24-exposure
film can be used with one new
battery. (Flash use 50%)
• Keep a spare battery on hand
when going on a long trip or to
a cold area.
• Sweat, oil, and so on can
prevent a battery's terminals
from making electrical contact.
To avoid this, wipe both
terminals before loading the
battery.
13

Press the power button to
turn on the camera.
Display: lights
Meaning: Battery is OK. You can
shoot.
Display: blinks and other
indicators are displayed
normally.
Meaning: Battery power is low
and battery should be replaced.
Display: blinks and other
indicators go out.
Meaning: Battery is dead and
should be replaced immediately.
CHECKING THE BATTERY
14

Practice before loading the
film.
1. Depress the shutter release
button halfway to lock the
focus.
• The shutter won't release
when the autofocus and/or
flash mark inside the
viewfinder is blinking.
2. Depress the shutter release
button fully to release the
shutter and take the picture.
Cautions:
• Press the shutter release button
gently.
• Avoid shaking the camera
when pressing the shutter
release button to prevent blurry
pictures.
PROPER SHUTTER RELEASE
15

1. Slide the back cover
release button upward to
open the back cover.
Do not touch the inside of
the camera, especially the
lens.
2. Insert the film cartridge
until it clicks.
Note: Use of ISO 400 film is
recommended.
LOADING THE FILM
16

A. Correct
Make sure the film is lying flat
before closing the back cover.
B. Incorrect
Push the film cartridge gently to
position the film correctly. Then
press the left side of the back
cover and close it securely. If the
film is not lying flat, the film may
not advance to the first frame.
17

3. Pull the film leader so that it is
positioned about 10 mm (0.4
in.) from the tip of the arrow of
[ FILM TIP], and close the
back cover.
The film automatically
advances to the first frame.
Make sure that the film is
positioned between the
positioning guides (A) before
closing the back cover.
4. Press the power button to turn
on the camera.
The exposure counter on the
LCD panel reads .
Note: If blinks in the exposure
counter, the film is improperly
loaded. Reload the film.
18

1. Press the power button to
turn on the camera.
The lens protector opens, the
lens extends slightly, and the
autofocus mark in the
viewfinder lights.
TAKING PICTURES
19

2. Aim the camera at your
subject. Use the zoom
buttons for telephoto or
wide-angle photography.
Note: Keep your hair, hands,
strap etc. away from the
autofocus windows, lens, light
sensor and flash.
20

How to Use the Zoom Buttons
Telephoto: Push the "T" button to
zoom in.
Wide angle: Push the "W" button
to zoom out.
21

3. Position the autofocus
mark on your subject.
4. Depress the shutter
release button halfway to
adjust the focus.
Focus has been correctly
adjusted and the autofocus
mark lights. Exposure also will
be adjusted automatically.
WARNING: DO NOT LOOK
DIRECTLY AT THE SUN
THROUGH THE VIEWFINDER.
22

5. Depress the shutter
release button fully to take
the picture.
The shutter release indicator
(green) remains lit from the
moment when the shutter
release button has been
pressed all the way until
completion of film winding.
Working distance: 0.8 m (2.6 ft) ~
(infinity)
Notes:
• When the subject is closer than
the minimum working distance,
the shutter will not release.
(Autofocus mark blinks.)
• When the subject is extremely
close to the camera, the
subject will be out of focus
althou
g
h the shutter releases.
23

Close-up Correction
Picture area at (infinity)
Close-up correction mark
Image area of picture at 0.8 m
(2.6ft)
The picture area will move lower
in the viewfinder as you get
closer to the subject. When the
close-up correction mark lights,
the picture area is inside the
mark.
24

When the main subject is not
within the autofocus mark. Use
the focus lock.
Autofocus mark
1. Position the autofocus
mark on your subject and
press the shutter release
button halfway.
The autofocus mark lights when
the shutter button is pressed.
At this time, the exposure is also
locked.
The focus lock is released when
you take your finger off the
shutter button.
USING THE FOCUS LOCK
25

2. Reposition your subjects
in the picture frame while
keeping the shutter
release button depressed
halfway. Then press the
shutter release button
fully.
26

1. Press the power button to
turn off the camera.
• The lens is retracted and the
lens barrier is closed.
• The display goes out.
AFTER SHOOTING
27

The camera automatically
rewinds the film when you
reach the end of a roll.
After the motor stops and
starts blinking on the LCD
panel, open the back cover
and remove the film.
Rewinding the film before the
end of the roll
Press the mid-roll rewind button
gently with the protrusion on the
strap buckle.
Caution: Do not use an
instrument with a sharp tip.
UNLOADING THE FILM
28

This camera has six flash
modes. Use these modes in
accordance with the
photographic conditions and
your purpose.
Setting the Modes
Each time the flash mode button
is pressed, the mode will change
sequentially as shown on page
30.
WARNING: DO NOT FIRE
FLASH TOO CLOSE TO THE
EYES OF PEOPLE OR
ANIMALS.
USING THE FLASH MODES
29

Auto Flash mode (p. 31)
Red-Eye Reducing Flash
mode (p. 32)
Off (Flash Override) mode
(p. 34)
Fill-in Flash (Forced
Activation) mode (p. 35)
Night Scene Flash mode
(p. 36)
Red-Eye Reducing Night
Scene Flash mode (p. 37)
Note: The flash strength is
automatically controlled to
prevent pictures from being
overexposed even when the
subjects are close.
30

AUTO FLASH
The flash fires automatically
in dark places.
The flash indicator in the
viewfinder lights when the
shutter release button is
depressed halfway.
Notes:
• When the flash indicator is
blinking, the flash is recharging
and the shutter won't release.
Release your finger from the
shutter release button, and wait
for several seconds.
• Maximum distance is about
70% of the working range
when using reversal film.
Flash Working Range (with
color negative film)
ISO
100
200
400
W (38
mm)
0.8~5.3 m
(2.6~17.4 ft)
0.8~7.5 m
(2.6~24.6 ft)
0.8~10. 6m
(2.6~34.8 ft)
T (90
mm)
0.8~2. 4 m
(2.6~7.9 ft)
0.8~3. 4m
(2.6~11.1 ft)
0.8~4.8 m
(2.6~15.7 ft)
31

Significantly reduces the
phenomenon of "red-eye"
(when a subject's eyes
appear red in flash
photography).
In the flash mode, the camera
will fire a series of low-power
preflashes before the regular
flash.
Red-eye reduction may not
be effective when the
subject:
1. Is not looking at the red-eye
reducing lamp from the right
front.
2. Is not watching the red-eye
reducing lamp.
3. Is too far from the camera.
RED-EYE REDUCING FLASH
32
The effectiveness of red-eye
reduction varies depending on
the individual characteristics of
subjects.
IMPORTANT: Be sure to hold the
camera still until the shutter.
releases. It takes approximately
one second.
33

When you don't want the
flash to fire even in the dark
or when you want to shoot
such subjects as fireworks.
Use this mode in situations
where flash photography is not
desired, is prohibited, in twilight,
or night scenes.
Note: Since a slow shutter speed
(down to 1 second) is
automatically selected in low-
light situations, the use of a
tripod is recommended. Turning
off the camera restores the Auto
Flash mode.
OFF (FLASH OVERRIDE)
34

FILL-IN FLASH
(Forced Activation)
When you want the flash to
fire for each shot.
The flash fires regardless of
available light. Use this mode to
compensate for a shadow cast
on the subject's face (such as
the shadow of a tree). It is also
used when shooting in backlit
conditions or under artificial
lighting (such as fluorescent
light). Use this mode within the
flash working range (p. 31).
Turning off the camera restores
the Auto Flash mode.
35

NIGHT SCENE FLASH
When taking pictures of a
night scene, this mode
produces clear images.
Notes:
• The use of a tripod is
recommended since slow
shutter speeds (down to 1
second) are automatically
selected in low-light situations.
• Turning off the camera restores
the Auto Flash mode.
36

RED-EYE REDUCING NIGHT
SCENE FLASH MODE
You can take pictures of
people with a night scene
background while reducing
the "red-eye" phenomenon.
Notes:
• Except for the pre-flashes,
this mode is the same as the
Night Scene Flash mode.
• Read precautionary remarks in
"Red-Eye Reducing Flash"
(p. 32) and "Night Scene
Flash" (p. 36).
• If the camera is turned off in
this mode, the Red-Eye
Reducing Flash mode will be
engaged the next time the
camera is turned on.
37

SELFTIMER
1. Press the selftimer button to
display
Fix the camera on a tripod or
other support.
2. Aim at your subject, and
press the shutter release
button. The shutter will be
released about 12
seconds after you press
the button. The selftimer
automatically disengages
after release.
10 sec: Selftimer indicator
lights
2 sec: Blinks
38
Notes:
• The focus and exposure will be
locked when the shutter
release button is depressed
halfway.
• Take care not to stand in front
of the camera when you
depress the shutter button.
• To cancel the selftimer after it
has been activated, press the
selftimer button again.
39

This camera has five data
imprinting modes. Press the
MODE button to choose the
mode you want to use.
Month indicator ("M" stands
for month.)
Imprinting confirmation
indicator Blinks for about 3
seconds after shooting to
make sure the data has been
imprinted.
(These indicators will not be
imprinted on a picture.)
MODE button: Chooses date and
time.
SELECT button: Chooses the
indication to be changed.
SET button: Adjusts figures.
PRINTING THE DATE AND TIME
(QUARTZDATE model only)
40

As you press the MODE button,
the mode will switch in the order
shown below.
Year-month-day
Day-hour-minute
No data
Month-day-year
Day-month-year
Be sure to correct the data after
the date unit's battery is
replaced. The data is imprinted
in the lower right of the picture. If
the area where the data is
imprinted is whitish or tinged with
orange, it may be difficult to
read.
41

Press the SELECT button to
switch to the data correction
status to adjust year-month-day
or hour-minute.
1. Press the SELECT button
until the indication you
want to change starts
blinking.
2. Press the SET button to
correct the data.
If you press the SET button once,
the number on the display will
advance by 1. If you hold the
button down, the numbers will
advance in rapid succession.
CORRECTING THE DATA
(QUARTZDATE model only)
42
Note: As you press the SELECT
button, the blinking indication
changes in the order of year,
month, day or hour, minute. Data
correction ends when you press
the SELECT button again.
Press the SELECT button again
until the imprinting confirmation
indicator appears.
When the imprinting confirmation
indicator does not appear, the
data will not be copied onto the
picture.
43

REPLACING THE DATE UNIT'S BATTERY
(QUARTZDATE model only)
1. Open the back cover and
remove the cover of the
date unit's battery.
2. Replace the battery with a
new one. Align the
direction of the new
battery as indicated on the
unit.
Use one CR2025
battery.
44

3. Replace the cover of the
date unit.
Be sure to adjust the
date and time after
changing the battery.
45

1 Do not leave the camera in
any place exposed to
excessive heat, humidity, or
direct sunlight — for example,
in a car or on the beach.
2 Do not expose the camera to
formalin or naphthalene.
3 If the camera gets wet, wipe it
with a dry towel. The salt in
seawater can be especially
damaging.
4 Do not use organic solvents,
such as alcohol or paint
thinner when cleaning the
camera.
CARE AND STORAGE
46

5 Do not leave the camera on or
near a television, refrigerator,
or other appliance with a
magnetic field.
6 Do not expose the camera to
dust or sand as this could
cause serious damage.
7 Do not shake or shock the
camera.
8 Do not apply excessive force
to the zoom lens.
• Keep the camera in a well-ventilated
place.
• Do not expose the camera to
extreme heat (over 40°C/104°F) or to
extreme cold (below
-10°C/14°F). Low temperatures,
even within this range, may
sometimes cause deterioration in
battery performance, temporarily
disabling the camera.
47
• When transporting the camera
from a cold place to a warm
place or in the event of a
sudden temperature change,
put the camera into a plastic
bag. This allows the camera's
temperature to change slowly.
Once the camera has adjusted
to the new temperature, you
can remove it from the bag and
use it.
48
• Avoid leaving the camera
unused for long periods of
time. This can cause mold to
grow on the camera as well as
other problems. Try to press
the shutter release button and
check the operation of the
camera before use.
• Some airport X-ray machines
can damage the film in your
camera. Try to avoid passing
your camera through these
machines. Give it to the
security officer for manual
inspection.
49
• This camera is controlled by a
microcomputer. Problems with
the microcomputer can affect
or stop camera operation. If
this happens, remove the
batteries, then reload them and
try the camera again. Strong
electrical fields can also
interfere with the operation of
this camera so try to avoid
places or objects that generate
such fields.
• This camera is not suitable for
professional use or for use
under severe conditions.
50

TROUBLESHOOTING
OPERATING PROBLEMS
The camera does not work.
The power is off.
Press the power button to
turn on the camera, (p. 14)
The alignment of the battery
terminals is not correct.
Reload the battery
correctly, (p. 12)
The battery is exhausted.
Replace the battery with a
new
one.
(p. 12, 14)
The battery is temporarily
unable to function because of
cold temperature.
Keep the camera warm
while using it.
51

The loaded film has been
rewound.
• Remove the film. (p. 28)
The film is inserted incorrectly.
Remove the film and re-
insert correctly, (p. 16, 18)
52

The LCD panel display turns off
suddenly.
The LCD panel display turns
off after four and a half
minutes if the camera is not
used. The viewfinder display
also turns off at the same time.
Press the power button to
turn the camera off and on
again or press the zoom
button; the LCD panel display
and viewfinder display will turn
on. (p. 19, 20)
53

The autofocus mark blinks, and
the shutter will not release.
The camera is within 0.8 m
(2.6 ft) of the subject.
Move the camera so that it
is more than 0.8 m (2.6 ft)
away from the subject, (p. 24)
The flash indicator blinks, and
the shutter will not release.
The flash has not finished
recharging.
Remove your finger from
the shutter release button and
wait for several seconds until
the flash is recharged before
shooting, (p. 29)
54

The flash does not fire, even in
the dark.
The flash mode is set to off.
(p. 34)
Select a different mode.
High-sensitivity film is being
used.
Set the flash mode to Fill-in,
(p. 30, 35)
55

Images in the viewfinder look
blurred.
not in the correct position.
Turn the diopter adjustment
dial until the images in the
viewfinder become clear,
(p. 11)
56
The diopter adjustment dial is

PROBLEMS WITH PRINTED
PICTURES
The picture is out of focus.
The camera moved when the
shutter release button was
pressed.
Hold the camera correctly
and press the shutter release
button gently. (p. 15)
The subject was not within the
viewfinder's autofocus mark.
Position the subject in the
center of the autofocus mark,
or use the focus lock.
(p. 22, 25)
57

The lens and autofocus
window were dirty.
Clean the lens and
autofocus window. Wipe the
lens gently with a lens
cleaning tissue moistened with
a small amount of lens
cleaning fluid.
The autofocus window was
blocked, such as by a finger.
Hold the camera correctly,
keeping your fingers clear of
the autofocus window.
58

You attempted to take a
picture with the subject less
than 0.8 m (2.6 ft) away.
Move at least 0.8 m (2.6 ft)
away from the subject, (p. 23)
When using the selftimer, the
shutter release button was
pressed while standing right in
front of the camera.
Do not stand in front of the
camera. Press the shutter
release button while looking
through the viewfinder. (p. 38)
59

The autofocus didn't work
correctly. There are some
subjects that are difficult for
the autofocus to lock on.
These include: glossy or
reflective surfaces, black
objects, subjects behind
glass or wire mesh, flames
and smoke, excessively
bright light within the picture
area.
First focus on an object at
the same distance as the
desired subject. Then aim at
the desired subject and press
the shutter release button.
(p. 25)
60

The data has not been printed
(or looks faded).*
The data mode was set no
data (-- - --)
Change the data mode to
another setting, (p. 40)
There is a bright color like
white, orange, or yellow in the
area of the picture where the
data is printed.
Avoid bright colors in the
lower right corner of your
photo compositions, (p. 41)
* QUARTZDATE model only
61

The finished prints are dark.
The fingers, etc., were in front
of the flash
Hold the camera correctly
so the flash is not covered by
the fingers, etc.
The subject was beyond the
flash range.
Position the subject within
the flash range, (p. 31)
The Flash Off mode was set.
Check the flash mode and
reset if necessary, (p. 29)
62

The colors in indoor pictures are
not normal.
The colors were affected by
the color of the indoor
lighting.
Set the Fill-in mode and
take the picture, (p. 35)
63
SPECIFICATIONS
Type: Full automatic 35 mm
autofocus lens-shutter
camera with built-in 38 -
90 mm zoom lens.
Film format: 35 mm standard DX-
coded film (24 x 36 mm).
Lens: Olympus lens 38 ~ 90 mm
zoom, F3.7 ~ 8.2,
7 elements in 6 groups.
Shutter: Programmed electronic
shutter.
Viewfinder: Real-image zoom
viewfinder (with in-focus
indication provided
autofocus mark, close-up
correction mark, flash
indicator and shutter
release indicator).
64

Focusing: Active-type autofocus
system. Focus lock
possible. Shutter release
locks to warn when inside
minimum working distance.
Focusing range - 0.8 m (2.6
ft) - (infinity).
Exposure control: Programmed
automatic exposure control.
Auto exposure range - EV
3.8 ~ 12.0 at wide angle:
EV6.1 ~ 14.3 at telephoto.
Exposure counter: Progressive
type with automatic reset,
displayed on LCD panel.
65
Selftimer: Electronic selftimer
with approx. 12-sec. delay.
Film speed range: Automatic
setting with DX-coded film
with ISO 50, 100,200,400,
800, 1600 and 3200. Film
speeds other than above
will be automatically set to
next lower speed. For non-
DX-coded film and film with
less than ISO 50, film
speed is set to ISO 100.
Film loading: Automatic loading.
(Automatically advances to
first frame when camera
back cover is closed.)
66
Film advance: Automatic film
winding.
Film rewind: Automatic film
rewind (automatic rewind
activation at end of film,
automatic rewind stop).
Rewind possible at any
point with mid-roll rewind
button.
67

Flash: Built-in flash. Recycling
time - Approx. 0.5 ~ 4 sec.
(at normal temperature with
new battery). Flash working
range - 0.8 ~ 5.3 m (2.6 ~
17.4 ft) at wide angle and
0.8 ~ 2.4
(2.6
~ 7.9 ft) at
telephoto with ISO 100
color negative film; 0.8 ~
10.6m (2.6
~
34.8
ft) at
wide angle and 0.8 ~ 4.8 m
(2.6 ~ 15.7 ft) at telephoto
with ISO 400 color negative
film.
Flash modes: Auto Flash,
Red-Eye Reducing Flash,
Off, Fill-in Flash, Night
Scene Flash and Red-
Eye Reducing Night Scene
Flash.
68
Battery check: Displayed on LCD
panel.
Power source: One 3 V lithium
battery (CR123A or
DL123A).
Dimensions: Non QUARTZDATE
model-129 (W)x 72.5 (H)
x 55.5 (D) mm (5.1 x2.9x
2.2 in)
QUARTZDATE model - 129
(W) x
72.5
(H) x
59.5
(D)
mm (5.1 x 2.9x2.3 in).
Weight: Non QUARTZDATE
model-285 g (10.1 oz)
(without battery)
QUARTZDATE model -
295 g
(10.4
oz)
(without battery)
69
SPECIFICATIONS FOR DATE UNIT
(QUARTZDATE model only)
Data/Timing coding: Year-month-
day, day-hour-minute, no
data, month-day-year and
day-month-year.
External indication of data: Data
display on LCD panel.
Automatic calendar system:
Up to year 2049.
Film speed setting: Automatic
film speed setting.
Power source: One 3 V coin-type
lithium battery (CR2025).
Battery life: Approx. 3 years
(approx. 40,000 imprints).
70

OLYMPUS
OPTICAL
CO.,
LTD.
San-Ei
Building,
22-2,
Nishi
Shinjuku
1
-Chome,
Shinjuku-ku,
Tokyo,
Japan.
Tel.
03-3340-2211
OLYMPUS
AMERICA
INC.
Two
Corporate
Center
Drive,
Melville,
NY
11747-3157,
U.S.A.
Tel.
1
-800
"O"
CAMERA(622-6372)
OLYMPUS
OPTICAL
CO.
(EUROPA)
GMBH.
(Premises/Goods
delivery)
Wendenstrasse
14-18,
20097
Hamburg,
Germany.
Tel.
040-237730
(Letters) Postfach 10 49 08, 20034 Hamburg, Germany.
OLYMPUS
SINGAPORE
PTE.
LTD. 491B
River
Valley-Road,
#13-04
Valley
Point
Office
Tower,
Singapore
248373
Tel. 7387838/1-800-OLYMPUS(6596787)
This camera complies with EU directive 89/336/EEC for CE marking.
This device complies with part 15 of the FCC Rules. Operation is subject
to the conditions that this device does not cause harmful interference.
This Class B digital apparatus meets all requirements of the Canadian Interference-Causing Equipment Regulations.
Fax. 0081-3-3346-8380
Tel. 00852-2730-1505 Fax. 00852-2730-7976
Cet appareil numérique de la classe B respecte toutes les exigences du Règlement sur le materiel brouilleur du Canada.
Die CE-Marke zeigt an, daß diese Kamera die EG-Richtlinie 89/336EWG erfüllt.
Cet appareil photo est conforme à la directive UE89/336/CEE pour le marquage CE.
Esta cámara cumple con la directiva de la Unión Europea 89/336/EEC para la marca de CE.
CS0369-
1200.6MS