Omron I Q142 Users Manual
i-Q142 to the manual ec33a0d8-385c-4948-b986-85dd2e2cb4d0
2015-01-24
: Omron Omron-I-Q142-Users-Manual-332477 omron-i-q142-users-manual-332477 omron pdf
Open the PDF directly: View PDF
.
Page Count: 48

SpotArm™ Type Blood Pressure Monitor
Model i-Q142
• Instruction Manual
• Mode d’emploi
• Gebrauchsanweisung
• Manuale di istruzioni
• Manual de instrucciones
• Gebruiksaanwijzing
•
IM-HEM-1040-E-06-05/2012
1665009-3F
EN
FR
DE
IT
ES
NL
RU
AR

2
Contents
Before using the unit
Introduction ................................................................................. 3
Important Safety Information ..................................................... 4
1. Overview ................................................................................ 7
2. Preparation .......................................................................... 10
2.1 Connecting the AC Adapter ........................................................10
2.2 Setting the Date and Time..........................................................11
Operating instructions
3. Using the Unit...................................................................... 16
3.1 How to Sit Correctly When Taking a Measurement....................16
3.2 Place Your Arm Through the Arm Cuff .......................................18
3.3 Taking a Reading........................................................................20
3.4 Instructions for Special Conditions .............................................28
3.5 Using the Memory Function........................................................29
Care and maintenance
4. Handling Errors and Problems .......................................... 36
4.1 Error Messages ..........................................................................36
4.2 Troubleshooting..........................................................................37
5. Maintenance and Storage .................................................. 39
6. Optional Parts ..................................................................... 41
7. Technical Data..................................................................... 44
8. Some Useful Information about Blood Pressure ............. 46

3
Introduction
EN
Before using the unit
Introduction
Thank you for purchasing the OMRON i-Q142 Intellisense SpotArm™
Type Upper Arm Blood Pressure Monitor.
The OMRON i-Q142 Intellisense is a fully automatic blood pressure
monitor, operating on the oscillometric principle. It measures your
blood pressure and pulse rate simply and quickly. For comfortable
controlled inflation without the need for pressure pre-setting or re-
inflation the device uses its advanced “Intellisense” technology.
The adjustable cuff angle corrects the body posture which tends to be
stooped. The elbow rest stabilizes the position and keeps the arm at
the most appropriate angle.
By simply placing the arm through the cuff, it automatically wraps
around your arm to the appropriate size and starts to measure your
blood pressure and pulse rate.
The monitor stores measurement results for two people and features
morning and evening averages.
Omron's blood pressure management software and printer are
optional. The software allows you to view, manage and print data about
blood pressure measured by the OMRON i-Q142 Intellisense.
Software is in English only.
Please read this instruction manual thoroughly before using
the unit. For specific information about your own blood
pressure, CONSULT YOUR DOCTOR.

4
Important Safety Information
Important Safety Information
Consult your doctor during pregnancy, arrhythmia and arteriosclerosis.
Please read this section carefully before using the unit.
Warning:
Indicates a potentially hazardous situation which, if not avoided, could
result in death or serious injury.
(General Usage)
• Always consult your doctor. Self-diagnosis of measurement results
and self-treatment are dangerous.
• People with severe blood flow problems, or blood disorders, should
consult a doctor before using the unit. Cuff inflation can cause internal
bleeding.
• Stop using the unit immediately, if medication spills on the cuff lining
or it otherwise becomes contaminated. Continued use could pose a
risk of infection. Contact your OMRON distributor or customer
services in case you want to have the cuff lining replaced.
• Do not take measurements if there is a wound on your arm, such as
cuts or scratches. This could cause the wound to deteriorate, or
cause an infection through contamination of the cuff lining.
(AC Adapter Usage)
• Never plug in or unplug the power cord from the electric outlet with
wet hands.
Caution:
Indicates a potentially hazardous situation which, if not avoided, may
result in minor or moderate injury to the user or patient or damage to
the equipment or other property.

5
Important Safety Information
EN
(General Usage)
• Do not leave the unit unattended with infants or persons who cannot
express their consent.
• Do not use the unit for any purpose other than measuring blood
pressure.
• Do not disassemble the unit.
• Do not inflate the arm cuff over 299 mmHg.
• If the cuff does not stop inflating, or some other abnormality occurs,
press the Emergency Deflation Switch immediately to prevent from
internal bleeding or damage to peripheral nerves.
• To inflate the cuff manually, refer to Chapter 3.4. If the cuff is over
inflated, it can cause internal bleeding.
• Be sure to remove watches and other jewelry (rings, bracelets) etc
that could damage the cuff lining during application.
• Do not take readings if the cuff lining is damaged. This could cause
injury.
• Do not use a mobile phone near the unit. This could cause a
malfunction.
• Do not allow objects to come into contact with the PC/printer port of
the unit when taking measurements.
(AC Adapter Usage)
• Use only the original AC adapter designed for this unit. Use of
unsupported adapters may damage and/or may be hazardous to the
unit.
• Plug the AC adapter into the appropriate voltage outlet.
• Do not use the AC adapter if the unit or the power cord is damaged.
Turn off the power and unplug the power cord immediately.
General Precautions
• Do not apply strong shocks and vibrations to or drop the unit.
• Do not take measurements after bathing, drinking alcohol, smoking,
exercising or eating.

6
Important Safety Information
• Read and follow the “Important information regarding Electro
Magnetic Compatibility (EMC)” in the Technical Data Section.
• Read and follow the “Correct Disposal of This Product” in the
Technical Data Section when disposing of the device and any used
accessories or optional parts.
• When the unit is not in use, or if it is moved etc., do not place objects
(writing implements, note books, the AC adapter etc.) in the arm cuff.
This could cause damage to the cuff lining or the unit and prevent the
unit from taking correct readings.
• Do not inflate the arm cuff if your arm is not in place.
• Do not take readings if your arm is placed incorrectly (upside down or
from the opposite side of the unit).
• Do not move the unit unless the arm cuff has been secured.
• Do not hold the unit by the Arm cuff.

7
1. Overview
EN
1. Overview
Main Unit
A. Arm cuff release button
Press this to open as shown above.
B. Cuff lining
C. Memory button
D. Weekly average (Morning /
Evening ) button
E. User ID selection button
F. START/STOP button
G. O/I button (Power switch)
H. PC/printer port
I. Elbow rest
J. Arm cuff
K. AC adapter jack
L. Emergency deflation switch
Press this to stop measurement in an
emergency.
AB
E
D
F
G
C
DC6V
K
L
I
H
J
Rear viewWhen the arm cuff is open

8
1. Overview
Display
M. Systolic blood pressure
N. Diastolic blood pressure
O. Pulse display
P. Date/Time display
Q. Week display
R. Deflation symbol
S. Posture symbol
Displayed when sitting incorrectly.
T. Movement symbol
Displayed if you move your body during
the measurement.
U. Irregular heartbeat symbol
V. User select symbol
Indicates to select the user I.D. or guest.
W. User ID symbol (A or B)
Indicates user A or user B as selected
by the user to take a measurement or
when using the memory function.
X. Guest symbol
Y. Heartbeat symbol
1.
Flashes during measurement.
2.
If flashing after measurement
completed, or when viewing results
stored in the memory, indicates
blood pressure out of recommended
range*.
Z. Morning hypertension symbol
Indicates blood pressure out of
recommended range
*
.
AA. Morning average symbol
Displayed when viewing morning
averages using the memory function.
AB. Evening average symbol
Displayed when viewing evening
averages using the memory function.
AC. Average value symbol
Displayed when viewing value for the
last three measurements.
AD. Memory symbol
Displayed when viewing values stored
in the memory.
* Note: If your systolic or diastolic
pressure is outside the standard
range (above 135/85 mmHg), the
Heartbeat symbol ( ) as well as
the Morning hypertension symbol
( ) will blink. Please refer to
Chapter 3.3 “Taking a Reading -
Symbol Information”.
M
O
P
Q
N
S T U WV X
AD
AC
AB
AA
Z
Y
R

9
1. Overview
EN
Package Contents
AE. AC adapter • Instruction manual
• Quick guide
• Guarantee card
• Blood pressure pass
• Instruction Manual for Optional
Printer
* Note: The printer is optional.
This unit does not include the
printer.
AE

10
2. Preparation
2. Preparation
2.1 Connecting the AC Adapter
Caution:
Use only the AC adapter designed for this unit.
1. Insert the plug of the AC adapter into the AC adapter jack on
the back of the unit.
2. Insert the power plug of the AC adapter into a power outlet.
DC6V
1
2
Power plug
AC adapter jack AC adapter plug
AC adapter

11
2. Preparation
EN
2.2 Setting the Date and Time
Your blood pressure monitor automatically stores up to 84 individual
measurement values with the date and time for each user.
To make use of the memory and average values functions:
• Set the unit to the correct date and time before taking a measurement
for the first time.
Set the year, month, day, hours and minutes for the current date and
time.
(For details on changing the date and time setting, refer to “Adjusting
the Date and Time Setting”.)
The Weekly average buttons are used to set the date and time.
Use the buttons as described below to adjust the date and time setting.
Evening average button : Press this button to increase the value
for the date/time setting.
Morning average button : Press this button to decrease the value
for the date/time setting.
1. Press the O/I button to turn
the power on. All items on the
display will appear briefly,
then the year digit will flash.
Note: The illustration to the
right shows the display
when the unit is used
for the first time.

12
2. Preparation
2. Press the Weekly average
buttons to adjust the year
setting.
• Press the Evening average
button once to increase
the setting by one year.
• Press the Morning average
button once to decrease
the setting by one year.
• Hold the buttons down to increase (decrease) the digits
rapidly.
Note: The range for the year setting is 2007 to 2030. If the year
reaches 2030, it will return to 2007.
3. Press the Memory button
to confirm the setting
when the desired number
appears on the display.
The year is set and the month
digits flash on the display.
4. Press the Weekly average buttons to adjust the month setting.
• Press the Evening average button once to increase the
setting by one month.
Press the Morning average button once to decrease the
setting by one month.
• Hold the buttons down to increase (decrease) the digits
rapidly.

13
2. Preparation
EN
5. Press the Memory button
to confirm the setting
when the desired number
appears on the display.
The month is set and the day
digits flash on the display.
6. Press the Weekly average buttons to adjust the day setting.
• Press the Evening average button once to increase the
setting by one day.
Press the Morning average button once to decrease the
setting by one day.
• Hold the buttons down to increase (decrease) the digits
rapidly.
7. Press the Memory button
to confirm the setting
when the desired number
appears on the display.
The day is set and the hour
digits flash on the display.
Example: when October has been set as
the month.

14
2. Preparation
8. Set the hour and minutes in
the same way as the date
settings.
Press the Weekly average
buttons to adjust the digits for
the hour and minutes, then
press the Memory button
to confirm the setting.
When the date and time settings have been set, the display
changes to that shown to the above.
9. Press the O/I button to turn the power off.
Note: You can also start taking readings immediately, rather
than turn the unit off.

15
2. Preparation
EN
Adjusting the Date and Time Setting
Note: If you need to change the date and time for some
reason, adjust the date and time between 10:00 and
18:59. This will avoid problems with morning and
evening weekly averages stored in the memory.
1. Press the O/I button to turn the power off.
2. Turn the unit on then press
and hold the Memory button
for three seconds or
longer when the standby
display (shown right) appears.
3. The year setting flashes on
the display.
Refer to Chapter 2.2 to adjust
the settings for the date and
time.
Standby display
(When the arm cuff is closed.)

16
3. Using the Unit
Operating instructions
3. Using the Unit
3.1 How to Sit Correctly When Taking a Measurement
Correct posture during measurement is necessary to get accurate
results.
Notes:
• Measurements should be taken in a quiet place and you should be in
a relaxed, seated position. Make sure that the room is not too hot or
too cold.
• Avoid eating, drinking alcohol, smoking, or exercising for at least 30
minutes before taking a measurement.
• Do not move or talk during measurement.
Correct
Posture
Remove tight fitting clothing
from your upper arm, and any
thick clothing such as a sweater.
Do not place the cuff over thick
clothes and do not roll up your
sleeve if it is too tight.
Sit upright
with your
back
straight. Place the center of
the arm cuff so that it
is at the same height
as your heart.
The gap between the
chair and the top of the
table should be
between 25cm to 30cm.
Place the unit so that it is close to you.
Table
Place your
elbow here.

17
3. Using the Unit
EN
Note: You can take a measurement on either your left or right
arm. The blood pressure can differ between the right
arm and the left arm and therefore also the measured
blood pressure values can be different. Omron
recommends to always use the same arm for
measurement. If the values between the two arms differ
substantially, please check with your physician which
arm to use for your measurement.
Incorrect Posture If you are leaning forwards, this can put pressure
on your stomach, which could cause the
measurement results to be incorrect. Readings
cannot be taken correctly in the following cases.
•Arched back (leaning
forwards)
•Sitting cross-legged
•Sitting on a sofa or at a low
table so that you tend to
lean forward
If the unit is too far
away from your
body.
If the unit is at a
level lower than
your heart.

18
3. Using the Unit
3.2 Place Your Arm Through the Arm Cuff
Remove the cushion sheet before
using the unit for the first time.
Take readings with your bare arm or
light clothing.
Note: Remove thick clothing
from your upper arm.
Do not take readings
over thick clothes or
rolled-up sleeves.
1. Press the Arm cuff release
button to open the arm
cuff.
Note: For safety reasons, the
START/STOP button
doesn't work without
opening the arm cuff.
The arm cuff can be moved
within the range shown to the
right.
Arm cuff release button

19
3. Using the Unit
EN
2. Place your left arm through
the arm cuff.
Notes:
• Do not remove the cuff lining
in the arm cuff.
• If the cuff lining becomes
detached, contact your
OMRON distributor or
Customer Services as
mentioned on the package.
3. Place your elbow on the
elbow rest.
4. Check that you are sitting correctly.
(Refer to Chapter 3.1.)
Rest your elbow here.
Taking measurements on the right arm
Refer to steps 2 and 3 above, and place your right
arm through the arm cuff as shown. Right arm

20
3. Using the Unit
3.3 Taking a Reading
Try to take readings at the same time each day (within 1 hour after
waking up is recommended). This will make the results more useful.
Note: If your systolic blood pressure is known to be above
170 mmHg, refer to Chapter 3.4.
1. Sit comfortably and relax.
If you feel tense, take a few deep breaths.
2. Press the O/I button to turn the
power on.
The unit is turned on and the
display appears as shown below.
3. Press the User ID selection
button to select the
desired user.
Today’s date Current time
All items light up Standby display

21
3. Using the Unit
EN
The user alternates with each
press of the User ID selection
button , as shown below.
Notes:
• If “G” is selected, the measurement results are not stored in
the memory.
• If the START/STOP button is pressed without selecting a user
ID, “G” is displayed and the measurement results are not
stored in the memory.
4. Check that you are sitting correctly.
If you are not sitting correctly, the Posture symbol appears
on the display. The Posture symbol disappears when you
are in the correct posture.
Start measurement only after checking that you are sitting
correctly.
Note: Depending on the angle of the arm cuff, the Posture
symbol will appear on the display even if your arm is
not in the arm cuff.
GuestUser A User B
Angle of arm cuff
when sitting correctly.
Not lit

22
3. Using the Unit
5. Press the START/STOP
button once to start
measurement.
Do not move your arm and
remain still until the entire
measurement process is
completed.
Note: The unit may automatically increase inflation if the arm
cuff inflation is insufficient. Automatic re-inflation occurs
only once.
Display
During
Measure-
ment
The arm cuff
adjusts to the
size of your arm
Flashes in a
rotating fashion
Inflation
starts after
the arm cuff
has adjusted
to the size of
your arm Ready for
measurement
Measurement ends Measurement
displayed as the
arm cuff deflates
Inflates to the
required pressure

23
3. Using the Unit
EN
To cancel a measurement
If you press the O/I or START/STOP button while the cuff is inflating,
measurement stops and the arm cuff deflates.
Note: For safety reasons, measurement will stop if any button is
pressed. (Except Arm cuff release button )
Important:
If inflation does not stop when the O/I, START/STOP or
any other button is pressed,
Press the Emergency deflation switch on the back of the unit.
Emergency
deflation switch

24
3. Using the Unit
6. Check the measurement results.
The measurement results are
automatically stored in the memory.
(Refer to Chapter 3.5.)
Note: If “G” (Guest) was selected,
the measurement results are
not stored in the memory.
Warning:
Self-diagnosis of measurement
results and self-treatment are
dangerous. Always follow the
instructions of your doctor.
If the or symbols are displayed
Please repeat measurement. In some cases it may not be possible to
take measurement correctly.
SYS
DIA
Pulse
• If is displayed
Incorrect posture during measurement.
Sit correctly and take the measurement
again. (Refer to Chapter 3.3.4.)
Note: The symbol will disappear in a few
seconds, but may appear again
depending on the cuff angle at the
time.
• If is displayed
Movement during measurement.
Keep still and repeat the
measurement.

25
3. Using the Unit
EN
If “E” or “EE” is displayed
Measurement could not be completed
successfully. (Refer to Chapter 4.1.)
Wait 2-3 minutes before taking another measurement.
Waiting between measurements allows the arteries to return to the
condition prior to taking the blood pressure measurement. Repeat the
measurement after your arm is relaxed again. (Refer to Chapter 3.3.)
7. Remove your arm and return
the arm cuff to its original
position.
The arm cuff will click into
place.
8. Press the O/I button to turn the power off.
Note: If you forget to turn the power off, the unit will turn itself
off automatically after five minutes.

26
3. Using the Unit
Symbol Information:
• If your systolic or diastolic pressure is
outside the standard range, the Heartbeat
symbol ( ) will blink when the
measurement result is displayed.
Recent research suggests that the following
values can be used as a guide to high blood
pressure for measurements taken at home.
This criteria is for home blood pressure measurement.
For professional office blood pressure measurement criteria,
please refer to Chapter 8.
• Your blood pressure monitor includes an
irregular heartbeat feature. Irregular
heartbeats can influence the results of the
measurement. The irregular heartbeat
algorithm automatically determines if the
measurement is usable or needs to be
repeated. If the measurement results are
affected by irregular heartbeats but the result
is valid, the result is shown together with the irregular
heartbeat icon. If the irregular heartbeats cause the
measurement to be invalid, no result is shown. If the Irregular
heartbeat symbol ( ) is shown after you have taken a
measurement, repeat the measurement. If the Irregular
heartbeat symbol ( ) is shown frequently, please make
your doctor aware of it.
Systolic Blood Pressure Above 135 mmHg
Diastolic Blood Pressure Above 85 mmHg

27
3. Using the Unit
EN
What is Irregular Heartbeat?
An irregular heartbeat is a
heartbeat rhythm that varies
by more than 25% from the
average heartbeat rhythm
detected while the unit is
measuring the systolic and
diastolic blood pressure.
If such an irregular rhythm is
detected more than twice
during measurement, the Irregular heartbeat symbol ( )
appears on the display with the measurement results.
What is Arrhythmia?
A heartbeat is stimulated by electrical signals that cause the
heart to contract.
Arrhythmia is a condition where the heartbeat rhythm is
abnormal due to flaws in the bio-electrical system that drives
the heartbeat. Typical symptoms are skipped heartbeats,
premature contraction, an abnormally rapid (tachycardia) or
slow (bradycardia) pulse. This can be caused by heart disease,
aging, physical predisposition, stress, lack of sleep, fatigue etc.
Arrhythmia can only be diagnosed by a doctor through a
special examination.
Whether the appearance of the Irregular heartbeat symbol
( ) in the results indicates arrhythmia or not can only be
determined by an examination and diagnosis by your doctor.
Warning:
If the Irregular heartbeat symbol ( ) is shown frequently,
please make your doctor aware of it. Conducting self-
diagnosis and treatment based on measurement results
are dangerous. Be sure to follow the instructions of your
doctor.
Normal Heartbeat
Irregular Heartbeat
Pulse
Blood pressure
Blood pressure
Short Long
Pulse

28
3. Using the Unit
3.4 Instructions for Special Conditions
If your systolic pressure is known to be more than 170 mmHg or if you
failed to measure blood pressure repeatedly, perform the following
steps.
1. Place your arm through the arm cuff
and press the O/I button to turn the
power on.
2. Press the User ID selection button
to select your user ID.
3. Press and hold the START/STOP button until the cuff inflates
30 to 40 mmHg higher than your suspected systolic pressure.
Note: You cannot inflate the cuff above 299 mmHg. (An error
will be displayed if you try to inflate the cuff above
299 mmHg.)
4. Release the START/STOP button when the cuff has been
inflated to the desired pressure.
The cuff starts to deflate and measurement starts.
5. The rest of the procedure is the same as for normal
measurement. Refer to Chapter 3.3.
Note: Do not apply more pressure than necessary.

29
3. Using the Unit
EN
3.5 Using the Memory Function
The unit is designed to store the blood pressure and the pulse rate in
the memory for two people (user A and user B) every time a
measurement is completed.
The unit automatically stores up to 84 sets of measurement values
(blood pressure and pulse rate) for each user (A and B). When 84 sets
of measurement values are stored, the oldest record is deleted to save
the most recent values. The unit also stores 8 weeks of morning
averages and 8 weeks of evening averages for each user (A and B).
Average Function
The unit calculates the average reading based on the three most
recent sets of measurement values taken within 10 minutes of the most
recent reading.
Note: If two sets of measurement values are stored in the
memory for the 10 minutes period, the average is based
on the two sets of measurement values. If one set of
measurement values is stored, this is displayed as the
average.
To Display the Measurement Values
1. Press the O/I button to turn the power on.
2. Press the User ID selection button to select the user ID (A
or B).

30
3. Using the Unit
3. Press the Memory button .
The average value is shown and the Average symbol ( )
appears above the Memory symbol ( ) on the display.
4. Press the Memory button to display the most recent set of
individual measurement values on the screen.
Note: After the memory number is
shortly indicated, the date
and time are alternately
displayed with the
measurement values.
The values are displayed from the most recent to the oldest by
pressing the Memory button .
Press and hold the Memory button to display the values
faster.
5. Press the O/I button to turn the unit off.
Alternating display

31
3. Using the Unit
EN
Morning and Evening Weekly Averages
The unit calculates and displays weekly averages for measurements
taken in the morning ( ) and evening ( ) within 8 weeks for each
user (A and B).
Note: The week begins Sunday at 4:00.

32
3. Using the Unit
About the Weekly Averages
Morning Weekly Average
This is the average for measurements taken during the morning (4:00-
9:59) between Sunday and Saturday. An average for each day is
calculated for up to three measurements taken within 10 minutes of the
first measurement of the morning.
Evening Weekly Average
This is the average for measurements taken during the evening (19:00-
1:59) between Sunday and Saturday. An average for each day is
calculated for up to three measurements taken within 10 minutes of the
last measurement of the evening.
First measurement of
the morning
Within 10 minutes
9:59
4:00
Measurements of the morning
Up to 3 measurements
Morning Blood Pressure
Measurement
Measurement
Measurement
Measurement
Measurement
Measurement
Sunday Monday Tuesday Wednesday Thursday Friday Saturday
Measurements of the evening
Last measurement of
the evening
Within 10 minutes
1:59
19:00
Up to 3 measurements
Evening Blood Pressure
Measurement
Measurement
Measurement
Measurement
Measurement
Measurement
Sunday Monday Tuesday Wednesday Thursday Friday Saturday

33
3. Using the Unit
EN
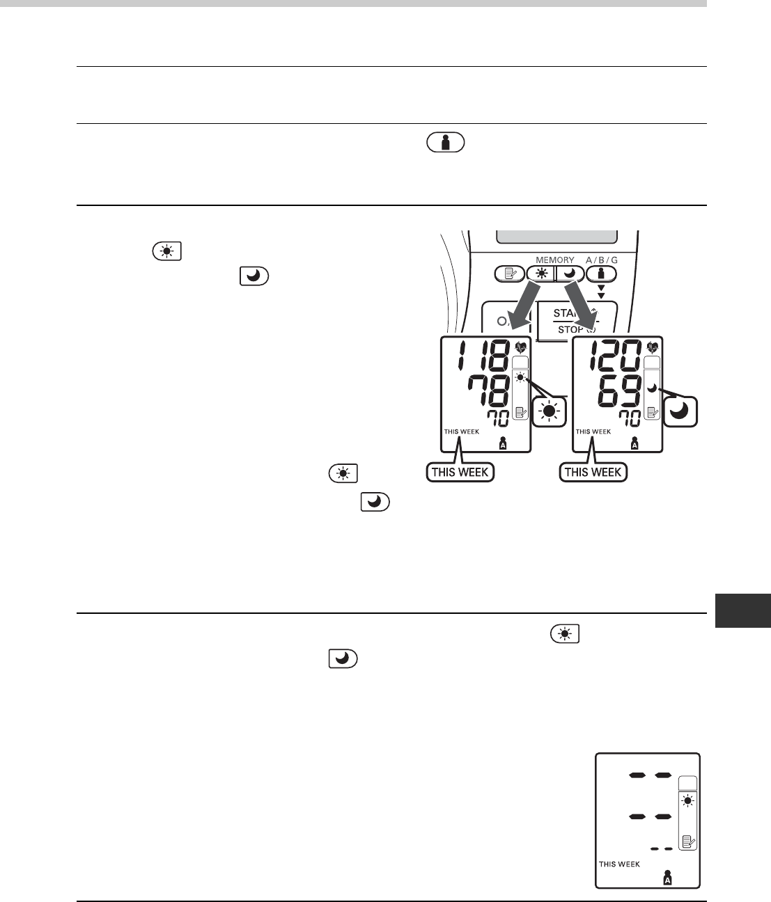
To Display Morning and Evening Averages
1. Press the O/I button to turn the power on.
2. Press the User ID selection button to select the user ID (A
or B).
3. Press the Morning average
button or the Evening
average button .
The average for the current
week “THIS WEEK” appears on
the display.
The morning and evening
average value of the same week
can be displayed by pressing the
Morning average button or
the Evening average button .
It is important to check both
morning and evening average of
the same week.
4. Continue to press the Morning average button or the
Evening average button to display the previous weeks.
The unit displays “-1 WEEK” for the previous week to
“-7 WEEK” for the oldest set of averages.
Note: If there are not enough measurements
taken in a week to calculate the average
the display will appear as illustrated.
5. Press the O/I button to turn the unit off.

34
3. Using the Unit
Notes on Display Combinations
In addition to the Morning average and Evening average symbols, the
unit may also display the Morning hypertension symbol ( ) if the
morning average for that week is above the home blood pressure
guideline. (See Chapter 3.3 “Taking a Reading - Symbol Information”
for details.) Depending on your measurement results, these may be
displayed in the following combinations.
Display
Morning
average
Morning average from This week
with Morning average symbol
()
Morning average from 7 weeks
ago with Morning average
symbol ( ) + blinking
Heartbeat symbol ( ) +
Morning hypertension symbol
()
Evening
average
Evening average from This week
with Evening average symbol
()
Evening average from 7 weeks
ago with Evening average
symbol ( ) + blinking
Heartbeat symbol ( ) +
Morning hypertension symbol
()
Average within home blood
pressure guideline
Average above home blood
pressure guideline + Morning
hypertension

35
3. Using the Unit
EN
The Morning hypertension symbol ( ) appears if the weekly average
for morning measurements is above 135/85 mmHg.
In this case the Morning hypertension symbol ( ) is displayed when
the evening average is displayed, regardless of the values for the
evening average.
To Delete All Values Stored in the Memory
The values stored in the memory are deleted by user ID.
You cannot partially delete values stored in the memory. All values for
the user you select will be deleted.
1. Press the O/I button to turn the power on.
2. Press the Arm cuff release button and open the arm cuff.
3. Press the User ID selection button to select the user ID (A
or B).
4. While holding the Memory button press the START/STOP
button simultaneously for more than 2 seconds and all values
will be deleted.

36
4. Handling Errors and Problems
Care and maintenance
4. Handling Errors and Problems
4.1 Error Messages
Note: If you change your posture, or move, during measurement, the Posture
symbol ( ) or Movement symbol ( ) may be displayed during
measurement.
Error Display Cause Remedy
Movement during
measurement
Check that the Heartbeat symbol
( ) is lit, then keep still and repeat
measurement.
(Refer to Chapter 3.3)
If the EE appears again, use again,
refer to Chapter 3.4.
Is the arm placed through
the arm cuff correctly?
Place your arm correctly.
(Refer to Chapter 3.2)
Are rolled up sleeves
squeezing the arm?
Remove clothing from your upper
arm and place your arm through the
cuff. (Refer to Chapter 3.2)
Is air leaking from the arm
cuff?
Contact your OMRON distributor or
Customer Services as mentioned
on the package.
Movement during
measurement
Check that the Heartbeat symbol
( ) is lit, then keep still and repeat
measurement.
Arm cuff has been inflated
above 299 mmHg.
Do not inflate the arm cuff above
299 mmHg.
(Refer to Chapter 3.4)
A malfunction has
occurred.
Contact your OMRON distributor or
Customer Services as mentioned
on the package.
EE displayed in the
systolic pressure
area.
E displayed in the
systolic pressure
area.
EE displayed.
Er displayed.

37
4. Handling Errors and Problems
EN
4.2 Troubleshooting
Problem Cause Remedy
The reading is
extremely high (or low).
Is your arm placed
through the arm cuff
correctly?
Refer to Chapter 3.2.
Talking during the
measurement.
Keep quiet during
measurement.
Carefully read and repeat
the steps listed under
Chapter 3.3.
Are rolled up sleeves
squeezing the arm?
Carefully read and repeat
the steps listed under
Chapter 3.3.
Is the cuff lining in the
arm cuff damaged?
Cancel the measurement
and contact your
OMRON distributor or
Customer Services.
Cuff is not inflated. Is air leaking from the
arm cuff?
Contact your OMRON
distributor or Customer
Services.
The unit operates normally and measurements
appear to be taken, but...
• Measurements taken by a doctor are higher (or
lower).
• Measurement results are different each time.
Refer to Chapter 8.
No display appears
when O/I button is
pressed.
The AC adapter was
disconnected from the
unit.
Connect the AC adapter.
(Refer to Chapter 2.1.)
The AC adapter was
disconnected from the
power supply.
Connect the AC adapter
to the power supply.
(Refer to Chapter 2.1.)
Readings are not stored
in the memory.
G (guest) was selected,
or no user ID was
selected.
Select the correct user
ID.
(Refer to Chapter 3.3.)

38
4. Handling Errors and Problems
Other.
Turn the power off, then
repeat measurement.
If the problem persists,
contact your OMRON
distributor or Customer
Services as mentioned
on the package.
Problem Cause Remedy

39
5. Maintenance and Storage
EN
5. Maintenance and Storage
To protect your unit from damage, please observe the
following:
• Do not subject the unit to extreme temperatures, humidity,
moisture or direct sunlight.
• Do not carry out repairs of any kind yourself. If a defect occurs,
consult the OMRON distributor or Customer Services as
mentioned on the package, or seek the advice of your surgical
appliance stockist or pharmacist.
• The OMRON i-Q142 is a precision measuring device. It is
important that the accuracy remains within the specifications. It is
recommended that you have the unit inspected every two years
to ensure it is accurate and functioning correctly. Consult the
OMRON distributor or Customer Services as mentioned on the
package for further details.
• Do not subject the unit to strong shocks or vibrations (for
example, dropping the unit on the floor.)
• Do not use volatile liquids to clean the unit. THE UNIT AND THE
CUFF SHOULD BE CLEANED WITH A SOFT, DRY CLOTH. To
remove stubborn stains, wipe the unit with a damp cloth
moistened with mild detergent.
• Do not splash water on the unit or allow liquids to get inside the
unit.
• Do not remove the cuff lining in the arm cuff.
• Do not wash or moisten the cuff lining.

40
5. Maintenance and Storage
Storage
Please observe the following storage conditions.
• Do not subject the unit to extreme temperatures, humidity, moisture,
or direct sunlight.
• Do not subject the unit to strong shocks or vibrations, or leave it at an
angle.
• Do not store the unit where it will be exposed to chemical or corrosive
vapours.
Storage Precautions
• Store the unit with the arm cuff closed.
• When the unit is not in use, or if it is moved etc., do not place objects
(writing implements, note books, the AC adapter etc.) in the cuff. This
could cause damage to the cuff lining or the main unit and prevent the
unit from taking correct readings.

41
6. Optional Parts
EN
6. Optional Parts
Using the optional software
Omron’s blood pressure management software allows you to view,
process and print data about blood pressure measured by the OMRON
i-Q142 Intellisense.
Please see attached “Installation Guide” before installing software onto
a PC. To operate the software application, please refer to the
Installation Guide and use the help function in the software application.
Use only the authorized OMRON PC cable. Use of any other cable
may cause damage to the unit and will void the user warranty.
CD-ROM
(Blood pressure
management software)
PC cable Printer
Order No. 3094363-0
Order No. 1098282-5
Order No. 4997582-6

42
6. Optional Parts
1. Open the PC/printer port cover.
2. Plug the PC/printer port connector plug
(small connector) into the PC/printer
port on the main unit.
The circle on the cable plug should face
up.
3. Plug the USB connector plug (large
connector) into the personal computer.
USB Connector

43
6. Optional Parts
EN
Using the optional printer
Please read attached “Instruction Manual” before using the printer.
1. Remove printer cable plug from the
printer unit.
2. Connect printer cable plug cord to
the main unit.
The circle on the cable plug should
face up.

44
7. Technical Data
7. Technical Data
Note: Subject to technical modification without prior notice.
• This OMRON product is produced under the strict quality system of OMRON
Healthcare Co. Ltd., Japan. The Core component for OMRON blood pressure
monitors, which is the Pressure Sensor, is produced in Japan for assembly.
• This device fulfils the previsions of EC directive 93/42/EEC (Medical Device Directive).
• This blood pressure monitor is designed according to the European Standard EN1060,
Non-invasive sphygmomanometers Part 1: General Requirements and Part 3:
Supplementary requirements for electromechanical blood pressure measuring
systems.
Product Description Digital Automatic Blood Pressure Monitor
Model OMRON i-Q142 (HEM-1040-E)
Display LCD Digital Display
Measurement Method Oscillometric method
Measurement Range Pressure: 0 mmHg to 299 mmHg
Pulse: 40 to 180/min.
Accuracy Pressure: r3 mmHg
Pulse: r 5% of display reading
Inflation Fuzzy-logic controlled by electric pump
Deflation Automatic pressure release valve
Pressure Detection Capacitive pressure sensor
Memory 84 Measurements with date and time for each user
(A and B)
Power Source AC/DC adapter (Included; Input 100-240V 50Hz/60Hz,
Output 6V/9.6W)
Operating temperature/
Humidity
10°C to 40°C/30 to 85% RH
Storage temperature/
Humidity/Air Pressure
-20°C to 60°C/10 to 95% RH
700 - 1060 hPa
Console Weight Approximately 2600 g
Outer Dimensions Approximately 286 (l) mm u 294 (w) mm u 271 (h) mm
Arm Circumference 22 to 42 cm
Package Content Instruction manual, quick guide, AC adapter, guarantee
card, blood pressure pass and instruction manual for
optional printer
= Type B
= Type B

45
7. Technical Data
EN
This marking shown on the product or its literature, indicates that it
should not be disposed of, with other household wastes at the end of its
working life. To prevent possible harm to the environment or human
health from uncontrolled waste disposal, please separate this from other types of
wastes and recycle it responsibly to promote the sustainable reuse of material
resources.
Household users should contact either the retailer where they purchased this product,
or their local government office, for details of where and how they can take this item
for environmentally safe recycling.
Business users should contact their supplier and check the terms and conditions of
the purchase contract. This product should not be mixed with other commercial
wastes for disposal.
This product does not contain any hazardous substances.
Important information regarding Electro Magnetic Compatibility (EMC)
With the increased number of electronic devices such as PC’s and mobile (cellular)
telephones, medical devices in use may be susceptible to electromagnetic
interference from other devices. Electromagnetic interference may result in incorrect
operation of the medical device and create a potentially unsafe situation.
Medical devices should also not interfere with other devices.
In order to regulate the requirements for EMC (Electro Magnetic Compatibility) with
the aim to prevent unsafe product situations, the EN60601-1-2 standard has been
implemented. This standard defines the levels of immunity to electromagnetic
interferences as well as maximum levels of electromagnetic emissions for medical
devices.
This medical device manufactured by OMRON Healthcare conforms to this
EN60601-1-2:2001 standard for both immunity and emissions.
Nevertheless, special precautions need to be observed:
• Do not use mobile (cellular) telephones and other devices, which generate strong
electrical or electromagnetic fields, near the medical device. This may result in
incorrect operation of the unit and create a potentially unsafe situation.
Recommendation is to keep a minimum distance of 7 m. Verify correct operation of
the device in case the distance is shorter.
Further documentation in accordance with EN60601-1-2:2001 is available at
OMRON Healthcare Europe at the address mentioned in this instruction manual.
Documentation is also available at www.omron-healthcare.com.
Correct Disposal of This Product
(Waste Electrical & Electronic Equipment)

46
8. Some Useful Information about Blood Pressure
8. Some Useful Information about Blood Pressure
What is Blood Pressure?
Blood pressure is a measure of the force of blood flowing against the
walls of the arteries. Arterial blood pressure is constantly changing
during the course of the heart's cycle.
The highest pressure in the cycle is called the Systolic Blood Pressure;
the lowest is the Diastolic Blood Pressure.
Both pressure readings, the Systolic and Diastolic, are necessary to
enable a doctor to evaluate the status of a patient's blood pressure.
Why is it a Good Thing to measure Blood Pressure at Home?
Having your blood pressure measured by a doctor can cause anxiety
which is itself a cause of high blood pressure. As a variety of conditions
affect blood pressure, a single measurement may not be sufficient for
an accurate diagnosis.
Many factors such as physical activity, anxiety, or the time of day, can
influence your blood pressure. Thus it is best to try and measure your
blood pressure at the same time each day, to get an accurate
indication of any changes in blood pressure. Blood pressure is typically
low in the morning and increases from afternoon to evening. It is lower
in the summer and higher in the winter.
Blood pressure is measured in millimetres of mercury (mmHg) and
measurements are written with the systolic pressure before the
diastolic e.g. A blood pressure written as 140/90, is referred to as
140 over 90 mmHg.

47
8. Some Useful Information about Blood Pressure
EN
Classification of Blood Pressure by the World Health
Organization
The World Health Organization (WHO) and the International Society of
Hypertension (ISH) developed the Blood Pressure Classification
shown in this figure.
This classification is based on the blood pressure values measured on
people in a sitting position in outpatient departments of hospitals.
Note: There is no universally accepted definition of
hypotension. However, those having the systolic
pressure below 100 mmHg are assumed as
hypotensive.
mmHg
200
150
100
50
61218 24
Example: fluctuation within a day (male, 35 years old)
Time of day
Upper curve: systolic blood pressure
Lower curve: diastolic blood pressure
80
180
160
140
130
120
85 90 100 110
Diastolic
blood
pressure
(mmHg)
Systolic blood pressure
(mmHg)
Severe hypertension
Moderate hypertension
Mild hypertension
Normal systolic value
Normal blood
pressure
Optimal blood
pressure
(target value)

48
8. Some Useful Information about Blood Pressure
Manufacturer OMRON HEALTHCARE Co., Ltd.
53, Kunotsubo, Terado-cho, Muko, Kyoto,
617-0002 JAPAN
EU-representative OMRON HEALTHCARE EUROPE B.V.
Scorpius 33, 2132 LR Hoofddorp, THE NETHERLANDS
www.omron-healthcare.com
Production facility OMRON (DALIAN) CO., LTD.
Dalian, CHINA
Subsidiary
OMRON HEALTHCARE UK LTD.
Opal Drive, Fox Milne, Milton Keynes, MK15 0DG, U.K.
OMRON MEDIZINTECHNIK
HANDELSGESELLSCHAFT mbH
John-Deere-Str. 81a, 68163 Mannheim, GERMANY
www.omron-medizintechnik.de
OMRON SANTÉ FRANCE SAS
14, rue de Lisbonne, 93561 Rosny-sous-Bois Cedex, FRANCE
Made in China