P2 Mobile Technologies X30 X33 Tri-5GHz MeshRanger, X32 Dual 5GHz MeshRanger, X32e Dual 5GHz MeshRanger User Manual X30 SERIES Quick Start Guide
P2 Mobile Technologies Limited X33 Tri-5GHz MeshRanger, X32 Dual 5GHz MeshRanger, X32e Dual 5GHz MeshRanger X30 SERIES Quick Start Guide
2AD6M-X30_User Manual

Copyright © 2016. P2 Wireless Technologies. All rights reserved.
Website: www.p2wt.com Email: info@p2wt.com
Tel: (+852) 3905 1880 Fax: (+852) 3695 0820
1 Quick Start Guide
1.1 Packing List
X32 / X32e / X33 MeshRanger x 1
RJ45 waterproof connector x 2
Pole mounting kit x 1
Quick start guide x 1
1.2 Setup Procedures
Required equipment
A computer running Windows 7/8/10 with Google Chrome Browser installed
Two Cat 5e Ethernet Cables
60W proprietary Gigabit PoE injector for X30 (sold separately)
Connect to the SmartMoment Web User Interface
1. Connect the “PoE” port on the PoE injector to the “ETH0” port on the X30
using an Ethernet cable.
2. Connect your computer’s Ethernet port to the “LAN” port on the PoE injector
using another Ethernet cable.
3. Connect the AC plug on the PoE injector to power source to power up the
X30.
4. Verify the “PWR” LED on the X30 is in steady green.
5. Configure the network adapter setting on your computer.
Windows 7
i. Start > Control Panel > Network and Sharing Center > Change
Adapter Settings
Windows 8/10
i. Start > Settings > Network & Internet > Ethernet > Network and
Sharing Center > Change Adapter Settings
6. Right click on “Local Area Connection”.
Local Area Connection > Properties > Internet Protocol Version 4
(TCP/IPv4) > Properties
7. Select “Use the following IP address” and fill-in IP address and subnet mask:
IP address: 192.168.1.2
Subnet mask: 255.255.255.0
8. Click OK to save your changes.
9. Open Google Chrome and type the URL https://192.168.1.1
10. Login to the web interface with:
User name: p2wtadmin
Password: p2wtadmin
11. Click Sign in and start to configure the X30 with the SmartMoment Web user
interface.
For more information on how to configure the X30, please refer to the Product User
Manual and the SmartMoment User Guide.

Copyright © 2016. P2 Wireless Technologies. All rights reserved.
Website: www.p2wt.com Email: info@p2wt.com
Tel: (+852) 3905 1880 Fax: (+852) 3695 0820
2 Port and LED Definition
1. Port
Description
ETH0
10/100/1000Mbps Base-T Ethernet port (RJ-45) with PoE IN function
ETH1
10/100/1000Mbps Base-T Ethernet port (RJ-45) with PoE OUT function
2. LED
Function
State - Colour
Indication
PWR
X30 Power /
Ready Status
Steady – Green
X30 is ready
Off
No power to X30
ETH0
Network
Link Status
Steady – Green
1000Mbps Ethernet link negotiated
Flashing
Ethernet link activity
Off
Ethernet link unavailable
ETH1
Network
Link Status
Steady – Green
1000Mbps Ethernet link negotiated
Flashing
Ethernet link activity
Off
Ethernet link unavailable
PD
Powered
Device
Steady – Green
A PoE powered device is connected
Off
No PoE powered device is connected
RADIO 0
Radio0
(5GHz)
Status
Steady – Green
Radio0 (5GHz) is enabled
Off
Radio0 (5GHz) is disabled
ETH0
ETH1
RADIO1 H
RADIO2 H
RADIO1 V
RADIO2 V
Kensington
Security Slot
Kensington
Security Slot
LED Panel

Copyright © 2016. P2 Wireless Technologies. All rights reserved.
Website: www.p2wt.com Email: info@p2wt.com
Tel: (+852) 3905 1880 Fax: (+852) 3695 0820
RADIO 1
Radio1
(5GHz)
Status
Steady – Green
Radio1 (5GHz) is enabled
Off
Radio1 (5GHz) is disabled
RADIO 2
Radio2 (Dual
Band) Status
Steady – Green
Radio2 (Dual Band) is enabled
Off
Radio2 (Dual Band) is disabled
Note:
- The X30 not set up according to the instructions in the user manual may
malfunction.
- The connection quality and Wi-Fi coverage of the X30 may vary between
different environments.
- Only use the mounting kits compatible with the X30.
For the best practice, please consult P2 authorized engineers.
3 Mounting
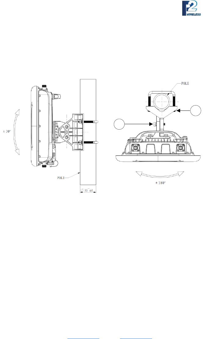
3.1 Pole Mounting Procedure (Pole Size Ø 30-60 mm)
STEP 1: Assemble the Mounting Bracket Set
(1) Attach the anchor bracket (item 2) to the mounting bracket (item 3) as shown in
the picture.
(2) Insert two hexagon nuts (item 4) into the hexagon hole of the mounting bracket
(item 3).
(3) Insert two hexagon blots (item 1) with the flat washer and spring washer through
the anchor bracket (item 2). Tighten the bolts on the hexagon nuts (item 4) with a
torque value of 12-15 Nm (should not be greater than 20 Nm).

Copyright © 2016. P2 Wireless Technologies. All rights reserved.
Website: www.p2wt.com Email: info@p2wt.com
Tel: (+852) 3905 1880 Fax: (+852) 3695 0820
STEP 2: Attach the Mounting Bracket to the X30
Attach the mounting bracket to the X30 with four M8 hexagon bolts (item 1) with a
torque value of 12-15 Nm.
STEP 3: Attach the Mounting Bracket to a Pole

Copyright © 2016. P2 Wireless Technologies. All rights reserved.
Website: www.p2wt.com Email: info@p2wt.com
Tel: (+852) 3905 1880 Fax: (+852) 3695 0820
Install the mounting bracket and the X30 onto the pole with the U-shaped screw stem
(item 4). Tighten each end of the U-shaped screw stem (item 4) with a M8 hexagon nut
(item 1), a spring washer (item 2) and a flat washer (item 3) with a torque value of 12-15
Nm.
STEP 4: Adjust the Mounting Angle
There is a ±30 degrees up/down tilt angle for the mounting bracket.
(1) To adjust the up/down tilt angle, slightly loosen the hexagon bolts (item 1) and tilt
up/down the X30 to the desired angle, then tighten it again at a torque value of 12-
15 Nm.
(2) To adjust the horizontal angle, loosen the M8 hexagon nuts (item 2) and slowly
adjust the angle of the bracket, then tighten it again at a torque value of 12-15 Nm.
-End of Quick Start Guide-
1
2
Federal Communications Commission (FCC) Interference Statement
This equipment has been tested and found to comply with the limits for a Class B digital device,
pursuant to Part 15 of the FCC Rules.
These limits are designed to provide reasonable protection against harmful interference in a
residential installation. This equipment generate, uses and can radiate radio frequency energy
and, if not installed and used in accordance with the instructions, may cause harmful
interference to radio communications.
However, there is no guarantee that interference will not occur in a particular installation. If this
equipment does cause harmful interference to radio or television reception, which can be
determined by turning the equipment off and on, the user is encouraged to try to correct the
interference by one of the following measures:
Reorient or relocate the receiving antenna.
Increase the separation between the equipment and receiver.
Connect the equipment into an outlet on a circuit different from that to which the receiver is
connected.
Consult the dealer or an experienced radio/TV technician for help.
This device complies with Part 15 of the FCC Rules. Operation is subject to the following two
conditions:
(1) This device may not cause harmful interference, and (2) this device must accept any
interference received, including interference that may cause undesired operation.
FCC Caution: Any changes or modifications not expressly approved by the party responsible
for compliance could void the user’s authority to operate this equipment.
This transmitter must not be co-located or operating in conjunction with any other antenna or
transmitter.
RF exposure warning
This equipment complies with FCC radiation exposure limits set forth for an uncontrolled
environment. This equipment should be installed and operated with a minimum distance of
125cm between the radiator & your body.
