User Guide Franklin R910 Mobile Hotspot English
User Manual: PDF User Guide Franklin R910 Mobile Hotspot Reviews, Features and s
Open the PDF directly: View PDF
.
Page Count: 56

R910 Mobile Hotspot
User Guide

TOC i
Table of Contents
Introduction.................................................................................................................................................... 1
Before You Begin .................................................................................................................................. 1
Compatible Operating Systems (OS).................................................................................................... 1
Package Contents ................................................................................................................................. 2
SSID and Security Key ......................................................................................................................... 2
Additional Information ........................................................................................................................... 3
Get Started .................................................................................................................................................... 4
Parts and Functions .............................................................................................................................. 4
Home Screen ........................................................................................................................................ 5
Home Screen Layout ............................................................................................................................ 5
Status Bar Icons .................................................................................................................................... 6
Menu Bar Icons…………………………………………………………………………………………………7
Data Transfer Volume and Transfer Speed .......................................................................................... 7
SIM Card ............................................................................................................................................... 7
Handling a SIM Card…………………………………………………………………………………...…7
Insert or Remove SIM Card………………………………………………………………………………8
Battery Use ......................................................................................................................................... 10
Inserting/Removing the Battery ........................................................................................................... 11
Charge the Battery……………………………………………………………………………………….12
Turn Your Device On and Off ............................................................................................................. 13
Restart Your Device…………………………………………………….…………………………….....14
Connect with Wi-Fi (WLAN) ........................................................................................................................ 15
Wi-Fi (WLAN) Overview ...................................................................................................................... 15
Activate Wi-Fi (WLAN) Function ......................................................................................................... 15
Connecting to the Internet ................................................................................................................... 16
Settings ....................................................................................................................................................... 17
Web UI Overview ................................................................................................................................ 17
Web UI Window .................................................................................................................................. 17
Home……. .......................................................................................................................................... 17
Admin Log in ....................................................................................................................................... 18
Connected Devices ............................................................................................................................. 18
Check the Connected Devices………………………………………………...…….………………....18
TOC ii
Set Access Permissions………………………………………………………………………………...18
Settings Tab ........................................................................................................................................ 20
Wi-Fi Basic Settings ............................................................................................................................ 20
Wi-Fi Advanced Settings ..................................................................................................................... 22
Mobile Network Settings ..................................................................................................................... 23
APN………………………………………………………………………………………………………..24
SIM…...……………………………………………………………………………………………………26
Advanced Mobile Network Settings……………...…………………………………………………….27
Device Settings ................................................................................................................................... 28
Preferences……………………………………………………………………………………………….28
Web Interface….…………………………………...…………………………………………………….29
Software Update………………………………………………………………………………………....30
Backup and Restore……………………………………………………………………………………..31
Backup………………………………………………………………………………………….31
Restore .……………………………..…………………………………………………………31
Restore to Factory Defaults .…………..………………………………………………….…31
System Logs…………………………………………………………………………………………...…32
Advanced Router Settings .................................................................................................................. 33
LAN Settings……………………………………………………………………………………………...33
Firewall…....…………...………………………………………………………………………………….34
IP Address Filtering….…………………………...…………………………………………...34
Portmapping……………………………………………………………………………………35
Captive Portal…………………………………………………………………………………………….37
Previously Connected Devices………………………………………………………………37
Login.……………..………………….…………………………………………………………38
User Agreement……………………………………………………………………………….39
Browser Redirect………………………………………………………………………………39
About .................................................................................................................................................. 40
Support Tab ........................................................................................................................................ 41
Appendix ..................................................................................................................................................... 42
Troubleshooting .................................................................................................................................. 42
Specifications ...................................................................................................................................... 44
TOC iii
Warranty and Service.......................................................................................................................... 47
Warranty…………………………………………………………………………………………………..47
Services…………………………………………………………………………………………………...48
Customer Service .............................................................................................................................. 48
Trademarks and Copyright Information .............................................................................................. 48
Safety and Notices ...................................................................................................................................... 49
Safety Precautions .............................................................................................................................. 49
Important Notice……………………………………………………………………………………………....49
Safety and Hazards….………………………...……………………………………………………………..49
Proper Battery Use and Disposal ........................................................................................................ 49
FCC Compliance ................................................................................................................................. 50
RF Exposure Information and Specific Absorption Rate (SAR) Information ...................................... 50
Index ............................................................................................................................................................ 52

1
Introduction
The following topics describe the basics of using this guide and your new mobile broadband device.
Before You Begin
Thank you for purchasing your new R910 Mobile Hotspot!
The following topics explain how best to use this guide to get the most out of your mobile broadband
device.
Before Using Your Device
Read Safety and Notices thoroughly for proper usage.
Accessible services may be limited by subscription contract conditions.
Guide Usage Notes
Note that most descriptions in this guide are based on your device's default settings at the time of
purchase.
Screenshots and Key Labels
Screenshots and Key labels are provided for reference only. Actual windows, menus, etc. may differ in
appearance.
Other Notations
In the user guide, the mobile broadband device may be referred to either as "mobile broadband device,"
"hotspot," "device," or "Wi-Fi router."
Compatible Operating Systems (OS)
The table below outlines the compatible operating systems (OS) for your device. Use outside these
environments may affect performance. Additional factors (hardware, connected peripherals, installed
applications, etc.) may also affect performance.
● For computer support, OS version upgrade information, etc., see the corresponding
manufacturer's product support documentation.
● The information for operating system (compatible OS) listed below is the current information for
your device as of Feb.2016.

2
Item
Description
Compatible operating systems (OS)
Windows 7, 8, 10
MacOS 10.5 or later
Android 2.1 or later
Compatible browsers
Chrome 36.0 or later
Internet Explorer 8.0 or later
Firefox 3.1 or later
Safari 5.0 or later
Package Contents
See below for details on everything you will find in the box for your R910.
● R910 Mobile Hotspot
● Battery Cover
● Rechargeable Battery
● AC Adapter
● Get Started Guide
● Important Information Booklet
SSID and Security Key
Before connecting Wi-Fi devices to your R910, you will need to confirm the WiFi Name and WiFi
Password.
● Once your device is completely powered on, Main Wi-Fi Name and Password are shown on the
display. (Note: when the device display is off, press the wake up keys: power button < >
on upper right side or navigation buttons < > on front side)
❖ You will see the Wi-Fi Name (R910a-XXXXXX) and Wi-Fi Password.
3
Additional Information
The following list describes additional information before you begin using your R910.
● Your mobile broadband device accommodates software updates. Always use the latest
software.
● Note that connection speeds may drop or connections may be disabled depending on line traffic
or connection environments.

4
Get Started
The following topics give you all the information you need to set up your device and wireless service for
the first time.
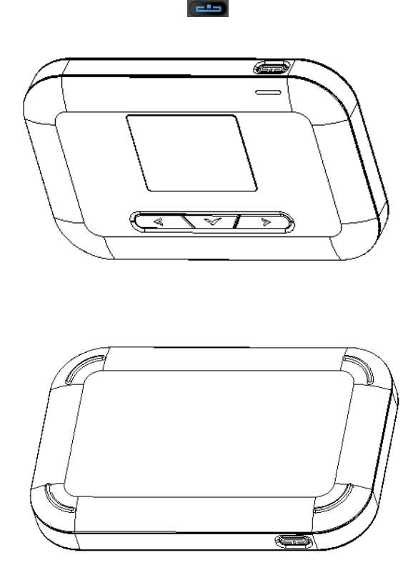
Parts and Functions
Learn your device's primary parts and functions.
Device Layout
The following illustration outlines your device's primary external features and buttons.

5
Part
Description
Display
View device status and information
SIM card slot
Install the SIM card.
AC Charging micro USB port
Connect the micro USB cable for charging.
Battery cover
Remove the battery cover to remove or insert the battery or SIM
card.
Reset button
Located on back side of device after battery cover is removed.
Press to reset your device settings to factory default. (Device
must be On when pressing reset button.)
Power button
Press and hold to power on or off.
Home Screen
The following topics describe the details of your device's display layout, icons, and information.
Home Screen Layout
Explore your device's home screen layout.

6
Part
Description
① Status Bar
Displays status indicators including Signal strength, SIM Card,
Roaming, battery level and more.
② Wi-Fi Name &
Password Info bar
Displays Main Wi-Fi’s SSID name and password
Automatically toggles every 6 seconds
③ Notification Bar
Displays carrier logo and alerting messages such as Insert SIM
④ Menu Bar
Display Menu icons and access device menu through navigation
buttons (Left: , Select: , Right: ).
Status Bar Icons
The Status Bar will display the following icons, depending on current status.
Icon
Description
Mobile networks connected and data transmission direction
Service signal strength. The more bars, the better service signal received
Out of service area
Appears when roaming
The number of connected WLAN devices
Battery full
Battery low
No battery. Battery icon blinking (charging required)
Battery percentage appears next to battery icon
Appears when No SIM is detected.
Appears when an invalid SIM is detected.

7
Menu Bar Icons
The Menu Bar will display the following icons.
Icon
Description
Shows the number of connected devices.
Use this feature to see Main Wi-Fi and Guest Wi-Fi names and Mac Addresses
of the devices currently connected.
Shows the SSID and security keys (Main Wi-Fi and Guest Wi-Fi network
names and passwords) for your device
Adjust settings for Wi-Fi Options, Display Time out, Network, Software Update.
Select Wi-Fi options to turn on and off the Wi-Fi network and to see Wi-Fi band.
Select Display Timeout to change display timeout options.
Select Network Mode to change network mode, roaming mode, and roaming
guard.
Select Software updates to download the latest firmware.
Shows your device's phone number, software version, URL for the WEB UI etc.
Use this feature to see model name, HW revision, battery level, main Wi-Fi,
Guest Wi-Fi name and Mac Address, firmware version, build date, and web app
version, etc.
Select My Account to see phone number, PRL, Model, MEID, ICCID, Activation
date, etc.
Data Transfer Volume and Transfer Speed
Wireless Mode
Maximum Downlink Speed
Typical Downlink Speed
4G LTE
150 Mbps
50 Mbps
Note: Actual speeds depend on several factors, including network conditions.
SIM Card
The SIM card is an IC card containing your device's phone number and other customer information.
Note: Your device's SIM card is preinstalled.
Handling a SIM Card
Keep the following in mind when handling a SIM card.

8
● Customer is responsible for any damage caused by inserting the SIM card in another-brand IC
card reader, etc. The company is not responsible in such case.
● Always keep the IC chip clean.
● Wipe clean with a dry, soft cloth.
● Avoid applying labels. May damage the SIM card.
● See instructions included with the SIM card for handling.
● The SIM card is the property of the company.
● The SIM card is replaceable (at cost) in case of loss/damage.
● Return the SIM card to the company when cancelling subscription.
● Returned SIM cards are recycled for environmental purposes.
● Note that SIM card specifications and performance may change without notice.
● It is recommended that you keep a separate copy of information that is stored on the SIM card.
The company is not responsible for damages from stored information that is lost.
● Always follow emergency procedures to suspend service if your SIM card or device (SIM card
inserted) is lost or stolen. For details, contact Customer Service.
● Always power off the mobile broadband device before inserting or removing the SIM card.
Insert or Remove a SIM Card
Follow these instructions to insert or remove a SIM card. Remember to power off your device before
inserting or removing a SIM card.
Note: Your device's SIM card is preinstalled. These instructions are for reference only.
1. Press and hold the Power key to turn off the device before inserting or removing the SIM
card.

9
2. Remove the battery cover.
3. Remove the battery
4. Open the SIM card cover by sliding the metal rectangular cover away from the SIM picture
engraved on the device (You will feel it unlock.) and lift the cover.
5. Place the SIM card gently with gold IC chip facing downward. Use the SIM picture engraved on
device to make sure it is placed properly.

10
6. Flip the metal rectangular cover back on as shown below and while gently pressing the metal cover,
slide towards the SIM picture to secure the SIM. (You will feel it lock.)
7. Insert the Battery.
▪ Align the contacts of the battery with the contacts in the device.
8. Put the battery cover on.
Battery Use
The following topics explain how to insert and remove your device's battery.
Battery Cautions
Storage: Avoid storing or leaving the battery with no charge remaining. Saved information and
settings may become lost or changed, or battery may become unusable. Charge once every six
months before storing or leaving unused for a long period.
Bulges: Depending on use, bulges may appear near end of battery life. This does not affect safety.
Replacing the Battery: The battery’s lifespan will depend on frequency of use and other factors. It
needs to be replaced if operating time shortens noticeably. Purchase a new battery.
Cleaning: Clean soiled terminals between battery and device with a clean, dry cotton swab. Soiled
terminals can result in a poor connection and prevent charging, etc.

11
Inserting / Removing the Battery
Follow these instructions to insert your device's battery safely and properly.
1. Press and hold the Power key to turn off the device before inserting or removing the battery.
2. Remove the battery cover.
3. Remove or Insert the battery

12
4. Put the battery cover on.
Charge the Battery
Follow these instructions to charge your device's battery using the included AC
adapter.
Battery Charging Cautions
Charging Conditions: Under low temperatures charging performance decreases. Charge your
device in temperatures between 0°C – 45°C. Do not charge in places where there is high humidity.
USB charging may be unavailable depending on Wi-Fi router temperature.
Use Supplied Accessories: Always use the supplied AC adapter.
Precaution for Extended Use: Your device may become hot when used for a long time or while
charging, especially in high temperatures. Prolonged contact with skin may cause low-temperature
burn injuries.
The R910 and AC Adapter Becoming Warm or Hot: Your device and the AC adapter may
become warm while charging. This is not a malfunction. However, stop using them immediately if
they become extremely hot; this could indicate a malfunction.
Charge Using the AC Adapter
Use the supplied AC adapter.
1. Plug the AC adapter into an electrical outlet.
❖ The indicator light on the power button illuminates red when charging starts. The light
turns green when the battery is fully charged. Fully charging a battery may take up to
three hours.

13
After charging, disconnect the device from the charger.
▪ Unplug the AC adapter from the outlet, and remove the micro USB connector from the
device.
Turn Your Device On and Off
The instructions below explain how to turn your device on and off, or to restart your device if it cannot be
powered on and off using the Power button .
Turn Your Device On
■ Press and hold the Power button until the device displays "Welcome".

14
Turn Your Device Off
■ Press and hold the Power button until the device displays "Goodbye".
■ Your device will power off.
Restart Your Device
If your device will not turn on or off using the Power button, remove and re-insert the battery (see
the section "Insert the Battery"), then press and hold the power button again.
Note: Restarting your device does not reset the device settings.

15
Connect with Wi-Fi (WLAN)
The following topics outline basic features and operations of your device's Wi-Fi (WLAN) connections.
Wi-Fi (WLAN) Overview
Below are some basics of your device's Wi-Fi (WLAN) function.
Wi-Fi (WLAN) Information
● Advanced Settings: Change your devices Wi-Fi (WLAN) settings as required. See Wi-Fi
Advanced Settings
● Simultaneous Connection: Use your device to connect up to 10 Wi-Fi devices simultaneously.
● Automatic Updates for Optimizing Wi-Fi Connection: When connected by Wi-Fi, connection
optimizing settings may be automatically received and updated.
● Your device supports IEEE 802.11 b/g/n standards. Connect Wi-Fi devices (PC, game console,
etc.) via Wi-Fi for wireless data transfers.
Wi-Fi (WLAN) Usage Cautions
For added security, it is recommended that you change the default Wi-Fi network name (SSID) and
Wi-Fi password after setting up your device.
Activate Wi-Fi (WLAN) Function
Follow the instructions below to activate your device's Wi-Fi function and connect to the Internet via an
available 4G LTE connection. Use the Web UI to select a network.
● Press and hold the Power button until the device displays “Welcome”.
Your device's Wi-Fi function automatically turns on once the device is powered up completely.

16
Connecting to the Internet
The following information describes how to connect your device with various Wi-Fi capable devices.
1. Press and hold the Power button to power on your R910.
❖ Your device's Wi-Fi function activates and automatically connects to the Internet.
2. Turn On Wi-Fi function on your Wi-Fi capable device.
3. Find and Select your R910 device's Wi-Fi Name (SSID) from the list, and click Connect.
4. Enter the Wi-Fi password displayed on home screen and then click Next.
❖ When connection is made successfully, you should see an icon like so on your hotspot:
(the number indicates the number of devices connected to your R910)

17
Settings
The following topics provide an overview of items you can change using the device setting menu
accessed through the Web UI.
Web UI Overview
Use the device Web UI in a browser to check or change your R910 settings from a device connected via
Wi-Fi.
Web UI Window
Explore the options available through the device's Web UI window.
1. Connect your R910 to an external device via Wi-Fi connection.
2. Launch a browser and access the Web UI via http://myhotspot or http://192.168.128.1 .
❖ The Web UI launches and displays the main window.
Home
Check current status of network connection and data usage on the Home page.
▪ From the Web UI, click the Home tab. (For connection information, see Web UI Overview.)

18
Admin Log in
Accessing other menus will require admin log in.
1. Click "Log in" on the upper right corner of the main screen to log in. (clicking other menus on the main
screen will prompt the log in page as well.)
2. Enter the password and click "Login".
Note: The default password is "password." It's recommended to change the password for your security.
Connected Devices
The Connected Devices tab lets you confirm the names and MAC addresses of devices currently
connected to your device and set access permissions.
Check the Connected Devices
■ From the Web UI, click Connected Devices>Connected to display the list of connected
devices.
Set Access permissions
Allows user to let all devices access with password or limit access to only permitted users. Changing
this status will immediately update the status of devices listed to access Wi-Fi from this device, even if
they have the password.
1. From the Web UI, click Connected Devices>Access Permissions.

19
2. Select an access status and then click Save Changes.
Add Permitted Devices
The Access Permissions menu allows you to restrict access only to specific users, instead of anyone
who enters the password. To restrict access in this manner, you need to add permitted users from the
menu.
1. From the Access Permissions menu, select Allow only users on Permitted list.
❖ The Add Devices option will appear onscreen.
2. Click Add to get started.
3. Enter a Friendly Name (optional) and the MAC address of the permitted device.
▪ A sample MAC address might be 00:1D:0F:10:2D:D9.

20
4. Click “Add” again to add more permitted devices.
5. When you are finished adding permitted devices, click Save Changes.
❖ Access to your device will be restricted to the devices in your list.
Settings Tab
Set your device options, including Wi-Fi, Mobile Network, Device and Advanced Router Settings.
Wi-Fi Basic Settings
Set the basic Wi-Fi settings for your device.
■ From the Web UI, click Settings>Wi-Fi>Basic to display the basic wireless network
parameters.
▪ Multi SSID: Select ON if you like to set up a separate guest Wi-Fi network. Your R910 will
broadcast two Wi-Fi Names.
▪ If ON is selected for Multi SSID, an extra menu called Guest Wi-Fi will appear like below.
Please note: a maximum connection of 10 will be shared between Main Wi-Fi and Guest
Wi-Fi.

21
▪ Multi SSID Isolation: If On is selected, it will prevent your device from communicating
across the Main and Guest Wi-Fi's.
▪ Allow Guest Wi-Fi users to access the web interface: If the box is checked, users on the
Guest Wi-Fi also can access the Web User Interface.
▪ Wi-Fi Name: Service Set Identifier (SSID). To change it, enter a string less than 32
characters as the name for your wireless local area network (WLAN).
▪ Wi-Fi Password: To change, enter the new Wi-Fi password. The password needs to be at
least 8 characters long.
▪ Wi-Fi Band: If 5G is selected, Wi-Fi will use 5G band.
▪ Privacy Separator: If ON is selected, your devices on the same Wi-Fi Name can't make
Local Area Network communication. (Note: if you connect WLAN printer to your R910,
Privacy Separator should be OFF to send file from your PC to the printer.)
▪ SSID Stealth: If OFF is selected, the Wi-Fi name will not appear in the list of available
networks. You need to manually enter Wi-Fi name and connect.
▪ Authentication Method: Use this setting to select the desired type of Wi-Fi security used to
encrypt the wireless network. WPA2 is the latest and most secure method and should be
used whenever possible.
Mode
Description
Open
Authentication and encryption won't be performed. There
are risks that private info will be intercepted or network
will be used by unauthorized individuals
SHARED
Authentication via Shared Key protocol
WPA2-PSK
WPA2-PSK is the securer version of WPA with

22
implementation of the 802.11i standard.
WPA-PSK/WPA2-PSK
Apply both the WPA-PSK and WPA2-PSK scheme
▪ Encryption Method: Use this setting to select the desired type of Encryption Method.
Advanced Encryption Standard (AES) is the latest and most secure option for your wireless
network and should be used whenever possible.
▪ Maximum Connections: Choose the maximum number of the devices you want connected
to your R910 simultaneously. Manage the number of device connections between the Main
Wi-Fi and the Guest Wi-Fi.
▪ Display Wi-Fi Name and Password: If ON is selected, the Wi-Fi Name and Password will
be displayed on your R910 device home screen.
▪ Save Changes : Make sure to click Save Changes after you set your desired settings.
▪ Wi-Fi Settings Reset: Click the Reset button to reset all Wi-Fi settings to default.
Wi-Fi Advanced Settings
1. From the Web UI, click Settings>Wi-Fi>Advanced.
▪ 802.11 Mode: Use this setting to change the Wi-Fi mode. R910 Supports 802.11b, 802.11g,
and 802.11n modes in the 2.4GHz band and supports two mixed modes. 5GHz band
supports 802.11n mode and 802.11ac mode respectively.
▪ Wi-Fi Channel: Use this setting to change the Wi-Fi channel of 2.4GHz band or 5GHz
band.
2. Click Save Changes to save your settings.

23
Mobile Network Settings
Mobile Network Settings should only be used as directed by Customer Service personnel.
Mobile Settings
6. From the Web UI, click Settings>Mobile Network>Mobile Settings. The Mobile Settings page is
shown in the following figure.
▪ Cellular data: Turn Cellular data on or off. Turn it OFF to prevent all Internet traffic from
using the mobile broadband connection.
▪ Auto Connect: Turn the device on or off to automatically connect to the network.
▪ Connection Mode: Change Connection Mode. Support Automatic, LTE/CDMA, CDMA,
UMTS.
▪ Roaming Mode: Change Roaming Mode: select among 3 choices. (Caution: allowing
roaming could result in additional service charges.)
▪ Domestic Roaming Guard: Turn Domestic Roam Guard on or off. Turn it ON to require
confirmation before connecting to the roaming network.
▪ International Roaming Guard: Turn International Roam Guard on or off. Turn it ON to
require confirmation before connecting to the roaming network.
▪ Click Save Changes to save your settings.

24
APN
■ From the Web UI, click Settings>Mobile Network>APN. The default APN parameters are
shown in the following figure. You can use the default APN to connect to the Internet. You can
also add new APNs.
■ To add a new APN, follow the steps below:
1. Click Add to access the following page.
2. Enter the related parameters as described in the following table.
Parameters
Description
Name
Type the profile name.
APN
Type the APN string.
User name
User name is used to obtain authentication from the ISP when the
connection is established.
Password
Password is used to obtain authentication from the ISP when the
connection is established.

25
Parameters
Description
Authentication
Password Authentication Protocol (PAP) provides a simple method
without encryption for the peer to establish its identity using a 2-way
handshake. Challenge-Handshake Authentication Protocol (CHAP) is
used to periodically verify the identity of the peer using a 3-way
handshake.
3. Click Save to add the new APN.
■ Additional APN Options
■ To activate the new APN, check the circle in front of it and then click Save Changes.
■ To edit the new APN, click Edit, change the settings, and then click Save.
■ To delete the new APN, click Delete.
Note: The default APN cannot be edited or deleted.

26
SIM
■ From the Web UI, click Settings>Mobile Network>SIM. The SIM PIN lock is disabled by
default. You can enable it by entering a SIM PIN.
■ Enter the SIM PIN and press “Save Changes”. The SIM Status will be changed to Enabled.
Once the SIM PIN Lock is enabled, you need to enter the SIM PIN to connect to the mobile
broadband network each time you power on your R910.
Note: If you enter the wrong SIM PIN three times, your SIM will be disabled permanently until you
enter the PUK code from your service provider. Please contact your Service Provider.

27
Advanced Mobile Network Settings
Caution: Advanced Mobile Network Settings should only be used as directed by Customer Service
personnel. Certain advanced options will reset your device's connections and programming and
will require reactivation.
■ From the Web UI, click Settings>Mobile Network>Advanced to access the mobile network
advanced settings.
▪ Factory Reset: Click Factory Reset to reset the R910 to factory default value.
▪ Clear Programming: Click Renew Device to clear all account information.
▪ SIM Lock Service: Click Unlock UICC to allow the use of SIM from various service
providers.

28
Device Settings
The Device settings menu lets you set display brightness, manage account password, update software,
back up, restore and check system logs.
Preferences
1. From the Web UI, click Settings>Device>Preferences. You can set the display timeout on this
page.
▪ Display Timeout: Select a timeout time from the drop-down list. Your R910 display turns
off after this timeout period if device is idle.
▪ LED Enable: If ON is selected, the LED indicator next to Your R910 display will blink when
the device is on. This LED is a power indicator that shows the device is on when the device
display is off.
▪ Limit Device Control: If ON is selected, Restricts Wi-Fi Setting or Factory Reset in Device
UI.
2. Click Save Changes to save your settings.

29
Web Interface
1. From the Web UI, click Settings>Device>Web Interface. You can manage your Web UI admin
password on this page.
▪ Display Password: If ON is selected, the Web Interface admin password is displayed on
your R910 device display home screen.
▪ Change Password: Allows changing password of Web UI Log in.
2. Click Save Changes to save your settings.

30
Software Update
From the Web UI, click Settings>Device>Software Update. You can update the software on this page.
Read the onscreen options and click the update you would like to initiate.
Auto Update: If ON is selected, your R910 will check the latest software periodically and update if new
software is available.
Update Software: If you have a new software file provided by your service provider, you can select the
file and update your R910 manually by pressing Update Software button.
Device Updates: If you would like to check for new data profile, PRL, or Firmware, select desired option
and press the Update button. Your R910 will check for the latest version. If available, the device will
proceed to update.
Update History: Displays the update history list.

31
Backup and Restore
■ From the Web UI, click Settings>Device>Backup and Restore to back up your device settings
to your computer, restore settings from backup file, or restore your device to its factory default
settings.
Backup
To back up your device settings to your computer, follow the steps below:
1. Click Back Up Now.
2. Click Save on the pop-up window.
3. Choose a location on your computer to save the backup file.
4. Click Save.
Restore
To restore from backup file, follow the steps below:
1. Click Select File to select the backup file on your computer.
2. Click Restore now.
Restore to Factory Defaults
To restore your device to its factory default settings, follow the steps below:
1. Click Restore factory default.
2. Click Yes to confirm the command.

32
System Logs
■ From the Web UI, click Settings>Device>System logs, and then click Download logs to
download the system logs displayed.
Note: System logs are used for engineering purposes by your service provider. Keep it OFF during
regular usage of your device.

33
Advanced Router Settings
Configure LAN settings, Firewall and Customization.
LAN Settings
From the Web UI, click Settings>Advanced Router>LAN Settings to display the router
information shown in the following figure.
1. IP Address: IP address for Web User Interface.
2. Subnet Mask: Subnet mask for the IP address.
3. VPN passthrough: VPN passthrough must be enabled if you want to allow VPN tunnels to pass
through your device’s firewall.
4. DHCP Server: Enable or disable DHCP Server function.
5. DHCP IP Range: Allocate begin and end IP address for IP Range.
6. DHCP Lease Time: Define how long the leased IP address will be in use before expiration. The
new IP address will be assigned.
7. DNS manual mode: Turn DNS manual mode on or off.
8. UPnP: Turn UPnP (Universal Plug n Play) mode on or off.
9. NAT Timeout: Set TCP NAT time.
10. Click Save Changes to save your settings.

34
Firewall
From the Web UI, click Settings>Advanced Router>Firewall. You may set up firewall rules to protect
your network from virus and malicious activity on the Internet.
■ IP Address Filtering
To set IP Address Filtering rules, follow the steps below:
① Turn on the Firewall Switch.
② Turn on the IP Address Filtering.
③ Click Add.

35
④ Enter the related parameters as described in the following table.
Parameters
Description
LAN IP address
Enter the LAN IP address.
LAN port
Set the LAN port.
WAN IP address
Enter the WAN IP address.
WAN port
Set the WAN port.
Protocol
Set which protocol will be used for filtering.
Status
Set how to handle the packet if it matches with the rule.
⑤ Click Save Changes to add the new filtering rule.
■ Portmapping
To set portmapping rules, follow the steps below:
① Turn on the Firewall Switch
② Turn on Portmapping.
③ Click Add

36
④ Enter the related parameters as described in the following table.
Parameters
Description
Name
Enter a name for the rule.
WAN port
Set the WAN port.
LAN IP address
Enter the LAN IP address.
LAN port
Set the LAN port.
Protocol
Set which protocol will be used for filtering.
Status
Set how to handle the packet if it matches with the rule.
Click Save Changes to save your settings.

37
Captive Portal
From the Web UI, click Settings>Advanced Router>Captive Portal. You may set up Captive Portal.
The Captive Portal will require a user of the WiFi hotspot to experience one or more of the following
interactions: login, read user agreement, or have a browser open to a specific web page before use is
allowed. The interactions listed above can be enabled or disabled. If enabled, a rank must be assigned
in the order you want the user to experience the interactions.
Previously Connected Devices
Check the information of connected devices through the captive portal function. Selected items can be
deleted with the “Delete selected items” button.

38
Login
It is an item that can set login information to be used for connection when the captive portal function is
used, the user can set a period for re-requesting the login.
Rank: Set a rank to assign the priority user is to log in.
Username: When using the captive portal function, the user can set the user name to be used for
connection.
Password: When using the captive portal function, the user can set the password to be used for
connection.
Frequency of login required: Set when user will be prompted for log in.

39
User Agreement - Main WiFi Network
Set the User Agreement text to be displayed to the user when using the captive portal function.
Rank: Set a rank to assign the priority user is to see user agreement text.
Text Input Area: enter the User Agreement text.
Browser Redirect - Main WiFi Network
Set the function of redirecting user to a fixed web page when the captive portal function is used.
Text Input Area: enter the web address for Forced Browser redirect.
Click Save Changes to save your settings.

40
About
Displays your device's connection information, firmware information, WWAN information, Wi-Fi details
and device information.
■ From the Web UI main screen, Click the About tab to view the available information.

41
Support Tab
Obtain support information on this interface.
■ From the Web UI main screen, click the Support tab to view the available options.

42
Appendix
The following topics cover items such as troubleshooting, device specifications, applicable warranty and
service information, customer service contacts, and applicable trademark and copyright notices.
Troubleshooting
Check below for troubleshooting solutions for common device issues.
Check here first
Issue: Unable to connect via Wi-Fi (WLAN)
Solution 1: Check whether the mobile broadband device is properly connected to the computer or
other external device. If not, make sure you have the right Wi-Fi name selected and the Wi-Fi
password is entered correctly.
Solution 2: If SHARED WEP is the security method being used, check whether the correct WEP
key is entered. If the WEP key is unknown, see Wi-Fi Basic Settings to reset the WEP key and
reconnect the device.
Solution 3: Check whether the correct WPA key is set. If the WPA key is unknown, see Wi-Fi Basic
Settings to reset the mobile broadband device or see the WLAN Initialization Sticker to reset the
WPA key, and then reconnect the device. WPA/WPA2 security may not be supported depending on
the Wi-Fi device. See the Wi-Fi device user guide for more information.
Issue: Internet connection fails.
Solution 1: Make sure that you are within the service area.
Solution 2: If signal reception is poor, move to where signal reception is good and then reconnect.
Solution 3: The access point might be busy depending on the time of day. Wait a little and then
reconnect.
Solution 4: Activate the Web UI and make sure that network settings are correct
Issue: Transmission fails quickly.
Solution 1: Make sure that the mobile broadband device is properly connected to the PC or other
device via Wi-Fi.
Solution 2: Signal reception might be poor. Check transmission where signal reception is good.
Solution 3: Restart the mobile broadband device.
Solution 4: Check the mobile broadband device battery level. If battery level is low, charge with AC
charger. See Charge the Battery section for directions on charging your device.
Issue: Transmissions are slow.
Solution 1: Signal reception might be poor. Check transmission where signal reception is
good.
Solution 2: Connection might be poor. Try again after a while.
43
Issue: Forgot PIN / Unknown PIN Unblocking Key (PUK) / SIM card is locked.
Solution: Contact Service Provider
Issue: SIM card is not recognized.
Solution 1: Check whether the SIM card is properly installed. For details, see Insert or
Remove a SIM Card.
Solution 2: Check the SIM card for damage.
Solution 3: Check the SIM card IC chip for scratches/corrosion.
Solution 4: Dirty SIM card (particularly IC chip) may prevent recognition. Clean gently with
a soft cloth.
Solution 5: Contact Service Provider
Issue: How do I return the mobile broadband device to the default settings (reset)?
Solution 1: Use the reset button located on the back of the device after battery cover
removal. (Device must be On when pressing reset button.)
Solution 2: Use the Web UI to reset the device. For details, see Web UI Window.
Issue: An old phone number appears on the Web UI.
Solution: The Web UI may display an old phone number depending on subscription terms
or cancellation method.
Issue: The mobile broadband device operation is unstable.
Solution 1: Avoid extremely high/low temperatures, high humidity, direct sunlight, dusty
areas, etc. Read "Safety Precautions" for use in a proper environment.
Solution 2: Avoid invalid software. Operation is unguaranteed for Internet connection, etc.,
using other-party software.
Issue: The connection suddenly failed.
Solution 1: The connection method may have been changed. Check connection mode on
the mobile broadband device display.
Solution 2: Restart the mobile broadband device.

44
Specifications
The following tables list the specifications for the mobile broadband device, the AC charger, and
materials.
Mobile Broadband Device Specifications
Item
Description
Model name
R910 Mobile Hotspot
Dimensions1
12.5mm (H) x 90.1mm (W) x 67mm (D)
Weight
97g
Interface
WebUI
Power consumption
Normal state: 1.25 Watts
Max state : 3.5 Watts
Operating system
Linux OS

45
Item
Description
Frequency
LTE B2
DL: 1930 ~ 1990 MHz UL: 1850 ~ 1910 MHz
LTE B4
DL: 2110 ~ 2155 MHz UL: 1710 ~ 1755 MHz
LTE B5
DL: 869 ~ 894 MHz UL: 824 ~ 849 MHz
LTE B12
DL: 729 ~ 746 MHz UL:699 ~ 716 MHz
LTE B25
DL: 1930 ~ 1995 MHz UL:1850 ~ 1915 MHz
LTE B26
DL: 859 ~ 894 MHz UL: 814 ~ 849 MHz
LTE B41
DL: 2496 ~ 2690 MHz UL: 2496 ~ 2690 MHz
WCDMA B1
DL: 2110 ~ 2170 MHz UL: 1920 ~ 1980 MHz

46
Item
Description
Frequency
WCMDA B2
DL: 1930 ~ 1990 MHz UL: 1850 ~ 1910 MHz
WCMDA B5
DL: 869 ~ 894 MHz UL: 824 ~ 849 MHz
WCMDA B8
DL: 925 ~ 960 MHz UL: 880 ~ 915 MHz
CMDA BC0
DL: 869 ~ 894 MHz UL: 824 ~ 849 MHz
CMDA BC1
DL: 1930 ~ 1995 MHz UL:1850 ~ 1915 MHz
CMDA BC10
DL: 861 ~ 869 MHz UL: 816 ~ 824 MHz
WIFI 2.4G(b/g/n)
2412MHz ~ 2462MHz
WIFI 5G(ac)
5180MHz ~ 5825MHz
Compatible networks
LTE category 4 / Wi-Fi IEEE802.11 b/g/n/ac
Charging time2
4.5 hours
Continuous standby time3
27 hours
Continuous communication time3
8.5 hours
Communication speed
LTE category 4
DL : 150Mbps
UP : 50Mbps
1 Approximate values
2 Varies by ambient temperature, battery usage, etc.
3 Varies by environment, signal conditions, etc.

47
AC Charger Specifications
Item
Description
Rated input voltage
100-240Vac
Operating range
90-264Vac
Rated input frequency
50/60Hz +/- 3Hz
Nominal dc output voltage
+5.0V (±5%)
Rating load current
2.0A
Materials Specifications
Parts
Materials/Finishing
A cover
PC(Black),SF coating
B cover
PC(Black)
Battery cover
PC(Black),SF coating
A deco
PC(Black),UV(Gloss 80%)
Power key
PC(Milky White),Spray(Black),UV(Gloss 80%)
LCD Bracket
PC(Black)
Rubber feet
Silicon(Black)
Warranty and Service
The following topics outline your device's warranty and service information.
Warranty
Your device purchase includes Warranty.
● Confirm shop name and purchase date.
● Read contents of Warranty and keep it in a safe place.
● Check warranty period in the Warranty.
48
Services
Before submitting your device for repairs, contact your Service Provider’s Customer Service or General
Information; be prepared to describe the problem in detail.
● During the warranty period, repairs will be made under the terms and conditions described in
the Warranty.
● After the warranty period, repairs will be upon request; if said repairs can be made, you will be
charged for them.
Customer Service
For mobile broadband device or service information, call general information. For repairs, call your
Service Provider’s customer assistance.
Trademarks and Copyright Information
The names of companies, products, and services used in this guide are registered trademarks or
trademarks of the respective companies.
Franklin Wireless logo is trademarks or registered trademarks of Franklin Wireless Corporation in
US. Copyright © 2017 Franklin Wireless Corporation. All rights reserved.

49
Safety and Notices
The following topics address important safety precautions, general notes, and required RF exposure
information for your mobile broadband device.
Safety Precautions
The following topics outline important safety precautions that must be observed when using your device.
Important Notice
Due to the nature of wireless communications, transmission and reception of data can never be
guaranteed. Data may be delayed, corrupted (i.e., have errors) or be totally lost. Although significant
delays or losses of data are rare when wireless devices are used in a normal manner with a well-
constructed network, your device should not be used in situations where failure to transmit or receive
data could result in damage of any kind to the user or any other party, including but not limited to
personal injury, death, or loss of property. Franklin Wireless accepts no responsibility for damages of
any kind resulting from delays or errors in data transmitted or received using your device, or for failure
of your device to transmit or receive such data.
Safety and Hazards
Do not operate your device under the following conditions.
● In areas where blasting is in progress
● Where explosive atmospheres may be present
● Near medical equipment
● Near life support equipment, or any equipment that may be susceptible to any form of radio
interference.
In such areas, your device MUST BE POWERED OFF. Your device can transmit signals that could
interfere with this equipment.
Do not operate your device in any aircraft, whether the aircraft is on the ground or in flight. In aircraft,
your device MUST BE POWERED OFF. When operating, your device can transmit signals that could
interfere with various onboard systems.
Note: Some airlines may permit the use of cellular phones while the aircraft is on the ground. Your
device may be used at this time if allowed by airlines.
The driver or operator of any vehicle should not operate the device while in control of a vehicle. Doing
so will detract from the driver or operator’s control and operation of that vehicle. In some jurisdictions,
operating such communications devices while in control of a vehicle is an offense.
Proper Battery Use and Disposal
Follow these guidelines to ensure safe and responsible battery use.
50
● Do not open, disassemble, puncture, crush, bend, or shred.
● Do not expose to water or other liquids, fire, explosion, or other hazards.
● Use the original R910 battery supplied with your device.
● If using with a charger, use only the AC charger supplied with your device.
● Do not short circuit the battery.
● When replacing a battery, use the same model of battery that was supplied with your device.
● Follow local regulations when disposing of a used battery.
● Avoid dropping your device or the battery. If dropped and you suspect damage, take it to a
service center for inspection.
● Battery usage by children should be supervised.
Note: Improper battery use may result in a fire, explosion, or other hazard.
FCC Compliance
This device complies with part 15 of the FCC Rules. Operation is subject to the following two conditions:
(1) This device may not cause harmful interference, and (2) this device must accept any interference
received, including interference that may cause undesired operation.
Note: Any changes or modifications not expressly approved by the party responsible for compliance
could void the user's authority to operate this equipment.
This equipment has been tested and found to comply with the limits for a Class B digital device,
pursuant to part 15 of the FCC Rules. These limits are designed to provide reasonable protection
against harmful interference in a residential installation. This equipment generates, uses and can
radiate radio frequency energy and, if not installed and used in accordance with the instructions, may
cause harmful interference to radio communications. However, there is no guarantee that interference
will not occur in a particular installation. If this equipment does cause harmful interference to radio or
television reception, which can be determined by turning the equipment off and on, the user is
encouraged to try to correct the interference by one or more of the following measures:
● Reorient or relocate the receiving antenna.
● Increase the separation between the equipment and receiver.
● Connect the equipment into an outlet on a circuit different from that to which the receiver is
connected.
● Consult the dealer or an experienced radio/TV technician for help.
RF Exposure Information and Specific Absorption Rate (SAR) Information
The following topics detail the specific absorption rate (SAR) information, electromagnetic safety
information, and radiofrequency (RF) exposure information for this device.
51
This device is designed and manufactured not to exceed the emission limits for exposure to radio
frequency (RF) energy set by the Federal Communications Commission of the United States.
During SAR testing, this device is set to transmit at its highest certified power level in all tested
frequency bands, and placed in positions that simulate RF exposure in usage against, and near the
body with the separation of 10 mm. Although the SAR is determined at the highest certified power level,
the actual SAR level of the while operating can be well below the maximum value. This is because the
device is designed to operate at multiple power levels so as to use only the power required to reach the
network. In general, the closer you are to a wireless base station antenna, the lower the power output.
Safety and Notices 90
The exposure standard for wireless employs a unit of measurement known as the Specific Absorption
Rate, or SAR. The SAR limit set by the FCC is 1.6W/kg.
Tests for SAR are conducted using standard operating positions accepted by the FCC with the
device transmitting at its highest certified power level in all tested frequency bands.
The FCC has granted an Equipment Authorization for this model device with all reported SAR levels
evaluated as in compliance with the FCC RF exposure guidelines. SAR information on this model
device is on file with the FCC and can be found under the Display Grant section of
http://fcc.gov/oet/ea/fccid after searching on FCC ID: XHG-R910
More information on the device's SAR can be found from the following FCC website:
http://fcc.gov/oet/ea/fccid.
While there may be differences between the SAR levels of various devices and at various positions,
they all meet the government requirement.
SAR compliance for body operation is based on a separation distance of 10 mm between the unit and
the human body. Carry this device, at least 10 mm away from your body to ensure RF exposure level
compliant or lower to the reported level. To support body operation, choose the belt clips or holsters,
which do not contain metallic components, to maintain a separation of 10 mm between this and your
body.

Index 52
Index
2.4GHz, 22
5GHz, 22
AC charger, 42, 44, 50
Admin Log in, i, 18
Auto Connect, 23
Backup, ii, 31
Battery, i, iii, 2, 5, 6, 10, 11, 13, 14, 42, 47, 49,
50
Cellular data, 23
charge, 11, 13, 42
connected device, 7
Connected Device, 18, 37
Connection Mode, 23
customer service, 42
Customer Service, 48
Data Transfer Speed, 7
default password, 18
Device Layout(illustration), 4
factory default, 5
Factory Reset, 27, 28
home screen, 5, 16, 22, 29
insert, 5, 8, 11, 14
Install, 5
Mac, 2
Mac Address, 7
materials, 44
Materials, 47
micro USB cable, 5
network name, 15
Network Name, 2
operating system, 2
Operating system, 44
Operating System, 1
OS, 1
Package Contents, 2
Password, 2, 6, 21, 22, 25, 29, 38
Power key, 9, 11, 47
power off, 8, 14
Power Off, 14
power on, 5, 16, 26
Power On, 14
Remove, i, 5, 8, 9, 12, 43
reset, 5, 14, 22, 27, 42, 43
Restart Your Device, i, 14
restore, 28, 31
roaming, 6, 7, 23, 24
Safety Precautions, iii, 43, 49
Security Key, 2
Services, 48
Settings, 17
SIM card, 5, 8, 9, 10, 43
SIM Lock Service, 27
specific absorption rate, 50
specifications, 8, 42, 44
Specifications
AC charger, 47
Materials, 47
Mobile broadband device, 44
SSID, i, 2, 6, 7, 15, 16, 20, 21
Status Bar Icons, i, 6
Transfer Speed, 7
Troubleshooting, 42
Turn Device Off, 14
Turn Device On, 14
update, 18, 28, 30
VPN, 33
warranty, 42, 47, 48
Web UI, i, 15, 17, 18, 20, 22, 23, 24, 26, 27, 28,
29, 30, 31, 32, 33, 34, 37, 40, 41, 42, 43
Wi-Fi, i, ii, 1, 2, 6, 7, 13, 15, 16, 17, 18, 20, 21,
22, 28, 40, 42, 46
Wi-Fi Network Name, 2
windows, 1
Windows, 2
WLAN, i, 6, 15, 21, 42