Panasonic of North America 5Z6UE-608026 2.4 GHz Wireless Pen User Manual 06
Panasonic Corporation of North America 2.4 GHz Wireless Pen 06
User Manual

Operating Instructions
Electronic Board
(elite Panaboard)
Model No. UB-T880W
UB-T880W
Stand is sold separately.
UB-T880
Installation Manual Included (for qualified service personnel)
•To assemble this unit, please refer to the Installation Manual on pages 35 through 55.
•Before operating this unit, please read these instructions completely and keep them carefully for future 
reference.
•This unit is designed for installation by a qualified servicing dealer.
Installation performed by non-authorized individuals could cause safety-related problems with the operation of 
this equipment.
For U.S.A. only:
•To locate the closest authorized dealer in your area, please call 1-800-449-8989.

Introduction
2Operating Instructions
Introduction
Introduction
Thank you for purchasing the Panasonic Electronic Board.
For optimum performance and safety, please read these instructions carefully.
Feature Highlights
By connecting the elite Panaboard to a computer and using a projector to display the contents of the 
computer’s screen on the elite Panaboard, you can do the following.
Touch and Electronic Pen Features
•Manipulate objects on the computer screen by using your finger as a mouse.
•Up to 3 people at once can draw or erase lines on the computer screen by using their fingers or 
electronic pens. (You cannot use more than one electronic pen at the same time.)
Use the electronic pen to choose line colors and other options.
•Save what you draw on the computer screen as image files.
•Manipulate objects on the computer screen remotely by using the up and down buttons on the 
electronic pen.
•Supports Windows®7 multi-touch functionality.
elite Panaboard book
Use the elite Panaboard book software that supports elite Panaboard operations, such as writing, 
drawing, attaching images and computer operations. This software lets you save the contents of the 
screen on your computer and retrieve it for later use.
In-built USB Speaker
The elite Panaboard has an in-built USB speaker. Sound can be heard through the USB speaker when it 
is connected to a computer.
USB Hub Features
The elite Panaboard comes with a 2-port USB hub as standard. By connecting equipment such as 
scanners, printers, or external USB memory sources, you can use their respective features directly with 
the elite Panaboard. Input from the USB peripherals can be easily incorporated in whiteboard 
presentations.
Usage Scenarios
For Education
•Create an effective learning environment by using your finger for direct control of a variety of 
educational software projected onto the elite Panaboard. Write or draw on software screens with your 
finger or the electronic pen.
•With several tools at your disposal for aiding in explanations, such as illustration and marker tools, you 
can keep students’ attention through a dynamic screen display.
•Draw your students’ interest by using the screen shade feature to show questions to students while 
hiding the answers, and incrementally showing the rest of the screen.
•The teacher can prepare materials before class to display on the elite Panaboard.

Introduction
3Operating Instructions
1
For Business
•Visually convey your product’s characteristics and create an appealing product presentation by 
displaying images and using your finger or the electronic pen to highlight key points.
•Information projected on the elite Panaboard at your company—including what you add, using your 
finger or the electronic pen—can be displayed in real-time at remote locations using videoconferencing 
equipment.
Things you should keep a record of
Abbreviations
Windows® refers to the Microsoft® Windows® operating system.
Windows®XP refers to the Microsoft® Windows® XP operating system.
Windows Vista® refers to the Microsoft® Windows Vista® operating system.
Windows®7 refers to the Microsoft® Windows®7 operating system.
DirectX® refers to the Microsoft® DirectX® application programming interface.
Trademarks
•Microsoft, Windows, Windows Vista, DirectX, Windows Media, and Internet Explorer are either registered 
trademarks or trademarks of Microsoft Corporation in the United States and/or other countries.
•IBM is a trademark of International Business Machines Corporation in the United States, other countries, or 
both.
•Intel and Pentium are trademarks of Intel Corporation in the U.S. and other countries.
•Adobe, Reader and Flash are either registered trademarks or trademarks of Adobe Systems Incorporated 
in the United States and/or other countries.
•All other trademarks identified herein are the property of their respective owners.
For your future reference
Date of purchase
Serial number
Dealer’s name
Dealer’s address
Dealer’s tel no.
Attach your sales receipt here

Introduction
4Operating Instructions
Help of the Software
Instructions for elite Panaboard software and elite Panaboard book (included) are provided in the help 
information accompanying the software.
For details on accessing this information, see “Viewing the Help of the Software” (page 27).
Federal Communications Commission and Industry Canada Requirements
For United States and Canada Only
This device complies with Part 15 of FCC Rules and RSS-Gen of IC Rules.
Operation is subject to the following two conditions: (1) this device may not cause interference, and (2) this 
device must accept any interference, including interference that may cause undesired operation of this 
device.
Federal Communications Commission Requirements
For United States Only
Note
This equipment has been tested and found to comply with the limits for a Class A digital device, pursuant 
to part 15 of the FCC Rules. These limits are designed to provide reasonable protection against harmful 
interference when the equipment is operated in a commercial environment. This equipment generates, 
uses, and can radiate radio frequency energy and, if not installed and used in accordance with the 
instruction manual, may cause harmful interference to radio communications. Operation of this 
equipment in a residential area is likely to cause harmful interference in which case the user will be 
required to correct the interference at his own expense.
Industry Canada Requirements
For Canada Only
This equipment complies with IC radiation exposure limits set forth for an uncontrolled equipment and 
meets RSS-102 of the IC radio frequency (RF) Exposure rules. This equipment has very low levels of RF 
energy that are deemed to comply without testing of specific absorption ratio (SAR).
FCC Warning
To assure continued FCC compliance, the user must use only shielded interface cable and the 
provided power supply cord. Also, any unauthorized changes or modifications to this equipment 
would void the user’s authority to operate this device.
RF Exposure Warning:
This Electronic Board may be used with below referenced optional low power 2.4 GHz USB 
Wireless Adaptor and Electronic Pen and may not be co-located or operated with any other 
antenna or transmitter. These transmitters comply with FCC radiation exposure limits set forth for 
uncontrolled environment/general population to meet the FCC radio frequency (RF) Exposure 
Guidelines in FCC/OET Bulletin 65, Supplement.
This satisfies RF exposure evaluation by calculated Maximum Permission Exposure (MPE) without 
the need for tested localized specific absorption rate (SAR) measurements.

Introduction
5Operating Instructions
1
Warning about saving data
System Requirements
Note
•For details about the system requirements, refer to “Read Me First” (page 22) in the install menu of the 
included DVD-ROM.
Exemption of Liability
Panasonic System Networks Co., Ltd. is not responsible for accidents or injuries caused by, but not limited to, 
the following:
1. Altering the device or improper installation construction.
2. Using the device for purposes beyond its intended use.
3. Earthquake, fire, flood, tidal wave, hurricane, lightning or other natural phenomena.
4. Natural aging of the building or similar phenomena.
When the system storage device or any of its optional storage device is adversely effected by 
operational errors, static electricity, electrical noise, vibration, dust or when the power has been cut off 
due to malfunction, repair or inadvertently, the memory contents may be lost or changed. Before 
operating the system, make a point of reading the precautionary notes in the Operating Instructions and 
the help information, and observe them during operation.
Please observe carefully the following precaution:
•Make absolutely sure that all important data is saved by back-up or the original is saved.
The manufacturer hereby declares that it cannot be held accountable for any loss or change in any data 
stored on floppy disks, hard disks, optical disks, or other memory devices.
Computer IBM® PC/AT compatible with a DVD-ROM drive
CPU Intel® Pentium® 4 processor or later
Interface USB 2.0

Introduction
6Operating Instructions
For FRG Users (For Germany Only)
Note
Machine noise information regulation - 3.GPSGV, the maximum sound pressure level is 70 dB(A) 
or less, in conformity with EN ISO 7779.
This device is not intended for use in the direct field of view at visual display workplaces. To avoid 
incommoding reflexions at visual display workplaces this device must not be placed in the direct field 
of view.

Table of Contents
7Operating Instructions
1
Table of Contents
Table of Contents
For Your Safety..........................................................................................8
For Your Safety.................................................................................................................. 8
For Users............................................................................................................................ 8
Safety Information (For United Kingdom only) .............................................................11
Precautions...................................................................................................................... 12
Other Information ............................................................................................................ 13
Usage .......................................................................................................14
Included Accessories ..................................................................................................... 14
Names and Uses of the Parts......................................................................................... 15
Connecting External Components................................................................................. 18
Installing the elite Panaboard software/book ............................................................... 22
Setting the Projector ....................................................................................................... 24
Setting Your System (Calibration) ................................................................................. 25
Starting the elite Panaboard software and Performing Calibration............................ 25
Viewing the Help of the Software................................................................................... 27
Uninstalling the elite Panaboard software/book .......................................................... 27
Download the Latest Software ....................................................................................... 27
Appendix..................................................................................................28
Daily Care......................................................................................................................... 28
Cleaning the elite Panaboard ......................................................................................... 28
Replacing the Battery in the Electronic Pen ................................................................... 28
Replacing the Penpoint of the Electronic Pen ................................................................ 29
Troubleshooting .............................................................................................................. 30
Specifications ..................................................................................................................32
Supplies & Accessories .................................................................................................. 34
Installation Manual..................................................................................35
Installation Manual (for qualified service personnel)................................................... 35
For Your Safety................................................................................................................ 35
Notice ............................................................................................................................. 35
Included Accessories ..................................................................................................... 37
Wall Mounting Construction........................................................................................... 39
Checking the Wall........................................................................................................... 39
Installing the Wall Mounting Plates................................................................................. 40
Wall Types and Installation Procedures ......................................................................... 42
Stand KX-B061 Assembly (Sold Separately) ................................................................ 44
Included Parts................................................................................................................. 44
Assembly Instructions..................................................................................................... 45
Assembly Instructions.................................................................................................... 48
Preparing for Removing the elite Panaboard from Its Packaging................................... 48
Assembling the elite Panaboard..................................................................................... 49
Confirming the elite Panaboard Operation ................................................................... 54
Confirming the Interactive Features ............................................................................... 54
Repackaging .................................................................................................................... 55

For Your Safety
8 Operating Instructions
For Your Safety
For Your Safety
To prevent severe injury and loss of life, read this 
section carefully before using the unit to ensure proper 
and safe operation of your unit.
•This section explains the graphic symbols used in 
this manual.
For Users
Power and Ground Connection
Denotes a potential 
hazard that could 
result in serious 
injury or death.
Denotes hazards 
that could result in 
minor injury or 
damage to the unit.
These symbols are used to 
alert operators to a specific 
operating procedure that 
must not be performed.
These symbols are used to 
alert operators to a specific 
operating procedure that 
must be emphasized in 
order to operate the unit 
safely.
WARNING
CAUTION
The power source voltage of this unit is 
listed on the nameplate. Only plug the 
unit into an AC outlet with the proper 
voltage. If you use a cord with an 
unspecified current rating, the unit or plug 
may emit smoke or become hot to the 
touch.
When you operate this product, the power 
outlet should be near the product and 
easily accessible.
To ensure safe operation the power cord 
supplied must be inserted into a standard 
three-prong AC outlet which is effectively 
grounded (earthed) through the normal 
wiring.
The fact that the equipment operates 
satisfactorily does not imply that the 
power point is grounded (earthed) and 
that the installation is completely safe. 
For your safety, if in any doubt about the 
effective grounding (earthing) of the 
power point, consult a qualified 
electrician.
If the plug cannot be inserted into the AC 
outlet, contact a licensed electrician to 
replace the AC outlet with a properly 
grounded (earthed) one.
Do not defeat the grounding (earthing) 
plug (ex. do not use a conversion plug).
WARNING

9Operating Instructions
For Your Safety
1
Installation and Relocation
Operating Safeguards
Battery
Plug the power cord firmly into an AC 
outlet. Otherwise, it can cause fire or 
electric shock.
Do not pull, bend, rest objects on, or 
chafe the power cord and plug. Damage 
to the power cord or plug can cause fire 
or electric shock.
Do not attempt to repair the power cord or 
plug. If the power cord or plug is 
damaged or frayed, contact an authorized 
service representative for a replacement.
Ensure that the plug connection is free of 
dust. In a damp environment, a 
contaminated connector can draw a 
significant amount of current that can 
generate heat and eventually cause fire if 
left unattended over an extended period 
of time.
Never touch the plug with wet hands.
Danger of electric shock exists.
Stop operation immediately if the unit 
emits smoke, excessive heat, abnormal 
smell or unusual noise. These conditions 
can cause fire or electric shock. 
Immediately turn the unit off and unplug 
the power cord, and contact your dealer 
for service.
When disconnecting the unit, grasp the 
plug instead of the cord. Pulling on a cord 
forcibly can damage it and cause fire or 
electric shock.
During thunderstorms, do not touch the 
unit and plug. It may cause an electric 
shock.
Have the unit installed, removed and 
disposed of only by qualified service 
personnel.
When the unit will no longer be used, in 
order to prevent it from falling, do not 
leave the unit installed, but remove it. If 
the unit falls, it can cause injury.
If metal fragments or water gets into the 
unit, turn the unit off and unplug the unit 
immediately. Contact your dealer for 
service. Operating the contaminated unit 
can cause fire or electric shock.
Never open or remove unit covers that 
are screwed with screws unless 
specifically instructed in the “Operating 
Instructions”. A high-voltage component 
can cause electric shock.
Do not alter the unit or modify any parts. 
Alteration or modification can cause fire 
or electric shock.
CHOKING HAZARD
Keep the penpoint and battery out of 
reach of children to prevent swallowing.
Use only the specified type of battery. 
Using the incorrect type of battery can 
result in overheating/burning or leakage 
of battery acid.

For Your Safety
10 Operating Instructions
Electronic Pen / elite Panaboard
Power
Installation and Relocation
Make sure that the battery is installed with 
the correct polarity as indicated on the 
battery holder. Incorrectly installed 
batteries may burst or leak, resulting in 
injuries.
Batteries that seem worn down or 
damaged should not be used. Using worn 
down or damaged batteries may result in 
leaking.
Do not charge, short, heat, break or throw 
in a fire, as it may result in the battery 
leaking, generating heat, or bursting.
When disposing of the battery, cover the 
battery contacts with insulation (ex. tape). 
Direct contact with other batteries may 
result in leaking, fire, or explosion.
Do not solder the battery, as it may result 
in the battery leaking, generating heat, or 
bursting.
Do not use near medical equipment.
(Do not bring into a surgery room, 
intensive care unit, critical care unit, etc.) 
Electromagnetic waves generated by this 
device can affect equipment, and can 
cause equipment to malfunction.
Do not use near automatic doors, smoke 
detectors and other automatically 
controlled equipment.
Electromagnetic waves generated by this 
device can affect equipment, and can 
cause equipment to malfunction.
Use at least 20 cm (8 in.) away from 
pacemakers.
Electromagnetic waves generated by this 
device can affect the operation of 
pacemakers.
When the unit is not used over an 
extended period of time, switch it off and 
unplug it. If an unused unit is left 
connected to a power source for a long 
period, degraded insulation may cause 
electric shock, current leakage, or fire.
The unit should be used only with the 
power cord enclosed with the unit.
Do not position the unit in a location 
where it is unstable.
Do not place the unit in a hot humid or 
dusty environment. Prolonged exposure 
to these adverse conditions may cause 
fire or electric shock.
To prevent fire or shock hazard, do not 
expose this unit to rain or any type of 
moisture.
When moving the unit, be sure to unplug 
the power cord from the AC outlet. If the 
unit is moved with the power cord 
attached, it can cause damage to the cord 
which could result in fire or electric shock.
Move this unit with two persons. 
Otherwise, this unit may fall down and 
cause injury.
CAUTION

11Operating Instructions
For Your Safety
1
Operating Safeguards
Battery
Safety Information (For 
United Kingdom only)
This appliance is supplied with a moulded three pin 
mains plug for your safety and convenience.
A 5 amp fuse is fitted in this plug. Should the fuse need 
to be replaced, please ensure that the replacement 
fuse has a rating of 5 amps and that it is approved by 
ASTA or BSI to BS1362. Check for the ASTA mark   
or the BSI mark   on the body of the fuse. If the plug 
contains a removable fuse cover, you must ensure that 
it is refitted when the fuse is replaced. If you lose the 
fuse cover the plug must not be used until a 
replacement cover is obtained. A replacement fuse 
cover can be purchased from your local Panasonic 
Dealer.
IF THE FITTED MOULDED PLUG IS UNSUITABLE 
FOR THE SOCKET OUTLET IN YOUR PREMISES, 
THEN THE FUSE SHOULD BE REMOVED AND THE 
PLUG CUT OFF AND DISPOSED OF SAFELY.
THERE IS A DANGER OF SEVERE ELECTRICAL 
SHOCK IF THE CUT OFF PLUG IS INSERTED INTO 
ANY 13 AMP SOCKET.
If a new plug is to be fitted, please observe the wiring 
code as shown below. If in any doubt, please consult a 
qualified electrician.
WARNING
This appliance must be earthed.
IMPORTANT
The wires in this mains lead are coloured as 
follows:
Green-and-Yellow: Earth
Blue: Neutral
Brown: Live
After installing or moving the unit, lock the 
casters and set the fall-prevention 
extension legs.
If the unit falls down or gets damaged, 
turn the unit off and unplug the power 
cord. Otherwise, it may cause fire or 
electric shock.
Do not lean against the screen or on the 
cover (lower), even if the unit is mounted 
on the wall.
When the unit is not used over an 
extended period of time, take the 
batteries out of the unit. Otherwise, the 
batteries may leak. Do not use the leaked 
batteries.
Locking the 
casters
(Push to lock)

For Your Safety
12 Operating Instructions
As the colours of the wire in the mains lead of this 
apparatus may not correspond with the coloured 
markings identifying the terminals in your plug, 
proceed as follows.
The wire that is coloured GREEN-AND-YELLOW must 
be connected to the terminal in the plug which is 
marked with the letter E or by the Earth symbol   or 
coloured GREEN or GREEN-AND-YELLOW.
The wire that is coloured BLUE must be connected to 
the terminal in the plug that is marked with the letter N 
or coloured BLACK.
The wire that is coloured BROWN must be connected 
to the terminal in the plug which is marked with the 
letter L or coloured RED.
Precautions
Any changes or modifications not expressly approved 
by the party responsible for compliance could void the 
user’s authority to operate this device.
About Using the Battery
If a battery is used improperly, the battery may leak, 
causing corrosion of the unit, or it may burst. To 
prevent this, always follow the precaution given below.
•If the electronic pen ceases to function because the 
battery has run out, remove it immediately and 
dispose of it according to local regulations. Leaving a 
drained battery in the electronic pen may result in 
leakage.
About Disposing of the Battery
How to replace the fuse:
Open the fuse 
compartment with a 
screwdriver and 
replace the fuse and 
fuse cover. Após o uso as pilhas / baterias 
contidas neste produto poderão 
ser dispostas em lixo doméstico.
For Brazil
For Taiwan (  )

13Operating Instructions
For Your Safety
1
Other Information
Usage Note
Operating the elite Panaboard near electrical 
appliances may cause interference. Move away 
from the electrical appliances such as TVs, radios, 
cordless phone, or wireless devices.
MEDICAL
Consult the manufacturer of any personal medical 
devices, such as pacemakers, to determine if they 
are adequately shielded from external RF (radio 
frequency) energy. (The unit operates in the 
frequency range of 2.402 GHz to 2.481 GHz, and 
the power output level is 0.001 watts.) Do not use 
the unit in health care facilities if any regulations 
posted in the area instruct you not to do so. 
Hospitals or health care facilities may be using 
equipment that could be sensitive to external RF 
(radio frequency) energy.
For European Union (EU)
Panasonic System Networks Co., Ltd. declares 
that this equipment is in compliance with the 
essential requirements and other relevant 
provisions of Radio & Telecommunications 
Terminal Equipment (R&TTE) Directive 1999/5/EC.
Declarations of Conformity for the relevant 
Panasonic products described in this manual are 
available for download by visiting:
http://www.doc.panasonic.de
Contact to Authorised Representative:
Panasonic Testing Centre
Panasonic Marketing Europe GmbH
Winsbergring 15, 22525 Hamburg, Germany
No responsibility will be taken by our company 
with respect to consequences resulting from the 
use, damage or both of the equipment.

Usage
14 Operating Instructions
Usage
Included Accessories
Check that all of the following items are included with your elite Panaboard.
In the event that an item is missing, please contact your dealer.
List of Accessories
* A 2.4 GHz USB Wireless Adaptor is preinstalled on the elite Panaboard.
FCC ID: ACJ5Z6UE-608049 / IC: 216A-UE608049
Note
•The illustration of the power cord shown above is for the United States. The shape of the plug may vary 
depending on country/area.
•Stand is sold separately.
•Store the extra penpoint along with this operating manual.
•Replacement penpoints are available for purchase separately (page 34).
•The warranty may not be included depending on country/area.
About Using the DVD-ROM
Power Cord
(3 m [9 ft. 10 1/8in.]) 1USB Cable
(5 m [16 ft. 4 7/8in.]) 1 Software DVD-ROM 1
AAA Battery (LR03)
(Disposable) 1Electronic Pen1 Penpoint
(Replacement) 2
Operating Instructions
(this document) 1Warranty1
2.4 GHz USB 
Wireless Adaptor* 1
To prevent damage to the DVD-ROM:
•Do not touch or write on the surface of the disc.
•Do not leave the disc out of the protective case.
•Do not leave the disc in the direct sunlight or near heat sources.
•Do not place heavy objects on the disc case or drop the case.
•To clean the disc, hold the disc by its edges and wipe it from the center to the edges with a dry, soft cloth.

Usage
15Operating Instructions
1
Names and Uses of the Parts
Screen
Notice
•The operation of external devices connected via the USB hub is not guaranteed.
•External devices connected via the USB hub that require a lot of power, such as scanners or CD/
CD-Rs, may not operate properly. For more information, please consult the relevant dealer.
Note
•The elite Panaboard detects a change in electrostatic capacitance when touched by your finger. For 
this reason, it may not react to fingernails, gloved hands, or the electronic pen when a glove is worn.
Screen Board
Detects the position of your finger or the electronic pen.
Project the contents of a computer screen using a projector.
Error LED (red)
Blinks red when an error occurs.
Power Switch/Power LED (green)
Turns the elite Panaboard on or off each time the power switch is 
pressed.
Lights green when the power is on.
Pen Tray
Push the center of the door to open the pen tray, which can hold the 
electronic pen.
USB Speaker
Outputs sound from a computer or the audio input port in stereo.
Volume Dial
Adjusts the volume of the speaker.
External Audio Input Port
Connect the audio output port of a VCR or DVD player etc. to this port and hear sound through 
the USB speaker.
USB Hub (2 Ports)
You can connect external devices directly to the elite Panaboard using these ports (page 20).
USB Port
Directly connect a computer using a USB cable (included).
Power Cord
AC Inlet
Power Inlet for Optional Devices
Is for optional elite Panaboard accessories only.
Do not use this inlet with other devices.

Usage
16 Operating Instructions
Electronic Pen
Note
•The up and down buttons can be used in a range of approximately 10 m (approximately 30 ft.) from the 
elite Panaboard (without obstructions).
Electronic Pen Features
Notice
•To avoid operating errors, do not touch the penpoint when the electronic pen is not in use.
Black/Red/Blue/Green
Draws with a marker in the selected color.
Marker line thickness and other settings can be specified in the Drawing 
Menu.
Eraser
Erases marker lines that you have drawn.
Eraser size and other settings can be specified in the Drawing Menu.
Yellow/Yellow-Green/
Pink
Highlights with a highlighter in the selected color.
Highlighter line thickness and other settings can be specified in the Drawing 
Menu.
Low-Power Mode
Puts the electronic pen in low-power mode.
The pen detects motion to turn itself on or off automatically. To conserve 
battery power, put the pen in low-power mode before carrying it while 
walking, when it is not in use.
Selector Dial
Selects features of the electronic pen.
Status LED (green)
Lights when the electronic pen power is on.
Blinks when the electronic pen battery is low.
Prepare a new battery and replace the old battery soon.
Up Button
Performs the same function as pressing the up key () on a 
computer by remote control.
Down Button
Performs the same function as pressing the down key () on 
a computer by remote control.
Battery Cover
Penpoint
Penpoint Cover
Menu Button
Hold this button and touch the screen board with the pen to 
display the Drawing Menu (page 26).
Strap Loop
For attaching straps, if desired.
(No strap is included. Use a strap from which the cord will 
detach if excessive force is applied.)

Usage
17Operating Instructions
1
Inserting (Replacing) Batteries
Registering the Electronic Pen
The elite Panaboard automatically detects electronic pens within approximately 10 m (approximately 30 ft.), 
but if other electronic whiteboards are nearby, electronic pens for those whiteboards may be detected 
accidentally. Similarly, other electronic whiteboards may detect electronic pens for the elite Panaboard. In the 
following cases, register the electronic pen to the elite Panaboard.
•Buttons on the electronic pen are unresponsive
•The elite Panaboard responds to the electronic pen as if you were touching the elite Panaboard with your 
finger
•The elite Panaboard responds as if you were operating it, but you are not
•elite Panaboard operation is erratic
Once you register an electronic pen, it cannot be used with another electronic whiteboard. (The whiteboard 
responds as if you were touching it with your finger instead of the electronic pen.) 
To use registered electronic pens with another electronic whiteboard, unregister the pens.
See “Registering the Electronic Pen” and “Unregistering the Electronic Pen” in “Software Help” for 
instructions on registering and unregistering the electronic pen.
For details on accessing the help information, see “Viewing the Help of the Software” (page 27).
1. Unlock the battery cover (),
and open the cover ().
•When replacing the cover, follow the procedure in 
reverse.
2. Insert (replace) the battery, and then 
reattach the cover and lock it.
•Make sure to use a AAA alkaline battery, and 
ensure that  and  face the correct directions.
•Dispose of expired batteries quickly, by covering 
the terminals in tape and following the disposal 
regulations in your country/area.

Usage
18 Operating Instructions
Connecting External Components
1. Connect the power cord (included) to the elite Panaboard, and plug the power cord into an AC 
outlet.
•Plug the power cord into an outlet that is close to the elite Panaboard and in a location that is 
easy to unplug.
•If you are using the optional stand, plug the power cord into the AC inlet, and secure the cord as 
shown in the illustrations below.
•About Grounding
If you cannot connect the grounding line, contact your dealer. The cost of installing a grounding 
connection is not included in the price of the elite Panaboard.
•The included power cord is exclusively for use with the elite Panaboard. Do not use it with any 
other devices.
Power Cord
(Included)
When attaching the power cord downward. When attaching the power cord along the lower 
side of the elite Panaboard.

Usage
19Operating Instructions
1
2. Connect the elite Panaboard to a computer using the USB cable (included).
•elite Panaboard: Plug the B connector (smaller connector) into the elite Panaboard’s USB port. 
Computer: Plug the A connector (larger connector) into a USB port on the computer.
•Do not connect the elite Panaboard via a USB hub. This could result in erroneous operation.
Notice
•Do not connect the elite Panaboard to a computer via USB unless elite Panaboard software/book is 
installed. 
Only connect the USB cable after following the steps in “Installing the elite Panaboard software/
book” (page 22) to install the software.
3. Connect the computer to a projector.
•For instructions on connecting your computer and projector, refer to the respecting instruction manuals.
To USB Port USB Cable
(Included)
Video Cable AC
AC
Computer Projector

Usage
20 Operating Instructions
Connecting External Devices
1. Connect the external device to the elite Panaboard using a USB cable (sold separately).
•elite Panaboard: Plug the A connector (larger connector) into the elite Panaboard’s USB port. 
External device: Plug the B connector (smaller connector) into a USB port on the external device.
About the Usage Location
•Do not place the elite Panaboard where it is directly exposed to sunlight.
•Do not use the elite Panaboard in a location less than 10 °C (50 °F) or in a location subject to extreme 
changes in temperature.
Note
•The elite Panaboard may not work properly when used in one of the above locations.
•Operating the elite Panaboard near electrical appliances may cause interference. Move away from the 
electrical appliances.
To USB Port
USB Cable
(Sold Separately)
MFP
Flatbed 
Scanner
To USB Port

Usage
21Operating Instructions
1
Volume Control
•The volume of the USB speaker on the elite Panaboard can be controlled using the Volume Dial, the 
volume of Windows, and the volume of the application being used. To adjust the volume, use the Volume 
Dial, or adjust the volume of the application.
Power Switch
•After turning the elite Panaboard off, wait more than 2 seconds before turning it back on.
Moving the elite Panaboard When Using the Stand (Sold Separately)
1. After confirming that the power is off, disconnect the power cord and USB cable.
2. Release the locks on the casters.
3. Move the elite Panaboard, avoid banging or shaking the board.
Notice
•Always move the elite Panaboard with 2 people.
•Do not drag or step on the cable.
4. Lock the casters.

Usage
22 Operating Instructions
Installing the elite 
Panaboard software/book
You need to install the elite Panaboard software/book 
on the computer that will be used with the elite 
Panaboard.
To install the elite Panaboard software/book, follow the 
procedure below.
Notice
•Do not connect the USB cable until the 
installation is completed.
•Do not connect more than 1 elite Panaboard to 
the same computer. 
(Doing so can cause erroneous behavior on the 
computer.)
1. Turn on your computer and start the Windows 
operating system.
•Log into an account with Administrator 
privileges.
2. Insert the included DVD-ROM into the 
DVD-ROM drive.
•The setup screen will be displayed.
•If the setup screen does not appear, select your 
DVD-ROM drive in Explorer and double-click 
[Menu.exe].
•In Windows Vista or Windows 7, if the Autoplay 
dialog box is displayed, click [Run Menu.exe].
3. When the “Welcome” screen has been 
displayed, click [Next].
4. When the “Model Selections” screen is 
displayed, click the type of device you are 
using.
5. When the “Menu” screen is displayed, click 
[Read Me First].
•After the system requirements are displayed, 
make sure that your computer meets the 
requirements.
6. Click [Install elite Panaboard] on the “Menu” 
screen.
7. If you agree to the terms in the “License 
Agreement”, click [Yes].
•In Windows Vista, if the “User Account Control” 
window is displayed, click [Continue] to continue 
with the installation.
•In Windows 7, if the “User Account Control” 
window is displayed, click [Yes] to continue with 
the installation.

23Operating Instructions
Usage
1
8. When the following screen is displayed, 
confirm that the USB cable is not connected to 
your computer or the elite Panaboard, and 
click [OK].
•If the USB cable is connected to the elite 
Panaboard, disconnect the cable, and click [OK].
•If .NET Framework 3.0 or later is not installed, an 
installation screen will be displayed. Follow the 
on-screen directions to install these components.
9. When the installation wizard is displayed, 
follow the on-screen instructions and continue 
with the installation.
10. When installation has finished, click [Finish].
•Restart your computer if you are prompted to do 
so.
•The group [elite Panaboard] will be created in 
the [Panasonic] group in the program menu.
•The following items will appear in the [elite 
Panaboard] group:
– elite Panaboard software
– elite Panaboard book
– Electronic Pen Registration Tool
– Operating Instructions
– Software Help
– Download the latest version
Note
•To view the Operating Instructions, you must 
have Adobe® Reader® installed on your 
computer. If your computer is connected to 
the Internet, you can download Adobe 
Reader from Adobe’s web site.

Usage
24 Operating Instructions
Setting the Projector
Set up your projector as instructed below.
About Positioning the Image
•When you are projecting an image, make sure the 
image is inside the screen frame.
Project the Image as a Rectangle
•Adjust the location of the projector to project at a 
right angle with the elite Panaboard.
•If the image is projected trapezoidally, the position 
may not be read correctly. Adjust the projector so 
that the projected image is a rectangle. Refer to your 
projector’s documentation for information on 
adjusting the projected image.
Set the Proper Resolution
•Set your computer’s and projector’s resolutions to 
the most appropriate setting.
If the resolution is not set properly, the image will be 
difficult to see. Particularly, if the projector’s 
resolution is lower than the computer’s, thin lines can 
appear cut or broken. Refer to your projector’s 
documentation for information on adjusting the 
resolution.
Do Not Look Directly into the Projector Lamp
•When using a projector, try to avoid looking directly 
into the projector lamp. Doing so can hurt your eyes.

25Operating Instructions
Usage
1
.
Setting Your System 
(Calibration)
About Calibration
Calibration refers to setting up the elite Panaboard and 
projector so that lines and comments drawn with your 
finger or the electronic pen are displayed in the correct 
position. Be sure to perform calibration before use.
After you have set up the elite Panaboard, project an 
image onto the screen board and use the elite 
Panaboard software installed on your computer to 
perform calibration.
After Calibration
Do Not Move the elite Panaboard or the 
Projector
•The following changes will bring the position of 
projection out of alignment with the position of your 
finger or the electronic pen, and you will need to 
recalibrate the equipment.
– The location of the projector changed.
– The location of the elite Panaboard changed.
– The image area or placement was changed due 
to changes in the zoom, focus, etc.
– The resolution of the projector or the computer 
changed.
•If you are using the elite Panaboard installed on a 
stand, be aware that accidentally hitting the elite 
Panaboard or pushing too strongly with the 
electronic pen while operating can move the stand’s 
position, which will result in misalignment of the 
projected image and the electronic pen’s position.
•Make sure to lock the stand’s casters when using the 
elite Panaboard, as failing to do so can cause 
misalignment.
Note
•To perform calibration, click the   icon in the 
notification area and click [Calibration] in the 
pop-up menu.
Starting the elite 
Panaboard software and 
Performing Calibration
1. Turn on the elite Panaboard.
2. Connect the elite Panaboard to your computer 
with the USB cable.
•The elite Panaboard software starts 
automatically.
•Once the elite Panaboard software starts up, the 
calibration screen is automatically displayed.
•Restart your computer if you are prompted to do 
so. After the computer has restarted, connect the 
elite Panaboard to your computer with the USB 
cable.
3. Calibrate the equipment by using your finger to 
touch the center of the indicated points in the 
order shown for about 2 seconds.
•Touch the screen board at a right angle with your 
finger.
•After you touch an indicated point correctly, the 
next point is shown automatically.
•When calibration has finished normally, a 
completion dialog box is displayed.

Usage
26 Operating Instructions
4. Click [OK].
•If the elite Panaboard and projector are fixed so 
that they will not move (Wall mounted case), 
select the [Always use this calibration 
information.] check box, and click [OK] to skip 
calibration from the next time you start the elite 
Panaboard software.
•When calibration is finished, the   icon is 
displayed in the notification area. You can now 
use the elite Panaboard software.
•To display the Select Function Menu, click the 
Menu Start Tab (left side:   / right side:   ) on 
the screen with your finger.
•To display the Drawing Menu, touch the screen 
board while holding the menu button on the 
electronic pen.
Note
•For detailed information about using the elite 
Panaboard software, refer to the help menu. 
For details on accessing the help 
information, see “Viewing the Help of the 
Software” (page 27).
Exiting the elite Panaboard software
Click on the   icon in the notification area, and select 
[Exit] from the menu.
Example of the Select Function Menu
Example of the Drawing Menu

27Operating Instructions
Usage
1
Viewing the Help of the 
Software
Follow the procedure below to view the help of the 
software installed on your computer.
1. Turn on your computer and start Windows.
2. Open “Software Help” from the Start menu. 
([Start] →  [All Programs] →  [Panasonic] →  [elite
Panaboard] →  [Software Help])
•General help information of the installed software 
is displayed.
Note
•To access the help information of elite 
Panaboard software and Drawing Menu, 
click the   icon in the notification area and 
select [Help] from the pop-up menu.
•To access elite Panaboard book help 
information, select [Help...] from the elite 
Panaboard book [Help] menu.
•We recommend that you view the help using 
Internet Explorer® 6.0 or later for Windows.
Uninstalling the elite 
Panaboard software/
book
If it is necessary to uninstall the elite Panaboard 
software/book, follow the procedure below.
1. Turn on your computer and start Windows.
•Log into an account with Administrator 
privileges.
2. Select [Add or Remove Programs] from the 
Control Panel.
•In Windows Vista or Windows 7, select [Uninstall 
a program].
3. Select Panasonic elite Panaboard, then remove 
it.
4. Follow the on-screen instructions.
5. When uninstallation is complete, restart your 
computer.
Download the Latest 
Software
Follow the procedure below to download the latest 
version of the software from the download web site.
1. Turn on your computer and start Windows.
2. On the Start menu, point to [All Programs] → 
[Panasonic] →  [elite Panaboard], and click 
[Download the latest version].

Appendix
28 Operating Instructions
Appendix
Daily Care
When cleaning the elite Panaboard or inside the elite Panaboard, make sure to switch off the power and 
unplug the power cord from the AC outlet.
Cleaning the elite Panaboard
Gently wipe the elite Panaboard with a soft, moist 
cloth.
Notice
•The elite Panaboard is designed exclusively for 
projector images. 
To remove marks written with a whiteboard 
marker or stubborn stains, use whiteboard 
cleaner or neutral household detergent diluted 
with water.
•Do not use thinner, benzene, or abrasive 
chemicals to clean. 
(Doing so can result in discoloration.)
Replacing the Battery in the 
Electronic Pen
When the electronic pen battery is low, the pen status 
LED blinks. Continued use of the electronic pen can 
lead to poor performance. Replace the battery as soon 
as possible. See “Inserting (Replacing) Batteries” 
(page 17) for details on replacing the battery.
•Dispose of expired batteries quickly, by covering the 
terminals in tape and following the disposal 
regulations in your country/area.
Após o uso as pilhas / baterias 
contidas neste produto poderão 
ser dispostas em lixo doméstico.
For Brazil
For Taiwan (  )

29Operating Instructions
Appendix
1
Replacing the Penpoint of the 
Electronic Pen
As the penpoint of the electronic pen becomes worn, 
the penpoint will no longer slide easily across the 
surface. Continuing to use the electronic pen in this 
condition may make the screen dirty and cause 
malfunction. Replace the penpoint with a new one as 
soon as possible.
1. Remove the penpoint cover.
2. Remove the old penpoint and attach the new 
one.
3. Reattach the penpoint cover.
OldPenpoint
NewPenpoint

Appendix
30 Operating Instructions
Troubleshooting
When experiencing problems, please refer to the table below for possible solutions. If the problem persists, 
contact your dealer.
Symptom Possible cause and solution See page
The LEDs do not light 
when the power switch is 
turned on.
Check that the power cord is properly plugged in.
→If the problem persists, unplug the cord momentarily, wait 
about 2 seconds, and plug it in again.
—
Error LED (red) is blinking. Turn off the power, and turn it on.
→If the problem persists, contact your dealer. —
The computer does not 
recognize the elite 
Panaboard.
•The elite Panaboard and your computer are not connected.
→Securely connect the elite Panaboard and your computer 
using a USB cable.
•The USB cable is connected to a USB hub.
→Do not connect the elite Panaboard through a USB hub.
—
The connection between 
the computer and the elite 
Panaboard is 
unexpectedly lost.
Check that the elite Panaboard is in an operable state, and that 
the USB cable is properly connected. —
The point of control is out 
of alignment with your 
finger or the electronic 
pen.
The projected image is misaligned.
→Perform the calibration again. 25
Lines or comments drawn 
with your finger are not 
shown on the computer 
screen.
•You are touching the screen board with a part of your hand 
other than your finger.
→Use only your finger tip to touch the screen board.
•You are touching too lightly with your finger.
→Touch the screen board more firmly.
—
The electronic pen loses 
the functions.
(Buttons are 
unresponsive.)
(The elite Panaboard 
responds as if you were 
touching it with your 
fingers.)
(Lines written with the 
electronic pen are broken 
or colors change.)
•The electronic pen is low on batteries.
→Replace the electronic pen’s battery.
•The electronic pen is in low-power mode.
→Turn the selector dial to change the mode.
•Another electronic whiteboard is in use nearby.
→Use the Electronic Pen Registration Tool to register the 
electronic pen. See “Registering the Electronic Pen” in 
“Software Help” for instructions on registering the electronic 
pen.
17
16
—

Appendix
31Operating Instructions
1
Symptom Possible cause and solution See page
The electronic pen status 
LED is blinking.
The electronic pen is low on batteries.
→Replace the electronic pen’s battery. 17
Marks written with a 
whiteboard marker cannot 
be erased.
Because the elite Panaboard is designed exclusively for projector 
images, you cannot erase the marks with a standard eraser.
→Use commercially available whiteboard cleaner or neutral 
household cleaner diluted with water.
28
The sound level is low or 
no sound is output from 
the speaker.
•The volume level of the elite Panaboard is low.
→Adjust the volume using the volume dial.
•The volume of your computer is low or set to mute.
→Adjust the volume using the volume control in the notification 
area, or uncheck the mute setting.
•The volume of the application is low.
→Adjust the volume of the application (e.g. Windows Media 
Player).
•The connection between the external audio input port and the 
VCR or DVD player etc. is not correct.
→Securely connect the external audio input port and the VCR 
or DVD player etc.
15
The external device 
connected to the USB hub 
does not work properly.
•The elite Panaboard and external devices are not connected.
→Securely connect the elite Panaboard and external devices.
•A driver or application for enabling the use of external devices 
may not be installed on your computer.
→Install the driver or application following the instructions in 
the manual for the external device.
—

Appendix
32 Operating Instructions
Specifications
Model 
Number UB-T880 / UB-T880W
General Power AC 100 V–240 V, 50 Hz/60 Hz
Power Consumption During Operation: 0.5 A
(When power is OFF by the power switch: 0.2 W)
Operating Environment Temperature: 10 °C to 35 °C (50 °F to 95 °F)
Humidity: 30 % to 80 %
Storage Environment Temperature: -20 °C to 40 °C (-4 °F to 104 °F)
Humidity: 15 % to 80 %
Interface USB 2.0
No. of Hub Ports 2 ports
Electronic 
Pen
Transmission System GFSK
Electronic Pen Power LR03 (AAA alkaline dry cell battery) × 1
Electronic Pen Battery Life 30 hours (when used continuously at 25 °C [77 °F])
* When using Panasonic LR03 alkaline dry-cell batteries.
Audio
Features
Audio Input Input level: 309 mVrms (1 KHz, 0 dB, 10 kΩ)
Stereo 1 system, ø 3.5 mm (1/8in.) stereo mini jack
Audio Output 2W + 2W (maximum 4W + 4W)

Appendix
33Operating Instructions
1
Model 
Number UB-T880
General External Dimensions: 
Height × Width × Depth
1,320 mm × 1,657 mm × 117 mm
(4 ft. 4 in. × 5 ft. 5 1/4in. × 4 5/8in.)
Weight 36 kg (79.4 lbs)
Input Unit Screen Board Size: 
Height × Width
1,175 mm × 1,602 mm
(3 ft. 10 1/4in. × 5 ft. 3 1/16 in.)
Interactive 
Features
Effective Area:
Height × Width
1,175 mm × 1,567 mm (3 ft. 10 1/4in. × 5 ft. 1 11/16 in.)
(77 in. diagonal)
Model 
Number UB-T880W
General External Dimensions: 
Height × Width × Depth
1,320 mm × 1,900 mm × 117 mm
(4 ft. 4 in. × 6 ft. 2 13/16 in. × 4 5/8in.)
Weight 39 kg (86 lbs)
Input Unit Screen Board Size: 
Height × Width
1,175 mm × 1,845 mm
(3 ft. 10 1/4in. × 6 ft. 5/8in.)
Interactive 
Features
Effective Area:
Height × Width
1,036 mm × 1,842 mm (3 ft. 4 3/4in. × 6ft. 1/2in.)
(83 in. diagonal)

Appendix
34 Operating Instructions
Supplies & Accessories
•To purchase separately sold items, contact your dealer.
Optional Device Stand KX-B061
Electronic Pen UE-608026
Stylus UE-608027
Pointer UE-608028
Up / Down Unit UE-608030
Stand Table UE-608031
Short-Throw Arm Unit UE-608032
Consumables Penpoint
(Replace the penpoint after it has become 
worn and no longer slides across the 
surface.)
䋿䋿䋿

Installation Manual
35Operating Instructions
1
Installation Manual
Installation Manual (for qualified service personnel)
•Request assembly of the Electronic Board, stand and wall mounting from your dealer.
•Before constructing or installing the elite Panaboard, please read “Installation Manual (for qualified service 
personnel)” carefully. 
Especially, please read “For Your Safety” carefully and install the elite Panaboard safely.
Panasonic System Networks Co., Ltd. cannot be held responsible for accidents or damage to property 
resulting from incorrect installation.
•When installing the elite Panaboard on a wall or on the stand, perform installation with 2 people.
For Your Safety
To prevent severe injury and loss of life, read this 
section carefully before using the unit to ensure proper 
and safe operation of your unit.
The following graphic symbols are used in this 
Installation Manual.
Notice
Denotes a 
potential hazard 
that could result in 
serious injury or 
death.
Denotes hazards 
that could result in 
minor injury or 
damage to the 
unit.
These symbols are used to alert 
operators to a specific operating 
procedure that must not be 
performed.
These symbols are used to alert 
operators to a specific operating 
procedure that must be 
emphasized in order to operate 
the unit safely.
WARNING
CAUTION
Safety check must be done by qualified 
service personnel after installing this 
option.
Be sure to disconnect the power cord 
while installing the unit. Otherwise, it may 
cause electric shock or injury.
Be sure to use the specified parts for the 
installation. Otherwise, it may cause fire, 
electric shock or injury.
Notes in the operating instructions or 
notes of labels on the cabinet, chassis or 
parts should be observed.
Do not alter the unit and install. Installing 
an altered unit can cause fire, electric 
shock or injury.
WARNING

Installation Manual
36 Operating Instructions
Electronic Pen / elite Panaboard
Have the unit installed, removed and 
disposed of only by qualified service 
personnel.
Do not use near medical equipment.
(Do not bring into a surgery room, 
intensive care unit, critical care unit, etc.) 
Electromagnetic waves generated by this 
device can affect equipment, and can 
cause equipment to malfunction.
Do not use near automatic doors, smoke 
detectors and other automatically 
controlled equipment.
Electromagnetic waves generated by this 
device can affect equipment, and can 
cause equipment to malfunction.
Use at least 20 cm (8 in.) away from 
pacemakers.
Electromagnetic waves generated by this 
device can affect the operation of 
pacemakers.
After installing or moving the electronic 
board, lock the casters and set the fall-
prevention extension legs.
If the unit is hung on a wall, confirm the 
wall must be capable of supporting at 
least the following weight.
1,962 N (200 kgf)
Do not attach the electronic board to 
mortared walls. Accidental electric 
leakage from the wall mounting plate 
bolts to metal laths or wire laths can 
cause heat, smoke or fire.
Confirm the bolts of the unit are certainly 
caught by the wall mounting plate by 
pulling the unit after hanging the unit on 
the wall mounting plate if the unit is 
mounted on a wall.
Be sure to put on a glove to avoid electric 
shock or injury.
CAUTION
Locking the 
casters
(Push to lock)

Installation Manual
37Operating Instructions
1
Installation Manual
Included Accessories
Confirm that the following items are included with the elite Panaboard.
No. Part Name Illustration Q’ty Remarks
Power Cord
(3 m [9 ft. 10 1/8in.]) 1
The illustration of the 
power cord is for the 
United States. The 
shape of the plug may 
vary depending on 
country/area.
USB Cable
(5 m [16 ft. 4 7/8in.]) 1For computer 
connection
DVD-ROM 1
Operating Instructions
Drivers
Application software
Wall Mounting Plate (Left) 1—
Wall Mounting Plate (Right) 1—
Battery (LR03 AAA alkaline 
battery) 1For electronic pen
Electronic Pen 1—
Penpoint
(Replacement) 2For electronic pen
2.4 GHz USB Wireless 
Adaptor 1
A 2.4 GHz USB 
Wireless Adaptor is 
preinstalled on the elite 
Panaboard.
FCC ID: 
ACJ5Z6UE-608049 / 
IC: 216A-UE608049
Operating Instructions 1
Operating Instructions 
(includes Installation 
Manual)

Installation Manual
38 Operating Instructions
Notice
•Screws (8 count) for wall mounting are not included. Please purchase screws with a size of M6, 
appropriate for your type of wall (page 42).
Warranty 1
May not be included 
depending on country/ 
area.
No. Part Name Illustration Q’ty Remarks

Installation Manual
39Operating Instructions
1
Wall Mounting Construction
Checking the Wall
When mounting on a wall, consult with your building’s owner, caretaker or construction manager to determine 
if the wall strength is sufficient to install the elite Panaboard. For safety, install the elite Panaboard only after 
thoroughly understanding the type of walls, the appropriate types of screws and the construction method 
(page 42).
CAUTION
Do not attach the electronic board to mortared walls. Accidental electric leakage from the wall 
mounting plate bolts to metal laths or wire laths can cause heat, smoke or fire.
I. Necessary Tools and Parts (not included with the elite Panaboard)
Drill, Phillips-head screwdriver, Measuring tape, Level
8 screws (M6 size)
II. Before Starting
1. Make sure that the wall is strong enough to support the elite Panaboard.
Rated strength: greater than 1,962 N (200 kgf)
Notice
•If necessary, reinforce the wall so that it is strong enough to support the elite Panaboard.
2. Make sure that the location is large enough to accommodate the elite Panaboard.
Height: greater than 2,100 mm (6 ft. 10 5/8in.)
Width: greater than 2,000 mm (6 ft. 6 3/4in.)
3. Make sure that the AC outlet is within 3 m (9 ft. 10 1/8in.) of where the elite Panaboard will be 
mounted and that it will not be behind the elite Panaboard.

Installation Manual
40 Operating Instructions
Installing the Wall Mounting Plates
1. Ensure that the wall is strong enough to support the elite Panaboard.
Rated strength: greater than 1,962 N (200 kgf)
2. Using the measuring tape and level, mark the 8 locations to insert the screws.
UB-T880
UB-T880W
Note
•The dotted line in the illustration represents the outer edge of the elite Panaboard.
3. Drill 8 holes for the wall mounting plates.
•Drill holes that are appropriate for the screws you are using.
421.8 mm
(1 ft. 4 19/32 in.)
813 mm
(2 ft. 8 in.)
324.2 mm
(1 ft. 49/64 in.)
208.2 mm
(8 3/16 in.)
40 mm
(1 9/16 in.)
1,006 mm 
(3 ft. 3 19/32 in.)
220.9 mm
(8 11/16 in.)
23.5 mm
(15/16 in.)
543.3 mm
(1 ft. 9 3/8in.)
813 mm
(2 ft. 8 in.)
324.2 mm
(1 ft. 49/64 in.)
208.2 mm
(8 3/16 in.)
40 mm
(1 9/16 in.)
1,006 mm 
(3 ft. 3 19/32 in.)
220.9 mm
(8 11/16 in.)
23.5 mm
(15/16 in.)

Installation Manual
41Operating Instructions
1
4. Install the wall mounting plates using the 4 screws.
•2 screws are used for each wall mounting plate. The remaining 4 screws are used after installing the 
elite Panaboard on the wall.
UB-T880 / UB-T880W
•Screws (8 count) are not included with the elite Panaboard. Please purchase screws with a size of M6, 
appropriate for your type of wall.
•Tighten the bolt so that it will not become loose.
•When drilling the holes and installing the wall mounting plates, follow the procedure in “Wall Types and 
Installation Procedures” (page 42).
5. Mount the elite Panaboard on the wall.
•See “Assembling the elite Panaboard” (For Wall Mounting →  page 49).
40 mm (1 9/16 in.)
1,006 mm (3 ft. 3 19/32 in.)
220.9 mm
 (8 
11
/
16
 in.)
813 mm (2 ft. 8 in.)
23.5 mm
 (
15
/
16
 in.)

Installation Manual
42 Operating Instructions
Wall Types and Installation Procedures
The method for attaching the wall mounting plates to the wall will vary depending on the wall’s structure. 
Three available options are listed below.
Other methods may be necessary depending on the wall.
Metal or Concrete walls
Stud plugs (not included) are needed.
Drill bit
Metal or concrete wall
Insert a stud plug in the hole.
Stud plug
Wall mounting plate
Drill 8 holes in the wall.
For the correct hole size, refer to the 
instructions for the particular stud plugs 
used.
Insert the bolt through the hole in the wall 
mounting plate and tighten until the wall 
mounting plate is securely fixed to the wall.
Bolt

Installation Manual
43Operating Instructions
1
Plasterboard walls
Split-wing toggles (not included) are needed.
Wooden walls
Wood screws (not included) are needed.
Plasterboard
Split-wing toggle
Arms
Wall mounting 
plate
After the arms expand, pull the wall 
mounting plate out until the arms of the 
split-wing toggle grip firmly into the wall.
Tighten the bolt until the wall mounting plate 
is securely fixed into the wall.
Bolt
Insert the bolt through the hole in the wall 
mounting plate and into the hole in the wall 
so that the arms of the split-wing toggle are 
horizontal.
For the correct hole size, refer to the 
instructions for the particular split-wing 
toggles used.
Arms
Wall mounting plate
Wood screw
Wooden wall
Insert the wood screw through the hole in 
the wall mounting plate and tighten until the 
wall mounting plate is securely fixed to the 
wall.
For the correct hole size, refer to the 
instructions for the particular wood screws 
used.

Installation Manual
44 Operating Instructions
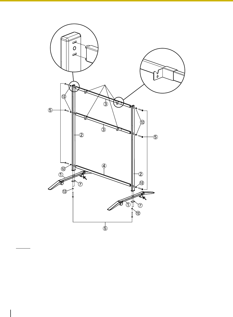
Stand KX-B061 Assembly (Sold Separately)
Included Parts
Check that the following parts are included with the stand KX-B061.
*1Use the two-wing bolts () when securing the elite Panaboard to the stand.
*2The included wrench is necessary for tightening and loosening the screw (), so keep it in a safe location.
No. Part Name Illustration Q’ty
Stand Base 2
Support Beam 2
Cross Bar (A) 2
Cross Bar (B) 1
Screw (M6 × 45 mm [1 3/4in.]) 10
Two-wing Bolt (M5 × 12 mm [1/2in.])*12
Support Bracket 2
Fall-prevention Extension Leg 4
Screw (M6 × 60 mm [2 3/8in.]) 4
Nut 4
Wrench*21
Washer 10

Installation Manual
45Operating Instructions
1
CAUTION
Before assembly, be sure to lock the casters.
Assembly Instructions
1. Assemble the fall-prevention extension legs.
Locking the casters
(Push to lock)

Installation Manual
46 Operating Instructions
2. Assemble the stand.
Notice
•Do not over-tighten the screw (). (Doing so can warp the support beams.)
•Assemble the stand so that the locking casters are on the rear side.
Assemble with the holes 
toward the front.
Locking 
caster side 
(rear)
REAR
Locking caster 
side (rear)
FRONT

Installation Manual
47Operating Instructions
1
3. Pull the fall-prevention extension legs down.
Note
•When folding back the fall-prevention extension legs, release the lock as follows (,).
4. Mount the elite Panaboard.
•See “Assembling the elite Panaboard” (For Mounting on a Stand KX-B061 (Sold Separately) 
→  page 52).
2
1
1
1
2

Installation Manual
48 Operating Instructions
Assembly Instructions
Preparing for Removing the elite Panaboard from Its Packaging
Remove the 10 joints, open the box, remove the accessory box & packing foam and open the plastic sheet of 
the elite Panaboard.
Notice
•When handling the electronic board, hold it by the edge frame and not the screen board. 
(Holding the screen board can result in damage.)
•The packing materials in the shipping box are necessary for repackaging, so keep them in a safe place.
Note
•The warranty may not be included depending on country/area.
Shipping Box
Electronic 
Board
Shipping Box
[Accessory Box Contents]
•Power Cord ......................... 1
•USB Cable .......................... 1
•DVD-ROM........................... 1
•Wall Mounting Plate 
(Right, Left) ..............1 (Each)
•Battery................................. 1
•Electronic Pen..................... 1
•Penpoint.............................. 2
•Operating Instructions......... 1
•Warranty ............................. 1
Joint
Cushioning 
material

49Operating Instructions
Installation Manual
1
Assembling the elite Panaboard
For Wall Mounting
1. Attach the power cord.
•Connect the power cord to the elite Panaboard 
before installing on a wall.
2. Depending on the location of the outlet, install 
the power cord as illustrated in the following 
diagrams.
•When attaching the power cord downward.
•When attaching the power cord along the lower 
side of the elite Panaboard.
3. Remove the push-turn rivets (4) on the 
fasteners on the bottom of the board.
•Turn the push-turn rivets counter-clockwise with 
a Phillips-head screwdriver. When the fastener 
pops up, the part can be removed. 
4. Hang the elite Panaboard on the wall mounting 
plates with the screw heads.
Power Cord
Push-turn Rivets

Installation Manual
50 Operating Instructions
5. Remove the screws on each end of the bottom 
of the lower frame cover.
•UB-T880: 2 screws, 
UB-T880W: 4 screws
(UB-T880 is shown in the following figure as an 
example.)
6. Open the pen tray, remove the screw caps and 
the screws, and remove the lower frame cover.
•Open the pen tray (), and remove the right and 
left screw caps (2 locations). Then, remove the 
screws, and remove the lower frame cover ().
7. Fasten to the wall.
•Use 4 screws to attach the fasteners on the 
bottom of the board securely to the wall.
8. Attach the lower frame cover. 
•Perform step 6 and step 5 in reverse and attach 
the lower frame cover, making sure there is no 
unevenness with the front surface.
Notice
•When mounting on a wall, do not hit or jolt 
the elite Panaboard.
•After mounting, gently apply some weight on 
the elite Panaboard to make sure that it is 
securely fastened to the wall.
9. Confirm that the elite Panaboard can operate.
•See “Confirming the elite Panaboard Operation” 
(page 54).
Screw Caps

51Operating Instructions
Installation Manual
1
9. Remove the wireless adaptor cover.
•Remove the screw for the wireless adaptor cover 
with a no. 1 Phillips-head screwdriver, and then 
remove the cover.
10. Attach the 2.4 GHz USB Wireless Adaptor.
•After inserting the 2.4 GHz USB Wireless  
Adaptor, secure the wireless adaptor cover  
with the screw.
11. Confirm that the elite Panaboard can operate.
•See “Confirming the elite Panaboard Operation” 
(page 54).
12. Turn off the power switch and unplug the 
power cord from the AC outlet.
13. Wipe the screen board surface.
•Gently wipe the screen board surface with a soft, 
moist cloth.
Notice
•Do not use thinner, benzene, or abrasive 
chemicals to clean. 
(Doing so can result in discoloration.)
•Do not wipe the screen board with a dry 
cloth. 
(Doing so can cause static electricity build-
up.)
Wireless Adaptor Cover
2.4 GHz USB Wireless 
Adaptor
(Label faces toward the back)

Installation Manual
52 Operating Instructions
For Mounting on a Stand KX-B061 
(Sold Separately)
1. Attach the power cord.
•Connect the power cord to the elite Panaboard 
before installing on the stand.
2. Depending on the location of the outlet, install 
the power cord as illustrated in the following 
diagrams.
•When attaching the power cord downward.
•When attaching the power cord along the lower 
side of the elite Panaboard.
3. Hang the elite Panaboard on the stand with the 
screw heads.
4. Secure the elite Panaboard to the stand frame 
using the two-wing bolts (M5 × 12 mm [1/2in.] 
[2 count]) included with the stand.
Power Cord

53Operating Instructions
Installation Manual
1
•When installing the elite Panaboard on the 
stand, you can adjust its height to 4 different 
levels. 
When changing the height, remove the left 
and right screws from the back of the elite 
Panaboard, and securely insert them at the 
desired height. Torque (greater than 1 N•m 
[10 kgf•cm (9 lbf•in.)]).
5. Confirm that the elite Panaboard can operate.
•See “Confirming the elite Panaboard Operation” 
(page 54).
6. Turn off the power switch and unplug the 
power cord from the AC outlet.
7. Wipe the screen board surface.
•Gently wipe the screen board surface with a soft, 
moist cloth.
Notice
•Do not use thinner, benzene, or abrasive 
chemicals to clean. 
(Doing so can result in discoloration.)
•Do not wipe the screen board with a dry 
cloth. 
(Doing so can cause static electricity build-
up.)
elite Panaboard 
Height  Screw Position
-100 mm (-3 7/8in.) Highest
Standard 2nd from top
+100 mm (+3 7/8in.) 2nd from bottom
+200 mm (+7 7/8in.) Lowest

Installation Manual
54 Operating Instructions
Confirming the elite Panaboard Operation
After assembling the elite Panaboard, confirm that it operates properly by following the procedure below.
Confirming the Interactive Features
1. Following the procedure in “Installing the elite Panaboard software/book” (page 22), install the 
software and connect the included USB cable.
2. Confirm that the interactive features are operating correctly.
•If a projector is not available, confirm operation using only the elite Panaboard and computer.
•When the elite Panaboard software starts, the calibration screen is displayed on the computer screen.
•Perform tentative calibration by touching each of the following points on the elite Panaboard with your 
finger for about 2 seconds, one point after another. For precise adjustment, it is necessary to use a 
projector.
•Confirm operation by writing on the screen board with the electronic pen and checking that the writing is 
displayed on the computer’s screen. (Your writing with the electronic pen will not appear on the screen 
board itself.)
Action
Checkpoints
Operation Measure
1Turn on the power.  Power LED (green) lights. (Normal operation)
Power LED (green) does not 
light, or Error LED (red) is 
blinking.
Check the power cord.
See step 1 of “Assembling the elite Panaboard”.
•For Wall Mounting →  page 49
•For Mounting on a Stand KX-B061 (Sold 
Separately) →  page 52
1
3
4
2
Approx. 100 mm (3 7/8in.)
Approx. 100 mm (3 7/8in.)

Installation Manual
55Operating Instructions
1
Repackaging
To repackage the elite Panaboard, perform steps in the following “Assembling the elite Panaboard” in 
reverse.
•For Wall Mounting →  page 49
•For Mounting on a Stand KX-B061 (Sold Separately) →  page 52
Package the unit as depicted in the diagram in “Preparing for Removing the elite Panaboard from Its 
Packaging” (page 48).
Notice
•When handling the electronic board, hold it by the frame and not the screen board. (Holding the screen 
board can result in damage.)

1731
(For EU only)
© Panasonic System Networks Co., Ltd. 2010 F0510E0
Information for Users on Collection and Disposal of Old Equipment and used Batteries
These symbols on the products, packaging, and/or accompanying documents mean that used electrical and 
electronic products and batteries should not be mixed with general household waste.
For proper treatment, recovery and recycling of old products and used batteries, please take them to applicable 
collection points, in accordance with your national legislation and the Directives 2002/96/EC and 2006/66/EC.
By disposing of these products and batteries correctly, you will help to save valuable resources and prevent any 
potential negative effects on human health and the environment which could otherwise arise from inappropriate 
waste handling.
For more information about collection and recycling of old products and batteries, please contact your local 
municipality, your waste disposal service or the point of sale where you purchased the items.
Penalties may be applicable for incorrect disposal of this waste, in accordance with national legislation.
For business users in the European Union
If you wish to discard electrical and electronic equipment, please contact your dealer or supplier for further 
information.
Information on Disposal in other Countries outside the European Union
These symbols are only valid in the European Union. If you wish to discard these items, please contact your 
local authorities or dealer and ask for the correct method of disposal.
Note for the battery symbol (bottom two symbol examples):
This symbol might be used in combination with a chemical symbol. In this case it complies with the requirement 
set by the Directive for the chemical involved.