Panasonic of North America FZN1B Multi-band GSM/EDGE/CDMA/WCDMA/LTE Phone with Bluetooth, WLAN and RFID User Manual 2
Panasonic Corporation of North America Multi-band GSM/EDGE/CDMA/WCDMA/LTE Phone with Bluetooth, WLAN and RFID Users Manual 2
Contents
- 1. Users Manual 1
 - 2. Users Manual 2
 
Users Manual 2

Operating Instructi ons
Smart Handhel d
EB-3901
Operating Instructions
Basic Guide
Tablet Computer
Model No.
 FZ-N1 
series 
Thank you for purchasing a Panasonic product.
For optimum performance and safety, please read these 
instructions carefully.
For detailed information about this product, refer to the Reference 
Manual, which is available by tapping [Online Manual] in the 
product’s app list. (Download required.)
FZN1 
US_BG_Draft
2
Table of Contents
Introduction.............................................................. 3
Regulatory information................................................... 3
Handling cautions .......................................................... 5
Terms and illustrations in this document ....................... 9
Disclaimers .................................................................. 10
Getting Started....................................................... 11
Confirming the included items ..................................... 11
Description of parts...................................................... 12
Opening and closing the interface cover ..................... 16
Removing and attaching the battery cover .................. 17
Installing SIM cards (certain models only)................... 19
Installing an SD card.................................................... 20
Installing and removing the battery.............................. 22
Charging the battery.................................................... 24
Turning the unit on and off........................................... 25
Home screen, status bar, notifications......................... 26
Navigation and function buttons .................................. 27
Factory data reset........................................................ 28
Troubleshooting .................................................... 29
Appendix ................................................................ 33
Specifications............................................................... 33
LIMITED WARRANTY................................................. 40
LIMITED WARRANTY / GARANTIE LIMITÉE............. 45

3Introduction
Introduction
Regulatory information
For USA
FCC RF exposure information
The highest SAR value for this product as reported to the FCC when 
tested for use at the ear is listed below:
And when worn on the body in a holder or carry case, is listed below:
For Canada / Pour le Canada
RF exposure information
The highest SAR value for this product as reported to the IC when 
tested for use at the ear is listed below:
And when worn on the body in a holder or carry case, is listed below:
Regulatory information
Highest value (W/kg)
0.28 
0.45
0.27
FCC ID
ACJFZN1A
0.73 
ACJFZN1B
1.09
Highest value (W/kg)
FCC ID
ACJFZN1A
ACJFZN1B
0.72
216A-FZN1B
Highest value (W/kg)
IC
216A-FZN1A
0.45
1.09
Highest value (W/kg)
IC
216A-FZN1A
216A-FZN1B

4
Information sur l’exposition aux radiofréquences (RF)
La valeur de DAS la plus élevée obtenue pour ce produit, telle que 
rapportée à l’IC lors des essais pour une utilisation près de l’oreille, 
est telle que décrite ci-dessous :
Et avec l’appareil porté sur soi dans un portoir ou un boîtier, la valeur 
est telle que ci-dessous :
0,45
0,27
0,72
216A-FZN1B
IC
216A-FZN1A
Valeur la plus élevée (W/kg)
1,09
216A-FZN1B
IC
216A-FZN1A
Valeur la plus élevée (W/kg)

5Introduction
Handling cautions
General use
• Operating environment
Temperature: Operation: -10 °C to 50 °C {14 °F to 122 °F} 
(IEC60068-2-1, 2)
*1
Storage: -30 °C to 70 °C {-22 °F to 158 °F}
Humidity: Operation: 30 % to 80 % RH (No condensation)
Storage: 30 % to 90 % RH (No condensation)
Even within the above temperature/humidity ranges, operation for 
a long time in extreme environments, smoking nearby, or operation 
in places where oil is used or where there is a lot of dust will result 
in product deterioration and will shorten the product life.
Also, when using the product in cold environments, the product 
may take longer to start up and battery operation time may be 
reduced.
If the product is wet in temperatures of 0 °C {32 °F} or below, 
freeze damage may occur. Make sure to dry off the computer in 
such temperatures.
*1 Do not directly touch this product with your bare hands when 
using it in a hot or cold environment.
• Do not place the product in the following areas, as doing so may 
damage the product.
– Near electric appliances. The image may be distorted or noise 
may occur.
• This product is designed to reduce physical shock applied to the 
LCD and internal electrical components. However, protection 
against malfunction due to such shock is not guaranteed. As with
any portable device, precautions should be taken to avoid any 
damage.
• When operating the screen using the dedicated stylus, do not 
firmly press it down. Doing so may damage the dedicated stylus or 
result in scratches or dents on the screen.
• Do not place objects on the surface of the product or press down 
hard on the product with sharp objects. The screen surface may 
get scratched.
Handling cautions
6
• Do not scratch the rear camera, barcode reader, or flash panel.
• Do not use the dedicated stylus (sold separately) when dust or dirt 
(e.g., oil) is on the screen. Otherwise foreign particles on the 
screen/dedicated stylus may scratch the screen surface or 
obstruct operation of the dedicated stylus.
• Use the dedicated stylus only for touching the screen. Using it for 
any other purpose may damage the dedicated stylus and result in 
scratches on the screen.
• Confirm the safety and security of software before downloading or 
installing it on the product. Installing malware or viruses can cause 
malfunction and the disclosure of any private information stored in 
the product, or may cause excessive sound volume.
• Turn off the product before removing the SIM card or SD card. 
Failure to do so can result in data loss or damage to the SIM card, 
SD card, or product.
• Do not place the product near a television or radio receiver. This 
may cause television or radio interference.
• Keep the product away from magnets. Failure to do so may cause 
malfunction.
• It is illegal in many areas to record a call without permission. 
Always ask the other party for permission before recording a call.
• Follow these instructions and the Reference Manual to avoid any 
damage to the devices. Carefully read the instruction manuals of 
the peripheral devices.
– Use peripheral devices that conform to the product's 
specifications.
– Connect to the connectors in the correct direction.
– If a connector is hard to insert, do not try forcibly. Check its 
shape, direction, alignment of pins, etc.
Protecting your data
• To prevent accidental loss of data, we recommend that you back 
up any important data that you store in the product, SIM card, and 
SD card.
• To prevent the unintended disclosure of private information, 
always confirm the destination before sending messages, file 
attachments, or any other communications, such as email.
7Introduction
• To prevent the unintended disclosure of sensitive information 
stored in the SD card, we recommend using the unit's SD card 
encryption feature to encrypt the SD card (see the Reference 
Manual for more information).
• Before disposing of the product or handing the product over to a 
third party, remove the SIM card, SD card, and any other 
accessories.
• Before disposing of the product or handing the product over to a 
third party, perform a factory data reset (page 28) to erase any 
data stored in the product.
• Before using Wi-Fi or Bluetooth features, take appropriate action to 
secure your data.
Waterproof/dustproof
• The product is waterproof/dustproof when the interface cover and 
headset jack cover are closed, and the battery and battery cover 
are attached. Therefore, keep water and dust away from product's 
internal components, accessories, and optional products.
• To prevent liquids, sand, dust, or any foreign objects from entering 
the product, always keep the battery cover and battery clean and 
make sure to firmly close the cover after opening. Take care not to 
get anything caught between the cover or battery and the product.
• If the product is exposed to water droplets, wipe them off with a 
dry, soft cloth and shake the product to remove the water droplets. 
Next, remove the battery cover, and shake the product while 
holding down the battery so that it does not detach to remove the 
water. Then, with the battery still attached, wipe off the water 
droplets on the battery and back side of the battery cover, and dry 
thoroughly.
• Do not leave any water droplets on the product. Water droplets 
may cause the micro USB port or headset jack to short circuit, or 
create smears on the screen.
• If the unit is wet, wipe off the moisture before connecting with 
peripheral devices.
• Do not dry the product with an appliance or heat source such as a 
microwave oven or dryer.
8
• Accessories
Do not use in the rain or in very humid places such as bathrooms 
because the accessories are not waterproof/dustproof. Stop use if 
they are worn on the body, because the inside may corrode due to 
humidity from sweat and cause malfunction.
Maintenance
• When cleaning the product, make sure to turn it off.
• When cleaning the product, wipe it with a soft, dry cloth. An 
alcohol-based disinfectant may be used if necessary.
– If the product is particularly dirty, thoroughly wring a cloth 
soaked in water, wipe off the dirt, and then wipe with a dry cloth.
– Do not clean the product with solvents such as benzene, thinner, 
or strong alkaline detergent because they may affect the surface 
of the product.
Battery
• The battery is a consumable item, and battery life varies with 
usage conditions. Typical battery life is approximately one year or 
about 500 charge cycles. As the battery reaches the end of its life, 
the amount of time it can be used becomes dramatically shorter 
and repeated charging does not restore its performance. When 
this occurs, the battery should be replaced with a new one.
• Do not touch the terminals of the battery. Failure to observe this 
may cause poor contact.
• When the battery is left installed in the product, it discharges 
electricity gradually in small amounts even if the product's power is 
off. If left for a long period (several months or more), the battery will 
over discharge and its performance may deteriorate.
• Store the battery in environments with an ambient temperature 
of -20 °C to 35 °C (-4 °F to 95 °F). If the battery is stored in other 
environments, battery performance and battery life may be 
reduced.
• When storing or transporting the battery, make sure that the 
battery's terminals do not become dirty and that no foreign objects 
or debris become attached to the battery's terminals.

9Introduction
• If battery charging is not completed after the specified charging 
time has passed, remove the battery from the unit. The battery 
protection device may be damaged.
• You cannot charge an installed battery if it is not recognized by the 
product. Make sure that you use the specified battery.
Terms and illustrations in this document
• Panasonic Corporation and/or its affiliates are referred to 
collectively as “we” or “Panasonic”.
• This product supports microSD, microSDHC, and microSDXC 
memory cards. In this document, the term “SD card” is used as a 
generic term for any supported memory card.
• This product supports Micro SIM cards (certain models only). In 
this document, the term “SIM card” is used as a generic term for 
any supported SIM card.
• Some illustrations in this document may look different from the 
actual product. Also, the details of the descriptions may vary due to 
differences between the software versions or automatic updates of 
some software.
• Information in this document is subject to change without notice.
• For the latest information about optional products, refer to the 
product catalogs, etc.
Terms and illustrations in this document

10
Disclaimers
Panasonic shall not be liable for loss of data or other incidental or 
consequential damages resulting from the use of this product. This 
product can download, store, forward, and receive additional content, 
such as applications, ringtones, contact information, and media files. 
The use of such content may be restricted or prohibited by the rights 
of third parties, including but not limited to restriction under 
applicable copyright laws. You are entirely responsible for additional 
content that you download to or forward from this product; Panasonic 
is not responsible for such content or its use. Before using such 
content, it is your responsibility to verify that your intended use is 
properly licensed or is otherwise authorized. Panasonic does not 
warrant or guarantee the accuracy, integrity or quality of any 
additional content or any other third-party content. Under no 
circumstances will Panasonic be liable in any way for the improper 
use of additional content or other third-party content by this product 
or its operator. This document and any related product 
documentation may refer to services and applications that are 
provided by third parties. The use of such services or programs may 
require separate registration with the third party provider and may be 
subject to additional terms of use. For applications accessed on or 
through a third-party web site, please review the web sites’ terms of 
use and applicable privacy policy in advance. Panasonic does not 
warrant or guarantee the availability or performance of any third-
party web sites, services, or applications.
Disclaimers

11Getting Started
Getting Started
Confir ming the i ncluded it ems
If any items are missing, please contact your technical support 
representative.
–
Main unit
×
1
–
Battery
×
1
–
Operating Instructions - Read Me First
×
1
Confirming the included items

12
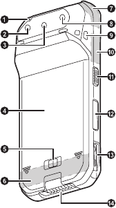
Descri ption of part s
Front view
A
Indicator
Orange, lit: Battery is charging
Green, lit: Battery charging is complete
Red, lit: Battery level is less than 15 % of a full charge
B
Front camera
C
Earpiece
Description of parts
13Getting Started
D
Ambient light sensor, proximity sensor
The ambient light sensor automatically adjusts the screen 
brightness. The proximity sensor prevents accidental operations 
on the touch panel during phone calls.
E
NFC antenna
 (internal)
When using an NFC card or other NFC device, touch the card/
device to this area of the unit.
F
Display (touch panel)
Can also be operated while using gloves (glove touch mode).
G
Speaker
H
Application button [A1]
 (page 27)
I
Application button [
A2
]
 (page 27)
J
Application button [
A3
]
 (page 27)
K
Headset jack cover
 (page 15)
L
Headset jack
M
Power button
 (page 25)
N
Microphone
O
Interface cover
 (page 16)
P
micro USB port
Q
Strap attachment hole
R
Side button
 (page 27)
S
Camera button
 (page 27)
T
Cradle rail
Used when connecting the unit to an optional cradle, etc.

14
Rear view
A
Microphone
B
Rear camera
C
Barcode reader
D
Battery cover
E
Battery lock lever
F
Cellular antenna
 (internal)
G
GPS antenna
 (internal)
H
Flash
Can be used when taking pictures.
I
Strap attachment hole
J
Wi-Fi, Bluetooth antenna
 (internal)
K
Side button
 (page 27)
L
Volume buttons

15Getting Started
M
Cradle rail
Used when connecting the unit to an optional cradle, etc.
N
Expansion bus connector
Used when connecting an optional cradle, etc. or for other future 
expansion options.
Opening and closing the headset jack cover
Pull back at the protrusion of the headset jack cover with your 
fingertip. When closing, make sure the cover is closed firmly.
IMPORTANT
• Observe the following to ensure the waterproof and dustproof 
performance of the unit.
– Make sure the headset jack cover is securely closed when the 
headset jack is not being used.
– When closing the headset jack cover, make sure there is no 
debris lodged in and around the cover.

16
Opening and closing the interface cover
Opening the interface cover
Closing the interface cover
Opening and closing the interface cover
1.
Slide in the direction of the 
arrow at the protrusion 
(circled in the illustration 
above) with your fingertip.
2.
Pull back the cover and 
rotate it downward.
1.
Rotate the cover upward 
and insert it to its original 
position.
2.
Firmly slide in the direction 
of the arrow until the red 
area (circled in the 
illustration above) of the 
cover is no longer visible.

17Getting Started
IMPORTANT
• Observe the following to ensure the waterproof and dustproof 
performance of the unit.
– Make sure the interface cover is securely closed and locked 
when the micro USB port is not being used.
– When closing the interface cover, make sure there is no debris 
lodged in the gasket that seals the cover.
Removing and attaching the battery cover
Removing the battery cover
1.
Slide the battery lock lever (circled in the illustration) in direction 
of   (A), then slide the battery cover in direction of the arrow 
(B).
Removing and attaching the battery cover

18
Attaching the battery cover
1.
Place the battery cover on the unit as shown in the illustration 
below (A), and then slide it until you hear a click (B).
2.
Lock the cover by sliding the battery lock lever (circled in the 
illustration) toward  .
• Firmly slide until the red area is no longer visible.
IMPORTANT
• Observe the following to ensure the waterproof and dustproof 
performance of the unit.
– Always make sure the battery cover is securely closed and 
locked.

19Getting Started
Installing SIM cards (certain models only)
You can install up to two SIM cards.
1.
Remove the battery cover (page 17).
• If a battery is installed, remove it (page 23).
2.
Slide the Micro SIM card slot in the direction of the arrow (A), 
and then open it (B).
3.
Insert the SIM card into the desired Micro SIM card slot.
• Install only Micro SIM cards.
• If only one SIM card is installed, insert it into Micro SIM card 
slot 1.
• Hold the SIM card so that the metal terminals are facing you, 
and insert with the notch facing in the same direction of the 
circled area in the illustration below.
Installing SIM cards (certain models only)
Slot 1
Slot 2

20
4.
Close the Micro SIM card slot (A), and slide it in the direction of 
the arrow (B) until you hear a click.
• To remove a SIM card, follow the same procedure, and then 
pull out the SIM card at step 3.
Note
• See the 
Reference Manual
 (tap 
[Online Manual]
 in the app 
list) for information on selecting the active SIM card slot and the 
preferred mobile network mode.
Installing an SD card
When installing or removing an SD card, place the unit on a flat 
surface.
1.
Remove the battery cover (page 17).
• If a battery is installed, remove it (page 23).
2.
Slide the microSD card slot in the direction of the arrow (A), and 
then open it (B).
Installing an SD card

21Getting Started
3.
Insert the microSD card into the microSD card slot (A), and then 
close the slot (B).
• Install only microSD cards.
• Hold the microSD card so that the metal terminals are facing 
you, and insert with the notch facing in the same direction of 
the circled area in the illustration below.
4.
Slide the microSD card slot in the direction of the arrow until you 
hear a click.
• To remove a microSD card, follow the same procedure, and 
then pull out the microSD card at step 3.

22
Installing and removing the battery
Installing the battery
1.
Remove the battery cover (page 17).
2.
Insert the tab (circled in the illustration below) on the terminal side 
of the battery into the groove of the unit (A), and then push 
downward (B).
IMPORTANT
• Observe the following to ensure the waterproof and dustproof 
performance of the unit.
– When installing the battery, make sure there is no debris lodged 
in the gasket that seals the unit.
Installing and removing the battery

23Getting Started
Removing the battery
1.
Remove the battery cover (page 17).
2.
Lift the battery up using the tab (circled in the illustration) (A), 
then remove it (B).
IMPORTANT
• Do not remove the battery while the unit is wet. When the unit is 
wet, remove the water by wiping off the water droplets and 
thoroughly drying the unit before removing the battery. (See 
"Waterproof/dustproof", page 7.)
Replacing the battery without turning the unit off (Battery warm 
swap)
• Replace the battery within 30 seconds. If more than 30 seconds 
has passed, apps that are running are forced to close and you may 
lose unsaved data.
• During warm swapping, all wireless functions are turned off 
temporarily.
1.
Press and hold   (power button) until the power options dialog 
is displayed.
2.
Tap 
[Battery Warm Swap]
.
3.
Follow the on-screen instructions.
• It may take some time until the indicator lights in green.
4.
Replace the battery.

24
Charging the battery
You can charge the unit by using the optional Charging Cup and the 
optional adaptor. For more information, refer to the Operating 
Instructions of the Charging Cup.
•
Optional accessories
Charging Cup: FZ-VCBN11U
AC Adaptor: CF-AA6373A
1.
Insert the adaptor straight into the rear indentation as shown in 
the figure, and insert into the DC input jack (A).
• Plug the power plug into a power outlet.
2.
Rotate the adaptor downward (B), and firmly insert the unit until 
you hear a click (C).
• The battery is not charged at the time of purchase. Charge the 
battery before turning on the unit for the first time or after an 
extended period of storage.
• Charge the battery in environments with an ambient temperature 
of 10 °C to 35 °C (50 °F to 95 °F).
• The indicator lights in orange while the battery is charging, and 
lights in green when charging is complete.
Charging the battery

25Getting Started
• The product prevents overcharging of the battery by charging only 
when the remaining battery level is less than approximately 95 % 
of its full capacity.
• You can also charge the unit by connecting it to the USB port of a 
computer or other device using a USB connection cable.
Note
• When removing the USB connection cable, make sure to 
remove it while holding the plug. Do not pull by the cable.
• When connecting a USB connection cable, note the shape of 
the micro USB plug and the micro USB port. Do not attempt to 
connect the USB connection cable upside down.
• Remove any dust or water droplets from plugs before 
connecting them. Do not use excessive force when inserting 
plugs or insert them at an angle.
Confirming the battery level
The battery level is displayed in the upper-right corner of the screen, 
in the status bar.
You can also confirm the specific amount of battery level remaining. 
From the home screen, tap   
→
[Settings]
→
[Battery]
.
Turning the unit on and off
Turning the unit on
Press and hold   (power button) on the top of the unit until the unit 
briefly vibrates.
Turning the unit off
1.
Press and hold   until the power options dialog is displayed.
2.
Select the power off option.
Fully charged Charging Very low
Turning the unit on and off

26
Turning the screen on and off
1.
Press  .
2.
Swipe up from the bottom of the screen to release the screen 
lock.
• Swiping the bottom-left   to the right launches the 
[Phone]
app (certain models only), and swiping the bottom-right   to 
the left launches the 
[Camera]
 app.
Configuring the unit for the first time
The first time you turn the unit on, you will be prompted to configure 
different settings. Follow the on-screen instructions and configure 
each item as needed. An Internet connection is required to configure 
certain items.
Home screen, status bar, notifications
Using the home screen
The home screen is the main screen from which you can launch 
apps, check widgets, etc. You can customize the home screen to suit 
your needs by adding, moving, and removing items as desired.
You can also view a list of all installed apps by tapping  .
While the screen is on, you can display the home screen at any time 
by tapping   or 
A2
 (default setting).
Using the status bar
The status bar is displayed at the top of the screen when using most 
apps. It displays icons that let you know the status of the battery, 
network signal, and other features.
• See the Reference Manual for a list of commonly used icons and 
their meanings.
Home screen, status bar, notifications

27Getting Started
Using the notifications panel
The notifications panel provides detailed information about incoming 
email messages, app updates, calendar events, etc. You can open 
the notifications panel by sliding your finger down slowly from the top 
of the screen toward the center of the screen. To close the 
notifications panel, slide your finger up slowly from the bottom of the 
screen toward the center of the screen. While the notifications panel 
is open, you can tap a notification and open the corresponding app, 
or swipe a notification left or right to delete it from the panel.
Navigation and  function buttons
The navigation buttons are available in most screens and help you 
navigate the unit's screens. They appear at the bottom or side of the 
touch panel screen, depending on the unit’s orientation.
The unit also features physical buttons that can be used to access 
various functions quickly.
The default button assignments are described below.
Some buttons can be customized using the 
[UserButtonManager]
app; see the Reference Manual for more information.
Navigation and function buttons
Returns to the previous screen or closes the current dialog 
box, menu, etc.
Displays the home screen.
Displays a list of recently used apps. Once the list is 
displayed, tap an app to launch it, or swipe left or right to 
remove an app from the list.
A1
The same function as  .
A2
The same function as  .
A3
Displays the list of options (if available) for the 
current screen.
Side button
No function by default.
Camera 
button
Press and hold to launch the camera app. When 
using the camera app, press this button to take 
a picture, start and stop video recording, etc.

28
Factory data reset
CAUTION
• The following procedure resets all settings and erases any data 
you have stored in the unit. Back up important data before 
performing this procedure.
1.
From the home screen, tap   
→
[Settings]
→
[Backup & 
reset]
.
2.
Tap 
[Factory data reset]
→
[RESET TABLET]
→
[ERASE 
EVERYTHING]
.
• The unit restarts when the factory data reset is complete.
• All data in the /mnt/sdcard folder will be erased. Data stored in 
the SD card will not be erased.
Factory data reset

29Troubleshooting
Troubleshooting
If you experience any trouble while using the unit, refer to the 
information in this section for troubleshooting. See the Reference 
Manual (tap 
[Online Manual]
 in the app list) for additional 
troubleshooting information.
If the problem persists, contact your technical support representative.
Starting up
The unit does not turn on.
• To turn the unit on, press and hold   (power button) until the unit 
briefly vibrates.
• The battery may be low or completely discharged. Charge the 
battery.
• The unit may be too hot or too cold. Leave the unit in an 
environment of 10
 °
C to 35
 °
C (50
 °
F to 95
 °
F) for about an hour, 
and then try again.
The unit does not wake up from sleep.
• The battery may have become completely discharged while the 
unit was in sleep mode. In this case, any data which has not been 
saved will be lost, and the unit will not wake up. Charge the 
battery.
• The unit may be too hot or too cold. Leave the unit in an 
environment of 10
 °
C to 35
 °
C (50
 °
F to 95
 °
F) for about an hour, 
and then try again.
Nothing appears on the screen.
• The screen may have turned off to save power. Press   (power 
button).
• Charge the battery.
• Install the battery correctly.
• Replace the battery with a fully-charged one.
• The screen is too dark. See “The screen is too dark.” (page 30).
Other startup problems
• Disconnect and remove all peripheral devices.

30
Shutting down
Screen
The unit does not turn off.
• It may take one or two minutes for the unit to turn off. This is not a 
malfunction.
• Press and hold   (power button) for at least 10 seconds to force 
the unit to restart, and then try again.
• Disconnect and remove all peripheral devices.
The screen is too dark.
• The 
[Adaptive brightness]
 setting reduced the brightness 
according to the ambient brightness. Manually adjust the screen 
brightness.
1.
From the home screen, tap   
→
[Settings]
→
[Display]
.
2.
Tap the 
[Adaptive brightness]
 switch to turn it off.
3.
Tap 
[Brightness level]
 and then adjust the slider.
• The 
[Minimum limit brightness]
 setting of customized silent 
mode was turned on. Turn the setting off.
1.
From the home screen, tap   
→
[Settings]
→
[Sound & 
notification]
→
[Customized silent mode]
.
2.
Tap the 
[Customized silent mode]
 switch to turn it off, then 
tap the 
[Minimum limit brightness]
 switch to turn it off.
3.
Tap the 
[Customized silent mode]
 switch to turn it on.
There are red, green, or blue dots on the screen, or there is 
unevenness in screen colors or brightness.
• The following are not malfunctions.
– Although advanced high-precision technologies are used in the 
production of color LCD screens, a very small number of the 
screen pixels may be dark or remain constantly lit.
– Due to the natural characteristics of LCD screens, you may 
notice unevenness in colors and brightness depending on your 
angle of view. Hues may also vary by product.

31Troubleshooting
Indicator
The indicator flashes in orange.
• The battery cannot be charged temporarily because the ambient 
temperature is too low or too high. Leave the unit in an 
environment of 10
 °
C to 35
 °
C (50
 °
F to 95
 °
F) for about an hour.
The indicator lights in red.
• The remaining battery level is approximately less than 15 % of a 
full charge. Charge the battery.
The indicator flashes in red.
• Battery authentication failed. Use a specified battery.
• There may be debris lodged in the battery charge terminals. 
Remove the battery and remove any debris found.
• Charging may have stopped automatically. Disconnect the 
charger and then reconnect it.
The indicator does not light during charging.
Battery charging ends quickly, or the battery cannot be 
charged at all.
• The unit is not connected to the charger properly, or the USB 
connection cable is not connected properly. Confirm the 
connection.
• There may be debris lodged in the battery charge terminals. 
Remove the battery and remove any debris found.
• Replace the battery with a new one.
The screen is dim and the indicator flashes in red or lights in 
green.
• The battery cover may be detached. Attach the cover properly.

32
Other
The date and time are incorrect.
• Confirm the date and time settings. From the home screen, tap 
→
[Settings]
→
[Date & time]
.
• Set the date and time automatically.
1.
From the home screen, tap   
→
[Settings]
→
[Date & 
time]
.
2.
Tap the 
[Automatic date & time]
 and 
[Automatic time 
zone]
 (certain models only) switches to turn them on.
3.
Make sure the unit is in an area with good wireless reception, 
turn the unit off, and then turn it on again.
• The unit will not recognize dates after December 30, 2037.
The unit’s operation is slow.
• Ambient temperature may be too low or too high. Leave the unit 
in an environment of 10
 °
C to 35
 °
C (50
 °
F to 95
 °
F) for about an 
hour and then try again.
The unit does not respond.
• Turn the unit off and then on again (page 25).
• If an app does not work normally, follow the instructions below to 
force quit or uninstall the problematic app or process.
1.
From the home screen, tap   
→
[Settings]
→
[Apps]
.
2.
Select the desired app or process and then tap 
[UNINSTALL]
or 
[FORCE STOP]
.
The screen freezes and no operations can be performed.
• Press and hold   (power button) for at least 10 seconds to force 
the unit to restart, and then try again.

33Appendix
Appendix
 Specifications
Typical unit specifications and certain options are described below. 
Unit configuration may vary.
Specifications
Model No.
FZ-N1
CPU
Qualcomm
®
 MSM8974AB
2.3 GHz Quad Core
Memory
2
GB
*1
Storage
16 GB
Display Internal LCD
4.7 in. HD (1280 
×
 720 dots), 
Aspect ratio 16:9
16 777 216 colors

34
Wi-Fi Standards supported
IEEE 802.11a / IEEE 802.11b / IEEE 802.11g / 
IEEE 802.11n / IEEE 802.11ac
Transmission method
OFDM system, DSSS system
Wireless channels used
IEEE 802.11a / IEEE 802.11n (5 GHz) / IEEE 
802.11ac
• W52 (36, 38, 40, 42, 44, 46, 48 ch)
• W53 (52, 54, 56, 58, 60, 62, 64 ch)
• W56 (100, 102, 104, 106, 108, 110, 112, 
116, 118, 120, 122, 124, 126, 128, 132, 
134, 136, 140 ch)
• W58 (149, 151, 153, 155, 157, 159, 161, 
165 ch)
IEEE 802.11b / IEEE 802.11g / IEEE 802.11n 
(2.4 GHz): 1 ch - 11 ch
RF frequency band
2.4 GHz Band: 2.412 GHz - 2.462 GHz
5 GHz Band: 5.18 GHz - 5.32 GHz, 5.5 GHz - 
5.7 GHz, 5.745 GHz - 5.825 GHz
Data transfer rate
IEEE 802.11a: up to 54 Mbps
IEEE 802.11b: up to 11 Mbps
IEEE 802.11g: up to 54 Mbps
IEEE 802.11n:
• HT20: up to 72.2 Mbps
• HT40: up to 150 Mbps
IEEE 802.11ac:
• VHT20: up to 86.7 Mbps
• VHT40: up to 200 Mbps
• VHT80: up to 433.3 Mbps

35Appendix
Bluetooth
Version 4.1, Class 1
Transmission method
FHSS system
Wireless channels used
0 - 78 ch (Low energy: 0 - 39 ch)
RF frequency band
2402 MHz - 2480 MHz
Supported profile
A2DP, AVRCP, HFP, HID, HOGP, HSP, MAP, 
OPP, PAN (certain models only), PBAP, SPP, 
GAVDP, GATT
Mobile networking
(certain models 
only)
LTE, HSPA+, UMTS, EDGE, GPRS, GSM, 
CDMA 1x, EVDO Rev. A
SIM card slot
Micro SIM card slot 
×
2
Sound Speaker
Twin speakers (100 dBA), phone speaker
Microphone
3 microphones, noise suppressor
Security chip
ARM
®
 TrustZone
®
 (built-in)
Camera Front
5 megapixels
Video: 1920 
×
 1080 pixels, 30 fps
Still: 2592 
×
 1944 pixels
Rear
8 megapixels
Video: 1920 
×
 1080 pixels, 30 fps
Still: 3264 
×
 2448 pixels
GNSS
GPS/GLONASS (
±
2 to 4
m)
Barcode reader
1D, 2D support
Enhanced data 
security
FIPS
140-2 level-1 compliant

36
Sensors
Ambient light sensor, Digital compass,
Gyro sensor, Acceleration sensor, Proximity 
sensor
NFC
Built-in (Type A, B, Felica)
Card slots
microSD card slot 
×
1
*2
(microSDXC compatible)
Interfaces
USB 2.0 port 
×
1
*3
, Headset jack
 ×
1, 
Expansion bus connector (inside rear side, 
lower part of the unit)
Touchscreen
10-finger touch (capacitive) with:
Glove touch mode
*4
Rain sensing touch mode
*5
Stylus pen mode (Active type, Passive type)
Power supply
Battery
AC adaptor
(optional)
CF-AA6373A (60 W)
*6
Battery
(FZ-VZSUN110U 
included)
Lithium-ion
3200 mAh (typ.) / 3100 mAh (min.)
Rated Voltage
3.8 V
Operating time
 (approx.)
*7
Barcode scanning
*8
: 12 hours
Charging time
 (approx.)
*9
2 hours

37Appendix
Specifications are subject to change without notice.
Extended life 
battery
(FZ-VZSUN120U 
optional)
Lithium-ion
6400 mAh (typ.) / 6200 mAh (min.)
Rated Voltage
3.8 V
Operating time
 (approx.)
*7
Barcode scanning
*8
: 24 hours
Charging time
 (approx.)
*9
4 hours
Power 
consumption
*10
Approx. 15
W
*11
Dimensions
*12
(W
×
D
×
H)
Approx. 74 mm × 156 mm × 16.3 mm / 31 mm 
(barcode reader section)
[2.9 in. × 6.1 in. × 0.6 in. / 1.2 in (barcode 
reader section)]
without protrusions
Weight
*13
Approx. 277 g (0.61 lb), with the included 
battery
Operating 
environment
*14
Temperature
-10
 °
C to 50
 °
C (14
 °
F to 122
 °
F)
Humidity
30 % to 80 %
RH
Storage 
environment
Temperature
-30
 °
C to 70
 °
C (-22
 °
F to 158
 °
F)
Humidity
30 % to 90 %
RH
Operating 
system
*15
Android 5.1.1
Water and dust 
resistance
IP65, IP67
38
*1 1
MB = 1 048 576 bytes, 1
GB = 1 073 741 824 bytes
*2 Operation has been tested and confirmed using the following 
Panasonic brand memory cards: SD (up to 2
GB), SDHC (up to 
32
GB). Compatibility with other SD devices is not guaranteed.
*3 Does not guarantee operation of all USB-compatible 
peripherals.
*4 This mode may not operate properly depending on the type of 
glove.
*5 Only single-finger operation is enabled.
*6 The AC adaptor is designed for use with power sources that 
supply up to 240
V
AC. The AC cord supplied with the AC 
adaptor is designed for use with power sources that supply up to 
125
V
AC.
*7 Actual performance varies depending on usage conditions, 
connected peripherals, etc. Typically, operating time is reduced 
in colder environments.
*8 As defined by the JEITA Specification, Working Mode B.
*9 Varies depending on usage conditions.
*10 When the battery is fully charged (or not being charged) and the 
unit is off.
*11 Rated power consumption
*12 Actual size may vary by unit configuration.
*13 Average weight. Actual weight may vary by unit configuration.
*14 Do not expose the skin to this product when using the product in 
a hot or cold environment.
When using the product in hot or cold environments, some 
peripherals may not perform properly. Confirm the 
recommended operation environment of the peripherals.
Using the product continuously in hot environments will shorten 
the product life. Avoid continuous use in these types of 
environments.
When using the product in cold environments, the product may 
take longer to start up and battery operation time may be 
reduced.
Even when using the product within the temperature and 
humidity ranges listed here, using the product continuously in 
39Appendix
extreme environments will result in product deterioration and will 
shorten the life of the product.
*15 Product functionality cannot be guaranteed if the operating 
system is modified or replaced by the user or a third party.

40
 LIMITED WARRANTY
Limited warranty for U.S.A.
Section 1: Limited Warranty - Hardware
PSCNA, referred hereafter as “Panasonic” will repair the products listed below with 
Panasonic approved parts, free of charge in the Global Panasonic approved location for 
the period specified below from the date of original purchase in the event of a defect in 
materials or workmanship.
These warranties are extended solely to the original purchaser. A purchase receipt or 
other proof of date of original purchase will be required before warranty performance is 
rendered.
Original Battery Warranty
Batteries supplied with the product are covered under the warranty for one (1) year from 
date of purchase, except as excluded in Section 3. Batteries purchased separately are 
covered under the warranty for one (1) year from the date of purchase. A replacement 
battery furnished under the product warranty is covered for the remaining period of the 
one year warranty of the original or purchased battery.
Optional: Extended Warranty Program (PC)
If this coverage is purchased, the serial numbered unit is entitled to the same warranty 
coverage as the original warranty, for a period determined at the time of the extended 
warranty purchase. In this case the battery is not included in the extended warranty 
coverage; a separate coverage program is available for the battery. The cost of labor, 
parts, and shipping are included in the price of the Extended Warranty Program.
LIMITED WARRANTY
Panasonic System Communications Company
of North America (PSCNA)
Computer Products - Worldwide Warranties
Laptop Computers (CF-##): 3 Years
Tablet PC (FZ-##/JT-B#): 3 Years
Ultra-Mobile PC (CF-U#/CF-H# Series): 3 Years
PDRC - LCD & Keyboard Assembly: 3 Years
41Appendix
Optional: Panasonic “Protection Plus” Warranty
Any unit for which the Panasonic “Protection Plus” warranty has been purchased will 
receive additional coverage for any failure that occurs due to accidental damage. All 
other terms and conditions of the standard warranty apply and this additional coverage 
will exist for the duration of the standard warranty period of the unit.
If an extended Protection Plus warranty program is purchased, coverage is extended to 
the end of the last year of extended coverage purchased.
This warranty does not cover failures or defects that are caused by fire, intentional acts, 
loss, theft, improper maintenance, modification or service by anyone other than the 
Panasonic National Service Center or a Panasonic Authorized Service Provider, or 
damage that is attributable to acts of God.
Cosmetic damage that does not affect functionality is not covered. Cosmetic damage 
on units with hardware failures will be repaired in accordance with the warranty terms.
This warranty is extended solely to the original purchaser on the unit serial number for 
which it was purchased.
Complete unit replacement fulfills the full obligation and is at the discretion of Panasonic 
and is limited to once during the coverage term.
Refer to the Panasonic web site for full terms and conditions on the above programs.
Options and Accessories Warranties
The below listed Panasonic brand or supplied options and accessories are covered 
under this limited warranty for the period specified from the date of purchase or as 
specifically stated.
• AC Adaptor and Power Cord: 3 Years
• Car Adaptor and Power Cord: 3 Years
• Cradle: 3 Years
• Charging Cup: 3 Years
• Optional Battery: 1 Year
• Battery Charger: 1 Year
• Integrated Panasonic supplied options and kits including, but not limited to, 
Cameras, GPS devices, Bluetooth devices, Smartcard Readers, Magnetic Card 
Readers, Barcode Scanners, and Fingerprint Readers: 3 years or the warranty 
period of the unit in which it is installed provided the installation was performed by 
Panasonic or an Authorized Integrator.
42
Section 2: Limited Warranty - Software
Panasonic warrants to you only that the disk(s) or other media on which the Programs 
are furnished will be free from defects in material and workmanship under normal use 
for a period of sixty (60) days from the date of delivery thereof to you, as evidenced by 
your purchase receipt.
This is the only warranty Panasonic makes to you.
Panasonic does not warrant that the functions contained in the Programs will meet your 
requirements or that the operation of the Programs will be uninterrupted or error free.
Panasonic shall have no obligation for any defects in the disk(s) or other media on 
which the Programs are furnished resulting from your storage thereof, or for defects that 
have been caused by operation of the disk(s) or other media.
Panasonic’s entire liability and your exclusive remedy under this warranty shall be 
limited to the replacement, in the United States or other Panasonic designated location, 
of any defective disk or other media which is returned to Panasonic’s Authorized 
Service Center, together with a copy of the purchase receipt, within the aforesaid 
warranty period.
Section 3: Limited Warranty Exclusions - Specifically excluded from 
the warranty are:
• All consumable items; such as screen protection films, logo badges, labels, cleaning 
cloths, carry cases, manuals, cables, straps, belts, holsters, tethers, and harnesses 
and any other options and accessories not listed above or covered under a separate 
warranty
• Failures related to the product operating system, hard drive or solid state drive 
image, software setup, software program, virus, other program(s) or file(s) on any 
drive or in any computer memory location
• Failures due to BIOS settings or changes, as well as any cosmetic or physical 
damage to the unit
• Any unit or device with a missing or altered model number or serial number label
• Cosmetic damage or any damage which occurs in shipment
• Failures which are caused by products not supplied by Panasonic
• Failures which result from alteration, accident, misuse, introduction of liquid or other 
foreign matter into the unit, abuse, neglect, installation, maladjustment of consumer 
controls, improper maintenance or modification, use not in accordance with product 
use instructions
43Appendix
• Failures due to service by anyone other than a Panasonic Authorized Service 
Provider
• Failures caused by improper installation of options or accessories or due to 
installation by any company other than Panasonic or a Panasonic Authorized 
Integrator
• Damage, failure, or loss due to the unit being stolen, lost, misplaced, or used by 
anyone other than the original purchaser
• Damage that is attributable to acts of God
This limited warranty only covers failures due to defects in materials or workmanship 
which occur during normal use. If a unit is sent to a Panasonic Authorized Service 
Center and no hardware failure is found, the customer will be billed for labor to correct a 
software issue or reimage the hard drive plus shipping and applicable administrative 
fees at the current rates set by the service provider.
THIS PRODUCT IS NOT INTENDED FOR USE AS OR PART OF NUCLEAR 
EQUIPMENT/SYSTEMS, AIR TRAFFIC CONTROL EQUIPMENT/SYSTEMS, OR 
AIRCRAFT COCKPIT EQUIPMENT/SYSTEMS*1. PANASONIC WILL NOT BE 
RESPONSIBLE FOR ANY LIABILITY RESULTING FROM THE USE OF THIS 
PRODUCT ARISING OUT OF THE FOREGOING USES.
*1 AIRCRAFT COCKPIT EQUIPMENT/SYSTEMS include class 2 Electronic Flight Bag 
(EFB) Systems and Class 1 EFB Systems when used during critical phases of flight 
(e.g., during take-off and landing) and/or mounted onto the aircraft. Class 1 EFB 
Systems and 2 EFB Systems are defined by FAA: AC (Advisory Circular) 120-76A or 
JAA: JAA TGL (Temporary Guidance Leaflets) No. 36.
Other Limits and Exclusions: There are no other express warranties except as listed 
above.
PANASONIC SHALL NOT BE LIABLE FOR LOSS OF DATA OR OTHER INCIDENTAL 
OR CONSEQUENTIAL DAMAGES RESULTING FROM THE USE OF THIS 
PRODUCT, OR ARISING OUT OF ANY BREACH OF THIS WARRANTY. ALL 
EXPRESS AND IMPLIED WARRANTIES, INCLUDING THE WARRANTIES OF 
MERCHANTABILITY AND FITNESS FOR A PARTICULAR PURPOSE ARE LIMITED 
TO THE APPLICABLE WARRANTY PERIOD SET FORTH ABOVE. Some states do 
not allow the exclusion or limitation of incidental or consequential damages, or 
44
limitations on how long an implied warranty lasts, so the above limitations or exclusions 
may not apply to you.
This limited warranty gives you specific legal rights, and you may also have other rights 
which vary from state to state.
For technical support or to arrange for service on your Panasonic computer product, call 
our toll-free hotline at 1-855-PSC-TECH (1-855-772-8324).
Web site: www.panasonic.com/toughbook
For hearing or speech impaired TTY users, call 1-877-833-8855 using a TTY device.

45Appendix
 LIMITED WARRANTY / GARA NTIE LIMITÉE
For Canada
PANASONIC COMPUTER AND PERIPHERALS LIMITED WARRANTY
Coverage
 – Panasonic Canada Inc. (“PCI”) warrants to you, the first end user 
customer, this computer product (excluding software media), when purchased from PCI 
or from a PCI authorized reseller, to be free from defects in materials and workmanship 
under normal use, subject to the terms set forth below, during the period of warranty 
coverage specified.
LIMITED WARRANTY / GARANTIE LIMITÉE
Scope of Coverage Period of Coverage Type of Failure 
Coverage
• Laptop Computers (except Battery) and 
AC Adaptor
• Factory/PCI installed options including 
Wireless WAN, GPS, Bluetooth, Finger 
print reader, Backlit keyboard, Memory 
Card, Optical Drives, Cameras, Smart 
card Readers, Magnetic Card Readers 
and Barcode Scanners
• Ultra-Mobile PC 
•Tablet PC
• PDRC – LCD and Keyboard Assemblies
• Port Replicator
•Cradle
• Charging Cup
Three (3) Years from 
Date of Original End 
User Customer 
Purchase
Defective 
Materials or 
Workmanship
•Battery
• Battery charger
• AC Adaptor and Power Cord
• Car Adaptor and Power Cord
• External USB Drives
One (1) Year from 
Date of Original End 
User Customer 
Purchase
Defective 
Materials or 
Workmanship
• Standard or Digitizer Stylus Pen Ninety (90) Days 
from Date of Original 
End User Customer 
Purchase
Defective 
Materials or 
Workmanship

46
Remedy
 – In the event of a warranty claim, contact PCI’s representatives within the 
applicable warranty period, identifying the nature of the defect claimed, at 1-800-668-
8386 between 9:00 A.M. and 5:00 P.M., Eastern Time Zone, Mon. – Fri. (excluding 
holidays) for instructions on how to obtain service. A purchase receipt or other proof of 
date of original purchase is required before warranty service is performed. Defective 
parts covered by this Limited Warranty will be repaired or replaced with new or 
comparable rebuilt parts on an exchange basis. Warranty replacement or repair is 
subject to the terms of this Limited Warranty for the balance of the original period of 
warranty coverage.
No Coverage
 – This Limited Warranty does not cover products purchased outside 
Canada. Neither does it cover damage to, failure of, or defects in a product or 
accessory through mishandling, improper installation, abnormal use, misuse, neglect, 
accident, introduction of liquid or other foreign matter into the product, alteration or 
servicing by anyone not authorized by PCI, or act of God.
THIS PRODUCT IS NOT INTENDED FOR USE AS, OR AS PART OF, NUCLEAR 
EQUIPMENT/SYSTEMS, AIR TRAFFIC CONTROL EQUIPMENT/SYSTEMS, OR 
AIRCRAFT COCKPIT EQUIPMENT/SYSTEMS
*1
. PANASONIC WILL NOT BE 
RESPONSIBLE FOR ANY LIABILITY RESULTING FROM THE USE OF THIS 
PRODUCT ARISING OUT OF THE FOREGOING USES.
*1 AIRCRAFT COCKPIT EQUIPMENT/SYSTEMS include Class2 Electrical Flight 
Bag (EFB) Systems and Class1 EFB Systems when used during critical phases of 
flight (e.g., during take-off and landing) and/or mounted on to the aircraft. Class1 
EFB Systems and 2 EFB Systems are defined by FAA: AC (Advisory Circular) 
120-76A or JAA: JAA TGL (Temporary Guidance Leaflets) No.36
• All consumable items including 
protection film, cleaning cloth, carry 
case, tether and harness
No Coverage
IF YOU SHIP THE PRODUCT FOR WARRANTY SERVICE
Carefully pack the product, preferably in the original carton. Include details of defect 
claimed and proof of date of original purchase. No liability is assumed for loss or 
damage to the product while in transit, if you chose your own transportation carrier.
Scope of Coverage Period of Coverage Type of Failure 
Coverage

47Appendix
SOFTWARE MEDIA LIMITED WARRANTY
Coverage
 – PCI warrants to you, the first end user customer, that the disk(s) or other 
media on which software program(s) is/are supplied will be free from defects in materials 
and workmanship under normal use in Canada for a period of sixty (60) days from date of 
receipt as evidenced by your purchase receipt for your Panasonic Computer product.
THIS IS THE ONLY WARRANTY THAT PCI MAKES RESPECTING THE SOFTWARE 
MEDIA. PCI does not warrant the software. Please refer to the software licensor’s written 
warranty (accompanying the copy of the software) for any software warranty claim.
Claim Procedure
 – In the event of a defect in material or workmanship in the media 
during the sixty (60) day warranty period, and you return it, transportation costs prepaid, 
to Panasonic Canada Inc., Computer Products Marketing, 5770 Ambler Drive, 
Mississauga, Ontario L4W 2T3, within the warranty period, together with a copy of your 
purchase receipt, and an explanation of the suspected defect, PCI will replace in 
Canada the defective disk(s) or other media.
Remedy
 – PCI’s entire liability, and your only remedy for any breach of this software 
media warranty is limited to replacement of the media only. It does not cover any other 
damages, including, but not limited to, loss of use or profit loss, or special, indirect or 
consequential damages, or other claims, whether or not of similar character.
No Coverage
 – This limited warranty does not apply if the disk(s) or other media has 
been used in other than a Panasonic product, or in environmental conditions other than 
those specified by PCI or the manufacturer, or if subjected to misuse, neglect, 
mishandling, modification or attempted modification of the program, or if damaged by 
accident or act of God. PCI is not responsible for damage to or loss of any program, 
data or removable storage media.
GENERAL
NO OTHER WARRANTIES – PCI DISCLAIMS ALL OTHER WARRANTIES, EITHER 
EXPRESS OR IMPLIED, INCLUDING, BUT NOT LIMITED TO, IMPLIED 
WARRANTIES OF MERCHANTABILITY AND FITNESS FOR A PARTICULAR 
PURPOSE, WITH RESPECT TO THE SOFTWARE, SOFTWARE MEDIA, 
COMPUTER PRODUCT, OPTIONS AND ACCESSORIES.
NO LIABILITY FOR CONSEQUENTIAL DAMAGES – IN NO EVENT SHALL PCI BE 
LIABLE FOR ANY SPECIAL, INDIRECT OR CONSEQUENTIAL DAMAGES ARISING 
FROM ANY BREACH OF THE LIMITED WARRANTIES SET OUT IN THIS 
DOCUMENT, OR FROM THE USE OF THE COMPUTER PRODUCT, INCLUDING, 
WITHOUT LIMITATION, LOSS OF DATA, BUSINESS, PROFIT OR GOODWILL.

48
IN ANY EVENT, PCI’S MAXIMUM LIABILITY FOR ANY BREACH SHALL NOT 
EXCEED THE AMOUNT ACTUALLY PAID BY YOU FOR THE COMPUTER PRODUCT.
NO ACTION, REGARDLESS OF ITS BASIS, MAY BE BEGUN AGAINST PCI MORE 
THAN TWO (2) YEARS AFTER THE CAUSE OF ACTION AROSE.
Statutory Warranties
 – Some jurisdictions do not allow these limitations or exclusions, 
so they may not apply to you.
Pour le Canada
GARANTIE LIMITÉE – ORDINATEURS ET PÉRIPHÉRIQUES PANASONIC
Couverture
 – Panasonic Canada Inc. (« PCI ») garantit à l’acheteur original que ce 
produit informatique (à l’exclusion des supports des logiciels) est, au moment de sa 
vente par PCI ou d’un revendeur agréé par PCI, exempt de défauts de pièces et de 
fabrication dans les conditions normales d’utilisation, et ce, pendant la période de 
couverture de la garantie, sous réserve des modalités décrites ci-dessous.
Éléments couverts Durée de 
couverture
Type de 
couverture
• Ordinateurs blocs-notes (sauf batteries) 
et adaptateur secteur
• Options installées en usine/par PCI 
incluant : WAN sans fil, GPS, Bluetooth, 
lecteur d’empreintes digitales, clavier 
rétroéclairé, carte mémoire, lecteurs 
optiques, caméras, lecteurs de carte à 
puce, lecteurs de carte magnétique et 
scanners de code-barres
• Ordinateurs personnels ultra-portables
• Ordinateurs tablettes
• Ensembles PDRC – ACL et clavier
• Duplicateur de port
• Station d’accueil
• Coque de charge
Trois (3) ans à partir 
de la date d’achat 
original.
Défauts de 
pièces et de 
fabrication

49Appendix
Recours
 – Pour obtenir des informations sur la marche à suivre dans le cas où une 
réclamation en vertu de la garantie deviendrait nécessaire, communiquez par 
téléphone avec un représentant de PCI au 1-800-668-8386, entre 9h00 et 17h00 (heure 
de l’Est) du lundi au vendredi (sauf les jours fériés), avant l’échéance de la garantie 
applicable, en prenant soin d’identifier la nature de la défaillance. Un reçu ou toute 
autre pièce justificative de la date d’achat original sera exigé avant toute réparation. 
Toute pièce défectueuse couverte par la présente garantie limitée sera réparée ou 
remplacée par une pièce neuve ou remise à neuf. Le remplacement ou la réparation 
sera fait conformément aux modalités de la présente garantie limitée pendant la durée 
restante de la période originale de la garantie. 
Produits non couverts
 – La présente garantie limitée ne couvre pas les produits 
achetés à l’extérieur du Canada. Elle ne couvre pas non plus les dommages, la 
défaillance ou les défauts attribuables à une manutention inadéquate, une mauvaise 
installation, une utilisation anormale ou abusive, de la négligence, un accident, un 
déversement ou la pénétration d’un objet étranger, une modification, un cas fortuit ou 
une réparation effectuée par une personne non agréée par PCI.
•Batterie
• Chargeur de batterie
• Adaptateur secteur et cordon 
d’alimentation
• Adaptateur automobile et cordon 
d’alimentation
• Périphériques USB
Un (1) an à partir de 
la date d’achat 
original.
Défauts de 
pièces et de 
fabrication
• Stylo pointeur standard ou pour 
numériseur graphique
Quatre-vingt-dix (90) 
jours à partir de la 
date d’achat original.
Défauts de 
pièces et de 
fabrication
• Tous les articles consommables incluant 
les pellicules protectrices, chiffons de 
nettoyage, étuis de transport, longes et 
sangles
Aucune couverture
Éléments couverts Durée de 
couverture
Type de 
couverture

50
CE PRODUIT N’EST PAS DESTINÉ À ÊTRE UTILISÉ, EN TOUT OU EN PARTIE, 
COMME SYSTÈME/ÉQUIPEMENT NUCLÉAIRE, SYSTÈME/ÉQUIPEMENT DE 
CONTRÔLE DU TRAFFIC AÉRIEN OU SYSTÈME/ÉQUIPEMENT DE POSTE DE 
PILOTAGE D’AVION
*1
. PANASONIC DÉCLINE TOUTE RESPONSABILITÉ 
CONCERNANT L’UTILISATION DE CE PRODUIT DANS LES CAS 
SUSMENTIONNÉS.
*1 Les SYSTÈMES/ÉQUIPEMENTS DE POSTE DE PILOTAGE D’AVION sont 
dotés de systèmes OEPP (organiseur électronique de poste de pilotage) de 
classe 2 et de classe 1 utilisés pendant des phases critiques de vol (par exemple, 
pendant le décollage et l’atterrissage) et(ou) montés sur l’avion. Les systèmes 
OEPP de classe 1 et de classe 2 sont définis par le circulaire d’information FAA : 
AC (Advisory Circular) 120-76A ou le feuillet JAA : JAA TGL (Temporary 
Guidance Leaflets) No 36.
GARANTIE LIMITÉE – SUPPORTS DES LOGICIELS
Couverture
 – Panasonic Canada Inc. (« PCI ») garantit à l’acheteur original que le ou 
les disques ou tout autre support sur lequel le ou les programmes sont fournis sont 
exempts de défauts de pièces et de fabrication dans des conditions normales 
d’utilisation au Canada, et ce, pour une période de soixante (60) jours suivant la date 
de réception indiquée sur la preuve d’achat.
LA PRÉSENTE GARANTIE EST LA SEULE OFFERTE PAR PCI COUVRANT LES 
SUPPORTS DE LOGICIELS. PCI ne garantit pas les logiciels. Reportez-vous à la 
garantie écrite du concédant de licence d’utilisation du logiciel (qui accompagne la 
copie du logiciel) pour toute réclamation en vertu de la garantie.
Réclamation – marche à suivre
 – Panasonic Canada Inc. remplacera tout disque ou 
support défectueux si l’article en question est retourné, port payé, à son service de 
Marketing – produits informatiques, 5770 Ambler Drive, Mississauga (Ontario) L4W 
2T3, dans les soixante (60) jours suivant la date d’achat original. Joignez à votre envoi 
une pièce justificative de votre achat et une description du problème. 
EXPÉDITION DU PRODUIT POUR SERVICE SOUS GARANTIE
Emballez soigneusement le produit, de préférence dans son emballage d’origine. 
Joignez une description de la défaillance de même qu’une pièce justificative de la 
date d’achat. Panasonic Canada Inc. ne peut être tenue responsable pour tout 
dommage ou perte subi pendant le transport si vous avez choisi le transporteur.

51Appendix
Recours
 – La responsabilité de PCI - et votre seul recours - dans le cas de toute 
défaillance couverte par la garantie sur ce support de logiciel est limitée au seul 
remplacement du support. Elle ne couvre aucun autre dommage, y compris, mais non 
exclusivement, la perte d’usage ou de profits, ni aucun dommage spécial, indirect ou 
consécutif, ni aucune autre réclamation de nature similaire ou autre.
Produits non couverts
 – La présente garantie limitée ne s’applique pas si le ou les 
disques ou autre support ont été utilisés dans un produit d’une marque autre que 
Panasonic ou dans des conditions environnementales autres que celles spécifiées par 
PCI ou le fabricant, ou soumis à une mauvaise utilisation, à la négligence, à une 
manutention inadéquate ou encore si le programme a été modifié ou subi une tentative 
de modification ou des dommages attribuables à un accident ou à un cas fortuit. De 
plus, PCI n’assume aucune responsabilité pour toute perte de, ou tout dommage à, un 
programme, des données ou un support de sauvegarde amovible.
GÉNÉRALITÉS
PCI NE RECONNAÎT AUCUNE AUTRE GARANTIE, EXPLICITE OU IMPLICITE, Y 
COMPRIS, MAIS NON EXCLUSIVEMENT, LES GARANTIES IMPLICITES DE 
VALEUR COMMERCIALE ET D’UTILITÉ À UNE FIN QUELCONQUE, À L’ÉGARD DU 
LOGICIEL, SUPPORTS DE LOGICIELS, PRODUITS INFORMATIQUES, 
PÉRIPHÉRIQUES ET ACCESSOIRES.
SOUS AUCUNE CIRCONSTANCE PCI NE POURRA ÊTRE TENUE RESPONSABLE 
DES DOMMAGES SPÉCIAUX, INDIRECTS OU CONSÉCUTIFS ATTRIBUABLES À 
UN MANQUEMENT AUX GARANTIES LIMITÉES DÉCRITES DANS LE PRÉSENT 
DOCUMENT OU À L’UTILISATION DU PRODUIT INFORMATIQUE, Y COMPRIS, 
SANS RESTRICTION, LA PERTE DE DONNÉES, D’AFFAIRES, D’ACHALANDAGE 
OU DE PROFIT.
DANS TOUS LES CAS, LA RESPONSABILITÉ MAXIMALE DE PCI POUR TOUT 
MANQUEMENT NE POURRA EXCÉDER LE PRIX DE VENTE DU PRODUIT 
INFORMATIQUE.
AUCUNE RÉCLAMATION, SANS ÉGARD À SES MOTIFS, NE POURRA ÊTRE FAITE 
AUPRÈS DE PCI PLUS DE DEUX (2) ANS APRÈS LES FAITS INVOQUÉS À LA 
BASE D’UNE TELLE RÉCLAMATION.
Garantie statutaires
 – Certaines juridictions interdisent de telles limitations ou 
exclusions ; aussi, pourraient-elles ne pas s’appliquer.

20150403ZAD
C0316-0
© Panasonic System Networks Co., Ltd. 2016
Two Riverfront Plaza, Newark, NJ 07102, USA
5770 Ambler Drive, Mississauga, Ontario L4W 2T3
Panasonic Canada Inc.