Paxar Monarch Verifier 938 Users Manual 938oi Ae
938 to the manual 14843882-97a1-401e-9d29-3c6f9557ebaa
2015-02-06
: Paxar Paxar-Monarch-Verifier-938-Users-Manual-517452 paxar-monarch-verifier-938-users-manual-517452 paxar pdf
Open the PDF directly: View PDF .
Page Count: 58

Monarch®
938™ Verifier
TC0938OI Rev. AF 12/07 ©2007 Paxar Americas, Inc. a subsidiary of Avery Dennison Corp. All rights reserved.
Each product and program carries a respective written warranty, the only
warranty on which the customer can rely. Paxar reserves the right to make
changes in the product, the programs, and their availability at any time and
without notice. Although Paxar has made every effort to provide complete and
accurate information in this manual, Paxar shall not be liable for any omissions
or inaccuracies.
Any update will be incorporated in a later edition of this manual.
©2003 Paxar Americas, Inc. a subsidiary of Avery Dennison Corp. All rights
reserved. No part of this publication may be reproduced, transmitted, stored in
a retrieval system, or translated into any language in any form by any means,
without the prior written permission of Paxar Americas, Inc.
Trademarks
Monarch®, 938, 9855®, and 9860 are trademarks of Paxar Americas, Inc.
Paxar® is a trademark of Paxar Corporation.
Avery Dennison® is a trademark of Avery Dennison Corporation.
Microsoft and Windows are trademarks of Microsoft Corporation in the United
States and/or other countries.
Excerpts reprinted from the SV Series Operator’s Guide with permission from
RJS.
Avery Dennison Printer Systems Division
170 Monarch Lane
Miamisburg, OH 45342
FCC Notice
This device has been tested and found to comply with the limits for a Class B
digital device, pursuant to Part 15 of the FCC Rules. These limits are designed
to provide reasonable protection against harmful interference in a residential
installation. This device generates, uses, and can radiate radio frequency
energy and, if installed and used in accordance with the instruction, may cause
harmful interference to radio communications. However, there is no guarantee
that interference will not occur in a particular installation. If this device does
cause harmful interference to radio or television reception, the user is
encouraged to try to correct the interference by one or more of the following
measures:
• Reorient or relocate the receiving antenna.
• Increase the separation between the computer and receiver.
• Connect the computer into an outlet on a circuit different from that to
which the receiver is connected.
• Consult the dealer or an experienced radio/TV technician for help.
Caution: Any changes or modifications not expressly approved by the
grantee of this device could void the user’s authority to operate
the equipment.

Statement of FCC Compliance: Canada
This Class B digital apparatus meets all requirements of the Canadian
interference-Causing Equipment Regulations.
Cet appareil numénque de la classe B respecte toutes les exigences du
Règlement sur le maténel brouilleur du Canada.
CE:
The unit will contain NRTL and/or CE quality assurance labels.
This equipment generates, uses, and can radiate radio frequency energy and, if
not installed and used in accordance with this operator’s manual, may cause
harmful interference to radio communications. Operating this equipment in a
residential area is likely to cause harmful interference in which case the user
will be required to correct the problem at his own expense.
Use with NRTL-Listed Equipment
The verifier should be used only with printers that are NRTL listed. The verifier
is intended to be supplied by a NRTL Listed power supply (QQGQ) or (EPBU) or
receives power from the host unit (NRTL Listed Printer), output rated 5Vdc,
minimum 300mA maximum 1A.
Laser Scanner Safety
IEC Class3; CDRH Class III.
Cautions:
♦ Never stare directly into the laser
beam.
♦ Never stare directly at a reflected
image of the laser beam.
♦ Avoid exposure to the laser beam.
♦ Use of controls or adjustments or
performance of procedures other
than those specified herein may
result in hazardous radiation
exposure.
♦ Use the verifier only with NRTL
listed bar code printers.
♦ These laser light caution labels must be affixed to your verifier: If they are
not, contact Paxar immediately.]
♦ Laser light - Do not stare into the beam.
Paxar shall not be liable for direct, indirect, or consequential damages, costs,
expenses, lost profits, or lost savings resulting from the use, operation, or
malfunction of the verifier.

Cleaning the Verifier Window
Clean the verifier window whenever the window appears to be dirty or
smeared.
Caution: Do not use solvents (e.g., alcohol or acetone) or abrasive
cleaners to clean the verifier window. This will damage the
window.
1. Moisten a soft cloth with water or a screen cleaner.
2. Wipe the window until it is completely clean.
i
TABLE OF CONTENTS
GETTING STARTED......................................................................................1-1
Using this Manual....................................................................................1-1
Unpacking the Verifier..............................................................................1-2
Before Installing the Verifier .....................................................................1-2
Overview ................................................................................................1-3
INSTALLATION & SETUP..............................................................................2-1
Installing the Verifier ...............................................................................2-1
Connecting the Cables..........................................................................2-6
Connecting the Cables..........................................................................2-7
Installing the Printer .............................................................................2-8
Setup ...................................................................................................2-12
Bar Code Travel Speed Considerations....................................................2-13
Parallel Bar Code Direction .................................................................2-13
Parallel Bar Code Positioning Specifications .........................................2-14
No-Scan Zone....................................................................................2-14
CALIBRATING THE VERIFIER .......................................................................3-1
Calibrating the Verifier.............................................................................3-1
Setting Up the Verifier with ScanVision......................................................3-2
ii
USING THE VCT .......................................................................................... 4-1
System Requirements.............................................................................. 4-2
Using the Wizard .................................................................................... 4-2
Using Mode 2 or Mode 19 ........................................................................ 4-3
Changing Additional Parameters............................................................... 4-4
Saving and Sending Files ........................................................................ 4-4
Save or Save As.................................................................................. 4-5
Save as MPCL..................................................................................... 4-5
Store Configuration in Printer................................................................ 4-6
Send Configuration to Verifier (via Printer)............................................. 4-7
Send Configuration to Verifier (via Direct Connection)............................. 4-7
Cable Summary ...................................................................................... 4-7
Sample Verifier Configuration Packet........................................................ 4-8
Defining the Verifier Configuration Packet ................................................. 4-8
Defining the Verifier Field ........................................................................ 4-9
Additional Examples........................................................................... 4-10
Defining Option 62............................................................................. 4-11
Verifier Information ............................................................................ 4-12
CONFIGURING THE PRINTER....................................................................... 5-1
Setting the State..................................................................................... 5-2
Setting the Scan Beam ............................................................................ 5-3
Setting the Mode..................................................................................... 5-4
Clearing Data ......................................................................................... 5-5
Printing a Summary Label........................................................................ 5-6
Detecting the Cable................................................................................. 5-7
Setting the Error Action ........................................................................... 5-8
TROUBLESHOOTING ................................................................................... 6-1
Verifier Errors......................................................................................... 6-2
Verifier LED Indicators ............................................................................ 6-3
SPECIFICATIONS ........................................................................................A-1
Laser Scanner ........................................................................................A-2

Getting Started 1-1
GETTING STARTED
Use these Operating Instructions to set up, use, and configure the
Monarch 938 verifier. The verifier works with the Monarch
9855 printer and 9860 printer with knife. The verifier can scan a wide
variety of one-dimensional parallel bar codes. However, it cannot scan
MSI bar codes or two-dimensional bar codes.
Information in this document supercedes information in previous versions.
Check our Web site (www.paxar.com) for the latest documentation and
release information.
The verifier saves data from each bar code it scans. You can use
immediate commands to upload scan grade data and bar code data from
the verifier. Refer to the Programmer’s Addendum available on our Web
site for more information.
Using this Manual
Following is a summary of the contents of this manual:
Chapter Contents
1 Getting Started Information you should know before using the
verifier.
2 Installation &
Setup
Installing and positioning the verifier.
3 Calibrating the
Verifier
Setting up the verifier with ScanVision software.
4 Using the VCT Changing parameters, sending files, and sample
configuration packets.
5 Configuring the
Printer
Setting the printer to work with your verifier.
6 Troubleshooting Common problems and their solutions.
A Specifications Verifier and laser scanner specifications.
1

1-2 Operating Instructions
Unpacking the Verifier
After you unpack the verifier, you should have the following:
♦ 938 verifier
♦ I/O cable
♦ 9-pin communications cable
♦ base plate (with two shafts, stand, mounting block, L-bracket, and
attaching parts)
♦ calibration label
♦ SV Series Operator’s Guide (You will need to refer to this manual).
Note: Do not lose the calibration label! You need it to configure the
verifier.
Keep the box and packaging material in case the verifier ever needs
repair.
Before Installing the Verifier
♦ You need a 3/32 Hex key (wrench) to install and tighten the verifier’s
stand.
♦ Install the ScanVision software. The ScanVision software is found on
the Tabletops Documentation CD-ROM. Run the file, setup.exe and
follow the prompts as necessary.
♦ Install the Monarch Paxar Verifier Configuration Tool. This tool
can be downloaded from our Web site. To install, run the .exe file
and follow the prompts as necessary.

Getting Started 1-3
Overview
Have your System Administrator follow these steps before you use the
verifier:
1. Install and set up the verifier. See Chapter 2, “Installation & Setup,”
for more information.
2. Configure the verifier using ScanVision. See Chapter 3, “Configuring
the Verifier,” for more information.
3. If necessary, create a verifier configuration file. See Chapter 4,
“Using the VCT,” for more information. A verifier configuration file
allows you to set the verifier to check only the parameters you select.
You should understand your application and which parameters you
want the verifier to check.
4. Configure the printer to enable the verifier. See Chapter 5,
“Configuring the Printer,” for more information.
1-4 Operating Instructions

Installation & Setup 2-1
INSTALLATION & SETUP
This chapter explains how to install the verifier and connect all the
cables. You need a Phillips screwdriver and a 3/32 Hex key
(wrench).
Throughout this chapter, the reference to “knife setup” is for the 9860
printer; the reference to “non-knife setup” is for the 9855 printer.
The verifier does not work with a 9855 printer using the Monarch 926
knife.
Installing the Verifier
1. Turn off the printer.
2. Place the printer on a firm work surface.
3. Remove the following items from their packaging:
(1) base plate (2) shafts
(1) stand (1) mounting block
(4) feet (1) L-bracket
(1) ¼” plain cork washer (1) ¼”-20x1¼” screw
(5) M4x12 screws with attached lock washers
(6) #10-32x1/4” set screws
4. Turn the base plate upside down and attach the adhesive feet in each
corner. Make sure the base plate looks like the one pictured before
you attach the feet. Pay attention to the pattern of the mounting
holes.
2

2-2 Operating Instructions
5. Turn the base plate right side up.
6. Using three screws with attached lock washers, attach the stand to
the base plate:
For knife printers, use the three holes that are on the left side of the
base plate.
For non-knife printers, use the three holes in the center of the base
plate.
Note: Do not fully tighten these screws.
It is easier to attach the shafts, bracket, and verifier before
attaching the printer to the base plate.
Knife Setup Non-Knife Setup

Installation & Setup 2-3
7. Attach the L-bracket to the base plate with two screws:
For knife printers, attach the L-bracket to the left side of the base
plate.
For non-knife printers, attach the L-bracket to the center of the base
plate.
Note: Do not fully tighten these screws.
8. Insert the vertical shaft into the stand until it stops. (The vertical
shaft has one diameter; the horizontal shaft has two different
diameters.)
Insert the set screws into the stand. Align the flat on the shaft with
the set screws in the stand.
Note: Securely tighten the set screws with a 3/32 Hex key.
Knife Setup Non-Knife Setup
Knife Setup Non-Knife Setup

2-4 Operating Instructions
9. Slide the mounting block onto the shaft as far as it will go. Insert the
set screws into the mounting block. Align the flat on the shaft with
the set screws in the mounting block.
Note: Securely tighten the set screws with a 3/32 Hex key.
Knife Setup Non-Knife Setup
Tighten these set screws

Installation & Setup 2-5
10. Insert the horizontal shaft (with two different diameters) into the
mounting block as shown. Insert the set screws into the top of the
mounting block. Align the flat on the shaft with the set screws in the
mounting block.
For knife printers, the shaft should be flush with the left edge of the
mounting block.
For non-knife printers, insert the shaft so the step in the shaft is flush
with the right edge of the mounting block.
Note: Securely tighten ALL the set screws in the shaft and
mounting block with a 3/32 Hex key.
11. Look at the stand from above. Adjust the stand so the horizontal
shaft is parallel (aligned) with the front edge of the base plate.
Securely tighten the three screws attaching the stand to the base
plate.
Knife Setup Non-Knife Setup

2-6 Operating Instructions
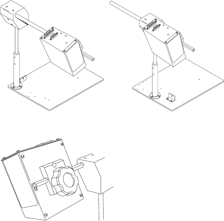
12. Slide the verifier onto the shaft until it stops.
13. Tighten the knob.
Knife Setup Non-Knife Setup

Installation & Setup 2-7
Connecting the Cables
1. Turn off the printer.
2. Connect the I/O cable to the verifier.
3. Connect the communication cable from the verifier to the printer
primarily to update the verifier for each bar code on the label.
See “Cable Summary” in Chapter 4 for more information about
cable setup.
4. Lay the cables on top of the base plate (the printer sits on top of
them).
Knife Setup Non-Knife Setup
I/O Cable
Communication Cable

2-8 Operating Instructions
Installing the Printer
1. For knife printers, remove the bottom screw from the right-hand
corner of the printer’s cover. Keep the screw, because you need to
re-use it.
For non-knife printers, use a Phillips screwdriver to remove the base
cover. Keep the screw, because you need to re-use it. However, you
can throw away the base cover.
Base cover
Non-Knife Setup
Knife Setup
Remove this screw

Installation & Setup 2-9
2. Align the hole in the printer over the hole in the base plate.
Make sure the cables underneath the printer are flat and not in
the way.
3. Attach the printer using the shoulder screw provided without the cork
washer. Tighten securely. If the printer is not held down securely,
then add the cork washer provided with the printer. Use your finger
to tighten this screw.
4. Attach the L-bracket to the printer using the screw you removed.
For knife printers, attach the L-bracket to the side of the printer.
For non-knife printers, attach the L-bracket to the front of the printer
where the printer’s base cover was attached.
5. Align the printer if necessary and tighten the screws in the L-bracket.
Knife Setup Non-Knife Setup
May or may not need
this cork washer.

2-10 Operating Instructions
6. Align the verifier so the verifier’s beam is centered in the feed path.
See “Setup” for beam positioning. Securely tighten ALL the set
screws.
7. A cable tube is provided with each verifier to hide the cables from
view. Slightly open the cable tube and slide the cables through it.
Hold the cable tube against the vertical stand’s shaft and secure the
cable tube to the shaft with the cable ties.
Secure cable
ties here

Installation & Setup 2-11
8. Connect the other end of the I/O cable (with the 8-pin mini-din
connector) to the back of the printer.
9. Connect the communication cable to the port on your computer with
RJS ScanVision installed.
If the verifier’s serial or I/O cable are disconnected from the
printer, the printer displays “773 Verifier Fail.” See “Detecting the
Cable” for more information. Make sure the cables are connected
between the verifier and printer. If error 773 appears, press
Escape/Clear to clear the error.
Use the serial port on the computer to configure the verifier using
the RJS ScanVision software.
Verifier Connector
for I/O Cable
Use this 9-pin verifier port
for verifier to printer
connections
Use this 25-pin serial port for
computer to printer connections

2-12 Operating Instructions
Setup
Verifier positioning and system setup are extremely important for proper
operation.
1. To control the verifier’s beam (through the printer’s offline menu), the
9-pin serial cable must be connected between the printer and verifier.
2. Turn on the printer. The verifier beam also turns on. See the
following graphics to align the beam properly.
3. Align the verifier’s red beam with the white lines as shown.
The proper angle for the verifier is 22°.
Knife Setup
Aim beam onto white line

Installation & Setup 2-13
Note: Do not let the verifier’s beam stop on a bar code when logging
data, because it logs unwanted data.
Bar Code Travel Speed Considerations
A bar code should be present in the beam for at least five scans for most
reliable operation. The verifier performs a minimum of 100
scans/analyses per second. At that rate, each analysis is accomplished in
10 milliseconds max. Therefore, a bar code must be in the beam for at
least 50 milliseconds to be reliably analyzed.
Parallel Bar Code Direction
In parallel bar code (picket fence) travel direction, a bar code is in the
laser beam throughout the height of the shortest bar in the code. An easy
way to estimate the fastest speed the code can travel through the beam
is to divide the height of the shortest bar in the code by the maximum
time required for the verifier to take five scans of the code.
Example: Calculate the maximum travel speed where the shortest bar
height in a code is .5 inches and the verifier being used performs a
minimum of 100 scans/analyses per second. Five scans requires 50
milliseconds (.05 seconds) to gather, so .5 inches (bar code height)
divided by .05 seconds (time needed to gather 5 scans) = 10
inches/second. Therefore, the maximum speed the code can travel
through the beam is 10 inches per second.
Non-Knife Setup
Aim beam onto white line

2-14 Operating Instructions
Vertical distance between bar codes is also a speed consideration in
parallel bar code direction. The verifier must have five continuous scans
where no bar code is detected to reliably exit a bar code when operating
in the standard operation mode. Assuming 100 scans per second
minimum, this means the vertical distance between the codes must take
at least 50 milliseconds to pass through the laser beam. Calculate the
maximum speed by measuring the shortest vertical space between bar
codes on a label (or between labels.) Divide this distance by .050
(seconds). The result is the fastest speed the codes can move through
the beam. For more detailed information about the vertical distance
between bars, refer to the SV Series Operator’s Guide.
The slower of the two print speeds calculated above for bar height
and gap height is the maximum recommended speed for parallel bar
code travel direction.
Parallel Bar Code Positioning Specifications
• Four codes across maximum
• Horizontal gap between codes: 0.5 inch (13 mm) minimum
• Maximum number of codes per label: 10
No-Scan Zone
Allow approximately a 0.50-inch (13 mm) at the trailing edge of each label
for the no-scan zone. The trailing edge is the edge of the label that exits
the printer last; regardless of how the format is designed on the label.
Do not place bar codes in the no-scan zone.
Leading Edge
4” wide by 1.2” tall label
Trailing Edge Shaded
area
(trailing
edge) is
the no-
scan zone.

Calibrating the Verifier 3-1
CALIBRATING THE VERIFIER
This chapter explains how to calibrate the verifier using the RJS
ScanVision software.
The ScanVision software is found on the Tabletops Documentation
CD-ROM. Run the setup.exe file and follow the prompts as necessary.
Calibrating the Verifier
At initial setup, calibrate the verifier to ensure the scanning distance and
orientation is within device limits. A calibration label is included in the
verifier’s box. Store the calibration label in a clean location.
1. Remove all bar codes from the laser beam path.
2. Place the supplied calibration label in the laser beam in the same
position (distance and angle) as the labels to be verified will be
scanned.
3. Press and hold the RESET button on the verifier until the calibration
LED begins to flash.
4. Release the RESET button immediately after the calibration LED
begins flashing.
5. If calibration is successful, the laser beam turns off and the
calibration LED turns off. Remove the calibration label from the beam
path and Press the RESET button until the beam turns on.
The verifier is ready to operate.
6. If calibration is unsuccessful, the calibration LED is either on steadily
or flashing. In this case, repeat the calibration procedure.
Once calibration is successful, re-calibration is not required unless the
verifier unit has been moved – either on its mounting stand or to a new
location. Keep the laser beam exit window clean. Dirt, dust, fingerprints,
etc. on the exit window can affect calibration. See the cleaning
procedures at the beginning of this manual keep the scanning window
clean.
3

3-2 Operating Instructions
Setting Up the Verifier with ScanVision
Use RJS ScanVision software to set up verifier by taking a Scan Profile
(Reflectance).
Installation of the verifier requires proper mounting position, port
configuration(s), and LED configurations to ensure reliable and accurate
operation.
1. Install the verifier at the proper distance and angle. See “Installing
the Verifier” in Chapter 2 for more information.
2. Connect the cables. See “Connecting the Cables” in Chapter 2 for
more information.
3. Run the ScanVision software.
4. Set the verifier for parallel bar code travel direction.
5. Place a sample bar code in the center of the intended laser beam
path. For best results, this sample should match
the type of bar code(s) and material that is to be
analyzed in the final application.
6. Knowing the X dimension (narrow element width)
of the bar code(s) is a big plus. Refer to the
Packet Reference Manual (on the Tabletops
Documentation CD-ROM) for more information.
For example, this I2of5 bar code has a density of 12 and an
X-dimension (narrow element) of 9.9 mils.
Note: The Calibration label has a 10 mil X dimension unless otherwise
indicated.
7. Take a Scan Profile (Reflectance) with ScanVision by clicking .
Refer to the SV Series Operator’s Guide for more information:
a) The bar code(s) should be in the center of the scan path.
b) The scan profile should not contain distortions from light
reflecting from objects in or near the light path. One major
aspect in a good profile is the low reflectance points (the
bars) in the symbol are uniform all the way across the code.
I2of 5 bar code with
9.9 mil X dimension

Calibrating the Verifier 3-3
Optimum signal amplitude should be adjusted so the bar
code element reflectances are between the 90% and 10%
marks shown in yellow on the screen. Verifier angle has the
most effect on the signal amplitude.
c) Continue adjusting the verifier’s placement until a good,
centered scan profile is obtained. The scan angle may have
to be altered slightly to achieve a good reflectance profile.
If adjustment of scan angle does not produce the correct
signal amplitude or placement, adjust verifier gain and offset
per “Adjusting Scanner Gain and Offset” in the SV Series
Operator’s Guide.
8. Place ScanVision in session mode (normal operating mode when
ScanVision starts). Refer to the SV Series Operator’s Guide for more
information:
a) Click on the Report an Analysis speedbutton.
b) Ensure that X in the lower panel of the Bar Code Analysis
screen matches the X dimension of the symbol within
+/- .1 mil.
c) Adjust distance of the verifier from the bar code until the X
dimension matches the desired value. (If X is analyzed as
too large, move the verifier away; if X is too small, move it
closer.)
Sample Scan Profile
3-4 Operating Instructions
9. Repeat steps 5 and 6 until no more mounting adjustments are
required.
10. Remove the symbol from the laser beam path.
11. Calibrate the verifier if any reflectance parameters (such as symbol
contrast) are programmed in this application to report to a host or
activate any ports. Each verifier has a calibration label provided in
the box.
Note: The SV Series Operator’s Guide contains screen shots of the
RJS ScanVision software for your reference.
The verifier is ready to operate for parallel bar codes.

Using the VCT 4-1
USING THE VCT
This chapter explains how to use the Monarch Verifier
Configuration Tool (VCT) to create or modify a verifier configuration
packet. This tool can be downloaded from our Web site. To install,
follow the prompts as necessary.
The verifier supports Mode 2 and Mode 19, which are standard verifier
modes. Mode 2 specifies nine different parameters to verify: ANSI
defects, decodability, and grade; quiet zones; partial decodes, decode
errors, passing percent decode; minimum number of I2of5 digits; and no
read. Mode 19 specifies all parameters from Mode 2, plus contrast
grade, wide to narrow ratio, and minimum and maximum X-dimensions.
When you start the VCT, the different parameters are grouped by type,
ready for you to change.
Depending on your application and which parameters you want the
verifier to check, make your selections on the Verifier Hardware, Barcode
Evaluation and (if necessary) Additional Values screens.
4

4-2 Operating Instructions
System Requirements
Use these system requirements for the Verifier Configuration Tool:
Personal computer with a Pentium 400MHz processor or higher;
Microsoft Windows 98/2000/XP operating system with 128MB of
memory and 15MB of available disk space.
Using the Wizard
For more information about each parameter in the verification process,
use the Wizard to create your configuration file. The Wizard asks a
series of questions and based on your answers, creates a configuration
file for you.
1. To start the wizard, select File, Use Wizard… or click the Wizard
button on the toolbar.
2. Click Next> to continue and make your selections as prompted.
3. When finished using the Wizard, you are ready to save and send the
file.

Using the VCT 4-3
Using Mode 2 or Mode 19
The verifier configuration file is based on either Mode 2 or Mode 19.
The default is Mode 2.
To select a different mode:
1. Select File, New…
2. Select your mode.
3. Decide if you want to use the Wizard and check the box if necessary.
4. Click OK.
After creating the configuration file, you are ready to save and send the
file.

4-4 Operating Instructions
Changing Additional Parameters
In expert mode, you can use this screen to set additional verifier
commands that are not set through the Verifier Configuration Tool.
The additional commands can be found in the SV Series Operator’s Guide
included with your verifier.
1. Click the Additional Values tab.
2. Type a command, for example ~OS0. This command sets the
transmission data format to 0. Refer to the SV Series Operator’s
Guide for more information about this command.
3. Click Add to List. The command is added to the User Defined
Additional Parameters list.
Saving and Sending Files
You have several options:
♦ Save as MPCL
♦ Store the configuration in the printer
♦ Send the configuration to the verifier (via the printer or direct
connection)

Using the VCT 4-5
Save or Save As
1. Select File, Save or Save As… You can also click the buttons for
these options on the toolbar.
2. Enter a filename and click Save. The file is saved with a .VFX
extension.
Save as MPCL
1. Select File, Save As MPCL… or click the button for this option on the
toolbar. You are prompted for a filename if you have not already
entered one. Click Save.
2. Enter a configuration number. You can attach this configuration to a
particular format by using this number in the verifier field in your
format. See “Defining the Verifier Field” for more information.
(Earlier VCT versions prompted you for the format number.)
3. Enter a configuration name, up to eight characters. The name you
enter here appears in the offline menu for the mode selection.
See “Setting the Mode” in Chapter 5 for more information.
4. Click OK.
5. Enter a filename at the prompt.
6. Click Save. The file is saved with a .MVF extension on the host.
Send the file the way you normally send data to your printer: TCP/IP,
serial, or parallel port; or using MPCL Toolbox’s File Download.

4-6 Operating Instructions
Store Configuration in Printer
To store the configuration in the printer’s flash memory, make sure the
serial cable from your computer is connected to the printer’s 25-pin serial
port. A
9-to-25-pin adapter may be used on the communication cable supplied
with the verifier.
Saving a configuration in the printer’s flash memory allows you to
reference a particular verifier configuration by number (in the verifier field
of a format) or allows you to pick the configuration (by name) from the
offline menu.
Before you save the configuration to the printer’s flash memory, you must
format flash memory.
From the Main Menu, select Setup, Flash Memory, and Format Flash.
Formatting flash memory is only required once during initial printer setup.
1. Select File, Store Configuration in Printer… or click the button for
this option on the toolbar.
2. Enter a configuration number. You can attach this configuration to a
particular format by using this number in the verifier field in your
format.
3. Enter a configuration name, up to eight characters. The name you
enter here appears in the offline
menu for the mode selection.
See “Setting the Mode” in
Chapter 5 for
more information.
4. Click OK.
5. Change communication
settings if necessary.
The printer’s default settings
are 9600, N, 8, 1, DTR.
Click OK when finished. Use this 25-pin
serial port for
computer to
printer
connections

Using the VCT 4-7
Send Configuration to Verifier (via Printer)
To send the configuration through the printer to the verifier, make sure
the serial cable from your computer is connected to the printer’s 25-pin
serial port. This option does not save the configuration in the printer.
1. Select File, Send Configuration to Verifier via Printer.
2. Change communication settings if necessary. Click OK when
finished.
Send Configuration to Verifier (via Direct Connection)
To send the configuration directly to the verifier from the computer, make
sure the serial cable from your computer is connected to the verifier’s
9-pin serial port. The verifier can save up to 50 configurations.
1. Select File, Send Configuration to Verifier via Direct Connection.
2. Change communication settings if necessary. The verifier’s default
settings are 115200, N, 8, 2, DTR. Click OK when finished.
See “Sample Verifier Configuration Packet” to see a sample
MPCL verifier configuration packet.
Cable Summary
Some of these connections were discussed in the above sections “Store
Configuration in Printer,” “Send Configuration to Verifier (via Printer),”
and “Send Configuration to Verifier (via Direct Connection).”
You need a serial (communication) cable for all of these connections.
Action Connect Verifier cable
Update the verifier’s configuration using ScanVision or
Verifier Configuration Tool.
directly to host
Use the printer’s offline menu to configure the verifier. to printer
Update the verifier’s configuration by using the verifier field
in a format.
to printer
Store configuration packet in the printer’s flash memory.
Use F (Flash memory) in the configuration packet.
Send configuration packet through printer to the verifier.
Use T (Temporary) in the configuration packet.
to printer

4-8 Operating Instructions
Sample Verifier Configuration Packet
{V,1,A,T,”BEAMON”¦
D,"~LV02~HL0~HO2~LR1~Lp0~Lt0~LQ0~PR0210~LC01~LA15~LD05~PB
802037100~PB816005100~PB806025100"¦}
You can modify the verifier configuration packet or create your own using
the SV Series Operator’s Guide. However, you need to the follow the
MPCLII conventions and syntax outlined below.
The printer automatically sets the following verifier commands:
~LS (minimum number of good scans per bar codes), ~LZ (Exact number
of bar codes per label), ~SD/~SE (disable or enable the scan beam), and
~LE/~LI (disable or enable symbology). If you specify any values for
these parameters, the printer overrides your values. For more
information, refer to the SV Series Operator’s Guide included with the
verifier.
Note: You can store up to 50 different verifier configuration packets in
the printer’s memory.
Defining the Verifier Configuration Packet
Read this section if you want to create the verifier configuration packet
without using the VCT.
Syntax {V,format#,action,device,”name”¦
D,”vfr_comds”¦}
V1. V Verifier Configuration.
V2. format# Number from 0-999 to identify the format number that
corresponds to this particular verifier configuration
packet. However, you can assign a verifier
configuration packet to any format even if the format
number is not changed. See “Defining the Verifier
Field,” for more information.
You can specify up to 50 different verifier
configuration packets.
V3. action Enter A to add a verifier configuration.
V4. device Storage device. Options:
F Flash. Stores the verifier configuration in
the printer. Packets stored in flash memory
are saved with the power is turned off.
T Temporary. Passes the packet through the
printer and stores the packet in the verifier.
Packets stored in temporary memory are
lost when the power is turned off.

Using the VCT 4-9
V5. “name” Packet name, 0-8 characters, enclose within
quotation marks. The name you enter here is shown
as a custom configuration on the printer’s menu for
MODE. See “Setting the Mode” for more information.
D1. D Non-printable text/data field.
D2. “vfr_comds” Verifier commands. Must be enclosed within
quotation marks. Refer to the SV Series Operator’s
Guide for the complete list of verifier commands.
Example {V,1,A,T,”BEAMON”¦
D,”~LV02”¦}
The verifier’s configuration packet ID is “1” and named “BEAMON.”
The verifier packet is added to the verifier’s temporary memory. It uses
Mode 2.
Defining the Verifier Field
The verifier field in a format references the verifier configuration packet
ID to use for this particular format. The verifier field allows you to specify
a different verifier configuration packet for each format, regardless of the
format number. See “Defining the Verifier Configuration Packet,” for
more information.
Note: If you do not specify a particular verifier configuration packet, the
last sent verifier configuration packet is used.
Syntax V,vfrID¦
V1. V Verifier Field.
V2. vfrID Unique number from 1-999 to identify the verifier
configuration packet ID you want to use with this
format.
Example {F,25,A,R,M,508,508,"Fmt 25"¦
V,3¦
B,1,12,F,110,115,1,2,120,5,L,0¦
…}
Specifies to use verifier configuration packet ID #3 starting with format 25
and used until another verifier configuration packet is sent or specified.
4-10 Operating Instructions
Additional Examples
{V,1,A,T,”BEAMON”¦ Verifier configuration packet #1 is passed
directly to the verifier’s temporary memory
and named “BEAMON.” It is not stored in
the printer.
D,”~LV02”¦} Additional verifier commands may be
included within quotation marks. Refer to
the SV Series Opreator’s Guide for more
information.
{F,1,A,R,E,200,200,”Fmt1”¦ Format packet #1 is stored in the printer’s
memory and named “Fmt1.”
…} Additional fields in the format are not
shown.
The printer uses verifier configuration packet #1 until another verifier
configuration packet is sent. Or, until a format is sent that references a
different verifier configuration packet already stored in the printer’s
memory using the verifier field.
{F,9,A,R,E,200,200,"Fmt9"¦ Format #9 is stored in the printer’s memory
and named “Fmt9.”
V,3¦ The verifier field calls for verifier
configuration packet #3 to be used with
this format (format #9).
…} Additional fields in the format are not
shown.
The printer uses verifier configuration packet #3 for format #9, since this
format includes the verifier field. Verifier configuration packet #3 must
already be stored in the printer’s memory before the printer receives the
format packet that references it. See “Defining the Verifier Field,” for
more information.

Using the VCT 4-11
Defining Option 62
This option allows the verifier to bypass (skip) bar code(s) on a format.
The verifier does not scan any bar code with option 62 applied to it.
Syntax R,62¦
R1. R Option Header.
R2. 62 Option 62. The verifier does not scan the bar code
associated with this option.
Note: Adjacent bar codes on a format need to start and end on the
same row (be the same height). Also, both adjacent bar codes
(or neither bar code) must be scanned. However, do not apply
Option 62 to all bar codes on a format or 764 errors appear.
Option 62 can be applied to any
bar code on this format.
Option 62 must be applied to BOTH
adjacent bar codes. The verifier’s
beam scans the entire width of the
label. It cannot scan half of the
label’s width. The verifier errors if
Option 62 is applied to only one of
the adjacent bar codes.

4-12 Operating Instructions
Example
B,1,12,F,110,115,1,2,120,5,L,0¦
R,62¦
The verifier does not scan or verify this UPCA bar code on the format.
Verifier Information
♦ There is a 0.50-inch no scan zone on the trailing edge of each label.
The trailing edge is the edge of the label that exits the printer last;
regardless of how the format is designed on the label.
♦ You cannot verify adjacent bar codes that do not start and end on the
same print row. See the following graphic.
B,3,13,V,310,28,8,4,50,8,L,0¦ Postal Code bar code
B,4,13,V,355,200,8,4,50,8,L,0¦ Tracking Number bar code
“Postal Code” bar code
begins at row 310.
“Tracking Number” bar
code begins at row 355.
The verifier cannot verify the “postal code” and
“tracking number” bar codes, because they do not
start and end on the same row.
Leading Edge
Trailing Edge

Configuring the Printer 5-1
CONFIGURING THE PRINTER
This chapter explains how to configure the printer to use the
verifier. You can set the state, scan beam, mode, clear data, print
a summary label, and detect the cable.
Note: Make sure the printer and verifier are connected with the
communications cable.
MAIN MENU
The options are listed in the following table.
Option Choices Default
State Enabled/Disabled Disabled
Scan Beam Off When Idle/Always On Off When Idle
Mode Def 2/Def 19 Def 2
Clear Data Yes/No No
Print Summary Yes/No No
Cable Detect None/I-O/I-O & Data I-O & Data
5
Setup
Verifier
State Scan
Beam
Mode Clear
Data
Print
Summar
y
Cable
Detect

5-2 Operating Instructions
Setting the State
The verifier must be enabled to scan and check the quality of bar codes
as they are printed.
To change the setting, from the Main Menu, select Setup, then Verifier.
Then follow these steps.
1. Press or until you see
VERIFIER
State
2. Press Enter/Pause. The current setting is displayed, for example:
VERIFIER
Disabled
3. Press or to see the other option. After you display the option
you want, press Enter/Pause.
4. Press Escape/Clear until you see the Main Menu.

Configuring the Printer 5-3
Setting the Scan Beam
You can control whether the scan beam is turned off between labels or
left on continuously. Depending on your application, you may want the
scan beam on continuously.
To change the setting, from the Main Menu, select Setup, then Verifier.
Then follow these steps.
1. Press or until you see
VERIFIER
Scan Beam
2. Press Enter/Pause. The current setting is displayed, for example:
SCAN BEAM
Off When Idle
3. Press or to see the other option. After you display the option
you want, press Enter/Pause.
Do not let the verifier stop on a bar code when logging data,
because it continues to log data from that bar code.
4. Press Escape/Clear until you see the Main Menu.

5-4 Operating Instructions
Setting the Mode
You can select the verifier mode (2 or 19) or use a custom configuration.
Use the Verifier Configuration Tool to create a custom verifier
configuration.
Mode 2 (Def 2) specifies nine different parameters to verify: ANSI
defects, decodability, and grade; quiet zones; partial decodes, decode
errors, passing percent decode; minimum number of I2of5 digits; and no
read.
Mode 19 (Def 19) specifies all parameters from Mode 2, plus contrast
grade, wide to narrow ratio, and minimum and maximum X-dimensions.
Check with your System Administrator on which mode to use.
To change the setting, from the Main Menu, select Setup, then Verifier.
Then follow these steps.
1. Press or until you see
VERIFIER
Mode
2. Press Enter/Pause. The current setting is displayed, for example:
Select Config
Def 2
3. Press or to see the other options. After you display the option
you want, press Enter/Pause.
Are you sure?
No
4. Select Yes or No. If you select “Yes,” the file is sent immediately to
the verifier. This configuration is active for all formats until another
verifier configuration packet is specified. See “Defining the Verifier
Field” or “Defining the Verifier Configuration Packet” for more
information.
5. Press Escape/Clear until you see the Main Menu.

Configuring the Printer 5-5
Clearing Data
The verifier keeps track of the following items:
♦ the number of labels verified sucessfully
♦ the number of labels that failed verification/scanning
Depending on your application and volume of labels printed, you may
want to clear this data daily or after each batch. This data is stored and
only cleared when you select “Yes” to clear data.
To change the setting, from the Main Menu, select Setup, then Verifier.
Then follow these steps.
1. Press or until you see
VERIFIER
Clear Data
2. Press Enter/Pause.
Are You Sure?
No
3. Press or to see the other option. After you display the option
you want, press Enter/Pause.
If you select “Yes,” all data collected since the last time it was
cleared is erased.
If you select “No,” no data is erased.
4. Press Escape/Clear until you see the Main Menu.

5-6 Operating Instructions
Printing a Summary Label
The summary label is based on the data collected by the verifier since the
data was last cleared. You can print a summary label showing
♦ the number of labels verified sucessfully since last cleared
♦ the number of labels that failed verification/scanning since last cleared
Depending on your application and volume of labels printed, you may
want to print this summary label daily or after each batch.
To change the setting, from the Main Menu, select Setup, then Verifier.
Then follow these steps.
1. Press or until you see
VERIFIER
Print Summary
2. Press Enter/Pause. The summary label prints.
3. Press Escape/Clear until you see the Main Menu.

Configuring the Printer 5-7
Detecting the Cable
You can configure the printer to detect when the serial and/or the I/O
(input/output) cable is disconnected from the verifier.
To change the setting, from the Main Menu, select Setup, then Verifier.
Then follow these steps.
1. Press or until you see
VERIFIER
Cable Detect
2. Press Enter/Pause. The current setting is displayed, for example:
VERIFIER
None
3. Press or to see the other options. After you display the option
you want, press Enter/Pause.
If you select “None,” the verifier does not detect when a cable is
disconnected.
To be notified when any cable (serial or I/O) is disconnected, select
the I/O & Data option. If a cable is disconnected, error 773 appears.
Check the connections between the verifier, printer, and host.
4. Press Escape/Clear until you see the Main Menu.

5-8 Operating Instructions
Setting the Error Action
The recovery action from an error condition is in the Setup, Supply menu.
You can change how the printer responds to a bad scan. The choices
include normal and overstrike/continue one to five consecutive bad
scans. The overstrike pattern is created to prevent someone from using
a bad label.
Selecting overstrike and continue 1x-5x sets the number of times the
printer prints an overstrike pattern on consecutively bad labels before
generating an error. The user must clear the error before operation can
continue.
MAIN MENU
Do not use the overstrike action with
♦ Peel mode
♦ Linerless supplies
♦ String tag supplies
For more information about the error actions, see the following table:
Error Action Standard
Peel
Verifier
with Peel
RFID with
Peel
Overstrike/Continue 1-5 No No No
Normal (no overstrike) Yes Yes Yes
Dispense
Position
Knife
Control
Backfeed
Distance
Separators
Skip Index Error
Action
Setup
Supply
Supply
Type
Backfeed
Ribbon Speed Feed Mode
Positioning
Configuring the Printer 5-9
Consider this scenario when the error action is set to
overstrike/continue 3x:
If the printer errors on the first label, an overstrike pattern is printed, but
the printer attempts to reprint the image up to three times. If the third
consecutive label also generates an error, an overstrike pattern is
printed; however, the printer stops and the error message is displayed.
The operator must resolve the error condition before printing continues.
In the above example, if the third label did NOT generate an error,
♦ the batch image is printed
♦ the consecutive error counter is reset
♦ the printer continues processing the batch.
Normal (default) The printer errors and the condition causing
the error is displayed. The error must be
cleared before operation can continue.
An operator must press Escape/Clear to clear
the error and continue printing. No overstrike
pattern is printed.
Overstrike/Continue 1x
Overstrike/Continue 2x
Overstrike/Continue 3x
Overstrike/Continue 4x
Overstrike/Continue 5x
The printer prints an overstrike pattern on one,
two, three, four, or five consecutive labels and
stops printing after the selected number of
overstrike patterns have been printed.
An operator must press Escape/Clear to clear
the error and continue printing. Do not use the
label with the overstrike pattern.
Note: The printer re-calibrates (feeds a blank
label) after a motion or verifier error.

5-10 Operating Instructions
To change the setting, from the Main Menu, select Setup, then Supply.
Then follow these steps.
1. Press or until you see
SUPPLY
Error Action
2. Press Enter/Pause. The current setting is displayed, for example:
ERROR ACTION
Ostrk/Cont 1x
3. Press or to see the other options. After you display the option
you want, press Enter/Pause.
4. Press Escape/Clear until you see the Main Menu.
Note: Depending on the selected error action, you may or may not see
a label with the overstrike pattern.
Label with overstrike pattern

Troubleshooting 6-1
TROUBLESHOOTING
This chapter provides solutions to minor problems that may occur.
It also describes the verifier’s LED indicators.
Problem Action
Verifier does not scan the
bar codes properly. Make sure you configured the verifier to
scan the bar codes on your format.
Check the reflectance profile. Refer to
the SV Series Operator’s Guide for more
information.
Printer imaging error. Clear the error. Make sure the printer is
configured to use the verifier.
See “Setting the State,” in Chapter 5 for
more information. Resend the format
and batch.
Verifier is not working after
loading or changing
supplies.
Turn off the printer. Wait several
seconds and then turn on the printer.
Make sure the printer is configured to
use the verifier. See “Setting the State,”
in Chapter 5 for more information.
Resend the format and batch.
A bar code on the top of the
label does not scan.
Make sure the bar code is not located in
the 0.50-inch no-scan zone at the trailing
edge of the label.
Verifier keeps logging data. Do not let the verifier stop on a bar code
when logging data, because it logs
unwanted data.
When storing a verifier
configuration in the printer,
a 409 error appears on
printer’s display.
Before you save the configuration to the
printer’s flash memory, you must format
flash memory. From the Main Menu,
select Setup, Flash Memory, and
Format Flash. Formatting flash memory
is only required once during initial printer
setup.
6

6-2 Operating Instructions
Verifier Errors
The printer re-calibrates (feeds a blank label) after a motion or verifier
error.
409 Printer memory is full. Delete unnecessary formats or graphics
from memory. You may need to format flash memory. From the
Main Menu, select Setup, Flash Memory, and Format Flash.
Formatting flash memory is only required once during initial
printer setup.
430 The format uses a graphic or verifier configuration packet that
cannot be found. See “Using the Verifier Field” for more
information.
764 Verifier scan error (bad scan) on label when using normal (no
overstrike) mode. Press Escape/Clear to clear the error and
continue printing. The printer re-calibrates (feeds a blank label)
after this error.
You can change how the verifier responds to an error.
See “Setting the Error Action,” for more information.
Make sure you did not apply Option 62 (do not scan a particular
bar code) to all bar codes on a format. See “Defining Option 62,”
for more information.
772 Verifier scan error (bad scan) on label or multiple labels in a row
when using overstrike and continue mode. Press Escape/Clear
to clear the error and continue printing. The printer re-calibrates
(feeds a blank label) after this error.
You can change how the verifier responds to an error.
See “Setting the Error Action,” for more information.
773 Verifier Failure – the verifier is enabled, but not connected.
The printer can detect if the I/O and/or serial cable are
connected to the verifier. See “Detecting the Cable” for more
information.
783 The printer is printing too fast for the verifier to accurately scan
the bar codes. Increase the bar code height in your formats or
slow the print speed.

Troubleshooting 6-3
Verifier LED Indicators
Five LED indicators are included on the verifier’s back panel.
Power/Sync
LED
This LED is green whenever power is applied to the
verifier. Upon receipt of any sync input (hardware or
serial communications) the LED blinks yellow for
approximately 100 milliseconds.
Calibration
LED
This yellow LED indicates calibration status. Refer to
the SV Series Operator’s Guide for more information.
Read LED This LED is green whenever a bar code is being
decoded.
Indicator LED
1 and 2
These two green LED’s are user programmable exactly
like the five output ports. Their functions are intended
for use as indicators for specific analysis results.
A common example is LED 1 programmed to light in
latch mode whenever a symbol quality error is detected,
while LED 2 is programmed to light in latch mode
whenever a No Read error is detected. Refer to the SV
Series Operator’s Guide for more information.
6-4 Operating Instructions

Specifications A-1
SPECIFICATIONS
Height: 2.4 inches (61 mm)
Width: 4.4 inches (112 mm)
Depth: 5.2 inches (132 mm)
Verifier Weight: 2.0 lbs. (0.9 kg)
Shipping Weight: 15 lbs. (6.8 kg)
Power Source: Supplied by printer; no external power is required.
Operating Limits: 40°F to 104°F (4°C to 40°C)
Storage: -4°F to 140°F (-20°C to 60°C)
Humidity: 10% to 90% non-condensing
Communication Port: DB 9-pin (male), baud rates up to 115200
Supported Bar
Codes:
Code 128, Code 39, Code 93, Codabar,
Interleaved 2 of 5, UPC versions A and E
(including +2 and +5), EAN-13 and EAN-8
(including +2 and +5)
Note: The MSI bar code and 2D bar codes are not
supported.
LEDs (5): Power/Sync, Calibration, Read, and two
programmable
No-Scan Zone: 0.50-inch (13 mm) at the trailing edge of each
label. The trailing edge is the edge of the label
that exits the printer last; regardless of the how
the format is designed on the label.
Minimum Feed
Length:
1.2 inches (30 mm)
A

A-2 Operating Instructions
Laser Scanner
Scan Rate: 400 scans/second (s/s), +/ - 2 s/s
Laser Power: 3.0 mW, +/- 0.5mW
Wavelength: 650 – 670 nm
Scanning
Performance:
100 analyses per sec
6 inch (152 mm) scan width
8 inch (203 mm) focus distance
0.0067 inches (.17 mm) minimum X dimension
