G 1000309327 Catalog
2016-10-06
: Pdf 1000309327-Catalog 1000309327-Catalog B5 unilog
Open the PDF directly: View PDF
.
Page Count: 48
- Section 3. Description
- Figure 1. High Voltage Compartment
- Distribution Breaker
- Figure 3. (Continued)
- Table 1. Control Devices and Voltages
- Part Number Description
- Figure 27. Travel Recorder Auxiliary Linkage
- Figure 28. Opening Dashpot

GE CONSUMER & INDUSTRIAL
GE POWER/VAC® Vacuum Circuit Breaker
Type PVDB1 – 15.5 kV
ML18/ML18H Spring Operating Mechanism
Instruction Number
GEK-90211C

Distribution Breaker
Table of Contents
Section 1. Introduction
1-1 Safety......................................................................... 3
1-2 Maintenance........................................................... 3
Section 2. Receiving, Handling & Storage
2-1 Receiving .................................................................. 4
2-2 Handling.................................................................... 4
2-3 Storage...................................................................... 4
Section 3. Description
3-1 High Voltage Compartment............................. 5
3-2 Bushing Current Transformers......................... 5
3-3 Device and Terminal Board................................ 5
3-4 Mechanism.............................................................. 5
3-5 Emergency Trip ....................................................... 8
3-6 Control Circuit........................................................... 8
3-7 Optional Auxiliary Contacts .............................11
Section 4. Installation
4-1 Location and Mounting......................................12
4-2 Connections ............................................................12
4-3 Ground Connections ...........................................12
4-4 Control and Secondary Wiring.......................12
4-5 Primary Connections ..........................................12
4-6 Inspection Before Operation ...........................12
Safety Precautions..........................................13
4-7 Slow Closing............................................................13
Section 5. Operation
5-1 Close Spring Charging.......................................18
5-2 Closing Operation.................................................18
5-3 Opening Operation...............................................19
5-4 Trip Free Operation..............................................19
5-5 Control Circuit.........................................................19
Section 6. Measurements & Adjustments
6-1 Wipe Adjustment ..................................................20
6-2 Emergency Trip .....................................................20
6-3 Primary Contact Erosion Indication .............20
6-4 Contact Gap Adjustment...................................21
6-5 Control Coil Plunger Travel...............................22
Trip Coil.................................................................22
Close Coil .............................................................22
6-6 Control Switches..................................................22
6-7 Optional Auxiliary Contacts ............... 22,23,24
Section 7. Electrical Checks
7-1 Control Power.........................................................27
7-2 Timing ........................................................................27
7-3 Opening and Closing Speed.............................27
Section 8. Maintenance
8-1 Service Conditions................................................30
8-2 Fault Interruptions................................................30
8-3 PowerVac Interrupter .........................................30
8-4 Trouble Reporting.................................................30
8-5 Contact Erosion.....................................................30
8-6 Transfer Finger Wear..........................................30
8-7 Insulation Tests......................................................30
8-8 High-Potential Test...............................................31
8-9 Vacuum Interrupter Integrity Test................31
8-10 Primary Circuit Resistance ...............................32
8-11 Power Factor...........................................................32
8-12 Mechanism..............................................................32
8-13 Primary Insulation Parts....................................32
8-14 Lubrication...............................................................33
8-15 Recommended Maintenance..........................33
Section 9. Repair and Replacement
9-1 Renewal Parts ........................................................35
9-2 Replacement of Interrupter Assemblies.....35
9-3 Pin Retaining Rings ..............................................35
9-4 Control Switches ...................................................35
9-5 Trip Coil Replacement.........................................35
Tools Required...................................................35
9-6 Closing Coil Replacement .................................36
9-7 Entrance Bushing Removal..............................36
9-8 Breaker Removal ..................................................36
9-9 Auxiliary Switch Replacement ........................37
9-10 Motor Replacement .............................................38
9-11 “Y” – Relay Replacement...................................38
9-12 Close Latch Stop Bolt ..........................................38
9-13 Dashpot Adjustment ...........................................38
9-14 Optional Auxiliary Contacts............................38
List of Figures
1. High Voltage Compartment ........................................................ 5
2. Low Voltage Compartment-Mechanism Side..................... 5
3. Toggle Linkage Positions of the ML18/ ML18H
Mechanism ..................................................................................... 6-7
4. Low Voltage Compartment-Relay Side .................................. 8
5. Schematic of ML18/ML18H Mechanism............................ 9-10
6. Distribution Breaker Optional Auxiliary Switches...............11
7. Distribution Breaker Optional Auxiliary Switches...............11
8. Manual Charging Handle ............................................................. 13
9. Close Spring Gag Plate ...................................................................13
10 Breaker Dimensions .....................................................14,15,16,17
11 Adjustments........................................................................................19
12. Gap Measurement ...........................................................................21
13. Specification for Aux Switch Linkage ......................................22
14. Charge Motor Connector..............................................................23
15. Linkage Crank Coupler...................................................................23
16. Outline Of Linkage Cranks............................................................23
17. Paddle-Arm Gap Measurement.................................................24
18. Auxiliary Switch Overtravel..........................................................24
19. Trip Coil and Linkage.......................................................................25
20. Typical Wiring Diagram for ML18H Mechanism.................26
21. Mechanical Adjustments and Settings ............................28-29
22. Closing Coil and Linkage ...............................................................36
23. Bottom View of Spring Charged Mechanism.......................37
24. Auxiliary Switch Position ...............................................................37
25. Sample Operating Speed Graphs..............................................39
26. Vacuum Interrupter Assembly ...................................................40
27. Travel Recorder Auxiliary Linkage ............................................41
28. Opening Dashpot...............................................................................41
List of Tables
1. Control Devices and Voltages.......................................................27
2. Summary of Adjustments and Critical Dimensions............34
The instructions contained within this manual are necessary for the safe installation, maintenance and operation of this equipment. If
this manual is misplaced or lost, replacement manuals are available through the local GE sales office. If drawing or other
supplementary instructions for specific applications are forwarded with the manual or separately, they take precedence over any
conflicting or incomplete information in this manual.

3
Distribution Breaker
Section 1. Introduction
Introduction
This manual provides the information needed by the user
to properly install, operate and maintain GE PVDB1 15.5kV
Outdoor Distribution Circuit Breakers.
GE PVDB1 15.5kV OUTDOOR DISTRIBUTION CIRCUIT
BREAKERS
1-1 Safety
Each user must maintain a safety program for the pro-
tection of personnel, as well as other equipment, from the
potential hazards associated with electrical equipment.
To the extent required, the products described herein
meet applicable ANSI, IEEE, and NEMA standards; but no
such assurance is given with respect to local codes and
ordinances because they vary greatly.
The following requirements are intended to augment the
users safety program, but NOT supplant the user's
responsibility for devising a complete safety program.
The following basic Industry practiced safety
requirements are applicable to all major electrical
equipment. GE neither condones nor assumes any
responsibility for practices which deviate from the
following:
1. ALL CONDUCTORS MUST BE ASSUMED TO BE
ENERGIZED UNLESS THEIR POTENTIAL HAS BEEN
MEASURED TO GROUND AND SUITABLE GROUNDING
CONDUCTORS HAVE BEEN APPLIED TO PREVENT
ENERGIZING. Accidents have may occur due to back
feeds from a wide variety of sources.
2. An Open Circuit Breaker is not to be considered an
isolating means for providing safety to personnel
when working on lines or other electrically
connected equipment. Visible break with suitable
grounding provisions must be used to provide visible
isolation. Do not remove the covers of the high
voltage compartment without first de-energizing and
grounding the source of voltage connected to the
breaker.
3. Although interlocks to reduce some of the risks are
provided, the individual's actions while performing
service or maintenance are essential to prevent
accidents. Each person's knowledge; mental
awareness; and planned and executed actions often
determine if an accident will occur. The most
important method of avoiding accidents is for all
associated personnel to carefully apply a thorough
understanding of the specific equipment from the
viewpoints of its purpose, its construction, its
operation and the situations, which could be
hazardous.
All personnel associated with installation, operation and
maintenance of electrical equipment, such as power
circuit breakers and other power handling equipment,
must be thoroughly instructed, with periodic retraining,
regarding power equipment in general as well as the
particular model of equipment with which they are
working. Instruction books, actual devices and
appropriate safety and maintenance practices such as
OSHA publications, National Electric Safety Code (ANSI
C2), the National Electric Code, and National Fire
Protection Association (NFPA) 70B & 70E Electrical
Equipment Maintenance must be closely studied and
followed. During actual work, supervision should audit
practices to assure conformance.
1-2 Maintenance
Excellent maintenance is essential for reliability and
safety of any electrical equipment. Maintenance
programs must be tuned to the specific application, well
planned and carried out consistent with both industry
experience and manufacturer's recommendations. Local
environment must always be considered in such
programs, including such variables as ambient
temperatures, extreme moisture, number of operations,
corrosive atmosphere or major insect problems and any
other unusual or abusive condition of the application.
One of the critical service activities, sometimes neglected,
involves the calibration of various control devices. These
monitor conditions in the primary and secondary circuits,
sometimes initiating emergency corrective action such as
opening or closing circuit breakers. In view of the vital role
of these devices, it is important that a periodic test
program be followed. As was outlined above, it is
recognized that the interval between periodic checks will
vary depending upon environment, the type of device and
the user's experience. It is the GE recommendation that,
until the user has accumulated enough experience to
select a test interval better suited to the individual
requirements, all significant calibrations be checked at an
interval of one to two years or 2000 operations, whichever
occurs first.
To accomplish this, some devices can be adequately
tested using test sets. Specific calibration instructions on
particular devices typically are provided by supplied
instruction books
Instruction books supplied by manufacturers address
components that would normally require service or
maintenance during the useful life of the equipment.
However, they can not include every possible part that
could require attention, particularly over a very long
service period or under adverse environments.
Maintenance personnel must be alert to deterioration of
any part of the supplied switchgear, taking actions, as
necessary to restore it to serviceable status.

4
Distribution Breaker
Section 1. Introduction
Industry publications of recommended maintenance
practices such as ANSI and NFPA 70B, Electrical Equipment
Maintenance, should be carefully studied and applied in
each user's formation of planned maintenance.
Some users may require additional assistance from GE in
the planning and performance of maintenance. GE can be
contracted to either undertake maintenance or to provide
technical assistance such as the latest publications. The
performance and safety of all equipment may be affected
by the modification of supplied parts or by their non-
identical substitutes. All such design changes must be
submitted to GE for engineering approval.
The user should methodically keep written maintenance
records as an aid in future service planning and equipment
reliability improvement. Unusual experiences should be
promptly communicated to GE.
Section 2. Receiving, Handling & Storage
2-1 Receiving
All breakers are assembled and tested at the factory. They
are shipped assembled as complete units except for the
legs. Each breaker is carefully inspected and prepared for
shipment by workmen experienced in the proper handling
of electrical equipment. Immediately upon receipt of a
breaker, an examination should be made for any damage
sustained during shipment. If any damage is evident, or
indication of rough handling is visible, file a claim for
damage at once with the transportation company and
notify the nearest General Electric Company Sales Office
immediately. Information on damaged parts, part number,
case number, requisition number, etc., should accompany
the claim.
The exposed portion of the bushings both outside and inside
the top cover should be checked for chips or cracks
especially near the clamps on the top frame.
2-2 Handling
Normal care in handling the breaker will result in a trouble-
free installation and long service life.
2-3 Storage
When the unit can be set up immediately in its permanent
location, it is desirable to do so, even though it will not be
placed in service for some time. If stored outdoors, the
space heaters should be energized as soon as possible to
prevent corrosion due to moisture condensation inside the
housings.

Distribution Breaker
Section 3. Description
3-1 High Voltage Compartment
The three phases in the high voltage compartment, Figure
1, consist of porcelain bushings, bushing current
transformers, vacuum interrupters, insulating supports,
and connection bars.
Figure 1. High Voltage Compartment
The vacuum interrupters, their supports and the operating
mechanism comprise an interrupting module, which is
essentially the same as the PowerVac circuit breaker used
in Metal Clad Switchgear.
The bushings are clamped to the roof of the housing. The
bushing core is centered in the air-filled porcelain and
rubber gaskets seal each end. After the bushings have
been clamped in place no further adjustment is necessary
when installing the connection bars
3-2 Bushing Current Transformers
Bushing current transformers are used to provide a
source of current supply for operating protective relays.
Relaying transformers are of the multi-ratio type having
five leads, which provide a wide range of ratios. Ratio and
accuracy classification for standard transformers of this
type are in accordance with ANSI C-57-13 and NEMA SG-
4, Table 3-2 &3-3 specifications.
High accuracy, single-tap metering-type current trans-
formers can also be furnished. Ratio and accuracy
classification for standard transformers of this type are
also in accordance with ANSI C-57-13 and NEMA SG-4
Table 3-2 & 3-3 specifications.
Performance data in the form of ratio curves are available
for all standard transformers of standard ratios. This
information may be obtained from the Switchgear
Operation by giving the proper references.
Bushing current transformers are mounted inside the top
frame. They are installed from underneath the top frame
and must be slipped over lower end of bushing.
The current transformers are bolted to the top frame with
bolts through each corner and must be properly centered
around the bushing when installed.
3-3 Device and Terminal Board
Panels are provided in the low voltage compartment,
Figure 2, for mounting terminal boards for C.T. and control
wiring and control devices. A cut-out with a cover plate is
provided in the floor to permit conduit connection for
external circuits.
3-4 Mechanism
The ML18/18H operating mechanism is of the stored-
energy type and uses a gearmotor to charge a closing
spring. The action of a closing cam, (Fig. 3) (9), when
driven by the closing spring causes closing of the breaker
contacts thru a toggle linkage. In closing, energy is stored
in the opening springs and the contact wipe springs.
Release of this energy by operation of the trip latch
causes breaker contacts to open.
Figure 2. Low Voltage Compartment-Mechanism Side
Additional mechanism features, are the “OPEN”-“CLOSED”
and “CHARGED”-“DISCHGD” indicators; operations
counter, manual close and trip pushbuttons; auxiliary
switch; and padlock on the trip function. (Figure 8, 9 & 23)
An optional feature is the addition of a key interlock on
the trip function.
Closing and opening operations may be controlled
electrically by a control switch on the breaker (optional) or
by remote relaying. Mechanical control for maintenance
is provided by manual close and trip buttons on the circuit
breaker. It is NOT recommended to open and close an
energized breaker with the compartment door open. The
closing spring may be manually charged, and a method
for slow-closing the primary contacts is available. The
mechanism will operate at the ac or dc voltage indicated
on the circuit breaker nameplate.
5

Distribution Breaker
Section 3. Description
The manual charging system (Fig. 5, View A) (3) works
directly on the cam shaft where a one way clutch (Fig. 5,
View A) (7) driven by a manual handle provides rotation of
the ratchet wheel. Manual pumping of the handle
advances the ratchet wheel. and the holding pawl
prevents counter rotation while the handle is returning for
another stroke. Six to eight complete strokes of the
manual handle are required for one complete spring
charging operation.
WARNING: When the spring charge indicator shows
“CHARGED” manual charging must be discontinued to
avoid mechanism damage.
6
The mechanism is mechanically trip-free in any position
on the closing stroke. Electrically energizing the trip coil
while closing, after the auxiliary switch contacts change
position, will rotate the trip latch and permit the circuit
breaker to open fully. The linkage will reset as in a normal
open operation and the closing spring will recharge.
Figure 3. Toggle Linkage Positions of the ML18/ ML18H Mechanism - View from Right Hand Side
(Continued on next page)
1. Output crank
2. Jack Shaft
3. Trip latch
4. Trip roller
5. Closing roller
6. Trip link
7a. Closing toggle
7b. Closing toggle
8. Prop Latch
9. Closing cam
10. Prop spring
11. Linkage return spring
NOTE: Shading indicates fixed pivots
NOTE:
Orientation of closing cam (item 9) in view A & C are shown when operated by slow closing. Under normal operation
the cam may rotate further in the counter clockwise direction.
(B) Breaker “OPEN” Spring “CHARGED”
(
A
)
Breaker “OPEN” S
p
rin
g
“DISCHGD

Distribution Breaker
Section 3. Description
(C) Breaker “CLOSED” Spring “DISCHGD”
(D) Breaker “CLOSED” Spring “CHARGED”
Figure 3. (Continued)
7

Distribution Breaker
Section 3. Description
3-5 Emergency Trip
A “Pull To Trip” knob is provided on the outside of the
mechanism door for emergency tripping of the circuit
breaker. When the breaker is tripped by means of this
knob, a small lever on the front of the mechanism frame is
spring operated to hold the trip button depressed, so that
the trip latch cannot reset, and the breaker is
mechanically trip-free. The latch check switch (LCS) Fig.
21, is also held open so the closing coil cannot be
energized. Provision is made for padlocking the lever in
the operated position. As an option, a key lock can also
be provided to hold the trip button depressed, and a
switch can be added for remote indication of manual trip.
After using the emergency trip, the mechanism door must
be opened and the lever reset manually to release the trip
button.
3-6 Control Circuit
A typical ML18/ML18H mechanism wiring diagram is
shown in Figure 20. Check the wiring diagram supplied
with the actual circuit breaker for its wiring.
The mechanism mounted auxiliary switch contacts not
used in the control circuit are bought out for control and
indication functions. An additional mechanism operated,
housing mounted auxiliary switch can be provided for
additional contacts.
Figure 4. Low Voltage Compartment-Relay Side
8

Distribution Breaker
Section 3. Description
Figure 5. Schematic of ML18/ ML18H Mechanism
1. CLOSE SPRING
2. CAM SHAFT
3. MANUAL CHARGE
4. CHARGING ARMS
5. RATCHET WHEEL
6. DRIVING PAWL
7. ONE-WAY CLUTCH
8. CLOSE LATCH
9. CLOSE CAM
10. CLOSE ROLLER
11. PROP LATCH
12. OUTPUT CRANK
13. JACK SHAFT
14. BELL CRANKS
15. OPENING SPRINGS
16. WIPE SPRINGS
17. AUX. SWITCH
18. TRIP SOLENOID
19. TRIP LATCH
20. OVER-TRAVEL STOP
21. LATCH CHECK SWITCH
22. GEAR MOTOR
23. MANUAL TRIP BUTTON
24. GAP ADJUSTING NUT
25. OPEN SPEED ADJ. NUT
26. LOCK NUT
(Continued on next page)
9

Distribution Breaker
Section 3. Description
Figure 5. (Continued)
10

Distribution Breaker
Section 3. Description
3-7 Optional Auxiliary Contacts
The optional distribution breaker auxiliary contacts are
mounted on the mechanism as shown in Figures 6 or 7
(type of mechanism determines which type of auxiliary
contacts are installed). Depending on a customer’s
electrical configuration, a distribution breaker may have
up to 2 optional auxiliary contacts in addition to the
mechanism auxiliary switch. If adjustments need to be
made, follow the adjustment procedure in Section 6 of
this document.
11
Optional Aux
Contacts
Figure 6. Distribution Breaker Optional Auxiliary
Switches for ML18 type –3 and
ML18H type -1
Figure 7. Distribution Breaker Optional Auxiliary
Switches for ML18 type –0, -1, -2 and ML18H type -0
Optional Aux
Contacts

Distribution Breaker
Section 4. Installation
General
The installation of the breaker will be facilitated by a study
of these instructions and a review of the approved
drawings, which supplement these instructions. The
drawings show the general arrangement, dimensions (Fig.
8), location of foundation bolts, provisions for conduit
connections, electrical connections and other information
necessary for the proper installation of the breaker. These
drawings consist of the requisition summary, outline of
the unit with its operating mechanism and housing, and
the connection diagrams.
The breaker is shipped in the “CLOSED” position.
4-1 Location and Mounting
The unit should be located so that it is readily accessible
for manual operation and inspection. Care should be
taken when lifting the unit not to allow the lifting device to
come in contact with the bushings. Two lifting holes are
provided on the top of the unit for lifting purposes. The
total weight of the unit is given on the nameplate and
should be taken into consideration when selecting a lifting
device for the breaker.
Legs for the basic unit as indicated on the outline drawing
come in 12 inch to 36 inch lengths and are shipped
separately, ready for assembly. After assembly, fasten
the breaker in position on its foundation. The foundation
should be firm and level; if it is not, shims should be used
under the mounting pad of the leg to level the unit. The
mounting bolts recommended are 0.625 inch diameter
minimum (0.75 inch diameter bolt can also be used) and
their locations are shown on the breaker outline drawings.
4-2 Connections
After the breaker has been located, electrical connections
can be made. Before making these, every precaution
must be taken to see that all leads to be connected to the
unit are de-energized.
4-3 Ground Connections
The framework of each breaker should be permanently
grounded. The usual practice is to connect a heavy cable
to the framework and to the ground. Provisions for a
bolted connector is provided on the framework (Figure 10)
to which the ground cable can be attached.
The cable should be sized to carry a minimum of 25 per
cent of the current rating of the breaker, but should not be
smaller than # 4/0.
A good permanent low resistance ground is essential for
adequate protection. A poor ground may be worse than
no ground at all, since it gives a false feeling of safety to
those working around the equipment and may result in
injury or damage to the apparatus.
4-4 Control and Secondary Wiring
All control wires should be run in conduit insofar as it is
practicable. Control wires must be run separately and
remote from high tension leads unless the distance
separating the two sets of wires is sufficient to prevent
possible communication between them as a result of
short circuits. Control wiring of adequate size should be
used so that with full operating current flowing to the
operating mechanism, the voltage across the terminals of
the mechanism will be within the limits specified as
standard for the control voltage as specified on the
nameplate. It is recommended that all conduits entering
the mechanism housing be sealed off at their entrances to
the housing.
Control and bushing current transformer connections are
made inside the operating mechanism housing where
suitable terminal boards are provided. Connection
diagrams are supplied for each unit showing the proper
connections for the operating mechanism and the
bushing current transformers. All bushing current
transformer terminal boards are shipped shorted and
grounded. These connections should be changed upon
selecting the bushing current transformer ratio.
4-5 Primary Connections
Leads should be bought down from above if possible.
Ample electrical clearance must be provided between
these leads and parts of the station, such as wall,
channels and framework. Leads should be properly
supported so that the breaker bushings are not subjected
to unnecessary strains. The bushings should not carry
cable or bus bar strains. To avoid overheating, the
connecting leads must be of a current-carrying capacity
at least equal to the maximum operating current of the
circuit, which should not exceed the breaker rating.
Connections to the breaker are made by the bolted
connectors fastened to the ends of the bushings and must
be securely tightened to assure good contact. All joints
must be clean and bright.
4-6 Inspections Before Operation
After the unit has been installed with all mechanical and
electrical connections completed, the following
inspections and tests should be made before operation. If
any question arises concerning the unit during the
following inspection procedure, refer to Section 6,
Measurements and Adjustments.
12

Distribution Breaker
Section 4. Installation
Safety Precautions
1. Check that the unit is properly set up and leveled on
its foundation.
13
2. Check that all nuts, washers, bolts, snap rings, cotter
pins and terminal connections are in place and
tightened.
3. Visually inspect the circuit breaker for any signs of
damage during installation and test it for possible
grounds or short circuits.
4. Inspect all insulated wiring to see that it has
sustained not damage during installation and test it
for possible grounds or short circuits.
5. Check that all bearing surfaces of the operating and
breaker mechanisms have been lubricated with
0282A2048P009 grease, furnished with the circuit
breaker.
6. Check that all points where the surface of the paint
has been damaged during installation are re-
painted immediately.
4-7 Slow Closing
1. Manually charge the breaker closing spring using
the charging handle provided (Fig. 8). The closing
spring is charged by a ratcheting mechanism that
advances by one ratchet tooth at a time. When the
spring is fully charged and the spring load is held
by the closing latch the spring indicator will change
from '”DISCHGD” to “CHARGE” (Fig. 9), and a positive
snap will be heard as the spring travels over center.
After the spring is completely “CHARGED”, as
indicated above, further forcing the charging
handle may cause damage to the closing latch and
its associated parts.
1. Manual charging handle
2. Close spring gag hole
2. Insert the closing spring gag plate (Fig. 9) by
engaging the detents on the gag plate into the
slots on the closing spring guide. With the gag
plate in position, depress the manual close button.
This action will partially close the vacuum interrupter
contact. Do not energize the secondary control circuit at
this time.
CAUTION: FAILURE TO PUSH THE CLOSE BUTTON BEFORE
CONTINUING THE SLOW CLOSE PROCEDURE WILL CAUSE
DAMAGE TO THE MECHANISM.
1. “CHARGED”/ “DISCHGD” Ind.
2. “OPEN”/ “CLOSED” Ind.
3. Counter
4. Manual charging lever
Figure 9. Close Spring Gag Plate
3. To manually slow-close the breaker contacts, insert
the manual charging handle in the manual charge
slot and move the handle up and down about 6 to 7
times until closing roller (Fig. 5, item 10) is free from
the closing cam and resting on the close prop (Fig. 5,
item 11).
CAUTION: With the gag plate installed, the breaker
“CLOSED” and opening springs “CHARGED”, the breaker
can be tripped at full speed.
4. In the “CLOSED” position, verify the alignment of the
erosion disc and erosion indicator (Fig. 11, items 2 &
4). Check the insulation resistance to ground by
connecting a megohmeter between the primary
circuit and ground. The minimum resistance should
be 10,000 megohms or higher.
5. Keep clear and push the manual trip push-button to
trip the breaker open. Check that the position
indicator shows “OPEN” and the operation counter
advances one count. Remove the closing spring
gag plate.
6. Discharge any stored energy in the breaker by
successively depressing the manual close and
manual trip buttons. Performing these operations
leaves the breaker “OPEN” with the closing spring
“DISCHARGED”.
5. Manual Trip Button
6. Trip Lock out
7. Closing spring gag plate
1
2
Figure 8. Manual Charging Handle

Distribution Breaker
Section 4. Installation
4.8 Electrical Checks
Next, the following electrical checks should be made, If
required.
14
Electrical checking consists of electrical breaker operation,
secondary wiring high-potential testing (if required),
primary current path resistance (if required), PowerVac
interrupter high-potential testing, and insulation
resistance to ground.
1. To check the electrical operation, apply control
voltage to the circuit breaker. Check the control
voltage on the nameplate and close and open the
breaker several times to check electrical operation.
CAUTION: Repeated operations at a rate exceeding two
per minute may cause charging motor overheating and
failure.
2. Perform a vacuum interrupter integrity test to verify
the condition of the interrupters. Perform the test as
described in Section 8-9.
3. Perform any of the above mentioned tests as
required. Test descriptions can be found in Section 8.
4. Leave the circuit breaker in an “OPEN” and spring-
“DISCHGD” condition after checks are complete.
Figure 10. Breaker Dimensions (1200A & 2000A)
(Continued on next page)

Distribution Breaker
Section 4. Installation
Figure 10. Breaker Dimensions (1200A & 2000A)
(Continued on next page)
15

Distribution Breaker
Section 4. Installation
Figure 10. Breaker Dimensions (3000A)
(Continued on next page)
16

Distribution Breaker
Section 4. Installation
5. ROOF ENTRANCE BUSHING DIMENSIONS
GIVEN IN DRAWING ON PREVIOUS PAGE ARE
FOR THE MOST COMMON CURRENT DESIGNS.
CONSULT OUTLINE DRAWING SUPPLIED WITH
BREAKER TO OBTAIN APPROPRIATE REB
DIMENSIONS FOR YOUR BREAKER
Figure 10. (Continued) Breaker Dimensions (3000A)
17

18
Distribution Breaker
Section 5. Operation
General
The PowerVac vacuum distribution circuit breaker uses a
sealed vacuum interrupter to establish and interrupt a
primary circuit. Molded supports, one per pole, provide
inter-changeable mountings for the primary bars,
interrupters, and heat dissipation fins (where used). The
operating mechanism provides motion at each pole
location in order to move the lower contact of the vacuum
interrupters from an “OPEN” position to a spring-loaded
“CLOSED” position and then back to the “OPEN” position
on command.
The ML18/ML18H mechanism is of the stored-energy type
and uses a gear motor to charge a closing spring. During
a closing operation, the energy stored in the closing
spring is used to close the vacuum interrupter contacts,
charge the wipe springs which load the contacts, charge
the opening springs, and overcome bearing and other
friction forces. The energy then stored in the wipe and
opening springs will open the contacts during an opening
operation.
Closing and opening operation are controlled electrically
from optional local and/or remote control devices.
Mechanical control for maintenance is provided by
manual close and trip buttons on the circuit breaker. The
closing spring may be manually charged, and a method
for slow-closing the primary contacts is available, (See
Section 4-7 steps 1 to 3). The mechanism will operate
electrically at the ac or dc voltage indicated on the circuit
breaker nameplate.
Figure 5 shows a front view of the ML18/ML18H in a
schematic form. The primary contacts are “OPEN” and
the closing springs “CHARGED”. The closing spring
charging system consists of a closing spring (1) mounted
on the left side of the mechanism and electrical charging
system mounted on the right side of the mechanism.
Both components are fastened to the cam shaft (2). A
manual charging system (3) is provided so that the
mechanism can be slow-closed and the closing spring can
be charged if there is a loss of electrical control power.
5-1 Close Spring Charging
Spring charging is accomplished electrically by a rotating
eccentric on the output shaft of the gear motor driving
pivoted charging arms (Fig. 5, view C) that oscillate about
the centerline of a ratchet wheel. (Fig. 5 view C) (5). A
driving pawl (Fig.5, view C) (6), mounted within the
charging arms, oscillates with the charging arms rotate
forward, a spring forces engagement of the driving pawl
with a tooth on the ratchet wheel. The ratchet wheel is
advanced by the rotating charging arms and pawl
assembly.
Advancement of one tooth spacing is provided for each
oscillation of the system. The ratchet motion is restricted
to one direction by a spring loaded holding pawl that
prevents the ratchet wheel from going backwards as the
charging arms oscillate back to pick up the next tooth.
Thirteen (13) complete cycles of the charging arms are
needed for a full charge of the closing spring. The
efficient, compact gear motor accomplishes this action in
just about one (1) second
When the charging cycle is complete the ratchet wheel is
positioned so that a missing tooth is adjacent to the
driving pawl and any motor overspin will not drive the
ratchet wheel, thus preventing damage to the system.
When the spring is completely “CHARGED”, the assembly
is retained in that position until it is desired to close the
circuit breaker.
The closing coil cannot be electrically energized unless the
closing spring is completely charged. This action is
prevented by the 52/CHG switch in the closing circuit.
The manual charging system (Fig. 5, view A) (3) works
directly on the cam shaft where a one way clutch (Fig. 5,
view A) (7) driven by a manual handle provides rotation of
the ratchet wheel. Manual pumping of the handle
advances the ratchet wheel and the holding pawl
prevents counter rotation while the handle is returning for
another stroke. Six (6) to seven (7) complete strokes of the
manual handle are required for one compete spring
charging operation.
WARNING: When the spring charge indicator shows
”CHARGED” manual charging must be discontinued to
avoid mechanism damage.
5-2 Closing Operation
By either energizing the close solenoid or depressing the
manual close button, the close latch (Fig. 5, view C) (8) is
rotated releasing the closing spring (Fig. 5, view B) (1). This
action is transmitted to the closing cam (Fig. 5, view D) (9)
and closing roller (10) and causes the linkage to rise until
the prop latch(11) can slip under and hold the linkage in
place. As the linkage moves the output crank (12) rotates
the jack shaft (13) which in turn rotates the phase bell
cranks (Fig. 5, view E) (14) on all three poles. The rotation
of the phase bell cranks compresses the two opening
springs (15) on poles 1 and 3, closes the vacuum
interrupters and compresses the wipe springs (16) on each
interrupter. The rotation of the jack shaft (13) also
changes the auxiliary switch (Fig. 5, view D) (17) position
and the position flag on the front panel will indicate
“CLOSED”. After the breaker is “CLOSED”, the charging
motor is again energized and the closing spring is
“CHARGED” as described under Section 5.1 “Close Spring
Charging”.

Distribution Breaker
Section 5. Operation
This is possible when the breaker is in the “CLOSED”
position because the linkage is held in position by the
prop latch.
5-3 Opening Operation
By either energizing the trip solenoid (Fig. 5, view B) (18) or
depressing the manual trip button, the trip latch (Fig. 5
view D) (19) is rotated permitting the linkage to collapse
and the vacuum interrupter contacts to open under the
force of the wipe springs (Fig. 5, view E) (16) and opening
springs. At the end of the opening stroke a stop hits the
frame and limits over-travel and rebound. Rotation of the
jack shaft from the “CLOSED” to an “OPEN” position
operates the auxiliary switch (Fig. 5, view D) (17) and
interrupts the trip coil current. If the closing spring has
been recharged the linkage will be reset so that the trip
latch will fall in place on the trip roller in preparation for
another closing operation.
If the closing spring has not been recharged, the trip latch
will be held out of position. At latch checking switch (Fig.
5, view C) (21) will not close unless the latch is in its normal
position. The contacts of latch checking switch are in the
closing circuit so that electrically initiated closing is
blocked when the trip latch is not reset.
5-4 Trip-Free Operation
The linkage is mechanically trip-free in any location on
the closing stroke. This means that energizing the trip coil
while closing after the auxiliary switch contacts change
position will rotate the trip latch and permit the circuit
breaker to open fully. The linkage will reset as in
a normal open operation and the closing spring will
recharge as described under Close Spring Charging
(Section 5-1).
5-5 Control Circuit
A typical PowerVac circuit breaker ML18/ML18H
mechanism wiring diagram is shown in Fig. 20. Check the
wiring diagram supplied with the actual circuit breaker for
its wiring.
The close spring-charging-motor circuit is established
through the CL/MS switch if the close latch is reset and
the SM/LS switch if the closing spring is “DISCHGD”. When
the closing spring is “CHARGED”, the SM/LS interrupts the
circuit.
The close circuit is established through two normally
closed Y relay contacts, 52Y and the latch-checking
switch LCS, if the trip latch is reset. An auxiliary switch
contact 52 is also in series with the close coil and it closes
when the breaker is “OPEN” and opens when the breaker
is “CLOSED”. During a close operation, cam rotation
closes the SM/LS contact, picking up the Y relay coil
thereby opening its contacts to interrupt the close, coil
current and sealing it in through a normally open contact
to the close signal. The sealing prevents re-closing on a
sustained close command, as the close signal must be
removed to drop out the Y relay, and re-establish the
closing circuit, thereby providing an anti-pump feature.
The mechanism mounted auxiliary switch contacts not
used in the control circuit are brought out for control and
indication functions. An additional breaker operated,
housing mounted auxiliary switch can be provided for
additional contacts.
19
Figure 11. Adjustments
1. WIPE SPRING ASSEMBLY
2. EROSION DISK
3. LOCK NUT
4. EROSION INDICATOR REF ARM
5. OPERATING ROD EXTENSION
6. OPERATING ROD INSULATOR
7. CLAMP SCREWS
8. COUPLING CLAMP
9. WIPE INDICATOR (ML18 ONLY)
8
5
3
7
2
6
4
9
1

20
Distribution Breaker
Section 6. Measurements and Adjustments
General
The ML18/ML18H mechanism has been designed for
extended intervals between maintenance. In most cases
only the wipe and gap adjustments will require re-setting
throughout the life of the circuit breaker. In addition to
the descriptions of the adjustments, Table 2 contains a
summary of the settings.
6-1 Wipe Adjustment
Wipe is the additional compression of a pre-loaded spring,
used to apply force to the vacuum interrupter contacts
and to provide opening kick-off force.
The contact wipe adjustment should always be made
before making the contact gap adjustment. See Fig 12 &
Fig 21.
ML18 Improved accuracy of the wipe measurement may
be obtained by using a feeler gauge between the top of
the wipe indicator and the erosion disk. The difference in
readings on each pole with the breaker closed and open is
the contact wipe. Adjustment not required if wipe is more
than 0.075 inch. After adjustment the wipe should be 0.15-
0.18 inch.
ML18H The wipe measurement is made with the breaker
closed and the closing spring gagged. Measure with a
feeler gauge the distance between the bellville washer
and the trunnion between the bell cranks arms.
Adjustment not required if wipe is more than 0.075 inch.
After adjustment the wipe should be 0.15-0.18 inch.
The wipe should be set as follows:
Breaker Rating Wipe (inches)
All 0.150 - 0.180
Readjust when reduced to 0.075
To adjust the primary contact wipe, close the breaker.
Refer to Fig. 21 for the following wipe adjustment
procedure.
1. Loosen but do not remove the two screws (7), holding
the interrupter clamp (8).
2. Check that the interrupter clamp is loose. A light pry
at the clamp half junction may be required to loosen
the wedging action of the clamp.
3. Hold the operating rod extension (5), at the bottom of
the operating rod insulator (1 inch wrench) and
loosen the adjacent locknut (3/4 inch wrench), item
(3). Adjust by rotating the operating rod insulator.
The thread is 1/2-13 and each turn will give about
0.078 inch change in primary wipe. Screw the
operating rod insulator toward the interrupter to
increase wipe.
4. After setting the contact wipe on each phase, torque
the operating rod locknut (3), to 40-50 foot pounds
while preventing the operating rod insulator (6) from
turning. Tighten the clamp screws (7) to 10-12 foot
pounds. Trip the breaker “OPEN”. This procedure
prevents accidental twisting of the operating rod of
the interrupter by loading the contacts with the wipe
springs and forcing relative rotation to occur at the
clamp interface.
After adjustment, re-measure the wipe for each phase to
check the adjustment. If the wipe settings are within the
required limits, there is an adequate contact closing
relationship between the poles. Refer to Figure 21.
6-2 Emergency Trip
A 'Pull to Trip' knob is provided on the outside of the
mechanism door for emergency tripping of the circuit
breaker.
After using the emergency trip, the mechanism door must
be opened and lever reset manually to release the trip
button.
When properly adjusted, the lever will move across the
face of the trip button just as the breaker trips. When it is
holding the button depressed, the trip latch must not
permit the mechanism to close. A fine adjustment of the
trip coil adjusting nut may be required to insure this, See
Table 2, adjustment #1 and Fig. 19.
6-3 Primary Contact Erosion Indication
In the “CLOSED” position, the erosion disk (Figure 11, item
2) below the operating rod insulator is aligned with a
reference arm (Figure 11 item 4) on new interrupters. As
contact erosion occurs, the erosion disk will move upward
from alignment with the reference arm. When erosion
reaches 0.125 inch, the PowerVac interrupters should be
replaced.
NOTE: Do not re-adjust the alignment of the erosion
indicator except when installing a new vacuum
interrupter.

Distribution Breaker
Section 6. Measurements and Adjustments
6-4 Contact Gap Adjustment
The gap adjustment refers to the separation, or gap,
between the primary contacts within the vacuum
interrupter. Before attempting to measure or set the gap
adjustment, verify that the wipe settings are within
acceptable limits. Any change of the wipe settings will
affect the gap settings.
The method of measuring the contact gap is as follows:
With the breaker in the ”OPEN” position, the closing
springs charged, and the closing spring gag plate
installed, apply a piece of masking tape to the surface of
the operating rod insulator as shown in Figure 12. Using a
reference block, make a mark on the tape near the top on
all three poles. It is also advisable to put a reference mark
on the tape to identify to which pole the tape is applied.
Remove the closing spring gag plate and close the
breaker. Using the same procedure as above, re-mark the
tape. This new mark will be near the bottom of the tape.
Trip the breaker, remove the tapes and re-apply them to a
flat surface. Measure the distance between the two lines.
NOTE: Reference block may be obtained from GE by
ordering part number 0348A3404P001
21
1. Adjust the outer left and right phases first. The
contact gap must be 0.54-0.60. The adjustment of the
outer phases affects the center phase measurement.
With the breaker in the “OPEN” position and the
closing spring “DISCHGD”, locate the gap adjusting
nuts on the opening spring rods connected to the
outer phase bell cranks (Figure 21). Loosen the jam
nut on both rods. Back off the adjusting bolt on the
center phase VI stop (Figure 21) Advance or retard the
adjusting nuts depending on which way you want to
change the gap. Move both nuts the same amount.
3. Lock the jam nuts after setting the adjusting nuts.
Operate the breaker a few times and re-measure the
gap.
4. Readjust the center phase VI stop (Figure 21). Set
adjusting screw for no clearance between stop and
wipe spring rod striker with the breaker open.
After adjustment of the left and right phase, re-measure
the center phase. The center phase should not exceed
0.60 inch. If it does, then readjust the left and right phase
gaps.
REFERENCE BLOCK
Figure 12. Gap Measurement

Distribution Breaker
Section 6. Measurements and Adjustments
22
6-5 Control Coil Plunger Travel
Trip Coil
With the breaker in the “OPEN” position and the closing
spring in the “CHARGED” position, make certain that the
trip linkage and trip shaft move freely over the full plunger
travel, (Fig. 19).
Some breakers due to the customer’s application are
equipped with two trip coils (optional), (Fig. 19). Sequence
of operation of dual trip coils is determined by the
customer.
Close Coil
With the closing spring “DISCHGD”, operate the plunger in
the same manner described above for the trip coil. Make
certain that the plunger moves freely over its full stroke in
the coil, see Figure 22.
6-6 Control Switches
There are three switch locations on the ML18/ML18H
mechanism. The CL/MS closing latch monitoring switch
(Figure 23, item 13), is to the rear of the ratchet wheel and
is operated from the closing latch. The SM/LS spring
motor limit switches (Figure 23, item 11) control the spring
charging motor and the anti-pump relay. The 52 charge
switch, which is in the same location can be used for
remote indication of the “CHARGED” condition of the
spring. The LCS latch checking switch (Figure 23, item 12),
monitors the position of the trip latch.
The switches are adjusted as described in Table 2 Items 7
and 8.
6-7 Optional Auxiliary Contacts
The optional auxiliary contacts should be checked for
operation within specification at the regular distribution
breaker maintenance interval of 2,000 mechanism
operations. Adjustment to the breaker wipe and gap will
affect auxiliary switch adjustment, therefore, adjustments
to the auxiliary switch (es) must be made only after wipe
and gap adjustments are complete.
ML18 Type –3 and ML18H Type –1
The specification for the auxiliary switch linkages is shown
in (Figure 13). Check the auxiliary switch linkages with
feeler gages to ensure that the two items illustrated in
(Figure 13) are within specification. If linkages are not
within specification then proceed to next paragraph.
Gap between links 1 and 2
is no
g
reater than .005”
Figure 13. Specification for Aux Switch Linkage
1
2
3
4
Gap between 3 and 4 is
no greater than 1/16”
Breaker in “Open” and
“Discharged” Position
1. DRIVE LINK
3. AUX SWITCH LINK
2. LINK
4. STOP

Distribution Breaker
Section 6. Measurements and Adjustments
1. Disconnect charge motor power by disconnecting
motor leads shown in Fig 14.
2. Charge the breaker and subsequently depress the
“Close” button followed by the “Trip” button. Confirm
the indicators show “Open” and “Discharged”.
3. Locate the bolt coupling the linkage cranks. Fig 15.
23
4. Loosen (do not remove) nut from bolt with (2) ¾” open
end wrenches.
5. Move the linkage crank relative to the stationary crank
until the specified adjustment is attained.
6. Tighten the nut onto the bolt to 50-75 ft-lbs torque
using a torque wrench with ¾” crow’s foot adapter
and a ¾” open end wrench.
7. Manually charge the breaker, depress the “Close” then
“Trip” buttons, and re-inspect the auxiliary switch
linkages per Section 3 of this document.
8. Apply 0282A2048P009 grease to all moving parts.
9. Reconnect charge motor leads.
Motor Leads
Figure 14. Charge Motor Connector
Bolt
Figure 15. Linkage Crank Coupler
Adjustment
Slot
Stationary Crank
Linkage Crank
Nut & Bolt
Figure 16. Outline of Linkage Cranks

Distribution Breaker
Section 6. Measurements and Adjustments
ML18 Type –0, -1, -2 and ML18H Type -0
Adjust the position of the switch so that a small gap
(about 0.35’’- 0.5 ‘’) is present between the paddle on the
breaker and the arm of the auxiliary switch. Adjust gap
by moving position of mounting plate from left to right.
24
Close the breaker and inspect the operating lever to
ensure it is touching the overtravel stop (Figure 5). Using
a felt tip pen, mark a reference line on the over-travel
link. Open the breaker and inspect for amount of over-
travel. The over-travel should measure between 1/8“ to
1/4". Adjust position of mounting plate to increase or
decrease the gap between the breaker paddle and
auxiliary switch arm to decrease or increase overtravel
respectively. Charge the closing spring, close the breaker
and mark a new reference line. Open the breaker to re-
inspect.
Reference
Line
Over-travel link
Actuation Level
MARK
LINE W/BREAKER
0.35’’
–
0.5’’
Over-travel link
1/8”-1/4”
Actuation Level
Figure 17. Paddle- Arm Gap Measurement
(over-travel)
(no over-travel)
Figure 18. Auxiliary Switch Over-travel Check

Distribution Breaker
Section 6. Measurements and Adjustments
25
Figure 19. Trip Coil and Linkage

Distribution Breaker
Section 6. Measurements and Adjustments
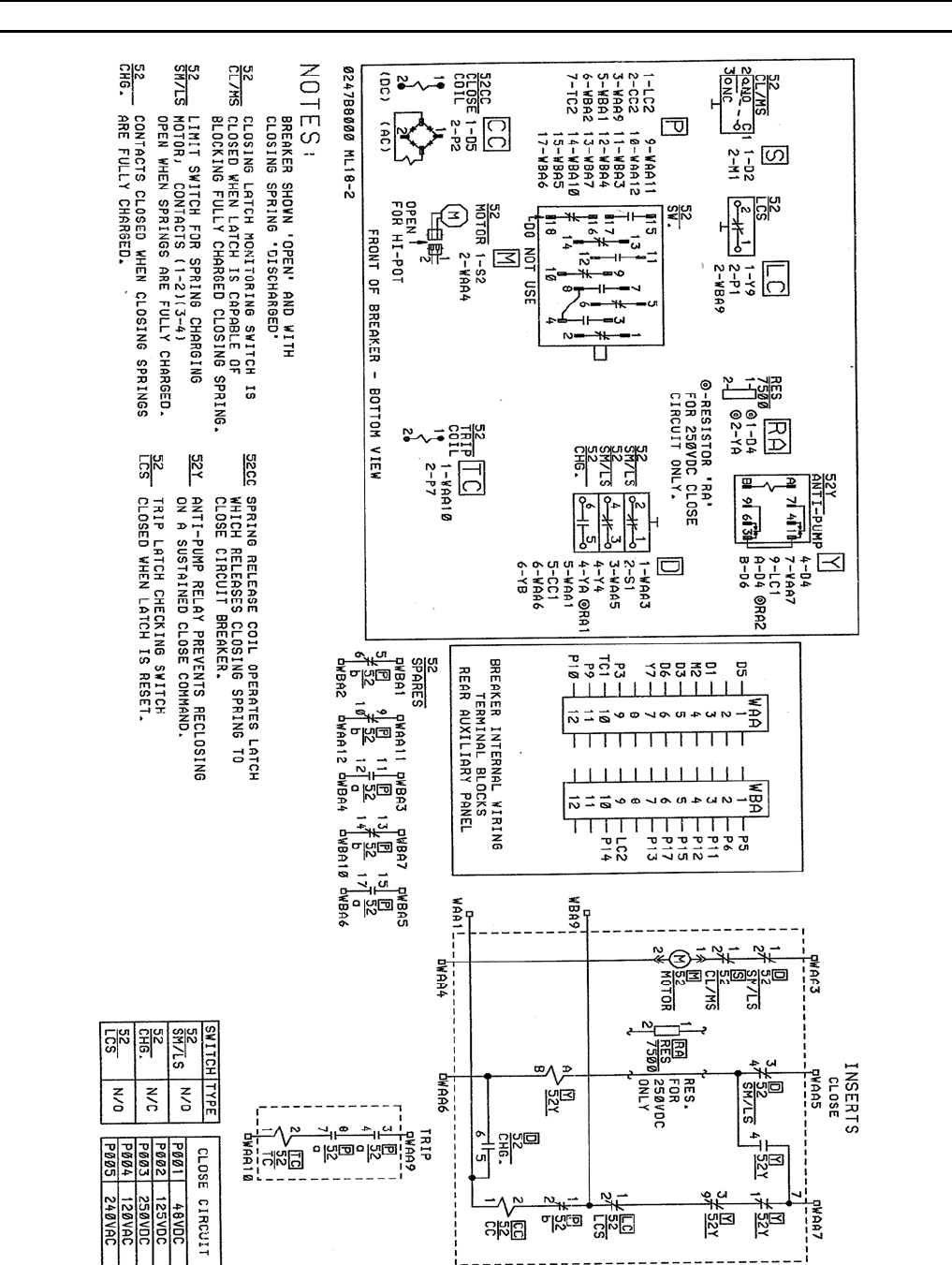
Figure 20. Typical Wiring Diagram for ML18/ML18H Mechanism
26

27
Distribution Breaker
Section 7. Electrical Checks
7-1 Control Power
When a capacitor trip device is supplied; make certain
that the tripping circuit is not completed (all protective
relay contacts open) when applying a-c voltage to a
discharged unit.
After the breaker has been operated several times with
the manual charging lever and the mechanism
adjustments are checked as described, the closed circuit
operating voltages should be checked at the close coil,
trip coil, and motor terminals. Control power for electrical
operation of the breaker maybe from either an alternating
or direct current source. The operating ranges for the
closing and tripping voltages as given on the breaker
nameplate, are listed in Table 1 below.
If the closed circuit voltage at the terminals of the coil or
motor does not fall in the specified range, check the
voltage at the source of power and line drop between the
power source and breaker.
When two or more breakers operate from the same
control power source are required to close
simultaneously, the closed circuit voltage at the closing
coil or motor of each breaker must fall within the specified
limits.
7-2 Timing
Timing and speed checks are optional and also depend on
the level of maintenance performed. Generally these tests
are not required for normal maintenance. If a new
mechanism has been installed or extensive repair,
replacement or major disassembly has been performed, it
is recommended that these tests be performed.
To determine contact velocity, a travel recorder and
oscillograph are required. Optional travel recorders can be
obtained through your local GE Sales Office by ordering
part number 0144D1235G001. A typical travel trace and
interpretation are shown in Figure 25.
Timing may be checked by monitoring control circuit
voltage and using no more than six volts DC and one
ampere through the vacuum interrupter contact to
indicate “CLOSED” or “OPEN” condition. Typical time
ranges vary with coil voltage, but nominal values are:
Initiation of trip signal to contact parting
32-45 Milliseconds (5 cycle)
25-30 Milliseconds (3 cycle)
2 Millisecond maximum pole spread
Initiation of close signal to contact closing
35-75 Milliseconds
2 Millisecond maximum pole spread
Trip-free operation may be checked by applying a
simultaneous close and trip signal and a minimum re-
close operation may be checked by tripping a charged
breaker open while maintaining a close signal.
Instantaneous re-close time* 85-150 Milliseconds
*Time from application of trip signal until breaker
opens and re-closes.
7-3 Opening and Closing Speed
The opening speed is modified by tightening or loosening
the speed adjustment nuts on the opening spring
assemblies. A change in the opening speed affects the
closing speed. Refer to Fig 21 & Fig 25.
The operating speeds are as follows:
Operation Feet Per Second
Open 5.0 nominal, 4.5 minimum
Close 3.5 nominal, 4.0 maximum
Table 1. Control Devices and Voltages
Tripping coil current
Control
Voltage
Source
Closing
range
Tripping
Tripping coil
current range
5 cycles 3 cycles
Motor Inrush
current
Motor
Windup
current
48 VDC 38-56 28-56 13.7 17 17 34 17
125 VDC 100-140 70-140 6 5.9 10.5 23 8
250 VDC 200-280 140-280 2.4 4.7 10.8 18 3.8
120 VAC 104-127 70-140 VDC 6 3.7 3.7 35 15
240 VAC 208-254 295-360
VDC* 2.4 3.7 3.7 20 6
*Capacitor trip, 240 VAC requires the capacitor trip to operate a 340-trip coil.

Distribution Breaker
Section 7. Electrical Checks
Figure 21. Mechanical Adjustments and Settings
(Continued on next page)
28

Distribution Breaker
Section 7. Electrical Checks
29
Figure 21. (Continued) Mechanical Adjustments and Settings
CLMS SWITCH
ML18H TYPE –0 and –1
ML18 TYPE –2, -3
SHIM PLACEMENT
STACK SWITCH
CLMS SWITCH
ML18 TYPE –0 and -1
NO ADJUSTMENT
LCS SWITCH (Post 1998)
ML18 TYPE –2 and –3
ML18H TYPE –0 and -1
LCS SWITCH, ML-18 TYPE –0, -1

Distribution Breaker
Section 8. Maintenance
General
PowerVac circuit breakers have been designed to be as
maintenance free as practicable. They include features
such as sealed vacuum interrupters and long life synthetic
greases which contribute to many years of trouble free
performance with a minimum amount of maintenance
attention.
WARNING: Before any maintenance work is performed
make certain that all control circuits are de-energized. Do
not work on the breaker or mechanism while it is in the
closed position without taking precautions to prevent
accidental tripping. Do not work on the breaker while the
closing spring is charged, unless the spring is gagged.
30
8-1 Service Conditions
The frequency of required maintenance depends on the
severity of the service conditions of the circuit breaker
application. If the service conditions are mild, the interval
between maintenance operations may be extended to 10
years or 2,500 normal load switching operations.
“Mild service conditions” are defined by ANSI standards as
an environment in which the circuit breaker is protected
from the deleterious effects of conditions such as:
Salt atmosphere
Changes in temperature that produce condensation
Conductive and/or abrasive dust
Damaging chemicals and fumes
Vibration or mechanical shock
High relative humidity (90%)
Temperature extremes (-30°C, 40°C)
WARNING: Before any maintenance work is performed,
make certain that all control circuits are de-energized.
8-2 Fault Interruptions
The erosion rate of the primary contacts in the vacuum
interrupters is very low for no load and normal load
switching operations. However, fault current inter-
ruptions at or near the breaker rating may result in
appreciable contact erosion. With frequent fault
interruptions it is necessary to perform maintenance
based on the number of interruptions. After each 8 fault
interruptions the following should be performed.
1. Contact erosion per Section 6-3.
2. Wipe and gap per Table 2 Items 4 & 5.
3. Vacuum Interrupter Integrity Test (Section 8-8).
8-3 PowerVac Interrupter
The PowerVac interrupter used in this breaker is a reliable,
clean interrupting element. Since the contacts are
contained in a vacuum chamber, they remain clean and
require no maintenance at any time. The metallic vapors
eroded from the contact surfaces during high current
interruption remain in the chamber and are deposited on
metal shields thus insuring a high dielectric value of the
vacuum and the walls of the glass/ceramic container.
8-4 Trouble Reporting
Although all reputable manufacturers design their
products to perform satisfactorily with minimum
problems, the IEEE Switchgear Committee, an
organization of both users and manufacturers, recognize
the need for a common trouble reporting format. A
reproducible copy of this form is included inside the rear
cover of this book and is recommended for use with any
manufacturer’s circuit breakers.
The intent is for each maintenance organization to keep
specific problem files with this information documented. If
the problem is serious or repetitive, a summary should be
sent to the appropriate manufacturer for action. The level
of detail included on the form is considered very desirable
so that the manufacturer’s investigator may more
thoroughly understand and solve the reported problem.
8-5 Contact Erosion
Check in the breaker-closed position per Primary Contact
Erosion Indication (Section 6-3). When erosion reaches
0.125 inch, the interrupter should be replaced.
8-6 Transfer Finger Wear
Examine the moving contact rod projecting below the
transfer finger with the breaker “OPEN”, wiping off the
lubricant in order to see the metal surface condition. The
contact locations should present a burnished silver
surface without copper appearance at more than one
location. If copper is visible at more than one location per
pole or the silver plating is torn, the interrupter assembly
should be replaced. Re-lubricate movable contact rod
with 0282A2048P009 grease.
8-7 Insulation Tests
The primary circuit insulation on the breaker may be
checked phase to phase and phase to ground using a
2500V megohmeter.
To measure the breaker secondary circuit insulation
resistance, remove the motor leads, and thread a wire
connecting all secondary terminals together. The
measurement may be made by connecting a 500V
megohmeter from the wire to ground. Since definite limits
cannot be given for satisfactory insulation value, a record
should be kept of the megohmeter readings as well as
temperature and humidity readings. This record should be
used to detect any weakening of the insulator from one
check period to the next.

31
Distribution Breaker
Section 8. Maintenance
8-8 High-Potential Test
If high potential tests to check the integrity of the
primary insulation are required, the AC high potential
test described below is strongly recommended. DC high
potential testing is not recommended. The following
procedure must be adhered to.
CAUTION: IF DC HIGH POTENTIAL TESTING IS USED, THE
DC HIGH POTENTIAL MACHINE MUST NOT PRODUCE
PEAK VOLTAGES EXCEEDING 50 kV.
NOTE: Always recheck with an AC tester if initial results
are questionable.
Primary Circuit
The breaker should be hipotted with the breaker closed.
An AC hipot machine capable of producing the test
voltages shown below may be used to hipot the breaker
phase to phase and phase to ground.
BREAKER VOLTAGE AC TEST VOLTAGE
15.5 kV 37.5kV (RMS)
The machine should be connected with its output
potential at zero and the voltage increased at 500 volts
per second to the test voltage and that voltage
maintained for 60 seconds. The voltage should then be
returned to zero and the test leads removed from the
circuit and the breaker discharged to ground.
NOTE: Do not exceed the test voltage indicated for the
applicable breaker voltage rating. If the test should
experience a failure, STOP, turn off the test set and
discharge the breaker circuit.
1. Check the test set up and leads for connection errors.
2. Wipe down the breaker to remove any moisture, dust
and contamination.
3. Retest the breaker at the proper test voltage.
Secondary Circuit
Prior to hipotting the breaker secondary circuit,
disconnect the motor leads, thread a wire connecting all
secondary terminals together. Connect the hipot
machine from this wire to ground. Increase the voltage
to 1125 volts rms, 60-Hz and maintain for 60 seconds.
Reduce the voltage to zero and remove the hipot
machine from the circuit. Remove the wire connecting
the secondary terminals and reconnect the motor
leads.
8-9 Vacuum Interrupter Integrity Test
A vacuum integrity test of the interrupter is required to
ensure that no loss of vacuum has occurred. The
vacuum integrity test is performed using an AC hi-
potential tester. This test of the vacuum interrupter will
determine its internal dielectric condition and vacuum
integrity. With the breaker “OPEN”, individually check
each interrupter by connecting the hi-pot machine
“Hot” lead to the primary bus bar and the ground lead
to the load side bus bar. If the machine has a center
point ground, the connections can be made either way.
Apply 36 kV (rms) 60 Hz at 500 vps and hold for 10
seconds. If no breakdown occurs, the interrupter is in
acceptable condition. After the high potential voltage is
removed, discharge any electrical charge that may be
present through the internal ground of the test machine
or by a grounded cable to one of the phase bus bars.
NOTE: Use of a DC hipot is not recommended, but can
be used for quick field checks only. DC testers
frequently yield false negative test results, due to the
capacitive component of the vacuum interrupter during
DC testing; in addition most lightweight DC testers have
a very low leakage current trip setting. Always recheck
with an AC tester if initial results are questionable. Prior
to performing any vacuum interrupter integrity test, the
outside (external surface) of the vacuum interrupters
should be wiped clean of any contaminates with a non
linting cloth or industrial type wiper. This is critical: the
entire external surface is to be completely free of all dirt,
debris, dust, oil, etc.
CAUTION: X-RADIATION WILL BE PRODUCED IF AN
ABNORMALLY HIGH VOLTAGE IS APPLIED ACROSS A PAIR OF
ELECTRODES IN A VACUUM. X-RADIATION WILL INCREASE AS
VOLTAGE INCREASES AND/OR AS CONTACT SEPARATION
DECREASES. ONLY TEST A CORRECTLY-ADJUSTED CIRCUIT
BREAKER.
DURING A HIGH POTENTIAL OR A VACUUM INTEGRITY TEST,
ANY X-RADIATION WHICH MAY BE PRODUCED WILL NOT BE
HAZARDOUS AT A DISTANCE SAFE FOR HIGH POTENTIAL
TESTING, IF THE TEST IS CONDUCTED AT THE RECOMMENDED
VOLTAGE AND WITH THE NORMAL OPEN CIRCUIT BREAKER
GAP.
DO NOT APPLY VOLTAGE THAT IS HIGHER THAN THE
RECOMMENDED VALUE. DO NOT USE CONTACT SEPA-RATION
THAT IS LESS THAN THE RECOMMENDED OPEN-POSITION
BREAKER CONTACT GAP.
If a failure of a vacuum bottle should incur during the
integrity test, the test procedure should be reviewed
and the pole piece cleaned. GE failure rate for vacuum
bottles is 0.0007 per field unit.

32
Distribution Breaker
Section 8. Maintenance
CAUTION: MANY DC HIGH POTENTIAL MACHINES ARE
HALFWAVE RECTIFIERS. THIS TYPE OF HIPOT TESTER MUST NOT
BE USED TO TEST VACUUM INTERRUPTERS. THE CAPACITANCE OF
THE POWERVAC BOTTLES IS VERY LOW AND THE LEAKAGE IN THE
RECTIFIER AND ITS DC VOLTAGE MEASURING EQUIPMENT IS
SUCH THAT THE PULSE FROM THE HALFWAVE RECTIFIER MAY BE
IN THE NEIGHBORHOOD OF 120 kv WHEN THE METER IS
ACTUALLY READING 40 kv. IN THIS CASE, SOME PERFECTLY
GOOD BOTTLES CAN SHOW A RELATIVELY HIGH LEAKAGE
CURRENT SINCE IT IS THE PEAK VOLTAGE OF 120 kv THAT IS
PRODUCING ERRONEOUS BOTTLE LEAKAGE CURRENT. IN
ADDITION, ABNORMAL X-RADIATION WILL BE PRODUCED.
Note the voltage level at failure on the first test, and retest
the phase pole piece. If the pole piece passes test, the
vacuum bottle is acceptable - STOP. If the test fails again
but at a higher voltage level than was observed in the first
test, clean the pole piece and retest. If a failure of the
integrity test occurs a third time, consider the vacuum
bottle to have lost vacuum and replace the complete pole
piece as described under Repair of Interrupter Assembly
Although a AC hi-potential test is strongly recommended
for checking the vacuum integrity, DC hi-potential test
sets are frequently used. If a DC Hi-potential test set is to
be used, test voltage should not exceed 50kV DC, and
should be applied for 10 seconds. Interrupters must be
cleaned as previously discussed. If failure occurs, reverse
the polarity and retest. If the interrupter passes the
second test, STOP. The interrupter is acceptable. If the
interrupter fail the second test, we recommend a final test
with an AC Hi pot before replacement.
No attempt should be made to try to compare the
condition of one vacuum interrupter with another nor to
correlate the condition of any interrupter to low values of
dc leakage current. There is no significant correlation.
After the high potential voltage is removed, discharge any
electrical charge that may be retained.
An acceptable AC high potential machine is available
from: GE Company, Burlington, Iowa, Catalog Number
282A2610P001
Acceptable AC high potential machines are:
Hipotronics Model 7BT 60A
Hipotronics Model 60HVT
James G. Biddle Catalog 222060
Acceptable DC high potential machines are:
Hipotronics Model 860PL
Hipotronics Model 880PL
GE/Programma VIDAR
8-10 Primary Circuit Resistance
A resistance check of the primary circuit may be made
with the breaker closed. Use a low resistance measuring
instrument which measures microhms. The D-C resistance
of the current-carrying circuit from bushing top terminal
to building top terminal of each pole unit in the closed
position should not exceed the values tabulated below.
Microhms
Breaker Cont.
Current Rating New After service
600 A 80 120
1200 A 80 120
2000 A 80 90
8-11 Power Factor
The overall GST (Grounded Specimen Test) can be
performed on the bushing of vacuum distribution circuit
breakers in the same open-breaker test procedure used
for oil circuit breaker. These tests are rated on the basis of
dielectric-loss. The power factor for each bushing of
porcelain design is tested at room temperature, 23
degrees C, and should not exceed 3%.
Power factor testing of the vacuum interrupter is not
recommended because of the low charging currents. The
Watt-loss measurement across the open vacuum
interrupter bottle is not meant to be a direct measure of
the dielectric-breakdown strength of the interrupter.
While defective bottles with improper vacuum or high-loss
conditions on the internal or the external surfaces have
been detected, separable identification is not easy and
the readings have not proven to be consistent.
For accurate verification of the loss of vacuum integrity in
a bottle, perform an AC hi-potential test as described in
section 8-9.
8-12 Mechanism
Check all items on Table 2, Summary of Adjustments and
Critical Dimensions, re-adjusting or tightening as required.
Lubricate as recommended under LUBRICATION (Section
8-14).
8-13 Primary Insulation Parts
Using dry non-linting cloth or industrial-type wipers, clean
accessible insulation surfaces on the interrupter supports
and operating rod insulators. In service locations where
contamination is heavy or external flashovers have
occurred during interrupter high potential testing, clean
the inside surface of the interrupter supports and the
outer surface of the PowerVac interrupters. Remove the
interrupter assembly, if necessary, per the procedure in
REPAIR AND REPLACEMENT (Section 9-2) and be sure to
discharge the interrupter midband ring (glass bottle only,
see fig. 26a) before removing the interrupter assembly.
Removal and re-installation of interrupter assemblies will
normally not require readjustment due to the design of
the interrupter operating rod insulator connection. They
should be returned to the same location from which they
were removed.

Distribution Breaker
Section 8. Maintenance
8-14 Lubrication
Proper lubrication is important for maintaining reliable
circuit breaker performance. The ML18/ML18H
mechanism used bearings, which have a synthetic lining
in some locations. These bearings do not require
lubrication to maintain low friction, but lubrication does
not harm them and oiling lightly is recommended. Sleeve
bearings are used in some linkage locations and needle or
roller bearings are used for low friction on trip shaft and
close shaft.
Bearings are lubricated during factory assembly with
grease and oil, but all lubricants have a tendency to
deteriorate by oxidation or contamination with age.
Providing a fresh lubricant supply at periodic intervals is
essential to proper breaker operation, especially where
frequent operation may have forced lubricant out of the
bearing surfaces.
Apply a few drops of light synthetic machine oil such as
Mobil 1 at each bearing. Apply a coat of 0282A2048P009
on the four corners of the closing spring guide where it
enters inside the spring. Electrical primary contact
surfaces also require periodic lubrication to inhibit
oxidation and minimize friction.
At each inspection and maintenance interval, the metal
contact surfaces of the movable contact rod of the
interrupter should be lubricated with 0282A2048P009.
This grease is available packaged in a pint can.
8-15 Recommended Maintenance
The following operations should be performed at each
maintenance.
1. Perform a visual inspection of the breaker. Check for
loose or damaged parts.
2. Perform the slow closing operation described in Section
4-7, step 1-3.
3. Check the erosion indicator and the wipe and gap as
described in Sections 6-3 and 6-4.
4. Perform the vacuum interrupter integrity test as
described in Section 8-9.
5. Lubricate the breaker operating mechanism as
described on this page.
6. Check the electrical operation.
7. Examine the movable contact rod of the vacuum
interrupter for wear as described in Section 8.6.
8. If desired, perform the additional electrical tests
(Megger, primary and secondary high-potential and
primary circuit resistance and vacuum interrupter
integrity test). See Sections 8-7 to 8-9.
33

34
Distribution Breaker
Section 8. Maintenance
Table 2. Summary of Adjustments and Critical Dimensions
Item
Breaker
Position
Closing
Spring
Opening
Spring Adjustment Detail
1. 1st & 2nd
Trip coil
(See Section 6.5)
Closed
Discharged
Charged
1. Depress coil plunger until trip pin on actuator arm just makes
contact with trip arm.
2. Check that gap between coil assy. & plunger base is .20 +.000-.050.
3. Turn adjusting nut to meet setting, bend clip over after final setting.
2. Close coil
(See Section 6.5)
Open
Charged
Discharged
1. Depress coil plunger until latch actuator just makes contact with
close latch pawl.
2. Check that gap between coil assy. & plunger base is .35 +.000-.050.
3. Turn adjusting nut to meet setting, bend clip over after final setting.
3. Wipe
(See Section 6.1)
Closed
Charged
And
Gaged
Charged
1. Turn operating rod to achieve a .160 to 180 gap between trunnion
block & bellville washers.
2. Tighten locknut.
4. Gap
(See Section 6.4) Open
Discharged
Discharged
1. Set adjusting nut so that gap is .540 -.600.
2. Check that trip latch will reset.
3. Adjust gap if trip latch will not reset.
5. Stack Switch
assembly
(See Fig 21)
Open
Discharged
Discharged
1. With adjusting bolts loose, hold .020 spacer between actuator
roller and crank.
2. Slide support bracket until plunger is fully depressed.
3. Tighten adjusting bolts.
6. V.I. Stop
(See Fig 21)
Open
Discharged
Discharged
1. Set adjusting screw for no clearance between stop and wipe
spring rod striker.
7. LCS Switch
(See Section 6.6)
Open
Discharged
Discharged
1. Adjust mounting of switch for visual flush to .031 recess of plunger
at back of switch.
8. CLMS Switch
(See Section 6.6)
Open
Discharged
Discharged
1. Adjust position of CLMS switch to open with start of travel of
close latch .
9. Erosion
indicator
(See Section 8.5)
Closed
Discharged
Charged
1. Bend erosion indicator tab to be in line with disc on wipe spring
assembly. Only perform this adjustment upon replacement of VI
Stop or pole assembly.

35
Distribution Breaker
Section 9. Repair and Replacement
General
The following information covers in detail the proper
method of removing various parts of the breaker in order
to make any necessary repairs. This section includes only
those repairs that can be made at the installation on parts
of the breaker that are most subject to damage or wear.
9-1 Renewal Parts
It is recommended that sufficient renewal parts be carried
in stock to enable the prompt replacement of any worn,
broken, or damaged parts. A stock of such parts
minimizes service interruptions caused by breakdowns,
and saves time and expense. When continuous operation
is a primary consideration, more renewal parts should be
carried, the amount depending upon the severity of the
service and the time required to secure replacements.
Renewal parts, which are furnished, may not be identical
to the original parts, but they will be interchangeable.
A separate Renewal Parts Bulletin is available from your
local GE Sales office by asking for GEK-90219.
9-2 Replacement of Interrupter
Assemblies
Interrupters are supplied as pole units, which include the
vacuum interrupter, mounted in the interrupter support.
CAUTION: Do not attempt to remove or re-insert the
vacuum interrupter in the interrupter support assembly.
Special tools available only at the factory are required.
1. Disconnect riser bus from vacuum interrupter studs
extending from Breaker.
2. Close the breaker and remove the interrupter clamp,
(4) Fig. 11. Open the breaker and remove the four
bolts holding the pole assembly to the mechanism
and remove the old pole assembly.
3. Set the new pole assembly in place and install the
four mounting bolts.
4. Close the breaker using the Slow Closing Operation.
Perform the closing operation slowly while guiding
the tip of the operating rod into the base of the
movable contact rod on the vacuum interrupter.
After the breaker is fully closed install the coupling
clamp.
5. Check and adjust the erosion indicator (3) Fig. 11 (if
new interrupter assembly is installed), and the Wipe
and Gap as described in Table 2, Items 4 and 5.
6. Reconnect riser bus, tighten bolts. Torque to 35 ftlb.
7. Perform the Vacuum Interrupter Integrity test.
9-3 Pin Retaining Rings
These rings are widely used in the ML18/ML18H
mechanism to retain pins. They can be installed and
removed with a pair of standard pliers. DO NOT REUSE
after removal. To remove, slowly squeeze the removal
ears while pulling, To install, position on the pin groove
and squeeze the installation ears closed to not more than
1/16 inch gap between ears.
9-4 Control Switches
Control switches may be removed from their mounting
brackets by disconnecting the wires and removing the
two mounting screws. Use a small screwdriver to remove
and replace the switch on the bracket checking that the
correct type, normally open or normally closed, is used.
Re-install wire and adjust per Section 6.6, Control
Switches.
9-5 Trip Coil Replacement
Tools Required
5/16” Allen wrench - 9/16” combination end wrench -
7/16” socket - 7/16” combination wrench - 1/4” square
drive ratchet - 1/4” square 3” extension - Loctite #271 or
equivalent - Needle nose pliers
Perform the operation in the following sequence:
1. Charge closing spring and install gag plate.
2. Depress the close and then the trip buttons.
3. Pump the manual close handle 3 - 4 times to transfer
all remaining spring pressure from the spring
crossbar to the gag plate.
4. With the 5/16” Allen wrench remove the pivot bolt
(10), Figure 23, and the closing spring (1), Figure 23.
5. Then remove the spring crossbar and its support
plate by removing the two 3/8” bolts retaining it.
6. Disconnect the trip linkage tension spring.
7. Remove the bolts from the coil bracket leaving the
two bolts nearest the front in place in the
mechanism plate.

Distribution Breaker
Section 9. Repair and Replacement
8. The trip coil and armature can now be removed
by cutting the coil leads.
disengaged and the garter removed before the bushing is
removed. The procedure is reversed for reinserting a
bushing. The ground sleeve is referred to above is in the
form of a conductive coating applied directly to a section
of the lower end of the bushing. The garter make s
electrical contact with the ground sleeve and the
conducting leads terminated in the terminal complete the
connection to ground potential.
To install the new coil connect leads with insulated butt
connectors and reverse the above procedure. See Table
2, Item 1 for setting the stroke of the armature. Apply
Loctite to the threads of the pivot bolt when it is
replaced. See Section 6, Measurements and
Adjustments for setting the stroke of the armature.
Charge the breaker, remove the gag plate, then
electrically close and trip it to make certain it has been
reassembled correctly.
9-6 Closing Coil Replacement
Remove the closing coil housing (6), Figure 23.
Disassemble the closing armature and closing coil. Cut
the leads to the closing coil and remove the coil. Butt
splice the new coil into the wiring harness and reassemble
the coil and housing. Readjust the closing coil armature
travel in accordance with instructions in Table 2, Item 2.
9-7 Entrance Bushing Removal
In the event that an entrance bushing must be removed,
the current transformer on that bushing must first be
removed to allow the removal of the grounding spring.
The grounding spring is a long coil spring hooked together
at the ends to form a garter, which is passed up over the
bushing ground sleeve. Within the coil spring is a bare
conductor, the ends of which come out of the spring and
are terminated in a single terminal. The terminal is
anchored to the roof frame. The terminal must be
NOTE: Upon completion of any kind of repair work, all
interrupter and mechanism adjustments must be
checked. Refer to the sections on Mechanical and
Electrical Adjustment.
Ordering Instructions
1. Always specify the complete nameplate data of both
the breaker and mechanism.
2. Specify the quantity, catalog number (if listed),
reference number (if listed), and description of each
part ordered, and the parts bulletin number.
3. Standard hardware, such as screws, bolts, nuts,
washer, etc. is not listed in this bulletin. Such items
should be purchased locally.
4. For prices or information on parts not listed in the
Renewal Parts Bulletin, refer to the nearest GE office.
9-8 Breaker Removal
Kit number 0282A6539G001 should be installed to
facilitate safe removal of the breaker.
Figure 22. Closing Coil and Linkage
36

Distribution Breaker
Section 9. Repair and Replacement
37
9.9 Auxiliary Switch Replacement
With the breaker open and the closing spring discharged,
remove retaining clip from auxiliary switch shaft, or loosen
clamping bolt in operating link. Remove mounting hardware
securing auxiliary switch to mechanism plate. Slide auxiliary
switch and shaft out of operating link. Before removing any
wires from switch terminals, make sure they are properly
tagged with switch terminal numbers to assure proper
placement on new switch. Remove wires.
To install new switch, attach leads then install switch, or
install switch then attach leads depending upon type of
switch and its terminal accessibility. Install switch shaft in
operating link with index mark aligned as shown in the
figure. Reverse above procedure to complete installation.
1
2
1. Index Mark
2. Stopper
1. Closing Spring 9. 52Y Relay
2. Opening Spring 10. Pivot Bolt
3. Auxiliary Switch 11. SM/LS Motor Control Switch
4. Spring Charging Motor 12. LCS Latch Checking Switch
5. Trip Coil 13. CL/MS Closing Latch
6. Closing Coil 14. Optional contacts switch operator
7. Ratchet Wheel 15. Close latch adjustment screw
8. Closing Cam
Fi
g
ure 23. Bottom View of ML18/ML18H S
p
rin
g
Char
g
ed Mechanism
Figure 24. Auxiliary Switch Position
1
2
4 3
15
5 6
7
10
8
9
11
14
12
13
2

38
Distribution Breaker
Section 9. Repair and Replacement
9.10 Motor Replacement
With the breaker open and the closing spring discharged,
remove auxiliary switch as described above but do not
disconnect leads. Move switch toward side of mechanism
far enough to clear motor and tie there temporarily.
Disconnect motor leads. Remove the long bolt and spacer
securing the motor to the mechanism mid-plate. Remove
the two socket head cap screws securing the motor to
the mechanism top plate using a 5/16” Allen socket and a
24” extension. Disengage the motor output shaft from the
charge linkage arms and withdraw motor.
To install the new motor, reverse the above procedure.
9.11 “Y” Relay Replacement
Before removing the “Y” relay, make sure all leads are
marked with terminal locations. Next, disconnect all leads
and remove the two fasteners securing the “Y” relay’s
shock absorbing mounting bracket to the mechanism
rear plate. Withdraw relay and bracket. Remove
fasteners securing relay to mounting bracket.
Reverse the above procedure to install new relay.
9.12 Close Latch Stop Bolt
All distribution circuit breakers utilizing ML18
mechanisms with a type designation ending in “-0 ” or
“-1 ” have an adjustment bolt on the close latch. The
adjustment for the close latch stop bolt is made with the
breaker open and the closing spring charged.
1) Turn the ¼-20 adjusting bolt in against the close
latch until the closing spring discharges and the
breaker closes.
2) Back out bolt ½ turn (three flats on head of bolt)
3) Check for proper holding of the latch on
recharging of the closing spring. If latch fails to
reset and hold the spring, back the bolt out 1 or 2
additional flats.
All distribution circuit breakers utilizing mechanism
ML18-2, ML18-3, ML18H-0 or ML-18H-1 have no
adjustment bolt on the close latch. A permanent stop
with no adjustment is provided by a pin attached to the
mechanism side.
9.13 Dashpot Adjustment-(If Equipped)
Dashpot adjustment to be .781 +/- .030 when breaker is
in the open position (See Figure. 28). Dashpot is a sealed
unit, no maintenance is required. Replace dashpot in case
of any leakage.
9.14 Optional Auxiliary Contacts
Parts and Tools Required
Required Parts
Part Number Description
0282A2048P009 Breaker Grease
Required Tools
(2) 3/4” Open End Wrenches
(1) 0-100 lb-ft Torque Wrench
(1) 3/4" Crow’s Foot Adaptor
(1) Set of Feeler Gages

39
Distribution Breaker
Section 9. Repair and Replacement
Figure 25. Sample Operating Speed Graphs

Distribution Breaker
Section 9. Repair and Replacement
Figure 26a. Vacuum Interrupter Assembly (Glass Type)
Metal-to-Insulation
Vacuum Seal
Vacuum Chamber
Electrical Contacts
Insulating
Vacuum Envelo
p
e
Flexible Metallic
Bellows Shield
Movable Electrical
Terminal
Stationary
Electrical Terminal
Electric Arcing
Region
Metal Vapor
Condensin
g
Shield
Metal-to-Insulation
Vacuum Seal
Midband Ring
Figure 26b. Vacuum Interrupter Assembly (Ceramic Type)
40

41
Distribution Breaker
Section 9. Repair and Replacement
SEE NOTE 3
Figure 27. Travel Recorder Auxiliary Linkage
NOTE: 1. ATTACH TRAVEL RECORDER BRACKET TO THE BREAKER FRAME AND IN LOCATION OF ARROWS, WITH THE VISE-GRIPS PLIERS.
2. SLIDE LINK OF TRAVEL RECORDER ONTO EROSION INDICATOR DISK AND TIGHTEN BOLT.
3. TRAVEL RECORDER KIT PART NUMBER – 0144D1235G001 (Refer: GEK-90218B Renewal Parts).
Figure 28. Opening Dashpot
NOTE: 1. DASHPOT ADJUSTMENT TO BE .781 +/- .030 WHEN BREAKER IS IN THE OPEN POSITION (AS SHOWN).
42
Intentionally left blank

43
USER REPORT NO.
FAILURE REPORTING FORM FOR POWER CIRCUIT BREAKERS
Check all appropriate blocks and provide information indicated. For major trouble provide additional information requested on back of
page supplemented with additional pages if necessary.
User Ident
EQUIPMENT: Station____________________________ of Breaker___________________
Equipment Nameplate Mfgr._______________________________Type_______________ Serial #_____________________
Information kV_______Inter Amps/MVA___________________Continuous Amps__________ BIL______________
Trouble
Breaker Background: Shipped________, Installed________, Maintained_________, Modernized_______, Date _____________
(Mo/Yr) (Mo/Yr) (Mo/Yr) (Mo/Day/Yr)
Operational Counter Reading _________________________________________________________________________________
Location: Indoor Outdoor Enclosure: Non-metal Clad, Metalclad, GIS
Interrupter: Air Blast, Air Magnetic, Oil, SF6, Vacuum, Other____________________________________
ENVIRONMENT:
General: Industrial, Urban, Suburban, Rural, Sea Coast, Above 3300', High Contamination,
Other________________________________________________________________________________________
Weather Conditions: Dry, Rain, Lightning in Area, Snow, Fog, Freezing Rain, Frost, Condensation,
Temp. Trend ⎯ Rising, Falling, Steady, Extreme Cold, Temperature_____° F,
Wind ⎯ Calm, Light, Strong-Steady, Strong-Gusty
External Mechanical Stresses Involved: Normal, Earthquake, Wind, Abnormal Terminal Loading,
Other___________________________________________________________________________________________________
Nominal System voltage__________________________
TROUBLE:
When Discovered: Installation, In Service, Maintenance, Test, Other _____________________________________
Breaker Mode at Time of Trouble: De-energized, Closed, Open, Tripping, Closing, Reclosing,
Fault Interruption, Load Switching, Line Switching
Breaker Response at Time of Trouble: Not Called Upon to Operate, Performed at Intended, Unsatisfactory Operation,
Failed to Operate
Subsystem in Trouble: External Insulation to Ground, Internal Insulation to Ground, Insulating Medium,
Isolating Contact, Bushing, Interrupter, Seals-Gaskets, Air System, SF6 System, C.T.,
Resistor Sw or Aux. Int., Voltage Grading Device, Line Terminals, Compressor, Heater, Electrical Controls,
Wiring, Operating Mechanism, Mechanical Linkage, Other _______________________________________________
________________________________________________________________________________________________________
State Specifically What Failed (With Instr. Book Ref.):____________________________________________________________
________________________________________________________________________________________________________
Has it occurred before on this type of breaker? No, Yes, How many times______________________________________
State How Problem was Corrected:___________________________________________________________________________
________________________________________________________________________________________________________
POSSIBLE CAUSE: Design/Manufacture, Shipping, Storage, Installation, Instructions, Maintenance,
Wear/Aging, Animal/Birds, Other, Not Obvious
Comments and Suggestions: _______________________________________________________________________________
________________________________________________________________________________________________________
________________________________________________________________________________________________________
EFFECT:
Breaker Down Time: No Interruption, 30 Min. or Less, 1 Hr, 2 Hr, 6 Hr, 12 Hr, 24 Hr, Other ______________
Repair Time: Less than 30 Min., 1 Hr, 2 Hr, 6 Hr, 1 Day, 2 Days, 3 Days, 1 Week, Other ______________
Breaker Outage Status: Immediate Forced Outage, Outage Within 20 Min., Required Subsequent Outage,
Repair Deferred Until Regular Maintenance, No Outage for Repair
User Person
Completing Report ______________________________________________________Date__________________________________
User Approval Name_____________________________________________________Date _________________________________
User Contact Name____________________________________________Telephone Number________________________________
User Company_______________________________________________

ADDITIONAL INFORMATION REQUIRED FOR ANALYSIS OF MAJOR OR
SYSTEM RELATED FAILURE
(USE ADDITIONAL PAGES AS NECESSARY)
(1) Single line station diagram showing involved breakers
(2) Operation and timing sequence (including all alarms) of this and related breakers
from last time that conditions were definitely normal
(3) Line conditions before, during, and after failure
(4) Oscillograms - attach with explanation & interpretation
(5) Attach a description of the exact position of all mechanical components from the control solenoid through all
interrupter contacts as applicable (photograph each in detail before mechanisms are moved, supply copies
of photos with report.)
(6) Describe arc damage and location of arc products relative to valve seals, (photograph each in detail before
any clean up or post failure mechanism movement, supply copies of photos with report.)
(This form may be copied)
44
45
Notes
46
Notes
47
Notes

These instructions do not purport to cover all details or variations in equipment not to provide for every possible
contingency to be met in connection with installation, operation or maintenance. Should further information be desired or
should particular problems arise which are not covered sufficiently for the purchaser’s purposes, the matter should be
referred to the General Electric Company.
GE Consumer & Industrial
GE Consumer & Industrial
Electrical Distribution
510 East Agency Road
West Burlington, Iowa 52655
GEK-90211C © 2004 General Electric Company
Last Revised: January 10, 2006
48