F1C600 User Manual

F1C600_User_Manual

User Manual: Pdf

Open the PDF directly: View PDF PDF.
Page Count: 357 [warning: Documents this large are best viewed by clicking the View PDF Link!]

Revision 1.0
Nov.10,2015
Copyrigh 2015 Allwinner Technology.Co.,Ltd. All Rights Reserved.
Confidential
F1C600 User Manual
Declaration
F1C600 User Manual (Revision 1.0) Copyrigh 2015 Allwinner Technology. Co.,Ltd. All Rights Reserved. Page 2
Declaration
THIS DOCUMENTATION IS THE ORIGINAL WORK AND COPYRIGHTED PROPERTY OF ALLWINNER TECHNOLOGY
(“ALLWINNER”). REPRODUCTION IN WHOLE OR IN PART MUST OBTAIN THE WRITTEN APPROVAL OF ALLWINNER AND
GIVE CLEAR ACKNOWLEDGMENT TO THE COPYRIGHT OWNER.
THE INFORMATION FURNISHED BY ALLWINNER IS BELIEVED TO BE ACCURATE AND RELIABLE. ALLWINNER RESERVES
THE RIGHT TO MAKE CHANGES IN CIRCUIT DESIGN AND/OR SPECIFICATIONS AT ANY TIME WITHOUT NOTICE.
ALLWINNER DOES NOT ASSUME ANY RESPONSIBILITY AND LIABILITY FOR ITS USE. NOR FOR ANY INFRINGEMENTS OF
PATENTS OR OTHER RIGHTS OF THE THIRD PARTIES WHICH MAY RESULT FROM ITS USE. NO LICENSE IS GRANTED BY
IMPLICATION OR OTHERWISE UNDER ANY PATENT OR PATENT RIGHTS OF ALLWINNER. THIS DOCUMENTATION
NEITHER STATES NOR IMPLIES WARRANTY OF ANY KIND, INCLUDING FITNESS FOR ANY PARTICULAR APPLICATION.
THIRD PARTY LICENSES MAY BE REQUIRED TO IMPLEMENT THE SOLUTION/PRODUCT. CUSTOMERS SHALL BE SOLELY
RESPONSIBLE TO OBTAIN ALL APPROPRIATELY REQUIRED THIRD PARTY LICENSES. ALLWINNER SHALL NOT BE LIABLE FOR
ANY LICENSE FEE OR ROYALTY DUE IN RESPECT OF ANY REQUIRED THIRD PARTY LICENSE. ALLWINNER SHALL HAVE NO
WARRANTY, INDEMNITY OR OTHER OBLIGATIONS WITH RESPECT TO MATTERS COVERED UNDER ANY REQUIRED THIRD
PARTY LICENSE.
Confidential
Revision History
F1C600 User Manual (Revision 1.0) Copyrigh 2015 Allwinner Technology. Co.,Ltd. All Rights Reserved. Page 3
Revision History
Version Date Description
V1.0 Nov.10,2015 Initial Release Version
Confidential
Revision History
F1C600 User Manual (Revision 1.0) Copyrigh 2015 Allwinner Technology. Co.,Ltd. All Rights Reserved. Page 4
Table of Contents
Declaration ............................................................................................................................................................................ 2
Revision History..................................................................................................................................................................... 3
Table of Contents .................................................................................................................................................................. 4
Chapter 1. About This Documentation ............................................................................................................................... 36
1.1. Documentation Overview .................................................................................................................................... 36
Chapter 2. Overview............................................................................................................................................................ 37
2.1. Processor Features ............................................................................................................................................... 38
2.1.1. CPU Architecture ....................................................................................................................................... 38
2.2. Memory Subsystem.............................................................................................................................................. 38
2.2.1. Boot ROM .................................................................................................................................................. 38
2.2.2. SDRAM ...................................................................................................................................................... 38
2.2.3. SD/MMC Interface .................................................................................................................................... 38
2.3. System Peripheral ................................................................................................................................................. 38
2.3.1. Timer ......................................................................................................................................................... 38
2.3.2. INTC ........................................................................................................................................................... 39
2.3.3. CCU ............................................................................................................................................................ 39
2.3.4. DMA .......................................................................................................................................................... 39
2.3.5. PWM.......................................................................................................................................................... 39
2.4. Display Subsystem ................................................................................................................................................ 39
2.4.1. Display Engine ........................................................................................................................................... 39
2.4.2. Display Output ........................................................................................................................................... 39
Confidential
Revision History
F1C600 User Manual (Revision 1.0) Copyrigh 2015 Allwinner Technology. Co.,Ltd. All Rights Reserved. Page 5
2.5. Video Engine ........................................................................................................................................................ 40
2.6. Image Subsystem ................................................................................................................................................. 40
2.6.1. CSI .............................................................................................................................................................. 40
2.6.2. CVBS Input ................................................................................................................................................. 40
2.7. Audio Subsystem .................................................................................................................................................. 40
2.7.1. Audio Codec .............................................................................................................................................. 40
2.8. System Peripherals ............................................................................................................................................... 40
2.8.1. USB 2.0 OTG .............................................................................................................................................. 41
2.8.2. KEYADC ...................................................................................................................................................... 41
2.8.3. TP............................................................................................................................................................... 41
2.8.4. Digital Audio Interface ............................................................................................................................... 41
2.8.5. UART .......................................................................................................................................................... 41
2.8.6. SPI .............................................................................................................................................................. 41
2.8.7. TWI ............................................................................................................................................................ 42
2.8.8. CIR ............................................................................................................................................................. 42
2.8.9. RSBTM ......................................................................................................................................................... 42
2.8.10. OWA ........................................................................................................................................................ 42
2.9. Package ................................................................................................................................................................ 42
2.10. System Block Diagram ........................................................................................................................................ 43
Chapter 3. System ............................................................................................................................................................... 44
3.1. Memory Mapping ................................................................................................................................................ 45
3.2. CCU ....................................................................................................................................................................... 46
3.2.1. Overview ................................................................................................................................................... 46
3.2.2. Feature ...................................................................................................................................................... 46
Confidential
Revision History
F1C600 User Manual (Revision 1.0) Copyrigh 2015 Allwinner Technology. Co.,Ltd. All Rights Reserved. Page 6
3.2.3. Functionalities Description ........................................................................................................................ 46
3.2.3.1. System Bus ..................................................................................................................................... 46
3.2.3.2. Bus clock tree ................................................................................................................................. 47
3.2.4. CCU Register List ....................................................................................................................................... 47
3.2.5. CCU Register Description .......................................................................................................................... 48
3.2.5.1. PLL_CPU Control Register ............................................................................................................... 48
3.2.5.2. PLL_AUDIO Control Register ........................................................................................................... 49
3.2.5.3. PLL_VIDEO Control Register ........................................................................................................... 50
3.2.5.4. PLL_VE Control Register ................................................................................................................. 51
3.2.5.5. PLL_DDR Control Register .............................................................................................................. 52
3.2.5.6. PLL_PERIPH Control Register .......................................................................................................... 52
3.2.5.7. CPU Clock Source Register ............................................................................................................. 53
3.2.5.8. AHB/APB/HCLKC Configuration Register ........................................................................................ 54
3.2.5.9. Bus Clock Gating Register 0 ............................................................................................................ 55
3.2.5.10. Bus Clock Gating Register 1 .......................................................................................................... 55
3.2.5.11. Bus Clock Gating Register 2 .......................................................................................................... 56
3.2.5.12. SDMMC0 Clock Register ............................................................................................................... 58
3.2.5.13. SDMMC1 Clock Register ............................................................................................................... 58
3.2.5.14. DAUDIO Clock Register ................................................................................................................. 59
3.2.5.15. OWA Clock Register ...................................................................................................................... 59
3.2.5.16. CIR Clock Register ......................................................................................................................... 60
3.2.5.17. USBPHY Clock Register ................................................................................................................. 60
3.2.5.18. DRAM Gating Register .................................................................................................................. 60
3.2.5.19. BE Clock Register .......................................................................................................................... 61
Confidential
Revision History
F1C600 User Manual (Revision 1.0) Copyrigh 2015 Allwinner Technology. Co.,Ltd. All Rights Reserved. Page 7
3.2.5.20. FE Clock Register .......................................................................................................................... 62
3.2.5.21. TCON Clock Register ..................................................................................................................... 62
3.2.5.22. De-interlacer Clock Register ......................................................................................................... 62
3.2.5.23. TVE Clock Register ........................................................................................................................ 63
3.2.5.24. TVD Clock Register ....................................................................................................................... 64
3.2.5.25. CSI Clock Register ......................................................................................................................... 64
3.2.5.26. VE Clock Register .......................................................................................................................... 65
3.2.5.27. AUDIO CODEC Clock Register ....................................................................................................... 65
3.2.5.28. AVS Clock Register ........................................................................................................................ 65
3.2.5.29. PLL Stable Time Register 0 ........................................................................................................... 65
3.2.5.30. PLL Stable Time Register 1 ........................................................................................................... 65
3.2.5.31. PLL_CPU Bias Register .................................................................................................................. 66
3.2.5.32. PLL_AUDIO Bias Register .............................................................................................................. 66
3.2.5.33. PLL_VIDEO Bias Register ............................................................................................................... 66
3.2.5.34. PLL_VE Bias Register ..................................................................................................................... 67
3.2.5.35. PLL_DDR Bias Register .................................................................................................................. 67
3.2.5.36. PLL_PERIPH Bias Register ............................................................................................................. 67
3.2.5.37. PLL_CPU Tuning Register .............................................................................................................. 68
3.2.5.38. PLL_DDR Tuning Register.............................................................................................................. 68
3.2.5.39. PLL_AUDIO Pattern Control Register ............................................................................................ 69
3.2.5.40. PLL_VIDEO Pattern Control Register ............................................................................................ 69
3.2.5.41. PLL_DDR Pattern Control Register ................................................................................................ 70
3.2.5.42. Bus Software Reset Register 0 ...................................................................................................... 70
3.2.5.43. Bus Software Reset Register 1 ...................................................................................................... 71
Confidential
Revision History
F1C600 User Manual (Revision 1.0) Copyrigh 2015 Allwinner Technology. Co.,Ltd. All Rights Reserved. Page 8
3.2.5.44. Bus Software Reset Register 2 ...................................................................................................... 72
3.2.6. Programming Guidelines ........................................................................................................................... 73
3.2.6.1. PLL .................................................................................................................................................. 73
3.2.6.2. BUS ................................................................................................................................................. 73
3.3. Timer .................................................................................................................................................................... 74
3.3.1. Overview ................................................................................................................................................... 74
3.3.2. Feature ...................................................................................................................................................... 74
3.3.3. Functionalities Description ........................................................................................................................ 74
3.3.3.1. Typical Applications ........................................................................................................................ 74
3.3.3.2. Functional Block Diagram ............................................................................................................... 75
3.3.4. Timer Register List ..................................................................................................................................... 75
3.3.5. Timer Register Description ........................................................................................................................ 76
3.3.5.1. Timer IRQ Enable Register ............................................................................................................. 76
3.3.5.2. Timer IRQ Status Register .............................................................................................................. 76
3.3.5.3. Timer 0 Control Register ................................................................................................................ 77
3.3.5.4. Timer 0 Interval Value Register ...................................................................................................... 78
3.3.5.5. Timer 0 Current Value Register ...................................................................................................... 78
3.3.5.6. Timer 1 Control Register ................................................................................................................ 78
3.3.5.7. Timer 1 Interval Value Register ...................................................................................................... 79
3.3.5.8. Timer 1 Current Value Register ...................................................................................................... 79
3.3.5.9. Timer 2 Control Register ................................................................................................................ 79
3.3.5.10. Timer 2 Interval Value Register .................................................................................................... 80
3.3.5.11. Timer 2 Current Value Register .................................................................................................... 80
3.3.5.12. AVS Counter Control Register ....................................................................................................... 81
Confidential
Revision History
F1C600 User Manual (Revision 1.0) Copyrigh 2015 Allwinner Technology. Co.,Ltd. All Rights Reserved. Page 9
3.3.5.13. AVS Counter 0 Register ................................................................................................................. 81
3.3.5.14. AVS Counter 1 Register ................................................................................................................. 81
3.3.5.15. AVS Counter Divisor Register ....................................................................................................... 82
3.3.5.16. Watchdog IRQ Enable Register ..................................................................................................... 82
3.3.5.17. Watchdog Status Register ............................................................................................................ 82
3.3.5.18. Watchdog Control Register .......................................................................................................... 83
3.3.5.19. Watchdog Configuration Register ................................................................................................ 83
3.3.5.20. Watchdog Mode Register ............................................................................................................. 83
3.3.6. Programming Guidelines ........................................................................................................................... 84
3.3.6.1. Timer .............................................................................................................................................. 84
3.3.6.2. Watchdog ....................................................................................................................................... 84
3.4. PWM .................................................................................................................................................................... 85
3.4.1. Overview ................................................................................................................................................... 85
3.4.2. Feature ...................................................................................................................................................... 85
3.4.3. Functionalities Description ........................................................................................................................ 85
3.4.3.1. Functional Block Diagram ...............................................................................................................
85
3.4.4. Operation Principle ................................................................................................................................... 86
3.4.4.1. PWM output pins ........................................................................................................................... 86
3.4.5. PWM Register List ..................................................................................................................................... 86
3.4.6. PWM Register Description ........................................................................................................................ 86
3.4.6.1. PWM Control Register .................................................................................................................... 86
3.4.6.2. PWM Channel 0 Period Register .................................................................................................... 88
3.4.6.3. PWM Channel 1 Period Register .................................................................................................... 89
3.5. INTC ...................................................................................................................................................................... 90
Confidential
Revision History
F1C600 User Manual (Revision 1.0) Copyrigh 2015 Allwinner Technology. Co.,Ltd. All Rights Reserved. Page 10
3.5.1. Overview ................................................................................................................................................... 90
3.5.2. Feature ...................................................................................................................................................... 90
3.5.3. Functionalities Description ........................................................................................................................ 90
3.5.3.1. Functional Block Diagram ............................................................................................................... 90
3.5.4. Interrupt Source ........................................................................................................................................ 91
3.5.5. INTC Register List ....................................................................................................................................... 92
3.5.6. INTC Register Description .......................................................................................................................... 92
3.5.6.1. Interrupt Vector Register ................................................................................................................ 92
3.5.6.2. Interrupt Base Address Register ..................................................................................................... 93
3.5.6.3. NMI Interrupt Control Register ...................................................................................................... 93
3.5.6.4. Interrupt IRQ Pending Register 0 ................................................................................................... 93
3.5.6.5. Interrupt IRQ Pending Register 1 ................................................................................................... 93
3.5.6.6. Interrupt Enable Register 0 ............................................................................................................ 93
3.5.6.7. Interrupt Enable Register 1 ............................................................................................................ 93
3.5.6.8. Interrupt Mask Register 0 ............................................................................................................... 94
3.5.6.9. Interrupt Mask Register 1 ............................................................................................................... 94
3.5.6.10. Interrupt Response Register 0 ...................................................................................................... 94
3.5.6.11. Interrupt Response Register 1 ...................................................................................................... 94
3.5.6.12. Interrupt Fast Forcing Register 0 .................................................................................................. 94
3.5.6.13. Interrupt Fast Forcing Register 1 .................................................................................................. 95
3.5.6.14. Interrupt Source Priority Register 0 ............................................................................................. 95
3.5.6.15. Interrupt Source Priority Register 1 ............................................................................................. 97
3.5.6.16. Interrupt Source Priority Register 2 ........................................................................................... 100
3.5.6.17. Interrupt Source Priority Register 3 ........................................................................................... 102
Confidential
Revision History
F1C600 User Manual (Revision 1.0) Copyrigh 2015 Allwinner Technology. Co.,Ltd. All Rights Reserved. Page 11
3.6. DMA ................................................................................................................................................................... 106
3.6.1. Overview ................................................................................................................................................. 106
3.6.2. Feature .................................................................................................................................................... 106
3.6.3. Functionalities Description ...................................................................................................................... 106
3.6.4. Block diagram .......................................................................................................................................... 107
3.6.5. Operation Principle ................................................................................................................................. 107
3.6.5.1. Address aligned and unaligned .................................................................................................... 107
3.6.5.2. Clock gating and reset .................................................................................................................. 108
3.6.6. DMA Register List .................................................................................................................................... 108
3.6.7. DMA Register Description ....................................................................................................................... 108
3.6.7.1. DMA Interrupt Control Register ................................................................................................... 108
3.6.7.2. DMA Interrupt Status Register ..................................................................................................... 109
3.6.7.3. DMA Priority Configure Register .................................................................................................. 109
3.6.7.4. Normal DMA Configure Register .................................................................................................. 110
3.6.7.5. Normal DMA Source Address Register ......................................................................................... 112
3.6.7.6. Normal DMA Destination Address Register ................................................................................. 112
3.6.7.7. Normal DMA Byte Counter Register ............................................................................................ 112
3.6.7.8. Dedicated DMA Configure Register .............................................................................................. 112
3.6.7.9. Dedicated DMA Source Address Register ..................................................................................... 114
3.6.7.10. Dedicated DMA Destination Address Register ........................................................................... 114
3.6.7.11. Dedicated DMA Byte Counter Register ...................................................................................... 115
3.6.7.12. Dedicated DMA Parameter Register ........................................................................................... 115
3.6.7.13. Dedicated DMA General Data Register ...................................................................................... 115
3.7. Port Controller .................................................................................................................................................... 116
Confidential
Revision History
F1C600 User Manual (Revision 1.0) Copyrigh 2015 Allwinner Technology. Co.,Ltd. All Rights Reserved. Page 12
3.7.1. Overview ................................................................................................................................................. 116
3.7.2. Port Register List ..................................................................................................................................... 116
3.7.3. Port Register Description ........................................................................................................................ 117
3.7.3.1. PA Configure Register 0 ................................................................................................................ 117
3.7.3.2. PA Configure Register 1 ................................................................................................................ 117
3.7.3.3. PA Configure Register 2 ................................................................................................................ 117
3.7.3.4. PA Configure Register 3 ................................................................................................................ 117
3.7.3.5. PA Data Register ........................................................................................................................... 118
3.7.3.6. PA Multi-Driving Register 0 .......................................................................................................... 118
3.7.3.7. PA Multi-Driving Register 1 .......................................................................................................... 118
3.7.3.8. PA Pull Register 0 .......................................................................................................................... 118
3.7.3.9. PA Pull Register 1 .......................................................................................................................... 118
3.7.3.10. PB Configure Register 0 .............................................................................................................. 118
3.7.3.11. PB Configure Register 1 .............................................................................................................. 119
3.7.3.12. PB Configure Register 2 .............................................................................................................. 119
3.7.3.13. PB Configure Register 3 .............................................................................................................. 119
3.7.3.14. PB Data Register ......................................................................................................................... 119
3.7.3.15. PB Multi-Driving Register 0 ........................................................................................................ 119
3.7.3.16. PB Multi-Driving Register 1 ........................................................................................................ 119
3.7.3.17. PB Pull Register 0 ........................................................................................................................ 120
3.7.3.18. PB Pull Register 1 ........................................................................................................................ 120
3.7.3.19. PC Configure Register 0 .............................................................................................................. 120
3.7.3.20. PC Configure Register 1 .............................................................................................................. 120
3.7.3.21. PC Configure Register 2 .............................................................................................................. 121
Confidential
Revision History
F1C600 User Manual (Revision 1.0) Copyrigh 2015 Allwinner Technology. Co.,Ltd. All Rights Reserved. Page 13
3.7.3.22. PC Configure Register 3 .............................................................................................................. 121
3.7.3.23. PC Data Register ......................................................................................................................... 121
3.7.3.24. PC Multi-Driving Register 0 ........................................................................................................ 121
3.7.3.25. PC Multi-Driving Register 1 ........................................................................................................ 121
3.7.3.26. PC Pull Register 0 ........................................................................................................................ 121
3.7.3.27. PC Pull Register 1 ........................................................................................................................ 121
3.7.3.28. PD Configure Register 0 .............................................................................................................. 122
3.7.3.29. PD Configure Register 1 .............................................................................................................. 123
3.7.3.30. PD Configure Register 2 .............................................................................................................. 124
3.7.3.31. PD Configure Register 3 .............................................................................................................. 125
3.7.3.32. PD Data Register ......................................................................................................................... 125
3.7.3.33. PD Multi-Driving Register 0 ........................................................................................................ 125
3.7.3.34. PD Multi-Driving Register 1 ........................................................................................................ 125
3.7.3.35. PD Pull Register 0 ....................................................................................................................... 125
3.7.3.36. PD Pull Register 1 ....................................................................................................................... 126
3.7.3.37. PE Configure Register 0 .............................................................................................................. 126
3.7.3.38. PE Configure Register 1 .............................................................................................................. 127
3.7.3.39. PE Configure Register 2 .............................................................................................................. 128
3.7.3.40. PE Configure Register 3 .............................................................................................................. 128
3.7.3.41. PE Data Register ......................................................................................................................... 128
3.7.3.42. PE Multi-Driving Register 0......................................................................................................... 128
3.7.3.43. PE Multi-Driving Register 1......................................................................................................... 128
3.7.3.44. PE Pull Register 0 ........................................................................................................................ 128
3.7.3.45. PE Pull Register 1 ........................................................................................................................ 129
Confidential
Revision History
F1C600 User Manual (Revision 1.0) Copyrigh 2015 Allwinner Technology. Co.,Ltd. All Rights Reserved. Page 14
3.7.3.46. PF Configure Register 0 .............................................................................................................. 129
3.7.3.47. PF Configure Register 1 .............................................................................................................. 130
3.7.3.48. PF Configure Register 2 .............................................................................................................. 130
3.7.3.49. PF Configure Register 3 .............................................................................................................. 130
3.7.3.50. PF Data Register ......................................................................................................................... 130
3.7.3.51. PF Multi-Driving Register 0 ......................................................................................................... 130
3.7.3.52. PF Multi-Driving Register 1 ......................................................................................................... 130
3.7.3.53. PF Pull Register 0 ........................................................................................................................ 130
3.7.3.54. PD External Interrupt Configure Register 0 ................................................................................ 131
3.7.3.55. PD External Interrupt Configure Register 1 ................................................................................ 131
3.7.3.56. PD External Interrupt Configure Register 2 ................................................................................ 131
3.7.3.57. PD External Interrupt Configure Register 3 ................................................................................ 132
3.7.3.58. PD External Interrupt Control Register ....................................................................................... 132
3.7.3.59. PD External Interrupt Status Register ......................................................................................... 132
3.7.3.60. PD External Interrupt Debounce Register .................................................................................. 132
3.7.3.61. PE External Interrupt Configure Register 0 ................................................................................ 133
3.7.3.62. PE External Interrupt Configure Register 1................................................................................. 133
3.7.3.63. PE External Interrupt Configure Register 2 ................................................................................ 134
3.7.3.64. PE External Interrupt Configure Register 3 ................................................................................ 134
3.7.3.65. PE External Interrupt Control Register ....................................................................................... 134
3.7.3.66. PE External Interrupt Status Register ......................................................................................... 134
3.7.3.67. PE External Interrupt Debounce Register ................................................................................... 134
3.7.3.68. PF External Interrupt Configure Register 0 ................................................................................. 135
3.7.3.69. PF External Interrupt Configure Register 1 ................................................................................. 135
Confidential
Revision History
F1C600 User Manual (Revision 1.0) Copyrigh 2015 Allwinner Technology. Co.,Ltd. All Rights Reserved. Page 15
3.7.3.70. PF External Interrupt Configure Register 2 ................................................................................. 135
3.7.3.71. PF External Interrupt Configure Register 3................................................................................. 136
3.7.3.72. PF External Interrupt Control Register ....................................................................................... 136
3.7.3.73. PF External Interrupt Status Register ......................................................................................... 136
3.7.3.74. PF External Interrupt Debounce Register ................................................................................... 136
3.7.3.75. SDRAM Pad Multi-Driving Register ............................................................................................ 137
3.7.3.76. SDRAM Pad Pull Register ............................................................................................................ 137
Chapter 4. ADC .................................................................................................................................................................. 139
4.1. KEYADC ............................................................................................................................................................... 140
4.1.1. Overview ................................................................................................................................................. 140
4.1.2. Feature .................................................................................................................................................... 140
4.1.3. Principle of operation .............................................................................................................................. 140
4.1.4. Block diagram .......................................................................................................................................... 140
4.1.5. KEYADC Register List ................................................................................................................................ 141
4.1.6. KEYADC Register Description ................................................................................................................... 141
4.1.6.1. KEYADC Control Register .............................................................................................................. 141
4.1.6.2. KEYADC Interrupt Control Register ............................................................................................... 142
4.1.6.3. KEYADC Interrupt Status Register ................................................................................................. 142
4.1.6.4. KEYADC Data Register ................................................................................................................... 143
4.2. TP ....................................................................................................................................................................... 144
4.2.1. Overview ................................................................................................................................................. 144
4.2.2. Feature .................................................................................................................................................... 144
4.2.3. A/D conversion time ................................................................................................................................ 144
4.2.4. Work timing in different mode ................................................................................................................ 144
Confidential
Revision History
F1C600 User Manual (Revision 1.0) Copyrigh 2015 Allwinner Technology. Co.,Ltd. All Rights Reserved. Page 16
4.2.5. Operation Mode ...................................................................................................................................... 146
4.2.5.1. Basic principle .............................................................................................................................. 146
4.2.5.2. Single-ended mode ...................................................................................................................... 146
4.2.5.3. Differential mode ......................................................................................................................... 147
4.2.5.4. Single touch detection ................................................................................................................. 147
4.2.5.5. Dual touch detection .................................................................................................................... 148
4.2.5.6. Touch pressure measurement ...................................................................................................... 148
4.2.5.7. Pen down detection, with programmable sensitivity .................................................................. 149
4.2.5.8. Median and averaging filter ......................................................................................................... 150
4.2.6. TP Register List ........................................................................................................................................ 151
4.2.7. TP Register Description ........................................................................................................................... 151
4.2.7.1. TP Control Register 0 .................................................................................................................... 151
4.2.7.2. TP Control Register 1 .................................................................................................................... 152
4.2.7.3. TP Control Register 2 .................................................................................................................... 153
4.2.7.4. TP Control Register 3
.................................................................................................................... 154
4.2.7.5. TP Interrupt FIFO Control Register ............................................................................................... 154
4.2.7.6. TP Interrupt FIFO Status Register ................................................................................................. 155
4.2.7.7. TP Common Data Register ............................................................................................................ 156
4.2.7.8. TP Data Register ........................................................................................................................... 156
4.3. Audio Codec ....................................................................................................................................................... 157
4.3.1. Overview ................................................................................................................................................. 157
4.3.2. Feature .................................................................................................................................................... 157
4.3.3. Block diagram .......................................................................................................................................... 157
4.3.4. Signal Description .................................................................................................................................... 157
Confidential
Revision History
F1C600 User Manual (Revision 1.0) Copyrigh 2015 Allwinner Technology. Co.,Ltd. All Rights Reserved. Page 17
4.3.5. Power Description ................................................................................................................................... 158
4.3.6. Function Description ............................................................................................................................... 158
4.3.6.1. ADC ............................................................................................................................................... 158
4.3.6.2. Stereo ADC ................................................................................................................................... 158
4.3.6.3. Mixer ............................................................................................................................................ 158
4.3.6.4. Headphone Mixer ......................................................................................................................... 158
4.3.6.5. ADC Record Mixer ........................................................................................................................ 158
4.3.6.6. Analog Audio Input Path .............................................................................................................. 159
4.3.6.7. FM Input ....................................................................................................................................... 159
4.3.7. Audio Codec Register List ........................................................................................................................ 160
4.3.8. Audio Codec Register Description ........................................................................................................... 160
4.3.8.1. DAC Digital Part Control Register ................................................................................................. 160
4.3.8.2. DAC FIFO Control Register ............................................................................................................ 162
4.3.8.3. DAC FIFO Status Register .............................................................................................................. 164
4.3.8.4. DAC TX DATA Register ................................................................................................................... 164
4.3.8.5. ADC FIFO Control Register ............................................................................................................ 165
4.3.8.6. ADC FIFO Status Register .............................................................................................................. 166
4.3.8.7. ADC RX DATA Register .................................................................................................................. 167
4.3.8.8. DAC Analog & Output MIXER Control Register ............................................................................ 167
4.3.8.9. ADC Analog and Input mixer Control Register ............................................................................. 169
4.3.8.10. ADC&DAC performance tuning Register .................................................................................... 170
4.3.8.11. Bias & DA16 Calibration Control Register 0 ................................................................................ 171
4.3.8.12. Bias & DA16 Calibration Control Register 1 ................................................................................ 172
4.3.8.13. DAC TX Counter Register ............................................................................................................ 172
Confidential
Revision History
F1C600 User Manual (Revision 1.0) Copyrigh 2015 Allwinner Technology. Co.,Ltd. All Rights Reserved. Page 18
4.3.8.14. ADC RX Counter Register ............................................................................................................ 172
4.3.8.15. DAC Debug Register ................................................................................................................... 172
4.3.8.16. ADC Debug Register ................................................................................................................... 173
4.3.8.17. ADC DAP Control Register .......................................................................................................... 173
4.3.8.18. ADC DAP Left Control Register ................................................................................................... 174
4.3.8.19. ADC DAP Right Control Register ................................................................................................. 175
4.3.8.20. ADC DAP Parameter Register ..................................................................................................... 176
4.3.8.21. ADC DAP Left Average Coef Register .......................................................................................... 177
4.3.8.22. ADC DAP Left Decay & Attack Time Register .............................................................................. 177
4.3.8.23. ADC DAP Right Average Coef Register ........................................................................................ 177
4.3.8.24. ADC DAP Right Decay & Attack Time Register ........................................................................... 178
4.3.8.25. ADC DAP HPF Coef Register ........................................................................................................ 178
4.3.8.26. ADC DAP Left Input Signal Low Average Coef Register .............................................................. 178
4.3.8.27. ADC DAP Right Input Signal Low Average Coef Register ............................................................ 178
4.3.8.28. ADC DAP Optimum Register ....................................................................................................... 179
Chapter 5. Display ............................................................................................................................................................. 180
5.1. TCON .................................................................................................................................................................. 181
5.1.1. Overview ................................................................................................................................................. 181
5.1.2. Feature .................................................................................................................................................... 181
5.1.3. Block Diagram ......................................................................................................................................... 181
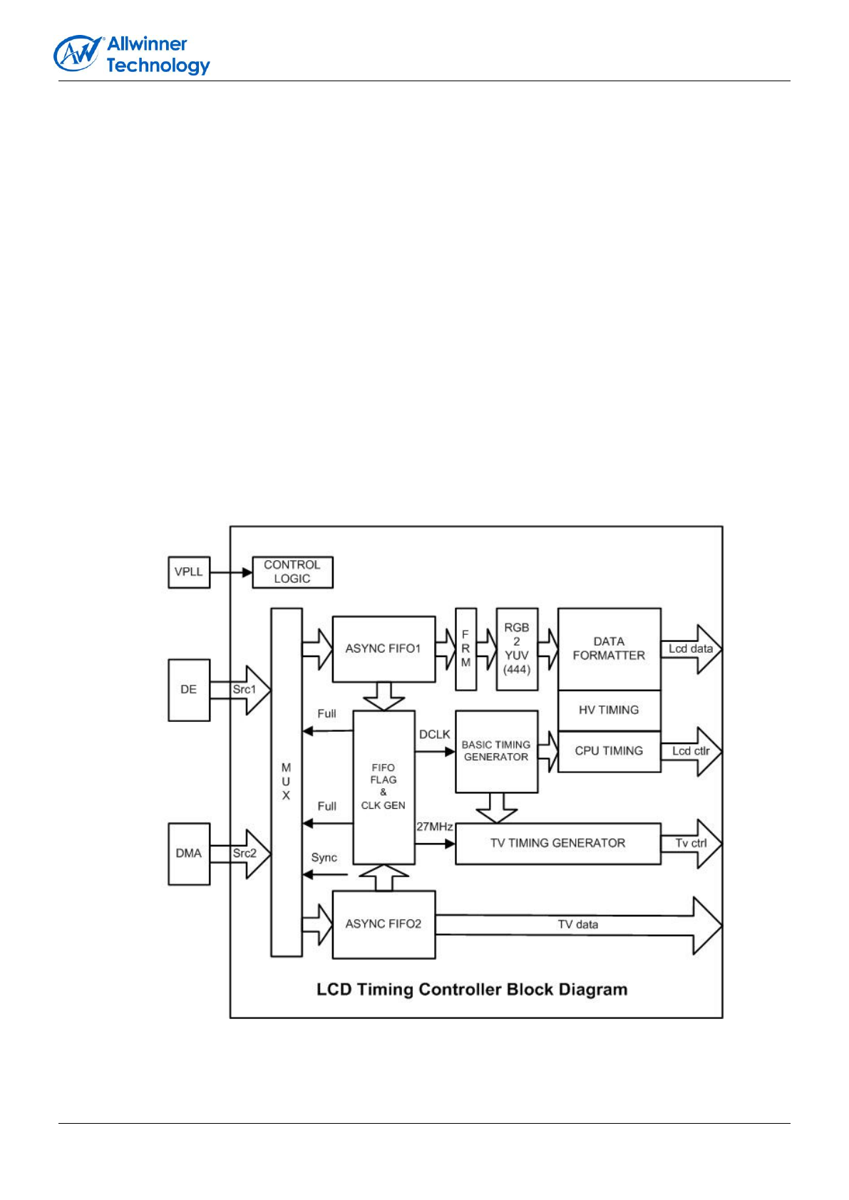
5.1.3.1. LCD Timing Controller .................................................................................................................. 181
5.1.4. TCON Register List ................................................................................................................................... 182
5.1.5. TCON Register Description ...................................................................................................................... 183
5.1.5.1. TCON Control Register .................................................................................................................. 183
Confidential
Revision History
F1C600 User Manual (Revision 1.0) Copyrigh 2015 Allwinner Technology. Co.,Ltd. All Rights Reserved. Page 19
5.1.5.2. TCON Interrupt Register 0 ............................................................................................................ 183
5.1.5.3. TCON Interrupt Register 1 ............................................................................................................ 184
5.1.5.4. TCON FRM Control Register ......................................................................................................... 184
5.1.5.5. TCON FRM Seed0 Red Register .................................................................................................... 184
5.1.5.6. TCON FRM Seed0 Green Register ................................................................................................. 184
5.1.5.7. TCON FRM Seed0 Blue Register ................................................................................................... 185
5.1.5.8. TCON FRM Seed1 Red Register .................................................................................................... 185
5.1.5.9. TCON FRM Seed1 Green Register ................................................................................................. 185
5.1.5.10. TCON FRM Seed1 Blue Register ................................................................................................. 185
5.1.5.11. TCON FRM Table Register 0 ........................................................................................................ 185
5.1.5.12. TCON FRM Table Register 1 ........................................................................................................ 185
5.1.5.13. TCON FRM Table Register 2 ........................................................................................................
186
5.1.5.14. TCON FRM Table Register 3 ........................................................................................................ 186
5.1.5.15. TCON0 Control Register .............................................................................................................. 186
5.1.5.16. TCON Clock Control Register ...................................................................................................... 187
5.1.5.17. TCON0 Basic Timing Register 0 .................................................................................................. 187
5.1.5.18. TCON0 Basic Timing Register 1 .................................................................................................. 187
5.1.5.19. TCON0 Basic Timing Register 2 .................................................................................................. 188
5.1.5.20. TCON0 Basic Timing Register 3 .................................................................................................. 188
5.1.5.21. TCON0 HV Timing Register ......................................................................................................... 188
5.1.5.22. TCON0 CPU Interface Control Register ....................................................................................... 189
5.1.5.23. TCON0 CPU Write Register ......................................................................................................... 190
5.1.5.24. TCON0 CPU Read Register .......................................................................................................... 190
5.1.5.25. TCON0 CPU Read NX Register .................................................................................................... 190
Confidential
Revision History
F1C600 User Manual (Revision 1.0) Copyrigh 2015 Allwinner Technology. Co.,Ltd. All Rights Reserved. Page 20
5.1.5.26. TCON0 IO Control Register 0 ...................................................................................................... 190
5.1.5.27. TCON0 IO Control Register 1 ...................................................................................................... 191
5.1.5.28. TCON1 Control Register .............................................................................................................. 191
5.1.5.29. TCON1 Basic Timing Register 0 .................................................................................................. 192
5.1.5.30. TCON1 Basic Timing Register 1 .................................................................................................. 192
5.1.5.31. TCON1 Basic Timing Register 2 .................................................................................................. 192
5.1.5.32. TCON1 Basic Timing Register 3 .................................................................................................. 193
5.1.5.33. TCON1 Basic Timing Register 4 .................................................................................................. 193
5.1.5.34. TCON1 Basic Timing Register 5 .................................................................................................. 193
5.1.5.35. TCON1 IO Control Register 0 ...................................................................................................... 193
5.1.5.36. TCON1 IO Control Register 1 ...................................................................................................... 194
5.1.5.37. TCON Debug Information Register ............................................................................................. 194
5.2. Display Engine Front-End ................................................................................................................................... 196
5.2.1. Overview ................................................................................................................................................. 196
5.2.2. Feature .................................................................................................................................................... 196
5.2.3. Block Diagram ......................................................................................................................................... 196
5.2.4. DEFE Register List .................................................................................................................................... 196
5.2.5. DEFE Register Description ....................................................................................................................... 198
5.2.5.1. DEFE Module Enable Register ...................................................................................................... 198
5.2.5.2. DEFE Frame Process Control Register .......................................................................................... 198
5.2.5.3. DEFE CSC Bypass Register ............................................................................................................. 199
5.2.5.4. DEFE Algorithm Selection Register ............................................................................................... 200
5.2.5.5. DEFE Line Interrupt Conrtol Register............................................................................................ 200
5.2.5.6. DEFE Input Channel 0 Buffer Address Register ............................................................................ 200
Confidential
Revision History
F1C600 User Manual (Revision 1.0) Copyrigh 2015 Allwinner Technology. Co.,Ltd. All Rights Reserved. Page 21
5.2.5.7. DEFE Input Channel 1 Buffer Address Register ............................................................................ 200
5.2.5.8. DEFE Input Channel 2 Buffer Address Register ............................................................................ 201
5.2.5.9. DEFE Field Sequence Register ...................................................................................................... 201
5.2.5.10. DEFE Channel 0 Tile Based Offset Register ................................................................................ 201
5.2.5.11. DEFE Channel 1 Tile Based Offset Register ................................................................................ 201
5.2.5.12. DEFE Channel 2 Tile Based Offset Register ................................................................................ 202
5.2.5.13. DEFE Channel 0 Line Stride Register .......................................................................................... 202
5.2.5.14. DEFE Channel 1 Line Stride Register .......................................................................................... 202
5.2.5.15. DEFE Channel 2 Line Stride Register .......................................................................................... 202
5.2.5.16. DEFE Input Format Register ....................................................................................................... 203
5.2.5.17. DEFE Write Back Address Register ............................................................................................. 204
5.2.5.18. DEFE Output Format Register .................................................................................................... 204
5.2.5.19. DEFE Interrupt Enable Register ..................................................................................................
205
5.2.5.20. DEFE Interrupt Status Register ................................................................................................... 206
5.2.5.21. DEFE Status Register ................................................................................................................... 206
5.2.5.22. DEFE CSC Coefficient 00 Register ............................................................................................... 207
5.2.5.23. DEFE CSC Coefficient 01 Register ............................................................................................... 207
5.2.5.24. DEFE CSC Coefficient 02 Register ............................................................................................... 207
5.2.5.25. DEFE CSC Coefficient 03 Register ............................................................................................... 207
5.2.5.26. DEFE CSC Coefficient 10 Register ............................................................................................... 208
5.2.5.27. DEFE CSC Coefficient 11 Register ............................................................................................... 208
5.2.5.28. DEFE CSC Coefficient 12 Register ............................................................................................... 208
5.2.5.29. DEFE CSC Coefficient 13 Register ............................................................................................... 208
5.2.5.30. DEFE CSC Coefficient 20 Register ............................................................................................... 208
Confidential
Revision History
F1C600 User Manual (Revision 1.0) Copyrigh 2015 Allwinner Technology. Co.,Ltd. All Rights Reserved. Page 22
5.2.5.31. DEFE CSC Coefficient 21 Register ............................................................................................... 209
5.2.5.32. DEFE CSC Coefficient 22 Register ............................................................................................... 209
5.2.5.33. DEFE CSC Coefficient 23 Register ............................................................................................... 209
5.2.5.34. DEFE Input Size Register ............................................................................................................. 209
5.2.5.35. DEFE Output Size Register .......................................................................................................... 209
5.2.5.36. DEFE Horizontal Factor Register ................................................................................................. 210
5.2.5.37. DEFE Vertical Register................................................................................................................. 210
5.2.5.38. DEFE Channel 0 Horizontal Filter Coefficient Register ............................................................... 210
5.2.5.39. DEFE Channel 0 Vertical Filter Coefficient Register .................................................................... 210
5.2.5.40. DEFE Channel 1 Horizontal Filter Coefficient Register ............................................................... 211
5.2.5.41. DEFE Channel 1 Vertical Filter Coefficient Register .................................................................... 211
5.3. Display Engine Back-End .................................................................................................................................... 212
5.3.1. Overview ................................................................................................................................................. 212
5.3.2. Feature .................................................................................................................................................... 212
5.3.3. Block Diagram ......................................................................................................................................... 212
5.3.4. DEBE Register List .................................................................................................................................... 213
5.3.5. DEBE Register Description ....................................................................................................................... 214
5.3.5.1. DEBE Mode Control Register ........................................................................................................ 214
5.3.5.2. DEBE Color Control Register ......................................................................................................... 215
5.3.5.3. DEBE Layer 0 Size Register ............................................................................................................ 215
5.3.5.4. DEBE Layer 1 Size Register ............................................................................................................ 215
5.3.5.5. DEBE Layer 2 Size Register ............................................................................................................ 215
5.3.5.6. DEBE Layer 3 Size Register ............................................................................................................ 216
5.3.5.7. DEBE Layer 0 Coordinate Control Register ................................................................................... 216
Confidential
Revision History
F1C600 User Manual (Revision 1.0) Copyrigh 2015 Allwinner Technology. Co.,Ltd. All Rights Reserved. Page 23
5.3.5.8. DEBE Layer 1 Coordinate Control Register ................................................................................... 216
5.3.5.9. DEBE Layer 2 Coordinate Control Register ................................................................................... 216
5.3.5.10. DEBE Layer 3 Coordinate Control Register ................................................................................. 217
5.3.5.11. DEBE Layer 0 Frame Buffer Line Width Register ........................................................................ 217
5.3.5.12. DEBE Layer 1 Frame Buffer Line Width Register ........................................................................ 217
5.3.5.13. DEBE Layer 2 Frame Buffer Line Width Register ........................................................................ 217
5.3.5.14. DEBE Layer 3 Frame Buffer Line Width Register ........................................................................ 217
5.3.5.15. DEBE Layer 0 Frame Buffer Address Register ............................................................................. 217
5.3.5.16. DEBE Layer 1 Frame Buffer Address Register ............................................................................. 218
5.3.5.17. DEBE Layer 2 Frame Buffer Address Register ............................................................................. 218
5.3.5.18. DEBE Layer 3 Frame Buffer Address Register ............................................................................. 218
5.3.5.19. DEBE Register Buffer Control Register........................................................................................ 218
5.3.5.20. DEBE Color Key Max Register ..................................................................................................... 218
5.3.5.21. DEBE Color Key Min Register
...................................................................................................... 219
5.3.5.22. DEBE Color Key Configuration Register ...................................................................................... 219
5.3.5.23. DEBE Layer 0 Attribute Control Register 0 ................................................................................. 219
5.3.5.24. DEBE Layer 1 Attribute Control Register 0 ................................................................................. 220
5.3.5.25. DEBE Layer 2 Attribute Control Register 0 ................................................................................. 221
5.3.5.26. DEBE Layer 3 Attribute Control Register 0 ................................................................................. 223
5.3.5.27. DEBE Layer 0 Attribute Control Register 1 ................................................................................. 224
5.3.5.28. DEBE Layer 1 Attribute Control Register 1 ................................................................................. 224
5.3.5.29. DEBE Layer 2 Attribute Control Register 1 ................................................................................. 225
5.3.5.30. DEBE Layer 3 Attribute Control Register 1 ................................................................................. 226
5.3.5.31. DEBE HWC Coordinate Control Register .................................................................................... 230
Confidential
Revision History
F1C600 User Manual (Revision 1.0) Copyrigh 2015 Allwinner Technology. Co.,Ltd. All Rights Reserved. Page 24
5.3.5.32. DEBE HWC Frame Buffer Format Register .................................................................................. 230
5.3.5.33. DEBE Write Back Control Register .............................................................................................. 230
5.3.5.34. DEBE Write Back Address Register ............................................................................................. 231
5.3.5.35. DEBE Write Back Buffer Line Width Register ............................................................................. 231
5.3.5.36. DEBE Input YUV Channel Control Register ................................................................................. 231
5.3.5.37. DEBE YUV Channel 0 Frame Buffer Address Register ................................................................. 232
5.3.5.38. DEBE YUV Channel 1 Frame Buffer Address Register ................................................................. 232
5.3.5.39. DEBE YUV Channel 2 Frame Buffer Address Register ................................................................. 232
5.3.5.40. DEBE YUV Channel 0 Buffer Line Width Register ....................................................................... 233
5.3.5.41. DEBE YUV Channel 1 Buffer Line Width Register ....................................................................... 233
5.3.5.42. DEBE YUV Channel 2 Buffer Line Width Register ....................................................................... 233
5.3.5.43. DEBE Coefficient 00 Register ...................................................................................................... 233
5.3.5.44. DEBE Coefficient 01 Register ...................................................................................................... 233
5.3.5.45. DEBE Coefficient 02 Register ...................................................................................................... 234
5.3.5.46. DEBE Coefficient 03 Register ...................................................................................................... 234
5.3.5.47. DEBE Coefficient 10 Register ...................................................................................................... 234
5.3.5.48. DEBE Coefficient 11 Register ...................................................................................................... 234
5.3.5.49. DEBE Coefficient 12 Register ...................................................................................................... 235
5.3.5.50. DEBE Coefficient 13 Register ...................................................................................................... 235
5.3.5.51. DEBE Coefficient 20 Register ...................................................................................................... 235
5.3.5.52. DEBE Coefficient 21 Register ...................................................................................................... 235
5.3.5.53. DEBE Coefficient 22 Register ...................................................................................................... 235
5.3.5.54. DEBE Coefficient 23 Register ...................................................................................................... 236
5.3.5.55. DEBE HWC Pattern Memory Block ............................................................................................. 236
Confidential
Revision History
F1C600 User Manual (Revision 1.0) Copyrigh 2015 Allwinner Technology. Co.,Ltd. All Rights Reserved. Page 25
5.3.5.56. DEBE HWC Palette Table ............................................................................................................ 236
5.3.5.57. Palette Mode .............................................................................................................................. 237
5.4. De-interlacer ...................................................................................................................................................... 239
5.4.1. Overview ................................................................................................................................................. 239
5.4.2. Feature .................................................................................................................................................... 239
5.4.3. De-interlacer Register List ....................................................................................................................... 239
5.4.4. De-interlacer Register Description .......................................................................................................... 239
5.4.4.1. DI Control Register ....................................................................................................................... 239
5.4.4.2. DI Interrupt Control Register ........................................................................................................ 240
5.4.4.3. DI Status Register ......................................................................................................................... 240
5.4.4.4. DI Size Setting Register ................................................................................................................. 241
5.4.4.5. DI Format Setting Register ........................................................................................................... 241
5.4.4.6. DI Input Line Stride 0 Setting Register .......................................................................................... 241
5.4.4.7. DI Input Line Stride 1 Setting Register .......................................................................................... 242
5.4.4.8. DI Output Line Stride 0 Setting Register ....................................................................................... 242
5.4.4.9. DI Output Line Stride 1 Setting Register ....................................................................................... 242
5.4.4.10. DI Flag Line Stride Setting Register ............................................................................................. 242
5.4.4.11. DI Current Frame Address 0 Register ......................................................................................... 242
5.4.4.12. DI Current Frame Address 1 Register ......................................................................................... 243
5.4.4.13. DI Pre-frame Address 0 Register................................................................................................. 243
5.4.4.14. DI Pre-frame Address 1 Register................................................................................................. 243
5.4.4.15. DI Output Frame Address 0 Register .......................................................................................... 243
5.4.4.16. DI Output Frame Address 1 Register .......................................................................................... 243
5.4.4.17. DI Flag Address Register ............................................................................................................. 243
Confidential
Revision History
F1C600 User Manual (Revision 1.0) Copyrigh 2015 Allwinner Technology. Co.,Ltd. All Rights Reserved. Page 26
5.4.4.18. DI Parameters Register ............................................................................................................... 244
Chapter 6. Image Subsystem ............................................................................................................................................. 245
6.1. CSI....................................................................................................................................................................... 245
6.1.1. Overview ................................................................................................................................................. 245
6.1.2. Feature .................................................................................................................................................... 245
6.1.3. Block Diagram ......................................................................................................................................... 245
6.1.4. CSI Data Port ........................................................................................................................................... 246
6.1.5. Timing ..................................................................................................................................................... 246
6.1.6. CSI Register List ....................................................................................................................................... 247
6.1.7. CSI Register Description .......................................................................................................................... 247
6.1.7.1. CSI Enable Register ....................................................................................................................... 247
6.1.7.2. CSI Configuration Register ............................................................................................................ 247
6.1.7.3. CSI Capture Control Register ........................................................................................................ 249
6.1.7.4. CSI Scale Register.......................................................................................................................... 249
6.1.7.5. CSI FIFO 0 Output Buffer A Address Register................................................................................ 250
6.1.7.6. CSI FIFO 0 Output Buffer B Address Register ................................................................................ 250
6.1.7.7. CSI FIFO 1 Output Buffer A Address Register................................................................................ 250
6.1.7.8. CSI FIFO 1 Output Buffer B Address Register ................................................................................ 250
6.1.7.9. CSI FIFO 2 Output Buffer A Address Register................................................................................ 250
6.1.7.10. CSI FIFO 2 Output Buffer B Address Register .............................................................................. 250
6.1.7.11. CSI Output Buffer Control Register
............................................................................................. 250
6.1.7.12. CSI Status Register ...................................................................................................................... 251
6.1.7.13. CSI Interrupt Enable Register ..................................................................................................... 251
6.1.7.14. CSI Interrupt Status Register ...................................................................................................... 252
Confidential
Revision History
F1C600 User Manual (Revision 1.0) Copyrigh 2015 Allwinner Technology. Co.,Ltd. All Rights Reserved. Page 27
6.1.7.15. CSI Horizontal Size Register ........................................................................................................ 253
6.1.7.16. CSI Vertical Size Register............................................................................................................. 253
6.1.7.17. CSI Buffer Length Register .......................................................................................................... 253
Chapter 7. Interfaces ......................................................................................................................................................... 254
7.1. SD/MMC Interface ............................................................................................................................................. 255
7.1.1. Overview ................................................................................................................................................. 255
7.1.2. Feature .................................................................................................................................................... 255
7.1.3. SD/MMC Timing ...................................................................................................................................... 255
7.1.4. SD/MMC Pin List...................................................................................................................................... 255
7.1.5. SD/MMC DMA Controller Description .................................................................................................... 256
7.1.5.1. IDMAC Descriptor Structure ......................................................................................................... 256
7.1.5.2. DES0 Definition ............................................................................................................................ 257
7.1.5.3. DES1 Definition ............................................................................................................................ 258
7.1.5.4. DES2 Definition ............................................................................................................................ 258
7.1.5.5. DES3 Definition ............................................................................................................................ 258
7.1.6. SD/MMC Register List.............................................................................................................................. 258
7.1.7. SD/MMC Register Description................................................................................................................. 259
7.1.7.1. SD Global Control Register ........................................................................................................... 259
7.1.7.2. SD Clock Control Register ............................................................................................................. 260
7.1.7.3. SD Timeout Register ..................................................................................................................... 260
7.1.7.4. SD Bus Width Register .................................................................................................................. 260
7.1.7.5. SD Block Size Register ................................................................................................................... 261
7.1.7.6. SD Byte Count Register ................................................................................................................. 261
7.1.7.7. SD Command Register .................................................................................................................. 261
Confidential
Revision History
F1C600 User Manual (Revision 1.0) Copyrigh 2015 Allwinner Technology. Co.,Ltd. All Rights Reserved. Page 28
7.1.7.8. SD Command Argument Register ................................................................................................. 263
7.1.7.9. SD Response Register 0 ................................................................................................................ 263
7.1.7.10. SD Response Register 1 .............................................................................................................. 263
7.1.7.11. SD Response Register 2 .............................................................................................................. 263
7.1.7.12. SD Response Register 3 .............................................................................................................. 263
7.1.7.13. SD Interrupt Mask Register ........................................................................................................ 264
7.1.7.14. SD Masked Interrupt Status Register .......................................................................................... 264
7.1.7.15. SD Raw Interrupt Status Register ............................................................................................... 265
7.1.7.16. SD Status Register ...................................................................................................................... 265
7.1.7.17. SD FIFO Water Level Register ..................................................................................................... 267
7.1.7.18. SD Function Select Register ........................................................................................................ 268
7.1.7.19. SD Transferred CIU Card Byte Count Register ............................................................................ 269
7.1.7.20. SD Transferred Host to BIU-FIFO Byte Count Register ................................................................ 269
7.1.7.21. SD Debug Control Register ......................................................................................................... 269
7.1.7.22. SD Auto Command 12 Argument Register ................................................................................. 269
7.1.7.23. SD Hardware Reset Register ....................................................................................................... 269
7.1.7.24. SD DMAC Control Register ......................................................................................................... 270
7.1.7.25. SD Descriptor List Base Address Register ................................................................................... 271
7.1.7.26. SD DMAC Status Register ........................................................................................................... 271
7.1.7.27. SD DMAC Interrupt Enable Register ........................................................................................... 272
7.1.7.28. SD Current Host Descriptor Address Register ............................................................................ 273
7.1.7.29. SD Current Buffer Descriptor Address Register .......................................................................... 273
7.1.7.30. Card Threshold Control Register ................................................................................................ 274
7.1.7.31. EMMC4.5 DDR Start Bit Detection Control Register .................................................................. 274
Confidential
Revision History
F1C600 User Manual (Revision 1.0) Copyrigh 2015 Allwinner Technology. Co.,Ltd. All Rights Reserved. Page 29
7.1.7.32. SD FIFO Register ......................................................................................................................... 274
7.2. TWI ..................................................................................................................................................................... 275
7.2.1. Overview ................................................................................................................................................. 275
7.2.2. Feature .................................................................................................................................................... 275
7.2.3. Pin List ..................................................................................................................................................... 275
7.2.4. Timing Diagram ....................................................................................................................................... 275
7.2.5. TWI Controller Operation ........................................................................................................................ 276
7.2.6. TWI Controller Register List ..................................................................................................................... 276
7.2.7. TWI Controller Register Description ........................................................................................................ 277
7.2.7.1. TWI Slave Address Register .......................................................................................................... 277
7.2.7.2. TWI Extend Address Register ....................................................................................................... 277
7.2.7.3. TWI Data Register ......................................................................................................................... 277
7.2.7.4. TWI Control Register .................................................................................................................... 277
7.2.7.5. TWI Status Register ...................................................................................................................... 279
7.2.7.6. TWI Clock Register ........................................................................................................................ 280
7.2.7.7. TWI Soft Reset Register ................................................................................................................ 280
7.2.7.8. TWI Enhance Feature Register ..................................................................................................... 280
7.2.7.9. TWI Line Control Register ............................................................................................................. 280
7.3. SPI ....................................................................................................................................................................... 282
7.3.1. Overview ................................................................................................................................................. 282
7.3.2. Feature .................................................................................................................................................... 282
7.3.3. SPI Timing Diagram ................................................................................................................................. 282
7.3.4. SPI Pin List ............................................................................................................................................... 283
7.3.5. SPI Module Clock Source and Frequency ................................................................................................ 283
Confidential
Revision History
F1C600 User Manual (Revision 1.0) Copyrigh 2015 Allwinner Technology. Co.,Ltd. All Rights Reserved. Page 30
7.3.6. SPI Register List ....................................................................................................................................... 284
7.3.7. SPI Register Description .......................................................................................................................... 284
7.3.7.1. SPI Global Control Register ........................................................................................................... 284
7.3.7.2. SPI Transfer Control Register ........................................................................................................ 285
7.3.7.3. SPI Interrupt Control Register ...................................................................................................... 287
7.3.7.4. SPI Interrupt Status Register ........................................................................................................ 288
7.3.7.5. SPI FIFO Control Register .............................................................................................................. 290
7.3.7.6. SPI FIFO Status Register ................................................................................................................ 291
7.3.7.7. SPI Wait Clock Register ................................................................................................................. 292
7.3.7.8. SPI Clock Control Register ............................................................................................................ 292
7.3.7.9. SPI Master Burst Counter Register ............................................................................................... 293
7.3.7.10. SPI Master Transmit Counter Register ........................................................................................ 293
7.3.7.11. SPI Master Burst Control Counter Register ................................................................................ 293
7.3.7.12. SPI TX Data Register ................................................................................................................... 294
7.3.7.13. SPI RX Data Register ................................................................................................................... 294
7.4. UART ................................................................................................................................................................... 295
7.4.1. Overview ................................................................................................................................................. 295
7.4.2. Feature .................................................................................................................................................... 295
7.4.3. UART Timing Diagram ............................................................................................................................. 295
7.4.4. UART Pin List ........................................................................................................................................... 296
7.4.5. IrDA Inverted Signals ............................................................................................................................... 296
7.4.6. UART Register List ................................................................................................................................... 296
7.4.7. UART Register Description ...................................................................................................................... 297
7.4.7.1. UART Receiver Buffer Register ..................................................................................................... 297
Confidential
Revision History
F1C600 User Manual (Revision 1.0) Copyrigh 2015 Allwinner Technology. Co.,Ltd. All Rights Reserved. Page 31
7.4.7.2. UART Transmit Holding Register ................................................................................................... 297
7.4.7.3. UART Divisor Latch Low Register .................................................................................................. 298
7.4.7.4. UART Divisor Latch High Register ................................................................................................. 298
7.4.7.5. UART Interrupt Enable Register ................................................................................................... 298
7.4.7.6. UART Interrupt Identity Register .................................................................................................. 299
7.4.7.7. UART FIFO Control Register .......................................................................................................... 300
7.4.7.8. UART Line Control Register .......................................................................................................... 301
7.4.7.9. UART Modem Control Register .................................................................................................... 303
7.4.7.10. UART Line Status Register .......................................................................................................... 304
7.4.7.11. UART Modem Status Register .................................................................................................... 306
7.4.7.12. UART Scratch Register ................................................................................................................ 308
7.4.7.13. UART Status Register .................................................................................................................. 308
7.4.7.14. UART Transmit FIFO Level Register ............................................................................................. 309
7.4.7.15. UART Receive FIFO Level Register .............................................................................................. 309
7.4.7.16. UART Halt TX Register ................................................................................................................ 309
7.4.7.17. UART DBG DLL Register .............................................................................................................. 310
7.4.7.18. UART DBG DLH Register ............................................................................................................. 310
7.5. RSB ..................................................................................................................................................................... 311
7.5.1. Overview ................................................................................................................................................. 311
7.5.2. Feature .................................................................................................................................................... 311
7.5.3. Terminology Definition ............................................................................................................................ 311
7.5.4. RSB Command Set ................................................................................................................................... 311
7.5.5. Software Operation Flow ........................................................................................................................ 312
7.5.6. RSB General Specification ....................................................................................................................... 314
Confidential
Revision History
F1C600 User Manual (Revision 1.0) Copyrigh 2015 Allwinner Technology. Co.,Ltd. All Rights Reserved. Page 32
7.5.7. RSB Controller Register List ..................................................................................................................... 316
7.5.8. RSB Register Description ......................................................................................................................... 316
7.5.8.1. RSB Control Register ..................................................................................................................... 316
7.5.8.2. RSB Clock Control Register ........................................................................................................... 317
7.5.8.3. RSB Interrupt Enable Register ...................................................................................................... 317
7.5.8.4. RSB Status Register ....................................................................................................................... 317
7.5.8.5. RSB Address Register .................................................................................................................... 318
7.5.8.6. RSB Data Buffer Register .............................................................................................................. 318
7.5.8.7. RSB Line Control Register ............................................................................................................. 318
7.5.8.8. RSB Device Mode Control Register ............................................................................................... 319
7.5.8.9. RSB Command Register ................................................................................................................ 319
7.5.8.10. RSB Device Address Register ...................................................................................................... 320
7.6. CIR Receiver........................................................................................................................................................ 321
7.6.1. Overview ................................................................................................................................................. 321
7.6.2. Feature .................................................................................................................................................... 321
7.6.3. Timing ..................................................................................................................................................... 321
7.6.4. CIR Receiver Register List ........................................................................................................................ 322
7.6.5. CIR Receiver Register Description ........................................................................................................... 322
7.6.5.1. CIR Control Register......................................................................................................................
322
7.6.5.2. CIR Receiver Configure Register ................................................................................................... 322
7.6.5.3. CIR Receiver FIFO Register............................................................................................................ 323
7.6.5.4. CIR Receiver Interrupt Control Register ....................................................................................... 323
7.6.5.5. CIR Receiver Status Register ......................................................................................................... 323
7.6.5.6. CIR Configure Register .................................................................................................................. 324
Confidential
Revision History
F1C600 User Manual (Revision 1.0) Copyrigh 2015 Allwinner Technology. Co.,Ltd. All Rights Reserved. Page 33
7.7. USB-OTG ............................................................................................................................................................. 326
7.7.1. Overview ................................................................................................................................................. 326
7.7.2. Feature .................................................................................................................................................... 326
7.7.3. Functionalities Description ...................................................................................................................... 326
7.7.3.1. DMA Support ................................................................................................................................ 326
7.7.3.2. RAM Sharing ................................................................................................................................. 327
7.7.3.3. Power Save ................................................................................................................................... 328
7.7.3.4. Clock Source and Frequency ........................................................................................................ 328
7.8. Digital Audio Interface........................................................................................................................................ 329
7.8.1. Overview ................................................................................................................................................. 329
7.8.2. Feature .................................................................................................................................................... 329
7.8.3. Signal Description .................................................................................................................................... 329
7.8.3.1. Digital Audio Interface Pin List ..................................................................................................... 329
7.8.3.2. Digital Audio Interface MCLK and BCLK........................................................................................ 329
7.8.3.3. Digital Audio Interface Clock Source and Frequency ................................................................... 330
7.8.4. Functionalities Description ...................................................................................................................... 330
7.8.4.1. Typical Applications ...................................................................................................................... 330
7.8.4.2. Functional Block Diagram ............................................................................................................. 331
7.8.4.3. Operation Principle ...................................................................................................................... 331
7.8.5. Operation Modes .................................................................................................................................... 332
7.8.5.1. System setup and I2S/PCM initialization ...................................................................................... 332
7.8.5.2. The channel setup and DMA setup .............................................................................................. 332
7.8.5.3. Enable and disable the I2S/PCM .................................................................................................. 332
7.8.6. Digital Audio Interface Register List ........................................................................................................ 333
Confidential
Revision History
F1C600 User Manual (Revision 1.0) Copyrigh 2015 Allwinner Technology. Co.,Ltd. All Rights Reserved. Page 34
7.8.7. Digital Audio Interface Register Description ........................................................................................... 333
7.8.7.1. Digital Audio Control Register ...................................................................................................... 333
7.8.7.2. Digital Audio Format Register 0 .................................................................................................... 334
7.8.7.3. Digital Audio Format Register 1 .................................................................................................... 335
7.8.7.4. Digital Audio TX FIFO Register ...................................................................................................... 336
7.8.7.5. Digital Audio RX FIFO Register ...................................................................................................... 336
7.8.7.6. Digital Audio FIFO Control Register .............................................................................................. 336
7.8.7.7. Digital Audio FIFO Status Register ................................................................................................ 337
7.8.7.8. Digital Audio DMA & Interrupt Control Register .......................................................................... 338
7.8.7.9. Digital Audio Interrupt Status Register ......................................................................................... 339
7.8.7.10. Digital Audio Clock Divide Register ............................................................................................ 340
7.8.7.11. Digital Audio TX Counter Register .............................................................................................. 340
7.8.7.12. Digital Audio RX Counter Register .............................................................................................. 341
7.8.7.13. Digital Audio TX Channel Select Register ................................................................................... 341
7.8.7.14. Digital Audio TX Channel Mapping Register ............................................................................... 341
7.8.7.15. Digital Audio RX Channel Select Register ................................................................................... 342
7.8.7.16. Digital Audio RX Channel Mapping Register............................................................................... 342
7.9. OWA Interface .................................................................................................................................................... 344
7.9.1. Overview ................................................................................................................................................. 344
7.9.2. Feature .................................................................................................................................................... 344
7.9.3. Signal Description .................................................................................................................................... 344
7.9.3.1. OWA Interface Pin List .................................................................................................................. 344
7.9.3.2. OWA Interface Clock Requirement ............................................................................................... 344
7.9.4. Functionalities Description ...................................................................................................................... 344
Confidential
Revision History
F1C600 User Manual (Revision 1.0) Copyrigh 2015 Allwinner Technology. Co.,Ltd. All Rights Reserved. Page 35
7.9.4.1. Typical Applications ...................................................................................................................... 344
7.9.4.2. Functional Block Diagram ............................................................................................................. 344
7.9.4.3. Operation Principle ...................................................................................................................... 345
7.9.5. Operation Modes .................................................................................................................................... 346
7.9.5.1. System setup and OWA initialization ........................................................................................... 346
7.9.5.2. The channel setup and DMA setup .............................................................................................. 346
7.9.5.3. Enable and disable the OWA ........................................................................................................ 346
7.9.6. OWA Interface Register List ..................................................................................................................... 346
7.9.7. OWA Register Description ....................................................................................................................... 347
7.9.7.1. OWA General Control Register ..................................................................................................... 347
7.9.7.2. OWA TX Configure Register .......................................................................................................... 347
7.9.7.3. OWA RX Configure Register .......................................................................................................... 348
7.9.7.4. OWA TX FIFO Register .................................................................................................................. 348
7.9.7.5. OWA RX FIFO Register .................................................................................................................. 349
7.9.7.6. OWA FIFO Control Register .......................................................................................................... 349
7.9.7.7. OWA FIFO Status Register ............................................................................................................ 350
7.9.7.8. OWA Interrupt Control Register ................................................................................................... 350
7.9.7.9. OWA Interrupt Status Register ..................................................................................................... 351
7.9.7.10. OWA TX Counter Register ........................................................................................................... 352
7.9.7.11. OWA RX Counter Register .......................................................................................................... 352
7.9.7.12. OWA TX Channel Status Register 0 ............................................................................................. 353
7.9.7.13. OWA TX Channel Status Register 1 ............................................................................................. 354
7.9.7.14. OWA RX Channel Status Register 0 ............................................................................................ 355
7.9.7.15. OWA RX Channel Status Register 1 ............................................................................................ 356
Confidential
About This Documentation
F1C600 User Manual (Revision 1.0) Copyrigh 2015 Allwinner Technology. Co.,Ltd. All Rights Reserved. Page 36
Chapter 1. About This Documentation
1.1. Documentation Overview
This documentation provides an overall description of the Allwinner F1C600 application processor, which will
provide instructions to programmers from several sections, including system,ADC, display , image, and interfaces.
Confidential
Overview
F1C600 User Manual (Revision 1.0) Copyrigh 2015 Allwinner Technology. Co.,Ltd. All Rights Reserved. Page 37
Chapter 2. Overview
The F1C600 processor represents Allwinner’s latest achievement in mobile applications processors. The
processor targets the needs of boombox markets.
F1C600 processor is based on the ARM9 CPU architecture with a high degree of functional integration. F1C600
supports Full HD video playback, including H.264,H.263,MPEG1/2/4 decoder. Integrated audio codec and I2S/PCM
interface provide end users with a good audio experience. TV-IN interface enables video input by connecting to video
devices such as camera, and TV-OUT interface enables video output by connecting to TV devices.
To reduce the BOM costs, F1C600 built-in DDR1 memory , and packed with general-purpose peripherals such as USB
OTG, UART, SPI, TWI, TP, SD/MMC,CSI etc. F1C600 perfectly supports various applications of mainstream operating
systems such as Andriod, Linux,etc. F1C600 outperforms competitors in terms of its powerful performance, low power
consumption, and flexible scalability.
Applications:
Video Playback
Audio Playback
FM
Confidentia
wifi auido and video
Overview
F1C600 User Manual (Revision 1.0) Copyrigh 2015 Allwinner Technology. Co.,Ltd. All Rights Reserved. Page 38
2.1. Processor Features
2.1.1. CPU Architecture
The F1C600 platform is based on ARM9 CPU architecture.
Five-stage pipeline architecture
Support 16KByte D-Cache
Support 32KByte I-Cache
2.2. Memory Subsystem
This section consists of:
Boot ROM
SDRAM
SD/MMC Interface
2.2.1. Boot ROM
On-Chip ROM boot loader
Support system boot from SPI Nor/Nand Flash, and SD/TF card
Support system code download through USB OTG
2.2.2. SDRAM
SIP DDR1
2.2.3. SD/MMC Interface
Support secure digital memory protocol commands (up to SD2.0)
Support secure digital I/O protocol commands (up to SDIO2.0)
Support multimedia card protocol commands (up to eMMC4.41)
Support one SD (Verson1.0 to 2.0) or MMC (version 3.3 to eMMC4.41)
Support hardware CRC generation and error detection
Support host pull-up control
Support SDIO interrupts in 1-bit and 4-bit modes
Support SDIO suspend and resume operation
Support SDIO read wait
Support block size of 1 to 65535 bytes
Support descriptor-based internal DMA controller
Internal 128 bytes FIFO for data transfer
Support 3.3V IO pad
2.3. System Peripheral
This section includes:
Timer
INTC
CCU
DMA
PWM
2.3.1. Timer
Three timers
Confidential
Overview
F1C600 User Manual (Revision 1.0) Copyrigh 2015 Allwinner Technology. Co.,Ltd. All Rights Reserved. Page 39
Support watchdog reset
Support audio and video synchronize counter
2.3.2. INTC
Support up to 64 interrupts
Support 4-level priority
Support interrupt mask
Support interrupt fast forcing
Support one external interrupt
2.3.3. CCU
Support 6 PLLs
Control of clock generation, division, distribution and gating
Control of device software reset
2.3.4. DMA
Support Normal DMA and Dedicated DMA
Support two kinds of interrupt
Support hardware continuous transfer mode
2.3.5. PWM
Support two PWM outputs
Support cycle mode and pulse mode
Support 24MHz maximum output frequency
2.4. Display Subsystem
This section includes:
Display Engine
Display Output
2.4.1. Display Engine
Support four layers overlay, each layer size up to 2048x2048 pixels
Support Alpha blending/color key
Support multi-format input formats
1/2/4/8/16/32 bpp color
YUV444/YUV422/YUV420/YUV411
Support hardware cursor
Ultra-Scaling engine
4-tap scale filter in horizontal and vertical direction
Input and output size up to 1280x720 pixels
Support write-back to memory function
Support de-interlacing function for Standard-definition video
2.4.2. Display Output
LCD RGB interface, TTL interface, up to 1280x720@60fps
LCD Serial RGB interface, CCIR656 interface, up to 720x576@60fps
LCD i8080 interface with 18/16/9/8 bit, up to 800x480@60fps
LCD Dither function, support RGB666/RGB565 interface
TV CVBS output, supports NTSC/PAL, with auto plug detecting
Confidential
Overview
F1C600 User Manual (Revision 1.0) Copyrigh 2015 Allwinner Technology. Co.,Ltd. All Rights Reserved. Page 40
2.5. Video Engine
Support H.264 BP/MP/HP up to 1280x720@30fps decoding
Support format Mpeg1 and Mpeg2 up to 1280x720@30fps decoding
Support format Mpeg4 SP/ASP GMC and H.263 including Sorenson Spark up to 1280x720@30fps decoding
Support MJPEG encode up to 1280x720@30fps
Support JPEG encode size up to 8192 x 8192
Support JPEG decode size up to 16384 x 16384
2.6. Image Subsystem
This section includes:
CSI
CVBS Input
2.6.1. CSI
Support 8-bit CMOS-sensor interface
Support YUV camera up to 5Mega pixel
Support CCIR656 protocol for NTSC and PAL
2.6.2. CVBS Input
Support NTSC/PAL
Support 3D comb filter
Support two TV CVBS channels:TVIN0,TVIN1
2.7. Audio Subsystem
2.7.1. Audio Codec
Two audio digital-to-analog(DAC) channels
Stereo capless headphone drivers:
Up to 100dB DR
Supports DAC Sample Rates from 8KHz to 192KHz
Support analog/ digital volume control
Analog low-power loop from FM/ line-in /microphone to headphone outputs
Three audio inputs:
One microphone input
Stereo FM left/right input
One Line-in input
One audio analog-to-digital(ADC) channel
96dB SNR@A-weight
Supports ADC Sample Rates from 8KHz to 48KHz
Support AGC (Auto Gain Control)
2.8. System Peripherals
This section includes:
USB 2.0 OTG
KEYADC
TP
Digital Audio Interface
Confidential
Overview
F1C600 User Manual (Revision 1.0) Copyrigh 2015 Allwinner Technology. Co.,Ltd. All Rights Reserved. Page 41
UART
SPI
TWI
CIR
RSBTM
OWA
2.8.1. USB 2.0 OTG
Support up to 8 User-Configurable Endpoint for Bulk, Isochronous, Control and Interrupt bi-directional transfer
Support High-Bandwidth Isochronous & Interrupt transfers
64-Byte Endpoint 0 for Control Transfer (Endpoint0)
Support industry-standard single port SRAM for USB Configurable Data FIFO. The size is 2048 byte with 32-bit
word width. The RAM can be used by other modules when USB OTG disable
Support point-to-point and point-to-multipoint transfer in Host mode
Perform all transaction scheduling in hardware
Power Optimization and Power Management capabilities
2.8.2. KEYADC
6-bit resolution
Support hold key and general key
Support single key and continuous key
Sample rate up to 250Hz
2.8.3. TP
12-bit SAR type A/D converter
4-wire I/F
Dual Touch Detect
Touch-pressure measurement
Sampling frequency: 2MHz
Single-Ended conversion of touch screen inputs and ratio metric conversion of touch screen inputs
TACQ up to 262ms
Median and averaging filter to reduce noise
Pen down detection, with programmable sensitivity
Support X, Y change function
2.8.4. Digital Audio Interface
I2S or PCM configured by software
Master / Slave Mode operation configured by software
I2S Audio data sample rate from 8Khz to 192Khz
I2S Data format for standard I2S, Left Justified and Right Justified
PCM supports linear sample (8-bits or 16-bits), 8-bits u-law and A-law commanded sample
2.8.5. UART
Three UART controllers
Compatible with industry-standard 16550 UARTs
Support IRDA version 1.0 SIR protocol with maximum baud rate to 115200bps for all UARTs
Support for word length from 5 to 8 bits,an optional parity bit, and 1,1.5 or 2 stop bits
Programmable parity(even,odd and no parity)
32-Bytes Transmit and receive data FIFOs
Support DMA controller interface
Software/ Hardware Flow Control
Interrupt support for FIFOs, Status Change
2.8.6. SPI
Two SPI controllers
Full-duplex synchronous serial interface
Master/Slave configurable
8-bit wide by 64-entry FIFO for both transmit and receive data
Confidential
Overview
F1C600 User Manual (Revision 1.0) Copyrigh 2015 Allwinner Technology. Co.,Ltd. All Rights Reserved. Page 42
Polarity and phase of the chip select (SPI_SS) and SPI Clock (SPI_SCLK) are configurable
2.8.7. TWI
Three TWI controllers
Software-programmable for Slave or Master
Support repeated START signal
Multi-master systems supported
Allow 10-bit addressing with TWI bus
Performs arbitration and clock synchronization
Own address and general call address detection
Interrupt on address detection
Support speeds up to 400Kbits/s (‘fast mode’)
Allow operation from a wide range of input clock frequencies
2.8.8. CIR
Full physical layer implementation
Support CIR for remote control
64x8bits FIFO for data buffer
Programmable FIFO thresholds
2.8.9. RSBTM
Support speed up to 20MHz with ultra low power
Support push-pull bus
Support host mode
Support programmable output delay of CD signal
Support parity check for address and data transmission
Support multi-devices
2.8.10. OWA
EC-60958 transmitter and receiver functionality
Support SPDIF Interface
Support channel status capture on the receiver
Support channel status insertion for the transmitter
Support Parity checking on the receiver
Support Parity generation on the transmitter
One 32×24bits FIFO (TX) for audio data transfer
Programmable FIFO thresholds
Interrupt and DMA support
2.9. Package
QFN88,10 x 10mm
Confidential
Overview
F1C600 User Manual (Revision 1.0) Copyrigh 2015 Allwinner Technology. Co.,Ltd. All Rights Reserved. Page 43
2.10. System Block Diagram
The block diagram of F1C600 processor is as follows:
Interrupt
Controller
Timer
CCU
DMA
System
Connectivity
CPU
Memory
32KB I-Cache
Display Engine
Video Engine
(H.264,H.263,MPEG1,MPEG2,MPEG4,
JPEG/MJPEG)
USB OTG
3 x TWI
2 x SPI
RSB
SIP DDR1
SPI Nor/NAND Flash
KEYADC
RTP
JTAG
IR
Image and Display
CSI
CVBS Input
CVBS Output
RGB LCD
SDIO
3 x UART
Audio CodecI2S/PCM
16KB D-Cache
OWA out
SD/eMMC
The typical application diagram of F1C600 is as follows:
F1C600
SD2.0
SD/TF card
USB
TWI
RGB LCD
LCD Display
&Touch
SPI Nand/
Nor Flash
SPI
SDIO
TV OUT
TV Display
TV IN
Wi-Fi
FM
Audio
Codec
FM IN
MIC IN
HP OUT
Class D
AMP
HP OUT
Confidential
System
F1C600 User Manual (Revision 1.0) Copyrigh 2015 Allwinner Technology. Co.,Ltd. All Rights Reserved. Page 44
Chapter 3. System
The chapter describes the F1C600 system from following sections:
Memory Mapping
CCU
Timer
PWM
INTC
DMA
Port Controller
Confidential
System
F1C600 User Manual (Revision 1.0) Copyright© 2015 Allwinner Technology. Co.,Ltd. All Rights Reserved. Page 45
3.1. Memory Mapping
Module
Size (byte)
BROM
32K
SRAM A
40K
System Controller
4K
DRAMC
4K
DMA
4K
SPI0
4K
SPI1
4K
TVE
4K
TVD
4K
TCON
4K
VE
4K
SD/MMC 0
4K
SD/MMC 1
4K
USB-OTG
4K
CCU
1K
INTC
1K
PIO
1K
TIMER
1K
PWM
1K
OWA
1K
RSB
1K
DAUDIO
1K
CIR
1K
KEYADC
1K
Audio Codec
1K
TP
1K
UART 0
1K
UART 1
1K
UART 2
1K
TWI 0
1K
TWI 1
1K
TWI 2
1K
CSI
4K
DEFE
128K
DEBE
64K
DE Interlace
64K
DDR1 Space
1G
Confidential
System
F1C600 User Manual (Revision 1.0) Copyright© 2015 Allwinner Technology. Co.,Ltd. All Rights Reserved. Page 46
3.2. CCU
3.2.1. Overview
The CCU provides the registers to program the PLLs and the controls most of the clock generation, division, distribution,
synchronization and gating. CCU input signal is the external clock for the reference frequency (24MHz). The outputs
from CCU are mostly clocks to the other blocks in the system.
3.2.2. Feature
The CCU includes the following features:
6 PLLs, Main Oscillator and an on-chip RC Oscillator
Bus Divisions
Clock Output Control
PLLs Bias Control
PLLs Tunning Control
PLLs Pattern Control
Configuring Modules Clock
Bus Clock Gating
Bus Software Reset
3.2.3. Functionalities Description
3.2.3.1. System Bus
CPU
AHB Bus
USB TVD
APB Bus
SRAM
BROM TIMER
LCD
CCM
AudioCodecGPIO
VE DEFE
DEBE
UART TWI
CSI
SPI
DAUDIO
SYSCTRL SDC
DMA DRAMC
INTC
PWM
TVE
CIR RSB
De-Interlace
TP
KEYADC OWA
Confidential
System
F1C600 User Manual (Revision 1.0) Copyright© 2015 Allwinner Technology. Co.,Ltd. All Rights Reserved. Page 47
3.2.3.2. Bus clock tree
X
24MHz
PLL_PERIPH
LOSC
MUX
AHB_PER_DIV
1/(1~4)
CPU
PLL_CPU
MUX AHB_CLK_DIV_RATIO
(/1/2/4/8)
APB_CLK_RATIO
(/1/2/4/8)
AHB APB
3.2.4. CCU Register List
Module Name
Base Address
CCU
0x01C20000
Register Name
Offset
Description
PLL_CPU_CTRL_REG
0x0000
PLL_CPU Control Register
PLL_AUDIO_CTRL_REG
0x0008
PLL_AUDIO Control Register
PLL_VIDEO_CTRL_REG
0x0010
PLL_VIDEO Control Register
PLL_VE_CTRL_REG
0x0018
PLL_VE Control Register
PLL_DDR_CTRL_REG
0x0020
PLL_DDR Control Register
PLL_PERIPH_CTRL_REG
0x0028
PLL_PERIPH Control Register
CPU_CLK_SRC_REG
0x0050
CPU Clock Source Register
AHB_APB_HCLKC_CFG_REG
0x0054
AHB/APB/HCLKC Configuration Register
BUS_CLK_GATING_REG0
0x0060
Bus Clock Gating Register 0
BUS_CLK_GATING_REG1
0x0064
Bus Clock Gating Register 1
BUS_CLK_GATING_REG2
0x0068
Bus Clock Gating Register 2
SDMMC0_CLK_REG
0x0088
SDMMC0 Clock Register
SDMMC1_CLK_REG
0x008C
SDMMC1 Clock Register
DAUDIO_CLK_REG
0x00B0
DAUDIO Clock Register
OWA_CLK_REG
0x00B4
OWA Clock Register
CIR_CLK_REG
0x00B8
CIR Clock Register
USBPHY_CLK_REG
0x00CC
USBPHY Clock Register
DRAM_GATING_REG
0x0100
DRAM GATING Register
BE_CLK_REG
0x0104
BE Clock Register
FE_CLK_REG
0x010C
FE Clock Register
TCON_CLK_REG
0x0118
TCON Clock Register
DI_CLK_REG
0x011C
De-interlacer Clock Register
TVE_CLK_REG
0x0120
TVE Clock Register
Confidential
System
F1C600 User Manual (Revision 1.0) Copyright© 2015 Allwinner Technology. Co.,Ltd. All Rights Reserved. Page 48
TVD_CLK_REG
0x0124
TVD Clock Register
CSI_CLK_REG
0x0134
CSI Clock Register
VE_CLK_REG
0x013C
VE Clock Register
AUDIO_CODEC_CLK_REG
0x0140
Audio Codec Clock Register
AVS_CLK_REG
0x0144
AVS Clock Register
PLL_STABLE_TIME_REG0
0x0200
PLL Stable Time Register 0
PLL_STABLE_TIME_REG1
0x0204
PLL Stable Time Register 1
PLL_CPU_BIAS_REG
0x0220
PLL_CPU Bias Register
PLL_AUDIO_BIAS_REG
0x0224
PLL_AUDIO Bias Register
PLL_VIDEO_BIAS_REG
0x0228
PLL_VIDEO Bias Register
PLL_VE_BIAS_REG
0x022C
PLL_VE Bias Register
PLL_DDR_BIAS_REG
0x0230
PLL_DDR Bias Register
PLL_PERIPH_BIAS_REG
0x0234
PLL_PERIPH Bias Register
PLL_CPU_TUN_REG
0x0250
PLL_CPU Tuning Register
PLL_DDR_TUN_REG
0x0260
PLL_DDR Tuning Register
PLL_AUDIO_PAT_CTRL_REG
0x0284
PLL_AUDIO Pattern Control Register
PLL_VIDEO_PAT_CTRL_REG
0x0288
PLL_VIDEO Pattern Control Register
PLL_DDR_PAT_CTRL_REG
0x0290
PLL_DDR Pattern Control Register
BUS_SOFT_RST_REG0
0x02C0
Bus Software Reset Register 0
BUS_SOFT_RST_REG1
0x02C4
Bus Software Reset Register 1
BUS_SOFT_RST_REG2
0x02D0
Bus Software Reset Register 2
3.2.5. CCU Register Description
3.2.5.1. PLL_CPU Control Register
Offset: 0x000
Register Name: PLL_CPU_CTRL_REG
Bit
R/W
Default/Hex
Description
31
R/W
0x0
PLL_ENABLE.
0: Disable
1: Enable
The PLL output= (24MHz*N*K) / (M*P).
The PLL output is for the CPU Clock.
Note: The PLL output clock must be in the range of 200MHz~2.6GHz.
Its default is 408MHz.
30:29
/
/
/
28
R
0x0
LOCK
0: Unlocked
1: Locked (It indicates that the PLL has been stable.)
27:18
/
/
/
17:16
R/W
0x0
PLL_OUT_EXT_DIV_P
PLL Output External Divider P
00: /1
01: /2
10: /4
Confidential
System
F1C600 User Manual (Revision 1.0) Copyright© 2015 Allwinner Technology. Co.,Ltd. All Rights Reserved. Page 49
11: /
15:13
/
/
/
12:8
R/W
0x10
PLL_FACTOR_N
PLL Factor N.
Factor=0, N=1
Factor=1, N=2
Factor=2, N=3
……
Factor=31,N=32
7:6
/
/
/
5:4
R/W
0x0
PLL_FACTOR_K.
PLL Factor K.(K=Factor + 1 )
The range is from 1 to 4.
3:2
/
/
/
1:0
R/W
0x0
PLL_FACTOR_M.
PLL Factor M. (M=Factor + 1)
The range is from 1 to 4.
3.2.5.2. PLL_AUDIO Control Register
Offset: 0x008
Register Name: PLL_AUDIO_CTRL_REG
Bit
Read/Write
Default/Hex
Description
31
R/W
0x0
PLL_ENABLE.
0: Disable
1: Enable
The PLL is for Audio.
The PLL_AUDIO(8X) Output = 24MHz*N*2/M.
The PLL output clock must be in the range of 20MHz~200MHz.
Its default is 24.571MHz.
30:29
/
/
/
28
R
0x0
LOCK.
0: Unlocked
1: Locked (It indicates that the PLL has been stable.)
27:25
/
/
/
24
R/W
0x0
PLL_SDM_EN.
0: Disable
1: Enable
In this case, the PLL_FACTOR_N only low 4 bits are valid (N: The range is
from 1 to 16).
23:15
/
/
/
14:8
R/W
0x55
PLL_FACTOR_N.
PLL Factor N.
Factor=0, N=1
Factor=1, N=2
……
Factor=127, N=128
Confidential
System
F1C600 User Manual (Revision 1.0) Copyright© 2015 Allwinner Technology. Co.,Ltd. All Rights Reserved. Page 50
7:5
/
/
/
4:0
R/W
0x14
PLL_PREDIV_M.
PLL Pre-div Factor(M = Factor+1).
The range is from 1 to 32
3.2.5.3. PLL_VIDEO Control Register
Offset: 0x010
Register Name: PLL_VIDEO_CTRL_REG
Bit
R/W
Default/Hex
Description
31
R/W
0x0
PLL_ENABLE.
0: Disable
1: Enable
In the integer mode, the PLL output = (24MHz*N)/M.
In the fractional mode, the PLL output is select by bit 25.
Note: In the Clock Control Module, PLL(1X) Output=PLL while PLL(2X)
Output=PLL * 2.
The PLL output clock must be in the range of 30MHz~600MHz.
Its default is 297MHz.
30
R/W
0x0
PLL_MODE.
0: Manual Mode
1: Auto Mode (Controlled by DE)
29
/
/
/
28
R
0x0
LOCK.
0: Unlocked
1: Locked (It indicates that the PLL has been stable.)
27:26
/
/
/
25
R/W
0x1
FRAC_CLK_OUT.
PLL clock output when PLL_MODE_SEL=0(PLL_PREDIV_M factor must be set
to 0); No meaning when PLL_MODE_SEL =1.
0: PLLOUT=270MHz
1: PLLOUT=297MHz
24
R/W
0x1
PLL_MODE_SEL.
0: Fractional mode
1: Integer mode
Note: When in Fractional mode, the pre-divider M should be set to 0.
23:21
/
/
/
20
R/W
0x0
PLL_SDM_EN.
0: Disable
1: Enable
19:15
/
/
/
14:8
R/W
0x62
PLL_FACTOR_N.
PLL Factor N.
Factor=0, N=1
Factor=1, N=2
Factor=2, N=3
……
Confidential
System
F1C600 User Manual (Revision 1.0) Copyright© 2015 Allwinner Technology. Co.,Ltd. All Rights Reserved. Page 51
Factor=127,N=128
7:4
/
/
/
3:0
R/W
0x7
PLL_PREDIV_M.
PLL Pre-div Factor(M = Factor+1).
The range is from 1 to 16.
3.2.5.4. PLL_VE Control Register
Offset: 0x018
Register Name: PLL_VE_CTRL_REG
Bit
R/W
Default/Hex
Description
31
R/W
0x0
PLL_ENABLE.
0: Disable
1: Enable
In the integer mode, The PLL output = (24MHz*N)/M.
In the fractional mode, the PLL output is select by bit 25.
Note: The PLL output clock must be in the range of 30MHz~600MHz.
Its default is 210MHz.
30:29
/
/
/
28
R
0x0
LOCK
0: Unlocked
1: Locked (It indicates that the PLL has been stable.)
27:26
/
/
/
25
R/W
0x1
FRAC_CLK_OUT.
PLL clock output when PLL_MODE_SEL=0(PLL_PREDIV_M factor must be set
to 0); No meaning when PLL_MODE_SEL =1.
0: PLLOUT=270MHz
1: PLLOUT=297MHz
24
R/W
0x1
PLL_MODE_SEL.
0: Fractional mode
1: Integer mode
Note: When in Fractional mode, the pre-divider M should be set to 0.
23:15
/
/
/
14:8
R/W
0x45
PLL_FACTOR_N.
PLL Factor N.
Factor=0, N=1
Factor=1, N=2
Factor=2, N=3
……
Factor=31, N=32
Factor=127, N=128
7:4
/
/
/
3:0
R/W
0x7
PLL_PREDIV_M.
PLL Pre-div Factor (M = Factor+1).
The range is from 1 to 16.
Confidential
System
F1C600 User Manual (Revision 1.0) Copyright© 2015 Allwinner Technology. Co.,Ltd. All Rights Reserved. Page 52
3.2.5.5. PLL_DDR Control Register
Offset: 0x020
Register Name: PLL_DDR_CTRL_REG
Bit
R/W
Default/Hex
Description
31
R/W
0x0
PLL_ENABLE.
0: Disable
1: Enable
This PLL is for DRAM.
Set bit20 to validate the PLL after this bit is set to 1.
The PLL Output = (24MHz*N*K)/M.
30:29
/
/
/
28
R
0x0
LOCK
0: Unlocked
1: Locked (It indicates that the PLL has been stable.)
27:25
/
/
/
24
R/W
0x0
SDRAM_SIGMA_DELTA_EN.
0: Disable
1: Enable
23:21
/
/
/
20
R/W
0x0
PLL_DDR_CFG_UPDATE.
PLL_DDR Configuration Update.
When PLL_DDR has been changed, this bit should be set to 1 to validate the
PLL, otherwise the change would be invalid. And this bit would be cleared
automatically after the PLL change is valid.
0: No effect.
1: Validating the PLL_DDR.
19:13
/
/
/
12:8
R/W
0xC
PLL_FACTOR_N.
PLL Factor N.
Factor=0, N=1
Factor=1, N=2
Factor=2, N=3
……
Factor=31,N=32
7:6
/
/
/
5:4
R/W
0x1
PLL_FACTOR_K.
PLL Factor K.(K=Factor + 1 )
The range is from 1 to 4.
3:2
/
/
/
1:0
R/W
0x1
PLL_FACTOR_M.
PLL Factor M.(M = Factor + 1 )
The range is from 1 to 4.
3.2.5.6. PLL_PERIPH Control Register
Offset: 0x028
Register Name: PLL_PERIPH_CTRL_REG
Bit
R/W
Default/Hex
Description
Confidential
System
F1C600 User Manual (Revision 1.0) Copyright© 2015 Allwinner Technology. Co.,Ltd. All Rights Reserved. Page 53
31
R/W
0x0
PLL_ENABLE.
0: Disable
1: Enable
The PLL Output = 24MHz*N*K.
Note: The PLL Output should be fixed to 600MHz, it is not recommended to
vary this value arbitrarily.
The PLL output clock must be in the range of 200MHz~1.8GHz.
Its default is 600MHz.
30:29
/
/
/
28
R
0x0
LOCK.
0: Unlocked
1: Locked (It indicates that the PLL has been stable.)
27:19
/
/
/
18
R/W
0x1
PLL_24M_OUT_EN.
PLL 24MHz Output Enable.
0: Disable
1: Enable
When 25MHz crystal used, this PLL can output 24MHz.
17:16
R/W
0x0
PLL_24M_POST_DIV.
PLL 24M Output Clock Post Divider (When 25MHz crystal used).
1/2/3/4.
15:13
/
/
/
12:8
R/W
0x18
PLL_FACTOR_N.
PLL Factor N.
Factor=0, N=1
Factor=1, N=2
Factor=2, N=3
……
Factor=31,N=32
7:6
/
/
/
5:4
R/W
0x0
PLL_FACTOR_K.
PLL Factor K.(K=Factor + 1 )
The range is from 1 to 4.
3:2
/
/
/
1:0
R/W
0x1
PLL_FACTOR_M.
PLL Factor M (M = Factor + 1) is only valid in plltest debug.
The PLL_PERIPH back door clock output =24MHz*N*K/M.
The range is from 1 to 4.
3.2.5.7. CPU Clock Source Register
Offset: 0x050
Register Name: CPU_CLK_SRC_REG
Bit
R/W
Default/Hex
Description
31:18
/
/
/
17:16
R/W
0x1
CPU_CLK_SRC_SEL.
CPU Clock Source Select.
Confidential
System
F1C600 User Manual (Revision 1.0) Copyright© 2015 Allwinner Technology. Co.,Ltd. All Rights Reserved. Page 54
CPUCLK = CLK Source
00: LOSC
01: OSC24M
1X: PLL_CPU
If the clock source is changed, at most to wait for 8 present running clock
cycles.
15:0
/
/
/
3.2.5.8. AHB/APB/HCLKC Configuration Register
Offset: 0x054
Register Name: AHB_APB_HCLKC_CFG_REG
Bit
R/W
Default/Hex
Description
31:18
/
/
/
17:16
R/W
0x1
HCLKC_DIV
HCLKC Clock Divide Ratio.
The clock source is the CPUCLK
00: /1
01: /2
10: /3
11: /4
15:14
/
/
/
13:12
R/W
0x1
AHB_CLK_SRC_SEL.
AHB_CLK = AHB_CLK_SRC_SEL/ AHB_CLK_DIV_RATIO
00: LOSC
01: OSC24M
10: CPUCLK
11: PLL_PERIPH/AHB_PRE_DIV
11:10
/
/
/
9:8
R/W
0x0
APB_CLK_RATIO.
APB Clock Divide Ratio.
APB clock source is AHB clock.
APB_CLK = AHB_CLK/ APB_CLK_RATIO
0X: /2
10: /4
11: /8
7:6
R/W
0x0
AHB_PRE_DIV
AHB Clock Pre-divide Ratio
00: /1
01: /2
10: /3
11: /4
5:4
R/W
0x1
AHB_CLK_DIV_RATIO.
AHB Clock Divide Ratio.
00: /1
01: /2
10: /4
Confidential
System
F1C600 User Manual (Revision 1.0) Copyright© 2015 Allwinner Technology. Co.,Ltd. All Rights Reserved. Page 55
11: /8
3:0
/
/
/
3.2.5.9. Bus Clock Gating Register 0
Offset: 0x060
Register Name: BUS_CLK_GATING_REG0
Bit
R/W
Default/Hex
Description
31:25
/
/
/
24
R/W
0x0
USB_OTG_GATING.
Gating Clock For USB-OTG
0: Mask
1: Pass
23:22
/
/
/
21
R/W
0x0
SPI1_GATING.
Gating Clock For SPI1
0: Mask
1: Pass
20
R/W
0x0
SPI0_GATING.
Gating Clock For SPI0
0: Mask
1: Pass
19:15
/
/
/
14
R/W
0x0
SDRAM_GATING.
Gating Clock For SDRAM
0: Mask
1: Pass
13:10
/
/
/
9
R/W
0x0
SD1_GATING.
Gating Clock For SD1
0: Mask
1: Pass
8
R/W
0x0
SD0_GATING.
Gating Clock For SD0
0: Mask
1: Pass
7
/
/
/
6
R/W
0x0
DMA_GATING.
Gating Clock For DMA
0: Mask
1: Pass
5:0
/
/
/
3.2.5.10. Bus Clock Gating Register 1
Offset: 0x064
Register Name: BUS_CLK_GATING_REG1
Bit
R/W
Default/Hex
Description
31:15
/
/
/
Confidential
System
F1C600 User Manual (Revision 1.0) Copyright© 2015 Allwinner Technology. Co.,Ltd. All Rights Reserved. Page 56
14
R/W
0x0
DEFE_GATING.
Gating Clock For DEFE
0: Mask
1: Pass
13
12
R/W
0x0
DEBE_GATING.
Gating Clock For DEBE
0: Mask
1: Pass
11
/
/
/
10
R/W
0x0
TVE_GATING.
Gating Clock For TVE
0: Mask
1: Pass
9
R/W
0x0
TVD_GATING.
Gating Clock For TVD
0: Mask
1: Pass
8
R/W
0x0
CSI_GATING.
Gating Clock For CSI
0: Mask
1: Pass
7:6
/
/
/
5
R/W
0x0
DEINTERLACE_GATING.
Gating Clock For DE Interlacer
0: Mask
1: Pass
4
R/W
0x0
LCD_GATING.
Gating Clock For LCD
0: Mask
1: Pass
3:1
/
/
/
0
R/W
0x0
VE_GATING.
Gating Clock For VE
0: Mask
1: Pass
3.2.5.11. Bus Clock Gating Register 2
Offset: 0x068
Register Name: BUS_CLK_GATING_REG2
Bit
R/W
Default/Hex
Description
31:23
/
/
/
22
R/W
0x0
UART2_GATING.
Gating Clock For UART2
0: Mask
1: Pass
Confidential
System
F1C600 User Manual (Revision 1.0) Copyright© 2015 Allwinner Technology. Co.,Ltd. All Rights Reserved. Page 57
21
R/W
0x0
UART1_GATING.
Gating Clock For UART1
0: Mask
1: Pass
20
R/W
0x0
UART0_GATING.
Gating Clock For UART0
0: Mask
1: Pass
19
/
/
/
18
R/W
0x0
TWI2_GATING.
Gating Clock For TWI2
0: Mask
1: Pass
17
R/W
0x0
TWI1_GATING.
Gating Clock For TWI1
0: Mask
1: Pass
16
R/W
0x0
TWI0_GATING.
Gating Clock For TWI0
0: Mask
1: Pass
15:13
/
/
/
12
R/W
0x0
DAUDIO_GATING.
Gating Clock For DAUDIO
0: Mask
1: Pass
11:4
/
/
/
3
R/W
0x0
RSB_GATING.
Gating Clock For RSB
0: Mask
1: Pass
2
R/W
0x0
CIR_GATING.
Gating Clock For CIR
0: Mask
1: Pass
1
R/W
0x0
OWA_GATING.
Gating Clock For OWA
0: Mask
1: Pass
0
R/W
0x0
AUDIO_CODEC_GATING.
Gating Clock For AUDIO_CODEC
0: Mask
1: Pass
Confidential
System
F1C600 User Manual (Revision 1.0) Copyright© 2015 Allwinner Technology. Co.,Ltd. All Rights Reserved. Page 58
3.2.5.12. SDMMC0 Clock Register
Offset: 0x088
Register Name: SDMMC0_CLK_REG
Bit
R/W
Default/Hex
Description
31
R/W
0x0
SCLK_GATING.
Gating Special Clock(Max Clock = 200MHz)
0: Clock is OFF
1: Clock is ON
SCLK = Clock Source/Divider N/Divider M.
30:26
/
/
/
25:24
R/W
0x0
CLK_SRC_SEL.
Clock Source Select
00: OSC24M
01: PLL_PERIPH
1X: /
23
/
/
/
22:20
R/W
0x0
SAMPLE_CLK_PHASE_CTR.
Sample Clock Phase Control.
The sample clock phase delay is based on the number of source clock that is
from 0 to 7.
19:18
/
/
/
17:16
R/W
0x0
CLK_DIV_RATIO_N.
Clock Pre-Divide Ratio (n)
The select clock source is pre-divided by 2^n. The divider is 1/2/4/8.
15:11
/
/
/
10:8
R/W
0x0
OUTPUT_CLK_PHASE_CTR.
Output Clock Phase Control.
The output clock phase delay is based on the number of source clock that is
from 0 to 7.
7:4
/
/
/
3:0
R/W
0x0
CLK_DIV_RATIO_M.
Clock Divide Ratio (m)
The pre-divided clock is divided by (m+1). The divider is from 1 to 16.
3.2.5.13. SDMMC1 Clock Register
Offset: 0x08C
Register Name: SDMMC1_CLK_REG
Bit
R/W
Default/Hex
Description
31
R/W
0x0
SCLK_GATING.
Gating Special Clock(Max Clock = 200MHz)
0: Clock is OFF
1: Clock is ON
SCLK= Clock Source/Divider N/Divider M.
30:26
/
/
/
25:24
R/W
0x0
CLK_SRC_SEL.
Clock Source Select
00: OSC24M
Confidential
System
F1C600 User Manual (Revision 1.0) Copyright© 2015 Allwinner Technology. Co.,Ltd. All Rights Reserved. Page 59
01: PLL_PERIPH
1X: /
23
/
/
/
22:20
R/W
0x0
SAMPLE_CLK_PHASE_CTR.
Sample Clock Phase Control.
The sample clock phase delay is based on the number of source clock that is
from 0 to 7.
19:18
/
/
/
17:16
R/W
0x0
CLK_DIV_RATIO_N.
Clock Pre-Divide Ratio (n)
The select clock source is pre-divided by 2^n. The divider is 1/2/4/8.
15:11
/
/
/
10:8
R/W
0x0
OUTPUT_CLK_PHASE_CTR.
Output Clock Phase Control.
The output clock phase delay is based on the number of source clock that is
from 0 to 7.
7:4
/
/
/
3:0
R/W
0x0
CLK_DIV_RATIO_M.
Clock Divide Ratio (m)
The pre-divided clock is divided by (m+1). The divider is from 1 to 16.
3.2.5.14. DAUDIO Clock Register
Offset: 0x0B0
Register Name: DAUDIO_CLK_REG
Bit
R/W
Default/Hex
Description
31
R/W
0x0
SCLK_GATING.
Gating Special Clock(Max Clock = 200MHz)
0: Clock is OFF
1: Clock is ON
30:18
/
/
/
17:16
R/W
0x0
CLK_SRC_SEL.
00: PLL_AUDIO (8X)
01: PLL_AUDIO(8X)/2
10: PLL_AUDIO(8X)/4
11: PLL_AUDIO(8X)/8
15:0
/
/
/.
3.2.5.15. OWA Clock Register
Offset: 0x0B4
Register Name: OWA_CLK_REG
Bit
R/W
Default/Hex
Description
31
R/W
0x0
SCLK_GATING.
Gating Special Clock(Max Clock = 200MHz)
0: Clock is OFF
1: Clock is ON
30:18
/
/
/
17:16
R/W
0x1
CLK_SRC_SEL.
Confidential
System
F1C600 User Manual (Revision 1.0) Copyright© 2015 Allwinner Technology. Co.,Ltd. All Rights Reserved. Page 60
00: PLL2 (8X)
01: PLL2(8X)/2
10: PLL2(8X)/4
11: PLL2(8X)/8
15:0
/
/
/
3.2.5.16. CIR Clock Register
Offset: 0x0B8
Register Name: CIR_CLK_REG
Bit
R/W
Default/Hex
Description
31
R/W
0x0
SCLK_GATING.
Gating Special Clock(Max Clock = 100MHz)
0: Clock is OFF
1: Clock is ON
SCLK = Clock Source/Divider N/Divider M.
30:26
/
/
/
25:24
R/W
0x0
CLK_SRC_SEL.
Clock Source Select
00: LOSC
01: OSC24M
1X: /
23:18
/
/
/
17:16
R/W
0x0
CLK_DIV_RATIO_N.
Clock Pre-divide ratio (n)
The select clock source is pre-divided by 2^n. The divider is 1/2/4/8.
15:4
/
/
/
3:0
R/W
0x0
CLK_DIV_RATIO_M.
Clock divide ratio (m)
The pre-divided clock is divided by (m+1). The divider is from 1 to 16.
3.2.5.17. USBPHY Clock Register
Offset: 0x0CC
Register Name: USBPHY_CLK_REG
Bit
R/W
Default/Hex
Description
31:2
/
/
/
1
R/W
0x0
SCLK_GATING.
USBPHY 24MHZ Clock Gating
0: Clock is OFF
1: Clock is ON
0
R/W
0x0
USBPHY_RST.
USB PHY Reset Control
0: Assert
1: DEBE assert
3.2.5.18. DRAM Gating Register
Offset: 0x100
Register Name: DRAM_GATING_REG
Bit
R/W
Default/Hex
Description
Confidential
System
F1C600 User Manual (Revision 1.0) Copyright© 2015 Allwinner Technology. Co.,Ltd. All Rights Reserved. Page 61
31:27
/
/
/
26
R/W
0x0
BE_DCLK_GATING.
Gating DRAM SCLK(1X) For BE
0: Mask
1: Pass
25
/
/
/
24
R/W
0x0
FE_DCLK_GATING.
Gating DRAM SCLK(1X) For FE
0: Mask
1: Pass
23:4
/
/
/.
3
R/W
0x0
TVD_DCLK_GATING.
Gating DRAM SCLK(1X) For TVD
0: Mask
1: Pass
2
R/W
0x0
DEINTERLACE_DCLK_GATING.
Gating DRAM SCLK(1X) For DEINTERLACE
0: Mask
1: Pass
1
R/W
0x0
CSI_DCLK_GATING.
Gating DRAM SCLK(1X) For CSI
0: Mask
1: Pass
0
R/W
0x0
VE_DCLK_GATING.
Gating DRAM SCLK(1X) For VE
0: Mask
1: Pass
3.2.5.19. BE Clock Register
Offset: 0x104
Register Name: BE_CLK_REG
Bit
R/W
Default/Hex
Description
31
R/W
0x0
SCLK_GATING.
Gating Special Clock
0: Clock is OFF
1: Clock is ON
SCLK= Clock Source/Divider M.
30:27
/
/
/
26:24
R/W
0x0
CLK_SRC_SEL.
Clock Source Select
000: PLL_VIDEO
001: /
010: PLL_PERIPH
011~111: /
23:4
/
/
/
3:0
R/W
0x0
CLK_DIV_RATIO_M.
Confidential
System
F1C600 User Manual (Revision 1.0) Copyright© 2015 Allwinner Technology. Co.,Ltd. All Rights Reserved. Page 62
Clock divide ratio (m)
The pre-divided clock is divided by (m+1). The divider is from 1 to 16.
3.2.5.20. FE Clock Register
Offset: 0x10C
Register Name: FE_CLK_REG
Bit
R/W
Default/Hex
Description
31
R/W
0x0
SCLK_GATING.
Gating Special Clock
0: Clock is OFF
1: Clock is ON
SCLK= Clock Source/Divider M.
30:27
/
/
/
26:24
R/W
0x0
CLK_SRC_SEL.
Clock Source Select
000: PLL_VIDEO
001: /
010: PLL_PERIPH
011~111: /
23:4
/
/
/
3:0
R/W
0x0
CLK_DIV_RATIO_M.
Clock divide ratio (m)
The pre-divided clock is divided by (m+1). The divider is from 1 to 16.
3.2.5.21. TCON Clock Register
Offset: 0x118
Register Name: TCON_CLK_REG
Bit
R/W
Default/Hex
Description
31
R/W
0x0
SCLK_GATING.
Gating Special Clock
0: Clock is OFF
1: Clock is ON
SCLK = Clock Source
30:27
/
/
/
26:24
R/W
0x0
CLK_SRC_SEL.
Clock Source Select
000: PLL_VIDEO(1X)
001: /
010: PLL_VIDEO(2X)
011~111: /
23:0
/
/
/
3.2.5.22. De-interlacer Clock Register
Offset: 0x11C
Register Name: DI_CLK_REG
Bit
R/W
Default/Hex
Description
31
R/W
0x0
SCLK_GATING.
Gating Special Clock
Confidential
System
F1C600 User Manual (Revision 1.0) Copyright© 2015 Allwinner Technology. Co.,Ltd. All Rights Reserved. Page 63
0: Clock is OFF
1: Clock is ON
SCLK = Clock Source/ Divider M
30:27
/
/
/
26:24
R/W
0x0
CLK_SRC_SEL.
Clock Source Select
000: PLL_VIDEO(1X)
001: /
010: PLL_VIDEO(2X)
011~111: /
23:4
/
/
/
3:0
R/W
0x0
CLK_DIV_RATIO_M.
Clock divide ratio (m)
The pre-divided clock is divided by (m+1). The divider is from 1 to 16.
3.2.5.23. TVE Clock Register
Offset: 0x120
Register Name: TVE_CLK_REG
Bit
R/W
Default/Hex
Description
31
R/W
0x0
SCLK2_GATING.
Gating Special Clock 2
0: Clock is OFF
1: Clock is ON
SCLK2= Clock Source/ Divider M
30:27
/
/
/
26:24
R/W
0x0
SCLK2_SRC_SEL.
SClock2 Source Select
000: PLL_VIDEO(1X)
001: /
010: PLL_VIDEO(2X)
011~111: /
23:4
/
/
/
15
R/W
0x0
SCLK1_GATING.
Gating Special Clock 1
0: Clock is OFF
1: Clock is ON
SCLK = Clock Source
14:10
/
/
/
8
R/W
0x0
SCLK1_SRC_SEL.
SClock1 Source Select
0: TVE_SCLK2
1: TVE_SCLK2 divide by 2
3:0
R/W
0x0
CLK_DIV_RATIO_M.
Clock divide ratio (m)
The pre-divided clock is divided by (m+1). The divider is from 1 to 16.
Confidential
System
F1C600 User Manual (Revision 1.0) Copyright© 2015 Allwinner Technology. Co.,Ltd. All Rights Reserved. Page 64
3.2.5.24. TVD Clock Register
Offset: 0x124
Register Name: TVD_CLK_REG
Bit
R/W
Default/Hex
Description
31
R/W
0x0
SCLK_GATING.
Gating Special Clock
0: Clock is OFF
1: Clock is ON
SCLK = Clock Source/ Divider M
30:27
/
/
/
26:24
R/W
0x0
CLK_SRC_SEL.
Clock Source Select
000: PLL_VIDEO(1X)
001: OSC24M
010: PLL_VIDEO(2X)
011~111: /
23:4
/
/
/
3:0
R/W
0x0
CLK_DIV_RATIO_M.
Clock divide ratio (m)
The pre-divided clock is divided by (m+1). The divider is from 1 to 16.
3.2.5.25. CSI Clock Register
Offset: 0x134
Register Name: CSI_CLK_REG
Bit
R/W
Default/Hex
Description
31:16
/
/
/
15
R/W
0x0
CSI_MCLK_GATING.
Gating Master Clock
0: Clock is OFF
1: Clock is ON
SCLK =Master Clock Source/ CSI_MCLK_DIV_M.
14:11
/
/
/
10:8
R/W
0x0
MCLK_SRC_SEL.
Master Clock Source Select
000: PLL_VIDEO(1X)
001: /
010:/
011:/
100: /
101: OSC24M
110~111:/
7:4
/
/
/
3:0
R/W
0x0
CSI_MCLK_DIV_M.
CSI Master Clock divide ratio (m)
The pre-divided clock is divided by (m+1). The divider is from 1 to 16.
Confidential
System
F1C600 User Manual (Revision 1.0) Copyright© 2015 Allwinner Technology. Co.,Ltd. All Rights Reserved. Page 65
3.2.5.26. VE Clock Register
Offset: 0x13C
Register Name: VE_CLK_REG
Bit
R/W
Default/Hex
Description
31
R/W
0x0
SCLK_GATING.
0: Clock is OFF
1: Clock is ON
SCLK = PLL_VE output.
30:0
/
/
/
3.2.5.27. AUDIO CODEC Clock Register
Offset: 0x140
Register Name: AUDIO_CODEC _CLK_REG
Bit
R/W
Default/Hex
Description
31
R/W
0x0
SCLK_GATING.
Gating Special Clock
0: Clock is OFF
1: Clock is ON
SCLK = PLL_AUDIO output.
30:0
/
/
/
3.2.5.28. AVS Clock Register
Offset: 0x144
Register Name: AVS_CLK_REG
Bit
R/W
Default/Hex
Description
31
R/W
0x0
SCLK_GATING.
Gating Special Clock
0: Clock is OFF
1: Clock is ON
SCLK = OSC24M.
30:0
/
/
/
3.2.5.29. PLL Stable Time Register 0
Offset: 0x200
Register Name: PLL_STABLE_TIME_REG0
Bit
R/W
Default/Hex
Description
31:16
/
/
/
15:0
R/W
0x00FF
PLL_LOCK_TIME
PLL Lock Time (Unit: us).
Note: When any PLL (except PLL_CPU) is enabled or changed, the
corresponding PLL lock bit will be set after the PLL Lock Time.
3.2.5.30. PLL Stable Time Register 1
Offset: 0x204
Register Name: PLL_STABLE_TIME_REG1
Bit
R/W
Default/Hex
Description
31:16
/
/
/
15:0
R/W
0x00FF
PLL_CPU_LOCK_TIME
PLL_CPU Lock Time (Unit: us).
Note: When PLL_CPU is enabled or changed, the PLL_CPU lock bit will be set
Confidential
System
F1C600 User Manual (Revision 1.0) Copyright© 2015 Allwinner Technology. Co.,Ltd. All Rights Reserved. Page 66
after the PLL_CPU Lock Time.
3.2.5.31. PLL_CPU Bias Register
Offset: 0x220
Register Name: PLL_CPU_BIAS_REG
Bit
R/W
Default/Hex
Description
31
R/W
0x0
VCO_RST.
VCO reset In.
30:28
/
/
/
27:24
R/W
0x8
PLL_VCO_BIAS_CTRL.
PLL VCO Bias Control[3:0].
23:21
/
/
/
20:16
R/W
0x10
PLL_BIAS_CUR_CTRL.
PLL Bias Current Control[4:0].
15:11
/
/
/
10:8
R/W
0x2
PLL_LOCK_CTRL.
PLL Lock Time Control[2:0].
7:4
/
/
/
3:0
R/W
0x0
PLL_DAMP_FACT_CTRL.
PLL Damping Factor Control[3:0].
3.2.5.32. PLL_AUDIO Bias Register
Offset: 0x224
Register Name: PLL_AUDIO_BIAS_REG
Bit
R/W
Default/Hex
Description
31:29
/
/
/
28:24
R/W
0x10
PLL_VCO_BIAS.
PLL VCO Bias Current[4:0].
23:21
/
/
/
20:16
R/W
0x10
PLL_BIAS_CUR.
PLL Bias Current[4:0].
15:0
/
/
/
3.2.5.33. PLL_VIDEO Bias Register
Offset: 0x228
Register Name: PLL_VIDEO_BIAS_REG
Bit
R/W
Default/Hex
Description
31:29
/
/
/
28:24
R/W
0x10
PLL_VCO_BIAS_CTRL.
PLL VCO Bias Control[4:0].
23:21
/
/
/
20:16
R/W
0x10
PLL_BIAS_CTRL.
PLL Bias Control[4:0].
15:3
/
/
/
2:0
R/W
0x0
PLL_DAMP_FACTOR_CTRL.
PLL Damping Factor Control[2:0].
Confidential
System
F1C600 User Manual (Revision 1.0) Copyright© 2015 Allwinner Technology. Co.,Ltd. All Rights Reserved. Page 67
3.2.5.34. PLL_VE Bias Register
Offset: 0x22C
Register Name: PLL_VE_BIAS_REG
Bit
R/W
Default/Hex
Description
31:29
/
/
/
28:24
R/W
0x10
PLL_VCO_BIAS_CTRL.
PLL VCO Bias Control[4:0].
23:21
/
/
/
20:16
R/W
0x10
PLL_BIAS_CTRL.
PLL Bias Control[4:0].
15:3
/
/
/
2:0
R/W
0x0
PLL_DAMP_FACTOR_CTRL.
PLL Damping Factor Control[2:0].
3.2.5.35. PLL_DDR Bias Register
Offset: 0x230
Register Name: PLL_DDR_BIAS_REG
Bit
R/W
Default/Hex
Description
31:28
R/W
0x8
PLL_VCO_BIAS.
PLL VCO Bias[3:0].
27:26
/
/
/.
25
R/W
0x0
PLL_VCO_GAIN_CTRL_EN.
PLL VCO Gain Control Enable.
0: Disable
1: Enable
24
R/W
0x1
PLL_BANDW_CTRL.
PLL Band Width Control.
0: Narrow
1: Wide
23:21
/
/
/
20:16
R/W
0x10
PLL_BIAS_CUR_CTRL.
PLL Bias Current Control.
15
/
/
/
14:12
R/W
0x4
PLL_VCO_GAIN_CTRL.
PLL VCO Gain Control Bit[2:0].
11:4
/
/
/
3:0
R/W
0x0
PLL_DAMP_FACTOR_CTRL.
PLL Damping Factor Control[3:0].
3.2.5.36. PLL_PERIPH Bias Register
Offset: 0x234
Register Name: PLL_PERH_BIAS_REG
Bit
R/W
Default/Hex
Description
31:29
/
/
/
28:24
R/W
0x10
PLL_VCO_BIAS.
PLL VCO Bias[4:0].
23:21
/
/
/
20:16
R/W
0x10
PLL_BIAS_CUR_CTRL.
Confidential
System
F1C600 User Manual (Revision 1.0) Copyright© 2015 Allwinner Technology. Co.,Ltd. All Rights Reserved. Page 68
PLL Bias Current Control.
15:5
/
/
/
4
R/W
0x1
PLL_BANDW_CTRL.
PLL Band Width Control.
0: Narrow
1: Wide.
3:2
/
/
/
1:0
R/W
0x0
PLL_DAMP_FACTOR_CTRL.
PLL Damping Factor Control[1:0].
3.2.5.37. PLL_CPU Tuning Register
Offset: 0x250
Register Name: PLL_CPU_TUN_REG
Bit
R/W
Default/Hex
Description
31:28
/
/
/
27
R/W
0x1
PLL_BAND_WID_CTRL.
PLL Band Width Control.
0: Narrow
1: Wide
26
R/W
0x0
VCO_GAIN_CTRL_EN.
VCO Gain Control Enable.
0: Disable
1: Enable
25:23
R/W
0x4
VCO_GAIN_CTRL.
VCO Gain Control Bits[2:0].
22:16
R/W
0x10
PLL_INIT_FREQ_CTRL.
PLL Initial Frequency Control[6:0].
15
R/W
0x0
C_OD.
C-Reg-Od For Verify.
14:8
R/W
0x10
C_B_IN.
C-B-In[6:0] For Verify.
7
R/W
0x0
C_OD1.
C-Reg-Od1 For Verify.
6:0
R
0x0
C_B_OUT.
C-B-Out[6:0] For Verify.
3.2.5.38. PLL_DDR Tuning Register
Offset: 0x260
Register Name: PLL_DDR_TUN_REG
Bit
R/W
Default/Hex
Description
31:29
/
/
/
28
R/W
0x1
VREG1_OUT_EN.
Vreg1 Out Enable.
0: Disable
1: Enable
27
/
/
/
26:24
R/W
0x4
PLL_LTIME_CTRL.
Confidential
System
F1C600 User Manual (Revision 1.0) Copyright© 2015 Allwinner Technology. Co.,Ltd. All Rights Reserved. Page 69
PLL Lock Time Control[2:0].
23
R/W
0x0
VCO_RST.
VCO Reset In.
22:16
R/W
0x10
PLL_INIT_FREQ_CTRL.
PLL Initial Frequency Control[6:0].
15
R/W
0x0
OD1.
Reg-Od1 For Verify.
14:8
R/W
0x10
B_IN.
B-In[6:0] For Verify.
7
R/W
0x0
OD.
Reg-Od For Verify.
6:0
R
0x0
B_OUT.
B-Out[6:0] For Verify.
3.2.5.39. PLL_AUDIO Pattern Control Register
Offset: 0x284
Register Name: PLL_AUDIO_PAT_CTRL_REG
Bit
R/W
Default/Hex
Description
31
R/W
0x0
SIG_DELT_PAT_EN.
Sigma-Delta Pattern Enable.
30:29
R/W
0x0
SPR_FREQ_MODE.
Spread Frequency Mode.
00: DC=0
01: DC=1
1X: Triangular
28:20
R/W
0x0
WAVE_STEP.
Wave Step.
19
/
/
/
18:17
R/W
0x0
FREQ.
Frequency.
00: 31.5KHz
01: 32KHz
10: 32.5KHz
11: 33KHz
16:0
R/W
0x0
WAVE_BOT.
Wave Bottom.
3.2.5.40. PLL_VIDEO Pattern Control Register
Offset: 0x288
Register Name: PLLVIDEO_PAT_CTRL_REG
Bit
R/W
Default/Hex
Description
31
R/W
0x0
SIG_DELT_PAT_EN.
Sigma-Delta Pattern Enable.
30:29
R/W
0x0
SPR_FREQ_MODE.
Spread Frequency Mode.
00: DC=0
01: DC=1
Confidential
System
F1C600 User Manual (Revision 1.0) Copyright© 2015 Allwinner Technology. Co.,Ltd. All Rights Reserved. Page 70
1X: Triangular
28:20
R/W
0x0
WAVE_STEP.
Wave Step.
19
/
/
/
18:17
R/W
0x0
FREQ.
Frequency.
00: 31.5KHz
01: 32KHz
10: 32.5KHz
11: 33KHz
16:0
R/W
0x0
WAVE_BOT.
Wave Bottom.
3.2.5.41. PLL_DDR Pattern Control Register
Offset: 0x290
Register Name: PLLDDR_PAT_CTRL_REG
Bit
R/W
Default/Hex
Description
31
R/W
0x0
SIG_DELT_PAT_EN.
Sigma-Delta Pattern Enable.
30:29
R/W
0x0
SPR_FREQ_MODE.
Spread Frequency Mode.
00: DC=0
01: DC=1
1X: Triangular
28:20
R/W
0x0
WAVE_STEP.
Wave Step.
19
/
/
/
18:17
R/W
0x0
FREQ.
Frequency.
00: 31.5KHz
01: 32KHz
10: 32.5KHz
11: 33KHz
16:0
R/W
0x0
WAVE_BOT.
Wave Bottom.
3.2.5.42. Bus Software Reset Register 0
Offset: 0x02C0
Register Name: BUS_SOFT_RST_REG0
Bit
R/W
Default/Hex
Description
31:25
/
/
/
24
R/W
0x0
USBOTG_RST.
USBOTG Reset.
0: Assert
1: De-assert
23:22
21
R/W
0x0
SPI1_RST.
Confidential
System
F1C600 User Manual (Revision 1.0) Copyright© 2015 Allwinner Technology. Co.,Ltd. All Rights Reserved. Page 71
SPI1 Reset.
0: Assert
1: De-assert
20
R/W
0x0
SPI0_RST.
SPI0 Reset.
0: Assert
1: De-assert
19:15
/
/
/
14
R/W
0x0
SDRAM_RST.
SDRAM Reset.
0: Assert
1: De-assert
13:10
/
/
/
9
R/W
0x0
SD1_RST.
SD/MMC 1 Reset.
0: Assert
1: De-assert
8
R/W
0x0
SD0_RST.
SD/MMC 0 Reset.
0: Assert
1: De-assert
7
/
/
/
6
R/W
0x0
DMA_RST.
DMA Reset.
0: Assert
1: De-assert
5:0
/
/
/
3.2.5.43. Bus Software Reset Register 1
Offset: 0x2C4
Register Name: BUS_SOFT_RST_REG1
Bit
R/W
Default/Hex
Description
31:15
/
/
/
14
R/W
0x0
DEFE_RST.
DEFE Reset.
0: Assert
1: De-assert
13
/
/
/
12
R/W
0x0
DEBE_RST.
DEBE Reset.
0: Assert
1: De-assert
11
/
/
/
10
R/W
0x0
TVE_RST.
TVE Reset.
0: Assert
Confidential
System
F1C600 User Manual (Revision 1.0) Copyright© 2015 Allwinner Technology. Co.,Ltd. All Rights Reserved. Page 72
1: De-assert
9
R/W
0x0
TVD_RST.
TVD Reset.
0: Assert
1: De-assert
8
R/W
0x0
CSI_RST.
CSI Reset.
0: Assert
1: De-assert
7:6
/
/
5
R/W
0x0
DEINTERLACE_RST.
DEINTERLACE Reset.
0: Assert
1: De-assert
4
R/W
0x0
LCD_RST.
LCD Reset.
0: Assert
1: De-assert
3:1
/
/
/
0
R/W
0x0
VE_RST.
VE Reset.
0: Assert
1: De-assert
3.2.5.44. Bus Software Reset Register 2
Offset: 0x2D0
Register Name: BUS_SOFT_RST_REG2
Bit
R/W
Default/Hex
Description
31:23
/
/
/
22
R/W
0x0
UART2_RST.
UART2 Reset.
0: Assert
1: De-assert
21
R/W
0x0
UART1_RST.
UART1 Reset.
0: Assert
1: De-assert
20
R/W
0x0
UART0_RST.
UART0 Reset.
0: Assert
1: De-assert
19
/
/
/
18
R/W
0x0
TWI2_RST.
TWI2 Reset.
0: Assert
1: De-assert
Confidential
System
F1C600 User Manual (Revision 1.0) Copyright© 2015 Allwinner Technology. Co.,Ltd. All Rights Reserved. Page 73
17
R/W
0x0
TWI1_RST.
TWI1 Reset.
0: Assert
1: De-assert
16
R/W
0x0
TWI0_RST.
TWI0 Reset.
0: Assert
1: De-assert
15:13
/
/
/
12
R/W
0x0
DAUDIO_RST.
DAUDIO Reset.
0: Assert
1: De-assert
11:4
/
/
/
3
R/W
0x0
RSB_RST.
RSB Reset.
0: Assert
1: De-assert
2
R/W
0x0
CIR_RST.
CIR Reset.
0: Assert
1: De-assert
1
R/W
0x0
OWA_RST.
OWA Reset.
0: Assert
1: De-assert
0
R/W
0x0
AUDIO_CODEC_RST.
AUDIO_CODEC Reset.
0: Assert
1: De-assert
3.2.6. Programming Guidelines
3.2.6.1. PLL
1) In practice, other PLLs doesn’t support dynamic frequency scaling except for CPU
2) After the PLL_DDR frequency changes, the 20-bit of PLL_DDR Control Register should be written 1 to make it valid;
3.2.6.2. BUS
1) When setting the BUS clock, you should set the division factor first, and after the division factor becomes valid,
switch the clock source. The clock source will be switched after at least three clock cycles;
2) The BUS clock should not be dynamically changed in most applications.
Confidential
System
F1C600 User Manual (Revision 1.0) Copyright© 2015 Allwinner Technology. Co.,Ltd. All Rights Reserved. Page 74
3.3. Timer
3.3.1. Overview
Timer 0/1/2 can take their inputs from LOSC or OSC24M. They provide the operating system’s scheduler interrupt. It is
designed to offer maximum accuracy and efficient management, even for systems with long or short response time.
They provide 32-bit programmable down-counter and work in auto-reload mode or no-reload mode. When the current
value in Current Value Register is counting down to zero, the timer will generate interrupt if set interrupt enable bit.
The watchdog is used to resume the controller operation when it had been disturbed by malfunctions such as noise and
system errors. It features a down counter that allows a watchdog period of up to 16 seconds (512000 cycles). It can
generate a general reset or interrupt request.
AVS counter is used to synchronize video and audio in the player.
3.3.2. Feature
The Timer module includes the following features:
3 timers for system scheduler counting using 24MHz or LOSC clock
Each Timer could general individual interrupt
1 Watchdog for resetting whole system or interrupt
2 AVS counters used for synchronize video and audio in the player
3.3.3. Functionalities Description
3.3.3.1. Typical Applications
Timer provides scheduler interrupt and delay or calculates external devices’ frequency
The watchdog supports reset function for system operation' malfunction
AVS is used to synchronize video and audio in the player
Confidential
System
F1C600 User Manual (Revision 1.0) Copyright© 2015 Allwinner Technology. Co.,Ltd. All Rights Reserved. Page 75
3.3.3.2. Functional Block Diagram
24M
LOSC
Timer 0
Timer 1
Timer 2
Single
Continuous
Interval Value Enable IV=0? Pending
IRQ EN
IRQ
yes
/1
/2
/4
/8
/16
/32
/64
/128
Watchdog
Interrupt Enable Pending IRQ
16k cycles
32k cycles
64k cycles
96k cycles
128k cycles
160k cycles
192k cycles
others cycles
LOSC
Restart
Time
out?
yes
Reset Enable Pending
Restart
Time
out?
Whole System Reset
yes
Timer function structure and work flow
Timer counter' clock input comes from one of the three clock sources that could be pre-scaled up to 128 division. In
single mode, when current value is counted down to 0, enable bit would be cleared automatically and Timer stops
working. But in continuous mode, Interval Value will be auto-reloaded into Current Value Register and then counter
counts from the new interval value again when current value is counted down to 0. Every time current value is counted
down to 0, a pending will be generated. Pending could be sent to INTC only if IRQ enable bit is set.
Generally watchdog could not count down to 0 because it would be restart inside Interval Value. Otherwise the
malfunction makes the watchdog counts down to 0 and a pending will be generated, which causes a reset (Watchdog
Configuration Register is configured to whole system) or an interrupt (Watchdog Configuration Register is configured to
only interrupt).
AVS has two counters which are both up-counted. The counter’ clock source comes from 24MHz/Divisor_N and
Divisor_N is set in AVS Counter Divisor Register. AVS counter could be changed to pause or enable at any time.
3.3.4. Timer Register List
Module Name
Base Address
TIMER
0x01C20C00
Register Name
Offset
Description
TMR_IRQ_EN_REG
0x00
Timer IRQ Enable Register
TMR_IRQ_STA_REG
0x04
Timer Status Register
TMR0_CTRL_REG
0x10
Timer 0 Control Register
TMR0_INTV_VALUE_REG
0x14
Timer 0 Interval Value Register
TMR0_CUR_VALUE_REG
0x18
Timer 0 Current Value Register
TMR1_CTRL_REG
0x20
Timer 1 Control Register
Confidential
System
F1C600 User Manual (Revision 1.0) Copyright© 2015 Allwinner Technology. Co.,Ltd. All Rights Reserved. Page 76
TMR1_INTV_VALUE_REG
0x24
Timer 1 Interval Value Register
TMR1_CUR_VALUE_REG
0x28
Timer 1 Current Value Register
TMR2_CTRL_REG
0x30
Timer 2 Control Register
TMR2_INTV_VALUE_REG
0x34
Timer 2 Interval Value Register
TMR2_CUR_VALUE_REG
0x38
Timer 2 Current Value Register
AVS_CNT_CTL_REG
0x80
AVS Counter Control Register
AVS_CNT0_REG
0x84
AVS Counter 0 Register
AVS_CNT1_REG
0x88
AVS Counter 1 Register
AVS_CNT_DIV_REG
0x8C
AVS Counter Divisor Register
WDOG_IRQ_EN_REG
0xA0
Watchdog IRQ Enable Register
WDOG_IRQ_STA_REG
0xA4
Watchdog Status Register
WDOG_CTRL_REG
0xB0
Watchdog Control Register
WDOG_CFG_REG
0xB4
Watchdog Configuration Register
WDOG_MODE_REG
0xB8
Watchdog Mode Register
3.3.5. Timer Register Description
3.3.5.1. Timer IRQ Enable Register
Offset:0x0
Register Name: TMR_IRQ_EN_REG
Bit
R/W
Default/Hex
Description
31:3
/
/
/
2
R/W
0x0
TMR2_IRQ_EN.
Timer 2 Interrupt Enable.
0: No effect,
1: Timer 2 Interval Value reached interrupt enable.
1
R/W
0x0
TMR1_IRQ_EN.
Timer 1 Interrupt Enable.
0: No effect,
1: Timer 1 Interval Value reached interrupt enable.
0
R/W
0x0
TMR0_IRQ_EN.
Timer 0 Interrupt Enable.
0: No effect,
1: Timer 0 Interval Value reached interrupt enable.
3.3.5.2. Timer IRQ Status Register
Offset:0x04
Register Name: TMR_IRQ_STA_REG
Bit
R/W
Default/Hex
Description
31:3
/
/
/
2
R/W
0x0
TMR2_IRQ_PEND.
Timer 2 IRQ Pending. Set 1 to the bit will clear it.
0: No effect,
1: Pending, timer 2 interval value is reached.
1
R/W
0x0
TMR1_IRQ_PEND.
Timer 1 IRQ Pending. Set 1 to the bit will clear it.
Confidential
System
F1C600 User Manual (Revision 1.0) Copyright© 2015 Allwinner Technology. Co.,Ltd. All Rights Reserved. Page 77
0: No effect,
1: Pending, timer 1 interval value is reached.
0
R/W
0x0
TMR0_IRQ_PEND.
Timer 0 IRQ Pending. Set 1 to the bit will clear it.
0: No effect,
1: Pending, timer 0 interval value is reached.
3.3.5.3. Timer 0 Control Register
Offset:0x10
Register Name: TMR0_CTRL_REG
Bit
R/W
Default/Hex
Description
31:8
/
/
/
7
R/W
0x0
TMR0_MODE.
Timer 0 mode.
0: Continuous mode. When interval value reached, the timer will not disable
automatically.
1: Single mode. When interval value reached, the timer will disable
automatically.
6:4
R/W
0x0
TMR0_CLK_PRES.
Select the pre-scale of timer 0 clock source.
000: /1
001: /2
010: /4
011: /8
100: /16
101: /32
110: /64
111: /128
3:2
R/W
0x1
TMR0_CLK_SRC.
Timer 0 Clock Source.
00: LOSC
01: OSC24M
10: /
11: /
1
R/W
0x0
TMR0_RELOAD.
Timer 0 Reload.
0: No effect
1: Reload timer 0 Interval value
After the bit is set, it can not be written again before it’s cleared automatically.
0
R/W
0x0
TMR0_EN.
Timer 0 Enable.
0: Stop/Pause, 1: Start.
If the timer is started, it will reload the interval value to internal register, and
the current counter will count from interval value to 0.
If the current counter does not reach the zero, the timer enable bit is set to
“0”, the current value counter will pause. At least wait for 2 cycles, the start bit
Confidential
System
F1C600 User Manual (Revision 1.0) Copyright© 2015 Allwinner Technology. Co.,Ltd. All Rights Reserved. Page 78
can be set to 1.
In timer pause state, the interval value register can be modified. If the timer is
started again, and the Software hope the current value register to down-count
from the new interval value, the reload bit and the enable bit should be set to
1 at the same time.
3.3.5.4. Timer 0 Interval Value Register
Offset:0x14
Register Name: TMR0_INTV_VALUE_REG
Bit
R/W
Default/Hex
Description
31:0
R/W
0x0
TMR0_INTV_VALUE.
Timer 0 Interval Value.
Note:
1) The value setting should consider the system clock and the timer clock source.
3.3.5.5. Timer 0 Current Value Register
Offset:0x18
Register Name: TMR0_CUR_VALUE_REG
Bit
R/W
Default/Hex
Description
31:0
R/W
0x0
TMR0_CUR_VALUE.
Timer 0 Current Value.
Note:
1) Timer 0 current value is a 32-bit down-counter (from interval value to 0).
3.3.5.6. Timer 1 Control Register
Offset:0x20
Register Name: TMR1_CTRL_REG
Bit
R/W
Default/Hex
Description
31:8
/
/
/
7
R/W
0x0
TMR1_MODE.
Timer 1 mode.
0: Continuous mode. When interval value reached, the timer will not disable
automatically.
1: Single mode. When interval value reached, the timer will disable
automatically.
6:4
R/W
0x0
TMR1_CLK_PRES.
Select the pre-scale of timer 1 clock source.
000: /1
001: /2
010: /4
011: /8
100: /16
101: /32
110: /64
111: /128
3:2
R/W
0x1
TMR1_CLK_SRC.
Timer 1 Clock Source.
00: LOSC
Confidential
System
F1C600 User Manual (Revision 1.0) Copyright© 2015 Allwinner Technology. Co.,Ltd. All Rights Reserved. Page 79
01: OSC24M.
10: /
11: /
1
R/W
0x0
TMR1_RELOAD.
Timer 1 Reload.
0: No effect
1: Reload timer 1 Interval value
After the bit is set, it can not be written again before it’s cleared automatically.
0
R/W
0x0
TMR1_EN.
Timer 1 Enable.
0: Stop/Pause, 1: Start.
If the timer is started, it will reload the interval value to internal register, and
the current counter will count from interval value to 0.
If the current counter does not reach the zero, the timer enable bit is set to
“0”, the current value counter will pause. At least wait for 2 cycles, the start bit
can be set to 1.
In timer pause state, the interval value register can be modified. If the timer is
started again, and the Software hope the current value register to down-count
from the new interval value, the reload bit and the enable bit should be set to
1 at the same time.
3.3.5.7. Timer 1 Interval Value Register
Offset:0x24
Register Name: TMR1_INTV_VALUE_REG
Bit
R/W
Default/Hex
Description
31:0
R/W
0x0
TMR1_INTV_VALUE.
Timer 1 Interval Value.
Note:
1) The value setting should consider the system clock and the timer clock source.
3.3.5.8. Timer 1 Current Value Register
Offset:0x28
Register Name: TMR1_CUR_VALUE_REG
Bit
R/W
Default/Hex
Description
31:0
R/W
0x0
TMR1_CUR_VALUE.
Timer 1 Current Value.
3.3.5.9. Timer 2 Control Register
Offset:0x30
Register Name: TMR2_CTRL_REG
Bit
R/W
Default/Hex
Description
31:8
/
/
/
7
R/W
0x0
TMR2_MODE.
Timer 2 mode.
0: Continuous mode. When interval value reached, the timer will not disable
automatically.
1: Single mode. When interval value reached, the timer will disable
automatically.
Confidential
System
F1C600 User Manual (Revision 1.0) Copyright© 2015 Allwinner Technology. Co.,Ltd. All Rights Reserved. Page 80
6:4
R/W
0x0
TMR2_CLK_PRES.
Select the pre-scale of timer 2 clock source.
000: /1
001: /2
010: /4
011: /8
100: /16
101: /32
110: /64
111: /128
3:2
R/W
0x1
TMR2_CLK_SRC.
Timer 2 Clock Source.
00: LOSC
01: OSC24M
10: /
11: /.
1
R/W
0x0
TMR2_RELOAD.
Timer 2 Reload.
0: No effect
1: Reload timer 1 Interval value
After the bit is set, it can not be written again before it’s cleared automatically.
0
R/W
0x0
TMR2_EN.
Timer 2 Enable.
0: Stop/Pause, 1: Start.
If the timer is started, it will reload the interval value to internal register, and
the current counter will count from interval value to 0.
If the current counter does not reach the zero, the timer enable bit is set to
“0”, the current value counter will pause. At least wait for 2 cycles, the start bit
can be set to 1.
In timer pause state, the interval value register can be modified. If the timer is
started again, and the Software hope the current value register to down-count
from the new interval value, the reload bit and the enable bit should be set to
1 at the same time.
3.3.5.10. Timer 2 Interval Value Register
Offset:0x34
Register Name: TMR2_INTV_VALUE_REG
Bit
R/W
Default/Hex
Description
31:0
R/W
0x0
TMR2_INTV_VALUE.
Timer 2 Interval Value.
Note:
1) The value setting should consider the system clock and the timer clock source.
3.3.5.11. Timer 2 Current Value Register
Offset:0x38
Register Name: TMR2_CUR_VALUE_REG
Bit
R/W
Default/Hex
Description
Confidential
System
F1C600 User Manual (Revision 1.0) Copyright© 2015 Allwinner Technology. Co.,Ltd. All Rights Reserved. Page 81
31:0
R/W
0x0
TMR2_CUR_VALUE.
Timer 2 Current Value.
Note:
1) Timer 2 current value is a 32-bit down-counter (from interval value to 0).
3.3.5.12. AVS Counter Control Register
Offset:0x80
Register Name: AVS_CNT_CTL_REG
Bit
R/W
Default/Hex
Description
31:10
/
/
/
9
R/W
0x0
AVS_CNT1_PS.
Audio/Video Sync Counter 1 Pause Control
0: Not pause
1: Pause Counter 1
8
R/W
0x0
AVS_CNT0_PS.
Audio/Video Sync Counter 0 Pause Control
0: Not pause
1: Pause Counter 0
7:2
/
/
/
1
R/W
0x0
AVS_CNT1_EN.
Audio/Video Sync Counter 1 Enable/ Disable. The counter source is OSC24M.
0: Disable
1: Enable
0
R/W
0x0
AVS_CNT0_EN.
Audio/Video Sync Counter 1 Enable/ Disable. The counter source is OSC24M.
0: Disable
1: Enable
3.3.5.13. AVS Counter 0 Register
Offset:0x84
Register Name: AVS_CNT0_REG
Bit
R/W
Default/Hex
Description
31:0
R/W
0x0
AVS_CNT0.
Counter 0 for Audio/ Video Sync Application
The high 32 bits of the internal 33-bits counter register. The initial value of the
internal 33-bits counter register can be set by software. The LSB bit of the
33-bits counter register should be zero when the initial value is updated. It will
count from the initial value. The initial value can be updated at any time. It can
also be paused by setting AVS_CNT0_PS to ‘1’. When it is paused, the counter
won’t increase.
3.3.5.14. AVS Counter 1 Register
Offset:0x88
Register Name: AVS_CNT1_REG
Bit
R/W
Default/Hex
Description
31:0
R/W
0x0
AVS_CNT1.
Counter 1 for Audio/ Video Sync Application
The high 32 bits of the internal 33-bits counter register. The initial value of the
Confidential
System
F1C600 User Manual (Revision 1.0) Copyright© 2015 Allwinner Technology. Co.,Ltd. All Rights Reserved. Page 82
internal 33-bits counter register can be set by software. The LSB bit of the
33-bits counter register should be zero when the initial value is updated. It will
count from the initial value. The initial value can be updated at any time. It can
also be paused by setting AVS_CNT1_PS to ‘1’. When it is paused, the counter
won’t increase.
3.3.5.15. AVS Counter Divisor Register
Offset:0x8C
Register Name: AVS_CNT_DIV_REG
Bit
R/W
Default/Hex
Description
31:28
/
/
/
27:16
R/W
0x5DB
AVS_CNT1_D.
Divisor N for AVS Counter 1
AVS CN1 CLK=24MHz/Divisor_N1.
Divisor N1 = Bit [27:16] + 1.
The number N is from 1 to 0x7ff. The zero value is reserved.
The internal 33-bits counter engine will maintain another 12-bits counter. The
12-bits counter is used for counting the cycle number of one 24Mhz clock.
When the 12-bits counter reaches (>= N) the divisor value, the internal 33-bits
counter register will increase 1 and the 12-bits counter will reset to zero and
restart again.
Note: It can be configured by software at any time.
15:12
/
/
/
11:0
R/W
0x5DB
AVS_CNT0_D.
Divisor N for AVS Counter 0
AVS CN0 CLK=24MHz/Divisor_N0.
Divisor N0 = Bit [11:0] + 1
The number N is from 1 to 0x7ff. The zero value is reserved.
The internal 33-bits counter engine will maintain another 12-bits counter. The
12-bits counter is used for counting the cycle number of one 24Mhz clock.
When the 12-bits counter reaches (>= N) the divisor value, the internal 33-bits
counter register will increase 1 and the 12-bits counter will reset to zero and
restart again.
Note: It can be configured by software at any time.
3.3.5.16. Watchdog IRQ Enable Register
Offset:0xA0
Register Name: WDOG_IRQ_EN_REG
Bit
R/W
Default/Hex
Description
31:1
/
/
/
0
R/W
0x0
WDOG_IRQ_EN.
Watchdog Interrupt Enable.
0: No effect, 1: Watchdog interrupt enable.
3.3.5.17. Watchdog Status Register
Offset:0xA4
Register Name: WDOG_IRQ_STA_REG
Bit
R/W
Default/Hex
Description
Confidential
System
F1C600 User Manual (Revision 1.0) Copyright© 2015 Allwinner Technology. Co.,Ltd. All Rights Reserved. Page 83
31:1
/
/
/
0
R/W
0x0
WDOG_IRQ _PEND.
Watchdog IRQ Pending. Set 1 to the bit will clear it.
0: No effect, 1: Pending, Watchdog interval value is reached.
3.3.5.18. Watchdog Control Register
Offset:0xB0
Register Name: WDOG_CTRL_REG
Bit
R/W
Default/Hex
Description
31:13
/
/
/
12:1
R/W
0x0
WDOG_KEY_FIELD.
Watchdog Key Field.
Should be written at value 0xA57. Writing any other value in this field aborts
the write operation.
0
R/W
0x0
WDOG_RSTART.
Watchdog Restart.
0: No effect, 1: Restart the Watchdog.
3.3.5.19. Watchdog Configuration Register
Offset:0xB4
Register Name: WDOG_CFG_REG
Bit
R/W
Default/Hex
Description
31:2
/
/
/
1:0
R/W
0x1
WDOG_CONFIG.
00: /
01: to whole system
10: only interrupt
11: /
3.3.5.20. Watchdog Mode Register
Offset:0xB8
Register Name: WDOG_MODE_REG
Bit
R/W
Default/Hex
Description
31:8
/
/
/
7:4
R/W
0x0
WDOG_INTV_VALUE.
Watchdog Interval Value.
Watchdog clock source is LOSC. If the clock source is turned off, Watchdog will
not work.
0000: 16000 cycles (0.5s)
0001: 32000 cycles (1s)
0010: 64000 cycles (2s)
0011: 96000 cycles (3s)
0100: 128000 cycles (4s)
0101: 160000 cycles (5s)
0110: 192000 cycles (6s)
0111: 256000 cycles (8s)
1000: 320000 cycles (10s)
1001: 384000 cycles (12s)
Confidential
System
F1C600 User Manual (Revision 1.0) Copyright© 2015 Allwinner Technology. Co.,Ltd. All Rights Reserved. Page 84
1010: 448000 cycles (14s)
1011: 512000 cycles (16s)
others: /
3:1
/
/
/
0
R/W
0x0
WDOG_EN.
Watchdog Enable.
0: No effect
1: Enable the Watchdog.
3.3.6. Programming Guidelines
3.3.6.1. Timer
Here takes Timer 0 for an example: 1ms delay, 24MHz clock source, Single mode, 2 prescale:
writel(0x2EE0,TMR_0_INTV); //Set interval value
writel(0x94, TMR_0_CTRL); //Select Single mode,24MHz clock source,2 pre-scale
writel(readl(TMR_0_CTRL)|(1<<1), TMR_0_CTRL); //Set Reload bit
while((readl(TMR_0_CTRL)>>1)&1); //Waiting Reload bit turns to 0
writel(readl(TMR_0_CTRL)|(1<<0), TMR_0_CTRL); //Enable Timer0
3.3.6.2. Watchdog
Here is an example: 24M/750 as clock source, interval value is 1s, watchdog configuration to whole system, 500ms delay
from watchdog enable to watchdog restart.
writel(0x1, WDOG_CONFIG); //To whole system
writel(0x10, WDOG_MODE); //Interval Value set 1s
writel(readl(WDOG_MODE)|(1<<0), WDOG_MODE); //Enable Watchdog
delay_ms(500); //Delay 500ms
writel(readl(WDOG_CTRL)|(0xA57<<1)|(1<<0)WDOG_CTRL); //Writel 0xA57 at Key Field and Restart Watchdog
……………After 1s, Watchdog will general a pending, which would reset the system……………
Confidential
System
F1C600 User Manual (Revision 1.0) Copyright© 2015 Allwinner Technology. Co.,Ltd. All Rights Reserved. Page 85
3.4. PWM
3.4.1. Overview
The output of the PWM is a toggling signal whose frequency and duty cycle can be modulated by its programmable
registers. Each channel has a dedicated internal 16-bit up counter. If the counter reaches the value stored in the channel
period register, it resets. At the beginning of a count period cycle, the PWMOUT is set to active state and count from
0x0000.
The PWM divider divides the clock (24MHz) by 1~4096 according to the pre-scalar bits in the PWM control register.
In PWM cycle mode, the output will be a square waveform; the frequency is set to the period register. In PWM pulse
mode, the output will be a positive pulse or a negative pulse.
3.4.2. Feature
The PWM includes the following features:
2 PWM channels supported and 1 output pin for PWM1/2 channel each
Support outputting 2 kinds of waveform: square waveform and pulse waveform
Support 0% to 100% adjustable duty cycle
Support 0Hz minimum output frequency and 24MHz maximum output frequency
3.4.3. Functionalities Description
3.4.3.1. Functional Block Diagram
Entire cycles
Active low
Active cycles
Active high
Active cycles
/120
/180
/240
/360
/480
/12K
/24K
others
24M PWM
Cycle mode
pulse mode
PWM CLK
PWM output waveform
When PWM is enabled, the PWM can output two signals from corresponding pins. PWM clock comes from the clock
pre-scaled form 24MHz. In cycle mode, PWM outputs square waveform whose entire cycles length and active cycles
length are decided by period register. And in pulse mode, PWM output a pulse waveform and the pulse length(active
cycles length) is just decide by active cycles on period register. Entire cycles length and active cycles length could be
counted out from the following formulas:
Entire cycles length = entire cycles / PWM CLK
Active cycles length = active cycles / PWM CLK
Confidential
System
F1C600 User Manual (Revision 1.0) Copyright© 2015 Allwinner Technology. Co.,Ltd. All Rights Reserved. Page 86
3.4.4. Operation Principle
3.4.4.1. PWM output pins
Before using PWM, it is necessary to configure PWM output at the corresponding pin. There are several pins which
could be configured for PWM output for each PWM channel. Take configuring PWM1 output for an example, both PE6
pin and PF5 pin could be configured for PWM output.
3.4.5. PWM Register List
Module Name
Base Address
PWM
0x01C21000
Register Name
Offset
Description
PWM_CTRL_REG
0x00
PWM Control Register
PWM_CH0_PERIOD
0x04
PWM Channel 0 Period Register
PWM_CH1_PERIOD
0x08
PWM Channel 1 Period Register
3.4.6. PWM Register Description
3.4.6.1. PWM Control Register
Offset: 0x0
Register Name: PWM_CTRL_REG
Bit
R/W
Default/Hex
Description
31:30
/
/
/
29
RO
0x0
PWM1_RDY.
PWM1 period register ready.
0: PWM1 period register is ready to write
1: PWM1 period register is busy
28
RO
0x0
PWM0_RDY.
PWM0 period register ready.
0: PWM0 period register is ready to write
1: PWM0 period register is busy
27:25
/
/
/
24
R/W
0x0
PWM1_BYPASS.
PWM CH1 bypass enable.
If the bit is set to 1, PWM1’s output is OSC24MHz.
0: Disable
1: Enable
23
R/W
0x0
PWM_CH1_PULSE_OUT_START.
PWM Channel 1 pulse output start.
0: No effect
1: Output 1 pulse
The pulse width should be according to the period 1 register [15:0], and the pulse
state should be according to the active state.
After the pulse is finished, the bit will be cleared automatically.
Confidential
System
F1C600 User Manual (Revision 1.0) Copyright© 2015 Allwinner Technology. Co.,Ltd. All Rights Reserved. Page 87
22
R/W
0x0
PWM_CH1_MODE.
PWM Channel 1 mode.
0: Cycle mode
1: Pulse mode
21
R/W
0x0
PWM_CH1_CLK_GATING
Gating the Special Clock for PWM1 (0: mask, 1: pass).
20
R/W
0x0
PWM_CH1_ACT_STATE.
PWM Channel 1 Active State.
0: Low Level
1: High Level
19
R/W
0x0
PWM_CH1_EN.
PWM Channel 1 Enable.
0: Disable
1: Enable
18:15
R/W
0x0
PWM_CH1_PRESCAL.
PWM Channel 1 Pre-scalar.
These bits should be setting before the PWM Channel 1 clock gate on.
0000: /120
0001: /180
0010: /240
0011: /360
0100: /480
0101: /
0110: /
0111: /
1000: /12k
1001: /24k
1010: /36k
1011: /48k
1100: /72k
1101: /
1110: /
1111: /1
14:10
/
/
/
9
R/W
0x0
PWM0_BYPASS.
PWM CH0 bypass enable.
If the bit is set to 1, PWM0’s output is OSC24MHz.
0: Disable
1: Enable
8
R/W
0x0
PWM_CH0_PUL_START.
PWM Channel 0 pulse output start.
0: No effect,
1: Output 1 pulse.
The pulse width should be according to the period 0 register [15:0], and the pulse
state should be according to the active state.
Confidential
System
F1C600 User Manual (Revision 1.0) Copyright© 2015 Allwinner Technology. Co.,Ltd. All Rights Reserved. Page 88
After the pulse is finished, the bit will be cleared automatically.
7
R/W
0x0
PWM_CHANNEL0_MODE.
0: Cycle mode,
1: Pulse mode.
6
R/W
0x0
SCLK_CH0_GATING.
Gating the Special Clock for PWM0 (0: mask, 1: pass).
5
R/W
0x0
PWM_CH0_ACT_STA.
PWM Channel 0 Active State.
0: Low Level
1: High Level
4
R/W
0x0
PWM_CH0_EN.
PWM Channel 0 Enable.
0: Disable
1: Enable
3:0
R/W
0x0
PWM_CH0_PRESCAL.
PWM Channel 0 Pre-scalar.
These bits should be setting before the PWM Channel 0 clock gate on.
0000: /120
0001: /180
0010: /240
0011: /360
0100: /480
0101: /
0110: /
0111: /
1000: /12k
1001: /24k
1010: /36k
1011: /48k
1100: /72k
1101: /
1110: /
1111: /1
3.4.6.2. PWM Channel 0 Period Register
Offset: 0x04
Register Name: PWM_CH0_PERIOD
Bit
R/W
Default/Hex
Description
31:16
R/W
x
PWM_CH0_ENTIRE_CYS
Number of the entire cycles in the PWM clock.
0 = 1 cycle
1 = 2 cycles
……
N = N+1 cycles
If the register need to be modified dynamically, the PCLK should be faster than the
PWM CLK (PWM CLK = 24MHz/pre-scale).
Confidential
System
F1C600 User Manual (Revision 1.0) Copyright© 2015 Allwinner Technology. Co.,Ltd. All Rights Reserved. Page 89
15:0
R/W
x
PWM_CH0_ACT_CYS
Number of the active cycles in the PWM clock.
0 = 0 cycle
1 = 1 cycles
……
N = N cycles
Note:
The active cycles should be no larger than the entire cycles.
3.4.6.3. PWM Channel 1 Period Register
Offset: 0x08
Register Name: PWM_CH1_PERIOD
Bit
R/W
Default/Hex
Description
31:16
R/W
x
PWM_CH1_ENTIRE_CYS
Number of the entire cycles in the PWM clock.
0 = 1 cycle
1 = 2 cycles
……
N = N+1
If the register need to be modified dynamically, the PCLK should be faster than the
PWM CLK (PWM CLK = 24MHz/pre-scale).
15:0
R/W
x
PWM_CH1_ACT_CYS
Number of the active cycles in the PWM clock.
0 = 0 cycle
1 = 1 cycles
……
N = N cycles
Note:
The active cycles should be no larger than the entire cycles.
Confidential
System
F1C600 User Manual (Revision 1.0) Copyright© 2015 Allwinner Technology. Co.,Ltd. All Rights Reserved. Page 90
3.5. INTC
3.5.1. Overview
Interrupt controller (INTC) handles all interrupt sources connected to it. It has a set of registers for managing interrupt
sources and interrupt behavior. It provides a priority controller for serving higher interrupt even if a lower interrupt is
serving. It also provides a fast forcing way for these interrupt sources which desire to have a fast interrupt request to
CPU though they don't generate pending.
3.5.2. Feature
The INTC includes the following features:
Controls the nIRQ Processor
Sixty-four individually maskable interrupt sources
One external NMI interrupt source
4-Level Priority Controller
Thirteen External Sources of Edge-sensitive or Level-sensitive
Fast Forcing
3.5.3. Functionalities Description
Handling all interrupt sources for processor connected to INTC
3.5.3.1. Functional Block Diagram
Synchonize
INT_SRC[63:1]
INT_EN[63:1]
INT_MASK[63:1]
INT_FORCE[63:1]
INT_STATUS[63:1] INT_LEVEL_EN
INT_FINAL_STATUS[63:1]
INT_FINAL_STATUS[63:1] Decoder
IRQ
INT_VECTOR
Priority
Control
Response
Control
INT_RESP[63:1]
INT_PRI[127:2]
INT_STATUS[0]
EXT_INT
Synchronize
Edge/Level
INT_SRC[0]
Synchonize
INT_EN[0]
INT_MASK[0]
INT_EN[63:1]
INT_FORCE[0]
INT_EN[0]
FIQ
It provides handling of up to sixty-three interrupt sources. The 4-level Priority Controller allows the user to define the
priority for each interrupt source, thus permitting higher priority interrupts to be serviced even if a lower priority
interrupt is being treated. The fast forcing feature redirects any internal or external source to provide a fast interrupt
Confidential
System
F1C600 User Manual (Revision 1.0) Copyright© 2015 Allwinner Technology. Co.,Ltd. All Rights Reserved. Page 91
rather than a normal interrupt.
For an interrupt pending, it becomes 1 when both interrupt source and relevant interrupt enable bit are high level, and
if interrupt source or relevant interrupt enable is 0, the pending would become 0. Since NMI is a external interrupt, and
it has four interrupt source type, so, after changing the type of interrupt source, its pending should be cleared by set 1
at the end of interrupt service progress.
3.5.4. Interrupt Source
Name
Number
Vector
Description
NMI
0
0x0000
NMI interrupt
UART0
1
0x0004
UART0 interrupt
UART1
2
0x0008
UART1 interrupt
UART2
3
0x000C
UART2 interrupt
/
4
0x0010
/
OWA
5
0x0014
OWA interrupt
CIR
6
0x0018
CIR interrupt
TWI0
7
0x001C
TWI0 interrupt
TWI1
8
0x0020
TWI1 interrupt
TWI2
9
0x0024
TWI2 interrupt
SPI0
10
0x0028
SPI0 interrupt
SPI1
11
0x002C
SPI1 interrupt
/
12
0x0030
/
Timer0
13
0x0034
Timer0 interrupt
Timer1
14
0x0038
Timer1 interrupt
Timer2
15
0x003C
Timer2 interrupt
Watchdog
16
0x0040
Watchdog interrupt
RSB
17
0x0044
RSB interrupt
DMA
18
0x0048
DMA interrupt
19
0x004C
Touch Panel
20
0x0050
Touch Panel interrupt
Audio Codec
21
0x0054
Audio Codec interrupt
KEYADC
22
0x0058
KEYADC interrupt
SDC0
23
0x005C
SDC0 interrupt
SDC1
24
0x0060
SDC1 interrupt
/
25
0x0064
/
USB-OTG
26
0x0068
USB-OTG interrupt
TVD
27
0x006C
TVD interrupt
TVE
28
0x0070
TVE interrupt
TCON
29
0x0074
LCD interrupt
DE_FE
30
0x0078
DE_FE interrupt
DE_BE
31
0x007C
DE_BE interrupt
CSI
32
0x0080
CSI interrupt
DE-interlacer
33
0x0084
DE-interlacer interrupt
VE
34
0x0088
VE interrupt
Confidential
System
F1C600 User Manual (Revision 1.0) Copyright© 2015 Allwinner Technology. Co.,Ltd. All Rights Reserved. Page 92
Name
Number
Vector
Description
DAUDIO
35
0x008C
DAUDIO interrupt
/
36
0x0090
/
37
0x0094
/
PIOD
38
0x0098
PIOD interrupt
PIOE
39
0x009C
PIOE interrupt
PIOF
40
0x00A0
PIOF interrupt
3.5.5. INTC Register List
Module Name
Base Address
INTC
0x01C20400
Register Name
Offset
Description
INTC_VECTOR_REG
0x00
Interrupt Vector Register
INTC_BASE_ADDR_REG
0x04
Interrupt Base Address Register
NMI_INT_CTRL_REG
0x0C
NMI Interrupt Control Register
INTC_PEND_REG0
0x10
Interrupt Pending Register 0
INTC_PEND_REG1
0x14
Interrupt Pending Register 1
INTC_EN_REG0
0x20
Interrupt Enable Register 0
INTC_EN_REG1
0x24
Interrupt Enable Register 1
INTC_MASK_REG0
0x30
Interrupt Mask Register 0
INTC_MASK_REG1
0x34
Interrupt Mask Register 1
INTC_RESP_REG0
0x40
Interrupt Response Register 0
INTC_RESP_REG1
0x44
Interrupt Response Register 1
INTC_FF_REG0
0x50
Interrupt Fast Forcing Register 0
INTC_FF_REG1
0x54
Interrupt Fast Forcing Register 1
INTC_PRIO_REG0
0x60
Interrupt Source Priority Register 0
INTC_PRIO_REG1
0x64
Interrupt Source Priority Register 1
INTC_PRIO_REG2
0x68
Interrupt Source Priority Register 2
INTC_PRIO_REG3
0x6C
Interrupt Source Priority Register 3
3.5.6. INTC Register Description
3.5.6.1. Interrupt Vector Register
Offset:0x0
Register Name: INTC_VECTOR_REG
Bit
R/W
Default/Hex
Description
31:2
RO
0x0
INTC_VECTOR_ADDR.
This register present the vector address for the interrupt currently active on the
CPU IRQ input.
1:0
RO
0x0
Always return zero to this field.
Confidential
System
F1C600 User Manual (Revision 1.0) Copyright© 2015 Allwinner Technology. Co.,Ltd. All Rights Reserved. Page 93
3.5.6.2. Interrupt Base Address Register
Offset:0x4
Register Name: INTC_BASE_ADDR_REG
Bit
R/W
Default/Hex
Description
31:2
R/W
0x0
INTC_BASE_ADDR.
This bit-field holds the upper 30 bits of the base address of the vector table.
1:0
RO
0x0
Always write zero to this bit-field.
3.5.6.3. NMI Interrupt Control Register
Offset:0x0C
Register Name: NMI_INT_CTRL_REG
Bit
R/W
Default/Hex
Description
31:2
/
/
/
1:0
R/W
0x0
NMI_SRC_TYPE.
External NMI Interrupt Source Type.
00: Low level sensitive
01: Negative edge trigged
10: High level sensitive
11: Positive edge sensitive
3.5.6.4. Interrupt IRQ Pending Register 0
Offset:0x10
Register Name: INTC_PEND_REG0
Bit
R/W
Default/Hex
Description
31:0
R/W
0x0
INTC_PEND0.
Interrupt Source [31:0] Pending/Clear Bit.
0: Corresponding interrupt is not pending.
1: Corresponding interrupt is pending
3.5.6.5. Interrupt IRQ Pending Register 1
Offset:0x14
Register Name: INTC_PEND_REG1
Bit
R/W
Default/Hex
Description
31:0
R/W
0x0
INTC_PEND1.
Interrupt Source [63:32] Pending/Clear Bit.
0: Corresponding interrupt is not pending.
1: Corresponding interrupt is pending
3.5.6.6. Interrupt Enable Register 0
Offset:0x20
Register Name: INTC_EN_REG0
Bit
R/W
Default/Hex
Description
31:0
R/W
0x0
INTC_EN0.
Interrupt Source [31:0] Enable Bits.
0: Corresponding interrupt is disabled.
1: Corresponding interrupt is enabled.
3.5.6.7. Interrupt Enable Register 1
Offset:0x24
Register Name: INTC_EN_REG1
Bit
R/W
Default/Hex
Description
Confidential
System
F1C600 User Manual (Revision 1.0) Copyright© 2015 Allwinner Technology. Co.,Ltd. All Rights Reserved. Page 94
31:0
R/W
0x0
INTC_EN1.
Interrupt Source [63:32] Enable Bits.
0: Corresponding interrupt is disabled.
1: Corresponding interrupt is enabled.
3.5.6.8. Interrupt Mask Register 0
Offset:0x30
Register Name: INTC_MASK_REG0
Bit
R/W
Default/Hex
Description
31:0
R/W
0x0
INTC_MASK0.
Interrupt Source [31:0] Mask Bits.
0: No effect.
1: interrupt is masked.
If interrupt is enabled and the interrupt occurred, the interrupt pending bit will
be set whether the corresponding interrupt mask bit is set.
3.5.6.9. Interrupt Mask Register 1
Offset:0x34
Register Name: INTC_MASK_REG1
Bit
R/W
Default/Hex
Description
31:0
R/W
0x0
INTC_MASK1.
Interrupt Source [63:32] Mask Bits.
0: No effect.
1: interrupt is masked.
If interrupt is enabled and the interrupt occurred, the interrupt pending bit will
be set whether the corresponding interrupt mask bit is set.
3.5.6.10. Interrupt Response Register 0
Offset:0x40
Register Name: INTC_RESP_REG0
Bit
R/W
Default/Hex
Description
31:0
R/W
0x0
INTC_RESP0.
Interrupt Response Bits.
If the corresponding bit is set, the interrupt with the lower or the same priority
level is masked.
3.5.6.11. Interrupt Response Register 1
Offset:0x44
Register Name: INTC_RESP_REG1
Bit
R/W
Default/Hex
Description
31:0
R/W
0x0
INTC_RESP1.
Interrupt Response Bits.
If the corresponding bit is set, the interrupt with the lower or the same priority
level is masked.
3.5.6.12. Interrupt Fast Forcing Register 0
Offset:0x50
Register Name: INTC_FF_REG0
Bit
R/W
Default/Hex
Description
31:0
R/W
0x0
INTC_FF0.
Confidential
System
F1C600 User Manual (Revision 1.0) Copyright© 2015 Allwinner Technology. Co.,Ltd. All Rights Reserved. Page 95
Enables the fast forcing feature on the corresponding interrupt source [31:0].
0: No effect.
1: Forcing the corresponding interrupt.
Setting this bit can be valid only when the corresponding interrupt enable bit is
set.
3.5.6.13. Interrupt Fast Forcing Register 1
Offset:0x54
Register Name: INTC_FF_REG1
Bit
R/W
Default/Hex
Description
31:0
R/W
0x0
INTC_FF1.
Enables the fast forcing feature on the corresponding interrupt source [63:32].
0: No effect.
1: Forcing the corresponding interrupt.
Setting this bit can be valid only when the corresponding interrupt enable bit is
set.
3.5.6.14. Interrupt Source Priority Register 0
Offset:0x60
Register Name: INTC_PRIO_REG0
Bit
R/W
Default/Hex
Description
31:30
R/W
0x0
IRQ15_PRIO.
IRQ 15 Priority.
Set priority level for IRQ 15
Level0 = 0x0 level 0, lowest priority
Level1 = 0x1 level 1
Level2 = 0x2 level 2
Level3 = 0x3 level 3, highest priority
29:28
R/W
0x0
IRQ14_PRIO.
IRQ 14 Priority.
Set priority level for IRQ 14
Level0 = 0x0 level 0, lowest priority
Level1 = 0x1 level 1
Level2 = 0x2 level 2
Level3 = 0x3 level 3, highest priority
27:26
R/W
0x0
IRQ13_PRIO.
IRQ 13 Priority.
Set priority level for IRQ 13
Level0 = 0x0 level 0, lowest priority
Level1 = 0x1 level 1
Level2 = 0x2 level 2
Level3 = 0x3 level 3, highest priority
25:24
R/W
0x0
IRQ12_PRIO.
IRQ 12 Priority.
Set priority level for IRQ 12
Level0 = 0x0 level 0, lowest priority
Level1 = 0x1 level 1
Confidential
System
F1C600 User Manual (Revision 1.0) Copyright© 2015 Allwinner Technology. Co.,Ltd. All Rights Reserved. Page 96
Level2 = 0x2 level 2
Level3 = 0x3 level 3, highest priority
23:22
R/W
0x0
IRQ11_PRIO.
IRQ 11 Priority.
Set priority level for IRQ 11
Level0 = 0x0 level 0, lowest priority
Level1 = 0x1 level 1
Level2 = 0x2 level 2
Level3 = 0x3 level 3, highest priority
21:20
R/W
0x0
IRQ10_PRIO.
IRQ 10 Priority.
Set priority level for IRQ 10
Level0 = 0x0 level 0, lowest priority
Level1 = 0x1 level 1
Level2 = 0x2 level 2
Level3 = 0x3 level 3, highest priority
19:18
R/W
0x0
IRQ9_PRIO.
IRQ 9 Priority.
Set priority level for IRQ 9
Level0 = 0x0 level 0, lowest priority
Level1 = 0x1 level 1
Level2 = 0x2 level 2
Level3 = 0x3 level 3, highest priority
17:16
R/W
0x0
IRQ8_PRIO.
IRQ 8 Priority.
Set priority level for IRQ 8
Level0 = 0x0 level 0, lowest priority
Level1 = 0x1 level 1
Level2 = 0x2 level 2
Level3 = 0x3 level 3, highest priority
15:14
R/W
0x0
IRQ7_PRIO.
IRQ 7 Priority.
Set priority level for IRQ 7
Level0 = 0x0 level 0, lowest priority
Level1 = 0x1 level 1
Level2 = 0x2 level 2
Level3 = 0x3 level 3, highest priority
13:12
R/W
0x0
IRQ6_PRIO.
IRQ 6 Priority.
Set priority level for IRQ 6
Level0 = 0x0 level 0, lowest priority
Level1 = 0x1 level 1
Level2 = 0x2 level 2
Level3 = 0x3 level 3, highest priority
11:10
R/W
0x0
IRQ5_PRIO.
Confidential
System
F1C600 User Manual (Revision 1.0) Copyright© 2015 Allwinner Technology. Co.,Ltd. All Rights Reserved. Page 97
IRQ 5 Priority.
Set priority level for IRQ 5
Level0 = 0x0 level 0, lowest priority
Level1 = 0x1 level 1
Level2 = 0x2 level 2
Level3 = 0x3 level 3, highest priority
9:8
R/W
0x0
IRQ4_PRIO.
IRQ 4 Priority.
Set priority level for IRQ 4
Level0 = 0x0 level 0, lowest priority
Level1 = 0x1 level 1
Level2 = 0x2 level 2
Level3 = 0x3 level 3, highest priority
7:6
R/W
0x0
IRQ3_PRIO.
IRQ 3 Priority.
Set priority level for IRQ 3
Level0 = 0x0 level 0, lowest priority
Level1 = 0x1 level 1
Level2 = 0x2 level 2
Level3 = 0x3 level 3, highest priority
5:4
R/W
0x0
IRQ2_PRIO.
IRQ 2 Priority.
Set priority level for IRQ 2
Level0 = 0x0 level 0, lowest priority
Level1 = 0x1 level 1
Level2 = 0x2 level 2
Level3 = 0x3 level 3, highest priority
3:2
R/W
0x0
IRQ1_PRIO.
IRQ 1 Priority.
Set priority level for IRQ 1
Level0 = 0x0 level 0, lowest priority
Level1 = 0x1 level 1
Level2 = 0x2 level 2
Level3 = 0x3 level 3, highest priority
1:0
/
/
/
3.5.6.15. Interrupt Source Priority Register 1
Offset:0x64
Register Name: INTC_PRIO_REG1
Bit
R/W
Default/Hex
Description
31:30
R/W
0x0
IRQ31_PRIO.
IRQ 31 Priority.
Set priority level for IRQ 31
Level0 = 0x0 level 0, lowest priority
Level1 = 0x1 level 1
Level2 = 0x2 level 2
Confidential
System
F1C600 User Manual (Revision 1.0) Copyright© 2015 Allwinner Technology. Co.,Ltd. All Rights Reserved. Page 98
Level3 = 0x3 level 3, highest priority
29:28
R/W
0x0
IRQ30_PRIO.
IRQ 30 Priority.
Set priority level for IRQ 30
Level0 = 0x0 level 0, lowest priority
Level1 = 0x1 level 1
Level2 = 0x2 level 2
Level3 = 0x3 level 3, highest priority
27:26
R/W
0x0
IRQ29_PRIO.
IRQ 29 Priority.
Set priority level for IRQ 29
Level0 = 0x0 level 0, lowest priority
Level1 = 0x1 level 1
Level2 = 0x2 level 2
Level3 = 0x3 level 3, highest priority
25:24
R/W
0x0
IRQ28_PRIO.
IRQ 28 Priority.
Set priority level for IRQ 28
Level0 = 0x0 level 0, lowest priority
Level1 = 0x1 level 1
Level2 = 0x2 level 2
Level3 = 0x3 level 3, highest priority
23:22
R/W
0x0
IRQ27_PRIO.
IRQ 27 Priority.
Set priority level for IRQ 27
Level0 = 0x0 level 0, lowest priority
Level1 = 0x1 level 1
Level2 = 0x2 level 2
Level3 = 0x3 level 3, highest priority
21:20
R/W
0x0
IRQ26_PRIO.
IRQ 26 Priority.
Set priority level for IRQ 26
Level0 = 0x0 level 0, lowest priority
Level1 = 0x1 level 1
Level2 = 0x2 level 2
Level3 = 0x3 level 3, highest priority
19:18
R/W
0x0
IRQ25_PRIO.
IRQ 25 Priority.
Set priority level for IRQ 25
Level0 = 0x0 level 0, lowest priority
Level1 = 0x1 level 1
Level2 = 0x2 level 2
Level3 = 0x3 level 3, highest priority
17:16
R/W
0x0
IRQ24_PRIO.
IRQ 24 Priority.
Confidential
System
F1C600 User Manual (Revision 1.0) Copyright© 2015 Allwinner Technology. Co.,Ltd. All Rights Reserved. Page 99
Set priority level for IRQ 24
Level0 = 0x0 level 0, lowest priority
Level1 = 0x1 level 1
Level2 = 0x2 level 2
Level3 = 0x3 level 3, highest priority
15:14
R/W
0x0
IRQ23_PRIO.
IRQ 23 Priority.
Set priority level for IRQ 23
Level0 = 0x0 level 0, lowest priority
Level1 = 0x1 level 1
Level2 = 0x2 level 2
Level3 = 0x3 level 3, highest priority
13:12
R/W
0x0
IRQ22_PRIO.
IRQ 22 Priority.
Set priority level for IRQ 22
Level0 = 0x0 level 0, lowest priority
Level1 = 0x1 level 1
Level2 = 0x2 level 2
Level3 = 0x3 level 3, highest priority
11:10
R/W
0x0
IRQ21_PRIO.
IRQ 21 Priority.
Set priority level for IRQ 21
Level0 = 0x0 level 0, lowest priority
Level1 = 0x1 level 1
Level2 = 0x2 level 2
Level3 = 0x3 level 3, highest priority
9:8
R/W
0x0
IRQ20_PRIO.
IRQ 20 Priority.
Set priority level for IRQ 20
Level0 = 0x0 level 0, lowest priority
Level1 = 0x1 level 1
Level2 = 0x2 level 2
Level3 = 0x3 level 3, highest priority
7:6
R/W
0x0
IRQ19_PRIO.
IRQ 19 Priority.
Set priority level for IRQ 19
Level0 = 0x0 level 0, lowest priority
Level1 = 0x1 level 1
Level2 = 0x2 level 2
Level3 = 0x3 level 3, highest priority
5:4
R/W
0x0
IRQ18_PRIO.
IRQ 18 Priority.
Set priority level for IRQ 18
Level0 = 0x0 level 0, lowest priority
Level1 = 0x1 level 1
Confidential
System
F1C600 User Manual (Revision 1.0) Copyright© 2015 Allwinner Technology. Co.,Ltd. All Rights Reserved. Page 100
Level2 = 0x2 level 2
Level3 = 0x3 level 3, highest priority
3:2
R/W
0x0
IRQ17_PRIO.
IRQ 17 Priority.
Set priority level for IRQ 17
Level0 = 0x0 level 0, lowest priority
Level1 = 0x1 level 1
Level2 = 0x2 level 2
Level3 = 0x3 level 3, highest priority
1:0
R/W
0x0
IRQ16_PRIO.
IRQ 16 Priority.
Set priority level for IRQ 16
Level0 = 0x0 level 0, lowest priority
Level1 = 0x1 level 1
Level2 = 0x2 level 2
Level3 = 0x3 level 3, highest priority
3.5.6.16. Interrupt Source Priority Register 2
Offset:0x68
Register Name: INTC_PRIO_REG2
Bit
R/W
Default/Hex
Description
31:30
R/W
0x0
IRQ47_PRIO.
IRQ 47 Priority.
Set priority level for IRQ 47
Level0 = 0x0 level 0, lowest priority
Level1 = 0x1 level 1
Level2 = 0x2 level 2
Level3 = 0x3 level 3, highest priority
29:28
R/W
0x0
IRQ46_PRIO.
IRQ 46 Priority.
Set priority level for IRQ 46
Level0 = 0x0 level 0, lowest priority
Level1 = 0x1 level 1
Level2 = 0x2 level 2
Level3 = 0x3 level 3, highest priority
27:26
R/W
0x0
IRQ45_PRIO.
IRQ 45 Priority.
Set priority level for IRQ 45
Level0 = 0x0 level 0, lowest priority
Level1 = 0x1 level 1
Level2 = 0x2 level 2
Level3 = 0x3 level 3, highest priority
25:24
R/W
0x0
IRQ44_PRIO.
IRQ 44 Priority.
Set priority level for IRQ 44
Level0 = 0x0 level 0, lowest priority
Confidential
System
F1C600 User Manual (Revision 1.0) Copyright© 2015 Allwinner Technology. Co.,Ltd. All Rights Reserved. Page 101
Level1 = 0x1 level 1
Level2 = 0x2 level 2
Level3 = 0x3 level 3, highest priority
23:22
R/W
0x0
IRQ43_PRIO.
IRQ 43 Priority.
Set priority level for IRQ 43
Level0 = 0x0 level 0, lowest priority
Level1 = 0x1 level 1
Level2 = 0x2 level 2
Level3 = 0x3 level 3, highest priority
21:20
R/W
0x0
IRQ42_PRIO.
IRQ 42 Priority.
Set priority level for IRQ 42
Level0 = 0x0 level 0, lowest priority
Level1 = 0x1 level 1
Level2 = 0x2 level 2
Level3 = 0x3 level 3, highest priority
19:18
R/W
0x0
IRQ41_PRIO.
IRQ 41 Priority.
Set priority level for IRQ 41
Level0 = 0x0 level 0, lowest priority
Level1 = 0x1 level 1
Level2 = 0x2 level 2
Level3 = 0x3 level 3, highest priority
17:16
R/W
0x0
IRQ40_PRIO.
IRQ 40 Priority.
Set priority level for IRQ 40
Level0 = 0x0 level 0, lowest priority
Level1 = 0x1 level 1
Level2 = 0x2 level 2
Level3 = 0x3 level 3, highest priority
15:14
R/W
0x0
IRQ39_PRIO.
IRQ 39 Priority.
Set priority level for IRQ 39
Level0 = 0x0 level 0, lowest priority
Level1 = 0x1 level 1
Level2 = 0x2 level 2
Level3 = 0x3 level 3, highest priority
13:12
R/W
0x0
IRQ38_PRIO.
IRQ 38 Priority.
Set priority level for IRQ 38
Level0 = 0x0 level 0, lowest priority
Level1 = 0x1 level 1
Level2 = 0x2 level 2
Level3 = 0x3 level 3, highest priority
Confidential
System
F1C600 User Manual (Revision 1.0) Copyright© 2015 Allwinner Technology. Co.,Ltd. All Rights Reserved. Page 102
11:10
R/W
0x0
IRQ37_PRIO.
IRQ 37 Priority.
Set priority level for IRQ 37
Level0 = 0x0 level 0, lowest priority
Level1 = 0x1 level 1
Level2 = 0x2 level 2
Level3 = 0x3 level 3, highest priority
9:8
R/W
0x0
IRQ36_PRIO.
IRQ 36 Priority.
Set priority level for 36
Level0 = 0x0 level 0, lowest priority
Level1 = 0x1 level 1
Level2 = 0x2 level 2
Level3 = 0x3 level 3, highest priority
7:6
R/W
0x0
IRQ35_PRIO.
IRQ 35 Priority.
Set priority level for IRQ 35
Level0 = 0x0 level 0, lowest priority
Level1 = 0x1 level 1
Level2 = 0x2 level 2
Level3 = 0x3 level 3, highest priority
5:4
R/W
0x0
IRQ34_PRIO.
IRQ 34 Priority.
Set priority level for IRQ 34
Level0 = 0x0 level 0, lowest priority
Level1 = 0x1 level 1
Level2 = 0x2 level 2
Level3 = 0x3 level 3, highest priority
3:2
R/W
0x0
IRQ33_PRIO.
IRQ 33 Priority.
Set priority level for IRQ 33
Level0 = 0x0 level 0, lowest priority
Level1 = 0x1 level 1
Level2 = 0x2 level 2
Level3 = 0x3 level 3, highest priority
1:0
R/W
0x0
IRQ32_PRIO.
IRQ 32 Priority.
Set priority level for IRQ 32
Level0 = 0x0 level 0, lowest priority
Level1 = 0x1 level 1
Level2 = 0x2 level 2
Level3 = 0x3 level 3, highest priority
3.5.6.17. Interrupt Source Priority Register 3
Offset:0x6C
Register Name: INTC_PRIO_REG3
Confidential
System
F1C600 User Manual (Revision 1.0) Copyright© 2015 Allwinner Technology. Co.,Ltd. All Rights Reserved. Page 103
Bit
R/W
Default/Hex
Description
31:30
R/W
0x0
IRQ63_PRIO.
IRQ 63 Priority.
Set priority level for IRQ 63
Level0 = 0x0 level 0, lowest priority
Level1 = 0x1 level 1
Level2 = 0x2 level 2
Level3 = 0x3 level 3, highest priority
29:28
R/W
0x0
IRQ62_PRIO.
IRQ 62 Priority.
Set priority level for IRQ 62
Level0 = 0x0 level 0, lowest priority
Level1 = 0x1 level 1
Level2 = 0x2 level 2
Level3 = 0x3 level 3, highest priority
27:26
R/W
0x0
IRQ61_PRIO.
IRQ 61 Priority.
Set priority level for IRQ 61
Level0 = 0x0 level 0, lowest priority
Level1 = 0x1 level 1
Level2 = 0x2 level 2
Level3 = 0x3 level 3, highest priority
25:24
R/W
0x0
IRQ60_PRIO.
IRQ 60 Priority.
Set priority level for IRQ 60
Level0 = 0x0 level 0, lowest priority
Level1 = 0x1 level 1
Level2 = 0x2 level 2
Level3 = 0x3 level 3, highest priority
23:22
R/W
0x0
IRQ59_PRIO.
IRQ 59 Priority.
Set priority level for IRQ 59
Level0 = 0x0 level 0, lowest priority
Level1 = 0x1 level 1
Level2 = 0x2 level 2
Level3 = 0x3 level 3, highest priority
21:20
R/W
0x0
IRQ58_PRIO.
IRQ 58 Priority.
Set priority level for IRQ 58
Level0 = 0x0 level 0, lowest priority
Level1 = 0x1 level 1
Level2 = 0x2 level 2
Level3 = 0x3 level 3, highest priority
19:18
R/W
0x0
IRQ57_PRIO.
IRQ 57 Priority.
Confidential
System
F1C600 User Manual (Revision 1.0) Copyright© 2015 Allwinner Technology. Co.,Ltd. All Rights Reserved. Page 104
Set priority level for IRQ 57
Level0 = 0x0 level 0, lowest priority
Level1 = 0x1 level 1
Level2 = 0x2 level 2
Level3 = 0x3 level 3, highest priority
17:16
R/W
0x0
IRQ56_PRIO.
IRQ 56 Priority.
Set priority level for IRQ 56
Level0 = 0x0 level 0, lowest priority
Level1 = 0x1 level 1
Level2 = 0x2 level 2
Level3 = 0x3 level 3, highest priority
15:14
R/W
0x0
IRQ55_PRIO.
IRQ 55 Priority.
Set priority level for IRQ 55
Level0 = 0x0 level 0, lowest priority
Level1 = 0x1 level 1
Level2 = 0x2 level 2
Level3 = 0x3 level 3, highest priority
13:12
R/W
0x0
IRQ54_PRIO.
IRQ 54 Priority.
Set priority level for IRQ 54
Level0 = 0x0 level 0, lowest priority
Level1 = 0x1 level 1
Level2 = 0x2 level 2
Level3 = 0x3 level 3, highest priority
11:10
R/W
0x0
IRQ53_PRIO.
IRQ 53 Priority.
Set priority level for IRQ 53
Level0 = 0x0 level 0, lowest priority
Level1 = 0x1 level 1
Level2 = 0x2 level 2
Level3 = 0x3 level 3, highest priority
9:8
R/W
0x0
IRQ52_PRIO.
IRQ 52 Priority.
Set priority level for IRQ 52
Level0 = 0x0 level 0, lowest priority
Level1 = 0x1 level 1
Level2 = 0x2 level 2
Level3 = 0x3 level 3, highest priority
7:6
R/W
0x0
IRQ51_PRIO.
IRQ 51 Priority.
Set priority level for IRQ 51
Level0 = 0x0 level 0, lowest priority
Level1 = 0x1 level 1
Confidential
System
F1C600 User Manual (Revision 1.0) Copyright© 2015 Allwinner Technology. Co.,Ltd. All Rights Reserved. Page 105
Level2 = 0x2 level 2
Level3 = 0x3 level 3, highest priority
5:4
R/W
0x0
IRQ50_PRIO.
IRQ 50 Priority.
Set priority level for IRQ 50
Level0 = 0x0 level 0, lowest priority
Level1 = 0x1 level 1
Level2 = 0x2 level 2
Level3 = 0x3 level 3, highest priority
3:2
R/W
0x0
IRQ49_PRIO.
IRQ 49 Priority.
Set priority level for IRQ 49
Level0 = 0x0 level 0, lowest priority
Level1 = 0x1 level 1
Level2 = 0x2 level 2
Level3 = 0x3 level 3, highest priority
1:0
R/W
0x0
IRQ48_PRIO.
IRQ 48 Priority.
Set priority level for IRQ 48
Level0 = 0x0 level 0, lowest priority
Level1 = 0x1 level 1
Level2 = 0x2 level 2
Level3 = 0x3 level 3, highest priority
Confidential
System
F1C600 User Manual (Revision 1.0) Copyright© 2015 Allwinner Technology. Co.,Ltd. All Rights Reserved. Page 106
3.6. DMA
3.6.1. Overview
There are two kinds of system DMA in the Soc. One is Normal DMA (NDMA) with 4 channels; the other is Dedicated
DMA (DDMA) with 4 channels.
Normal DMA master interface support single and INCR4 operation (may be early terminated), and will treat any
response from AHB bus as OK response. Dedicated DMA master interface supports Single and INCR4 operation (may be
early terminated), and will treat any response from DMA bus as OK response.
3.6.2. Feature
4 NDMA channels and 4DDMA channels for transaction
Support multiple transfer DRQ types
Support hardware continuous transfer mode
Support two kinds of interrupt
3.6.3. Functionalities Description
Transfer data from memory to memory
Transfer data from memory to peripheral
Transfer data from peripheral to memory
Transfer data from peripheral to peripheral
Confidential
System
F1C600 User Manual (Revision 1.0) Copyright© 2015 Allwinner Technology. Co.,Ltd. All Rights Reserved. Page 107
3.6.4. Block diagram
Choose a idle DMA Channel
Fill in DST Address Reg
Fill in SRC Address Reg
Fill in BCNT Reg
Fill in Config Reg
Continuous
Mode ?
Config Reg 29-bit is 1
Enable DMA Channel
Config Reg
29-bit is 1?
DMA Finish
No
Yes
Yes
No
NDMA Process
Choose a idle DMA Channel
Fill in DST Address Reg
Fill in SRC Address Reg
Fill in BCNT Reg
Fill in Config Reg
Continuous
Mode ?
Config Reg 29-bit is 1
Enable DMA Channel
Config Reg
29-bit is 1?
DMA Finish
No
Yes
Yes
No
DDMA Process
Fill in PARAM Reg
3.6.5. Operation Principle
3.6.5.1. Address aligned and unaligned
DMA can support 8-bit/16-bit/32-bit data width. The data width of Source and Destination can be different, but the
address should be aligned.
NDMA: SRC and DST are both work in INC mode (increase mode).
The address aligned includes source address word-aligned and destination address word-aligned.
DDMA: SRC and DST are both work in linear mode.
DMA Channel 0~3 are the Normal DMAChannel 4~7 are the Dedicated DMA. NDMA and DDMA have some different
working modes. Only some modes of the DDMA support the address not aligned:
Mode
Address aligned
NDMA
Increase
Should
IO
Should
DDMA
Linear
Not should
Confidential
System
F1C600 User Manual (Revision 1.0) Copyright© 2015 Allwinner Technology. Co.,Ltd. All Rights Reserved. Page 108
IO
Should
Although the increase mode of NDMA should be address aligned, but its byte counter should not be multiple.
The DDMA forth channel has 8x64-bit FIFO; the other DDMA channels have 8x32-bit FIFO.
3.6.5.2. Clock gating and reset
By default the DMA clock gating is mask. When it is necessary to use DMA, its clock gating should be open in AHB1
Module Clock Gating Register and then de-assert the software reset in AHB1 Module Software Reset Register on CCU
module. If it is no need to use DMA, both the gating bit and software reset bit should be wrote 0.
3.6.6. DMA Register List
Module Name
Base Address
DMA
0x01C02000
Register Name
Offset
Description
DMA_INT_CTRL_REG
0x00
DMA Interrupt Control Register
DMA_INT_STA_REG
0x04
DMA Interrupt Status Register
DMA_PTY_CFG_REG
0x08
DMA Priority Configure Register
NDMA_CFG_REG
0x100+n*0x20+0x0
Normal DMA Configure Register n (n=0~3)
NDMA_SRC_ADR_REG
0x100+n*0x20+0x4
Normal DMA Source Address Register n (n=0~3)
NDMA_DES_ADR_REG
0x100+n*0x20+0x8
Normal DMA Destination Address Register n (n=0~3)
NDMA_BYTE_CNT_REG
0x100+n*0x20+0xC
Normal DMA Byte Counter Register n (n=0~3)
DDMA_CFG_REG
0x300+n*0x20+0x0
Dedicated DMA Configure Register n (n=0~3)
DDMA_SRC_ADR_REG
0x300+n*0x20+0x4
Dedicated DMA Source Address Register n (n=0~3)
DDMA_DES_ADR_REG
0x300+n*0x20+0x8
Dedicated DMA Destination Address Register n (n=0~3)
DDMA_BYTE_CNT_REG
0x300+n*0x20+0xC
Dedicated DMA Byte Counter Register n (n=0~3)
DDMA_PAR_REG
0x300+n*0x20+0x18
Dedicated DMA Parameter Register n (n=0~3)
DDMA_GEN_DATA
0x300+n*0x20+0x1c
Dedicated DMA General DATA Register 3
3.6.7. DMA Register Description
3.6.7.1. DMA Interrupt Control Register
Offset: 0x00
Register Name: DMA_INT_CTRL_REG
Bit
R/W
Default/Hex
Description
31:24
/
/
Reserved.
[16 + 2*n + 1]
R/W
0x0
Dedicated DMA n Full Transfer Interrupt Enable (n=0~3)
0: Disable
1: Enable
[16 + 2*n + 0]
R/W
0x0
Dedicated DMA n Half Transfer Interrupt Enable (n=0~3)
0: Disable
1: Enable
Confidential
System
F1C600 User Manual (Revision 1.0) Copyright© 2015 Allwinner Technology. Co.,Ltd. All Rights Reserved. Page 109
15:8
/
/
Reserved.
[2*n + 1]
R/W
0x0
Normal DMA n Full Transfer Interrupt Enable (n=0~3)
0: Disable
1: Enable
[2*n + 0]
R/W
0x0
Normal DMA n Half Transfer Interrupt Enable (n=0~3)
0: Disable
1: Enable
3.6.7.2. DMA Interrupt Status Register
Offset: 0x04
Register Name: DMA_INT_STA_REG
Bit
R/W
Default/Hex
Description
31:24
/
/
Reserved.
[16+2*n+1]
R/W
0x0
Dedicated DMA n Full Transfer Interrupt Pending (n=0~3)
0: No interrupt
1: Interrupt pending
Set 1 to clear it.
[16+2*n+0]
R/W
0x0
Dedicated DMA n Half Transfer Interrupt Pending (n=0~3)
0: No interrupt
1: Interrupt pending
Set 1 to clear it.
15:8
/
/
Reserved.
[2*n+1]
R/W
0x0
Normal DMA n Full Transfer Interrupt Pending (n=0~3)
0: No interrupt
1: Interrupt pending
Set 1 to clear it.
[2*n+0]
R/W
0x0
Normal DMA n Half Transfer Interrupt Pending (n=0~3)
0: No interrupt
1: Interrupt pending
Set 1 to clear it.
3.6.7.3. DMA Priority Configure Register
Offset: 0x08
Register Name: DMA_PTY_CFG_REG
Bit
R/W
Default/Hex
Description
31:17
/
/
Reserved.
16
R/W
0x0
DMA Auto Clock Gating bit
0: DMA auto clock gating enable
1: DMA auto clock gating disable
If DMA works in continuous mode, this bit should be set to 1.
15:10
/
/
Reserved.
9:7
R/W
0x3
NDMA Priority Counter.
If NDMA grant the AHB Bus, it can continuously access AHB with burst or
single operation for N+1 times without interrupt by other AHB masters.
6:4
R/W
0x1
AC320 Priority Counter.
If AC320 grant the AHB Bus, it can continuously access AHB with burst or
single operation for N+1 times without interrupt by other AHB masters.
Confidential
System
F1C600 User Manual (Revision 1.0) Copyright© 2015 Allwinner Technology. Co.,Ltd. All Rights Reserved. Page 110
3:2
/
/
Reserved.
1:0
R/W
0x0
NDMA/CPU Priority Configure Bit
00: CPU>NDMA
01: NDMA>CPU
10: Reserved
11: Reserved
Note:
1) For DDMA, the priority order is: 0>1>2>3;
2) For NDMA, the priority order is: 0>1>2>3;
3) The number is DMA index.
3.6.7.4. Normal DMA Configure Register
Offset: 0x100+n*0x20 + 0x0 (N=0~3)
Register Name: NDMA_CFG_REG
Bit
R/W
Default/Hex
Description
31
R/W
0x0
DMA Loading.
If set to 1, DMA will start and load the DMA registers to the shadow
registers. The bit will hold on until the DMA finished. It will be cleared
automatically.
Set 0 to the bit will reset the corresponding DMA channel.
30
RO
0x0
DMA Busy Status.
0: DMA idle, 1: DMA busy.
29
R/W
0x0
DMA Continuous Mode Enable.
0: Disable, 1: Enable.
28:26
R/W
0x0
DMA Wait State.
0: 1
1: 2
2: 4
3: 8
4: 16
5: 32
6: 64
7: 128
25:24
R/W
0x0
Normal DMA Destination Data Width.
00: 8-bit
01: 16-bit
10: 32-bit
11: /
23
R/W
0x0
DMA Destination Burst Length.
0: 1
1: 4
22:21
R/W
0x0
Normal DMA Destination Address Type.
00: Linear Mode
01: IO Mode
1x: /
20:16
R/W
0x0
Normal DMA Destination DRQ Type.
Confidential
System
F1C600 User Manual (Revision 1.0) Copyright© 2015 Allwinner Technology. Co.,Ltd. All Rights Reserved. Page 111
0x00 : /
0x01 : OWA Tx
0x02 : /
0x03 : /
0x04 : SPI0 Tx
0x05 : SPI1 Tx
0x06 : /
0x07 : /
0x08 : UART0 Tx
0x09 : UART1 Tx
0x0A : UART2 Tx
0x0B : /
0x0C : Audio Codec DAC (headphone)
0x0D : /
0x0E : Daudio
0x0F : /
0x10 : SRAM Memory
0x11 : SDRAM Memory
0x12 : /
0x13 : /
0x14 : USB
0x15 : USB-EP1
0x16 : USB-EP2
0x17 : USB-EP3
Others : /
15
R/W
0x0
Normal DMA remain byte counter read enable
If this bit is set, the remain byte counter can read out from
NDMA_BYTE_CNT_REG register
14:10
/
/
Reserved.
9:8
R/W
0x0
Normal DMA Source Data Width.
00: 8-bit
01: 16-bit
10: 32-bit
11: /
7
R/W
0x0
DMA Source Burst Length.
0: 1
1: 4
6:5
R/W
0x0
Normal DMA Source Address Type.
00: Linear Mode
01: IO Mode
1x: /
4:0
R/W
0x0
Normal DMA Source DRQ Type.
0x00 : IR Rx
0x01 : /
0x02 : /
Confidential
System
F1C600 User Manual (Revision 1.0) Copyright© 2015 Allwinner Technology. Co.,Ltd. All Rights Reserved. Page 112
0x03 : /
0x04 : SPI0 Rx
0x05 : SPI1 Rx
0x06 : /
0x07 : /
0x08 : UART0 Rx
0x09 : UART1 Rx
0x0A : UART2 Rx
0x0B : /
0x0C : Audio Codec
0x0D : TP ADC
0x0E : Daudio
0x0F : /
0x10 : SRAM memory
0x11 : SDRAM memory
0x12 : /
0x13 : /
0x14 : USB
0x15 : USB-EP1
0x16 : USB-EP2
0x17 : USB-EP3
Others : /
3.6.7.5. Normal DMA Source Address Register
Offset: 0x100+n*0x20+0x4 (N=0~3)
Register Name: NDMA_SRC_ADR_REG
Bit
R/W
Default/Hex
Description
31:0
R/W
0x0
Normal DMA Source Address.
3.6.7.6. Normal DMA Destination Address Register
Offset: 0x100+n*0x20+0x8 (N=0~3)
Register Name: NDMA_DES_ADR_REG
Bit
R/W
Default/Hex
Description
31:0
R/W
0x0
Normal DMA Destination Address.
3.6.7.7. Normal DMA Byte Counter Register
Offset: 0x100+n*0x20+0xC (N=0~3)
Register Name: NDMA_BYTE_CNT_REG
Bit
R/W
Default/Hex
Description
31:18
/
/
Reserved.
17:0
R/W
0x0
Normal DMA Byte Counter.
If NDMA_CFG_REGn bit 15 is set, the remain byte counter can read out
from this register
Note:
1) If ByteCounter=0, DMA will transfer no byte. The maximum value is 128k.
3.6.7.8. Dedicated DMA Configure Register
Offset: 0x300+n*0x20+0x0 (N=0~3)
Register Name: DDMA_CFG_REG
Confidential
System
F1C600 User Manual (Revision 1.0) Copyright© 2015 Allwinner Technology. Co.,Ltd. All Rights Reserved. Page 113
Bit
R/W
Default/Hex
Description
31
R/W
0x0
DMA Loading.
If set to 1, DMA will start and load the DMA registers to the shadow
registers. The bit will hold on until the DMA finished. It will be cleared
automatically.
Set 0 to the bit will stop the corresponding DMA channel and reset its
state machine.
30
RO
0x0
DMA Busy Status.
0: DMA idle
1: DMA busy
29
R/W
0x0
DMA Continuous Mode Enable.
0: Disable
1: Enable
28
R/W
0x0
DMA Memory set mode enable
0: Disable
1: DMA will move data from Dedicate DMA General Data register to
Destination device.
This bit is only valid for DDMA3(n = 3) ,and if this bit is set, the
configuration for the sourcebit10-0 will be invalid.
27
/
/
/.
26
R/W
0x0
DMA Destination INCR8 enable
0: Single or INCR4 (determine by bit 23)
1: INCR8
This bit is only valid for DDMA3(n = 3)
25:24
R/W
0x0
DMA Destination Data Width.
00: 8-bit
01: 16-bit
10: 32-bit
11: /
23
R/W
0x0
DMA Destination Burst Length.
0: 1
1: 4
22:21
R/W
0x0
DMA Destination Address Mode
00: Linear Mode
01: IO Mode
1x: /
20:16
R/W
0x0
Dedicated DMA Destination DRQ Type
0x0: SRAM
0x1: SDRAM memory
0x2: LCD Controller (LCDC)
0x3: /
0x4: USB
0x5: /
0x6: /
0x7: /
Confidential
System
F1C600 User Manual (Revision 1.0) Copyright© 2015 Allwinner Technology. Co.,Ltd. All Rights Reserved. Page 114
0x8: /
0x9: AHB Memory
Others: /
15
R/W
0x0
DMA remain byte counter read enable
If this bit is set, the remain byte counter can read out from
DDMA_BYTE_CNT_REG register
14:11
/
/
Reserved.
10
R/W
0x0
DMA Source INCR8 enable
0: Single or INCR4 (determine by bit 7), 1: INCR8.
This bit is only valid for DDMA3(n = 3)
9:8
R/W
0x0
DMA Source Data Width.
00: 8-bit
01: 16-bit
10: 32-bit
11: /
7
R/W
0x0
DMA Source Burst Length.
0: 1
1: 4
6:5
R/W
0x0
DMA Source Address Mode
00: Linear Mode
01: IO Mode
1x: /
4:0
R/W
0x0
Dedicated DMA Source DRQ Type
0x0: SRAM
0x1: SDRAM memory
0x2: /
0x3: /
0x4: USB
0x5: /
0x6: /
0x7: /
0x8: /
0x9: AHB Memory
Others: /
3.6.7.9. Dedicated DMA Source Address Register
Offset: 0x300+n*0x20+0x4 (N=0~3)
Register Name: DDMA_SRC_ADR_REG
Bit
R/W
Default/Hex
Description
31:0
R/W
0x0
Dedicated DMA Source Start Address.
3.6.7.10. Dedicated DMA Destination Address Register
Offset: 0x300+n*0x20+0x8 (N=0~3)
Register Name: DDMA_DES_ADR_REG
Bit
R/W
Default/Hex
Description
31:0
R/W
0x0
Dedicated DMA Destination Start Address.
Confidential
System
F1C600 User Manual (Revision 1.0) Copyright© 2015 Allwinner Technology. Co.,Ltd. All Rights Reserved. Page 115
3.6.7.11. Dedicated DMA Byte Counter Register
Offset: 0x300+n*0x20+0x0C (N=0~3)
Register Name: DDMA_BYTE_CNT_REG
Bit
R/W
Default/Hex
Description
31:25
/
/
Reserved.
24:0
R/W
0x0
Dedicated DMA Byte Counter.
If DDMA_CFG_REGn bit 15 is set, the remain byte counter can read out
from this register
Note:
1) If Byte Counter=0, DMA will transfer no byte. The maximum value is 0x1000000.
3.6.7.12. Dedicated DMA Parameter Register
Offset: 0x300+n*0x20+0x18 (N=0~3)
Register Name: DDMA_PAR_REG
Bit
R/W
Default/Hex
Description
31:24
R/W
0x0
Destination block counter.
23:16
R/W
0x0
Destination Comity Counter
15:8
R/W
0x0
Source block counter.
7:0
R/W
0x0
Source Comity Counter
Note:
1) If the counter=N, the value is N+1.
3.6.7.13. Dedicated DMA General Data Register
Offset: 0x300+3*0x20+0x1C
Register Name: DDMA_GEN_DATA
Bit
R/W
Default/Hex
Description
31:0
R/W
0x0
Dedicated DMA general data
This register is only valid for DDMA3(n = 3)
Confidential
System
F1C600 User Manual (Revision 1.0) Copyright© 2015 Allwinner Technology. Co.,Ltd. All Rights Reserved. Page 116
3.7. Port Controller
3.7.1. Overview
The chip has 6 ports for multi-functional input/out pins. They are shown below:
Port A(PA): 4 input/output port
Port B(PB): 4 input/output port
Port C(PC): 4 input/output port
Port D(PD): 22 input/output port
Port E(PE) : 13 input/output port
Port F(PF) : 6 input/output port
For various system configurations, these ports can be easily configured by software. All these ports can be configured as
GPIO if multiplexed functions are not used. The total 4 group external PIO interrupt sources are supported and interrupt
mode can be configured by software.
3.7.2. Port Register List
Module Name
Base Address
PIO
0x01C20800
Register Name
Offset
Description
Pn_CFG0
n*0x24+0x00
Port n Configure Register 0 (n=0~5)
Pn_CFG1
n*0x24+0x04
Port n Configure Register 1 (n=0~5)
Pn_CFG2
n*0x24+0x08
Port n Configure Register 2 (n=0~5)
Pn_CFG3
n*0x24+0x0C
Port n Configure Register 3 (n=0~5)
Pn_DATA
n*0x24+0x10
Port n Data Register (n=0~5)
Pn_DRV0
n*0x24+0x14
Port n Multi-Driving Register 0 (n=0~5)
Pn_DRV1
n*0x24+0x18
Port n Multi-Driving Register 1 (n=0~5)
Pn_PUL0
n*0x24+0x1C
Port n Pull Register 0 (n=0~5)
Pn_PUL1
n*0x24+0x20
Port n Pull Register 1 (n=0~5)
PIO_INT_CFG0
0x200+n*0x20+0x0
PIO Interrupt Configure Register 0 (n=0~2)
PIO_INT_CFG1
0x200+n*0x20+0x4
PIO Interrupt Configure Register 1 (n=0~2)
PIO_INT_CFG2
0x200+n*0x20+0x8
PIO Interrupt Configure Register 2 (n=0~2)
PIO_INT_CFG3
0x200+n*0x20+0xC
PIO Interrupt Configure Register 3 (n=0~2)
PIO_INT_CTRL
0x200+n*0x20+0x10
PIO Interrupt Control Register (n=0~2)
PIO_INT_STA
0x200+n*0x20+0x14
PIO Interrupt Status Register (n=0~2)
PIO_INT_DEB
0x200+n*0x20+0x18
PIO Interrupt Debounce Register (n=0~2)
SDR_PAD_DRV
0x2C0
SDRAM Pad Multi-Driving Register
SDR_PAD_PUL
0x2C4
SDRAM Pad Pull Register
Confidential
System
F1C600 User Manual (Revision 1.0) Copyright© 2015 Allwinner Technology. Co.,Ltd. All Rights Reserved. Page 117
3.7.3. Port Register Description
3.7.3.1. PA Configure Register 0
Offset: 0x00
Register Name: PA_CFG0
Bit
R/W
Default/Hex
Description
31:15
/
/
Reserved
14:12
R/W
7
PA3 Select
000: Input 001: Output
010: TP_Y2 011: IR_RX
100: DA_OUT 101: UART1_TX
110: SPI1_MISO 111: Disabled
11
/
/
Reserved
10:8
R/W
7
PA2 Select
000: Input 001: Output
010: TP_Y1 011: PWM0
100: DA_IN 101: UART1_RX
110: SPI1_CLK 111: Disabled
7
/
/
Reserved
6:4
R/W
7
PA1 Select
000: Input 001: Output
010: TP_X2 011: Reserved
100: DA_LRCK 101: UART1_CTS
110: SPI1_MOSI 111: Disabled
3
/
/
Reserved
2:0
R/W
7
PA0 Select
000: Input 001: Output
010: TP_X1 011: Reserved
100: DA_BCLK 101: UART1_RTS
110: SPI1_CS 111: Disabled
3.7.3.2. PA Configure Register 1
Offset: 0x04
Register Name: PA_CFG1
Bit
R/W
Default/Hex
Description
31:0
/
/
Reserved
3.7.3.3. PA Configure Register 2
Offset: 0x08
Register Name: PA_CFG2
Bit
R/W
Default/Hex
Description
31:0
/
/
Reserved
3.7.3.4. PA Configure Register 3
Offset: 0x0C
Register Name: PA_CFG3
Bit
R/W
Default/Hex
Description
Confidential
System
F1C600 User Manual (Revision 1.0) Copyright© 2015 Allwinner Technology. Co.,Ltd. All Rights Reserved. Page 118
31:0
/
/
Reserved
3.7.3.5. PA Data Register
Offset: 0x10
Register Name: PA_DAT
Bit
R/W
Default/Hex
Description
31:4
/
/
Reserved
3:0
R/W
0
If the port is configured as input, the corresponding bit is the pin state.
If the port is configured as output, the pin state is the same as the
corresponding bit. The read bit value is the value setup by software. If
the port is configured as functional pin, the undefined value will be
read.
3.7.3.6. PA Multi-Driving Register 0
Offset: 0x14
Register Name: PA_DRV0
Bit
R/W
Default/Hex
Description
31:0
/
/
Reserved
3.7.3.7. PA Multi-Driving Register 1
Offset: 0x18
Register Name: PA_DRV1
Bit
R/W
Default/Hex
Description
31:0
/
/
Reserved
3.7.3.8. PA Pull Register 0
Offset: 0x1C
Register Name: PA_PULL0
Bit
R/W
Default/Hex
Description
31:0
/
/
Reserved
3.7.3.9. PA Pull Register 1
Offset: 0x20
Register Name: PA_PULL1
Bit
R/W
Default/Hex
Description
31:0
/
/
Reserved
3.7.3.10. PB Configure Register 0
Offset: 0x24
Register Name: PB_CFG0
Bit
R/W
Default/Hex
Description
31:15
/
/
Reserved
14:12
R/W
7
PB3 Select
000: Input 001: Output
010: DDR_REF_D 011: IR_RX
100: Reserved 101: Reserved
110: Reserved 111: Disabled
11
/
/
Reserved
10:8
R/W
2
Reserved
7
/
/
Reserved
Confidential
System
F1C600 User Manual (Revision 1.0) Copyright© 2015 Allwinner Technology. Co.,Ltd. All Rights Reserved. Page 119
6:4
R/W
2
Reserved
3
/
/
Reserved
2:0
R/W
2
Reserved
3.7.3.11. PB Configure Register 1
Offset: 0x28
Register Name: PB_CFG1
Bit
R/W
Default/Hex
Description
31:0
/
/
Reserved
3.7.3.12. PB Configure Register 2
Offset: 0x2C
Register Name: PB_CFG2
Bit
R/W
Default/Hex
Description
31:0
/
/
Reserved
3.7.3.13. PB Configure Register 3
Offset: 0x30
Register Name: PB_CFG3
Bit
R/W
Default/Hex
Description
31:0
/
0x7
Reserved
3.7.3.14. PB Data Register
Offset: 0x34
Register Name: PB_DAT
Bit
R/W
Default/Hex
Description
31:4
/
/
Reserved
3:0
R/W
0
If the port is configured as input, the corresponding bit is the pin state.
If the port is configured as output, the pin state is the same as the
corresponding bit. The read bit value is the value setup by software. If
the port is configured as functional pin, the undefined value will be
read.
3.7.3.15. PB Multi-Driving Register 0
Offset: 0x38
Register Name: PB_DRV0
Bit
R/W
Default/Hex
Description
31:8
/
/
Reserved
[2i+1:2i]
(i=0~3)
R/W
1
PB[n] Multi-Driving Select (n = 0~3)
00: Level 0 01: Level 1
10: Level 2 11: Level 3
3.7.3.16. PB Multi-Driving Register 1
Offset: 0x3C
Register Name: PB_DRV1
Bit
R/W
Default/Hex
Description
31:0
/
/
Reserved
Confidential
System
F1C600 User Manual (Revision 1.0) Copyright© 2015 Allwinner Technology. Co.,Ltd. All Rights Reserved. Page 120
3.7.3.17. PB Pull Register 0
Offset: 0x40
Register Name: PB_PULL0
Bit
R/W
Default/Hex
Description
31:8
/
/
Reserved
[2i+1:2i]
(i=0~3)
R/W
0x0
PB[n] Pull-up/down Select (n = 0~3)
00: Pull-up/down disable 01: Pull-up
10: Pull-down 11: Reserved
3.7.3.18. PB Pull Register 1
Offset: 0x44
Register Name: PB_PULL1
Bit
R/W
Default/Hex
Description
31:0
/
/
Reserved
3.7.3.19. PC Configure Register 0
Offset: 0x48
Register Name: PC_CFG0
Bit
R/W
Default/Hex
Description
31:15
/
/
Reserved
14:12
R/W
7
PC3 Select
000: Input 001: Output
010: SPI0_MOSI 011: UART0_TX
100: Reserved 101: Reserved
110: Reserved 111: Disabled
11
/
/
Reserved
10:8
R/W
7
PC2 Select
000: Input 001: Output
010: SPI0_MISO 011: SDC1_D0
100: Reserved 101: Reserved
110: Reserved 111: Disabled
7
/
/
Reserved
6:4
R/W
7
PC1 Select
000: Input 001: Output
010: SPI0_CS 011: SDC1_CMD
100: Reserved 101: Reserved
110: Reserved 111: Disabled
3
/
/
Reserved
2:0
R/W
7
PC0 Select
000: Reserved 001: Output
010: SPI0_CLK 011: SDC1_CLK
100: Reserved 101: Reserved
110: Reserved 111: Disabled
3.7.3.20. PC Configure Register 1
Offset: 0x4C
Register Name: PC_CFG1
Bit
R/W
Default/Hex
Description
31:0
/
/
Reserved
Confidential
System
F1C600 User Manual (Revision 1.0) Copyright© 2015 Allwinner Technology. Co.,Ltd. All Rights Reserved. Page 121
3.7.3.21. PC Configure Register 2
Offset: 0x50
Register Name: PC_CFG2
Bit
R/W
Default/Hex
Description
31:0
/
/
Reserved
3.7.3.22. PC Configure Register 3
Offset: 0x54
Register Name: PC_CFG3
Bit
R/W
Default/Hex
Description
31:0
/
/
Reserved
3.7.3.23. PC Data Register
Offset: 0x58
Register Name: PC_DATA
Bit
R/W
Default/Hex
Description
31:4
/
/
Reserved
3:0
R/W
0
If the port is configured as input, the corresponding bit is the pin state.
If the port is configured as output, the pin state is the same as the
corresponding bit. The read bit value is the value setup by software. If
the port is configured as functional pin, the undefined value will be
read.
3.7.3.24. PC Multi-Driving Register 0
Offset: 0x5C
Register Name: PC_DRV0
Bit
R/W
Default/Hex
Description
31:8
/
/
Reserved
[2i+1:2i]
(i=0~3)
R/W
1
PC[n] Multi-Driving Select (n = 0~3)
00: Level 0 01: Level 1
10: Level 2 11: Level 3
3.7.3.25. PC Multi-Driving Register 1
Offset: 0x60
Register Name: PC_DRV1
Bit
R/W
Default/Hex
Description
31:0
/
/
Reserved
3.7.3.26. PC Pull Register 0
Offset: 0x64
Register Name: PC_PULL0
Bit
R/W
Default/Hex
Description
[2i+1:2i]
(i=0~3)
R/W
0x0(PC1: 1)
PC[n] Pull-up/down Select (n = 0~3)
00: Pull-up/down disable 01: Pull-up
10: Pull-down 11: Reserved
3.7.3.27. PC Pull Register 1
Offset: 0x68
Register Name: PC_PULL1
Bit
R/W
Default/Hex
Description
31:0
/
/
Reserved
Confidential
System
F1C600 User Manual (Revision 1.0) Copyright© 2015 Allwinner Technology. Co.,Ltd. All Rights Reserved. Page 122
3.7.3.28. PD Configure Register 0
Offset: 0x6C
Register Name: PD_CFG0
Bit
R/W
Default/Hex
Description
31
/
/
Reserved
30:28
R/W
7
PD7 Select
000: Input 001: Output
010: LCD_D11 011: DA_MCLK
100: Reserved 101: Reserved
110: EINTD7 111: Disabled
27
/
/
Reserved
26:24
R/W
7
PD6 Select
000: Input 001: Output
010: LCD_D10 011: TWI1_SDA
100: Reserved 101: Reserved
110: EINTD6 111: Disabled
23
/
/
Reserved
22:20
R/W
7
PD5 Select
000: Input 001: Output
010: LCD_D7 011: TWI1_SCK
100: Reserved 101: Reserved
110: EINTD5 111: Disabled
19
/
/
Reserved
18:16
R/W
7
PD4 Select
000: Input 001: Output
010: LCD_D6 011: UART1_TX
100: Reserved 101: Reserved
110: EINTD4 111: Disabled
15
/
/
Reserved
14:12
R/W
7
PD3 Select
000: Input 001: Output
010: LCD_D5 011: UART1_RX
100: Reserved 101: Reserved
110: EINTD3 111: Disabled
11
/
/
Reserved
10:8
R/W
7
PD2 Select
000: Input 001: Output
010: LCD_D4 011: UART1_CTS
100: Reserved 101: Reserved
110: EINTD2 111: Disabled
7
/
/
Reserved
6:4
R/W
7
PD1 Select
000: Input 001: Output
010: LCD_D3 011: UART1_RTS
100: Reserved 101: Reserved
110: EINTD1 111: Disabled
Confidential
System
F1C600 User Manual (Revision 1.0) Copyright© 2015 Allwinner Technology. Co.,Ltd. All Rights Reserved. Page 123
3
/
/
Reserved
2:0
R/W
7
PD0 Select
000: Input 001: Output
010: LCD_D2 011: TWI0_SDA
100: RSB_SDA 101: Reserved
110: EINTD0 111: Disabled
3.7.3.29. PD Configure Register 1
Offset: 0x70
Register Name: PD_CFG1
Bit
R/W
Default/Hex
Description
31
/
/
Reserved
30:28
R/W
7
PD15 Select
000: Input 001: Output
010: LCD_D21 011: UART2_RTS
100: TWI2_SCK 101: Reserved
110: EINTD15 111: Disabled
27
/
/
Reserved
26:24
R/W
7
PD14 Select
000: Input 001: Output
010: LCD_D20 011: UART2_RX
100: Reserved 101: Reserved
110: EINTD14 111: Disabled
23
/
/
Reserved
22:20
R/W
7
PD13 Select
000: Input 001: Output
010: LCD_D19 011: UART2_TX
100: Reserved 101: Reserved
110: EINTD13 111: Disabled
19
/
/
Reserved
18:16
R/W
7
PD12 Select
000: Input 001: Output
010: LCD_D18 011: TWI0_SCK
100: RSB_SCK 101: Reserved
110: EINTD12 111: Disabled
15
/
/
Reserved
14:12
R/W
7
PD11 Select
000: Input 001: Output
010: LCD_D15 011: DA_OUT
100: Reserved 101: Reserved
110: EINTD11 111: Disabled
11
/
/
Reserved
10:8
R/W
7
PD10 Select
000: Input 001: Output
010: LCD_D14 011: DA_IN
100: Reserved 101: Reserved
Confidential
System
F1C600 User Manual (Revision 1.0) Copyright© 2015 Allwinner Technology. Co.,Ltd. All Rights Reserved. Page 124
110: EINTD10 111: Disabled
7
/
/
Reserved
6:4
R/W
7
PD9 Select
000: Input 001: Output
010: LCD_D13 011: DA_LRCK
100: Reserved 101: Reserved
110: EINTD9 111: Disabled
3
/
/
Reserved
2:0
R/W
7
PD8 Select
000: Input 001: Output
010: LCD_D12 011: DA_BCLK
100: Reserved 101: Reserved
110: EINTD8 111: Disabled
3.7.3.30. PD Configure Register 2
Offset: 0x74
Register Name: PD_CFG2
Bit
R/W
Default/Hex
Description
31:23
/
/
Reserved
22:20
R/W
7
PD21 Select
000: Input 001: Output
010: LCD_VSYNC 011: SPI0_MISO
100: Reserved 101: Reserved
110: EINTD21 111: Disabled
19
/
/
Reserved
18:16
R/W
7
PD20 Select
000: Input 001: Output
010: LCD_HSYNC 011: SPI0_CLK
100: Reserved 101: Reserved
110: EINTD20 111: Disabled
15
/
/
Reserved
14:12
R/W
7
PD19 Select
000: Input 001: Output
010: LCD_DE 011: SPI0_MOSI
100: Reserved 101: Reserved
110: EINTD19 111: Disabled
11
/
/
Reserved
10:8
R/W
7
PD18 Select
000: Input 001: Output
010: LCD_CLK 011: SPI0_CS
100: Reserved 101: Reserved
110: EINTD18 111: Disabled
7
/
/
Reserved
6:4
R/W
7
PD17 Select
000: Input 001: Output
010: LCD_D23 011: OWA_OUT
Confidential
System
F1C600 User Manual (Revision 1.0) Copyright© 2015 Allwinner Technology. Co.,Ltd. All Rights Reserved. Page 125
100: Reserved 101: Reserved
110: EINTD17 111: Disabled
3
/
/
Reserved
2:0
R/W
7
PD16 Select
000: Input 001: Output
010: LCD_D22 011: UART2_CTS
100: TWI2_SDA 101: Reserved
110: EINTD16 111: Disabled
3.7.3.31. PD Configure Register 3
Offset: 0x78
Register Name: PD_CFG3
Bit
R/W
Default/Hex
Description
31:0
/
/
Reserved
3.7.3.32. PD Data Register
Offset: 0x7C
Register Name: PD_DAT
Bit
R/W
Default/Hex
Description
31:22
/
/
Reserved
21:0
R/W
0
If the port is configured as input, the corresponding bit is the pin state.
If the port is configured as output, the pin state is the same as the
corresponding bit. The read bit value is the value setup by software. If
the port is configured as functional pin, the undefined value will be
read.
3.7.3.33. PD Multi-Driving Register 0
Offset: 0x80
Register Name: PD_DRV0
Bit
R/W
Default/Hex
Description
[2i+1:2i]
(i=0~15)
R/W
1
PD[n] Multi-Driving Select (n = 0~15)
00: Level 0 01: Level 1
10: Level 2 11: Level 3
3.7.3.34. PD Multi-Driving Register 1
Offset: 0x84
Register Name: PD_DRV1
Bit
R/W
Default/Hex
Description
31:12
/
/
Reserved
[2i+1:2i]
(i=0~5)
R/W
1
PD[n] Multi-Driving Select (n = 16~21)
00: Level 0 01: Level 1
10: Level 2 11: Level 3
3.7.3.35. PD Pull Register 0
Offset: 0x88
Register Name: PD_PULL0
Bit
R/W
Default/Hex
Description
[2i+1:2i]
(i=0~15)
R/W
0x0
PD[n] Pull-up/down Select (n = 0~15)
00: Pull-up/down disable 01: Pull-up
10: Pull-down 11: Reserved
Confidential
System
F1C600 User Manual (Revision 1.0) Copyright© 2015 Allwinner Technology. Co.,Ltd. All Rights Reserved. Page 126
3.7.3.36. PD Pull Register 1
Offset: 0x8C
Register Name: PD_PULL1
Bit
R/W
Default/Hex
Description
31:12
/
/
Reserved
[2i+1:2i]
(i=0~5)
R/W
0x0
PD[n] Pull-up/down Select (n = 16~21)
00: Pull-up/down disable 01: Pull-up enable
10: Pull-down 11: Reserved
3.7.3.37. PE Configure Register 0
Offset: 0x90
Register Name: PE_CFG0
Bit
R/W
Default/Hex
Description
31
/
/
Reserved
30:28
R/W
7
PE7 Select
000: Input 001: Output
010: CSI_D4 011: UART2_TX
100: SPI1_CS 101: Reserved
110: EINTE7 111: Disabled
27
/
/
Reserved
26:24
R/W
7
PE6 Select
000: Input 001: Output
010:CSI_D3 011: PWM1
100: DA_OUT 101: OWA_OUT
110: EINTE6 111: Disabled
23
/
/
Reserved
22:20
R/W
7
PE5 Select
000: Input 001: Output
010: CSI_D2 011: LCD_D17
100: DA_IN 101: Reserved
110: EINTE5 111: Disabled
19
/
/
Reserved
18:16
R/W
7
PE4 Select
000: Input 001: Output
010: CSI_D1 011: LCD_D16
100: DA_LRCK 101: RSB_SDA
110: EINTE4 111: Disabled
15
/
/
Reserved
14:12
R/W
7
PE3 Select
000: Input 001: Output
010: CSI_D0 011: LCD_D9
100: DA_BCLK 101: RSB_SCK
110: EINTE3 111: Disabled
11
/
/
Reserved
10:8
R/W
7
PE2 Select
000: Input 001: Output
010: CSI_PCLK 011: LCD_D8
Confidential
System
F1C600 User Manual (Revision 1.0) Copyright© 2015 Allwinner Technology. Co.,Ltd. All Rights Reserved. Page 127
100: CLK_OUT 101: Reserved
110: EINTE2 111: Disabled
7
/
/
Reserved
6:4
R/W
7
PE1 Select
000: Input 001: Output
010: CSI_VSYNC 011: LCD_D1
100: TWI2_SDA 101: UART0_TX
110: EINTE1 111: Disabled
3
/
/
Reserved
2:0
R/W
7
PE0 Select
000: Input 001: Output
010: CSI_HSYNC 011: LCD_D0
100: TWI2_SCK 101: UART0_RX
110: EINTE0 111: Disabled
3.7.3.38. PE Configure Register 1
Offset: 0x94
Register Name: PE_CFG1
Bit
R/W
Default/Hex
Description
31:19
/
/
Reserved
18:16
R/W
7
PE12 Select
000: Input 001: Output
010: DA_MCLK 011: TWI0_SDA
100: PWM0 101: Reserved
110: EINTE12 111: Disabled
15
/
/
Reserved
14:12
R/W
7
PE11 Select
000: Input 001: Output
010: CLK_OUT 011: TWI0_SCK
100: IR_RX 101: Reserved
110: EINTE11 111: Disabled
11
/
/
Reserved
10:8
R/W
7
PE10 Select
000: Input 001: Output
010: CSI_D7 011: UART2_CTS
100: SPI1_MISO 101: Reserved
110: EINTE10 111: Disabled
7
/
/
Reserved
6:4
R/W
7
PE9 Select
000: Input 001: Output
010: CSI_D6 011: UART2_RTS
100: SPI1_CLK 101: Reserved
110: EINTE9 111: Disabled
3
/
/
Reserved
2:0
R/W
7
PE8 Select
000: Input 001: Output
Confidential
System
F1C600 User Manual (Revision 1.0) Copyright© 2015 Allwinner Technology. Co.,Ltd. All Rights Reserved. Page 128
010: CSI_D5 011: UART2_RX
100: SPI1_MOSI 101: Reserved
110: EINTE8 111: Disabled
3.7.3.39. PE Configure Register 2
Offset: 0x98
Register Name: PE_CFG2
Bit
R/W
Default/Hex
Description
31:0
/
/
Reserved
3.7.3.40. PE Configure Register 3
Offset: 0x9C
Register Name: PE_CFG3
Bit
R/W
Default/Hex
Description
31:0
/
/
Reserved
3.7.3.41. PE Data Register
Offset: 0xA0
Register Name: PE_DAT
Bit
R/W
Default/Hex
Description
31:13
/
/
Reserved
12:0
R/W
0
If the port is configured as input, the corresponding bit is the pin state.
If the port is configured as output, the pin state is the same as the
corresponding bit. The read bit value is the value setup by software. If
the port is configured as functional pin, the undefined value will be
read.
3.7.3.42. PE Multi-Driving Register 0
Offset: 0xA4
Register Name: PE_DRV0
Bit
R/W
Default/Hex
Description
31:26
/
/
Reserved
[2i+1:2i]
(i=0~12)
R/W
1
PD[n] Multi-Driving Select (n = 0~12)
00: Level 0 01: Level 1
10: Level 2 11: Level 3
3.7.3.43. PE Multi-Driving Register 1
Offset: 0xA8
Register Name: PE_DRV1
Bit
R/W
Default/Hex
Description
31:0
/
/
Reserved
3.7.3.44. PE Pull Register 0
Offset: 0xAC
Register Name: PE_PULL0
Bit
R/W
Default/Hex
Description
31:26
/
/
Reserved
[2i+1:2i]
(i=0~12)
R/W
0x0
PD[n] Pull-up/down Select (n = 0~12)
00: Pull-up/down disable 01: Pull-up
10: Pull-down 11: Reserved
Confidential
System
F1C600 User Manual (Revision 1.0) Copyright© 2015 Allwinner Technology. Co.,Ltd. All Rights Reserved. Page 129
3.7.3.45. PE Pull Register 1
Offset: 0xB0
Register Name: PE_PULL1
Bit
R/W
Default/Hex
Description
31:0
/
/
Reserved
3.7.3.46. PF Configure Register 0
Offset: 0xB4
Register Name: PF_CFG0
Bit
R/W
Default/Hex
Description
31:23
/
/
Reserved
22:20
R/W
3
PF5 Select
000: Input 001: Output
010: SDC0_D2 011: DBG_CK
100: PWM1 101: Reserved
110: EINTF5 111: Disabled
19
/
/
Reserved
18:16
R/W
7
PF4 Select
000: Input 001: Output
010: SDC0_D3 011: UART0_TX
100: Reserved 101: Reserved
110: EINTF4 111: Disabled
15
/
/
Reserved
14:12
R/W
3
PF3 Select
000: Input 001: Output
010: SDC0_CMD 011: DBG_DO
100: Reserved 101: Reserved
110: EINTF3 111: Disabled
11
/
/
Reserved
10:8
R/W
7
PF2 Select
000: Input 001: Output
010: SDC0_CLK 011: UART0_TX
100: Reserved 101: Reserved
110: EINTF2 111: Disabled
7
/
/
Reserved
6:4
R/W
3
PF1 Select
000: Input 001: Output
010: SDC0_D0 011: DBG_DI
100: Reserved 101: Reserved
110: EINTF1 111: Disabled
3
/
/
Reserved
2:0
R/W
3
PF0 Select
000: Input 001: Output
010: SDC0_D1 011: DBG_MS
100: IR_RX 101: Reserved
110: EINTF0 111: Disabled
Confidential
System
F1C600 User Manual (Revision 1.0) Copyright© 2015 Allwinner Technology. Co.,Ltd. All Rights Reserved. Page 130
3.7.3.47. PF Configure Register 1
Offset: 0xB8
Register Name: PF_CFG1
Bit
R/W
Default/Hex
Description
31:0
/
/
Reserved
3.7.3.48. PF Configure Register 2
Offset: 0xBC
Register Name: PF_CFG2
Bit
R/W
Default/Hex
Description
31:0
/
/
Reserved
3.7.3.49. PF Configure Register 3
Offset: 0xC0
Register Name: PF_CFG3
Bit
R/W
Default/Hex
Description
31:0
/
/
Reserved
3.7.3.50. PF Data Register
Offset: 0xC4
Register Name: PF_DAT
Bit
R/W
Default/Hex
Description
31:6
/
/
Reserved
5:0
R/W
0
If the port is configured as input, the corresponding bit is the pin state.
If the port is configured as output, the pin state is the same as the
corresponding bit. The read bit value is the value setup by software. If
the port is configured as functional pin, the undefined value will be
read.
3.7.3.51. PF Multi-Driving Register 0
Offset: 0xC8
Register Name: PF_DRV0
Bit
R/W
Default/Hex
Description
31:12
/
/
Reserved
[2i+1:2i]
(i=0~5)
R/W
1
PD[n] Multi-Driving Select (n = 0~5)
00: Level 0 01: Level 1
10: Level 2 11: Level 3
3.7.3.52. PF Multi-Driving Register 1
Offset: 0xCC
Register Name: PF_DRV1
Bit
R/W
Default/Hex
Description
31:0
/
/
Reserved
3.7.3.53. PF Pull Register 0
Offset: 0xD0
Register Name: PF_PULL0
Bit
R/W
Default/Hex
Description
31:0
/
/
Reserved
Confidential
System
F1C600 User Manual (Revision 1.0) Copyright© 2015 Allwinner Technology. Co.,Ltd. All Rights Reserved. Page 131
3.7.3.54. PD External Interrupt Configure Register 0
Offset: 0x200
Register Name:PD_EINT_CFG0
Bit
R/W
Default/Hex
Description
[4i+3:4i]
(i=0~7)
R/W
0
EINT_CFG
External INTn Mode (n = 0~7)
0x0: Positive Edge
0x1: Negative Edge
0x2: High Level
0x3: Low Level
0x4: Double Edge (Positive/ Negative)
Others: Reserved
3.7.3.55. PD External Interrupt Configure Register 1
Offset: 0x204
Register Name: PD_EINT_CFG1
Bit
R/W
Default/Hex
Description
[4i+3:4i]
(i=0~7)
R/W
0
EINT_CFG
External INTn Mode (n = 8~15)
0x0: Positive Edge
0x1: Negative Edge
0x2: High Level
0x3: Low Level
0x4: Double Edge (Positive/ Negative)
Others: Reserved
3.7.3.56. PD External Interrupt Configure Register 2
Offset: 0x208
Register Name: PD_EINT_CFG2
Bit
R/W
Default/Hex
Description
31:24
/
/
Reserved
[4i+3:4i]
(i=0~5)
R/W
0
EINT_CFG
External INTn Mode (n = 16~21)
Confidential
System
F1C600 User Manual (Revision 1.0) Copyright© 2015 Allwinner Technology. Co.,Ltd. All Rights Reserved. Page 132
0x0: Positive Edge
0x1: Negative Edge
0x2: High Level
0x3: Low Level
0x4: Double Edge (Positive/ Negative)
Others: Reserved
3.7.3.57. PD External Interrupt Configure Register 3
Offset: 0x20C
Register Name: PD_EINT_CFG3
Bit
R/W
Default/Hex
Description
31:0
/
/
Reserved
3.7.3.58. PD External Interrupt Control Register
Offset: 0x210
Register Name: PD_EINT_CTRL
Bit
R/W
Default/Hex
Description
31:22
/
/
Reserved
[n]
(n=0~21)
R/W
0
EINT_CTL
External INTn Enable (n = 0~21)
0: Disable
1: Enable
3.7.3.59. PD External Interrupt Status Register
Offset: 0x214
Register Name: PD_EINT_STATUS
Bit
R/W
Default/Hex
Description
31:22
/
/
Reserved
[n]
(n=0~21)
R/W
0
EINT_STATUS
External INTn Pending Bit (n = 0~21)
0: No IRQ pending
1: IRQ pending
Write ‘1’ to clear
3.7.3.60. PD External Interrupt Debounce Register
Offset: 0x218
Register Name: PD_EINT_DEB
Bit
R/W
Default/Hex
Description
Confidential
System
F1C600 User Manual (Revision 1.0) Copyright© 2015 Allwinner Technology. Co.,Ltd. All Rights Reserved. Page 133
31:7
/
/
Reserved
6:4
R/W
0
DEB_CLK_PRE_SCALE
Debounce Clock Pre-scale n
The selected clock source is prescaled by 2^n.
3:1
/
/
/
0
R/W
0
PIO_INT_CLK_SELECT
PIO Interrupt Clock Select
0: LOSC 32Khz
1: HOSC 24Mhz
3.7.3.61. PE External Interrupt Configure Register 0
Offset: 0x220
Register Name:PE_EINT_CFG0
Bit
R/W
Default/Hex
Description
[4i+3:4i]
(i=0~7)
R/W
0
EINT_CFG
External INTn Mode (n = 0~7)
0x0: Positive Edge
0x1: Negative Edge
0x2: High Level
0x3: Low Level
0x4: Double Edge (Positive/ Negative)
Others: Reserved
3.7.3.62. PE External Interrupt Configure Register 1
Offset: 0x224
Register Name: PE_EINT_CFG1
Bit
R/W
Default/Hex
Description
31:20
/
/
Reserved
[4i+3:4i]
(i=0~4)
R/W
0
EINT_CFG
External INTn Mode (n = 8~12)
0x0: Positive Edge
0x1: Negative Edge
Confidential
System
F1C600 User Manual (Revision 1.0) Copyright© 2015 Allwinner Technology. Co.,Ltd. All Rights Reserved. Page 134
0x2: High Level
0x3: Low Level
0x4: Double Edge (Positive/ Negative)
Others: Reserved
3.7.3.63. PE External Interrupt Configure Register 2
Offset: 0x228
Register Name: PE_EINT_CFG2
Bit
R/W
Default/Hex
Description
31:0
/
/
/
3.7.3.64. PE External Interrupt Configure Register 3
Offset: 0x22C
Register Name: PE_EINT_CFG3
Bit
R/W
Default/Hex
Description
31:0
/
/
/
3.7.3.65. PE External Interrupt Control Register
Offset: 0x230
Register Name: PE_EINT_CTRL
Bit
R/W
Default/Hex
Description
31:13
/
/
Reserved
[n]
(n=0~12)
R/W
0
EINT_CTL
External INTn Enable (n = 0~12)
0: Disable
1: Enable
3.7.3.66. PE External Interrupt Status Register
Offset: 0x234
Register Name: PE_EINT_STATUS
Bit
R/W
Default/Hex
Description
31:12
/
/
Reserved
[n]
(n=0~12)
R/W
0
EINT_STATUS
External INTn Pending Bit (n = 0~12)
0: No IRQ pending
1: IRQ pending
Write ‘1’ to clear
3.7.3.67. PE External Interrupt Debounce Register
Offset: 0x238
Register Name: PE_EINT_DEB
Confidential
System
F1C600 User Manual (Revision 1.0) Copyright© 2015 Allwinner Technology. Co.,Ltd. All Rights Reserved. Page 135
Bit
R/W
Default/Hex
Description
31:7
/
/
/
6:4
R/W
0
DEB_CLK_PRE_SCALE
Debounce Clock Pre-scale n
The selected clock source is prescaled by 2^n.
3:1
/
/
/
0
R/W
0
PIO_INT_CLK_SELECT
PIO Interrupt Clock Select
0: LOSC 32Khz
1: HOSC 24Mhz
3.7.3.68. PF External Interrupt Configure Register 0
Offset: 0x240
Register Name:PF_EINT_CFG0
Bit
R/W
Default/Hex
Description
31:24
/
/
Reserved
[4i+3:4i]
(i=0~5)
R/W
0
EINT_CFG
External INTn Mode (n = 0~5)
0x0: Positive Edge
0x1: Negative Edge
0x2: High Level
0x3: Low Level
0x4: Double Edge (Positive/ Negative)
Others: Reserved
3.7.3.69. PF External Interrupt Configure Register 1
Offset: 0x244
Register Name: PF_EINT_CFG1
Bit
R/W
Default/Hex
Description
31:0
/
/
Reserved
3.7.3.70. PF External Interrupt Configure Register 2
Offset: 0x248
Register Name: PF_EINT_CFG2
Bit
R/W
Default/Hex
Description
31:0
/
/
/
Confidential
System
F1C600 User Manual (Revision 1.0) Copyright© 2015 Allwinner Technology. Co.,Ltd. All Rights Reserved. Page 136
3.7.3.71. PF External Interrupt Configure Register 3
Offset: 0x24C
Register Name: PF_EINT_CFG3
Bit
R/W
Default/Hex
Description
31:0
/
/
/
3.7.3.72. PF External Interrupt Control Register
Offset: 0x250
Register Name: PF_EINT_CTRL
Bit
R/W
Default/Hex
Description
31:6
/
/
/
[n]
(n=0~5)
R/W
0
EINT_CTL
External INTn Enable (n = 0~5)
0: Disable
1: Enable
3.7.3.73. PF External Interrupt Status Register
Offset: 0x254
Register Name: PF_EINT_STATUS
Bit
R/W
Default/Hex
Description
31:6
/
/
/
[n]
(n=0~5)
R/W
0
EINT_STATUS
External INTn Pending Bit (n = 0~5)
0: No IRQ pending
1: IRQ pending
Write ‘1’ to clear
3.7.3.74. PF External Interrupt Debounce Register
Offset: 0x258
Register Name: PF_EINT_DEB
Bit
R/W
Default/Hex
Description
31:7
/
/
/
6:4
R/W
0
DEB_CLK_PRE_SCALE
Debounce Clock Pre-scale n
The selected clock source is prescaled by 2^n.
3:1
/
/
/
0
R/W
0
PIO_INT_CLK_SELECT
PIO Interrupt Clock Select
Confidential
System
F1C600 User Manual (Revision 1.0) Copyright© 2015 Allwinner Technology. Co.,Ltd. All Rights Reserved. Page 137
0: LOSC 32Khz
1: HOSC 24Mhz
3.7.3.75. SDRAM Pad Multi-Driving Register
Offset: 0x2C0
Register Name: SDR_PAD_DRV
Bit
R/W
Default/Hex
Description
31:14
/
/
Reserved
13:12
R/W
0x1
ODT Multi-Driving Select
00: Level 0 01: Level 1
10: Level 2 11: Level 3
11:10
R/W
0x1
RAS#, CAS#, SWE#, SCS#, CKE Multi-Driving Select
00: Level 0 01: Level 1
10: Level 2 11: Level 3
9:8
R/W
0x1
DQS[3:0] Multi-Driving Select
00: Level 0 01: Level 1
10: Level 2 11: Level 3
7:6
R/W
0x1
DQM[3:0] Multi-Driving Select
00: Level 0 01: Level 1
10: Level 2 11: Level 3
5:4
R/W
0x1
DA[n], BA2,BA1, BA0 Multi-Driving Select (n=0~14)
00: Level 0 01: Level 1
10: Level 2 11: Level 3
3:2
R/W
0x1
CK, CK# Multi-Driving Select
00: Level 0 01: Level 1
10: Level 2 11: Level 3
1:0
R/W
0x1
DQ[n] Multi-Driving Select (n = 0~31)
00: Level 0 01: Level 1
10: Level 2 11: Level 3
3.7.3.76. SDRAM Pad Pull Register
Offset: 0x2C4
Register Name: SDR_PAD_PULL
Confidential
System
F1C600 User Manual (Revision 1.0) Copyright© 2015 Allwinner Technology. Co.,Ltd. All Rights Reserved. Page 138
Bit
R/W
Default/Hex
Description
31:24
/
/
Reserved
23
R/W
0x0
Internal Reference Enable
0: disable
1: enable
22:17
R/W
0x0
Reference Configuration Factor
( ( 64 + Factor) / 192) * VDDQ
16
R/W
0x1
SDRAM Pad Type
0: LVCMOS
1: SSTL-2
Notes: SSTL2 pad type is only used for normal 2.5v DDR. For other dram,
LVCMOS pad should be select.
15:10
/
/
Reserved
9:8
R/W
0x1
DQS[1:0] Pull-up Select
00: Pull-up disable 01: Pull-up
10: Reserved 11: Reserved
7:6
R/W
0x0
DQM[1:0] Pull-up Select
00: Pull-up disable 01: Pull-up
10: Reserved 11: Reserved
5:4
R/W
0x0
Reserved
3:2
R/W
0x0
CK, CK# Pull-up Select
00: Pull-up disable 01: Pull-up
10: Reserved 11: Reserved
1:0
R/W
0x1
DQ[n] Pull-up Select (n = 0~31)
00: Pull-up disable 01: Pull-up
10: Reserved 11: Reserved
Confidential
ADC
F1C600 User Manual (Revision 1.0) Copyright© 2015 Allwinner Technology. Co.,Ltd. All Rights Reserved. Page 139
Chapter 4. ADC
This section describes the F1C600 memory from two aspects:
KEYADC
TP
Audio Codec
Confidential
ADC
F1C600 User Manual (Revision 1.0) Copyright© 2015 Allwinner Technology. Co.,Ltd. All Rights Reserved. Page 140
4.1. KEYADC
4.1.1. Overview
KEYADC is 6-bit resolution ADC for key application. The KEYADC can work up to 250Hz conversion rate.
4.1.2. Feature
Supports APB 32-bits bus width
Interrupt Support
Support Hold Key and General Key
Support Single Key and continue key mode
6-bits Resolution
Voltage input range between 0 to 2V
Sample Rate up to 250Hz
4.1.3. Principle of operation
The KEYADC converted data can accessed by interrupt and polling method. If software can’t access the last converted
data instantly, the new converted data would update the old one at new sampling data.
4.1.4. Block diagram
A D C _ R E F
K E Y A D C _ IN
R
22
23
A D C _ R E F
A D C _ R E F
+
_
_
+
C o n tr o l L o g ic
K E Y _ D O W N _ I R Q
H O L D _ K E Y _ IR Q
A L R E A D Y _ H O L D _ IR Q
24
25
26
Confidential
ADC
F1C600 User Manual (Revision 1.0) Copyright© 2015 Allwinner Technology. Co.,Ltd. All Rights Reserved. Page 141
4.1.5. KEYADC Register List
Module Name
Base Address
KEYADC
0x01C23400
Register Name
Offset
Description
KEYADC_CTRL_REG
0x00
KEYADC Control Register
KEYADC_INTC_REG
0x04
KEYADC Interrupt Control Register
KEYADC_INTS_REG
0x08
KEYADC Interrupt Status Register
KEYADC_DATA_REG
0x0C
KEYADC Data Register
4.1.6. KEYADC Register Description
4.1.6.1. KEYADC Control Register
Offset: 0x00
Register Name: KEYADC_CTRL_REG
Bit
R/W
Default/Hex
Description
31:24
R/W
0x1
FIRST_CONCERT_DLY
ADC First Convert Delay setting, ADC conversion is delayed by n samples
23:22
R/W
0x0
Reserved to 0
21:20
/
/
/
19:16
R/W
0x0
CONTINUE_TIME_SELECT.
Continue Mode time select, one of 8*(N+1) sample as a valuable sample
data
15:14
/
/
/
13:12
R/W
0x0
KEY_MODE_SELECT.
Key Mode Select:
00: Normal Mode
01: Single Mode
10: Continue Mode
11:8
R/W
0x1
LEVELA_B_CNT.
Level A to Level B time threshold select, judge ADC convert value in level A
to level B in n+1 samples
7
R/W
0X0
KEY_ADC_HOLD_KEY_EN
KEY_ADC Hold Key Enable
0: Disable
1: Enable
6
R/W
0x1
KEYADC_HOLD_EN.
KEYADC Sample hold Enable
0: Disable
1: Enable
5: 4
R/W
0x2
LEVELB_VOL.
Level B Corresponding Data Value setting (the real voltage value)
Confidential
ADC
F1C600 User Manual (Revision 1.0) Copyright© 2015 Allwinner Technology. Co.,Ltd. All Rights Reserved. Page 142
00: 0x3C (~1.9v)
01: 0x39 (~1.8v)
10: 0x36 (~1.7v)
11: 0x33 (~1.6v)
3: 2
R/W
0x2
KEYADC_SAMPLE_RATE.
KEYADC Sample Rate
00: 250 Hz
01: 125 Hz
10: 62.5 Hz
11: 32.25 Hz
1
/
/
/
0
R/W
0x0
KEYADC_EN.
KEYADC enable
0: Disable
1: Enable
4.1.6.2. KEYADC Interrupt Control Register
Offset: 0x04
Register Name: KEYADC_INTC_REG
Bit
R/W
Default/Hex
Description
31:5
/
/
/
4
R/W
0x0
ADC0_KEYUP_IRQ_EN.
ADC 0 Key Up IRQ Enable
0: Disable
1: Enable
3
R/W
0x0
ADC0_ALRDY_HOLD_IRQ_EN.
ADC 0 Already Hold IRQ Enable
0: Disable
1: Enable
2
R/W
0x0
ADC0_HOLD_IRQ_EN.
ADC 0 Hold Key IRQ Enable
0: Disable
1: Enable
1
R/W
0x0
ADC0_KEYDOWN_EN
ADC 0 Key Down Enable
0: Disable
1: Enable
0
R/W
0x0
ADC0_DATA_IRQ_EN.
ADC 0 Data IRQ Enable
0: Disable
1: Enable
4.1.6.3. KEYADC Interrupt Status Register
Offset: 0x08
Register Name: KEYADC_INTS_REG
Bit
R/W
Default/Hex
Description
31:5
/
/
/
Confidential
ADC
F1C600 User Manual (Revision 1.0) Copyright© 2015 Allwinner Technology. Co.,Ltd. All Rights Reserved. Page 143
4
R/W
0x0
ADC0_KEYUP_PENDING.
ADC 0 Key up pending Bit
When general key pull up, it the corresponding interrupt is enabled.
0: No IRQ
1: IRQ Pending
Notes: Writing 1 to the bit will clear it and its corresponding interrupt if the
interrupt is enable
3
R/W
0x0
ADC0_ALRDY_HOLD_PENDING.
ADC 0 Already Hold Pending Bit
When hold key pull down and pull the general key down, if the
corresponding interrupt is enabled.
0: No IRQ
1: IRQ Pending
Notes: Writing 1 to the bit will clear it and its corresponding interrupt if the
interrupt is enable
2
R/W
0x0
ADC0_HOLDKEY_PENDING.
ADC 0 Hold Key pending Bit
When Hold key pull down, the status bit is set and the interrupt line is set if
the corresponding interrupt is enabled.
0: No IRQ
1: IRQ Pending
Notes: Writing 1 to the bit will clear it and its corresponding interrupt if the
interrupt is enable.
1
R/W
0x0
ADC0_KEYDOWN_PENDING.
ADC 0 Key Down IRQ Pending Bit
When General key pull down, the status bit is set and the interrupt line is set
if the corresponding interrupt is enabled.
0: No IRQ
1: IRQ Pending
Notes: Writing 1 to the bit will clear it and its corresponding interrupt if the
interrupt is enable.
0
R/W
0x0
ADC0_DATA_PENDING.
ADC 0 Data IRQ Pending Bit
0: No IRQ
1: IRQ Pending
Notes: Writing 1 to the bit will clear it and its corresponding interrupt if the
interrupt is enable.
4.1.6.4. KEYADC Data Register
Offset: 0x0C
Register Name: KEYADC_DATA_REG
Bit
R/W
Default/Hex
Description
31:6
/
/
/
5:0
R
0x0
KEYADC_DATA.
KEYADC Data
Confidential
ADC
F1C600 User Manual (Revision 1.0) Copyright© 2015 Allwinner Technology. Co.,Ltd. All Rights Reserved. Page 144
4.2. TP
4.2.1. Overview
The controller is a 4-wire resistive touch screen controller, includes 12-bit resolution A/D converter. Especially, it
provides the ability of dual touch detection. The controller through the implementation of the two A/D conversion has
been identified by the location of the screen of single touch, in addition to measurable increase in pressure on the
touch screen.
4.2.2. Feature
12 bit SAR type A/D converter
4-wire I/F
Dual Touch Detect
Touch-pressure measurement (Support programmable threshold)
Sampling frequency: 2MHz (max)
Single-Ended Conversion of Touch Screen Inputs and Ratio Metric Conversion of Touch Screen Inputs
TACQ up to 262ms
Median and averaging filter to reduce noise
Pen down detection, with programmable sensitivity
Support X, Y change function
4.2.3. A/D conversion time
When the clock source is 24MHz and the prescalar value is 6, total 12-bit conversion time is as follows:
CLK_IN = 24MHz/6 = 4MHz
Conversion Time = 1 / (4MHz/13Cycles) = 3.25us
4.2.4. Work timing in different mode
FS_TIME (Frequency Scan Time) bases on TACQ and Touch Mode, they must meet the following in equation:
FS_TIME >= M*(TACQ + Conversion Time)
For example, if touch acquire time divider is 15, then TACQ = 4MHz /(16*(15+1)) = 64us.
When TP mode is dual and pressure measurement mode, then M=6, and the FS_TIME must be great or equal 6*(64 +
3.25) us.
TACQ
Conversion Time
X1-DATA Y1-DATA X2-DATA Y2-DATA Z1-DATA Z2-DATA
FS_TIME
Dual Touch and Pressure Measurement
Confidential
ADC
F1C600 User Manual (Revision 1.0) Copyright© 2015 Allwinner Technology. Co.,Ltd. All Rights Reserved. Page 145
X1-DATA X2-DATA Y2-DATA
FS_TIME
Conversion Time
Y1-DATA
Dual Touch No Pressure Measurement
X1-DATA Z1-DATA Z2-DATA
FS_TIME
Conversion Time
Y1-DATA
Single Touch and Pressure Measurement Mode
X1-DATA
FS_TIME
Conversion Time
Y1-DATA
Single Touch No Pressure Measurement Mode
Confidential
ADC
F1C600 User Manual (Revision 1.0) Copyright© 2015 Allwinner Technology. Co.,Ltd. All Rights Reserved. Page 146
ADC-DATA
FS_TIME
Conversion Time
General ADC Mode
4.2.5. Operation Mode
4.2.5.1. Basic principle
The controller is a typical type of successive approximation ADC (SAR ADC), contains a sample/hold, analog-to-digital
conversion, serial data output functions. The analog inputs (X+, X-, Y+, Y-) via control register enter the ADC, ADC can
work in single-ended or differential mode. Selecting Aux ADC should work in single-ended mode; as a touch screen
application, it works in a differential mode, which can effectively eliminate the impact on conversion accuracy caused by
the parasitic resistance of the driver switch and external interference.
4.2.5.2. Single-ended mode
When the TP controller is in the measurement mode of AUX, the internal ADC is in single-ended mode, using the 3V
reference source as the ADC reference voltage, application of the principle of single-ended mode shown in following
figure.
+IN
-IN
Converter
+REF
-REF
VCC_REF(3V)
4:1
MUX
X+
X-
Y+
Y-
Simplified Diagram of Single-Ended Reference
Confidential
ADC
F1C600 User Manual (Revision 1.0) Copyright© 2015 Allwinner Technology. Co.,Ltd. All Rights Reserved. Page 147
4.2.5.3. Differential mode
When the TP the controller is in the measurement mode of X/Y/Z, the internal ADC is in differential mode, shown in the
following Figure. The advantage of differential mode: +REF and REF input directly to the Y+, Y-, which can eliminate
measurement error because of the switch on-resistance. The disadvantage is that: both the sample or conversion
process, the driver will need to be on. So relative to single-ended mode, the power consumption increased.
+IN
-IN
Converter
+REF
-REF
VCC_REF(3V)
Simplified Diagram of Differential Reference
4.2.5.4. Single touch detection
The principle of operation is illustrated below, For an X coordinate measurement; the X+ pin is internally switched to
VCC_REF and X- to GND. The X plate becomes a potential divider, and the voltage at the point of contact is proportional
to its X co-ordinate. This voltage is measured on the Y+, which carry no current (hence there is no voltage drop in RY+ or
RY-). Due to the ratio metric measurement method, the supply voltage does not affect measurement accuracy. The
voltage references VREF+ and VREF- are taken from after the matrix switches, so that any voltage drop in these switches
has no effect on the ADC measurement. Y coordinate measurements are similar to X coordinate measurements, with
the X and Y plates interchanged. In Single Touch mode, only need to test X+, Y+ signal. But In Dual Touch mode, it need
to test X+, X-,Y+,Y- signal.
Confidential
ADC
F1C600 User Manual (Revision 1.0) Copyright© 2015 Allwinner Technology. Co.,Ltd. All Rights Reserved. Page 148
X+
X-
MEASURE
X POSITION
X-POSITION
TOUCH
Single Touch X-Position Measurement
4.2.5.5. Dual touch detection
The principle of operation is illustrated below, For an X coordinate measurement; the X+ pin is internally switched to 3V
and X- to GND. The X plate becomes a potential divider, and the voltage at the point of contact is proportional to its X
coordinate. This voltage is measured on the Y+ and Y-, which carry no current (hence there is no voltage drop in RY+ or
RY-). Due to the ratio metric measurement method, the supply voltage does not affect measurement accuracy. The
voltage references VREF+ and VREF- are taken from after the matrix switches, so that any voltage drop in these switches
has no effect on the ADC measurement. the controller will need to test X+,X-,Y+,Y- , and record X=|X+ - X-|, Y= | Y+
- Y-|. In practice, we can set a threshold. If X or Y greater than the threshold, we consider it as a dual touch,
otherwise as a single touch.
X+
X-
MEASURE
X+ Position
X-POSITION
TOUCH
MEASURE
X- Position
Dual Touch X-Position Measurements
4.2.5.6. Touch pressure measurement
The pressure applied to the touch screen by a pen or finger to filter unavailable can also be measured by the controller
using some simple calculations. The contact resistance between the X and Y plates is measured, which provides a good
indication of the size of the depressed area and the applied pressure. The area of the touch spot t is proportional to the
size of the object touching it. And the value of this resistance (Rtouch) can be calculated using two different methods.
First Method:
Confidential
ADC
F1C600 User Manual (Revision 1.0) Copyright© 2015 Allwinner Technology. Co.,Ltd. All Rights Reserved. Page 149
The first method requires the user to know the total resistance of the X plate tablet (RXPLATE). Three touch screen
conversions are required: measurement of the X position, XPOSITION(Y+ input); measurement of the X+ input with the
excitation voltage applied to Y+ and X− (Z1 measurement); and measurement of the Y− input with the excitation voltage
applied to Y+ and X− (Z2 measurement). These three measurements are illustrated in following Figure. The controller
have two special ADC channel settings to configure the X and Y switches for the Z1 and Z2 measurements and store the
results in the Z1 and Z2 result registers. The touch resistance (RTOUCH) can then be calculated using the following
equation.
RTOUCH = (RXPLATE) × (XPOSITION /4096) × [(Z2/Z1) − 1]
X+
X- Y-
Y+
TOUCH TOUCH
X+
X-
Y+
Y-
X-POSITION Z1-POSITION Z2-POSITION
MEASURE
X-POSITION
MEASURE
Z1-POSITION
X+
X-
MEASURE
Z2-POSITION
Y+
Y-
Pressure Measurement
Second Method:
The second method requires the user to know the resistance of the X-plate and Y-plate tablets. Three touch screen
conversions are required: a measurement of the X position (XPOSITION), the Y position (YPOSITION), and the Z1 position. The
following equation also calculates the touch resistance (RTOUCH).
RTOUCH = RXPLATE × (XPOSITION/4096) × [(4096/Z1) − 1] − RYPLATE × [1 − (YPOSITION/4096)]
4.2.5.7. Pen down detection, with programmable sensitivity
Pen down detection is used as an interrupt to the host. RIRQ is an internal pull-up resistor with a programmable value of
6~96 kΩ (default 48kΩ). The pen down IRQ output is pulled high by an internal pull-up. In the pen down detection, the
Y driver is on and connected to GND, and the pen down IRQ output is connected to the X+ input. When the panel is
touched, the X+ input is pulled to ground through the touch screen, and the pen down IRQ output goes low because of
the current path through the panel to GND, initiating an interrupt to the processor. During the measurement cycle for
X-, Y-, and Z-position, the X+ input is disconnected from the pen down IRQ pull-down transistor to eliminate any pull-up
resistor leakage current from flowing through the touch screen, thus causing no errors.
Confidential
ADC
F1C600 User Manual (Revision 1.0) Copyright© 2015 Allwinner Technology. Co.,Ltd. All Rights Reserved. Page 150
AVCC
RIRQ
Y+
RTOUCH
Y-
X+
X-
ADC
Example of pen touch Interrupt via pen down IRQ
4.2.5.8. Median and averaging filter
As explained in the Touch Screen Principles section, touch screens are composed of two resistive layers, normally placed
over an LCD screen. Because these layers are in close proximity to the LCD screen, noise can be coupled from the screen
onto these resistive layers, causing errors in the touch screen positional measurements. The controller contain a
filtering block to process the data and discard the spurious noise before sending the information to the host. The
purpose of this block is not only the suppression of noise; the on-chip filtering also greatly reduces the host processing
loading. The processing function consists of two filters that are applied to the converted results: the median filter and
the averaging filter. The median filter suppresses the isolated out-of-range noise and sets the number of measurements
to be taken. These measurements are arranged in a temporary array, where the first value is the smallest measurement
and the last value is the largest measurement. Then the averaging filter size determines the number of values to
average. There are four choices which is configured by TP_CTRL3 register (bit 1 and bit 0) to filtrate the ADC sampling
data. It is showed in following table.
Median and averaging Filter Size (TP_CTRL3)
bit1
bit0
Averaging Filter Size
Median Filter Size
0
0
2
4
0
1
3
5
1
0
4
8
1
1
8
16
Example In this example, the TP_CTRL3 register bit 1 and bit 0 is configured as 2b11. So the median filter has a
window size of 16. This means that 16 measurements are taken and arranged in descending order in a temporary array.
The averaging window size in this example is 8. The output is the average of the middle eight values of the 16
measurements taken with the median filter.
Confidential
ADC
F1C600 User Manual (Revision 1.0) Copyright© 2015 Allwinner Technology. Co.,Ltd. All Rights Reserved. Page 151
12-BIT
SAR ADC
MEDIAN
FILTER
AVERAGING
FILTER
2
3
5
1
6
7
8
9
10
12
11
15
13
4
14
16
1
2
3
4
5
6
8
7
9
10
11
12
13
14
16
15
1
2
3
4
5
6
8
7
9
10
11
12
13
14
16
15
M=16 A=8
Converted Results 16 Measurements Arranged Average Of Middle
8 Values
FIFO
Median and Averaging Filter Example
4.2.6. TP Register List
Module Name
Base Address
TP
0x01C24800
Register Name
Offset
Description
TP_CTRL_REG0
0x00
TP Control Register 0
TP_CTRL_REG1
0x04
TP Control Register 1
TP_CTRL_REG2
0x08
TP Control Register 2
TP_CTRL_REG3
0x0C
TP Control Register 3
TP_INT_FIFO_CTRL_REG
0x10
TP Interrupt FIFO Control Register
TP_INT_FIFO_STAT_REG
0x14
TP Interrupt FIFO Status Register
TP_COM_DATA_REG
0x1C
TP Common Data Register
TP_DATA_REG
0x24
TP Data Register
4.2.7. TP Register Description
4.2.7.1. TP Control Register 0
Offset: 0x00
Register Name: TP_CTRL_REG0
Bit
R/W
Default/Hex
Description
31:24
R/W
0xF
ADC_FIRST_DLY.
ADC First Convert Delay Time(T_FCDT)setting
Based on ADC First Convert Delay Mode select (Bit 23)
T_FCDT = ADC_FIRST_DLY * ADC_FIRST_DLY_MODE
23
R/W
0x1
ADC_FIRST_DLY_MODE.
ADC First Convert Delay Mode Select
Confidential
ADC
F1C600 User Manual (Revision 1.0) Copyright© 2015 Allwinner Technology. Co.,Ltd. All Rights Reserved. Page 152
0: CLK_IN/16
1: CLK_IN/16*256
22
R/W
0x0
ADC_CLK_SELECT.
ADC Clock Source Select:
0: OSC24M
1: Audio PLL
21:20
R/W
0x0
ADC_CLK_DIVIDER.
ADC Clock Divider(CLK_IN)
00: CLK/2
01: CLK/3
10: CLK/6
11: CLK/1
19:16
R/W
0x0
FS_DIV.
ADC Sample Frequency Divider
0000: CLK_IN/2(20-n)
0001: CLK_IN/2(20-n)
0010: CLK_IN/2(20-n)
….
1111: CLK_IN/32
15:0
R/W
0x0
TACQ.
Touch panel ADC acquire time
CLK_IN/(16*(N+1))
4.2.7.2. TP Control Register 1
Offset: 0x04
Register Name: TP_CTRL_REG1
Bit
R/W
Default/Hex
Description
31:20
/
/
/
19:12
R/W
0x0
STYLUS_UP_DEBOUNCE.
Stylus Up De-bounce Time setting
0x00: 0
….
0xff: 2N*(CLK_IN/16*256)
11:10
/
/
/
9
R/W
0x0
STYLUS_UP_DEBOUCE_EN.
Stylus Up De-bounce Function Select
0: Disable
1: Enable
8
/
/
/
7
R/W
0x0
TOUCH_PAN_CALI_EN.
Touch Panel Calibration
1: start Calibration, it is clear to 0 after calibration
6
R/W
0x0
TP_DUAL_EN.
Touch Panel Double Point Enable
0: Disable
1: Enable
Confidential
ADC
F1C600 User Manual (Revision 1.0) Copyright© 2015 Allwinner Technology. Co.,Ltd. All Rights Reserved. Page 153
5
R/W
0x0
TP_EN.
TP Function Enable
0: Disable
1: Enable
4
R/W
0x0
TP_MODE_SELECT.
Touch Panel Mode and Auxiliary ADC Mode Select
0: TP
1: Auxiliary ADC
3
R/W
0x0
ADC_CHAN3_SELECT.
Analog input channel 3 Select
0: Disable
1: Enable
2
R/W
0x0
ADC_CHAN2_SELECT.
Analog input channel 2 Select
0: Disable
1: Enable
1
R/W
0x0
ADC_CHAN1_SELECT.
Analog input channel 1 Select
0: Disable
1: Enable
0
R/W
0x1
ADC_CHAN0_SELECT.
Analog input channel 0 Select
0: Disable
1: Enable
Note:
1) Channel 0~3 can be selected at the same time, but N channel selected, each channel has 1/N full speed of the ADC.
When there is only one channel selected, it has the full conversion rate. CHAN0~3 correspond to TP_YN, TP_YP, TP_XN,
TP_XP.
4.2.7.3. TP Control Register 2
Offset: 0x08
Register Name: TP_CTRL_REG2
Bit
R/W
Default/Hex
Description
31:28
R/W
0x8
TP_SENSITIVE_ADJUST.
Internal Pull-up Resistor Control
0000 least sensitive
0011
……
1111 most sensitive
Notes: Used to adjust sensitivity of pen down detection
27:26
R/W
0x0
TP_FIFO_MODE_SELECT.
TP FIFO Access Data Mode Select
00: FIFO store X1,Y1 data for single touch no pressure mode
01: FIFO store X1,Y1, X, Y data for dual touch no pressure mode
10: FIFO store X1,Y1, X2,Y2 data for dual touch no pressure mode
11: FIFO store X1,Y1, X2,Y2,Z1,Z2 data for dual touch and pressure mode
Confidential
ADC
F1C600 User Manual (Revision 1.0) Copyright© 2015 Allwinner Technology. Co.,Ltd. All Rights Reserved. Page 154
Notes: The ADC output data in single touch mode can store in FIFO with
TP_FIFO_MODE_SELECT configured as 01,10,11. But the data X, Y is
theoretically equal to zero and X2,Y2 is equal to X1,Y1.
25
/
/
/
24
R/W
0x0
PRE_MEA_EN.
TP Pressure Measurement Enable Control
0: Disable
1: Enable
23:0
R/W
0xFFF
PRE_MEA_THRE_CNT.
TP Pressure Measurement threshold Control
Notes:
0x000000: least sensitive
0xFFFFFF: most sensitive
Notes: used to adjust sensitivity of touch
4.2.7.4. TP Control Register 3
Offset: 0x0C
Register Name: TP_CTRL_REG3
Bit
R/W
Default/Hex
Description
31:3
/
/
/
2
R/W
0x0
FILTER_EN.
Filter Enable
0: Disable
1: Enable
1:0
R/W
0x1
FILTER_TYPE.
Filter Type
00: 4/2
01: 5/3
10: 8/4
11: 16/8
4.2.7.5. TP Interrupt FIFO Control Register
Offset: 0x10
Register Name: TP_INT_FIFO_CTRL_REG
Bit
R/W
Default/Hex
Description
31:18
/
/
/
17
R/W
0x0
TP_OVERRUN_IRQ_EN.
TP FIFO Over Run IRQ Enable
0: Disable
1: Enable
16
R/W
0x0
TP_DATA_IRQ_EN.
TP FIFO Data Available IRQ Enable
0: Disable
1: Enable
15:14
/
/
/
13
R/W
0x0
TP_DATA_XY_CHANGE.
TP FIFO X,Y Data interchange Function Select
Confidential
ADC
F1C600 User Manual (Revision 1.0) Copyright© 2015 Allwinner Technology. Co.,Ltd. All Rights Reserved. Page 155
0: Disable
1: Enable
12:8
R/W
0xF
TP_FIFO_TRIG_LEVEL.
TP FIFO Data Available Trigger Level
Interrupt and DMA request trigger level for TP or Auxiliary ADC
Trigger Level = TXTL + 1
7
R/W
0x0
TP_DATA_DRQ_EN.
TP FIFO Data Available DRQ Enable
0: Disable
1: Enable
6:5
/
/
/
4
R/W
0x0
TP_FIFO_FLUSH.
TP FIFO Flush
Write ‘1’ to flush TX FIFO, self clear to ‘0’
3:2
/
/
/
1
R/W
0x0
TP_UP_IRQ_EN.
Touch Panel Last Touch (Stylus Up) IRQ Enable
0: Disable
1: Enable
0
R/W
0x0
TP_DOWN_IRQ_EN.
Touch Panel First Touch (Stylus Down) IRQ Enable
0: Disable
1: Enable
4.2.7.6. TP Interrupt FIFO Status Register
Offset: 0x14
Register Name: TP_INT_FIFO_STAT_REG
Bit
R/W
Default/Hex
Description
31:18
/
/
/
17
R/W
0x0
FIFO_OVERRUN_PENDING.
TP FIFO Over Run IRQ pending
0: No Pending IRQ
1: FIFO Overrun Pending IRQ
Write ‘1’ to clear this interrupt or automatic clear if interrupt condition fails
16
R/W
0x0
FIFO_DATA_PENDING.
TP FIFO Data Available pending Bit
0: NO Pending IRQ
1: FIFO Available Pending IRQ
Write ‘1’ to clear this interrupt or automatic clear if interrupt condition fails
15:13
/
/
/
12:8
R
0x0
RXA_CNT.
TP FIFO available Sample Word Counter
7:3
/
/
/
2
R
0x0
TP_IDLE_FLG.
Touch Panel Idle Flag
0: idle
Confidential
ADC
F1C600 User Manual (Revision 1.0) Copyright© 2015 Allwinner Technology. Co.,Ltd. All Rights Reserved. Page 156
1: not idle
1
R/W
0x0
TP_UP_PENDING.
Touch Panel Last Touch (Stylus Up) IRQ Pending bit
0: No IRQ
1: IRQ
Notes: Writing 1 to the bit will clear it and its corresponding interrupt if the
interrupt is enable.
0
R/W
0x0
TP_DOWN_PENDING.
Touch Panel First Touch (Stylus Down) IRQ Pending bit
0: No IRQ
1: IRQ
Notes: Writing 1 to the bit will clear it and its corresponding interrupt if the
interrupt is enable.
4.2.7.7. TP Common Data Register
Offset: 0x1C
Register Name: TP_COM_DATA_REG
Bit
R/W
Default/Hex
Description
31:12
/
/
/
11:0
R/W
0x0
TP_CDAT.
TP Common Data
Notes: used to adjust the tolerance of the internal ADC
4.2.7.8. TP Data Register
Offset: 0x24
Register Name: TP_DATA_REG
Bit
R/W
Default/Hex
Description
31:12
/
/
/
11:0
R
0x0
TP_DATA.
Touch Panel X ,Y data or Auxiliary analogy input data converted by the
internal ADC
Note
In touch panel mode, the data stored in this register bases on TP_FIFO_MODE_SELECT. In Auxiliary ADC mode, the data
stored in this register bases on ADC_CHAN_SELECT. If four channels are all enable, FIFO will access the input data in
successive turn, first is ADC_CHAN0 data, then ADC_CHAN1, ADC_CHAN2, ADC_CHAN3 data. If there are only two or
three channels selected, such as ADC_CHAN0 and ADC_CHAN3, firstly ADC_CHAN0 input data is accessed, then
ADC_CHAN3 input data.
Confidential
ADC
F1C600 User Manual (Revision 1.0) Copyright© 2015 Allwinner Technology. Co.,Ltd. All Rights Reserved. Page 157
4.3. Audio Codec
4.3.1. Overview
The embedded Audio Codec is a high-quality stereo audio codec designed for embed device. It provides a stereo DAC
for playback, and a single ADC for recording.
4.3.2. Feature
Two audio digital-to-analog (DAC) channels
Stereo capless headphone drivers
Up to 100dB DR
Supports DAC Sample Rates from 8KHz to 192KHz
Support analog/ digital volume control
Analog low-power loop from line-in /microphone to lineout outputs
Four audio inputs:
One microphone inputs
Stereo FM input
One line-in input
One audio analog-to-digital(ADC) channel
96dB SNR@A-weight
Supports ADC Sample Rates from 8KHz to 48KHz
Supports AGC
Interrupt and DMA Support
4.3.3. Block diagram
ADC
DAC
FMINL
HPCOM
SYSTEM
BUS
HPCOMFB
HPOUTL
G
G
DDE
G
MICIN
LINEIN
FMINR
G
HPOUTR
m
m
m
m
m
mmmm
DAC
mm
-1
-1
-1
AVCC/2
m
m
m
GGGGGG
m
m
m
m
m
m
m
The embedded Audio Codec
4.3.4. Signal Description
Signal Name
Type
Description
Confidential
ADC
F1C600 User Manual (Revision 1.0) Copyright© 2015 Allwinner Technology. Co.,Ltd. All Rights Reserved. Page 158
MICIN
I
Microphone input
FMINL
I
FM in left input
FMINR
I
FM in right input
LINEIN
I
Line in input
HPCOMFB
I
Headphone common reference feedback
HPCOM
O
Headphone common reference
HPOUTL
O
Headphone Left output
HPOUTR
O
Headphone Right output
4.3.5. Power Description
VRA1
O
Reference
VRA2
O
Reference
AVCC
I
Analog Power
HPVCC
O
Headphone Amplifier Power
AGND
GND
Analog Ground
4.3.6. Function Description
4.3.6.1. ADC
The ADC is used for recording sound. The sample rate of the ADC is independent of DAC sample rate. In order to save
powerThe volume control of the stereo ADC is set via register ADC_MIXER_CTRL Bit 18:16.
4.3.6.2. Stereo ADC
The stereo DAC can be configured to different sample rate by setting the register DAC_FIFOC Bit31:29. In order to save
power, the left and right DAC can be powered down separately by setting register DAC_MIXER_CTRL Bit 31:30.
4.3.6.3. Mixer
The Codec supports two mixers for all function requirements:
1) Headphone mixer for dual channels
2) ADC record mixer for single channel
4.3.6.4. Headphone Mixer
The headphone mixer is used to drive stereo output, including HPOUTL/R, HPOUTL/R_N.
The following signals can be mixed into the headphone mixer:
1) FMINL/R
2) LINEIN
3) MICIN
4) Stereo DAC output
4.3.6.5. ADC Record Mixer
The ADC record mixer is used to mix analog signals as input to the ADC for recording.
1) FMINL/R
2) LINEIN
Confidential
ADC
F1C600 User Manual (Revision 1.0) Copyright© 2015 Allwinner Technology. Co.,Ltd. All Rights Reserved. Page 159
3) MICIN
4) Stereo DAC output
4.3.6.6. Analog Audio Input Path
The codec support four analog audio input paths:
1) FMINL
2) FMINR
3) LINEIN
4) MICIN
4.3.6.7. FM Input
FMINL and FMINR provide 2-channel stereo single-ended input that can be mixed into the Headphone mixer and ADC
record mixer. The inputs are high impedance and low capacitance, thus ideally suited to receiving line level signals from
external hi-fi or audio equipment or audio module FM.
Both line inputs include programmable volume level adjustments and ADC input mute. Passive RF and active Anti_Alias
filters are also incorporated within the FM inputs. These prevent high frequencies aliasing into the audio band or
otherwise degrading performance.
Confidential
ADC
F1C600 User Manual (Revision 1.0) Copyright© 2015 Allwinner Technology. Co.,Ltd. All Rights Reserved. Page 160
4.3.7. Audio Codec Register List
Module Name
Base Address
Audio Codec
0x01C23C00
Register Name
Offset
Description
AC_DAC_DPC_REG
0x00
DAC Digital Part Control Register
AC_DAC_FIFOC_REG
0x04
DAC FIFO Control Register
AC_DAC_FIFOS_REG
0x08
DAC FIFO Status Register
AC_DAC_TXDATA_REG
0x0c
DAC TX Data Register
AC_ADC_FIFOC_REG
0x10
ADC FIFO Control Register
AC_ADC_FIFOS_REG
0x14
ADC FIFO Status Register
AC_ADC_RXDATA_REG
0x18
ADC RX Data Register
DAC_MIXER_CTRL_REG
0x20
DAC&MIXER Control Register
ADC_MIXER_CTRL_REG
0x24
ADC Analog and Input mixer Control Register
ADDA_TUNE_REG
0x28
ADC&DAC performance tuning Register
BIAS_DA16_CAL_CTRL_REG0
0x2C
Bias&DA16 Calibration Control Register 0
BIAS_DA16_CAL_CTRL_REG1
0x34
Bias&DA16 Calibration Control Register 1
AC_DAC_CNT_REG
0x40
DAC TX FIFO Counter Register
AC_ADC_CNT_REG
0x44
ADC RX FIFO Counter Register
AC_DAC_DG_REG
0x48
DAC Debug Register
AC_ADC_DG_REG
0x4c
ADC Debug Register
AC_ADC_DAP_CTR_REG
0x70
ADC DAP Control Register
AC_ADC_DAP_LCTR_REG
0x74
ADC DAP Left Control Register
AC_ADC_DAP_RCTR_REG
0x78
ADC DAP Right Control Register
AC_ADC_DAP_PARA_REG
0x7C
ADC DAP Parameter Register
AC_ADC_DAP_LAC_REG
0x80
ADC DAP Left Average Coef Register
AC_ADC_DAP_LDAT_REG
0x84
ADC DAP Left Decay and Attack Time Register
AC_ADC_DAP_RAC_REG
0x88
ADC DAP Right Average Coef Register
AC_ADC_DAP_RDAT_REG
0x8C
ADC DAP Right Decay and Attack Time Register
ADC_DAP_HPFC_REG
0x90
ADC DAP HPF Coef Register
ADC_DAP_LINAC_REG
0x94
ADC DAP Left Input Signal Low Average Coef Register
ADC_DAP_RINAC_REG
0x98
ADC DAP Right Input Signal Low Average Coef Register
ADC_DAP_ORT_REG
0x9c
ADC DAP Optimum Register
4.3.8. Audio Codec Register Description
4.3.8.1. DAC Digital Part Control Register
Offset: 0x00
Register Name: AC_DAC_DPC_REG
Bit
R/W
Default/Hex
Description
31
R/W
0x0
EN_DA.
DAC Digital Part Enable
Confidential
ADC
F1C600 User Manual (Revision 1.0) Copyright© 2015 Allwinner Technology. Co.,Ltd. All Rights Reserved. Page 161
0: Disable
1: Enable
30:29
/
/
/
28:25
R/W
0x0
MODQU.
Internal DAC Quantization Levels
Levels=[7*(21+MODQU[3:0])]/128
Default levels=7*21/128=1.15
24
R/W
0x0
DWA.
DWA Function Disable
0: Enable
1: Disable
23
/
/
/
22:21
R/W
0x0
HPVL_SOFT_MOD
Headphone volume soft tuning mode
0X: Normal mode
10: Soft volume mode
11: DAC Soft disable or enable mode
20
R
0x0
DACA_CHND_ENA
Internal status of DAC Analog channel enable control
0: Disable; 1: Enable
19
R/W
0x0
HPPA_MXRD_ENA
Internal status of headphone PA mixer all-input mute control
0: Mute; 1: On
18
R/W
0x0
HPF_EN.
High Pass Filter Enable
0: Disable
1: Enable
17:12
R/W
0x0
DVOL.
Digital volume control: dvc, ATT=DVC[5:0]*(-1.16dB)
64 steps, -1.16dB/step
11:6
R/W
0x0
HPVL_STEP_CTRL
Headphone volume soft tuning step control
0: 10us
1: 20us
...
7: 80us
8: 90us
9: 100us
10: 200us
...
16: 800us
17: 900us
18: 1ms
19: 2ms
...
Confidential
ADC
F1C600 User Manual (Revision 1.0) Copyright© 2015 Allwinner Technology. Co.,Ltd. All Rights Reserved. Page 162
25: 8ms
26: 9ms
27: 10ms
28: 20ms
...
34: 80ms
35: 90ms
36: 100ms
37: 200ms
...
43: 800ms
44: 900ms
45: 1s
...
52: 8s
53: 9s
54-63: 9s
5:0
R/W
0x10
HPVL_CTRL_OUT
Internal status of headphone PA volume control
Total 64 level, from -63dB to 0dB, 1dB/step,
min when 000000(-63dB), max when 111111(0dB)
4.3.8.2. DAC FIFO Control Register
Offset: 0x04
Register Name: AC_DAC_FIFOC_REG
Bit
R/W
Default/Hex
Description
31:29
R/W
0x0
DAC_FS.
Sample Rate of DAC
000: 48KHz
010: 24KHz
100: 12KHz
110: 192KHz
001: 32KHz
011: 16KHz
101: 8KHz
111: 96KHz
44.1KHz/22.05KHz/11.025KHz can be supported by Audio PLL Configure Bit
28
R/W
0
FIR_VER.
FIR Version
0: 64-Tap FIR; 1: 32-Tap FIR
27
/
/
/
26
R/W
0x0
SEND_LASAT.
Audio sample select when TX FIFO under run
0: Sending zero
1: Sending last audio sample
25:24
R/W
0x0
FIFO_MODE.
Confidential
ADC
F1C600 User Manual (Revision 1.0) Copyright© 2015 Allwinner Technology. Co.,Ltd. All Rights Reserved. Page 163
For 24-bits transmitted audio sample:
00/10: FIFO_I[23:0] = {TXDATA[31:8]}
01/11: Reserved
For 16-bits transmitted audio sample:
00/10: FIFO_I[23:0] = {TXDATA[31:16], 8’b0}
01/11: FIFO_I[23:0] = {TXDATA[15:0], 8’b0}
23
/
/
/
22:21
R/W
0x0
DAC_DRQ_CLR_CNT.
When TX FIFO available room less than or equal N, DRQ Request will be
De-asserted. N is defined here:
00: IRQ/DRQ Deasserted when WLEVEL > TXTL
01: 4
10: 8
11: 16
20:15
/
/
/
14:8
R/W
0xF
TX_TRIG_LEVEL.
TX FIFO Empty Trigger Level (TXTL[12:0])
Interrupt and DMA request trigger level for TX FIFO normal condition.
IRQ/DRQ Generated when WLEVEL ≤ TXTL
Notes:
WLEVEL represents the number of valid samples in the TX FIFO
Only TXTL[6:0] valid when TXMODE = 0
7
R/W
0x0
ADDA_LOOP_EN.
ADDA loop Enable, adda
0: Disable 1: Enable
6
R/W
0x0
DAC_MONO_EN.
DAC Mono Enable
0: Stereo, 64 levels FIFO
1: mono, 128 levels FIFO
When enabled, L & R channel send same data
5
R/W
0x0
TX_SAMPLE_BITS.
Transmitting Audio Sample Resolution
0: 16 bits
1: 24 bits
4
R/W
0x0
DAC_DRQ_EN.
DAC FIFO Empty DRQ Enable
0: Disable
1: Enable
3
R/W
0x0
DAC_IRQ_EN.
DAC FIFO Empty IRQ Enable
0: Disable
1: Enable
2
R/W
0x0
FIFO_UNDERRUN_IRQ_EN.
DAC FIFO Under Run IRQ Enable
0: Disable
Confidential
ADC
F1C600 User Manual (Revision 1.0) Copyright© 2015 Allwinner Technology. Co.,Ltd. All Rights Reserved. Page 164
1: Enable
1
R/W
0x0
FIFO_OVERRUN_IRQ_EN.
DAC FIFO Over Run IRQ Enable
0: Disable
1: Enable
0
R/W
0x0
FIFO_FLUSH.
DAC FIFO Flush
Write ‘1’ to flush TX FIFO, self clear to ‘0
4.3.8.3. DAC FIFO Status Register
Offset: 0x08
Register Name: AC_DAC_FIFOS_REG
Bit
R/W
Default/Hex
Description
31:24
/
/
/
23
R
0x1
TX_EMPTY.
TX FIFO Empty
0: No room for new sample in TX FIFO
1: More than one room for new sample in TX FIFO (>= 1 word)
22:8
R
0x80
TXE_CNT.
TX FIFO Empty Space Word Counter
7:4
/
/
/
3
R/W
0x1
TXE_INT.
TX FIFO Empty Pending Interrupt
0: No Pending IRQ
1: FIFO Empty Pending Interrupt
Write ‘1’ to clear this interrupt or automatic clear if interrupt condition fails.
2
R/W
0x0
TXU_INT.
TX FIFO Under run Pending Interrupt
0: No Pending Interrupt
1: FIFO Under run Pending Interrupt
Write ‘1’ to clear this interrupt
1
R/W
0x0
TXO_INT.
TX FIFO Overrun Pending Interrupt
0: No Pending Interrupt
1: FIFO Overrun Pending Interrupt
Write ‘1’ to clear this interrupt
0
/
/
/
4.3.8.4. DAC TX DATA Register
Offset: 0x0C
Register Name: AC_DAC_TXDATA_REG
Bit
R/W
Default/Hex
Description
31:0
W
0x0
TX_DATA.
Transmitting left, right channel sample data should be written this register
one by one. The left channel sample data is first and then the right channel
sample.
Confidential
ADC
F1C600 User Manual (Revision 1.0) Copyright© 2015 Allwinner Technology. Co.,Ltd. All Rights Reserved. Page 165
4.3.8.5. ADC FIFO Control Register
Offset: 0x10
Register Name: AC_ADC_FIFOC_REG
Bit
R/W
Default/Hex
Description
31:29
R/W
0x0
ADFS.
Sample Rate of ADC
000: 48KHz
010: 24KHz
100: 12KHz
110: Reserved
001: 32KHz
011: 16KHz
101: 8KHz
111: Reserved
44.1KHz/22.05KHz/11.025KHz can be supported by Audio PLL Configure Bit
28
R/W
0x0
EN_AD.
ADC Digital Part Enable, en_ad
0: Disable
1: Enable
27
/
/
/
26:25
/
/
/
24
R/W
0x0
RX_FIFO_MODE.
RX FIFO Output Mode (Mode 0, 1)
0: Expanding ‘0’ at LSB of TX FIFO register
1: Expanding received sample sign bit at MSB of TX FIFO register
For 24-bits received audio sample:
Mode 0: RXDATA[31:0] = {FIFO_O[23:0], 8’h0}
Mode 1: Reserved
For 16-bits received audio sample:
Mode 0: RXDATA[31:0] = {FIFO_O[23:8], 16’h0}
Mode 1: RXDATA[31:0] = {16{FIFO_O[23]}, FIFO_O[23:8]}
23:19
/
/
/
18:17
R/W
0x0
ADCFDT.
ADC FIFO Delay Time For writing Data after ADC digital part enable
00:5ms
01:10ms
10:20ms
11:30ms
16
R/W
0x0
ADCDFEN.
ADC FIFO Delay Function For writing Data after ADC digital part enable
0: Disable
1: Enable
15:13
/
/
/
12:8
R/W
0xF
RX_FIFO_TRG_LEVEL.
RX FIFO Trigger Level (RXTL[4:0])
Interrupt and DMA request trigger level for TX FIFO normal condition
Confidential
ADC
F1C600 User Manual (Revision 1.0) Copyright© 2015 Allwinner Technology. Co.,Ltd. All Rights Reserved. Page 166
IRQ/DRQ Generated when WLEVEL RXTL[4:0]
Notes:
WLEVEL represents the number of valid samples in the RX FIFO
7
R/W
0x0
ADC_MONO_EN.
ADC Mono Enable.
0: Stereo, 16 levels FIFO
1: mono, 32 levels FIFO
When set to ‘1’, Only left channel samples are recorded
6
R/W
0x0
RX_SAMPLE_BITS.
Receiving Audio Sample Resolution
0: 16 bits
1: 24 bits
5
/
/
/
4
R/W
0x0
ADC_DRQ_EN.
ADC FIFO Data Available DRQ Enable.
0: Disable
1: Enable
3
R/W
0x0
ADC_IRQ_EN.
ADC FIFO Data Available IRQ Enable.
0: Disable
1: Enable
2
/
/
/
1
R/W
0x0
ADC_OVERRUN_IRQ_EN.
ADC FIFO Over Run IRQ Enable
0: Disable
1: Enable
0
R/W
0x0
ADC_FIFO_FLUSH.
ADC FIFO Flush.
Write ‘1’ to flush TX FIFO, self clear to ‘0.
4.3.8.6. ADC FIFO Status Register
Offset: 0x14
Register Name: AC_ADC_FIFOS_REG
Bit
R/W
Default/Hex
Description
31:24
/
/
/
23
R
0x0
RXA.
RX FIFO Available
0: No available data in RX FIFO
1: More than one sample in RX FIFO (>= 1 word)
22:14
/
/
/
13:8
R
0x0
RXA_CNT.
RX FIFO Available Sample Word Counter
7:4
/
/
/
3
R/W
0x0
RXA_INT.
RX FIFO Data Available Pending Interrupt
0: No Pending IRQ
Confidential
ADC
F1C600 User Manual (Revision 1.0) Copyright© 2015 Allwinner Technology. Co.,Ltd. All Rights Reserved. Page 167
1: Data Available Pending IRQ
Write ‘1’ to clear this interrupt or automatic clear if interrupt condition fails.
2
/
/
/
1
R/W
0x0
RXO_INT.
RX FIFO Overrun Pending Interrupt
0: No Pending IRQ
1: FIFO Overrun Pending IRQ
Write ‘1’ to clear this interrupt
0
/
/
/
4.3.8.7. ADC RX DATA Register
Offset: 0x18
Register Name: AC_ADC_RXDATA_REG
Bit
R/W
Default/Hex
Description
31:0
R
0x0
RX_DATA.
RX Sample
Host can get one sample by reading this register. The left channel sample
data is first and then the right channel sample.
4.3.8.8. DAC Analog & Output MIXER Control Register
Offset:20
Register Name: DAC_MIXER_CTRL_REG
Bit
R/W
Default/Hex
Description
31
R/W
0x0
DACAREN.
Internal Analog Right channel DAC Enable
0:Disable; 1:Enable
30
R/W
0x0
DACALEN.
Internal Analog Left channel DAC Enable
0:Disable; 1:Enable
29
R/W
0x0
RMIXEN.
Right Analog Output Mixer Enable
0:Disable; 1:Enable
28
R/W
0x0
LMIXEN.
Left Analog Output Mixer Enable
0:Disable; 1:Enable
27
R/W
0x0
RHPPAMUTE.
All input source to Right Headphone PA mute, including Right Output mixer
and Internal Right channel DAC:
0:Mute, 1: Not mute
26
R/W
0x0
LHPPAMUTE.
All input source to Left Headphone PA mute, including Left Output mixer and
Internal Left channel DAC:
0:Mute, 1: Not mute
25
R/W
0x0
RHPIS.
Right Headphone Power Amplifier (PA) Input Source Select
0: Right channel DAC
1: Right Analog Mixer
Confidential
ADC
F1C600 User Manual (Revision 1.0) Copyright© 2015 Allwinner Technology. Co.,Ltd. All Rights Reserved. Page 168
24
R/W
0x0
LHPIS.
Left Headphone Power Amplifier (PA) Input Source Select
0: Left channel DAC
1: Left Analog Mixer
23:22
R/W
0x0
HPCOM_FC.
HPCOM function control
00: HPCOM off & output is floating
01: HPL inverting output
10: HPR inverting output
11: Direct driver for HPL & HPR
21
R/W
0x1
COMPTEN.
HPCOM output protection enable when it is set as Direct driver for HPL/R
0: protection disable
1: protection enable
20:16
R/W
0x0
RMIXMUTE.
Right Output Mixer Mute Control
Mute, 1-Not mute
Bit 4: MICIN Boost stage
Bit 3: LINEIN
Bit 2: FMINR
Bit 1: Right channel DAC
Bit 0: Left channel DAC
15
R/W
0x0
HPPAEN
Right & Left Headphone Power Amplifier Enable
0-disable
1-enable
14:13
/
/
/
12:8
R/W
0x0
LMIXMUTE.
Left Output Mixer Mute Control
0-Mute, 1-Not mute
Bit 4: MICIN Boost stage
Bit 3: LINEIN
Bit 2: FMINL
Bit 1: Left channel DAC
Bit 0: Right channel DAC
7
R/W
0x0
LTRNMUTE.
Left HPOUT Negative To Right HPOUT Mute
0: Mute
1: Not mute
6
R/W
0x0
RTLNMUTE.
Right HPOUT Negative To Left HPOUT Mute
0: Mute
1: Not mute
5:0
R/W
0x0
HPVOL.
Headphone Volume Control, (HPVOL): Total 64 level, from 0dB to -62dB,
Confidential
ADC
F1C600 User Manual (Revision 1.0) Copyright© 2015 Allwinner Technology. Co.,Ltd. All Rights Reserved. Page 169
1dB/step, mute when 000000
4.3.8.9. ADC Analog and Input mixer Control Register
Offset: 0x24
Register Name: ADC_MIXER_CTRL_REG
Bit
R/W
Default/Hex
Description
31
R/W
0x0
ADCEN.
ADC Analog Enable
0-Disable
1-Enable
30:27
/
/
/
26:24
R/W
0x3
MICG.
MICIN BOOST stage to L or R output mixer Gain Control
From -4.5dB to 6dB, 1.5dB/step, default is 0dB
23:21
R/W
0x0
LINEINVOL.
LINEIN to L/R output mixer Gain Control
From 0dB to 14dB, 2dB/step, default is 0dB
20:19
/
/
/
18:16
R/W
0x3
ADCG.
ADC Input Gain Control
From -4.5dB to 6dB, 1.5dB/step default is 0dB
15:14
R/W
0x1
COSSLOPECTRL.
COS slop time control for Anti-pop
000: 131ms;
001: 262ms;
010: 393ms;
011: 524ms;
13:8
R/W
0x0
ADCMIXMUTE.
ADC Mixer Mute Control:
0-Mute, 1-Not mute
Bit 5: MICIN Boost stage
Bit 4:FMINL
Bit 3: FMINR
Bit 2: LINEIN
Bit 1: Left output mixer
Bit 0: Right output mixer
7
R/W
0x0
PASPEEDSELECT.
PA Speed Select;
0: Normal
1: Fast
6:4
R/W
0x0
FMINLVOL.
FMINL/R to L/R output mixer Gain Control
From 0dB to 14dB, 2dB/step, default is 0dB
3
R/W
0x0
MIC AMPEN.
MIC Boost AMP Enable
0:Disable
Confidential
ADC
F1C600 User Manual (Revision 1.0) Copyright© 2015 Allwinner Technology. Co.,Ltd. All Rights Reserved. Page 170
1:Enable
2:0
R/W
0x4
MICBOOST.
MIC Boost AMP Gain Control
0dB when 000, 24dB to 42dB when 001 to 111, 3dB/step, default is 33dB
4.3.8.10. ADC&DAC performance tuning Register
Offset:0x28
Register Name: ADDA_TUNE_REG
Bit
R/W
Default/Hex
Description
31
R/W
0x0
ZERO_CROSS_EN.
function enable for master volume change at zero cross over
0: disable
1: enable
30
R/W
0x0
ZERO_CROSS_TIME_SEL.
Timeout control for master volume change at zero cross over
0: 32ms
1: 64ms
29:28
R/W
0x0
PTDBS
HPCOM protect debounce time setting
00: 2-3ms; 01: 4-6ms; 10: 8-12ms; 11: 16-24ms
at the same time, bit 17 is used to control the AVCCPORFLAG, write 1 to this
bit, flag will be clear, and the calibration is done again
27
R/W
0x0
PA_SLOPE_SELECT
PA slope select cosine or ramp
0: select cosine
1: select ramp
26:24
R/W
0x0
PA_ANTI_POP_CTRL.
PA Anti-pop time Control
000:131ms
001:262ms
010:395ms
011:524ms
100:655ms
101:789ms
110:789ms
111:1048ms
23:22
R/W
0x0
OPMIC_BIAS_CUR
OPMIC Bias Current Control
21:20
R/W
0x0
OPVR_BIAS_CUR.
OPVR Bias Current Control
19:18
R/W
0x0
OPDAC_BIAS_CUR.
OPDAC Bias Current Control
17:16
R/W
0x0
OPMIX_BIAS_CUR.
OPMIX/OPLPF/OPDRV/OPCOM Bias Current Control
15:14
R/W
0x0
OPDRV_OPCOM_CUR.
OPDRV/OPCOM output stage current setting
Confidential
ADC
F1C600 User Manual (Revision 1.0) Copyright© 2015 Allwinner Technology. Co.,Ltd. All Rights Reserved. Page 171
13:12
R/W
0x0
OPADC1_BIAS_CUR.
OPADC1 Bias Current Select
11:10
R/W
0x0
OPADC2_BIAS_CUR.
OPADC2 Bias Current Select
9:8
R/W
0x0
OPAAF_BIAS_CUR.
OPAAF in ADC Bias Current Select
7:5
R/W
0x0
USB_BIAS_CUR.
USB bias current tuning
From 23uA to 30uA, Default is 25uA
4
R/W
0x0
DITHER
ADC dither on/off control
0: dither off; 1: dither on
3:2
R/W
0x0
DITHER_CLK_SELECT
ADC dither clock select
00: ADC FS * (8/9), about 43KHz when FS=48KHz
01: ADC FS * (16/15), about 51KHz when FS=48KHz
10: ADC FS * (4/3), about 64KHz when FS=48KHz
11: ADC FS * (16/9), about 85KHz when FS=48KHz
1:0
R/W
0x0
BIHE_CTRL, BIHE control
00: no BIHE
01: BIHE=7.5 HOSC
10: BIHE=11.5 HOSC
11: BIHE=15.5 HOSC
Note: This register must write 0x44555556 at the time of power on
4.3.8.11. Bias & DA16 Calibration Control Register 0
Offset:0x2C
Register Name: BIAS_DA16_CAL_CTRL0_REG
Bit
R/W
Default/Hex
Description
31:7
/
/
/
6
R/W
0x1
CURRENT_TEST_SELECT.
Internal current sink test enable (from LINEIN pin)
0:Normal;
1: For Debug
5
/
/
/
4
R/W
0x1
BIAS and DA16 calibration clock select
0: 1KHz;
1: 500Hz
3
R/W
0x0
BIAS calibration mode select
0: average;
1: single
2
R/W
0x1
BIAS and DA16 calibration control
Write 1 to this bit, the calibration will be doing again. Then this bit will be
reset to zero automatically
1
R/W
0x1
BIASCALIVERIFY
Bias Calibration Verify
Confidential
ADC
F1C600 User Manual (Revision 1.0) Copyright© 2015 Allwinner Technology. Co.,Ltd. All Rights Reserved. Page 172
0: Calibration;
1: Register setting
0
R/W
0x0
DA16CALIVERIFY
DA16 Calibration Verify
0: Calibration;
1: Register setting
Note: This register must write 0x00000004 at the time of power on
4.3.8.12. Bias & DA16 Calibration Control Register 1
Offset:0x34
Register Name: Bias_DA16_CAL_CTRL1_REG
Bit
R/W
Default/Hex
Description
31:29
/
/
/
28:23
R/W
0X0
BIASVERIFY
Bias Register Setting Data, 6bit
22:0
/
/
/
Note: This register must write 0x10000000 at the time of power on
4.3.8.13. DAC TX Counter Register
Offset: 0x40
Register Name: AC_DAC_CNT_REG
Bit
R/W
Default/Hex
Description
31:0
R/W
0x0
TX_CNT.
TX Sample Counter
The audio sample number of sending into TXFIFO. When one sample is put
into TXFIFO by DMA or by host IO, the TX sample counter register increases by
one. The TX sample counter register can be set to any initial valve at any time.
After been updated by the initial value, the counter register should count on
base of this initial value.
Notes: It is used for Audio/ Video Synchronization
4.3.8.14. ADC RX Counter Register
Offset: 0x44
Register Name: AC_ADC_CNT_REG
Bit
R/W
Default/Hex
Description
31:0
R/W
0x0
RX_CNT.
RX Sample Counter
The audio sample number of writing into RXFIFO. When one sample is written
by Digital Audio Engine, the RX sample counter register increases by one. The
RX sample counter register can be set to any initial valve at any time. After
been updated by the initial value, the counter register should count on base of
this initial value.
Notes: It is used for Audio/ Video Synchronization
4.3.8.15. DAC Debug Register
Offset: 0x48
Register Name: AC_DAC_DG
Bit
R/W
Default/Hex
Description
31:12
/
/
/
Confidential
ADC
F1C600 User Manual (Revision 1.0) Copyright© 2015 Allwinner Technology. Co.,Ltd. All Rights Reserved. Page 173
11
R/W
0x0
DAC_MODU_SELECT.
DAC Modulator Debug
0: DAC Modulator Normal Mode
1: DAC Modulator Debug Mode
10:9
R/W
0x0
DAC_PATTERN_SELECT.
DAC Pattern Select
00: Normal (Audio Sample from TX FIFO)
01: -6 dB Sin wave
10: -60 dB Sin wave
11: silent wave
8
R/W
0x0
CODEC_CLK_SELECT.
CODEC Clock Source Select: cksel
0: CODEC Clock from PLL
1: CODEC Clock from OSC (For Debug)
7
/
/
/
6
R/W
0x0
DA_SWP.
DAC output channel swap enable, da_swp
0:Disable
1:Enable
5:0
/
/
/
4.3.8.16. ADC Debug Register
Offset: 0x4C
Register Name: AC_ADC_DG_REG
Bit
R/W
Default/Hex
Description
31:25
/
/
/
24
R/W
0x0
AD_SWP.
ADC output channel swap enable (for digital filter)
0: disable
1: enable
23:0
/
/
/
4.3.8.17. ADC DAP Control Register
Offset: 0x70
Register Name: AC_ADC_DAP_CTR_REG
Bit
R/W
Default/Hex
Description
31
R/W
0X0
DAP_EN
DAP for ADC enable
0 : bypass 1: enable
30
R/W
0x0
ADAP_ START.
DAP for ADC start up
0 : disable
1: start up
29:22
/
/
/
21
R
0x0
ADAP_LSATU_FLAG.
Left channel AGC saturation flag
0 : no saturation
Confidential
ADC
F1C600 User Manual (Revision 1.0) Copyright© 2015 Allwinner Technology. Co.,Ltd. All Rights Reserved. Page 174
1: saturation
20
R
0x0
ADAP_LNOI_FLAG.
Left channel AGC noise-threshold flag
0:
1:
19:12
R
0x0
ADAP_LCHAN_GAIN
Left channel Gain applied by AGC
(7.1format 2s component(-20dB 40dB), 0.5dB/ step)
0x50 : 40dB
0x4F : 39.5dB
---------------
0x00 : 00dB
0xFF : -0.5dB
11:10
/
/
/
9
R
0x0
ADAP_RSATU_FLAG.
Right AGC saturation flag
0 : no saturation
1: saturation
8
R
0x0
ADAP_RNOI_FLAG.
Right channel AGC noise-threshold flag
0:
1:
7:0
R
0x0
ADAP_LCHAN_GAIN.
Right Channel Gain applied by AGC (7.1format 2s component)(0.5dB step
0x50 : 40dB
0x4F : 39.5dB
---------------
0x00 : 00dB
0xFF : -0.5dB
4.3.8.18. ADC DAP Left Control Register
Offset: 0x74
Register Name: AC_ADC_DAP_LCTR_REG
Bit
R/W
Default/Hex
Description
31:24
/
/
/
23:16
R/W
0x1F
(-86dB)
ADAP_LNOI_SET.
Left channel noise threshold setting
0x00 : -24dB
0x01 : -26dB
0x02 : -28dB
----------------------
0x1D: -82dB
0x1E: -84dB
0x1F: -86dB
15
/
/
/
14
R/W
0x1
AAGC_LCHAN_EN.
Confidential
ADC
F1C600 User Manual (Revision 1.0) Copyright© 2015 Allwinner Technology. Co.,Ltd. All Rights Reserved. Page 175
Left AGC function enable
0:disable
1: enable
13
R/W
0x1
ADAP_LHPF_EN.
Left HPF enable
0: disable
1: enable
12
R/W
0x1
ADAP_LNOI_DET.
Left Noise detect enable
0: disable
1: enable
11:10
/
/
/
9:8
R/W
0x0
ADAP_LCHAN_HYS.
Left Hysteresis setting
00 : 1dB
01 : 2dB
10 : 4dB
11 : disable
7:4
R/W
0x0
ADAP_LNOI_DEB.
Left Noise debounce time
0000:0/fs
0001:4/fs
0010:8/fs
------------
1111 :16*4096/fs
T=2(N+1)/fs ,except N=0
3:0
R/W
0x0
ADAP_LSIG_DEB.
Left Signal debounce time
0000:0/fs
0001:4/fs
0010:8/fs
------------
1111 :16*4096/fs
T=2(N+1)/fs ,except N=0
4.3.8.19. ADC DAP Right Control Register
Offset: 0x78
Register Name: AC_ADC_DAP_RCTR_REG
Bit
R/W
Default/Hex
Description
31:21
/
/
/
20:16
R/W
0x1F
(-86dB)
ADAP_RNOI_SET.
Right channel noise threshold setting
0x00 : -24dB
0x01 : -26dB
0x02 : -28dB
----------------------
Confidential
ADC
F1C600 User Manual (Revision 1.0) Copyright© 2015 Allwinner Technology. Co.,Ltd. All Rights Reserved. Page 176
0x1D: -82dB
0x1E: -84dB
0x1F: -86dB
15
/
/
/
14
R/W
0x1
AAGC_RCHAN_EN.
Right AGC enable
0:disable
1:enable
13
R/W
0x1
ADAP_RHPF_EN.
Right HPF enable
0: disable
1: enable
12
R/W
0x1
ADAP_RNOI_DET.
Right Noise detect enable
0: disable
1:enable
11:10
/
/
/
9:8
R/W
0x0
ADAP_RCHAN_HYS.
Right Hysteresis setting
00 : 1dB
01 : 2dB
10 : 4dB
11 : disable;
7:4
R/W
0x0
ADAP_RNOI_DEB.
Right Noise debounce time
0000:0/fs
0001:4/fs
0010:8/fs
------------
111116*4096/fs
T=2(N+1)/fs ,except N=0
3:0
R/W
0x0
ADAP_RSIG_DEB.
Right Signal debounce time
0000:0/fs
0001:4/fs
0010:8/fs
------------
111116*4096/fs
T=2(N+1)/fs ,except N=0
4.3.8.20. ADC DAP Parameter Register
Offset: 0x7C
Register Name: AC_ADC_DAP_PARA_REG
Bit
R/W
Default/Hex
Description
31:30
/
/
/
29:24
R/W
0x2C
ADAP_LTARG_SET.
Confidential
ADC
F1C600 User Manual (Revision 1.0) Copyright© 2015 Allwinner Technology. Co.,Ltd. All Rights Reserved. Page 177
Left channel target level setting (-1dB -- -30dB). (6.0format 2s component)
23:22
/
/
/
21:16
R/W
0x2C
ADAP_RTARG_SET.
Right channel target level setting (-1dB -- -30dB). (6.0format 2s component)
15:8
R/W
0x28
ADAP_LGAIN_MAX.
Left channel max gain setting (0-40dB). (7.1format 2s component)
7:0
R/W
0x28
ADAP_RGAIN_MAX.
Right channel max gain setting (0-40dB). (7.1format 2s component)
4.3.8.21. ADC DAP Left Average Coef Register
Offset: 0x80
Register Name: AC_ADC_DAP_LAC_REG
Bit
R/W
Default/Hex
Description
31:27
/
/
/
26:0
R/W
0x0051EB8
ADAP_LAC.
Average level coefficient setting(3.24format 2s component)
4.3.8.22. ADC DAP Left Decay & Attack Time Register
Offset: 0x84
Register Name: AC_ADC_DAP_LDAT_REG
Bit
R/W
Default/Hex
Description
31
/
/
/
30:16
R/W
0x0000
ADAP_LATT_SET
Left attack time coefficient setting
0000 : 1x32/fs
0001 : 2x32/fs
------------------------
7FFF : 215 x32/fs
T=(n+1)*32*fs
When the gain decreases, the actual gain will decrease 0.5dB at every attack
time.
15
/
/
/
14:0
R/W
0x001F
(32x32fs)
ADAP_LDEC_SET
Left decay time coefficient setting
0000 : 1x32/fs
0001 : 2x32/fs
------------------------
7FFF : 215 x32/fs
T=(n+1)*32/fs
When the gain increases, the actual gain will increase 0.5dB at every decay
time.
4.3.8.23. ADC DAP Right Average Coef Register
Offset: 0x88
Register Name: AC_ADC_DAP_RAC_REG
Bit
R/W
Default/Hex
Description
31:27
/
/
/
26:0
R/W
0x0051EB8
ADAP_RAC.
Confidential
ADC
F1C600 User Manual (Revision 1.0) Copyright© 2015 Allwinner Technology. Co.,Ltd. All Rights Reserved. Page 178
Average level coefficient setting(3.24fomat)
4.3.8.24. ADC DAP Right Decay & Attack Time Register
Offset: 0x8C
Register Name: AC_ADC_DAP_RDAT_REG
Bit
R/W
Default/Hex
Description
31
/
/
/
30:16
R/W
0x0000
ADAP_RATT_SET.
Right attack time coefficient setting
0000 : 1x32/fs
0001 : 2x32/fs
………………………
7FFF : 215 x32/fs
T=(n+1)*32/fs
When the gain decreases, the actual gain will decrease 0.5dB at every attack
time.
15
/
/
/
14:0
R/W
0x001F
ADAP_RDEC_SET
Right decay time coefficient setting
0000 : 1x32/fs
0001 : 2x32/fs
…………………..
7FFF : 215x32/fs
T=(n+1)*32/fs
When the gain increases, the actual gain will increase 0.5dB at every decay
time.
4.3.8.25. ADC DAP HPF Coef Register
Offset: 0x90
Register Name: AC_ADC_DAP_HPFC_REG
Bit
R/W
Default/Hex
Description
31:27
/
/
/
26:0
R/W
0x0FFFAC1
ADAP_HPFC.
HPF coefficient setting (3.24fomat)
4.3.8.26. ADC DAP Left Input Signal Low Average Coef Register
Offset: 0x94
Register Name: AC_ADC_DAP_LINAC_REG
Bit
R/W
Default/Hex
Description
31:27
/
/
/
26:0
R/W
0x0051EB8
ADAP_LINAC
Left input signal average filter coefficient to check noise or not (the
coefficients 3.24 format 2s complement) always the same as the left output
signal average filter's
4.3.8.27. ADC DAP Right Input Signal Low Average Coef Register
Offset: 0x98
Register Name: AC_ADC_DAP_RNAC_REG
Bit
R/W
Default/Hex
Description
Confidential
ADC
F1C600 User Manual (Revision 1.0) Copyright© 2015 Allwinner Technology. Co.,Ltd. All Rights Reserved. Page 179
31:27
/
/
/
26:0
R/W
0x0051EB8
ADAP_RINAC
Right input signal average filter coefficient to check noise or not (the
coefficients 3.24 format 2s complement) always the same as the left output
signal average filter's
4.3.8.28. ADC DAP Optimum Register
Offset: 0x9C
Register Name: AC_ADC_DAP_OPT_REG
Bit
R/W
Default/Hex
Description
31:11
/
/
/
10
R/W
0
Left energy default value setting(include the input and output)
0 : min
1 : max
9 :8
R/W
00
Left channel gain hysteresis setting.
The different between target level and the signal level must larger than the
hysteresis when the gain change.
00 : 0.4375db
01 : 0.9375db
10 : 1.9375db
11 : 3db
7:6
/
/
/
5
R/W
0
The input signal average filter coefficient setting
0 : is the reg94/reg98
1 : is the reg80/reg88;
4
R/W
0
AGC output when the channel in noise state
0 : output is zero
1 : output is the input data
3
/
/
/
2
R/W
0
Right energy default value setting(include the input and output)
0 : min; 1 : max
1 :0
R/W
00
Right channel gain hysteresis setting.
The different between target level and the signal level must larger than the
hysteresis when the gain changes.
00 : 0.4375db
01 : 0.9375db
10 : 1.9375db
11 : 3db
Confidential
Display
F1C600 User Manual (Revision 1.0) Copyright© 2015 Allwinner Technology. Co.,Ltd. All Rights Reserved. Page 180
Chapter 5. Display
This chapter describes the F1C600 display system from following perspectives:
TCON
Display Engine Front-End
Display Engine Back-End
De-interlacer
Confidential
Display
F1C600 User Manual (Revision 1.0) Copyright© 2015 Allwinner Technology. Co.,Ltd. All Rights Reserved. Page 181
5.1. TCON
5.1.1. Overview
The TCON module is timing controller of display output interface. TCON0 control LCD timing, output LCD signal and data
to IO. TCON1 control TV timing, output TV control signal and data to TVE module.
5.1.2. Feature
Support RGB interface with DE/SYNC mode, up to 1280x720@60fps
Support serial RGB/CCIR656 interface, up to 720x576@60fps
Support i80 interface with 18/16/9/8 bit, up to 800x480@60fps
Support pixel format: RGB888, RGB666 and RGB565
LCD dither function, support RGB666/RGB565 interface
5.1.3. Block Diagram
5.1.3.1. LCD Timing Controller
Confidential
Display
F1C600 User Manual (Revision 1.0) Copyright© 2015 Allwinner Technology. Co.,Ltd. All Rights Reserved. Page 182
5.1.4. TCON Register List
Module Name
Base Address
TCON
0x01C0C000
Register Name
Offset
Description
TCON_CTRL_REG
0x000
TCON Control Register
TCON_INT_REG0
0x004
TCON Interrupt Register 0
TCON_INT_REG1
0x008
TCON Interrupt Register 1
TCON_FRM_CTRL_REG
0x010
TCON FRM Control Register
TCON_FRM_SEED0_R_REG
0x014
TCON FRM Seed0 Red Register
TCON_FRM_SEED0_G_REG
0x018
TCON FRM Seed0 Green Register
TCON_FRM_SEED0_B_REG
0x01C
TCON FRM Seed0 Blue Register
TCON_FRM_SEED1_R_REG
0x020
TCON FRM Seed1 Red Register
TCON_FRM_SEED1_G_REG
0x024
TCON FRM Seed1 Green Register
TCON_FRM_SEED1_B_REG
0x028
TCON FRM Seed1 Blue Register
TCON_FRM_TBL_REG0
0x02C
TCON FRM Table Register 0
TCON_FRM_TBL_REG1
0x030
TCON FRM Table Register 1
TCON_FRM_TBL_REG2
0x034
TCON FRM Table Register 2
TCON_FRM_TBL_REG3
0x038
TCON FRM Table Register 3
TCON0_CTRL_REG
0x040
TCON0 Control Register
TCON_CLK_CTRL_REG
0x044
TCON Clock Control Register
TCON0_BASIC_TIMING_REG0
0x048
TCON0 Basic Timing Register 0
TCON0_BASIC_TIMING _REG1
0x04C
TCON0 Basic Timing Register 1
TCON0_BASIC_TIMING _REG2
0x050
TCON0 Basic Timing Register 2
TCON0_BASIC_TIMING _REG3
0x054
TCON0 Basic Timing Register 3
TCON0_HV_TIMING_REG
0x058
TCON0 HV Timing Register
TCON0_ CPU_IF_REG
0X060
TCON0 CPU Interface Control Register
TCON0_CPU_WR_REG
0x064
TCON0 CPU Mode Write Register
TCON0_CPU_RD_REG
0x068
TCON0 CPU Mode Read Register
TCON0_CPU_RD_NX_REG
0x06C
TCON0 CPU Mode Read NX Register
TCON0_IO_CTRL_REG0
0x088
TCON0 IO Control Register 0
TCON0_IO_CTRL_REG1
0x08C
TCON0 IO Control Register 1
TCON1_CTRL_REG
0x090
TCON1 Control Register
TCON1_BASIC_REG0
0x094
TCON1 Basic Timing Register 0
TCON1_BASIC_REG1
0x098
TCON1 Basic Timing Register 1
TCON1_BASIC_REG2
0x09C
TCON1 Basic Timing Register 2
TCON1_BASIC_REG3
0x0A0
TCON1 Basic Timing Register 3
TCON1_BASIC_REG4
0x0A4
TCON1 Basic Timing Register 4
TCON1_BASIC_REG5
0x0A8
TCON1 Basic Timing Register 5
TCON1_IO_CTRL_REG0
0x0F0
TCON1 IO Control Register 0
TCON1_IO_CTRL_REG1
0x0F4
TCON1 IO Control Register 1
TCON_DEBUG_INFO_REG
0x0FC
TCON Debug Information Register
Confidential
Display
F1C600 User Manual (Revision 1.0) Copyright© 2015 Allwinner Technology. Co.,Ltd. All Rights Reserved. Page 183
5.1.5. TCON Register Description
5.1.5.1. TCON Control Register
Offset: 0x000
Register Name: TCON_CTRL_REG
Bit
R/W
Default/Hex
Description
31
R/W
0
MODULE_EN: the whole module enable flag
0: disable
1: enable
When it’s disabled, the module will be reset to idle state.
30:1
/
/
/
0
R/W
0
IO_MAP_SEL:
0: TCON0
1: TCON1
Note: this bit determined which IO_INV/IO_TRI is valid.
This function has deleted in this version.
5.1.5.2. TCON Interrupt Register 0
Offset: 0x004
Register Name: TCON_INT_REG0
Bit
R/W
Default/Hex
Description
31
R/W
0
VBIE_TCON0: TCON0 vertical blanking interrupt Enable
0: disable
1: enable
30
R/W
0
VBIE_TCON1: TCON1 vertical blanking interrupt Enable
0: disable
1: enable
29
R/W
0
LINE_TRG0IE: TCON0 line trigger interrupt enable
0: disable
1: enable
28
R/W
0
LINE_TRG1IE: TCON1 line trigger interrupt enable
0: disable
1: enable
27:16
/
/
/
15
R/W
0
VBI_TCON0: TCON0 vertical blanking interrupt
Asserted during vertical no-display period every frame.
Write 0 to clear it.
14
R/W
0
VBI_TCON1: TCON1 vertical blanking interrupt
Asserted during vertical no-display period every frame.
Write 0 to clear it.
13
R/W
0
LINE_TRG0: trigger when SY0 match the current TCON0 scan line
Write 0 to clear it.
12
R/W
0
LINE_TRG1: trigger when SY1 match the current TCON1 scan line
Write 0 to clear it.
11:0
/
/
/
Confidential
Display
F1C600 User Manual (Revision 1.0) Copyright© 2015 Allwinner Technology. Co.,Ltd. All Rights Reserved. Page 184
5.1.5.3. TCON Interrupt Register 1
Offset: 0x008
Register Name: TCON_INT_REG1
Bit
R/W
Default/Hex
Description
31:27
/
/
/
26:16
R/W
0
SY0: scan line for TCON0 line trigger(including inactive lines)
Setting it for the specified line for trigger0.
Note: SY0 is writable only when LINE_TRG0 disable.
15:11
/
/
/
10:0
R/W
0
SY1: scan line for TCON1 line trigger(including inactive lines)
Setting it for the specified line for trigger 1.
Note: SY1 is writable only when LINE_TRG1 disable.
5.1.5.4. TCON FRM Control Register
Offset: 0x010
Register Name: TCON_FRM_CTRL_REG
Bit
R/W
Default/Hex
Description
31
R/W
0
TCON0_FRM_EN
0:disable
1:enable
30:7
/
/
/
6
R/W
0
TCON0_FRM_MODE_r
0: 6bit frm output
1: 5bit frm output
5
R/W
0
TCON0_FRM_MODE_g
0: 6bit frm output
1: 5bit frm output
4
R/W
0
TCON0_FRM_MODE_b
0: 6bit frm output
1: 5bit frm output
1:0
R/W
0
FRM_TEST_MODE
00: FRM
01: half 5/6bit, half FRM
10: half 8bit, half FRM
11: half 8bit, half 5/6bit
5.1.5.5. TCON FRM Seed0 Red Register
Offset: 0x014
Register Name: TCON_FRM_SEED0_R_REG
Bit
R/W
Default/Hex
Description
31:25
/
/
/
24:0
R/W
0
SEED_R_VALUE0
Note: avoid set it to 0
5.1.5.6. TCON FRM Seed0 Green Register
Offset: 0x018
Register Name: TCON_FRM_SEED0_G_REG
Bit
R/W
Default/Hex
Description
31:25
/
/
/
Confidential
Display
F1C600 User Manual (Revision 1.0) Copyright© 2015 Allwinner Technology. Co.,Ltd. All Rights Reserved. Page 185
24:0
R/W
0
SEED_G_VALUE0
Note: avoid set it to 0
5.1.5.7. TCON FRM Seed0 Blue Register
Offset: 0x01C
Register Name: TCON_FRM_SEED0_B_REG
Bit
R/W
Default/Hex
Description
31:25
/
/
/
24:0
R/W
0
SEED_B_VALUE0
Note: avoid set it to 0
5.1.5.8. TCON FRM Seed1 Red Register
Offset: 0x020
Register Name: TCON_FRM_SEED1_R_REG
Bit
R/W
Default/Hex
Description
31:13
/
/
/
12:0
R/W
0
SEED_R_VALUE1
Note: avoid set it to 0
5.1.5.9. TCON FRM Seed1 Green Register
Offset: 0x024
Register Name: TCON_FRM_SEED1_G_REG
Bit
R/W
Default/Hex
Description
31:13
/
/
/
12:0
R/W
0
SEED_G_VALUE1
Note: avoid set it to 0
5.1.5.10. TCON FRM Seed1 Blue Register
Offset: 0x028
Register Name: TCON_FRM_SEED1_B_REG
Bit
R/W
Default/Hex
Description
31:13
/
/
/
12:0
R/W
0
SEED_B_VALUE1
Note: avoid set it to 0
5.1.5.11. TCON FRM Table Register 0
Offset: 0x02C
Register Name: TCON_FRM_TBL_REG0
Bit
R/W
Default/Hex
Description
31:0
R/W
0
FRM_TBL_VALUE0
Note: Recommend set as 0x01010000
5.1.5.12. TCON FRM Table Register 1
Offset: 0x030
Register Name: TCON_FRM_TBL_REG1
Bit
R/W
Default/Hex
Description
31:0
R/W
0
FRM_TBL_VALUE1
Note: Recommend set as 0x15151111
Confidential
Display
F1C600 User Manual (Revision 1.0) Copyright© 2015 Allwinner Technology. Co.,Ltd. All Rights Reserved. Page 186
5.1.5.13. TCON FRM Table Register 2
Offset: 0x034
Register Name: TCON_FRM_TBL_REG2
Bit
R/W
Default/Hex
Description
31:0
R/W
0
FRM_TBL_VALUE2
Note: Recommend set as 0x57575555
5.1.5.14. TCON FRM Table Register 3
Offset: 0x038
Register Name: TCON_FRM_TBL_REG3
Bit
R/W
Default/Hex
Description
31:0
R/W
0
FRM_TBL_VALUE3
Note: Recommend set as 0x7F7F7777
5.1.5.15. TCON0 Control Register
Offset: 0x040
Register Name: TCON0_CTRL_REG
Bit
R/W
Default/Hex
Description
31
R/W
0
TCON0_EN: TCON0 timing generator enable
0: disable
1: enable
Note: It executes at the beginning of the first blank line of TCON0 timing.
30:27
/
/
/
26:24
R/W
0
I/F: panel interface type select
00: HV(Sync+DE)
01: 8080 I/F
1x: reserved
23
R/W
0
SWAP: TCON0 data manipulation
0: default
1: swap RED and BLUE data at FIFO1
22
R/W
0
WHITE_DATA: white data
0:all 0s
1:all 1s
21
R/W
0
FIFO1_RST
Write 1 and then 0 at this bit will reset FIFO 1
Note: 1 holding time must more than 1 DCLK
20
R/W
0
Interlace_EN
0:disable
1:enable
NOTE: this flag is valid only when TCON0_EN = 1
19:9
/
/
/
8:4
R/W
0
TCON0_STA_DLY
STA delay
NOTE: valid only when TCON0_EN = 1
3:2
/
/
/
1:0
R/W
0
TCON0_SRC_SEL: TCON0 data source select
00: DE CH1(FIFO1 enable)
01: reserved
Confidential
Display
F1C600 User Manual (Revision 1.0) Copyright© 2015 Allwinner Technology. Co.,Ltd. All Rights Reserved. Page 187
10: DMA 565 input(FIFO1 enable)
11: white data(FIFO1 disable)
Note:
1) These bits are sampled only at the beginning of the first blank line of TCON0
timing.
2) Generally, when input source is changed, it would change at the beginning
of the first blank line of TCON0 timing.
3) When FIFO1 and FIFO2 select the same source and FIFO2 is enabled, it
executes at the beginning of the first blank line of TV timing. Also,
TCON0 timing generator will reset to the beginning of the first blank line.
5.1.5.16. TCON Clock Control Register
Offset: 0x044
Register Name: TCON_CLK_CTRL_REG
Bit
R/W
Default/Hex
Description
31
R/W
0
LCLK_EN[3:0]: TCON0 clock enable
4'h0, 4'h4,4'h6,4'ha7:dclk_en=0;dclk1_en=0;dclk2_en=0;dclkm2_en=0;
4'h1: dclk_en = 1; dclk1_en = 0; dclk2_en = 0; dclkm2_en = 0;
4'h2: dclk_en = 1; dclk1_en = 0; dclk2_en = 0; dclkm2_en = 1;
4'h3: dclk_en = 1; dclk1_en = 1; dclk2_en = 0; dclkm2_en = 0;
4'h5: dclk_en = 1; dclk1_en = 0; dclk2_en = 1; dclkm2_en = 0;
4'h8,4'h9,4'ha,4'hb,4'hc,4'hd,4'he,4'hf:
dclk_en = 1;
dclk1_en = 1;
dclk2_en = 1;
dclkm2_en = 1;
30:8
/
/
/
7:0
R/W
0
DCLKDIV: dot clock divider
Tdclk = Tsclk * DCLKDIV
Note:
1.if dclk1&dclk2 used5<DCLKDIV <96
2.if dclk onlyDCLKDIV >=4 || DCLKDIV=2
5.1.5.17. TCON0 Basic Timing Register 0
Offset: 0x048
Register Name: TCON0_BASIC_TIMING_REG0
Bit
R/W
Default/Hex
Description
31:27
/
/
/
26:16
R/W
0
TCON0_X: screen width (in pixels)
Panel width is X+1
15:11
/
/
/
10:0
R/W
0
TCON0_Y: screen height (in pixels)
Panel height is Y+1
5.1.5.18. TCON0 Basic Timing Register 1
Offset: 0x04C
Register Name: TCON0_BASIC_TIMING_REG1
Bit
R/W
Default/Hex
Description
Confidential
Display
F1C600 User Manual (Revision 1.0) Copyright© 2015 Allwinner Technology. Co.,Ltd. All Rights Reserved. Page 188
31:28
/
/
/
27:16
R/W
0
HT: horizontal total time (in dclk)
Thcycle = (HT+1) * Tdclk
Note:1) parallel :HT >= (HBP +1) + (X+1) +2
2) serial 1: HT >= (HBP +1) + (X+1) *3+2
3) serial 2: HT >= (HBP +1) + (X+1) *3/2+2
15:10
/
/
/
9:0
R/W
0
HBP: horizontal back porch (in dclk)
Thbp = (HBP +1) * Tdclk
5.1.5.19. TCON0 Basic Timing Register 2
Offset: 0x050
Register Name: TCON0_BASIC_TIMING_REG2
Bit
R/W
Default/Hex
Description
31:28
/
/
/
27:16
R/W
0
VT: vertical front porch (in lines)
TVT = (VT)/2 * Thsync
Note: VT/2 >= (VBP+1 ) + (Y+1) +2
15:10
/
/
/
9:0
R/W
0
VBP: vertical back porch (in lines)
Tvbp = (VBP +1) * Thsync
5.1.5.20. TCON0 Basic Timing Register 3
Offset: 0x054
Register Name: TCON0_BASIC_TIMING_REG3
Bit
R/W
Default/Hex
Description
31:22
/
/
/
25:16
R/W
0
HSPW: horizontal Sync Pulse Width (in dclk)
Thspw = (HSPW+1) * Tdclk
Note: HT> (HSPW+1)
15:10
/
/
/
5:0
R/W
0
VSPW: vertical Sync Pulse Width (in lines)
Tvspw = (VSPW+1) * Thsync
Note: VT/2 > (VSPW+1)
Note: Thsync: horizontal sync signal cycle time.
5.1.5.21. TCON0 HV Timing Register
Offset: 0x058
Register Name: TCON0_HV_TIMING_REG
Bit
R/W
Default/Hex
Description
31
R/W
0
HV_MOD: HV I/F mode select
0: 24bit parallel mode
1: 8bit serial mode
30
R/W
0
SERIAL_MOD: SERIAL I/F mode select
0: 8bit/3cycle RGB serial mode(RGB888)
1: 8bit/2cycle YUV serial mode(CCIR656)
29:28
/
/
/
27:26
R/W
0
RGB888_SM0: serial RGB888 mode Output sequence at odd lines of the panel
Confidential
Display
F1C600 User Manual (Revision 1.0) Copyright© 2015 Allwinner Technology. Co.,Ltd. All Rights Reserved. Page 189
(line 1, 3, 5, 7…)
00: RGB
01: BRG
10: GBR
11: RGB
25:24
R/W
0
RGB888_SM1: serial RGB888 mode Output sequence at even lines of the panel
(line 2, 4, 6, 8…)
00: RGB
01: BRG
10: GBR
11: RGB
23:22
R/W
0
YUV_SM: serial YUV mode Output sequence 2-pixel-pair of every scan line
00: YUYV
01: YVYU
10: UYVY
11: VYUY
21:20
R/W
0
YUV EAV/SAV F line delay
0:F toggle right after active video line
1:delay 2 line(CCIR NTSC)
2:delay 3 line(CCIR PAL)
3:reserved
190
/
/
/
5.1.5.22. TCON0 CPU Interface Control Register
Offset: 0x060
Register Name: TCON0_CPU_IF_CTRL_REG
Bit
R/W
Default/Hex
Description
31:29
R/W
0
CPU_MOD: CPU interface mode:
000: 18bit/256K mode
001: 16bit mode0
010: 16bit mode1
011: 16bit mode2
100: 16bit mode3
101: 9bit mode
110: 8bit 256K mode
111: 8bit 65K mode
28
R/W
0
AUTO: auto Transfer Mode:
If its 1, all the valid data during this frame are write to panel.
Note: This bit is sampled by Vsync
27
R/W
0
FLUSH: direct transfer mode:
If its enabled, FIFO1 is regardless of the HV timing, pixels data keep being
transferred unless the input FIFO was empty.
Data output rate control by DCLK.
26
R/W
0
DA: pin A1 value in 8080 mode auto/flash states
25
R/W
0
CA: pin A1 value in 8080 mode WR/RD execute
24
R/W
0
VSYNC_CS_SEL
Confidential
Display
F1C600 User Manual (Revision 1.0) Copyright© 2015 Allwinner Technology. Co.,Ltd. All Rights Reserved. Page 190
0:CS
1:VSYNC
23
R
0
WR:
0:write operation is finishing
1:write operation is pending
22
R
0
RD:
0:read operation is finishing
1:read operation is pending
21:0
/
/
/
Note:
1. Write cycle = Tdclk
2. All bits except CPU_MOD can be real-time changed.
3. Software has to make sure AUTO, FLUSH, WR or RD won’t happen at the same time, If they do, priority is AUTO >
FLUSH> WR> RD.
4. Priority : CA >DA
5.1.5.23. TCON0 CPU Write Register
Offset: 0x064
Register Name: TCON0_CPU_WR_REG
Bit
R/W
Default/Hex
Description
31:24
/
/
/
23:0
W
/
Write data on 8080 bus
5.1.5.24. TCON0 CPU Read Register
Offset: 0x068
Register Name: TCON0_CPU_RD_REG
Bit
R/W
Default/Hex
Description
31:24
/
/
/
23:0
W
/
Read back data and launch a new read operation on 8080 bus.
5.1.5.25. TCON0 CPU Read NX Register
Offset: 0x068
Register Name: TCON0_CPU_RD_NX_REG
Bit
R/W
Default/Hex
Description
31:24
/
/
/
23:0
W
/
Read back data without a read operation on 8080 bus.
5.1.5.26. TCON0 IO Control Register 0
Offset: 0x088
Register Name: TCON0_IO_CTRL_REG0
Bit
R/W
Default/Hex
Description
31:28
R/W
0
DCLK_SEL[1:0]
00: used DCLK0(normal phase offset)
01: used DCLK1(1/3 phase offset)
10: used DCLK2(2/3 phase offset)
11: reserved
27
R/W
0
IO3_INV
0: not invert
1: invert
Confidential
Display
F1C600 User Manual (Revision 1.0) Copyright© 2015 Allwinner Technology. Co.,Ltd. All Rights Reserved. Page 191
26
R/W
0
IO2 INV
0: not invert
1: invert
25
R/W
0
IO1_INV
0: not invert
1: invert
24
R/W
0
IO0_INV
0: not invert
1: invert
23:0
R/W
0
D[23:0]_INV:TCON0 output port D[23:0] polarity control, with independent bit
control:
0s: normal polarity
1s: invert the specify output
Note: This register can be real-time changed, and work immediately.
5.1.5.27. TCON0 IO Control Register 1
Offset: 0x08C
Register Name: TCON0_IO_CTRL_REG1
Bit
R/W
Default/Hex
Description
31:28
/
/
/
27
R/W
1
IO3_OUTPUT_TRI_EN
1: disable
0: enable
26
R/W
1
IO2 OUTPUT_ TRI_EN
1: disable
0: enable
25
R/W
1
IO1_ OUTPUT_ TRI_EN
1: disable
0: enable
24
R/W
1
IO0_ OUTPUT_ TRI_EN
1: disable
0: enable
27:0
R/W
0xFFFFFF
D[23:0]_OUTPUT_ TRI_EN: TCON0 output port D[23:0] output enable, with
independent bit control:
1s: disable
0s: enable
Note: This register can be real-time changed, and work immediately.
5.1.5.28. TCON1 Control Register
Offset: 0x090
Register Name: TCON1_CTRL_REG
Bit
R/W
Default/Hex
Description
31
R/W
0
TCON1_EN:TCON1 mode enable
0: disable
1: enable
30:21
/
/
/
20
R/W
0
Interlace_EN
Confidential
Display
F1C600 User Manual (Revision 1.0) Copyright© 2015 Allwinner Technology. Co.,Ltd. All Rights Reserved. Page 192
0:disable
1:enable
NOTE: this flag is valid only when TCON1_EN == 1
19:9
/
/
/
8:4
R/W
0
STA_DLY[4:0](for DE1 and DE2)
STA delay
NOTE: this flag is valid only when TCON1_EN == 1
3:2
/
/
/
1:0
R/W
0
TCON1_SRC_SEL: TCON1 data source select
00: DE CH1(FIFO2 enable)
01: reserved
1x: BLUE data(FIFO2 disable, RGB=0000FF)
5.1.5.29. TCON1 Basic Timing Register 0
Offset: 0x094
Register Name: TCON1_BASIC_TIMING_REG0
Bit
R/W
Default/Hex
Description
31:29
/
/
/
28:16
R/W
0
TCON1_XI: TCON1 source width (in pixels)
source width is X+1
15:12
/
/
/
11:0
R/W
0
TCON1_YI: TCON1 source height (in pixels)
source height is Y+1
5.1.5.30. TCON1 Basic Timing Register 1
Offset: 0x098
Register Name: TCON1_BASIC_TIMING_REG1
Bit
R/W
Default/Hex
Description
31:28
/
/
/
27:16
R/W
0
LS_XO: line scale output size
width is LS_XO+1
15:12
/
/
/
11:0
R/W
0
LS_YO: line scale output size
width is LS_YO+1
NOTE: this version LS_YO = TCON1_YI
5.1.5.31. TCON1 Basic Timing Register 2
Offset: 0x09C
Register Name: TCON1_BASIC_TIMING_REG2
Bit
R/W
Default/Hex
Description
31:28
/
/
/
27:16
R/W
0
TCON1_XO: TCON1 output width (in pixels)
width is TCON1_XO+1
15:12
/
/
/
11:0
R/W
0
TCON1_YO: TCON1 output height (in pixels)
height is TCON1_YO+1
Confidential
Display
F1C600 User Manual (Revision 1.0) Copyright© 2015 Allwinner Technology. Co.,Ltd. All Rights Reserved. Page 193
5.1.5.32. TCON1 Basic Timing Register 3
Offset: 0x0A0
Register Name: TCON1_BASIC_TIMING_REG3
Bit
R/W
Default/Hex
Description
31:28
/
/
/
28:16
R/W
0
HT: horizontal total time
Thcycle = (HT+1) * Thdclk
15:12
/
/
/
11:0
R/W
0
HBP: horizontal back porch
Thbp = (HBP +1) * Thdclk
5.1.5.33. TCON1 Basic Timing Register 4
Offset: 0x0A4
Register Name: TCON1_BASIC_TIMING_REG4
Bit
R/W
Default/Hex
Description
31:28
/
/
/
28:16
R/W
0
VT: horizontal total time (in HD line)
Tvt = VT/2 * Th
15:12
/
/
/
11:0
R/W
0
VBP: horizontal back porch (in HD line)
Tvbp = (VBP +1) * Th
5.1.5.34. TCON1 Basic Timing Register 5
Offset: 0x0A8
Register Name: TCON1_BASIC_TIMING_REG5
Bit
R/W
Default/Hex
Description
31:26
/
/
/
25:16
R/W
0
HSPW: horizontal Sync Pulse Width (in dclk)
Thspw = (HSPW+1) * Tdclk
Note: HT> (HSPW+1)
15:10
/
/
/
9:0
R/W
0
VSPW: vertical Sync Pulse Width (in lines)
Tvspw = (VSPW+1) * Th
Note: VT/2 > (VSPW+1)
5.1.5.35. TCON1 IO Control Register 0
Offset: 0x0F0
Register Name: TCON1_IO_CTRL_REG0
Bit
R/W
Default/Hex
Description
31:28
/
/
/
27
R/W
0
IO3_INV
0: not invert
1: invert
26
R/W
0
IO2 INV
0: not invert
1: invert
25
R/W
0
IO1_INV
0: not invert
1: invert
Confidential
Display
F1C600 User Manual (Revision 1.0) Copyright© 2015 Allwinner Technology. Co.,Ltd. All Rights Reserved. Page 194
24
R/W
0
IO0_INV
0: not invert
1: invert
23:0
R/W
0
D[23:0]_INV:TCON1 output port D[23:0] polarity control, with independent bit
control:
0s: normal polarity
1s: invert the specify output
Note: This register can be real-time changed, and work immediately.
5.1.5.36. TCON1 IO Control Register 1
Offset: 0x0F4
Register Name: TCON1_IO_CTRL_REG1
Bit
R/W
Default/Hex
Description
31:28
/
/
/
27
R/W
1
IO3_OUTPUT_TRI_EN
1: disable
0: enable
26
R/W
1
IO2 OUTPUT_ TRI_EN
1: disable
0: enable
25
R/W
1
IO1_ OUTPUT_ TRI_EN
1: disable
0: enable
24
R/W
1
IO0_ OUTPUT_ TRI_EN
1: disable
0: enable
27:0
R/W
0xFFFFFF
D[23:0]_OUTPUT_ TRI_EN: TCON1 output port D[23:0] output enable, with
independent bit control:
1s: disable
0s: enable
Note: This register can be real-time changed, and work immediately.
5.1.5.37. TCON Debug Information Register
Offset: 0x0FC
Register Name: TCON_DEBUG_INFO_REG
Bit
R/W
Default/Hex
Description
31
R/W
/
TCON0_FIFO_UNDER_FLOW
30
R/W
/
TCON1_FIFO_UNDER_FLOW
29
R
1
TCON0_Field_POL
0: second field
1: first field
28
R
1
TCON1_Field_POL
0: second field
1: first field
27:26
/
/
/
25:16
R
/
TCON0_CURRENT_LINE
15:13
/
/
/
Confidential
Display
F1C600 User Manual (Revision 1.0) Copyright© 2015 Allwinner Technology. Co.,Ltd. All Rights Reserved. Page 195
12:0
R
/
TCON1_CURRENT_LINE
Confidential
Display
F1C600 User Manual (Revision 1.0) Copyright© 2015 Allwinner Technology. Co.,Ltd. All Rights Reserved. Page 196
5.2. Display Engine Front-End
5.2.1. Overview
The display engine front-end (DEFE) provides image resizing function for display engine. It receives data from
DRAM, performs the image resizing function, and outputs to DEBE module or DRAM.
The DEFE can receive ARGB/YUV420/YUV422/YUV411 data format, and then converts to ARGB8888 for display,
or write-back other format to DRAM. Horizontal and vertical direction scaling are implemented independently.
5.2.2. Feature
The DEFE includes the following features:
Support YUV444/ YUV422/ YUV420/ YUV411/ ARGB8888 data format
Support 1/16× to 32× resize ratio
Support 32-phase 4-tap horizontal anti-alias filter, 32-phase 4-tap vertical anti-alias filter
Support input size up to 2048×2048
Support output size up 1280x1280
Support direct display or write back to memory
5.2.3. Block Diagram
DMA
Scaler CSC
Register
DEBE
MBUS
DEFE block diagram
5.2.4. DEFE Register List
Module Name
Base Address
DEFE
0x01E00000
Register Name
Offset
Description
DEFE_EN_REG
0x0000
DEFE Module Enable Register
Confidential
Display
F1C600 User Manual (Revision 1.0) Copyright© 2015 Allwinner Technology. Co.,Ltd. All Rights Reserved. Page 197
DEFE_FRM_CTRL_REG
0x0004
DEFE Frame Process Control Register
DEFE_BYPASS_REG
0x0008
DEFE CSC Bypass Register
DEFE_AGTH_SEL_REG
0x000C
DEFE Algorithm Selection Register
DEFE_LINT_CTRL_REG
0x0010
DEFE Line Interrupt Control Register
DEFE_BUF_ADDR0_REG
0x0020
DEFE Input Channel 0 Buffer Address Register
DEFE_BUF_ADDR1_REG
0x0024
DEFE Input Channel 1 Buffer Address Register
DEFE_BUF_ADDR2_REG
0x0028
DEFE Input Channel 2 Buffer Address Register
DEFE_FIELD_CTRL_REG
0x002C
DEFE Field Sequence Register
DEFE_TB_OFF0_REG
0x0030
DEFE Channel 0 Tile Based Offset Register
DEFE_TB_OFF1_REG
0x0034
DEFE Channel 1 Tile Based Offset Register
DEFE_TB_OFF2_REG
0x0038
DEFE Channel 2 Tile Based Offset Register
DEFE_LINESTRD0_REG
0x0040
DEFE Channel 0 Line Stride Register
DEFE_LINESTRD1_REG
0x0044
DEFE Channel 1 Line Stride Register
DEFE_LINESTRD2_REG
0x0048
DEFE Channel 2 Line Stride Register
DEFE_INPUT_FMT_REG
0x004C
DEFE Input Format Register
DEFE_WB_ADDR_REG
0x0050
DEFE Write Back Address Register
DEFE_OUTPUT_FMT_REG
0x005C
DEFE Output Format Register
DEFE_INT_EN_REG
0x0060
DEFE Interrupt Enable Register
DEFE_INT_STATUS_REG
0x0064
DEFE Interrupt Status Register
DEFE_STATUS_REG
0x0068
DEFE Status Register
DEFE_CSC_COEF00_REG
0x0070
DEFE CSC Coefficient 00 Register
DEFE_CSC_COEF01_REG
0x0074
DEFE CSC Coefficient 01 Register
DEFE_CSC_COEF02_REG
0x0078
DEFE CSC Coefficient 02 Register
DEFE_CSC_COEF03_REG
0x007C
DEFE CSC Coefficient 03 Register
DEFE_CSC_COEF10_REG
0x0080
DEFE CSC Coefficient 10 Register
DEFE_CSC_COEF11_REG
0x0084
DEFE CSC Coefficient 11 Register
DEFE_CSC_COEF12_REG
0x0088
DEFE CSC Coefficient 12 Register
DEFE_CSC_COEF13_REG
0x008C
DEFE CSC Coefficient 13 Register
DEFE_CSC_COEF20_REG
0x0090
DEFE CSC Coefficient 20 Register
DEFE_CSC_COEF21_REG
0x0094
DEFE CSC Coefficient 21 Register
DEFE_CSC_COEF22_REG
0x0098
DEFE CSC Coefficient 22 Register
DEFE_CSC_COEF23_REG
0x009C
DEFE CSC Coefficient 23 Register
DEFE_INSIZE_REG
0x0100
DEFE Input Size Register
DEFE_OUTSIZE_REG
0x0104
DEFE Output Size Register
DEFE_HORZFACT_REG
0x0108
DEFE Horizontal Factor Register
DEFE_VERTFACT_REG
0x010C
DEFE Vertical factor Register
DEFE_CH0_HORZCOEF_REGN
0x0400+N*4
DEFE Channel 0 Horizontal Filter Coefficient Register
N=0~31
DEFE_CH0_VERTCOEF_REGN
0x0500+N*4
DEFE Channel 0 Vertical Filter Coefficient Register
N=0~31
DEFE_CH1_HORZCOEF_REGN
0x0600+N*4
DEFE Channel 1 Horizontal Filter Coefficient Register
N=0~31
DEFE_CH1_VERTCOEF_REGN
0x0700+N*4
DEFE Channel 1 Vertical Filter Coefficient Register
N=0~31
Confidential
Display
F1C600 User Manual (Revision 1.0) Copyright© 2015 Allwinner Technology. Co.,Ltd. All Rights Reserved. Page 198
Note: Registers 0x0008~0x010F except status registers are double buffered. When a new frame process starts and the
buffered register configuration ready bit in frame process control register is set, the value of corresponding internal
configuration register will be refreshed by this register, the programmer always can’t read the value of corresponding
internal register.
5.2.5. DEFE Register Description
5.2.5.1. DEFE Module Enable Register
Offset: 0x0000
Register Name: DEFE_EN_REG
Bit
R/W
Default/Hex
Description
31
R/W
0x1
BIST_EN
Bist enable for cpu
0: Disable cpu accessing ram, mux ram to DEFE
1: Enable cpu accessing ram, mux ram to cpu
Normally, set to 0 when using DEFE
30:1
/
/
/
0
R/W
0x0
EN
DEFE enable
0: Disable
1: Enable
When DEFE enable bit is disabled, the clock of DEFE module will be disabled
If this bit is transition from 0 to 1, the frame process control register and the
interrupt enable register will be initialed to default value, and the state
machine of the module is reset
5.2.5.2. DEFE Frame Process Control Register
Offset: 0x0004
Register Name: DEFE_FRM_CTRL_REG
Bit
R/W
Default/Hex
Description
31:24
/
/
/
23
R/W
0x0
COEF_ACCESS_CTRL
Fir coef ram access control
0: cpu don’t access fir coef ram
1: cpu will access fir coef ram
This bit will be set to 1 before cpu access fir coef ram
22:17
/
/
/
16
R/W
0x0
FRM_START
Frame process start & reset control
0: reset
1: start
If the bit is written to zero, the whole state machine and data paths of DEFE
module will be reset.
When the bit is written to 1, DEFE will start a new frame process.
15:12
/
/
/
Confidential
Display
F1C600 User Manual (Revision 1.0) Copyright© 2015 Allwinner Technology. Co.,Ltd. All Rights Reserved. Page 199
11
R/W
0x0
OUT_CTRL
DEFE output control
0: enable DEFE output to image
1: disable DEFE output to image
If DEFE write back function is enable, DEFE output to image isnt
recommended.
10:3
/
/
/
2
R/W
0x0
WB_EN
Write back enable
0: Disable
1: Enable
If output to image is enable, the writing back process will start when write
back enable bit is set and a new frame processing begins. The bit will be
self-cleared when writing-back frame process starts.
1
/
/
/
0
R/W
0x0
REG_RDY_EN
Register ready enable
0: not ready
1: registers configuration ready
As same as filter coefficients configuration, in order to ensure the display be
correct, the correlative display configuration registers are buffered too, the
programmer also can change the value of correlative registers in any time.
When the registers setting is finished, the programmer should set the bit if
the programmer need the new configuration in next scaling frame.
When the new frame start, the bit will also be self-cleared.
5.2.5.3. DEFE CSC Bypass Register
Offset: 0x0008
Register Name: DEFE_BYPASS_REG
Bit
R/W
Default/Hex
Description
31:2
/
/
/
1
R/W
0x0
CSC_BYPASS_EN
CSC by-pass enable
0: CSC enable
1: CSC will be by-passed
Actually, in order ensure the module working be correct, This bit only can be
set when input data format is the same as output data format (both YUV or
both RGB)
0
R/W
0x0
DEFE_BYPASS_EN
scale by-pass control
0: scale enable
1: scale will be by-passed
Actually, in order ensure the module working be correct, This bit only can be
set when the input size equals to the output size (including all components)
Confidential
Display
F1C600 User Manual (Revision 1.0) Copyright© 2015 Allwinner Technology. Co.,Ltd. All Rights Reserved. Page 200
5.2.5.4. DEFE Algorithm Selection Register
Offset: 0xC
Register Name: DEFE_AGTH_SEL_REG
Bit
R/W
Default/Hex
Description
31:2
/
/
/
1:0
R/W
0x0
SCAL_AGTH
Scaling algorithm selection
00: 4x4
01: 4x2
10: 4x1
11: reverved
5.2.5.5. DEFE Line Interrupt Conrtol Register
Offset: 0x0010
Register Name: DEFE_LINT_CTRL_REG
Bit
R/W
Default/Hex
Description
31:28
/
/
/
27:16
R
0x0
CURRENT_LINE
15
R/W
0x0
FIELD_SEL
Field select
0: each field
1: end field(field counter in reg0x2c)
14:13
/
/
/
12:0
R/W
0x0
TRIG_LINE
Trigger line number of line interrupt
5.2.5.6. DEFE Input Channel 0 Buffer Address Register
Offset: 0x0020
Register Name: DEFE_BUF_ADDR0_REG
Bit
R/W
Default/Hex
Description
31:0
R/W
0x0
BUF_ADDR
DEFE frame buffer address
In tile-based type:
The address is the start address of the line in the first tile used to generating
output frame.
In non-tile-based type:
The address is the start address of the first line.
5.2.5.7. DEFE Input Channel 1 Buffer Address Register
Offset: 0x0024
Register Name: DEFE_BUF_ADDR1_REG
Bit
R/W
Default/Hex
Description
31:0
R/W
0x0
BUF_ADDR
DEFE frame buffer address
In tile-based type:
The address is the start address of the line in the first tile used to generating
output frame.
In non-tile-based type:
The address is the start address of the first line.
Confidential
Display
F1C600 User Manual (Revision 1.0) Copyright© 2015 Allwinner Technology. Co.,Ltd. All Rights Reserved. Page 201
5.2.5.8. DEFE Input Channel 2 Buffer Address Register
Offset: 0x0028
Register Name: DEFE_BUF_ADDR2_REG
Bit
R/W
Default/Hex
Description
31:0
R/W
0x0
BUF_ADDR
DEFE frame buffer address
In tile-based type:
The address is the start address of the line in the first tile used to generating
output frame.
In non-tile-based type:
The address is the start address of the first line.
5.2.5.9. DEFE Field Sequence Register
Offset: 0x002C
Register Name: DEFE_FIELD_CTRL_REG
Bit
R/W
Default/Hex
Description
31:13
/
/
/
12
R/W
0x0
FIELD_LOOP_MOD
Field loop mode
0the last field 1the full frame
11
/
/
/
10:8
R/W
0x0
VALID_FIELD_CNT
Valid field counter bit
the valid value = this value + 1
7:0
R/W
0x0
FIELD_CNT
Field counter
each bit specify a field to display0top field1bottom field
5.2.5.10. DEFE Channel 0 Tile Based Offset Register
Offset: 0x0030
Register Name: DEFE_TB_OFF0_REG
Bit
R/W
Default/Hex
Description
31:21
/
/
/
20:16
R/W
0x0
X_OFFSET1
The x offset of the bottom-right point in the end tile
15:13
/
/
/
12:8
R/W
0x0
Y_OFFSET0
The y offset of the top-left point in the first tile
7:5
/
/
/
4:0
R/W
0x0
X_OFFSET0
The x offset of the top-left point in the first tile
5.2.5.11. DEFE Channel 1 Tile Based Offset Register
Offset: 0x0034
Register Name: DEFE_TB_OFF1_REG
Bit
R/W
Default/Hex
Description
31:21
/
/
/
20:16
R/W
0x0
X_OFFSET1
The x offset of the bottom-right point in the end tile
Confidential
Display
F1C600 User Manual (Revision 1.0) Copyright© 2015 Allwinner Technology. Co.,Ltd. All Rights Reserved. Page 202
15:13
/
/
/
12:8
R/W
0x0
Y_OFFSET0
The y offset of the top-left point in the first tile
7:5
/
/
/
4:0
R/W
0x0
X_OFFSET0
The x offset of the top-left point in the first tile
5.2.5.12. DEFE Channel 2 Tile Based Offset Register
Offset: 0x0038
Register Name: DEFE_TB_OFF2_REG
Bit
R/W
Default/Hex
Description
31:21
/
/
/
20:16
R/W
0x0
X_OFFSET1
The x offset of the bottom-right point in the end tile
15:13
/
/
/
12:8
R/W
0x0
Y_OFFSET0
The y offset of the top-left point in the first tile
7:5
/
/
/
4:0
R/W
0x0
X_OFFSET0
The x offset of the top-left point in the first tile
5.2.5.13. DEFE Channel 0 Line Stride Register
Offset: 0x0040
Register Name: DEFE_LINESTRD0_REG
Bit
R/W
Default/Hex
Description
31:0
R/W
0x0
LINE_STRIDE
In tile-based type
The stride length is the distance from the start of the end line in one tile to
the start of the first line in next tile(here next tile is in vertical direction)
In non-tile-base type
The stride length is the distance from the start of one line to the start of the
next line.
5.2.5.14. DEFE Channel 1 Line Stride Register
Offset: 0x0044
Register Name: DEFE_LINESTRD1_REG
Bit
R/W
Default/Hex
Description
31:0
R/W
0x0
LINE_STRIDE
In tile-based type
The stride length is the distance from the start of the end line in one tile to
the start of the first line in next tile(here next tile is in vertical direction)
In non-tile-based type
The stride length is the distance from the start of one line to the start of the
next line.
5.2.5.15. DEFE Channel 2 Line Stride Register
Offset: 0x0048
Register Name: DEFE_LINESTRD2_REG
Bit
R/W
Default/Hex
Description
Confidential
Display
F1C600 User Manual (Revision 1.0) Copyright© 2015 Allwinner Technology. Co.,Ltd. All Rights Reserved. Page 203
31:0
R/W
0x0
LINE_STRIDE
In tile-based type
The stride length is the distance from the start of the end line in one tile to
the start of the first line in next tile(here next tile is in vertical direction)
In non-tile-based type
The stride length is the distance from the start of one line to the start of the
next line.
5.2.5.16. DEFE Input Format Register
Offset: 0x004C
Register Name: DEFE_INPUT_FMT_REG
Bit
R/W
Default/Hex
Description
31:17
/
/
/
16
R/W
0x0
BYTE_SEQ
Input data byte sequence selection
0: P3P2P1P0(word)
1: P0P1P2P3(word)
15:13
/
/
/
12
R/W
0x0
SCAN_MOD
Scanning Mode selection
0: non-interlace
1: interlace
11
/
/
/
10:8
R/W
0x0
DATA_MOD
Input data mode selection
000: non-tile-based planar data
001: interleaved data
010: non-tile-based UV combined data
100: tile-based planar data
110: tile-based UV combined data
other: reserved
7
/
/
/
6:4
R/W
0x0
DATA_FMT
Input component data format
In non-tile-based planar data mode:
000: YUV 4:4:4
001: YUV 4:2:2
010: YUV 4:2:0
011: YUV 4:1:1
100: CSI RGB data
101: RGB888
Other: Reserved
In interleaved data mode:
000: YUV 4:4:4
001: YUV 4:2:2
101: ARGB8888
Confidential
Display
F1C600 User Manual (Revision 1.0) Copyright© 2015 Allwinner Technology. Co.,Ltd. All Rights Reserved. Page 204
Other: reserved
In non-tile-based UV combined data mode:
001: YUV 4:2:2
010: YUV 4:2:0
011: YUV 4:1:1
Other: reserve
In tile-based planar data mode:
001: YUV 4:2:2
010: YUV 4:2:0
011: YUV 4:1:1
Other: Reserved
In tile-based UV combined data mode:
001: YUV 4:2:2
010: YUV 4:2:0
011: YUV 4:1:1
Other: reserved
3:2
/
/
/
1:0
R/W
0x0
DATA_PS
Pixel sequence
In interleaved YUV422 data mode:
00: Y1V0Y0U0
01: V0Y1U0Y0
10: Y1U0Y0V0
11: U0Y1V0Y0
In interleaved YUV444 data mode:
00: VUYA
01: AYUV
Other: reserved
In UV combined data mode: (UV component)
00: V1U1V0U0
01: U1V1U0V0
Other: reserved
In interleaved ARGB8888 data mode:
00: BGRA
01: ARGB
Other: reserved
5.2.5.17. DEFE Write Back Address Register
Offset: 0x0050
Register Name: DEFE_WB_ADDR_REG
Bit
R/W
Default/Hex
Description
31:0
R/W
0x0
WB_ADDR
Write-back address setting for scaled data.
5.2.5.18. DEFE Output Format Register
Offset: 0x005C
Register Name: DEFE_OUTPUT_FMT_REG
Confidential
Display
F1C600 User Manual (Revision 1.0) Copyright© 2015 Allwinner Technology. Co.,Ltd. All Rights Reserved. Page 205
Bit
R/W
Default/Hex
Description
31:18
/
/
/
17:16
R/W
0
WB_Ch_Sel
Write back channel select(chsel)
0/1: Ch3
2: Ch4
3: Ch5
Other: reserved
15:9
/
/
/
8
R/W
0x0
BYTE_SEQ
Output data byte sequence selection
0: P3P2P1P0(word)
1: P0P1P2P3(word)
For ARGB, when this bit is 0, the byte sequence is BGRA, and when this bit is
1, the byte sequence is ARGB;
7:5
/
/
/
4
R/W
0x0
SCAN_MOD
Output interlace enable
0: disable
1: enable
When output interlace enable, scaler selects YUV initial phase according to
LCD field signal
3
/
/
/
2:0
R/W
0x0
DATA_FMT
Data format
000: planar RGB888 conversion data format
001: interleaved BGRA8888 conversion data format(A component always be
pad 0xff)
010: interleaved ARGB8888 conversion data format(A component always be
pad 0xff)
100: planar YUV 444
101: planar YUV 420(only support YUV input and not interleaved mode)
110: planar YUV 422(only support YUV input)
111: planar YUV 411(only support YUV input)
Other: reserved
5.2.5.19. DEFE Interrupt Enable Register
Offset: 0x0060
Register Name: DEFE_INT_EN_REG
Bit
R/W
Default/Hex
Description
31:11
/
/
/
10
R/W
0x0
REG_LOAD_EN
Register ready load interrupt enable
9
R/W
0x0
LINE_EN
Line interrupt enable
8
/
/
/
Confidential
Display
F1C600 User Manual (Revision 1.0) Copyright© 2015 Allwinner Technology. Co.,Ltd. All Rights Reserved. Page 206
7
R/W
0x0
WB_EN
Write-back end interrupt enable
0: Disable
1: Enable
6:0
/
/
/
5.2.5.20. DEFE Interrupt Status Register
Offset: 0x0064
Register Name: DEFE_INT_STATUS_REG
Bit
R/W
Default/Hex
Description
31:11
/
/
/
10
R/W
0x0
REG_LOAD_STATUS
Register ready load interrupt status
9
R/W
0x0
LINE_STATUS
Line interrupt status
8
/
/
/
7
R/W
0x0
WB_STATUS
Write-back end interrupt status
6:0
/
/
/
5.2.5.21. DEFE Status Register
Offset: 0x0068
Register Name: DEFE_STATUS_REG
Bit
R/W
Default/Hex
Description
31:29
/
/
/
28:16
R
0x0
LINE_ON_SYNC
Line number(when sync reached)
15:6
/
/
/
11
R
0x0
COEF_ACCESS_STATUS
Fir coef access status
0: scaler module can access fir coef ram
1: cpu can access fir coef ram
This bit must be 1 before cpu access fir coef ram. When this bit is 1, scaler
module will fetch 0x00004000 from ram.
10:6
/
/
/
5
R
0x0
LCD_FIELD
LCD field status
0: top field
1: bottom field
4
R
0x0
DRAM_STATUS
Access dram status
0: idle
1: busy
This flag indicates whether DEFE is accessing dram
3
/
/
/
2
R
0x0
CFG_PENDING
Register configuration pending
Confidential
Display
F1C600 User Manual (Revision 1.0) Copyright© 2015 Allwinner Technology. Co.,Ltd. All Rights Reserved. Page 207
0: no pending
1: configuration pending
This bit indicates the registers for the next frame has been configured. This
bit will be set when configuration ready bit is set and this bit will be cleared
when a new frame process begin.
1
R
0x0
WB_STATUS
Write-back process status
0: write-back end or write-back disable
1: write-back in process
This flag indicates that a full frame has not been written back to memory.
The bit will be set when write-back enable bit is set, and be cleared when
write-back process end.
0
R
0x0
FRM_BUSY
Frame busy.
This flag indicates that the frame is being processed.
The bit will be set when frame process reset & start is set, and be cleared
when frame process reset or disabled.
5.2.5.22. DEFE CSC Coefficient 00 Register
Offset: 0x0070
Register Name: DEFE_CSC_COEF00_REG
Bit
R/W
Default/Hex
Description
31:13
/
/
/
12:0
R/W
0x0
COEF
the Y/G coefficient
the value equals to coefficient*210
5.2.5.23. DEFE CSC Coefficient 01 Register
Offset: 0x0074
Register Name: DEFE_CSC_COEF01_REG
Bit
R/W
Default/Hex
Description
31:13
/
/
/
12:0
R/W
0x0
COEF
the Y/G coefficient
the value equals to coefficient*210
5.2.5.24. DEFE CSC Coefficient 02 Register
Offset: 0x0078
Register Name: DEFE_CSC_COEF02_REG
Bit
R/W
Default/Hex
Description
31:13
/
/
/
12:0
R/W
0x0
COEF
the Y/G coefficient
the value equals to coefficient*210
5.2.5.25. DEFE CSC Coefficient 03 Register
Offset: 0x007C
Register Name: DEFE_CSC_COEF03_REG
Bit
R/W
Default/Hex
Description
Confidential
Display
F1C600 User Manual (Revision 1.0) Copyright© 2015 Allwinner Technology. Co.,Ltd. All Rights Reserved. Page 208
31:14
/
/
/
13:0
R/W
0x0
CONT
the Y/G constant
the value equals to coefficient*24
5.2.5.26. DEFE CSC Coefficient 10 Register
Offset: 0x0080
Register Name: DEFE_CSC_COEF10_REG
Bit
R/W
Default/Hex
Description
31:13
/
/
/
12:0
R/W
0x0
COEF
the U/R coefficient
the value equals to coefficient*210
5.2.5.27. DEFE CSC Coefficient 11 Register
Offset: 0x0084
Register Name: DEFE_CSC_COEF11_REG
Bit
R/W
Default/Hex
Description
31:13
/
/
/
12:0
R/W
0x0
COEF
the U/R coefficient
the value equals to coefficient*210
5.2.5.28. DEFE CSC Coefficient 12 Register
Offset: 0x0088
Register Name: DEFE_CSC_COEF12_REG
Bit
R/W
Default/Hex
Description
31:13
/
/
/
12:0
R/W
0x0
COEF
the U/R coefficient
the value equals to coefficient*210
5.2.5.29. DEFE CSC Coefficient 13 Register
Offset: 0x008C
Register Name: DEFE_CSC_COEF13_REG
Bit
R/W
Default/Hex
Description
31:14
/
/
/
13:00
R/W
0x0
CONT
the U/R constant
the value equals to coefficient*24
5.2.5.30. DEFE CSC Coefficient 20 Register
Offset: 0x0090
Register Name: DEFE_CSC_COEF20_REG
Bit
R/W
Default/Hex
Description
31:13
/
/
/
12:0
R/W
0x0
COEF
the V/B coefficient
the value equals to coefficient*210
Confidential
Display
F1C600 User Manual (Revision 1.0) Copyright© 2015 Allwinner Technology. Co.,Ltd. All Rights Reserved. Page 209
5.2.5.31. DEFE CSC Coefficient 21 Register
Offset: 0x0094
Register Name: DEFE_CSC_COEF21_REG
Bit
R/W
Default/Hex
Description
31:13
/
/
/
12:0
R/W
0x0
COEF
the V/B coefficient
the value equals to coefficient*210
5.2.5.32. DEFE CSC Coefficient 22 Register
Offset: 0x0098
Register Name: DEFE_CSC_COEF22_REG
Bit
R/W
Default/Hex
Description
31:13
/
/
/
12:0
R/W
0x0
COEF
the V/B coefficient
the value equals to coefficient*210
5.2.5.33. DEFE CSC Coefficient 23 Register
Offset: 0x009C
Register Name: DEFE_CSC_COEF23_REG
Bit
R/W
Default/Hex
Description
31:14
/
/
/
13:00
R/W
0x0
CONT
the V/B constant
the value equals to coefficient*24
5.2.5.34. DEFE Input Size Register
Offset: 0x0100
Register Name: DEFE_INSIZE_REG
Bit
R/W
Default/Hex
Description
31:29
/
/
/
28:16
R/W
0x0
IN_HEIGHT
Input image Y/G component height
Input image height = The value of these bits add 1
15:13
/
/
/
12:0
R/W
0x0
IN_WIDTH
Input image Y/G component width
The image width = The value of these bits add 1
The maximum width is 2048.
5.2.5.35. DEFE Output Size Register
Offset: 0x0104
Register Name: DEFE_OUTSIZE_REG
Bit
R/W
Default/Hex
Description
31:29
/
/
/
28:16
R/W
0x0
OUT_HEIGHT
Output layer Y/G component height
The output layer height = The value of these bits add 1
15:13
/
/
/
Confidential
Display
F1C600 User Manual (Revision 1.0) Copyright© 2015 Allwinner Technology. Co.,Ltd. All Rights Reserved. Page 210
12:0
R/W
0x0
OUT_WIDTH
Output layer Y/G component width
The output layer width = The value of these bits add 1
The maximum width is 1280.
5.2.5.36. DEFE Horizontal Factor Register
Offset: 0x0108
Register Name: DEFE_HORZFACT_REG
Bit
R/W
Default/Hex
Description
31:24
/
/
/
23:16
R/W
0x0
FACTOR_INT
The integer part of the horizontal scaling ratio
the horizontal scaling ratio = input width/output width
15:0
R/W
0x0
FACTOR_FRAC
The fractional part of the horizontal scaling ratio
the horizontal scaling ratio = input width/output width
5.2.5.37. DEFE Vertical Register
Offset: 0x010C
Register Name: DEFE_VERTFACT_REG
Bit
R/W
Default/Hex
Description
31:24
/
/
/
23:16
R/W
0x0
FACTOR_INT
The integer part of the vertical scaling ratio
the vertical scaling ratio = input height/output height
15:0
R/W
0x0
FACTOR_FRAC
The fractional part of the vertical scaling ratio
the vertical scaling ratio = input height /output height
5.2.5.38. DEFE Channel 0 Horizontal Filter Coefficient Register
Offset: 0x0400+N*4 (N=0~31)
Register Name: DEFE_CH0_HORZCOEF0_REG
Bit
R/W
Default/Hex
Description
31:24
R/W
0x0
TAP3
Horizontal tap3 coefficient
The value equals to coefficient*26
23:16
R/W
0x0
TAP2
Horizontal tap2 coefficient
The value equals to coefficient*26
15:8
R/W
0x0
TAP1
Horizontal tap1 coefficient
The value equals to coefficient*26
7:0
R/W
0x0
TAP0
Horizontal tap0 coefficient
The value equals to coefficient*26
5.2.5.39. DEFE Channel 0 Vertical Filter Coefficient Register
Offset: 0x500+N*4 (N=0~31)
Register Name: DEFE_CH0_VERTCOEF_REG
Confidential
Display
F1C600 User Manual (Revision 1.0) Copyright© 2015 Allwinner Technology. Co.,Ltd. All Rights Reserved. Page 211
Bit
R/W
Default/Hex
Description
31:24
R/W
0x0
TAP3
Vertical tap3 coefficient
The value equals to coefficient*26
23:16
R/W
0x0
TAP2
Vertical tap2 coefficient
The value equals to coefficient*26
15:8
R/W
0x0
TAP1
Vertical tap1 coefficient
The value equals to coefficient*26
7:0
R/W
0x0
TAP0
Vertical tap0 coefficient
The value equals to coefficient*26
5.2.5.40. DEFE Channel 1 Horizontal Filter Coefficient Register
Offset: 0x600+N*4 (N=0~31)
Register Name: DEFE_CH1_HORZCOEF0_REG
Bit
R/W
Default/Hex
Description
31:24
R/W
0x0
TAP3
Horizontal tap3 coefficient
The value equals to coefficient*26
23:16
R/W
0x0
TAP2
Horizontal tap2 coefficient
The value equals to coefficient*26
15:8
R/W
0x0
TAP1
Horizontal tap1 coefficient
The value equals to coefficient*26
7:0
R/W
0x0
TAP0
Horizontal tap0 coefficient
The value equals to coefficient*26
5.2.5.41. DEFE Channel 1 Vertical Filter Coefficient Register
Offset: 0x700+N*4 (N=0~31)
Register Name: DEFE_CH1_VERTCOEF_REG
Bit
R/W
Default/Hex
Description
31:24
R/W
0x0
TAP3
Vertical tap3 coefficient
The value equals to coefficient*26
23:16
R/W
0x0
TAP2
Vertical tap2 coefficient
The value equals to coefficient*26
15:8
R/W
0x0
TAP1
Vertical tap1 coefficient
The value equals to coefficient*26
7:0
R/W
0x0
TAP0
Vertical tap0 coefficient
The value equals to coefficient*26
Confidential
Display
F1C600 User Manual (Revision 1.0) Copyright© 2015 Allwinner Technology. Co.,Ltd. All Rights Reserved. Page 212
5.3. Display Engine Back-End
5.3.1. Overview
The display engine back-end (DEBE) has two pipes data path, and it can receive data from DEFE or data from
SDRAM to do overlay, and then doing alpha blending in the Alpha Blender1 part. After blending, the data can do
image enhancement in Color Correction or bypass to the flowing part LCD etc.
5.3.2. Feature
The DEBE includes the following features:
Support four moveable and size-adjustable layers
Support layer size up to 2048*2048 pixels
Support alpha blending
Support color key
Support write back function
Support multi-format input data
1/2/4/8 bpp mono / palette
16/24/32 bpp color support (external frame buffer)
YUV444/YUV422/YUV420/YUV411
Support hardware cursor
5.3.3. Block Diagram
Confidential
Display
F1C600 User Manual (Revision 1.0) Copyright© 2015 Allwinner Technology. Co.,Ltd. All Rights Reserved. Page 213
5.3.4. DEBE Register List
Module Name
Base Address
DEBE
0x01E60000
Register Name
Offset
Description
DEBE_MODE_CTRL_REG
0x800
DEBE Mode Control Register
DEBE_COLOR_CTRL_REG
0x804
DEBE Color Control Register
DEBE_LAY0_SIZE_REG
0x810
DEBE Layer 0 Size Register
DEBE_LAY1_SIZE_REG
0x814
DEBE Layer 1 Size Register
DEBE_LAY2_SIZE_REG
0x818
DEBE Layer 2 Size Register
DEBE_LAY3_SIZE_REG
0x81C
DEBE Layer 3 Size Register
DEBE_LAY0_CODNT_REG
0x820
DEBE layer 0 Coordinate Control Register
DEBE_LAY1_CODNT_REG
0x824
DEBE Layer 1 Coordinate Control Register
DEBE_LAY2_CODNT_REG
0x828
DEBE Layer 2 Coordinate Control Register
DEBE_LAY3_CODNT_REG
0x82C
DEBE Layer 3 Coordinate Control Register
DEBE_LAY0_LINEWIDTH_REG
0x840
DEBE Layer 0 Frame Buffer Line Width Register
DEBE_LAY1_LINEWIDTH_REG
0x844
DEBE Layer 1 Frame Buffer Line Width Register
DEBE_LAY2_LINEWIDTH_REG
0x848
DEBE Layer 2 Frame Buffer Line Width Register
DEBE_LAY3_LINEWIDTH_REG
0x84C
DEBE Layer 3 Frame Buffer Line Width Register
DEBE_LAY0_FB_ADDR_REG
0x850
DEBE Layer 0 Frame Buffer Address Register
DEBE_LAY1_FB_ADDR_REG
0x854
DEBE Layer 1 Frame Buffer Address Register
DEBE_LAY2_FB_ADDR_REG
0x858
DEBE Layer 2 Frame Buffer Address Register
DEBE_LAY3_FB_ADDR_REG
0x85C
DEBE Layer 3 Frame Buffer Address Register
DEBE_REGBUFF_CTRL_REG
0x870
DEBE Register Buffer Control Register
DEBE_CK_MAX_REG
0x880
DEBE Color Key Max Register
DEBE_CK_MIN_REG
0x884
DEBE Color Key Min register
DEBE_CK_CFG_REG
0x888
DEBE Color Key Configuration Register
DEBE_ LAY0_ATT_CTRL_REG0
0x890
DEBE Layer 0 Attribute Control Register 0
DEBE_ LAY1_ATT_CTRL_REG0
0x894
DEBE Layer 1 Attribute Control register 1
DEBE_ LAY2_ATT_CTRL_REG0
0x898
DEBE Layer2 Attribute Control Register 0
DEBE_ LAY3_ATT_CTRL_REG0
0x89C
DEBE Layer3 Attribute Control Register 0
DEBE_ LAY0_ATT_CTRL_REG1
0x8A0
DEBE Layer0 Attribute Control Register 1
DEBE_ LAY1_ATT_CTRL_REG1
0x8A4
DEBE Layer 1 Attribute Control Register 1
DEBE_ LAY2_ATT_CTRL_REG1
0x8A8
DEBE Layer 2 Attribute Control Register 1
DEBE_ LAY3_ATT_CTRL_REG1
0x8AC
DEBE Layer 3 Attribute Control Register 1
DEBE_HWC_CTRL_REG
0x8D8
DEBE HWC Coordinate Control Register
DEBE_HWCFB_CTRL_REG
0x8E0
DEBE HWC Frame Buffer Format Register
DEBE_WB_CTRL_REG
0x8F0
DEBE Write Back Control Register
DEBE_WB_ADDR_REG
0x8F4
DEBE Write Back Address Register
DEBE_WB_ LW _REG
0x8F8
DEBE Write Back Buffer Line Width Register
DEBE_IYUV_CH_CTRL_REG
0x920
DEBE Input YUV Channel Control Register
DEBE_CH0_YUV_FB_ADDR_REG
0x930
DEBE YUV Channel 0 Frame Buffer Address Register
DEBE_CH1_YUV_FB_ADDR_REG
0x934
DEBE YUV Channel 1 Frame Buffer Address Register
Confidential
Display
F1C600 User Manual (Revision 1.0) Copyright© 2015 Allwinner Technology. Co.,Ltd. All Rights Reserved. Page 214
DEBE_CH2_YUV_FB_ADDR_REG
0x938
DEBE YUV Channel 2 Frame Buffer Address Register
DEBE_CH0_YUV_BLW_REG
0x940
DEBE YUV Channel 0 Buffer Line Width Register
DEBE_CH1_YUV_ BLW _REG
0x944
DEBE YUV Channel 1 Buffer Line Width Register
DEBE_CH2_YUV_ BLW _REG
0x948
DEBE YUV Channel 2 Buffer Line Width Register
DEBE_COEF00_REG
0x950
DEBE Coefficient 00 Register
DEBE_ COEF01_REG
0x954
DEBE Coefficient 01 Register
DEBE_ COEF02_REG
0x958
DEBE Coefficient 02 Register
DEBE_ COEF03_REG
0x95C
DEBE Coefficient 03 Register
DEBE_ COEF10_REG
0x960
DEBE Coefficient 10 Register
DEBE_ COEF11_REG
0x964
DEBE Coefficient 11 Register
DEBE_ COEF12_REG
0x968
DEBE Coefficient 12 Register
DEBE_ COEF13_REG
0x96C
DEBE Coefficient 13 Register
DEBE_ COEF20_REG
0x970
DEBE Coefficient 20 Register
DEBE_ COEF21_REG
0x974
DEBE Coefficient 21 Register
DEBE_ COEF22_REG
0x978
DEBE Coefficient 22 Register
DEBE_ COEF23_REG
0x97C
DEBE Coefficient 23 Register
5.3.5. DEBE Register Description
5.3.5.1. DEBE Mode Control Register
Offset: 0x800
Register Name: DEBE_MODE_CTRL_REG
Bit
R/W
Default/Hex
Description
31:17
/
/
/
16
R/W
0
Hardware cursor enabled/disabled control
0: Disabled
1: Enabled
Hardware cursor has the highest priority, in the alpha blender0, the alpha
value of cursor will be selected
15:12
/
/
/
11
R/W
0
Layer3 Enable/Disable
0: Disabled
1: Enabled
10
R/W
0
Layer2 Enable/Disable
0: Disabled
1: Enabled
9
R/W
0
Layer1 Enable/Disable
0: Disabled
1: Enabled
8
R/W
0
Layer0 Enable/Disable
0: Disabled
1: Enabled
7:6
/
/
/
5
R/W
0
Output CSC enable
0: disable
Confidential
Display
F1C600 User Manual (Revision 1.0) Copyright© 2015 Allwinner Technology. Co.,Ltd. All Rights Reserved. Page 215
1: enable
4
R/W
0
De-flick enable
0: disable
1: enable
3:2
/
/
/
1
R/W
0
Normal output channel Start & Reset control
0: reset
1: start
0
R/W
0
DE back-end enable/disable
0: disable
1: enable
5.3.5.2. DEBE Color Control Register
Offset : 0x804
Register Name: DEBE_BACKCOLOR_REG
Bit
R/W
Default/Hex
Description
31:24
/
/
/
23:16
R/W
0
Red
Red screen background color value
15:08
R/W
0
Green
Green screen background color value
07:00
R/W
0
Blue
Blue screen background color value
5.3.5.3. DEBE Layer 0 Size Register
Offset: 0x810
Register Name: DEBE_LAY0_SIZE_REG
Bit
R/W
Default/Hex
Description
31:27
/
/
/
26:16
R/W
0
Layer Height
The Layer Height = The value of these bits add 1
15:11
/
/
/
10:0
R/W
0
Layer Width
The Layer Width = The value of these bits add 1
5.3.5.4. DEBE Layer 1 Size Register
Offset: 0x814
Register Name: DEBE_LAY1_SIZE_REG
Bit
R/W
Default/Hex
Description
31:27
/
/
/
26:16
R/W
0
Layer Height
The Layer Height = The value of these bits add 1
15:11
/
/
/
10:0
R/W
0
Layer Width
The Layer Width = The value of these bits add 1
5.3.5.5. DEBE Layer 2 Size Register
Offset: 0x818
Register Name: DEBE_LAY2_SIZE_REG
Confidential
Display
F1C600 User Manual (Revision 1.0) Copyright© 2015 Allwinner Technology. Co.,Ltd. All Rights Reserved. Page 216
Bit
R/W
Default/Hex
Description
31:27
/
/
/
26:16
R/W
0
Layer Height
The Layer Height = The value of these bits add 1
15:11
/
/
/
10:0
R/W
0
Layer Width
The Layer Width = The value of these bits add 1
5.3.5.6. DEBE Layer 3 Size Register
Offset: 0x81C
Register Name: DEBE_LAY3_SIZE_REG
Bit
R/W
Default/Hex
Description
31:27
/
/
/
26:16
R/W
0
Layer Height
The Layer Height = The value of these bits add 1
15:11
/
/
/
10:0
R/W
0
Layer Width
The Layer Width = The value of these bits add 1
5.3.5.7. DEBE Layer 0 Coordinate Control Register
Offset: 0x820
Register Name: DEBE_LAY0_CODNT_REG
Bit
R/W
Default/Hex
Description
31:16
R/W
0
Y coordinate
Y is the left-top y coordinate of layer on screen in pixels
The Y represent the two’s complement
15:0
R/W
0
X coordinate
X is left-top x coordinate of the layer on screen in pixels
The X represent the two’s complement
5.3.5.8. DEBE Layer 1 Coordinate Control Register
Offset: 0x824
Register Name: DEBE_LAY1_CODNT_REG
Bit
R/W
Default/Hex
Description
31:16
R/W
0
Y coordinate
Y is the left-top y coordinate of layer on screen in pixels
The Y represent the two’s complement
15:0
R/W
0
X coordinate
X is left-top x coordinate of the layer on screen in pixels
The X represent the two’s complement
5.3.5.9. DEBE Layer 2 Coordinate Control Register
Offset: 0x828
Register Name: DEBE_LAY2_CODNT_REG
Bit
R/W
Default/Hex
Description
31:16
R/W
0
Y coordinate
Y is the left-top y coordinate of layer on screen in pixels
The Y represent the two’s complement
15:0
R/W
0
X coordinate
Confidential
Display
F1C600 User Manual (Revision 1.0) Copyright© 2015 Allwinner Technology. Co.,Ltd. All Rights Reserved. Page 217
X is left-top x coordinate of the layer on screen in pixels
The X represent the two’s complement
5.3.5.10. DEBE Layer 3 Coordinate Control Register
Offset: 0x82C
Register Name: DEBE_LAY3_CODNT_REG
Bit
R/W
Default/Hex
Description
31:16
R/W
0
Y coordinate
Y is the left-top y coordinate of layer on screen in pixels
The Y represent the two’s complement
15:0
R/W
0
X coordinate
X is left-top x coordinate of the layer on screen in pixels
The X represent the two’s complement
5.3.5.11. DEBE Layer 0 Frame Buffer Line Width Register
Offset: 0x840
Register Name: DEBE_LAY0_LINEWIDTH_REG
Bit
R/W
Default/Hex
Description
31:0
R/W
0
Layer frame buffer line width in bits.
Note: If the layer is selected by video channel or YUV channel, the setting of this register will be ignored.
5.3.5.12. DEBE Layer 1 Frame Buffer Line Width Register
Offset: 0x844
Register Name: DEBE_LAY1_LINEWIDTH_REG
Bit
R/W
Default/Hex
Description
31:0
R/W
0
Layer frame buffer line width in bits.
Note: If the layer is selected by video channel or YUV channel, the setting of this register will be ignored.
5.3.5.13. DEBE Layer 2 Frame Buffer Line Width Register
Offset: 0x848
Register Name: DEBE_LAY2_LINEWIDTH_REG
Bit
R/W
Default/Hex
Description
31:0
R/W
0
Layer frame buffer line width in bits.
Note: If the layer is selected by video channel or YUV channel, the setting of this register will be ignored.
5.3.5.14. DEBE Layer 3 Frame Buffer Line Width Register
Offset: 0x84C
Register Name: DEBE_LAY3_LINEWIDTH_REG
Bit
R/W
Default/Hex
Description
31:0
R/W
0
Layer frame buffer line width in bits.
Note: If the layer is selected by video channel or YUV channel, the setting of this register will be ignored.
5.3.5.15. DEBE Layer 0 Frame Buffer Address Register
Offset : 0x850
Register Name: DEBE_LAY0_FB_ADDR_REG
Bit
R/W
Default/Hex
Description
31:0
R/W
0
Buffer Address
Layer Frame Buffer Address in bit
Note: If the layer is selected by video channel or YUV channel, the setting of this register will be ignored.
Confidential
Display
F1C600 User Manual (Revision 1.0) Copyright© 2015 Allwinner Technology. Co.,Ltd. All Rights Reserved. Page 218
5.3.5.16. DEBE Layer 1 Frame Buffer Address Register
Offset : 0x854
Register Name: DEBE_LAY1_FB_ADDR_REG
Bit
R/W
Default/Hex
Description
31:0
R/W
0
Buffer Address
Layer Frame Buffer Address in bit
Note: If the layer is selected by video channel or YUV channel, the setting of this register will be ignored.
5.3.5.17. DEBE Layer 2 Frame Buffer Address Register
Offset : 0x858
Register Name: DEBE_LAY2_FB_ADDR_REG
Bit
R/W
Default/Hex
Description
31:0
R/W
0
Buffer Address
Layer Frame Buffer Address in bit
Note: If the layer is selected by video channel or YUV channel, the setting of this register will be ignored.
5.3.5.18. DEBE Layer 3 Frame Buffer Address Register
Offset : 0x85C
Register Name: DEBE_LAY3_FB_ADDR_REG
Bit
R/W
Default/Hex
Description
31:0
R/W
0
Buffer Address
Layer Frame Buffer Address in bit
Note: If the layer is selected by video channel or YUV channel, the setting of this register will be ignored.
5.3.5.19. DEBE Register Buffer Control Register
Offset: 0x870
Register Name: DEBE_REGBUFF_CTRL_REG
Bit
R/W
Default/Hex
Description
31:2
/
/
/
1
R/W
0
Module registers loading auto mode disable control
0: registers auto loading mode
1: disable registers auto loading mode, the registers will be loaded by write
1 to bit0 of this register
0
R/W
0
Register load control
When the Module registers loading auto mode disable control bit is set, the
registers will be loaded by write 1 to the bit, and the bit will self clean when
the registers is loading done
5.3.5.20. DEBE Color Key Max Register
Offset: 0x880
Register Name: DEBE_CK_MAX_REG
Bit
R/W
Default/Hex
Description
31:24
/
/
/
23:16
R/W
0xFF
Red
Red color key max
15:8
R/W
0xFF
Green
Green color key max
7:0
R/W
0xFF
Blue
Blue color key max
Confidential
Display
F1C600 User Manual (Revision 1.0) Copyright© 2015 Allwinner Technology. Co.,Ltd. All Rights Reserved. Page 219
5.3.5.21. DEBE Color Key Min Register
Offset: 0x884
Register Name: DEBE_CK_MIN_REG
Bit
R/W
Default/Hex
Description
31:24
/
/
/
23:16
R/W
0
Red
Red color key min
15:8
R/W
0
Green
Green color key min
7:0
R/W
0
Blue
Blue color key min
5.3.5.22. DEBE Color Key Configuration Register
Offset: 0x888
Register Name: DEBE_CK_CFG_REG
Bit
R/W
Default/Hex
Description
31:6
/
/
/
5:4
R/W
0
Red Match Rule
00: always match
01: always match
10: match if (Color Min=<Color<=Color Max)
11: match if (Color>Color Max or Color<Color Min)
3:2
R/W
0
Green Match Rule
00: always match
01: always match
10: match if (Color Min=<Color<=Color Max)
11: match if (Color>Color Max or Color<Color Min)
1:0
R/W
0
Blue Match Rule
00: always match
01: always match
10: match if (Color Min=<Color<=Color Max)
11: match if (Color>Color Max or Color<Color Min)
5.3.5.23. DEBE Layer 0 Attribute Control Register 0
Offset: 0x890
Register Name: DEBE_LAY0_ATT_CTRL_RGE0
Bit
R/W
Default/Hex
Description
31:24
R/W
0
Alpha value
Alpha value is used for this layer
23:22
R/W
0
Layer working mode selection
00: normal mode (Non-Index mode)
01: palette mode (Index mode)
Other: reserved
Except the normal mode, if the palette working mode is selected, the on
chip palette table SRAM will be enabled.
21:20
/
/
/
19:18
R/W
0
Color key Mode
00: disabled color key
Confidential
Display
F1C600 User Manual (Revision 1.0) Copyright© 2015 Allwinner Technology. Co.,Ltd. All Rights Reserved. Page 220
01: The layer color key match another channel pixel data in Alpha Blender1.
1x: Reserved
Only 2 channels pixel data can get to Alpha Blender1 at the same screen
coordinate.
17:16
/
/
/
15
R/W
0
Pipe Select
0: select Pipe 0
1: select Pipe 1
14:12
/
/
/
11:10
R/W
0
Priority
The rule is: 11>10>01>00
When more than 2 layers are enabled, the priority value of each layer
must be different, soft designer must keep the condition.
If more than 1 layer selects the same pipe, in the overlapping area,
only the pixel of highest priority layer can pass the pipe to blender1.
If both 2 pipes are selected by layers, in the overlapping area, the
alpha value will use the alpha value of higher priority layer in the
blender1.
9:3
/
/
/
2
R/W
0
YUV channel selection
0: disable
1: enable
Setting 2 or more layers YUV channel mode is illegal, programmer should
confirm it.
1
R/W
0
Layer video channel selection
0: disable
1: enable
Normally, one layer cannot be set both video channel and YUV channel
mode, if both 2 mode is set, the layer will work in video channel mode, YUV
channel mode will be ignored, and programmer should confirm it.
Setting 2 or more layers video channel mode is illegal, programmer should
confirm it.
0
R/W
0
Alpha Enable
0: Disabled the alpha value of this register
1: Enabled the alpha value of this register for the layer
5.3.5.24. DEBE Layer 1 Attribute Control Register 0
Offset: 0x894
Register Name: DEBE_LAY1_ATT_CTRL_RGE0
Bit
R/W
Default/Hex
Description
31:24
R/W
0
Alpha value
Alpha value is used for this layer
23:22
R/W
0
Layer working mode selection
00: normal mode (Non-Index mode)
01: palette mode (Index mode)
Other: reserved
Confidential
Display
F1C600 User Manual (Revision 1.0) Copyright© 2015 Allwinner Technology. Co.,Ltd. All Rights Reserved. Page 221
Except the normal mode, if the palette working mode is selected, the on
chip palette table SRAM will be enabled.
21:20
/
/
/
19:18
R/W
0
Color key Mode
00: disabled color key
01: The layer color key match another channel pixel data in Alpha Blender1.
1x: Reserved
Only 2 channels pixel data can get to Alpha Blender1 at the same screen
coordinate.
17:16
/
/
/
15
R/W
0
Pipe Select
0: select Pipe 0
1: select Pipe 1
14:12
/
/
/
11:10
R/W
0
Priority
The rule is: 11>10>01>00
When more than 2 layers are enabled, the priority value of each layer
must be different, soft designer must keep the condition.
If more than 1 layer selects the same pipe, in the overlapping area,
only the pixel of highest priority layer can pass the pipe to blender1.
If both 2 pipes are selected by layers, in the overlapping area, the
alpha value will use the alpha value of higher priority layer in the
blender1.
9:3
/
/
/
2
R/W
0
YUV channel selection
0: disable
1: enable
Setting 2 or more layers YUV channel mode is illegal, programmer should
confirm it.
1
R/W
0
Layer video channel selection
0: disable
1: enable
Normally, one layer cannot be set both video channel and YUV channel
mode, if both 2 mode is set, the layer will work in video channel mode, YUV
channel mode will be ignored, and programmer should confirm it.
Setting 2 or more layers video channel mode is illegal, programmer should
confirm it.
0
R/W
0
Alpha Enable
0: Disabled the alpha value of this register
1: Enabled the alpha value of this register for the layer
5.3.5.25. DEBE Layer 2 Attribute Control Register 0
Offset: 0x898
Register Name: DEBE_LAY2_ATT_CTRL_RGE0
Bit
R/W
Default/Hex
Description
31:24
R/W
0
Alpha value
Confidential
Display
F1C600 User Manual (Revision 1.0) Copyright© 2015 Allwinner Technology. Co.,Ltd. All Rights Reserved. Page 222
Alpha value is used for this layer
23:22
R/W
0
Layer working mode selection
00: normal mode (Non-Index mode)
01: palette mode (Index mode)
Other: reserved
Except the normal mode, if the palette working mode is selected, the on
chip palette table SRAM will be enabled.
21:20
/
/
/
19:18
R/W
0
Color key Mode
00: disabled color key
01: The layer color key match another channel pixel data in Alpha Blender1.
1x: Reserved
Only 2 channels pixel data can get to Alpha Blender1 at the same screen
coordinate.
17:16
/
/
/
15
R/W
0
Pipe Select
0: select Pipe 0
1: select Pipe 1
14:12
/
/
/
11:10
R/W
0
Priority
The rule is: 11>10>01>00
When more than 2 layers are enabled, the priority value of each layer
must be different, soft designer must keep the condition.
If more than 1 layer selects the same pipe, in the overlapping area,
only the pixel of highest priority layer can pass the pipe to blender1.
If both 2 pipes are selected by layers, in the overlapping area, the
alpha value will use the alpha value of higher priority layer in the
blender1.
9:3
/
/
/
2
R/W
0
YUV channel selection
0: disable
1: enable
Setting 2 or more layers YUV channel mode is illegal, programmer should
confirm it.
1
R/W
0
Layer video channel selection
0: disable
1: enable
Normally, one layer cannot be set both video channel and YUV channel
mode, if both 2 mode is set, the layer will work in video channel mode, YUV
channel mode will be ignored, and programmer should confirm it.
Setting 2 or more layers video channel mode is illegal, programmer should
confirm it.
0
R/W
0
Alpha Enable
0: Disabled the alpha value of this register
1: Enabled the alpha value of this register for the layer
Confidential
Display
F1C600 User Manual (Revision 1.0) Copyright© 2015 Allwinner Technology. Co.,Ltd. All Rights Reserved. Page 223
5.3.5.26. DEBE Layer 3 Attribute Control Register 0
Offset: 0x89C
Register Name: DEBE_LAY3_ATT_CTRL_RGE0
Bit
R/W
Default/Hex
Description
31:24
R/W
0
Alpha value
Alpha value is used for this layer
23:22
R/W
0
Layer working mode selection
00: normal mode (Non-Index mode)
01: palette mode (Index mode)
Other: reserved
Except the normal mode, if the palette working mode is selected, the on
chip palette table SRAM will be enabled.
21:20
/
/
/
19:18
R/W
0
Color key Mode
00: disabled color key
01: The layer color key match another channel pixel data in Alpha Blender1.
1x: Reserved
Only 2 channels pixel data can get to Alpha Blender1 at the same screen
coordinate.
17:16
/
/
/
15
R/W
0
Pipe Select
0: select Pipe 0
1: select Pipe 1
14:12
/
/
/
11:10
R/W
0
Priority
The rule is: 11>10>01>00
When more than 2 layers are enabled, the priority value of each layer
must be different, soft designer must keep the condition.
If more than 1 layer selects the same pipe, in the overlapping area,
only the pixel of highest priority layer can pass the pipe to blender1.
If both 2 pipes are selected by layers, in the overlapping area, the
alpha value will use the alpha value of higher priority layer in the
blender1.
9:3
/
/
/
2
R/W
0
YUV channel selection
0: disable
1: enable
Setting 2 or more layers YUV channel mode is illegal, programmer should
confirm it.
1
R/W
0
Layer video channel selection
0: disable
1: enable
Normally, one layer cannot be set both video channel and YUV channel
mode, if both 2 mode is set, the layer will work in video channel mode, YUV
channel mode will be ignored, and programmer should confirm it.
Setting 2 or more layers video channel mode is illegal, programmer should
Confidential
Display
F1C600 User Manual (Revision 1.0) Copyright© 2015 Allwinner Technology. Co.,Ltd. All Rights Reserved. Page 224
confirm it.
0
R/W
0
Alpha Enable
0: Disabled the alpha value of this register
1: Enabled the alpha value of this register for the layer
5.3.5.27. DEBE Layer 0 Attribute Control Register 1
Offset : 0x8A0
Register Name: DEBE_LAY0_ATT_CTRL_RGE1
Bit
R/W
Default/Hex
Description
31:12
/
/
/
11:8
R/W
0
Frame buffer format
Normal mode data format
0000: mono 1-bpp
0001: mono 2-bpp
0010: mono 4-bpp
0011: mono 8-bpp
0100: color 16-bpp (R:6/G:5/B:5)
0101: color 16-bpp (R:5/G:6/B:5)
0110: color 16-bpp (R:5/G:5/B:6)
0111: color 16-bpp (Alpha:1/R:5/G:5/B:5)
1000: color 16-bpp (R:5/G:5/B:5/Alpha:1)
1001: color 32-bpp (Padding:8/R:8/G:8/B:8)
1010: color 32-bpp (Alpha:8/R:8/G:8/B:8)
1011: color 24-bpp (R/G/B/R)
1100-0x1111: Reserved
Palette Mode data format
In palette mode, the data of external frame buffer is regarded as pattern.
0000: 1-bpp
0001: 2-bpp
0010: 4-bpp
0011: 8-bpp
other: Reserved
Note: If the layer is selected by video channel or YUV channel, the setting
of the bits will be ignored.
7:3
/
/
/
2
R/W
0
B R channel swap
0: RGB. Follow the bit[11:8]----RGB
1: BGR. Swap the B R channel in the data format.
01:0
R/W
0
PS
Pixels Sequence
See the follow table “Pixels Sequence”
Note: If the layer is selected by video channel or YUV channel, the setting
of the bits will be ignored.
5.3.5.28. DEBE Layer 1 Attribute Control Register 1
Offset : 0x8A4
Register Name: DEBE_LAY1_ATT_CTRL_RGE1
Confidential
Display
F1C600 User Manual (Revision 1.0) Copyright© 2015 Allwinner Technology. Co.,Ltd. All Rights Reserved. Page 225
Bit
R/W
Default/Hex
Description
31:12
/
/
/
11:8
R/W
0
Frame buffer format
Normal mode data format
0000: mono 1-bpp
0001: mono 2-bpp
0010: mono 4-bpp
0011: mono 8-bpp
0100: color 16-bpp (R:6/G:5/B:5)
0101: color 16-bpp (R:5/G:6/B:5)
0110: color 16-bpp (R:5/G:5/B:6)
0111: color 16-bpp (Alpha:1/R:5/G:5/B:5)
1000: color 16-bpp (R:5/G:5/B:5/Alpha:1)
1001: color 32-bpp (Padding:8/R:8/G:8/B:8)
1010: color 32-bpp (Alpha:8/R:8/G:8/B:8)
1011: color 24-bpp (R/G/B/R)
1100-0x1111: Reserved
Palette Mode data format
In palette mode, the data of external frame buffer is regarded as pattern.
0000: 1-bpp
0001: 2-bpp
0010: 4-bpp
0011: 8-bpp
other: Reserved
Note: If the layer is selected by video channel or YUV channel, the setting
of the bits will be ignored.
7:3
/
/
/
2
R/W
0
B R channel swap
0: RGB. Follow the bit[11:8]----RGB
1: BGR. Swap the B R channel in the data format.
01:0
R/W
0
PS
Pixels Sequence
See the follow table “Pixels Sequence”
Note: If the layer is selected by video channel or YUV channel, the setting
of the bits will be ignored.
5.3.5.29. DEBE Layer 2 Attribute Control Register 1
Offset : 0x8A8
Register Name: DEBE_LAY2_ATT_CTRL_RGE1
Bit
R/W
Default/Hex
Description
31:12
/
/
/
11:8
R/W
0
Frame buffer format
Normal mode data format
0000: mono 1-bpp
0001: mono 2-bpp
0010: mono 4-bpp
Confidential
Display
F1C600 User Manual (Revision 1.0) Copyright© 2015 Allwinner Technology. Co.,Ltd. All Rights Reserved. Page 226
0011: mono 8-bpp
0100: color 16-bpp (R:6/G:5/B:5)
0101: color 16-bpp (R:5/G:6/B:5)
0110: color 16-bpp (R:5/G:5/B:6)
0111: color 16-bpp (Alpha:1/R:5/G:5/B:5)
1000: color 16-bpp (R:5/G:5/B:5/Alpha:1)
1001: color 32-bpp (Padding:8/R:8/G:8/B:8)
1010: color 32-bpp (Alpha:8/R:8/G:8/B:8)
1011: color 24-bpp (R/G/B/R)
1100-0x1111: Reserved
Palette Mode data format
In palette mode, the data of external frame buffer is regarded as pattern.
0000: 1-bpp
0001: 2-bpp
0010: 4-bpp
0011: 8-bpp
other: Reserved
Note: If the layer is selected by video channel or YUV channel, the setting
of the bits will be ignored.
7:3
/
/
/
2
R/W
0
B R channel swap
0: RGB. Follow the bit[11:8]----RGB
1: BGR. Swap the B R channel in the data format.
01:0
R/W
0
PS
Pixels Sequence
See the follow table “Pixels Sequence”
Note: If the layer is selected by video channel or YUV channel, the setting
of the bits will be ignored.
5.3.5.30. DEBE Layer 3 Attribute Control Register 1
Offset : 0x8AC
Register Name: DEBE_LAY3_ATT_CTRL_RGE1
Bit
R/W
Default/Hex
Description
31:12
/
/
/
11:8
R/W
0
Frame buffer format
Normal mode data format
0000: mono 1-bpp
0001: mono 2-bpp
0010: mono 4-bpp
0011: mono 8-bpp
0100: color 16-bpp (R:6/G:5/B:5)
0101: color 16-bpp (R:5/G:6/B:5)
0110: color 16-bpp (R:5/G:5/B:6)
0111: color 16-bpp (Alpha:1/R:5/G:5/B:5)
1000: color 16-bpp (R:5/G:5/B:5/Alpha:1)
1001: color 32-bpp (Padding:8/R:8/G:8/B:8)
Confidential
Display
F1C600 User Manual (Revision 1.0) Copyright© 2015 Allwinner Technology. Co.,Ltd. All Rights Reserved. Page 227
1010: color 32-bpp (Alpha:8/R:8/G:8/B:8)
1011: color 24-bpp (R/G/B/R)
1100-0x1111: Reserved
Palette Mode data format
In palette mode, the data of external frame buffer is regarded as pattern.
0000: 1-bpp
0001: 2-bpp
0010: 4-bpp
0011: 8-bpp
other: Reserved
Note: If the layer is selected by video channel or YUV channel, the setting
of the bits will be ignored.
7:3
/
/
/
2
R/W
0
B R channel swap
0: RGB. Follow the bit[11:8]----RGB
1: BGR. Swap the B R channel in the data format.
01:0
R/W
0
PS
Pixels Sequence
See the follow table “Pixels Sequence”
Note: If the layer is selected by video channel or YUV channel, the setting
of the bits will be ignored.
Pixels sequence table
DE-layer attribute control register1 [11:8] = FBF (frame buffer format)
DE-layer attribute control register1 [1:0] = PS (pixels sequence
Mono or palette 1-bpp mode: FBF = 0000
PS=00
Bit
31 30 29 28 27 26 25 24 23 22 21 20 19 18 17 16
P31
P30
P29
P28
P27
P26
P25
P24
P23
P22
P21
P20
P19
P18
P17
P16
P15
P14
P13
P12
P11
P10
P09
P08
P07
P06
P05
P04
P03
P02
P01
P00
15 14 13 12 11 10 09 08 07 06 05 04 03 02 01 00
PS=01
Bit
31 30 29 28 27 26 25 24 23 22 21 20 19 18 17 16
P24
P25
P26
P27
P28
P29
P30
P31
P16
P17
P18
P19
P20
P21
P22
P23
P08
P09
P10
P11
P12
P13
P14
P15
P00
P01
P02
P03
P04
P05
P06
P07
15 14 13 12 11 10 09 08 07 06 05 04 03 02 01 00
PS=10
Bit
31 30 29 28 27 26 25 24 23 22 21 20 19 18 17 16
P07
P06
P05
P04
P03
P02
P01
P00
P15
P14
P13
P12
P11
P10
P09
P08
P23
P22
P21
P20
P19
P18
P17
P16
P31
P30
P29
P28
P27
P26
P25
P24
15 14 13 12 11 10 09 08 07 06 05 04 03 02 01 00
PS=11
Confidential
Display
F1C600 User Manual (Revision 1.0) Copyright© 2015 Allwinner Technology. Co.,Ltd. All Rights Reserved. Page 228
Bit
31 30 29 28 27 26 25 24 23 22 21 20 19 18 17 16
P00
P01
P02
P03
P04
P05
P06
P07
P08
P09
P10
P11
P12
P13
P14
P15
P16
P17
P18
P19
P20
P21
P22
P23
P24
P25
P26
P27
P28
P29
P30
P31
15 14 13 12 11 10 09 08 07 06 05 04 03 02 01 00
Mono or palette 2-bpp mode: FBF = 0001
PS=00
Bit
31 30 29 28 27 26 25 24 23 22 21 20 19 18 17 16
P15
P14
P13
P12
P11
P10
P09
P08
P07
P06
P05
P04
P03
P02
P01
P00
15 14 13 12 11 10 09 08 07 06 05 04 03 02 01 00
PS=01
Bit
31 30 29 28 27 26 25 24 23 22 21 20 19 18 17 16
P12
P13
P14
P15
P08
P09
P10
P11
P04
P05
P06
P07
P00
P01
P02
P03
15 14 13 12 11 10 09 08 07 06 05 04 03 02 01 00
PS=10
Bit
31 30 29 28 27 26 25 24 23 22 21 20 19 18 17 16
P03
P02
P01
P00
P07
P06
P05
P04
P11
P10
P09
P08
P15
P14
P13
P12
15 14 13 12 11 10 09 08 07 06 05 04 03 02 01 00
PS=11
Bit
31 30 29 28 27 26 25 24 23 22 21 20 19 18 17 16
P00
P01
P02
P03
P04
P05
P06
P07
P08
P09
P10
P11
P12
P13
P14
P15
15 14 13 12 11 10 09 08 07 06 05 04 03 02 01 00
Mono 4-bpp or palette 4-bpp mode: FBF = 0010
PS=00
Bit
31 30 29 28 27 26 25 24 23 22 21 20 19 18 17 16
P07
P06
P05
P04
P03
P02
P01
P00
15 14 13 12 11 10 09 08 07 06 05 04 03 02 01 00
PS=01
Bit
31 30 29 28 27 26 25 24 23 22 21 20 19 18 17 16
P06
P07
P04
P05
P02
P03
P00
P01
15 14 13 12 11 10 09 08 07 06 05 04 03 02 01 00
PS=10
Bit
Confidential
Display
F1C600 User Manual (Revision 1.0) Copyright© 2015 Allwinner Technology. Co.,Ltd. All Rights Reserved. Page 229
31 30 29 28 27 26 25 24 23 22 21 20 19 18 17 16
P01
P00
P03
P02
P05
P04
P07
P06
15 14 13 12 11 10 09 08 07 06 05 04 03 02 01 00
PS=11
Bit
31 30 29 28 27 26 25 24 23 22 21 20 19 18 17 16
P00
P01
P02
P03
P04
P05
P06
P07
15 14 13 12 11 10 09 08 07 06 05 04 03 02 01 00
Mono 8-bpp mode or palette 8-bpp mode: FBF = 0011
PS=00/11
Bit
31 30 29 28 27 26 25 24 23 22 21 20 19 18 17 16
P3
P2
P1
P0
15 14 13 12 11 10 09 08 07 06 05 04 03 02 01 00
PS=01/10
Bit
31 30 29 28 27 26 25 24 23 22 21 20 19 18 17 16
P0
P1
P2
P3
15 14 13 12 11 10 09 08 07 06 05 04 03 02 01 00
Color 16-bpp mode: FBF = 0100 or 0101 or 0110 or 0111 or 1000
PS=00
Bit
31 30 29 28 27 26 25 24 23 22 21 20 19 18 17 16
P1
P0
15 14 13 12 11 10 09 08 07 06 05 04 03 02 01 00
PS=01
Bit
31 30 29 28 27 26 25 24 23 22 21 20 19 18 17 16
P0
P1
15 14 13 12 11 10 09 08 07 06 05 04 03 02 01 00
PS=10/11
Invalid
Color 24-bpp or 32-bpp mode: FBF = 1001 or 1010
PS=00/01
Bit
31 30 29 28 27 26 25 24 23 22 21 20 19 18 17 16
P0
15 14 13 12 11 10 09 08 07 06 05 04 03 02 01 00
The bytes sequence is ARGB
Confidential
Display
F1C600 User Manual (Revision 1.0) Copyright© 2015 Allwinner Technology. Co.,Ltd. All Rights Reserved. Page 230
PS=10/11
Bit
31 30 29 28 27 26 25 24 23 22 21 20 19 18 17 16
P0
15 14 13 12 11 10 09 08 07 06 05 04 03 02 01 00
The bytes sequence is BGRA
5.3.5.31. DEBE HWC Coordinate Control Register
Offset: 0x8D8
Register Name: DEBE_HWC_CTRL_REG
Bit
R/W
Default/Hex
Description
31:27
R/W
0
Y coordinate offset
The hardware cursor is 32*32 2-bpp pattern, this value represent the start
position of the cursor in Y coordinate
26:16
R/W
0
Hardware cursor Y coordinate
15:11
R/W
0
X coordinate offset
The hardware cursor is 32*32 2-bpp pattern, this value represent the start
position of the cursor in X coordinate
10:0
R/W
0
Hardware cursor X coordinate
5.3.5.32. DEBE HWC Frame Buffer Format Register
Offset: 0x8E0
Register Name: DEBE_HWC_FB_CTRL_REG
Bit
R/W
Default/Hex
Description
31:6
/
/
/
5:4
R/W
0
Y size control
00: 32pixels per line
01: 64pixels per line
Other: reserved
3:2
R/W
0
X size control
00: 32pixels per row
01: 64pixels per row
Other: reserved
1:0
R/W
0
Pixels format control
00: 1bpp
01: 2bpp
10: 4bpp
11: reserved
5.3.5.33. DEBE Write Back Control Register
Offset: 0x8F0
Register Name: DEBE_WB_CTRL_REG
Bit
R/W
Default/Hex
Description
31:13
/
/
/
12
R/W
0
Write back data format setting
0: ARGB (little endian syatem)
1: BGRA (little endian syatem)
11:10
/
/
/
Confidential
Display
F1C600 User Manual (Revision 1.0) Copyright© 2015 Allwinner Technology. Co.,Ltd. All Rights Reserved. Page 231
9
R/W
0
Error flag
0:
1: write back error
8
R/W
0
Write-back process status
0: write-back end or write-back disable
1: write-back in process
This flag indicates that a full frame has not been written back to memory.
The bit will be set when write-back enable bit is set, and be cleared when
write-back process end.
7:2
/
/
/
1
R/W
0
Write back only control
0: disable the write back only control, the normal channel data of back end
will transfer to LCD/TV controller too.
1: enable the write back only function, the all output data will bypass the
LCD/TV controller.
0
R/W
0
Write back enable
0: Disable
1: Enable
If normal channel of back-end is selected by LCD/TV controller (write
back only function is disabled), the writing back process will start
when write back enable bit is set and a new frame processing begins.
The bit will be cleared when the new writing-back frame start to
process.
5.3.5.34. DEBE Write Back Address Register
Offset: 0x8F4
Register Name: DEBE_WB_ADDR_REG
Bit
R/W
Default/Hex
Description
31:0
R/W
0
The start address of write back data in bits
5.3.5.35. DEBE Write Back Buffer Line Width Register
Offset: 0x8F8
Register Name: DEBE_WB_LINEWIDTH_REG
Bit
R/W
Default/Hex
Description
31:0
R/W
0
Write back image buffer line width in bits
5.3.5.36. DEBE Input YUV Channel Control Register
Offset: 0x920
Register Name: DEBE_IYUV_CTRL_REG
Bit
R/W
Default/Hex
Description
31:15
/
/
/
14:12
R/W
0
Input data format
000: planar YUV 411
001: planar YUV 422
010: planar YUV 444
011: interleaved YUV 422
100: interleaved YUV 444
Other: illegal
Confidential
Display
F1C600 User Manual (Revision 1.0) Copyright© 2015 Allwinner Technology. Co.,Ltd. All Rights Reserved. Page 232
11:10
/
/
/
9:8
R/W
0
Pixel sequence
In planar data format mode:
00: Y3Y2Y1Y0
01: Y0Y1Y2Y3 (the other 2 components are same)
Other: illegal
In interleaved YUV 422 data format mode:
00: UYVY
01: YUYV
10: VYUY
11: YVYU
In interleaved YUV 444 data format mode:
00: AYUV
01: VUYA
Other: illegal
7:5
/
/
/
4
R/W
0
0:
linner
1:
3:1
/
/
/
0
R/W
0
YUV channel enable control
0: disable
1: enable
Source data input data ports:
Input buffer channel
Planar YUV
Interleaved YUV
Channel0
Y
YUV
Channel1
U
-
Channel2
V
-
5.3.5.37. DEBE YUV Channel 0 Frame Buffer Address Register
Offset: 0x930
Register Name: DEBE_CH0_YUV_ADDR_REG
Bit
R/W
Default/Hex
Description
31:0
R/W
0
Buffer Address
Frame buffer address in bits
5.3.5.38. DEBE YUV Channel 1 Frame Buffer Address Register
Offset: 0x934
Register Name: DEBE_CH1_YUV_ADDR_REG
Bit
R/W
Default/Hex
Description
31:0
R/W
0
Buffer Address
Frame buffer address in bits
5.3.5.39. DEBE YUV Channel 2 Frame Buffer Address Register
Offset: 0x938
Register Name: DEBE_CH2_YUV_ADDR_REG
Bit
R/W
Default/Hex
Description
31:0
R/W
0
Buffer Address
Confidential
Display
F1C600 User Manual (Revision 1.0) Copyright© 2015 Allwinner Technology. Co.,Ltd. All Rights Reserved. Page 233
Frame buffer address in bits
5.3.5.40. DEBE YUV Channel 0 Buffer Line Width Register
Offset: 0x940
Register Name: DEBE_CH0_YUV_BLW_REG
Bit
R/W
Default/Hex
Description
31:0
R/W
0
Line width
The width is the distance from the start of one line to the start of the next
line.
Description in bits
5.3.5.41. DEBE YUV Channel 1 Buffer Line Width Register
Offset: 0x944
Register Name: DEBE_CH1_YUV_BLW_REG
Bit
R/W
Default/Hex
Description
31:0
R/W
0
Line width
The width is the distance from the start of one line to the start of the next
line.
Description in bits
5.3.5.42. DEBE YUV Channel 2 Buffer Line Width Register
Offset: 0x948
Register Name: DEBE_CH2_YUV_BLW_REG
Bit
R/W
Default/Hex
Description
31:0
R/W
0
Line width
The width is the distance from the start of one line to the start of the next
line.
Description in bits
YUV to RGB conversion algorithm formula:
G = (GY component coefficient * Y) + (GU component coefficient * U) + (GV component coefficient * V) + G constant
R = (RY component coefficient * Y) + (RU component coefficient * U) + (RV component coefficient * V) + R constant
B = (BY component coefficient * Y) + (BU component coefficient * U) + (BV component coefficient * V) + B constant
5.3.5.43. DEBE Coefficient 00 Register
Offset: 0x950
Register Name: DEBE_COEF00_REG
Bit
R/W
Default/Hex
Description
31:29
/
/
/
28:16
R/W
UDF
the Y/G coefficient for de-flicker
the value equals to coefficient*210
15:13
/
/
/
12:0
R/W
UDF
the Y/G coefficient
the value equals to coefficient*210
5.3.5.44. DEBE Coefficient 01 Register
Offset: 0x954
Register Name: DEBE_COEF01_REG
Bit
R/W
Default/Hex
Description
31:29
/
/
/
Confidential
Display
F1C600 User Manual (Revision 1.0) Copyright© 2015 Allwinner Technology. Co.,Ltd. All Rights Reserved. Page 234
28:16
R/W
UDF
the U/G coefficient for de-flicker
the value equals to coefficient*210
15:13
/
/
/
12:0
R/W
UDF
the U/G coefficient
the value equals to coefficient*210
5.3.5.45. DEBE Coefficient 02 Register
Offset: 0x958
Register Name: DEBE_COEF02_REG
Bit
R/W
Default/Hex
Description
31:29
/
/
/
28:16
R/W
UDF
the V/G coefficient for de-flicker
the value equals to coefficient*210
15:13
/
/
/
12:0
R/W
UDF
the V/G coefficient
the value equals to coefficient*210
5.3.5.46. DEBE Coefficient 03 Register
Offset: 0x95C
Register Name: DEBE_COEF03_REG
Bit
R/W
Default/Hex
Description
31:29
/
/
/
28:16
R/W
UDF
the Y/G constant for de-flicker
the value equals to coefficient*24
15:13
/
/
/
12:0
R/W
UDF
the Y/G constant
the value equals to coefficient*24
5.3.5.47. DEBE Coefficient 10 Register
Offset: 0x960
Register Name: DEBE_COEF10_REG
Bit
R/W
Default/Hex
Description
31:29
/
/
/
28:16
R/W
UDF
The Y/R coefficient for de-flicker
the value equals to coefficient*210
15:13
/
/
/
12:0
R/W
UDF
the Y/R coefficient
the value equals to coefficient*210
5.3.5.48. DEBE Coefficient 11 Register
Offset: 0x964
Register Name: DEBE_COEF11_REG
Bit
R/W
Default/Hex
Description
31:29
/
/
/
28:16
R/W
UDF
the U/R coefficient for de-flicker
the value equals to coefficient*210
15:13
/
/
/
12:0
R/W
UDF
the U/R coefficient
Confidential
Display
F1C600 User Manual (Revision 1.0) Copyright© 2015 Allwinner Technology. Co.,Ltd. All Rights Reserved. Page 235
the value equals to coefficient*210
5.3.5.49. DEBE Coefficient 12 Register
Offset: 0x968
Register Name: DEBE_COEF12_REG
Bit
R/W
Default/Hex
Description
31:29
/
/
/
28:16
R/W
UDF
the V/R coefficient for de-flicker
the value equals to coefficient*210
15:13
/
/
/
12:0
R/W
UDF
the V/R coefficient
the value equals to coefficient*210
5.3.5.50. DEBE Coefficient 13 Register
Offset: 0x96C
Register Name: DEBE_COEF13_REG
Bit
R/W
Default/Hex
Description
31:29
/
/
/
28:16
R/W
UDF
the Y/R constant for de-flicker
the value equals to coefficient*24
15:13
/
/
/
12:0
R/W
UDF
the U/R constant
the value equals to coefficient*24
5.3.5.51. DEBE Coefficient 20 Register
Offset: 0x970
Register Name: DEBE_COEF20_REG
Bit
R/W
Default/Hex
Description
31:29
/
/
/
28:16
R/W
UDF
The Y/B coefficient for de-flicker
the value equals to coefficient*210
15:13
/
/
/
12:0
R/W
UDF
the Y/B coefficient
the value equals to coefficient*210
5.3.5.52. DEBE Coefficient 21 Register
Offset: 0x974
Register Name: DEBE_COEF21_REG
Bit
R/W
Default/Hex
Description
31:29
/
/
/
28:16
R/W
UDF
the U/B coefficient for de-flicker
the value equals to coefficient*210
15:13
/
/
/
12:0
R/W
UDF
the U/B coefficient
the value equals to coefficient*210
5.3.5.53. DEBE Coefficient 22 Register
Offset: 0x978
Register Name: DEBE_COEF22_REG
Confidential
Display
F1C600 User Manual (Revision 1.0) Copyright© 2015 Allwinner Technology. Co.,Ltd. All Rights Reserved. Page 236
Bit
R/W
Default/Hex
Description
31:29
/
/
/
28:16
R/W
UDF
the V/B coefficient for de-flicker
the value equals to coefficient*210
15:13
/
/
/
12:0
R/W
UDF
the V/B coefficient
the value equals to coefficient*210
5.3.5.54. DEBE Coefficient 23 Register
Offset: 0x97C
Register Name: DEBE_COEF23_REG
Bit
R/W
Default/Hex
Description
31:29
/
/
/
28:16
R/W
UDF
the Y/B constant for de-flicker
the value equals to coefficient*24
15:13
/
/
/
12:0
R/W
UDF
the Y/B constant
the value equals to coefficient*24
5.3.5.55. DEBE HWC Pattern Memory Block
Offset: 0x1400-0x15FF
DEBE_HWC_ PAT_MEM_BLK
Bit
R/W
Default/Hex
Description
31:0
R/W
UDF
Hardware cursor pixel pattern
Specify the color displayed for each of the hardware cursor pixels.
5.3.5.56. DEBE HWC Palette Table
Offset: 0x1600-0x163F
DEBE_HWC_ PALETTE_TABLE
Bit
R/W
Default/Hex
Description
31:24
R/W
0
Alpha value
23:16
R/W
0
Red value
15:8
R/W
0
Green value
7:0
R/W
0
Blue value
The follow figure (only with 2bpp mode) shows the RAM array used for hardware cursor palette lookup and the
corresponding colors output.
Confidential
Display
F1C600 User Manual (Revision 1.0) Copyright© 2015 Allwinner Technology. Co.,Ltd. All Rights Reserved. Page 237
5.3.5.57. Palette Mode
Offset: 0x1000-0x13FF
DEBE_SRAM_BLK
Bit
R/W
Default/Hex
Description
31:24
R/W
UDF
Alpha value
23:16
R/W
UDF
Red value
15:8
R/W
UDF
Green value
7:0
R/W
UDF
Blue value
In this mode, RAM array is used for palette lookup table; each pixel in the layer frame buffer is treated as an index into
the RAM array to select the actual color.
The follow figure shows the RAM array used for palette lookup and the corresponding colors output.
Confidential
Display
F1C600 User Manual (Revision 1.0) Copyright© 2015 Allwinner Technology. Co.,Ltd. All Rights Reserved. Page 238
0 R0 G0 B0
1 R1 G1 B1
254 R254 G254 B254
255 R255 G255 B255
n Rn Gn Bn
On chip SRAM array
5 38 133 28
Inputting external
frame buffer data
(8bpp) Output color
5 R5 G5 B5
38 R38 G38 B38
133 R133 G133 B133
28 R28 G28 B28
On chip SRAM for palette lookup
Confidential
Display
F1C600 User Manual (Revision 1.0) Copyright© 2015 Allwinner Technology. Co.,Ltd. All Rights Reserved. Page 239
5.4. De-interlacer
5.4.1. Overview
The De-interlacer converts the interlaced input video frame to a progressive one. The frame base on top field will
be processed.
5.4.2. Feature
The De-interlacer includes the following features:
Support planar UV combined YUV420 and tile-based UV combined YUV420 input format
Support planar UV combined YUV420 output format
Support input size up to 720×576
5.4.3. De-interlacer Register List
Module Name
Base Address
DI
0x01E70000
Register Name
Offset
Description
DI_CTRL_REG
0x000
DI Control Register
DI_INT_CTRL_REG
0x004
DI Interrupt Control Register
DI_STATUS_REG
0x008
DI Status Register
DI_SIZE_SET_REG
0x010
DI Size Setting Register
DI_FORMAT_SET _REG
0x014
DI Format Setting Register
DI_INPUT_LS0_SET _REG
0x020
DI input Line Stride 0 Setting Register
DI_INPUT_LS1_SET _REG
0x024
DI Input Line Stride 1 Setting Register
DI_OUTPUT_LS0_SET _REG
0x028
DI Output Line Stride 0 Setting Register
DI_OUTPUT_LS1_SET _REG
0x02C
DI Output Line Stride 1 Setting Register
DI_FLAG_LS_SET _REG
0x030
DI Flag Line Stride Setting Register
DI_CUR_FRAME_ADDR0_REG
0x040
DI Current Frame Address 0 Register
DI_CUR_FRAME_ADDR1_REG
0x044
DI Current Frame Address 1 Register
DI_PREFRAME_ADDR0_REG
0x050
DI Pre-frame Address 0 Register
DI_PREFRAME_ADDR1_REG
0x054
DI Pre-frame Address 1 Register
DI_OUTPUT_FRAME_ADDR0_REG
0x060
DI Output Frame Address 0 Register
DI_OUTPUT_FRAME_ADDR1_REG
0x064
DI Output Frame Address 1 Register
DI_FLAG_ADDR_REG
0x070
DI Motion Flag Address Register
DI_PARA_REG
0x080
DI Parameters Register
5.4.4. De-interlacer Register Description
5.4.4.1. DI Control Register
Offset: 0x000
Register Name: DI_CTRL_REG
Bit
R/W
Default/Hex
Description
Confidential
Display
F1C600 User Manual (Revision 1.0) Copyright© 2015 Allwinner Technology. Co.,Ltd. All Rights Reserved. Page 240
31
R/W
0x0
RESET
Module reset
0: Do nothing or reset finished.
1: Reset module.
Module will reset when write 1 to this bit. The START bit and
DI_INT_CTRL_REG will be initialed to default value, and the state machine
of the module will reset. This bit would self clear when reset finished.
30:1
/
/
/
0
R/W
0x0
START
Start de-interlacing function
0: Start finish
1: Start one frame de-interlacing
Write 1 will start one frame de-interlacing process. The bit would self clear
when one frame de-interlacing process starts.
5.4.4.2. DI Interrupt Control Register
Offset: 0x004
Register Name: DI_INT_CTRL_REG
Bit
R/W
Default/Hex
Description
31:1
/
/
/
0
R/W
0x0
FINISH_INT_EN
De-interlacing finish interrupt enable
0: Disable
1: Enable
5.4.4.3. DI Status Register
Offset: 0x008
Register Name: DI_STATUS_REG
Bit
R/W
Default/Hex
Description
31
R
0x0
CUR_CHL
De-interlacing current channel.
0: luma channel
1: chroma channel
30:26
/
/
/
25:16
R
0x0
CUR_LINE
De-interlacing line counter.
Note: Start from zero. Counter for current processing line.
15:9
/
/
/
8
R
0x0
BUSY
De-interlacing process status.
The bit will become 1 when a frame de-interlacing process running and will
clear when process stop.
7:1
/
/
/
0
R/W
0x0
FINISH_FLAG
De-interlacing finish flag.
0: Unfinished
1: Finished
Confidential
Display
F1C600 User Manual (Revision 1.0) Copyright© 2015 Allwinner Technology. Co.,Ltd. All Rights Reserved. Page 241
The bit will become 1 when a frame de-interlacing process finish. Write 1 to
clear it.
5.4.4.4. DI Size Setting Register
Offset: 0x10
Register Name: DI_SIZE_SET_REG
Bit
R/W
Default/Hex
Description
31:26
/
/
/
25:16
R/W
0x0
HEIGHT
De-interlacing height.
The actual height is the register value + 1.
Note: The actual height must be 2 lines aligned.
15:10
/
/
/
9:0
R/W
0x0
WIDTH
De-interlacing width.
The actual width is the register value + 1.
Note: The actual width must be 2 pixels aligned.
5.4.4.5. DI Format Setting Register
Offset: 0x014
Register Name: DI_FORMAT_SET_REG
Bit
R/W
Default/Hex
Description
31:5
/
/
/
4
R/W
0x0
PS_REVERSION
Pixel sequence reversion enable
0: Disable.
1: Enable.
3:1
/
/
/
0
R/W
0x0
IN_FORMAT
Input format
0: Non-tile-based UV combined.
1: Tile-based UV combined. (32 x 32)
5.4.4.6. DI Input Line Stride 0 Setting Register
Offset: 0x020
Register Name: DI_INPUT_LS0_REG
Bit
R/W
Default/Hex
Description
31:16
/
/
/
15:0
R/W
0x0
LS
Input line stride of first plane in WORD.
In tile-based type
The stride length is the distance from the start of the end line in one tile to
the start of the first line in vertical direction next tile.
In non-tile-based type
The stride length is the distance from the start of one line to the start of
the next line.
Confidential
Display
F1C600 User Manual (Revision 1.0) Copyright© 2015 Allwinner Technology. Co.,Ltd. All Rights Reserved. Page 242
5.4.4.7. DI Input Line Stride 1 Setting Register
Offset: 0x024
Register Name: DI_INPUT_LS1_SET_REG
Bit
R/W
Default/Hex
Description
31:16
/
/
/
15:0
R/W
0x0
LS
Input line stride of second plane in WORD.
In tile-based type
The stride length is the distance from the start of the end line in one tile to
the start of the first line in vertical direction next tile.
In non-tile-based type
The stride length is the distance from the start of one line to the start of
the next line.
5.4.4.8. DI Output Line Stride 0 Setting Register
Offset: 0x028
Register Name: DI_OUTPUT_LS0_SET_REG
Bit
R/W
Default/Hex
Description
31:16
/
/
/
15:0
R/W
0x0
LS
Output line stride of first plane in WORD.
The stride length is the distance from the start of one line to the start of
the next line.
5.4.4.9. DI Output Line Stride 1 Setting Register
Offset: 0x02C
Register Name: DI_OUTPUT_LS1_SET_REG
Bit
R/W
Default/Hex
Description
31:16
/
/
/
15:0
R/W
0x0
LS
Output line stride of second plane in WORD.
The stride length is the distance from the start of one line to the start of
the next line.
5.4.4.10. DI Flag Line Stride Setting Register
Offset: 0x030
Register Name: DI_FLAG_LS_SET_REG
Bit
R/W
Default/Hex
Description
31:16
/
/
/
15:0
R/W
0x0
LS
Flag line stride in WORD.
The stride length is the distance from the start of one line to the start of
the next line.
5.4.4.11. DI Current Frame Address 0 Register
Offset: 0x040
Register Name: DI_CUR_FRAME_ADDR0_REG
Bit
R/W
Default/Hex
Description
31:0
R/W
0x0
ADDR
Start address of first plane in BYTE.
Confidential
Display
F1C600 User Manual (Revision 1.0) Copyright© 2015 Allwinner Technology. Co.,Ltd. All Rights Reserved. Page 243
Note: When input format is tile-based type, frame start address must be a
tile start address.
5.4.4.12. DI Current Frame Address 1 Register
Offset: 0x044
Register Name: DI_CUR_FRAME_ADDR1_REG
Bit
R/W
Default/Hex
Description
31:0
R/W
0x0
ADDR
Start address of second plane in BYTE.
Note: When input format is tile-based type, frame start address must be a
tile start address.
5.4.4.13. DI Pre-frame Address 0 Register
Offset: 0x050
Register Name: DI_PREFRAME_ADDR0_REG
Bit
R/W
Default/Hex
Description
31:0
R/W
0x0
ADDR
Start address of first plane in BYTE.
Note: When input format is tile-based type, frame start address must be a
tile start address.
5.4.4.14. DI Pre-frame Address 1 Register
Offset: 0x054
Register Name: DI_PREFRAME_ADDR1_REG
Bit
R/W
Default/Hex
Description
31:0
R/W
0x0
ADDR
Start address of second plane in BYTE.
Note: When input format is tile-based type, frame start address must be a
tile start address.
5.4.4.15. DI Output Frame Address 0 Register
Offset: 0x060
Register Name: DI_OUTPUT_FRAME_ADDR0_REG
Bit
R/W
Default/Hex
Description
31:0
R/W
0x0
ADDR
Start address of first plane in BYTE.
Note: Must word-aligned.
5.4.4.16. DI Output Frame Address 1 Register
Offset: 0x064
Register Name: DI_OUTPUT_FRAME_ADDR1_REG
Bit
R/W
Default/Hex
Description
31:0
R/W
0x0
ADDR
Start address of second plane in BYTE.
Note: Must word-aligned.
5.4.4.17. DI Flag Address Register
Offset: 0x070
Register Name: DI_FLAG_ADDR_REG
Bit
R/W
Default/Hex
Description
31:0
R/W
0x0
ADDR
Confidential
Display
F1C600 User Manual (Revision 1.0) Copyright© 2015 Allwinner Technology. Co.,Ltd. All Rights Reserved. Page 244
Start address in BYTE.
5.4.4.18. DI Parameters Register
Offset: 0x080
Register Name: DI_PARA_REG
Bit
R/W
Default/Hex
Description
31:24
R/W
0x5
CHROMA_DIFF_TH
23:16
R/W
0xa
SPATIAL_TH2
15:8
R/W
0x6
AVG_LUMA_SHIFTER
7:0
R/W
0x9
MIN_LUMA_TH
Confidential
Image Subsystem
F1C600 User Manual (Revision 1.0) Copyright© 2015 Allwinner Technology. Co.,Ltd. All Rights Reserved. Page 245
Chapter 6. Image Subsystem
This chapter describes the F1C600 image subsystem:
CSI
6.1. CSI
6.1.1. Overview
The CSI is a parallel CMOS sensor interface that can receive data input from CMOS Sensor or the NTSC/PAL image
system.
6.1.2. Feature
The CSI module includes the following features:
8 bits input data
Support CCIR656 protocol for NTSC and PAL
3 parallel data paths for image stream parsing
Support Received data double buffer
Parsing bayer data into planar R, G, B output to memory
Parsing interlaced data into planar or MB Y, Cb, Cr output to memory
Pass raw data direct to memory
All data transmit timing can be adjusted by software
Luminance statistical value
6.1.3. Block Diagram
CSI
Control
Module
System BUS
FIFO 2
FIFO 1
FIFO 0
DMA
CS Data[7:0]
PCLK
HS
VS
Confidential
Image Subsystem
F1C600 User Manual (Revision 1.0) Copyright© 2015 Allwinner Technology. Co.,Ltd. All Rights Reserved. Page 246
6.1.4. CSI Data Port
FIFO
Bayer
YCbCr (YUV)
Interlaced
Pass-through
FIFO0
Red pixel data
Y pixel data
All field 1 pixel data
All pixel data
FIFO1
Green pixel data
Cb (U) pixel data
All field 2 pixel data
-
FIFO2
Blue pixel data
Cr (V) pixel data
-
-
6.1.5. Timing
Vref= positive, Href= positive
Vertical size setting
Horizontal size setting and pixel clock timing (Href= positive)
Confidential
Image Subsystem
F1C600 User Manual (Revision 1.0) Copyright© 2015 Allwinner Technology. Co.,Ltd. All Rights Reserved. Page 247
6.1.6. CSI Register List
Module Name
Base Address
CSI
0x01CB0000
Register Name
Offset
Description
CSI_EN_REG
0x000
CSI Enable Register
CSI_CFG_REG
0x004
CSI Configuration Register
CSI_CAP_REG
0x008
CSI Capture Control Register
CSI_SCALE_REG
0x00C
CSI Scale Register
CSI_FIFO0_BUFA_REG
0x010
CSI FIFO 0 Output Buffer A Address Register
CSI_ FIFO0_BUFB_REG
0x014
CSI FIFO 0 Output Buffer B Address Register
CSI_ FIFO1_BUFA_REG
0x018
CSI FIFO 1 Output Buffer A Address Register
CSI_ FIFO1_BUFB_REG
0x01C
CSI FIFO 1 Output Buffer B Address Register
CSI_ FIFO2_BUFA_REG
0x020
CSI FIFO 2 Output Buffer A Address Register
CSI_ FIFO2_BUFB_REG
0x024
CSI FIFO 2 Output Buffer B Address Register
CSI_BUF_CTL_REG
0x028
CSI Output Buffer Control Register
CSI_BUF_STA_REG
0x02C
CSI Status Register
CSI_INT_EN_REG
0x030
CSI Interrupt Enable Register
CSI_INT_STA_REG
0x034
CSI Interrupt Status Register
CSI_HSIZE_REG
0x040
CSI Horizontal Size Register
CSI_VSIZE_REG
0x044
CSI Vertical Size Register
CSI_BUF_LEN_REG
0x048
CSI Line Buffer Length Register
6.1.7. CSI Register Description
6.1.7.1. CSI Enable Register
Offset: 0x000
Register Name: CSI_EN_REG
Bit
R/W
Default/Hex
Description
31:1
/
/
/
0
R/W
0
CSI_EN
Enable
0: Reset and disable the CSI module
1: Enable the CSI module
6.1.7.2. CSI Configuration Register
Offset: 0x004
Register Name: CSI_CFG_REG
Bit
R/W
Default/Hex
Description
31:23
/
/
/
22:20
R/W
3
INPUT_FMT
Input data format
000: RAW stream
Confidential
Image Subsystem
F1C600 User Manual (Revision 1.0) Copyright© 2015 Allwinner Technology. Co.,Ltd. All Rights Reserved. Page 248
001: reserved
010: CCIR656 (one channel)
011: YUV422
others: reserved
19:16
R/W
0
OUTPUT_FMT
Output data format
When the input format is set RAW stream
0000: pass-throug
When the input format is set CCIR656 interface
0000: field planar YCbCr 422
0001: field planar YCbCr 420
0010: frame planar YCbCr 420
0011: frame planar YCbCr 422
0100: field planar YCbCr 422 UV combined
0101: field planar YCbCr 420 UV combined
0110: frame planar YCbCr 420 UV combined
0111: frame planar YCbCr 422 UV combined
1111: interlaced interleaved YCbCr422. In this mode, capturing interlaced
input and output the interlaced fields from individual ports. Field 1 data
will be written to FIFO0 output buffer and field 2 data will be wrote to
FIFO1 output buffer.
1000: field MB YCbCr 422
1001: field MB YCbCr 420
1010: frame MB YCbCr 420
1011: frame MB YCbCr 422
When the input format is set YUV422
0000: planar YUV 422
0001: planar YUV 420
0100: planar YUV 422 UV combined
0101: planar YUV 420 UV combined
1000: MB YUV 422
1001: MB YUV 420
15:12
/
/
/
11:10
R/W
0
FIELD_SEL
Field selection. Applies to CCIR656 interface only.
00: start capturing with field 1.
01: start capturing with field 2.
10: start capturing with either field.
11: reserved
9:8
R/W
2
INPUT_SEQ
Input data sequence, only valid for Bayer mode and YUV422 mode.
00: YUYV
01: YVYU
10: UYVY
11: VYUY
Confidential
Image Subsystem
F1C600 User Manual (Revision 1.0) Copyright© 2015 Allwinner Technology. Co.,Ltd. All Rights Reserved. Page 249
7:3
/
/
/
2
R/W
1
VREF_POL
Vref polarity
0: negative
1: positive
This register is not apply to CCIR656 interface.
1
R/W
0
HERF_POL
Href polarity
0: negative
1: positive
This register is not applied to CCIR656 interface.
0
R/W
1
CLK_POL
Data clock type
0: active in falling edge
1: active in rising edge
6.1.7.3. CSI Capture Control Register
Offset: 0x008
Register Name: CSI_CAP_REG
Bit
R/W
Default/Hex
Description
31:2
/
/
/
1
R/W
0
VCAP_ON
Video capture control: Capture the video image data stream.
0: Disable video capture
If video capture is in progress, the CSI stops capturing image data at the
end of the current frame, and all of the current frame data is wrote to
output FIFO.
1: Enable video capture
The CSI starts capturing image data at the start of the next frame.
0
W
0
SCAP_ON
Still capture control: Capture a single still image frame.
0: Disable still capture.
1: Enable still capture
The CSI module starts capturing image data at the start of the next frame.
The CSI module captures only one frame of image data. This bit is self
clearing and always reads as a 0.
6.1.7.4. CSI Scale Register
Offset: 0x00C
Register Name: CSI_SCALE_REG
Bit
R/W
Default/Hex
Description
31:28
/
/
/
27:24
R/W
0xF
VER_MASK
Vertical (line) mask. Every 4-line is a mask group. Bit 24 mask the first line,
bit 25 mask the second line, and so on. Mask bit = 0 means discarding this
line data.
23:16
/
/
/
Confidential
Image Subsystem
F1C600 User Manual (Revision 1.0) Copyright© 2015 Allwinner Technology. Co.,Ltd. All Rights Reserved. Page 250
15:0
R/W
0xFFFF
HOR_MASK
Horizontal (data stream) mask. Every 16-byte is a mask group. Bit 0 mask
the first byte; bit 1 mask the second byte, and so on. Mask bit = 0 means
discarding this byte from the data stream.
6.1.7.5. CSI FIFO 0 Output Buffer A Address Register
Offset: 0x010
Register Name: CSI_FIFO0_BUFA_REG
Bit
R/W
Default/Hex
Description
31:0
R/W
0
FIFO0_BUFA
FIFO 0 output buffer-A address
6.1.7.6. CSI FIFO 0 Output Buffer B Address Register
Offset: 0x014
Register Name: CSI_FIFO0_BUFB_REG
Bit
R/W
Default/Hex
Description
31:0
R/W
0
FIFO0_BUFB
FIFO 0 output buffer-B address
6.1.7.7. CSI FIFO 1 Output Buffer A Address Register
Offset: 0x018
Register Name: CSI_FIFO1_BUFA_REG
Bit
R/W
Default/Hex
Description
31:0
R/W
0
FIFO1_BUFA
FIFO 1 output buffer-A address
6.1.7.8. CSI FIFO 1 Output Buffer B Address Register
Offset: 0x01C
Register Name: CSI_FIFO1_BUFB_REG
Bit
R/W
Default/Hex
Description
31:0
R/W
0
FIFO1_BUFB
FIFO 1 output buffer-B address
6.1.7.9. CSI FIFO 2 Output Buffer A Address Register
Offset: 0x020
Register Name: CSI_FIFO2_BUFA_REG
Bit
R/W
Default/Hex
Description
31:0
R/W
0
FIFO2_BUFA
FIFO 2 output buffer-A address
6.1.7.10. CSI FIFO 2 Output Buffer B Address Register
Offset: 0x024
Register Name: CSI_FIFO2_BUFB_REG
Bit
R/W
Default/Hex
Description
31:0
R/W
0
FIFO2_BUFB
FIFO 2 output buffer-B address
6.1.7.11. CSI Output Buffer Control Register
Offset: 0x028
Register Name: CSI_BUF_CTRL_REG
Bit
R/W
Default/Hex
Description
31:3
/
/
/
Confidential
Image Subsystem
F1C600 User Manual (Revision 1.0) Copyright© 2015 Allwinner Technology. Co.,Ltd. All Rights Reserved. Page 251
2
R/W
0
DBN
Buffer selected at next storing for CSI
0: Next buffer selection is buffer-A
1: Next buffer selection is buffer-B
1
R
0
DBS
output buffer selected status
0: Selected output buffer-A
1: Selected output buffer-B
0
R/W
0
DBE
Double buffer mode enable
0: disable
1: enable
If the double buffer mode is disabled, the buffer-A will be always selected
by CSI module.
6.1.7.12. CSI Status Register
Offset: 0x02C
Register Name: CSI_BUF_STA_REG
Bit
R/W
Default/Hex
Description
31:8
R
0
LUM_STATIS
luminance statistical value
When frame done interrupt flag come, value is ready and will last until next
frame done.
For raw data, value = (G>>1+R+G)>>8
For yuv422, value = Y>>8
7:2
/
/
/
1
R
0
VCAP_STA
Video capture in progress
Indicates the CSI is capturing video image data (multiple frames). The bit is
set at the start of the first frame after enabling video capture. When
software disables video capture, it clears itself after the last pixel of the
current frame is captured.
0
R
0
SCAP_STA
Still capture in progress
Indicates the CSI is capturing still image data (single frame). The bit is set at
the start of the first frame after enabling still frame capture. It clears itself
after the last pixel of the first frame is captured.
For CCIR656 interface, if the output format is frame planar YCbCr 420
mode, the frame end means the field2 end, the other frame end means
filed end.
6.1.7.13. CSI Interrupt Enable Register
Offset: 0x030
Register Name: CSI_INT_EN_REG
Bit
R/W
Default/Hex
Description
31:08
/
/
/
7
R/W
0
VS_INT_EN
Confidential
Image Subsystem
F1C600 User Manual (Revision 1.0) Copyright© 2015 Allwinner Technology. Co.,Ltd. All Rights Reserved. Page 252
vsync flag
The bit is set when vsync come. And at this time load the buffer address for
the coming frame. So after this irq come, change the buffer address could
only effect next frame
6
R/W
0
HB_OF_INT_EN
Hblank FIFO overflow
The bit is set when 3 FIFOs still overflow after the hblank.
5
/
/
/
4
R/W
0
FIFO2_OF_INT_EN
FIFO 2 overflow
The bit is set when the FIFO 2 become overflow.
3
R/W
0
FIFO1_OF_INT_EN
FIFO 1 overflow
The bit is set when the FIFO 1 become overflow.
2
R/W
0
FIFO0_OF_INT_EN
FIFO 0 overflow
The bit is set when the FIFO 0 become overflow.
1
R/W
0
FD_INT_EN
Frame done
Indicates the CSI has finished capturing an image frame. Applies to video
capture mode. The bit is set after each completed frame capturing data is
written to buffer as long as video capture remains enabled.
0
R/W
0
CD_INT_EN
Capture done
Indicates the CSI has completed capturing the image data.
For still capture, the bit is set when one frame data has been wrote to
buffer.
For video capture, the bit is set when the last frame has been written to
buffer after video capture has been disabled.
For CCIR656 interface, if the output format is frame planar YCbCr 420
mode, the frame end means the field2 end, the other frame end means
field end.
6.1.7.14. CSI Interrupt Status Register
Offset: 0x034
Register Name: CSI_INT_STA_REG
Bit
R/W
Default/Hex
Description
31:8
/
/
/
7
R/W
0
VS_PD
vsync flag
6
R/W
0
HB_OF_PD
Hblank FIFO overflow
5
/
/
/
4
R/W
0
FIFO2_OF_PD
FIFO 2 overflow
3
R/W
0
FIFO1_OF_PD
Confidential
Image Subsystem
F1C600 User Manual (Revision 1.0) Copyright© 2015 Allwinner Technology. Co.,Ltd. All Rights Reserved. Page 253
FIFO 1 overflow
2
R/W
0
FIFO0_OF_PD
FIFO 0 overflow
1
R/W
0
FD_PD
Frame done
0
R/W
0
CD_PD
Capture done
6.1.7.15. CSI Horizontal Size Register
Offset: 0x040
Register Name: CSI_HSIZE_REG
Bit
R/W
Default/Hex
Description
31:29
/
/
/
28:16
R/W
0x500
HOR_LEN
Horizontal pixel clock length. Valid pixel clocks of a line.
15:13
/
/
/
12:0
R/W
0
HOR_START
Horizontal pixel clock start. Pixel data is valid from this clock.
6.1.7.16. CSI Vertical Size Register
Offset: 0x044
Register Name: CSI_VSIZE_REG
Bit
R/W
Default/Hex
Description
31:29
/
/
/
28:16
R/W
0x1E0
VER_LEN
Vertical line length. Valid line number of a frame.
15:13
/
/
/
12:0
R/W
0
VER_START
Vertical line start. Data is valid from this line.
6.1.7.17. CSI Buffer Length Register
Offset: 0x048
Register Name: CSI_BUF_LEN_REG
Bit
R/W
Default/Hex
Description
31:13
/
/
/
12:0
R/W
0x280
BUF_LEN
Buffer length of a line. Unit is byte. It is the max of the 3 FIFOs.
Confidential
Interfaces
F1C600 User Manual (Revision 1.0) Copyright© 2015 Allwinner Technology. Co.,Ltd. All Rights Reserved. Page 254
Chapter 7. Interfaces
This chapter describes the F1C600 interfaces, including:
SD/MMC Interface
TWI
SPI
UART
RSB
CIR Receiver
USB-OTG
Digital Audio Interface
OWA Interface
Confidential
Interfaces
F1C600 User Manual (Revision 1.0) Copyright© 2015 Allwinner Technology. Co.,Ltd. All Rights Reserved. Page 255
7.1. SD/MMC Interface
7.1.1. Overview
The SD/MMC controller can be configured either as a Secure Digital Multimedia Card controller, which simultaneously
supports Secure Digital memory (SD Memory), UHS-1 Card, Secure Digital I/O (SDIO), Multimedia Cards (MMC), eMMC
Card.
7.1.2. Feature
The SD/MMC controller includes the following features:
Support secure digital memory protocol commands (up to SD2.0)
Support secure digital I/O protocol commands (up to SDIO2.0)
Support multimedia card protocol commands (up to eMMC4.41)
Support one SD (Verson1.0 to 2.0) or MMC (version 3.3 to eMMC4.41)
Support hardware CRC generation and error detection
Support host pull-up control
Support SDIO interrupts in 1-bit and 4-bit modes
Support SDIO suspend and resume operation
Support SDIO read wait
Support block size of 1 to 65535 bytes
Support descriptor-based internal DMA controller
Internal 128 bytes FIFO for data transfer
Support 3.3V IO pad
7.1.3. SD/MMC Timing
Please refer to relative specifications:
Physical Layer Specification Ver2.00 Final
SDIO Specification Ver2.00
Multimedia Cards (MMC version 4.2)
JEDEC Standard JESD84-44, EMBEDDED MULTI-MEDIA CARD (eMMC), ELECTRICAL STANDARD
7.1.4. SD/MMC Pin List
Port Name
Width
Direction
Description
SD_CCLK
1
OUT
Clock output for SD/SDIO/MMC card
SD_CCMD
1
IN/OUT
CMD line
SD_CDATA
4
IN/OUT
Data line
Confidential
Interfaces
F1C600 User Manual (Revision 1.0) Copyright© 2015 Allwinner Technology. Co.,Ltd. All Rights Reserved. Page 256
SD/MMC Pin Diagram
7.1.5. SD/MMC DMA Controller Description
SD2.0 controller has an internal DMA controller (IDMAC) to transfer data between host memory and SDMMC port.
With a descriptor, IDMAC can efficiently move data from source to destination by automatically loading next DMA
transfer arguments, which need less CPU intervention. Before transfer data in IDMAC, host driver should construct a
descriptor list, configure arguments of every DMA transfer, then launch the descriptor and start the DMA. IDMAC has an
interrupt controller, when enabled, it can interrupt the HOST CPU in situations such as data transmission completed or
some errors happened.
7.1.5.1. IDMAC Descriptor Structure
The IDMAC uses a descriptor with a chain structure, and each descriptor points to a unique buffer and the next
descriptor.
Confidential
Interfaces
F1C600 User Manual (Revision 1.0) Copyright© 2015 Allwinner Technology. Co.,Ltd. All Rights Reserved. Page 257
This figure illustrates the internal formats of a descriptor. The descriptor addresses must be aligned to the bus width
used for 32-bit buses. Each descriptor contains 16 bytes of control and status information.
DES0 is a notation used to denote the [31:0] bits, DES1 to denote [63:32] bits, DES2 to denote [95:64]bits, and DES3 to
denote [127:96]bits in a descriptor.
7.1.5.2. DES0 Definition
Bits
Name
Descriptor
31
HOLD
DES_OWN_FLAG
When set, this bit indicates that the descriptor is owned by the
IDMAC. When this bit is reset, it indicates that the descriptor is
owned by the host. This bit is cleared when transfer is over.
30
ERROR
ERR_FLAG
When some error happened in transfer, this bit will be set.
29:6
/
/
5
/
Not used
4
Chain Flag
CHAIM_MOD
When set, this bit indicates that the second address in descriptor is
the next descriptor address. Must be set 1.
3
First DES Flag
FIRST_FLAG
When set, this bit indicates that this descriptor contains the first
buffer of data. Must be set to 1 in first DES.
2
Last DES Flag
LAST_FLAG
When set, this bit indicates that the buffers pointed to by this
descriptor are the last data buffer
1
Disable Interrupt on completion
CUR_TXRX_OVER_INT_DIS
When set, this bit will prevent the setting of the TX/RX interrupt
bit of the IDMAC status register for data that ends in the buffer
pointed to by this descriptor
0
/
/
Confidential
Interfaces
F1C600 User Manual (Revision 1.0) Copyright© 2015 Allwinner Technology. Co.,Ltd. All Rights Reserved. Page 258
7.1.5.3. DES1 Definition
Bits
Name
Descriptor
31:13
/
/
12:0
Buffer size
BUFF_SIZE
These bits indicate the data buffer byte size, which must be a
multiple of 4 bytes. If this filed is 0, the DMA ignores this buffer
and proceeds to the next descriptor.
7.1.5.4. DES2 Definition
Bits
Name
Descriptor
31:0
Buffer address pointer
BUFF_ADDR
these bits indicate the physical address of data buffer. The IDMAC
ignores DES2[1:0], corresponding to the bus width of 32.
7.1.5.5. DES3 Definition
Bits
Name
Descriptor
31:0
Next descriptor address
NEXT_DESP_ADDR
These bits indicate the pointer to the physical memory where the
next descriptor is present.
7.1.6. SD/MMC Register List
Module Name
Base Address
SDC0
0x01C0F000
SDC1
0x01C10000
Register Name
Offset
Description
SD_GCTL_REG
0x000
SD Control Register
SD_CKCR_REG
0x004
SD Clock Control Register
SD_TMOR_REG
0x008
SD Time Out Register
SD_BWDR_REG
0x00C
SD Bus Width Register
SD_BKSR_REG
0x010
SD Block size Register
SD_BYCR_REG
0x014
SD Byte Count Register
SD_CMDR_REG
0x018
SD Command Register
SD_CAGR_REG
0x01C
SD Command Argument Register
SD_RESP0_REG
0x020
SD Response Register 0
SD_RESP1_REG
0x024
SD Response Register 1
SD_RESP2_REG
0x028
SD Response Register 2
SD_RESP3_REG
0x02C
SD Response Register 3
SD_IMKR_REG
0x030
SD Interrupt Mask Register
SD_MISR_REG
0x034
SD Masked Interrupt Status Register
SD_RISR_REG
0x038
SD Raw Interrupt Status Register
SD_STAR_REG
0x03C
SD Status Register
SD_FWLR_REG
0x040
SD FIFO Water Level Register
Confidential
Interfaces
F1C600 User Manual (Revision 1.0) Copyright© 2015 Allwinner Technology. Co.,Ltd. All Rights Reserved. Page 259
SD_FUNS_REG
0x044
SD FIFO Function Select Register
SD_CBCR_REG
0x048
SD Transferred CIU Card Byte Count Register
SD_BBCR_REG
0x04C
SD Transferred Host To BIU-FIFO Byte Count Register
SD_DBGC_REG
0x050
SD Current Debug Control Address Register
SD_A12A_REG
0x058
SD Auto Command 12 Argument Register
SD_HWRST_REG
0x078
SD Hardware Reset Register
SD_DMAC_REG
0x080
SD BUS Mode Control Register
SD_DLBA_REG
0x084
SD Descriptor List Base Address Register
SD_IDST_REG
0x088
SD DMAC Status Register
SD_IDIE_REG
0x08C
SD DMAC Interrupt Enable Register
SD_CHDA_REG
0x090
SD Current Host Descriptor Address Register
SD_CBDA_REG
0x094
SD Current Buffer Descriptor Address Register
CARD_THLDC_REG
0x100
Card Threshold Control Register
EMMC_DSBD_REG
0x10C
EMMC4.5 DDR Start Bit Detection Control Register
SD_FIFO_REG
0x200
SD FIFO Register
7.1.7. SD/MMC Register Description
7.1.7.1. SD Global Control Register
Offset: 0x000
Register Name: SD_CTRL_REG
Bit
R/W
Default/Hex
Description
31
R/W
0
FIFO_AC_MOD
FIFO Access Mode
1-AHB bus
0-DMA bus
30:11
/
/
/
10
R/W
0
DDR_MOD_SEL
DDR Mode Select
0 SDR mode
1 DDR mode
9
/
/
/
8
R/W
1
CD_DBC_ENB
Card Detect (Data[3] status) de-bounce Enable
0 - disable de-bounce
1 enable de-bounce
7:6
/
/
/
5
R/W
0
DMA_ENB
DMA Global Enable
0 Disable DMA to transfer data, using AHB bus
1 Enable DMA to transfer data
4
R/W
0
INT_ENB
Global Interrupt Enable
0 Disable interrupts
1 Enable interrupts
Confidential
Interfaces
F1C600 User Manual (Revision 1.0) Copyright© 2015 Allwinner Technology. Co.,Ltd. All Rights Reserved. Page 260
3
/
/
/
2
R/W
0
DMA_RST
DMA Reset
1
R/W
0
FIFO_RST
FIFO Reset
0 No change
1 Reset FIFO
This bit is auto-cleared after completion of reset operation.
0
R/W
0
SOFT_RST
Software Reset
0 No change
1 Reset SD/MMC controller
This bit is auto-cleared after completion of reset operation.
7.1.7.2. SD Clock Control Register
Offset: 0x004
Register Name: SD_CLKDIV_REG
Bit
R/W
Default/Hex
Description
31:18
/
/
/
17
R/W
0
CCLK_CTRL
Card Clock Output Control
0 Card clock always on
1 Turn off card clock when FSM in IDLE state
16
R/W
0
CCLK_ENB
Card Clock Enable
0 Card Clock off
1 Card Clock on
15:8
/
/
/
7:0
R/W
0
CCLK_DIV
Card clock divider
n Source clock is divided by 2*n.(n=0~255)
7.1.7.3. SD Timeout Register
Offset: 0x008
Register Name: SD_TMOUT_REG
Bit
R/W
Default/Hex
Description
31:8
R/W
0xffffff
DTO_LMT
Data Timeout Limit
7:0
R/W
0x40
RTO_LMT
Response Timeout Limit
7.1.7.4. SD Bus Width Register
Offset: 0x00C
Register Name: SD_CTYPE_REG
Bit
R/W
Default/Hex
Description
31:2
/
/
/
1:0
R/W
0
CARD_WID
Card width
Confidential
Interfaces
F1C600 User Manual (Revision 1.0) Copyright© 2015 Allwinner Technology. Co.,Ltd. All Rights Reserved. Page 261
2’b00 – 1-bit width
2’b01 – 4-bit width
2’b1x – 8-bit width
7.1.7.5. SD Block Size Register
Offset: 0x010
Register Name: SD_BLKSIZ_REG
Bit
R/W
Default/Hex
Description
31:16
/
/
/
15:0
R/W
0x200
BLK_SZ
Block size
7.1.7.6. SD Byte Count Register
Offset: 0x014
Register Name: SD_BYTCNT_REG
Bit
R/W
Default/Hex
Description
31:0
R/W
0x200
BYTE_CNT
Byte counter
Number of bytes to be transferred; should be integer multiple of Block Size
for block transfers.
7.1.7.7. SD Command Register
Offset: 0x018
Register Name: SD_CMD_REG
Bit
R/W
Default/Hex
Description
31
R/W
0
CMD_LOAD
Start Command.
This bit is auto cleared when current command is sent. If there is no any
response error happened, a command complete interrupt bit (CMD_OVER)
will be set in interrupt register. You should not write any other command
before this bit is cleared, or a command busy interrupt bit (CMD_BUSY) will
be set in interrupt register.
30
/
/
/
29
R/W
0
Use Hold Register
0 - CMD and DATA sent to card bypassing HOLD Register
1 - CMD and DATA sent to card through the HOLD Register
28
R/W
0
VOL_SW
Voltage Switch
0 normal command
1 Voltage switch command, set for CMD11 only
27
R/W
0
BOOT_ABT
Boot Abort
Setting this bit will terminate the boot operation.
26
R/W
0
EXP_BOOT_ACK
Expect Boot Acknowledge.
When Software sets this bit along in mandatory boot operation, controller
expects a boot acknowledge start pattern of 0-1-0 from the selected card.
25:24
R/W
0
BOOT_MOD
Confidential
Interfaces
F1C600 User Manual (Revision 1.0) Copyright© 2015 Allwinner Technology. Co.,Ltd. All Rights Reserved. Page 262
Boot Mode
2’b00 – normal command
2’b01 - Mandatory Boot operation
2’b10 - Alternate Boot operation
2’b11 - reserved
23
R/W
0
/
22
R/W
0
/
21
R/W
0
PRG_CLK
Change Clock
0 Normal command
1 Change Card Clock; when this bit is set, controller will change clock
domain and clock output. No command will be sent.
20:16
-
-
/
15
R/W
0
SEND_INIT_SEQ
Send Initialization
0 normal command sending
1 Send initialization sequence before sending this command.
14
R/W
0
STOP_ABT_CMD
Stop Abort Command
0 normal command sending
1 send Stop or abort command to stop current data transfer in
progress.(CMD12, CMD52 for writing “I/O Abort” in SDIO CCCR)
13
R/W
0
WAIT_PRE_OVER
Wait Data Transfer Over
0 Send command at once, do not care of data transferring
1 Wait for data transfer completion before sending current command
12
R/W
0
STOP_CMD_FLAG
Send Stop CMD Automatically (CMD12)
0 Do not send stop command at end of data transfer
1 Send stop command automatically at end of data transfer
11
R/W
0
TRANS_MODE
Transfer Mode
0 Block data transfer command
1 Stream data transfer command
10
R/W
0
TRANS_DIR
Transfer Direction
0 Read operation
1 Write operation
9
R/W
0
DATA_TRANS
Data Transfer
0 without data transfer
1 with data transfer
8
R/W
0
CHK_RESP_CRC
Check Response CRC
0 Do not check response CRC
Confidential
Interfaces
F1C600 User Manual (Revision 1.0) Copyright© 2015 Allwinner Technology. Co.,Ltd. All Rights Reserved. Page 263
1 Check response CRC
7
R/W
0
LONG_RESP
Response Type
0 Short Response (48 bits)
1 Long Response (136 bits)
6
R/W
0
RESP_RCV
Response Receive
0 Command without Response
1 Command with Response
5:0
R/W
0
CMD_IDX
CMD Index
Command index value
7.1.7.8. SD Command Argument Register
Offset: 0x01C
Register Name: SD_CMDARG_REG
Bit
R/W
Default/Hex
Description
31:0
R/W
0
CMD_ARG
Command argument
7.1.7.9. SD Response Register 0
Offset: 0x020
Register Name: SD_RESP_REG0
Bit
R/W
Default/Hex
Description
31:0
R
0
CMD_RESP0
response 0
Bit[31:0] of response
7.1.7.10. SD Response Register 1
Offset: 0x024
Register Name: SD_RESP_REG1
Bit
R/W
Default/Hex
Description
31:0
R
0
CMD_RESP1
response 1
Bit[63:31] of response
7.1.7.11. SD Response Register 2
Offset: 0x028
Register Name: SD_RESP_REG2
Bit
R/W
Default/Hex
Description
31:0
R
0
CMD_RESP2
response 2
Bit[95:64] of response
7.1.7.12. SD Response Register 3
Offset: 0x02C
Register Name: SD_RESP_REG3
Bit
R/W
Default/Hex
Description
31:0
R
0
CMD_RESP3
response 3
Confidential
Interfaces
F1C600 User Manual (Revision 1.0) Copyright© 2015 Allwinner Technology. Co.,Ltd. All Rights Reserved. Page 264
Bit[127:96] of response
7.1.7.13. SD Interrupt Mask Register
Offset: 0x030
Register Name: SD_INTMASK_REG
Bit
R/W
Default/Hex
Description
31:0
R/W
0
INT_MASK
0 interrupt masked
1 interrupt enabled
Bit field defined as following:
bit 31 card removed
bit 30 card inserted
bit 17~29 - reserved
bit 16 SDIO interrupt
bit 15 Data End-bit error
bit 14 Auto Stop Command done
bit 13 Data Start Error
bit 12 Command Busy and illegal write
bit 11 FIFO under run/overflow
bit 10 Data starvation timeout /V1.8 Switch Done
bit 9 Data timeout/Boot data start
bit 8 Response timeout/Boot ACK received
bit 7 Data CRC error
bit 6 Response CRC error
bit 5 Data Receive Request
bit 4 Data Transmit Request
bit 3 Data Transfer Complete
bit 2 Command Complete
bit 1 Response Error (no response or response CRC error)
bit 0 Reserved
7.1.7.14. SD Masked Interrupt Status Register
Offset: 0x034
Register Name: SD_MINTSTS_REG
Bit
R/W
Default/Hex
Description
31:0
R
0
MSKD_ISTA
Interrupt status. Enabled only if corresponding bit in mask register is set.
Bit field defined as following:
bit 31 card removed
bit 30 card inserted
bit 17~29 - reserved
bit 16 SDIO interrupt
bit 15 Data End-bit error
bit 14 Auto command done
bit 13 Data Start Error
bit 12 Command Busy and illegal write
bit 11 FIFO under run/overflow
Confidential
Interfaces
F1C600 User Manual (Revision 1.0) Copyright© 2015 Allwinner Technology. Co.,Ltd. All Rights Reserved. Page 265
bit 10 Data starvation timeout (HTO)/V1.8 Switch Done
bit 9 Data timeout/Boot data start
bit 8 Response timeout/Boot ACK received
bit 7 Data CRC error
bit 6 Response CRC error
bit 5 Data Receive Request
bit 4 Data Transmit Request
bit 3 Data Transfer Complete
bit 2 Command Complete
bit 1 Response Error (no response or response CRC error)
bit 0 Reserved
7.1.7.15. SD Raw Interrupt Status Register
Offset: 0x038
Register Name: SD_RINTSTS_REG
Bit
R/W
Default/Hex
Description
31:0
R/W
0
RAW_ISTA
Raw Interrupt Status.
This is write-1-to-clear bits.
Bit field defined as following:
bit 31 card removed
bit 30 card inserted
bit 17~29 - reserved
bit 16 SDIO interrupt
bit 15 Data End-bit error
bit 14 Auto command done
bit 13 Data Start Error
bit 12 Command Busy and illegal write
bit 11 FIFO under run/overflow
bit 10 Data starvation timeout (HTO)/V1.8 Switch Done
bit 9 Data timeout/Boot data start
bit 8 Response timeout/Boot ACK received
bit 7 Data CRC error
bit 6 Response CRC error
bit 5 Data Receive Request
bit 4 Data Transmit Request
bit 3 Data Transfer Complete
bit 2 Command Complete
bit 1 Response Error (no response or response CRC error)
bit 0 Reserved
7.1.7.16. SD Status Register
Offset: 0x3C
Register Name: SD_STATUS_REG
Bit
R/W
Default/Hex
Description
31
R
0
DMA_REQ
dma_req
Confidential
Interfaces
F1C600 User Manual (Revision 1.0) Copyright© 2015 Allwinner Technology. Co.,Ltd. All Rights Reserved. Page 266
DMA request signal state
30:22
/
/
/
21:17
R
0
FIFO_LEVEL
FIFO Level
Number of filled locations in FIFO
16:11
R
0
RESP_IDX
Response Index
Index of previous response, including any auto-stop sent by controller
10
R
0
FSM_BUSY
Data FSM Busy
Data transmit or receive state-machine is busy
9
R
0
CARD_BUSY
Card data busy
Inverted version of DATA[0]
0 card data not busy
1 card data busy
8
R
0
CARD_PRESENT
Data[3] status
level of DATA[3]; checks whether card is present
0 card not present
1 card present
7:4
R
0
FSM_STA
Command FSM states:
0 Idle
1 Send init sequence
2 Tx cmd start bit
3 Tx cmd tx bit
4 Tx cmd index + arg
5 Tx cmd crc7
6 Tx cmd end bit
7 Rx resp start bit
8 Rx resp IRQ response
9 Rx resp tx bit
10 Rx resp cmd idx
11 Rx resp data
12 Rx resp crc7
13 Rx resp end bit
14 Cmd path wait NCC
15 Wait; CMD-to-response turnaround
3
R
0
FIFO_FULL
FIFO full
1 FIFO full
0 FIFO not full
2
R
1
FIFO_EMPTY
FIFO Empty
Confidential
Interfaces
F1C600 User Manual (Revision 1.0) Copyright© 2015 Allwinner Technology. Co.,Ltd. All Rights Reserved. Page 267
1 - FIFO Empty
0 - FIFO not Empty
1
R
1
FIFO_TX_LEVEL
FIFO TX Water Level flag
0 FIFO didn’t reach transmit trigger level
1 - FIFO reached transmit trigger level
0
R
0
FIFO_RX_LEVEL
FIFO TX Water Level flag
0 FIFO didn’t reach receive trigger level
1 - FIFO reached receive trigger level
7.1.7.17. SD FIFO Water Level Register
Offset: 0x040
Register Name: SD_FIFOTH_REG
Bit
R/W
Default/Hex
Description
31
/
/
/
30:28
R/W
0
BSIZE_OF_TRANS
Burst size of multiple transaction
000 1 transfers
001 4
010 8
011 16
100 32
101 64
110 128
111 256
Should be programmed same as DMA controller multiple transaction size.
The units for transfers are the DWORD. A single transfer would be signaled
based on this value. Value should be sub-multiple of (RX_TL + 1) and
(FIFO_DEPTH - TX_TL)
Recommended:
MSize = 8, TX_TL = 16, RX_TL = 15
27:21
R
0
/
20:16
R/W
0xF
RX_TL
Rx Trigger Level
0x0~0x1e RX Trigger Level is 0~30
0x1f reserved
FIFO threshold when FIFO request host to receive data from FIFO. When
FIFO data level is greater than this value, DMA is request is raised if DMA
enabled, or RX interrupt bit is set if interrupt enabled. At the end of packet,
if the last transfer is less than this level, the value is ignored and relative
request will be raised as usual.
Recommended: 15 (means greater than 15)
15:5
R
0
/
4:0
R/W
0
TX_TL
TX Trigger Level
Confidential
Interfaces
F1C600 User Manual (Revision 1.0) Copyright© 2015 Allwinner Technology. Co.,Ltd. All Rights Reserved. Page 268
0x1~0x1f TX Trigger Level is 1~31
0x0 no trigger
FIFO threshold when FIFO requests host to transmit data to FIFO. When
FIFO data level is less than or equal to this value, DMA TX request is raised
if DMA enabled, or TX request interrupt bit is set if interrupt enabled. At
the end of packet, if the last transfer is less than this level, the value is
ignored and relative request will be raised as usual.
Recommended: 16 (means less than or equal to 16)
7.1.7.18. SD Function Select Register
Offset: 0x044
Register Name: SD_CTRL_REG
Bit
R/W
Default/Hex
Description
31:16
R/W
0
CEATA_EN
CEATA Support ON/OFF
0xceaa CEATA support on. All hidden CEATA relative bits are accessible
normally and these 16 bits return value of 0x1 when be read.
Other value CEATA support off. All hidden CEATA relative bits cannot be
access and these 16 bits return value of 0 when be read.
15:11
/
/
/
10
R/W
0
/
9
R/W
0
/
8
R/W
0
/
7:3
/
/
/
2
R/W
0
ABT_RDATA
Abort Read Data
0 Ignored
1 After suspend command is issued during read-transfer, software polls
card to find when suspend happened. Once suspend occurs, software sets
bit to reset data state-machine, which is waiting for next block of data.
Used in SDIO card suspends sequence.
This bit is auto-cleared once controller reset to idle state.
1
R/W
0
READ_WAIT
Read Wait
0 Clear SDIO read wait
1 Assert SDIO read wait
0
R/W
0
HOST_SEND_MMC_IRQRESQ
Host Send MMC IRQ Response
0 Ignored
1 Send auto IRQ response
When host is waiting MMC card interrupt response, setting this bit will
make controller cancel wait state and return to idle state, at which time,
controller will receive IRQ response sent by itself.
This bit is auto-cleared after response is sent.
Confidential
Interfaces
F1C600 User Manual (Revision 1.0) Copyright© 2015 Allwinner Technology. Co.,Ltd. All Rights Reserved. Page 269
7.1.7.19. SD Transferred CIU Card Byte Count Register
Offset: 0x048
Register Name: SD_TCBCNT_REG
Bit
R/W
Default/Hex
Description
31:0
R
0
TRANS_BYTE_CNT_TO_CARD
Number of bytes transferred by CIU unit to card.
The register should be accessed in full to avoid read-coherency problems
and read only after data transfer completes.
7.1.7.20. SD Transferred Host to BIU-FIFO Byte Count Register
Offset: 0x04C
Register Name: SD_TBBCNT_REG
Bit
R/W
Default/Hex
Description
31:0
R
0
TRANS_BYTE_CNT_ON_BUS
Number of bytes transferred by Host/DMA memory and BIU FIFO.
The register should be accessed in full to avoid read-coherency problems
and read only after data transfer completes.
7.1.7.21. SD Debug Control Register
Offset: 0x050
Register Name: SD_FIFO_REG
Bit
R/W
Default/Hex
Description
31:12
-
-
/
11:0
R/W
0
DBG_ON
0xdeb Debug on. ALL hidden register bits will be accessible and these 12
bits return 0x1 when be read.
Other values Debug off. All hidden register bits will not be accessed and
these 12 bits return 0 when be read.
7.1.7.22. SD Auto Command 12 Argument Register
Offset: 0x058
Register Name: SD_A12A_REG
Bit
R/W
Default/Hex
Description
31:16
/
/
/
0:15
R/W
0xffff
SD_A12A.
SD_A12A set the argument of command 12 automatically send by
controller
7.1.7.23. SD Hardware Reset Register
Offset: 0x078
Register Name: SD_FIFO_REG
Bit
R/W
Default/Hex
Description
31:1
/
/
/
0
R/W
1
HW_RESET.
1 Active mode
0 Reset
These bits cause the cards to enter pre-idle state, which requires them to
be re-initialized.
Confidential
Interfaces
F1C600 User Manual (Revision 1.0) Copyright© 2015 Allwinner Technology. Co.,Ltd. All Rights Reserved. Page 270
7.1.7.24. SD DMAC Control Register
Offset: 0x080
Register Name: SD_BUS_MODE_REG
Bit
R/W
Default/Hex
Description
31
W
0
DES_LOAD_CTRL
When DMAC fetches a descriptor, if the valid bit of a descriptor is not set,
DMAC FSM will go to the suspend state. Setting this bit will make DMAC
re-fetch descriptor again and do the transfer normally.
10:8
R
0
PRG_BURST_LEN
Programmable Burst Length.
These bits indicate the maximum number of beats to be performed in one
IDMAC transaction. The IDMAC will always attempt to burst as specified in
PBL each time it starts a Burst transfer on the host bus. The permissible
values are 1, 4, 8, 16, 32, 64, 128 and 256. This value is the mirror of MSIZE
of FIFOTH register. In order to change this value, write the required value to
FIFOTH register. This is an encode value as follows.
000 1 transfers
001 4 transfers
010 8 transfers
011 16 transfers
100 32 transfers
101 64 transfers
110 128 transfers
111 256 transfers
Transfer unit is either 16, 32, or 64 bits, based on HDATA_WIDTH. PBL is a
read-only value.
7
R/W
0
IDMAC_ENB
IDMAC Enable.
When set, the IDMAC is enabled. DE is read/write.
6:2
R/W
0
DES_SKIP_LEN
Descriptor Skip Length.
Specifies the number of Word to skip between two unchained descriptors.
This is applicable only for dual buffer structure.
Default value is set to 4 DWORD.
1
R/W
0
FIX_BUST_CTRL
Fixed Burst.
Controls whether the AHB Master interface performs fixed burst transfers
or not. When set, the AHB will use only SINGLE, INCR4, INCR8 during start
of normal burst transfers. When reset, the AHB will use SINGLE and INCR
burst transfer operations.
0
R/W
0
IDMAC_RST
DMA Reset.
When set, the DMA Controller resets all its internal registers. SWR is
read/write. It is automatically cleared after 1 clock cycle.
Confidential
Interfaces
F1C600 User Manual (Revision 1.0) Copyright© 2015 Allwinner Technology. Co.,Ltd. All Rights Reserved. Page 271
7.1.7.25. SD Descriptor List Base Address Register
Offset: 0x084
Register Name: SD_DLBA_REG
Bit
R/W
Default/Hex
Description
31:0
R/W
0
DES_BASE_ADDR
Start of Descriptor List.
Contains the base address of the First Descriptor. The LSB bits [1:0] are
ignored and taken as all-zero by the IDMAC internally. Hence these LSB bits
are read-only.
7.1.7.26. SD DMAC Status Register
Offset: 0x088
Register Name: SD_DLBA_REG
Bit
R/W
Default/Hex
Description
31:17
/
/
/
16:13
R
0
DMAC_FSM_STA
DMAC FSM present state.
0 DMA_IDLE
1 DMA_SUSPEND
2 DESC_RD
3 DESC_CHK
4 DMA_RD_REQ_WAIT
5 DMA_WR_REQ_WAIT
6 DMA_RD
7 DMA_WR
8 DESC_CLOSE
This bit is read-only.
12:10
R
0
DMAC_ERR_STA
Error Bits.
Indicates the type of error that caused a Bus Error. Valid only with Fatal Bus
Error bit (IDSTS[2]) set. This field does not generate an interrupt.
3’b001 – Host Abort received during transmission
3’b010 – Host Abort received during reception
Others: Reserved EB is read-only.
9
R/W
0
ABN_INT_SUM
Abnormal Interrupt Summary.
Logical OR of the following:
IDSTS[2] Fatal Bus Interrupt
IDSTS[4] DU bit Interrupt
IDSTS[5] Card Error Summary Interrupt
Only unmasked bits affect this bit.
This is a sticky bit and must be cleared each time a corresponding bit that
causes AIS to be set is cleared. Writing a 1 clears this bit.
8
R/W
0
NOR_INT_SUM
Normal Interrupt Summary.
Logical OR of the following:
IDSTS[0] Transmit Interrupt
Confidential
Interfaces
F1C600 User Manual (Revision 1.0) Copyright© 2015 Allwinner Technology. Co.,Ltd. All Rights Reserved. Page 272
IDSTS[1] Receive Interrupt
Only unmasked bits affect this bit.
This is a sticky bit and must be cleared each time a corresponding bit that
causes NIS to be set is cleared. Writing a 1 clears this bit.
7:6
/
/
/
5
R/W
0
ERR_FLAG_SUM
Card Error Summary.
Indicates the status of the transaction to/from the card; also present in
RINTSTS. Indicates the logical OR of the following bits:
EBE End Bit Error
RTO Response Timeout/Boot Ack Timeout
RCRC Response CRC
SBE Start Bit Error
DRTO Data Read Timeout/BDS timeout
DCRC Data CRC for Receive
RE Response Error
Writing a 1 clears this bit.
4
R/W
0
DES_UNAVL_INT
Descriptor Unavailable Interrupt.
This bit is set when the descriptor is unavailable due to OWN bit = 0
(DES0[31] =0). Writing a 1 clears this bit.
3
/
/
/
2
R/W
0
FATAL_BERR_INT
Fatal Bus Error Interrupt.
Indicates that a Bus Error occurred (IDSTS[12:10]). When this bit is set, the
DMA disables all its bus accesses. Writing a 1 clears this bit.
1
R/W
0
RX_INT
Receive Interrupt.
Indicates the completion of data reception for a descriptor. Writing a 1
clears this bit.
0
R/W
0
TX_INT
Transmit Interrupt.
Indicates that data transmission is finished for a descriptor. Writing a ‘1’
clears this bit.
7.1.7.27. SD DMAC Interrupt Enable Register
Offset: 0x08C
Register Name: SD_IDIE_REG
Bit
R/W
Default/Hex
Description
31:10
/
/
/
9
R/W
0
ABN_INT_ENB
Abnormal Interrupt Summary Enable.
When set, an abnormal interrupt is enabled. This bit enables the following
bits:
IDINTEN[2] Fatal Bus Error Interrupt
IDINTEN[4] DU Interrupt
Confidential
Interfaces
F1C600 User Manual (Revision 1.0) Copyright© 2015 Allwinner Technology. Co.,Ltd. All Rights Reserved. Page 273
IDINTEN[5] Card Error Summary Interrupt
8
R/W
0
NOR_INT_ENB
Normal Interrupt Summary Enable.
When set, a normal interrupt is enabled. When reset, a normal interrupt is
disabled. This bit enables the following bits:
IDINTEN[0] Transmit Interrupt
IDINTEN[1] Receive Interrupt
7:6
/
/
/
5
R/W
0
ERR_SUM_INT_ENB
Card Error summary Interrupt Enable.
When set, it enables the Card Interrupt summary.
4
R/W
0
DES_UNAVL_INT_ENB
Descriptor Unavailable Interrupt.
When set along with Abnormal Interrupt Summary Enable, the DU
interrupt is enabled.
3
/
/
/
2
R/W
0
FERR_INT_ENB
Fatal Bus Error Enable.
When set with Abnormal Interrupt Summary Enable, the Fatal Bus Error
Interrupt is enabled. When reset, Fatal Bus Error Enable Interrupt is
disabled.
1
R/W
0
RX_INT_ENB
Receive Interrupt Enable.
When set with Normal Interrupt Summary Enable, Receive Interrupt is
enabled. When reset, Receive Interrupt is disabled.
0
R/W
0
TX_INT_ENB
Transmit Interrupt Enable.
When set with Normal Interrupt Summary Enable, Transmit Interrupt is
enabled. When reset, Transmit Interrupt is disabled.
7.1.7.28. SD Current Host Descriptor Address Register
Offset: 0x090
Register Name: SD_CHDA_REG
Bit
R/W
Default/Hex
Description
31:0
R
0
CUR_DES_ADDR
Host Descriptor Address Pointer.
Cleared on reset. Pointer updated by IDMAC during operation. This register
points to the start address of the current descriptor read by the IDMAC.
7.1.7.29. SD Current Buffer Descriptor Address Register
Offset: 0x094
Register Name: SD_CBDA_REG
Bit
R/W
Default/Hex
Description
31:0
R
0
CUR_BUFF_ADDR
Host Buffer Address Pointer.
Cleared on Reset. Pointer updated by IDMAC during operation. This register
points to the current Data Buffer Address being accessed by the IDMAC.
Confidential
Interfaces
F1C600 User Manual (Revision 1.0) Copyright© 2015 Allwinner Technology. Co.,Ltd. All Rights Reserved. Page 274
7.1.7.30. Card Threshold Control Register
Offset: 0x100
Register Name: SD_THLD_CTLR_REG
Bit
R/W
Default/Hex
Description
31:28
/
/
/
27:16
R/W
0
CARD_RD_THLD
Card Read Threshold Size
15:1
/
/
/
0
R/W
0
CARD_RD_THLD_ENB
Card Read Threshold Enable
0: Card Read Threshold Disable
1: Card Read Threshold Enable
Host controller initiates Read Transfer only if CARD_RD_THLD amount of
space is available in receive FIFO
7.1.7.31. EMMC4.5 DDR Start Bit Detection Control Register
Offset: 0x10C
Register Name: EMMC_DDR_SBIT_DET_REG
Bit
R/W
Default/Hex
Description
31:1
/
/
/
0
R/W
0
HALF_START_BIT
Control for start bit detection mechanism inside mstorage based on
duration of start bit.
For eMMC 4.5, start bit can be:
0: Full cycle
1: Less than one full cycle
Set HALF_START_BIT=1 for eMMC 4.5 and above; set to 0 for SD
applications.
7.1.7.32. SD FIFO Register
Offset: 0x200
Register Name: SD_FIFO_REG
Bit
R/W
Default/Hex
Description
31:0
R/W
0
TX/RX_FIFO
Data FIFO
Confidential
Interfaces
F1C600 User Manual (Revision 1.0) Copyright© 2015 Allwinner Technology. Co.,Ltd. All Rights Reserved. Page 275
7.2. TWI
7.2.1. Overview
This TWI Controller is designed to be used as an interface between CPU host and the serial TWI bus. It can supports all
the standard TWI transfer, including Slave and Master. The communication to the TWI bus is carried out on a byte-wise
basis using interrupt or polled handshaking. This TWI Controller can be operated in standard mode (100K bps) or
fast-mode, supporting data rate up to 400K bps. Multiple Masters and 10-bit addressing Mode are supported for this
specified application. General Call Addressing is also supported in Slave mode.
7.2.2. Feature
The TWI Controller includes the following features:
Software-programmable for Slave or Master
Support Repeated START signal
Multi-master systems supported
Allow 10-bit addressing with TWI bus
Performs arbitration and clock synchronization
Own address and General Call address detection
Interrupt on address detection
Support speeds up to 400Kbits/s (‘fast mode’)
Allow operation from a wide range of input clock frequencies
7.2.3. Pin List
Port Name
Width
Direction
Description
TWI_SCL
1
IN/OUT
TWI Clock line
TWI_SDA
1
IN/OUT
TWI Serial Data line
7.2.4. Timing Diagram
Data transferred are always in a unit of 8-bit (byte), followed by an acknowledge bit. The number of bytes that can be
transmitted per transfer is unrestricted. Data is transferred in serial with the MSB first. Between each byte of data
transfer, a receiver device will hold the clock line SCL low to force the transmitter into a wait state while waiting the
response from microprocessor.
Data transfer with acknowledge is obligatory. The clock line is driven by the master all the time, including the
acknowledge-related clock cycle, except for the SCL holding between each byte. After sending each byte, the
transmitter releases the SDA line to allow the receiver to pull down the SDA line and send an acknowledge signal (or
leave it high to send a "not acknowledge") to the transmitter.
When a slave receiver doesn't acknowledge the slave address (unable to receive because of no resource available), the
data line must be left high by the slave so that the master can then generate a STOP condition to abort the transfer.
Slave receiver can also indicate not to want to send more data during a transfer by leave the acknowledge signal high.
And the master should generate the STOP condition to abort the transfer.
Below diagram provides an illustration the relation of SDA signal line and SCL signal line on the TWI serial bus.
Confidential
Interfaces
F1C600 User Manual (Revision 1.0) Copyright© 2015 Allwinner Technology. Co.,Ltd. All Rights Reserved. Page 276
IIC2IIC5IIC5IIC4IIC4IIC3IIC1
SDA
SCL
TWI Timing Diagram
7.2.5. TWI Controller Operation
There are four operation modes on the TWI bus which dictates the communications method. They are Master Transmit,
Master Receive, Slave Transmit and Slave Receive. In general, CPU host controls TWI by writing commands and data to
its registers. The TWI interrupts the CPU host for the attention each time a byte transfer is done or a START/STOP
conditions is detected. The CPU host can also poll the status register for current status if the interrupt mechanism is not
disabled by the CPU host.
When the CPU host wants to start a bus transfer, it initiates a bus START to enter the master mode by setting IM_STA bit
in the 2WIRE_CNTR register to high (before it must be low). The TWI will assert INT line and INT_FLAG to indicate a
completion for the START condition and each consequent byte transfer. At each interrupt, the micro-processor needs to
check the 2WIRE_STAT register for current status. A transfer has to be concluded with STOP condition by setting M_STP
bit high.
In Slave Mode, the TWI also constantly samples the bus and look for its own slave address during addressing cycles.
Once a match is found, it is addressed and interrupts the CPU host with the corresponding status. Upon request, the
CPU host should read the status, read/write 2WIRE_DATA data register, and set the 2WIRE_CNTR control register. After
each byte transfer, a slave device always halt the operation of remote master by holding the next low pulse on SCL line
until the microprocessor responds to the status of previous byte transfer or START condition.
7.2.6. TWI Controller Register List
Module Name
Base Address
TWI0
0x01C27000
TWI1
0x01C27400
TWI2
0x01C27800
Register Name
Offset
Description
TWI_ADDR_REG
0x00
TWI Slave Address
TWI_XADDR_REG
0x04
TWI Extended Slave Address Register
TWI_DATA_REG
0x08
TWI Data Byte Register
TWI_CNTR_REG
0x0C
TWI Control Register
TWI_STAT_REG
0x10
TWI Status Register
TWI_CCR_REG
0x14
TWI Clock Control Register
TWI_SRST_REG
0x18
TWI Software Reset Register
TWI_EFR_REG
0x1C
TWI Enhance Feature Register
TWI_LCR_REG
0x20
TWI Line Control Register
Confidential
Interfaces
F1C600 User Manual (Revision 1.0) Copyright© 2015 Allwinner Technology. Co.,Ltd. All Rights Reserved. Page 277
7.2.7. TWI Controller Register Description
7.2.7.1. TWI Slave Address Register
Offset: 0x00
Register Name: TWI_ADDR_REG
Bit
R/W
Default/Hex
Description
31:8
/
/
/
7:1
R/W
0
SLA
Slave address
7-bit addressing: SLA6, SLA5, SLA4, SLA3, SLA2, SLA1, SLA0
10-bit addressing: 1, 1, 1, 1, 0, SLAX[9:8]
0
R/W
0
GCE
General call address enable
0: Disable
1: Enable
Note:
For 7-bit addressing:
SLA6 SLA0 is the 7-bit address of the TWI when in slave mode. When the TWI receives this address after a START
condition, it will generate an interrupt and enter slave mode. (SLA6 corresponds to the first bit received from the TWI
bus.) If GCE is set to ‘1’, the TWI will also recognize the general call address (00h).
For 10-bit addressing:
When the address received starts with 11110b, the TWI recognizes this as the first part of a 10-bit address and if the
next two bits match ADDR[2:1] (i.e. SLAX9 and SLAX8 of the device’s extended address), it sends an ACK. (The device
does not generate an interrupt at this point.) If the next byte of the address matches the XADDR register (SLAX7
SLAX0), the TWI generates an interrupt and goes into slave mode.
7.2.7.2. TWI Extend Address Register
Offset: 0x04
Register Name: TWI_XADDR_REG
Bit
R/W
Default/Hex
Description
31:8
/
/
/
7:0
R/W
0
SLAX
Extend Slave Address
SLAX[7:0]
7.2.7.3. TWI Data Register
Offset: 0x08
Register Name: TWI_DATA_REG
Bit
R/W
Default/Hex
Description
31:8
/
/
/
7:0
R/W
0
TWI_DATA
Data byte for transmitting or received
7.2.7.4. TWI Control Register
Offset: 0x0C
Register Name: TWI_CNTR_REG
Bit
R/W
Default/Hex
Description
Confidential
Interfaces
F1C600 User Manual (Revision 1.0) Copyright© 2015 Allwinner Technology. Co.,Ltd. All Rights Reserved. Page 278
31:8
/
/
/
7
R/W
0
INT_EN
Interrupt Enable
1’b0: The interrupt line always low
1’b1: The interrupt line will go high when INT_FLAG is set.
6
R/W
0
BUS_EN
TWI Bus Enable
1’b0: The TWI bus inputs ISDA/ISCL are ignored and the TWI Controller
will not respond to any address on the bus
1’b1: The TWI will respond to calls to its slave address – and to the
general call address if the GCE bit in the ADDR register is set.
Notes: In master operation mode, this bit should be set to ‘1’
5
R/W
0
M_STA
Master Mode Start
When M_STA is set to ‘1’, TWI Controller enters master mode and will
transmit a START condition on the bus when the bus is free. If the M_STA
bit is set to ‘1’ when the TWI Controller is already in master mode and
one or more bytes have been transmitted, then a repeated START
condition will be sent. If the M_STA bit is set to ‘1’ when the TWI is being
accessed in slave mode, the TWI will complete the data transfer in slave
mode then enter master mode when the bus has been released.
The M_STA bit is cleared automatically after a START condition has been
sent: writing a ‘0’ to this bit has no effect.
4
R/W
0
M_STP
Master Mode Stop
If M_STP is set to ‘1’ in master mode, a STOP condition is transmitted on
the TWI bus. If the M_STP bit is set to ‘1’ in slave mode, the TWI will
behave as if a STOP condition has been received, but no STOP condition
will be transmitted on the TWI bus. If both M_STA and M_STP bits are set,
the TWI will first transmit the STOP condition (if in master mode) then
transmit the START condition.
The M_STP bit is cleared automatically: writing a ‘0’ to this bit has no
effect.
3
R/W
0
INT_FLAG
Interrupt Flag
INT_FLAG is automatically set to ‘1’ when any of 28 (out of the possible
29) states is entered (see ‘STAT Registerbelow). The only state that does
not set INT_FLAG is state F8h. If the INT_EN bit is set, the interrupt line
goes high when IFLG is set to ‘1’. If the TWI is operating in slave mode,
data transfer is suspended when INT_FLAG is set and the low period of
the TWI bus clock line (SCL) is stretched until ‘0’ is written to INT_FLAG.
The TWI clock line is then released and the interrupt line goes low.
2
R/W
0
A_ACK
Assert Acknowledge
When A_ACK is set to ‘1’, an Acknowledge (low level on SDA) will be sent
during the acknowledge clock pulse on the TWI bus if:
1)Either the whole of a matching 7-bit slave address or the first or the
second byte of a matching 10-bit slave address has been received.
Confidential
Interfaces
F1C600 User Manual (Revision 1.0) Copyright© 2015 Allwinner Technology. Co.,Ltd. All Rights Reserved. Page 279
2)The general call address has been received and the GCE bit in the ADDR
register is set to ‘1’.
3)A data byte has been received in master or slave mode.
When A_ACK is ‘0’, a Not Acknowledge (high level on SDA) will be sent
when a data byte is received in master or slave mode.
If A_ACK is cleared to ‘0’ in slave transmitter mode, the byte in the DATA
register is assumed to be the ‘last byte’. After this byte has been
transmitted, the TWI will enter state C8h then return to the idle state
(status code F8h) when INT_FLAG is cleared.
The TWI will not respond as a slave unless A_ACK is set.
1:0
R/W
0
/
7.2.7.5. TWI Status Register
Offset: 0x10
Register Name: TWI_STAT_REG
Bit
R/W
Default/Hex
Description
31:8
/
/
/
7:0
R
0xF8
STA
Status Information Byte
Code Status
0x00: Bus error
0x08: START condition transmitted
0x10: Repeated START condition transmitted
0x18: Address + Write bit transmitted, ACK received
0x20: Address + Write bit transmitted, ACK not received
0x28: Data byte transmitted in master mode, ACK received
0x30: Data byte transmitted in master mode, ACK not received
0x38: Arbitration lost in address or data byte
0x40: Address + Read bit transmitted, ACK received
0x48: Address + Read bit transmitted, ACK not received
0x50: Data byte received in master mode, ACK transmitted
0x58: Data byte received in master mode, not ACK transmitted
0x60: Slave address + Write bit received, ACK transmitted
0x68: Arbitration lost in address as master, slave address + Write bit
received, ACK transmitted
0x70: General Call address received, ACK transmitted
0x78: Arbitration lost in address as master, General Call address received,
ACK transmitted
0x80: Data byte received after slave address received, ACK transmitted
0x88: Data byte received after slave address received, not ACK
transmitted
0x90: Data byte received after General Call received, ACK transmitted
0x98: Data byte received after General Call received, not ACK transmitted
0xA0: STOP or repeated START condition received in slave mode
0xA8: Slave address + Read bit received, ACK transmitted
0xB0: Arbitration lost in address as master, slave address + Read bit
received, ACK transmitted
0xB8: Data byte transmitted in slave mode, ACK received
0xC0: Data byte transmitted in slave mode, ACK not received
0xC8: Last byte transmitted in slave mode, ACK received
0xD0: Second Address byte + Write bit transmitted, ACK received
0xD8: Second Address byte + Write bit transmitted, ACK not received
0xF8: No relevant status information, INT_FLAG=0
Others: Reserved
Confidential
Interfaces
F1C600 User Manual (Revision 1.0) Copyright© 2015 Allwinner Technology. Co.,Ltd. All Rights Reserved. Page 280
7.2.7.6. TWI Clock Register
Offset: 0x14
Register Name: TWI_CCR_REG
Bit
R/W
Default/Hex
Description
31:7
/
/
/
6:3
R/W
0
CLK_M
2:0
R/W
0
CLK_N
The TWI bus is sampled by the TWI at the frequency defined by F0:
Fsamp = F 0 = Fin / 2^CLK_N
The TWI OSCL output frequency, in master mode, is F1 / 10:
F1 = F0 / (CLK_M + 1)
Foscl = F1 / 10 = Fin / (2^CLK_N * (CLK_M + 1)*10)
For Example
Fin = 48Mhz (APB clock input)
For 400kHz full speed 2Wire, CLK_N = 2, CLK_M=2
F0 = 48M/2^2=12Mhz, F1= F0/(10*(2+1)) = 0.4Mhz
For 100Khz standard speed 2Wire, CLK_N=2, CLK_M=11
F0=48M/2^2=12Mhz, F1=F0/(10*(11+1)) = 0.1Mhz
7.2.7.7. TWI Soft Reset Register
Offset: 0x18
Register Name: TWI_SRST_REG
Bit
R/W
Default/Hex
Description
31:1
/
/
/
0
R/W
0
SOFT_RST
Soft Reset
Write ‘1’ to this bit to reset the TWI and clear to ‘0’ when completing Soft
Reset operation.
7.2.7.8. TWI Enhance Feature Register
Offset: 0x1C
Register Name: TWI_EFR_REG
Bit
R/W
Default/Hex
Description
31:2
/
/
/
1:0
R/W
0
DBN
Data Byte number follow Read Command Control
0 No Data Byte to be wrote after read command
1 Only 1 byte data to be wrote after read command
2 2 bytes data can be wrote after read command
3 3 bytes data can be wrote after read command
7.2.7.9. TWI Line Control Register
Offset: 0x20
Register Name: TWI_LCR_REG
Bit
R/W
Default/Hex
Description
31:6
/
/
/
5
R
1
SCL_STATE
Current state of TWI_SCL
0 low
Confidential
Interfaces
F1C600 User Manual (Revision 1.0) Copyright© 2015 Allwinner Technology. Co.,Ltd. All Rights Reserved. Page 281
1 - high
4
R
1
SDA_STATE
Current state of TWI_SDA
0 low
1 - high
3
R/W
1
SCL_CTL
TWI_SCL line state control bit
When line control mode is enabled (bit[2] set), value of this bit decide the
output level of TWI_SCL
0 output low level
1 output high level
2
R/W
0
SCL_CTL_EN
TWI_SCL line state control enable
When this bit is set, the state of TWI_SCL is control by the value of bit[3].
0-disable TWI_SCL line control mode
1-enable TWI_SCL line control mode
1
R/W
1
SDA_CTL
TWI_SDA line state control bit
When line control mode is enabled (bit[0] set), value of this bit decide the
output level of TWI_SDA
0 output low level
1 output high level
0
R/W
0
SDA_CTL_EN
TWI_SDA line state control enable
When this bit is set, the state of TWI_SDA is control by the value of bit[1].
0-disable TWI_SDA line control mode
1-enable TWI_SDA line control mode
Confidential
Interfaces
F1C600 User Manual (Revision 1.0) Copyright© 2015 Allwinner Technology. Co.,Ltd. All Rights Reserved. Page 282
7.3. SPI
7.3.1. Overview
The SPI is the Serial Peripheral Interface which allows rapid data communication with less software interrupts. The SPI
module contains one 64x8 receiver buffer (RXFIFO) and one 64x8 transmit buffer (TXFIFO). It can work at two modes:
Master mode and Slave mode.
7.3.2. Feature
The SPI includes the following features:
Full-duplex synchronous serial interface
Master/Slave configurable
Four chip selects to support multiple peripherals for SPI0,SPI1 has one chip select
8-bit wide by 64-entry FIFO for both transmit and receive data
Polarity and phase of the Chip Select (SPI_SS) and SPI Clock (SPI_SCLK) are configurable
7.3.3. SPI Timing Diagram
The serial peripheral interface master uses the SPI_SCLK signal to transfer data in and out of the shift register. Data is
clocked using any one of four programmable clock phase and polarity combinations.
During Phase 0, Polarity 0 and Phase 1, Polarity 1 operations, output data changes on the falling clock edge and input
data is shifted in on the rising edge.
During Phase 1, Polarity 0 and Phase 0, Polarity 1 operations, output data changes on the rising edges of the clock and
is shifted in on falling edges.
The POL defines the signal polarity when SPI_SCLK is in idle state. The SPI_SCLK is high level when POL is ‘1’ and it is low
level when POL is ‘0’. The PHA decides whether the leading edge of SPI_SCLK is used for setup or sample data. The
leading edge is used for setup data when PHA is ‘1’ and for sample data when PHA is ‘0’. The four kinds of modes are
listed below:
SPI Mode
POL
PHA
Leading Edge
Trailing Edge
0
0
0
Rising, Sample
Falling, Setup
1
0
1
Rising, Setup
Falling, Sample
2
1
0
Falling, Sample
Rising, Setup
3
1
1
Failing, Setup
Rising, Sample
Confidential
Interfaces
F1C600 User Manual (Revision 1.0) Copyright© 2015 Allwinner Technology. Co.,Ltd. All Rights Reserved. Page 283
Phase 0
SPI_SCLK (Mode 0)
SPI_SCLK (Mode 2)
SPI_MOSI
SPI_MISO
SPI_SS
Sample MOSI/ MISO pin
SPI Phase 0 Timing Diagram
Phase 1
SPI_SCLK (Mode 1)
SPI_SCLK (Mode 3)
SPI_MOSI
SPI_MISO
SPI_SS
Sample MOSI/ MISO pin
SPI Phase 1 Timing Diagram
7.3.4. SPI Pin List
The direction of SPI pin is different in two work modes: Master Mode and Slave Mode.
Port Name
Width
Direction(M)
Direction(S)
Description
SPI_SCLK
1
OUT
IN
SPI Clock
SPI_MOSI
1
OUT
IN
SPI Master Output Slave Input Data Signal
SPI_MISO
1
IN
OUT
SPI Master Input Slave Output Data Signal
SPI_SS[3:0]
4
OUT
IN
SPI Chip Select Signal
7.3.5. SPI Module Clock Source and Frequency
The SPI module uses two clock sources: AHB_CLK and SPI_CLK. The SPI_SCLK can in the range from 3Khz to 100 MHZ
and AHB_CLK >= 2xSPI_SCLK.
Clock Name
Description
Requirement
AHB_CLK
AHB bus clock, as the clock source of SPI module
AHB_CLK >= 2xSPI_SCLK
SPI_CLK
SPI serial input clock
Confidential
Interfaces
F1C600 User Manual (Revision 1.0) Copyright© 2015 Allwinner Technology. Co.,Ltd. All Rights Reserved. Page 284
7.3.6. SPI Register List
Module Name
Base Address
SPI0
0x01C05000
SPI1
0x01C06000
Register Name
Offset
Description
SPI_GCR_REG
0x04
SPI Global Control Register
SPI_TCR_REG
0x08
SPI Transfer Control Register
SPI_IER_REG
0x10
SPI Interrupt Control Register
SPI_ISR_REG
0x14
SPI Interrupt Status Register
SPI_FCR_REG
0x18
SPI FIFO Control Register
SPI_FSR_REG
0x1C
SPI FIFO Status Register
SPI_WCR_REG
0x20
SPI Wait Clock Counter Register
SPI_CCR_REG
0x24
SPI Clock Rate Control Register
SPI_MBC_REG
0x30
SPI Burst Counter Register
SPI_MTC_REG
0x34
SPI Transmit Counter Register
SPI_BCC_REG
0x38
SPI Burst Control Register
SPI_TXD_REG
0x200
SPI TX Data Register
SPI_RXD_REG
0x300
SPI RX Data Register
7.3.7. SPI Register Description
7.3.7.1. SPI Global Control Register
Offset: 0x04
Register Name: SPI_CTL_REG
Bit
R/W
Default/Hex
Description
31
R/W
0
SRST
Soft reset
Write ‘1’ to this bit will clear the SPI controller, and auto clear to ‘0’ when
reset operation completes
Write ‘0’ has no effect.
30:8
/
/
/
7
R/W
1
TP_EN
Transmit Pause Enable
In master mode, it is used to control transmit state machine to stop smart
burst sending when RX FIFO is full.
1 stop transmit data when RXFIFO full
0 normal operation, ignore RXFIFO status
Note: Can’t be written when XCH=1
6:2
/
/
/
1
R/W
0
MODE
SPI Function Mode Select
Confidential
Interfaces
F1C600 User Manual (Revision 1.0) Copyright© 2015 Allwinner Technology. Co.,Ltd. All Rights Reserved. Page 285
0: Slave Mode
1: Master Mode
Note: Can’t be written when XCH=1
0
R/W
0
EN
SPI Module Enable Control
0: Disable
1: Enable
7.3.7.2. SPI Transfer Control Register
Offset: 0x08
Register Name: SPI_INTCTL_REG
Bit
R/W
Default/Hex
Description
31
R/W
0x0
XCH
Exchange Burst
In master mode it is used to start SPI burst
0: Idle
1: Initiates exchange.
Write “1” to this bit will start the SPI burst, and will auto clear after
finishing the bursts transfer specified by BC. Write “1” to SRST will also
clear this bit. Write ‘0’ to this bit has no effect.
NoteCan’t be written when XCH=1.
30:14
/
/
/
13
R/W
0x0
SDM
Master Sample Data Mode
0 - Delay Sample Mode
1 - Normal Sample Mode
In Normal Sample Mode, SPI master samples the data at the correct edge
for each SPI mode;
In Delay Sample Mode, SPI master samples data at the edge that is half
cycle delayed by the correct edge defined in respective SPI mode.
12
R/W
0x0
FBS
First Transmit Bit Select
0: MSB first
1: LSB first
NoteCan’t be written when XCH=1.
11
R/W
0x0
SDC
Master Sample Data Control
Set this bit to ‘1’ to make the internal read sample point with a delay of
half cycle of SPI_CLK. It is used in high speed read operation to reduce the
error caused by the time delay of SPI_CLK propagating between master
and slave.
0 normal operation, do not delay internal read sample point
1 delay internal read sample point
NoteCan’t be written when XCH=1.
10
R/W
0x0
RPSM
Rapids mode select
Confidential
Interfaces
F1C600 User Manual (Revision 1.0) Copyright© 2015 Allwinner Technology. Co.,Ltd. All Rights Reserved. Page 286
Select Rapids mode for high speed write.
0: normal write mode
1: rapids write mode
NoteCan’t be written when XCH=1.
9
R/W
0x0
DDB
Dummy Burst Type
0: The bit value of dummy SPI burst is zero
1: The bit value of dummy SPI burst is one
NoteCan’t be written when XCH=1.
8
R/W
0x0
DHB
Discard Hash Burst
In master mode it controls whether discarding unused SPI bursts
0: Receiving all SPI bursts in BC period
1: Discard unused SPI bursts, only fetching the SPI bursts during dummy
burst period. The bursts number is specified by TC.
NoteCan’t be written when XCH=1.
7
R/W
0x1
SS_LEVEL
When control SS signal manually (SPI_CTRL_REG.SS_CTRL==1), set this bit
to ‘1’ or ‘0’ to control the level of SS signal.
0: set SS to low
1: set SS to high
NoteCan’t be written when XCH=1.
6
R/W
0x0
SS_OWNER
SS Output Owner Select
Usually, controller sends SS signal automatically with data together. When
this bit is set to 1, software must manually write SPI_CTL_REG.SS_LEVEL to
1 or 0 to control the level of SS signal.
0: SPI controller
1: Software
NoteCan’t be written when XCH=1.
5:4
R/W
0x0
SS_SEL
SPI Chip Select
Select one of four external SPI Master/Slave Devices
00: SPI_SS0 will be asserted
01: SPI_SS1 will be asserted
10: SPI_SS2 will be asserted
11: SPI_SS3 will be asserted
NoteCan’t be written when XCH=1.
3
R/W
0x0
SSCTL
In master mode, this bit selects the output wave form for the SPI_SSx
signal. Only valid when SS_OWNER = 0.
0: SPI_SSx remains asserted between SPI bursts
1: Negate SPI_SSx between SPI bursts
NoteCan’t be written when XCH=1.
2
R/W
0x1
SPOL
Confidential
Interfaces
F1C600 User Manual (Revision 1.0) Copyright© 2015 Allwinner Technology. Co.,Ltd. All Rights Reserved. Page 287
SPI Chip Select Signal Polarity Control
0: Active high polarity (0 = Idle)
1: Active low polarity (1 = Idle)
NoteCan’t be written when XCH=1.
1
R/W
0x1
CPOL
SPI Clock Polarity Control
0: Active high polarity (0 = Idle)
1: Active low polarity (1 = Idle)
NoteCan’t be written when XCH=1.
0
R/W
0x1
CPHA
SPI Clock/Data Phase Control
0: Phase 0 (Leading edge for sample data)
1: Phase 1 (Leading edge for setup data)
NoteCan’t be written when XCH=1.
7.3.7.3. SPI Interrupt Control Register
Offset: 0x10
Register Name: SPI_IER_REG
Bit
R/W
Default/Hex
Description
31:14
R
0x0
Reserved.
13
R/W
0x0
SS_INT_EN
SSI Interrupt Enable
Chip Select Signal (SSx) from valid state to invalid state
0: Disable
1: Enable
12
R/W
0x0
TC_INT_EN
Transfer Completed Interrupt Enable
0: Disable
1: Enable
11
R/W
0x0
TF_UDR_INT_EN
TXFIFO under run Interrupt Enable
0: Disable
1: Enable
10
R/W
0x0
TF_OVF_INT_EN
TX FIFO Overflow Interrupt Enable
0: Disable
1: Enable
9
R/W
0x0
RF_UDR_INT_EN
RXFIFO under run Interrupt Enable
0: Disable
1: Enable
8
R/W
0x0
RF_OVF_INT_EN
RX FIFO Overflow Interrupt Enable
0: Disable
1: Enable
7
R
0x0
Reserved.
Confidential
Interfaces
F1C600 User Manual (Revision 1.0) Copyright© 2015 Allwinner Technology. Co.,Ltd. All Rights Reserved. Page 288
6
R/W
0x0
TF_FUL_INT_EN
TX FIFO Full Interrupt Enable
0: Disable
1: Enable
5
R/W
0x0
TX_EMP_INT_EN
TX FIFO Empty Interrupt Enable
0: Disable
1: Enable
4
R/W
0x0
TX_ERQ_INT_EN
TX FIFO Empty Request Interrupt Enable
0: Disable
1: Enable
3
R
0x0
Reserved
2
R/W
0x0
RF_FUL_INT_EN
RX FIFO Full Interrupt Enable
0: Disable
1: Enable
1
R/W
0x0
RX_EMP_INT_EN
RX FIFO Empty Interrupt Enable
0: Disable
1: Enable
0
R/W
0x0
RF_RDY_INT_EN
RX FIFO Ready Request Interrupt Enable
0: Disable
1: Enable
7.3.7.4. SPI Interrupt Status Register
Offset: 0x14
Register Name: SPI_INT_STA_REG
Bit
R/W
Default/Hex
Description
31:14
/
0
/
13
R/W
0
SSI
SS Invalid Interrupt
When SSI is 1, it indicates that SS has changed from valid state to invalid
state. Writing 1 to this bit clears it.
12
R/W
0
TC
Transfer Completed
In master mode, it indicates that all bursts specified by BC has been
exchanged. In other condition, When set, this bit indicates that all the data
in TXFIFO has been loaded in the Shift register, and the Shift register has
shifted out all the bits. Writing 1 to this bit clears it.
0: Busy
1: Transfer Completed
11
R/W
0
TF_UDF
TXFIFO Underrun
Confidential
Interfaces
F1C600 User Manual (Revision 1.0) Copyright© 2015 Allwinner Technology. Co.,Ltd. All Rights Reserved. Page 289
This bit is set when if the TXFIFO is underrun. Writing 1 to this bit clears it.
0: TXFIFO is not underrun
1: TXFIFO is underrun
10
R/W
0
TF_OVF
TXFIFO Overflow
This bit is set when if the TXFIFO is overflow. Writing 1 to this bit clears it.
0: TXFIFO is not overflow
1: TXFIFO is overflowed
9
R/W
0
RX_UDF
RXFIFO Underrun
When set, this bit indicates that RXFIFO has underrun. Writing 1 to this bit
clears it.
8
R/W
0
RX_OVF
RXFIFO Overflow
When set, this bit indicates that RXFIFO has overflowed. Writing 1 to this
bit clears it.
0: RXFIFO is available.
1: RXFIFO has overflowed.
7
/
/
/
6
R/W
0
TX_FULL
TXFIFO Full
This bit is set when if the TXFIFO is full . Writing 1 to this bit clears it.
0: TXFIFO is not Full
1: TXFIFO is Full
5
R/W
1
TX_EMP
TXFIFO Empty
This bit is set if the TXFIFO is empty. Writing 1 to this bit clears it.
0: TXFIFO contains one or more words.
1: TXFIFO is empty
4
R/W
0
TX_READY
TXFIFO Ready
0: TX_WL > TX_TRIG_LEVEL
1: TX_WL <= TX_TRIG_LEVEL
This bit is set any time if TX_WL <= TX_TRIG_LEVEL. Writing “1” to this bit
clears it. Where TX_WL is the water level of RXFIFO
3
/
/
reserved
2
R/W
0
RX_FULL
RXFIFO Full
This bit is set when the RXFIFO is full. Writing 1 to this bit clears it.
0: Not Full
1: Full
1
R/W
1
RX_EMP
RXFIFO Empty
This bit is set when the RXFIFO is empty. Writing 1 to this bit clears it.
0: Not empty
Confidential
Interfaces
F1C600 User Manual (Revision 1.0) Copyright© 2015 Allwinner Technology. Co.,Ltd. All Rights Reserved. Page 290
1: empty
0
R/W
0
RX_RDY
RXFIFO Ready
0: RX_WL < RX_TRIG_LEVEL
1: RX_WL >= RX_TRIG_LEVEL
This bit is set any time if RX_WL >= RX_TRIG_LEVEL. Writing “1” to this bit
clears it. Where RX_WL is the water level of RXFIFO.
7.3.7.5. SPI FIFO Control Register
Offset: 0x18
Register Name: SPI_DMACTL_REG
Bit
R/W
Default/Hex
Description
31
R/W
0
TX_FIFO_RST
TX FIFO Reset
Write ‘1’ to this bit will reset the control portion of the TX FIFO and auto
clear to ‘0’ when completing reset operation, write to ‘0’ has no effect.
30
R/W
0
TF_TEST_ENB
TX Test Mode Enable
0: disable
1: enable
Note: In normal mode, TX FIFO can only be read by SPI controller, write ‘1’
to this bit will switch TX FIFO read and write function to AHB bus. This bit is
used to test the TX FIFO, don’t set in normal operation and don’t set
RF_TEST and TF_TEST at the same time.
29:28
/
/
/
27:26
R/W
0x0
TX_FIFO_ACCESS_SIZE
00: TX FIFO access in byte
01: TX FIFO access in word (4bytes)
10: Reserved
11: TX FIFO access size controlled by bus
25
/
/
/
24
R/W
0x0
TF_ DRQ_EN
TX FIFO DMA Request Enable
0: Disable
1: Enable
23:16
R/W
0x40
TX_TRIG_LEVEL
TX FIFO Empty Request Trigger Level
15
R/W
0x0
RF_RST
RXFIFO Reset
Write ‘1’ to this bit will reset the control portion of the receiver FIFO, and
auto clear to ‘0’ when completing reset operation, write ‘0’ to this bit has
no effect.
14
R/W
0x0
RF_TEST
RX Test Mode Enable
0: Disable
1: Enable
Confidential
Interfaces
F1C600 User Manual (Revision 1.0) Copyright© 2015 Allwinner Technology. Co.,Ltd. All Rights Reserved. Page 291
Note: In normal mode, RX FIFO can only be written by SPI controller, write
‘1’ to this bit will switch RX FIFO read and write function to AHB bus. This
bit is used to test the RX FIFO, don’t set in normal operation and don’t set
RF_TEST and TF_TEST at the same time.
13:12
R
0x0
Reserved
11:10
R/W
0x0
RX_FIFO_ACCESS_SIZE
00: RX FIFO access in byte
01: RX FIFO access in word (4bytes)
10: Reserved
11: RX FIFO access size controlled by bus
9
R/W
0x0
RX_DMA_MODE
SPI RX DMA Mode Control
0: Normal DMA mode
1: Dedicate DMA mode
8
R/W
0x0
RF_ DRQ_EN
RX FIFO DMA Request Enable
0: Disable
1: Enable
7:0
R/W
0x1
RX_TRIG_LEVEL
RX FIFO Ready Request Trigger Level
7.3.7.6. SPI FIFO Status Register
Offset: 0x1C
Register Name: SPI_FSR_REG
Bit
R/W
Default/Hex
Description
31
R
0x0
TB_WR
TX FIFO Write Buffer Write Enable
30:28
R
0x0
TB_CNT
TX FIFO Write Buffer Counter
These bits indicate the number of words in TX FIFO Write Buffer
27:24
R
0x0
Reserved
23:16
R
0x0
TF_CNT
TX FIFO Counter
These bits indicate the number of words in TX FIFO
0: 0 byte in TX FIFO
1: 1 byte in TX FIFO
64: 64 bytes in TX FIFO
Other: /
15
R
0x0
RB_WR
RX FIFO Read Buffer Write Enable
14:12
R
0x0
RB_CNT
RX FIFO Read Buffer Counter
These bits indicate the number of words in RX FIFO Read Buffer
11:8
R
0x0
Reserved
7:0
R
0x0
RF_CNT
Confidential
Interfaces
F1C600 User Manual (Revision 1.0) Copyright© 2015 Allwinner Technology. Co.,Ltd. All Rights Reserved. Page 292
RX FIFO Counter
These bits indicate the number of words in RX FIFO
0: 0 byte in RX FIFO
1: 1 byte in RX FIFO
64: 64 bytes in RX FIFO
Others: /
7.3.7.7. SPI Wait Clock Register
Offset: 0x20
Register Name: SPI_WAIT_REG
Bit
R/W
Default/Hex
Description
31:20
/
/
/
19:16
R/W
0x0
SWC
Dual mode direction switch wait clock counter (for master mode only).
0: No wait states inserted
n: n SPI_SCLK wait states inserted
Note: These bits control the number of wait states to be inserted before
start dual data transfer in dual SPI mode. The SPI module counts SPI_SCLK
by SWC for delaying next word data transfer.
NoteCan’t be written when XCH=1.
15:0
R/W
0
WCC
Wait Clock Counter (In Master mode)
These bits control the number of wait states to be inserted in data
transfers. The SPI module counts SPI_SCLK by WCC for delaying next word
data transfer.
0: No wait states inserted
N: N SPI_SCLK wait states inserted
7.3.7.8. SPI Clock Control Register
Offset: 0x24
Register Name: SPI_CCTL_REG
Bit
R/W
Default/Hex
Description
31:13
/
/
/
12
R/W
0
DRS
Divide Rate Select (Master Mode Only)
0: Select Clock Divide Rate 1
1: Select Clock Divide Rate 2
11:8
R/W
0
CDR1
Clock Divide Rate 1 (Master Mode Only)
This field selects the baud rate of the SPI_SCLK based on a division of the
AHB_CLK. These bits allow SPI to synchronize with different external SPI
devices. The max frequency is one quarter of AHB_CLK. The divide ratio is
determined according to the following table using the equation: 2^(n+1).
The SPI_SCLK is determined according to the following equation: SPI_CLK =
AHB_CLK / 2^(n+1).
7:0
R/W
0x2
CDR2
Confidential
Interfaces
F1C600 User Manual (Revision 1.0) Copyright© 2015 Allwinner Technology. Co.,Ltd. All Rights Reserved. Page 293
Clock Divide Rate 2 (Master Mode Only)
The SPI_SCLK is determined according to the following equation: SPI_CLK =
AHB_CLK / (2*(n + 1)).
7.3.7.9. SPI Master Burst Counter Register
Offset: 0x30
Register Name: SPI_BC_REG
Bit
R/W
Default/Hex
Description
31:24
/
/
/
23:0
R/W
0
MBC
Master Burst Counter
In master mode, this field specifies the total burst number.
0: 0 burst
1: 1 burst
N: N bursts
7.3.7.10. SPI Master Transmit Counter Register
Offset: 0x34
Register Name: SPI_TC_REG
Bit
R/W
Default/Hex
Description
31:24
/
/
/
23:0
R/W
0
MWTC
Master Write Transmit Counter
In master mode, this field specifies the burst number that should be sent to
TXFIFO before automatically sending dummy burst. For saving bus
bandwidth, the dummy burst (all zero bits or all one bits) is sent by SPI
Controller automatically.
0: 0 burst
1: 1 burst
N: N bursts
7.3.7.11. SPI Master Burst Control Counter Register
Offset: 0x38
Register Name: SPI_BCC_REG
Bit
R/W
Default/Hex
Description
31:29
R
0x0
Reserved
28
R/W
0x0
DRM
Master Dual Mode RX Enable
0: RX use single-bit mode
1: RX use dual mode
NoteCan’t be written when XCH=1.
27:24
R/W
0x0
DBC
Master Dummy Burst Counter
In master mode, this field specifies the burst number that should be sent
before receive in dual SPI mode. The data is don’t care by the device.
0: 0 burst
Confidential
Interfaces
F1C600 User Manual (Revision 1.0) Copyright© 2015 Allwinner Technology. Co.,Ltd. All Rights Reserved. Page 294
1: 1 burst
N: N bursts
NoteCan’t be written when XCH=1.
23:0
R/W
0x0
STC
Master Single Mode Transmit Counter
In master mode, this field specifies the burst number that should be sent in
single mode before automatically sending dummy burst. This is the first
transmit counter in all bursts.
0: 0 burst
1: 1 burst
N: N bursts
NoteCan’t be written when XCH=1.
7.3.7.12. SPI TX Data Register
Offset: 0x200
Register Name: SPI_TXD_REG
Bit
R/W
Default/Hex
Description
31:0
W/R
0x0
TDATA
Transmit Data
This register can be accessed in byte, half-word or word unit by AHB. In
byte accessing method, if there are rooms in RXFIFO, one burst data is
written to RXFIFO and the depth is increased by 1. In half-word accessing
method, two SPI burst data are written and the TXFIFO depth is increase by
2. In word accessing method, four SPI burst data are written and the
TXFIFO depth is increased by 4.
Note: This address is writing-only if TF_TEST is ‘0’, and if TF_TEST is set to
‘1’, this address is readable and writable to test the TX FIFO through the
AHB bus.
7.3.7.13. SPI RX Data Register
Offset: 0x300
Register Name: SPI_RXD_REG
Bit
R/W
Default/Hex
Description
31:0
R
0
RDATA
Receive Data
This register can be accessed in byte, half-word or word unit by AHB. In
byte accessing method, if there are data in RXFIFO, the top word is
returned and the RXFIFO depth is decreased by 1. In half-word accessing
method, two SPI bursts are returned and the RXFIFO depth is decrease by
2. In word accessing method, the four SPI bursts are returned and the
RXFIFO depth is decreased by 4.
Note: This address is read-only if RF_TEST is ‘0’, and if RF_TEST is set to ‘1’,
this address is readable and writable to test the RX FIFO through the AHB
bus.
Confidential
Interfaces
F1C600 User Manual (Revision 1.0) Copyright© 2015 Allwinner Technology. Co.,Ltd. All Rights Reserved. Page 295
7.4. UART
7.4.1. Overview
The UART is used for serial communication with a peripheral, modem (data carrier equipment, DCE) or data set. Data is
written from a master (CPU) over the APB bus to the UART and it is converted to serial form and transmitted to the
destination device. Serial data is also received by the UART and stored for the master (CPU) to read back.
The UART contains registers to control the character length, baud rate, parity generation/checking, and interrupt
generation. Although there is only one interrupt output signal from the UART, there are several prioritized interrupt
types that can be responsible for its assertion. Each of the interrupt types can be separately enabled/disabled with the
control registers.
The UART has 16450 and 16550 modes of operation, which are compatible with a range of standard software drivers.
In 16550 mode, transmit and receive operations are both buffered by FIFOs. In 16450 mode, these FIFOs are disabled.
The UART supports data lengths from five to eight bits, an optional parity bit and 1, 1 ½ or 2 stop bits, and is fully
programmable by an AMBA APB CPU interface. A 16-bit programmable baud rate generator and an 8-bit scratch
register are included, together with separate transmit and receive FIFOs. Eight modem control lines and a diagnostic
loop-back mode are provided.
Interrupts can be generated for a range of TX Buffer/FIFO, RX Buffer/FIFO, Modem Status and Line Status conditions.
7.4.2. Feature
The UART includes the following features:
Compatible with industry-standard 16550 UARTs
64-Bytes Transmit and receive data FIFOs
DMA controller interface
Software/ Hardware Flow Control
Programmable Transmit Holding Register Empty interrupt
Interrupt support for FIFOs, Status Change
7.4.3. UART Timing Diagram
Serial Data
S
Data bits 5-8
P
S 1,1.5,2
One Character
Bit TimeBit Time
One Character
TX/RX
UART Serial Data Format
S
Stop
3/16 Bit Time3/16 Bit Time
3/16 Bit Time3/16 Bit Time3/16 Bit Time3/16 Bit Time
Data Bits
Bit Time
Data Bits
Bit Time
SIN/SOUT
SIR_OUT
SIR_IN
Serial IrDA Data Format
Confidential
Interfaces
F1C600 User Manual (Revision 1.0) Copyright© 2015 Allwinner Technology. Co.,Ltd. All Rights Reserved. Page 296
7.4.4. UART Pin List
Port Name
Width
Direction
Description
UART0_TX
1
OUT
UART Serial Bit output
UART0_RX
1
IN
UART Serial Bit input
UART1_TX
1
OUT
UART Serial Bit output
UART1_RX
1
IN
UART Serial Bit input
UART1_RTS
1
OUT
UART Request To Send
This active low output signal informs Modem that the UART is ready to send
data
UART1_CTS
1
IN
UART Clear To End
This active low signal is an input showing when Modem is ready to accept
data
UART2_TX
1
OUT
UART Serial Bit output
UART2_RX
1
IN
UART Serial Bit input
UART2_RTS
1
OUT
UART Request To Send
This active low output signal informs Modem that the UART is ready to send
data
UART2_CTS
1
IN
UART Clear To End
This active low signal is an input showing when Modem is ready to accept
data
7.4.5. IrDA Inverted Signals
When the UART is working in IrDA mode (MCR[6]=’1’), if HALT[4] is set to ‘1’, the signal is inverted before transferring to
pin SOUT and if HALT[5] is set to ‘1’, the signal is inverted after receiving from pin SIN.
7.4.6. UART Register List
There are 3 UART controllers. UART1 has full modem control signals, including RTS, CTS, DTR, DSR, DCD and RING signal.
Module Name
Base Address
UART0
0x01C25000
UART1
0x01C25400
UART2
0x01C25800
Register Name
Offset
Description
UART_RBR_REG
0x00
UART Receive Buffer Register
UART_THR_REG
0x00
UART Transmit Holding Register
UART_DLL_REG
0x00
UART Divisor Latch Low Register
UART_DLH_REG
0x04
UART Divisor Latch High Register
UART_IER_REG
0x04
UART Interrupt Enable Register
UART_IIR_REG
0x08
UART Interrupt Identity Register
UART_FCR_REG
0x08
UART FIFO Control Register
UART_LCR_REG
0x0C
UART Line Control Register
Confidential
Interfaces
F1C600 User Manual (Revision 1.0) Copyright© 2015 Allwinner Technology. Co.,Ltd. All Rights Reserved. Page 297
UART_MCR_REG
0x10
UART Modem Control Register
UART_LSR_REG
0x14
UART Line Status Register
UART_MSR_REG
0x18
UART Modem Status Register
UART_SCH_REG
0x1C
UART Scratch Register
UART_USR_REG
0x7C
UART Status Register
UART_TFL_REG
0x80
UART Transmit FIFO Level Register
UART_RFL_REG
0x84
UART Receive FIFO Level Register
UART_HSK_REG
0x88
UART DMA Handshake Config Register
UART_HALT_REG
0xA4
UART Halt TX Register
UART_DBG_DLL_REG
0xB0
UART Debug DLL Register
UART_DBG_DLH_REG
0xB4
UART Debug DLH Register
7.4.7. UART Register Description
7.4.7.1. UART Receiver Buffer Register
Offset: 0x00
Register Name: UART_RBR_REG
Bit
R/W
Default/Hex
Description
31:8
/
/
/
7:0
R
0
RBR
Receiver Buffer Register
Data byte received on the serial input port (sin) in UART mode, or the serial
infrared input (sir_in) in infrared mode. The data in this register is valid
only if the Data Ready (DR) bit in the Line Status Register (LCR) is set.
If in FIFO mode and FIFOs are enabled (FCR[0] set to one), this register
accesses the head of the receive FIFO. If the receive FIFO is full and this
register is not read before the next data character arrives, then the data
already in the FIFO is preserved, but any incoming data are lost and an
overrun error occurs.
7.4.7.2. UART Transmit Holding Register
Offset: 0x00
Register Name: UART_THR_REG
Bit
R/W
Default/Hex
Description
31:8
/
/
/
7:0
W
0
THR
Transmit Holding Register
Data to be transmitted on the serial output port (sout) in UART mode or
the serial infrared output (sir_out_n) in infrared mode. Data should only be
written to the THR when the THR Empty (THRE) bit (LSR[5]) is set.
If in FIFO mode and FIFOs are enabled (FCR[0] = 1) and THRE is set, 16
number of characters of data may be written to the THR before the FIFO is
full. Any attempt to write data when the FIFO is full results in the write
data being lost.
Confidential
Interfaces
F1C600 User Manual (Revision 1.0) Copyright© 2015 Allwinner Technology. Co.,Ltd. All Rights Reserved. Page 298
7.4.7.3. UART Divisor Latch Low Register
Offset: 0x00
Register Name: UART_DLL_REG
Bit
R/W
Default/Hex
Description
31:8
/
/
/
7:0
R/W
0
DLL
Divisor Latch Low
Lower 8 bits of a 16-bit, read/write, Divisor Latch register that contains the
baud rate divisor for the UART. This register may only be accessed when
the DLAB bit (LCR[7]) is set and the UART is not busy (USR[0] is zero).
The output baud rate is equal to the serial clock (sclk) frequency divided by
sixteen times the value of the baud rate divisor, as follows: baud rate =
(serial clock freq) / (16 * divisor).
Note that with the Divisor Latch Registers (DLL and DLH) set to zero, the
baud clock is disabled and no serial communications occur. Also, once the
DLL is set, at least 8 clock cycles of the slowest UART clock should be
allowed to pass before transmitting or receiving data.
7.4.7.4. UART Divisor Latch High Register
Offset: 0x04
Register Name: UART_DLH_REG
Bit
R/W
Default/Hex
Description
31:8
/
/
/
7:0
R/W
0
DLH
Divisor Latch High
Upper 8 bits of a 16-bit, read/write, Divisor Latch register that contains the
baud rate divisor for the UART. This register may only be accessed when
the DLAB bit (LCR[7]) is set and the UART is not busy (USR[0] is zero).
The output baud rate is equal to the serial clock (sclk) frequency divided by
sixteen times the value of the baud rate divisor, as follows: baud rate =
(serial clock freq) / (16 * divisor).
Note that with the Divisor Latch Registers (DLL and DLH) set to zero, the
baud clock is disabled and no serial communications occur. Also, once the
DLH is set, at least 8 clock cycles of the slowest UART clock should be
allowed to pass before transmitting or receiving data.
7.4.7.5. UART Interrupt Enable Register
Offset: 0x04
Register Name: UART_IER_REG
Bit
R/W
Default/Hex
Description
31:8
/
/
/
7
R/W
PTIME
Programmable THRE Interrupt Mode Enable
This is used to enable/disable the generation of THRE Interrupt.
0: Disable
1: Enable
6:4
/
/
/
3
R/W
0
EDSSI
Confidential
Interfaces
F1C600 User Manual (Revision 1.0) Copyright© 2015 Allwinner Technology. Co.,Ltd. All Rights Reserved. Page 299
Enable Modem Status Interrupt
This is used to enable/disable the generation of Modem Status Interrupt.
This is the fourth highest priority interrupt.
0: Disable
1: Enable
2
R/W
0
ELSI
Enable Receiver Line Status Interrupt
This is used to enable/disable the generation of Receiver Line Status
Interrupt. This is the highest priority interrupt.
0: Disable
1: Enable
1
R/W
0
ETBEI
Enable Transmit Holding Register Empty Interrupt
This is used to enable/disable the generation of Transmitter Holding
Register Empty Interrupt. This is the third highest priority interrupt.
0: Disable
1: Enable
0
R/W
0
ERBFI
Enable Received Data Available Interrupt
This is used to enable/disable the generation of Received Data Available
Interrupt and the Character Timeout Interrupt (if in FIFO mode and FIFOs
enabled). These are the second highest priority interrupts.
0: Disable
1: Enable
7.4.7.6. UART Interrupt Identity Register
Offset: 0x08
Register Name: UART_IIR_REG
Bit
R/W
Default/Hex
Description
31:8
/
/
/
7:6
R
0
FEFLAG
FIFOs Enable Flag
This is used to indicate whether the FIFOs are enabled or disabled.
00: Disable
11: Enable
5:4
/
/
/
3:0
R
0x1
IID
Interrupt ID
This indicates the highest priority pending interrupt which can be one of
the following types:
0000: modem status
0001: no interrupt pending
0010: THR empty
0100: received data available
0110: receiver line status
0111: busy detect
Confidential
Interfaces
F1C600 User Manual (Revision 1.0) Copyright© 2015 Allwinner Technology. Co.,Ltd. All Rights Reserved. Page 300
1100: character timeout
Bit 3 indicates an interrupt can only occur when the FIFOs are enabled and
used to distinguish a Character Timeout condition interrupt.
Interrupt ID
Priority Level
Interrupt Type
Interrupt Source
Interrupt Reset
0001
-
None
None
-
0110
Highest
Receiver line status
Overrun/parity/ framing
errors or break interrupt
Reading the line status
register
0100
Second
Received data available
Receiver data available
(non-FIFO mode or
FIFOs disabled) or RCVR
FIFO trigger level
reached (FIFO mode and
FIFOs enabled)
Reading the receiver buffer
register (non-FIFO mode or
FIFOs disabled) or the FIFO
drops below the trigger level
(FIFO mode and FIFOs
enabled)
1100
Second
Character timeout
indication
No characters in or out
of the RCVR FIFO during
the last 4 character
times and there is at
least 1character in it
during
This time
Reading the receiver buffer
register
0010
Third
Transmit holding
register empty
Transmitter holding
register empty (Program
THRE Mode disabled) or
XMIT FIFO at or below
threshold (Program
THRE Mode enabled)
Reading the IIR register (if
source of interrupt); or,
writing into THR (FIFOs or
THRE Mode not selected or
disabled) or XMIT FIFO above
threshold (FIFOs and THRE
Mode selected and enabled).
0000
Fourth
Modem status
Clear to send or data set
ready or ring indicator
or data carrier detect.
Note that if auto flow
control mode is enabled,
a change in CTS (that is,
DCTS set) does not
cause an interrupt.
Reading the Modem status
Register
0111
Fifth
Busy detect indication
UART_16550_COMPATI
BLE = NO and master
has tried to write to the
Line Control Register
while the UART is busy
(USR[0] is set to one).
Reading the UART status
register
7.4.7.7. UART FIFO Control Register
Offset: 0x08
Register Name: UART_FCR_REG
Confidential
Interfaces
F1C600 User Manual (Revision 1.0) Copyright© 2015 Allwinner Technology. Co.,Ltd. All Rights Reserved. Page 301
Bit
R/W
Default/Hex
Description
31:8
/
/
/
7:6
W
0
RT
RCVR Trigger
This is used to select the trigger level in the receiver FIFO at which the
Received Data Available Interrupt is generated. In auto flow control mode
it is used to determine when the rts_n signal is de-asserted. It also
determines when the dma_rx_req_n signal is asserted in certain modes of
operation.
00: 1 character in the FIFO
01: FIFO ¼ full
10: FIFO ½ full
11: FIFO-2 less than full
5:4
W
0
TFT
TX Empty Trigger
Writes have no effect when THRE_MODE_USER = Disabled. This is used to
select the empty threshold level at which the THRE Interrupts are
generated when the mode is active. It also determines when the
dma_tx_req_n signal is asserted when in certain modes of operation.
00: FIFO empty
01: 2 characters in the FIFO
10: FIFO ¼ full
11: FIFO ½ full
3
W
0
DMAM
DMA Mode
0: Mode 0
1: Mode 1
2
W
0
XFIFOR
XMIT FIFO Reset
This resets the control portion of the transmit FIFO and treats the FIFO as
empty. This also De-asserts the DMA TX request.
It is 'self-clearing'. It is not necessary to clear this bit.
1
W
0
RFIFOR
RCVR FIFO Reset
This resets the control portion of the receive FIFO and treats the FIFO as
empty. This also De-asserts the DMA RX request.
It is 'self-clearing'. It is not necessary to clear this bit.
0
W
0
FIFOE
Enable FIFOs
This enables/disables the transmit (XMIT) and receive (RCVR) FIFOs.
Whenever the value of this bit is changed both the XMIT and RCVR
controller portion of FIFOs is reset.
7.4.7.8. UART Line Control Register
Offset: 0x0C
Register Name: UART_LCR_REG
Confidential
Interfaces
F1C600 User Manual (Revision 1.0) Copyright© 2015 Allwinner Technology. Co.,Ltd. All Rights Reserved. Page 302
Bit
R/W
Default/Hex
Description
31:8
/
/
/
7
R/W
0
DLAB
Divisor Latch Access Bit
It is writeable only when UART is not busy (USR[0] is zero) and always
readable. This bit is used to enable reading and writing of the Divisor Latch
register (DLL and DLH) to set the baud rate of the UART. This bit must be
cleared after initial baud rate setup in order to access other registers.
0: Select RX Buffer Register (RBR) / TX Holding Register(THR) and Interrupt
Enable Register (IER)
1: Select Divisor Latch LS Register (DLL) and Divisor Latch MS Register
(DLM)
6
R/W
0
BC
Break Control Bit
This is used to cause a break condition to be transmitted to the receiving
device. If set to one the serial output is forced to the spacing (logic 0) state.
When not in Loopback Mode, as determined by MCR[4], the sout line is
forced low until the Break bit is cleared. If SIR_MODE = Enabled and active
(MCR[6] set to one) the sir_out_n line is continuously pulsed. When in
Loopback Mode, the break condition is internally looped back to the
receiver and the sir_out_n line is forced low.
5:4
R/W
0
EPS
Even Parity Select
It is writeable only when UART is not busy (USR[0] is zero) and always
writable readable. This is used to select between even and odd parity,
when parity is enabled (PEN set to one). Setting the LCR[5] is uset to
reverse the LCR[4].
00: Odd Parity
01: Even Parity
1X: Reverse LCR[4]
3
R/W
0
PEN
Parity Enable
It is writeable only when UART is not busy (USR[0] is zero) and always
readable. This bit is used to enable and disable parity generation and
detection in transmitted and received serial character respectively.
0: parity disabled
1: parity enabled
2
R/W
0
STOP
Number of stop bits
It is writeable only when UART is not busy (USR[0] is zero) and always
readable. This is used to select the number of stop bits per character that
the peripheral transmits and receives. If set to zero, one stop bit is
transmitted in the serial data. If set to one and the data bits are set to 5
(LCR[1:0] set to zero) one and a half stop bits is transmitted. Otherwise,
two stop bits are transmitted. Note that regardless of the number of stop
Confidential
Interfaces
F1C600 User Manual (Revision 1.0) Copyright© 2015 Allwinner Technology. Co.,Ltd. All Rights Reserved. Page 303
bits selected, the receiver checks only the first stop bit.
0: 1 stop bit
1: 1.5 stop bits when DLS (LCR[1:0]) is zero, else 2 stop bit
1:0
R/W
0
DLS
Data Length Select
It is writeable only when UART is not busy (USR[0] is zero) and always
readable. This is used to select the number of data bits per character that
the peripheral transmits and receives. The number of bit that may be
selected areas follows:
00: 5 bits
01: 6 bits
10: 7 bits
11: 8 bits
7.4.7.9. UART Modem Control Register
Offset: 0x10
Register Name: UART_MCR_REG
Bit
R/W
Default/Hex
Description
31:7
/
/
/
6
R/W
0
SIRE
SIR Mode Enable
0: IrDA SIR Mode disabled
1: IrDA SIR Mode enabled
5
R/W
0
AFCE
Auto Flow Control Enable
When FIFOs are enabled and the Auto Flow Control Enable (AFCE) bit is set,
Auto Flow Control features are enabled.
0: Auto Flow Control Mode disabled
1: Auto Flow Control Mode enabled
4
R/W
0
LOOP
Loop Back Mode
0: Normal Mode
1: Loop Back Mode
This is used to put the UART into a diagnostic mode for test purposes. If
operating in UART mode (SIR_MODE != Enabled or not active, MCR[6] set
to zero), data on the sout line is held high, while serial data output is
looped back to the sin line, internally. In this mode all the interrupts are
fully functional. Also, in loopback mode, the modem control inputs (dsr_n,
cts_n, ri_n, dcd_n) are disconnected and the modem control outputs
(dtr_n, rts_n, out1_n, out2_n) are looped back to the inputs, internally. If
operating in infrared mode (SIR_MODE == Enabled AND active, MCR[6] set
to one), data on the sir_out_n line is held low, while serial data output is
inverted and looped back to the sir_in line.
3:2
/
/
/
1
R/W
0
RTS
Request to Send
Confidential
Interfaces
F1C600 User Manual (Revision 1.0) Copyright© 2015 Allwinner Technology. Co.,Ltd. All Rights Reserved. Page 304
This is used to directly control the Request to Send (rts_n) output. The
Request To Send (rts_n) output is used to inform the modem or data set
that the UART is ready to exchange data. When Auto RTS Flow Control is
not enabled (MCR[5] set to zero), the rts_n signal is set low by
programming MCR[1] (RTS) to a high.In Auto Flow Control, AFCE_MODE ==
Enabled and active (MCR[5] set to one) and FIFOs enable (FCR[0] set to
one), the rts_n output is controlled in the same
way, but is also gated with the receiver FIFO threshold trigger (rts_n is
inactive high when above the threshold). The rts_n signal is De-asserted
when MCR[1] is set low.
0: rts_n De-asserted (logic 1)
1: rts_n asserted (logic 0)
Note that in Loopback mode (MCR[4] set to one), the rts_n output is held
inactive high while the value of this location is internally looped back to an
input.
0
R/W
0
DTR
Data Terminal Ready
This is used to directly control the Data Terminal Ready (dtr_n) output. The
value written to this location is inverted and driven
out on dtr_n.
0dtr_n De-asserted (logic 1)
1dtr_n asserted (logic 0)
The Data Terminal Ready output is used to inform the modem or data set
that the UART is ready to establish communications.
Note that in Loopback mode (MCR[4] set to one), the dtr_n output is held
inactive high while the value of this location is internally looped back to an
input.
7.4.7.10. UART Line Status Register
Offset: 0x14
Register Name: UART_LSR_REG
Bit
R/W
Default/Hex
Description
31:8
/
/
/
7
R
0
FIFOERR
RX Data Error in FIFO
When FIFOs are disabled, this bit is always 0. When FIFOs are enabled, this
bit is set to 1 when there is at least one PE, FE, or BI in the RX FIFO. It is
cleared by a read from the LSR register provided there are no subsequent
errors in the FIFO.
6
R
1
TEMT
Transmitter Empty
If the FIFOs are disabled, this bit is set to "1" whenever the TX Holding
Register and the TX Shift Register are empty. If the FIFOs are enabled, this
bit is set whenever the TX FIFO and the TX Shift Register are empty. In both
cases, this bit is cleared when a byte is written to the TX data channel.
5
R
1
THRE
Confidential
Interfaces
F1C600 User Manual (Revision 1.0) Copyright© 2015 Allwinner Technology. Co.,Ltd. All Rights Reserved. Page 305
TX Holding Register Empty
If the FIFOs are disabled, this bit is set to "1" whenever the TX Holding
Register is empty and ready to accept new data and it is cleared when the
CPU writes to the TX Holding Register.
If the FIFOs are enabled, this bit is set to "1" whenever the TX FIFO is empty
and it is cleared when at least one byte is written
to the TX FIFO.
4
R
0
BI
Break Interrupt
This is used to indicate the detection of a break sequence on the serial
input data.
If in UART mode (SIR_MODE == Disabled), it is set whenever the serial
input, sin, is held in a logic '0' state for longer than the sum of start time +
data bits + parity + stop bits.
If in infrared mode (SIR_MODE == Enabled), it is set whenever the serial
input, sir_in, is continuously pulsed to logic '0' for longer than the sum of
start time + data bits + parity + stop bits. A break condition on serial input
causes one and only one character, consisting of all zeros, to be received by
the UART.
In the FIFO mode, the character associated with the break condition is
carried through the FIFO and is revealed when the character is at the top of
the FIFO. Reading the LSR clears the BI bit. In the non-FIFO mode, the BI
indication occurs immediately and persists until the LSR is read.
3
R
0
FE
Framing Error
This is used to indicate the occurrence of a framing error in the receiver. A
framing error occurs when the receiver does not detect a valid
STOP bit in the received data.
In the FIFO mode, since the framing error is associated with a character
received, it is revealed when the character with the framing error is at the
top of the FIFO. When a framing error occurs, the UART tries to
resynchronize. It does this by assuming that the error was due to the start
bit of the next character and then continues receiving the other bit i.e.
data, and/or parity and stop. It should be noted that the Framing Error (FE)
bit (LSR[3]) is set if a break interrupt has
occurred, as indicated by Break Interrupt (BI) bit (LSR[4]).
0: no framing error
1:framing error
Reading the LSR clears the FE bit.
2
R
0
PE
Parity Error
This is used to indicate the occurrence of a parity error in the receiver if the
Parity Enable (PEN) bit (LCR[3]) is set. In the FIFO mode, since the parity
error is associated with a character received, it is revealed when the
Confidential
Interfaces
F1C600 User Manual (Revision 1.0) Copyright© 2015 Allwinner Technology. Co.,Ltd. All Rights Reserved. Page 306
character with the parity error arrives at the top of the FIFO. It should be
noted that the Parity Error (PE) bit (LSR[2]) is set if a break interrupt has
occurred, as indicated by Break Interrupt (BI) bit (LSR[4]).
0: no parity error
1: parity error
Reading the LSR clears the PE bit.
1
R
0
OE
Overrun Error
This occurs if a new data character was received before the previous data
was read. In the non-FIFO mode, the OE bit is set when a new character
arrives in the receiver before the previous character was read from the
RBR. When this happens, the data in the RBR is overwritten. In the FIFO
mode, an overrun error occurs when the FIFO is full and a new character
arrives at the receiver. The data in the FIFO is retained and the data in the
receive shift register is lost.
0: no overrun error
1: overrun error
Reading the LSR clears the OE bit.
0
R
0
DR
Data Ready
This is used to indicate that the receiver contains at least one character in
the RBR or the receiver FIFO.
0: no data ready
1: data ready
This bit is cleared when the RBR is read in non-FIFO mode, or when the
receiver FIFO is empty, in FIFO mode.
7.4.7.11. UART Modem Status Register
Offset: 0x18
Register Name: UART_MSR_REG
Bit
R/W
Default/Hex
Description
31:8
/
/
/
7
R
0
DCD
Line State of Data Carrier Detect
This is used to indicate the current state of the modem control line dcd_n.
This bit is the complement of dcd_n. When the Data Carrier Detect input
(dcd_n) is asserted it is an indication that the carrier has been detected by
the modem or data set.
0: dcd_n input is De-asserted (logic 1)
1: dcd_n input is asserted (logic 0)
6
R
0
RI
Line State of Ring Indicator
This is used to indicate the current state of the modem control line ri_n.
This bit is the complement of ri_n. When the Ring Indicator input (ri_n) is
asserted it is an indication that a telephone ringing signal has been
received by the modem or data set.
Confidential
Interfaces
F1C600 User Manual (Revision 1.0) Copyright© 2015 Allwinner Technology. Co.,Ltd. All Rights Reserved. Page 307
0: ri_n input is De-asserted (logic 1)
1: ri_n input is asserted (logic 0)
5
R
0
DSR
Line State of Data Set Ready
This is used to indicate the current state of the modem control line dsr_n.
This bit is the complement of dsr_n. When the Data Set Ready input
(dsr_n) is asserted it is an indication that the modem or data set is ready to
establish communications with UART.
0: dsr_n input is De-asserted (logic 1)
1: dsr_n input is asserted (logic 0)
In Loopback Mode (MCR[4] set to one), DSR is the same as MCR[0] (DTR).
4
R
0
CTS
Line State of Clear To Send
This is used to indicate the current state of the modem control line cts_n.
This bit is the complement of cts_n. When the Clear to Send input (cts_n) is
asserted it is an indication that the modem or data set is ready to exchange
data with UART.
0: cts_n input is De-asserted (logic 1)
1: cts_n input is asserted (logic 0)
In Loopback Mode (MCR[4] = 1), CTS is the same as MCR[1] (RTS).
3
R
0
DDCD
Delta Data Carrier Detect
This is used to indicate that the modem control line dcd_n has changed
since the last time the MSR was read.
0: no change on dcd_n since last read of MSR
1: change on dcd_n since last read of MSR
Reading the MSR clears the DDCD bit.
Note: Ff the DDCD bit is not set and the dcd_n signal is asserted (low) and a
reset occurs (software or otherwise), then the DDCD bit is set when the
reset is removed if the dcd_n signal remains asserted.
2
R
0
TERI
Trailing Edge Ring Indicator
This is used to indicate that a change on the input ri_n (from an active-low
to an inactive-high state) has occurred since the last time
the MSR was read.
0: no change on ri_n since last read of MSR
1: change on ri_n since last read of MSR
Reading the MSR clears the TERI bit.
1
R
0
DDSR
Delta Data Set Ready
This is used to indicate that the modem control line dsr_n has changed
since the last time the MSR was read.
0: no change on dsr_n since last read of MSR
1: change on dsr_n since last read of MSR
Reading the MSR clears the DDSR bit. In Loopback Mode (MCR[4] = 1),
Confidential
Interfaces
F1C600 User Manual (Revision 1.0) Copyright© 2015 Allwinner Technology. Co.,Ltd. All Rights Reserved. Page 308
DDSR reflects changes on MCR[0] (DTR).
Note: If the DDSR bit is not set and the dsr_n signal is asserted (low) and a
reset occurs (software or otherwise), then the DDSR bit is set when the
reset is removed if the dsr_n signal remains asserted.
0
R
0
DCTS
Delta Clear to Send
This is used to indicate that the modem control line cts_n has changed
since the last time the MSR was read.
0: no change on ctsdsr_n since last read of MSR
1: change on ctsdsr_n since last read of MSR
Reading the MSR clears the DCTS bit. In Loopback Mode (MCR[4] = 1), DCTS
reflects changes on MCR[1] (RTS).
Note: If the DCTS bit is not set and the cts_n signal is asserted (low) and a
reset occurs (software or otherwise), then the DCTS bit is set when the
reset isremoved if the cts_n signal remains asserted.
7.4.7.12. UART Scratch Register
Offset: 0x1C
Register Name: UART_SCH_REG
Bit
R/W
Default/Hex
Description
31:8
/
/
/
7:0
R/W
0
SCRATCH_REG
Scratch Register
This register is for programmers to use as a temporary storage space. It has
no defined purpose in the UART.
7.4.7.13. UART Status Register
Offset: 0x7C
Register Name: UART_USR_REG
Bit
R/W
Default/Hex
Description
31:5
/
/
/
4
R
0
RFF
Receive FIFO Full
This is used to indicate that the receive FIFO is completely full.
0: Receive FIFO not full
1: Receive FIFO Full
This bit is cleared when the RX FIFO is no longer full.
3
R
0
RFNE
Receive FIFO Not Empty
This is used to indicate that the receive FIFO contains one or more entries.
0: Receive FIFO is empty
1: Receive FIFO is not empty
This bit is cleared when the RX FIFO is empty.
2
R
1
TFE
Transmit FIFO Empty
This is used to indicate that the transmit FIFO is completely empty.
0: Transmit FIFO is not empty
Confidential
Interfaces
F1C600 User Manual (Revision 1.0) Copyright© 2015 Allwinner Technology. Co.,Ltd. All Rights Reserved. Page 309
1: Transmit FIFO is empty
This bit is cleared when the TX FIFO is no longer empty.
1
R
1
TFNF
Transmit FIFO Not Full
This is used to indicate that the transmit FIFO in not full.
0: Transmit FIFO is full
1: Transmit FIFO is not full
This bit is cleared when the TX FIFO is full.
0
R
0
BUSY
UART Busy Bit
0: Idle or inactive
1: Busy
7.4.7.14. UART Transmit FIFO Level Register
Offset: 0x80
Register Name: UART_TFL_REG
Bit
R/W
Default/Hex
Description
31:7
/
/
/
6:0
R
0
TFL
Transmit FIFO Level
This is indicates the number of data entries in the transmit FIFO.
7.4.7.15. UART Receive FIFO Level Register
Offset: 0x84
Register Name: UART_RFL_REG
Bit
R/W
Default/Hex
Description
31:7
/
/
/
6:0
R
0
RFL
Receive FIFO Level
This is indicates the number of data entries in the receive FIFO.
7.4.7.16. UART Halt TX Register
Offset: 0xA4
Register Name: UART_HALT_REG
Bit
R/W
Default/Hex
Description
31:6
/
/
/
5
R/W
0
SIR_RX_INVERT
SIR Receiver Pulse Polarity Invert
0: Not invert receiver signal
1: Invert receiver signal
4
R/W
0
SIR_TX_INVERT
SIR Transmit Pulse Polarity Invert
0: Not invert transmit pulse
1: Invert transmit pulse
3
/
/
/
2
R/W
0
CHANGE_UPDATE
After the user using HALT[1] to change the baudrate or LCR configuration,
write 1 to update the configuration and waiting this bit self clear to 0 to
Confidential
Interfaces
F1C600 User Manual (Revision 1.0) Copyright© 2015 Allwinner Technology. Co.,Ltd. All Rights Reserved. Page 310
finish update process. Write 0 to this bit has no effect.
1: Update trigger, Self clear to 0 when finish update.
1
R/W
0
CHCFG_AT_BUSY
This is an enable bit for the user to change LCR register configuration
(except for the DLAB bit) and baudrate register (DLH and DLL) when the
UART is busy (USB[0] is 1).
1: Enable change when busy
0
R/W
0
HALT_TX
Halt TX
This register is use to halt transmissions for testing, so that the transmit
FIFO can be filled by the master when FIFOs are implemented and enabled.
0 : Halt TX disabled
1 : Halt TX enabled
Note: If FIFOs are not enabled, the setting of the halt TX register has no
effect on operation.
7.4.7.17. UART DBG DLL Register
Offset: 0xB0
Register Name: UART_DBG_DLL_REG
Bit
R/W
Default/Hex
Description
31:8
/
/
/
7:0
R/W
0
DEBUG DLL
7.4.7.18. UART DBG DLH Register
Offset: 0xB4
Register Name: UART_DBG_DLH_REG
Bit
R/W
Default/Hex
Description
31:8
/
/
/
7:0
R/W
0
DEBUG DLH
Confidential
Interfaces
F1C600 User Manual (Revision 1.0) Copyright© 2015 Allwinner Technology. Co.,Ltd. All Rights Reserved. Page 311
7.5. RSB
7.5.1. Overview
The reduced serial bus(RSB) Host Controller is designed to communicate with RSB Device using two push-pull wires. It
supports a simplified two wire protocol (RSB) on a push-pull bus. The transfer speed can be up to 20MHz and the
performance will be improved much.
7.5.2. Feature
The RSB includes the following features:
Support industry-standard AMBA Peripheral Bus (APB) and it is fully compliant with the AMBA Specification,
Revision 2.0.
Support speed up to 20MHz with ultra low power
Support Push-Pull bus
Support Host mode
Support programmable output delay of CD signal
Support parity check for address and data transmission
Support multi-devices
7.5.3. Terminology Definition
TERM
Description
CK
A line that is used to transmit clock from Host to Device
CD
A line that is used to transmit Command and Data between Host and Device
DA
Device Address is a 16bits address that is the ID of each type device.
RTA
Run-Time Address is an 8bits address that is used to address device during Read or Write transmission.
The valid RTA is 0x17 0x2D 0x3A 0x4E 0x59 0x63 0x74 0x8B 0x9C 0xA6 0xB1 0xC5 0xD2 0xE8 and 0xFF.
HD
Host to Device Handshake is used to change the ownership of CD from Host to Device.
DH
Device to Host Handshake is used to change the ownership of CD from Device to Host.
SB
Start Bit: a HIGH to LOW transition on the CD while CK is high.
7.5.4. RSB Command Set
Command
Value
Description
SRTA
0xE8
Set Run-Time-Address
RD8
0x8B
Read one byte from Device
RD16
0x9C
Read two bytes from Device
RD32
0xA6
Read four bytes from Device
WR8
0x4E
Write one byte to Device
WR16
0x59
Write two bytes to Device
WR32
0x63
Write four bytes to Device
Confidential
Interfaces
F1C600 User Manual (Revision 1.0) Copyright© 2015 Allwinner Technology. Co.,Ltd. All Rights Reserved. Page 312
7.5.5. Software Operation Flow
RSB System Initialization
Confidential
Interfaces
F1C600 User Manual (Revision 1.0) Copyright© 2015 Allwinner Technology. Co.,Ltd. All Rights Reserved. Page 313
RSB Read from Device
Confidential
Interfaces
F1C600 User Manual (Revision 1.0) Copyright© 2015 Allwinner Technology. Co.,Ltd. All Rights Reserved. Page 314
RSB Write Start
Last transmission
Finished? No
Yes
Set Write Arguments
(CMD/RTA/ADDR/D
ATA)
Start transmission
Transmission
Finished? No
Yes
Check Status
RSB Write Finished
RSB Write to Device
7.5.6. RSB General Specification
RSB uses push-pull busand supports multi-devices. It uses CK as clock and uses CD to transmit command and data. The
Bus Topology is showed below:
RSB Bus Topology
The start bit marks the beginning of a transaction. The Start bit is defined as a HIGH to LOW transition on the CD while
CK is high.
Confidential
Interfaces
F1C600 User Manual (Revision 1.0) Copyright© 2015 Allwinner Technology. Co.,Ltd. All Rights Reserved. Page 315
S
CK
CD
Start signal
RSB protocol uses parity bit to check the correction of address and data.
01234567 C
Parity bit
ACK bit is the acknowledgement from device to host, The ACK is low active. When device finds the parity bit is error, it
will not send ACK to host, so host can know that an error happens in the transaction.
Both Host and Device can drive the CD, so there are two handshakes, HD (host to device) and DH (device to host), for
Host and device to convert the direction of data transmission.
ck_do_ h o s t
L S B
M S B
cd_do_ h o s t
cd_oe_ h o s t
cd_do_ d e v ic e
cd_oe_ d e v ic e
HD
HD Handshake
SIDLE
clk_do_host
LSB
data_do_host
data_oe_host
data_do_dev
data_oe_dev
DH
MSB
DH Handshake
To improve transaction efficiency and to be flexible in device address assignment, RSB use Device Address (DA) and
Run-Time Address (RTA). RTA is assigned dynamically by host. Host software shall ensure that different device has
different RTA in the same system. Device’s default RTA is 0 and 0 is the reserved address. If RTA is 0 when setting RTA,
the setting is invalid.
There are three command types in RSB:
1) Set run-time address (RTA): It is used to set run time address (RTA) for different devices in the same system. There
are 15 devices in a system at most. The RTA can be selected from the RTA code set and a device's RTA can be
modified many times by using set run-time address command.
1 8 16 8 2 1 2
DHAHDRTADA0xE8SB
SRTA Timing
2) Read command: It is used to read data from device. It has byte, half word and word operation. When the device
Confidential
Interfaces
F1C600 User Manual (Revision 1.0) Copyright© 2015 Allwinner Technology. Co.,Ltd. All Rights Reserved. Page 316
receives the command, they shall check if the command's RTA matches their own RTA.
1 8 8 2 2
DHHDRTA
RDSB DATA (C)
9/18/36
ADDR (C)
9
Read Timing
3) Write command: It is used to write data to the devices. It has byte, half word and word operation. When the
device receives the command, they shall check if the command's RTA matches their own RTA.
RTA
WR DATA (C) 2 1 2
DHAHD
9/18/3681 8 ADDR (C)
9
SB
Write Timing
7.5.7. RSB Controller Register List
Module Name
Base Address
RSB
0x08003400
Register Name
Offset
Description
RSB_CTRL_REG
0x0000
RSB Control Register
RSB_CCR_REG
0x0004
RSB Clock Control Register
RSB_INTE_REG
0x0008
RSB Interrupt Enable Register
RSB_STAT_REG
0x000C
RSB Status Register
RSB_AR_REG
0x0010
RSB Address Register
RSB_DATA_REG
0x001C
RSB Data Buffer Register
RSB_LCR_REG
0x0024
RSB Line Control register
RSB_DMCR_REG
0x0028
RSB Device Mode Control register
RSB_CMD_REG
0x002C
RSB Command Register
RSB_DAR_REG
0x0030
RSB Device address Register
7.5.8. RSB Register Description
7.5.8.1. RSB Control Register
Offset: 0x00
Register Name: RSB_CTRL_REG
Bit
R/W
Default/Hex
Description
7
R/W
0
START_TRANS
Write ‘1’ to this bit will start a new transmission with the configuration of other
registers. It is cleared to ‘0’ automatically when the transaction completes or an
error happens in the transmission.
6
R/W
0
ABORT_TRANS
Write ‘1’ to this bit will abort the current transmission. It is cleared to ‘0’
automatically when the transmission has been aborted.
5:2
/
/
/
1
R/W
0
GLOBAL_INT_ENB
Global interrupt enable bit
1 enable interrupt
Confidential
Interfaces
F1C600 User Manual (Revision 1.0) Copyright© 2015 Allwinner Technology. Co.,Ltd. All Rights Reserved. Page 317
0 disable interrupt
0
R/W
0
Soft Reset
Write ‘1’ to this bit will reset the controller into default state. All of the status of
controller will be cleared. And this bit will be cleared to ‘0’ automatically when
reset operation completes.
7.5.8.2. RSB Clock Control Register
Offset: 0x04
Register Name: RSB_CCR_REG
Bit
R/W
Default/Hex
Description
31:11
/
/
/
10:8
R/W
0
CD_ODLY
CD output delay Delay time of n source clock cycles before output CD signal.
7:0
R/W
0
CK_DIV
Fck = Fsource / 2*(divider+1)
7.5.8.3. RSB Interrupt Enable Register
Offset: 0x08
Register Name: RSB_INTE_REG
Bit
R/W
Default/Hex
Description
31:3
/
/
/
2
R/W
0
LOAD_BSY_ENB
Loading Busy Interrupt Enable
1 enable
0 disable
1
R/W
0
TRANS_ERR_ENB
Transfer Error Interrupt Enable
1 enable
0 disable
0
R/W
0
TRANS_OVER_ENB
Transfer complete Interrupt Enable
1 enable
0 disable
7.5.8.4. RSB Status Register
Offset: 0x0C
Register Name: RSB_INTS_REG
Bit
R/W
Default/Hex
Description
31:17
/
/
/
16
R
0
TRANS_ERR_ACK.
If a negative ACK is received from Device, then this bit is set to ‘1’ by hardware.
This bit is cleared when a new transmission is started.
15:12
/
/
/
11:8
R
0
TRANS_ERR_DATA
If the parity check of 1st byte is negative, then bit8 is set to ‘1’ by hardware.
If the parity check of 2nd byte is negative, then bit9 is set to ‘1’ by hardware; and
so on.
These bits are cleared when a new transmission is started.
Confidential
Interfaces
F1C600 User Manual (Revision 1.0) Copyright© 2015 Allwinner Technology. Co.,Ltd. All Rights Reserved. Page 318
7:3
/
/
/
2
R/W
0
LOAD_BSY
Loading Busy Flag
If software writes any control registers during transmission, this bit will be set to
‘1’.
If LOAD_BSY_ENB=1, an interrupt will be generated.
Software can clear this flag by writing ‘1’ to this bit.
1
R/W
0
TRANS_ERR
Transfer Error Flag
If an error happened during transmission, This bit will be set to ‘1’.
If TRANS_ERR_ENB=1, an interrupt will be generated.
Software can clear this flag by writing ‘1’ to this bit.
0
R/W
0
TRANS_OVER
Transfer Over Flag
If the transmission has transferred over, this bit is set to ‘1’.
If TRANS_OVER_ENB=1, an interrupt will be generated.
Software can clear this flag by writing ‘1’ to this bit.
7.5.8.5. RSB Address Register
Offset: 0x10
Register Name: RSB_AR_REG
Bit
R/W
Default/Hex
Description
31:8
/
/
/
7:0
R/W
0
ADDR
The ADDR is send to device during Read and Write command.
7.5.8.6. RSB Data Buffer Register
Offset: 0x1C
Register Name: RSB_DATA_REG
Bit
R/W
Default/Hex
Description
31:0
R/W
0
RSB DATA
If the command is configured as read, Software can read this register to get the
data from device; If the command is configured as write, Software can write this
register to send the data to device.
If the command is rd8 or wr8, then the low byte is active;
If the command is rd16 or wr16, then the low two byte is active;
If the command is rd32 or wr32, then the whole word is active
7.5.8.7. RSB Line Control Register
Offset: 0x24
Register Name: RSB_LCR_REG
Bit
R/W
Default/Hex
Description
31:6
/
/
/
5
R
1
CK_STATE
Current state of CK pin
0 low
1 - high
4
R
1
CD_STATE
Confidential
Interfaces
F1C600 User Manual (Revision 1.0) Copyright© 2015 Allwinner Technology. Co.,Ltd. All Rights Reserved. Page 319
Current state of CD pin
0 low
1 high
3
R/W
1
CK_CTL
CK line state control bit
When line control mode is enabled (bit[2] set), value of this bit decide the
output level of CK
0 output low level
1 output high level
2
R/W
0
CK_CTL_EN
CK line state control enable
When this bit is set, the state of CK is control by the value of bit[3].
0-disable CK line control mode
1-enable CK line control mode
1
R/W
1
CD_CTL
CD line state control bit
When line control mode is enabled (bit[0] set), value of this bit decide the
output level of CD
0 output low level
1 output high level
0
R/W
0
CD_CTL_EN
CD line state control enable
When this bit is set, the state of CD is control by the value of bit [1].
0-disable CD line control mode
1-enable CD line control mode
7.5.8.8. RSB Device Mode Control Register
Offset: 0x28
Register Name: RSB_DMCR_REG
Bit
R/W
Default/Hex
Description
31
R/W
0
DEVICE_MODE_START
When set to ‘1’, host will send DEVICE_MODE to device to switch the device’s bus
mode from NTWI to RSB.
This bit will be self-cleared when DEVICE_MODE is sent onto the RSB bus.
30:24
/
/
/
23:0
R/W
0x3e3e00
DEVICE_MODE Data
The data send to device during DEVICE_MODE
7.5.8.9. RSB Command Register
Offset: 0x2C
Register Name: RSB_CMD_REG
Bit
R/W
Default/Hex
Description
31:8
/
/
/
7:0
R/W
0
CMD_IDX
command index
Confidential
Interfaces
F1C600 User Manual (Revision 1.0) Copyright© 2015 Allwinner Technology. Co.,Ltd. All Rights Reserved. Page 320
7.5.8.10. RSB Device Address Register
Offset: 0x30
Register Name: RSB_DAR_REG
Bit
R/W
Default/Hex
Description
31:24
/
/
/
23:16
R/W
0
RTA
Run-Time Address
15:0
R/W
0
DA
Device Address
Confidential
Interfaces
F1C600 User Manual (Revision 1.0) Copyright© 2015 Allwinner Technology. Co.,Ltd. All Rights Reserved. Page 321
7.6. CIR Receiver
7.6.1. Overview
CIR receiver is implemented in hardware to save CPU resource. It samples the input signals on the programble
frequency and records these samples into RX FIFO when one CIR signal is found on the air. The CIR receiver uses
Run-Length Code (RLC) to encode pulse width, and the encoded data is buffered in a 64 levels and 8-bit width RX FIFO:
the MSB bit is used to record the polarity of the receiving CIR signal (The high level is represented as 1 and the low level
is represented as 0), and the rest 7 bits are used for the length of RLC. The maximum length is 128. If the duration of
one level (high or low) is more than 128, another byte is used. Since there are always some noises in the air, a threshold
can be set to filter the noises to reduce system loading and improve system stability.
7.6.2. Feature
The CIR includes the following features:
Support APB 16-bits bus width
Full physical layer implementation
Support CIR for remote control
64x8bits FIFO for data buffer
Programmable FIFO threshold
7.6.3. Timing
CIR contains many protocols which designed by different manufacturers. Here to NEC protocol as an example: A
message is started by a 9ms AGC burst, which was used to set the gain of the earlier IR receivers. This AGC burst is then
followed by a 4.5ms space, which is then followed by the address and command.
Bit definition: the logical 1 takes 2.25ms to transmit, while a logical 0 is only 1.12ms.
Bit Definition
Timing for a message:
Confidential
Interfaces
F1C600 User Manual (Revision 1.0) Copyright© 2015 Allwinner Technology. Co.,Ltd. All Rights Reserved. Page 322
7.6.4. CIR Receiver Register List
Module Name
Base Address
CIR
0x01C22C00
Register Name
Offset
Description
CIR_CTRL_REG
0x00
CIR Control Register
CIR_RXCTL_REG
0x10
CIR Receiver Configure Register
CIR_RXFIFO_REG
0x20
CIR Receiver FIFO Register
CIR_RXINT_REG
0x2C
CIR Receiver Interrupt Control Register
CIR_RXSTA_REG
0x30
CIR Receiver Status Register
CIR_CONFIG_REG
0x34
CIR Configure Register
7.6.5. CIR Receiver Register Description
7.6.5.1. CIR Control Register
Offset: 0x00
Register Name: CIR_CTRL_REG
Bit
R/W
Default/Hex
Description
31:9
/
/
/
8
R/W
0
CGPO
General Program Output (GPO) Control in CIR mode for TX Pin
0: Low level
1: High level
7:6
/
/
/
5:4
R/W
0
CIR ENABLE
00~10: Reserved
11: CIR mode enable
3:2
/
/
/.
1
R/W
0
RXEN
Receiver Block Enable
0: Disable
1: Enable
0
R/W
0
GEN
Global Enable
A disable on this bit overrides any other block or channel enables and
flushes all FIFOs.
0: Disable
1: Enable
7.6.5.2. CIR Receiver Configure Register
Offset: 0x10
Register Name: CIR_RXCTL_REG
Bit
R/W
Default/Hex
Description
31:3
/
/
/
2
R/W
1
RPPI
Confidential
Interfaces
F1C600 User Manual (Revision 1.0) Copyright© 2015 Allwinner Technology. Co.,Ltd. All Rights Reserved. Page 323
Receiver Pulse Polarity Invert
0: Not invert receiver signal
1: Invert receiver signal
1:0
/
/
/
7.6.5.3. CIR Receiver FIFO Register
Offset: 0x20
Register Name: CIR_RXFIFO_REG
Bit
R/W
Default/Hex
Description
31:8
/
/
/
7:0
R
0
Receiver Byte FIFO
7.6.5.4. CIR Receiver Interrupt Control Register
Offset: 0x2C
Register Name: CIR_RXINT_REG
Bit
R/W
Default/Hex
Description
31:14
/
/
/
13:8
R/W
0
RAL
RX FIFO Available Received Byte Level for interrupt and DMA request
TRIGGER_LEVEL = RAL + 1
5
R/W
0
DRQ_EN
RX FIFO DMA Enable
0: Disable
1: Enable
When set to ‘1’, the Receiver FIFO DRQ is asserted if reaching RAL. The
DRQ is De-asserted when condition fails.
4
R/W
0
RAI_EN
RX FIFO Available Interrupt Enable
0: Disable
1: Enable
When set to ‘1’, the Receiver FIFO IRQ is asserted if reaching RAL. The IRQ
is De-asserted when condition fails.
3:2
/
/
/
1
R/W
0
RPEI_EN
Receiver Packet End Interrupt Enable
0: Disable
1: Enable
0
R/W
0
ROI_EN
Receiver FIFO Overrun Interrupt Enable
0: Disable
1: Enable
7.6.5.5. CIR Receiver Status Register
Offset: 0x30
Register Name: CIR_RXSTA_REG
Bit
R/W
Default/Hex
Description
31:15
/
/
/
14:8
R
0
RAC
Confidential
Interfaces
F1C600 User Manual (Revision 1.0) Copyright© 2015 Allwinner Technology. Co.,Ltd. All Rights Reserved. Page 324
RX FIFO Available Counter
0: No available data in RX FIFO
1: 1 byte available data in RX FIFO
2: 2 byte available data in RX FIFO
64: 64 byte available data in RX FIFO
7
R
0
STAT
Status of CIR
0:Idle
1:busy
4
R/W
0
RA
RX FIFO Available
0: RX FIFO not available according its level
1: RX FIFO available according its level
This bit is cleared by writing a ‘1’.
3:2
/
/
/
1
R/W
0
RPE
Receiver Packet End Flag
0: STO was not detected. In CIR mode, one CIR symbol is receiving or not
detected.
1: STO field or packet abort symbol (7’b0000,000 and 8’b0000,0000 for
MIR and FIR) is detected. In CIR mode, one CIR symbol is received.
This bit is cleared by writing a ‘1’.
0
R/W
0
ROI
Receiver FIFO Overrun
0: Receiver FIFO not overrun
1: Receiver FIFO overrun
This bit is cleared by writing a ‘1’.
7.6.5.6. CIR Configure Register
Offset: 0x34
Register Name: CIR_CONFIG_REG
Bit
R/W
Default/Hex
Description
31:25
/
/
/
24
R/W
0x0
SCS2
Bit2 of Sample Clock Select for CIR
This bit is defined by SCS bits below.
23
R/W
0x0
ATHC
Active Threshold Control for CIR
0x0 ATHR in Unit of (Sample Clock)
0x1 ATHR in Unit of (128*Sample Clocks)
22:16
R/W
0x0
ATHR
Active Threshold for CIR
These bits control the duration of CIR from Idle to Active State. The
duration can be calculated by ((ATHR + 1)*(ATHC? Sample Clock:
128*Sample Clock)).
Confidential
Interfaces
F1C600 User Manual (Revision 1.0) Copyright© 2015 Allwinner Technology. Co.,Ltd. All Rights Reserved. Page 325
15:8
R/W
0x18
ITHR
Idle Threshold for CIR
The Receiver uses it to decide whether the CIR command has been
received. If there is no CIR signal on the air, the receiver is staying in IDLE
status. One active pulse will bring the receiver from IDLE status to
Receiving status. After the CIR is end, the inputting signal will keep the
specified level (high or low level) for a long time. The receiver can use this
idle signal duration to decide that it has received the CIR command. The
corresponding flag is asserted. If the corresponding interrupt is enableD,
the interrupt line is asserted to CPU.
When the duration of signal keeps one status (high or low level) for the
specified duration ( (ITHR + 1)*128 sample_clk ), this means that the
previous CIR command has been finished.
7:2
R/W
0xa
NTHR
Noise Threshold for CIR
When the duration of signal pulse (high or low level) is less than NTHR, the
pulse is taken as noise and should be discarded by hardware.
0: all samples are recorded into RX FIFO
1: If the signal is only one sample duration, it is taken as noise and
discarded.
2: If the signal is less than (<=) two sample duration, it is taken as noise and
discarded.
61: if the signal is less than (<=) sixty-one sample duration, it is taken as
noise and discarded.
1:0
R/W
0
SCS
Sample Clock Select for CIR
SCS2
SCS[1]
SCS[0]
Sample Clock
0
0
0
ir_clk/64
0
0
1
ir_clk/128
0
1
0
ir_clk/256
0
1
1
ir_clk/512
1
0
0
ir_clk
1
0
1
Reserved
1
1
0
Reserved
1
1
1
Reserved
Confidential
Interfaces
F1C600 User Manual (Revision 1.0) Copyright© 2015 Allwinner Technology. Co.,Ltd. All Rights Reserved. Page 326
7.7. USB-OTG
7.7.1. Overview
The USB OTG is dual-role USB controller supporting Host and device functions. It can also be configured as a Host-only
or Device-only controller, full compliant with the USB 2.0 Specification. The USB OTG can support high-speed (HS,
480-Mbps), full-speed (FS, 12-Mbps), and low-speed (LS, 1.5-Mbps) transfers in Host mode, support high-speed (HS,
480-Mbps) and full-speed (FS, 12-Mbps) in Device mode.
7.7.2. Feature
The USB-OTG includes the following features:
64-Byte Endpoint 0 for Control Transfer
Support up to 8 User-Configurable Endpoints for Bulk , Isochronous, Control and Interrupt bi-directional transfers
Support High-Bandwidth Isochronous & Interrupt transfers
Support point-to-point and point-to-multipoint transfer in both Host and Peripheral mode
7.7.3. Functionalities Description
7.7.3.1. DMA Support
The USB-OTG supports DMA access or IO method to the FIFO for TX Endpoints 1-4 and RX Endpoints 1-4. For saving AHB
bus bandwidth, one dedicated DMA operation is recommended. The method can be selected by CPU host. When
BUS_SEL is ‘0’ in the register of USB_EFR, Endpoints FIFO is accessed by CPU host through IO method on ABH bus.
When BUS_SEL is ‘1’ in the register of USB_EFR, Endpoints’ FIFO is accessed by dedicated DMA engine. Any operation of
FIFO ports by CPU host is unpredictable. But CPU host can access other registers by AHB bus.
USB OTG
AHB
4K RAM
Dedicated
DMA
SDRAM
/NFC
/SD
/etc
usb_drq
DMA bus
USB-OTG DMA Block Diagram
Confidential
Interfaces
F1C600 User Manual (Revision 1.0) Copyright© 2015 Allwinner Technology. Co.,Ltd. All Rights Reserved. Page 327
Selector
usb_drq
DRQ_SEL[2:0]
Tx Ep1 drq
Rx Ep1 drq
Tx Ep4 drq
Tx Ep3 drq
Tx Ep2 drq
Rx Ep4 drq
Rx Ep3 drq
Rx Ep2 drq
USB OTG
USB-OTG DMA Request Line Select
Since there is only one usb_req signal connected to dedicated DMA engine, but separate DMA request line for each TX
endpoint and each RX endpoint in internal of USB. A total of eight DMA request lines are implemented. The lines of
DMA_REQ[0], DMA_REQ[1], DMA_REQ[2] and DMA_REQ[3] are associated with TX EP1, EP2, EP3 and EP4. The lines of
DMA_REQ[4], DMA_REQ[5], DMA_REQ[6] and DMA_REQ[7] are associated with Rx EP1, EP2, EP3 and EP4. CPU host
can select the source of usb_req signal for DMA request.
7.7.3.2. RAM Sharing
USB OTG
AHB
4K RAM
General
RAM Controller
Other RAM
Selector
SRAM bus
USB_USE
Select
USB-OTG RAM Sharing Diagram
For saving memory area, 4K byte Single Port RAM is shared with other engines. When USB-OTG function is disabled, the
RAM can be used by other engines. The single 4K bytes RAM with 32-bit width are requested by USB-OTG. General RAM
controller can decide whether USB-OTG can use this RAM. In default state, the RAM is used by other engine. And when
Confidential
Interfaces
F1C600 User Manual (Revision 1.0) Copyright© 2015 Allwinner Technology. Co.,Ltd. All Rights Reserved. Page 328
set USB_USE bit to ‘1’ in General RAM controller, the RAM is used by USB-OTG. The General RAM controller is in charge
of the 3K bytes RAM address space allocation.
7.7.3.3. Power Save
For power saving, after system is powered and USB SIE and its PHY are reset, the clocks to SIE and PHY are gating in
default state. The signal POWERDWN which is output by SIE is used for active its clock. It is De-asserted
(asynchronously) under the following conditions:
When no session is in progress: AVALID going high; D+/D- going high
When in Host Suspend mode: VBUSVALID going low; K state on the bus
When in Peripheral Suspend mode: AVALID going low; K state on the bus
USB OTG
PHY
CMU Interrupt
Ctroller
usb_pm
SIE clock
PHY clock
usb_int
USB-OTG Interrupt, Wakeup Diagram
This signal is output to System interrupt controller and System Clock Management Unit.
7.7.3.4. Clock Source and Frequency
There are two clocks for USB-OTG SIE module. One is from AHB bus and one is from UTMI Transceiver which is called
USB-OTG PHY.
Name
Description
USB_CLK
System clock (provided by AHB bus clock). This clock needs to be >30MHz and up to 180Mhz
USB_XCLK
Transceiver Macrocell clock. 60MHz
Confidential
Interfaces
F1C600 User Manual (Revision 1.0) Copyright© 2015 Allwinner Technology. Co.,Ltd. All Rights Reserved. Page 329
7.8. Digital Audio Interface
7.8.1. Overview
The Digital Audio Interface can be configured as I2S interface or PCM interface by software. When configured as I2S
interface, it can support the industry standard format for I2S, left-justified, or right-justified. PCM is a standard method
used to digital audio for transmission over digital communication channels. It supports linear 13 or 16-bits linear or
8-bit u-law or A-law commanded sample formats at 8K samples/s and can receive and transmit on any selection of four
of the first four slots following PCM_SYNC.
7.8.2. Feature
The Digital Audio includes the following features:
Supports industry-standard AMBA Peripheral Bus (APB) and it is fully compliant with the AMBA Specification,
Revision 2.0
Supports APB 32-bits bus width
I2S or PCM configured by software
Full-duplex synchronous serial interface
Master / Slave Mode operation configured by software
Audio data resolutions of 16, 20, 24
I2S Audio data sample rate from 8Khz to 192Khz
I2S Data format for standard I2S, Left Justified and Right Justified
I2S support 2 channel output and 2 channel input
PCM supports linear sample (8-bits or 16-bits), 8-bits u-law and A-law companded sample
One 128x24-bits FIFO for data transmit, one 64x24-bits FIFO for data receive
Programmable FIFO thresholds
Interrupt and DMA Support
Two 32-bits Counters for AV sync application
Loopback mode for test
7.8.3. Signal Description
7.8.3.1. Digital Audio Interface Pin List
Signal Name
Direction(M)
Description
Pin
DA_LRCK
I/O
Digital Audio Sample Rate Clock/Sync
PB1/PD9/PE4/PA1
DA_BCLK
I/O
Digital Audio Serial Clock
PB0/PD8/PE3/PA0
DA_SDO0
O
Digital Audio Serial Data Output
PB3/PD11/PE6/PA3
DA_SDI
I
Digital Audio Serial Data Output
PB2/PD10/PE5/PA2
DA_MCLK
O
Digital Audio MCLK Output
PD7
7.8.3.2. Digital Audio Interface MCLK and BCLK
The Digital Audio Interface can support sampling rates from 128fs to 768fs, where fs is the audio sampling frequency
typically 32kHz, 44.1kHz, 48kHz or 96kHz. For different sampling frequency, the tables list the coefficient value of
Confidential
Interfaces
F1C600 User Manual (Revision 1.0) Copyright© 2015 Allwinner Technology. Co.,Ltd. All Rights Reserved. Page 330
MCLKDIV and BCLKDIV.
Sampling Rate
(kHz)
128fs
192fs
256fs
384fs
512fs
768fs
8
24
16
12
8
6
4
16
12
8
6
4
X
2
32
6
4
X
2
X
1
64
X
2
X
1
X
X
128
X
1
X
X
X
X
12
16
X
8
X
4
X
24
8
X
4
X
2
X
48
4
X
2
X
1
X
96
2
X
1
X
X
X
192
1
X
X
X
X
X
MCLKDIV value for 24.576MHz Audio Serial Frequency
Sampling Rate
(kHz)
128fs
192fs
256fs
384fs
512fs
768fs
11.025
16
X
8
X
4
X
22.05
8
X
4
X
2
X
44.1
4
X
2
X
1
X
88.2
2
X
1
X
X
X
176.4
1
X
X
X
X
X
MCLKDIV value for 22.5792 MHz Audio Serial Frequency
Word Select
Size
128fs
192fs
256fs
384fs
512fs
768fs
16
4
6
8
12
16
X
24
X
4
X
8
X
16
32
2
X
4
6
8
12
BCLKDIV value for Different Word Select Size
7.8.3.3. Digital Audio Interface Clock Source and Frequency
There are two clocks for Digital Audio Interface. One is from APB bus and one is from Audio PLL.
Name
Description
Audio_PLL
24.576Mhz or 22.528Mhz generated by Audio PLL
APB_CLK
APB bus system clock. In I2S mode, it is requested >= 0.25 BCLK. In PCM mode, it is
requested >= 0.5 BCLK.
7.8.4. Functionalities Description
7.8.4.1. Typical Applications
The I2S and PRCM provide a serial bus interface for stereo and multichannel audio data. This interface is most
commonly used by consumer audio market, including compact disc, digital audio tape, digital sound processors, and
digital TV-sound.
Confidential
Interfaces
F1C600 User Manual (Revision 1.0) Copyright© 2015 Allwinner Technology. Co.,Ltd. All Rights Reserved. Page 331
7.8.4.2. Functional Block Diagram
The digital audio interface block diagram is shown below:
Digital Audio Interface System Block Diagram
7.8.4.3. Operation Principle
Digital Audio Interface Timing Diagram:
Standard I2S Timing Diagram
I2S Left-justified Timing Diagram
I2S Right-justified Timing Diagram
PCM Long Frame SYNC Timing Diagram (8-bits Companded Sample Example)
Confidential
Interfaces
F1C600 User Manual (Revision 1.0) Copyright© 2015 Allwinner Technology. Co.,Ltd. All Rights Reserved. Page 332
PCM Short Frame SYNC Timing Diagram
7.8.5. Operation Modes
The software operation of the I2S/PCM is divided into five steps: system setup, I2S/PCM initialization, the channel setup,
DMA setup and Enable/Disable module. These five setups are described in detail in the following sections.
7.8.5.1. System setup and I2S/PCM initialization
The first step In the System setup is properly programming the GPIO. Since the I2S/PCM port is a multiplex pin, you can
find the function in the pin multiplex specification. The clock source for the I2S/PCM should be followed. At first you
must reset the audio PLL though the PLL_ENABLE bit of PLL_AUDIO_CTRL_REG in the CCU. The second step, you must
setup the frequency of the audio pll in the PLL_AUDIO_CTRL_REG. After that, you must open the I2S/PCM gating
though the DAUDIO_CLK_REG when you checkout that the LOCK bit of PLL_AUDIO_CTRL_REG become 1. At last, you
must reset the I2S/PCM in the APB0_RST_REG and open the IIS/PCM bus gating in the BUS_GATING_REG2.
After the system setup, the register of I2S/PCM can be setup. At first, you should initialization the I2S/PCM. You should
closed the globe enable bit(DA_CTL[0]) , TX enable bit(DA_CTL[2]) and RX enable bit(DA_CTL[1]) by write 0 to it. After
that, you must clear the TX/RX FIFO by write 0 to register DA_FCTL[25:24]. At last, you can clear the TX/RX FIFO counter
by write 0 to DA_TXCNT/DA_RXCNT.
7.8.5.2. The channel setup and DMA setup
Before the usage and control of I2S/PCM, you should setup the I2S/PCM of mater and slave. The configuration can be
referred to the protocol of I2S/PCM. Then, you can set the translation mode, the sample precision, the wide of slot, the
frame mode and the trigger level. The register set can be found in the spec.
The I2S/PCM supports three methods to transfer the data. The most common way is DMA, the set of DMA can be found
in the DMA spec. In this module, you need to enable the DRQ.
7.8.5.3. Enable and disable the I2S/PCM
To enable the function, you can enable TX/RX by write the DA_CTL[2:1]. After that, you must enable I2S/PCM by write
the Globe Enable bit to 1 in the DA_CTL. The disable process is written the Globe Enable to 0.
Confidential
Interfaces
F1C600 User Manual (Revision 1.0) Copyright© 2015 Allwinner Technology. Co.,Ltd. All Rights Reserved. Page 333
7.8.6. Digital Audio Interface Register List
Module Name
Base Address
DA
0x01C22000
Register Name
Offset
Description
DA_CTRL_REG
0x00
Digital Audio Control Register
DA_FAT_REG0
0x04
Digital Audio Format Register 0
DA_FAT_REG1
0x08
Digital Audio Format Register 1
DA_TXFIFO_REG
0x0C
Digital Audio TX FIFO Register
DA_RXFIFO_REG
0x10
Digital Audio RX FIFO Register
DA_FCTL_REG
0x14
Digital Audio FIFO Control Register
DA_FSTA_REG
0x18
Digital Audio FIFO Status Register
DA_INT_REG
0x1C
Digital Audio Interrupt Control Register
DA_ISTA_REG
0x20
Digital Audio Interrupt Status Register
DA_CLKD_REG
0x24
Digital Audio Clock Divide Register
DA_TXCNT_REG
0x28
Digital Audio RX Sample Counter Register
DA_RXCNT_REG
0x2C
Digital Audio TX Sample Counter Register
DA_TXCHSEL_REG
0x30
Digital Audio TX Channel Select register
DA_TXCHMAP_REG
0x34
Digital Audio TX Channel Mapping Register
DA_RXCHSEL_REG
0x38
Digital Audio RX Channel Select register
DA_RXCHMAP_REG
0x3C
Digital Audio RX Channel Mapping Register
7.8.7. Digital Audio Interface Register Description
7.8.7.1. Digital Audio Control Register
Offset: 0x00
Register Name: DA_CTRL_REG
Bit
R/W
Default/Hex
Description
31:9
/
/
/
8
R/W
0
SDO0_EN
0: Disable
1: Enable
7
/
/
/
6
R/W
0
ASS
Audio sample select when TX FIFO under run
0: Sending zero
1: Sending last audio sample
5
R/W
0
MS
Master Slave Select
0: Master
1: Slave
4
R/W
0
PCM
Confidential
Interfaces
F1C600 User Manual (Revision 1.0) Copyright© 2015 Allwinner Technology. Co.,Ltd. All Rights Reserved. Page 334
0: I2S Interface
1: PCM Interface
3
R/W
0
LOOP
Loop back test
0: Normal mode
1: Loop back test
When set ‘1’, connecting the SDO with the SDI in Master mode.
2
R/W
0
TXEN
Transmitter Block Enable
0: Disable
1: Enable
1
R/W
0
RXEN
Receiver Block Enable
0: Disable
1: Enable
0
R/W
0
GEN
Globe Enable
A disable on this bit overrides any other block or channel enables and flushes
all FIFOs.
0: Disable
1: Enable
7.8.7.2. Digital Audio Format Register 0
Offset: 0x04
Register Name: DA_FAT_REG0
Bit
R/W
Default/Hex
Description
31:8
/
/
/
7
R/W
0
LRCP
Left/ Right Clock Parity
0: Normal
1: Inverted
In DSP/ PCM mode(only for short frame)
0: MSB is available on 2nd BCLK rising edge after LRC rising edge
1: MSB is available on 1st BCLK rising edge after LRC rising edge
6
R/W
0
BCP
BCLK Parity
0: Normal
1: Inverted
5:4
R/W
0
SR
Sample Resolution
00: 16-bits
01: 20-bits
10: 24-bits
11: Reserved
3:2
R/W
0x3
WSS
Word Select Size
Confidential
Interfaces
F1C600 User Manual (Revision 1.0) Copyright© 2015 Allwinner Technology. Co.,Ltd. All Rights Reserved. Page 335
00: 16 BCLK
01: 20 BCLK
10: 24 BCLK
11: 32 BCLK
1:0
R/W
0
FMT
Serial Data Format
00: Standard I2S Format
01: Left Justified Format
10: Right Justified Format
11: Reserved
7.8.7.3. Digital Audio Format Register 1
Offset: 0x08
Register Name: DA_FAT_REG1
Bit
R/W
Default/Hex
Description
31:15
/
/
/
14:12
R/W
0x4
PCM_SYNC_PERIOD
PCM SYNC Period Clock Number
000: 16 BCLK period
001: 32 BCLK period
010: 64 BCLK period
011: 128 BCLK period
100: 256 BCLK period
Others : Reserved
11
R/W
0
PCM_SYNC_OUT
PCM Sync Out
0: Enable PCM_SYNC output in Master mode
1: Suppress PCM_SYNC whilst keeping PCM_CLK running. Some Codec utilize
this to enter a low power state.
10
R/W
0
PCM Out Mute
Write 1 force PCM_OUT to 0
9
R/W
0
MLS
MSB / LSB First Select
0: MSB First
1: LSB First
8
R/W
0
SEXT
Sign Extend (only for 16 bits slot)
0: Zeros or audio gain padding at LSB position
1: Sign extension at MSB position
When writing the bit is 0, the unused bits are audio gain for 13-bit linear
sample and zeros padding for 8-bit companding sample.
When writing the bit is 1, the unused bits are both sign extension.
7:6
R/W
0
SI
Slot Index
00: the 1st slot
01: the 2nd slot
Confidential
Interfaces
F1C600 User Manual (Revision 1.0) Copyright© 2015 Allwinner Technology. Co.,Ltd. All Rights Reserved. Page 336
10: the 3rd slot
11: the 4th slot
5
R/W
1
SW
Slot Width
0: 8 clocks width
1: 16 clocks width
Notes: For A-law or u-law PCM sample, if this bit is set to 1, eight zero bits
are following with PCM sample.
4
R/W
0
SSYNC
Short Sync Select
0: Long Frame Sync
1: Short Frame Sync
It should be set ‘1’ for 8 clocks width slot.
3:2
R/W
0
RX_PDM
PCM Data Mode
00: 16-bits Linear PCM
01: 8-bits Linear PCM
10: 8-bits u-law
11: 8-bits A-law
1:0
R/W
0
TX_PDM
PCM Data Mode
00: 16-bits Linear PCM
01: 8-bits Linear PCM
10: 8-bits u-law
11: 8-bits A-law
7.8.7.4. Digital Audio TX FIFO Register
Offset: 0x0C
Register Name: DA_TXFIFO_REG
Bit
R/W
Default/Hex
Description
31:0
W
0
TX_DATA
TX Sample
Transmitting left, right channel sample data should be written this register
one by one. The left channel sample data is first and then the right channel
sample.
7.8.7.5. Digital Audio RX FIFO Register
Offset: 0x10
Register Name: DA_RXFIFO_REG
Bit
R/W
Default/Hex
Description
31:0
R
0
RX_DATA
RX Sample
Host can get one sample by reading this register. The left channel sample
data is first and then the right channel sample.
7.8.7.6. Digital Audio FIFO Control Register
Offset: 0x14
Register Name: DA_FCTL_REG
Confidential
Interfaces
F1C600 User Manual (Revision 1.0) Copyright© 2015 Allwinner Technology. Co.,Ltd. All Rights Reserved. Page 337
Bit
R/W
Default/Hex
Description
31
R/W
0
FIFOSRC
TX FIFO source select
0: APB bus
1: Analog Audio CODEC
30:26
/
/
/
25
R/W
0
FTX
Write ‘1’ to flush TX FIFO, self clear to ‘0’.
24
R/W
0
FRX
Write ‘1’ to flush RX FIFO, self clear to ‘0’.
23:19
/
/
/
18:12
R/W
0x40
TXTL
TX FIFO Empty Trigger Level
Interrupt and DMA request trigger level for TXFIFO normal condition
Trigger Level = TXTL
11:10
/
/
/
9:4
R/W
0xF
RXTL
RX FIFO Trigger Level
Interrupt and DMA request trigger level for RXFIFO normal condition
Trigger Level = RXTL + 1
3
/
/
/
2
R/W
0
TXIM
TX FIFO Input Mode (Mode 0, 1)
0: Valid data at the MSB of TXFIFO register
1: Valid data at the LSB of TXFIFO register
Example for 20-bits transmitted audio sample:
Mode 0: FIFO_I[23:0] = {4’h0, TXFIFO[31:12]}
Mode 1: FIFO_I[23:0] = {4’h0, TXFIFO[19:0]}
1:0
R/W
0
RXOM
RX FIFO Output Mode (Mode 0, 1, 2, 3)
00: Expanding ‘0’ at LSB of DA_RXFIFO register.
01: Expanding received sample sign bit at MSB of DA_RXFIFO register.
10: Truncating received samples at high half-word of DA_RXFIFO register and
low half-word of DA_RXFIFO register is filled by ‘0’.
11: Truncating received samples at low half-word of DA_RXFIFO register and
high half-word of DA_RXFIFO register is expanded by its sign bit.
Example for 20-bits received audio sample:
Mode 0: RXFIFO[31:0] = {FIFO_O[19:0], 12’h0}
Mode 1: RXFIFO[31:0] = {12{FIFO_O[19]}, FIFO_O[19:0]}
Mode 2: RXFIFO[31:0] = {FIFO_O[19:4], 16’h0}
Mode 3: RXFIFO[31:0] = {16{FIFO_O[19], FIFO_O[19:4]}
7.8.7.7. Digital Audio FIFO Status Register
Offset: 0x18
Register Name: DA_FSTA_REG
Bit
R/W
Default/Hex
Description
Confidential
Interfaces
F1C600 User Manual (Revision 1.0) Copyright© 2015 Allwinner Technology. Co.,Ltd. All Rights Reserved. Page 338
31:29
/
/
/
28
R
1
TXE
TX FIFO Empty
0: No room for new sample in TX FIFO
1: More than one room for new sample in TX FIFO (>= 1 word)
27:24
/
/
/
23:16
R
0x80
TXE_CNT
TX FIFO Empty Space Word Counter
15:9
/
/
/
8
R
0
RXA
RX FIFO Available
0: No available data in RX FIFO
1: More than one sample in RX FIFO (>= 1 word)
7
/
/
/
6:0
R
0
RXA_CNT
RX FIFO Available Sample Word Counter
7.8.7.8. Digital Audio DMA & Interrupt Control Register
Offset: 0x1C
Register Name: DA_INT_REG
Bit
R/W
Default/Hex
Description
31:8
/
/
/
7
R/W
0
TX_DRQ
TX FIFO Empty DRQ Enable
0: Disable
1: Enable
6
R/W
0
TXUI_EN
TX FIFO Under run Interrupt Enable
0: Disable
1: Enable
5
R/W
0
TXOI_EN
TX FIFO Overrun Interrupt Enable
0: Disable
1: Enable
When set to ‘1’, an interrupt happens when writing new audio data if TX
FIFO is full.
4
R/W
0
TXEI_EN
TX FIFO Empty Interrupt Enable
0: Disable
1: Enable
3
R/W
0
RX_DRQ
RX FIFO Data Available DRQ Enable
0: Disable
1: Enable
When set to ‘1’, RXFIFO DMA Request line is asserted if Data is available in
RX FIFO.
Confidential
Interfaces
F1C600 User Manual (Revision 1.0) Copyright© 2015 Allwinner Technology. Co.,Ltd. All Rights Reserved. Page 339
2
R/W
0
RXUI_EN
RX FIFO Under run Interrupt Enable
0: Disable
1: Enable
1
R/W
0
RXOI_EN
RX FIFO Overrun Interrupt Enable
0: Disable
1: Enable
0
R/W
0
RXAI_EN
RX FIFO Data Available Interrupt Enable
0: Disable
1: Enable
7.8.7.9. Digital Audio Interrupt Status Register
Offset: 0x20
Register Name: DA_ISTA_REG
Bit
R/W
Default/Hex
Description
31:7
/
/
/
6
R/W
0
TXU_INT
TX FIFO Under run Pending Interrupt
0: No Pending Interrupt
1: FIFO Under run Pending Interrupt
5
R/W
0
TXO_INT
TX FIFO Overrun Pending Interrupt
0: No Pending Interrupt
1: FIFO Overrun Pending Interrupt
Write ‘1’ to clear this interrupt
4
R/W
1
TXE_INT
TX FIFO Empty Pending Interrupt
0: No Pending IRQ
1: FIFO Empty Pending Interrupt
Write ‘1’ to clear this interrupt or automatic clear if interrupt condition fails.
3:2
/
/
/
2
R/W
0
RXU_INT
RX FIFO Under run Pending Interrupt
0: No Pending Interrupt
1:FIFO Under run Pending Interrupt
Write 1 to clear this interrupt
1
R/W
0
RXO_INT
RX FIFO Overrun Pending Interrupt
0: No Pending IRQ
1: FIFO Overrun Pending IRQ
Write ‘1’ to clear this interrupt
0
R/W
0
RXA_INT
RX FIFO Data Available Pending Interrupt
0: No Pending IRQ
Confidential
Interfaces
F1C600 User Manual (Revision 1.0) Copyright© 2015 Allwinner Technology. Co.,Ltd. All Rights Reserved. Page 340
1: Data Available Pending IRQ
Write ‘1’ to clear this interrupt or automatic clear if interrupt condition fails.
7.8.7.10. Digital Audio Clock Divide Register
Offset: 0x24
Register Name: DA_CLKD_REG
Bit
R/W
Default/Hex
Description
31:8
/
/
/
7
R/W
0
MCLKO_EN
0: Disable MCLK Output
1: Enable MCLK Output
Notes: Whether in Slave or Master mode, when this bit is set to 1, MCLK
should be output.
6:4
R/W
0
BCLKDIV
BCLK Divide Ratio from MCLK
000: Divide by 2 (BCLK = MCLK/2)
001: Divide by 4
010: Divide by 6
011: Divide by 8
100: Divide by 12
101: Divide by 16
110: Divide by 32
111: Divide by 64
3:0
R/W
0
MCLKDIV
MCLK Divide Ratio from Audio PLL Output
0000: Divide by 1
0001: Divide by 2
0010: Divide by 4
0011: Divide by 6
0100: Divide by 8
0101: Divide by 12
0110: Divide by 16
0111: Divide by 24
1000: Divide by 32
1001: Divide by 48
1010: Divide by 64
Others : Reserved
7.8.7.11. Digital Audio TX Counter Register
Offset: 0x28
Register Name: DA_TXCNT
Bit
R/W
Default/Hex
Description
31:0
R/W
0
TX_CNT
TX Sample Counter
The audio sample number of sending into TXFIFO. When one sample is put
into TXFIFO by DMA or by host IO, the TX sample counter register increases
by one. The TX sample counter register can be set to any initial valve at any
Confidential
Interfaces
F1C600 User Manual (Revision 1.0) Copyright© 2015 Allwinner Technology. Co.,Ltd. All Rights Reserved. Page 341
time. After been updated by the initial value, the counter register should
count on base of this initial value.
7.8.7.12. Digital Audio RX Counter Register
Offset: 0x2C
Register Name: DA_RXCNT_REG
Bit
R/W
Default/Hex
Description
31:0
R/W
0
RX_CNT
RX Sample Counter
The audio sample number of writing into RXFIFO. When one sample is
written by Digital Audio Engine, the RX sample counter register increases by
one. The RX sample counter register can be set to any initial valve at any
time. After been updated by the initial value, the counter register should
count on base of this initial value.
7.8.7.13. Digital Audio TX Channel Select Register
Offset: 0x30
Register Name: DA_TXCHSEL_REG
Bit
R/W
Default/Hex
Description
31:3
/
/
/
2:0
R/W
1
TX_CHSEL
TX Channel Select
0: 1-ch
1: 2-ch
2: 3-ch
3: 4-ch
7.8.7.14. Digital Audio TX Channel Mapping Register
Offset: 0x34
Register Name: DA_TXCHMAP_REG
Bit
R/W
Default/Hex
Description
31:15
/
/
/
14:12
R/W
3
TX_CH3_MAP
TX Channel3 Mapping
000: 1st sample
001: 2nd sample
010: 3rd sample
011: 4th sample
100: 5th sample
101: 6th sample
110: 7th sample
111: 8th sample
11
/
/
/
10:8
R/W
2
TX_CH2_MAP
TX Channel2 Mapping
000: 1st sample
001: 2nd sample
010: 3rd sample
Confidential
Interfaces
F1C600 User Manual (Revision 1.0) Copyright© 2015 Allwinner Technology. Co.,Ltd. All Rights Reserved. Page 342
011: 4th sample
100: 5th sample
101: 6th sample
110: 7th sample
111: 8th sample
7
/
/
/
6:4
R/W
1
TX_CH1_MAP
TX Channel1 Mapping
000: 1st sample
001: 2nd sample
010: 3rd sample
011: 4th sample
100: 5th sample
101: 6th sample
110: 7th sample
111: 8th sample
3
/
/
/
2:0
R/W
0
TX_CH0_MAP
TX Channel0 Mapping
000: 1st sample
001: 2nd sample
010: 3rd sample
011: 4th sample
100: 5th sample
101: 6th sample
110: 7th sample
111: 8th sample
7.8.7.15. Digital Audio RX Channel Select Register
Offset: 0x38
Register Name: DA_RXCHSEL_REG
Bit
R/W
Default/Hex
Description
31:3
/
/
/
2:0
R/W
1
RX_CHSEL
RX Channel Select
0: 1-ch
1: 2-ch
2: 3-ch
3: 4-ch
Others: Reserved
7.8.7.16. Digital Audio RX Channel Mapping Register
Offset: 0x3C
Register Name: DA_RXCHMAP_REG
Bit
R/W
Default/Hex
Description
31:15
/
/
/
14:12
R/W
3
RX_CH3_MAP
Confidential
Interfaces
F1C600 User Manual (Revision 1.0) Copyright© 2015 Allwinner Technology. Co.,Ltd. All Rights Reserved. Page 343
RX Channel3 Mapping
000: 1st sample
001: 2nd sample
010: 3rd sample
011: 4th sample
Others: Reserved
11
/
/
/
10:8
R/W
2
RX_CH2_MAP
RX Channel2 Mapping
000: 1st sample
001: 2nd sample
010: 3rd sample
011: 4th sample
Others: Reserved
7
/
/
/
6:4
R/W
1
RX_CH1_MAP
RX Channel1 Mapping
000: 1st sample
001: 2nd sample
010: 3rd sample
011: 4th sample
Others: Reserved
3
/
/
/
2:0
R/W
0
RX_CH0_MAP
RX Channel0 Mapping
000: 1st sample
001: 2nd sample
010: 3rd sample
011: 4th sample
Others: Reserved
Confidential
Interfaces
F1C600 User Manual (Revision 1.0) Copyright© 2015 Allwinner Technology. Co.,Ltd. All Rights Reserved. Page 344
7.9. OWA Interface
7.9.1. Overview
The OWA interface is one wire audio interface.
7.9.2. Feature
The OWA includes the following features:
IEC-60958 transmitter and receiver functionality
Support SPDIF Interface
Support channel status capture on the receiver
Support channel status insertion for the transmitter
Hardware Parity checking on the receiver
Hardware Parity generation on the transmitter
One 32×24bits FIFO (TX) and one32×24bits FIFO (RX) for audio data transfer
Programmable FIFO thresholds
Interrupt and DMA support
7.9.3. Signal Description
7.9.3.1. OWA Interface Pin List
Signal Name
Direction(M)
Description
Pin
OWA_DOUT
O
OWA output
PE6/PD17
7.9.3.2. OWA Interface Clock Requirement
Clock Name
Description
Requirement
apb_clk
APB bus clock
>13 MHz
s_clk
OWA serial access clock
4x24.576 MHz or 4x22.5792 MHz from CCU
7.9.4. Functionalities Description
7.9.4.1. Typical Applications
The OWA provides a serial bus interface for audio data between system. This interface is widely used for consumer
audio connect.
7.9.4.2. Functional Block Diagram
The OWA interface block diagram is shown below:
Confidential
Interfaces
F1C600 User Manual (Revision 1.0) Copyright© 2015 Allwinner Technology. Co.,Ltd. All Rights Reserved. Page 345
APB
I/F
RX FIFO
Channel
Status
Registers
Registers
TX FIFO
Channel
status & user
data buffers
DMA &
INT
OWA_IN
OWA_OUT
Receiver
Transmitter
FSM & Control
Clock Divider
Clock Diveder
OWA Interface Block Diagram
7.9.4.3. Operation Principle
OWA Frame format:
Sub-frame format
Frame/block format
Biphase-Mark Encoding
Confidential
Interfaces
F1C600 User Manual (Revision 1.0) Copyright© 2015 Allwinner Technology. Co.,Ltd. All Rights Reserved. Page 346
7.9.5. Operation Modes
The software operation of the OWA is divided into five steps: system setup, OWA initialization, the channel setup, DMA
setup and Enable/Disable module. These five steps are described in detail in the following sections.
7.9.5.1. System setup and OWA initialization
The first step In the OWA initialization is properly programming the GPIO. Since the OWA port is a multiplex pin. You can
find the function in the pin multiplex specification. The clock source for the OWA should be followed. At first you must
reset the audio PLL though the PLL_ENABLE bit of PLL_AUDIO_CTRL_REG in the CCU. The second step, you must setup
the frequency of the audio pll in the PLL_AUDIO_CTRL_REG. After that, you must open the OWA gating though the
OWA_CLK_REG when you checkout that the LOCK bit of PLL_AUDIO_CTRL_REG become 1. At last, you must reset the
OWA the APB0_RST_REG and open the OWA bus gating in the APB0_GATING_REG.
After the system setup, the register of OWA can be setup. At first, you should reset the OWA by write 1 to OWA_CTL[0]
and clear the TX/RX FIFO by write 1 to register OWA_FCTL[17:16]. After that you should enable the globe enable bit by
write 1 to OWA_CTL[1] and clear the interrupt and TX/RX counter thought the OWA_ISTA and SP_TXCNT/SP_RXCNT.
7.9.5.2. The channel setup and DMA setup
The OWA support three methods to transfer the data. The most common way is DMA, the set of DMA can be found in
the DMA spec. In this module, you just to enable the DRQ.
7.9.5.3. Enable and disable the OWA
T o enable the function, you can enable TX/RX by write the OWA_TX_CFIG[31] and OWA_RX_CFIG[0]. After that, you
must enable OWA by write the Globe Enable bit to 1 in the OWA_CTL. The disable process is written the Globe Enable
to 0.
7.9.6. OWA Interface Register List
Module Name
Base Address
OWA
0x01C21400
Register Name
Offset
Description
OWA_GEN_CTRL_REG
0x00
OWA General Control Register
OWA_TX_CFG_REG
0x04
OWA TX Configuration Register
OWA_RX_CFG _REG
0x08
OWA RX Configuration Register
OWA_TX_FIFO_REG
0x0C
OWA TX FIFO Register
OWA_RX_FIFO_REG
0x10
OWA RX FIFO Register
OWA_FCTL_REG
0x14
OWA FIFO Control Register
OWA_FSTA_REG
0x18
OWA FIFO Status Register
OWA_INT_REG
0x1C
OWA Interrupt Control Register
OWA_ISTA_REG
0x0C
OWA Interrupt Status Register
OWA_TX_CNT_REG
0x24
OWA TX Counter Register
OWA_RX_CNT_REG
0x28
OWA RX Counter Register
OWA_TX_CHSTA_REG0
0x2C
OWA TX Channel Status Register 0
Confidential
Interfaces
F1C600 User Manual (Revision 1.0) Copyright© 2015 Allwinner Technology. Co.,Ltd. All Rights Reserved. Page 347
OWA_TX_CHSTA_REG1
0x30
OWA TX Channel Status Register 1
OWA_RX_CHSTA_REG0
0x34
OWA RX Channel Status Register 0
OWA_RX_CHSTA_REG1
0x38
OWA RX Channel Status Register 1
OWA_GEN_CTRL_REG
0x00
OWA General Control Register
7.9.7. OWA Register Description
7.9.7.1. OWA General Control Register
Offset: 0x00
Register Name: OWA_CTRL_REG
Bit
R/W
Default/Hex
Description
31:10
/
/
/
9:4
R/W
0x08
MCLK_DIV_RATIO
Mclk divide Ratio
Note: only support 2n divide ratio(n=1~31)
3
/
/
/
2
R/W
0
MCLK_OUT_EN
Mclk Output Enable
0: Disable
1: Enable
1
R/W
0
GEN
Globe Enable
A disable on this bit overrides any other block or channel enables.
0: Disable
1: Enable
0
R/W
0
RST
Reset
0: Normal
1: Reset
Self clear to 0
7.9.7.2. OWA TX Configure Register
Offset: 0x04
Register Name: OWA_TX_CFG_REG
Bit
R/W
Default/Hex
Description
31
R/W
0
TX_SINGLE_MODE
Tx single channel mode
0: Disable
1: Eanble
30:18
/
/
/
17
R/W
0
ASS
Audio sample select with TX FIFO under run
when
0: sending 0
1: sending the last audio
Note: This bit is only valid in PCM mode
Confidential
Interfaces
F1C600 User Manual (Revision 1.0) Copyright© 2015 Allwinner Technology. Co.,Ltd. All Rights Reserved. Page 348
16
R/W
0
TX_AUDIO
TX data type
0: Linear PCM (Valid bit of both sub-frame set to 0 )
1: Non-audio(Valid bit of both sub-frame set to 1)
15:9
/
/
/
8:4
R/W
0xF
TX_RATIO
TX clock divide Ratio
Note: clock divide ratio = TX TATIO +1
3:2
R/W
0
TX_SF
TX Sample format:
00: 16bit
01: 20bit
10: 24bit
11: Reserved
1
R/W
0
TX_CHM
CHSTMODE
0: Channel status A&B set to 0
1: Channel status A&B generated form TX_CHSTA
0
R/W
0
TXEN
0: disabled
1: enabled
7.9.7.3. OWA RX Configure Register
Offset: 0x08
Register Name: OWA_RX_CFG_REG
Bit
R/W
Default/Hex
Description
31:5
/
/
/
4
R
0
RX_LOCK_FLAG
0: unlock
1: lock
3
R/W
0
RX_CHST_SRC
0: RX_CH_STA Register holds status from Channel A
1: RX_CH_STA Register holds status from Channel B
2
/
/
/
1
R/W
0
CHST_CP
Channel status Capture
0: Idle or capture end
1: Capture Channel status start
Notes: When set to ‘1’, the channel status information is capturing, the
bit will clear to ‘0’ after captured.
0
R/W
0
RXEN
0: disabled
1: enabled
7.9.7.4. OWA TX FIFO Register
Offset: 0x0C
Register Name: OWA_TXFIFO_REG
Confidential
Interfaces
F1C600 User Manual (Revision 1.0) Copyright© 2015 Allwinner Technology. Co.,Ltd. All Rights Reserved. Page 349
Bit
R/W
Default/Hex
Description
31:0
W
0
TX_DATA
Transmitting A, B channel data should be written this register one by one.
The A channel data is first and then the B channel data.
7.9.7.5. OWA RX FIFO Register
Offset: 0x10
Register Name: OWA_RXFIFO_REG
Bit
R/W
Default/Hex
Description
31:0
R
0
RX_DATA
Host can get one sample by reading this register, the A channel data is
first and then the B channel data
7.9.7.6. OWA FIFO Control Register
Offset: 0x14
Register Name: OWA_FCTL_REG
Bit
R/W
Default/Hex
Description
31
R/W
0
FIFOSRC
TX FIFO source select
0 : APB bus
1: Analog Audio CODEC
30:18
/
/
/
17
R/W
0
FTX
Write “1” to flush TX FIFO, self clear to “0”
16
R/W
0
FRX
Write “1” to flush RX FIFO, self clear to “0”
15:13
/
/
/
12:8
R/W
0x10
TXTL
TX FIFO empty Trigger Level
Interrupt and DMA request trigger level for TX FIFO normal condition
Trigger Level = TXTL
7:3
R/W
0x0F
RXTL
RX FIFO Trigger Level
Interrupt and DMA request trigger level for RX FIFO normal condition
Trigger Level = RXTL + 1
2
R/W
0
TXIM
TX FIFO Input Mode(Mode0, 1)
0: Valid data at the MSB of OWA_TXFIFO register
1: Valid data at the LSB of OWA_TXFIFO register
Example for 20-bits transmitted audio sample:
Mode 0: FIFO_I[23:0] = {TXFIFO[31:12], 4’h0}
Mode 1: FIFO_I[23:0] = {TXFIFO[19:0], 4’h0}
1:0
R/W
0
RXOM
RX FIFO Output Mode(Mode 0,1,2,3)
00: Expanding “0” at LSB of SPDIP_RXFIFO register
01: Expanding received sample sign bit at MSB of OWA_RXFIFO register
10: Truncating received samples at high half-word of OWA_RXFIFO
Confidential
Interfaces
F1C600 User Manual (Revision 1.0) Copyright© 2015 Allwinner Technology. Co.,Ltd. All Rights Reserved. Page 350
register and low half-word of AC_FIFO register is filled by “0”
11: Truncating received samples at low half-word of OWA_RXFIFO register
and high half-word of AC_FIFO register is expanded by its sigh bit
Mode0: RXFIFO[31:0] = {FIFO_O[23:0], 8’h0}
Mode 1: RXFIFO[31:0] = {8’FIFO_O[23], FIFO_O[23:0]}
Mode 2: RXFIFO[31:0] = {FIFO_O[23:8], 16’h0}
Mode 3: RXFIFO[31:0] = {16’FIFO_O[23], FIFO_O[23:8]}
7.9.7.7. OWA FIFO Status Register
Offset: 0x18
Register Name: OWA_FSTA_REG
Bit
R/W
Default/Hex
Description
31:15
/
/
/
14
R
1
TXE
TX FIFO Empty (indicate FIFO is not full)
0: No room for new sample in TX FIFO
1: More than one room for new sample in TX FIFO ( >=1 word )
13:8
R
0x20
TXE_CNT
TX FIFO Empty Space Word counter
7
/
/
/
6
R
0
RXA
RX FIFO Available
0: No available data in RX FIFO
1: More than one sample in RX FIFO ( >=1 word )
5:0
R
0
RXA_CNT
RX FIFO Available Sample Word counter
7.9.7.8. OWA Interrupt Control Register
Offset: 0x1C
Register Name: OWA_INT_REG
Bit
R/W
Default/Hex
Description
31:19
/
/
/
18
R/W
0
RX_LOCKI_EN
RX LOCK Interrupt enable
0: Disable
1: Enable
17
R/W
0
RX_UNLOCKI_EN
RX UNLOCK Interrupt enable
0: Disable
1: Enable
16
R/W
0
RX_PARERRI_EN
RX PARITY ERORR Interrupt enable
0: Disable
1: Enable
15:8
/
/
/
7
R/W
0
TX_DRQ
TX FIFO Empty DRQ Enable
Confidential
Interfaces
F1C600 User Manual (Revision 1.0) Copyright© 2015 Allwinner Technology. Co.,Ltd. All Rights Reserved. Page 351
0: Disable
1: Enable
6
R/W
0
TXUI_EN
TX FIFO Under run Interrupt Enable
0: Disable
1: Enable
5
R/W
0
TXOI_EN
TX FIFO Overrun Interrupt Enable
0: Disable
1: Enable
4
R/W
0
TXEI_EN
TX FIFO Empty Interrupt Enable
0: Disable
1: Enable
3
/
/
/
2
R/W
0
RX_DRQ
RX FIFO Data Available DRQ Enable
When set to “1”, RX FIFO DMA Request is asserted if Data is available in
RX FIFO
0: Disable
1: Enable
1
R/W
0
RXOI_EN
RX FIFO Overrun Interrupt Enable
0: Disable
1: Enable
0
R/W
0
RXAI_EN
RX FIFO Data Available Interrupt Enable
0: Disable
1: Enable
7.9.7.9. OWA Interrupt Status Register
Offset: 0x20
Register Name: OWA_ISTA_REG
Bit
R/W
Default/Hex
Description
31:19
/
/
/
18
R/W
0
RX_LOCK_INT
0: No pending IRQ
1: RX lock Pending Interrupt (RX_LOCK_FLAG 0→1)
Write “1” to clear this interrupt
17
R/W
0
RX_UNLOCK_INT
RX Unlock Pending Interrupt
0: No pending IRQ
1: RX Unlock Pending Interrupt (RX_LOCK_FLAG 1→0)
Write “1” to clear this interrupt
16
R/W
0
RX_PARERRI_INT
RX Parity Error Pending Interrupt
Confidential
Interfaces
F1C600 User Manual (Revision 1.0) Copyright© 2015 Allwinner Technology. Co.,Ltd. All Rights Reserved. Page 352
0: No pending IRQ
1: RX Parity Error Pending Interrupt
Write “1” to clear this interrupt
15:7
/
/
/
6
R/W
0
TXU_INT
TX FIFO Under run Pending Interrupt
0: No pending IRQ
1: FIFO Under run Pending Interrupt
Write “1” to clear this interrupt
5
R/W
0
TXO_INT
TX FIFO Overrun Pending Interrupt
0: No Pending IRQ
1: FIFO Overrun Pending Interrupt
Write “1” to clear this interrupt
4
R/W
1
TXE_INT
TX FIFO Empty Pending Interrupt
0: No Pending IRQ
1: FIFO Empty Pending Interrupt
Write “1” to clear this interrupt or automatically clear if interrupt
condition fails.
3:2
/
/
/
1
R/W
0
RXO_INT
RX FIFO Overrun Pending Interrupt
0: FIFO Overrun Pending
Write “1” to clear this interrupt
0
R/W
0
RXA_INT
RX FIFO Available Pending Interrupt
0: No Pending IRQ
1: Data Available Pending IRQ
Write “1” to clear this interrupt or automatically clear if interrupt
condition fails
7.9.7.10. OWA TX Counter Register
Offset: 0x24
Register Name: OWA_TX_CNT_REG
Bit
R/W
Default/Hex
Description
31:0
R/W
0
TX_CNT
TX Sample counter
The audio sample number of writing into TX FIFO. When one sample is
written by DMA or by host IO, the TX sample counter register increases by
one. The TX Counter register can be set to any initial value at any time.
After been updated by the initial value, the counter register should count
on base of this value.
7.9.7.11. OWA RX Counter Register
Offset: 0x28
Register Name: OWA_RX_CNT
Confidential
Interfaces
F1C600 User Manual (Revision 1.0) Copyright© 2015 Allwinner Technology. Co.,Ltd. All Rights Reserved. Page 353
Bit
R/W
Default/Hex
Description
31:0
R/W
0
RX_CNT
RX Sample counter
The audio sample number of writing into RX FIFO. When one sample is
written by Codec, the RX sample counter register increases by one. The
RX Counter register can be set to any initial value at any time. After been
updated by the initial value, the counter register should count on base of
this value.
7.9.7.12. OWA TX Channel Status Register 0
Offset: 0x2C
Register Name: OWA_TX_CHSTA_REG0
Bit
R/W
Default/Hex
Description
31: 30
/
/
/
29:28
R/W
CA
Clock Accuracy
00: Level 2
01: Level 1
10: Level 3
11: not matched
27:24
R/W
FREQ
Sampling frequency
0000: 44.1kHz 1000: Reserved
0001: not indicated 1001: 768kHz
0010: 48kHz 1010: 96kHz
0011: 32kHz 1011: Reserved
0100: 22.05kHz 1100:176.4kHz
0101: Reserved 1101: Reserved
0110: 24kHz 1110: 192kHz
0111: Reserved 1111: Reserved
23:20
R/W
0
CN
Channel Number
19:16
R/W
0
SN
Source Number
15:8
R/W
0
CC
Category code
Indicates the kind of equipment that generates the digital audio
interface signal.
7:6
R/W
0
MODE
Mode
00: Default Mode
01~11: Reserved
5:3
R/W
0
EMP
Emphasis
Additional format information
For bit 1 = “0”, Linear PCM audio mode:
Confidential
Interfaces
F1C600 User Manual (Revision 1.0) Copyright© 2015 Allwinner Technology. Co.,Ltd. All Rights Reserved. Page 354
000: 2 audio channels without pre-emphasis
001: 2 audio channels with 50 μs / 15 μs pre-emphasis
010: Reserved (for 2 audio channels with pre-emphasis)
011: Reserved (for 2 audio channels with pre-emphasis)
100~111: Reserved
For bit 1 = “1”, other than Linear PCM applications:
000: Default state
001~111: Reserved
2
R/W
0
CP
Copyright
0: copyright is asserted
1: no copyright is asserted
1
R/W
0
TYPE
Audio Data Type
0: Linear PCM Samples
1: For none-linear PCM audio such as AC3, DTS, MPEG audio
0
R/W
0
PRO
Application type
0: Consumer Application
1: Professional Application
Note: This bit must be fixed to “0”
7.9.7.13. OWA TX Channel Status Register 1
Offset: 0x30
Register Name: OWA_TX_CHSTA_REG1
Bit
R/W
Default/Hex
Description
31:10
/
/
/
9:8
R/W
0
CGMS_A
00: Copying is permitted without restriction
01: One generation of copies may be made
10: Condition not be used
11: No copying is permitted
7:4
R/W
0
ORIG_FREQ
Original sampling frequency
0000: not indicated
0001: 192kHz
0010: 12kHz
0011: 176.4kHz
0100: Reserved
0101: 96kHz
0110: 8kHz
0111: 88.2kHz
1000: 16kHz
1001: 24kHz
1010: 11.025kHz
1011: 22.05kHz
Confidential
Interfaces
F1C600 User Manual (Revision 1.0) Copyright© 2015 Allwinner Technology. Co.,Ltd. All Rights Reserved. Page 355
1100: 32kHz
1101: 48kHz
1110: Reserved
1111: 44.1kHz
3:1
R/W
0
WL
Sample word length
For bit 0 = “0”:
000: not indicated
001: 16 bits
010: 18 bits
100: 19 bits
101: 20 bits
110: 17 bits
111: Reserved
For bit 0 = “1”:
000: not indicated
001: 20 bits
010: 22 bits
100: 23 bits
101: 24 bits
110: 21 bits
111: Reserved
0
R/W
0
MWL
Max Word length
0: Maximum audio sample word length is 20 bits
1: Maximum audio sample word length is 24 bits
7.9.7.14. OWA RX Channel Status Register 0
Offset: 0x34
Register Name: OWA_RX_CHSTA_REG0
Bit
R/W
Default/Hex
Description
31: 30
/
/
/
29:28
R/W
CA
Clock Accuracy
00: Level 2
01: Level 1
10: Level 3
11: not matched
27:24
R/W
FREQ
Sampling frequency
0000: 44.1kHz 1000: Reserved
0001: not indicated 1001: 768kHz
0010: 48kHz 1010: 96kHz
0011: 32kHz 1011: Reserved
0100: 22.05kHz 1100:176.4kHz
Confidential
Interfaces
F1C600 User Manual (Revision 1.0) Copyright© 2015 Allwinner Technology. Co.,Ltd. All Rights Reserved. Page 356
0101: Reserved 1101: Reserved
0110: 24kHz 1110: 192kHz
0111: Reserved 1111: Reserved
23:20
R/W
0
CN
Channel Number
19:16
R/W
0
SN
Source Number
15:8
R/W
0
CC
Category code
Indicates the kind of equipment that generates the digital audio interface
signal.
7:6
R/W
0
MODE
Mode
00: Default Mode
01~11: Reserved
5:3
R/W
0
EMP
Emphasis
Additional format information
For bit 1 = “0”, Linear PCM audio mode:
000: 2 audio channels without pre-emphasis
001: 2 audio channels with 50 μs / 15 μs pre-emphasis
010: Reserved (for 2 audio channels with pre-emphasis)
011: Reserved (for 2 audio channels with pre-emphasis)
100~111: Reserved
For bit 1 = “1”, other than Linear PCM applications:
000: Default state
001~111: Reserved
2
R/W
0
CP
Copyright
0: copyright is asserted
1: no copyright is asserted
1
R/W
0
TYPE
Audio Data Type
0: Linear PCM Samples
1: For none-linear PCM audio such as AC3, DTS, MPEG audio
0
R/W
0
PRO
Application type
0: Consumer Application
1: Professional Application
7.9.7.15. OWA RX Channel Status Register 1
Offset: 0x38
Register Name: OWA_CH_STA_REG1
Bit
R/W
Default/Hex
Description
31:10
/
/
/
9:8
R/W
0
CGMS_A
Confidential
Interfaces
F1C600 User Manual (Revision 1.0) Copyright© 2015 Allwinner Technology. Co.,Ltd. All Rights Reserved. Page 357
00: Copying is permitted without restriction
01: One generation of copies may be made
10: Condition not be used
11: No copying is permitted
7:4
R/W
0
ORIG_FREQ
Original sampling frequency
0000: not indicated
0001: 192kHz
0010: 12kHz
0011: 176.4kHz
0100: Reserved
0101: 96kHz
0110: 8kHz
0111: 88.2kHz
1000: 16kHz
1001: 24kHz
1010: 11.025kHz
1011: 22.05kHz
1100: 32kHz
1101: 48kHz
1110: Reserved
1111: 44.1kHz
3:1
R/W
0
WL
Sample word length
For bit 0 = “0”:
000: not indicated
001: 16 bits
010: 18 bits
100: 19 bits
101: 20 bits
110: 17 bits
111: Reserved
For bit 0 = “1”:
000: not indicated
001: 20 bits
010: 22 bits
100: 23 bits
101: 24 bits
110: 21 bits
111: Reserved
0
R/W
0
MWL
Max Word length
0: Maximum audio sample word length is 20 bits
1: Maximum audio sample word length is 24 bits
Confidential

Navigation menu